Movatterモバイル変換


[0]ホーム

URL:


JP2025507615A - 治療薬又は診断薬の送達のためのシステム、方法及び装置 - Google Patents

治療薬又は診断薬の送達のためのシステム、方法及び装置
Download PDF

Info

Publication number
JP2025507615A
JP2025507615AJP2024549198AJP2024549198AJP2025507615AJP 2025507615 AJP2025507615 AJP 2025507615AJP 2024549198 AJP2024549198 AJP 2024549198AJP 2024549198 AJP2024549198 AJP 2024549198AJP 2025507615 AJP2025507615 AJP 2025507615A
Authority
JP
Japan
Prior art keywords
container
housing
storage device
door
therapeutic
Prior art date
Legal status (The legal status is an assumption and is not a legal conclusion. Google has not performed a legal analysis and makes no representation as to the accuracy of the status listed.)
Pending
Application number
JP2024549198A
Other languages
English (en)
Inventor
ジョン・ヴォルカー
ジョアナ・オリヴェイラ・レゴ・ブリランテ
アン・ベリット・エイド
エリア・フー
ハムシニ・スンダララマン
アシュリー・コッカーハム
ウィンストン・ジー
アンドリュー・ジョーンズ
リッチ・ミラー
ジョー・ティング
ブライアン・ユー
ライアン・ベイン
Current Assignee (The listed assignees may be inaccurate. Google has not performed a legal analysis and makes no representation or warranty as to the accuracy of the list.)
Bayer Healthcare LLC
Original Assignee
Bayer Healthcare LLC
Priority date (The priority date is an assumption and is not a legal conclusion. Google has not performed a legal analysis and makes no representation as to the accuracy of the date listed.)
Filing date
Publication date
Application filed by Bayer Healthcare LLCfiledCriticalBayer Healthcare LLC
Publication of JP2025507615ApublicationCriticalpatent/JP2025507615A/ja
Pendinglegal-statusCriticalCurrent

Links

Images

Classifications

Landscapes

Abstract

Figure 2025507615000001
1つ以上の治療薬又は診断薬の分配、保管、輸送、投与、及び/又は廃棄のためのシステム及び方法が開示される。治療薬又は診断薬を送達するための送達システムに接続するように構成された保管装置は、チャンバを有するハウジングと、チャンバ内に配置されたアクセスポートを有する容器と、を備える。ドアは、閉位置と開位置との間でハウジングに対して移動可能である。閉位置では、ドアは、チャンバを密閉するためにハウジングの開口部を覆い、開位置では、ドアは、容器のアクセスポートにアクセスするための開口部を露出させる。ドアは、送達システムのアクセス機構による作動に応答して、閉位置と開位置との間で移動可能である。

Description

関連出願の相互参照
本願は、2022年2月21日に出願された米国仮出願第63/312,145号及び2022年2月21日に出願された米国仮出願第63/312,148号の優先権を主張し、これらの開示は、参照によりその全体が本明細書に組み込まれる。
本開示は、放射性医薬品(radiopharmaceutical)(例えば、治療又は画像化に使用される放射性薬物)の包装、分配、保管、投与及び/又は廃棄のためのシステム及び方法に関する。本開示はさらに、制御された供給源からの正確な体積送達(volumetric delivery)を必要とする治療薬又は診断薬の包装、分配、保管、投与及び/又は廃棄のためのシステム及び方法に関する。
放射性医薬品は、標的アイソトープ治療(TRT:targeted radionuclide therapy)又は画像診断に利用することができる。放射性医薬品は、一般に、放射性同位体(例えば、Ac-255、Lu-177など)、標的化部分(targeting moiety)又はバイオベクター(例えば、抗体、ペプチド、抗原、小分子など)、及び任意選択的に単一構造へと互いに結合されたキレート剤(例えば、DOTA、NOTA、DTPAなど)を含む。場合によっては、放射性同位体が、人体が組織又は器官に自然に取り込むものである場合、TRTは、バイオベクター又はキレート剤なしの放射性同位体のみとすることができる。放射性医薬品は、癌細胞などの細胞上の標的タンパク質と相互作用するように構成される。放射性医薬品は、液体形態又は流体形態で混合することができる。いくつかの例又は態様では、放射性医薬品は、流体(例えば、患者への注入に適したスラリー)に同伴される固体微粒子であってもよい。投与は、一般に、体循環への静脈内投与によるものである。
TRTの例には、標的アルファ線治療(TAT:targeted alpha therapies)又は標的ベータ線治療(TBT:targeted beta therapies)が含まれ得る。かかる治療は、単剤治療として、又は組み合わせて、例えば同時投与又は逐次投与によって投与され得る。TATのための放射性治療剤(radioactive therapeutic agent)は、主にアルファ線を放出する。TATのための放射性治療剤から放出された放射線の残部は、ガンマ線及び/又はベータ線を含み得る。TBTのための放射性治療剤は、主にベータ線を放出する。TBTのための放射性治療剤のために放出される放射線の残部は、ガンマ線及び/又はアルファ線を含み得る。標的アルファ線治療の例としては、限定されないが、トリウム(Th-227)、アクチニウム(Ac-225)及び鉛(Pb-212)に基づく治療が挙げられる。標的ベータ線治療の例には、ルテチウム(Lu-177)、銅(Cu-67)又はヨウ素(I-131)に基づく治療が含まれる。放射性治療剤の他の例としては、ラジウム(Ra)(例えば、バイエル・ヘルスケア(Bayer Health Care)によって提供されるXOFIGO(登録商標)治療などのRa-223同位体)を利用するアルファ線治療剤を挙げることができる。XOFIGO(登録商標)の調製、調製された溶液、及び使用のための方法は、特許文献1に記載されており、その開示は、その全体が参照により本明細書に組み込まれる。
TRTで使用される放射性医薬品は、製造、保管、流通、投与、取扱い及び廃棄の重要な課題を引き起こす可能性がある。治療剤は放射性であるため、ヒトの健康に放射線曝露を引き起こす可能性がある。さらに、放射性治療剤の減衰性を考慮すると、放射性医薬品の製造、加工、及び患者への送達にかかる時間が長いほど、投与された用量に存在する放射能は少なくなる。放射性物質を安全に保管し利用し続けるためには従わなければならない相当な規制があり、それは、治療剤をどのように保管及び輸送することができるか、並びに誰が放射性治療剤を使用又は投与することができるかに影響を及ぼし得る。例えば、そのような規制は、介護担当者(care provider)が任意のTRTを投与することができるように数百時間の訓練を受けることを必要とする場合がある。
図1は、TRTのための従来のサプライチェーンを示す。最初に、放射性医薬品は製造施設にてバルク製造され、バルクコンテナに装入される。そのようなコンテナの荷は核薬局(nuclear pharmacy)に配送され、そこで、核薬剤師(nuclear pharmacist)が、特定の患者のための処方作業に基づいて、ある用量を引き出して、例えばシリンジ内に入れる。その患者即時使用のための用量(patient-ready dose)は、処方された投薬(dosing)及びアッセイを検証するために、核薬局にて用量キャリブレータ内で確認される。用量は、その用量が注入時に必要な活性を有することを保証するために注入時に較正される。次いで、検証された用量は治療場所に輸送され、そこで再び用量キャリブレータで検証される。治療場所では、用量は通常、放射性物質の半減期のために用量がもはや患者の使用に適さなくなる前に、用量の引出しから一定時間以内に使用されなければならない。投与後、使用済みのシリンジを用量キャリブレータで再度確認して、正しい処方用量が患者に投与されたことを検証する。
図2に示すように、患者を診断、照会及び治療するための方法は、複数の方法及び多くの様々な医療専門家を必要とする。医師Dによって患者Pが診断された後、医師Dは、投薬計画に基づいて放射性医薬品の用量を処方する。その用量は、用量を検証し、用量を投与し、正しい用量が患者に送達されたことを検証するために、認可されたユーザAUに送達される前に、核薬局の核薬剤師NPによって充填される。
制御された供給源からの正確な体積送達を必要とするTRT及び他の治療薬又は診断薬の分配及び投与のための従来の方法は、それらの適用及び使用を著しく制限する。輸送、取扱い、及び患者のスケジューリングを考慮した後、治療場所には、特定の患者に用量を投与するための限られた時間しかない。輸送、取扱い、及び患者のスケジューリングが変動することによって課される課題は、患者への医薬品の送達時での過少投薬など、TRT又は他の治療薬若しくは診断薬の有効性に影響を及ぼし得る。制御された供給源からの正確な体積送達を必要とするTRT及び他の治療薬又は診断薬の分配及び投与のための従来のシステム及び方法に関連するこれらの課題のために、そのような治療法の分配、取扱い、投与及び廃棄のための改善されたシステム及び方法が当技術分野において必要とされている。
米国特許第6,635,234号明細書米国特許出願公開第2021/0187186号明細書
TRT及び他の治療薬又は診断薬の分配、取扱い、投与及び廃棄のための従来のシステム及び方法の問題点を考慮して、治療場所がより長期間にわたって利用可能で、すぐに使用できるTRTを有することができるように、より良好なサプライチェーン方法が必要である。さらに、保管された製品がもはや患者特有ではないことを保証するために、改善されたシステム及び方法が必要とされる。代わりに、治療場所は、任意の特定の日にその場所にいる可能性のある任意の患者に治療を施すのを助けるための機器を提供することができ、その結果、有効量の放射性医薬品を患者に送達することができるように、治療場所で保管された製品をどのように利用することができるかについてより柔軟性を有することになる。そのような患者特有の投薬は、治療場所での用量キャリブレータを必要とせずに達成され、それにより、指定されたホットラボ内での手動測定及び取扱いの必要性を低減又は排除する。用量、体積及び濃度は、誤差検出及び補正を伴う複数の用量キャリブレータ、試料の自動処理、データの自動記録、並びに正確な計量又は体積決定などの投薬及び充填装置を使用することがはるかに効率的である製造又は充填現場で、正確に測定することができる。より正確な機器、及びヒューマンエラーの可能性の低減又は排除は、サプライチェーン全体の信頼性を高める。
本開示のいくつかの実施形態又は態様では、治療薬又は診断薬を送達するための送達システムに接続するように構成された保管装置が提供される。保管装置は、中にチャンバが画定されたハウジングと、チャンバ内に配置された容器と、を含んでもよい。容器は、近位端の反対側の遠位端を有してもよく、それらの間に画定され、治療薬又は診断薬を受容するように構成された内部を有する。容器の近位端は、内部にアクセスするためのアクセスポートを有してもよい。保管装置は、ハウジングに関連付けられたドアをさらに有してもよく、ドアは、閉位置と開位置との間でハウジングに対して移動可能である。閉位置では、ドアは、ハウジングのチャンバを密閉するようにハウジングの開口部を覆ってもよい。開位置では、ドアは、容器のアクセスポートにアクセスするためのハウジングの開口部を露出させてもよい。保管装置は、容器のアクセスポートがハウジングの開口部に配置されるように容器をハウジングに対して固定すべく容器と接触するホルダを、ハウジングのチャンバ内にさらに有してもよい。ドアは、送達システムのアクセス機構による作動に応答して、閉位置と開位置との間で移動可能であってもよい。
本開示のいくつかの実施形態又は態様では、ホルダは、容器の遠位端に接触するための接触要素と、接触要素に接続され、ハウジングの内面に係合して容器の遠位端をハウジングに対して固定するように構成された複数のタブと、を含んでもよい。保管装置は、ハウジングのチャンバ内にあり開口部を囲む複数のリブをさらに含んでもよい。複数のリブは、容器の近位端をハウジングに対して固定するように構成されてもよい。
本開示のいくつかの実施形態又は態様では、保管装置は、ドアを開位置及び閉位置の一方に固定するためのロックをさらに含んでもよい。ドアカバーはハウジングに接続されてもよく、ドアカバーはドアチャンバ内でドアを囲む。ドアカバーは、シールを有するドアアクセス開口部と、ハウジングの開口部に対向して配置された、スパイクを介するなどした、容器アクセス開口部と、を含んでもよい。シールは、送達システムのアクセス機構によって穿孔可能であってもよい。
本開示のいくつかの実施形態又は態様では、保管装置は、製品情報、製造情報、処方箋情報及び輸送条件情報のうちの少なくとも1つを含む機械可読認証可能データを包含するラベル又はタグ若しくはデータキャリアをハウジング上にさらに含んでもよい。ハウジングの開口部は、ドアが開位置にあるときに治療薬又は診断薬にアクセスするためにアクセスポート内に延出するスパイクを受け入れるように構成されてもよい。いくつかの実施形態又は態様では、治療薬又は診断薬は放射性医薬品であってもよく、ハウジングは、放射性医薬品からの放射線がハウジングから放出されるのを防ぐように構成された遮蔽体を含む。
本開示のいくつかの実施形態又は態様では、治療薬又は診断薬を送達するための送達システムに接続するように構成されたアセンブリが提供される。アセンブリは、治療薬又は診断薬を収容する保管装置と、治療薬又は診断薬にアクセスするために保管装置に流体接続可能である流体カセットと、を含んでもよい。保管装置は、中にチャンバが画定されたハウジングと、チャンバ内に配置された容器と、を含んでもよい。容器は、治療薬又は診断薬を受容するように構成された内部と、内部にアクセスするためのアクセスポートと、を有してもよい。保管装置は、ハウジングに関連付けられたドアをさらに含んでもよく、ドアは、閉位置と開位置との間でハウジングに対して移動可能である。閉位置では、ドアは、ハウジングのチャンバを密閉するようにハウジングの開口部を覆ってもよい。開位置では、ドアは、容器のアクセスポートにアクセスするためのハウジングの開口部を露出させてもよい。流体カセットは、スパイクと、計量装置と、スパイクを計量装置に流体接続する流体経路セットと、を含んでもよい。流体カセットは、スパイク、計量装置、及び流体経路セットを囲む筐体をさらに含んでもよい。保管装置及び流体カセットは、保管装置のドアが送達システムのアクセス機構によってアクセス可能であるように、かつ、流体カセットのスパイク及び計量装置が送達システムの送達機構によってアクセス可能であるように、送達システムに接続するように構成されてもよい。
本開示のいくつかの実施形態又は態様では、流体カセットのスパイクは、流体経路セットを介して計量装置を容器に流体接続するためにドアが開位置に動かされるときに、容器のアクセスポートに挿入可能であってもよい。流体経路セットは、流体経路要素を流通する流体の流れを調整するために送達システムの送達機構によって動作可能である1つ以上のバルブを含んでもよい。流体カセットは、生理食塩水供給源に接続可能であってもよい。
本開示のいくつかの実施形態又は態様では、保管装置は、保管装置を流体カセットに対して所望の向きに配置するように構成されたガイド機構を含んでもよい。ガイド機構は、保管装置上に1つ以上の幾何学的特徴部を含んでもよい。1つ以上の幾何学的特徴部は、流体カセット上の対応する1つ以上の幾何学的特徴部と結合するように構成されてもよい。1つ以上の幾何学的特徴部は、互換性のないシステム構成要素間の結合を防止し得る。
本開示のいくつかの実施形態又は態様では、流体カセットの計量装置の出口は、容器からインフュージョンセットに治療薬又は診断薬の用量を送達するために、インフュージョンセットに接続するように構成されてもよい。保管装置は、製品情報、製造情報、処方箋情報、及び輸送条件情報のうちの少なくとも1つを含む機械可読認証可能データを包含するラベル又はタグをハウジング上にさらに含んでもよい。治療薬又は診断薬は放射性医薬品であってもよく、ハウジングは、放射性医薬品からの著しい放射線がハウジングから放出されるのを防止するように構成された遮蔽体を含む。
本開示のいくつかの実施形態又は態様では、治療薬又は診断薬を送達するための送達システムが提供される。送達システムは、送達機構及びアクセス機構を有するインジェクタと、インジェクタに取外し可能に接続可能である流体送達アセンブリと、を含んでもよい。流体送達アセンブリは、治療薬又は診断薬を収容する保管装置と、治療薬又は診断薬にアクセスするために保管装置に流体接続可能である流体カセットと、を含んでもよい。保管装置は、中にチャンバが画定されたハウジングと、チャンバ内に配置された容器と、を含んでもよい。容器は、治療薬又は診断薬を受容するように構成された内部と、内部にアクセスするためのアクセスポートと、を有してもよい。保管装置は、ハウジングに関連付けられたドアをさらに含んでもよく、ドアは、インジェクタのアクセス機構を介してハウジングに対して閉位置と開位置との間で移動可能である。閉位置では、ドアは、ハウジングのチャンバを密閉するようにハウジングの開口部を覆ってもよい。開位置では、ドアは、容器のアクセスポートにアクセスするためのハウジングの開口部を露出させてもよい。流体カセットは、スパイクと、計量装置と、スパイクを計量装置に流体接続する流体経路セットと、を含んでもよい。流体カセットは、スパイク、計量装置、及び流体経路セットを囲む筐体をさらに含んでもよい。流体カセットのスパイク及び計量装置は、流体経路セットを介して容器の内部を計量装置と流体接続するためにインジェクタの送達機構によってアクセス可能であってもよい。
本開示のいくつかの実施形態又は態様では、送達システムは、保管装置上の機械可読認証データに基づいて、容器から計量装置に引き込まれる治療薬又は診断薬の用量を決定するように構成されたインジェクタコントローラをさらに含む。インジェクタコントローラは、少なくとも1つの患者パラメータに基づいて容器から計量装置内に引き込まれる治療薬又は診断薬の用量を決定するようにさらに構成されてもよい。インジェクタコントローラは、病院ネットワークシステム、病院企業システム又は他のヘルスケアネットワークに接続されてもよい。インジェクタコントローラは、様々な予め定められた治療又は診断手順のための複数の投薬アルゴリズムを含んでもよい。
本開示のいくつかの実施形態又は態様では、流体経路セットは、流体経路要素を流通する流体の流れを調整するために送達システムの送達機構によって動作可能である1つ以上のバルブを含んでもよい。流体カセットは、生理食塩水供給源又は他の洗浄流体供給源に接続可能であってもよい。流体カセットの計量装置の出口は、容器からインフュージョンセットに治療薬又は診断薬の用量を送達するためにインフュージョンセットに接続するように構成されてもよい。保管装置は、流体カセットに取外し可能に又は取外し不可能に接続可能であるように構成されてもよい。
本開示のいくつかの実施形態又は態様では、使用済みの治療薬又は診断薬の保管及び廃棄を管理するための在庫装置が提供される。在庫装置は、固定可能な(lockable)ドアを介してアクセス可能な保管区画を有するカートを含んでもよい。保管区画は、1つ以上の廃棄コンテナを保管するように構成されてもよい。各廃棄コンテナは、中にチャンバが画定されたハウジングを有する保管装置と、ハウジングのチャンバ内に配置された容器と、を含んでもよい。容器は、その内部に放射性医薬品を保管するように構成されてもよい。ドアは、ハウジングに接続され、開位置と閉位置との間で移動可能であってもよい。閉位置では、ドアはハウジングのチャンバを完全に密閉してもよい。装置は、スパイクを有する流体カセットと、計量装置と、をさらに含んでもよい。保管装置は、スパイクが容器に挿入されて計量装置を容器に流体接続するように、流体カセットに固定されてもよい。計量装置は、放射性医薬品の用量を注入するために使用されるインフュージョンセットに接続されてもよい。インフュージョンセット、保管装置、及び流体カセットは、廃棄コンテナ内に保持されてもよい。
本開示のいくつかの実施形態又は態様では、カートは、使用済みの治療薬又は診断薬の放射性成分が予め選択された安全閾値レベルまで減衰するように、1つ以上の廃棄コンテナのいずれかが予め選択された保管期間にわたって保管されたかどうかを示すために、保管区画に関連付けられた少なくとも1つのインジケータを含んでもよい。カートは、カートの無認可の移動又は意図しない移動を防止するように構成された車輪ロックを有する車輪を含んでもよい。車輪ロックは、コントローラと通信する電子ロックであってもよい。車輪ロックは、キー又は他の機械的ロック機構を有する機械的ロックであってもよい。車輪ロックは、固定可能なドアが固定解除された後にのみ車輪が固定解除され転動可能であるように、固定可能なドアと動作可能に接続されてもよい。
本開示のいくつかの実施形態又は態様では、治療薬又は診断薬の製造及び分配のための方法が提供される。本方法は、容器に治療薬又は診断薬を充填するステップと、ハウジングを有する保管装置のチャンバ内に容器を配置するステップと、ハウジングがチャンバ内で容器を完全に囲むように保管装置を閉じるステップと、保管装置を投与施設に輸送するステップと、送達システムのアクセス機構を使用して保管装置のドアを開くステップと、送達システムの消毒機構を使用して容器のアクセスポートを消毒するステップと、送達システムを使用してアクセスポートを介して容器内の治療薬又は診断薬にアクセスするステップと、を含んでもよい。
本開示のいくつかの実施形態又は態様では、治療薬又は診断薬にアクセスするステップは、保管装置に接続されたカセットのスパイクを使用してアクセスポートを穿孔することを含んでもよい。本方法は、製品情報、製造情報、処方箋情報、及び輸送条件情報のうちの少なくとも1つを決定するために、保管装置上のラベル又はタグを読み取るステップをさらに含んでもよい。本方法は、紫外線を放射すること、又は消毒材料を出射することによってアクセスポートを消毒するステップをさらに含んでもよい。
本開示のいくつかの実施形態又は態様では、使用済みの治療薬又は診断薬を保管及び廃棄するための方法が提供される。本方法は、治療薬又は診断薬の残余の部分を有する容器を保持する保管装置と、保管装置が流体接続されたカセットと、廃棄コンテナ内に配置するためのインフュージョンセットと、を回収するステップを含んでもよい。本方法は、使用日を示すためにラベル、タグ、又は他の指標を廃棄コンテナ上に配置するステップと、保管装置、カセット及びインフュージョンセットを中に有する廃棄コンテナを保管区画内に配置するステップと、予め選択された減衰期間が経過した後に廃棄コンテナが廃棄するのに安全であることを示すステップと、を含んでもよい。本方法は、製品情報、製造情報、処方箋情報、及び輸送条件情報のうちの少なくとも1つを決定するためにラベル又は他の指標を読み取るステップをさらに含んでもよい。
本開示のいくつかの実施形態又は態様では、治療薬又は診断薬の用量を送達する方法が提供される。本方法は、治療薬又は診断薬を容器に導入するステップと、ハウジングを有する保管装置のチャンバ内に容器を配置するステップと、放射性医薬品によって放出された放射線が放射性医薬品の輸送及び保管のためにハウジングから放出されるのを遮蔽するために、ハウジングがチャンバ内で容器を完全に囲むように保管装置のドアを閉じるステップと、保管装置に含まれる放射性医薬品の製造情報に基づいて患者に対する放射性医薬品の用量を決定するステップと、容器内の放射性医薬品にアクセスし、決定された用量を患者に注入するためにハウジングを開くべく保管装置のドアを固定解除するステップと、を含んでもよい。
本開示のいくつかの実施形態又は態様では、治療薬又は診断薬にアクセスするステップは、保管装置に接続されたカセットのスパイクを使用して容器のアクセスポートを穿孔することを含んでもよい。本方法は、製品情報、製造情報、処方箋情報、及び輸送条件情報のうちの少なくとも1つを決定するために、保管装置上のラベル又はタグを読み取るステップをさらに含んでもよい。本方法は、容器のアクセスポートを消毒するステップをさらに含んでもよい。アクセスポートを消毒するステップは、紫外線を放射すること、又は消毒材料を出射すること、を含んでもよい。
本明細書に記載のシステム及び方法の追加の実施形態又は態様は、以下の条項の1つ以上に詳述される。
条項1:治療薬又は診断薬を送達するための送達システムに接続するように構成された保管装置であって、保管装置は、内部に画定されたチャンバを有するハウジングと、チャンバ内に配置された容器であって、治療薬又は診断薬を受容するように構成され、近位端の反対側の遠位端を有し、間に内部が画定され、近位端が内部にアクセスするためのアクセスポートを有する、容器と、ハウジングと関連付けられたドアであって、閉位置と開位置との間でハウジングに対して移動可能であり、閉位置において、ハウジングのチャンバを密閉するようにハウジングの開口部を覆い、開位置において、容器のアクセスポートにアクセスするためにハウジングの開口部を露出させる、ドアと、容器のアクセスポートがハウジングの開口部に配置されるように、容器をハウジングに対して固定するためにハウジングのチャンバ内で容器と接触するホルダと、を備え、ドアは、送達システムのアクセス機構による作動に応答して、閉位置と開位置との間で移動可能である、保管装置。
条項2:ホルダは、容器の遠位端に接触するための接触要素と、接触要素に接続され、ハウジングの内面と係合して容器の遠位端をハウジングに対して固定するように構成された複数のタブと、を備える、条項1に記載の保管装置。
条項3:ハウジングのチャンバ内にある複数のリブであって、開口部を囲む、複数のリブをさらに備え、複数のリブは、容器の近位端をハウジングに対して固定するように構成されている、条項1又は2に記載の保管装置。
条項4:ドアを開位置及び閉位置の一方に固定するためのロックをさらに備える、条項1から3のいずれか一項に記載の保管装置。
条項5:ハウジングに接続されたドアカバーをさらに備え、ドアカバーはドアチャンバ内でドアを囲む、条項1から4のいずれか一項に記載の保管装置。
条項6:ドアカバーは、シールを有するドアアクセス開口部と、ハウジングの開口部に対向して配置された容器アクセス開口部と、を備える、条項1から5のいずれか一項に記載の保管装置。
条項7:シールは、送達システムのアクセス機構によって穿孔可能である、条項6に記載の保管装置。
条項8:製品情報、製造情報、処方箋情報、及び輸送条件情報のうちの少なくとも1つを含む機械可読認証可能データを包含するラベル又はタグを、ハウジング上にさらに備える、条項1から7のいずれか一項に記載の保管装置。
条項9:ハウジングの開口部が、ドアが開位置にあるときに治療薬又は診断薬にアクセスするためにアクセスポート内に延出するスパイクを受け入れるように構成されている、条項1から8のいずれか一項に記載の保管装置。
条項10:治療薬又は診断薬は放射性医薬品であり、ハウジングは、放射性医薬品からの放射線がハウジングから放出されるのを防止するように構成された遮蔽体を備える、条項1から9のいずれか一項に記載の保管装置。
条項11:治療薬又は診断薬を送達するための送達システムに接続するように構成されたアセンブリであって、アセンブリは、治療薬又は診断薬を収容する保管装置と、治療薬又は診断薬にアクセスするために保管装置に流体接続可能である流体カセットと、を備え、保管装置は、中にチャンバが画定されたハウジングと、チャンバ内に配置された容器であって、治療薬又は診断薬を受容するように構成された内部と、内部にアクセスするためのアクセスポートと、を有する、容器と、ハウジングと関連付けられたドアであって、閉位置と開位置との間でハウジングに対して移動可能であり、閉位置において、ハウジングのチャンバを密閉するようにハウジングの開口部を覆い、開位置において、容器のアクセスポートにアクセスするためにハウジングの開口部を露出させる、ドアと、を備え、流体カセットは、スパイク、計量装置、及びスパイクを計量装置に流体接続する流体経路セットと、スパイク、計量装置、及び流体経路セットを囲む筐体と、を備え、保管装置及び流体カセットは、保管装置のドアが送達システムのアクセス機構によってアクセス可能であると共に、スパイク及び流体カセットの計量装置が送達システムの送達機構によってアクセス可能であるように、送達システムに接続するように構成されている、アセンブリ。
条項12:流体カセットの容器アクセス部材は、流体経路セットを介して計量装置を容器に流体接続するためにドアが開位置に移動されるときに容器のアクセスポートに挿入可能である、条項11に記載のアセンブリ。
条項13:流体経路セットは、流体経路要素を通る流体の流れを調整するために送達システムの送達機構によって動作可能である1つ以上のバルブを備える、条項11又は12に記載のアセンブリ。
条項14:流体カセットは生理食塩水供給源に接続可能である、条項11から13のいずれか一項に記載のアセンブリ。
条項15:保管装置は、保管装置を流体カセットに対して所望の向きに配置するように構成されたガイド機構を備える、条項11から14のいずれか一項に記載のアセンブリ。
条項16:ガイド機構は、保管装置上に1つ以上の幾何学的特徴部を備え、1つ以上の幾何学的特徴部は、流体カセット上の対応する1つ以上の幾何学的特徴部と結合するように構成されている、条項15に記載のアセンブリ。
条項17:流体カセットの計量装置の出口は、治療薬又は診断薬の用量を容器からインフュージョンセットに送達するために、インフュージョンセットに接続するように構成されている、条項11から16のいずれか一項に記載のアセンブリ。
条項18:製品情報、製造情報、処方箋情報、及び出荷条件情報のうちの少なくとも1つを含む機械可読認証可能データを包含するラベル又はタグを、ハウジング上にさらに備える、条項11から17のいずれか一項に記載のアセンブリ。
条項19:治療薬又は診断薬は放射性医薬品であり、ハウジングは、放射性医薬品からの放射線がハウジングから放出されるのを防止するように構成された遮蔽体を備える、条項11から18のいずれか一項に記載のアセンブリ。
条項20:治療薬又は診断薬を送達するための送達システムであって、送達システムは、送達機構及びアクセス機構を有するインジェクタと、インジェクタに取外し可能に接続可能である流体送達アセンブリであって、治療薬又は診断薬を収容する保管装置と、治療薬又は診断薬にアクセスするために保管装置に流体接続可能である流体カセットと、を備える、流体送達アセンブリと、を備え、保管装置は、中にチャンバが画定されたハウジングと、チャンバ内に配置された容器であって、治療薬又は診断薬を受容するように構成された内部と、内部にアクセスするためのアクセスポートと、を有する、容器と、ハウジングと関連付けられたドアであって、インジェクタのアクセス機構を介してハウジングに対して閉位置と開位置との間で移動可能であり、閉位置において、ハウジングのチャンバを密閉するようにハウジングの開口部を覆い、開位置において、容器のアクセスポートにアクセスするためにハウジングの開口部を露出させる、ドアと、を備え、流体カセットは、容器アクセス部材、計量装置、及び容器アクセス部材を計量装置に流体接続する流体経路セットと、容器アクセス部材、計量装置、及び流体経路セットを囲む筐体と、を備え、容器アクセス部材及び流体カセットの計量装置は、流体経路セットを介して容器の内部を計量装置と流体接続するためにインジェクタの送出機構によってアクセス可能である、送達システム。
条項21:保管装置上の機械可読認証データに基づいて、容器から計量装置に引き込まれる治療薬又は診断薬の用量を決定するように構成されたインジェクタコントローラをさらに備える、条項20に記載の送達システム。
条項22:インジェクタコントローラは、少なくとも1つの患者パラメータに基づいて容器から計量装置内に引き込まれる治療薬又は診断薬の用量を決定するようにさらに構成されている、条項21に記載の送達システム。
条項23:インジェクタコントローラは病院ネットワークシステムに接続されている、条項21又は22に記載の送達システム。
条項24:インジェクタコントローラは、様々な予め定められた治療又は診断手順のための複数の投薬アルゴリズムを備える、条項21から23のいずれか一項に記載の送達システム。
条項25:流体経路セットは、流体経路要素を通る流体の流れを調整するために送達システムの送達機構によって動作可能である1つ以上のバルブを備える、条項20から24のいずれか一項に記載の送達システム。
条項26:流体カセットは生理食塩水供給源に接続可能である、条項20から25のいずれか一項に記載の送達システム。
条項27:流体カセットの計量装置の出口は、治療薬又は診断薬の用量を容器からインフュージョンセットに送達するために、インフュージョンセットに接続するように構成されている、条項20から26のいずれか一項に記載の送達システム。
条項28:保管装置は、流体カセットに取外し可能に又は取外し不能に接続可能であるように構成されている、条項20から27のいずれか一項に記載の送達システム。
条項29:製品情報、製造情報、処方箋情報、及び輸送条件情報のうちの少なくとも1つを含む機械可読認証可能データを包含するラベル又はタグをハウジング上にさらに備える、条項20から28のいずれか一項に記載の送達システム。
条項30:治療薬又は診断薬は放射性医薬品であり、ハウジングは、放射性医薬品からの放射線がハウジングから放出されるのを防止するように構成された遮蔽体を備える、条項20から29のいずれか一項に記載の送達システム。
条項31:使用済みの治療薬又は診断薬の保管及び廃棄を管理するための在庫装置であって、在庫装置は、固定可能なドアを介してアクセス可能である保管区画であって、1つ以上の廃棄コンテナを保管するように構成された、保管区画を有するカートを備え、廃棄コンテナの各々は、保管装置であって、中にチャンバが画定されたハウジングと、ハウジングのチャンバ内に配置された容器であって、その内部に放射性医薬品を保管するように構成された、容器と、ハウジングに接続されたドアであって、開位置と閉位置との間で移動可能であり、閉位置において、ハウジングのチャンバを完全に密閉する、ドアと、を備える、保管装置と、容器アクセス部材と計量装置とを備える流体カセットであって、保管装置は、容器アクセス部材が容器に挿入されて計量装置を容器に流体接続するように流体カセットに固定され、計量装置は、放射性医薬品の用量をインフュージョンするために使用されるインフュージョンセットに接続されている、流体カセットと、を備え、インフュージョンセット、保管装置及び流体カセットは、廃棄コンテナ内で保持される、在庫装置。
条項32:カートは、使用済みの治療薬又は診断薬の放射性成分が予め選択された安全閾値レベルまで減衰するように、1つ以上の廃棄コンテナのいずれかが予め選択された保管期間の間保管されたかどうかを示すために、保管区画に関連付けられた少なくとも1つのインジケータを備える、条項31に記載の在庫装置。
条項33:カートは、カートの無認可の移動を防止するように構成された車輪ロックを有する車輪を備える、条項31又は32に記載の在庫装置。
条項34:車輪ロックは、コントローラと通信する電子ロックである、条項33に記載の在庫装置。
条項35:車輪ロックは、キー又は他の機械的ロック機構を有する機械的ロックである、条項33又は34に記載の在庫装置。
条項36:車輪ロックは、固定可能なドアが固定解除された後にのみ車輪が固定解除され転動可能であるように、固定可能なドアと動作可能に接続されている、条項33から35のいずれか一項に記載の在庫装置。
条項37:治療薬又は診断薬の製造及び分配のための方法であって、治療薬又は診断薬で容器を充填するステップと、ハウジングを有する保管装置のチャンバ内に容器を配置するステップと、ハウジングがチャンバ内で容器を完全に囲むように保管装置を閉じるステップと、保管装置を管理施設に輸送するステップと、送達システムのアクセス機構を使用して保管装置のドアを開けるステップと、送達システムの消毒機構を使用して容器のアクセスポートを消毒するステップと、送達システムを使用してアクセスポートを介して容器内の治療薬又は診断薬にアクセスするステップと、を含む、方法。
条項38:治療薬又は診断薬にアクセスするステップは、保管装置に接続されたカセットの容器アクセス部材を使用してアクセスポートを穿孔することを含む、条項37に記載の方法。
条項39:製品情報、製造情報、処方箋情報、及び輸送条件情報のうちの少なくとも1つを決定するために、保管装置上のラベル又はタグを読み取るステップをさらに含む、条項37又は38に記載の方法。
条項40:アクセスポートを消毒するステップは、紫外線を放射すること、又は消毒材料を射出すること、を含む、条項37から39のいずれか一項に記載の方法。
条項41:使用済みの治療薬又は診断薬を保管及び廃棄するための方法であって、治療薬又は診断薬の残余の部分を有する容器を保持する保管装置と、保管装置が流体接続されたカセットと、廃棄コンテナ内に配置するためのインフュージョンセットと、を回収するステップと、使用日を示すために、ラベル、タグ又は他の指標を廃棄コンテナ上に配置するステップと、保管装置、カセット、及びインフュージョンセットを内部に有する廃棄コンテナを保管区画内に配置するステップと、予め選択された減衰期間が経過した後に廃棄コンテナが安全であることを示すステップと、を含む、方法。
条項42:製品情報、製造情報、処方箋情報及び輸送条件情報のうちの少なくとも1つを決定するために、ラベル、タグ又は他の指標を読み取るステップをさらに含む、条項41に記載の方法。
条項43:治療薬又は診断薬の用量を送達する方法であって、治療薬又は診断薬を容器に挿入するステップと、ハウジングを有する保管装置のチャンバ内に容器を配置するステップと、放射性医薬品によって放出された放射線が放射性医薬品の輸送及び保管のためにハウジングから放出されるのを遮蔽するために、ハウジングがチャンバ内で容器を完全に囲むように保管装置のドアを閉じるステップと、保管装置に含まれる放射性医薬品の製造情報に基づいて患者に対する放射性医薬品の用量を決定するステップと、ハウジングを開いて、容器内の放射性医薬品にアクセスし、決定された用量を患者に注入するために、保管装置のドアを固定解除するステップと、を含む、方法。
条項44:治療薬又は診断薬にアクセスすることが、保管装置に接続されたカセットの容器アクセス部材を使用してアクセスポートを穿孔することを含む、条項43に記載の方法。
条項45:製品情報、製造情報、処方箋情報及び輸送条件情報のうちの少なくとも1つを決定するために、保管装置上のラベル又はタグを読み取るステップをさらに含む、条項43又は44に記載の方法。
条項46:容器のアクセスポートを消毒するステップをさらに含む、条項43から45のいずれか一項に記載の方法。
条項47:アクセスポートを消毒するステップは、紫外線を放射すること、又は消毒材料を射出することを含む、条項46に記載の方法。
条項48:送達システムに接続するように構成された保管装置であって、保管装置は、中にチャンバが画定されたハウジングと、チャンバ内に配置され、その内部に放射性医薬品を収容する容器であって、放射性医薬品は、治療上又は予防上有効量のアルカリ土類金属ラジウム223の遊離金属カチオンである、容器と、ハウジングと関連付けられたドアであって、閉位置と開位置との間でハウジングに対して移動可能であり、閉位置において、ハウジングのチャンバを密閉するようにハウジングの開口部を覆い、開位置において、容器のアクセスポートにアクセスするためにハウジングの開口部を露出させる、ドアと、容器のアクセスポートがハウジングの開口部に配置されるように、容器をハウジングに対して固定するためにハウジングのチャンバ内で容器と接触するホルダと、を備え、ドアは、送達システムのアクセス機構による作動に応答して、閉位置と開位置との間で移動可能である、保管装置。
条項49:放射性医薬品を送達するための送達システムに接続するように構成されたアセンブリであって、アセンブリは、治療薬又は診断薬を収容する保管装置と、治療薬又は診断薬にアクセスするために保管装置に流体接続可能である流体カセットと、を備え、保管装置は、中にチャンバが画定されたハウジングと、チャンバ内に配置され、その内部に放射性医薬品を収容する容器であって、放射性医薬品は、治療上又は予防上有効量のアルカリ土類金属ラジウム223の遊離金属カチオンである、容器と、ハウジングと関連付けられたドアであって、閉位置と開位置との間でハウジングに対して移動可能であり、閉位置において、ハウジングのチャンバを密閉するようにハウジングの開口部を覆い、開位置において、容器のアクセスポートにアクセスするためのハウジングの開口部を露出させる、ドアと、を備え、流体カセットは、容器アクセス部材、計量装置、及び容器アクセス部材を計量装置に流体接続する流体経路セットと、容器アクセス部材、計量装置及び流体経路セットを囲む筐体と、を備え、保管装置及び流体カセットは、保管装置のドアが送達システムのアクセス機構によってアクセス可能であると共に、容器アクセス部材及び流体カセットの計量装置が送達システムの送達機構によってアクセス可能であるように、送達システムに接続するように構成されている、アセンブリ。
条項50:治療薬又は診断薬を送達するための送達システムであって、送達システムは、送達機構及びアクセス機構を有するインジェクタと、インジェクタに取外し可能に接続可能である流体送達アセンブリであって、治療薬又は診断薬を収容する保管装置と、前記治療薬又は診断薬にアクセスするために前記保管装置に流体接続可能である流体カセットと、を備える、流体送達アセンブリと、を備え、保管装置は、中にチャンバが画定されたハウジングと、ハウジングのチャンバ内に配置され、内部に放射性医薬品を収容する容器であって、放射性医薬品は、治療上又は予防上有効量のアルカリ土類金属ラジウム223の遊離金属カチオンである、容器と、ハウジングと関連付けられたドアであって、インジェクタのアクセス機構を介してハウジングに対して閉位置と開位置との間で移動可能であり、閉位置において、ハウジングのチャンバを密閉するようにハウジングの開口部を覆い、開位置において、容器のアクセスポートにアクセスするためのハウジングの開口部を露出させる、ドアと、を備え、流体カセットは、容器アクセス部材、計量装置、及び容器アクセス部材を計量装置に流体接続する流体経路セットと、容器アクセス部材、計量装置、及び流体経路セットを囲む筐体と、を備え、容器アクセス部材及び流体カセットの計量装置は、流体経路セットを介して容器の内部を計量装置と流体接続するためにインジェクタの送達機構によってアクセス可能であり、インジェクタは、保管装置のハウジングに取り付けられた製造データに基づいて放射性医薬品の用量を決定するように構成されたインジェクタコントローラを備え、インジェクタコントローラは、患者が受ける注入用量が保管装置のハウジングに取り付けられた製造データに基づいてインジェクタコントローラによって決定された用量であるように、用量を注入するためにインジェクタを制御するようにインジェクタに通信可能に接続されている、送達システム。
条項51:使用済みの放射性医薬品の保管及び廃棄を管理するための在庫装置であって、在庫装置は、固定可能なドアを介してアクセス可能である棚であって、廃棄容器を保管するように構成された、棚を有するカートを備え、廃棄容器の各々は、保管装置であって、中にチャンバが画定されたハウジングと、ハウジングのチャンバ内に配置された容器であって、その内部に放射性医薬品を保管するように構成された、容器と、ハウジングに接続されたドアであって、開位置と閉位置との間で移動可能であり、閉位置において、ハウジングのチャンバを完全に密閉する、ドアと、を備える、保管装置と、容器アクセス部材と計量装置とを備える流体カセットであって、保管装置は、容器アクセス部材が容器に挿入されて計量装置を容器に流体接続するように流体カセットに固定され、計量装置は、放射性医薬品の用量をインフュージョンするために使用されるインフュージョンセットに接続されている、流体カセットと、を備え、インフュージョンセット、保管装置、及び流体カセットは、廃棄コンテナ内に保持され、カートは、材料の放射能が予め選択された安全閾値レベル以下になるほど放射性医薬品が減衰するように、いずれの廃棄コンテナが予め選択された保管期間の間保管されたかを示すための棚用のインジケータを備える、在庫装置。
条項52:標的アイソトープ治療又は画像診断サービスのための放射性医薬品の製造及び分配のための方法であって、TRT又は画像診断サービスのために容器に放射性医薬品を充填するステップであって、放射性医薬品は、治療上又は予防上有効量のアルカリ土類金属ラジウム223の遊離金属カチオンである、ステップと、ハウジングを有する保管装置のチャンバ内に容器を配置するステップと、ハウジングがチャンバ内で容器を完全に囲むように保管装置を閉じるステップと、保管装置を管理施設に輸送するステップと、送達システムのアクセス機構を使用して保管装置のドアを開けるステップと、送達システムの消毒機構を使用して容器のアクセスポートを消毒するステップと、送達システムを使用してアクセスポートを介して容器内の放射性医薬品にアクセスするステップと、を含む、方法。
条項53:標的アイソトープ治療又は画像診断サービスで使用される放射性医薬品を保管及び廃棄するための方法であって、放射性医薬品の残余の部分を有する容器を保持する保管装置と、保管装置が接続されたカセットと、廃棄コンテナ内に配置するためのインフュージョンセットと、を回収するステップと、使用日を示すためにラベル、タグ又は他の指標を廃棄コンテナ上に配置するステップと、保管装置、カセット、及びインフュージョンセットを内部に有する廃棄コンテナを保管区画内に配置するステップと、予め選択された減衰期間が経過した後に廃棄コンテナが安全に廃棄されることを示すステップと、を含み、放射性医薬品は、治療上又は予防上有効量のアルカリ土類金属ラジウム223の遊離金属カチオンである、方法。
条項54:標的アイソトープ治療又は画像診断サービスの用量を注入するための方法であって、放射性医薬品を容器に挿入するステップであって、放射性医薬品は、治療上又は予防上有効量のアルカリ土類金属ラジウム223の遊離金属カチオンである、ステップと、ハウジングを有する保管装置のチャンバ内に容器を配置するステップと、放射性医薬品によって放出された放射線が放射性医薬品の輸送及び保管のためにハウジングから放出されるのを遮蔽するために、ハウジングがチャンバ内で容器を完全に囲むように保管装置のドアを閉じるステップと、保管装置に含まれる放射性医薬品の製造情報に基づいて患者に対する放射性医薬品の用量を決定するステップと、ハウジングを開いて、容器内の放射性医薬品にアクセスし、決定された用量を患者に注入するために、保管装置のドアを固定解除するステップと、を含む、方法。
条項55:条項1から54のいずれか一項に記載の、治療上又は予防上有効量のラジウム223の遊離金属カチオンのための放射性医薬品投薬インジェクションシステム。
条項56:条項1から55のいずれか一項に記載の、治療上又は予防上有効量のラジウム223の遊離金属カチオンの管理、保管及び廃棄のための在庫装置。
条項57:条項1から56のいずれか一項に記載の、治療上又は予防上有効量のラジウム223の遊離金属カチオンをさらに含む方法。
先行技術によるTRTと共に使用するように構成された放射性治療剤のための従来のサプライチェーンの代表的な概略図である。先行技術によるTRT投与のための従来の方法の代表的な概略図である。本開示のいくつかの実施形態又は態様による、TRTと共に使用するように構成された放射性治療剤のための改善されたサプライチェーンの代表的な概略図である。本開示のいくつかの実施形態又は態様によるTRT投与のための改善された方法の代表的な概略図である。本開示のいくつかの実施形態又は態様による、制御された供給源からの正確な体積送達を必要とする液体製品の分配、投与及び廃棄のためのシステムの斜視図である。本開示のいくつかの実施形態又は態様による、制御された供給源からの正確な体積送達を必要とする液体製品の分配、投与及び廃棄のためのシステムの斜視図である。本開示のいくつかの実施形態又は態様による、放射性治療剤などの液体製品を保管するための保管装置の斜視図である。図7に示す保管装置の断面斜視図である。図7に示す保管装置の分解斜視図である。第1の容器と共に示される保管装置の断面斜視図である。第2の容器と共に示される保管装置の断面斜視図である。本開示のいくつかの実施形態又は態様による、保管装置のアクセスドア上のセキュリティ用カバーの詳細斜視図である。本開示のいくつかの実施形態又は態様による、保管装置の再使用を防止するためのロック機構の詳細図である。本開示のいくつかの実施形態又は態様による、保管装置の再使用を防止するためのロック機構の詳細図である。本開示のいくつかの実施形態又は態様による、放射性治療剤などの液体製品を保管するための保管装置の斜視図である。図15に示す保管装置の側面図である。本開示のいくつかの実施形態又は態様による保管装置の底面斜視図を示す。本開示のいくつかの実施形態又は態様による保管装置の底面斜視図を示す。図15に示す保管装置の分解斜視図である。図15に示す保管装置の断面斜視図である。本開示のいくつかの実施形態又は態様による、保管装置、及び保管装置から用量を投与するための流体カセットの斜視図である。図20に示す流体カセットの斜視図である。図21に示す流体カセットの分解斜視図である。本開示のいくつかの実施形態又は態様による、保管装置の容器を穿孔するように構成された容器アクセス部材の斜視図である。本開示のいくつかの実施形態又は態様による、流体カセットの計量装置接続インターフェースの詳細な斜視図である。固定解除位置にあるプランジャキャップの斜視図である。固定位置にある図25Aのプランジャキャップの斜視図である。本開示のいくつかの実施形態又は態様による、流体カセット、及び流体カセットと相互作用するように構成された送達システムの構成要素の斜視図である。本開示のいくつかの実施形態又は態様による、保管装置、及び保管装置から用量を投与するための流体カセットの斜視図である。図27に示す保管装置と流体カセットとの間の接続の詳細図である。図28に示す流体カセットの斜視図である。図29に示す流体カセットの分解斜視図である。本開示のいくつかの実施形態又は態様による、保管装置の容器と、流体カセットと、患者送達ラインとの間の流体接続の概略図である。本開示のいくつかの実施形態又は態様による、流体カセット及び保管装置と相互作用するように構成されたインフュージョンシステムの構成要素の他に、流体カセット及び保管装置の斜視図である。図32に示すインフュージョンシステムの構成要素の斜視図である。本開示のいくつかの実施形態又は態様による、保管装置の一部を消毒するための消毒システムの斜視図である。本開示のいくつかの実施形態又は態様による、複数の保管装置を搬送するためのキャリアトレイの斜視図である。本開示のいくつかの実施形態又は態様による、保管装置及びカセットを廃棄するための廃棄コンテナの斜視図である。本開示のいくつかの実施形態又は態様による、複数の廃棄コンテナを保管するための保管筐体の概略図である。本開示のいくつかの実施形態又は態様による、開通性チェック手順の流れ図である。本開示のいくつかの実施形態又は態様に従って説明されるシステムを使用する投与手順の流れ図である。
図1~図39において、同様の文字は、特に明記しない限り、場合によって同じ構成要素及び要素を指す。
本明細書で使用される場合、「a」、「an」及び「the」の単数形は、文脈上他に明確に指示されていない限り、複数の指示対象を含む。
「左(left)」、「右(right)」、「内側(inner)」、「外側(outer)」、「上方(above)」、「下方(below)」などの空間的又は方向的な用語は、図面に示されているような実施形態又は態様に関連し、実施形態又は態様が様々な代替的の向きをとることができるため、限定的なものであると見なされるべきではない。
本明細書及び特許請求の範囲で使用されるすべての数字は、すべての場合において「約(about)」という用語によって修飾されていると理解されるべきである。「約」とは、記載された値の±25%、例えば記載された値の±10%を意味する。しかしながら、これは、均等論の下での値の分析に限定するものと見なされるべきではない。
別段の指示がない限り、本明細書に開示されるすべての範囲又は比は、開始値及び終了値並びにそれらに包含されるありとあらゆる部分的な範囲又は部分的な比を包含すると理解されるべきである。例えば、「1~10(1から10)」と記載された範囲又は比は、最小値1と最大値10との間(及びこれらを含む)のありとあらゆる部分的な範囲又は部分的な比を含むと見なされるべきである。すなわち、1以上の最小値で始まり、10以下の最大値で終わるすべての部分的な範囲又は部分的な比である。本明細書に開示される範囲及び/又は比は、指定された範囲及び/又は比にわたる平均値を表す。
「第1」、「第2」などの用語は、特定の順序又は時系列を指すものではなく、様々な条件、特性又は要素を指すものである。
本明細書で言及されるすべての文書は、その全体が「参照により組み込まれる」。
「少なくとも(at least)」という用語は、「以上(greater than or equal to)」と同義である。
「以下(not greater than)」という用語は、「以下(less than or equal to)」と同義である。
いくつかの非限定的な実施形態又は態様は、閾値に関連して本明細書に記載され得る。本明細書で使用される場合、閾値を満たすことは、閾値よりも大きい、閾値よりも多い、閾値よりも高い、閾値以上、閾値よりも小さい、閾値よりも少ない、閾値よりも低い、閾値以下、閾値と等しいなどの値を指し得る。
本明細書で使用される場合、「のうちの少なくとも1つ(at least one of)」は、「のうちの1つ以上(one or more of)」と同義である。例えば、「A、B又はCの少なくとも1つ」という語句は、A、B若しくはCのいずれか1つ、又はA、B若しくはCのいずれか2つ以上の任意の組合せを意味する。例えば、「A、B又はCの少なくとも1つ」は、Aのみ、又はBのみ、又はCのみ、又はA及びB、又はA及びC、又はB及びC、又はA、B及びCのすべてを含む。
「含む(includes)」という用語は、「備える、含む(comprises)」と同義である。
流体リザーバ、シリンジ又は流体ラインなどの流体送達システムの構成要素に関して使用される場合、「遠位(distal)」という用語は、患者に最も近い前記構成要素の部分を指す。流体リザーバ、シリンジ又は流体ラインなどのインジェクタシステムの構成要素に関して使用される場合、「近位(proximal)」という用語は、インジェクタシステムのインジェクタに最も近い前記構成要素の部分(すなわち、患者から最も遠い前記構成要素の部分)を指す。流体リザーバ、シリンジ又は流体ラインなどの流体送達システムの構成要素に関して使用される場合、「上流(upstream)」という用語は、インジェクタシステムの流体の通常の流れに対して患者から離れてインジェクタに向かう方向を指す。流体リザーバ、シリンジ又は流体ラインなどの流体送達システムの構成要素に関して使用される場合、「下流(downstream)」という用語は、流体送達システムの流体の通常の流れに対して患者に向かってインジェクタから離れる方向を指す。
本明細書で使用される場合、「通信(communication)」及び「通信する(communicate)」という用語は、情報(例えば、データ、信号、メッセージ、命令、コマンド及び/又はこれらに類するもの)の受信(reception)、受信(receipt)、送信(transmission)、転送(transfer)、提供(provision)及び/又はこれらに類するものを指し得る。
「放射性医薬品」という用語は、本明細書で使用される場合、放射性核種を含む医薬品を指す。放射性医薬品は、本明細書で説明される場合、好ましくは、静脈内投与(i.v.)されるように構成される。放射性医薬品には、診断(又は画像化)用放射性医薬品と治療用放射性医薬品の2種類があるが、場合によってはその両方に治療用放射性医薬品を使用してもよい。例えば、そのため、TRSは、線量測定評価及び/又は診断目的に使用され得るガンマ線を放出することができる。ポジトロン放出などの画像化に一般的に使用される放射性医薬品も治療に使用され得る。例えば、Hioki,T.,Gholami,Y.H.,McKelvey,K.J.らによるOverlooked potential of positrons in cancer therapy(Sci Rep 11,2475(2021))を参照されたい。
「診断用放射性医薬品」又は「画像化用放射性医薬品」という用語は、本明細書で使用される場合、SPECT若しくはSPECT/CT画像化で使用するためのガンマ線放出画像化用放射性医薬品、及び/又はPET若しくはPET/CT画像化用で使用するための陽電子放出画像化用放射性医薬品を含む。ガンマ線放出画像化用放射性医薬品の例には、テクネチウム(Tc-99m)、ヨウ素(I-123)、インジウム(In-111)、ガリウム(Ga-67)、又はレニウム(Re-186)が含まれるが、これらに限定されない。陽電子放出画像化用放射性医薬品の例には、フッ素(F-18)、ガリウム(Ga-68)、ジルコニウム(Zr-89)、ヨウ素(I-124)、銅(Cu-64)、ルビジウム(Rb-82)又はイットリウム(Y-86)が含まれるが、これらに限定されない。
「治療用放射性医薬品」という用語は、本明細書で使用される場合、ベータ線治療用放射性医薬品、アルファ線治療用放射性医薬品、陽電子治療用放射性医薬品、オージェ治療用放射性医薬品、ガンマ線治療用放射性医薬品、及び/又はそれらの組合せを含む。
本明細書で使用される場合、「治療薬又は診断薬」という用語は、制御された供給源からの正確な用量送達(dose delivery)を必要とする治療又は診断能力で使用される任意の診断用医薬品、画像化用医薬品、放射線療法用若しくは化学療法用医薬品、治療用医薬品、又は任意の他の(再構成された)液体若しくは粉末を指し、ここで、用量は有効成分の量である。用量送達は、正確な体積送達によって達成され得る。
すべての放射線遮蔽体は、断片的又は部分的である。遮蔽体に厚さの半分の値の層を追加すると、透過放射線が2分の1に減少する。遮蔽体の有効性は、遮蔽される放射線のエネルギーに依存する。したがって、放射線透過又は放射線放出を「ブロックする」、「止める」、又は「防止する」などの用語は、透過又は放出される放射線の許容可能なレベルまでの減少を示す。この許容可能なレベルは、地域の規制、要件、ポリシー、又は好みに依存し得る。遮蔽体に使用される多くの材料及び関連するガイドラインは、保険物理学分野の当業者にとっては周知である。
本開示は、実施形態又は態様の以下の例を任意の組合せで含むか、それらからなるか、又は本質的にそれらからなる。本開示の様々な例は、別々に説明される場合がある。しかしながら、これは単に例示及び説明を容易にするためのものであることを理解されたい。本開示の実施において、一例に記載された本開示の1つ以上の態様は、他の例のうちの1つ以上に記載された本開示の1つ以上の態様と組み合わせることができる。
様々な実施形態又は態様において、本開示は、放射性医薬治療剤(radiopharmaceutical therapeutic agent)の分配、保管、投与及び廃棄のためのシステム及び方法に関する。本開示はまた、化学療法用医薬品などの、制御された供給源からの正確な体積送達を必要とする他の治療薬又は診断薬の分配、保管、投与及び廃棄のためのシステム及び方法に関する。本明細書で説明するように、制御された供給源からの正確な体積送達を必要とする治療薬又は診断薬の分配及び投与のための従来の方法は、それらの適用性及び使用を著しく制限する。輸送、取扱い及び患者のスケジューリングを考慮した後、治療場所は、特定の患者に用量を投与する時間が限られている。本明細書中に記載されるシステム及び方法は、特定の患者に用量を投与するための時間を長くすることを可能にするために、治療薬又は診断薬の分配、保管、投与及び廃棄における改善をもたらす。
本開示の様々な実施形態又は態様において説明するように、保管装置は、放射性治療剤が使用されるまで完全に密閉され格納されるように、輸送及び治療施設での保管のために製造地点からの放射性治療剤を保管するように構成され得る。保管装置の各々は、保管される放射性同位体及び線量に対して適切な放射線遮蔽をもたらすようなサイズ、形状及び構成とすることができる。保管装置は、さらにパッケージ化され得、追加の遮蔽体によって囲まれ得る。保管装置のハウジングは、本明細書に記載されるように、専用装置を利用して治療現場でのみ開放及び開封されるように構成される。いくつかの実施形態又は態様では、保管装置は、輸送及び治療施設での保管のために製造地点からの放射性治療剤以外の治療薬又は診断薬を、かかる治療薬又は診断薬が使用されるまで完全に密封され格納されるように、保管するよう構成され得る。
本開示の様々な実施形態又は態様で説明するように、システムは、材料がインフュージョン/インフュージョンシステムを介して患者に投与するためにのみアクセス可能であるように、保管装置に格納された治療薬又は診断薬にアクセスするように特に適合された放射性治療剤インジェクション/インフュージョンシステムを含むように提供されことができ、そうでなければ、保管装置が開封されていない(untampered)保管装置として認識されない場合に投与されることが防止される。保管装置は、インジェクション/インフュージョンシステムのみが保管装置を開いて、治療薬又は診断薬を患者に注入するために治療薬又は診断薬にアクセスできるように構成され得る。治療薬又は診断薬が放射性医薬品である場合、保管装置とインジェクション/インフュージョンシステムとの組合せは、製造時から使用まで放射性物質が完全に封入されて格納されたままであることを確実にするのに役立ち得る。さらに、使用後の放射性廃棄物の安全な封じ込め及び処分を容易にするために、一度使用されたインフュージョン/インフュージョンシステム及び保管装置は、接続されたままで開放不可能なままとすることができる。
本開示の様々な実施形態又は態様において説明されるように、投与される治療薬又は診断薬、患者の体重、既知の製造日、及び/又は較正日、製造時の治療薬又は診断薬の既知の放射能又は他の特性、並びに既知の現在の日時などの患者のパラメータに基づいて特定の患者の用量を計算して、治療のために治療薬又は診断薬の算出された活性用量に対応する治療薬又は診断薬の容量を患者に注射するための患者の適切な用量を決定するためのシステム及び方法を提供することができる。治療薬又は診断薬が放射性医薬品である場合、放射性医薬品の未使用部分及び汚染されている可能性があるその放射性医薬品と接触した他の成分は、放射能が保管装置内の初期用量に応じて許容可能なレベル(通常、放射性同位体の約10半減期)まで劣化するまで、保管のために廃棄コンテナに保管され得る。本システム及び方法は、各患者が所望の量の治療薬又は診断薬を受けるという点で投薬の一貫性が保証され得るように構成される。
本開示の様々な実施形態又は態様において説明されるように、保管された製品がもはや患者特有であるように設計されていない、又は患者特有である必要がないということを確実にするための改善されたシステム及び方法が提供される。代わりに、本明細書に開示されるシステムは、放射性医薬品の有効用量を患者に送達することができるように、保管された製品を治療場所で利用する方法にさらなる柔軟性があるよう、任意の特定の日にその場所に存在し得る任意の患者に治療を施すように構成される。そのような患者特有の投薬は、用量キャリブレータを必要とせずに達成され、それにより、患者即時使用のための用量を調製するための追加の用量アッセイが排除される。
本開示の様々な実施形態又は態様において説明されるように、廃棄コンテナに保管された治療薬又は診断薬を監視し、保管された材料が十分に減衰し、廃棄するのに安全である時点を示すためのシステム及び方法が提供され得る。その判定が行われると、ユーザへの指示(例えば、ソフトウェアプロンプト、又はLEDライトを赤色から緑色に切り替えることができる、又は赤色LEDをオフにし、緑色LEDをオンにすることができるなど)を提供することができ、その結果、スタッフは、廃棄に適した材料があることを認識し、廃棄する材料を特定し、材料を適切に廃棄することができる。
本開示の様々な実施形態又は態様において説明されるように、本明細書に記載のシステム及び方法に関連付けられた改善された在庫管理の柔軟性によって、介護担当者は在庫をより効果的に管理することが可能となり、これにより、単純な先入れ先出しの手法及び/又は各保管用量が単一の特定の患者のみに提供されることを必要とする手法を使用して管理する必要がなくなる。代わりに、在庫管理及び用量使用は、患者が利用可能な用量の供給をより良好に管理する必要があることを含む様々な要因を考慮するように管理される。例えば、特定の患者が、その患者のサイズ(例えば、体重、身長及び体重、身体組成など)のために大量の用量を必要とする場合、放射性治療剤のより新しくより放射性の高いバイアルを選択して患者に投与することができ、その結果、患者への用量の注入には(複数のバイアルの代わりに)1つのバイアルだけを必要とする。これにより、投与をより簡単に(例えば、1つの注入シーケンスの使用のみ)行うことができ、保管管理及び投与に関してより柔軟性が得られるため、用量がより効率的に利用され、無駄が少なくなる。いくつかの状況では、このタイプの柔軟性はまた、治療投与中の臨床医への曝露を低減し、患者が自分の用量を受けた後のその後の浄化方法を最小限に抑えるのに役立ち得る。
図3は、本開示のいくつかの実施形態又は態様による治療薬又は診断薬の改善されたサプライチェーンを示している。治療薬又は診断薬は、製造施設でバルク製造され得る。ホットラボに輸送するために治療薬又は診断薬をバルクコンテナに装入する代わりに、治療薬又は診断薬は、治療場所に直接輸送される保管装置に装入される。保管装置は、輸送中に、及び治療施設での保管中に、製造地点からの治療薬又は診断薬を保管するように構成される。治療薬又は診断薬は、本明細書に記載されるように、送達システムを使用して保管装置から患者に直接投与されるように構成される。特定の患者ごとの投薬は、用量キャリブレータを使用する代わりに、送達システムによって決定される。
図4に示すように、改善されたサプライチェーンに従って患者を診断、照会及び治療するための方法は、従来の方法と比較して複数の方法が取り除かれている。患者Pが診断され、患者の体重に基づいて治療薬又は診断薬の用量が処方された後、その用量は、送達システム100を使用して、送達システム100内に装着される保管装置200から直接投与され得る。処方及び投与は、同一の認可されたユーザAUが行うことができる。
図5を参照すると、本開示のいくつかの実施形態又は態様による、治療薬又は診断薬の分配、投与及び廃棄のための送達システム100が示されている。本明細書に記載されるように、システム100は、治療薬又は診断薬の安全で合理化された柔軟な分配を行うために協働するよう設計された多数の構成要素を含む。送達システム100は、エンドユーザが治療薬又は診断薬の在庫を維持及び管理するのに役立つようにさらに構成される。
いくつかの実施形態又は態様では、送達システム100は、放射性医薬治療薬又は放射性医薬診断薬(radiopharmaceutical therapeutic agent)などの治療薬又は診断薬を保管、投与及び廃棄するように構成され得る。保管され患者に注入することができる放射性治療薬又は放射性医薬診断薬は、流体中に存在する材料であり得る。放射性医薬品は、主にアルファ線を放出することができ、又は主にベータ線を放出することができる。いくつかの実施形態又は態様では、放射性医薬品は、主にオージェ放射線又は陽電子放射線を放出することができ、したがって二次ガンマ線を放出することができる。主にベータ線を放出する可能性がある材料の場合、保管装置200及び送達システム100は、本明細書に説明されるように、ベータ線の遮蔽の結果として放出され得る二次X線放射に対処するように適合され得る。送達システム100は、放射性医薬品によってさらに放出されるガンマ線に対処するように適合され得る。いくつかの例又は態様では、送達システム100は、標的アルファ線治療又は標的ベータ線治療を利用し得る他のTRT治療と共に、XOFIGO(登録商標)治療における保管、投与及び廃棄のために構成され得る。送達システム100はまた、治療又は診断サービスのために治療場所でなされ得る放射性同位体(例えば、画像化又は他の目的に使用することができるテクネチウム99又は銅64などの非常に短い半減期を有する放射性同位体)に対して機能するように構成されてもよい。
いくつかの実施形態又は態様では、送達システム100は、画像化用放射性医薬品などの放射性医薬品である治療薬又は診断薬を保管、投与及び廃棄するように構成され得る。画像化用放射性医薬品は、いくつかの実施形態又は態様では、ガンマ線放出画像化用放射性医薬品であってもよい。ガンマ線放出画像化用放射性医薬品には、99mTc、123I、111In、67Ga及び/又は186Reが含まれるが、これらに限定されない。いくつかの実施形態又は態様では、画像化用放射性医薬品は、陽電子放出画像化用放射性医薬品であってもよい。陽電子放出画像化用放射性医薬品には、13N、18F、68Ga、89Zr、124I、64Cu、82Rb及び/又は86Yが含まれるが、これらに限定されない。
いくつかの実施形態又は態様では、送達システム100は、治療用放射性医薬品などの放射性医薬品である治療薬又は診断薬を保管、投与及び廃棄するように構成され得る。治療用放射性医薬品は、いくつかの実施形態又は態様では、ベータ線治療用放射性医薬品であってもよい。ベータ線治療用放射性医薬品には、ルテチウム177、ヨウ素131、イットリウム90、銅67、レニウム188及び/又はホルミウム166が含まれるが、これらに限定されない。治療用放射性医薬品は、いくつかの実施形態又は態様では、アルファ線治療用放射性医薬品であってもよい。アルファ線治療用放射性医薬品には、ラジウム223、アクチニウム225、トリウム227、アスタチン211、リード212及び/又はビスマス213が含まれるが、これらに限定されない。治療用放射性医薬品は、いくつかの実施形態又は態様では、オージェ治療用放射性医薬品であってもよい。オージェ治療用放射性医薬品には、テルビウム161及び/又はヨウ素125が含まれるが、これらに限定されない。いくつかの実施形態又は態様では、放射性医薬品は、177Lu-オキソドトレオチド、223Raジクロリド、18F-フルシクロバイン、123I-イソフルパン、68Ga-ドタテート、111In、99mTc-チルマノセプト、99mTc-テトロフォスミン、18F-フロルベタベン、99mTc、90Y-イブリツモマブチウキセタン、18F-フロルベタピル、153Sm-レキシドロナムEDTMP、131I-イオベングアンMIBG及び/又は89Sr-塩化物からなる群から選択される。いくつかの実施形態又は態様では、画像化又は治療使用のために構成された放射性医薬品の放射性核種は、FAP(線維芽細胞活性化タンパク質)、PSMA(前立腺特異的膜抗原)、DOTA(ドデカン四酢酸及びそのキレート化誘導体)、HER2(ヒト上皮増殖因子受容体2)、GPC-3(グリピカン-3タンパク質)、又は放射性医薬品との他の作用機序に結合される。
いくつかの実施形態又は態様では、送達システム100は、画像化又は他の目的に使用できる治療又は診断サービスのために治療場所でなされ得る放射性同位体(例えば、テクネチウム-99m、窒素-13、フッ素-18、ガリウム-68又は銅-64などの非常に短い半減期を有する放射性同位体)に対して機能するように構成されてもよい。これらのタイプの放射性同位体は非常に短い半減期を有する傾向があり、診断サービスに効果的に使用するために、画像化担当者が現場のホットラボ又は中央放射性医薬部署(central radiopharmacy)で放射性同位体を調製する必要がある。そのような用途のために、担当者は、現場で診断サービス材料を調製してもよい。次いで、担当者は、その材料をバイアル内に挿入し、バイアルを保管装置内に置き、その生成流体量、濃度及び/又は初期放射の日付を示すためにその保管装置を記録しラベル付けすることができる。保管装置は、ソフトウェアシステムにコンテンツ情報を記録するために使用される固有の装置識別子を有してもよい。次いで、その保管装置を、本明細書に記載されるように、カセット、インジェクタ及びインフュージョンセットに結合して、患者が画像化を受ける前に決定された用量を患者に供給することができる。使用済みの材料はまた、本明細書に記載されるように、廃棄のためと同様の態様で保管などを行うことができる。
以下は、送達システム100の様々な構成要素について、及びそのような構成要素が治療薬又は診断薬の改善された分配、投与及び廃棄のために送達システム100の利用をどのように可能にするかについての詳細な説明である。
引き続き図5を参照すると、本開示の一実施形態又は態様による送達システム100が示されている。送達システム100は、可搬装置として構成されてもよい。送達システム100はカート102を含み、このカート102は、カート102を移動させるために車輪104に支持される。いくつかの実施形態又は態様では、送達システム100は、固定的に取り付けられ得る。カート102は、送達システム100の様々な構成要素を保管するための棚又は引出しなどの複数の保管区画106を含む。いくつかの実施形態又は態様では、保管区画106は、使用前に1つ以上の保管装置200を保管するための第1の引出し又は棚108を含む。第1の引出し108は、保管されている薬物の条件を満たすために保管コンテナ200を低温に保つ能力を有してもよい。第1の引出し又は棚108は、インフュージョンセット、及び治療薬又は診断薬の投与中に送達システム100を患者に接続するための他の流体経路構成要素を保管するようにさらに構成されてもよい。保管区画106は、治療薬又は診断薬を投与するための送達システム100の構成要素を受容するように構成された第2の引出し又は棚110を含んでもよい。例えば、第2の引出し又は棚110は、治療薬又は診断薬のある用量を投与するための1つ以上のアセンブリ150を収容するように構成され得る。本明細書に記載されるように、各アセンブリ150は、単回使用の流体カセット300に接続された単一の保管装置200を含む。いくつかの実施形態又は態様では、アセンブリ150は、1つ以上の複数回使用の保管装置200及び複数回使用の流体カセット300を含むことができる。各アセンブリ150は、第2の引出し又は棚110に取外し可能に挿入可能である。アセンブリ150は、治療薬又は診断薬の用量を送達するためのインジェクタ170に動作可能に接続可能である。アセンブリ150は、一人の患者に対して単回使用するように構成されてもよい。いくつかの実施形態又は態様では、アセンブリ150は、複数の患者に対して使用するように構成されてもよい。
送達システム100は、1つ以上の使用済みアセンブリ150を保管するように構成された第3の引出し又は棚112を更に含む。各アセンブリは、ワークフロー中の保管装置200の取扱いを最小限に抑えるように構成される。第1、第2及び第3の引出し又は棚108、110、112のうちの少なくとも1つは、カート102の外側の放射線又は放射能を十分に低減するために放射線遮蔽材料を有することができる。
図5をさらに参照すると、送達システム100は、治療薬又は診断薬の1回分の用量の送達を制御するためのコントローラ114をさらに含む。コントローラ114は、治療薬又は診断薬の保管、投与及び/又は廃棄の態様に関する情報を表示するための1つ以上のユーザディスプレイ116に接続され得る。いくつかの実施形態又は態様では、ディスプレイ116は、ユーザから受信したタッチコマンドを介して制御を可能にするタッチスクリーンディスプレイである。コントローラ114は、治療薬又は診断薬の保管、投与及び/又は廃棄に関するデータを入力するための入力装置118に、さらに接続され得る。いくつかの実施形態又は態様では、入力装置118は、バーコードスキャナ、キーボード、マウス、タッチスクリーンディスプレイ、並びに/又は送達システム100の動作に関するデータ及び/若しくはコマンドをコントローラ114に入力するための任意の他の入力機構であり得る。入力装置118は、ビデオ会議用の機能を含んでもよい。コントローラ114は、カメラ117に、さらに接続され得る。カメラは、機械可読な又は人間による読取可能なラベル又はタグを読み取るなど、コントローラに入力を与えるために使用されてもよい。カメラは、現場のオペレータ、現場外のオペレータによる使用のために、又はトレーニング若しくは保存の目的のために、進行中のあらゆるものの画像を撮影し、記録し、及び/又は通信するために使用されてもよい。いくつかの実施形態又は態様では、プリンタなどの出力装置119が設けられる。プリンタ119は、文書用のラベル、ごみ箱に貼るラベル、患者用のトラベルカード、患者用のリマインダ及び/又は患者用のガイドラインを印刷するために使用されてもよい。
コントローラ114は、患者データ、及び/又は治療薬又は診断薬の1つ以上の特性に関するデータに基づいて、特定の患者に送達される治療薬又は診断薬の用量を計算するようにプログラム又は構成された少なくとも1つのプロセッサを含んでもよい。コントローラ114の少なくとも1つのプロセッサは、注入手順のためのプログラムされたプロトコルに従って患者への用量送達を達成するために送達システム100の様々な構成要素を作動させるようにさらに構成されてもよい。コントローラ114は、少なくとも1つのプロセッサによる実行のために1つ以上の注入プロトコルが記憶され得るメモリなどのコンピュータ可読媒体を含んでもよい。
送達システム100のコントローラ114は、患者に与える治療薬又は診断薬の用量を決定するように適合され得る。用量は、1つ以上の入力装置118を介してコントローラ114に与えられる1つ以上の変数から決定され得る。例えば、患者の体重又は他の患者の特性は、キーボード及び/又はマウスを介して入力され得る。治療薬又は診断薬の放射性医薬品の放射能の範囲は、図16に示す保管装置200に取り付けられた機械可読ラベル(例えばバーコード)又は電子タグ(例えばRFID)などのラベル又はタグ270に関連付けられた情報に基づいて、コントローラ114によって決定され得る。いくつかの実施形態又は態様では、ラベル又はタグ270に関連付けられた情報は、製造情報及び/又は放射能情報(例えば、製造日、較正日時、較正時の放射能、製造時の材料の放射能レベル、流体の体積、流体の濃度、放射性同位体の種類など)を含むことができる。さらなる実施形態又は態様では、ラベル又はタグ270に関連付けられた情報は、輸送中及び取扱い中の保管装置200の時間及び温度履歴の値を含むことができる。この情報及び現在の日付又は時間は、コントローラ114によって、そのようなパラメータを利用することができる予め定められた投薬アルゴリズムの使用によって患者の適切な用量を決定するために使用され得る。いくつかの予め定められた投薬アルゴリズムはまた、患者の体重、患者の性別及び/又は患者の年齢などの追加のパラメータを使用することができる。いくつかの予め定められた投薬アルゴリズムはまた、処方された用量、及び処方された又は標的化された組織線量などの追加のパラメータを使用することができる。
いくつかの実施形態又は態様では、コントローラ118は、様々な予め定められた治療のための様々な投薬アルゴリズムを有することができる。スキャンされたバーコード、読み取られたRFIDタグ、及び/又はユーザによって提供された他の入力を利用して、患者のための用量を決定するために実行される適切な投薬アルゴリズムを選択することができる。
引き続き図5を参照すると、保管区画106の各々は固定可能であり、適切なアクセスプロトコルを有する認可されたユーザによってアクセスされるように構成されている。例えば、保管区画106の各々は、コントローラ114に動作可能に接続されたロック120を有してもよい。ロック120の動作は、送達システム100の認可ユーザを認証するために、例えばディスプレイ116又は入力装置118を使用してパスワード又は他の認証手段を入力することを必要としてもよい。
引き続き図5を参照すると、カート102の車輪104のうちの1つ以上は、カート102の移動を防止するために車輪104を選択的に固定するための車輪ロック122を有してもよい。車輪ロック122は、カート102の無認可の移動を防止するように構成されてもよい。例えば、車輪ロック122は、コントローラ114に動作可能に接続されてもよい。車輪ロック122の動作は、送達システム100の認可ユーザを認証して車輪104の移動を可能にするために、例えばディスプレイ116又は入力装置118を使用してパスワード又は他の認証手段を入力することを必要としてもよい。車輪ロック122は、キー又は他の機械的ロック機構を有する機械的ロックであってもよい。いくつかの実施形態又は態様では、車輪ロック122は、車輪ロック122及びロック120の一方の動作が車輪ロック122及びロック120の他方の動作も制御するように、保管区画106のロック120と動作可能に接続されてもよい。いくつかの実施形態又は態様では、送達システム100の無認可の使用に対して、警報が鳴動したり、警報メッセージが提示されたりするように、警報システムがロック120及び車輪ロック122の少なくとも一方に動作可能に接続されてもよい。いくつかの実施形態又は態様では、警報システムは、車輪ロック122を固定することなどによって、送達システム100の動作及び/又はカート102の移動を防止するように構成されてもよい。カート102はまた、インフュージョン方法で直接使用されないが、手順全体において必要又は有用である補助機器を保管するための区画113を含んでもよい。例えば、カートにチェックインする際に包装及び/又は保管コンテナ200の外側を調査するためのサーベイメータ又は他の放射線検出器を含んでもよい。サーベイメータはまた、漏れを確認するために、インジェクタの後にアセンブリ150の外側を調査するために使用されてもよい。サーベイメータはまた、汚染について患者、オペレータ、及び注入室を調査するために使用されてもよく、補助機器区画113はまた、例えば注入中にIVが患者の腕から出た場合など、溢出(spill)が発生する異常な場合のための溢出改善キットを収容してもよい。補助機器区画は、ホットラボで一般的に見られこの注入に必要とされる他の物品を含んでもよいが、これは、この送達システム100の利点が、送達を行うように設計された薬物を安全に送達するために必要な能力及び機器を提供することであるためである。
図6を参照すると、本開示の別の実施形態又は態様による送達システム100’が示されている。図5を参照して図示及び説明した送達システム100と同様に、図6に示す送達システム100’は、任意選択的な車輪に支持されたカート102’を含む可搬装置として構成される。カート102’は、使用前に1つ以上の保管装置200を保管し、1つ以上の使用済みのアセンブリ150を保管するための複数の保管区画106’を含む。
インジェクタ170をカート102に組み込む代わりに、図6に示す送達システム100’は、別個の可動ベース124上に支持された別個のインジェクタ170’を有する。インジェクタ170’は、保管装置200及び流体カセット300を含むアセンブリ150を受容するように構成される。送達システム100’は、治療薬又は診断薬の用量の送達を制御するためのコントローラ114’をさらに含む。コントローラ114’は、治療薬又は診断薬の保管、投与及び/又は廃棄の態様に関する情報を表示するための1つ以上のユーザディスプレイ116’に接続され得る。いくつかの実施形態又は態様では、ディスプレイ116’は、ユーザから受信したタッチコマンドを介して制御を可能にするタッチスクリーンディスプレイである。ユーザディスプレイ116’は、治療薬又は診断薬の保管、投与及び/又は廃棄に関するデータを入力するように構成されてもよい。いくつかの態様では、通信の一部は、選択された部品間に連続的な物理的接続が必要とされないように無線であってもよい。システム100のいくつかの態様では、関連する材料の柔軟な又は最適な保管及び使用を容易にするために、互いに通信する1つ以上の固定カート102’及び1つ以上の可搬カート102があってもよい。多忙な現場では、使用済みアセンブリ150は、可動カートから固定カートに移し替られてもよく、固定カートは所定位置での補助減衰保管を行い得る。これは、例えば、1日の終わりに、個々のユニットを移動させることによって、又は引出し全体を1つのキャビネットから別のキャビネットに移すことによって行うことができる。所定位置の補助減衰キャビネットは、異なる部屋又は異なる施設にあってもよい。
図7~図9を参照すると、本開示の一実施形態又は一態様による保管装置200が示されている。本明細書において説明されるように、保管装置200は、ある量の治療薬又は診断薬を保管するように構成される。治療薬又は診断薬が放射性医薬品である実施形態又は態様では、保管装置200は、放射性医薬品の放射性同位体によって放出される放射線を封じ込めるように構成される。
図8を参照すると、保管装置200は、中にチャンバ202が画定されたハウジング201を含む。ハウジング201は、チャンバ202を画定する本体204を有する。本体204は、第1の開口部208を有する近位端206と、第2の開口部212を有する遠位端210と、を有する。ハウジング201の本体204の遠位端210には、第2の開口部212を密閉するようにキャップ214が設けられている。いくつかの実施形態又は態様では、キャップ214と本体204の遠位端210との間の境界部にガスケット又はシール217が設けられる。いくつかの実施形態又は態様では、キャップ214は、例えば、1つ以上のクリップ216(図9に示す)を介して本体204に取外し不能に接続される。いくつかの実施形態又は態様では、キャップ214は、本体204に取外し可能に接続可能であってもよい。いくつかの実施形態又は態様では、ハウジング201の本体204及びキャップ214は、ポリ(メチルメタクリレート)(PMMA)、鉛又はタングステンなどの遮蔽材料から作製され、組み込まれ、又は収容されてもよい。
図9を参照すると、本体204は、チャンバ202を画定する内側部分218と、外側部分220、とを有する。内側部分218は、1つ以上のコネクタ222によって外側部分220に接続されてもよい。いくつかの実施形態又は態様では、内側部分218と外側部分220との間にキャビティ224が画定される。キャビティ224は、空洞であってもよく、或いは、PMMA、鉛若しくはタングステンなどの遮蔽材料、ポリスチレンビーズなどの衝撃吸収材料、又は紙などの吸収材料のうちの1つ以上で充填されてもよい。充填材料は、例えば、ビーズ又はペレットの形態などのばらの形態の固体シート、液体、若しくは硬化する注入可能な充填物、又はそれらの組合せのうちの1つ以上から形成されてもよい。内側部分218及び外側部分220は、同じ形状を有しても、又は異なる形状を有してもよい。例えば、内側部分218は実質的に円筒形状を有してもよく、外側部分220は実質的に直方体形状を有してもよい。直方体形状の外側部分220の縁部は丸みが付けられてもよい。いくつかの実施形態又は態様では、内側部分218及び外側部分220は、モノリシックに形成されてもよい。
ベータ線を放出する薬剤については、保管装置200の内部構造は、ベータ線から形成されたX線がハウジング201から放出されるのを防ぐように設計及び構成され得る。ベータ線及びX線のこの遮断は、キャビティ224内に配置された遮蔽材料などの保管装置200の内部構造によってもたらされ得る。代替的又は追加的に、ハウジング201の側壁は、X線及びベータ線の放出を防止するために、厚さ及び材料特性を選択することなどによって選ばれ得る。いくつかの実施形態又は態様では、保管装置200は、チャンバ202とハウジング201の外壁との間に画定された複数の離間したシールド(例えば、離間したシールド壁)を有することができる。いくつかの構成では、X線及び/又はベータ線を十分に遮蔽するために、パッキング材又は流体(例えば空気)をキャビティ224内に配置することができる。
アルファ線は、典型的には、アルファ粒子が大きく、より制限された透過力を有し、一般にベータ線よりも低線量で投与されるので、遮断することは困難ではない。ハウジング201の側壁は、アルファ線を遮蔽するのに十分な厚さであるように選択され得る。アルファ線及びベータ線を放出する同位体又はその娘同位体の多くはガンマ線も放出するため、ハウジング外に放出される放射性医薬品からの追加的な放射線曝露を防止するために、容器226を所望の位置に固定するのを助けるために、及び/又は追加的な遮蔽を提供するために、キャビティ224内で肉厚を増し、又は追加のパッキング材を設けることができる。容器226に対するハウジング201のサイズは、ユーザの曝露を低減するために、ハウジング201の外部から容器226までの最小距離を設定するように選択され得る。しかしながら、一般に、同位体は、2種類以上の放射線、又は様々な透過力を有する様々なエネルギーレベルの放射線を放出する。さらに、すべての同位体は、薬物の製造と送達との間にいくらかの娘生成物を蓄積する。したがって、名目上アルファ線エミッタ又はベータ線エミッタであるものに対して、有意なガンマ線遮蔽が必要な場合がある。遮蔽に使用される材料及び関連するガイドラインは、健康物理学分野の当業者には周知である。
図8及び図9を参照すると、ハウジング201のチャンバ202は、治療薬又は診断薬228(図8に示す)を収容する容器226を保持するように構成されている。容器226は、保管装置200のハウジング201とは別個に形成され、ハウジング201のチャンバ202に挿入されるガラスバイアルとすることができる。いくつかの実施形態又は態様では、容器226は、保管装置200と一体的に形成されてもよい。チャンバ202のサイズは、保管装置200と共に使用され得る最大の容器226を収容するように、及び/又は必要とされ得る任意の追加のパッキング材又は遮蔽材料を考慮するように、選択される。
容器226は、アクセスポート232を有する近位端230と、閉じた遠位端234と、を有し、近位端230と遠位端234との間には内部236が画定される。アクセスポート232は、本明細書で説明されるように、容器226の内部236内の治療薬又は診断薬228にアクセスするための容器アクセス部材又は他のアクセス機構によって穿孔されるように構成された穿孔可能な隔壁であってもよい。治療薬又は診断薬228の製造中、治療薬又は診断薬228を容器226に充填することができ、その後、アクセスポート232を介して容器226を密閉して治療薬又は診断薬228をその中に保持することができる。容器226が保管装置200のチャンバ201内に接続又は配置された後、又は容器226をチャンバ201内に接続又は配置する前に、容器226への充填を行うことができる。いくつかの実施形態又は態様では、アクセスポート232は、製造地点で完全に滅菌されてもよい。容器226はまた、プラスチックバイアル、可撓性ブラダ、折畳み式バッグ、又は、好ましくはプランジャを有するが、必要とされる空間を減らすためにハンドルを有さないプレフィルドシリンジであってもよい。折畳み式容器及びプレフィルドシリンジの利点は、流体が引き出されるとき、容器が折り畳まれるか又はプランジャが下方に移動するため、流体が取り出されるときに空気を容器に入れる必要がないことである。
図8を参照すると、容器226の近位端230は、アクセスポート232が第1の開口部208に対向して配置されるように、ハウジング201の近位端206に配置されている。この態様では、容器アクセス部材は、治療薬又は診断薬228の投与中に、ハウジング201の第1の開口部208及び容器226のアクセスポート232を通って延びることができる。
いくつかの実施形態又は態様では、容器226は、ハウジング201のチャンバ202内で第1の開口部208を囲む複数のリブ238によってハウジング201の近位端206に固定されてもよい。複数のリブ238の各々は、ハウジング201の第1の開口部208に対するアクセスポート232の位置を固定するために、容器226の近位端230と係合するように構成されてもよい。
図8及び図9を参照すると、保管装置200は、ハウジング201のチャンバ202内にホルダ240を有する。ホルダ240は、ハウジング201に対して容器226の遠位端234を保持するように構成されてもよい。ホルダ240は、ハウジング201に対する容器226の位置を固定するために、容器226の遠位端234と接触してもよい。いくつかの実施形態又は態様では、ホルダ240は、容器226の遠位端234に接触するための接触要素242と、接触要素242に接続され、ハウジング201に対して容器226の位置を固定するためにハウジング201の内側部分218の内面246などハウジング201と係合するように構成された複数のタブ244と、を含む。図9及び図10に示すように、複数のタブ244は、ハウジング201の内側部分218の内面246に対して非垂直の角度で配向されるように、接触要素242に対して角度が付けられてもよい。複数のタブ244は、接触要素242が容器226の遠位端234に押し付けられると、複数のタブ244が容器226の遠位端234から離れる遠位方向へのホルダ240の移動に対する復元力を与えるように、接触要素242に対して撓むことができる。この態様では、ホルダ240は、それらの直径及び長手方向の長さにかかわらず、複数の様々な容器226を保持するように構成される。
図8及び図9を参照すると、保管装置200は、ハウジング201に関連付けられたドア248を有する。いくつかの実施形態又は態様では、ドア248は、図8に示す開位置と閉位置との間でハウジング201に対して移動可能であってもよい。ドア248は、本明細書で説明するように、送達システム100のアクセス機構による作動に応答して、閉位置と開位置との間で移動可能であってもよい。いくつかの実施形態又は態様では、ドア248は通常閉じられていてもよい。閉位置では、ドア248は、ハウジング201の第1の開口部208を覆ってハウジング201のチャンバ202を密閉するように構成される。この態様では、容器226はチャンバ202内で完全に囲まれ、アクセスポート232へのアクセスが防止される。開位置では、ドア248は、容器226のアクセスポート232にアクセスするためにハウジング201内の第1の開口部208を露出させるようにハウジング201に対して移動される。いくつかの実施形態又は態様では、ドア248は、図9に示す矢印Aの方向にハウジングに対してスライド可能に移動可能であってもよい。
引き続き図8及び図9を参照すると、ドア248は、ドア248が開位置にあるときにハウジング201の第1の開口部208と整列するように構成されたアクセス開口部250を有する。この態様では、容器アクセス部材は、アクセス開口部250及び第1の開口部208を通って、容器226のアクセスポート232内に延びることができる。
引き続き図8及び図9を参照すると、ドアカバー252は、ハウジング201に接続され、ドア248をドアチャンバ内で囲むように構成されている。ドアカバー252は、例えば、1つ以上のクリップ216(図9に示す)を介して本体204に取外し不能に接続される。いくつかの実施形態又は態様では、ドアカバー252は、ハウジング201の本体204に取外し可能に接続可能であってもよい。いくつかの実施形態又は態様では、ドアカバー252は、ハウジング201の本体204及びキャップ214と同じ材料から作製されてもよい。
図9を参照すると、ドアカバー252は、シール256を有するドアアクセス開口部254と、ハウジング201の第1の開口部208に対向して配置された容器アクセス開口部258(図8に示す)と、を有する。容器アクセス開口部258は、治療薬又は診断薬228の投与中に送達システムのスパイク又は他の容器アクセス部材を受け入れるように構成される。容器アクセス開口部258は、ドア248が開位置にあるときにドア248のアクセス開口部250と整列されて、スパイク又は他の容器アクセス部材がアクセスポート232にアクセスするためにハウジング201の第1の開口部208を通って延びることを可能にする。
図12を参照すると、シール256は、ドアアクセス開口部254を覆い、本明細書で説明するように、送達システム100のアクセス機構によって穿孔可能である。いくつかの実施形態又は態様では、送達システム100のアクセス機構は、シール256が存在するときにドアアクセス開口部254を通る移動に対する抵抗を検知することなどによって、シール256の存在を検知するように構成されてもよい。ドアアクセス開口部254を通る移動に対する抵抗がないなどの理由で、送達システム100のアクセス機構がシール256を検出しない場合、コントローラ114は、使用済みの保管装置200(すなわち、穿孔されたシール256を有するもの)又は開封された(tampered)保管装置200(すなわち、シール256が除去されたもの)が送達システム100と共に使用するために設置されているという理由で、送達システム100が動作しないように構成されてもよい。この態様では、シール256は、開封されていない保管装置200のみが送達システム100と共に使用され得ることを保証するためのセキュリティ機構として機能する。いくつかの実施形態又は態様では、シール256はまた、容器アクセス開口部258を覆うように設けられてもよい。いくつかの実施形態では、シールは、使用又は開封の証拠として破壊されるか又は恒久的に変形されるハウジング201の部材であってもよい。
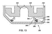
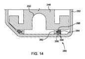
図13~図14を参照すると、いくつかの実施形態又は態様によるドアロック260が示されている。ドアロック260は、ドア248が閉位置から開位置に移動した後にドア248を開位置に固定するためにドア248に設けられてもよい。いくつかの実施形態又は態様では、ドアロック260は少なくとも1つの第1のフック262を含み、この第1のフック262は、ハウジング201又はドアカバー252上の少なくとも1つの第2のフック264と係合するように構成される(図8及び図9に示す)。少なくとも1つの第1のフック262及び少なくとも1つの第2のフック264のそれぞれは、角度が付けられた接触面266と、2つの接触面266が互いに摺動した後に係合するように構成されたキャッチ268と、を有してもよい。図14は、ドア248が開位置にあるときに互いに固定係合する少なくとも1つの第1のフック262及び少なくとも1つの第2のフック264を示す。この固定係合により、ドア248は閉位置に戻ることができない。
いくつかの実施形態又は態様では、ドア248は、3つの異なる位置の間で移動可能であってもよい。初期状態では、ドア248は閉じられていてもよい。中間状態では、ドア248は、容器226へのアクセスを可能にするために、初期(閉)位置から開位置に移動されてもよい。最終状態では、ドア248は、ドア248が再び開かれて容器226内の残りの内容物がアクセスされるのを防止するために、ドア248がドアロック260と係合する閉位置に移動されてもよい。
図15~図19を参照すると、本開示の別の実施形態又は態様による保管装置200’が示されている。図15~図19に示す保管装置200’の構造は、図7~図14を参照して図示し説明した保管装置200の構造と実質的に同様であるため、保管装置200’の構成要素の詳細な説明は省略する。図15~図19において、図7~図14において保管装置200’の構成要素を説明するために使用されたものと同じ参照番号が、保管装置200の構成要素を説明するために使用されるが、図15~図19における各参照番号の後に「’」マークが追加されている点が異なる。以下の詳細な開示では、2つの保管装置間の相対的な違いのみに焦点を当てる。
いくつかの実施形態又は態様では、保管装置200は、ハウジング201上に少なくとも1つのラベル、タグ又は他の指標270を有してもよい。少なくとも1つのラベル、タグ又は他の指標270は、図16に示す保管装置の実施形態に関連して示されているが、少なくとも1つのラベル、タグ又は他の指標270は、図7~図14を参照して本明細書で説明した保管装置200など、本明細書で説明した任意の保管装置200に適用されてもよい。少なくとも1つのラベル、タグ又は他の指標270は、使用前に保管装置200を認証するために送達システム100によって読み取られるように構成された機械可読認証可能データを含んでもよい。いくつかの実施形態又は態様では、機械可読認証可能データは、製品情報、製造情報、処方箋情報及び輸送条件情報のうちの少なくとも1つを含む。少なくとも1つのラベル、タグ又は他の指標270は、治療薬又は診断薬に関する製品情報、製造情報、処方情報及び輸送条件情報のうちの少なくとも1つを含むラベル(例えば、バーコード、QRコード(登録商標)、又は同様のもの)及び/又はタグ(例えば、電子、RFID、又は同様のもの)であり得る。いくつかの実施形態又は態様では、少なくとも1つのラベル、タグ又は他の指標270は、例えば温度、衝撃及び/又は圧力データを記録するように構成されたデータロガーを含むことができる。いくつかの実施形態又は態様では、少なくとも1つのラベル、タグ又は他の指標270は、ウェブサイト又はデータベースからの情報にアクセスするためのリンクを含むことができる。
いくつかの実施形態又は態様では、保管装置200’は、保管装置200’が特定の向きでのみ流体カセットに接続可能であるように構成され得る。この態様では、保管装置200’のドアカバー252’上のアクセス開口部254’は、容器226’上のアクセスポート232’と容器アクセス部材との適切な接続のために流体カセットと適切に整列され得る。図15~図17Bを参照すると、保管装置200’のハウジング201’は、流体カセット300(例えば、図28を参照されたい)に対して所望の向きに保管装置200’を位置決めするように構成されたガイド機構272を含む。いくつかの実施形態又は態様では、ガイド機構272は、所定の向きで流体カセット300に直接接続を可能にするために流体カセット300の対応する機構と結合するように構成され得る溝、面取り、突起、穴又はタブなどの1つ以上の幾何学的機構を含む。
図17A及び図17Bを参照すると、保管装置200’は、保管装置200’内の治療薬又は診断薬の種類など、保管装置200’の特定の特性を識別するために使用することができる少なくとも1つの識別特徴部274(図17Bに示す)を有してもよい。少なくとも1つの識別特徴部274は、溝、面取り、突起、穴又はタブなどの1つ以上の幾何学的特徴部又は物理的指標であってもよい。そのような幾何学的特徴部は、特定の保管装置200’を識別する及び/又は保管装置200’が真正の保管装置200’であることを検証するために使用され得る。少なくとも1つの識別特徴部274は、流体カセット300に対応する識別機構を有してもよい。同じ又は異なる識別特徴部274を、システムの他の態様、例えば保管区画108及び使用済みコンテナ区画112に関して使用してもよい。これは、保管コンテナ200’内の薬物が適用可能な保管区画の遮蔽及び温度性能に適合するという有形のフィードバックを提供する。
いくつかの実施形態又は態様では、保管装置200’のハウジング201’の少なくとも一部は、識別目的に使用され得る着色部分を有してもよい。例えば、保管装置200’に収容された治療薬又は診断薬の種類など、保管装置200’の内容物を識別するために、保管装置200’のハウジング201’の少なくとも一部の特定の色を使用してもよい。いくつかの実施形態又は態様では、保管装置200’をトレーニングの目的のみの保管装置200’として識別するために、保管装置200’のハウジング201’の少なくとも一部の特定の色を使用してもよい。そのような保管装置200’は、任意選択的にその挙動を視覚化することができるように着色された安全で無害な液体以外の治療薬又は診断薬を含まない。
図18及び図19を参照すると、保管装置200’は、中にチャンバ202’(図19に示す)が画定されたハウジング201’を含む。ハウジング201’は、第1の開口部208’を有する近位端206’と、閉じた遠位端210’と、を有する本体204’を備える。図7~図9の保管装置200に示すように、遠位端210にキャップ214を有する代わりに、図18及び図19に示す保管装置200’は、ハウジング201’の近位端206’に第1の開口部208’を密閉するように構成された近位キャップ276を有する。
引き続き図18及び図19を参照すると、近位キャップ276は、本体204’とドアカバー252’の少なくとも一方に接続可能であるベース280と、ベース280から遠位側に突出する保持部分282と、を有するリテーナ278を有する。保持部分282は、容器226’と係合するように構成された内面284と、ねじ付きカラー288を有する外面286と、を有する実質的に円筒形の形状となっている。ねじ付きカラー288は、チャンバ202’内の容器226’を囲むカバー290と螺合するように構成される。カバー290は、保持部分282のねじ付きカラー288と螺合するように構成されたねじ部292を有する。カバー290の遠位端294は、容器226’の遠位端234’に接触するように構成された内側係合面296を有する。保持部分282とカバー290との間の境界部にシール298を設けてもよい。
図20を参照すると、本開示のいくつかの実施形態又は態様による、保管装置200及び流体カセット300を有するアセンブリ150が示されている。本明細書に記載されるように、アセンブリ150は、インジェクタ170(図5に示す)を使用して流体カセット300を介して保管装置200から治療薬又は診断薬を送達するように構成される。流体カセット300は、インジェクタ170に取外し可能に接続できるように構成され、生理食塩水洗浄用途、プライミング、生理食塩水テストインジェクション及び生理食塩水注入のために生理食塩水供給源に接続されてもよい。流体カセット300は、インジェクタ170を使用して患者に治療薬又は診断薬228を送達するために、保管装置200の容器226(図8に示す)に接続するようにさらに構成される。
いくつかの実施形態又は態様では、保管装置200及び流体カセット300は、互いに取外し可能に接続できるように構成されてもよい。他の実施形態又は態様では、保管装置200及び流体カセット300は、保管装置200が流体カセット300に接続されたときに保管装置200を流体カセット300から取り外すことができないように、互いに取外し不能に接続可能であるように構成されてもよい。このタイプのインターロック接続は、治療薬又は診断薬との望ましくない接触を防ぐのに役立つ。各流体カセット300は、1つの保管装置200又は一対の保管装置200に接続するように適合され得る。さらなる実施形態又は態様では、流体カセット300は、そのハウジング間の直接的な物理的接続なしに、保管装置200に流体接続可能であるだけでもよい。
図21を参照すると、流体カセット300は、図20に示す保管装置なしで示されている。流体カセット300は、流体カセット300の様々な構成要素を囲む筐体302を含む。筐体302は、第1の部分304と第2の部分306とを有する。第1及び第2の部分304、306は、互いに取外し可能に接続可能であっても、又は取外し不能に接続可能であってもよい。いくつかの実施形態又は態様では、流体カセット300は、実質的に直方体形状を有してもよい。
図22を参照すると、流体カセット300の筐体302の第1及び第2の部分304、306は、流体カセット300の構成要素を受容するように構成された内部308を画定する。いくつかの実施形態又は態様では、流体カセット300は、スパイク310などの容器アクセス部材、シリンジ312などの計量装置、及び筐体302の内部308内に受容される流体経路セット314を有してもよい。流体経路セット314は、スパイク310をシリンジ312に流体接続する管を有する。いくつかの実施形態又は態様では、流体経路セット314は、粒子/空気フィルタ317(図31に示す)を有してもよい。さらなる実施形態又は態様では、流体経路セット314は、図31を参照して本明細書に記載されるように、バルブブロックを有してもよい。いくつかの実施形態では、バルブブロックは、スパイク310、シリンジ312、及び流体経路セット314を流通する流体の流れを制御するための1つ以上のバルブを有してもよい。流体経路セット314は、図31を参照して本明細書に記載されるインフュージョンセットに接続するようにさらに構成される。
引き続き図22を参照すると、スパイク310は、矢印Bの方向における収縮位置と伸長位置との間で筐体302内のスパイク開口部315を通って伸長可能であるように構成される。収縮位置では、スパイク310は筐体302の内部308内に収容される。伸長位置では、スパイク310は、スパイク310が容器226のアクセスポート232(図8に示す)を通って挿入可能であるように、スパイク開口部315を通って筐体302の内部308から突出する。流体カセット300のスパイク開口部315には、保管装置200が流体カセット300に接続されたときにスパイク310が容器226のアクセスポート232に挿入されるように軸方向に整列するよう、保管装置200を流体カセット300に対して整列させるための整列要素337が設けられてもよい。流体カセット300の使用前にスパイク開口部315を密閉するためにキャップが設けられてもよい。
図23に示すように、スパイク310は、近位端322、遠位端324及び中空内部を有する本体320を有する。スパイク310の遠位端324は、容器226のアクセスポート232(図8に示す)を穿孔するように構成された少なくとも1つの穿孔先端部326を有する。少なくとも1つの穿孔先端部326は、2つの穿孔先端部326を含んでもよく、2つの穿孔先端部326のうちの第1の穿孔先端部は、容器226から流体を引き出すように構成され、2つの穿孔先端部326のうちの第2の穿孔先端部は、流体が容器226から引き出されるときに容器226に空気を送り込むように構成される。少なくとも1つの穿孔先端部326は、容器226のアクセスポート232から、流体経路セット314に接続するように適合された流体経路コネクタ328に流体を送達するために、スパイク310の本体320の中空内部と流体連通する。この態様では、容器226からの治療薬又は診断薬は、スパイク310の少なくとも1つの穿孔先端部326及び流体経路コネクタ328を介して流体経路セット314に送達され得る。いくつかの実施形態又は態様では、スパイクは、流体が容器226から引き出されるときに空気が容器226に入ることを可能にするように構成されたフィルタ付き通気口329を有してもよい。スパイク310は、本体320の周りで延びるカラー330を有してもよい。いくつかの実施形態又は態様では、スパイク310がアクセスポート232に挿入されるとき、又はアクセスポート232から引き出されるときに、アクセスポート232からの液垂れを吸収するために、吸収材料332がカラー330に設けられてもよい。スパイク310は、本明細書で説明するように、送達システムのスパイク駆動装置と係合するように構成された駆動要素334をさらに有する。駆動要素334は、収縮位置と伸長位置との間でスパイク310を移動させるために送達システムのスパイク駆動装置によって係合されるように構成された開口部、スロット又は他の特徴部であってもよい。図22に示すように、送達システムのスパイク駆動装置が筐体302の内部308に延びてスパイク310と係合することができるように、スパイク駆動装置スロット336が筐体302に設けられてもよい。
図22を参照すると、シリンジ312は、遠位端342の反対側の近位端340と、それらの間に画定された内部チャンバ344と、を有するバレル338を有する。近位端340は開いており、プランジャ346を受容するように構成されている。遠位端342は、流体経路セット314と流体連通するポート350を有する。プランジャ346は、本明細書に記載されるように、送達システムのシリンジ駆動装置を介してシリンジ312のバレル338内で往復動可能である。プランジャ346は、矢印Cの方向に移動可能であり、近位方向へのプランジャ346の移動は、ポート350を介して内部チャンバ344内に流体を引き込み、遠位方向へのプランジャ346の移動は、ポート350を介して内部チャンバ344から流体を送り出す。図21に示すように、プランジャ346の一部は、プランジャ開口部352を通って筐体302から突出している。いくつかの実施形態又は態様では、送達システムのシリンジ駆動装置は、プランジャ開口部352を通って突出するプランジャ346の近位端に係合するように構成されてもよい。他の実施形態又は態様では、プランジャ346は、流体カセット300のハウジング302内に完全に収容されてもよい。
図24を参照すると、シリンジ312のバレル338は、遠位端342においてバレル338から半径方向外側に突出するフランジ354を有する。フランジ354は、プランジャ346がバレル338内で往復動するときに、筐体302に対してバレル338が動かないように、筐体302上のフランジスロット356に受容されるように構成されている。フランジスロット356は、フランジ354との緊密な嵌合を確実にするためにテーパ形状を有してもよい。
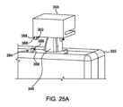
図25A及び図25Bを参照すると、プランジャ346は、シリンジ312(図22に示す)の充填及び分配機能が無効になるように、プランジャ346を固定位置に固定し、その移動を防止するよう構成されたプランジャキャップ358を有する。いくつかの実施形態又は態様では、プランジャキャップ358は固定された構成で輸送されてもよく、インジェクタ170は、充填及び分配機能のためのプランジャ346の移動を可能にするために、プランジャキャップ358を固定解除するように構成されてもよい。いくつかの実施形態又は態様において、プランジャキャップ358は、少なくとも1つの第1のフック362を有し、この第1のフック362は、筐体302上の少なくとも1つの第2のフック364と係合するように構成される。少なくとも1つの第1のフック362及び少なくとも1つの第2のフック364のそれぞれは、角度が付けられた接触面366と、2つの接触面366が互いを越えて摺動した後に係合するように構成されたキャッチ368と、を有してもよい。図25Bは、プランジャキャップ358が筐体302に向かって付勢されたときに互いに固定係合する少なくとも1つの第1のフック362及び少なくとも1つの第2のフック364を示す。この固定係合により、プランジャ346を移動させてシリンジ312に流体を充填したり、シリンジ312から流体を分配したりすることはできない。プランジャキャップ358は、流体カセット300を送達装置100内に設置している間にプランジャ346をプランジャ駆動装置に接続できるように、シリンジ312の位置を設定位置に維持するようにさらに構成される。
図26を参照すると、流体カセット300は、送達システム100のインジェクタ170(図5に示す)に対して流体カセット300を整列させるための1つ以上の整列要素370を有する。いくつかの実施形態又は態様では、流体カセット300の筐体302は、インジェクタ170の整列ピン176を受け入れるように形作られた開口部として構成された一対の整列要素370を有する(図31にも示す)。ピン176の各々は、整列ピン176が流体カセット300に向かう方向に移動するときに整列要素370を流体カセット300上に配置するように構成されたテーパ面を有する。整列ピン176が整列要素370に挿入されると、流体カセット300は、スパイク310及びプランジャ346が動作され得るようにインジェクタ170に対して所望の位置に配置される。例えば、整列ピン176と流体カセット300上の整列要素370との整列はまた、送達機構174をプランジャキャップ358上の対応するプランジャ駆動装置受け部376と整列させて、充填及び分配動作中にプランジャ346を移動させる。プランジャ駆動装置受け部376は、送達機構174上のピンのテーパ形状に対応するテーパ形状を有してもよい。いくつかの実施形態又は態様では、整列要素370は、送達装置100のバルブ及びセンサと、流体カセット300内の流体経路セット314上の対応する位置との整列をさらに容易にする。
図27~図30を参照すると、本開示の別の実施形態又は態様による流体カセット300’が示されている。図27~図30に示す流体カセット300’の構造は、図20~図26を参照して図示し説明した流体カセット300の構造と実質的に同様であるため、流体カセット300’の構成要素の詳細な説明は省略する。図27~図30では、図27~図30の各参照番号の後に「’」マークを追加することを除いて、図20~図26で流体カセット300の構成要素を説明するために使用されるのと同じ参照番号を使用して流体カセット300’の構成要素を説明する。以下の詳細な開示では、2つの保管装置間の相対的な違いのみに焦点を当てる。
図27を参照すると、流体カセット300’は、図15~図19に示す保管装置200’を受容するような形状の凹部378を有する筐体302’を有する。いくつかの実施形態又は態様では、凹部378は、保管装置200’が流体カセット300’に接続され、その結果得られるアセンブリ150が実質的に直方体形状を有するように形作られる。図15~図17Bを参照して本明細書において説明されるように、保管装置200’のハウジング201’は、流体カセット300’に対して所望の向きに保管装置200’を配置するように構成されたガイド機構272を含む。例えば、図28を参照すると、ガイド機構272は、所定の向きで流体カセット300’に保管装置200’を直接接続するための、流体カセット300’の対応するガイド機構380と結合するように構成され得る溝、面取り、突起、穴又はタブなどの1つ以上の幾何学的特徴部を含む。図29を参照すると、流体カセット300’は、保管装置200’を流体カセット300’に取外し不能に接続するための1つ以上のロック要素382を有する。
図31を参照すると、保管装置200と流体カセット300との間の流体経路を示す例示的な流体図が示されている。図31に示すように、保管装置200の容器226は、スパイク310を介して流体カセット300の流体経路セット314に流体接続可能である。流体経路セット314は、容器226からインフュージョンセット406への流体の流れを制御するための複数のバルブを有してもよい。いくつかの実施形態又は態様では、スパイク310から流体経路セット314への流体の流れを調整するために、スパイク310の下流に第1のバルブ384が設けられる。いくつかの実施形態又は態様では、第1のバルブ384は、ピンチバルブ、ストップコックバルブ、又はスパイク310から流体経路セット314への流体の流れを選択的に許容するように構成された任意の他の種類のバルブであってもよい。いくつかの実施形態又は態様では、第1のバルブ384は、インジェクタ170によって開位置と閉位置との間で動作可能であってもよい。
流体経路セット314の流路は、プライミング中の空気除去を容易にし、例えば流体経路セット314の管の内径の急激な変化又は移行部を制限することによって、保管装置200の容器226からシリンジ312に流される材料内の気泡の形成を制限するように構成され得る。流体経路セット314の流路は、いかなる気泡もシリンジ312から流通するのを防ぐよう、気泡を優先的に分離して迂回させるために、蛇行した流体経路を組み込むか、又は疎水性膜を備えた構成とされ得る。流体経路セット314の流路は、受動バルブ、能動バルブ、一方向バルブ、方向転換バルブ、ピンチバルブ、ロータリーバルブ、ストップコック、又は開閉バルブなどのバルブ又は他の流体制御要素を組み込むように設計され得る。
引き続き図31を参照すると、空気検出器180が第1のバルブ384の下流に設けられている。空気検出器180は、流体経路セット314内の空気を検出するように構成される。いくつかの実施形態又は態様では、空気検出器180はインジェクタ170(図5及び図32参照)に設けられ、流体カセット300は、空気検出器180が第1のバルブ384の下流の位置で流体経路セット314内の空気を検出するように構成されるように、インジェクタ170に対して配置される。いくつかの実施形態又は態様では、空気検出器180からの出力は、流体経路セット314内の空気の有無に応じてインジェクタ170の動作を可能にするか又は阻止するために、送達システム100のコントローラ114(図5に示す)によって使用され得る。空気検出器180は、用量送達の体積精度を補助するために、容器226からのライン内の治療薬又は診断薬の存在を検出するよう構成されてもよい。
引き続き図31を参照すると、空気/粒子フィルタ317は、空気検出器180の下流に設けられている。いくつかの実施形態又は態様では、バルブブロック316が空気検出器180の下流に設けられる。いくつかの実施形態又は態様では、バルブブロック316は、流体の流れを許容し又は制限するために選択的に開閉することができる複数のポートを有するマニホールドであってもよい。例えば、バルブブロック316は、第1のポート388、第2のポート390、及び第3のポート392を有してもよい。バルブブロック316は、3つのポートのうちの2つのみが互いに流体連通することができるように動作可能である。例えば、第1及び第2のポート388、390が互いに流体連通し、第3のポート392から流体隔離されるようにバルブブロック316が構成されている場合、シリンジ312は、ポート350を介して容器226から治療薬又は診断薬で充填され得る。第2及び第3のポート390、392が互いに流体連通し、第1のポート388から流体隔離されるようにバルブブロック316が構成されている場合、生理食塩水供給源などの補助流体供給源394からの流体を、補助ライン396を介してシリンジ312のポート350に送達することができる。この構成では、本明細書において説明されるように、生理食塩水又は他の流体を、開通性チェック、テストインフュージョン又は洗浄手順のために送達することができる。補助ライン396は、流体経路セット314の補助分岐部398に接続可能である。補助ライン396は、補助流体供給源394に接続するためのスパイク395と、逆止弁397と、一対のコネクタ399と、を有する。
いくつかの実施形態では、バルブブロック316への流体の流れを制御するために、補助分岐部398に第2のバルブ400を設けてもよい。いくつかの実施形態又は態様では、バルブブロック316は、インジェクタ170を介して第1、第2及び第3のポート388、390、392を選択的に開閉するように動作され得る。同様に、第2のバルブ400は、インジェクタ170を介して開位置と閉位置との間で動作可能であってもよい。
引き続き図31を参照すると、第3のバルブ402がシリンジ312のポート350の下流に設けられている。第3のバルブ402は、インジェクタ170を介して開位置と閉位置との間で動作可能であってもよい。空気/粒子フィルタ403は、流体経路セット314が端部コネクタ404で終端する前、第3のバルブ402の下流に設けられている。
引き続き図31を参照すると、インフュージョンセット406は、端部コネクタ404を介して流体カセット300の流体経路セット314に取外し可能に接続可能である。インフュージョンセット406は、流体経路セット314の端部コネクタ404に取外し可能に接続するように構成された近位コネクタ408を有する。いくつかの実施形態又は態様では、端部コネクタ404及び近位コネクタ408は、ルアーコネクタであってもよい。インフュージョンセット406は、カテーテル412又はプライミングキャップ414に接続するように構成された遠位コネクタ410をさらに有する。近位コネクタ408と遠位コネクタ410との間には、一対の逆止弁416が設けられる。いくつかの実施形態又は態様では、インフュージョンセット406は、閉塞検出センサ418及び空気検出器420を有するセンサ装置416に接続するように構成されてもよい。いくつかの実施形態又は態様では、閉塞検出センサ418は、容器226にアクセスする前に流体経路セット314の完全性を圧力テストするように構成されてもよい。
図32を参照すると、流体カセット300及び保管装置200は、流体カセット300及び保管装置200と相互作用するように構成されたインジェクタ170の構成要素と共に示されている。いくつかの実施形態又は態様では、インジェクタ170は、保管装置200のドア248(図8に示す)を閉位置から開位置に移動させるように構成されたアクセス機構172を含む。インジェクタ170は、保管装置200からシリンジ312に治療薬若しくは診断薬を充填するために、又は補助流体供給源394からシリンジ312に生理食塩水を充填するために(図31に示す)、シリンジ312のプランジャ346を作動させるよう構成された送達機構174をさらに含む。送達機構174は、治療薬若しくは診断薬、又は生理食塩水などのシリンジ312の内容物をインフュージョンセット406に送達するために(図31に示す)、シリンジ312のプランジャ346を作動させるようにさらに構成されてもよい。流体カセット300及びその流体経路要素は、流体の移動及び制御を行うために単一のシリンジ312及びバルブを備えて示されているが、単一のシリンジ312以外のポンプが使用されてもよい。いくつかの実施形態又は態様では、複数のポンプ、例えば、それぞれ薬物及び洗浄流体用のシリンジ312があってもよい。いくつかの実施形態では、ポンプの1つ以上は、蠕動ポンプ、ダイアフラムポンプ又はピストンポンプであってもよい。いくつかの実施形態では、追加のポンプは、いくつかのバルブの必要性を排除することができ、又は追加のバルブの使用から利益を得ることもできる。いくつかの実施形態では、補助流体供給源394からの薬物及び洗浄流体のための別個のポンプを有して、二重の流れを有する能力を提供すること、すなわち、2つの流体を同時に送達することが望ましく、その結果、総体積流量は薬物送達速度とは無関係に設定され得る。希釈導入の1つの利点は、患者の不快感又は反応の可能性を減らすことである。第2は、TRTが中心循環に導かれてそこで希釈される前に、TRTが注入する静脈内にある時間を短縮することである。例えば、参照により本明細書に組み込まれる特許文献2を参照されたい。
引き続き図32を参照すると、流体インジェクタは、流体カセット300上の1つ以上の整列要素370と係合するように構成された1つ以上の整列ピン176を有する。整列ピン176が整列要素370に挿入されると、流体カセット300は、スパイク310及びプランジャ346が動作され得るようにインジェクタ170に対して所望の位置に配置される。インジェクタ170は、流体経路セット314の管内の空気を検出するように構成された空気検出器180をさらに有する。いくつかの実施形態又は態様では、インジェクタ170は、流体の存在及び/又は流体に関する他の特性を検出するように構成された流体検出器をさらに有してもよい。いくつかの実施形態又は態様では、インジェクタ170は、流体経路セット314の管に選択的に係合して、それを通る流体の流れを調整するように構成されたバルブアセンブリ178をさらに有する。
保管装置200が流体カセット300に結合され、結合アセンブリ150が送達システム100に設置されると、インジェクタ170のアクセス機構172は、流体カセット300のスパイク310を伸長して容器226のアクセスポート232を貫通させることができるように、ドア248を閉位置から開位置に移動させるように構成される。図33を参照すると、インジェクタ170のアクセス機構172は、ドアカバー252のアクセス開口部254を通ってドア248に向かう方向(図9に示す)に延びるように構成されたプローブ182を有することができる。いくつかの実施形態又は態様では、プローブ182は、アクセス開口部254上のシール256を貫通するように構成されてもよい。プローブ182は、例えば、シール256が存在するときのドアアクセス開口部254を通る移動に対する抵抗を、シール256が存在しないときの移動に対する抵抗と比較して検知することによって、シール256の存在を検知するように構成されてもよい。ドアアクセス開口部254を通る移動に対する抵抗がないなどの理由で、プローブ182がシール256を検出しない場合、コントローラ114(図5に示す)は、使用済み保管装置200(すなわち、穿孔されたシール256を有するもの)又は開封された保管装置200(すなわち、シール256が除去されたもの)が流体に設置されているため、送達システム100の動作を防止するように構成されてもよい。プローブ182の動作は、コントローラ114を介して制御されてもよい。
引き続き図33を参照すると、流体インジェクタのアクセス機構172は、スパイク310のスパイク駆動装置スロット336(図23に示す)と係合するように構成されたスパイク駆動装置184をさらに含んでもよい。スパイク駆動装置184は、スパイク310の収縮状態に対応する第1の位置、及びスパイク310が容器226のアクセスポート232を貫通するスパイク310の伸長状態に対応する第2の位置から直線方向に移動可能であってもよい。スパイク駆動装置184の動作は、コントローラ114を介して制御されてもよい。
引き続き図33を参照すると、送達機構174は、シリンジ312のプランジャ346を作動させてプランジャ346をシリンジ312のバレル内で移動させるように構成されたプランジャ駆動装置186を含む。プランジャ駆動装置186は、プランジャ駆動装置186の動きがプランジャ346の対応する動きを引き起こすように、プランジャ駆動装置受け部376に受容されるように形作られる。プランジャ駆動装置186は、プランジャ346を直線方向に移動させるモータを有してもよい。プランジャ駆動装置186は、シリンジ312のバレルが流体で満たされるように構成されている第1の方向、及びシリンジ312のバレルからの流体がポート350を介して送達されるように構成されている第1の方向とは反対の第2の方向に直線方向に移動可能であってもよい。プランジャ駆動装置186の動作は、コントローラ114を介して制御されてもよい。いくつかの実施形態又は態様において、プランジャ駆動装置186は、患者に送達される流体の流量を決定する。
引き続き図33を参照すると、空気検出器180は、流体経路セット314の管内の空気を検出するように構成されている。空気検出器180は、光空気検出器、音響空気検出器、超音波空気検出器、又は流体経路セット314の管内の空気の存在を検出するように構成された任意の他の空気検出器であってもよい。空気検出器180の動作は、コントローラ114を介して制御されてもよい。
引き続き図33を参照すると、バルブアセンブリ178は、複数のバルブ188を含んでもよい。いくつかの実施形態又は態様では、複数のバルブ188は、流体経路セット314の管を挟むように構成されたピンチバルブであってもよい。いくつかの実施形態又は態様では、バルブ188は、ロータリー活栓又は他の流体流れ遮断機構であってもよい。バルブアセンブリ178の動作は、コントローラ114を介して制御されてもよい。
図34を参照すると、容器226のアクセスポート232を消毒するための消毒機構190が設けられている。いくつかの実施形態又は態様では、消毒機構190は、可動アーム192及び消毒源194を含む。可動アーム192は、消毒源194がアクセスポート232に対向して配置され得るように、保管装置200に対して可動である。消毒源194は、例えば、アクセスポート232の表面上の細菌を不活性化することができる波長で電磁エネルギーを放出することができるレーザ又は発光体を含むことができる。このような放出可能な電磁エネルギーとしては、例えば、紫外光(UV)光(10~400ナノメートル(nm)波長光)、深紫外光(UV-C)光(波長200~280nmの光)、白色光、赤外(IR)光、レーザ等(例えば、消毒機構は、UV光エミッタ、UVC LED、IRエミッタなどを含むことができる)が挙げられる。放出される光は、スパイク310がアクセスポート232を通って容器226内に挿入される前に、アクセスポート232上の細菌を不活性化するのに十分なエネルギー線量を送達するために、予め選択された消毒時間の間、アクセスポート232の表面上に連続的に照射され得る。いくつかの実施形態又は態様では、消毒源194は、容器226のアクセスポート232及びスパイク310を消毒するように構成されてもよい。この態様では、アクセスポート232及びスパイク310は、それらの間の無菌接続のために消毒される。さらなる実施形態又は態様では、スパイク310を容器226のアクセスポート232に挿入する前にスパイク310を消毒するために、第2の消毒源194を可動アーム192に設けてもよい。
いくつかの実施形態又は態様では、消毒源194は、アクセスポート上に消毒材料を噴霧することができるノズル又は噴霧器、及び/又は予め選択された衛生期間のアクセスポート上に消毒剤を拭き取ることができる攪拌機構を含むことができる。選択される消毒期間は、利用される消毒剤の種類と、その消毒剤を用いて予め選択された細菌セットを排除するか、又はそのような細菌の量を予め選択された閾値レベル以下に減少させるのに必要な期間とに基づくことができる。いくつかの実施形態又は態様では、消毒材料は、カリフォルニア州サンクレメンテのICU Medical,Inc.によって製造されたSwabCapのものと同様の消毒剤含有吸収部材を介して製造現場で付与されてもよい。ドア248は、アクセスポートに接触して消毒剤含有吸収剤部材を保持することができる。消毒剤、例えば70%イソプロピルアルコールは消毒を行い、次いでゆっくりと蒸発する。ドア248によって保持された吸収部材の継続的な存在は、アクセスポートの無菌性を維持する。吸収部材は、アクセスポートへのアクセスを可能にするためにドア248と共に移動される。
図35を参照すると、一実施形態又は一態様による、複数の保管装置200を収容するための保管コンテナ450が示されている。いくつかの実施形態又は態様では、保管コンテナ450は、輸送及び使用前の保管中に保管装置200を収容するように構成されてもよい。保管コンテナ450は、内部に複数の保管装置200を受容するように構成された内部454を画定するハウジング452を有する。ハウジング452は、収容部分456と、ヒンジ460によって収容部分456に接続された蓋部分458と、を有してもよい。いくつかの実施形態又は態様では、収容部分456及び蓋部分458の少なくとも一方など、保管コンテナ450のハウジング454は、放射線遮蔽能力を高めるために追加の遮蔽特性を提供してもよい。この態様では、保管装置200内に収容された治療薬又は診断薬によって放出された放射線は、輸送及び保管中に閉じ込められ得る。
治療薬又は診断薬が保管装置200から出され、患者に注入された後、治療薬又は診断薬を患者に注入するために使用された材料は、保管及び廃棄のために回収される。図36を参照すると、そのような材料を収容するための廃棄コンテナ462が設けられている。いくつかの実施形態又は態様では、廃棄コンテナ462は、注入手順中に使用される保管コンテナ200、流体カセット300及びインフュージョン管406を収容するように構成される。廃棄コンテナ462は、使用済み保管コンテナ200、流体カセット300、及びインフュージョン管406を受け入れるように構成された内部466を画定するハウジング464を有する。いくつかの実施形態又は態様では、廃棄コンテナ462のハウジング464は、放射線遮蔽能力を与えるために遮蔽特性が付与されてもよい。この態様では、使用済み保管コンテナ200、流体カセット300及びインフュージョン管406によって放出された放射線は、安全に廃棄するために閉じ込められ得る。いくつかの実施形態又は態様では、廃棄コンテナ462は、使用済み保管コンテナ200、流体カセット300及びインフュージョン管406内の残余の流体を密封するように構成されてもよい。
引き続き図36を参照すると、使用済み材料が廃棄コンテナ462の内部に置かれた後に廃棄コンテナ462が開かれるのを防ぐために、送達システム100によって任意選択的に印刷されたラベル474を廃棄コンテナ462上に貼付することができる。ラベル474はまた、材料がいつ使用されたか、及び廃棄コンテナ462がその後の廃棄に十分長く保管されたかに関する情報を提示してもよい。ラベル474は、バーコードスキャナ又はRFIDリーダがラベル474を読み取ることに応答して廃棄情報をコンピュータに提供することができるように、バーコード又はRFIDタグを有することができる。
使用済み材料がラベル付き廃棄コンテナ462内に配置されると、廃棄コンテナ462を送達システム100のカートに一時的に保管することができる。いくつかの実施形態又は態様では、ラベル付き廃棄コンテナ462は、図37に示す廃棄ロッカー476に保管されてもよい。いくつかの実施形態又は態様では、廃棄ロッカー476は、それぞれが複数の廃棄コンテナ462を保持するように構成された複数の引出し又は棚478を有してもよい。廃棄コンテナ462上のラベル474は、携帯バーコードリーダを有するユーザによってスキャンされ得る。読み取られたバーコードが、廃棄コンテナ462内の物質が廃棄に安全であるほど十分に減衰していることを示す場合、メッセージ、音及び/又は色などの警報は、スキャンされた廃棄コンテナ462が廃棄ロッカー476から取り外され、承認された廃棄方法を使用して廃棄され得ることを示すことができる。
いくつかの実施形態又は態様では、廃棄ロッカー476の引出し又は棚478は、引出し又は棚478上の特定の廃棄コンテナ462が廃棄に安全であるかどうかを示すように構成された少なくとも1つのインジケータ480(例えば、赤色及び緑色LED)を有することができる。例えば、ユーザは、個々の廃棄コンテナ462が引出し又は棚478に追加されたことを示すために、個々の廃棄コンテナ462のバーコードをスキャンし、在庫管理コンピュータ482に他の入力を与えることができる。在庫管理コンピュータ482は、次に、少なくとも1つのインジケータ480の状態を制御するために、特定の各廃棄コンテナ462内の保管された材料が十分に減衰したかどうかを、使用済みの材料に関連するスキャンされた情報(例えば、使用日など)に基づいて判定することができる。例えば、在庫管理コンピュータ482は、少なくとも1つのインジケータ480のLED又は他のインジケータ手段が、廃棄コンテナ462内の物質が高放射性すぎて廃棄できないことを示すように(例えば、赤色又は他のメッセージを表示することによって)、又は少なくとも1つのインジケータ480のLED又は他のインジケータ手段が廃棄コンテナ462内の物質を廃棄できることを示すように(例えば、緑色又は他のメッセージを表示することによって)、少なくとも1つのインジケータ480の状態を制御することができる。このような指標により、ユーザは、廃棄コンテナ462を廃棄できるか否かを迅速に判定することができる。これにより、ユーザは、廃棄コンテナ462の廃棄状況を判定するために、コンテナを定期的にスキャンしたり、各廃棄コンテナ462のラベル474の使用日を確認したりする必要がなくなる。
廃棄ロッカー476は、その内部を密閉するドア484と、ドア484を固定するためのロック機構486と、を有することができる。いくつかの実施形態又は態様では、ロック機構486は、十分な資格を有するユーザのみが、廃棄ロッカー476にアクセスするためにドア484を開けることができるように構成されてもよい。例えば、ロック機構486は、ユーザがドア484を固定解除するためのキーを有していなければならないようなものであってもよく、又はドア484の固定を解除するための入力をコントローラに与えるためにユーザログインに関連付けられたユーザバッジ又はアクセスを有していなければならないようなものであってもよい。
本明細書に記載のシステム及び方法によってもたらされる機能、能力及び利点の中には、行わなければならない接続の最少化、分離又は切断されなければならない接続の最少化、及び各接続の可能な限りの格納がある。いくつかの実施形態、方法、又はシステムの使用では、分離される唯一の接続は患者への接続であり、これは、すべての薬物が送達され、送達接続部が薬物で洗浄された後にのみ行われることが好ましい。したがって、オペレータ又は近くの他の者に危険をもたらす可能性がある、解放された液体薬物、エアロゾル、蒸気又はガスの滴下、溢出若しくは漏出の可能性は極めて低い。いくつかの放射性娘生成物はガスである。化学療法エアロゾルは、近隣の人々にとって危険であり得る。
図38を参照すると、治療薬又は診断薬の送達前のテストインフュージョンのための例示的な方法が示されている。500において、患者Pはインフュージョンセット406を介して送達システム100に接続され、患者Pには生理食塩水又は他の流体のテストインジェクションが投与される。例えば、インジェクタ170は、補助流体供給源394から生理食塩水又は他の流体をシリンジ312に充填し、インフュージョンセット406を介してテストインジェクションの生理食塩水又は他の流体を患者に送達するように動作され得る。患者に送達される生理食塩水又は他の流体の体積は、生理食塩水又は他の流体が患者の血管系に送達されるか、又は容器外に浸出されているか、又は組織内に漏れているかを確認するのに十分であり得る。502において、患者P及び患者Pに治療を施す認可されたユーザAUは、生理食塩水又は他の流体のテストインジェクションが成功したかどうかを確認する。例えば、認可されたユーザAUは、溢出の兆候について注入部位を視覚的にチェックし、及び/又は注入部位を触診してもよい。患者Pは、生理食塩水又は他の流体のテストインジェクションに関連する任意の不快感を報告することができる。
引き続き図38を参照すると、504において、患者Pに生理食塩水又は他の流体の事前インフュージョン分が投与される。例えば、補助流体供給源394からシリンジ312に生理食塩水又は他の流体を充填し、インフュージョンセット406を介して生理食塩水又は他の流体のテストインフュージョン分を、500でのテストインジェクション中よりも大きな容量で、500でのテストインジェクション中よりも長い期間にわたって患者に送達するように、インジェクタ170を動作させることができる。いくつかの態様又は態様では、インフュージョン量、インフュージョン期間及び/又はインフュージョン速度は、治療薬又は診断薬の送達のためのインフュージョン量、インフュージョン期間及び/又はインフュージョン速度に対応するように選択される。研究により、フルのインフュージョン速度で生理食塩水によるインフュージョンを開始すると、溢出の可能性が低下し、溢出が発生する可能性がある場合に溢出が検知される時間が与えられることが実証されている。506において、患者Pは、所定のインジェクションプロトコルを使用して治療薬又は診断薬のインジェクション分が投与される。この方法は、オペレータが介入しない限り、前の方法の事前インフュージョンに続いてもよい。
図39を参照すると、送達システム100を使用して治療薬又は診断薬を投与するための例示的な方法が示されている。510において、送達システム100は、投与手順のために準備される。例えば、512において、1つ以上の保管装置200がカート102の1つ以上の保管区画106内に装着される。514において、流体カセット300がインジェクタ170内に装着される。例えば、流体カセット300は、流体カセット300がインジェクタ170と係合するように、カート102の第2の引出し又は棚110内に配置される。いくつかの実施形態又は態様では、流体カセット300上の整列要素370は、インジェクタ170の様々な構成要素が流体カセット300の対応する構成要素と相互作用することができるように、インジェクタ170に対して流体カセット300を配置するために流体インジェクタの整列ピン176(図26に示す)と係合するよう構成される。
引き続き図39を参照すると、516において、補助流体供給源394が流体カセット300に接続される。例えば、補助流体供給源394は、補助ライン396を介して流体カセット300の流体経路セット314に突き刺されて流体接続されてもよい(図31に示す)。518において、保管装置200が流体カセット300に接続される。いくつかの実施形態又は態様では、保管装置200の内容物に関する情報をコントローラ114にロードするために、流体カセット300との接続前又は接続時に、保管装置200上のラベル、タグ又は他の指標270(図16に示す)がスキャンされてもよい。
520において、インフュージョンセット406は、流体カセット300の流体経路セット314に流体接続され(図31に示す)、流体経路セット314及びインフュージョンセット406はプライミングされる。いくつかの実施形態又は態様では、送達システム100のコントローラ114(図5に示す)は、プライミング手順を開始するように構成されてもよく、この場合、シリンジ312は、補助流体供給源394から流体経路セット314に流体を引き込み、流体をインフュージョンセット406に送達して、流体経路セット314及びインフュージョンセット406を流体でプライミングするように動作される。
引き続き図39を参照すると、522において、テストインジェクション手順が実行される。いくつかの実施形態又は態様では、テストインジェクション手順は、図38を参照して本明細書で説明される500~504を含んでもよい。
524において、送達システム100は、治療薬又は診断薬を患者に投与するように構成される。例えば、シリンジ312は、保管装置200の容器226から治療薬又は診断薬で充填され、所定の投与プロトコルに基づいてインフュージョンセット406を介して患者Pに治療薬又は診断薬を送達するように動作されてもよい。いくつかの実施形態又は態様では、送達システム100は、単位用量を患者に投与するように構成することができ、ここで、単位用量は容器226の内容物全体の送達を必要とする。他の実施形態又は態様では、送達システム100は、非単位用量を患者に投与するように構成でき、ここで、非単位用量は、容器226の内容物全体の一部の送達を必要とする。
引き続き図39を参照すると、526において、投与手順が完了すると、インフュージョンセット406は患者Pから切り離され、保管装置200のアセンブリ150及び流体カセット300はインジェクタ170から取り外される。528において、使用済み保管装置200、流体カセット300及びインフュージョンセット406が廃棄コンテナ462に置かれ、廃棄コンテナ462をカート102上の一時保管に置く前にラベル474が廃棄コンテナに貼り付けられる。例えば、廃棄コンテナ462は、カート102の第3の引出し又は棚112に載置され得る。
530において、治療室が清浄化され、送達システム100は別の投与手順に備えることができる。532において、廃棄コンテナ462は、放射性物質のさらなる所定位置減衰(decay-in-place)のために廃棄ロッカー476に移動される。
新たな用量の投与と、廃棄のための使用済み材料の保管と、のために保管装置200上のラベル、タグ又は他の指標270の使用はまた、新たな用量の注文を促すのに十分な情報を提供することができる。例えば、在庫システムは、ラベル、タグ又は他の指標270(図16に示す)に含まれる情報に基づくなど、使用済み保管装置200に関する情報を受信し、利用可能な保管装置200の数に基づくなど、利用可能な用量の数値が、追加の用量の注文を発するための予め選択された閾値を下回るかどうかを判定するコンピュータを含むことができる。任意選択的に、在庫システムは、利用可能な用量の数値を患者スケジューリング負荷と比較してもよい。いくつかの状況では、在庫システムは、この状態を流通システムに通信することができ、その結果、自動メッセージが顧客に送信されて、低在庫にフラグを立て、追加の用量についての新しい購入注文の提出を促す。在庫システムは、在庫システムの使用を容易にするように構成されたソフトウェアを含むことができる。例えば、ソフトウェアは、在庫管理及び注文、書面による指示の生成/受諾、並びにコンプライアンスレポートの生成を容易にするように構成され得る。さらに、新たな用量の投与のために、及び廃棄のための使用済み材料の保管のために保管装置200上のラベル、タグ又は他の指標270の使用は、それがビジネス上の取決めである場合、薬物及びシステムの使用に関する請求書を促すのに十分な情報を提供することもできる。
実施形態又は態様を例示及び説明の目的で詳細に説明したが、そのような詳細はその目的のためだけであり、実施形態又は態様は開示された実施形態又は態様に限定されず、反対に、添付の特許請求の範囲の精神及び範囲内にある修正及び均等な構成を網羅することを意図していることを理解されたい。例えば、本開示は、可能な限り、任意の実施形態又は態様の1つ以上の特徴を任意の他の実施形態又は態様の1つ以上の特徴と組み合わせることができることを意図していることを理解されたい。実際、これらの特徴の多くは、特許請求の範囲に具体的に記載されていない、及び/又は本明細書に開示されていない方法で組み合わせることができる。以下に列挙される各従属請求項は1つの請求項のみに直接依存し得るが、可能な実装形態の開示は、各従属請求項を、請求項セット内の他のすべての請求項と組み合わせたものを含む。
100 送達システム、送達装置、100’ 送達システム、102 可搬カート、102’ 固定カート、104 車輪、106 保管区画、106’ 保管区画、108 第1の引出し又は棚、110 第2の引出し又は棚、112 第3の引出し又は棚、コンテナ区画、113 補助機器区画、114 コントローラ、114’ コントローラ、116 ユーザディスプレイ、116’ ユーザディスプレイ、117 カメラ、118 入力装置、119 出力装置、プリンタ、120 ロック、122 車輪ロック、124 可動ベース、150 結合アセンブリ、170 インジェクタ、170’ インジェクタ、172 アクセス機構、174 送達機構、176 整列ピン、178 バルブアセンブリ、180 空気検出器、182 プローブ、184 スパイク駆動装置、186 プランジャ駆動装置、188 バルブ、190 消毒機構、192 可動アーム、194 第2の消毒源、200 保管装置、保管コンテナ、200’ 保管装置、保管コンテナ、201 ハウジング、チャンバ、201’ ハウジング、202 チャンバ、202’ チャンバ、204 本体、204’ 本体、206 近位端、206’ 近位端、208 第1の開口部、208’ 第1の開口部、210 遠位端、210’ 遠位端、212 第2の開口部、214 キャップ、216 クリップ、217 ガスケット又はシール、218 内側部分、220 外側部分、222 コネクタ、224 キャビティ、226 容器、226’ 容器、228 治療薬又は診断薬、230 近位端、232 アクセスポート、232’ アクセスポート、234 遠位端、234’ 遠位端、236 内部、238 リブ、240 ホルダ、242 接触要素、244 タブ、246 内面、248 ドア、250 アクセス開口部、252 ドアカバー、252’ ドアカバー、254 ドアアクセス開口部、254’ アクセス開口部、256 シール、258 容器アクセス開口部、260 ドアロック、262 第1のフック、264 第2のフック、266 接触面、268 キャッチ、270 ラベル又はタグ、指標、272 ガイド機構、274 識別特徴部、276 近位キャップ、278 リテーナ、280 ベース、282 保持部分、284 内面、286 外面、288 ねじ付きカラー、290 カバー、292 ねじ部、294 遠位端、296 内側係合面、298 シール、300 流体カセット、300’ 流体カセット、302 筐体、ハウジング、302’ 筐体、304 第1の部分、306 第2の部分、308 内部、310 スパイク、312 シリンジ、314 流体経路セット、315 スパイク開口部、316 バルブブロック、317 粒子フィルタ、空気フィルタ、320 本体、322 近位端、324 遠位端、326 穿刺先端部、328 流体経路コネクタ、329 フィルタ付き通気口、330 カラー、332 吸収材料、334 駆動要素、336 スパイク駆動装置スロット、337 整列要素、338 バレル、340 近位端、342 遠位端、344 内部チャンバ、346 プランジャ、350 ポート、352 プランジャ開口部、354 フランジ、356 フランジスロット、358 プランジャキャップ、362 第1のフック、364 第2のフック、366 接触面、368 キャッチ、370 整列要素、376 プランジャ駆動装置受け部、378 凹部、380 ガイド機構、382 ロック要素、384 第1のバルブ、388 第1のポート、390 第2のポート、392 第3のポート、394 補助流体供給源、395 スパイク、396 補助ライン、397 逆止弁、398 補助分岐部、399 コネクタ、400 第2のバルブ、402 第3のバルブ、403 空気/粒子フィルタ、404 端部コネクタ、406 インフュージョンセット、インフュージョン管、408 近位コネクタ、410 遠位コネクタ、412 カテーテル、414 プライミングキャップ、416 逆止弁、センサ装置、418 閉塞検出センサ、420 空気検出器、450 保管コンテナ、452 ハウジング、454 内部、ハウジング、456 収容部分、458 蓋部分、460 ヒンジ、462 ラベル付き廃棄コンテナ、464 ハウジング、466 内部、474 ラベル、476 ロッカー、478 引出し又は棚、480 インジケータ、482 在庫管理コンピュータ、484 ドア、486 ロック機構

Claims (57)

  1. 治療薬又は診断薬を送達するための送達システムに接続するように構成された保管装置であって、前記保管装置は、
    中にチャンバが画定されたハウジングと、
    前記チャンバ内に配置された容器であって、前記治療薬又は診断薬を受容するように構成され、近位端の反対側の遠位端を有し、間に内部が画定され、前記近位端が前記内部にアクセスするためのアクセスポートを有する、容器と、
    前記ハウジングと関連付けられたドアであって、閉位置と開位置との間で前記ハウジングに対して移動可能であり、前記閉位置において、前記ハウジングの前記チャンバを密閉するように前記ハウジングの開口部を覆い、前記開位置において、前記容器の前記アクセスポートにアクセスするために前記ハウジングの前記開口部を露出させる、ドアと、
    前記容器の前記アクセスポートが前記ハウジングの前記開口部に配置されるように、前記容器を前記ハウジングに対して固定するために前記ハウジングの前記チャンバ内で前記容器と接触するホルダと、
    を備え、
    前記ドアは、前記送達システムのアクセス機構による作動に応答して、前記閉位置と前記開位置との間で移動可能である、
    保管装置。
  2. 前記ホルダは、前記容器の前記遠位端に接触するための接触要素と、前記接触要素に接続され、前記ハウジングの内面と係合して前記容器の前記遠位端を前記ハウジングに対して固定するように構成された複数のタブと、を備える、請求項1に記載の保管装置。
  3. 前記ハウジングの前記チャンバ内にある複数のリブであって、前記開口部を囲む、複数のリブをさらに備え、前記複数のリブは、前記容器の前記近位端を前記ハウジングに対して固定するように構成されている、請求項1に記載の保管装置。
  4. 前記ドアを前記開位置及び前記閉位置の一方に固定するためのロックをさらに備える、請求項1に記載の保管装置。
  5. 前記ハウジングに接続されたドアカバーをさらに備え、前記ドアカバーはドアチャンバ内で前記ドアを囲む、請求項1に記載の保管装置。
  6. 前記ドアカバーは、シールを有するドアアクセス開口部と、前記ハウジングの前記開口部に対向して配置された容器アクセス開口部と、を備える、請求項1に記載の保管装置。
  7. 前記シールは、前記送達システムの前記アクセス機構によって穿孔可能である、請求項6に記載の保管装置。
  8. 製品情報、製造情報、処方箋情報、及び輸送条件情報のうちの少なくとも1つを含む機械可読認証可能データを包含するラベル又はタグを、前記ハウジング上にさらに備える、請求項1に記載の保管装置。
  9. 前記ハウジングの前記開口部が、前記ドアが前記開位置にあるときに前記治療薬又は診断薬にアクセスするために前記アクセスポート内に延出する容器アクセス部材を受け入れるように構成されている、請求項1に記載の保管装置。
  10. 前記治療薬又は診断薬は放射性医薬品であり、前記ハウジングは、前記放射性医薬品からの放射線が前記ハウジングから放出されるのを防止するように構成された遮蔽体を備える、請求項1に記載の保管装置。
  11. 治療薬又は診断薬を送達するための送達システムに接続するように構成されたアセンブリであって、前記アセンブリは、
    前記治療薬又は診断薬を収容する保管装置と、
    前記治療薬又は診断薬にアクセスするために前記保管装置に流体接続可能である流体カセットと、
    を備え、
    前記保管装置は、
    中にチャンバが画定されたハウジングと、
    前記チャンバ内に配置された容器であって、前記治療薬又は診断薬を受容するように構成された内部と、前記内部にアクセスするためのアクセスポートと、を有する、容器と、
    前記ハウジングと関連付けられたドアであって、閉位置と開位置との間で前記ハウジングに対して移動可能であり、前記閉位置において、前記ハウジングの前記チャンバを密閉するように前記ハウジングの開口部を覆い、前記開位置において、前記容器の前記アクセスポートにアクセスするために前記ハウジングの前記開口部を露出させる、ドアと、
    を備え、
    前記流体カセットは、
    容器アクセス部材、計量装置、及び前記容器アクセス部材を前記計量装置に流体接続する流体経路セットと、
    前記容器アクセス部材、前記計量装置及び前記流体経路セットを囲む筐体と、
    を備え、
    前記保管装置及び前記流体カセットは、前記保管装置の前記ドアが前記送達システムのアクセス機構によってアクセス可能であると共に、前記容器アクセス部材及び前記流体カセットの前記計量装置が前記送達システムの送達機構によってアクセス可能であるように、前記送達システムに接続するように構成されている、
    アセンブリ。
  12. 前記流体カセットの前記容器アクセス部材は、前記流体経路セットを介して前記計量装置を前記容器に流体接続するために、前記ドアが前記開位置に移動されるときに前記容器の前記アクセスポートに挿入可能である、請求項11に記載のアセンブリ。
  13. 前記流体経路セットは、前記流体経路要素を通る流体の流れを調整するために前記送達システムの前記送達機構によって動作可能である1つ以上のバルブを備える、請求項11に記載のアセンブリ。
  14. 前記流体カセットは生理食塩水供給源に接続可能である、請求項11に記載のアセンブリ。
  15. 前記保管装置は、前記保管装置を前記流体カセットに対して所望の向きに配置するように構成されたガイド機構を備える、請求項11に記載のアセンブリ。
  16. 前記ガイド機構は、前記保管装置上に1つ以上の幾何学的特徴部を備え、前記1つ以上の幾何学的特徴部は、前記流体カセット上の対応する1つ以上の幾何学的特徴部と結合するように構成されている、請求項15に記載のアセンブリ。
  17. 前記流体カセットの前記計量装置の出口は、前記治療薬又は診断薬の用量を前記容器からインフュージョンセットに送達するために、前記インフュージョンセットに接続するように構成されている、請求項11に記載のアセンブリ。
  18. 製品情報、製造情報、処方箋情報、及び輸送条件情報のうちの少なくとも1つを含む機械可読認証可能データを包含するラベル又はタグを前記ハウジング上にさらに備える、請求項11に記載のアセンブリ。
  19. 前記治療薬又は診断薬は放射性医薬品であり、前記ハウジングは、前記放射性医薬品からの放射線が前記ハウジングから放出されるのを防止するように構成されている、請求項11に記載のアセンブリ。
  20. 治療薬又は診断薬を送達するための送達システムであって、前記送達システムは、
    送達機構及びアクセス機構を有するインジェクタと、
    前記インジェクタに取外し可能に接続可能である流体送達アセンブリであって、
    前記治療薬又は診断薬を収容する保管装置と、
    前記治療薬又は診断薬にアクセスするために前記保管装置に流体接続可能である流体カセットと、
    を備える、流体送達アセンブリと、
    を備え、
    前記保管装置は、
    中にチャンバが画定されたハウジングと、
    前記チャンバ内に配置された容器であって、前記治療薬又は診断薬を受容するように構成された内部と、前記内部にアクセスするためのアクセスポートと、を有する、容器と、
    前記ハウジングと関連付けられたドアであって、前記インジェクタの前記アクセス機構を介して前記ハウジングに対して閉位置と開位置との間で移動可能であり、前記閉位置において、前記ハウジングの前記チャンバを密閉するように前記ハウジングの開口部を覆い、前記開位置において、前記容器の前記アクセスポートにアクセスするために前記ハウジングの前記開口部を露出させる、ドアと、
    を備え、
    前記流体カセットは、
    容器アクセス部材、計量装置、及び前記容器アクセス部材を前記計量装置に流体接続する流体経路セットと、
    前記容器アクセス部材、前記計量装置及び前記流体経路セットを囲む筐体と、
    を備え、
    前記容器アクセス部材及び前記流体カセットの前記計量装置は、前記流体経路セットを介して前記容器の前記内部を前記計量装置と流体接続するために、前記インジェクタの前記送達機構によってアクセス可能である、
    送達システム。
  21. 前記保管装置上の機械可読認証データに基づいて、前記容器から前記計量装置に引き込まれる前記治療薬又は診断薬の用量を決定するように構成されたインジェクタコントローラをさらに備える、請求項20に記載の送達システム。
  22. 前記インジェクタコントローラは、少なくとも1つの患者パラメータに基づいて前記容器から前記計量装置内に引き込まれる前記治療薬又は診断薬の用量を決定するようにさらに構成されている、請求項21に記載の送達システム。
  23. 前記インジェクタコントローラは病院ネットワークシステムに接続されている、請求項22に記載の送達システム。
  24. 前記インジェクタコントローラは、様々な予め定められた治療又は診断手順のための複数の投薬アルゴリズムを備える、請求項22に記載の送達システム。
  25. 前記流体経路セットは、前記流体経路要素を通る流体の流れを調整するために前記送達システムの前記送達機構によって動作可能である1つ以上のバルブを備える、請求項20に記載の送達システム。
  26. 前記流体カセットは生理食塩水供給源に接続可能である、請求項20に記載の送達システム。
  27. 前記流体カセットの前記計量装置の出口は、前記治療薬又は診断薬の用量を前記容器からインフュージョンセットに送達するために、前記インフュージョンセットに接続するように構成されている、請求項20に記載の送達システム。
  28. 前記保管装置は、前記流体カセットに取外し可能に又は取外し不能に接続可能であるように構成されている、請求項20に記載の送達システム。
  29. 製品情報、製造情報、処方箋情報、及び輸送条件情報のうちの少なくとも1つを含む機械可読認証可能データを包含するラベル又はタグを前記ハウジング上にさらに備える、請求項20に記載の送達システム。
  30. 前記治療薬又は診断薬は放射性医薬品であり、前記ハウジングは、前記放射性医薬品からの放射線が前記ハウジングから放出されるのを防止するように構成された遮蔽体を含む、請求項20に記載の送達システム。
  31. 使用済みの治療薬又は診断薬の保管及び廃棄を管理するための在庫装置であって、前記在庫装置は、
    固定可能なドアを介してアクセス可能である保管区画であって、1つ以上の廃棄コンテナを保管するように構成された、保管区画を有するカートを備え、前記廃棄コンテナの各々は、
    保管装置であって、
    中にチャンバが画定されたハウジングと、
    前記ハウジングの前記チャンバ内に配置された容器であって、その内部に放射性医薬品を保管するように構成された、容器と、
    前記ハウジングに接続されたドアであって、開位置と閉位置との間で移動可能であり、前記閉位置において、前記ハウジングの前記チャンバを完全に密閉する、ドアと、
    を備える、保管装置と、
    容器アクセス部材と計量装置とを備える流体カセットであって、前記保管装置は、前記容器アクセス部材が前記容器に挿入されて前記計量装置を前記容器に流体接続するように前記流体カセットに固定され、前記計量装置は、前記放射性医薬品の用量をインフュージョンするために使用されるインフュージョンセットに接続されている、流体カセットと、
    を備え、
    前記インフュージョンセット、前記保管装置、及び前記流体カセットは、前記廃棄コンテナ内で保持される、
    在庫装置。
  32. 前記カートは、前記使用済みの治療薬又は診断薬の放射性成分が予め選択された安全閾値レベルまで減衰するように、前記1つ以上の廃棄コンテナのいずれかが予め選択された保管期間の間保管されたかどうかを示すために、前記保管区画に関連付けられた少なくとも1つのインジケータを備える、請求項31に記載の在庫装置。
  33. 前記カートは、前記カートの無認可の移動を防止するように構成された車輪ロックを有する車輪を備える、請求項31に記載の在庫装置。
  34. 前記車輪ロックは、コントローラと通信する電子ロックである、請求項33に記載の在庫装置。
  35. 前記車輪ロックは、キー又は他の機械的ロック機構を有する機械的ロックである、請求項33に記載の在庫装置。
  36. 前記車輪ロックは、前記固定可能なドアが固定解除された後にのみ前記車輪が固定解除され転動可能であるように、前記固定可能なドアと動作可能に接続されている、請求項33に記載の在庫装置。
  37. 治療薬又は診断薬の製造及び分配のための方法であって、
    前記治療薬又は診断薬で容器を充填するステップと、
    ハウジングを有する保管装置のチャンバ内に前記容器を配置するステップと、
    前記ハウジングが前記チャンバ内で前記容器を完全に囲むように、前記保管装置を閉じるステップと、
    前記保管装置を管理施設に輸送するステップと、
    送達システムのアクセス機構を使用して前記保管装置のドアを開けるステップと、
    前記送達システムの消毒機構を使用して前記容器のアクセスポートを消毒するステップと、
    前記送達システムを使用して前記アクセスポートを介して前記容器内の前記治療薬又は診断薬にアクセスするステップと、
    を含む、方法。
  38. 前記治療薬又は診断薬にアクセスする前記ステップは、前記保管装置に接続されたカセットの容器アクセス部材を使用して前記アクセスポートを穿孔することを含む、請求項37に記載の方法。
  39. 製品情報、製造情報、処方箋情報、及び輸送条件情報のうちの少なくとも1つを決定するために、前記保管装置上のラベル又はタグを読み取るステップをさらに含む、請求項37に記載の方法。
  40. 前記アクセスポートを消毒する前記ステップは、紫外線を放射すること、又は消毒材料を出射すること、を含む、請求項37に記載の方法。
  41. 使用済みの治療薬又は診断薬を保管及び廃棄するための方法であって、
    前記治療薬又は診断薬の残余の部分を有する容器を保持する保管装置と、前記保管装置が流体接続されたカセットと、廃棄コンテナ内に配置するためのインフュージョンセットと、を回収するステップと、
    使用日を示すために、ラベル、タグ、又は他の指標を前記廃棄コンテナ上に配置するステップと、
    前記保管装置、前記カセット、及び前記インフュージョンセットを内部に有する前記廃棄コンテナを保管区画内に配置するステップと、
    予め選択された減衰期間が経過した後に前記廃棄コンテナが安全であることを示すステップと、
    を含む、方法。
  42. 製品情報、製造情報、処方箋情報、及び輸送条件情報のうちの少なくとも1つを決定するために、前記ラベル、タグ又は他の指標を読み取るステップをさらに含む、請求項41に記載の方法。
  43. 治療薬又は診断薬の用量を送達する方法であって、
    治療薬又は診断薬を容器に挿入するステップと、
    ハウジングを有する保管装置のチャンバ内に前記容器を配置するステップと、
    前記放射性医薬品によって放出された放射線が、前記放射性医薬品の輸送及び保管のために前記ハウジングから放出されるのを遮蔽するために、前記ハウジングが前記チャンバ内で前記容器を完全に囲むように前記保管装置のドアを閉じるステップと、
    前記保管装置に含まれる前記放射性医薬品の製造情報に基づいて、患者に対する前記放射性医薬品の用量を決定するステップと、
    前記ハウジングを開いて、前記容器内の前記放射性医薬品にアクセスし、前記決定された用量を患者に注入するために、前記保管装置の前記ドアを固定解除するステップと、
    を含む、方法。
  44. 前記治療薬又は診断薬にアクセスする前記ステップが、前記保管装置に接続されたカセットの容器アクセス部材を使用して前記アクセスポートを穿孔することを含む、請求項43に記載の方法。
  45. 製品情報、製造情報、処方箋情報、及び輸送条件情報のうちの少なくとも1つを決定するために、前記保管装置上のラベル又はタグを読み取るステップをさらに含む、請求項43に記載の方法。
  46. 前記容器のアクセスポートを消毒するステップをさらに含む、請求項43に記載の方法。
  47. 前記アクセスポートを消毒する前記ステップは、紫外線を放射すること、又は消毒材料を出射すること、を含む、請求項46に記載の方法。
  48. 送達システムに接続するように構成された保管装置であって、前記保管装置は、
    中にチャンバが画定されたハウジングと、
    前記チャンバ内に配置され、その内部に放射性医薬品を収容する容器であって、前記放射性医薬品は、治療上又は予防上有効量の前記アルカリ土類金属ラジウム223の遊離金属カチオンである、容器と、
    前記ハウジングと関連付けられたドアであって、閉位置と開位置との間で前記ハウジングに対して移動可能であり、前記閉位置において、前記ハウジングの前記チャンバを密閉するように前記ハウジングの開口部を覆い、前記開位置において、前記容器のアクセスポートにアクセスするために前記ハウジングの前記開口部を露出させる、ドアと、
    前記容器の前記アクセスポートが前記ハウジングの前記開口部に配置されるように、前記容器を前記ハウジングに対して固定するために、前記ハウジングの前記チャンバ内で前記容器と接触するホルダと、
    を備え、
    前記ドアは、前記送達システムのアクセス機構による作動に応答して、前記閉位置と前記開位置との間で移動可能である、
    保管装置。
  49. 放射性医薬品を送達するための送達システムに接続するように構成されたアセンブリであって、前記アセンブリは、
    前記治療薬又は診断薬を収容する保管装置と、
    前記治療薬又は診断薬にアクセスするために前記保管装置に流体接続可能な流体カセットと、
    を備え、
    前記保管装置は、
    中にチャンバが画定されたハウジングと、
    前記チャンバ内に配置され、その内部に放射性医薬品を収容する容器であって、前記放射性医薬品は、治療上又は予防上有効量の前記アルカリ土類金属ラジウム223の遊離金属カチオンである、容器と、
    前記ハウジングと関連付けられたドアであって、閉位置と開位置との間で前記ハウジングに対して移動可能であり、前記閉位置において、前記ハウジングの前記チャンバを密閉するように前記ハウジングの開口部を覆い、前記開位置において、前記容器のアクセスポートにアクセスするための前記ハウジングの前記開口部を露出させる、ドアと、
    を備え、
    前記流体カセットは、
    容器アクセス部材、計量装置、及び前記容器アクセス部材を前記計量装置に流体接続する流体経路セットと、
    前記容器アクセス部材、前記計量装置、及び前記流体経路セットを囲む筐体と、
    を備え、
    前記保管装置及び前記流体カセットは、前記保管装置の前記ドアが前記送達システムのアクセス機構によってアクセス可能であると共に、前記容器アクセス部材及び前記流体カセットの前記計量装置が、前記送達システムの送達機構によってアクセス可能であるように、前記送達システムに接続するように構成されている、
    アセンブリ。
  50. 治療薬又は診断薬を送達するための送達システムであって、前記送達システムは、
    送達機構及びアクセス機構を有するインジェクタと、
    前記インジェクタに取外し可能に接続可能である流体送達アセンブリであって、
    前記治療薬又は診断薬を収容する保管装置と、
    前記治療薬又は診断薬にアクセスするために前記保管装置に流体接続可能である流体カセットと、
    を備える、流体送達アセンブリと、
    を備え、
    前記保管装置は、
    中にチャンバが画定されたハウジングと、
    前記ハウジングの前記チャンバ内に配置され、内部に放射性医薬品を収容する容器であって、前記放射性医薬品は、治療上又は予防上有効量のアルカリ土類金属ラジウム223の遊離金属カチオンである、容器と、
    前記ハウジングと関連付けられたドアであって、前記インジェクタの前記アクセス機構を介して前記ハウジングに対して閉位置と開位置との間で移動可能であり、前記閉位置において、前記ハウジングの前記チャンバを密閉するように前記ハウジングの開口部を覆い、前記開位置において、前記容器のアクセスポートにアクセスするための前記ハウジングの前記開口部を露出させる、ドアと、
    を備え、
    前記流体カセットは、
    容器アクセス部材、計量装置、及び前記容器アクセス部材を前記計量装置に流体接続する流体経路セットと、
    前記容器アクセス部材、前記計量装置、及び前記流体経路セットを囲む筐体と、
    を備え、
    前記容器アクセス部材及び前記流体カセットの前記計量装置は、前記流体経路セットを介して前記容器の前記内部を前記計量装置と流体接続するために、前記インジェクタの前記送達機構によってアクセス可能であり、
    前記インジェクタは、前記保管装置の前記ハウジングに取り付けられた製造データに基づいて前記放射性医薬品の用量を決定するように構成されたインジェクタコントローラを備え、前記インジェクタコントローラは、患者が受ける注入用量が前記保管装置の前記ハウジングに取り付けられた前記製造データに基づいて、前記インジェクタコントローラによって決定された前記用量であるように、前記用量を注入するために前記インジェクタを制御するように前記インジェクタに通信可能に接続されている、
    送達システム。
  51. 使用済みの放射性医薬品の保管及び廃棄を管理するための在庫装置であって、前記在庫装置は、
    固定可能なドアを介してアクセス可能である棚であって、廃棄容器を保管するように構成された、棚を有するカートを備え、
    前記廃棄容器の各々は
    保管装置であって、
    中にチャンバが画定されたハウジングと、
    前記ハウジングの前記チャンバ内に配置された容器であって、その内部に放射性医薬品を保管するように構成された、容器と、
    前記ハウジングに接続されたドアであって、開位置と閉位置との間で移動可能であり、前記閉位置において、前記ハウジングの前記チャンバを完全に密閉する、ドアと、
    を備える保管装置と、
    容器アクセス部材と計量装置とを備える流体カセットであって、前記保管装置は、前記容器アクセス部材が前記容器に挿入されて前記計量装置を前記容器に流体接続するように前記流体カセットに固定され、前記計量装置は、前記放射性医薬品の用量をインフュージョンするために使用されるインフュージョンセットに接続されている、流体カセットと、
    を備え、
    前記インフュージョンセット、前記保管装置及び前記流体カセットは、前記廃棄コンテナ内に保持され、
    前記カートは、材料の放射能が予め選択された安全閾値レベル以下になるほど前記放射性医薬品が減衰するように、いずれの廃棄コンテナが予め選択された保管期間の間保管されたかを示すための前記棚用のインジケータを備える、
    在庫装置。
  52. 標的アイソトープ治療又は画像診断サービスのための放射性医薬品の製造及び分配のための方法であって、
    TRT又は前記画像診断サービスのために容器に放射性医薬品を充填するステップであって、前記放射性医薬品は、治療上又は予防上有効量のアルカリ土類金属ラジウム223の遊離金属カチオンである、ステップと、
    ハウジングを有する保管装置のチャンバ内に前記容器を配置するステップと、
    前記ハウジングが前記チャンバ内で前記容器を完全に囲むように前記保管装置を閉じるステップと、
    前記保管装置を管理施設に輸送するステップと、
    送達システムのアクセス機構を使用して前記保管装置のドアを開けるステップと、
    前記送達システムの消毒機構を使用して前記容器のアクセスポートを消毒するステップと、
    前記送達システムを使用して前記アクセスポートを介して前記容器内の前記放射性医薬品にアクセスするステップと、
    を含む、方法。
  53. 標的アイソトープ治療又は画像診断サービスで使用される放射性医薬品を保管及び廃棄するための方法であって、
    放射性医薬品の残余の部分を有する容器を保持する保管装置と、前記保管装置が接続されたカセットと、廃棄コンテナ内に配置するためのインフュージョンセットと、を回収するステップと、
    使用日を示すためにラベル、タグ又は他の指標を前記廃棄コンテナ上に配置するステップと、
    前記保管装置、前記カセット、及び前記インフュージョンセットを内部に有する前記廃棄コンテナを保管区画内に配置するステップと、
    予め選択された減衰期間が経過した後に前記廃棄コンテナが安全に廃棄されることを示すステップと、
    を含み、
    前記放射性医薬品は、治療上又は予防上有効量のアルカリ土類金属ラジウム223の遊離金属カチオンである、方法。
  54. 標的アイソトープ治療又は画像診断サービスの用量を注入するための方法であって、
    放射性医薬品を容器に挿入するステップであって、前記放射性医薬品は、治療上又は予防上有効量のアルカリ土類金属ラジウム223の遊離金属カチオンである、ステップと、
    ハウジングを有する保管装置のチャンバ内に前記容器を配置するステップと、
    前記放射性医薬品によって放出された放射線が、前記放射性医薬品の輸送及び保管のために前記ハウジングから放出されるのを遮蔽するために、前記ハウジングが前記チャンバ内で前記容器を完全に囲むように、前記保管装置のドアを閉じるステップと、
    前記保管装置に含まれる前記放射性医薬品の製造情報に基づいて患者に対する前記放射性医薬品の用量を決定するステップと、
    前記ハウジングを開いて、前記容器内の前記放射性医薬品にアクセスし、前記決定された用量を患者に注入するために、前記保管装置の前記ドアを固定解除するステップと、
    を含む、方法。
  55. 請求項1から54のいずれか一項に記載の、治療上又は予防上有効量のラジウム223の遊離金属カチオンのための放射性医薬品投薬インジェクションシステム。
  56. 請求項1から55のいずれか一項に記載の、治療上又は予防上有効量のラジウム223の遊離金属カチオンの管理、保管、及び廃棄のための在庫装置。
  57. 請求項1から56のいずれか一項に記載の、治療上又は予防上有効量のラジウム223の遊離金属カチオンをさらに含む方法。
JP2024549198A2022-02-212023-02-20治療薬又は診断薬の送達のためのシステム、方法及び装置PendingJP2025507615A (ja)

Applications Claiming Priority (5)

Application NumberPriority DateFiling DateTitle
US202263312148P2022-02-212022-02-21
US202263312145P2022-02-212022-02-21
US63/312,1452022-02-21
US63/312,1482022-02-21
PCT/US2023/062890WO2023159230A1 (en)2022-02-212023-02-20System, method and device for delivery of a therapeutic or diagnostic agent

Publications (1)

Publication NumberPublication Date
JP2025507615Atrue JP2025507615A (ja)2025-03-21

Family

ID=85685285

Family Applications (1)

Application NumberTitlePriority DateFiling Date
JP2024549198APendingJP2025507615A (ja)2022-02-212023-02-20治療薬又は診断薬の送達のためのシステム、方法及び装置

Country Status (11)

CountryLink
US (2)US12233027B2 (ja)
EP (1)EP4482575A1 (ja)
JP (1)JP2025507615A (ja)
KR (1)KR20240151814A (ja)
AU (1)AU2023221437A1 (ja)
CL (2)CL2024002480A1 (ja)
CO (1)CO2024011112A2 (ja)
DO (1)DOP2024000158A (ja)
IL (1)IL314841A (ja)
MX (1)MX2024010273A (ja)
WO (1)WO2023159230A1 (ja)

Family Cites Families (118)

* Cited by examiner, † Cited by third party
Publication numberPriority datePublication dateAssigneeTitle
US3673411A (en)1970-03-031972-06-27Nuclear Associates IncHolder for radioactive material
US3993063A (en)1975-06-161976-11-23Union Carbide CorporationProtective shielding assembly for use in loading a hypodermic syringe with radioactive material
US3971955A (en)1975-08-141976-07-27E. R. Squibb & Sons, Inc.Shielding container
US4382512A (en)1979-08-061983-05-10The Radiochemical Centre Ltd.Container system for dangerous materials
US4497349A (en)1982-02-081985-02-05Loma Linda University Medical CenterSolution dispenser
USH152H (en)1985-01-041986-11-04The United States Of America As Represented By The United States Department Of EnergyRadioactive waste disposal package
US4673813A (en)*1985-05-301987-06-16Nuclear Medical Products, Inc.Multi-dose radio-isotope container
US4869299A (en)1986-01-291989-09-26Halliburton CompanyRadioactivity shielding transportation assembly and method
US4775074A (en)1986-08-061988-10-04Ershigs, Inc.Mechanical lock for vessels
US4893022A (en)1987-10-191990-01-09Westinghouse Electric Corp.Closure for casks containing radioactive materials
DE3905362A1 (de)1989-02-221990-08-23Noell GmbhAndockeinrichtung fuer radioaktive stoffe aufnehmende behaelter an einer schleuse
DE69432582T2 (de)1993-10-282003-11-27Medrad, Inc.System zur Administration von Flüssigkeiten bei mehreren Patienten
US5569181A (en)1993-10-281996-10-29Medrad, Inc.Sterility assurance for contrast delivery system
DE1258262T1 (de)1993-10-282003-04-10Medrad, Inc.System zur Kontrastmittelabgabe
US5397902A (en)1993-12-151995-03-14The Du Pont Merck Pharmaceutical CompanyApparatus and method for the preparation of a radiopharmaceutical formulation
TW304166B (ja)1993-12-291997-05-01Nippon Iji Butsuri Kk
US5519931A (en)1994-03-161996-05-28Syncor International CorporationContainer and method for transporting a syringe containing radioactive material
EP0692766B1 (en)1994-07-122002-05-08Medrad, Inc.Closed loop information path for medical fluid delivery systems
US5840026A (en)1994-09-211998-11-24Medrad, Inc.Patient specific dosing contrast delivery systems and methods
US6030578A (en)1995-01-132000-02-29Duras Trading LimitedCoupling assembly for the sterile transfer of sterile materials between a transportable container and a sterile enclosure
US6155420A (en)1995-04-052000-12-05Phillips; Paul B.Medical syringe container
JP3540497B2 (ja)1995-04-202004-07-07日本メジフィジックス株式会社放射性物質用遮蔽部材の製造方法
US5919421A (en)1995-12-211999-07-06Forschungszenlrum Karlsruhe GmbhLid support arrangement for a double lid lock
US6162198A (en)1996-06-112000-12-19Syncor International CorporationInjection shield and method for discharging a syringe containing radioactive material
US5944190A (en)1997-05-301999-08-31Mallinckrodt Inc.Radiopharmaceutical capsule safe
US5828073A (en)1997-05-301998-10-27Syncor International CorporationDual purpose shielded container for a syringe containing radioactive material
US5947890A (en)1997-09-191999-09-07Spencer; Robert H.Apparatus and improved method for safely dispensing and delivering liquid radiation for intraluminal radiation therapy
NO310544B1 (no)1999-01-042001-07-23Algeta AsOpparbeidelse og anvendelse av radium-223 til fremstilling av preparat samt kit til behandling av kalsifisert vev for palliasjon, benkreft-terapi og/eller overflatebehandling av ben
US6695363B1 (en)2000-01-212004-02-24Siemens Medical Solutions Usa, Inc.Method and system for secondary lock for securing accessories in a radiation therapy system
US6576918B1 (en)2000-08-092003-06-10Syncor International Corp.Container and method for transporting a syringe containing radioactive material
US6472675B2 (en)2000-12-152002-10-29Theragenics CorporationContainer for storing and shipping needle cartridges
JP2002277588A (ja)2001-03-092002-09-25Schering Ag放射性物質の包装ケース及び放射性溶液注射筒
US6586758B2 (en)2001-06-112003-07-01Biodex Medical Systems, Inc.Radiopharmaceutical pig and transportation apparatus
US6767319B2 (en)2001-06-292004-07-27Medrad, Inc.Delivery methods, systems and components for use with hazardous pharmaceutical substances
JP2005531334A (ja)2001-10-152005-10-20マリンクロッド・インコーポレイテッド放射性医薬カプセル調剤システム
US7028837B2 (en)2001-11-232006-04-18Vulcan Lead, Inc.Radiation-shielding syringe container
US20030222228A1 (en)2001-12-052003-12-04Chen Fu Monty MongApparatus and method for transporting radiopharmaceuticals
US6963073B2 (en)2002-02-052005-11-08Biodex Medical Systems, Inc.Radiopharmaceutical pig of two sections that enables one section to turn relative to the other section without the need to manually grasp the other section
ITRM20020071A1 (it)2002-02-112003-08-11Sigma Tau Ind FarmaceutiContenitore per flacone di radiofarmaco, e corredo per la sua infusione in un paziente o per il suo trasferimento altrove.
DE60204114T2 (de)2002-03-272006-02-02Nucletron B.V.Nachladegerät, Kassette und Einrichtung zum Auswechseln einer Nachladekassette
KR100740215B1 (ko)2002-05-062007-07-18재단법인 한국원자력의학원방사성의약품 자동분배장치
US20030226981A1 (en)2002-06-052003-12-11Bruno SchmidtBeta radiation shielding system
CA2501129A1 (en)2002-10-022004-04-15Mallinckrodt Inc.Pharmaceutical pig and method of use
DE60336743D1 (de)2002-10-172011-05-26Mallinckrodt IncVorrichtung zum transport von flüssigen radiopharmazeutika und die damit verbundene anwendungs- und herstellungsmethode
WO2004091688A2 (en)2003-04-082004-10-28Medrad, Inc.Fluid delivery systems, devices and methods for delivery of hazardous fluids
US6822253B1 (en)2003-05-092004-11-23Biodex Medical Systems, Inc.Radiopharmaceutical shipping pig with encapsulated lead shielding
US7537560B2 (en)2003-09-302009-05-26Don PowersContainment, shielding, information display, distribution and administration of radioactive pharmaceuticals
US9627097B2 (en)2004-03-022017-04-18General Electric CompanySystems, methods and apparatus for infusion of radiopharmaceuticals
DE202004005010U1 (de)2004-03-302004-06-17Aea Technology Qsa GmbhVerpackung für radioaktive Materialien
JP2008500119A (ja)2004-05-272008-01-10イー‐ゼット‐イーエム,インコーポレイテッド放射線医薬品を取扱い、混合、分与および注入するためのシステム、方法ならびにコンピュータープログラム製品
EP1616587A1 (en)2004-07-162006-01-18Universität ZürichMethod and device for accurate dispensing of radioactivity
EP1632268A1 (en)2004-09-032006-03-08Mallinckrodt Inc.Container for radioactive material
WO2006051855A1 (ja)2004-11-112006-05-18Nemoto Kyorindo Co., Ltd.チューブ連結装置
US20080277603A1 (en)2005-04-222008-11-13Yanke Paul HShielded Containment System and Method of Operating the Same
US20080200747A1 (en)2005-05-162008-08-21Wagner Gary SRadiopharmaceutical Pigs and Portable Powered Injectors
EP1897082A2 (en)2005-05-162008-03-12Mallinckrodt, Inc.Radiation-shielding container having status-indicative labeling system
US7414254B2 (en)2005-06-282008-08-19United Pharmacy Partners, Inc.Tungsten pig for radio-pharmaceuticals
EP1775733A1 (en)2005-10-142007-04-18Mallinckrodt Inc.Method and device for handling a container with radioactive material
US7713232B2 (en)2005-11-042010-05-11Medrad, Inc.System for washing and processing of cells for delivery thereof to tissue
US8182444B2 (en)2005-11-042012-05-22Medrad, Inc.Delivery of agents such as cells to tissue
US8071959B2 (en)2005-12-212011-12-06Ottawa Heart Institute Research Corp.Rubidium generator for cardiac perfusion imaging and method of making and maintaining same
US7813841B2 (en)2006-03-102010-10-12Ottawa Heart Institute Research CorporationRubidium elution system control
US8926569B2 (en)2006-03-152015-01-06Bayer Medical Care Inc.Plunger covers and plungers for use in syringes and methods of fabricating plunger covers and plungers for use in syringes
US7703486B2 (en)2006-06-062010-04-27Cardinal Health 414, Inc.Method and apparatus for the handling of a radiopharmaceutical fluid
ES2374003T3 (es)2006-07-192012-02-10Mallinckrodt LlcConjunto de jeringa apantallado contra la radiación.
US9056164B2 (en)2007-01-012015-06-16Bayer Medical Care Inc.Radiopharmaceutical administration methods, fluid delivery systems and components thereof
ES2677024T3 (es)2007-01-012018-07-27Bayer Healthcare LlcSistemas para generación, preparación, transporte y administración de productos radiofarmacéuticos integrados
US20090102612A1 (en)2007-10-152009-04-23Civco Medical Instruments Co., Inc.Rfid record and verification system and method of use for patient undergoing radiation therapy
CA2630561C (en)2008-04-302014-07-08Medical SystemsContrast media injector kit
EP2315883A4 (en)*2008-06-062014-07-09Bayer Medical Care Inc APPARATUS AND METHODS FOR DELIVERY OF FLUID BOLUS INJECTION TO PATIENTS AND HANDLING OF HAZARDOUS FLUIDS
SG183085A1 (en)2008-06-112012-08-30Bracco Diagnostics IncShielding assemblies for infusion systems
EP2347421B1 (en)*2008-09-302013-09-04Mallinckrodt LLCDrop-in pig injector
US8512306B2 (en)2009-01-212013-08-20Cardinal Health 414, LlcRadiopharmaceutical unit dose container tamper evident safety seal
US11135321B2 (en)2009-09-232021-10-05Best Medical International, Inc.Automated radiopharmaceutical production and quality control system
CN102939120B (zh)2010-06-042016-12-07拜耳医药保健有限责任公司用于规划和监测在放射性药物注射器上的多剂量放射性药物使用的系统和方法
JP6261338B2 (ja)2010-06-042018-01-17バイエル・ヘルスケア・エルエルシーBayer HealthCare LLC放射線量送達進捗モニター
US9153350B2 (en)2011-01-192015-10-06Mallinckrodt LlcProtective shroud for nuclear pharmacy generators
RU2623490C2 (ru)2011-10-192017-06-26БАЙЕР ХелсКер ЛЛСиУзел и способ сохраняющего стерильность медицинского коннектора
US20130131422A1 (en)2011-11-232013-05-23General Electric CompanySystems and methods for communicating dose calibration information
US9002438B2 (en)2012-05-302015-04-07Lucerno DynamicsSystem for the detection of gamma radiation from a radioactive analyte
US9939533B2 (en)2012-05-302018-04-10Lucerno Dynamics, LlcSystem and method for the detection of gamma radiation from a radioactive analyte
US9125976B2 (en)*2012-06-072015-09-08Bayer Medical Care Inc.Shield adapters
US9233776B2 (en)*2012-06-072016-01-12Bayer Healthcare LlcMolecular imaging vial transport container and fluid injection system interface
JP2016501627A (ja)2012-12-202016-01-21イーライ リリー アンド カンパニー医薬物分注装置からの用量の分配を防止するためのロッキングアセンブリ
WO2014149545A1 (en)2013-03-152014-09-25Kap MedicalMethod and apparatus for fluid sterilization for patient support surfaces
US20140276379A1 (en)2013-03-152014-09-18Medrad, Inc.Intelligent and configurable fluid delivery system and methods for its use
ITBO20130256A1 (it)*2013-05-242014-11-25Comecer SpaCartuccia per un radiofarmaco, contenitore schermato per tale cartuccia e corrispondente apparecchiatura per la infusione di una dose di radiofarmaco ad un paziente
KR20160021194A (ko)*2013-06-142016-02-24바이엘 메디컬 케어 인크.휴대용 유체 전달 시스템
WO2014210418A1 (en)2013-06-282014-12-31Bayer Medical Care Inc.Sterility retaining medical connector assembly and method
KR101444705B1 (ko)2014-01-292014-09-26(주)유니테코방사성 의약품 분배장치
KR20160122710A (ko)2014-02-182016-10-24바이엘 헬스케어 엘엘씨다수 투여량 일회용 시스템
NO2689315T3 (ja)2014-10-282018-04-14
EP3067037B1 (en)2015-03-092017-10-04Epsilon Elektronik Sanayi ve Ticaret A.S.A safety medical transfer device
IL295010B1 (en)2015-03-102025-06-01Regeneron PharmaAseptic piercing system and method
DK3341048T3 (da)2015-08-282023-08-21Bayer Healthcare LlcSystem og fremgangsmåde til verificering af sprøjtefluidfyldning og billedgenkendelse af træk ved kraftinjektorsystem
WO2017056477A1 (ja)2015-09-292017-04-06テルモ株式会社コネクタ、輸液セット、及びコネクタに接続可能な医療機器
US9480797B1 (en)2015-10-282016-11-01Bayer Healthcare LlcSystem and method for syringe plunger engagement with an injector
US11534357B2 (en)2015-11-202022-12-27Cardionavix, LlcTransport cart for nuclear medicine/molecular imaging radioisotopes having enhanced safety features and a process implementing the same
GB201600158D0 (en)2016-01-052016-02-17Bayer AsPurification method
US11077255B2 (en)2016-03-112021-08-03Quio Technologies LlcAutomatic injector devices and systems for controlled delivery of dosage and associated methods
AU2017332260B2 (en)2016-09-202022-10-20Bracco Diagnostics Inc.Radioisotope delivery system with multiple detectors to detect gamma and beta emissions
JP6715391B2 (ja)2016-11-152020-07-01イーライ リリー アンド カンパニー機械的ロックシステムを備えた薬剤送達デバイス
EP3544655B1 (en)2016-11-222025-01-15Bayer Healthcare LLCSystem and method for delivering a fluid with a consistent total volumetric flowrate
CA2955469A1 (en)2017-01-202018-07-20Robert KamenBiohazardous material transporting pig
AU2018250978A1 (en)2017-04-142019-10-31Jubilant Draximage Inc.Rubidium elution system
KR102414668B1 (ko)2017-05-092022-06-29에스에이치엘 메디컬 아게운송 로크 조립체, 및 운송 로크 조립체를 포함하는 약물 송달 장치
US10225803B1 (en)2017-09-012019-03-05Apple Inc.Energy budgeted system recovery
CA3079354C (en)2017-10-162022-08-30Becton, Dickinson And CompanySterilization arrangement for drug delivery device
US10869961B2 (en)2017-11-062020-12-22Sorrel Medical Ltd.Local disinfection for drug delivery system
US11081250B2 (en)2018-02-122021-08-03The United States Of America, As Represented By The Secretary Of The NavyApparatuses and methods for securely storing radioactive source materials that enable various inventory tasks, prevent storage structures from being negligently left open or unlocked, prevent circumvention of security measures, and ensure stabilization of storage structures in a moving mobile structure, and provide an alerting system for warning staff of an unsecure or unlocked condition of such storage structures
US11469007B2 (en)2018-03-092022-10-11Robert KamenCompression member for biohazardous material transporting pig
DK3776598T3 (da)2018-03-282022-08-01Bracco Diagnostics IncSystemer og teknikker til kalibrering af radioisotopafgivelsessystemer ved hjælp af en gammadetektor
JP7532536B2 (ja)2020-02-212024-08-13ホルテック インターナショナル核廃棄物の貯蔵および輸送キャスク
US11179518B2 (en)2020-02-272021-11-23Jubilant Draximage Inc.Syringe shield assembly for housing and transporting a syringe containing radioactive drug
WO2021194526A1 (en)2020-03-272021-09-30Tech Goods USA Inc.Device for disinfecting a portable object
AU2021264011A1 (en)2020-04-302022-11-10Bayer Healthcare LlcSystem, device, and method for safeguarding wellbeing of patients for fluid injection
WO2021255045A1 (en)2020-06-152021-12-23Stevanato Group S.P.A.Administering medicament
EP4515561A1 (en)2022-04-292025-03-05Bayer HealthCare, LLCSystem, method, and computer program product for implementing a remote console for use in diagnostic imaging procedures

Also Published As

Publication numberPublication date
AU2023221437A1 (en)2024-08-22
CL2024002480A1 (es)2024-11-15
IL314841A (en)2024-10-01
EP4482575A1 (en)2025-01-01
US20240245582A1 (en)2024-07-25
DOP2024000158A (es)2024-09-30
WO2023159230A1 (en)2023-08-24
CO2024011112A2 (es)2024-08-30
CL2025001193A1 (es)2025-06-13
US20250213429A1 (en)2025-07-03
KR20240151814A (ko)2024-10-18
US12233027B2 (en)2025-02-25
MX2024010273A (es)2024-08-28

Similar Documents

PublicationPublication DateTitle
CN102119252B (zh)用于向患者递送流体注射药丸以及处理有害流体的装置和方法
CN104519854B (zh)分子成像小瓶运输容器和流体注射系统连接装置
JP6174486B2 (ja)放射性医薬品注入器での多用量放射性医薬品使用の計画および監視のためのシステムおよび方法
ES2436740T3 (es)Inyector de contenedor para productos radiactivos de carga inmediata
JP6261338B2 (ja)放射線量送達進捗モニター
US12233027B2 (en)Methods, storage devices, and infusion systems for therapeutic or diagnostic agents
US20250195918A1 (en)System, Method and Device for Delivery of a Therapeutic or Diagnostic Agent
CN118742357A (zh)用于治疗剂或诊断剂的递送的系统、方法和设备
CN118804786A (zh)用于递送治疗剂或诊断剂的系统、方法和设备
US12226607B2 (en)Radiopharmaceutical delivery system and use thereof for patient infusion
US12390579B2 (en)Radiopharmaceutical delivery system for patient infusion
HK1210067B (en)Apparatus and methods for delivery of fluid injection boluses to patients and handling harmful fluids

[8]ページ先頭

©2009-2025 Movatter.jp