








本発明は、刃先交換式切削工具に関する。The present invention relates to an indexable cutting tool.
従来から、L形の切削インサートを備える内径溝入れ加工用の切削工具が知られている(例えば、特許文献1参照)。Cutting tools for internal groove machining that have an L-shaped cutting insert have been known (see, for example, Patent Document 1).
L形の切削インサートを備える切削工具は、溝入れ加工以外に、倣い加工にも用いることが想定される。L形の切削インサートは、ホルダに把持される棒状の本体部と、本体部の先端から本体部と直交する方向に延びる切削部とを有する。L形の切削インサートを用いて倣い加工を行うと、切削インサートに対して、切削インサートをホルダから引き抜く方向の力が作用するため、切削インサートのクランプ位置がずれてしまうおそれがあった。Cutting tools equipped with L-shaped cutting inserts are expected to be used for profiling as well as groove cutting. The L-shaped cutting insert has a rod-shaped main body that is held by the holder, and a cutting part that extends from the tip of the main body in a direction perpendicular to the main body. When profiling is performed using an L-shaped cutting insert, a force acts on the cutting insert in a direction that pulls the cutting insert out of the holder, which can cause the clamping position of the cutting insert to shift.
本発明は、屈曲形状の切削インサートを備える切削工具であって、溝入れ以外の加工用途においても安定加工が可能な刃先交換式切削工具を提供することを目的の一つとする。One of the objectives of the present invention is to provide a cutting tool with a curved cutting insert, which is an indexable cutting tool that can perform stable machining in applications other than grooving.
本発明の一態様による刃先交換式切削工具は、互いに対向する押圧面と台座面とを有するインサート取付座を備えるホルダと、前記インサート取付座に保持され前記押圧面と前記台座面とにそれぞれ接触する被押圧面と着座面とを備える切削インサートと、を備える刃先交換式切削工具である。前記切削インサートは、前記着座面を下面とする平面視において、棒状の本体部と、前記本体部の先端部から前記本体部と交差する方向に延びる切刃部とを有する。前記被押圧面が設けられる前記切削インサートの上面に、前記本体部の延びる方向と直交する方向に延びる凹溝を有する。前記ホルダは、前記切削インサートを把持する上顎部および下顎部を備える。前記下顎部は、前記上顎部と対向する面に前記台座面を有する。前記上顎部は、前記下顎部と対向する面に、前記押圧面と、前記下顎部側へ突出し前記切削インサートの前記凹溝内に配置される突起部と、を有する。The indexable cutting tool according to one aspect of the present invention is an indexable cutting tool including a holder having an insert mounting seat with a pressing surface and a seating surface facing each other, and a cutting insert held by the insert mounting seat and having a pressed surface and a seating surface that contact the pressing surface and the seating surface, respectively. The cutting insert has a rod-shaped main body in a plan view with the seating surface as the lower surface, and a cutting edge extending from the tip of the main body in a direction intersecting with the main body. The upper surface of the cutting insert on which the pressed surface is provided has a concave groove extending in a direction perpendicular to the extension direction of the main body. The holder has an upper jaw and a lower jaw that grip the cutting insert. The lower jaw has the seating surface on a surface facing the upper jaw. The upper jaw has the pressing surface and a protrusion that protrudes toward the lower jaw and is disposed in the concave groove of the cutting insert on a surface facing the lower jaw.
上記構成によれば、切削インサートの上面に凹溝が形成されており、インサート取付座の上顎部に突起部が形成されていることで、切削インサートがインサート取付座に取り付けられたときに、切削インサートの凹溝内に、上記突起部が配置される。これにより、例えば倣い加工時に、切削インサートに対して、切削インサートをインサート取付座から引き抜く方向の力が作用したとしても、凹溝内に配置された突起部が凹溝の壁面に引っ掛かる。その結果、加工時に切削インサートのクランプ位置がずれてしまうのを抑制できる。本発明の一態様によれば、溝入れ以外の加工用途においても安定加工が可能な刃先交換式切削工具が提供される。According to the above configuration, a groove is formed on the upper surface of the cutting insert, and a protrusion is formed on the upper jaw of the insert mounting seat, so that when the cutting insert is mounted on the insert mounting seat, the protrusion is disposed in the groove of the cutting insert. As a result, even if a force acts on the cutting insert in a direction to pull the cutting insert out of the insert mounting seat during copying, for example, the protrusion disposed in the groove will catch on the wall surface of the groove. As a result, it is possible to prevent the clamping position of the cutting insert from shifting during processing. According to one aspect of the present invention, an indexable cutting tool capable of stable processing in processing applications other than grooving is provided.
前記突起部は、前記凹溝の延びる方向に沿って延びる線状の突起部である構成としてもよい。The protrusion may be a linear protrusion extending in the direction in which the groove extends.
前記切削インサートは、前記切削インサートが屈曲する部分の上面に前記凹溝を有する構成としてもよい。The cutting insert may be configured to have the groove on the upper surface of the portion where the cutting insert bends.
前記切削インサートは、前記切削インサートが屈曲する部分から外れた位置の上面に前記凹溝を有する構成としてもよい。The cutting insert may be configured to have the groove on its upper surface at a position away from the portion where the cutting insert bends.
本発明の一態様によれば、屈曲形状の切削インサートを備え、溝入れ以外の加工用途においても安定加工が可能な刃先交換式切削工具が提供される。According to one aspect of the present invention, an indexable cutting tool is provided that is equipped with a cutting insert having a curved shape and is capable of stable machining in machining applications other than grooving.
図1は、実施形態の刃先交換式切削工具の部分斜視図である。図2Aは、実施形態の切削インサートの斜視図、図2Bは、切削インサートの側面図である。図3は、実施形態の刃先交換式切削工具の部分側面図である。Figure 1 is a partial perspective view of an embodiment of an indexable cutting tool. Figure 2A is a perspective view of an embodiment of a cutting insert, and Figure 2B is a side view of the cutting insert. Figure 3 is a partial side view of an embodiment of an indexable cutting tool.
図1に示す刃先交換式切削工具100は、ホルダ1と、切削インサート10とを有する。
ホルダ1は、四角柱状のシャンク部2と、シャンク部2の長手方向の先端部に接続されたヘッド部3とを有する。ホルダ1は、例えば鋼製である。本実施形態では、刃先交換式切削工具100においてシャンク部2からヘッド部3に向かう方向を先端側、ヘッド部3からシャンク部2に向かう方向を後端側と呼ぶ。 The
The
ヘッド部3は、図1および図3に示すように、ヘッド部3の先端からシャンク部2側へ向かって延びるスリット3aを有する。ヘッド部3のうち、スリット3aよりも上側の部分が上顎部3bであり、スリット3aよりも下側の部分が下顎部3cである。図3に示すように、シャンク部2は、ヘッド部3の下顎部3cの後方に接続されている。スリット3aの高さ位置は、シャンク部2の上面2bの高さ位置と概ね一致する。上顎部3bと下顎部3cとの接続部分3dは、肉が薄くなっており、上顎部3bは接続部分3dを支点として下顎部3c側に向けて撓むように変形可能である。As shown in Figs. 1 and 3, the
下顎部3cは、下顎部3cの先端部に、概略矩形板状の台座部4を有する。台座部4の上面に、平面視矩形状の平坦面からなる台座面5が形成されている。台座面5は、下顎部3cの先端からホルダ1の長手方向にスリット3aの中程まで延びている。The
上顎部3bは、上顎部3bの先端部に、押圧部6を有する。押圧部6は、先端側に向かって先細りの側面視三角形板状である。押圧部6の先端は下顎部3cの先端よりも後端側に位置する。押圧部6の台座部4側を向く面に、押圧面7が形成されている。押圧面7は、上顎部3bの先端からスリット3aの中程まで延びている。押圧面7の後端は、台座面5の後端よりも先端側に位置する。上顎部3bは、押圧部6の先端部の下面に、押圧面7よりも下側(下顎部3c側)に突出する突起部6aを有する。突起部6aは、押圧面7が延びる方向に対して直交する方向に延びる線状の突起である。The
ホルダ1において、台座部4の台座面5と押圧部6の押圧面7とは、上下方向に互いに対向して配置されている。ホルダ1において、台座部4と押圧部6とがインサート取付座8を構成している。In the
ホルダ1は、インサート取付座8のクランプ手段として、ホルダ1先端部のヘッド部3に上方から挿通されるクランプネジ22を備える。クランプネジ22は、上顎部3b側からスリット3aを越えて下顎部3cのネジ穴に締めこまれる。クランプネジ22を締め込むことにより、上顎部3bと下顎部3cとの間に挿入される切削インサート10を固定できる。The
切削インサート10は、インサート取付座8の台座部4と押圧部6とにより上下方向に挟まれて固定される。切削インサート10は、例えば、超硬合金製である。
切削インサート10は、図2A、図2Bに示すように、平面視L形に屈曲した形状の切削インサートである。切削インサート10は、L形の角部を基点として、第1方向d1に沿って延びる棒状の本体部12と、第1方向d1と直交する第2方向d2に沿って延びる棒状の切刃部16とを有する。図2Aに示す二点鎖線は、本実施形態における本体部12と切刃部16との境界を便宜的に示したものである。 The cutting
As shown in Figures 2A and 2B, the cutting
本実施形態では、本体部12と切刃部16は、単一部材の切削インサート10の一部である。切削インサート10は、第1方向d1に沿って延びる概略四角柱状の本体部12と、本体部12の第1方向d1基端側の側面から第2方向d2に向かって突出する概略四角柱状の部分を切刃部16とを有する。In this embodiment, the
切削インサート10の上面が押圧部6の押圧面7と対向する被押圧面14である。本実施形態の場合、本体部12の上面が被押圧面14である。切削インサート10の下面が台座部4の台座面5と対向する着座面15である。本実施形態の場合、本体部12の下面が着座面15である。The upper surface of the cutting
切刃部16は本体部12と直交する第2方向d2に沿って延びる。切刃部16の上面端部の3辺に、切刃17が形成されている。切刃17は、切刃部16上面の先端部分において、本体部12の長手方向(第1方向d1)とほぼ平行に延びる辺と、この辺に隣り合って切刃部16の延びる方向(第2方向d2)に沿って延びる2辺とに形成されている。切刃17に連なる切刃部16の側面は、切刃17の逃げ面18とされる。切刃17に連なる切刃部16の上面部分がすくい面19とされる。本実施形態では、すくい面19は、平面視において切刃部16の先端に向かって広がる台形状である。The
すくい面19の本体部12側の端部から、切刃部16の延びる方向(第2方向d2)に沿って、凹溝11が形成されている。凹溝11のすくい面19と反対側の端部は、切刃部16と反対側の本体部12の側面まで達している。凹溝11は、切削インサート10が屈曲する部分の上面に形成されている。A
凹溝11は、第1方向d1に沿う垂直断面において、上側に向かうに従って互いに離れる一対の傾斜面11a,11bによってV形に形成されている。本実施形態の場合、凹溝11の上端の高さ位置が、被押圧面14の高さ位置とほぼ一致する。すくい面19の高さ位置は、凹溝11の上端の高さ位置よりも低い。すくい面19の高さ位置は、凹溝11の底部の高さ位置とほぼ一致する。凹溝11が形成された領域と、すくい面19との間には、凹溝11の上端からすくい面19に向かって下る傾斜面16aが形成されている。In a vertical cross section along the first direction d1, the
本実施形態では、傾斜面11a,11bは、図2Bに示すように、第2方向d2から見た側面視において、わずかに上側に凸となる凸曲面である。傾斜面11a,11bの断面形状は、特に限定されず、平坦面であっても、凹曲面であってもよい。In this embodiment, as shown in FIG. 2B, the
切削インサート10は、インサート取付座8に対して、本体部12を挿入することにより取り付けられる。切削インサート10の着座面15がインサート取付座8の台座面5により下側から支持される状態で、クランプネジ22が締め込まれることにより、押圧部6の押圧面7が切削インサート10の被押圧面14に押し付けられる。これにより、上顎部3bおよび下顎部3cによって切削インサート10が挟まれた状態で固定される。The cutting
また、本実施形態では、図3に示すように、上顎部3bの突起部6aが、切削インサート10の凹溝11内に配置される。突起部6aは、切削インサート10の傾斜面11aの上面と対向する位置に配置される。突起部6aと傾斜面11aとは、互いに接触またはわずかに隙間を空けて離間されていることが好ましい。In addition, in this embodiment, as shown in FIG. 3, the
以上の構成を備えた本実施形態の刃先交換式切削工具100によれば、切削インサート10の上面に凹溝11が設けられており、ホルダ1の上顎部3b先端に突起部6aが設けられている。これにより、上顎部3bと下顎部3cとによって挟まれた切削インサート10の凹溝11内に突起部6aが配置される。According to the
ここで、図4は、本実施形態の刃先交換式切削工具100を用いた倣い加工の概略説明図である。倣い加工では、被削材Wと刃先交換式切削工具100とを、被削材Wの回転軸Oに沿った軸方向に相対移動させながら、被削材Wの外周面または内周面に複雑な形状の溝を形成する。そのため、切削インサート10に対して、切削インサート10をホルダ1から軸方向に引き抜く方向(本体部12の長手方向)に力が掛かる。Here, FIG. 4 is a schematic explanatory diagram of copy machining using the
従来のL形インサートのクランプ構造では、上下面を押圧して固定しているだけであったため、切削インサートをインサート取付座8から引き抜く方向の力が掛かると、切削インサートが正規のクランプ位置からずれてしまうおそれがあった。
これに対して、本実施形態では、切削インサート10の凹溝11内に、ホルダ1の突起部6aが配置されているため、倣い加工時に切削インサート10に引き抜く方向の力が作用したとしても、突起部6aが凹溝11の傾斜面11aに引っ掛かり、切削インサート10の位置が動いてしまうのを抑制できる。 In the conventional clamping structure of an L-shaped insert, the upper and lower surfaces were simply pressed and fixed, so if a force was applied in the direction of pulling the cutting insert out of the
In contrast, in the present embodiment, the
したがって本実施形態によれば、加工時の切削インサート10の位置ずれを抑制でき、L形の切削インサート10を用いて、倣い加工を含む複数形態の加工を、安定して行うことができる。Therefore, according to this embodiment, it is possible to suppress the positional deviation of the cutting
本実施形態では、ホルダ1に設けられる突起部6aが、本体部12の長手方向(第1方向d1)に直交する方向に延びる線状の突起である。この構成によれば、凹溝11の傾斜面11aと突起部6aとが対向する面積が大きくなるので、突起部6aが凹溝11に引っ掛かりやすくなる。切削インサート10をより安定にインサート取付座8に保持できるため、刃先交換式切削工具100の加工安定性をより向上できる。突起部6aの形状は、線状の突起に限定されず、例えば、単一または複数のドット状の突起からなる構成とすることもできる。In this embodiment, the
(第1変形例)
以下、図5及び図6を参照して、第1変形例の刃先交換式切削工具100Aについて説明する。
図5は、切削インサート10Aおよびホルダ1Aを備える第1変形例の刃先交換式切削工具100Aの側面図である。図6Aは、第1変形例の切削インサート10Aの平面図である。図6Bは、第1変形例の切削インサート10Aの側面図である。
図5および図6A,6Bにおいて、図1から図4と共通の構成要素には、同一の符号が付されている。以下の説明では、先の実施形態と同様の構成要素については適宜説明を省略する。 (First Modification)
Hereinafter, a
Fig. 5 is a side view of a
In Figures 5 and 6A and 6B, the same components as those in Figures 1 to 4 are denoted by the same reference numerals. In the following description, the description of the same components as those in the previous embodiment will be omitted as appropriate.
図5に示すように、第1変形例の刃先交換式切削工具100Aは、切削インサート10Aと、切削インサート10Aを保持するホルダ1Aとを備える。
切削インサート10Aは、図5および図6A,Bに示すように、本体部12の四角柱状部分の上面に、凹溝11Aを有する。すなわち、切削インサート10Aは、切削インサート10Aが屈曲する部分から外れた位置に、凹溝11Aを有する。本実施形態の場合、凹溝11Aは、本体部12の長手方向(第1方向d1)において、本体部12の中央部よりもやや先端側(切刃部16が配置される側)に配置されている。本体部12の上面における、凹溝11以外の領域は平坦面である。 As shown in FIG. 5, a
As shown in Fig. 5 and Fig. 6A and 6B, the cutting
切刃部16の上面のうち、本体部12側の領域は、本体部12の上面と同じ高さ位置の平坦面16bとされている。切刃部16の上面のうち、切刃部16が延びる方向(第2方向d2)の先端側の領域は、すくい面19とされる。切刃部16の平坦面16bとすくい面19との間には、平坦面16bからすくい面19に向かって下る傾斜面16aが形成されている。The area of the upper surface of the
ホルダ1Aは、先の実施形態のホルダ1と比較して、上顎部3bに設けられる突起部6aの位置が異なる。図5に示すように、第1変形例のホルダ1Aでは、上顎部3bの押圧部6の下面(台座面5と対向する面)の長手方向中央部付近に、突起部6aが設けられている。突起部6aは、押圧部6が延びる方向と直交する方向に延びる線状の突起である。押圧部6の下面のうち、突起部6a以外の領域は、平坦面からなる押圧面7である。したがって、第1変形例の押圧部6の下面は、突起部6aによって、2つの押圧面7に区画されている。Compared to the
切削インサート10Aは、先の実施形態と同様に、ホルダ1Aのインサート取付座8に取り付けられる。ホルダ1Aの台座面5が、切削インサート10Aの着座面15を下側から支持する。ホルダ1Aの押圧面7は、切削インサート10Aの被押圧面14を上側から押す。押圧部6の突起部6aは、切削インサート10A上面の凹溝11A内に配置される。以上により、切削インサート10Aがホルダ1Aのインサート取付座8に固定される。The cutting insert 10A is attached to the
以上の構成を備えた第1変形例の刃先交換式切削工具100Aによれば、切削インサート10Aは、切削インサート10A上面の凹溝11Aに突起部6aが配置された状態でホルダ1Aのインサート取付座8に固定される。これにより、倣い加工時に切削インサート10Aをインサート取付座8から引き抜く方向の力が作用したとしても、突起部6aが凹溝11Aの側面に引っ掛かるため、切削インサート10Aの位置が動いてしまうのを抑制できる。According to the first modified example of the
したがって第1変形例においても、加工時の切削インサート10Aの位置ずれを抑制でき、L形の切削インサート10Aを用いて、倣い加工を含む複数形態の加工を、安定して行うことができる。Therefore, even in the first modified example, it is possible to suppress the positional deviation of the cutting
(第2変形例)
以下、図7A,Bを参照して、第2変形例について説明する。
図7Aは、第2変形例の切削インサート10Bの平面図である。図7Bは、第2変形例の切削インサート10Bの側面図である。
図7A,図7Bにおいて、図1から図6と共通の構成要素には、同一の符号が付されている。以下の説明では、先の実施形態および第1変形例と同様の構成要素については適宜説明を省略する。 (Second Modification)
The second modified example will be described below with reference to FIGS. 7A and 7B.
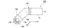
7A and 7B are plan and side views of a
7A and 7B, the same components as those in Fig. 1 to Fig. 6 are denoted by the same reference numerals. In the following description, the description of the same components as those in the previous embodiment and the first modified example will be omitted as appropriate.
図7A,Bに示すように、切削インサート10Bは、本体部12の四角柱状部分の上面に、凹溝11Bを有する。すなわち、切削インサート10Bは、切削インサート10Bが屈曲する部分から外れた位置に、凹溝11Bを有する。本体部12の上面における、凹溝11以外の領域は平坦面である。第2変形例の凹溝11Bの形状および形成位置は、第1変形例の凹溝11Aと同等である。すなわち、第2変形例の切削インサート10Bは、第1変形例のホルダ1Aに取り付けることができる。As shown in Figures 7A and B, the cutting
切削インサート10Bは、本体部12の先端部から、本体部12の長手方向(第1方向d1)と交差する方向(第2方向d2)に切刃部16Bが延びている屈曲形状の切削インサートである。第2変形例では、本体部12に対して、切刃部16Bが45°方向に延びている。すなわち、第1方向d1と第2方向d2との交差角度θが45°である。交差角度θは、45°に限定されず、屈曲形状の切削インサート10Bを作製可能な範囲で任意の角度に設定可能である。The cutting
切刃部16Bは、平面視円弧状の切刃17Bを有する。切刃17Bのすくい面19Bには、複数のブレーカ突起が設けられる。切刃17Bの逃げ面18Bは、下側に向かうに従って直径が小さくなるテーパー面からなる。切刃17の形状は特に限定されず、公知の切刃の形状を適用可能である。The
第2変形例の切削インサート10Bは、第1変形例のホルダ1Aに取り付けて使用可能である。切削インサート10Bの上面に凹溝11Bが形成されているため、ホルダ1Aのインサート取付座8に取り付けたときに、押圧部6の突起部6aが凹溝11B内に配置される。これにより、第1変形例と同様に、倣い加工時に切削インサート10Bをインサート取付座8から引き抜く方向の力が作用したとしても、凹溝11Bと突起部6aによって切削インサート10Bのクランプ位置がずれるのを抑制できる。The cutting
1,1A…ホルダ
2…シャンク部
3…ヘッド部
3a…スリット
3b…上顎部
3c…下顎部
3d…接続部分
4…台座部
5…台座面
6…押圧部
6a…突起部
7…押圧面
8…インサート取付座
10,10A,10B…切削インサート
11,11A,11B…凹溝
11a,16a…傾斜面
12…本体部
14…被押圧面
15…着座面
16,16B…切刃部
16b…平坦面
17,17B…切刃
18,18B…逃げ面
19,19B…すくい面
22…クランプネジ
100,100A…刃先交換式切削工具
d1…第1方向
d2…第2方向
O…回転軸
W…被削材
θ…交差角度 DESCRIPTION OF
| Application Number | Priority Date | Filing Date | Title |
|---|---|---|---|
| JP2023169600AJP2025059493A (en) | 2023-09-29 | 2023-09-29 | Indexable cutting tools |
| Application Number | Priority Date | Filing Date | Title |
|---|---|---|---|
| JP2023169600AJP2025059493A (en) | 2023-09-29 | 2023-09-29 | Indexable cutting tools |
| Publication Number | Publication Date |
|---|---|
| JP2025059493Atrue JP2025059493A (en) | 2025-04-10 |
| Application Number | Title | Priority Date | Filing Date |
|---|---|---|---|
| JP2023169600APendingJP2025059493A (en) | 2023-09-29 | 2023-09-29 | Indexable cutting tools |
| Country | Link |
|---|---|
| JP (1) | JP2025059493A (en) |
| Publication | Publication Date | Title |
|---|---|---|
| KR101323558B1 (en) | Insert with a mounting hole and toolholder including a cutting insert | |
| KR101494035B1 (en) | Head member and tool main body of detachable insert cutting tool, and detachable insert cutting tool | |
| EP1671725B1 (en) | Clamping mechanism for cutting insert | |
| JP4918799B2 (en) | Cutting insert clamping mechanism and insert detachable cutting tool | |
| US20070207671A1 (en) | Insert-indexable tool | |
| JP5028883B2 (en) | Insert detachable cutting tool | |
| KR101450372B1 (en) | Head member and tool main body of detachable insert cutting tool, and detachable insert cutting tool | |
| JP2016182671A (en) | Tool block, clamp member, and cutting tool | |
| CN101547762A (en) | Tool holder, in particular for a grooving tool, and cutting body for a tool holder | |
| JP2869738B2 (en) | Cutting insert with tip control | |
| JPWO2013081065A1 (en) | Replaceable cutting tool and cutting insert | |
| JP5157660B2 (en) | Cutting insert and insert detachable cutting tool | |
| JPH0675802B2 (en) | Cutting insert with tip control | |
| KR102293756B1 (en) | Metal-cutting grooving inserts for face grooving | |
| JPH0871811A (en) | Throw away tip, tool holder and grooving tool | |
| JP2025059493A (en) | Indexable cutting tools | |
| JP2004167635A (en) | Mechanism for clamping throwaway chip, and throwaway tip used for the same | |
| JP2020163524A (en) | Edge replaceable cutting tool, cutting insert and tool body | |
| JP4802745B2 (en) | Cutting insert and insert detachable cutting tool | |
| JP4867376B2 (en) | Cutting tools | |
| JP3286836B2 (en) | Indexable bite and its shank | |
| JP2025088513A (en) | Cutting inserts, indexable cutting tools | |
| JP4479521B2 (en) | Cutting insert clamping mechanism | |
| JP2025059539A (en) | Cutting inserts, indexable cutting tools | |
| JP4424209B2 (en) | Cutting insert clamping mechanism |