
































































(関連出願)
本出願は、米国特許法第119(e)条の下で、2021年2月5日に出願され、発明の名称「Charge/Discharge Management in Electrochemical Cells, Including Partial Cycle Control」の米国仮出願第63/146,512号、
2021年5月5日に出願され、発明の名称「Charge/Discharge Management in Electrochemical Cells, Including Partial Cycle Control」の米国仮出願第63/184,639号、および
2021年9月3日に出願され、発明の名称「Charge/Discharge Management in Electrochemical Cells, Including Partial Cycle Control」の米国仮出願第63/240,859号に基づく優先権を主張し、すべての目的のために参照によりその全体が本明細書中に援用される。(Related application)
This application is filed under 35 U.S.C. 119(e) on February 5, 2021, and is filed under U.S. Provisional Application No. /No. 146,512,
U.S. Provisional Application No. 63/184,639, filed on May 5, 2021 and entitled "Charge/Discharge Management in Electrochemical Cells, Including Partial Cycle Control," and filed on September 3, 2021, Claims priority to U.S. Provisional Application No. 63/240,859, entitled ``Charge/Discharge Management in Electrochemical Cells, Including Partial Cycle Control'', herein incorporated by reference in its entirety for all purposes. It is used in
本発明は、概して電気化学セルの充電/放電管理、および関連システムに関する。 TECHNICAL FIELD The present invention relates generally to charge/discharge management of electrochemical cells and related systems.
従来、バッテリは、自動車などの様々な産業において、内燃機関などの確立された動力源とうまく競合することができなかった。この失敗の理由の1つは、バッテリの使用者が、バッテリが従来提供してきた寿命および性能に不満を抱いてきたことである。 Traditionally, batteries have not been able to successfully compete with established power sources such as internal combustion engines in various industries such as automotive. One reason for this failure is that battery users have become dissatisfied with the lifespan and performance that batteries have traditionally provided.
本明細書中に開示されるのは、電気化学セルおよび関連システムの充放電管理に関連する実施形態である。本発明の主題は、場合によっては、相互に関連する製品、特定の問題に対する代替的な解決策、および/または1つ以上のシステムおよび/または物品の複数の異なる用途を含む。 Disclosed herein are embodiments related to charge and discharge management of electrochemical cells and related systems. The subject matter of the invention may include interrelated products, alternative solutions to a particular problem, and/or multiple different uses of one or more systems and/or articles.
いくつかの実施形態は、電気化学セル、および前記セルが少なくとも20%の幅を有する第1の充電状態範囲にわたって充電されるように、前記セルを制御するように構成される少なくとも1つのコントローラを備え、
前記第1の充電状態範囲の第1の部分における平均充電速度が、前記第1の充電状態範囲の第2の部分における平均充電速度よりも低く、
前記第1の部分は、前記第1の充電状態範囲の少なくとも2%に及んで、前記第2の部分は、前記第1の充電状態範囲の少なくとも2%に及んで、
前記第1の部分が前記第2の部分の前に起こる、電気化学セル管理システムに関する。 Some embodiments include an electrochemical cell and at least one controller configured to control the cell such that the cell is charged over a first charge state range having a width of at least 20%. Prepare,
an average charging rate in a first portion of the first state of charge range is lower than an average charging rate in a second portion of the first state of charge range;
the first portion spans at least 2% of the first state-of-charge range; the second portion spans at least 2% of the first state-of-charge range;
The present invention relates to an electrochemical cell management system, wherein said first portion occurs before said second portion.
いくつかの実施形態は、電気化学セルが少なくとも20%の幅を有する第1の充電状態範囲にわたって充電されるように、前記セルを制御することを含み、
前記第1の充電状態範囲の第1の部分における平均充電速度が、前記第1の充電状態範囲の第2の部分における平均充電速度よりも低く、
前記第1の部分が、前記第1の充電状態範囲の少なくとも2%に及んで、前記第2の部分が、前記第1の充電状態範囲の少なくとも2%に及んで、
前記第1の部分が前記第2の部分の前に起こる、電気化学セル管理方法に関する。 Some embodiments include controlling an electrochemical cell such that the cell is charged over a first state of charge range having a width of at least 20%;
an average charging rate in a first portion of the first state of charge range is lower than an average charging rate in a second portion of the first state of charge range;
the first portion spans at least 2% of the first state of charge range; the second portion spans at least 2% of the first state of charge range;
The method relates to an electrochemical cell management method, wherein said first part occurs before said second part.
いくつかの実施形態は、少なくとも1つのプロセッサによって実行されると、少なくとも1つのプロセッサに、
電気化学セルが、少なくとも20%の幅を有する第1の充電状態範囲にわたって充電されるように、前記セルを制御すること
を含む電気化学セル管理方法を実行させる実行可能命令によりコード化される少なくとも1つのコンピュータ読み取り可能記憶媒体であって、
前記第1の充電状態範囲の第1の部分における平均充電速度が、前記第1の充電状態範囲の第2の部分における平均充電速度よりも低く、
前記第1の部分が、前記第1の充電状態範囲の少なくとも2%に及んで、前記第2の部分が、前記第1の充電状態範囲の少なくとも2%に及んで、
前記第1の部分が第2の部分の前に起こる、少なくとも1つのコンピュータ読み取り可能記憶媒体に関する。 Some embodiments, when executed by the at least one processor, cause the at least one processor to:
At least one executable instruction coded with executable instructions for performing an electrochemical cell management method comprising controlling an electrochemical cell such that the electrochemical cell is charged over a first charge state range having a width of at least 20%. a computer-readable storage medium, the computer-readable storage medium comprising:
an average charging rate in a first portion of the first state of charge range is lower than an average charging rate in a second portion of the first state of charge range;
the first portion spans at least 2% of the first state of charge range; the second portion spans at least 2% of the first state of charge range;
At least one computer readable storage medium, wherein the first portion occurs before the second portion.
いくつかの実施形態は、電気化学セル、および前記セルが少なくとも2%および多くても90%の幅を有する第1の充電状態範囲にわたって充電され、次いで、第2の充電状態範囲にわたって充電されるように、前記セルを制御するように構成される少なくとも1つのコントローラを備え、
前記第1の充電状態範囲における平均充電速度が、前記第2の充電状態範囲における平均充電速度の多くても0.5倍である、電気化学セル管理システムに関する。 Some embodiments provide an electrochemical cell, and the cell is charged over a first state of charge range having a width of at least 2% and at most 90%, and then charged over a second state of charge range. at least one controller configured to control the cell so as to
The present invention relates to an electrochemical cell management system, wherein the average charging rate in the first state of charge range is at most 0.5 times the average charging rate in the second state of charge range.
いくつかの実施形態は、電気化学セルが少なくとも2%および多くても90%の幅を有する第1の充電状態範囲にわたって充電され、次いで、第2の充電状態範囲にわたって充電されるように、前記セルを制御することを含み、
前記第1の充電状態範囲における平均充電速度が、前記第2の充電状態範囲における平均充電速度の多くても0.5倍である、電気化学セル管理方法に関する。 Some embodiments provide the above-mentioned method such that the electrochemical cell is charged over a first state of charge range having a width of at least 2% and at most 90%, and then charged over a second state of charge range. including controlling cells;
The present invention relates to an electrochemical cell management method, wherein the average charging rate in the first state of charge range is at most 0.5 times the average charging rate in the second state of charge range.
いくつかの実施形態は、少なくとも1つのプロセッサによって実行されると、少なくとも1つのプロセッサに、
電気化学セルが、少なくとも2%および多くても90%の幅を有する第1の充電状態範囲にわたって充電され、次いで、第2の充電状態範囲にわたって充電されるように、前記セルを制御すること
を含む電気化学セル管理方法を実行させる実行可能命令によりコード化される少なくとも1つのコンピュータ読み取り可能記憶媒体であって、
前記第1の充電状態範囲における平均充電速度が、前記第2の充電状態範囲における平均充電速度の多くても0.5倍である、少なくとも1つのコンピュータ読み取り可能記憶媒体に関する。 Some embodiments, when executed by the at least one processor, cause the at least one processor to:
controlling the electrochemical cell such that the cell is charged over a first state of charge range having a width of at least 2% and at most 90%; and then charged over a second state of charge range. at least one computer-readable storage medium encoded with executable instructions for carrying out an electrochemical cell management method comprising:
At least one computer readable storage medium, wherein the average charging rate in the first state of charge range is at most 0.5 times the average charging rate in the second state of charge range.
いくつかの実施形態は、電気化学セルと少なくとも1つのコントローラを含む電気化学セル管理システムに関する。少なくとも1つのコントローラは、前記セルが、少なくとも2%および多くても40%の幅を有する第1の充電状態範囲にわたって充電され、次いで、少なくとも2%の幅を有する第2の充電状態範囲にわたって充電され、次いで、少なくとも2%の幅を有する第3の充電状態範囲にわたって充電されるように、前記セルを制御するように構成されてもよく、第1の充電状態範囲における充電速度が第2の充電状態範囲における平均充電速度よりも低く、第2の充電状態範囲における平均充電速度が第3の充電状態範囲における平均充電速度よりも低い。 Some embodiments relate to an electrochemical cell management system that includes an electrochemical cell and at least one controller. At least one controller is configured to charge the cell over a first state of charge range having a width of at least 2% and at most 40%, and then charge over a second state of charge range having a width of at least 2%. and then charged over a third state of charge range having a width of at least 2%, wherein the charging rate in the first state of charge range is equal to or less than the second range of charge states. The average charging speed in the second charging state range is lower than the average charging speed in the third charging state range.
いくつかの実施形態は、電気化学セルが少なくとも2%および多くても40%の幅を有する第1の充電状態範囲にわたって充電され、次いで、少なくとも2%の幅を有する第2の充電状態範囲にわたって充電され、次いで、少なくとも2%の幅を有する第3の充電状態範囲にわたって充電されるように、前記セルを制御すること
を含み、
前記第1の充電状態範囲における充電速度が、前記第2の充電状態範囲における平均充電速度よりも低く、
前記第2の充電状態範囲における平均充電速度が、第3の充電状態範囲における平均充電速度よりも低い、電気化学セル管理方法に関する。 Some embodiments charge the electrochemical cell over a first state of charge range having a width of at least 2% and at most 40%, and then over a second state of charge range having a width of at least 2%. controlling the cell to be charged and then charged over a third state of charge range having a width of at least 2%;
the charging speed in the first charging state range is lower than the average charging speed in the second charging state range,
The present invention relates to an electrochemical cell management method, wherein the average charging speed in the second charging state range is lower than the average charging speed in the third charging state range.
いくつかの実施形態は、少なくとも1つのプロセッサによって実行されると、少なくとも1つのプロセッサに、
電気化学セルが、少なくとも2%および多くても40%の幅を有する第1の充電状態範囲にわたって充電され、次いで、少なくとも2%の幅を有する第2の充電状態範囲にわたって充電され、次いで、少なくとも2%の幅を有する第3の充電状態範囲にわたって充電されるように、前記セルを制御すること
を含む電気化学セル管理方法を実行させる実行可能命令によりコード化される少なくとも1つのコンピュータ読み取り可能記憶媒体であって、
前記第1の充電状態範囲における充電速度が、前記第2の充電状態範囲における平均充電速度よりも低く、
前記第2の充電状態範囲における平均充電速度が、前記第3の充電状態範囲における平均充電速度よりも低い、少なくとも1つのコンピュータ読み取り可能記憶媒体に関する。 Some embodiments, when executed by the at least one processor, cause the at least one processor to:
The electrochemical cell is charged over a first state of charge range having a width of at least 2% and at most 40%, then charged over a second state of charge range having a width of at least 2%, and then charged over a second state of charge range having a width of at least 2%, and then charged over a second state of charge range having a width of at least 2% and at most 40%. at least one computer readable memory encoded with executable instructions for performing an electrochemical cell management method comprising controlling the cell to be charged over a third range of charge states having a width of 2%; A medium,
the charging speed in the first charging state range is lower than the average charging speed in the second charging state range,
The invention relates to at least one computer readable storage medium, wherein the average charging rate in the second state of charge range is lower than the average charging rate in the third state of charge range.
いくつかの実施形態は、電気化学セルおよび少なくとも1つのコントローラを含む電気化学セル管理システムに関する。少なくとも1つのコントローラは、前記セルにおけるリチウムの損失を示す前記セルの少なくとも1つの特性を監視し、前記セルの少なくとも1つの監視された特性に基づいて、前記セルの充電速度または放電速度を制御するように構成されてもよい。 Some embodiments relate to an electrochemical cell management system that includes an electrochemical cell and at least one controller. At least one controller monitors at least one characteristic of the cell indicative of loss of lithium in the cell and controls a rate of charge or discharge of the cell based on the at least one monitored characteristic of the cell. It may be configured as follows.
いくつかの実施形態は、
前記セルにおけるリチウムの損失を示す前記セルの少なくとも1つの特性を監視すること、および
前記セルの少なくとも1つの監視された特性に基づいて、前記セルの充電速度または放電速度を制御すること
を含む、電気化学セル管理方法に関する。 Some embodiments include:
monitoring at least one characteristic of the cell indicative of loss of lithium in the cell; and controlling a charging or discharging rate of the cell based on the at least one monitored characteristic of the cell. Relating to an electrochemical cell management method.
いくつかの実施形態は、
少なくとも1つのプロセッサによって実行されると、少なくとも1つのプロセッサに、
前記セルにおけるリチウムの損失を示す前記セルの少なくとも1つの特性を監視すること、および
前記セルの少なくとも1つの監視された特性に基づいて、前記セルの充電速度または放電速度を制御すること
を含む電気化学セル管理方法を実行させる実行可能命令によりコード化される少なくとも1つのコンピュータ読み取り可能記憶媒体に関する。 Some embodiments include:
when executed by the at least one processor, the at least one processor;
monitoring at least one characteristic of the cell indicative of loss of lithium in the cell; and controlling a rate of charge or discharge of the cell based on the at least one monitored characteristic of the cell. The present invention relates to at least one computer readable storage medium encoded with executable instructions that cause a chemical cell management method to be executed.
いくつかの実施形態は、電気化学セルと少なくとも1つのコントローラを含む電気化学セル管理システムに関する。少なくとも1つのコントローラは、
前記セルのサイクル履歴を分析し、
サイクル履歴における最新のサイクルの数に対して、最新のサイクル内に基準を満たすサイクルがない場合、基準を満たすようにセルを放電するように、前記セルを制御する
ように構成されてもよく、
前記基準が、少なくとも2%および多くても60%の幅を有する充電状態範囲にわたって、最新のサイクル内のいずれかのサイクルの平均充電速度の少なくとも2倍である放電速度で、前記セルが放電されることを含み、
最新のサイクルの数が少なくとも5サイクルである。 Some embodiments relate to an electrochemical cell management system that includes an electrochemical cell and at least one controller. At least one controller is
analyzing the cycle history of the cell;
The cell may be configured to control the cell to discharge the cell to meet the criteria if there is no cycle within the most recent cycles that meets the criteria, with respect to the number of most recent cycles in the cycle history;
The cell is discharged at a discharge rate that is at least twice the average charge rate of any cycle within the most recent cycle over a range of states of charge having a width of at least 2% and at most 60%. including
The number of most recent cycles is at least 5 cycles.
いくつかの実施形態は、電気化学セルのサイクル履歴を分析すること、および前記サイクル履歴における最新のサイクルの数に対して、最新のサイクル内に基準を満たすサイクルがない場合、前記基準を満たすように前記セルを放電させるように、前記セルを制御することを含む、電気化学セル管理方法に関する。前記基準が、少なくとも2%および多くても60%の幅を有する充電状態範囲にわたって、最新のサイクル内のいずれかのサイクルの平均充電速度の少なくとも2倍である放電速度で、前記セルが放電されることを含んでもよく、最新のサイクルの数が少なくとも5サイクルである。 Some embodiments include analyzing a cycle history of an electrochemical cell and, for a number of most recent cycles in said cycle history, if no cycle within the most recent cycle satisfies said criterion. The present invention relates to an electrochemical cell management method comprising controlling the cell to discharge the cell. The cell is discharged at a discharge rate that is at least twice the average charge rate of any cycle within the most recent cycle over a range of states of charge having a width of at least 2% and at most 60%. and the number of most recent cycles is at least 5 cycles.
いくつかの実施形態は、少なくとも1つのプロセッサによって実行されると、少なくとも1つのプロセッサに、
電気化学セルのサイクル履歴を分析すること、および
前記サイクル履歴における最新のサイクルの数に対して、最新のサイクル内に基準を満たすサイクルがない場合、前記基準を満たすように前記セルを充電するように、前記セルを制御すること
を含む電気化学セル管理方法を実行させる実行可能命令によりコード化される少なくとも1つのコンピュータ読み取り可能記憶媒体に関する。前記基準は、少なくとも2%および多くても60%の幅を有する充電状態範囲にわたって、最新のサイクル内のいずれかのサイクルの平均放電速度の少なくとも2倍である充電速度で、前記セルが充電されることを含んでもよく、最新のサイクルの数は少なくとも5サイクルである。 Some embodiments, when executed by the at least one processor, cause the at least one processor to:
analyzing a cycle history of an electrochemical cell; and for a number of most recent cycles in said cycle history, if no cycle within the most recent cycle satisfies the criteria, charging said cell to meet said criteria; The present invention relates to at least one computer readable storage medium encoded with executable instructions for performing an electrochemical cell management method including controlling the cell. The criterion is that the cell is charged at a charge rate that is at least twice the average discharge rate of any cycle within the most recent cycle over a range of states of charge having a width of at least 2% and at most 60%. and the number of most recent cycles is at least 5 cycles.
いくつかの実施形態は、電気化学セルと少なくとも1つのコントローラとを備える電気化学セル管理システムに関する。少なくとも1つのコントローラは、
前記セルのサイクル履歴を分析し、
前記サイクル履歴における最新のサイクルの数に対して、最新のサイクル内に基準を満たすサイクルがない場合、前記基準を満たすように前記セルを放電させるように、前記セルを制御する
ように構成されてもよく、
前記基準が、少なくとも2%および多くても60%の幅を有する充電状態範囲にわたって、最新のサイクル内のいずれかのサイクルの平均放電速度の少なくとも2倍である放電速度で、前記セルが放電されることを含み、
前記放電速度が、最大推奨連続放電速度の多くても4倍であり、
最新のサイクルの数が少なくとも5サイクルである。 Some embodiments relate to an electrochemical cell management system that includes an electrochemical cell and at least one controller. At least one controller is
analyzing the cycle history of the cell;
The cell is configured to control the cell to discharge the cell so as to meet the criterion if there is no cycle in the latest cycle that satisfies the criterion with respect to the number of newest cycles in the cycle history. Good too,
The cell is discharged at a discharge rate that is at least twice the average discharge rate of any cycle within the most recent cycle over a range of states of charge having a width of at least 2% and at most 60%. including
the discharge rate is at most four times the maximum recommended continuous discharge rate;
The number of most recent cycles is at least 5 cycles.
いくつかの実施形態は、
電気化学セルのサイクル履歴を分析すること、および
前記サイクル履歴における最新のサイクルの数に対して、最新のサイクル内に基準を満たすサイクルがない場合、前記基準を満たすように前記セルを放電させるように、前記セルを制御すること
を含み、
前記基準が、少なくとも2%および多くても60%の幅を有する充電状態範囲にわたって、最新のサイクル内のいずれかのサイクルの平均放電速度の少なくとも2倍である放電速度で、前記セルが放電されることを含み、
前記放電速度が、最大推奨連続放電速度の多くても4倍であり、
最新のサイクルの数が少なくとも5サイクルである、電気化学セル管理方法に関する。 Some embodiments include:
analyzing a cycle history of an electrochemical cell; and for a number of most recent cycles in said cycle history, if no cycle within the most recent cycle satisfies a criterion, discharging said cell to meet said criterion; comprising controlling the cell;
The cell is discharged at a discharge rate that is at least twice the average discharge rate of any cycle within the most recent cycle over a range of states of charge having a width of at least 2% and at most 60%. including
the discharge rate is at most four times the maximum recommended continuous discharge rate;
The method relates to an electrochemical cell management method, wherein the number of most recent cycles is at least 5 cycles.
いくつかの実施形態は、少なくとも1つのプロセッサによって実行されると、少なくとも1つのプロセッサに、
電気化学セルのサイクル履歴を分析すること、および
前記サイクル履歴における最新のサイクルの数に対して、最新のサイクル内に基準を満たすサイクルがない場合、前記基準を満たすように前記セルを充電するように、前記セルを制御すること
を含む電気化学セル管理方法を実行させる実行可能命令によりコード化される少なくとも1つのコンピュータ読み取り可能記憶媒体であって、
前記基準が、少なくとも2%および多くても60%の幅を有する充電状態範囲にわたって、最新のサイクル内のいずれかのサイクルの平均充電速度の少なくとも2倍である放電速度で、前記セルが放電されることを含み、
前記放電速度が、最大推奨連続放電速度の多くても4倍であり、
最新のサイクルの数が少なくとも5サイクルである、
少なくとも1つのコンピュータ読み取り可能記憶媒体に関する。 Some embodiments, when executed by the at least one processor, cause the at least one processor to:
analyzing a cycle history of an electrochemical cell; and for a number of most recent cycles in said cycle history, if no cycle within the most recent cycle satisfies the criteria, charging said cell to meet said criteria; at least one computer-readable storage medium encoded with executable instructions for performing an electrochemical cell management method comprising: controlling the cell;
The cell is discharged at a discharge rate that is at least twice the average charge rate of any cycle within the most recent cycle over a range of states of charge having a width of at least 2% and at most 60%. including
the discharge rate is at most four times the maximum recommended continuous discharge rate;
the number of most recent cycles is at least 5 cycles;
and at least one computer readable storage medium.
いくつかの実施形態は、電気化学セルと少なくとも1つのコントローラを備える電気化学セル管理システムに関する。少なくとも1つのコントローラは、
前記セルのサイクル履歴を分析し、
前記サイクル履歴における最新のサイクルの数に対して、最新のサイクル内に基準を満たすサイクルがない場合、前記基準を満たすように前記セルを充電するように、前記セルを制御する、
ように構成されてもよく、
前記基準が、少なくとも2%および多くても60%の幅を有する充電状態範囲にわたって、いずれかの5サイクルの平均放電速度の多くても0.5倍である充電速度で、前記セルが充電されることを含み、
最新のサイクルの数が少なくとも5サイクルである。 Some embodiments relate to an electrochemical cell management system that includes an electrochemical cell and at least one controller. At least one controller is
analyzing the cycle history of the cell;
controlling the cell to charge the cell to meet the criterion if there is no cycle within the latest cycle that satisfies the criterion with respect to the latest number of cycles in the cycle history;
It may be configured as follows,
The cell is charged at a charging rate that is at most 0.5 times the average discharge rate of any 5 cycles over a range of states of charge having a width of at least 2% and at most 60%. including
The number of most recent cycles is at least 5 cycles.
いくつかの実施形態は、
電気化学セルのサイクル履歴を分析すること、および
前記サイクル履歴における最新のサイクルの数に対して、最新のサイクル内に基準を満たすサイクルがない場合、前記基準を満たすように前記セルを充電するように、前記セルを制御すること
を含み、
前記基準が、少なくとも2%および多くても60%の幅を有する充電状態範囲にわたって、いずれかの5サイクルの平均放電速度の多くても0.5倍である充電速度で、前記セルが充電されることを含み、
最新のサイクルの数が少なくとも5サイクルである、電気化学セル管理方法
に関する。 Some embodiments include:
analyzing a cycle history of an electrochemical cell; and for a number of most recent cycles in said cycle history, if no cycle within the most recent cycle satisfies the criteria, charging said cell to meet said criteria; comprising controlling the cell;
The cell is charged at a charging rate that is at most 0.5 times the average discharge rate of any 5 cycles over a range of states of charge having a width of at least 2% and at most 60%. including
The method relates to an electrochemical cell management method, wherein the number of most recent cycles is at least 5 cycles.
いくつかの実施形態は、少なくとも1つのプロセッサによって実行されると、少なくとも1つのプロセッサに、
電気化学セルのサイクル履歴を分析すること、および
前記サイクル履歴における最新のサイクルの数に対して、最新のサイクル内に基準を満たすサイクルがない場合、前記基準を満たすように前記セルを充電するように、前記セルを制御すること
を含む電気化学セル管理方法を実行させる実行可能命令によりコード化される少なくとも1つのコンピュータ読み取り可能記憶媒体であって、
前記基準が、少なくとも2%および多くても60%の幅を有する充電状態範囲にわたって、いずれかの5サイクルの平均放電速度の多くても0.5倍である充電速度で、前記セルが充電されることを含み、
最新のサイクルの数が少なくとも5サイクルである、少なくとも1つのコンピュータ読み取り可能記憶媒体に関する。 Some embodiments, when executed by the at least one processor, cause the at least one processor to:
analyzing a cycle history of an electrochemical cell; and for a number of recent cycles in said cycle history, if no cycle within the most recent cycle satisfies the criteria, charging said cell to meet said criteria; at least one computer-readable storage medium encoded with executable instructions for performing an electrochemical cell management method comprising: controlling the cell;
The cell is charged at a charging rate that is at most 0.5 times the average discharge rate of any 5 cycles over a range of states of charge having a width of at least 2% and at most 60%. including
The present invention relates to at least one computer-readable storage medium whose number of most recent cycles is at least 5 cycles.
いくつかの実施形態は、電気化学セルと少なくとも1つのコントローラを備える電気化学セル管理システムに関する。少なくとも1つのコントローラは、前記セルが放電され、次いで充電されるように、前記セルを制御するように構成されてもよく、
少なくとも2%および多くても60%の幅を有する第1の充電状態範囲をカバーする放電の少なくとも一部に対して、前記放電の一部における平均放電速度が、前記充電の少なくとも一部における平均充電速度の少なくとも2倍である。 Some embodiments relate to an electrochemical cell management system that includes an electrochemical cell and at least one controller. At least one controller may be configured to control the cell such that the cell is discharged and then charged;
For at least a portion of the discharge covering a first state of charge range having a width of at least 2% and at most 60%, the average discharge rate in the portion of the discharge is the average discharge rate in the at least portion of the charge. At least twice the charging speed.
いくつかの実施形態は、電気化学セルが放電され、次いで、充電されるように、前記セルを制御すること
を含み、
少なくとも2%および多くても60%の幅を有する第1の充電状態範囲をカバーする放電の少なくとも一部に対して、前記放電の一部における平均放電速度が、前記充電の少なくとも一部における平均充電速度の少なくとも2倍である、電気化学セル管理方法に関する。 Some embodiments include controlling an electrochemical cell such that the cell is discharged and then charged;
For at least a portion of the discharge covering a first state of charge range having a width of at least 2% and at most 60%, the average discharge rate in the portion of the discharge is the average discharge rate in the at least portion of the charge. The present invention relates to an electrochemical cell management method that is at least twice as fast as the charging rate.
いくつかの実施形態は、
少なくとも1つのプロセッサによって実行されると、少なくとも1つのプロセッサに、
電気化学セルが放電され、次いで、充電されるように、前記セルを制御すること
を含む電気化学セル管理方法を実行させる実行可能命令によりコード化される少なくとも1つのコンピュータ読み取り可能記憶媒体であって、
少なくとも2%および多くても60%の幅を有する第1の充電状態範囲をカバーする放電の少なくとも一部に対して、前記放電の一部における平均放電速度が、前記充電の少なくとも一部における平均充電速度の少なくとも2倍である、少なくとも1つのコンピュータ読み取り可能記憶媒体に関する。 Some embodiments include:
when executed by the at least one processor, the at least one processor;
at least one computer-readable storage medium encoded with executable instructions for performing an electrochemical cell management method comprising controlling an electrochemical cell so that the cell is discharged and then charged; ,
For at least a portion of the discharge covering a first state of charge range having a width of at least 2% and at most 60%, the average discharge rate in the portion of the discharge is the average discharge rate in the at least portion of the charge. At least one computer readable storage medium that is at least twice as fast as charging.
いくつかの実施形態は、電気化学セルと少なくとも1つのコントローラを含む電気化学セル管理システムに関する。少なくとも1つのコントローラは、
前記セルのサイクル履歴を分析し、
放電中に閾値充電状態に達すると、前記セルの放電速度が、前記サイクル履歴の少なくとも1つのサイクルの少なくとも一部の平均充電速度の少なくとも2倍に増加される
ように、前記セルを制御するように構成されてもよく、
前記閾値充電状態が60%以下の値を有する。 Some embodiments relate to an electrochemical cell management system that includes an electrochemical cell and at least one controller. At least one controller is
analyzing the cycle history of the cell;
controlling the cell such that upon reaching a threshold state of charge during discharge, the discharge rate of the cell is increased to at least twice the average charge rate of at least a portion of at least one cycle of the cycle history; may be composed of
The threshold state of charge has a value of 60% or less.
いくつかの実施形態は、
前記セルのサイクル履歴を分析すること、および
放電中に閾値充電状態に達すると、前記セルの放電速度が、サイクル履歴の少なくとも1つのサイクルの少なくとも一部の平均充電速度の少なくとも2倍に増加されるように、前記セルを制御すること
を含み、
前記閾値充電状態が60%以下の値を有する、電気化学セル管理方法に関する。 Some embodiments include:
analyzing the cycle history of the cell; and upon reaching a threshold state of charge during discharge, the discharge rate of the cell is increased to at least twice the average charge rate of at least a portion of at least one cycle of the cycle history. controlling the cell so as to
The present invention relates to an electrochemical cell management method, wherein the threshold state of charge has a value of 60% or less.
いくつかの実施形態は、
少なくとも1つのプロセッサによって実行されると、少なくとも1つのプロセッサに、
前記セルのサイクル履歴を分析すること、および
放電中に閾値充電状態に達すると、前記セルの放電速度を、サイクル履歴の少なくとも1つのサイクルの平均充電速度の少なくとも2倍に増加されるように、前記セルを制御すること
を含む電気化学セル管理方法を実行させる実行可能命令によりコード化される少なくとも1つのコンピュータ読み取り可能記憶媒体であって、
前記閾値充電状態が60%以下の値を有する、少なくとも1つのコンピュータ読み取り可能記憶媒体に関する。 Some embodiments include:
when executed by the at least one processor, the at least one processor;
analyzing the cycle history of the cell; and upon reaching a threshold state of charge during discharge, increasing the discharge rate of the cell to at least twice the average charge rate for at least one cycle of the cycle history; at least one computer-readable storage medium encoded with executable instructions for performing an electrochemical cell management method comprising controlling the cell;
At least one computer readable storage medium, wherein the threshold state of charge has a value of 60% or less.
いくつかの実施形態は、電気化学セルと少なくとも1つのコントローラを備える電気化学セル管理システムに関する。少なくとも1つのコントローラは、
前記セルのサイクル履歴を分析し、
放電中に閾値充電状態に達すると、前記セルの放電速度が、サイクル履歴の少なくとも1つのサイクルの少なくとも一部の平均充電速度の少なくとも2倍に増加されるように、前記セルを制御する
ように構成されてもよく、
前記閾値充電状態が60%以下の値を有する。 Some embodiments relate to an electrochemical cell management system that includes an electrochemical cell and at least one controller. At least one controller is
analyzing the cycle history of the cell;
controlling the cell such that upon reaching a threshold state of charge during discharge, the discharge rate of the cell is increased to at least twice the average charge rate for at least a portion of at least one cycle of a cycle history; may be configured,
The threshold state of charge has a value of 60% or less.
いくつかの実施形態は、
電気化学セルのサイクル履歴を分析すること、および
放電中に閾値充電状態に達すると、前記セルの放電速度が、サイクル履歴の少なくとも1つのサイクルの少なくとも一部の平均充電速度の少なくとも2倍に増加されるように、前記セルを制御すること
を含み、
前記閾値充電状態が60%以下の値を有する、電気化学セル管理方法に関する。 Some embodiments include:
analyzing a cycle history of an electrochemical cell, and upon reaching a threshold state of charge during discharge, increasing the discharge rate of said cell to at least twice the average charge rate of at least a portion of at least one cycle of the cycle history; controlling the cell so as to
The present invention relates to an electrochemical cell management method, wherein the threshold state of charge has a value of 60% or less.
いくつかの実施形態は、
少なくとも1つのプロセッサによって実行されると、少なくとも1つのプロセッサに、
前記セルのサイクル履歴を分析すること、および
放電中に閾値充電状態に達すると、前記セルの放電速度を、サイクル履歴の少なくとも1つのサイクルの少なくとも一部の平均充電速度の少なくとも2倍に増加されるように、前記セルを制御すること
を含む電気化学セル管理方法を実行させる実行可能命令によりコード化される少なくとも1つのコンピュータ読み取り可能記憶媒体であって、
前記閾値充電状態が60%以下の値を有する、少なくとも1つのコンピュータ読み取り可能記憶媒体に関する。 Some embodiments include:
when executed by the at least one processor, the at least one processor;
analyzing the cycle history of the cell; and upon reaching a threshold state of charge during discharge, increasing the discharge rate of the cell to at least twice the average charge rate for at least a portion of at least one cycle of the cycle history; at least one computer-readable storage medium encoded with executable instructions for performing an electrochemical cell management method comprising controlling the cell so as to
At least one computer readable storage medium, wherein the threshold state of charge has a value of 60% or less.
いくつかの実施形態は、電気化学セルと少なくとも1つのコントローラを備える電気化学セル管理システムに関する。少なくとも1つのコントローラは、
終了充電状態において、充電工程が終了され、放電が開始され、
開始された放電の間、前記セルは、少なくとも1%の幅を有する充電状態範囲にわたって、終了された充電工程の平均充電速度の少なくとも2倍である放電速度で放電される
ように前記セルを制御する
ように構成され、
前記終了充電状態が60%以下の値を有する。 Some embodiments relate to an electrochemical cell management system that includes an electrochemical cell and at least one controller. At least one controller is
In the finished charging state, the charging process is finished and discharging is started,
During the initiated discharge, the cell is controlled to be discharged at a discharge rate that is at least twice the average charge rate of the terminated charging step over a range of charge states having a width of at least 1%. configured to
The end state of charge has a value of 60% or less.
いくつかの実施形態は、
終了充電状態において、充電工程が終了され、放電が開始され、
開始された放電の間、前記セルが、少なくとも1%の幅を有する充電状態範囲にわたって、終了された充電工程の平均充電速度の少なくとも2倍である放電速度で放電される
ように電気化学セルを制御すること
を含み、
前記終了充電状態が60%以下の値を有する、電気化学セル管理方法に関する。 Some embodiments include:
In the finished charging state, the charging process is finished and discharging is started,
The electrochemical cell is operated such that during an initiated discharge, the cell is discharged at a discharge rate that is at least twice the average charge rate of the terminated charging step over a range of charge states having a width of at least 1%. including controlling;
The present invention relates to an electrochemical cell management method, wherein the end state of charge has a value of 60% or less.
いくつかの実施形態は、
少なくとも1つのプロセッサによって実行されると、少なくとも1つのプロセッサに、
終了充電状態において、充電工程が終了され、放電が開始され、
開始された放電の間、前記セルが、少なくとも1%の幅を有する充電状態範囲にわたって、終了された充電工程の平均充電速度の少なくとも2倍である放電速度で放電されるように
前記セルを制御すること
を含む電気化学セル管理方法を実行させる実行可能命令によりコード化される少なくとも1つのコンピュータ読み取り可能記憶媒体であって、
前記終了充電状態が60%以下の値を有する、少なくとも1つのコンピュータ読み取り可能記憶媒体に関する。 Some embodiments include:
when executed by the at least one processor, the at least one processor;
In the finished charging state, the charging process is finished and discharging is started,
Controlling the cell such that during the initiated discharge, the cell is discharged over a range of charge states having a width of at least 1% at a discharge rate that is at least twice the average charge rate of the terminated charging step. at least one computer-readable storage medium encoded with executable instructions for carrying out an electrochemical cell management method comprising:
At least one computer-readable storage medium, wherein the end state of charge has a value of 60% or less.
いくつかの実施形態は、電気化学セルと少なくとも1つのコントローラを含む電気化学セル管理システムに関する。少なくとも1つのコントローラは、
前記セルのサイクル履歴を分析し、
終了充電状態において、充電工程が終了され、放電が開始され、
開始された放電の間、前記セルが、少なくとも1%の幅を有する充電状態範囲にわたって、サイクル履歴の少なくとも1つのサイクルの平均充電速度の少なくとも2倍である放電速度で放電されるように、
前記セルを制御する
ように構成されてもよく、
前記終了充電状態が60%以下の値を有する。 Some embodiments relate to an electrochemical cell management system that includes an electrochemical cell and at least one controller. At least one controller is
analyzing the cycle history of the cell;
In the finished charging state, the charging process is finished and discharging is started,
such that, during initiated discharge, the cell is discharged at a discharge rate that is at least twice the average charge rate of at least one cycle of the cycle history over a state of charge range having a width of at least 1%;
Optionally configured to control the cell;
The end state of charge has a value of 60% or less.
いくつかの実施形態は、
電気化学セルのサイクル履歴を分析すること、および
終了充電状態において、充電工程が終了され、放電が開始され、
開始された放電の間、前記セルが、少なくとも1%の幅を有する充電状態範囲にわたって、サイクル履歴の少なくとも1つのサイクルの平均充電速度の少なくとも2倍である放電速度で放電されるように
前記セルを制御すること
を含み、
前記終了充電状態が60%以下の値を有する、電気化学セル管理方法に関する。 Some embodiments include:
analyzing the cycle history of the electrochemical cell; and in an end charge state, the charging process is terminated and discharge is initiated;
such that, during initiated discharge, the cell is discharged over a state of charge range having a width of at least 1% at a discharge rate that is at least twice the average charge rate of at least one cycle of the cycling history; including controlling the
The present invention relates to an electrochemical cell management method, wherein the end state of charge has a value of 60% or less.
いくつかの実施形態は、
少なくとも1つのプロセッサによって実行されると、少なくとも1つのプロセッサに、
電気化学セルのサイクル履歴を分析すること、および
終了充電状態において、充電工程が終了され、放電が開始され、
開始された放電の間、前記セルが、少なくとも1%の幅を有する充電状態範囲にわたって、サイクル履歴の少なくとも1つのサイクルの平均充電速度の少なくとも2倍である放電速度で放電されるように
前記セルを制御すること
を含む電気化学セル管理方法を実行させる実行可能命令によりコード化される少なくとも1つのコンピュータ読み取り可能記憶媒体であって、
前記終了充電状態が60%以下の値を有する、少なくとも1つのコンピュータ読み取り可能記憶媒体に関する。 Some embodiments include:
when executed by the at least one processor, the at least one processor;
analyzing the cycle history of the electrochemical cell; and in an end charge state, the charging process is terminated and discharge is initiated;
such that, during initiated discharge, the cell is discharged over a state of charge range having a width of at least 1% at a discharge rate that is at least twice the average charge rate of at least one cycle of the cycling history; at least one computer-readable storage medium encoded with executable instructions for performing an electrochemical cell management method comprising:
At least one computer readable storage medium, wherein the end state of charge has a value of 60% or less.
いくつかの実施形態は、電気化学セルと少なくとも1つのコントローラを含む電気化学セル管理システムに関する。少なくとも1つのコントローラは、
前記セルのサイクル履歴を分析し、
終了充電状態において、充電工程が終了され、放電が開始され、
開始された放電の間、前記セルが、少なくとも1%の幅を有する充電状態範囲にわたって、サイクル履歴の少なくとも1つのサイクルの少なくとも一部の平均充電速度の少なくとも2倍である放電速度で放電されるように、
前記セルを制御する
ように構成されてもよく、
前記終了充電状態が60%以下の値を有する。 Some embodiments relate to an electrochemical cell management system that includes an electrochemical cell and at least one controller. At least one controller is
analyzing the cycle history of the cell;
In the finished charging state, the charging process is finished and discharging is started,
During the initiated discharge, the cell is discharged at a discharge rate that is at least twice the average charge rate of at least a portion of at least one cycle of the cycle history over a range of states of charge having a width of at least 1%. like,
Optionally configured to control the cell;
The end state of charge has a value of 60% or less.
いくつかの実施形態は、
電気化学セルのサイクル履歴を分析すること、および
終了充電状態において、充電工程が終了され、放電が開始され、
開始された放電の間、前記セルが、少なくとも1%の幅を有する充電状態範囲にわたって、サイクル履歴の少なくとも1つのサイクルの少なくとも一部の平均充電速度の少なくとも2倍である放電速度で放電されるように
前記セルを制御すること
を含み、
前記終了充電状態が60%以下の値を有する、電気化学セル管理方法に関する。 Some embodiments include:
analyzing the cycle history of the electrochemical cell; and in an end charge state, the charging process is terminated and discharge is initiated;
During the initiated discharge, the cell is discharged at a discharge rate that is at least twice the average charge rate of at least a portion of at least one cycle of the cycle history over a range of states of charge having a width of at least 1%. controlling said cell so as to
The present invention relates to an electrochemical cell management method, wherein the end state of charge has a value of 60% or less.
いくつかの実施形態は、
少なくとも1つのプロセッサによって実行されると、少なくとも1つのプロセッサに、
電気化学セルのサイクル履歴を分析すること、および
終了充電状態において、充電工程が終了され、放電が開始され、
開始された放電の間、前記セルが、少なくとも1%の幅を有する充電状態範囲にわたって、サイクル履歴の少なくとも1つのサイクルの少なくとも一部の平均充電速度の少なくとも2倍である放電速度で放電されるように
前記セルを制御すること
を含む電気化学セル管理方法を実行させる実行可能命令によりコード化される少なくとも1つのコンピュータ読み取り可能記憶媒体であって、
前記終了充電状態が60%以下の値を有する、少なくとも1つのコンピュータ読み取り可能記憶媒体に関する。 Some embodiments include:
when executed by the at least one processor, the at least one processor;
analyzing the cycle history of the electrochemical cell; and in an end-of-charge state, the charging process is terminated and discharging is initiated;
During the initiated discharge, the cell is discharged at a discharge rate that is at least twice the average charge rate of at least a portion of at least one cycle of the cycle history over a range of states of charge having a width of at least 1%. at least one computer-readable storage medium encoded with executable instructions for performing an electrochemical cell management method comprising controlling the cell, the method comprising:
At least one computer-readable storage medium, wherein the end state of charge has a value of 60% or less.
いくつかの実施形態は、電気化学セルと少なくとも1つのコントローラを備える電気化学セル管理システムに関する。少なくとも1つのコントローラは、前記セルが、少なくとも2%および多くても60%の幅を有する充電状態範囲にわたって放電され、次いで、充電されるように、前記セルを制御するように構成されてもよい。いくつかの例では、前記放電における放電速度が、充電における平均充電速度の少なくとも2倍である。
Some embodiments relate to an electrochemical cell management system that includes an electrochemical cell and at least one controller. At least one controller may be configured to control the cell such that the cell is discharged and then charged over a range of states of charge having a width of at least 2% and at most 60%. . In some examples, the discharging rate during said discharging is at least twice the average charging rate during charging.
いくつかの実施形態は、
電気化学セルが、少なくとも2%および多くても60%の幅を有する充電状態範囲にわたって放電され、次いで、充電されるように、前記セルを制御すること
を含む、電気化学セル管理方法に関する。いくつかの実施形態では、前記放電における放電速度が、充電における平均充電速度の少なくとも2倍である。 Some embodiments include:
An electrochemical cell management method comprising controlling an electrochemical cell such that the cell is discharged and then charged over a range of states of charge having a width of at least 2% and at most 60%. In some embodiments, the discharging rate during said discharging is at least twice the average charging rate during charging.
いくつかの実施形態は、
少なくとも1つのプロセッサによって実行されると、少なくとも1つのプロセッサに、
電気化学セルが放電され、次いで、充電されるように、前記セルを制御すること
を含む電気化学セル管理方法を実行させる実行可能命令によりコード化される少なくとも1つのコンピュータ読み取り可能記憶媒体に関する。いくつかの実施形態では、前記放電における放電速度が、充電における平均充電速度の少なくとも2倍である。 Some embodiments include:
when executed by the at least one processor, the at least one processor;
The present invention relates to at least one computer readable storage medium encoded with executable instructions for performing an electrochemical cell management method that includes controlling an electrochemical cell so that the cell is discharged and then charged. In some embodiments, the discharging rate during said discharging is at least twice the average charging rate during charging.
いくつかの実施形態は、電気化学セルと少なくとも1つのコントローラを備える電気化学セル管理システムに関する。少なくとも1つのコントローラは、
急速充電要求が受信されたかどうかを判断し、
急速充電要求が受信されていない場合、前記セルが少なくとも2%および多くても60%の幅を有する第1の充電状態範囲にわたって充電され、次いで、第2の充電状態範囲にわたって充電されるように、前記セルを制御する
ように構成されてもよい。いくつかの実施形態では、前記第1の充電状態範囲における充電速度が、第2の充電状態範囲における平均充電速度の多くても0.5倍である。 Some embodiments relate to an electrochemical cell management system that includes an electrochemical cell and at least one controller. At least one controller is
determine whether a fast charge request is received;
If a fast charge request is not received, the cell is charged over a first state of charge range having a width of at least 2% and at most 60%, and then charged over a second state of charge range. , may be configured to control the cell. In some embodiments, the charging rate in the first state of charge range is at most 0.5 times the average charging rate in the second state of charge range.
いくつかの実施形態は、
急速充電要求を受信したかどうかを判断すること、および
急速充電要求を受信していない場合、電気化学セルが、少なくとも2%および多くても60%の幅を有する第1の充電状態範囲にわたって充電され、次いで、第2の充電状態範囲にわたって充電されるように、前記セルを制御すること
を含む、電気化学セル管理方法に関する。いくつかの実施形態によれば、前記第1の充電状態範囲における充電速度が、第2の充電状態範囲における平均充電速度の多くても0.5倍である。 Some embodiments include:
determining whether a fast charge request is received; and if the fast charge request is not received, the electrochemical cell is charged over a first state of charge range having a width of at least 2% and at most 60%; The present invention relates to an electrochemical cell management method comprising controlling the cell to be charged and then charged over a second state of charge range. According to some embodiments, the charging rate in the first state of charge range is at most 0.5 times the average charging rate in the second state of charge range.
いくつかの実施形態は、
少なくとも1つのプロセッサによって実行されると、少なくとも1つのプロセッサに、
急速充電要求を受信したかどうかを判断すること、および
急速充電要求を受信していない場合、電気化学セルが、少なくとも2%および多くても60%の幅を有する第1の充電状態範囲にわたって充電され、次いで、第2の充電状態範囲にわたって充電されるように、前記セルを制御すること
を含む電気化学セル管理方法を実行させる実行可能命令によりコード化される少なくとも1つのコンピュータ読み取り可能記憶媒体に関する。いくつかの実施形態によれば、前記第1の充電状態範囲における充電速度が、第2の充電状態範囲における平均充電速度の多くても0.5倍である。 Some embodiments include:
when executed by the at least one processor, the at least one processor;
determining whether a fast charge request is received; and if the fast charge request is not received, the electrochemical cell is charged over a first state of charge range having a width of at least 2% and at most 60%; at least one computer-readable storage medium encoded with executable instructions for performing an electrochemical cell management method comprising controlling said cell to be charged and then charged over a second range of charge states. . According to some embodiments, the charging rate in the first state of charge range is at most 0.5 times the average charging rate in the second state of charge range.
いくつかの実施形態は、電気化学セルと少なくとも1つのコントローラを備える電気化学セル管理システムに関する。少なくとも1つのコントローラは、
前記セルが放電され、次いで、直ちに、少なくとも2%および多くても60%の幅を有する第1の充電状態範囲にわたって充電され、第1の充電状態範囲を含むサイクルを進行する4サイクルの終わりまでに、基準が満たされるように、今後の充電スケジュールが設定されるように、前記セルを制御し、
今後の充電スケジュールを実行する
ように構成されてもよい。いくつかの例では、前記基準が、第1の充電状態範囲における充電速度が、第2の充電状態範囲における平均充電速度の多くても0.5倍となるように、前記セルが、第2の充電状態範囲において、充電されることを含む。 Some embodiments relate to an electrochemical cell management system that includes an electrochemical cell and at least one controller. At least one controller is
The cell is discharged and then immediately charged over a first state of charge range having a width of at least 2% and at most 60% until the end of four cycles where the cell progresses through a cycle including the first state of charge range. controlling the cell so that future charging schedules are set such that criteria are met;
It may be configured to perform future charging schedules. In some examples, the criterion is such that the cell is in a second charge state such that the charging rate in the first charge state range is at most 0.5 times the average charge rate in the second charge state range. This includes being charged within the charging state range of .
いくつかの実施形態は、
電気化学セルが放電され、次いで、少なくとも2%および多くても60%の幅を有する第1の充電状態範囲にわたって直ちに充電され、第1の充電状態範囲を含むサイクルを進行する4サイクルの終わりまでに、基準を満たすように今後の充電スケジュールを設定するように、前記セルを制御すること、および
前記今後の充電スケジュールを実行すること
を含む、電気化学セル管理方法に関する。いくつかの実施形態によれば、前記基準が、第1の充電状態範囲における充電速度が、第2の充電状態範囲における平均充電速度の多くても0.5倍となるように、前記セルが、第2の充電状態範囲にわたって、充電されることを含む。 Some embodiments include:
The electrochemical cell is discharged and then immediately charged over a first state of charge range having a width of at least 2% and at most 60%, until the end of four cycles, proceeding through the cycle including the first state of charge range. The present invention relates to an electrochemical cell management method comprising: controlling the cell to set a future charging schedule to meet a criterion; and executing the future charging schedule. According to some embodiments, the criterion is such that the cell has a charging rate in a first state of charge range that is at most 0.5 times the average charging rate in a second range of states of charge. , being charged over a second state of charge range.
いくつかの実施形態は、
少なくとも1つのプロセッサによって実行されると、少なくとも1つのプロセッサに、
電気化学セルが放電され、次いで、少なくとも2%および多くても60%の幅を有する第1の充電状態範囲にわたって直ちに充電され、第1の充電状態範囲を含むサイクルを進行する4サイクルの終わりまでに、基準を満たすように今後の充電スケジュールを設定するように、前記セルを制御すること、および
前記今後の充電スケジュールを実行すること
を含む、電気化学セル管理方法を実行させる実行可能命令によりコード化される少なくとも1つのコンピュータ読み取り可能記憶媒体に関する。いくつかの実施形態によれば、前記基準が、第1の充電状態範囲における充電速度が、第2の充電状態範囲における平均充電速度の多くても0.5倍となるように、前記セルが、第2の充電状態範囲にわたって、充電されることを含む。 Some embodiments include:
when executed by the at least one processor, the at least one processor;
The electrochemical cell is discharged and then immediately charged over a first state of charge range having a width of at least 2% and at most 60%, until the end of four cycles, proceeding through the cycle including the first state of charge range. controlling said cell to set future charging schedules to meet criteria; and executing said future charging schedules. at least one computer-readable storage medium. According to some embodiments, the criterion is such that the cell has a charging rate in a first state of charge range that is at most 0.5 times the average charging rate in a second range of states of charge. , being charged over a second state of charge range.
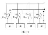
本発明のいくつかの実施形態は、
2つ以上のセルのストリングを含む少なくとも1つのバッテリであって、各セルのストリングは2つ以上のセルを含むバッテリと、
各セルのストリングに接続された多重化スイッチ装置と、
第1のストリングと第2のストリングとの間の電圧差を閾値電圧差未満に維持しながら、第1のストリングのセルの放電と第2のストリングのセルの放電との間を移行するために多重化スイッチ装置を使用するように構成される少なくとも1つのコントローラと
を備えるバッテリ管理システムに関する。 Some embodiments of the invention include:
at least one battery comprising a string of two or more cells, each string of cells comprising two or more cells;
a multiplexing switch device connected to each string of cells;
for transitioning between discharging cells of the first string and discharging cells of the second string while maintaining a voltage difference between the first string and the second string below a threshold voltage difference; at least one controller configured to use a multiplexed switch device.
いくつかの他の実施形態は、
2つ以上のセルのストリングを含む少なくとも1つのバッテリであって、各セルのストリングは2つ以上のセルを含むバッテリと、
各セルのストリングに接続された多重化スイッチ装置と、
バッテリの全出力電圧をウィンドウ内に維持しながら、第1のストリングのセルの放電と第2のストリングのセルの放電との間を移行するために多重化スイッチ装置を使用するように構成される少なくとも1つのコントローラと
を備えるバッテリ管理システムに関する。 Some other embodiments include:
at least one battery comprising a string of two or more cells, each string of cells comprising two or more cells;
a multiplexing switch device connected to each string of cells;
configured to use a multiplexing switch device to transition between discharging cells of the first string and discharging cells of the second string while maintaining the total output voltage of the battery within a window; and at least one controller.
更なる実施形態は、
2つ以上のセルのストリングを含む少なくとも1つのバッテリであって、各セルのストリングは2つ以上のセルを含む、バッテリと、
各セルのストリングに接続された多重化スイッチ装置と、
移行から生じる突入電流を閾値電流未満に維持しながら、第1のストリングのセルの放電と第2のストリングのセルの放電との間を移行するために多重化スイッチ装置を使用するように構成される少なくとも1つのコントローラと
を備えるバッテリ管理システムに関する。 Further embodiments include:
at least one battery comprising a string of two or more cells, each string of cells comprising two or more cells;
a multiplexing switch device connected to each string of cells;
The multiplexing switch device is configured to use a multiplexed switch device to transition between discharging the cells of the first string and discharging the cells of the second string while maintaining an inrush current resulting from the transition below a threshold current. and at least one controller.
いくつかの他の実施形態は、
2つ以上のセルのストリングを含む少なくとも1つのバッテリであって、各セルのストリングは2つ以上のセルを含む、バッテリと、
各セルのストリングに接続された多重化スイッチ装置と、
多重化スイッチ装置を使用して、セルのストリングの少なくとも1つのストリングのパルス放電の持続時間を少なくとも1つの基準に基づいて制御するように構成される少なくとも1つのコントローラと
を備えるバッテリ管理システムに関する。 Some other embodiments include:
at least one battery comprising a string of two or more cells, each string of cells comprising two or more cells;
a multiplexing switch device connected to each string of cells;
at least one controller configured to control the duration of a pulse discharge of at least one string of cells based on at least one criterion using a multiplexed switch device.
更なる実施形態は、
2つ以上のセルのストリングを含む少なくとも1つのバッテリであって、各セルのストリングは2つ以上のセルを含む、バッテリと、
各セルのストリングに接続された少なくとも1つのスイッチを含む統合切り替え制御システムと
を備え、
統合切り替え制御システムが、少なくとも1つのスイッチを制御して、第1のストリングを放電させ、第2のストリングを放電させないようにしながら、測定時に第1の電圧を有する第1のストリングを放電させ、次いで、測定時に第1の電圧に最も近い第2の電圧を有する第2のストリングを放電させるように構成される、バッテリパックに関する。 Further embodiments include:
at least one battery comprising a string of two or more cells, each string of cells comprising two or more cells;
an integrated switching control system including at least one switch connected to each string of cells;
an integrated switching control system controls the at least one switch to discharge the first string having the first voltage during the measurement while discharging the first string and not discharging the second string; The battery pack is then configured to discharge a second string having a second voltage closest to the first voltage when measured.
いくつかの他の実施形態は、
少なくとも1つのバッテリの2つ以上のセルストリングに接続される多重化スイッチ装置を使用して、第1のストリングと第2のストリングとの間の電圧差を閾値電圧差未満に維持しながら、第1のストリングの放電と第2のストリングの放電との間を移行すること
を含み、
各セルのストリングが2つ以上のセルを含む、バッテリ管理方法に関する。 Some other embodiments include:
A multiplexing switch device connected to two or more cell strings of at least one battery is used to maintain a voltage difference between the first string and the second string below a threshold voltage difference; transitioning between a discharge of one string and a discharge of a second string;
The present invention relates to a battery management method in which each string of cells includes two or more cells.
更なる実施形態は、
少なくとも1つのバッテリの2つ以上のセルストリングに接続される多重化スイッチ装置を使用して、バッテリの全出力電圧をウィンドウ内に維持しながら、第1のストリングの放電と第2のストリングの放電との間を移行すること
を含み、
各セルのストリングが2つ以上のセルを含む、バッテリ管理方法に関する。 Further embodiments include:
Discharging the first string and discharging the second string while maintaining the total output voltage of the battery within a window using a multiplexing switch device connected to two or more cell strings of at least one battery. including transitioning between
The present invention relates to a battery management method in which each string of cells includes two or more cells.
いくつかの他の実施形態は、
少なくとも1つのバッテリの2つ以上のセルストリングに接続される多重化スイッチ装置を使用して、移行から生じる突入電流を閾値電流未満に維持しながら、第1のストリングの放電と第2のストリングの放電との間を移行すること
を含み、
各セルのストリングが2つ以上のセルを含む、バッテリ管理方法に関する。 Some other embodiments include:
A multiplexing switch device connected to two or more cell strings of at least one battery is used to discharge the first string and discharge the second string while maintaining the inrush current resulting from the transition below the threshold current. including transitioning between discharges;
The present invention relates to a battery management method in which each string of cells includes two or more cells.
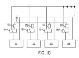
本発明のいくつかの実施形態は、
2つ以上のセルのストリングを含む少なくとも1つのバッテリであって、各セルのストリングは2つ以上のセルを含む、バッテリと、
各セルのストリングに接続された多重化スイッチ装置と、
セルのストリングを選択的に放電するために多重化スイッチ装置を使用するように構成される少なくとも1つのコントローラと
を備える、バッテリ管理システムに関する。 Some embodiments of the invention include:
at least one battery comprising a string of two or more cells, each string of cells comprising two or more cells;
a multiplexing switch device connected to each string of cells;
and at least one controller configured to use a multiplexing switch device to selectively discharge strings of cells.
他のいくつかの他の実施形態は、
2つ以上のセルのストリングを含む少なくとも1つのバッテリであって、各セルのストリングは2つ以上のセルを含む、バッテリと、
各セルのストリングに接続された少なくとも1つのスイッチを含む統合切り替え制御システムと
を備え、
統合切り替え制御システムが、セルのストリング放電するために、少なくとも1つのスイッチを制御するように構成される、バッテリパックに関する。 Some other embodiments include:
at least one battery comprising a string of two or more cells, each string of cells comprising two or more cells;
an integrated switching control system including at least one switch connected to each string of cells;
A battery pack wherein an integrated switching control system is configured to control at least one switch to discharge a string of cells.
更なる実施形態は、バッテリ管理方法に関する。この方法は、少なくとも1つのバッテリの2つ以上のセルのストリングに接続される多重化スイッチ装置を使用して、各セルのストリングを選択的に放電すること
を含んでよく、
各セルのストリングは2つ以上のセルを含む。 Further embodiments relate to battery management methods. The method may include selectively discharging each string of cells using a multiplexing switch device connected to the strings of two or more cells of the at least one battery;
Each string of cells includes two or more cells.
いくつかの他の実施形態は
電気化学セル、および
充電工程の間、前記セルが、少なくとも2%の幅を有する第1の充電状態範囲にわたって、第1の充電速度で充電され、
充電工程の間、前記セルが、少なくとも2%の幅を有する第2の充電状態範囲にわたって、第2の充電速度で充電され、
放電工程の間、前記セルが、少なくとも2%の幅を有する第3の充電状態範囲にわたって、第1または第2の充電速度の少なくとも2倍である第1の放電速度で放電され、
放電工程の間、前記セルが、少なくとも2%の幅を有する第4の充電状態範囲にわたって、第1または第2の充電速度の2倍未満の第2の放電速度で放電される
ように前記セルを制御するように構成される
少なくとも1つのコントローラ
を備える、電気化学セル管理システム
に関する。 Some other embodiments include an electrochemical cell, and during the charging step, the cell is charged at a first charge rate over a first state of charge range having a width of at least 2%;
During the charging step, the cell is charged at a second charging rate over a second state of charge range having a width of at least 2%;
during the discharging step, the cell is discharged at a first discharge rate that is at least twice the first or second charge rate over a third state of charge range having a width of at least 2%;
During the discharging step, the cell is discharged at a second discharge rate that is less than twice the first or second charge rate over a fourth state of charge range having a width of at least 2%. An electrochemical cell management system comprising at least one controller configured to control an electrochemical cell management system.
更なる実施形態は、
充電工程の間、電気化学セルが、少なくとも2%の幅を有する第1の充電状態範囲にわたって、第1の充電速度で充電され、
充電工程の間、前記セルが、少なくとも2%の幅を有する第2の充電状態範囲にわたって、第2の充電速度で充電され、
放電工程の間、前記セルが、少なくとも2%の幅を有する第3の充電状態範囲にわたって、第1または第2の充電速度の少なくとも2倍である第1の放電速度で放電され、
放電工程の間、前記セルが、少なくとも2%の幅を有する第4の充電状態範囲にわたって、第1または第2の充電速度の2倍未満の第2の放電速度で放電される
ように前記セルを制御すること
を含む、電気化学セル管理方法
に関する。 Further embodiments include:
During the charging step, the electrochemical cell is charged at a first charging rate over a first state of charge range having a width of at least 2%;
During the charging step, the cell is charged at a second charging rate over a second state of charge range having a width of at least 2%;
during the discharging step, the cell is discharged at a first discharge rate that is at least twice the first or second charge rate over a third state of charge range having a width of at least 2%;
During the discharging step, the cell is discharged at a second discharge rate that is less than twice the first or second charge rate over a fourth state of charge range having a width of at least 2%. An electrochemical cell management method comprising controlling an electrochemical cell.
いくつかの実施形態は、
少なくとも1つのプロセッサによって実行されると、少なくとも1つのプロセッサに、
充電工程の間、電気化学セルが、少なくとも2%の幅を有する第1の充電状態範囲にわたって、第1の充電速度で充電され、
充電工程の間、前記セルが、少なくとも2%の幅を有する第2の充電状態範囲にわたって、第2の充電速度で充電され、
放電工程の間、前記セルが、少なくとも2%の幅を有する第3の充電状態範囲にわたって、第1または第2の充電速度の少なくとも2倍である第1の放電速度で放電され、
放電工程の間、前記セルが、少なくとも2%の幅を有する第4の充電状態範囲にわたって、第1または第2の充電速度の2倍未満である第2の放電速度で放電される
ように電気化学セルを制御すること
を含む電気化学セル管理方法を実行させる実行可能命令によりコード化される少なくとも1つのコンピュータ読み取り可能記憶媒体
に関する。 Some embodiments include:
when executed by the at least one processor, the at least one processor;
During the charging step, the electrochemical cell is charged at a first charging rate over a first state of charge range having a width of at least 2%;
During the charging step, the cell is charged at a second charging rate over a second state of charge range having a width of at least 2%;
during the discharging step, the cell is discharged at a first discharge rate that is at least twice the first or second charge rate over a third state of charge range having a width of at least 2%;
During the discharging step, the cell is electrically discharged at a second discharge rate that is less than twice the first or second charge rate over a fourth state of charge range having a width of at least 2%. The present invention relates to at least one computer readable storage medium encoded with executable instructions for performing an electrochemical cell management method including controlling a chemical cell.
いくつかの他の実施形態は、
電気化学セル、および
放電工程の間、前記セルが、少なくとも2%の幅を有する第1の充電状態範囲にわたって、第1の放電速度で放電され、
放電工程の間、前記セルが、少なくとも2%の幅を有する第2の充電状態範囲にわたって、第2の放電速度で放電され、
前記第1の放電速度が、対応する充電速度の少なくとも2倍であり、
前記第2の放電速度が、対応する充電速度の2倍未満である
ように前記セルを制御するように構成される
少なくとも1つのコントローラ
を備える、電気化学セル管理システムに関する。 Some other embodiments include:
an electrochemical cell; and during a discharging step, the cell is discharged at a first discharge rate over a first state of charge range having a width of at least 2%;
during the discharging step, the cell is discharged at a second discharge rate over a second state of charge range having a width of at least 2%;
the first discharge rate is at least twice the corresponding charge rate;
The present invention relates to an electrochemical cell management system comprising at least one controller configured to control the cell such that the second discharge rate is less than twice the corresponding charge rate.
更なる実施形態は、
放電工程の間、電気化学セルが、少なくとも2%の幅を有する第1の充電状態範囲にわたって、第1の放電速度で放電され、
放電工程の間、前記セルが、少なくとも2%の幅を有する第2の充電状態範囲にわたって、第2の放電速度で放電され、
前記第1の放電速度が、対応する充電速度の少なくとも2倍であり、
前記第2の放電速度が、対応する充電速度の2倍未満であるように
前記セルを制御すること
を含む電気化学セル管理方法に関する。 Further embodiments include:
During the discharging step, the electrochemical cell is discharged at a first discharge rate over a first state of charge range having a width of at least 2%;
during the discharging step, the cell is discharged at a second discharge rate over a second state of charge range having a width of at least 2%;
the first discharge rate is at least twice the corresponding charge rate;
The present invention relates to an electrochemical cell management method comprising controlling the cell such that the second discharge rate is less than twice the corresponding charge rate.
いくつかの実施形態は、
少なくとも1つのプロセッサによって実行されると、少なくとも1つのプロセッサに、
放電工程の間、電気化学セルが、少なくとも2%の幅を有する第1の充電状態範囲にわたって、第1の放電速度で放電され、
放電工程の間、前記セルが、少なくとも2%の幅を有する第2の充電状態範囲にわたって、第2の放電速度で放電され、
前記第1の放電速度が、対応する充電速度の少なくとも2倍であり、かつ
前記第2の放電速度が、対応する充電速度の2倍未満であるように
電気化学セルを制御すること
を含む電気化学セル管理方法を実行させる実行可能命令によりコード化される少なくとも1つのコンピュータ読み取り可能記憶媒体
に関する。 Some embodiments include:
when executed by the at least one processor, the at least one processor;
During the discharging step, the electrochemical cell is discharged at a first discharge rate over a first state of charge range having a width of at least 2%;
during the discharging step, the cell is discharged at a second discharge rate over a second state of charge range having a width of at least 2%;
controlling the electrochemical cell such that the first discharge rate is at least twice the corresponding charge rate, and the second discharge rate is less than twice the corresponding charge rate. The present invention relates to at least one computer readable storage medium encoded with executable instructions that cause a chemical cell management method to be executed.
いくつかの他の実施形態は、
電気化学セル、および
充電工程の間、前記セルが、少なくとも2%の幅を有する第1の充電状態範囲にわたって、第1の充電速度で充電され、
充電工程の間、前記セルが、少なくとも2%の幅を有する第2の充電状態範囲にわたって、第2の充電速度で充電され、
前記第1の充電速度が、対応する放電速度の多くても0.5倍であり、
前記第2の充電速度が、対応する放電速度の0.5倍より大きくなる
ように前記セルを制御するように構成される
少なくとも1つのコントローラ
を備える、電気化学セル管理システム
に関する。 Some other embodiments include:
an electrochemical cell; and during the charging step, the cell is charged at a first charge rate over a first state of charge range having a width of at least 2%;
During the charging step, the cell is charged at a second charging rate over a second state of charge range having a width of at least 2%;
the first charging rate is at most 0.5 times the corresponding discharging rate;
An electrochemical cell management system comprising at least one controller configured to control the cell such that the second charging rate is greater than 0.5 times the corresponding discharging rate.
更なる実施形態は、
充電工程の間、前記セルが、少なくとも2%の幅を有する第1の充電状態範囲にわたって、第1の充電速度で充電され、
充電工程の間、前記セルが、少なくとも2%の幅を有する第2の充電状態範囲にわたって、第2の充電速度で充電され、
前記第1の充電速度が、対応する放電速度の多くても0.5倍であり、
前記第2の充電速度が、対応する放電速度の0.5倍より大きくなるように
前記セルを制御すること
を含む、電気化学セル管理方法に関する。 Further embodiments include:
During the charging step, the cell is charged at a first charging rate over a first state of charge range having a width of at least 2%;
During the charging step, the cell is charged at a second charging rate over a second state of charge range having a width of at least 2%;
the first charging rate is at most 0.5 times the corresponding discharging rate;
The present invention relates to an electrochemical cell management method comprising controlling the cell so that the second charging rate is greater than 0.5 times the corresponding discharging rate.
いくつかの実施形態は、
少なくとも1つのプロセッサによって実行されると、少なくとも1つのプロセッサに、
充電工程の間、前記セルが、少なくとも2%の幅を有する第1の充電状態範囲にわたって、第1の充電速度で充電され、
充電工程の間、前記セルが、少なくとも2%の幅を有する第2の充電状態範囲にわたって、第2の充電速度で充電され、
前記第1の充電速度が、対応する放電速度の多くても0.5倍であり、
前記第2の充電速度が、対応する放電速度の0.5倍より大きくなるように
電気化学セルを制御すること
を含む電気化学セル管理方法を実行させる実行可能命令によりコード化される少なくとも1つのコンピュータ読み取り可能記憶媒体
に関する。 Some embodiments include:
when executed by the at least one processor, the at least one processor;
During the charging step, the cell is charged at a first charging rate over a first state of charge range having a width of at least 2%;
During the charging step, the cell is charged at a second charging rate over a second state of charge range having a width of at least 2%;
the first charging rate is at most 0.5 times the corresponding discharging rate;
at least one executable instruction coded with executable instructions for performing an electrochemical cell management method comprising: controlling an electrochemical cell such that the second charging rate is greater than 0.5 times a corresponding discharging rate; Relating to computer readable storage media.
本発明の他の利点および新規な特徴は、添付の図面と併せて考慮すると、本発明の様々な非限定的な実施形態の以下の詳細な説明から明らかとなる。本明細書中と参照により援用される文献とが矛盾するおよび/または整合しない開示を含む場合、本明細書中が支配的であるものとする。 Other advantages and novel features of the invention will become apparent from the following detailed description of various non-limiting embodiments of the invention when considered in conjunction with the accompanying drawings. In the event that the present specification and a document incorporated by reference contain conflicting and/or inconsistent disclosure, the present specification shall control.
本発明の非限定的な実施形態は、概略的であり、一定の縮尺で示すことを意図されていない添付の図面を参照して一例として説明する。図面において、図示の同一またはほぼ同一の各構成要素は、通常、単一の数字で表される。明瞭にするために、必ずしもすべての構成要素は、すべての図においてラベル付け、また図は、当業者が本発明を理解できるようにする必要がない場合に示された本発明の各実施形態の全ての構成要素である。
本発明者らは、充電可能な電気化学セルの管理および操作のための従来の技術が、上記セル(およびそれらが含まれ得るバッテリ)の以前は劣った寿命および性能をもたらすことを認識し、理解している。例えば、上記セルは、特に充電および放電速度が同様である場合、または充電速度が放電速度より高い場合、短いサイクル寿命(例えば、上記セルが十分な使用後にある時点で典型的にそうなるように、容量が元の容量の80%以下に低下する前の完全充電および放電サイクルの低い数)に悩まされてきた。例えば、バッテリの上記セルの多くのユーザは、バッテリがほぼ同一の充電および放電速度(例えば、充電に4時間、放電に4時間)を有することを望んでおり、バッテリメーカーは、そのようなほぼ同一の速度を提供するバッテリおよびバッテリ管理システムを提供してきた。また、多くのユーザは、バッテリを使用するために充電を待つ不便さを軽減したり、ランタイムを延長したりするなど、さまざまな理由から、バッテリが放電する速度よりも高い速度(例えば、充電に30分、放電に4時間)で充電することを望んできた。 The inventors recognize that conventional techniques for the management and operation of rechargeable electrochemical cells result in previously inferior lifespan and performance of such cells (and the batteries in which they may be included); I understand. For example, the cell may have a short cycle life (e.g., as the cell typically will at some point after sufficient use), especially if the charge and discharge rates are similar or if the charge rate is higher than the discharge rate. , have suffered from a low number of full charge and discharge cycles before the capacity drops below 80% of the original capacity. For example, many users of the above-mentioned cells of batteries want their batteries to have approximately the same charge and discharge rates (e.g., 4 hours to charge, 4 hours to discharge), and battery manufacturers require such approximately We have provided batteries and battery management systems that provide the same speed. Also, many users prefer to charge a battery at a higher rate than the rate at which it discharges (e.g., to reduce the inconvenience of waiting for charging to use the battery or to extend runtime). I was hoping to be able to charge the battery in 30 minutes (4 hours for discharge).
本明細書中では、「完全充電サイクル」という用語は、一般に、上記セルの再充電容量の約100%が充電される期間を指すために用いられ、「完全放電サイクル」という用語は、一般に、上記セルの放電容量(その再充電容量とは異なる場合がある)の約100%が放電される期間を指すために用いられる。一方、本明細書中では、「充電工程」という用語は、一般に、放電を行わずに充電を行う連続的な期間を指すために使用され、「放電工程」という用語は、一般に、充電を行わずに放電を行う連続的な期間を指すために使用される。 As used herein, the term "full charge cycle" is generally used to refer to a period during which the cell is charged to approximately 100% of its recharge capacity, and the term "full discharge cycle" is generally used to refer to a period during which the cell is charged to approximately 100% of its recharge capacity. It is used to refer to a period during which approximately 100% of the cell's discharge capacity (which may be different from its recharge capacity) is discharged. On the other hand, herein, the term "charging process" is generally used to refer to a continuous period of charging without discharging, and the term "discharging process" is generally used to refer to a continuous period of charging without discharging. used to refer to a continuous period of discharge without
「充電サイクル」という用語は、一般に上記セルが充電される期間を指すのに用いられ、完全な充電サイクルである必要はない。「放電サイクル」という用語は、一般的に上記セルが放電される期間を指すのに使用され、それは完全な放電サイクルである必要はない。用語「前回の放電サイクル」は、一般的に上記セルが放電されていた期間または放電されている期間を指すために使用される。例えば、この「前回の」放電サイクルは完了していてもよいし、まだ進行中であってもよく、上記セルの放電容量の約100%に合計される最近完了した放電工程を指す必要はない。完全な放電サイクルが実行されていない場合、前回の放電サイクルは、前回完了した放電工程を指すことがある。 The term "charge cycle" is generally used to refer to the period during which the cell is charged, and does not necessarily have to be a complete charge cycle. The term "discharge cycle" is generally used to refer to the period during which the cell is discharged, which need not be a complete discharge cycle. The term "previous discharge cycle" is generally used to refer to the period during which the cell was or has been discharged. For example, this "previous" discharge cycle may have been completed or may still be in progress, and need not refer to a recently completed discharge step that sums to about 100% of the cell's discharge capacity. . If a complete discharge cycle has not been performed, the previous discharge cycle may refer to the last completed discharge step.
「容量」という用語は、一般に、上記セルが所与のまたは定格電圧で供給できる電荷の量を指すために用いられ、しばしばアンペア時(ミリアンペア時またはmAhなど)で測定される。いくつかの実施形態では、容量は、上記セルが所定の時点で保持できるmAh(複数の充電または放電サイクルにわたって変化し得る)であってもよく、所定の時点で上記セルに残っているmAhであってもよく、または上記セルが完全に再充電するために必要とするmAhであってもよい。
The term "capacity" is generally used to refer to the amount of charge that the cell can deliver at a given or rated voltage, often measured in ampere hours (such as milliamp hours or mAh). In some embodiments, the capacity may be the mAh that the cell can hold at a given time (which may vary over multiple charge or discharge cycles), and the mAh remaining in the cell at a given time. or the mAh that the cell requires to fully recharge.
本明細書中では、「充電状態」(SOC)という用語は、セルの容量に対する充電のレベルを指すために使用され、パーセントで測定される。例として、100%の充電状態は完全に充電されたセルを指し、40%の充電状態はその容量の40%を保持するセルを指し、0%の充電状態は完全に放電されたセルを指す。 The term "state of charge" (SOC) is used herein to refer to the level of charge relative to the capacity of a cell, measured in percent. As an example, a 100% state of charge refers to a fully charged cell, a 40% state of charge refers to a cell that retains 40% of its capacity, and a 0% state of charge refers to a fully discharged cell. .
本明細書中では、「充電状態範囲」(SOC範囲)という用語は、充電状態の範囲を指すために使用される。例えば、10%~50%の充電状態は、10%、50%、および10%~50%の間の全ての充電状態を含む。 The term "state of charge range" (SOC range) is used herein to refer to a range of states of charge. For example, a state of charge of 10% to 50% includes 10%, 50%, and all states of charge between 10% and 50%.
本明細書中では、充電状態範囲の「幅」は、充電状態の範囲の端点間の差の絶対値を指すために使用される。例として、10%~50%の充電状態は40%の幅を有する(50%から10%を引いた値が40%であるため)。別の例として、少なくとも2%および多くても5%の充電状態範囲は、3%の幅を有することになる(5%から2%を引くと3%だから)。 The "width" of a state of charge range is used herein to refer to the absolute value of the difference between the endpoints of the state of charge range. As an example, a state of charge from 10% to 50% has a width of 40% (because 50% minus 10% is 40%). As another example, a state of charge range of at least 2% and at most 5% would have a width of 3% (because 5% minus 2% is 3%).
本発明者らは、上記セル(および上記セルを含むバッテリ)のサイクル寿命、ひいては上記セル(およびバッテリ)の寿命および性能が、充電速度に対する放電速度の高い比を採用することによって大幅に改善されてもよいことを認識および理解している。更に、本発明者らは、このような比を提供するために上記セルを制御する上記セルおよび/またはバッテリ管理システムを提供することによって、これらの比が採用されてもよいことを認識し、理解している。 The inventors have demonstrated that the cycle life of the cell (and the battery containing the cell), and thus the life and performance of the cell (and battery), is significantly improved by employing a high ratio of discharge rate to charge rate. I am aware and understand that this may be the case. Furthermore, the inventors recognize that these ratios may be employed by providing the cell and/or battery management system that controls the cell to provide such ratios; I understand.
本発明者らは、上記セル(および上記セルを含むバッテリ)のサイクル寿命、ひいては上記セル(およびバッテリ)の寿命および性能が、充電速度に対する放電速度の高い比を採用することによって大幅に改善されてもよいことを認識および理解している。更に、本発明者らは、このような比を提供するためにバッテリ内の上記セルまたはモジュールのストリングを制御するバッテリ管理システムを提供することによって、高電圧(例えば、60ボルト以上)印加においてもこれらの比を採用してもよいことを認識し理解している。例えば、いくつかの実施形態は、ストリングが一度にすべてまたは複数で充電され、個別にまたはより小さなセットで放電されてもよいように、セルのストリングを多重化するバッテリ管理システムに関する。これは、特定のロードおよび用途に所望または要求される生産率を提供しながら、サイクル寿命を改善するセルの充電速度に対する放電速度の実際の比をもたらすことができる。更に、本発明者らは、均一な電流分布で一度にストリングの一部(全部ではない)を放電させることも、サイクル寿命を改善する可能性があることを認識し、評価している。 The inventors have demonstrated that the cycle life of the cell (and the battery containing the cell), and thus the life and performance of the cell (and battery), is significantly improved by employing a high ratio of discharge rate to charge rate. I am aware and understand that this may be the case. Additionally, we have provided a battery management system that controls the strings of cells or modules within a battery to provide such a ratio, even at high voltage applications (e.g., 60 volts and above). It is recognized and understood that these ratios may be adopted. For example, some embodiments relate to a battery management system that multiplexes strings of cells such that the strings may be charged all or more at once and discharged individually or in smaller sets. This can result in a practical ratio of discharge rate to charge rate of the cell that improves cycle life while providing the desired or required production rate for a particular load and application. Additionally, the inventors have recognized and appreciated that discharging some (but not all) of the string at a time with a uniform current distribution may also improve cycle life.
例えば、4つのセルのストリングを有するバッテリでは、1つのストリングを一度に0.5アンペアでそれぞれ3時間放電し、次いで4つのストリングすべてを0.5アンペアで12時間充電してもよい。このように構成すると、放電速度と充電速度の実際の比は4:1となるが、ストリングを個別にそれぞれ3時間(合計12時間の放電時間)放電するのでユーザの視点からは1:1の比になるであろう。本発明者らは、このようなバッテリ管理システムが、ユーザがバッテリから望むものまたは必要とするものを提供しつつ、バッテリのサイクル寿命を実際に改善し得ることを認識し、評価している。いくつかの実施形態では、この一対の利点を提供する機能は、ユーザから隠されてもよく、ストリング、セルブロック、および/またはバッテリ自体に統合されてもよい。いくつかの実施形態において、所定のストリングは、少なくとも15個のセルを含んでもよい。 For example, in a battery with strings of four cells, one string may be discharged at 0.5 amps for 3 hours each, and then all four strings may be charged at 0.5 amps for 12 hours. With this configuration, the actual ratio of discharge rate to charge rate is 4:1, but from the user's perspective it is a 1:1 ratio since each string is discharged individually for 3 hours (12 hours total discharge time). It will be comparable. The inventors recognize and appreciate that such a battery management system can actually improve the cycle life of a battery while providing what the user wants or needs from the battery. In some embodiments, the functionality that provides this pair of benefits may be hidden from the user and may be integrated into the string, cell block, and/or battery itself. In some embodiments, a given string may include at least 15 cells.
本発明者らは、セルまたはモジュールのストリングと共に、このようなバッテリ管理システムを使用することにより、更に高電圧印加が可能であることを認識し、評価している。例えば、個々のセルまたはセルのモジュールをストリングとして直列に接続することにより、所定のストリングの総電圧および/またはロードに印加される電圧は、個々のセルから入手できるかもしれない4.1ボルトよりもはるかに高くなり得る。例えば、本発明者らは、いくつかの用途では、60ボルト、80ボルト、110ボルト、220ボルト、300ボルト、400ボルト、あるいは800~2000ボルトの電圧が必要であり、セルまたはモジュールのストリングを有するこのようなバッテリ管理システムは、これらおよび他の電圧のいずれかまたはすべてを提供できることを認識および理解している。 The inventors have recognized and appreciated that even higher voltage applications are possible through the use of such battery management systems in conjunction with strings of cells or modules. For example, by connecting individual cells or modules of cells in series as a string, the total voltage and/or voltage applied to the load for a given string is greater than the 4.1 volts that might be available from the individual cells. can also be much higher. For example, we believe that some applications require voltages of 60 volts, 80 volts, 110 volts, 220 volts, 300 volts, 400 volts, or even 800-2000 volts, and that strings of cells or modules are It is recognized and understood that such battery management systems having a battery management system may provide any or all of these and other voltages.
本発明者らは、電気自動車などの、多くの用途が無中断電力とほぼ一定の電圧を必要とすることを認識し、理解している。例えば、電気自動車は、無中断電力とほぼ一定の電圧がないと、必要とされる加速度や性能を提供できない場合がある。このような用途において、1つのストリングまたはセルが放電されている場合、次のストリングまたはセルへの移行は、電力供給の中断と急激な電圧変動を生じさせるため、その第1のストリングの放電を終了し、次いで第2のストリングの放電を開始することによって単に実行すべきではないと、本発明者らは認識し理解しました。むしろ、この完全な中断を避けるために、第1のストリングが放電を停止する前に第2のストリングが放電を開始する必要がある。 The inventors recognize and understand that many applications, such as electric vehicles, require uninterrupted power and nearly constant voltage. For example, electric vehicles may not be able to provide the required acceleration or performance without uninterrupted power and a nearly constant voltage. In such applications, if one string or cell is being discharged, the transition to the next string or cell will result in an interruption in power supply and rapid voltage fluctuations, so discharging that first string is The inventors have recognized and understood that this should not be done simply by terminating and then starting the discharge of the second string. Rather, to avoid this complete interruption, the second string needs to start discharging before the first string stops discharging.
本発明者らは、放電するストリングを慎重に選択することにより、電圧変動を更に低減または回避できることを認識し、評価している。第1のストリング(システムが移行するストリング)は、通常、第2のストリングとは異なる電圧を有する(例えば、第1のストリングは、使用量が多いため、多くの場合、より低い電圧を有するが、第1のストリングは、より高い電圧を有することもあってもよい)。第1のストリングと第2のストリングとの間で移行するこの電圧の変化は、突入電流をもたらす。多くのバッテリ管理システムの回路および電子部品は、焼損せずに高電流を維持するように設計されていないため、本発明者らは、このような突入電流を最小限に抑えることの重要性を認識し、評価してきた。本発明者らは、電圧デルタを最小化するために放電するストリングを慎重に選択することが、そのような突入電流を最小化する最も望ましい方法であると認識し、評価している。このような突入電流を処理する他の方法には、プリチャージ回路または同様の構成要素を使用することが含まれる。しかしながら、そのような追加の構成要素は、バッテリシステムにコスト、複雑さ、体積、および重量を追加し、電気自動車のような様々な用途において、禁止されるかまたは大きく不利となる可能性がある。本発明者らは、電圧変動および結果として生じる突入電流を最小化する放電用のストリングを慎重に選択するために、本明細書中に記載される実施形態を使用して、そのような不利を回避できることを認識し、理解している。 The inventors have recognized and appreciated that voltage fluctuations can be further reduced or avoided by carefully selecting the strings to discharge. The first string (the string to which the system transitions) typically has a different voltage than the second string (e.g., the first string often has a lower voltage due to heavy usage, but , the first string may have a higher voltage). This voltage change passing between the first string and the second string results in an inrush current. Because many battery management system circuits and electronic components are not designed to sustain high currents without burning out, we emphasize the importance of minimizing such inrush currents. recognized and evaluated. The inventors have recognized and appreciate that careful selection of discharging strings to minimize voltage delta is the most desirable method of minimizing such inrush currents. Other methods of handling such inrush currents include using precharge circuits or similar components. However, such additional components add cost, complexity, volume, and weight to the battery system and may be prohibited or significantly disadvantageous in various applications such as electric vehicles. . We have used the embodiments described herein to carefully select strings for discharges that minimize voltage fluctuations and the resulting inrush currents to overcome such disadvantages. Recognize and understand that it can be avoided.
本発明者らは、全ての充電工程および/または全ての放電工程が目標比率を満足しない場合であっても、および/または比率が充電工程および/または放電工程の1部のみにわたって採用される場合であっても、および/または比率が全SOC範囲の1部のみを構成する充電状態範囲にわたって採用される場合であっても、改善されたセルサイクル寿命などの、本明細書中に記載されるそのような改善などを有してもよいことを認識し、高く評価している。 We believe that even if all charging steps and/or all discharging steps do not satisfy the target ratio, and/or if the ratio is employed over only a portion of the charging and/or discharging steps, described herein, such as improved cell cycle life, even when and/or ratios are employed over a range of charge states that constitute only a portion of the total SOC range. We recognize that such improvements may be made and highly value them.
例えば、いくつかの実施形態は、セルがSOC範囲(例えば、少なくとも2%および多くても60%、または多くても50%、または多くても30%、または多くても20%の幅を有する範囲)にわたって放電または充電されて速度比を満たし(例えば、前後の平均充電速度の少なくとも2倍または4倍の速度で放電することによって、または放電速度で同様の比率を確立するために充電することによって)、このSOC範囲のみが速度比を満たすようにセルを制御するセル管理システムに関する。言い換えれば、このSOC範囲の外側では、速度比は根本的に異なり、セルの健全性(または健康;health)にとって有益ではないが、このSOC範囲の内側では、速度比はセルの健全性にとって有益である。また、本明細書中における、多くても所定の割合の幅を有するSOC範囲に関する他の言及は、いくつかの実施形態において、そのSOC範囲外では、前述の速度比が満たされないことを意味する。 For example, some embodiments provide that the cells have a width of the SOC range (e.g., at least 2% and at most 60%, or at most 50%, or at most 30%, or at most 20%). range) to meet the rate ratio (e.g., by discharging at a rate at least twice or four times the average charge rate before and after, or charging to establish a similar ratio in discharge rate) The present invention relates to a cell management system that controls cells so that only this SOC range satisfies the speed ratio. In other words, outside this SOC range, the speed ratio is fundamentally different and not beneficial to the health of the cell, but inside this SOC range, the speed ratio is beneficial to the health of the cell. It is. Also, other references herein to an SOC range having a width of at most a predetermined percentage mean that, in some embodiments, outside that SOC range, the aforementioned speed ratios are not met. .
別の例として、いくつかの実施形態は、セルがSOC範囲(例えば、少なくとも2%および多くても60%の幅を有する範囲)にわたって放電または充電され、速度比(例えば、過去5サイクルのいずれかの平均充電速度の少なくとも2倍の速度で放電することによって、または放電速度との同様の比率を確立するために充電することによって)を満たすようにセルを制御するセル管理システムに関する。別の例として、いくつかの実施形態では、直近の5サイクル以内に比率が満たされていない場合、別の比率を満たすために(例えば、直近の5サイクルのいずれかの平均放電速度の少なくとも2倍の速度で放電するが、最大推奨連続放電速度の多くても4倍の速度で放電することによって)、セルはSOC範囲にわたって放電される。 As another example, some embodiments allow a cell to be discharged or charged over a SOC range (e.g., a range having a width of at least 2% and at most 60%) and a rate ratio (e.g., any of the past five cycles). The present invention relates to a cell management system that controls a cell to meet the requirements of the invention by discharging at a rate at least twice its average charging rate, or by charging to establish a similar ratio with the discharging rate. As another example, in some embodiments, if a ratio has not been met within the last five cycles, another ratio can be met (e.g., at least 2 times the average discharge rate of any of the last five cycles). (by discharging at twice the rate, but at most four times the maximum recommended continuous discharge rate), the cell is discharged over the SOC range.
更なる例として、いくつかの実施形態では、セルはSOC範囲にわたって充電され、その範囲にわたって増加する充電速度を提供する。例えば、充電速度は、直線的、放物線的、または指数関数的に増加することが可能である。本発明者らは、充電工程の開始時にセルまたは複数のセルをよりゆっくりと充電し、時間と共に充電速度を(例えば、徐々にまたはそうでなく)増加させることにより、著しく長いサイクル寿命(例えば、一定速度または減少速度の充電条件と比較して50%長いサイクル寿命)を実現できることを認識し、高く評価している。充電工程の終了時まで増加する速度で充電することは、特に有益である可能性がある。一方、急速充電は、特にリチウム金属電極活物質にとって、サイクル寿命に特に有害である可能性がある。更に、本発明者らは、用途またはユーザによって要求される平均的で全体的な充電速度を提供しながら、充電速度を増加させることが依然として使用されてもよいことを認識し、高く評価している。また、本発明者らは、このような方法で充電速度を制御することにより、放電速度または充電速度と放電速度との間の任意の比率に関係なく、本明細書中に記載の多くの利点を達成してもよいことを認識し、高く評価している。本発明者らは更に、充電速度は放電速度よりも制御しやすく、セルに有益なプロファイルに従うことができることを認識し、理解している(例えば、ロードの放電要求は理想的なセル条件から大きく外れている可能性があるが、それでも迅速に満たさなければならない一方、充電はより良いセル処理のためにはるかに多くの時間を有する可能性があり、アルゴリズムによって制御される可能性が高い)。 As a further example, in some embodiments, cells are charged over a SOC range, providing an increasing charging rate over that range. For example, the charging rate can increase linearly, parabolically, or exponentially. By charging the cell or cells more slowly at the beginning of the charging process and increasing the charging rate over time (e.g., gradually or otherwise), we achieved significantly longer cycle lives (e.g., 50% longer cycle life compared to constant or decreasing rate charging conditions). Charging at an increasing rate until the end of the charging process can be particularly beneficial. On the other hand, fast charging can be particularly detrimental to cycle life, especially for lithium metal electrode active materials. Further, the inventors recognize and appreciate that increasing the charging rate may still be used while providing the average overall charging rate required by the application or user. There is. We also believe that by controlling the charging rate in this manner, regardless of the discharging rate or any ratio between charging and discharging rates, many of the benefits described herein can be achieved. They recognize that it is okay to achieve this goal and highly value it. The inventors further recognize and understand that the charge rate is easier to control than the discharge rate and can follow a profile that is beneficial to the cell (e.g., the discharge demands of a load can vary significantly from ideal cell conditions). It may be off but still has to be filled quickly, while charging may have much more time for better cell processing (and is likely to be controlled by an algorithm).
いくつかの実施形態では、セルは、追加的なSOC範囲にわたって放電され、それらの範囲にわたって減少する放電速度を提供してもよい。本発明者らは、放電工程にわたって放電速度を減少させること、特に充電工程にわたって充電速度を増加させることと組み合わせることで、セルサイクル寿命を更に改善できることを認識し、高く評価している。 In some embodiments, cells may be discharged over additional SOC ranges to provide decreasing discharge rates over those ranges. The inventors recognize and appreciate that cell cycle life can be further improved by reducing the discharge rate over the discharge process, especially in combination with increasing the charge rate over the charge process.
追加的な例として、いくつかの実施形態では、放電中に閾値SOC(例えば、60%以下)に達すると、放電速度は、サイクル履歴における少なくとも1つのサイクルの平均充電速度の少なくとも2倍に増加される。いくつかの実施形態では、充電工程が終了され(例えば、60%のSOCで)、放電が開始され、そこでセルは、少なくとも1%の幅を有するSOC範囲にわたって、終了された充電工程またはサイクル履歴内の少なくとも1つのサイクルの平均充電速度の少なくとも2倍の速度で放電される。追加的な実施形態では、セルは SOC範囲(例えば、少なくとも2%および多くても60%、または多くても50%、または多くても30%、または多くても20%の幅を有する範囲)で放電され、次いで、放電速度が平均充電速度の少なくとも2倍であるように充電される。 As an additional example, in some embodiments, upon reaching a threshold SOC (e.g., 60% or less) during discharge, the discharge rate increases to at least twice the average charge rate for at least one cycle in the cycle history. be done. In some embodiments, the charging step is terminated (e.g., at 60% SOC) and discharging is initiated, where the cell is discharged over the terminated charging step or cycle history over a SOC range having a width of at least 1%. The battery is discharged at a rate at least twice the average charging rate for at least one of the cycles. In additional embodiments, the cell has a SOC range (e.g., a range having a width of at least 2% and at most 60%, or at most 50%, or at most 30%, or at most 20%) and then charged such that the discharge rate is at least twice the average charging rate.
追加の例として、いくつかの実施形態では、放電中に閾値SOC(例えば、60%以下)に達すると、放電速度は、サイクル履歴の少なくとも1つのサイクルの少なくとも1部の平均充電速度の少なくとも2倍に増加する。いくつかの実施形態では、充電工程が終了され(例えば、60%のSOCで)、放電が開始され、そこでセルは、少なくとも1%の幅を有するSOC範囲にわたって、終了された充電工程またはサイクル履歴内の少なくとも1つのサイクルの少なくとも1部の平均充電速度の少なくとも2倍の速度で放電される。更なる実施形態では、セルはSOC範囲(例えば、少なくとも2%および多くても60%、または多くても50%、または多くても30%、または多くても20%の幅を有する範囲)にわたって放電され、次いで、放電速度が平均充電速度の少なくとも2倍であるように充電される。 As an additional example, in some embodiments, when a threshold SOC (e.g., 60% or less) is reached during discharge, the discharge rate is at least 2 times the average charge rate for at least a portion of at least one cycle of the cycle history. increase twice. In some embodiments, the charging step is terminated (e.g., at 60% SOC) and discharging is initiated, where the cell is discharged over the terminated charging step or cycle history over a SOC range having a width of at least 1%. The battery is discharged at a rate that is at least twice the average charging rate for at least a portion of at least one cycle of the battery. In further embodiments, the cells span a SOC range (e.g., a range having a width of at least 2% and at most 60%, or at most 50%, or at most 30%, or at most 20%). It is discharged and then charged such that the discharge rate is at least twice the average charging rate.
更なる実施形態では、急速充電要求が受信されていない場合、セルは、第1のSOC範囲(例えば、少なくとも2%の幅を有し、多くても60%、または多くても50%、または多くても30%、または多くても20%の幅を有する範囲)にわたって充電され、次いで、第1のSOC範囲における速度が第2のSOC範囲における平均速度の多くても0.5倍であるように、第2のSOC範囲にわたって充電される。いくつかの実施形態では、セルは放電され、次いで直ちに第1のSOC範囲(例えば、少なくとも2%および多くても60%、または多くても50%、または多くても30%、または多くても20%の幅を有する範囲)にわたって充電され、次の4サイクルの終わりまでに、第1のSOC範囲にわたる速度が第2のSOC範囲における平均速度の多くても0.5倍であるような第2のSOC範囲にわたってセルが充電されるように、今後の充電スケジュールが設定され、実行される。 In further embodiments, if a fast charge request is not received, the cell is configured to operate at a first SOC range (e.g., having a width of at least 2% and at most 60%, or at most 50%, or the speed in the first SOC range is at most 0.5 times the average speed in the second SOC range. As such, it is charged over the second SOC range. In some embodiments, the cell is discharged and then immediately discharged to a first SOC range (e.g., at least 2% and at most 60%, or at most 50%, or at most 30%, or at most 20% width) such that by the end of the next four cycles, the rate over the first SOC range is at most 0.5 times the average rate in the second SOC range. A future charging schedule is set and executed so that the cells are charged over a SOC range of 2.
更に、本発明者らは、本明細書中に記載されるような分析および制御が、セルおよび/またはバッテリ管理システムによって実行されてもよいことを認識し、高く評価している。 Additionally, the inventors recognize and appreciate that analysis and control as described herein may be performed by a cell and/or battery management system.
複数のセルを有する実施形態などのいくつかの実施形態は、上記セルが一度に全て充電され(または複数のセルが同時に放電され)、個別にまたはより小さなセットで放電されてもよいように上記セルを多重化するバッテリ管理システムに関する。これにより、特定のロードや用途に所望または要求される出力速度を提供しながら、サイクル寿命を向上させる上記セルの充電速度に対する放電速度(または他の放電速度に対する放電速度、または他の充電速度に対する充電速度)の実際の比をもたらすことができる。更に、本発明者らは、均質な電流分布で一度に上記セルの全てではなく一部を放電させることも、サイクル寿命を改善する可能性があることを認識し、評価している。 Some embodiments, such as embodiments with multiple cells, allow the cells to be charged all at once (or discharged simultaneously) and may be discharged individually or in smaller sets. The present invention relates to a battery management system that multiplexes cells. This improves cycle life while providing the desired or required output rate for a particular load or application. Charging speed) can bring about the actual ratio. Additionally, the inventors have recognized and appreciated that discharging some, but not all, of the cells at once with a homogeneous current distribution may also improve cycle life.
例えば、4つの上記セルを有するバッテリでは、1つのセルを一度に0.5アンペアでそれぞれ3時間放電し、次いで4つの上記セルすべてを0.5アンペアで12時間充電してもよい。このように構成すると、放電速度と充電速度の実際の比が4:1になるが、上記セルがそれぞれ3時間ずつ放電する(合計12時間の放電時間)のでユーザの観点からは1:1の比である。本発明者らは、このようなバッテリ管理システムが、ユーザがバッテリに望むものまたは必要とするものを提供しつつ、実際にバッテリのサイクル寿命を向上させ得ることを認識し、理解している。いくつかの実施形態において、この2つの利点を提供する機能は、ユーザから見えなくてもよく、かつ上記セルブロックおよび/またはバッテリ自体に組み込まれてもよい。 For example, in a battery with four such cells, one cell at a time may be discharged at 0.5 amps for 3 hours each, and then all four such cells may be charged at 0.5 amps for 12 hours. With this configuration, the actual ratio of discharge rate to charge rate is 4:1, but from the user's point of view it is a 1:1 ratio since each of the cells discharges for 3 hours (total discharge time of 12 hours). It is a ratio. The inventors recognize and understand that such a battery management system can actually improve the cycle life of the battery while providing what the user wants or needs from the battery. In some embodiments, the functionality that provides these two benefits may be invisible to the user and may be incorporated into the cell block and/or the battery itself.
本発明者らは、特に、「ラウンドロビン(round robin)」のような非常に単純な選択プロセス、または前回の放電サイクルの数を考慮することに依存していた従来技術と比較して、上記セルのサイクルおよび様々な特性(ロードと現在ロードに接続されている上記セルとの間の接続期間、または複数のパラメータを考慮するより複雑な関数など)を監視し、この監視に基づいて、いつ放電する上記セルを選択することによってバッテリのサイクル寿命を更に改善できることを認識および理解している。 In particular, the inventors have found that the above It monitors cell cycles and various characteristics (such as the duration of the connection between the load and the above cell currently connected to the load, or more complex functions that take into account multiple parameters) and, based on this monitoring, determines when It is recognized and understood that battery cycle life can be further improved by selecting the cells to be discharged.
図1Aは、代表的な上記セル管理システム100を示す。いくつかの実施形態において、代表的なシステム100は、コントローラ(例えば、114)および電気化学セル(例えば、121A)を含んでもよい。いくつかの実施形態では、上記セル121Aは、単独で存在してもよい。他の実施形態では、更なる上記セル(例えば、図1Aの任意の上記セル121Bおよび121C)および/または更なる上記セルセット(例えば、図1Aの任意の上記セルセット122)が存在してよい(例えば、バッテリ120を形成するために)。任意に、システム100は、1つ以上のセンサ(例えば、116)を含んでもよい。図1Aには単一のコントローラ114および単一のセンサ116のみが示されているが、これらの構成要素の任意の好適な数が使用されてもよいことを理解されたい。多数の異なる実施態様のいずれかが採用されてもよい。 FIG. 1A shows a typical
いくつかの実施形態によれば、上記セル121Aは、少なくとも1つのリチウム金属電極活物質(または活性材料;active material)を含んでもよい。更に、上記セルの各セット(例えば、上記セルセット121)は、1つ以上のセル(例えば、121A~121C)を含んでもよい。いくつかの実施形態では、上記セルの各セットは、単一のセルを備えてもよい。代替的に、上記セルの各セットは複数のセルを含んでよく、上記セル「ブロック」を形成してもよく、または上記セルの複数のセットが共になって上記セルブロックを形成してもよい。更に、各セル(バッテリ、バッテリパック内の全てのバッテリ、または上記セルのセット内のいずれか)または上記セルのセットは、同じ電気化学を利用してもよい。すなわち、いくつかの実施形態では、各セルは、同じアノード活物質および同じカソード活物質を利用してもよい。 According to some embodiments, the
複数のセルを有する実施形態などのいくつかの実施形態では、以下の図1Bに関連して説明されるような多重化スイッチ装置(図1Aには示されていない)が含まれてもよく、以下の図3Aおよび図3Bに関連して更に説明されるようなスイッチのアレイが含まれてもよい。更に、多重化スイッチ装置は、上記セルの各セットに、および/または各セルに個別に接続されてもよい。いくつかの実施形態では、114などのコントローラは、多重化スイッチ装置を使用して、上記セルのセットを選択的に放電させてもよい。 Some embodiments, such as embodiments with multiple cells, may include multiplexing switch equipment (not shown in FIG. 1A) as described in connection with FIG. 1B below; An array of switches may be included as further described in connection with FIGS. 3A and 3B below. Furthermore, a multiplexing switch device may be connected to each set of said cells and/or to each cell individually. In some embodiments, a controller such as 114 may use a multiplexing switch device to selectively discharge the set of cells.
いくつかの実施形態において、コントローラ(例えば、114)は、1つ以上のプロセッサを含んでもよく、これらのプロセッサは、アプリケーションに適した任意の複雑さであってもよい。代替的にまたは追加的に、コントローラは、アナログ回路および/またはプロセッサまたはマイクロプロセッサよりも複雑でない論理デバイスを含んでもよい。 In some embodiments, the controller (eg, 114) may include one or more processors, and these processors may be of any complexity appropriate for the application. Alternatively or additionally, the controller may include analog circuitry and/or logic devices less complex than a processor or microprocessor.
いくつかの実施形態において、コントローラは、上記セルの充電サイクルの少なくとも一部のために、上記セルが、前回の放電サイクルの少なくとも一部の放電速度または放電電流よりも低い充電速度または充電電流で充電されるように、上記セルを制御してもよい。例えば、コントローラは、上記セルの再充電容量のある割合(例えば、再充電容量の1%から100%のどこか)に対して、上記セルの放電容量のある割合(例えば、放電容量の1%から100%のどこか)に対して平均的に使用された放電速度または放電電流よりも平均的に少なくとも2倍低い(すなわち、充電速度または充電電流は放電速度または放電電流の半分の速度である)充電速度または充電電流で上記セルに充電させることができる。代替的にまたは追加的に、コントローラは、放電速度よりも少なくとも4倍低い充電速度または充電電流で上記セルを充電させることができる(例えば、この制御の結果、最後の放電/充電サイクルにわたって、上記セルが上記セルの放電容量のある割合のために放電されたのと1/4の速度で上記セルの再充電容量のある割合のために充電される)。本発明者らは、放電速度に対する充電速度のこのような比が、上記セルの性能およびサイクル寿命を向上させ得ることを認識し、理解している。 In some embodiments, the controller is configured to cause the cell to operate at a lower charging rate or current for at least a portion of the charging cycle of the cell than a discharge rate or current for at least a portion of the previous discharge cycle. The cell may be controlled to be charged. For example, the controller may determine that for a certain percentage of the cell's recharge capacity (e.g., anywhere from 1% to 100% of the recharge capacity), a certain percentage of the cell's discharge capacity (e.g., 1% of the discharge capacity). on average at least two times lower than the averagely used discharge rate or discharge current (i.e., the charging rate or current is half the rate of the discharge rate or current) ) The cell can be charged at a charging rate or charging current. Alternatively or additionally, the controller may cause the cell to be charged at a charge rate or charge current that is at least four times lower than the discharge rate (e.g., as a result of this control, over the last discharge/charge cycle, the The cell is charged for a percentage of the cell's recharge capacity at one-fourth the rate that it was discharged for a percentage of the cell's discharge capacity). The inventors recognize and understand that such a ratio of charge rate to discharge rate can improve the performance and cycle life of the cell.
いくつかの実施形態において、上記セルを制御することは、充電および放電を開始および停止するタイミングおよび方法、放電を誘導すること、充電または放電の速度または電流を増加または減少させること等を制御することを含んでもよい。例えば、上記セルの充電または放電を制御することは、それぞれ、充電または放電を開始すること、充電または放電を停止すること、充電または放電の速度または電流を増加または減少させること等を含んでもよい。 In some embodiments, controlling the cell includes controlling when and how to start and stop charging and discharging, inducing discharge, increasing or decreasing the rate or current of charging or discharging, etc. It may also include. For example, controlling the charging or discharging of the cell may include, respectively, starting charging or discharging, stopping charging or discharging, increasing or decreasing the charging or discharging rate or current, etc. .
いくつかの実施形態では、セルの容量の少なくとも5%(または少なくとも1%、または少なくとも10%、または少なくとも15%、または少なくとも25%、またはその間のどこか)が充電される期間にわたって、平均充電速度または平均充電電流が、例えば、直前の放電サイクルまたは以前の放電サイクルであってもよい、前回の放電サイクル中にセルの容量の少なくとも5%(または少なくとも10%、または少なくとも15%、または少なくとも25%、またはその間のどこか)を放電するのに用いられる平均放電速度または平均充電電流よりも低くなるように、セルが充電される。 In some embodiments, the average charge over a period in which at least 5% (or at least 1%, or at least 10%, or at least 15%, or at least 25%, or anywhere in between) of the cell's capacity is charged. If the rate or average charging current is at least 5% (or at least 10%, or at least 15%, or at least 25%, or somewhere in between) than the average discharge rate or average charging current used to discharge the cell.
いくらかの実施形態において、充電工程は、上記セルまたはバッテリの容量の少なくとも5%(または少なくとも10%、少なくとも25%、少なくとも50%、または少なくとも75%)について、充電速度および/または充電電流の平均が、上記セルまたはバッテリの容量の少なくとも5%(または少なくとも10%、少なくとも25%、少なくとも50%、または少なくとも75%)が前回の放電工程中に放電した平均放電速度および/または平均放電電流の50%未満(または35%未満、または25%未満)であるように実行される。 In some embodiments, the charging step includes an average charging rate and/or charging current for at least 5% (or at least 10%, at least 25%, at least 50%, or at least 75%) of the capacity of the cell or battery. of the average discharge rate and/or average discharge current at which at least 5% (or at least 10%, at least 25%, at least 50%, or at least 75%) of the capacity of said cell or battery was discharged during the previous discharge step. performed such that it is less than 50% (or less than 35%, or less than 25%).
いくつかの実施形態では、直前回の放電サイクル中の平均放電速度または平均放電電流は、充電サイクル中の平均充電速度または平均充電電流と等しいかまたは小さくてもよく、直前回の放電サイクル中の上記セルの放電容量の少なくとも5%の放電時の平均放電速度または平均放電電流は、充電サイクル中の平均充電速度または平均充電電流の少なくとも2倍(または4倍)高くてもよい。本発明者らは、前回の放電サイクル中の上記セルの放電容量の少なくとも一部(5%など)の放電中に、平均放電速度または平均放電電流がその間の平均充電速度または平均充電電流よりも十分に(例えば、少なくとも2倍、3倍、または4倍)高い限り、上記セルの平均放電速度が充電速度と同じであるかまたは更に遅い場合でも、上記セルサイクル寿命の改善など本書に記載する改善を依然として有してもよいと認識し理解している。 In some embodiments, the average discharge rate or average discharge current during the previous discharge cycle may be less than or equal to the average charge rate or average charge current during the previous discharge cycle, and The average discharge rate or average discharge current during discharge of at least 5% of the discharge capacity of the cell may be at least two times (or four times) higher than the average charge rate or average charge current during a charging cycle. We determined that during the discharge of at least a portion (such as 5%) of the discharge capacity of said cell during the previous discharge cycle, the average discharge rate or average discharge current is lower than the average charge rate or average charge current during that time. Improvements in cell cycle life as described herein, even if the average discharge rate of the cell is the same as the charge rate or even slower, as long as it is sufficiently high (e.g., at least 2 times, 3 times, or 4 times) higher. We recognize and understand that there may still be improvements.
本明細書中で使用されるように、上記セルが所定の期間にわたって(例えば、充電工程の一部にわたって、充電工程全体にわたって、または一連の充電工程にわたって)複数の異なる速度で充電される場合、その所定の期間における平均充電速度は以下のように計算される。
本明細書中で使用されるように、上記セルが所定の期間にわたって(例えば、所定の充電工程または一連の充電工程にわたって)複数の異なる速度で放電される場合、その所定の期間における平均放電速度は、以下のように計算される。
本発明者らは、リチウム金属上記セルなどの上記セルの性能およびサイクル寿命を向上させ得る充電速度の決定には、放電速度、上記セルインピーダンス、および/または上記セルの健全性状態(SOH)を含んでもよい多数の要因が入ることを認識および理解している。いくつかの実施形態では、コントローラは、それらの各々を決定するために使用してもよいパラメータまたは特性を(センサ116を介してなど)測定してもよいので、これらの要因を認識してもよい。コントローラは、充電および放電電流、加えられたまたは除去されたクーロン、上記セルインピーダンス(容量性および抵抗性)、および/または上記セルの圧力、サイズ、および/または厚さを直接的または間接的に測定してもよい。 The inventors have determined that the discharge rate, the cell impedance, and/or the state of health (SOH) of the cell can be used to determine the charging rate that can improve the performance and cycle life of the cell, such as a lithium metal cell. You acknowledge and understand that there are numerous factors that may come into play. In some embodiments, the controller may be aware of these factors because it may measure parameters or characteristics (such as via sensor 116) that may be used to determine each of them. good. The controller directly or indirectly controls charging and discharging currents, added or removed coulombs, the cell impedance (capacitive and resistive), and/or the cell pressure, size, and/or thickness. May be measured.
いくつかの実施形態では、コントローラは、上記セルのそのような特性を監視してもよい。例えば、特性は、上記セルの放電履歴の少なくとも一部を含んでもよい。代替的にまたは追加的に、特性は、上記セルの少なくとも1つの形態的特性を含んでもよい。コントローラは、圧力センサ、厚さを測定するゲージ、表面粗さおよび/またはピット(アノードにおけるピットなど)を測定または判定するセンサ、および/または上記セルの充電/放電履歴を記憶するためのメモリなどのセンサ116を用いてこれらのいずれかを監視してもよい。例えば、一軸圧力および/またはガス圧(上記セルが過剰な量のガスを発生させるかどうかを判断するためなど)を測定するための圧力センサを含んでもよい。代替的または付加的に、上記セルの厚さを測定するためのゲージが含まれてもよく、コントローラは厚さの少なくとも1つの増加率を決定し、監視してもよい。 In some embodiments, the controller may monitor such characteristics of the cell. For example, the characteristics may include at least a portion of the discharge history of the cell. Alternatively or additionally, the characteristics may include at least one morphological characteristic of the cell. The controller may include a pressure sensor, a gauge to measure thickness, a sensor to measure or determine surface roughness and/or pits (such as pits in an anode), and/or a memory to store charge/discharge history of the cell. The
いくつかの実施形態では、コントローラは、特性などのこの情報を使用して、使用する充電方法および/または速度を決定してもよく、これは、本明細書中に記載されるように、速度または他のパラメータを制御することを含んでもよい。 In some embodiments, the controller may use this information, such as the characteristics, to determine the charging method and/or speed to use, which, as described herein, or may include controlling other parameters.
いくつかの実施形態において、コントローラは、上記セルの充電状態(SOC)および健康状態(SOH)を決定する際に、いくつかの要因のいずれかを考慮してもよい。例えば、上記セルインピーダンスについては、上記セルモデルは、抵抗器(RP)とコンデンサ(C1)の並列組み合わせと直列(RS)の抵抗器を示す図1Eに示すように簡略化してもよい。インピーダンス測定は、実数成分と虚数成分の2つの成分を持つことがある。実数成分とは、単純に直流抵抗R=RS+RPとしてもよい。この場合の虚数(または無効)成分はXC:
XC=1/(2πfc)
(ここで、fは周波数、cは静電容量である。)
であり、これは周波数に反比例して影響される。インピーダンス(Z)は、任意の周波数で求めることができ、位相角は以下の式:
のように既知であるか、または決定してもよい。インピーダンスは、SOCとSOHの両方で変化する可能性がある。本発明者らは、これらの関係により、本明細書中に記載の改善を提供するために、コントローラが上記セルを充電する方法を決定してもよいことを認識し、理解している。 In some embodiments, the controller may consider any of several factors in determining the state of charge (SOC) and state of health (SOH) of the cell. For example, regarding the cell impedance, the cell model may be simplified as shown in FIG. 1E, which shows a parallel combination of a resistor (RP) and a capacitor (C1) and a resistor in series (RS). Impedance measurements may have two components: a real component and an imaginary component. The real component may simply be DC resistance R=RS+RP. The imaginary (or invalid) component in this case is XC:
XC=1/(2πfc)
(Here, f is frequency and c is capacitance.)
, which is inversely affected by frequency. Impedance (Z) can be determined at any frequency, and the phase angle is calculated using the following formula:
may be known or determined. Impedance can change in both SOC and SOH. The inventors recognize and understand that due to these relationships, the controller may determine how to charge the cells to provide the improvements described herein.
本発明者らはまた、充電/放電サイクルおよび/または充電/放電工程のパルスは、RC時定数の約2倍または3倍に等しい速度よりも速く適用すべきではないことを認識および理解した、なぜならより速い速度では、エネルギーの大部分が上記セルの充電または放電に有効でない可能性があるからである。むしろ、ほとんどが反応性であり、エネルギーのほとんどが静電容量によって戻されるか、または抵抗に消散する可能性がある。 The inventors have also recognized and understood that the charge/discharge cycle and/or the pulse of the charge/discharge step should not be applied faster than a rate equal to approximately two or three times the RC time constant. This is because at higher speeds, most of the energy may not be available for charging or discharging the cell. Rather, it is mostly reactive and most of the energy can be returned by capacitance or dissipated into resistance.
本発明者らは、更に、上記セルがサイクルごとに厚さを成長および収縮させ、成長の一部がサイクルごとに保持されることを認識および理解している。この成長および収縮は、上記セルの圧力および/またはサイズ変化を直接監視することによって測定してもよい。これらは、SOCおよびSOHを決定する際に使用されてもよい更なる入力であり、また、上記セルを充電する方法を決定する際に使用されてもよい。 The inventors further recognize and understand that the cells grow and contract in thickness with each cycle, and a portion of the growth is retained with each cycle. This growth and contraction may be measured by directly monitoring pressure and/or size changes in the cell. These are further inputs that may be used in determining the SOC and SOH, and may also be used in determining how to charge the cell.
いくつかの実施形態において、コントローラは、上記セルの特性に基づいて上記セルの充電を制御してもよい。例えば、上記セルが、少なくとも前回の放電サイクルの一部について、ある放電速度または放電電流(300mAなど)で放電する放電サイクルまたは履歴を有していた場合、上記セルは、充電サイクルの少なくとも一部について、より低い速度または電流(150mAまたは75mAなど)で充電するように制御されてもよい。 In some embodiments, a controller may control charging of the cell based on characteristics of the cell. For example, if the cell had a discharge cycle or history of discharging at a discharge rate or discharge current (such as 300 mA) for at least a portion of the previous discharge cycle, then the cell may be controlled to charge at a lower rate or current (such as 150 mA or 75 mA).
誘導された放電を含むいくつかの実施形態では、コントローラは、充電サイクルの少なくとも一部(サイクルの5%など)について、上記セルが、誘導された放電以外の(すなわち、含まない)前回の放電サイクルの少なくとも一部の放電速度または放電電流より低い充電速度または充電電流で充電されるように上記セルを制御してもよい。 In some embodiments that include an induced discharge, the controller determines, for at least a portion of the charge cycle (such as 5% of the cycles), that the cell has undergone a previous discharge other than (i.e., does not include) an induced discharge. The cell may be controlled to be charged at a lower charging rate or current than the discharging rate or current for at least part of the cycle.
別の例として、コントローラは、印加された異方性圧力が閾値を下回ると上記セルの使用を終了してもよく、これは、圧力印加システム(その例については以下でより詳細に説明する)が損傷していることを示す場合がある。例えば、いくつかの実施形態では、そのような閾値は、公称印加異方性圧力の1%~50%であってよい。代替的または追加的に、コントローラは、圧力が高すぎるかまたは厚さが閾値より速く増加している場合、上記セルの使用を終了させてもよい。例えば、いくつかの実施形態では、そのような閾値速度は、1サイクルあたり厚さの増加の1%~3%またはそれ以上であってもよい。 As another example, the controller may terminate use of the cell when the applied anisotropic pressure falls below a threshold, which may occur in the pressure application system (an example of which is discussed in more detail below). may indicate damage. For example, in some embodiments, such a threshold may be between 1% and 50% of the nominally applied anisotropic pressure. Alternatively or additionally, the controller may terminate use of the cell if the pressure is too high or the thickness is increasing faster than a threshold. For example, in some embodiments, such threshold rate may be 1% to 3% or more of thickness increase per cycle.
図1Cは、代表的なバッテリ管理システム100を示す図である。複数のセルを有する実施形態などのいくつかの実施形態では、代表的なシステム100は、多重化スイッチ装置(例えば、112)、コントローラ(例えば、114)、1つ以上のセンサ(例えば、116)、および1つ以上のバッテリ(例えば、120、130、140、150、など)を含んでもよい。図1Cには、単一の多重化スイッチ装置112、コントローラ114、センサ116、および4つのバッテリ120~150のみが示されているが、これらの構成要素の任意の好適な数が使用されてもよいことを理解されたい。多数の異なる実施態様のいずれかが採用されてもよい。更に、本明細書では、多重化スイッチ装置を参照するために単数形のラベルが使用されているが、本明細書中に記載された多重化およびスイッチングに使用される構成要素は、任意の好適な数の装置(例えば、スイッチ)間に分散されてもよいと解されるべきである。 FIG. 1C is a diagram illustrating a typical
いくつかの実施形態によれば、バッテリは、少なくとも1つのリチウム金属バッテリを含んでもよい。更に、バッテリ(例えば、120~150)は、それぞれ、セルのセットとも呼ばれる1つ以上のセルセット(例えば、121~124、131~132、141~142、151~152等)を含んでもよい。いくつかの実施形態では、1つ以上のセルセットまたはセルのセットは、本明細書中に記載されるように、セルのストリングまたはセルストリングを形成してもよい(いくつかの実施形態では、121~124はストリングと呼ばれてもよい)。例えば、セルのストリングは、直列に接続されたセルのモジュールまたは個々のセルを含んでもよい。いくつかの実施形態では、モジュールのセルは、モジュール内で互いに並列に接続されてもよく、一方、モジュールは、互いに直列に接続されてもよい。代替的にまたは追加的に、モジュールのセルは、モジュール内で互いに直列に接続されてもよい。代替的にまたは追加的に、モジュールは互いに並列に接続されてもよい。 According to some embodiments, the battery may include at least one lithium metal battery. Further, each battery (eg, 120-150) may include one or more cell sets (eg, 121-124, 131-132, 141-142, 151-152, etc.), also referred to as a set of cells. In some embodiments, one or more cell sets or sets of cells may form a string of cells or cell strings, as described herein (in some embodiments, 121 to 124 may also be called strings). For example, a string of cells may include modules of cells or individual cells connected in series. In some embodiments, cells of a module may be connected in parallel with each other within a module, while modules may be connected in series with each other. Alternatively or additionally, the cells of the module may be connected in series with each other within the module. Alternatively or additionally, the modules may be connected in parallel with each other.
いくつかの実施形態では、2つ以上のセルのストリングまたはセットが、121~122などの各バッテリに含まれてもよい。更に、上記セルの各セット(例えば、上記セルセット121)は、1つ以上のセル(例えば、121A~121C)を含んでもよい。いくつかの実施形態では、上記セルの各セットは、単一のセルを有していてもよい。代替的に、セルの各セットは複数のセルを含んでよく、セル「ブロック」を形成してもよく、または上記セルの複数のセットが共に上記セルブロックを形成してもよい。更に、各セル(バッテリ、バッテリパック内の全てのバッテリ、または上記セルのセット内のいずれか)または上記セルのセットは、同じ電気化学を利用してもよい。すなわち、いくつかの実施形態では、各セルは、同じアノード活物質および同じカソード活物質を利用してもよい。 In some embodiments, two or more strings or sets of cells may be included in each battery, such as 121-122. Additionally, each set of cells (eg, cell set 121) may include one or more cells (eg, 121A-121C). In some embodiments, each set of cells may include a single cell. Alternatively, each set of cells may include a plurality of cells and may form a cell "block", or the plurality of sets of cells may together form the cell block. Additionally, each cell (either in a battery, all batteries in a battery pack, or in the set of cells) or set of cells may utilize the same electrochemistry. That is, in some embodiments, each cell may utilize the same anode active material and the same cathode active material.
いくつかの実施形態において、多重化スイッチ装置(例えば、112)は、以下の図9Aおよび図9Bに関連して更に説明されるようなスイッチのアレイを含んでもよい。更に、多重化スイッチ装置は、上記セルの各セットに、および/または各セルに個別に接続されてもよい。いくつかの実施形態において、114などのコントローラは、多重化スイッチ装置を使用して、少なくとも1つの基準に基づいて、セル、またはセルのセットを選択的に放電してもよい。 In some embodiments, the multiplexing switch device (eg, 112) may include an array of switches as further described in connection with FIGS. 9A and 9B below. Furthermore, a multiplexing switch device may be connected to each set of said cells and/or to each cell individually. In some embodiments, a controller, such as 114, may use a multiplexing switch device to selectively discharge cells, or sets of cells, based on at least one criterion.
いくつかの実施形態において、コントローラは、多重化スイッチ装置を使用して、モジュールを一度に1つずつ選択的にパルス放電し、バッテリ内のすべてのモジュールを通して順次移動させてもよい。 In some embodiments, the controller may use a multiplexing switch device to selectively pulse discharge one module at a time and sequentially move through all modules in the battery.
例えば、基準は、上記セルのセットに関連する予め定義された番号付けまたは順序(例えば、最初のセットから始まり、各セットを介して最後のセットまで切り替え、次いで最初のセットからやり直す)等の、上記セルのセットを放電する順序を含んでもよく、および、次いで高い電圧または次いで強いことを示す何らかの他の指標を有する上記セルのセットに基づく順序も含んでもよい。本発明者らは、順序、特に予め定義された番号付けを使用することにより、システム(例えば、マイクロプロセッサではないコントローラ)により実行される操作の複雑さを低減し、より広い配列のシステムにより使用可能であり得ることを認識し、理解している。 For example, the criterion may be a predefined numbering or order relating to the set of cells (e.g. starting with the first set, switching through each set to the last set, then starting over with the first set), etc. It may include an order of discharging the set of cells, and may also include an order based on the set of cells having a then higher voltage or some other indication of being stronger. By using ordering, especially predefined numbering, we reduce the complexity of operations performed by a system (e.g., a controller that is not a microprocessor) and can be used by a wider array of systems. Recognize and understand what is possible.
いくつかの実施形態において、114などのコントローラは、セルのストリングの少なくとも1つを監視および管理する少なくとも1つのセルストリング・コントローラ(例えば、セルストリングマイクロコントローラ)を含んでもよい。更に、コントローラは、バッテリの少なくとも1つの少なくとも1つのパラメータを監視および管理するように構成される少なくとも1つのバッテリ管理コントローラ(例えば、バッテリ管理マイクロコントローラ)を含んでもよい。例えば、セルストリングマイクロコントローラは、いくつかの実施形態において、バッテリ管理システムのすべてのストリングを監視し、ストリング間の多重化(およびストリングの充電および放電)を制御してもよい。更に、バッテリ管理マイクロコントローラは、いくつかの実施形態において、単一のストリングを監視してもよく、複数のバッテリ管理マイクロコントローラは、単一のセルストリングマイクロコントローラと連通してもよい。 In some embodiments, a controller such as 114 may include at least one cell string controller (eg, a cell string microcontroller) that monitors and manages at least one of the strings of cells. Additionally, the controller may include at least one battery management controller (eg, a battery management microcontroller) configured to monitor and manage at least one parameter of at least one of the batteries. For example, a cell string microcontroller may monitor all strings of a battery management system and control multiplexing between strings (as well as charging and discharging strings) in some embodiments. Further, a battery management microcontroller may monitor a single string in some embodiments, and multiple battery management microcontrollers may communicate with a single cell string microcontroller.
いくつかの実施形態において、セルストリングマイクロコントローラは、ストリングを接続および切断するためのそれ自身の別個の高電圧コントローラを含んでもよい。あるいは、個々のバッテリ管理マイクロコントローラは、セルストリングマイクロコントローラからの命令によってストリングをオンまたはオフにしてもよい、それぞれのストリング全体のための統合スイッチを含んでもよい。いくつかの実施形態において、各バッテリ管理マイクロコントローラは、少なくとも1つのCANバスおよび/またはシリアルバスを含んでもよい。 In some embodiments, the cell string microcontroller may include its own separate high voltage controller for connecting and disconnecting the strings. Alternatively, an individual battery management microcontroller may include an integrated switch for each entire string that may turn the string on or off according to instructions from the cell string microcontroller. In some embodiments, each battery management microcontroller may include at least one CAN bus and/or serial bus.
いくつかの実施形態では、バッテリ管理マイクロコントローラとセルストリングマイクロコントローラの位置と役割は、入れ替わってもよい。例えば、セルストリングマイクロコントローラは、その電圧および電流を監視することによって、また、バッテリ管理マイクロコントローラからの連通を監視することによって、所定のストリングの要求状態を決定してもよい。いくつかの実施形態では、セルストリングマイクロコントローラによって生じたスイッチング波形は、切り替えのための重複および不感帯要件が、バッテリ管理システムの用途(例えば、ロード要件‐バッテリ管理システムは、用途の電圧および電流要求を満たすために必要な直列、並列、または直列/並列トポロジーでセルストリングを接続するために必要なスイッチ多重化を含んでもよい)に適しているようにしてもよい。更に、バッテリ管理マイクロコントローラは、ストリングおよびセルの充電および放電を監視および制御して、すべての構成要素の安全な行為を保証してもよい。また、バッテリ管理マイクロコントローラは、エンドユーザだけでなく、内部の生産、校正、および試験装置と連通してもよい。 In some embodiments, the positions and roles of the battery management microcontroller and cell string microcontroller may be interchanged. For example, a cell string microcontroller may determine the desired state of a given string by monitoring its voltages and currents and by monitoring communication from a battery management microcontroller. In some embodiments, the switching waveforms produced by the cell string microcontroller may have overlap and deadband requirements for switching, battery management system applications (e.g., load requirements - battery management system may include switch multiplexing required to connect cell strings in series, parallel, or series/parallel topologies as required to meet Additionally, a battery management microcontroller may monitor and control the charging and discharging of strings and cells to ensure safe operation of all components. The battery management microcontroller may also communicate with internal production, calibration, and test equipment as well as end users.
いくつかの実施形態では、114などのコントローラは、多重化スイッチ装置を使用して、第1のストリングと第2のストリングとの間の電圧差を閾値電圧差未満に維持しながら、第1のセルのストリング(例えば、121)の放電と第2のセルのストリング(例えば、122~124のいずれか)の放電との間を移行してもよい。例えば、閾値電圧差は、移行から生じる突入電流が多くとも15アンペアとなるようなものであってもよい。いくつかの実施形態において、閾値電圧差は、移行から生じる突入電流が多くとも10アンペアまたは多くとも8アンペアであるようなものであってもよい。いくつかの実施形態によれば、ストリング間の電圧差をそのような閾値未満に保つことは、電圧変動を低減し、プリチャージ回路または同様の構成要素およびそれらの関連するコスト、複雑さ、体積、および重量に依存することなく、ロード(例えば、電気自動車の)に対する性能を改善または保証することにつながる。 In some embodiments, a controller, such as 114, uses a multiplexing switch device to maintain the voltage difference between the first string and the second string below a threshold voltage difference. There may be a transition between discharging a string of cells (eg, 121) and discharging a second string of cells (eg, any of 122-124). For example, the threshold voltage difference may be such that the inrush current resulting from the transition is at most 15 amps. In some embodiments, the threshold voltage difference may be such that the inrush current resulting from the transition is at most 10 Amps or at most 8 Amps. According to some embodiments, keeping voltage differences between strings below such thresholds reduces voltage fluctuations and eliminates the need for precharge circuits or similar components and their associated cost, complexity, and volume. , and leads to improving or guaranteeing performance on the road (for example of electric vehicles), independent of weight.
いくつかの実施形態において、閾値電圧差は、第1のストリングまたは第2のストリングの最大総電圧の多くとも8%であってよい。いくつかの実施形態において、閾値電圧差は、第1のストリングまたは第2のストリングの最大総電圧の多くとも5%であってもよい。いくつかの実施形態において、ストリングの最大総電圧は、ストリングが定格されている最大電圧および/またはストリングが有してもよい最大電圧であり、フル充電時の電圧であってもよい。いくつかの実施形態に従って、そのような電圧差閾値を使用すると、電圧変動を低減することができ、プリチャージ回路または同様の構成要素およびそれらの関連するコスト、複雑さ、体積、および重量に依存することなく、ロード(例えば、電気自動車の)に対する性能を改善または保証することにつながる。 In some embodiments, the threshold voltage difference may be at most 8% of the maximum total voltage of the first string or the second string. In some embodiments, the threshold voltage difference may be at most 5% of the maximum total voltage of the first string or the second string. In some embodiments, the maximum total voltage of the string is the maximum voltage the string is rated for and/or the maximum voltage the string may have, and may be the voltage at full charge. In accordance with some embodiments, the use of such voltage difference thresholds can reduce voltage fluctuations and depend on precharge circuits or similar components and their associated cost, complexity, volume, and weight. This leads to improving or guaranteeing the performance on the road (for example, of electric vehicles) without having to do so.
いくつかの実施形態では、114などのコントローラは、多重化スイッチ装置を使用して、バッテリの全出力電圧をウィンドウ内に維持しながら、第1のセルのストリングの放電と第2のセルのストリングの放電との間を移行してもよい。例えば、ウィンドウは、60ボルトなど、ロードによって要求される出力電圧の±10%であってもよい。いくつかの実施形態によれば、全出力電圧をそのようなウィンドウ内に維持することは、電圧変動を低減し、プリチャージ回路または同様の構成要素およびそれらに関連するコスト、複雑さ、体積、および重量に依存することなく(例えば、電気自動車の)性能を改善または確保することにつながる。 In some embodiments, a controller such as 114 uses a multiplexing switch device to discharge the first string of cells and discharge the second string of cells while maintaining the battery's full output voltage within a window. It may be possible to transition between the discharge of For example, the window may be ±10% of the output voltage required by the load, such as 60 volts. According to some embodiments, maintaining the total output voltage within such a window reduces voltage fluctuations and eliminates the need for precharge circuits or similar components and their associated cost, complexity, volume, and lead to improving or ensuring performance (eg of electric vehicles) independent of weight.
いくつかの実施形態では、114などのコントローラは、多重化スイッチ装置を使用して、移行から生じる突入電流を閾値電流未満に維持しながら、第1のセルのストリングの放電と第2のセルのストリングの放電との間で移行してもよい。例えば、閾値電流は、多くとも15アンペアであってよい。いくつかの実施形態において、閾値電流は、多くとも10アンペアであってもよい。 In some embodiments, a controller such as 114 uses a multiplexing switch device to discharge the first string of cells and discharge the second string of cells while maintaining the inrush current resulting from the transition below a threshold current. There may also be transitions between string discharges. For example, the threshold current may be at most 15 amps. In some embodiments, the threshold current may be at most 10 amps.
いくつかの実施形態において、閾値電圧差は、移行から生じる突入電流が多くとも15アンペアであってもよいようなものである。いくつかの実施形態では、閾値電圧差は、移行から生じる突入電流が多くとも10アンペアであってもよい。 In some embodiments, the threshold voltage difference is such that the inrush current resulting from the transition may be at most 15 Amps. In some embodiments, the threshold voltage difference may be such that the inrush current resulting from the transition is at most 10 Amps.
いくつかの実施形態によれば、移行から生じる突入電流を閾値電流未満に保つことは、電圧変動を低減し、プリチャージ回路または同様の構成要素およびそれらの関連するコスト、複雑さ、体積、および重量に依存せずに、(例えば、電気自動車の)性能を改善または確保することにつながる。 According to some embodiments, keeping inrush currents resulting from transitions below threshold currents reduces voltage fluctuations and reduces the need for precharge circuits or similar components and their associated cost, complexity, volume, and It leads to improving or ensuring performance (for example of electric vehicles) without depending on weight.
いくつかの実施形態において、コントローラは、2つ以上のセルのストリングのそれぞれの電圧間の比較に基づいて、第1のストリングからどのストリングに移行するかを決定してもよい。例えば、コントローラは、第1のストリングのみを放電している間の測定時に、第1のストリングから、考慮されているまたは利用可能なセルのストリングのうち、最も低い電圧差を有するセルのストリングに移行してもよい。いくつかの実施形態において、コントローラは、測定時に、セルのストリングのうち最も高い電圧を有するセルのストリングに移行してもよい。いくつかの実施形態において、コントローラは、測定時にセルのストリングのうち最も低い電圧を有するセルのストリングに移行してもよい。本発明者らは、最も近い電圧ストリングへの移行は、より計算コストがかかる一方で、多くの状況において最小デルタの最良の可能性を提供する可能性があり、一方、最高または最低電圧ストリングへの移行は、より計算コストがかからないがより正確ではない代替案となる可能性があることを認識および理解している。 In some embodiments, the controller may determine which string to transition from the first string based on a comparison between the voltages of each of the strings of two or more cells. For example, the controller may switch from the first string to the string of cells having the lowest voltage difference among the considered or available strings of cells during measurements while discharging only the first string. You may migrate. In some embodiments, the controller may transition to the string of cells with the highest voltage among the strings of cells during the measurement. In some embodiments, the controller may transition to the string of cells that has the lowest voltage among the strings of cells at the time of the measurement. We believe that moving to the nearest voltage string, while more computationally expensive, may provide the best chance of minimum delta in many situations, whereas moving to the highest or lowest voltage string We acknowledge and understand that the transition may be a less computationally expensive but less accurate alternative.
いくつかの実施形態では、コントローラは、第1のストリングの電圧が閾値電圧まで低下したときに、第1のストリングの放電と第2のストリングの放電との間を移行してもよい。例えば、閾値電圧は、移行から生じる突入電流が多くとも15アンペアまたは10アンペアであるような、または第1のストリングと第2のストリングの間の電圧差が第1のストリングまたは第2のストリングの最大総電圧の多くとも8%または5%であってもよいようなものであってもよい。いくつかの実施形態によれば、現在放電しているストリングが閾値電圧まで低下したときに別のストリングに移行することは、プリチャージ回路または同様の構成要素およびそれらの関連コスト、複雑さ、体積、および重量に依存せずに、電圧変動を低減し、(例えば、電気自動車の)性能を改善または確保することにつながり得る。 In some embodiments, the controller may transition between discharging the first string and discharging the second string when the voltage of the first string drops to a threshold voltage. For example, the threshold voltage may be such that the inrush current resulting from the transition is at most 15 amps or 10 amps, or the voltage difference between the first string and the second string is It may be such that it may be at most 8% or 5% of the maximum total voltage. According to some embodiments, transitioning to another string when a currently discharging string drops to a threshold voltage may require precharging circuitry or similar components and their associated cost, complexity, and volume. , and weight independent, can lead to reducing voltage fluctuations and improving or ensuring performance (for example, of electric vehicles).
いくつかの実施形態において、コントローラは、セルセットに関して本明細書中に記載される重複と同様に、第1のストリングと第2のストリングの放電を時間的に重複させてもよい。いくつかの実施形態において、コントローラは、異なるストリング間の切り替え中にセルのストリングから電力を供給し続けてもよく、セルセットに関して本明細書中で記載される電力の継続的な供給と同様である。本発明者らは、放電および電力の継続のこの時間的重複が、異なるセルのストリング間の移行中であってもロードの電力要求を維持し、これにより、従来技術と比較してセルのサイクル寿命を更に改善し得ることを認識および理解している。従って、このような重複の間、複数のストリングが同時に放電する可能性がある。更に、このような重複は、従来技術で可能であったよりもスムーズな電圧の移行を提供する可能性がある。 In some embodiments, the controller may temporally overlap the discharges of the first string and the second string, similar to the overlap described herein with respect to cell sets. In some embodiments, the controller may continue to provide power from the string of cells during switching between different strings, similar to the continuous provision of power described herein with respect to cell sets. be. We believe that this temporal overlap of discharge and power continuation maintains the load's power requirements even during transitions between different strings of cells, thereby making it possible to cycle the cells compared to the prior art. Recognize and understand that lifespan can be further improved. Therefore, during such overlap, multiple strings may discharge simultaneously. Furthermore, such overlap may provide smoother voltage transitions than was possible with the prior art.
いくつかの実施形態において、コントローラは、多重化スイッチ装置を使用して、少なくとも1つの基準に基づいてセルのストリングの少なくとも1つのパルス放電の持続時間を制御してもよい。例えば、基準は、ロードの需要(例えば、ロードの電力需要)、またはセルのストリングの少なくとも1つのストリングとセルのストリングの少なくとも1つの他のストリングとの間の電圧差を含んでもよい。 In some embodiments, the controller may control the duration of at least one pulsed discharge of the string of cells based on at least one criterion using a multiplexing switch device. For example, the criteria may include load demand (eg, load power demand) or a voltage difference between at least one string of cells and at least one other string of cells.
いくつかの実施形態では、基準は、ロードの需要を含んでいてもよく、コントローラは、多重化スイッチ装置を使用して、ロードの需要が減少する場合にはより長く、ロードの需要が増加する場合にはより短くなるようにパルス放電の持続時間を制御してもよい。例えば、ロードの電力需要が低い場合(例えば、定格電力の50%未満)、パルス放電を1分間実行するように制御してもよく、一方、電力需要が高い場合(例えば、定格電力の90%以上)、パルス放電を1秒未満に制御してもよく、あるいは、極めて高い需要の場合(電気自動車の発進など)に多数のストリングを同時に放電させてもよい。いくつかの実施形態に従って、パルス放電期間をロード需要に反比例させることは、プリチャージ回路または同様の構成要素およびそれらに関連するコスト、複雑さ、体積、および重量に依存せずに、電圧変動を低減し、(例えば、電気自動車の)性能を改善または保証することにつながる。 In some embodiments, the criteria may include load demand, and the controller uses a multiplexing switch device to increase load demand longer if load demand decreases. In some cases, the duration of the pulse discharge may be controlled to be shorter. For example, if the power demand of the load is low (e.g., less than 50% of rated power), the pulse discharge may be controlled to run for 1 minute, whereas if the power demand is high (e.g., 90% of rated power), the pulse discharge may be controlled to run for 1 minute. (above), the pulse discharge may be controlled to less than 1 second, or in case of very high demand (such as starting an electric vehicle) a large number of strings may be discharged simultaneously. In accordance with some embodiments, making the pulse discharge duration inversely proportional to load demand reduces voltage fluctuations without relying on precharge circuits or similar components and their associated cost, complexity, volume, and weight. reduction, leading to improved or guaranteed performance (for example of electric vehicles).
いくつかの実施形態では、114などのコントローラは、多重化スイッチ装置を使用して、第1のストリングを放電しながら、測定時に第1の電圧を有する第1のストリング(例えば、121)を放電してもよく、第2のストリングをまだ放電せず、次いで、考慮されているまたは利用可能な他のストリングから、第1の電圧に最も近い第2の電圧(測定時と同じ時間、または前の時間から1分以内の別の時間)を有してもよい第2のストリングをも放電してもよい。いくつかの実施形態によれば、最も近い電圧ストリングに移行することにより、プリチャージ回路または同様の構成要素およびそれらの関連するコスト、複雑さ、体積、および重量に依存することなく、電圧変動を低減し、(例えば、電気自動車の)性能を改善または確保することにつながる。 In some embodiments, a controller such as 114 uses a multiplexing switch device to discharge a first string (e.g., 121) having a first voltage at the time of measurement while discharging the first string. without discharging the second string yet, and then applying a second voltage closest to the first voltage (at the same time as at the time of measurement, or before) from the other strings being considered or available. The second string may also be discharged, which may have another time within 1 minute of the time. According to some embodiments, voltage fluctuations are eliminated by transitioning to the nearest voltage string without relying on precharge circuits or similar components and their associated cost, complexity, volume, and weight. and improve or ensure the performance (of electric vehicles, for example).
いくつかの実施形態では、基準は、ロードとロードに現在接続されているセルのセットとの間の接続の持続時間(いくつかの実施形態では少なくとも0.01秒であってもよい)、接続における送達放電容量、および1つまたは複数のパラメータを有する関数の値、のいずれか1つまたは複数を考慮することによってなど、状況に応じて行われてもよい(または文脈依存的であってもよい;may be context-sensitive)。いくらかの実施形態において、基準は、セルのセットの先行放電サイクルの数を含まなくてもよい。 In some embodiments, the criteria include the duration of the connection (which may be at least 0.01 seconds in some embodiments) between the load and the set of cells currently connected to the load, the connection (or may be context-dependent), such as by considering any one or more of the delivered discharge capacity, and the value of a function having one or more parameters. good; may be context-sensitive). In some embodiments, the criteria may not include the number of previous discharge cycles for the set of cells.
いくつかの実施形態において、関数は、以下のいずれか1つ以上などのパラメータを有してもよい:ロードとセルのセットとの間の複数の接続にわたって蓄積された容量、接続における送達された放電容量、セルのセットの電流、セルのセットおよび/または少なくとも1つの他のセルのセットの電圧、セルのセットのカットオフ放電電圧、セルのセットの電力、セルのセットのエネルギー、セルのセットの充電または放電サイクル数、セルのセットのインピーダンス、接続中のセルのセットの電圧減衰率、セルのセットの温度、およびセルのセットの圧力(例えば、物理的な囲いからセルにかかる圧力であり、これは、セルの容量を示す可能性があり、更に後述される)。いくつかの実施形態によれば、単一の接続部における送達された放電容量は、公称容量の0.01%から設定公称容量の100%までの範囲内(例えば、95%)であってもよい。 In some embodiments, the function may have parameters such as any one or more of the following: the accumulated capacity over multiple connections between the load and the set of cells; discharge capacity, current of the set of cells, voltage of the set of cells and/or at least one other set of cells, cut-off discharge voltage of the set of cells, power of the set of cells, energy of the set of cells, set of cells the number of charge or discharge cycles, the impedance of the set of cells, the rate of voltage decay of the set of cells during connection, the temperature of the set of cells, and the pressure of the set of cells (e.g., the pressure exerted on the cells from the physical enclosure). , which may indicate the capacity of the cell and will be discussed further below). According to some embodiments, the delivered discharge capacity at a single connection may range from 0.01% of the nominal capacity to 100% (e.g., 95%) of the set nominal capacity. good.
いくつかの実施形態において、センサ(例えば、116)は、基準および/または機能のパラメータのいずれかを測定してもよい。例えば、センサは、所与のセルのセットの電流をアンペア単位で測定する電流センサを含んでもよい。基準は、複数または単数であってもよく、現在放電しているセルのセットに関連してもよく、および/または次のセルのセットを決定してもよいと解されるべきである。 In some embodiments, the sensor (eg, 116) may measure any of the baseline and/or functional parameters. For example, the sensor may include a current sensor that measures the current in a given set of cells in amperes. It should be understood that the criteria may be plural or singular, may relate to the currently discharging set of cells, and/or may determine the next set of cells.
いくつかの実施形態では、コントローラ(例えば、114)は、1つまたは複数のプロセッサを含んでもよく、これらのプロセッサは、用途に好適な任意の複雑さを有してもよい。例えば、いくつかの実施形態における基準の機能を評価することは、コントローラの一部または全部を形成するマイクロプロセッサに依存してもよい。代替的にまたは追加的に、コントローラは、アナログ回路および/またはプロセッサまたはマイクロプロセッサよりも複雑でない論理デバイスを含んでもよい。 In some embodiments, the controller (eg, 114) may include one or more processors, and these processors may have any complexity suitable for the application. For example, evaluating the functionality of a reference in some embodiments may rely on a microprocessor forming part or all of the controller. Alternatively or additionally, the controller may include analog circuitry and/or logic devices less complex than a processor or microprocessor.
いくつかの実施形態において、コントローラは、多重化スイッチ装置を使用して、異なるプログラム可能な速度でセルまたはセルのセットを選択的に放電および充電してもよい。例えば、コントローラは、多重化スイッチ装置を使用して、ストリング、セル、またはセルのセットを、セルのセットを充電する第2の速度よりも少なくとも2倍高い第1の速度で選択的に放電する(すなわち、充電の2倍の速さで放電する)してもよい。代替的にまたは追加的に、放電の第1の速度は、セルのセットを充電する第2の速度よりも少なくとも4倍高い(すなわち、充電の4倍の速さで放電する)してもよい。本発明者らは、充電速度に対する放電速度のこのような比が、セルの性能およびサイクル寿命を向上させる可能性があることを認識し、評価している。 In some embodiments, the controller may use multiplexing switch devices to selectively discharge and charge cells or sets of cells at different programmable rates. For example, the controller uses a multiplexing switch device to selectively discharge the string, cell, or set of cells at a first rate that is at least two times higher than a second rate that charges the set of cells. (that is, discharging twice as fast as charging). Alternatively or additionally, the first rate of discharging may be at least four times higher than the second rate of charging the set of cells (i.e., discharging four times faster than charging). . The inventors recognize and appreciate that such a ratio of discharge rate to charge rate has the potential to improve cell performance and cycle life.
いくつかの実施形態によれば、コントローラは、セルのセットの放電を時間的に重複させてもよい。例えば、所定のセルまたはセルのセットが放電を停止する前に、別のセルまたはセルのセットが放電を開始してもよい。いくつかの実施形態では、コントローラは、異なるセット間の切り替え中に、セルのセットから電力を供給し続けてもよい。本発明者らは、放電および電力の継続のこの時間的重複が、異なるセルまたはセルのセット間の移行中であってもロードの電力要求を維持し、従来技術と比較してセルのサイクル寿命を更に改善する可能性があることを認識および理解している。従って、このような重複の間に複数のセルが同時に放電する可能性がある。更に、このような重複は、従来技術で可能であったよりもスムーズな電圧の移行を提供する可能性がある。 According to some embodiments, the controller may temporally overlap the discharges of the sets of cells. For example, before a given cell or set of cells stops discharging, another cell or set of cells may begin discharging. In some embodiments, the controller may continue to provide power from the set of cells while switching between different sets. We believe that this temporal overlap of discharge and power continuation maintains the load's power requirements even during transitions between different cells or sets of cells, and increases cell cycle life compared to prior art. We recognize and understand that there is potential for further improvement. Therefore, multiple cells may discharge simultaneously during such overlap. Furthermore, such overlap may provide smoother voltage transitions than was possible with the prior art.
いくつかの実施形態において、ロードは、車両の少なくとも1つの構成要素であってもよい。車両は、陸上、海上、および/または空中を移動するために適合された、任意の好適な車両であってもよい。例えば、車両は、自動車、トラック、オートバイ、ボート、ヘリコプター、飛行機、および/または他の任意の好適なタイプの車両であってもよい。 In some embodiments, the load may be at least one component of a vehicle. The vehicle may be any suitable vehicle adapted for movement on land, sea, and/or air. For example, the vehicle may be a car, truck, motorcycle, boat, helicopter, airplane, and/or any other suitable type of vehicle.
いくつかの実施形態において、本開示中に記載される電気化学セルおよびバッテリ(例えば、充電式バッテリ)は、電気自動車に電力を供給するために使用することができ、または他の方法で電気自動車に組み込むことができる。非限定的な例として、本開示中に記載の電気化学セルおよび/またはバッテリのスタック(例えば、リチウム金属および/またはリチウム合金電気化学セル、相変化材料、および/または多重化スイッチ装置を含む)は、いくらかの実施形態において、電気自動車の駆動系に電力を提供するために使用してもよい。車両は、陸上、海上、および/または空中を移動するために適合された、任意の好適な車両であってよい。例えば、車両は、自動車、トラック、オートバイ、ボート、ヘリコプター、飛行機、および/または他の任意の好適なタイプの車両であってもよい。 In some embodiments, the electrochemical cells and batteries (e.g., rechargeable batteries) described in this disclosure can be used to power or otherwise power an electric vehicle. can be incorporated into. As a non-limiting example, a stack of electrochemical cells and/or batteries described in this disclosure (e.g., including lithium metal and/or lithium alloy electrochemical cells, phase change materials, and/or multiplexed switch devices) may be used in some embodiments to provide power to the drivetrain of an electric vehicle. The vehicle may be any suitable vehicle adapted for movement on land, sea, and/or air. For example, the vehicle may be a car, truck, motorcycle, boat, helicopter, airplane, and/or any other suitable type of vehicle.
代替的にまたは追加的に、コントローラは、多重化スイッチ装置(例えば、112)を使用して、セルのセットを、ロードによって採用または要求されるトポロジーで、ロードに接続してもよい。 Alternatively or additionally, the controller may use multiplexing switch equipment (eg, 112) to connect the set of cells to the load in a topology adopted or required by the load.
いくつかの実施形態において、コントローラは、多重化スイッチ装置(例えば、112)を使用して、他のセルのセットが放電していない間に、放電のためにセルの単一のセットを分離してもよい。代替的にまたは追加的に、単一のセルが一度に分離されてもよい。例えば、コントローラは、多重化スイッチ装置を使用して、他のセルまたはセルのセットが放電していない間に、単一のセルのセットまたは放電のための単一セルを分離してもよい。所定のサイクルについて、いくつかの実施形態(例えば、順次放電が使用される場合であるが、このような実施形態に限定されない)によれば、任意のセルが2回放電される前に、各セルが1回放電されてもよい。 In some embodiments, the controller uses a multiplexing switch device (e.g., 112) to isolate a single set of cells for discharge while other sets of cells are not discharging. You can. Alternatively or additionally, a single cell may be separated at a time. For example, the controller may use a multiplexing switch device to isolate a single set of cells or a single cell for discharge while other cells or sets of cells are not discharging. For a given cycle, according to some embodiments (e.g., but not limited to, where sequential discharges are used), before any cell is discharged twice, each The cell may be discharged once.
充電に関しては、いくつかの実施形態では、コントローラは、多重化スイッチ装置を使用して、セルのセット、および/またはセット内のセルを並列に充電してもよい。例えば、セルブロック、バッテリ、または複数のバッテリ内の全てのセルは、放電速度の4分の1の速度で並列に充電されてもよい。 With respect to charging, in some embodiments, the controller may charge a set of cells, and/or cells within a set, in parallel using a multiplexing switch device. For example, all cells in a cell block, battery, or multiple batteries may be charged in parallel at one-fourth the discharge rate.
図1Dは、いくつかの実施形態による、代表的な電気化学セル管理システムの充電スキームを示す充電‐時間グラフ100Dである。グラフ100Dは、充電状態範囲100D1、100D2、100D3、および100D4を含む。 FIG. ID is a charge-time graph 100D illustrating a representative electrochemical cell management system charging scheme, according to some embodiments. Graph 100D includes state-of-charge ranges 100D1, 100D2, 100D3, and 100D4.
いくつかの実施形態において、充電工程の間、セルが、第1の充電速度で少なくとも2%の幅を有する第1のSOC範囲100D1にわたって充電されてもよく、また、充電工程の間、セルが、第2の充電速度で、少なくとも2%の幅を有する第2の充電状態範囲100D2にわたって充電されてもよい。更に、放電工程の間、セルが、少なくとも2%の幅を有する第3の充電状態範囲100D3にわたって、第1の(100D1の)充電速度または第2の(100D2の)充電速度の少なくとも2倍である第1の放電速度で放電されてもよい、また、放電工程の間、セルが、少なくとも2%の幅を有する第4の充電状態範囲100D4にわたって、第1の充電速度(100D1における)または第2の充電速度(100D2における)の2倍未満である第2の放電速度で放電されてもよい。 In some embodiments, during the charging step, the cell may be charged over a first SOC range 100D1 having a width of at least 2% at a first charging rate; , at a second charging rate over a second state of charge range 100D2 having a width of at least 2%. Furthermore, during the discharging process, the cell is at least twice the first (100D1) charging rate or the second (100D2) charging rate over a third state of charge range 100D3 having a width of at least 2%. The cell may also be discharged at a first charge rate (at 100D1) or at a first charge rate (at 100D1) over a fourth state of charge range 100D4 having a width of at least 2% during the discharging process. 2 (at 100D2).
いくつかの実施形態では、充電工程の間、セルが、第1の充電速度で少なくとも2%の幅を有する第1のSOC範囲100D1にわたって充電されてもよく、また、充電工程の間、セルが、第2の充電速度で、少なくとも2%の幅を有する第2の充電状態範囲100D2にわたって充電されてもよい。更に、放電工程の間、セルが、少なくとも2%の幅を有する第3の充電状態範囲100D3にわたって、第1の充電速度(100D1における)の少なくとも2倍である第1の放電速度で放電されてもよく、また、放電工程の間、セルが、少なくとも2%の幅を有する第4の充電状態範囲100D4にわたって、第1の充電速度(100D1における)の2倍未満である第2の放電速度で放電されてもよい。 In some embodiments, during the charging process, the cell may be charged over a first SOC range 100D1 having a width of at least 2% at a first charging rate; , at a second charging rate over a second state of charge range 100D2 having a width of at least 2%. Further, during the discharging step, the cell is discharged at a first discharge rate that is at least twice the first charge rate (at 100D1) over a third state of charge range 100D3 having a width of at least 2%. Also, during the discharging process, the cell is at a second discharge rate that is less than twice the first charge rate (at 100D1) over a fourth state of charge range 100D4 having a width of at least 2%. It may be discharged.
いくつかの実施形態において、充電工程の間、セルが、第1の充電速度で、少なくとも2%の幅を有する第1のSOC範囲100D1にわたって充電されてもよく、また、充電工程の間、セルが、第2の充電速度で、少なくとも2%の幅を有する第2の充電状態範囲100D2にわたって充電されてもよい。更に、放電工程の間、セルが、少なくとも2%の幅を有する第3の充電状態範囲100D3にわたって、第2の充電速度(100D2における)の少なくとも2倍である第1の放電速度で放電されてもよく、また放電工程の間、セルが、少なくとも2%の幅を有する第4の充電状態範囲100D4にわたって、第2の充電速度(100D2における)の2倍未満である第2の放電速度で放電されてもよい。 In some embodiments, during the charging step, the cell may be charged at a first charging rate over a first SOC range 100D1 having a width of at least 2%; may be charged at a second charging rate over a second state of charge range 100D2 having a width of at least 2%. Further, during the discharging step, the cell is discharged at a first discharge rate that is at least twice the second charge rate (at 100D2) over a third state of charge range 100D3 having a width of at least 2%. and during the discharging step, the cell may be discharged at a second discharge rate that is less than twice the second charge rate (at 100D2) over a fourth state of charge range 100D4 having a width of at least 2%. may be done.
いくつかの実施形態において、充電工程の間、セルが、第1の充電速度で、少なくとも2%の幅を有する第1のSOC範囲100D1にわたって充電されてもよく、また、充電工程の間、セルが、第2の充電速度で、少なくとも2%の幅を有する第2の充電状態範囲100D2にわたって充電されてもよい。更に、放電工程の間、セルが、少なくとも2%の幅を有する第3の充電状態範囲100D3にわたって、第1の充電速度(100D1における)の少なくとも2倍である第1の放電速度で放電されてもよく、また放電工程の間、セルが、少なくとも2%の幅を有する第4の充電状態範囲100D4にわたって、第2の充電速度(100D2における)の2倍未満である第2の放電速度で放電されてもよい。 In some embodiments, during the charging step, the cell may be charged at a first charging rate over a first SOC range 100D1 having a width of at least 2%; may be charged at a second charging rate over a second state of charge range 100D2 having a width of at least 2%. Further, during the discharging step, the cell is discharged at a first discharge rate that is at least twice the first charge rate (at 100D1) over a third state of charge range 100D3 having a width of at least 2%. and during the discharging step, the cell may be discharged at a second discharge rate that is less than twice the second charge rate (at 100D2) over a fourth state of charge range 100D4 having a width of at least 2%. may be done.
いくつかの実施形態では、充電工程の間、セルが、第1の充電速度で少なくとも2%の幅を有する第1のSOC範囲100D1にわたって充電されてもよく、また、充電工程の間、セルが、第2の充電速度で、少なくとも2%の幅を有する第2の充電状態範囲100D2にわたって充電されてもよい。更に、放電工程の間、セルが、少なくとも2%の幅を有する第3の充電状態範囲100D3にわたって、第2の充電速度(100D2における)の少なくとも2倍である第1の放電速度で放電されてもよく、また放電工程の間、セルが、少なくとも2%の幅を有する第4の充電状態範囲100D4にわたって、第1の充電速度(100D1における)の2倍未満である第2の放電速度で放電されてもよい。 In some embodiments, during the charging process, the cell may be charged over a first SOC range 100D1 having a width of at least 2% at a first charging rate; , at a second charging rate over a second state of charge range 100D2 having a width of at least 2%. Further, during the discharging step, the cell is discharged at a first discharge rate that is at least twice the second charge rate (at 100D2) over a third state of charge range 100D3 having a width of at least 2%. and during the discharging step, the cell may be discharged at a second discharge rate that is less than twice the first charge rate (at 100D1) over a fourth state of charge range 100D4 having a width of at least 2%. may be done.
いくつかの実施形態において、放電工程の間、セルが、第1の放電速度で、少なくとも2%の幅を有する第3の充電状態範囲100D3にわたって、放電されてもよく、また、放電工程の間、セルが、第2の放電速度で、少なくとも2%の幅を有する第4の充電状態範囲100D4にわたって、放電されてもよい。いくつかの実施形態において、(100D3の)第1の放電速度は、対応する充電速度の少なくとも2倍であってよく、(100D4の)第2の放電速度は、対応する充電速度の2倍未満であってよい。いくつかの実施形態において、対応する充電速度は、前または後の充電工程の少なくともSOC範囲にわたる充電速度であってよい。例えば、対応する充電速度は、少なくとも直前の充電工程のSOC範囲にわたる充電速度であってもよい。いくつかの実施形態では、そのSOC範囲の幅は100%である。いくつかの実施形態では、そのSOC範囲の幅は多くても90%である。いくつかの実施形態では、そのSOC範囲の幅は多くても80%である。いくつかの実施形態では、そのSOC範囲の広さはせいぜい70%である。いくつかの実施形態では、そのSOC範囲の幅は多くても60%である。いくつかの実施形態では、そのSOC範囲の幅は多くても50%である。いくつかの実施形態では、そのSOC範囲の幅は多くても40%である。いくつかの実施形態では、そのSOC範囲の幅は多くても30%である。いくつかの実施形態では、そのSOC範囲の幅は多くても20%である。いくつかの実施形態では、そのSOC範囲の幅はせいぜい10%である。例えば、そのSOC範囲は100D1の1部または全部であってもよい。あるいは、そのSOC範囲は、100D2の1部または全部、または対応する充電速度が100D1および100D2にわたる充電速度の平均であるようなSOC範囲の任意の組み合わせであってもよい。いくつかの実施形態では、コントローラは、任意の数の前回の充電工程を分析し、その分析に応答して放電を実行してもよい。 In some embodiments, during the discharging step, the cell may be discharged at the first discharge rate over a third state of charge range 100D3 having a width of at least 2%; , the cell may be discharged at the second discharge rate over a fourth state of charge range 100D4 having a width of at least 2%. In some embodiments, the first discharge rate (of 100D3) may be at least twice the corresponding charge rate, and the second discharge rate (of 100D4) is less than twice the corresponding charge rate. It may be. In some embodiments, the corresponding charging rate may be a charging rate over at least the SOC range of the previous or subsequent charging step. For example, the corresponding charging rate may be a charging rate over at least the SOC range of the immediately preceding charging step. In some embodiments, the width of the SOC range is 100%. In some embodiments, the SOC range is at most 90% wide. In some embodiments, the SOC range is at most 80% wide. In some embodiments, the SOC range is no more than 70% wide. In some embodiments, the SOC range is at most 60% wide. In some embodiments, the SOC range is at most 50% wide. In some embodiments, the SOC range is at most 40% wide. In some embodiments, the SOC range is at most 30% wide. In some embodiments, the SOC range is at most 20% wide. In some embodiments, the SOC range is no more than 10% wide. For example, the SOC range may be part or all of 100D1. Alternatively, the SOC range may be some or all of 100D2, or any combination of SOC ranges such that the corresponding charging rate is the average of the charging rates over 100D1 and 100D2. In some embodiments, the controller may analyze any number of previous charging cycles and perform the discharge in response to the analysis.
いくつかの実施形態では、充電工程の間、セルが、第1の充電速度で少なくとも2%の幅を有する第1のSOC範囲100D1にわたって充電されてもよく、また、充電工程の間、セルが、第2の充電速度で少なくとも2%の幅を有する第2のSOC範囲100D2にわたって充電されてもよい。いくつかの実施形態では、(100D1の)第1の充電速度は、対応する放電速度の多くても0.5倍であってもよく、(100D2の)第2の充電速度は、対応する放電速度の0.5倍より大きくてもよい。いくつかの実施形態では、対応する放電速度は、前または後の放電工程の少なくともSOC範囲にわたる放電速度であってもよい。例えば、対応する放電速度は、少なくとも直前の放電工程のSOC範囲にわたる放電速度であってもよい。いくつかの実施形態では、そのSOC範囲の幅は多くても40%である。いくつかの実施形態では、そのSOC範囲の幅は多くても30%である。いくつかの実施形態では、そのSOC範囲の幅は多くても20%である。いくつかの実施形態では、そのSOC範囲の幅はせいぜい10%である。例えば、そのSOC範囲は100D4の1部または全部であってもよい。あるいは、そのSOC範囲は、対応する放電速度が100D3および100D4にわたる放電速度の平均であるような、100D3の1部または全部、またはSOC範囲の任意の組み合わせであってもよい。いくつかの実施形態では、コントローラは、任意の数の前回の放電工程を分析し、その分析に応答して充電を実行してもよい。 In some embodiments, during the charging process, the cell may be charged over a first SOC range 100D1 having a width of at least 2% at a first charging rate; , may be charged over a second SOC range 100D2 having a width of at least 2% at a second charging rate. In some embodiments, the first charging rate (of 100D1) may be at most 0.5 times the corresponding discharging rate, and the second charging rate (of 100D2) may be at most 0.5 times the corresponding discharging rate. It may be greater than 0.5 times the speed. In some embodiments, the corresponding discharge rate may be a discharge rate that spans at least the SOC range of a previous or subsequent discharge step. For example, the corresponding discharge rate may be a discharge rate over at least the SOC range of the immediately preceding discharge step. In some embodiments, the SOC range is at most 40% wide. In some embodiments, the SOC range is at most 30% wide. In some embodiments, the SOC range is at most 20% wide. In some embodiments, the SOC range is no more than 10% wide. For example, the SOC range may be part or all of 100D4. Alternatively, the SOC range may be some or all of 100D3, or any combination of SOC ranges, such that the corresponding discharge rate is the average of the discharge rates over 100D3 and 100D4. In some embodiments, the controller may analyze any number of previous discharge steps and perform charging in response to the analysis.
図1Dは、特定のSOC範囲外では、速度比が根本的に異なり、必ずしもセルの健全性に有益ではないが、これらの特定のSOC範囲内では、速度比がセルの健全性に有益である例を示す。例えば、図1Dに示されるように、SOC範囲100D4と100D2との間の速度比は、セルの健全性に有益な速度比を満たさない(放電速度が平均充電速度の少なくとも2倍または4倍であるなど、この例では放電速度と充電速度がほぼ対称であるように見える)のに対し、SOC範囲100D3と100D1との間の速度比は、そのような有益な速度比を満たす。 Figure 1D shows that outside of certain SOC ranges, the speed ratios are fundamentally different and not necessarily beneficial to the health of the cell, but within these specific SOC ranges, the speed ratios are beneficial to the health of the cell. Give an example. For example, as shown in Figure 1D, the speed ratio between SOC ranges 100D4 and 100D2 does not satisfy the speed ratio beneficial for cell health (if the discharge rate is at least 2 or 4 times the average charge rate) (e.g., the discharge and charge rates appear to be approximately symmetrical in this example), whereas the speed ratio between SOC ranges 100D3 and 100D1 satisfies such beneficial speed ratio.
いくつかの実施形態では、これらのSOC範囲は、時間的に様々な順序であってもよい。例えば、第2のSOC範囲は、第1のSOC範囲の前に起こってもよい。あるいは、第2のSOC範囲は、第1のSOC範囲の後に起こってもよい。いくつかの実施形態では、第4のSOC範囲は第3のSOC範囲の前に起こってもよい。あるいは、第4のSOC範囲は、第3の充電状態範囲の後に起こってもよい。 In some embodiments, these SOC ranges may be in different orders in time. For example, the second SOC range may occur before the first SOC range. Alternatively, the second SOC range may occur after the first SOC range. In some embodiments, the fourth SOC range may occur before the third SOC range. Alternatively, the fourth SOC range may occur after the third state of charge range.
いくつかの実施形態では、第1のSOC範囲100D1の幅は多くても40%である。いくつかの実施形態では、第1のSOC範囲の幅は多くても30%である。いくつかの実施形態では、第1のSOC範囲の幅は多くても20%である。いくつかの実施形態では、第1のSOC範囲の幅は多くても10%である。 In some embodiments, the width of the first SOC range 100D1 is at most 40%. In some embodiments, the width of the first SOC range is at most 30%. In some embodiments, the width of the first SOC range is at most 20%. In some embodiments, the width of the first SOC range is at most 10%.
いくつかの実施形態では、第2のSOC範囲の幅は多くても40%である。いくつかの実施形態では、第2のSOC範囲の幅は多くても30%である。いくつかの実施形態では、第2のSOC範囲の幅は多くても20%である。いくつかの実施形態では、第2のSOC範囲の幅は多くても10%である。 In some embodiments, the width of the second SOC range is at most 40%. In some embodiments, the width of the second SOC range is at most 30%. In some embodiments, the width of the second SOC range is at most 20%. In some embodiments, the width of the second SOC range is at most 10%.
いくつかの実施形態では、第3のSOC範囲の幅は多くても40%である。いくつかの実施形態では、第3のSOC範囲の幅は多くても30%である。いくつかの実施形態では、第3のSOC範囲の幅は多くても20%である。いくつかの実施形態では、第3のSOC範囲の幅は多くても10%である。 In some embodiments, the width of the third SOC range is at most 40%. In some embodiments, the width of the third SOC range is at most 30%. In some embodiments, the width of the third SOC range is at most 20%. In some embodiments, the width of the third SOC range is at most 10%.
いくつかの実施形態では、第4のSOC範囲の幅は多くても40%である。いくつかの実施形態では、第4のSOC範囲の幅は多くても30%である。いくつかの実施形態では、第4のSOC範囲の幅は多くても20%である。いくつかの実施形態では、第4のSOC範囲の幅は多くても10%である。 In some embodiments, the width of the fourth SOC range is at most 40%. In some embodiments, the width of the fourth SOC range is at most 30%. In some embodiments, the width of the fourth SOC range is at most 20%. In some embodiments, the width of the fourth SOC range is at most 10%.
図1Eは、セルストリングを有する代表的なバッテリ管理システムを示す。いくつかの実施形態において、バッテリ管理システムは、セルまたはその中にセルを有するモジュール(例えば、121A~121F)のストリング(例えば、121)の集合体を含んでもよい。例えば、各々のセルのストリングは、別々に配置されるか、またはモジュール内に共にグループ化された、2つ以上のセルを含んでもよい。いくつかの実施形態では、2つ以上のセルのストリングは、8ストリング、12ストリング、16ストリングなどの、セルの4つのストリングの倍数を含んでもよい。 FIG. 1E shows a typical battery management system with cell strings. In some embodiments, a battery management system may include a collection of strings (eg, 121) of cells or modules (eg, 121A-121F) having cells therein. For example, each string of cells may include two or more cells, placed separately or grouped together in modules. In some embodiments, the strings of two or more cells may include multiples of four strings of cells, such as 8 strings, 12 strings, 16 strings, etc.
いくつかの実施形態では、代表的なバッテリ管理システムは、1つ以上のストリングの間に配置されたスイッチのアレイ(例えば、181~184)、ロード(例えば、229)に接続された入力/出力バス、およびバランスレール(例えば、160)(balance rail)などのバランスを含み、スイッチはこれらの各々に接続されてもよい。例えば、スイッチ(例えば、181)は、ストリング(例えば、121)に恒久的に接続されてもよく、かつ入力/出力バスおよびバランス(例えば、160)に切り替え可能に接続されてもよい。いくつかの実施形態において、スイッチアレイは、セルストリングをバッテリパック入力/出力バスから接続または分離してもよく、それは、バランスレールを他のストリングと共有してもよいバランス抵抗器にセルストリングを接続しても、またはバランス抵抗器からセルストリングを切断してもよい。 In some embodiments, a typical battery management system includes an array of switches (e.g., 181-184) arranged between one or more strings, inputs/outputs connected to loads (e.g., 229). A switch may be connected to each of these, including a bus, and a balance, such as a balance rail (eg, 160). For example, a switch (eg, 181) may be permanently connected to a string (eg, 121) and switchably connected to an input/output bus and balance (eg, 160). In some embodiments, a switch array may connect or isolate cell strings from the battery pack input/output bus, and it connects cell strings to balance resistors that may share balance rails with other strings. The cell string may be connected or disconnected from the balance resistor.
いくつかの実施形態では、バランスレールは、スイッチと主バランスレールとの間に配置された抵抗器(例えば、171~174)を含んでもよい。いくつかの実施形態では、スイッチは、多重化スイッチ装置(例えば、図1Aに示す112)の一部であってもよい。更に、バランスレールは、多重化スイッチ装置に接続されてもよい。いくつかの実施形態では、図17Bに示すシステム中などの、バランスレールが含まれないか、または必要でない場合がある。 In some embodiments, the balance rail may include a resistor (eg, 171-174) positioned between the switch and the main balance rail. In some embodiments, the switch may be part of a multiplexing switch device (eg, 112 shown in FIG. 1A). Additionally, the balance rail may be connected to a multiplexing switch device. In some embodiments, a balance rail may not be included or required, such as in the system shown in FIG. 17B.
いくつかの実施形態では、代表的なバッテリ管理システムは、例えば、スイッチと反対側のストリングの端部に、ヒューズ(例えば、191~198)を含んでもよい。 In some embodiments, a typical battery management system may include fuses (eg, 191-198), eg, at the end of the string opposite the switch.
いくつかの実施形態において、代表的なバッテリ管理システムは、セルのストリングを選択的に放電するために多重化スイッチ装置(例えば、図1Aに示される112)を使用してもよい少なくとも1つのコントローラ(例えば、図1Aに示される114)を含んでもよい。更に、コントローラは、多重化スイッチ装置を使用して、セルのストリングをバランスレールに選択的に接続または切断してもよい。 In some embodiments, the exemplary battery management system includes at least one controller that may use a multiplexing switch device (e.g., 112 shown in FIG. 1A) to selectively discharge strings of cells. (e.g., 114 shown in FIG. 1A). Additionally, the controller may use multiplexing switch equipment to selectively connect or disconnect strings of cells to the balance rail.
いくつかの実施形態では、セルのストリングの少なくとも1つは、少なくとも60ボルトの公称電圧を有してもよく、これは「高電圧」として分類されることがある。代替的にまたは追加的に、ストリングの少なくとも1つは、200ボルト~2000ボルトの間の公称電圧を有してもよい。 In some embodiments, at least one of the strings of cells may have a nominal voltage of at least 60 volts, which may be classified as "high voltage." Alternatively or additionally, at least one of the strings may have a nominal voltage between 200 volts and 2000 volts.
いくつかの実施形態において、コントローラ(例えば、図1Aに示す114)は、多重化スイッチ装置(例えば、図1Aに示す112)を使用して、切り替え(またはスイッチング;switching)時間および/または切り替え状態を調整することによってセルのストリング間の同等の充電状態を維持してもよい。いくつかの実施形態において、コントローラは、多重化スイッチ装置を使用して、少なくとも1つのバッテリの使用中にセルのストリングの少なくとも1つをバランスレールに接続したままにしておいてもよい。いくつかの実施形態では、バッテリ管理システムの出荷時または保管時に、すべてのセルのストリングが切断されてもよい。 In some embodiments, the controller (e.g., 114 shown in FIG. 1A) uses a multiplexing switch device (e.g., 112 shown in FIG. 1A) to determine switching times and/or switching states. Equal states of charge between strings of cells may be maintained by adjusting the . In some embodiments, the controller may use a multiplexing switch device to keep at least one of the strings of cells connected to the balance rail during use of the at least one battery. In some embodiments, all strings of cells may be disconnected during shipping or storage of the battery management system.
図1F~図1Jは、代表的な充電シーケンスの間の代表的なバッテリ管理システムを示す。いくつかの実施形態において、バッテリ管理システムは、本明細書中に記載されるように、セルまたはその中にセルを有するモジュールのセットまたはストリング(例えば、121)の集合体を含んでもよい。いくつかの実施形態では、代表的なバッテリ管理システムは、本明細書中に記載されるように、1つまたは複数のストリングとバランスレール(例えば、160)などのバランスとの間に配置されたスイッチ(例えば、181~184)のアレイを含んでもよく、かつスイッチは、これらの各々に接続されてもよい。いくつかの実施形態では、バランスレールは、スイッチとメインバランスレールとの間に配置された抵抗器(例えば、171~174)を含んでもよい。いくつかの実施形態では、スイッチは、多重化スイッチ装置(例えば、図1Aに示す112)の一部であってもよい。更に、バランスレールは、多重化スイッチ装置に接続されてもよい。 FIGS. 1F-1J illustrate a typical battery management system during a typical charging sequence. In some embodiments, a battery management system may include a collection of cells or a set or string (eg, 121) of modules having cells therein, as described herein. In some embodiments, an exemplary battery management system is disposed between one or more strings and a balance, such as a balance rail (e.g., 160), as described herein. It may include an array of switches (eg, 181-184), and a switch may be connected to each of them. In some embodiments, the balance rail may include a resistor (eg, 171-174) positioned between the switch and the main balance rail. In some embodiments, the switch may be part of a multiplexing switch device (eg, 112 shown in FIG. 1A). Furthermore, the balance rail may be connected to a multiplexing switch device.
図1Fは、すべてのスイッチ(例えば、181~184)がバランスレール(例えば、160)に接続された状態で、アイドルモードで開始するバッテリ管理システムを示す。図1Gは、充電開始時のバッテリ管理システムを示しており、ここで、スイッチは、いくつかの実施形態において、バランスレールから負バスに移動してもよい。いくつかの実施形態では、充電のためのエネルギーは、負の回路に入り、すべてのセルセットまたはストリングを同時に充電してもよい。図1Hは、すべてのセルセットまたはストリングを一度に充電するエネルギーを示す。図1Iは、セルセットまたはストリングがそれぞれ約25%~50%まで充電された場合などの、後の段階で、すべてのセルセットまたはストリングを一度に充電するエネルギーを示す。図1Jは、いくつかの実施形態において、スイッチがバランスレールに接続されてもよい(例えば、スイッチが負バスからバランスレールまで移動してもよい)場合の、充電完了時(例えば、セルセットまたはストリングが約100%まで充電される)のバッテリ管理システムを示す。 FIG. 1F shows the battery management system starting in idle mode with all switches (eg, 181-184) connected to the balance rail (eg, 160). FIG. 1G shows the battery management system at the beginning of charging, where the switch may move from the balance rail to the negative bus in some embodiments. In some embodiments, energy for charging may enter the negative circuit to charge all cell sets or strings simultaneously. FIG. 1H shows the energy to charge all cell sets or strings at once. FIG. 1I shows the energy of charging all cell sets or strings at once at a later stage, such as when each cell set or string is charged to about 25% to 50%. FIG. 1J shows a diagram of a cell set or Figure 3 shows a battery management system in which the string is charged to approximately 100%.
図1K~図1Nは、代表的な放電シーケンスの間の代表的なバッテリ管理システムを示す。図1Kは、例えば、1つのセルセットまたはストリングが、他のセルセットまたはストリングがアイドル状態である間に10~30秒間放電(例えば、パルス放電を介して)されてもよい場合の、代表的なバッテリ管理システムを示す。図1Lは、最初のセルセットまたはストリングの放電後、他のセルセットまたはストリングがアイドル状態である間に、直列の次のセルセットまたはストリングが10秒から30秒間放電される場合の代表的なバッテリ管理システムを示す。図1Mは、例えば、他のセルセットまたはストリングがアイドル状態である間に、次のセルセットまたはストリングが10秒~30秒間放電されてもよい場合の代表的なバッテリ管理システムを示すものである。図1Nは、例えば、他のセルセットまたはストリングがアイドル状態である間に、最後のセルセットまたはストリングが10秒~30秒間放電されてもよい場合の代表的なバッテリ管理システムを示す。いくつかの実施形態では、放電は、充電シーケンスが必要になるまで継続してもよく、これは、様々な充電レベルで発生してもよい。 FIGS. 1K-1N illustrate a typical battery management system during a typical discharge sequence. FIG. 1K shows a representative example where one cell set or string may be discharged (e.g., via pulsed discharge) for 10-30 seconds while the other cell set or string is idle. A battery management system is shown. Figure 1L shows a typical case where after the first cell set or string is discharged, the next cell set or string in series is discharged for 10 to 30 seconds while the other cell set or string is idle. 1 shows a battery management system. FIG. 1M shows an exemplary battery management system where, for example, a next set of cells or string may be discharged for 10 to 30 seconds while another set or string of cells is idle. . FIG. 1N shows an exemplary battery management system where, for example, the last cell set or string may be discharged for 10 to 30 seconds while other cell sets or strings are idle. In some embodiments, discharging may continue until a charging sequence is required, which may occur at various charging levels.
図2Aは、いくつかの実施形態による、電気化学セルを管理する代表的な高レベル方法200Aである。電気化学セルは、例えば、例示的な図1Aの電気化学セル121Aであってもよい。代表的な方法200Aの改善は、以下の段落において詳細に説明される。 FIG. 2A is an exemplary high-
いくつかの実施形態において、代表的な方法200Aは、電気化学セルが、少なくとも20%の幅を有する第1の充電状態範囲にわたって充電されてもよいように制御される、改善2300Aを含んでもよい。 In some embodiments, the
いくつかの実施形態において、第1の充電状態範囲の幅は多くても50%である。いくつかの実施形態では、第1の充電状態範囲の幅は多くても30%である。いくつかの実施形態において、第1の充電状態範囲の幅は、多くても20%である。いくつかの実施形態において、第1の充電状態範囲は、5%以下の充電状態の最低値を有する。いくつかの実施形態において、第1の充電状態範囲は、放電工程によって中断されないことがある。 In some embodiments, the width of the first state of charge range is at most 50%. In some embodiments, the width of the first state of charge range is at most 30%. In some embodiments, the width of the first state of charge range is at most 20%. In some embodiments, the first state of charge range has a minimum state of charge of 5% or less. In some embodiments, the first state of charge range may not be interrupted by the discharge process.
いくつかの実施形態において、第1の充電状態範囲は、単一の充電工程を含む。いくらかの実施形態において、第1の充電状態範囲は、少なくとも5%の幅を有する充電状態範囲にわたって実行される25以下(または15以下、10以下、5以下、3以下、2以下、または1以下)の放電工程によって区切られる。 In some embodiments, the first state of charge range includes a single charging step. In some embodiments, the first state of charge range is 25 or less (or 15 or less, 10 or less, 5 or less, 3 or less, 2 or less, or 1 or less) that runs over a state of charge range that has a width of at least 5%. ) separated by the discharge process.
いくつかの実施形態において、第1の充電状態範囲における充電速度は、セルインピーダンスおよび/またはセル抵抗を含むセルの少なくとも1つの監視された特性に基づいて制御される。 In some embodiments, the charging rate in the first state of charge range is controlled based on at least one monitored characteristic of the cell including cell impedance and/or cell resistance.
いくつかの実施形態において、改善2300Aは、改善2302Aを含んでもよく、第1の充電状態範囲の第1の部分における平均充電速度は、第1の充電状態範囲の第2の部分における平均充電速度よりも低くてもよい。いくつかの実施形態において、改善2300Aは、改善2304Aを含んでもよく、第1の部分は、第1の充電状態範囲の少なくとも2%に及んでもよく、第2の部分は、第1の充電状態範囲の少なくとも2%に及んでもよい。いくつかの実施形態において、第1の部分は、第1の充電状態範囲の多くても98%に及んでよく、第2の部分は、第1の充電状態範囲の多くても98%に及んでよい。 In some embodiments, the
いくつかの実施形態において、第1の部分は、第2の部分より前に起こってもよい。例えば、第1の充電状態範囲の第1の部分の充電は、第1の充電状態範囲の第2の部分の充電の前に起こってもよい。 In some embodiments, the first portion may occur before the second portion. For example, charging a first portion of a first state of charge range may occur before charging a second portion of the first state of charge range.
いくつかの実施形態において、代表的な方法200Aは、次いで改善2500Aに進むことができ、そこでは、電気化学セルが、少なくとも2%の幅を有する第2の充電状態範囲にわたって放電され、次いで少なくとも2%の幅を有する第3の充電状態範囲にわたって放電されるように制御される。いくつかの実施形態では、第2の充電状態範囲は、多くても90%、または多くても50%、または多くても30%、または多くても20%の幅を有してもよい。いくつかの実施形態において、第3の充電状態範囲は、多くても90%、または多くても50%、または多くても30%、または多くても20%の幅を有してもよい。いくつかの実施形態において、第2の充電状態範囲における平均放電速度は、第3の充電状態範囲における平均放電速度よりも高くてもよい。いくつかの実施形態において、第2の充電状態範囲における平均放電速度は、第3の充電状態範囲における平均放電速度の少なくとも2倍であってよい。 In some embodiments, the
いくつかの実施形態において、第3の充電状態範囲および第4の充電状態範囲は、同じ放電工程の1部である。いくらかの実施形態において、第3の充電状態範囲および第4の充電状態範囲は、少なくとも5%の幅を有する充電状態範囲にわたって実行される25以下(または15以下、10以下、5以下、3以下、2以下、または1以下)の充電工程によって分離される。 In some embodiments, the third state of charge range and the fourth state of charge range are part of the same discharge process. In some embodiments, the third state of charge range and the fourth state of charge range are 25 or less (or 15 or less, 10 or less, 5 or less, 3 or less) that run over a state of charge range that has a width of at least 5%. , 2 or less, or 1 or less) charging steps.
いくつかの実施形態において、代表的な方法200Aは、次いで改善2600Aに進むことができ、ここで電気化学セルは、少なくとも2%の幅を有する第4の充電状態範囲にわたって放電されるように制御されてもよい。いくつかの実施形態では、第4の充電状態範囲は、多くても90%、または多くても50%、または多くても30%、または多くても20%の幅を有してもよい。いくつかの実施形態において、第3の充電状態範囲における平均放電速度は、第4の充電状態範囲における平均放電速度よりも高くてもよい。 In some embodiments, the
例えば、電気化学セルは、少なくとも2%の幅を有する第2の充電状態範囲にわたって放電され、次いで少なくとも2%の幅を有する第3の充電状態範囲にわたって放電され、次いで少なくとも2%の幅を有する第4の充電状態範囲にわたって放電されるように制御されてもよい。いくつかの実施形態において、第2の充電状態範囲は、多くても90%、または多くても50%、または多くても30%、または多くても20%の幅を有してもよい。いくつかの実施形態において、第3の充電状態範囲は、多くても90%、または多くても50%、または多くても30%、または多くても20%の幅を有してもよい。いくつかの実施形態において、第4の充電状態範囲は、多くても90%、多くても50%、多くても30%、多くても20%の幅を有してもよい。 For example, the electrochemical cell is discharged over a second state of charge range having a width of at least 2%, then discharged over a third state of charge range having a width of at least 2%, and then discharged over a third state of charge range having a width of at least 2%. The battery may be controlled to be discharged over a fourth state of charge range. In some embodiments, the second state of charge range may have a width of at most 90%, or at most 50%, or at most 30%, or at most 20%. In some embodiments, the third state of charge range may have a width of at most 90%, or at most 50%, or at most 30%, or at most 20%. In some embodiments, the fourth state of charge range may have a width of at most 90%, at most 50%, at most 30%, and at most 20%.
いくつかの実施形態において、セルは、セルが第2の充電状態範囲で充電された後、第3の充電状態範囲にわたって放電される。 In some embodiments, the cell is discharged through a third state of charge range after the cell is charged to a second range of states of charge.
いくつかの実施形態では、第2の充電状態範囲と第3の充電状態範囲は同じ放電工程の1部である。いくらかの実施形態では、第2の充電状態範囲と第3の充電状態範囲は、少なくとも5%の幅を有する充電状態範囲にわたって実行される25以下(または15以下、10以下、5以下、3以下、2以下、または1以下)の充電工程によって分離される。 In some embodiments, the second state of charge range and the third state of charge range are part of the same discharge process. In some embodiments, the second state of charge range and the third state of charge range are 25 or less (or 15 or less, 10 or less, 5 or less, 3 or less) that run over a state of charge range that has a width of at least 5%. , 2 or less, or 1 or less) charging steps.
いくつかの実施形態では、第3の充電状態範囲と第4の充電状態範囲は、同じ放電工程の1部である。いくらかの実施形態では、第3の充電状態範囲と第4の充電状態範囲は、少なくとも5%の幅を有する充電状態範囲にわたって実行される25以下(または15以下、10以下、5以下、3以下、2以下、または1以下)の充電工程によって分離される。 In some embodiments, the third state of charge range and the fourth state of charge range are part of the same discharge process. In some embodiments, the third state of charge range and the fourth state of charge range are 25 or less (or 15 or less, 10 or less, 5 or less, 3 or less) that run over a state of charge range that has a width of at least 5%. , 2 or less, or 1 or less) charging steps.
いくつかの実施形態では、セルは、ユーザによって設定されるような時間間隔に基づいて、改善2300A、2500A、および/または2600Aに記載されるように充電または放電される(例えば、第1の充電状態範囲にわたって充電される)。例えば、ユーザは、バッテリパックに充電させたい時間(例えば、電気自動車用の充電ステーションなどで再び使用するために充電を停止させたい時間)を選択することができ、バッテリ管理システムはそれに応じてアルゴリズムを変更してもよい。1つの例として、ユーザが15分間の充電を選択した場合がある。このような例では、コントローラは、選択された15分に及ぶように、常に(または定期的に)増加する充電速度で充電を行ってもよい。本発明者らは、選択された時間間隔に基づいて本明細書中に記載されるような充電および/または放電を制御することにより、セルにサイクル寿命に有利な条件を提供しながら、ユーザに必要な経験および性能を提供してもよいことを認識し、高く評価している。 In some embodiments, the cells are charged or discharged as described in
いくつかの実施形態では、セルは、ユーザによって設定されるか、またはコントローラによって決定されるなどの、時刻に基づいて、改善2300A、2500A、および/または2600Aに記載されるように充電または放電される(例えば、第1の充電状態範囲にわたって充電される)。例えば、ユーザは、バッテリパックを可能な限りフル充電に近づけたい時刻(例えば、電気自動車用の充電ステーションなどで、再び使用するために充電を停止させたい時刻)を選択することができ、バッテリ管理システムはそれに応じてアルゴリズムを変更してもよい。1つの例として、ユーザが通勤の開始時刻に午前8時を選択した場合がある。このような例では、コントローラは、設定された時刻までの残り時間の少なくとも1部に及ぶように、常に(または定期的に)増加する充電速度で充電を行っもよい。いくつかの実施形態では、コントローラは、ユーザの行動を学習し、ユーザおよび他のユーザに関するデータの収集に基づいて、時刻自体を設定してもよい。本発明者らは、時刻に基づいて本明細書中で説明するように充電および/または放電を制御することで、サイクル寿命に有利な条件をセルに提供しながら、ユーザに必要な経験および性能を提供してもよいことを認識し、高く評価している。 In some embodiments, the cells are charged or discharged as described in
いくつかの実施形態では、コントローラは、セルの電圧に基づいて、セルの充電状態(例えば、上記の充電状態および充電状態範囲のいずれかを決定する際に使用するため)を決定してもよい。例えば、いくらかの電圧は、コントローラに既知であってもよい多くの要因に応じて、いくらかの充電状態に対応する。 In some embodiments, the controller may determine the state of charge of the cell (e.g., for use in determining any of the state of charge and state of charge ranges described above) based on the voltage of the cell. . For example, some voltage corresponds to some state of charge depending on many factors that may be known to the controller.
いくつかの実施形態によれば、コントローラ(例えば、図1Aのコントローラ114)は、改善2300A、2500A、および/または2600Aを実行してもよい。 According to some embodiments, a controller (eg,
いくつかの実施形態の例を、図2Dおよび以下のその説明に示す。 Examples of some embodiments are shown in FIG. 2D and its description below.
図2Bは、いくつかの実施形態による、電気化学セルを管理する代表的な高レベル方法200Bである。電気化学セルは、例えば、例示的な図1Aの電気化学セル121Aであってもよい。代表的な方法200Bの改善は、以下の段落において詳細に説明される。 FIG. 2B is an exemplary high-level method 200B of managing an electrochemical cell, according to some embodiments. The electrochemical cell may be, for example,
いくつかの実施形態において、代表的な方法200Bは、電気化学セルが、少なくとも2%および多くても90%、または多くても50%、または多くても30%、または多くても20%の幅を有する第1の充電状態範囲にわたって充電されてもよいように制御される、改善2300Bを含んでもよい。 In some embodiments, the exemplary method 200B provides that the electrochemical cell has at least 2% and at most 90%, or at most 50%, or at most 30%, or at most 20% The improvement 2300B may be controlled to be charged over a first state of charge range having a width.
いくつかの実施形態では、第1の充電状態範囲の幅は多くても50%である。いくつかの実施形態において、第1の充電状態範囲の幅は、多くても30%である。いくつかの実施形態において、第1の充電状態範囲の幅は、多くても20%である。いくつかの実施形態において、第1の充電状態範囲は、5%以下の充電状態の最低値を有する。いくつかの実施形態において、第1の充電状態範囲における充電速度は、セルインピーダンスおよび/またはセル抵抗を含むセルの少なくとも1つの監視された特性に基づいて制御される。 In some embodiments, the width of the first state of charge range is at most 50%. In some embodiments, the width of the first state of charge range is at most 30%. In some embodiments, the width of the first state of charge range is at most 20%. In some embodiments, the first state of charge range has a minimum state of charge of 5% or less. In some embodiments, the charging rate in the first state of charge range is controlled based on at least one monitored characteristic of the cell including cell impedance and/or cell resistance.
いくつかの実施形態では、代表工程200Bは、次いで改善2400Bに進むことができ、ここで、電気化学セルは、セルが第2の充電状態範囲にわたって充電されてもよいように制御される。いくつかの実施形態において、第1の充電状態範囲における平均充電速度は、第2の充電状態範囲における平均充電速度の多くても0.5倍であってよい。いくつかの実施形態において、第1の充電状態範囲における平均充電速度は、第2の充電状態範囲における平均充電速度の多くても0.25倍であってもよい。 In some embodiments, representative process 200B can then proceed to refinement 2400B, where the electrochemical cell is controlled such that the cell may be charged over a second range of charge states. In some embodiments, the average charging rate in the first state of charge range may be at most 0.5 times the average charging rate in the second state of charge range. In some embodiments, the average charging rate in the first state of charge range may be at most 0.25 times the average charging rate in the second state of charge range.
いくつかの実施形態において、第1の充電状態範囲および第2の充電状態範囲は、同じ充電工程の1部である。いくらかの実施形態において、第1の充電状態範囲および第2の充電状態範囲は、少なくとも5%の幅を有する充電状態範囲にわたって実行される25以下(または15以下、10以下、5以下、3以下、2以下、または1以下)の放電工程によって分離される。 In some embodiments, the first state of charge range and the second state of charge range are part of the same charging process. In some embodiments, the first state of charge range and the second state of charge range are 25 or less (or 15 or less, 10 or less, 5 or less, 3 or less) that run over a state of charge range that has a width of at least 5%. , 2 or less, or 1 or less) discharge steps.
いくつかの実施形態において、代表的な方法200Bは、次いで改善2500Bに進むことができ、ここで電気化学セルは、少なくとも2%の幅を有する第3の充電状態範囲にわたって放電され、次いで少なくとも2%の幅を有する第4の充電状態範囲にわたって放電されてもよいように制御される。いくつかの実施形態では、第3の充電状態範囲は、多くても90%、または多くても50%、または多くても30%、または多くても20%の幅を有してもよい。いくつかの実施形態において、第4の充電状態範囲は、多くても90%、または多くても50%、または多くても30%、または多くても20%の幅を有してもよい。いくつかの実施形態において、第3の充電状態範囲における平均放電速度は、第4の充電状態範囲における平均放電速度よりも高くてもよい。いくつかの実施形態において、第3の充電状態範囲における平均放電速度は、第4の充電状態範囲における平均放電速度の少なくとも2倍であってよい。 In some embodiments, the exemplary method 200B can then proceed to refinement 2500B, where the electrochemical cell is discharged over a third state of charge range having a width of at least 2%, and then a range of states of charge of at least 2%. % over a fourth state of charge range. In some embodiments, the third state of charge range may have a width of at most 90%, or at most 50%, or at most 30%, or at most 20%. In some embodiments, the fourth state of charge range may have a width of at most 90%, or at most 50%, or at most 30%, or at most 20%. In some embodiments, the average discharge rate in the third state of charge range may be higher than the average discharge rate in the fourth state of charge range. In some embodiments, the average discharge rate in the third state of charge range may be at least twice the average discharge rate in the fourth state of charge range.
いくつかの実施形態において、第3の充電状態範囲および第4の充電状態範囲は、同じ放電工程の1部である。いくらかの実施形態において、第3の充電状態範囲および第4の充電状態範囲は、少なくとも5%の幅を有する充電状態範囲にわたって実行される25以下(または15以下、10以下、5以下、3以下、2以下、または1以下)の充電工程によって分離される。 In some embodiments, the third state of charge range and the fourth state of charge range are part of the same discharge process. In some embodiments, the third state of charge range and the fourth state of charge range are 25 or less (or 15 or less, 10 or less, 5 or less, 3 or less) that run over a state of charge range that has a width of at least 5%. , 2 or less, or 1 or less) charging steps.
いくつかの実施形態において、代表的な方法200Bは、次いで改善2600Bに進むことができ、ここで、電気化学セルは、少なくとも2%の幅を有する第5の充電状態範囲にわたって放電されてもよいように制御される。いくつかの実施形態では、第5の充電状態範囲は、多くても90%、または多くても50%、または多くても30%、または多くても20%の幅を有してもよい。いくつかの実施形態において、第2の充電状態範囲における平均放電速度は、第3の充電状態範囲における平均放電速度よりも高くてもよい。いくつかの実施形態において、第3の充電状態範囲における平均放電速度は、第4の充電状態範囲における平均放電速度よりも高くてもよい。いくつかの実施形態において、第4の充電状態範囲における平均放電速度は、第5の充電状態範囲における平均放電速度よりも高くてもよい。 In some embodiments, the exemplary method 200B can then proceed to improvement 2600B, where the electrochemical cell may be discharged over a fifth state of charge range having a width of at least 2%. controlled as follows. In some embodiments, the fifth state of charge range may have a width of at most 90%, or at most 50%, or at most 30%, or at most 20%. In some embodiments, the average discharge rate in the second state of charge range may be higher than the average discharge rate in the third state of charge range. In some embodiments, the average discharge rate in the third state of charge range may be higher than the average discharge rate in the fourth state of charge range. In some embodiments, the average discharge rate in the fourth state of charge range may be higher than the average discharge rate in the fifth state of charge range.
いくつかの実施形態において、第4の充電状態範囲および第5の充電状態範囲は、同じ放電工程の1部である。いくらかの実施形態では、第4の充電状態範囲と第5の充電状態範囲は、少なくとも5%の幅を有する充電状態範囲にわたって実行される25以下(または15以下、10以下、5以下、3以下、2以下、または1以下)の充電工程によって分離される。 In some embodiments, the fourth state of charge range and the fifth state of charge range are part of the same discharge process. In some embodiments, the fourth state of charge range and the fifth state of charge range are 25 or less (or 15 or less, 10 or less, 5 or less, 3 or less) that run over a state of charge range that has a width of at least 5%. , 2 or less, or 1 or less) charging steps.
いくつかの実施形態では、セルは、第2の充電状態範囲にわたって充電された後、第3の充電状態範囲にわたって放電されてもよい。 In some embodiments, the cell may be charged over a second state of charge range and then discharged through a third range of states of charge.
いくつかの実施形態では、セルは、ユーザによって設定されるものなどの時間間隔に基づいて、改善2300B、21500B、2500B、および/または2600Bに記載されるように充電または放電される(例えば、第1の充電状態範囲にわたって充電される)。例えば、ユーザは、バッテリパックに充電させたい時間(例えば、電気自動車用の充電ステーションなどで再び使用するために充電を停止させたい時間)を選択してもよく、バッテリ管理システムはそれに応じてアルゴリズムを変更してもよい。1つの例として、ユーザが15分間の充電を選択した場合がある。このような例では、コントローラは、選択された15分に及ぶように、常に(または定期的に)増加する充電速度で充電を行ってもよい。本発明者らは、選択された時間間隔に基づいて本明細書中に記載されるように充電および/または放電を制御することにより、セルにサイクル寿命に有利な条件を提供しながら、ユーザに必要な経験および性能を提供してもよいことを認識し、高く評価している。 In some embodiments, the cells are charged or discharged as described in improvements 2300B, 21500B, 2500B, and/or 2600B based on time intervals, such as those set by a user (e.g., (charged over a range of charge states). For example, a user may select how long they want a battery pack to charge (for example, how long they want the battery pack to stop charging for use again, such as at an electric vehicle charging station), and the battery management system uses the algorithm to respond accordingly. may be changed. One example is if the user selects 15 minutes of charging. In such an example, the controller may charge at a constantly (or periodically) increasing charging rate over a selected 15 minute period. By controlling charging and/or discharging as described herein based on selected time intervals, we provide the user with favorable cycle life conditions for the cell. We recognize and highly value our ability to provide the necessary experience and performance.
いくつかの実施形態では、セルは、ユーザによって設定されたもの、またはコントローラによって決定されたものなどの時刻に基づいて、改善2300B、21500B、2500B、および/または2600Bに記載されるように充電または放電される(例えば、第1の充電状態範囲にわたって充電される)。例えば、ユーザは、バッテリパックを可能な限りフル充電に近づけたい時間(例えば、電気自動車用の充電ステーションなどで再び使用するために充電を停止したい時間)を選択してもよく、バッテリ管理システムはそれに応じてアルゴリズムを変更してもよい。1つの例として、ユーザが通勤の開始時刻に午前8時を選択した場合がある。このような例では、コントローラは、設定された時刻までの残り時間の少なくとも1部に及ぶように、常に(または定期的に)増加する充電速度で充電を行う可能性がある。いくつかの実施形態では、コントローラは、ユーザの行動を学習し、ユーザおよび他のユーザに関するデータの収集に基づいて、時刻自体を設定することしてもよい。本発明者らは、時刻に基づいて本明細書中で説明するように充電および/または放電を制御することで、サイクル寿命に有利な条件をセルに提供しながら、ユーザに必要な経験および性能を提供してもよいことを認識し、高く評価している。 In some embodiments, the cell charges or charges as described in improvements 2300B, 21500B, 2500B, and/or 2600B based on a time of day, such as one set by a user or determined by a controller. discharged (e.g., charged over a first state of charge range); For example, a user may select a time when they want a battery pack to be as close to a full charge as possible (e.g., when they want it to stop charging for use again, such as at a charging station for an electric vehicle), and the battery management system The algorithm may be changed accordingly. One example is if a user selects 8 a.m. as the start time for their commute. In such an example, the controller may charge at a constantly (or periodically) increasing charging rate for at least a portion of the time remaining until the set time. In some embodiments, the controller may learn the user's behavior and set the time itself based on collecting data about the user and other users. By controlling charging and/or discharging as described herein based on time of day, we provide cells with favorable cycle life conditions while providing the experience and performance required by the user. We recognize that it is acceptable to provide such services and highly value them.
いくつかの実施形態では、コントローラは、セルの電圧に基づいて、セルの充電状態(例えば、上記の充電状態および充電状態範囲のいずれかを決定する際に使用するため)を決定してもよい。例えば、いくらかの電圧は、コントローラに既知である可能性がある多くの要因に応じて、いくらかの充電状態に対応する。 In some embodiments, the controller may determine the state of charge of the cell (e.g., for use in determining any of the state of charge and state of charge ranges described above) based on the voltage of the cell. . For example, some voltage corresponds to some state of charge depending on many factors that may be known to the controller.
いくつかの実施形態によれば、コントローラ(例えば、図1Aのコントローラ114)は、改善2300B、21500B、2500B、および/または2600Bを実行してもよい。 According to some embodiments, a controller (eg,
いくつかの実施形態の例は、図2Dおよび以下のその記載に提供される。 Examples of some embodiments are provided in FIG. 2D and its description below.
図2Cは、いくつかの実施形態による、電気化学セルを管理する代表的な高レベル方法200Cである。電気化学セルは、例えば、例示的な図1Aの電気化学セル121Aであってもよい。代表的な方法200Cの改善は、以下の段落において詳細に説明される。 FIG. 2C is an exemplary high-level method 200C of managing an electrochemical cell, according to some embodiments. The electrochemical cell may be, for example,
いくつかの実施形態において、代表的な方法200Cは、電気化学セルが、少なくとも2%および多くても40%、または多くても50%、または多くても30%、または多くても20%の幅を有する第1の充電状態範囲にわたって充電されるように制御される、改善2300Cを含んでもよい。 In some embodiments, the exemplary method 200C provides that the electrochemical cell has at least 2% and at most 40%, or at most 50%, or at most 30%, or at most 20% The improvement 2300C may include an improvement 2300C that is controlled to be charged over a first state of charge range having a width.
いくつかの実施形態では、第1の充電状態範囲の幅は、多くても30%である。いくつかの実施形態において、第1の充電状態範囲の幅は、多くても20%である。いくつかの実施形態において、第1の充電状態範囲は、5%以下の充電状態の最低値を有する。いくつかの実施形態において、第1の充電状態範囲は、放電工程によって中断されないことがある。いくつかの実施形態において、第1の充電状態範囲における充電速度は、セルインピーダンスおよび/またはセル抵抗を含むセルの少なくとも1つの監視された特性に基づいて制御される。 In some embodiments, the width of the first state of charge range is at most 30%. In some embodiments, the width of the first state of charge range is at most 20%. In some embodiments, the first state of charge range has a minimum state of charge of 5% or less. In some embodiments, the first state of charge range may not be interrupted by the discharge process. In some embodiments, the charging rate in the first state of charge range is controlled based on at least one monitored characteristic of the cell including cell impedance and/or cell resistance.
いくつかの実施形態において、代表的な方法200Cは、次いで改善21500Cに進んでもよく、そこでは、電気化学セルが、少なくとも2%の幅を有する第2の充電状態範囲にわたって充電されるように制御される。いくつかの実施形態において、第2の充電状態範囲は、多くても90%、または多くても50%、または多くても30%、または多くても20%の幅を有してもよい。いくつかの実施形態において、第1の充電状態範囲における充電速度は、第2の充電状態範囲における平均充電速度よりも低くてもよい。いくつかの実施形態において、第1の充電状態範囲における充電速度は、平均充電速度であってもよい。いくつかの実施形態において、第1の充電状態範囲における充電速度は、一定の充電速度であってもよい。 In some embodiments, the exemplary method 200C may then proceed to an improvement 21500C, where the electrochemical cell is controlled to be charged over a second state of charge range having a width of at least 2%. be done. In some embodiments, the second state of charge range may have a width of at most 90%, or at most 50%, or at most 30%, or at most 20%. In some embodiments, the charging rate in the first state of charge range may be lower than the average charging rate in the second state of charge range. In some embodiments, the charging rate in the first state of charge range may be an average charging rate. In some embodiments, the charging rate in the first state of charge range may be a constant charging rate.
いくつかの実施形態において、第1の充電状態範囲および第2の充電状態範囲は、同じ充電工程の1部である。いくらかの実施形態において、第1の充電状態範囲および第2の充電状態範囲は、少なくとも5%の幅を有する充電状態範囲にわたって実行される25以下(または15以下、10以下、5以下、3以下、2以下、または1以下)の放電工程によって分離される。 In some embodiments, the first state of charge range and the second state of charge range are part of the same charging process. In some embodiments, the first state of charge range and the second state of charge range are 25 or less (or 15 or less, 10 or less, 5 or less, 3 or less) that run over a state of charge range that has a width of at least 5%. , 2 or less, or 1 or less) discharge steps.
いくつかの実施形態において、代表的な方法200Cは、次いで、電気化学セルが少なくとも2%の幅を有する第3の充電状態範囲にわたって充電されてもよいように制御される、改善2450Cに進んでもよい。いくつかの実施形態において、第3の充電状態範囲は、多くても90%、または多くても50%、または多くても30%、または多くても20%の幅を有してもよい。いくつかの実施形態において、第2の充電状態範囲における平均充電速度は、第3の充電状態範囲における平均充電速度よりも低くてもよい。 In some embodiments, the exemplary method 200C may then proceed to
いくつかの実施形態において、第2の充電状態範囲および第3の充電状態範囲は、同じ充電工程の1部である。いくらかの実施形態において、第2の充電状態範囲および第3の充電状態範囲は、少なくとも5%の幅を有する充電状態範囲にわたって実行される25以下(または15以下、10以下、5以下、3以下、2以下、または1以下)の放電工程によって分離される。 In some embodiments, the second state of charge range and the third state of charge range are part of the same charging process. In some embodiments, the second state of charge range and the third state of charge range are 25 or less (or 15 or less, 10 or less, 5 or less, 3 or less) that run over a state of charge range that has a width of at least 5%. , 2 or less, or 1 or less) discharge steps.
いくつかの実施形態において、代表的な方法200Cは、次いで、改善2500Cに進んでもよく、ここで、電気化学セルは、少なくとも2%の幅を有する第4の充電状態範囲にわたって放電され、次いで、少なくとも2%の幅を有する第5の充電状態範囲にわたって放電されるように制御される。いくつかの実施形態では、第4の充電状態範囲は、多くても90%、または多くても50%、または多くても30%、または多くても20%の幅を有してよい。いくつかの実施形態において、第5の充電状態範囲は、多くても90%、または多くても50%、または多くても30%、または多くても20%の幅を有してもよい。いくつかの実施形態において、第4の充電状態範囲における平均放電速度は、第5の充電状態範囲における平均放電速度よりも高くてもよい。いくつかの実施形態において、第4の充電状態範囲における平均放電速度は、第5の充電状態範囲における平均放電速度の少なくとも2倍であってよい。 In some embodiments, the exemplary method 200C may then proceed to an
いくつかの実施形態において、第4の充電状態範囲および第5の充電状態範囲は、同じ放電工程の1部である。いくらかの実施形態において、第4の充電状態範囲および第5の充電状態範囲は、少なくとも5%の幅を有する充電状態範囲にわたって実行される25以下(または15以下、10以下、5以下、3以下、2以下、または1以下)の充電工程によって分離される。 In some embodiments, the fourth state of charge range and the fifth state of charge range are part of the same discharge process. In some embodiments, the fourth state of charge range and the fifth state of charge range are 25 or less (or 15 or less, 10 or less, 5 or less, 3 or less) that run over a state of charge range that has a width of at least 5%. , 2 or less, or 1 or less) charging steps.
いくつかの実施形態において、代表的な方法200Cは、次いで、電気化学セルが、少なくとも2%の幅を有する第6の充電状態範囲にわたって放電されてもよいように制御される、改善2600Cに進んでもよい。いくつかの実施形態において、第6の充電状態範囲は、多くても90%、または多くても50%、または多くても30%、または多くても20%の幅を有してもよい。いくつかの実施形態において、第5の充電状態範囲における平均放電速度は、第6の充電状態範囲における平均放電速度よりも高くてもよい。 In some embodiments, the exemplary method 200C then proceeds to
いくつかの実施形態において、第5の充電状態範囲と第6の充電状態範囲は、同じ放電工程の1部である。いくらかの実施形態では、第5の充電状態範囲と第6の充電状態範囲は、少なくとも5%の幅を有する充電状態範囲にわたって実行される25以下(または15以下、10以下、5以下、3以下、2以下、または1以下)の充電工程によって分離される。 In some embodiments, the fifth state of charge range and the sixth state of charge range are part of the same discharge process. In some embodiments, the fifth state of charge range and the sixth state of charge range are 25 or less (or 15 or less, 10 or less, 5 or less, 3 or less) that run over a state of charge range that has a width of at least 5%. , 2 or less, or 1 or less) charging steps.
いくつかの実施形態では、セルは、セルが第3の充電状態範囲で充電された後、第4の充電状態範囲にわたって放電されてもよい。 In some embodiments, the cell may be discharged through a fourth state of charge range after the cell is charged in a third range of states of charge.
いくつかの実施形態では、セルは、ユーザによって設定されるものなどの時間間隔に基づいて、改善2300C、21500C、2450C、2500C、および/または2600Cに記載されるように充電または放電される(例えば、第1の充電状態範囲にわたって充電される)。例えば、ユーザは、バッテリパックを充電する時間(例えば、電気自動車用の充電ステーションなどで再び使用するために充電を停止する時間)を選択することができ、バッテリ管理システムはそれに応じてアルゴリズムを変更してもよい。1つの例として、ユーザが15分間の充電を選択した場合がある。このような例では、コントローラは、選択された15分に及ぶように、常に(または定期的に)増加する充電速度で充電を行ってもよい。本発明者らは、選択された時間間隔に基づいて本明細書中に記載されるような充電および/または放電を制御することにより、セルにサイクル寿命に有利な条件を提供しながら、ユーザに必要な経験および性能を提供してもよいことを認識し、高く評価している。 In some embodiments, the cells are charged or discharged as described in
いくつかの実施形態では、セルは、ユーザによって設定されるもの、またはコントローラによって決定されるものなどの時刻に基づいて、改善2300C、21500C、2450C、2500C、および/または2600Cに記載されたように充電または放電される(例えば、第1の充電状態範囲にわたって充電される)。例えば、ユーザは、バッテリパックを可能な限りフル充電に近づけたい時刻(例えば、電気自動車用の充電ステーションなどで再び使用するために充電を停止したい時刻)を選択することができ、バッテリ管理システムはそれに応じてアルゴリズムを変更してもよい。1つの例として、ユーザが通勤の開始時刻に午前8時を選択した場合がある。このような例では、コントローラは、設定された時刻までの残り時間の少なくとも1部に及ぶように、常に(または定期的に)増加する充電速度で充電を行ってもよい。いくつかの実施形態では、コントローラは、ユーザの行動を学習し、ユーザおよび他のユーザに関するデータの収集に基づいて、時刻自体を設定してもよい。本発明者らは、一日の時刻に基づいて本明細書中に記載されるような充電および/または放電を制御することで、セルにサイクル寿命に有利な条件を提供しながら、ユーザに必要な経験および性能を提供してもよいことを認識し、高く評価している。 In some embodiments, the cells are configured based on the time of day, such as set by a user or determined by a controller, as described in
いくつかの実施形態では、コントローラは、セルの電圧に基づいて、セルの充電状態(例えば、上記の充電状態および充電状態範囲のいずれかを決定する際に使用するため)を決定してもよい。例えば、いくらかの電圧は、コントローラに既知である多くの要因に応じて、いくらかの充電状態に対応する。 In some embodiments, the controller may determine the state of charge of the cell (e.g., for use in determining any of the state of charge and state of charge ranges described above) based on the voltage of the cell. . For example, some voltage corresponds to some state of charge depending on many factors known to the controller.
いくつかの実施形態によれば、コントローラ(例えば、図1Aのコントローラ114)は、改善2300C、21500C、2450C、2500C、および/または2600Cを実行してもよい。 According to some embodiments, a controller (eg,
いくつかの実施形態の例が、図2Dおよび以下のその記載に提供される。
図2Dは、図2A~図2Cに記載される方法に関連して電気化学セル(例えば、電気化学セル121A)を管理する代表的な電気化学セル管理システムの例示的な充電‐時間グラフである。 Examples of some embodiments are provided in FIG. 2D and its description below.
FIG. 2D is an example charge-time graph of a representative electrochemical cell management system that manages an electrochemical cell (e.g.,
図2Aの第1の充電状態範囲の1つの例が、点201Aから201B2まで、図2Dに示されている。図2Aのそのような範囲の第1の部分の1つの例が、点201Aから201B1まで、図2Dに示されている。図2Aのそのような範囲の第2の部分の1つの例が、点201B1から201B2まで、図2Dに示されている。図2Dが示すように、セルは201Aから201B1まで充電され、次いで、201B1から201Cまでより速い速度で充電され、放電と充電の別のサイクルが始まる。この例では、201Aから201B2までの第1の充電状態範囲は約0%~20%であり、20%の幅を有する。この例では、201Aから201B1までの第1の充電状態範囲の第1の部分は、約0%~10%であり、10%の幅を有する。この例では、201B1から201B2までの第1の充電状態範囲の第2の部分は約10%から20%であり、10%の幅を有する。 One example of the first state of charge range of FIG. 2A is shown in FIG. 2D from
図2Aの第2の充電状態範囲の1つの例が、図2Dの点201Cから201Dに示される。図2Aの第3の充電状態範囲の1つの例が、図2Dの点201Dから201Eに示される。図2Aの第4の充電状態範囲の1つの例が、図2Dの点201Eから201Fに示される。図2Dが示すように、セルは201Cから201Dまで放電され、次いで201Dから201Eまで遅い速度で放電され、次いで201Dから201Eまで更に遅い速度で放電され、201Fの後に別の充電工程が始まる。この例では、201Cから201Dまでの第2の充電状態範囲は約100%~20%であり、80%の幅を有する。この例では、201Dから201Eまでの第3の充電状態範囲は約20%~5%であり、幅は15%である。この例では、201Eから201Fまでの第4の充電状態範囲は約5%~0%であり、幅は5%である。 One example of the second state of charge range of FIG. 2A is shown at points 201C to 201D in FIG. 2D. One example of the third state of charge range of FIG. 2A is shown at points 201D to 201E in FIG. 2D. One example of the fourth state of charge range of FIG. 2A is shown at
図2Bの第1の充電状態範囲の1つの例が、図2Dの点201Aから201B1に示されている。図2Bの第2の充電状態範囲の1つの例が、図2Dの点201B3から201Cに示されている。図2Dに示すように、セルは201Aから201B1まで充電され、次いで201B1から201B3までより速い速度で充電され、次いで201B3から201Cまで更により速い速度で充電されてから、別の放電と充電のサイクルが開始される。この例では、201Aから201B1までの第1の充電状態範囲は約0%~10%であり、10%の幅を有する。この例では、201B3から201Cまでの第2の充電状態範囲は約40%~100%であり、幅は60%である。 One example of the first state of charge range of FIG. 2B is shown at
図2Bの第3の充電状態範囲の1つの例が、図2Dの点201Cから201Dに示されている。図2Bの第4の充電状態範囲の1つの例が、図2Dの点201Dから201Eに示されている。図2Bの第5の充電状態範囲の1つの例が、図2Dの点201Eから201Fに示されている。図2Dに示すように、セルは201Cから201Dまで放電され、次いで、201Dから201Eまでより遅い速度で放電され、次いで、201Dから201Eまで更により遅い速度で放電され、次いで、更により遅い速度で201Eから201Fまで放電され、次いで、201Fの後、別の充電工程が開始される。この例では、201Cから201Dまでの第3の充電状態範囲は約100%~20%であり、幅は80%である。この例では、201Dから201Eまでの第4の充電状態範囲は約20%~5%であり、幅は15%である。この例では、201Eから201Fまでの第5の充電状態範囲は約5%~0%であり、5%の幅を有する。 One example of the third state of charge range of FIG. 2B is shown at points 201C to 201D in FIG. 2D. One example of the fourth state of charge range of FIG. 2B is shown at points 201D to 201E in FIG. 2D. One example of the fifth state of charge range of FIG. 2B is shown at
図2Cの第1の充電状態範囲の1つの例が、図2Dの点201Aから201B1に示されている。図2Cの第2の充電状態範囲の1つの例が、図2Dの点201B1から201B3に示されている。図2Cの第3の充電状態範囲の1つの例が、図2Dの点201B3から201Cに示されている。図2Dに示すように、セルは201Aから201B1まで充電され、次いで201B1から201B3までより速い速度で充電され、次いで、201B3から201Cまで更により速い速度で充電されてから、別の放電と充電のサイクルが開始される。この例では、201Aから201B1までの第1の充電状態範囲は約0%~10%であり、10%の幅を有する。この例では、201B1から201B3までの第2の充電状態範囲は約10%~40%であり、幅は30%である。この例では、201B3から201Cまでの第3の充電状態範囲は約40%~100%であり、幅は60%である。 One example of the first state of charge range of FIG. 2C is shown at
図2Cの第4の充電状態範囲の1つの例が、図2Dの点201Cから201Dに示されている。図2Cの第5の充電状態範囲の1つの例が、図2Dの点201Dから201Eに示されている。図2Cの第6の充電状態範囲の1つの例が、図2Dの点201Eから201Fに示されている。図2Dに示すように、セルは201Cから201Dまで放電され、次いで、より遅い速度で201Dから201Eまで放電され、次いで更により遅い速度で201Dから201Eまで放電され、次いで更により遅い速度で201Eから201Fまで放電され、次いで、201Fの後、別の充電工程が開始される。この例では、201Cから201Dまでの第4の充電状態範囲は約100%~20%で、幅は80%である。この例では、201Dから201Eまでの第5の充電状態範囲は約20%~5%であり、幅は15%である。この例では、201Eから201Fまでの第6の充電状態範囲は約5%~0%であり、幅は5%である。 One example of the fourth state of charge range of FIG. 2C is shown at points 201C to 201D in FIG. 2D. One example of the fifth state of charge range of FIG. 2C is shown at points 201D to 201E in FIG. 2D. One example of the sixth state of charge range of FIG. 2C is shown at
いくつかの実施形態では、前述の充電状態範囲のいずれかの幅は多くても50%である。いくつかの実施形態では、上記幅は多くても40%である。いくつかの実施形態では、上記幅は多くても30%である。いくつかの実施形態では、上記幅は多くても20%である。いくつかの実施形態では、上記幅は多くても10%である。 In some embodiments, the width of any of the aforementioned state of charge ranges is at most 50%. In some embodiments, the width is at most 40%. In some embodiments, the width is at most 30%. In some embodiments, the width is at most 20%. In some embodiments, the width is at most 10%.
いくつかの実施形態では、前述の充電状態範囲の幅は少なくとも5%である。いくつかの実施形態では、上記幅は少なくとも10%である。 In some embodiments, the width of the aforementioned state of charge range is at least 5%. In some embodiments, the width is at least 10%.
いくつかの実施形態では、前述の充電状態範囲は、5%以下の充電状態の最低値を有する。本発明者らは、ある割合以下の充電状態の最低値、例えば5%を有する充電状態が、本明細書中に記載の改善をもたらすのに特に効果的であってもよいことを認識し、高く評価している。 In some embodiments, the aforementioned state of charge range has a minimum state of charge of 5% or less. The inventors recognize that a state of charge having a lowest value of state of charge below a certain percentage, e.g. 5%, may be particularly effective in providing the improvements described herein; I rate it highly.
いくつかの実施形態では、前述の充電状態範囲のいずれかにおける速度は、平均速度を含む。例えば、速度は、複数の一定速度の平均、変調速度の平均、または両方の何らかの組み合わせまたは他の適切な速度の平均であってもよい。いくつかの実施形態では、充電状態範囲における速度は一定の速度を含む。 In some embodiments, the speed in any of the aforementioned state of charge ranges includes an average speed. For example, the rate may be an average of multiple constant rates, an average of modulated rates, or some combination of both or other suitable rates. In some embodiments, the speed in the state of charge range includes a constant speed.
いくつかの実施形態では、放電または充電速度は、充電状態範囲全体にわたって対照速度(例えば、比較される速度)の少なくとも2倍(または4倍)である限り、変化してもよい。あるいは、速度を一定にすることもできる。あるいは、速度が平均して対照速度の少なくとも2倍(または4倍)である限り、速度は対照速度の少なくとも2倍(または4倍)を下回る可能性がある。 In some embodiments, the discharge or charge rate may vary as long as it is at least twice (or four times) the reference rate (eg, the rate being compared) across the range of charge states. Alternatively, the speed can be kept constant. Alternatively, the speed can be less than at least 2 times (or 4 times) the control speed, as long as the speed is on average at least 2 times (or 4 times) the control speed.
いくつかの実施形態では、前述の充電状態範囲における速度は、セルインピーダンスおよび/またはセル抵抗を含むセルの監視された少なくとも1つの特性に基づいて制御される。例えば、インピーダンスおよび/またはセル抵抗が測定され、閾値条件または値を満たしている場合、コントローラは、前述の充電および放電プロファイルのいずれかを開始、終了、または変更してもよい。 In some embodiments, the speed in the aforementioned charge state ranges is controlled based on at least one monitored characteristic of the cell, including cell impedance and/or cell resistance. For example, if the impedance and/or cell resistance is measured and meets a threshold condition or value, the controller may initiate, terminate, or modify any of the aforementioned charging and discharging profiles.
図3Aは、いくつかの実施形態による、電気化学セルを管理する代表的な高レベル方法300Aである。電気化学セルは、例えば、例示的な図1Aの電気化学セル121Aであってもよい。代表的な方法300Aの改善は、以下の段落で詳細に説明される。 FIG. 3A is an exemplary high-
いくつかの実施形態では、代表的な方法300Aは、電気化学セルのサイクル履歴を分析することが可能である改善320を含んでもよい。いくつかの実施形態では、代表的な方法300Aは改善330を含んでもよく、サイクル履歴における最新のサイクルの数に対して、最新のサイクル内に基準を満たすサイクルがない場合、基準を満たすようにセルを放電するように、電気化学セルを制御する。この基準は、例えば、少なくとも2%および多くても60%の幅を有する充電状態範囲にわたって、最新のサイクル内のいずれかのサイクルの平均充電速度の少なくとも2倍である放電速度で、前記セルが放電されることを含んでもよい。最新のサイクル数は、例えば、少なくとも5サイクルであってもよい。いくつかの実施形態によれば、コントローラ(例えば、図1Aのコントローラ114)は、改善320および/または330を実行してもよい。 In some embodiments, the
いくつかの実施形態では、代表的な方法300Aは、セルの特性の監視を含む任意の改善310を開始してもよい。改善330は改善331を更に含んでもよく、充電状態範囲における放電速度は、最新のサイクル内のいずれかのサイクルの平均充電速度の少なくとも4倍であってもよい。改善330は改善332を更に含んでもよく、充電状態範囲における放電速度は、セルインピーダンスおよび/またはセル抵抗などのセルの少なくとも1つの監視された特性に基づいて制御されてもよい。 In some embodiments, the
いくつかの実施形態では、充電状態範囲の幅は多くても50%である。いくつかの実施形態では、幅は多くても40%である。いくつかの実施形態では、幅は多くても30%である。いくつかの実施形態では、幅は多くても20%である。いくつかの実施形態では、幅は多くても10%である。 In some embodiments, the state of charge range is at most 50% wide. In some embodiments, the width is at most 40%. In some embodiments, the width is at most 30%. In some embodiments, the width is at most 20%. In some embodiments, the width is at most 10%.
いくつかの実施形態では、充電状態範囲の幅は少なくとも5%である。いくつかの実施形態では、幅は少なくとも10%である。 In some embodiments, the width of the state of charge range is at least 5%. In some embodiments, the width is at least 10%.
いくつかの実施形態では、充電状態範囲は、5%以下の充電状態の最低値を有する。本発明者らは、ある割合以下の充電状態の最低値、例えば5%を有する充電状態が、本明細書中に記載の改善をもたらすのに特に効果的であってもよいことを認識し、高く評価している。 In some embodiments, the state of charge range has a minimum state of charge of 5% or less. The inventors recognize that a state of charge having a lowest value of state of charge below a certain percentage, e.g. 5%, may be particularly effective in providing the improvements described herein; I rate it highly.
いくつかの実施形態では、充電状態範囲における放電速度は、平均放電速度を含む。例えば、放電速度は、複数の一定速度の平均、変調速度の平均、あるいは両方の何らかの組み合わせもしくは他の適切な速度の平均であってもよい。いくつかの実施形態では、充電状態範囲における放電速度は、一定の放電速度を含む。 In some embodiments, the discharge rate over a range of states of charge includes an average discharge rate. For example, the discharge rate may be an average of multiple constant rates, an average of modulated rates, or some combination of both or other suitable rates. In some embodiments, the discharge rate in the state of charge range includes a constant discharge rate.
いくつかの実施形態では、放電または充電速度は、上記充電状態範囲全体にわたって対照速度(例えば、比較される速度)の少なくとも2倍(または4倍)である限り、変化してもよい。あるいは、速度を一定にすることもできる。あるいは、速度が平均して対照速度の少なくとも2倍(または4倍)である限り、速度は対照速度の少なくとも2倍(または4倍)を下回る可能性がある。 In some embodiments, the discharge or charge rate may vary as long as it is at least twice (or four times) the reference rate (eg, the rate being compared) throughout the range of states of charge. Alternatively, the speed can be kept constant. Alternatively, the speed can be less than at least 2 times (or 4 times) the control speed, as long as the speed is on average at least 2 times (or 4 times) the control speed.
いくつかの実施形態では、充電状態範囲における放電速度は、最新のサイクル内のいずれかのサイクルの平均充電速度の少なくとも4倍である。 In some embodiments, the discharge rate in the state of charge range is at least four times the average charge rate of any cycle within the most recent cycle.
いくつかの実施形態では、充電状態範囲における放電速度は、セルインピーダンスおよび/またはセル抵抗を含むセルの監視された少なくとも1つの特性に基づいて制御される。 In some embodiments, the rate of discharge across a range of states of charge is controlled based on at least one monitored characteristic of the cell including cell impedance and/or cell resistance.
いくつかの実施形態では、充電状態範囲における放電速度は、最新のサイクル内のいずれかのサイクルの平均充電速度の少なくとも4倍である。 In some embodiments, the discharge rate in the state of charge range is at least four times the average charge rate of any cycle within the most recent cycle.
図3Bは、図3Aに記載された方法に関連して電気化学セル(例えば、電気化学セル121A)を管理する代表的な電気化学セル管理システムの例示的な充電‐時間グラフである。図3Aのサイクル履歴の1つの例は、時点301Aから301Bまでの充電状態の変化にわたって、図3Bに示されている。図3Aの充電状態範囲の1つの例は、図3Bの点302Aから302Bに示されている。図3Bに示すように、セルは301Aから302Aまで放電され、次いで302Aから302Bまでより速く放電される。この例では、302Aから302Bまでの充電状態範囲は約10%~0%であり、10%の幅を有する。 FIG. 3B is an example charge-time graph of a representative electrochemical cell management system that manages an electrochemical cell (eg,
図3Aに示すように、サイクル履歴を分析してもよい。最新のサイクル内に基準を満たすサイクルがない場合、基準を満たすためにセルを放電してもよい。302Aと302Bとの間の範囲は、少なくとも2%および多くても60%の幅を有する充電状態範囲にわたって、最新のサイクル内のいずれかのサイクルの平均充電速度の少なくとも2倍の放電速度で放電されるセルの基準を満たす1つの例を示す。 The cycle history may be analyzed as shown in FIG. 3A. If no cycle within the most recent cycle meets the criteria, the cell may be discharged to meet the criteria. The range between 302A and 302B discharges at a discharge rate that is at least twice the average charge rate of any cycle within the most recent cycle over a range of states of charge having a width of at least 2% and at most 60%. Here is one example that satisfies the cell criteria.
図3Cは、いくつかの実施形態による、電気化学セルを管理する代表的な高レベル方法300Cである。電気化学セルは、例えば、例示的な図1Aの電気化学セル121Aであってもよい。代表的な方法300Cの改善は、以下の段落で詳細に説明される。 FIG. 3C is an exemplary high-
いくつかの実施形態では、代表的な方法300Cは改善320を含んでもよく、電気化学セルのサイクル履歴を分析してもよい。いくつかの実施形態では、代表的な方法300Cは改善330Cを含んでもよく、サイクル履歴における最新のサイクルの数に対して、最新のサイクル内に基準を満たすサイクルがない場合、基準を満たすように電気化学セルを放電するように、前記セルを制御する。この基準は、例えば、少なくとも2%および多くても60%(または多くても50%、または多くても30%、または多くても20%)の幅を有する充電状態範囲にわたって、最近のサイクル内のいずれかのサイクルの平均放電速度の少なくとも2倍である放電速度で、放電されているセルを含んでもよく、放電速度は最大推奨連続放電速度の多くても4倍である。いくつかの実施形態では、放電速度は、製造業者の最大推奨連続放電速度の50~200%以内としてもよい。本発明者らは、製造業者が主に様々な性能試験後のバッテリの能力に基づいて、そのような推奨充電速度および放電速度を設定していることを認識し、理解した。例えば、バッテリが3Cの放電に対応できるが、4Cでは不十分な場合、多くても3Cの連続放電を推奨する。不足分は、性能(例えば、4Cで得られる容量が非常に少ない)または将来の性能の期待(例えば、4Cで1サイクルまたは繰り返しサイクル後、より低い速度でもセルの性能/容量が急速に低下する)、またはより重要な安全性に基づいている可能性があり、例えば、4C放電後にセルが許容できない量のガスを生成するか、急速充電後に安全性プロファイルが損なわれる(ショートまたは熱暴走が発生する可能性が高くなる)。推奨される充電および放電速度は、サイクル寿命、性能、安全性を最大化し、ユーザがセルを乱用しないようにすることを目的としている。 In some embodiments, the
最新のサイクル数は、例えば、少なくとも5サイクルであってもよい。あるいは、最新のサイクル数は、例えば、少なくとも2サイクルであってもよい。いくつかの実施形態によれば、コントローラ(例えば、図1Aのコントローラ114)は改善320および/または330Cを実行してもよい。 The current number of cycles may be, for example, at least 5 cycles. Alternatively, the latest number of cycles may be, for example, at least 2 cycles. According to some embodiments, a controller (eg,
いくつかの実施形態では、代表的な方法300Cは、セルの特性の監視を含む任意の改善310から開始してもよい。改善330Cは改善331を更に含んでもよく、充電状態範囲における放電速度は、最新のサイクル内の任意のサイクルの平均放電速度の少なくとも4倍であってもよい。改善330Cは改善332を更に含んでもよく、充電状態範囲における放電速度は、セルインピーダンスおよび/またはセル抵抗などのセルの少なくとも1つの監視された特性に基づいて制御されてもよい。 In some embodiments, the
いくつかの実施形態では、充電状態範囲の幅は多くても50%である。いくつかの実施形態では、上記幅は多くても40%である。いくつかの実施形態では、上記幅は多くても30%である。いくつかの実施形態では、上記幅は多くても20%である。いくつかの実施形態では、上記幅は多くても10%である。 In some embodiments, the state of charge range is at most 50% wide. In some embodiments, the width is at most 40%. In some embodiments, the width is at most 30%. In some embodiments, the width is at most 20%. In some embodiments, the width is at most 10%.
いくつかの実施形態では、充電状態範囲の幅は少なくとも5%である。いくつかの実施形態では、上記幅は少なくとも10%である。 In some embodiments, the width of the state of charge range is at least 5%. In some embodiments, the width is at least 10%.
いくつかの実施形態では、充電状態範囲は、5%以下の充電状態の最低値を有する。本発明者らは、ある割合以下の充電状態の最低値、例えば5%を有する充電状態が、本明細書中に記載の改善をもたらすのに特に効果的であってもよいことを認識し、理解した。 In some embodiments, the state of charge range has a minimum state of charge of 5% or less. The inventors recognize that a state of charge having a lowest value of state of charge below a certain percentage, e.g. 5%, may be particularly effective in providing the improvements described herein; got it.
いくつかの実施形態では、充電状態範囲における放電速度は、平均放電速度を含む。いくつかの実施形態では、充電状態範囲における放電速度は、最新のサイクル内のいずれかのサイクルの平均充電速度の少なくとも4倍である。 In some embodiments, the discharge rate over a range of states of charge includes an average discharge rate. In some embodiments, the discharge rate in the state of charge range is at least four times the average charge rate of any cycle within the most recent cycle.
いくつかの実施形態では、充電状態範囲における放電速度は、一定の放電速度を含む。 In some embodiments, the discharge rate in the state of charge range includes a constant discharge rate.
いくつかの実施形態では、充電状態範囲における放電速度は、セルインピーダンスおよび/またはセル抵抗を含むセルの少なくとも1つの監視された特性に基づいて制御される。いくつかの実施形態では、充電状態範囲における放電速度は、最新のサイクル内のいずれかのサイクルの平均充電速度の少なくとも4倍である。 In some embodiments, the rate of discharge across a range of states of charge is controlled based on at least one monitored characteristic of the cell including cell impedance and/or cell resistance. In some embodiments, the discharge rate in the state of charge range is at least four times the average charge rate of any cycle within the most recent cycle.
図3Dは、図3Cに記載された方法に関連して、電気化学セル(例えば、電気化学セル121A)を管理する代表的な電気化学セル管理システムの例示的な充電‐時間グラフである。図3Cのサイクル履歴の1つの例は、時点301Aから301Bまでの充電状態の変化にわたって、図3Dに示されている。図3Cの充電状態範囲の1つの例は、図3Dの点302Aから302Bに示されている。図3Dに示すように、セルは301Aから302Aまで放電され、次いで302Aから302Bまでより速く放電される。この例では、302Aから302Bまでの充電状態範囲は約10%~0%であり、10%の幅を有する。 FIG. 3D is an example charge-time graph of a representative electrochemical cell management system that manages an electrochemical cell (eg,
図3Cに示すように、サイクル履歴を分析してもよい。最新のサイクルの数のうちに基準を満たすサイクルがない場合、セルは基準を満たすように放電されてもよい。要素302Aと要素302Bとの間で定義される範囲は、少なくとも2%および多くても60%の幅を有する充電状態範囲にわたって、最新のサイクル内のいずれかのサイクルの平均充電速度の少なくとも2倍の放電速度で放電されるセルの基準を満たす1つの例を示し、放電速度は最大推奨連続放電速度の多くても4倍である。 The cycle history may be analyzed as shown in Figure 3C. If no cycles meet the criteria among the most recent number of cycles, the cell may be discharged to meet the criteria. The range defined between
図4Aは、いくつかの実施形態による、電気化学セルを管理するための付加的な代表的な方法を示すフローチャートである。電気化学セルは、例えば、例示的な図1Aの電気化学セル121Aであってもよい。代表的な方法400Aの改善は、以下の段落で詳細に説明される。 FIG. 4A is a flowchart illustrating additional exemplary methods for managing electrochemical cells, according to some embodiments. The electrochemical cell may be, for example,
いくつかの実施形態では、代表的な方法400Aは改善1520を含んでもよく、電気化学セルのサイクル履歴が分析されてもよい。いくつかの実施形態では、代表的な方法400Aは改善1530を含んでもよく、電気化学セルは、サイクル履歴における最新のサイクルの数に対して、最新のサイクル内に基準を満たすサイクルがない場合、基準を満たすためにセルを充電するように制御される。最新のサイクルの数は、例えば、少なくとも5サイクルであってもよい。いくつかの実施形態によれば、コントローラ(例えば、図1Aのコントローラ114)は、改善1520および/または1530を実行してもよい。 In some embodiments, the
いくつかの実施形態では、代表的な方法400Aは、セルの特性の監視を含む任意の改善410を含んでもよい。改善435において、本明細書中に記載されるように、充電状態範囲における充電速度は、セルの少なくとも1つの監視された特性に基づいて制御されてもよい。代表的な方法400Aは、任意の改善1536も含んでもよく、充電状態範囲における充電速度は、最新のサイクル内のいずれかのサイクルの平均放電速度の多くても0.25倍である。 In some embodiments, the
いくつかの実施形態では、上記幅は多くても50%である。いくつかの実施形態では、上記幅は多くても40%である。いくつかの実施形態では、上記幅は多くても30%である。いくつかの実施形態では、上記幅は多くても20%である。いくつかの実施形態では、上記幅は多くても10%である。いくつかの実施形態では、充電状態範囲は、5%以下の充電状態の最低値を有する。 In some embodiments, the width is at most 50%. In some embodiments, the width is at most 40%. In some embodiments, the width is at most 30%. In some embodiments, the width is at most 20%. In some embodiments, the width is at most 10%. In some embodiments, the state of charge range has a minimum state of charge of 5% or less.
いくつかの実施形態では、上記幅は少なくとも5%である。いくつかの実施形態では、上記幅は少なくとも10%である。 In some embodiments, the width is at least 5%. In some embodiments, the width is at least 10%.
いくつかの実施形態では、充電状態範囲における充電速度は、平均充電速度を含む。いくつかの実施形態では、充電状態範囲における充電速度は、一定の充電速度を含む。 In some embodiments, the charging rate in the state of charge range includes an average charging rate. In some embodiments, the charging rate in the state of charge range includes a constant charging rate.
いくつかの実施形態によれば、充電状態範囲における充電速度は、最新のサイクル内のいずれかのサイクルの平均放電速度の多くても0.25倍である。 According to some embodiments, the charge rate in a range of charge states is at most 0.25 times the average discharge rate of any cycle within the most recent cycle.
いくつかの例では、充電状態範囲における充電速度は、セルインピーダンスおよび/またはセル抵抗を含むセルの監視された少なくとも1つの特性に基づいて制御される。 In some examples, the rate of charging in a range of charge states is controlled based on at least one monitored characteristic of the cell including cell impedance and/or cell resistance.
図4Bは、図4Aに記載された方法に関連して、電気化学セル(例えば、電気化学セル121A)を管理する代表的な電気化学セル管理システムの例示的な充電‐時間グラフである。図4Aのサイクル履歴の1つの例は、時点301Aから301Bまでに示される充電状態の変化にわたって、図4Bに示されている。図4Aの充電状態範囲の1つの例は、図4Bの点402Aから402Bに示されている。図4Bに示すように、セルは、約100%から0%の充電状態まで複数の速度で、301Aから402Aまで放電され、次いで、約0%から10%の充電状態まで402Aから402Bまで放電され、次いで、より高い速度で充電される。この例では、402Aから402Bまでの充電状態範囲は約0%~10%であり、10%の幅を有する。 FIG. 4B is an example charge-time graph of a representative electrochemical cell management system that manages an electrochemical cell (eg,
図4Aに示すように、サイクル履歴(例えば、301Aと301Bの間の期間)を分析してもよい。最新のサイクルの数のうちに基準を満たすサイクルがない場合、セルは基準を満たすように充電されてもよい。要素402Aと402Bとの間で定義される範囲は、少なくとも2%および多くても60%の幅を有する充電状態範囲にわたって、最新のサイクル内のいずれかのサイクルの平均放電速度の多くても0.5倍の充電速度で充電されるセルの基準を満たす期間の1つの例を示す。 As shown in FIG. 4A, cycle history (eg, the period between 301A and 301B) may be analyzed. If none of the most recent number of cycles meet the criteria, the cell may be charged to meet the criteria. The range defined between
図5Aは、いくつかの実施形態による、電気化学セルを管理するための追加の代表的な方法を示すフローチャートである。電気化学セルは、例えば、例示的な図1Aの電気化学セル121Aであってもよい。代表的な方法500Aの改善は、以下の段落で詳細に説明される。 FIG. 5A is a flowchart illustrating additional exemplary methods for managing electrochemical cells, according to some embodiments. The electrochemical cell may be, for example,
いくつかの実施形態では、代表的な方法500Aは改善520を含んでもよく、電気化学セルのサイクル履歴が分析されてもよい。いくつかの実施形態では、代表的な方法500Aは改善530を含んでもよく、電気化学セルは、放電中に閾値充電状態に達した場合、セルの放電速度がサイクル履歴の少なくとも1つのサイクルの平均充電速度の少なくとも2倍に増加されるように制御される。 In some embodiments, the
いくつかの実施形態では、改善530において、電気化学セルは、放電中に閾値充電状態に達した場合、セルの放電速度が、サイクル履歴の少なくとも1つのサイクルの少なくとも1部の平均充電速度の少なくとも2倍に増加されるように制御される。いくつかの実施形態では、この部分は、少なくとも2%および多くても60%の幅を有する第1の充電状態範囲を含む。 In some embodiments, in
いくつかの実施形態によれば、コントローラ(例えば、図1Aのコントローラ114)は改善520および/または530を実行してもよい。いくつかの実施形態では、閾値充電状態は60%以下の値を有する。いくつかの実施形態によれば、平均充電/放電速度は、本明細書中に記載された技術を使用して計算されてもよい。 According to some embodiments, a controller (eg,
いくつかの実施形態では、代表的な方法500Aは、セルの特性の監視を含む任意の改善510を含んでもよい。改善535において、放電速度は、セルの少なくとも1つの監視された特性に基づいて制御されてもよい。いくつかの実施形態では、監視された特性は、本明細書中に記載されるセルインピーダンスおよび/またはセル抵抗を含んでもよい。更に、代表的な方法500Aは、将来の放電スケジュールを設定し、実行してもよい任意の改善540を含んでもよい。例えば、100サイクルごとの少なくとも5サイクルおよび50サイクル未満において、放電速度がサイクル履歴の少なくとも1つのサイクルの平均充電速度の少なくとも2倍に増加されるように、将来の放電スケジュールを設定し、実行してもよい。代替的または追加的に、100サイクルごとの少なくとも5サイクルおよび50サイクル未満において、放電速度がサイクル履歴の少なくとも1つのサイクルの少なくとも1部の平均充電速度の少なくとも2倍に増加されるように、将来の放電スケジュールを設定および実行してもよい。 In some embodiments, the
いくつかの実施形態では、閾値充電状態は50%以下の値を有する。いくつかの実施形態では、閾値充電状態は40%以下の値を有する。いくつかの実施形態では、閾値充電状態は30%以下の値を有する。いくつかの実施形態では、閾値充電状態は20%以下の値を有する。いくつかの実施形態では、閾値充電状態は10%以下の値を有する。 In some embodiments, the threshold state of charge has a value of 50% or less. In some embodiments, the threshold state of charge has a value of 40% or less. In some embodiments, the threshold state of charge has a value of 30% or less. In some embodiments, the threshold state of charge has a value of 20% or less. In some embodiments, the threshold state of charge has a value of 10% or less.
いくつかの実施形態では、第1の充電状態範囲の幅は多くても50%である。いくつかの実施形態では、第1の充電状態範囲の幅は多くても40%である。いくつかの実施形態によれば、第1の充電状態範囲の幅は多くても30%である。いくつかの実施形態では、第1の充電状態範囲の幅は多くても20%である。いくつかの実施形態では、第1の充電状態範囲の幅は多くても10%である。 In some embodiments, the width of the first state of charge range is at most 50%. In some embodiments, the width of the first state of charge range is at most 40%. According to some embodiments, the width of the first state of charge range is at most 30%. In some embodiments, the width of the first state of charge range is at most 20%. In some embodiments, the width of the first state of charge range is at most 10%.
いくつかの実施形態では、第1の充電状態範囲の幅は少なくとも5%である。いくつかの実施形態では、第1の充電状態範囲の幅は少なくとも10%である。 In some embodiments, the width of the first state of charge range is at least 5%. In some embodiments, the width of the first state of charge range is at least 10%.
いくつかの実施形態では、増加された放電速度は平均放電速度を含む。いくつかの実施形態では、増加された放電速度は一定の放電速度を含む。 In some embodiments, the increased discharge rate comprises an average discharge rate. In some embodiments, the increased discharge rate includes a constant discharge rate.
いくつかの実施形態では、第1の充電状態範囲における充電速度は、平均充電速度を含む。いくつかの実施形態では、第1の充電状態範囲における充電速度は、一定の充電速度を含む。 In some embodiments, the charging rate in the first state of charge range includes an average charging rate. In some embodiments, the charging rate in the first state of charge range includes a constant charging rate.
いくつかの実施形態によれば、増加された放電速度は、サイクル履歴における少なくとも1つのサイクルの平均充電速度の少なくとも4倍である。 According to some embodiments, the increased discharge rate is at least four times the average charge rate for at least one cycle in the cycle history.
いくつかの実施形態によれば、増加された放電速度は、サイクル履歴における少なくとも1つのサイクルの少なくとも1部の平均充電速度の少なくとも4倍である。 According to some embodiments, the increased discharge rate is at least four times the average charge rate for at least a portion of at least one cycle in the cycle history.
いくつかの例では、増加された放電速度は、本明細書中に記載されたものなどのセルの少なくとも1つの監視された特性に基づいて制御される。 In some examples, the increased discharge rate is controlled based on at least one monitored characteristic of the cell, such as those described herein.
いくつかの例では、100サイクルごとの少なくとも5サイクルかつ50サイクル未満において、放電速度が少なくとも1サイクルの平均充電速度の少なくとも2倍に増加されるように、将来の放電スケジュールが設定され、実行される。サイクル履歴にある。 In some examples, future discharge schedules are set and executed such that in at least 5 cycles out of every 100 cycles and less than 50 cycles, the discharge rate is increased to at least twice the average charge rate for at least 1 cycle. Ru. It's in the cycle history.
いくつかの例では、100サイクルごとの少なくとも5サイクルおよび50サイクル未満において、放電速度が、サイクル履歴の少なくとも1つのサイクルの少なくとも1部の平均充電速度の少なくとも2倍に増加されるように、将来の放電スケジュールが設定され、実行される。 In some examples, at least 5 cycles out of every 100 cycles and less than 50 cycles, the discharge rate is increased to at least twice the average charge rate for at least a portion of at least one cycle of the cycle history. A discharge schedule is set and executed.
いくつかの実施形態では、サイクル履歴の少なくとも1つのサイクルは、最新のサイクルを含む。 In some embodiments, at least one cycle of the cycle history includes the most recent cycle.
図5Bは、図5Aに記載された方法に関連して、電気化学セル(例えば、電気化学セル121A)を管理する代表的な電気化学セル管理システムの例示的な充電‐時間グラフである。図5Aのサイクル履歴の1つの例は、時点301Aから301Bまでに示された充電状態の変化にわたって、図5Bに示されている。図5Aのサイクル履歴のサイクルの1つの例は、図5Bの502Aから502Bの要部(充電)に示されている。図5Aの閾値充電状態の1つの例は、図5Bの点301Bに示されている。図5Bに示すように、セルは、約100%から0%の充電状態まで複数の速度で、301Aから502Aまで放電され、次いで、約0%から100%の充電状態まで複数の速度で502Aから502Bまで充電され、301Bまで放電された後、次いでより高い速度で点503まで放電される。 FIG. 5B is an example charge-time graph of a representative electrochemical cell management system that manages an electrochemical cell (eg,
例えば、図5Aに示すように、サイクル履歴を分析してもよい。図5Bに示される例では、時間301Bでの放電中に、閾値充電状態、この場合は10%に達する。従って、セルの放電速度は、サイクル履歴における少なくとも1つのサイクルの平均充電速度の少なくとも2倍に増加する。例えば、サイクル履歴の少なくとも1つのサイクルの平均充電速度は、時間502Aと502Bの間の期間にわたることが可能である。代替的または追加的に、サイクル履歴の少なくとも1つのサイクルの平均充電速度は、時間502Aと502Bの間の期間の任意の部分にわたることが可能である。301Bと503の間の期間は、時間502Aと502Bの間で表される充電の平均充電速度の少なくとも2倍への放電速度の増加を示している。 For example, cycle history may be analyzed as shown in FIG. 5A. In the example shown in FIG. 5B, a threshold state of charge, in this
図6Aは、いくつかの実施形態による、電気化学セルを管理するための追加の代表的な方法を示すフローチャートである。電気化学セルは、例えば、例示的な図1の電気化学セル121Aであってもよい。代表的な方法600Aの改善は、以下の段落で詳細に説明される。 FIG. 6A is a flowchart illustrating additional exemplary methods for managing electrochemical cells, according to some embodiments. The electrochemical cell may be, for example, the exemplary
いくつかの実施形態では、代表的な方法600Aは改善620を含んでもよく、電気化学セルは、終了充電状態で充電工程が終了し、放電が開始され、開始された放電中にセルが、少なくとも1%の幅を有する充電状態範囲にわたって、終了された充電工程の平均充電速度の少なくとも2倍である放電速度で放電されるように制御される。これは、コンディショニング・サイクルまたは「ミニサイクル(mini-cycle)」と呼ばれる場合がある。 In some embodiments, the
いくつかの実施形態では、改善620において、電気化学セルは、終了充電状態で充電工程が終了して放電が開始され、開始された放電中に少なくとも1%の幅を有する充電状態範囲にわたって、終了された充電工程の少なくとも1部の平均充電速度の少なくとも2倍である放電速度で、セルが放電されるように制御される。いくつかの実施形態では、この部分は、少なくとも2%および多くても60%の幅を有する第1の充電状態範囲を含む。 In some embodiments, in improvement 620, the electrochemical cell is configured to terminate the charging process and begin discharging at the end state of charge, and during the initiated discharge over a range of states of charge having a width of at least 1%. The cell is controlled to be discharged at a discharge rate that is at least twice the average charge rate of at least a portion of the charging steps performed. In some embodiments, this portion includes a first state of charge range having a width of at least 2% and at most 60%.
いくつかの実施形態によれば、コンディショニング・サイクルは、任意のまたはすべての充電工程の開始時に実行されてもよい。例えば、セルは10%の充電状態まで充電(または現在の充電状態より10%上まで充電)され、次いで0%近くの充電状態まで充電速度の2倍または4倍で放電(または充電後の充電状態より10%下まで放電)されるように制御されてもよい。いくつかの実施形態によれば、セルの放電と充電との間にコンディショニング・サイクルを実行してもよい。本明細書中で提供される技術および方法のいくつかの実施形態では、放電速度および/または充電速度が予め決定されてもよい。いくつかの実施形態によれば、例えばセルの放電と充電との間に定電流が使用されてもよい。いくつかの実施形態によれば、変調電流が使用されてもよい。本発明者らは、これらのコンディショニングまたは「ミニ」サイクルにより、定電流または変調電流にかかわらず、所定の放電および充電速度が可能になり得ることを認識し、理解した。 According to some embodiments, a conditioning cycle may be performed at the beginning of any or all charging steps. For example, a cell is charged to a 10% state of charge (or charged to 10% above the current state of charge), then discharged (or charged after charging) to a state of charge near 0% at twice or four times the charging rate. The discharge may be controlled to 10% below the current state. According to some embodiments, a conditioning cycle may be performed between discharging and charging the cell. In some embodiments of the techniques and methods provided herein, the discharge rate and/or charge rate may be predetermined. According to some embodiments, constant current may be used, for example, between discharging and charging the cell. According to some embodiments, modulated current may be used. The inventors recognized and understood that these conditioning or "mini" cycles may allow for predetermined discharge and charge rates, whether constant or modulated current.
いくつかの実施形態によれば、コンディショニング・サイクルは、それ自体では目標比率を満たさない、そうでなければ典型的な放電工程の1部として実行されてもよい。例えば、放電工程の「底部(bottom)」が次の充電工程の開始より4倍速くなるようにセルを制御してもよい(充電器に電力をフィードバックするときに実行される場合など)。別の例として、充電工程の開始が最後の放電速度よりも4倍遅くなるようにセルを制御してもよい(セルの放電履歴が保存されている例において)。いくつかの実施形態では、充電と放電の組み合わせを固定速度で使用してもよい(ユーザがセルを離れた場所を超えて放電を続ける場合など)。 According to some embodiments, the conditioning cycle does not meet the target ratio by itself, and may be performed as part of an otherwise typical discharge process. For example, the cell may be controlled so that the "bottom" of a discharge step is four times faster than the start of the next charge step (as performed when feeding back power to the charger). As another example, a cell may be controlled so that the start of the charging process is four times slower than the last discharge rate (in examples where the cell's discharge history is stored). In some embodiments, a combination of charging and discharging may be used at a fixed rate (such as when the user continues to discharge beyond the point at which he left the cell).
いくつかの実施形態によれば、コントローラ(例えば、図1Aのコントローラ114)は改善620を実行してもよい。いくつかの実施形態では、終了充電状態は60%以下の値を有する。いくつかの実施形態によれば、平均充電/放電速度は、本明細書中に記載される技術を使用して計算されてもよい。 According to some embodiments, a controller (eg,
いくつかの実施形態では、代表的な方法600Aは、セルの特性の監視を含む任意の改善610を含んでもよい。改善621において、充電状態範囲における放電速度は、セルの少なくとも1つの監視された特性に基づいて制御される。いくつかの実施形態では、監視された特性は、セルインピーダンスおよび/またはセル抵抗を含んでもよい。改善622では、放電速度は、任意に、終了された充電工程の平均充電速度の少なくとも4倍であってもよい。代替的または追加的に、放電速度は、任意に、終了された充電工程の少なくとも1部の平均充電速度の少なくとも4倍であってもよい。 In some embodiments, the
更に、代表的な方法600Aは、将来の放電スケジュールを設定し、実行してもよい任意の改善630を含んでもよい。例えば、100サイクルごとの少なくとも5サイクルおよび50サイクル未満の間に、充電工程が終了し、放電が開始されるように、将来の放電スケジュールを設定および実行してもよい。 Additionally,
いくつかの実施形態では、終了充電状態は50%以下の値を有する。いくつかの実施形態では、終了充電状態は40%以下の値を有する。いくつかの実施形態では、終了充電状態は30%以下の値を有する。いくつかの実施形態では、終了充電状態は20%以下の値を有する。いくつかの実施形態では、終了充電状態は10%以下の値を有する。 In some embodiments, the end state of charge has a value of 50% or less. In some embodiments, the end state of charge has a value of 40% or less. In some embodiments, the end state of charge has a value of 30% or less. In some embodiments, the end state of charge has a value of 20% or less. In some embodiments, the end state of charge has a value of 10% or less.
いくつかの実施形態では、第1の充電状態範囲の幅は多くても50%である。いくつかの実施形態では、第1の充電状態範囲の幅は多くても40%である。いくつかの実施形態によれば、第1の充電状態範囲の幅は多くても30%である。いくつかの実施形態では、第1の充電状態範囲の幅は多くても20%である。いくつかの実施形態では、第1の充電状態範囲の幅は多くても10%である。 In some embodiments, the width of the first state of charge range is at most 50%. In some embodiments, the width of the first state of charge range is at most 40%. According to some embodiments, the width of the first state of charge range is at most 30%. In some embodiments, the width of the first state of charge range is at most 20%. In some embodiments, the width of the first state of charge range is at most 10%.
いくつかの実施形態では、第1の充電状態範囲の幅は少なくとも5%である。いくつかの実施形態では、第1の充電状態範囲の幅は少なくとも10%である。 In some embodiments, the width of the first state of charge range is at least 5%. In some embodiments, the width of the first state of charge range is at least 10%.
いくつかの実施形態では、充電状態範囲における放電速度は、平均放電速度を含む。いくつかの実施形態では、充電状態範囲における放電速度は、一定の放電速度を含む。 In some embodiments, the discharge rate over a range of states of charge includes an average discharge rate. In some embodiments, the discharge rate in the state of charge range includes a constant discharge rate.
いくつかの実施形態では、第1の充電状態範囲における充電速度は、平均充電速度を含む。いくつかの実施形態では、第1の充電状態範囲における充電速度は、一定の充電速度を含む。 In some embodiments, the charging rate in the first state of charge range includes an average charging rate. In some embodiments, the charging rate in the first state of charge range includes a constant charging rate.
いくつかの実施形態では、放電速度は、終了された充電工程の平均充電速度の少なくとも4倍である。 In some embodiments, the discharge rate is at least four times the average charging rate of the completed charging steps.
いくつかの例では、放電速度は、セルの少なくとも1つの監視された特性に基づいて制御される。 In some examples, the discharge rate is controlled based on at least one monitored characteristic of the cell.
いくつかの実施形態では、100サイクルごとの少なくとも5サイクルおよび50サイクル未満で、充電工程が終了し、放電が開始されるように、将来の放電スケジュールが設定および実行される。 In some embodiments, future discharge schedules are set and executed such that the charging process ends and discharge begins at least 5 cycles out of every 100 cycles and less than 50 cycles.
図6Bは、図6Aに記載された方法に関連して、電気化学セル(例えば、電気化学セル121A)を管理する代表的な電気化学セル管理システムの例示的な充電‐時間グラフである。図6Aの終了された充電工程の1つの例は、図6Bの点601Aから点601Bに示されている。図6Aの終了充電状態の1つの例は、図6Bの点601Bに示されている。図6Aの充電状態範囲の1つの例は、図6Bの点601Bから点601Cに示されている。図6Bに示すように、セルは約100%から0%の充電状態まで複数の速度で601Aまで放電され、次いで、セルは約0%から10%の充電状態まで601Aから601Bまで充電され、そこで充電工程が終了し、次いで、セルは601Cまで放電され、次いで、より一般的な充電と放電のサイクルが始まる。 FIG. 6B is an example charge-time graph of a representative electrochemical cell management system that manages an electrochemical cell (eg,
図6Aのフローチャートに記載されているように、電気化学セルは、終了充電状態、例えば図6の時間601Bにおいて、次のように制御される。図6Bに示すように、時間601Aと601Bの間などの充電工程が終了し、放電が開始される。開始された放電中、セルは、終了された充電工程の平均充電速度の少なくとも2倍である放電速度で、例えば時間601Bから601Cまで放電される。いくつかの実施形態では、開始された放電中、セルは、終了された充電工程の少なくとも1部の平均充電速度の少なくとも2倍である放電速度で、例えば時間601Bから601Cまで放電される。 As described in the flowchart of FIG. 6A, the electrochemical cell is controlled as follows at the end charge state, such as time 601B of FIG. As shown in FIG. 6B, the charging process, such as between
図7Aは、いくつかの実施形態による、電気化学セルを管理するための追加の代表的な方法を示すフローチャートである。電気化学セルは、例えば、例示的な図1Aの電気化学セル121Aであってもよい。代表的な方法700Aの改善は、以下の段落で詳細に説明される。 FIG. 7A is a flowchart illustrating additional exemplary methods for managing electrochemical cells, according to some embodiments. The electrochemical cell may be, for example,
いくつかの実施形態では、代表的な方法700Aは改善720を含んでもよく、電気化学セルのサイクル履歴を分析してもよい。いくつかの実施形態では、代表的な方法700Aは改善730を含んでもよく、電気化学セルは、終了充電状態で充電工程が終了し、放電が開始され、開始された放電中にセルが少なくとも1%の幅を有する充電状態範囲にわたって、サイクル履歴における少なくとも1つのサイクルの平均充電速度の少なくとも2倍である放電速度で放電されるように制御される。これは、コンディショニング・サイクルまたは「ミニサイクル」と呼ばれることもある。 In some embodiments, the
いくつかの実施形態によれば、コントローラ(例えば、図1Aのコントローラ114)は改善720および/または730を実行してもよい。いくつかの実施形態では、終了充電状態は60%以下の値を有する。いくつかの実施形態によれば、平均充電/放電速度は、本明細書中に記載される技術を使用して計算されてもよい。 According to some embodiments, a controller (eg,
いくつかの実施形態では、代表的な方法700Aは、セルの特性の監視を含む任意の改善710を含んでもよい。改善731において、充電状態範囲における放電速度は、セルの少なくとも1つの監視された特性に基づいて制御される。いくつかの実施形態では、監視された特性は、セルインピーダンスおよび/またはセル抵抗を含んでもよい。改善732において、充電状態範囲における放電速度は、任意に、サイクル履歴におけるサイクルの平均充電速度の少なくとも4倍であってもよい。更に、フローチャートは、将来の放電スケジュールを設定および実行してもよい任意の改善740も含んでもよい。例えば、100サイクルごとの少なくとも5サイクルおよび50サイクル未満の間、充電工程が終了し、放電が開始されるように、将来の放電スケジュールを設定および実行してもよい。 In some embodiments, the
いくつかの実施形態では、終了充電状態は50%以下の値を有する。いくつかの実施形態では、終了充電状態は40%以下の値を有する。いくつかの実施形態では、終了充電状態は30%以下の値を有する。いくつかの実施形態では、終了充電状態は20%以下の値を有する。いくつかの実施形態では、終了充電状態は10%以下の値を有する。 In some embodiments, the end state of charge has a value of 50% or less. In some embodiments, the end state of charge has a value of 40% or less. In some embodiments, the end state of charge has a value of 30% or less. In some embodiments, the end state of charge has a value of 20% or less. In some embodiments, the end state of charge has a value of 10% or less.
いくつかの実施形態では、充電状態範囲における放電速度は、平均放電速度を含む。いくつかの実施形態では、充電状態範囲における放電速度は、一定の放電速度を含む。 In some embodiments, the discharge rate over a range of states of charge includes an average discharge rate. In some embodiments, the discharge rate in the state of charge range includes a constant discharge rate.
いくつかの実施形態では、充電状態範囲における放電速度は、サイクル履歴における少なくとも1つのサイクルの平均充電速度の少なくとも4倍である。 In some embodiments, the discharge rate in the charge state range is at least four times the average charge rate for at least one cycle in the cycle history.
いくつかの実施形態では、100サイクルごとの少なくとも5サイクルおよび50サイクル未満で、充電工程が終了し、放電が開始されるように、将来の放電スケジュールが設定および実行される。 In some embodiments, future discharge schedules are set and executed such that the charging process ends and discharge begins at least 5 cycles out of every 100 cycles and less than 50 cycles.
いくつかの実施形態では、充電状態範囲における放電速度は、セルインピーダンスおよび/またはセル抵抗を含むセルの監視された少なくとも1つの特性に基づいて制御される。 In some embodiments, the rate of discharge across a range of states of charge is controlled based on at least one monitored characteristic of the cell including cell impedance and/or cell resistance.
いくつかの実施形態では、改善730は、終了充電状態で充電工程が終了して放電が開始され、開始された放電中に少なくとも1%の幅を有する第1の充電状態範囲にわたって、サイクル履歴における少なくとも1つのサイクルの少なくとも1部の平均充電速度の少なくとも2倍である放電速度で、セルが放電されるように、電気化学セルが制御されることを含んでもよい。いくつかの実施形態では、この1部は、少なくとも2%および多くても60%の幅を有する第2の充電状態範囲を含む。 In some embodiments, the
いくつかの実施形態では、第2の充電状態範囲の幅は多くても50%である。いくつかの実施形態では、第2の充電状態範囲の幅は多くても40%である。いくつかの実施形態によれば、第2の充電状態範囲の幅は多くても30%である。いくつかの実施形態では、第2の充電状態範囲の幅は多くても20%である。いくつかの実施形態では、第2の充電状態範囲の幅は多くても10%である。 In some embodiments, the second state of charge range is at most 50% wide. In some embodiments, the second state of charge range is at most 40% wide. According to some embodiments, the width of the second state of charge range is at most 30%. In some embodiments, the second state of charge range is at most 20% wide. In some embodiments, the second state of charge range is at most 10% wide.
いくつかの実施形態では、第2の充電状態範囲の幅は少なくとも5%である。いくつかの実施形態では、第2の充電状態範囲の幅は少なくとも10%である。 In some embodiments, the width of the second state of charge range is at least 5%. In some embodiments, the width of the second state of charge range is at least 10%.
いくつかの実施形態では、第1の充電状態範囲における充電速度は、平均充電速度を含む。いくつかの実施形態では、第1の充電状態範囲における充電速度は、一定の充電速度を含む。 In some embodiments, the charging rate in the first state of charge range includes an average charging rate. In some embodiments, the charging rate in the first state of charge range includes a constant charging rate.
いくつかの実施形態では、第1の充電状態範囲における放電速度は、第2の充電状態範囲における平均充電速度の少なくとも4倍である。 In some embodiments, the discharge rate in the first state of charge range is at least four times the average charge rate in the second state of charge range.
図7Bは、図7Aに記載された方法に関連して電気化学セル(例えば、電気化学セル121A)を管理する代表的な電気化学セル管理システムの例示的な充電‐時間グラフである。図7Aの終了された充電工程の1つの例が、図7Bの点701Bから701Cに示され、もう1つは点701Eから701Fに示されている。図7Aの終了充電状態の1つの例が、図7Bの点701Cに示されている。図7Aの充電状態範囲の1つの例が、図7Bの点701Cから701Dに示されている。図7Aのサイクル履歴の1つの例が、図7Bの点701Aから701Dに示されている。図7Bに示すように、セルは、約100%から0%の充電状態で701Aから701Eまで放電され、次いで、約0%から10%の充電状態で701Eから701Fまで充電され、次いで、約10%から0%の充電状態で701Fから701Bまで放電され(701Eから701Fまでの充電工程終了後)、次いで、約0%から10%の充電状態で701Bから701Cまで充電し、ここで充電工程が終了し、セルは約10%から0%の充電状態で701Dまで放電され、次いで、より一般的な充電と放電のサイクルが始まる。 FIG. 7B is an example charge-time graph of a representative electrochemical cell management system that manages an electrochemical cell (eg,
図7Aのフローチャートに記載したように、電気化学セルは、終了充電状態、例えば図7Bの時間701Cにおいて、時間701Bと701Cの間などの充電工程が終了し、放電が開始される。開始された放電中、セルは、終了された充電工程の平均充電速度の少なくとも2倍である放電速度で、例えば時間701Cから701Dまで放電される。 As described in the flowchart of FIG. 7A, the electrochemical cell completes the charging process, such as between
図8Aは、いくつかの実施形態による、電気化学セルを管理するための追加の代表的な方法を示すフローチャートである。電気化学セルは、例えば、例示的な図1Aの電気化学セル121Aであってもよい。代表的な方法800Aの改善は、以下の段落で詳細に説明される。 FIG. 8A is a flowchart illustrating additional exemplary methods for managing electrochemical cells, according to some embodiments. The electrochemical cell may be, for example,
いくつかの実施形態では、代表的な方法800Aは改善8200を含んでもよく、電気化学セルは、セルが少なくとも2%および多くても60%の幅を有する充電状態範囲にわたって放電され、次いで充電されるように制御される。いくつかの実施形態によれば、コントローラ(例えば、図1Aのコントローラ114)は改善8200を実行してもよい。いくつかの実施形態では、放電における放電速度は、充電における平均充電速度の少なくとも2倍である。いくつかの実施形態によれば、平均充電/放電速度は、本明細書中に記載される技術を使用して計算されてもよい。 In some embodiments, the
いくつかの実施形態では、代表的な方法800Aは、セルの特性の監視を含む任意の改善8100を含んでもよい。改善8210において、充電状態範囲における放電速度は、セルの少なくとも1つの監視された特性に基づいて制御される。いくつかの実施形態では、監視された特性は、セルインピーダンスおよび/またはセル抵抗を含んでもよい。 In some embodiments, the
改善8220では、放電の直後に充電が起こるようにセルを任意に制御してもよい。改善8230では、充電状態範囲における放電速度は、任意に、充電中の平均充電速度の少なくとも4倍であってもよい。
いくつかの実施形態では、改善8200は、セルが放電され、次いで充電されるように、かつ少なくとも2%および多くても60%の幅を有する第1の充電状態範囲をカバーする放電の少なくとも1部の間、放電の一部における平均放電速度は、充電の少なくとも1部の間の平均充電速度の少なくとも2倍であるように、電気化学セルが制御されることを含んでもよい。いくつかの実施形態では、充電の1部は、少なくとも2%および多くても60%の幅を有する第2の充電状態範囲を含んでもよい。 In some embodiments, the
いくつかの実施形態では、電気化学セルを制御することが、前回の充電工程の分析に応じて放電を実行することを含む。代替的または追加的に、電気化学セルを制御することが、前回の放電工程の分析に応じて充電を実行することを含む。 In some embodiments, controlling the electrochemical cell includes performing a discharge in response to an analysis of a previous charging step. Alternatively or additionally, controlling the electrochemical cell includes performing charging in response to an analysis of a previous discharge step.
いくつかの実施形態では、改善8230は、第1の充電状態範囲における放電速度が、任意に第2の充電状態範囲における平均充電速度の少なくとも4倍であることを含んでもよい。 In some embodiments, the
いくつかの実施形態では、第1の充電状態範囲の幅は多くても50%である。いくつかの実施形態では、第1の充電状態範囲の幅は多くても40%である。いくつかの実施形態によれば、第1の充電状態範囲の幅は多くても30%である。いくつかの実施形態では、第1の充電状態範囲の幅は多くても20%である。いくつかの実施形態では、第1の充電状態範囲の幅は多くても10%である。 In some embodiments, the width of the first state of charge range is at most 50%. In some embodiments, the width of the first state of charge range is at most 40%. According to some embodiments, the width of the first state of charge range is at most 30%. In some embodiments, the width of the first state of charge range is at most 20%. In some embodiments, the width of the first state of charge range is at most 10%.
いくつかの実施形態では、第2の充電状態範囲の幅は多くても50%である。いくつかの実施形態では、第2の充電状態範囲の幅は多くても40%である。いくつかの実施形態によれば、第2の充電状態範囲の幅は多くても30%である。いくつかの実施形態では、第2の充電状態範囲の幅は多くても20%である。いくつかの実施形態では、第2の充電状態範囲の幅は多くても10%である。 In some embodiments, the second state of charge range is at most 50% wide. In some embodiments, the second state of charge range is at most 40% wide. According to some embodiments, the width of the second state of charge range is at most 30%. In some embodiments, the second state of charge range is at most 20% wide. In some embodiments, the second state of charge range is at most 10% wide.
いくつかの実施形態では、第1の充電状態範囲の幅は少なくとも5%である。いくつかの実施形態では、第1の充電状態範囲の幅は少なくとも10%である。 In some embodiments, the width of the first state of charge range is at least 5%. In some embodiments, the width of the first state of charge range is at least 10%.
いくつかの実施形態では、第2の充電状態範囲の幅は少なくとも5%である。いくつかの実施形態では、第2の充電状態範囲の幅は少なくとも10%である。 In some embodiments, the width of the second state of charge range is at least 5%. In some embodiments, the width of the second state of charge range is at least 10%.
いくつかの実施形態では、第1の充電状態範囲は、5%以下の充電状態の最低値を有する。いくつかの実施形態では、第1の充電状態範囲は、放電工程によって中断されなくてもよい。いくつかの実施形態では、第2の充電状態範囲は、5%以下の充電状態の最低値を有する。 In some embodiments, the first state of charge range has a minimum state of charge of 5% or less. In some embodiments, the first state of charge range may not be interrupted by the discharging process. In some embodiments, the second state of charge range has a minimum state of charge of 5% or less.
本発明者らは、ある一定の充電状態割合以下、例えば5%の最低値を有する充電状態範囲が、本明細書中に記載の改善をもたらすのに特に効果的であることを認識し、理解した。 The inventors recognize and understand that state-of-charge ranges having a lowest value below a certain state-of-charge percentage, e.g., 5%, are particularly effective in providing the improvements described herein. did.
いくつかの実施形態では、第1の充電状態範囲における放電速度は、平均放電速度を含む。いくつかの実施形態では、第1の充電状態範囲における放電速度は、一定の放電速度を含む。 In some embodiments, the discharge rate in the first state of charge range includes an average discharge rate. In some embodiments, the discharge rate in the first state of charge range includes a constant discharge rate.
いくつかの実施形態では、第2の充電状態範囲における充電速度は、平均充電速度を含む。いくつかの実施形態では、第2の充電状態範囲における充電速度は、一定の充電速度を含む。 In some embodiments, the charging rate in the second state of charge range includes an average charging rate. In some embodiments, the charging rate in the second state of charge range includes a constant charging rate.
図8Bは、図8Aに記載された方法に関連して、電気化学セル(例えば、電気化学セル121A)を管理する代表的な電気化学セル管理システムの例示的な充電‐時間グラフである。図8Aの充電状態範囲の1つの例は、図8Bの点801Aから801Bに示される。図8Bに示すように、セルは801Aまで放電され、次いで、801Aから801Bまでより速く放電され、次いでより一般的な充電と放電のサイクルが始まる。この例では、801Aから801Bまでの充電状態範囲は約10%から0%であり、幅は10%である。 FIG. 8B is an example charge-time graph of a representative electrochemical cell management system that manages an electrochemical cell (eg,
図9Aは、いくつかの実施形態による、電気化学セルを管理するための追加の代表的な方法を示すフローチャートである。電気化学セルは、例えば、例示的な図1Aの電気化学セル121Aであってもよい。代表的な方法900Aの改善は、以下の段落で詳細に説明される。 FIG. 9A is a flowchart illustrating additional exemplary methods for managing electrochemical cells, according to some embodiments. The electrochemical cell may be, for example,
いくつかの実施形態では、代表的な方法900Aは、急速充電要求が受信されたかどうかが判定される改善9200を含んでもよい。例えば、直前の放電工程以降に急速充電要求を受信したかどうかを判断してもよい。いくつかの実施形態では、代表的な方法900Aは改善9300を含んでもよく、急速充電要求が受信されなかった場合(またはシステムが急速充電モードに設定されていない場合)、セルが充電されるようにセルが制御される。第1の充電状態範囲は少なくとも2%および多くても60%の幅を有し、次いで、第2の充電状態範囲にわたって充電される。いくつかの実施形態によれば、コントローラ(例えば、図1Aのコントローラ114)は、改善9200および/または9300を実行してもよい。いくつかの実施形態では、急速充電要求は、既定の充電速度よりも高い充電速度で充電する要求を含む。 In some embodiments, the exemplary method 900A may include an
いくつかの実施形態では、第2の充電状態範囲は、少なくとも2%および多くても60%の幅を有する。 In some embodiments, the second state of charge range has a width of at least 2% and at most 60%.
いくつかの実施形態によれば、平均充電/放電速度は、本明細書中に記載される技術を使用して計算されてもよい。いくつかの実施形態によれば、第1の充電状態範囲における充電速度は、第2の充電状態範囲における平均充電速度の多くても0.5倍である。いくつかの実施形態では、第1の充電状態範囲は、充電工程の任意の部分であってもよい。いくつかの実施形態では、第2の充電状態範囲は、放電工程の任意の部分であってもよい。 According to some embodiments, the average charge/discharge rate may be calculated using the techniques described herein. According to some embodiments, the charging rate in the first state of charge range is at most 0.5 times the average charging rate in the second state of charge range. In some embodiments, the first state of charge range may be any part of the charging process. In some embodiments, the second state of charge range may be any part of the discharge process.
いくつかの実施形態では、代表的な方法900Aは、任意の改善9310を含んでもよく、急速充電要求が受信された場合(またはシステムが急速充電モードに設定されている場合)、セルは既定の充電速度より高い充電速度で充電されるように制御され、次いで、次の放電工程の後、る。既定の充電速度よりも充電速度が低い場合、次の放電工程の後、セルが少なくとも2%および多くても60%の幅を有する第1の充電状態範囲にわたって充電され、次いで第2の充電状態範囲にわたって充電されるようにセルが制御される。 In some embodiments, the exemplary method 900A may include an optional improvement 9310 such that when a fast charge request is received (or the system is set to fast charge mode), the cell The battery is controlled to be charged at a higher charging rate than the charging rate, and then after the next discharging process. If the charging rate is lower than the predetermined charging rate, after the next discharging step, the cell is charged over a first state of charge range having a width of at least 2% and at most 60%, and then charged to a second state of charge. The cells are controlled to charge over a range.
いくつかの実施形態では、代表的な方法900Aは、セルの特性の監視を含む任意の改善9100を含んでもよい。改善9303では、第1の充電状態範囲における充電速度が、セルの少なくとも1つの監視された特性に基づいて制御される。改善9302において、第1の充電状態範囲における充電速度は、第2の充電状態範囲における平均充電速度の多くても0.25倍であってもよい。 In some embodiments, the exemplary method 900A may include
いくつかの実施形態では、第1の充電状態範囲の幅は多くても50%である。いくつかの実施形態では、第1の充電状態範囲の幅は多くても40%である。いくつかの実施形態によれば、第1の充電状態範囲の幅は多くても30%である。いくつかの実施形態では、第1の充電状態範囲の幅は多くても20%である。いくつかの実施形態では、第1の充電状態範囲の幅は多くても10%である。 In some embodiments, the width of the first state of charge range is at most 50%. In some embodiments, the width of the first state of charge range is at most 40%. According to some embodiments, the width of the first state of charge range is at most 30%. In some embodiments, the width of the first state of charge range is at most 20%. In some embodiments, the width of the first state of charge range is at most 10%.
いくつかの実施形態では、第2の充電状態範囲の幅は多くても50%である。いくつかの実施形態では、第2の充電状態範囲の幅は多くても40%である。いくつかの実施形態によれば、第2の充電状態範囲の幅は多くても30%である。いくつかの実施形態では、第2の充電状態範囲の幅は多くても20%である。いくつかの実施形態では、第2の充電状態範囲の幅は多くても10%である。 In some embodiments, the second state of charge range is at most 50% wide. In some embodiments, the second state of charge range is at most 40% wide. According to some embodiments, the width of the second state of charge range is at most 30%. In some embodiments, the second state of charge range is at most 20% wide. In some embodiments, the second state of charge range is at most 10% wide.
いくつかの実施形態では、第1の充電状態範囲の幅は少なくとも5%である。いくつかの実施形態では、第1の充電状態範囲の幅は少なくとも10%である。 In some embodiments, the width of the first state of charge range is at least 5%. In some embodiments, the width of the first state of charge range is at least 10%.
いくつかの実施形態では、第2の充電状態範囲の幅は少なくとも5%である。いくつかの実施形態では、第2の充電状態範囲の幅は少なくとも10%である。 In some embodiments, the width of the second state of charge range is at least 5%. In some embodiments, the width of the second state of charge range is at least 10%.
いくつかの実施形態では、第1の充電状態範囲は、5%以下の充電状態の最低値を有する。いくつかの実施形態では、第1の充電状態範囲は、放電工程によって中断されなくてもよい。いくつかの実施形態では、第2の充電状態範囲は、5%以下の充電状態の最低値を有する。 In some embodiments, the first state of charge range has a minimum state of charge of 5% or less. In some embodiments, the first state of charge range may not be interrupted by the discharging process. In some embodiments, the second state of charge range has a minimum state of charge of 5% or less.
いくつかの実施形態では、急速充電要求は、既定の充電速度よりも高い充電速度で充電する要求を含む。 In some embodiments, the fast charging request includes a request to charge at a higher charging rate than the predefined charging rate.
いくつかの実施形態では、少なくとも1つのコントローラは、急速充電要求が受信された場合、既定の充電速度よりも高い充電速度でセルが充電されるようにセルを制御し、次いで、次の放電工程の後に、セルは、少なくとも2%および多くても60%の幅を有する第1の充電状態範囲にわたって充電され、次いで、第2の充電状態範囲にわたって充電される。 In some embodiments, the at least one controller controls the cell to charge at a higher charge rate than the predetermined charge rate if a fast charge request is received, and then the next discharge step. After , the cell is charged over a first state of charge range having a width of at least 2% and at most 60%, and then charged over a second state of charge range.
いくつかの例では、第1の充電状態範囲における充電速度は、セルインピーダンスおよび/またはセル抵抗を含むセルの監視された少なくとも1つの特性に基づいて制御される。 In some examples, the charging rate in the first state of charge range is controlled based on at least one monitored characteristic of the cell including cell impedance and/or cell resistance.
いくつかの実施形態では、第1の充電状態範囲における充電速度は、平均充電速度を含む。いくつかの実施形態では、第1の充電状態範囲における充電速度は、一定の充電速度を含む。 In some embodiments, the charging rate in the first state of charge range includes an average charging rate. In some embodiments, the charging rate in the first state of charge range includes a constant charging rate.
いくつかの実施形態では、第2の充電状態範囲における充電速度は、平均放電速度を含む。いくつかの実施形態では、第2の充電状態範囲における充電速度は、一定の充電速度を含む。 In some embodiments, the charging rate in the second state of charge range includes an average discharging rate. In some embodiments, the charging rate in the second state of charge range includes a constant charging rate.
いくつかの実施形態では、第1の充電状態範囲における充電速度は、第2の充電状態範囲における平均充電速度の多くても0.25倍である。 In some embodiments, the charging rate in the first state of charge range is at most 0.25 times the average charging rate in the second state of charge range.
図9Bは、図9Aに記載の方法に関連して、電気化学セル(例えば、電気化学セル121A)を管理する代表的な電気化学セル管理システムの例示的な充電‐時間グラフである。図9Aの第1の充電状態範囲の1つの例は、図9Bの点901Aから901Bに示されている。図9Aの第2の充電状態範囲の1つの例は、図9Bの点901Bから901Cに示されている。図9Bに示すように、セルは複数の速度で901Aまで放電され、次いで901Aから901Bまで充電され、次いで、より速い速度で901Bから901Cまで充電されてから、別の放電と充電のサイクルが開始される。この例では、901Aから901Bまでの第1の充電状態範囲は約0%~10%であり、幅は10%であり、901Bから901Cの第2の充電状態範囲は約10%~100%で、幅は90%である。 FIG. 9B is an example charge-time graph of a representative electrochemical cell management system that manages an electrochemical cell (eg,
図10Aは、いくつかの実施形態による、電気化学セルを管理するための追加の代表的な方法を示すフローチャートである。電気化学セルは、例えば、例示的な図1Aの電気化学セル121Aであってもよい。代表的な方法1000Aの改善は、以下の段落で詳細に説明される。 FIG. 10A is a flowchart illustrating additional exemplary methods for managing electrochemical cells, according to some embodiments. The electrochemical cell may be, for example,
いくつかの実施形態では、代表的な方法1000Aは、改善1020を含んでもよく、そこでは、セルが放電され、次いで少なくとも2%および多くても60%の幅を有する第1の充電状態範囲にわたって直ちに充電されるようにセルが制御されて、今後の充電スケジュールは、第1の充電状態範囲を含むサイクルを進める4サイクルの終わりまでに基準が満たされるように設定される。いくつかの実施形態では、代表的な方法1000Aは、今後の充電スケジュールが実行される改善1030を含んでもよい。いくつかの実施形態によれば、基準は、第1の充電状態範囲における充電速度が第2の充電状態範囲における平均充電速度の多くても0.5倍であるように、第2の充電状態範囲にわたってセルが充電されることを含む。いくつかの実施形態によれば、コントローラ(例えば、図1Aのコントローラ114)は、改善1020および/または1030を実行してもよい。いくつかの実施形態によれば、平均充電/放電速度は、本明細書中に記載される技術を使用して計算されてもよい。 In some embodiments, the
いくつかの実施形態では、代表的な方法1000Aは、セルの特性の監視を含む任意の改善1010を含んでもよい。改善1023において、第1の充電状態範囲における充電速度は、セルの少なくとも1つの監視された特性に基づいて制御されてもよい。改善1020では、改善1022に記載したように、第1の充電状態範囲における充電速度は、第2の充電状態範囲における平均充電速度の多くても0.25倍であってもよい。 In some embodiments, the
更に、代表的な方法1000Aは、4サイクルの終わりまでに1サイクルのみが第2の充電状態範囲を含むように今後の充電スケジュールが設定される任意の改善1031も含んでもよい。いくつかの実施形態によれば、代表的な方法1000Aは、第1の充電状態範囲を含むサイクルの終わりまでに基準が満たされるように今後の充電スケジュールが設定される任意の改善1032も含んでもよい。 Furthermore, the
いくつかの実施形態では、上記幅は多くても50%である。いくつかの実施形態では、上記幅は多くても40%である。いくつかの実施形態によれば、上記幅は多くても30%である。いくつかの実施形態では、上記幅は多くても20%である。いくつかの実施形態では、上記幅は多くても10%である。 In some embodiments, the width is at most 50%. In some embodiments, the width is at most 40%. According to some embodiments, the width is at most 30%. In some embodiments, the width is at most 20%. In some embodiments, the width is at most 10%.
いくつかの実施形態では、上記幅は少なくとも5%である。いくつかの実施形態では、上記幅は少なくとも10%である。 In some embodiments, the width is at least 5%. In some embodiments, the width is at least 10%.
いくつかの実施形態では、充電状態範囲は、5%以下の充電状態の最低値を有する。 In some embodiments, the state of charge range has a minimum state of charge of 5% or less.
いくつかの例では、今後の充電スケジュールは、4つのサイクルの終わりまでに、1つのサイクルのみが第2の充電状態範囲を含むように設定される。いくつかの実施形態によれば、今後の充電スケジュールは、第1の充電状態範囲を含むサイクルの終わりまでに基準が満たされるように設定される。 In some examples, future charging schedules are set such that by the end of four cycles, only one cycle includes the second state of charge range. According to some embodiments, future charging schedules are set such that the criteria are met by the end of a cycle that includes the first state of charge range.
いくつかの例では、第1の充電状態範囲における充電速度は、セルインピーダンスおよび/またはセル抵抗を含むセルの監視された少なくとも1つの特性に基づいて制御される。いくつかの実施形態によれば、第1の充電状態範囲における充電の開始は、この監視に基づいてセルの健全性を改善するために必要であるか、または役立つと判断されるコンディショニングを含んでもよい。 In some examples, the charging rate in the first state of charge range is controlled based on at least one monitored characteristic of the cell including cell impedance and/or cell resistance. According to some embodiments, the initiation of charging in the first state of charge range may include conditioning that is determined to be necessary or helpful to improve the health of the cell based on this monitoring. good.
いくつかの実施形態では、第1の充電状態範囲における充電速度は、平均充電速度を含む。いくつかの実施形態では、第1の充電状態範囲における充電速度は、一定の充電速度を含む。 In some embodiments, the charging rate in the first state of charge range includes an average charging rate. In some embodiments, the charging rate in the first state of charge range includes a constant charging rate.
いくつかの実施形態では、第1の充電状態範囲における充電速度は、第2の充電状態範囲における平均充電速度の多くても0.25倍である。 In some embodiments, the charging rate in the first state of charge range is at most 0.25 times the average charging rate in the second state of charge range.
図10Bは、図10Aに記載された方法に関連して、電気化学セル(例えば、電気化学セル121A)を管理する代表的な電気化学セル管理システムの例示的な充電‐時間グラフである。図10Aの第1の充電状態範囲の1つの例は、図10Bの点1001Aから1001Bに示されている。。図10Aの第2の充電状態範囲の1つの例は、図10Bの点1001Bから1001Cに示されている。図10Aの第2の充電状態範囲の別の例は、図10Bの点1001Dから1001Eに示されている。図10Bに示すように、セルは、複数の速度で1001Aまで放電され、次いで、1001Aから1001Bまで充電され、次いで、より高い速度で1001Bから1001Cまで充電され、次いで、複数の速度で放電され、次いで、1001Dまで充電され、次いで、1001Dから1001Eまで充電される。この例では、1001Aから1001Bまでの第1の充電状態範囲は約10%から0%であり、10%の幅を有する。 FIG. 10B is an example charge-time graph of a representative electrochemical cell management system that manages an electrochemical cell (eg,
図10Cは、電気化学セル(例えば、電気化学セル121A)を管理する代表的な電気化学セル管理システムの例示的な容量‐サイクルグラフである。図10Cは6つのプロットを含み、プロットの各ペアはほぼ完全に重複するため、本明細書中ではA、BおよびCで示される3つの主要なプロットにグループ化される。本発明者らは、図10CがプロットAにおいて示すように、以下のことを認識し、理解した。未修正のサイクル試験(この例では、充電速度が放電速度の2倍である)は、プロットBおよびCに示されるようなスキームと比較してサイクル寿命の低下を引き起こす可能性があることを認識し、理解した。これに対して、プロットBでは、充電工程のSOC範囲の最初の10%は充電速度C/12を有し、次いで充電速度C/5が続き、次いで放電速度C/10の放電工程が続き、放電工程のSOC範囲の最後の10%は4C/3である。プロットCでは、充電工程の SOC範囲の最初の25%は充電速度C/12で、次いで充電速度C/5が続き、次いで放電速度C/10の放電工程が続き、放電工程のSOC範囲の最後の25%は4C/3である。本発明者らは、図10Cに示すように、本明細書中に記載されるサイクル寿命の改善が様々な比率(例えば、プロットBおよびCの両方に示される比率)で実現可能であり、そのうちのいくつかはリチウムのめっきおよび剥離にとって更に好ましくない可能性があり、本明細書中に記載の速度比を使用することの利点は、充電および放電工程の開始時または終了時に使用する場合に特に顕著であることを認識し、理解した。 FIG. 10C is an example capacity-cycle graph of a representative electrochemical cell management system that manages an electrochemical cell (eg,
図11Aは、いくつかの実施形態による、電気化学セルを管理するための追加の代表的な方法を示すフローチャートである。電気化学セルは、例えば、例示的な図1Aの電気化学セル121Aであってもよい。代表的な方法1100Aの改善は、以下の段落で詳細に説明される。 FIG. 11A is a flowchart illustrating additional exemplary methods for managing electrochemical cells, according to some embodiments. The electrochemical cell may be, for example,
いくつかの実施形態では、代表的な方法1100Aは、リチウムの損失を示すセルの特性を監視することを含む改善1110を含んでもよい。いくつかの実施形態によれば、リチウムの損失には、充電または放電中の電気化学反応に関与するセルにおけるリチウムの量の減少が含まれてもよい。いくつかの実施形態では、リチウムの損失は、リチウムと他のセル材料との間の望ましくない反応に起因する可能性があり、セルが電流を生成するように構成されている電気化学反応にリチウムが参加できなくなる可能性がある。例えば、少なくとも1つの特性は、セルにおけるリチウムとセルにおける少なくとも1つの他の材料との間の寄生反応を示してもよい。セルにおける少なくとも1つの他の材料の例は、セルの電解質の1部またはセルの対電極の1部を含んでもよい。 In some embodiments, the
いくつかの実施形態によれば、セルにおけるリチウムの損失は、セルにおける金属リチウムの損失を含む。いくつかの実施形態によれば、セルは、セルの放電中の少なくとも1つの時点で金属リチウムを含む。例えば、金属リチウムは、リチウム金属のフィルムまたは箔シートの形態であってもよい。 According to some embodiments, loss of lithium in the cell includes loss of metallic lithium in the cell. According to some embodiments, the cell includes metallic lithium at at least one point during discharge of the cell. For example, lithium metal may be in the form of a film or foil sheet of lithium metal.
いくつかの実施形態によれば、少なくとも1つの監視された特性は、セルの少なくとも1つの形態学的特性(morphological characteristic)を含む。例えば、セルの少なくとも1つの形態学的特性は、圧力、厚さ、体積、撓み、伝導率、抵抗、または温度のうちの少なくとも1つの値または変化を含んでもよい。本発明者らは、ある一定の充電または放電速度において、セル温度の上昇(1つの例として)が予想よりも高い場合、それは抵抗の増加を示し、これはリチウムの損失を示す可能性があることを認識し、理解した。例えば、Yの充電速度でのXの温度上昇速度が予想され、セルがXの105%で上昇する場合、それはリチウムの損失を示している可能性がある。 According to some embodiments, the at least one monitored characteristic includes at least one morphological characteristic of the cell. For example, at least one morphological property of the cell may include a value or change in at least one of pressure, thickness, volume, deflection, conductivity, resistance, or temperature. We found that at a given charge or discharge rate, if the rise in cell temperature (as one example) is higher than expected, it will indicate an increase in resistance, which may indicate a loss of lithium. I recognized and understood that. For example, if a temperature rise rate of X at a charge rate of Y is expected and the cell rises at 105% of X, it may indicate a loss of lithium.
いくつかの実施形態では、代表的な方法1100Aは改善1120を含んでもよく、セルの少なくとも1つの監視された特性に基づいて、セルの充電速度または放電速度が制御される。 In some embodiments, the
いくつかの実施形態では、代表的な方法1100Aは、任意の改善1122も含んでもよく、少なくとも2%および多くても60%の幅を有する第1の充電状態範囲をカバーする放電の少なくとも1部分について、放電の1部における平均放電速度は、充電の少なくとも1部の間の平均充電速度の少なくとも2倍であるように、充電速度または放電速度が制御される。 In some embodiments, the
いくつかの実施形態によれば、コントローラ(例えば、図1Aのコントローラ114)は、改善1110、1120、および/または1122を実行してもよい。いくつかの実施形態によれば、平均充電/放電速度は、本明細書中に記載される技術を使用して計算されてもよい。 According to some embodiments, a controller (eg,
いくつかの実施形態では、代表的な方法1100Aは、放電部分における平均放電速度が、充電部分における平均充電速度の少なくとも4倍である任意の改善1123も含んでもよい。 In some embodiments, the
いくつかの実施形態では、充電の1部は、少なくとも2%および多くても60%の幅を有する第2の充電状態範囲を含んでもよい。 In some embodiments, the portion of charge may include a second state of charge range having a width of at least 2% and at most 60%.
いくつかの実施形態では、第1の充電状態範囲の幅は多くても50%である。いくつかの実施形態では、第1の充電状態範囲の幅は多くても40%である。いくつかの実施形態によれば、第1の充電状態範囲の幅は多くても30%である。いくつかの実施形態では、第1の充電状態範囲の幅は多くても20%である。いくつかの実施形態では、第1の充電状態範囲の幅は多くても10%である。 In some embodiments, the width of the first state of charge range is at most 50%. In some embodiments, the width of the first state of charge range is at most 40%. According to some embodiments, the width of the first state of charge range is at most 30%. In some embodiments, the width of the first state of charge range is at most 20%. In some embodiments, the width of the first state of charge range is at most 10%.
いくつかの実施形態では、第2の充電状態範囲の幅は多くても50%である。いくつかの実施形態では、第2の充電状態範囲の幅は多くても40%である。いくつかの実施形態によれば、第2の充電状態範囲の幅は多くても30%である。いくつかの実施形態では、第2の充電状態範囲の幅は多くても20%である。いくつかの実施形態では、第2の充電状態範囲の幅は多くても10%である。 In some embodiments, the second state of charge range is at most 50% wide. In some embodiments, the second state of charge range is at most 40% wide. According to some embodiments, the width of the second state of charge range is at most 30%. In some embodiments, the second state of charge range is at most 20% wide. In some embodiments, the second state of charge range is at most 10% wide.
いくつかの実施形態では、第1の充電状態範囲の幅は少なくとも5%である。いくつかの実施形態では、第1の充電状態範囲の幅は少なくとも10%である。 In some embodiments, the width of the first state of charge range is at least 5%. In some embodiments, the width of the first state of charge range is at least 10%.
いくつかの実施形態では、第2の充電状態範囲の幅は少なくとも5%である。いくつかの実施形態では、第2の充電状態範囲の幅は少なくとも10%である。 In some embodiments, the width of the second state of charge range is at least 5%. In some embodiments, the width of the second state of charge range is at least 10%.
いくつかの実施形態では、第1の充電状態範囲は、5%以下の充電状態の最低値を有する。いくつかの実施形態では、第1の充電状態範囲は、放電工程によって中断されなくてもよい。いくつかの実施形態では、第2の充電状態範囲は、5%以下の充電状態の最低値を有する。 In some embodiments, the first state of charge range has a minimum state of charge of 5% or less. In some embodiments, the first state of charge range may not be interrupted by the discharging process. In some embodiments, the second state of charge range has a minimum state of charge of 5% or less.
いくつかの実施形態では、第1の充電状態範囲における放電速度は、平均放電速度を含む。いくつかの実施形態では、第1の充電状態範囲における放電速度は、一定の放電速度を含む。 In some embodiments, the discharge rate in the first state of charge range includes an average discharge rate. In some embodiments, the discharge rate in the first state of charge range includes a constant discharge rate.
いくつかの実施形態では、第2の充電状態範囲における充電速度は、平均放電速度を含む。いくつかの実施形態では、第2の充電状態範囲における充電速度は、一定の充電速度を含む。 In some embodiments, the charging rate in the second state of charge range includes an average discharging rate. In some embodiments, the charging rate in the second state of charge range includes a constant charging rate.
圧力が監視され、その監視に応じて充電/放電スキームが実装される1つの例を説明するために、圧力センサ(圧電力トランスデューサーやひずみゲージなど)を使用して、ブロック内のセル間またはセル内の圧力を測定してもよい。いくつかの実施形態では、圧力の閾値上昇が検出された場合、次いで、放電部分における平均放電速度が充電部分における平均充電速度の少なくとも2倍となるようにスキームを開始することが可能である。いくつかの実施形態では、閾値の増加は、サイクル当たり少なくとも0.1kg/cm2であってもよい。例えば、閾値の増加はサイクルごとに0.2kg/cm2であってもよい。いくつかの実施形態では、閾値増加は、初期圧力より少なくとも0.5kg/cm2高くてもよい。例えば、閾値の増加は、初期圧力より1kg/cm2以上高くてもよい。いくつかの実施形態では、閾値の増加は、サイクル当たり少なくとも1%であってもよい。例えば、閾値の増加はサイクル当たり2%であってもよい。いくつかの実施形態では、閾値増加は、初期圧力より少なくとも5%高くてもよい。例えば、閾値増加は、初期圧力より10%高くてもよい。 To illustrate one example where pressure is monitored and a charge/discharge scheme is implemented in response to that monitoring, pressure sensors (such as piezoelectric transducers or strain gauges) can be used to The pressure within the cell may also be measured. In some embodiments, if a threshold increase in pressure is detected, then a scheme may be initiated such that the average discharge rate in the discharge portion is at least twice the average charge rate in the charge portion. In some embodiments, the threshold increase may be at least 0.1 kg/cm2 per cycle. For example, the threshold increase may be 0.2 kg/cm2 per cycle. In some embodiments, the threshold increase may be at least 0.5 kg/cm2 above the initial pressure. For example, the threshold increase may be 1 kg/cm2 or more higher than the initial pressure. In some embodiments, the threshold increase may be at least 1% per cycle. For example, the threshold increase may be 2% per cycle. In some embodiments, the threshold increase may be at least 5% higher than the initial pressure. For example, the threshold increase may be 10% higher than the initial pressure.
厚さが監視され、その監視に応じて充電/放電スキームが実行される1つの例を示すために、厚さセンサ(例えば、ひずみゲージ)を使用してセルの厚さを決定してもよい。いくつかの実施形態では、厚さの閾値増加が検出された場合、放電部分における平均放電速度が充電部分における平均充電速度の少なくとも2倍となるようにスキームを開始してもよい。いくつかの実施形態では、閾値増加はサイクル当たり少なくとも0.05%であってもよい。例えば、閾値の増加はサイクル当たり0.1%であってもよい。いくつかの実施形態では、閾値の増加は、初期の厚さより少なくとも2.5%大きくてもよい。例えば、閾値の増加は、初期の厚さより少なくとも5%大きくてもよい。 To illustrate one example where the thickness is monitored and a charge/discharge scheme is performed in response to that monitoring, a thickness sensor (e.g., a strain gauge) may be used to determine the thickness of the cell. . In some embodiments, if a threshold increase in thickness is detected, the scheme may be initiated such that the average discharge rate in the discharge portion is at least twice the average charge rate in the charge portion. In some embodiments, the threshold increase may be at least 0.05% per cycle. For example, the threshold increase may be 0.1% per cycle. In some embodiments, the threshold increase may be at least 2.5% greater than the initial thickness. For example, the threshold increase may be at least 5% greater than the initial thickness.
体積が監視され、その監視に応じて充電/放電スキームが実行される1つの例を示すために、体積センサ(例えば、ひずみゲージ)を使用してセルの体積を決定してもよい。いくつかの実施形態では、体積の閾値増加が検出された場合、放電部分における平均放電速度が充電部分における平均充電速度の少なくとも2倍となるようにスキームを開始してもよい。いくつかの実施形態では、閾値増加はサイクル当たり少なくとも0.05%であってもよい。例えば、閾値の増加はサイクル当たり0.1%であってもよい。いくつかの実施形態では、閾値増加は、初期体積より少なくとも2.5%大きくてもよい。例えば、閾値の増加は、初期体積よりを少なくとも5%大きくてもよい。 To illustrate one example where the volume is monitored and a charge/discharge scheme is implemented in response to that monitoring, a volume sensor (eg, a strain gauge) may be used to determine the volume of the cell. In some embodiments, if a threshold increase in volume is detected, the scheme may be initiated such that the average discharge rate in the discharge portion is at least twice the average charge rate in the charge portion. In some embodiments, the threshold increase may be at least 0.05% per cycle. For example, the threshold increase may be 0.1% per cycle. In some embodiments, the threshold increase may be at least 2.5% greater than the initial volume. For example, the threshold increase may be at least 5% greater than the initial volume.
撓みが監視され、その監視に応じて充電/放電スキームが実行される1つの例を示すために、撓みセンサ(例えば、ひずみゲージ)を使用してセルの撓みを決定してもよい。いくつかの実施形態では、撓みの閾値増加が検出された場合、放電部分における平均放電速度が充電部分における平均充電速度の少なくとも2倍となるようにスキームを開始してもよい。いくつかの実施形態では、閾値の増加は、サイクル当たり少なくとも0.2kg/cm2であってもよい。いくつかの実施形態では、閾値増加は、初期撓みより少なくとも1kg/cm2大きくてもよい。いくつかの実施形態では、閾値の増加は、サイクル当たり2%であってもよく、または初期撓みより10%大きくてもよい。 To illustrate one example where deflection is monitored and a charge/discharge scheme is implemented in response to that monitoring, deflection sensors (eg, strain gauges) may be used to determine cell deflection. In some embodiments, if a threshold increase in deflection is detected, a scheme may be initiated such that the average discharge rate in the discharge portion is at least twice the average charge rate in the charge portion. In some embodiments, the threshold increase may be at least 0.2 kg/cm2 per cycle. In some embodiments, the threshold increase may be at least 1 kg/cm2 greater than the initial deflection. In some embodiments, the threshold increase may be 2% per cycle or 10% greater than the initial deflection.
伝導率が監視され、その監視に応じて充電/放電スキームが実行される1つの例を説明するために、伝導率センサを使用してセルにおける伝導率を測定してもよい。いくつかの実施形態では、伝導率の閾値減少が検出された場合、次いで放電部分における平均放電速度が充電部分における平均充電速度の少なくとも2倍となるようにスキームを開始してもよい。いくつかの実施形態では、閾値減少はサイクル当たり少なくとも0.25%であってもよい。例えば、閾値減少はサイクル当たり0.5%であってもよい。いくつかの実施形態では、閾値の減少は、初期の伝導率より少なくとも2.5%大きくてもよい。例えば、閾値の減少は、初期の伝導率より5%大きくてもよい。 To illustrate one example where conductivity is monitored and a charge/discharge scheme is implemented in response to that monitoring, a conductivity sensor may be used to measure conductivity in a cell. In some embodiments, if a threshold decrease in conductivity is detected, then the scheme may be initiated such that the average discharge rate in the discharge portion is at least twice the average charge rate in the charge portion. In some embodiments, the threshold reduction may be at least 0.25% per cycle. For example, the threshold reduction may be 0.5% per cycle. In some embodiments, the threshold reduction may be at least 2.5% greater than the initial conductivity. For example, the threshold reduction may be 5% greater than the initial conductivity.
抵抗が監視され、その監視に応じて充電/放電スキームが実行される1つの例を説明するために、抵抗センサを使用してセルにおける抵抗を測定してもよい。いくつかの実施形態では、抵抗の閾値増加が検出された場合、放電部分における平均放電速度が充電部分における平均充電速度の少なくとも2倍となるようにスキームを開始してもよい。いくつかの実施形態では、閾値増加はサイクル当たり少なくとも0.25%であってもよい。例えば、閾値の増加はサイクル当たり0.5%であってもよい。いくつかの実施形態では、閾値の増加は、初期の伝導率より少なくとも2.5%大きくてもよい。例えば、閾値の増加は、初期の伝導率より5%大きくてもよい。 To illustrate one example where resistance is monitored and a charge/discharge scheme is implemented in response to that monitoring, a resistance sensor may be used to measure resistance in a cell. In some embodiments, if a threshold increase in resistance is detected, the scheme may be initiated such that the average discharge rate in the discharge portion is at least twice the average charge rate in the charge portion. In some embodiments, the threshold increase may be at least 0.25% per cycle. For example, the threshold increase may be 0.5% per cycle. In some embodiments, the increase in threshold may be at least 2.5% greater than the initial conductivity. For example, the threshold increase may be 5% greater than the initial conductivity.
温度が監視され、その監視に応じて充電/放電スキームが実装される1つの例を示すために、温度センサ(サーミスターや熱電対など)を使用してセルの温度または温度変化率を決定してもよい。いくつかの実施形態では、温度の閾値上昇が検出された場合、放電部分における平均放電速度が充電部分における平均充電速度の少なくとも2倍となるようにスキームを開始してもよい。いくつかの実施形態では、閾値増加は、所定の充電または放電速度で予想される増加を少なくとも2.5%大きくてもよい。例えば、閾値の増加は、所定の充電または放電速度で予想される増加より5%大きくてもよい。 To illustrate one example where temperature is monitored and a charge/discharge scheme is implemented in response to that monitoring, a temperature sensor (such as a thermistor or thermocouple) is used to determine the temperature or rate of temperature change of the cell. You can. In some embodiments, if a threshold increase in temperature is detected, the scheme may be initiated such that the average discharge rate in the discharge portion is at least twice the average charge rate in the charge portion. In some embodiments, the threshold increase may be at least 2.5% greater than the expected increase for a given charge or discharge rate. For example, the threshold increase may be 5% greater than the expected increase for a given charge or discharge rate.
図11Bは、図11Aに記載の方法に関連して、電気化学セル(例えば、電気化学セル121A)を管理する代表的な電気化学セル管理システムの例示的な充電‐時間グラフである。図11Aの第1の充電状態範囲の1つの例は、図11Bの点1101Cから1101Dまでに示されている。図11Aの第2の充電状態範囲の1つの例は、図11Bの点1101Aから点1101Cまでに示されている。図11Aの第2の充電状態範囲の別の例は、図11Bの点1101Dから1101Eまでに示されている。図11Bに示されるように、セルは、1101Aまで複数の速度で放電され、次いで、1101Aから1101Bまで充電され、次いで、より高い速度で1101Bから1101Cまで充電され、次いで、複数の速度で1101Dまで放電され、次いで、1101Dから1101Eまで充電される。この例では、1101Aから1101Bまでの第1の充電状態範囲は約10%から0%であり、10%の幅を有する。 FIG. 11B is an example charge-time graph of a representative electrochemical cell management system that manages an electrochemical cell (eg,
図11Cは、代表的なバッテリパック1101を示す。いくつかの実施形態において、代表的なバッテリパック1101は、切り替え制御システム(例えば、1102)と、1つ以上のバッテリ(例えば、120、130、140、150など)とを含んでもよい。図11Cには、単一の切り替え制御システム1102および4つのバッテリ120~150のみが示されているが、これらの構成要素の任意の好適な数が使用されてもよいと解されるべきである。多数の異なる実施態様のいずれかが採用されてもよい。更に、本明細書では、切り替え制御システムを参照するために単数形のラベルが使用されているが、本明細書中に記載された制御および切り替えに使用される構成要素は、任意の好適な数の装置(例えば、スイッチ、コントローラ等)にわたって分散されてもよいと解されるべきである。 FIG. 11C shows a
いくつかの実施形態において、サイクルは、パックに適用されてもよい充電器(壁充電器など)によってプログラムおよび/または制御されてもよい。いくつかの実施形態では、サイクルは、バッテリパックのバッテリ管理システム(BMS)によってプログラムおよび/または制御することができ、これは1つまたは複数のモジュールに適用してもよい。いくつかの実施形態において、サイクルは、モジュール内のBMSによってプログラムおよび/または制御され得、これはセルに適用されてもよい。いくつかの例では、電荷は、パック内の1つのモジュールから他のモジュールへ、有利なレート、例えば1:4の充電から放電のレート、及び制限された放電深度(DOD)(例えば、10%)で移動されてもよい。いくつかの例では、電荷は、モジュール内の1つ以上のセルから他のセルへ、有利なレート、例えば1:4の充電から放電のレート、および限定されたDOD、例えば10%で移動させることができる。 In some embodiments, cycles may be programmed and/or controlled by a charger (such as a wall charger) that may be applied to the pack. In some embodiments, cycles may be programmed and/or controlled by a battery management system (BMS) of the battery pack, which may apply to one or more modules. In some embodiments, the cycles may be programmed and/or controlled by the BMS within the module, which may be applied to the cells. In some examples, charge is transferred from one module to another within a pack at a favorable rate, e.g., a 1:4 charge-to-discharge rate, and at a limited depth of discharge (DOD) (e.g., 10% ) may be moved. In some examples, charge is transferred from one or more cells in the module to other cells at a favorable rate, e.g., a 1:4 charge-to-discharge rate, and a limited DOD, e.g., 10%. be able to.
いくつかの実施形態では、切り替え制御システム(例えば、1102)は、以下の図12Aおよび図12Bに関連して更に説明するようなスイッチのアレイを含んでもよく、それは、コントローラを含んでもよい。更に、切り替え制御システムは、上記の図1Cに関して説明したように、上記各セルのセットに、および/またはバッテリの各セルに個別に接続されてもよい。いくつかの実施形態では、切り替え制御システムは、バッテリパックに組み込まれてもよい。更に、切り替え制御システムは、上記セルのセットに関連する予め定められた順序でなど、上記セルのセットを順次放電するようにスイッチ(スイッチアレイ内など)を制御してもよい。代替的にまたは追加的に、切り替え制御システムは、ロードとロードに現在接続されている上記セルのセットとの間の接続の持続時間(いくつかの実施形態では少なくとも0.01秒であってよい)、接続における送達放電容量、および関数の値のうちのいずれか1つ以上に基づいて、上記セルのセットを放電するためにスイッチを制御してもよい。いくらかの実施形態において、制御の根拠は、上記セルのセットの先行放電サイクルの数を含まなくてもよい。 In some embodiments, the switching control system (eg, 1102) may include an array of switches, which may include a controller, as further described in connection with FIGS. 12A and 12B below. Additionally, a switching control system may be individually connected to each set of cells and/or to each cell of a battery, as described with respect to FIG. 1C above. In some embodiments, the switching control system may be integrated into the battery pack. Further, the switching control system may control a switch (such as in a switch array) to sequentially discharge the set of cells, such as in a predetermined order related to the set of cells. Alternatively or additionally, the switching control system determines the duration of the connection between the load and the set of cells currently connected to the load (which may be at least 0.01 seconds in some embodiments). ), the delivered discharge capacity at the connection, and the value of the function. In some embodiments, the basis for control may not include the number of previous discharge cycles of the set of cells.
いくつかの実施形態によれば、切り替え制御システムは、上記の図1Aおよび図1Cに関連して説明したコントローラの機能など、任意の数の他の機能を実行してもよい。 According to some embodiments, the switching control system may perform any number of other functions, such as those of the controller described in connection with FIGS. 1A and 1C above.
代表的なシステム100または代表的なバッテリパック1101の構成要素のいずれかが、ハードウェアおよび/またはソフトウェア構成要素の任意の好適な組み合わせを使用して実装されてもよいと解されるべきである。このように、様々な構成要素は、説明された機能を実行するためにハードウェアおよび/またはソフトウェア構成要素の任意の好適な集合体を採用してもよいコントローラと見なされる可能性がある。 It should be understood that any of the components of the
図12Aは、代表的なバッテリ管理システム300を表している。いくつかの実施形態において、代表的なシステム300は、本明細書中で記載されるようなセルストリングであってもよい任意の好適な数のマルチセルブロック(例えば、921~925)、本明細書中で記載されるようなストリング配置およびバランススイッチ構成であってもよいバッテリセルブロック配置およびバランススイッチ構成(例えば、926)、セルストリングマイクロコントローラであってもよいマイクロコントローラ(例えば、927)、バッテリシステムインターフェイス(例えば、928)、バッテリ電力端子(例えば、929)、およびセンサ(例えば、960)を含んでもよい。マルチセルブロックは、バッテリセルブロック配置およびバランススイッチ構成に接続されてもよい。また、マルチセルブロックは、バッテリ管理マイクロコントローラに接続されてもよい。いくつかの実施形態では、セルストリングはストリング配置およびバランススイッチ構成、並びに、次いで本明細書中で記載されるようなストリングマイクロコントローラに接続されてもよい、個々のバッテリ管理マイクロコントローラに接続されてもよい。 FIG. 12A depicts a representative
いくつかの実施形態では、バッテリセルブロック配置およびバランススイッチ構成は、スイッチ多重化を含んでもよく、これは、上記セルブロック(例えば、921~925)を、直列、並列、直列/並列、または所定の用途またはロードの電圧および電流の要求を満たすために必要な他の好適なトポロジーで接続してもよい。 In some embodiments, the battery cell block arrangement and balance switch configuration may include switch multiplexing, which allows the cell blocks (e.g., 921-925) to be placed in series, parallel, series/parallel, or predetermined may be connected in any other suitable topology as necessary to meet the voltage and current requirements of the application or load.
いくつかの実施形態によれば、バッテリ管理マイクロコントローラは、バッテリ管理システムの充電および放電を監視および制御して、システムおよびその要素の安全な行為を保証してもよい。更に、バッテリ管理マイクロコントローラは、ユーザ(例えば、ロードに電力を供給するためにシステムを使用する消費者)だけでなく、任意の好適な内部生産、校正、および試験装置と通信してもよい。例えば、バッテリ管理マイクロコントローラは、バッテリシステムインターフェイス(例えば、928)に接続されてもよく、このインターフェイスは、バッテリ管理マイクロコントローラがユーザと同様に内部の生産、較正、および試験装置、ならびに任意の他の好適な実体と連通するために必要なインターフェイスを提供し得る。 According to some embodiments, the battery management microcontroller may monitor and control charging and discharging of the battery management system to ensure safe operation of the system and its components. Additionally, the battery management microcontroller may communicate with any suitable internal production, calibration, and test equipment as well as users (eg, consumers using the system to power loads). For example, the battery management microcontroller may be connected to a battery system interface (e.g., 928) that allows the battery management microcontroller to communicate with users as well as internal production, calibration, and test equipment, as well as any other may provide the necessary interfaces to communicate with any suitable entity.
いくつかの実施形態では、センサは、バッテリセルブロック配置およびバランススイッチ構成、バッテリ管理マイクロコントローラ、および/またはバッテリ電源端子に接続されてもよく、それは、マルチセルブロックおよび/またはシステムの任意の他の要素の属性を測定するものであってよい。例えば、センサは、前述したように、基準および/または関数のパラメータのいずれかを形成するマルチセルブロックの属性を測定してもよい。例えば、センサは、所定のセルのセットのアンペア単位の電流を測定する電流センサを含んでもよい。 In some embodiments, the sensor may be connected to the battery cell block arrangement and balance switch configuration, the battery management microcontroller, and/or the battery power terminals, which may be connected to the multicell block and/or any other of the system. It may measure an attribute of an element. For example, the sensor may measure attributes of a multi-cell block that form either a reference and/or a parameter of a function, as described above. For example, the sensor may include a current sensor that measures the current in amperes of a given set of cells.
バッテリセルブロック配置およびバランススイッチ構成体926、バッテリ管理マイクロコントローラ927、バッテリシステムインターフェイス928、およびセンサ960は単数形で現れ、図12Aには5つのマルチセルブロック921~925のみが示されているが、これらの構成要素の任意の好適な数が使用されてよく、それらは複数の構成要素を表すことができると解されるべきである。多数の異なる実施態様のいずれかが採用されてもよい。実際、本明細書では、バッテリセルブロックの配置およびバランススイッチの構成を参照するために単数形のラベルが使用されているが、本明細書中に記載される配置およびバランススイッチに使用される構成要素は、任意の好適な数のデバイス(例えば、スイッチ)に分散されてもよいと解されるべきである。 Although battery cell block placement and
図12Bは、代表的な上記セルセットおよび対応する構成要素を示す図である。いくつかの実施形態において、代表的な上記セルセットは、任意の好適な数の上記セル(例えば、921A~921C)を含んでもよく、前述されるようなマルチセルブロックを構成してもよい。更に、代表的セルセットは、セル多重化スイッチ(例えば、926A1)、上記セルバランススイッチおよび抵抗(例えば、926A2)、セルブロックマイクロコントローラ(例えば、927A)、バッテリ管理マイクロコントローラインターフェイス(例えば、928A)、センサ(例えば、960A)および上記セルセット用の入力/出力バス(例えば、921IO)などを含んでもよい。いくつかの実施形態において、上記セルは、上記セルバランススイッチおよび抵抗器に接続されてもよく、これらは上記セル多重化スイッチに接続されてもよい。 FIG. 12B is a diagram illustrating a representative cell set and corresponding components. In some embodiments, the representative cell set may include any suitable number of such cells (eg, 921A-921C) and may constitute a multi-cell block as described above. Additionally, typical cell sets include a cell multiplexing switch (e.g., 926A1), a cell balancing switch and resistor (e.g., 926A2), a cell block microcontroller (e.g., 927A), a battery management microcontroller interface (e.g., 928A). , a sensor (eg, 960A), and an input/output bus (eg, 921IO) for the cell set. In some embodiments, the cells may be connected to the cell balancing switch and resistor, which may be connected to the cell multiplexing switch.
いくつかの実施形態では、各セル(例えば、921A~921Cの各々)は、上記セル多重化スイッチのアレイに接続されてもよく、それは、所定のセルを入力/出力バス(例えば、921IO)から接続または分離してもよく、所定のセルを他の上記セルとバランスバスを共有するバランス抵抗(例えば、926A2内の抵抗の1つ)に接続または分離してもよい。更に、放電モードでは、1つのセル(例えば、921A)は、入力/出力バスに接続され、バランス抵抗器から切り離されてもよい。残りのセル(例えば、921B~921C)は、入力/出力バスから切り離され、対応するバランス抵抗器に接続されてもよい。更に、いくつかの実施形態に係る充電モードでは、すべてのセル(例えば、921A~921C)は、入力/出力バスに接続され、バランス抵抗器926A2から切り離されてもよい。 In some embodiments, each cell (e.g., each of 921A-921C) may be connected to the array of cell multiplexing switches described above, which connects a given cell to an input/output bus (e.g., 921IO). A given cell may be connected or isolated to a balance resistor (eg, one of the resistors in 926A2) that shares a balance bus with other such cells. Additionally, in discharge mode, one cell (eg, 921A) may be connected to the input/output bus and disconnected from the balance resistor. The remaining cells (eg, 921B-921C) may be disconnected from the input/output bus and connected to corresponding balancing resistors. Further, in charging mode according to some embodiments, all cells (eg, 921A-921C) may be connected to the input/output bus and disconnected from balance resistor 926A2.
いくつかの実施形態によれば、上記セルブロックマイクロコントローラ(例えば、927A)は、切り替えのための重複および不感帯要件が用途またはロードに適切であることを保証するために、スイッチング波形を生成してもよい。更に、上記セルブロックマイクロコントローラは、上記セルブロックの電圧および電流を監視することによって、ならびに上記セルブロックマイクロコントローラがバッテリ管理マイクロコントローラインターフェイスを介して接続されてもよいバッテリ管理マイクロコントローラ(例えば、図12Aの927)からの通信を受け取ることによって、用途またはロードが要求する状態を決定してもよい。 According to some embodiments, the cell block microcontroller (e.g., 927A) generates switching waveforms to ensure that overlap and deadband requirements for switching are appropriate for the application or load. Good too. Further, the cell block microcontroller may be connected to a battery management microcontroller (e.g., FIG. 12A (927)) may determine the state that the application or load requires.
図12Cは、一組の実施形態による、電気化学セル(例えば、921A)に異方性力が加えられる電気化学システムの例示的断面模式図である。本明細書において、「電気化学セル」という用語は、一般に、電力を生成するための電気化学反応に参加するように構成されたアノード、カソード、および電解質を指すために使用される。電気化学セルは、再充電可能または非充電可能である。 FIG. 12C is an exemplary cross-sectional schematic diagram of an electrochemical system in which an anisotropic force is applied to an electrochemical cell (eg, 921A), according to one set of embodiments. The term "electrochemical cell" is used herein to generally refer to an anode, a cathode, and an electrolyte configured to participate in an electrochemical reaction to produce electrical power. Electrochemical cells can be rechargeable or non-rechargeable.
図12Cにおいて、システムは、電気化学セル921Aと、いくつかの実施形態において、電気化学セル921Aに関連する流体を含む圧力分配器934とを含んでもよい。圧力分配器934は、圧力分配器934を介して電気化学セル921Aの構成要素に異方性力が加えられるように構成されてもよい。例えば、図12Cに例示される一連の実施形態では、圧力トランスミッタ936は、圧力分配器934に異方性力を加えるように構成され得、これにより、電気化学セル921Aの少なくとも1つの構成要素(例えば、電極)に異方性力が加えられることになる。システムはまた、電気化学セルが配置される基板932を含んでもよい。基板932は、例えば、テーブル表面、電気化学セル921Aが収容される容器の表面、または任意の他の好適な表面を含んでもよい。 In FIG. 12C, the system may include an
圧力分配器934は、本明細書中に記載される本発明システムおよび方法を製造するために、様々な好適な構成で電気化学セル921Aに関連付けることができる。本明細書中で使用されるように、圧力分配器は、圧力分配器に加えられるおよび/または圧力分配器を通して加えられる力の少なくとも一部が電気化学セルの構成要素に伝達されてもよいとき、電気化学セルと関連付けられる。例えば、いくらかの実施形態において、圧力分配器は、圧力分配器が電気化学セルまたはその構成要素と直接接触しているとき、電気化学セルと関連付けられる。一般に、第1の物品および第2の物品は、第1の物品および第2の物品が直接触れ合っている時、直接的接触状態にある。例えば、図12Cにおいて、圧力分配器934および電気化学セル921Aは、直接的接触状態にある。
いくらかの実施形態において、圧力分配器は、圧力分配器が電気化学セルの少なくとも1つの構成要素と間接的に接触しているとき、電気化学セルと関連付けられる。一般に、第1の物品および第2の物品は、固体および/または液体成分のみを交差させる経路が第1の物品と第2の物品との間で発見されてもよいとき、間接的接触状態にある。そのような経路は、いくらかの実施形態では、実質的に直線の形態であることができる。圧力分配器は、いくらかの実施形態において、1つ以上の固体および/または液体材料がそれらの間に配置される場合、電気化学セルと間接的に接触してもよいが、それでも力は圧力分配器を介して電気化学セルに伝達されることができる。 In some embodiments, a pressure distributor is associated with an electrochemical cell when the pressure distributor is in indirect contact with at least one component of the electrochemical cell. Generally, a first article and a second article are in indirect contact when a path may be found between the first article and the second article that intersects only solid and/or liquid components. be. Such a path can be in the form of a substantially straight line in some embodiments. The pressure distributor may, in some embodiments, be in indirect contact with the electrochemical cell when one or more solid and/or liquid materials are placed between them; can be transmitted to the electrochemical cell via a cell.
いくらかの実施形態において、圧力分配器は、電気化学セルの構成要素を少なくとも部分的に(例えば、完全に)囲む容器の境界内に位置するとき、電気化学セルと関連付けられる。例えば、いくらかの実施形態では、圧力分配器934は、電極と、電気化学セルを少なくとも部分的に取り囲む容器との間に位置付けられ得る。いくらかの実施形態では、圧力分配器934は、集電体と、電気化学セルを少なくとも部分的に取り囲む容器との間に位置付けられ得る。いくつかの実施形態では、圧力分配器934は、例えば、電気化学セルの電極の隣に配置され、電気上記セルの電極および電解質を少なくとも部分的に含む容器内で、電流コレクタとして使用されてもよい。これは、例えば、電気化学セルの電極におよび/または電極から電子を輸送するのに十分な導電性を有する材料(例えば、金属箔などの金属、導電性ポリマーなど)から圧力分配器934を作製することによって達成されてもよい。 In some embodiments, a pressure distributor is associated with an electrochemical cell when located within the confines of a container that at least partially (eg, completely) surrounds components of the electrochemical cell. For example, in some embodiments, a
いくつかの実施形態では、圧力分配器は、電気化学セルの構成要素を少なくとも部分的に(例えば、完全に)囲む容器の境界の外側に位置する場合、電気化学セルと関連付けられる。例えば、いくらかの実施形態では、圧力分配器934は、電気化学セルの電極および電解質を少なくとも部分的に囲む容器の外面に直接または間接的に接触するように配置されてもよい。 In some embodiments, a pressure distributor is associated with an electrochemical cell when it is located outside the confines of a container that at least partially (eg, completely) surrounds components of the electrochemical cell. For example, in some embodiments, the
いくらかの実施形態において、圧力分配器は、電気化学セルの少なくとも1つの電極から比較的短い距離で配置されてもよい。例えば、いくらかの実施形態において、圧力分配器と電気化学セルの電極との間の最短距離は、その電極の多くとも断面寸法の約10倍未満、約5倍未満、約2倍未満、約1倍未満、約0.5倍未満、または約0.25倍未満である。 In some embodiments, the pressure distributor may be located a relatively short distance from at least one electrode of the electrochemical cell. For example, in some embodiments, the shortest distance between a pressure distributor and an electrode of an electrochemical cell is less than about 10 times, less than about 5 times, less than about 2 times, less than about 1 times, at most the cross-sectional dimension of the electrode. less than about 0.5 times, or less than about 0.25 times.
いくつかの実施形態において、圧力分配器は、電気化学セルの特定の電極(例えば、アノード)に関連付けることができる。例えば、圧力分配器は、電気化学セルの電極(例えば、リチウムを含むアノードなどのアノード)と直接または間接的に接触させることができる。いくらかの実施形態では、圧力分配器は、例えば、液体および/または固体成分のみが圧力分配器から電極を分離する場合、少なくとも部分的に電極を含むが依然として電極と関連する容器の外側に配置してもよい。例えば、圧力分配器が、電極および液体電解質を少なくとも部分的に囲む容器と直接または間接的に接触して配置されるいくらかの実施形態では、圧力分配器は、電極と関連付けられる。 In some embodiments, a pressure distributor can be associated with a particular electrode (eg, an anode) of an electrochemical cell. For example, the pressure distributor can be in direct or indirect contact with an electrode of an electrochemical cell (eg, an anode, such as an anode containing lithium). In some embodiments, the pressure distributor is located outside a container that at least partially contains the electrode but is still associated with the electrode, for example, where only liquid and/or solid components separate the electrode from the pressure distributor. You can. For example, in some embodiments where the pressure distributor is placed in direct or indirect contact with the electrode and a container that at least partially surrounds the liquid electrolyte, the pressure distributor is associated with the electrode.
いくらかの実施形態において、力は、圧力分配器934を介して電気化学セル921Aまたは電気化学セル921Aの構成要素(例えば、電気化学セルの電極)に加えられることができる。本明細書中で使用される場合、第2の構成要素が力の供給源から第1の構成要素に少なくとも部分的に力を伝達するとき、力は、第2の構成要素(例えば、圧力分配器)を介して第1の構成要素(例えば、電気化学セル)に加えられる。 In some embodiments, force can be applied to
電気化学セルまたはその部品に、圧力分配器を介して様々な方法で力を加えることができる。いくらかの実施形態では、圧力分配器に力を加えることは、圧力分配器の外面に力を加えることを含んでいる。これは、例えば、圧力トランスミッタ936を介して達成されてもよい。例えば、図12Cにおいて、圧力トランスミッタ936は、圧力分配器934の表面940に力を加えることによって、圧力分配器934を介して電気化学セル921Aに異方性力を加えるように配置してもよい。本明細書中で使用されるように、第1の構成要素は、第1の構成要素におよび/または第1の構成要素を介して加えられる力の少なくとも一部が第2の構成要素に伝達されてもよいように第1のおよび第2の構成要素が位置付けられるとき、第2の構成要素に異方性力を加えるよう位置付けられる。いくらかの実施形態では、圧力トランスミッタと圧力分配器は、直接接触している。いくつかの実施形態では、1つ以上の材料(例えば、1つ以上の固体材料および/または液体材料)が、圧力トランスミッタと圧力分配器との間に配置されるが、力は依然として圧力トランスミッタによって圧力分配器に印加されてもよい。いくらかの実施形態では、圧力分配器から電気化学セルまで、固体材料および/または液体材料を通して連続的な経路を辿ることができるように、圧力トランスミッタおよび圧力分配器は間接的に接触させることができる。そのような経路は、いくらかの実施形態では、実質的に(例えば、完全に)直線であることができる。 Force can be applied to an electrochemical cell or its components in a variety of ways via a pressure distributor. In some embodiments, applying a force to the pressure distributor includes applying a force to an outer surface of the pressure distributor. This may be accomplished via
図12Cに図示される一連の実施形態では、圧力トランスミッタ936および電気化学セル921Aは、圧力分配器934の反対側に配置される。従って、異方性力(例えば、矢印150の方向の異方性力)が、圧力トランスミッタ936に、および/または圧力トランスミッタ936によって表面940に加えられると、上記力は、圧力分配器934を通して電気化学セル921Aの表面942上に、および電気化学セル921Aの構成要素に伝達されてもよい。 In the series of embodiments illustrated in FIG. 12C,
いくつかの実施形態では、圧力分配器に力を加えることは、圧力分配器の内部表面に力を加えることを含んでいる。例えば、いくらかの実施形態では、圧力分配器内の流体の圧力を維持および/または増加させることによって、圧力分配器を介して電気化学セルに力を加えることができる。図12Cに例示される一連の実施形態では、圧力分配器934の入口(図示せず)を通して更なる流体を輸送することによって(例えば、圧力分配器934を膨らませることによって)、圧力分配器934を通して電気化学セル921Aへ力を加えることができる。いくつかのそのような実施形態では、圧力分配器内の圧力が維持および/または増加されると、電気化学セルの外部表面および/または電気化学セルの構成要素(例えば、電気化学セル内の電極の活性表面)に力が生じるように、圧力トランスミッタの動きを制限してもよい。例えば、図12Cにおいて、更なる流体が圧力分配器934に加えられると、圧力トランスミッタ936は、電気化学セル921Aの表面942に力が加えられるように、圧力分配器934の境界の動きを制限するように構成されていることが可能である。 In some embodiments, applying a force to the pressure distributor includes applying a force to an interior surface of the pressure distributor. For example, in some embodiments, force can be applied to an electrochemical cell through a pressure distributor by maintaining and/or increasing the pressure of a fluid within the pressure distributor. In the series of embodiments illustrated in FIG. 12C, the
いくらかの実施形態では、流体は、圧力分配器934が電気化学セル921Aと圧力トランスミッタ936との間に配置される前に圧力分配器934に加えられることができる。流体が加えられた後、圧力分配器934は、圧縮され、電気化学セル921Aと圧力トランスミッタ936との間に位置付けられ得、次いで、圧力分配器934内の流体の圧縮は、電気化学セル921Aの表面942に(およびそれに応じて、電極の活性表面など、電気化学セルの1つ以上の構成要素の表面に)加えられる力を生じさせることができる。本開示を考慮した当業者であれば、圧力分配器を通して電気化学セルに力を加えることができる更なるシステムおよび方法を設計することが可能である。 In some embodiments, fluid can be added to
圧力分配器934内の流体は、圧力分配器934を介して伝達される圧力が、電気化学セル921Aの表面942にわたって(およびそれに応じて、電極の活性表面などの電気化学セルの1つ以上の構成要素の表面にわたって)比較的均等に適用されるようにしてもよい。特定の理論に拘束されることを望むものではないが、圧力分配器934内の流体の存在は、比較的高い圧力領域内の流体が比較的低い圧力の領域に輸送されるため、表面942上の比較的高い圧力の点を減少および/または排除すると考えられている。 Fluid within
いくつかの実施形態では、圧力分配器が電気化学セルに加えられる力を均等に分配する程度は、圧力トランスミッタの外面が電気化学セルまたはその容器の外面に適切に整列される場合、強化されてもよい。例えば、図12Cに例示される一連の実施形態では、圧力トランスミッタ936の外部表面940は、電気化学セル921Aの外部表面942に面している。いくらかの実施形態では、圧力トランスミッタの外部表面は、力が加えられる電気化学セルの外部表面と実質的に平行である。例えば、図12Cに示される一連の実施形態では、圧力トランスミッタ936の外部表面940は、電気化学セル921Aの外部表面942に実質的に平行である。本明細書中で使用されるように、2つの表面が約10度以下の角度を形成する時、2つの表面は互いに実質的に平行である。いくらかの実施形態では、2つの実質的に平行な表面は、約5度以下の角度、約3度以下の角度、約1度以下の角度、または約0.1度以下の角度を形成する。 In some embodiments, the extent to which the pressure distributor evenly distributes the force applied to the electrochemical cell is enhanced when the outer surface of the pressure transmitter is properly aligned with the outer surface of the electrochemical cell or its container. Good too. For example, in the series of embodiments illustrated in FIG. 12C, the
圧力分配器は、様々な好適な形態を有してもよい。いくらかの実施形態では、圧力分配器は、流体が収容される袋または他の好適な容器を備えてもよい。いくつかの実施形態では、圧力分配器は、圧力分配器に力が加えられる方向に沿って変形するように構成された吹子(bellows)を備えることができる。 The pressure distributor may have a variety of suitable forms. In some embodiments, the pressure distributor may include a bag or other suitable container in which the fluid is contained. In some embodiments, the pressure distributor can include bellows configured to deform along the direction in which a force is applied to the pressure distributor.
圧力分配器容器は、様々な材料で作ることができる。いくらかの実施形態では、圧力分配器容器は、可撓性材料を含んでもよい。例えば、いくらかの実施形態では、圧力分配器容器は、ポリエチレン(例えば、直鎖状低密度および/または超低密度ポリエチレン)、ポリプロピレン、ポリ塩化ビニル、ポリビニルジクロライド、エチレン酢酸ビニル、ポリカーボネート、ポリメタクリレート、ポリビニルアルコール、ナイロン、シリコーンゴム(例えば、ポリジメチルシロキサン)および/または他の天然または合成ゴム若しくはプラスチックなどのポリマーを含んでもよい。いくらかの実施形態(例えば、圧力分配器内の流体としてガスが使用される実施形態)において、圧力分配器容器は、金属層(例えば、アルミニウム金属層)を含んでもよく、これは、流体(例えば、ガス)が圧力分配器内に保持される程度を向上させ得る。可撓性材料の使用は、いくらかの実施形態において、圧力分配器の内容物を比較的容易に再分配することができ、力が均一に適用される程度を高めることができるので有利である。 Pressure distributor vessels can be made of a variety of materials. In some embodiments, the pressure distributor container may include a flexible material. For example, in some embodiments, the pressure distributor vessel is made of polyethylene (e.g., linear low density and/or very low density polyethylene), polypropylene, polyvinyl chloride, polyvinyl dichloride, ethylene vinyl acetate, polycarbonate, polymethacrylate, Polymers such as polyvinyl alcohol, nylon, silicone rubber (eg, polydimethylsiloxane) and/or other natural or synthetic rubbers or plastics may be included. In some embodiments (e.g., those in which a gas is used as the fluid in the pressure distributor), the pressure distributor vessel may include a metal layer (e.g., an aluminum metal layer), which allows the fluid (e.g. , gas) can be retained within the pressure distributor. The use of flexible materials is advantageous in some embodiments because the contents of the pressure distributor can be redistributed relatively easily and can increase the degree to which force is evenly applied.
いくつかの実施形態において、圧力分配器は、弾性材料を含んでもよい。いくらかの実施形態では、圧力分配器が製造される材料の弾性は、圧力分配器が圧力分配器に加えられる望ましい量の力を隣接する構成要素に伝達するように選択されてもよい。例示すると、いくらかの場合には、圧力分配器が非常に柔軟な材料で形成されている場合、圧力分配器に加えられる比較的高い割合の力が、隣接する電気化学セルに伝達されるのではなく、圧力分配器材料を弾性的に変形させるために使用される可能性がいくらかの実施形態では、圧力分配器は、約1GPa未満のヤング率を有する材料から形成してもよい。当業者であれば、例えば、引張試験(tensile test)[抗張試験(tension test)とも呼ばれることがある]を行うことによって、所定の材料のヤング率を測定することが可能である。使用されてもよい例示的な弾性ポリマー(すなわち、エラストマー)には、一般的なクラスのシリコーンポリマー、エポキシポリマー、およびアクリレートポリマーが含まれる。 In some embodiments, the pressure distributor may include a resilient material. In some embodiments, the resiliency of the material from which the pressure distributor is made may be selected such that the pressure distributor transmits a desired amount of force applied thereto to adjacent components. To illustrate, in some cases, if the pressure distributor is formed of a very flexible material, a relatively high proportion of the force applied to the pressure distributor may be transferred to adjacent electrochemical cells. In some embodiments, the pressure distributor may be formed from a material having a Young's modulus of less than about 1 GPa. Those skilled in the art are able to measure the Young's modulus of a given material, for example, by performing a tensile test (sometimes referred to as a tension test). Exemplary elastic polymers (ie, elastomers) that may be used include the general classes of silicone polymers, epoxy polymers, and acrylate polymers.
いくらかの実施形態では、圧力分配器は、流体を含む密閉された容器を備える。いくらかの実施形態において、圧力分配器は、流体を含有する開放型容器を備えてもよい。例えば、いくつかの実施形態では、圧力分配器は、以下でより詳細に説明するように、圧力分配器を通して流体を輸送するように構成され、かつ配置されたデバイスに流体的に接続された容器を備える。 In some embodiments, the pressure distributor comprises a sealed container containing a fluid. In some embodiments, a pressure distributor may include an open container containing a fluid. For example, in some embodiments, the pressure distributor includes a container fluidly connected to a device configured and arranged to transport fluid through the pressure distributor, as described in more detail below. Equipped with.
圧力分配器には、様々な流体を使用してもよい。本明細書中で使用する「流体」は、一般に、流動性があり、その容器の外形に適合する傾向がある物質を指す。流体の例としては、液体、気体、ゲル、粘弾性流体、溶液、懸濁液、流動化した微粒子などがある。一般に、流体は、静的なせん断応力に耐えることができない材料であり、せん断応力が加えられると、流体は継続的かつ永久的な歪みを経験する。流体は、適用された力の流動および再分配を可能にする任意の好適な粘度を有していてもよい。 A variety of fluids may be used in pressure distributors. As used herein, "fluid" generally refers to a substance that is fluid and tends to conform to the contours of its container. Examples of fluids include liquids, gases, gels, viscoelastic fluids, solutions, suspensions, and fluidized particles. Generally, fluids are materials that cannot withstand static shear stress; when shear stress is applied, the fluid experiences continuous and permanent distortion. The fluid may have any suitable viscosity that allows flow and redistribution of the applied force.
いくらかの実施形態では、圧力分配器内の流体は、気体(例えば、空気、窒素、希ガス(例えば、ヘリウム、ネオン、アルゴン、クリプトン、キセノン)、ガス冷媒、またはこれらの混合物)を含む。いくらかの実施形態では、圧力分配器内のガスは、比較的高い分子量(例えば、少なくとも約100g/mol)を含んでもよく、これは、ガスが圧力分配器の壁を通して透過する程度を制限することが可能である。いくつかの実施形態では、圧力分配器内の流体は、これらに限定されないが、水、電解質(例えば、電気化学セルで使用されるものと類似または同一の液体電解質)、グリース(例えば、石油ゼリー、テフロングリース、シリコーングリース)、オイル(例えば、鉱油)などを含む液体が挙げられる。いくらかの実施形態では、圧力分配器内の流体は、ゲルを含む。圧力分配器内で使用するのに適したゲルには、ヒドロゲル(例えば、シリコーンゲル)、オルガノゲル、またはキセロゲルが含まれるが、これらに限定されるものではない。いくらかの実施形態では、流体は、固体粒子(例えば、砂、粉末など)の流動床を含んでいる。流動化は、例えば、気体および/または液体を粒子に通すことによって、および/または粒子が互いに相対的に移動するように粒子が配置された基板を振動させることによって達成してもよい。 In some embodiments, the fluid within the pressure distributor includes a gas (eg, air, nitrogen, a noble gas (eg, helium, neon, argon, krypton, xenon), a gas refrigerant, or a mixture thereof). In some embodiments, the gas within the pressure distributor may include a relatively high molecular weight (e.g., at least about 100 g/mol), which may limit the extent to which the gas permeates through the walls of the pressure distributor. is possible. In some embodiments, the fluid within the pressure divider includes, but is not limited to, water, electrolyte (e.g., a liquid electrolyte similar or identical to that used in an electrochemical cell), grease (e.g., petroleum jelly), etc. , Teflon grease, silicone grease), oil (eg, mineral oil), and the like. In some embodiments, the fluid within the pressure distributor includes a gel. Gels suitable for use in pressure distributors include, but are not limited to, hydrogels (eg, silicone gels), organogels, or xerogels. In some embodiments, the fluid includes a fluidized bed of solid particles (eg, sand, powder, etc.). Fluidization may be achieved, for example, by passing gas and/or liquid through the particles and/or by vibrating the substrate on which the particles are placed such that the particles move relative to each other.
圧力分配器と関連して使用される流体は、任意の好適な粘度を有してもよい。いくらかの実施形態では、圧力分配器内でニュートン流体を使用してもよいが、いくつかの実施形態はそのように限定されず、非ニュートン流体(例えば、せん断減粘流体、せん断増粘流体等)も使用してもよい。いくらかの実施形態では、圧力分配器は、室温で約1×107センチポアズ(cP)未満、約1×106cP未満、約1×105cP未満、約1000cP未満、約100cP未満、約10cP未満、または約1cP未満(および、いくつかの実施形態では、約0.001cPより大きく、約0.01cPより大きく、または約0.1cPより大きい)の定常状態のせん断粘度を有するニュートン流体を含んでもよい。 Fluids used in connection with pressure distributors may have any suitable viscosity. Although some embodiments may use Newtonian fluids within the pressure distributor, some embodiments are not so limited and may use non-Newtonian fluids (e.g., shear-thinning fluids, shear-thickening fluids, etc.). ) may also be used. In some embodiments, the pressure distributor is less than about 1 x 107 centipoise (cP), less than about 1 x 106 cP, less than about 1 x 105 cP, less than about 1000 cP, less than about 100 cP, about 10 cP at room temperature. or less than about 1 cP (and in some embodiments, greater than about 0.001 cP, greater than about 0.01 cP, or greater than about 0.1 cP). But that's fine.
いくらかの実施形態では、圧力分配器内の流体は、圧力分配器の中および/または外に輸送されるのに好適であるように選択されてもよい。例えば、いくらかの実施形態では、電気化学セルに異方性力を加えるために(例えば、電気化学セルと圧力トランスミッタとの間に配置されたときに圧力分配器内の流体を圧縮することによって)流体が圧力分配器内に輸送されてもよい。別の例として、システムの構成要素に熱を伝達しおよび/またはシステムの構成要素から熱を奪うために、流体を圧力分配器内および/または圧力分配器外へ輸送してもよい。 In some embodiments, the fluid within the pressure distributor may be selected to be suitable for being transported into and/or out of the pressure distributor. For example, in some embodiments, a fluid is used to apply an anisotropic force to an electrochemical cell (e.g., by compressing the fluid in a pressure distributor when placed between the electrochemical cell and a pressure transmitter). It may also be transported within a pressure distributor. As another example, fluid may be transported into and/or out of the pressure distributor to transfer heat to and/or remove heat from the components of the system.
また、圧力トランスミッタ936は、様々な構成を採用してもよい。いくらかの実施形態では、圧力トランスミッタ936は、電気化学セル921Aに対して相対的に移動可能である。いくつかのそのような実施形態では、圧力トランスミッタ936を電気化学セル921Aに近づける、および/または電気化学セル921Aと圧力トランスミッタ936との間の分離を維持することによって、圧力分配器934を介して電気化学セル921Aに力を加えることができる。1つの特定の例として、いくつかの実施形態では、圧力トランスミッタ936は、圧縮バネ、第1のアプリケータ構造体、および第2のアプリケータ構造体を含む。第1のアプリケータ構造体は、例えば、剛性材料の平板、または任意の他の好適な構造体に対応してもよい。第2のアプリケータ構造体は、例えば、剛性材料の第2のプレート、電気化学セルが収容される容器の壁の一部、または任意の他の好適な構造体に対応してもよい。いくつかの実施形態では、圧縮バネがアプリケータ構造体とアプリケータ構造体の間で圧縮されると、電気化学セル921Aの表面942に力が加えられることができる。いくらかの実施形態では、Belleville ワッシャ、機械ネジ、空気圧装置、重り、空気シリンダー、および/または油圧シリンダーを、圧縮バネの代わりに、または圧縮バネに加えて使用してもよい。いくつかの実施形態では、電気化学セルの1つ以上の外面の周りに配置された圧縮要素(または締め付け要素;constricting element)(例えば、弾性バンド、ターンバックルバンドなど)を用いて、電気化学セルに力を加えることができる。電気化学セルに力を加えるための様々な好適な方法は、例えば、発明の名称「Application of Force in Electrochemical Cells」で、2009年8月4日に出願されたScordilis-Kelleyらの米国特許出願公開第2の010/0035128号明細書に記載され、すべての目的のために、その全体が参照により本明細書中に援用される。 Additionally,
いくらかの実施形態では、圧力トランスミッタ936は、電気化学セル921Aに対して実質的に移動可能ではなく、例えば、圧力分配器934を加圧することにより、電気化学セルに力を加えることができる。いくつかのそのような実施形態では、実質的に移動不可能な圧力トランスミッタ936が圧力分配器934の1つ以上の境界の動きを制限し、それによって電気化学セル921Aに異方性力を加えるので、圧力分配器を加圧することにより、結果として電気化学セルへ力を加えることができる。 In some embodiments,
いくらかの実施形態では、圧力トランスミッタは、実質的に剛構造体(例えば、電気化学セルを囲むパッケージ)の全てまたは一部を構成し、圧力トランスミッタの動きは、実質的に剛構造体が可撓性を有さない程度によって制限されてもよい。いくらかの実施形態では、圧力トランスミッタは、システムの他の構成要素の少なくとも一部と一体化された構造体を構成することができ、これによりその動きを制限してもよい。例えば、いくらかの実施形態では、圧力トランスミッタは、電気化学セル921Aおよび圧力分配器934が配置されているパッケージの1つ以上の壁の少なくとも一部を構成してもよい。1つの特定の例として、圧力トランスミッタ936は、電気化学セル921Aを含むパッケージの第1の壁を形成する一方、基板932はパッケージの第2の壁(例えば、第1の壁と反対側)を形成する可能性がいくらかの実施形態では、圧力トランスミッタ936の動きは、その動きが制限されるような力を圧力トランスミッタ内および/または上に加えることによって制限してもよい。これらの場合のいずれにおいても、いくらかの実施形態では、圧力分配器934内に流体を加えることおよび/または圧力分配器934内の流体の量を維持することによって、電気化学セルに力を加えることができる。 In some embodiments, the pressure transmitter comprises all or a portion of a substantially rigid structure (e.g., a package surrounding an electrochemical cell), and movement of the pressure transmitter is caused by the substantially rigid structure being flexible. It may be limited by the extent to which it has no gender. In some embodiments, the pressure transmitter may constitute an integrated structure with at least some of the other components of the system, thereby limiting its movement. For example, in some embodiments, a pressure transmitter may form at least a portion of one or more walls of a package in which
図12Cは、単一の圧力トランスミッタおよび単一の圧力分配器が、電気化学セルに力を加えるために使用される一組の実施形態を示している。しかしながら、いくらかの実施形態では、1つより多い圧力分配器および/または1つより多い圧力トランスミッタが採用されてもよい。例えば、いくつかの実施形態では、システムは、電気化学セル921Aの下に配置された第2の圧力分配器と、第2の圧力分配器の下に配置された第2の圧力トランスミッタとを含む。いくらかの実施形態では、例えば、第2の圧力トランスミッタに、および/または第2の圧力トランスミッタを通して、第2の圧力分配器の表面に力を加えることによって、第2の圧力分配器を通して電気化学セル921Aの外部表面に実質的に均等に分配された力を加えることができる。 FIG. 12C shows a set of embodiments in which a single pressure transmitter and a single pressure distributor are used to apply force to an electrochemical cell. However, in some embodiments more than one pressure distributor and/or more than one pressure transmitter may be employed. For example, in some embodiments, the system includes a second pressure distributor located below the
いくつかの実施形態では、電気化学セル921Aへ熱を伝達し、および/または電気化学セル921Aから熱を奪うために、流体を圧力分配器へ輸送、および/または流体を圧力分配器から輸送することが可能である。例えば、圧力分配器934は、圧力分配器934を通して流体を輸送するように構成された入口および出口を含んでもよい。流体が圧力分配器934を通って輸送されると、電気化学セル921Aから熱を吸収し、出口を介してシステムから離れるように輸送してもよい。圧力分配器を通して流体を輸送するために、例えば、ポンプ、真空、または他の任意の好適なデバイスを使用してもよい。 In some embodiments, the fluid is transported to and/or from the pressure distributor to transfer heat to and/or remove heat from the
いくらかの実施形態では、圧力分配器と関連して使用される流体は、システムを所望の程度に冷却または加熱するように選択してもよい。例えば、いくらかの実施形態では、圧力分配器内の流体は、水、エチレングリコール、ジエチレングリコール、プロピレングリコール、ポリアルキレングリコール(PAG)、油(例えば、鉱油、ひまし油、シリコーン油、フルオロカーボン油など)、および/または冷媒(例えば、フレオン、クロロフルオロカーボン、パーフルオロカーボンなど)などの冷却剤を含んでもよい。 In some embodiments, the fluid used in conjunction with the pressure distributor may be selected to cool or heat the system to a desired degree. For example, in some embodiments, the fluid within the pressure distributor includes water, ethylene glycol, diethylene glycol, propylene glycol, polyalkylene glycol (PAG), oil (e.g., mineral oil, castor oil, silicone oil, fluorocarbon oil, etc.), and Coolants such as refrigerants (eg, freons, chlorofluorocarbons, perfluorocarbons, etc.) may be included.
本明細書中に記載された実施形態は、様々な電気化学セルと共に使用してもよい。一次(使い捨て)電気化学セルおよび二次(再充電可能)電気化学セルは、本明細書中に記載の実施形態と関連して使用してもよいが、いくつかの実施形態は、例えば、(再)充電工程中の均一な力の適用によってもたらされる利点のために、有利に二次電気化学セルを使用する。いくらかの実施形態では、電気化学セルは、リチウム硫黄電気化学セルなどのリチウム系電気化学セル(およびそのバッテリなどの複数のセルの組立体)を含む。 Embodiments described herein may be used with a variety of electrochemical cells. Although primary (disposable) and secondary (rechargeable) electrochemical cells may be used in conjunction with the embodiments described herein, some embodiments may include, for example, ( Secondary electrochemical cells are advantageously used because of the advantages offered by the uniform application of force during the re)charging process. In some embodiments, the electrochemical cell includes a lithium-based electrochemical cell (and assembly of multiple cells thereof, such as a battery), such as a lithium sulfur electrochemical cell.
いくつかの実施形態は、多種多様な電気化学デバイスにおける使用を見出すことができるが、そのようなデバイスの一例が、例示のみを目的として図12Dに提供されている。図12Dにおいて、電気化学セル921Aの一般的な実施形態は、カソード910、アノード912、およびカソードおよびアノードと電気化学的に連通する電解質914を含む。 Although some embodiments may find use in a wide variety of electrochemical devices, an example of such a device is provided in FIG. 12D for illustrative purposes only. In FIG. 12D, a general embodiment of an
いくつかの態様において、電気化学セル921Aは、任意に、格納構造体(containment structure)916によって少なくとも部分的に封じ込められることができる。格納構造体916は、これらに限定されないが、円柱、角柱(例えば、三角柱、直方体など)、立方体、または任意の他の形状を含む、様々な形状を有してもよい。いくらかの実施形態では、圧力分配器は、表面918Aおよび/または表面918Bと直接または間接的に接触して、圧力分配器を格納構造体916の外側に配置することによって、電気化学セル921Aに関連付けることができる。このように位置決めされると、圧力分配器は、前述のように、格納構造体916の表面918Aおよび/または918Bに直接的または間接的に力を加えるように構成してもよい。いくらかの実施形態では、圧力分配器は、カソード310と格納構造体916との間、またはアノード912と格納構造体916との間に位置決めされてもよい。いくつかのそのような実施形態において、格納構造体は、圧力トランスミッタとして機能することができ、および/または別個の圧力トランスミッタは、格納構造体を介して圧力分配器に力を加えるように構成されていることができる。 In some embodiments,
典型的な電気化学セルシステムはまた、当然のことながら、集電体、外部回路などを含む。当業者であれば、図面に示され、本明細書中に記載されているような一般的な概略配置を利用してもよい多くの配置をよく知っている。 A typical electrochemical cell system also includes, of course, current collectors, external circuitry, and the like. Those skilled in the art are familiar with the many arrangements that may utilize the general schematic arrangement as shown in the drawings and described herein.
電気化学セル921Aの構成要素は、場合によっては、電解質が平面状の構成でカソードとアノードとの間に配置されるように組み立てられてもよい。例えば、図12Dに示される実施形態では、電気化学セル921Aのカソード910は、実質的に平面状である。実質的に平面状のカソードは、例えば、金属箔または他の好適な基板などの平面状の基板上にカソードスラリーをコーティングすることによって形成することができ、これは、電気化学セル921Aの組立体に含まれるか(図12Dには図示されていないが)、電気化学セルの組み立て前にカソード910から除去れてもよい。更に、図12Dにおいて、アノード912は、実質的に平面状であるものとして図示されている。実質的に平面状のアノードは、例えば、金属リチウムのシートを形成することによって、平面状の基板上にアノードスラリーを形成することによって、または任意の他の好適な方法によって形成してもよい。電解質914もまた、図12Dにおいて実質的に平面状であるものとして図示されている。 The components of
いくつかの実施形態では、リチウムの電気化学めっきは、低速で開始し、次いで、電流密度を増加させて析出速度を増加させ、膜のバルクを成長させると、緻密なリチウム膜を生成してもよい。例えば、全充電中に平均電流密度の25%を印加してもよい。あるいは、25%の電流密度を充電の終了時に印加してもよいが、本発明者らは、これは好ましくは充電の「テーパー部分」の前であってもよいことを認識し、理解している。代替的または付加的に、リチウムの電気化学めっきは、速い速度または電流密度で所定量のリチウムを電気化学的に除去し、次いで電流密度の25%で出発リチウム層を付着させ、次いで主リチウム膜厚を速い速度で付着させることによって、既に形成されたリチウムの上に緻密なリチウム膜を形成してもよい。本発明者らは、このような技術は、金属基板上に緻密なリチウム被膜を形成し、リチウム表面上の電解質成分の枯渇を低減し、表面上の枯渇生成物の蓄積をそれぞれ低減し、電気抵抗の蓄積を遅くし、金属リチウムの枯渇を低減し、電気的に孤立したリチウム「島(またはアイランド)」の形成生成を低減してもよいことを認識し、理解している。 In some embodiments, electrochemical plating of lithium starts at a low rate and then increases the current density to increase the deposition rate and grow the bulk of the film, producing a dense lithium film. good. For example, 25% of the average current density may be applied during the entire charge. Alternatively, a current density of 25% may be applied at the end of charging, although we recognize and understand that this may preferably be before the "tapered portion" of charging. There is. Alternatively or additionally, electrochemical plating of lithium involves electrochemically removing a predetermined amount of lithium at a fast rate or current density, then depositing a starting lithium layer at 25% of the current density, and then depositing the main lithium film. A dense lithium film may be formed on top of previously formed lithium by depositing the thickness at a rapid rate. We believe that such a technique can form a dense lithium film on a metal substrate, reduce the depletion of electrolyte components on the lithium surface, reduce the accumulation of depletion products on the surface, and reduce the electrical It is recognized and understood that resistance build-up may be slowed, metallic lithium depletion reduced, and the formation of electrically isolated lithium "islands" produced.
いくらかの実施形態において、電気化学セル921Aは、元素金属および/または金属合金などの金属を含有する電極を含んでもよい。1つの特定の例として、いくらかの実施形態では、電気化学セル921Aは、元素状リチウム(例えば、元素状リチウム金属および/またはリチウム合金)を含有するアノードを備えていてもよい。いくらかの実施形態では、以下でより詳細に説明するように、力を加えることによって電気化学セルの電極内の金属の表面形態に影響を与えるように、電気化学セルに加えられる異方性力は十分に大きいものである。 In some embodiments,
図12Dは、平面構成に配置された電気化学セルを示しているが、いくつかの実施形態の原理を採用して、任意の電気化学セル配置を任意の構成で構築できるものと理解されるべきである。図12Dに例示される形状に加えて、本明細書中に記載される電気化学セルは、これらに限定されないが、円柱、折り畳まれた多層構造体、角柱(例えば、三角柱、直方柱等)、「スイスロール(Swiss-roll)」、非平面多層構造体等を含む任意の他の形状であってもよい。更なる構成は、名称「Electrode Protection in both Aqueous and Non-Aqueous Electrochemical Cells, including Rechargeable Lithium Batteries」で、2006年4月06日に出願された、Affinitoらの米国特許出願第11/400,025号に記載されており、その全体が参照により本明細書中に援用される。 Although FIG. 12D shows an electrochemical cell arranged in a planar configuration, it should be understood that the principles of some embodiments can be employed to construct any electrochemical cell arrangement in any configuration. It is. In addition to the shapes illustrated in FIG. 12D, the electrochemical cells described herein include, but are not limited to, cylinders, folded multilayer structures, prismatic (e.g., triangular prisms, rectangular prisms, etc.), Any other shape may be used, including "Swiss-roll", non-planar multilayer structures, etc. A further structure is U.S. Patent Application No. 11/400,025 to Affinito et al., filed April 6, 2006, entitled "Electrode Protection in both Aqueous and Non-Aqueous Electrochemical Cells, including Rechargeable Lithium Batteries." , which is incorporated herein by reference in its entirety.
いくつかの実施形態において、カソードおよび/またはアノードは、少なくとも1つの活性表面を含む。本明細書中で使用される場合、「活性表面」という用語は、電解質と物理的に接触しており、電気化学反応が起こり得る電極の表面を説明するために使用される。例えば、図12Dに例示される一連の実施形態では、カソード910はカソード活性表面920を含み、アノード912はアノード活性表面922を含む。 In some embodiments, the cathode and/or anode include at least one active surface. As used herein, the term "active surface" is used to describe the surface of an electrode that is in physical contact with an electrolyte and on which an electrochemical reaction can occur. For example, in the series of embodiments illustrated in FIG. 12D,
いくらかの実施形態では、圧力トランスミッタ936に、および/または圧力分配器934を介して(および最終的にいくつかの場合においては電気化学セル921Aの表面942に)加えられる異方性力は、電気化学セル内の電極(例えば、リチウム金属を含むアノードなどのアノード)の活性表面に垂直な成分を含む。従って、圧力分配器934を介して電気化学セルに異方性力を加えることは、電気化学セル内の電極(例えば、アノード)の活性表面に異方性力が加えられる結果となり得る。平面状電極表面の場合、加えられる力は、力が加えられる点における電極活性表面に垂直な成分を有する異方性力を含んでもよい。例えば、図12Cおよび図12Dに示される一連の実施形態を参照すると、矢印970の方向の異方的な力が、圧力分配器934を介して電気化学セル921Aに印加されてもよい。矢印970の方向に加えられる異方性力は、アノード活性表面922に垂直であり、カソード活性表面920に垂直である成分972を含む。更に、矢印970の方向に加えられる異方性力は、アノード活性表面922およびカソード活性表面920に対して垂直でない(実際には平行である)成分974を含むことになる。 In some embodiments, the anisotropic force applied to the
曲面(例えば、凹面または凸面)の場合、電気化学セルに加えられる力は、力が加えられる点で曲面に接する平面に垂直な成分を有する異方性力を含んでもよい。 In the case of a curved surface (eg, concave or convex), the force applied to the electrochemical cell may include an anisotropic force with a component perpendicular to the plane tangent to the curved surface at the point where the force is applied.
一組の実施形態では、システムおよび方法は、上記セルの充電および/または放電中の少なくとも1つの期間において、電極(例えば、アノード)の活性表面に垂直な成分を有する異方性力が電気化学セルに印加されるように構成されている。いくつかの実施形態では、力は、連続的に、1つの期間にわたって、若しくは持続時間および/または周波数が変化し得る複数の期間にわたって加えられてもよい。 In one set of embodiments, systems and methods provide an electrochemical cell with an anisotropic force having a component perpendicular to an active surface of an electrode (e.g., an anode) during at least one period during charging and/or discharging of the cell. is configured to be applied. In some embodiments, the force may be applied continuously, over one time period, or over multiple time periods that may vary in duration and/or frequency.
加えられる力の大きさは、いくつかの実施形態において、電気化学セルの性能を向上させるのに十分な大きさである。いくらかの実施形態において、電極活性表面(例えば、アノード活性表面)および異方性力は、異方性力が電極活性表面の表面形態に影響を与えて、充放電による電極活性表面積の増加を抑制し、異方性力が存在しないが、それ以外は本質的に同一の条件において、充放電サイクルを通じて電極活性表面積がより大きく増加するように共に選択されてもよい。「本質的に同一の条件」とは、本明細書中では、力の適用および/または力の大きさ以外は類似または同一である条件を意味する。例えば、それ以外の同一条件は、同一であるが、対象の電気化学セルに異方性力を加えるように構成されていない(例えば、ブラケットまたは他の接続によって)セルを意味し得る。 The magnitude of the applied force is, in some embodiments, sufficient to improve the performance of the electrochemical cell. In some embodiments, the electrode active surface (e.g., the anode active surface) and the anisotropic force are such that the anisotropic force affects the surface morphology of the electrode active surface to suppress the increase in electrode active surface area due to charging and discharging, and the anisotropic force may be selected together to provide a greater increase in electrode active surface area through charge/discharge cycles in the absence of, but otherwise essentially the same conditions. "Essentially identical conditions" as used herein means conditions that are similar or identical except for the application of force and/or the magnitude of the force. For example, otherwise identical conditions may refer to cells that are identical, but are not configured (eg, by brackets or other connections) to apply an anisotropic force to the electrochemical cell of interest.
電極活性表面と異方性力は、本明細書中に記載の結果を得るために、当業者であれば容易に共に選択してもよい。例えば、電極活性表面が比較的軟らかい場合、電極活性表面に垂直な力の成分は、より低くなるように選択されてもよい。電極活性表面がより硬い場合、電極活性表面に垂直な力の成分は、より大きくてもよい。本開示を考慮した当業者は、既知のまたは予測可能な特性を有するアノード材料、合金、混合物等を容易に選択することができ、またはそのような表面の硬さまたは軟らかさを容易に試験することができ、本明細書中に記載されるものを達成するのに好適な力を提供するためのセル構築技術および配置を容易に選択してもよい。簡単な試験は、例えば、一連の活物質を配置し、それぞれ活性表面に垂直に(または活性表面に垂直な成分)に一連の力を加え、セルサイクルなしで(セルサイクル中の選択された組み合わせの予測のために)、または選択と関連する結果の観察を伴うセルサイクルで表面上の力の形態的効果を決定することによって、簡単な試験を行うことができる。 Electrode active surfaces and anisotropic forces may be readily selected together by one of ordinary skill in the art to achieve the results described herein. For example, if the electrode active surface is relatively soft, the component of force normal to the electrode active surface may be selected to be lower. If the electrode active surface is harder, the component of force normal to the electrode active surface may be larger. One skilled in the art in view of this disclosure can readily select anode materials, alloys, mixtures, etc. with known or predictable properties, or readily test the hardness or softness of such surfaces. cell construction techniques and arrangements may be readily selected to provide suitable forces to accomplish what is described herein. A simple test is, for example, to place a series of active materials, each applying a series of forces perpendicular to the active surface (or a component perpendicular to the active surface), without cell cycling (for selected combinations during cell cycling) A simple test can be carried out by determining the morphological effect of force on a surface on a cell cycle (for the prediction of kinetics), or with selection and observation of associated consequences.
前述のように、いくつかの実施形態では、上記セルの充電および/または放電中の少なくとも1つの期間中に、異方性力がない場合の表面積の増加に対して、電極活性表面の表面積の増加を抑制するために有効な程度に、電極活性表面(例えば、アノードの)に垂直な成分を有する異方性力が印加される。電極活性表面に垂直な異方性力の成分は、例えば、少なくとも約20、少なくとも約25、少なくとも約35、少なくとも約40、少なくとも約50、少なくとも約75、少なくとも約90、少なくとも約100、少なくとも約125、少なくとも約150、少なくとも約200、少なくとも約300、少なくとも約400、または少なくとも約500ニュートン/平方センチメートル(N/cm2)の圧力を定義してもよい。いくらかの実施形態では、アノード活性表面に垂直な異方性力の成分は、例えば、約500N/cm2未満、約400N/cm2未満、約300N/cm2未満、約200N/cm2未満、約190N/cm2未満、約175N/cm2未満、約150N/cm2未満、約125N/cm2未満、約115N/cm2未満、または約110N/cm2未満の圧力を定義してもよい。本明細書中では、力および圧力をそれぞれニュートン単位および単位面積当たりのニュートン単位で一般的に記載するが、力および圧力は、それぞれkgf(kilograms-force)単位および単位面積当たりのkgf単位でも表すことができる。当業者であれば、kgfベースの単位に精通し、1kgfが約9.8ニュートンに相当することを理解する。 As mentioned above, some embodiments increase the surface area of the electrode active surface during at least one period during charging and/or discharging of the cell relative to the increase in surface area in the absence of anisotropic forces. An anisotropic force having a component perpendicular to the electrode active surface (eg, of the anode) is applied to an extent effective to suppress. The component of the anisotropic force normal to the electrode active surface can be, for example, at least about 20, at least about 25, at least about 35, at least about 40, at least about 50, at least about 75, at least about 90, at least about 100, at least about 125, A pressure of at least about 150, at least about 200, at least about 300, at least about 400, or at least about 500 Newtons per square centimeter (N/cm2 ) may be defined. In some embodiments, the anisotropic force component normal to the anode active surface is, for example, less than about 500 N/cm2 , less than about 400 N/cm2 , less than about 300 N/cm2 , less than about 200 N/cm2 , about 190 N /cm2 , less than about 175 N/cm2 , less than about 150 N/cm2 , less than about 125 N/cm2 , less than about 115 N/cm2 , or less than about 110 N/cm2 . Although forces and pressures are generally described herein in units of newtons and units of newtons per unit area, respectively, forces and pressures are also expressed in units of kgf (kilograms-force) and units of kgf per unit area, respectively. be able to. Those skilled in the art are familiar with kgf-based units and understand that 1 kgf corresponds to approximately 9.8 newtons.
いくらかの実施形態において、電気化学セル内の電極の活性表面に垂直な異方性力の成分は、(例えば、電気化学セルの充電および/または放電の間の)その電極の降伏応力の少なくとも約50%、少なくとも約75%、少なくとも約100%、少なくとも約120%である圧力を定義する。いくらかの実施形態では、電気化学セル内の電極の活性表面に垂直な異方性力の成分は、(例えば、電気化学セルの充電および/または放電の間の)その電極の降伏応力の約250%未満または約200%未満である圧力を定義する。例えば、いくつかの実施形態において、電気化学セルは、アノード(例えば、リチウム金属および/またはリチウム合金を含むアノード)を含んでもよく、アノード活性表面に垂直である加えられた異方性力の成分は、アノードの降伏応力の少なくとも約50%、少なくとも約75%、少なくとも約100%、または少なくとも約120%(および/またはアノードの降伏応力の約250%未満または約200%未満)である圧力を定義してもよい。いくつかの実施形態では、電気化学セルは、カソードを含んでもよく、カソード活性表面に垂直な異方性力の成分は、カソードの降伏応力の少なくとも約50%、少なくとも約75%、少なくとも約100%、または少なくとも約120%(および/またはカソードの降伏応力の約250%未満または約200%未満)の圧力を定義してもよい。 In some embodiments, the component of the anisotropic force normal to the active surface of an electrode in an electrochemical cell is at least about 50% of the yield stress of that electrode (e.g., during charging and/or discharging of the electrochemical cell). , at least about 75%, at least about 100%, at least about 120%. In some embodiments, the component of anisotropic force normal to the active surface of an electrode in an electrochemical cell is less than about 250% of the yield stress of that electrode (e.g., during charging and/or discharging of the electrochemical cell). or a pressure that is less than about 200%. For example, in some embodiments, an electrochemical cell may include an anode (e.g., an anode comprising lithium metal and/or lithium alloy), and the component of the applied anisotropic force that is perpendicular to the anode active surface is Define a pressure that is at least about 50%, at least about 75%, at least about 100%, or at least about 120% (and/or less than about 250% or less than about 200% of the anode's yield stress) of the anode's yield stress. You can. In some embodiments, the electrochemical cell may include a cathode, and the component of the anisotropic force normal to the cathode active surface is at least about 50%, at least about 75%, at least about 100%, of the yield stress of the cathode. or a pressure of at least about 120% (and/or less than about 250% or less than about 200% of the cathode yield stress).
いくつかの場合において、異方性力は、電気化学セルの1つ以上の外部表面にわたって、および/または電気化学セル内の電極の1つ以上の活性表面にわたって比較的均一である圧力を定義してもよい。いくつかの実施形態では、電気化学セルの1つ以上の外部表面の面積および/または電極(例えば、アノード)の1つ以上の活性表面の面積の少なくとも約50%、少なくとも約75%、少なくとも約85%、少なくとも約90%、少なくとも約95%、または少なくとも約98%が、異方性力によって定義される圧力の実質的に均一な分布を含む均一領域を画定する。本明細書中の記載において、「電気化学セルの表面」および「電極の表面」は、電気化学セルおよび電極の幾何学的表面を指し、当業者であれば、電気化学セルおよび電極の外側境界を画定する表面、例えば、巨視的測定ツール(例えば、定規)によって測定されてもよい領域を指し、内部表面積(例えば、発泡体のような多孔質材料の孔内の面積、またはメッシュの繊維の表面積であってメッシュ内に含まれ外部境界を画定しないもの等)は含まれないことが理解される。 In some cases, an anisotropic force may define a pressure that is relatively uniform across one or more external surfaces of an electrochemical cell and/or across one or more active surfaces of an electrode within an electrochemical cell. good. In some embodiments, at least about 50%, at least about 75%, at least about 85%, at least about 90%, at least about 95%, or at least about 98% define a uniform region that includes a substantially uniform distribution of pressure defined by the anisotropic force. As used herein, "surfaces of electrochemical cells" and "surfaces of electrodes" refer to the geometric surfaces of electrochemical cells and electrodes, and those skilled in the art will understand that the outer boundaries of electrochemical cells and electrodes are refers to the area that defines the surface, e.g., the area that may be measured by a macroscopic measurement tool (e.g., a ruler), and the internal surface area (e.g., the area within the pores of a porous material such as a foam, or the area of the fibers of a mesh). It is understood that surface areas (such as surface areas contained within the mesh that do not define external boundaries) are not included.
いくつかの実施形態において、(前の段落に記載されている)均一領域の約10%、約5%、約2%、または約1%をカバーする任意の連続領域が、均一領域の全体における平均圧力に対して、約25%未満、約10%未満、約5%未満、約2%未満、または約1%未満だけ変化する平均圧力を含む場合、圧力は表面中で実質的に均一に分布している。 In some embodiments, any continuous area covering about 10%, about 5%, about 2%, or about 1% of the uniform area (as described in the previous paragraph) is the total area of the uniform area. Pressure is substantially uniform across a surface when the average pressure varies by less than about 25%, less than about 10%, less than about 5%, less than about 2%, or less than about 1% relative to the average pressure. It is distributed.
言い換えると、いくつかの実施形態では、電気化学セルの表面の面積および/または電極の活性領域の面積の少なくとも約50%(若しくは少なくとも約75%、少なくとも約85%、少なくとも約90%、少なくとも約95%、または少なくとも約98%)が、本質的に均一な印加圧力の第1の連続領域を画定し、第1の領域は第1の平均印加圧力を有する。場合によっては、電気化学セルの表面および/または電極の第1の連続領域の約10%(若しくは約5%、約2%、または約1%)をカバーする任意の連続領域は、第1の連続領域にわたって第1の平均印加圧力に対して、約25%未満(若しくは約10%未満、約5%未満、約2%未満、または約1%未満)だけ変化する第2の平均印加圧力を含む。 In other words, in some embodiments, at least about 50% (or at least about 75%, at least about 85%, at least about 90%, at least about 95%, or at least about 98%) defines a first continuous region of essentially uniform applied pressure, the first region having a first average applied pressure. In some cases, any continuous area that covers about 10% (or about 5%, about 2%, or about 1%) of the first continuous area of the electrochemical cell surface and/or electrode is a second average applied pressure that varies by less than about 25% (or less than about 10%, less than about 5%, less than about 2%, or less than about 1%) with respect to the first average applied pressure over a continuous region; include.
当業者であれば、例えば、表面部分内の代表的な数の点で加えられた力レベルを決定し、表面部分の位置の関数として印加圧力の3次元プロットを積分し、積分値を表面部分の表面積で割ることによって、表面部分内の平均印加圧力を決定してもよい。当業者であれば、例えば、圧力場を測定するための「Tekscan I-Scan システム」を用いることにより、表面部全体にかかる圧力のプロットを作成してもよい。 A person skilled in the art can, for example, determine the applied force level at a representative number of points within the surface section, integrate a three-dimensional plot of the applied pressure as a function of the position of the surface section, and calculate the integral value within the surface section. The average applied pressure within the surface portion may be determined by dividing by the surface area of . A person skilled in the art may create a plot of the pressure across the surface, for example by using the "Tekscan I-Scan system" for measuring pressure fields.
本明細書中に記載の電気化学セルのアノードは、様々なアノード活物質を含んでもよい。本明細書中で使用される場合、「アノード活物質(anode active material)」という用語は、アノードに関連する任意の電気化学的活性種を指す。例えば、アノードは、リチウム含有材料を含んでもよく、リチウムは、アノード活物質である。本明細書中に記載の電気化学セルのアノードにおけるアノード活物質として使用するのに好適な電気活性材料には、それだけに限定されるわけではないが、リチウム箔や導電性基板上に蒸着したリチウムなどのリチウム金属、およびリチウム合金(例えば、リチウム‐アルミニウム合金およびリチウム‐錫合金)が挙げられる。負極材料(例えば、リチウムなどのアルカリ金属アノード)を基板上に配置する方法としては、熱蒸発、スパッタリング、ジェット気相成長、およびレーザーアブレーションなどの方法を挙げることができる。或いは、アノードがリチウム箔、またはリチウム箔と基板を備える場合、これらを当技術分野で知られているようなラミネート加工によって共に貼り合わせてアノードを形成してもよい。 The anodes of the electrochemical cells described herein may include a variety of anode active materials. As used herein, the term "anode active material" refers to any electrochemically active species associated with the anode. For example, the anode may include a lithium-containing material, where lithium is the anode active material. Electroactive materials suitable for use as anode active materials in the anodes of the electrochemical cells described herein include, but are not limited to, lithium foil and lithium deposited on a conductive substrate. lithium metal, and lithium alloys such as lithium-aluminum alloys and lithium-tin alloys. Methods for disposing the negative electrode material (eg, an alkali metal anode such as lithium) on the substrate include methods such as thermal evaporation, sputtering, jet vapor deposition, and laser ablation. Alternatively, if the anode comprises a lithium foil, or a lithium foil and a substrate, these may be laminated together to form the anode by lamination as is known in the art.
1つの実施形態では、アノード活性層の電気活性リチウム含有材料は、50重量%より多いリチウムを含む。別の実施形態では、アノード活性層の電気活性リチウム含有材料は、75重量%より多いリチウムを含む。更に別の実施形態では、アノード活性層の電気活性リチウム含有材料は、90重量%より多いリチウムを含む。アノードに使用するのに好適な更なる材料および配置は、例えば、発明の名称「Application of Force in Electrochemical Cells」で、2009年8月4日に出願されたScordilis-Kelleyらの米国特許出願公開第2の010/0035128号明細書に記載されており、すべての目的のために、その全体が参照により本明細書中に援用される。 In one embodiment, the electroactive lithium-containing material of the anode active layer includes greater than 50% lithium by weight. In another embodiment, the electroactive lithium-containing material of the anode active layer includes greater than 75% lithium by weight. In yet another embodiment, the electroactive lithium-containing material of the anode active layer comprises greater than 90% lithium by weight. Additional materials and arrangements suitable for use in the anode are disclosed, for example, in U.S. Patent Application Publication No. Scordilis-Kelley et al. No. 2 010/0035128, herein incorporated by reference in its entirety for all purposes.
本明細書中に記載される電気化学セルのカソードは、様々なカソード活物質を含んでもよい。本明細書中で使用される場合、「カソード活物質」という用語は、カソードに関連する任意の電気化学的活性種を指す。いくつかの実施形態の電気化学セルのカソードにおけるカソード活物質として使用するための好適な電気活性材料は、これらに限定されるものではないが、1つ以上の金属酸化物、1つ以上のインターカレーション材料、電気活性遷移金属カルコゲニド、電気活性導電性ポリマー、硫黄、炭素および/またはそれらの組み合わせを含む。 The cathodes of the electrochemical cells described herein may include a variety of cathode active materials. As used herein, the term "cathode active material" refers to any electrochemically active species associated with the cathode. Suitable electroactive materials for use as cathode active materials in the cathodes of some embodiments of electrochemical cells include, but are not limited to, one or more metal oxides, one or more Calation materials include electroactive transition metal chalcogenides, electroactive conductive polymers, sulfur, carbon and/or combinations thereof.
いくつかの実施形態では、カソード活物質は、1つ以上の金属酸化物を含んでいる。いくつかの実施形態では、インターカレーションカソード(例えば、リチウムインターカレーションカソード)が使用されてもよい。電気活性材料のイオン(例えば、アルカリ金属イオン)をインターカレートし得る好適な材料の非限定的な例としては、金属酸化物、硫化チタン、および硫化鉄が挙げられる。いくつかの実施形態では、カソードは、リチウム遷移金属酸化物またはリチウム遷移金属リン酸塩を含むインターカレーションカソードである。更なる例としては、LixCоO2(例えば、Li1.1CоO2)、LixNiO2、LixMnO2、LixMn2O4(例えば、Li1.05Mn2O4)、LixCoPO4、LixMnPO4、LiCоxNi(1-x)O2、およびLiCоxNiyMn(1-x-y)O2(例えば、LiNi1/3Mn1/3Cо1/3O2、LiNi3/5Mn1/5Cо1/5O2、LiNi4/5Mn1/10Cо1/10O2、LiNi1/2Mn3/10Cо1/5O2)が挙げられる。xは、0以上、および2以下であってもよい。電気化学セルが完全に放電されている場合、xは、典型的には1以上および2以下であり、電気化学セルが完全に充電されている場合、1未満である。いくつかの実施形態では、完全に充電された電気化学セルは、1以上かつ1.05以下、1以上かつ1.1以下、または1以上かつ1.2以下であるxの値を有してもよい。更なる例としては、(0<x≦1)であるLixNiPO4、(x+y=2)であるLiMnxNiyO4(例えば、LiMn1.5Ni0.5O4)、(x+y+z=1)であるLiNixCоyAlzO2、LiFePO4およびこれらの組み合わせが挙げられる。いくつかの実施形態では、カソード内の電気活性材料は、リチウム遷移金属リン酸塩(例えば、LiFePO4)を含み、これは、いくらかの実施形態では、ホウ酸塩および/またはケイ酸塩で置換されることができる。 In some embodiments, the cathode active material includes one or more metal oxides. In some embodiments, an intercalation cathode (eg, a lithium intercalation cathode) may be used. Non-limiting examples of suitable materials that can intercalate ions of electroactive materials (eg, alkali metal ions) include metal oxides, titanium sulfides, and iron sulfides. In some embodiments, the cathode is an intercalation cathode comprising a lithium transition metal oxide or a lithium transition metal phosphate. Further examples include Lix CoO2 (e.g. Li1.1 CoO2 ), Lix NiO2 , Lix MnO2 , Lix Mn2 O4 (e.g. Li1.05 Mn2 O4 ), Lix CoPO4 , Lix MnPO4 , LiCox Ni(1-x) O2 , and LiCox Niy Mn(1-x-y) O2 (e.g., LiNi1/3 Mn1/3 Co1/ 3 O2 , LiNi3/5 Mn1/5 Co 1/5 O2 , LiNi4/5 Mn1/10 Co1/10 O2 , LiNi1/2 Mn3/10 Co1/5 O2 ). . x may be 0 or more and 2 or less. x is typically greater than or equal to 1 and less than or equal to 2 when the electrochemical cell is fully discharged, and less than 1 when the electrochemical cell is fully charged. In some embodiments, a fully charged electrochemical cell has a value of x that is greater than or equal to 1 and less than or equal to 1.05, greater than or equal to 1 and less than or equal to 1.1, or greater than or equal to 1 and less than or equal to 1.2. Good too. Further examples include Lix NiPO4 where (0<x≦1), LiMnx Ni y O4 where (x+y =2) (e.g. LiMn1.5 Ni0.5 O4 ), (x+y+z =1),LiNix Coy Alz O2 , LiFePO4 and combinations thereof. In some embodiments, the electroactive material in the cathode includes a lithium transition metal phosphate (e.g.,LiFePO4 ), which in some embodiments is substituted with borates and/or silicates. can be done.
前述したように、いくつかの実施形態において、カソード活物質は、1つ以上のカルコゲン化物(またはカルコゲニド;chalcogenide)を含んでいる。本明細書中で使用される用語「カルコゲン化物」は、酸素、硫黄、およびセレンの元素の一つ以上を含む化合物に関する。好適な遷移金属カルコゲン化物の例としては、それらに限定されないが、Mn、V、Cr、Ti、Fe、Co、Ni、Cu、Y、Zr、Nb、Mo、Ru、Rh、Pd、Ag、Hf、Ta、W、Re、Os、およびIrからなる群から選択される遷移金属の電気活性酸化物、硫化物、およびセレン化物があるが、これに限定はしない。1つの実施形態では、遷移金属カルコゲン化物は、ニッケル、マンガン、コバルト、およびバナジウムの電気活性酸化物、並びに鉄の電気活性硫化物からなる群から選択される。1つの実施形態では、カソードは、二酸化マンガン、ヨウ素、クロム酸銀、酸化銀および五酸化バナジウム、酸化銅、オキシリン酸銅、硫化鉛、硫化鉄、ビスマス酸鉛、三酸化ビスマス、二酸化コバルト、塩化銅、二酸化マンガンおよび炭素のうちの1つ以上の材料を含んでいる。別の実施形態では、カソード活性層は、電気活性導電性ポリマーを含んでいる。好適な電気活性導電性ポリマーの例には、これらに限定されるものではないが、ポリピロール、ポリアニリン、ポリフェニレン、ポリチオフェン、およびポリアセチレンからなる群から選択される電気活性および電子伝導性ポリマーが挙げられる。導電性ポリマーの例としては、ポリピロール類、ポリアニリン類、およびポリアセチレン類が挙げられる。 As mentioned above, in some embodiments, the cathode active material includes one or more chalcogenides. The term "chalcogenide" as used herein relates to compounds containing one or more of the elements oxygen, sulfur, and selenium. Examples of suitable transition metal chalcogenides include, but are not limited to, Mn, V, Cr, Ti, Fe, Co, Ni, Cu, Y, Zr, Nb, Mo, Ru, Rh, Pd, Ag, Hf. , Ta, W, Re, Os, and Ir. In one embodiment, the transition metal chalcogenide is selected from the group consisting of electroactive oxides of nickel, manganese, cobalt, and vanadium, and electroactive sulfides of iron. In one embodiment, the cathode comprises manganese dioxide, iodine, silver chromate, silver oxide and vanadium pentoxide, copper oxide, copper oxyphosphate, lead sulfide, iron sulfide, lead bismuth oxide, bismuth trioxide, cobalt dioxide, chloride. Contains one or more of copper, manganese dioxide and carbon. In another embodiment, the cathode active layer includes an electroactive conductive polymer. Examples of suitable electroactive conductive polymers include, but are not limited to, electroactive and electronically conductive polymers selected from the group consisting of polypyrrole, polyaniline, polyphenylene, polythiophene, and polyacetylene. Examples of conductive polymers include polypyrroles, polyanilines, and polyacetylenes.
いくつかの実施形態では、本明細書中に記載される電気化学セルにおけるカソード活物質として使用するための電気活性材料は、電気活性硫黄含有材料を含む。「電気活性硫黄含有材料」は、本明細書中で使用される場合、任意の形態の硫黄元素を含むカソード活物質に関し、電気化学活性は硫黄原子または部分の酸化または還元を含むものである。いくつかの実施形態の実施において有用な電気活性硫黄含有材料の性質は、当該技術分野において知られているように、広く変化し得る。例えば、1つの実施形態では、電気活性硫黄含有材料は、元素状硫黄を含む。別の実施形態では、電気活性硫黄含有材料は、元素状硫黄と硫黄含有ポリマーとの混合物を含む。従って、好適な電気活性硫黄含有材料は、これらに限定されるものではないが、元素状硫黄、および硫黄原子と炭素原子とを含む有機材料(重合体であってもなくてもよい)が挙げられる。好適な有機材料には、ヘテロ原子を更に含むもの、導電性ポリマーセグメント、複合体、および導電性ポリマーが挙げられる。 In some embodiments, electroactive materials for use as cathode active materials in electrochemical cells described herein include electroactive sulfur-containing materials. "Electroactive sulfur-containing material" as used herein refers to a cathode active material that includes the element sulfur in any form, where the electrochemical activity involves oxidation or reduction of sulfur atoms or moieties. The properties of electroactive sulfur-containing materials useful in the practice of some embodiments can vary widely, as is known in the art. For example, in one embodiment, the electroactive sulfur-containing material includes elemental sulfur. In another embodiment, the electroactive sulfur-containing material comprises a mixture of elemental sulfur and a sulfur-containing polymer. Accordingly, suitable electroactive sulfur-containing materials include, but are not limited to, elemental sulfur and organic materials (which may or may not be polymeric) containing sulfur and carbon atoms. It will be done. Suitable organic materials include those that further contain heteroatoms, conductive polymer segments, composites, and conductive polymers.
いくつかの実施形態では、カソード活性層の電気活性硫黄含有材料は、50重量%を超える硫黄を含んでなる。別の実施形態では、電気活性硫黄含有材料は、75重量%を超える硫黄を含んでなる。更に別の実施形態では、電気活性硫黄含有材料は、90重量%を超える硫黄を含んでなる。 In some embodiments, the electroactive sulfur-containing material of the cathode active layer comprises greater than 50% by weight sulfur. In another embodiment, the electroactive sulfur-containing material comprises greater than 75% sulfur by weight. In yet another embodiment, the electroactive sulfur-containing material comprises greater than 90% sulfur by weight.
いくつかの実施形態のカソード活性層は、(例えば、好適な量の溶媒がカソード活性層から除去された後および/または上記層が適切に硬化された後に測定した場合)約20~100重量%の電気活性カソード材料を含んでいてもよい。1つの実施形態では、カソード活性層中の電気活性硫黄含有材料の量は、カソード活性層の5~30重量%の範囲である。別の実施形態では、カソード活性層中の電気活性硫黄含有材料の量は、カソード活性層の20重量%~90重量%の範囲である。 The cathode active layer of some embodiments is about 20-100% by weight (as measured, for example, after a suitable amount of solvent has been removed from the cathode active layer and/or after the layer has been properly cured). electroactive cathode materials. In one embodiment, the amount of electroactive sulfur-containing material in the cathode active layer ranges from 5 to 30% by weight of the cathode active layer. In another embodiment, the amount of electroactive sulfur-containing material in the cathode active layer ranges from 20% to 90% by weight of the cathode active layer.
カソードに使用するのに好適な更なる材料、およびカソードを製造するのに好適な方法は、例えば、名称「Novel Composite Cathodes, Electrochemical Cells Comprising Novel Composite Cathodes, and Processes for Fabricating Same」で、1997年5月21日に出願された米国特許第5,919,587号明細書、および名称「Application of Force in Electrochemical Cells」で、2009年8月4日に出願された、Scordilis-Kelleyらの米国特許出願公開第2の010/0035128号明細書に記載されており、これらの各々は、すべての目的のために、その全体が参照により本明細書中に援用される。 Further materials suitable for use in cathodes, and methods suitable for manufacturing cathodes, are disclosed, for example, under the title "Novel Composite Cathodes, Electrochemical Cells Comprising Novel Composite Cathodes, and Processes for Fabricating Same", published in 1997 U.S. Patent No. 5,919,587, filed August 21, 2009, and the U.S. patent application of Scordilis-Kelley et al., filed August 4, 2009, entitled "Application of Force in Electrochemical Cells." Publication No. 2 010/0035128, each of which is incorporated herein by reference in its entirety for all purposes.
様々な電解質が、本明細書中に記載される電気化学セルと関連して使用されてもよい。いくつかの実施形態では、電解質は、非固体電解質を含んでよく、これは、多孔質セパレータに組み込まれていてもよいし、組み込まれていなくてもよい。本明細書中で使用されるように、用語「非固体」は、静的なせん断応力に耐えることができず、せん断応力が加えられると、非固体が継続的かつ永久的な歪みを経験する材料を指すために使用される。非固体の例としては、例えば、液体、変形可能なゲルなどが挙げられる。 A variety of electrolytes may be used in conjunction with the electrochemical cells described herein. In some embodiments, the electrolyte may include a non-solid electrolyte, which may or may not be incorporated into the porous separator. As used herein, the term "non-solid" means that the non-solid cannot withstand static shear stress, and when shear stress is applied, the non-solid experiences continuous and permanent distortion. used to refer to materials. Examples of non-solids include, for example, liquids, deformable gels, and the like.
本明細書中に記載された電気化学セルに用いられる電解質は、イオンの貯蔵および輸送のための媒体として機能し、固体電解質およびゲル電解質の特別な場合には、これらの材料は更に、アノードとカソードとの間のセパレータとして機能し得る。イオンを貯蔵および輸送できる液体、固体、ゲル状の材料であれば、アノードとカソードの間でイオン(例えば、リチウムイオン)の輸送を容易にする材料であれば、どのようなものでも使用できる。電解質に使用するのに好適な例示的な材料は、例えば、名称「Application of Force in Electrochemical Cells」で、2009年8月4日に出願された、Scordilis-Kelleyらの米国特許出願公開第2010/0035128号明細書に記載されており、全ての目的ために、その全体が参照により本明細書中に援用される。 The electrolyte used in the electrochemical cells described herein serves as a medium for the storage and transport of ions, and in the special case of solid and gel electrolytes, these materials also act as an anode. It can function as a separator between the cathode and the cathode. Any liquid, solid, or gel-like material capable of storing and transporting ions that facilitates the transport of ions (eg, lithium ions) between the anode and cathode can be used. Exemplary materials suitable for use in the electrolyte are described, for example, in U.S. Patent Application Publication No. 2010/2010 by Scordilis-Kelley et al., filed Aug. 4, 2009, under the title "Application of Force in Electrochemical Cells." No. 0035128, herein incorporated by reference in its entirety for all purposes.
2019年10月31日に出願され、発明の名称「SYSTEM AND METHOD FOR OPERATING A RECARGEABLE ELECTROCHEMICAL CELL OR BATTERY」の、米国出願第16/670,905号は、すべての目的のためにその全体が参照により本明細書中に援用される。 U.S. Application No. 16/670,905, filed October 31, 2019, and entitled "SYSTEM AND METHOD FOR OPERATING A RECARGEABLE ELECTROCHEMICAL CELL OR BATTERY," which is incorporated by reference in its entirety for all purposes. Incorporated herein.
以下の出願:
発明の名称「Rechargeable Lithium/Water, Lithium/Air Batteries」の、2006年4月6日に米国特許出願第11/400,781号として出願された、2007年9月27日に公開された米国特許出願公開第2007/0221265号明細書;
発明の名称「Swelling Inhibition in Batteries」の、2007年7月31日に米国特許出願第11/888,339号として出願された、2009年2月5日に公開された米国特許出願公開第2009/0035646号;
発明の名称「Separation of Electrolytes」の、2010年2月2日に米国特許出願第12/312,674号として出願され、2013年12月31日に米国特許第8,617,748号明細書として特許を取得した、2010年5月17日に公開された米国特許出願公開第2010/0129699号明細書;
発明の名称「Primer for Battery Electrode」の、2010年7月30日に米国特許出願第12/682,011号として出願され、2014年10月28日に米国特許第8,871,387号明細書として特許を取得した、2010年11月18日に公開された米国特許出願公開第2010/0291442号明細書;
発明の名称「Protective Circuit for Energy-Storage Device」の、2008年2月8日に米国特許出願第12/069,335として出願され、2012年9月11日に米国特許第8,2615205号として特許を取得した、2009年8月31日に公開された米国特許出願公開第2009/0200986号明細書;
発明の名称「Electrode Protection in both Aqueous and Non-Aqueous Electrochemical Cells, including Rechargeable Lithium Batteries」の、2006年4月6日に米国特許出願第1の1/400,025号として出願され、2010年8月10日に米国特許第7,771,870号明細書として特許を取得した、2007年9月27日に公開された米国特許出願公開第2007/0224502号明細書;
発明の名称「Lithium Alloy/Sulfur Batteries」の、2007年6月22日に米国特許出願第1の1/821,576号として出願された、2008年12月25日に公開された米国特許出願公開第2008/0318128号明細書;
発明の名称「Novel Composite Cathodes, Electrochemical Cells Comprising Novel Composite Cathodes, and Processes for Fabricating Same」の、2001年2月27日に米国特許出願第09/795,915号として出願され、2011年5月10日に米国特許第7,939,198号明細書として特許を取得した、2002年5月9日に公開された米国特許出願公開第2002/0055040号明細書;
発明の名称「Lithium Sulfur Rechargeable Battery Fuel Gauge Systems and Methods」の、2005年4月20日に米国特許出願第1の1/111,262号として出願され、2010年3月30日に米国特許第7,688,075号明細書として特許を取得した、2006年10月26日に公開された米国特許出願公開第2006/0238203号明細書;
発明の名称「Methods for Co-Flash Evaporation of Polymerizable Monomers and Non-Polymerizable Carrier Solvent/Salt Mixtures/Solutions」の、2007年3月23日に米国特許出願第1の1/728,197号として出願され、2011年12月27日に米国特許第8,084,102号明細書として特許を取得した、2008年8月7日に公開された米国特許出願公開第2008/0187663号明細書;
発明の名称「Electrolyte Additives for Lithium Batteries and Related Methods」の、2010年9月23日に米国特許出願第12/679,371号として出願された、2011年1月13日に公開された米国特許出願公開第2011/0006738号明細書;
発明の名称「Methods of Forming Electrodes Comprising Sulfur and Porous Material Comprising Carbon」の、2010年9月23日に米国特許出願第12/811,576号として出願され、2015年5月19日に米国特許第9,034,421号明細書として特許を取得した、2011年1月13日に公開された米国特許出願公開第2011/0008531号明細書;
発明の名称「Application of Force In Electrochemical Cells」の、2009年8月4日に米国特許出願第12/535,328号として出願され、2015年8月11日に米国特許第9,105,938号明細書として特許を取得した、2010年2月11日に公開された米国特許出願公開第2010/0035128号明細書;
発明の名称「Protection of Anodes for Electrochemical Cells」の、2008年7月25日に米国特許出願第12/180,379号として出願された、2011年7月15日に公開された米国特許出願公開第2011/0165471号明細書;
発明の名称「Lithium Anodes for Electrochemical Cells」の、2006年6月13日に米国特許出願第11/452,445号として出願され、2013年4月9日に米国特許第8,415,054号明細書として特許を取得した、2006年10月5日に公開された米国特許出願公開第2006/0222954号明細書;
発明の名称「Cathode for Lithium Battery」の、2010年3月19日に米国特許出願第12/727,862号として出願された、2010年9月23日に公開された米国特許出願公開第2010/0239914号明細書;
発明の名称「Hermetic Sample Holder and Method for Performing Microanalysis Under Controlled Atmosphere Environment」の、2009年5月22日に米国特許出願第12/471,095号として出願され、2012年1月3日に米国特許第8,087,309号明細書として特許を取得した、2010年11月25日に公開された米国特許出願公開第2010/0294049号明細書;
発明の名称「Electrochemical Cells Comprising Porous Structures Comprising Sulfur」の、2010年8月24日に米国特許出願第12/862,581号として出願された、2011年3月31日に公開された米国特許出願公開第2011/0076560号明細書;
発明の名称「Release System for Electrochemical Cells」の、2010年8月24日に米国特許出願第12/862,513号として出願された、2011年3月24日に公開された米国特許出願公開第2011/0068001号明細書;
発明の名称「Electrically Non-Conductive Materials for Electrochemical Cells」の、2011年8月24日に米国特許出願第13/216,559号として出願された、2012年3月1日に公開された米国特許出願公開第2012/0048729号明細書;
発明の名称「Electrochemical Cell」の、2010年8月24日に米国特許出願第12/862,528号として出願された、2011年7月21日に公開された米国特許出願公開第2011/0177398号明細書;
発明の名称「Electrochemical Cells Comprising Porous Structures Comprising Sulfur」の、2010年8月24日に米国特許出願第12/862,563号として出願された、2011年3月24日に公開された米国特許出願公開第2011/0070494号明細書;
発明の名称「Electrochemical Cells Comprising Porous Structures Comprising Sulfur」の、2010年8月24日に米国特許出願第12/862,551号として出願された、2011年3月24日に公開され米国特許出願公開第2011/0070491号明細書;
発明の名称「Electrochemical Cells Comprising Porous Structures Comprising Sulfur」の、2010年8月24日に米国特許出願第12/862,576号として出願され、2015年4月14日に米国特許第9,005,009号明細書として特許を取得した、2011年3月10日に公開された米国特許出願公開第2011/0059361号明細書;
発明の名称「ELECTROLYTE MATERIALS FOR USE IN ELECTROCHEMICAL CELLS」の、2011年8月24日に米国特許出願第13/216,579号として出願された、2012年3月1日に公開された米国特許出願公開第2012/0052339号明細書;
発明の名称「Low Electrolyte Electrochemical Cells」の、2011年9月22日に米国特許出願第13/240,113号として出願された、2012年3月22日に公開された米国特許出願公開第2012/0070746号明細書;
発明の名称「Porous Structures for Energy Storage Devices」の、2011年2月23日に米国特許出願第13/033,419号として出願された、2011年8月25日に公開された米国特許出願公開第2011/0206992号明細書;
発明の名称「ADDITIVE FOR ELECTROLYTES」の、2011年9月30日に米国特許出願第13/249,605号として出願された、2012年4月5日に公開された米国特許出願公開第2012/0082872号明細書;
発明の名称「LITHIUM-BASED ANODE WITH IONIC LIQUID POLYMER GEL」の、2011年9月30日に米国特許出願第13/249,632号として出願された、2012年4月5日に公開された米国特許出願公開第2012/0082901号明細書;
発明の名称「USE OF EXPANDED GRAPHITE IN LITHIUM/SULPHUR BATTERIES」の、2013年3月6日に米国特許出願第13/700,696号として出願され、2017年2月21日に米国特許第9,577,243号明細書として特許を取得した、2013年6月27日に公開された米国特許出願公開第2013/0164635号明細書;
発明の名称「Plating Technique for Electrode」の、2012年6月15日に米国特許出願第13/524,662号として出願され、2017年1月17日に米国特許第9,548,492号明細書として特許を取得した、2013年1月17日に公開された米国特許出願公開第2013/0017441号明細書;
発明の名称「Electrode Structure for Electrochemical Cell」の、2013年2月14日に米国特許出願第13/766,862号として出願され、2015年7月7日に米国特許第9,077,041号明細書として特許を取得し、2013年8月29日に公開された米国特許出願公開第2013/0224601号明細書;
発明の名称「Porous Support Structures, Electrodes Containing Same, and Associated Methods」の、2013年3月8日に米国特許出願第13/789,783号として出願され、2015年12月15日に米国特許第9,214,678号明細書として特許を取得した、2013年9月26日に公開された米国特許出願公開第2013/0252103号明細書;
発明の名称「ELECTRODE STRUCTURE AND METHOD FOR MAKING SAME」の、2015年6月18日に米国特許出願第14/743,304号として出願され、2017年2月21日に米国特許第9,577,267号明細書として特許を取得した、2015年10月8日に公開された米国特許出願公開第2015/0287998号明細書;
発明の名称「Electrode Structure and Method for Making the Same」の、2012年10月4日に米国特許出願第13/644,933号として出願され、2015年1月20日に米国特許第8,936,870号明細書として特許を取得した、2013年4月18日に公開された米国特許出願公開第2013/0095380号明細書;
発明の名称「ELECTROLYTE MATERIALS FOR USE IN ELECTROCHEMICAL CELLS」、2011年8月24日に米国特許出願第13/216,538号として出願され、2017年12月26日に米国特許第9,853,287号明細書として特許を取得した、2012年3月1日に公開された米国特許出願公開第2012/0052397号明細書;
発明の名称「Electrode Active Surface Pretreatment」の、2013年11月1日に米国特許出願第14/069,698号として出願され、2015年4月14日に米国特許第9,005,311号明細書として特許を取得した、2014年5月8日に公開された米国特許出願公開第2014/0123477号明細書;
発明の名称「Conductivity Control in Electrochemical Cells」の、2014年1月8日に米国特許出願第14/150,156号として出願され、2017年1月31日に米国特許第9,559,348号明細書として特許を取得した、2014年7月10日に公開された米国特許出願公開第2014/0193723号明細書;
発明の名称「Electrochemical Cells Comprising Fibril Materials」の、
は、2014年3月5日に米国特許出願第14/197,782号として出願され、2016年11月6日に米国特許第9,490,478号明細書として特許を取得した、2014年9月11日に公開された米国特許出願公開第2014/0255780号明細書;
発明の名称「Protective Structures for Electrodes」の、2013年3月15日に米国特許出願第13/833,377号として出願された、2014年9月18日に公開された米国特許出願公開第2014/0272594号明細書;
発明の名称「Protected Electrode Structures and Methods」の、2014年3月13日に米国特許出願第115209,274号として出願された、2014年9月18日に公開された米国特許出願公開第2014/0272597号明細書;
発明の名称「GEL ELECTROLYTES AND ELECTRODES」の、2015年3月25日に米国特許出願第14/668,102号として出願され、2017年9月5日に米国特許第9,755,268号明細書として特許を取得した、2015年10月1日に公開された米国特許出願公開第2015/0280277号明細書;
発明の名称「POLYMER FOR USE AS PROTECTIVE LAYERS AND OTHER COMPONENTS IN ELECTROCHEMICAL CELLS」の、2014年12月19日に米国特許出願第14/576,570号として出願され、2018年7月10日に米国特許第10,020,512号明細書として特許を取得した、2015年6月25日に公開された米国特許出願公開第2015/0180037号明細書;
発明の名称「POLYMER FOR USE AS PROTECTIVE LAYERS AND OTHER COMPONENTS IN ELECTROCHEMICAL CELLS」の、2015年5月27日に米国特許出願第14/723,132号として出願され、2017年8月15日に米国特許第9,735,411号明細書として特許を取得した、2015年12月3日に公開された米国特許出願公開第2015/0349310号明細書;
発明の名称「COMPOSITIONS FOR USE AS PROTECTIVE LAYERS AND OTHER COMPONENTS IN ELECTROCHEMICAL CELLS」の、2014年3月11日に米国特許出願第115203,802号として出願された、2014年9月18日に公開された米国特許出願公開第2014/0272595号明細書;
発明の名称「PRESSURE AND/OR TEMPERATURE MANAGEMENT IN ELECTROCHEMICAL SYSTEMS」の、2017年10月6日に米国特許出願第15/727,438号として出願された、2019年1月3日に公開された米国特許出願公開第2019/0006699号明細書;
発明の名称「PASSIVATION OF ELECTRODES IN ELECTROCHEMICAL CELLS」の、2014年1月8日に米国特許出願第14/150,196号として出願され、2016年12月27日に米国特許第9,531,009号明細書として特許取得した、2014年7月10日に公開された米国特許出願公開第2014/0193713号明細書;
発明の名称「POLYMERS FOR USE AS PROTECTIVE LAYERS AND OTHER COMPONENTS IN ELECTROCHEMICAL CELLS」の、2013年10月31日に米国特許出願第14/068,333号として出願され、2019年3月26日に米国特許第10,243,202号明細書として特許を取得した、2014年5月8日に公開された米国特許出願公開第2014/0127577号明細書;
発明の名称「ELECTRODE FABRICATION METHODS AND ASSOCIATED SYSTEMS AND ARTICLES」の、2015年4月30日に米国特許出願第14/700,258号として出願され、2017年7月18日に米国特許第9,711,784号明細書として特許を取得した、2015年11月5日に公開された米国特許出願公開第2015/0318539号明細書;
発明の名称「PROTECTED ELECTRODE STRUCTURES」の、2014年3月13日に米国特許出願第115209,396号として出願され、2020年12月8日に米国特許第10,862,105号明細書として特許を取得した、2014年9月18日に公開された米国特許出願公開第2014/0272565号明細書;
発明の名称「CERAMIC/POLYMER MATRIX FOR ELECTRODE PROTECTION IN ELECTROCHEMICAL CELLS, INCLUDING RECHARGEABLE LITHIUM BATTERIES」の、2014年7月3日に米国特許出願第14/323,269号として出願され、2018年6月12日に米国特許第9,994,959号明細書として特許を取得した、2015年1月8日に公開された米国特許出願公開第2015/0010804号明細書;
発明の名称「NEW SEPARATOR」の、2014年12月5日に米国特許出願第14/561,305号として出願された、2015年6月11日に公開された米国特許出願公開第2015/0162586号明細書;
発明の名称「SELF-HEALING ELECTRODE PROTECTION IN ELECTROCHEMICAL CELLS」の、2014年8月8日に米国特許出願第14/455,230号として出願され、2018年7月10日に米国特許第10,020,479号明細書として特許を取得した、2015年2月12日に公開された米国特許出願公開第2015/0044517号明細書;
発明の名称「ELECTRODE PROTECTION USING ELECTROLYTE-INHIBITING ION CONDUCTOR」の、2014年2月19日に米国特許出願第14/184,037号として出願され、2019年11月26日に米国特許第10,490,796号明細書として特許を取得した、2015年8月20日に公開された米国特許出願公開第2015/0236322号明細書;
発明の名称「ELECTRODE PROTECTION USING A COMPOSITE COMPRISING AN ELECTROLYTE-INHIBITING ION CONDUCTOR」の、2015年2月18日に米国特許出願第14/624,641号として出願され、2017年5月16日に米国特許第9,653,750号明細書として特許を取得した、2015年8月20日に公開された米国特許出願公開第2015/0236320号明細書;
発明の名称「COMPOSITIONS FOR USE AS PROTECTIVE LAYERS AND OTHER COMPONENTS IN ELECTROCHEMICAL CELLS」の、2015年10月23日に米国特許出願第14/921,381号として出願された、2016年4月28日に公開された米国特許出願公開第2016/0118638号明細書;
発明の名称「ION-CONDUCTIVE COMPOSITE FOR ELECTROCHEMICAL CELLS」の、2015年10月21日に米国特許出願第14/918,672号として出願された、2016年4月28日に公開された米国特許出願公開第2016/0118651号明細書;
発明の名称「PROTECTIVE LAYERS IN LITHIUM-ION ELECTROCHEMICAL CELLS AND ASSOCIATED ELECTRODES AND METHODS」の、2015年9月9日に米国特許出願第14/848,659号として出願され、2021年6月15日に米国特許第11,038,178号明細書として特許を取得した、2016年3月10日に公開された米国特許出願公開第2016/0072132号明細書;
発明の名称「GLASS-CERAMIC ELECTROLYTES FOR LITHIUM-SULFUR BATTERIES」の、2017年10月18日に米国特許出願第15/567,534号として出願され、2020年11月24日に米国特許第10,847,833号明細書として特許を取得した、2018年5月17日に公開された米国特許出願公開第2018/0138542号明細書;
発明の名称「PROTECTIVE LAYERS FOR ELECTROCHEMICAL CELLS」の、2016年5月20日に米国特許出願第15/160,191号として出願され、2019年10月29日に米国特許第10,461,372号明細書として特許を取得した、2016年11月24日に公開された米国特許出願公開第2016/0344067号明細書;
発明の名称「PROTECTIVE LAYERS FOR ELECTROCHEMICAL CELLS」の、2019年9月30日に米国特許出願第16/587,939号として出願された、2020年3月26日に公開された米国特許出願公開第2020/0099108号明細書;
発明の名称「LAYER COMPOSITE AND ELECTRODE HAVING A SMOOTH SURFACE, AND ASSOCIATED METHODS」の、2016年11月4日に米国特許出願第15/343,890号として出願された、2017年5月18日に公開された米国特許出願公開第2017/0141385号明細書;
発明の名称「ADDITIVES FOR ELECTROCHEMICAL CELLS」の、2016年11月11日に米国特許出願第15/349,140号として出願され、2019年6月11日に米国特許第10,320,031号明細書として特許を取得した、2017年5月18日に公開された米国特許出願公開第2017/0141442号明細書;
発明の名称「IONICALLY CONDUCTIVE COMPOUNDS AND RELATED USES」の、2016年11月4日に米国特許出願第15/343,635号として出願され、2017年11月21日に米国特許第9,825,328号明細書として特許を取得した、2017年5月25日に公開された米国特許出願公開第2017/0149086号明細書;
発明の名称「PASSIVATING AGENTS FOR ELECTROCHEMICAL CELLS」の、2018年5月18日に米国特許出願第15/983,352号として出願され、2020年12月15日に米国特許第10,868,306号明細書として特許を取得した、2018年11月22日に公開された米国特許出願公開第2018/0337406号明細書;
発明の名称「ELECTROCHEMICAL CELLS COMPRISING SHORT-CIRCUIT RESISTANT ELECTRONICALLY INSULATING REGIONS」の、2018年3月9日に米国特許出願第15/916,588号として出願され、2021年6月1日に米国特許第1,024,923号明細書として特許を取得した、2018年9月13日に公開された米国特許出願公開第2018/0261820号明細書;
発明の名称「COATINGS FOR COMPONENTS OF ELECTROCHEMICAL CELLS」の、2018年11月2日に米国特許出願第16/098,654号として出願され、2021年4月27日に米国特許第10,991,925号明細書として特許を取得した、2020年7月30日に公開された米国特許出願公開第2020/0243824号明細書;
発明の名称「PASSIVATING AGENTS FOR ELECTROCHEMICAL CELLS」の、2018年5月18日に米国特許出願第15/983,363号として出願され、2021年3月9日に米国特許第10,944,094号明細書として特許を取得した、2018年12月6日に公開された米国特許出願公開第2018/0351158号明細書;
発明の名称「ELECTODE EDGE PROTECTION IN ELECTROCHEMICAL CELLS」の、2018年3月16日に米国特許出願第15/923,342号として出願され、2020年7月21日に米国特許第10,720,648号明細書として特許を取得した、2018年9月27日に公開された米国特許出願公開第2018/0277850号明細書;
発明の名称「IN SITU CURRENT COLLECTOR」の、2018年6月7日に米国特許出願第16/002,097号として出願され、2020年3月31日に米国特許第10,608,278号明細書として特許を取得した、2018年12月13日に公開された米国特許出願公開第2018/0358651号明細書;
発明の名称「PROTECTIVE LAYERS FOR ELECTRODES AND ELECTROCHEMICAL CELLS」の、2017年5月19日に米国特許出願第15/599,595号として出願され、2020年12月29日に米国特許第10,879,527号明細書として特許を取得した、2017年11月23日に公開された米国特許出願公開第2017/0338475号明細書;
発明の名称「PROTECTIVE MEMBRANE FOR ELECTROCHEMICAL CELLS」の、2018年9月7日に米国特許出願第16/124,384号として出願された、2019年3月21日に公開された米国特許出願公開第2019/0088958号明細書;
発明の名称「PROTECTIVE LAYERS COMPRISING METALS FOR ELECTROCHEMICAL CELLS」の、2019年6月18日に米国特許出願第16/470,708号として出願された、2019年11月14日に公開された米国特許出願公開第2019/0348672号明細書;
発明の名称「LITHIUM-ION ELECTROCHEMICAL CELL, COMPONENTS THEREOF, AND METHODS OF MAKING AND USING SAME」の、2017年2月10日に米国特許出願第15/429,439号として出願され、2018年8月14日に米国特許第10,050,308号明細書として特許を取得した、2017年7月13日に公開された米国特許出願公開第2017/0200975号明細書;
発明の名称「IONICALLY CONDUCTIVE COMPOUNDS AND RELATED USES」の、2018年5月24日に米国特許出願第15/988,182号として出願された、2018年12月6日に公開された米国特許出願公開第2018/0351148号明細書;
発明の名称「NON-AQUEOUS ELECTROLYTES FOR HIGH ENERGY LITHIUM-ION BATTERIES」の、2018年4月2日に米国特許出願第15/765,362号として出願された、2018年9月6日に公開された米国特許出願公開第2018/0254516号明細書;
発明の名称「MULTIPLEXED CHARGE DISCHARGE BATTERY MANAGEMENT SYSTEM」の、2019年7月31日に米国特許出願第16/527,903号として出願された、2020年2月6日に公開された米国特許出願公開第2020/0044460号明細書;
発明の名称「ISOLATABLE ELECTRODES AND ASSOCIATED ARTICLES AND METHODS」の、2019年12月23日に米国特許出願第16/724,586号として出願された、2020年7月9日に公開された米国特許出願公開第2020/0220146号明細書;
発明の名称「ELECTRODES,HEATERS,SENSORS,AND ASSOCIATED ARTICLES AND METHODS」の、2019年12月23日に米国特許出願第16/724,596号として出願された、2020年7月9日に公開された米国特許出願公開第2020/0220149号明細書;および
発明の名称「FOLDED ELECTROCHEMICAL DEVICES AND ASSOCIATED METHODS AND SYSTEMS」の、2019年12月23日に米国特許出願第16/724,612号として出願された、2020年7月9日に公開された米国特許出願公開第2020/0220197号明細書
は、すべての目的のために、参照によりその全体が本明細書中に援用される。 Application for:
U.S. patent filed on April 6, 2006 as U.S. patent application Ser. Application Publication No. 2007/0221265;
U.S. Patent Application Publication No. 2009/2009, filed on July 31, 2007, as U.S. Patent Application No. 11/888,339, entitled "Swelling Inhibition in Batteries," published on February 5, 2009 No. 0035646;
Filed as U.S. Patent Application No. 12/312,674 on February 2, 2010 and filed as U.S. Patent No. 8,617,748 on December 31, 2013, entitled "Separation of Electrolytes." Patented US Patent Application Publication No. 2010/0129699, published May 17, 2010;
Titled "Primer for Battery Electrode," filed as U.S. Patent Application No. 12/682,011 on July 30, 2010, and U.S. Patent Application No. 8,871,387 on October 28, 2014. U.S. Patent Application Publication No. 2010/0291442, published on November 18, 2010, patented as;
The invention is entitled "Protective Circuit for Energy-Storage Device," filed as U.S. Patent Application No. 12/069,335 on February 8, 2008, and patented as U.S. Patent No. 8,2615205 on September 11, 2012. US Patent Application Publication No. 2009/0200986, published on August 31, 2009;
The invention was filed as U.S. Patent Application No. 1/400,025 on April 6, 2006, with the title "Electrode Protection in both Aqueous and Non-Aqueous Electrochemical Cells, including Rechargeable Lithium Batteries," and August 2010. U.S. Patent Application Publication No. 2007/0224502, published September 27, 2007, patented as U.S. Patent No. 7,771,870 on September 10;
U.S. Patent Application Publication No. 1/821,576 filed on June 22, 2007 and published on December 25, 2008 with the title "Lithium Alloy/Sulfur Batteries" Specification No. 2008/0318128;
The invention was filed as U.S. Patent Application No. 09/795,915 on February 27, 2001 and filed on May 10, 2011 with the title "Novel Composite Cathodes, Electrochemical Cells Comprising Novel Composite Cathodes, and Processes for Fabricating Same." U.S. Patent Application Publication No. 2002/0055040, published May 9, 2002, patented as U.S. Patent No. 7,939,198;
The invention was filed as U.S. Patent Application No. 1/111,262 on April 20, 2005, entitled "Lithium Sulfur Rechargeable Battery Fuel Gauge Systems and Methods," and was filed as U.S. Patent Application No. 7 on March 30, 2010. , 688,075, published on October 26, 2006;
The invention was filed as U.S. Patent Application No. 1/728,197 on March 23, 2007 with the title "Methods for Co-Flash Evaporation of Polymerizable Monomers and Non-Polymerizable Carrier Solvent/Salt Mixtures/Solutions", U.S. Patent Application Publication No. 2008/0187663, published August 7, 2008, patented as U.S. Patent No. 8,084,102 on December 27, 2011;
U.S. patent application filed on September 23, 2010 as U.S. patent application Ser. Publication No. 2011/0006738;
The invention was filed as U.S. Patent Application No. 12/811,576 on September 23, 2010, entitled "Methods of Forming Electrodes Comprising Sulfur and Porous Material Comprising Carbon," and filed as U.S. Patent Application No. 9 on May 19, 2015. ,034,421, published on January 13, 2011;
Application of Force In Electrochemical Cells, filed as U.S. Patent Application No. 12/535,328 on August 4, 2009 and filed as U.S. Patent Application No. 9,105,938 on August 11, 2015 U.S. Patent Application Publication No. 2010/0035128, published on February 11, 2010, which was patented as a specification;
U.S. Patent Application Publication No. 12/180,379, filed July 25, 2008, published July 15, 2011, entitled "Protection of Anodes for Electrochemical Cells" 2011/0165471 specification;
The invention was filed as U.S. Patent Application No. 11/452,445 on June 13, 2006 and filed as U.S. Patent No. 8,415,054 on April 9, 2013, entitled "Lithium Anodes for Electrochemical Cells." U.S. Patent Application Publication No. 2006/0222954, published on October 5, 2006, which was patented as a book;
U.S. Patent Application Publication No. 2010/2010, filed on March 19, 2010, as U.S. Patent Application No. 12/727,862, published on September 23, 2010, with the title "Cathode for Lithium Battery" Specification No. 0239914;
The invention, titled "Hermetic Sample Holder and Method for Performing Microanalysis Under Controlled Atmosphere Environment," was filed as U.S. Patent Application No. 12/471,095 on May 22, 2009 and filed as U.S. Patent Application No. 12/471,095 on January 3, 2012. U.S. Patent Application Publication No. 2010/0294049, published November 25, 2010, patented as No. 8,087,309;
U.S. Patent Application Publication No. 12/862,581 filed on August 24, 2010 and published on March 31, 2011 with the title "Electrochemical Cells Comprising Porous Structures Comprising Sulfur" Specification No. 2011/0076560;
U.S. Patent Application Publication No. 2011, filed March 24, 2011, entitled "Release System for Electrochemical Cells," filed as U.S. Patent Application No. 12/862,513 on August 24, 2010. /0068001 specification;
U.S. patent application filed on August 24, 2011 as U.S. patent application Ser. Publication No. 2012/0048729;
U.S. Patent Application Publication No. 2011/0177398, filed July 21, 2011, filed as U.S. Patent Application No. 12/862,528 on August 24, 2010, entitled "Electrochemical Cell"Specification;
U.S. Patent Application Publication No. 12/862,563 filed on August 24, 2010 and published on March 24, 2011 with the title "Electrochemical Cells Comprising Porous Structures Comprising Sulfur" Specification No. 2011/0070494;
The invention is entitled "Electrochemical Cells Comprising Porous Structures Comprising Sulfur," filed as U.S. patent application Ser. 2011/0070491 specification;
The invention is entitled "Electrochemical Cells Comprising Porous Structures Comprising Sulfur," filed as U.S. Patent Application No. 12/862,576 on August 24, 2010, and U.S. Patent Application No. 9,005,009 on April 14, 2015. U.S. Patent Application Publication No. 2011/0059361, published on March 10, 2011, which was patented as the specification;
U.S. Patent Application Publication No. 13/216,579 filed on August 24, 2011 and published on March 1, 2012 with the title "ELECTROLYTE MATERIALS FOR USE IN ELECTROCHEMICAL CELLS" Specification No. 2012/0052339;
U.S. Patent Application Publication No. 2012/2012, filed on September 22, 2011, as U.S. Patent Application No. 13/240,113, entitled "Low Electrolyte Electrochemical Cells," published on March 22, 2012. Specification No. 0070746;
U.S. Patent Application Publication No. 13/033,419, filed on February 23, 2011, published August 25, 2011, entitled "Porous Structures for Energy Storage Devices" 2011/0206992 specification;
U.S. Patent Application Publication No. 2012/0082872, filed April 5, 2012, filed as U.S. Patent Application No. 13/249,605 on September 30, 2011, entitled "ADDITIVE FOR ELECTROLYTES" No. specification;
U.S. patent filed on September 30, 2011 as U.S. patent application Ser. Application Publication No. 2012/0082901;
The invention was filed as U.S. Patent Application No. 13/700,696 on March 6, 2013, with the title "USE OF EXPANDED GRAPHITE IN LITHIUM/SULPHUR BATTERIES," and was filed as U.S. Patent Application No. 9,577 on February 21, 2017. , US Patent Application Publication No. 2013/0164635, published on June 27, 2013, patented as No. 243;
The invention was filed as U.S. Patent Application No. 13/524,662 on June 15, 2012 and filed as U.S. Patent Application No. 9,548,492 on January 17, 2017, entitled "Plating Technique for Electrode." U.S. Patent Application Publication No. 2013/0017441, published on January 17, 2013, patented as;
Titled "Electrode Structure for Electrochemical Cell," filed as U.S. Patent Application No. 13/766,862 on February 14, 2013, and filed as U.S. Patent Application No. 9,077,041 on July 7, 2015. U.S. Patent Application Publication No. 2013/0224601, which was patented as a book and published on August 29, 2013;
The invention was filed as U.S. Patent Application No. 13/789,783 on March 8, 2013 and filed as U.S. Patent Application No. , 214,678, published on September 26, 2013;
The invention was filed as U.S. Patent Application No. 14/743,304 on June 18, 2015, and filed as U.S. Patent Application No. 9,577,267 on February 21, 2017, entitled "ELECTRODE STRUCTURE AND METHOD FOR MAKING SAME." U.S. Patent Application Publication No. 2015/0287998, published on October 8, 2015, which was patented as the specification;
The invention was filed as U.S. Patent Application No. 13/644,933 on October 4, 2012, titled "Electrode Structure and Method for Making the Same," and was filed as U.S. Patent Application No. 8,936 on January 20, 2015. U.S. Patent Application Publication No. 2013/0095380, published April 18, 2013, patented as No. 870;
Title of the invention: ELECTROLYTE MATERIALS FOR USE IN ELECTROCHEMICAL CELLS, filed as U.S. Patent Application No. 13/216,538 on August 24, 2011, and U.S. Patent No. 9,853,287 on December 26, 2017 U.S. Patent Application Publication No. 2012/0052397, published on March 1, 2012, which was patented as a specification;
Filed on November 1, 2013 as U.S. patent application Ser. U.S. Patent Application Publication No. 2014/0123477, published on May 8, 2014, patented as;
Titled "Conductivity Control in Electrochemical Cells," filed as U.S. Patent Application No. 14/150,156 on January 8, 2014 and filed as U.S. Patent Application No. 9,559,348 on January 31, 2017. U.S. Patent Application Publication No. 2014/0193723, published on July 10, 2014, which was patented as a book;
The name of the invention is "Electrochemical Cells Comprising Fibril Materials".
2014-9, filed as U.S. Patent Application No. 14/197,782 on March 5, 2014, and patented as U.S. Patent No. 9,490,478 on November 6, 2016. US Patent Application Publication No. 2014/0255780 published on May 11th;
U.S. Patent Application Publication No. 2014/2014, filed on March 15, 2013, as U.S. Patent Application No. 13/833,377, and published on September 18, 2014, entitled "Protective Structures for Electrodes." Specification No. 0272594;
U.S. Patent Application Publication No. 2014/0272597, filed on March 13, 2014 as U.S. Patent Application No. 115209,274, published on September 18, 2014, with the title "Protected Electrode Structures and Methods" No. specification;
The invention was filed as U.S. Patent Application No. 14/668,102 on March 25, 2015 and filed as U.S. Patent No. 9,755,268 on September 5, 2017, with the title "GEL ELECTROLYTES AND ELECTRODES" U.S. Patent Application Publication No. 2015/0280277, published on October 1, 2015, patented as;
The invention was filed as U.S. Patent Application No. 14/576,570 on December 19, 2014, with the title "POLYMER FOR USE AS PROTECTIVE LAYERS AND OTHER COMPONENTS IN ELECTROCHEMICAL CELLS," and was filed as U.S. Patent Application No. 14/576,570 on July 10, 2018. U.S. Patent Application Publication No. 2015/0180037, published June 25, 2015, patented as No. 10,020,512;
The invention was filed as U.S. Patent Application No. 14/723,132 on May 27, 2015, with the title "POLYMER FOR USE AS PROTECTIVE LAYERS AND OTHER COMPONENTS IN ELECTROCHEMICAL CELLS," and was filed as U.S. Patent Application No. 14/723,132 on August 15, 2017. U.S. Patent Application Publication No. 2015/0349310, published December 3, 2015, patented as No. 9,735,411;
Title of the invention: "COMPOSITIONS FOR USE AS PROTECTIVE LAYERS AND OTHER COMPONENTS IN ELECTROCHEMICAL CELLS," filed as U.S. Patent Application No. 115203,802 on March 11, 2014, published on September 18, 2014. Patent Application Publication No. 2014/0272595;
U.S. patent filed on October 6, 2017 as U.S. patent application Ser. Application Publication No. 2019/0006699;
The invention was filed as U.S. Patent Application No. 14/150,196 on January 8, 2014 and filed as U.S. Patent No. 9,531,009 on December 27, 2016, with the title "PASSIVATION OF ELECTRODES IN ELECTROCHEMICAL CELLS" U.S. Patent Application Publication No. 2014/0193713, published on July 10, 2014, which was patented as a specification;
The invention was filed as U.S. Patent Application No. 14/068,333 on October 31, 2013, with the title "POLYMERS FOR USE AS PROTECTIVE LAYERS AND OTHER COMPONENTS IN ELECTROCHEMICAL CELLS," and was filed as U.S. Patent Application No. U.S. Patent Application Publication No. 2014/0127577, published May 8, 2014, patented as No. 10,243,202;
The invention was filed as U.S. Patent Application No. 14/700,258 on April 30, 2015, with the title "ELECTRODE FABRICATION METHODS AND ASSOCIATED SYSTEMS AND ARTICLES," and was filed as U.S. Patent Application No. 9,711 on July 18, 2017. U.S. Patent Application Publication No. 2015/0318539, published November 5, 2015, patented as No. 784;
The invention title "PROTECTED ELECTRODE STRUCTURES" was filed as U.S. Patent Application No. 115209,396 on March 13, 2014, and patented as U.S. Patent No. 10,862,105 on December 8, 2020. U.S. Patent Application Publication No. 2014/0272565, published on September 18, 2014;
The invention was filed as U.S. Patent Application No. 14/323,269 on July 3, 2014, with the title "CERAMIC/POLYMER MATRIX FOR ELECTRODE PROTECTION IN ELECTROCHEMICAL CELLS, INCLUDING RECHARGEABLE LITHIUM BATTERIES," and filed on June 12, 2018. U.S. Patent Application Publication No. 2015/0010804, published January 8, 2015, patented as U.S. Patent No. 9,994,959;
U.S. Patent Application Publication No. 2015/0162586, filed on December 5, 2014, as U.S. Patent Application No. 14/561,305, published on June 11, 2015, with the title "NEW SEPARATOR"Specification;
The invention was filed as U.S. Patent Application No. 14/455,230 on August 8, 2014, with the title "SELF-HEALING ELECTRODE PROTECTION IN ELECTROCHEMICAL CELLS," and was filed as U.S. Patent Application No. 10,020 on July 10, 2018. U.S. Patent Application Publication No. 2015/0044517, published February 12, 2015, patented as No. 479;
The invention was filed as U.S. Patent Application No. 14/184,037 on February 19, 2014, with the title "ELECTRODE PROTECTION USING ELECTROLYTE-INHIBITING ION CONDUCTOR," and was filed as U.S. Patent Application No. 10,490 on November 26, 2019. U.S. Patent Application Publication No. 2015/0236322, published August 20, 2015, patented as No. 796;
The invention, titled "ELECTRODE PROTECTION USING A COMPOSITE COMPRISING AN ELECTROLYTE-INHIBITING ION CONDUCTOR," was filed as U.S. patent application Ser. U.S. Patent Application Publication No. 2015/0236320, published August 20, 2015, patented as No. 9,653,750;
The invention is entitled "COMPOSITIONS FOR USE AS PROTECTIVE LAYERS AND OTHER COMPONENTS IN ELECTROCHEMICAL CELLS," filed as U.S. Patent Application No. 14/921,381 on October 23, 2015, and published on April 28, 2016. US Patent Application Publication No. 2016/0118638;
U.S. patent application publication published on April 28, 2016, filed as U.S. Patent Application No. 14/918,672 on October 21, 2015, with the title of the invention "ION-CONDUCTIVE COMPOSITE FOR ELECTROCHEMICAL CELLS" Specification No. 2016/0118651;
The invention was filed as U.S. Patent Application No. 14/848,659 on September 9, 2015, with the title "PROTECTIVE LAYERS IN LITHIUM-ION ELECTROCHEMICAL CELLS AND ASSOCIATED ELECTRODES AND METHODS," and was granted a U.S. patent on June 15, 2021. U.S. Patent Application Publication No. 2016/0072132, published March 10, 2016, patented as No. 11,038,178;
The invention was filed as U.S. Patent Application No. 15/567,534 on October 18, 2017 and filed as U.S. Patent Application No. 10,847 on November 24, 2020, with the title "GLASS-CERAMIC ELECTROLYTES FOR LITHIUM-SULFUR BATTERIES." , US Patent Application Publication No. 2018/0138542, published on May 17, 2018, patented as No. 833;
The invention was filed as U.S. Patent Application No. 15/160,191 on May 20, 2016 and filed as U.S. Patent Application No. 10,461,372 on October 29, 2019, with the title "PROTECTIVE LAYERS FOR ELECTROCHEMICAL CELLS" U.S. Patent Application Publication No. 2016/0344067, published on November 24, 2016, which was patented as a book;
U.S. Patent Application Publication No. 2020, filed on September 30, 2019, as U.S. Patent Application No. 16/587,939, published on March 26, 2020, with the title of the invention “PROTECTIVE LAYERS FOR ELECTROCHEMICAL CELLS” /0099108 specification;
The invention is titled “LAYER COMPOSITE AND ELECTRODE HAVING A SMOOTH SURFACE, AND ASSOCIATED METHODS,” filed as U.S. Patent Application No. 15/343,890 on November 4, 2016, and published on May 18, 2017. US Patent Application Publication No. 2017/0141385;
The invention was filed as U.S. Patent Application No. 15/349,140 on November 11, 2016 and filed as U.S. Patent Application No. 10,320,031 on June 11, 2019, with the title "ADDITIVES FOR ELECTROCHEMICAL CELLS" U.S. Patent Application Publication No. 2017/0141442, published on May 18, 2017, patented as;
The invention was filed as U.S. Patent Application No. 15/343,635 on November 4, 2016 and filed as U.S. Patent Application No. 9,825,328 on November 21, 2017, entitled "IONICALLY CONDUCTIVE COMPOUNDS AND RELATED USES." U.S. Patent Application Publication No. 2017/0149086, published on May 25, 2017, which was patented as a specification;
The invention was filed as U.S. Patent Application No. 15/983,352 on May 18, 2018 and filed as U.S. Patent Application No. 10,868,306 on December 15, 2020, with the title "PASSIVATING AGENTS FOR ELECTROCHEMICAL CELLS" U.S. Patent Application Publication No. 2018/0337406, published on November 22, 2018, which was patented as a book;
The invention was filed as U.S. Patent Application No. 15/916,588 on March 9, 2018, with the title "ELECTROCHEMICAL CELLS COMPRISING SHORT-CIRCUIT RESISTANT ELECTRONICALLY INSULATING REGIONS," and was filed as U.S. Patent Application No. 15/916,588 on June 1, 2021. U.S. Patent Application Publication No. 2018/0261820, published September 13, 2018, patented as No. 024,923;
The invention was filed as U.S. Patent Application No. 16/098,654 on November 2, 2018 and filed as U.S. Patent Application No. 10,991,925 on April 27, 2021, with the title "COATINGS FOR COMPONENTS OF ELECTROCHEMICAL CELLS" U.S. Patent Application Publication No. 2020/0243824, published on July 30, 2020, which was patented as a specification;
The invention was filed as U.S. Patent Application No. 15/983,363 on May 18, 2018 and filed as U.S. Patent Application No. 10,944,094 on March 9, 2021, with the title "PASSIVATING AGENTS FOR ELECTROCHEMICAL CELLS" U.S. Patent Application Publication No. 2018/0351158, published on December 6, 2018, which was patented as a book;
The invention was filed as U.S. Patent Application No. 15/923,342 on March 16, 2018 and filed as U.S. Patent No. 10,720,648 on July 21, 2020, with the title "ELECTODE EDGE PROTECTION IN ELECTROCHEMICAL CELLS." U.S. Patent Application Publication No. 2018/0277850, published on September 27, 2018, which was patented as a specification;
The invention was filed as U.S. Patent Application No. 16/002,097 on June 7, 2018 and filed as U.S. Patent No. 10,608,278 on March 31, 2020, with the title "IN SITU CURRENT COLLECTOR" U.S. Patent Application Publication No. 2018/0358651, published on December 13, 2018, patented as;
The invention was filed as U.S. Patent Application No. 15/599,595 on May 19, 2017 and filed as U.S. Patent Application No. 10,879,527 on December 29, 2020, entitled "PROTECTIVE LAYERS FOR ELECTRODES AND ELECTROCHEMICAL CELLS." U.S. Patent Application Publication No. 2017/0338475, published on November 23, 2017, which was patented as the specification;
U.S. Patent Application Publication No. 2019, filed on September 7, 2018 as U.S. Patent Application No. 16/124,384, published on March 21, 2019, with the title of the invention “PROTECTIVE MEMBRANE FOR ELECTROCHEMICAL CELLS” /0088958 specification;
U.S. patent application publication published on November 14, 2019, filed as U.S. Patent Application No. 16/470,708 on June 18, 2019, with the title "PROTECTIVE LAYERS COMPRISING METALS FOR ELECTROCHEMICAL CELLS" Specification No. 2019/0348672;
The invention was filed as U.S. patent application Ser. U.S. Patent Application Publication No. 2017/0200975, published July 13, 2017, patented as U.S. Patent No. 10,050,308;
U.S. Patent Application Publication No. 15/988,182, filed on May 24, 2018, and published on December 6, 2018, with the title of the invention "IONICALLY CONDUCTIVE COMPOUNDS AND RELATED USES" 2018/0351148 specification;
Title of the invention: “NON-AQUEOUS ELECTROLYTES FOR HIGH ENERGY LITHIUM-ION BATTERIES” filed as U.S. Patent Application No. 15/765,362 on April 2, 2018, published on September 6, 2018 US Patent Application Publication No. 2018/0254516;
U.S. Patent Application Publication No. 16/527,903, filed on July 31, 2019, and published on February 6, 2020, with the title of the invention “MULTIPLEXED CHARGE DISCHARGE BATTERY MANAGEMENT SYSTEM” Specification No. 2020/0044460;
U.S. patent application publication filed on December 23, 2019 as U.S. patent application Ser. Specification No. 2020/0220146;
Filed as U.S. patent application Ser. U.S. Patent Application Publication No. 2020/0220149; filed as U.S. Patent Application No. 16/724,612 on December 23, 2019, and entitled "FOLDED ELECTROCHEMICAL DEVICES AND ASSOCIATED METHODS AND SYSTEMS." US Patent Application Publication No. 2020/0220197, published July 9, 2020, is incorporated herein by reference in its entirety for all purposes.
本発明者らは、前述したいくつかの実施形態が、実施されたときに、従来技術に対する様々な改善を示す結果を生じる可能性があることを認識し、理解している。 The inventors recognize and understand that the several embodiments described above, when implemented, may produce results that represent various improvements over the prior art.
以下の実施例1~5および表1~4において、セルは、10~12kg/cm2の圧力下でサイクル試験される。 In Examples 1-5 and Tables 1-4 below, cells are cycle tested under pressures of 10-12 kg/cm2 .
(実施例1):実施例1は、広い範囲の速度において、同じ充電速度および放電速度(電流または時間)でセルをサイクル試験した場合、サイクル寿命が短いことを示す。NCM111カソード、15μm蒸着リチウムアノード、および電解質を有するセルを、10kg/cm2の圧力下でサイクル試験した。電解液は、エチレンカーボネートとジメチルカーボネートの重量比2:1の六フッ化リン酸リチウムの1モル溶液である。上記セル活性電極の総面積は99.4cm2、セル容量は200mAhであった。セルは、以下の表1の電流で、4.35Vまで充電し、3.2Vまで放電させた。充電電流および放電電流は同じであった。40~200mA(5倍異なる電流)の充放電電流の範囲では、すべてのセルが38~56サイクルの短いサイクル寿命を示した。
Example 1: Example 1 shows short cycle life when the cell is cycled at the same charge and discharge rates (current or time) over a wide range of speeds. A cell with an NCM111 cathode, a 15 μm evaporated lithium anode, and an electrolyte was cycled under a pressure of 10 kg/cm2 . The electrolyte is a 1 molar solution of lithium hexafluorophosphate in a weight ratio of ethylene carbonate to dimethyl carbonate of 2:1. The total area of the cell active electrodes was 99.4 cm2 and the cell capacity was 200 mAh. The cells were charged to 4.35V and discharged to 3.2V at the currents shown in Table 1 below. The charging and discharging currents were the same. In the range of charge/discharge currents from 40 to 200 mA (5 times different current), all cells showed short cycle lives of 38 to 56 cycles.
(実施例2):実施例2は、放電電流は一定でも、充電電流が大幅に低下すると、サイクル寿命が向上することを示す。放電電流/充電電流の比が高いほど、サイクル寿命が長くなった。 Example 2: Example 2 shows that cycle life improves when the charging current is significantly reduced even when the discharging current is constant. The higher the discharge current/charge current ratio, the longer the cycle life.
NCM622カソードを有する以外は実施例1と同様のセルを使用した。セル容量は330mAhであった。以下の表2の電流で、セルを4.35Vまで充電し、3.2Vまで放電させた。
A cell similar to Example 1 was used except with an NCM622 cathode. The cell capacity was 330mAh. The cell was charged to 4.35V and discharged to 3.2V at the currents in Table 2 below.
表2のサイクル寿命は、放電電流/充電電流の比が高いほど長くなった。最も大きな効果があったのは、上記比3~6の場合で、それより高い比の値およびそれぞれ充電時間が長い場合は更なる効果が低下した。 The cycle life shown in Table 2 was longer as the ratio of discharge current/charge current was higher. The greatest effect was found for
(実施例3):実施例3は、充電電流を固定し、放電電流がかなり高い場合には、サイクル寿命が向上したことを示している。放電電流/充電電流の比が高いほど、サイクル寿命が長くなった。 Example 3: Example 3 shows that when the charging current is fixed and the discharging current is fairly high, the cycle life is improved. The higher the discharge current/charge current ratio, the longer the cycle life.
セルは、電解質LiIon 1401を使用した以外は実施例2と同様である。セル容量は330mAhであった。セルは、以下の表3の電流で、4.35Vまで充電され、3.2Vまで放電された。
The cell was similar to Example 2 except that the
一定の充電電流で、放電電流/充電電流の比を1~4に変更することで、サイクル寿命が6倍と飛躍的に向上した。 By changing the discharging current/charging current ratio from 1 to 4 at a constant charging current, the cycle life was dramatically improved by six times.
(実施例4):実施例4は、充電電流を固定し、放電電流がかなり高い場合、サイクル寿命は向上したが、必ずしも連続的でなかったことを示している。放電が一定期間周期的に中断され、再開される条件で上記セルを放電させた。 Example 4: Example 4 shows that when the charging current was fixed and the discharging current was fairly high, the cycle life improved, but not necessarily continuously. The cell was discharged under conditions in which discharge was periodically interrupted for a certain period of time and then resumed.
セルは実施例3と同様である。セル容量は330mAhであった。セルは、以下の表3の電流で、4.35Vまで充電し、3.2Vまで放電された。100mAの充電電流および放電電流を続けた。 The cell is the same as in Example 3. Cell capacity was 330mAh. The cell was charged to 4.35V and discharged to 3.2V at the currents in Table 3 below. A charging and discharging current of 100 mA was continued.
400mAでの放電方法は連続的ではなかった。400mAでの放電を10秒間継続し、次いで30秒間中断し、再開した。この方法は周期的であった。この2つの方法で得られたサイクル寿命データを表4に示す。
The discharge method at 400 mA was not continuous. Discharge at 400 mA was continued for 10 seconds, then interrupted for 30 seconds, and resumed. This method was cyclical. Cycle life data obtained with these two methods is shown in Table 4.
(実施例5):実施例5では、放電時間または放電容量のかなりの部分に高い放電電流/充電電流比が適用される場合にのみ、サイクル寿命が向上することが示された。高電流放電条件が放電時間全体のほんの一部である場合、サイクル寿命の向上はあまり大きくない。 Example 5: Example 5 showed that cycle life is improved only when a high discharge current/charge current ratio is applied for a significant portion of the discharge time or discharge capacity. If the high current discharge condition is only a fraction of the total discharge time, the improvement in cycle life will not be significant.
セルは、NCM721カソードを使用した以外は、実施例4と同様である。セル容量は360mAhであった。セルは4.4Vまで充電され、3.2Vまで放電された。 The cell was similar to Example 4 except that an NCM721 cathode was used. Cell capacity was 360mAh. The cell was charged to 4.4V and discharged to 3.2V.
上記セルの第1の部分は、等しく100mAの充電および放電電流を経験し、250mAhのカットオフで43サイクルのサイクル寿命を達成した。 The first part of the cell experienced equal charge and discharge currents of 100 mA and achieved a cycle life of 43 cycles with a cutoff of 250 mAh.
上記セルの第2の部分は、100mAの定電流で充電し、100mAで容量の95%まで充電し、次いで400mAで残りの5%の容量を得るという2段階の放電を行った。 The second part of the cell was charged with a constant current of 100 mA and discharged in two steps: 100 mA to 95% capacity, then 400 mA to obtain the remaining 5% capacity.
これらのセルのサイクル寿命は52サイクルであった。これは、4という高い放電電流/充電電流の比を全放電容量の5%に適用した場合のサイクル寿命の9サイクルまたは21%以下の利得であった。本発明者らは、より高い放電電流/充電電流の比で得られた放電容量の5%、例えば、前回の放電サイクル中の平均放電速度または平均放電電流が、充電サイクル中の平均充電速度または平均充電電流以下であり、前回の放電サイクル中の上記セルの放電容量の少なくとも5%の放電時の平均放電速度または平均放電電流が、充電サイクル中の平均充電速度または平均充電電流の少なくとも2倍高いか、または4倍高いと、より良好なサイクル寿命を期待できることを認識し、理解した。 The cycle life of these cells was 52 cycles. This was a gain of less than 9 cycles of cycle life or 21% when applying a high discharge current/charge current ratio of 4 to 5% of the total discharge capacity. We believe that 5% of the discharge capacity obtained at a higher discharge current/charge current ratio, e.g., the average discharge rate or average discharge current during the previous discharge cycle, is the average charge rate during the charge cycle or the average charging current is less than or equal to, and the average discharge rate or average discharge current during the discharge of at least 5% of the discharge capacity of said cell during the previous discharge cycle is at least twice the average charging rate or average charging current during the charging cycle; It was recognized and understood that higher or 4 times higher, better cycle life can be expected.
本発明者らは、前述したいくつかの実施形態が、実施された場合に、従来技術よりも様々な改善を示す結果をもたらし得ることを認識し、理解している。例えば、1つの実施態様では、50μmのLi箔を有するNCMA622カソード(BASF社)および1重量%のリチウムビス(オキサラト)ボレート(LiBOB)を含むF9(BASF社)電解質を充填した25μmのCelgard 2325セパレータから、活性電極面積99.41cm2を有する上記セルを作製した。このセルを4個ずつ含む13個のバッテリに組み立てた。バッテリは、以下の表5および表6に示される条件において、いくつかの実施形態を使用して行われた13回の充電‐放電サイクル試験に供された。上記バッテリ内の上記セルを、サイクル試験中、12kg/cm2の圧力および18℃の温度で保持した。
表5(試験番号1~3)は比較例(従来技術により行われる)を表し、セルを並列接続し、4つのセルに均等に充放電電流を流して、バッテリを一定電流で充放電させた場合の試験結果をまとめたものである。充電終止電圧(charge cutoff voltage)は4.35V、放電終止電圧は3.2Vであった。バッテリ容量が800mAhに達した時点で充放電サイクルを停止した。 Table 5 (
表6(試験番号4~13)は、セルを並列接続し、4つのセルに均等に充放電電流を流して、バッテリを一定電流で4.35Vまで充電した場合の試験結果をまとめたものである。これらのバッテリの放電は、バッテリ全体が一定の放電電流になるように行った。しかし、個々のセルは順次ロードに接続および切断され、4セルのうちの1セルだけに一度に放電電流パルスが供給される。このパルスが終了すると、次のセルが接続され、前のセルが切断される。ある一定のパルス時間の間、或いは放電電圧が3.2Vに達するまで、セルに放電パルスを順次供給した(例えば、セル番号1、2、3、4、1、2、3、4、等)。試験番号4、8および12は、単一パルスでフルセル放電を行った。その他の試験では、0.1秒、1秒、10秒の持続時間の単一パルスで部分セル放電を行った。バッテリ容量が800mAhに達した時点で充放電サイクルを停止した。 Table 6 (
図13Aは、試験番号13に対応し、最初の240秒間の10秒パルス放電の開始時のバッテリ電圧プロファイルを示し、図13Bは、電圧3.2Vまでの完全放電プロファイルを示す。図13Aでは、最初の80秒間、繰り返しシーケンスでの10秒300mAパルスにより影響を受ける上記セル番号が示されている。 FIG. 13A corresponds to test number 13 and shows the battery voltage profile at the beginning of the 10 second pulse discharge for the first 240 seconds, and FIG. 13B shows the full discharge profile to a voltage of 3.2V. In FIG. 13A, the cell number is shown affected by a 10 second 300 mA pulse in a repeating sequence for the first 80 seconds.
表5および表6を再度参照すると、本発明者らは、バッテリセルの一部にバッテリ全体の放電電流を順次印加すること(表6)が、従来技術で行われてきたような全バッテリセル間の均一な電流分布(表5)と比較して、驚くほどサイクル寿命が向上することを認識し、理解している。このサイクル寿命の向上は、6倍以下となる可能性があり、本発明者らは、充放電速度だけでなく、放電パルス持続時間の関数であってもよいことを認識した。2つの充放電速度(試験番号4~11に対応)におけるパルス持続時間の関数としてのセルのサイクル寿命を示す図13Cは、パルス時間が0.1秒より長く、パルス持続時間が10秒前後でサイクル寿命が特に改善される可能性があることを示している。本発明者らは、図13Cが示すように、また従来技術の経験に基づいて予想されなかったように、部分放電時にいくつかの実施形態を使用しても、本明細書中に記載のセルのサイクル寿命の改善が可能であることを認識し理解してきた。更に、均一でない場合であっても、すべてのセルの全容量が、いくつかの実施形態で利用されることが可能である。 Referring again to Tables 5 and 6, the inventors have determined that sequentially applying the entire battery discharge current to a portion of the battery cells (Table 6) does not apply to the entire battery cell as has been done in the prior art. It is recognized and understood that compared to a uniform current distribution between (Table 5), cycle life is surprisingly improved. This cycle life improvement can be up to 6 times, and the inventors have recognized that it may be a function of discharge pulse duration as well as charge/discharge rate. Figure 13C, which shows the cycle life of the cell as a function of pulse duration at two charge/discharge rates (corresponding to test
以下の例では、異なる充電条件を使用した。1つの実施形態では、正極としてNCM811カソード、負極として銅箔、および厚さ9マイクロメートルのポリオレフィンセパレータを含む液体電解質を充填した9個のパウチセルを試験した。液体電解質は、直鎖状カーボネート、環状カーボネート、およびLiPF6塩を含んだ。各セルは99.4cm2の活性電極面積を有し、0.5mLの電解液を含んだ。電気試験中、セルには12kg/cm2の圧力を付加した。 In the examples below, different charging conditions were used. In one embodiment, nine pouch cells filled with a liquid electrolyte containing an NCM811 cathode as the positive electrode, a copper foil as the negative electrode, and a 9 micrometer thick polyolefin separator were tested. The liquid electrolyte included linear carbonate, cyclic carbonate, and LiPF6 salt. Each cell had an active electrode area of 99.4cm2 and contained 0.5 mL of electrolyte. During the electrical test, a pressure of 12 kg/cm2 was applied to the cell.
最初の3サイクルは、30mAで4.35ボルトまで充電し、120mAで3.0ボルトまで放電することで始まる形成サイクルであった。 The first three cycles were build cycles beginning with charging to 4.35 volts at 30 mA and discharging to 3.0 volts at 120 mA.
形成後、セルを3つのグループに分け、それぞれ3つのセルを更にサイクル試験した。グループ1の充電速度はほぼ一定であった。グループ2は、低い充電速度で開始し、充電工程の最後まで直線的に速度を増加させた。グループ3は高い充電速度で開始し、充電工程の最後まで速度を直線的に減少させた。 After formation, the cells were divided into three groups and each three cells were further cycled. The charging speed of
グループ1は、以下の条件でサイクル試験した。このグループは576mAの定電流で15分間充電された。充電工程の終了時にセル電圧が4.35ボルトに達した場合、合計充電時間が15分に達するまで一定の漸減電流を維持した。このグループは232mAで3.0ボルトまで放電された。
グループ2は、以下の条件でサイクル試験した。このグループは、60mAの開始電流で充電され、15分間にわたって68.8mA/分の速度で電流を増加させ、充電終了時に1092mAの最大電流に達することを期待した。ステップ。充電工程の終了時にセル電圧が4.35ボルトに達した場合、合計充電時間が15分に達するまで一定の漸減電流を維持した。このグループは 232mAで3.0ボルトまで放電された。
グループ3は、以下の条件でサイクル試験した。このグループは、開始電流1092mAで充電し、15分間にわたって-68.8mA/分の速度で電流を減少させ、充電の終了時に最小電流60mAに達することを期待した。充電工程の終了時にセル電圧が4.35ボルトに達した場合、合計充電時間が15分に達するまで一定の漸減電流を維持した。このグループは232mAで3.0ボルトまで放電された。
グループ1、2、および3の3つの充電条件は、15分以内に144mAhの充電容量に達するように設計された。3つのグループのセルは、初期サイクルで142~143mAhの範囲の放電容量を実現した。セルは、100mAhの放電カットオフ容量に達するまでサイクル試験され、この時点でサイクル寿命(カットオフ容量に達するまでに実行された充電回数)が測定された。 The three charging conditions of
結果は以下の通りであった。3つのセルから成るグループ1は、29、30、および32サイクルを実行した。3つのセルから成るグループ2は、45、47、および 47 サイクルを実行した。3つのセルから成るグループ3は、24、27、および28サイクルを実行した。 The results were as follows.
本明細書中で論じられるように、本発明者らは、より低い電流で充電工程を開始し、充電工程の終わりまで徐々に増加させると、定電流または減少電流充電条件と比較して50%長いサイクル寿命を実現できることを認識し、理解した。 As discussed herein, we found that starting the charging step with a lower current and gradually increasing it until the end of the charging step increases the We realized and understood that long cycle life can be achieved.
図13D、図13E、および1図3Fのグラフは、グループ1、2、および3から選択されたセルのそれぞれの充電電流、充電容量、および充電電圧プロファイルを示す。これらのグラフのデータは、4回目の充電(サイクル4)に対応する。曲線近くの数字マークは、グループ1、2、および3のそれぞれのセルに対応する。本発明者らは、グループ2が示すように、単調電流増加条件での開始充電電流が平均充電電流の約10%まで低くなることが可能であることを認識し、理解した。このような条件での最大充電電流は、平均充電電流の約200%になる可能性がある。 The graphs in FIGS. 13D, 13E, and 13F show the respective charging current, charging capacity, and charging voltage profiles for cells selected from
図13Gは、電気化学セル(例えば、電気化学セル121A)を管理する代表的な電気化学セル管理システムの例示的な容量‐サイクルグラフである。図13Gには18グループのプロットが含まれている。本発明者らは、図13Gに示すように、放電工程の開始時に放電速度を増加こと、または充電工程の終了時に充電速度を減少させることによって、セルのサイクル寿命は改善されない可能性があることを認識し、理解した。しかしながら、本発明者らは、放電工程の終了時に放電速度を増加させ、充電工程の開始時に充電速度を減少させることによって(例えば、添加工程に続いて)、セルのサイクル寿命が実際に改善されることを認識し、理解した。本発明者らは、より大きなSOC範囲の幅を変更することによっても、セルのサイクル寿命が更に向上する可能性があることを認識し、理解した。 FIG. 13G is an example capacity-cycle graph of a representative electrochemical cell management system that manages an electrochemical cell (eg,
図13Hは、電気化学セル(例えば、電気化学セル121A)を管理する追加の代表的な電気化学セル管理システムの例示的な容量‐サイクルグラフである。図13Hには8つのグループのロットが含まれる。本発明者らは、図13Hに示されるように、充電工程の開始を変更すると、放電工程の終了時に同じSOC範囲幅を変更する場合と比較して、セルのサイクル寿命に適度な改善がもたらされる可能性があることを認識し、理解した。本発明者らは更に、充電工程の開始と放電工程の終了の修正を組み合わせることによってセルのサイクル寿命を更に改善できることを認識し、理解した。更に、本発明者らは、幅10%のSOC範囲と比較して、幅25%のSOC範囲を変更することによって、セルのサイクル寿命が更に25%向上する可能性があることを認識し、理解した。同様に、本発明者らは、好ましい速度で充電状態範囲の幅を増加させると、セルのサイクル寿命が更に改善されることを認識し、理解した。 FIG. 13H is an example capacity-cycle graph of an additional representative electrochemical cell management system for managing an electrochemical cell (eg,
図13Iは、電気化学セル(例えば、電気化学セル121A)を管理する追加の代表的な電気化学セル管理システムの例示的な容量‐サイクルグラフである。図13Iには3つのプロットが含まれている。本発明者らは、図13Iに示されるように、C/3の放電速度でC/3の速度で充電する場合、4/3Cの速度で放電を終了することによって(SOC10%から0%に)セルのサイクル寿命が40サイクルから80サイクルに改善する可能性があり、一方、1サイクルおきに「ミニサイクル」を挿入することにより、200サイクル後でもセルの容量を80%以上に維持できる可能性があることを認識し、理解した。 FIG. 13I is an example capacity-cycle graph of an additional representative electrochemical cell management system for managing an electrochemical cell (eg,
いくつかの実施形態では、コントローラ(例えば、図1Aのコントローラ114)は、他のセルを犠牲にしてアノード表面の回復を助けるために、充電の開始時は後よりも遅く充電するように1つまたは複数のセルを制御してもよい。いくつかの実施形態では、コントローラは、セル間、および充電と放電の組み合わせの間で回転してもよい。いくつかの実施形態では、回復「ミニサイクル」は、1~10%のSOC(またはDOD)に関して他の場合よりも速くセルを放電し、そのエネルギーを使用して他の場合よりもゆっくりと残りのセルを充電することによって作成されてもよい。 In some embodiments, a controller (e.g.,
図13Jは、電気化学セル(例えば、電気化学セル121A)を管理する追加の代表的な電気化学セル管理システムの例示的な容量‐サイクルグラフである。図13Jには3つのプロットが含まれる。本発明者らは、図13Jに示すように、C/6の放電速度でC/6の速度で充電する場合、4/3Cの速度(10%から0%のSOC)で放電工程を終了することによって、フェード速度を低下させることが可能であることを認識し、理解した。 FIG. 13J is an example capacity-cycle graph of an additional representative electrochemical cell management system for managing an electrochemical cell (eg,
図13Kは、電気化学セル(例えば、電気化学セル121A)を管理する追加の代表的な電気化学セル管理システムの例示的な容量‐サイクルグラフである。図13Kには7つのプロットが含まれる。本発明者らは、図13Kに示すように、C/3の速度で充電(0~80%SOC)し、C/3の速度で放電した場合、放電の最後の10%SOCを終了することでセルのサイクル寿命が20サイクルから150サイクルに向上する可能性があることを認識し、理解した。。本発明者らはまた、C/3の速度で充電(20~100%のSOC)し、C/3の速度で放電する場合、最後の10%の放電を4/3Cで終了することによってサイクル寿命が30サイクルから140サイクルに改善する可能性があることを認識し、理解した。本発明者らは更に、C/3の速度で充電(10~90%のSOC)し、C/3の速度で放電する場合、最後の5%の放電を4/3Cで終了することによってサイクル寿命が25サイクルから85サイクルに改善する可能性があり、最後の10%の放電を4/3Cで終了することによって110サイクルに改善する可能性があることを認識し、理解した。 FIG. 13K is an example capacity-cycle graph of an additional representative electrochemical cell management system for managing an electrochemical cell (eg,
図13Lは、電気化学セル(例えば、電気化学セル121A)を管理する追加の代表的な電気化学セル管理システムの例示的な容量‐サイクルグラフである。図13Lには9つのプロットが含まれる。本発明者らは、図13Lに示すように、C/3の速度で充電し、C/3の速度で放電する場合、放電工程の最後の10%を4/3Cで終了することによって、より低い放電深度でセルのサイクル寿命がほぼ4倍改善される可能性があり、放電工程の最後の6%を4/3Cで終了することで3倍改善される可能性があることを認識し、理解した。 FIG. 13L is an example capacity-cycle graph of an additional representative electrochemical cell management system for managing an electrochemical cell (eg,
図15Aは、バッテリのセルのストリングを放電するための代表的な高レベル方法1500Aを示す。代表的な方法1500Aを含む改善は、以下の段落で詳細に記載される。 FIG. 15A shows an exemplary
いくつかの実施形態では、代表的な方法1500Aは改善1530Aを含んでもよく、バッテリ内のセルのストリングは、多重化スイッチ装置(前述の多重化スイッチ装置112など)を使用して選択的に放電してもよい。更に、多重化スイッチ装置は、少なくとも1つのバッテリ(例えば、120~150)のセルまたはモジュール(例えば、121A~C)の2つ以上のストリング(例えば、121、122、123、および/または124)に接続されてもよい。各セルのセットまたはモジュールは、1つまたは複数のセルを含んでもよい。 In some embodiments, the
いくつかの実施形態では、方法1500Aは、次いで、必要に応じて終了または繰り返してもよい。 In some embodiments,
図15Bは、バッテリのセルのストリングを放電するための代表的な高レベル方法1500Bを示す。代表的な方法1500Bを構成する改善は、以下の段落で詳細に記載される。 FIG. 15B shows an exemplary high level method 1500B for discharging a string of cells of a battery. The improvements that make up exemplary method 1500B are described in detail in the following paragraphs.
いくつかの実施形態では、代表的な方法1500Bは、選択的に改善1515で開始することができ、多重化スイッチ装置を使用して、セルのストリングをバランスレール(例えば、160)に選択的に接続または切断してもよい。 In some embodiments, the exemplary method 1500B may begin with selectively improving 1515, using a multiplexing switch device to selectively add strings of cells to balance rails (e.g., 160). May be connected or disconnected.
いくつかの実施形態では、改善1515は任意に改善1516を含んでもよく、ここで多重化スイッチ装置は、それらのストリングを放電させないように1つまたは複数のセルのストリングをバランスに接続し、そのストリングをロード(例えば、229)に放電するように別のセルのストリングを入力/出力バス(例えば、321IO)に接続するために使用してもよい。 In some embodiments,
いくつかの実施形態では、改善1515は、任意に改善1517を含んでもよく、ここで、多重化スイッチ装置は、切り替え時間および/または切り替え状態を調整することによって、セルのストリング間の同等の充電状態を維持するために使用されてもよい。 In some embodiments,
いくつかの実施形態では、改善1515は、任意に改善1518を含んでもよく、バッテリの使用中にバランスレールに接続されたセルのストリングの少なくとも1つを維持するために、多重化スイッチ装置を使用してもよい。 In some embodiments,
改善1516~1518は、任意の順序で実行してもよい。 Improvements 1516-1518 may be performed in any order.
いくつかの実施形態では、基準が満たされた場合、代表的な方法1500Bは、多重化スイッチ装置を使用してバッテリ内の次のセルのストリングを選択的に放電してもよい、改善1530Bに進んでもよい。例えば、現在放電しているセルのストリングが好適な基準を満たしている場合、本明細書中に記載されているように、そのセルのストリングをロードから切断してもよく、次のセルのストリングを接続してもよい(次のセットは、本明細書中に記載されているものと同じか、または異なっていてもよい基準または複数の基準によって決定されてもよい)。あるいは、基準が満たされていない場合は、監視を続けてもよい。いくつかの実施形態によれば、単一のセルとロードとの間の接続は、持続時間が少なくとも0.01秒であってもよい。発明者は、0.01秒よりも短い接続持続時間は驚くべきことに0.01秒よりも多くのノイズを生成し、セルの電気化学が無視できない何かを達成することができない可能性があることを認識し、理解した。 In some embodiments, if the criteria are met, the exemplary method 1500B may include an improvement 1530B that may selectively discharge the next string of cells in the battery using a multiplexing switch device. You may proceed. For example, if the currently discharging string of cells meets the preferred criteria, that string of cells may be disconnected from the load and the next string of cells, as described herein, may be disconnected from the load. (The next set may be determined by the criteria or criteria, which may be the same or different from those described herein). Alternatively, monitoring may continue if criteria are not met. According to some embodiments, the connection between a single cell and a load may be at least 0.01 seconds in duration. The inventors believe that connection durations shorter than 0.01 seconds surprisingly produce more noise than 0.01 seconds, and the electrochemistry of the cell may not be able to achieve anything significant. I realized and understood something.
いくつかの実施形態では、代表的な方法1500Bは、次いで、任意に改善1532および/または1534のいずれかに進んでもよい。例えば、方法1500Bが改善1530Bから改善1532に進む場合、セルのセットを充電する第2の速度よりも少なくとも2倍高い第1の速度で、セルのセットを選択的に放電するために、多重化スイッチ装置を使用してもよい。 In some embodiments, the exemplary method 1500B may then optionally proceed to either
代替的または追加的に、方法1500Bは、改善1530Bから改善1534に進んでもよく、ここで、多重化スイッチ装置は、セルのセットを充電する第2の速度よりも少なくとも4倍高い第1の速度でセルのセットを選択的に放電するために使用されてもよい。 Alternatively or additionally, the method 1500B may proceed from improvement 1530B to
改善1532および/または1534のいずれも、図15Bでは別個の改善として表されているが、実際には改善1530Bに統合されていてもよいと解されるべきである。 It should be understood that although either
いくつかの実施形態では、方法1500Bは、次いで、必要に応じて終了または繰り返してもよい。例えば、方法1500Bは、任意の好適なサイクル数にわたって繰り返してもよい。いくつかの実施形態によれば、各サイクルまたはいくつかのサイクルについて、ストリングまたはセルが2回放電される前に、各ストリングまたは個々のセルが1回放電されてもよい。 In some embodiments, method 1500B may then terminate or repeat as desired. For example, method 1500B may be repeated for any suitable number of cycles. According to some embodiments, for each cycle or number of cycles, each string or individual cell may be discharged once before the string or cell is discharged twice.
図15Cは、バッテリのセルのセットを放電するための代表的な高レベル方法1500Cを示す。代表的な方法1500Cを含む改善は、以下の段落で詳細に記載される。 FIG. 15C shows an exemplary high level method 1500C for discharging a set of cells of a battery. Improvements involving exemplary method 1500C are described in detail in the following paragraphs.
いくつかの実施形態では、代表的な方法1500Cは改善1530を含んでもよく、バッテリ内のセルのセットは、多重化スイッチ装置(例えば、前述の多重化スイッチ装置112)を使用して、少なくとも1つの基準に基づいて選択的に放電してもよい。更に、多重化スイッチ装置は、少なくとも1つのバッテリ(例えば、120~150)のセルまたはモジュール(例えば、121A~C)の2つ以上のセット(例えば、121、122、123、および/または124)に接続されてもよい。各セルのセットは、1つまたは複数のセルを含んでもよい。 In some embodiments, the exemplary method 1500C may include an improvement 1530, in which the set of cells in the battery is separated from at least one cell using a multiplexing switch device (e.g., the
いくつかの実施形態では、方法1500Cは、次いで、必要に応じて終了または繰り返してもよい。 In some embodiments, method 1500C may then terminate or repeat as desired.
図4Dは、バッテリのセルのセットを放電するための代表的な高レベル方法1500Dを示す。代表的な方法1500Dを含む改善は、以下の段落で詳細に記載される。 FIG. 4D shows an exemplary high level method 1500D for discharging a set of cells of a battery. Improvements involving exemplary method 1500D are described in detail in the following paragraphs.
いくつかの実施形態では、代表的な方法1500Dは、任意に改善410で開始してもよく、セルのセットをロードによって採用されるトポロジー内のロードに接続するために、多重化スイッチ装置を使用してもよい。バッテリ(例えば、120~150)は、セルまたはモジュール(例えば、121A~C)のセット(例えば、121、122、123、および/または124)を含んでもよく、各セルのセットは、1つまたは複数のセルを含んでもよい。例えば、多重化スイッチ装置は、セルをロードに直列、並列、直列/並列、またはロードの電圧および電流の要求、または所与の用途またはユーザの要望を満たすために必要な任意の他の好適なトポロジーで接続しもてよい。 In some embodiments, the exemplary method 1500D may optionally begin with
いくつかの実施形態では、代表的な方法1500Dは、次いで任意選択で改善1520に進んでもよく、ここで、少なくとも1つの基準、および/または基準のいくつかのパラメータが、バッテリまたは複数のバッテリのセルに関連して測定またはそうでなければ監視されてもよく、基準が満たされているかどうかを判断するために、すでに放電しているか、または少なくとも1つのセルまたはセルのセットを放電している。 In some embodiments, the exemplary method 1500D may then optionally proceed to
例えば、センサ(例えば、図1Aの116)は、ロードと、ロードに現在接続されているセルのセットとの間の接続で送達された放電容量を測定することができ、またはセルのセットの電流を測定してもよい。代替的または追加的に、センサは、以下のいずれかを測定してもよい:接続の持続時間(いくつかの実施形態では少なくとも0.01秒であってもよい)、ロードとセルのセットとの間のいくつかの接続にわたって蓄積された容量、セルのセットおよび/または少なくとも1つの他のセルのセットの電圧、セルのセットのカットオフ放電電圧、セルのセットの電力、セルのセットのエネルギー、セルのセットの充電または放電サイクルの数、セルのセットのインピーダンス、接続中のセルのセットの電圧減衰率、セルのセットの温度、およびセルのセットの圧力。 For example, a sensor (e.g., 116 in FIG. 1A) can measure the discharge capacity delivered on a connection between a load and a set of cells currently connected to the load, or the current in a set of cells. may be measured. Alternatively or additionally, the sensor may measure any of the following: the duration of the connection (which may be at least 0.01 seconds in some embodiments), the load and the set of cells; the capacitance accumulated over several connections between, the voltage of the set of cells and/or at least one other set of cells, the cut-off discharge voltage of the set of cells, the power of the set of cells, the energy of the set of cells , the number of charge or discharge cycles of the set of cells, the impedance of the set of cells, the voltage decay rate of the set of cells during connection, the temperature of the set of cells, and the pressure of the set of cells.
いくつかの実施形態では、基準は、セルまたはセルのセットを放電する順序を含んでもよい。代替的または追加的に、基準は、パラメータとして上記のいずれかを有する関数の値であってもよい。いくつかの実施形態によれば、基準は、セルのセットの以前の放電サイクルの数を含まない。 In some embodiments, the criteria may include an order for discharging a cell or set of cells. Alternatively or additionally, the criterion may be the value of a function having any of the above as parameters. According to some embodiments, the criteria does not include the number of previous discharge cycles of the set of cells.
いくつかの実施形態では、基準が満たされている場合、代表的な方法1500Dは次いで改善1530に進んでもよく、バッテリ内の次のセルのセットは、多重化スイッチ装置(例えば、前述の多重化スイッチ装置112)を使用して基準に基づいて選択的に放電されてもよい。上記)。例えば、現在放電しているセルのセットが必要な基準を満たしている場合、本明細書中に記載されているように、そのセルのセットを切断し、次のセルのセットを接続してもよい(次のセットは前述のものと同じかまたは異なる基準によって決定されてもよい)。あるいは、基準が満たされていない場合は、引き続き監視されてもよい。いくつかの実施形態によれば、単一のセルとロードとの間の接続は、持続時間が少なくとも0.01秒であってもよい。発明者は、0.01秒よりも短い接続持続時間は驚くべきことに0.01秒よりも多くのノイズを生成し、セルの電気化学が無視できない何かを達成することができない可能性があることを認識し、理解した。 In some embodiments, if the criteria are met, the exemplary method 1500D may then proceed to refinement 1530, in which the next set of cells in the battery is configured using a multiplexing switch device (e.g., the aforementioned multiplexing The switching device 112) may be used to selectively discharge based on criteria. the above). For example, if the currently discharging set of cells meets the required criteria, you can disconnect that set of cells and connect the next set of cells as described herein. (the next set may be determined by the same or different criteria as those mentioned above). Alternatively, if criteria are not met, continued monitoring may occur. According to some embodiments, the connection between a single cell and a load may be at least 0.01 seconds in duration. The inventors believe that connection durations shorter than 0.01 seconds surprisingly produce more noise than 0.01 seconds, and the electrochemistry of the cell may not be able to achieve anything significant. I realized and understood something.
いくつかの実施形態では、代表的な方法1500Dは次いで、任意に改善1531に進み、他のセルのセットが放電していない間に、放電のために単一のセルのセットを分離するために、多重化スイッチ装置を使用してもよい。例えば、セル121Bが放電されるべきであるとコントローラ(例えば、図1Aの114)が決定する場合、セル121Aおよび121Cが放電されていない間、多重化スイッチ装置に、セル121Bを放電のために分離させてもよい。 In some embodiments, the exemplary method 1500D then optionally proceeds to refine 1531 to isolate a single set of cells for discharge while other sets of cells are not discharging. , multiplexing switch equipment may be used. For example, if a controller (e.g., 114 in FIG. 1A) determines that
いくつかの実施形態では、代表的な方法1500Dは次いで、任意に改善1532、1534、1536、および/または1538のいずれかに進んでもよい。例えば、方法1500Dが改善1531から改善1532に進む場合、セルのセットを充電する第2の速度よりも少なくとも2倍高い第1の速度でセルのセットを選択的に放電するために、多重化スイッチ装置を使用してもよい。 In some embodiments, the exemplary method 1500D may then optionally proceed to any of
代替的または追加的に、方法1500Dは、改善1531から改善1534に進んでもよく、ここで、セルのセットを充電する第2の速度よりも少なくとも4倍高い第1の速度でセルのセットを選択的に放電するために、多重化スイッチ装置を使用してもよい。 Alternatively or additionally, method 1500D may proceed from
代替的または追加的に、方法1500Dは改善1531から改善1536に進んでもよく、セルのセットの放電は、前述の多重化スイッチ装置を使用することなどによって、時間的に重複していてもよい。 Alternatively or additionally, method 1500D may proceed from
代替的または追加的に、方法1500Dは、改善1531から改善1538に進んでもよく、異なるセット間の切り替え中にセルのセットから電力を供給し続けてもよい。 Alternatively or additionally, method 1500D may proceed from
改善1531、1532、1534、1536、および/または1538のいずれも、それらは図4Bでは別個の改善として表されているが、実際には改善1530に統合されていてもよいと解されるべきである。 It should be understood that any of
いくつかの実施形態では、代表的な方法1500Dは次いで、任意に改善440に進み、前述のように、セルのセットを並列に充電するために、多重化スイッチ装置を使用してもよい。 In some embodiments, the exemplary method 1500D may then optionally proceed to refinement 440 and use a multiplexing switch device to charge the set of cells in parallel, as described above.
いくつかの実施形態によれば、バッテリ、バッテリパック、またはシステム内のすべてのセルのセットを含む、任意の数のセルのセットを同時に放電してもよい。例えば、4つのセルを備えたバッテリの場合、4つのセルすべて(或いは2つまたは3つだけ)を同時に放電して、ロードまたは用途にとって望ましく、セルにとって可能な放電電流を生成してもよい。更に、いくつかの実施形態では、放電または充電されるセルまたはセットの数は、放電のための放電電流などの少なくとも1つの基準に基づいて選択される。いくらかの実施形態では、セルまたはセルのセットの数が放電または充電される順序は、放電のための放電電流などの少なくとも1つの基準に基づいて選択される。いくつかの実施形態では、放電または充電されるセルまたはセットの数と、そうする順序の両方が、放電のための放電電流などの少なくとも1つの基準に基づいて選択される。 According to some embodiments, any number of sets of cells may be discharged simultaneously, including all sets of cells in a battery, battery pack, or system. For example, for a battery with four cells, all four cells (or just two or three) may be discharged simultaneously to produce the discharge current that is desirable for the load or application and possible for the cells. Further, in some embodiments, the number of cells or sets to be discharged or charged is selected based on at least one criterion, such as the discharge current for discharge. In some embodiments, the order in which the number of cells or sets of cells are discharged or charged is selected based on at least one criterion, such as the discharge current for the discharge. In some embodiments, both the number of cells or sets to be discharged or charged and the order in which they do so are selected based on at least one criterion, such as the discharge current for the discharge.
いくつかの実施形態では、方法1500Dは、次いで、必要に応じて終了または繰り返してもよい。例えば、方法1500Dは、任意の好適な数のサイクルを通して繰り返してもよい。いくつかの実施形態によれば、各サイクルまたはいくつかのサイクルについて、各セルは、任意のセルが2回放電される前に1回放電されてもよい。 In some embodiments, method 1500D may then terminate or repeat as desired. For example, method 1500D may be repeated through any suitable number of cycles. According to some embodiments, for each cycle or number of cycles, each cell may be discharged once before any cell is discharged twice.
図16は、バッテリパックを制御するための代表的な高レベル方法1600を示す。代表的な方法1600を構成する改善は、以下の段落で詳細に記載される。 FIG. 16 shows an exemplary high-level method 1600 for controlling a battery pack. The improvements that make up the exemplary method 1600 are described in detail in the following paragraphs.
いくつかの実施形態では、代表的な方法1600は改善1630を含んでもよく、そこでスイッチは、統合切り替え制御システムを順番に使用して、バッテリパック(例えば、210)内のセルまたはモジュール(例えば、121A~C)のセット(例えば、121、122、123、および/または124)を放電するために(例えば、上記の114などのコントローラによって)制御されてもよい。更に、多重化スイッチ装置は、1つまたは複数のバッテリの2つ以上のセルのセットに接続されてもよい。各セルのセットは、1つまたは複数のセルを含んでもよい。 In some embodiments, the exemplary method 1600 may include an
いくつかの実施形態では、方法1600は次いで、必要に応じて終了または繰り返してもよい。 In some embodiments, method 1600 may then terminate or repeat as desired.
図17Aは、バッテリパックを制御するための代表的な高レベル方法1700Aを示す。代表的な方法1700Aを含む改善は、以下の段落で詳細に記載される。 FIG. 17A shows an exemplary high-level method 1700A for controlling a battery pack. Improvements, including exemplary method 1700A, are described in detail in the following paragraphs.
いくつかの実施形態では、代表的な方法は改善1730Aを含んでもよく、ここで、スイッチは、統合切り替え制御システムを使用した基準に基づいて、バッテリパック(例えば、210)内のセルまたはモジュール(例えば、121A~C)のセット(例えば、121、122、123、および/または124)を放電するために(例えば、上記の114などのコントローラによって)制御されてもよい。更に、多重化スイッチ装置は、1つまたは複数のバッテリの2つ以上のセルのセットに接続されてもよい。各セルのセットは、1つまたは複数のセルを含んでもよい。いくつかの実施形態では、基準は、以下のいずれかを含んでもよい:ロードと現在ロードに接続されているセルのセットとの間の接続の持続時間、接続における送達された放電容量、および1つ以上のパラメータを有する関数の値。 In some embodiments, the exemplary method may include an improvement 1730A, where the switch selects a cell or module (e.g., 210) within a battery pack (e.g., 210) based on criteria using an integrated switching control system. For example, the set (121A-C) (eg, 121, 122, 123, and/or 124) may be controlled (eg, by a controller such as 114 above) to discharge the set (eg, 121, 122, 123, and/or 124). Additionally, a multiplexing switch device may be connected to a set of two or more cells of one or more batteries. Each set of cells may include one or more cells. In some embodiments, the criteria may include any of the following: the duration of the connection between the load and the set of cells currently connected to the load, the delivered discharge capacity in the connection, and 1 Value of a function with more than one parameter.
いくつかの実施形態では、方法1700Aは、次いで、必要に応じて終了または繰り返してもよい。 In some embodiments, method 1700A may then terminate or repeat as desired.
図17Cは、バッテリのセルのストリングを放電するための代表的な高レベル方法1700Cを示す。代表的な方法1700Cを構成する改善は、以下の段落で詳細に記載される。 FIG. 17C shows an exemplary
いくつかの実施形態では、代表的な方法1700Cは改善1702を含んでもよく、バッテリが起動された後、高電圧配電ユニット(HVPDU)が電流制限モードに切り替わってもよい(例えば、事前充電モード中)。HVPDUは、車両などのロード全体にバッテリ電力を分配する場合がある。いくつかの実施形態では、方法1700Cは次いで改善1704に進んでもよく、電流が閾値と比較される(例えば、電流が少なくとも閾値と同じくらい低いかどうかを判断するために)。電流が閾値を満たす場合(例えば、電流が十分に低い場合)、方法1700Cは改善1706に進んでもよく、そこで、すべてのソリッドステートリレー(SSR)がオフになってもよく(例えば、実行モードで)、HVPDUがフル電流に切り替わる可能性がある。電流が閾値を満足しない場合(例えば、電流が高すぎる場合)、方法1700Cは改善1702に戻ってもよい。 In some embodiments, the
いくつかの実施形態では、方法1700Cは、改善1706から改善1708に進んでもよく、そこでは、すべてのソリッドステートリレーがオン(例えば、充電モード)であってもよい。いくつかの実施形態では、方法1700Cは改善1710に進んでもよく、ここで、すべてのソリッドステートリレーがオフ(例えば、充電完了モード)であってもよい。いくつかの実施形態では、方法1700Cは改善1712に進んでもよく、システムが放電モードに変化した後、SSR1がオンでSSR9がオフの状態で、ストリング1が放電される。例えば、ストリング1は、セル当たり4.35ボルトから4ボルトまで放電してもよい。いくつかの実施形態では、ストリング1の電圧は、4.35ボルトの72個のセル(合計313.2ボルト)から4ボルトの72個のセル(合計288ボルト)まで低下してもよいが、ストリング2は、依然として合計313.2ボルトであってもよい。いくつかの実施形態では、ストリング1がまだ接続されている間にストリング2が共通バスに接続される場合、ストリング2は、ストリング間の電圧差に比例する電流でストリング1に放電してもよい。 In some embodiments,
いくつかの実施形態では、方法1700Cは改善1714に進んでもよく、そこでシステムは、SSR1およびSSR2の両方をオンにした状態で、ストリング1からストリング2に移行してもよい。いくつかの実施形態では、方法1700Cは改善1716に進み、SSR1をオフ、SSR2をオンにして、ストリング2を放電してもよい。いくつかの実施形態では、方法1700Cは改善1718に進んでもよく、システムは、SSR2およびSSR3の両方をオンにして、ストリング2からストリング3に移行してもよい。いくつかの実施形態では、方法1700Cは改善1720に進んでもよく、その前にストリング3~8を放電するためにこのパターンに従ってもよく、ストリング9は、SSR8をオフにしてSSR9をオンにして放電してもよい。いくつかの実施形態では、方法1700Cは改善1722に進んでもよく、そこでシステムは放電が完了したかどうかをチェックしてもよい。放電が完了すると、方法1700Cは改善1722から改善1724に進み、SSR9をオフにして、次いで改善1702に進み、システムは充電モードに変わる。放電が完了していない場合、方法1700Cは改善1726に進み、システムはストリング9からストリング1に移行し、SSR9とSSR1の両方がオンになり、次いで改善1712に戻る。 In some embodiments,
いくつかの実施形態では、方法1700Cは、次いで、必要に応じて終了または繰り返してもよい。 In some embodiments,
例えば、バッテリパック内の9つの並列ストリングを並列に充電してもよい。充電が終了すると、並列ストリングを共通の高電圧バスから切断してもよい。放電中、1つの並列ストリング(例えば、ストリング1)をバスに接続し、約30秒間パルス放電してもよい。パルス放電に続いて、第2の並列ストリング(例えば、ストリング2)を共通の高電圧バスに接続してもよく、第1のストリングが切断され、第2のストリングがそのパルス放電を完了してもよい。この方法は、放電段階まで何度も繰り返してもよい。 For example, nine parallel strings within a battery pack may be charged in parallel. Once charging is complete, the parallel strings may be disconnected from the common high voltage bus. During discharge, one parallel string (eg, string 1) may be connected to the bus and pulsed for about 30 seconds. Following the pulsed discharge, a second parallel string (e.g., string 2) may be connected to a common high voltage bus, and the first string is disconnected and the second string completes its pulsed discharge. Good too. This method may be repeated many times up to the discharge stage.
いくつかの実施形態において、図2A、図2B、図2C、図3A、図3C、図4A、図5A、図6A、図7A、図8A、図9A、図10A、図11A、図15A~図15D、図17Aおよび図17Cを参照して前述した方法は、多数の方法のいずれかにおいて、変化してもよいと解されるべきである。例えば、いくつかの実施形態では、前述した方法の工程は、記載されているものとは異なる順序で実行されてもよく、方法は、前述されていない更なる工程を含んでもよく、および/または方法は、前述した全ての工程を含まなくてもよい。本発明者らは、本明細書中で提供される方法および技術が、リチウムの形態および表面インピーダンス、セルの厚さ、セル抵抗、および/または同様のものを改善するために使用されてもよいことを理解している。 In some embodiments, FIGS. 2A, 2B, 2C, 3A, 3C, 4A, 5A, 6A, 7A, 8A, 9A, 10A, 11A, 15A-FIG. It should be understood that the method described above with reference to FIGS. 15D, 17A and 17C may be varied in any of a number of ways. For example, in some embodiments, the steps of the methods described above may be performed in a different order than described, the methods may include additional steps not described above, and/or The method may not include all of the steps described above. We believe that the methods and techniques provided herein may be used to improve lithium morphology and surface impedance, cell thickness, cell resistance, and/or the like. I understand that.
いくつかの態様は、コンピューティングデバイスを使用して実施されてもよいことが、前述の記載から更に理解されるべきである。図14には、システム1400における汎用コンピューティングデバイスを、コンピュータ1401の形態で示しており、これは、前述のコントローラのいずれか(例えば、114)などの、いくらかの態様を実施するために使用されてもよい。 It should be further understood from the foregoing description that some aspects may be implemented using a computing device. FIG. 14 shows a general purpose computing device in
コンピュータ1401において、構成要素は、これらに限定されないが、処理ユニット820、システムメモリ830、およびシステムメモリを含む様々なシステム構成要素を処理ユニット820に結合させるシステムバス821を含む。システムバス821は、メモリバスまたはメモリコントローラ、周辺バス、および様々なバスアーキテクチャのいずれかを使用するローカルバスを含むいくつかのタイプのバス構造体のいずれであってもよい。限定ではなく例として、そのようなアーキテクチャには、Industry Standard Architecture(ISA)バス、Micro Channel Architecture(MCA)バス、Enhanced ISA(EISA)バス、Video Electronics Standards Association(VESA)ローカルバス、およびMezzanine バスとしても知られるPeripheral Component Interconnect(PCI)バスが挙げられる。 In
コンピュータ1401は、典型的には、様々なコンピュータ可読媒体を含む。コンピュータ可読媒体には、コンピュータ1401によってアクセス可能な任意の利用可能な媒体であってもよく、揮発性媒体および不揮発性媒体、取り外し可能媒体および非取り外し可能媒体の両方が挙げられる。限定ではなく例として、コンピュータ可読媒体は、コンピュータ記憶媒体およびコンピュータ通信媒体を備えてもよい。コンピュータ記憶媒体には、コンピュータ可読命令、データ構造、プログラムモジュールまたは他のデータなどの情報を保存するための任意の方法または技術で実行される揮発性および不揮発性、取り外し可能および非取り出し可能な媒体の両方が挙げられる。コンピュータ記憶媒体には、それらに限定されないが、RAM、ROM、EEPROM、フラッシュメモリまたは他のメモリ技術、CD‐ROM、デジタル多用途ディスク(DVD)または他の光ディスク記憶装置、磁気カセット、磁気テープ、磁気ディスク記憶装置または他の磁気記憶装置、または所望の情報を保存するために使用することができ、コンピュータ1401によってアクセス可能な他の任意の1以上の媒体が挙げられる。通信媒体は、典型的には、コンピュータ可読命令、データ構造、プログラムモジュールまたは他のデータを、搬送波または他の搬送機構などの変調データ信号で具体化し、任意の情報配信媒体を含む。用語「変調データ信号(modulated data signal)」とは、信号内に情報をエンコードするような方法で、その特性の1つ以上が設定または変更された信号を意味する。限定ではなく例として、通信媒体には、有線ネットワークまたは直接有線接続などの有線媒体、および音響、RF、赤外線などの無線媒体が挙げられる。また、上記のいずれかの組み合わせも、コンピュータ可読媒体の範囲に含まれるものとする。
システムメモリ830は、リードオンリーメモリ(ROM)831およびランダムアクセスメモリ(RAM)832などの揮発性および/または不揮発性メモリの形態のコンピュータ記憶媒体を含む。起動時など、コンピュータ1401内の要素間で情報を転送するのに役立つ基本ルーチンを含む基本入出力システム833(basic input/output system; BIOS)は、通常、ROM831に格納される。RAM832は、典型的には、処理ユニット820に直ちにアクセス可能であり、および/または処理ユニット820によって現在操作されているデータおよび/またはプログラムモジュールを含む。限定ではなく例として、図8は、オペレーティングシステム834、アプリケーションプログラム835、他のプログラムモジュール839、およびプログラムデータ837を示す。 System memory 830 includes computer storage media in the form of volatile and/or nonvolatile memory, such as read only memory (ROM) 831 and random access memory (RAM) 832. A basic input/output system (BIOS), containing the basic routines that help transfer information between elements within
コンピュータ1401は、他の取り外し可能/取り外し不可能な、揮発性/不揮発性のコンピュータ記憶媒体を含んでもよい。例示としてのみ、図14は、取り外し不可能な不揮発性の磁気媒体から読み出すか、またはそこへ書き込むハードディスクドライブ841、取り外し可能な不揮発性の磁気ディスク852から読み出すか、またはそこへ書き込む磁気ディスクドライブ851、およびCD‐ROMまたは他の光学媒体などの取り外し可能な不揮発性の光ディスク859から読み出すか、またはそこへ書き込む光ディスクドライブ855を示す。例示的なコンピューティングシステムで使用できる他の取り外し可能/取り外し不可能、揮発性/不揮発性のコンピュータ記憶媒体には、これらに限定されないが、磁気テープカセット、フラッシュメモリカード、デジタル多用途ディスク、デジタルビデオテープ、ソリッドステートRAM、ソリッドステートROMなどが挙げられる。ハードディスクドライブ841は、典型的には、インターフェイス840などの非リムーバブルメモリインターフェイスによってシステムバス821に接続され、磁気ディスクドライブ851および光ディスクドライブ855は、典型的には、インターフェイス850などのリムーバブルメモリインターフェイスによってシステムバス821に接続される。
前述し、図14に示したドライブおよびその関連するコンピュータ記憶媒体は、コンピュータ1401のためのコンピュータ可読命令、データ構造、プログラムモジュールおよび他のデータを保存する。図14では、例えば、ハードディスクドライブ841は、オペレーティングシステム844、アプリケーションプログラム845、他のプログラムモジュール849、およびプログラムデータ847を記憶するものとして示されている。これらの構成要素は、オペレーティングシステム834、アプリケーションプログラム835、他のプログラムモジュール539、およびプログラムデータ837と同じであっても異なっていてもよいことに留意されたい。オペレーティングシステム844、アプリケーションプログラム845、他のプログラムモジュール849、およびプログラムデータ847は、最低限、異なるコピーであることを説明するために、ここでは異なる番号を付与している。ユーザは、キーボード892や、一般にマウス、トラックボール、タッチパッドを指すポインティングデバイス891などの入力デバイスを介して、コンピュータ1401にコマンドや情報を入力してもよい。他の入力装置(図示せず)としては、マイク、ジョイスティック、ゲームパッド、衛星放送受信機、スキャナなどを挙げることができる。これらおよび他の入力装置は、多くの場合、システムバスに結合されたユーザ入力インターフェイス590を介して処理ユニット820に接続されるが、他のインターフェイス、およびパラレルポート、ゲームポート、またはユニバーサルシリアルバス(USB)などのバス構造によって接続されてもよい。モニタ891または他のタイプの表示デバイスも、ビデオ・インターフェイス890などのインターフェイスを介してシステムバス821に接続される。モニタに加えて、コンピュータは、スピーカ897やプリンタ899などの他の周辺出力デバイスを含んでもよく、これらは出力周辺インターフェイス895を介して接続されてもよい。 The drives and their associated computer storage media described above and illustrated in FIG. 14 store computer readable instructions, data structures, program modules, and other data for
コンピュータ1401は、リモートコンピュータ880などの1つ以上のリモートコンピュータへの論理的接続を使用して、ネットワーク化された環境で改善してもよい。リモートコンピュータ880は、パーソナルコンピュータ、サーバ、ルータ、ネットワークPC、ピアデバイス、または他の一般的なネットワークノードであってもよく、典型的にはコンピュータ1401に関連して前述した要素の多くまたは全てを含むが、図8ではメモリストレージデバイス881のみが図示されている。図8に示された論理的接続は、ローカルエリアネットワーク(LAN)871およびワイドエリアネットワーク(WAN)873を含むが、他のネットワークも含んでもよい。このようなネットワーク環境は、オフィス、企業規模のコンピュータネットワーク、イントラネット、インターネットなどでは当たり前のように存在する。
LANネットワーク環境で使用される場合、コンピュータ1401は、ネットワークインターフェイスまたはアダプタ870を介してLAN871に接続される。WANネットワーキング環境で使用される場合、コンピュータ1401は、典型的には、インターネットなどのWAN873を介して通信を確立するためのモデム872または他の手段を含む。内部または外部であってもよいモデム872は、ユーザ入力インターフェイス890、または他の好適な機構を介してシステムバス821に接続されてもよい。ネットワーク環境において、コンピュータ1401に関連して示されたプログラムモジュール、またはその一部は、リモートメモリ記憶装置に格納されてもよい。限定ではなく例として、図14は、メモリデバイス881に常駐するものとしてリモートアプリケーションプログラム885を示している。示されたネットワーク接続は例示的なものであり、コンピュータ間の通信リンクを確立する他の手段が使用されてもよいと解される。 When used in a LAN network environment,
実施形態は、1つ以上のコンピュータまたは他のプロセッサで実行されると、前述した様々な実施形態を実施する方法を実行する1つ以上のプログラムをエンコードしたコンピュータ可読記憶媒体(または複数のコンピュータ可読媒体)(例えば、コンピュータメモリ、1つ以上のフロッピーディスク、コンパクトディスク(CD)、光ディスク、デジタルビデオディスク(DVD)、磁気テープ、フラッシュメモリ、Field Programmable Gate Arrayまたは他の半導体デバイスにおける回路構成、または他の有形コンピュータ記憶媒体)として具体化されてもよい。前述の実施例から明らかなように、コンピュータ可読記憶媒体は、コンピュータ実行可能命令を非一過性の形態で(in a non-transitory form)提供するのに十分な時間にわたって、情報を保持してもよい。このようなコンピュータ可読記憶媒体は、そこに記憶されたプログラムを1つ以上の異なるコンピュータまたは他のプロセッサにロードして(または読み込んで)、前述した本発明の様々な態様を実施できるように、搬送可能であってもよい。本明細書中で使用される、用語「コンピュータ可読記憶媒体(computer-readable storage medium)」は、コンピュータが情報を読み取ることができる有形の機械、機構、またはデバイスのみを包含する。代替的または追加的に、いくつかの実施形態は、コンピュータ可読記憶媒体以外のコンピュータ可読媒体として具体化されてもよい。コンピュータ可読記憶媒体でないコンピュータ可読媒体の例としては、伝播信号のような一過性の媒体が挙げられる。 Embodiments may include a computer-readable storage medium (or a plurality of computer-readable storage media) encoding one or more programs that, when executed on one or more computers or other processors, perform methods of implementing the various embodiments described above. media) (e.g., computer memory, one or more floppy disks, compact disks (CDs), optical disks, digital video disks (DVDs), magnetic tape, flash memory, circuitry in a Field Programmable Gate Array or other semiconductor device, or may also be embodied as other tangible computer storage media). As is apparent from the foregoing embodiments, the computer-readable storage medium retains information for a sufficient period of time to provide computer-executable instructions in a non-transitory form. Good too. Such a computer-readable storage medium is such that a program stored thereon can be loaded onto one or more different computers or other processors to implement the various aspects of the invention described above. It may also be transportable. As used herein, the term "computer-readable storage medium" encompasses only a tangible machine, mechanism, or device from which information can be read by a computer. Alternatively or additionally, some embodiments may be embodied in computer-readable media other than computer-readable storage media. Examples of computer-readable media that are not computer-readable storage media include ephemeral media such as propagated signals.
名称「Multiplexed Charge Discharge Battery management System」で、米国特許出願公開第2020/0044460号明細書として公開された、2019年7月31日に出願された、米国特許出願第16/527,903号は、すべての目的のために、その全体が参照により本明細書中に援用される。 U.S. Patent Application No. 16/527,903, filed on July 31, 2019, entitled "Multiplexed Charge Discharge Battery Management System" and published as U.S. Patent Application Publication No. 2020/0044460, Incorporated herein by reference in its entirety for all purposes.
以下の文献は、すべての目的のために、その全体が参照により本明細書中に援用される。
発明の名称「Lithium Anodes for Electrochemical Cells」の、2001年5月23日に出願された米国特許第7,247,408号明細書;
発明の名称「Stabilized Anode for Lithium-Polymer Batteries」の、1996年3月19日に出願された米国特許第5,648,187号明細書;
発明の名称「Stabilized Anode for lithium-Polymer Batteries」の、1997年7月7日に出願された米国特許第5,961,672号明細書;
発明の名称「Novel Composite Cathodes, Electrochemical Cells Comprising Novel Composite Cathodes, and Processes for Fabricating Same」の、1997年5月21日に出願された米国特許第5,919,587号明細書;
発明の名称「Rechargeable Lithium/Water, Lithium/Air Batteries」の、米国特許出願公開第2007/0221265号明細書として公開され、2006年4月6日に出願された米国特許出願第11/400,781号;
発明の名称「Swelling Inhibition in Lithium Batteries」の、国際公開第2009/017726号として公開された、2008年7月29日出願の国際出願番号PCT/US2008/009158;
発明の名称「Separation of Electrolytes」の、米国特許出願公開第2010/0129699号明細書として公開された、2009年5月26日出願の米国特許出願第12/312,764号;
発明の名称「Primer for Battery Electrode」の、国際公開第2009/054987号として公開された、2008年10月23日出願の国際出願番号PCT/US2008/012042;
発明の名称「Protective Circuit for Energy-Storage Device」の、米国特許出願公開第2009/0200986号明細書として公開された、2008年2月8日出願の米国特許出願第12/069,335号;
発明の名称「Electrode Protection in both Aqueous and Non-Aqueous Electrochemical Cells, including Rechargeable Lithium Batteries」の、米国特許出願公開第2007/0224502号明細書として公開された、2006年4月6日出願の米国特許出願第11/400,025号;
発明の名称「Lithium Alloy/Sulfur Batteries」の、米国特許出願公開第2008/0318128号明細書として公開された、2007年6月22日出願の米国特許出願第11/821,576号;
発明の名称「Lithium Sulfur Rechargeable Battery Fuel Gauge Systems and Methods」の、米国特許出願公開第2006/0238203号明細書として公開された、2005年4月20日出願の米国特許出願第11/111,262号;
発明の名称「Co-Flash Evaporation of Polymerizable Monomers and Non-Polymerizable Carrier Solvent/Salt Mixtures/Solutions」の、米国特許出願公開第2008/0187663号明細書として公開された、2007年3月23日出願の米国特許出願第11/728,197号;
発明の名称「Electrolyte Additives for Lithium Batteries and Related Methods」の、国際公開第2009/0152071号として公開された、2008年9月19日出願の国際出願番号PCT/US2008/010894;
発明の名称「Porous Electrodes and Associated Methods」の、国際公開第2009/089018号として公開された、2009年1月8日出願の国際出願番号PCT/US2009/000090;
発明の名称「Application of Force In Electrochemical Cells」の、米国特許出願公開第2010/0035128号明細書として公開された、2009年8月4日出願の米国特許出願第12/535,328号;
発明の名称「Cathode for Lithium Battery」の、2010年3月19日出願の米国特許出願第12/727,862号;
発明の名称「Hermetic Sample Holder and Method for Performing Microanalysis Under Controlled Atmosphere Environment」の、2009年5月22日出願の米国特許出願第12/471,095号;
(発明の名称「Release System for Electrochemical Cells」の、2009年8月24日出願の仮特許出願第61/236,322号から優先権を主張する)発明の名称「Release System for Electrochemical Cells」の、2010年8月24日出願の米国特許出願第12/862,513号;
発明の名称「Electrically Non-Conductive Materials for Electrochemical Cells」の、2010年8月24日出願の米国仮特許出願第61/376,554号;
発明の名称「Electrochemical Cell」の、米国特許出願公開第2011/0177398号明細書として公開された、2010年8月24日出願の米国特許出願第12/862,528号;
発明の名称「Electrochemical Cells Comprising Porous Structures Comprising Sulfur」の、米国特許出願公開第2011/0070494号明細書として公開された、2010年8月24日出願の米国特許出願第12/862,563号[代理人整理番号:S1583.70029US00];
発明の名称「Electrochemical Cells Comprising Porous Structures Comprising Sulfur」の、米国特許出願公開第2011/0070491号明細書として公開された、2010年8月24日出願の米国特許出願第12/862,551号[代理人整理番号:S1583.70030US00];
発明の名称「Electrochemical Cells Comprising Porous Structures Comprising Sulfur」の、米国特許出願公開第2011/0059361号明細書として公開された、2010年8月24日出願の米国特許出願第12/862,576号[代理人整理番号:S1583.70031US00];
発明の名称「Electrochemical Cells Comprising Porous Structures Comprising Sulfur」の、米国特許出願公開第2011/0076560号明細書として公開された、2010年8月24日出願の米国特許出願第12/862,581号[代理人整理番号:S1583.70024US01];
発明の名称「Low Electrolyte Electrochemical Cells」の、2010年9月22日出願の米国特許出願第61/385,343号[代理人整理番号:S1583.70033US00];および
発明の名称「Porous Structures for Energy Storage Devices」の、2011年2月23日出願の米国特許出願第13/033,419号[S1583.70034US00]。本明細書中に開示された他の全ての特許および特許出願もまた、全ての目的のために、その全体が参照により本明細書中に援用される。 The following documents are incorporated herein by reference in their entirety for all purposes:
U.S. Patent No. 7,247,408, filed on May 23, 2001, entitled "Lithium Anodes for Electrochemical Cells";
U.S. Patent No. 5,648,187 filed on March 19, 1996, entitled "Stabilized Anode for Lithium-Polymer Batteries";
U.S. Patent No. 5,961,672 filed on July 7, 1997, entitled "Stabilized Anode for lithium-Polymer Batteries";
U.S. Patent No. 5,919,587, filed May 21, 1997, entitled "Novel Composite Cathodes, Electrochemical Cells Comprising Novel Composite Cathodes, and Processes for Fabricating Same";
U.S. Patent Application No. 11/400,781, published as U.S. Patent Application Publication No. 2007/0221265 and filed on April 6, 2006, with the title "Rechargeable Lithium/Water, Lithium/Air Batteries"issue;
International Application No. PCT/US2008/009158 filed on July 29, 2008, published as International Publication No. 2009/017726 with the title of the invention “Swelling Inhibition in Lithium Batteries”;
U.S. Patent Application No. 12/312,764 filed May 26, 2009, entitled "Separation of Electrolytes," published as U.S. Patent Application Publication No. 2010/0129699;
International Application No. PCT/US2008/012042 filed on October 23, 2008, published as International Publication No. 2009/054987 with the title of the invention “Primer for Battery Electrode”;
U.S. Patent Application No. 12/069,335 filed February 8, 2008, published as U.S. Patent Application Publication No. 2009/0200986, entitled "Protective Circuit for Energy-Storage Device";
U.S. patent application filed on April 6, 2006, titled "Electrode Protection in both Aqueous and Non-Aqueous Electrochemical Cells, including Rechargeable Lithium Batteries," published as U.S. Patent Application Publication No. 2007/0224502. No. 11/400,025;
U.S. Patent Application No. 11/821,576, filed June 22, 2007, published as U.S. Patent Application Publication No. 2008/0318128, entitled "Lithium Alloy/Sulfur Batteries";
U.S. Patent Application No. 11/111,262 filed April 20, 2005, published as U.S. Patent Application Publication No. 2006/0238203, entitled "Lithium Sulfur Rechargeable Battery Fuel Gauge Systems and Methods";
U.S. Patent Application Publication No. 2008/0187663, filed on March 23, 2007, with the title of the invention “Co-Flash Evaporation of Polymerizable Monomers and Non-Polymerizable Carrier Solvent/Salt Mixtures/Solutions” Patent Application No. 11/728,197;
International Application No. PCT/US2008/010894 filed September 19, 2008, published as International Publication No. 2009/0152071 with the title of the invention “Electrolyte Additives for Lithium Batteries and Related Methods”;
International Application No. PCT/US2009/000090 filed on January 8, 2009, published as International Publication No. 2009/089018 with the title of the invention “Porous Electrodes and Associated Methods”;
U.S. Patent Application No. 12/535,328 filed August 4, 2009, published as U.S. Patent Application Publication No. 2010/0035128, entitled "Application of Force In Electrochemical Cells";
U.S. Patent Application No. 12/727,862, filed March 19, 2010, entitled "Cathode for Lithium Battery";
U.S. Patent Application No. 12/471,095, filed May 22, 2009, entitled "Hermetic Sample Holder and Method for Performing Microanalysis Under Controlled Atmosphere Environment";
(Claims priority from Provisional Patent Application No. 61/236,322 filed August 24, 2009, entitled "Release System for Electrochemical Cells") U.S. Patent Application No. 12/862,513, filed August 24, 2010;
U.S. Provisional Patent Application No. 61/376,554, filed August 24, 2010, entitled "Electrically Non-Conductive Materials for Electrochemical Cells";
U.S. Patent Application No. 12/862,528 filed August 24, 2010, published as U.S. Patent Application Publication No. 2011/0177398, entitled "Electrochemical Cell";
U.S. patent application Ser. Person reference number: S1583.70029US00];
U.S. patent application Ser. Person reference number: S1583.70030US00];
U.S. patent application Ser. Person reference number: S1583.70031US00];
U.S. patent application Ser. Person reference number: S1583.70024US01];
U.S. patent application Ser. 13/033,419 [S1583.70034US00], filed February 23, 2011. All other patents and patent applications disclosed herein are also incorporated by reference in their entirety for all purposes.
2021年2月5日に出願され、発明の名称「Charge/Discharge Management in Electrochemical Cells, Including Partial Cycle Control」の米国仮出願第63/146,512号、
2021年5月5日に出願され、発明の名称「Charge/Discharge Management in Electrochemical Cells, Including Partial Cycle Control」の米国仮出願第63/184,639号、および
2021年9月3日に出願され、発明の名称「Charge/Discharge Management in Electrochemical Cells, Including Partial Cycle Control」の米国仮出願第63/240,859号は、すべての目的のために参照によりその全体が本明細書中に援用される U.S. Provisional Application No. 63/146,512 filed on February 5, 2021 and entitled “Charge/Discharge Management in Electrochemical Cells, Including Partial Cycle Control”;
U.S. Provisional Application No. 63/184,639, filed on May 5, 2021 and entitled “Charge/Discharge Management in Electrochemical Cells, Including Partial Cycle Control,” and filed on September 3, 2021, U.S. Provisional Application No. 63/240,859, entitled ``Charge/Discharge Management in Electrochemical Cells, Including Partial Cycle Control,'' is incorporated herein by reference in its entirety for all purposes.
本発明のいくつかの態様が本明細書中に記載および例示されたが、当業者は、機能を実行し、および/または結果および/または前述の1つ以上の利点を得るための様々な他の手段および/または構造体を容易に予測し、そのような変形および/または改良はそれぞれ、本発明の範囲内であるとみなされる。より一般的に、当業者は、本明細書中に記載の全てのパラメータ、寸法、材料、および構成が例示であることを意味することを容易に理解し、実際のパラメータ、寸法、材料、および/または構成は、そのために本発明の教示が用いられる特定の用途に依存することを容易に理解する。当業者は、日常的な実験のみを用いて、本明細書中に記載された本発明のいくらかの態様に対する多くの同等物を認識し、または確認してもよい。従って、前述の態様は、例示のためだけに示され、かつ添付の特許請求の範囲およびその同等物の範囲内で、本発明は、具体的に説明され、特許請求の範囲に記載された以外の方法で実施してもよいと理解されるべきである。本発明は、本明細書中に記載された、個々の特徴、システム、物品、材料、および/または方法に関する。また、2つ以上のそのような特徴、システム、物品、材料、および/または方法の組み合わせは、そのような特徴、システム、物品、材料、および/または方法が互いに矛盾しない場合には、本発明の範囲内に包含されている。 While several aspects of the invention have been described and illustrated herein, those skilled in the art will appreciate that there are various other ways to perform the functions and/or obtain the results and/or advantages of one or more of the foregoing. Each such variation and/or improvement is considered to be within the scope of the invention. More generally, those skilled in the art will readily understand that all parameters, dimensions, materials, and configurations described herein are meant to be exemplary, and that actual parameters, dimensions, materials, and It will be readily appreciated that the configuration and/or configuration will depend on the particular application for which the teachings of the present invention are employed. Those skilled in the art will recognize, or be able to ascertain using no more than routine experimentation, many equivalents to the several embodiments of the invention described herein. Accordingly, the foregoing embodiments are set forth by way of example only, and within the scope of the appended claims and their equivalents, the invention may be construed as intended other than as specifically described and claimed. It should be understood that it may be carried out in the following manner. The present invention relates to each individual feature, system, article, material, and/or method described herein. Also, a combination of two or more such features, systems, articles, materials, and/or methods may be considered as an invention if such features, systems, articles, materials, and/or methods are not inconsistent with each other. is included within the scope of.
明細書中および特許請求の範囲において使用されるように、不定冠詞「a」および「an」は、明確に示されない限り、「少なくとも1つ」を意味すると解されるべきである。 As used in the specification and claims, the indefinite articles "a" and "an" are to be understood to mean "at least one" unless explicitly stated otherwise.
明細書中および特許請求の範囲において使用されるように、句「および/または」は、結合した要素、即ち、ある場合には結合して存在し、他方で分離して存在する要素の「いずれかまたは両方」を意味すると解されるべきである。明確に示されない限り、具体的に識別されたそれらの要素に関連するかまたは関連しないかを、「および/または」の文節によって具体的に識別された要素以外に、他の要素が任意に存在してもよい。従って、非限定的な例として、「Aおよび/またはB」は、「~を含む」などのオープンエンドの語と合わせて使用される場合、1つの態様において、BなしのA(任意にB以外の要素を含む);別の態様において、AなしのB(任意にA以外の要素を含む);更に別の態様において、AおよびBの両方(任意に他の要素を含む);などを意味する。 As used in the specification and in the claims, the phrase "and/or" refers to "any" of the combined elements; or both. Unless explicitly indicated, the presence of other elements other than those specifically identified by the "and/or" clause may optionally be related or unrelated to those specifically identified elements. You may. Thus, as a non-limiting example, when "A and/or B" is used in conjunction with an open-ended term such as "comprising," in one aspect, A without B (optionally B In another embodiment, B without A (optionally including an element other than A); in yet another embodiment, both A and B (optionally including other elements); and so on. means.
明細書中および特許請求の範囲において使用されるように、「または」は、上記定義した「および/または」と同じ意味を有すると解されるべきである。例えば、1つのリスト中の項目を分離する場合、「または」または「および/または」は包括的である、即ち、
多くの要素または要素のリストの、1つより多いも含む少なくとも1つ、任意に、リストに挙げられていない更なる項目を含むと解釈されるべきである。明確に示されている項目のみ、例えば、「~のうちの1つのみ」または「~のうちの正確に1つ」、或いは特許請求の範囲において使用される場合の「~から成る」は、多くの要素または要素のリストのうちの正確に1つを含むことを意味する。一般的に、本明細書中で用いられる用語「または」は、「どちらか」、「~のうちの1つ」、「~のうちの1つのみ」または「~のうちの正確に1つ」などの排他性を有する用語が先行する場合、排他的選択肢(即ち、「一方、または両方でない他方」)を示すものとして解釈されるのみである。特許請求の範囲において使用される場合の「本質的に~から成る」は、特許法の分野で使用されるようなその通常の意味を有する。 As used in the specification and claims, "or" is to be understood to have the same meaning as "and/or" as defined above. For example, when separating items in one list, "or" or "and/or" is inclusive, i.e.
At least one of a number of elements or a list of elements, including more than one, is to be construed as including optionally further items not listed. Only items that are clearly indicated, such as "only one of" or "exactly one of" or "consisting of" when used in the claims, Means to contain exactly one of many elements or lists of elements. Generally, as used herein, the term "or" means "either,""oneof,""only one of," or "exactly one of." When preceded by an exclusive term, such as ``, it is only construed as indicating an exclusive alternative (i.e., ``one or the other but not both''). "Consisting essentially of" when used in the claims has its ordinary meaning as used in the field of patent law.
明細書中および特許請求の範囲において使用されるように、1つ以上の要素の1つのリストに関する語句「少なくとも1つ」は、要素のリスト中の1つ以上の要素から選択される少なくとも1つの要素を意味すると解されるべきであるが、要素のリスト内に具体的に挙げられたそれぞれの要素の少なくとも1つを必ずしも含んでおらず、かつ要素のリスト中の要素どうしの組み合わせを必ずしも除外しない。この定義はまた、語句「少なくとも1つ」が、具体的に識別されたそれらの要素に関連するかまたは関連しないかを意味する要素のリスト内で具体的に識別された要素以外に、要素が任意に存在してもよいことを可能にする。従って、非限定的な例として、「AおよびBの少なくとも1つ」(同等に、「AまたはBの少なくとも1つ」、或いは同等に、「Aおよび/またはBの少なくとも1つ」)は、1つの態様において、任意に1つより多いことを含む少なくとも1つ、Bが存在しないA(任意にB以外の要素を含む);別の態様において、任意に1つより多いことを含む少なくとも1つ、Aが存在しないB(任意にA以外の要素を含む);更に別の態様において、任意に1つより多いことを含む少なくとも1つ、Aおよび任意に1つより多いことを含む少なくとも1つ、B(任意に他の要素を含む);などを意味してもよい。 As used in the specification and claims, the phrase "at least one" in reference to a list of one or more elements refers to at least one selected from one or more elements in the list of elements. to be taken to mean elements, but not necessarily including at least one of each element specifically listed in the list of elements, and not necessarily excluding combinations of elements in the list of elements; do not. This definition also means that elements other than those specifically identified in the list of elements where the phrase "at least one" means related or unrelated to those specifically identified elements. Allows it to be present arbitrarily. Thus, by way of non-limiting example, "at least one of A and B" (equivalently, "at least one of A or B", or equivalently, "at least one of A and/or B") In one embodiment, at least one, optionally including more than one, A (optionally containing an element other than B) where B is not present; in another embodiment, at least one, optionally including more than one B (optionally containing an element other than A) in which A is not present; in yet another aspect, at least one including A and optionally including more than one; , B (optionally including other elements); etc.
いくつかの実施形態は、方法として具体化することができ、その様々な例が記載されている。方法の一部として実行される行為は、任意の好適な方法で順序付けられてもよい。従って、行為は具体的に記載された実施形態において順次実行されるものとして示されているが、図示されたものとは異なる順序で行為が実行され、記載されているものとは異なる(例えば、より多いまたは少ない)行為を含んでもよい、および/またはいくつかの行為を同時に実行することを含んでもよい、実施形態が構築されてもよい。 Some embodiments can be embodied as methods, various examples of which are described. The acts performed as part of the method may be ordered in any suitable manner. Therefore, although acts are shown to be performed sequentially in the specifically described embodiments, the acts may be performed in a different order than that illustrated and may differ from that described (e.g. Embodiments may be constructed that may include more or less) acts and/or may involve performing several acts simultaneously.
特許請求の範囲の要素を修正するために特許請求の範囲で「第1の」、「第2の」、「第3」などの序数の用語を使用することは、それ自体で、1つの要素の別の要素に対する優先度、優先順位または順序、或いは方法の行為が実行される時間的順序を意味するものではないが、特定の名前を有する1つのクレーム要素を同じ名前を有する別の要素と区別するためのラベルとしてのみ使用される(序数の用語を使用するため)。 The use of ordinal terms such as "first," "second," "third," etc. in a claim to modify a claim element is, by itself, one element. The use of one claim element with a particular name with respect to another element with the same name does not imply any priority, priority, or order with respect to another element of the method, or the temporal order in which the acts of the method are performed. Used only as a label for differentiation (to use ordinal terminology).
明細書中と同様に特許請求の範囲において、このような「~を含有する(comprising)」、「~を含む(including)」、「~を有する(carrying)」、「~を有する(having)」、「~を含有する(containing)」、「~を含む(involving)」、「~を含む(holding)」などのすべての移行句は、オープンエンドである、即ち、それらに限定されないが含むことを意味すると解される。移行句「~から成る」および「本質的に~から成る」だけは、「United States Patent Office Manual of Patent Examining Procedures,Section 2111.03」に記載されているように、それぞれクローズまたはセミクローズな移行句である。 In the claims as well as in the specification, such terms as "comprising," "including," "carrying," and "having" ”, “containing”, “involving”, “holding”, etc., all transitional phrases are open-ended, i.e., including but not limited to It is understood to mean that. The transitional phrases "consisting of" and "consisting essentially of" are the only transitional phrases that constitute a closed or semi-closed transition, respectively, as described in the United States Patent Office Manual of Patent Examining Procedures, Section 2111.03. It is a phrase.
100 … システム
112 … 多重化スイッチ装置
114 … コントローラ
116 … センサ
120 … バッテリ
121A、121B、121C … 電気化学セル
122 … セルセット
160 … バランスレール
171、172、173、174 … 抵抗器
181、182、183、184 … スイッチ DESCRIPTION OF
| Application Number | Priority Date | Filing Date | Title |
|---|---|---|---|
| US202163146512P | 2021-02-05 | 2021-02-05 | |
| US63/146,512 | 2021-02-05 | ||
| US202163184639P | 2021-05-05 | 2021-05-05 | |
| US63/184,639 | 2021-05-05 | ||
| US202163240859P | 2021-09-03 | 2021-09-03 | |
| US63/240,859 | 2021-09-03 | ||
| PCT/US2022/015123WO2022169980A1 (en) | 2021-02-05 | 2022-02-03 | Charge/discharge management in electrochemical cells, including partial cycle control |
| Publication Number | Publication Date |
|---|---|
| JP2024506589Atrue JP2024506589A (en) | 2024-02-14 |
| JPWO2022169980A5 JPWO2022169980A5 (en) | 2025-02-04 |
| Application Number | Title | Priority Date | Filing Date |
|---|---|---|---|
| JP2023547393APendingJP2024506589A (en) | 2021-02-05 | 2022-02-03 | Charge/discharge management of electrochemical cells including partial cycle control |
| Country | Link |
|---|---|
| US (2) | US12374913B2 (en) |
| JP (1) | JP2024506589A (en) |
| KR (1) | KR20230155443A (en) |
| WO (1) | WO2022169980A1 (en) |
| Publication number | Priority date | Publication date | Assignee | Title |
|---|---|---|---|---|
| US12088136B2 (en)* | 2019-10-21 | 2024-09-10 | Ningde Amperex Technology Limited | Charging method, electronic apparatus, and storage medium |
| US11424492B2 (en) | 2019-10-31 | 2022-08-23 | Sion Power Corporation | System and method for operating a rechargeable electrochemical cell or battery |
| US11056728B2 (en) | 2019-10-31 | 2021-07-06 | Sion Power Corporation | System and method for operating a rechargeable electrochemical cell or battery |
| CN112952224B (en)* | 2019-12-11 | 2022-12-20 | 南京泉峰科技有限公司 | Battery pack and charging balance method and system thereof |
| US11923495B2 (en) | 2020-03-13 | 2024-03-05 | Sion Power Corporation | Application of pressure to electrochemical devices including deformable solids, and related systems |
| JP2024506589A (en) | 2021-02-05 | 2024-02-14 | シオン・パワー・コーポレーション | Charge/discharge management of electrochemical cells including partial cycle control |
| US12278357B2 (en) | 2021-07-23 | 2025-04-15 | Sion Power Corporation | Battery module with multiplexing and associated systems and methods |
| US20230344262A1 (en)* | 2022-04-25 | 2023-10-26 | Apple Inc. | System and method for variable discharging techniques of a battery cell |
| KR20250019487A (en)* | 2023-08-01 | 2025-02-10 | 삼성에스디아이 주식회사 | Battery management system and mehtod for charging battery |
| WO2025068996A1 (en)* | 2023-09-28 | 2025-04-03 | Arcactive Limited | Lead acid battery management system |
| Publication number | Priority date | Publication date | Assignee | Title |
|---|---|---|---|---|
| EP0614239A3 (en) | 1993-03-01 | 1996-10-16 | Tadiran Ltd | Non-aqueous safe secondary cell. |
| FR2702885B1 (en) | 1993-03-15 | 1995-04-21 | Alcatel Converters | System for monitoring the aging of a battery and method implemented in such a system. |
| US5961672A (en) | 1994-02-16 | 1999-10-05 | Moltech Corporation | Stabilized anode for lithium-polymer batteries |
| US5648187A (en) | 1994-02-16 | 1997-07-15 | Moltech Corporation | Stabilized anode for lithium-polymer batteries |
| CA2169706A1 (en) | 1995-03-03 | 1996-09-04 | Troy Lynn Stockstad | Circuit and method for battery charge control |
| US5808371A (en) | 1995-09-05 | 1998-09-15 | Hitachi, Ltd. | Apparatus for driving electrical loads provided at a vehicle |
| EP0958627B1 (en) | 1996-05-22 | 2002-02-27 | Moltech Corporation | Composite cathodes, electrochemical cells comprising novel composite cathodes, and processes for fabricating same |
| US5914606A (en) | 1996-10-10 | 1999-06-22 | Becker-Irvin; Craig H. | Battery cell voltage monitor and method |
| US5764030A (en) | 1997-03-14 | 1998-06-09 | International Components Corporation | Microcontrolled battery charger |
| US6746804B2 (en) | 1998-05-13 | 2004-06-08 | Wilson Greatbatch Technologies, Inc. | Nonaqueous organic electrolytes for low temperature discharge of rechargeable electrochemical cells |
| JP3740323B2 (en) | 1998-07-31 | 2006-02-01 | キヤノン株式会社 | Secondary battery charging method and apparatus |
| KR100277654B1 (en) | 1998-09-22 | 2001-01-15 | 김순택 | Manufacturing method of secondary battery |
| US6137265A (en) | 1999-01-11 | 2000-10-24 | Dell Usa, L.P. | Adaptive fast charging of lithium-ion batteries |
| US6733924B1 (en) | 1999-11-23 | 2004-05-11 | Moltech Corporation | Lithium anodes for electrochemical cells |
| US7247408B2 (en) | 1999-11-23 | 2007-07-24 | Sion Power Corporation | Lithium anodes for electrochemical cells |
| US20110165471A9 (en) | 1999-11-23 | 2011-07-07 | Sion Power Corporation | Protection of anodes for electrochemical cells |
| US6797428B1 (en) | 1999-11-23 | 2004-09-28 | Moltech Corporation | Lithium anodes for electrochemical cells |
| US7771870B2 (en) | 2006-03-22 | 2010-08-10 | Sion Power Corporation | Electrode protection in both aqueous and non-aqueous electrochemical cells, including rechargeable lithium batteries |
| US6329789B1 (en) | 1999-12-21 | 2001-12-11 | Moltech Corporation | Methods of charging lithium-sulfur batteries |
| JP2002042896A (en) | 2000-07-19 | 2002-02-08 | Honda Motor Co Ltd | Battery status detector |
| US7579112B2 (en) | 2001-07-27 | 2009-08-25 | A123 Systems, Inc. | Battery structures, self-organizing structures and related methods |
| US6605375B2 (en) | 2001-02-28 | 2003-08-12 | Ovonic Battery Company, Inc. | Method of activating hydrogen storage alloy electrode |
| WO2002080332A1 (en) | 2001-03-30 | 2002-10-10 | Designline Limited | Battery management unit, system and method |
| JP3772765B2 (en) | 2001-05-11 | 2006-05-10 | トヨタ自動車株式会社 | Refresh charge control device |
| KR100381612B1 (en)* | 2001-07-14 | 2003-04-26 | 주식회사 뉴턴에너지 | Method for Enhancing the Cycling Efficiency of Lithium-Sulfur Batteries |
| EP1280252B1 (en) | 2001-07-24 | 2015-04-01 | Thomson Licensing | Battery discharger |
| US7579842B2 (en) | 2002-09-26 | 2009-08-25 | Eaton Power Quality Company | Battery management apparatus |
| EP1568114B1 (en) | 2002-11-25 | 2013-01-16 | Tiax Llc | Cell balancing system for equalizing state of charge among series-connected electrical energy storage units |
| US20050077879A1 (en) | 2003-10-14 | 2005-04-14 | Near Timothy Paul | Energy transfer device for series connected energy source and storage devices |
| JP3976268B2 (en) | 2003-11-28 | 2007-09-12 | インターナショナル・ビジネス・マシーンズ・コーポレーション | Battery pack, electrical device, computer apparatus, battery control method, power supply method, and program |
| US10629947B2 (en) | 2008-08-05 | 2020-04-21 | Sion Power Corporation | Electrochemical cell |
| US8247946B2 (en)* | 2004-06-14 | 2012-08-21 | Massachusetts Institute Of Technology | Electrochemical actuator |
| JP4651977B2 (en) | 2004-06-25 | 2011-03-16 | 富士通セミコンダクター株式会社 | DC-DC converter control circuit and control method thereof |
| US7688075B2 (en) | 2005-04-20 | 2010-03-30 | Sion Power Corporation | Lithium sulfur rechargeable battery fuel gauge systems and methods |
| CA2661100A1 (en) | 2005-08-30 | 2007-07-19 | Dhs Engineering Inc. | Electrochemical cell for hybrid electric vehicle applications |
| CA2626554A1 (en) | 2005-10-21 | 2007-04-26 | Altairnano, Inc. | Lithium ion batteries |
| CN101292380B (en) | 2005-10-21 | 2010-08-11 | 阿尔特尔纳米技术公司 | Lithium ion batteries |
| JP4241714B2 (en) | 2005-11-17 | 2009-03-18 | パナソニック電工株式会社 | Battery pack for power tools |
| KR100669475B1 (en) | 2005-12-21 | 2007-01-16 | 삼성에스디아이 주식회사 | SOC calibration method of battery and battery management system using same |
| US7646170B2 (en) | 2006-05-11 | 2010-01-12 | Greatbatch Ltd. | Method of selecting replacement indicating voltage for an implantable electrochemical cell |
| KR101422311B1 (en) | 2006-12-04 | 2014-07-22 | 시온 파워 코퍼레이션 | Separation of electrolytes |
| US8084102B2 (en) | 2007-02-06 | 2011-12-27 | Sion Power Corporation | Methods for co-flash evaporation of polymerizable monomers and non-polymerizable carrier solvent/salt mixtures/solutions |
| US7719134B2 (en) | 2007-06-12 | 2010-05-18 | Mitsubishi Electric Corporation | In-vehicle mount electronic controller |
| US20080318128A1 (en) | 2007-06-22 | 2008-12-25 | Sion Power Corporation | Lithium alloy/sulfur batteries |
| US20090035646A1 (en) | 2007-07-31 | 2009-02-05 | Sion Power Corporation | Swelling inhibition in batteries |
| US20100239914A1 (en) | 2009-03-19 | 2010-09-23 | Sion Power Corporation | Cathode for lithium battery |
| US20110076560A1 (en) | 2009-08-28 | 2011-03-31 | Sion Power Corporation | Electrochemical cells comprising porous structures comprising sulfur |
| US20120070746A1 (en) | 2007-09-21 | 2012-03-22 | Sion Power Corporation | Low electrolyte electrochemical cells |
| WO2009042071A2 (en) | 2007-09-21 | 2009-04-02 | Sion Power Corporation | Electrolyte additives for lithium batteries and related methods |
| JP5250230B2 (en) | 2007-09-28 | 2013-07-31 | 株式会社日立製作所 | Power supply system for vehicle and integrated circuit for battery cell control |
| JP5174421B2 (en) | 2007-10-19 | 2013-04-03 | パナソニック株式会社 | Battery pack and battery system |
| CN103633285B (en) | 2007-10-26 | 2017-07-07 | 赛昂能源有限公司 | For the primer of battery electrode |
| CA2717789C (en) | 2007-12-11 | 2018-07-31 | Antonio Trigiani | Battery management system |
| JP2009159726A (en) | 2007-12-26 | 2009-07-16 | Honda Motor Co Ltd | Discharge control device |
| JP5619622B2 (en) | 2008-01-08 | 2014-11-05 | シオン・パワー・コーポレーション | Porous electrodes and related methods |
| JP5057156B2 (en) | 2008-01-31 | 2012-10-24 | トヨタ自動車株式会社 | Lithium ion secondary battery charging method and charging system |
| US8264205B2 (en) | 2008-02-08 | 2012-09-11 | Sion Power Corporation | Circuit for charge and/or discharge protection in an energy-storage device |
| US8063609B2 (en)* | 2008-07-24 | 2011-11-22 | General Electric Company | Method and system for extending life of a vehicle energy storage device |
| CN102144324B (en) | 2008-08-05 | 2015-09-30 | 赛昂能源有限公司 | Application of Forces in Electrochemical Cells |
| KR101552903B1 (en) | 2008-12-01 | 2015-09-15 | 삼성에스디아이 주식회사 | Battery management system and method |
| CN201402987Y (en) | 2008-12-31 | 2010-02-10 | 广州西格美信电子科技有限公司 | Battery pack with battery management system |
| US8288992B2 (en) | 2009-01-14 | 2012-10-16 | Indy Power Systems, Llc | Cell management system |
| KR101093597B1 (en) | 2009-01-30 | 2011-12-15 | 한국과학기술원 | Automatic Charge Uniformity Device Using Constant Voltage Source |
| US7830168B2 (en) | 2009-02-09 | 2010-11-09 | Rantec Power Systems, Inc. | Temperature variance nullification in an inrush current suppression circuit |
| US8519670B2 (en) | 2009-03-23 | 2013-08-27 | Motiv Power Systems, Inc. | System and method for balancing charge within a battery pack |
| US8798832B2 (en) | 2009-03-27 | 2014-08-05 | Hitachi, Ltd. | Electric storage device |
| EP2417666B1 (en) | 2009-04-10 | 2019-06-12 | The Regents Of The University Of Michigan | Dynamically reconfigurable framework for a large-scale battery system |
| US9537326B2 (en) | 2009-04-16 | 2017-01-03 | Valence Technology, Inc. | Batteries, battery systems, battery submodules, battery operational methods, battery system operational methods, battery charging methods, and battery system charging methods |
| US8405351B2 (en) | 2009-05-08 | 2013-03-26 | Robert Bosch Gmbh | System and method for charging and discharging a Li-ion battery |
| US8087309B2 (en) | 2009-05-22 | 2012-01-03 | Sion Power Corporation | Hermetic sample holder and method for performing microanalysis under controlled atmosphere environment |
| US8405349B2 (en) | 2009-06-25 | 2013-03-26 | Tigo Energy, Inc. | Enhanced battery storage and recovery energy systems |
| US8508191B2 (en) | 2009-07-29 | 2013-08-13 | The Regents Of The University Of Michigan | System for scheduling battery charge and discharge in a reconfigurable battery |
| US20110068001A1 (en) | 2009-08-24 | 2011-03-24 | Sion Power Corporation | Release system for electrochemical cells |
| US20110206992A1 (en) | 2009-08-28 | 2011-08-25 | Sion Power Corporation | Porous structures for energy storage devices |
| US9197081B2 (en) | 2009-08-28 | 2015-11-24 | The Charles Stark Draper Laboratory, Inc. | High-efficiency battery equalization for charging and discharging |
| JPWO2011078151A1 (en) | 2009-12-24 | 2013-05-09 | 三洋電機株式会社 | Power supply method, computer-readable recording medium, and power generation system |
| TW201230598A (en) | 2010-04-26 | 2012-07-16 | Proterra Inc | Fast charge stations for electric vehicles in areas with limited power availability |
| WO2011147924A1 (en) | 2010-05-28 | 2011-12-01 | Basf Se | Use of expanded graphite in lithium/sulphur batteries |
| CN102299529B (en) | 2010-06-25 | 2014-04-02 | 凹凸电子(武汉)有限公司 | Battery pack management system, electric vehicle and battery pack management method |
| JP5618359B2 (en) | 2010-08-02 | 2014-11-05 | Necエナジーデバイス株式会社 | Secondary battery pack connection control method and power storage system |
| US20120048729A1 (en) | 2010-08-24 | 2012-03-01 | Sion Power Corporation | Electrically non-conductive materials for electrochemical cells |
| JP2013538424A (en) | 2010-08-24 | 2013-10-10 | ビーエイエスエフ・ソシエタス・エウロパエア | Electrolyte materials for use in electrochemical cells |
| US8928286B2 (en) | 2010-09-03 | 2015-01-06 | Envia Systems, Inc. | Very long cycling of lithium ion batteries with lithium rich cathode materials |
| US20120082901A1 (en) | 2010-09-30 | 2012-04-05 | Basf Se | Lithium-based anode with ionic liquid polymer gel |
| TW201218480A (en) | 2010-09-30 | 2012-05-01 | Basf Se | Additive for electrolytes |
| US9583757B2 (en) | 2010-12-22 | 2017-02-28 | Enevate Corporation | Electrodes, electrochemical cells, and methods of forming electrodes and electrochemical cells |
| US10388943B2 (en) | 2010-12-22 | 2019-08-20 | Enevate Corporation | Methods of reducing occurrences of short circuits and/or lithium plating in batteries |
| CN103329392B (en) | 2011-01-18 | 2016-02-17 | 日产自动车株式会社 | Battery control device |
| JP5637878B2 (en) | 2011-01-27 | 2014-12-10 | 株式会社日立製作所 | Secondary battery system |
| US10505234B2 (en) | 2011-03-14 | 2019-12-10 | Battelle Memorial Institute | Battery cell and n situ battery electrode analysis method |
| KR101256077B1 (en) | 2011-04-18 | 2013-04-18 | 삼성에스디아이 주식회사 | Power control system and controlling method thereof |
| US8760118B2 (en) | 2011-06-02 | 2014-06-24 | Robert Bosch Gmbh | System and method for charging and discharging a Li-ion battery |
| US20120319653A1 (en) | 2011-06-15 | 2012-12-20 | Ajith Kuttannair Kumar | System and method for rechargeable battery |
| KR101807911B1 (en) | 2011-06-17 | 2017-12-11 | 시온 파워 코퍼레이션 | Plating technique for electrode |
| EP2765643B1 (en) | 2011-10-07 | 2016-09-14 | Hitachi Automotive Systems, Ltd. | Controller and battery monitoring system |
| WO2013055573A1 (en) | 2011-10-13 | 2013-04-18 | Sion Power Corporation | Electrode structure and method for making the same |
| KR20130091951A (en) | 2012-02-09 | 2013-08-20 | 삼성에스디아이 주식회사 | Battery pack, controlling method of the same, and power storage system including the battery pack |
| WO2013123131A1 (en) | 2012-02-14 | 2013-08-22 | Sion Power Corporation | Electrode structure for electrochemical cell |
| EP2631663A1 (en) | 2012-02-22 | 2013-08-28 | Siemens Aktiengesellschaft | Method for continuously monitoring battery ageing |
| US9214678B2 (en) | 2012-03-09 | 2015-12-15 | Sion Power Corporation | Porous support structures, electrodes containing same, and associated methods |
| US9966780B2 (en) | 2012-03-25 | 2018-05-08 | Gbatteries Energy Canada Inc. | Extended life battery |
| JP2013207844A (en) | 2012-03-27 | 2013-10-07 | Nec Corp | Battery management device, battery device, disk array device, and battery management method |
| DE102012207671A1 (en) | 2012-05-09 | 2013-11-14 | Robert Bosch Gmbh | Battery with a plurality of battery modules arranged in battery strings and method for operating the battery |
| CN107195935A (en) | 2012-05-21 | 2017-09-22 | 辉光能源公司 | CIHT dynamical systems |
| US9306252B2 (en) | 2012-06-11 | 2016-04-05 | Nucleus Scientific, Inc. | Dynamic pressure control in a battery assembly |
| US9899846B2 (en) | 2012-08-30 | 2018-02-20 | Carver Scientific, Inc. | Entropic energy transfer methods and circuits |
| US9005311B2 (en) | 2012-11-02 | 2015-04-14 | Sion Power Corporation | Electrode active surface pretreatment |
| US10243202B2 (en) | 2012-11-02 | 2019-03-26 | Sion Power Corporation | Polymers for use as protective layers and other components in electrochemical cells |
| JP5388078B1 (en)* | 2012-11-14 | 2014-01-15 | レーザーテック株式会社 | Analysis apparatus and analysis method |
| RU2619067C2 (en) | 2012-12-04 | 2017-05-11 | Тойота Дзидося Кабусики Кайся | Device for controlling battery charge, method for charging control, computer program and recording medium |
| US9577289B2 (en) | 2012-12-17 | 2017-02-21 | Sion Power Corporation | Lithium-ion electrochemical cell, components thereof, and methods of making and using same |
| CN105190966B (en) | 2012-12-19 | 2018-06-12 | 锡安能量公司 | Electrode structure and manufacturing method thereof |
| JP6223171B2 (en) | 2012-12-28 | 2017-11-01 | 株式会社半導体エネルギー研究所 | Power storage device control system, power storage system, and electrical device |
| WO2014110136A1 (en) | 2013-01-08 | 2014-07-17 | Sion Power Corporation | Passivation of electrodes in electrochemical cells |
| WO2014110131A1 (en) | 2013-01-08 | 2014-07-17 | Sion Power Corporation | Conductivity control in electrochemical cells |
| US20190006699A1 (en) | 2013-01-16 | 2019-01-03 | Sion Power Corporation | Pressure and/or temperature management in electrochemical systems |
| WO2014138242A1 (en) | 2013-03-05 | 2014-09-12 | Sion Power Corporation | Electrochemical cells comprising fibril materials, such as fibril cellulose materials |
| US12261284B2 (en) | 2013-03-15 | 2025-03-25 | Sion Power Corporation | Protective structures for electrodes |
| US20140272595A1 (en) | 2013-03-15 | 2014-09-18 | Basf Se | Compositions for use as protective layers and other components in electrochemical cells |
| WO2014151385A1 (en) | 2013-03-15 | 2014-09-25 | Sion Power Corporation | Protected electrode structures and methods |
| CN105122501B (en) | 2013-03-15 | 2019-02-19 | 锡安能量公司 | Protected Electrode Structure |
| US20140376270A1 (en) | 2013-06-20 | 2014-12-25 | Sunedison Llc | Power converters including llc converters and methods of controlling the same |
| WO2015003123A1 (en) | 2013-07-03 | 2015-01-08 | Sion Power Corporation | Ceramic/polymer matrix for electrode protection in electrochemical cells, including rechargeable lithium batteries |
| US9527402B2 (en) | 2014-01-23 | 2016-12-27 | Johnson Controls Technology Company | Switched passive architectures for batteries having two different chemistries |
| US10020479B2 (en) | 2013-08-08 | 2018-07-10 | Sion Power Corporation | Self-healing electrode protection in electrochemical cells |
| US9812732B2 (en) | 2013-08-16 | 2017-11-07 | Johnson Controls Technology Company | Dual storage system and method with lithium ion and lead acid battery cells |
| KR101632351B1 (en) | 2013-10-14 | 2016-06-21 | 주식회사 엘지화학 | Apparatus for estimating state of hybrid secondary battery and Method thereof |
| WO2015075508A1 (en) | 2013-11-25 | 2015-05-28 | Freescale Semiconductor, Inc. | A flyback switching mode power supply with voltage control and a method thereof |
| US20150162586A1 (en) | 2013-12-05 | 2015-06-11 | Sion Power Corporation | New separator |
| US10020512B2 (en) | 2013-12-19 | 2018-07-10 | Sion Power Corporation | Polymer for use as protective layers and other components in electrochemical cells |
| JP6156129B2 (en) | 2013-12-20 | 2017-07-05 | トヨタ自動車株式会社 | Secondary battery control device |
| US9653750B2 (en) | 2014-02-19 | 2017-05-16 | Sion Power Corporation | Electrode protection using a composite comprising an electrolyte-inhibiting ion conductor |
| US10490796B2 (en) | 2014-02-19 | 2019-11-26 | Sion Power Corporation | Electrode protection using electrolyte-inhibiting ion conductor |
| CN103825060B (en) | 2014-02-28 | 2016-06-29 | 清华大学 | The low-temperature prewarming of battery and charging method |
| JP5957775B2 (en)* | 2014-03-14 | 2016-07-27 | パナソニックIpマネジメント株式会社 | Storage battery control device, storage battery control method, and storage battery control system |
| JP6362252B2 (en) | 2014-03-17 | 2018-07-25 | 株式会社ハウステック | Lead-acid battery charging / discharging device |
| EP3123542B1 (en) | 2014-03-27 | 2018-01-10 | Basf Se | Gel electrolytes and electrodes |
| JP2017515277A (en) | 2014-05-01 | 2017-06-08 | ビーエイエスエフ・ソシエタス・エウロパエアBasf Se | Electrode manufacturing method and related system and article |
| JP6676861B2 (en) | 2014-05-30 | 2020-04-08 | シオン・パワー・コーポレーション | Polymers for use as protective layers and other components in electrochemical cells |
| US10833523B2 (en) | 2014-06-10 | 2020-11-10 | Kagra Inc. | Electricity storage element charging method and electricity storage device |
| JP6300945B2 (en) | 2014-06-18 | 2018-03-28 | コーニンクレッカ フィリップス エヌ ヴェKoninklijke Philips N.V. | Apparatus and method for controlling a plurality of cells of a battery |
| DE102014212122A1 (en) | 2014-06-24 | 2016-01-07 | Robert Bosch Gmbh | Device and method for discharging a battery as well as battery, battery system and vehicle |
| EP3192112A4 (en) | 2014-09-09 | 2018-04-11 | Sion Power Corporation | Protective layers in lithium-ion electrochemical cells and associated electrodes and methods |
| JP6256765B2 (en)* | 2014-09-10 | 2018-01-10 | トヨタ自動車株式会社 | Charge state estimation method |
| US10099562B2 (en) | 2014-10-15 | 2018-10-16 | Johnson Controls Technology Company | Cooling strategy for battery systems |
| US11557753B2 (en) | 2014-10-23 | 2023-01-17 | Sion Power Corporation | Ion-conductive composite for electrochemical cells |
| US20160118638A1 (en) | 2014-10-24 | 2016-04-28 | Sion Power Corporation | Compositions for use as protective layers and other components in electrochemical cells |
| KR101522858B1 (en) | 2014-11-07 | 2015-05-26 | 주식회사 케이디티 | Energy management system having maximum power saving control and method thereof |
| CN107076803B (en)* | 2014-11-19 | 2021-07-13 | 株式会社杰士汤浅国际 | Management device for secondary battery and management method for secondary battery |
| KR102533118B1 (en) | 2014-12-17 | 2023-05-16 | 카버 싸이언티픽, 아이엔씨. | Entropic energy transfer methods and circuits |
| US11028973B2 (en) | 2015-03-10 | 2021-06-08 | Jiaxing Super Lighting Electric Appliance Co., Ltd. | Led tube lamp |
| US20160276843A1 (en) | 2015-03-20 | 2016-09-22 | Ford Global Technologies, Llc | Battery Charge Strategy Using Discharge Cycle |
| KR101726384B1 (en) | 2015-04-02 | 2017-04-12 | 주식회사 엘지화학 | Apparatus and method for controlling charging of secondary battery |
| US10591979B2 (en) | 2015-04-03 | 2020-03-17 | Microsoft Technology Licensing, Llc | Battery management in a device with multiple batteries |
| CN107848247B (en) | 2015-05-20 | 2021-06-01 | 锡安能量公司 | Protective layer for electrode |
| CN107820642B (en) | 2015-05-21 | 2021-01-08 | 巴斯夫欧洲公司 | Glass-Ceramic Electrolytes for Lithium-Sulfur Batteries |
| CN107852002B (en) | 2015-07-14 | 2021-03-16 | 沃尔沃卡车集团 | Method and system for balancing battery pack |
| CN105262155B (en) | 2015-09-02 | 2018-07-06 | 广东欧珀移动通信有限公司 | A charging method and device |
| US11046186B1 (en) | 2015-09-25 | 2021-06-29 | Evercharge, Inc. | Electric vehicle supply equipment (EVSE) having internal current overage protection, and associated charging methods for multi-type electric vehicles and non-electric vehicle |
| WO2017055282A1 (en) | 2015-10-02 | 2017-04-06 | Basf Se | Non-aqueous electrolytes for high energy lithium-ion batteries |
| US10259337B2 (en) | 2015-10-30 | 2019-04-16 | Faraday & Future Inc. | Electric vehicle battery charge and discharge management |
| US20170141385A1 (en) | 2015-11-04 | 2017-05-18 | Sion Power Corporation | Layer composite and electrode having a smooth surface, and associated methods |
| WO2017083655A1 (en) | 2015-11-13 | 2017-05-18 | Sion Power Corporation | Additives for electrochemical cells |
| US9825328B2 (en) | 2015-11-24 | 2017-11-21 | Sion Power Corporation | Ionically conductive compounds and related uses |
| EP3394951A1 (en) | 2015-12-22 | 2018-10-31 | Vito NV | Connectivity check between cells and wiring control electronics with only one switch |
| US10833513B2 (en) | 2015-12-24 | 2020-11-10 | Vito Nv | Method, system and device for balancing individual electric energy storage cells |
| WO2017113340A1 (en) | 2015-12-31 | 2017-07-06 | SZ DJI Technology Co., Ltd. | Method and system for balancing battery assembly |
| JP2017139841A (en) | 2016-02-01 | 2017-08-10 | 学校法人早稲田大学 | Battery system |
| US10868344B2 (en) | 2016-02-25 | 2020-12-15 | Ford Global Technologies, Llc | Entropy driven thermal and electrical management |
| US11128158B2 (en) | 2016-03-09 | 2021-09-21 | Servato Corp. | Battery management system and related techniques for adaptive, dynamic control of battery charging |
| WO2018004765A2 (en) | 2016-04-01 | 2018-01-04 | Raytheon Company | Hybrid energy storage modules for pulsed power effectors with medium voltage direct current (mvdc) power distribution |
| BR102016009787B1 (en) | 2016-04-29 | 2023-10-17 | Universidade Federal De Minas Gerais | METHOD FOR CONTROLLING THE POWER FLOW OF A HYBRID ELECTRIC ENERGY STORAGE SYSTEM, ASSOCIATED DEVICE AND USES |
| WO2017201376A1 (en) | 2016-05-20 | 2017-11-23 | Sion Power Corporation | Protective layers for electrodes and electrochemical cells |
| WO2017222967A2 (en) | 2016-06-21 | 2017-12-28 | Sion Power Corporation | Coatings for components of electrochemical cells |
| JP6528906B2 (en) | 2016-06-22 | 2019-06-12 | 株式会社豊田自動織機 | Power storage device and control method of power storage device |
| US10148105B2 (en) | 2016-06-30 | 2018-12-04 | Shenzhen Carku Technology Co, Ltd. | Battery clamp |
| US10298034B2 (en) | 2016-06-30 | 2019-05-21 | Shenzhen Carku Technology Co., Ltd | Emergency power supply system and management method |
| CN205960703U (en) | 2016-08-09 | 2017-02-15 | 重庆宁来科贸有限公司 | Regularly charger of putting coexistence is filled to formula |
| CN205960712U (en) | 2016-08-13 | 2017-02-15 | 重庆宁来科贸有限公司 | Finish two low carbon pulse floating charge wares that select |
| CN108075511A (en) | 2016-11-14 | 2018-05-25 | 重庆宁来科贸有限公司 | Constant-current type charging and discharging type pulse charger |
| JP6455497B2 (en) | 2016-11-16 | 2019-01-23 | トヨタ自動車株式会社 | Vehicle battery system and control method thereof |
| CN108110815A (en) | 2016-11-25 | 2018-06-01 | 重庆宁来科贸有限公司 | A kind of mixed type binode beam formula floating charge device |
| KR102705227B1 (en) | 2016-12-23 | 2024-09-10 | 삼성전자 주식회사 | Electronic device and method for controlling charging of the electronic device |
| WO2018119392A1 (en) | 2016-12-23 | 2018-06-28 | Sion Power Corporation | Protective layers comprising metals for electrochemical cells |
| CN106696748B (en) | 2017-01-25 | 2019-06-28 | 华为技术有限公司 | A kind of charging pile system |
| JP6802723B2 (en) | 2017-01-31 | 2020-12-16 | 株式会社デンソーテン | Power storage device and power storage control method |
| US9914368B1 (en) | 2017-02-01 | 2018-03-13 | Ford Global Technologies, Llc | Thermal management system for a hybrid vehicle |
| US20180241236A1 (en) | 2017-02-23 | 2018-08-23 | Goal Zero Llc | Hot-swappable battery pack |
| US11024923B2 (en) | 2017-03-09 | 2021-06-01 | Sion Power Corporation | Electrochemical cells comprising short-circuit resistant electronically insulating regions |
| US10720648B2 (en) | 2017-03-17 | 2020-07-21 | Sion Power Corporation | Electrode edge protection in electrochemical cells |
| US20180292465A1 (en) | 2017-04-07 | 2018-10-11 | Board Of Regents, The University Of Texas System | Systems and methods for degradation analysis |
| US10411499B2 (en) | 2017-05-05 | 2019-09-10 | David R. Hall | Distributed charge controller |
| US10868306B2 (en) | 2017-05-19 | 2020-12-15 | Sion Power Corporation | Passivating agents for electrochemical cells |
| KR102664549B1 (en) | 2017-05-19 | 2024-05-09 | 시온 파워 코퍼레이션 | Passivation agent for electrochemical cells |
| KR20200000849A (en) | 2017-05-24 | 2020-01-03 | 시온 파워 코퍼레이션 | Ion Conductive Compounds and Related Applications |
| WO2018226921A1 (en) | 2017-06-09 | 2018-12-13 | Sion Power Corporation | In situ current collector |
| US12113208B2 (en) | 2017-09-15 | 2024-10-08 | Sion Power Corporation | Protective membrane for electrochemical cells |
| DE102017009850B4 (en) | 2017-10-23 | 2020-04-02 | Benning CMS Technology GmbH | Method for charging and discharging an energy store |
| WO2019099213A1 (en) | 2017-11-15 | 2019-05-23 | Nova Semiconductor, Inc. | Methods and systems for managing multi-cell batteries |
| RU2683235C1 (en) | 2017-11-28 | 2019-03-27 | Закрытое Акционерное Общество "Бэттэри Фактор" | Device for restoring and charging acid storage battery |
| GB2569140B (en) | 2017-12-06 | 2020-06-03 | Oxis Energy Ltd | Battery management |
| WO2019125495A1 (en) | 2017-12-22 | 2019-06-27 | Litech Laboratories, Llc | Connection of battery system to electrical distribution bus |
| JP2019122201A (en)* | 2018-01-10 | 2019-07-22 | 本田技研工業株式会社 | Electric vehicle |
| JP7680350B2 (en) | 2018-07-31 | 2025-05-20 | シオン・パワー・コーポレーション | Multiplexed Charge/Discharge Battery Management System |
| US11063444B2 (en) | 2018-08-10 | 2021-07-13 | Powin, Llc | Enhanced battery management system for battery pack |
| JP6853805B2 (en) | 2018-09-13 | 2021-03-31 | 株式会社Subaru | Electric vehicle |
| DE102018217382A1 (en) | 2018-10-11 | 2020-04-16 | Robert Bosch Gmbh | Method for operating a battery system and electric vehicle and battery system for an electric vehicle |
| JP2020061004A (en) | 2018-10-11 | 2020-04-16 | トヨタ自動車株式会社 | Information processing device |
| GB2578828B (en) | 2018-10-22 | 2021-03-10 | O2Micro Inc | Managing power in a portable device comprising multiple batteries |
| US11322804B2 (en) | 2018-12-27 | 2022-05-03 | Sion Power Corporation | Isolatable electrodes and associated articles and methods |
| US11637353B2 (en) | 2018-12-27 | 2023-04-25 | Sion Power Corporation | Electrodes, heaters, sensors, and associated articles and methods |
| US20200220197A1 (en) | 2018-12-27 | 2020-07-09 | Sion Power Corporation | Folded electrochemical devices and associated methods and systems |
| KR20210108453A (en) | 2018-12-27 | 2021-09-02 | 시온 파워 코퍼레이션 | Electrochemical devices and related articles, components, constructions and methods |
| US11038214B2 (en) | 2019-01-23 | 2021-06-15 | Sf Motors, Inc. | Systems and methods of managing battery cell degradation |
| CN111478423A (en) | 2019-01-23 | 2020-07-31 | 日月元科技(深圳)有限公司 | Improved power supply circuit |
| US11108251B2 (en) | 2019-02-22 | 2021-08-31 | Aurora Flight Sciences Corporation | Battery management system |
| US11515712B2 (en) | 2019-05-22 | 2022-11-29 | Samsung Electronics Co., Ltd. | Battery including battery sub packs for increasing battery capacity |
| CN110311451B (en) | 2019-08-01 | 2023-04-07 | 上海电气分布式能源科技有限公司 | Control method, system, equipment and storage medium for charging and discharging of echelon battery |
| KR20210022418A (en) | 2019-08-20 | 2021-03-03 | 주식회사 엘지화학 | Battery system and operating method thereof |
| KR102847214B1 (en) | 2019-10-17 | 2025-08-14 | 삼성에스디아이 주식회사 | Battery system |
| JP7107495B2 (en) | 2019-10-22 | 2022-07-27 | エルジー エナジー ソリューション リミテッド | Apparatus and method for balancing battery packs connected in parallel |
| US11056728B2 (en) | 2019-10-31 | 2021-07-06 | Sion Power Corporation | System and method for operating a rechargeable electrochemical cell or battery |
| US11424492B2 (en) | 2019-10-31 | 2022-08-23 | Sion Power Corporation | System and method for operating a rechargeable electrochemical cell or battery |
| CN114631242A (en) | 2019-10-31 | 2022-06-14 | 赛昂能源有限公司 | Systems and methods for operating rechargeable electrochemical cells or batteries |
| JP2023506947A (en) | 2019-12-20 | 2023-02-20 | シオン・パワー・コーポレーション | Systems and methods for protecting circuits, rechargeable electrochemical cells, or batteries |
| US11531068B2 (en)* | 2020-02-05 | 2022-12-20 | GM Global Technology Operations LLC | Apparatus and method for tracking electrode capacity |
| US20210281092A1 (en)* | 2020-03-09 | 2021-09-09 | Medtronic Minimed, Inc. | Networked dynamic management of charge |
| CN116114135A (en) | 2020-09-01 | 2023-05-12 | 赛昂能源有限公司 | Multiplexed battery management system |
| JP7415874B2 (en) | 2020-10-27 | 2024-01-17 | 株式会社デンソー | power system |
| JP7363754B2 (en) | 2020-12-14 | 2023-10-18 | 株式会社デンソー | power system |
| JP2024506589A (en) | 2021-02-05 | 2024-02-14 | シオン・パワー・コーポレーション | Charge/discharge management of electrochemical cells including partial cycle control |
| US20220285957A1 (en)* | 2021-03-08 | 2022-09-08 | Google Llc | Cell Fault Detection in Batteries with Parallel Cells |
| US11848440B2 (en)* | 2021-04-01 | 2023-12-19 | GM Global Technology Operations LLC | Prelithiated negative electrodes including composite Li—Si alloy particles and methods of manufacturing the same |
| CN115152122A (en)* | 2021-06-28 | 2022-10-04 | 华为数字能源技术有限公司 | A charging cabinet, battery pack and charging system |
| US20230356627A1 (en) | 2021-07-09 | 2023-11-09 | Transportation Ip Holdings, Llc | Battery control system and method |
| US11750014B2 (en) | 2021-07-09 | 2023-09-05 | Transportation Ip Holdings, Llc | Battery control system |
| CN114498803B (en) | 2021-07-21 | 2023-03-24 | 荣耀终端有限公司 | Charging and discharging circuit and electronic equipment |
| US12278357B2 (en) | 2021-07-23 | 2025-04-15 | Sion Power Corporation | Battery module with multiplexing and associated systems and methods |
| US12401206B2 (en) | 2022-04-21 | 2025-08-26 | Liftwave, Inc. | Battery balancing system |
| US20240291292A1 (en) | 2023-02-28 | 2024-08-29 | Sion Power Corporation | Multiplexing systems for batteries of electrochemical cells |
| Publication number | Publication date |
|---|---|
| US12374913B2 (en) | 2025-07-29 |
| US20220336872A1 (en) | 2022-10-20 |
| KR20230155443A (en) | 2023-11-10 |
| WO2022169980A8 (en) | 2023-08-24 |
| WO2022169980A1 (en) | 2022-08-11 |
| US20220271537A1 (en) | 2022-08-25 |
| Publication | Publication Date | Title |
|---|---|---|
| JP2024506589A (en) | Charge/discharge management of electrochemical cells including partial cycle control | |
| KR102800768B1 (en) | Multiplex Charge Discharge Battery Management System | |
| US11658352B2 (en) | System and method for operating a rechargeable electrochemical cell or battery | |
| US11990589B2 (en) | System and method for operating a rechargeable electrochemical cell or battery | |
| US20220069593A1 (en) | Multiplexed battery management system | |
| JP2025014009A (en) | Systems and methods for operating a rechargeable electrochemical cell or battery - Patents.com | |
| KR102035375B1 (en) | Battery, battery pack, electronic device, electric vehicle, electric storage device, and power system | |
| US20160233539A1 (en) | Solid state energy storage device | |
| EP3576205B1 (en) | Nonaqueous electrolyte electricity storage element and method for producing same | |
| US20230290956A1 (en) | All-solid-state battery and method of manufacturing the same | |
| EP3970213A1 (en) | Composite lithium-metal anodes for enhanced energy density and reduced charging times | |
| Williard et al. | Predicting Remaining Capacity of Batteries for UAVs and Electric Vehicle Applications | |
| Hahn et al. | Electrical Buffer Storage for Energy Harvesting |
| Date | Code | Title | Description |
|---|---|---|---|
| A521 | Request for written amendment filed | Free format text:JAPANESE INTERMEDIATE CODE: A523 Effective date:20250124 | |
| A621 | Written request for application examination | Free format text:JAPANESE INTERMEDIATE CODE: A621 Effective date:20250124 |