
















本発明は、影領域検出装置及び影領域検出方法に関する。The present invention relates to a shadow area detection device and a shadow area detection method.
従来、被写体の色情報及び被写体までの距離情報を取得可能な深度カメラ(RGBDカメラ)があった。このような深度カメラを用いて取得された情報に基づき、三次元点群データ又はメッシュデータ等の三次元モデルを生成することが行われている。生成された三次元モデルは、例えば、メタバース空間に合成される。メタバース空間においては、同一のメタバース空間に合成された他の三次元モデルの存在による影が、三次元モデルに追加される場合がある。ここで、深度カメラを用いて現実の世界に存在する被写体の三次元モデルを生成しようとした場合、撮影時の環境光による影が存在すると、メタバース空間に存在する光源の方向と一致しないため、外観に違和感が生じる場合がある。また深度カメラを用いて得られる距離情報によれば、影部分の暗い映像の距離精度が得られないといった課題があった。そこで、深度カメラにより測距された距離情報の精度を向上させるために、偏光センサの情報を用いて法線ベクトルを生成し、補正する技術があった(特許文献1を参照)。Conventionally, there has been a depth camera (RGBD camera) capable of acquiring color information of a subject and distance information to the subject. Based on information acquired using such a depth camera, a three-dimensional model such as three-dimensional point cloud data or mesh data is generated. The generated three-dimensional model is, for example, synthesized in a metaverse space. In the metaverse space, a shadow due to the presence of another three-dimensional model synthesized in the same metaverse space may be added to the three-dimensional model. Here, when attempting to generate a three-dimensional model of a subject existing in the real world using a depth camera, if there is a shadow due to the ambient light at the time of shooting, the direction of the shadow does not match the direction of the light source existing in the metaverse space, and therefore the appearance may be unnatural. In addition, there was a problem that the distance information obtained using the depth camera could not obtain the distance accuracy of the dark image in the shadow area. Therefore, in order to improve the accuracy of the distance information measured by the depth camera, there was a technology that generates and corrects a normal vector using information from a polarization sensor (see Patent Document 1).
しかしながら上述したような従来技術によれば、距離情報の精度を向上させることはできるかもしれないが、色情報(RGB情報)を補正することはできない。したがって、生成される三次元モデルには、影が重畳してしまっており、メタバース空間に合成した場合に、影の影響により暗くなっている部分(以下、影部分と記載する。)が違和感を生じさせるといった問題があった。ここで、影による外観上の違和感を軽減するためには、周囲の色より暗い色となっている影部分の色情報を修正することが考えられる。しかしながら、周囲の色より暗い部分であるからといって、当該部分が影の影響により暗くなっているのか、被写体が有する本来の色であるのかを判定することは難しく、影部分の色情報を補正することは困難であった。However, while the above-mentioned conventional technology may be able to improve the accuracy of distance information, it is not possible to correct color information (RGB information). Therefore, the generated three-dimensional model has a shadow superimposed on it, and when it is synthesized into the metaverse space, there is a problem that the parts that are darkened by the influence of the shadow (hereinafter referred to as the shadow parts) create an unnatural feeling. Here, in order to reduce the unnatural appearance caused by the shadow, it is possible to correct the color information of the shadow parts that are darker than the surrounding color. However, just because a part is darker than the surrounding color, it is difficult to determine whether the part is darker due to the influence of the shadow or is the original color of the subject, and it has been difficult to correct the color information of the shadow parts.
そこで本発明は、このような状況に鑑みてなされたものであって、影の影響により被写体の色情報が暗くなっている部分を検出することが可能な影領域検出装置の提供を目的とする。The present invention was made in consideration of these circumstances, and aims to provide a shadow area detection device that can detect areas of a subject where the color information is darkened due to the influence of a shadow.
[1]本発明の一態様は、被写体の情報を二次元平面上の各座標に有する画像を取得する画像取得部と、取得した前記画像の各座標について、各座標が有する前記被写体の情報に基づき、複数の領域に区分する領域区分け部と、前記被写体を、複数の異なる偏光角度を有する偏光フィルタをそれぞれ介して撮像された複数の偏光画像を取得する偏光画像取得部と、前記領域区分け部により区分された前記画像の領域についての情報と、前記偏光画像とに基づいて、前記画像の各座標について影部分と推定される座標の候補を検出する影候補検出部とを備える影領域検出装置である。[1] One aspect of the present invention is a shadow area detection device that includes an image acquisition unit that acquires an image having information about a subject at each coordinate on a two-dimensional plane, a region division unit that divides each coordinate of the acquired image into a plurality of regions based on the information about the subject that each coordinate has, a polarized image acquisition unit that acquires a plurality of polarized images of the subject captured through polarizing filters having a plurality of different polarization angles, and a shadow candidate detection unit that detects candidates for coordinates estimated to be shadow areas for each coordinate of the image based on the information about the image regions divided by the region division unit and the polarized images.
[2]また、本発明の一態様は、上記[1]に記載の影領域検出装置において、前記画像取得部により取得される前記画像には、前記被写体の色に関する情報を二次元平面上の各座標に有するRGB画像が含まれ、前記領域区分け部は、前記RGB画像の各座標について、各座標が有する色情報に基づき、複数の領域に区分する色領域区分け部を更に備えるものである。[2] In one aspect of the present invention, in the shadow region detection device described in [1] above, the image acquired by the image acquisition unit includes an RGB image having information about the color of the subject at each coordinate on a two-dimensional plane, and the region division unit further includes a color region division unit that divides each coordinate of the RGB image into a plurality of regions based on the color information that each coordinate has.
[3]また、本発明の一態様は、上記[2]に記載の影領域検出装置において、前記影候補検出部により、影候補と推定された座標が有する画素値を、影候補と推定されなかった座標が有する画素値に基づいた値に置き換える影補正部を更に備えるものである。[3] In one aspect of the present invention, the shadow area detection device described in [2] above further includes a shadow correction unit that replaces pixel values of coordinates estimated to be shadow candidates by the shadow candidate detection unit with values based on pixel values of coordinates that are not estimated to be shadow candidates.
[4]また、本発明の一態様は、上記[1]から[3]のいずれかに記載の影領域検出装置において、前記画像取得部により取得される前記画像には、前記被写体までの距離に関する情報を二次元平面上の各座標に有する距離画像が含まれ、前記領域区分け部は、前記距離画像の各座標について、各座標が有する距離情報に基づき、複数の領域に区分する距離領域区分け部を更に備えるものである。[4] In one aspect of the present invention, in the shadow region detection device described in any one of [1] to [3] above, the image acquired by the image acquisition unit includes a distance image having information on the distance to the subject at each coordinate on a two-dimensional plane, and the region division unit further includes a distance region division unit that divides each coordinate of the distance image into a plurality of regions based on the distance information held by each coordinate.
[5]また、本発明の一態様は、被写体の情報を二次元平面上の各座標に有する画像を取得する画像取得工程と、
取得した前記画像の各座標について、各座標が有する前記被写体の情報に基づき、複数の領域に区分する領域区分け工程と、
前記被写体を、複数の異なる偏光角度を有する偏光フィルタをそれぞれ介して撮像された複数の偏光画像を取得する偏光画像取得工程と、
前記領域区分け工程により区分された前記画像の領域についての情報と、取得された前記偏光画像とに基づいて、前記画像の各座標について影部分と推定される座標の候補を検出する影候補検出工程と
を有する影領域検出方法である。 [5] Also, one aspect of the present invention provides an image capturing step of capturing an image having information of a subject at each coordinate on a two-dimensional plane;
a region dividing step of dividing each coordinate of the acquired image into a plurality of regions based on information of the subject held by each coordinate;
a polarization image acquisition step of acquiring a plurality of polarization images of the subject through a plurality of polarization filters each having a different polarization angle;
and a shadow candidate detection step of detecting candidates for coordinates estimated to be shadow areas for each coordinate of the image, based on information about the image regions divided by the region division step and the acquired polarized image.
本発明によれば、影の影響により被写体の色情報が暗くなっている部分を検出することができる。The present invention makes it possible to detect areas of a subject where the color information is darkened due to the influence of shadows.
本発明の態様に係る影領域検出装置について、好適な実施の形態を掲げ、添付の図面を参照しながら以下、詳細に説明する。なお、以下で説明する実施形態は一例に過ぎず、本発明が適用される実施形態は、以下の実施形態に限られない。また、本願でいう「XXに基づいて」とは、「少なくともXXに基づく」ことを意味し、XXに加えて別の要素に基づく場合も含む。また、「XXに基づいて」とは、XXを直接に用いる場合に限定されず、XXに対して演算や加工が行われたものに基づく場合も含む。「XX」は、任意の要素(例えば、任意の情報)である。また、以下の図面においては、各構成をわかりやすくするために、各構造における縮尺および数等を、実際の構造における縮尺および数等と異ならせる場合がある。A preferred embodiment of the shadow region detection device according to the present invention will be described in detail below with reference to the accompanying drawings. Note that the embodiment described below is merely an example, and the embodiment to which the present invention is applied is not limited to the following embodiment. In addition, "based on XX" in this application means "based on at least XX" and includes cases where it is based on other elements in addition to XX. In addition, "based on XX" is not limited to cases where XX is directly used, but also includes cases where it is based on XX that has been subjected to calculation or processing. "XX" is any element (for example, any information). In addition, in the following drawings, the scale and number of each structure may be different from the scale and number of the actual structure in order to make each configuration easier to understand.
[第1実施形態]
まず、図1から図10を参照しながら、第1実施形態に係る影領域検出システム1について説明する。[First embodiment]
First, a shadow
図1は、第1実施形態に係る影領域検出システムが検出する影について説明するための図である。図1(A)は、被写体としての物体Aについて、RGB画像を撮像する場合の一例を示している。図中には、撮像されるRGB画像の画角を示す。ここで、図示するような画角でRGB画像を撮像する際、画角の外には物体Bが存在するものとする。この場合、太陽等の光源と、物体Bとの影響により、物体AのRGB画像には影が映し出されていることが分かる。影の部分は、物体Aの本来の色情報より、暗くなる(すなわち、輝度が低くなる)。Figure 1 is a diagram for explaining the shadows detected by the shadow area detection system according to the first embodiment. Figure 1(A) shows an example of capturing an RGB image of object A as a subject. The figure shows the angle of view of the captured RGB image. Here, when capturing an RGB image with the angle of view shown in the figure, it is assumed that object B exists outside the angle of view. In this case, it can be seen that a shadow is projected in the RGB image of object A due to the influence of a light source such as the sun and object B. The shadow portion is darker (i.e., has lower brightness) than the original color information of object A.
図1(B)は、物体Aと同様の形状を有するが、異なる色情報を有する物体Bを示す。同図には、物体Bが本来有する色情報を示している。換言すれば、物体Bは、影の影響によることなく、図示するような色情報を有している。図1(A)に示す物体Aの色情報と、図1(B)に示す物体Bの色情報とは、互いに同一又は類似する。このように、RGB画像を見ただけでは、周囲より暗い部分(すなわち、輝度が低い部分)が、被写体本来の色なのか、図1(A)に示すように、画像に映らない物体による影の色なのか、判断できない場合がある。Figure 1(B) shows object B, which has a similar shape to object A, but different color information. This figure shows the color information that object B originally has. In other words, object B has color information as shown, without the influence of shadows. The color information of object A shown in Figure 1(A) and the color information of object B shown in Figure 1(B) are the same or similar to each other. In this way, just by looking at an RGB image, it may not be possible to determine whether a part that is darker than the surroundings (i.e., a part with low brightness) is the original color of the subject, or the color of a shadow cast by an object not reflected in the image, as shown in Figure 1(A).
将来メタバース空間等のヴァーチャル空間に合成することを前提とした三次元モデルを生成する際、被写体である物体が有する色情報のうち、どの部分が影の部分であるかが分かると、色情報を補正したうえで三次元モデルを生成することが可能となる。本実施形態に係る影領域検出システム1によれば、物体を撮像して得られた色情報のうち影である領域を検出することができる。When generating a three-dimensional model that is intended to be synthesized in a virtual space such as the metaverse in the future, if it is known which parts of the color information of the subject object are shadow parts, it is possible to generate a three-dimensional model after correcting the color information. The shadow
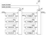
図2は、第1実施形態に係る影領域検出システムの機能構成の一例について示す機能構成図である。同図を参照しながら、影領域検出システム1の機能構成の一例について説明する。影領域検出システム1は、影領域検出装置10と、記憶装置21と、記憶装置22と、測距センサ31と、RGBセンサ32と、偏光センサ33とを備える。FIG. 2 is a functional configuration diagram showing an example of the functional configuration of the shadow area detection system according to the first embodiment. With reference to the diagram, an example of the functional configuration of the shadow
記憶装置21は、影領域検出装置10の処理に要するパラメータ等を記憶する。記憶装置21に記憶されたパラメータ等は、ユーザ等により適宜書き換えられるものであってもよいし、時間帯、気温又は天気等の環境情報に応じて変化するものであってもよい。記憶装置22は、影領域検出装置10により検出された影領域を特定するための情報を記憶する。なお、記憶装置21及び記憶装置22は、いずれも影領域検出装置10に含まれていてもよい。The
測距センサ31は、被写体の三次元情報を取得する。具体的には、測距センサ31は、被写体までの距離を複数の点において測定することにより、距離画像を取得する。測距センサ31は、例えばToF(Time of Flight)方式を用いて、被写体に対して二次元的に光を照射し、反射光を受光するまでの時間に基づいて距離を計測するものであってもよい。測距センサ31は、取得した距離画像を、影領域検出装置10に出力する。The
RGBセンサ32は、測距センサ31による測距対象である被写体と同一の被写体についてのRGB画像を撮像する。測距センサ31により取得される距離画像の座標と、RGBセンサ32により取得されるRGB画像の座標とは、互いに対応するものであることが好適である。なお、測距センサ31及びRGBセンサ32は、不図示の深度カメラ(RGBDカメラ)が備える構成要件であってもよい。RGBセンサ32は、例えばベイヤーパターンに配列されたRGB各色のフィルタを有するフォトダイオードを複数備え、RGB各色の輝度情報を取得する。RGBセンサ32は、取得したRGB画像を例えばRAW画像として影領域検出装置10に出力する。The
偏光センサ33は、測距センサ31による測距対象であり、RGBセンサ32による撮像対象である被写体と同一の被写体についての偏光画像を取得する。偏光センサ33は、複数の異なる偏光角度を有する偏光フィルタ(偏光子)をそれぞれ介して撮像された複数の偏光画像を撮像する。偏光センサ33は、取得した偏光画像を影領域検出装置10に出力する。The
影領域検出装置10は、画像取得部111と、リサイズ部113と、色相・輝度計算部115と、領域区分け部119と、偏光画像取得部131と、偏光角算出部132と、リサイズ部133と、影候補検出部150とを備える。これらの各機能部は、例えば、電子回路を用いて実現される。また、各機能部は、必要に応じて、半導体メモリや磁気ハードディスク装置などといった記憶手段を内部に備えてよい。また、各機能を、CPU(Central Processing Unit)を有するコンピュータおよびソフトウェアによって実現するようにしてもよい。The shadow
画像取得部111は、被写体の情報を二次元平面上の各座標に有する画像を取得する。当該画像には、被写体の色に関する情報を二次元平面上の各座標に有するRGB画像と、被写体までの距離に関する情報を二次元平面上の各座標に有する距離画像とが含まれる。すなわち、画像取得部111は、RGB画像又は距離画像のうち、少なくとも一方を取得する。具体的には、画像取得部111は、RGBセンサ32からRGB画像を取得する。画像取得部111は、取得したRGB画像を、ディベイヤー(ディモザイク)処理し、RGB各色の画像信号を得る。また、画像取得部111は、測距センサ31から距離画像を取得する。The
リサイズ部113は、画像取得部111から距離画像に関する情報を取得する。リサイズ部113は、距離画像の解像度と、RGB画像から得られるRGB各色の解像度とが互いに異なる場合に、距離画像をリサイズ(アップコンバート)し、互いに同じ解像度に合わせる。なお、リサイズ部113は、画像取得部111からRGB各色の画像信号を取得し、RGB各色の画像信号をリサイズ(ダウンコンバート)することにより、互いに同じ解像度に合わせてもよい。The resizing
領域区分け部119は、リサイズ部113により互いに同じ解像度に合わせられた距離画像と、RGB画像とを取得する。領域区分け部119は、取得した画像の各座標について、各座標が有する被写体の情報に基づき、複数の領域に区分する。領域区分け部119は、具体的には、距離領域区分け部116と、色領域区分け部117と、物体領域区分け部118とを備える。距離領域区分け部116は、距離画像に基づいた領域区分け処理を行う。距離領域区分け部116は、距離画像の各座標について、各座標が有する距離情報に基づき、複数の領域に区分するということもできる。色領域区分け部117は、RGB画像に基づいた領域区分け処理を行う。色領域区分け部117は、RGB画像の各座標について、各座標が有する色情報に基づき、複数の領域に区分するということもできる。物体領域区分け部118は、距離領域区分け部116により行われた領域区分け結果と、色領域区分け部117により行われた領域区分け結果とに基づいた領域区分け処理を行う。領域区分け処理とは、画像が有する各座標を、画像に存在する複数の物体それぞれについての領域に区分けする処理である。領域区分け処理においては、同一の物体の中の同系色の領域には同一の識別番号(INDEX番号)が付される。The
まず、距離領域区分け部116により行われる領域区分け処理について説明する。距離領域区分け部116は、リサイズ部113により距離画像がリサイズされ、RGB各色の画像信号と互いに同じ解像度に合わせられた距離画像を取得する。また、距離領域区分け部116は、記憶装置21から、距離領域区分け処理に用いられるパラメータであるDTH1maxと、DTH1minと、DTH2と、DTH3とを取得する。First, the region division process performed by the distance
DTH1maxとは、被写体の背景の距離データについて、影検出の領域から除去するための距離を設定するものである。換言すれば、DTH1maxとは、被写体の奥行き方向の最大値であるということもできる。DTH1minとは、被写体の手前の距離データについて、影検出の領域から除去するための距離を設定するものである。換言すれば、DTH1minとは、被写体の手前方向の最大値であるということもできる。DTH2とは、隣り合う座標の距離値が、同一平面のものか否かを判定するための閾値である。DTH3とは、センサに起因する大きなランダムノイズや、デッドピクセル等に基づく異常値を除去するための閾値である。距離領域区分け部116は、これらのパラメータを用いて、被写体の物体の領域について区分け処理を行い、各領域に距離INDEX番号を付していく。これは、同じ物体であれば隣接するピクセルの距離値は、大きく離れていないという考え方を基本とするものである。距離INDEX番号とは、距離情報に基づきピクセルごとに付される番号であり、同一の物体であると推定されるピクセルには、同一の番号が付されるものである。DTH1max is a distance setting for removing distance data of the subject's background from the shadow detection area. In other words, DTH1max is the maximum value in the depth direction of the subject. DTH1min is a distance setting for removing distance data in front of the subject from the shadow detection area. In other words, DTH1min is the maximum value in the front direction of the subject. DTH2 is a threshold for determining whether the distance values of adjacent coordinates are on the same plane or not. DTH3 is a threshold for removing abnormal values due to large random noise caused by the sensor and dead pixels. The distance
距離領域区分け部116により、距離INDEX番号が付されていく動作を、図3、図4A及び図4Bを参照しながら詳細に説明する。The operation of assigning distance INDEX numbers by the distance
図3は、第1実施形態に係る距離領域区分け部による距離領域区分け処理について説明するための図である。同図は、画像取得部111により取得された距離画像(Depthデータ画像)を、説明のため少ないピクセル数で表したものである。同図において、距離画像の値(距離値)を、グレーの濃さにより表している。具体的には、色が濃い部分程近くに存在する物体を示し、色が薄い部分程遠くに存在する物体を示している。図3(A)は、各座標に、説明のために用いる各座標を識別するための番号を付したものを示している。図3(B)は、距離領域区分け部116により付された距離INDEX番号を示している。Figure 3 is a diagram for explaining the distance area division process by the distance area division unit according to the first embodiment. In this figure, the distance image (depth data image) acquired by the
図4A及び図4B(以下、単に図4と記載する場合がある)は、第1実施形態に係る距離領域区分け部による距離領域区分け処理の一例を示すフローチャートである。図示するフローチャートは、図3に示す距離画像の左上端ピクセルから、水平方向、垂直方向のスキャンで順序処理を行う場合の処理の流れを示したものである。図4に示すフローチャートは、図3に示した矢印のような順次走査で処理するようにループする。Figures 4A and 4B (hereinafter sometimes simply referred to as Figure 4) are a flowchart showing an example of distance area division processing by the distance area division unit according to the first embodiment. The illustrated flowchart shows the flow of processing when sequential processing is performed by scanning in the horizontal and vertical directions from the upper left pixel of the distance image shown in Figure 3. The flowchart shown in Figure 4 loops so as to process by sequential scanning as indicated by the arrows shown in Figure 3.
まず、距離領域区分け部116は、距離画面から3×3ピクセルの領域の距離値(Depthデータ)を取得する(ステップS111)。ここで、取得した3×3ピクセルの中には、センサのノイズやデッドピクセルにより突出して1ピクセルだけ周囲と違うデータが含まれることがある。距離領域区分け部116は、まずステップS112及びステップS113において、このようなデータに距離INDEX番号をつける。具体的には、距離領域区分け部116は、3×3ピクセルの中心だけ周囲ピクセル全てと比較して、距離値の差が、+DTH3以上又は-DTH3以下であるか否かを判定する(ステップS112)。距離領域区分け部116は、距離値に所定の差があると判定した場合(すなわちステップS112;YES)、3×3ピクセルの中心ピクセルの距離INDEX番号を、左隣の距離INDEX番号とする(ステップS113)。なお、一番左上の3×3領域で、まだ距離INDEX番号が振られていない場合は、距離INDEX番号を0にする。距離領域区分け部116は、距離値に所定の差が無いと判定した場合(すなわちステップS112;NO)、処理をステップS114に進める。First, the distance
図3(A)を見ると、中心部分にFと付された座標が存在する。当該座標のピクセルは、周辺との距離値の差が±DTH3であったとする。このような場合、当該座標のピクセルは、左隣のピクセルの距離INDEX番号となる。具体的には、図3(B)に示した通り、距離INDEX番号が左隣の距離INDEX番号と同様、1と判定されている。判定された距離INDEX番号は一時記憶部(不図示)に記憶され、次のピクセルに移り、フローの始めにループする。なお、以下に説明する処理についても、距離INDEX番号をピクセルごとに付していき、付された距離INDEX番号は、一時記憶部に記憶されるものとする。Looking at Figure 3 (A), there is a coordinate labeled F in the center. The pixel at that coordinate has a distance value difference of ±DTH3 from the surrounding pixels. In such a case, the pixel at that coordinate becomes the distance INDEX number of the pixel to the left. Specifically, as shown in Figure 3 (B), the distance INDEX number is determined to be 1, just like the distance INDEX number of the pixel to the left. The determined distance INDEX number is stored in a temporary storage unit (not shown), and the process moves to the next pixel and loops to the beginning of the flow. Note that in the process described below, a distance INDEX number is assigned to each pixel, and the assigned distance INDEX numbers are stored in the temporary storage unit.
ステップS112がNOの場合は、次に、距離領域区分け部116は、ステップS114及びステップS115において、被写体の奥に存在する背景や、被写体の手前に存在する余計な物体を影検出の対象から除外する処理を行う。具体的に、距離領域区分け部116は、距離閾値DTH1max、及びDTH1minを用いた判定を行う。DTH1maxとは、被写体より遠くにある物体を影検出の対象から除外するための閾値である。また、DTH1minとは、被写体より近くにある物体を影検出の対象から除外するための閾値である。まず、距離領域区分け部116は、3×3ピクセルの中心ピクセルの距離値が、DTH1min以下又はDTH1max以上であるかを判定する(ステップS114)。距離領域区分け部116は、距離値が閾値を超えていた場合(すなわちステップS114;YES)、中心ピクセルの距離INDEX番号を、0とする(ステップS115)。また、距離領域区分け部116は、距離値が閾値を超えていない場合(すなわちステップS114;NO)、処理をステップS116に進める。具体的に、図3(A)に示す一例では、数字が付されていない座標については、DTH1maxを超えた部分、すなわち被写体の奥に存在する背景であると判定された部分を示している。また、33乃至39の番号が付されている部分が、DTH1min以下の部分、すなわち被写体の手前に存在する余計な物体であると判定された部分を示している。このような部分は、図3(B)に示す通り、距離INDEX番号は0となる。If step S112 is NO, then in steps S114 and S115, the distance
ステップS114がNOの場合は、次に、距離領域区分け部116は、ステップS116及びステップS117において、新たに検出された物体に対して距離INDEX番号を付す。換言すれば、距離領域区分け部116は、物体の輪郭部分に対して新たな距離INDEX番号を付していくということもできる。具体的に、距離領域区分け部116は、左上のピクセルから、水平方向に順次スキャンを行っていくため、あるピクセルをスキャンする場合には、3×3ピクセルのうち、上部3ピクセルと、左1ピクセルについては、既にスキャンが完了しているということができる。距離領域区分け部116は、このようにスキャンが完了しているピクセルのうち、まだ0以外の距離INDEX番号が無いか判定する(ステップS116)。距離領域区分け部116は、まだ0以外の距離INDEX番号が無い場合(すなわちステップS116;YES)、当該ピクセルに距離INDEX番号を付す(ステップS117)。また、距離領域区分け部116は、まだ0以外の距離INDEX番号が有る場合(すなわちステップS116;NO)、処理をステップS118に進める。このような作業を行うことにより、距離領域区分け部116は、3×3の中央ピクセルについて、これまで付されていなかったピクセルについて、距離INDEX番号を付すことができる。図示する一例において、図3(A)の1が付されているピクセルは、左上からスキャンしていき、初めて物体があると判定されたピクセルであるため、距離INDEX番号として1が付されている。また、22が付されているピクセルは、すでに距離INDEX番号が3まで付されている状況において、付されたものであるため、距離INDEX番号として4が付されている。If step S114 is NO, then the distance
ステップS116がNOの場合は、次に、距離領域区分け部116は、ステップS118乃至ステップS121において、物体であると判定された部分が同一平面上に存在するか否かを判定する。すなわち、距離領域区分け部116は、ステップS118乃至ステップS121において、同一の距離INDEX番号を付すか、異なる距離INDEX番号を付すかを判定する。ここで、ステップS118の処理が行われる場合とは、3×3ピクセルのうち、すでにスキャンして距離INDEX番号が付された上部3ピクセルと左1ピクセルにおいて、0以外の距離INDEX番号がある場合ということができる。このような場合において、距離領域区分け部116は、3×3ピクセルの中心ピクセルがすでに距離INDEX番号が付されているものと同じ平面のものかどうか、DTH2の閾値レベルに基づいて判定を行う。If step S116 is NO, then the distance
距離領域区分け部116は、具体的には、上部3ピクセルと左1ピクセルの距離値のいずれかが、3×3の中央ピクセルの距離値の-DTH2~+DTH2以内であるか否かを判定する(ステップS118)。距離領域区分け部116は、上部3ピクセルと左1ピクセルの距離値のいずれかが、3×3の中央ピクセルの距離値の-DTH2~+DTH2以内であれば(すなわち、ステップS118;YES)、互いに同じ平面とみなし、互いに同じ距離INDEX番号を付す。このとき、中心ピクセルの距離値に対して、-DTH2~+DTH2内のものが複数ピクセルある場合、それらのピクセルは全て、その中で一番若い距離INDEX番号とする(ステップS119)。また、上部3ピクセルと左1ピクセルにおいて、すでに距離INDEX番号が付されており、距離INDEX番号が書き換えられた場合、これまでスキャンして距離INDEX番号が記憶されている座標を参照し、同じ距離INDEX番号を有する各座標についても全て書き換える(ステップS121)。Specifically, the distance
図示する一例において、図3(A)の座標が2、6、12、及び13のピクセルは、座標が18のピクセルについてスキャン処理を行うまでは、距離INDEX番号が2とされていたが、座標が18のピクセルについての判定を行うときに、距離INDEX番号が1に振り直されている。これは、座標が17のピクセルの距離値が、-DTH2~+DTH2以内であったためである。その際、図3(B)に示すように、3×3ピクセルの領域外のすでに距離INDEX番号が2として記憶されていた座標が2、6、12、及び13の各ピクセルについても、距離INDEX番号が1に振り直されている。このように処理をした後、次のピクセル処理に移る。In the illustrated example, the pixels with
距離領域区分け部116は、上部3ピクセルと左1ピクセルの距離値のいずれかが、3×3の中央ピクセルの距離値の-DTH2~+DTH2以内でなければ(すなわち、ステップS118;NO)、対象のピクセルの距離INDEX番号を、今まで付してきた距離INDEX番号以外の番号に更新して、新たな距離INDEX番号とする(ステップS120)。例えば図3(A)に示す座標が7のピクセルについて、このピクセルのスキャン処理時において、距離INDEX番号は2である。しかしながら、左のピクセル(すなわち座標が6のピクセル)と、左上のピクセル(すなわち座標が2のピクセル)との距離値が、-DTH2~+DTH2以内に入らない場合、距離INDEX番号が更新され、距離INDEX番号が3として記憶される(ステップS120)。また、距離領域区分け部116は、当該処理が行われた後、次のピクセルの処理に移る(ステップS122)。If any of the distance values of the top three pixels and the left pixel is not within -DTH2 to +DTH2 of the distance value of the central pixel of the 3x3 pixel (i.e., step S118; NO), the distance
距離領域区分け部116は、以上のような流れで、すべてのピクセルをスキャンしていく。すなわち、本実施形態においては、複数回の判定が行われた結果、距離INDEX番号が更新されていく。図3(B)では、全てのピクセルについて、最終的に得られた結果を示している。The distance
図2に戻り、距離領域区分け部116は、最終的に得られた距離INDEX番号についての情報を物体領域区分け部118に出力する。Returning to FIG. 2, the distance
次に、色領域区分け部117により行われる領域区分け処理について説明する。色領域区分け部117は、画像取得部111により取得されたRGB画像に基づくRGB各色の信号と、リサイズ部113により距離画像がリサイズされ、RGB各色の画像信号と互いに同じ解像度に合わせられた距離画像とを取得する。また、色領域区分け部117は、色領域区分け処理に用いられるパラメータであるWTHと、DTH1minと、DTH1maxと、HUETHと、SATTHとを取得する。DTH1min及びDTH1maxは、距離領域区分け部116により行われる距離領域区分け処理と同様のパラメータであってもよい。Next, the region division process performed by the color
WTHとは、RGBセンサの突出したノイズや、デッドピクセル等に基づく異常値を除外するための閾値である。WTHは、温度に応じて変動する値であってもよい。HUETHとは、色で領域を区分けするための、色相についての閾値である。SATTHとは、色飽和についての閾値である。色領域区分け部117は、これらのパラメータを用いて、被写体の物体の領域について区分け処理を行い、各領域に色INDEX番号を付していく。これは、同じ物体で同じ色であれば、たとえそれが影と影でない部分であったとしても、両者は互いに似た色相に収まるという考え方を基本とするものである。色INDEX番号とは、色相情報に基づきピクセルごとに付される番号であり、同一の物体の中の同系色であると推定されるピクセルには、同一の番号が付されるものである。距離INDEX番号と、色INDEX番号とは、互いに異なるアプローチによりそれぞれ同一の物体の距離による領域と色による領域に領域分けをしたものである。WTH is a threshold value for removing abnormal values due to prominent noise of the RGB sensor, dead pixels, etc. WTH may be a value that varies according to temperature. HUETH is a threshold value for hue for dividing regions by color. SATTH is a threshold value for color saturation. The color
なお、色相を判断できない場合、例えば色のない黒、グレー、白の物体は、色の飽和がノイズレベル程度に小さい。したがって、本実施形態において、ある色飽和レベル以下のものは、白黒グレーの同じ物体としている。When the hue cannot be determined, for example in the case of colorless black, gray, or white objects, the color saturation is as low as the noise level. Therefore, in this embodiment, objects below a certain color saturation level are considered to be the same black, white, and gray objects.
色領域区分け部117により、色INDEX番号が付されていく動作を、図5、図6A及び図6Bを参照しながら詳細に説明する。The operation of assigning color INDEX numbers by the color
図5は、第1実施形態に係る色領域区分け部による色領域区分け処理について説明するための図である。同図は、画像取得部111により取得されたRGB画像を、説明のため少ないピクセル数で表したものである。同図では、画素値をグレーの濃さにより表している。図5(A)は、各座標に、説明のために用いる各座標を識別するための番号を付している。図5(B)は、色領域区分け部117により付された色INDEX番号を示している。Figure 5 is a diagram for explaining the color region division process by the color region division unit according to the first embodiment. In this figure, the RGB image acquired by the
図6A及び図6B(以下、単に図6と記載する場合がある)は、第1実施形態に係る色領域区分け部による色領域区分け処理の一例を示すフローチャートである。図示するフローチャートは、図5に示すRGB画像の左上端ピクセルから、水平方向、垂直方向のスキャンで順序処理を行う場合の処理の流れを示したものである。図5に示した矢印のような順次走査で処理するように、図6に示すフローチャートはループする。Figures 6A and 6B (hereinafter sometimes simply referred to as Figure 6) are a flowchart showing an example of color region division processing by the color region division unit according to the first embodiment. The illustrated flowchart shows the flow of processing when sequential processing is performed by scanning horizontally and vertically from the upper left pixel of the RGB image shown in Figure 5. The flowchart shown in Figure 6 loops so that processing is performed by sequential scanning as indicated by the arrows shown in Figure 5.
まず、色領域区分け部117は、入力されたRGB各色の信号を、輝度Y、色相HUE、色飽和SATに変換する。当該変換には、例えば次(1)式から(5)式のような数式が用いられてもよい。First, the color
Y=0.2126×R+0.7152×G+0.0722×B・・・(1)
Pb=-0.1146×R-0.3854×G+0.5000×B・・・(2)
Pr=0.5000×R-0.4542×G-0.0458×B・・・(3)
HUE=ATAN(Pr/Pb)・・・(4)
SAT=SQRT(PB^2+Pr^2)・・・(5) Y=0.2126×R+0.7152×G+0.0722×B...(1)
Pb=-0.1146×R-0.3854×G+0.5000×B...(2)
Pr=0.5000×R-0.4542×G-0.0458×B...(3)
HUE=ATAN(Pr/Pb)...(4)
SAT=SQRT(PB^2+Pr^2)...(5)
色領域区分け部117は、これら(1)式から(5)式を用いて、3×3の全てのピクセルについて、HUE、SAT、及びYを算出しておく(ステップS211)。また、色領域区分け部117は、3×3ピクセルの中心ピクセルの距離値(Depth値)についても取得しておく。The color
次に、色領域区分け部117は、ステップS212及びステップS213において、RGBセンサに起因するノイズのうち突出して大きいノイズや、デッドピクセル等に基づく異常値を有するピクセル、及び白キズ、黒キズと呼ばれる画素欠陥を有するピクセルの処理を行う。具体的には、色領域区分け部117は、まず、3×3ピクセルの中心ピクセルにおけるRGB各色の信号と、3×3の周辺8ピクセルのRGB各色の信号とを比較する(ステップS212)。周辺8ピクセルにおいて、画素値が中心ピクセルの+WTH以上、又は―WTH以下であるチャンネルが一つでもある場合(すなわち、ステップS212;YES)、色領域区分け部117は、当該中心ピクセルをデッドピクセルとみなし、左隣の色INDEX番号とする(ステップS213)。なお、一番左上の3×3領域において、まだ色INDEX番号が付されていない場合は、色INDEX番号を0とする。Next, in steps S212 and S213, the color
図示する一例において、図5(A)では、Wと示したピクセルが、周辺よりRGB値が±WTHより離れているものとする。この場合、色領域区分け部117は、隣のピクセルの色INDEX番号をWと示したピクセルの色INDEX番号とする。図5(B)を見ると、図5(A)においてWと示したピクセルの色INDEX番号は、隣のピクセル(すなわち、座標が16であるピクセル)の色INDEX番号と同様となっている。判定された色INDEX番号は一時記憶部(不図示)に記憶され、次のピクセルに移り、フローの始めにループする。なお、以下に説明する処理についても、色INDEX番号をピクセルごとに付していき、付された色INDEX番号は、一時記憶部に記憶されるものとする。In the illustrated example, in FIG. 5(A), the pixel marked W has an RGB value that is farther away from the surrounding pixels by ±WTH. In this case, the color
ステップS212がNOの場合は、次に、色領域区分け部117は、ステップS214及びステップS215において、被写体の奥に存在する背景や、被写体の手前に存在する余計な物体を影検出の対象から除外する処理を行う。具体的に、色領域区分け部117は、距離閾値DTH1max、及びDTH1minを用いた判定を行う。まず、色領域区分け部117は、中心ピクセルの距離値が、DTH1min以下又はDTH1max以上であるかを判定する(ステップS214)。色領域区分け部117は、距離値が閾値を超えていた場合(すなわちステップS214;YES)、中心ピクセルの色INDEX番号を、0とする(ステップS215)。また、色領域区分け部117は、距離値が閾値を超えていない場合(すなわちステップS214;NO)、処理をステップS216に進める。具体的に、図5(A)に示す一例では、数字が付されていない座標については、DTH1maxを超えた部分、すなわち被写体の奥に存在する背景であると判定された部分を示している。また、35乃至41の番号が付されている部分が、DTH1min以下の部分、すなわち被写体の手前に存在する余計な物体であると判定された部分を示している。このような部分は、図5(B)に示す通り、色INDEX番号は0となる。If step S212 is NO, then in steps S214 and S215, the color
ステップS214がNOの場合は、次に、色領域区分け部117は、ステップS216及びステップS217において、新たに検出された物体に対して色INDEX番号を付す。換言すれば、物体の輪郭部分に対して新たな色INDEX番号を付していくということもできる。具体的に、色領域区分け部117は、左上のピクセルから、水平方向に順次スキャンを行っていくため、あるピクセルをスキャンする場合には、3×3ピクセルのうち、上部3ピクセルと、左1ピクセルについては、既にスキャンが完了しているということができる。色領域区分け部117は、このようにスキャンが完了しているピクセルのうち、まだ0以外の色INDEX番号が無いか判定する(ステップS216)。色領域区分け部117は、まだ0以外の色INDEX番号が無い場合(すなわちステップS216;YES)、当該ピクセルに色INDEX番号を付す(ステップS217)。また、色領域区分け部117は、まだ0以外の距離INDEX番号が有る場合(すなわちステップS216;NO)、処理をステップS218に進める。このような作業を行うことにより、色領域区分け部117は、3×3の中央ピクセルについて、これまで付されていなかったピクセルについて、色INDEX番号を付すことができる。図示する一例において、図5(A)の1が付されているピクセルは、左上からスキャンしていき、初めて物体があると判定されたピクセルであるため、距離INDEX番号として1が付されている。また、24が付されているピクセルは、すでに距離INDEX番号が3まで付されている状況において、付されたものであるため、距離INDEX番号として4が付されている。If step S214 is NO, then in steps S216 and S217, the color
ステップS216がNOの場合は、次に、色領域区分け部117は、ステップS218及びステップS219において、画素値が白黒グレーの付近のものか否かを判定する。白黒グレーの付近のものか否かの判定には、SATTHの閾値が用いられる。具体的に、色領域区分け部117は、上部3ピクセルと左1ピクセルのいずれかに1以上の色INDEX番号が付されているピクセルが少なくとも1以上存在し、上部3ピクセルと左1ピクセルのSAT(上述した(5)式を参照)がSATTH以内であるか否かを判定する(ステップS218)。この条件に該当するピクセルが1つでも存在する場合(すなわち、ステップS218;YES)、これらのピクセルは同じ色とみなされ、同じ色INDEX番号が付される。このとき、SATTH内のものが複数ピクセルある場合はそれらのピクセルは全て、その中で一番若い距離INDEX番号とする(ステップS219)。図示する一例において、図5(A)の7が付されているピクセル及び8が付されているピクセルは、スキャン処理が行われるまでの間、色INDEX番号は4であった。しかしながら、8が付されているピクセルについてのスキャン処理がおこなわれると、左の7が付されているピクセルのSAT値がSATTH以内であったため、色INDEX番号が2に振り直されている。ここで、もし3×3領域以外において、既に色INDEX番号が4として付されているものが記憶されていれば、同時に色INDEX番号を2として振り直し、記憶し直す。色領域区分け部117は、このような処理を行い次のピクセルに移る。If step S216 is NO, then in steps S218 and S219, the color
ステップS218がNOの場合は、次に、色領域区分け部117は、ステップS220乃至ステップS223において、同じ色相のものであるか否かを判定する。すなわち、色領域区分け部117は、ステップS220乃至ステップS223において、同一の色INDEX番号を付すか、異なる色INDEX番号を付すかを判定する。ここで、ステップS220の処理が行われる場合とは、3×3ピクセルのうち、すでにスキャンして色INDEX番号が付された上部3ピクセルと左1ピクセルにおいて、0以外の色INDEX番号がある場合ということができる。このような場合において、色領域区分け部117は、3×3ピクセルの中心ピクセルがすでに色INDEX番号が付されているものと同じ色相のものかどうか、HUETHの閾値レベルに基づいて判定を行う。If step S218 is NO, then the color
色領域区分け部117は、具体的には、上部3ピクセルと左1ピクセルのHUE値のいずれかが、3×3の中央ピクセルのHUE値の-HUETH~+HUETH以内であるか否かを判定する(ステップS220)。色領域区分け部117は、上部3ピクセルと左1ピクセルのHUE値のいずれかが、3×3の中央ピクセルのHUE値の-HUETH~+HUETH以内であれば(すなわち、ステップS220;YES)、互いに同じ色相とみなし、互いに同じ色INDEX番号を付す。このとき、中心ピクセルの色相に対して、-HUETH~+HUETH内のものが複数ピクセルある場合、それらのピクセルは全て、その中で一番若い色INDEX番号とする(ステップS221)。また、上部3ピクセルと左1ピクセルにおいて、すでに色INDEX番号が付されており、色INDEX番号が書き換えられた場合、これまでスキャンして色INDEX番号が記憶されている座標を参照し、同じ色INDEX番号を有する各座標についても全て書き換える(ステップS223)。Specifically, the color
図示する一例において、図5(A)の座標が6及び14のピクセルは、座標が20のピクセルについてスキャン処理を行うまでは、色INDEX番号が3とされていたが、座標が20のピクセルについての判定を行うときに、色INDEX番号が1に振り直されている。これは、座標が19のピクセルのHUE値が、-HUETH~+HUETH以内であったためである。その際、図5(B)に示すように、3×3ピクセルの領域外のすでに色INDEX番号が3として記憶されていた座標が6及び14の各ピクセルについても、色INDEX番号が1に振り直されている。このように処理をした後、次のピクセル処理に移る(ステップS224)。In the illustrated example, the pixels with
色領域区分け部117は、上部3ピクセルと左1ピクセルのHUE値のいずれかが、3×3の中央ピクセルのHUE値の-HUETH~+HUETH以内でなければ(すなわち、ステップS220;NO)、対象のピクセルの色INDEX番号を、今まで付してきた色INDEX番号以外の番号に更新して、新たな色INDEX番号とする(ステップS222)。例えば図5(A)の座標が34のピクセルについて、このピクセルのスキャン処理時において、色INDEX番号は1である。しかしながら、左のピクセル(すなわち座標が33のピクセル)、左上のピクセル(すなわち座標が28のピクセル)、及び上のピクセル(すなわち座標が29のピクセル)のHUE値が、-HUETH~+HUETH以内に入らない場合、色INDEX番号が更新され、色INDEX番号が5として記憶される(ステップS222)。また、距離領域区分け部116は、当該処理が行われた後、次のピクセルの処理に移る(ステップS224)。If the HUE values of the top three pixels and the left pixel are not within -HUETH to +HUETH of the HUE value of the central pixel of the 3x3 matrix (i.e., step S220; NO), the color
色領域区分け部117は、以上のような流れで、すべてのピクセルをスキャンしていく。すなわち、本実施形態においては、複数回の判定が行われた結果、色INDEX番号が更新されていく。図5(B)では、全てのピクセルについて、最終的に得られた結果を示している。The color
図2に戻り、色領域区分け部117は、最終的に得られた色INDEX番号についての情報を物体領域区分け部118に出力する。Returning to FIG. 2, the color
物体領域区分け部118は、距離領域区分け部116から、距離INDEX番号についての情報を取得し、色領域区分け部117から、色INDEX番号についての情報を取得する。物体領域区分け部118は取得した情報に基づき、最終的な物体の領域区分けを行う。The object
図7は、第1実施形態に係る物体領域区分け部による物体領域区分け処理について説明するための図である。同図を参照しながら、物体領域区分け部118により行われる物体領域区分け処理の一例について説明する。物体領域区分け部118は、色INDEX番号を基準として考え、色INDEX番号が0以外のピクセル部分に対して、OBJ_INDEX番号を付していく。ここで、物体領域区分け部118が、(距離INDEX番号ではなく)色INDEX番号を基準とするのは、(測距センサ31と比較して)RGBセンサ32の方が、ノイズの影響を受けにくく、物体の境界が比較的なめらかであるためである。なお、本実施形態は、この一例に限定されるものではなく、物体領域区分け部118は、距離INDEX番号を基準として考えてもよい。FIG. 7 is a diagram for explaining the object region division process by the object region division unit according to the first embodiment. With reference to the figure, an example of the object region division process performed by the object
物体領域区分け部118は、まず色INDEX番号が0以外であるピクセル部分の色INDEX番号を上位として、距離INDEX番号を下位として、OBJ_INDEX番号をふっていく。例えば、色INDEX番号が2であり、距離INDEX番号が3である場合、OBJ_INDEX番号は、2_3となる。このように、全てのピクセルについて、OBJ_INDEX番号をふっていく。全てのピクセルについてOBJ_INDEX番号を振った結果を、図7(A)として示す。The object
次に、物体領域区分け部118は、3×3ピクセルの領域ごとにOBJ_INDEX番号をスキャンしていき、その3×3ピクセルの中心のOBJ_INDEX番号について、上位の桁が0以外であり下位の桁が0の場合、周囲3×3ピクセルのうち上位の桁が同じ番号であり、下位の桁が同じ番号のピクセルの数が一番多い番号をふり、それをOBJ_INDEX番号として更新する。もし周囲にこの条件があてはまらなかった場合は、番号を0_0としてOBJ_INDEX番号とする。なお、この条件が当てはまるピクセルは、図7(A)においてはOBJ_INDEX番号が2_0であるピクセルに相当する。当該ピクセルは、図7(B)に示すように、2_3に更新される。なお、3×3ピクセルの中心のOBJ_INDEX番号の上位の桁が0以外であり、かつ下位の桁が0である条件にあてはまらなかった場合、OBJ_INDEX番号の更新を行わない。このようにして、最終的な物体領域区分けがなされたOBJ_INDEX番号を得る。Next, the object
図2に戻り、物体領域区分け部118は、最終的な物体領域区分けがなされたOBJ_INDEX番号を、影候補1検出部151及び影候補2検出部152に出力する。以下の説明において、影候補1検出部151及び影候補2検出部152を含む構成を、影候補検出部150と記載する場合がある。影候補検出部150は、領域区分け部119により区分された画像の領域についての情報と、偏光画像取得部131により取得された偏光画像とに基づいて、画像の各座標について影部分と推定される座標の候補を検出するということもできる。Returning to FIG. 2, the object
影候補1検出部151は、次に同じOBJ_INDEX番号が付されたピクセル群の中から、影と推定される候補(以下、影候補と記載する)を検出する。物体領域区分け部118からOBJ_INDEX番号を取得し、記憶装置21からYTHを取得する。ここで、YTHとは、RGBの輝度信号Yと、影の暗さとの差があるか否かの区分けを行うための閾値である。YTHは、処理対象となる画像が撮像された時間(すなわち、画像取得部111が画像を取得する時間)や天気等に応じて変動する値であってもよい。The
影候補1検出部151は、まず、OBJ_INDEX番号を左上からスキャンしていき、同じOBJ_INDEX番号が、番号ごとに何ピクセル存在するかを検出する。影候補1検出部151は、次に、同じOBJ_INDEX番号を有するピクセルの個数が5個以下の場合は、物体が小さすぎて影はないものとして扱う。この場合、影候補1検出部151は、出力信号である影候補1の値を0にする。影候補1検出部151は、同じOBJ_INDEX番号を有するピクセルの個数が6個以上である場合、6個のうち輝度Yの明るさ順に上位から3個の輝度値の平均を算出する。影候補1検出部151は、算出した平均輝度値から、YTH低い輝度値のピクセルが存在すれば、当該ピクセルは影部分であるとみなし、出力信号である影候補1の値を1にする。影候補1検出部151は、算出した平均輝度値のうち、YTH低い輝度値を有するピクセルが存在しない場合、影は存在しないものとみなし、影候補1を0とする。影候補1検出部151は、このようにして得た影候補1を、影候補2検出部152に出力する。なお、出力信号である影候補1とは、OBJ_INDEX番号ごとに存在する値である。The
次に、偏光画像取得部131、偏光角算出部132及びリサイズ部133の機能について説明する。偏光角算出部132及びリサイズ部133の機能の前提となる事項して、偏光センサ33の構成の一例について説明する。Next, we will explain the functions of the polarized
図8は、第1実施形態に係る偏光センサの構成の一例について説明するための図である。偏光センサ33は、図8(A)に示すように、マイクロレンズアレイ331と、偏光板アレイ332と、ピクセルアレイ333とを備える。マイクロレンズアレイ331は複数のマイクロレンズを備え、偏光板アレイ332は複数の偏光子(偏光板)を備え、ピクセルアレイ333は複数のピクセル(画素)を備える。図示するように偏光子は、ピクセルごとに偏光角度が45度ずつ変えて実装されている。図8(B)には、偏光子ごとの偏光角度を示している。図示するように、偏光センサ33は、4個のピクセルにより、0度、45度、90度、135度の偏光度を把握できる。Figure 8 is a diagram for explaining an example of the configuration of the polarization sensor according to the first embodiment. As shown in Figure 8 (A), the
図2に戻り、偏光画像取得部131は、このような偏光センサ33により撮像された偏光画像を取得する。当該偏光画像には、4つの偏光方向の信号が含まれる。当該偏光画像は、被写体を、複数の異なる偏光角度を有する偏光フィルタを介して撮像された画像であるということもできる。このような偏光センサ33から得られた4つの偏光方向の信号から、その偏光角度を求めることは広く知られており、例えば下記の(6)式から(8)式を用いた計算により求めることができる。なお、偏光センサ33から得られる4つの偏光角度の信号を、H0、H45、H90、及びH135と記載する。Returning to FIG. 2, the polarized
Q=H0-H90・・・(6)
U=H45-H135・・・(7) Q=H0-H90...(6)
U=H45-H135...(7)
この場合の偏光角度AoLPは、次の(8)式により求めることができる。In this case, the polarization angle AoLP can be calculated using the following equation (8).
AoLP=1/2ATAN(U/Q)・・・(8)AoLP=1/2ATAN(U/Q)...(8)
偏光角算出部132は、上述した(6)式から(8)式を用いた計算を行うことにより、AoLPを得る。The polarization
リサイズ部133は、RGBセンサ32と同じ画素分の偏光角度の画素数になるように、リサイズを行う。The resizing
ここで、ある被写体の光部分と影部分とでは、同じ物体でも偏光角度が大きく異なる性質があることに注目する。影は光の当たり方が違うためにできるものである。したがって、影部分の偏光角度は、光の当たっている部分の偏光角度と異なるものとなる。Here, it is important to note that the polarization angle of the light and shadow parts of a subject can be very different, even for the same object. Shadows are created when light hits the subject in different ways. Therefore, the polarization angle of the shadow parts will be different from the polarization angle of the light-hit parts.
図9は、第1実施形態に係る偏光センサにより得られた偏光角度の信号に基づき、色分けした場合の一例である。図9(A)は、偏光センサから得られた4つの偏光角度の各信号を示す。図9(B)は、これらの信号から、上記の式(8)を用いて偏光角度AoLPを算出し、その角度を色分けした場合の一例である。図示するように、影部分と、影ではない部分とは、同じ物体であっても、偏光角度が異なることが分かる。Figure 9 shows an example of color coding based on the polarization angle signals obtained by the polarization sensor according to the first embodiment. Figure 9(A) shows the signals for the four polarization angles obtained from the polarization sensor. Figure 9(B) shows an example of color coding the polarization angle AoLP calculated from these signals using equation (8) above. As shown in the figure, it can be seen that the polarization angles are different between the shadowed and non-shadowed parts even if they are the same object.
図2に戻り、影候補1と、偏光センサ33により得られた情報とに基づき、最終的な影候補を検出する処理について説明する。Returning to Figure 2, we will now explain the process of detecting the final shadow candidate based on
影候補2検出部152は、影候補1検出部151から影候補1を取得し、物体領域区分け部118からOBJ_INDEX番号を取得する。また、影候補2検出部152は、記憶装置21からDEGTHを取得する。DEGTHとは、偏光角度の差があるかどうかの判定に用いられる閾値である。影候補2検出部152は、同じ番号のOBJ_INDEX番号の中から、影候補1の信号が1である部分について、平均の偏光角度AoLPを算出する。具体的に、影候補2検出部152は、偏光角算出部132により偏光角度AoLPが算出され、リサイズ部133によりリサイズが行われた後の情報から、影候補1の信号が1である部分に対応する部分の偏光角度AoLPを抽出してもよい。影候補2検出部152は、算出した偏光角度AoLPを、AoLP_Shadow1として記憶する。次に、影候補2検出部152は、同じOBJ_INDEX番号の中から影候補1の信号が0の部分の平均の偏光角度AoLPを算出する。影候補2検出部152は、算出した偏光角度AoLPを、AoLP_Shadow0とする。The
次に、影候補2検出部152は、算出したAoLP_Shadow1と、AoLP_Shadow0との角度差の差分を算出する。また、影候補2検出部152は、算出した差分がDEGTH以上であるか否かを算出する。影候補2検出部152は、算出した差分がDEGTH以上である部分を、最終的な影部分と判断して、SHADOW信号を1として出力する。また、影候補2検出部152は、算出した差分がDEGTH以下であれば、SHADOW信号を0にする。このSHADOW信号は、画素ごとに存在するものであり、RGB画像及び距離画像の解像度と一致するものである。すなわち、画素ごとのSHADOW信号を含む情報をSHADOW画像ということもできる。Next, the
図10は、第1実施形態に係るSHADOW画像の一例を示す図である。図示するSHADOW画像は、図3、図5及び図7に対応するものである。1は、影部分を示しており、0は影でない部分を示している。本実施形態によれば、図示するようなSHADOW画像を参照することにより、RGB画像及び距離画像の画素ごとに、影であるか否かの判断をすることができるようになる。Figure 10 is a diagram showing an example of a SHADOW image according to the first embodiment. The SHADOW image shown corresponds to Figures 3, 5, and 7. 1 indicates a shadow area, and 0 indicates a non-shadow area. According to this embodiment, by referring to a SHADOW image as shown in the figure, it becomes possible to determine whether or not each pixel in the RGB image and the distance image is a shadow.
なお、SHADOW画像は、RGB画像及び距離画像と対応付けて記憶されることが好適である。SHADOW信号が、RGB画像及び距離画像と対応付けて記憶されることにより、三次元モデルを形成するような場合であっても、SHADOW画像を参照することにより、どの部分が元の被写体の影であるか把握することが容易になる。It is preferable that the SHADOW image is stored in association with the RGB image and the distance image. By storing the SHADOW signal in association with the RGB image and the distance image, it becomes easy to determine which parts are the shadows of the original subject by referring to the SHADOW image, even in cases where a three-dimensional model is formed.
なお、本実施形態に係るRGB画像、距離画像、及びSHADOW画像は、連続的なフレームをとらえて、動画として扱ってもよい。Note that the RGB image, distance image, and shadow image according to this embodiment may be captured as successive frames and treated as a video.
[実施形態1のまとめ]
以上説明した実施形態によれば、影領域検出装置10は、画像取得部111を備えることにより、被写体の情報を二次元平面上の各座標に有する画像を取得し、領域区分け部119を備えることにより、取得した画像の各座標について、各座標が有する被写体の情報に基づき、複数の領域に区分し、偏光画像取得部131を備えることにより、被写体を、複数の異なる偏光角度を有する偏光フィルタをそれぞれ介して撮像された複数の偏光画像を取得し、影候補検出部150を備えることにより、領域区分け部119により区分された画像の領域についての情報と、偏光画像取得部131により取得された偏光画像とに基づいて、画像の各座標について影部分と推定される座標の候補を検出する。すなわち、本実施形態によれば、影の影響により被写体の色情報が暗くなっている部分を検出することができる。本実施形態によれば、影の影響により被写体の色情報が暗くなっている部分を検出することができるため、三次元モデルを生成しようとした場合に、検出された影部分の色情報を補正することにより、影による影響を低減した三次元モデルを生成することができる。[Summary of the First Embodiment]
According to the embodiment described above, the shadow
また、上述した実施形態によれば、画像取得部111により取得される画像には、被写体の色に関する情報を二次元平面上の各座標に有するRGB画像が含まれ、領域区分け部119は、RGB画像の各座標について、各座標が有する色情報に基づき、複数の領域に区分する。すなわち、本実施形態によれば、高解像度なRGB画像と、偏光画像とに基づいて影候補を検出する。したがって、本実施形態によれば、高解像度なRGB画像に基づいて影候補を検出するため、精度よく、影候補を検出することができる。Furthermore, according to the above-described embodiment, the image acquired by the
また、上述した実施形態によれば、画像取得部111により取得される画像には、被写体までの距離に関する情報を二次元平面上の各座標に有する距離画像が含まれ、領域区分け部119は、距離画像の各座標について、各座標が有する距離情報に基づき、複数の領域に区分する。すなわち、本実施形態によれば、距離画像と偏光画像とに基づいて影候補を検出する。距離画像によれば、同一の物体であるか否かを精度よく判定することができる。したがって、本実施形態によれば、精度よく、影候補を検出することができる。Furthermore, according to the above-described embodiment, the image acquired by the
[実施形態2及び実施形態3]
次に、図11から図14を参照しながら、第2実施形態及び実施形態3に係る影領域検出システム1Aについて説明する。実施形態2及び実施形態3においては、上述したSHADOW画像を用いて、RGB画像及び距離画像における影の部分を補正する。実施形態2においては、RGB画像の影補正を行い、実施形態3においては、距離画像の影補正を行う。以下、実施形態2及び実施形態3において共通の事項について、説明する。[
Next, a shadow
図11は、第2実施形態に係る影領域検出システムの機能構成の一例について示す機能構成図である。同図を参照しながら、影領域検出システム1Aの機能構成の一例について説明する。影領域検出システム1Aは、影補正部161を更に備える点において影領域検出システム1とは異なる。影領域検出システム1Aの説明において、影領域検出システム1と同様の構成については同様の符号を付すことにより説明を省略する場合がある。FIG. 11 is a functional configuration diagram showing an example of the functional configuration of a shadow area detection system according to the second embodiment. An example of the functional configuration of shadow
影補正部161は、影候補2検出部152からSHADOW信号を取得し、リサイズ部113からリサイズが行われた距離画像を取得し、画像取得部111からRGB信号を取得する。影補正部161は、影候補検出部150により、影候補と推定された座標が有する画素値又は距離値の少なくとも一方を、影候補と推定されなかった座標が有する画素値又は距離値の少なくとも一方に置き換えることにより、影部分を補正する。具体的には、影補正部161は、取得した情報に基づき、ピクセルごとに、同じOBJ_INDEX番号の影ではない部分から何ピクセル離れているかを水平、垂直方向ごと求める。具体的には、影補正部161は、SHADOW信号が1である影部分のピクセルに対し、左右水平方向のどちらかにOBJ_INDEX番号が同じものがある場合は、それが水平方向に何ピクセル離れているかを算出し、算出した値をSHADOW_HDISTANCEとする。このとき左右の方向が分かるように、右にある場合はプラス、左にある場合はマイナスになるように符号をつける。左右水平方向にOBJ_INDEX番号が同じ番号のものがある場合は、近い距離の番号をSHADOW_HDISTANCEに入れる。また、左右方向に同じOBJ_INDEX番号が無い場合は、SHADOW_HDISTANCEを0にする。The
また、影補正部161は、SHADOW信号が1である影部分のピクセルに対し、上下垂直方向のどちらかにOBJ_INDEX番号が同じものがある場合は、それが垂直に何ピクセル離れているかを算出し、算出した値をSHADOW_VDISTANCEとする。このとき上下の方向が分かるように、下にある場合はプラス、上にある場合はマイナスになるように符号をつける。上下垂直方向にOBJ_INDEX番号が同じ番号のものがある場合は、近い距離の番号をSHADOW_VDISTANCEに入れる。また、上下方向に同じOBJ_INDEX番号が無い場合は、SHADOW_VDISTANCEを0にする。Furthermore, if there is a pixel in the shadow area with a SHADOW signal of 1 that has the same OBJ_INDEX number either above or below the pixel in the vertical direction, the
図12は、第2実施形態に係る影補正部による影補正処理について説明するための図である。図12(A)は、上記の方法に従って算出されたSHADOW_HDISTANCEの一例を示している。また、図12(B)は、上記の方法に従って算出されたSHADOW_VDISTANCEの値を表示している。Figure 12 is a diagram for explaining the shadow correction process by the shadow correction unit according to the second embodiment. Figure 12 (A) shows an example of SHADOW_HDISTANCE calculated according to the above method. Also, Figure 12 (B) shows the value of SHADOW_VDISTANCE calculated according to the above method.
図13は、第2実施形態に係る影補正部の機能構成の一例について示す機能構成図である。同図を参照しながら、影補正部161の機能構成の一例について説明する。影補正部161は、影距離算出部1611と、ローパスフィルタ1612と、減算部1613と、置換部1614と、ローパスフィルタ1615と、加算部1616とを備える。FIG. 13 is a functional configuration diagram showing an example of the functional configuration of the shadow correction unit according to the second embodiment. With reference to the same figure, an example of the functional configuration of the
影距離算出部1611は、上述した方法により、SHADOW_HDISTANCEとSHADOW_VDISTANCEとを算出する。影距離算出部1611は、算出した値を、ローパスフィルタ1612、置換部1614、及びローパスフィルタ1615に出力する。The shadow
置換部1614は、SHADOW_HDISTANCEとSHADOW_VDISTANCEの絶対値が距離の近い方の方向の距離ピクセル数の影ではない部分について、RGB信号又は距離信号に置き換える。ここで、方向はSHADOW_HDISTANCEと、SHADOW_VDISTANCEの符号により判断される。ただし、SHADOW_HDISTANCEとSHADOW_VDISTANCEのどちらかに0がある場合は、0でない方の方向と、距離の影ではない部分のRGB信号又は距離信号に置き換える。The
ローパスフィルタ1615は、置換部1614の出力に対して、フィルタをかける。ローパスフィルタ1615は、SHADOW_HDISTANCEとSHADOW_VDISTANCEの値に応じて、フィルタのかかり具合を変える。ローパスフィルタ1615は、距離が遠いほどフィルタがかかり、なめらかにする。The low-
図14は、第2実施形態に係るLPFの機能構成の一例について示す機能構成図である。同図を参照しながら、ローパスフィルタLPFの機能構成の一例について説明する。ローパスフィルタ1612及びローパスフィルタ1615は、いずれも図示するような機能構成を有しており、互いに同一の機能構成を有していてもよい。以下、ローパスフィルタ1612及びローパスフィルタ1615を互いに区別しない場合は、ローパスフィルタLPFと記載する場合がある。FIG. 14 is a functional configuration diagram showing an example of the functional configuration of an LPF according to the second embodiment. With reference to the same figure, an example of the functional configuration of the low-pass filter LPF will be described. Low-
ローパスフィルタLPFは、3TAP水平LPF411乃至3TAP水平LPF414と、HSEL42と、3TAP垂直LPF431乃至3TAP水平LPF434と、VSEL44とを備える。ローパスフィルタLPFは、まず、RGB信号又は距離信号について、水平方向のLPF処理を行う。HSEL42は、SHADOW_HDISTNACEの絶対値に基づき、3TAP水平LPFを通さないスルーの状態、1回通った状態、2回通った状態、3回通った状態、4回通った状態、のいずれかに切り替える。具体的に、HSEL42は、SHADOW_HDISTANCEが0の場合はスルー、1の場合は1回通った状態、2の場合は2回通った状態、3の場合は3回通った状態、というように切り替えてもよい。なお、HSEL42は、SHADOW_HDISTANCEが4以上の場合は4回通った状態に切り替えてもよい。The low-pass filter LPF includes 3TAP
なお、3TAP水平LPF411乃至3TAP水平LPF414は、それぞれ、以下の(9)式に示すようなものであってもよい。Note that the 3TAP
H3TAPLPF=0.25Z^(-1)+0.5Z^0+0.25Z^1・・・(9)
なお、Zは1ピクセル分のスキャン時間である。 H3TAPLPF=0.25Z^(-1)+0.5Z^0+0.25Z^1...(9)
It should be noted that Z is the scan time for one pixel.
垂直についても水平と同様の処理が行われる。具体的には、VSL44は、SHADOW_VDISTNACEの絶対値に基づき、3TAP垂直LPFを通さないスルーの状態、1回通った状態、2回通った状態、3回通った状態、4回通った状態のいずれかに切り替える。具体的に、VSEL44は、SHADOW_VDISTANCEが0の場合はスルー、1の場合は1回通った状態、2の場合は2回通った状態、3の場合は3回通った状態、というように切り替えてもよい。なお、VSEL44は、SHADOW_VDISTANCEが4以上の場合は4回通った状態に切り替えてもよい。The same processing is performed for the vertical direction as for the horizontal direction. Specifically, VSL44 switches to one of the following states: through (not passing through the 3TAP vertical LPF), through once, through twice, through three times, or through four times, based on the absolute value of SHADOW_VDISTANCE. Specifically, VSEL44 may switch between through when SHADOW_VDISTANCE is 0, through once when SHADOW_VDISTANCE is 1, through twice when SHADOW_VDISTANCE is 2, and through three times when SHADOW_VDISTANCE is 3. Note that VSEL44 may switch to the four-times pass state when SHADOW_VDISTANCE is 4 or greater.
なお、3TAP垂直LPF431乃至3TAP水平LPF434は、それぞれ、以下の(10)式に示すようなものであってもよい。In addition, the 3TAP
V3TAPLPF=0.25Z^(-1)+0.5Z^0+0.25Z^1・・・(10)
なお、Zは1ライン分のスキャン時間である。 V3TAPLPF=0.25Z^(-1)+0.5Z^0+0.25Z^1...(10)
It should be noted that Z is the scan time for one line.
ローパスフィルタ1615は、このようにしてLPFをかけた信号を、SHADOW_LPFとして出力する。The low-
影補正部161は、ローパスフィルタ1612を備えることにより、置き換えられていない状態(置換部1614を通過する前の状態)のRGB信号又は距離信号に、同様のLPFをかけてもよい。ローパスフィルタ1612を通過した信号は、減算部1613により、ローパスフィルタ1612を通過する前のRGB信号又は距離信号から減算されることにより、高い周波数の信号を取り出すことができる。減算された信号は、加算部1616により、ローパスフィルタ1615から出力されたSHADOW_LPFと加算され、出力される。このように高周波数成分をもとの信号から取り出したものを加算することにより、影補正をしても精細感が失われないようにすることができる。By including a low-
影補正部161は、以上のような処理により影補正を行い、影の影響を低減したRGB信号又は距離信号を、記憶装置22に記憶させる。なお、影補正部161により行われる補正処理は、RGB値又は距離値のいずれか一方の補正処理であってもよい。測距センサ31から得られた距離信号は、影のような暗い部分の距離精度が正しく出ない傾向になるので、(RGB画像を補正せず)距離値だけを補正したとしても、影部分の距離精度を上げる目的としては有効である。The
なお、本実施形態に係るRGB画像、距離画像、及びSHADOW画像は、連続的なフレームをとらえて、動画として扱ってもよい。Note that the RGB image, distance image, and shadow image according to this embodiment may be captured as successive frames and treated as a video.
[実施形態2及び実施形態3のまとめ]
以上説明した実施形態によれば、影領域検出装置10Aは、影候補検出部150により、影候補と推定された座標が有する画素値を、影候補と推定されなかった座標が有する画素値に基づいた値に置き換える。したがって、本実施形態によれば、影の影響により被写体の色情報が暗くなっている部分を検出し、影でない部分のRGB値に基づき補正することができる。また、本実施形態によれば、影部分の距離値を、影でない部分の距離値に基づき補正することができる。[Summary of the second and third embodiments]
According to the embodiment described above, the shadow
[実施形態4]
次に、図15及び図16を参照しながら、実施形態4について説明する。本実施形態においては、上述した実施形態1乃至実施形態3に係る影領域検出システムを備えた撮像装置について説明する。ここで、RGBセンサ、偏光センサ、及びTOFセンサは、それぞれ同じレンズで同じ光軸で撮影されると、それぞれのピクセルのずれがなくなる。このような構成を採用することにより、より正確な影検出及び影補正が可能になる。本実施形態においては、プリズムを用いて、同光軸上にRGBセンサ、偏光センサ、及びTOFセンサを配置した場合の一例について説明する。[Embodiment 4]
Next, a fourth embodiment will be described with reference to Figs. 15 and 16. In this embodiment, an imaging device including the shadow area detection system according to the first to third embodiments will be described. Here, when the RGB sensor, the polarization sensor, and the TOF sensor are photographed with the same lens and on the same optical axis, there is no misalignment between the pixels. By adopting such a configuration, more accurate shadow detection and shadow correction are possible. In this embodiment, an example will be described in which the RGB sensor, the polarization sensor, and the TOF sensor are arranged on the same optical axis using a prism.
図15は、第3実施形態に係る影領域検出システムを備える撮像装置の第1の配置例を示す断面図である。同図を参照しながら、第1の配置例である撮像装置51について説明する。撮像装置51は、偏光解消板511と、偏光センサ512と、無偏光ハーフミラー513と、可視光/赤外分離ダイクロコート514と、ToFセンサ515と、RGBセンサ516とを備える。Figure 15 is a cross-sectional view showing a first example of the arrangement of an imaging device equipped with a shadow area detection system according to the third embodiment. With reference to the figure, an
図示するように、偏光センサ512は、可視光/赤外分離ダイクロコート514による偏光変化の影響がない第一射出に配置される。さらに、第1射出面に偏光解消板511を配置することにより、第1プリズム内の全反射による偏光状態の変化を解消させる。また、ハーフミラーとして、無偏光ハーフミラー513が用いられる。具体的に、無偏光ハーフミラー513は、金属膜又は誘電体膜が用いられてもよい。可視光/赤外分離ダイクロコート514は、可視光と近赤外光を分離する。分離された結果、近赤外光を通した第3射出面には、ToFセンサ515が配置され、可視光を通した第2射出面には、RGBセンサ516が配置される。As shown in the figure, the
図16は、第3実施形態に係る影領域検出システムを備える撮像装置の第2の配置例を示す断面図である。同図を参照しながら、第2の配置例である撮像装置52について説明する。撮像装置52は、無偏光可視光/赤外分離ダイクロコート521と、ToFセンサ522と、無偏光ハーフミラー523と、偏光センサ524と、RGBセンサ525とを備える。Figure 16 is a cross-sectional view showing a second example of the arrangement of an imaging device equipped with a shadow area detection system according to the third embodiment. With reference to the figure, the
図示するように、撮像装置52において、偏光センサ524は、第1プリズムの全反射の影響を受けない第3射出面に配置される。ハーフミラーとして、無偏光ハーフミラー523が用いられる。具体的に、無偏光ハーフミラー523は、金属膜又は誘電体膜が用いられてもよい。無偏光可視光/赤外分離ダイクロコート521には、波長による位相差を抑えた無偏光のダイクロコートが使用される。無偏光可視光/赤外分離ダイクロコート521に反射した近赤外光が通る第1射出面にはToFセンサ522が配置され、可視光が通る第2射出面には、RGBセンサ525が配置される。As shown in the figure, in the
[第4実施形態のまとめ]
以上説明した実施形態によれば、上述したようなプリズム構成を用いることにより、上述した実施形態1乃至実施形態3に係る影領域検出システムを備えた撮像装置を構成するにあたり、RGBセンサ、偏光センサ、及びToFセンサが、それぞれ同じレンズで同じ光軸で撮影されることができる。したがって、それぞれのピクセルのずれを軽減することができ、より正確な影検出、及び影補正をすることができる。[Summary of the Fourth Embodiment]
According to the above-described embodiment, by using the above-described prism configuration, when configuring an imaging device equipped with the shadow area detection system according to the above-described
なお、上述した実施形態における各装置が備える各部の機能全体あるいはその一部は、これらの機能を実現するためのプログラムをコンピュータ読み取り可能な記録媒体に記録して、この記録媒体に記録されたプログラムをコンピュータシステムに読み込ませ、実行することによって実現しても良い。なお、ここでいう「コンピュータシステム」とは、OSや周辺機器等のハードウェアを含むものとする。The functions of each unit of each device in the above-described embodiments, in whole or in part, may be realized by recording a program for realizing these functions on a computer-readable recording medium, and reading and executing the program recorded on the recording medium into a computer system. Note that the term "computer system" here includes hardware such as the OS and peripheral devices.
また、「コンピュータ読み取り可能な記録媒体」とは、フレキシブルディスク、光磁気ディスク、ROM、CD-ROM等の可搬媒体、コンピュータシステムに内蔵されるハードディスク等の記憶部のことをいう。さらに「コンピュータ読み取り可能な記録媒体」とは、インターネット等のネットワークや電話回線等の通信回線を介してプログラムを送信する場合の通信線のように、短時間の間、動的にプログラムを保持するもの、その場合のサーバやクライアントとなるコンピュータシステム内部の揮発性メモリのように、一定時間プログラムを保持しているものも含んでも良い。また上記プログラムは、前述した機能の一部を実現するためのものであっても良く、さらに前述した機能をコンピュータシステムにすでに記録されているプログラムとの組み合わせで実現できるものであっても良い。Furthermore, "computer-readable recording medium" refers to portable media such as flexible disks, optical magnetic disks, ROMs, and CD-ROMs, as well as storage units such as hard disks built into computer systems. Furthermore, "computer-readable recording medium" may also include devices that dynamically store programs for a short period of time, such as communication lines when transmitting programs via networks such as the Internet or communication lines such as telephone lines, and devices that store programs for a certain period of time, such as volatile memory within a computer system that serves as a server or client in such cases. Furthermore, the above-mentioned programs may be ones that realize some of the functions described above, or may be ones that can realize the functions described above in combination with programs already recorded in the computer system.
以上、本発明の実施形態について説明したが、本発明は、上記実施形態に限定されるものではなく、本発明の趣旨を逸脱しない範囲において種々の変更を加えることが可能である。また、上述した各実施形態を適宜組み合わせてもよい。Although the embodiments of the present invention have been described above, the present invention is not limited to the above-mentioned embodiments, and various modifications can be made without departing from the spirit of the present invention. In addition, the above-mentioned embodiments may be combined as appropriate.
1…影領域検出システム、10…影領域検出装置、111…画像取得部、113…リサイズ部、115…色相・輝度計算部、116…距離領域区分け部、117…色領域区分け部、118…物体領域区分け部、119…領域区分け部、131…偏光画像取得部、132…偏光角算出部、133…リサイズ部、150…影候補検出部、151…影候補1検出部、152…影候補2検出部、21…記憶装置、22…記憶装置、31…測距センサ、32…RGBセンサ、33…偏光センサ、161影補正部、1611…影距離算出部、1612…ローパスフィルタ、1613…減算部、1614…置換部、1615…ローパスフィルタ、1616…加算部、51…撮像装置、52…撮像装置1...Shadow area detection system, 10...Shadow area detection device, 111...Image acquisition unit, 113...Resizing unit, 115...Hue/brightness calculation unit, 116...Distance area division unit, 117...Color area division unit, 118...Object area division unit, 119...Area division unit, 131...Polarized image acquisition unit, 132...Polarization angle calculation unit, 133...Resizing unit, 150...Shadow candidate detection unit, 151...
| Application Number | Priority Date | Filing Date | Title |
|---|---|---|---|
| JP2023081280AJP2024165249A (en) | 2023-05-17 | 2023-05-17 | Shadow area detection device and shadow area detection method |
| PCT/JP2024/014390WO2024236944A1 (en) | 2023-05-17 | 2024-04-09 | Shadow region detection device and shadow region detection method |
| Application Number | Priority Date | Filing Date | Title |
|---|---|---|---|
| JP2023081280AJP2024165249A (en) | 2023-05-17 | 2023-05-17 | Shadow area detection device and shadow area detection method |
| Publication Number | Publication Date |
|---|---|
| JP2024165249Atrue JP2024165249A (en) | 2024-11-28 |
| Application Number | Title | Priority Date | Filing Date |
|---|---|---|---|
| JP2023081280APendingJP2024165249A (en) | 2023-05-17 | 2023-05-17 | Shadow area detection device and shadow area detection method |
| Country | Link |
|---|---|
| JP (1) | JP2024165249A (en) |
| WO (1) | WO2024236944A1 (en) |
| Publication number | Priority date | Publication date | Assignee | Title |
|---|---|---|---|---|
| WO2009019886A1 (en)* | 2007-08-07 | 2009-02-12 | Panasonic Corporation | Normal information generating device and normal information generating method |
| JP6663223B2 (en)* | 2016-01-07 | 2020-03-11 | キヤノン株式会社 | Image processing apparatus and method, and imaging apparatus |
| JP2018098583A (en)* | 2016-12-09 | 2018-06-21 | キヤノン株式会社 | Image processing apparatus and method, and imaging device |
| US11250586B2 (en)* | 2017-06-06 | 2022-02-15 | Sony Interactive Entertainment Inc. | Information processing apparatus and information processing method |
| JP2022070696A (en)* | 2020-10-27 | 2022-05-13 | セイコーエプソン株式会社 | 3D shape measurement method and 3D shape measurement device |
| JP2023005997A (en)* | 2021-06-30 | 2023-01-18 | キヤノン株式会社 | Image processing device and image processing method |
| Publication number | Publication date |
|---|---|
| WO2024236944A1 (en) | 2024-11-21 |
| Publication | Publication Date | Title |
|---|---|---|
| AU2018247216B2 (en) | Systems and methods for liveness analysis | |
| US10762606B2 (en) | Image processing apparatus and method for generating high quality image | |
| EP0932114B1 (en) | A method of and apparatus for detecting a face-like region | |
| JP5342036B2 (en) | Method for capturing 3D surface shapes | |
| US9767545B2 (en) | Depth sensor data with real-time processing of scene sensor data | |
| TWI459324B (en) | Modifying color and panchromatic channel cfa image | |
| TWI430184B (en) | Edge mapping incorporating panchromatic pixels | |
| US20080062409A1 (en) | Image Processing Device for Detecting Chromatic Difference of Magnification from Raw Data, Image Processing Program, and Electronic Camera | |
| JP7024736B2 (en) | Image processing equipment, image processing method, and program | |
| JP4466015B2 (en) | Image processing apparatus and image processing program | |
| CN107018407B (en) | Information processing device, evaluation chart, evaluation system, and performance evaluation method | |
| EP4327547B1 (en) | Selective image signal processing | |
| JP7156624B2 (en) | Depth map filtering device, depth map filtering method and program | |
| JPH1062140A (en) | Method and device for reconstruction of shape | |
| JP2005165387A (en) | Screen streak defect detection method and apparatus, and display device | |
| JP4466017B2 (en) | Image processing apparatus and image processing program | |
| JP2024165249A (en) | Shadow area detection device and shadow area detection method | |
| JP2021182670A (en) | Image processing device, imaging device, image processing method, and program | |
| JP2011155365A (en) | Image processing apparatus and image processing method | |
| JP2004219072A (en) | Screen streak defect detection method and device | |
| CN112907454B (en) | Method, device, computer equipment and storage medium for acquiring image | |
| JP2013200840A (en) | Video processing device, video processing method, video processing program, and video display device | |
| JP4466016B2 (en) | Image processing apparatus and image processing program | |
| CN115696040B (en) | Focusing method and device, electronic device, and computer-readable storage medium | |
| WO2024134935A1 (en) | Three-dimensional information correction device and three-dimensional information correction method |