












本発明は、光増幅ファイバ、光ファイバ増幅器および光通信システムに関するものである。 The present invention relates to an optical amplifying fiber, an optical fiber amplifier and an optical communication system.
例えば、海底光通信等の用途において、光増幅器としてマルチコアEDFA(Erbium-Doped optical Fiber Amplifier)を用いることによって、光増幅器の消費電力が削減されることが期待されている。 For example, in applications such as submarine optical communication, it is expected that power consumption of optical amplifiers will be reduced by using multi-core EDFAs (Erbium-Doped optical fiber amplifiers) as optical amplifiers.
マルチコアEDFAについては、マルチコア光増幅ファイバとしてダブルクラッド型のマルチコアEDFを用いて、クラッド励起方式によってコア部に含まれる希土類元素であるエルビウム(Er)を光励起する構成が知られている(非特許文献1、2参照)。 As for the multi-core EDFA, a configuration is known in which a double-clad multi-core EDF is used as a multi-core optical amplification fiber, and erbium (Er), which is a rare earth element contained in the core portion, is optically pumped by a clad pumping method (Non-Patent
通信トラフィックは常に増加しているので、通信容量の増量のためにも、マルチコア光増幅ファイバの特性にはさらに好適なものが求められている。 Since communication traffic is constantly increasing, even more suitable characteristics of multi-core optical amplifying fibers are required in order to increase the communication capacity.
特に、マルチコア光増幅ファイバの励起効率を改善できれば、マルチコア光ファイバ増幅器の消費電力の削減の観点から好ましい。ここで、励起効率とは、たとえば、マルチコア光増幅ファイバに入力された励起光のエネルギーに対する、光増幅に使用された励起光のエネルギーの比率で表される。なお、励起効率の改善は、マルチコア光増幅ファイバに限らず、シングルコアの光増幅ファイバにおいても有益である。 In particular, if the pumping efficiency of the multi-core optical amplifier fiber can be improved, it is preferable from the viewpoint of reducing the power consumption of the multi-core optical fiber amplifier. Here, the pumping efficiency is represented by, for example, the ratio of the energy of the pumping light used for optical amplification to the energy of the pumping light input to the multi-core optical amplification fiber. The improvement in pumping efficiency is beneficial not only for multi-core optical amplification fibers but also for single-core optical amplification fibers.
本発明は、上記に鑑みてなされたものであって、励起効率が改善された光増幅ファイバ、ならびにこれを用いた光ファイバ増幅器および光通信システムを提供することを目的とする。 SUMMARY OF THE INVENTION It is an object of the present invention to provide an optical amplifying fiber with improved pumping efficiency, an optical fiber amplifier and an optical communication system using the same.
上述した課題を解決し、目的を達成するために、本発明の一態様は、希土類元素を添加した少なくとも一つのコア部と、前記少なくとも一つのコア部を取り囲み、各コア部の最大屈折率よりも低い屈折率を有する内側クラッド部と、前記内側クラッド部を取り囲み、前記内側クラッド部の屈折率よりも低い屈折率を有する外側クラッド部と、を備え、前記内側クラッド部は、隣接する領域とは屈折率が異なる異屈折率領域を含み、前記内側クラッド部に、前記コア部の数に500mWを乗じた数値以下のパワーのマルチモードポンプ光を入力し、各コア部で20dBm以上のパワーの出力信号光を出力する状態において、波長1530nmでの吸収スペクトルのピーク値(dB/m)に、当該光増幅ファイバの長さ(m)を乗じたものである吸収条長積が、100dB未満となる長さを有する光増幅ファイバである。 In order to solve the above-described problems and achieve the object, one aspect of the present invention provides at least one core portion doped with a rare earth element, and surrounding the at least one core portion, and an outer cladding portion surrounding the inner cladding portion and having a lower refractive index than the inner cladding portion, the inner cladding portion being separated from an adjacent region includes modified refractive index regions with different refractive indices, multimode pump light with power equal to or less than the value obtained by multiplying the number of cores by 500 mW is input to the inner cladding portion, and each core portion has a power of 20 dBm or more. In the state of outputting the output signal light, the absorption striation product obtained by multiplying the peak value (dB/m) of the absorption spectrum at a wavelength of 1530 nm by the length (m) of the optical amplification fiber is less than 100 dB. is an optical amplifying fiber having a length of
前記異屈折率領域は、屈折率調整用のドーパントを含む石英ガラスからなり、前記屈折率調整用のドーパントは、フッ素(F)、ゲルマニウム(Ge)、リン(P)、ボロン(B)、アルカリ金属、塩素(Cl)、またはアルミニウム(Al)であるものでもよい。 The modified refractive index region is made of quartz glass containing a dopant for adjusting the refractive index, and the dopant for adjusting the refractive index is fluorine (F), germanium (Ge), phosphorus (P), boron (B), alkali. It may be metal, chlorine (Cl), or aluminum (Al).
前記内側クラッド部には、前記光増幅ファイバの軸方向に直交する断面において、径方向において前記異屈折率領域の層が2層以上存在するものでもよい。 In the inner cladding portion, two or more layers of the modified refractive index regions may be present in the radial direction in a cross section perpendicular to the axial direction of the optical amplifying fiber.
前記異屈折率領域は、前記光増幅ファイバの軸方向に直交する断面において、前記コア部から、コア径以上離間した位置に存在するものでもよい。 The modified refractive index region may be present at a position spaced apart from the core portion by a core diameter or more in a cross section perpendicular to the axial direction of the optical amplifying fiber.
前記異屈折率領域は、前記光増幅ファイバの中心を軸とした回転対称の位置にあるものでもよい。 The modified refractive index regions may be located at rotationally symmetrical positions about the center of the optical amplifying fiber.
前記異屈折率領域は、前記光増幅ファイバの軸方向に直交する断面において六方最密格子を規定した場合に、その格子点の位置にあるものでもよい。 When a hexagonal close-packed lattice is defined in a cross section perpendicular to the axial direction of the optical amplifying fiber, the modified refractive index region may be located at a lattice point of the lattice point.
前記異屈折率領域は、前記光増幅ファイバの軸方向に直交する断面において六方最密格子を規定した場合に、或る格子点を中心とし、格子点間距離の1/2以下の半径の円環状に存在するものでもよい。 When a hexagonal close-packed lattice is defined in a cross section orthogonal to the axial direction of the optical amplifying fiber, the modified refractive index region is a circle centered at a certain lattice point and having a radius of 1/2 or less of the distance between lattice points. It may exist in a ring shape.
複数の前記異屈折率領域が、前記内側クラッド部内のみに分散して存在してもよい。 A plurality of the modified refractive index regions may exist dispersedly only within the inner clad portion.
前記光増幅ファイバの軸方向に直交する断面において、前記内側クラッド部の断面積に対する前記複数の異屈折率領域の断面積の総計が0.1%以上50%以下であるものでもよい。 In a cross section orthogonal to the axial direction of the optical amplifying fiber, the total cross-sectional area of the plurality of modified refractive index regions with respect to the cross-sectional area of the inner cladding portion may be 0.1% or more and 50% or less.
複数の前記異屈折率領域が、前記内側クラッド部内のみに分散して存在し、前記光増幅ファイバの軸方向に直交する断面において、前記内側クラッド部の断面積に対する前記複数の異屈折率領域の断面積の総計が30%より大きく50%以下であるものでもよい。 The plurality of modified refractive index regions exist dispersedly only within the inner clad portion, and the ratio of the plurality of modified refractive index regions to the cross-sectional area of the inner clad portion in a cross section orthogonal to the axial direction of the optical amplification fiber. The total cross-sectional area may be greater than 30% and less than or equal to 50%.
前記異屈折率領域の直径は前記内側クラッド部を伝搬する光の波長の1/2000倍以上2倍以下であるものでもよい。 The diameter of the modified refractive index region may be 1/2000 to 2 times the wavelength of light propagating through the inner clad.
前記異屈折率領域は、前記光増幅ファイバの軸方向に直交する断面において、前記コア部から、コア径以上離間した円環状の領域に存在するものでもよい。 The modified refractive index region may exist in an annular region separated from the core portion by a core diameter or more in a cross section perpendicular to the axial direction of the optical amplifying fiber.
前記異屈折率領域は、前記光増幅ファイバの各コア部の径方向において、略一様に分布しているものでもよい。 The modified refractive index regions may be distributed substantially uniformly in the radial direction of each core portion of the optical amplifying fiber.
前記異屈折率領域は、前記光増幅ファイバの軸方向において、略一様に分布しているものでもよい。 The modified refractive index regions may be distributed substantially uniformly in the axial direction of the optical amplifying fiber.
前記異屈折率領域は、前記光増幅ファイバの各コア部の軸回り方向において、略一様に分布しているものでもよい。 The modified refractive index regions may be distributed substantially uniformly in a direction around the axis of each core portion of the optical amplifying fiber.
複数の前記コア部を備え、前記複数のコア部のうち、前記光増幅ファイバの中心を軸として前記中心から最も離間したコア部を通る円管状の境界の内側と外側とで、前記異屈折率領域の存在密度が異なるものでもよい。 A plurality of the core portions are provided, and the modified refractive index is defined between the inner side and the outer side of a circular tubular boundary passing through the core portion that is the most distant from the center of the optical amplification fiber with the center of the optical amplification fiber as an axis among the plurality of core portions. The existence density of the regions may be different.
前記希土類元素はエルビウムを含むものでもよい。 The rare earth element may include erbium.
励起光の波長を976nm±2nmとし、クラッド吸収率=-10×log((複数の前記コア部を備える前記光増幅ファイバを透過して出てきた励起光パワー(W))/(複数の前記コア部を備える前記光増幅ファイバの前記内側クラッド部に入射した励起光パワー(W)))/前記光増幅ファイバの長さ(m)、と定義した場合に、クラッド吸収率が0.05dB/m以上であるものでもよい。 The wavelength of the pumping light is 976 nm ± 2 nm, and the cladding absorption rate = -10 x log ((pumping light power (W) transmitted through the optical amplification fiber having the plurality of cores) / (the plurality of the When defined as pumping light power (W)) incident on the inner cladding portion of the optical amplifying fiber having a core portion/length (m) of the optical amplifying fiber, the cladding absorption rate is 0.05 dB/ m or more may be used.
本発明の一態様は、前記光増幅ファイバと、前記光増幅ファイバの前記希土類元素を光励起する励起光を出力する励起光源と、前記励起光を前記内側クラッド部に光学結合させる光結合器と、を備える光ファイバ増幅器である。 In one aspect of the present invention, the optical amplifying fiber, a pumping light source that outputs pumping light for optically pumping the rare earth element of the optical amplifying fiber, an optical coupler that optically couples the pumping light to the inner cladding, An optical fiber amplifier comprising:
複数の前記コア部を備え、前記複数のコア部の間の利得差が3dB以下であるものでもよい。 A plurality of core portions may be provided, and a gain difference between the plurality of core portions may be 3 dB or less.
本発明の一態様は、前記光ファイバ増幅器を備える光通信システムである。 One aspect of the present invention is an optical communication system comprising the optical fiber amplifier.
本発明によれば、励起効率が改善された光増幅ファイバを実現できる。 According to the present invention, an optical amplifying fiber with improved pumping efficiency can be realized.
以下に、図面を参照して実施形態について説明する。なお、この実施形態によりこの発明が限定されるものではない。また、図面の記載において、同一または対応する要素には適宜同一の符号を付している。また、図面は模式的なものであり、各要素の寸法の関係、各要素の比率などは、現実と異なる場合があることに留意する必要がある。図面の相互間においても、互いの寸法の関係や比率が異なる部分が含まれている場合がある。また、本明細書においては、カットオフ波長とは、ITU-T(国際電気通信連合)G.650.1で定義するケーブルカットオフ波長を意味する。また、その他、本明細書で特に定義しない用語についてはG.650.1およびG.650.2における定義、測定方法に従うものとする。 Embodiments will be described below with reference to the drawings. In addition, this invention is not limited by this embodiment. In addition, in the description of the drawings, the same or corresponding elements are given the same reference numerals as appropriate. Also, it should be noted that the drawings are schematic, and the relationship of dimensions of each element, the ratio of each element, and the like may differ from reality. Even between the drawings, there are cases where portions with different dimensional relationships and ratios are included. Further, in this specification, the cut-off wavelength refers to ITU-T (International Telecommunications Union) G.35. 650.1 means the cable cutoff wavelength. For other terms not specifically defined in this specification, see G.I. 650.1 and G.I. 650.2 shall comply with the definition and measurement method.
(実施形態1)
図1は、実施形態1に係るマルチコア光増幅ファイバの模式的な断面図であり、マルチコア光増幅ファイバの軸方向に垂直な断面を示している。マルチコア光増幅ファイバ1は、複数のコア部としての7個のコア部1aと、コア部1aを取り囲む内側クラッド部1bと、内側クラッド部1bを取り囲む外側クラッド部1cと、を備えているダブルクラッド型かつ7コア型のマルチコア光ファイバである。(Embodiment 1)
FIG. 1 is a schematic cross-sectional view of a multi-core optical amplifying fiber according to
コア部1aは、最密充填状態を実現する三角格子状に配置されている。すなわち、1個のコア部1aが、内側クラッド部1bの中心または中心の近傍に配置されている。このコア部1aを中心に、6個のコア部1aは、正六角形の角の位置となるように配置されている。コア部1aは、マルチコア光増幅ファイバ1の軸方向に直交する断面において六方最密格子を規定した場合に、その格子点の位置にあるということもできる。コア部1aは、屈折率を高める屈折率調整用ドーパントとして、たとえばゲルマニウム(Ge)やアルミニウム(Al)を含む。また、コア部1aは、増幅媒体である希土類元素として、エルビウム(Er)を含む。Erは、たとえば波長1530nm付近の吸収係数のピークが2.5dB/m~11dB/mとなる濃度で添加されている。また、たとえば、添加濃度は250ppm~2000ppmである。ただし、吸収係数や添加濃度は特に限定されない。なお、AlはErの濃度消光を抑制する機能も有する。 The
内側クラッド部1bは、各コア部1aの最大屈折率よりも低い屈折率を有する。各コア部1aと内側クラッド部1bとの屈折率プロファイルはたとえばステップインデックス型である。なお、内側クラッド部1bが、各コア部1aのそれぞれの外周に位置するトレンチ部を有していてもよい。この場合、トレンチ部はフッ素(F)などの屈折率を低める屈折率調整用ドーパントが添加された石英ガラスからなり、トレンチ部の屈折率は内側クラッド部1bの他の部分の屈折率よりも低い屈折率を有する。この場合、各コア部1aと内側クラッド部1bとの屈折率プロファイルはトレンチ型となる。 The inner clad portion 1b has a lower refractive index than the maximum refractive index of each
内側クラッド部1bは、断面が円形でありコア部1aを取り囲む内側領域1baと、内側領域1baを取り囲む円環状かつ層状の異屈折率領域1bbと、異屈折率領域1bbを取り囲む円環状かつ層状の異屈折率領域1bcと、異屈折率領域1bcを取り囲む円環状かつ層状の異屈折率領域1bdと、異屈折率領域1bdを取り囲む円環状かつ層状の異屈折率領域1beと、を備えている。異屈折率領域1bb、1bc、1bd、1beは、隣接する領域とは屈折率が異なる領域である。具体的には、異屈折率領域1bbは、隣接する領域である内側領域1baや異屈折率領域1bcとは屈折率が異なる。異屈折率領域1bcは、隣接する領域である異屈折率領域1bbや異屈折率領域1bdとは屈折率が異なる。異屈折率領域1bdは、隣接する領域である異屈折率領域1bcや異屈折率領域1beとは屈折率が異なる。 The inner cladding portion 1b includes an inner region 1ba having a circular cross section and surrounding the
内側領域1baは、たとえば屈折率調整用のドーパントを含まない純石英ガラスからなり、異屈折率領域1bb、1bc、1bd、1beは、たとえば屈折率調整用のドーパントを含む石英ガラスからなる。屈折率調整用のドーパントは、たとえば、F、Ge、リン(P)、ボロン(B)、ナトリウム(Na)やカリウム(K)などのアルカリ金属、塩素(Cl)、またはAlなどである。これらのドーパントから選ばれる1または複数のドーパントが、異屈折率領域1bb、1bc、1bd、1beに添加される。添加するドーパントの種類や量を変えることで、異屈折率領域1bb、1bc、1ed、1eeの間の屈折率の違いを構成することができる。内側領域1ba、異屈折率領域1bb、1bc、1ed、1eeの間の屈折率の違いは、一方の他方に対する比屈折率差の絶対値が大きければ大きいほどよいが、たとえば0.3%以上であり、より好ましくは0.7%以上である。また、異屈折率領域1bb、1bc、1ed、1eeの層厚は、少なくとも、伝搬する光の波長の数倍程度あると、波長オーダーの平均値として屈折率の違いがでやすい。内側クラッド部1bは、後述するようにErを光励起できる波長の励起光、たとえば976nmなどの900nm波長帯の励起光が伝搬するので、少なくとも1μm以上の層厚が好ましい。また、層厚は、内側クラッド部1bの外径に応じて適宜設定できる。 The inner region 1ba is made of, for example, pure silica glass containing no refractive index adjusting dopant, and the modified refractive index regions 1bb, 1bc, 1bd, and 1be are made of, for example, silica glass containing a refractive index adjusting dopant. Dopants for adjusting the refractive index are, for example, F, Ge, phosphorus (P), boron (B), alkali metals such as sodium (Na) and potassium (K), chlorine (Cl), or Al. One or more dopants selected from these dopants are added to the modified refractive index regions 1bb, 1bc, 1bd, and 1be. By changing the type and amount of the dopant to be added, it is possible to configure the difference in refractive index among the modified refractive index regions 1bb, 1bc, 1ed, and 1ee. The difference in refractive index between the inner region 1ba and the modified refractive index regions 1bb, 1bc, 1ed, and 1ee should be as large as the absolute value of the relative refractive index difference of one to the other. Yes, more preferably 0.7% or more. Also, if the layer thickness of the modified refractive index regions 1bb, 1bc, 1ed, and 1ee is at least several times the wavelength of the propagating light, the difference in refractive index tends to occur as the average value of the wavelength order. The inner clad portion 1b preferably has a layer thickness of at least 1 μm or more because excitation light having a wavelength capable of optically exciting Er, for example, excitation light in a 900 nm wavelength band such as 976 nm, propagates through the inner clad portion 1b, as will be described later. Also, the layer thickness can be appropriately set according to the outer diameter of the inner clad portion 1b.
マルチコア光増幅ファイバ1では、異屈折率領域1bb、1bc、1bd、1beによって、内側クラッド部1bには、径方向において異屈折率領域の層が2層以上である4層存在することとなる。 In the multi-core
内側領域1baのガラスに対する各コア部1aの比屈折率差をコアΔとすると、本実施形態では各コア部1aのコアΔは略等しく、たとえば波長1550nmにて0.35%~2%である。コア部1aのコア径は、コアΔとの関係で、希土類元素が光増幅可能な光増幅波長帯よりも短いカットオフ波長を実現するように設定されることが好ましい。光増幅波長帯は、Erの場合、Cバンドと呼ばれるたとえば1530nm~1565nmや、Lバンドと呼ばれるたとえば1565nm~1625nmである。コア径は、たとえば5μm~10μm程度である。 Assuming that the relative refractive index difference of each
外側クラッド部1cは、内側クラッド部1bの屈折率よりも低い屈折率を有しており、たとえば樹脂からなる。なお、内側クラッド部1bがコア部1aに対するトレンチ部を有している場合、外側クラッド部1cの屈折率はトレンチ部の屈折率よりも高くてもよいが、内側クラッド部1bの他の部分の屈折率および内側クラッド部1bの平均屈折率よりも低い。 The outer clad
内側クラッド部1bに、Erを光励起できる波長の励起光、たとえば976nmなどの900nm波長帯の励起光が入力されると、励起光は内側クラッド部1bの内部を伝搬しながら、各コア部1aに添加されたErを光励起する。これにより、各コア部1aは、各コア部1aに入力された信号光を光増幅可能となる。このようにマルチコア光増幅ファイバ1は、クラッド励起方式を適用可能に構成されている。 When pumping light having a wavelength capable of optically exciting Er, for example, pumping light in a 900 nm wavelength band such as 976 nm, is input to the inner clad portion 1b, the pumping light propagates inside the inner clad portion 1b and reaches each
マルチコア光増幅ファイバ1では、内側領域1ba、異屈折率領域1bb、1bc、1bd、1beにおける、界面を境に屈折率が異なるような界面(以下、異屈折率界面と記載する場合がある)が、内側クラッド部1bを伝搬する励起光を散乱させる。その結果、内側クラッド部1bを伝搬する励起光のうち、コア部1aに到達する成分が多くなる。たとえは、マルチコア光増幅ファイバ1のようなクラッド励起方式の場合、通常はコア部1aに到達しないように伝搬するスキュー成分Sのような励起に寄与しない未使用成分が存在する。しかしながら、マルチコア光増幅ファイバ1では、スキュー成分Sなどの未使用成分が異屈折率界面によって散乱されてその一部がコア部1aに到達し、Erの光励起に使用され得る。なお、励起光は内側クラッド部1bをマルチモードで伝搬するため、スキュー成分Sも様々な角度で伝搬するモードがあり得る。これらの様々なスキュー成分Sが異屈折率界面によって散乱されることで、その一部がコア部1aに到達し、Erの光励起に使用され易くなり得る。 In the multi-core
以上のように構成されたマルチコア光増幅ファイバ1では、異屈折率界面が内側クラッド部1bを伝搬する励起光を散乱させることで励起光のうちコア部1aに到達する成分が多くなるので、励起効率が改善される。また、径方向において異屈折率領域の層の数や厚さや屈折率差の調整によって、異屈折率界面の効果を調整できる。たとえば、異屈折率領域の層は、それぞれ1層以上、合計2層以上となるように適宜設計できる。 In the multi-core
なお、一般に、光増幅ファイバは、その長さが長くなるほど増幅出力光パワーが大きくなる。しかし、適切な信号光入力パワー(例えば信号光の総入力パワーが-10dBm~0dBm)において波長範囲が1530nm~1565nmのCバンドを一様に増幅するには、マルチコア光増幅ファイバ1は、内側クラッド部1bに、コア部1aの数に500mWを乗じた数値以下のパワーのマルチモードポンプ光(波長はたとえば976nm)を入力し、各コア部1aで20dBm以上のパワーの出力信号光を出力する状態において、吸収条長積が、100dB未満となる長さを有することが好ましい。ここで、吸収条長積とは、波長1530nmでの吸収スペクトルのピーク値(dB/m)に、マルチコア光増幅ファイバ1の長さ(m)を乗じたものである。また、本明細書では、Cバンドを一様に増幅するとは、Cバンド内での波長間利得差が3dB以内であるように増幅することを意味する。 In general, the longer the length of an optical amplifying fiber, the greater the amplified output light power. However, in order to uniformly amplify the C band in the wavelength range of 1530 nm to 1565 nm at an appropriate signal light input power (for example, the total input power of signal light is -10 dBm to 0 dBm), the multicore
吸収条長積が100dB以上であると、増幅光出力パワーは大きくなるが増幅される波長が長波長へシフトし、Cバンドの増幅利得は逆に減少してしまう。ただし、吸収条長積が80dB以下であると、増幅光出力パワーが低下してしまう場合がある。 If the absorption product is 100 dB or more, the amplified light output power increases, but the wavelength to be amplified shifts to longer wavelengths, and the amplification gain in the C band decreases. However, if the absorption product is 80 dB or less, the amplified light output power may decrease.
マルチコア光増幅ファイバ1は、たとえばスタック法や穿孔法などの公知のマルチコアファイバの製造方法を利用して製造することができる。たとえば、穿孔法の場合は、母材ロッドに、軸方向に平行に延びる孔を7つ形成し、各孔にコア部1aとなる部分と内側領域1baの一部となる部分とを含むガラスロッドであるコアロッドを挿入し、母材を形成する。つづいて、この母材を線引きし、外側クラッド部1cを形成する。 The multi-core
上記方法において用いる母材ロッドは、たとえば、VAD(Vapor-phase Axial Deposition)法、OVD(Outside Vapor Deposition)法、MCVD(Modified Chemical Vapor Deposition)法、またはプラズマCVD法を用いて作製することができる。このとき、母材ロッドは、ガラス微粒子からなるスート層として、内側領域1baとなるスート層、異屈折率領域1bbとなるスート層、異屈折率領域1bcとなるスート層、異屈折率領域1bdとなるスート層、異屈折率領域1beとなるスート層を堆積し、熱処理によって脱水、ガラス化して形成する。 The base material rod used in the above method can be produced using, for example, a VAD (Vapor-phase Axial Deposition) method, an OVD (Outside Vapor Deposition) method, an MCVD (Modified Chemical Vapor Deposition) method, or a plasma CVD method. . At this time, the base material rod includes, as soot layers made of glass fine particles, a soot layer serving as the inner region 1ba, a soot layer serving as the modified refractive index region 1bb, a soot layer serving as the modified refractive index region 1bc, and a soot layer serving as the modified refractive index region 1bd. A soot layer that becomes the modified refractive index region 1be is deposited, dehydrated and vitrified by heat treatment.
上記方法において用いる母材ロッドは、ジャケット法でも作製できる。この場合、内側領域1baとなるガラスロッドに、異屈折率領域1bb、1bc、1bd、1beのそれぞれとなるジャケット管が順次覆い被さるように挿入を行い、熱処理によって一体化して形成する。 The base material rod used in the above method can also be produced by the jacket method. In this case, the jacket pipes forming the modified refractive index regions 1bb, 1bc, 1bd, and 1be are sequentially inserted into the glass rod forming the inner region 1ba so as to cover the glass rod, and are integrated by heat treatment.
(実施形態2)
図2は、実施形態2に係るマルチコア光増幅ファイバの模式的な断面図である。このマルチコア光増幅ファイバ2は、図1に示す実施形態1に係るマルチコア光増幅ファイバ1において、内側クラッド部1bを内側クラッド部1dに置き換えた構成を有する。内側クラッド部1dは、内側クラッド部1bの異屈折率領域1bb、1bc、1bd、1beを、内側領域1baと同じ構成材料の領域に置き換えるとともに、断面が円状の異屈折率領域1daを複数設けた構成を有する。本実施形態では異屈折率領域1daの数は6であるが、その数は限定されない。(Embodiment 2)
FIG. 2 is a schematic cross-sectional view of a multi-core optical amplifying fiber according to
異屈折率領域1daは、内側クラッド部1dにおいて隣接する領域とは屈折率が異なる。また、異屈折率領域1daは、コア部1aが形成する正六角形の外周側に位置する。また、異屈折率領域1daは、マルチコア光増幅ファイバ2の中心を軸とした回転対称の位置にあり、本実施形態では6回回転対称の位置にある。また、各異屈折率領域1daは、マルチコア光増幅ファイバ2の軸方向に直交する断面において六方最密格子を規定した場合に、その格子点の位置にある。 The modified refractive index region 1da has a refractive index different from that of adjacent regions in the
以上のように構成されたマルチコア光増幅ファイバ2では、マルチコア光増幅ファイバ1と同様に、異屈折率領域1daの異屈折率界面の効果によって、励起効率が改善される。また、異屈折率領域1daの位置や回転対称性の調整によって、異屈折率界面の効果を調整できる。たとえば、回転対称は2回回転対称や3回回転対称でもよい。 In the multi-core
なお、異屈折率領域1daは、コア部1aが形成する正六角形の内周側または同一周上に位置してもよい。 In addition, the modified refractive index region 1da may be located on the inner circumference side or the same circumference of the regular hexagon formed by the
マルチコア光増幅ファイバ2は、公知のマルチコアファイバの製造方法を利用して製造することができる。たとえば、穿孔法の場合を、図3を参照して説明する。 The multi-core
すなわち、図3に示すように、内側クラッド部1dの一部となる母材ロッド21に、軸方向に平行に延びる孔21aを7つ、孔21bを6つ形成する。そして、孔21aにコアロッド22を挿入し、孔21bに、異屈折率領域1daとなるガラスロッド23を挿入し、母材を形成する。なお、コアロッド22は、コア部1aとなるコア部22aと、コア部22aを取り囲み、内側クラッド部1dの一部となるクラッド部22bとを備えるガラスロッドである。つづいて、この母材を線引きし、外側クラッド部1cを形成する。 That is, as shown in FIG. 3, seven
(実施形態3)
図4は、実施形態3に係るマルチコア光増幅ファイバの模式的な断面図である。このマルチコア光増幅ファイバ3は、図2に示す実施形態2に係るマルチコア光増幅ファイバ2において、内側クラッド部1dを内側クラッド部1eに置き換えた構成を有する。内側クラッド部1eは、内側クラッド部1dにおける異屈折率領域1daを削除し、断面が円形状の異屈折率領域1eaを複数設けた構成を有する。本実施形態では異屈折率領域1eaの数は12であるが、その数は限定されない。(Embodiment 3)
FIG. 4 is a schematic cross-sectional view of a multi-core optical amplifying fiber according to
異屈折率領域1eaは、コア部1aが形成する正六角形の外周側に位置する。また、異屈折率領域1eaは、マルチコア光増幅ファイバ3の中心を軸とした回転対称の位置にあり、本実施形態では6回回転対称の位置にある。また、各異屈折率領域1eaは、マルチコア光増幅ファイバ3の軸方向に直交する断面において六方最密格子を規定した場合に、その格子点の位置にある。さらには、本実施形態では、各コア部1aおよび各異屈折率領域1eaが、同じ六方最密格子の格子点の位置にある。 The modified refractive index region 1ea is located on the outer peripheral side of the regular hexagon formed by the
以上のように構成されたマルチコア光増幅ファイバ3では、マルチコア光増幅ファイバ1、2と同様に、異屈折率領域1eaの異屈折率界面の効果によって、励起効率が改善される。また、異屈折率領域1eaの位置や数や回転対称性の調整によって、異屈折率界面の効果を調整できる。 In the multi-core
なお、異屈折率界面は、コア部1aが形成する正六角形の内周側または同一周上に位置してもよい。また、異屈折率領域1eaの数は12から適宜増減させてもよい。 In addition, the modified refractive index interface may be located on the inner circumference side or the same circumference of the regular hexagon formed by the
マルチコア光増幅ファイバ3は、公知のマルチコアファイバの製造方法を利用して製造することができる。たとえば、スタック法の場合を、図5を参照して説明する。 The multi-core
すなわち、図5に示すように、7本のコアロッド22を、内側クラッド部1eの一部となるガラス管31の中にスタックする。それとともに、コアロッド22とガラス管31との間の隙間33に、異屈折率領域1eaとなる12本のガラスロッド32をスタックし、母材を形成する。ここで、コアロッド22とガラスロッド32との直径を等しくすることによって、各コア部1aおよび各異屈折率領域1eaが、同じ六方最密格子の格子点の位置にある構造とすることができる。また、隙間33の残りの部分にも、クラッド部22bと同一材料で構成された、内側クラッド部1eの一部となるガラスロッドをスタックする。つづいて、この母材を線引きし、外側クラッド部1cを形成する。なお、異屈折率領域1eaの数を12から減少させるには、12本のガラスロッド32のうちの1以上を、クラッド部22bと同一材料で構成されたガラスロッドに置き換えればよい。 That is, as shown in FIG. 5, seven
(実施形態4)
図6は、実施形態4に係るマルチコア光増幅ファイバの模式的な断面図である。図6では、図面に垂直な方向がマルチコア光増幅ファイバ4の軸方向Dzである。また、図6では、マルチコア光増幅ファイバ4の径方向Dr、軸回り方向Dtが規定されている。なお、その他の図でも、図6と同様に、軸方向Dz、径方向Dr、軸回り方向Dtを同様に規定することができる。(Embodiment 4)
FIG. 6 is a schematic cross-sectional view of a multi-core optical amplifying fiber according to
このマルチコア光増幅ファイバ4は、図2に示す実施形態2に係るマルチコア光増幅ファイバ2において、内側クラッド部1dを内側クラッド部1fに置き換えた構成を有する。内側クラッド部1fは、内側クラッド部1dにおける異屈折率領域1daを削除し、異屈折率領域1faを複数設けた構成を有する。 This multi-core
異屈折率領域1faは、内側クラッド部1fの内部のみに分散して存在する。異屈折率領域1faは、たとえば、石英ガラス中に分散して存在する微結晶やクラスターを含んで構成されている。異屈折率領域1faは、たとえば、AlやGeやアルカリ金属で構成されている。異屈折率領域1faとその周囲のガラス材料との屈折率差は大きければ大きいほどよい。 The modified refractive index regions 1fa are distributed only inside the inner clad
以上のように構成されたマルチコア光増幅ファイバ4では、マルチコア光増幅ファイバ1~3と同様に、異屈折率領域1faの異屈折率界面の効果によって、励起効率が改善される。また、異屈折率領域1faのサイズや存在密度の調整によって、異屈折率界面の効果を調整できる。 In the multi-core
また、マルチコア光増幅ファイバ4では、内側クラッド部1fの外側クラッド部1cとの境界近傍の領域には異屈折率領域1faが存在しない。これにより、スキュー成分Sの散乱が適度に調整され、内側クラッド部1fの外側クラッド部1cとの境界近傍においてコア部1aから離れるように進行する散乱光の発生を抑制することができる。 Further, in the multi-core
なお、マルチコア光増幅ファイバ4において、図6に示すような軸方向Dzに直交する断面において、内側クラッド部1fの断面積に対する複数の異屈折率領域1faの断面積の総計を断面積比とすると、断面積比は、たとえば0.1%以上50%以下が好ましく、1%以上がさらに好ましい。断面積比が0.1%以上であれば、複数の異屈折率領域1faによる励起効率の改善効果が発揮され易く、30%より大きければさらに改善効果が発揮され易い。また、断面積比が50%以下であれば、マルチコア光増幅ファイバ4を所望の光学特性(増幅特性など)で製造することが容易である。また、断面積比が50%より大きい場合は、励起光を散乱させる効果が強くなりすぎ、内側クラッド部1fにおける励起光の伝搬損失が増大する場合がある。この場合、異屈折率領域1faが励起光を散乱することにより励起効率が改善される効果を、伝搬損失の増大により励起効率が劣化する効果が上回ることがある。 In the multi-core
また、図6のような断面における異屈折率領域1faの直径は、内側クラッド部1bを伝搬する光(励起光)の波長の1/2000倍以上2倍以下であるが好ましい。散乱体である異屈折率領域1faの直径が励起光の波長の1/20倍以上2倍以下である場合、異屈折率領域1faによる光の散乱は主にミー散乱である。異屈折率領域1faの直径が励起光の波長の1/2000倍以上1/20倍以下である場合、異屈折率領域1faによる光の散乱は主にレイリー散乱である。このように、粒子状の物質や屈折率変化に光波が衝突する場合、その大きさによって散乱の種類が異なる。ここで、ミー散乱では前方散乱が主であり、レイリー散乱は等方散乱であるが、いずれの散乱も励起効率の改善に寄与すると考えられる。たとえば、これらの散乱の散乱方向の特性を利用して、コア部1aの配置や内側クラッド部1fにおける励起光の電界分布等に応じて、直径が異なる異屈折率領域1faを空間的に分布させて、励起効率の改善の度合いを高めてもよい。たとえば、レイリー散乱は、伝搬方向を大きく変更させるほうが効果的な場合は、励起効率の改善に対する貢献が大きい。 Moreover, the diameter of the modified refractive index region 1fa in the cross section as shown in FIG. 6 is preferably 1/2000 to 2 times the wavelength of the light (excitation light) propagating through the inner clad portion 1b. When the diameter of the modified refractive index region 1fa, which is a scatterer, is 1/20 to 2 times the wavelength of the excitation light, the scattering of light by the modified refractive index region 1fa is mainly Mie scattering. When the diameter of the modified refractive index region 1fa is 1/2000 to 1/20 times the wavelength of the excitation light, light scattering by the modified refractive index region 1fa is mainly Rayleigh scattering. As described above, when a light wave collides with a particulate matter or a change in refractive index, the type of scattering differs depending on the size of the particle. Here, Mie scattering is mainly forward scattering, and Rayleigh scattering is isotropic scattering. For example, using the scattering direction characteristics of these scattering, the modified refractive index regions 1fa with different diameters are spatially distributed according to the arrangement of the
なお、異屈折率領域1faの断面が円形ではない場合、異屈折率領域1faの直径は、その異屈折率領域1faの断面積に等しい円の直径として定義してもよい。 If the cross section of the modified refractive index region 1fa is not circular, the diameter of the modified refractive index region 1fa may be defined as the diameter of a circle equal to the cross-sectional area of the modified refractive index region 1fa.
また、複数の異屈折率領域1faは、内側クラッド部1f内でランダムに存在していれば、励起光散乱効果が各コア部1aに対して均一に作用し易いので好ましい。複数の異屈折率領域1faが内側クラッド部1f内でランダムに存在しているとは、内側クラッド部1f内で異屈折率領域1faの分布に偏りがなく、略一様に分布していると言い換えることができる。したがって、たとえば、異屈折率領域1faは、軸方向Dzにおいて略一様に分布していることが好ましい。 Further, it is preferable that the plurality of modified refractive index regions 1fa are randomly present in the
ここで、略一様とは、たとえば、内側クラッド部1f内で、一辺が30μmの正方格子または一辺が内側クラッド部1fの直径の1/3の正方格子で区域を設定した場合に、その全ての区域において、異屈折率領域1faの総面積のばらつきが±30%の範囲にあることと、定めることができる。また、異屈折率領域1faはコア部1aと接触する領域を含む必要はない。 Here, the term “substantially uniform” means that, for example, in the
図7は、図6に示すマルチコア光増幅ファイバ4の図6とは別の断面における模式的な断面図である。図7に示す断面は、たとえば、図6に示す断面から、軸方向Dzに、マルチコア光増幅ファイバ4の長さの1%~5%程度の、長さに対して小さい距離だけ移動した位置での断面である。図7に示す断面では、軸方向Dzに少し移動しただけで図6に示す断面とは異屈折率領域1faの存在位置が異なる。このように断面毎に異屈折率領域1faの存在位置が異なってもよい。 FIG. 7 is a schematic cross-sectional view of the multi-core
また、同様に、たとえば、異屈折率領域1faは、径方向Drにおいて略一様に分布していることが好ましい。また、異屈折率領域1faは、各コア部1aの径方向において略一様に分布していることが好ましい。また、たとえば、異屈折率領域1faは、軸回り方向Dtにおいて略一様に分布していることが好ましい。この場合、軸回り方向Dtにおいて基準角度位置から0度~60度の範囲での異屈折率領域1faの存在位置と、60度~120度の範囲での異屈折率領域1faの存在位置とが異なってもよい。また、異屈折率領域1faは、各コア部1aの軸回り方向において略一様に分布していることが好ましい。 Similarly, for example, the modified refractive index regions 1fa are preferably distributed substantially uniformly in the radial direction Dr. Moreover, the modified refractive index regions 1fa are preferably distributed substantially uniformly in the radial direction of each
ここで、径方向において略一様とは、たとえば、内側クラッド部1fの中心位置を基準として、内側クラッド部1fを径方向に30μmまたは直径の1/3の長さで分割した輪円環状(ただし中心部分のみ円形状)の区域を設定した場合に、その全ての区域において、異屈折率領域1faの総面積のばらつきが±30%の範囲にあることと、定めることができる。 Here, the term “substantially uniform in the radial direction” means, for example, a ring-shaped ring (circular ring) obtained by dividing the
また、軸回り方向において略一様とは、たとえば、内側クラッド部1fの中心位置を基準として、内側クラッド部1fを周方向に30°ごとに分割した円弧径方向に30μmまたは直径の1/3の長さで分割した輪円環状(ただし中心部分のみ円形状)の区域を設定した場合に、その全ての区域において、異屈折率領域1faの総面積のばらつきが±30%の範囲にあることと、定めることができる。 Further, the term “substantially uniform in the axial direction” means, for example, that the
マルチコア光増幅ファイバ4は、公知のマルチコアファイバの製造方法を利用して製造することができる。なお、異屈折率領域1faは、母材に内側クラッド部1fとなる部分を作製する際に異屈折率領域1faの構成材料を添加し、熱処理によって凝集させることで形成することができる。 The multi-core
また、微粒子を用いる方法において、たとえば、異屈折率領域1faを含む微粒子を用いてもよい。 Moreover, in the method using fine particles, for example, fine particles including the modified refractive index region 1fa may be used.
(実施形態5)
図8は、実施形態5に係るマルチコア光増幅ファイバの模式的な断面図であり、マルチコア光増幅ファイバの軸方向に垂直な断面を示している。マルチコア光増幅ファイバ5は、実施形態4に係るマルチコア光増幅ファイバ4と比較して、内側クラッド部1fに、各コア部1aを取り囲む領域R1が存在する点で異なる。(Embodiment 5)
FIG. 8 is a schematic cross-sectional view of a multi-core optical amplifying fiber according to
各領域R1は、各コア部1aと同心円状の領域であり、取り囲むコア部1aのコア径のたとえば3倍以上の直径を有し、各コア部1aに沿って軸方向Dzに伸びている円管状の領域である。そして、この領域R1には異屈折率領域1faは含まれていない。 Each region R1 is a region that is concentric with each
以上のように構成されたマルチコア光増幅ファイバ5では、異屈折率領域1faは、マルチコア光増幅ファイバ5の軸方向Dzに直交する断面において、各コア部1aから、コア径以上離間、たとえばコア径の3倍以上離間した位置に存在する。その結果、マルチコア光増幅ファイバ5では、マルチコア光増幅ファイバ1~4と同様に、励起効率が改善される。さらに、一度異屈折率領域1faによって散乱されてコア部1aに向かった励起光がコア部1aの近傍の異屈折率領域によって再度散乱されてしまうことを抑制することができる。また、さらには、異屈折率領域1faが、各コア部1aから比較的離れているので、各コア部1aの光伝搬特性に影響を与えることを抑制することもできる。 In the multi-core
マルチコア光増幅ファイバ5は、公知のマルチコアファイバの製造方法を利用して製造することができる。たとえば、スタック法の場合は、コア部1aとなる部分と領域R1となる部分を含む7本のガラスロッドであるコアロッドを、内側クラッド部1fの一部となるガラス管の中にスタックする。つづいて、コアロッドとガラス管との間の隙間に、異屈折率領域1faを含み、内側クラッド部1fの一部となるガラスロッドをスタックし、母材を形成する。つづいて、この母材を線引きし、外側クラッド部1cを形成する。また、穿孔法の場合は、内側クラッド部1fの一部となる、異屈折率領域1faを含む比較的太径のガラスロッドである母材ロッドに、軸方向に平行に延びる孔を7つ形成し、各孔にコアロッドを挿入し、母材を形成する。つづいて、この母材を線引きし、外側クラッド部1cを形成する。なお、異屈折率領域1faは、ガラスロッドに最初から形成されていなくてもよく、たとえば製造工程における熱処理によって、ドーパントを凝集させて形成してもよい。 The multi-core
(実施形態6)
図9は、実施形態6に係るマルチコア光増幅ファイバの模式的な断面図であり、マルチコア光増幅ファイバの軸方向に垂直な断面を示している。マルチコア光増幅ファイバ6は、実施形態4に係るマルチコア光増幅ファイバ4と比較して、内側クラッド部1fに領域R2、R3が存在している点で異なる。なお、図9では、異屈折率領域の図示を省略している。(Embodiment 6)
FIG. 9 is a schematic cross-sectional view of a multicore optical amplifying fiber according to
領域R2は、内側クラッド部1fにおいて、正六角形の角の位置となるように配置されている6個のコア部1aの中心を通り、軸方向Dzに伸びている円筒状の領域である。領域R3は、内側クラッド部1bにおいて、領域R2の外周側に位置し、軸方向Dzに伸びている円管状の領域である。領域R2と領域R3との境界は、マルチコア光増幅ファイバ6の中心から最も離間したコア部1aを通る円管状の境界の一例である。なお、境界の軸はマルチコア光増幅ファイバ6の中心である。 The region R2 is a cylindrical region extending in the axial direction Dz through the centers of the six
マルチコア光増幅ファイバ6は、境界の内側の領域R2と、境界の外側の領域R3とで異屈折率領域の存在密度が異なる。たとえば、領域R2における存在密度は、領域R3における存在密度よりも高い。またたとえば、領域R2における存在密度は、領域R3における存在密度よりも低い。 In the multi-core
以上のように構成されたマルチコア光増幅ファイバ6では、マルチコア光増幅ファイバ1~5と同様に、励起効率が改善される。また、マルチコア光増幅ファイバ6では、コア部1aが主に存在する領域R2と、内側クラッド部1fの外縁側でスキュー成分が比較的多い領域R3とで、散乱光の発生の程度を異ならせることができる。たとえば、領域R2における異屈折率領域の存在密度を高くして、コア部1aが主に存在する領域R2で散乱を多数発生させてもよいし、領域R3における異屈折率領域の存在密度を高くして、スキュー成分の散乱を多数発生させてもよい。各領域における存在密度の設計は、マルチコア光増幅ファイバ6の設計や要求特性に応じて適宜設定することができる。 In the multi-core
マルチコア光増幅ファイバ6は、公知のマルチコアファイバの製造方法を利用して製造することができる。たとえば、穿孔法の場合は、異屈折率領域の存在密度が場所によって異なるように、内側クラッド部1fの一部となる母材ロッドを形成する。このような母材ロッドは、たとえばジャケット法によって作製することができる。つづいて、この母材ロッドに、軸方向に平行に延びる孔を7つ形成し、各孔にコアロッドを挿入し、母材を形成する。つづいて、この母材を線引きし、外側クラッド部1cを形成する。また、スタック法の場合は、コアロッドを、内側クラッド部1fの一部となるガラス管の中にスタックする。つづいて、コアロッドとガラス管との間の隙間に、異屈折率領域を含み、内側クラッド部1fの一部となるガラスロッドをスタックし、母材を形成する。この際、スタックする場所に応じて、異屈折率領域の存在密度が異なるガラスロッドを用いることで、異屈折率領域の存在密度が場所によって異なるようにできる。 The multi-core
(実施形態7)
図10は、実施形態7に係るマルチコア光増幅ファイバの模式的な断面図であり、マルチコア光増幅ファイバの軸方向に垂直な断面を示している。マルチコア光増幅ファイバ7は、実施形態4に係るマルチコア光増幅ファイバ4と比較して、内側クラッド部1fに領域R4が存在し、領域R4にのみ異屈折率領域が存在している点で異なる。なお、図10では、異屈折率領域の図示を省略している。(Embodiment 7)
FIG. 10 is a schematic cross-sectional view of a multi-core optical amplifying fiber according to
各領域R4は、各コア部1aと同心円状の領域であり、各コア部に沿って軸方向Dzに伸びている円管状の領域である。各領域R4は、マルチコア光増幅ファイバ7の軸方向Dzに直交する断面において、各コア部1aから、コア径以上離間した円環状の領域に存在してもよい。また、異屈折率領域は、マルチコア光増幅ファイバ4の軸方向に直交する断面において、各コア部1aを格子点とする六方最密格子を規定した場合に、或る格子点を中心とし、格子点間距離の1/2以下の半径の円環状に存在するといえる。格子点間距離は、隣接するコア部1aの間の中心間距離である。 Each region R4 is a circular region concentric with each
以上のように構成されたマルチコア光増幅ファイバ7では、マルチコア光増幅ファイバ1~6と同様に、励起効率が改善される。また、マルチコア光増幅ファイバ7では、励起光の再度の散乱を抑制できるとともに、異屈折率領域が各コア部1aの光伝搬特性に影響を与えることを抑制することができる。また、各コア部1aに対する領域R4での異屈折率領域の存在密度を互いに異なる値とすれば、各コア部1aに対する異屈折率領域の効果を異なる程度に調整できる。 In the multi-core
マルチコア光増幅ファイバ7は、公知のマルチコアファイバの製造方法を利用して製造することができる。たとえば、穿孔法の場合は、母材ロッドに、軸方向に平行に延びる孔を7つ形成し、各孔に、異屈折率領域を含むガラス管に挿入した状態のコアロッドを挿入し、母材を形成する。つづいて、この母材を線引きし、外側クラッド部1cを形成する。異屈折率領域を含むガラス管は、図1の異屈折率領域1bb、1bc、1bd、1beのように、異屈折率領域が同心円状に複数の層を成している構造でもよい。このような異屈折率領域を含むガラス管は、挿入すべき孔よりも太径で作製し、延伸加工することによって相似形に細くして孔に挿入できる程度の外径とできる。したがって、たとえばまずは太径で多層構造にガラス管を形成し、その後延伸加工することで、多層かつ細かな屈折率分布を容易に実現できる。 The multi-core
なお、マルチコア光増幅ファイバとしてダブルクラッド型のマルチコアEDFを用いて、クラッド励起方式によってコア部に含まれる希土類元素であるエルビウム(Er)を光励起する構成において、異屈折率領域を含まない、通常のマルチコア光増幅ファイバのクラッド吸収率は0.02dB/m程度である。
これに対して、マルチコア光増幅ファイバ1~7のいずれを使ってもクラッド吸収率は0.05dB/m以上になる。
ここで、
クラッド吸収率=-10×log((マルチコア光増幅ファイバを透過して出てきた励起光パワー(W))/(マルチコア光増幅ファイバの内側クラッド部に入射した励起光パワー(W)))/マルチコア光増幅ファイバの長さ(m)
で計算される。励起光の波長は976nm±2nmである。In addition, in a configuration in which a double-clad multi-core EDF is used as a multi-core optical amplification fiber and erbium (Er), which is a rare earth element contained in the core portion, is optically pumped by a clad pumping method, a normal normal The cladding absorptance of the multi-core optical amplifying fiber is about 0.02 dB/m.
On the other hand, the cladding absorptance is 0.05 dB/m or more regardless of which of the multi-core
here,
Cladding absorption rate = -10 x log ((pumping light power (W) transmitted through the multi-core optical amplifying fiber)/(pumping light power (W) incident on the inner cladding of the multi-core optical amplifying fiber))/ Length of multi-core optical amplification fiber (m)
is calculated by The wavelength of excitation light is 976 nm±2 nm.
(実施形態8)
図11は、実施形態8に係るマルチコア光ファイバ増幅器の構成を示す模式図である。以下、マルチコア光ファイバ増幅器を単に光増幅器と記載する場合がある。光増幅器100は、7個の光アイソレータ110、光ファイバファンイン(FAN IN)120、半導体レーザ130、光結合器140、実施形態1に係るマルチコア光増幅ファイバ1、ポンプストリッパ150、光ファイバファンアウト(FAN OUT)160、および7個の光アイソレータ170、を備えている。なお、図中「×」の記号は光ファイバの融着接続点を示している。(Embodiment 8)
FIG. 11 is a schematic diagram showing the configuration of a multi-core optical fiber amplifier according to Embodiment 8. FIG. Hereinafter, the multi-core optical fiber amplifier may be simply referred to as an optical amplifier. The
光ファイバファンイン120は、束ねられた7本のシングルモード光ファイバと、7個のコア部を有する1本のマルチコアファイバとを備えており、結合部において7本のシングルモード光ファイバの各コア部がマルチコアファイバの各コア部に光学結合するように構成されている。なお、7本のシングルモード光ファイバは、たとえばITU-TG.652に定義される標準のシングルモード光ファイバであり、それぞれ光アイソレータ110が設けられている。光アイソレータ110、170は矢印が示す方向に光を通過させ、逆方向への光の通過を遮断する。光ファイバファンイン120のマルチコアファイバは光結合器140に接続されている。なお、束ねられた7本のシングルモード光ファイバおよびマルチコアファイバの光学結合する端面は、反射抑制のため光軸に対して斜めに加工されているが、光軸に対して垂直であってもよい。なお、7個の光アイソレータ110、170に換えて、複数(本実施形態では7本)のシングルモード光ファイバが集積された構成の光アイソレータを用いてもよい。 The fiber optic fan-in 120 comprises seven bundled single-mode optical fibers and one multi-core fiber with seven cores, each core of the seven single-mode fibers at the junction. A section is configured to optically couple to each core section of the multicore fiber. It should be noted that the seven single-mode optical fibers are, for example, ITU-TG. 652 standard single mode optical fiber, each provided with an
光ファイバファンイン120のマルチコアファイバは、マルチコア光増幅ファイバ1と同様に、三角格子状に配置された7個のコア部と、各コア部の外周に位置し、各コア部の最大屈折率よりも屈折率が低いクラッド部とを備えている。光ファイバファンイン120の各シングルモード光ファイバに信号光を入力すると、各光アイソレータ110は各信号光を通過させ、マルチコアファイバの各コア部は各信号光を伝搬する。 The multi-core fiber of the optical fiber fan-in 120, like the multi-core
励起光源である半導体レーザ130は、横マルチモード半導体レーザであり、励起光を出力する。励起光の波長は、Erの900nm波長帯における吸収ピークの波長と略同一な976nmである。これにより、励起光はエルビウムイオンを光励起できる。半導体レーザ130は、マルチモード光ファイバから励起光を出力する。このマルチモード光ファイバは、コア径/クラッド径が例えば105μm/125μmのステップインデックス型であり、NAが例えば0.16や0.22である。 A
光結合器140は、主光ファイバと、励起光供給用光ファイバとを備えている。主光ファイバは、光ファイバファンイン120のマルチコアファイバのコア部と同様に三角格子状に配置された7個のコア部と、各コア部の外周に位置し、各コア部の最大屈折率よりも屈折率が低い内側クラッド部と、内側クラッド部の外周に位置し、内側クラッド部よりも屈折率が低い外側クラッド部とを備えるダブルクラッド型の光ファイバである。コア部と内側クラッド部とは石英系ガラスからなり、外側クラッド部は樹脂からなる。 The
励起光供給用光ファイバは、別の一端が半導体レーザ130のマルチモード光ファイバと接続された同種のマルチモード光ファイバであり、コア径/クラッド径が例えば105μm/125μmのステップインデックス型であり、NAが例えば0.16や0.22である。励起光供給用光ファイバは、励起光が半導体レーザ130から入力され、この励起光を主光ファイバに供給する。内側クラッド部は励起光を伝搬する。 The optical fiber for supplying pumping light is a multimode optical fiber of the same type, the other end of which is connected to the multimode optical fiber of the
光結合器140の主光ファイバは、一端が光ファイバファンイン120のマルチコアファイバに接続されている。マルチコアファイバの各コア部は主光ファイバの各コア部に接続されている。したがって、マルチコアファイバの各コア部を伝搬した各信号光は、主光ファイバに入力すると、各コア部に光学結合する。各コア部は各信号光を伝搬する。励起光と信号光とは、主光ファイバからマルチコア光増幅ファイバ1へと出力される。 One end of the main optical fiber of the
マルチコア光増幅ファイバ1は、一端が光結合器140の主光ファイバに接続されている。マルチコア光増幅ファイバ1の各コア部1aは主光ファイバの各コア部に接続されている。また、マルチコア光増幅ファイバ1の内側クラッド部1bは主光ファイバの内側クラッド部に接続されている。したがって、主光ファイバを伝搬した各信号光および励起光は、マルチコア光増幅ファイバ1に入力すると、それぞれ各コア部1aと内側クラッド部1bとを同一方向に伝搬する。励起光は内側クラッド部1bを伝搬しながら各コア部1a内のErを光励起する。各コア部1aを伝搬する各信号光はErの誘導放出の作用により光増幅される。マルチコア光増幅ファイバ1は、光増幅された各信号光と、光増幅に寄与しなかった励起光とを出力する。 One end of the multi-core
ポンプストリッパ150は、光増幅に寄与しなかった励起光を排除する公知のデバイスである。ポンプストリッパ150は、例えば、7個のコアを有するダブルクラッド型マルチコアファイバの外側クラッドの一部が除去されており、除去された部分の内側クラッド部の表面から励起光を取り出して放熱板などに照射し、吸収させて励起光のエネルギーを熱エネルギーに変換して放熱する構成を有する。ポンプストリッパ150はマルチコアファイバによって各信号光を伝搬させるとともに、励起光を、光増幅器100から出力されても問題の無い程度のパワーまで低減させる。
光ファイバファンアウト160は、光ファイバファンイン120と同様に、束ねられた7本のシングルモード光ファイバと、7個のコア部を有する1本のマルチコアファイバとを備えており、結合部において7本のシングルモード光ファイバの各コア部がマルチコアファイバの各コア部に光学結合するように構成されている。各シングルモード光ファイバには、それぞれ光アイソレータ170が設けられている。マルチコアファイバはポンプストリッパ150に接続されている。なお、束ねられた7本のシングルモード光ファイバおよびマルチコアファイバの光学結合する端面は、反射抑制のため光軸に対して斜めに加工されているが、光軸に対して垂直であってもよい。 The fiber optic fan-out 160, similar to the fiber optic fan-in 120, comprises seven bundled single-mode optical fibers and one multi-core fiber having seven cores, with seven cores at the joint. Each core portion of the single-mode optical fiber is configured to be optically coupled to each core portion of the multi-core fiber. Each single-mode optical fiber is provided with an
ポンプストリッパ150のマルチコアファイバの各コア部から光ファイバファンアウト160の各コア部に信号光が入力すると、各信号光は各シングルモード光ファイバの各コア部を伝搬し、光アイソレータ170を通って出力する。 When signal light is input from each core portion of the multi-core fiber of the
この光増幅器100は、励起効率が改善されたマルチコア光増幅ファイバ1を用いて光増幅を行うので、同一の増幅特性を得るための半導体レーザ130の消費電力を削減できる。なお、マルチコア光増幅ファイバ1のコア部1aの間の、増幅帯域の或る波長における利得差は、3dB以下が好ましい。利得差は、マルチコア光増幅ファイバ1の特性、たとえば長さの変更によって調整することができる。 Since this
なお、光増幅器100において、マルチコア光増幅ファイバ1に換えてマルチコア光増幅ファイバ2~7のいずれかを用いてもよい。 In the
(マルチコア光増幅ファイバの吸収スペクトルの例)
図12は、マルチコア光増幅ファイバの吸収スペクトルの一例を示す図であって、或る1つのコア部に関する吸収スペクトルである。図12に示す例では、吸収ピーク値は約3.1dB/mである。(Example of absorption spectrum of multi-core optical amplification fiber)
FIG. 12 is a diagram showing an example of the absorption spectrum of a multi-core optical amplification fiber, which is the absorption spectrum of one core. In the example shown in FIG. 12, the absorption peak value is approximately 3.1 dB/m.
(実施形態9)
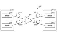
図13は、実施形態9に係る光通信システムの構成を示す模式図である。光通信システム1000は、光送信装置1010と、光受信装置1020と、実施形態11に係る光増幅器100と、14本のシングルコア光ファイバである光伝送ファイバ1031~1037、1041~1047と、を備えている。(Embodiment 9)
FIG. 13 is a schematic diagram showing the configuration of an optical communication system according to the ninth embodiment. An
光送信装置1010は、7個の送信器1011~1017を備えている。送信器1011~1017は、それぞれ、信号光を送信する。7本の光伝送ファイバ1031~1037は、送信器1011~1017のそれぞれから出力された信号光を伝送し、光増幅器100に入力させる。光増幅器100は、光伝送ファイバ1031~1037から入力された7つの信号光を一括して光増幅し、7本の光伝送ファイバ1041~1047のそれぞれに出力する。光伝送ファイバ1041~1047は、増幅された信号光を伝送し、光受信装置1020に入力させる。光受信装置1020は、7個の受信器1021~1027を備えている。受信器1021~1027は、光伝送ファイバ1041~1047が伝送した、増幅された信号光を受信し、電気信号に変換する。 The optical transmitter 1010 comprises seven transmitters 1011-1017. Transmitters 1011 to 1017 each transmit signal light. The seven
光通信システム1000は、同一の増幅特性を得るための消費電力が削減された光増幅器100を用いているので、消費電力が削減された光通信を実現できる。なお、本実施形態では、光伝送ファイバは7本のシングルコア光ファイバであるが、1本の7コア型マルチコアファイバからなる光伝送ファイバを用いてもよい。 Since the
光通信システム1000が長距離通信システムなどであれば、光増幅器100をリピータアンプ、プリアンプ、またはブースターアンプとして利用できる。光通信システム1000がROADM(Reconfigurable Optical Add/Drop Multiplexer)を用いたネットワークシステムなどであれば、光増幅器100を損失補償に利用できる。 If the
なお、上記実施形態では、マルチコア光増幅ファイバのコア部は希土類元素としてErのみを含むが、Er以外の希土類元素、たとえばイッテルビウム(Yb)のみを含んでいてもよいし、Er、Ybの両方を含んでいてもよい。 In the above embodiment, the core portion of the multi-core optical amplifying fiber contains only Er as a rare earth element, but it may contain only a rare earth element other than Er, such as ytterbium (Yb), or both Er and Yb. may contain.
また、上記実施形態では、マルチコア光増幅ファイバにおけるコア部は三角格子状に配置されているが、正方格子状に配置されていてもよい。マルチコア光増幅ファイバにおけるコア部の数も、複数であれば特に限定されない。また、上記実施形態では、光増幅ファイバはマルチコア光増幅ファイバであるが、実施形態としては、内側クラッド部に囲まれたコア部を1つだけ有するシングルコア型の光増幅ファイバでもよい。 Further, in the above embodiment, the core portions in the multi-core optical amplifying fiber are arranged in a triangular lattice pattern, but they may be arranged in a square lattice pattern. The number of core portions in the multi-core optical amplifying fiber is also not particularly limited as long as it is plural. Further, in the above embodiments, the optical amplifying fiber is a multi-core optical amplifying fiber, but as an embodiment, it may be a single-core optical amplifying fiber having only one core portion surrounded by an inner cladding portion.
また、上記実施形態により本発明が限定されるものではない。上述した各構成要素を適宜組み合わせて構成したものも本発明に含まれる。また、さらなる効果や変形例は、当業者によって容易に導き出すことができる。よって、本発明のより広範な態様は、上記の実施形態に限定されるものではなく、様々な変更が可能である。 Moreover, the present invention is not limited by the above embodiments. The present invention also includes those configured by appropriately combining the respective constituent elements described above. Further effects and modifications can be easily derived by those skilled in the art. Therefore, broader aspects of the present invention are not limited to the above-described embodiments, and various modifications are possible.
1、2、3、4、5、6、7 マルチコア光増幅ファイバ
1a コア部
1b、1d、1e、1f 内側クラッド部
1ba 内側領域
1c 外側クラッド部
1bb、1bc、1bd、1be、1da、1ea、1fa 異屈折率領域
21 母材ロッド
21a、21b 孔
22 コアロッド
22a コア部
22b クラッド部
23、32 ガラスロッド
31 ガラス管
33 隙間
110、170 光アイソレータ
120 光ファイバファンイン
130 半導体レーザ
140 光結合器
150 ポンプストリッパ
160 光ファイバファンアウト
100 光増幅器
1000 光通信システム
1010 光送信装置
1020 光受信装置
1011~1017 送信器
1021~1027 受信器
1031~1037、1041~1047 光伝送ファイバ
Dr 径方向
Dt 軸回り方向
Dz 軸方向
R1、R2、R3、R4 領域
S スキュー成分1, 2, 3, 4, 5, 6, 7 Multi-core
| Application Number | Priority Date | Filing Date | Title |
|---|---|---|---|
| JP2022022264AJP2023119383A (en) | 2022-02-16 | 2022-02-16 | Optical amplification fiber, optical fiber amplifier, and optical communication system |
| Application Number | Priority Date | Filing Date | Title |
|---|---|---|---|
| JP2022022264AJP2023119383A (en) | 2022-02-16 | 2022-02-16 | Optical amplification fiber, optical fiber amplifier, and optical communication system |
| Publication Number | Publication Date |
|---|---|
| JP2023119383Atrue JP2023119383A (en) | 2023-08-28 |
| Application Number | Title | Priority Date | Filing Date |
|---|---|---|---|
| JP2022022264APendingJP2023119383A (en) | 2022-02-16 | 2022-02-16 | Optical amplification fiber, optical fiber amplifier, and optical communication system |
| Country | Link |
|---|---|
| JP (1) | JP2023119383A (en) |
| Publication number | Priority date | Publication date | Assignee | Title |
|---|---|---|---|---|
| WO2025063213A1 (en)* | 2023-09-21 | 2025-03-27 | 古河電気工業株式会社 | Multicore optical amplification fiber and optical amplifier |
| Publication number | Priority date | Publication date | Assignee | Title |
|---|---|---|---|---|
| US20020197039A1 (en)* | 2001-06-25 | 2002-12-26 | Adrian Carter | Double-clad optical fiber for lasers and amplifiers |
| JP2021153166A (en)* | 2020-03-24 | 2021-09-30 | 古河電気工業株式会社 | Optical amplification fiber, optical fiber amplifier and optical communication system |
| Publication number | Priority date | Publication date | Assignee | Title |
|---|---|---|---|---|
| US20020197039A1 (en)* | 2001-06-25 | 2002-12-26 | Adrian Carter | Double-clad optical fiber for lasers and amplifiers |
| JP2021153166A (en)* | 2020-03-24 | 2021-09-30 | 古河電気工業株式会社 | Optical amplification fiber, optical fiber amplifier and optical communication system |
| Title |
|---|
| TAKASAKA SHIGEHIRO, ET AL.: "Output Power Increase of Cladding Pumped 7-core EDFA by Using Mie Scattering", 2020 EUROPEAN CONFERENCE ON OPTICAL COMMUNICATIONS(ECOC), JPN6025024636, 6 December 2020 (2020-12-06), US, ISSN: 0005624950* |
| Publication number | Priority date | Publication date | Assignee | Title |
|---|---|---|---|---|
| WO2025063213A1 (en)* | 2023-09-21 | 2025-03-27 | 古河電気工業株式会社 | Multicore optical amplification fiber and optical amplifier |
| Publication | Publication Date | Title |
|---|---|---|
| JP7575215B2 (en) | Optical amplifying fiber, optical fiber amplifier and optical communication system | |
| JP5643418B2 (en) | Multi-core fiber for transmission and amplification, and mechanism for emitting pump light to amplifier core | |
| KR101747153B1 (en) | Filter fiber for use in raman lasing applications and techniques for manufacturing same | |
| WO2022039073A1 (en) | Optical amplification fibre, optical fibre amplifier, and optical communication system | |
| JP6348535B2 (en) | High power double clad (DC) pump erbium-doped fiber amplifier (EDFA) | |
| JP2017188689A (en) | Multi-core erbium-doped fiber amplifier | |
| JP7214527B2 (en) | multicore optical amplifying fiber, multicore optical fiber amplifier and optical communication system | |
| US12248171B2 (en) | Multi-core optical amplifying fiber, multi-core optical fiber amplifier, and optical communication system | |
| JP5739855B2 (en) | Amplifying optical fiber and optical amplifier | |
| JP2023119383A (en) | Optical amplification fiber, optical fiber amplifier, and optical communication system | |
| CN100582825C (en) | Transmission fibre with optical amplification and method for producing same | |
| JP2021163814A (en) | Optical fiber amplifier and optical communication system | |
| JP7558710B2 (en) | Optical coupler, optical amplifier and communication system | |
| WO2021199820A1 (en) | Optical fiber amplification system and optical communication system | |
| JP5547264B2 (en) | Bundled multi-core fiber | |
| CN117008241A (en) | Gain equalization erbium-doped fiber based on layered doping and application thereof | |
| US20250105578A1 (en) | Optical fiber for amplification, optical amplifier, and method for controlling optical amplifier | |
| WO2024038491A1 (en) | Optical fiber for amplification and cladding pumped optical fiber amplifier | |
| WO2025053231A1 (en) | Multicore fiber, optical coupler, and optical amplifier | |
| WO2025063213A1 (en) | Multicore optical amplification fiber and optical amplifier |
| Date | Code | Title | Description |
|---|---|---|---|
| A621 | Written request for application examination | Free format text:JAPANESE INTERMEDIATE CODE: A621 Effective date:20240925 | |
| A977 | Report on retrieval | Free format text:JAPANESE INTERMEDIATE CODE: A971007 Effective date:20250514 | |
| A131 | Notification of reasons for refusal | Free format text:JAPANESE INTERMEDIATE CODE: A131 Effective date:20250624 | |
| A521 | Request for written amendment filed | Free format text:JAPANESE INTERMEDIATE CODE: A523 Effective date:20250822 | |
| A01 | Written decision to grant a patent or to grant a registration (utility model) | Free format text:JAPANESE INTERMEDIATE CODE: A01 Effective date:20250930 |