











本発明は配線基板に関する。 The present invention relates to wiring boards.
特許文献1には、絶縁層上に形成されていて半導体素子に接合されるパッド部を有する多層配線基板が開示されている。絶縁層上にはソルダーレジストが設けられており、パッド部は、ソルダーレジストの開口中にソルダーレジストから離れた状態となるように配置されている。 Japanese Laid-Open Patent Publication No. 2004-100000 discloses a multilayer wiring board having a pad portion formed on an insulating layer and bonded to a semiconductor element. A solder resist is provided on the insulating layer, and the pads are arranged in the openings of the solder resist so as to be separated from the solder resist.
特許文献1の開示のように形成されたパッド部及びその下地の絶縁層には、銅などの金属からなるパッド部と主に樹脂からなる絶縁層との熱膨張率の相違や、パッド部に接続される外部の部品から加わる外力などによって応力が生じることがある。特に特許文献1の開示のようにソルダーレジストから離れた状態で配置されるパッド部では、金属と樹脂との熱膨張率の相違による応力がパッド部と絶縁層との界面やパッド部の端部付近の絶縁層に集中し易いと考えられる。応力の集中箇所においてクラックや界面剥離などの不具合が生じることがある。 In the pad formed as disclosed in
本発明の配線基板は、第1絶縁層と、前記第1絶縁層の表面上に形成されている導体層と、前記第1絶縁層の前記表面上及び前記導体層上に形成されていて、前記導体層の少なくとも一部を露出させる開口を有するソルダーレジスト層と、を含んでいて、第1面及び前記第1面の反対面である第2面を有している。そして、前記導体層は前記開口によって露出される導体パッドを含み、前記導体パッドにおける前記第1絶縁層と反対側を向く表面及び前記導体パッドの側面全体が前記ソルダーレジスト層に覆われずに露出しており、前記導体パッドの縁部が前記第1絶縁層の前記表面から離間している。 The wiring board of the present invention comprises a first insulating layer, a conductor layer formed on the surface of the first insulating layer, and formed on the surface of the first insulating layer and the conductor layer, and a solder resist layer having an opening exposing at least a portion of the conductor layer, the solder resist layer having a first surface and a second surface opposite to the first surface. The conductor layer includes a conductor pad exposed through the opening, and the surface of the conductor pad facing away from the first insulating layer and the entire side surface of the conductor pad are exposed without being covered with the solder resist layer. and an edge of the contact pad is spaced from the surface of the first insulating layer.
本発明の実施形態によれば、配線基板に設けられる導体パッドにおいて必要な大きさの露出部分を確保しながらその周辺部における不具合の発生を抑制できることがある。 According to the embodiments of the present invention, it may be possible to suppress the occurrence of problems in the peripheral portion of the conductor pads provided on the wiring board while ensuring the necessary size of the exposed portion.
本発明の実施形態の配線基板が図面を参照しながら説明される。図1には、一実施形態の配線基板の一例である配線基板1の断面図が示されており、図2には、図1における下面側からの配線基板1の平面図が示されている。図2のI-I線での断面図が図1である。また図3には、図1のIII部の拡大図が示されている。 A wiring board according to an embodiment of the present invention will be described with reference to the drawings. FIG. 1 shows a cross-sectional view of a
図1に示されるように、配線基板1は、絶縁層20と、絶縁層20の両面それぞれに交互に積層された導体層及び絶縁層とを含んでいる。絶縁層20の上面20a上には、3つの導体層31のそれぞれと2つの絶縁層21のそれぞれとが交互に積層され、その上に、さらに絶縁層23が積層されている。そして絶縁層23上に導体層(第2導体層)33が形成されている。絶縁層20の上面20aの反対面である下面20b上には、3つの導体層32のそれぞれと2つの絶縁層22のそれぞれとが交互に積層され、その上に、さらに絶縁層(第1絶縁層)2が積層されている。そして絶縁層2の表面2a上に導体層(第1導体層)3が形成されている。絶縁層23及び導体層33上には、ソルダーレジスト層40(第2ソルダーレジスト層)が形成されている。絶縁層2及び導体層3上にはソルダーレジスト層4(第1ソルダーレジスト層)が形成されている。実施形態の配線基板1は、絶縁層2と、絶縁層2の表面2a上に形成されている導体層3と、絶縁層2の表面2a上及び導体層3上に形成されているソルダーレジスト層4と、を少なくとも含んでいる。 As shown in FIG. 1 , the
配線基板1は、配線基板1の厚さ方向と直交する方向に広がる2つの表面として第1面11、及び第1面11の反対面である第2面12を有している。配線基板1の厚さ方向は、以下では単に「Z方向」とも称される。配線基板1において、絶縁層23、導体層33、及びソルダーレジスト層40は配線基板1の第1面11側に形成されており、配線基板1の第1面11側の表層部を形成している。第1面11は、絶縁層23、導体層33、及びソルダーレジスト層40それぞれにおけるZ方向に直交する露出面によって構成されている。また、絶縁層2、導体層3、及びソルダーレジスト層4は、配線基板1の第2面12側に形成されており、配線基板1の第2面12側の表層部を形成している。第2面12は、絶縁層2、導体層3、及びソルダーレジスト層4それぞれにおけるZ方向に直交する露出面によって構成されている。 The
絶縁層20には、導体層31と導体層32とを接続するスルーホール導体20cが形成されている。絶縁層20、その上面20a上の導体層31及び下面20b上の導体層32は、配線基板1のコア基板を構成している。絶縁層2及び絶縁層21~23それぞれには、絶縁層2及び絶縁層21~23それぞれを挟む導体層同士を接続するビア導体2vが形成されている。 Through-
絶縁層2及び絶縁層20~23は、それぞれ、例えばエポキシ樹脂、ビスマレイミドトリアジン樹脂(BT樹脂)又はフェノール樹脂などの絶縁性樹脂を用いて形成される。各絶縁層は、ガラス繊維などの補強材(芯材)及び/又はシリカなどの無機フィラーを含んでいてもよい。 The
ソルダーレジスト層4、40は、例えばエポキシ樹脂又はポリイミド樹脂などの任意の絶縁性樹脂を用いて形成されている。ソルダーレジスト層40は、導体層33の一部又は全部を露出させる開口40aを有している。図1の例では、開口40aは、導体層33を部分的に露出させている。一方ソルダーレジスト層4は、導体層3の少なくとも一部を露出させる開口4aを有している。図1及び図2の例では、開口4aは、導体層3の全部を露出させている。 The
導体層3及び導体層31~33、ビア導体2v、及びスルーホール導体20cは、銅又はニッケルなどの任意の金属を用いて形成され、例えば、銅箔などの金属箔、及び/又は、めっき若しくはスパッタリングなどで形成される金属膜によって構成される。従って導体層3及び導体層31~33、ビア導体2v、及びスルーホール導体20cは、2つ以上の金属層を有する多層構造を有し得る。しかし、導体層3及び導体層31~33、ビア導体2v、及びスルーホール導体20cは、単一の金属層だけを含む単層構造を有していてもよい。 The
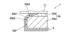
図1~図3に例示の配線基板1において導体層3は、図1では見易さのために簡略化されているが、図3に示されるように、金属膜30a及びめっき膜30bを含む2層構造を有している。金属膜30aは絶縁層2の表面2a上に形成されており、めっき膜30bは、金属膜30aにおける絶縁層2と反対側の表面上に形成されている。金属膜30aは、例えば無電解めっき又はスパッタリングなどで形成される。めっき膜30bは、例えば金属膜30aを給電層として用いる電解めっきによって形成される。図示されていないが、導体層33、絶縁層21又は絶縁層22上に形成されている導体層31及び導体層32、ビア導体2v、並びにスルーホール導体20cも、図3に示される導体層3と同様の2層構造を有し得る。 The
各導体層は、所定の導体パッド及び/又は配線パターンを有するようにパターニングされている。図1の例の配線基板1では、導体層33は複数の部品実装パッド33aを有するようにパターニングされている。すなわち配線基板1は第1面11に形成されている複数の部品実装パッド33aを含んでいる。図1の例では、各部品実装パッド33aは、所謂SMDパッド(Solder Mask Defined)タイプの導体パッドである。すなわち、各部品実装パッド33aの周縁部がソルダーレジスト層40に覆われており、各部品実装パッド33aの周縁部以外の部分がソルダーレジスト層40の開口40aに露出している。 Each conductor layer is patterned to have predetermined conductor pads and/or wiring patterns. In the
各部品実装パッド33aは、配線基板1の使用時に配線基板1に実装される部品E1がその表面に載置される導体パッド(第2導体パッド)である。すなわち第1面11は配線基板1の部品実装面である。部品実装パッド33aには、例えばはんだなどの接合材(図示せず)を介して部品E1の電極E11が電気的及び機械的に接続される。 Each
部品E1としては、例えば、半導体集積回路装置やトランジスタなどの能動部品、及び、電気抵抗などの受動部品のような電子部品が例示される。部品E1は、半導体基板上に形成された微細配線を含む配線材であってもよい。しかし、部品E1はこれらに限定されない。 Examples of the components E1 include active components such as semiconductor integrated circuit devices and transistors, and electronic components such as passive components such as electrical resistors. The component E1 may be a wiring material including fine wiring formed on a semiconductor substrate. However, the part E1 is not limited to these.
本実施形態では、導体層3は導体パッド3a(第1導体パッド)を含んでいる。図1~3に示されるように、導体パッド3aは、ソルダーレジスト層4の開口4aによって露出されている。具体的には、導体パッド3aにおける絶縁層2と反対側を向く表面3a1(第1主面)、及び導体パッド3aの側面3a2全体がソルダーレジスト層4に覆われずに露出している。すなわち、導体パッド3aは、その外縁がソルダーレジスト層の開口によって画定されない、所謂NSMDパッド(Non-Solder Mask Defined)タイプの導体パッドである。なお導体パッド3aの側面3a2は、導体パッド3aにおける絶縁層2を向く表面3a3(第2主面)と表面3a1との間の表面であって平面視において導体パッド3aの外縁を構成する表面である。なお「平面視」は、導体パッド3aなどの対象物をZ方向と平行な視線で見ることを意味している。導体パッド3aの表面3a3は、以下では、「導体パッド3aの背面3a3」とも称される。 In this embodiment, the
図1の例の配線基板1において、第2面12は、第1面11と同様に半導体集積回路装置のような電子部品が実装される部品実装面であってもよい。また第2面12は、外部の配線基板、例えば任意の電気機器のマザーボードなどの外部要素E2に配線基板1自体が実装される場合に、外部要素E2に接続される接続面であってもよい。すなわち、配線基板1は、例えば第1面11に実装される半導体集積回路などの部品E1のパッケージの一部を構成してもよい。その場合、配線基板1は、図1に示されるように第2面12を外部要素E2に向けて、外部要素E2に部品E1と共に実装されてもよい。 In the
第2面12が外部要素E2との接続面である場合、第2面12は外部要素E2との接続部を備え得る。図1の例の配線基板1は導体パッド3aにおいて外部要素E2と接続される。従って図1の例の導体パッド3aは、配線基板1において外部要素E2に接続される接続パッドであり、図1の配線基板1における外部要素E2との接続パッドは導体パッド3aからなる。前述したように、導体パッド3aの表面3a1の全体及び側面3a2の全体がソルダーレジスト層4に覆われずに開口4a内に露出している。従って、配線基板1と外部要素E2とが大きな面積で強固に接続され得る。 If the
配線基板1の導体パッド3aは、図2に示されるように矩形の平面形状を有している。「平面形状」は、導体パッド3aのような対象物の平面視における形状である。ここで「矩形」は、互いに平行な2つの辺(線分)と、その2つの辺に直交する互いに平行な2つの辺(線分)とによって囲まれる形状を意味している。この「矩形」において、互いに隣接すると共に直交する二辺は、必ずしもその交点において直角の交角をなすように互いに接していなくてもよく、その交点付近の部分(角部)が、C面取り又はR面取りなどで面取りされた形状を有していてもよい。その場合、上記及び下記の説明における「矩形」の各一辺の直線部分は、好ましくは、その一辺と直交する他の二辺間の距離の1/3以上の長さを有している。図2の例の導体パッド3aでは、平面視における導体パッド3aの4つの角部はいずれもR面取りされている。 The
導体パッド3aは、例えば、はんだなどの接合材B(図3参照)によって外部要素E2の電極E21に電気的及び機械的に接続され得る。外部要素E2は、前述したように、任意の電気機器を構成するマザーボードであってもよく、配線基板1よりも大きなパッケージサイズを有する任意の電子部品であってもよい。導体パッド3aは、これらに限定されない任意の基板、電気部品、又は機構部品などと接続され得る。 The
図1の例では、導体パッド3aは、第1面11側に設けられている複数の部品実装パッド33aのいずれよりも大きい。例えば、部品E1よりも大きな外部要素E2と配線基板1とが、大きな面積で強固に接続されると考えられる。 In the example of FIG. 1, the
図1及び図2では省略されているが、配線基板1は、図3に示されるように導体パッド3aの表面3a1及び側面3a2を覆う表面処理層5を含んでいる。表面処理層5は、例えば導体パッド3aの表面3a1及び側面3a2などの露出部分の防食処理及び/又は防錆処理によって形成される被膜である。表面処理層5によって、導体パッド3aの腐食や酸化などが防がれる。 Although omitted in FIGS. 1 and 2, the
表面処理層5は、例えば、導体パッド3aとは異なる金属を含む金属被膜や、イミダゾール化合物などの有機物を含む有機被膜である。導体パッド3aが銅で形成されている場合、表面処理層5は、ニッケル、パラジウム、銀、金、若しくはこれらの合金、又ははんだなどによって形成され得る。図3の例では、表面処理層5は、導体パッド3aの本体側に形成されている下層51と下層51上に形成されている上層52とを含む2層構造を有している。下層51は、例えばニッケル膜若しくはニッケルとパラジウムとの合金膜であり、上層は、例えば金からなる金属膜である。 The
図3に示されるように、実施形態の配線基板1では、導体パッド3aの縁部が絶縁層2の表面2aから離間している。なお、導体パッド3aの「縁部」は、導体パッド3aの平面形状の外縁に沿って導体パッド3aの中央部を連続的又は断続的に囲む枠状の部分である。導体パッド3aの「縁部」は、導体パッド3aの外縁からの距離が長さLW以下の領域であり、各辺の幅として長さLWを有する枠状の部分である。長さLWは、例えば、0.01×LD以上、0.1×LD以下である。ここで「LD」は、長さLWと平行な方向において対向する導体パッド3aの二辺間の距離である。 As shown in FIG. 3, in the
図4には、配線基板1における導体パッド3aの縁部の断面(例えば図3のIV部)の拡大図が示されている。図4に示されるように、導体パッド3aの縁部は絶縁層2の表面2aから離れている。換言すると、導体パッド3aの縁部では、導体パッド3aが絶縁層2の表面2aから浮き上がっている。導体パッド3aの背面3a3と側面3a2とで構成される角部が切り欠かれている。そのため、図4に示される断面図では、導体パッド3aと絶縁層2の表面2aとの間に、二点鎖線で囲まれている切り欠き状の空間Gが形成されている。 FIG. 4 shows an enlarged view of a cross section of the edge of the
導体パッド3aの縁部が絶縁層2の表面2aから離れているため、導体パッド3aの側面3a2と、その背面3a3と絶縁層2の表面2aとの界面の外縁(この界面の外縁は単に「外縁F」とも称される)とは、表面2aの垂直方向において一列に並んでいない。すなわち、側面3a2と外縁Fとは平面視で重なっていない。外縁Fは、側面3a2よりも導体パッド3aの内側(中央側)に位置している。また、導体パッド3aの縁部が絶縁層2の表面2aから離れているため、導体パッド3aの側面3a2の下端Q(絶縁層2側の先端)は、表面2aと接しておらず、表面2aから離れている。 Since the edge of the
前述したように、従来の配線基板において導体パッド及びその下層の絶縁層には、両者の間の熱膨張率の相違や外力などによって応力が生じることがある。その応力は、絶縁層の表面上において導体パッドが存在する領域と存在しない領域との境界となる導体パッドの縁部に集中し易い。またこの応力は、絶縁層と導体パッドとの界面の外縁(図4の例では外縁F)から、絶縁層から離れる方向に延びる導体パッドの表面(例えば導体パッドの側面)に沿った方向に作用し易いと考えられる。従って、本実施形態と異なり導体パッドの縁部がその下層の絶縁層の表面から離れていない場合、集中する応力は、導体パッドの側面に沿った方向、すなわち、導体パッドの下層の絶縁層の表面と直交する方向に強く作用すると考えられる。そして、その絶縁層の表面と直交する方向に強く作用する応力によって、絶縁層における導体パッドの側面と接する部分にクラックが生じたり、導体パッドの外縁を発端とする絶縁層と導体パッドとの界面剥離が生じたりすることがある。 As described above, in the conventional wiring board, stress may be generated in the conductor pad and the insulating layer therebelow due to the difference in thermal expansion coefficient between them or external force. The stress tends to concentrate on the edge of the conductor pad, which is the boundary between the area where the conductor pad exists and the area where the conductor pad does not exist on the surface of the insulating layer. Moreover, this stress acts in a direction along the surface of the conductor pad (for example, the side surface of the conductor pad) extending away from the insulation layer from the outer edge of the interface between the insulating layer and the conductor pad (outer edge F in the example of FIG. 4). is considered to be easy. Therefore, unlike the present embodiment, if the edge of the conductor pad is not separated from the surface of the underlying insulation layer, the concentrated stress is directed along the side surface of the conductor pad, i.e., It is believed to act strongly in the direction perpendicular to the surface. The stress acting strongly in the direction perpendicular to the surface of the insulating layer may cause cracks in the insulating layer in contact with the side surfaces of the conductive pads, or the interface between the insulating layer and the conductive pads starting from the outer edges of the conductive pads. Delamination may occur.
これに対して本実施形態では、導体パッド3aの縁部は絶縁層2の表面2aから離間している。そして導体パッド3aにおいて、絶縁層2の表面2aから離れる方向に外縁Fから延びる表面3a4は、絶縁層2の表面2aに直交する方向D1に対して傾いた方向D2に沿って延びている。すなわち、絶縁層2の表面2aと接していて表面2aから離れる方向に延びる導体パッド3aの表面3a4は、表面2aに対して直角よりも小さい角度θをなして表面2aに接している。そのため、導体パッド3aの縁部に集中し易い応力は、方向D1ではなく方向D1に対して傾いた方向D2に強く作用すると考えられる。そしてその方向D2に作用する応力は、絶縁層2の表面2aに直交する方向D1だけでなく、方向D1に直交する方向D3にも分散して作用すると考えられる。すなわち、絶縁層2に対してその表面2aに直交する方向D1に作用する応力が、導体パッドの縁部が下層の絶縁層の表面から離間していない場合と比べて軽減されると考えられる。従って、本実施形態では、絶縁層2におけるクラックの発生や、絶縁層2と導体パッド3aとの界面剥離などが抑制されると考えられる。 On the other hand, in this embodiment, the edge of the
特に図1~図4に例示される配線基板1では、前述したように導体パッド3aは、第1面11側に設けられている複数の部品実装パッド33aのいずれよりも大きい。従って、その平面面積は大きく、導体パッド3aは絶縁層2との間に比較的大きな界面を有し得る。従って導体パッド3aの縁部に集中する応力も過大になり易い。導体パッド3aのように比較的大きな平面面積を有する導体パッドにおいて本実施形態は特に有益であると考えられる。 Particularly, in the
導体パッド3aの表面3a4と絶縁層2の表面2aとの間の角度θは、0°よりも大きく90°よりも小さい。例えば、角度θは、10°以上、80°以下である。 The angle θ between the surface 3a4 of the
導体パッド3aの縁部における絶縁層2の表面2aから離間している部分の表面2a上での長さL(平面視における側面3a2から外縁Fまでの距離)は、導体パッド3aを介して外縁Fに伝わる外力の緩和の観点からは長い方が好ましい。一方で、導体パッド3aと絶縁層2との密着強度の観点では、長さLは短い方が好ましいと考えられる。長さLは、外縁Fに伝わる外力の緩和と導体パッド3aの密着強度の確保との両方が適切に実現されるように、例えば、3μm以上、10μm以下である。 The length L on the
図4の例では、互いから離間している導体パッド3aの縁部と絶縁層2の表面2aとの間隔は、導体パッド3aの外周に向かって拡大している。換言すると、導体パッド3aの縁部を表面2aから離間させている切り欠き状の空間Gの高さ(表面2aからの高さ)は、導体パッド3aの外周に向かうほど高くなっている。すなわち、導体パッド3aにおける絶縁層2の表面2aからの離間部分の表面が、側面3a2や背面3a3と略平行や略直角ではなく傾いている。そのため、前述したように、絶縁層2から離間している導体パッド3aの縁部と絶縁層2との界面に導体パッド3aの熱収縮などによって加わり得る剥離方向の力が、その界面に沿った方向にも分散されると考えられる。導体パッド3aと絶縁層2との界面剥離などが生じ難いと推察される。 In the example of FIG. 4, the distance between the edges of the
さらに図4の例では、導体パッド3aの背面3a3と側面3a2とによって構成される角部が丸まっている。そして、導体パッド3aにおいて絶縁層2から離間している縁部の表面は曲面を含んでいる。すなわち、導体パッド3aの縁部が絶縁層2の表面2aから離間していない場合における背面3a3と側面3a2との仮想の交線(図4における点P)付近が丸まっていて導体パッド3aはその交線付近の表面に曲面状の部分を有している。導体パッド3aの縁部が丸まっているので、絶縁層2だけでなく表面処理層5にもクラックが生じ難いと考えられる。 Furthermore, in the example of FIG. 4, the corner formed by the rear surface 3a3 and the side surface 3a2 of the
具体的には、導体パッド3aの側面3a2とめっき膜30bの下面(絶縁層2を向く表面)とによって構成されるべき角部が丸まっていて曲面状の表面を有している。一方、金属膜30aにおけるめっき膜30bと絶縁層2との間の端面は略平坦面であって、絶縁層2側ほど導体パッド3aの内周側に向かうように傾斜している。従って、導体パッド3aを構成する金属膜30aの端部も絶縁層2の表面2aから離間している。 Specifically, the corners to be formed by the side surface 3a2 of the
なお表面処理層5が、導体パッド3aを構成する材料の熱膨張率と絶縁層2の熱膨張率の間の熱膨張率を用いて形成されると、表面処理層5が形成されない場合と比べて、絶縁層2及び導体パッド3aに生じる応力が低減されると考えられる。また、表面処理層5が、絶縁層2との熱膨張率の差が導体パッド3aよりも大きい材料で形成される場合でも、本実施形態では導体パッド3aの縁部が絶縁層2の表面2aから離間しているので、クラックなどの不具合が生じ難いと考えられる。 When the
さらに図1~図4の例の配線基板1の導体パッド3aでは、前述したように平面視における4つの角部がR面取りされているので、R面取りのない導体パッドに比べて、導体パッド3aと絶縁層2との熱膨張率の違いなどによる応力集中箇所が少ない。従って、絶縁層2のクラックなどの不具合が一層生じ難いと考えられる。 Furthermore, in the
本実施形態では、導体パッド3aは、所謂NSMDタイプの導体パッドであるため、導体パッド3aにおいて大きな露出部分が確保される。そのため導体パッド3aに接続される外部要素との広い接続面積が確保され、その外部要素と配線基板1とが強固に接続され得る。一方で、図1~図4を参照して説明が為されたように、導体パッド3aの縁部が絶縁層2から離間しているので、導体パッド3aの周辺部におけるクラックや界面剥離などの不具合が抑制され得る。 In the present embodiment, the
図5A及び図5Bには、それそれ、導体パッド3aの縁部の他の例が示されている。図5Aの例では、導体パッド3aは、絶縁層2から離間する縁部において、金属膜30aの表面だけでなくめっき膜30bの表面にも平坦部30b1を有している。図5Aの例の導体パッド3aの縁部の表面は、平坦部30b1と側面3a2との間、及び平坦部30b1とめっき膜30bにおける絶縁層2側の表面との間それぞれに曲面部30b2を有している。2つの曲面部30b2によって、平坦部30b1と側面3a2、及び、めっき膜30bにおける絶縁層2側の表面と平坦部30b1が滑らかに繋がれている。図5Aの例においても、絶縁層2及び/又は表面処理層5にクラックなどの不具合が生じ難いと考えられる。 5A and 5B respectively show other examples of the edge of the
図5Bの例の導体パッド3aは、図5Aの例の導体パッド3aと同様に、めっき膜30bの表面上に平坦部30b1を有しているが、図5Aに示される曲面部30b2を備えていない。しかし、図5Bの例においても、導体パッド3aの縁部は絶縁層2の表面2aから離間している。従って、導体パッド3aの縁部が表面2aから離間していない場合に表面2aに直交する方向に作用する力が軽減されると考えられる。従って、図5Bの例においても、絶縁層2にクラックなどの不具合が生じ難いと考えられる。 The
実施形態の配線基板は、任意の一般的な配線基板の製造方法によって製造され得る。図6A~図6Gを参照して、図1に示される配線基板1が製造される場合を例に、製造方法の一例が概説される。 The wiring board of the embodiment can be manufactured by any general wiring board manufacturing method. An example of a manufacturing method will be outlined with reference to FIGS. 6A to 6G, taking as an example the case where the
図6Aに示されるように、コア基板10が用意され、コア基板10の一面10a側に絶縁層21が積層され、その絶縁層21上に導体層31が形成される。同様に、コア基板10の他面10b側に、絶縁層22が積層され、その絶縁層22上に導体層32が形成される。そしてコア基板10の両面において、各絶縁層の積層と導体層の形成とが繰り返され、コア基板10の一面10a側及び他面10b側に、最表層の絶縁層23及び最表層の絶縁層2が形成される。 As shown in FIG. 6A,
コア基板10の用意では、例えば、絶縁層20を含む両面銅張積層板が用意される。そしてサブトラクティブ法などによって所定の導体パターンを含む導体層31、32を絶縁層20の両面に形成すると共にスルーホール導体20cを絶縁層20内に形成することによってコア基板10が用意される。絶縁層21、22、及び、絶縁層21又は絶縁層22上の導体層31、32は、例えば一般的なビルドアップ基板の製造方法によって、それぞれ形成される。例えば各絶縁層は、フィルム上のエポキシ樹脂を、コア基板10又は先に形成されている各絶縁層及び各導体層上に熱圧着することによって形成される。また、各導体層は、例えば、めっきレジストの形成及びパターンめっきなどを含むセミアディティブ法やフルアディティブ法などの導体パターンの任意の形成方法を用いて形成される。セミアディティブ法などの導体パターンの形成方法を用いる各導体層の形成では、ビア導体2vが各絶縁層内に形成され得る。 In preparing the
図6Bに示されるように、絶縁層2の表面2a上、及びレーザー光の照射などによって形成された絶縁層2の貫通孔内に無電解めっき又はスパッタリングなどによって金属膜30aが形成される。コア基板10の一面10a側にも同様に金属膜30aが形成される。 As shown in FIG. 6B, a
図6B及び図6Cに示されるように、金属膜30a上に、めっきレジストPRが設けられる。図6Cには、図6BのVIC部の拡大図が示されている。絶縁層2の上に設けられるめっきレジストPRには、導体層3(図6E参照)に含まれるべき導体パターンに対応する領域に開口PR1が形成される。 As shown in FIGS. 6B and 6C, a plating resist PR is provided on the
各開口PR1を備えるめっきレジストPRは、フォトリソグラフィ技術を用いて形成される。まず、例えばネガ型の感光性樹脂フィルムを金属膜30a上の全面に積層することによって、めっきレジストPRとなるレジスト膜が形成される。そして、レジスト膜における開口PR1が形成されるべき領域を覆う露光マスクEMが、レジスト膜上に配置される。 A plating resist PR having each opening PR1 is formed using a photolithographic technique. First, for example, by laminating a negative type photosensitive resin film on the entire surface of the
図6Cに示されるように、例えば紫外線Uが、露光マスクEMを通してめっきレジストPRとなるレジスト膜に照射される。レジスト膜のうちの露光マスクEMに覆われていない露光部分PRaが架橋反応によって不溶性に変化する。一方、レジスト膜のうち露光マスクEMに覆われている非露光部分PRbの大部分は溶解性のまま変化しない。しかし露光マスクEMの真下の部分のうち、金属膜30a及び露光部分PRaの両方に近接する境界部分BPは、金属膜30aで反射した紫外光Uによって露光されて不溶性へと変化する。その後、露光マスクEMが除去され、非露光部分PRbが現像によって除去される。しかし、境界部分BPは露光部分PRaと共に残存する。その結果、境界部分BPによって金属膜30aに近接する部分が拡幅されたマスク部を有するめっきレジストPRが形成される。境界部分BPは、例えば、金属膜30aの表面を粗化して紫外線Uを適度に乱反射させることによって形成され得る。なお、以下の説明では、境界部分BPは、めっきレジストPRの「拡幅部分BP」とも称される。 As shown in FIG. 6C, for example, an ultraviolet ray U is irradiated through an exposure mask EM to a resist film to be a plating resist PR. The exposed portion PRa of the resist film, which is not covered with the exposure mask EM, becomes insoluble due to the cross-linking reaction. On the other hand, most of the unexposed portion PRb covered with the exposure mask EM in the resist film remains soluble. However, the boundary portion BP adjacent to both the
図6Dに示されるように、めっきレジストPRの開口PR1内に、金属膜30aを給電層として用いる電解めっきによって導体層3の各導体パターンが形成される。図6Dに示される開口PR1には、導体層3の導体パッド3aを構成するめっき膜30bが形成される。図6Dに示されるように、縁部における金属膜30aに近接する部分がめっきレジストPRの拡幅部分BPによって切り欠かれためっき膜30bが形成される。その後、めっきレジストPRが除去される。 As shown in FIG. 6D, each conductor pattern of the
図6E及び図6Fに示されるように、めっきレジストの除去によって露出する金属膜30aの不要部分がフラッシュエッチングなどによって除去される。導体パッド3aなどの所定の導体パターンを有する導体層3が形成される。コア基板10の一面10a側には、所定の導体パターンを有する導体層33が形成される。なお、図6Fには、図6EのVIF部の拡大図が示されている。 As shown in FIGS. 6E and 6F, unnecessary portions of the
図6Fに示されるように、導体パッド3aを構成する金属膜30aの端面30a1(図4における導体パッド3aの表面3a4)では、絶縁層2側の方がめっき膜30b側よりも多く除去されている。その結果、端面30a1は、絶縁層2側ほど導体パッド3aの内周側に向かうように傾斜している。めっき膜30bの縁部における金属膜30aとの近傍部分を切り欠かれた形状とすることによって、エッチング液の回り込みに関して絶縁層2側とめっき膜30b側との間において異なる状況を作り出すことができる。その結果、図6Fに示されるように端面30a1を傾斜させることができる。 As shown in FIG. 6F, on the end face 30a1 of the
図6Fの例では、めっき膜30bの縁部における金属膜30aとの近傍部分が切り欠かれたような形状を有しているため、導体パッド3aの縁部が絶縁層2の表面2aから離間している。さらに、金属膜30aの端面30a1が絶縁層2側ほど導体パッド3aの内周側に向かうように傾斜しているため、より長い範囲に渡って導体パッド3aの縁部が絶縁層2から離間している。 In the example of FIG. 6F, the edge of the
なお、先に参照した図5A及び図5Bに示されるめっき膜30bの形状も、前述した金属膜30aの表面の粗化の調整や、紫外線の照射角度及び光度の調整によって形成し得ると考えられる。 It is considered that the shape of the plated
そして、図1に示されるように、ソルダーレジスト層40が絶縁層23及び導体層33上に形成され、ソルダーレジスト層4が絶縁層2及び導体層3上に形成される。ソルダーレジスト層4、40それぞれには、開口4a又は開口40aが設けられる。ソルダーレジスト層4、40は、それぞれ、例えば感光性のエポキシ樹脂又はポリイミド樹脂などを塗布したり噴霧したりフィルム状で積層したりすることによって形成される。そして、例えば露光及び現像、又はレーザー加工などによって、開口4a、40aが、それぞれ形成される。 Then, as shown in FIG. 1 , a solder resist
開口4a内に露出する導体パッド3aの表面上、及び開口40a内に露出する部品実装パッド33aの表面上には、表面処理層5(図3参照)が形成され得る。表面処理層5は、例えば、導体パッド3aの表面上及び部品実装パッド33aの表面上に、無電解めっき若しくは電解めっきなどによって、ニッケル、パラジウム、金などの金属を析出させること、又は、スプレーイングによって耐熱性の有機物を塗布することによって形成され得る。以上の工程を経ることによって図1の例の配線基板1が完成する。 A surface treatment layer 5 (see FIG. 3) can be formed on the surfaces of the
実施形態の配線基板は、各図面に例示される構造、並びに、本明細書において例示される構造、形状、及び材料を備えるものに限定されない。実施形態の配線基板は任意の積層構造を有し得る。例えば実施形態の配線基板はコア基板を含まないコアレス基板であってもよい。実施形態の配線基板は任意の数の導体層及び絶縁層を含み得る。実施形態の配線基板は所謂両面基板であってもよく、片面基板であってもよい。導体パターン3aは表面処理層5を備えなくてもよい。縁部において下層の絶縁層の表面から離間する導体パッドは、前述したように、配線基板の両方の表面に設けられていてもよく、いずれか一方の表面だけに設けられていてもよい。ソルダーレジスト層4は、開口4a内に導体パッド3aの全体を露出させながら、導体層3における導体パッド3a以外の部分を覆っていてもよい。部品実装パッド33aは、所謂NSMDパッドタイプの導体パッドであってもよい。導体パッド3aは、絶縁層2から離間する縁部において絶縁層2の表面2aとの間隔が略一定である平行部分を有していてもよい。また、平面視における導体パッド3aの角部は面取りされていなくてもよい。 The wiring substrates of the embodiments are not limited to those having the structures illustrated in each drawing, and the structures, shapes, and materials illustrated in this specification. The wiring board of the embodiment can have any laminated structure. For example, the wiring board of the embodiment may be a coreless board that does not include a core board. A wiring substrate of embodiments may include any number of conductor layers and insulating layers. The wiring board of the embodiment may be a so-called double-sided board or a single-sided board. The
1 配線基板
11 第1面
12 第2面
2 絶縁層(第1絶縁層)
2a 表面
20~23 絶縁層
3 導体層
3a 導体パッド
3a1 表面
3a2 側面
3a3 表面(背面)
31~33 導体層
33a 部品実装パッド
4 ソルダーレジスト層(第1ソルダーレジスト層)
40 ソルダーレジスト層(第2ソルダーレジスト層)
4a、40a 開口
5 表面処理層
E2 外部要素1 Wiring
2a surface 20-23
31 to 33
40 solder resist layer (second solder resist layer)
4a,
| Application Number | Priority Date | Filing Date | Title |
|---|---|---|---|
| JP2021003507AJP7587428B2 (en) | 2021-01-13 | 2021-01-13 | Wiring Board |
| Application Number | Priority Date | Filing Date | Title |
|---|---|---|---|
| JP2021003507AJP7587428B2 (en) | 2021-01-13 | 2021-01-13 | Wiring Board |
| Publication Number | Publication Date |
|---|---|
| JP2022108487Atrue JP2022108487A (en) | 2022-07-26 |
| JP7587428B2 JP7587428B2 (en) | 2024-11-20 |
| Application Number | Title | Priority Date | Filing Date |
|---|---|---|---|
| JP2021003507AActiveJP7587428B2 (en) | 2021-01-13 | 2021-01-13 | Wiring Board |
| Country | Link |
|---|---|
| JP (1) | JP7587428B2 (en) |
| Publication number | Priority date | Publication date | Assignee | Title |
|---|---|---|---|---|
| JP2004022713A (en)* | 2002-06-14 | 2004-01-22 | Dainippon Printing Co Ltd | Multilayer wiring board |
| JP2009281962A (en)* | 2008-05-26 | 2009-12-03 | Kyocera Corp | Circuit board and circuit board with probe terminal |
| JP2010103161A (en)* | 2008-10-21 | 2010-05-06 | Fujitsu Microelectronics Ltd | Semiconductor device and electronic component |
| JP2016201477A (en)* | 2015-04-10 | 2016-12-01 | イビデン株式会社 | Method for manufacturing printed wiring board |
| JP2018082130A (en)* | 2016-11-18 | 2018-05-24 | 新光電気工業株式会社 | Wiring board and manufacturing method |
| Publication number | Priority date | Publication date | Assignee | Title |
|---|---|---|---|---|
| JP2004022713A (en)* | 2002-06-14 | 2004-01-22 | Dainippon Printing Co Ltd | Multilayer wiring board |
| JP2009281962A (en)* | 2008-05-26 | 2009-12-03 | Kyocera Corp | Circuit board and circuit board with probe terminal |
| JP2010103161A (en)* | 2008-10-21 | 2010-05-06 | Fujitsu Microelectronics Ltd | Semiconductor device and electronic component |
| JP2016201477A (en)* | 2015-04-10 | 2016-12-01 | イビデン株式会社 | Method for manufacturing printed wiring board |
| JP2018082130A (en)* | 2016-11-18 | 2018-05-24 | 新光電気工業株式会社 | Wiring board and manufacturing method |
| Publication number | Publication date |
|---|---|
| JP7587428B2 (en) | 2024-11-20 |
| Publication | Publication Date | Title |
|---|---|---|
| CN206461833U (en) | Rigid-flexible combined board structure | |
| US10966326B2 (en) | Wiring substrate and method for manufacturing wiring substrate | |
| US20200305289A1 (en) | Flexible substrate and method for fabricating the same | |
| US11792937B2 (en) | Component built-in wiring substrate | |
| US11160164B2 (en) | Wiring substrate | |
| US11277910B2 (en) | Wiring substrate | |
| JP2022094718A (en) | Wiring board | |
| US11903128B2 (en) | Wiring substrate | |
| US20230135774A1 (en) | Interconnect substrate, method of manufacturing the same, and semiconductor apparatus | |
| US11617262B2 (en) | Wiring substrate and method for manufacturing wiring substrate | |
| JP7587428B2 (en) | Wiring Board | |
| JP2022108485A (en) | wiring board | |
| US12027451B2 (en) | Wiring substrate | |
| US20220369456A1 (en) | Wiring substrate and method for manufacturing wiring substrate | |
| US11792929B2 (en) | Wiring substrate and method for manufacturing wiring substrate | |
| US11882656B2 (en) | Wiring substrate and method for manufacturing wiring substrate | |
| KR20050031221A (en) | Printed circuit board without electrolytic plating lead line and manufacturing method thereof | |
| US11996357B2 (en) | Wiring substrate and method for manufacturing wiring substrate | |
| JP2024061418A (en) | Wiring Board | |
| JP2025007740A (en) | Wiring Board | |
| JP2023119420A (en) | wiring board | |
| JP2022098059A (en) | Wiring board | |
| JP2022179156A (en) | Wiring board and manufacturing method for wiring board | |
| JP2025142534A (en) | wiring board | |
| KR20240005415A (en) | Cavity-based glass substrate structure and manufacturing method thereof |
| Date | Code | Title | Description |
|---|---|---|---|
| A621 | Written request for application examination | Free format text:JAPANESE INTERMEDIATE CODE: A621 Effective date:20231024 | |
| A977 | Report on retrieval | Free format text:JAPANESE INTERMEDIATE CODE: A971007 Effective date:20240628 | |
| A131 | Notification of reasons for refusal | Free format text:JAPANESE INTERMEDIATE CODE: A131 Effective date:20240709 | |
| A601 | Written request for extension of time | Free format text:JAPANESE INTERMEDIATE CODE: A601 Effective date:20240820 | |
| A521 | Request for written amendment filed | Free format text:JAPANESE INTERMEDIATE CODE: A523 Effective date:20241016 | |
| TRDD | Decision of grant or rejection written | ||
| A01 | Written decision to grant a patent or to grant a registration (utility model) | Free format text:JAPANESE INTERMEDIATE CODE: A01 Effective date:20241105 | |
| A61 | First payment of annual fees (during grant procedure) | Free format text:JAPANESE INTERMEDIATE CODE: A61 Effective date:20241108 | |
| R150 | Certificate of patent or registration of utility model | Ref document number:7587428 Country of ref document:JP Free format text:JAPANESE INTERMEDIATE CODE: R150 |