
















本開示は、多層基板、および、部品実装基板に関する。 The present disclosure relates to a multilayer board and a component mounting board.
  多層基板の層間接続部は、部品実装工程での熱処理や半田付け作業時の熱衝撃に耐える接続信頼性が必要である。例えば、特許文献1、特許文献2では、パンチング加工により貫通穴の形状を工夫し、貫通穴に導電性ペーストを充填することで、従来よりも接続信頼性の高い層間接続部を有した回路基板および回路基板の製造方法を開示している。  The interlayer connection portion of the multilayer board needs to have connection reliability that can withstand heat treatment in the component mounting process and thermal shock during soldering work. For example, in
しかしながら上記特許文献の技術では、層間接続部の表面および裏面に平坦性がなく、層間接続部上に部品を実装することが難しい。また、例えば、印刷可能な絶縁樹脂をスクリーン印刷法などで形成する場合、層間接続部の表面および裏面に平坦性がないため、層間接続部の表面および裏面で絶縁層に歪みや段差などが生じる。そのため、絶縁層にボイド、ピンホールなどが生じ、均一な絶縁層の形成ができず、層間接続部近傍の電気絶縁性が低下する懸念がある。また、多層基板の層間接続部は、接続信頼性の他、安定した接続抵抗値が要求される。 However, in the technique of the above patent document, the front surface and the back surface of the interlayer connection portion are not flat, and it is difficult to mount the component on the interlayer connection portion. Further, for example, when a printable insulating resin is formed by a screen printing method or the like, the front surface and the back surface of the interlayer connection portion are not flat, so that the insulating layer is distorted or stepped on the front surface and the back surface of the interlayer connection portion. .. Therefore, voids, pinholes, etc. are generated in the insulating layer, a uniform insulating layer cannot be formed, and there is a concern that the electrical insulation property in the vicinity of the interlayer connection portion is deteriorated. Further, the interlayer connection portion of the multilayer board is required to have a stable connection resistance value in addition to connection reliability.
本開示に係る実施形態は、層間接続部において安定した接続抵抗値と高い接続信頼性を有し、層間接続部上への均一な絶縁層の印刷形成や部品実装が可能な多層基板、および、部品実装基板を提供することを課題とする。 The embodiments according to the present disclosure include a multilayer substrate having a stable connection resistance value and high connection reliability at the interlayer connection portion, and capable of forming a uniform printing of an insulating layer on the interlayer connection portion and mounting components. An object is to provide a component mounting board.
本開示の実施形態に係る多層基板の製造方法は、絶縁基板の表面および裏面に回路パターンが形成され、前記絶縁基板の表面および裏面のうちの少なくとも一方の前記回路パターンの一部が前記絶縁基板の貫通穴の内壁に沿って延出するようにパンチング加工により前記貫通穴を形成する工程と、前記貫通穴の内部および周囲に、前記絶縁基板の表面および裏面の両面から、印刷により導電性ペーストを充填して層間接続部を形成する工程と、を含む。 In the method for manufacturing a multilayer board according to the embodiment of the present disclosure, circuit patterns are formed on the front surface and the back surface of the insulating substrate, and a part of the circuit pattern on at least one of the front surface and the back surface of the insulating substrate is the insulating substrate. A step of forming the through hole by punching so as to extend along the inner wall of the through hole, and a conductive paste by printing from both the front surface and the back surface of the insulating substrate inside and around the through hole. Includes a step of filling and forming an interlayer connection.
本開示の実施形態に係る部品実装基板の製造方法は、前記記載の多層基板の製造方法で製造された多層基板の表面および裏面にレジストを形成する工程と、前記レジストを形成した多層基板に部品を実装する工程と、を含む。 The method for manufacturing a component mounting substrate according to the embodiment of the present disclosure includes a step of forming a resist on the front surface and the back surface of the multilayer board manufactured by the method for manufacturing a multilayer board described above, and a component on the multilayer board on which the resist is formed. Including the process of mounting and.
本開示の実施形態に係る多層基板は、絶縁基板の表面および裏面に設けられた回路パターンと、前記絶縁基板および前記回路パターンを貫通する貫通穴に導電性ペーストが充填されて形成された層間接続部と、前記絶縁基板の表面および裏面のうちの少なくとも一方の前記回路パターンの一部が前記絶縁基板の前記貫通穴の内壁に沿って延出した延出部と、を備え、前記絶縁基板の表面および裏面における前記層間接続部の部位が平坦である。 The multilayer board according to the embodiment of the present disclosure is an interlayer connection formed by filling a circuit pattern provided on the front surface and the back surface of an insulating substrate and a through hole penetrating the insulating substrate and the circuit pattern with a conductive paste. The insulating substrate comprises a portion and an extending portion in which a part of the circuit pattern of at least one of the front surface and the back surface of the insulating substrate extends along the inner wall of the through hole of the insulating substrate. The portions of the interlayer connection portion on the front surface and the back surface are flat.
本開示の実施形態に係る部品実装基板は、前記記載の多層基板に、実装部品が実装されたものである。 The component mounting board according to the embodiment of the present disclosure is one in which mounting components are mounted on the multilayer board described above.
  本開示に係る実施形態の多層基板の製造方法によれば、層間接続部において安定した接続抵抗値と高い接続信頼性を有し、層間接続部上への絶縁層の印刷形成や部品実装が可能な多層基板を製造することができる。
  本開示に係る実施形態の部品実装基板の製造方法によれば、層間接続部において安定した接続抵抗値と高い接続信頼性を有し、また絶縁層の絶縁性が高い部品実装基板を製造することができる。
  本開示に係る実施形態の多層基板によれば、層間接続部において安定した接続抵抗値と高い接続信頼性を有し、層間接続部上への絶縁層の印刷形成や部品実装が可能となる。
  本開示に係る実施形態の部品実装基板によれば、層間接続部において安定した接続抵抗値と高い接続信頼性を有し、また絶縁層の絶縁性が高い。According to the method for manufacturing a multilayer substrate according to the present disclosure, the interlayer connection portion has a stable connection resistance value and high connection reliability, and an insulating layer can be printed and mounted on the interlayer connection portion. Multi-layer board can be manufactured.
 According to the method for manufacturing a component mounting board of the embodiment according to the present disclosure, a component mounting board having a stable connection resistance value and high connection reliability at an interlayer connection portion and having high insulation of an insulating layer is manufactured. Can be done.
 According to the multilayer board of the embodiment according to the present disclosure, the interlayer connection portion has a stable connection resistance value and high connection reliability, and it is possible to print and form an insulating layer on the interlayer connection portion and mount components.
 According to the component mounting substrate of the embodiment according to the present disclosure, the interlayer connection portion has a stable connection resistance value and high connection reliability, and the insulating layer has high insulation.
<実施形態>
  実施形態を、以下に図面を参照しながら説明する。ただし、以下に示す形態は、本実施形態の技術思想を具現化するための多層基板の製造方法、部品実装基板の製造方法、多層基板、および、部品実装基板を例示するものであって、以下に限定するものではない。また、実施の形態に記載されている構成部品の寸法、材質、形状、その相対的配置などは、特定的な記載がない限り、本発明の範囲をそれのみに限定する趣旨ではなく、単なる例示に過ぎない。なお、各図面が示す部材の大きさや位置関係などは、説明を明確にするために誇張していることがある。<Embodiment>
 The embodiments will be described below with reference to the drawings. However, the embodiments shown below exemplify a method for manufacturing a multilayer board, a method for manufacturing a component mounting board, a multilayer board, and a component mounting board for embodying the technical idea of the present embodiment. It is not limited to. Further, the dimensions, materials, shapes, relative arrangements, etc. of the components described in the embodiments are not intended to limit the scope of the present invention to the specific description, but are merely examples. It's just that. The size and positional relationship of the members shown in each drawing may be exaggerated for the sake of clarity.
[多層基板]
  まず、本実施形態に係る多層基板について説明する。
  図1Aは、実施形態に係る多層基板の構成を模式的に示す平面図である。図1Bは、実施形態に係る多層基板の構成を模式的に示す断面図であり、図1AのIB-IB線に相当する断面を示す。[Multilayer board]
 First, the multilayer board according to this embodiment will be described.
 FIG. 1A is a plan view schematically showing the configuration of the multilayer board according to the embodiment. FIG. 1B is a cross-sectional view schematically showing the configuration of the multilayer board according to the embodiment, and shows a cross section corresponding to the IB-IB line of FIG. 1A.
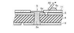
  多層基板100は、絶縁基板4と、絶縁基板4の表面に設けられた表面回路パターン2と、絶縁基板4の裏面に設けられた裏面回路パターン3と、貫通穴1に導電性ペーストが充填されて形成された層間接続部6と、表面回路パターン2の一部が絶縁基板4の貫通穴1の内壁に沿って延出した延出部20と、を備える。  In the
  絶縁基板4としては、1枚もしくは複数枚のガラスクロスにエポキシ樹脂などの熱硬化性絶縁樹脂を含侵させ、この熱硬化性絶縁樹脂を硬化させたガラスエポキシや、フィルム状のポリイミド、液晶ポリマーなどが挙げられる。なお、絶縁基板4は、一般的に両面に銅箔が張り付いた両面銅張積層板として製造されている。
  絶縁基板4がガラスエポキシである場合、厚さは50~1000μmとすることができる。また、絶縁基板4がポリイミドである場合、厚さは12~50μmとすることができる。絶縁基板4としては、このように、ある程度の厚みのある板から薄板まで用いることができる。As the
 When the
  表面回路パターン2は、絶縁基板4の表面上に形成されている。裏面回路パターン3は、絶縁基板4の裏面上に形成されている。表面回路パターン2および裏面回路パターン3は、所望の形状に配線して形成されている。表面回路パターン2および裏面回路パターン3は、銅などの金属性の材料からなる。  The
  表面回路パターン2および裏面回路パターン3の厚みは、12~70μmとすることが好ましい。表面回路パターン2および裏面回路パターン3の厚みが12μm以上であれば、表面回路パターン2および裏面回路パターン3を形成しやすい。一方、厚みが70μm以下であれば、多層基板100を薄くすることができる。  The thickness of the front
  貫通穴1は、表面回路パターン2、絶縁基板4、および、裏面回路パターン3を貫通するように形成されている。貫通穴1の直径は、例えば、0.2~0.3mmである。  The through
  層間接続部6は、表面回路パターン2と裏面回路パターン3とを電気的に接続する部位である。層間接続部6は、貫通穴1に導電性ペーストを充填することで形成される。また、層間接続部6は、導電性ペーストを貫通穴1の内部および周囲に充填するとともに表面回路パターン2および裏面回路パターン3と十分接触させた状態で硬化させて形成されている。ここで貫通穴1の周囲とは貫通穴1の近傍であり、例えば貫通穴1から1mm以内、好ましくは0.3mm以内、より好ましくは0.1mm以内を指す。
  層間接続部6は、貫通穴1に導電性ペーストを充填して形成されることで、部品などを実装する工程での熱衝撃に対する接続信頼性が向上する。The
 Since the
  層間接続部6は、絶縁基板4の表面および裏面において、凸状に形成されている。また、層間接続部6は、表面回路パターン2および裏面回路パターン3の一部を被覆している。本実施形態では、層間接続部6は、この表面回路パターン2および裏面回路パターン3を被覆した部位も含むものとする。
  すなわち、層間接続部6は、貫通穴1内に充填された穴内充填部5a、6aと、穴内充填部5a、6aの両端に形成され、貫通穴1の周辺まで広がる穴外平板部5b、6bとを有している。ここで貫通穴1は、穴内充填部5aのみ、または穴内充填部6aのみが充填されている場合を含む。The
 That is, the
  導電性ペーストとしては、例えば、フレーク状、鱗片状または樹皮状の銀粉や銅粉などのフィラーと、熱硬化性のバインダ樹脂と、を混合したものを用いることができる。
  また、導電性ペーストとしては、できるだけ体積抵抗率が小さく、バインダ樹脂や溶剤成分の含有量が少ないものを用いることが好ましい。
  導電性ペーストは、例えば、体積抵抗率が2×10‐5~1.5×10‐4Ω・cm、バインダ樹脂含有量が3~10質量%のものを用いることが好ましい。このような導電性ペーストであれば、層間接続部6の抵抗値がより小さくなり、かつ抵抗値のバラツキもより小さくなる。体積抵抗率は、より好ましくは7.5×10‐5Ω・cm程度であり、バインダ樹脂含有量は、より好ましくは6~7質量%である。また、導電性ペーストは、例えば、溶剤含有量が0~1質量%のものを用いることが好ましい。As the conductive paste, for example, a mixture of a flake-shaped, scaly or bark-shaped filler such as silver powder or copper powder and a thermosetting binder resin can be used.
 Further, as the conductive paste, it is preferable to use a paste having a volume resistivity as small as possible and a low content of a binder resin and a solvent component.
 As the conductive paste, for example, it is preferable to use a paste having a volume resistivity of 2 × 10-5 to 1.5 × 10-4 Ω · cm and a binder resin content of 3 to 10% by mass. With such a conductive paste, the resistance value of the
  また、導電性ペーストは、硬化時の熱収縮が小さいものが好ましい。具体的には、硬化時の質量減少率が1%以下であることが好ましい。このような導電性ペーストであれば、後述する層間接続部6の表面となる穴外平板部6bおよび裏面となる穴外平板部5bにおける平面度をより制御しやすくなる。ここでは、先に絶縁基板4の裏面側から導電性ペーストを充填するため、穴内充填部5aに充填された導電性ペーストが収縮したとしても、絶縁基板4の表面側から導電性ペーストを再度充填するため、絶縁基板4の表面における穴外平板部6bの凹みを小さくすることができ、穴外平板部6bを平坦にすることができる。  Further, the conductive paste preferably has a small heat shrinkage during curing. Specifically, it is preferable that the mass reduction rate at the time of curing is 1% or less. With such a conductive paste, it becomes easier to control the flatness of the hole outer
  多層基板100は、表面回路パターン2の一部が絶縁基板4の貫通穴1の内壁に沿って延出した延出部20を有する。すなわち、多層基板100は、貫通穴1を形成する際に表面回路パターン2の一部を押し延ばすことで延出部20が形成される。この延出部20は、表面回路パターン2の貫通穴1側の端部が絶縁基板4の内層に向かって延出し、貫通穴1の内部において、絶縁基板4に密着するように形成されている。
  本実施形態は、多層基板100が延出部20を有することで、導電性ペーストにより形成された穴内充填部5a、6aと表面回路パターン2との接触面積が通常の貫通穴よりも広くなる。そのため、層間接続部6の抵抗値が低くなり、かつ抵抗値が安定化する。The
 In the present embodiment, since the
  延出部20の長さ、すなわち、貫通穴1の内壁に位置する表面回路パターン2の一部の延出した長さ(縦方向の長さ)は、5~35μmが好ましい。延出部20の長さが5μm以上であれば、穴内充填部5a、6aと表面回路パターン2との接触面積がより広くなる。そのため、多層基板100は、層間接続部6の抵抗値がより低くしやすく、かつ抵抗値がより安定化しやすくなる。一方、延出部20の長さが35μm以下であれば、延出部20をより形成しやすくなる。  The length of the extending
  絶縁基板4の表面および裏面における層間接続部6の部位は、平坦に形成されている。すなわち、層間接続部6の表面および裏面における凸状の部位(穴外平板部5b、6b)の上面が平坦に形成されている。
  ここで、平坦とは、穴外平板部6bの最薄部と最厚部の厚み差が20μm以下であるものとし、好ましくは10μm以下、より好ましくは5μm以下であるものとする。The portions of the
 Here, the term "flat" means that the thickness difference between the thinnest portion and the thickest portion of the outer
  層間接続部6の平坦な部位の厚み、すなわち、絶縁基板4の表面となる穴外平板部6bおよび裏面となる穴外平板部5bの厚みは、10~30μmであることが好ましい。穴外平板部5b、6bの厚みが10μm以上であれば、層間接続部6を形成しやすくなる。一方、穴外平板部5b、6bの厚みが30μm以下であれば、多層基板100の厚みを薄くすることができる。なお、絶縁基板4の表面における穴外平板部6bの厚みとは、表面回路パターン2の上面から、絶縁基板4の表面における穴外平板部6bの上面までの厚みである。また、絶縁基板4の裏面における穴外平板部5bの厚みとは、裏面回路パターン3の上面から、絶縁基板4の裏面における穴外平板部5bの上面までの厚みである。
  穴外平板部5b、6bの厚みは、貫通穴1に充填する際の導電性ペーストの量により制御することができる。また、穴外平板部5b、6bを研磨することで制御することができる。The thickness of the flat portion of the
 The thickness of the outer
  以上説明した通り、本実施形態では、多層基板100は、層間接続部6の表面となる穴外平板部6bおよび裏面となる穴外平板部5bが平坦に形成されている。
  多層基板100の層間接続部6は、部品を実装する工程での熱処理や半田付け作業時の熱衝撃に耐える接続信頼性が必要である。従来の多層基板では、めっきによるスルーホール接続が多く用いられている。しかしながら、このような多層基板では、基板厚方向への基板の熱膨張率とめっきの熱膨張率との差により生じる応力で、スルーホールのコーナー部にクラックが生じ接続信頼性を低下させる。そのため、例えば、背景技術で説明した特許文献1、特許文献2に記載のように、めっきによるスルーホール接続に対して、貫通穴に導電性ペーストを充填する接続方法も提案されている。As described above, in the present embodiment, in the
 The
  上記特許文献1、特許文献2では、貫通穴に埋め込まれた導電性ペーストにより接続部を形成しているが、貫通穴への導電性ペーストの充填が不十分であり、また、導電性ペーストを硬化する際に、バインダ樹脂の熱収縮が生じてしまう。そのため、層間接続部の表面および裏面に平坦性がなく、層間接続部上に部品を実装することが困難である。そのため従来は、層間接続部と部品実装部を分けて配置していたのが実情である。しかしながら、これにより基板面積の増加が生じてしまう問題点がある。  In
  また上記特許文献1、特許文献2のような層間接続部では、層間接続部上に設けられる絶縁層にも制約が生じてしまう。具体的には、例えば、印刷可能な絶縁樹脂をスクリーン印刷法などで形成する場合、層間接続部の表面および裏面に平坦性がないため、層間接続部の凹部分でボイド、ピンホールなどが生じる。そのため、均一な絶縁層形成ができず、接続部近傍の電気絶縁性が低下する懸念がある。そのため、多層基板の表面および裏面の凹凸に追従できる厚みの接着剤を有するカバーレイフィルムなどを貼り付けていたのが実情である。しかしながら、接着剤を有するカバーレイフィルムなどの貼り付けでは、接着材の厚み相当分、基板の総厚みが厚くなる問題点がある。  Further, in the interlayer connection portion as in
また、特にLED実装用の基板においては、基板表面の絶縁層は、白色であることや、反射率、耐光性などを考慮する必要がある。しかしながら、一般的な接着剤層を有するポリイミド樹脂からなるカバーレイフィルムでは、LEDの連続点灯試験においてポリイミド樹脂が光劣化してしまう不具合がある。そのため、顧客の要求特性を満足することができないのが実情である。 Further, particularly in a substrate for mounting an LED, it is necessary to consider that the insulating layer on the surface of the substrate is white, reflectance, light resistance, and the like. However, a coverlay film made of a polyimide resin having a general adhesive layer has a problem that the polyimide resin is photodegraded in a continuous LED lighting test. Therefore, the reality is that the customer's required characteristics cannot be satisfied.
ここで、顧客からの回路基板への要求事項は年々多くなってきており、特に多くの電子機器類が、小型、薄型化、および軽量化するために、部品を含めた基板面積の小型化と高密度化、絶縁層の薄型化といった要求が高まっている。しかしながら、従来の接続構造をもつ多層基板では、これらの要求に応えることができなくなっている。 Here, the demands on circuit boards from customers are increasing year by year, and in particular, in order to reduce the size, thickness, and weight of many electronic devices, the board area including parts is reduced. There are increasing demands for higher densities and thinner insulating layers. However, a multilayer board having a conventional connection structure cannot meet these demands.
  本実施形態では、多層基板100は、層間接続部6の表面となる穴外平板部6bおよび裏面となる穴外平板部5bが平坦であることから、層間接続部6上へのレジスト形成が容易で絶縁性が高く、また、層間接続部6上への部品実装が容易である。  In the present embodiment, in the
[多層基板の製造方法]
  次に、本実施形態に係る多層基板の製造方法の一例について説明する。
  図2Aは、実施形態に係る多層基板の製造方法における、回路パターンを形成する前の状態を示す断面図である。図2Bは、実施形態に係る多層基板の製造方法における、回路パターンを形成する工程を示す断面図である。図2Cは、実施形態に係る多層基板の製造方法における、貫通穴を形成する工程を示す断面図である。図3Aは、実施形態に係る多層基板の製造方法における、層間接続部を形成する工程を示す断面図であり、絶縁基板の裏面から導電性ペーストを充填する工程を示す断面図である。図3Bは、実施形態に係る多層基板の製造方法における、層間接続部を形成する工程を示す断面図であり、絶縁基板の表面から導電性ペーストを充填する工程を示す断面図である。図3Cは、実施形態に係る多層基板の製造方法における、層間接続部の部位を研磨する工程を示す断面図である。
  なお、各工程においてスキージやマスクに同一番号を付しているが、物理的同一物を用いている訳ではなく、機能や性状などが共通するだけであり、異なる大きさ、材質などを使用することができる。[Manufacturing method of multilayer board]
 Next, an example of a method for manufacturing a multilayer substrate according to this embodiment will be described.
 FIG. 2A is a cross-sectional view showing a state before forming a circuit pattern in the method for manufacturing a multilayer substrate according to an embodiment. FIG. 2B is a cross-sectional view showing a step of forming a circuit pattern in the method for manufacturing a multilayer substrate according to an embodiment. FIG. 2C is a cross-sectional view showing a step of forming a through hole in the method for manufacturing a multilayer substrate according to an embodiment. FIG. 3A is a cross-sectional view showing a step of forming an interlayer connection portion in the method for manufacturing a multilayer substrate according to an embodiment, and is a cross-sectional view showing a step of filling a conductive paste from the back surface of the insulating substrate. FIG. 3B is a cross-sectional view showing a step of forming an interlayer connection portion in the method for manufacturing a multilayer substrate according to an embodiment, and is a cross-sectional view showing a step of filling a conductive paste from the surface of an insulating substrate. FIG. 3C is a cross-sectional view showing a step of polishing a portion of an interlayer connection portion in the method for manufacturing a multilayer substrate according to an embodiment.
 Although the squeegees and masks are given the same number in each process, they do not use the same physical material, they only have the same function and properties, and different sizes and materials are used. be able to.
  本実施形態の多層基板の製造方法は、回路パターンを形成する工程と、貫通穴を形成する工程と、層間接続部を形成する工程と、層間接続部の部位を研磨する工程と、を含み、この順に行う。なお、各部材の材質や配置などについては、前記した多層基板100の説明で述べた通りであるので、ここでは適宜、説明を省略する。  The method for manufacturing a multilayer substrate of the present embodiment includes a step of forming a circuit pattern, a step of forming a through hole, a step of forming an interlayer connection portion, and a step of polishing a portion of the interlayer connection portion. Do this in this order. Since the materials and arrangements of the respective members are as described in the above description of the
(回路パターンを形成する工程)
  回路パターンを形成する工程は、絶縁基板4の表面および裏面に表面回路パターン2および裏面回路パターン3を形成する工程である。(Process of forming a circuit pattern)
 The step of forming the circuit pattern is a step of forming the front
  この工程では、例えば、まず、シート状の1枚もしくは複数枚のガラスクロスにエポキシ樹脂を含浸させ、その表面に表面銅箔2a、裏面に裏面銅箔3aを接合してエポキシ樹脂を硬化させて形成した市販の両面銅張積層板を用意する。次に、表面銅箔2aおよび裏面銅箔3aにエッチングを施して表面回路パターン2および裏面回路パターン3を形成する。
  なお、市販の両面銅張積層板を用いずに、絶縁基板4の表面に表面銅箔2aおよび裏面に裏面銅箔3aを接合してもよい。また、あらかじめ、表面回路パターン2および裏面回路パターン3が形成された両面銅張積層板を購入してもよい。In this step, for example, first, one or more sheet-shaped glass cloths are impregnated with an epoxy resin, and the front
 Instead of using a commercially available double-sided copper-clad laminate, the front
(貫通穴を形成する工程)
  貫通穴を形成する工程は、絶縁基板4の表面回路パターン2の一部が絶縁基板4の貫通穴1の内壁に沿って延出するようにパンチング加工により貫通穴1を形成する工程である。(Step of forming a through hole)
 The step of forming the through hole is a step of forming the through
  この工程では、絶縁基板4における表面回路パターン2および裏面回路パターン3が存在する部分において、絶縁基板4の表面側からパンチングピン(パンチ)14を差し込んでパンチング加工して、例えば、貫通穴径φ0.2~0.3mmの貫通穴1を形成する。ここで、貫通穴1を形成する際には、表面回路パターン2の一部が絶縁基板4の貫通穴1の内壁に沿って延出している構造となる。すなわち、表面回路パターン2の端部が絶縁基板4の内層に向かって強制的に押し込まれることで延びて、貫通穴1の内部に延出部20が形成される。
  パンチング加工においては、延出部20の長さが絶縁基板4の厚みに対して0.05~0.5倍、好ましくは0.1~0.4倍となるように調整することが好ましい。またパンチング加工においては、延出部20の長さが5~35μmとなるように調整することが好ましい。In this step, in the portion of the insulating
 In the punching process, it is preferable to adjust the length of the extending
  延出部20の長さ調整は、主に、パンチングピンを構成する、パンチの径、ダイ(パンチ受け側)の径を調整することにより行う。表面回路パターン2および裏面回路パターン3の厚み、材質にもよるが、例えばパンチ径φ0.2~0.3mmに対しては、ダイの径φ0.21~0.32mm程度に設定することが好ましく、パンチとダイの間に0.005~0.01mm程度のギャップを設定する。  The length of the
(層間接続部を形成する工程)
  層間接続部を形成する工程は、貫通穴1の内部および周囲に、絶縁基板4の表面および裏面の両面から、印刷により導電性ペースト6cを充填して層間接続部6を形成する工程である。ここでは絶縁基板4の裏面、表面の順に導電性ペースト6cを充填するが、絶縁基板4の表面、裏面の順に導電性ペースト6cを充填してもよい。(Step of forming an interlayer connection portion)
 The step of forming the interlayer connection portion is a step of filling the inside and the periphery of the through
  この工程では、まず、導電性ペースト6cを、マスク11を介して、絶縁基板4の裏面からスクリーン印刷法で貫通穴1に充填する。スクリーン印刷の条件は、例えば、クリアランス0~2mmとし、20~300μm厚、開口穴径φ0.2~0.5mmのメタルマスク11、または、150~400メッシュ、乳剤厚10~20μmのスクリーンマスク11と、硬度70~80のウレタンゴムのスキージ40とを用い、スキージ実効角度15~30度、印圧0.2~0.4MPa、スキージ速度10~50mm/sec、スキージ往復印刷とすることができる。絶縁基板4の表面および裏面のうち、先に印刷する面の印刷を往復印刷とすることで、貫通穴1に導電性ペースト6cをより充填しやすくなる。なお、絶縁基板4の厚みが薄い場合や貫通穴1が大きい場合は、スキージ片道印刷でも導電性ペースト6cが貫通穴1に充填されるので、スキージ片道印刷としても構わない。  In this step, first, the
  その後、導電性ペースト6cを、例えば80~120℃の一定温度で15~30分加熱させ仮硬化させる。この導電性ペースト6cの仮硬化は、導電性ペースト6cの表面が乾燥する程度の状態であることが好ましく、仮硬化後の導電性ペースト6cは絶縁体の状態であることが好ましい。  Then, the
  仮硬化後の導電性ペースト6cが絶縁体の状態であることが好ましい理由を以下に説明する。
  次工程の表面からスクリーン印刷で、裏面から印刷形成した導電性ペースト6cと表面から形成した導電性ペースト6cが接続する。その際、裏面から印刷形成した導電性ペースト6cの硬化が進み過ぎ「導電体」の状態になっていると、裏面から印刷形成した導電性ペースト6cと表面から形成した導電性ペースト6cとの接続界面の導通状態が悪くなる場合がある。導通状態が悪くなると、接続抵抗値が高くなる、熱衝撃に対する接続信頼性が低下する、などの品質問題が生じる。そのため、仮硬化後の導電性ペースト6cは絶縁体の状態であることが好ましい。The reason why it is preferable that the
 The
  仮硬化後の導電性ペースト6cを絶縁体の状態とするには、以下の方法を用いることができる。
  まず、あらかじめ、導電性ペースト6cをライン印刷した試料を用いて、熱処理試験を行う。そして、加熱温度や加熱時間に対して、どのくらいの条件で、(1)導電性ペースト6cがどのくらい硬くなるか、(2)ラインの抵抗値がどのくらいの値になるか、を確認して仮硬化条件を導出する。これにより、絶縁体の状態となる仮硬化条件を決定する。なお、全く仮硬化せずに次工程に進むことも可能である。しかしながら、ウェット状態の導電性ペースト6cが基板表面に露出した状態で、次工程で印刷テーブルや吸着紙に吸着させることは、導電性ペースト6cが基板からはぎ取られるなどの弊害を引き起こす。そのため、裏面から印刷形成した導電性ペースト6cは仮硬化させることが好ましい。The following method can be used to make the
 First, a heat treatment test is performed using a sample in which the
  このようにして、まず、穴内充填部5aと、絶縁基板4の裏面の穴外平板部5bとを有する接合体部5が形成される。なお、図3Aでは、便宜上、導電性ペースト6cを仮硬化した後の状態として接合体部5を図示している。  In this way, first, the
  続いて、マスク11を介して、絶縁基板4の表面からスクリーン印刷法で導電性ペースト6cを印刷形成する。導電性ペースト6cは、絶縁基板4の裏面から印刷充填した導電性ペースト6cと同じものを使用することができる。スクリーン印刷の条件は、例えば、クリアランス0~2mmとし、20~50μm厚、開口穴径φ0.2~0.5mmのメタルマスク11、または、150~400メッシュ、乳剤厚10~20μmのスクリーンマスク11と、硬度80のウレタンゴムのスキージ40とを用い、スキージ実効角度15~70度、印圧0.1~0.4MPa、スキージ速度10~100mm/secとし、スキージ片道印刷とすることができる。  Subsequently, the
  その後、導電性ペースト6cを180~200℃の一定温度で45~90分加熱させ硬化させる。これにより、表面回路パターン2と裏面回路パターン3とを電気的に接続する層間接続部6が形成される。なお、図3Bでは、便宜上、導電性ペースト6cを硬化した後の状態として層間接続部6を図示している。
  なお、絶縁基板4の表面、裏面の順に導電性ペースト6cを充填する場合は、前記した裏面からのスクリーン印刷法の条件と、表面からのスクリーン印刷法の条件とを入れかえればよい。Then, the
 When the
  本実施形態では、導電性ペースト6cを充填する工程において、貫通穴1の内部に、絶縁基板4の表面および裏面の両面から、印刷により導電性ペースト6cを充填することで、絶縁基板4の表面および裏面における層間接続部6の穴外平板部5b、6bの部位を平坦にすることができる。  In the present embodiment, in the step of filling the
(層間接続部の部位を研磨する工程)
  層間接続部の部位を研磨する工程は、絶縁基板4の表面および裏面における層間接続部6の部位を平坦に研磨する工程である。すなわち、この工程は、層間接続部6の表面および裏面における穴外平板部5b、6bの上面がより平坦になるように、穴外平板部5b、6bの上面を研磨する工程である。(Step of polishing the part of the interlayer connection part)
 The step of polishing the portion of the interlayer connection portion is a step of flatly polishing the portion of the
  実装部品10の電極形状および厚みと表面レジスト7の厚みとの関係などから、必要に応じて、表面レジスト7を印刷形成する前に層間接続部6の研磨処理を実施してもよい。その場合は、セラミックバフ30での物理研磨が好ましい。層間接続部6の研磨処理を行うことで、層間接続部6の穴外平板部5b、6bの部位をさらに平坦にすることができる。なお、層間接続部の部位を研磨する工程は必須の工程として行わなくてもよい。  From the relationship between the electrode shape and thickness of the mounting
[部品実装基板]
  次に、本実施形態に係る部品実装基板について説明する。
  図4は、実施形態に係る部品実装基板の構成を模式的に示す断面図である。
  部品実装基板101は、多層基板100と、多層基板100の表面における一部の領域に設けられた表面レジスト7と、多層基板100の裏面に設けられた裏面レジスト8と、多層基板100の表面の層間接続部6上に、半田ペーストである接着層9を介して設けられた実装部品10と、を備える。[Parts mounting board]
 Next, the component mounting board according to this embodiment will be described.
 FIG. 4 is a cross-sectional view schematically showing the configuration of the component mounting board according to the embodiment.
 The
  表面レジスト7は、実装部品10の周辺に形成されている。すなわち、表面レジスト7は、層間接続部6とその近傍を除く表面回路パターン2上に設けられている。裏面レジスト8は、裏面回路パターン3と、層間接続部6を覆うように形成されている。  The surface resist 7 is formed around the mounting
  表面レジスト7および裏面レジスト8としては、例えば、エポキシなどの共重合樹脂に溶剤や消泡剤などを混合した一般的なものや、酸化チタンなどのフィラーを添加した白色化したものを用いることができる。なお、表面レジスト7および裏面レジスト8は絶縁層となる。表面レジスト7および裏面レジスト8の厚みは、例えば、10~30μmである。表面レジスト7の厚みは穴外平板部6bの厚みと同等もしくは厚い方が好ましい。穴外平板部6bの厚みを表面レジスト7の厚みよりも薄くすることで接着層9の高さを抑えることができ、実装部品10の高さを低くすることができるからである。穴外平板部6bの厚みは表面レジスト7の厚みに比べて、例えば0.5~0.9倍程度の厚みが好ましく、0.6~0.8倍程度の厚みがより好ましい。穴外平板部6bの厚みを0.5倍以上とすることで層間接続部6の厚みを抑えることができ、0.9倍以下とすることで電気伝導性を高いまま維持することができる。表面レジスト7と裏面レジスト8との厚みは同一でも良いが異なっていてもよい。  As the front surface resist 7 and the back surface resist 8, for example, a general one obtained by mixing a copolymer resin such as epoxy with a solvent or an antifoaming agent, or a whitening one to which a filler such as titanium oxide is added may be used. can. The front surface resist 7 and the back surface resist 8 are insulating layers. The thickness of the front surface resist 7 and the back surface resist 8 is, for example, 10 to 30 μm. The thickness of the surface resist 7 is preferably equal to or thicker than the thickness of the outer
  接着層9の材料としては、例えば、Sn-Ag-Cu、Au、Ag、Cu、Sn、Biなどやこれらの合金を用いることができる。実装部品10としては、例えば、LED、チップ抵抗器、コンデンサなどが挙げられる。  As the material of the
[部品実装基板の製造方法]
  次に、本実施形態に係る部品実装基板の製造方法について説明する。
  図5Aは、実施形態に係る部品実装基板の製造方法における、レジストを形成する前の多層基板を示す断面図である。図5Bは、実施形態に係る部品実装基板の製造方法における、レジストを形成する工程を示す断面図であり、多層基板の表面にレジストを形成する工程を示す断面図である。図5Cは、実施形態に係る部品実装基板の製造方法における、レジストを形成する工程を示す断面図であり、多層基板の裏面にレジストを形成する工程を示す断面図である。図6Aは、実施形態に係る部品実装基板の製造方法における、部品を実装する工程を示す断面図であり、接着層を形成する工程を示す断面図である。図6Bは、実施形態に係る部品実装基板の製造方法における、部品を実装する工程を示す断面図であり、部品を実装した後の状態を示す断面図である。硬化前の表面レジストは7c、硬化前の裏面レジストは8cとする。[Manufacturing method of component mounting board]
 Next, a method of manufacturing a component mounting board according to this embodiment will be described.
 FIG. 5A is a cross-sectional view showing a multilayer board before forming a resist in the method for manufacturing a component mounting board according to an embodiment. FIG. 5B is a cross-sectional view showing a step of forming a resist in the method of manufacturing a component mounting substrate according to an embodiment, and is a cross-sectional view showing a step of forming a resist on the surface of a multilayer board. FIG. 5C is a cross-sectional view showing a step of forming a resist in the method of manufacturing a component mounting substrate according to an embodiment, and is a cross-sectional view showing a step of forming a resist on the back surface of the multilayer board. FIG. 6A is a cross-sectional view showing a step of mounting a component in the method of manufacturing a component mounting substrate according to an embodiment, and is a cross-sectional view showing a step of forming an adhesive layer. FIG. 6B is a cross-sectional view showing a process of mounting a component in the method of manufacturing a component mounting board according to an embodiment, and is a cross-sectional view showing a state after the component is mounted. The front surface resist before curing is 7c, and the back surface resist before curing is 8c.
本実施形態の部品実装基板の製造方法は、一例として、前記した多層基板にレジストを形成する工程と、部品を実装する工程と、を含み、この順に行う。なお、各部材の材質や配置などについては、前記した部品実装基板の説明で述べた通りであるので、ここでは適宜、説明を省略する。 As an example, the method for manufacturing a component mounting substrate of the present embodiment includes a step of forming a resist on the above-mentioned multilayer board and a step of mounting components, and the steps are performed in this order. Since the materials and arrangement of each member are as described in the above-mentioned description of the component mounting board, the description thereof will be omitted here as appropriate.
(レジストを形成する工程)
  レジストを形成する工程は、多層基板100の表面および裏面に表面レジスト7および裏面レジスト8を形成する工程である。ここでは多層基板100の表面、裏面の順に表面レジスト7、裏面レジスト8を形成するが、多層基板100の裏面、表面の順に裏面レジスト8、表面レジスト7を形成してもよい。(Step of forming resist)
 The step of forming the resist is a step of forming the front surface resist 7 and the back surface resist 8 on the front surface and the back surface of the
  この工程では、まず、多層基板100の表面回路パターン2上に、所望の塗布パターンを形成したスクリーンマスク12、表面レジスト7cを用いて、スクリーン印刷法で表面レジスト7を形成する。  In this step, first, the surface resist 7 is formed on the
  スクリーン印刷の条件は、例えば、クリアランス0.5~5.0mmとし、100~400メッシュ、乳剤厚10~20μmのスクリーンマスク12と、硬度60~80のウレタンゴムのスキージ40とを用い、スキージ実効角度60~80度、印圧0.2~0.4MPa、スキージ速度20~100mm/sec、スキージ片道印刷とすることができる。その後、表面レジスト7を50~250℃で、5~60分加熱させ硬化させる。  The screen printing conditions are, for example, a clearance of 0.5 to 5.0 mm, a
  続いて、裏面回路パターン3上に、スクリーンマスク12、裏面レジスト8cを用いて、スクリーン印刷法で裏面レジスト8を形成する。裏面レジスト8は、絶縁基板4の表面から印刷形成したレジストと同じものを使用することができ、スクリーン印刷の条件は、表面レジスト7の印刷形成時と同じ条件とすることができる。その後、裏面レジスト8を50~250℃で、5~60分加熱させ硬化させる。これにより、表面回路パターン2と裏面回路パターン3の所望の範囲に絶縁層が形成される。  Subsequently, the back surface resist 8 is formed on the back
(部品を実装する工程)
  部品を実装する工程は、表面レジスト7および裏面レジスト8を形成した多層基板100に部品を実装する工程である。(Process for mounting parts)
 The step of mounting the component is a step of mounting the component on the
  この工程では、まず、部品の実装部分に開口部を設けたメタルマスク13、スキージ40を用いて半田ペースト9cを印刷し、接着層9を形成する。次に、接着層9上に実装部品10を載せ、接着層9を硬化させて実装部品10を多層基板100と接続し固定させる。  In this step, first, the
  この例では、半田ペースト9cを層間接続部6上に直接塗布したが、部品の接合強度の観点から、あらかじめ部品の実装部分にめっき処理や有機防錆処理をしておいてもよい。  In this example, the
  以上説明した通り、本実施形態によれば、層間接続部6が貫通穴1に導電性ペースト6cを充填することで形成されている。ここで、層間接続部6に用いられる材料と基板絶縁樹脂との熱膨張率差に着目すると、バインダ樹脂を含んでいる導電性ペースト6cと絶縁基板4の絶縁樹脂材料との熱膨張率差は、一般的に用いられているめっきによるスルーホール接続におけるめっき金属と基板の絶縁樹脂材料との熱膨張率差に比べ小さい。そのため、熱衝撃時の応力が抑えられることにより、多層基板100は、部品などを実装する工程での接続信頼性が向上する。  As described above, according to the present embodiment, the
  また、パンチング加工により表面回路パターン2の一部が絶縁基板4の貫通穴1の内壁に沿って延出している延出部20が形成されている。これにより、貫通穴1の内部および周囲に充填された導電性ペースト6cで形成された穴内充填部5a、6aと表面回路パターン2との接触面積が一般の接続部構造よりも広くなる。そのため、層間接続部6の抵抗値が小さくなり、かつ抵抗値のバラツキも小さくなる。また、層間接続部6の表面および裏面が平坦であるため、層間接続部6上への表面レジスト7および裏面レジスト8の形成や部品実装が容易となる。そのため、多層基板100における、層間接続部6の絶縁性を向上させたり、部品実装密度を高めたりすることができる。また、特にLED部品の実装において重要な、実装部品10の搭載位置の精度、傾きの精度なども、層間接続部6の表面および裏面の平坦性により確保できる。また、絶縁層の薄いフレキシブル基板へも適用可能であり、電子機器、ディスプレイの小型化、薄型化、狭額縁化にも貢献できる。  Further, an
  以下、実施例について説明する。
  図7Aは、実施例で用いた、導電性ペーストを充填する前の層間接続部評価用基板を示す画像である。図7Bは、図7Aの一部を拡大して示す画像である。図7Cは、実施例で用いた、導電性ペーストを充填した後の層間接続部評価用基板における層間接続部の接続状態を模式的に示す斜視図である。Hereinafter, examples will be described.
 FIG. 7A is an image showing the substrate for evaluating the interlayer connection portion before filling with the conductive paste, which was used in the examples. FIG. 7B is an enlarged image showing a part of FIG. 7A. FIG. 7C is a perspective view schematically showing the connection state of the interlayer connection portion in the interlayer connection portion evaluation substrate after filling with the conductive paste, which is used in the examples.
層間接続部評価用基板を用いて層間接続部の評価を実施した。層間接続部評価用基板は、基板外形寸法は40mm×190mmで、左上端と左下端の測定用ランド間を、デイジーチェーン状に0.9mm間隔で140箇所直列接続された層間接続部が全40列つながる構造である。そして、1基板中の層間接続部の総数は5600箇所となる構造を有している。なお、層間接続部評価用基板は、貫通穴径φ0.25mmのものを3個、貫通穴径φ0.2mmのものを3個、合計6個作製した。 The interlayer connection portion was evaluated using the interlayer connection portion evaluation substrate. The board for evaluating the interlayer connection part has an external dimension of 40 mm × 190 mm, and there are 40 interlayer connection parts connected in series between the measurement lands at the upper left end and the lower left end at intervals of 0.9 mm in a daisy chain. It is a structure that connects columns. The total number of interlayer connection portions in one substrate is 5,600. As for the substrate for evaluating the interlayer connection portion, three pieces having a through hole diameter of φ0.25 mm and three pieces having a through hole diameter of φ0.2 mm were manufactured, for a total of six pieces.
  層間接続部評価用基板は、前記した多層基板の製造方法により製造した。具体的には以下の通りである。
  まず、厚みが400μmの絶縁基板(ガラスエポキシ)の表面および裏面に、厚みが35μmの銅箔を接合し、層間接続部における多層基板の総厚みを470μmとした。次に、両面の銅箔にエッチングを施して表面回路パターンおよび裏面回路パターンを形成した。次に、絶縁基板の表面側からパンチングピンでパンチング加工して、貫通穴径φ0.25mmおよび貫通穴径φ0.2mmの貫通穴を形成した。The interlayer connection evaluation substrate was manufactured by the above-mentioned method for manufacturing a multilayer substrate. Specifically, it is as follows.
 First, a copper foil having a thickness of 35 μm was bonded to the front surface and the back surface of an insulating substrate (glass epoxy) having a thickness of 400 μm, and the total thickness of the multilayer substrate at the interlayer connection portion was set to 470 μm. Next, the copper foils on both sides were etched to form a front surface circuit pattern and a back surface circuit pattern. Next, a through hole having a through hole diameter of φ0.25 mm and a through hole diameter of φ0.2 mm was formed by punching from the surface side of the insulating substrate with a punching pin.
次に、導電性ペーストを、マスクを介して、絶縁基板の表面からスクリーン印刷法で貫通穴に充填した。スクリーン印刷の条件は、クリアランス0~1mmとし、20~30μm厚、開口穴径φ0.3、0.35mmのメタルマスクと、硬度80のウレタンゴムのスキージとを用い、スキージ実効角度15度、印圧0.3MPa、スキージ速度10mm/sec、スキージ往復印刷とした。その後、導電性ペーストを、120℃の一定温度で30分加熱させ仮硬化させた。導電性ペーストとしては、フレーク状の銀およびフレーク状の銀コート銅粉のフィラーと、熱硬化性のバインダ樹脂とを混合したものを用いた。また、導電性ペーストとしては、体積抵抗率が7.5×10‐5Ω・cm、バインダ樹脂含有量が6~7質量%、溶剤含有量が0質量%、硬化時の質量減少率が1%未満のものを用いた。Next, the conductive paste was filled into the through holes from the surface of the insulating substrate by a screen printing method via a mask. The screen printing conditions are a clearance of 0 to 1 mm, a metal mask with a thickness of 20 to 30 μm, an opening hole diameter of φ0.3 and 0.35 mm, and a urethane rubber squeegee with a hardness of 80. The pressure was 0.3 MPa, the clearance speed was 10 mm / sec, and the squeegee reciprocating printing was performed. Then, the conductive paste was heated at a constant temperature of 120 ° C. for 30 minutes to be temporarily cured. As the conductive paste, a mixture of a filler of flake-shaped silver and flake-shaped silver-coated copper powder and a thermosetting binder resin was used. The conductive paste has a volume resistivity of 7.5 × 10-5 Ω · cm, a binder resin content of 6 to 7% by mass, a solvent content of 0% by mass, and a mass reduction rate at the time of curing of 1. Those less than% were used.
  続いて、マスクを介して、絶縁基板の裏面からスクリーン印刷法で、前記表面から印刷充填したものと同様の導電性ペーストを印刷形成した。スクリーン印刷の条件は、クリアランス0~1mmとし、20~30μm厚、開口穴径φ0.3、0.35mmのメタルマスクと、硬度80のウレタンゴムのスキージとを用い、スキージ実効角度15度、印圧0.4MPa、スキージ速度10mm/sec、スキージ片道印刷とした。その後、導電性ペーストを200℃の一定温度で60分加熱させ硬化させた。
  これにより、表面回路パターンと裏面回路パターンとを電気的に接続する層間接続部を形成した。Subsequently, a conductive paste similar to that printed and filled from the front surface was printed and formed from the back surface of the insulating substrate via a mask by a screen printing method. The screen printing conditions are a clearance of 0 to 1 mm, a metal mask with a thickness of 20 to 30 μm, an opening hole diameter of φ0.3 and 0.35 mm, and a urethane rubber squeegee with a hardness of 80. The pressure was 0.4 MPa, the squeegee speed was 10 mm / sec, and the squeegee one-way printing was performed. Then, the conductive paste was heated at a constant temperature of 200 ° C. for 60 minutes to be cured.
 As a result, an interlayer connection portion for electrically connecting the front surface circuit pattern and the back surface circuit pattern was formed.
このようにして得られた層間接続部評価用基板を解析した結果、導通不良箇所は検出されなかった。また、貫通穴径φ0.25mmの層間接続部は6.8~7.6mΩ(n=3基板)、貫通穴径φ0.2mmの層間接続部は10.1~12.9mΩ(n=3基板)の接続抵抗値を有していた。これは、接続部寸法から計算して妥当な抵抗値で、バラツキも小さいものであり、この解析により使用上問題がないことが確認できた。 As a result of analyzing the substrate for evaluating the interlayer connection portion thus obtained, no poor continuity portion was detected. The interlayer connection portion with a through hole diameter of φ0.25 mm is 6.8 to 7.6 mΩ (n = 3 boards), and the interlayer connection portion with a through hole diameter of φ0.2 mm is 10.1 to 12.9 mΩ (n = 3 boards). ) Had a connection resistance value. This is a reasonable resistance value calculated from the dimensions of the connection part, and the variation is small, and it was confirmed by this analysis that there is no problem in use.
続いて、得られた層間接続部評価用基板を用いて、260℃半田ディップ(10回繰り返し)耐熱試験、260℃リフロー処理(10回繰り返し)耐熱試験を実施した。その結果、貫通穴径φ0.2mm、0.25mmの層間接続部評価用基板ともに、抵抗値変化率は10%未満であり、使用上問題がないことが確認できた。 Subsequently, a 260 ° C. solder dip (repeated 10 times) heat resistance test and a 260 ° C. reflow treatment (repeated 10 times) heat resistance test were carried out using the obtained substrate for evaluating the interlayer connection portion. As a result, it was confirmed that the resistance value change rate was less than 10% for both the interlayer connection evaluation boards having through hole diameters of φ0.2 mm and 0.25 mm, and there was no problem in use.
層間接続部における銅箔表面からの導電性ペーストの高さ(穴外平板部の厚さ)については、段差計やマイクロスコープなどを用いて測定した結果、10~30μm程度であった。 The height of the conductive paste from the surface of the copper foil at the interlayer connection portion (thickness of the flat plate portion outside the hole) was measured using a step meter, a microscope, or the like, and was about 10 to 30 μm.
以上、本実施形態に係る多層基板の製造方法、部品実装基板の製造方法、多層基板、および、部品実装基板について、発明を実施するための形態により具体的に説明したが、本発明の趣旨はこれらの記載に限定されるものではなく、特許請求の範囲の記載に基づいて広く解釈されなければならない。また、これらの記載に基づいて種々変更、改変などしたものも本発明の趣旨に含まれる。 The method for manufacturing a multilayer board, the method for manufacturing a component mounting board, the multilayer board, and the component mounting substrate according to the present embodiment have been specifically described above in terms of embodiments for carrying out the invention. It is not limited to these statements and must be broadly interpreted based on the statements of the scope of claims. Further, various changes and modifications based on these descriptions are also included in the gist of the present invention.
  例えば、多層基板100は、表面回路パターン2の一部が絶縁基板4の貫通穴1の内壁に沿って延出した延出部20を有するものとした。しかし、裏面回路パターン3の一部が絶縁基板4の貫通穴1の内壁に沿って延出した延出部を有するものであってもよい。また、絶縁基板4の表面側および裏面側の両方に延出部を有するものであってもよい。  For example, the
  また、例えば、多層基板の製造方法では、層間接続部を形成する工程において、絶縁基板4の表面からの印刷(後に印刷する面の印刷)は、片道印刷としたが、往復印刷としてもよい。
  また、多層基板の製造方法および部品実装基板の製造方法は、前記各工程に悪影響を与えない範囲において、前記各工程の間、あるいは前後に、他の工程を含めてもよい。例えば、製造途中に混入した異物を除去する異物除去工程などを含めてもよい。Further, for example, in the method for manufacturing a multilayer substrate, in the step of forming the interlayer connection portion, printing from the surface of the insulating substrate 4 (printing of the surface to be printed later) is one-way printing, but reciprocating printing may be used.
 Further, the method for manufacturing a multilayer board and the method for manufacturing a component mounting board may include other steps during or before and after each of the steps as long as the steps are not adversely affected. For example, a foreign matter removing step of removing foreign matter mixed in during manufacturing may be included.
本開示の実施形態に係る多層基板および部品実装基板は、電子機器、ディスプレイなどに利用することができる。 The multilayer board and component mounting board according to the embodiment of the present disclosure can be used for electronic devices, displays and the like.
1    貫通穴
2    表面回路パターン
2a  表面銅箔
3    裏面回路パターン
3a  裏面銅箔
4    絶縁基板
5    接合体部
5a,6a  穴内充填部
5b,6b  穴外平板部
6    層間接続部
6c  導電性ペースト
7、7c    表面レジスト
8、8c    裏面レジスト
9    接着層
9c  半田ペースト
10  実装部品
11  マスク
12  スクリーンマスク
13  メタルマスク
14  パンチングピン
20  延出部
30  セラミックバフ
40  スキージ
100  多層基板
101  部品実装基板1 Through
| Application Number | Priority Date | Filing Date | Title | 
|---|---|---|---|
| JP2022036623AJP7425348B2 (en) | 2017-09-22 | 2022-03-09 | Multilayer board and component mounting board | 
| Application Number | Priority Date | Filing Date | Title | 
|---|---|---|---|
| JP2017182701AJP7048877B2 (en) | 2017-09-22 | 2017-09-22 | Manufacturing method of multilayer board and manufacturing method of component mounting board | 
| JP2022036623AJP7425348B2 (en) | 2017-09-22 | 2022-03-09 | Multilayer board and component mounting board | 
| Application Number | Title | Priority Date | Filing Date | 
|---|---|---|---|
| JP2017182701ADivisionJP7048877B2 (en) | 2017-09-22 | 2017-09-22 | Manufacturing method of multilayer board and manufacturing method of component mounting board | 
| Publication Number | Publication Date | 
|---|---|
| JP2022066525Atrue JP2022066525A (en) | 2022-04-28 | 
| JP7425348B2 JP7425348B2 (en) | 2024-01-31 | 
| Application Number | Title | Priority Date | Filing Date | 
|---|---|---|---|
| JP2017182701AActiveJP7048877B2 (en) | 2017-09-22 | 2017-09-22 | Manufacturing method of multilayer board and manufacturing method of component mounting board | 
| JP2022036623AActiveJP7425348B2 (en) | 2017-09-22 | 2022-03-09 | Multilayer board and component mounting board | 
| Application Number | Title | Priority Date | Filing Date | 
|---|---|---|---|
| JP2017182701AActiveJP7048877B2 (en) | 2017-09-22 | 2017-09-22 | Manufacturing method of multilayer board and manufacturing method of component mounting board | 
| Country | Link | 
|---|---|
| JP (2) | JP7048877B2 (en) | 
| Publication number | Priority date | Publication date | Assignee | Title | 
|---|---|---|---|---|
| CN115434620B (en)* | 2021-08-13 | 2024-03-26 | 威海蓝星特种玻璃有限公司 | Method for processing hollow glass door of refrigerated cabinet | 
| Publication number | Priority date | Publication date | Assignee | Title | 
|---|---|---|---|---|
| JPS5961992A (en)* | 1982-09-30 | 1984-04-09 | 新藤電子工業株式会社 | Method of producing through hole printed circuit board | 
| JPH08316600A (en)* | 1995-03-15 | 1996-11-29 | Tokuyama Corp | Double sided circuit board | 
| JPH10326971A (en)* | 1997-05-26 | 1998-12-08 | Ngk Spark Plug Co Ltd | Printed wiring board | 
| JP2004063979A (en)* | 2002-07-31 | 2004-02-26 | Ngk Spark Plug Co Ltd | Printed wiring board | 
| JP2005286122A (en)* | 2004-03-30 | 2005-10-13 | Daisho Denshi:Kk | Printed wiring board and its manufacturing method | 
| JP2006156553A (en)* | 2004-11-26 | 2006-06-15 | Matsushita Electric Ind Co Ltd | Flexible printed wiring board, method for producing the same, and method for producing multilayer flexible printed wiring board | 
| Publication number | Priority date | Publication date | Assignee | Title | 
|---|---|---|---|---|
| JPH06112640A (en)* | 1992-09-30 | 1994-04-22 | Sony Corp | Circuit board | 
| JP2715911B2 (en)* | 1994-07-06 | 1998-02-18 | 日本電気株式会社 | Multilayer wiring ceramic substrate and method of manufacturing the same | 
| JPH1051095A (en)* | 1996-05-24 | 1998-02-20 | Hokuriku Electric Ind Co Ltd | Circuit board and its manufacture | 
| JP2005166940A (en)* | 2003-12-02 | 2005-06-23 | Matsushita Electric Ind Co Ltd | Circuit board manufacturing method and component built-in module manufacturing method using the same | 
| JP4457879B2 (en)* | 2004-12-20 | 2010-04-28 | ソニー株式会社 | Method for manufacturing printed circuit board | 
| JP2009205899A (en)* | 2008-02-27 | 2009-09-10 | The Inctec Inc | Conductive paste composition and printed-wiring board | 
| JP5287570B2 (en)* | 2009-07-21 | 2013-09-11 | ソニー株式会社 | Method for manufacturing printed wiring board | 
| JP5793113B2 (en)* | 2012-06-08 | 2015-10-14 | 住友電気工業株式会社 | Flexible printed wiring board | 
| US10347388B2 (en)* | 2015-03-05 | 2019-07-09 | Namics Corporation | Conductive copper paste, conductive copper paste cured film, and semiconductor device | 
| Publication number | Priority date | Publication date | Assignee | Title | 
|---|---|---|---|---|
| JPS5961992A (en)* | 1982-09-30 | 1984-04-09 | 新藤電子工業株式会社 | Method of producing through hole printed circuit board | 
| JPH08316600A (en)* | 1995-03-15 | 1996-11-29 | Tokuyama Corp | Double sided circuit board | 
| JPH10326971A (en)* | 1997-05-26 | 1998-12-08 | Ngk Spark Plug Co Ltd | Printed wiring board | 
| JP2004063979A (en)* | 2002-07-31 | 2004-02-26 | Ngk Spark Plug Co Ltd | Printed wiring board | 
| JP2005286122A (en)* | 2004-03-30 | 2005-10-13 | Daisho Denshi:Kk | Printed wiring board and its manufacturing method | 
| JP2006156553A (en)* | 2004-11-26 | 2006-06-15 | Matsushita Electric Ind Co Ltd | Flexible printed wiring board, method for producing the same, and method for producing multilayer flexible printed wiring board | 
| Publication number | Publication date | 
|---|---|
| JP7425348B2 (en) | 2024-01-31 | 
| JP2019057694A (en) | 2019-04-11 | 
| JP7048877B2 (en) | 2022-04-06 | 
| Publication | Publication Date | Title | 
|---|---|---|
| JP6699969B2 (en) | Multilayer wiring board for electronic component inspection | |
| US20170265300A1 (en) | Double-sided printed circuit board and method for manufacturing same | |
| KR20070073730A (en) | Wiring boards, wiring materials and manufacturing method of copper clad laminate and wiring board | |
| US11864317B2 (en) | Sn—Bi and copper powder conductive paste in through hole of insulating substrate | |
| JP4955970B2 (en) | Flexible printed wiring board and manufacturing method thereof | |
| JP4227482B2 (en) | Manufacturing method of module with built-in components | |
| US20120218721A1 (en) | Method of manufacturing component built-in module and component built-in module | |
| JP2022066525A (en) | Multi-layer board and component mounting board | |
| JP7307303B2 (en) | Multilayer board, component mounting board, and manufacturing method thereof | |
| TWI581686B (en) | Circuit board and method for manufacturing same | |
| JP2005311289A (en) | Circuit connection structure and manufacturing method thereof | |
| JP4917271B2 (en) | Wiring board manufacturing method | |
| JP2010129803A (en) | Wiring circuit board and method for manufacturing the same | |
| JP5945262B2 (en) | Printed wiring board and manufacturing method thereof | |
| KR20120050834A (en) | Method of manufacturing the package board | |
| JPH1070363A (en) | Manufacturing method of printed wiring board | |
| JPH08264939A (en) | Method for manufacturing printed wiring board | |
| CN114846911A (en) | Retractable mounting board and method for manufacturing the same | |
| JP4639733B2 (en) | Method for manufacturing printed wiring board | |
| JP4728417B2 (en) | Method for manufacturing printed circuit board | |
| JP6442136B2 (en) | Wiring board and manufacturing method thereof | |
| JP2004128387A (en) | Multilayer substrate and its manufacturing method | |
| JP6235955B2 (en) | Multilayer ceramic circuit board | |
| US20050062587A1 (en) | Method and structure of a substrate with built-in via hole resistors | |
| KR100932535B1 (en) | Printed circuit board with embedded resistor and manufacturing method | 
| Date | Code | Title | Description | 
|---|---|---|---|
| A621 | Written request for application examination | Free format text:JAPANESE INTERMEDIATE CODE: A621 Effective date:20220309 | |
| A131 | Notification of reasons for refusal | Free format text:JAPANESE INTERMEDIATE CODE: A131 Effective date:20230207 | |
| A521 | Request for written amendment filed | Free format text:JAPANESE INTERMEDIATE CODE: A523 Effective date:20230405 | |
| A02 | Decision of refusal | Free format text:JAPANESE INTERMEDIATE CODE: A02 Effective date:20230718 | |
| A521 | Request for written amendment filed | Free format text:JAPANESE INTERMEDIATE CODE: A523 Effective date:20231010 | |
| A911 | Transfer to examiner for re-examination before appeal (zenchi) | Free format text:JAPANESE INTERMEDIATE CODE: A911 Effective date:20231019 | |
| TRDD | Decision of grant or rejection written | ||
| A01 | Written decision to grant a patent or to grant a registration (utility model) | Free format text:JAPANESE INTERMEDIATE CODE: A01 Effective date:20231219 | |
| A61 | First payment of annual fees (during grant procedure) | Free format text:JAPANESE INTERMEDIATE CODE: A61 Effective date:20240101 | |
| R151 | Written notification of patent or utility model registration | Ref document number:7425348 Country of ref document:JP Free format text:JAPANESE INTERMEDIATE CODE: R151 |