Movatterモバイル変換


[0]ホーム

URL:


JP2021182248A - Tactile sense presenting device and arthrodesis device - Google Patents

Tactile sense presenting device and arthrodesis device
Download PDF

Info

Publication number
JP2021182248A
JP2021182248AJP2020087361AJP2020087361AJP2021182248AJP 2021182248 AJP2021182248 AJP 2021182248AJP 2020087361 AJP2020087361 AJP 2020087361AJP 2020087361 AJP2020087361 AJP 2020087361AJP 2021182248 AJP2021182248 AJP 2021182248A
Authority
JP
Japan
Prior art keywords
movable
joint
movable body
porous member
user
Prior art date
Legal status (The legal status is an assumption and is not a legal conclusion. Google has not performed a legal analysis and makes no representation as to the accuracy of the status listed.)
Pending
Application number
JP2020087361A
Other languages
Japanese (ja)
Inventor
文俊 松野
Fumitoshi Matsuno
稜平 道川
Ryohei Michikawa
孝浩 遠藤
Takahiro Endo
Current Assignee (The listed assignees may be inaccurate. Google has not performed a legal analysis and makes no representation or warranty as to the accuracy of the list.)
Kyoto University NUC
Original Assignee
Kyoto University NUC
Priority date (The priority date is an assumption and is not a legal conclusion. Google has not performed a legal analysis and makes no representation as to the accuracy of the date listed.)
Filing date
Publication date
Application filed by Kyoto University NUCfiledCriticalKyoto University NUC
Priority to JP2020087361ApriorityCriticalpatent/JP2021182248A/en
Publication of JP2021182248ApublicationCriticalpatent/JP2021182248A/en
Pendinglegal-statusCriticalCurrent

Links

Images

Landscapes

Abstract

Translated fromJapanese

【課題】軟らかさを適切に提示する。
【解決手段】触覚提示装置は、弾性を有する略板状の多孔質部材61と、多孔質部材61を収容するとともに外面が触覚の提示面620である袋状部62とを備え、袋状部62に対する所定の流体の供給および回収により多孔質部材61の圧縮の程度が可変である。これにより、軟らかさを適切に提示することが可能である。好ましい触覚提示装置は、多孔質部材61に対して提示面620とは反対側に重ねられ、剛性が可変である剛性可変部67をさらに備える。これにより、幅広い範囲の硬軟感覚の提示を実現することができる。
【選択図】図13
PROBLEM TO BE SOLVED: To appropriately present softness.
A tactile presentation device includes a substantially plate-shaped porous member 61 having elasticity, and a bag-shaped portion 62 that accommodates the porous member 61 and whose outer surface is a tactile presentation surface 620. The degree of compression of the porous member 61 is variable by supplying and recovering a predetermined fluid to 62. This makes it possible to appropriately present the softness. A preferred tactile presentation device further comprises a stiffness variable portion 67 that is stacked on the opposite side of the presentation surface 620 with respect to the porous member 61 and has a variable stiffness. Thereby, it is possible to realize the presentation of a wide range of hard and soft sensations.
[Selection diagram] FIG. 13

Description

Translated fromJapanese

本発明は、触覚提示装置および関節固定装置に関する。 The present invention relates to a tactile presentation device and a joint fixation device.

従来、ハプティックデバイスの開発が進められている。例えば、特許文献1の力触覚ディスプレイハンドでは、複数の骨材が連結部で可動自在に連結され、弾性膨張収縮体が、連結部をまたがって複数の骨材間に固定される。また、骨材に連結されるとともに、手の一部に係合される指サックまたはグローブが設けられる。そして、弾性膨張収縮体を膨張または収縮させることにより当該手の一部に疑似的な力が与えられる。 Conventionally, the development of haptic devices is in progress. For example, in the force-tactile display hand ofPatent Document 1, a plurality of aggregates are movably connected at a connecting portion, and an elastic expansion / contraction body is fixed between the plurality of aggregates across the connecting portion. Also provided is a finger cot or glove that is connected to the aggregate and engaged with a portion of the hand. Then, by expanding or contracting the elastic expansion / contraction body, a pseudo force is applied to a part of the hand.

また、非特許文献1では、ジャミングチューブ(またはジャミングパッド)をグローブの指の掌側に取り付けたデバイスが開示されている。当該デバイスでは、使用者の指に力を提示する際に、真空圧を調整することにより当該指のチューブが硬化される。 Further,Non-Patent Document 1 discloses a device in which a jamming tube (or jamming pad) is attached to the palm side of a finger of a glove. In the device, when the force is applied to the user's finger, the tube of the finger is cured by adjusting the vacuum pressure.

特開2004−29999号公報Japanese Unexamined Patent Publication No. 2004-29999

Igor Zubrycki, Grzegorz Granosik, "Novel Haptic Device Using Jamming Principle for Providing Kinaesthetic Feedback in Glove-Based Control Interface", J Intell Robot Syst 85:413 - 429, 2017Igor Zubrycki, Grzegorz Granosik, "Novel Haptic Device Using Jamming Principle for Providing Kinaesthetic Feedback in Glove-Based Control Interface", J Intell Robot Syst 85: 413 --429, 2017

非特許文献1のデバイスでは、ジャミングチューブが指の動きの固定に用いられており、軟らかさを提示することができない。実際には、プリシェイプ時に、真空ジャミング素材(ジャミングチューブ)を押すことになって、反力を感じてしまうので、拘束なく指が動いている感覚を適切に提示できない。もちろん硬軟感も同時に提示できない。また、真空ジャミング素材で関節を固定している状態から、空気を入れて関節を開放し自由に運動するよう(物体から指を離した状態)にする場合には、応答がそれほど速くなく、反力を感じてしまうので、拘束なく指が動いている感覚を適切に提示できない。 In the device of Non-PatentDocument 1, the jamming tube is used for fixing the movement of the finger, and cannot present the softness. Actually, at the time of pre-shape, the vacuum jamming material (jamming tube) is pushed, and the reaction force is felt, so that the feeling that the finger is moving without restraint cannot be properly presented. Of course, the feeling of hardness cannot be presented at the same time. Also, when the joint is fixed with a vacuum jamming material, when air is introduced to open the joint and allow it to move freely (when the finger is separated from the object), the response is not so fast, and it is anti. Since I feel power, I cannot properly present the feeling that my fingers are moving without restraint.

また、特許文献1および非特許文献1の手法以外に、使用者の関節の動きを固定する手法も求められている。 Further, in addition to the methods ofPatent Document 1 andNon-Patent Document 1, a method of fixing the movement of a user's joint is also required.

本発明は上記課題に鑑みなされたものであり、軟らかさを適切に提示することを目的とし、関節の動きを適切に固定する新規な手法を提供することも目的としている。 The present invention has been made in view of the above problems, and an object of the present invention is to appropriately present softness, and an object of the present invention is to provide a novel method for appropriately fixing the movement of a joint.

本発明の好ましい一の形態に係る触覚提示装置は、弾性を有する略板状の多孔質部材と、前記多孔質部材を収容するとともに外面が触覚の提示面である袋状部とを備え、前記袋状部に対する所定の流体の供給および回収により前記多孔質部材の圧縮の程度が可変である。 The tactile presentation device according to a preferred embodiment of the present invention includes a substantially plate-shaped porous member having elasticity, and a bag-shaped portion that accommodates the porous member and whose outer surface is a tactile presentation surface. The degree of compression of the porous member is variable by supplying and recovering a predetermined fluid to the bag-shaped portion.

好ましくは、前記多孔質部材に対して前記提示面とは反対側に重ねられ、剛性が可変である剛性可変部をさらに備える。 Preferably, the porous member is further provided with a rigidity variable portion that is overlapped with the porous member on the side opposite to the presentation surface and has a variable rigidity.

好ましくは、前記剛性可変部が、層状または粒状の封入物が収容された袋状部を有し、前記袋状部に対する所定の流体の供給および回収により剛性が可変である。 Preferably, the variable stiffness portion has a bag-shaped portion containing a layered or granular inclusion, and the rigidity is variable by supplying and recovering a predetermined fluid to the bag-shaped portion.

好ましくは、前記多孔質部材と、前記剛性可変部の前記封入物とが同一の袋状部に収容される。 Preferably, the porous member and the enclosure of the variable rigidity portion are housed in the same bag-shaped portion.

好ましくは、前記提示面が使用者の指の掌側に対向するように、前記多孔質部材、前記多孔質部材が収容される前記袋状部、および、前記剛性可変部が前記使用者に対して取り付けられ、前記剛性可変部において、前記指の関節に対向する位置における前記封入物の密度が、他の位置における密度よりも低い。 Preferably, the porous member, the bag-shaped portion in which the porous member is housed, and the variable rigidity portion are directed to the user so that the presentation surface faces the palm side of the user's finger. In the variable stiffness portion, the density of the inclusions at the position facing the knuckle joint is lower than the density at other positions.

好ましくは、触覚提示装置が、使用者の指に沿って前記使用者に取り付けられる複数の可動体を有するとともに、前記複数の可動体のそれぞれが、前記指の関節の一の可動方向に移動可能な状態で隣接する可動体に連結される可動部と、所定の入力に応じて、前記複数の可動体において隣接する2つの可動体の接触面間に互いに押し合う力を付与することにより、前記接触面間の摩擦力を増大させ、前記可動部の剛性を高くする剛性調整部とをさらに備え、前記提示面が前記使用者の前記指の掌側に対向するように、前記多孔質部材、および、前記多孔質部材が収容される前記袋状部が、前記使用者に対して取り付けられる。 Preferably, the tactile presenter has a plurality of movable bodies attached to the user along the user's finger, and each of the plurality of movable bodies can move in one movable direction of the finger joint. By applying a force to push each other between the contact surfaces of the two adjacent movable bodies in the plurality of movable bodies in response to a predetermined input from the movable portion connected to the adjacent movable bodies in the above state. The porous member, further comprising a rigidity adjusting portion that increases the frictional force between the contact surfaces and increases the rigidity of the movable portion, so that the presentation surface faces the palm side of the finger of the user. And, the bag-shaped portion in which the porous member is housed is attached to the user.

本発明の好ましい一の形態に係る関節固定装置は、一の関節の両側の骨に沿って使用者に取り付けられる複数の可動体を有するとともに、前記複数の可動体のそれぞれが、前記関節の一の可動方向に移動可能な状態で隣接する可動体に連結される可動部と、所定の入力に応じて、前記複数の可動体において隣接する2つの可動体の接触面間に互いに押し合う力を付与することにより、前記接触面間の摩擦力を増大させ、前記可動部の剛性を高くする剛性調整部とを備える。 The joint fixing device according to a preferred embodiment of the present invention has a plurality of movable bodies attached to the user along the bones on both sides of the one joint, and each of the plurality of movable bodies is one of the joints. A movable part connected to an adjacent movable body in a state of being movable in the movable direction of the above, and a force that pushes against each other between the contact surfaces of the two adjacent movable bodies in the plurality of movable bodies in response to a predetermined input. A rigidity adjusting portion for increasing the frictional force between the contact surfaces and increasing the rigidity of the movable portion is provided.

好ましくは、隣接する2つの可動体のうち、一方の可動体が、複数の第1接触面を有し、他方の可動体が、前記複数の第1接触面にそれぞれ接触する複数の第2接触面を有する。 Preferably, of the two adjacent movable bodies, one movable body has a plurality of first contact surfaces, and the other movable body has a plurality of second contacts each in contact with the plurality of first contact surfaces. Has a face.

好ましくは、前記一方の可動体が、前記関節の一の可動方向の軸に略垂直な断面が円弧状の突起部を有し、前記他方の可動体が、前記軸に略垂直な断面が円弧状であり、前記突起部が挿入される溝部を有し、前記突起部の断面円弧状の2つの側面のそれぞれが第1接触面であり、前記溝部の断面円弧状の2つの側面のそれぞれが第2接触面である。 Preferably, the one movable body has a protrusion having an arcuate cross section substantially perpendicular to the axis of one of the joints in the movable direction, and the other movable body has a circular cross section substantially perpendicular to the axis. It is arcuate and has a groove into which the protrusion is inserted, each of the two arcuate side surfaces of the protrusion is the first contact surface, and each of the two arcuate cross-sectional sides of the groove is arcuate. This is the second contact surface.

好ましくは、前記突起部が、前記軸に略垂直な板状部位から突出し、前記板状部位において、前記突起部の根元に沿う弱化溝が設けられる。 Preferably, the protrusion protrudes from a plate-shaped portion substantially perpendicular to the axis, and the plate-shaped portion is provided with a weakening groove along the root of the protrusion.

好ましくは、前記複数の可動体が、前記使用者の指に沿って取り付けられる。 Preferably, the plurality of movable bodies are attached along the user's fingers.

好ましくは、隣接する2つの可動体が互いに連結される部分を連結部として、前記関節の一の可動方向の軸に沿って見た場合に、前記軸に略平行な可動軸を有する少なくとも1つの連結部が、前記関節近傍において前記使用者の部位から離れた位置に配置され、前記少なくとも1つの連結部にて連結される可動体を含むリンク機構により、前記使用者が前記関節を前記可動方向に動かすことが可能である。 Preferably, at least one having a movable axis substantially parallel to the axis when viewed along one movable axis of the joint, with a portion where two adjacent movable bodies are connected to each other as a connecting portion. The connecting portion is arranged at a position away from the user's site in the vicinity of the joint, and the link mechanism including a movable body connected by the at least one connecting portion allows the user to move the joint in the movable direction. It is possible to move to.

好ましくは、関節固定装置は、物体の形状を仮想的に提示する物体形状提示装置として利用される。 Preferably, the joint fixing device is used as an object shape presenting device that virtually presents the shape of an object.

本発明に係る触覚提示装置では、軟らかさを適切に提示することができる。本発明に係る関節固定装置では、関節の動きを適切に固定することができ、特に、関節固定装置は、物体の形状を仮想的に提示する物体形状提示装置として利用することができる。 The tactile presentation device according to the present invention can appropriately present softness. In the joint fixing device according to the present invention, the movement of the joint can be appropriately fixed, and in particular, the joint fixing device can be used as an object shape presenting device that virtually presents the shape of an object.

触覚提示装置を示す斜視図である。It is a perspective view which shows the tactile presentation device.触覚提示装置の関節固定装置および硬軟提示装置の構成を示す図である。It is a figure which shows the structure of the joint fixing device and the hard and soft presentation device of a tactile presentation device.第1可動体を示す斜視図である。It is a perspective view which shows the 1st movable body.第1可動体を示す側面図である。It is a side view which shows the 1st movable body.2つの第1可動体の連結を説明するための図である。It is a figure for demonstrating the connection of two 1st movable bodies.第2可動体を示す斜視図である。It is a perspective view which shows the 2nd movable body.第2可動体を示す側面図である。It is a side view which shows the 2nd movable body.第3可動体を示す側面図である。It is a side view which shows the 3rd movable body.第4可動体を示す側面図である。It is a side view which shows the 4th movable body.第1ないし第4可動体を模式的に示す図である。It is a figure which shows the 1st to 4th movable body schematically.リンク機構を模式的に示す図である。It is a figure which shows the link mechanism schematically.指を曲げた状態における可動部およびパッド部を示す図である。It is a figure which shows the movable part and the pad part in the state which a finger is bent.パッド部を示す断面図である。It is sectional drawing which shows the pad part.封入物の一部を拡大して示す図である。It is a figure which shows the part of the inclusions enlarged.封入物の他の例を示す図である。It is a figure which shows the other example of inclusions.硬軟特性の評価結果を示す図である。It is a figure which shows the evaluation result of the hardness | hardness property.可動部の他の例を示す図である。It is a figure which shows another example of a moving part.第1可動体の他の例を示す図である。It is a figure which shows the other example of the 1st movable body.

図1は、本発明の一の実施の形態に係る触覚提示装置1を示す斜視図である。図2は、触覚提示装置1の関節固定装置2および硬軟提示装置6の構成を示す図である。図2では、後述のグローブ部11の図示を省略するとともに、使用者の指9を太い二点鎖線にて示している。 FIG. 1 is a perspective view showing atactile presentation device 1 according to an embodiment of the present invention. FIG. 2 is a diagram showing the configuration of thejoint fixing device 2 and the hard /soft presentation device 6 of thetactile presentation device 1. In FIG. 2, theglove portion 11 described later is not shown, and the user's finger 9 is shown by a thick two-dot chain line.

図1および図2に示すように、触覚提示装置1は、制御部10と、グローブ部11と、複数の関節固定装置2と、複数の硬軟提示装置6とを備える。制御部10は、例えばCPU等を有するコンピュータであり、触覚提示装置1の全体制御を担う。グローブ部11は、使用者の手に装着される。グローブ部11は、例えば、指なし手袋であり、使用者の各指9は、根元を除き、グローブ部11には覆われない。グローブ部11には、使用者の各指9が通される指開口部が設けられる。関節固定装置2および硬軟提示装置6の双方は、使用者の複数(例えば、5本)の指9のそれぞれに対して設けられる。関節固定装置2および硬軟提示装置6は、特定の指9(例えば、親指、人差し指、中指)のみに設けられてもよい。また、関節固定装置2および硬軟提示装置6は、必ずしも1つの指9毎に設けられる必要はなく、数本の指9(例えば、小指と薬指)を1つに纏め、当該数本の指9に対して、一対の関節固定装置2および硬軟提示装置6が設けられてもよい。関節固定装置2は、使用者の指9のDIP関節91、PIP関節92およびMP関節93(図10参照)の動きを固定することが可能である。硬軟提示装置6は、使用者の指9の掌側に設けられる後述のパッド部60により、使用者に対して触覚(特に、硬軟感覚)を提示する。 As shown in FIGS. 1 and 2, thetactile presentation device 1 includes acontrol unit 10, aglove unit 11, a plurality ofjoint fixing devices 2, and a plurality of hard /soft presentation devices 6. Thecontrol unit 10 is, for example, a computer having a CPU or the like, and is responsible for overall control of thetactile presentation device 1. Theglove portion 11 is attached to the user's hand. Theglove portion 11 is, for example, a fingerless glove, and each finger 9 of the user is not covered by theglove portion 11 except for the root. Theglove portion 11 is provided with a finger opening through which each finger 9 of the user is passed. Both thejoint fixing device 2 and the hard /soft presentation device 6 are provided for each of the plurality of (for example, five) fingers 9 of the user. Thejoint fixing device 2 and the soft /soft presentation device 6 may be provided only on a specific finger 9 (for example, thumb, index finger, middle finger). Further, thejoint fixing device 2 and the hardness /softness presentation device 6 do not necessarily have to be provided for each finger 9, and several fingers 9 (for example, the little finger and the ring finger) are combined into one, and the several fingers 9 are combined. On the other hand, a pair ofjoint fixing devices 2 and a hard /soft presentation device 6 may be provided. Thejoint fixing device 2 can fix the movements of the DIP joint 91, the PIP joint 92, and the MP joint 93 (see FIG. 10) of the user's finger 9. The hard /soft presentation device 6 presents a tactile sensation (particularly, a hard / soft sensation) to the user by apad portion 60, which will be described later, provided on the palm side of the user's finger 9.

ここで、人は現実の物体を把持しようとするとき、手が物体に接触してから指を動かすのではなく、手を物体に近づける間に指を曲げて物体の形状に沿わせるように動かす(プリシェイプ)。図1のグローブ部11を手に装着した使用者が、仮想物体を把持しようとする際にも、手を仮想物体に近づける間に指9を曲げて仮想物体の形状に沿わせる。したがって、手と仮想物体とが接触したと判断されるときに、関節固定装置2が使用者の指9の関節91〜93を固定することで、指9は掌側に設けられたパッド部60から反力を受け、使用者は物をつかんだと錯覚する。このとき、硬軟提示装置6は、パッド部60により仮想物体の硬軟感覚も提示する。以下、関節固定装置2および硬軟提示装置6について順に説明する。 Here, when a person tries to grasp a real object, instead of moving the finger after the hand touches the object, the person bends the finger while moving the hand close to the object and moves it so as to follow the shape of the object. (Pre-shape). Even when the user wearing theglove portion 11 of FIG. 1 tries to grasp the virtual object, the finger 9 is bent while the hand is brought close to the virtual object to follow the shape of the virtual object. Therefore, when it is determined that the hand and the virtual object are in contact with each other, thejoint fixing device 2 fixes thejoints 91 to 93 of the user's finger 9, so that the finger 9 is provided with apad portion 60 on the palm side. The user feels that he has grabbed an object due to the reaction force. At this time, the hardness /softness presenting device 6 also presents the hardness / softness sensation of the virtual object by thepad unit 60. Hereinafter, thejoint fixing device 2 and the hard /soft presentation device 6 will be described in order.

図2に示すように、関節固定装置2は、可動部3と、剛性調整部4とを備える。可動部3は、グローブ部11に取り付けられ、例えば、樹脂により形成される。可動部3は、複数の第1可動体31,31a,31bと、1つの第2可動体32と、1つの第3可動体33と、1つの第4可動体34とを備える。 As shown in FIG. 2, thejoint fixing device 2 includes amovable portion 3 and a rigidity adjusting portion 4. Themovable portion 3 is attached to theglove portion 11 and is formed of, for example, resin. Themovable portion 3 includes a plurality of firstmovable bodies 31, 31a, 31b, one secondmovable body 32, one thirdmovable body 33, and one fourthmovable body 34.

複数の第1可動体31,31a,31bは、グローブ部11を装着した使用者の指9の先端近傍から根元近傍(グローブ部11の指開口部近傍)に亘って、指9の骨に沿って配列される。各第1可動体31,31a,31bは、隣接する第1可動体31,31a,31bに連結される。第1可動体31,31a,31bは、指9の両側面および背側を覆う形状を有する。硬軟提示装置6のパッド部60は、複数の第1可動体31,31a,31bに取り付けられ、指9の掌側を覆う。このように、複数の第1可動体31,31a,31bは、パッド部60と共に指9の周囲を囲むようにして、使用者に取り付けられる。 The plurality of firstmovable bodies 31, 31a, 31b extend from the vicinity of the tip of the finger 9 of the user wearing theglove portion 11 to the vicinity of the root (near the finger opening of the glove portion 11) along the bone of the finger 9. Are arranged. Each of the firstmovable bodies 31, 31a, 31b is connected to the adjacent firstmovable body 31, 31a, 31b. The firstmovable bodies 31, 31a, 31b have a shape that covers both side surfaces and the back side of the finger 9. Thepad portion 60 of the hard /soft presentation device 6 is attached to a plurality of firstmovable bodies 31, 31a, 31b and covers the palm side of the finger 9. In this way, the plurality of firstmovable bodies 31, 31a, 31b are attached to the user together with thepad portion 60 so as to surround the circumference of the finger 9.

図2の例における複数の第1可動体31,31a,31bでは、最も遠位側(指9の先端側)に配置される第1可動体31a、および、最も近位側(体幹に近い側)に配置される第1可動体31bを除く全ての第1可動体31は、同じ形状を有する。複数の第1可動体31は、必ずしも同じ形状を有する必要はない(後述の図18参照)。最も近位側の第1可動体31bには、第2可動体32の遠位側の端部が連結される。第2可動体32の近位側の端部には、第3可動体33の遠位側の端部が連結される。第3可動体32の近位側の端部には、第4可動体34の遠位側の端部が連結される。以下、第1ないし第4可動体31〜34について説明する。 In the plurality of firstmovable bodies 31, 31a, 31b in the example of FIG. 2, the firstmovable body 31a arranged on the most distal side (tip side of the finger 9) and the most proximal side (closest to the trunk). All the firstmovable bodies 31 except the firstmovable body 31b arranged on the side) have the same shape. The plurality of firstmovable bodies 31 do not necessarily have the same shape (see FIG. 18 described later). The distal end of the secondmovable body 32 is connected to the firstmovable body 31b on the most proximal side. The distal end of the thirdmovable body 33 is connected to the proximal end of the secondmovable body 32. The distal end of the fourthmovable body 34 is connected to the proximal end of the thirdmovable body 32. Hereinafter, the first to fourthmovable bodies 31 to 34 will be described.

図3は、第1可動体31を示す斜視図である。図4は、第1可動体31を示す側面図であり、後述の屈伸軸方向に沿って見た第1可動体31を示す。また、図4中の左側が遠位側であり、右側が近位側である。第1可動体31は、2つの本体側部311と、1つの接続部319とを備える。2つの本体側部311は、使用者の指9の両側面に対向する位置に配置される。接続部319は、指9の背側において2つの本体側部311を接続する。 FIG. 3 is a perspective view showing the firstmovable body 31. FIG. 4 is a side view showing the firstmovable body 31, and shows the firstmovable body 31 as viewed along the bending / stretching axis direction described later. Further, the left side in FIG. 4 is the distal side, and the right side is the proximal side. The firstmovable body 31 includes two mainbody side portions 311 and one connectingportion 319. The two mainbody side portions 311 are arranged at positions facing both side surfaces of the user's finger 9. The connectingportion 319 connects the two mainbody side portions 311 on the back side of the finger 9.

各本体側部311は、指9のDIP関節91、PIP関節92およびMP関節93(図10参照)の可動方向の軸に略垂直な板状部位である。本実施の形態では、DIP関節91、PIP関節92およびMP関節93の可動方向は、各関節91〜93において指9を屈曲または伸展させる回転方向を意味するものとする。また、可動方向の軸は、各関節91〜93において指9を屈伸させる際における当該関節の軸である。DIP関節91、PIP関節92およびMP関節93の可動方向の軸は、互いにおよそ平行である。以下の説明では、これらの関節を「指関節」と総称し、指関節の可動方向の軸に平行な方向を「屈伸軸方向」という。屈伸軸方向は、図4の紙面に垂直な方向である。なお、MP関節93では、指9の内外転も可能であるが、これについては後述する。 Each mainbody side portion 311 is a plate-shaped portion substantially perpendicular to the axis in the movable direction of the DIP joint 91, the PIP joint 92, and the MP joint 93 (see FIG. 10) of the finger 9. In the present embodiment, the movable direction of the DIP joint 91, the PIP joint 92, and the MP joint 93 means the rotation direction in which the finger 9 is flexed or extended in each of thejoints 91 to 93. Further, the axis in the movable direction is the axis of the joint when the finger 9 is bent and extended in each of thejoints 91 to 93. The axes of movement of the DIP joint 91, the PIP joint 92 and the MP joint 93 are approximately parallel to each other. In the following description, these joints are collectively referred to as "knuckles", and the direction parallel to the axis of movement of the knuckles is referred to as "flexion / extension axis direction". The bending / stretching axis direction is the direction perpendicular to the paper surface of FIG. In the MP joint 93, the adduction and abduction of the finger 9 is also possible, which will be described later.

各本体側部311は、側部遠位部312と、側部中央部313と、側部近位部314とを備える。本体側部311では、遠位側から近位側に向かって順に、側部遠位部312、側部中央部313、側部近位部314が配置される。すなわち、側部遠位部312は、側部中央部313の遠位側に位置し、側部近位部314は、側部中央部313の近位側に位置する。側部遠位部312、側部中央部313および側部近位部314は、屈伸軸方向に略垂直な板状部位である。図3の例では、側部遠位部312および側部近位部314の厚さは、側部中央部313の厚さよりも小さい。また、側部遠位部312は、側部中央部313における指9の側面側の面に沿って設けられ、側部近位部314は、側部中央部313における当該面とは反対側の面に沿って設けられる。したがって、側部近位部314は、側部遠位部312よりも指9の側面から離れた位置に配置される。 Eachbody side portion 311 comprises a sidedistal portion 312, a sidecentral portion 313, and a lateralproximal portion 314. In the mainbody side portion 311, the sidedistal portion 312, the sidecentral portion 313, and the sideproximal portion 314 are arranged in order from the distal side to the proximal side. That is, thedistal side portion 312 is located distal to thecentral side portion 313, and theproximal side portion 314 is located proximal to thecentral side portion 313. The lateraldistal portion 312, the lateralcentral portion 313, and the lateralproximal portion 314 are plate-like portions substantially perpendicular to the flexion / extension axis direction. In the example of FIG. 3, the thickness of the lateraldistal portion 312 and the lateralproximal portion 314 is smaller than the thickness of the lateralcentral portion 313. Further, the sidedistal portion 312 is provided along the side surface of the finger 9 in the sidecentral portion 313, and the sideproximal portion 314 is on the side opposite to the surface in the sidecentral portion 313. It is provided along the surface. Therefore, theproximal side portion 314 is located farther from the side surface of the finger 9 than thedistal side portion 312.

各本体側部311は、複数の突起部37と、複数の溝部38とをさらに備える。図3および図4の例では、各本体側部311における突起部37の個数、および、溝部38の個数は2である。突起部37の個数、および、溝部38の個数は、1または3以上であってもよい。複数の突起部37は、側部近位部314に設けられ、使用者の指9の側面に向かって突出する。屈伸軸方向に略垂直な各突起部37の断面は、屈伸軸方向に略平行な第1中心軸J1(図4参照)を中心とする円弧状である。複数の突起部37は、第1中心軸J1を中心とし、かつ、半径が異なる複数の円筒の一部である。各本体側部311における第1中心軸J1は、当該本体側部311から離れた位置に配置される。各突起部37の厚さは、第1中心軸J1を中心とする周方向において一定であり、複数の突起部37の厚さもほぼ同じである。 Each mainbody side portion 311 further includes a plurality ofprotrusions 37 and a plurality ofgroove portions 38. In the examples of FIGS. 3 and 4, the number ofprotrusions 37 and the number ofgrooves 38 in each mainbody side portion 311 are 2. The number ofprotrusions 37 and the number ofgrooves 38 may be 1 or 3 or more. The plurality ofprotrusions 37 are provided on theproximal side portion 314 and project toward the side surface of the user's finger 9. The cross section of eachprotrusion 37 substantially perpendicular to the bending / stretching axis direction is an arc shape centered on the first central axis J1 (see FIG. 4) substantially parallel to the bending / stretching axis direction. The plurality ofprotrusions 37 are parts of a plurality of cylinders centered on the first central axis J1 and having different radii. The first central axis J1 in each mainbody side portion 311 is arranged at a position away from the mainbody side portion 311. The thickness of eachprotrusion 37 is constant in the circumferential direction about the first central axis J1, and the thicknesses of the plurality ofprotrusions 37 are also substantially the same.

側部近位部314には、複数の弱化溝36が設けられる。各弱化溝36は、いずれかの突起部37の根元に沿っており、屈伸軸方向に略垂直な各弱化溝36の断面は、第1中心軸J1を中心とする円弧状である。図4の例では、側部近位部314における近位側の端部から遠位側に向かって(図4中の右側から左側に向かって)、突起部37および弱化溝36が交互に配置される。遠位側の突起部37における遠位側の側面371は、第1中心軸J1の方向(すなわち、屈伸軸方向)において、遠位側の弱化溝36の側面に連続し、近位側の側面371は、屈伸軸方向において近位側の弱化溝36の側面に連続する。近位側の突起部37における遠位側の側面371は、近位側の弱化溝36の側面に連続し、近位側の側面371は、側部近位部314における近位側の端面315に連続する。各突起部37は、第1中心軸J1を中心とする周方向の両端部のみにおいて支持される。 A plurality of weakeninggrooves 36 are provided in the sideproximal portion 314. Each weakeninggroove 36 is along the root of any of theprotrusions 37, and the cross section of each weakeninggroove 36 substantially perpendicular to the bending / stretching axis direction is an arc shape centered on the first central axis J1. In the example of FIG. 4, theprotrusions 37 and the weakeninggrooves 36 are alternately arranged from the proximal end to the distal side (from the right side to the left side in FIG. 4) in theproximal side portion 314. Will be done. Thedistal side surface 371 of thedistal protrusion 37 is continuous with the side surface of thedistal weakening groove 36 in the direction of the first central axis J1 (ie, the flexion / extension axis direction) and is the proximal side surface. 371 is continuous with the side surface of the weakeninggroove 36 on the proximal side in the bending / extension axis direction. Thedistal side surface 371 of theproximal projection 37 is continuous with the side surface of theproximal weakening groove 36, and theproximal side surface 371 is theproximal end face 315 of the sideproximal portion 314. Continue to. Eachprotrusion 37 is supported only at both ends in the circumferential direction about the first central axis J1.

複数の溝部38は、側部遠位部312に設けられる。屈伸軸方向に略垂直な各溝部38の断面は、屈伸軸方向に略平行な第2中心軸J2を中心とする円弧状である。複数の溝部38の半径は、互いに相違する。各本体側部311における第2中心軸J2は、当該本体側部311上(図4の例では、側部中央部313上)に配置される。各溝部38の幅(第2中心軸J2を中心とする径方向の幅)は、第2中心軸J2を中心とする周方向において一定であり、複数の溝部38の幅もほぼ同じである。 The plurality ofgrooves 38 are provided in thedistal side portion 312. The cross section of eachgroove 38 substantially perpendicular to the bending / stretching axis direction is an arc shape centered on the second central axis J2 substantially parallel to the bending / stretching axis direction. The radii of the plurality ofgrooves 38 are different from each other. The second central axis J2 in each mainbody side portion 311 is arranged on the main body side portion 311 (in the example of FIG. 4, on the side portion central portion 313). The width of each groove 38 (the radial width centered on the second central axis J2) is constant in the circumferential direction centered on the second central axis J2, and the widths of the plurality of groove 38s are also substantially the same.

第2中心軸J2を中心とする複数の溝部38の半径は、第1中心軸J1を中心とする複数の突起部37の半径とそれぞれほぼ一致する。詳細には、各溝部38における遠位側の側面381の半径は、いずれかの突起部37における遠位側の側面371の半径とほぼ同じである、または、当該半径よりも僅かに大きい。当該溝部38における近位側の側面381の半径は、当該突起部37における近位側の側面371の半径とほぼ同じである、または、当該半径よりも僅かに小さい。また、第2中心軸J2を中心とする当該溝部38の角度範囲は、第1中心軸J1を中心とする当該突起部37の角度範囲よりも十分に大きい。 The radii of the plurality ofgroove portions 38 centered on the second central axis J2 substantially coincide with the radii of the plurality ofprotrusions 37 centered on the first central axis J1. In particular, the radius of thedistal side surface 381 in eachgroove 38 is approximately the same as, or slightly greater than, the radius of thedistal side surface 371 in any of theprotrusions 37. The radius of theproximal side surface 381 of thegroove 38 is approximately the same as or slightly smaller than the radius of theproximal side surface 371 of theprotrusion 37. Further, the angle range of thegroove 38 centered on the second central axis J2 is sufficiently larger than the angle range of theprotrusion 37 centered on the first central axis J1.

可動部3における複数の第1可動体31では、互いに隣接する2つの第1可動体31のうち、近位側の第1可動体31における複数の溝部38に、遠位側の第1可動体31における複数の突起部37がそれぞれ挿入される。実際には、遠位側の第1可動体31における2つの本体側部311の突起部37は、屈伸軸方向の両外側から、近位側の第1可動体31における2つの本体側部311の溝部38に挿入される。これにより、当該2つの第1可動体31が互いに連結される。可動部3では、このようにして、複数の第1可動体31が順に連結される。 In the plurality of firstmovable bodies 31 in themovable portion 3, among the two firstmovable bodies 31 adjacent to each other, the plurality ofgrooves 38 in the firstmovable body 31 on the proximal side and the first movable body on the distal side are formed. The plurality ofprotrusions 37 in 31 are inserted respectively. In reality, theprotrusions 37 of the two mainbody side portions 311 in the firstmovable body 31 on the distal side are the two mainbody side portions 311 in the firstmovable body 31 on the proximal side from both outer sides in the flexion / extension axis direction. It is inserted into thegroove 38 of the. As a result, the two firstmovable bodies 31 are connected to each other. In themovable portion 3, the plurality of firstmovable bodies 31 are sequentially connected in this way.

図5は、隣接する2つの第1可動体31の連結を説明するための図である。図5では、隣接する2つの第1可動体31のうち近位側の第1可動体31を実線にて示している。また、遠位側の第1可動体31における複数の突起部37の断面(屈伸軸方向に垂直な断面)を平行斜線を付して示すとともに、当該第1可動体31の外形を二点鎖線にて示している。 FIG. 5 is a diagram for explaining the connection between two adjacent firstmovable bodies 31. In FIG. 5, the firstmovable body 31 on the proximal side of the two adjacent firstmovable bodies 31 is shown by a solid line. Further, the cross section (cross section perpendicular to the bending / extension axis direction) of the plurality ofprotrusions 37 in the firstmovable body 31 on the distal side is shown with parallel diagonal lines, and the outer shape of the firstmovable body 31 is shown by a two-dot chain line. It is shown by.

近位側の第1可動体31における複数の溝部38に、遠位側の第1可動体31における複数の突起部37を挿入した状態では、遠位側の第1可動体31の第1中心軸J1と、近位側の第1可動体31の第2中心軸J2とがほぼ重なる。また、遠位側の第1可動体31における各突起部37の両側面371が、近位側の第1可動体31における溝部38の両側面381にほぼ接触する。遠位側の第1可動体31の突起部37は、近位側の第1可動体31の溝部38に沿って移動可能である。すなわち、遠位側の第1可動体31は、第1中心軸J1を中心として指関節の可動方向(回転方向)に、近位側の第1可動体31に対して移動可能である。換言すると、近位側の第1可動体31は、第2中心軸J2を中心として指関節の可動方向に、遠位側の第1可動体31に対して移動可能である。 When the plurality ofprotrusions 37 in the distal firstmovable body 31 are inserted into the plurality ofgrooves 38 in the proximal firstmovable body 31, the first center of the distal firstmovable body 31 is inserted. The axis J1 and the second central axis J2 of the firstmovable body 31 on the proximal side substantially overlap with each other. Further, both side surfaces 371 of eachprotrusion 37 in the firstmovable body 31 on the distal side substantially come into contact with both side surfaces 381 of thegroove 38 in the firstmovable body 31 on the proximal side. Theprotrusion 37 of the firstmovable body 31 on the distal side is movable along thegroove 38 of the firstmovable body 31 on the proximal side. That is, the firstmovable body 31 on the distal side can move with respect to the firstmovable body 31 on the proximal side in the movable direction (rotational direction) of the knuckle about the first central axis J1. In other words, the firstmovable body 31 on the proximal side can move with respect to the firstmovable body 31 on the distal side in the movable direction of the knuckle about the second central axis J2.

このように、複数の第1可動体31のそれぞれが、指関節の可動方向に移動可能な状態で隣接する第1可動体31に連結される。以下の説明では、突起部37の側面371を「第1接触面371」といい、溝部38の側面381を「第2接触面381」という。実際には、第1可動体31の側部中央部313には、最も近位側の溝部38の近位側の第2接触面381に連続する端面316が設けられており、遠位側の第1可動体31の本体側部311における近位側の端面315、および、近位側の第1可動体31の上記端面316も互いにほぼ接触する。 In this way, each of the plurality of firstmovable bodies 31 is connected to the adjacent firstmovable body 31 in a state of being movable in the movable direction of the knuckle joint. In the following description, theside surface 371 of theprotrusion 37 is referred to as a “first contact surface 371”, and theside surface 381 of thegroove 38 is referred to as a “second contact surface 381”. Actually, the sidecentral portion 313 of the firstmovable body 31 is provided with anend surface 316 continuous with thesecond contact surface 381 on the proximal side of thegroove 38 on the most proximal side, and is provided on the distal side. Theproximal end face 315 of the mainbody side portion 311 of the firstmovable body 31 and theend face 316 of the firstmovable body 31 on the proximal side also substantially come into contact with each other.

図4に示すように、第1可動体31の各本体側部311には、挿入孔35が設けられる。挿入孔35は、第1可動体31の第1中心軸J1と第2中心軸J2とを結ぶ線上に設けられる。挿入孔35は、複数の突起部37、側部中央部313および側部遠位部312を貫通する。また、挿入孔35は、第2中心軸J2の近傍から遠位側に向かって、屈伸軸方向に垂直な幅が漸次広がる幅広部351を有する。幅広部351は、側部中央部313および側部遠位部312に設けられ、屈伸軸方向に略垂直な幅広部351の断面は、略扇形となる。 As shown in FIG. 4, aninsertion hole 35 is provided in each mainbody side portion 311 of the firstmovable body 31. Theinsertion hole 35 is provided on a line connecting the first central axis J1 and the second central axis J2 of the firstmovable body 31. Theinsertion hole 35 penetrates a plurality ofprotrusions 37, a sidecentral portion 313 and a lateraldistal portion 312. Further, theinsertion hole 35 has awide portion 351 whose width perpendicular to the bending / stretching axis gradually increases from the vicinity of the second central axis J2 toward the distal side. Thewide portion 351 is provided at the sidecentral portion 313 and the sidedistal portion 312, and the cross section of thewide portion 351 substantially perpendicular to the bending / stretching axis direction is substantially fan-shaped.

後述するように、複数の第1可動体31における挿入孔35には、図5中に二点鎖線にて示すワイヤ41が挿入される。隣接する2つの第1可動体31が連結された状態では、近位側の第1可動体31の挿入孔35に挿入されたワイヤ41は、当該第1可動体31の側部遠位部312において、遠位側の第1可動体31の突起部37を貫通する挿入孔35の部分にも挿入される。遠位側の第1可動体31の突起部37が、近位側の第1可動体31の溝部38に対していずれの位置に配置される場合でも、遠位側の第1可動体31の突起部37を貫通する挿入孔35の部分は、近位側の第1可動体31における挿入孔35の幅広部351内に配置される。 As will be described later, thewire 41 shown by the alternate long and short dash line in FIG. 5 is inserted into the insertion holes 35 in the plurality of firstmovable bodies 31. In a state where two adjacent firstmovable bodies 31 are connected, thewire 41 inserted into theinsertion hole 35 of the firstmovable body 31 on the proximal side is the sidedistal portion 312 of the firstmovable body 31. Is also inserted into the portion of theinsertion hole 35 penetrating theprotrusion 37 of the firstmovable body 31 on the distal side. Regardless of the position of theprotrusion 37 of the firstmovable body 31 on the distal side with respect to thegroove 38 of the firstmovable body 31 on the proximal side, the firstmovable body 31 on the distal side The portion of theinsertion hole 35 penetrating theprotrusion 37 is arranged in thewide portion 351 of theinsertion hole 35 in the firstmovable body 31 on the proximal side.

既述のように、図2の可動部3では、最も遠位側および最も近位側に配置される第1可動体31a,31bの形状が、他の第1可動体31の形状と相違する。具体的には、最も遠位側に配置される第1可動体31aでは、2つの本体側部311における側部遠位部312が省略されるとともに、当該2つの側部中央部313を接続して、指9の先端を覆う閉塞部318が設けられる。さらに、各側部中央部313において屈伸軸方向の外側の面(指9とは反対側の面)には、凹部317が設けられる。凹部317は、挿入孔35(図3参照)に連続し、ワイヤ41の一端が配置される。第1可動体31aにおける他の構造は、他の第1可動体31と同様である。第1可動体31aも、指関節の可動方向に移動可能な状態で、隣接する第1可動体31に連結される。 As described above, in themovable portion 3 of FIG. 2, the shapes of the firstmovable bodies 31a and 31b arranged on the most distal side and the most proximal side are different from the shapes of the other firstmovable bodies 31. .. Specifically, in the firstmovable body 31a arranged on the most distal side, the sidedistal portion 312 in the two mainbody side portions 311 is omitted, and the two sidecentral portions 313 are connected to each other. Aclosed portion 318 is provided to cover the tip of the finger 9. Further, arecess 317 is provided on the outer surface (the surface opposite to the finger 9) in the bending / stretching axis direction in thecentral portion 313 of each side portion. Therecess 317 is continuous with the insertion hole 35 (see FIG. 3), and one end of thewire 41 is arranged. The other structure of the firstmovable body 31a is the same as that of the other firstmovable body 31. The firstmovable body 31a is also connected to the adjacent firstmovable body 31 in a state where it can move in the movable direction of the knuckle.

また、最も近位側に配置される第1可動体31bでは、第1中心軸J1を中心とする突起部37の角度範囲が、他の第1可動体31と相違する(図4参照)。第1可動体31bにおける他の構造は、他の第1可動体31と同様である。第1可動体31bも、指関節の可動方向に移動可能な状態で、隣接する第1可動体31に連結される。以下の説明では、単に「第1可動体31」という場合には、第1可動体31a,31bも含むものとする。 Further, in the firstmovable body 31b arranged on the most proximal side, the angle range of theprotrusion 37 about the first central axis J1 is different from that of the other first movable body 31 (see FIG. 4). The other structure of the firstmovable body 31b is the same as that of the other firstmovable body 31. The firstmovable body 31b is also connected to the adjacent firstmovable body 31 in a state where it can move in the movable direction of the knuckle. In the following description, the term "firstmovable body 31" shall include the firstmovable bodies 31a and 31b.

図6は、第2可動体32を示す斜視図である。図7ないし図9は、それぞれ第2ないし第4可動体32〜34を示す側面図であり、図4と同様に、屈伸軸方向に沿って見た第2ないし第4可動体32〜34を示す。図6および図7に示すように、第2可動体32は、第1可動体31と同様に、2つの本体側部321と、接続部329とを備える。各本体側部321は、側部遠位部322と、側部中央部323と、側部近位部324とを備える。側部中央部323は、遠位側から近位側に向かって(図7中の左側から右側に向かって)緩やかに湾曲しつつ延びる形状を有する。側部遠位部322は、側部中央部323の遠位側に設けられる。例えば、側部遠位部322は、グローブ部11の指開口部近傍に配置される。側部近位部324は、側部中央部323の近位側に設けられる。図6および図7の例では、屈伸軸方向における第2可動体32の幅は、遠位側から近位側に向かって漸次小さくなっており、2つの本体側部321の側部近位部324は、一体となっている。 FIG. 6 is a perspective view showing the secondmovable body 32. 7 to 9 are side views showing the second to fourthmovable bodies 32 to 34, respectively, and similarly to FIG. 4, the second to fourthmovable bodies 32 to 34 viewed along the bending / stretching axis direction are viewed. show. As shown in FIGS. 6 and 7, the secondmovable body 32 includes two mainbody side portions 321 and a connectingportion 329, similarly to the firstmovable body 31. Each mainbody side portion 321 includes a side portiondistal portion 322, a side portioncentral portion 323, and a side portionproximal portion 324. The sidecentral portion 323 has a shape extending from the distal side to the proximal side (from the left side to the right side in FIG. 7) while gently curving. The sidedistal portion 322 is provided on the distal side of the lateralcentral portion 323. For example, thedistal side portion 322 is arranged near the finger opening of theglove portion 11. The sideproximal portion 324 is provided on the proximal side of the lateralcentral portion 323. In the examples of FIGS. 6 and 7, the width of the secondmovable body 32 in the flexion / extension axis direction gradually decreases from the distal side toward the proximal side, and the lateral proximal portion of the two mainbody side portions 321. The 324 is integrated.

図7に示すように、側部遠位部322および側部近位部324のそれぞれには、第1可動体31の側部遠位部312と同様に、複数の溝部38が設けられる。側部遠位部322に設けられる各溝部38の屈伸軸方向に略垂直な断面は、屈伸軸方向に略平行な中心軸J3を中心とする円弧状である。側部近位部324に設けられる各溝部38の屈伸軸方向に略垂直な断面は、屈伸軸方向に略平行な中心軸J4を中心とする円弧状である。側部近位部324では、近位側の端面と最も近位側の溝部38との間の部位、および、溝部38間の部位にスリット361が設けられる。 As shown in FIG. 7, each of the sidedistal portion 322 and the lateralproximal portion 324 is provided with a plurality ofgroove portions 38, similarly to the sidedistal portion 312 of the firstmovable body 31. The cross section of eachgroove 38 provided in thedistal side portion 322 substantially perpendicular to the bending / stretching axis direction is an arc shape centered on the central axis J3 substantially parallel to the bending / stretching axis direction. The cross section of eachgroove 38 provided in theproximal side portion 324 substantially perpendicular to the bending / stretching axis direction is an arc shape centered on the central axis J4 substantially parallel to the bending / stretching axis direction. In the sideproximal portion 324, aslit 361 is provided at a portion between the proximal end surface and thegroove portion 38 on the most proximal side, and a portion between thegroove portions 38.

第2可動体32には、第1可動体31と同様に、挿入孔35が設けられる。挿入孔35は、各本体側部321の側部遠位部322、側部中央部323および側部近位部324を貫通する。また、挿入孔35は、2つの幅広部351を有する。一方の幅広部351では、中心軸J3の近傍から遠位側に向かって、屈伸軸方向に垂直な幅が漸次広がる。他方の幅広部351では、中心軸J4の近傍から近位側に向かって、屈伸軸方向に垂直な幅が漸次広がる。 The secondmovable body 32 is provided with aninsertion hole 35 like the firstmovable body 31. Theinsertion hole 35 penetrates the sidedistal portion 322, the sidecentral portion 323, and the sideproximal portion 324 of each mainbody side portion 321. Further, theinsertion hole 35 has twowide portions 351. On the other hand, in thewide portion 351, the width perpendicular to the bending / stretching axis gradually increases from the vicinity of the central axis J3 toward the distal side. In the otherwide portion 351, the width perpendicular to the bending / stretching axis gradually increases from the vicinity of the central axis J4 toward the proximal side.

可動部3では、第2可動体32の側部遠位部322における複数の溝部38に、最も近位側に配置される第1可動体31bの複数の突起部37がそれぞれ挿入され、第1可動体31bの第1中心軸J1と、第2可動体32の中心軸J3とがほぼ重なる。実際には、第1可動体31bにおける2つの本体側部311の突起部37は、屈伸軸方向の両外側から、第2可動体32における2つの本体側部321の溝部38に挿入される。このようにして、第1可動体31bおよび第2可動体32が、指関節の可動方向に移動可能な状態で、互いに連結される。なお、第2可動体32には、突起部37は設けられない。 In themovable portion 3, the plurality ofprotrusions 37 of the firstmovable body 31b arranged on the most proximal side are inserted into the plurality ofgrooves 38 in the sidedistal portion 322 of the secondmovable body 32, respectively, and the first The first central axis J1 of themovable body 31b and the central axis J3 of the secondmovable body 32 substantially overlap with each other. Actually, theprotrusions 37 of the two mainbody side portions 311 in the firstmovable body 31b are inserted into thegroove portions 38 of the two mainbody side portions 321 in the secondmovable body 32 from both outer sides in the bending / stretching axis direction. In this way, the firstmovable body 31b and the secondmovable body 32 are connected to each other in a state where they can move in the movable direction of the knuckle. The secondmovable body 32 is not provided with theprotrusion 37.

図8に示す第3可動体33は、2つの本体側部331を備える。2つの本体側部331は、屈伸軸方向に分離可能である。各本体側部331は、側部遠位部332と、側部中央部333と、側部近位部334とを備える。側部遠位部332は、側部中央部333の遠位側(図8中の上側)に設けられ、側部近位部334は、側部中央部333の近位側(図8中の下側)に設けられる。側部遠位部332および側部近位部334のそれぞれには、第1可動体31の側部近位部314と同様に、複数の突起部37および複数の弱化溝36が設けられる。側部遠位部332に設けられる各突起部37および各弱化溝36の屈伸軸方向に略垂直な断面は、屈伸軸方向に略平行な中心軸J5を中心とする円弧状である。側部近位部334に設けられる各突起部37および各弱化溝36の屈伸軸方向に略垂直な断面は、屈伸軸方向に略平行な中心軸J6を中心とする円弧状である。第3可動体33には、第1可動体31と同様に、挿入孔35が設けられる。挿入孔35は、各本体側部331の側部遠位部332、側部中央部333および側部近位部334を貫通する。 The thirdmovable body 33 shown in FIG. 8 includes two mainbody side portions 331. The two mainbody side portions 331 are separable in the bending / stretching axis direction. Each mainbody side portion 331 includes a sidedistal portion 332, a sidecentral portion 333, and a sideproximal portion 334. The lateraldistal portion 332 is provided on the distal side (upper side in FIG. 8) of the lateralcentral portion 333, and the lateralproximal portion 334 is located on the proximal side of the lateral central portion 333 (in FIG. 8). It is provided on the lower side). Each of thedistal side portion 332 and theproximal side portion 334 is provided with a plurality ofprotrusions 37 and a plurality of weakeninggrooves 36, similarly to the sideproximal portion 314 of the firstmovable body 31. The cross section of eachprotrusion 37 and each weakeninggroove 36 provided in thedistal side portion 332 substantially perpendicular to the bending / stretching axis direction is an arc shape centered on the central axis J5 substantially parallel to the bending / stretching axis direction. The cross section of eachprotrusion 37 and each weakeninggroove 36 provided in the sideproximal portion 334 substantially perpendicular to the bending / stretching axis direction is an arc shape centered on the central axis J6 substantially parallel to the bending / stretching axis direction. Like the firstmovable body 31, the thirdmovable body 33 is provided with aninsertion hole 35. Theinsertion hole 35 penetrates the sidedistal portion 332, the sidecentral portion 333, and the sideproximal portion 334 of each mainbody side portion 331.

可動部3では、第2可動体32の側部近位部324における複数の溝部38に、第3可動体33の側部遠位部332の複数の突起部37がそれぞれ挿入され、第2可動体32の中心軸J4と、第3可動体33の中心軸J5とがほぼ重なる。実際には、第3可動体33における2つの本体側部331の突起部37は、屈伸軸方向の両外側から第2可動体32の溝部38に挿入される。このようにして、第2可動体32および第3可動体33が、指関節の可動方向に移動可能な状態で、互いに連結される。なお、第3可動体33には、溝部38は設けられない。また、第3可動体33は、グローブ部11に直接的には固定されない。 In themovable portion 3, a plurality ofprotrusions 37 of the sidedistal portion 332 of the thirdmovable body 33 are inserted into the plurality ofgrooves 38 in the sideproximal portion 324 of the secondmovable body 32, respectively, and the secondmovable portion 3 is movable. The central axis J4 of thebody 32 and the central axis J5 of the thirdmovable body 33 substantially overlap. Actually, theprotrusions 37 of the two mainbody side portions 331 of the thirdmovable body 33 are inserted into thegroove portions 38 of the secondmovable body 32 from both outer sides in the bending / stretching axis direction. In this way, the secondmovable body 32 and the thirdmovable body 33 are connected to each other in a state where they can move in the movable direction of the knuckle. The thirdmovable body 33 is not provided with thegroove 38. Further, the thirdmovable body 33 is not directly fixed to theglove portion 11.

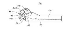
図9に示すように、第4可動体34は、遠位部342と、固定部343とを備える。固定部343は、グローブ部11(図1参照)の背側において、指開口部から近位側に離れた位置に固定される。遠位部342は、固定部343の遠位側に設けられる。遠位部342には、第1可動体31の側部遠位部312と同様に、複数の溝部38が設けられる。遠位部342に設けられる各溝部38の屈伸軸方向に略垂直な断面は、屈伸軸方向に略平行な中心軸J7を中心とする円弧状である。遠位部342では、遠位側の端面と最も遠位側の溝部38との間の部位、および、溝部38間の部位にスリット361が設けられる。 As shown in FIG. 9, the fourthmovable body 34 includes adistal portion 342 and a fixedportion 343. The fixingportion 343 is fixed at a position proximal to the finger opening on the dorsal side of the glove portion 11 (see FIG. 1). Thedistal portion 342 is provided on the distal side of thefixation portion 343. Thedistal portion 342 is provided with a plurality ofgroove portions 38, similarly to the lateraldistal portion 312 of the firstmovable body 31. The cross section of eachgroove 38 provided in thedistal portion 342 substantially perpendicular to the bending / stretching axis direction is an arc shape centered on the central axis J7 substantially parallel to the bending / stretching axis direction. In thedistal portion 342, aslit 361 is provided at a portion between the distal end surface and the mostdistal groove portion 38, and a portion between thegroove portions 38.

第4可動体34には、2つの挿入孔35が設けられる。挿入孔35は、遠位部342および固定部343を貫通する。2つの挿入孔35は、遠位部342において屈伸軸方向に離れており、固定部343において1つの孔部となる。また、各挿入孔35は、1つの幅広部351を有する。幅広部351では、中心軸J7の近傍から遠位側に向かって、屈伸軸方向に垂直な幅が漸次広がる。可動部3では、第4可動体34の遠位部342における複数の溝部38に、第3可動体33の側部近位部334の複数の突起部37がそれぞれ挿入され、第3可動体33の中心軸J6と、第4可動体34の中心軸J7とがほぼ重なる。実際には、第3可動体33における2つの本体側部331の突起部37は、屈伸軸方向の両外側から第4可動体34の溝部38に挿入される。このようにして、第3可動体33および第4可動体34が、指関節の可動方向に移動可能な状態で、互いに連結される。なお、第4可動体34には、突起部37は設けられない。 The fourthmovable body 34 is provided with two insertion holes 35. Theinsertion hole 35 penetrates thedistal portion 342 and the fixedportion 343. The twoinsertion holes 35 are separated from each other in the bending / extension axis direction at thedistal portion 342, and become one hole portion at the fixingportion 343. Further, eachinsertion hole 35 has onewide portion 351. In thewide portion 351, the width perpendicular to the bending / stretching axis gradually increases from the vicinity of the central axis J7 toward the distal side. In themovable portion 3, a plurality ofprotrusions 37 of the sideproximal portion 334 of the thirdmovable body 33 are inserted into the plurality ofgrooves 38 in thedistal portion 342 of the fourthmovable body 34, respectively, and the thirdmovable body 33 is formed. The central axis J6 of the fourthmovable body 34 and the central axis J7 of the fourthmovable body 34 substantially overlap with each other. Actually, theprotrusions 37 of the two mainbody side portions 331 of the thirdmovable body 33 are inserted into thegroove portions 38 of the fourthmovable body 34 from both outer sides in the bending / stretching axis direction. In this way, the thirdmovable body 33 and the fourthmovable body 34 are connected to each other in a state where they can move in the movable direction of the knuckle. The fourthmovable body 34 is not provided with theprotrusion 37.

図10は、屈伸軸方向に沿って見た第1ないし第4可動体31〜34を模式的に示す図である。ここで、隣接する2つの可動体31〜34が互いに連結される部分を連結部39と呼ぶ。各連結部39では、溝部38に突起部37が挿入されており、当該溝部38および当該突起部37の中心軸J1〜J7が、連結部39の可動軸となる。連結部39の可動軸は、当該連結部39にて連結される2つの可動体31〜34が互いに相対的に移動(回転)する際の回転軸である。図10では、各連結部39を◎にて示し、◎の中心が連結部39の可動軸である。また、一部の連結部に符号39a〜39cを付している。 FIG. 10 is a diagram schematically showing the first to fourthmovable bodies 31 to 34 viewed along the bending / stretching axis direction. Here, the portion where two adjacentmovable bodies 31 to 34 are connected to each other is referred to as a connectingportion 39. In each connectingportion 39, aprotrusion 37 is inserted into thegroove 38, and thegroove 38 and the central axes J1 to J7 of theprotrusion 37 serve as movable axes of the connectingportion 39. The movable shaft of the connectingportion 39 is a rotation shaft when the twomovable bodies 31 to 34 connected by the connectingportion 39 move (rotate) relative to each other. In FIG. 10, each connectingportion 39 is indicated by ⊚, and the center of ⊚ is the movable axis of the connectingportion 39. Further,reference numerals 39a to 39c are attached to some of the connecting portions.

図10に示すように、複数の第1可動体31における連結部39は、使用者の指9の側方近傍(屈伸軸方向の近傍)に配置される。これらの連結部39の可動軸は、必ずしも指9のDIP関節91およびPIP関節92(図10において内部に×を記す円にて示す。MP関節93において同様である。)の軸と重なるわけではない。しかしながら、これらの連結部39は、比較的短い間隔で配列されるため、どのような使用者においても、DIP関節91およびPIP関節92のそれぞれの側方近傍に、2以上の連結部39が配置される。当該2以上の連結部39のそれぞれにおいて、互いに連結される第1可動体31が相対的に移動することにより、使用者毎の調整等を行うことなく、触覚提示装置1を装着した使用者は、DIP関節91およびPIP関節92を屈伸することが可能である。 As shown in FIG. 10, the connectingportion 39 in the plurality of firstmovable bodies 31 is arranged near the side of the user's finger 9 (near the bending / extension axis direction). The movable axis of these connectingportions 39 does not necessarily overlap with the axes of the DIP joint 91 and the PIP joint 92 (indicated by a circle marked with a cross in FIG. 10; the same applies to the MP joint 93) of the finger 9. No. However, since these connectingportions 39 are arranged at relatively short intervals, two or more connectingportions 39 are arranged in the vicinity of each side of the DIP joint 91 and the PIP joint 92 in any user. Will be done. In each of the two or more connectingportions 39, the firstmovable body 31 connected to each other moves relatively, so that the user wearing thetactile presentation device 1 does not need to make adjustments for each user. , DIP joint 91 and PIP joint 92 can be flexed and extended.

一方、(特に中指および薬指では)MP関節93の側方近傍に、連結部39を配置することができない。したがって、可動部3では、リンク機構390によりMP関節93の屈伸が可能とされる。図11は、屈伸軸方向に沿って見たリンク機構390を模式的に示す図である。図11では、MP関節93を伸展した指9を実線にて示し、屈曲した指9を二点鎖線にて示している。 On the other hand, the connectingportion 39 cannot be arranged in the lateral vicinity of the MP joint 93 (especially in the middle finger and the ring finger). Therefore, in themovable portion 3, thelink mechanism 390 enables the MP joint 93 to bend and stretch. FIG. 11 is a diagram schematically showing alink mechanism 390 viewed along the bending / stretching axis direction. In FIG. 11, the extended finger 9 of the MP joint 93 is shown by a solid line, and the bent finger 9 is shown by a two-dot chain line.

リンク機構390は、第2可動体32と、第3可動体33とを備える。屈伸軸方向に沿って見た場合に、第2可動体32と第3可動体33との間の連結部39bは、MP関節93近傍において使用者の部位から離れた位置に配置される。リンク機構390では、第2可動体32が、隣接する2つの可動体31b,33(図10参照)との間の連結部39a,39bにて回転可能であり、第3可動体33が、隣接する2つの可動体32,34との間の連結部39b,39cにて回転可能である。これにより、図11中に実線および二点鎖線にて示すように、使用者が指9のMP関節93を屈伸することが可能となる。 Thelink mechanism 390 includes a secondmovable body 32 and a thirdmovable body 33. When viewed along the bending / stretching axis direction, the connectingportion 39b between the secondmovable body 32 and the thirdmovable body 33 is arranged at a position away from the user's site in the vicinity of the MP joint 93. In thelink mechanism 390, the secondmovable body 32 can rotate at the connectingportions 39a and 39b between the two adjacentmovable bodies 31b and 33 (see FIG. 10), and the thirdmovable body 33 is adjacent to each other. It is rotatable by the connectingportions 39b and 39c between the twomovable bodies 32 and 34. This allows the user to bend and stretch the MP joint 93 of the finger 9, as shown by the solid line and the alternate long and short dash line in FIG.

可動部3では、MP関節93近傍において使用者の部位から離れた位置に配置される連結部の個数が、2以上であってもよい。この場合、リンク機構390は、当該2以上の連結部にて連結される可動体を含む。以上のように、可動部3では、屈伸軸方向に沿って見た場合に、少なくとも1つの連結部がMP関節93近傍において使用者の部位から離れた位置に配置され、当該少なくとも1つの連結部にて連結される可動体を含むリンク機構390により、使用者がMP関節93を可動方向に動かすことが可能とされる。 In themovable portion 3, the number of connecting portions arranged at positions away from the user's site in the vicinity of the MP joint 93 may be 2 or more. In this case, thelink mechanism 390 includes a movable body connected by the two or more connecting portions. As described above, in themovable portion 3, at least one connecting portion is arranged in the vicinity of the MP joint 93 at a position away from the user's site when viewed along the bending / stretching axis direction, and the at least one connecting portion is arranged. Thelink mechanism 390 including the movable body connected with the above allows the user to move the MP joint 93 in the movable direction.

図2の剛性調整部4は、2本のワイヤ41と、張力調整部42とを備える。2本のワイヤ41は、第1ないし第4可動体31〜34のそれぞれにおける2つの挿入孔35に挿入される。各ワイヤ41の一端は、最も遠位側に配置される第1可動体31aの凹部317に配置され、当該一端には、抜止部材411が取り付けられる。ワイヤ41の他端は、張力調整部42に接続される。既述のように、可動部3における第1ないし第4可動体31〜34のそれぞれは、隣接する可動体31〜34に対して、突起部37または溝部38の中心軸J1〜J7を中心として相対的に移動(回転)可能である。また、挿入孔35は、中心軸J1〜J7を経由するように設けられる。可動部3内においてワイヤ41の緩みがない状態では、第1ないし第4可動体31〜34の挿入孔35内に設けられるワイヤ41の全長は、各可動体31〜34がいずれの回転位置に位置する場合であっても、およそ一定である。なお、剛性調整部4では、ワイヤ41の個数が1または3以上であってもよく、また、ワイヤ41に代えて他の紐状部材が用いられてもよい。 The rigidity adjusting unit 4 of FIG. 2 includes twowires 41 and atension adjusting unit 42. The twowires 41 are inserted into the twoinsertion holes 35 in each of the first to fourthmovable bodies 31 to 34. One end of eachwire 41 is arranged in therecess 317 of the firstmovable body 31a arranged on the most distal side, and the retainingmember 411 is attached to the one end. The other end of thewire 41 is connected to thetension adjusting portion 42. As described above, each of the first to fourthmovable bodies 31 to 34 in themovable portion 3 is centered on the central axes J1 to J7 of theprotrusion 37 or thegroove portion 38 with respect to the adjacentmovable bodies 31 to 34. It can move (rotate) relatively. Further, theinsertion hole 35 is provided so as to pass through the central axes J1 to J7. In the state where thewire 41 is not loosened in themovable portion 3, the total length of thewire 41 provided in the insertion holes 35 of the first to fourthmovable bodies 31 to 34 is such that eachmovable body 31 to 34 is in any rotation position. Even if it is located, it is approximately constant. In the rigidity adjusting unit 4, the number ofwires 41 may be 1 or 3 or more, and another string-shaped member may be used instead of thewires 41.

張力調整部42は、例えばモータを有し、2本のワイヤ41をほとんど引っ張っていない低張力状態(ワイヤ41の張力がゼロの場合を含む。)と、所定の力で2本のワイヤ41を引っ張っている高張力状態とが切替可能である。張力調整部42では、モータ以外のアクチュエータ(エアシリンダ等)が用いられてもよい。低張力状態では、複数の可動体31〜34のそれぞれが、隣接する可動体31〜34に対して移動可能であり、使用者はDIP関節91、PIP関節92およびMP関節93を自由に屈伸することが可能である。 Thetension adjusting unit 42 has, for example, a low tension state in which the twowires 41 are hardly pulled (including the case where the tension of thewires 41 is zero) and the twowires 41 with a predetermined force. It is possible to switch between the high tension state in which it is being pulled. An actuator (air cylinder or the like) other than the motor may be used in thetension adjusting unit 42. In the low tension state, each of the plurality ofmovable bodies 31 to 34 can move with respect to the adjacentmovable bodies 31 to 34, and the user freely bends and stretches the DIP joint 91, the PIP joint 92, and the MP joint 93. It is possible.

高張力状態では、最も遠位側に配置される第1可動体31aが近位側に引っ張られる。可動部3では、互いに隣接する2つの可動体31〜34の全ての組合せ(連結部39,39a〜39cを共有する2つの可動体31〜34の全ての組合せ)において、当該2つの可動体31〜34が、突起部37および溝部38等において互いに接触しており、高張力状態において当該2つの可動体31〜34には、図5中に矢印A1にて示すように、圧縮力が作用する。これにより、当該2つの可動体31〜34において、突起部37の各第1接触面371と、当該第1接触面371に対向する溝部38の第2接触面381との間に互いに押し合う力が生じる。その結果、当該第1接触面371と当該第2接触面381との間の摩擦力が増大し、当該2つの可動体31〜34が互いに相対的に移動(回転)しにくくなる。換言すると、可動部3の剛性が高くなる。 In the high tension state, the firstmovable body 31a arranged on the most distal side is pulled toward the proximal side. In themovable portion 3, the twomovable bodies 31 are included in all combinations of the twomovable bodies 31 to 34 adjacent to each other (all combinations of the twomovable bodies 31 to 34 sharing the connectingportions 39, 39a to 39c). ~ 34 are in contact with each other at theprotrusion 37, thegroove 38, etc., and a compressive force acts on the twomovable bodies 31 to 34 in a high tension state as shown by an arrow A1 in FIG. .. As a result, in the twomovable bodies 31 to 34, the force of pressing each other between thefirst contact surface 371 of theprotrusion 37 and thesecond contact surface 381 of thegroove 38 facing thefirst contact surface 371. Occurs. As a result, the frictional force between thefirst contact surface 371 and thesecond contact surface 381 increases, and the twomovable bodies 31 to 34 are less likely to move (rotate) relative to each other. In other words, the rigidity of themovable portion 3 becomes high.

触覚提示装置1のグローブ部11(図1参照)を手に装着した使用者が、仮想物体を把持しようとする際には、ワイヤ41が低張力状態とされており、使用者は、手を仮想物体に近づける間に、図12に示すように指9を曲げて仮想物体の形状に沿わせる。触覚提示装置1では、図示省略のカメラまたは各種センサ等を用いて使用者の手の動きがモニターされており、制御部10(図2参照)において手と仮想物体とが接触したと判断されるときに、制御部10から張力調整部42に所定の入力が行われ、ワイヤ41が高張力状態とされる。これにより、可動部3の剛性が高くされ、使用者の指9のDIP関節91、PIP関節92およびMP関節93(すなわち、指9全体)が固定される。このとき、指9は掌側に設けられたパッド部60から反力を受け、使用者は物をつかんだと錯覚する。このように、触覚提示装置1では、関節固定装置2により指9全体に対して仮想物体の形状を提示することが可能である。後述するように、パッド部60は軟らかさを提示することが可能であるため、触覚提示装置1では、柔軟体を把持した場合の感覚(柔軟体の握力把持感覚)を適切に提示することが実現される。 When a user wearing the glove portion 11 (see FIG. 1) of thetactile presentation device 1 tries to grip a virtual object, thewire 41 is in a low tension state, and the user hands. While approaching the virtual object, bend the finger 9 to follow the shape of the virtual object as shown in FIG. In thetactile presentation device 1, the movement of the user's hand is monitored by using a camera (not shown), various sensors, or the like, and it is determined that the hand and the virtual object are in contact with each other in the control unit 10 (see FIG. 2). Occasionally, a predetermined input is made from thecontrol unit 10 to thetension adjusting unit 42, and thewire 41 is brought into a high tension state. As a result, the rigidity of themovable portion 3 is increased, and the DIP joint 91, the PIP joint 92, and the MP joint 93 (that is, the entire finger 9) of the user's finger 9 are fixed. At this time, the finger 9 receives a reaction force from thepad portion 60 provided on the palm side, and the user has the illusion that he / she has grasped an object. As described above, in thetactile presentation device 1, thejoint fixing device 2 can present the shape of the virtual object to the entire finger 9. As will be described later, since thepad portion 60 can present the softness, thetactile presentation device 1 can appropriately present the sensation when the flexible body is gripped (the grip strength gripping sensation of the flexible body). It will be realized.

図12の関節固定装置2では、指9を少し屈曲させた状態で、各ワイヤ41を90Nの力で引っ張った場合に、指先に対して10N以上の反力を提示可能であることが確認されている。なお、関節固定装置2では、複数の指9をミット状に覆う1つの可動部が設けられてもよい。また、指9の1つの関節91〜93近傍のみに可動体が設けられ、当該関節91〜93のみの動きが固定されてもよい。関節固定装置2を1本の指に複数設けてもよい。ワイヤ41を複数本にして、部分的に関節を固定したり、自由にしたりしてもよい。 In thejoint fixing device 2 of FIG. 12, it was confirmed that when eachwire 41 is pulled with a force of 90 N while the finger 9 is slightly bent, a reaction force of 10 N or more can be presented to the fingertip. ing. Thejoint fixing device 2 may be provided with one movable portion that covers the plurality of fingers 9 in a mitt shape. Further, a movable body may be provided only in the vicinity of one joint 91 to 93 of the finger 9, and the movement of only thejoints 91 to 93 may be fixed. A plurality ofjoint fixing devices 2 may be provided on one finger. A plurality ofwires 41 may be used to partially fix or free the joints.

以上に説明したように、関節固定装置2では、複数の可動体31〜34を有する可動部3が設けられる。複数の可動体31〜34は、使用者の指9に沿って使用者に取り付けられ、複数の可動体31〜34のそれぞれは、指関節の可動方向に移動可能な状態で隣接する可動体31〜34に連結される。そして、剛性調整部4が、所定の入力に応じて、複数の可動体31〜34において隣接する2つの可動体31〜34の接触面371,381間に互いに押し合う力を付与することにより、接触面371,381間の摩擦力を増大させ、可動部3の剛性を高くする。これにより、指9の関節の動きを適切に固定することができる。 As described above, thejoint fixing device 2 is provided with amovable portion 3 having a plurality ofmovable bodies 31 to 34. The plurality ofmovable bodies 31 to 34 are attached to the user along the user's finger 9, and each of the plurality ofmovable bodies 31 to 34 is adjacent to themovable body 31 in a state of being movable in the movable direction of the knuckle. It is connected to ~ 34. Then, the rigidity adjusting unit 4 applies a force to push each other between the contact surfaces 371 and 381 of the two adjacentmovable bodies 31 to 34 in the plurality ofmovable bodies 31 to 34 in response to a predetermined input. The frictional force between the contact surfaces 371 and 381 is increased to increase the rigidity of themovable portion 3. As a result, the movement of the joint of the finger 9 can be appropriately fixed.

ところで、非特許文献1のデバイスでは、既述のように、プリシェイプ時に、真空ジャミング素材を押すことになって、反力を感じてしまうので、拘束なく指が動いている感覚を適切に提示できない。それに対して、本提案の関節固定装置2は、プリシェイプ時には構成される各パーツの摩擦が小さいので自由に指を動かしている感覚が提示でき、物体に触ったと判定した瞬間にワイヤ41を引っ張ることにより、各パーツの摩擦力が増大でき物体の形状を提示できる。また、ワイヤ41の引っ張りを解除することにより、拘束なく指が動いている感覚を速やかに提示することができる。このように、関節固定装置2は、物体の形状を仮想的に提示する物体形状提示装置として利用することが可能である。 By the way, in the device ofNon-Patent Document 1, as described above, the vacuum jamming material is pushed at the time of pre-shaping, and a reaction force is felt. Therefore, the feeling that the finger is moving without restraint is appropriately presented. Can not. On the other hand, thejoint fixing device 2 of the present proposal can present the feeling of freely moving a finger because the friction of each component configured during pre-shaping is small, and pulls thewire 41 at the moment when it is determined that the object is touched. As a result, the frictional force of each part can be increased and the shape of the object can be presented. Further, by releasing the pull of thewire 41, it is possible to quickly present the sensation that the finger is moving without restraint. In this way, thejoint fixing device 2 can be used as an object shape presenting device that virtually presents the shape of an object.

関節固定装置2では、隣接する2つの可動体31〜34のうち、一方の可動体が、複数の第1接触面371を有し、他方の可動体が、複数の第1接触面371にそれぞれ接触する複数の第2接触面381を有する。これにより、高張力状態において、当該2つの可動体31〜34の相対的な移動(回転)に必要なトルクを大きくして、可動部3の剛性をさらに高くすることができる。 In thejoint fixing device 2, one of the two adjacentmovable bodies 31 to 34 has a plurality of first contact surfaces 371, and the other movable body has a plurality of first contact surfaces 371, respectively. It has a plurality of second contact surfaces 381 that come into contact with each other. Thereby, in the high tension state, the torque required for the relative movement (rotation) of the twomovable bodies 31 to 34 can be increased, and the rigidity of themovable portion 3 can be further increased.

また、当該一方の可動体が、指関節の可動方向の軸に略垂直な断面が円弧状の突起部37を有する。当該他方の可動体が、当該軸に略垂直な断面が円弧状であり、突起部37が挿入される溝部38を有する。そして、突起部37の断面円弧状の2つの側面のそれぞれが第1接触面371とされ、溝部38の断面円弧状の2つの側面のそれぞれが第2接触面381される。これにより、隣接する2つの可動体31〜34において、複数の第1接触面371および複数の第2接触面381を容易に設けることが可能となる。 Further, the one movable body has aprotrusion 37 having an arcuate cross section substantially perpendicular to the axis in the movable direction of the knuckle. The other movable body has an arcuate cross section substantially perpendicular to the axis, and has agroove 38 into which theprotrusion 37 is inserted. Each of the two arcuate side surfaces of theprotrusion 37 is afirst contact surface 371, and each of the two arcuate cross-sectional surfaces of thegroove 38 is asecond contact surface 381. This makes it possible to easily provide the plurality of first contact surfaces 371 and the plurality of second contact surfaces 381 in the two adjacentmovable bodies 31 to 34.

さらに、突起部37が、指関節の可動方向の軸に略垂直な板状部位(図4の例では、側部近位部314)から突出し、当該板状部位において、突起部37の根元に沿う弱化溝36が設けられる。これにより、突起部37(の第1接触面371)を根元から変形しやすくして、各第1接触面371と、当該第1接触面371に対向する第2接触面381とをより確実に接触させることが可能となる。その結果、高張力状態において、可動体31〜34の移動に必要なトルクを大きくして、可動部3の剛性をより確実に高くすることができる。また、図7および図9のように、溝部38に対してスリット361を設ける場合には、溝部38の第2接触面381を変形しやすくして、第1接触面371と第2接触面381とをより確実に接触させることが可能である。このようなスリットが、突起部37に設けられてもよい。微小な溝の形成等、接触面371,381を粗面化することにより、接触面371,381間の摩擦が大きくされてもよい。 Further, theprotrusion 37 protrudes from a plate-shaped portion (in the example of FIG. 4, proximal side portion 314) substantially perpendicular to the axis in the movable direction of the knuckle, and at the plate-shaped portion, at the root of theprotrusion 37. A weakeninggroove 36 along the line is provided. As a result, the protrusion 37 (the first contact surface 371) is easily deformed from the root, and eachfirst contact surface 371 and thesecond contact surface 381 facing thefirst contact surface 371 are more reliably deformed. It becomes possible to make contact. As a result, in a high tension state, the torque required for the movement of themovable bodies 31 to 34 can be increased, and the rigidity of themovable portion 3 can be increased more reliably. Further, as shown in FIGS. 7 and 9, when theslit 361 is provided in thegroove 38, thesecond contact surface 381 of thegroove 38 is easily deformed, and thefirst contact surface 371 and thesecond contact surface 381 are easily deformed. It is possible to make contact with and more reliably. Such a slit may be provided in theprotrusion 37. Friction between the contact surfaces 371 and 381 may be increased by roughening the contact surfaces 371 and 381, such as by forming minute grooves.

関節固定装置2では、指9の関節の可動方向の軸に沿って見た場合に、当該軸に略平行な可動軸を有する少なくとも1つの連結部(図10の例では、連結部39b)が、当該関節近傍において使用者の部位から離れた位置に配置される。そして、当該少なくとも1つの連結部にて連結される可動体を含むリンク機構390により、使用者が当該関節を可動方向に動かすことが可能とされる。これにより、関節の側方近傍に連結部を配置することなく(側方近傍に連結部を配置することができないMP関節93においても)、高張力状態にて当該関節の動きを固定することが可能となる。 In thejoint fixing device 2, at least one connecting portion (connectingportion 39b in the example of FIG. 10) having a movable axis substantially parallel to the axis when viewed along the axis in the movable direction of the joint of the finger 9 is provided. , It is placed at a position away from the user's part in the vicinity of the joint. Then, thelink mechanism 390 including the movable body connected by the at least one connecting portion enables the user to move the joint in the movable direction. As a result, the movement of the joint can be fixed in a high tension state without arranging the connecting portion in the lateral vicinity of the joint (even in the MP joint 93 in which the connecting portion cannot be arranged in the lateral vicinity). It will be possible.

図13は、硬軟提示装置6のパッド部60を示す図であり、屈伸軸方向に垂直なパッド部60の断面を示す。図13では、触覚提示装置1を装着した使用者の指9も二点鎖線にて示している。図2および図13に示すように、硬軟提示装置6は、パッド部60と、接続チューブ64と、圧力調整部65とを備える。パッド部60は、可動部3の複数の第1可動体31における接続部319とは反対側の端部(図2の下側)に取り付けられ、使用者の1つの指9の掌側に対向する。なお、触覚提示装置1では、複数の指9の掌側を覆うパッド部60が設けられてもよい。 FIG. 13 is a diagram showing thepad portion 60 of the hard /soft presentation device 6, and shows a cross section of thepad portion 60 perpendicular to the bending / stretching axis direction. In FIG. 13, the finger 9 of the user wearing thetactile presentation device 1 is also shown by a two-dot chain line. As shown in FIGS. 2 and 13, the hard /soft presentation device 6 includes apad portion 60, a connectingtube 64, and apressure adjusting portion 65. Thepad portion 60 is attached to an end portion (lower side of FIG. 2) opposite to the connectingportion 319 of the plurality of firstmovable bodies 31 of themovable portion 3 and faces the palm side of one finger 9 of the user. do. Thetactile presentation device 1 may be provided with apad portion 60 that covers the palm side of the plurality of fingers 9.

パッド部60は、多孔質部材61と、袋状部62と、封入物63とを備える。多孔質部材61は、弾性を有する略板状であり、指9の遠位側から近位側に向かって(図13の横方向に)延びる。多孔質部材61は、図13中の上方(指9側)を向く上面611と、下方を向く下面612とを有する。図13の例では、上面611および下面612は略平行であり、多孔質部材61はほぼ一定の厚さを有する。多孔質部材61の厚さは、例えば1.0〜15mmであり、好ましくは1.5〜10mmであり、より好ましくは2.0〜6.0mmである。 Thepad portion 60 includes aporous member 61, a bag-shapedportion 62, and anenclosure 63. Theporous member 61 has an elastic substantially plate shape and extends from the distal side to the proximal side of the finger 9 (laterally in FIG. 13). Theporous member 61 has anupper surface 611 facing upward (finger 9 side) in FIG. 13 and alower surface 612 facing downward. In the example of FIG. 13, theupper surface 611 and thelower surface 612 are substantially parallel, and theporous member 61 has a substantially constant thickness. The thickness of theporous member 61 is, for example, 1.0 to 15 mm, preferably 1.5 to 10 mm, and more preferably 2.0 to 6.0 mm.

多孔質部材61は、典型的には、ポリウレタン等の樹脂を発泡成形することにより得られるスポンジである。多孔質部材61は、スポンジ状の弾性体として捉えることも可能である。多孔質部材61は、スポンジ以外であってもよい。多孔質部材61は、連続した気孔を有する。気孔に空気が充填された状態では、多孔質部材61は比較的小さい力で変形する。気孔中の空気を抜いた状態では、多孔質部材61が圧縮され、略シート状となる。気孔中に空気が取り込まれると、多孔質部材61は膨張し、元の状態に戻る。多孔質部材61のアスカーC硬度は、大気圧において、例えば0〜50であり、好ましくは0〜35であり、より好ましくは0〜20である。 Theporous member 61 is typically a sponge obtained by foam molding a resin such as polyurethane. Theporous member 61 can also be regarded as a sponge-like elastic body. Theporous member 61 may be other than a sponge. Theporous member 61 has continuous pores. When the pores are filled with air, theporous member 61 is deformed with a relatively small force. In the state where the air in the pores is evacuated, theporous member 61 is compressed into a substantially sheet shape. When air is taken into the pores, theporous member 61 expands and returns to its original state. The Asker C hardness of theporous member 61 is, for example, 0 to 50, preferably 0 to 35, and more preferably 0 to 20 at atmospheric pressure.

袋状部62は、多孔質部材61および封入物63を収容する袋状の部材である。袋状部62には、接続チューブ64の一端が接続される。接続チューブ64の開口を除き、袋状部62は密閉される。袋状部62は、例えばシリコーンゴム等のゴムにより形成される。袋状部62は、多孔質部材61の上面611に接触する上面部621と、上面部621とは反対側の下面部622とを有する。上面部621の外面は、指9の掌側に対向し、硬軟提示装置6における触覚の提示面620である。上面部621の厚さ(内面と外面との間の厚さ)は、例えば1.5mm以下であり、好ましくは1.0mm以下であり、より好ましくは0.8mm以下である。上面部621においてある程度の強度を確保するには、上面部621の厚さは、例えば0.01mm以上である。下面部622の厚さは、上面部621の厚さと同じであってもよく、異なっていてもよい。以下の説明では、下面部622および上面部621に略垂直な方向を「厚さ方向」という。 The bag-shapedportion 62 is a bag-shaped member that houses theporous member 61 and theenclosure 63. One end of theconnection tube 64 is connected to the bag-shapedportion 62. Except for the opening of the connectingtube 64, the bag-shapedportion 62 is sealed. The bag-shapedportion 62 is formed of rubber such as silicone rubber. The bag-shapedportion 62 has anupper surface portion 621 in contact with theupper surface portion 611 of theporous member 61, and alower surface portion 622 on the opposite side of theupper surface portion 621. The outer surface of theupper surface portion 621 faces the palm side of the finger 9, and is atactile presentation surface 620 in the hard /soft presentation device 6. The thickness of the upper surface portion 621 (thickness between the inner surface and the outer surface) is, for example, 1.5 mm or less, preferably 1.0 mm or less, and more preferably 0.8 mm or less. In order to secure a certain level of strength in theupper surface portion 621, the thickness of theupper surface portion 621 is, for example, 0.01 mm or more. The thickness of thelower surface portion 622 may be the same as or different from the thickness of theupper surface portion 621. In the following description, the direction substantially perpendicular to thelower surface portion 622 and theupper surface portion 621 is referred to as a "thickness direction".

図14は、封入物63の一部を拡大して示す図である。図14に示す封入物63は、複数のシート部材631を厚さ方向に積層した層状である。図13の封入物63では、図14に示すシート部材631よりも多くのシート部材631が積層される。例えば、シート部材631は、指9の遠位側から近位側に向かって(図14の左側から右側に向かって)延びる帯状の紙である。シート部材631の坪量は、例えば10〜250g/mであり、好ましくは25〜150g/mであり、より好ましくは50〜100g/mである。シート部材631の枚数は、例えば5〜100枚であり、好ましくは、10〜80枚であり、より好ましくは15〜50枚である。シート部材631は、紙以外であってもよい。FIG. 14 is an enlarged view showing a part of theinclusion material 63. Theenclosure 63 shown in FIG. 14 is a layer in which a plurality ofsheet members 631 are laminated in the thickness direction. In theenclosure 63 of FIG. 13,more sheet members 631 are laminated than thesheet member 631 shown in FIG. For example, thesheet member 631 is a strip of paper extending from the distal side to the proximal side of the finger 9 (from the left side to the right side in FIG. 14). The basis weight of thesheet member 631 is, for example, 10 to 250 g / m2 , preferably 25 to 150 g / m2 , and more preferably 50 to 100 g / m2 . The number ofsheet members 631 is, for example, 5 to 100, preferably 10 to 80, and more preferably 15 to 50. Thesheet member 631 may be other than paper.

封入物63の作製では、複数のシート部材631のうち約半分のシート部材631が、遠位側の端部にて相互間にスペーサ632(シート部材631を折り返した部分等であってもよい。)を介在させて厚さ方向に積層され、シート積層体633が形成される。また、残りのシート部材631が、近位側の端部にて相互間にスペーサ632を介在させて厚さ方向に積層され、シート積層体633が形成される。そして、厚さ方向において、2つのシート積層体633のシート部材631が交互に配置されるように、2つのシート積層体633が部分的に重ねられ、封入物63が作製される。図14の封入物63の構造は、一例に過ぎず、シート部材631が厚さ方向に積層される他の構造が採用されてよい。また、上記作製例とは異なる作業により、封入物63が作製されてよい。図13に示すように、封入物63は、袋状部62内において、多孔質部材61に対して提示面620とは反対側に重ねられる。図13の例では、多孔質部材61と封入物63との間には、いずれの部材も配置されない。 In the production of theenclosure 63, about half of thesheet members 631 may be spacers 632 (a portion in which thesheet member 631 is folded back) at the distal end portion. ) Is interposed and laminated in the thickness direction to form a sheetlaminated body 633. Further, the remainingsheet members 631 are laminated in the thickness direction withspacers 632 interposed therebetween at the ends on the proximal side to form the sheet laminatedbody 633. Then, the two sheet laminatedbodies 633 are partially overlapped so that thesheet members 631 of the two sheet laminatedbodies 633 are alternately arranged in the thickness direction, and theenclosure 63 is produced. The structure of theenclosure 63 in FIG. 14 is only an example, and another structure in which thesheet members 631 are laminated in the thickness direction may be adopted. Further, theinclusion material 63 may be produced by a work different from the above-mentioned production example. As shown in FIG. 13, theinclusion material 63 is overlapped with respect to theporous member 61 on the side opposite to thepresentation surface 620 in the bag-shapedportion 62. In the example of FIG. 13, neither member is arranged between theporous member 61 and theinclusion material 63.

封入物63におけるシート部材631は、必ずしも、厚さ方向に積層される必要はない。例えば、図15に示すように、シート部材631が厚さ方向に対して傾斜した状態で、厚さ方向に略垂直な方向に積層(配列)されて、封入物63が作製されてもよい。図15の封入物63も層状と捉えることが可能である。また、袋状部62内に収容される封入物63は粒状であってもよい。各種粉末が、粒状の封入物63として用いることが可能である。 Thesheet member 631 in theenclosure 63 does not necessarily have to be laminated in the thickness direction. For example, as shown in FIG. 15, thesheet member 631 may be laminated (arranged) in a direction substantially perpendicular to the thickness direction in a state of being inclined with respect to the thickness direction to produce theenclosure 63. Theinclusion 63 in FIG. 15 can also be regarded as a layer. Further, theenclosure 63 housed in the bag-shapedportion 62 may be granular. Various powders can be used as thegranular inclusions 63.

好ましいパッド部60では、図13に示すように、複数の低密度部634が設けられる。各低密度部634では、封入物63の密度が他の位置における密度よりも低い。複数の低密度部634は、指9のDIP関節91、PIP関節92およびMP関節93(図10参照)におよそ対向する。図13の例では、各低密度部634において、シート部材631が完全に除去され、多孔質部材61と同じ材料(ここでは、スポンジ)が充填される。低密度部634において、一部のシート部材631が残されていてもよい。複数の低密度部634の存在により、DIP関節91、PIP関節92およびMP関節93の屈伸が、封入物63により阻害されることが抑制される。粒状の封入物63を採用する場合にも、低密度部634が設けられてよい。 In thepreferred pad portion 60, as shown in FIG. 13, a plurality oflow density portions 634 are provided. In eachlow density portion 634, the density of theinclusion 63 is lower than the density at other positions. The plurality oflow density portions 634 approximately face the DIP joint 91, the PIP joint 92, and the MP joint 93 (see FIG. 10) of the finger 9. In the example of FIG. 13, in eachlow density portion 634, thesheet member 631 is completely removed, and the same material as the porous member 61 (here, sponge) is filled. A part of thesheet member 631 may be left in thelow density portion 634. The presence of the plurality of low-density portions 634 prevents the flexion and extension of the DIP joint 91, the PIP joint 92, and the MP joint 93 from being inhibited by theinclusion material 63. Even when thegranular enclosure 63 is adopted, thelow density portion 634 may be provided.

図2の圧力調整部65には、接続チューブ64の他端が接続される。圧力調整部65は、例えばポンプ等を有し、袋状部62内の空気の圧力を調整可能である。換言すると、袋状部62に対する空気の供給および回収が可能である。本実施の形態では、圧力調整部65により、袋状部62内の圧力が、大気圧または大気圧よりも低い圧力に調整される。袋状部62内の圧力が大気圧よりも低くなると、袋状部62が圧縮される。 The other end of theconnection tube 64 is connected to thepressure adjusting portion 65 in FIG. 2. Thepressure adjusting unit 65 has, for example, a pump or the like, and can adjust the pressure of the air in the bag-shapedportion 62. In other words, air can be supplied and recovered to the bag-shapedportion 62. In the present embodiment, thepressure adjusting unit 65 adjusts the pressure in the bag-shapedportion 62 to atmospheric pressure or a pressure lower than atmospheric pressure. When the pressure in the bag-shapedportion 62 becomes lower than the atmospheric pressure, the bag-shapedportion 62 is compressed.

ここで、多孔質部材61および袋状部62の組合せを圧縮部66と呼び、封入物63および袋状部62の組合せを剛性可変部67と呼び、袋状部62内の圧力が大気圧から低くなる際における、圧縮部66および剛性可変部67の状態の変化を個別に説明する。 Here, the combination of theporous member 61 and the bag-shapedportion 62 is referred to as acompression portion 66, the combination of theinclusion 63 and the bag-shapedportion 62 is referred to as a rigidityvariable portion 67, and the pressure in the bag-shapedportion 62 is from atmospheric pressure. The change in the state of thecompression portion 66 and the rigidityvariable portion 67 when the pressure is lowered will be described individually.

圧縮部66において、袋状部62内の圧力が大気圧である状態では、多孔質部材61の気孔に空気が充填されており、多孔質部材61は比較的小さい力で変形する。すなわち、多孔質部材61は軟らかい状態である。袋状部62内の圧力が低くなるに従って、気孔中の空気が少なくなり、多孔質部材61が次第に圧縮される。これにより、多孔質部材61の軟らかさも低下する。袋状部62内の圧力がさらに低くなると、多孔質部材61の気孔中の空気がほとんどなくなり、多孔質部材61が略シート状に圧縮される(押し潰される)。すなわち、袋状部62の上面部621等と同様に、多孔質部材61を薄いシートと捉えることが可能な状態となる。袋状部62内の圧力が大気圧に戻されると、多孔質部材61の気孔に空気が取り込まれ、多孔質部材61が圧縮前の元の状態に戻る(膨張する)。このように、圧縮部66では、袋状部62に対する空気の供給および回収により、多孔質部材61の圧縮の程度が可変である。 In thecompression portion 66, when the pressure in the bag-shapedportion 62 is atmospheric pressure, the pores of theporous member 61 are filled with air, and theporous member 61 is deformed with a relatively small force. That is, theporous member 61 is in a soft state. As the pressure in the bag-shapedportion 62 decreases, the amount of air in the pores decreases, and theporous member 61 is gradually compressed. As a result, the softness of theporous member 61 is also reduced. When the pressure in the bag-shapedportion 62 is further lowered, the air in the pores of theporous member 61 is almost eliminated, and theporous member 61 is compressed (crushed) into a substantially sheet shape. That is, theporous member 61 can be regarded as a thin sheet, similarly to theupper surface portion 621 of the bag-shapedportion 62. When the pressure in the bag-shapedportion 62 is returned to the atmospheric pressure, air is taken into the pores of theporous member 61, and theporous member 61 returns (expands) to the original state before compression. As described above, in thecompression unit 66, the degree of compression of theporous member 61 is variable by supplying and recovering air to the bag-shapedportion 62.

剛性可変部67において、袋状部62内の圧力が大気圧である状態では、図14のシート部材631間の隙間の存在により、封入物63は比較的小さい力で変形する。本実施の形態では、封入物63は、大気圧における多孔質部材61よりも軟らかさが低い(少し硬い)状態である。袋状部62内の圧力が低くなるに従って、シート部材631間の隙間が小さくなり、封入物63の密度が次第に高くなる。剛性可変部67では、ジャミング転移現象により、封入物63の密度に応じてたわみ剛性が高くなる。袋状部62内の圧力がさらに低くなると、図14中に二点鎖線にて示すように、シート部材631間の隙間がほとんどなくなり、封入物63が高密度状態となる。この状態では、剛性可変部67のたわみ剛性がさらに高くなる。袋状部62内の圧力が大気圧に戻されると、シート部材631間の隙間に空気が入り込み、図14中に実線にて示す状態に戻る。このように、剛性可変部67では、袋状部62に対する空気の供給および回収により剛性が可変である。 In thevariable rigidity portion 67, when the pressure in the bag-shapedportion 62 is atmospheric pressure, theinclusion 63 is deformed with a relatively small force due to the presence of the gap between thesheet members 631 in FIG. In the present embodiment, theinclusion material 63 is in a state of being less soft (slightly hard) than theporous member 61 at atmospheric pressure. As the pressure in the bag-shapedportion 62 decreases, the gap between thesheet members 631 decreases, and the density of theinclusions 63 gradually increases. In the rigidityvariable portion 67, the deflection rigidity increases according to the density of theinclusions 63 due to the jamming transition phenomenon. When the pressure in the bag-shapedportion 62 is further lowered, as shown by the alternate long and short dash line in FIG. 14, the gap between thesheet members 631 is almost eliminated, and theinclusions 63 are in a high-density state. In this state, the flexural rigidity of thevariable rigidity portion 67 is further increased. When the pressure in the bag-shapedportion 62 is returned to the atmospheric pressure, air enters the gap between thesheet members 631 and returns to the state shown by the solid line in FIG. As described above, in thevariable rigidity portion 67, the rigidity is variable by supplying and recovering air to the bag-shapedportion 62.

既述のように、図13のパッド部60では、多孔質部材61に対して提示面620とは反対側に、剛性可変部67の封入物63が重ねられている。したがって、袋状部62内の圧力が大気圧である場合には、提示面620において多孔質部材61により軟らかさが提示される。また、袋状部62内の圧力が大気圧よりも僅かに低い状態では、圧縮部66における多孔質部材61の圧縮の程度に応じて、多孔質部材61により軟らかさが提示される。このとき、多孔質部材61の圧縮の程度に、剛性可変部67のたわみ剛性の影響が付加された、軟らかさが提示される場合もある。袋状部62内の圧力がさらに低くなり、多孔質部材61が略シート状に圧縮されると、提示面620では、主として、封入物63の密度に応じて剛性可変部67により硬さが提示される。 As described above, in thepad portion 60 of FIG. 13, theinclusion material 63 of the rigidityvariable portion 67 is overlapped on the side opposite to thepresentation surface 620 with respect to theporous member 61. Therefore, when the pressure in the bag-shapedportion 62 is atmospheric pressure, the softness is presented by theporous member 61 on thepresentation surface 620. Further, in a state where the pressure in the bag-shapedportion 62 is slightly lower than the atmospheric pressure, theporous member 61 presents softness depending on the degree of compression of theporous member 61 in thecompression portion 66. At this time, the degree of compression of theporous member 61 may be presented with the softness in which the influence of the flexural rigidity of thevariable rigidity portion 67 is added. When the pressure in the bag-shapedportion 62 is further reduced and theporous member 61 is compressed into a substantially sheet shape, the hardness is presented mainly by the rigidityvariable portion 67 on thepresentation surface 620 according to the density of theinclusion 63. Will be done.

次に、硬軟提示装置6の硬軟特性の評価について述べる。硬軟特性の評価では、内部のサイズが100×17.5×6.5mm(それぞれ、指の長手方向、屈伸軸方向、厚さ方向に対応)の袋状部62をシリコーンゴムにより作製し、袋状部62内に多孔質部材61および封入物63を収容してパッド部60を準備した。袋状部62(の上面部621)の厚さを0.5mmとし、多孔質部材61として厚さ4mmのスポンジを用い、封入物63として30枚の紙(坪量71g/mのコピー用紙)を用いた。また、比較例1〜5のパッド部も準備した。比較例1〜5のパッド部では、内部のサイズが100×17.5×3.2mmの袋状部に封入物のみを収容した。比較例1の封入物は、コーヒー粉末1.8gであり、比較例2の封入物は、コーヒー粉末2.5gである。比較例3の封入物は、紙6枚およびコーヒー粉末1.8g(コーヒー粉末を紙の上に配置)であり、比較例4、5の封入物は、紙30枚である。また、比較例1〜4では、袋状部62の厚さを1mmとし、比較例5では、袋状部62の厚さを0.5mmとした。Next, the evaluation of the hardness and softness characteristics of the hardness andsoftness presentation device 6 will be described. In the evaluation of the hardness and softness characteristics, a bag-shapedportion 62 having an internal size of 100 × 17.5 × 6.5 mm (corresponding to the longitudinal direction, flexion / extension axis direction, and thickness direction of the finger, respectively) is made of silicone rubber, and the bag is made. Thepad portion 60 was prepared by accommodating theporous member 61 and theinclusion material 63 in the shapedportion 62. The thickness of the bag-shaped portion 62 (upper surface portion 621) is 0.5 mm, a sponge having a thickness of 4 mm is used as theporous member 61, and 30 sheets of paper (base weight 71 g / m2 copy paper) are used as the enclosure 63. ) Was used. In addition, the pad portions of Comparative Examples 1 to 5 were also prepared. In the pad portions of Comparative Examples 1 to 5, only the inclusions were housed in a bag-shaped portion having an internal size of 100 × 17.5 × 3.2 mm. The inclusion in Comparative Example 1 is 1.8 g of coffee powder, and the inclusion in Comparative Example 2 is 2.5 g of coffee powder. The inclusions of Comparative Example 3 are 6 sheets of paper and 1.8 g of coffee powder (coffee powder is arranged on the paper), and the inclusions of Comparative Examples 4 and 5 are 30 sheets of paper. Further, in Comparative Examples 1 to 4, the thickness of the bag-shapedportion 62 was set to 1 mm, and in Comparative Example 5, the thickness of the bag-shapedportion 62 was set to 0.5 mm.

袋状部62の下面部622を、屈伸軸方向に14mmの間隔を設けた2つの支持部材にて支えた状態で、当該2つの支持部材の間の中央近傍にて袋状部62の上面部621を下方へと押し込む押込み試験を行った。押込み距離は、約3.5mmとなるように調整した。ここでは、大気圧から袋状部62の内部の圧力を引いて得た値を真空度として、真空度0kPa、20kPa、40kPaのそれぞれにおいて押下力と変位の関係を記録した。そして、Maxewllモデルに非線形ばね要素を加えたモデルに基づいて、パッド部60のばね係数を求めた。 In a state where thelower surface portion 622 of the bag-shapedportion 62 is supported by two support members provided with an interval of 14 mm in the bending / extension axis direction, the upper surface portion of the bag-shapedportion 62 is near the center between the two support members. A indentation test was conducted in which the 621 was pushed downward. The pushing distance was adjusted to be about 3.5 mm. Here, the value obtained by subtracting the pressure inside the bag-shapedportion 62 from the atmospheric pressure was taken as the degree of vacuum, and the relationship between the pressing force and the displacement was recorded at each of the degree of vacuum of 0 kPa, 20 kPa, and 40 kPa. Then, the spring coefficient of thepad portion 60 was obtained based on the model in which the nonlinear spring element was added to the Maxewll model.

図16は、硬軟特性の評価結果を示す図であり、各条件において10回の測定を行って得たばね係数の値の平均値を示している。図16では、真空度に対するパッド部60のばね係数の変化を実線L0にて示し、比較例1〜5のパッド部におけるばね係数の変化を破線L1〜L5にて示している。ばね係数は、パッド部のたわみ剛性、すなわち、軟らかさ/硬さを表す。実線L0のように、パッド部60では、比較例1〜5に比べて、ばね係数の変化範囲が大きくなっており、幅広い範囲の軟らかさ/硬さ(硬軟感覚)を提示することが可能である。また、パッド部60では、真空度0において、十分に小さい(0近傍の)ばね係数が得られており、軟らかさが適切に提示可能であることが判る。 FIG. 16 is a diagram showing the evaluation results of the hardness and softness characteristics, and shows the average value of the spring coefficient values obtained by performing themeasurement 10 times under each condition. In FIG. 16, the change in the spring coefficient of thepad portion 60 with respect to the degree of vacuum is shown by the solid line L0, and the change in the spring coefficient in the pad portions of Comparative Examples 1 to 5 is shown by the broken lines L1 to L5. The spring constant represents the flexural rigidity of the pad portion, that is, the softness / hardness. Like the solid line L0, in thepad portion 60, the change range of the spring coefficient is larger than in Comparative Examples 1 to 5, and it is possible to present a wide range of softness / hardness (hardness / softness sensation). be. Further, in thepad portion 60, a sufficiently small (near 0) spring coefficient is obtained at a vacuum degree of 0, and it can be seen that the softness can be appropriately presented.

以上に説明したように、硬軟提示装置6では、弾性を有する略板状の多孔質部材61と、多孔質部材61を収容するとともに外面が触覚の提示面620である袋状部62とが設けられる。そして、袋状部62に対する空気の供給および回収により多孔質部材61の圧縮の程度が可変とされる。これにより、提示面620において、軟らかさを適切に提示することができる。その結果、関節固定装置2および硬軟提示装置6を備える触覚提示装置1では、柔軟体を把持した場合の感覚を適切に提示することができる。硬軟提示装置6を1本の指に複数設けてもよく、この場合、部分的に柔らかさが異なるような提示も可能となる。 As described above, the hard /soft presentation device 6 is provided with a substantially plate-shapedporous member 61 having elasticity and a bag-shapedportion 62 that accommodates theporous member 61 and whose outer surface is atactile presentation surface 620. Be done. Then, the degree of compression of theporous member 61 is made variable by supplying and recovering air to the bag-shapedportion 62. Thereby, the softness can be appropriately presented on thepresentation surface 620. As a result, thetactile presentation device 1 provided with thejoint fixing device 2 and the hardness /softness presentation device 6 can appropriately present the sensation when the flexible body is gripped. A plurality of hard /soft presentation devices 6 may be provided on one finger, and in this case, presentations having partially different softness are possible.

また、剛性(たわみ剛性)が可変である剛性可変部67が、多孔質部材61に対して提示面620とは反対側に重ねられる。これにより、多孔質部材61が略シート状に圧縮された状態において、剛性可変部67により硬さを提示することができ、幅広い範囲の硬軟感覚の提示を実現することができる。剛性可変部67では、層状または粒状の封入物63が袋状部62に収容され、袋状部62に対する空気の供給および回収により剛性が可変とされる。これにより、ジャミング転移現象を利用して硬さを適切に提示することができる。 Further, thevariable rigidity portion 67 having variable rigidity (deflection rigidity) is superposed on theporous member 61 on the side opposite to thepresentation surface 620. As a result, in a state where theporous member 61 is compressed into a substantially sheet shape, the hardness can be presented by the rigidityvariable portion 67, and a wide range of hard and soft sensations can be presented. In thevariable rigidity portion 67, the layered orgranular inclusions 63 are housed in the bag-shapedportion 62, and the rigidity is made variable by supplying and recovering air to the bag-shapedportion 62. Thereby, the hardness can be appropriately presented by utilizing the jamming transition phenomenon.

図2の触覚提示装置1では、提示面620が使用者の指9の掌側に対向するように、圧縮部66(多孔質部材61および袋状部62)および剛性可変部67が使用者に対して取り付けられる。これにより、関節固定装置2による仮想物体の形状の提示のみならず、幅広い範囲の硬軟感覚の提示が可能となり、使用者に対してより現実感のある触覚を提示することが実現される。この場合に、剛性可変部67において、指9の関節に対向する位置における封入物63の密度が、他の位置における密度よりも低くされることにより、剛性可変部67が指9の曲げを阻害することを抑制することができる。なお、図2の触覚提示装置1では、可動部3の剛性を高くした状態(高張力状態)において、パッド部60の真空度を0kPa(大気圧)と30kPaとにランダムに設定した場合に、複数の被験者において、真空度0kPaでは軟らかいと知覚され、真空度30kPaでは硬いと知覚されることが確認されている。 In thetactile presentation device 1 of FIG. 2, the compression portion 66 (porous member 61 and bag-shaped portion 62) and thevariable rigidity portion 67 are provided to the user so that thepresentation surface 620 faces the palm side of the user's finger 9. It can be attached to it. As a result, not only the shape of the virtual object can be presented by thejoint fixing device 2, but also a wide range of hard and soft sensations can be presented, and it is possible to present a more realistic tactile sensation to the user. In this case, in thevariable rigidity portion 67, the density of theinclusions 63 at the position facing the joint of the finger 9 is lower than the density at the other positions, so that thevariable rigidity portion 67 hinders the bending of the finger 9. It can be suppressed. In thetactile presentation device 1 of FIG. 2, when the vacuum degree of thepad portion 60 is randomly set to 0 kPa (atmospheric pressure) and 30 kPa in a state where the rigidity of themovable portion 3 is increased (high tension state), It has been confirmed that in a plurality of subjects, it is perceived as soft at a vacuum degree of 0 kPa and hard at a vacuum degree of 30 kPa.

上記触覚提示装置1では様々な変形が可能である。 Thetactile presentation device 1 can be modified in various ways.

上記実施の形態における関節固定装置2では、複数の可動体31〜34が、同じ可動方向に移動可能な状態で連結されるが、一部の可動体31〜34が、他の可動方向に移動可能であってもよい。例えば、MP関節93では、屈伸のみならず、内外転も可能であるため、図17に示すように、可動部3aにおいて、MP関節93を内外転させる際における可動方向(掌側から背側に向かう軸を中心とする回転方向)に移動可能な連結部39d,39eが設けられてもよい。当該連結部39d,39eでは、例えば、内外転における軸に略平行な中心軸を中心とする突起部37および溝部38が設けられる。可動部3aでは、当該連結部39d,39eにより、MP関節93が内外転可能である。この場合に、硬軟提示装置6のパッド部60が指9の側面に対向する位置に配置されてもよい。 In thejoint fixing device 2 of the above embodiment, a plurality ofmovable bodies 31 to 34 are connected in a state of being movable in the same movable direction, but some of themovable bodies 31 to 34 are moved in other movable directions. It may be possible. For example, in the MP joint 93, not only bending and stretching but also adduction and abduction are possible. Therefore, as shown in FIG. 17, in the movable portion 3a, the movable direction (from the palm side to the dorsal side) when the MP joint 93 is abducted and abducted. The connectingportions 39d and 39e that can be moved in the rotation direction about the axis to which the head is directed may be provided. The connectingportions 39d and 39e are provided with, for example, aprotrusion 37 and agroove 38 centered on a central axis substantially parallel to the axis in adduction and abduction. In the movable portion 3a, the MP joint 93 can be abducted and abducted by the connectingportions 39d and 39e. In this case, thepad portion 60 of the hard /soft presentation device 6 may be arranged at a position facing the side surface of the finger 9.

また、可動部3aでは、屈伸軸方向(図17の紙面に垂直な方向)に沿って見た場合に、屈伸軸方向に略平行な可動軸を有する連結部39bが、MP関節93近傍において使用者の部位から離れた位置に配置される。また、連結部39bにて連結される各可動体32,33は、連結部39bとは反対側に設けられる連結部39a,39cの可動軸を中心として屈伸の可動方向に回転可能である。したがって、可動部3aにおいても、可動体32,33を含むリンク機構390により、MP関節93が屈伸可能である。図17の可動部3aを有する関節固定装置2においても、ワイヤ41を高張力状態とすることにより、DIP関節91、PIP関節92およびMP関節93の動き(MP関節93の内外転を含む。)を固定することが可能となる。関節周りのリンク機構では、様々なパターンの回転軸の組合せ(様々な方向の可動軸を有する連結部の組合せ)が採用されてよい。 Further, in the movable portion 3a, the connectingportion 39b having a movable axis substantially parallel to the bending / stretching axis direction when viewed along the bending / stretching axis direction (direction perpendicular to the paper surface in FIG. 17) is used in the vicinity of the MP joint 93. It is placed away from the person's part. Further, each of themovable bodies 32 and 33 connected by the connectingportion 39b can rotate in the bending and stretching movable direction around the movable axis of the connectingportions 39a and 39c provided on the opposite side of the connectingportion 39b. Therefore, even in the movable portion 3a, the MP joint 93 can be flexed and extended by thelink mechanism 390 including themovable bodies 32 and 33. Also in thejoint fixing device 2 having the movable portion 3a of FIG. 17, the movements of the DIP joint 91, the PIP joint 92, and the MP joint 93 (including the adduction / abduction of the MP joint 93) by setting thewire 41 in a high tension state. Can be fixed. In the link mechanism around the joint, a combination of various patterns of rotation axes (combination of connecting portions having movable axes in various directions) may be adopted.

図18に示すように、複数の第1可動体31が、互いに異なる形状を有してもよい。図18の例では、指9(図18中に二点鎖線にて示す。)の先端側に向かうに従って、突起部37および溝部38の半径が小さくなっている。また、指9の形状に合わせて、先端側に向かうに従って本体側部311の大きさも小さくなっている。 As shown in FIG. 18, the plurality of firstmovable bodies 31 may have different shapes from each other. In the example of FIG. 18, the radius of theprotrusion 37 and thegroove 38 decreases toward the tip end side of the finger 9 (indicated by a two-dot chain line in FIG. 18). Further, the size of the mainbody side portion 311 becomes smaller toward the tip side according to the shape of the finger 9.

上記実施の形態では、隣接する2つの可動体31〜34において、円筒面の一部(半円筒面)である接触面371,381が設けられるが、可動部3,3aの設計によっては、例えば、球面の一部(半球面)である接触面371,381が設けられてもよい。この場合、各可動体31〜34が、複数の可動方向に移動可能な状態で隣接する可動体31〜34に連結される。また、接触面371,381は、必ずしも曲面である必要はなく、平面であってもよい。例えば、隣接する2つの可動体のそれぞれにおいて、互いに平行な複数の板状突起部が配列された櫛歯部が設けられ、当該2つの可動体の櫛歯部が互いに噛み合わせられる。この場合、各板状突起部の主面が接触面とされ、当該2つの可動体は、板状突起部の主面に沿う方向に相対的に移動可能となる。また、高張力状態では、接触面間に互いに押し合う力が付与され、摩擦力が増大される。可動部3,3aでは、隣接する2つの可動体31〜34において、1つの第1接触面371および1つの第2接触面381のみが設けられてもよい。 In the above embodiment, the contact surfaces 371 and 381, which are a part of the cylindrical surface (semi-cylindrical surface), are provided in the two adjacentmovable bodies 31 to 34, but depending on the design of themovable portions 3, 3a, for example. , Acontact surface 371, 381 which is a part of a spherical surface (hemispherical surface) may be provided. In this case, eachmovable body 31 to 34 is connected to an adjacentmovable body 31 to 34 in a state of being movable in a plurality of movable directions. Further, the contact surfaces 371 and 381 do not necessarily have to be curved surfaces, but may be flat surfaces. For example, in each of the two adjacent movable bodies, a comb tooth portion in which a plurality of plate-shaped protrusions parallel to each other are arranged is provided, and the comb tooth portions of the two movable bodies are meshed with each other. In this case, the main surface of each plate-shaped protrusion is a contact surface, and the two movable bodies can move relatively in the direction along the main surface of the plate-shaped protrusion. Further, in the high tension state, a force that pushes against each other is applied between the contact surfaces, and the frictional force is increased. In themovable portions 3 and 3a, only onefirst contact surface 371 and onesecond contact surface 381 may be provided in two adjacentmovable bodies 31 to 34.

図2の剛性調整部4では、低張力状態と高張力状態とが切り替えられるが、関節固定装置2の用途によっては、ワイヤ41を引っ張る力が多段階または無段階に切り替えられてもよい。また、剛性調整部4では、ワイヤ41および張力調整部42以外の組合せにより、隣接する2つの可動体31〜34の接触面371,381間に互いに押し合う力が付与されてもよい。例えば、ワイヤ41以外の紐状部材が用いられてもよく、また、エアシリンダ等により紐状部材が引っ張られてもよい。 The rigidity adjusting unit 4 of FIG. 2 switches between a low tension state and a high tension state, but depending on the application of thejoint fixing device 2, the force for pulling thewire 41 may be switched in multiple stages or in a stepless state. Further, in the rigidity adjusting unit 4, a force that pushes against each other between the contact surfaces 371 and 381 of two adjacentmovable bodies 31 to 381 may be applied by a combination other than thewire 41 and thetension adjusting unit 42. For example, a string-shaped member other than thewire 41 may be used, or the string-shaped member may be pulled by an air cylinder or the like.

関節固定装置2は、仮想物体の形状の提示以外に利用されてよく、また、指関節以外の任意の関節の固定に利用されてもよい。この場合も、可動部3,3aでは、一の関節の両側の骨(すなわち、当該関節の固定すべき可動方向に関して互いに相対的に移動する2つの骨)に沿って複数の可動体が使用者に取り付けられ、複数の可動体のそれぞれが、当該関節の一の可動方向に移動可能な状態で隣接する可動体に連結される。そして、剛性調整部4が、複数の可動体において隣接する2つの可動体の接触面間に互いに押し合う力を付与することにより、当該関節の動きを適切に固定することが可能となる。 Thejoint fixing device 2 may be used for purposes other than presenting the shape of a virtual object, and may be used for fixing any joint other than the knuckle. Again, in themovable parts 3, 3a, the user has a plurality of movable bodies along the bones on both sides of one joint (that is, two bones that move relative to each other with respect to the movable direction in which the joint should be fixed). Each of the plurality of movable bodies is connected to the adjacent movable body in a state of being movable in the movable direction of one of the joints. Then, the rigidity adjusting unit 4 can appropriately fix the movement of the joint by applying a force that pushes against each other between the contact surfaces of the two adjacent movable bodies in the plurality of movable bodies.

硬軟提示装置6では、圧縮部66の多孔質部材61と、剛性可変部67の封入物63とが個別の袋状部に収容されてもよい。この場合も、封入物63および袋状部を含む剛性可変部67が、多孔質部材61および他の袋状部を含む圧縮部66に対して提示面620とは反対側に重ねられることにより、幅広い範囲の硬軟感覚の提示を実現することができる。また、圧縮部66の袋状部の真空度と、剛性可変部67の袋状部の真空度とが個別に調整されてもよい。このような硬軟提示装置6では、表面は柔らかいが、内部は硬いというような硬軟感覚を提示することも可能である。 In the hard /soft presentation device 6, theporous member 61 of thecompression portion 66 and theenclosure 63 of the rigidityvariable portion 67 may be housed in separate bag-shaped portions. Also in this case, thevariable rigidity portion 67 including theenclosure 63 and the bag-shaped portion is overlapped with respect to thecompression portion 66 including theporous member 61 and the other bag-shaped portions on the side opposite to thepresentation surface 620. It is possible to realize a wide range of presentation of hard and soft sensations. Further, the degree of vacuum of the bag-shaped portion of thecompression portion 66 and the degree of vacuum of the bag-shaped portion of thevariable rigidity portion 67 may be individually adjusted. In such a hard /soft presentation device 6, it is possible to present a hard / soft sensation that the surface is soft but the inside is hard.

一方、多孔質部材61と、封入物63とが同一の袋状部62に収容される上記硬軟提示装置6では、多孔質部材61が略シート状に圧縮された状態において、袋状部62の上面部621および多孔質部材61のみを介して(圧縮部66の袋状部の下面部および剛性可変部67の袋状部の上面部を介することなく)剛性可変部67に触れることが可能となり、剛性可変部67による硬さをより適切に提示することが可能となる。また、個別の袋状部を利用する場合に比べて、装置の製造コストを削減することができる。 On the other hand, in the hardness /softness presenting device 6 in which theporous member 61 and theenclosure 63 are housed in the same bag-shapedportion 62, the bag-shapedportion 62 is in a state where theporous member 61 is compressed into a substantially sheet shape. It is possible to touch thevariable rigidity portion 67 only through theupper surface portion 621 and the porous member 61 (without passing through the lower surface portion of the bag-shaped portion of thecompression portion 66 and the upper surface portion of the bag-shaped portion of the variable rigidity portion 67). , The hardness of thevariable rigidity portion 67 can be presented more appropriately. In addition, the manufacturing cost of the device can be reduced as compared with the case of using the individual bag-shaped portion.

圧縮部66および剛性可変部67では、袋状部に対して、空気以外の流体(例えば、空気以外の気体や水等の液体)が供給および回収されてもよい。圧縮部66では、袋状部に対する所定の流体の供給および回収により多孔質部材61の圧縮の程度が可変である。同様に、剛性可変部67では、袋状部に対する所定の流体の供給および回収により剛性が可変である。 In thecompression portion 66 and the rigidityvariable portion 67, a fluid other than air (for example, a gas other than air or a liquid such as water) may be supplied and recovered to the bag-shaped portion. In thecompression unit 66, the degree of compression of theporous member 61 is variable by supplying and recovering a predetermined fluid to the bag-shaped portion. Similarly, in thevariable rigidity portion 67, the rigidity is variable by supplying and recovering a predetermined fluid to the bag-shaped portion.

剛性可変部67は、ジャミング転移現象を利用しないものであってもよい。例えば、ばねを有するとともに当該ばねの予圧が変更可能な機構が、剛性可変部67として用いられてもよい。 The rigidityvariable portion 67 may not utilize the jamming transition phenomenon. For example, a mechanism having a spring and capable of changing the preload of the spring may be used as the rigidityvariable portion 67.

硬軟提示装置6は、必ずしも手に取り付けられる必要はなく、ディスプレイ型等であってもよい。 The hard /soft presentation device 6 does not necessarily have to be attached to the hand, and may be a display type or the like.

関節固定装置2および硬軟提示装置6は、互いに独立して用いられてもよい。 Thejoint fixing device 2 and the hard /soft presentation device 6 may be used independently of each other.

上記実施の形態および各変形例における構成は、相互に矛盾しない限り適宜組み合わされてよい。 The above-described embodiments and configurations in the respective modifications may be appropriately combined as long as they do not conflict with each other.

本発明の触覚提示装置は、様々な用途における触覚の提示に利用可能である。本発明の関節固定装置は、様々な用途における関節の動きの固定に利用可能である。 The tactile presentation device of the present invention can be used for presenting tactile sensations in various applications. The joint fixation device of the present invention can be used for fixing joint movements in various applications.

1 触覚提示装置
2 関節固定装置
3,3a 可動部
4 剛性調整部
9 指
31〜34,31a,31b 可動体
36 弱化溝
37 突起部
38 溝部
39,39a〜39e 連結部
61 多孔質部材
62 袋状部
63 封入物
67 剛性可変部
91〜93 関節
311,321,331 本体側部
371 第1接触面
381 第2接触面
390 リンク機構
620 提示面
J1〜J7 中心軸
1Tactile presentation device 2Joint fixing device 3, 3a Movable part 4 Rigidity adjustment part 9Fingers 31 to 34, 31a, 31bMovable body 36 Weakenedgroove 37Protrusion part 38Groove part 39, 39a to39e Connecting part 61Porous member 62 Bag-shapedPart 63Enclosed part 67 Rigidity variable part 91-93Joints 311, 321, 331 Mainbody side part 371First contact surface 381Second contact surface 390Link mechanism 620 Presentation surface J1 to J7 Central axis

Claims (13)

Translated fromJapanese
触覚提示装置であって、
弾性を有する略板状の多孔質部材と、
前記多孔質部材を収容するとともに外面が触覚の提示面である袋状部と、
を備え、
前記袋状部に対する所定の流体の供給および回収により前記多孔質部材の圧縮の程度が可変であることを特徴とする触覚提示装置。
It is a tactile presentation device
A substantially plate-shaped porous member with elasticity,
A bag-shaped portion that accommodates the porous member and whose outer surface is a tactile presentation surface,
Equipped with
A tactile presentation device characterized in that the degree of compression of the porous member is variable by supplying and recovering a predetermined fluid to the bag-shaped portion.
請求項1に記載の触覚提示装置であって、
前記多孔質部材に対して前記提示面とは反対側に重ねられ、剛性が可変である剛性可変部をさらに備えることを特徴とする触覚提示装置。
The tactile presentation device according to claim 1.
A tactile presentation device comprising a rigidity variable portion that is overlapped with respect to the porous member on the side opposite to the presentation surface and has a variable rigidity.
請求項2に記載の触覚提示装置であって、
前記剛性可変部が、層状または粒状の封入物が収容された袋状部を有し、前記袋状部に対する所定の流体の供給および回収により剛性が可変であることを特徴とする触覚提示装置。
The tactile presentation device according to claim 2.
A tactile presentation device, wherein the variable rigidity portion has a bag-shaped portion containing a layered or granular inclusion, and the rigidity is variable by supplying and recovering a predetermined fluid to the bag-shaped portion.
請求項3に記載の触覚提示装置であって、
前記多孔質部材と、前記剛性可変部の前記封入物とが同一の袋状部に収容されることを特徴とする触覚提示装置。
The tactile presentation device according to claim 3.
A tactile presentation device characterized in that the porous member and the enclosure of the variable rigidity portion are housed in the same bag-shaped portion.
請求項3または4に記載の触覚提示装置であって、
前記提示面が使用者の指の掌側に対向するように、前記多孔質部材、前記多孔質部材が収容される前記袋状部、および、前記剛性可変部が前記使用者に対して取り付けられ、
前記剛性可変部において、前記指の関節に対向する位置における前記封入物の密度が、他の位置における密度よりも低いことを特徴とする触覚提示装置。
The tactile presentation device according to claim 3 or 4.
The porous member, the bag-shaped portion in which the porous member is housed, and the variable rigidity portion are attached to the user so that the presentation surface faces the palm side of the user's finger. ,
A tactile presentation device characterized in that the density of the inclusions at a position facing the knuckle of the variable rigidity portion is lower than the density at other positions.
請求項1ないし5のいずれか1つに記載の触覚提示装置であって、
使用者の指に沿って前記使用者に取り付けられる複数の可動体を有するとともに、前記複数の可動体のそれぞれが、前記指の関節の一の可動方向に移動可能な状態で隣接する可動体に連結される可動部と、
所定の入力に応じて、前記複数の可動体において隣接する2つの可動体の接触面間に互いに押し合う力を付与することにより、前記接触面間の摩擦力を増大させ、前記可動部の剛性を高くする剛性調整部と、
をさらに備え、
前記提示面が前記使用者の前記指の掌側に対向するように、前記多孔質部材、および、前記多孔質部材が収容される前記袋状部が、前記使用者に対して取り付けられることを特徴とする触覚提示装置。
The tactile presentation device according to any one of claims 1 to 5.
It has a plurality of movable bodies attached to the user along the user's finger, and each of the plurality of movable bodies is attached to an adjacent movable body in a state of being movable in one movable direction of the joint of the finger. With the moving parts to be connected,
By applying a force that pushes against the contact surfaces of two adjacent movable bodies in the plurality of movable bodies in response to a predetermined input, the frictional force between the contact surfaces is increased, and the rigidity of the movable portion is increased. Rigidity adjustment part that raises the height and
Further prepare
The porous member and the bag-shaped portion in which the porous member is housed are attached to the user so that the presentation surface faces the palm side of the finger of the user. A featured tactile presentation device.
使用者の関節の動きを固定する関節固定装置であって、
一の関節の両側の骨に沿って使用者に取り付けられる複数の可動体を有するとともに、前記複数の可動体のそれぞれが、前記関節の一の可動方向に移動可能な状態で隣接する可動体に連結される可動部と、
所定の入力に応じて、前記複数の可動体において隣接する2つの可動体の接触面間に互いに押し合う力を付与することにより、前記接触面間の摩擦力を増大させ、前記可動部の剛性を高くする剛性調整部と、
を備えることを特徴とする関節固定装置。
It is a joint fixing device that fixes the movement of the user's joints.
It has a plurality of movable bodies attached to the user along the bones on both sides of one joint, and each of the plurality of movable bodies can be moved to an adjacent movable body in a state of being movable in one movable direction of the joint. With the moving parts to be connected,
By applying a force that pushes against the contact surfaces of two adjacent movable bodies in the plurality of movable bodies in response to a predetermined input, the frictional force between the contact surfaces is increased, and the rigidity of the movable portion is increased. Rigidity adjustment part that raises the height and
A joint fixation device characterized by comprising.
請求項7に記載の関節固定装置であって、
隣接する2つの可動体のうち、一方の可動体が、複数の第1接触面を有し、
他方の可動体が、前記複数の第1接触面にそれぞれ接触する複数の第2接触面を有することを特徴とする関節固定装置。
The joint fixing device according to claim 7.
Of the two adjacent movable bodies, one movable body has a plurality of first contact surfaces, and the movable body has a plurality of first contact surfaces.
A joint fixing device, wherein the other movable body has a plurality of second contact surfaces that are in contact with each of the plurality of first contact surfaces.
請求項8に記載の関節固定装置であって、
前記一方の可動体が、前記関節の一の可動方向の軸に略垂直な断面が円弧状の突起部を有し、
前記他方の可動体が、前記軸に略垂直な断面が円弧状であり、前記突起部が挿入される溝部を有し、
前記突起部の断面円弧状の2つの側面のそれぞれが第1接触面であり、
前記溝部の断面円弧状の2つの側面のそれぞれが第2接触面であることを特徴とする関節固定装置。
The joint fixing device according to claim 8.
The one movable body has a protrusion having an arcuate cross section substantially perpendicular to the axis of one of the joints in the movable direction.
The other movable body has an arcuate cross section substantially perpendicular to the axis, and has a groove into which the protrusion is inserted.
Each of the two side surfaces having an arcuate cross section of the protrusion is the first contact surface.
A joint fixing device characterized in that each of the two side surfaces having an arcuate cross section is a second contact surface.
請求項9に記載の関節固定装置であって、
前記突起部が、前記軸に略垂直な板状部位から突出し、
前記板状部位において、前記突起部の根元に沿う弱化溝が設けられることを特徴とする関節固定装置。
The joint fixing device according to claim 9.
The protrusion protrudes from a plate-shaped portion substantially perpendicular to the axis.
A joint fixing device characterized in that a weakening groove along the root of the protrusion is provided in the plate-shaped portion.
請求項7ないし10のいずれか1つに記載の関節固定装置であって、
前記複数の可動体が、前記使用者の指に沿って取り付けられることを特徴とする関節固定装置。
The joint fixing device according to any one of claims 7 to 10.
A joint fixing device, wherein the plurality of movable bodies are attached along the fingers of the user.
請求項7ないし11のいずれか1つに記載の関節固定装置であって、
隣接する2つの可動体が互いに連結される部分を連結部として、前記関節の一の可動方向の軸に沿って見た場合に、前記軸に略平行な可動軸を有する少なくとも1つの連結部が、前記関節近傍において前記使用者の部位から離れた位置に配置され、
前記少なくとも1つの連結部にて連結される可動体を含むリンク機構により、前記使用者が前記関節を前記可動方向に動かすことが可能であることを特徴とする関節固定装置。
The joint fixing device according to any one of claims 7 to 11.
When viewed along the axis of one of the joints in the movable direction, the portion where two adjacent movable bodies are connected to each other is regarded as a connecting portion, and at least one connecting portion having a movable axis substantially parallel to the axis is formed. , Placed in the vicinity of the joint and away from the user's site,
A joint fixing device comprising a movable body connected by the at least one connecting portion, whereby the user can move the joint in the movable direction.
請求項7ないし12のいずれか1つに記載の関節固定装置であって、
物体の形状を仮想的に提示する物体形状提示装置として利用されることを特徴とする関節固定装置。
The joint fixing device according to any one of claims 7 to 12.
A joint fixing device characterized by being used as an object shape presenting device that virtually presents the shape of an object.
JP2020087361A2020-05-192020-05-19Tactile sense presenting device and arthrodesis devicePendingJP2021182248A (en)

Priority Applications (1)

Application NumberPriority DateFiling DateTitle
JP2020087361AJP2021182248A (en)2020-05-192020-05-19Tactile sense presenting device and arthrodesis device

Applications Claiming Priority (1)

Application NumberPriority DateFiling DateTitle
JP2020087361AJP2021182248A (en)2020-05-192020-05-19Tactile sense presenting device and arthrodesis device

Publications (1)

Publication NumberPublication Date
JP2021182248Atrue JP2021182248A (en)2021-11-25

Family

ID=78606576

Family Applications (1)

Application NumberTitlePriority DateFiling Date
JP2020087361APendingJP2021182248A (en)2020-05-192020-05-19Tactile sense presenting device and arthrodesis device

Country Status (1)

CountryLink
JP (1)JP2021182248A (en)

Citations (8)

* Cited by examiner, † Cited by third party
Publication numberPriority datePublication dateAssigneeTitle
JPH0966476A (en)*1995-08-291997-03-11Hitachi Ltd Touch reproduction device and manipulator system using the same
JP2004029999A (en)*2002-06-242004-01-29Matsushita Electric Ind Co Ltd Haptic display hand and method of manufacturing the same
JP2004213351A (en)*2002-12-272004-07-29Seiko Epson Corp Force sense presentation device and force sense presentation system
JP2009183607A (en)*2008-02-082009-08-20Ritsumeikan Force sense adjustment device and force sense adjustment method
US20170185152A1 (en)*2015-11-202017-06-29Oculus Vr, LlcRestricting user movement via connecting tendons in a garment to a jamming mechanism
US20190384390A1 (en)*2018-06-152019-12-19Immersion CorporationKinesthetically enabled glove
JP2020022923A (en)*2014-02-212020-02-13インテュイティブ サージカル オペレーションズ, インコーポレイテッド Mechanical joints and related systems and methods
JP2020067723A (en)*2018-10-222020-04-30国立大学法人 奈良先端科学技術大学院大学 Foot sole feeling presentation device, sole feeling presentation method and virtual reality system

Patent Citations (8)

* Cited by examiner, † Cited by third party
Publication numberPriority datePublication dateAssigneeTitle
JPH0966476A (en)*1995-08-291997-03-11Hitachi Ltd Touch reproduction device and manipulator system using the same
JP2004029999A (en)*2002-06-242004-01-29Matsushita Electric Ind Co Ltd Haptic display hand and method of manufacturing the same
JP2004213351A (en)*2002-12-272004-07-29Seiko Epson Corp Force sense presentation device and force sense presentation system
JP2009183607A (en)*2008-02-082009-08-20Ritsumeikan Force sense adjustment device and force sense adjustment method
JP2020022923A (en)*2014-02-212020-02-13インテュイティブ サージカル オペレーションズ, インコーポレイテッド Mechanical joints and related systems and methods
US20170185152A1 (en)*2015-11-202017-06-29Oculus Vr, LlcRestricting user movement via connecting tendons in a garment to a jamming mechanism
US20190384390A1 (en)*2018-06-152019-12-19Immersion CorporationKinesthetically enabled glove
JP2020067723A (en)*2018-10-222020-04-30国立大学法人 奈良先端科学技術大学院大学 Foot sole feeling presentation device, sole feeling presentation method and virtual reality system

Similar Documents

PublicationPublication DateTitle
EP3966663B1 (en)Guide for supporting flexible articulating structure
Ge et al.Design, modeling, and evaluation of fabric-based pneumatic actuators for soft wearable assistive gloves
JP6666375B2 (en) Anti-fatigue and ergonomically improved medical / dental / practical gloves
Heung et al.Robotic glove with soft-elastic composite actuators for assisting activities of daily living
US20180335842A1 (en)Haptic feedback glove
Qi et al.HaptGlove—untethered pneumatic glove for multimode haptic feedback in reality–virtuality continuum
US20180335841A1 (en)Haptic feedback glove
US11061476B2 (en)Haptic feedback apparatus
US8667860B2 (en)Active gripper for haptic devices
Ryu et al.Elastick: A handheld variable stiffness display for rendering dynamic haptic response of flexible object
JP2009205021A (en)Skin joint structure
Moriyama et al.Development of a wearable haptic device that presents haptics sensation of the finger pad to the forearm
US20230324994A1 (en)Haptic device
WO2024012573A1 (en)Real-time adjustable kinesthetic and haptic glove apparatus
KR101934270B1 (en)Wearable Mechanism of the Hand for Rehabilitation
Jiralerspong et al.A novel soft robotic glove for daily life assistance
WO2018212971A1 (en)Haptic feedback glove
JP2012192496A (en)Humanoid hand
McCall et al.Soft pneumatic actuators for pushing fingers into extension
JP7029712B2 (en) Training equipment
JP6891344B2 (en) Motion detector
JP2021182248A (en)Tactile sense presenting device and arthrodesis device
WO2022219348A1 (en)Haptic glove
JP2022119612A (en)Tactile sensation presentation device and tactile sensation presentation method
KR102640274B1 (en)Grip strengthen glove

Legal Events

DateCodeTitleDescription
RD01Notification of change of attorney

Free format text:JAPANESE INTERMEDIATE CODE: A7426

Effective date:20200604

A521Request for written amendment filed

Free format text:JAPANESE INTERMEDIATE CODE: A821

Effective date:20200605

A621Written request for application examination

Free format text:JAPANESE INTERMEDIATE CODE: A621

Effective date:20230420

A977Report on retrieval

Free format text:JAPANESE INTERMEDIATE CODE: A971007

Effective date:20231122

A131Notification of reasons for refusal

Free format text:JAPANESE INTERMEDIATE CODE: A131

Effective date:20231130

A02Decision of refusal

Free format text:JAPANESE INTERMEDIATE CODE: A02

Effective date:20240523


[8]ページ先頭

©2009-2025 Movatter.jp