
















本開示は、半導体レーザ光源モジュールおよび半導体レーザ装置に関する。 The present disclosure relates to a semiconductor laser light source module and a semiconductor laser device.
筐体内に収容されたレーザダイオードの電極と、電源電極とをワイヤボンディングにより電気的に接続されている半導体レーザ光源モジュールが知られている(例えば、特許文献1)。 A semiconductor laser light source module in which an electrode of a laser diode housed in a housing and a power supply electrode are electrically connected by wire bonding is known (for example, Patent Document 1).
従来の技術では、ワイヤを流れる電流によって寄生インダクタンスが発生するといった問題がある。 In the conventional technique, there is a problem that a parasitic inductance is generated by a current flowing through a wire.
本開示は、以下の形態として実現することが可能である。 The present disclosure can be realized in the following forms.
本開示の一形態によれば、半導体レーザ光源モジュール(100,100b,100c)が提供される。この半導体レーザ光源モジュールは、活性層を含む半導体層(63)の一方の面側に形成された第一電極(64)と、前記活性層の他方の面側に形成された第二電極(62)とを備える端面出射型のレーザダイオード(60)と、前記レーザダイオードを囲む側壁部(90W)を有して前記側壁部のうち少なくとも一部にレーザ光を透過する透光部(92)を備える筐体(90)と、前記第一電極に当接される第一導電体(70,70b)と、前記第二電極に当接される第二導電体(40,40b)と、前記側壁部の外部側に設けられ、前記第一導電体と電気的に接続される第一接続部と、前記側壁部の外部側に設けられ、前記第二導電体と電気的に接続される第二接続部と、を備える。 According to one embodiment of the present disclosure, a semiconductor laser light source module (100, 100b, 100c) is provided. This semiconductor laser light source module includes a first electrode (64) formed on one surface side of a semiconductor layer (63) including an active layer and a second electrode (62) formed on the other surface side of the active layer. ), And a translucent portion (92) having a side wall portion (90 W) surrounding the laser diode and transmitting laser light to at least a part of the side wall portion. A housing (90) to be provided, a first conductor (70, 70b) abutting on the first electrode, a second conductor (40, 40b) abutting on the second electrode, and the side wall. A first connection portion provided on the outer side of the portion and electrically connected to the first conductor, and a second connection portion provided on the outer side of the side wall portion and electrically connected to the second conductor. It is provided with a connection part.
この形態の半導体レーザ光源モジュールによれば、正極側となる第一導電体と、レーザダイオードの第一電極とが当接されて電気的に接続されるとともに、負極側となる第二導電体と、第二電極とが当接されて電気的に接続される。半導体レーザ光源モジュールは、側壁部の外部側に第一接続部と、第二接続部とを備え、半導体レーザ装置の回路基板上に実装可能に構成される。したがって、ボンディングワイヤを用いることなくレーザダイオードに電流を供給でき、寄生インダクタンスの発生を抑制することができる。 According to the semiconductor laser light source module of this form, the first conductor on the positive electrode side and the first electrode of the laser diode are brought into contact with each other and electrically connected, and the second conductor on the negative electrode side is formed. , The second electrode is abutted and electrically connected. The semiconductor laser light source module is provided with a first connection portion and a second connection portion on the outer side of the side wall portion, and is configured to be mountable on a circuit board of a semiconductor laser device. Therefore, the current can be supplied to the laser diode without using the bonding wire, and the generation of parasitic inductance can be suppressed.
本開示の一形態によれば、半導体レーザ光源モジュール(200,200e)が提供される。この半導体レーザ光源モジュールは、活性層を含む半導体層(163)の一方の面側に形成された第一電極(164)と、前記活性層の他方の面側に形成された第二電極(162)とを備える端面出射型のレーザダイオード(160)と、前記レーザダイオードを囲む側壁部(190W)を有し、前記側壁部のうち少なくとも一部にレーザ光を透過する透光部(192)を備える筐体(190)と、前記第一電極と電気的に接続され、前記レーザダイオードを駆動する平板状のLDドライバ(110)と、前記レーザダイオードを挟んで前記LDドライバの一方の面側と対向するように配され、前記第二電極に当接されて前記レーザダイオードと電気的に接続される導電体(170)と、前記LDドライバの他方の面側に当接されるセラミック製の基台部(130,130e)と、前記筐体の外部側に配置される第一電極パッド(134)であって、前記LDドライバと電気的に接続される第一電極パッドと、前記筐体の外部側に配置される第二電極パッド(136)であって、前記導電体と電気的に接続される第二電極パッドと、を備える。 According to one embodiment of the present disclosure, a semiconductor laser light source module (200, 200e) is provided. This semiconductor laser light source module has a first electrode (164) formed on one surface side of a semiconductor layer (163) including an active layer and a second electrode (162) formed on the other surface side of the active layer. ), And a side wall portion (190 W) surrounding the laser diode, and a translucent portion (192) that transmits laser light to at least a part of the side wall portion. A housing (190) provided, a flat plate-shaped LD driver (110) electrically connected to the first electrode and driving the laser diode, and one surface side of the LD driver sandwiching the laser diode. A conductor (170) arranged so as to face each other and abutted against the second electrode and electrically connected to the laser diode, and a ceramic group abutted on the other surface side of the LD driver. The base portion (130, 130e), the first electrode pad (134) arranged on the outer side of the housing, the first electrode pad electrically connected to the LD driver, and the housing. It is a second electrode pad (136) arranged on the outer side, and includes a second electrode pad that is electrically connected to the conductor.
この形態の半導体レーザ光源モジュールによれば、LDドライバと、レーザダイオードの第一電極とが当接されて電気的に接続されるとともに、第三導電体と、第二電極とが当接されて電気的に接続される。半導体レーザ光源モジュールは、第二電極と電気的に接続される第二電極パッドと、第二電極に電気的に接続される第一電極パッドとを側壁部の外部側に備えることにより、半導体レーザ装置の回路基板上に実装可能に構成される。したがって、ボンディングワイヤを用いることなくLDドライバからレーザダイオードに電流を供給でき、寄生インダクタンスの発生を抑制することができる。 According to the semiconductor laser light source module of this form, the LD driver and the first electrode of the laser diode are brought into contact with each other and electrically connected, and the third conductor and the second electrode are brought into contact with each other. It is electrically connected. The semiconductor laser light source module is provided with a second electrode pad electrically connected to the second electrode and a first electrode pad electrically connected to the second electrode on the outer side of the side wall portion to provide a semiconductor laser. It is configured to be mountable on the circuit board of the device. Therefore, the current can be supplied from the LD driver to the laser diode without using the bonding wire, and the generation of parasitic inductance can be suppressed.
A.第1実施形態:
図1から図3を用いて第1実施形態の半導体レーザ光源モジュール100の構造について説明する。半導体レーザ光源モジュール100を以下、単にモジュール100とも呼ぶ。A. First Embodiment:
The structure of the semiconductor laser
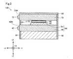
図1および図2に示すように、第1実施形態のモジュール100は、非導電性材料からなる矩形状の筐体90内部にレーザダイオード60を備える。モジュール100は、LiDAR(Light Detection and Ranging)といった光学的測距装置に搭載される半導体レーザ装置の回路基板上に実装され、測距用のレーザ光を出射するレーザ光源として用いられる。モジュール100は、LiDAR以外の光測距装置や、ディスクの記録や読み込み、レーザプリンタ、光通信、照明装置、レーザ顕微鏡、レーザマーカ等の種々の用途のレーザ光源として用いてよい。 As shown in FIGS. 1 and 2, the
レーザダイオード60は、出射方向DLに測距用のレーザ光を出射する端面出射型のレーザダイオードである。レーザダイオード60から出射されるレーザ光のパルス幅は、例えば5nsec程度であり、5nsecの短パルスを用いることで、測距の分解能を高めている。図1および図2には、技術の理解を容易にするため、XYZ方向とともに、モジュール100から出射されるレーザ光の出射方向DLを模式的に示した。出射方向DLは、+X方向と同一である。図示したXYZ方向および出射方向DLは、各図において共通し、向きを特定する場合には、正の方向を「+」、負の方向を「−」として、方向表記に正負の符合を併用する。 The
筐体90は、4つの平板状の側壁部90Wで構成され、側壁部90Wでレーザダイオード60を囲む。筐体90の+Z方向側(以下、上面側とも呼ぶ)は、平板状の蓋体である金属製のリッド80によって封止される。リッド80は、非導電性材料で構成されてもよい。レーザダイオード60に対して+X方向側の側壁部90Wには、出射方向DLと重なる位置に透光部92を備え、レーザダイオード60から出射されるレーザ光を透過する。 The
図2および図3を用いて、モジュール100の内部構造の詳細について説明する。図2に示すように、モジュール100は、Z方向に沿って下面側から順に、セラミック製の基台部30と、第二導電体40と、レーザダイオード60と、第一導電体70とを筐体90内部に備える。なお、図2では、技術の理解を容易にするため筐体90の図示を省略している。 The details of the internal structure of the
本実施形態において、基台部30には、窒化アルミニウムからなるセラミック基板が用いられるが、アルミナなどの種々のセラミック材料が用いられてもよい。第二導電体40は、金属層48と、導電体からなるサブマウントSmとの互いの面を当接して構成される。サブマウントSmは省略されてもよい。図3に示すように、基台部30と、第二導電体40と、レーザダイオード60と、第一導電体70とは互いに当接された状態でZ方向に沿って配置されている。本明細書において、「当接する」とは、各部材同士が直接接触している状態のほか、各部材間にハンダ接合や銀ペーストなどの接着剤、ろう材層を介在させる状態をも含む。 In the present embodiment, a ceramic substrate made of aluminum nitride is used for the
レーザダイオード60は、図3に示すように、レーザ光を発生させるpn接合からなる発光層を内部に有する半導体層63を備える。半導体層63は、例えば、n型クラッド層とp型クラッド層とで活性層を挟持したダブルへテロ構造の層をn型基板上に備えて構成される。レーザダイオード60のX方向の両端面は、劈開面として形成され、素子内部に共振器を構成するレーザ出射側端面およびレーザ反射側端面として機能する。レーザ出射側端面に低反射率コーティング膜を備え、レーザ反射側端面に高反射率コーティング膜を備えてもよい。半導体層63は、+Z方向側で正極として機能する平板状の第一電極64と、−Z方向側で負極として機能する平板状の第二電極62とによって挟み込まれて構成される。第一電極64から第二電極62に、すなわちpn接合の順方向に電流を流すことにより、n型クラッド層からの電子と、p型クラッド層からの正孔とが活性層に流入して結合することで発光する。活性層内の光は、誘導放出により出射方向DLにレーザ光として出射される。 As shown in FIG. 3, the
第一電極64は、上面側で第一導電体70と当接し、互いに電気的に接続される。第一導電体70は、平板状の金属層である。本実施形態において、モジュール100は、図3および図1に示すように、筐体90の外部側、すなわち+Y方向側の側壁部90Wの外表面に端面70Wを露出した状態で備える。端面70Wは、第一導電体70の+Y方向側の端面である。側壁部90Wから露出した第一導電体70の端面70Wは、半導体レーザ装置の回路基板上の正極側(アノード)の導体配線と、モジュール100とを電気的に接続させるための第一接続部として機能する。本実施形態において、端面70Wには、金錫ハンダで構成される第一実装部72が備えられる。モジュール100は、第一実装部72のはんだ付けにより半導体レーザ装置の回路基板の表面に実装される。 The
第二電極62は、下面側で第二導電体40と当接し、互いに電気的に接続される。第二導電体40は、上述したように、平板状の金属層48と、導電性のサブマウントSmとで構成される。本実施形態では、第二電極62は、サブマウントSmの上面側と当接される。モジュール100は、図3および図1に示すように、筐体90の外部側、すなわち+Y方向側の側壁部90Wの外表面に端面40Wを露出した状態で備える。端面40Wは、第二導電体40(本実施形態において、金属層48)の+Y方向側の端面である。側壁部90Wから露出した第二導電体40の端面40Wは、半導体レーザ装置の回路基板上の負極側(カソード)の導体配線と、モジュール100とを電気的に接続させるための第二接続部として機能する。本実施形態において、端面40Wには、金錫ハンダで構成される第二実装部42が備えられる。モジュール100は、第二実装部42のはんだ付けにより半導体レーザ装置の回路基板上に表面実装される。 The
モジュール100は、上述したように第一実装部72と第二実装部42とを介して半導体レーザ装置の回路基板上に実装され、レーザダイオードドライバ(以下、LDドライバとも呼ぶ)と電気的に接続される。LDドライバは、半導体レーザ装置の制御装置から出力される発光信号に従ってレーザダイオード60を駆動し、レーザ光の出力のON/OFFを実行する。発光信号とは、レーザダイオード60の発光タイミングを指示する電気信号である。レーザダイオード60には、第一導電体70から第一電極64を介して、LDドライバから電源および信号が供給される。 As described above, the
以上説明したように、本実施形態の半導体レーザ光源モジュール100によれば、正極側となる第一導電体70と、レーザダイオード60の第一電極64とが当接されて電気的に接続されるとともに、負極側となる第二導電体40と、第二電極62とが当接されて電気的に接続される。モジュール100は、側壁部90Wの外部側に第一接続部と、第二接続部とを備え、半導体レーザ装置の回路基板上に実装可能に構成される。したがって、本実施形態のモジュール100によれば、ボンディングワイヤを用いることなくレーザダイオード60に電流を供給でき、寄生インダクタンスの発生を抑制することができる。 As described above, according to the semiconductor laser
本実施形態のモジュール100によれば、平板状の金属層からなる第一導電体70の+Y方向側の端面70Wを+Y方向側の側壁部90Wの外表面に露出させることにより、半導体レーザ装置の回路基板上に実装するための第一接続部が構成される。したがって、第一導電体70によりレーザダイオード60の第一電極64側からの放熱性を向上させることができる。第一電極64と第一接続部とを一つの金属層である第一導電体70で電気的に接続することにより、基板間容量やインダクタンスの発生を抑制することができる。 According to the
本実施形態のモジュール100によれば、平板状の第二導電体40(より具体的には金属層48)の+Y方向側の端面40Wを+Y方向側の側壁部90Wの外表面に露出させることにより、回路基板上に実装するための第二接続部が構成される。したがって、金属層48によりレーザダイオード60の第二電極62側からの放熱性を向上させることができる。第二電極62と第二接続部とを一つの金属層48で電気的に接続することにより、基板間容量やインダクタンスの発生を抑制することができる。 According to the
本実施形態のモジュール100によれば、第二導電体40と当接するセラミック製の基台部30を筐体90の下面側に備える。したがって、モジュール100の放熱性能や耐衝撃性を高めるとともに、絶縁性能や低熱膨張性を向上させることができる。 According to the
B.第2実施形態:
図4に示すように、第2実施形態の半導体レーザ光源モジュール100bは、第一導電体70に代えて第一導電体70bと、第二導電体40に代えて第二導電体40bと、基台部30に代えて下面金属層20とを備え、更に、第一導体面74および第二導体面44を備える点で第1実施形態のモジュール100と相違する。下面金属層20は、平板の金属層である。下面金属層20のZ方向での厚みは、本実施形態においてリッド80と同じであるが、任意の厚みで設定してよい。B. Second embodiment:
As shown in FIG. 4, the semiconductor laser light source module 100b of the second embodiment is based on a
本実施形態において、第一導電体70bのXY平面視での外形は、第1実施形態の第一導電体70の外形よりも小さく構成される。これにより、第一導電体70bは、筐体90の外部側に露出せず、第一電極64と当接した状態で筐体90内に収容される。第二導電体40bは、サブマウントSmと、金属層48bとを備える。金属層48bのXY平面視での外形は、第1実施形態の金属層48の外形よりも小さくなるように構成される。これにより、第二導電体40bの金属層48bは、筐体90の外部側に露出せず筐体90内に収容される。サブマウントSmやレーザダイオード60の構成は第1実施形態と同様である。 In the present embodiment, the outer shape of the
第一導体面74および第二導体面44は、筐体90の+Y方向側の側壁部90Wの外表面上に形成される導体配線の電極パッドである。第一導体面74および第二導体面44は、既知の印刷技術やフォトリソグラフィ技術によって側壁部90Wの表面上に形成され、側壁部90Wの厚みよりも小さい厚みを有する。第一導体面74の表面上には、第一実装部72が形成され、第二導体面44の表面上には、第二実装部42が形成される。 The
第一導体面74は、金属製のリッド80と当接し、リッド80は、第一導電体70bと当接して構成される。これにより、第一導体面74は、リッド80および第一導電体70bを介して、第一電極64と電気的に接続される。他方、第二導体面44は、下面金属層20と当接し、下面金属層20は、第二導電体40bと当接して構成される。これにより、第二導体面44は、下面金属層20および第二導電体40bを介して、第二電極62と電気的に接続される。このように、本実施形態のモジュール100bでは、側壁部90Wの外部側に設けられる第一導体面74が、半導体レーザ装置の正極と第一導電体70bとを電気的に接続する第一接続部として機能し、第二導体面44が、半導体レーザ装置の負極と第二導電体40bとを電気的に接続する第二接続部として機能する。 The
以上のように、第2実施形態のモジュール100bによれば、第一実装部72が、側壁部90Wの厚みよりも小さい厚みを有する第一導体面74上に形成されるので、第一実装部72周辺の熱容量を低減することができる。したがって、例えば、リフロー方式による第一実装部72のはんだ付けによりモジュール100bを回路基板上に実装する場合、第一実装部72の溶融性を向上させることができる。 As described above, according to the module 100b of the second embodiment, since the first mounting
第2実施形態のモジュール100bによれば、第二実装部42が、側壁部90Wの厚みよりも小さい厚みを有する第二導体面44上に形成されるので、第二実装部42周辺の熱容量を低減することができる。したがって、例えば、リフロー方式による第二実装部42のはんだ付けによりモジュール100bを回路基板上に実装する場合、第二実装部42の溶融性を向上させることができる。 According to the module 100b of the second embodiment, the second mounting
第2実施形態のモジュール100bによれば、第一実装部72は、第一導電体70bと当接せず、リッド80を介して第一導電体70bと電気的に接続される。したがって、第一実装部72周辺の熱容量を第一導電体70bと当接する状態よりも低減させ、モジュール100b実装時の第一実装部72の溶融性を向上させることができる。 According to the module 100b of the second embodiment, the first mounting
第2実施形態のモジュール100bによれば、第二実装部42は、第二導電体40bと当接せず、下面金属層20を介して第二導電体40bと電気的に接続される。したがって、セラミック製の基台部30を省略しつつ、下面金属層20によりモジュール100bの下面側の放熱性を向上させることができる。また、第二実装部42周辺の熱容量を第二導電体40bと当接する状態よりも低減させ、モジュール100b実装時の第二実装部42の溶融性を向上させることができる。 According to the module 100b of the second embodiment, the second mounting
C.第3実施形態:
図5および図6Aに示すように、第3実施形態のモジュール100cは、第一導電体70に代えて第一導電体70bと、第二導電体40に代えて第二導電体40bと、基台部30に代えて基台部30cとを備える点で第1実施形態のモジュール100と相違する。第一導電体70bおよび第二導電体40bは、第2実施形態の第一導電体70bおよび第二導電体40bと同一であり、筐体90内に収容される。また、第3実施形態のモジュール100cは、更に、基台側金属層20cと、第一導体面74および第二導体面44と、コリメータレンズ94とを備える点で第1実施形態のモジュール100と相違する。コリメータレンズ94は、レーザダイオード60から射出されたレーザ光を収差補正して平行光にするレンズである。コリメータレンズ94は、透光部92よりも出射方向DL側に備えられる。C. Third Embodiment:
As shown in FIGS. 5 and 6A, the
本実施形態では、第一導体面74と第二導体面44とが、側壁部90Wのうち出射方向DLとは逆側である−X方向側の側壁部90Wに備えられる。第一実装部72および第二実装部42は、第2実施形態と同様に、第一導体面74と第二導体面44との表面上にそれぞれ備えられる。本実施形態において、第一導体面74は、第2実施形態と同様に、金属製のリッド80と当接し、第一導電体70bを介して第一電極64と電気的に接続される。 In the present embodiment, the
セラミック製の基台部30cは、図6Aに示すように、円柱状の貫通孔に電気めっき等により導体が充填されているいわゆるスルーホールビアとも呼ばれるビア状接続部32を複数備える。ビア状接続部32は、上面側で第二導電体40bの金属層48bと当接されるとともに、下面側で基台側金属層20cと当接される。 As shown in FIG. 6A, the
基台側金属層20cは、基台部30cのうち第二導電体40bと当接する側とは逆側、すなわち基台部30cの下面側に備えられる。基台側金属層20cは、モジュール100cの下面全域に亘って備えられ、更に、モジュール100cの−X方向側の側壁部90Wの外表面に至る。−X方向側の側壁部90Wの外表面に備えられる基台側金属層20cを金属層20Wとしたとき、金属層20Wは、第二導体面44と当接して互いに電気的に接続される。金属層20Wは、基台側金属層20cに接続される導体配線で構成されてもよい。第二導体面44は、基台側金属層20cと第二導電体40bとを介して第二電極62と電気的に接続される。このように、本実施形態のモジュール100cでは、第一導体面74が−X方向側の側壁部90Wで第一接続部として機能し、第二導体面44が−X方向側の側壁部90Wで第二接続部として機能する。 The base
次に、図6B、図6Cを用いて、モジュール100cを備える半導体レーザ装置400cの構成について説明する。図6Bには、半導体レーザ装置400cに備えられる回路基板PBの+X方向側の表面が模式的に示されている。回路基板PBは、導体の配線が形成されたプリント配線板である。モジュール100cは、回路基板PBの+X方向側の表面に実装される。回路基板PBには、モジュール100cのほか、キャパシタやLDドライバ、プリドライバ、コネクタ等の図示しない電子部品が実装される。 Next, the configuration of the
図6Bに示すように、本実施形態の半導体レーザ装置400cは、回路基板PB上に、複数のモジュール100cを備える。モジュール100cは、図6Bの例において9つ備えられる。上述したように、本実施形態のモジュール100cでは、第一導体面74と第二導体面44とが、出射方向DLとは逆側である−X方向側の側壁部90Wに備えられる。図6Cに示すように、各モジュール100cは、第一実装部72と第二実装部42との一般的なリフロー工程によるはんだ付けによって回路基板PB上に実装される。これにより、第一接続部として機能する第一導体面74と、第二接続部として機能する第二導体面44とが、回路基板PB上の導体配線に当接された状態で回路基板PBの表面に実装される。実装された各モジュール100cのレーザ光の出射方向DLは、+X方向側にそれぞれ揃えられる。 As shown in FIG. 6B, the
図6Bおよび図6Cに示すように、各モジュール100cは、回路基板PBの表面にZ方向とY方向とのそれぞれにおいて互いに等間隔となるように規則的に配列され、いわゆる二次元アレイを構成している。 As shown in FIGS. 6B and 6C, each
図6Cに示すように、本実施形態の半導体レーザ装置400cは、各モジュール100cの出射方向DL側に、更にマイクロレンズアレイ300を備える。マイクロレンズアレイ300は、複数の集光レンズを配列した板状の透光部材である。マイクロレンズアレイ300の各集光レンズは、各モジュール100cから出射されるレーザ光の光路のそれぞれに対応する位置に配置される。 As shown in FIG. 6C, the
第3実施形態のモジュール100cによれば、複数のビア状接続部32を備えるセラミック製の基台部30cと、基台部30cの下面側の基台側金属層20cとを備える。したがって、基台部30cと基台側金属層20cとによってモジュール100cの下面側の放熱性能や耐衝撃性を高めることができる。また、第二実装部42は、第二導体面44上に備えられるので、金属層48b上に第二実装部42を備える場合よりも第二実装部42周辺の熱容量を低減することができる。 According to the
本実施形態のモジュール100cによれば、第一導体面74が−X方向側の側壁部90Wで第一接続部として機能し、第二導体面44が−X方向側の側壁部90Wで第二接続部として機能する。すなわち、第一接続部と第二接続部とが、レーザダイオード60の位置に対して出射方向DLとは逆側の側壁部90Wの外部側に備えられる。したがって、端面出射型のレーザダイオード60を、例えば、出射方向DLを半導体レーザ装置の回路基板の面方向に対して垂直な方向に一致させた状態で回路基板上に実装することができる。本実施形態のモジュール100cを複数備えることにより、回路基板上にアレイ状のレーザ光源を配置することができる。 According to the
本実施形態のモジュール100cによれば、レーザダイオード60の出射方向DL側にコリメータレンズ94を備えるので、モジュール100cを平行光のレーザ光を出射するレーザ光源とすることができる。 According to the
本実施形態の半導体レーザ装置400cによれば、複数の半導体レーザ光源モジュール100cのそれぞれは、レーザ光の出射方向DL側とは逆側となる第一接続部と第二接続部とが回路基板PBの導体配線に当接された状態で回路基板PBの表面に規則的な配列で実装される。したがって、回路基板PBの面方向に垂直な方向に複数のレーザ光を照射するレーザアレイを備えることができ、半導体レーザ装置400cを高出力化することができる。 According to the
本実施形態の半導体レーザ装置400cによれば、複数のモジュール100cから出射されるそれぞれのレーザ光の光路に対応するマイクロレンズアレイ300を備える。したがって、複数のモジュール100cのそれぞれから出射されるレーザ光を任意の光路に設定することができる。 According to the
D.第4実施形態:
図7から図9を用いて第4実施形態の半導体レーザ光源モジュール200の構造について説明する。半導体レーザ光源モジュール200を以下、単にモジュール200とも呼ぶ。図7および図8に示すように、第4実施形態のモジュール200は、矩形状の非導電性材料からなる筐体190内部にレーザダイオード160を備えて構成される。図8に示すように、モジュール200は、Z方向に沿って下面側から順に、セラミック製の基台部130と、キャパシタ120およびLDドライバ110と、導電体からなるサブマウントSmと、レーザダイオード160と、第三導電体170とを筐体190内部に備える。なお、図8では、技術の理解を容易にするため筐体190の図示を省略している。D. Fourth Embodiment:
The structure of the semiconductor laser
レーザダイオード160は、レーザ光を発生させるpn接合からなる発光層を内部に有する半導体層163を備える。半導体層163は、−Z方向側で正極として機能する第一電極164と、Z方向側で負極として機能する第二電極162とによって挟み込まれた状態で形成される。レーザダイオード160の構成は第1実施形態でのレーザダイオード60と同様であるが、第一電極164と、第二電極162との位置関係がZ方向において逆になる点で、第1実施形態とは相違する。すなわち、本実施形態のモジュール200では、レーザダイオード160よりも+Z方向側が負極側であり、−Z方向側が正極側である。 The
筐体190は、図7に示すように、レーザダイオード160を囲む側壁部190Wを備える。筐体190の上面側は、金属製のリッド180によって封止される。図7に示すように、+Y方向側の側壁部190Wには、第一配線電極195が備えられる。第一配線電極195は、一端側をリッド180の一部と当接される導体配線である。第一配線電極195の他端側は、モジュール200の下面側に設けられる第二電極パッド136と互いに電気的に接続される。+X方向側の側壁部190Wには、レーザ光の出射経路となる位置に透光部192を備え、レーザダイオード160から出射されるレーザ光を透過する。 As shown in FIG. 7, the
LDドライバ110は、図9に示すように、基台部130の上面側に当接された状態で配置される。LDドライバ110は、図8および図9に示すように、上面にドライバ電極112を備える。ドライバ電極112は、サブマウントSmと当接されて互いに電気的に接続される導体配線である。サブマウントSmが省略される場合には、ドライバ電極112は、レーザダイオード160の第二電極162と当接されて電気的に接続される。LDドライバ110は、半導体レーザ装置の制御装置から出力される発光信号に従ってレーザダイオード160を駆動し、ドライバ電極112を介して第一電極164にレーザダイオード160の電源および信号を供給してレーザ光の出力のON/OFFを実行する。 As shown in FIG. 9, the
第二電極162は、上面側で第三導電体170と当接されて互いに電気的に接続される。第三導電体170は、平板状の金属層であり、レーザダイオード160を挟んでLDドライバ110の一方の面側と対向するように配される。第三導電体170は、上面側をリッド180と当接されて互いに電気的に接続される。上述したように、リッド180の一部は、第一配線電極195と当接され、第二電極パッド136と電気的に接続される。第二電極パッド136は、モジュール200の下面側で半導体レーザ装置の回路基板上の負極側(カソード)の導体配線とモジュール200とを電気的に接続するための第二接続部として機能する。 The
キャパシタ120は、図8に示すように、基台部130の上面側でLDドライバ110と並列させた状態で配置される。キャパシタ120は、保持した電荷を短パルスの電流としてLDドライバ110に入力する。キャパシタ120は、基台部130に設けられる第二ビア状接続部133と当接されて互いに電気的に接続される。第二ビア状接続部133は、いわゆるスルーホールビアであり、基台部130の下面側に位置する第三電極パッド135に当接されて電気的に接続される。 As shown in FIG. 8, the
基台部130は、いわゆるセラミック基板であり、本実施形態において窒化アルミニウムが用いられるが、アルミナなどの種々のセラミック材料が用いられてもよい。基台部130は、図8に示すように、複数の第一ビア状接続部132と、第二ビア状接続部133と、第二電極パッド136と、第一電極パッド134と、第三電極パッド135と、ビア状放熱部138とを備える。 The
第一ビア状接続部132は、上面側をLDドライバ110の下面側の導体配線や電極パッドと電気的に接続され、下面側を第一電極パッド134と電気的に接続される。半導体レーザ装置から出力される指令信号は、第一電極パッド134から入力され、第一ビア状接続部132を介してLDドライバ110に入力される。すなわち、第一電極パッド134は、モジュール200の下面側で半導体レーザ装置の回路基板上の正極側(アノード)の導体配線とモジュール200とを電気的に接続するための第一接続部として機能する。 The upper surface side of the first via-shaped connecting
ビア状放熱部138は、略直方体形状の貫通孔に電気めっき等により導体を充填されているいわゆるスルーホールビアである。ビア状放熱部138は、LDドライバ110の下面側の少なくとも一部と当接されるように配置される。本実施形態において、ビア状放熱部138は2つ備えられる。ビア状放熱部138は一つであってもよく、省略されてもよい。ビア状放熱部138は、第一ビア状接続部132や第二ビア状接続部133よりも体積が大きくなるように構成され、LDドライバ110の熱を下面側から放熱させる。本実施形態において、ビア状放熱部138は、LDドライバ110とは電気的に接続されず導体配線として機能しないが、LDドライバ110と電気的に接続されて導体配線として機能させてもよい。 The via-shaped
以上説明したように、本実施形態の半導体レーザ光源モジュール200によれば、筐体190内に収容されたLDドライバ110と、レーザダイオード160の第一電極164とが当接されて電気的に接続されるとともに、第三導電体170と、第二電極162とが当接されて電気的に接続される。モジュール200は、第二電極162と電気的に接続される第二電極パッド136と、第二電極162に電気的に接続される第一電極パッド134とを側壁部190Wの外部側に備えることにより、半導体レーザ装置の回路基板上に実装可能に構成される。したがって、ボンディングワイヤを用いることなく筐体190内のLDドライバ110からレーザダイオード160に電流を供給でき、寄生インダクタンスの発生を抑制することができる。 As described above, according to the semiconductor laser
本実施形態のモジュール200によれば、ビア状放熱部138が、LDドライバ110の下面側の少なくとも一部と当接されるように基台部130に備えられる。これにより、LDドライバ110の下面側からの放熱性能を向上させることができる。 According to the
本実施形態のモジュール200によれば、第一実装部として機能する第一電極パッド134と、LDドライバ110とを電気的に接続する導電性の第一ビア状接続部132が基台部130内に備えられる。これにより、ボンディングワイヤを用いることなくLDドライバ110と半導体レーザ装置の回路基板とを電気的に接続することができ、寄生インダクタンスの発生を抑制することができる。本実施形態のモジュール200では、更に、基台部130は、キャパシタ120と第三電極パッド135とを電気的に接続する第二ビア状接続部133を備えるので、キャパシタ120を筐体190内に備えつつ、寄生インダクタンスの発生を抑制することができる。 According to the
本実施形態のモジュール200によれば、LDドライバ110は、上面側にドライバ電極112を有する。LDドライバ110は、モジュール200の筐体190内に搭載されるとともに、ドライバ電極112を介して第一電極164と電気的に接続される。したがって、寄生インダクタンスの発生を抑制しつつ、LDドライバ110とレーザダイオード160との導体配線を簡略なものとすることができる。 According to the
本実施形態のモジュール200によれば、LDドライバ110と第一電極164との間に導電性のサブマウントSmを備える。したがって、レーザダイオード160やLDドライバ110で発生する熱を放熱させることができるとともに、レーザダイオード160とLDドライバ110との間に生じる熱膨張率差による応力を緩和させることができる。 According to the
E.第5実施形態:
図10および図11に示すように、第5実施形態のモジュール200eは、第一電極パッド134および第二電極パッド136が、側壁部190Wのうち、レーザダイオード160の位置に対して出射方向DLとは逆側、すなわち−X方向側の側壁部190Wに備えられる点と、基台部130に代えて基台部130eを備える点と、第一配線電極195を備えない点と、コリメータレンズ194を備える点とで、第4実施形態のモジュール200と相違する。E. Fifth embodiment:
As shown in FIGS. 10 and 11, in the
第二電極パッド136は、図10に示すように、−X方向側の側壁部190Wの+Z方向側の端部に配置され、導電体のリッド180と当接される。第二電極パッド136は、リッド180と第三導電体170を介して第二電極162と電気的に接続され、−X方向側の側壁部190W上で第二接続部として機能する。第一電極パッド134は、−X方向側の側壁部190Wの−Z方向側の端部に配置される。 As shown in FIG. 10, the
基台部130eは、いわゆるセラミック基板であり、図11に示すように、第一ビア状接続部132を備える点で、第4実施形態での基台部130と共通するが、更に、下面側に第二配線電極196を備える点で第4実施形態での基台部130と相違する。本実施形態において、基台部130eは、ビア状放熱部138と、第二ビア状接続部133および第三電極パッド135を備えないが、備えてもよい。 The
第二配線電極196は、基台部130eの下面側に備えられる導体配線である。第二配線電極196は、側壁部190Wに設けられる各第一電極パッド134と、各第一ビア状接続部132とを電気的に接続する。これにより、本実施形態において、第一電極パッド134は、第二配線電極196および第一ビア状接続部132を介してLDドライバ110に電気的に接続され、サブマウントSmを介して第二電極162に電気的に接続される。第一電極パッド134は、−X方向側の側壁部190Wで第一接続部として機能する。 The
次に、図12、図13を用いて、モジュール200eを備える半導体レーザ装置400eの構成について説明する。図12には、半導体レーザ装置400eに備えられる回路基板PBの+X方向側の表面が模式的に示されている。図12に示すように、本実施形態の半導体レーザ装置400eは、回路基板PB上に、複数のモジュール200eを備える。モジュール200eは、図12の例において9つ備えられる。 Next, the configuration of the
上述したように、本実施形態のモジュール200eでは、第一電極パッド134および第二電極パッド136が、レーザダイオード160の位置に対して出射方向DLとは逆側である−X方向側の側壁部190Wに備えられる。図13に示すように、各モジュール200eは、第一電極パッド134と第二電極パッド136との一般的なリフロー工程によるはんだ付けによって回路基板PB上に実装される。これにより、第一接続部として機能する第一電極パッド134と、第二接続部として機能する第二電極パッド136とが、回路基板PB上の導体配線に当接された状態で回路基板PBの表面に実装される。実装された各モジュール200eのレーザ光の出射方向DLは、+X方向側にそれぞれ揃えられる。 As described above, in the
図12および図13に示すように、各モジュール200eは、回路基板PBの表面にZ方向とY方向とのそれぞれにおいて互いに等間隔となるように規則的に配列され、いわゆる二次元アレイを構成している。 As shown in FIGS. 12 and 13, each
図13に示すように、本実施形態の半導体レーザ装置400eは、各モジュール200eの出射方向DL側に、更にマイクロレンズアレイ300を備える。マイクロレンズアレイ300の構成は、第3実施形態でのマイクロレンズアレイ300と同様である。マイクロレンズアレイ300の各集光レンズは、各モジュール200eから出射されるレーザ光の光路のそれぞれに対応する位置に配置される。 As shown in FIG. 13, the
本実施形態のモジュール200eによれば、第一電極パッド134と、第二電極パッド136とが、側壁部190Wのうち、レーザダイオード160の位置に対して出射方向DLとは逆側である−X方向側の側壁部190Wの外部側に備えられる。したがって、端面出射型のレーザダイオード160を、例えば、出射方向DLを半導体レーザ装置の回路基板の面方向に対して垂直な方向に一致させた状態で回路基板上に実装することができる。本実施形態のモジュール200eを複数備えることにより、回路基板上にアレイ状のレーザ光源を配置することができる。 According to the
本実施形態のモジュール200eによれば、レーザダイオード160の出射方向DL側にコリメータレンズ194を備えるので、モジュール200eを平行光のレーザ光を出射するレーザ光源とすることができる。 According to the
本実施形態の半導体レーザ装置400eによれば、複数の半導体レーザ光源モジュール200eのそれぞれは、レーザ光の出射方向DL側とは逆側となる第一接続部と第二接続部とが回路基板PBの導体配線に当接された状態で回路基板PBの表面に規則的な配列で実装される。したがって、回路基板PBの面方向に垂直な方向に複数のレーザ光を照射するレーザアレイを備えることができ、半導体レーザ装置400eを高出力化することができる。 According to the
本実施形態の半導体レーザ装置400eによれば、複数のモジュール200eから出射されるそれぞれのレーザ光の光路に対応するマイクロレンズアレイ300を備える。したがって、複数のモジュール200eのそれぞれから出射されるレーザ光を任意の光路に設定することができる。 According to the
F.他の実施形態:
(F1)上記第1実施形態では、第一導電体70のY方向側の端面70WをY方向側の側壁部90Wの外表面に露出させて第一接続部が構成され、平板状の第二導電体40(より具体的には金属層48)のY方向側の端面40WをY方向側の側壁部90Wの外表面に露出させて第二接続部が構成される。これに対して、第一導電体70、第二導電体40のいずれか一方の端面をY方向側の側壁部90Wの外表面に露出させる構成であってもよい。この場合において、第一導体面74または第二導体面44を第一接続部または第二接続部として構成してよい。F. Other embodiments:
(F1) In the first embodiment, the
(F2)上記第2実施形態および第3実施形態では、第二導体面44は、下面金属層20または基台側金属層20cを介して第二電極62と電気的に接続される。これに対して、下面金属層20または基台側金属層20cに代えて、例えば基台部30の上面に形成された導体配線によって第二導体面44と第二電極62とが電気的に接続されてもよい。(F2) In the second embodiment and the third embodiment, the
(F3)上記第2実施形態および第3実施形態では、第一電極64は、導電体からなるリッド80を介して第一導体面74と電気的に接続される。これに対して非導電体からなるリッド80の下面に形成された導体配線によって第一電極64と第一導体面74とが電気的に接続されてもよい。(F3) In the second embodiment and the third embodiment, the
(F4)上記各実施形態では、筐体90は側壁部90Wの一部に透光部92を備え、筐体190は側壁部190Wの一部に透光部192を備えるが、側壁部90Wや側壁部190Wをガラス等で構成することにより側壁部90Wや側壁部190Wの全体を透光部として構成してもよい。この形態の半導体レーザ光源モジュールによれば、レーザダイオードの出射方向とは逆側から出射されるレーザ光を取得することができる。(F4) In each of the above embodiments, the
(F5)上記第3実施形態の半導体レーザ装置400cでは、各モジュール100cは、回路基板PBの表面に、Z方向とY方向とのそれぞれにおいて互いに等間隔となるように規則的に配列される。これに対して、各モジュール100cは、図14に示すように、回路基板PBの表面に、互い違いに配置されるいわゆる千鳥状の配置により規則的な配列で実装されてもよい。この形態の半導体レーザ装置400cによれば、各モジュール100cを高密度化し、半導体レーザ装置400cのレーザ光の分解能を高くすることができる。(F5) In the
(F6)上記第5実施形態の半導体レーザ装置400eでは、各モジュール200eは、回路基板PBの表面に、Z方向とY方向とのそれぞれにおいて互いに等間隔となるように規則的に配列される。これに対して、各モジュール200eは、図15に示すように、回路基板PBの表面に、互い違いに配置されるいわゆる千鳥状の配置により規則的な配列で実装されてもよい。この形態の半導体レーザ装置400eによれば、各モジュール200eを高密度化し、半導体レーザ装置400eによるレーザ光の分解能を高くすることができる。(F6) In the
本開示は、上述の実施形態や変形例に限られるものではなく、その趣旨を逸脱しない範囲において種々の構成で実現することができる。例えば、発明の概要の欄に記載した各形態中の技術的特徴に対応する実施形態、変形例中の技術的特徴は、上述の課題の一部又は全部を解決するために、あるいは、上述の効果の一部又は全部を達成するために、適宜、差し替えや、組み合わせを行うことが可能である。また、その技術的特徴が本明細書中に必須なものとして説明されていなければ、適宜、削除することが可能である。 The present disclosure is not limited to the above-described embodiments and modifications, and can be realized with various configurations without departing from the spirit of the present disclosure. For example, the embodiments corresponding to the technical features in each of the embodiments described in the column of the outline of the invention, the technical features in the modified examples are used to solve some or all of the above-mentioned problems, or the above-mentioned above. It is possible to replace or combine them as appropriate to achieve some or all of the effects. Further, if the technical feature is not described as essential in the present specification, it can be appropriately deleted.
40,40b 第二導電体、60、160 レーザダイオード、62,162 第二電極、63,163 半導体層、64,164 第一電極、70,70b 第一導電体、90 筐体、90W,190W 側壁部、92,192 透光部、100,100b,100c,200,200e 半導体レーザ光源モジュール、110 LDドライバ、130,130e 基台部、134 第一電極パッド、136 第二電極パッド、170 第三導電体、40,40b 2nd conductor, 60,160 laser diode, 62,162 2nd electrode, 63,163 semiconductor layer, 64,164 1st electrode, 70,70b 1st conductor, 90 housing, 90W, 190W side wall Unit, 92,192 Translucent part, 100, 100b, 100c, 200, 200e Semiconductor laser light source module, 110 LD driver, 130, 130e base part, 134 1st electrode pad, 136 2nd electrode pad, 170 3rd conductive body,
| Application Number | Priority Date | Filing Date | Title |
|---|---|---|---|
| JP2019114331AJP7275894B2 (en) | 2019-06-20 | 2019-06-20 | Semiconductor laser light source module, semiconductor laser device |
| Application Number | Priority Date | Filing Date | Title |
|---|---|---|---|
| JP2019114331AJP7275894B2 (en) | 2019-06-20 | 2019-06-20 | Semiconductor laser light source module, semiconductor laser device |
| Publication Number | Publication Date |
|---|---|
| JP2021002546Atrue JP2021002546A (en) | 2021-01-07 |
| JP7275894B2 JP7275894B2 (en) | 2023-05-18 |
| Application Number | Title | Priority Date | Filing Date |
|---|---|---|---|
| JP2019114331AActiveJP7275894B2 (en) | 2019-06-20 | 2019-06-20 | Semiconductor laser light source module, semiconductor laser device |
| Country | Link |
|---|---|
| JP (1) | JP7275894B2 (en) |
| Publication number | Priority date | Publication date | Assignee | Title |
|---|---|---|---|---|
| WO2022230339A1 (en)* | 2021-04-27 | 2022-11-03 | 日亜化学工業株式会社 | Light source device |
| JP2023076215A (en)* | 2021-11-22 | 2023-06-01 | スタンレー電気株式会社 | Surface emitting module and manufacturing method thereof |
| JP2023184626A (en)* | 2019-10-23 | 2023-12-28 | 日亜化学工業株式会社 | light source device |
| Publication number | Priority date | Publication date | Assignee | Title |
|---|---|---|---|---|
| JPH11177181A (en)* | 1997-12-08 | 1999-07-02 | Toshiba Corp | Two-dimensional semiconductor laser array unit, two-dimensional semiconductor laser array, and laser processing apparatus using the same |
| JP2009514199A (en)* | 2005-10-27 | 2009-04-02 | リモ パテントフェルヴァルトゥング ゲーエムベーハー ウント コー.カーゲー | Semiconductor laser device |
| JP2012209286A (en)* | 2011-03-29 | 2012-10-25 | Hitachi Ltd | Optical module |
| US20170117683A1 (en)* | 2015-10-22 | 2017-04-27 | Northrup Grumman Space and Mission Systems Corp. | Thermally conductive, current carrying, electrically isolated submount for laser diode arrays |
| WO2018030486A1 (en)* | 2016-08-10 | 2018-02-15 | 京セラ株式会社 | Package for mounting electrical element, array package and electrical device |
| JP2018507552A (en)* | 2015-02-24 | 2018-03-15 | イェノプティック レーザー ゲーエムベーハーJenoptik Laser Gmbh | Diode laser manufacturing method and diode laser |
| US20180278011A1 (en)* | 2017-03-23 | 2018-09-27 | Infineon Technologies Ag | Laser diode module |
| Publication number | Priority date | Publication date | Assignee | Title |
|---|---|---|---|---|
| JPH11177181A (en)* | 1997-12-08 | 1999-07-02 | Toshiba Corp | Two-dimensional semiconductor laser array unit, two-dimensional semiconductor laser array, and laser processing apparatus using the same |
| JP2009514199A (en)* | 2005-10-27 | 2009-04-02 | リモ パテントフェルヴァルトゥング ゲーエムベーハー ウント コー.カーゲー | Semiconductor laser device |
| JP2012209286A (en)* | 2011-03-29 | 2012-10-25 | Hitachi Ltd | Optical module |
| JP2018507552A (en)* | 2015-02-24 | 2018-03-15 | イェノプティック レーザー ゲーエムベーハーJenoptik Laser Gmbh | Diode laser manufacturing method and diode laser |
| US20170117683A1 (en)* | 2015-10-22 | 2017-04-27 | Northrup Grumman Space and Mission Systems Corp. | Thermally conductive, current carrying, electrically isolated submount for laser diode arrays |
| WO2018030486A1 (en)* | 2016-08-10 | 2018-02-15 | 京セラ株式会社 | Package for mounting electrical element, array package and electrical device |
| US20180278011A1 (en)* | 2017-03-23 | 2018-09-27 | Infineon Technologies Ag | Laser diode module |
| Publication number | Priority date | Publication date | Assignee | Title |
|---|---|---|---|---|
| JP2023184626A (en)* | 2019-10-23 | 2023-12-28 | 日亜化学工業株式会社 | light source device |
| JP7525811B2 (en) | 2019-10-23 | 2024-07-31 | 日亜化学工業株式会社 | Light source |
| WO2022230339A1 (en)* | 2021-04-27 | 2022-11-03 | 日亜化学工業株式会社 | Light source device |
| JP2023076215A (en)* | 2021-11-22 | 2023-06-01 | スタンレー電気株式会社 | Surface emitting module and manufacturing method thereof |
| Publication number | Publication date |
|---|---|
| JP7275894B2 (en) | 2023-05-18 |
| Publication | Publication Date | Title |
|---|---|---|
| KR102503462B1 (en) | Mounting of LED elements on a flat carrier | |
| JP7338713B2 (en) | Carrier mounting structure | |
| CN102422193B (en) | Optical subassembly with optical device having ceramic pacakge | |
| JP7275894B2 (en) | Semiconductor laser light source module, semiconductor laser device | |
| JPWO2007004450A1 (en) | Linear light source device, surface light emitting device, and liquid crystal display device | |
| CN110579751A (en) | Transmitting system applicable to laser radar, laser radar and laser transmitting method | |
| US20220109285A1 (en) | Semiconductor laser light source module, semiconductor laser apparatus | |
| CN111146690A (en) | A kind of laser module and preparation method thereof | |
| CN111934189A (en) | Light emitting module and packaging method thereof | |
| WO2021072752A1 (en) | Laser diode encapsulation module, distance detection apparatus, and electronic device | |
| CN217507921U (en) | Laser module | |
| CN112636160A (en) | Laser device | |
| CN217766830U (en) | Laser emitting module and laser radar device | |
| KR102669828B1 (en) | Laser Diode package | |
| JP4951691B2 (en) | Optical transmission module and optical communication device using the same | |
| JP2006156643A (en) | Surface-mounted light-emitting diode | |
| US20240372315A1 (en) | Semiconductor light emitting device | |
| JP7542466B2 (en) | Optical Modules | |
| JP2019075460A (en) | Semiconductor light emitting element and semiconductor light emitting device | |
| JP2018018995A (en) | Optical module | |
| CN217469099U (en) | Laser system | |
| CN115152331A (en) | Substrate and semiconductor laser | |
| CN110488562A (en) | Integrated laser projection mould group | |
| JP2013030549A (en) | Light emitting module and member for chip component mounting | |
| JP7544304B1 (en) | Optical Modules and Transceivers |
| Date | Code | Title | Description |
|---|---|---|---|
| A621 | Written request for application examination | Free format text:JAPANESE INTERMEDIATE CODE: A621 Effective date:20220413 | |
| A977 | Report on retrieval | Free format text:JAPANESE INTERMEDIATE CODE: A971007 Effective date:20221223 | |
| A131 | Notification of reasons for refusal | Free format text:JAPANESE INTERMEDIATE CODE: A131 Effective date:20230110 | |
| A521 | Request for written amendment filed | Free format text:JAPANESE INTERMEDIATE CODE: A523 Effective date:20230308 | |
| A131 | Notification of reasons for refusal | Free format text:JAPANESE INTERMEDIATE CODE: A131 Effective date:20230314 | |
| A521 | Request for written amendment filed | Free format text:JAPANESE INTERMEDIATE CODE: A523 Effective date:20230328 | |
| TRDD | Decision of grant or rejection written | ||
| A01 | Written decision to grant a patent or to grant a registration (utility model) | Free format text:JAPANESE INTERMEDIATE CODE: A01 Effective date:20230404 | |
| A61 | First payment of annual fees (during grant procedure) | Free format text:JAPANESE INTERMEDIATE CODE: A61 Effective date:20230417 | |
| R151 | Written notification of patent or utility model registration | Ref document number:7275894 Country of ref document:JP Free format text:JAPANESE INTERMEDIATE CODE: R151 |