

















本発明は、酸化物半導体装置及び酸化物半導体ターゲットに関する。 The present invention relates to oxide semiconductor devices and oxide semiconductor targets.
薄膜トランジスタを画素スイッチに用いる液晶ディスプレイにおいては、薄膜トランジスタ(TFT)のチャネル層に非晶質シリコン(アモルファスシリコン)を採用した液晶ディスプレイが主流である。しかし、4K、8Kとディスプレイが高精細化されると画素サイズは微細化せざるを得ず、当然ながら薄膜トランジスタも微細化されることになる。 In a liquid crystal display using a thin film transistor as a pixel switch, a liquid crystal display in which amorphous silicon (amorphous silicon) is used for the channel layer of the thin film transistor (TFT) is the mainstream. However, as the display becomes finer at 4K and 8K, the pixel size has to be miniaturized, and of course, the thin film transistor is also miniaturized.
これは単位面積当たりの電流値を増大させることを意味し、アモルファスシリコンを採用したチャネル層では、オン特性(移動度やオン電流)が不足し、対応が困難となっている。一方、オン特性に優れた低温ポリシリコン(LTPS)では、十分に高精細化に対応する。しかし、レーザアニールなどのプロセス技術を用いるため、技術的、コスト的に大画面製造は困難であり、高精細に対応する高オン特性と大面積製造を実現する半導体材料が求められている。そこで近年、この領域をカバーする薄膜半導体材料として酸化物半導体材料が注目されている。近年では、自発光デバイスであり大電流駆動が必要な有機EL(エレクトロルミネッセンス)のバックプレーン用薄膜トランジスタとしても、実用化されている。 This means that the current value per unit area is increased, and the channel layer using amorphous silicon lacks on-characteristics (mobility and on-current), which makes it difficult to deal with it. On the other hand, low-temperature polysilicon (LTPS), which has excellent on-characteristics, is capable of sufficiently high definition. However, since process technology such as laser annealing is used, it is technically and costly difficult to manufacture a large screen, and a semiconductor material that realizes high on-characteristics and large area manufacturing corresponding to high definition is required. Therefore, in recent years, oxide semiconductor materials have been attracting attention as thin film semiconductor materials covering this region. In recent years, it has also been put into practical use as a thin film transistor for a backplane of an organic EL (electroluminescence) which is a self-luminous device and requires a large current drive.
酸化物半導体は、化学蒸着法(CVD)で成膜されるアモルファスシリコンとは異なり、スパッタリング法で成膜することができる。このため、膜の均一性に優れ、ディスプレイの大型化、高精細化の要求に対応し得る。また、酸化物半導体は、アモルファスシリコンよりもオン特性に優れ、高輝度・高コントラスト化、高速駆動に有利である。さらに、オフ時のリーク電流が低く、消費電力低減(省電力化)も期待できる。また、スパッタリング法は、大面積への高均一成膜が可能な上、化学蒸着法に比べて低温での成膜が可能である。このため、薄膜トランジスタを構成する材料として耐熱性の低い材料を選択することができるという利点もある。 Oxide semiconductors can be formed by a sputtering method, unlike amorphous silicon, which is formed by a chemical vapor deposition method (CVD). Therefore, the uniformity of the film is excellent, and it is possible to meet the demand for larger display size and higher definition. In addition, oxide semiconductors have better on-characteristics than amorphous silicon, and are advantageous for high brightness, high contrast, and high-speed driving. Furthermore, the leakage current when off is low, and power consumption reduction (power saving) can be expected. Further, the sputtering method can form a highly uniform film on a large area, and can form a film at a lower temperature than the chemical vapor deposition method. Therefore, there is an advantage that a material having low heat resistance can be selected as the material constituting the thin film transistor.
ディスプレイ用TFTのチャネル層に好適な酸化物半導体として、例えば、インジウムガリウム亜鉛複合酸化物(以下、「IGZO」という。)などが知られており、IGZOを用いた半導体デバイスも知られている(例えば、特許文献1参照)。 As an oxide semiconductor suitable for the channel layer of a TFT for a display, for example, indium gallium zinc composite oxide (hereinafter referred to as “IGZO”) and the like are known, and a semiconductor device using IGZO is also known (hereinafter referred to as “IGZO”). For example, see Patent Document 1).
IGZOは、電極加工プロセスに対する耐性が乏しいことや保護膜形成プロセスに対する耐性が乏しい。このため、エッチストップ層の形成が必要であるなど、低コスト製造が困難であった。一方、インジウム錫亜鉛複合酸化物(以下、ITZOという。)、亜鉛錫複合酸化物(以下、ZTOという。)といった電極加工プロセスへの耐性の大きな酸化物半導体材料も提案されるようになっている(例えば、特許文献2、3参照)。特に、ZTOは希少金属や産業利用率の高い元素をあまり使用していないことから、コスト面、持続性の観点から有望な酸化物半導体材料である。 IGZO has poor resistance to the electrode processing process and poor resistance to the protective film forming process. Therefore, it is difficult to manufacture at low cost because it is necessary to form an etch stop layer. On the other hand, oxide semiconductor materials having high resistance to electrode processing processes such as indium tin-zinc composite oxide (hereinafter referred to as ITZO) and zinc-tin composite oxide (hereinafter referred to as ZTO) have also been proposed. (See, for example,
従来技術を用いて、酸化物半導体材料による高移動度薄膜トランジスタにより液晶ディスプレイや有機ELディスプレイを製造しようとすると、以下の様な課題が存在することが分かっている。 It is known that the following problems exist when trying to manufacture a liquid crystal display or an organic EL display by using a high mobility thin film transistor made of an oxide semiconductor material by using a conventional technique.
一般的に、高移動度特性を有する酸化物半導体では、高移動度は実現するものの、しきい電位制御が困難となる。また、プロセスや周囲の環境に影響を受けやすく、しきい電位安定性も確保が困難となる。従って、これらを安定的に画素スイッチとして利用することは事実上不可能である。 Generally, in an oxide semiconductor having high mobility characteristics, although high mobility is realized, it is difficult to control the threshold potential. In addition, it is easily affected by the process and the surrounding environment, and it becomes difficult to secure threshold potential stability. Therefore, it is practically impossible to stably use these as a pixel switch.
一方、移動度の異なる酸化物半導体層を積層し、しきい電位制御と高移動度化を実現する方法もある。しかし、この方法を用いても安定的なしきい電位を確保できるのは、移動度約50cm2/Vs程度までで、これを超える超高移動度実現には、更なる技術改善が必要である。On the other hand, there is also a method of stacking oxide semiconductor layers having different mobilities to realize threshold potential control and high mobility. However, even if this method is used, a stable threshold potential can be secured up to a mobility of about 50 cm2 / Vs, and further technical improvement is required to realize an ultra-high mobility exceeding this.
この積層TFTにおけるしきい電位変動の原因はリーク電流と考えられる。このリーク電流により電流−電圧特性としては、ディプリートとして観測される。この様な特性では、到底高精細ディスプレイの画素スイッチやOLEDディスプレイのドライバとしては不適である。そのため、しきい電位変動を適正な値に制御し、安定的且つ超高移動度動作が可能な酸化物半導体材料及びデバイス技術が望まれていた。 The cause of the threshold potential fluctuation in this laminated TFT is considered to be the leakage current. Due to this leakage current, the current-voltage characteristic is observed as depleted. Such characteristics are extremely unsuitable as a pixel switch for a high-definition display or a driver for an OLED display. Therefore, there has been a demand for oxide semiconductor materials and device technologies capable of stable and ultra-high mobility operation by controlling threshold potential fluctuations to appropriate values.
上記課題は超高移動度を実現する酸化物半導体薄膜トランジスタ、特に積層構造により高移動度化を実現する技術に特有の課題である。
特許文献1〜3には、上記特有の課題及び上記特有の課題を解決する手段については言及されていない。The above-mentioned problem is a problem peculiar to an oxide semiconductor thin film transistor that realizes ultra-high mobility, particularly a technique for realizing high mobility by a laminated structure.
Patent Documents 1 to 3 do not mention the above-mentioned specific problem and the means for solving the above-mentioned specific problem.
本発明の目的は、積層構造により高移動度化を実現する技術に特有の課題を解決して、安定的なしきい電位を確保することが可能な酸化物半導体装置を提供することにある。 An object of the present invention is to provide an oxide semiconductor device capable of securing a stable threshold potential by solving a problem peculiar to a technique for realizing high mobility by a laminated structure.
本発明の一態様の酸化物半導体装置は、ゲート電極と、前記ゲート電極の一端側に設けられた第一の電極と、前記ゲート電極の他端側に設けられた第二の電極と、前記第一の電極に接するが前記第二の電極には接しない第一のチャネル層と、少なくとも前記第二の電極に接する第二のチャネル層とを有し、前記第一のチャネル層の一端は、前記第二の電極の一端から所定のシフト量ずれており、前記第一のチャネル層は、インジウムを含有する酸化物半導体で構成され、前記第二のチャネル層は、インジウムを含有せず、亜鉛と錫を含有する酸化物半導体で構成されることを特徴とする。 The oxide semiconductor device according to one aspect of the present invention includes a gate electrode, a first electrode provided on one end side of the gate electrode, a second electrode provided on the other end side of the gate electrode, and the above. It has a first channel layer that is in contact with the first electrode but not the second electrode, and at least a second channel layer that is in contact with the second electrode, and one end of the first channel layer is A predetermined shift amount is deviated from one end of the second electrode, the first channel layer is composed of an oxide semiconductor containing indium, and the second channel layer does not contain indium. It is characterized by being composed of an oxide semiconductor containing zinc and tin.
本発明の一態様によれば、積層構造により高移動度化を実現する技術に特有の課題を解決して、安定的なしきい電位を確保することができる。 According to one aspect of the present invention, it is possible to solve a problem peculiar to a technique for realizing high mobility by a laminated structure and secure a stable threshold potential.
最初に、実施形態について、図面を用いて説明する。 First, an embodiment will be described with reference to the drawings.
図1を参照して、関連する酸化物半導体装置(積層TFT)におけるしきい電位変動の原因について説明する。尚、図1では、説明の都合上、ゲート絶縁膜は省略してある。 The cause of the threshold potential fluctuation in the related oxide semiconductor device (laminated TFT) will be described with reference to FIG. In FIG. 1, the gate insulating film is omitted for convenience of explanation.
図1に示すように、基板1に接してゲート電極2が設けられている。ゲート電極2の上に第一のチャネル層3が設けられている。第一のチャネル層3に接して第二のチャネル層4が設けられている。ゲート電極2の一端側にはソース電極5aが設けられている。ゲート電極2の他端側にはドレイン電極5bが設けられている。ここで、第二のチャネル層4は、第一のチャネル層3の全面に設けられている。ここで、第一のチャネル層3は、酸化物半導体層(In含有)である。第二のチャネル層4は、Inを含有しない酸化物半導体層(ZTO系)である。 As shown in FIG. 1, the
このような構成では、図1の矢印に示すように、積層チャネルの端部からのリーク電流が流れてしまう。これにより電流−電圧特性としては、ディプリートとして観測される。この様な特性では、高精細ディスプレイの画素スイッチやOLEDディスプレイのドライバとしては不適である。そのため、しきい電位変動を適正な値に制御し、安定的且つ超高移動度動作が可能な酸化物半導体装置が望まれている。 In such a configuration, as shown by the arrow in FIG. 1, a leak current flows from the end of the laminated channel. As a result, the current-voltage characteristic is observed as depleted. Such characteristics are not suitable as a pixel switch for a high-definition display or a driver for an OLED display. Therefore, an oxide semiconductor device capable of controlling the threshold potential fluctuation to an appropriate value and capable of stable and ultra-high mobility operation is desired.
なお、上記課題は超高移動度を実現する酸化物半導体薄膜トランジスタ、特に積層構造により高移動度化を実現する技術に特有の課題である。実施形態は、この特有の課題を解決して、安定的なしきい電位を確保する。 The above-mentioned problem is a problem peculiar to an oxide semiconductor thin film transistor that realizes ultra-high mobility, particularly a technique for realizing high mobility by a laminated structure. The embodiment solves this peculiar problem and secures a stable threshold potential.
上記課題を解決するため、実施形態は、超高移動度を実現するための積層チャネル構造のTFTにおいて、例えば、ゲート絶縁膜に接する第一のチャネル層としてIZOやITOなどのInを含む酸化物層を用い、その第一のチャネル層上に積層する第二のチャネル層として、Inを含有しないZTO層を用いる。 In order to solve the above problems, the embodiment is a TFT having a laminated channel structure for achieving ultra-high mobility, for example, an oxide containing In such as IZO or ITO as the first channel layer in contact with the gate insulating film. A layer is used, and an In-free ZTO layer is used as the second channel layer laminated on the first channel layer.
従来構造では、ソース・ドレイン電極への接続を第二のチャネル層であるZTOを介して接続していた。実施形態では、第一のチャネル層と第二のチャネル層をシフトし(チャネルシフト構造)、ソースおよびドレイン電極の互いに異なる一方に接続する構造を採用する。例えば、第一のチャネル層をソース電極に接続した場合、第二のチャネル層はドレイン電極と接続する。また、第一のチャネル層をドレイン電極に接続する場合には、第二のチャネル層はソース電極に接続する。また、積層チャネルが3層以上の場合には、ゲート絶縁膜に一番近い側のチャネル層とソース・ドレイン電極に一番近い側のチャネル層がソース電極かドレイン電極の互いに異なる層に接続する。 In the conventional structure, the connection to the source / drain electrode is connected via the ZTO which is the second channel layer. In the embodiment, a structure is adopted in which the first channel layer and the second channel layer are shifted (channel shift structure) and connected to different ones of the source and drain electrodes. For example, when the first channel layer is connected to the source electrode, the second channel layer is connected to the drain electrode. When the first channel layer is connected to the drain electrode, the second channel layer is connected to the source electrode. When the number of laminated channels is three or more, the channel layer closest to the gate insulating film and the channel layer closest to the source / drain electrode are connected to different layers of the source electrode or the drain electrode. ..
上記構造を採用することにより、チャネル層端部からのリーク電流が抑制され、第二のチャネル層が確実に空乏化する。これにより、高移動度としきい電位制御の双方を制御可能となり、移動度50cm2/Vsを超える高移動度化を実現することができる。具体的には、第一のチャネル領域と第二のチャネル領域(三層以上の積層構造の場合には最下チャネル層と最上チャネル層)を薄膜トランジスタゲート長の10%〜75%の長さでゲート長方向にシフトすることで十分なしきい電位制御効果が得られる。By adopting the above structure, the leakage current from the end of the channel layer is suppressed, and the second channel layer is surely depleted. As a result, both high mobility and threshold potential control can be controlled, and high mobility exceeding 50 cm2 / Vs can be realized. Specifically, the first channel region and the second channel region (the bottom channel layer and the top channel layer in the case of a laminated structure of three or more layers) are set to a length of 10% to 75% of the thin film transistor gate length. A sufficient threshold potential control effect can be obtained by shifting in the gate length direction.
なお、シフト量の定義は、図2において、ゲート電極12と重なるチャネル層構造に注目し、ゲート長(Lg)16に対し、第一のチャネル層13またはゲート電極12に一番近い側のチャネル層の短さ(Ls)17を割合で示したものであり、シフト量S=Ls/Lg×100(%)である。例えば、シフト量Sは、第一のチャネル層13の一端とドレイン電極15bの一端との間のずれ量である。In the definition of the shift amount, paying attention to the channel layer structure overlapping with the
また、構造としては第二のチャネル層14またはソース・ドレイン電極15a、15bに一番近い側のチャネル層については、ソース・ドレイン電極15a、15bの双方と接続する構造(図3参照)でも同じ効果が得られる。単純に、第一のチャネル層13またはゲート絶縁膜に一番近い側のチャネル層が、ソース電極15aまたはドレイン電極15bと直接接続した上で、そのゲート長方向の長さが短かければ良く設計上もこの方が容易である。また、この構造の場合、PAN系エッチング液に弱いIZO層などが表面に露出することがなく、PAN系エッチング液に耐性のあるZTO系材料で保護される。このため、チャネルエッチ構造などの低コストプロセスをも実現するためより効果的である。 The structure is the same for the
しかしながら、これらの構造を実現するためには、シュウ酸系エッチング液によるチャネル層加工の際、第一のチャネル層13であるInを含む高移動度酸化物層より、第二のチャネル層14であるInを含まないZTO系酸化物層のエッチング速度が十分に早い必要がある(図4(a)参照)。そうでなければ、第二のチャネル層14の加工時に第一のチャネル層12が加工されていまい、チャネルシフト構造の作製そのものが困難となる。 However, in order to realize these structures, when the channel layer is processed with the oxalic acid-based etching solution, the
一方、その後のPAN系エッチング液等によるソース・ドレイン電極15a、15bの加工時には、これらのチャネル層は加工されず残ることが低コストなチャネルエッチ構造を実現できるため望ましい。従って、PAN系エッチングによる選択比としては、最低でも電極材料に対し、10以上はある方が望ましい(図4(b)参照)。この観点でZTO系材料のZn組成としては、74〜92at%である必要があり、このZn組成範囲のZTO系酸化物材料を適用する。 On the other hand, when the source /
このように、実施形態では、リーク電流が抑制され、積層構造チャネルによる超高移動度化と良好なしきい電位制御を実現する。
以下、図面を用いて実施例について説明する。As described above, in the embodiment, the leakage current is suppressed, and ultra-high mobility and good threshold potential control are realized by the laminated structure channel.
Hereinafter, examples will be described with reference to the drawings.
図2を参照して、実施例1の酸化物半導体装置の構造について説明する。実施例1の酸化物半導体装置は、ボトムゲートトップコンタクト型である。尚、図2では、説明の都合上、ゲート絶縁膜は省略してある。 The structure of the oxide semiconductor device of the first embodiment will be described with reference to FIG. The oxide semiconductor device of Example 1 is a bottom gate top contact type. In FIG. 2, the gate insulating film is omitted for convenience of explanation.
図2に示すように、基板(例えば、無アルカリガラス基板)11に接してゲート電極12が設けられている。ゲート電極12の上に第一のチャネル層13が設けられている。第一のチャネル層13に接して第二のチャネル層14が設けられている。ゲート電極12の一端側にはソース電極15aが設けられている。ゲート電極12の他端側にはドレイン電極15bが設けられている。第一のチャネル層13は、ソース電極15aに接するがドレイン電極15bには接しない。第二のチャネル層14は、ドレイン電極15bに接するがソース電極15aには接しない。第二のチャネル層14は、第一のチャネル層13の一部と接する。第一のチャネル層13の一端は、ドレイン電極15bの一端から所定のシフト量ずれている。 As shown in FIG. 2, a
第一のチャネル層13は、インジウムを含有する酸化物半導体(IZO系材料)で構成される。第一のチャネル層13の膜厚は、例えば、5nmである。第二のチャネル層14は、インジウムを含有せず、主に亜鉛と錫の酸化物から成る酸化物半導体(ZTO系材料)で構成される。第二のチャネル層114の膜厚は、例えば、15nmである。 The
次に、図5〜図7を参照して、実施例1の酸化物半導体装置の製造方法について説明する。ここで、図2のゲート電極12はゲート電極21に対応し、図2の第一のチャネル層13は第一のチャネル層25に対応し、図2の第二のチャネル層14は第二のチャネル層28に対応し、図2のソース電極15aはソース電極31aに対応し、図2のドレイン電極15aはドレイン電極31bに対応する。 Next, a method for manufacturing the oxide semiconductor device according to the first embodiment will be described with reference to FIGS. 5 to 7. Here, the
図5(a)に示すように、基板20の上にゲート電極となる電極層、例えばMo層やMoW層(膜厚100nm)をDCマグネトロンスパッタ法などにより成膜する。その後、ホトレジストパターンを形成し、これをマスクとしてゲート電極加工を行って、ゲート電極パターン21を形成する。 As shown in FIG. 5A, an electrode layer serving as a gate electrode, for example, a Mo layer or a MoW layer (
次に、図5(b)に示すように、形成されたゲート電極パターン21を被覆する形で、PE−CVD法などによりゲート絶縁膜層22を形成する。ここでは、SiOx(膜厚100nm)を形成する。Next, as shown in FIG. 5B, the gate insulating
その後、図5(c)に示すように、第一のチャネル層25となるInを含む第一の酸化物半導体層23をDCマグネトロンスパッタ法により成膜する。ここでは、IZO層(膜厚5nm)を形成する。この際、亜鉛組成約10at%のターゲット材を用い、成膜条件として、常温、成膜圧力0.5Pa、スパッタガスAr/O2混合ガス(酸素添加割合約25%)、DCパワー50Wにて成膜する。酸化物層23の上に、第一のチャネル領域を加工するためのホトレジストパターン24を形成する。Then, as shown in FIG. 5 (c), the first
次に、図5(d)に示すように、ホトレジストパターン24をマスクとして第一のチャネル層の加工を行う。加工には、例えば、シュウ酸系エッチング液などITO加工に一般的に用いられるエッチング液を用いてパターニングして、第一のチャネル層25を形成する。 Next, as shown in FIG. 5D, the first channel layer is processed using the
その後、図6(a)に示すように、第一のチャネル層25の上に、第二のチャネル層28となる第二の酸化物半導体層(ZTO層で膜厚25nm)26を第一の酸化物半導体層23
と同様にDCマグネトロンスパッタ法により形成する。ここで、ZTOは、亜鉛組成88at%(Al 添加量0.04at%相当)のターゲット材を用いるまた、成膜条件として、常温、成膜圧力0.5Pa、スパッタガスAr/O2混合ガス(酸素添加割合約30%)、DCパワー50Wにて成膜する。
次に、図6(b)に示すように、ホトレジストパターン27を形成する。
次に、図6(c)に示すように、ホトレジストパターン27をマスクとしてZTO層26の加工を行う。加工は第一のチャネル層25と同様に、シュウ酸系エッチング液などを用いる。加工後の第一のチャネル層25、第二のチャネル層28は、温度250〜350℃の条件で1時間活性化アニール処理を施す。After that, as shown in FIG. 6A, a second oxide semiconductor layer (ZTO layer having a thickness of 25 nm) 26 to be a
It is formed by the DC magnetron sputtering method in the same manner as in the above. Here, ZTO is also used target material zinc composition 88at% (Al amount 0.04At% equivalent), as the film formation conditions, ambient temperature, deposition pressure 0.5 Pa, sputtering gas Ar /O 2 mixed gas ( The film is formed with an oxygen addition ratio of about 30%) and a DC power of 50 W.
Next, as shown in FIG. 6B, the
Next, as shown in FIG. 6C, the
次に、図7(a)に示すように、SD電極層29となる例えば、Mo/Al/Mo層やMo、Mo合金層をマグネトロンDCスパッタリングや蒸着法により形成する。
その後、図7(b)に示すように、SD電極層29は更に、ホトレジストパターン30をマスクとしてPAN系エッチング液などによりSD電極パターン31に加工を行う。
その後、図7(c)に示すように、表面保護のため、SiNx/SiOxなどの保護膜32をPE−CVD法などにより形成する。このようにして、実施例1の酸化物半導体装置(酸化物半導体材料によるTFT)が完成する。Next, as shown in FIG. 7A, for example, a Mo / Al / Mo layer or a Mo or Mo alloy layer to be the
After that, as shown in FIG. 7B, the
After that, as shown in FIG. 7C, a
図3を参照して、実施例2の酸化物半導体装置の構造について説明する。実施例2の酸化物半導体装置は、ボトムゲートトップコンタクト型である。尚、図3では、説明の都合上、ゲート絶縁膜は省略してある。 The structure of the oxide semiconductor device of the second embodiment will be described with reference to FIG. The oxide semiconductor device of Example 2 is a bottom gate top contact type. In FIG. 3, the gate insulating film is omitted for convenience of explanation.
図3に示すように、基板1に接してゲート電極12が設けられている。ゲート電極12の上に第一のチャネル層13が設けられている。第一のチャネル層13に接して第二のチャネル層14が設けられている。ゲート電極12の一端側にはソース電極15aが設けられている。ゲート電極12の他端側にはドレイン電極15bが設けられている。第一のチャネル層13は、ソース電極15aに接するがドレイン電極15bには接しない。第二のチャネル層は、ソース電極15aとドレイン電極15bの双方に接する。第二のチャネル層14は、第一のチャネル層13の全部と接する。第一のチャネル層13の一端は、ドレイン電極15bの一端から所定のシフト量ずれている。 As shown in FIG. 3, the
第一のチャネル層13は、インジウムを含有する酸化物半導体(IZO系材料)で構成される。第一のチャネル層13の膜厚は、例えば、5nmである。第二のチャネル層14は、インジウムを含有せず、主に亜鉛と錫の酸化物から成る酸化物半導体(ZTO系材料)で構成される。第二のチャネル層114の膜厚は、例えば、15nmである。 The
次に、図8、図9を参照して、実施例2の酸化物半導体装置の製造方法について説明する。ここで、図5(a)〜(d)までの工程は同じなのでその説明は省略する。ここで、図3のゲート電極12はゲート電極21に対応し、図3の第一のチャネル層13は第一のチャネル層25に対応し、図3の第二のチャネル層14は第二のチャネル層28に対応し、図3のソース電極15aはソース電極31aに対応し、図3のドレイン電極15aはドレイン電極31bに対応する。 Next, a method for manufacturing the oxide semiconductor device of the second embodiment will be described with reference to FIGS. 8 and 9. Here, since the steps from FIGS. 5A to 5D are the same, the description thereof will be omitted. Here, the
図8(a)に示すように、第一のチャネル層25の上に、第二のチャネル層28となる第二の酸化物半導体層(ZTO層で膜厚25nm)26を第一の酸化物半導体層23と同様にDCマグネトロンスパッタ法により形成する。ここで、ZTOは、亜鉛組成88at%(Al 添加量0.04at%相当)のターゲット材を用いるまた、成膜条件として、常温、成膜圧力0.5Pa、スパッタガスAr/O2混合ガス(酸素添加割合約30%)、DCパワー50Wにて成膜する。
次に、図8(b)に示すように、ホトレジストパターン27を形成する。ここで、実施例2のホトレジストパターン27は、実施例1のホトレジストパターン27よりも大きいパターンを用いる。
次に、図8(c)に示すように、ホトレジストパターン27をマスクとしてZTO層26の加工を行う。加工は第一のチャネル層25と同様に、シュウ酸系エッチング液などを用いる。加工後の第一のチャネル層25と第二のチャネル層28は、温度250〜350℃の条件で1時間活性化アニール処理を施す。As shown in FIG. 8A, a second oxide semiconductor layer (ZTO layer having a thickness of 25 nm) 26 to be a
Next, as shown in FIG. 8B, the
Next, as shown in FIG. 8C, the
次に、図9(a)に示すように、SD電極層29となる例えば、Mo/Al/Mo層やMo、Mo合金層をマグネトロンDCスパッタリングや蒸着法により形成する。
次に、図9(b)に示すように、SD電極層29は更に、ホトレジストパターン30をマスクとしてPAN系エッチング液などによりSD電極パターン31に加工を行う。
その後、図9(c)に示すように、表面保護のため、SiNx/SiOxなどの保護膜32をPE−CVD法などにより形成する。このようにして、実施例2の酸化物半導体装置(酸化物半導体材料によるTFT)が完成する。Next, as shown in FIG. 9A, for example, a Mo / Al / Mo layer or a Mo or Mo alloy layer to be the
Next, as shown in FIG. 9B, the
After that, as shown in FIG. 9C, a
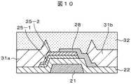
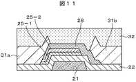
図10を参照して、実施例3の酸化物半導体装置の構造について説明する。実施例3の酸化物半導体装置は、ボトムゲートトップコンタクト型である。実施例3は、3層の場合の積層チャネル構造の例を示したものである。 The structure of the oxide semiconductor device of the third embodiment will be described with reference to FIG. The oxide semiconductor device of Example 3 is a bottom gate top contact type. Example 3 shows an example of a laminated channel structure in the case of three layers.
図10に示すように、基板に接してゲート電極21が設けられている。ゲート電極21に接してゲート絶縁膜22が設けられている。ゲート絶縁膜22に接して第一のチャネル層25−1が設けられている。第一のチャネル層25−1に接して第三のチャネル層25−2が設けられている。第三のチャネル層25−2に接して第二のチャネル層28が設けられている。このように、第三のチャネル層25−2は、第一のチャネル層25−1と第二のチャネル層28との間に設けられている。 As shown in FIG. 10, the
ゲート電極21の一端側にはソース電極31aが設けられている。ゲート電極21の他端側にはドレイン電極31bが設けられている。第一のチャネル層25−1は、ソース電極31aに接するがドレイン電極31bには接しない。第二のチャネル層28は、ドレイン電極31bに接するがソース電極には接しない。第三のチャネル層25−2は、ソース電極31aに接するがドレイン電極31bには接しない。第二のチャネル層28は、第三のチャネル層の一部と接する。第一のチャネル層25−1の一端は、ドレイン電極31bの一端から所定のシフト量ずれている。第三のチャネル層25−2の一端は、ドレイン電極31bの一端から所定のシフト量ずれている。 A
第一のチャネル層25−1と第三のチャネル層25−2は、インジウムを含有する酸化物半導体(IZO系材料)で構成される。第二のチャネル層28は、インジウムを含有せず、主に亜鉛と錫の酸化物から成る酸化物半導体(ZTO系材料)で構成される。 The first channel layer 25-1 and the third channel layer 25-2 are made of an oxide semiconductor (IZO-based material) containing indium. The
実施例3は、3層の場合の積層チャネル構造の例を示したものであり、更に多層の場合には同様にソース電極、ドレイン電極側のチャネル層の構成を増やすだけでよく、チャネル層とのコンタクト部分の構成さえ同じであれば問題無く効果が得られる。 Example 3 shows an example of a laminated channel structure in the case of three layers, and in the case of further layers, it is only necessary to increase the configurations of the channel layers on the source electrode and drain electrode sides in the same manner. As long as the structure of the contact portion is the same, the effect can be obtained without any problem.
図11を参照して、実施例4の酸化物半導体装置の構造について説明する。実施例4の酸化物半導体装置は、ボトムゲートトップコンタクト型である。実施例4は、3層の場合の積層チャネル構造の例を示したものである。 The structure of the oxide semiconductor device of the fourth embodiment will be described with reference to FIG. The oxide semiconductor device of Example 4 is a bottom gate top contact type. Example 4 shows an example of a laminated channel structure in the case of three layers.
図11に示すように、基板に接してゲート電極21が設けられている。ゲート電極21に接してゲート絶縁膜22が設けられている。ゲート絶縁膜22に接して第一のチャネル層25−1が設けられている。第一のチャネル層25−1に接して第三のチャネル層25−2が設けられている。第三のチャネル層25−2に接して第二のチャネル層28が設けられている。このように、第三のチャネル層25−2は、第一のチャネル層25−1と第二のチャネル層28との間に設けられている。 As shown in FIG. 11, the
ゲート電極21の一端側にはソース電極31aが設けられている。ゲート電極21の他端側にはドレイン電極31bが設けられている。第一のチャネル層25−1は、ソース電極31aに接するがドレイン電極31bには接しない。第二のチャネル層28は、ソース電極31aとドレイン電極31bの双方に接する。第三のチャネル層25−2は、ソース電極31aに接するがドレイン電極31bには接しない。第二のチャネル層28は、第三のチャネル層25−2の全部と接する。第一のチャネル層25−1の一端は、ドレイン電極31bの一端から所定のシフト量ずれている。第三のチャネル層25−2の一端は、ドレイン電極31bの一端から所定のシフト量ずれている。 A
第一のチャネル層25−1と第三のチャネル層25−2は、インジウムを含有する酸化物半導体(IZO系材料)で構成される。第二のチャネル層28は、インジウムを含有せず、主に亜鉛と錫の酸化物から成る酸化物半導体(ZTO系材料)で構成される。 The first channel layer 25-1 and the third channel layer 25-2 are made of an oxide semiconductor (IZO-based material) containing indium. The
実施例4は、3層の場合の積層チャネル構造の例を示したものであり、更に多層の場合には同様にソース電極、ドレイン電極側のチャネル層の構成を増やすだけでよく、チャネル層とのコンタクト部分の構成さえ同じであれば問題無く効果が得られる。 Example 4 shows an example of a laminated channel structure in the case of three layers, and in the case of further layers, it is only necessary to increase the configurations of the channel layers on the source electrode and drain electrode sides in the same manner. As long as the structure of the contact portion is the same, the effect can be obtained without any problem.
図12を参照して、実施例5の酸化物半導体装置の構造について説明する。実施例5の酸化物半導体装置は、トップゲート型である。 The structure of the oxide semiconductor device of the fifth embodiment will be described with reference to FIG. The oxide semiconductor device of Example 5 is a top gate type.
図12に示すように、基板に接して第一のチャネル層25が設けられている。第一のチャネル層25に接して第二のチャネル層28が設けられている。第二のチャネル層28に接してゲート絶縁膜22が設けられている。ゲート絶縁膜22に接してゲート電極21が設けられている。ゲート電極21の一端側にはソース電極31aが設けられている。ゲート電極21の他端側にはドレイン電極31bが設けられている。第一のチャネル層25は、ソース電極に接するがドレイン電極31bには接しない。第二のチャネル層28は、ドレイン電極31bに接するがソース電極31aには接しない。第二のチャネル層28は、第一のチャネル層25の一部と接する。第一のチャネル層25の一端は、ドレイン電極31bの一端から所定のシフト量ずれている。
第一のチャネル層25は、インジウムを含有する酸化物半導体で構成される。第二のチャネル層28は、インジウムを含有せず、主に亜鉛と錫の酸化物から成る酸化物半導体で構成される。As shown in FIG. 12, the
The
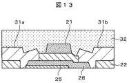
図13を参照して、実施例6の酸化物半導体装置の構造について説明する。実施例6の酸化物半導体装置は、トップゲート型である。 The structure of the oxide semiconductor device of the sixth embodiment will be described with reference to FIG. The oxide semiconductor device of Example 6 is a top gate type.
図13に示すように、基板に接して第一のチャネル層25が設けられている。第一のチャネル層25に接して第二のチャネル層28が設けられている。第二のチャネル層28に接してゲート絶縁膜22が設けられている。ゲート絶縁膜22に接してゲート電極21が設けられている。ゲート電極21の一端にはソース電極31aが設けられている。ゲート電極21の他端にはドレイン電極31bが設けられている。第一のチャネル層25は、ソース電極31aに接するがドレイン電極31bには接しない。第二のチャネル層28は、ソース電極31aとドレイン電極31bの双方に接する。第二のチャネル層28は、第一のチャネル層25の全部と接する。第一のチャネル層25の一端は、ドレイン電極31bの一端から所定のシフト量ずれている。 As shown in FIG. 13, the
第一のチャネル層25は、インジウムを含有する酸化物半導体で構成される。第二のチャネル層28は、インジウムを含有せず、主に亜鉛と錫の酸化物から成る酸化物半導体で構成される。 The
図14は、実施例1〜実施例6の酸化物半導体装置(TFT)を上面から見た模式図である。
酸化物半導体装置(TFT)は、ディスプレイなどの画素電極制御用に用いられる。図14は、薄膜トランジスタ40とゲート線41、データ線42及び画素電極43との位置関係の概略を示したものである。ディスプレイの場合にはこれがアレイ状に連続して形成されることになる。FIG. 14 is a schematic view of the oxide semiconductor device (TFT) of Examples 1 to 6 as viewed from above.
Oxide semiconductor devices (TFTs) are used for controlling pixel electrodes in displays and the like. FIG. 14 shows an outline of the positional relationship between the
図15は、薄膜トランジスタ(L/W=2μm/100μm)の電気特性を示したグラフである。 FIG. 15 is a graph showing the electrical characteristics of the thin film transistor (L / W = 2 μm / 100 μm).
電流−電圧特性のグラフは、上からVd=0.1V、1V、10Vのデータを示している。(a)がチャネル層のシフトを行わない結果を示し、(b)がチャネル層をゲート長2μmに対し、1μmシフトさせた場合の結果を示す。The graph of the current-voltage characteristic shows the data of Vd = 0.1V, 1V, and 10V from the top. (A) shows the result of not shifting the channel layer, and (b) shows the result of shifting the channel layer by 1 μm with respect to the gate length of 2 μm.
(a)では電流−電圧特性がHamp形状となり、約20Vディプリートした結果となっている。これは、チャネル層端部からの電流リークによるものであり、チャネル層中のキャリアがゲート電極により制御しきれていない状況を示している。 In (a), the current-voltage characteristic has a Hamp shape, which is the result of depleting about 20 V. This is due to a current leak from the end of the channel layer, and indicates a situation in which the carriers in the channel layer are not completely controlled by the gate electrode.
これに対し、チャネル層をシフトした(b)では、良好な電流−電圧特性を示し、移動度は64.7cm2/Vs、しきい電位も0.5Vとなった。(b)の薄膜トランジスタでは、薄膜トランジスタの信頼性を示す正バイアスストレス試験、光照射下負バイアス試験の結果もそれぞれ、0.4V、−2.4Vと良好な結果を示した(Vg=±15V、光照射条件W−LED1000lx、1000s)。On the other hand, in (b) where the channel layer was shifted, good current-voltage characteristics were exhibited, the mobility was 64.7 cm2 / Vs, and the threshold potential was 0.5 V. In the thin film transistor (b), the positive bias stress test and the negative bias test under light irradiation, which show the reliability of the thin film transistor, also showed good results of 0.4 V and -2.4 V, respectively (Vg = ± 15 V). , Light irradiation conditions W-LED 1000lp, 1000s).
これは、第一のチャネル層25であるIZO層と第二のチャネル層28であるZTO系半導体層をシフトして配置した上、第一のチャネル層25にソース電極31aのみと接続し、第二のチャネル層28にソース電極31a及びドレイン電極31bの双方と接続したことにより、第二のチャネル層28における空乏化が有効に作用してしきい電位制御が適正な状態となったためである。 In this method, the IZO layer, which is the
図16は、薄膜トランジスタにおける、チャネル層シフト量としきい電位、移動度の関係を示したグラフである。 FIG. 16 is a graph showing the relationship between the channel layer shift amount, the threshold potential, and the mobility in the thin film transistor.
図16から、チャネル層のシフト量としては、ゲート長に対して、10%〜75%のシフト量が効果的であることが分かる。なお、シフト量80%以上で逆にしきい電位のディプリートと移動度の劣化がみられるのは、シフト量拡大に伴い、チャネル端面が相対的に増加し、この部分をリークパスとするリーク電流の量が支配的になるためと考えられる。 From FIG. 16, it can be seen that a shift amount of 10% to 75% with respect to the gate length is effective as the shift amount of the channel layer. It should be noted that when the shift amount is 80% or more, the depletion of the threshold potential and the deterioration of the mobility are observed. Is thought to be dominant.
同様な方法にて、第一のチャネル層25としてITO(5nm)、第二のチャネル層28としてZTO(Zn組成0.92、Ga添加量8at%相当)を用いて、アニール処理として中心波長254nmの水銀ランプにて、照射エネルギー100mW/cm2下、200℃、1時間のUVアニール処理を行った薄膜トランジスタの特性を図17に示す。In the same manner, ITO (5 nm) was used as the
本薄膜トランジスタでは、第一のチャネル層25であるITO層と第二のチャネル層28であるZTO系半導体層はゲート長3μmに対し、1μmのシフト量となっている。また、第一のチャネル層25であるITOはソース電極31aと接続し、第二のチャネル層28であるZTO系酸化物半導体層はドレイン電極31bと接続する。チャネル層のシフトを行わず、積層しただけの薄膜トランジスタの電流−電圧特性が−10V程度ディプリートしている(図17(a)参照)。これに対して、本発明の構造の薄膜トランジスタは、移動度65.8cm2/Vs、しきい電位0.03Vと良好な特性を示した(図17(b)参照)。In this thin film transistor, the ITO layer, which is the
薄膜トランジスタの信頼性を示す正バイアスストレス試験、光照射下負バイアス試験の結果もそれぞれ、0.3V、−3.3Vと良好な結果となった(Vg=±15V、光照射条件W−LED 1000lx、1000s)。Reliability positive bias stress test showing a thin film transistor, each also results in under light irradiation negative bias test became 0.3V, -3.3 V and a good result(V g = ± 15V, illumination condition W-LED 1000 lp, 1000 s).
さらに、第一のチャネル層25−1としてIZO(5nm)、それに重ねた第二のチャネル層28としてITZO(5nm)、これら二層からシフトして配置した第三のチャネル層25−2としてZTO系(Zn組成0.74、W添加量1at%相当)を用いて、大気中200℃、1時間のアニール処理を行った薄膜トランジスタの特性を図18に示す。 Further, IZO (5 nm) as the first channel layer 25-1, ITZO (5 nm) as the
ソース電極31aは、第一のチャネル層25−1と第三のチャネル層25−2に接続され、第二のチャネル層28にはソース電極31aとドレイン電極31bの双方と接続されている。移動度は79.4cm2/Vsで、しきい電位も0.02Vと良好な電流−電圧特性を示した。The
なお、ここで示したAl、Ga、W等の添加材料については、それぞれアルミニウムが0.016at%〜7at%、ガリウムが4.5at%〜23at%、タングステンが0.07at%〜3.8at%の添加範囲内であれば、同様に良好な効果が得られる。 Regarding the additive materials such as Al, Ga, and W shown here, aluminum is 0.016 at% to 7 at%, gallium is 4.5 at% to 23 at%, and tungsten is 0.07 at% to 3.8 at%, respectively. If it is within the addition range of, a similarly good effect can be obtained.
また、上記実施例の酸化物半導体装置において、第一のチャネル層25のインジウムを含有する酸化物半導体は、インジウム−錫複合酸化物、インジウム−亜鉛複合酸化物又はインジウム−錫−亜鉛複合酸化物で構成される。 Further, in the oxide semiconductor device of the above embodiment, the oxide semiconductor containing indium in the
また、上記実施例の酸化物半導体装置において、第二のチャネル層28の亜鉛と錫を含有する酸化物半導体は、原子比で亜鉛と錫の合計を1としたときに、亜鉛/(亜鉛+錫)の比率が0.74以上0.92以下である。この際、酸化物半導体装置の第二のチャネル層28をスパッタリングにより形成する際に用いる酸化物半導体ターゲットは、亜鉛と錫の酸化物を含み、原子比で亜鉛と錫の合計を1としたときに、亜鉛/(亜鉛+錫)の比率が、0.74以上0.92以下である。 Further, in the oxide semiconductor device of the above embodiment, the oxide semiconductor containing zinc and tin in the
また、上記実施例の酸化物半導体装置において、第二のチャネル層28の亜鉛と錫を含有する酸化物半導体は、アルミニウム、ガリウム、タングステンから選択される一種以上の元素を含有し、アルミニウム:0.016at%〜7at%、ガリウム:4.5at%〜23at%、タングステン:0.07at%〜3.8at%の濃度で混合した亜鉛−錫複合酸化物で構成される。この際、酸化物半導体装置の第二のチャネル層28をスパッタリングにより形成する際に用いる酸化物半導体ターゲットは、アルミニウム、ガリウム、タングステンから選択される一種以上の元素を含有し、アルミニウム:0.016at%〜7at%、ガリウム:4.5at%〜23at%、タングステン:0.07at%〜3.8at%の濃度で混合した亜鉛−錫複合酸化物を含む。 Further, in the oxide semiconductor device of the above embodiment, the oxide semiconductor containing zinc and tin in the
上記実施例中で示した、チャネル層および電極層の膜厚、成膜方法、加工(エッチング)方法等については、当然ながら製造するデバイスに求められる特性に応じ、種々変更が可能である。 As a matter of course, the film thickness of the channel layer and the electrode layer, the film forming method, the processing (etching) method, and the like shown in the above examples can be variously changed according to the characteristics required for the device to be manufactured.
また、上記実施例では典型的な成膜方法としてDCマグネトロンスパッタ法を用いたが、従来のRF、DCスパッタ、RFマグネトロンスパッタ、ECRスパッタ、イオンプレーティング、反応性蒸着法など種々の成膜方法で同じ効果が期待できる。
尚、本実施の形態の酸化物半導体層を形成するための酸化物半導体ターゲットは、例えば、ZnO粉末、SnO2粉末、Al2O3粉末、Ga2O3粉末、W2O3粉末、WO2粉末、WO3粉末、を上記した成分組成となるように混合して、鋳込み成形した成形体を常圧焼成して得た焼結体に、切削や研磨等の機械加工をすることで得ることができる。Further, in the above embodiment, the DC magnetron sputtering method was used as a typical film forming method, but various film forming methods such as conventional RF, DC sputtering, RF magnetron sputtering, ECR sputtering, ion plating, and reactive vapor deposition method. The same effect can be expected with.
The oxide semiconductor target for forming the oxide semiconductor layer of the present embodiment is, for example, ZnO powder, SnO2 powder, Al2 O3 powder, Ga2 O3 powder, W2 O3 powder, WO.2 powders and WO3 powders are mixed so as to have the above-mentioned composition, and the sintered body obtained by firing the cast-formed molded body at atmospheric pressure is obtained by machining such as cutting and polishing. be able to.
1 基板
2 ゲート電極
3 第一のチャネル層
4 第二のチャネル層
5a ソース電極
5b ドレイン電極
11 基板
12 ゲート電極
13 第一のチャネル層
14 第二のチャネル層
15a ソース電極
15b ドレイン電極
16 ゲート長
17 シフト長
20 基板
21 ゲート電極
22 ゲート絶縁膜
23 第一の酸化物半導体層
24 ホトレジスト
25 第一のチャネル層
26 第二の酸化物半導体層
27 ホトレジスト
28 第二のチャネル層
29 ソース・ドレイン電極層
30 ホトレジスト
31a ソース電極
31b ドレイン電極
32 保護膜層
40 薄膜トランジスタ
41 ゲート線
42 データ線
43 画素電極(透明電極)1
| Application Number | Priority Date | Filing Date | Title |
|---|---|---|---|
| JP2019061037AJP2020161700A (en) | 2019-03-27 | 2019-03-27 | Oxide semiconductor device and oxide semiconductor target |
| Application Number | Priority Date | Filing Date | Title |
|---|---|---|---|
| JP2019061037AJP2020161700A (en) | 2019-03-27 | 2019-03-27 | Oxide semiconductor device and oxide semiconductor target |
| Publication Number | Publication Date |
|---|---|
| JP2020161700Atrue JP2020161700A (en) | 2020-10-01 |
| Application Number | Title | Priority Date | Filing Date |
|---|---|---|---|
| JP2019061037APendingJP2020161700A (en) | 2019-03-27 | 2019-03-27 | Oxide semiconductor device and oxide semiconductor target |
| Country | Link |
|---|---|
| JP (1) | JP2020161700A (en) |
| Publication number | Priority date | Publication date | Assignee | Title |
|---|---|---|---|---|
| KR20230116477A (en)* | 2022-01-28 | 2023-08-04 | 서울과학기술대학교 산학협력단 | Transparent conducting film, method for manufacturing and electrochromic device including the same |
| Publication number | Priority date | Publication date | Assignee | Title |
|---|---|---|---|---|
| KR20230116477A (en)* | 2022-01-28 | 2023-08-04 | 서울과학기술대학교 산학협력단 | Transparent conducting film, method for manufacturing and electrochromic device including the same |
| KR102681864B1 (en)* | 2022-01-28 | 2024-07-04 | 서울과학기술대학교 산학협력단 | Transparent conducting film, method for manufacturing and electrochromic device including the same |
| Publication | Publication Date | Title |
|---|---|---|
| KR102699702B1 (en) | Array Substrate For Thin Film Transistor | |
| US8642402B2 (en) | Thin film transistor manufacturing method, thin film transistor, thin film transistor substrate and image display apparatus, image display apparatus and semiconductor device | |
| TWI406418B (en) | Thin film transistor and method of manufacturing same | |
| JP5368381B2 (en) | Organic light-emitting display device and method for manufacturing the same | |
| US7994510B2 (en) | Thin film transistor, method of manufacturing the same and flat panel display device having the same | |
| CN103681751B (en) | Thin-film transistor array base-plate and its manufacture method | |
| KR101345378B1 (en) | Fabrication method of ZnO family Thin film transistor | |
| KR102543577B1 (en) | Transistor array panel, manufacturing method thereof, and disalay device comprising the same | |
| JP6659205B2 (en) | Method for manufacturing thin film transistor and method for manufacturing display device | |
| CN106537567B (en) | Transistors, display devices and electronic equipment | |
| US10204973B2 (en) | Display device and thin-film transistors substrate | |
| KR20110010323A (en) | Thin Film Transistor and Manufacturing Method Thereof | |
| TW201737358A (en) | Semiconductor device manufacturing method | |
| JP2011091110A (en) | Circuit using oxide semiconductor element and method of manufacturing the same, and display device | |
| CN102646715A (en) | Thin film transistor and manufacturing method thereof | |
| US9153651B2 (en) | Thin film transistor and method for manufacturing the same | |
| US20170263735A1 (en) | Method of Manufacturing Thin Film Transistor (TFT) and TFT | |
| JP2020161700A (en) | Oxide semiconductor device and oxide semiconductor target | |
| CN113348562A (en) | Oxide semiconductor thin film, thin film transistor, and sputtering target | |
| JP7492410B2 (en) | Pixel circuit and manufacturing method thereof | |
| KR102095811B1 (en) | Method of manufacturing semiconductor device | |
| JP7070130B2 (en) | Oxide semiconductor layer, sputtering target for forming oxide semiconductor layer, and thin film transistor | |
| WO2015068319A1 (en) | Thin-film transistor and method for manufacturing same | |
| KR101893992B1 (en) | Thin film transistor having active layer consisting of five component material and display device having the same | |
| KR101325573B1 (en) | Thin film transistor having active layer consisting of indium containing silicon and germanium and display device having the same |