Movatterモバイル変換


[0]ホーム

URL:


JP2020021650A - Lighting fixture - Google Patents

Lighting fixture
Download PDF

Info

Publication number
JP2020021650A
JP2020021650AJP2018145217AJP2018145217AJP2020021650AJP 2020021650 AJP2020021650 AJP 2020021650AJP 2018145217 AJP2018145217 AJP 2018145217AJP 2018145217 AJP2018145217 AJP 2018145217AJP 2020021650 AJP2020021650 AJP 2020021650A
Authority
JP
Japan
Prior art keywords
unit
light source
heat sink
eaves
base
Prior art date
Legal status (The legal status is an assumption and is not a legal conclusion. Google has not performed a legal analysis and makes no representation as to the accuracy of the status listed.)
Granted
Application number
JP2018145217A
Other languages
Japanese (ja)
Other versions
JP7190838B2 (en
Inventor
暁紀 樋口
Akinori Higuchi
暁紀 樋口
悠一 大島
Yuichi Oshima
悠一 大島
孝元 木所
Takamoto Kidokoro
孝元 木所
Current Assignee (The listed assignees may be inaccurate. Google has not performed a legal analysis and makes no representation or warranty as to the accuracy of the list.)
Mitsubishi Electric Corp
Original Assignee
Mitsubishi Electric Corp
Priority date (The priority date is an assumption and is not a legal conclusion. Google has not performed a legal analysis and makes no representation as to the accuracy of the date listed.)
Filing date
Publication date
Application filed by Mitsubishi Electric CorpfiledCriticalMitsubishi Electric Corp
Priority to JP2018145217ApriorityCriticalpatent/JP7190838B2/en
Publication of JP2020021650ApublicationCriticalpatent/JP2020021650A/en
Application grantedgrantedCritical
Publication of JP7190838B2publicationCriticalpatent/JP7190838B2/en
Activelegal-statusCriticalCurrent
Anticipated expirationlegal-statusCritical

Links

Images

Landscapes

Abstract

Translated fromJapanese

【課題】取り付けが容易な機能ユニットを備える照明器具を提供する。【解決手段】照明器具は、光を照射する光源部と、一面に光源部が取り付けられるヒートシンクと、ヒートシンクの側方から挿し込むことによってヒートシンクに取り付けられ、光源部の点灯を制御する信号を受信するアンテナを有する機能ユニットと、を備える。【選択図】図22PROBLEM TO BE SOLVED: To provide a lighting fixture provided with a functional unit which can be easily attached. SOLUTION: A lighting fixture receives a signal that controls lighting of a light source unit that irradiates light, a heat sink that has the light source unit attached to one surface thereof, and a heat sink that is attached to the heat sink by inserting the light source unit from the side of the heat sink. A functional unit having a heat sink and a heat sink. [Selection diagram] FIG. 22

Description

Translated fromJapanese

本発明は、点灯状態を制御する機能ユニットを備える照明器具に関する。  The present invention relates to a lighting fixture including a functional unit that controls a lighting state.

従来、点灯状態を制御する機能ユニットを備える照明器具が知られている。ここで、照明器具自体が無線通信することができない場合、点灯状態を制御するための信号を無線通信する機能ユニットを照明器具に後付けすることによって、無線通信が可能な照明器具を実現する技術が提案されている。特許文献1には、光源ユニットのフレームに無線ユニットが取り付けられた照明器具が開示されている。特許文献1の無線ユニットは、光源ユニットのフレームに後から取り付けることができる。  2. Description of the Related Art Conventionally, a lighting fixture including a functional unit for controlling a lighting state has been known. Here, in the case where the lighting fixture itself cannot perform wireless communication, a technology for realizing a lighting fixture capable of wireless communication is provided by retrofitting a functional unit for wirelessly communicating a signal for controlling a lighting state to the lighting fixture. Proposed.Patent Literature 1 discloses a lighting fixture in which a wireless unit is attached to a frame of a light source unit. The wireless unit ofPatent Literature 1 can be attached later to the frame of the light source unit.

特開2017−63010号公報JP-A-2017-63010

しかしながら、特許文献1に開示された照明器具は、無線ユニットが照明器具本体と天井等の被取付部との間に収容されている。このため、ユーザは、光源ユニットに無線ユニットが取り付けられた後、照明器具を天井等の被取付部に取り付ける必要がある。また、無線ユニットが取り付けられていない状態で照明器具が被取付部に取り付けられている場合、ユーザは、器具本体から光源ユニットを一旦取り外した後、無線ユニットを取り付ける必要がある。このように、特許文献1の無線ユニットは、取り付けに手間がかかる。  However, in the lighting fixture disclosed inPatent Literature 1, the wireless unit is accommodated between the lighting fixture main body and a mounted part such as a ceiling. For this reason, after the wireless unit is attached to the light source unit, the user needs to attach the lighting fixture to an attached portion such as a ceiling. In addition, when the lighting fixture is attached to the attached portion in a state where the wireless unit is not attached, the user needs to detach the light source unit from the fixture main body and then attach the wireless unit. As described above, the wireless unit disclosed inPatent Literature 1 requires time and effort to mount.

本発明は、上記のような課題を解決するためになされたもので、取り付けが容易な機能ユニットを備える照明器具を提供するものである。  The present invention has been made to solve the above-described problem, and provides a lighting apparatus including a functional unit that can be easily mounted.

本発明に係る照明器具は、光を照射する光源部と、一面に光源部が取り付けられるヒートシンクと、ヒートシンクの側方から挿し込むことによってヒートシンクに取り付けられ、光源部の点灯を制御する信号を受信するアンテナを有する機能ユニットと、を備える。  A lighting device according to the present invention includes a light source unit that irradiates light, a heat sink having a light source unit attached to one surface, and a signal that is attached to the heat sink by being inserted from a side of the heat sink and receives a signal for controlling lighting of the light source unit. And a functional unit having an antenna to perform.

本発明によれば、機能ユニットは、ヒートシンクの側方から挿し込まれてヒートシンクに取り付けられる。このため、機能ユニットが取り付けられる際、光源部等を取り外す必要がない。従って、機能ユニットの取り付けが容易である。  According to the present invention, the functional unit is inserted from the side of the heat sink and attached to the heat sink. Therefore, when the functional unit is attached, it is not necessary to remove the light source unit and the like. Therefore, attachment of the functional unit is easy.

本発明の実施の形態1に係る照明器具1を示す組立斜視図である。It is an assembly perspective view showinglighting fixture 1 concerningEmbodiment 1 of the present invention.本発明の実施の形態1に係る照明器具1を示す分解斜視図である。FIG. 1 is an exploded perspective view showing alighting fixture 1 according toEmbodiment 1 of the present invention.本発明の実施の形態1に係る照明器具1を示す一側面図である。FIG. 1 is a side view showing alighting fixture 1 according toEmbodiment 1 of the present invention.本発明の実施の形態1に係る照明器具1を示す他側面図である。It is another side view which shows thelighting fixture 1 which concerns onEmbodiment 1 of this invention.本発明の実施の形態1に係る光源部210を下側からみた場合の組立斜視図である。FIG. 3 is an assembled perspective view of thelight source unit 210 according toEmbodiment 1 of the present invention when viewed from below.本発明の実施の形態1に係る光源部210を上側からみた場合の組立斜視図である。FIG. 2 is an assembled perspective view of thelight source unit 210 according toEmbodiment 1 of the present invention when viewed from above.本発明の実施の形態1に係る光源部210を下側からみた場合の分解斜視図である。FIG. 2 is an exploded perspective view when thelight source unit 210 according toEmbodiment 1 of the present invention is viewed from below.本発明の実施の形態1に係る光源部210を上側からみた場合の分解斜視図である。FIG. 2 is an exploded perspective view when thelight source unit 210 according toEmbodiment 1 of the present invention is viewed from above.本発明の実施の形態1に係るヒートシンク220を上側からみた場合の分解斜視図である。FIG. 2 is an exploded perspective view of theheat sink 220 according toEmbodiment 1 of the present invention when viewed from above.本発明の実施の形態1に係るベース部221を示す斜視図である。FIG. 2 is a perspective view showing abase part 221 according toEmbodiment 1 of the present invention.本発明の実施の形態1に係るフィン223aを示す斜視図である。FIG. 3 is a perspective view showing afin 223a according toEmbodiment 1 of the present invention.本発明の実施の形態1に係るヒートシンク220において庇部222を外した場合の上面図である。FIG. 4 is a top view of theheat sink 220 according toEmbodiment 1 of the present invention when theeaves 222 are removed.本発明の実施の形態1に係る光源固定具215を示す側面図である。FIG. 3 is a side view showing thelight source fixture 215 according toEmbodiment 1 of the present invention.本発明の実施の形態1に係るヒートシンク220及び光源部210の組立時の斜視図である。FIG. 3 is a perspective view of theheat sink 220 and thelight source unit 210 according to the first embodiment of the present invention at the time of assembly.本発明の実施の形態1に係るヒートシンク220及び光源部210の組立時の斜視図である。FIG. 3 is a perspective view of theheat sink 220 and thelight source unit 210 according to the first embodiment of the present invention at the time of assembly.本発明の実施の形態1に係るヒートシンク220及び光源部210の組立時の斜視図である。FIG. 3 is a perspective view of theheat sink 220 and thelight source unit 210 according to the first embodiment of the present invention at the time of assembly.本発明の実施の形態1に係るカバー240を示す斜視図である。FIG. 3 is a perspective view showing acover 240 according toEmbodiment 1 of the present invention.本発明の実施の形態1に係る固定部120を示す側面断面図である。FIG. 3 is a side cross-sectional view illustrating thefixing unit 120 according toEmbodiment 1 of the present invention.本発明の実施の形態1に係る機能ユニット1000を示す組立斜視図である。FIG. 2 is an assembled perspective view showing afunctional unit 1000 according toEmbodiment 1 of the present invention.本発明の実施の形態1に係る機能ユニット1000を正面側からみた場合の分解斜視図である。FIG. 3 is an exploded perspective view when thefunctional unit 1000 according toEmbodiment 1 of the present invention is viewed from the front side.本発明の実施の形態1に係る機能ユニット1000を背面側からみた場合の分解斜視図である。FIG. 3 is an exploded perspective view when thefunctional unit 1000 according toEmbodiment 1 of the present invention is viewed from the back side.本発明の実施の形態1に係る機能ユニット1000を取り付ける場合の斜視図である。FIG. 3 is a perspective view when attaching afunctional unit 1000 according toEmbodiment 1 of the present invention.本発明の実施の形態1に係る機能ユニット1000を取り付ける場合の斜視図である。FIG. 3 is a perspective view when attaching afunctional unit 1000 according toEmbodiment 1 of the present invention.本発明の実施の形態1に係る機能ユニット1000を取り付ける場合の斜視図である。FIG. 3 is a perspective view when attaching afunctional unit 1000 according toEmbodiment 1 of the present invention.本発明の実施の形態1に係る機能ユニット1000の側面断面図である。FIG. 3 is a side sectional view of thefunctional unit 1000 according toEmbodiment 1 of the present invention.本発明の実施の形態2に係る機能ユニット1300を示す組立斜視図である。FIG. 14 is an assembled perspective view showing afunctional unit 1300 according toEmbodiment 2 of the present invention.本発明の実施の形態2に係る機能ユニット1300を示す分解斜視図である。FIG. 13 is an exploded perspective view showing afunctional unit 1300 according toEmbodiment 2 of the present invention.本発明の実施の形態3に係る機能部1500を示す組立斜視図である。FIG. 13 is an assembled perspective view showing afunctional unit 1500 according to Embodiment 3 of the present invention.本発明の実施の形態3に係る機能部1500を示す分解斜視図である。FIG. 13 is an exploded perspective view showing afunctional unit 1500 according to Embodiment 3 of the present invention.本発明の実施の形態3に係る照明器具1の側面図である。It is a side view oflighting fixture 1 concerning Embodiment 3 of the present invention.本発明の実施の形態4に係る照明器具1aを示す斜視図である。It is a perspective view showinglighting fixture 1a concerningEmbodiment 4 of the present invention.本発明の実施の形態5に係るアーム1600を示す斜視図である。It is a perspective view showingarm 1600 concerning Embodiment 5 of the present invention.本発明の実施の形態6に係るヒートシンク220を示す組立斜視図である。FIG. 14 is an assembled perspective view showing aheat sink 220 according to Embodiment 6 of the present invention.本発明の実施の形態6に係るヒートシンク220を下側からみた場合の分解斜視図である。FIG. 15 is an exploded perspective view of aheat sink 220 according to Embodiment 6 of the present invention when viewed from below.本発明の実施の形態6に係るフィン223aを示す斜視図である。FIG. 17 is a perspective view showing afin 223a according to Embodiment 6 of the present invention.本発明の実施の形態7に係る照明器具1bを示す組立斜視図である。It is an assembly perspective view which shows thelighting fixture 1b which concerns on Embodiment 7 of this invention.本発明の実施の形態7に係る照明器具1bを示す分解斜視図である。It is an exploded perspective view showing alighting fixture 1b according to Embodiment 7 of the present invention.

実施の形態1.
以下、本発明に係る光源ユニット及び照明器具の実施の形態について、図面を参照しながら説明する。図1は、本発明の実施の形態1に係る照明器具1を示す組立斜視図であり、図2は、本発明の実施の形態1に係る照明器具1を示す分解斜視図である。図3は、本発明の実施の形態1に係る照明器具1を示す一側面図であり、図4は、本発明の実施の形態1に係る照明器具1を示す他側面図である。図1〜図4に示すように、照明器具1は、天井等に取り付けられるものであり、天井等の被取付部(図示せず)に取り付けられる支持部100と、支持部100に保持される光源ユニット200と、例えば通信機能を有する機能ユニット1000とを備えている。
Embodiment 1 FIG.
Hereinafter, embodiments of a light source unit and a lighting fixture according to the present invention will be described with reference to the drawings. FIG. 1 is an assembled perspective view showing alighting fixture 1 according toEmbodiment 1 of the present invention, and FIG. 2 is an exploded perspective view showing thelighting fixture 1 according toEmbodiment 1 of the present invention. FIG. 3 is a side view showing thelighting fixture 1 according toEmbodiment 1 of the present invention, and FIG. 4 is another side view showing thelighting fixture 1 according toEmbodiment 1 of the present invention. As shown in FIGS. 1 to 4, thelighting fixture 1 is mounted on a ceiling or the like, and is supported by thesupport 100 and asupport 100 mounted on a mounted portion (not shown) such as the ceiling. Alight source unit 200 and afunctional unit 1000 having, for example, a communication function are provided.

(支持部100)
支持部100は、アーム110と、固定部120と、接続部130と、落下防止部140とを有している。アーム110は、例えば板金を折り曲げてU字状に形成された部材であり、ボルト等の固定具によって被取付部に取り付けられる。固定部120は、例えば平板状の板金の両端を折り曲げた形状をなす部材であり、光源ユニット200を保持する。接続部130は、アーム110と固定部120とを接続するものであり、例えば2個のボルトと2個のナットとからなる。固定部120は、剛性がある金属で形成されており、接続部130によって、アーム110に対し揺動自在に取り付けられている。
(Support part 100)
Thesupport unit 100 includes anarm 110, afixing unit 120, aconnection unit 130, and afall prevention unit 140. Thearm 110 is, for example, a member formed by bending a sheet metal to form a U-shape, and is attached to a portion to be attached by a fixture such as a bolt. Thefixing portion 120 is a member having a shape obtained by bending both ends of a flat sheet metal, for example, and holds thelight source unit 200. Theconnection part 130 connects thearm 110 and thefixed part 120, and includes, for example, two bolts and two nuts. The fixingportion 120 is made of a rigid metal, and is swingably attached to thearm 110 by the connectingportion 130.

落下防止部140は、被取付部に取り付けられる取付部142と、取付部142と固定部120とを接続するワイヤ141とを有している。落下防止部140は、仮に光源ユニット200がアーム110から外れても、光源ユニット200が落下することを抑制する。  Thefall prevention unit 140 has a mountingportion 142 that is mounted on the mounted portion, and awire 141 that connects the mountingportion 142 and the fixedportion 120. Thefall prevention unit 140 prevents thelight source unit 200 from falling even if thelight source unit 200 comes off thearm 110.

(光源ユニット200)
光源ユニット200は、光を照射する光源部210と、光源部210からの熱を放散するヒートシンク220とを有する。また、光源ユニット200は、光源部210に電力を供給して点灯させる電源ユニット230と、光源部210を覆うようにヒートシンク220に取り付けられるカバー240と、光源固定具215とを有している。
(Light source unit 200)
Thelight source unit 200 includes alight source unit 210 that emits light and aheat sink 220 that dissipates heat from thelight source unit 210. In addition, thelight source unit 200 includes apower supply unit 230 that supplies power to thelight source unit 210 to turn on the light source unit, acover 240 attached to theheat sink 220 so as to cover thelight source unit 210, and alight source fixture 215.

(光源部210)
図5は、本発明の実施の形態1に係る光源部210を下側からみた場合の組立斜視図であり、図6は、本発明の実施の形態1に係る光源部210を上側からみた場合の組立斜視図である。図7は、本発明の実施の形態1に係る光源部210を下側からみた場合の分解斜視図であり、図8は、本発明の実施の形態1に係る光源部210を上側からみた場合の分解斜視図である。図5〜図8に示すように、光源部210は、光を照射する発光部213と、発光部213から照射された光の配光を制御する配光制御部材214とを有している。
(Light source 210)
FIG. 5 is an assembly perspective view when thelight source unit 210 according to the first embodiment of the present invention is viewed from below, and FIG. 6 is a case where thelight source unit 210 according to the first embodiment of the present invention is viewed from above. FIG. FIG. 7 is an exploded perspective view of thelight source unit 210 according toEmbodiment 1 of the present invention when viewed from below, and FIG. 8 is a view illustrating thelight source unit 210 according toEmbodiment 1 of the present invention as viewed from above. FIG. 3 is an exploded perspective view of FIG. As illustrated in FIGS. 5 to 8, thelight source unit 210 includes alight emitting unit 213 that emits light, and a lightdistribution control member 214 that controls the light distribution of the light emitted from thelight emitting unit 213.

発光部213は、複数の発光素子211と、複数の発光素子211が放射状に並べられた基板212を有している。基板212は、略四角形状をなしており、四隅がR状に面取りされている。基板212には、基板固定穴212a、切り欠き212b及び基板係合穴212cが形成されている。基板固定穴212aは、基板212の中央に形成されており、切り欠き212bは、基板212の縁部に1箇所形成されている。基板係合穴212cは、基板212の縁部に6箇所形成されている。  Thelight emitting section 213 includes a plurality oflight emitting elements 211 and asubstrate 212 on which the plurality oflight emitting elements 211 are radially arranged. Thesubstrate 212 has a substantially square shape, and four corners are chamfered in an R shape. Thesubstrate 212 has asubstrate fixing hole 212a, anotch 212b, and asubstrate engaging hole 212c. Thesubstrate fixing hole 212a is formed at the center of thesubstrate 212, and thenotch 212b is formed at one position on the edge of thesubstrate 212. The board engagement holes 212c are formed at six locations on the edge of theboard 212.

配光制御部材214は、複数のレンズ214aと、筒部214bと、複数の爪部214cとを有している。レンズ214aは、複数の発光素子211のそれぞれに対向するように配置されており、発光素子211から照射された光の進行方向を制御する。筒部214bは、配光制御部材214の中央に設けられており、基板固定穴212aと連通する筒状の部材である。爪部214cは、基板212に向かって突出する部材であり、基板係合穴212cに係合することによって、配光制御部材214が発光素子211を覆うように基板212に取り付けられる。このように、光源部210は、発光部213に配光制御部材214が予め取り付けられた状態でヒートシンク220に取り付けられる。ここで、光源部210が組み立てられる際、爪部214cと基板係合穴212cとが対向するように、配光制御部材214と基板212とを重ねればよい。このため、配光制御部材214と発光素子211との位置決めが容易である。よって、光源部210の組み立て性が向上する。また、配光制御部材214は、ネジ等によりヒートシンク220に固定されるものではないため、ネジを締結したときに生じる配光制御部材214の位置ずれを防止することができる。  The lightdistribution control member 214 has a plurality oflenses 214a, acylindrical portion 214b, and a plurality ofclaws 214c. Thelens 214a is disposed so as to face each of the plurality oflight emitting elements 211, and controls the traveling direction of light emitted from thelight emitting elements 211. Thecylindrical portion 214b is provided at the center of the lightdistribution control member 214, and is a cylindrical member that communicates with thesubstrate fixing hole 212a. Theclaw portion 214c is a member that protrudes toward thesubstrate 212, and is attached to thesubstrate 212 so that the lightdistribution control member 214 covers thelight emitting element 211 by engaging with thesubstrate engaging hole 212c. As described above, thelight source unit 210 is attached to theheat sink 220 with the lightdistribution control member 214 attached to thelight emitting unit 213 in advance. Here, when thelight source unit 210 is assembled, the lightdistribution control member 214 and thesubstrate 212 may be overlapped so that theclaw portion 214c and thesubstrate engaging hole 212c face each other. Therefore, positioning between the lightdistribution control member 214 and thelight emitting element 211 is easy. Therefore, the assemblability of thelight source unit 210 is improved. Further, since the lightdistribution control member 214 is not fixed to theheat sink 220 by a screw or the like, it is possible to prevent the lightdistribution control member 214 from being displaced when the screw is fastened.

(ヒートシンク220)
図9は、本発明の実施の形態1に係るヒートシンク220を上側からみた場合の分解斜視図である。図9に示すように、ヒートシンク220は、角柱状をなしており、矩形板状のベース部221と、複数のフィン223aを有するフィン部223と、フィン部223を覆う矩形板状の庇部222とを有している。ベース部221、フィン部223及び庇部222は、例えばアルミニウム製の板を加工して形成されたものであり、組み合わせることによってヒートシンク220が製造される。ヒートシンク220は、アルミニウム板を板金加工して形成されることによって、射出成型の場合よりも重量を軽くすることができることに加え、成型用の金型が不要であるため、製造費用を抑えることができる。なお、アルミニウム板は、射出成型に用いられるアルミニウム材よりもアルミニウムの純度が高く、板厚が薄くても、射出成型に用いられるアルミニウム材と同等以上の放熱性を確保することができる。
(Heat sink 220)
FIG. 9 is an exploded perspective view of theheat sink 220 according toEmbodiment 1 of the present invention when viewed from above. As shown in FIG. 9, theheat sink 220 has a prismatic shape, and has a rectangular plate-shapedbase portion 221, afin portion 223 having a plurality offins 223 a, and a rectangular plate-shapedeave portion 222 covering thefin portion 223. And Thebase part 221, thefin part 223, and theeave part 222 are formed by processing, for example, an aluminum plate, and theheat sink 220 is manufactured by combining them. Since theheat sink 220 is formed by sheet metal processing of an aluminum plate, theheat sink 220 can be made lighter in weight than in the case of injection molding. In addition, since a mold for molding is unnecessary, manufacturing cost can be reduced. it can. In addition, the aluminum plate has higher purity of aluminum than the aluminum material used for injection molding, and can secure heat radiation equal to or higher than that of the aluminum material used for injection molding even if the plate thickness is thin.

図10は、本発明の実施の形態1に係るベース部221を示す斜視図である。図10に示すように、ベース部221は、光源部210が取り付けられる第1のベース面21aと、第1のベース面21aの裏面の第2のベース面21bとを有している。本発明のヒートシンク220の一面とは、ベース部221の第1のベース面21aに相当する。第2のベース面21bには、フィン部223が略垂直に載置される。なお、フィン部223は、第2のベース面21bに対して完全な垂直でなくてもよく、交差する角度であればよい。ベース部221の第1のベース面21aには、電線260を光源部210側に引き込む際に用いられる円筒状のブッシュ250が設けられている。ブッシュ250は、基板212に形成された切り欠き212bに挿入されることにより、ベース部221と基板212との位置決めが容易となる。  FIG. 10 is a perspective viewshowing base portion 221 according toEmbodiment 1 of the present invention. As shown in FIG. 10, thebase portion 221 has afirst base surface 21a to which thelight source unit 210 is attached, and asecond base surface 21b on the back surface of thefirst base surface 21a. One surface of theheat sink 220 of the present invention corresponds to thefirst base surface 21a of thebase portion 221. Thefin portion 223 is placed substantially vertically on thesecond base surface 21b. Note that thefin portion 223 does not have to be completely perpendicular to thesecond base surface 21b, and may be at any angle as long as it intersects. On thefirst base surface 21a of thebase portion 221, acylindrical bush 250 used for drawing the electric wire 260 toward thelight source portion 210 is provided. By inserting thebush 250 into thenotch 212b formed in thesubstrate 212, the positioning between thebase portion 221 and thesubstrate 212 is facilitated.

ベース部221は、凹部221bを有しており、光源固定穴221cと、カバー固定穴221dとが形成されている。凹部221bは、ベース部221の表面から窪んでおり、ベース部221の縁部に6箇所設けられている。凹部221bは、配光制御部材214の爪部214cを収容する。光源固定穴221cは、ベース部221の中央に形成されており、配光制御部材214の筒部214b及び基板固定穴212aと連通する。カバー固定穴221dは、カバー240とベース部221とが取り付けられる際に用いられ、ベース部221の縁部に8箇所形成されている。なお、凹部221bは、ベース部221と基板212との接触を阻害しないように光源部210の爪部214cを収容する構造であればよく、複数の凹部221bがそれぞれ個別ではなく、略ドーナツ状に連結されてもよい。また、凹部221bは、ベース部221において基板212と接触する部分が台座上に形成されたものでもよい。  Thebase portion 221 has aconcave portion 221b, and has a lightsource fixing hole 221c and acover fixing hole 221d. Therecesses 221 b are recessed from the surface of thebase 221, and are provided at six positions on the edge of thebase 221. Therecess 221b accommodates theclaw 214c of the lightdistribution control member 214. The lightsource fixing hole 221c is formed at the center of thebase portion 221 and communicates with thecylindrical portion 214b of the lightdistribution control member 214 and thesubstrate fixing hole 212a. Thecover fixing holes 221d are used when thecover 240 and thebase part 221 are attached, and are formed at eight places on the edge of thebase part 221. Therecess 221b may have a structure that accommodates theclaw 214c of thelight source 210 so as not to hinder contact between the base 221 and thesubstrate 212, and the plurality ofrecesses 221b are not individually formed, but are formed in a substantially donut shape. They may be connected. Further, theconcave portion 221b may be such that a portion of thebase portion 221 that contacts thesubstrate 212 is formed on the pedestal.

図11は、本発明の実施の形態1に係るフィン223aを示す斜視図である。フィン部223は、放射状に並べられた複数のフィン223aと、ベース部221に接続されるベース接続部223bと、庇部222に接続される庇接続部223cとを有している。ヒートシンク220は、複数のフィン223aが放射状に配置されていることにより、照明器具1の全周から換気することができるため、放熱性を向上させることができる。図11に示すように、フィン223aは、2枚1組となっており、フィン223aの下端部同士がベース接続部223bによって接続されている。2枚1組のフィン223aのうち、一方のフィン223aの上端部には、庇接続部223cが設けられている。ベース接続部223bは、ベース部221に固定されており、固定手段は、レーザ溶接等の溶接でもよく、リベット等の固定部材を用いたものでもよい。庇接続部223cは、庇部222に固定されており、固定手段は、レーザ溶接等の溶接でもよく、リベット等の固定部材を用いたものでもよい。  FIG. 11 is a perspective view showing thefin 223a according toEmbodiment 1 of the present invention. Thefin portion 223 has a plurality offins 223 a radially arranged, abase connection portion 223 b connected to thebase portion 221, and aneave connection portion 223 c connected to theeave portion 222. Since the plurality offins 223a are radially arranged in theheat sink 220, theheat sink 220 can be ventilated from the entire periphery of thelighting fixture 1, so that heat dissipation can be improved. As shown in FIG. 11, thefins 223a are a pair of two fins, and the lower ends of thefins 223a are connected to each other by abase connection part 223b. Of the pair offins 223a, aneaves connection portion 223c is provided at the upper end of one of thefins 223a. Thebase connecting portion 223b is fixed to thebase portion 221, and the fixing means may be welding such as laser welding or a fixing member such as a rivet. Theeaves connection part 223c is fixed to theeaves part 222, and the fixing means may be welding such as laser welding or may use fixing members such as rivets.

図12は、本発明の実施の形態1に係るヒートシンク220において庇部222を外した場合の上面図である。図12に示すように、接続部130は、フィン223a同士の間に配置されている。このため、フィン223aは、接続部130に干渉しない。従って、フィン223aは、接続部130に干渉しないように内側に縮められる必要がなく、ベース部221の縁部にまで張り出すことができる。よって、照明器具1は、フィン223aに自然対流を与え易い。これにより、ヒートシンク220は、放熱効果を高めることができる。  FIG. 12 is a top view of theheat sink 220 according toEmbodiment 1 of the present invention when theeaves 222 are removed. As shown in FIG. 12, theconnection portion 130 is arranged between thefins 223a. For this reason, thefin 223a does not interfere with the connectingportion 130. Therefore, thefins 223 a do not need to be contracted inward so as not to interfere with theconnection part 130, and can extend to the edge of thebase part 221. Therefore, thelighting fixture 1 easily gives natural convection to thefins 223a. Thereby, theheat sink 220 can enhance the heat radiation effect.

図9に示すように、庇部222は、ベース部221と同形状をなしており、フィン部223に対向して接触する第1の庇面22aと、第1の庇面22aの裏面の第2の庇面22bとを有している。第2の庇面22bには、電源ユニット230が載置される。ここで、保持部の固定部120は、ベース部221の第1のベース面21aと庇部222の第1の庇面22aとを接続している(図1参照)。庇部222には、機能ユニット1000を取り付けるために用いられる庇貫通穴222bが形成されている。庇貫通穴222bは、固定部120が取り付けられる庇部222の側辺に対して垂直となる側辺側に2個設けられている。このように、庇貫通穴222bは、固定部120が取り付けられた位置から離れている。  As shown in FIG. 9, theeaves portion 222 has the same shape as thebase portion 221, and has a first eaves surface 22 a that faces and contacts thefin portion 223, and a first eaves surface 22 a on the back surface of the first eaves surface 22 a. And twoeaves 22b. Thepower supply unit 230 is mounted on thesecond eaves surface 22b. Here, the fixingportion 120 of the holding portion connects thefirst base surface 21a of thebase portion 221 and thefirst eave surface 22a of the eave portion 222 (see FIG. 1). In theeave portion 222, an eave throughhole 222b used for mounting thefunctional unit 1000 is formed. Two eaves throughholes 222b are provided on the side that is perpendicular to the side of theeave part 222 to which the fixingpart 120 is attached. Thus, the eaves throughhole 222b is separated from the position where the fixingpart 120 is attached.

本実施の形態1では、ベース接続部223b及び庇接続部223cが、フィン部223を介してベース部221と庇部222とを連結する連結部223dの機能を有している。ベース接続部223bは、フィン223aとベース部221とを固定し、庇接続部223cは、フィン223aと庇部222とを固定している。本実施の形態1では、ベース接続部223b及び庇接続部223cが2枚1組のフィン223aの全ての組に設けられており、2枚1組のフィン223aの全ての組が、ベース部221及び庇部222に固定されている。このため、ベース部221、フィン223a及び庇部222がそれぞれ密着し、伝熱性を向上させることができる。なお、ベース接続部223b及び庇接続部223cは、複数のフィン223aのうち少なくとも1つに設けられていればよい。ベース接続部223b及び庇接続部223cが、フィン223aの一部のみに設けられている場合、ヒートシンク220の製造工数が削減され、容易に組み立てることができる。また、ベース接続部223b及び庇接続部223cは、フィン223aに設けられている必要はなく、別部材としてもよい。  In the first embodiment, thebase connection part 223b and theeaves connection part 223c have the function of theconnection part 223d that connects thebase part 221 and theeaves part 222 via thefin part 223. Thebase connection part 223b fixes thefin 223a and thebase part 221, and theeaves connection part 223c fixes thefin 223a and theeave part 222. In the first embodiment, thebase connecting portion 223b and theeaves connecting portion 223c are provided in all sets of the pair offins 223a, and all the sets of the pair offins 223a are connected to thebase portion 221. And theeaves 222. For this reason, thebase part 221, thefins 223a, and theeaves part 222 are in close contact with each other, and the heat conductivity can be improved. Note that thebase connecting portion 223b and theeaves connecting portion 223c may be provided on at least one of the plurality offins 223a. When thebase connection part 223b and theeaves connection part 223c are provided only on a part of thefin 223a, the number of manufacturing steps of theheat sink 220 is reduced, and theheat sink 220 can be easily assembled. Further, thebase connecting portion 223b and theeaves connecting portion 223c do not need to be provided on thefin 223a, and may be separate members.

更に、本実施の形態1では、ベース部221、フィン部223及び庇部222は、アルミニウム板を加工して形成された場合について例示しているが、ヒートシンク220の一部を射出成型で形成してもよい。この場合、アルミニウム板を加工した部分と、射出成型で形成された部分とを組み合わせることによって、ヒートシンク220が製造される。また、本実施の形態1では、フィン223aは、ベース部221に放射状に並べられている場合について例示しているが、互いに並列に並べられてもよい。  Further, in the first embodiment, the case where thebase portion 221, thefin portion 223, and theeaves portion 222 are formed by processing an aluminum plate is illustrated, but a part of theheat sink 220 is formed by injection molding. You may. In this case, theheat sink 220 is manufactured by combining a portion formed by processing an aluminum plate and a portion formed by injection molding. Further, in the first embodiment, the case where thefins 223a are radially arranged on thebase portion 221 is illustrated, but they may be arranged in parallel with each other.

(光源固定具215)
図13は、本発明の実施の形態1に係る光源固定具215を示す側面図である。光源固定具215は、光源部210をヒートシンク220に固定するものであり、図13に示すように、頭部215aと柱状部215bとネジ部215cとを有している。頭部215aは、例えば円錐状をなしており、配光制御部材214の表面と接触し、配光制御部材214をヒートシンク220側に押さえる。柱状部215bは、例えば円柱状をなしており、頭部215aに接続されている。柱状部215bは、配光制御部材214に形成された筒部214bに挿入される。柱状部215bの直径は、筒部214bの直径と略同等である。これにより、柱状部215bが筒部214bに差し込まれ、回転することが可能となり、光源部210が径方向(水平方向)に移動することを抑制する。
(Light source fixture 215)
FIG. 13 is a side view showing thelight source fixture 215 according toEmbodiment 1 of the present invention. Thelight source fixture 215 fixes thelight source unit 210 to theheat sink 220, and has ahead 215a, acolumnar part 215b, and ascrew part 215c as shown in FIG. Thehead 215a has, for example, a conical shape, and comes into contact with the surface of the lightdistribution control member 214 to press the lightdistribution control member 214 toward theheat sink 220. Thecolumnar portion 215b has, for example, a columnar shape, and is connected to thehead 215a. Thecolumnar part 215b is inserted into acylindrical part 214b formed on the lightdistribution control member 214. The diameter of thecolumnar part 215b is substantially equal to the diameter of thecylindrical part 214b. Accordingly, thecolumnar portion 215b is inserted into thecylindrical portion 214b and can be rotated, thereby suppressing thelight source unit 210 from moving in the radial direction (horizontal direction).

柱状部215bの高さは、配光制御部材214の筒部214bの高さよりも高い。これにより、ネジ部215cがヒートシンク220に螺合したときに、頭部215aが配光制御部材214を押圧することを抑制することができる。なお、配光制御部材214が樹脂の場合、柱状部215bの高さは、配光制御部材214の熱伸縮性も考慮されて設計される。柱状部215bの直径は、基板固定穴212aの直径よりも長い。このため、柱状部215bは基板固定穴212aに挿入されない。従って、頭部215aが配光制御部材214を押圧せずに基板212をヒートシンク220に押圧することができる。  The height of thecolumnar portion 215b is higher than the height of thecylindrical portion 214b of the lightdistribution control member 214. Accordingly, when thescrew portion 215c is screwed into theheat sink 220, it is possible to suppress thehead 215a from pressing the lightdistribution control member 214. When the lightdistribution control member 214 is made of resin, the height of thecolumnar portion 215b is designed in consideration of the thermal expansion and contraction of the lightdistribution control member 214. The diameter of thecolumnar portion 215b is longer than the diameter of thesubstrate fixing hole 212a. Therefore, thecolumnar portion 215b is not inserted into theboard fixing hole 212a. Therefore, thesubstrate 212 can be pressed against theheat sink 220 without thehead 215 a pressing the lightdistribution control member 214.

ネジ部215cは、柱状部215bに接続され、基板212に形成された基板固定穴212aに挿入されてヒートシンク220に形成された光源固定穴221cに螺合される。これにより、光源固定具215は、光源部210をヒートシンク220に固定することができる。  Thescrew portion 215c is connected to thecolumnar portion 215b, inserted into asubstrate fixing hole 212a formed on thesubstrate 212, and screwed into a lightsource fixing hole 221c formed on theheat sink 220. Thereby, thelight source fixture 215 can fix thelight source unit 210 to theheat sink 220.

図14〜図16は、本発明の実施の形態1に係るヒートシンク220及び光源部210の組立時の斜視図である。次に、光源部210がヒートシンク220に取り付けられる工程について説明する。図14に示すように、基板212に形成された切り欠き212bと、ヒートシンク220のベース部221のブッシュ250とが対向する。また、配光制御部材214の爪部214cと、ベース部221の凹部221bとが対向する。更に、配光制御部材214の筒部214bと、ベース部221の光源固定穴221cとが対向する。そして、図15に示すように、切り欠き212bにブッシュ250が嵌めこまれ、爪部214cが凹部221bに収容され、光源固定穴221cと筒部214bとが連通する。これにより、光源部210とヒートシンク220とが接触する。  14 to 16 are perspective views when assembling theheat sink 220 and thelight source unit 210 according toEmbodiment 1 of the present invention. Next, a process of attaching thelight source unit 210 to theheat sink 220 will be described. As shown in FIG. 14, thenotch 212b formed in thesubstrate 212 and thebush 250 of thebase 221 of theheat sink 220 face each other. Further, theclaw portion 214c of the lightdistribution control member 214 and theconcave portion 221b of thebase portion 221 face each other. Further, thecylindrical portion 214b of the lightdistribution control member 214 and the lightsource fixing hole 221c of thebase portion 221 face each other. Then, as shown in FIG. 15, thebush 250 is fitted into thenotch 212b, theclaw portion 214c is accommodated in theconcave portion 221b, and the lightsource fixing hole 221c communicates with thecylindrical portion 214b. Thereby, thelight source 210 and theheat sink 220 come into contact with each other.

なお、ブッシュ250は、光源部210とヒートシンク220との位置決めの機能を有すると共に、光源部210の回転を抑制する。その後、図16に示すように、光源固定具215の柱状部215b及びネジ部215cが筒部214bに挿し込まれ、ネジ部215cが光源固定穴221cに螺合して、光源部210がヒートシンク220に固定される。なお、ベース部221において、爪部214cが凹部221bに収容されることによって、基板212の背面とヒートシンク220とを密着させることができる。これにより、放熱効率を向上させることができる。  Thebush 250 has a function of positioning thelight source unit 210 and theheat sink 220 and also suppresses rotation of thelight source unit 210. Thereafter, as shown in FIG. 16, thecolumnar portion 215b and thescrew portion 215c of thelight source fixture 215 are inserted into thecylindrical portion 214b, thescrew portion 215c is screwed into the lightsource fixing hole 221c, and thelight source portion 210 is connected to theheat sink 220. Fixed to In thebase 221, theclaws 214 c are housed in therecesses 221 b so that the back surface of thesubstrate 212 and theheat sink 220 can be in close contact with each other. Thereby, the heat radiation efficiency can be improved.

(電源ユニット230)
電源ユニット230は、ヒートシンク220の庇部222に設けられることによって、電源ユニット230から生じる熱をヒートシンク220に伝達させることができる。従って、ヒートシンク220は、電源ユニット230の温度が上昇することを抑制することができる。電源ユニット230は、図1及び図2に示すように、点灯装置231と、端子台232と、本体底部233と、本体蓋部234と、端子台カバー235と、電源側コネクタ236とを有している。点灯装置231は、光源部210に電線260を介して点灯するための電力を供給する。端子台232は、外部に設けられた商用電力からの電線260が接続され、点灯装置231に電力を供給する。
(Power supply unit 230)
Thepower supply unit 230 can transfer heat generated from thepower supply unit 230 to theheat sink 220 by being provided on theeaves 222 of theheat sink 220. Therefore, theheat sink 220 can suppress an increase in the temperature of thepower supply unit 230. 1 and 2, thepower supply unit 230 includes alighting device 231, aterminal block 232, amain body bottom 233, amain body cover 234, aterminal block cover 235, and apower supply connector 236. ing. Thelighting device 231 supplies power for lighting thelight source unit 210 via the electric wire 260. Theterminal block 232 is connected to an electric wire 260 from commercial power provided outside and supplies power to thelighting device 231.

本体底部233は、点灯装置231及び端子台232を載置するものであり、ヒートシンク220の庇部222の第2の庇面22bに取り付けられる。本体蓋部234は、点灯装置231及び端子台232を覆うように、本体底部233に取り付けられる。これにより、点灯装置231及び端子台232は、本体蓋部234及び本体底部233からなるケース内部に収納される。なお、端子台232は、本体蓋部234に形成された開口から外部に露出している。端子台カバー235は、本体蓋部234の開口から露出している端子台232の入力部2231を覆う部材である。電源側コネクタ236は、本体蓋部234から突設すると共に端子台カバー235に覆われている。電源側コネクタ236は、機能ユニット1000からの信号を受信し、点灯装置231と接続する。  Themain body bottom 233 mounts thelighting device 231 and theterminal block 232, and is attached to the second eaves surface 22 b of theeaves 222 of theheat sink 220. Themain body cover 234 is attached to themain body bottom 233 so as to cover thelighting device 231 and theterminal block 232. As a result, thelighting device 231 and theterminal block 232 are housed inside a case composed of themain body cover 234 and themain body bottom 233. Theterminal block 232 is exposed to the outside through an opening formed in themain body cover 234. Theterminal block cover 235 is a member that covers the input section 2231 of theterminal block 232 exposed from the opening of the mainbody cover section 234. The powersupply side connector 236 protrudes from themain body cover 234 and is covered with aterminal block cover 235. Thepower connector 236 receives a signal from thefunctional unit 1000 and connects to thelighting device 231.

(カバー240)
図17は、本発明の実施の形態1に係るカバー240を示す斜視図である。図17に示すように、カバー240は、有底角筒状の箱体であり、光源部210を覆いつつヒートシンク220のベース部221に固定されている。カバー240は、カバー固定ネジ242によってヒートシンク220に固定されている。カバー240は、カバー突設部241を有しており、カバー突設部241は、カバー240の内側に例えば8個設けられ、光源部210の端部と接触する。カバー突設部241は、光源部210の落下を防止する機能を有する。また、カバー突設部241は、光源部210をヒートシンク220側に押圧するように構成されてもよく、これにより放熱性を更に向上させることができる。このように、光源ユニット200は、発光部213が配光制御部材214に固定されると共に、発光部213が配光制御部材214に取り付けられた光源部210をヒートシンク220に固定することによって組み立てられる。このため、光源ユニット200を容易に組み立てることができる。
(Cover 240)
FIG. 17 is a perspectiveview showing cover 240 according toEmbodiment 1 of the present invention. As shown in FIG. 17, thecover 240 is a bottomed rectangular cylindrical box, and is fixed to thebase 221 of theheat sink 220 while covering thelight source 210. Thecover 240 is fixed to theheat sink 220 by cover fixing screws 242. Thecover 240 has acover projecting portion 241. For example, eightcover projecting portions 241 are provided inside thecover 240 and come into contact with the end of thelight source unit 210. Thecover projecting portion 241 has a function of preventing thelight source 210 from falling. In addition, thecover projecting portion 241 may be configured to press thelight source 210 toward theheat sink 220, thereby further improving heat dissipation. As described above, thelight source unit 200 is assembled by fixing thelight emitting unit 213 to the lightdistribution control member 214 and fixing thelight source unit 210 attached to the lightdistribution control member 214 to theheat sink 220. . Therefore, thelight source unit 200 can be easily assembled.

なお、カバー240の内側に、光源部210から照射された光の進行方向を制御するレンズ214aユニット及び光を反射するリフレクタ等が設けられてもよい。なお、レンズ214aユニットが設けられる場合、光源部210とレンズ214aユニットとは、一体化された後に、ヒートシンク220に固定されることが好ましい。これにより、照明器具1は、光源部210の発光素子211とレンズ214aユニットのレンズ214aとの相対的位置がずれることが抑制されて、組み立て性が向上する。  Note that alens 214a unit that controls the traveling direction of the light emitted from thelight source unit 210, a reflector that reflects the light, and the like may be provided inside thecover 240. When thelens 214a unit is provided, it is preferable that thelight source unit 210 and thelens 214a unit be fixed to theheat sink 220 after being integrated. Accordingly, the relative position of thelight emitting element 211 of thelight source unit 210 and thelens 214a of thelens 214a unit is suppressed from being shifted, and thelighting fixture 1 is improved in assemblability.

図18は、本発明の実施の形態1に係る固定部120を示す側面断面図であり、図4のA−A断面図である。ここで、固定部120について詳細に説明する。固定部120は、前述の如く、剛性がある金属で形成されている。図13に示すように、固定部120がヒートシンク220の庇部222の第1の庇面22aに当たると共に、カバー240を抱え込んで、ヒートシンク220と係合することによって、振動等で生じるネジへの応力負荷を緩和し、強度を補完することができる。  FIG. 18 is a side cross-sectional viewshowing fixing portion 120 according toEmbodiment 1 of the present invention, and is a cross-sectional view taken along line AA of FIG. Here, the fixingportion 120 will be described in detail. The fixingportion 120 is formed of a rigid metal as described above. As shown in FIG. 13, the fixingportion 120 abuts on the first eaves surface 22 a of theeaves portion 222 of theheat sink 220, holds thecover 240, and engages with theheat sink 220, thereby causing stress on the screw caused by vibration or the like. It can reduce the load and complement the strength.

ここで、連結部223dであるベース接続部223b及び庇接続部223cが、フィン部223を介してベース部221と庇部222とを連結している。このため、光源部210からの熱を、フィン部223を介して庇部222に伝達させることができる。従って、ヒートシンク220において庇部222が設けられても、放熱性を維持することができる。従来、ヒートシンクに庇部が設けられると、庇部によってヒートシンクから放散される熱が遮られて熱が篭り、放熱性が悪化してしまう。また、熱が篭ることを抑制するためにフィンの先端と庇部との間隔を広げると、照明器具が大型化してしまう。これに対し、本実施の形態1は、庇部222が、放熱性が高いアルミニウム板を加工して形成されたものであるため、庇部222とフィン223aとの間に間隔を設ける必要がない。このため、ヒートシンク220は、庇部222とフィン223aとを接触させることができる。従って、ヒートシンク220は、放熱性を維持しつつ、照明器具1を小型化することができる。  Here, thebase connecting part 223b and theeaves connecting part 223c, which are the connectingparts 223d, connect thebase part 221 and theeaves part 222 via thefin part 223. Therefore, heat from thelight source 210 can be transmitted to theeaves 222 via thefins 223. Therefore, even if theeaves part 222 is provided in theheat sink 220, the heat dissipation can be maintained. Conventionally, when an eaves portion is provided on a heat sink, heat dissipated from the heat sink is blocked by the eaves portion, the heat is trapped, and heat dissipation is deteriorated. In addition, if the distance between the tip of the fin and the eaves is widened in order to suppress the accumulation of heat, the size of the lighting equipment will increase. On the other hand, in the first embodiment, since theeaves portion 222 is formed by processing an aluminum plate having high heat dissipation, there is no need to provide a space between theeaves portion 222 and thefins 223a. . For this reason, theheat sink 220 can make theeaves part 222 and thefin 223a contact. Therefore, theheat sink 220 can reduce the size of thelighting fixture 1 while maintaining heat dissipation.

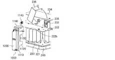
(機能ユニット1000)
図19は、本発明の実施の形態1に係る機能ユニット1000を示す組立斜視図であり、図20は、本発明の実施の形態1に係る機能ユニット1000を正面側からみた場合の分解斜視図である。図21は、本発明の実施の形態1に係る機能ユニット1000を背面側からみた場合の分解斜視図である。次に、機能ユニット1000について説明する。図19〜図21に示すように、機能ユニット1000は、ユニット固定具1101を使用してヒートシンク220に固定される機能連結部1100と、機能連結部1100に固定された機能部1200とを有している。
(Functional unit 1000)
FIG. 19 is an assembled perspective view showingfunctional unit 1000 according toEmbodiment 1 of the present invention, and FIG. 20 is an exploded perspective view offunctional unit 1000 according toEmbodiment 1 of the present invention as viewed from the front side. It is. FIG. 21 is an exploded perspective view when thefunctional unit 1000 according toEmbodiment 1 of the present invention is viewed from the rear side. Next, thefunctional unit 1000 will be described. As shown in FIGS. 19 to 21, thefunctional unit 1000 has afunction connecting part 1100 fixed to theheat sink 220 using theunit fixing tool 1101 and afunction part 1200 fixed to thefunction connecting part 1100. ing.

機能連結部1100は、導電性の板金部材を折り曲げて構成されている。機能連結部1100は、取付面1110と、第1の突設部1120と、第2の突設部1130と、接続片1131と、ハーネス保護部1140とを有している。取付面1110は、機能部1200が取り付けられる部材である。取付面1110には、アンテナ用開口1111とハーネス用開口1112とが形成されている。アンテナ用開口1111は、第1の突設部1120よりも下側に形成されており、機能部1200が有するアンテナ1212に対向する部分に金属が存在しないようにしている。ハーネス用開口1112は、第2の突設部1130よりも上側に形成されており、ハーネス保護部1140の内側と連通して、ハーネス1141が挿入される。  Thefunction connecting portion 1100 is formed by bending a conductive sheet metal member. The functional connectingportion 1100 has a mountingsurface 1110, a first projectingportion 1120, a second projectingportion 1130, a connectingpiece 1131, and aharness protecting portion 1140. The mountingsurface 1110 is a member to which thefunctional unit 1200 is mounted. The mountingsurface 1110 has anantenna opening 1111 and aharness opening 1112. Theantenna opening 1111 is formed below the first projectingportion 1120 so that metal does not exist in a portion of thefunctional unit 1200 facing theantenna 1212. Theharness opening 1112 is formed above the second projectingportion 1130, and communicates with the inside of theharness protection portion 1140, into which theharness 1141 is inserted.

第1の突設部1120は、取付面1110の下部から取付面1110に対し交差する略垂直の方向に延び、ベース部221の第2のベース面21bに係合する。第2の突設部1130は、取付面1110の上部から取付面1110に対し交差する略垂直の方向に延び、庇部222の第2の庇面22bに係合する。第1の突設部1120の下端部と、第2の突設部1130の上端部との距離は、ヒートシンク220のベース部221と庇部222との間の距離とほぼ等しい。接続片1131は、第2の突設部1130の上端部から垂直の方向に延びる部材であり、ユニット固定具1101によって庇部222に接続される。接続片1131には、ユニット固定具1101が挿入されるユニット固定穴1132が形成されている。ここで、ユニット固定具1101は、ユニット固定穴1132と庇部222に形成された庇貫通穴222bとに挿入されて、ヒートシンク220と機能ユニット1000とを固定する。  The first protrudingportion 1120 extends from a lower portion of the mountingsurface 1110 in a substantially perpendicular direction intersecting the mountingsurface 1110, and engages with thesecond base surface 21b of thebase portion 221. Thesecond protruding portion 1130 extends in a substantially perpendicular direction intersecting the mountingsurface 1110 from above the mountingsurface 1110, and engages with thesecond eaves surface 22b of theeaves portion 222. The distance between the lower end of thefirst protrusion 1120 and the upper end of thesecond protrusion 1130 is substantially equal to the distance between the base 221 and theeaves 222 of theheat sink 220. Theconnection piece 1131 is a member extending in the vertical direction from the upper end of thesecond protrusion 1130, and is connected to theeaves 222 by theunit fixture 1101. Theconnection piece 1131 has aunit fixing hole 1132 into which theunit fixing tool 1101 is inserted. Here, theunit fixing tool 1101 is inserted into theunit fixing hole 1132 and theeaves penetrating hole 222b formed in theeave part 222, and fixes theheat sink 220 and thefunctional unit 1000.

ハーネス保護部1140は、取付面1110の上端部に設けられ、機能部1200と電源ユニット230とを接続するハーネス1141を収容して保護する。ここで、ハーネス1141は、一端に機能部1200に着脱自在に接続される第1の接続部1142と、他端に電源側コネクタ236に着脱自在に接続される第2の接続部1143とを有している。なお、ハーネス1141は、着脱自在に接続される必要はなく、機能部1200又は電源ユニット230のいずれか一方から引き出されたものでもよい。  Theharness protection section 1140 is provided at the upper end of the mountingsurface 1110, and houses and protects aharness 1141 that connects thefunctional section 1200 and thepower supply unit 230. Here, theharness 1141 has afirst connection portion 1142 detachably connected to thefunctional portion 1200 at one end, and asecond connection portion 1143 detachably connected to the powersupply side connector 236 at the other end. are doing. Note that theharness 1141 does not need to be detachably connected, and may be drawn out from either thefunctional unit 1200 or thepower supply unit 230.

機能部1200は、無線通信によって外部からの信号を受信し、受信した信号を変換して電源ユニット230に出力する。機能部1200は、無線モジュール1210と、ケース1240とを有している。無線モジュール1210は、機能基板1211と、アンテナ1212と、信号変換部1213と、設定部1214と、コネクタ部1215とを有している。機能基板1211は、矩形板状の部材である。アンテナ1212は、機能基板1211の下部に設けられており、外部からの信号を受信する。信号変換部1213は、機能基板1211においてアンテナ1212の上部に設けられており、アンテナ1212で受信した信号を変換する。  Thefunction unit 1200 receives a signal from outside through wireless communication, converts the received signal, and outputs the converted signal to thepower supply unit 230. Thefunctional unit 1200 has awireless module 1210 and acase 1240. Thewireless module 1210 includes afunction board 1211, anantenna 1212, asignal conversion unit 1213, asetting unit 1214, and aconnector unit 1215. Thefunctional substrate 1211 is a rectangular plate-shaped member. Theantenna 1212 is provided below thefunctional substrate 1211 and receives an external signal. Thesignal conversion unit 1213 is provided above theantenna 1212 on thefunctional substrate 1211 and converts a signal received by theantenna 1212.

設定部1214は、機能基板1211において信号変換部1213の上部に設けられており、機能ユニット1000の各機能を設定するために用いられる。コネクタ部1215は、機能基板1211の上端部に2個設けられており、ハーネス1141の第1の接続部1142が接続される。無線モジュール1210は、信号変換部1213によって変換された信号を、コネクタ部1215からハーネス1141を介して電源ユニット230に出力する。なお、機能基板1211には、基板取付穴1211aが形成されている。  Thesetting unit 1214 is provided above thesignal conversion unit 1213 on thefunction board 1211, and is used to set each function of thefunction unit 1000. Twoconnector portions 1215 are provided at the upper end of thefunctional board 1211, and thefirst connection portion 1142 of theharness 1141 is connected thereto. Thewireless module 1210 outputs the signal converted by thesignal conversion unit 1213 from theconnector unit 1215 to thepower supply unit 230 via theharness 1141. Note that asubstrate mounting hole 1211a is formed in thefunctional substrate 1211.

ケース1240は、機能基板1211を収容するものであり、ケース本体部1220とケース蓋部1230とを有している。ケース本体部1220は、例えば樹脂材料で形成されており、機能連結部1100の取付面1110に取り付けられる。ケース本体部1220は、箱形状をなしており、機能基板1211と対向する面から延びる突設片1221を有している。無線モジュール1210は、突設片1221が基板取付穴1211aに挿し込まれてケース本体部1220に固定されている。  Thecase 1240 houses thefunctional board 1211 and has acase body 1220 and acase lid 1230. The casemain body 1220 is formed of, for example, a resin material, and is mounted on the mountingsurface 1110 of thefunction connecting part 1100. The casemain body 1220 has a box shape, and has a projectingpiece 1221 extending from a surface facing thefunctional substrate 1211. In thewireless module 1210, the protrudingpieces 1221 are inserted into theboard mounting holes 1211a and are fixed to the casemain body 1220.

ケース蓋部1230は、例えば樹脂材料で形成されており、無線モジュール1210を覆うようにケース本体部1220に取り付けられる。ケース蓋部1230には、設定部1214と対向する位置に操作用開口1231が形成されており、ユーザは、操作用開口1231を介して、設定部1214を外部から操作することができる。ケース蓋部1230は、機能基板1211と対向する面から延びる複数の蓋側突設部1232を有しており、複数の蓋側突設部1232が基板212を押さえる。  Thecase lid 1230 is formed of, for example, a resin material, and is attached to the casemain body 1220 so as to cover thewireless module 1210. Anoperation opening 1231 is formed in thecase lid portion 1230 at a position facing the settingportion 1214, and a user can operate thesetting portion 1214 from outside via theoperation opening 1231. Thecase lid 1230 has a plurality of lid-side protrusions 1232 extending from a surface facing thefunctional substrate 1211, and the plurality of lid-side protrusions 1232 press thesubstrate 212.

ここで、2個の機能固定具1201によって、機能部1200が機能連結部1100に取り付けられると、アンテナ用開口1111とアンテナ1212とが、機能基板1211及びケース本体部1220を挟んで対向する。これにより、アンテナ1212の背面側が、導電性を有する機能連結部1100と直接対向しない。従って、アンテナ1212の受信性を向上させることができる。なお、機能部1200と機能連結部1100とは、機能固定具1201で固定されているが、機能固定具1201の位置は適宜変更されてもよい。また、機能固定具1201の代わりに機能部1200と機能連結部1100とのいずれか一方に爪を設けて係合させることによって固定されてもよい。  Here, when thefunction part 1200 is attached to thefunction connection part 1100 by the twofunction fixing members 1201, theantenna opening 1111 and theantenna 1212 are opposed to each other with thefunction board 1211 and the casemain body 1220 interposed therebetween. As a result, the rear side of theantenna 1212 does not directly face the conductivefunction connecting portion 1100. Therefore, the reception performance of theantenna 1212 can be improved. In addition, although thefunction part 1200 and thefunction connection part 1100 are fixed with thefunction fixing tool 1201, the position of thefunction fixing tool 1201 may be appropriately changed. Further, instead of thefunction fixing device 1201, the claw may be fixed by providing and engaging a claw on one of thefunction unit 1200 and thefunction connection unit 1100.

なお、コネクタ部1215は、機能基板1211に2個実装されており、これにより、2個の電源ユニット230に信号を出力することができる。例えば、照明器具1が2個の光源ユニット200を備えている場合、2個のコネクタ部1215それぞれから、2個の光源ユニット200に対応するそれぞれの電源ユニット230に個別に信号を出力することができる。このように、1個の機能ユニット1000が複数の電源ユニット230に接続されることによって、機能ユニット1000の受信状態において複数の光源ユニット200の点灯制御状態が異なって点灯に時間差が生じることを抑制することができる。点灯制御状態は、各電源ユニット230それぞれに機能ユニット1000が設けられた場合、それぞれの機能ユニット1000で受信に差異が生じるおそれがある。なお、光源ユニット200が1個である場合、コネクタ部1215は1個でもよい。  Note that twoconnector portions 1215 are mounted on thefunctional board 1211, and thus, a signal can be output to the twopower supply units 230. For example, when thelighting fixture 1 includes twolight source units 200, it is possible to individually output a signal from each of the twoconnector units 1215 to each of thepower supply units 230 corresponding to the twolight source units 200. it can. In this way, by connecting onefunctional unit 1000 to the plurality ofpower supply units 230, it is possible to prevent the lighting control states of the plurality oflight source units 200 from being different in the reception state of thefunctional unit 1000, thereby preventing a time difference in lighting. can do. In the lighting control state, when thefunctional unit 1000 is provided in each of thepower supply units 230, there is a possibility that the reception may differ between thefunctional units 1000. When the number of thelight source units 200 is one, the number of theconnector part 1215 may be one.

図22〜図24は、本発明の実施の形態1に係る機能ユニット1000を取り付ける場合の斜視図である。次に、機能ユニット1000がヒートシンク220に取り付けられる工程について説明する。図22に示すように、機能ユニット1000がヒートシンク220に取り付けられるとき、端子台カバー235が反時計回りに回転して電源側コネクタ236が露出している。そして、図23に示すように、第1の突設部1120の下端部がベース部221の第2のベース面21bに対向し、第2の突設部1130の上端部が庇部222の第2の庇面22bに対向する。この状態で、機能ユニット1000がヒートシンク220の側方から挿し込まれる。ここで、ハーネス1141の第2の接続部1143が電源側コネクタ236に接続される。  FIG. 22 to FIG. 24 are perspective views when thefunctional unit 1000 according toEmbodiment 1 of the present invention is attached. Next, a process of attaching thefunctional unit 1000 to theheat sink 220 will be described. As shown in FIG. 22, when thefunctional unit 1000 is mounted on theheat sink 220, theterminal block cover 235 is rotated counterclockwise to expose the powersupply side connector 236. Then, as shown in FIG. 23, the lower end of thefirst projection 1120 faces thesecond base surface 21 b of thebase 221, and the upper end of thesecond projection 1130 is the It faces thesecond eaves surface 22b. In this state, thefunctional unit 1000 is inserted from the side of theheat sink 220. Here, thesecond connection portion 1143 of theharness 1141 is connected to the powersupply side connector 236.

なお、庇部222は、第2の突設部1130とハーネス保護部1140との間に挿し込まれる。その後、図24に示すように、端子台カバー235が時計回りに回転して、電源側コネクタ236及びハーネス1141を覆う。また、機能ユニット1000がヒートシンク220に挿し込まれた状態で、機能固定具1201が庇貫通穴222bを介して接続片1131のユニット固定穴1132に締結されて固定される。  Theeaves 222 are inserted between the second projectingportion 1130 and theharness protection portion 1140. Thereafter, as shown in FIG. 24, theterminal block cover 235 rotates clockwise to cover the powersupply side connector 236 and theharness 1141. In a state where thefunction unit 1000 is inserted into theheat sink 220, thefunction fixing tool 1201 is fastened and fixed to theunit fixing hole 1132 of theconnection piece 1131 through the eaves throughhole 222b.

以上説明したように、機能ユニット1000は、ヒートシンク220の側方から挿し込まれてヒートシンク220に取り付けられる。このため、機能ユニット1000が取り付けられる際、光源部210等を取り外す必要がない。従って、機能ユニット1000の取り付けが容易である。  As described above, thefunctional unit 1000 is inserted from the side of theheat sink 220 and attached to theheat sink 220. Therefore, when thefunctional unit 1000 is attached, it is not necessary to remove thelight source unit 210 and the like. Therefore, attachment of thefunctional unit 1000 is easy.

ヒートシンク220は、ベース部221と庇部222とを有している。このため、ベース部221と庇部222との間に挿し込まれることによって、機能ユニット1000がヒートシンク220に係止して、機能固定具1201で固定するのみで機能ユニット1000をヒートシンク220に容易に取り付けることができる。また、機能固定具1201は、庇貫通穴222bを挟んで板金材料の接続片1131に形成されたユニット固定穴1132に締結して機能ユニット1000を固定している。このため、アルミニウム材に締結することによる庇部222への負荷を抑制しつつ、機能ユニット1000をヒートシンク220にすることができる。  Theheat sink 220 has abase 221 and aneave 222. Therefore, by being inserted between thebase portion 221 and theeaves portion 222, thefunctional unit 1000 is locked to theheat sink 220, and thefunctional unit 1000 is easily fixed to theheat sink 220 only by fixing with thefunction fixing tool 1201. Can be attached. Further, thefunction fixing tool 1201 is fixed to theunit fixing hole 1132 formed in theconnection piece 1131 of the sheet metal material with the eaves throughhole 222b interposed therebetween to fix thefunction unit 1000. Therefore, thefunctional unit 1000 can be used as theheat sink 220 while suppressing the load on theeaves 222 caused by fastening to the aluminum material.

ここで、庇貫通穴222bは、固定部120が取り付けられる庇部222の側辺に対して垂直となる側辺側に設けられている。このため、機能ユニット1000は、固定部120に対して垂直になるようにヒートシンク220に固定される。よって、照明器具1が揺動する際、機能ユニット1000がアーム110等のほかの部材と干渉することを抑制することができる。また、機能ユニット1000は、ハーネス1141が板金で形成されたハーネス保護部1140の内部に収容され、電源側コネクタ236が端子台カバー235に覆われている。よって、機能ユニット1000が後付けされても、機能部1200と電源ユニット230を接続するハーネス1141を保護することができる。  Here, the eaves throughhole 222b is provided on a side that is perpendicular to the side of theeaves 222 to which the fixingpart 120 is attached. Therefore, thefunctional unit 1000 is fixed to theheat sink 220 so as to be perpendicular to the fixingportion 120. Therefore, when thelighting fixture 1 swings, it is possible to suppress thefunctional unit 1000 from interfering with other members such as thearm 110. In thefunctional unit 1000, theharness 1141 is housed inside aharness protection section 1140 formed of a sheet metal, and the powersupply side connector 236 is covered with aterminal block cover 235. Therefore, even if thefunctional unit 1000 is retrofitted, theharness 1141 connecting thefunctional unit 1200 and thepower supply unit 230 can be protected.

図25は、本発明の実施の形態1に係る機能ユニット1000の側面断面図である。図25に示すように、機能ユニット1000がヒートシンク220に取り付けられると、アンテナ1212は、光源部210の光軸方向においてヒートシンク220のベース部221よりも照射方向側に配置される。即ち、アンテナ1212の背面側には、ヒートシンク220は存在しない。従って、アンテナ1212における無線通信の感度を維持することができる。  FIG. 25 is a side sectional view offunctional unit 1000 according toEmbodiment 1 of the present invention. As shown in FIG. 25, when thefunctional unit 1000 is attached to theheat sink 220, theantenna 1212 is arranged closer to the irradiation direction than thebase part 221 of theheat sink 220 in the optical axis direction of thelight source part 210. That is, theheat sink 220 does not exist on the back side of theantenna 1212. Therefore, the sensitivity of wireless communication in theantenna 1212 can be maintained.

なお、機能連結部1100は、2個の機能固定具1201によって、機能部1200の上部及び下部を固定しているが、機能固定具1201の取付位置は適宜変更することができる。ここで、機能部1200の下側を固定しない場合、第1の突設部1120より下方の部分(図25の点線Dよりも下側)を省略し、アンテナ1212の背面側を覆わないようにしてもよい。また、機能部1200の固定は、機能固定具1201の代わりに、爪等の係合による固定としてもよいし、接着による固定としてもよい。  In addition, although thefunction connection part 1100 fixes the upper part and the lower part of thefunction part 1200 by twofunction fixing parts 1201, the attachment position of thefunction fixing part 1201 can be changed suitably. Here, when the lower side of thefunctional unit 1200 is not fixed, a portion below the first protruding portion 1120 (below the dotted line D in FIG. 25) is omitted so that the back side of theantenna 1212 is not covered. You may. In addition, instead of thefunction fixing tool 1201, thefunction unit 1200 may be fixed by engaging a claw or the like, or may be fixed by bonding.

ここで、無線の制御について説明する。機能ユニット1000の無線モジュール1210は、例えば照明器具1の光源に電力を供給する電源回路に接続される。このとき、電源回路は、安全対策等の観点から概して金属筐体に収納されている。金属は電波を遮断するため、無線モジュール1210は金属筐体の外面に配置される。しかし、金属筐体が近くに存在すると、電波の受信に影響を及ぼすおそれがある。また、金属筐体である電源装置が照明器具1の器具本体と別体である場合、金属筐体が設置される位置及び姿勢(設置向き)は、施工業者が決定する。このため、ユーザが、無線モジュール1210の設置位置を管理することは困難であり、設置状態によっては通信性能が低下するおそれがある。本実施の形態1は、アンテナ1212の背面側に金属部材が存在しないようにしているため、施工の如何にかかわらず、アンテナ1212の受信性の低下を抑制することができる。  Here, wireless control will be described. Thewireless module 1210 of thefunctional unit 1000 is connected to, for example, a power supply circuit that supplies power to the light source of thelighting fixture 1. At this time, the power supply circuit is generally housed in a metal housing from the viewpoint of safety measures and the like. Since metal blocks radio waves, thewireless module 1210 is arranged on the outer surface of the metal housing. However, the presence of a metal housing nearby may affect reception of radio waves. In addition, when the power supply device that is a metal housing is separate from the fixture main body of thelighting fixture 1, a position and a posture (installation orientation) where the metal housing is installed are determined by a contractor. For this reason, it is difficult for the user to manage the installation position of thewireless module 1210, and the communication performance may be reduced depending on the installation state. In the first embodiment, since the metal member is not present on the back side of theantenna 1212, it is possible to suppress a decrease in the receivability of theantenna 1212 regardless of the construction.

次に、無線通信について説明する。無線モジュール1210は、無線通信を行うことによって照明器具1の動作を制御するための制御信号を受信する無線通信部の一例である。制御信号は、例えばユーザが操作するリモコン又はスマートフォン等の操作端末である携帯端末から送信される無線信号である。無線モジュール1210は、受信機能のみでなく、送信機能を有してもよい。例えば、無線モジュール1210は、受信した制御信号を、ほかの照明器具等に送信する。即ち、無線モジュール1210は、操作端末からほかの照明器具1への制御信号の送信の中継機能を担ってもよい。これにより、操作端末から送信される制御信号を、操作端末から離れた照明器具1に受信させることができる。ここで、操作端末から離れた照明器具1とは、例えば操作端末の通信範囲内に位置しない照明器具1をいう。  Next, wireless communication will be described. Thewireless module 1210 is an example of a wireless communication unit that receives a control signal for controlling the operation of thelighting fixture 1 by performing wireless communication. The control signal is, for example, a wireless signal transmitted from a portable terminal that is an operation terminal such as a remote controller operated by a user or a smartphone. Thewireless module 1210 may have a transmission function as well as a reception function. For example, thewireless module 1210 transmits the received control signal to another lighting device or the like. That is, thewireless module 1210 may have a relay function of transmitting a control signal from the operation terminal to anotherlighting fixture 1. Thereby, the control signal transmitted from the operation terminal can be received by thelighting fixture 1 remote from the operation terminal. Here, theluminaire 1 remote from the operation terminal refers to, for example, theluminaire 1 not located within the communication range of the operation terminal.

なお、無線通信は、光のうち可視光及び赤外光を除く電波を用いた通信である。無線モジュール1210は、例えばWi−Fi(登録商標)、Bluetooth(登録商標)又はZigBee(登録商標)等の無線通信規格に基づいて無線通信を行う。無線通信モジュールは、電源ユニット230と電気的に接続されており、照明器具1の点灯又は消灯を制御するための照明制御信号を受信する。無線モジュール1210は、照明器具1の調光又は調色を制御するための照明制御信号を受信してもよい。例えば、照明制御信号には、照明器具1を点灯させるための点灯指示、照明器具1を消灯させるための消灯指示、又は照明器具1の調光比、色温度を選択する指示等が含まれる。  The wireless communication is communication using radio waves other than visible light and infrared light. Thewireless module 1210 performs wireless communication based on a wireless communication standard such as Wi-Fi (registered trademark), Bluetooth (registered trademark), or ZigBee (registered trademark). The wireless communication module is electrically connected to thepower supply unit 230 and receives a lighting control signal for controlling turning on or off of thelighting fixture 1. Thewireless module 1210 may receive a lighting control signal for controlling dimming or toning of thelighting fixture 1. For example, the lighting control signal includes a lighting instruction for turning on thelighting fixture 1, an extinguishing instruction for turning off thelighting fixture 1, and an instruction for selecting a dimming ratio and a color temperature of thelighting fixture 1.

実施の形態2.
図26は、本発明の実施の形態2に係る機能ユニット1300を示す組立斜視図であり、図27は、本発明の実施の形態2に係る機能ユニット1300を示す分解斜視図である。本実施の形態2は、無線通信ではなく有線通信を行う機能ユニット1300を有している点で、実施の形態1と相違する。本実施の形態2に係る機能ユニット1300は、実施の形態1に係る機能ユニット1000と同様の取り付けが可能である。
Embodiment 2 FIG.
FIG. 26 is an assembled perspective view showing afunctional unit 1300 according toEmbodiment 2 of the present invention, and FIG. 27 is an exploded perspective view showing afunctional unit 1300 according toEmbodiment 2 of the present invention.Embodiment 2 is different fromEmbodiment 1 in having afunctional unit 1300 that performs wired communication instead of wireless communication. Thefunctional unit 1300 according to the second embodiment can be mounted in the same manner as thefunctional unit 1000 according to the first embodiment.

図26及び図27に示すように、機能ユニット1300は、実施の形態1と同様の機能連結部1100と、機能連結部1100に固定された機能部1500とを有している。機能部1500は、有線通信によって外部からの信号を受信し、受信した信号を変換して電源ユニット230に出力する。機能部1500は、有線モジュール1410と、ケース1440とを有している。有線モジュール1410は、機能基板1411と、端子台1412と、信号変換部1413と、コネクタ部1415とを有している。機能基板1411は、矩形板状の部材である。端子台1412は、外部からの電線260が挿し込まれる。端子台1412は、機能基板1411の下部に設けられており、端子台挿し込み口1412aが斜め下側を向いており、これにより、外部からの電線260が差し込み易くなっている。  As shown in FIG. 26 and FIG. 27, thefunctional unit 1300 has the samefunction connection unit 1100 as in the first embodiment, and afunction unit 1500 fixed to thefunction connection unit 1100. Thefunction unit 1500 receives an external signal through wired communication, converts the received signal, and outputs the converted signal to thepower supply unit 230. Thefunctional unit 1500 has a wiredmodule 1410 and acase 1440. Thewired module 1410 includes afunctional board 1411, aterminal block 1412, asignal conversion unit 1413, and aconnector unit 1415. Thefunctional substrate 1411 is a rectangular plate-shaped member. An electric wire 260 from the outside is inserted into theterminal block 1412. Theterminal block 1412 is provided below thefunctional board 1411, and the terminalblock insertion port 1412 a is directed obliquely downward, thereby facilitating insertion of the electric wire 260 from the outside.

信号変換部1413は、機能基板1411において端子台1412の上部に設けられており、端子台1412で受信した信号を変換する。コネクタ部1415は、機能基板1411の上端部に2個設けられており、ハーネス1141の第1の接続部1142が接続される。有線モジュール1410は、信号変換部1413によって変換された信号を、コネクタ部1415からハーネス1141を介して電源ユニット230に出力する。なお、機能基板1411には、基板取付穴1411aが形成されている。  Thesignal converter 1413 is provided above theterminal block 1412 on thefunctional board 1411, and converts a signal received by theterminal block 1412. Twoconnector portions 1415 are provided at the upper end of thefunctional board 1411, and are connected to thefirst connection portion 1142 of theharness 1141. Thewired module 1410 outputs the signal converted by thesignal conversion unit 1413 from theconnector unit 1415 to thepower supply unit 230 via theharness 1141. Thefunctional substrate 1411 has asubstrate mounting hole 1411a.

ケース1440は、機能基板1411を収容するものであり、ケース本体部1420とケース蓋部1430とを有している。ケース本体部1420は、例えば樹脂材料で形成されており、機能連結部1100の取付面1110に取り付けられる。ケース本体部1420は、箱形状をなしており、機能基板1411と対向する面から延びる突設片1421を有している。有線モジュール1410は、突設片1421が基板取付穴1411aに挿し込まれてケース本体部1420に固定されている。  Thecase 1440 accommodates thefunctional board 1411 and has a casemain body 1420 and acase cover 1430. The casemain body 1420 is formed of, for example, a resin material, and is attached to theattachment surface 1110 of thefunction connecting portion 1100. The casemain body 1420 has a box shape, and has a protrudingpiece 1421 extending from a surface facing thefunctional substrate 1411. In thewired module 1410, the projectingpieces 1421 are inserted into theboard mounting holes 1411 a and fixed to the casemain body 1420.

ケース蓋部1430は、例えば樹脂材料で形成されており、有線モジュール1410を覆うようにケース本体部1420に取り付けられる。ケース蓋部1430には、端子台1412と対向する位置に端子台用開口1431が形成されており、端子台挿し込み口1412aに挿し込まれた電線260は、端子台用開口1431を介して外部に延びる。ケース蓋部1430は、機能基板1411と対向する面から延びる複数の蓋側突設部1432を有しており、複数の蓋側突設部1432が基板212を押さえる。なお、蓋側突設部1432は、実施の形態1の蓋側突設部1232と同様である。  Thecase lid 1430 is made of, for example, a resin material, and is attached to the casemain body 1420 so as to cover thewired module 1410. Aterminal cover opening 1431 is formed in thecase lid portion 1430 at a position facing theterminal block 1412, and the electric wire 260 inserted into the terminalblock insertion port 1412 a is connected to the outside via theterminal block opening 1431. Extend to. Thecase cover 1430 has a plurality of cover-side protrusions 1432 extending from a surface facing thefunctional board 1411, and the plurality of cover-side protrusions 1432 press thesubstrate 212. The lid-side protruding portion 1432 is similar to the lid-side protruding portion 1232 of the first embodiment.

機能ユニット1300は、端子台1412において、端子台挿し込み口1412aが斜め下側を向いているため、端子台挿し込み口1412aに対して下方から電線260を挿し込めばよい。このため、機能ユニット1300において、電線260の挿し込みが容易である。また、端子台挿し込み口1412aが斜め下側を向いているため、電線260に埃が溜まり難い。なお、機能ユニット1300の機能連結部1100は、実施の形態1と同様の機能連結部1100を使用することによって、部品を共通化することができるが、アンテナ用開口1111は省略してもよい。  In thefunctional unit 1300, the terminalblock insertion port 1412a of theterminal block 1412 faces obliquely downward, so that the electric wire 260 may be inserted into the terminalblock insertion port 1412a from below. For this reason, infunctional unit 1300, insertion of electric wire 260 is easy. In addition, since the terminalblock insertion port 1412a faces obliquely downward, dust hardly accumulates on the electric wire 260. Note that thefunction connecting unit 1100 of thefunctional unit 1300 can use common components by using the samefunction connecting unit 1100 as inEmbodiment 1, but theantenna opening 1111 may be omitted.

実施の形態3.
図28は、本発明の実施の形態3に係る機能部1500を示す組立斜視図であり、図29は、本発明の実施の形態3に係る機能部1500を示す分解斜視図である。本実施の形態3に係る機能ユニット1000は、実施の形態1及び2よりもアンテナ1532を水平方向に離した点で、実施の形態1及び2と相違する。
Embodiment 3 FIG.
FIG. 28 is an assembled perspective view showingfunctional unit 1500 according to Embodiment 3 of the present invention, and FIG. 29 is an exploded perspective view showingfunctional unit 1500 according to Embodiment 3 of the present invention. Thefunctional unit 1000 according to the third embodiment is different from the first and second embodiments in that theantenna 1532 is horizontally separated from the first and second embodiments.

図28及び図29に示すように、機能部1500は、無線モジュール1530と、ケース1540とを有している。無線モジュール1530は、機能基板1531と、アンテナ1532と、信号変換部1533と、設定部1534とを有している。機能基板1531は、正方形状の部材である。アンテナ1532は、機能基板1531に取り付けられ、外部からの信号を受信する。信号変換部1533は、アンテナ1532で受信した信号を変換する。設定部1534は、機能ユニット1000の各機能を設定するために用いられる。  As shown in FIGS. 28 and 29, thefunction unit 1500 has awireless module 1530 and acase 1540. Thewireless module 1530 includes afunction board 1531, anantenna 1532, asignal conversion unit 1533, and asetting unit 1534. Thefunctional substrate 1531 is a square member. Theantenna 1532 is attached to thefunctional board 1531 and receives a signal from outside.Signal conversion section 1533 converts a signal received byantenna 1532. Thesetting unit 1534 is used to set each function of thefunction unit 1000.

ケース1540は、機能基板1531を収容するものであり、第1のケース1510と、第2のケース1520とを有している。第1のケース1510は、機能基板1531の上方を覆うものであり、第2のケース1520は、機能基板1531の下方を覆うものである。ここで、第2のケース1520には、設定部1534と対向する位置に操作用開口1535が形成されており、ユーザは、操作用開口1535を介して、設定部1534を外部から操作することができる。また、ケース1540は、機能基板1531が収容された状態において、アンテナ1532がベース部221より下方に位置するように収容している。  Thecase 1540 accommodates thefunctional board 1531 and includes afirst case 1510 and asecond case 1520. Thefirst case 1510 covers the upper part of thefunctional board 1531, and thesecond case 1520 covers the lower part of thefunctional board 1531. Here, anoperation opening 1535 is formed in thesecond case 1520 at a position facing thesetting unit 1534, and the user can operate thesetting unit 1534 from outside via theoperation opening 1535. it can. Thecase 1540 houses theantenna 1532 such that theantenna 1532 is located below thebase portion 221 in a state where thefunctional board 1531 is housed.

ここで、機能部1500において、第2のケース1520は無線モジュール1530を、無線モジュール1530が機能連結部1100の取付面1110に対し垂直に配置されるように、収容している。即ち、機能基板1531は、機能連結部1100から水平方向に延びる方向に配置されている。また、アンテナ1532は機能連結部1100から最も離れた位置に配置される。これにより、アンテナ1532が金属部材から離れるため、通信の妨げを抑制することができる。従って、照明器具1の通信性能が低下することを抑制することができる。  Here, in thefunctional unit 1500, thesecond case 1520 houses thewireless module 1530 such that thewireless module 1530 is arranged perpendicular to the mountingsurface 1110 of thefunction connecting unit 1100. That is, thefunction board 1531 is arranged in a direction extending in the horizontal direction from thefunction connection unit 1100. In addition, theantenna 1532 is disposed at a position farthest from thefunction connection unit 1100. Accordingly, since theantenna 1532 is separated from the metal member, it is possible to suppress communication interruption. Therefore, it is possible to suppress a decrease in the communication performance of thelighting fixture 1.

図30は、本発明の実施の形態3に係る照明器具1の側面図である。図30に示すように、機能部1500は、機能連結部1100の下部に取り付けられている。このように、本実施の形態3に係る機能部1500は、小型化されているため、照明器具全体を小型化することができる。なお、実施の形態1〜3の機能部1200、1400、1500は、無線モジュール1530又は有線モジュール1410に限らず、人感センサ又は照度センサ等が設けられた制御基板でもよい。また、アンテナ1532のみがケース1540に収容され、制御部材は電源ユニット230に収容されて、同軸ケーブル等で接続されてもよい。  FIG. 30 is a side view oflighting device 1 according to Embodiment 3 of the present invention. As shown in FIG. 30, thefunction unit 1500 is attached to a lower part of thefunction connection unit 1100. As described above, since thefunctional unit 1500 according to Embodiment 3 is downsized, the entire lighting fixture can be downsized. Thefunctional units 1200, 1400, 1500 of the first to third embodiments are not limited to thewireless module 1530 or thewired module 1410, and may be a control board provided with a human sensor or an illuminance sensor. Alternatively, only theantenna 1532 may be housed in thecase 1540, and the control member may be housed in thepower supply unit 230 and connected by a coaxial cable or the like.

実施の形態4.
図31は、本発明の実施の形態4に係る照明器具1aを示す斜視図である。図31に示すように、本実施の形態4は、ヒートシンク220aのベース部221aと庇部222a及びカバー240aが円状をなしている点で、略直方体状の照明器具1である実施の形態1と相違する。
Embodiment 4 FIG.
FIG. 31 is a perspective view showing alighting fixture 1a according toEmbodiment 4 of the present invention. As shown in FIG. 31, the fourth embodiment is a substantially rectangularparallelepiped lighting device 1 in that thebase 221a, theeaves 222a, and thecover 240a of theheat sink 220a are circular. Is different from

ここで、基板212は円板状をなしている。このため、円状のベース部221a及び庇部222aを有する円柱状のヒートシンク220aは、基板212に載置されることができる。即ち、円柱状のヒートシンク220aであっても、角柱状のヒートシンク220aであっても、基板212を共通部材として使用することができる。本実施の形態4のように、照明器具1aは、ヒートシンク220aのベース部221aと庇部222a及びカバー240aが円状であっても、実施の形態1の照明器具1と同様の効果を奏する。  Here, thesubstrate 212 has a disk shape. For this reason, thecolumnar heat sink 220a having thecircular base portion 221a and theeave portion 222a can be mounted on thesubstrate 212. In other words, thesubstrate 212 can be used as a common member regardless of whether theheat sink 220a is a columnar heat sink or arectangular heat sink 220a. As in the fourth embodiment, thelighting fixture 1a has the same effect as thelighting fixture 1 of the first embodiment even when thebase 221a, theeaves 222a, and thecover 240a of theheat sink 220a are circular.

実施の形態5.
図32は、本発明の実施の形態5に係るアーム1600を示す斜視図である。図32に示すように、本実施の形態5において、アーム1600は、固定面1610と、アーム側面1620と、立ち上がり部1611とを有する。固定面1610は、被取付部に取り付けられ水平方向に延びる長方形状の部材である。アーム側面1620は、固定面1610の長手方向の両端から被取付部と反対方向に延びる板状の部材であり、接続部130によって、固定部120に接続される。ここで、アーム側面1620において、固定部120に接続された部分から離間した位置の幅が狭い。これにより、アーム側面1620を軽量化することができる。また、アーム側面1620において、固定部120に接続された部分の幅は広いため、固定部1800との接続性が悪化しない。立ち上がり部1611は、固定面1610の短手方向の両端から被取付部と反対側に立ち上がる部材である。これにより、固定面1610の強度を向上させることができる。
Embodiment 5 FIG.
FIG. 32 is a perspective view showing anarm 1600 according to Embodiment 5 of the present invention. As shown in FIG. 32, in Embodiment 5, thearm 1600 has a fixingsurface 1610, anarm side surface 1620, and a risingportion 1611. The fixingsurface 1610 is a rectangular member attached to the attached portion and extending in the horizontal direction. Thearm side surface 1620 is a plate-shaped member extending from both ends in the longitudinal direction of the fixingsurface 1610 in the direction opposite to the attached portion, and is connected to the fixingportion 120 by theconnection portion 130. Here, the width of thearm side surface 1620 at a position separated from the portion connected to the fixingportion 120 is narrow. Thus, the weight of thearm side surface 1620 can be reduced. Further, in thearm side surface 1620, since the width of the portion connected to the fixingportion 120 is wide, the connectivity with the fixingportion 1800 does not deteriorate. The risingportion 1611 is a member that rises from both ends in the short direction of the fixingsurface 1610 to the opposite side to the mounted portion. Thereby, the strength of the fixingsurface 1610 can be improved.

実施の形態6.
図33は、本発明の実施の形態6に係るヒートシンク220を示す組立斜視図である。図33に示すように、本実施の形態6において、ヒートシンク220は、補強フィン1700を有している。補強フィン1700は、フィン223a同士の間に設けられ、固定部120に対し垂直となるように配置されている。なお、補強フィン1700は対に設けられており、対に設けられた補強フィン1700の対向する方向は、対に設けられた固定部120が対向する方向に対して交差しており、例えば垂直である。
Embodiment 6 FIG.
FIG. 33 is an assembled perspective view showing aheat sink 220 according to Embodiment 6 of the present invention. As shown in FIG. 33, in the sixth embodiment, theheat sink 220 has a reinforcingfin 1700. The reinforcingfins 1700 are provided between thefins 223 a and are arranged to be perpendicular to the fixingportion 120. Note that the reinforcingfins 1700 are provided in pairs, and the direction in which the reinforcingfins 1700 provided in the pair face each other intersects with the direction in which the fixingportions 120 provided in the pair face each other. is there.

図34は、本発明の実施の形態6に係るヒートシンク220を下側からみた場合の分解斜視図である。図34に示すように、補強フィン1700は、ベース部221から庇部222に向かって延び、フィン223aと同じ高さを有する板状の部材である。補強フィン1700は、短手方向の両端から垂直方向に延びる短手側フランジ1701と、長手方向の両端から垂直方向に延びる長手側フランジ1702とを有する。長手側フランジ1702には、取付穴1703が形成されており、取付穴1703を用いて、一方の長手側フランジ1702とベース部221とが固定され、他方の長手側フランジ1702と庇部222とが固定されている。これにより、補強フィン1700は、ベース部221及び庇部222にそれぞれ連結されている。これにより、補強フィン1700は、ベース部221と庇部222との接続強度を向上させる。  FIG. 34 is an exploded perspective view of theheat sink 220 according to Embodiment 6 of the present invention when viewed from below. As shown in FIG. 34, the reinforcingfin 1700 is a plate-like member extending from the base 221 toward theeaves 222 and having the same height as thefin 223a. The reinforcingfin 1700 has ashort flange 1701 extending vertically from both ends in the short direction, and along flange 1702 extending vertically from both ends in the long direction. A mountinghole 1703 is formed in thelongitudinal side flange 1702, and onelongitudinal side flange 1702 and thebase portion 221 are fixed using the mountinghole 1703, and the otherlongitudinal side flange 1702 and theeave portion 222 are connected to each other. Fixed. Thus, the reinforcingfins 1700 are connected to thebase 221 and theeaves 222, respectively. Thus, the reinforcingfins 1700 improve the connection strength between the base 221 and theeaves 222.

また、補強フィン1700は、固定部120と共に、フィン223aの水平方向(ベース部221と庇部222とが対向する方向に対して垂直の方向)の回転負荷であるねじれ負荷や水平方向への負荷による変形を主に抑制することができる。従って、補強フィン1700は、フィン部223の変形を抑制することができる。よって、フィン部223の変形による放熱性能の低下を抑制することができる。従って、光源部210の発光性能を保持することができる。実施の形態1〜5のヒートシンク220は、ベース部221及び庇部222を有するため、本実施の形態6のように、補強フィン1700を容易に追加することができ、放熱性能を向上させることができる。また、実施の形態1〜6に係るヒートシンク220は、着脱自在であるため、取付けられた後も、様々な付加部品を追加して後付けすることができる。  In addition, the reinforcingfin 1700, together with the fixingportion 120, is a torsional load or a horizontal load that is a rotational load of thefin 223a in a horizontal direction (a direction perpendicular to a direction in which thebase portion 221 and theeaves portion 222 face each other). Can mainly be suppressed. Therefore, the reinforcingfin 1700 can suppress the deformation of thefin portion 223. Therefore, it is possible to suppress a decrease in heat radiation performance due to the deformation of thefin portion 223. Therefore, the light emitting performance of thelight source unit 210 can be maintained. Since theheat sink 220 of the first to fifth embodiments has thebase portion 221 and theeaves portion 222, the reinforcingfin 1700 can be easily added as in the sixth embodiment, and the heat radiation performance can be improved. it can. In addition, since theheat sink 220 according to the first to sixth embodiments is detachable, various additional components can be added and attached even after theheat sink 220 is attached.

図35は、本発明の実施の形態6に係るフィン223aを示す斜視図である。図35に示すように、フィン223aは、ベース部221から庇部222に向かって延びる方向と交差する方向に突出する突出部2230を有している。これにより、フィン223aの強度を向上させることができる。本実施の形態6では、突出部2230がフィン223aの上端部に設けられている場合について例示しているが、突出部2230はフィン223aのいずれの部分に設けられていてもよい。  FIG. 35 is a perspective view showing afin 223a according to Embodiment 6 of the present invention. As shown in FIG. 35, thefin 223a has a protrudingportion 2230 that protrudes in a direction intersecting with a direction extending from thebase portion 221 toward theeaves portion 222. Thereby, the strength of thefin 223a can be improved. In the sixth embodiment, the case where theprotrusion 2230 is provided at the upper end of thefin 223a is illustrated, but theprotrusion 2230 may be provided at any part of thefin 223a.

実施の形態7.
図36は、本発明の実施の形態7に係る照明器具1bを示す組立斜視図である。図36に示すように、本実施の形態7に係る照明器具1bは、2個の光源ユニット200を有しており、固定部1800が2個の光源ユニット200を連結して固定している。固定部1800は、水平方向に延びる板状の部材であり、2個の光源ユニット200のそれぞれのベース部221の第1のベース面21aと庇部1222の第1の庇面22aとを接続する。このように、本実施の形態7に係る照明器具1bは、固定部1800を変更するのみで、複数の光源ユニット200を接続することができる。なお、本実施の形態7では、固定部1800が2個の光源ユニット200を連結する場合について例示しているが、固定部1800が3個以上の光源ユニット200を連結する構成としてもよい。
Embodiment 7 FIG.
FIG. 36 is an assembled perspective view showing alighting fixture 1b according to Embodiment 7 of the present invention. As shown in FIG. 36, thelighting fixture 1b according to Embodiment 7 has twolight source units 200, and afixing unit 1800 connects and fixes the twolight source units 200. The fixingportion 1800 is a plate-like member extending in the horizontal direction, and connects thefirst base surface 21a of thebase portion 221 of each of the twolight source units 200 and thefirst eave surface 22a of theeave portion 1222. . As described above, thelighting fixture 1b according to Embodiment 7 can connect a plurality oflight source units 200 only by changing the fixingportion 1800. In the seventh embodiment, the case where thefixing unit 1800 connects twolight source units 200 is illustrated, but a configuration in which thefixing unit 1800 connects three or morelight source units 200 may be used.

図37は、本発明の実施の形態7に係る照明器具1bを示す分解斜視図である。図37に示すように、本実施の形態7における2個の庇部1222は、一体的に形成されている。これにより、ヒートシンク220の強度を向上させることができる。なお、3個以上の庇部1222が一体的に形成されてもよい。  FIG. 37 is an exploded perspective view showing alighting fixture 1b according to Embodiment 7 of the present invention. As shown in FIG. 37, the twoeave portions 1222 in the seventh embodiment are formed integrally. Thereby, the strength of theheat sink 220 can be improved. Note that three ormore eaves 1222 may be integrally formed.

1,1a,1b 照明器具、21a 第1のベース面、21b 第2のベース面、22a 第1の庇面、22b 第2の庇面、100 支持部、110 アーム、120 固定部、130 接続部、140 落下防止部、141 ワイヤ、142 取付部、200 光源ユニット、210 光源部、211 発光素子、212 基板、212a 基板固定穴、212b 切り欠き、212c 基板係合穴、213 発光部、214 配光制御部材、214a レンズ、214b 筒部、214c 爪部、215 光源固定具、215a 頭部、215b 柱状部、215c ネジ部、220,220a ヒートシンク、221,221a ベース部、221b 凹部、221c 光源固定穴、221d カバー固定穴、222,222a 庇部、222b 庇貫通穴、223 フィン部、223a フィン、223b ベース接続部、223c 庇接続部、223d 連結部、230 電源ユニット、231 点灯装置、232 端子台、233 本体底部、234 本体蓋部、235 端子台カバー、236 電源側コネクタ、240,240a カバー、241 カバー突設部、242 カバー固定ネジ、250 ブッシュ、260 電線、1000 機能ユニット、1100 機能連結部、1101 ユニット固定具、1110 取付面、1111 アンテナ用開口、1112 ハーネス用開口、1120 第1の突設部、1130 第2の突設部、1131 接続片、1132 ユニット固定穴、1140 ハーネス保護部、1141 ハーネス、1142 第1の接続部、1143 第2の接続部、1200 機能部、1201 機能固定具、1210 無線モジュール、1211 機能基板、1211a 基板取付穴、1212 アンテナ、1213 信号変換部、1214 設定部、1215 コネクタ部、1220 ケース本体部、1221 突設片、1222、庇部、1230 ケース蓋部、1231 操作用開口、1232 蓋側突設部、1240 ケース、1300 機能ユニット、1400 機能部、1410 有線モジュール、1411 機能基板、1411a 基板取付穴、1412 端子台、1412a 端子台挿し込み口、1413 信号変換部、1415 コネクタ部、1420 ケース本体部、1421 突設片、1430 ケース蓋部、1431 端子台用開口、1432 蓋側突設部、1440 ケース、1500 機能部、1510 第1のケース、1520 第2のケース、1530 無線モジュール、1531 機能基板、1532 アンテナ、1533 信号変換部、1534 設定部、1535 操作用開口、1540 ケース、1600 アーム、1610 固定面、1611 立ち上がり部、1620 アーム側面、1700 補強フィン、1701 短手側フランジ、1702 長手側フランジ、1703 取付穴、1800 固定部、2230 突出部、2231 入力部。  1, 1a, 1b Lighting equipment, 21a first base surface, 21b second base surface, 22a first eave surface, 22b second eave surface, 100 support portion, 110 arm, 120 fixing portion, 130 connection portion , 140 Fall prevention unit, 141 wire, 142 attachment unit, 200 light source unit, 210 light source unit, 211 light emitting element, 212 substrate, 212a substrate fixing hole, 212b cutout, 212c substrate engaging hole, 213 light emitting unit, 214 light distribution Control member, 214a lens, 214b cylinder, 214c claw, 215 light source fixture, 215a head, 215b column, 215c screw, 220, 220a heat sink, 221, 221a base, 221b recess, 221c light source fixing hole, 221d Cover fixing hole, 222, 222a eaves portion, 222b eaves through hole, 223 fin portion, 223a fin, 223b base connection portion, 223c eave connection portion, 223d connection portion, 230 power supply unit, 231 lighting device, 232 terminal block, 233 main body bottom portion, 234 main body cover portion, 235 terminal block cover, 236 power supply side Connector, 240, 240a cover, 241 projecting part of cover, 242 cover fixing screw, 250 bush, 260 electric wire, 1000 function unit, 1100 function connection part, 1101 unit fixing tool, 1110 mounting surface, 1111 antenna opening, 1112 for harness Opening, 1120 first projecting portion, 1130 second projecting portion, 1311 connection piece, 1132 unit fixing hole, 1140 harness protection portion, 1141 harness, 1142 first connection portion, 1143 second connection portion, 1200 Functional part, 1 201 Function fixing tool, 1210 wireless module, 1211 function board, 1211a board mounting hole, 1212 antenna, 1213 signal conversion section, 1214 setting section, 1215 connector section, 1220 case body section, 1221 projecting piece, 1222, eaves section, 1230 Case lid part, 1231 Operation opening, 1232 Lid side protruding part, 1240 case, 1300 function unit, 1400 function part, 1410 Wired module, 1411 function board, 1411a Board mounting hole, 1412 terminal block, 1412a Terminal block insertion port , 1413 signal conversion part, 1415 connector part, 1420 case main body part, 1421 projecting piece, 1430 case lid part, 1431 terminal block opening, 1432 lid side projecting part, 1440 case, 1500 functional part, 1510 first case 1520 second case, 1530 wireless module, 1531 function board, 1532 antenna, 1533 signal conversion unit, 1534 setting unit, 1535 operation opening, 1540 case, 1600 arm, 1610 fixing surface, 1611 rising portion, 1620 arm side surface, 1700 Reinforcement fins, 1701 short side flange, 1702 long side flange, 1703 mounting hole, 1800 fixing part, 2230 projecting part, 2231 input part.

Claims (3)

Translated fromJapanese
光を照射する光源部と、
一面に前記光源部が取り付けられるヒートシンクと、
前記ヒートシンクの側方から挿し込むことによって前記ヒートシンクに取り付けられ、前記光源部の点灯を制御する機能ユニットと、
を備える照明器具。
A light source unit for irradiating light,
A heat sink to which the light source unit is attached on one surface;
A functional unit that is attached to the heat sink by being inserted from the side of the heat sink and controls lighting of the light source unit;
Lighting equipment comprising:
前記ヒートシンクは、
前記光源部が取り付けられる一面である第1のベース面を有するベース部と、
前記ベース部の前記第1のベース面の裏面の第2のベース面に載置され、前記光源部からの熱を放散するフィンを有するフィン部と、
前記フィン部に対向して接触する第1の庇面及び前記第1の庇面の裏面の第2の庇面を有し、前記フィン部を覆う庇部と、を有し、
前記機能ユニットは、
前記ベース部の前記第2のベース面に係合する第1の突設部と、
前記庇部の前記第2の庇面に係合する第2の突設部と、を有する
請求項1記載の照明器具。
The heat sink is
A base portion having a first base surface that is one surface to which the light source portion is attached;
A fin portion mounted on a second base surface on the back surface of the first base surface of the base portion and having fins for dissipating heat from the light source portion;
An eaves portion having a first eaves surface in contact with the fin portion and a second eaves surface on a back surface of the first eaves surface, and an eaves portion covering the fin portion;
The functional unit includes:
A first projecting portion that engages with the second base surface of the base portion;
The lighting device according to claim 1, further comprising a second projecting portion that engages with the second eave surface of the eave portion.
前記ベース部の第1のベース面と前記庇部の第1の庇面とを接続して前記光源部を保持する固定部を更に備え、
前記庇部には、前記機能ユニットが取り付けられる庇貫通穴が形成されており、
前記庇貫通穴は、
前記固定部が取り付けられた位置から離れている
請求項2記載の照明器具。
A fixing portion that connects the first base surface of the base portion and the first eave surface of the eave portion to hold the light source portion;
In the eave portion, an eave through hole to which the functional unit is attached is formed,
The eaves through hole,
The lighting device according to claim 2, wherein the lighting device is apart from a position where the fixing portion is attached.
JP2018145217A2018-08-012018-08-01 lighting equipmentActiveJP7190838B2 (en)

Priority Applications (1)

Application NumberPriority DateFiling DateTitle
JP2018145217AJP7190838B2 (en)2018-08-012018-08-01 lighting equipment

Applications Claiming Priority (1)

Application NumberPriority DateFiling DateTitle
JP2018145217AJP7190838B2 (en)2018-08-012018-08-01 lighting equipment

Publications (2)

Publication NumberPublication Date
JP2020021650Atrue JP2020021650A (en)2020-02-06
JP7190838B2 JP7190838B2 (en)2022-12-16

Family

ID=69588679

Family Applications (1)

Application NumberTitlePriority DateFiling Date
JP2018145217AActiveJP7190838B2 (en)2018-08-012018-08-01 lighting equipment

Country Status (1)

CountryLink
JP (1)JP7190838B2 (en)

Cited By (2)

* Cited by examiner, † Cited by third party
Publication numberPriority datePublication dateAssigneeTitle
JP2021158087A (en)*2020-03-302021-10-07東芝ライテック株式会社Luminaire
JP7550676B2 (en)2021-02-252024-09-13三菱電機株式会社 Lighting devices and lighting fixtures

Citations (1)

* Cited by examiner, † Cited by third party
Publication numberPriority datePublication dateAssigneeTitle
US20140268730A1 (en)*2013-03-152014-09-18Cree, Inc.Lighting fixture with branching heat sink and thermal path separation

Family Cites Families (1)

* Cited by examiner, † Cited by third party
Publication numberPriority datePublication dateAssigneeTitle
JP2017220463A (en)2017-09-202017-12-14三菱電機株式会社 lighting equipment

Patent Citations (1)

* Cited by examiner, † Cited by third party
Publication numberPriority datePublication dateAssigneeTitle
US20140268730A1 (en)*2013-03-152014-09-18Cree, Inc.Lighting fixture with branching heat sink and thermal path separation

Cited By (3)

* Cited by examiner, † Cited by third party
Publication numberPriority datePublication dateAssigneeTitle
JP2021158087A (en)*2020-03-302021-10-07東芝ライテック株式会社Luminaire
JP7436957B2 (en)2020-03-302024-02-22東芝ライテック株式会社 lighting equipment
JP7550676B2 (en)2021-02-252024-09-13三菱電機株式会社 Lighting devices and lighting fixtures

Also Published As

Publication numberPublication date
JP7190838B2 (en)2022-12-16

Similar Documents

PublicationPublication DateTitle
JP7527438B2 (en) lighting equipment
JP5467547B2 (en) lighting equipment
JP5072132B2 (en) lighting equipment
EP2713102A1 (en)Heat dissipation module and modular lighting device with heat dissipation module
JP7190838B2 (en) lighting equipment
JP7471385B2 (en) Light source unit
JP2023082078A (en) lighting equipment
JP5701429B1 (en) lighting equipment
JP5853152B2 (en) lighting equipment
JP6994889B2 (en) functional parts
JP2023090933A (en)Luminaire
JP6979773B2 (en) Lighting equipment and manufacturing method of lighting equipment
JP6971747B2 (en) Functional parts and lighting equipment equipped with the functional parts
JP6586052B2 (en) lighting equipment
JP7561805B2 (en) Functional component and lighting device equipped with the functional component
JP7159425B2 (en) Functional part and lighting device with the functional part
JP6982965B2 (en) Lighting equipment
JP2019185910A (en)Lighting device
CN110107834B (en)Lighting lamp
JP5072131B2 (en) Power supply and lighting fixture
JP7237223B2 (en) lighting equipment
JP6502061B2 (en) lighting equipment
JP2018014312A5 (en)
JP2023013900A (en) lighting equipment
JP2015220226A (en)Lighting device

Legal Events

DateCodeTitleDescription
A621Written request for application examination

Free format text:JAPANESE INTERMEDIATE CODE: A621

Effective date:20210621

A131Notification of reasons for refusal

Free format text:JAPANESE INTERMEDIATE CODE: A131

Effective date:20220524

A977Report on retrieval

Free format text:JAPANESE INTERMEDIATE CODE: A971007

Effective date:20220524

A521Request for written amendment filed

Free format text:JAPANESE INTERMEDIATE CODE: A523

Effective date:20220725

A131Notification of reasons for refusal

Free format text:JAPANESE INTERMEDIATE CODE: A131

Effective date:20220906

A521Request for written amendment filed

Free format text:JAPANESE INTERMEDIATE CODE: A523

Effective date:20221028

TRDDDecision of grant or rejection written
A01Written decision to grant a patent or to grant a registration (utility model)

Free format text:JAPANESE INTERMEDIATE CODE: A01

Effective date:20221108

A61First payment of annual fees (during grant procedure)

Free format text:JAPANESE INTERMEDIATE CODE: A61

Effective date:20221206

R150Certificate of patent or registration of utility model

Ref document number:7190838

Country of ref document:JP

Free format text:JAPANESE INTERMEDIATE CODE: R150


[8]ページ先頭

©2009-2025 Movatter.jp