










本開示は、発光装置とその製造方法に関する。 The present disclosure relates to a light emitting device and a manufacturing method thereof.
発光素子を収納するパッケージを用いた表面実装タイプの発光装置が広く用いられるようになってきている。しかしながら、パッケージを用いた表面実装タイプの発光装置は、別途作製したパッケージに発光素子を実装して作製されることから、パッケージのサイズにより小型化が制限されていた。そこで、パッケージを用いる代わりに、発光素子の側面を反射部材で覆った発光装置も検討されている(例えば、特許文献1)。 A surface-mount type light-emitting device using a package that houses a light-emitting element has been widely used. However, since a surface-mount type light emitting device using a package is manufactured by mounting a light emitting element on a separately manufactured package, downsizing is limited by the size of the package. Therefore, a light emitting device in which the side surface of the light emitting element is covered with a reflecting member instead of using a package has been studied (for example, Patent Document 1).
しかしながら、特許文献1に開示された発光装置は、個片化された後の発光装置において、蛍光体シートの側面が反射部材に覆われることなく露出されているので、発光部の輪郭がぼやけて、いわゆる見切りが悪い。 However, in the light emitting device disclosed in
そこで、本発明は、発光部の輪郭が明確な発光装置とその製造方法を提供することを目的とする。 Therefore, an object of the present invention is to provide a light emitting device having a clear outline of a light emitting portion and a method for manufacturing the same.
以上の課題を解決するために、本発明の一実施形態に係る発光装置は、
上面及び側面を有する発光素子と、
前記発光素子の上面の少なくとも一部を覆い、前記発光素子からの光を透過する光透過部材と、
前記光透過部材を保持する第1反射部材と、
前記発光素子の側面を被覆する第2反射部材と、を備え、
前記第1反射部材は、前記光透過部材の下面と異なる平面上に位置する底面を有しており、
前記底面と前記第2反射部材が接していることを特徴とする。In order to solve the above problems, a light-emitting device according to an embodiment of the present invention includes:
A light emitting device having an upper surface and side surfaces;
A light transmitting member that covers at least a part of the upper surface of the light emitting element and transmits light from the light emitting element;
A first reflecting member holding the light transmitting member;
A second reflecting member covering the side surface of the light emitting element,
The first reflecting member has a bottom surface located on a different plane from the lower surface of the light transmitting member,
The bottom surface and the second reflecting member are in contact with each other.
以上の課題を解決するために、本発明の一実施形態に係る発光装置の製造方法は、
発光素子と、前記発光素子の上面の少なくとも一部を覆う光透過部材と、前記光透過部材の周りに設けられた第1反射部材と、前記発光素子の側面を被覆する第2光反射性部材とを有する発光装置の製造方法であって、
前記発光素子が配置される位置に対応する領域に凸部が設けられたプレート表面を有するベースプレートを準備するベースプレート準備工程と、
前記第1反射部材用に、前記凸部上に開口部を有する第1樹脂枠を前記プレート表面に形成する第1樹脂枠形成工程と、
前記開口部を埋めるように、光透過部材用の第2樹脂を塗布する第2樹脂塗布工程と、
前記ベースプレートを剥離するベースプレート剥離工程と、
前記ベースプレートを剥離することにより露出した第2樹脂表面に前記発光素子を接合する発光素子接合工程と、
前記発光素子の側面を囲みかつ前記第1樹脂層に接する前記第2反射部材用の第3樹脂を塗布する第3樹脂塗布工程と、
を含む。In order to solve the above problems, a method for manufacturing a light emitting device according to an embodiment of the present invention includes:
A light-emitting element; a light-transmitting member that covers at least a part of the upper surface of the light-emitting element; a first reflecting member provided around the light-transmitting member; and a second light-reflecting member that covers a side surface of the light-emitting element. A method of manufacturing a light emitting device having:
A base plate preparation step of preparing a base plate having a plate surface provided with a convex portion in a region corresponding to a position where the light emitting element is disposed;
Forming a first resin frame having an opening on the convex portion on the plate surface for the first reflecting member; and
A second resin application step of applying a second resin for a light transmitting member so as to fill the opening,
A base plate peeling step for peeling the base plate;
A light emitting element bonding step of bonding the light emitting element to the second resin surface exposed by peeling the base plate;
A third resin application step of applying a third resin for the second reflecting member that surrounds a side surface of the light emitting element and is in contact with the first resin layer;
including.
以上のように構成された本発明の実施形態に係る発光装置とその製造方法によれば、発光部の輪郭が明確な発光装置とその製造方法を提供することができる。 According to the light emitting device and the manufacturing method thereof according to the embodiment of the present invention configured as described above, it is possible to provide a light emitting device with a clear outline of the light emitting portion and the manufacturing method thereof.
以下、図面に基づいて本発明の実施形態を詳細に説明する。なお、以下の説明では、必要に応じて特定の方向や位置を示す用語(例えば、「上」、「下」、「右」、「左」および、それらの用語を含む別の用語)を用いる。それらの用語の使用は図面を参照した発明の理解を容易にするためであって、それらの用語の意味によって本発明の技術的範囲が限定されるものではない。また、複数の図面に表れる同一符号の部分は同一の部分又は部材を示す。 Hereinafter, embodiments of the present invention will be described in detail with reference to the drawings. In the following description, terms indicating specific directions and positions (for example, “up”, “down”, “right”, “left” and other terms including those terms) are used as necessary. . The use of these terms is to facilitate understanding of the invention with reference to the drawings, and the technical scope of the present invention is not limited by the meaning of these terms. Moreover, the part of the same code | symbol which appears in several drawing shows the same part or member.
実施形態1の発光装置
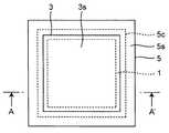
図1は、本発明に係る実施形態1の発光装置の上面図であり、図2は、図1のA−A’線についての断面図であり、図3は、実施形態1の発光装置の下面図である。
本発明に係る実施形態1の発光装置は、上面を発光面とし、発光面の反対側の下面に電極13,14が設けられた発光素子1と、発光素子1の発光面上に設けられた光透過部材3と、光透過部材3の周りに設けられた第1反射部材5と、発光素子1の周りに設けられた第2反射部材7とを含む。The light emitting device of the Embodiment FIG. 11 is a top view of a light emitting device according to the first embodiment of the present invention, FIG. 2 is a cross-sectional view of line A-A 'in FIG. 1, FIG. 3 is performed It is a bottom view of the light-emitting device of the
The light-emitting device of
実施形態1の発光装置において、発光素子1は、例えば、発光面側に位置する透光性基板12と透光性基板12の発光面の反対側の面に設けられた半導体積層体11とを含み、半導体積層体11の表面に電極13,14が形成されている。半導体積層体11は、例えば、n型半導体層とp型半導体層とを含み、電極13がn型半導体層及びp型半導体層の一方に接続され、電極14がn型半導体層及びp型半導体層の他方に接続される。半導体積層体11は、さらにn型半導体層とp型半導体層の間に発光層を含んでいてもよい。 In the light emitting device according to the first embodiment, the
実施形態1の発光装置において、光透過部材3は、下面が発光素子1の発光面に対向し、発光素子1の発光面の少なくとも一部を覆うように設けられ、発光素子が発光する光は光透過部材3を透過して出射される。実施形態1の発光装置において、光透過部材3は、発光素子1の発光面全体を覆うように設けられることが好ましく、より好ましくは、図1に示すように、発光素子1の発光面全体を覆いかつ光透過部材3の外周面(外側面)が発光素子1の外側面の外側に位置するように設けられる。光透過部材3の上面である表面3sは、光出射表面として、発光装置の上面の一部を構成する。光透過部材3は、発光素子1が発光する光を異なる波長の光に変換する蛍光体粒子を含んでいてもよい。 In the light emitting device according to the first embodiment, the
実施形態1の発光装置において、第1反射部材5は、光透過部材3の周りに、好ましくは光透過部材3に接して設けられ、光透過部材3の側面からの光の漏れを抑制しかつ光透過部材3を保持する。第1反射部材5は、光透過部材3の側面全体に接して設けられることが好ましく、これにより、光透過部材3の側面からの光の漏れを効果的に抑制しかつ光透過部材3を確実に保持することができる。
実施形態1の発光装置において、第1反射部材5の表面5sは、例えば、光透過部材3の上面である表面3sを取り囲むようにして発光装置の上面の一部を構成し、これにより、発光装置の上面において、表面3sからなる光出射表面と表面5sからなる非出射表面との境界を明確に規定する。In the light emitting device of the first embodiment, the first reflecting
In the light emitting device of the first embodiment, the
また、第1反射部材5は、光透過部材3の下面よりも下側に第1底面5aを有しており、例えば、図2に示すように、光透過部材3の下面と同一平面上に位置する第2底面5bとの間に段差が形成される。実施形態1の発光装置では、同一平面上に位置する光透過部材3の下面と第2底面5bとにより、発光素子1が実装される実装面が構成され、その実装面に、発光素子1の発光面が光透過部材3の下面に対向するようにダイボンド樹脂によって接合される。これにより、第1底面5aと第2底面5bの間に位置する内周面5cの内側に、発光素子1の側面に沿ってダイボンド樹脂が形成される。ダイボンド樹脂は、発光素子1の側面から光透過部材3側に広がるようにその側面が傾斜されることで、傾斜部9を有している。このダイボンド樹脂は、発光素子1と光透過部材3の間に形成されたダイボンド樹脂を光が透過する必要があることから、透光性樹脂により構成されていることが好ましい。この発光素子1と光透過部材3の間に形成される透光性樹脂層は、例えば2〜30μmの厚さに形成され、好ましくは、4〜20μmの厚さ、より好ましくは、5〜10μm程度の厚さに形成される。なお、ここではダイボンド樹脂により傾斜部9が形成されているが、ダイボンド樹脂とは別に透光性樹脂を用いて傾斜部9を形成してもよい。 Moreover, the
実施形態1の発光装置において、第2反射部材7は、発光素子1を覆うように設けられ、外部接続用に電極13,14の表面が露出される。第2反射部材7は、第1反射部材5の第1底面5aに接して設けられ、第2反射部材7と第1反射部材5とによって発光素子1が保護される。第2反射部材7は、第1反射部材5の第1底面5aに加えて、第1反射部材5の段差部分、すなわち第1反射部材5の内周面及びダイボンド樹脂の表面に密着して形成されていることが好ましい。これにより、第1反射部材5と第2反射部材7との接合強度を高くできる。また、傾斜部9が透光性樹脂により形成されると、傾斜部9と第2反射部材7との界面で、発光素子1の側面から出射された光を反射して光透過部材3を介して取り出すことができるので、光の取り出し効率を高くできる。第2反射部材7の底面は、実質的に平坦に形成されて、その底面に電極13,14の表面が露出される。実施形態1の発光装置において、電極13,14の表面が露出された第2反射部材7の底面が、発光装置の実装面となる。 In the light emitting device of
以上のように構成された実施形態1の発光装置は、別途作製したパッケージを用いることなく、発光素子1を第2反射部材7と第1反射部材5とによって保護するように構成されているので、小型にできる。 The light emitting device of the first embodiment configured as described above is configured to protect the
以上のように構成された実施形態1の発光装置は、光出射表面である光透過部材3の表面3sを取り囲むようにして第1反射部材5の表面5sにより取り囲むように構成することができるので、光出射表面と非出射表面との境界を明確に規定することができ、見切りのいい発光装置を構成できる。 Since the light emitting device of the first embodiment configured as described above can be configured to surround the
以上のように構成された実施形態1の発光装置は、第1反射部材5において、第1底面5aと第2底面5bとの間に段差が形成されているので、第1反射部材5と第2反射部材7との界面からの光の漏洩を効果的に抑えることができる。
ここで、第1底面5aと第2底面5bとの間の段差は、第1反射部材5と第2反射部材7との接合強度を高くし、かつ第1反射部材5と第2反射部材7との界面からの光の漏洩をより効果的に抑えるために、1μm〜1000μmであることが好ましく、より好ましくは10μm〜200μm、さらに好ましくは30μm〜100μmである。別の言い方をすると、第1底面5aと第2底面5bとの間の段差とは、内周面5cの高さのことである。
また、光透過部材3の厚みは10μm〜500μmであることが好ましい。第1反射部材5の厚みは、段差の形成されていない部分(厚みが薄い部分)は光透過部材3の厚みと同じく10μm〜500μmであることが好ましい。これにより、より一層見切りのいい発光装置を構成できる。In the light emitting device according to the first embodiment configured as described above, a step is formed between the first
Here, the step between the first
Moreover, it is preferable that the thickness of the
以上のように構成された実施形態1の発光装置は、後述する製造方法で製造することができるので、安価に製造することができる。 Since the light emitting device of the first embodiment configured as described above can be manufactured by a manufacturing method described later, it can be manufactured at low cost.
以上のように構成された実施形態1の発光装置は、後述する製造方法で製造することができるので、光透過部材3に蛍光体を含有させることにより、種々の蛍光体を含む発光装置を提供することができる。 Since the light emitting device according to
以上の実施形態1の発光装置において、図2には、光出射表面である光透過部材3の表面3sが平坦な面により構成された例を示した。しかしながら、本発光装置において、光出射表面は平坦であるものには限定されず、凹面であってもよいし、凸面であってもよい。光出射表面に凹凸があってもよい。 In the light emitting device of
実施形態1の発光装置の製造方法
実施形態1に係る発光装置の製造方法は、上述した実施形態1の発光装置を製造する方法であって、ベースプレート準備工程と、第1反射部材形成工程と、光透過部材形成工程と、発光素子実装工程と、第2反射部材形成工程と、ダイシング工程とを含む。本製造方法では、第1反射部材形成工程及び光透過部材形成工程は、ベースプレート準備工程で準備されたベースプレート20上で行われる。Manufacturing Method of Light Emitting Device of Embodiment 1 A manufacturing method of a light emitting device according to
(ベースプレート準備工程)
本実施形態1の製造方法において、ベースプレート準備工程では、発光素子が配置される位置に対応する領域に凸部21aを備えたベースプレート20を準備する。凸部21aは、ベースプレート20のプレート表面21に形成される。ベースプレート20は、例えば、SUS等の金属からなり、凸部21aは、プレート表面を加工することにより形成される。また、凸部21aの形状は、発光素子1の形状に基づいて決定され、例えば、発光素子1の実装を容易にするために、凸部の上面が発光素子1の上面形状より一回り大きくなるように形成される。
尚、このベースプレートは、繰り返し使用することもでき、ベースプレート準備工程は第1反射部材形成工程前に常に必要とされるものではない。(Base plate preparation process)
In the manufacturing method of the first embodiment, in the base plate preparation step, the
The base plate can be used repeatedly, and the base plate preparation process is not always required before the first reflecting member forming process.
(第1反射部材形成工程)
本実施形態1の製造方法において、第1反射部材形成工程では、例えば、図7(a)に示すように、ベースプレート20のプレート表面21側に金型250を配置し、トランスファー成形や射出成形等により、凸部21a上に開口を有する格子形状の第1樹脂枠25bを形成する。具体的には、凸部21aに対向する位置に金型凸部250aを有する金型250を金型凸部250aの上面が凸部21aの上面に接触するように配置し、凸部21aと金型凸部250aの周りに、第1樹脂枠25bに対応する形状の空洞を形成する。そして、その空洞に、例えば、光反射性物質を含む第1樹脂を充填して、硬化させる。このようにして、個々の発光装置に分割した後に、第1反射部材5となる第1樹脂枠25bを形成する。(First reflecting member forming step)
In the manufacturing method of
また、第1反射部材形成工程は、金型250を用いることなく、図8(a)に示すように、第1樹脂層25をベースプレート表面21の全面に形成して硬化させた後、図8(b)に示すように、開口部を形成する(開口部形成工程)ようにしてもよい。開口部形成工程では、硬化させた第1樹脂層25において凸部21a上にそれぞれ開口部25aを形成する。開口部25aは、開口部25a底面に凸部21aが露出するように、かつ光透過部材3に対応する形状となるようにそれぞれ形成される。
開口部25aは、例えば、ブラスト、レーザ加工等により形成することができる。
Further, in the first reflecting member forming step, the
The
(光透過部材形成工程)
本実施形態1の製造方法において、光透過部材形成工程は、例えば、蛍光体を含む光透過部材3を形成する場合には、第2樹脂層形成工程と、例えば遠心分離により蛍光体を沈降させる蛍光体沈降工程と、第2樹脂層硬化工程とを含む。
第2樹脂層形成工程では、図7(c)に示すように、例えば、蛍光体を含む第2樹脂を、例えば、ポッティングにより、開口部25aに充填しかつ第1樹脂枠25b上を覆うように塗布して、第2樹脂層23を形成する。
蛍光体沈降工程では、ベースプレート20に平行でかつベースプレート20とは反対側に位置する第2樹脂層23上方の回転軸を中心として、ベースプレート20とともに第2樹脂層23を回転させて、第2樹脂層23に含まれている蛍光体をベースプレート20側に沈降させる。
第2樹脂層硬化工程では、蛍光体をベースプレート20側に沈降させた状態で第2樹脂層23を硬化させる。以上の光透過部材形成工程によれば、種々の蛍光体を使用して発光装置を製造することができる。これに対して、特許文献1の発光装置は、大判の蛍光体シートを用いて製造されるので、シート化が困難な蛍光体を使用することができないという課題がある。(Light transmission member forming process)
In the manufacturing method of the first embodiment, in the light transmitting member forming step, for example, when the
In the second resin layer forming step, as shown in FIG. 7C, for example, a second resin containing a phosphor is filled in the
In the phosphor sedimentation step, the
In the second resin layer curing step, the
さらに、第2樹脂層23を、開口部25aに充填するとともに第1樹脂枠25b上を覆うように形成した場合には、第2樹脂層23を硬化した後に、光透過部材形成工程はさらに、除去工程を含む。除去工程では、図7(d)に示すように、開口部25aに充填された第2樹脂層23が所望の厚さになり、第1樹脂枠25b上の第2樹脂層が除去されるように、第2樹脂層23を上面から例えば研削する。
光透過部材形成工程において、各開口部25aにそれぞれ第2樹脂層23を所定量充填することにより、第1樹脂枠25b上に第2樹脂層23を形成することなく、開口部25aにそれぞれ所定の厚さの第2樹脂層23を形成するようにしても良く、そのようにした場合には、除去工程は必須ではない。Further, when the
In the light transmitting member forming step, each
(発光素子実装工程)
本実施形態1の製造方法において、発光素子実装工程は、ベースプレート剥離工程と、ダイボンド工程とを含み、必要に応じて、ベースプレート剥離工程の前に、補強シート貼付工程を含む。ここでは、補強シート貼付工程を含めて説明する。
補強シート貼付工程では、第1樹脂枠25b上及び開口部25aに形成された第2樹脂層からなる光透過部材3上に補強シート40を貼付ける。補強シート40は、ベースプレート20を剥離した後の、第1樹脂枠25bと第1樹脂枠25bにより保持された光透過部材3からなる複合シート30を補強する。(Light emitting element mounting process)
In the manufacturing method of the first embodiment, the light emitting element mounting step includes a base plate peeling step and a die bonding step, and optionally includes a reinforcing sheet sticking step before the base plate peeling step. Here, a description will be given including the reinforcing sheet attaching step.
In the reinforcing sheet affixing step, the reinforcing
ベースプレート剥離工程では、補強シート40により補強された複合シート30からベースプレート20を剥離する。ベースプレート20が剥離された複合シート30には、ベースプレート20の凸部21に対応する凹部30aがそれぞれ形成される。凹部30aの底面はそれぞれ、光透過部材3の下面と当該下面の周りに露出された第2底面5bを含む。また、凹部30aの周りには、第1底面5aが露出される。 In the base plate peeling step, the
ダイボンド工程では、図7(e)に示すように、各凹部30aの底面にそれぞれ発光素子1をダイボンド樹脂により接着する。このダイボンド樹脂は、例えば、透光性樹脂からなり、発光素子1と透光性部材3の間にはダイボンド樹脂層が形成され、発光素子1の周りには、ダイボンド樹脂からなる傾斜部9が形成される。発光素子1は、光透過部材3を介して光を効果的に取り出すことができるように、第2底面5bにはみ出すことなく光透過部材3の下面に接合することが好ましい。また、発光素子1は、ダイボンド樹脂により形成される傾斜部9が、発光素子1の周りの凹部30a内に形成されるように実装することが好ましい。凹部30aの側壁に傾斜部9の端部が達するように形成することにより、傾斜部9が光透過部材3と第1樹脂枠25bに跨るように形成することができる。これにより、光透過部材3の下面の全面に傾斜部9を広げることができ、光透過部材3の全面に光を入射することができる。これにより、発光面の輝度ムラを抑制することができる。 In the die bonding step, as shown in FIG. 7E, the
(第2反射部材形成工程)
本実施形態1の製造方法において、第2反射部材形成工程は、第3樹脂形成工程と、第3樹脂層研削工程とを含む。
第3樹脂形成工程では、図7(f)に示すように、例えば、光反射性物質を含む第3樹脂27を、各凹部30aにそれぞれ実装された発光素子1を覆い、かつ第2底面5bに接するように形成する。第3樹脂27を形成する際、第3樹脂が発光素子1の周りの凹部30a内に充填され、傾斜部及び凹部30aの側面に接するように形成することが好ましく、このようにすると、第1樹脂と第2樹脂とを強固に接合することができる。
第3樹脂層研削工程では、第3樹脂27を下面から研削して、発光素子の電極13,14を露出させる。(Second reflecting member forming step)
In the manufacturing method of
In the third resin formation step, as shown in FIG. 7F, for example, a
In the third resin layer grinding step, the
(分割工程)
分割工程では、補強シートを剥離した後、または補強シートとともに、第1樹脂と第3樹脂とを、図7(g)に示す分割線L1に沿ってダイシング等の方法で切断することにより、個々の発光装置に分離する。
以上のようにして、図1〜図3に示す実施形態1の発光装置が作製される。(Division process)
In the dividing step, after the reinforcing sheet is peeled off or together with the reinforcing sheet, the first resin and the third resin are individually cut by a method such as dicing along the dividing line L1 shown in FIG. The light emitting device is separated.
As described above, the light-emitting device of
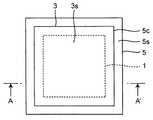
実施形態2の発光装置
実施形態2の発光装置は、図4〜図6に示すように、光透過部材3に接する第1反射部材5の内周面が連続して第2底面5bまで延びた段差のない第1反射部材5を用いて構成している点で、実施形態1の発光装置と異なっている。以上のように構成された実施形態2の発光装置は、透光性樹脂により形成された傾斜部9と第2反射部材7との界面で反射した光を、光透過部材3を介してより効果的に取り出すことができ、光の取り出し効率をさらに高くできる。Light Emitting Device of Embodiment 2 In the light emitting device of Embodiment 2, as shown in FIGS. 4 to 6, the inner peripheral surface of the first reflecting
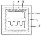
実施形態3の発光装置
実施形態3の発光装置は、図9に示すように、第1反射部材5が、光透過部材3の下面よりも上側に第1底面5aを有している点で、実施形態2の発光装置とは異なっている。すなわち、光透過部材3の側面が、第1反射部材5及び第2反射部材7の双方により被覆されている。以上のように構成された実施形態3の発光装置は、第1反射部材5において、第1底面5aと光透過部材3の下面(発光素子1と光透過部材3との接合面)の間に段差が形成されるので、第1反射部材5と第2反射部材7との界面からの光の漏洩を効果的に抑えることができる。Light Emitting Device of
実施形態4の発光装置の製造方法
実施形態4に係る発光装置の製造方法は、実施形態1に係る発光装置の製造方法に比較して、図10(a)〜(g)に示すように、ベースプレート200の形状が実施形態1の製造方法で使用するベースプレート20と異なっている以外は実施形態1の製造方法と同様に構成される。Manufacturing Method of Light-Emitting Device According to Embodiment 4 The manufacturing method of the light-emitting device according to Embodiment 4 is compared with the manufacturing method of the light-emitting device according to
具体的には、実施形態4に係る発光装置の製造方法において、ベースプレート200は、例えば、円柱空洞からなる貫通孔220を有し、この貫通孔220は、例えば、対角方向に隣接する凸部210a間にそれぞれ設けられている。すなわち、ベースプレート200において、例えば、複数の矩形形状の凸部250aがベースプレート表面210において複数の行と列をなすように設けられ、その対角方向にそれぞれ凸部250aと貫通孔220とが交互に設けられている。 Specifically, in the method for manufacturing a light emitting device according to the fourth embodiment, the
以上のように構成されたベースプレート200を用いた実施形態4に係る発光装置の製造方法において、第1樹脂枠25b1を形成する際、貫通孔220にも光反射性物質を含む第1樹脂が充填され、第1樹脂枠25b1には貫通孔220の形状に対応する、例えば円柱形状のリブ25rがそれぞれ形成される。以下、実施形態1と同様にして光透過部材3を形成した後、ベースプレート200を剥離する。 In the method of manufacturing the light emitting device according to Embodiment 4 using the
以上のように構成された実施形態4に係る発光装置の製造方法では、リブ25rが貫通孔220を貫通して設けられているので、ベースプレート200を剥離する際、ベースプレート200を固定した状態でリブ25rを押圧することにより、第1樹脂枠25b1を容易に剥離することができる。 In the method of manufacturing the light emitting device according to the fourth embodiment configured as described above, the
以上の実施形態4の製造方法により作製された発光装置は、図11に示すように、第1底面5aより下方に位置するリブ25aの先端面25atの一部が第2反射部材7の底面と略同一平面上に露出されている点を除いて実施形態1の発光装置と同様に構成され、実施形態1の発光装置と同様の作用効果を有する。
ここで、図11の断面図には、両側にそれぞれリブ25aの一部を示すために側面に近い位置の断面を示しているが、図11の断面より中央よりの断面では、発光装置の場合も図2に示すような断面となる。図10(a)〜(g)についても同様である。As shown in FIG. 11, in the light emitting device manufactured by the manufacturing method of Embodiment 4 described above, a part of the front end surface 25at of the
Here, the cross-sectional view of FIG. 11 shows a cross-section at a position closer to the side surface in order to show a part of the
以下に、実施の形態の発光装置の各構成部材に適した材料等について説明する。
(発光素子1)
発光素子1としては、例えば発光ダイオードチップ等の半導体発光素子を用いることができる。半導体発光素子は、透光性基板12と、その上に形成された半導体積層体11とを含むことができる。発光素子1の大きさは、たとえば平面視における形状が正方形の場合、一辺の長さが300μm以上1400μm以下である。Hereinafter, materials suitable for each component of the light emitting device of the embodiment will be described.
(Light emitting element 1)
As the
(透光性基板12)
透光性基板12には、例えば、サファイア(Al2O3)、スピネル(MgA12O4)のような透光性の絶縁性材料や、半導体積層体11からの発光を透過する半導体材料(例えば、窒化物系半導体材料)を用いることができる。(Translucent substrate 12)
The light-transmitting
(半導体積層体11)
半導体積層体11は、例えば、n型半導体層、発光層(活性層)およびp型半導体層等の複数の半導体層を含む。半導体層には、例えば、III−V族化合物半導体、II−VI族化合物半導体等の半導体材料から形成することができる。具体的には、InXAlYGa1−X−YN(0≦X、0≦Y、X+Y≦1)等の窒化物系の半導体材料(例えばInN、AlN、GaN、InGaN、AlGaN、InGaAlN等)を用いることができる。(Semiconductor laminate 11)
The semiconductor stacked
(電極13,14)
発光素子1の電極13,14としては、電気良導体を用いることができ、例えばCu等の金属が好適である。(
As the
(ダイボンド樹脂として用いる透光性樹脂)
透光性樹脂としては、特に、シリコーン樹脂、シリコーン変性樹脂、エポキシ樹脂、フェノール樹脂などの熱硬化性の透光性樹脂を用いることができる。
また、透光性樹脂は、発光素子1の側面に接触して、点灯時に発光素子1で発生する熱の影響を受けやすい。この点で、熱硬化性樹脂は、耐熱性に優れており、透光性樹脂として適している。(Translucent resin used as die bond resin)
As the translucent resin, in particular, a thermosetting translucent resin such as a silicone resin, a silicone-modified resin, an epoxy resin, or a phenol resin can be used.
Further, the translucent resin is in contact with the side surface of the
(第1反射部材5及び第2反射部材7)
第1反射部材5及び第2反射部材7は、光反射性樹脂により構成することができる。
光反射性樹脂とは、発光素子1からの光に対する反射率が高く、例えば、反射率が70%以上の樹脂を意味する。
反射性樹脂としては、例えば透光性樹脂に、光反射性物質を分散させたものが使用できる。光反射性物質としては、例えば、酸化チタン、二酸化ケイ素、二酸化チタン、二酸化ジルコニウム、チタン酸カリウム、アルミナ、窒化アルミニウム、窒化ホウ素、ムライトなどが好適である。光反射性物質は、粒状、繊維状、薄板片状などが利用できるが、特に、繊維状のものは第1反射部材5及び第2反射部材7の熱膨張率を低くして、例えば、発光素子1との間の熱膨張率差を小さくできるので、好ましい。反射性樹脂に含まれる樹脂材料としては、特に、シリコーン樹脂、シリコーン変性樹脂、エポキシ樹脂、フェノール樹脂などの熱硬化性の透光性樹脂であるのが好ましい。(First
The first reflecting
The light reflective resin means a resin having a high reflectance with respect to the light from the
As the reflective resin, for example, a translucent resin in which a light reflective material is dispersed can be used. As the light reflective material, for example, titanium oxide, silicon dioxide, titanium dioxide, zirconium dioxide, potassium titanate, alumina, aluminum nitride, boron nitride, mullite and the like are suitable. The light-reflective material may be in the form of particles, fibers, thin plates, etc. In particular, the fiber-like material has a low coefficient of thermal expansion of the first reflecting
(光透過部材3)
光透過部材3を構成する透光性樹脂としては、シリコーン樹脂、シリコーン変性樹脂、エポキシ樹脂、フェノール樹脂などの熱硬化性樹脂、ポリカーボネート樹脂、アクリル樹脂、メチルペンテン樹脂、ポリノルボルネン樹脂などの熱可塑性樹脂を用いることができる。特に、耐光性、耐熱性に優れるシリコーン樹脂が好適である。(Light transmission member 3)
Examples of the translucent resin constituting the
(蛍光体)
蛍光体は、発光素子1からの発光で励起可能なものが使用されることは言うまでもない。例えば、青色発光素子又は紫外線発光素子で励起可能な蛍光体としては、セリウムで賦活されたイットリウム・アルミニウム・ガーネット系蛍光体(Ce:YAG);セリウムで賦活されたルテチウム・アルミニウム・ガーネット系蛍光体(Ce:LAG);ユウロピウムおよび/又はクロムで賦活された窒素含有アルミノ珪酸カルシウム系蛍光体(CaO−Al2O3−SiO2);ユウロピウムで賦活されたシリケート系蛍光体((Sr,Ba)2SiO4);βサイアロン蛍光体、CASN系蛍光体、SCASN系蛍光体等の窒化物系蛍光体;KSF系蛍光体(K2SiF6:Mn);硫化物系蛍光体、量子ドット蛍光体などが挙げられる。これらの蛍光体と、青色発光素子又は紫外線発光素子と組み合わせることにより、様々な色の発光装置(例えば白色系の発光装置)を製造することができる。(Phosphor)
Needless to say, a phosphor that can be excited by light emission from the
以上、本発明に係るいくつかの実施形態について例示したが、本発明は上述した実施形態に限定されるものではなく、本発明の要旨を逸脱しない限り任意のものとすることができることは言うまでもない。 As mentioned above, although several embodiment which concerns on this invention was illustrated, this invention is not limited to embodiment mentioned above, It cannot be overemphasized that it can be made arbitrary, unless it deviates from the summary of this invention. .
1 発光素子
3 光透過部材
3s 光透過部材の表面
5 第1反射部材
5a 第1底面
5b 第2底面
5c 内周面
5s 第1反射部材の表面
7 第2反射部材
9 傾斜部
11 半導体積層体
12 透光性基板
13,14 電極
20,200 ベースプレート
21,210 プレート表面
21a,210a 凸部
23 第2樹脂層
25 第1樹脂層
25a 開口部
25b 第1樹脂枠
27 第3樹脂
30 複合シート
30a 凹部
40 補強シート
220 貫通孔DESCRIPTION OF
| Application Number | Priority Date | Filing Date | Title |
|---|---|---|---|
| JP2019129250AJP6822526B2 (en) | 2019-07-11 | 2019-07-11 | Light emitting device and its manufacturing method |
| Application Number | Priority Date | Filing Date | Title |
|---|---|---|---|
| JP2019129250AJP6822526B2 (en) | 2019-07-11 | 2019-07-11 | Light emitting device and its manufacturing method |
| Application Number | Title | Priority Date | Filing Date |
|---|---|---|---|
| JP2015111516ADivisionJP6554914B2 (en) | 2015-06-01 | 2015-06-01 | Light emitting device and manufacturing method thereof |
| Publication Number | Publication Date |
|---|---|
| JP2019208038Atrue JP2019208038A (en) | 2019-12-05 |
| JP2019208038A5 JP2019208038A5 (en) | 2020-10-15 |
| JP6822526B2 JP6822526B2 (en) | 2021-01-27 |
| Application Number | Title | Priority Date | Filing Date |
|---|---|---|---|
| JP2019129250AActiveJP6822526B2 (en) | 2019-07-11 | 2019-07-11 | Light emitting device and its manufacturing method |
| Country | Link |
|---|---|
| JP (1) | JP6822526B2 (en) |
| Publication number | Priority date | Publication date | Assignee | Title |
|---|---|---|---|---|
| JP2022125086A (en)* | 2020-02-20 | 2022-08-26 | 日亜化学工業株式会社 | Method for manufacturing light emitting device |
| WO2023282357A1 (en)* | 2021-07-08 | 2023-01-12 | シチズン電子株式会社 | Light emission device |
| Publication number | Priority date | Publication date | Assignee | Title |
|---|---|---|---|---|
| JP2008210960A (en)* | 2007-02-26 | 2008-09-11 | Kyocera Corp | Light emitting device and lighting device |
| US20120153330A1 (en)* | 2010-12-15 | 2012-06-21 | Tsuyoshi Tsutsui | Light emitting device and method of manufacturing thereof |
| JP2012129237A (en)* | 2010-12-13 | 2012-07-05 | Stanley Electric Co Ltd | Light-emitting device and method for manufacturing the same |
| JP2012134355A (en)* | 2010-12-22 | 2012-07-12 | Stanley Electric Co Ltd | Light emitting device and manufacturing method of the same |
| JP2013149906A (en)* | 2012-01-23 | 2013-08-01 | Stanley Electric Co Ltd | Light emitting device, lighting fixture for vehicle, and manufacturing method of light emitting device |
| JP2013183057A (en)* | 2012-03-02 | 2013-09-12 | Stanley Electric Co Ltd | Light-emitting device |
| WO2014081042A1 (en)* | 2012-11-26 | 2014-05-30 | シチズン電子株式会社 | Light emitting device |
| Publication number | Priority date | Publication date | Assignee | Title |
|---|---|---|---|---|
| JP2008210960A (en)* | 2007-02-26 | 2008-09-11 | Kyocera Corp | Light emitting device and lighting device |
| JP2012129237A (en)* | 2010-12-13 | 2012-07-05 | Stanley Electric Co Ltd | Light-emitting device and method for manufacturing the same |
| US20120153330A1 (en)* | 2010-12-15 | 2012-06-21 | Tsuyoshi Tsutsui | Light emitting device and method of manufacturing thereof |
| JP2012134355A (en)* | 2010-12-22 | 2012-07-12 | Stanley Electric Co Ltd | Light emitting device and manufacturing method of the same |
| JP2013149906A (en)* | 2012-01-23 | 2013-08-01 | Stanley Electric Co Ltd | Light emitting device, lighting fixture for vehicle, and manufacturing method of light emitting device |
| JP2013183057A (en)* | 2012-03-02 | 2013-09-12 | Stanley Electric Co Ltd | Light-emitting device |
| WO2014081042A1 (en)* | 2012-11-26 | 2014-05-30 | シチズン電子株式会社 | Light emitting device |
| Publication number | Priority date | Publication date | Assignee | Title |
|---|---|---|---|---|
| JP2022125086A (en)* | 2020-02-20 | 2022-08-26 | 日亜化学工業株式会社 | Method for manufacturing light emitting device |
| JP7366339B2 (en) | 2020-02-20 | 2023-10-23 | 日亜化学工業株式会社 | Manufacturing method of light emitting device |
| WO2023282357A1 (en)* | 2021-07-08 | 2023-01-12 | シチズン電子株式会社 | Light emission device |
| Publication number | Publication date |
|---|---|
| JP6822526B2 (en) | 2021-01-27 |
| Publication | Publication Date | Title |
|---|---|---|
| JP6554914B2 (en) | Light emitting device and manufacturing method thereof | |
| JP6179555B2 (en) | Light emitting device | |
| JP6278101B2 (en) | Light emitting device | |
| JP6337859B2 (en) | Light emitting device | |
| CN111540821B (en) | Light emitting device and method of manufacturing the same | |
| JP2019176081A (en) | Light-emitting device and method for manufacturing the same | |
| US10622528B2 (en) | Light-emitting device | |
| JP6349953B2 (en) | Method for manufacturing light emitting device | |
| JP6627316B2 (en) | Light emitting device manufacturing method | |
| JP6623577B2 (en) | Light emitting device manufacturing method | |
| JP6822526B2 (en) | Light emitting device and its manufacturing method | |
| CN108878625B (en) | Light emitting device and manufacturing method thereof | |
| JP6589259B2 (en) | Light emitting element and light emitting device using the same | |
| JP2020053604A (en) | Light-emitting device and manufacturing method thereof | |
| JP7174215B2 (en) | Light-emitting device manufacturing method and light-emitting device | |
| JP6696521B2 (en) | Light emitting device and manufacturing method thereof | |
| JP6989807B2 (en) | Light emitting device and its manufacturing method | |
| JP2018088554A (en) | Light emitting device | |
| JP7299492B2 (en) | Light-emitting device and light-emitting module | |
| KR20180003423A (en) | Light emitting device and method for manufacturing the same |
| Date | Code | Title | Description |
|---|---|---|---|
| A521 | Request for written amendment filed | Free format text:JAPANESE INTERMEDIATE CODE: A523 Effective date:20190807 | |
| A621 | Written request for application examination | Free format text:JAPANESE INTERMEDIATE CODE: A621 Effective date:20190807 | |
| A521 | Request for written amendment filed | Free format text:JAPANESE INTERMEDIATE CODE: A523 Effective date:20200831 | |
| A131 | Notification of reasons for refusal | Free format text:JAPANESE INTERMEDIATE CODE: A131 Effective date:20200929 | |
| A521 | Request for written amendment filed | Free format text:JAPANESE INTERMEDIATE CODE: A523 Effective date:20201116 | |
| TRDD | Decision of grant or rejection written | ||
| A01 | Written decision to grant a patent or to grant a registration (utility model) | Free format text:JAPANESE INTERMEDIATE CODE: A01 Effective date:20201208 | |
| A61 | First payment of annual fees (during grant procedure) | Free format text:JAPANESE INTERMEDIATE CODE: A61 Effective date:20201221 | |
| R150 | Certificate of patent or registration of utility model | Ref document number:6822526 Country of ref document:JP Free format text:JAPANESE INTERMEDIATE CODE: R150 | |
| R250 | Receipt of annual fees | Free format text:JAPANESE INTERMEDIATE CODE: R250 | |
| R250 | Receipt of annual fees | Free format text:JAPANESE INTERMEDIATE CODE: R250 |