









本発明は、ロボットのアームの原点合わせを行うための原点合わせ方法、ロボットシステムに関する。 The present invention relates to an origin adjustment method and a robot system for performing origin adjustment of a robot arm.
ロボットは、一般的に、アームの回転角度を取得する目的で例えば光学エンコーダ等の角度検出器が設けられている。このとき、角度検出器8の値とアームの実際の回転角度との間にずれが生じると、ロボット動作時の位置精度の低下に直接結びつくことになる。そのため、ロボットを組み立てた後、アームの可動範囲を機械的に規定するストッパにアームを押し当て、可動範囲の両端でそれぞれ取得した角度検出器8の値の平均を原点として設定する原点合わせが行われている(例えば特許文献1参照)。 In general, the robot is provided with an angle detector such as an optical encoder for the purpose of obtaining the rotation angle of the arm. At this time, if a deviation occurs between the value of the angle detector 8 and the actual rotation angle of the arm, it directly leads to a decrease in position accuracy during the robot operation. For this reason, after assembling the robot, the arm is pressed against a stopper that mechanically defines the movable range of the arm, and origin matching is performed by setting the average of the values of the angle detector 8 acquired at both ends of the movable range as the origin. (For example, see Patent Document 1).
ところで、特許文献1のような手法で原点合わせを行う際には、当然のことながらアームを回転させてストッパに押し当てる必要がある。
しかしながら、原点合わせを行う時点では、未だ原点が定まっていないことから、アームの位置は未確定となっている。その場合、通常の動作時のようにアームの回転角度に基づいた角度制御によりアームを回転させることができない状態となっている。そして、角度制御が困難な状態でアームを回転させると、回転速度やトルクが過大になってアームやストッパの変形や損傷を招くおそれが高くなる。By the way, when performing the origin adjustment by the technique as in
However, since the origin has not yet been determined at the time when the origin is aligned, the position of the arm has not yet been determined. In that case, the arm cannot be rotated by angle control based on the rotation angle of the arm as in normal operation. If the arm is rotated in a state in which angle control is difficult, the rotational speed and torque become excessive, and there is a high possibility that the arm and the stopper may be deformed or damaged.
本発明は上記事情に鑑みてなされたものであり、その目的は、アームやストッパの変形や損傷を招くことなく原点合わせを行うことができる原点合わせ方法、ロボットシステムを提供することにある。 The present invention has been made in view of the above circumstances, and an object of the present invention is to provide an origin adjustment method and a robot system that can perform origin adjustment without causing deformation or damage of an arm or a stopper.
請求項1に記載した発明は、モータによって駆動されるアームと、モータの回転角度を検出する角度検出器とを有し、アームの可動範囲がストッパによって機械的に規定されているロボットにおいて、アームの原点合わせを行うためのロボットの原点合わせ方法である。 According to the first aspect of the present invention, there is provided a robot having an arm driven by a motor and an angle detector for detecting a rotation angle of the motor, wherein a movable range of the arm is mechanically defined by a stopper. This is a method for adjusting the origin of the robot to perform the origin adjustment.
このような機械的にアームの可動範囲を規定する構成の場合には、アームを可動範囲の一端側に設けられているストッパに押し当てた状態における角度検出器の値と、アームを可動範囲の他端側に設けられているストッパに押し当てた状態における角度検出器の値とを用いて原点合わせを行うことができると考えられる。 In the case of such a configuration that mechanically defines the movable range of the arm, the value of the angle detector in a state where the arm is pressed against a stopper provided at one end of the movable range, and the arm in the movable range. It is considered that the origin can be adjusted using the value of the angle detector in a state of being pressed against the stopper provided on the other end side.
具体的には、アームをストッパに押し当てたときの角度検出器の値を可動範囲の両端において取得し、取得した値の平均を取ることにより、例えば可動範囲の中点を原点として設定することができる。なお、可動範囲の中点ではなく、一方のストッパの位置を原点として設定する場合には、中点を特定した後、その半分をオフセット値として加えること等も可能である。 Specifically, the value of the angle detector when the arm is pressed against the stopper is acquired at both ends of the movable range, and the average of the acquired values is set, for example, the midpoint of the movable range is set as the origin Can do. When setting the position of one stopper instead of the midpoint of the movable range as the origin, it is also possible to add the half as an offset value after specifying the midpoint.
その一方で、原点合わせを行う前の段階では、原点が特定されていないため、アームの現在位置が未確定となっている。換言すると、原点合わせを行おうとする時点では、アームが現在どの角度に位置しているかが不明であるため、例えばストッパと接触する直前の角度まで移動させるといった角度制御が行えない状態となっている。 On the other hand, since the origin is not specified at the stage before the origin alignment, the current position of the arm is not determined. In other words, at the time when the origin is to be adjusted, it is unclear at which angle the arm is currently located, so that it is not possible to perform angle control such as moving to the angle immediately before contacting the stopper, for example. .
この場合、モータ出力を十分に大きくすることにより、アームの初期位置が可動範囲内のどの位置であっても、アームをストッパに接触させることができると考えられる。しかし、モータ出力が大き過ぎると、回転速度やトルクが過大になってアームやストッパの変形や損傷を招くおそれが高くなる。アームの回転方向によっては、ツールの自重によって同じモータ出力であってもアームの速度が速くなり、過大なトルクでアームがストッパに衝突したりするおそれがある。これはモータ出力を徐々に大きくしていく手法でも同様である。 In this case, it is considered that the arm can be brought into contact with the stopper regardless of the initial position of the arm within the movable range by sufficiently increasing the motor output. However, if the motor output is too large, the rotational speed and torque become excessive, and there is a high risk of causing deformation or damage to the arm or stopper. Depending on the rotation direction of the arm, even if the motor output is the same due to the weight of the tool, the speed of the arm increases, and the arm may collide with the stopper with excessive torque. The same applies to the method of gradually increasing the motor output.
その一方で、原点合わせを行うために最小限のモータ出力を出荷時等に予め設定しておいたとしても、出荷後にユーザ側でツールが取り付けられた場合には、モータ出力が不足してアームをストッパまで移動させることができなくなる可能性がある。 On the other hand, even if the minimum motor output is set at the time of shipment, etc. in order to perform the origin adjustment, if the tool is installed on the user side after shipment, the motor output is insufficient and the arm May not be able to be moved to the stopper.
このように、原点合わせを行うためにアームをストッパに押し当てる際のモータ出力を予め設定することは困難である。換言すると、アームをストッパに押し当てて原点合わせを行う場合には、角度検出器8の値を取得する以前の準備段階において、考慮および対策すべき問題が存在していた。 Thus, it is difficult to set in advance the motor output when the arm is pressed against the stopper in order to perform the origin adjustment. In other words, when the origin is adjusted by pressing the arm against the stopper, there is a problem to be considered and taken into account in the preparation stage before acquiring the value of the angle detector 8.
そこで、アームをストッパに押し当てる際、アームを速度制御により移動させる。この場合、アームの位置が未確定であっても、アームの速度、より厳密には、アームの角速度は、角度検出器の値の時間変化に基づいて求めることができる。つまり、原点合わせを行うまでの段階においては、角度制御はできないものの、速度制御は可能である。 Therefore, when the arm is pressed against the stopper, the arm is moved by speed control. In this case, even if the position of the arm is undetermined, the speed of the arm, more precisely, the angular speed of the arm can be obtained based on the time change of the value of the angle detector. That is, in the stage until the origin is adjusted, angle control is not possible, but speed control is possible.
この場合、速度制御時の目標速度を、アームやストッパの変形や損傷を招かない程度に予め設定しておくことにより、アームやストッパの変形や損傷を防ぐことができる。そして、一定のモータ出力ではなく、一定の目標速度でアームを制御することにより、出荷後にユーザ側でツール等が取り付けられた場合であっても、アームを移動させることができる。つまり、原点合わせを行う際のアームの位置が可動範囲のどの位置であっても、アームをストッパまで移動させることができる。 In this case, by setting the target speed at the time of speed control in advance so as not to cause the deformation or damage of the arm or stopper, the deformation or damage of the arm or stopper can be prevented. By controlling the arm at a constant target speed instead of a constant motor output, the arm can be moved even when a tool or the like is attached on the user side after shipment. That is, the arm can be moved to the stopper regardless of the position of the arm when the origin is aligned.
さらに、一定の目標速度であれば、アームは、可動範囲の両端において、ストッパに同等の状態、つまりは、同等の押し当て状態で接触すると考えられる。そして、押し当て力が同等であれば、仮にアームとモータとの間に介在する減速機等の構造物が弾性変形したとしても、その弾性変形分は、大きさが等しく且つ向きが逆になると考えられる。 Furthermore, if the target speed is constant, it is considered that the arm contacts the stopper in an equivalent state, that is, in an equivalent pressing state, at both ends of the movable range. If the pressing force is equal, even if a structure such as a speed reducer interposed between the arm and the motor is elastically deformed, the elastic deformation is equal in magnitude and reverse in direction. Conceivable.
これにより、上記したように可動範囲の両端において取得した角度検出器の値の平均値を取ることで可動範囲の中点を正しく特定することができる。そして、その中点を原点とすることにより、アームやストッパの変形や損傷を招くことなく、原点合わせを行うことができる。 Thereby, as described above, the midpoint of the movable range can be correctly specified by taking the average value of the values of the angle detectors acquired at both ends of the movable range. By setting the midpoint as the origin, the origin can be adjusted without causing deformation or damage of the arm or the stopper.
また、治具等を用いることなく、ロボットシステム単体で原点合わせを行うことができるため、出荷前の作業時だけでなく出荷後のメンテナンス時等においても容易且つ効率的に原点合わせを行うことができる。また、自動で原点合わせを行うことができるため、作業者の熟練度等に左右されることもない。
また、請求項8に記載したロボットシステムの発明によっても、上記した請求項1に係る発明と同様の効果を得ることができ、アームやストッパの変形や損傷を招くことなく、原点合わせを行うことができる。In addition, since the origin can be adjusted with a single robot system without using a jig, the origin can be easily and efficiently adjusted not only during work before shipment but also during maintenance after shipment. it can. In addition, since the origin can be automatically adjusted, it does not depend on the skill level of the operator.
Further, according to the invention of the robot system described in claim 8, the same effect as that of the invention according to
請求項2に記載した発明は、速度制御によって定まる押し当て力でアームをストッパに押し当てる。上記したように、一定の目標速度で速度制御する場合、アームはストッパに同等の押し当て状態で接触すると考えられる。このとき、モータ出力は目標速度と実速度の差で決まること、また、押し当て状態では実速度は0であることから、設定した目標速度の大きさで押し当て力が決まることになる。 According to the second aspect of the present invention, the arm is pressed against the stopper with a pressing force determined by speed control. As described above, when speed control is performed at a constant target speed, it is considered that the arm contacts the stopper in an equivalent pressing state. At this time, the motor output is determined by the difference between the target speed and the actual speed, and since the actual speed is 0 in the pressed state, the pressing force is determined by the set target speed.
そのため、可動範囲の両端においてアームをストッパに押し当てた場合には、それぞれのストッパには同じ力が加わることになり、弾性変形量が等しくなる。そして、可動範囲の両端における弾性変形量が等しい場合には平均値をそのまま中点として扱うことができるため、原点合わせを行うことができる。 Therefore, when the arm is pressed against the stopper at both ends of the movable range, the same force is applied to each stopper, and the amount of elastic deformation becomes equal. When the elastic deformation amounts at both ends of the movable range are equal, the average value can be handled as the midpoint as it is, and the origin can be adjusted.
請求項3に記載した発明は、アームを速度制御によりストッパに押し当てた後、可動範囲の両端において同じモータ出力で押し当てた状態で角度検出器の値を取得する。
上記したように、速度制御によりアームを移動させることにより、アームが可動範囲のどの位置にあったとしても、アームをストッパまで移動させることができる。In the invention described in claim 3, after the arm is pressed against the stopper by speed control, the value of the angle detector is acquired in a state where the arm is pressed at the same motor output at both ends of the movable range.
As described above, by moving the arm by speed control, the arm can be moved to the stopper no matter where the arm is in the movable range.
ただし、アームの可動範囲によっては、換言すると、ストッパが設けられる位置によっては、可動範囲の両端において同等の押し当て状態を実現することが困難な場合がある。これは、アームやツールの自重が押し当て状態に影響を与える場合に相当する。 However, depending on the movable range of the arm, in other words, depending on the position where the stopper is provided, it may be difficult to achieve an equivalent pressing state at both ends of the movable range. This corresponds to the case where the weight of the arm or tool affects the pressed state.
アームがストッパに接触した状態では、アームとストッパとは静止状態で釣り合っていることから、減速機等の構造物には、ロボットの姿勢とは無関係にモータ出力に相当するトルクが作用する。そして、このトルクは、構造物の弾性変形を引き起こす。 When the arm is in contact with the stopper, the arm and the stopper are balanced in a stationary state. Therefore, a torque corresponding to the motor output acts on a structure such as a speed reducer regardless of the posture of the robot. This torque causes elastic deformation of the structure.
このとき、アームを重力に逆らって速度制御により移動させる際のモータ出力は、アームを重力に沿って速度制御により移動させる際のモータ出力よりも大きくなると考えられる。そのため、重力による影響が異なる位置関係でストッパが設けられている場合には、速度制御によりアームをストッパに接触させたとしても、モータ出力が異なることから、可動範囲の両端での弾性変形分に差が生じることになる。 At this time, it is considered that the motor output when the arm is moved by speed control against gravity is larger than the motor output when the arm is moved by speed control along gravity. For this reason, when the stopper is provided in a positional relationship where the influence of gravity is different, even if the arm is brought into contact with the stopper by speed control, the motor output is different, so the elastic deformation at both ends of the movable range is reduced. There will be a difference.
そして、可動範囲の両端での弾性変形分に差が出ると、取得した角度検出器の値の中点にも差が生じ、原点を正しく特定できなくなる。
そこで、アームを速度制御によりストッパに押し当てた後、可動範囲の両端において同じモータ出力で押し当てた状態で角度検出器の値を取得する。If there is a difference in the amount of elastic deformation at both ends of the movable range, a difference also occurs at the midpoint of the acquired value of the angle detector, and the origin cannot be specified correctly.
Therefore, after the arm is pressed against the stopper by speed control, the value of the angle detector is acquired in a state where the arm is pressed with the same motor output at both ends of the movable range.
つまり、可動範囲の両端において、弾性変形の要因となるモータ出力が等しくなるように調整する。これにより、可動範囲の両端においてモータ出力に起因する弾性変形分が等しくなり、取得した角度検出器の値の平均が正しく可動範囲の中点となり、原点合わせを正しく行うことができる。 That is, the motor output that causes elastic deformation is adjusted to be equal at both ends of the movable range. As a result, the elastic deformation caused by the motor output becomes equal at both ends of the movable range, and the average of the obtained values of the angle detectors correctly becomes the midpoint of the movable range, so that the origin can be aligned correctly.
請求項4に記載した発明は、アームを速度制御により移動させてストッパに到達したと判定した際のモータ出力を用いることで、可動範囲の両端において同じモータ出力で押し当てた状態を実現する。上記したように、同じ速さでアームを移動させれば同じ押し当て状態が実現できるため、ストッパに到達したと判定した際のモータ出力を用いて押し当てることにより、モータ出力を調整する処理を省略して簡便に原点合わせを行うことができる。 The invention described in claim 4 realizes a state in which the arm is pressed with the same motor output at both ends of the movable range by using the motor output when it is determined that the arm is moved by speed control and reaches the stopper. As described above, since the same pressing state can be realized by moving the arm at the same speed, the process of adjusting the motor output is performed by pressing using the motor output when it is determined that the stopper has been reached. The origin can be easily adjusted by omitting.
請求項5に記載した発明は、アームを押し当てた際に重力の影響が加わる側では、モータ出力を、少なくとも静摩擦力を越えられる分だけ増加させる。これにより、実際には弾性変形していない状態を弾性変形したと誤判定するおそれを低減することができ、中点を推定する精度を向上させることができる。 The invention described in
請求項6に記載した発明は、アームをストッパに押し当てる場合、重力の影響によりモータ出力が相対的に大きくなる側のストッパへの押し当てを行った後に、モータ出力が相対的に小さくなる側のストッパへの押し当てを行う。この場合、逆の順番で押し当てを行うと、同じ力で他端側に押し当てた際に重力トルク分だけモータ出力が足りなくなるおそれがあり、その場合には再度の押し当てを行う必要がある。これに対して、本発明の順番で押し当てを行えば、先に押し当てた際のモータ出力のほうが相対的に大きいため、再度の押し当てが不要となり、効率よく原点合わせを行うことができる。 According to the sixth aspect of the present invention, when the arm is pressed against the stopper, the motor output becomes relatively small after being pressed against the stopper on the side where the motor output becomes relatively large due to the influence of gravity. Press against the stopper. In this case, if they are pressed in the reverse order, there is a risk that the motor output will be insufficient by the amount of gravitational torque when pressed against the other end with the same force. is there. On the other hand, if the pressing is performed in the order of the present invention, since the motor output at the time of pressing first is relatively large, the pressing again becomes unnecessary and the origin can be adjusted efficiently. .
請求項7に記載した発明は、可動範囲の一端側においてアームを異なるモータ出力で前記ストッパに対して複数回押し当て、複数回押し当てた際に取得したそれぞれのモータ出力と角度検出器の値とに基づいて、モータ出力の変化に伴う角度検出器の値の変化を示す一端側のストッパの弾性変形特性を求め、他端側においてアームをストッパに対して押し当てた際のモータ出力と同じモータ出力で一端側に押し当てたと仮定した場合に得られる一端側の前記角度検出器の値を、弾性変形特性に基づいて推定する。 According to the seventh aspect of the present invention, the motor output and the angle detector values obtained when the arm is pressed against the stopper a plurality of times with different motor outputs on one end side of the movable range, and the pressing is performed a plurality of times. Based on the above, the elastic deformation characteristic of the stopper on one end side showing the change in the value of the angle detector accompanying the change in motor output is obtained, and the same as the motor output when the arm is pressed against the stopper on the other end side A value of the angle detector on one end side obtained when it is assumed that the motor output is pressed against one end side is estimated based on elastic deformation characteristics.
アームの可動範囲の一端側に設けられているストッパは、アームに下方から接触し、接触した状態において当該アームの自重が加わる位置に設けられており、アームの可動範囲の他端側に設けられているストッパは、アームに上方から接触し、接触した状態において当該アームの自重が加わらない位置に設けられている場合のように、重力による影響が異なる位置関係でストッパが設けられている場合には、各ストッパにアームを押し当てる際に考慮すべき事項が存在すると考えられる。 The stopper provided on one end side of the movable range of the arm is provided at a position where it comes into contact with the arm from below and the weight of the arm is applied in the contacted state, and is provided on the other end side of the movable range of the arm. The stopper is in contact with the arm from above, and when the stopper is provided in a positional relationship where the influence of gravity is different, such as when the weight of the arm is not applied in the contacted state. It is considered that there are items to be considered when pressing the arm against each stopper.
具体的には、一端側のストッパにはアームを押し当てた際に重力の影響が加算されてその分だけモータ出力以上の押し当て力が働くことになる一方、他端側のストッパにはアームを押し当てた際にアームの自重分がモータ出力から減算された押し当て力が働くことになる。この場合、他端側のモータ出力は、重力に逆らってアームを移動させる必要があることから、一端側よりもモータ出力が相対的に大きくなることが予想される。 Specifically, when the arm is pressed against the stopper on one end side, the influence of gravity is added, and a pressing force exceeding the motor output will work accordingly, while the arm on the stopper on the other end side When the is pressed, the pressing force obtained by subtracting the weight of the arm from the motor output is applied. In this case, since the motor output on the other end side needs to move the arm against gravity, the motor output is expected to be relatively larger than that on the one end side.
そのため、他端側に押し当てたときと同じモータ出力で一端側に押し当てるようとすると、モータ出力が相対的に大きいことに加え、重力による影響が加わることから、ストッパあるいはアームの構造に対して過大な力が加わるおそれがある。その一方で、一端側に押し当てる際に構造に支障がない程度の押し当て力となるモータ出力で他端側に押し当てようとすると、アームを重力に逆らって移動させることができず、他端側のストッパに押し当てることができなくなるおそれもある。 Therefore, if you try to press against one end with the same motor output as when pressing against the other end side, in addition to the relatively large motor output and the influence of gravity, the structure of the stopper or arm And excessive force may be applied. On the other hand, if you try to press against the other end with a motor output that has a pressing force that does not interfere with the structure when pressing against one end, you cannot move the arm against gravity, There is also a possibility that it cannot be pressed against the end stopper.
また、重力による影響はロボットの姿勢によって変化すると考えられることや、ストッパの位置がユーザによって変更される可能性があること等を考慮すると、両端で同じ押し当て状態となるモータ出力を予め設定しておくことは困難である。
このように、重力による影響が異なる位置関係でストッパが設けられている場合には、可動範囲の両端において同等の押し当て状態を実現することが困難であることが予想される。そして、両端における押し当て状態が異なる場合には、弾性変形量が両端で異なることから、原点合わせを正しくできなくなる。In addition, considering that the influence of gravity is thought to change depending on the robot's posture and that the position of the stopper may be changed by the user, the motor output that is in the same pressing state at both ends is set in advance. It is difficult to keep.
As described above, when the stoppers are provided in a positional relationship in which the influence of gravity is different, it is expected that it is difficult to realize an equivalent pressing state at both ends of the movable range. If the pressing state at both ends is different, the amount of elastic deformation is different at both ends, so that the origin cannot be correctly aligned.
さて、前述のように、減速機等の構造物には、ロボットの姿勢とは無関係にモータ出力に相当するトルクが作用することで弾性変形が引き起こされる。ただし、アームやストッパおよび構造物の剛性自体は、ストッパの位置によって変化することはないと考えられる。 As described above, elastic deformation is caused by applying a torque corresponding to a motor output to a structure such as a speed reducer regardless of the posture of the robot. However, it is considered that the rigidity of the arm, the stopper, and the structure itself does not change depending on the position of the stopper.
そのため、可動範囲の両端において異なるモータ出力で押し当てたとしても、モータ出力の変化に伴うストッパの弾性変形量の変化の特性が把握できていれば、同じモータ出力で押し当てた際の弾性変形分を推定することができ、同じ押し当て状態とした場合の角度検出器の値を推定できると考えられる。換言すると、ストッパの弾性変形量の変化の特性を把握できれば、可動範囲の両端において異なるモータ出力で押し当てた場合にも原点合わせを行うことができると考えられる。 Therefore, even if it is pressed with different motor outputs at both ends of the movable range, if the characteristics of the change in the amount of elastic deformation of the stopper accompanying the change in the motor output can be grasped, the elastic deformation when pressed with the same motor output It is considered that the value of the angle detector can be estimated in the case of the same pressing state. In other words, if the characteristics of the change in the amount of elastic deformation of the stopper can be grasped, it is considered that the origin can be aligned even when the motor is pressed with different motor outputs at both ends of the movable range.
そこで、アームやストッパおよび構造物の剛性自体はストッパの位置によって変化しない点に着目し、重力の影響が加算される一端側において、構造に影響を与えない程度のモータ出力で複数回の押し当てを行い、取得したそれぞれのモータ出力および角度検出器の値に基づいて一端側のストッパの弾性変形特性を求め、他端側においてアームを前記ストッパに対して押し当てた後、他端側におけるモータ出力と同じモータ出力で一端側に押し当てたと仮定した場合に得られる一端側の角度検出器の値を、弾性変形特性に基づいて推定する。 Therefore, paying attention to the fact that the rigidity of the arm, stopper and structure itself does not change depending on the position of the stopper, at one end where the influence of gravity is added, it is pressed multiple times with a motor output that does not affect the structure. After determining the elastic deformation characteristics of the stopper on one end side based on the acquired motor output and the value of the angle detector, and pressing the arm against the stopper on the other end side, the motor on the other end side The value of the angle detector at one end obtained when it is assumed that the motor output is the same as the output and pressed against one end is estimated based on the elastic deformation characteristics.
これにより、一端側における角度検出器の推定値と他端側で実測した角度検出器の値との平均を取ることで、つまりは、可動範囲の両端において同じ押し付け状態を再現することで、可動範囲の中点を特定することができ、原点合わせを行うことができる。そして、一端側のストッパには構造に影響を与えない程度のモータ出力で押し当てることから、アームやストッパの変形や損傷を招くことなく原点合わせを行うことができる。 This makes it possible to average the estimated value of the angle detector at one end and the measured value of the angle detector at the other end, that is, by reproducing the same pressing state at both ends of the movable range. The middle point of the range can be specified, and the origin can be adjusted. Since the stopper is pressed against the stopper on one end with a motor output that does not affect the structure, the origin can be aligned without causing deformation or damage to the arm or stopper.
以下、複数の実施形態について図面を参照しながら説明する。なお、各実施形態において実質的に共通する部位には同一符号を付して説明する。
(第1実施形態)
以下、第1実施形態について、図1から図4を参照しながら説明する。Hereinafter, a plurality of embodiments will be described with reference to the drawings. In addition, the same code | symbol is attached | subjected and demonstrated to the site | part substantially common in each embodiment.
(First embodiment)
The first embodiment will be described below with reference to FIGS.
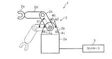
図1に示すように、本実施形態のロボットシステム1は、いわゆる垂直多関節型のロボット2と、そのロボット2を制御するコントローラ3とを備えている。ロボット2は、ベース2a上に、鉛直方向に設定された回転軸を介して接続されているショルダ2bが水平方向に回転可能に連結されている。 As shown in FIG. 1, the
このショルダ2bには、水平方向に設定された回転軸を介して第1アーム2cの一端が、垂直方向に回転可能に連結されている。一方、第1アーム2cの他端側には、水平方向に設定された回転軸を介して第2アーム2dの一端が、垂直方向に回転可能に連結されている。そして、第2アーム2dの他端側には、ツール2eが回転可能に連結されている。
また、ロボット2には、例えば第1アーム2cの垂直回転する際の可動範囲を機械的に規定するストッパ4が設けられている。このストッパ4は、メカエンドと称されることもある。One end of the
In addition, the
以下、図1において図示時計回り方向をアームの正回転方向と称し、図示反時計回り方向をアームの逆回転方向と称するとともに、アームが逆回転した際にストッパ4にあたる位置を可動範囲の下限と称し、アームが正回転した際にストッパ4にあたる位置を可動範囲の上限と称して説明する。また、可動範囲の下限と上限とを総称して、可動範囲の両端とも称して説明する。 Hereinafter, the clockwise direction shown in FIG. 1 is referred to as the forward rotation direction of the arm, the counterclockwise direction shown in the drawing is referred to as the reverse rotation direction of the arm, and the position corresponding to the stopper 4 when the arm rotates backward is defined as the lower limit of the movable range. The position corresponding to the stopper 4 when the arm rotates forward will be referred to as the upper limit of the movable range. Further, the lower limit and the upper limit of the movable range are collectively referred to as both ends of the movable range.
本実施形態のロボット2は、可動範囲の下限を規定する下限ストッパ4aと、正回転した際における可動範囲の上限を規定する上限ストッパ4bまたは上限ストッパ4cとを取り付け可能に構成されている。 The
下限ストッパ4aは、ショルダ2bの下端側に取り付けられる。上限ストッパ4bは、ショルダ2bの上端側において、第1アーム2cを鉛直上方に伸ばしたときの中心線よりも下限ストッパ4a側になる位置に取り付け可能になっている。このため、下限ストッパ4aと上限ストッパ4bとにより第1アーム2cの可動範囲を規定する場合には、第1アーム2cの可動範囲は、所定の角度(Δ1)となる。 The
一方、上限ストッパ4cは、ショルダ2bの下端側において、第1アーム2cの回転中心を通って図示上下方向に延びる仮想線に対して下限ストッパ4aと線対象となる位置に取り付け可能になっている。つまり、下限ストッパ4aと上限ストッパ4cは、ロボット2における高さ方向が同じ位置に取り付け可能になっている。このため、下限ストッパ4aと上限ストッパ4cとにより第1アーム2cの可動範囲を規定する場合には、第1アーム2cの可動範囲は、所定の角度(Δ2)となる。なお、本実施形態では、Δ2は180°になっている。 On the other hand, the
この場合、図1に示すように複数のストッパ4を取り付け可能な構成とすることもできるが、下限ストッパ4aと上限ストッパ4bとのみを取り付け可能な構成、あるいは、下限ストッパ4aと上限ストッパ4cとのみを取り付け可能な構成とすることもできる。このとき、複数のストッパ4を取り付け可能な構成であれば、例えば上限ストッパ4cで可動範囲の上限を規定する際には可動範囲の途中に位置する上限ストッパ4bは取り外せばよい。また、図示は省略するが、ショルダ2bや第2アーム2dの可動範囲を規定するためのストッパ4を設ける構成とすることもできる。 In this case, as shown in FIG. 1, it is possible to attach a plurality of stoppers 4, but it is possible to attach only the
このようなロボット2は、図2に示すように、各回転軸つまり各関節部5にアームを駆動するモータ6、モータ6の回転をアームに伝達する減速機7、および、モータ6の回転角度を検出する角度検出器8等が設けられている。本実施形態では、角度検出器8は、光学エンコーダにより構成されており、検出したモータ6の回転角度つまりはアームの回転角度に応じた値を出力する。 As shown in FIG. 2, the
コントローラ3は、図示しないマイクロコンピュータ等で構成された制御部を有しており、ロボット2の姿勢や動作を制御する。具体的には、コントローラ3は、ロボット2の各関節部5のモータ6を駆動することにより、各アームの回転角度つまりは姿勢や動作を制御する。また、コントローラ3は、モータ出力指令値やモータ電流に基づいてモータ出力を検出する。ただし、モータ出力は、例えばトルクセンサやプッシュプル等を用いて検出することもできる。 The controller 3 has a control unit configured by a microcomputer (not shown) and controls the posture and operation of the
また、コントローラ3は、後述するように、アームを移動させて可動範囲の一端側のストッパ4に押し当てた状態における角度検出器8の値と、アームを逆方向に駆動して他端側のストッパ4に押し当てた状態における角度検出器8の値との平均を取り、その平均を、アームを駆動する際の原点として設定する。 Further, as will be described later, the controller 3 drives the arm in the opposite direction by moving the arm and pressing it against the stopper 4 on one end side of the movable range, and driving the arm in the opposite direction. An average with the value of the angle detector 8 in a state of pressing against the stopper 4 is taken, and the average is set as an origin when the arm is driven.
また、ロボットシステム1は、図1に示したロボット2以外にも、例えば垂直多関節型のいわゆる6軸ロボットや、図3に示すロボット20のような水平多関節型のいわゆる4軸ロボットで構成することもできる。 In addition to the
図3に示すロボット20は、ベース20a上に、鉛直方向に設定された回転軸(J10)を介して第1アーム20bの一端が、水平方向に回転可能に連結されている。一方、第1アーム20bの他端側には、鉛直方向に設定された回転軸(J11)を介して第2アーム20cの一端が、水平方向に回転可能に連結されている。そして、第2アーム20cの他端側には、鉛直方向に移動可能なシャフト20dが連結されている。 In the
そして、ロボット20には、平面視において時計回りを正回転、反時計回りを逆回転とすると、例えば第1アーム20bには、第2アーム20cが水平回転する際の可動範囲を規定する下限ストッパ4a、上限ストッパ4bが設けられている。なお、図3は、側面視にて下限ストッパ4aおよび上限ストッパ4bが重なっている状態を示している。 The
また、ロボット20には、シャフト20dが上下方向に移動する際の可動範囲の下限を規定する下限ストッパ4a、および、可動範囲の上限を規定する上限ストッパ4bが設けられている。なお、図3に示すロボット20の構成は一例である。以下、本実施形態では、ロボット2であれば例えば下限ストッパ4aと上限ストッパ4cとを設けて第1アーム2cの原点合わせを行う場合や、ロボット20であれば例えば第2アーム20cの原点合わせを行う場合に好適な原点合わせ方法について、主としてロボット2を参照しながら説明する。 Further, the
さて、ロボット2の動作は角度検出器8の値つまりはアームの回転角度に基づいて制御されるため、角度検出器8の値とアームの実際の回転角度との間にずれがあると、動作時の位置精度が低下することになる。そのため、一般的には、ロボット2を組み立てた後、可動範囲の両端においてアームをストッパ4に押し当て、その状態で取得した角度検出器8の値に基づいて各関節部5の原点合わせが行われている。 Now, since the operation of the
このとき、原点合わせを行うためには、当然のことながらアームをストッパ4に押し当てることが必要になる。しかし、原点合わせを行う時点では未だ原点が定まっていないことから、アームの位置は未確定になっている。そのため、通常の動作時のようにアームの回転角度に基づいた角度制御を行うことが困難である。 At this time, in order to perform the origin adjustment, it is necessary to press the arm against the stopper 4 as a matter of course. However, since the origin has not yet been determined at the time when the origin is aligned, the position of the arm has not yet been determined. Therefore, it is difficult to perform angle control based on the rotation angle of the arm as in normal operation.
そして、角度制御を行うことが困難な状態でアームを回転させてしまうと、回転速度やトルクが過大になってアームやストッパ4の変形や損傷を招くおそれがある。
また、例えば現場で保守のために原点合わせを行う場合には、ロボット2に取り付けられたツール2eの重さの影響やアームに許容されている可動域の制約等により、あらかじめ無負荷の状態で設定していたモータ出力ではトルクが足りずにアームが動かない可能性がある。If the arm is rotated in a state where it is difficult to perform the angle control, the rotational speed and torque become excessive, and the arm and the stopper 4 may be deformed or damaged.
In addition, for example, when the origin is adjusted for maintenance at the site, it is assumed that there is no load in advance due to the influence of the weight of the
このように、アームをストッパ4に押し当てる態様にて原点合わせを行う場合には、まず、角度検出器8の値を読み取る以前の準備段階において、つまりは、アームを移動例えば回転させてストッパ4に押し当てるまでの段階において、十分に考慮および対策すべき問題が存在している。 As described above, when the origin is aligned in such a manner that the arm is pressed against the stopper 4, first, at the preparation stage before reading the value of the angle detector 8, that is, the arm is moved, for example, rotated to rotate the stopper 4. There are problems that need to be fully considered and addressed in the stage up to the point of pressing.
さらに、準備段階だけではなく、角度検出器8の値を読み取る段階においても、十分に考慮および対策すべき問題が存在する。一定のモータ出力(トルク)でアームをストッパ4に押し当てた状態では、アームがストッパ4に対して静止している状態つまりは力が釣り合っている状態になることから、ストッパ4とモータ6の間に介在する減速機7等の構造物には、ロボット2の姿勢とは無関係に、モータ6の出力トルク分だけが作用することになる。 Furthermore, not only in the preparation stage, but also in the stage of reading the value of the angle detector 8, there are problems that need to be fully considered and taken into account. When the arm is pressed against the stopper 4 with a constant motor output (torque), the arm is stationary with respect to the stopper 4, that is, the force is balanced. Regardless of the posture of the
この場合、アーム自体はストッパ4によって位置が規定されているとしても、図2に示すように、角度検出器8の値は、減速機7のバックラッシ分(D1)とモータ6の出力トルクに比例した減速機7等の構造物の弾性変形分(D2)とだけ、アームが停止した位置を通り過ぎた値(D3。以下、行き過ぎ量と称する)を出力することになる。なお、図2では、説明のためにバックラッシ分(D1)と弾性変形分(D2)とを誇張して示している。また、バックラッシ分(D1)、弾性変形分(D2)および行き過ぎ量(D3)は、正回転方向を正、逆回転方向を負とするものとする。 In this case, even if the position of the arm itself is defined by the stopper 4, as shown in FIG. 2, the value of the angle detector 8 is proportional to the backlash (D1) of the
このとき、バックラッシ分(D1)は、可動範囲の上限と下限とにおいてそれぞれアームをストッパ4に押し当てた状態においては、アームの回転方向つまりはアームの押し当て方向が逆向きになっていることから、互いに相殺されると考えられる。 At this time, the backlash portion (D1) is such that the arm rotation direction, that is, the arm pressing direction is opposite in the state where the arm is pressed against the stopper 4 at the upper limit and the lower limit of the movable range, respectively. Therefore, it is considered that they are offset each other.
一方、弾性変形分(D2)は、モータ出力に応じて変化するため、単にアームがストッパ4に押し当てられているというだけの状態では、それぞれの弾性変形分(D2)に差が生じる可能性がある。そして、弾性変形分(D2)に差が生じた場合には、可動範囲の上限と下限とにおいて行き過ぎ量(D3)が異なることから、中点の位置にずれが生じることになる。つまり、原点合わせを正確に行えなくなる。これは、角度検出器8の値は同じ方向に押し当てている場合にはモータ出力の差分に比例して弾性変形分に差が生じるためである(後述する図8参照)。 On the other hand, since the elastic deformation (D2) changes according to the motor output, there is a possibility that a difference occurs in the respective elastic deformation (D2) when the arm is simply pressed against the stopper 4. There is. When a difference occurs in the elastic deformation (D2), the overshoot amount (D3) is different between the upper limit and the lower limit of the movable range, so that the position of the midpoint is shifted. That is, the origin cannot be accurately adjusted. This is because when the value of the angle detector 8 is pressed in the same direction, a difference occurs in elastic deformation in proportion to the difference in motor output (see FIG. 8 described later).
なお、弾性変形分(D2)が生じないようにアームとストッパ4とを接触させる構成とすることも考えられるが、その場合には例えばプッシュプルゲージ等の治具を用いてストッパ4に対して力が加わっていないこと等を検出する必要があり、ロボットシステム1単独で行うことが困難になる。 In addition, it is also conceivable that the arm and the stopper 4 are brought into contact with each other so as not to cause elastic deformation (D2). In this case, for example, a jig such as a push-pull gauge is used to fix the stopper 4 to the stopper 4. It is necessary to detect that no force is applied, and it is difficult to carry out by the
そこで、ロボットシステム1では、図4に示す処理を実行することにより、アームやストッパ4の変形や損傷を招くことなく、また、治具等を用いることなく、原点合わせを行っている。図4は、原点合わせを行う際の処理の流れを示している。なお、この処理はコントローラ3によって行われるものの、説明の簡略化のため、ロボットシステム1を主体として説明する。 Therefore, in the
ロボットシステム1は、原点合わせを行う際、まず、アームの回転方向つまりは押し当て方向を設定する(S1)。この場合、最初に設定する押し当て方向は正回転方向または逆回転方向のいずれでもよいが、ここでは逆回転方向を設定したとする。押し当て方向を設定すると、ロボットシステム1は、目標速度(vc)に速度制御を開始する(S2)。つまり、ロボットシステム1は、原点合わせを行う段階では上記したように角度制御ができないことから、速度制御によってアームを回転させてストッパ4に押し当てる。 When performing the origin adjustment, the
ここで、vcは、アームを回転させる際に設定される速度である。この目標速度(vc)は、ストッパ4に接触しても損傷等を起こさない程度の速度が設定される。なお、目標速度(vc)は、原点合わせの作業時にユーザが設定可能とすることもできる。
また、このステップS2では、ロボットシステム1は、速度制御を開始した後、アームが目標速度あるいは目標速度付近に達するまで待機する。これは、速度制御を開始した直後においてはアームの速度が小さいことから、後述するステップS3の判定に利用できないためである。Here, vc is a speed set when the arm is rotated. The target speed (vc) is set to a speed that does not cause damage even if it contacts the stopper 4. It should be noted that the target speed (vc) can be set by the user at the time of origin adjustment work.
In step S2, the
速度制御を開始した後にアームの速度が目標速度、または目標速度付近まで達すると、ロボットシステム1は、角度検出器8の値の変化量から求まるアームの動作速度(v。角速度)に基づいて、動作速度の絶対値(|v|)が速度低下判定閾値(e1)未満となったか、または、目標速度との差分の絶対値(|vc−v|)が速度偏差過大判定閾値(e2)よりも大きくなったかを判定する(S3)。 When the speed of the arm reaches the target speed or near the target speed after the speed control is started, the
ここで、速度低下判定閾値(e1)および速度偏差過大判定閾値(e2)は、目標速度(vc)で回転しているアームがストッパ4に接触したか否かを判定するための閾値である。また、2種類の閾値で判定するのは、目標速度(vc)に応じた判定ができるようにするためである。これらの閾値はモータ6の定格トルクや構造物の強度、目標とする検出時間等に応じて適宜設定することができる。 Here, the speed reduction determination threshold (e1) and the speed deviation excess determination threshold (e2) are thresholds for determining whether or not the arm rotating at the target speed (vc) has come into contact with the stopper 4. Further, the determination with the two types of threshold values is to enable determination according to the target speed (vc). These threshold values can be appropriately set according to the rated torque of the
例えば目標速度(vc)が比較的低速に設定されている場合には、アームがストッパ4に接触してもそれほど過大な力は加わらないため、速度低下判定閾値(e1)を用いて速度の低下を検出すれば、アームがストッパ4に接触したことを判定できると考えられる。 For example, when the target speed (vc) is set to a relatively low speed, even if the arm contacts the stopper 4, so much force is not applied, so the speed is reduced using the speed reduction judgment threshold (e1). Is detected, it can be determined that the arm has come into contact with the stopper 4.
一方、アームを比較的大きく回転させる必要がある場合には、目標速度(vc)が比較的高速に設定されることが想定される。その場合、アームがストッパ4に衝突して損傷を招くおそれがあるが、速度偏差過大判定閾値(e2)を用い、動作速度(v)が目標速度(vc)から大きく変化した場合にモータ出力をその時の値に固定して速度制御を解除することで、アームやストッパ4の損傷を招くことなくアームがストッパ4に接触したことを判定できると考えられる。 On the other hand, when it is necessary to rotate the arm relatively large, it is assumed that the target speed (vc) is set at a relatively high speed. In this case, there is a possibility that the arm may collide with the stopper 4 and cause damage. However, when the operating speed (v) greatly changes from the target speed (vc) using the excessive speed deviation determination threshold (e2), the motor output is increased. It is considered that it is possible to determine that the arm contacts the stopper 4 without causing damage to the arm or the stopper 4 by releasing the speed control while fixing the value at that time.
このように、アームが回転してストッパ4に接触した場合にはアームの回転がその時点で停止することから、ロボットシステム1は、動作速度(v)が速度低下判定閾値(e1)よりも小さくなったか否か、または、速度偏差過大判定閾値(e2)を超える減速があったか否かを判定条件として、アームがストッパ4に接触したか否かを判定する。 As described above, when the arm rotates and comes into contact with the stopper 4, the rotation of the arm stops at that time. Therefore, the
ロボットシステム1は、アームがストッパ4に接触していないと判定すると(S3:NO)、速度制御を継続する。一方、ロボットシステム1は、アームがストッパ4に接触したと判定すると(S3:YES)、モータ出力をその時の値に固定して速度制御を解除し(S4)、角度検出器8の値、この場合は下限ストッパ4aに接触した状態での値(θa)を取得する。 If the
角度検出器8の値を取得すると、ロボットシステム1は、押し当て方向を逆向き、この場合は正回転方向に設定し(S6)、同じ目標速度(vc)に速度制御を開始し(S7)、動作速度(v)の絶対値(|v|)が速度低下判定閾値(e1)未満となったか、または、目標速度との差分の絶対値(|vc−v|)が速度偏差過大判定閾値(e2)よりも大きくなったかを判定する(S8)。 When the value of the angle detector 8 is acquired, the
そして、いずれかの判定条件が成立すると、ロボットシステム1は、モータ出力をその時の値に固定して速度制御を解除し(S9)、角度検出器8の値、この場合は上限ストッパ4cに接触した状態での値(θc)を取得する(S10)。つまり、アームを速度制御により移動させてストッパ4に到達したと判定した際のモータ出力で、アームを押し当てている。 If any one of the determination conditions is satisfied, the
このとき、アームは、逆回転および正回転の何れにおいても、同じ目標速度(vc)に速度制御されるとともに、同じ判定条件でストッパ4との接触が判定される。そのため、アームが下限ストッパ4aに接触するときの状態は、アームが上限ストッパ4cに接触するときの状態と同じである。より平易に言えば、速度制御されたアームは、下限ストッパ4aおよび上限ストッパ4cに対して一定のモータ出力、つまりは、同じ力が加わった状態で接触することになる。 At this time, the arm is speed controlled to the same target speed (vc) in both reverse rotation and forward rotation, and contact with the stopper 4 is determined under the same determination conditions. Therefore, the state when the arm contacts the
このため、可動範囲の下限と上限とでは、同じ力による弾性変形が生じることになり、弾性変形分(D2)が同じになる。そして、弾性変形分(D2)が同じであれば、角度検出器8は、同じ行き過ぎ量(D3)が逆方向にそれぞれ加わった値を出力することになる。 For this reason, elastic deformation by the same force occurs between the lower limit and the upper limit of the movable range, and the elastic deformation (D2) becomes the same. If the elastic deformation (D2) is the same, the angle detector 8 outputs a value obtained by adding the same overshoot amount (D3) in the opposite direction.
そして、角度範囲の上限と下限とにおいて同じ弾性変形が生じているのであれば、取得した2つの角度検出器8の値(θa、θc)の平均を取れば、正確に下限ストッパ4aと上限ストッパ4cとの中点が特定されることになる。 If the same elastic deformation occurs at the upper limit and the lower limit of the angle range, the
そのため、ロボットシステム1は、取得した2つの角度検出器8の値(θa、θc)の平均を、原点として算出する(S11)。これにより、理論上、ストッパ4やアームの寸法公差と角度検出器8の分解能およびモータ出力のばらつきの範囲内で、アームに対する角度検出器8の原点合わせを正確に行うことができる。
このように、本実施形態のロボットシステム1は、アームを速度制御より詳細には角速度制御により駆動することにより、原点合わせを行っている。Therefore, the
As described above, the
以上説明した構成によれば、次のような効果を得ることができる。
ロボットシステム1は、アームを速度制御しながら回転させてストッパ4に押し当てる。具体的には、アームが回転している際の角度検出器8の値の変化量すなわちアームの動作速度を監視し、動作速度の変化がなくなった時点、または、動作速度が大きく減速した時点で可動範囲の端に到達したとみなし、可動範囲の上限と下限とでそれぞれ角度検出器8の値を取得し、その平均を原点に設定することで、原点合わせを行っている。According to the configuration described above, the following effects can be obtained.
The
この場合、例えばアームを回転させる際にアームの自重の影響でモータ6の出力が足りなくなると動作速度(v)が徐々に下がるため、目標速度(vc)に近づけるためモータ6の出力が上がる。そのため、ツール2eの重さが可搬重量以下であれば、可動範囲の端に到達する前に止まってしまうことはない。 In this case, for example, when the output of the
そして、動作速度の変化がなくなった時点、または、動作速度が大きく減速した時点でストッパ4に到達したと判定すれば、ツール2eの重さによらず、弱い力でアームをストッパ4に押し当てることができる。そして、アームを速度制御により移動させてストッパ4に到達したと判定した際のモータ出力を用いることで、可動範囲の両端において同じモータ出力で押し当てた状態を実現することができる。 If it is determined that the stopper 4 has been reached when there is no change in the operating speed or when the operating speed has greatly decreased, the arm is pressed against the stopper 4 with a weak force regardless of the weight of the
これにより、アームの可動範囲の両端で同じ力で押し当てた状態における角度検出器8の値、つまりは、逆方向にストッパ4を同じ行き過ぎ量(D3)だけ行き過ぎた状態における角度検出器8の値を取得でき、両者の値の平均値を求めれば、可動範囲の両端のストッパ4の中点を原点とする原点合わせを行うことができる。そして、原点合わせができれば、角度検出器8のオフセット値を取得することができる。 As a result, the value of the angle detector 8 in a state in which both ends of the movable range of the arm are pressed with the same force, that is, the angle detector 8 in the state in which the stopper 4 is excessively moved in the opposite direction by the same overshoot amount (D3). If the value can be acquired and the average value of the two values is obtained, the origin can be adjusted with the middle point of the stopper 4 at both ends of the movable range as the origin. If the origin can be aligned, the offset value of the angle detector 8 can be acquired.
したがって、アームやストッパ4の変形や損傷を招くことなく原点合わせを行うことができる。
この場合、原点は、角度検出器8の値の平均ではなく、いずれかのストッパ4の位置に設定する等、ロボット2の制御に都合の良いように任意のオフセット値を加えることもできる。Therefore, the origin can be adjusted without causing deformation or damage of the arm or the stopper 4.
In this case, the origin is not an average of the values of the angle detector 8, and an arbitrary offset value can be added so as to be convenient for the control of the
また、治具等を用いることなくロボットシステム1単独且つ自動で原点合わせを行うことができるため、使い勝手を向上させることができるとともに、ロボット2を設置した現場での作業やある程度の期間が経過した後のメンテナンス等においても、容易に原点合わせを行うことができる。また、自動で原点合わせを行うことができるため、作業者の熟練度等に左右されることもない。 Further, since the
また、この手法は、本実施形態のように、ロボット2であれば下限ストッパ4aと上限ストッパ4cとを設けた場合のように、アームの自重によらず可動範囲の上限と下限とにおいてストッパ4への押し当て状態が同じになる構成や、ロボット20であれば例えば第2アーム20cのように回転方向が水平方向に限定されている構成、つまりは、可動範囲の両端においてアームに掛かる重力がモータ6のトルクに対して同じように作用する場合に問題なく原点合わせができることから、特に有意である。 In addition, as in this embodiment, this method is similar to the case of the
また、図4に示す原点合わせの処理を実行可能な制御部を有するコントローラ3を備えたロボットシステム1によっても、アームやストッパ4の変形や損傷を招くことなく原点合わせを行うことができる等、上記した同様の効果を得ることができる。 In addition, the
また、制御部としては、実施形態で例示したコントローラ3以外に、図示は省略するがティーチングペンダントを用いる構成とすることもできる。
また、モータ出力と実際にアームに発揮されるモーメントの関係が既知であれば、減速機7等の構造物の剛性が得られるため、自重によるたわみ分を補正した角度制御にも活用することができる。In addition to the controller 3 exemplified in the embodiment, the controller may be configured to use a teaching pendant although not shown.
In addition, if the relationship between the motor output and the moment actually exerted on the arm is known, the rigidity of the structure such as the
(第2実施形態)
以下、第2実施形態について、図5および図6を参照しながら説明する。第2実施形態では、アームが鉛直方向に回転あるいは移動する場合における原点合わせの手法について説明する。なお、ロボットシステム1の構成は第1実施形態と共通するため、図1から図3も参照しながら説明する。(Second Embodiment)
Hereinafter, the second embodiment will be described with reference to FIGS. 5 and 6. In the second embodiment, a method for aligning the origin when the arm rotates or moves in the vertical direction will be described. The configuration of the
可動範囲の両端において同じモータ出力でアームをストッパ4に押し当てた場合、ストッパ4とモータ6との間に存在する減速機7等の構造物には、静止状態で力が釣り合っていることからロボット2の姿勢とは無関係にモータ6の出力トルク分だけが作用する。この場合、角度検出器8は、上記した図3に示したように、減速機7のバックラッシ分(D1)とモータ6の出力トルクに比例した構造物の弾性変形分(D2)とに応じてストッパ4の位置を通り過ぎた値、つまり、行き過ぎ量(D3)を含む値を出力することになる。 When the arm is pressed against the stopper 4 with the same motor output at both ends of the movable range, the structure such as the
そのため、アームの可動範囲の両端で同じモータ出力で押し当てれば、同じ量且つ逆方向に行き過ぎ量(D3)が発生することから、両端での角度検出器8の値の平均値を求めれば、両端のストッパ4の中点を原点として設定する原点合わせを行うことができる。このため、同じモータ出力でアームをストッパ4に押し当てれば、理論上、ストッパ4やアームの寸法公差や角度検出器8の分解能およびモータ出力のばらつきの範囲内で、アームに対する角度検出器8の原点合わせを正確に行うことができる。 Therefore, if the same motor output is pressed at both ends of the movable range of the arm, the same amount and the overshoot amount (D3) is generated in the opposite direction. Therefore, if the average value of the angle detector 8 at both ends is obtained, The origin can be adjusted by setting the middle point of the stoppers 4 at both ends as the origin. Therefore, if the arm is pressed against the stopper 4 with the same motor output, the angle detector 8 with respect to the arm is theoretically within the range of the tolerance of the stopper 4 and the arm, the resolution of the angle detector 8 and the variation of the motor output. The origin can be adjusted accurately.
だたし、ストッパ4の位置によっては、同じモータ出力で押し当てることによる原点合わせが困難な場合が想定される。
まず、ストッパ4の位置によって原点合わせを行うことが困難になる1つ目の大きな理由として、モータ出力の値を予め一定値に設定することが難しいという点が挙げられる。However, depending on the position of the stopper 4, it may be difficult to align the origin by pressing with the same motor output.
First, the first major reason why it is difficult to perform origin adjustment depending on the position of the stopper 4 is that it is difficult to set the motor output value to a constant value in advance.
可動範囲内のどの位置から原点合わせを開始してもアームをストッパ4に押し当てることができるようにするためには、モータ出力値をアームの自重を振り切れるだけ十分大きく設定しておく必要がある。しかし、その場合には、アームの自重が最大になる位置以外にストッパ4が設けられていると、自重を支えるために必要となるモータ出力が小さくなる分だけ、アームの移動速度が速くなる。 In order to be able to press the arm against the stopper 4 from any position within the movable range, it is necessary to set the motor output value large enough to swing out the weight of the arm. is there. However, in that case, if the stopper 4 is provided in a position other than the position where the weight of the arm becomes the maximum, the moving speed of the arm is increased by the amount that the motor output required to support the weight is reduced.
その結果、アームがストッパ4により強く押し当てられることになり、アームやストッパ4の損傷を招くおそれがある。また、アームの自重と同じ方向へ押し当てる場合には、さらにアームが強くストッパ4に押し当てられることになる。これは、モータ出力を徐々に大きくしていく手法の場合も同様である。 As a result, the arm is strongly pressed by the stopper 4 and the arm and the stopper 4 may be damaged. Further, when the arm is pressed in the same direction as the weight of the arm, the arm is further strongly pressed against the stopper 4. The same applies to the method of gradually increasing the motor output.
具体的には、例えば図5に示すように、ロボット2において第1アーム2cの可動範囲を下限ストッパ4aと上限ストッパ4bとにより規定する場合や、図3に示すロボット20においてシャフト20dの可動範囲を下限ストッパ4aと上限ストッパ4bとにより規定する場合がこれに相当する。以下、第1アーム2cやシャフト20dを、便宜的にアームと総称して説明する。 Specifically, for example, as shown in FIG. 5, the movable range of the
図5に示すロボット2の場合、上限ストッパ4bに向かってアームを動作させる際には、モータ出力によるモーメント(M1)とアームの自重によるモーメント(M2)が逆向きであることから、重力に逆らってアームを移動できるだけのモータ出力、より厳密に言えば、アームの自重が最大になる姿勢でのモータ出力よりも大きな出力が必要になる。 In the case of the
その一方で、可動範囲の上限に向かってアームを移動させる場合と下限に向かって移動させる場合で同じモータ出力にしてしまうと、下限ストッパ4a側に移動する際には、モータ出力によるモーメント(M1)とアームの自重によるモーメント(M2)が同じ向きになることから、アームの自重と同じ方向にモータ出力が作用してアームの移動速度が相対的に速くなるとともにアームの自重分が加わり、下限ストッパ4aに過剰な力で押し当てられてしまう。換言すると、下限ストッパ4aからの反力(F1)が、上限ストッパ4bに比べて大きくなる。 On the other hand, if the motor output is the same when the arm is moved toward the upper limit of the movable range and when the arm is moved toward the lower limit, the moment (M1) due to the motor output is generated when moving toward the lower limit stopper 4a. ) And the moment (M2) due to the arm's own weight are in the same direction, the motor output acts in the same direction as the arm's own weight, the arm moving speed becomes relatively faster and the arm's own weight is added. It will be pressed against the
このように、アームを移動させる際に重力が影響する場合には、同じモータ出力で押し当てるようとすると、重力に逆らってアームを移動できるだけのモータ出力が必要とされる一方、そのモータ出力でアームの自重と同じ方向にモータ出力が作用する側のストッパ4に押し当てると過剰な力が加わってしまう。 In this way, when gravity influences when moving the arm, if the same motor output is used for pressing, the motor output that can move the arm against gravity is required. Excessive force will be applied if it presses against the stopper 4 on the side where the motor output acts in the same direction as the weight of the arm.
そして、過剰な力に対処してアームやストッパ4が損傷しないようにするために例えば強固な構造にすること等が必要になってしまう。また、ストッパ4に加わる力が異なれば、弾性変形分(D2)が両端で異なってしまうため、正確な原点を特定することができなくなる。 In order to deal with excessive force and prevent the arm and the stopper 4 from being damaged, for example, a strong structure is required. Further, if the force applied to the stopper 4 is different, the elastic deformation (D2) is different at both ends, so that an accurate origin cannot be specified.
次に、原点合わせを行うことが困難になる2つ目の大きな理由として、損傷等を招かない程度の比較的小さな値をモータ出力に予め設定しておくことが難しい点が挙げられる。
例えば、出荷後のロボット2に対してメンテナンス等のために現場で原点合わせを行うことがある。この場合、ロボット2にはツール2e等が取り付けられているため、上記したように重力に逆らって移動できるようにするためには、出荷時に行った原点合わせのときよりも少なくともツール2e分は出力を大きくする必要がある。Next, the second major reason why it is difficult to perform origin adjustment is that it is difficult to preset a relatively small value in the motor output that does not cause damage or the like.
For example, the
また、周辺設備とロボット2との関係によっては、例えばアームが干渉する等の理由により、出荷時と同じ姿勢で原点合わせを行うことができず、アームの自重による影響が異なっていることも想定される。 Also, depending on the relationship between the peripheral equipment and the
このとき、もしも出荷時の原点合わせで用いたモータ出力では足りなかったりアームの自重とモータ出力とが釣り合ってしまったりすると、上限ストッパ4bに到達する前に角度検出器8の値の変化がなくなり、可動範囲の上限に到達したと誤判定した状態で角度検出器8の値を取得して間違った原点を算出してしまうおそれがある。 At this time, if the motor output used for the origin adjustment at the time of shipment is insufficient or the weight of the arm and the motor output are balanced, the value of the angle detector 8 does not change before reaching the
そこで、本実施形態では、図6に示す処理を実行することにより、アームの自重が影響する場合であっても正確に原点合わせを行うことを可能としている。なお、図6に示す処理において、上記した第1実施形態で説明した処理と共通する処理については同一のステップ番号を付し、その詳細な説明は省略する。 Therefore, in the present embodiment, by performing the processing shown in FIG. 6, it is possible to accurately perform the origin adjustment even when the weight of the arm is affected. In the process shown in FIG. 6, processes that are the same as those described in the first embodiment are given the same step numbers, and detailed descriptions thereof are omitted.
ロボットシステム1は、図6に示す処理において、押し当て方向を設定し(S1)、目標速度(vc)に速度制御を開始する(S2)。速度制御を開始してアームの速度が目標速度または目標速度付近まで達すると、ロボットシステム1は、角度検出器8の値の変化量から求まるアームの動作速度(v)に基づいて、動作速度の絶対値(|v|)が速度低下判定閾値(e1)未満となったか、または、目標速度との差分の絶対値(|vc−v|)が速度偏差過大判定閾値(e2)よりも大きくなったかを判定する(S3)。つまり、ロボットシステム1は、第1実施形態と同様に速度制御によりアームを移動させている。 In the process shown in FIG. 6, the
ロボットシステム1は、アームがストッパ4に接触していないと判定すると(S3:NO)、速度制御を継続する。一方、ロボットシステム1は、アームがストッパ4に接触したと判定すると(S3:YES)、モータ出力をその時の値に固定して速度制御を解除し(S4)、モータ出力(Pa)を取得した後(S20)、角度検出器8の値(θa)を取得する(S5)。つまり、ロボットシステム1は、アームがストッパ4に接触して押し当てられた状態におけるモータ出力(Pa)および角度検出器8の値(θa)を取得する。 If the
続いて、ロボットシステム1は、押し当て方向を逆向きに設定し(S6)、同じ目標速度(vc)に速度制御を開始し(S7)、動作速度(v)の絶対値(|v|)が速度低下判定閾値(e1)未満となったか、または、目標速度との差分の絶対値(|vc−v|)が速度偏差過大判定閾値(e2)よりも大きくなったかを判定する(S8)。 Subsequently, the
そして、ロボットシステム1は、いずれかの判定条件も成立していない場合には(S8:NO)速度制御を継続する一方、いずれかの判定条件が成立した場合には(S8:YES)、速度制御を解除した後(S9)、モータ出力(Pb)を調整する(S21)。 The
このステップS21では、ロボットシステム1は、モータ出力(Pb)を、ステップS20で取得したモータ出力(Pa)に一致するように調整している。つまり、ロボットシステム1は、ストッパ4に接触した後にアームをストッパ4に押し当てる際の押し当て力を、可動範囲の両端で同じになるように調整する。 In step S21, the
モータ出力を調整すると、ロボットシステム1は、角度検出器8の値(θb)を取得する(S10)。この場合、アームをストッパ4に押し当てる力が一致していることから、ストッパ4の弾性変形分(D2)は、角度検出器8の値(θa)を取得したときとは同じ大きさで向きが逆になっている。 When the motor output is adjusted, the
そして、ロボットシステム1は、取得した2つの角度検出器8の値(θa、θb)の平均を原点として算出する(S11)。これにより、理論上、ストッパ4やアームの寸法公差と角度検出器8の分解能およびモータ出力のばらつきの範囲内で、アームに対する角度検出器8の原点合わせを正確に行うことができる。なお、原点は、角度検出器8の値の平均ではなく、いずれかのストッパ4の位置に設定する等、ロボット2の制御に都合の良いように任意のオフセット値を加えることもできる。 Then, the
以上説明した構成によれば、次のような効果を得ることができる。
本実施形態のロボットシステム1は、アームを速度制御により駆動してストッパ4に押し当てた後、可動範囲の両端において同じモータ出力で押し当てた状態で角度検出器8の値を取得する。According to the configuration described above, the following effects can be obtained.
The
これにより、可動範囲の端に到達する前に止まってしまうことなく弱い力でアームをストッパ4に押し当てることができ、アームやストッパ4の変形や損傷を招くことなく原点合わせを行うことができる等、第1実施形態と同様の効果を得ることができる。 As a result, the arm can be pressed against the stopper 4 with a weak force without stopping before reaching the end of the movable range, and the origin can be adjusted without causing deformation or damage to the arm or the stopper 4. Thus, the same effects as in the first embodiment can be obtained.
また、アームをストッパ4に押し当てる力が可動範囲の両端側で一致していることから、下限側と上限側とでは各行き過ぎ量(D3)の大きさが同じで向きが逆になる。そのため、下限側と上限側とで取得した角度検出器8の値の例えば平均を取ることにより、原点を正確に特定することができる。 Moreover, since the force which presses the arm against the stopper 4 is the same on both ends of the movable range, the magnitude of each overshoot amount (D3) is the same on the lower limit side and the upper limit side, and the directions are reversed. Therefore, the origin can be specified accurately by taking, for example, the average of the values of the angle detector 8 acquired on the lower limit side and the upper limit side.
実施形態ではモータ出力(Pa)のほうが大きい場合を想定しており、ステップS21においてはモータ出力をPaに合わせる流れを示したが、例えば予め目標となるモータ出力(Pc)を設定しておき、ステップS20、S21において、モータ出力(Pc)となるように調整する流れとすることもできる。 In the embodiment, it is assumed that the motor output (Pa) is larger. In step S21, the flow of adjusting the motor output to Pa is shown. For example, a target motor output (Pc) is set in advance. In steps S20 and S21, the flow may be adjusted so that the motor output (Pc) is obtained.
また、可動範囲の両端への押し当てを一度実施してモータ出力が大きい側を予め特定しておき、モータ出力が大きい側に対してステップS1〜S5の処理を行い、モータ出力が小さい側に対してステップS6〜S10の処理を行う流れとすることもできる。また、後述する第3実施形態のように、可動範囲の両端においてバックラッシ分を一致させるために、ステップS6とステップS8の後段にそれぞれモータ出力(P)の方向が押し当て方向と一致するか否かを判定する処理(S30。図7参照)を含む流れとすることもできる。 Also, once pressing the both ends of the movable range is performed, the side where the motor output is large is specified in advance, the processing of steps S1 to S5 is performed on the side where the motor output is large, and the side where the motor output is small On the other hand, it can also be set as the flow which performs the process of step S6-S10. Further, as in the third embodiment described later, in order to match the backlash at both ends of the movable range, whether the direction of the motor output (P) coincides with the pressing direction at the subsequent stage of step S6 and step S8. It is also possible to use a flow including a process for determining whether (S30, see FIG. 7).
また、モータ出力と実際にアームに発揮されるモーメントの関係が既知であれば、減速機7等の構造物の剛性が得られるため、自重によるたわみ分を補正した角度制御にも活用することができる。
また、上限ストッパ4bに向かってアームを回転させる場合には重力に逆らう必要があるため、下限ストッパ4aに向かってアームを回転させる場合よりもモータ出力が大きくなると想定される。そのため、上限ストッパ4bに押し当ててから下限ストッパ4aに押し当てる順番とすることにより、モータ6が必要とする出力を足りなくなるおそれを低減でき、再計測し無ければならない状態を回避することができる。In addition, if the relationship between the motor output and the moment actually exerted on the arm is known, the rigidity of the structure such as the
Further, when the arm is rotated toward the
なお、十分なモータ出力を予め設定しているのであれば、ストッパ4へ押し当てを行う順序は、上限ストッパ4bに押し当ててから下限ストッパ4aに押し当てる順番とすることができるし、下限ストッパ4aに押し当ててから上限ストッパ4bに押し当てる順番とすることもできる。 If a sufficient motor output is set in advance, the order of pressing against the stopper 4 can be the order of pressing against the
(第3実施形態)
以下、第3実施形態について、図7から図10を参照しながら説明する。第3実施形態では、アームが鉛直方向に回転あるいは移動する場合における原点合わせの手法について、第2実施形態とは異なる手法を説明する。なお、ロボットシステム1の構成は第1実施形態と共通するため図1から図3も参照しながら説明するとともに、原点合わせ時における課題や背景は第2実施形態と共通するため図5も参照しながら説明する。(Third embodiment)
Hereinafter, the third embodiment will be described with reference to FIGS. In the third embodiment, a method different from that of the second embodiment will be described as a method of aligning the origin when the arm rotates or moves in the vertical direction. Since the configuration of the
まず、上記した第2実施形態で説明したように、例えば図5に示すようにロボット2において第1アーム2cの可動範囲を下限ストッパ4aと上限ストッパ4bとにより規定する場合や、図3に示すロボット20においてシャフト20dの可動範囲を下限ストッパ4aと上限ストッパ4bとにより規定する場合を想定する。 First, as described in the second embodiment, for example, as shown in FIG. 5, in the
つまり、本実施形態では、アームの可動範囲の一端側に設けられているストッパ4aは、アームに下方から接触し、接触した状態において当該アームの自重が加わる位置に設けられており、アームの可動範囲の他端側に設けられているストッパ4bは、アームに上方から接触し、接触した状態において当該アームの自重が加わらない位置に設けられている状態である。 That is, in this embodiment, the
このように重力による影響が異なる位置関係でストッパ4が設けられている場合には、各ストッパ4にアームを押し当てる際に考慮すべき事項が存在すると考えられる。具体的には、一端側のストッパ4aには、アームを押し当てた際に重力の影響が加算されてその分だけモータ出力以上の押し当て力が働くことになる。一方、他端側のストッパ4bには、アームを押し当てた際にアームの自重分がモータ出力から減算された押し当て力が働くことになる。この場合、他端側のモータ出力は、重力に逆らってアームを移動させる必要があることから、一端側よりもモータ出力が相対的に大きくなると予想される。 Thus, when the stopper 4 is provided in a positional relationship in which the influence of gravity is different, it is considered that there are items to be considered when pressing the arm against each stopper 4. Specifically, when the arm is pressed against the
そのため、他端側に押し当てたときと同じモータ出力で一端側に押し当てるようとすると、モータ出力が相対的に大きいことに加え、重力による影響が加わることから、ストッパ4あるいはアームの構造に対して過大な力が加わるおそれがある。その一方で、一端側に押し当てる際に構造に支障がない程度の押し当て力となるモータ出力で他端側に押し当てようとすると、アームを重力に逆らって移動させることができず、他端側のストッパに押し当てることができなくなるおそれもある。この場合、重力による影響はロボット2の姿勢によって変化すると考えられることや、ストッパ4の位置がユーザによって変更される可能性があること等を考慮すると、両端で同じ押し当て状態となるモータ出力を予め設定しておくことは困難であると考えられる。 For this reason, if the same motor output as that applied to the other end is pressed against one end, the motor output is relatively large and the influence of gravity is added. On the other hand, excessive force may be applied. On the other hand, if you try to press against the other end with a motor output that has a pressing force that does not interfere with the structure when pressing against one end, you cannot move the arm against gravity, There is also a possibility that it cannot be pressed against the end stopper. In this case, considering that the influence of gravity is considered to change depending on the posture of the
このように、重力による影響が異なる位置関係でストッパが設けられている場合には、可動範囲の両端において同等の押し当て状態を実現することが困難であることが予想される。そして、両端における押し当て状態が異なる場合には、弾性変形量が両端で異なることから、原点合わせを正しくできなくなる。 As described above, when the stoppers are provided in a positional relationship in which the influence of gravity is different, it is expected that it is difficult to realize an equivalent pressing state at both ends of the movable range. If the pressing state at both ends is different, the amount of elastic deformation is different at both ends, so that the origin cannot be correctly aligned.
そこで、本実施形態では、アームやストッパ4およびその他の構造物の剛性自体はストッパ4の位置によって変化しない点に着目して、図7に示す処理を実行することにより原点合わせを行っている。なお、図7に示す処理において、上記した第1実施形態で説明した処理と共通する処理については同一のステップ番号を付し、その詳細な説明は省略する。 Therefore, in the present embodiment, focusing on the fact that the rigidity of the arm, the stopper 4 and other structures does not change depending on the position of the stopper 4, the origin adjustment is performed by executing the processing shown in FIG. In the process shown in FIG. 7, processes that are the same as those described in the first embodiment are given the same step numbers, and detailed descriptions thereof are omitted.
ロボットシステム1は、図7に示す処理において、押し当て方向を設定し(S1)、目標速度(vc)に速度制御を開始する(S2)。速度制御を開始してアームの速度が目標速度または目標速度付近まで達すると、ロボットシステム1は、角度検出器8の値の変化量から求まるアームの動作速度(v)に基づいて、動作速度の絶対値(|v|)が速度低下判定閾値(e1)未満となったか、または、目標速度との差分の絶対値(|vc−v|)が速度偏差過大判定閾値(e2)よりも大きくなったかを判定する(S3)。つまり、ロボットシステム1は、第1実施形態と同様に速度制御によりアームを移動させている。 In the process shown in FIG. 7, the
ロボットシステム1は、アームがストッパ4に接触していないと判定すると(S3:NO)、速度制御を継続する。一方、ロボットシステム1は、アームがストッパ4に接触したと判定すると(S3:YES)、モータ出力(P)の方向が押し当て方向と一致するか否かを判定する(S30)。 If the
アームの自重が掛かる方向と同じ方向にアームを動かしていった場合、アームの自重によって、モータ6の回転角度よりも減速機7のバックラッシ分だけアーム角度が先行している。そのため、アームがストッパ4に接触した直後では、バックラッシ分は、可動範囲の反対側に押し当てた状態に一致しないため、バックラッシ分を一致させる必要がある。 When the arm is moved in the same direction as the direction in which the weight of the arm is applied, the arm angle precedes the rotation angle of the
そのため、ロボットシステム1は、モータ出力(P)の方向が押し当て方向と一致しないと判定した場合には(S30:NO)、速度制御を継続することによりモータ出力を増加させ、押し当て方向とモータ6の駆動方向が一致するようにしている。 Therefore, if the
そして、ロボットシステム1は、モータ出力(P)の方向が押し当て方向と一致した状態になると(S30:YES)、モータ出力をその時の値に固定して速度制御を解除し(S4)、現在のモータ出力(P)における角度検出器8の値(θ1)を取得する(S31)。 When the direction of the motor output (P) coincides with the pressing direction (S30: YES), the
続いて、ロボットシステム1は、現在のモータ出力(P)をαだけ増加させ、モータ出力(P+α)とした状態でアームを駆動し(S32)、そのときの角度検出器8の値(θ2)を取得する(S33)。ただし、モータ出力の増加量(α)は、関節部5の静摩擦力より十分大きい値とする。これにより、実際には弾性変形していない状態を弾性変形したと誤判定するおそれを低減することができ、中点を推定する精度を向上させることができる。 Subsequently, the
このように、ロボットシステム1は、異なる2つの押し当て力で押し当てたときの角度検出器8の値をそれぞれ取得している。このとき、取得した2つの角度検出器8の値とモータ出力との関係が、図8に示すものになったとする。
さて、同じ方向に押し当てている場合には、モータ出力に差がなければ弾性変形分にも差は生じないと考えられる。そのため、図8に示したモータ出力と角度検出器8の値との関係を、モータ出力の差分と弾性変形分の差分(角度検出器8の値の変化量)との関係に置き換えてみる。As described above, the
Now, when pressing in the same direction, if there is no difference in motor output, it is considered that there is no difference in elastic deformation. Therefore, the relationship between the motor output and the value of the angle detector 8 shown in FIG. 8 is replaced with the relationship between the difference in motor output and the difference in elastic deformation (the amount of change in the value of the angle detector 8).
この場合、モータ出力の差分と弾性変形分の差分との関係は、図9に示すように、座標原点と点(α、Dα)を通り、傾きが(Dα)/αである比例直線(K)にて示されることになる。ただし、Dα=θ2−θ1である。また、この比例直線(K)は、モータ出力の変化に伴う角度検出器8の値の変化を示すものであり、本実施形態における一端側のストッパ4aの弾性変形特性に相当する。なお、図9では説明の簡略化のために正負を問わない状態で示しているが、押し当て方向が逆であれば、弾性変形分の差分の符号も逆になる。 In this case, as shown in FIG. 9, the relationship between the motor output difference and the elastic deformation difference is a proportional straight line (K) that passes through the coordinate origin and the point (α, Dα) and has an inclination of (Dα) / α. ). However, Dα = θ2−θ1. The proportional straight line (K) indicates a change in the value of the angle detector 8 with a change in the motor output, and corresponds to the elastic deformation characteristic of the
ロボットシステム1は、モータ出力と角度検出器8の値との関係を特定すると、押し当て方向を逆向きに設定し(S6)、同じ目標速度(vc)に速度制御を開始し(S7)、ストッパ4に接触したか否かを判定する(S8)。ロボットシステム1は、ストッパ4に接触したと判定すると(S8:YES)、モータ出力(P)の方向が押し当て方向と一致するまで速度制御を継続した後(S34:YES)、モータ出力をその時の値に固定して速度制御を解除して(S9)、角度検出器8の値(θ3)を取得する(S10)。また、このときのモータ出力をP3とする。 When the
可動範囲の両端で角度検出器8の値を取得すると、ロボットシステム1は、原点を算出する(S11)。
さて、可動範囲の一端側つまりは2段階の押しつけを行った側であるステップS31で取得した角度検出器8の値(θ1)と、他端側であるステップ10で取得した角度検出器8の値(θ3)とには、それぞれ逆向きの弾性変形分が含まれている。
この場合、モータ出力が同じであれば、上記したように弾性変形分には差がないことから、θ1とθ3との平均を取ることにより、中点を原点とする原点合わせを行うことができる。When the values of the angle detector 8 are acquired at both ends of the movable range, the
Now, the value (θ1) of the angle detector 8 acquired in step S31 which is one end side of the movable range, that is, the side where the two-stage pressing is performed, and the angle detector 8 acquired in step 10 which is the other end side. Each value (θ3) includes an elastic deformation in the opposite direction.
In this case, if the motor output is the same, there is no difference in the amount of elastic deformation as described above, so that the origin can be adjusted with the midpoint as the origin by taking the average of θ1 and θ3. .
一方、モータ出力(P3)が例えばモータ出力(P1)よりも大きい場合には、θ3にはθ1よりも大きい弾性変形分が含まれていると考えられるため、単純に平均値を取った場合には、中点が他端側にずれることになり正しく原点合わせを行うことができない。
そこで、ロボットシステム1は、上記した図9に示す関係を利用して、他端側と同じ押し当て状態にしたと仮定した場合に得られる一端側の角度検出器8の値を推定する。On the other hand, when the motor output (P3) is larger than, for example, the motor output (P1), it is considered that θ3 includes an elastic deformation larger than θ1, and therefore when the average value is simply taken. In this case, the center point is shifted to the other end side, and correct origin adjustment cannot be performed.
Therefore, the
具体的には、ロボットシステム1は、図10に示すように、一端側のモータ出力と角度検出器8の値との関係から、モータ出力がP3である場合に得られると推定される角度検出器8の値(θα)を取得する。より具体的には、他端側に押し当てを行った際のモータ出力(P3)における弾性変形特性(K)を延長した仮想線(K2)上の値に基づいて、一端側においてモータ出力(P3)でアームを押し当てたと仮定した場合における一端側の角度検出器8の値(θα)を推定する。 Specifically, as shown in FIG. 10, the
これにより、可動範囲の両端において同じ押し当て状態であると仮定した場合における角度検出器8(θα、θ3)が求まり、それらの平均を取ることにより、可動範囲の両端において同じ押し当て状態とした場合の中点が求まる。そして、求めた中点を原点に設定することにより、正しく原点合わせを行うことができる。 As a result, the angle detector 8 (θα, θ3) when the same pressing state is assumed at both ends of the movable range is obtained, and the same pressing state is obtained at both ends of the movable range by taking an average thereof. Find the midpoint of the case. Then, by setting the determined midpoint as the origin, the origin can be correctly aligned.
以上説明した構成によれば、次のような効果を得ることができる。
ロボットシステム1は、一端側において、アームを異なるモータ出力でストッパ4に対して複数回押し当て、複数回押し当てた際に取得したそれぞれのモータ出力と角度検出器8の値とに基づいて、モータ出力の変化に伴う角度検出器8の値の変化を示す一端側のストッパ4aの弾性変形特性を求め、他端側においてアームをストッパ4bに対して押し当てた際のモータ出力と同じモータ出力で一端側に押し当てたと仮定した場合に得られる一端側の角度検出器8の値を、弾性変形特性に基づいて推定する。According to the configuration described above, the following effects can be obtained.
On the one end side, the
そして、ロボットシステム1は、一端側における角度検出器8の推定値と他端側で実測した角度検出器8の値との平均を取ることで、つまりは、可動範囲の両端において同じ押し付け状態を再現することで、可動範囲の中点を特定して原点合わせを行う。
この場合、一端側のストッパには構造に影響を与えない程度のモータ出力で押し当てることから、アームやストッパの変形や損傷を招くことなく原点合わせを行うことができる等、第1実施形態と同様の効果を得ることができる。The
In this case, since the motor is pressed against the stopper on one end side with a motor output that does not affect the structure, the origin can be aligned without causing deformation or damage of the arm or stopper, etc. Similar effects can be obtained.
また、アームを移動させる際に重力の影響を受ける場合であっても、可動範囲の両端において同等の押し当て状態とした場合の角度検出器8の値を取得できることから、アームの自重によらず、また、ストッパ4の位置によらず、正しく原点合わせを行うことができる。
また、モータ出力と実際にアームに発揮されるモーメントの関係が既知であれば、減速機7等の構造物の剛性が得られるため、自重によるたわみ分を補正した角度制御にも活用することができる。Even when the arm is affected by gravity, the value of the angle detector 8 when the same pressing state is obtained at both ends of the movable range can be obtained, so that it does not depend on the weight of the arm. In addition, the origin can be correctly aligned regardless of the position of the stopper 4.
In addition, if the relationship between the motor output and the moment actually exerted on the arm is known, the rigidity of the structure such as the
この場合、重力がかかる下限ストッパ4aではアームの自重とモータ出力の両方が作用するが、重力に逆らって押し当てる上限ストッパ4bではモータ6に必要とされる出力は大きくなる。そのため、下限ストッパ4aに一度押し当ててから上限ストッパ4bに2段階での押し当てを行うことで構造物に掛かる力を小さくすることができ、損傷をより抑えることができる。 In this case, both the dead weight of the arm and the motor output act on the
また、実施形態では2段階の押し当てを行う例を示したが、3段階以上の押し当てをおこなうこともできる。
また、アームとストッパ4とが接触した状態から変化したモータ出力の差分に基づいて角度検出器8の値を推定する構成とすることもできる。In addition, in the embodiment, an example in which two-stage pressing is performed has been described, but three or more levels of pressing can also be performed.
Moreover, it can also be set as the structure which estimates the value of the angle detector 8 based on the difference of the motor output changed from the state which the arm and the stopper 4 contacted.
また、実施形態では一端側での複数段階の押し当てと他端側での推定とを1回行う例を示したが、複数段階の押し当てと他端側での推定を複数回行うことができる。これにより、複数のデータから推定を行うことができ、より正確な原点合わせを行うことができる。
また、アームとストッパ4とが接触した状態から変化したモータ出力の差分に基づいて角度検出器8の値を推定する構成とすることもできる。In addition, in the embodiment, the example in which the multi-stage pressing on one end side and the estimation on the other end side are performed once is shown, but the multi-stage pressing and the estimation on the other end side can be performed multiple times. it can. Thereby, estimation can be performed from a plurality of data, and more accurate origin matching can be performed.
Moreover, it can also be set as the structure which estimates the value of the angle detector 8 based on the difference of the motor output changed from the state which the arm and the stopper 4 contacted.
また、一端側のストッパ4aへの押し当てを行った後に他端側のストッパ4bまでアームを回転させる際には、角度制御によりストッパ4の付近まで回転させることにより、アームの回転に要する時間を短縮し、原点合わせの作業時間を短縮することもできる。
また、一端側に3回以上の押し当てを行い、弾性変形特性を直線ではなく曲線や多項式で近似することもできる。Further, when the arm is rotated to the
Further, it is possible to approximate the elastic deformation characteristic not by a straight line but by a curved line or a polynomial by pressing against one end side three times or more.
(その他の実施形態)
本発明は上記した各実施形態で例示した構成にのみ限定されるものではなく、その要旨を逸脱しない範囲で各種の変形や拡張あるいは組み合わせを行うことができる。
各実施形態では、アームがストッパ4に接触した時点で速度制御を解除する例を示したが、アームがストッパに接触した後も速度制御を継続することもできる。つまり、アームを、速度制御によって定まる押し当て力でストッパ4に押し当てることができる。この場合の具体的な処理の流れは、例えば図4、図6、図7のステップS9を省略した流れになる。(Other embodiments)
The present invention is not limited to the configuration exemplified in each of the above-described embodiments, and various modifications, expansions, and combinations can be made without departing from the scope of the invention.
In each embodiment, the example in which the speed control is canceled when the arm contacts the stopper 4 has been described. However, the speed control can be continued even after the arm contacts the stopper. That is, the arm can be pressed against the stopper 4 with a pressing force determined by speed control. A specific processing flow in this case is a flow in which step S9 in FIGS. 4, 6, and 7 is omitted, for example.
アームを速度制御している場合には、アームの速度によってストッパ4への押し当て力が決まるため、正回転時と逆回転時とで同じ速さでアームを回転させれば、同じ押し当て力でストッパ4に押し当てられることになる。そして、同じ押し当て力であればストッパ4の弾性変形量も同じになることから、ストッパ4間の中央の位置を推定することができ、原点合わせを行うことができる。 When the arm speed is controlled, the pressing force against the stopper 4 is determined by the arm speed. Therefore, if the arm is rotated at the same speed during forward rotation and reverse rotation, the same pressing force is applied. Thus, it is pressed against the stopper 4. And if it is the same pressing force, the amount of elastic deformation of the stopper 4 will also become the same, Therefore The center position between the stoppers 4 can be estimated, and origin adjustment can be performed.
また、アームがストッパに接触した後も速度制御を継続する方法は、アームがストッパ4に押し付けられる際の状況がほぼ等しいと考えられる場合に特に有益である。例えば図1に示すストッパ4aとストッパ4cのように、アームの回転中心を通る仮想的な鉛直線に対してストッパ4が正回転側と逆回転側とで線対称に設けられている場合であれば、アームは機械的にほぼ同じ状況でストッパに押し付けられるとともに、重力による影響もほぼ等しいと同じと考えられるため、アームを同じ押し当て力でストッパ4に押し当てられると考えられる。 Further, the method of continuing the speed control even after the arm contacts the stopper is particularly useful when the situation when the arm is pressed against the stopper 4 is considered to be substantially equal. For example, as in the case of the
また、アームをストッパ4に押し当てる場合、重力の影響によりモータ出力が相対的に大きくなる側のストッパ4への押し当てを行った後に、モータ出力が相対的に小さくなる側のストッパ4への押し当てを行うことができる。例えば、図1に示すストッパ4aとストッパ4bとで可動範囲を規定している場合には、ストッパ4bに押し当てて角度検出器8の値を取得し、ストッパ4aに押し当てて角度検出器8の値を取得する順番で原点合わせを行う。 Further, when the arm is pressed against the stopper 4, after pressing against the stopper 4 on the side where the motor output is relatively increased due to the influence of gravity, the arm is applied to the stopper 4 on the side where the motor output becomes relatively small. Pushing can be performed. For example, when the movable range is defined by the
この場合、逆の順番で押し当てを行うと、同じ力で他端側に押し当てた際に重力トルク分だけモータ出力が足りなくなるおそれがあり、その場合には再度の押し当てを行う必要がある。これに対して、重力の影響によりモータ出力が相対的に大きくなる側のストッパへの押し当てを先に行えば、そのモータ出力のほうが相対的に大きくなることから、モータ出力が不足する自体を回避でき、再度の押し当てが不要となるため、効率よく原点合わせを行うことができる。 In this case, if they are pressed in the reverse order, there is a risk that the motor output will be insufficient by the amount of gravitational torque when pressed against the other end with the same force. is there. On the other hand, if it is first pressed against the stopper on the side where the motor output becomes relatively large due to the influence of gravity, the motor output becomes relatively large, so the motor output itself is insufficient. This can be avoided and it is not necessary to press again, so that the origin can be adjusted efficiently.
第3実施形態ではストッパ4の位置が重力の影響が大きく異なる場合を例示したが、両端のストッパ4において重力の影響が同程度であると予想される場合には、一端側のストッパ4の弾性変形特性を取得して他端側の角度検出器8の値を推定する構成とすることもできる。すなわち、アームの可動範囲の両端に設けられているストッパ4が、アームに下方から接触し、接触した状態において当該アームの自重が加わる位置に設けられている場合に、一端側においてアームを異なるモータ出力でストッパに対して複数回押し当てることで一端側の弾性変形特性を求め、他端側に押し当てた際のモータ出力と弾性変形特性とから、一端側と同じ押し当て状態にした際の他端側の角度検出器の値を推定することができる。 In the third embodiment, the case where the position of the stopper 4 is greatly influenced by the gravity is illustrated. However, when the influence of the gravity is expected to be approximately the same at the stoppers 4 at both ends, the elasticity of the stopper 4 at the one end is used. It can also be set as the structure which acquires a deformation | transformation characteristic and estimates the value of the angle detector 8 of the other end side. That is, when the stoppers 4 provided at both ends of the movable range of the arm are provided at a position where the arm comes into contact with the arm from below and the weight of the arm is applied in the contacted state, the motor is different on one end side. By pressing against the stopper multiple times with the output, the elastic deformation characteristics on one end side are obtained, and from the motor output and elastic deformation characteristics when pressed against the other end side, the same pressing state as the one end side The value of the angle detector on the other end side can be estimated.
図面中、1はロボットシステム、2はロボット、2cは第1アーム(アーム)、2dは第2アーム(アーム)、3はコントローラ(制御部)、4はストッパ、4aは下限ストッパ(ストッパ)、4bは上限ストッパ(ストッパ)、4cは上限ストッパ(ストッパ)、6はモータ、8は角度検出器、20はロボット、20bは第1アーム(アーム)、20cは第2アーム(アーム)、20dはシャフト(アーム)を示す。 In the drawings, 1 is a robot system, 2 is a robot, 2c is a first arm (arm), 2d is a second arm (arm), 3 is a controller (control unit), 4 is a stopper, 4a is a lower limit stopper (stopper), 4b is an upper limit stopper (stopper), 4c is an upper limit stopper (stopper), 6 is a motor, 8 is an angle detector, 20 is a robot, 20b is a first arm (arm), 20c is a second arm (arm), and 20d is A shaft (arm) is shown.
| Application Number | Priority Date | Filing Date | Title |
|---|---|---|---|
| JP2017141876AJP7000726B2 (en) | 2017-07-21 | 2017-07-21 | Origin alignment method, robot system |
| Application Number | Priority Date | Filing Date | Title |
|---|---|---|---|
| JP2017141876AJP7000726B2 (en) | 2017-07-21 | 2017-07-21 | Origin alignment method, robot system |
| Publication Number | Publication Date |
|---|---|
| JP2019018327Atrue JP2019018327A (en) | 2019-02-07 |
| JP7000726B2 JP7000726B2 (en) | 2022-01-19 |
| Application Number | Title | Priority Date | Filing Date |
|---|---|---|---|
| JP2017141876AActiveJP7000726B2 (en) | 2017-07-21 | 2017-07-21 | Origin alignment method, robot system |
| Country | Link |
|---|---|
| JP (1) | JP7000726B2 (en) |
| Publication number | Priority date | Publication date | Assignee | Title |
|---|---|---|---|---|
| CN115213938A (en)* | 2021-03-31 | 2022-10-21 | 住友重机械工业株式会社 | Speed reducer state monitoring device and speed reducer state monitoring method |
| CN118061194A (en)* | 2024-04-17 | 2024-05-24 | 自贡创赢智能科技有限公司 | Method and device for detecting working state of model driving arm, medium and mechanical arm |
| Publication number | Priority date | Publication date | Assignee | Title |
|---|---|---|---|---|
| JPS609680A (en)* | 1983-06-30 | 1985-01-18 | トヨタ自動車株式会社 | Method of setting position of control reference of industrial robot |
| JPS62103705A (en)* | 1985-10-30 | 1987-05-14 | Omron Tateisi Electronics Co | Controller for industrial robot |
| JP5886043B2 (en)* | 2009-04-30 | 2016-03-16 | カール シュトルツ ゲゼルシャフト ミット ベシュレンクテル ハフツング ウント コンパニー コマンディートゲゼルシャフト | Medical manipulator |
| Publication number | Priority date | Publication date | Assignee | Title |
|---|---|---|---|---|
| JPS609680A (en)* | 1983-06-30 | 1985-01-18 | トヨタ自動車株式会社 | Method of setting position of control reference of industrial robot |
| JPS62103705A (en)* | 1985-10-30 | 1987-05-14 | Omron Tateisi Electronics Co | Controller for industrial robot |
| JP5886043B2 (en)* | 2009-04-30 | 2016-03-16 | カール シュトルツ ゲゼルシャフト ミット ベシュレンクテル ハフツング ウント コンパニー コマンディートゲゼルシャフト | Medical manipulator |
| Publication number | Priority date | Publication date | Assignee | Title |
|---|---|---|---|---|
| CN115213938A (en)* | 2021-03-31 | 2022-10-21 | 住友重机械工业株式会社 | Speed reducer state monitoring device and speed reducer state monitoring method |
| JP7674132B2 (en) | 2021-03-31 | 2025-05-09 | 住友重機械工業株式会社 | Reducer condition monitoring device and reducer condition monitoring method |
| CN118061194A (en)* | 2024-04-17 | 2024-05-24 | 自贡创赢智能科技有限公司 | Method and device for detecting working state of model driving arm, medium and mechanical arm |
| Publication number | Publication date |
|---|---|
| JP7000726B2 (en) | 2022-01-19 |
| Publication | Publication Date | Title |
|---|---|---|
| US9849592B2 (en) | Robot apparatus, robot control method, program, and recording medium | |
| JP5982774B2 (en) | Motor controller, robot hand | |
| US10564635B2 (en) | Human-cooperative robot system | |
| JP6816495B2 (en) | Robot deflection correction method, robot control device | |
| US20080267737A1 (en) | Fitting device | |
| JP6174636B2 (en) | Work positioning device for positioning work | |
| US10670432B2 (en) | Deflection angle detection device | |
| US20160114483A1 (en) | Robot control method, robot apparatus, program, recording medium, and manufacturing method of assembly part | |
| CN109278042B (en) | Eccentricity Error Correction Method and Robot System of Angle Detector | |
| JP2014046449A (en) | Robot hand control method, robot hand control device and robot device | |
| CN110871456B (en) | Robot | |
| US11192263B2 (en) | Robot hand and control method for the robot hand | |
| JP2016168650A (en) | Robot device, robot control method, program, and storage medium | |
| US11141855B2 (en) | Robot system, method of controlling robot arm, recording medium, and method of manufacturing an article | |
| JP2019018327A (en) | Origin alignment method and robot system | |
| EP3620277B1 (en) | Robot system | |
| CN112440274B (en) | Robot system | |
| CN107000209B (en) | Method and device for controlling a drive assembly for moving a tool, in particular a robot-guided tool | |
| JP2019055455A (en) | Robot hand, and control method of robot hand | |
| JP2012125852A (en) | Assembling robot and method of controlling the same | |
| JP5024689B2 (en) | Assembly robot and its control method | |
| US20240269840A1 (en) | Method for controlling robot and arm | |
| JP2016209936A (en) | Robot apparatus, robot control method, program, and recording medium | |
| JPH11239945A (en) | Chucking method of workpiece by loader hand | |
| JP2017159428A (en) | Control device, robot, and robot system |
| Date | Code | Title | Description |
|---|---|---|---|
| A621 | Written request for application examination | Free format text:JAPANESE INTERMEDIATE CODE: A621 Effective date:20200313 | |
| A131 | Notification of reasons for refusal | Free format text:JAPANESE INTERMEDIATE CODE: A131 Effective date:20210126 | |
| A601 | Written request for extension of time | Free format text:JAPANESE INTERMEDIATE CODE: A601 Effective date:20210322 | |
| A521 | Request for written amendment filed | Free format text:JAPANESE INTERMEDIATE CODE: A523 Effective date:20210519 | |
| TRDD | Decision of grant or rejection written | ||
| A01 | Written decision to grant a patent or to grant a registration (utility model) | Free format text:JAPANESE INTERMEDIATE CODE: A01 Effective date:20211124 | |
| A61 | First payment of annual fees (during grant procedure) | Free format text:JAPANESE INTERMEDIATE CODE: A61 Effective date:20211207 | |
| R150 | Certificate of patent or registration of utility model | Ref document number:7000726 Country of ref document:JP Free format text:JAPANESE INTERMEDIATE CODE: R150 | |
| R250 | Receipt of annual fees | Free format text:JAPANESE INTERMEDIATE CODE: R250 |