Movatterモバイル変換


[0]ホーム

URL:


JP2018199231A - 樹脂モールド金型 - Google Patents

樹脂モールド金型
Download PDF

Info

Publication number
JP2018199231A
JP2018199231AJP2017104074AJP2017104074AJP2018199231AJP 2018199231 AJP2018199231 AJP 2018199231AJP 2017104074 AJP2017104074 AJP 2017104074AJP 2017104074 AJP2017104074 AJP 2017104074AJP 2018199231 AJP2018199231 AJP 2018199231A
Authority
JP
Japan
Prior art keywords
mold
workpiece
work
chucking
resin
Prior art date
Legal status (The legal status is an assumption and is not a legal conclusion. Google has not performed a legal analysis and makes no representation as to the accuracy of the status listed.)
Granted
Application number
JP2017104074A
Other languages
English (en)
Other versions
JP6867229B2 (ja
Inventor
英雄 中山
Hideo Nakayama
英雄 中山
Current Assignee (The listed assignees may be inaccurate. Google has not performed a legal analysis and makes no representation or warranty as to the accuracy of the list.)
Apic Yamada Corp
Original Assignee
Apic Yamada Corp
Priority date (The priority date is an assumption and is not a legal conclusion. Google has not performed a legal analysis and makes no representation as to the accuracy of the date listed.)
Filing date
Publication date
Application filed by Apic Yamada CorpfiledCriticalApic Yamada Corp
Priority to JP2017104074ApriorityCriticalpatent/JP6867229B2/ja
Publication of JP2018199231ApublicationCriticalpatent/JP2018199231A/ja
Application grantedgrantedCritical
Publication of JP6867229B2publicationCriticalpatent/JP6867229B2/ja
Activelegal-statusCriticalCurrent
Anticipated expirationlegal-statusCritical

Links

Images

Classifications

Landscapes

Abstract

【課題】簡素な機構によって型開き時にワークを上型の金型面から所定距離だけ離間させて支持し、且つ、型閉じ時にワークを上型の金型面に密着可能とする。【解決手段】本発明に係る樹脂モールド金型10は、ワーク支持機構20が設けられた上型12と、キャビティ16が設けられた下型14とを備え、ワーク支持機構20は、ワークWの上面を吸引して保持する吸引機構40と、ワークWの外縁を挟持して保持するチャッキング機構50とを有し、吸引機構40は、第一付勢部材42により下方に付勢されて、下端44aが金型面12aよりも下方に突出した位置と金型面12aと同一の位置との間で上下動可能な吸引管44を有し、チャッキング機構50は、ワークWの外縁に対して接離動可能であって、金型面12aから所定距離だけ離間したワークWの保持位置と金型面12aに所定距離まで接近したワークWの解放位置との間で上下動可能なチャッキング爪52を有する。【選択図】図1

Description

本発明は、ワークを樹脂モールドする樹脂モールド金型に関する。
電子機器の小型薄型化に伴い、半導体装置の生産効率を向上させるため半導体チップ等(単に「チップ」と称する場合がある)をキャリアプレートに貼り付けて樹脂モールドした後、個片に切断する半導体装置の製造方法が提案されている。一例として、キャリアプレートには粘着テープを用いて半導体チップ等が貼り付けられ樹脂モールドされる。その後、キャリアプレートと粘着テープを剥離させた後、電極成形や研磨を行い個片化することで半導体装置が製造される(特許文献1:特開2006−287235号公報参照)。
特開2006−287235号公報特開2012−126074号公報
しかし、特許文献1に例示される半導体装置の製造方法において、半導体チップ等をキャリアプレートに貼り付ける粘着テープに熱発泡性を有する熱剥離テープを用いると、昇温されたモールド金型にキャリアプレートを搬入して樹脂モールドする過程において、金型面からの熱伝導により加熱が必要以上に進んでしまったときに熱剥離テープの粘着力が低下して半導体チップ等が樹脂の流動等によって位置ずれする不具合が発生する場合がある。
そのような問題を解決することを目的として、粘着テープを用いて半導体チップ等が貼り付けられたキャリアプレートをワーク支持部により金型クランプ面から離間させて支持することによって、ワークが予熱されたモールド金型に搬入された際に粘着テープに金型クランプ面から熱が伝わり難くして、半導体チップ等の位置ずれを防ぐ技術(特許文献2:特開2012−126074号公報参照)が検討されてきた。
一例として、同特許文献2図9に例示されるように、ワーク支持機構を上型に設ける場合、型開き時にワークを上型の金型面から所定距離だけ離間させて支持し、且つ、型閉じ時にワークを上型の金型面に密着可能とする構成が実現できれば、上記の位置ずれの問題を解決し得る。
本発明は、上記事情に鑑みてなされ、下型にキャビティを設け、上型にワークを支持するワーク支持機構を設けると共に、簡素な機構によって型開き時にワークを上型の金型面から所定距離だけ離間させて支持し、且つ、型閉じ時にワークを上型の金型面に密着可能とする樹脂モールド金型を提供することを目的とする。
本発明は、一実施形態として以下に記載するような解決手段により、前記課題を解決する。
本発明に係る樹脂モールド金型は、ワークを樹脂モールドする樹脂モールド金型であって、前記ワークを支持するワーク支持機構が設けられた上型と、前記ワーク上のチップを封止するキャビティが設けられた下型と、を備え、前記ワーク支持機構は、前記ワークの上面を吸引して保持する吸引機構と、前記ワークの外縁を挟持して保持するチャッキング機構と、を有し、前記吸引機構は、第一付勢部材により下方に付勢されて、下端が前記上型の金型面よりも下方に突出した位置と前記上型の金型面と同一の位置との間で上下動可能なように前記上型に支持された吸引管を有し、前記チャッキング機構は、前記ワークの外縁に対して接離動可能であって、前記上型の金型面から所定距離だけ離間した前記ワークの保持位置と前記上型の金型面に所定距離まで接近した前記ワークの解放位置との間で上下動可能なように前記上型に支持されたチャッキング爪を有することを要件とする。
これによれば、キャビティを下型に設け、ワークを支持するワーク支持機構を上型に設ける樹脂モールド金型において、簡素な機構によって型開き時にワークを上型の金型面から所定距離だけ離間させて支持し、且つ、型閉じ時にワークを上型の金型面に密着させることができる。したがって、型開き時に上型を所定温度まで加熱してワークを支持させる場合においても、ワークに上型の金型面から熱が伝わり難く、前述の粘着テープを用いて貼り付けられた半導体チップ等の位置ずれを防ぐことができる。一方、型閉じ時に密着状態で適切に加熱することができるため、高品質の樹脂モールドを行うことができる。
また、前記チャッキング機構は、前記チャッキング爪を前記ワークの外縁に接近する方向に付勢する第二付勢部材を有することが好ましい。これによれば、第二付勢部材の付勢力を作用させて、チャッキング爪を、ワークWの外縁に当接した状態すなわちワークWを挟持した状態に保つことができる。
また、前記チャッキング機構は、前記チャッキング爪が回動可能に前記上型に支持されており、前記チャッキング爪を前記ワークの外縁から離れる方向に回動させる押動ピンが設けられていることが好ましい。これによれば、下型により押動ピンを押動し、当該押動ピンをチャッキング爪に当接させて押動することによって、チャッキング爪52をワークの外縁から離れる方向に回動させることができる。したがって、チャッキング爪によって保持していたワークを解放することができる。
あるいは、前記チャッキング機構は、前記チャッキング爪が左右動可能に前記上型に支持されており、前記チャッキング爪に設けられたテーパ面を押動して前記チャッキング爪を前記ワークの外縁から離れる方向に移動させる押動ピンが設けられていることが好ましい。これによれば、下型により押動ピンを押動し、当該押動ピンをチャッキング爪に当接させて押動することによって、チャッキング爪52をワークの外縁から離れる方向に移動させることができる。したがって、チャッキング爪によって保持していたワークを解放することができる。
本発明によれば、型開き時にワークを上型の金型面から所定距離だけ離間させて支持し、且つ、型閉じ時にワークを上型の金型面に密着可能とする樹脂モールド金型を簡素な機構によって実現することが可能となる。したがって、例えば熱剥離性の粘着テープを用いて半導体チップ等が貼り付けられたワークにおいて、半導体チップ等が熱による位置ずれを起こしてしまう課題の解決が可能となる。
本発明の第一の実施形態に係る樹脂モールド金型の例を示す概略図(正面図)である。本発明の第一の実施形態に係る樹脂モールド金型の上型の例を示す概略図(底面図)である。本発明の第一の実施形態に係る樹脂モールド金型の吸引機構およびチャッキング機構の例を示す概略図(正面図)である。本発明の第一の実施形態に係る樹脂モールド金型の吸引機構の吸引管の例を示す概略図(底面図)である。本発明の第一の実施形態に係る樹脂モールド金型のチャッキング機構の他の例を示す概略図(正面図)である。本発明の第二の実施形態に係る樹脂モールド金型のチャッキング機構の例を示す概略図(正面図)である。本発明の第三の実施形態に係る樹脂モールド金型の例を示す概略図(正面図)である。本発明の第三の実施形態に係る樹脂モールド金型の上型の例を示す概略図(底面図)である。本発明の第三の実施形態に係る樹脂モールド金型の上型の他の例を示す概略図(底面図)である。
(第一の実施形態)
以下、図面を参照して、本発明の第一の実施形態について詳しく説明する。図1は、本発明の第一の実施形態に係る樹脂モールド金型10の例を示す概略図(正面図)である。また、図2は図1に示す樹脂モールド金型10の上型の例を示す概略図(底面図)である。また、図3は、図1のIII部拡大図である。ここで、説明の便宜上、図1、3、5、6、7において紙面の上下により樹脂モールド金型10における上下方向を説明する場合がある。なお、各実施形態を説明するための全図において、同一の機能を有する部材には同一の符号を付し、その繰り返しの説明は省略する場合がある。
本実施形態に係る樹脂モールド金型10は、モールド樹脂(単に「樹脂」と称する場合がある)Rによりワーク(被成形品)Wの樹脂モールド成形を行う樹脂モールド装置(不図示)に用いられる金型である。ここでは、樹脂モールド装置として圧縮成形装置の場合を前提に説明する。
先ず、成形対象であるワークWの一例として、半導体チップ等WbがキャリアプレートWa上に保持されたものが用いられる。このようなワークWは、例えばeWLP(embedded Wafer Level Package)もしくはeWLB(embedded Wafer Level BGA)と呼ばれる樹脂封止方法に用いられるものである。具体的には、例えば半導体ウエハと同じサイズの直径12インチ(約30cm)の丸型の金属製(SUS等)のキャリアプレートWa上に熱剥離性を有する粘着テープ(不図示)を用いて複数の半導体チップ等Wbが行列状に貼り付けられたものが用いられる。後述するように、キャリアプレートWaは矩形状であってもよい。なお、ワークWは上記の構成に限定されるものではない。
ここで、粘着テープは熱発泡性を有する熱剥離テープであり、加熱により粘着性が低下する性質を有している。したがって、樹脂モールド後に加熱させることで半導体チップWbをモールドした樹脂成形体からキャリアプレートWaのみの剥離が容易となる利点がある。しかし、樹脂モールド前にワークWが過度に加熱されてしまうと、前述の通り、キャリアプレートWa上における半導体チップ等Wbの位置ずれ等の問題が生じ得る。
一方、モールド樹脂Rは、例えば、熱硬化性樹脂(例えば、フィラー含有のエポキシ系樹脂)であり、その状態としては液状、粉状、シート状、顆粒状、場合によってはミニタブレットに代表される固形状であってもよい。
続いて、樹脂モールド金型10の構成について説明する。
樹脂モールド金型10は、キャビティを有して型開閉される一対の金型(例えば、合金工具鋼からなる複数の金型ブロックが組み付けられたもの)を備えている。本実施形態においては、一対の金型のうち、鉛直方向において上方側の一方の金型を上型12とし、下方側の他方の金型を下型14とする。この樹脂モールド金型10は、上型12と下型14とが相互に接近・離反することで型閉じ・型開きがなされる。このため、鉛直方向が型開閉方向でもある。
また、樹脂モールド金型10は、公知の型開閉機構(不図示)によって型開閉が行われる。例えば、型開閉機構は、一対のプラテンと、一対のプラテンが架設される複数のタイバーと、プラテンを可動(昇降)させる駆動源(例えば、電動モータ)および駆動伝達機構(例えば、トグルリンク)等を備えて構成されている(いずれも不図示)。ここで、樹脂モールド金型10は、当該型開閉機構の一対のプラテンの間に配設されている。本実施形態においては、固定型となる上型12が固定プラテン(タイバーに固定されるプラテン)に組み付けられ、可動型となる下型14が可動プラテン(タイバーに沿って昇降するプラテン)に組み付けられている。ただし、この構成に限定されるものではなく、上型12を可動型、下型14を固定型としてもよく、あるいは、上型12、下型14共に可動型としてもよい。
先ず、樹脂モールド金型10の下型14について具体的に説明する。下型14は、下プレート24、キャビティ駒26、クランパ28等を備え、これらが組み付けられて構成されている。
キャビティ駒26は、下プレート24の上面(上型12側の表面)に対して固定して組み付けられる。また、クランパ28は、キャビティ駒26を囲うように環状に構成され、キャビティ駒26と隣接して下プレート24の上面に対して離隔(フローティング)して組み付けられる。
本実施形態においては、下型14が金型面(パーティング面)14aから凹むキャビティ16を有するが、キャビティ駒26がキャビティ16の奥部(底部)を構成し、クランパ28がキャビティ16の側部を構成する。具体的には、クランパ28の中央部にはパーティング面視(平面視)円形状の貫通孔28aが厚み方向(型開閉方向)に形成される。このクランパ28の貫通孔28aにキャビティ駒26が挿入されて組み付けられることで、凹部形状をしたキャビティ16の底面と側面が構成される。なお、キャビティ16の上面は上型12に搭載されるワークWによって囲まれる。
ここで、キャビティ16は、下型14のクランパ28上面の金型面14aに形成されるエアベント溝(不図示)を介して減圧装置(不図示)に連通している。なお、モールド金型10全体を減圧チャンバー(不図示)に入れて減圧してもよいし、金型面14aのエアベント溝に通じる吸引孔(不図示)を設け、さらに金型面14aの吸引孔の外側に全周シール(不図示)を設ける構造としてもよい。この構成によれば、減圧装置を駆動させて減圧することにより、型閉じされた状態でキャビティ16内の脱気を行うことができる。なお、減圧装置の例として、公知の真空ポンプ等が用いられる。
また、樹脂モールド金型10は、リリースフィルム(以下「フィルム」と省略する)Fを下型14の金型面14a側から吸引するフィルム吸引機構を備える。このフィルム吸引機構は、クランパ28を貫通して配設された吸引路14b、14cを介して減圧装置(不図示)に連通している。具体的には、吸引路14b、14cの一端が下型14の金型面14aに通じ、他端が下型14外に配設される減圧装置と接続される。この構成によれば、減圧装置を駆動させて吸引路14b、14cからフィルムFを吸引し、キャビティ16の内面を含む金型面14aにフィルムFを吸着して保持する(張り付ける)ことができる。上記と同様に、減圧装置の例として、公知の真空ポンプ等が用いられる。
このように、キャビティ16の内面を含む下型14の金型面14aを覆うフィルムFを設けることで、成形品(ワークW)が樹脂と容易に剥離することができるため、樹脂モールド金型10から容易に取り出すことができる。一例として、フィルムFは、樹脂モールド金型10の加熱温度に耐えられる耐熱性を有し、樹脂から容易に剥離するものであって、柔軟性、伸展性を有するフィルム材である。具体的には、例えば、PTFE(ポリテトラフルオロエチレン)、ETFE(ポリテトラフルオロエチレン重合体)などの樹脂フィルムを用いることができる。
また、樹脂モールド金型10は、可動部材(弾性部材)として第四付勢部材(例えば、コイルスプリング等のバネ)32を備える。この第四付勢部材32は、下プレート24とクランパ28との間に設けられる。この第四付勢部材32を介して下プレート24にクランパ28が可動に組み付けられる。すなわち、キャビティ駒26がクランパ28によって囲まれ、キャビティ駒26とクランパ28とが型開閉方向に相対的に往復動可能となっている。このとき、クランパ28の貫通孔28aの内周面とキャビティ駒26の外周面との隙間が所定の寸法で確保されることで、クランパ28が円滑に可動する。このように、樹脂モールド金型10では、下プレート24に対して、キャビティ駒26が固定して保持される一方、クランパ28が可動するよう第四付勢部材32を介して離隔(フローティング)して保持される。
ところで、上記の隙間は、前述のフィルム吸引機構の吸引路14cに含まれ、キャビティ駒26とクランパ28との境界(キャビティ16のコーナー部)でフィルムFを吸引する。このため、フィルム吸引機構は、シール部材34(例えば、Oリング)を備える。シール部材34は、上記の隙間が吸引路14cとして空気漏れがないようキャビティ駒26とクランパ28(の下部)との間に設けられてシールを行う。
また、下型14は、ヒータ(例えば、電気ヒータ)、補助ヒータ(例えば、電気ヒータ)、温度センサ、制御部、電源等(いずれも不図示)を備えて加熱およびその制御が行われる。一例として、下型14のヒータは、下型14の下プレート24に内蔵され、主に下型14全体に熱を加える。また、補助ヒータは、クランパ28に内蔵され、下型14のヒータからの熱が伝わりにくいクランパ28に補助的に熱を加える。これら下型14のヒータおよび補助ヒータは、電源によって電力供給を受けて発熱する。一例として、下型14は、ヒータ、補助ヒータによって所定温度(例えば、180℃)に調整されて加熱される。他の例として、上型12の上に上モールドベースを設け、下型14の下に下モールドベースを設け、当該モールドベース内にヒータを設けて、下プレート24、キャビティ駒26、クランパ28にはヒータを設けない構成としてもよい(不図示)。
次に、樹脂モールド金型10の上型12について具体的に説明する。上型12は、下プレート24、キャビティプレート36等を備え、これらが組み付けられて構成されている。
この上型12では、前述した下型14の下プレート24に固定のキャビティ駒26および可動のクランパ28の代わりに、キャビティプレート36が用いられる。このキャビティプレート36は、下プレート24の下面(下型14側の表面)に対して固定して組み付けられる。
また、上型12は、ヒータ(例えば、電気ヒータ)、温度センサ、制御部、電源等(いずれも不図示)を備えて加熱およびその制御が行われる。一例として、上型12のヒータは、上型12の上プレート22に内蔵され、主に上型12全体に熱を加える。この上型12のヒータは、電源によって電力供給を受けて発熱する。一例として、上型12は、ヒータによって所定温度(例えば、180℃)に調整されて加熱される。なお、前述したように、上モールドベース内にヒータを設け、キャビティプレート36、上プレート22にヒータを設けない場合もある。この場合、モールド金型10にヒータを設けないため、品種交換時は容易にモールド金型10を交換することができる利点がある。
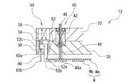
さらに、上型12は、ワークWを支持するワーク支持機構20を備えている。ワーク支持機構20は、一例として、キャビティ16と対向するキャビティプレート36に設けられる。本実施形態に係るワーク支持機構20は、ワークWの上面を吸引して保持する吸引機構40と、ワークWの外縁を挟持して保持するチャッキング機構50とを備えて構成されている。
ここで、吸引機構40には、付勢力を発生させる第一付勢部材(例えば、コイルスプリング等のバネ)42により下方に付勢されて、型開き時に下端44aが上型12の金型面(パーティング面)12aよりも下方に突出した位置と、型閉じ時に下端44aが上型12の金型面12aと同一の位置との間で上下動可能なように、上型12に支持された吸引管44が設けられている。この吸引管44は、キャビティプレート36および下プレート24を貫通して配設された吸引路46を介して減圧装置(不図示)に連通している。この構成によれば、減圧装置を駆動させて吸引管44からワークWを吸引し、その下端44aによって上型の金型面(パーティング面)12aよりも下方に突出した位置で保持することができる。上記と同様に、減圧装置の例として、公知の真空ポンプ等が用いられる。
なお、ワークWと当接して吸着を行う吸引管44の下端の形状は、図4(a)に示す一例のように中央に管路を有する環状としてもよく、あるいは、図4(b)に示す他の例のように、中央に管路を有すると共にその周辺にざぐり部を有する矩形状としてもよい。なお、管路の孔を中央に一つ設ける例を記載したが、複数設ける構成としてもよい(不図示)。
一方、チャッキング機構50には、付勢力を発生させる第三付勢部材(例えば、コイルスプリング等のバネ)56により下方に付勢されると共に、ワークWの外縁に対して接離動可能(本実施形態においては、回動可能)であって当該外縁を挟持して保持するチャッキング爪52が設けられている。一例として、チャッキング爪52は、下端52b寄りにワークWの外縁に当接する保持部52a(本実施形態では溝)が設けられており、型開き時に保持部52aが上型12の金型面(パーティング面)12aから所定距離だけ離間した位置でワークWを保持し、型閉じ時に上型12の金型面12aに所定距離まで接近した位置でワークWを解放する。すなわち、チャッキング爪52は、少なくとも、上型12の金型面12aから所定距離だけ離間したワークWの保持位置と、上型12の金型面12aに所定距離まで接近したワークWの解放位置との間で上下動可能なように、上型12に支持されて構成されている。なお、樹脂モールドを行う際は、下型14の金型面14aと上型12の金型面12aが当接(ここでは、フィルムFを介して当接)するため、型閉じ時において、チャッキング爪52の下端52bが上型12の金型面12aと同一の位置まで移動可能である構成、もしくは、下型14のクランパ28に逃げ溝(不図示)を設ける等によりチャッキング爪52の下端52bが下型14の金型面14aよりも下方の位置まで移動可能である構成、等とすることが好ましい。
ここで、チャッキング機構50は、チャッキング爪52の保持部52aをワークWの外縁に接近(当接)する方向に付勢する第二付勢部材(例えば、コイルスプリング等のバネ)54を有している。この構成によれば、チャッキング爪52を、その保持部52aがワークWの外縁に当接すなわちワークWを挟持した状態に保つことができる。
さらに、チャッキング機構50は、チャッキング爪52の保持部52aをワークWの外縁から離れる方向に回動させる押動ピン60を有している。一例として、押動ピン60は、チャッキング爪52を支持する支持枠58によって上下動可能に支持されていると共に、上端60aがチャッキング爪52に上記回動力を生じさせる突設部52cに当接可能で且つ下端60bが下型14(一例として、クランパ28)に当接(ここでは、フィルムFを介して当接)可能に配設されている。この構成によれば、型閉じ時において、下型14が上型12に接近すると、下型14(ここでは、クランパ28)が押動ピン60の下端60bに当接して当該押動ピン60が上方に押動される。これにより、押動ピン60の上端60aがチャッキング爪52の突設部52cに当接しつつ押動して当該チャッキング爪52の保持部52aをワークWの外縁から離れる方向に回動させる。したがって、下型14と上型12との接近距離が所定寸法まで到達すると、チャッキング爪52の保持部52aがワークWから離れ、ワークWを解放する作用が得られる。
なお、変形例として、図5に示すように、チャッキング爪52および第二付勢部材54を配設する構成としてもよく、上記と同様の作用効果を得ることができる。
以上のように、型開き時には、ワークWを上型12の金型面(パーティング面)12aから所定距離だけ離間した位置で保持することができるため、上型12を所定温度の予熱状態まで加熱した場合にも、ワークWの粘着テープに上型12の金型面12aから熱が伝わり難く、半導体チップ等Wbの位置ずれを防ぐことができる。一方、型閉じ時には、上型12に対して下型14を接近させる動作を行うだけで、ワーク支持機構20(ここでは、チャッキング機構50)によって支持されているワークWの解放を行って、ワークWを上型12の金型面12aに密着させることができ、所定の温度条件下で高品質の樹脂モールドを行うことができる。このように、複雑な機構や複雑な電気的な制御を必要とせず、極めて単純な機械的機構によって上記の効果を達成している点において、大きな技術的意義を有している。
(第二の実施形態)
続いて、本発明の第二の実施形態に係る樹脂モールド金型10について説明する。本実施形態に係る樹脂モールド金型10は、前述の第一の実施形態に係る樹脂モールド金型10と基本的な構成は同様であるが、特にチャッキング機構の構成において相違する。以下、当該相違点を中心に本実施形態について説明する。
本実施形態に係る樹脂モールド金型10の概略図(前述の第一の実施形態における図3に対応する位置の図)を図6に示す。
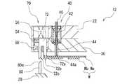
当該図6に示すように、本実施形態の樹脂モールド金型10におけるチャッキング機構70には、付勢力を発生させる第三付勢部材(例えば、コイルスプリング等のバネ)56により下方に付勢されると共に、ワークWの外縁に対して接離動可能(本実施形態においては、往復動(左右動)可能)であって当該外縁を挟持して保持するチャッキング爪72が設けられている。一例として、チャッキング爪72は、下端72b寄りにワークWの外縁に当接する保持部72aが設けられており、型開き時に保持部72aが上型12の金型面(パーティング面)12aから所定距離だけ離間した位置でワークWを保持し、型閉じ時に上型12の金型面12aに所定距離まで接近した位置でワークWを解放する。すなわち、チャッキング爪72は、少なくとも、上型12の金型面12aから所定距離だけ離間したワークWの保持位置と、上型12の金型面12aに所定距離まで接近したワークWの解放位置との間で上下動可能なように、上型12に支持されて構成されている。なお、樹脂モールドを行う際は、下型14の金型面14aと上型12の金型面12aが当接(ここでは、フィルムFを介して当接)するため、型閉じ時において、チャッキング爪72の下端72bが上型12の金型面12aと同一の位置まで移動可能である構成、もしくは、下型14のクランパ28に逃げ溝(不図示)を設ける等によりチャッキング爪の下端72bが下型14の金型面14aよりも下方の位置まで移動可能である構成、等とすることが好ましい。
ここで、チャッキング機構70は、チャッキング爪72の保持部72aをワークWの外縁に接近(当接)する方向に付勢する第二付勢部材(例えば、コイルスプリング等のバネ)54を有している。この構成によれば、チャッキング爪72を、その保持部72aがワークWの外縁に当接、すなわちワークWを挟持した状態に保つことができる。本実施形態に係る保持部72aは、チャッキング爪72の下端72bにゴム等を用いた防滑部材を嵌合させた構成を備えている。この構成によれば、第二付勢部材54によって所定の付勢力をチャッキング爪72に作用させることで保持部72aがワークWに圧着してこれを保持することができる。
さらに、チャッキング機構70は、チャッキング爪72の保持部72aをワークWの外縁から離れる方向に移動させる押動ピン80を有している。一例として、押動ピン80は、下型14のクランパ28に支持(固定)されて下型14に伴って上下動可能に構成されていると共に、上端80aがチャッキング爪72に上記移動力を生じさせるテーパ面72cに当接可能に配設されている。この構成によれば、型閉じ時において、下型14が上型12に接近すると、下型14(ここでは、クランパ28)に支持された押動ピン80の上端80aがチャッキング爪72のテーパ面72cに当接しつつ押動して、当該チャッキング爪72の保持部72aをワークWの外縁から離れる方向に移動させる。したがって、下型14と上型12との接近距離が所定寸法まで到達すると、チャッキング爪72の保持部72aがワークWから離れ、ワークWを解放する作用が得られる。
このように、本実施形態に係る樹脂モールド金型10よっても、前述の第一の実施形態に係る樹脂モールド金型10と同様の作用効果を得ることができる。
(第三の実施形態)
続いて、本発明の第三の実施形態に係る樹脂モールド金型10について説明する。本実施形態に係る樹脂モールド金型10は、前述の第一の実施形態に係る樹脂モールド金型10と基本的な構成は同様であるが、特に上型の構成において相違する。以下、当該相違点を中心に本実施形態について説明する。
本実施形態に係る樹脂モールド金型10の概略図(前述の第一の実施形態における図1、2に対応する位置の図)を図7、8に示す。
このように、本実施形態に係る樹脂モールド金型10の上型18は、半導体チップ等Wbが貼り付けられるキャリアプレートWaが矩形状である場合のワークWに対して用いられる構成例である。なお、その他の基本構成および作用効果は前述の第一の実施形態に係る樹脂モールド金型10と同様であるため説明を省略する。
なお、上型18の変形例を図9に示す。このように、ワークW(特にキャリアプレートWa等)の大きさ、形状に応じて、上型18の構成を適宜、変更してもよい。
以上、説明した通り、本発明に係る樹脂モールド金型によれば、ワーク支持機構を上型に設ける構成であって、型開き時にワークを上型の金型面から所定距離だけ離間させて支持し、且つ、型閉じ時にワークを上型の金型面に密着可能とする構成を、簡易な機構により実現することができる。したがって、熱剥離性を有する粘着テープを用いて半導体チップ等をキャリアプレートに貼り付けたワークを、昇温されたモールド金型に搬入して樹脂モールドする過程において、金型面からの熱伝導による粘着テープの粘着力低下を防止することができるため、半導体チップ等が樹脂の流動等によって位置ずれする不具合を防止することができる。
なお、本発明は、以上説明した実施例に限定されることなく、本発明を逸脱しない範囲において種々変更可能である。特に、ワークとしてキャリアプレートに半導体チップが搭載された構成を例に挙げて説明したが、これに限定されるものではない。例えば、被搭載部材としてキャリアプレートに代えてその他基板等を用いたワーク、あるいは、搭載部材として半導体チップに代えてその他素子等を用いたワーク等であっても同様に樹脂モールドを行うことができる。
10 樹脂モールド金型
12、18 上型
14 下型
16 キャビティ
20 ワーク支持機構
22 上プレート
24 下プレート
26 キャビティ駒
28 クランパ
32 第四付勢部材
36 キャビティプレート
40 吸引機構
42 第一付勢部材
44 吸引管
46 吸引路
50、70 チャッキング機構
52、72 チャッキング爪
54 第二付勢部材
56 第三付勢部材
60、80 押動ピン
F フィルム
R モールド樹脂
W ワーク
Wa キャリアプレート
Wb 半導体チップ

Claims (4)

  1. ワークを樹脂モールドする樹脂モールド金型であって、
    前記ワークを支持するワーク支持機構が設けられた上型と、
    前記ワーク上のチップを封止するキャビティが設けられた下型と、を備え、
    前記ワーク支持機構は、前記ワークの上面を吸引して保持する吸引機構と、前記ワークの外縁を挟持して保持するチャッキング機構と、を有し、
    前記吸引機構は、第一付勢部材により下方に付勢されて、下端が前記上型の金型面よりも下方に突出した位置と前記上型の金型面と同一の位置との間で上下動可能なように前記上型に支持された吸引管を有し、
    前記チャッキング機構は、前記ワークの外縁に対して接離動可能であって、前記上型の金型面から所定距離だけ離間した前記ワークの保持位置と前記上型の金型面に所定距離まで接近した前記ワークの解放位置との間で上下動可能なように前記上型に支持されたチャッキング爪を有すること
    を特徴とする樹脂モールド金型。
JP2017104074A2017-05-262017-05-26樹脂モールド金型ActiveJP6867229B2 (ja)

Priority Applications (1)

Application NumberPriority DateFiling DateTitle
JP2017104074AJP6867229B2 (ja)2017-05-262017-05-26樹脂モールド金型

Applications Claiming Priority (1)

Application NumberPriority DateFiling DateTitle
JP2017104074AJP6867229B2 (ja)2017-05-262017-05-26樹脂モールド金型

Publications (2)

Publication NumberPublication Date
JP2018199231Atrue JP2018199231A (ja)2018-12-20
JP6867229B2 JP6867229B2 (ja)2021-04-28

Family

ID=64667642

Family Applications (1)

Application NumberTitlePriority DateFiling Date
JP2017104074AActiveJP6867229B2 (ja)2017-05-262017-05-26樹脂モールド金型

Country Status (1)

CountryLink
JP (1)JP6867229B2 (ja)

Cited By (4)

* Cited by examiner, † Cited by third party
Publication numberPriority datePublication dateAssigneeTitle
CN112309898A (zh)*2019-07-292021-02-02山田尖端科技株式会社树脂塑封模具
CN113211686A (zh)*2020-01-212021-08-06东和株式会社树脂成型装置及树脂成型品的制造方法
KR20220055406A (ko)*2020-10-262022-05-03아피쿠 야마다 가부시키가이샤수지 밀봉 장치 및 워크 반송 방법
JP7498596B2 (ja)2020-05-252024-06-12Towa株式会社樹脂成形装置、カバープレート及び樹脂成形品の製造方法

Citations (6)

* Cited by examiner, † Cited by third party
Publication numberPriority datePublication dateAssigneeTitle
JP2003025174A (ja)*2001-07-112003-01-29Nec Yamagata Ltd基板吸着方法および基板吸着機構
JP2007190704A (ja)*2006-01-172007-08-02Apic Yamada Corp樹脂モールド方法および樹脂モールド装置
JP2012064879A (ja)*2010-09-172012-03-29Daiichi Seiko Co Ltd樹脂封止装置および樹脂封止方法
JP2012126074A (ja)*2010-12-172012-07-05Apic Yamada Corp樹脂モールド装置
WO2015064613A1 (ja)*2013-10-302015-05-07株式会社ニコン基板保持装置、露光装置及びデバイス製造方法
JP2016215463A (ja)*2015-05-192016-12-22東芝機械株式会社成形品の製造方法及び成形品製造装置

Patent Citations (6)

* Cited by examiner, † Cited by third party
Publication numberPriority datePublication dateAssigneeTitle
JP2003025174A (ja)*2001-07-112003-01-29Nec Yamagata Ltd基板吸着方法および基板吸着機構
JP2007190704A (ja)*2006-01-172007-08-02Apic Yamada Corp樹脂モールド方法および樹脂モールド装置
JP2012064879A (ja)*2010-09-172012-03-29Daiichi Seiko Co Ltd樹脂封止装置および樹脂封止方法
JP2012126074A (ja)*2010-12-172012-07-05Apic Yamada Corp樹脂モールド装置
WO2015064613A1 (ja)*2013-10-302015-05-07株式会社ニコン基板保持装置、露光装置及びデバイス製造方法
JP2016215463A (ja)*2015-05-192016-12-22東芝機械株式会社成形品の製造方法及び成形品製造装置

Cited By (7)

* Cited by examiner, † Cited by third party
Publication numberPriority datePublication dateAssigneeTitle
CN112309898A (zh)*2019-07-292021-02-02山田尖端科技株式会社树脂塑封模具
CN112309898B (zh)*2019-07-292024-11-29山田尖端科技株式会社树脂塑封模具
CN113211686A (zh)*2020-01-212021-08-06东和株式会社树脂成型装置及树脂成型品的制造方法
CN113211686B (zh)*2020-01-212023-04-07东和株式会社树脂成型装置及树脂成型品的制造方法
JP7498596B2 (ja)2020-05-252024-06-12Towa株式会社樹脂成形装置、カバープレート及び樹脂成形品の製造方法
KR20220055406A (ko)*2020-10-262022-05-03아피쿠 야마다 가부시키가이샤수지 밀봉 장치 및 워크 반송 방법
KR102494911B1 (ko)*2020-10-262023-02-06아피쿠 야마다 가부시키가이샤수지 밀봉 장치 및 워크 반송 방법

Also Published As

Publication numberPublication date
JP6867229B2 (ja)2021-04-28

Similar Documents

PublicationPublication DateTitle
US20240217144A1 (en)Compression molding device and compression molding method
JP6867229B2 (ja)樹脂モールド金型
TW201448133A (zh)樹脂密封裝置及樹脂密封方法
TWI797372B (zh)模製模具及具備其之樹脂模製裝置
TW201742201A (zh)樹脂成型裝置、樹脂成型方法以及樹脂成型模具
JP2008137390A (ja)樹脂モールド方法および樹脂モールド装置
JP5419070B2 (ja)樹脂封止装置
TWI657910B (zh)樹脂成形模具、樹脂成形方法、及成形品的製造方法
TWI737380B (zh)樹脂塑封模具
JP2023176518A (ja)樹脂封止装置
TWI885727B (zh)壓縮成形裝置及壓縮成形方法
TWI885481B (zh)壓縮成形裝置及壓縮成形方法
JP6404734B2 (ja)樹脂成形方法、樹脂成形金型、および成形品の製造方法
JP2025049905A (ja)圧縮成形装置及び圧縮成形方法
TW202440299A (zh)壓縮成形裝置及壓縮成形方法
JP2012139821A (ja)圧縮成形金型および圧縮成形方法
TW202438278A (zh)壓縮成形裝置及壓縮成形方法
WO2025047389A1 (ja)成形品の形成方法及び封止樹脂
TW202438281A (zh)壓縮成形中所使用的密封樹脂的形成裝置、形成方法以及壓縮成形裝置
TW202511050A (zh)壓縮成形裝置及壓縮成形方法
TW202439476A (zh)用於壓縮成形的密封樹脂的形成裝置及形成方法
TW202141653A (zh)元件密封方法、元件密封裝置及半導體製品的製造方法
WO2025047039A1 (ja)圧縮成形装置及び圧縮成形方法
TW202430354A (zh)用於壓縮成形的密封樹脂及其形成方法
JP2024139406A (ja)圧縮成形装置及び圧縮成形方法

Legal Events

DateCodeTitleDescription
A621Written request for application examination

Free format text:JAPANESE INTERMEDIATE CODE: A621

Effective date:20200309

A131Notification of reasons for refusal

Free format text:JAPANESE INTERMEDIATE CODE: A131

Effective date:20201222

A977Report on retrieval

Free format text:JAPANESE INTERMEDIATE CODE: A971007

Effective date:20201225

A521Request for written amendment filed

Free format text:JAPANESE INTERMEDIATE CODE: A523

Effective date:20210115

TRDDDecision of grant or rejection written
A01Written decision to grant a patent or to grant a registration (utility model)

Free format text:JAPANESE INTERMEDIATE CODE: A01

Effective date:20210406

A61First payment of annual fees (during grant procedure)

Free format text:JAPANESE INTERMEDIATE CODE: A61

Effective date:20210408

R150Certificate of patent or registration of utility model

Ref document number:6867229

Country of ref document:JP

Free format text:JAPANESE INTERMEDIATE CODE: R150

R250Receipt of annual fees

Free format text:JAPANESE INTERMEDIATE CODE: R250

R250Receipt of annual fees

Free format text:JAPANESE INTERMEDIATE CODE: R250


[8]ページ先頭

©2009-2025 Movatter.jp