

本発明は、空間に二酸化塩素を放出して空間の殺菌を行い、かつ二酸化塩素臭をマスクする二酸化塩素発生剤に関する。 The present invention relates to a chlorine dioxide generator that sterilizes a space by releasing chlorine dioxide into the space and masks a chlorine dioxide odor.
二酸化塩素は殺菌剤として種々の分野で用いられており、一般家屋においても、二酸化塩素を空間に放出して室内の微生物、悪臭物質、アレルゲンタンパク質を殺菌、分解、変性させる空間殺菌剤として使用されている。 Chlorine dioxide is used in various fields as a disinfectant, and it is used in general houses as a spatial disinfectant that releases chlorine dioxide into the space to disinfect, decompose, and denature indoor microorganisms, malodorous substances, and allergen proteins. ing.
しかし、二酸化塩素は独特の刺激臭を有しており、人によっては不快臭であると感じることから、香料で二酸化塩素臭をマスクすることも提案されている(特許文献1,2,3参照)。 However, since chlorine dioxide has a unique irritating odor and some people feel that it is an unpleasant odor, masking the chlorine dioxide odor with a fragrance has also been proposed (see
しかし、二酸化塩素の強い殺菌力は香料をも分解してしまうため、香料によるマスク力が大きく減じられるという問題点がある。しかも、二酸化塩素が香料の分解に消費されることで空間殺菌に充当される二酸化塩素量が減少するので殺菌力が低下する。 However, the strong bactericidal power of chlorine dioxide also breaks down the fragrance, so there is a problem that the masking power by the fragrance is greatly reduced. Moreover, since the amount of chlorine dioxide used for space sterilization is reduced by the consumption of chlorine dioxide for the decomposition of the fragrance, the sterilizing power is reduced.
特許文献1の二酸化塩素発生剤は香料として木香を使用し、段落番号0038に木香は二酸化塩素によって分解されにくい香料であると記載されているが、木香の香気成分であるテルペン類は二酸化塩素によって分解される香料である。分解されにくいという記載は、分解反応の遅延により香気成分の一部が分解されずに放散されている現象を表しているにすぎない。特許文献2の段落番号0025に記載されている香料は二酸化塩素によって分解される香料である。また、特許文献3には香料名すら記載されておらず、二酸化塩素によって分解されるか否かについて何ら開示されていない。 The chlorine dioxide generator of
なお、特許文献4の芳香性液体消臭組成物は二酸化塩素水溶液と香料とを含有し、請求項2に二酸化塩素濃度が最大5重量%と記載されている。しかし、二酸化塩素の一般的な溶解度とされている0.8g/100mL(20℃)、3.01g/L水(25℃、4.6kPa)を大幅に超える溶解度が推奨されており、二酸化塩素の臭いの閾値とされている0.4ppm(文献により9.4ppm)を考慮すると、5重量%の二酸化塩素は香料でマスキングできるような次元の臭気ではない。よって、特許文献4に記載されているのは二酸化塩素溶液ではなく亜塩素酸溶液であると推測される。即ち、特許文献4は二酸化塩素と香料の反応性を何ら開示していない。 In addition, the aromatic liquid deodorant composition of
本発明は、上述した技術背景に鑑み、二酸化塩素によって分解されない香料を使用することにより、二酸化塩素の殺菌力と香料のマスク力がともに有効に作用する二酸化塩素発生剤を提供するものである。 In view of the above-described technical background, the present invention provides a chlorine dioxide generator in which both the bactericidal power of chlorine dioxide and the masking power of the fragrance are effective by using a fragrance that is not decomposed by chlorine dioxide.
即ち、本発明は下記[1]〜[5]に記載の構成を有する。 That is, this invention has the structure as described in following [1]-[5].
[1]亜塩素酸塩と、水の存在下で亜塩素酸塩と反応して二酸化塩素を発生させる酸化剤と、発生させた二酸化塩素と反応しない、下記a〜eのいずれかの条件を満たす1種以上の香料および/または下記fの群から選ばれる1種以上の香料
a:エステル基を有する飽和化合物
b:ラクトン基以外に炭素原子間多重結合を有さないラクトン
c:エーテル、テルペン、活性メチレン、フェノールおよびフェノール誘導体を有さず、水酸基を有する飽和化合物
d:芳香環および複素芳香環以外に炭素原子間多重結合を有さないエステル
e:ラクトン基、芳香環および複素芳香環以外に炭素原子間多重結合を有さないラクトン
f:2−アセチルナフタレン、シクロペンタノン、アセトフェノン、ベンゾフェノン、15−ペンタデカノラクトン、シクロペンタデカノン、2−ウンデカノン、ケイ皮酸メチル、ケイ皮酸エチル、1−エトキシ−2−プロパノール
とを含み、
前記亜塩素酸塩、酸化剤および香料が、質量で、亜塩素酸塩1に対して酸化剤が0.01〜10、香料が0.01〜5の割合で配合されていることを特徴とする二酸化塩素発生剤。[1] Chlorite, an oxidizing agent that reacts with chlorite in the presence of water to generate chlorine dioxide, and any of the following conditions a to e that do not react with the generated chlorine dioxide: One or more fragrances to be satisfied and / or one or more fragrances selected from the following group f: a saturated compound having an ester group b: a lactone having no carbon-carbon multiple bond other than the lactone group c: ether, terpene , A saturated compound having no active methylene, phenol, or phenol derivative and having a hydroxyl group d: an ester having no carbon-carbon multiple bond other than an aromatic ring or a heteroaromatic ring e: other than a lactone group, an aromatic ring or a heteroaromatic ring A lactone having no carbon-carbon multiple bond f: 2-acetylnaphthalene, cyclopentanone, acetophenone, benzophenone, 15-pentadecanolactone, Black pentadecanoyl Non, 2-undecanone, including methyl cinnamate, ethyl cinnamate, and 1-ethoxy-2-propanol,
The chlorite, the oxidant and the fragrance are blended in a mass ratio of 0.01 to 10 for the
[2]前記香料が、テトラヒドロリナロール、エチレングリコールブラシラートのうちの1種以上である前項1に記載の二酸化塩素発生剤。 [2] The chlorine dioxide generator according to
[3]さらに大気から湿気を取り込む吸湿材を含む前項1または2に記載の二酸化塩素発生剤。 [3] The chlorine dioxide generator according to
[4]さらに液体の水を吸収する保水材を含む前項1〜3のうちのいずれか1項に記載の二酸化塩素発生剤。 [4] The chlorine dioxide generator according to any one of
[5]さらに界面活性剤を含む前項1〜4のうちのいずれか1項に記載の二酸化塩素発生剤。 [5] The chlorine dioxide generator according to any one of
上記[1]に記載の二酸化塩素発生剤によれば、香料が二酸化塩素によって分解されないので、二酸化塩素および香料の両方が有効に作用し、二酸化塩素臭が香料の芳香によってマスクされ、不快臭を感じさせることなく空間除菌を行うことができる。 According to the chlorine dioxide generator described in [1] above, since the fragrance is not decomposed by chlorine dioxide, both chlorine dioxide and the fragrance work effectively, the chlorine dioxide odor is masked by the fragrance of the fragrance, and an unpleasant odor is generated. Spatial sterilization can be performed without making it feel.
上記[2]に記載の二酸化塩素発生剤によれば、特に優れた二酸化塩素臭のマスク力が得られる。 According to the chlorine dioxide generator described in [2] above, a particularly excellent chlorine dioxide odor masking power can be obtained.
上記[3][4]に記載の二酸化塩素発生剤によれば、二酸化塩素を徐放でき、長期間の空間殺菌が可能である。 According to the chlorine dioxide generator described in the above [3] and [4], chlorine dioxide can be gradually released, and long-term space sterilization is possible.
上記[5]に記載の二酸化塩素発生剤によれば、香料を均一に混合して二酸化塩素臭を効率良くマスクすることができる。 According to the chlorine dioxide generator described in [5] above, it is possible to efficiently mask the chlorine dioxide odor by mixing the fragrances uniformly.
本発明の二酸化塩素発生剤は、必須成分として、亜塩素酸塩、水の存在下で亜塩素酸塩を酸化させて二酸化塩素を発生させる酸化剤、発生させた二酸化塩素と反応しない香料の3つの成分を含んでいる。以下にこれらの必須成分について詳述する。 The chlorine dioxide generator of the present invention includes, as essential components, chlorite, an oxidant that oxidizes chlorite in the presence of water to generate chlorine dioxide, and a fragrance that does not react with the generated chlorine dioxide. Contains one ingredient. These essential components are described in detail below.
[二酸化塩素発生剤の必須成分]
(亜塩素酸塩)
亜塩素酸塩は二酸化塩素の主たる発生原料である。本発明で使用できる亜塩素酸塩として、亜塩素酸ナトリウム、亜塩素酸カルシウム、亜塩素酸カリウム、亜塩素酸マグネシウム、亜塩素酸バリウム等を挙げることができる。これらの塩のうちでも、特に亜塩素酸ナトリウムを用いることが好ましい。亜塩素酸ナトリウムは工業的に漂白剤や食品添加物として広く用いられており、入手し易くコスト面でも有利である。[Essential component of chlorine dioxide generator]
(Chlorite)
Chlorite is the main source of chlorine dioxide. Examples of chlorite that can be used in the present invention include sodium chlorite, calcium chlorite, potassium chlorite, magnesium chlorite, and barium chlorite. Of these salts, sodium chlorite is particularly preferred. Sodium chlorite is widely used industrially as a bleaching agent and food additive, and is readily available and advantageous in terms of cost.
(酸化剤)
酸化剤は亜塩素酸塩に対して酸化作用を有し、水の存在下で亜塩素酸塩と反応して二酸化塩素を発生させる成分である。酸化剤の種類は限定されないが、クエン酸、酸性多孔質シリカ、コハク酸、マレイン酸、硫酸水素ナトリウムを例示できる。これらの酸化剤は亜塩素酸塩との反応が穏やかであり、穏やかに反応する酸化剤を用いることによって、二酸化塩素発生剤の取り扱いが容易になり、また反応容器を簡素化することができる。上記の酸化剤のうちでも、酸性多孔質シリカおよびコハク酸、クエン酸を推奨できる。(Oxidant)
The oxidizing agent is a component that has an oxidizing action on chlorite and reacts with chlorite in the presence of water to generate chlorine dioxide. Although the kind of oxidizing agent is not limited, Citric acid, acidic porous silica, succinic acid, maleic acid, sodium hydrogen sulfate can be illustrated. These oxidizing agents have a mild reaction with chlorite, and by using a mildly reacting oxidizing agent, handling of the chlorine dioxide generator can be facilitated, and the reaction vessel can be simplified. Among the above oxidizing agents, acidic porous silica, succinic acid, and citric acid can be recommended.
(香料)
香料は二酸化塩素と反応しないものを使用する。二酸化塩素と反応しない香料は、二酸化塩素によって分解されず、その全量が二酸化塩素臭のマスクに供される。このため、香料に無駄がなく、高いマスク力が得られる。(Fragrance)
Use fragrance that does not react with chlorine dioxide. Perfume that does not react with chlorine dioxide is not decomposed by chlorine dioxide, and the whole amount is provided to a mask having a chlorine dioxide odor. For this reason, there is no waste in a fragrance | flavor and a high mask power is obtained.
二酸化塩素と反応しない香料として、下記a〜fの香料を挙げることができる。a〜eは二酸化塩素と反応しない化学構造の条件であり、これらのいずれかの条件を満たす香料は二酸化塩素と反応しない。fはa〜eの化学構造には該当しないが二酸化塩素と反応しない香料群である。香料は1種を単独で使用することも複数種を併用することもでき、下記a〜eのいずれかの条件を満たす1種以上の香料および/または下記fの群から選ばれる1種以上を用いることができる。a〜fに該当する香料を表1に示す。 Examples of the fragrance that does not react with chlorine dioxide include the following fragrances a to f. a to e are conditions of a chemical structure that does not react with chlorine dioxide, and a fragrance that satisfies any of these conditions does not react with chlorine dioxide. f is a fragrance group that does not correspond to the chemical structure of a to e but does not react with chlorine dioxide. The perfume can be used alone or in combination of one or more, and one or more perfume satisfying any one of the following a to e and / or one or more selected from the group of f below: Can be used. Table 1 shows fragrances corresponding to a to f.
また、下記a〜fに該当する香料は亜塩素酸塩とも反応しないので、これらが共存する状態で二酸化塩素発生剤を調製しかつ保存することができる。また、香料の存在下で亜塩素酸塩と酸化剤を反応させることができるので、発生した二酸化塩素の臭いを香料で効率良くマスクすることができる。 Moreover, since the fragrance | flavor applicable to the following af does not react with chlorite, a chlorine dioxide generator can be prepared and preserve | saved in the state in which these coexist. Further, since the chlorite and the oxidizing agent can be reacted in the presence of the fragrance, the generated chlorine dioxide odor can be efficiently masked with the fragrance.
a:エステル基を有する飽和化合物
b:ラクトン基以外に炭素原子間多重結合を有さないラクトン
c:エーテル、テルペン、活性メチレン、フェノールおよびフェノール誘導体を有さず、水酸基を有する飽和化合物
d:芳香環および複素芳香環以外に炭素原子間多重結合を有さないエステル
e:ラクトン基、芳香環および複素芳香環以外に炭素原子間多重結合を有さないラクトン
f:2−アセチルナフタレン、シクロペンタノン、アセトフェノン、ベンゾフェノン、15−ペンタデカノラクトン、シクロペンタデカノン、2−ウンデカノン、ケイ皮酸メチル、ケイ皮酸エチル、1−エトキシ−2−プロパノールa: Saturated compound having ester group b: Lactone having no carbon-carbon multiple bond other than lactone group c: Saturated compound having no ether, terpene, active methylene, phenol and phenol derivative and having a hydroxyl group d: Fragrance Esters that do not have multiple bonds between carbon atoms other than rings and heteroaromatic rings e: Lactones that do not have multiple bonds between carbon atoms other than lactone groups, aromatic rings, and heteroaromatic rings f: 2-acetylnaphthalene, cyclopentanone , Acetophenone, benzophenone, 15-pentadecanolactone, cyclopentadecanone, 2-undecanone, methyl cinnamate, ethyl cinnamate, 1-ethoxy-2-propanol
香料の種類は人の好みによるところが大きいが、二酸化塩素臭に対するマスク力が高く、かつ多くの消費者に好まれる香料として、テトラヒドロリナロール、エチレングリコールブラシラートを推奨できる。これらの香料は単独で使用することも、複数を併用することもできる。また、これらの香料と他の香料を併用することもできる。 Although the kind of fragrance is largely dependent on human preference, tetrahydrolinalol and ethylene glycol brushlate can be recommended as fragrances that have a high masking power against chlorine dioxide odor and are preferred by many consumers. These fragrances can be used alone or in combination. Moreover, these fragrance | flavors and other fragrance | flavors can also be used together.
一方、下記h〜kのいずれかに該当する香料は二酸化塩素と反応する。本発明の二酸化塩素発生剤はh〜kに該当する香料を含まないことが条件ではなく、a〜fに該当する香料を含むことが条件である。a〜fに該当する香料を含む限り、h〜kに該当する香料を含む場合も本発明の二酸化塩素発生剤の技術的範囲に含まれる。 On the other hand, the fragrance | flavor applicable to either of the following hk reacts with chlorine dioxide. The chlorine dioxide generator of the present invention is not required to contain a fragrance corresponding to h to k, but is required to include a fragrance corresponding to a to f. As long as the fragrances corresponding to a to f are included, the case where the fragrances corresponding to h to k are included is also included in the technical scope of the chlorine dioxide generator of the present invention.
h:芳香環および複素芳香環以外に不飽和結合を有する化合物
i:フェノールおよびフェノール誘導体
j:アルデヒドおよびアルデヒド誘導体
k:活性メチレン化合物h: Compound having unsaturated bond other than aromatic ring and heteroaromatic ring i: Phenol and phenol derivative j: Aldehyde and aldehyde derivative k: Active methylene compound
[任意追加成分]
本発明の二酸化塩素発生剤は上述した必須の三成分の他に、二酸化塩素の発生および香料による二酸化塩素臭のマスク力を阻害しない限り、成分を追加することができる。また、亜塩素酸塩と酸化剤の発生には水が必要であるが、水分調整により穏やかに反応させて二酸化塩素を少量ずつ長期間発生させるようにすることも好ましい。以下に、任意追加成分について詳述する。[Optional additional ingredients]
In addition to the essential three components described above, the chlorine dioxide generator of the present invention can contain additional components as long as it does not interfere with the generation of chlorine dioxide and the masking power of chlorine dioxide odor by the fragrance. In addition, water is required for generation of chlorite and oxidizing agent, but it is also preferable to generate chlorine dioxide little by little for a long time by reacting gently by adjusting the water content. Below, an arbitrary additional component is explained in full detail.
(吸湿材)
必須の三成分に水を共存させる方法として、二酸化塩素発生剤に吸湿材を加え、大気から湿気を取り込み、取り込んだ湿気、即ち水で反応を起こさせる方法がある。従って、任意追加成分として吸湿材を挙げることができる。(Hygroscopic material)
As a method for allowing water to coexist with the essential three components, there is a method in which a moisture absorbing material is added to a chlorine dioxide generator, moisture is taken in from the atmosphere, and a reaction is caused by the taken-in moisture, that is, water. Therefore, a hygroscopic material can be mentioned as an optional additional component.
吸湿材としては、塩化ナトリウム、無水塩化カルシウム、ケイ酸塩、アルミノケイ酸塩
、ゼオライト、多孔質シリカ、酸化アルミニウムを例示でき、1種または2種以上を併用
することができる。これらはいずれも吸湿性が高く大気から吸収した水蒸気、あるいは液
化した水で二酸化塩素を発生させることができ、かつ大気と遮断して吸湿しなければ亜塩
素酸塩と酸化剤の反応は起きないのでこれらと混合した状態で保存することができる。Examples of the hygroscopic material include sodium chloride, anhydrous calcium chloride, silicate, aluminosilicate, zeolite, porous silica, and aluminum oxide, and one or more kinds can be used in combination. All of these are highly hygroscopic and can generate chlorine dioxide with water vapor or liquefied water absorbed from the atmosphere, and the reaction between chlorite and oxidant will not occur unless moisture is absorbed by blocking from the atmosphere. So it can be stored in a mixed state with these.
塩化ナトリウムおよび無水塩化カルシウムは潮解性を有し、自己が吸水した水分によって潮解し、亜塩素酸塩および酸化剤と接触する。また、ケイ酸塩、アルミノケイ酸塩、ゼオライト、多孔質シリカ、酸化アルミニウムは多孔質表面を有し、水分子が吸着しやすい。 Sodium chloride and anhydrous calcium chloride are deliquescent, deliquescent by the water they absorb, and come into contact with chlorite and oxidants. Silicates, aluminosilicates, zeolites, porous silica, and aluminum oxide have a porous surface and are easy to adsorb water molecules.
吸湿によって得られる水分は少量であるが長期間に亘って得られるので、亜塩素酸塩と酸化剤の反応を穏やかに長期間持続させることができる。このため、吸湿による水分供給によって二酸化塩素を徐放することができる。 Since the moisture obtained by moisture absorption is small but obtained over a long period of time, the reaction between the chlorite and the oxidizing agent can be sustained gently for a long period of time. For this reason, chlorine dioxide can be gradually released by moisture supply by moisture absorption.
(保水材)
上記の吸湿材のうち、ケイ酸塩、アルミノケイ酸塩、ゼオライト、多孔質シリカ、酸化アルミニウムは分子構造内に水を保持する保水性にも優れている。他の保水材としてポリアクリル酸ナトリウム共重合体を挙げることができる。保水材が保持した水が少しずつ長期間に亘って亜塩素酸塩と酸化剤の反応に供され、穏やかにかつ長期間に亘って反応を持続させることができる。従って、保水材を配合することにより、二酸化塩素を長期間に亘って徐放することができる。(Water retention material)
Of the hygroscopic materials described above, silicate, aluminosilicate, zeolite, porous silica, and aluminum oxide are excellent in water retention for retaining water in the molecular structure. Examples of other water retention materials include sodium polyacrylate copolymer. The water retained by the water retaining material is gradually subjected to the reaction between the chlorite and the oxidizing agent over a long period of time, and the reaction can be sustained gently and over a long period of time. Therefore, chlorine dioxide can be gradually released over a long period of time by blending a water retention material.
必須の三成分に水を共存させる方法として液体の水を加える方法がある。加えた水を保水材に速やかに吸水させかつ保水させることで、亜塩素酸塩と酸化剤の反応を穏やかにかつ長期間に亘って反応を持続させ、二酸化塩素を長期間に亘って徐放することができる。 There is a method of adding liquid water as a method for allowing water to coexist with the essential three components. By quickly absorbing and retaining the added water in the water-retaining material, the reaction between the chlorite and the oxidant is maintained gently and over a long period of time, and chlorine dioxide is released gradually over a long period of time. can do.
また、吸湿材として潮解性を有する塩化ナトリウムおよび/または無水塩化カルシウムと保水材を併用した場合、塩化ナトリウムおよび/または無水塩化カルシウムが吸湿して潮解し、その水を保水材が保持することにより、亜塩素酸塩と酸化剤の反応に少しずつ供給し、穏やかにかつ長期間に亘って反応を持続させることができる。 Moreover, when sodium chloride and / or anhydrous calcium chloride having a deliquescent property and a water retention material are used in combination as a moisture absorbent, the sodium chloride and / or anhydrous calcium chloride absorbs moisture and deliquesces, and the water retention material retains the water. The chlorite and the oxidizing agent can be supplied little by little, and the reaction can be continued gently and over a long period of time.
従って、反応に必要な水を大気中の湿気として取り込む場合においても、また液体の水として加える場合においても、保水材は徐放効果を発揮する。 Therefore, even when water necessary for the reaction is taken up as moisture in the atmosphere or when it is added as liquid water, the water retaining material exhibits a sustained release effect.
(界面活性剤)
香料は疎水性を示すものが多く、水との均一混合が難しい。このため、反応用の水に疎水性の香料を添加して二酸化塩素発生剤を調製する場合は、界面活性剤を加えて水に香料が均一に分散している状態に調製することが好ましい。後述の表2に記載した組み合わせ例3が水に香料を添加した二酸化塩素発生剤の調製例に該当する。界面活性剤の種類は限定されず、グリセリン脂肪酸エステル、プロピレングリコール脂肪酸エステル、逆性石鹸(陽イオン界面活性剤)、塩化ベンザルコニウム、塩化ベンゼトニウム、ラウリル硫酸ナトリウム等の周知の界面活性剤を用いることができる。(Surfactant)
Many fragrances are hydrophobic and difficult to mix uniformly with water. For this reason, when preparing a chlorine dioxide generator by adding a hydrophobic fragrance | flavor to the water for reaction, it is preferable to add a surfactant and to prepare in the state which the fragrance | flavor is disperse | distributing uniformly in water. Combination Example 3 described in Table 2 described later corresponds to a preparation example of a chlorine dioxide generator in which a fragrance is added to water. The type of the surfactant is not limited, and a known surfactant such as glycerin fatty acid ester, propylene glycol fatty acid ester, reverse soap (cationic surfactant), benzalkonium chloride, benzethonium chloride, sodium lauryl sulfate is used. be able to.
(増量材)
二酸化塩素発生剤は、殺菌対象の空間体積や求められる殺菌力の強弱等に応じて使用量が設定される。亜塩素酸塩と酸化剤との反応によれば高効率で二酸化塩素を発生させることができるので、設定された使用量が少量であることがある。二酸化塩素発生剤の使用量が少量であることで取り扱いにくくなる場合は、増量材を加えて嵩高くすることで取り扱いを容易にすることができる。反応を阻害しないものであれば増量材の種類は限定されない。吸湿材として例示した塩化ナトリウムも増量材として使用することができ、反応のために吸湿性を要求されない場合でも増量材として塩化ナトリウムを配合することがある。増量材は取り扱いの便宜のために配合される成分であるから、使用量に制限はなく任意の量を配合することができる。(Bulk material)
The amount of the chlorine dioxide generator used is set according to the space volume to be sterilized, the strength of the required sterilization power, and the like. According to the reaction between the chlorite and the oxidizing agent, chlorine dioxide can be generated with high efficiency, so that the set usage amount may be small. When it becomes difficult to handle because the amount of the chlorine dioxide generator used is small, the handling can be facilitated by adding bulking material to make it bulky. The type of extender is not limited as long as it does not inhibit the reaction. Sodium chloride exemplified as a hygroscopic material can also be used as an extender, and sodium chloride may be added as an extender even when hygroscopicity is not required for the reaction. Since the extender is a component blended for the convenience of handling, the amount used is not limited and any amount can be blended.
[二酸化塩素発生剤の組成]
本発明の二酸化塩素発生剤において、亜塩素酸塩は発生する二酸化塩素の総量を規定する成分である。従って、亜塩素酸塩を基準として他成分の配合量を規定することが好ましい。また、界面活性剤は香料の均一混合を目的として添加する成分であるから、香料を基準として配合量を規定することが好ましい。亜塩素酸塩の質量を1としたときの酸化剤、香料、吸湿材および保水材の好ましい配合量、香料の質量を1としたときの界面活性剤の好ましい配合量は以下のとおりである。[Composition of chlorine dioxide generator]
In the chlorine dioxide generator of the present invention, chlorite is a component that defines the total amount of chlorine dioxide generated. Therefore, it is preferable to prescribe | regulate the compounding quantity of another component on the basis of a chlorite. Moreover, since surfactant is a component added for the purpose of uniform mixing of a fragrance | flavor, it is preferable to prescribe | regulate a compounding quantity on the basis of a fragrance | flavor. When the mass of the chlorite is 1, the preferred blending amounts of the oxidant, the fragrance, the moisture absorbent and the water retaining material, and the preferred blending amount of the surfactant when the fragrance mass is 1, are as follows.
亜塩素酸塩:1
酸化剤:0.01〜10、好ましくは0.1〜0.3
香料 :0.01〜5、好ましくは0.1〜3
吸湿材:5〜30、好ましくは10〜20
保水材:0.1〜10、好ましくは1〜5
界面活性剤:香料1に対し、0.01〜5、好ましくは0.2〜2Chlorite: 1
Oxidizing agent: 0.01 to 10, preferably 0.1 to 0.3
Fragrance: 0.01-5, preferably 0.1-3
Hygroscopic material: 5-30, preferably 10-20
Water retaining material: 0.1 to 10, preferably 1 to 5
Surfactant: 0.01 to 5, preferably 0.2 to 2,
香料は種類によって芳香の強弱があり、また人の臭覚や好みによって適量が異なるので、亜塩素酸に対する好適配合量の範囲が広い。また、吸湿材および保水材は同一物質が兼ねる場合がある。例えば、ケイ酸塩、アルミノケイ酸塩、ゼオライト、多孔質シリカ、酸化アルミニウムは吸湿材としても保水材としても作用する。これらの材料を用いる場合は、吸湿材としての好適配合量、保水材としての好適配合量となる。 Depending on the type of fragrance, the fragrance is strong and weak, and the appropriate amount varies depending on the odor and taste of the person. In some cases, the same material may serve as the moisture absorbing material and the water retaining material. For example, silicate, aluminosilicate, zeolite, porous silica, and aluminum oxide act both as a hygroscopic material and a water retention material. When these materials are used, a suitable blending amount as a hygroscopic material and a suitable blending amount as a water retention material are obtained.
また、上記の界面活性剤を除く5成分を全て含み、合計量を100%としたときの好適な配合量は以下のとおりである。 Moreover, the suitable compounding quantity when all the 5 components except said surfactant are included and a total amount is 100% is as follows.
亜塩素酸塩:0.1〜25質量%、好ましくは3〜10質量%
酸化剤:0.01〜10質量%、好ましくは0.5〜5%質量%
香料 :0.1〜20質量%、好ましくは1〜10質量%
吸湿材:0.1〜5質量%、好ましくは1〜3質量%
保水材:5〜99質量%、好ましくは50〜90質量%Chlorite: 0.1 to 25% by mass, preferably 3 to 10% by mass
Oxidizing agent: 0.01 to 10% by mass, preferably 0.5 to 5% by mass
Fragrance: 0.1 to 20% by mass, preferably 1 to 10% by mass
Hygroscopic material: 0.1 to 5% by mass, preferably 1 to 3% by mass
Water retaining material: 5 to 99% by mass, preferably 50 to 90% by mass
[二酸化塩素発生剤の使用方法]
亜塩素酸塩と酸化剤の反応は水の存在下で起こるので、使用開始時に亜塩素酸塩、酸化剤、水の三者を共存させて二酸化塩素を発生させる。香料は前記反応系に共存していても良いし、発生させた二酸化塩素と香料とを混合して大気中に放出するようにしても良い。いずれの場合も二酸化塩素臭を香料の芳香によってマスクし、不快臭を感じさせることなく殺菌力が得られる。[How to use chlorine dioxide generator]
Since the reaction between the chlorite and the oxidant occurs in the presence of water, chlorine dioxide is generated by coexisting the chlorite, the oxidant, and water at the start of use. The perfume may coexist in the reaction system, or the generated chlorine dioxide and perfume may be mixed and released into the atmosphere. In any case, the chlorine dioxide odor is masked by the fragrance of the fragrance, and the bactericidal power can be obtained without causing an unpleasant odor.
反応に用いる水は気液の別を問わず、供給方法も問わない。 The water used for the reaction is not limited to gas and liquid, and the supply method is not limited.
水を気体で供給して反応させる方法として、吸湿材を配合した二酸化塩素発生剤を空気に接触させて空気中の水蒸気を吸収し、二酸化塩素を発生させることができる。また、空気を遮断しておけば反応は起きないので、密封状態で保存する。 As a method for supplying water and reacting it, chlorine dioxide can be generated by bringing a chlorine dioxide generator mixed with a hygroscopic material into contact with air to absorb water vapor in the air. Also, if the air is shut off, the reaction will not occur, so store it in a sealed state.
水を液体で供給する用いる場合は、二酸化塩素発生剤に直接水を流し込んでも良いし、保水材に吸水させてゲル状物またはゾル状物として水を供給することもできる。亜塩素酸塩、酸化剤、水の三者が共存しない限り反応は起こらないので、亜塩素酸塩と酸化剤とが混ざらない状態に分けておけば、亜塩素塩または酸化剤のどちらか一方または両方に水が加えた状態でも保存することができる。表2に二酸化塩素発生剤の構成成分と水の組み合わせ例を示す。いずれの組み合わせ例も、第1剤が液体であり、第2剤が粉体、あるいはゲル状物またはゾル状物である。また、組み合わせ例1、2で第2剤に水が含まれている場合は、第1剤に水を加えず亜塩素酸塩または酸化剤を粉体で使用することもできる。表2の二酸化塩素発生剤は使用時に第1剤と第2剤を混合して反応させる。 When water is supplied as a liquid, water may be poured directly into the chlorine dioxide generator, or water may be absorbed into the water retaining material and supplied as a gel or sol. The reaction does not occur unless the three of chlorite, oxidant, and water coexist. Therefore, if chlorite and oxidant are not mixed, either chlorite or oxidant can be used. Or it can be preserved even with water added to both. Table 2 shows examples of combinations of components of the chlorine dioxide generator and water. In any combination example, the first agent is a liquid, and the second agent is a powder, or a gel or sol. Moreover, when water is contained in the second agent in combination examples 1 and 2, chlorite or an oxidizing agent can be used in powder form without adding water to the first agent. The chlorine dioxide generator in Table 2 is reacted by mixing the first agent and the second agent at the time of use.
二酸化塩素発生剤は、不織布や防水透湿性素材等のガス透過性シートで作成した容器内で上記の反応をさせることにより、容器を開封することなく二酸化塩素と香料の芳香を空気中に放出することができる。また、ガス透過性シート製容器は外部から空気を取り込むことができるので、吸湿で反応させるタイプの二酸化塩素発生剤は容器を開封することなく反応を開始させることもできる。また、反応開始前の二酸化塩素発生剤はガスバリア性材料で作製した容器内に二酸化塩素発生剤を密封することで保存できる。前記ガスバリア性材料としては、アルミニウム箔等の金属箔、金属箔に樹脂を積層したラミネート材、樹脂シートにアルミニウム等の金属を蒸着した金属蒸着シート等を使用できる。本発明の二酸化塩素発生剤は様々な方法で反応を開始させることができるので、反応開始方法に応じてこれらの包装材料を適宜組み合わせることにより保存し、反応させることができる。 Chlorine dioxide generator releases chlorine dioxide and fragrance aroma into the air without opening the container by causing the above reaction in a container made of a gas permeable sheet such as a nonwoven fabric or a waterproof and moisture permeable material. be able to. In addition, since the gas permeable sheet container can take in air from the outside, the chlorine dioxide generator of the type that reacts by moisture absorption can start the reaction without opening the container. Moreover, the chlorine dioxide generator before the start of the reaction can be stored by sealing the chlorine dioxide generator in a container made of a gas barrier material. As the gas barrier material, a metal foil such as an aluminum foil, a laminate material obtained by laminating a resin on the metal foil, a metal vapor deposition sheet obtained by evaporating a metal such as aluminum on a resin sheet, or the like can be used. Since the chlorine dioxide generator of the present invention can initiate the reaction by various methods, it can be stored and reacted by appropriately combining these packaging materials according to the reaction initiation method.
本発明の二酸化塩素発生剤は包装形態を限定するものではなく、上記以外の包装形態も本発明に含まれる。 The chlorine dioxide generator of the present invention does not limit the packaging form, and packaging forms other than those described above are also included in the present invention.
[実施例1]
下記の材料を配合して実施例1の二酸化塩素発生剤Aを調製した。また、対照剤として、香料を配合しない二酸化塩素発生剤を調製した。対照剤は香料を含まないこと以外は実施例1と同じ比率で各材料が配合されている。[Example 1]
A chlorine dioxide generator A of Example 1 was prepared by blending the following materials. Moreover, the chlorine dioxide generator which does not mix | blend a fragrance | flavor was prepared as a control agent. Each material is blended in the same ratio as in Example 1 except that the control agent does not contain a fragrance.
(二酸化塩素発生剤A)
亜塩素酸ナトリウム粉末:5質量%
塩化ナトリウム:61質量%
無水塩化カルシウム:2.5質量%
酸性多孔質シリカ:20質量%
ポリアクリル酸ナトリウム共重合体:10質量%
コハク酸:0.5質量%
テトラヒドロリナロール(香料):1質量%(Chlorine dioxide generator A)
Sodium chlorite powder: 5% by mass
Sodium chloride: 61% by mass
Anhydrous calcium chloride: 2.5% by mass
Acidic porous silica: 20% by mass
Sodium polyacrylate copolymer: 10% by mass
Succinic acid: 0.5% by mass
Tetrahydrolinalol (fragrance): 1% by mass
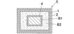
一方で、図1に示すように、包装用容器として透湿性袋体1および保存用外袋体2を作製した。透湿性袋体1は、二酸化塩素発生剤の粒子よりも細かい網目の透湿性不織布からなり、湿気を含む空気、二酸化塩素ガス、香料の芳香成分の出入りが可能である。保存用外袋体2は、樹脂フィルムにアルミニウムを蒸着させたアルミニウム蒸着シートからなり、ガスバリア性を有し、ガスも液体も通さない。 On the other hand, as shown in FIG. 1, the moisture-
調製直後の実施例1の二酸化塩素発生剤A:5gを前記透湿性袋体1に入れて開口部を閉じた。対照剤も調製直後に同様にして透湿性袋体1に入れて包装した。 Just after preparation, 5 g of the chlorine dioxide generator A of Example 1 was put into the moisture-
また、保存用試料として、透湿性袋体1で包装した実施例1の二酸化塩素発生剤Aおよび対照剤をそれぞれの保存用外袋体2に入れ、袋内の空気を抜いて開口部を閉じた。これにより、保存用外袋体2は密封されて透湿性袋体1も大気から遮断されている。この二重包装品3は保存時の包装形態である。前記包装形態の二酸化塩素発生剤Aおよび対照剤は50℃で3ヶ月間保管した。 Further, as a storage sample, the chlorine dioxide generator A and the control agent of Example 1 packaged in a moisture-
二酸化塩素発生剤Aを入れた透湿性袋体1を大気中に放置すると、透湿性袋体1を通して湿気が袋内に入り込み、塩化ナトリウム、無水塩化カルシウム、ポリアクリル酸ナトリウム共重合体が吸湿し、亜塩素酸ナトリウムとコハク酸が反応して二酸化塩素ガスを発生する。発生した二酸化塩素ガスは透湿性袋体1を通して外に放出される。香料の芳香成分も透湿性袋体1を通して外に放出される。一方、前記透湿性袋体1を保存用外袋体2内に密封しておくと、二酸化塩素発生剤Aは大気と遮断されて湿気が供給されないので反応は起きない。また、香料の芳香成分も保存用外袋体2の外に放出されない。従って、透湿性袋体1を保存用外袋体2内に密封した二重包装品3は、保存時による二酸化塩素発生剤Aの消耗減量がない。 When the moisture-
調製直後および3ヶ月保管後の二酸化塩素発生剤について、下記の方法で二酸化塩素ガスの測定と香調の評価を行った。3ヶ月保管後の試料は保存用外袋体2を開封し、透湿性袋体1を取り出して試験に供した。評価結果を表3に示す。 For the chlorine dioxide generator immediately after preparation and after storage for 3 months, measurement of chlorine dioxide gas and evaluation of fragrance were performed by the following methods. After storage for 3 months, the storage
(二酸化塩素ガスの測定)
1m2の容器内に透湿性袋体1を静置して密閉し、1時間後にガス検知管で二酸化塩素濃度を測定した。(Measurement of chlorine dioxide gas)
The moisture-
(香調の評価)
上記の測定に供した二酸化塩素ガスの臭気について官能検査を行った。被験者には二酸化塩素ガスであることおよび香料の有無は告知せず、不快臭を感じるかどうかを回答させた。(Incense tone evaluation)
A sensory test was performed on the odor of chlorine dioxide gas subjected to the above measurement. The subjects were not notified of chlorine dioxide gas and the presence or absence of fragrances, and were asked whether they felt an unpleasant odor.
[実施例2]
下記の材料を配合して実施例2の二酸化塩素発生剤Bの第1剤B1および第2剤B2を調製した。前記第1剤B1は液体であり、第2剤B2は粉体である。また、対照剤として、香料を配合しない二酸化塩素発生剤の第1剤および第2剤を調製した。対照剤は香料を含まないこと以外は実施例2と同じ比率で各材料が配合されている。[Example 2]
The following materials were blended to prepare the first agent B1 and the second agent B2 of the chlorine dioxide generator B of Example 2. The first agent B1 is a liquid, and the second agent B2 is a powder. Moreover, the 1st agent and 2nd agent of the chlorine dioxide generator which do not mix | blend a fragrance | flavor were prepared as a control agent. Each material is blended in the same ratio as in Example 2 except that the control agent does not contain a fragrance.
(二酸化塩素発生剤B)
第1剤B1
クエン酸:0.5質量%
エチレングリコールブラシラート(香料):5質量%
ラウリル硫酸ナトリウム(界面活性剤):1質量%
残部:水
第2剤B2
亜塩素酸ナトリウム粉末:10質量%
ポリアクリル酸ナトリウム共重合体:35質量%
酸性多孔質シリカ:35質量%
塩化ナトリウム:20質量%(Chlorine dioxide generator B)
First agent B1
Citric acid: 0.5% by mass
Ethylene glycol brushlate (fragrance): 5% by mass
Sodium lauryl sulfate (surfactant): 1% by mass
Remainder: Water second agent B2
Sodium chlorite powder: 10% by mass
Sodium polyacrylate copolymer: 35% by mass
Acidic porous silica: 35% by mass
Sodium chloride: 20% by mass
一方で、図2に示すように、包装用容器として、第1剤用内袋体4、透湿性袋体1および保存用外袋体2の3種類の袋体を作製した。前記第1剤用内袋体4はガスバリア性を有する易剥離性フィルムからなり、液体の第1剤B1を密封することができる。前記透湿性袋体1および保存用外袋体2は実施例1の透湿性袋体1および保存用外袋体2と同一である。 On the other hand, as shown in FIG. 2, three types of bag bodies were produced as packaging containers: a first agent
調製直後の二酸化塩素発生剤の第1剤B1:20gを第1剤用内袋体4に入れて開口部
をヒートシールして密封した。透湿性袋体1に第2剤B2:15gと密封した第1剤用内
袋体4を入れて開口部を閉じた。即ち、液体成分B1と粉体成分B2とに分けた二酸化塩
素発生剤Bは、粉体成分B2と密封された液体成分B1とが透湿性袋体1内に同梱されて
いる。さらに、前記透湿性袋体1を保存用外袋体2に入れ、空気を抜いて開口部を閉じた
。対照剤も調製直後に同様にして3種類の袋体を用いて三重包装した。この三重包装品5
は保存時の包装形態である。上記のようにして実施例2の二酸化塩素発生剤Bおよび対照
剤の三重包装品5を2組作製した。The first agent B1: 20 g of the chlorine dioxide generator immediately after preparation was placed in the
Is a packaging form at the time of storage. As described above, two sets of the
前記三重包装品5は、亜塩素酸塩と酸化剤が分離されているので反応は起こらず、二酸化塩素発生剤Bの消耗減量はない。また、前記透湿性袋体1は保存用外袋体2内に密封されているので第2剤B2は大気から遮断されている。 In the
2組の三重包装品3のうちの1組は、包装直後に下記の方法で二酸化塩素ガスの測定と香調の評価を行った。他の1組は50℃で3ヶ月間保管した後に同じ方法で二酸化塩素ガスの測定と香調の評価を行った。 One set of the two sets of triple packaged
三重包装品5は、透湿性袋体1を保存用外袋体2から取り出して強くねじって第1剤用内袋体4を開封する。第1剤用内袋体4の開封により、第1剤B1は透湿性袋体1内に流れ出て第2剤B2と混じり合い、これにより反応が始まる。透湿性袋体1内で発生した二酸化塩素ガスおよび第1剤B1に配合されていた香料の芳香成分は透湿性袋体1を通して袋体1外に放出される。 In the
第1剤B1と第2剤B2とが混ざり合った透湿性袋体1を保存用外袋体2から取り出し、実施例1と同じ方法で二酸化塩素ガスの測定と香調の評価を行った。結果を表3に示す。 The moisture-
実施例1、2およびそれぞれの対照剤は二酸化塩素ガスを発生しており、実施例と対照剤との比較によって二酸化塩素臭は香料によってマスクされていることを確認した。また、二酸化塩素発生剤は3ヶ月保存後も調製直後と同等濃度の二酸化塩素ガスを発生しており、かつ香料によるマスク力も維持されていることから、二酸化塩素発生剤は保存による劣化も認められなかった。 In Examples 1 and 2 and the respective control agents, chlorine dioxide gas was generated, and it was confirmed that the chlorine dioxide odor was masked by the fragrance by comparing the Examples and the control agents. In addition, the chlorine dioxide generator generates chlorine dioxide gas at the same concentration as that immediately after preparation after storage for 3 months, and the masking power by the fragrance is maintained, so that the chlorine dioxide generator is also deteriorated by storage. There wasn't.
本発明の二酸化塩素発生剤は空間除菌に使用できる。 The chlorine dioxide generator of the present invention can be used for spatial sterilization.
1…透湿性袋体
2…保存用外袋体
3…二酸化塩素発生剤の二重包装品
4…第1剤用内袋体
5…二酸化塩素発生剤の三重包装品DESCRIPTION OF
| Application Number | Priority Date | Filing Date | Title |
|---|---|---|---|
| JP2017147688AJP2017202346A (en) | 2017-07-31 | 2017-07-31 | Chlorine dioxide generator |
| Application Number | Priority Date | Filing Date | Title |
|---|---|---|---|
| JP2017147688AJP2017202346A (en) | 2017-07-31 | 2017-07-31 | Chlorine dioxide generator |
| Application Number | Title | Priority Date | Filing Date |
|---|---|---|---|
| JP2014240863ADivisionJP6250528B2 (en) | 2014-11-28 | 2014-11-28 | Chlorine dioxide generator |
| Publication Number | Publication Date |
|---|---|
| JP2017202346Atrue JP2017202346A (en) | 2017-11-16 |
| Application Number | Title | Priority Date | Filing Date |
|---|---|---|---|
| JP2017147688APendingJP2017202346A (en) | 2017-07-31 | 2017-07-31 | Chlorine dioxide generator |
| Country | Link |
|---|---|
| JP (1) | JP2017202346A (en) |
| Publication number | Priority date | Publication date | Assignee | Title |
|---|---|---|---|---|
| WO2020071324A1 (en)* | 2018-10-01 | 2020-04-09 | 大幸薬品株式会社 | Chlorine dioxide generating device |
| JP2021169402A (en)* | 2020-04-15 | 2021-10-28 | 株式会社ルミカ | Apparatus and method for generating chlorine dioxide and sealed structure |
| KR20220150670A (en)* | 2021-05-04 | 2022-11-11 | 주식회사 에이치앤에이인터내셔날 | Portable space sterilization disinfecting pouch |
| JP7751841B1 (en) | 2024-04-12 | 2025-10-09 | 有限会社クリーンケア | Antibacterial and antiviral agents and disinfectants for preventing infectious diseases in livestock |
| Publication number | Priority date | Publication date | Assignee | Title |
|---|---|---|---|---|
| JPH0238301A (en)* | 1988-06-08 | 1990-02-07 | Bristol Myers Co | Compound containing chlorine dioxide and manufacture thereof |
| JPH0620528B2 (en)* | 1986-02-06 | 1994-03-23 | 鐘淵化学工業株式会社 | Method of forming uniform droplets |
| JP2011152234A (en)* | 2010-01-26 | 2011-08-11 | Inabata Koryo Kk | Chlorine dioxide gas generator |
| Publication number | Priority date | Publication date | Assignee | Title |
|---|---|---|---|---|
| JPH0620528B2 (en)* | 1986-02-06 | 1994-03-23 | 鐘淵化学工業株式会社 | Method of forming uniform droplets |
| JPH0238301A (en)* | 1988-06-08 | 1990-02-07 | Bristol Myers Co | Compound containing chlorine dioxide and manufacture thereof |
| JP2011152234A (en)* | 2010-01-26 | 2011-08-11 | Inabata Koryo Kk | Chlorine dioxide gas generator |
| Publication number | Priority date | Publication date | Assignee | Title |
|---|---|---|---|---|
| WO2020071324A1 (en)* | 2018-10-01 | 2020-04-09 | 大幸薬品株式会社 | Chlorine dioxide generating device |
| KR20210062679A (en)* | 2018-10-01 | 2021-05-31 | 다이꼬 파마슈티컬 컴퍼니 리미티드 | Chlorine dioxide generator |
| JPWO2020071324A1 (en)* | 2018-10-01 | 2021-09-24 | 大幸薬品株式会社 | Chlorine dioxide generator |
| JP7412772B2 (en) | 2018-10-01 | 2024-01-15 | 大幸薬品株式会社 | Chlorine dioxide generator |
| KR102723662B1 (en) | 2018-10-01 | 2024-10-30 | 다이꼬 파마슈티컬 컴퍼니 리미티드 | Chlorine dioxide generator |
| JP2021169402A (en)* | 2020-04-15 | 2021-10-28 | 株式会社ルミカ | Apparatus and method for generating chlorine dioxide and sealed structure |
| JP7670318B2 (en) | 2020-04-15 | 2025-04-30 | 株式会社ルミカ | Chlorine dioxide generating device and chlorine dioxide generating method |
| KR20220150670A (en)* | 2021-05-04 | 2022-11-11 | 주식회사 에이치앤에이인터내셔날 | Portable space sterilization disinfecting pouch |
| KR102643264B1 (en)* | 2021-05-04 | 2024-03-07 | 주식회사 진우기술개발 | Portable space sterilization disinfecting pouch |
| JP7751841B1 (en) | 2024-04-12 | 2025-10-09 | 有限会社クリーンケア | Antibacterial and antiviral agents and disinfectants for preventing infectious diseases in livestock |
| Publication | Publication Date | Title |
|---|---|---|
| JP6250528B2 (en) | Chlorine dioxide generator | |
| CN100337547C (en) | Disinfecting and deodorizing agent | |
| AU2006258117B2 (en) | Vapor phase hydrogen peroxide deodorizer | |
| CA1176177A (en) | Odor absorbing compositions | |
| US4740366A (en) | Air deodorizer composition and method | |
| US6132748A (en) | Method for producing chlorine dioxide using acidified expanded amorphous aluminum silicate impregnated with chlorite | |
| JP2017202346A (en) | Chlorine dioxide generator | |
| CN111567555B (en) | Slow-release disinfectant, slow-release disinfection bag and preparation method thereof | |
| US6180092B1 (en) | Dissolvable air freshener | |
| US20070272895A1 (en) | Deodorizing system | |
| US8298482B2 (en) | Vapor phase hydrogen peroxide deodorizer | |
| WO2017043359A1 (en) | Spray deodorant | |
| CN106075518B (en) | A kind of footgear deodorization packet and preparation method thereof | |
| JP2016043251A (en) | Aqueous solution having malodor deodorizing action | |
| JPH01129854A (en) | Hygienic formulation | |
| JP5155504B2 (en) | Deferred deodorant | |
| CN115634564A (en) | Steam air purification product | |
| EP2179748B1 (en) | Deodorizing system | |
| JP2018090481A (en) | Chlorine dioxide gas generating composition and chlorine dioxide gas generating method | |
| JPS626665A (en) | food preservative | |
| JPS63258644A (en) | Deodorizer | |
| JPH0352802A (en) | Alcohol formulation containing chlorine dioxide | |
| JPH06285140A (en) | Manufacture of deodorant including indicator | |
| CN112089879A (en) | Portable slow-release sterilization bag containing chlorine dioxide | |
| JP2025504875A (en) | Self-assembled gel capable of releasing gaseous germicide and method for producing same |
| Date | Code | Title | Description |
|---|---|---|---|
| A621 | Written request for application examination | Free format text:JAPANESE INTERMEDIATE CODE: A621 Effective date:20171120 | |
| A131 | Notification of reasons for refusal | Free format text:JAPANESE INTERMEDIATE CODE: A132 Effective date:20190129 | |
| A521 | Request for written amendment filed | Free format text:JAPANESE INTERMEDIATE CODE: A523 Effective date:20190329 | |
| A02 | Decision of refusal | Free format text:JAPANESE INTERMEDIATE CODE: A02 Effective date:20190416 |