




本発明は、植物栽培方法および植物栽培装置ならびに帯状のシートに関する。 The present invention relates to a plant cultivation method, a plant cultivation apparatus, and a belt-like sheet.
近年、トマト等の栽培において、高品質で均一に果実を生産する方法として、低段密植栽培方法が提案されている。 In recent years, in the cultivation of tomatoes and the like, a low-stage dense planting cultivation method has been proposed as a method for producing fruits uniformly with high quality.
トマトは、一般的に、播種して育苗した苗を、30〜50cmの間隔で第1花房を同一方向に向けて定植させた後、約半年から1年間栽培することによって、上下方向に6段〜12段の花房をそれぞれ着生させる。これら花房を構成するそれぞれの花を開花させた後に、各花の受粉等によって、果実を実らせる。 In general, tomatoes are planted in seedlings that have been sown and planted at 30-50 cm intervals with the first inflorescences oriented in the same direction, and then cultivated for about one half year to one year. ~ 12 steps of flower buds are grown. After each flower constituting these inflorescences is blossomed, fruits are produced by pollination of each flower.
これに対して、密植栽培方法は、苗を30cm以下の間隔で定植させた後、約3ヶ月〜6ヶ月の栽培期間で、管理が容易な1段〜5段程度の果房を実らせる方法である。これにより、従来の栽培方法と比較して、花房間の競合を減らし、高品質で均一に果実を生産することができる。また、密植栽培方法は、シンプルでパターン化した生育過程を繰り返すため、栽培の安定性が得られる等のメリットがある(例えば、非特許文献1、特許文献1参照)。 On the other hand, the dense planting method is a method in which seedlings are planted at intervals of 30 cm or less, and then, in a cultivation period of about 3 to 6 months, easy-to-manage 1 to 5 stages of fruit bunches are achieved. It is. Thereby, compared with the conventional cultivation method, the competition between flower clusters can be reduced, and a fruit can be produced uniformly with high quality. Moreover, since the dense planting method repeats a simple and patterned growth process, there is an advantage that the stability of cultivation is obtained (for example, see Non-Patent Document 1 and Patent Document 1).
また、特許文献2には、紙または紙のような薄膜を展開することにより形成される六角筒状の個別鉢体を連結片にして接続して連続体となし、連続体を重ね合わせると共に、重ね合わせた連続体の相互間を水溶性接着剤にて貼着した育苗移植用連続集合鉢体が開示されている。このとき、矩形からなる薄膜の幅方向の両側、各々略1/4幅を同一片面に折り返し、水溶性接着剤にて貼着して連結片を形成し、連結片を折り返し部分が対向する向きで千鳥状に配列し、連結片の幅方向両側端部を対向する連結片に非水溶性接着剤にて貼着して連続体を形成すると共に、連結片と対向する連結片間に個別鉢体を形成する。 Further, in Patent Document 2, a hexagonal cylindrical individual bowl formed by developing a thin film such as paper or paper is connected as a connecting piece to form a continuous body, and the continuous body is overlapped. A continuous assembling pot for transplanting seedlings in which the stacked continuous bodies are adhered with a water-soluble adhesive is disclosed. At this time, both sides in the width direction of the thin film made of a rectangle, each approximately 1/4 width is folded back to the same single side, and bonded with a water-soluble adhesive to form a connection piece, the direction of the connection piece facing the folded portion In a zigzag pattern, both ends of the connecting pieces in the width direction are adhered to the connecting pieces facing each other with a water-insoluble adhesive to form a continuous body, and between the connecting pieces facing the connecting pieces, individual bowls Form the body.
ここで、密植栽培方法は、従来の栽培方法に比べて、栽培期間が短いため、作付け回数が多くなり、大量の苗を生産する必要がある。 Here, the dense planting method has a shorter cultivation period than the conventional cultivation method, so that the number of planting is increased and it is necessary to produce a large amount of seedlings.
一方、密植栽培方法は、植物を収穫した後の後片付けが増えることに加え、次作の苗の定植の回数が増え、省力化することが難しいという問題がある。 On the other hand, the dense planting method has a problem that it is difficult to save labor because the number of times of planting the seedling of the next crop is increased in addition to the increase in clean-up after harvesting the plant.
また、特許文献2の育苗移植用連続集合鉢体は、栽培土を充填して播種するため、大量の苗を高い生産性で供給することが困難であるという問題がある。 Moreover, since the continuous collection pot body for raising seedling transplantation of Patent Document 2 is filled with the cultivated soil and sown, there is a problem that it is difficult to supply a large amount of seedlings with high productivity.
本発明の一態様は、上記の問題点を解決し、大量の苗を高い生産性で供給することを可能とし、苗の定植および植物を収穫した後の後片付けを省力化することが可能な植物栽培方法および植物栽培装置ならびに帯状のシートを提供することを目的とする。 One embodiment of the present invention is a plant that can solve the above-described problems, can supply a large amount of seedlings with high productivity, and can save labor in planting seedlings and cleaning up after harvesting the plants. An object is to provide a cultivation method, a plant cultivation apparatus, and a belt-like sheet.
(1)帯状のシートに植物を播種する工程と、該植物を播種した帯状のシートを曲げ、互いに隣接させた状態に保持して育苗する工程と、該育苗した帯状のシートを定植位置に載置する工程を含むことを特徴とする植物栽培方法。
(2)前記帯状のシートは、2枚重ねにした吸水シートであり、該2枚重ねにした吸水シートの間に、前記植物を播種することを特徴とする(1)に記載の植物栽培方法。
(3)前記隣接する曲げられたシートの間に遮根部材を設けることを特徴とする(1)または(2)に記載の植物栽培方法。
(4)前記定植位置が定植台に載置されている吸水シート上であることを特徴とする(1)〜(3)の何れか1項に記載の植物栽培方法。
(5)低段密植栽培方法であることを特徴とする(1)〜(4)の何れか1項に記載の植物栽培方法。
(6)前記植物は、トマトであることを特徴とする(1)〜(5)の何れか1項に記載の植物栽培方法。
(7)植物を播種し、曲げることが可能な帯状のシートと、該植物を播種した帯状のシートを曲げ、互いに隣接させた状態に保持して育苗する育苗部材と、該育苗した帯状のシートを定植位置に載置する載置部材を有することを特徴とする植物栽培装置。
(8)植物を播種し、曲げることが可能な帯状のシートであって、2枚重ねにした吸水シートであり、該2枚重ねにした吸水シートの間に、前記植物が播種され、播種位置の目安とする印が付されていることを特徴とする帯状のシート。
(9)前記育苗した苗を個々に分離するためのミシン目を有することを特徴とする(8)に記載の帯状のシート。(1) A step of sowing a plant on a belt-like sheet, a step of raising a seedling by bending the belt-like sheet sowing the plant and keeping them adjacent to each other, and placing the seedling of the belt-like sheet on the planting position The plant cultivation method characterized by including the process to set.
(2) The plant-cultivating method according to (1), wherein the belt-shaped sheet is a double-layered water-absorbing sheet, and the plant is sown between the double-layered water-absorbing sheets. .
(3) The plant cultivation method according to (1) or (2), wherein a root shielding member is provided between the adjacent bent sheets.
(4) The plant cultivation method according to any one of (1) to (3), wherein the planting position is on a water absorbing sheet placed on a planting table.
(5) The plant cultivation method according to any one of (1) to (4), which is a low-stage dense planting cultivation method.
(6) The plant cultivation method according to any one of (1) to (5), wherein the plant is a tomato.
(7) A strip-shaped sheet that can be planted and bent, a seedling member for raising seedlings by bending the strip-shaped sheet sowing the plant and holding them adjacent to each other, and the strip-shaped sheet that has been grown A plant cultivating apparatus comprising a mounting member that mounts a plant at a planting position.
(8) A belt-shaped sheet that can be planted and bent, and is a double-layered water-absorbing sheet, and the plant is sown between the two-layered water-absorbing sheets, and the sowing position A belt-like sheet characterized by a mark as a guideline.
(9) The belt-like sheet according to (8), which has a perforation for individually separating the seedlings that have been raised.
本発明の一態様によれば、大量の苗を高い生産性で供給することを可能とし、苗の定植および植物を収穫した後の後片付けを省力化することが可能な植物栽培方法および植物栽培装置ならびに帯状のシートを提供することができる。 According to one aspect of the present invention, a plant cultivation method and a plant cultivation apparatus that can supply a large amount of seedlings with high productivity and can save labor in planting seedlings and cleaning up after harvesting plants. In addition, a belt-like sheet can be provided.
以下に、本発明の実施形態について詳細に説明する。 Hereinafter, embodiments of the present invention will be described in detail.
本実施形態の植物栽培方法は、帯状のシートに植物を播種する工程と、植物を播種した帯状のシートを曲げ、互いに隣接させた状態に保持して育苗する工程と、育苗した帯状のシートを定植位置に載置する工程を含む。 The plant cultivation method of the present embodiment includes a step of sowing a plant in a belt-like sheet, a step of raising a seedling by bending the belt-like sheet sowing the plant and holding them adjacent to each other, and a seedling of the belt-like sheet Including a step of placing the planting position.
本実施形態の植物栽培装置は、植物を播種し、曲げることが可能な帯状のシートと、植物を播種した帯状のシートを曲げ、互いに隣接させた状態に保持して育苗する育苗部材と、育苗した帯状のシートを定植位置に載置する載置部材を有する。 The plant cultivation apparatus of the present embodiment includes a belt-like sheet that can be planted and bent, a seedling member that raises the seedling by holding the belt-like sheet sowing the plant and holding them adjacent to each other, It has the mounting member which mounts the strip | belt-shaped sheet | seat in the planting position.
本実施形態の帯状のシートは、植物を播種し、曲げることが可能な帯状のシートであって、2枚重ねにした吸水シートであり、2枚重ねにした吸水シートの間に、植物が播種され、播種位置の目安とする印が付されている。 The belt-like sheet of the present embodiment is a belt-like sheet that can be planted and bent, and is a double-layered water-absorbent sheet, and the plant is sowed between the double-layered water-absorbent sheets. And marked as a guide for sowing position.
図1に、本実施形態の播種用の帯状のシートの一例として、2枚重ねにした吸水シート10を示す。 In FIG. 1, the water-absorbing
2枚重ねにした吸水シート10は、長さ方向に接合したものである。そして、2枚重ねにした吸水シート10の間に種を挟み込むことにより、播種する。2枚重ねにした吸水シート10は、長さ方向に接合部11を有するため、播種した種は、接合部11により押さえられ、播種位置の開口部の反対側に抜け落ちることはない。 The two water-absorbing
また、吸水シート10の表面には、播種位置の目安とする印12が印刷されている。これにより、2枚重ねにした吸水シート10に人が播種する場合は、播種位置の印を目視することで、等間隔で播種することが容易になる。 In addition, on the surface of the water-absorbing
吸水シート10は、含水性、親水性に優れた材料であるため、灌水が容易となり、また、灌水の自動化等の省力化が可能となる。 Since the water
また、吸水シート10の柔軟性を高めることで、2枚重ねにした吸水シート10の育苗トレイへの設置、苗の定植等の作業性が向上すると共に、種から伸びた根が吸水シート10を通り抜けることが容易となり、苗の生育が促進される。 In addition, by improving the flexibility of the water
吸水シート10を構成する材料としては、植物を播種し、曲げることが可能であれば、特に限定されないが、例えば、ポリエステル系合成繊維等が挙げられる。 Although it will not specifically limit as a material which comprises the water absorbing sheet |
吸水シート10を構成する材料は、生分解性を有していてもよい。 The material constituting the water
また、吸水シート10は、白色系の色調とすることが好ましい。吸水シート10を白色系とすることで、その表面が光を反射しやすくなり、その反射光により、特に育苗初期の苗の光照射環境が改善され、光合成が加速される。すなわち、従来の土を用いる育苗ポット等は、光を吸収しやすいため、それらの育苗器具に比べて、苗の生育を改善することが可能となる。そして、2枚重ねにした吸水シート10を用いて育苗した苗は、土を用いずに育苗されているため、根鉢が形成されず定植後の活着がよく、その後の生育も改善される。 Moreover, it is preferable that the water
吸水シート10のサイズは、育苗する植物の種類にもよるが、通常、幅が4cm程度であり、厚さが2mm程度である。吸水シート10の長さは、育苗トレイのサイズにもよるが、長さが50m程度の吸水シートを適宜切断して使用するのが経済的である。 The size of the water-
また、2枚重ねにした吸水シート10の接合の位置、接合の間隔は、育苗する植物の種の大きさ、根の太さによる。例えば、トマトを栽培する場合、接合の位置は、端から5mm程度であり、接合の間隔は、3mm程度であることが好ましい。 Moreover, the joining position and joining interval of the two water-absorbing
吸水シート10には、育苗した苗を個々に分離するためのミシン目が設けられていることが好ましい。これにより、効率的に定植できる場合があり、また、植物を収穫した後の後片付けが簡便になる場合がある。 The
ミシン目とは、吸水シート10を切り離しやすいように入れた連続した小孔を指す。また、ミシン目は、播種位置の目安とする印12を兼ねてもよい。 A perforation refers to a continuous small hole in which the water
なお、播種用の帯状のシートの形態は、2枚重ねにした吸水シートに限定されない。例えば、スポンジ状の1枚の吸水シートを用いて、スポンジの孔の内部に播種してもよい。また、播種する箇所のみを2枚重ねにした吸水シートとして、他の箇所を廉価な1枚の非吸水フィルムとしてもよい。 In addition, the form of the strip | belt-shaped sheet | seat for sowing is not limited to the water absorption sheet | seat piled up two sheets. For example, a sponge-like water-absorbing sheet may be used to sow inside the sponge holes. Moreover, it is good also as a sheet of cheap non-water-absorbing films as a water-absorbing sheet in which only two sowing locations are stacked.
本実施形態では、植物を播種した帯状のシートを曲げ、互いに隣接させた状態に保持して育苗する。 In the present embodiment, the seedlings are planted by bending the belt-like sheets seeded with plants and holding them adjacent to each other.
図2に、本実施形態の育苗部材の一例として、育苗トレイ20を示す。 In FIG. 2, the
育苗トレイ20の内部に、左右交互に隙間ができるように、遮根板21が並べられている。そして、播種した、2枚重ねにした吸水シート10は、遮根板21の隙間部分で曲げることで九十九折状にした。また、2枚重ねにした吸水シート10を育苗トレイの底面と垂直な状態で保持し、隣接するシートの間に遮根板21が位置するように設置する。この際、2枚重ねにした吸水シート10は、播種した際の隙間の方向を上にして育苗トレイ20内に保持する。これにより、播種した種は、2枚重ねにした吸水シート10の接合部11により保持されるため、2枚重ねにした吸水シート10の外部に抜け落ちることが防止される。また、2枚重ねにした吸水シート10は、種から伸びた根が通り抜けられる程度に疎の間隔で接合することで、苗Sの生育が阻害されることを防ぐことができる。 Inside the
なお、2枚重ねにした吸水シート10を曲げる形状は、2枚重ねにした吸水シート10を互いに隣接させることが可能であれば、九十九折状に限定されず、螺旋状等であってもよい。 The shape of bending the two water
本実施形態では、育苗トレイ20の内部に培養液を供給して育苗する。そして、種から発芽した芽や根は、2枚重ねにした吸水シート10の開口部や、吸水シート10の表面から外部に向けて伸びる。ここで、根は、吸水シート10が保持する培養液や、育苗トレイ20の内部の培養液を吸収して成長し、葉は、光を吸収して成長する。 In the present embodiment, the culture solution is supplied to the inside of the
育苗トレイ20および遮根板21を構成する材料としては、例えば、樹脂を用いることができるが、その他、保水材料を用いることができる。 As a material constituting the
保水材料としては、例えば、多孔質のセラミックス、連続孔がある樹脂、ケイソウ土の板、パーライトを吹き付けた複合材等が挙げられる。 Examples of the water retaining material include porous ceramics, resin having continuous pores, diatomaceous earth plate, composite material sprayed with pearlite, and the like.
本実施形態の植物栽培方法は、上記のように、簡便な方法で育苗トレイ20の内部に高密度の苗Sを育てることができるため、大量の苗Sを高い生産性で供給することができる。 Since the plant cultivation method of this embodiment can grow the high-density seedling S in the
本実施形態では、育苗した帯状のシートを定植位置に載置する。 In the present embodiment, the band-shaped sheet that has been nurtured is placed at the planting position.
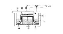
図3に、本実施形態の定植部材の一例として、栽培槽30を示す。 In FIG. 3, the
栽培槽30の内部の培養液Lの表面を超える位置に、定植台31の定植面が設けられている。定植台31の上には、吸水シート32が載置されており、その上には、透水性の遮根シート33が敷設されている。これにより、培養液Lは、遮根シート33、吸水シート32、吸水シート10を通じて、苗Sに供給される。 The planting surface of the planting table 31 is provided at a position exceeding the surface of the culture solution L inside the
ここで、栽培槽30の内部に、給液管34を用いて培養液Lを供給し、栽培槽30の内部で培養液Lを循環させている。 Here, the culture solution L is supplied to the inside of the
栽培槽30の上部には、任意で蓋35を設けることができる。蓋35は、栽培槽30内の培養液Lに光が当たることを防ぎ、これにより、アオコの発生を防ぐことができる。また、蓋35の色調を白色系とすることで、その表面が光を反射しやすくなり、その反射光により、植物の光照射環境が改善され、光合成を加速することができる。 A
また、定植の初期においては、栽培槽30の上部に蓋35を設けないことが好ましい。これにより、白色系の吸水シート10を用いた場合の反射光により、苗への光照射環境が改善され、定植した苗の活着を改善することができる。 Moreover, it is preferable not to provide the
なお、給液管34を用いて、培養液Lを定期的に供給してもよい。 Note that the culture solution L may be periodically supplied using the
吸水シート32としては、含水性、柔軟性、親水性に優れた材料を用いるのが好ましい。 As the
遮根シート33としては、含水性、柔軟性、親水性に加え、防根性に優れた材料を用いることが好ましい。これにより、植物を収穫した後の後片付けをさらに省力化することができる。 As the
本実施形態では、育苗した、2枚重ねにした吸水シート10を曲げられていない状態に戻して、吸水シート32上に、育苗した苗Sを直線状に載置する。これにより、苗Sの定植を省力化することができる。ここで、吸水シート32上に、育苗した苗Sを直線状に載置することで、栽培した植物の収穫が容易になる。 In the present embodiment, the seedling S that has been nurtured is placed on the
なお、吸水シート32上に載置する育苗した苗Sの配置は、直線状に限定されず、載置するスペースの状態等に応じて、三角形状、四角形状、曲線状、九十九折状、螺旋状等としてもよい。 In addition, arrangement | positioning of the seedling S raised on the
2枚重ねにした吸水シート10を吸水シート32上に載置する際に、吸水シート10の表面を吸水シート32の表面と平行にする。この場合は、苗Sが成長すれば、自然と根が下側を向き、芽が上側を向くことになる。 When the two water
なお、2枚重ねにした吸水シート10を吸水シート32上に載置する際に、吸水シート10の表面を吸水シート32の表面と垂直にし、根を下側にし、芽を上側にしてもよい。 When the two water-absorbing
本実施形態では、図4に示すように、苗Sは、定植台31上で、一列に等間隔で成長することになる。図4では、栽培槽30の蓋35として、苗Sごとに、開口部を有するものを使用しているが、苗Sの定植をより簡便に行い、また、苗Sとの位置合わせを容易にするためには、図5に示すように、蓋51の脇から苗Sを成長させる構造とするのが好ましい。 In the present embodiment, as shown in FIG. 4, the seedlings S grow on the fixed planting table 31 at regular intervals in a row. In FIG. 4, as the
本実施形態の植物栽培方法は、植物を収穫した後の後片付けが容易である。すなわち、後片付けは、定植台31の表面から、2枚重ねにした吸水シート10を剥がすだけで済むので、植物を収穫した後の後片付けを省力化することができる。特に、定植台31の表面が遮根シート33で覆われている場合は、定植台31の表面からの2枚重ねにした吸水シート10の分離がさらに容易になり、植物を収穫した後の後片付けをさらに省力化することができる。 The plant cultivation method of this embodiment is easy to clean up after harvesting the plant. That is, the post-cleaning can be accomplished by simply peeling off the two water-absorbing
本実施形態の植物栽培方法および植物栽培装置は、水耕栽培方法等の従来の栽培方法および密植栽培方法のいずれにも適用することができるが、高品質で均一に果実を生産することが可能であるため、低段密植栽培方法に適用することが好ましい。 The plant cultivation method and plant cultivation apparatus of this embodiment can be applied to both conventional cultivation methods such as hydroponics cultivation methods and dense planting cultivation methods, but can produce fruits with high quality and uniformity. Therefore, it is preferable to apply to the low-stage dense planting cultivation method.
本実施形態の植物栽培方法および植物栽培装置を用いて、栽培することが可能な植物としては、特に限定されないが、トマト、トマトと生育条件が類似する植物等が挙げられる。 Although it does not specifically limit as a plant which can be cultivated using the plant cultivation method and plant cultivation apparatus of this embodiment, The plant etc. whose growth conditions are similar to a tomato are mentioned.
以下、実施例により、本発明の植物栽培方法を説明するが、本発明の植物栽培方法は、実施例に限定されない。 Hereinafter, although the example demonstrates the plant cultivation method of this invention, the plant cultivation method of this invention is not limited to an Example.
本実施例では、吸水シート10として、白色のジャームガード7210S(東洋紡STC社製)を用いた。具体的には、図1に示すように、幅4cm、長さ9m、厚さ2mmの吸水シート10を2枚重ねにし、端から5mmの位置で、3mm間隔で長さ方向に点状に接合して、接合部11を形成した。また、吸水シート10に、長さ方向に10cm間隔で、播種位置の目安とする印12を印刷した。 In this example, white germ guard 7210S (manufactured by Toyobo STC) was used as the water
2枚重ねの吸水シート10の間の播種位置の目安とする印12が印刷されている箇所に、トマト(品種:桃太郎)を播種した。 Tomato (variety: Momotaro) was sown at a place where a
次に、幅30cm、長さ60cmの樹脂製の育苗トレイ20に、図2に示すように、2枚重ねにした吸水シート10を九十九折状に曲げ、互いに隣接させた状態に保持した。このとき、トマトを播種した側が上になるように、2枚重ねにした吸水シート10を育苗トレイ20に保持した。なお、育苗トレイ20内には、隣接するシートの間に位置するように、遮根板21として、樹脂板が設けられている。ここで、樹脂板は、2cm間隔で29枚設けられている。 Next, on the
そして、育苗トレイ20に灌水した後、赤色LEDと青色LEDの同時照射による人工照明を用いて育苗した。なお、子葉が展開した後は、薄い培養液(EC0.8dS/m)を与えた。トマトを播種してから23日後、本葉が4〜5枚出た段階で、2枚重ねにした吸水シート10を曲げられていない状態に戻して、農業用ハウス内の栽培槽30の定植台31に、育苗した苗Sを直線状に載置した。 And after watering the
栽培槽は、図3に示すように、幅50cm、深さ15cm、長さ10mであり、定植台31には、吸水シート32として、白色のジャームガード7210S(東洋紡STC社製)を載置し、その上に、遮根シート33として、白色の防根透水シートBKS0812(東洋紡STC社製)を敷いた。株間距離は、播種位置の目安とする印12の間隔と同じ10cmであり、吸水シート32と平行にして、2枚重ねにした吸水シート10を載置した。 As shown in FIG. 3, the cultivation tank has a width of 50 cm, a depth of 15 cm, and a length of 10 m, and a white germ guard 7210S (manufactured by Toyobo STC Co., Ltd.) is placed on the fixed planting table 31 as a
2枚重ねにした吸水シート10を定植台31に載置した後は、培養液L(EC1.8dS/m)を与え、昼間は、太陽光を照射し、夜間は、赤色LEDと青色LEDの同時照射による人工照明を補光照射した。なお、定植後3日間は、栽培槽30に蓋35を設けなかったが、定植後4日目から栽培槽30に白色の蓋35を設けた。 After the two water-absorbing
2枚重ねにした吸水シート10を定植台31に載置してから38日後、第1花房の3花が開花したため、着果ホルモンを散布し、第1花房の上1〜2葉を残して摘心した。 38 days after placing the two water-absorbing
2枚重ねにした吸水シート10を定植台31に載置してから75日後以降に、トマトは、収穫期となり、約40日間収穫した後、後片付けした。後片付けは、定植台31上の遮根シート33から2枚重ねにした吸水シート10を剥がすだけであり、簡便であった。 75 days after the two water-absorbing
10 吸水シート
11 接合部
12 播種位置の目安とする印
20 育苗トレイ
21 遮根板
30 栽培槽
31 定植台
32 吸水シート
33 遮根シート
34 給液管
35、51 蓋
L 培養液
S 苗DESCRIPTION OF
| Application Number | Priority Date | Filing Date | Title |
|---|---|---|---|
| JP2016059759AJP2017169493A (en) | 2016-03-24 | 2016-03-24 | Plant cultivation method and plant cultivation apparatus |
| PCT/JP2017/006860WO2017163745A1 (en) | 2016-03-24 | 2017-02-23 | Plant cultivation method and plant cultivation device |
| Application Number | Priority Date | Filing Date | Title |
|---|---|---|---|
| JP2016059759AJP2017169493A (en) | 2016-03-24 | 2016-03-24 | Plant cultivation method and plant cultivation apparatus |
| Publication Number | Publication Date |
|---|---|
| JP2017169493Atrue JP2017169493A (en) | 2017-09-28 |
| Application Number | Title | Priority Date | Filing Date |
|---|---|---|---|
| JP2016059759APendingJP2017169493A (en) | 2016-03-24 | 2016-03-24 | Plant cultivation method and plant cultivation apparatus |
| Country | Link |
|---|---|
| JP (1) | JP2017169493A (en) |
| WO (1) | WO2017163745A1 (en) |
| Publication number | Priority date | Publication date | Assignee | Title |
|---|---|---|---|---|
| CN107926676A (en)* | 2017-12-15 | 2018-04-20 | 无锡微云农业科技有限公司 | The breeding apparatus and breeding method of a kind of water culture |
| JPWO2019156150A1 (en)* | 2018-11-19 | 2020-05-07 | グリーンリバーホールディングス株式会社 | Vertical hydroponic cultivation system and vertical hydroponic cultivation method |
| US20220046874A1 (en)* | 2020-08-13 | 2022-02-17 | Urban Leaf Technologies, Inc. | Microgreens grow tray and kit |
| DE102021107313A1 (en) | 2021-03-24 | 2022-09-29 | Heron Innovations Factory Gmbh | Device and method for growing plants |
| Publication number | Priority date | Publication date | Assignee | Title |
|---|---|---|---|---|
| JP7054920B2 (en)* | 2018-07-12 | 2022-04-15 | 株式会社信州サラダガーデン | Cover for paprika seedling pot, paprika cultivation tool |
| WO2023041614A1 (en)* | 2021-09-15 | 2023-03-23 | Antje Wolff | Method and device for arranging seeds |
| Publication number | Priority date | Publication date | Assignee | Title |
|---|---|---|---|---|
| JPH03254602A (en)* | 1990-03-02 | 1991-11-13 | Nippon Steel Chem Co Ltd | Method for sowing |
| GB2294675A (en)* | 1994-11-02 | 1996-05-08 | Ann Chorley | Packaging of seeds |
| JP2000050739A (en)* | 1998-06-01 | 2000-02-22 | Honda Motor Co Ltd | Seedling raising sheet, method for producing the same, and planting operation device for planting seedling raising sheet underground |
| JP2002519001A (en)* | 1998-06-29 | 2002-07-02 | ベントレ・プロダクツ・アー・ゲー | Tape with germination unit and its packaging, and method and apparatus for producing them |
| Publication number | Priority date | Publication date | Assignee | Title |
|---|---|---|---|---|
| JPH03254602A (en)* | 1990-03-02 | 1991-11-13 | Nippon Steel Chem Co Ltd | Method for sowing |
| GB2294675A (en)* | 1994-11-02 | 1996-05-08 | Ann Chorley | Packaging of seeds |
| JP2000050739A (en)* | 1998-06-01 | 2000-02-22 | Honda Motor Co Ltd | Seedling raising sheet, method for producing the same, and planting operation device for planting seedling raising sheet underground |
| JP2002519001A (en)* | 1998-06-29 | 2002-07-02 | ベントレ・プロダクツ・アー・ゲー | Tape with germination unit and its packaging, and method and apparatus for producing them |
| Title |
|---|
| 渡辺慎一: "低段密植栽培による新たなトマト生産", 野菜茶業研究集報, JPN6017015860, 2006, JP, pages 91 - 98, ISSN: 0004389437* |
| Publication number | Priority date | Publication date | Assignee | Title |
|---|---|---|---|---|
| CN107926676A (en)* | 2017-12-15 | 2018-04-20 | 无锡微云农业科技有限公司 | The breeding apparatus and breeding method of a kind of water culture |
| JPWO2019156150A1 (en)* | 2018-11-19 | 2020-05-07 | グリーンリバーホールディングス株式会社 | Vertical hydroponic cultivation system and vertical hydroponic cultivation method |
| US20220046874A1 (en)* | 2020-08-13 | 2022-02-17 | Urban Leaf Technologies, Inc. | Microgreens grow tray and kit |
| DE102021107313A1 (en) | 2021-03-24 | 2022-09-29 | Heron Innovations Factory Gmbh | Device and method for growing plants |
| Publication number | Publication date |
|---|---|
| WO2017163745A1 (en) | 2017-09-28 |
| Publication | Publication Date | Title |
|---|---|---|
| WO2017163745A1 (en) | Plant cultivation method and plant cultivation device | |
| CN103875386A (en) | Soilless seedling cutting raising method of gardenia jasminoides in potted trays of rice field | |
| JP2011142902A (en) | Hydroponic method | |
| JP3643143B2 (en) | Tomato cultivation method | |
| KR101590327B1 (en) | Seedling_raising method for young plant of strawberry and its device | |
| CN202750547U (en) | Hydroponic planting structure | |
| CN105706897B (en) | Corn and the distant hybridization method of paddy rice | |
| EP3089576B1 (en) | Methods and compositions for production of watermelon fruit | |
| JP2005000019A (en) | Sheet type plant cultivation device, sheet type plant cultivation method and sheet-like plant fixing body | |
| JPH10304764A (en) | Growing method of liane crop such as strawberry and growing equipment | |
| JPH11253054A (en) | Double pot for plant culture | |
| JP3343580B2 (en) | How to cultivate burdock | |
| CN104221863B (en) | A kind of method of rare heavy curtain chrysanthemum tissue-culturing rapid propagation | |
| JPS62107729A (en) | Branch culture of miniature tomato in hydroponic culture | |
| KR102580907B1 (en) | Method And Apparatus For Stone Breeding Moss | |
| CN216314268U (en) | Gardens are with nursery stock cultivation equipment | |
| CN203015572U (en) | Container for culturing bud seedling vegetables | |
| CN215269728U (en) | Multifunctional seedling raising box for popularization of seedling raising agricultural technology | |
| JPH0220224A (en) | Bag-packed culture bed and method for planting and transplanting plant | |
| CN211832038U (en) | Bonsai cultivation pot | |
| JP2013215175A (en) | Medium for hydroponics | |
| CN1324941C (en) | Flower-type tomato-tree cultivating method | |
| CN209931144U (en) | Educate seedling tray convenient to transplant | |
| JP2005095035A (en) | Cultivation supporter and water culture method | |
| JP3142295U (en) | Plant cultivation container composed of a transparent root sheet and a flat frame |
| Date | Code | Title | Description |
|---|---|---|---|
| A621 | Written request for application examination | Free format text:JAPANESE INTERMEDIATE CODE: A621 Effective date:20181220 | |
| A521 | Request for written amendment filed | Free format text:JAPANESE INTERMEDIATE CODE: A821 Effective date:20181220 | |
| A131 | Notification of reasons for refusal | Free format text:JAPANESE INTERMEDIATE CODE: A131 Effective date:20200114 | |
| A521 | Request for written amendment filed | Free format text:JAPANESE INTERMEDIATE CODE: A523 Effective date:20200207 | |
| A131 | Notification of reasons for refusal | Free format text:JAPANESE INTERMEDIATE CODE: A131 Effective date:20200616 | |
| A521 | Request for written amendment filed | Free format text:JAPANESE INTERMEDIATE CODE: A523 Effective date:20200709 | |
| A02 | Decision of refusal | Free format text:JAPANESE INTERMEDIATE CODE: A02 Effective date:20201124 |