




本発明は、磁気シールド装置、および磁気シールドの能動補償方法に関する。 The present invention relates to a magnetic shield device and an active compensation method for a magnetic shield.
例えば、心臓などの人の身体から発せられる磁界は、重要なリアルタイム生体情報で、しかも多くの情報を含んでいる。例えば心臓磁界を心磁計、例えばSQUID磁束計64チャンネルで検出すれば、心臓の電気生理学的機能を2次元マップすることが可能である。また、その刺激伝導系を伝って流れる電流ベクトルの時間的空間的情報など、心電図の波形分析による方法に比べ圧倒的に的確で多様な診断情報の獲得が可能である。 For example, a magnetic field generated from a human body such as the heart is important real-time biological information and includes a lot of information. For example, if the cardiac magnetic field is detected by a magnetocardiograph, for example, 64 channels of a SQUID magnetometer, the electrophysiological function of the heart can be two-dimensionally mapped. In addition, it is possible to obtain overwhelmingly accurate and diverse diagnostic information such as temporal and spatial information of the current vector flowing through the stimulation conduction system, as compared with the method based on electrocardiogram waveform analysis.
そこで、健常者はもちろん寝たきりの患者であっても、身体から発せられる心臓磁界等の生体磁気の計測に無理なく使用できる、高性能な磁気シールド装置の開発が望まれている。 Thus, there is a demand for the development of a high-performance magnetic shield device that can be used reasonably for measurement of biomagnetism such as cardiac magnetic fields emitted from the body, not only for healthy subjects but also for bedridden patients.
本発明者らは、特許文献1にて、従来の部屋型磁気シールド装置よりもコンパクトな分離型磁気シールド装置を提案している。シールド空間を規定する第1磁気シールド本体及び第2磁気シールド本体の外周壁部材には、その周面に沿って巻き回した導体からなる補償コイルが設置されている。補償コイルに電流を流すと、第1磁気シールド本体及び第2磁気シールド本体の回転対称軸方向の磁束が補償コイルに発生する補償磁界により偏向され、シールド空間への磁束の流れ込みが阻止される。
この分離型磁気シールド装置は、磁気シールド空間への高いアクセス性を有し、且つ、全方向の磁界成分に対して効果的に遮蔽することができ、磁気シールドが極めて有効に達成される。In the patent document 1, the present inventors have proposed a separation type magnetic shield device that is more compact than a conventional room type magnetic shield device. Compensation coils made of a conductor wound around the peripheral surface are installed on the outer peripheral wall members of the first magnetic shield main body and the second magnetic shield main body that define the shield space. When a current is passed through the compensation coil, the magnetic flux in the rotationally symmetric axis direction of the first magnetic shield body and the second magnetic shield body is deflected by the compensation magnetic field generated in the compensation coil, thereby preventing the magnetic flux from flowing into the shield space.
This separation type magnetic shield device has high accessibility to the magnetic shield space and can effectively shield magnetic field components in all directions, so that the magnetic shield is achieved very effectively.
本発明者らは、引き続き磁気シールド装置の改良のための検討を行い、上述した補償磁界による補償をより効果的に行うための知見を得て、本発明を完成させた。 The inventors of the present invention have continuously studied to improve the magnetic shield device, have obtained knowledge for more effectively performing the compensation by the compensation magnetic field described above, and completed the present invention.
本発明は、補償磁界を用いた補償をより効果的に行うことができる磁気シールド装置および磁気シールドの能動補償方法を提供することを目的とする。 It is an object of the present invention to provide a magnetic shield device and an active compensation method for a magnetic shield that can more effectively perform compensation using a compensation magnetic field.
本発明の第一の態様は、磁性体を含んで形成され、磁気シールド空間を規定するシールド部と、前記シールド部に取り付けられた補償コイルと、前記補償コイルに補償電流を流して前記シールド空間内の所定位置の磁界をゼロとしたときに前記シールド空間外に生じる零磁界点に設置される磁界センサと、前記磁界センサの検出した磁界に基づいて前記補償電流の大きさを変更可能に構成された制御部とを備える磁気シールド装置である。 According to a first aspect of the present invention, there is provided a shield part that includes a magnetic body and defines a magnetic shield space; a compensation coil attached to the shield part; and a compensation current that flows through the compensation coil to provide the shield space. A magnetic field sensor installed at a zero magnetic field point generated outside the shield space when the magnetic field at a predetermined position in the inside is zero, and the magnitude of the compensation current can be changed based on the magnetic field detected by the magnetic field sensor And a control unit.
前記シールド部は、第一シールド部材および第二シールド部材を有し、前記補償コイルは、前記第一シールド部材および第二シールド部材に巻き回される第一補償コイルおよび第二補償コイルを有し、前記第一シールド部材と前記第二シールド部材とが相対移動可能に構成されてもよい。 The shield part has a first shield member and a second shield member, and the compensation coil has a first compensation coil and a second compensation coil wound around the first shield member and the second shield member. The first shield member and the second shield member may be configured to be relatively movable.
本発明の第二の態様は、補償コイルを備えた磁気シールド装置における磁気シールドの能動補償方法であって、前記補償コイルに初期補償電流を流して前記磁気シールド装置内のシールド空間内の所定位置の磁界をゼロとし、前記所定位置の磁界がゼロであるときに前記シールド空間外に生じる零磁界点に磁界センサを設置し、前記磁界センサが検出する磁界に基づいて前記補償電流の大きさを設定する磁気シールドの能動補償方法である。
このとき、前記所定位置は、前記シールド空間の中心であってもよい。According to a second aspect of the present invention, there is provided an active compensation method for a magnetic shield in a magnetic shield device provided with a compensation coil, wherein an initial compensation current is passed through the compensation coil and a predetermined position in a shield space in the magnetic shield device. A magnetic field sensor is installed at a zero magnetic field point generated outside the shield space when the magnetic field at the predetermined position is zero, and the magnitude of the compensation current is determined based on the magnetic field detected by the magnetic field sensor. This is an active compensation method for the magnetic shield to be set.
At this time, the predetermined position may be the center of the shield space.
本発明の磁気シールド装置および磁気シールドの能動補償方法によれば、補償磁界を用いた補償をより効果的に行うことができる。 According to the magnetic shield apparatus and the magnetic shield active compensation method of the present invention, compensation using a compensation magnetic field can be performed more effectively.
本発明の一実施形態について、図1から図5を参照して説明する。
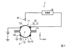
図1は、本実施形態の磁気シールド装置の構成を示す模式図である。磁気シールド装置1は、シールド空間Sを規定するシールド部10と、シールド部10に取りつけられる補償コイル20と、補償コイル20と接続された制御部30と、制御部30に接続された磁界センサ40とを備えている。An embodiment of the present invention will be described with reference to FIGS.
FIG. 1 is a schematic diagram showing the configuration of the magnetic shield device of the present embodiment. The magnetic shield device 1 includes a
図2は、シールド部10の斜視図である。図3は、シールド部10を上方から見た状態を示す平面図である。
シールド部10は、図2および図3に示すように、上側に配置される第一シールド部材11と、下側に配置される第二シールド部材12とを有する。第一シールド部材11は、半円筒状の本体部11aと、本体部11aの周方向における両端部に設けられた平面部11bとを有する。2つの平面部11aは、同一面上に位置するように形成されている。第二シールド部材12も、同様に、本体部12aおよび平面部12bを有する。FIG. 2 is a perspective view of the
As shown in FIGS. 2 and 3, the
第一シールド部材11および第二シールド部材12は、磁性体を含み、所望の磁気シールド特性を満足するように形成されている。磁性体としては、アモルファス磁性体やパーマロイ等を用いることができる。第一シールド部材11および第二シールド部材12の構造としては、これらの磁性体の単層または多層体や、磁性体の両面に樹脂等が積層された構造等を採用することができる。 The
第一シールド部材11と第二シールド部材12とは、半円筒形の内部空間が対向し、かつ平面部11bと平面部12bとが所定の距離(例えば3〜5センチメートル(cm)程度)離間するように配置されている。第一シールド部材11と第二シールド部材12とが対向配置されることにより、第一シールド部材11と第二シールド部材12との間に、略円柱状のシールド空間Sが規定される。 The
補償コイル20は、地磁気を打ち消すための第一補償コイル21と、変動磁界を打ち消すための第二補償コイル22とを有する。第一補償コイル21には、直流電流が流され、第二補償コイル22には、制御部30で生成された交流電流が流される。第一補償コイル21および第二補償コイル22は、いずれも導体で形成され、シールド部10の平面視において、各シールド部材11、12の本体部11aおよび12aの少なくとも一部を囲うループを形成するように巻き回されている。各補償コイル21、22において、ループの大きさ、コイルとシールド空間中心(後述)との位置関係、巻き数等については、後述する諸条件を考慮して適宜設定される。 The
制御部30は、公知のゲイン調整器、積分器、比例増幅器等を有して構成されており、第二補償コイル22と接続されている。
磁界センサ40としては、例えば基本波型直交フラックスゲートセンサを用いることができる。
制御部30は、磁界センサ40の検出した磁界の値に基づいて、例えばPI制御等の所定の制御を行うことにより、第二補償コイル22に流れる電流の設定および調節を可能に構成されている。The
As the
The
上記のように構成された、本実施形態の磁気シールド装置1の使用時の動作について説明する。
磁気シールド装置1においては、シールド部10が、第一シールド部材11および第二シールド部材12からなる。したがって、例えば両者をスライド可能等の相対移動可能に構成する等により、シールド空間Sへのアクセスを容易にすることができる。また、部屋型の磁気シールド装置に比べてはるかに軽量とすることができ、移設が容易となる利点もある。The operation at the time of use of the magnetic shield device 1 of the present embodiment configured as described above will be described.
In the magnetic shield device 1, the
その一方で、第一シールド部材11と第二シールド部材12とが離間して配置されるため、閉構造の磁気シールド装置に比べてシールド効果が劣るという点に留意する必要がある。本発明では、補償コイル20に電流を流すことで、補償コイルが発生する補償磁界により外部磁界を好適に打ち消して、シールド空間S内のシールド性能を安定させる。 On the other hand, since the
本実施形態において、外部磁界の直流成分である地磁気は一定であるため、第一補償コイル21には直流の定電流を流して直流補償を行う。一方、外部磁界の交流成分は常に一定ではないため、磁界センサ40で検出した磁界に基づいて制御部30がPI制御を行い、第二補償コイル22に流す電流の電流値をフィードバック制御により逐次更新する。これにより、磁気シールド装置1が発生する磁気シールドの能動補償を行う。
以下、本実施形態における磁気シールドの能動補償方法の詳細について説明する。In this embodiment, since the geomagnetism, which is the DC component of the external magnetic field, is constant, DC compensation is performed by passing a DC constant current through the first compensation coil 21. On the other hand, since the AC component of the external magnetic field is not always constant, the
The details of the magnetic shield active compensation method in this embodiment will be described below.
まず、シールド空間Sの中心(所定位置)Scに磁界センサを設置する。中心Scは、図2に示されるxyz座標系の原点として示される位置である。図2におけるz軸は、略円柱形のシールド空間Sの軸線と同一である。図2におけるy軸は、シールド空間Sの軸線方向における中点において、z軸を通り鉛直方向に延びる軸である。図2におけるx軸は、シールド空間Sの軸線方向における中点において、y軸およびz軸と直交する軸であり、略円柱形のシールド空間Sの径方向と平行に(すなわち水平に)延びる。 First, a magnetic field sensor is installed at the center (predetermined position) Sc of the shield space S. The center Sc is a position indicated as the origin of the xyz coordinate system shown in FIG. The z axis in FIG. 2 is the same as the axis of the substantially cylindrical shield space S. The y axis in FIG. 2 is an axis that extends in the vertical direction through the z axis at the midpoint in the axial direction of the shield space S. The x axis in FIG. 2 is an axis orthogonal to the y axis and the z axis at the midpoint in the axial direction of the shield space S, and extends in parallel (that is, horizontally) to the radial direction of the substantially cylindrical shield space S.
次に、第一補償コイル21に電流を流してy方向に一様の磁界を発生させ、シールド空間Sの中心Scに設置した磁界センサの直流成分の検出値がゼロとなるように電流値を調節する。すると、中心Scを通るx方向断面における、第一補償コイル21と中心Scとのx軸方向における距離(以下、「x方向距離」と称する。)によっては、図4に示す符号Zm1およびZm2のように、シールド空間Sの外部においても磁界の直流成分がゼロとなる点がy軸上に出現する。本発明では、これを「零磁界点」と称する。 Next, a current is passed through the first compensation coil 21 to generate a uniform magnetic field in the y direction, and the current value is set so that the detected value of the DC component of the magnetic field sensor installed at the center Sc of the shield space S becomes zero. Adjust. Then, depending on the distance in the x-axis direction between the first compensation coil 21 and the center Sc (hereinafter referred to as “x-direction distance”) in the x-direction section passing through the center Sc, the signs Zm1 and Zm2 shown in FIG. As described above, the point where the DC component of the magnetic field becomes zero also appears on the y-axis even outside the shield space S. In the present invention, this is referred to as a “zero magnetic field point”.
図5に、第一補償コイル21と中心Scとのx方向距離と、中心Scと零磁界点との距離の関係を示すグラフの一例を示す。図5に示すように、第一補償コイル21と中心Scとのx方向距離と、中心Scと零磁界点との距離との間には一定の関係があるため、磁界センサ40をy軸上で所定距離(例えば1cm)ずつ移動させながら磁界の直流成分を測定し、直流成分がゼロとなる点を探すことにより零磁界点の位置を特定することができる。零磁界点の位置特定にあたっては、例えば有限要素法ベースの物理シミュレーションソフトウェア等を用いて、零磁界点の大まかな位置を推定してから上記手順を行ってもよい。 FIG. 5 shows an example of a graph showing the relationship between the x-direction distance between the first compensation coil 21 and the center Sc and the distance between the center Sc and the zero magnetic field point. As shown in FIG. 5, since there is a fixed relationship between the distance in the x direction between the first compensation coil 21 and the center Sc and the distance between the center Sc and the zero magnetic field point, the
次に、上記手順で特定された零磁界点に、磁界センサ40を設置する。図1では、シールド部10の上方に磁界センサ40が設置される例を示しているが、図4のように、シールド空間Sの中心Scの上下にそれぞれ零磁界点Zm1、Zm2が出現している場合は、設置可能であればそのいずれに磁界センサ40が設置されてもよい。例えば、シールド部10が床面から十分な高さに設置されていれば、シールド部10下方の零磁界点Zm2に磁界センサ40が設置されてもよい。 Next, the
磁界センサ40が零磁界点に設置された後は、第一補償コイル21に直流の定電流を流し、かつ第二補償コイル22に交流の補償電流を流すことで、磁気シールド装置1に生じる磁気シールドの能動補償を行うことができる。
すなわち、外部磁界の交流成分が変化することによりシールド空間Sの中心Scの磁界が変化すると同時に零磁界点の磁界も変化し、その変化が磁界センサ40により検出される。制御部30は、磁界センサ40の検出した磁界に基づいてPI制御を行い、第二補償コイル22に流される補償電流値が再度設定されて更新される。これにより、シールド空間S内においては、磁界ゼロの状態が好適に保持される。After the
That is, when the AC component of the external magnetic field changes, the magnetic field at the center Sc of the shield space S changes and at the same time, the magnetic field at the zero magnetic field point also changes, and the change is detected by the
以上説明したように、本実施形態の磁気シールド装置1および磁気シールドの能動補償方法によれば、シールド部10により規定されるシールド空間Sの外部に位置する零磁界点に磁界センサ40が設置され、磁界センサ40の検出した磁界にもとづいて制御部30が第二補償コイル22に流す電流値を設定し、電流値を随時変更する。
これにより、外部磁界の変化に好適に対応して補償磁界を発生させ、好適な能動補償を行うことができる。その結果、シールド空間Sのシールド性が安定して発揮される。As described above, according to the magnetic shield device 1 and the magnetic shield active compensation method of the present embodiment, the
Thereby, a compensation magnetic field can be generated suitably corresponding to a change in the external magnetic field, and suitable active compensation can be performed. As a result, the shielding performance of the shield space S is stably exhibited.
磁気シールドの能動補償の目的は、シールド空間内のシールド性を安定させることであるから、PI制御の起点となる磁界変化を検出する磁界センサは、シールド空間S内に設置されるのが自然である。しかし、発明者らの検討において、磁界センサをシールド空間内に設置した場合、能動補償がうまく働かないことがあることが確認された。 Since the purpose of the active compensation of the magnetic shield is to stabilize the shielding property in the shield space, it is natural that the magnetic field sensor that detects the magnetic field change that is the starting point of the PI control is installed in the shield space S. is there. However, it has been confirmed by the inventors that active compensation may not work well when the magnetic field sensor is installed in the shield space.
能動補償がうまく働かない原因は様々考えられるが、その一つとして、シールド空間内で検出される磁界の値が小さすぎるという可能性が挙げられる。今回、発明者らは、シールド空間内の所定位置において磁界がゼロとなるときに、同時にシールド空間外にも磁界がゼロとなる零磁界点が生じることがあることを見出した。さらに、零磁界点はシールド空間の外部に位置するため、外部磁界の交流成分が変化した際に検出される磁界の大きさが、シールド空間内で検出される磁界よりも大きいことを見出した。そこで、能動補償に用いる磁界を零磁界点に設置した磁界センサで検出し、これを用いて能動補償を行うことにより、シールド空間内で磁界を検出して能動補償を行うのに比して、はるかに好適に能動補償を行うことに成功した。 There are various reasons why active compensation does not work well. One of them is the possibility that the value of the magnetic field detected in the shield space is too small. This time, the inventors have found that when a magnetic field becomes zero at a predetermined position in the shield space, a zero magnetic field point at which the magnetic field becomes zero may be generated outside the shield space at the same time. Furthermore, since the zero magnetic field point is located outside the shield space, it has been found that the magnitude of the magnetic field detected when the AC component of the external magnetic field changes is larger than the magnetic field detected in the shield space. Therefore, the magnetic field used for active compensation is detected by a magnetic field sensor installed at the zero magnetic field point, and by using this to perform active compensation, the magnetic field is detected in the shield space and active compensation is performed. We have succeeded in performing active compensation much better.
発明者らは、直径65cm、高さ240cmの略円柱状のシールド空間において、磁界センサをシールド空間内に設置して能動補償を行った場合と、磁界センサを零磁界点に設置して能動補償を行った場合とでシールド空間内の内部雑音を比較した。
その結果、商用周波数である60ヘルツ(Hz)における雑音、低周波帯の雑音としての1Hzの雑音のいずれも、磁界センサを零磁界点に設置した場合の方がより大きく低減できることを確認している。The inventors have performed active compensation by installing a magnetic field sensor in the shield space in a substantially cylindrical shield space having a diameter of 65 cm and a height of 240 cm, and active compensation by installing the magnetic field sensor at a zero magnetic field point. The internal noise in the shielded space was compared with the case where the test was performed.
As a result, it was confirmed that noise at a commercial frequency of 60 hertz (Hz) and noise at 1 Hz as low frequency band noise can be greatly reduced when the magnetic field sensor is installed at the zero magnetic field point. Yes.
本実施形態において、制御部30における制御態様は適宜設定することができる。以下に、その考え方の一例を示す。
まず制御に関連するパラメータを以下のように定義する。
磁界センサ40の磁束密度に対する感度 KFG [V/T]
制御部30におけるゲイン調整器の増幅率 k1
制御部30における積分器の伝達関数 k2/(sτ+1) (ただし、τは積分器時定数。)
制御部30における比例増幅器の増幅率 k3
第二補償コイル22の形状および巻き数により定まる定数 k4
第二補償コイル22のインピーダンス r+sL
第二補償コイル22に流される補償電流 i
第二補償コイル22が発生する補償磁界 Bcomp
外乱変動磁界 Bex
制御部30の出力電圧 vc
シールド部10の一様磁界に対するシールド特性 Ssh
シールド部10の補償磁界に対するシールド特性 S’sh
シールド空間S内の磁界 Bin=Bex/Ssh+Bcomp/S’sh
零磁界点の磁界 a(Bex/Ssh+Bcomp/S’sh) (ただし、aは1以上の定数。)
すると、下記の(1)から(4)の各式が成り立つ。In the present embodiment, the control mode in the
First, parameters related to control are defined as follows.
Sensitivity to magnetic flux density of magnetic field sensor 40 KFG [V / T]
Gain k1 of gain adjuster in
Transfer function k2 / (sτ + 1) of the integrator in the control unit 30 (where τ is an integrator time constant)
Amplification factor of proportional amplifier in control unit k3
Constant k4 determined by the shape and number of turns of the second compensation coil 22
Impedance r + sL of second compensation coil 22
Compensation current i flowing through the second compensation coil 22
Compensation magnetic field Bcomp generated by the second compensation coil 22
Disturbance magnetic field Bex
Output voltage vc of
Shield characteristics for uniform magnetic field of shield 10 Ssh
Shielding characteristic S 'sh against compensation magnetic field of
Magnetic fieldin shield space S Bin = Bex / Ssh + Bcomp / S 'sh
Magnetic field at zero magnetic field point a (Bex / Ssh + Bcomp / S 'sh ) (where a is a constant greater than or equal to 1)
Then, the following equations (1) to (4) are established.
式(1)から(4)より、下記の式(5)が成り立つ。 From the equations (1) to (4), the following equation (5) is established.
以上より、下記の式(6)が成り立つ。 From the above, the following equation (6) is established.
なお、式(6)において、
K1=k1×k2×k4、K2=k1×k3×k4、b=Ssh/S’sh
である。
以上より、K1およびK2の一方あるいは両方を大きくすることで、シールド空間S内の磁界Binを低減させることができる。In Equation (6),
K1 = k1 × k2 × k4 , K2 = k1 × k3 × k4 , b = Ssh / S 'sh
It is.
As described above, the magnetic field Binin the shield space S can be reduced by increasing one or both of K1 and K2 .
以上、本発明の各実施形態について説明したが、本発明の技術範囲は上記実施形態に限定されるものではなく、本発明の趣旨を逸脱しない範囲において構成要素の組み合わせを変えたり、各構成要素に種々の変更を加えたり、削除したりすることが可能である。 The embodiments of the present invention have been described above. However, the technical scope of the present invention is not limited to the above-described embodiments, and combinations of components or components may be changed without departing from the spirit of the present invention. It is possible to make various changes to or delete them.
例えば、本発明においてシールド部の具体的構成は、上述したものに限られない。したがって、異なる形状のシールド部材が用いられたり、単一のシールド部材で形成された、分離型でない閉構造のシールド部であったりしてもよい。シールド部によって規定されるシールド空間の形状も、円柱形状以外の、例えば多角柱状や楕円柱形状等であってもよい。 For example, in the present invention, the specific configuration of the shield portion is not limited to that described above. Therefore, a shield member having a different shape may be used, or the shield part may be a non-separable closed structure formed by a single shield member. The shape of the shield space defined by the shield part may be other than a cylindrical shape, for example, a polygonal column shape, an elliptical column shape, or the like.
また、上述の説明では、零磁界点を特定する際に、磁界センサがシールド空間の中心に設置される例を示したが、中心でないシールド空間内の位置に磁界センサが設置された状態で零磁界点が特定されてもよい。この場合、零磁界点は必ずしもy軸上に存在しない場合があるが、この場合でも、特定された零磁界点に磁界センサを設置することで、一定の能動補償効果を得ることができる。 In the above description, when the zero magnetic field point is specified, an example is shown in which the magnetic field sensor is installed at the center of the shield space. However, the zero is detected in a state where the magnetic field sensor is installed at a position in the shield space that is not the center. A magnetic field point may be identified. In this case, the zero magnetic field point may not necessarily exist on the y-axis, but even in this case, a certain active compensation effect can be obtained by installing the magnetic field sensor at the identified zero magnetic field point.
本発明において、「磁界がゼロである」とは、磁界の大きさがゼロでないがゼロに非常に近い値(以下、「ゼロ近傍値」と称する。)である場合を含む。
したがって、シールド空間内の所定位置の磁界が、ゼロ近傍値であるときに磁界がゼロである位置が零磁界点として特定されてもよい。また、シールド空間内の所定位置の磁界がゼロであるときに、シールド空間外において磁界がゼロ近傍値となる位置が零磁界点として特定されてもよい。さらには、シールド空間内の所定位置の磁界がゼロ近傍値であるときに、シールド空間外において磁界がゼロ近傍値となる位置が零磁界点として特定されてもよい。
これらの態様でも、一定の効果を奏しつつ磁気シールドの能動補償を行うことができる。ただし、上述の実施形態で説明した態様が最も高精度に能動補償を行うことができるのは当然である。In the present invention, “the magnetic field is zero” includes a case where the magnitude of the magnetic field is not zero but is a value very close to zero (hereinafter, referred to as “near zero value”).
Therefore, a position where the magnetic field is zero when the magnetic field at a predetermined position in the shield space is a value near zero may be specified as the zero magnetic field point. Further, when the magnetic field at a predetermined position in the shield space is zero, a position where the magnetic field has a value near zero outside the shield space may be specified as the zero magnetic field point. Furthermore, when the magnetic field at a predetermined position in the shield space has a value near zero, a position where the magnetic field has a value near zero outside the shield space may be specified as the zero magnetic field point.
Also in these aspects, active compensation of the magnetic shield can be performed while exhibiting a certain effect. However, it is natural that the aspect described in the above embodiment can perform active compensation with the highest accuracy.
1 磁気シールド装置
10 シールド部
11 第一シールド部材
12 第二シールド部材
20 補償コイル
21 第一補償コイル
22 第二補償コイル
30 制御部
40 磁界センサ
S シールド空間
Sc (シールド空間の)中心(所定位置)
Zm1、Zm2 零磁界点DESCRIPTION OF SYMBOLS 1
Zm1, Zm2 Zero magnetic field point
| Application Number | Priority Date | Filing Date | Title |
|---|---|---|---|
| JP2016034511AJP2017152573A (en) | 2016-02-25 | 2016-02-25 | Magnetic shield device and active compensation method of magnetic shield |
| Application Number | Priority Date | Filing Date | Title |
|---|---|---|---|
| JP2016034511AJP2017152573A (en) | 2016-02-25 | 2016-02-25 | Magnetic shield device and active compensation method of magnetic shield |
| Publication Number | Publication Date |
|---|---|
| JP2017152573Atrue JP2017152573A (en) | 2017-08-31 |
| Application Number | Title | Priority Date | Filing Date |
|---|---|---|---|
| JP2016034511APendingJP2017152573A (en) | 2016-02-25 | 2016-02-25 | Magnetic shield device and active compensation method of magnetic shield |
| Country | Link |
|---|---|
| JP (1) | JP2017152573A (en) |
| Publication number | Priority date | Publication date | Assignee | Title |
|---|---|---|---|---|
| CN108459076A (en)* | 2018-06-22 | 2018-08-28 | 河北布鲁克科技有限公司 | A kind of magnetic shielding system for wire rope flaw detection |
| EP3646782A1 (en) | 2018-11-02 | 2020-05-06 | Ricoh Company, Ltd. | Biomagnetic-field measurement apparatus, biomagnetic-field measurement method, and magnetic shield box |
| CN112914579A (en)* | 2021-01-22 | 2021-06-08 | 季华实验室 | Magnetic field compensation equipment, compensation coil structure and magnetic field compensation method thereof |
| CN115524653A (en)* | 2022-09-29 | 2022-12-27 | 北京航空航天大学 | Magnetic shielding cabin full-automatic magnetic compensation method based on Monte Carlo algorithm |
| JP2023034039A (en)* | 2021-08-30 | 2023-03-13 | 浜松ホトニクス株式会社 | Magnetoencephalograph system and magnetoencephalography |
| CN120087156A (en)* | 2025-04-30 | 2025-06-03 | 宁波大学 | High-accuracy magnetic shielding room environmental field construction, simulation evaluation and construction evaluation method |
| Publication number | Priority date | Publication date | Assignee | Title |
|---|---|---|---|---|
| JP2008166618A (en)* | 2006-12-28 | 2008-07-17 | Kyushu Univ | Separate type magnetic shield device |
| JP2014008155A (en)* | 2012-06-28 | 2014-01-20 | Kyushu Univ | Separation type magnetic shield device |
| JP2014060270A (en)* | 2012-09-18 | 2014-04-03 | Seiko Epson Corp | Magnetic shield device and magnetic shield method |
| JP2015055520A (en)* | 2013-09-11 | 2015-03-23 | セイコーエプソン株式会社 | Magnetic shield device and magnetic shield method |
| Publication number | Priority date | Publication date | Assignee | Title |
|---|---|---|---|---|
| JP2008166618A (en)* | 2006-12-28 | 2008-07-17 | Kyushu Univ | Separate type magnetic shield device |
| JP2014008155A (en)* | 2012-06-28 | 2014-01-20 | Kyushu Univ | Separation type magnetic shield device |
| JP2014060270A (en)* | 2012-09-18 | 2014-04-03 | Seiko Epson Corp | Magnetic shield device and magnetic shield method |
| JP2015055520A (en)* | 2013-09-11 | 2015-03-23 | セイコーエプソン株式会社 | Magnetic shield device and magnetic shield method |
| Title |
|---|
| 前田好章,外2名: "「シールド外零磁場点を利用した心磁計測用能動磁気シールド」", 平成27年度電気・情報関係学会九州支部連合大会(第68回連合大会)講演論文集, JPN6019050220, September 2015 (2015-09-01), pages 219, ISSN: 0004288026* |
| Publication number | Priority date | Publication date | Assignee | Title |
|---|---|---|---|---|
| CN108459076A (en)* | 2018-06-22 | 2018-08-28 | 河北布鲁克科技有限公司 | A kind of magnetic shielding system for wire rope flaw detection |
| EP3646782A1 (en) | 2018-11-02 | 2020-05-06 | Ricoh Company, Ltd. | Biomagnetic-field measurement apparatus, biomagnetic-field measurement method, and magnetic shield box |
| CN112914579A (en)* | 2021-01-22 | 2021-06-08 | 季华实验室 | Magnetic field compensation equipment, compensation coil structure and magnetic field compensation method thereof |
| JP2023034039A (en)* | 2021-08-30 | 2023-03-13 | 浜松ホトニクス株式会社 | Magnetoencephalograph system and magnetoencephalography |
| JP7672076B2 (en) | 2021-08-30 | 2025-05-07 | 浜松ホトニクス株式会社 | Magnetoencephalograph and method for measuring brain magnetic field |
| CN115524653A (en)* | 2022-09-29 | 2022-12-27 | 北京航空航天大学 | Magnetic shielding cabin full-automatic magnetic compensation method based on Monte Carlo algorithm |
| CN120087156A (en)* | 2025-04-30 | 2025-06-03 | 宁波大学 | High-accuracy magnetic shielding room environmental field construction, simulation evaluation and construction evaluation method |
| Publication | Publication Date | Title |
|---|---|---|
| JP2017152573A (en) | Magnetic shield device and active compensation method of magnetic shield | |
| US10780291B2 (en) | mTMS coil device with overlapping coil windings | |
| JP6106184B2 (en) | Coil arrangement for MPI | |
| Mooney et al. | A portable diagnostic device for cardiac magnetic field mapping | |
| US8838225B2 (en) | Analysis of multi-channel measurement data using orthogonal virtual channels | |
| JP6185929B2 (en) | Background signal removal in MPI | |
| JP6574480B2 (en) | Spatial resolution metal detector | |
| US20080270067A1 (en) | Volumetric physiological measuring system and method | |
| US9684051B2 (en) | System and method for prepolarizing magnetic resonance- or relaxation-based measurements | |
| JP6318306B2 (en) | Cable wiring structure, coil device, and device for acting on and / or detecting magnetic particles | |
| US11547337B2 (en) | Sensor configuration in magnetometer for medical use | |
| JP6890484B2 (en) | Magnetic field measuring device and measured magnetic field display method | |
| EP2052682A1 (en) | Volumetric physiological measuring system and method | |
| WO2016193233A1 (en) | System for tracking position and orientation of an object in a magnetic resonance (mr) apparatus | |
| JP6421379B2 (en) | Magnetic field sensor | |
| JP5486313B2 (en) | Apparatus and method for influencing and / or detecting magnetic particles in a working region | |
| US11604236B2 (en) | Optimal methods to feedback control and estimate magnetic fields to enable a neural detection system to measure magnetic fields from the brain | |
| US20210247468A1 (en) | Systems and methods that exploit maxwell's equations and geometry to reduce noise for ultra-fine measurements of magnetic fields from the brain using a neural detection system | |
| JP3837741B2 (en) | Magnetic shield device | |
| JP2002272695A (en) | Versatile high-sensitivity magnetic detection device | |
| JPH0728857B2 (en) | Inspection device using nuclear magnetic resonance | |
| JP2015055520A (en) | Magnetic shield device and magnetic shield method | |
| JP2006296829A (en) | Magnetometer for biomagnetism measuring apparatus | |
| US12396800B2 (en) | System for receiving signals from a magneto-mechanical oscillator | |
| JPH0626542B2 (en) | Magnetic resonance imaging equipment |
| Date | Code | Title | Description |
|---|---|---|---|
| A80 | Written request to apply exceptions to lack of novelty of invention | Free format text:JAPANESE INTERMEDIATE CODE: A80 Effective date:20160323 | |
| A621 | Written request for application examination | Free format text:JAPANESE INTERMEDIATE CODE: A621 Effective date:20190219 | |
| A977 | Report on retrieval | Free format text:JAPANESE INTERMEDIATE CODE: A971007 Effective date:20191213 | |
| A131 | Notification of reasons for refusal | Free format text:JAPANESE INTERMEDIATE CODE: A131 Effective date:20191224 | |
| A02 | Decision of refusal | Free format text:JAPANESE INTERMEDIATE CODE: A02 Effective date:20200623 |