







本発明は、通電することでジュール熱(Joule heat)により発熱する発熱導体を備える通電加熱ガラス、及びこれを用いた乗物に関する。 The present invention relates to an electrically heated glass including a heat generating conductor that generates heat by Joule heat when energized, and a vehicle using the same.
  従来より、特許文献1〜3に記載のように、自動車、鉄道、航空機、及び船舶等の乗り物のガラス窓、並びに、建物のガラス窓に対して、通電することにより加熱し、ガラス窓の凍結や曇りを解消する技術がある。このようなガラス窓は、2枚のガラス板の間に加熱電極装置を具備して構成されている。そして当該加熱電極装置は、離隔して配置された一対のバスバー電極、及び、この一対のバスバー電極間を渡すように配置された複数の線条の発熱導体を有しており、一対のバスバー電極に電源を接続することで発熱導体に通電可能とされ、発熱導体を発熱させてガラス窓を加熱できるように構成されている。  Conventionally, as described in
線条の発熱導体は、ガラス窓に具備されているので、その性質上、視界を妨げたり、目障りになったりすることは避けなければならない。そのため、発熱導体は非常に細く形成されている。これに対してバスバー電極は太く形成され、視認される部材であることが多かった。そしてこのバスバー電極により外観が問題になることもあった。 Since the heating conductor of the filament is provided in the glass window, it must be prevented from obstructing the field of view or obstructing the eye due to its nature. Therefore, the heating conductor is formed very thin. On the other hand, the bus bar electrode is often formed to be thick and visually recognized. The bus bar electrode sometimes causes a problem in appearance.
そこで本発明は、外観にすぐれた通電加熱ガラスを提供することを課題とする。またこの通電加熱電ガラスを備える乗物を提供する。 Then, this invention makes it a subject to provide the electrically heated glass excellent in the external appearance. Moreover, a vehicle provided with this electrically heated glass is provided.
以下本発明について説明する。ここでは理解容易のため図面の参照符号を付記するが、本発明はこれに限定されるものではない。 The present invention will be described below. Here, for ease of understanding, reference numerals in the drawings are added, but the present invention is not limited thereto.
  請求項1に記載の発明は、透明な第一のパネル(11)と、第一のパネルに対して間隔を有して配置される透明な第二のパネル(15)と、第一のパネルと第二のパネルとの間隔に配置される加熱電極装置(20)と、を備え、加熱電極装置は、所定の間隔を有して延びる複数のバスバー電極(21)と、複数のバスバー電極を渡すように配置される複数の線条から成る発熱導体(22)と、を備え、さらに、バスバー電極の一方側及び他方側に、バスバー電極を第一パネル及び第二パネルの平面視から隠蔽する不透明な層である隠蔽層(11a、15a)が形成されている、通電加熱ガラス(10)である。  The invention described in
請求項2に記載の発明は、請求項1に記載の通電加熱ガラス(10)において、隠蔽層(11a、15a)は第一パネル(11)、及び第二のパネル(15)の表面に設けられている。 According to the second aspect of the present invention, in the electrically heated glass (10) according to the first aspect, the concealing layers (11a, 15a) are provided on the surfaces of the first panel (11) and the second panel (15). It has been.
  請求項3に記載の発明は、請求項1又は2に記載の通電加熱ガラス(10)において、複数の発熱導体(22)のピッチをPとし、発熱導体の厚さ方向の一方の面の平面視における長さ0.01mあたりの表面積をSB、当該一方の面の反対側となる他方の面の平面視における長さ0.01mあたりの表面積をSTとしたとき、
  0.5mm≦P≦5.00mm
  0μm2<SB−ST≦30000μm2
である。According to a third aspect of the present invention, in the electrically heated glass (10) according to the first or second aspect, the pitch of the plurality of heat generating conductors (22) is P, and the plane of one surface in the thickness direction of the heat generating conductors. when the surface area of the SB per length0.01m, the surface area per length 0.01m in plan view of the other surface on the opposite side of the one surface was ST in view,
 0.5mm ≦ P ≦ 5.00mm
 0 μm2 <SB −ST ≦ 30000 μm2
 It is.
  請求項4に記載の発明は、請求項3に記載の通電加熱ガラス(10)において、発熱導体(22)は、その延びる方向に直交する断面において、SB側の辺の大きさをWBとし、ST側の辺の大きさをWTとしたとき、
    WB>WT、
    3μm≦WB≦15μm、及び
    1μm≦WT≦12μm、である。The invention described in claim 4 is the electric heating glass (10) according to claim 3, heating conductor (22), in a cross section perpendicular to the extending direction, W the amount of SB side of the sideB and then, when the magnitude of ST side edge was WT,
 WB > WT ,
 3 μm ≦ WB ≦ 15 μm, and 1 μm ≦ WT ≦ 12 μm.
  請求項5に記載の発明は、請求項1乃至4のいずれかに記載の通電加熱ガラス(10)において、透明な基材層(24)を有し、発熱導体(22)は、基材層の一方の面上に配置されており、発熱導体の一方の面が基材層の面に接している。  The invention according to claim 5 has the transparent base material layer (24) in the electrically heated glass (10) according to any one of
  請求項6に記載の発明は、請求項1乃至5のいずれかに記載の通電加熱ガラスが窓に用いられている乗物である。  The invention described in claim 6 is a vehicle in which the electrically heated glass according to any one of
本発明によれば、バスバーが外部の視線から隠蔽され、外観に優れたものとなる。 According to the present invention, the bus bar is concealed from the external line of sight, and the appearance is excellent.
本発明の上記した作用及び利得は、次に説明する形態から明らかにされる。以下本発明を図面に示す形態に基づき説明する。ただし、本発明はこれら形態に限定されるものではない。なお、図面に表れる各部材は理解し易さの観点から大きさや形状を誇張、変形して表すことがある。 The above-described operation and gain of the present invention will be clarified from the embodiments described below. The present invention will be described below based on embodiments shown in the drawings. However, the present invention is not limited to these forms. In addition, each member appearing in the drawings may be expressed by exaggerating the size or shape from the viewpoint of easy understanding.
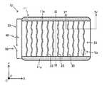
  図1は1つの形態を説明する図で、通電加熱ガラス10を平面視した概念図である。図2は図1と同じ視点で通電加熱ガラス10を透視して加熱電極装置20の(特にバスバー電極21の部分も)視認することができるように表した図である。図3は図1にIII−IIIで表した線に沿った断面図であり、通電加熱ガラス10の層構成を表している。また、図4は図1に示したIV−IV線による断面図である。図5(a)には図1にVaで示した部位の拡大図で、発熱導体22の1つの例である発熱導体22の拡大図、図5(b)には図2にVbで示した部位の拡大図で、発熱導体22とバスバー電極21bとの接続部22aの拡大図を示した。
  このような通電加熱ガラス10は例えば自動車のフロントガラスとして自動車に備えられる。その他、いわゆるガラス窓或いはガラス扉等の透明な開口部を有するところに透明開口部材(所謂窓材)として用いることができ、これには例えば上記自動車をはじめ、鉄道車輛、航空機、及び船舶、宇宙船等の乗り物の窓、扉等の開口部、並びに、各種建物の窓、扉等の開口部を挙げることができる。又、交通信号機、電子看板乃至電子広告の窓材(表面保護板)、自動車の前照燈等の各種乗物の外部に備える照明裝置の窓材(表面保護板)等にも用いることが出來る。FIG. 1 is a diagram for explaining one embodiment, and is a conceptual view in which the
 Such an electrically heated
  図1〜図4よりわかるように、通電加熱ガラス10は全体として板状であり、複数の層が厚さ方向(図1〜図4に示したZ軸方向)に積層してなる。より具体的には、本形態の通電加熱ガラス10は、図3、図4の断面図に示す如く第一パネル11、接着層12、加熱電極装置20、接着層14、第二パネル15を有して構成されている。以下、それぞれについて説明する。  As can be seen from FIGS. 1 to 4, the electrically heated
  第一パネル11、及び第二パネル15は、透光性を有する、即ち透明な板状の部材であり、一方の面同士が向かい合うような姿勢で板面間に間隔を有して略平行に配置されている。いわゆる二重パネル構造である。尚、此処で板面とは、図3で言えば、第一パネル11及び第二パネル15の表面のうちXY平面に平行な対向する2平面になる。この第一パネル11と第二パネル15との間に、加熱電極装置20の一部が配置され、接着層12、14により一体化されている。
  第一パネル11及び第二パネル15は板ガラスにより構成することができる。これには、当該通電加熱ガラス10が適用される設備(例えば乗り物や建物)が通常に有する窓に用いられる板ガラスと同じものを用いることができる。例えばソーダライム硝子(青板硝子)、硼珪酸硝子(白板硝子)、石英硝子、ソーダ硝子、カリ硝子等から成る普通板ガラス、フロート板ガラス、強化板ガラス、部分板ガラス等が挙げられる。また、必要に応じて3次元的に曲面状に湾曲部を有するものであってもよい。
  ただし必ずしもガラス板である必要はなく、アクリル樹脂、ポリカーボネート樹脂等の樹脂から成る樹脂板であってもよい。ただし、耐候性、耐熱性、透明性等の観点から板ガラスであることが好ましい。
  これら第一パネル11及び第二パネル15の厚さは特に限定されることはないが、1.5mm以上5mm以下であることが一般的である。The
 The
 However, it is not necessarily a glass plate, and may be a resin plate made of a resin such as an acrylic resin or a polycarbonate resin. However, it is preferably a plate glass from the viewpoint of weather resistance, heat resistance, transparency and the like.
 The thicknesses of the
  図1、図3からわかるように、第一パネル11、及び第二パネル15のそれぞれには、該第一パネル11及び第二パネル15の互いに向かい合う側の面のうち、バスバー電極21が配置される部位(本形態では図1、図3の紙面上下方向両端部)には、隠蔽層11a、15aが配置されている。  As can be seen from FIGS. 1 and 3, each of the
  隠蔽層11a、15aは不透明な材料により形成されており、隠蔽層11a及び隠蔽層15aは、その反対側に存在するものを隠蔽に視認できないようにする機能を有する。
  従って、当該隠蔽層11a、15aを構成する部材はこのように隠蔽することができる材料により構成されていればよく、具体的には黒色セラミック塗料、或いはカーボンブラック(墨)、黒色酸化鉄、弁柄、群青等の暗色顔料を樹脂バインダ中に添加した塗料等により構成することができる。
  又、当該隠蔽層の色調は黒又は濃灰色の低明度無彩色が通常であるが、其の他、褐色、紺色、深緑色、暗紫色、臙脂色等の低明度有彩色とすることも出來る。The concealing
 Therefore, the members constituting the concealing
 In addition, the color tone of the masking layer is usually a black or dark gray low-lightness achromatic color, but may also be a low-lightness chromatic color such as brown, amber, dark green, dark purple, and rosy. .
  上記したように、隠蔽層11a、15aはバスバー電極21を外部の視線から隠蔽する部材である。従って隠蔽層11a、15aはバスバー電極21の形態に対応した形状を具備しており、本形態では図1、図3からわかるように第一パネル11、及び第二パネル15の上下端部に沿った帯状とされている。
  隠蔽層11a、15aの厚さは隠蔽することができれば特に限定されることはないが、5μm以上20μm以下であることが好ましい。
  また、隠蔽層11a、15aの幅については、バスバー電極の形態等との関係で決められることが好ましく、後で説明する。As described above, the concealing
 The thickness of the concealing
 Further, the widths of the concealing
  このような隠蔽層11a、15aにより、バスバー電極を外部の視線から隠蔽することができ、外観に優れた通電加熱ガラス10となる。  With such a concealing
  接着層12は第一パネル11のうち第二パネル15側となる面、及び隠蔽層11aのうち隠蔽層15a側となる面に積層された接着剤からなる層であり、基材層24と第一パネル11及び隠蔽層11aとを接着する。接着剤としては特に限定されることはないが、接着性、耐候性、耐熱性等の観点からポリビニルブチラール樹脂を用いることができる。
  接着層12の厚さは特に限定されることはないが、0.2mm以上1.0mm以下であることが一般的である。
  接着層12又は接着層14の中には、必要に応じて、ベンゾトリアゾール系化合物、ベンゾフェノン系化合物等の紫外線吸收剤、赤外線吸收剤、帯電防止剤等の各種添加剤を添加することが出來る。The
 The thickness of the
 In the
  加熱電極装置20は、通電することによって発熱し、通電加熱ガラス10を加熱するよう構成されている。図6には加熱電極装置20の一部を斜視図で表している。
  図1〜図6よりわかるように本形態では加熱電極装置20は、バスバー電極21、発熱導体22、電源接続配線23、及び基材層24を有している。便宜上ここでは基材層24を最初に説明する。The
 As can be seen from FIG. 1 to FIG. 6, in this embodiment, the
  基材層24は、加熱電極装置20の、特にバスバー電極21及び発熱導体22がその一方の面上に配置されて、該バスバー電極21及び発熱導体22の基材として機能する層である。基材層24は透明な板状の部材であり、樹脂により形成されている。基材層24を形成する樹脂としては可視光線波長帯域の波長(380nm〜780nm)を透過するものであれば如何なる樹脂でも良いが、好ましくは熱可塑性樹脂を用いることができる。この熱可塑性樹脂としては、例えばポリエチレンテレフタレート、ポリエチレンナレフタレート、アモルファスポリエチレンテレフタレート(A−PET)等のポリエステル樹脂、ポリエチレン、ポリプロピレン、ポリメチルペンテン、環状ポリオレフィン等のポリオレフィン樹脂、ポリメチルメタクリレート等のアクリル樹脂、トリアセチルセルロース(三酢酸セルロース)等のセルロース系樹脂、ポリカーボネート樹脂、ポリスチレン、アクリロニトリル−スチレン共重合体等のスチレン系樹脂、ポリ塩化ビニル、等を挙げることが出来る。とりわけ、ポリエステル樹脂、アクリル樹脂やポリ塩化ビニルは、エッチング耐性、耐候性、耐光性に優れていることから好ましい。基材層24の厚さとしては、20μm以上300μm以下が一般的である。基材層24を構成する樹脂層は必要に応じて1軸又は2軸延伸したものを用いる。  The
  本形態でバスバー電極21は、第一バスバー電極21a及び第二バスバー電極21bから形成されている。第一バスバー電極21a、第二バスバー電極21bはそれぞれ一方向(図1においてはX軸方向)に延びる帯状であり、第一バスバー電極21aと第二バスバー電極21bとは間隔を有して同じ方向に延びる(略平行となる)ように配置されている。
  このような第一バスバー電極21a及び第二バスバー電極21bは公知の形態を適用することができ、帯状である当該電極の幅は3mm以上15mm以下が一般的である。In this embodiment, the
 A known form can be applied to the first
  発熱導体22は、第一バスバー電極21aと第二バスバー電極21bとを渡すように両バスバー電極21a、21bと交差する方向(図1においてはY軸方向)に延在して配置される。そして、第一バスバー電極21aと第二バスバー電極21bとが当該発熱導体22により電気的に接続されている。この発熱導体22が通電により発熱する。
  このような発熱導体22が、第一バスバー電極21a及び第二バスバー電極21bの長手方向(図1においてはX軸方向)に複数配列されている。The
 A plurality of such
  発熱導体22は、バスバー電極21との接続部22aにおいて、接続部以外の部位よりも太く形成されていることが好ましい。すなわち、図6にA1で示した発熱導体22とバスバー電極21との接続部22aの接触面積A1が、図4にA2で示した、接続部22aではない部位における発熱導体22の最小断面積A2よりも大きくなるように構成されていることが好ましい。これにより、バスバー電極と発熱導体22との接続部22aにおける断線による性能低下を防止することができる。The
  このように断面積を構成するための手段は特に限定されることはないが、例えば図5(b)に示したように、接続部22aにおける発熱導体22の線幅WRを、接続部22aではない部位における発熱導体22の最小の線幅WTよりも大きくしたり、図6に示したように、接続部22aにおける発熱導体22の線厚HRを、接続部22aではない部位における発熱導体22の最小の線厚Hよりも大きくしたりすることを挙げることができる。This means for configuring the cross-sectional area as is not particularly limited, for example, as shown in FIG. 5 (b), the line width WR of the
  また発熱導体22が延びる方向における形態は特に限定されることはないが、光芒をより確実に防止する観点から、平面視(図1の視点)で発熱導体22は図5(a)に示したように波型であることが好ましい。  The form in the direction in which the
  また、発熱導体22のうち接続部22aでない部分について、次のように構成されていることが好ましい。以下は特に記載のない限り接続部22aでない部分の説明である。図7に図4にVIIで示した部位を拡大した図を示した。
  発熱導体22は、加熱電極装置20の厚さ方向において、発熱導体22の一方側(本形態では基材層24)の面を平面視した長さ0.01mあたりの表面積をSB、その反対側の面を平面視した長さ0.01mあたりの表面積STとしたとき、
    0μm2<SB−ST≦30000μm2
が成立することが好ましい。ここで「長さ」とは、延びる発熱導体22のある0.01mを取り出したときにおける一端と他端との距離である。より好ましくは、
    0μm2<SB−ST≦15000μm2
である。
  これによれば、発熱導体22を視認されない幅で作製した際に、断面積を大きくとることができ、さらに高い出力(発熱量)を得ることが可能である。矩形(長方形)を作製することができれば理想ではあるが、エッチングにより作製することはいわゆるサイドエッジの性質上、困難がある。Moreover, it is preferable that the portion of the
 0 μm2 <SB −ST ≦ 30000 μm2
 Is preferably established. Here, the “length” is a distance between one end and the other end when 0.01 m with the extending
 0 μm2 <SB −ST ≦ 15000 μm2
 It is.
 According to this, when the
  上記範囲を満たしつつ、その他の部位において次のように構成することが好ましい。図7に説明のための符号を付している。
  図5にBで示した、隣り合う発熱導体22の間隔Bは、0.5mm以上5.00mm以下であることが好ましい。より好ましくは1.0mm以上、さらに好ましくは1.25mm以上である。
  また、当該断面において、上記WB、及びその反対側の辺の長さをWTとしたとき、
    WB>WT、
    3μm≦WB≦15μm、及び
    1μm≦WT≦12μm
が成り立つことが好ましい。
  なお、この断面は、その部位において最小断面になるように切断された面とする。また、発熱導体22の表面に凹凸が形成されている場合には当該凹凸を含めた最小面積の断面を考えるものとする。
  また、発熱導体22の厚さHは、5μm以上、30μm以下であることが好ましい。While satisfying the above-mentioned range, it is preferable that the other parts are configured as follows. Reference numerals for explanation are given in FIG.
 The distance B between
 Further, in the cross section, the WB, and when the length of the opposite side was WT,
 WB > WT ,
 3 μm ≦ WB ≦ 15 μm, and 1 μm ≦ WT ≦ 12 μm
 Is preferably satisfied.
 In addition, this cross section is a surface cut so as to be the minimum cross section at the site. Further, in the case where irregularities are formed on the surface of the
 The thickness H of the
  また、発熱導体22は、隣り合う発熱導体22とのピッチPは、0.5mm以上、5.00mm以下とされることが好ましい。ピッチPを0.5mmより小さくすると複数の発熱導体22が密に配置されて視認されやすくなる。好ましくは1.0mm以上、より好ましくは1.25mm以上である。一方、ピッチPが5.00mmより大きいと均一な加熱性能が低下する虞がある。  Further, the pitch P between the
  発熱導体22を構成する導体材料としては例えばタングステン、モリブデン、ニッケル、クロム、銅、銀、白金、アルミニウム等の金属、或いはこれら金属を含むニッケル−クロム合金、青銅、真鍮等の合金をエッチングによりパターン形成してなす帯状部材を挙げることができる。  As a conductor material constituting the
  電源接続配線23は、図1からわかるように、第一バスバー電極21aと第二バスバー電極21b間に電源40を接続する配線である。電源40は、水滴(曇り)、凍結(霜)等を溶解或いは蒸発させるに必要な電力を供給可能なものであれば特に限定されることはなく、適宜の電圧、電流、或いは周波数を有する公知の直流又は交流電源を用いれば良いが、通電加熱ガラス10が自動車に適用される場合には、電源40として例えば自動車に既設の鉛蓄電池、リチウムイオン蓄電池等のバッテリーを直流電源として用いることができる。このときには例えばバッテリーの正極に第二バスバー電極21b、負極に第一バスバー電極21aを接続することができる。勿論、別途専用の電源(電池、発電機等)を用いても良い。又、電動機を動力とする鉄道車両の場合は架線から給電された直流又は交流電力を適宜の電圧及び電流に変換して用いることも出来る。
  このような電源接続配線23は公知の構成を適用すればよい。As can be seen from FIG. 1, the
 A known configuration may be applied to such a power
  接着層14は、バスバー電極21、及び発熱導体22を含む基材層24と、隠蔽層15aを含む第二パネル15と、を接着する層である。接着層14は接着層12と同じ構成とすることができる。  The
  以上のような各構成により次のように通電加熱ガラス10とされている。図3、図4よりわかるように、第一パネル11のうち隠蔽層11aが配置されている側に接着層12が積層されておりこの接着層12を介して第一パネル11に基材層24が積層されている。また、基材層24のうち接着層12が配置された側とは反対側の面には加熱電極装置20が配置されている。加熱電極装置20のうち基材層24が配置された側とは反対側に第二パネルが15が配置されているが、基材層24及び加熱電極装置20と隠蔽層15a及び第二パネル15との間を埋めるように接着層14が配置されている。これにより第二パネル15が基材層24及び加熱電極装置20に積層される。  With each configuration as described above, the electrically
  このとき、図3からわかるように、第一バスバー電極21a、及び第二バスバー電極21bは隠蔽層11aと隠蔽層15aとの間に配置され、少なくとも平面視(図1(a)の視点)で、第一バスバー電極21a及び第二バスバー電極21bは隠蔽層11a、15aにより外部の視線から隠蔽されている。かかる観点から、図3にGで示したバスバー電極21に対して隠蔽層が突出する大きさは、0mm以上であり、隠蔽性をさらに高める観点からGの大きさは2mm以上10mm以下であることが好ましい。Gの大きさが10mmより大きくなると通電加熱ガラス10を通して反対側を観察するための視界を必要以上に狭めてしまう虞がある。  At this time, as can be seen from FIG. 3, the first
  また、本形態では発熱導体22とバスバー電極21との接続部分に接続部21aが設けられており、好ましくは当該接続部22aも隠蔽層11a、15aで外部の視界から隠蔽することがよい。接続部22aは上記のように発熱導体22の他の部位に比べて太く形成されているので視認されやすい傾向にあり、隠蔽層11a、15aにより隠蔽されることが好ましい。  Further, in this embodiment, a
  このような加熱電極装置20及びこれを含む通電加熱ガラス10は例えば次のように製造することができる。図8(a)〜図8(d)に説明のための図を示した。  Such a
  先ず、図8(a)に示したように、金属箔22’を樹脂フィルムからなる基材層24上に接着剤層を介して貼り合せ積層した積層体を製造する。
  次いで、図8(b)に示したように、該積層体の金属箔22’上に感光性レジスト層80を塗工形成する。First, as shown to Fig.8 (a), the laminated body which bonded and laminated | stacked metal foil 22 'on the
 Next, as shown in FIG. 8B, a photosensitive resist
  次いで、所望のパターンの発熱導体22及びバスバー電極21の平面視パターンに基づいた遮光パターンを有するフォトマスクを用意する。そして、該フォトマスクを該感光性レジスト層80上に密着させて載置する。そして、該フォトマスクを通して紫外線露光し、フォトマスクを除去後、公知の現像処理により未露光の感光性レジスト層を溶解除去して、図8(c)に示したように所望パターン80aに合致する形状のレジストパターン層80’を該金属箔22’上に形成する。
  ここで図8(c)には形成されるべき発熱導体22の位置及び大きさを参考として破線及び薄墨で表している。図8(c)からわかるように、本例では、レジストパターン層80cに形成されたレジストパターン80aの縁から、形成されるべき発熱導体22の縁までの距離がCとなるように構成されている。そしてこのCは5μm以上30μm以下であることが好ましい。これにより上記した形態の発熱導体22をエッチングにより得ることができる。Next, a photomask having a light shielding pattern based on a plan view pattern of the
 Here, in FIG. 8C, the position and size of the
  次いで、該レジストパターン層80’上から該積層体を腐蝕液によるエッチング(腐蝕)加工を行い、図8(d)のように、該レジストパターン層80’金属箔22’を腐蝕除去する。そして、該レジストパターン層を溶解除去(脱膜)する。斯くして、基材層24上に図1の平面視形状及び図3、図4の断面形状の所定パターンの発熱導体22、第一バスバー電極21a及び第二バスバー電極21bが形成された積層部材を製造する。  Next, the laminate is etched (corrosion) from the resist pattern layer 80 'with a corrosive solution, and the resist pattern layer 80' metal foil 22 'is removed by corrosion as shown in FIG. Then, the resist pattern layer is dissolved and removed (defilming). Thus, a laminated member in which the
  上記のように発熱導体22の断面を規定すれば、生産性高く発熱導体22を形成することができる。  If the cross section of the
  次いで、第一パネル11、接着層12、加熱電極裝置20からなる積層部材に対して接着層14、及び第二パネル15を此の順に重ね、これら複数層を接着積層して一体化する。このとき第一パネル11には隠蔽層11a、第二パネル15には隠蔽層15aをそれぞれ形成しておく。隠蔽層11a、15aを形成する具体的な方法は特に限定されることはないが、印刷等を挙げることができる。
  以上の工程により、図1、図3、図4に示したような通電加熱ガラス10を製造する。Next, the
 Through the above steps, the electrically
  以上説明した通電加熱ガラス10の製造方法によれば、エッチングによっても断面形状が矩形に近い発熱導体を得ることができ、上底と下底との差が大きい台形断面である発熱導体に比べて、幅方向の大きさを小さく抑えつつも、厚さを大きくして断面積を大きくすることが可能となる。  According to the manufacturing method of the electrically
  通電加熱ガラス10は例えば次のように用いられて作用する。ここでは1つの例として通電加熱ガラス10を自動車のフロントパネルに適用した場合で説明する。
  すなわち、図1の形態に於いては、通電加熱ガラス10が自動車のフロントパネルの位置に配置される、この際には電源接続配線23に開閉器50を介して電源40が接続され、バスバー電極21を介して発熱導体22を発熱させることができる。本形態に於いては、電源40としては自動車に既設のバッテリーを用いている。開閉器50を閉じると、電源40から電流が供給される。当該発熱導体22はジュール熱の発熱により第一パネル11、第二パネル12が加熱されるのでフロントパネルとして機能する通電加熱ガラス10の温度が上昇し、凍結及び曇りが解消される。
  本発明ではバスバー電極21を隠蔽層11a、15aで隠蔽したの外観に優れた通電加熱ガラス10になる。
  また、発熱導体22とバスバー電極との接続部22aを上記した態様としたときには、製造中及び製造後における断線を防止し、確実に通電加熱ガラスを作動させることができる。そしてこの接続部22aも隠蔽層11a、15aで隠蔽すれば接続部22aがあっても外観に優れたものとなる。The electrically
 That is, in the embodiment shown in FIG. 1, the
 In this invention, it becomes the electrically
 Moreover, when the
  なお、上記した形態では隠蔽層11a、15aは第一パネル11及び第二パネル15に設けられていたが、必ずしもその必要はなく、バスバー電極21を外部の視線から隠蔽することができればその配置場所は限定されることはない。  In the above-described embodiment, the concealing
    10  通電加熱ガラス
    11  第一パネル
    11a  隠蔽層
    12  接着層
    14  接着層
    15  第二パネル
    15a  隠蔽層
    20  加熱電極装置
    21  バスバー電極
    22  発熱導体
    22a  接続部
    24  基材層
    40  電源DESCRIPTION OF
| Application Number | Priority Date | Filing Date | Title | 
|---|---|---|---|
| JP2016010490AJP6780247B2 (en) | 2016-01-22 | 2016-01-22 | Energized heating glass and vehicles | 
| Application Number | Priority Date | Filing Date | Title | 
|---|---|---|---|
| JP2016010490AJP6780247B2 (en) | 2016-01-22 | 2016-01-22 | Energized heating glass and vehicles | 
| Publication Number | Publication Date | 
|---|---|
| JP2017130402Atrue JP2017130402A (en) | 2017-07-27 | 
| JP6780247B2 JP6780247B2 (en) | 2020-11-04 | 
| Application Number | Title | Priority Date | Filing Date | 
|---|---|---|---|
| JP2016010490AActiveJP6780247B2 (en) | 2016-01-22 | 2016-01-22 | Energized heating glass and vehicles | 
| Country | Link | 
|---|---|
| JP (1) | JP6780247B2 (en) | 
| Publication number | Priority date | Publication date | Assignee | Title | 
|---|---|---|---|---|
| WO2019107458A1 (en)* | 2017-11-29 | 2019-06-06 | 日本板硝子株式会社 | Laminated glass | 
| WO2021015027A1 (en)* | 2019-07-19 | 2021-01-28 | 日本板硝子株式会社 | Glass sheet module | 
| Publication number | Priority date | Publication date | Assignee | Title | 
|---|---|---|---|---|
| JPS5022055Y1 (en)* | 1968-10-22 | 1975-07-03 | ||
| JPS61111939A (en)* | 1984-11-02 | 1986-05-30 | Nippon Sheet Glass Co Ltd | Plate glass | 
| JPS6418133U (en)* | 1987-07-20 | 1989-01-30 | ||
| JPH02263734A (en)* | 1989-04-04 | 1990-10-26 | Asahi Glass Co Ltd | Method for manufacturing sheet glass with hot wire printing | 
| JP2001048602A (en)* | 1999-08-16 | 2001-02-20 | Asahi Glass Co Ltd | Electrically heated glass and its manufacturing method | 
| JP2003249330A (en)* | 2002-02-27 | 2003-09-05 | Toshiba Ceramics Co Ltd | Foil-shaped resistance heating element, manufacturing method thereof, and sheet heater | 
| JP2012014956A (en)* | 2010-06-30 | 2012-01-19 | Fujifilm Corp | Transparent conductive film and method for manufacturing heating glass | 
| JP2012023296A (en)* | 2010-07-16 | 2012-02-02 | Dainippon Printing Co Ltd | Circuit board, method of manufacturing the same, substrate for suspension, suspension, suspension with element and hard disk drive | 
| Publication number | Priority date | Publication date | Assignee | Title | 
|---|---|---|---|---|
| JPS5022055Y1 (en)* | 1968-10-22 | 1975-07-03 | ||
| JPS61111939A (en)* | 1984-11-02 | 1986-05-30 | Nippon Sheet Glass Co Ltd | Plate glass | 
| JPS6418133U (en)* | 1987-07-20 | 1989-01-30 | ||
| JPH02263734A (en)* | 1989-04-04 | 1990-10-26 | Asahi Glass Co Ltd | Method for manufacturing sheet glass with hot wire printing | 
| JP2001048602A (en)* | 1999-08-16 | 2001-02-20 | Asahi Glass Co Ltd | Electrically heated glass and its manufacturing method | 
| JP2003249330A (en)* | 2002-02-27 | 2003-09-05 | Toshiba Ceramics Co Ltd | Foil-shaped resistance heating element, manufacturing method thereof, and sheet heater | 
| JP2012014956A (en)* | 2010-06-30 | 2012-01-19 | Fujifilm Corp | Transparent conductive film and method for manufacturing heating glass | 
| JP2012023296A (en)* | 2010-07-16 | 2012-02-02 | Dainippon Printing Co Ltd | Circuit board, method of manufacturing the same, substrate for suspension, suspension, suspension with element and hard disk drive | 
| Publication number | Priority date | Publication date | Assignee | Title | 
|---|---|---|---|---|
| WO2019107458A1 (en)* | 2017-11-29 | 2019-06-06 | 日本板硝子株式会社 | Laminated glass | 
| JP2019099404A (en)* | 2017-11-29 | 2019-06-24 | 日本板硝子株式会社 | Glass laminate | 
| JP7029945B2 (en) | 2017-11-29 | 2022-03-04 | 日本板硝子株式会社 | Laminated glass | 
| JP2022062008A (en)* | 2017-11-29 | 2022-04-19 | 日本板硝子株式会社 | Laminated glass | 
| JP7510963B2 (en) | 2017-11-29 | 2024-07-04 | 日本板硝子株式会社 | Laminated Glass | 
| WO2021015027A1 (en)* | 2019-07-19 | 2021-01-28 | 日本板硝子株式会社 | Glass sheet module | 
| JP2021018932A (en)* | 2019-07-19 | 2021-02-15 | 日本板硝子株式会社 | Glass plate module | 
| Publication number | Publication date | 
|---|---|
| JP6780247B2 (en) | 2020-11-04 | 
| Publication | Publication Date | Title | 
|---|---|---|
| JP6834171B2 (en) | Manufacturing method of energized heating panel, energized heating panel, and vehicle | |
| JP2017204388A (en) | Conductive heating element and laminated glass | |
| JP2016128370A (en) | Laminated glass and pattern sheet for laminated glass | |
| JP6834790B2 (en) | Heating electrode sheet, heating electrode sheet roll | |
| JP6780247B2 (en) | Energized heating glass and vehicles | |
| JP2017106983A (en) | Light control panel and window with light control panel | |
| JP2017208190A (en) | Heating electrode device, electrically heated panel, and vehicle | |
| JP2016143538A (en) | Mesh-like conductor, sheet with conductor including mesh-like conductor, and heating plate including mesh-like conductor | |
| JP6848212B2 (en) | Heating electrode device, energizing heating panel | |
| JP6957996B2 (en) | Heating electrode sheet, energizing heating panel, and vehicle | |
| JP2016102056A (en) | Glass laminate and manufacturing method thereof | |
| JP6786791B2 (en) | Heating electrode device, energizing heating glass | |
| JP6907457B2 (en) | Heating electrode device, energized heating glass, and vehicle | |
| JP6780294B2 (en) | Manufacturing method of heating electrode device, energizing heating panel, vehicle, and heating electrode device | |
| JP6541021B2 (en) | Conductor sheet used for heating plate | |
| JP2017204362A (en) | Electric conduction heating panel and vehicle | |
| JP6834176B2 (en) | Heating electrode device, energizing heating panel | |
| JP6812638B2 (en) | Heating electrode device, energized heating glass, and vehicle | |
| JP6759764B2 (en) | Energized heating panel and vehicle | |
| JP2019135718A (en) | Conductive pattern sheet, heating plate, vehicle including heating plate, and method for manufacturing heating plate | |
| JP6610222B2 (en) | Heating electrode device, electrically heated glass | |
| JP2017130389A (en) | Electrically heated glass, and vehicle | |
| JP6947241B2 (en) | Energized heating panel and vehicle | |
| JP6911502B2 (en) | Heating electrode sheet, heating electrode sheet roll | |
| JP6911501B2 (en) | Heating electrode device, energizing heating panel, and vehicle | 
| Date | Code | Title | Description | 
|---|---|---|---|
| A621 | Written request for application examination | Free format text:JAPANESE INTERMEDIATE CODE: A621 Effective date:20181128 | |
| A977 | Report on retrieval | Free format text:JAPANESE INTERMEDIATE CODE: A971007 Effective date:20190911 | |
| A131 | Notification of reasons for refusal | Free format text:JAPANESE INTERMEDIATE CODE: A131 Effective date:20191008 | |
| A521 | Request for written amendment filed | Free format text:JAPANESE INTERMEDIATE CODE: A523 Effective date:20191209 | |
| A02 | Decision of refusal | Free format text:JAPANESE INTERMEDIATE CODE: A02 Effective date:20200512 | |
| A521 | Request for written amendment filed | Free format text:JAPANESE INTERMEDIATE CODE: A523 Effective date:20200731 | |
| C60 | Trial request (containing other claim documents, opposition documents) | Free format text:JAPANESE INTERMEDIATE CODE: C60 Effective date:20200731 | |
| A911 | Transfer to examiner for re-examination before appeal (zenchi) | Free format text:JAPANESE INTERMEDIATE CODE: A911 Effective date:20200811 | |
| C21 | Notice of transfer of a case for reconsideration by examiners before appeal proceedings | Free format text:JAPANESE INTERMEDIATE CODE: C21 Effective date:20200818 | |
| TRDD | Decision of grant or rejection written | ||
| A01 | Written decision to grant a patent or to grant a registration (utility model) | Free format text:JAPANESE INTERMEDIATE CODE: A01 Effective date:20200915 | |
| A61 | First payment of annual fees (during grant procedure) | Free format text:JAPANESE INTERMEDIATE CODE: A61 Effective date:20200928 | |
| R150 | Certificate of patent or registration of utility model | Ref document number:6780247 Country of ref document:JP Free format text:JAPANESE INTERMEDIATE CODE: R150 |