















本発明の開示は、観血外科手技のために使用される鉗子に関する。より具体的には、本発明の開示は、組織を密閉および切断することが可能である、組織を治療するための双極鉗子に関する。 The present disclosure relates to forceps used for open surgical procedures. More specifically, the present disclosure relates to a bipolar forceps for treating tissue that is capable of sealing and cutting tissue.
止血鉗子または鉗子は、脈管を狭窄するためにその顎の間の機械的作用を使用する、単純プライヤ様ツールであり、一般的に、組織を把持する、切開する、および/または、挟着するために、観血外科手技において使用される。電気外科手術鉗子は、機械的挟着作用と電気エネルギーとの両方を利用し、組織を凝固、焼灼、および/または密閉するために、組織および血管を加熱することによって、止血をもたらす。 A hemostatic forceps or forceps is a simple pliers-like tool that uses mechanical action between its jaws to constrict the vessel and generally grasps, incises and / or clamps tissue To be used in open surgical procedures. Electrosurgical forceps utilize both mechanical pinching and electrical energy to provide hemostasis by heating tissue and blood vessels to coagulate, cauterize, and / or seal the tissue.
ある外科手技は、血管または血管組織を密閉および切断することを要求する。いくつかの学術記事が、電気外科手術を使用して、微小血管を密閉するための方法を開示している。「Studies on Coagulation and the Development of an Automatic Computerized Bipolar Coagulator」(J. Neurosurg、第75巻、1991年7月)と題された記事が、微小血管を密閉するために使用される双極凝固器を説明している。その記事は、2〜2.5mmを上回る直径を伴う動脈を安全に凝固させることが可能ではないことを述べている。第2の記事は、「Automatically Controlled Bipolar Electrocoagulation−“COA−COMP”」(Neurosurg.改訂版(1984年)、187−190ページ)と題され、脈管壁の炭化が回避され得るように、脈管への電気外科手術電力を終了するための方法を説明している。 Some surgical procedures require sealing and cutting blood vessels or vascular tissue. Several academic articles disclose methods for sealing microvessels using electrosurgery. An article entitled “Studies on Coagulation and the Development of an Automatic Computerized Bipolar Coagulator” (J. Neurosurg, Vol. 75, July 1991) is used to seal microvessels. doing. The article states that it is not possible to safely coagulate arteries with diameters greater than 2-2.5 mm. The second article is entitled “Automatically Controlled Bipolar Electrocoagulation—“ COA-COMP ”” (Neurosurg. Revised (1984), pp. 187-190), so that charring of the vessel wall can be avoided. A method for terminating electrosurgical power to a tube is described.
電気外科手術鉗子を利用することによって、外科医は、出血を焼灼する、凝固/乾燥させる、減少させる、または減速させることのいずれかを行うこと、および/または、組織に印加される電気外科手術エネルギーの強度、周波数、および持続時間を制御することによって、脈管を密閉することができる。概して、電気外科手術鉗子の電気的構成は、2つの分類、すなわち、1)単極電気外科手術鉗子、および2」双極電気外科手術鉗子に分類されることができる。 By utilizing electrosurgical forceps, the surgeon can either cauterize, coagulate / dry, reduce, or slow the bleeding and / or electrosurgical energy applied to the tissue By controlling the intensity, frequency, and duration of the vessel, the vessel can be sealed. In general, the electrical configuration of electrosurgical forceps can be classified into two categories: 1) monopolar electrosurgical forceps and 2 ”bipolar electrosurgical forceps.
単極鉗子は、クランプエンドエフェクタと、典型的には、患者に対して外部に取着される遠隔患者の戻り電極またはパッドと関連付けられる1つの活性電極とを利用する。電気外科手術エネルギーが印加されると、エネルギーは、患者を通して、活性電極から外科部位まで、そして戻り電極まで進行する。 Monopolar forceps utilize a clamp end effector and one active electrode typically associated with a remote patient return electrode or pad that is attached externally to the patient. When electrosurgical energy is applied, the energy travels through the patient from the active electrode to the surgical site and back to the return electrode.
双極電気外科手術鉗子は、エンドエフェクタの内側対向表面上に配置され、両方とも電気外科手術発生器に電気的に結合される、2つの略対向電極を利用する。各電極は、異なる電位に帯電される。組織は、電気エネルギーの導体であるため、エフェクタがその間に組織を把持するために利用されると、電気エネルギーは、組織を通して選択的に伝達されることができる。 Bipolar electrosurgical forceps utilize two generally opposing electrodes disposed on the inner opposing surface of the end effector, both electrically coupled to the electrosurgical generator. Each electrode is charged to a different potential. Since tissue is a conductor of electrical energy, electrical energy can be selectively transmitted through the tissue when the effector is utilized to grasp the tissue therebetween.
本発明の開示は、観血外科手技のために使用される鉗子に関する。より具体的には、本発明の開示は、組織を密閉および切断することが可能である、組織を治療するための双極鉗子に関する。 The present disclosure relates to forceps used for open surgical procedures. More specifically, the present disclosure relates to a bipolar forceps for treating tissue that is capable of sealing and cutting tissue.
従来通り、用語「distal(遠位)」は、本明細書では、オペレータからより遠方にある装置の一端を指し、用語「proximal(近位)」は、本明細書では、オペレータにより近接する電気外科手術鉗子の一端を指す。 As is conventional, the term “distal” refers herein to one end of the device that is further from the operator, and the term “proximal” refers herein to electrical that is closer to the operator. Refers to one end of surgical forceps.
双極鉗子は、第1のシャフトおよび第2のシャフトを含む、機械的鉗子を含む。顎部材が、各シャフトの遠位端から延在する。ハンドルが、顎部材が相互に対して離間関係に配置される第1の位置から、顎部材が組織を把持するように協働する第2の位置まで、枢動軸を中心に相互に対して顎部材の移動をもたらすために各シャフトの近位端に配置される。使い捨て筐体が、シャフトのうちの一方またはそれらの両方に解放可能に結合するように構成される。電極アセンブリが、使い捨て筐体と関連付けられ、第1のシャフトの顎部材に解放可能に結合可能である第1の電極と、第2のシャフトの顎部材に解放可能に結合可能である第2の電極とを有する。各電極は、組織を通して電気外科手術エネルギーの選択的伝導を可能にするために、電気外科手術エネルギー源に接続するように適合される。電極のうちの1つまたはそれらの両方は、その長さに沿って画定されるナイフチャネルを含む。ナイフチャネルは、顎部材の間に把持される組織を切断するために、それを通してナイフ刃を受容するように構成される。スイッチが、筐体によって支持され、第1の位置と第2の位置との間における顎部材の移動に応じて、電気外科手術エネルギー源から電極までの電気外科手術エネルギーの送達を開始および終了するように構成される。作動機構が、少なくとも部分的に、筐体内に配置され、組織を切断するために、ナイフチャネルを通して、ナイフ刃を選択的に前進させるように構成される。 The bipolar forceps includes mechanical forceps that include a first shaft and a second shaft. A jaw member extends from the distal end of each shaft. The handle is relative to each other about the pivot axis from a first position where the jaw members are spaced apart from each other to a second position where the jaw members cooperate to grasp tissue. Located at the proximal end of each shaft to effect movement of the jaw members. A disposable housing is configured to releasably couple to one or both of the shafts. A first electrode associated with the disposable housing and releasably coupleable to the first shaft jaw member and a second electrode releasably coupleable to the second shaft jaw member Electrode. Each electrode is adapted to connect to a source of electrosurgical energy to allow selective conduction of electrosurgical energy through the tissue. One or both of the electrodes includes a knife channel defined along its length. The knife channel is configured to receive a knife blade therethrough for cutting tissue grasped between the jaw members. A switch is supported by the housing and initiates and terminates delivery of electrosurgical energy from the electrosurgical energy source to the electrodes in response to movement of the jaw members between the first and second positions. Configured as follows. An actuation mechanism is disposed at least partially within the housing and is configured to selectively advance the knife blade through the knife channel to cut tissue.
加えて、または代替として、双極鉗子はまた、顎部材が第1の位置にあるとき、ナイフチャネルの中へのナイフ刃の前進を妨げるように構成される、ナイフロックアウト機構を含んでもよい。 In addition or alternatively, the bipolar forceps may also include a knife lockout mechanism configured to prevent advancement of the knife blade into the knife channel when the jaw members are in the first position.
加えて、または代替として、ナイフロックアウト機構は、ナイフチャネルを通したナイフ刃の選択的前進を可能にするために、ナイフロックアウト機構が、顎部材が第1の位置にあるとき、作動機構に係合する、第1の位置から、ナイフロックアウト機構が、顎部材が第2の位置にあるとき、作動機構を係脱する、第2の位置まで、移動してもよい。 In addition, or alternatively, the knife lockout mechanism may be activated when the knife lockout mechanism is in the first position when the jaw member is in the first position to allow selective advancement of the knife blade through the knife channel. The knife lockout mechanism may move from a first position that engages to a second position that disengages the actuation mechanism when the jaw members are in the second position.
加えて、または代替として、シャフトのうちの少なくとも1つは、第2の位置までの顎部材の移動に応じて、ナイフロックアウト機構に係合し、ナイフチャネルを通したナイフ刃の前進を可能にするために、作動機構との係合から外れるようにナイフロックアウト機構を移動させるように構成されてもよい。 Additionally or alternatively, at least one of the shafts engages a knife lockout mechanism and allows advancement of the knife blade through the knife channel in response to movement of the jaw member to the second position The knife lockout mechanism may be configured to move out of engagement with the actuation mechanism.
加えて、または代替として、スイッチは、筐体から延在する押下可能ボタンに機械的に結合され、第2の位置までの顎部材の移動に応じて、シャフトのうちの1つによって係合されるように構成されてもよい。 Additionally or alternatively, the switch is mechanically coupled to a pushable button extending from the housing and engaged by one of the shafts in response to movement of the jaw member to the second position. You may be comprised so that.
加えて、または代替として、枢動軸は、それを通して縦方向スロットを画定してもよく、ナイフ刃は、その平行移動に応じて、縦方向スロット内を移動するように構成されてもよい。 In addition or alternatively, the pivot axis may define a longitudinal slot therethrough and the knife blade may be configured to move within the longitudinal slot in response to its translation.
加えて、または代替として、双極鉗子はまた、筐体から延在する少なくとも1つのハンドル部材を含んでもよい。少なくとも1つのハンドル部材は、作動機構に動作可能に結合され、ナイフチャネルを通したナイフ刃の前進をもたらすように構成されてもよい。 Additionally or alternatively, the bipolar forceps may also include at least one handle member extending from the housing. At least one handle member may be operably coupled to the actuation mechanism and configured to provide advancement of the knife blade through the knife channel.
加えて、または代替として、電極はそれぞれ、導電性密閉表面と、それに結合される絶縁基板とを含んでもよい。 In addition, or alternatively, each electrode may include a conductive sealing surface and an insulating substrate coupled thereto.
加えて、または代替として、電極はそれぞれ、顎部材のうちの1つの上の対応する機械的界面を補完し、電極を顎部材に解放可能に結合するように構成される、少なくとも1つの機械的界面を含んでもよい。 In addition or alternatively, each of the electrodes is configured to complement a corresponding mechanical interface on one of the jaw members and to releasably couple the electrode to the jaw member. An interface may be included.
加えて、または代替として、作動機構は、作動機構を非作動位置に付勢するように構成される、付勢部材を含んでもよい。 Additionally or alternatively, the actuation mechanism may include a biasing member configured to bias the actuation mechanism to the inoperative position.
加えて、または代替として、双極鉗子はまた、筐体内に支持され、ナイフ刃をその中に受容し、ナイフ刃をナイフチャネルと整合させる、それを通して画定される縦方向スロットを有する、ナイフガイドを含んでもよい。 Additionally or alternatively, a bipolar forceps is also supported in the housing and receives a knife blade therein, and has a longitudinal guide defined therethrough that aligns the knife blade with the knife channel, with a knife guide. May be included.
本発明の開示の別の側面によると、双極鉗子が、提供される。双極鉗子は、それぞれ、その遠位端から延在する顎部材を有する、第1のシャフトおよび第2のシャフトを含む、機械的鉗子を含む。ハンドルは、顎部材が相互に対して離間関係に配置される第1の位置から、顎部材が組織を把持するように協働する第2の位置まで、枢動軸を中心に相互に対して顎部材の移動をもたらすために各シャフトの近位端に配置される。使い捨て筐体は、相互に解放可能に結合し、シャフトのうちの一方またはそれらの両方を、少なくとも部分的に包含するように構成される、対向半体を有する。電極アセンブリは、使い捨て筐体と関連付けられ、第1のシャフトの顎部材に解放可能に結合可能である第1の電極と、第2のシャフトの顎部材に解放可能に結合可能である第2の電極とを有する。各電極は、その間に保持される組織を通して、電気外科手術エネルギーの選択的伝導を可能にし、組織密閉をもたらすために、電気外科手術エネルギー源に接続するように適合される。電極のうちの少なくとも1つは、その長さに沿って画定されるナイフチャネルを含み、ナイフチャネルは、顎部材の間に把持される組織を切断するために、それを通してナイフ刃を受容するように構成される。作動機構は、少なくとも部分的に、筐体内に配置され、組織を切断するために、ナイフチャネルを通して、ナイフ刃を選択的に前進させるように構成される。押下可能起動ボタンは、筐体の近位部から延在し、筐体の近位部によって支持されるスイッチに動作可能に結合される。起動ボタンは、スイッチが、電気外科手術エネルギー源から電極アセンブリまでの電気外科手術エネルギーの送達を開始するように、シャフト部材の接近に応じて、押下するように構成される。ナイフロックアウト機構は、ナイフチャネルを通したナイフ刃の前進を可能にするために、ナイフロックアウト機構が作動機構に係合し、顎部材が第1の位置にあるとき、ナイフチャネルを通したナイフ刃の前進を妨げる、第1の位置から、ナイフロックアウト機構が、顎部材が第2の位置にあるとき、作動機構を係脱する、第2の位置まで移動するように構成される。 According to another aspect of the present disclosure, a bipolar forceps is provided. The bipolar forceps includes mechanical forceps including a first shaft and a second shaft, each having a jaw member extending from a distal end thereof. The handle is relative to each other about the pivot axis from a first position where the jaw members are spaced apart from each other to a second position where the jaw members cooperate to grasp tissue. Located at the proximal end of each shaft to effect movement of the jaw members. The disposable housing has opposing halves that are releasably coupled to each other and are configured to at least partially encompass one or both of the shafts. An electrode assembly is associated with the disposable housing and has a first electrode releasably connectable to the first shaft jaw member and a second electrode releasably connectable to the second shaft jaw member. Electrode. Each electrode is adapted to connect to a source of electrosurgical energy to allow selective conduction of electrosurgical energy through the tissue held therebetween and provide a tissue seal. At least one of the electrodes includes a knife channel defined along its length, the knife channel adapted to receive a knife blade therethrough for cutting tissue grasped between the jaw members. Configured. The actuation mechanism is at least partially disposed within the housing and is configured to selectively advance the knife blade through the knife channel to cut tissue. A pushable activation button extends from the proximal portion of the housing and is operably coupled to a switch supported by the proximal portion of the housing. The activation button is configured to be depressed in response to the approach of the shaft member so that the switch initiates delivery of electrosurgical energy from the electrosurgical energy source to the electrode assembly. The knife lockout mechanism is engaged through the knife channel when the knife lockout mechanism engages the actuating mechanism and the jaw member is in the first position to allow advancement of the knife blade through the knife channel. From a first position that prevents advancement of the knife blade, the knife lockout mechanism is configured to move to a second position that disengages the actuation mechanism when the jaw members are in the second position.
加えて、または代替として、シャフトのうちの少なくとも1つは、第2の位置までの顎部材の移動に応じて、ナイフロックアウト機構に係合し、作動機構との係合から外れるようにナイフロックアウト機構を移動させ、ナイフチャネルを通したナイフ刃の前進を可能にするように構成されてもよい。 Additionally or alternatively, at least one of the shafts engages the knife lockout mechanism and disengages from engagement with the actuation mechanism in response to movement of the jaw member to the second position. The lockout mechanism may be moved to allow advancement of the knife blade through the knife channel.
加えて、または代替として、枢動軸は、それを通して縦方向スロットを画定してもよく、ナイフ刃は、その平行移動に応じて、縦方向スロットを通して前進するように構成されてもよい。 In addition or alternatively, the pivot axis may define a longitudinal slot therethrough and the knife blade may be configured to advance through the longitudinal slot in response to its translation.
加えて、または代替として、双極鉗子はまた、筐体内に支持され、ナイフ刃をその中に受容し、ナイフ刃をナイフチャネルと整合させる、それを通して画定される縦方向スロットを有する、ナイフガイドを含んでもよい。 Additionally or alternatively, a bipolar forceps is also supported in the housing and receives a knife blade therein, and has a longitudinal guide defined therethrough that aligns the knife blade with the knife channel, with a knife guide. May be included.
加えて、または代替として、双極鉗子はまた、作動機構に動作可能に結合され、ナイフチャネルを通したナイフ刃の前進をもたらすように、非作動構成から作動構成まで移動可能である、少なくとも1つのハンドル部材を含んでもよい。 Additionally or alternatively, at least one bipolar forceps is also operably coupled to the actuation mechanism and is movable from a non-actuated configuration to an actuated configuration to provide for advancement of the knife blade through the knife channel. A handle member may be included.
加えて、または代替として、双極鉗子はまた、第2の位置から第1の位置までの顎部材の移動に応じて、作動構成から非作動構成まで、少なくとも1つのハンドル部材を押進するように構成される、ナイフキックバックを含んでもよい。 In addition or alternatively, the bipolar forceps may also push the at least one handle member from an actuated configuration to a non-actuated configuration in response to movement of the jaw member from the second position to the first position. A configured knife kickback may be included.
本発明の開示の別の側面によると、双極鉗子が、提供される。双極鉗子は、それぞれ、その遠位端から延在する顎部材を有する、第1のシャフトおよび第2のシャフトを含む、機械的鉗子を含む。ハンドルは、顎部材が相互に対して離間関係に配置される第1の位置から、顎部材がその間に組織を把持するように協働する第2の位置まで、枢動軸を中心に相互に対して顎部材の移動をもたらすために各シャフトの近位端に配置される。使い捨て筐体は、シャフトのうちの少なくとも1つに解放可能に結合されるように構成される。電極アセンブリは、顎部材に解放可能に結合されように構成され、顎部材の間に保持される組織を通して、電気外科手術エネルギーの選択的伝導を可能にし、組織密閉をもたらすために、電気外科手術エネルギー源に接続するように適合される。顎部材のうちの少なくとも1つは、その長さに沿って画定されるナイフチャネルを含む。ナイフチャネルは、顎部材の間に把持される組織を切断するために、それを通してナイフ刃を受容するように構成される。ナイフガイドは、筐体内に支持され、ナイフ刃をその中に受容し、ナイフ刃をナイフチャネルと整合させる、それを通して画定される縦方向スロットを有する。作動機構は、少なくとも部分的に、筐体内に配置され、組織を切断するために、ナイフチャネルを通して、ナイフ刃を選択的に前進させるように構成される。スイッチは、筐体によって支持され、第1の位置と第2の位置との間における顎部材の移動に応じて、電気外科手術エネルギー源から電極アセンブリまでの電気外科手術エネルギーの送達を開始および終了するように構成される。少なくとも1つのハンドル部材は、筐体から延在する。少なくとも1つのハンドル部材は、作動機構に動作可能に結合され、ナイフチャネルを通したナイフ刃の前進をもたらすように構成される。ナイフロックアウト機構は、ナイフチャネルを通したナイフ刃の選択的前進を可能にするために、シャフト部材のうちの少なくとも1つによって係合され、ナイフロックアウト機構が作動機構に係合し、顎部材が第1の位置にあるとき、ナイフチャネルの中へのナイフ刃の前進を妨げる、第1の位置から、ナイフロックアウト機構が、顎部材が第2の位置にあるとき、作動機構を係脱する、第2の位置まで、ナイフロックアウト機構を移動させるように構成される。 According to another aspect of the present disclosure, a bipolar forceps is provided. The bipolar forceps includes mechanical forceps including a first shaft and a second shaft, each having a jaw member extending from a distal end thereof. The handles are relative to each other about the pivot axis from a first position where the jaw members are spaced apart from each other to a second position where the jaw members cooperate to grasp tissue therebetween. Placed at the proximal end of each shaft to effect movement of the jaw members. The disposable housing is configured to be releasably coupled to at least one of the shafts. The electrode assembly is configured to be releasably coupled to the jaw members and allows for selective conduction of electrosurgical energy through tissue held between the jaw members to provide tissue sealing. Adapted to connect to an energy source. At least one of the jaw members includes a knife channel defined along its length. The knife channel is configured to receive a knife blade therethrough for cutting tissue grasped between the jaw members. The knife guide is supported within the housing and has a longitudinal slot defined therethrough that receives the knife blade therein and aligns the knife blade with the knife channel. The actuation mechanism is at least partially disposed within the housing and is configured to selectively advance the knife blade through the knife channel to cut tissue. The switch is supported by the housing and initiates and terminates delivery of electrosurgical energy from the electrosurgical energy source to the electrode assembly in response to movement of the jaw member between the first position and the second position. Configured to do. At least one handle member extends from the housing. At least one handle member is operably coupled to the actuation mechanism and configured to provide for advancement of the knife blade through the knife channel. The knife lockout mechanism is engaged by at least one of the shaft members to allow selective advancement of the knife blade through the knife channel, the knife lockout mechanism engages the actuating mechanism, and the jaws From the first position, the knife lockout mechanism engages the actuation mechanism when the jaw member is in the second position, preventing the knife blade from being advanced into the knife channel when the member is in the first position. The knife lockout mechanism is configured to move to a second position to disengage.
加えて、または代替として、ナイフガイドは、枢動軸を通して画定される縦方向スロットを通して延在してもよい。 Additionally or alternatively, the knife guide may extend through a longitudinal slot defined through the pivot axis.
加えて、または代替として、双極鉗子はまた、第2の位置から第1の位置までの顎部材の移動に応じて、作動構成から非作動構成まで、少なくとも1つのハンドル部材を押進するように構成される、ナイフキックバックを含んでもよい。 In addition or alternatively, the bipolar forceps may also push the at least one handle member from an actuated configuration to a non-actuated configuration in response to movement of the jaw member from the second position to the first position. A configured knife kickback may be included.
本発明の開示の別の側面によると、双極鉗子を組み立てる方法が、提供される。本方法は、枢動軸を中心に、相互に動作可能に結合される第1のシャフトおよび第2のシャフトを含む第1のアセンブリを提供するステップを含む。第1のシャフトおよび第2のシャフトはそれぞれ、その遠位端から延在する顎部材を有する。第1のシャフトおよび第2のシャフトは、顎部材の間に組織を把持するように、枢動軸を中心に相互に対して移動可能である。本方法はまた、顎部材の間に把持される組織を切断するために、第1のアセンブリの枢動軸を通して画定される通路を通して、ナイフ刃を縦方向に移動させるように構成されるナイフ作動機構に動作可能に結合されるナイフ刃を含む、第2のアセンブリを提供するステップを含む。本方法はまた、シャフトのうちの少なくとも1つに解放可能に結合するように構成される筐体を提供し、ナイフ刃およびナイフ作動機構を、少なくとも部分的に格納するステップを含む。本方法はまた、第2のアセンブリを第1のアセンブリに対して留置するステップと、筐体をシャフトのうちの少なくとも1つに解放可能に結合し、第2のアセンブリを第1のアセンブリに動作可能に結合するステップとを含む。 According to another aspect of the present disclosure, a method of assembling bipolar forceps is provided. The method includes providing a first assembly that includes a first shaft and a second shaft operably coupled to each other about a pivot axis. Each of the first shaft and the second shaft has a jaw member extending from its distal end. The first shaft and the second shaft are movable relative to each other about a pivot axis so as to grasp tissue between the jaw members. The method is also configured to move the knife blade longitudinally through a passage defined through the pivot axis of the first assembly to cut tissue grasped between the jaw members. Providing a second assembly including a knife blade operably coupled to the mechanism. The method also includes providing a housing configured to releasably couple to at least one of the shafts and including at least partially retracting the knife blade and the knife actuation mechanism. The method also includes placing the second assembly relative to the first assembly, releasably coupling the housing to at least one of the shafts, and operating the second assembly to the first assembly. Possibly combining.
加えて、または代替として、第2のアセンブリを第1のアセンブリに対して留置するステップはまた、ナイフ刃を、少なくとも部分的に、通路を通して挿入するステップを含んでもよい。 Additionally or alternatively, placing the second assembly relative to the first assembly may also include inserting a knife blade, at least partially, through the passage.
加えて、または代替として、第2のアセンブリを第1のアセンブリに対して留置するステップは、ナイフ作動機構をシャフト部材のうちの少なくとも1つに対して留置するステップを含んでもよい。 In addition or alternatively, placing the second assembly relative to the first assembly may include placing the knife actuating mechanism relative to at least one of the shaft members.
加えて、または代替として、第1のアセンブリは、再使用可能な機械的鉗子であってもよい。 In addition or alternatively, the first assembly may be a reusable mechanical forceps.
加えて、または代替として、第2のアセンブリは、第1のアセンブリから取り外し可能であってもよい。 Additionally or alternatively, the second assembly may be removable from the first assembly.
加えて、または代替として、本方法はまた、電極アセンブリを顎部材に結合するステップであって、電極アセンブリは、電気外科手術エネルギー源に接続するように構成される、ステップを含んでもよい。 In addition or alternatively, the method may also include coupling the electrode assembly to the jaw member, the electrode assembly being configured to connect to an electrosurgical energy source.
本発明の開示の別の側面によると、双極鉗子が、提供される。双極鉗子は、第1のシャフトおよび第2のシャフトを含む、機械的鉗子を含む。シャフトはそれぞれ、その遠位端から延在する顎部材を有する。シャフトは、顎部材が相互に対して離間関係に配置される第1の位置から、顎部材がその間に組織を把持するように協働する第2の位置まで、枢動軸を中心に相互に対して移動可能である。シャフトはそれぞれ、他のシャフトに対面する内部側および内部側に対向する外部側を有する。双極鉗子はまた、顎部材の間に把持される組織を切断するために、枢動軸を通して画定される通路を通してナイフ刃を縦方向に作動させるように構成されるナイフ作動機構に動作可能に結合されるナイフ刃を含む、ナイフアセンブリを含む。ナイフアセンブリは、ナイフ刃が、少なくとも部分的に、シャフトのうちの1つの外部側から通路を通して挿入可能であり、ナイフ作動機構が、シャフトのうちの1つの外部側から機械的鉗子に解放可能に結合可能であるように、シャフトのうちの1つの外部側から、機械的鉗子に動作可能に結合可能である。双極鉗子はまた、シャフトのうちの少なくとも1つに解放可能に結合し、ナイフアセンブリを機械的鉗子に動作可能に結合するように構成される、筐体を含む。双極鉗子はまた、第1のシャフトの顎部材に解放可能に結合可能である第1の電極と、第2のシャフトの顎部材に解放可能に結合可能である第2の電極とを有する、電極アセンブリを含む。各電極は、電極の間に保持される組織を通して、電気外科手術エネルギーの選択的伝導を可能にするために、電気外科手術エネルギー源に接続するように適合される。 According to another aspect of the present disclosure, a bipolar forceps is provided. The bipolar forceps includes mechanical forceps that include a first shaft and a second shaft. Each shaft has a jaw member extending from its distal end. The shafts are reciprocally centered about the pivot axis from a first position where the jaw members are spaced apart from each other to a second position where the jaw members cooperate to grasp tissue therebetween. It can be moved. Each shaft has an inner side facing the other shaft and an outer side facing the inner side. The bipolar forceps is also operably coupled to a knife actuation mechanism configured to actuate the knife blade longitudinally through a passage defined through the pivot axis to cut tissue grasped between the jaw members. A knife assembly, including a knife blade to be operated. The knife assembly allows a knife blade to be inserted, at least in part, through a passageway from one exterior side of the shaft, and a knife actuation mechanism to be releasable to mechanical forceps from the exterior side of one of the shafts. As can be coupled, it can be operably coupled to the mechanical forceps from the exterior side of one of the shafts. The bipolar forceps also includes a housing releasably coupled to at least one of the shafts and configured to operably couple the knife assembly to the mechanical forceps. The bipolar forceps also has a first electrode that is releasably connectable to the first shaft jaw member and a second electrode that is releasably connectable to the second shaft jaw member. Includes assembly. Each electrode is adapted to connect to a source of electrosurgical energy to allow selective conduction of electrosurgical energy through tissue held between the electrodes.
加えて、または代替として、ナイフ作動機構は、同一のシャフトの外部側から通路を通して、ナイフ刃を少なくとも部分的に挿入しながら、ナイフ作動機構をシャフトのうちの1つに対して、その外部側から移動させることによって、機械的鉗子に解放可能に結合可能であってもよい。 In addition, or alternatively, the knife actuation mechanism may be inserted into the outer side of one of the shafts while the knife actuation mechanism is at least partially inserted through the passage from the outer side of the same shaft. It may be releasably connectable to the mechanical forceps by moving it away from.
加えて、または代替として、電極のうちの少なくとも1つは、その長さに沿って画定されるナイフチャネルを含んでもよい。ナイフチャネルは、顎部材の間に把持される組織を切断するために、それを通してナイフ刃を受容するように構成されてもよい。 In addition or alternatively, at least one of the electrodes may include a knife channel defined along its length. The knife channel may be configured to receive a knife blade therethrough for cutting tissue grasped between the jaw members.
加えて、または代替として、シャフトは、ナイフ刃が、シャフトのうちの1つの外部から通路を通して挿入可能であるように、通路に対して配置されてもよい。
本発明は、例えば、以下を提供する。
(項目1)
双極鉗子であって、
第1のシャフトおよび第2のシャフトと、ハンドルとを含む、機械的鉗子であって、前記第1のシャフトおよび第2のシャフトは、それぞれ、その遠位端から延在する顎部材を有し、前記ハンドルは、前記顎部材が相互に対して離間関係に配置される第1の位置から、前記顎部材がその間に組織を把持するように協働する第2の位置まで、枢動軸を中心に相互に対して前記顎部材の移動をもたらすために前記機械的鉗子の近位端に配置される、機械的鉗子と、
前記シャフトのうちの少なくとも1つに解放可能に結合するように構成される、使い捨て筐体と、
前記使い捨て筐体と関連付けられ、前記第1のシャフトの顎部材に解放可能に結合可能である第1の電極と、前記第2のシャフトの顎部材に解放可能に結合可能である第2の電極とを有する、電極アセンブリであって、各電極は、その間に保持される組織を通して、電気外科手術エネルギーの選択的伝導を可能にするために、電気外科手術エネルギー源に接続するように適合される、電極アセンブリと、
その長さに沿って画定されるナイフチャネルを含む、前記電極のうちの少なくとも1つであって、前記ナイフチャネルは、前記顎部材の間に把持される組織を切断するために、それを通してナイフ刃を受容するように構成される、前記電極のうちの少なくとも1つと、
前記筐体によって支持され、前記第1の位置と第2の位置との間における前記顎部材の移動に応じて、前記電気外科手術エネルギー源から前記電極までの電気外科手術エネルギーの送達を開始するように構成される、スイッチと、
少なくとも部分的に、前記筐体内に配置され、組織を切断するために、前記ナイフチャネルを通して、前記ナイフ刃を選択的に前進させるように構成される、作動機構と、
を備える、双極鉗子。
(項目2)
前記顎部材が前記第1の位置にあるとき、前記ナイフチャネルの中への前記ナイフ刃の前進を妨げるように構成される、ナイフロックアウト機構をさらに備える、項目1に記載の双極鉗子。
(項目3)
前記ナイフロックアウト機構は、前記ナイフチャネルを通した前記ナイフ刃の選択的前進を可能にするために、前記ナイフロックアウト機構が、前記顎部材が前記第1の位置にあるとき、前記作動機構に係合する、第1の位置から、前記ナイフロックアウト機構が、前記顎部材が前記第2の位置にあるとき、前記作動機構を係脱する、第2の位置まで移動する、項目2に記載の双極鉗子。
(項目4)
前記シャフトのうちの少なくとも1つは、前記第2の位置までの前記顎部材の移動に応じて、前記ナイフロックアウト機構に係合し、前記ナイフチャネルを通した前記ナイフ刃の前進を可能にするために、前記作動機構との係合から外れるように前記ナイフロックアウト機構を移動させるように構成される、項目2に記載の双極鉗子。
(項目5)
前記スイッチは、前記筐体から延在する押下可能ボタンに機械的に結合され、前記第2の位置までの前記顎部材の移動に応じて、前記シャフトのうちの1つによって係合されるように構成される、項目1に記載の双極鉗子。
(項目6)
前記枢動軸は、それを通して縦方向スロットを画定し、前記ナイフ刃は、その平行移動に応じて、前記縦方向スロット内を移動するように構成される、項目1に記載の双極鉗子。
(項目7)
前記ナイフチャネルを通した前記ナイフ刃の前進をもたらすように構成される、少なくとも1つのハンドル部材であって、前記筐体から延在し、前記作動機構に動作可能に結合される、少なくとも1つのハンドル部材をさらに備える、項目1に記載の双極鉗子。
(項目8)
前記電極はそれぞれ、導電性密閉表面と、それに結合される絶縁基板とを含む、項目1に記載の双極鉗子。
(項目9)
前記電極はそれぞれ、前記顎部材のうちの1つの上の対応する機械的界面を補完し、前記電極を前記顎部材に解放可能に結合するように構成される、少なくとも1つの機械的界面を含む、項目1に記載の双極鉗子。
(項目10)
前記作動機構は、前記作動機構を非作動位置に付勢するように構成される、付勢部材を含む、項目1に記載の双極鉗子。
(項目11)
前記筐体内に支持されたナイフガイドをさらに備え、前記ナイフガイドは、それを通して画定される縦方向スロットを有し、前記縦方向スロットは、前記ナイフ刃をその中に受容し、前記ナイフ刃を前記ナイフチャネルと整合させる、項目1に記載の双極鉗子。
(項目12)
双極鉗子であって、
第1のシャフトおよび第2のシャフトと、ハンドルとを含む、機械的鉗子であって、前記第1のシャフトおよび第2のシャフトは、それぞれ、その遠位端から延在する顎部材を有し、前記ハンドルは、前記顎部材が相互に対して離間関係に配置される第1の位置から、前記顎部材がその間に組織を把持するように協働する第2の位置まで、枢動軸を中心に相互に対して前記顎部材の移動をもたらすために前記機械的鉗子の近位端に配置される、機械的鉗子と、
前記シャフトのうちの少なくとも1つに解放可能に結合するように構成される、使い捨て筐体と、
前記使い捨て筐体と関連付けられ、前記第1のシャフトの顎部材に解放可能に結合可能である第1の電極と、前記第2のシャフトの顎部材に解放可能に結合可能である第2の電極とを有する、電極アセンブリであって、各電極は、その間に保持される組織を通して、電気外科手術エネルギーの選択的伝導を可能にするために、電気外科手術エネルギー源に接続するように適合される、電極アセンブリと、
その長さに沿って画定されるナイフチャネルを含む、前記電極のうちの少なくとも1つであって、前記ナイフチャネルは、前記顎部材の間に把持される組織を切断するために、それを通してナイフ刃を受容するように構成される、前記電極のうちの少なくとも1つと、
少なくとも部分的に、前記筐体内に配置され、組織を切断するために、前記ナイフチャネルを通して、前記ナイフ刃を選択的に前進させるように構成される、作動機構と、
前記筐体の近位部から延在し、前記筐体の近位部によって支持されるスイッチに動作可能に結合される押下可能起動ボタンであって、前記起動ボタンは、前記スイッチが、前記電気外科手術エネルギー源から前記電極アセンブリまでの電気外科手術エネルギーの送達を開始するように、前記シャフト部材の接近に応じて、押下するように構成される、起動ボタンと、
ナイフロックアウト機構であって、前記ナイフロックアウト機構が、前記顎部材が前記第1の位置にあるとき、前記作動機構に係合し、前記ナイフチャネルを通した前記ナイフ刃の前進を妨げる第1の位置から、前記ナイフロックアウト機構が、前記顎部材が前記第2の位置にあるとき、前記作動機構を係脱し、前記ナイフチャネルを通した前記ナイフ刃の前進を可能にする第2の位置まで移動するように構成される、ナイフロックアウト機構と、
を備える、双極鉗子。
(項目13)
前記シャフトのうちの少なくとも1つは、前記第2の位置までの前記顎部材の移動に応じて、前記ナイフロックアウト機構に係合し、前記ナイフチャネルを通した前記ナイフ刃の前進を可能にするために、前記作動機構との係合から外れるように前記ナイフロックアウト機構を移動させるように構成される、項目12に記載の双極鉗子。
(項目14)
前記枢動軸は、それを通して縦方向スロットを画定し、前記ナイフ刃は、その平行移動に応じて、前記縦方向スロットを通して前進するように構成される、項目12に記載の双極鉗子。
(項目15)
前記筐体内に支持されるナイフガイドをさらに備え、前記ナイフガイドは、それを通して画定される縦方向スロットを有し、前記縦方向スロットは、前記ナイフ刃をその中に受容し、前記ナイフ刃を前記ナイフチャネルと整合させる、項目12に記載の双極鉗子。
(項目16)
前記作動機構に動作可能に結合され、前記ナイフチャネルを通した前記ナイフ刃の前進をもたらすように、非作動構成から作動構成まで移動可能である、少なくとも1つのハンドル部材をさらに備える、項目12に記載の双極鉗子。
(項目17)
前記第2の位置から前記第1の位置までの前記顎部材の移動に応じて、前記作動構成から前記非作動構成まで、前記少なくとも1つのハンドル部材を押進するように構成される、ナイフキックバックをさらに備える、項目16に記載の双極鉗子。
(項目18)
双極鉗子であって、
第1のシャフトおよび第2のシャフトと、ハンドルとを含む、機械的鉗子であって、前記第1のシャフトおよび第2のシャフトは、それぞれ、その遠位端から延在する顎部材を有し、前記ハンドルは、前記顎部材が相互に対して離間関係に配置される第1の位置から、前記顎部材がその間に組織を把持するように協働する第2の位置まで、枢動軸を中心に相互に対して前記顎部材の移動をもたらすために前記機械的鉗子の近位端に配置される、機械的鉗子と、
前記シャフトのうちの少なくとも1つに解放可能に結合するように構成される、使い捨て筐体と、
前記顎部材に解放可能に結合され、前記顎部材の間に保持される組織を通して、電気外科手術エネルギーの選択的伝導を可能にするために、電気外科手術エネルギー源に接続するように適合されるように構成される、電極アセンブリと、
その長さに沿って画定されるナイフチャネルを含む、前記顎部材のうちの少なくとも1つであって、前記ナイフチャネルは、前記顎部材の間に把持される組織を切断するために、それを通してナイフ刃を受容するように構成される、前記顎部材のうちの少なくとも1つと、
前記筐体内に支持されるナイフガイドであって、前記ナイフ刃をその中に受容し、前記ナイフ刃を前記ナイフチャネルと整合させる、それを通して画定される縦方向スロットを有する、ナイフガイドと、
少なくとも部分的に、前記筐体内に配置され、組織を切断するために、前記ナイフチャネルを通して、前記ナイフ刃を選択的に前進させるように構成される、作動機構と、
前記筐体によって支持され、前記第1の位置と第2の位置との間における前記顎部材の移動に応じて、前記電気外科手術エネルギー源から前記電極アセンブリまでの電気外科手術エネルギーの送達を開始するように構成される、スイッチと、
前記筐体から延在する、少なくとも1つのハンドル部材であって、前記少なくとも1つのハンドル部材は、前記作動機構に動作可能に結合され、前記ナイフチャネルを通した前記ナイフ刃の前進をもたらすように、非作動構成から作動構成まで移動可能である、少なくとも1つのハンドル部材と、
前記シャフト部材のうちの少なくとも1つによって係合されるナイフロックアウト機構であって、前記ナイフチャネルを通した前記ナイフ刃の選択的前進を可能にするために、前記ナイフロックアウト機構が、前記顎部材が前記第1の位置にあるとき、前記作動機構に係合し、前記ナイフチャネルの中への前記ナイフ刃の前進を妨げる、第1の位置から、前記ナイフロックアウト機構が、前記顎部材が前記第2の位置にあるとき、前記作動機構を係脱する、第2の位置まで、前記ナイフロックアウト機構を移動させるように構成される、ナイフロックアウト機構と、
を備える、双極鉗子。
(項目19)
前記ナイフガイドは、前記枢動軸を通して画定される縦方向スロットを通して延在する、項目18に記載の双極鉗子。
(項目20)
前記第2の位置から前記第1の位置までの前記顎部材の移動に応じて、前記作動構成から前記非作動構成まで、前記少なくとも1つのハンドル部材を押進するように構成される、ナイフキックバックをさらに備える、項目18に記載の双極鉗子。
(項目21)
双極鉗子を組み立てる方法であって、
枢動軸を中心に、相互に動作可能に結合される第1のシャフトおよび第2のシャフトを含む第1のアセンブリを提供するステップであって、前記第1のシャフトおよび第2のシャフトはそれぞれ、その遠位端から延在する顎部材を有し、前記第1のシャフトおよび第2のシャフトは、前記顎部材の間に組織を把持するように、前記枢動軸を中心に相互に対して移動可能である、ステップと、
前記顎部材の間に把持される組織を切断するために、前記第1のアセンブリの枢動軸を通して画定される通路を通して、ナイフ刃を縦方向に移動させるように構成されるナイフ作動機構に動作可能に結合される前記ナイフ刃を含む、第2のアセンブリを提供するステップと、
前記シャフトのうちの少なくとも1つに解放可能に結合するように構成される筐体を提供し、前記ナイフ刃および前記ナイフ作動機構を、少なくとも部分的に格納するステップと、
前記第2のアセンブリを前記第1のアセンブリに対して留置するステップと、
前記筐体を前記シャフトのうちの少なくとも1つに解放可能に結合し、前記第2のアセンブリを前記第1のアセンブリに動作可能に結合するステップと、
を含む、方法。
(項目22)
前記第2のアセンブリを前記第1のアセンブリに対して留置するステップは、前記ナイフ刃を、少なくとも部分的に、前記通路を通して挿入するステップを含む、項目21に記載の方法。
(項目23)
前記第2のアセンブリを前記第1のアセンブリに対して留置するステップは、前記ナイフ作動機構を前記シャフト部材のうちの少なくとも1つに対して留置するステップを含む、項目21に記載の方法。
(項目24)
前記第1のアセンブリは、再使用可能な機械的鉗子である、項目21に記載の方法。
(項目25)
前記第2のアセンブリは、前記第1のアセンブリから取り外し可能である、項目21に記載の方法。
(項目26)
電極アセンブリを前記顎部材に結合するステップであって、前記電極アセンブリは、電気外科手術エネルギー源に接続するように構成される、ステップをさらに含む、項目21に記載の方法。
(項目27)
双極鉗子であって、
第1のシャフトおよび第2のシャフトを含む、機械的鉗子であって、前記第1のシャフトおよび第2のシャフトは、それぞれ、その遠位端から延在する顎部材を有し、前記顎部材が相互に対して離間関係に配置される第1の位置から、前記顎部材がその間に組織を把持するように協働する第2の位置まで、枢動軸を中心に相互に対して移動可能であり、前記シャフトはそれぞれ、他のシャフトに対面する内部側および前記内部側に対向する外部側を有する、機械的鉗子と、
前記顎部材の間に把持される組織を切断するために、前記枢動軸を通して画定される通路を通してナイフ刃を縦方向に作動させるように構成されるナイフ作動機構に動作可能に結合される前記ナイフ刃を含む、ナイフアセンブリであって、前記ナイフアセンブリは、前記ナイフ刃が、少なくとも部分的に、前記シャフトのうちの1つの外部側から前記通路を通して挿入可能であり、前記ナイフ作動機構が、前記シャフトのうちの1つの外部側から前記機械的鉗子に解放可能に結合可能であるように、前記シャフトのうちの1つの外部側から、前記機械的鉗子に動作可能に結合可能である、ナイフアセンブリと、
前記シャフトのうちの少なくとも1つに解放可能に結合し、前記ナイフアセンブリを前記機械的鉗子に動作可能に結合するように構成される、筐体と、
前記第1のシャフトの顎部材に解放可能に結合可能である第1の電極と、前記第2のシャフトの顎部材に解放可能に結合可能である第2の電極とを有する、電極アセンブリであって、各電極は、その間に保持される組織を通して、電気外科手術エネルギーの選択的伝導を可能にするために、電気外科手術エネルギー源に接続するように適合される、電極アセンブリと、
を備える、双極鉗子。
(項目28)
前記ナイフ作動機構は、同一のシャフトの外部側から前記通路を通して、前記ナイフ刃を少なくとも部分的に挿入しながら、前記ナイフ作動機構を前記シャフトのうちの1つに対して、その外部側から移動させることによって、前記機械的鉗子に解放可能に結合可能である、項目27に記載の双極鉗子。
(項目29)
前記電極のうちの少なくとも1つは、その長さに沿って画定されるナイフチャネルを含み、前記ナイフチャネルは、前記顎部材の間に把持される組織を切断するために、それを通して前記ナイフ刃を受容するように構成される、項目27に記載の双極鉗子。
(項目30)
前記シャフトは、前記ナイフ刃が、前記シャフトのうちの1つの外部から前記通路を通して挿入可能であるように、前記通路に対して配置される、項目27に記載の双極鉗子。Additionally or alternatively, the shaft may be positioned relative to the passage so that a knife blade can be inserted through the passage from the exterior of one of the shafts.
For example, the present invention provides the following.
(Item 1)
Bipolar forceps,
A mechanical forceps including a first shaft and a second shaft, and a handle, each of the first shaft and the second shaft having jaw members extending from a distal end thereof. The handle pivots from a first position where the jaw members are spaced apart from each other to a second position where the jaw members cooperate to grasp tissue therebetween. Mechanical forceps disposed at a proximal end of the mechanical forceps to effect movement of the jaw members relative to each other in the center;
A disposable housing configured to releasably couple to at least one of the shafts;
A first electrode associated with the disposable housing and releasably connectable to the jaw member of the first shaft; and a second electrode releasably connectable to the jaw member of the second shaft Wherein each electrode is adapted to connect to a source of electrosurgical energy to allow selective conduction of electrosurgical energy through tissue held therebetween. An electrode assembly;
At least one of said electrodes comprising a knife channel defined along its length, said knife channel passing a knife therethrough for cutting tissue grasped between said jaw members At least one of the electrodes configured to receive a blade;
Initiated delivery of electrosurgical energy from the electrosurgical energy source to the electrode in response to movement of the jaw member between the first and second positions supported by the housing. Configured with a switch,
An actuation mechanism disposed at least partially within the housing and configured to selectively advance the knife blade through the knife channel to cut tissue;
A bipolar forceps comprising:
(Item 2)
The bipolar forceps of
(Item 3)
The knife lockout mechanism is configured to enable the knife blade to selectively advance through the knife channel when the knife lockout mechanism is in the first position when the jaw member is in the first position. Item 2 wherein the knife lockout mechanism moves from a first position to engage a second position to disengage the actuation mechanism when the jaw member is in the second position. The described bipolar forceps.
(Item 4)
At least one of the shafts engages the knife lockout mechanism in response to movement of the jaw member to the second position, allowing advancement of the knife blade through the knife channel. A bipolar forceps according to item 2, configured to move the knife lockout mechanism out of engagement with the actuating mechanism for doing so.
(Item 5)
The switch is mechanically coupled to a pushable button extending from the housing and is engaged by one of the shafts in response to movement of the jaw member to the second position. 2. The bipolar forceps according to
(Item 6)
The bipolar forceps of
(Item 7)
At least one handle member configured to provide advancement of the knife blade through the knife channel and extending from the housing and operably coupled to the actuation mechanism The bipolar forceps according to
(Item 8)
The bipolar forceps of
(Item 9)
Each of the electrodes includes at least one mechanical interface configured to complement a corresponding mechanical interface on one of the jaw members and releasably couple the electrode to the jaw member. The bipolar forceps according to
(Item 10)
The bipolar forceps of
(Item 11)
Further comprising a knife guide supported within the housing, the knife guide having a longitudinal slot defined therethrough, the longitudinal slot receiving the knife blade therein, The bipolar forceps of
(Item 12)
Bipolar forceps,
A mechanical forceps including a first shaft and a second shaft, and a handle, each of the first shaft and the second shaft having jaw members extending from a distal end thereof. The handle pivots from a first position where the jaw members are spaced apart from each other to a second position where the jaw members cooperate to grasp tissue therebetween. Mechanical forceps disposed at a proximal end of the mechanical forceps to effect movement of the jaw members relative to each other in the center;
A disposable housing configured to releasably couple to at least one of the shafts;
A first electrode associated with the disposable housing and releasably connectable to the jaw member of the first shaft; and a second electrode releasably connectable to the jaw member of the second shaft Wherein each electrode is adapted to connect to a source of electrosurgical energy to allow selective conduction of electrosurgical energy through tissue held therebetween. An electrode assembly;
At least one of said electrodes comprising a knife channel defined along its length, said knife channel passing a knife therethrough for cutting tissue grasped between said jaw members At least one of the electrodes configured to receive a blade;
An actuation mechanism disposed at least partially within the housing and configured to selectively advance the knife blade through the knife channel to cut tissue;
A pushable activation button extending from a proximal portion of the housing and operably coupled to a switch supported by the proximal portion of the housing, wherein the activation button includes the switch An activation button configured to be depressed in response to the approach of the shaft member to initiate delivery of electrosurgical energy from a surgical energy source to the electrode assembly;
A knife lockout mechanism, wherein the knife lockout mechanism engages the actuating mechanism when the jaw member is in the first position and prevents advancement of the knife blade through the knife channel. From
A bipolar forceps comprising:
(Item 13)
At least one of the shafts engages the knife lockout mechanism in response to movement of the jaw member to the second position, allowing advancement of the knife blade through the knife channel. 13. The bipolar forceps of
(Item 14)
13. The bipolar forceps of
(Item 15)
Further comprising a knife guide supported within the housing, the knife guide having a longitudinal slot defined therethrough, the longitudinal slot receiving the knife blade therein, The bipolar forceps of
(Item 16)
(Item 17)
A knife kick configured to push the at least one handle member from the actuated configuration to the non-actuated configuration in response to movement of the jaw member from the second position to the first position. The bipolar forceps according to
(Item 18)
Bipolar forceps,
A mechanical forceps including a first shaft and a second shaft, and a handle, each of the first shaft and the second shaft having jaw members extending from a distal end thereof. The handle pivots from a first position where the jaw members are spaced apart from each other to a second position where the jaw members cooperate to grasp tissue therebetween. Mechanical forceps disposed at a proximal end of the mechanical forceps to effect movement of the jaw members relative to each other in the center;
A disposable housing configured to releasably couple to at least one of the shafts;
Releasably coupled to the jaw member and adapted to connect to an electrosurgical energy source to allow selective conduction of electrosurgical energy through tissue held between the jaw members. An electrode assembly configured as follows:
At least one of said jaw members comprising a knife channel defined along its length, said knife channel passing therethrough for cutting tissue grasped between said jaw members At least one of said jaw members configured to receive a knife blade;
A knife guide supported within the housing, the knife guide having a longitudinal slot defined therethrough for receiving the knife blade therein and aligning the knife blade with the knife channel;
An actuation mechanism disposed at least partially within the housing and configured to selectively advance the knife blade through the knife channel to cut tissue;
Initiated delivery of electrosurgical energy from the electrosurgical energy source to the electrode assembly in response to movement of the jaw member between the first and second positions supported by the housing A switch configured to, and
At least one handle member extending from the housing, the at least one handle member operably coupled to the actuating mechanism to effect advancement of the knife blade through the knife channel. At least one handle member movable from a non-actuated configuration to an actuated configuration;
A knife lockout mechanism engaged by at least one of the shaft members, wherein the knife lockout mechanism is configured to allow selective advancement of the knife blade through the knife channel. From a first position, the knife lockout mechanism engages the actuating mechanism when the jaw member is in the first position and prevents advancement of the knife blade into the knife channel. A knife lockout mechanism configured to move the knife lockout mechanism to a second position that disengages the actuation mechanism when a member is in the second position;
A bipolar forceps comprising:
(Item 19)
19. A bipolar forceps according to
(Item 20)
A knife kick configured to push the at least one handle member from the actuated configuration to the non-actuated configuration in response to movement of the jaw member from the second position to the first position. 19. The bipolar forceps according to
(Item 21)
A method of assembling bipolar forceps,
Providing a first assembly including a first shaft and a second shaft operatively coupled to each other about a pivot axis, wherein the first shaft and the second shaft are each A jaw member extending from a distal end thereof, wherein the first shaft and the second shaft are relative to each other about the pivot axis so as to grasp tissue between the jaw members. Moveable, step, and
Actuating a knife actuation mechanism configured to move a knife blade longitudinally through a passage defined through a pivot axis of the first assembly to cut tissue grasped between the jaw members Providing a second assembly including said knife blade operatively coupled;
Providing a housing configured to releasably couple to at least one of the shafts, and at least partially retracting the knife blade and the knife actuating mechanism;
Placing the second assembly relative to the first assembly;
Releasably coupling the housing to at least one of the shafts and operably coupling the second assembly to the first assembly;
Including the method.
(Item 22)
23. The method of
(Item 23)
23. The method of
(Item 24)
24. The method of
(Item 25)
24. The method of
(Item 26)
24. The method of
(Item 27)
Bipolar forceps,
A mechanical forceps including a first shaft and a second shaft, the first shaft and the second shaft each having a jaw member extending from a distal end thereof, the jaw member Moveable relative to each other about a pivot axis from a first position where the jaw members are spaced apart from each other to a second position where the jaw members cooperate to grasp tissue therebetween Each of the shafts has an internal side facing the other shaft and an external side facing the internal side; and mechanical forceps;
The operatively coupled to a knife actuation mechanism configured to actuate a knife blade longitudinally through a passage defined through the pivot shaft to cut tissue grasped between the jaw members. A knife assembly including a knife blade, wherein the knife blade is insertable through the passageway, at least in part, from the exterior side of one of the shafts; A knife operably connectable to the mechanical forceps from an external side of one of the shafts such that the mechanical forceps are releasably connectable from an external side of one of the shafts Assembly,
A housing releasably coupled to at least one of the shafts and configured to operably couple the knife assembly to the mechanical forceps;
An electrode assembly comprising: a first electrode releasably connectable to the first shaft jaw member; and a second electrode releasably connectable to the second shaft jaw member. Each electrode is adapted to connect to a source of electrosurgical energy to allow selective conduction of electrosurgical energy through tissue held therebetween,
A bipolar forceps comprising:
(Item 28)
The knife actuating mechanism moves the knife actuating mechanism from one side of the shaft relative to one of the shafts while at least partially inserting the knife blade through the passage from the outside side of the same shaft. 28. The bipolar forceps according to
(Item 29)
At least one of the electrodes includes a knife channel defined along its length through which the knife blade passes to cut tissue grasped between the jaw members. 28. A bipolar forceps according to
(Item 30)
28. A bipolar forceps according to
主題器具の種々の実施形態が、図面を参照して、本明細書に説明される。
最初に図1−3を参照すると、観血外科手技との併用のための双極鉗子10が、エンドエフェクタ24および使い捨て電極アセンブリ21を有する、機械的鉗子20を含む。機械的鉗子20は、第1および第2の伸長シャフト部材12および14を含む。伸長シャフト部材12は、それぞれ、近位および遠位端部13および17を含み、伸長シャフト部材14は、それぞれ、近位および遠位端部15および19を含む。シャフト部材12、14の近位端部13、15に配置されるのは、それぞれ、ハンドル部材16、18であり、これは、ユーザが、他方に対するシャフト部材12、14のうちの少なくとも1つの移動をもたらすことを可能にするように構成される。エンドエフェクタ24は、それぞれ、シャフト部材12、14の遠位端部17および19から延在する、対向顎部材42、44を含む。顎部材42、44は、シャフト部材12、14の移動に応答して、相互に対して移動可能である。シャフト部材のうちの少なくとも1つ(例えば、シャフト部材12)は、使用中、鉗子20の操作を促進する、タング99を含む。 Referring initially to FIGS. 1-3, a
シャフト部材12および14は、シャフト部材12、14の移動が、顎部材44、42が相互に対して離間関係に配置される開放構成(図9A)から、顎部材42、44がその間に組織150(図8)を把持するように協働する挟着または閉鎖構成(図9Bおよび9C)までの顎部材42、44の移動を付与するように、枢動軸25(図3)を中心に相互に添着される。いくつかの実施形態では、鉗子10は、シャフト部材12、14のうちの一方または両方の移動が、顎部材のうちの一方のみを他方の顎部材に対して移動させるように構成されてもよい。枢動軸25は、下記にさらに詳述されるように、それを通して配置される1対の略半円形状開口25a、25bを含み、枢動軸25が枢動軸開口29内を自由に回転することを可能にされるように、枢動軸開口29(図3)内に着座されるように構成される。 The
図2および3を参照すると、使い捨て電極アセンブリ21は、下記に詳述されるように、機械的鉗子20に解放可能に結合するように構成され、シャフト部材14の少なくとも一部に噛合するように係合し、かつそれを解放可能に包含するように構成される、1対の筐体半体70a、70bを有する、筐体70に動作可能に結合される。さらに、筐体70はまた、下記に詳述されるように、鋭利遠位切断縁部89を有するナイフ85(図9D)と、その中にナイフ刃85を受容するように構成される縦方向スロット87を有するナイフガイド86(図3)と、組織を離断するために、電極110、120の一方または両方の中に画定されるナイフチャネル58(図2)を通してナイフ刃85の前進をもたらすように構成されるナイフ作動機構90とを少なくとも部分的に格納する役割を果たす。筐体半体70a、70bのそれぞれの内部が、種々の場所に配置される複数の協働する機械的界面を含み、筐体半体70a、70bの機械的結合をもたらし、筐体70を形成してもよい。1対の対向押動ボタン75a、75bが、それぞれ、筐体半体70a、70b上に配置され、ユーザが、ボタン75a、75bを筐体70に対して内向きに押圧し、筐体70およびシャフト部材14の機械的結合を解放し得るように、筐体70の外部からアクセス可能である。弾性部材64(図3)が、筐体70の内部に動作可能に結合され、シャフト部材14に解放可能に結合される。弾性部材64は、それぞれ、ボタン75a、75bに動作可能に結合される、1対の弾性延在部66a、66bを含む。筐体70に対して内向きにボタン75a、75bを押圧することは、弾性延在部66a、66bが相互に向かって内向きに撓曲するように、付勢力を弾性延在部66a、66b上に付与し、これは、順に、弾性部材64をシャフト部材14から解放させる。いったん弾性部材64がシャフト部材14から解放されると、筐体70は、機械的鉗子20から分断され得る。したがって、ユーザは、筐体70に対して内向きにボタン75a、75bを単に押圧することによって、機械的鉗子20から筐体70を分断する能力が提供される。 Referring to FIGS. 2 and 3, the
図面に例証される筐体70に対するボタン75a、75bの留置は、ボタン75a、75bが、筐体70の任意の好適な場所の上に配置され得るため、限定として解釈されるべきではない。例えば、ボタン75a、75bは、下記に詳細に説明されるように、ハンドル部材18に隣接し、押下可能起動ボタン50(図1)に近接する、筐体70の近位端上に配置されてもよい。いくつかの実施形態では、ボタン75a、75bおよび/または弾性部材64は、筐体70を通してワイヤを配索するために、その中に形成されるワイヤ配索特徴を含んでもよい。 The placement of the
図4および5に示されるように、1対のワイヤ61および62は、それぞれ、電極120および110に電気的に接続され、筐体70を通して延在し、電気外科手術発生器(図示せず)等の好適なエネルギー源に機械的および電気的に結合するように構成される端末コネクタ30(図1)において終端する、ケーブル28を形成するように束ねられる。電気外科手術発生器の実施例は、Covidienによって販売される、LIGASURE(R) Vessel Sealing GeneratorおよびForceTriad(R) Generatorである。いくつかの実施形態では、好適なエネルギー源は、筐体70によって支持され、電極110、120に電気的に接続される、バッテリ(図示せず)であってもよい。 As shown in FIGS. 4 and 5, a pair of
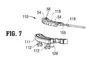
ここで図3−7を参照すると、電極アセンブリ21は、2つの突起状部材103および105が、それぞれ、そこから遠位に延在し、電極110および120を支持するように、分岐される。電極120は、それを通して電気外科手術エネルギーを伝導するように構成される導電性密閉表面126と、密閉表面126を顎部材44から電気的に絶縁する役割を果たす電気絶縁基板121とを含む。密閉表面126および基板121は、例えば、スナップ嵌合係合等の組立の任意の好適な方法によって、または基板121を密閉表面126に対してオーバーモールドすることによって、相互に取着される。いくつかの実施形態では、基板121は、射出成形プラスチック材料から作製される。基板121は、挿入の後に、対応するソケット43に解放可能に係合し、電極120を内側対面表面48に結合するために、顎部材44の内側対面表面48(図3)を通して、少なくとも部分的に配置される対応する複数のソケット43の中への挿入の間、内向きに圧縮し、続いて、拡張するように構成される、そこから延在する複数の分岐アンカ部材122を含む。基板121はまた、組立の間、顎部材44との電極120の適切な整合を確実にするために、顎部材44の内側対面表面48を通して、少なくとも部分的に配置される対応する開口65に係合するように構成される、1つまたはそれを上回る整合ピン124(図4)を含む。導電性密閉表面126は、電極アセンブリ21の突起105の遠位端106に挿入され、その中に配置されるワイヤ61(図5)に電気的に接続するように構成される、ワイヤ圧着部117(図6)を有する延在部135を含む。 Referring now to FIGS. 3-7, the
実質的に電極120に関して上記に説明されるように、電極110は、図7に示されるように、それを通して電気外科手術エネルギーを伝導するように構成される導電性密閉表面116と、それに取着される電気絶縁基板111とを含む。基板111は、顎部材42の内側対面表面46(図3)を通して、少なくとも部分的に配置される対応する複数のソケット41の中への挿入の間、内向きに圧縮し、続いて、挿入の後に、対応するソケット41に解放可能に係合し、電極110を内側対面表面46に結合するために拡張するように構成される、そこから延在する複数の分岐アンカ部材112を含む。基板111はまた、組立の間、顎部材42との電極110の適切な整合を確実にするために、顎部材42の内側対面表面46を通して、少なくとも部分的に配置される対応する開口67に係合するように構成される、1つまたはそれを上回る整合ピン128(図4)を含む。密閉表面116は、電極アセンブリ21の突起103の遠位端104に挿入され、その中に配置されるワイヤ62(図5)に電気的に接続するように構成される、そこから延在するワイヤ圧着部119(図7)を有する延在部155を含む。 As described substantially above with respect to
図4を参照すると、突起状部材103、105のうちの少なくとも1つは、突起状部材105および103が相互に対して容易に移動可能であるように、可撓性である。いくつかの実施形態では、電極アセンブリ21は、相互に向かって突起103、105を最初に移動させることによって、機械的鉗子20に取り外し可能に取着される。顎部材42、44が開放構成にある間、電極120および110は、それぞれ、アンカ部材122および112ならびにガイドピン124および128が、それぞれ、電極120および110を顎部材44および42と結合させるために、それぞれ、対応するソケット43および41または開口65および67と整合され、かつそれらの中に解放可能に挿入され得るように、対向顎部材44と対向顎部材42との間を摺動してもよい。筐体半体70a、70bは、次いで、筐体70を形成し、上記に説明される様式でシャフト部材14の少なくとも一部を包含するように結合されてもよい。 Referring to FIG. 4, at least one of the projecting
エンドエフェクタ24を電気的に制御するために、押下可能起動ボタン50(図1)は、筐体70の近位部から延在し、エンドエフェクタ24までの電気外科手術エネルギーの送達を開始および終了するために、ユーザによって動作可能である。押下可能起動ボタン50に機械的に結合されるのは、筐体70内に支持され、ワイヤ61、62と電気外科手術発生器(図示せず)等の好適なエネルギー源との間に電気的に相互接続される、スイッチ36(図4)である。押下可能起動ボタン50は、作動または接近位置(図9B)までのシャフト部材12、14の移動に応じて、シャフト部材12の近位端13から延在するボタン起動支柱38によって係合可能である。使用中、例えば、ボタン起動支柱38との押下可能起動ボタン50の係合が、スイッチ36を起動し、組織密閉をもたらすために、エンドエフェクタ24までの電気外科手術エネルギーの送達を開始する役割を果たし、押下可能起動ボタン50からのボタン起動支柱38の係脱が、スイッチ36の動作を停止し、エンドエフェクタ24までの電気外科手術エネルギーの送達を終了する役割を果たす。いくつかの実施形態では、エンドエフェクタ24までの電気外科手術エネルギーの送達はまた、任意の好適なパラメータ(例えば、感知された組織特性、時間パラメータ、感知されたエネルギー特性等)に基づいて、電気外科手術発生器によって、終了されてもよい。 To electrically control the
いったん組織密閉が確立されると、ナイフ刃85は、下記に詳述されるように、密閉組織を離断するために、ナイフチャネル58を通して、前進されてもよい。しかしながら、いくつかの実施形態では、ナイフ刃85は、組織密閉の前、間、または後に、ナイフチャネル58を通して、前進されてもよい。いくつかの実施形態では、ナイフロックアウト機構は、下記に説明されるように、顎部材42、44が開放構成にあるとき、ナイフチャネル58の中へのナイフ刃85の延在を防止するように提供され、したがって、組織の偶発的または時期尚早の離断を防止する。 Once the tissue seal is established, the
図3を参照すると、ナイフ作動機構90は、筐体70の対向側から延在する対向ハンドル部材45a、45bを有するトリガ45(図1)と動作可能に関連付けられる。筐体70は、シャフト部材14を中心とする筐体半体70a、70bの結合に応じて、ナイフ作動機構90が筐体70(図1)によって包含されるように、シャフト部材の外向きに延在する切り欠き部14aを補完するように成形される。ハンドル部材45a、45bの作動に応じて、ナイフ作動機構90は、図9Cを参照して下記に詳述されるように、ナイフチャネル58を通して、ナイフ刃85を作動させ、顎部材42と顎部材44との間に把持される組織を離すために、一連の相互協働要素を利用して応答する。ナイフ作動機構90は、対向線形延在部91a、91bを橋設する弓状部93を有する第1のリンク92と、対向線形延在部98a、98bを橋設する弓状部96を有する第2のリンク94とを含む。弓状部93は、シャフト部材47に動作可能に結合され、線形延在部91a、91bは、それぞれ、対向枢動軸ピン92a、92bによって、第2のリンク94の線形延在部98a、98bに動作可能に結合される。シャフト部材47は、筐体70を通して横方向に延在し、筐体70の対向側からハンドル部材45a、45bを動作可能に接続する。第2のリンク94の弓状部96は、弓状部96を通して延在する枢動軸ピン94aによって、ナイフ刃85の近位端に動作可能に結合される。図3から分かり得るように、第1および第2のリンク92、94のそれぞれは、対向線形延在部91a、91bおよび98a、98bが、シャフト部材14が、組立の間、およびナイフ作動機構90の作動の間、妨げられないように通過し得る、その間に空間を画定するような略U字形構成要素である。この略U字形構成は、第1および第2のリンク92、94が、シャフト部材14の周囲を延在することを可能にする。 Referring to FIG. 3, the
機械的界面72が、筐体70内に支持され、ナイフ作動機構90と筐体半体(例えば、筐体半体70a)の一方との間に配置される。機械的界面72は、シャフト部材47が延在する貫通孔74と、枢動軸ピン94aの少なくとも一部がナイフ刃85の作動の間、平行移動する縦方向チャネル76とを含む。より具体的には、枢動軸ピン94aは、図3に示されるように、弓状部96の対向側から外向きに延在する。弓状部96の一方の対向側から外向きに延在する枢動軸ピン94aの少なくとも一部は、縦方向チャネル76内において受容される。ハンドル部材45a、45bが、ナイフチャネル58を通して、ナイフ刃85を遠位に前進させるために、非作動構成(図9Aおよび9B)から作動構成(図9C)までが移動されるにつれて、枢動軸ピン94aは、その近位部からその遠位部まで、縦方向チャネル76を通して遠位に平行移動する。このように、縦方向チャネル76は、枢動軸ピン94aの上向きおよび下向きの移動を拘束する役割を果たし、それによって、ナイフ刃85の線形縦方向運動を確実にする。機械的界面72はまた、ワイヤが筐体半体70aを通過するにつれて(例えば、ワイヤ61、62が、その作動の間、ナイフ作動機構90に干渉しないように、ワイヤ61、62をナイフ作動機構90から分離することによって)、ワイヤ61、62のための保護用カバーとしての役割を果たし得る。機械的界面72はまた、下記にさらに詳細に説明されるように、鉗子10の残りの構成要素への機械的鉗子20の結合に先立って、ナイフ作動機構90の不注意な作動を防止する役割を果たす。 A
付勢部材95(例えば、ねじりばね)が、第1のリンク92とハンドル部材45aとの間におけるシャフト部材47(図3)の少なくとも一部を中心に同軸上に配置される。付勢部材95は、一端において、第1のリンク92の一部に、他端において、ナイフ作動機構90の使用中、付勢部材95を安定させる筐体70内の好適な機械的界面に、動作可能に結合される。付勢部材95は、ナイフチャネル58を通したナイフ刃85(図9C)の作動に後続して、ハンドル部材45a、45bが非作動位置(図9Aおよび9B)に戻るように付勢され、それによって、非作動位置(図9Aおよび9B)に対して近位にあるナイフ刃85を後退させるように、トリガ45を付勢する役割を果たす。ナイフキックバック22が、シャフト部材12の一部に沿って、配置され、閉鎖構成(図9B)から開放構成(図9A)までのシャフト部材12、14の移動に応じて、ナイフキックバック22は、図9Dを参照して下記に詳述されるように、ハンドル部材45a、45bが、ナイフ作動機構90の作動に続いて、非作動位置(図9Aおよび9B)に戻らない場合、ハンドル部材45a、45b(図9D)に係合するように構成される。 A biasing member 95 (for example, a torsion spring) is coaxially disposed around at least a part of the shaft member 47 (FIG. 3) between the
図3を参照すると、枢動軸25は、1対の相補的隆起部13a、13b(それぞれ、シャフト部材14の遠位端部19から延在し、その間に縦方向通路27を画定する)をその中に受容するように構成される、それを通して配置される1対の開口25a、25bを含む。隆起部13a、13bは、開口25a、25bが、それぞれ、ナイフガイド86が通路27を通して受容されることを可能にするために、シャフト部材14の遠位部との離間関係において枢動軸25を維持しながら、隆起部13a、13bをその中に受容し得るように、シャフト部材14の遠位部から十分に延在する。相互に対するシャフト部材12、14の移動は、枢動軸開口29内における枢動軸25の回転移動を生じさせる。 Referring to FIG. 3, the
ナイフガイド86は、エンドエフェクタ24とナイフ作動機構90との間における筐体70内で支持され、通路27を通して延在する。ナイフガイド86は、シャフト部材14上に配置される対応する好適な機械的特徴と界面接触する好適な機械的特徴(例えば、突起)を含み、ナイフガイド86の上向きおよび下向きの場所制御を提供する。ナイフガイド86(図3)を通して画定される縦方向スロット87は、ナイフ刃85に対して側方支持を提供し、ナイフ刃85の左右の側方運動を拘束する。したがって、ナイフガイド86は、エンドエフェクタ24に対して中心の位置にナイフ刃85を押勢する役割を果たし、それによって、ナイフ刃85が、電極110、120の中に画定されるナイフチャネル58(図2)に進入するにつれて、ナイフ刃85の適切な整合を確実にする。 The
いくつかの実施形態では、鉗子10は、顎部材42、44が開放構成(図9A)にあるとき、ナイフチャネル85の中へのナイフ刃85の前進を防止する役割を果たす、ナイフ刃ロックアウト機構を含む。図3を参照すると、ナイフ刃ロックアウト機構の一実施形態が、示される。ナイフ刃ロックアウト機構は、筐体70内において枢動可能に支持され(図9A−9D)、付勢部材83および係合部材80と枢動軸ピン82を中心に動作可能に結合される、可撓性安全リンク81を含む。顎部材42、44の開放構成では、ナイフ刃85は、非作動位置(図9Aおよび9B)にあり、安全リンク81は、ナイフ刃85の遠位前進が妨げられるように、第2のリンク94の弓状部96と係合される(図9A)。図3に示されるように、T字形構成を有する安全リンク81が、描写される。しかしながら、このT字形構成は、安全リンク81が弓状部96に係合し、かつそこから係脱するために好適な任意の形状または構成であり得る点で、限定として解釈されるべきではない。例証される実施形態では、安全リンク81のT字形構成は、ナイフ作動機構90の作動に応じて、筐体70に荷重伝達を提供し、それによって、過荷重条件に起因する安全リンク81への損傷を防止する。 In some embodiments, the
鉗子10の残りの構成要素(例えば、筐体70、機械的界面72、ナイフ作動機構90、ナイフ刃85、ナイフガイド86、ナイフ刃ロックアウト機構等)への機械的鉗子20の結合に先立って、ナイフ刃85の不注意な作動を防止するために、機械的界面72の一部が、ナイフ刃85の遠位前進が妨げられるように、第2のリンク94の弓状部96の遠位経路と係合され、かつその中にある。鉗子10の残りの構成要素への機械的鉗子20の結合に応じて、シャフト部材14は、機械的界面72を偏向させ、弓状部96の遠位経路から機械的界面72の事前に係合された部分を取り外す。したがって、機械的界面72は、鉗子10の組立に先立ってナイフ刃85の不注意な作動を防止し、ナイフ刃ロックアウト機構は、いったん鉗子10が組み立てられると、ナイフ刃85の不注意な作動を防止する。 Prior to coupling of the
図1に示されるように、筐体70は、顎部材42、44を閉鎖位置(図9B)まで移動させるために、シャフト部材12、14の接近に応じて、係合部材80がシャフト部材12によって係合されるように、シャフト部材12に対向し、係合部材80を暴露する、縦方向開口部70cを含む。シャフト部材12、14の接近によって、シャフト部材12によって係合部材80に印加される圧力は、付勢部材83が付勢力を筐体70の内部上に付与し、安全リンク81が第2のリンク94の弓状部96との係合から外れるように、枢動軸ピン82を中心として半時計回りに回転するように(図9B)、枢動軸ピン82を中心とする係合部材80および付勢部材83の半時計回りの回転を誘発する(図9Bの回転矢印A3によって描写されるように)。いったん安全リンク81が、第2のリンク94の弓状部96との係合から外れるように回転されると、ナイフ刃85は、ナイフチャネル58の中へ遠位に前進することを可能にされる(図9C)。ナイフ作動機構90の動作およびナイフ刃85の作動はさらに、図9A−9Cを参照して、下記に詳述される。 As shown in FIG. 1, the
組織密閉厚および組織密閉有効性は、組織密閉の間、顎部材44と顎部材42との間の組織に印加される圧力と、対向電極110と対向電極120(図5)との間の間隙距離とによって影響され得る。閉鎖構成では、離間または間隙距離「G」は、密閉表面116、126(例証の目的のために、密閉表面126上に配置されるもののみ示される)のうちの一方または両方の上に配置される停止部材54(図2)のアレイによって、密閉表面116と密閉表面126との間に維持されてもよい。停止部材54は、対向顎部材上の密閉表面に接触し、密閉表面116、126のさらなる接近を妨げる。いくつかの実施形態では、効果的な組織密閉を提供するために、約0.001インチ〜約0.010インチと、望ましくは、約0.002〜約0.005インチとの適切な間隙距離が、提供されてもよい。いくつかの実施形態では、停止部材54は、電気的に非導電性プラスチックまたは密閉表面116、126上に成形される他の材料(例えば、オーバーモールドまたは射出成形等のプロセスによって)から構成される。他の実施形態では、停止部材54は、密閉表面116、126上に堆積される耐熱性セラミックから構成される。 Tissue sealing thickness and tissue sealing effectiveness are determined by the pressure applied to the tissue between
図8は、使用中の双極鉗子10を示し、シャフト部材12、14は、挟着力を組織150に印加し、組織密閉をもたらすために、接近される。いったん密閉されると、組織150は、図9Cを参照して下記に詳述されるように、ナイフ刃85の作動を通して組織密閉に沿って、切断され得る。 FIG. 8 shows the
ここで図9A、9B、9C、および9Dを参照すると、運動のシーケンスが、顎部材42、44を閉鎖するために、シャフト部材12、14を移動させることによって、かつハンドル部材45a、45bを作動させ、ナイフ作動機構90を誘発し、ナイフチャネル58を通してナイフ刃85を平行移動させることによって、開始されてもよい。最初に、図9Aに描写されるように、シャフト部材12、14は、開放構成にあり、ハンドル部材45a、45bは、非作動構成にある。シャフト部材12、14およびハンドル部材45a、45bのこの配列は、顎部材42、44が相互から実質的に離間される開放構成においてエンドエフェクタ24を懸架し、ナイフ刃85は、顎部材42、44に対して非作動位置にある。図9Aおよび9Bに描写されるハンドル部材45a、45bの非作動構成は、トリガ45上に及ぼす付勢部材95の影響によって、能動的に維持される。顎部材42、44が開放構成にあるとき、図9Aに描写されるように、安全リンク81は、ナイフ刃85がナイフチャネル58中へ前進することを妨げられるように、近位方向におけるハンドル部材45a、45bの回転運動(図9Cの回転矢印A4によって描写される)が妨げられるように、第2のリンク94の弓状部96と係合される。 Referring now to FIGS. 9A, 9B, 9C, and 9D, the sequence of motion activates the
顎部材42、44は、図9Aの開放構成から図9Bに描写される閉鎖構成まで、移動されてもよい。シャフト部材12、14が、それぞれ、矢印A1およびA2(図9B)の方向に枢動軸25を中心に枢動するにつれて、シャフト部材12は、係合部材80に係合し、ボタン起動支柱38は、ボタン50に係合する。いくつかの実施形態では、シャフト12は、ボタン起動支柱38がボタン50に係合するのと同時に、係合部材80に係合する。シャフト部材12、14がさらに、それぞれ、矢印A1およびA2の方向に枢動軸25を中心に枢動するにつれて、ボタン起動支柱38は、起動ボタン50を押下し、エンドエフェクタ24までの電気外科手術エネルギーの送達を開始し、シャフト12は、圧力を係合部材80上に印加する。シャフト12によって係合部材80上に印加された圧力は、図9Bおよび9Cに示されるように、付勢部材83が付勢力を筐体70の内部上に付与し、安全リンク81が第2のリンク94の弓状部96との係合から外れるように、回転矢印A3(図9B)によって描写される方向に枢動軸ピン82を中心として回転するように、回転矢印A3(図9B)によって描写される方向に枢動軸ピン82を中心とする係合部材80および付勢部材83の回転を誘発する。 The
第2のリンク94の弓状部96との係合から外れるような安全リンク81の移動に応じて、ハンドル部材45a、45bは、ナイフチャネル58を通して、ナイフ刃85を遠位に前進させるために、図9Aおよび9Bの非作動構成から図9Cの作動構成まで、選択的に移動されてもよい。より具体的には、ハンドル部材45a、45bが、一般的近位方向に回転するにつれて、図9Cの回転矢印A4によって描写されるように、第1のリンク92は、回転力を第2のリンク94上に付与し、それによって、ナイフチャネル58の中へナイフ刃85を遠位に前進させるために、第2のリンク94を、枢動軸ピン94aを中心に回転させ、縦方向チャネル76を通して遠位に枢動軸ピン94aを平行移動させる。 In response to movement of the
上記に示されるように、図9Aおよび9Bに描写されるハンドル45a、45bの最初の位置は、トリガ45上に及ぼす付勢部材95の影響によって、能動的に維持される。図9Dを参照すると、ハンドル45a、45bが、作動構成(図9C)までの移動に続いて、その最初の位置(図9Aおよび9B)に戻ることができない場合、開放構成までのシャフト部材12、14の移動は、ハンドル45a、45bを非作動構成(図9Aおよび9B)に戻すために、フェイルセーフとしての役割を果たす。より具体的には、シャフト部材12、14が、それぞれ、矢印A6およびA7によって描写されるように、閉鎖構成から開放構成に向かって移動するにつれて、ナイフキックバック22は、ハンドル45a、45bが、図9Dの回転矢印A5によって描写されるように、図9Aおよび9Bに描写される非作動構成まで、一般的遠位方向に押進されるように、ハンドル45a、45bに係合する。 As indicated above, the initial position of the
ここで図10Aおよび10Bを参照すると、鉗子10の代替実施形態が、示される。最初に図10Aを参照すると、シャフト部材12、14は、枢動軸25を中心とする相互に対するシャフト部材12、14の添着に応じて、シャフト部材14は、図9A−9Dの実施形態によって描写される角度と実質的に異なるシャフト部材12に対する角度に配置されるように構成される。これは、図10Aおよび10Bによって例証されるように、ナイフ85、ナイフガイド86、ナイフ作動機構90、およびトリガ45が、シャフト部材14の外部側から機械的鉗子20と組み立てられることを可能にする(例えば、ハンドル部材18がシャフト部材12に対面するシャフト部材14の内部側に対向して延在する、シャフト部材14側から)。より具体的には、鉗子10の組立の間、ナイフガイド86は、方向矢印B2によって描写されるように、シャフト部材14の外部側から枢動軸25の通路27の中に挿入されてもよい。ナイフガイド86が、通路27の中に挿入されるにつれて、ナイフ作動アセンブリ90は、シャフト部材14に向かって移動されてもよく、シャフト部材14に対するナイフ作動アセンブリ90の好適な留置に応じて、筐体70(明確にするために、図10Aおよび10Bから除去される)は、実質的に図2および3に関して上記に説明されるように、ナイフ85、ナイフガイド86、およびナイフ作動機構90を少なくとも部分的に格納するために、シャフト部材14に解放可能に結合されてもよい。図10Aおよび10Bに関して上記に説明される様式で鉗子10を組み立てる能力は、鉗子10が、医療手技の前または間に、滅菌野および/または手術室において、便宜的に組み立てられることを可能にする。 Referring now to FIGS. 10A and 10B, an alternative embodiment of
ここで図11Aおよび11Bを参照すると、鉗子10の代替実施形態が、示される。本実施形態では、シャフト部材14は、その遠位部に沿って延在する1対の対向ガイドレール23a、23bを形成する。筐体半体70a、70bが結合されると、図11Bに示されるように、筐体70は、それぞれ、ガイドレール23a、23bをその中に捕捉するように構成される、1対の対向ガイドチャネル71a、71bを形成する。筐体70をシャフト部材14に結合するとき、筐体70は、シャフト部材14に対する筐体70の適切な留置を確実にするために、それぞれ、ガイドレール23a、23bがガイドチャネル71a、71b内を摺動するように、シャフト部材14に対して移動されてもよい。いくつかの実施形態では、ガイドレール23a、23bは、シャフト部材14のほぼ中間部からシャフト部材14の遠位端19の間に形成されてもよい。ガイドチャネル71、71bは、それぞれ、シャフト部材14の中間部において、ガイドレール23a、23bの近位端と整合されてもよい。筐体70は、次いで、シャフト部材14に対する筐体70の適切な留置を確実にするために、ガイドレール23a、23bがガイドチャネル71a、71b内を摺動するように、シャフト部材14に沿って遠位に押動されてもよい。 Referring now to FIGS. 11A and 11B, an alternative embodiment of
本開示のいくつかの実施形態が図面に示されているが、本開示は、当技術が可能にするであろう範囲内で可能な限り広く、本明細書が同様に熟読されることが意図されるため、本開示がそれに限定されることが意図されない。したがって、上記の説明は、限定としてではなく、単に、特定の実施形態の実施例として解釈されるべきである。当業者は、本明細書に添付される請求項の範囲および精神内の他の修正を想起するであろう。 While several embodiments of the present disclosure are illustrated in the drawings, the present disclosure is as broad as possible within the scope of the art, and the present specification is intended to be read in the same manner. Therefore, it is not intended that the present disclosure be limited thereto. Therefore, the above description should not be construed as limiting, but merely as exemplifications of particular embodiments. Those skilled in the art will envision other modifications within the scope and spirit of the claims appended hereto.
前述の開示は、明確性または理解の目的のために、例証および実施例として、ある程度詳細に説明されているが、ある変更および修正が、添付の請求項の範囲内で実践されてもよいことが明白であろう。 Although the foregoing disclosure has been described in some detail by way of illustration and example for purposes of clarity or understanding, certain changes and modifications may be practiced within the scope of the appended claims. Will be obvious.
| Application Number | Priority Date | Filing Date | Title |
|---|---|---|---|
| JP2016233882AJP6368348B2 (en) | 2016-12-01 | 2016-12-01 | Bipolar surgical instrument |
| Application Number | Priority Date | Filing Date | Title |
|---|---|---|---|
| JP2016233882AJP6368348B2 (en) | 2016-12-01 | 2016-12-01 | Bipolar surgical instrument |
| Application Number | Title | Priority Date | Filing Date |
|---|---|---|---|
| JP2016516040ADivisionJP6099231B2 (en) | 2013-08-07 | 2013-08-07 | Bipolar surgical instrument |
| Publication Number | Publication Date |
|---|---|
| JP2017060846Atrue JP2017060846A (en) | 2017-03-30 |
| JP6368348B2 JP6368348B2 (en) | 2018-08-01 |
| Application Number | Title | Priority Date | Filing Date |
|---|---|---|---|
| JP2016233882AActiveJP6368348B2 (en) | 2016-12-01 | 2016-12-01 | Bipolar surgical instrument |
| Country | Link |
|---|---|
| JP (1) | JP6368348B2 (en) |
| Publication number | Priority date | Publication date | Assignee | Title |
|---|---|---|---|---|
| WO2020256053A1 (en) | 2019-06-20 | 2020-12-24 | 国立大学法人滋賀医科大学 | Cutter, forceps, surgical system, medical system, robot, medical robot for surgery, and surgical system |
| Publication number | Priority date | Publication date | Assignee | Title |
|---|---|---|---|---|
| JP2004524124A (en)* | 2001-04-06 | 2004-08-12 | シャーウッド・サービシーズ・アクチェンゲゼルシャフト | Vascular sealing forceps with bipolar electrodes |
| JP2005144193A (en)* | 2003-11-19 | 2005-06-09 | Sherwood Services Ag | Blood vessel sealing instrument for open operation with cutting mechanism |
| JP2012075906A (en)* | 2010-10-04 | 2012-04-19 | Tyco Healthcare Group Lp | Vessel sealing instrument |
| Publication number | Priority date | Publication date | Assignee | Title |
|---|---|---|---|---|
| JP2004524124A (en)* | 2001-04-06 | 2004-08-12 | シャーウッド・サービシーズ・アクチェンゲゼルシャフト | Vascular sealing forceps with bipolar electrodes |
| JP2005144193A (en)* | 2003-11-19 | 2005-06-09 | Sherwood Services Ag | Blood vessel sealing instrument for open operation with cutting mechanism |
| JP2012075906A (en)* | 2010-10-04 | 2012-04-19 | Tyco Healthcare Group Lp | Vessel sealing instrument |
| Publication number | Priority date | Publication date | Assignee | Title |
|---|---|---|---|---|
| WO2020256053A1 (en) | 2019-06-20 | 2020-12-24 | 国立大学法人滋賀医科大学 | Cutter, forceps, surgical system, medical system, robot, medical robot for surgery, and surgical system |
| Publication number | Publication date |
|---|---|
| JP6368348B2 (en) | 2018-08-01 |
| Publication | Publication Date | Title |
|---|---|---|
| JP6099231B2 (en) | Bipolar surgical instrument | |
| US11612428B2 (en) | Bipolar surgical instrument | |
| JP6326609B2 (en) | Bipolar surgical instrument | |
| US11224476B2 (en) | Bipolar surgical instrument | |
| CN109512506B (en) | Bipolar surgical instrument | |
| JP6368348B2 (en) | Bipolar surgical instrument | |
| CN204106191U (en) | Bipolar forceps | |
| CN104665925B (en) | bipolar forceps | |
| AU2015264858B2 (en) | Bipolar surgical instrument |
| Date | Code | Title | Description |
|---|---|---|---|
| A521 | Request for written amendment filed | Free format text:JAPANESE INTERMEDIATE CODE: A523 Effective date:20161228 | |
| A621 | Written request for application examination | Free format text:JAPANESE INTERMEDIATE CODE: A621 Effective date:20161228 | |
| A977 | Report on retrieval | Free format text:JAPANESE INTERMEDIATE CODE: A971007 Effective date:20170920 | |
| A131 | Notification of reasons for refusal | Free format text:JAPANESE INTERMEDIATE CODE: A131 Effective date:20170925 | |
| A521 | Request for written amendment filed | Free format text:JAPANESE INTERMEDIATE CODE: A523 Effective date:20171220 | |
| A131 | Notification of reasons for refusal | Free format text:JAPANESE INTERMEDIATE CODE: A131 Effective date:20180214 | |
| A521 | Request for written amendment filed | Free format text:JAPANESE INTERMEDIATE CODE: A523 Effective date:20180315 | |
| A521 | Request for written amendment filed | Free format text:JAPANESE INTERMEDIATE CODE: A523 Effective date:20180501 | |
| TRDD | Decision of grant or rejection written | ||
| A01 | Written decision to grant a patent or to grant a registration (utility model) | Free format text:JAPANESE INTERMEDIATE CODE: A01 Effective date:20180619 | |
| A61 | First payment of annual fees (during grant procedure) | Free format text:JAPANESE INTERMEDIATE CODE: A61 Effective date:20180706 | |
| R150 | Certificate of patent or registration of utility model | Ref document number:6368348 Country of ref document:JP Free format text:JAPANESE INTERMEDIATE CODE: R150 | |
| R250 | Receipt of annual fees | Free format text:JAPANESE INTERMEDIATE CODE: R250 | |
| R250 | Receipt of annual fees | Free format text:JAPANESE INTERMEDIATE CODE: R250 | |
| R250 | Receipt of annual fees | Free format text:JAPANESE INTERMEDIATE CODE: R250 | |
| R250 | Receipt of annual fees | Free format text:JAPANESE INTERMEDIATE CODE: R250 | |
| R250 | Receipt of annual fees | Free format text:JAPANESE INTERMEDIATE CODE: R250 |