





本発明は、タッチパネルを有する表示装置及びその制御方法に関する。 The present invention relates to a display device having a touch panel and a control method thereof.
スマートフォンやデジタルカメラなどのモバイル機器において、画面を表示しながら直感的に操作できる利便性から、タッチパネルが搭載されたものが多くなっている。特に、静電容量式のタッチパネルにおいて、液晶表示パネルに実装されている共通電極をタッチセンサ用の電極と兼用する、インセルタッチパネルと呼ばれる表示装置が提案されている(特許文献1)。インセルタッチパネルは、タッチパネル部に格子状に配置される複数の列電極又は行電極の一方を、表示パネル部に設けられた共通電極と兼用することで、タッチセンサ用電極を形成するためのガラス基板層或いはフィルム基板層を削減することができる。これにより、表示装置の薄型化が可能となり、モバイル機器の小型化や軽量化を実現することがきる。 Many mobile devices such as smartphones and digital cameras are equipped with a touch panel for the convenience of intuitive operation while displaying a screen. In particular, in a capacitive touch panel, a display device called an in-cell touch panel has been proposed in which a common electrode mounted on a liquid crystal display panel is also used as an electrode for a touch sensor (Patent Document 1). The in-cell touch panel is a glass substrate for forming an electrode for a touch sensor by using one of a plurality of column electrodes or row electrodes arranged in a grid pattern on the touch panel part as a common electrode provided on the display panel part. Layers or film substrate layers can be reduced. As a result, the display device can be thinned, and the mobile device can be reduced in size and weight.
また、静電容量式のタッチパネルは、表示対象画素への画素信号の書き込みの際に、書き込み動作に起因するノイズがタッチパネル部に伝搬し、誤動作を起こすおそれがあるため、タッチパネルと表示装置の間に透明な導電層(シールド層)が設けられている。 In addition, when a pixel signal is written to a display target pixel, a capacitive touch panel may cause noise due to a writing operation to propagate to the touch panel unit, resulting in a malfunction. A transparent conductive layer (shield layer) is provided.
しかしながら、上記特許文献1のインセルタッチパネルでは、表示装置の共通電極をタッチセンサ用電極と兼用しているため、構造的にシールド層を設けることができない。これに対して、特許文献2では、表示画素への画素信号の書き込みを行っていないタイミングで、走査線の駆動及び読出線からの容量検出(スキャン)を行うことで、画素信号の書き込み動作に起因するノイズによるタッチパネルの誤動作を抑制している。 However, in the in-cell touch panel disclosed in
静電容量式のタッチパネルでは、接触面積に応じて発生する容量が変化するが、1つの電極当たりの静電容量の変化量は微小である。このため、通常は行電極と列電極の1つの交点のスキャン(1スキャン)につき複数回の容量検出(サブスキャン)を行い、これらを積算することで発生容量を算出している。このように1スキャン当たりのサブスキャン回数を増加させることで、高感度化、高精度化が見込めるようになる。 In a capacitive touch panel, the capacitance generated varies depending on the contact area, but the variation in capacitance per electrode is very small. For this reason, normally, the generated capacitance is calculated by performing capacitance detection (sub-scan) a plurality of times per scan (one scan) of one intersection of the row electrode and the column electrode, and integrating these. Thus, by increasing the number of sub-scans per scan, higher sensitivity and higher accuracy can be expected.
しかしながら、上記特許文献2では、表示画素への画素信号の書き込みを行っていないタイミングでスキャンを行う必要があるため、一般的な静電容量式のタッチパネルと比較して、1スキャン当たりのサブスキャン回数が減少する。1スキャン当たりのサブスキャン回数が減少すると、検出容量の積算回数が減少し、検出感度や検出信号のS/Nを向上させることが難しくなる。 However, in
本発明は、上記課題に鑑みてなされ、その目的は、表示のための駆動によるノイズを増加させることなく、高感度化及び高精度化を実現することである。 The present invention has been made in view of the above problems, and an object thereof is to realize high sensitivity and high accuracy without increasing noise due to driving for display.
上記課題を解決し、目的を達成するために、本発明の表示装置は、表示装置は、複数の電極が交差して配置された複数のセンサ部を有するタッチパネルを備える表示手段と、前記表示手段に表示する映像信号の更新周期を可変制御する可変手段と、前記複数のセンサ部を順次駆動してタッチ検出用の検出信号を生成する検出手段と、前記可変手段により変更される前記映像信号の更新周期が短い場合に比べて長い場合の方が前記映像信号のブランキング期間での前記検出手段による前記センサ部の駆動回数が多くなるように前記検出手段によるタッチ検出動作を制御する制御手段とを有する。 In order to solve the above-described problems and achieve the object, the display device according to the present invention includes a display unit including a touch panel having a plurality of sensor units in which a plurality of electrodes are arranged to cross each other, and the display unit. Variable means for variably controlling the update cycle of the video signal displayed on the display, detection means for sequentially generating the detection signals for touch detection by driving the plurality of sensor units, and the video signal changed by the variable means Control means for controlling the touch detection operation by the detection means so that the number of times the sensor unit is driven by the detection means during the blanking period of the video signal is increased when the update cycle is short, Have
本発明によれば、表示のための駆動によるノイズを増加させることなく、高感度化及び高精度化を実現することができる。 According to the present invention, it is possible to achieve high sensitivity and high accuracy without increasing noise due to driving for display.
以下に、本発明の表示装置として、タッチパネルが実装された表示装置を有する、レンズ交換式の一眼レフデジタルカメラなどの撮像装置に適用した実施の形態について、添付図面を参照して詳細に説明する。 Hereinafter, embodiments applied to an imaging apparatus such as a single-lens reflex digital camera with interchangeable lenses having a display device mounted with a touch panel as a display device of the present invention will be described in detail with reference to the accompanying drawings. .
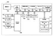
<装置構成>図1を参照して、本実施形態のデジタルカメラの構成及び機能について説明する。 <Apparatus Configuration> The configuration and functions of the digital camera of this embodiment will be described with reference to FIG.
本実施形態のデジタルカメラ100は、CCDやCMOS等で構成される撮像素子101を有し、レリーズスイッチ107を押すことで、不図示の交換レンズを介して結像された被写体の光学像を電気信号に変換し、アナログ信号の画像信号が読み出される。 The
A/D変換部102は、撮像素子101から出力されるアナログ信号をデジタル信号に変換する。A/D変換部102で変換されたデジタル信号は、メモリ制御部104及びシステム制御部105の制御により、メモリ106に格納される。 The A /
画像処理部103は、A/D変換部102からのデータ或いはメモリ制御部104からのデータに対して所定の画素補間処理や色変換処理を行う。 The
メモリ制御部104は、A/D変換部102、画像処理部103、システム制御部105、メモリ106、表示装置112の間でデータの受け渡しを制御する。 The
システム制御部105は、デジタルカメラ100全体を制御するCPUやMPUを含む。 The
メモリ106は、RAMであり、システム制御部105のプログラムスタック領域、ステータス記憶領域、演算用領域、ワーク用領域、画像表示データ用領域が確保されている。システム制御部105は、メモリ106の演算用領域を利用して各種の演算処理を実行する。 The
レリーズスイッチ107、モード切替スイッチ108及び操作部109は、ユーザからの各種操作を受け付ける各種スイッチ、ボタン、タッチパネル等の操作部材からなり、システム制御部105に各種の動作指示を入力する。 The
モード切替スイッチ108は、システム制御部105の動作モードを静止画撮影モード、動画記録モード、再生モード等のいずれかに切り替える。
静止画撮影モードには、オート撮影モード、マニュアルモード、撮影シーン別の撮影設定となる各種シーンモード、プログラムAEモード、撮像素子101から得られた画像データ(スルー画像)をリアルタイムに表示するライブビューモード等が含まれる。The
The still image shooting mode includes an auto shooting mode, a manual mode, various scene modes serving as shooting settings for each shooting scene, a program AE mode, and a live view that displays image data (through image) obtained from the
操作部109は、表示装置112に表示される種々の機能アイコンを選択操作することなどにより、シーンごとに適宜機能が割り当てられ、各種機能ボタンとして作用する。 The
レリーズスイッチ107は、操作途中、いわゆる半押し(撮影準備指示)でオンとなり第1シャッタースイッチ信号SW1を発生する。システム制御部105は、第1シャッタースイッチ信号SW1により、AF(オートフォーカス)処理、AE(自動露出)処理、AWB(オートホワイトバランス)処理、EF(フラッシュプリ発光)処理等の動作を開始する。また、レリーズスイッチ107は、操作完了、いわゆる全押し(撮影指示)でオンとなり、第2シャッタースイッチ信号SW2を発生する。システム制御部105は、第2シャッタースイッチ信号SW2により、撮像素子101からの信号読み出しから外部メモリ111に画像データを書き込むまでの一連の撮影処理の動作を開始する。 The
不揮発性メモリ110は、電気的に消去・記憶可能なメモリであり、例えばフラッシュメモリやEEPROM等が用いられる。不揮発性メモリ110には、撮影状態の保存や、デジタルカメラ100を制御するプログラム等が格納されている。 The
外部メモリ111は、画像データ等を格納するCFカードやSDカード等の着脱可能な記録媒体である。 The
表示装置112は、画像や各種情報を表示する液晶表示パネル(LCD)等からなり、表示パネル部113とバックライト部114とタッチパネル部115を備える。表示パネル部113は、システム制御部105からの制御信号により、メモリ106の画像表示データ用領域に格納されたメニュー画面や外部メモリ111に格納された静止画や動画などの映像データを表示する。バックライト部114は、表示パネル部113を照明する。タッチパネル部115には、例えば静電容量式のタッチ検出方式が用いられる。静電容量式のタッチパネルは、タッチパネル面に複数の列電極と行電極が直交するように格子状に配置されている。詳細は後述するが、本実施形態においては、行電極は表示パネル部113のコモン駆動信号VCOMを印加するための電極と共通となっている。これにより、タッチセンサ用電極を形成するためのガラス基板層或いはフィルム基板層を削減でき、表示装置112の薄型化を実現している。 The
加速度センサ116は、デジタルカメラ100の姿勢や動きを加速度情報として検出する。 The
動体検知部117は、撮像画面内の被写体の動きを検出する。動体検知部117は、例えば、連続して撮影されたNフレーム目の画像とN−1フレーム目の画像を比較して、動きベクトル成分を抽出する。抽出した動きベクトル成分から、加速度センサ116により検出されたカメラ100の動きにより発生した動きベクトル成分を差し引くことで、被写体の動きベクトル成分のみを検出できる。検出した動きベクトルをグルーピングし、撮像画面内である一定の面積以上の動きベクトル成分の集合を動体として検出する。また、検出された動体の移動量とフレームレートから動体の速度の算出も行う。 The moving body detection unit 117 detects the movement of the subject in the imaging screen. The moving body detection unit 117 extracts, for example, a motion vector component by comparing an image of the Nth frame and an image of the (N−1) th frame that are continuously captured. By subtracting the motion vector component generated by the motion of the
フレームレート可変制御部118は、表示装置112の映像更新周期(フレームレート)を可変制御する。フレームレート可変制御部118は、システム制御部105からの制御信号により、表示パネル部113へ出力する垂直同期信号VSYNC及び水平同期信号HSYNCの周波数を変更することで表示装置112を所定のフレームレートで駆動する。 The frame rate variable control unit 118 variably controls the video update period (frame rate) of the
<タッチパネル部の構成>次に、図2を参照して、本実施形態の表示装置112のタッチパネル部115の詳細な構成について説明する。 <Configuration of Touch Panel Unit> Next, the detailed configuration of the
タッチパネル部115は、静電容量式のタッチ検出方式が用いられ、タッチパネル面に複数の列電極214と行電極215が直交するように格子状に配置される。行電極215は走査線、列電極214は読出線として使用される。行電極215は、表示パネル部113のコモン駆動信号VCOMを印加するための電極と共通となっている。このコモン駆動信号VCOMは、表示パネル部113の不図示の画素電極に印加される画素電圧と共に各画素の表示電圧を決定する。このため、行電極215は表示パネル部113のTFT(Thin Film Transistor)基板上に形成されている。一方で、列電極214は、表示パネル部113の不図示のカラーフィルタガラス基板上に形成される。 The
図2(b)は、図2(a)の列電極214と行電極215が交差する交点部分Aの拡大図である。行電極215は定電流回路217に接続され、列電極214は所定の電位に固定される。定電流回路217により微弱な電流が流されると、列電極214及び行電極215間に発生する相互容量216に電荷が蓄積される。列電極214と行電極215が交差する1つの交点(以下、1交点)につき複数回駆動して電荷の蓄積を実施するサブスキャンを行い、これらの積分回路218で積算して静電容量を算出する。1交点当たりの1スキャンの検出信号値は、ADコンバータ219によりデジタル信号に変換される。このタッチ検出用の検出信号値の変化量を静電容量の変化量として算出することでタッチ操作の有無を判定することが可能である。 FIG. 2B is an enlarged view of an intersection portion A where the
制御回路210は、外部クロック入力或いは内部発振回路を源振として、クロック信号を生成するためのPLL(Phase Locked Loop)回路を内蔵している。PLL回路により、1スキャンの周期或いは1サブスキャンの周期を変更することが可能である。 The control circuit 210 incorporates a PLL (Phase Locked Loop) circuit for generating a clock signal using an external clock input or an internal oscillation circuit as a source oscillation. With the PLL circuit, it is possible to change the period of one scan or the period of one sub-scan.
走査線駆動回路211及び検出信号処理回路212は、制御回路210により供給されるクロック信号により駆動される。制御回路210は検出信号処理回路212により出力された各電極の検出信号値が、所定のタッチ検出判定閾値を超えているか否かを判定し、超えているならばタッチ検出フラグをセットして、データをメモリ106に順次転送する。1フレームのスキャンが完了すると、メモリ106に格納された1フレームの検出データから、タッチ検出領域のグルーピング及びタッチ位置の重心演算を行い、タッチ検出数とタッチ検出座標を算出する。 The scanning
走査線駆動回路211は、走査線Y0〜Y8を順次選択し駆動する。選択された走査線には、定電流回路217により微弱な電流が流される。1走査線当たりの駆動回数(サブスキャン回数)は、システム制御部105から制御回路210への制御信号により、任意に変更することが可能である。 The scanning
検出信号処理回路212は、読出線X0〜X12を順次選択して検出信号を読み出す。 The detection
<タッチ検出動作>次に、図3から図6を参照して、本実施形態の表示装置112に対するタッチ検出動作について説明する。 <Touch Detection Operation> Next, the touch detection operation for the
なお、図3の処理は、不揮発性メモリ110に格納されたプログラムをメモリ106に展開してシステム制御部105が実行することにより実現される。 3 is realized by developing a program stored in the
S301では、システム制御部105は、タッチ機能のオン/オフ設定を判定し、タッチ機能がオンに設定されている場合はS302に進み、タッチ機能がオフに設定されている場合はタッチ感度を上げる必要がないため処理を終了する。 In S301, the
S302では、システム制御部105は、加速度センサ116及び動体検知部117により取得した画像内の被写体の動きや速度に基づいて、表示装置112に表示されている画像が、動きの少ない画像か否かを判定し、動きの少ない画像の場合はS303に進み、そうでない場合はS305に進む。画像の動きは、動体検知部117によって検出された画像内の被写体である動体の速度が所定の閾値以下であるか否かに基づいて判定される。図4(a)はライブビューモードにおいて、動きが速い或いはよく動く被写体(図示の例では、犬)を撮像した画像を例示している。このような画像は、動きの少ない画像ではないと判定される。図4(b)はライブビューモードにおいて、動きの少ない或いは動きの遅い被写体(図示の例では、木)を撮像した画像を例示している。また、図4(c)はカメラ100による動きのない画像として、シャッタースピードや絞り、ISO感度などの各種撮影条件の設定画面を例示している。図4(b)や図4(c)のような画像は、動きの少ない画像として判定される。 In S <b> 302, the
S303では、システム制御部105は、S302において動きの少ない画像が表示されていると判定されたことに応じて、フレームレート可変制御部118により表示装置112のフレームレートを下げる。なお、図4(a)のような動きの速い画像を表示している場合、表示装置112のフレームレートを下げてしまうと動きが滑らか表示されないため、ユーザが視覚的に違和感を覚える可能性が高い。しかしながら、図4(b)や図4(c)のような、動きの少ない画像を表示している場合には、表示装置112のフレームレートを遅くしてもユーザは視覚的に違和感を覚えにくい。 In S303, the
フレームレート可変制御部118は、表示パネル部113へ出力する垂直同期信号VSYNC及び水平同期信号HSYNCの周波数を下げることにより、フレームレートの変更を行う。例えば、通常はフレームレートが60fpsで動作している場合、垂直同期信号VSYNCと水平同期信号HSYNCの周波数を共に1/2に下げることで、フレームレートを1/2の30fpsに下げることが可能となる。なお、この場合、画像信号のクロック周波数は下げない。 The frame rate variable control unit 118 changes the frame rate by lowering the frequencies of the vertical synchronization signal VSYNC and horizontal synchronization signal HSYNC output to the
図5(a)はフレームレート変更前における、表示パネル部113へ出力する映像信号の垂直同期信号VSYNC及び水平同期信号HSYNCと、サブスキャンを行う場合の各行電極215に対する駆動信号Y0〜Y8を示している。行電極215の駆動は、水平同期信号HSYNCに同期し、且つ画素電極へ画素信号が書き込まれていないタイミング(水平ブランキング期間)に行われる。図5(b)は水平同期信号HSYNCと、画素信号及び行電極Yiの駆動信号との関係を例示しており、水平ブランキング期間に行電極215の駆動信号Yi(i=0〜8)が出力される。これにより、画素信号書き込み時のノイズにより静電容量の検出信号値が変動してしまうことを抑制することができる。 FIG. 5A shows the vertical synchronization signal VSYNC and horizontal synchronization signal HSYNC of the video signal output to the
しかしながら、水平ブランキング期間は短く、1水平同期信号HSYNCに対して数回のサブスキャンしか行うことしかできない。表示パネル部113の画素数が多くなると、それだけ画素信号が増加し、水平ブランキング期間は更に短くなる。その結果、1水平同期信号HSYNCに対するサブスキャンの回数が減少してしまいタッチパネルの高感度化、高精度化が困難となる。 However, the horizontal blanking period is short, and only a few sub-scans can be performed for one horizontal synchronization signal HSYNC. As the number of pixels in the
そこで、本実施形態では、表示装置112のフレームレートを下げ、水平ブランキング期間を長くすることでサブキャン回数(積分回路218における積算回数)を増加させることで、タッチパネルの高感度化、高精度化を実現している。 Therefore, in the present embodiment, the sensitivity of the touch panel is increased and the accuracy is increased by increasing the number of subcans (the number of integrations in the integration circuit 218) by decreasing the frame rate of the
図3に戻り、S304では、システム制御部105は、1水平同期信号HSYNC当たりのサブスキャン回数を増加する。 Returning to FIG. 3, in S304, the
図6(a)は、フレームレート及びサブスキャン回数を変更した場合の、表示パネル部113へ出力する映像信号の垂直同期信号VSYNC及び水平同期信号HSYNCと、サブスキャンを行う場合の各行電極215に対する駆動信号Y0〜Y8を示している。図6(a)では、図5(a)のフレームレート及びサブスキャン回数の変更前と比較して、1垂直同期信号VSYNC及び1水平同期信号HSYNCの期間が長くなり、1水平同期信号HSYNCの水平ブランキング期間でのサブスキャン回数が増加している。図6(b)はフレームレート及びサブスキャン回数変更後の水平同期信号HSYNCと、画素信号及び行電極Yiの駆動信号の関係を例示している。S303においてフレームレートを変更する場合に、垂直同期信号VSYNC及び水平同期信号HSYNCの周波数のみを変更し、画像信号のクロック周波数は変更していないため、画像信号が書き込まれる期間(有効表示期間)はフレームレート変更前と変わらず、水平同期信号HSYNCの周期が長くなった分だけ水平ブランキング期間も長くなる。そのため、1水平同期信号HSYNCに対するサブスキャン回数を増加することが可能となる。 FIG. 6A shows the vertical synchronization signal VSYNC and horizontal synchronization signal HSYNC of the video signal output to the
フレームレート変更後の1水平同期信号HSYNC当たりのサブスキャン回数は、例えば以下の式1から算出される。 The number of sub-scans per horizontal synchronization signal HSYNC after changing the frame rate is calculated from the
Ca=Cb×{(1/K)×H−d}/(H−d)・・・(1)
ここで、Ca及びCbは、それぞれフレームレート変更後及び変更前における各行電極の1水平同期信号HYNC当たりのサブスキャン回数を表している。Hは1フレームの水平同期信号の数、dは1Hあたりの有効表示期間の画像信号数、Kはフレームレート変更比率を表している。Ca = Cb × {(1 / K) × H−d} / (H−d) (1)
Here, Ca and Cb represent the number of sub-scans per horizontal synchronization signal HSYNC of each row electrode after the frame rate change and before the change, respectively. H represents the number of horizontal synchronization signals in one frame, d represents the number of image signals in the effective display period per 1 H, and K represents the frame rate change ratio.
例えば、H=450、d=420、Cb=10の場合に、フレームレートを1/2に下げた場合、K=1/2となるため、フレームレート変更後のサブスキャン回数はCa=160となる。上述した方法により、フレームレートを下げることで延長されたブランキング期間を用いて各行電極の1水平同期信号HSYNC当たりのサブスキャン回数を増加することができる。 For example, when H = 450, d = 420, and Cb = 10, when the frame rate is lowered to ½, K = ½, so the number of sub-scans after changing the frame rate is Ca = 160. Become. According to the above-described method, the number of sub-scans per horizontal synchronization signal HSYNC of each row electrode can be increased using a blanking period extended by lowering the frame rate.
図3に戻り、S305では、システム制御部105は、S304におけるサブスキャン回数の変更後に、カメラ100の動作モードが変更されるなどにより表示画像が変更されたか否かを判定する。判定の結果、表示画像に変更がある場合はS306に進み、表示画像に変更がない場合は引き続き、S303及びS304で変更したままのフレームレート及びサブスキャン回数で処理を継続する。 Returning to FIG. 3, in step S <b> 305, the
S306では、システム制御部105は、S302と同様に、変更後の表示画像が、動きの少ない画像か否かを判定し、動きの少ない画像でない場合はS307に進み、動きの少ない画像の場合はS305に戻り、S303及びS304で変更したままのフレームレート及びサブスキャン回数での処理を継続する。 In S306, as in S302, the
S307では、システム制御部105は、変更後の表示画像が動きの多い或いは速い画像であるので、1水平同期信号HSYNCでのサブスキャン回数を低減し、S304でサブスキャン回数を増加する前の状態に戻す。 In S307, the
S308では、システム制御部105は、表示装置112のフレームレートをS303でフレームレートを下げる前の状態に戻す。具体的には、S303と同様に、垂直同期信号VSYNCと水平同期信号HSYNCの周波数を上げ、S303で周波数を下げる前の状態に戻す。このように、垂直同期信号VSYNCと水平同期信号HSYNCの周波数を上げ、フレームレートを下げる前の状態に戻すことによって動体が滑らかに動き、ユーザに違和感を与えないように表示することができる。 In S308, the
なお、上記式1で算出される、フレームレートを下げた場合の1水平同期信号HSYNC当たりのサブスキャン回数Caは、増やすことができる最大値であるので、実現したい感度に応じて、Cb〜Caの範囲内で適切な値を設定してもよい。 Note that the number of sub-scans Ca per horizontal synchronization signal HSYNC when the frame rate is reduced, which is calculated by the
また、ユーザによっては動きの遅い画像であっても、フレームレートを下げずに表示することを望む場合が考えられるので、フレームレートを変更するか否かをユーザが選択可能にしてもよい。また、ライブビュー表示のフレームレートを変更するか否かをユーザが選択可能(予め選択して設定しておくことが可能)としてもよい。ライブビュー表示のフレームレートの設定により、フレームレートの変更をしないと設定しておいた場合は、ライブビュー表示中であれば動きの遅い画像であってもフレームレートを下げずに表示し、ライブビュー表示中で無い場合は動きの遅い画像を表示しているとフレームレートを落としてタッチ操作の感度、操作感を向上させることができる。ライブビュー表示中は、撮影のシャッタータイミングを計っている場面であり、ライブビューのフレームレートが落ちてしまうと、動きの速い被写体のシャッタータイミングを逃してしまう可能性がある。しかしライブビュー表示のフレームレートの設定により、フレームレートの変更をしないように設定しておくことで動きの速い被写体のシャッタータイミングを逃してしまう可能性を低減することができる。また、ライブビュー表示中は上述のように撮影のシャッタータイミングを計っている場面であるため、タッチ操作による操作はさほど多くは行われないため、タッチ操作の感度を上げずとも、ユーザに操作感の不具合を感じさせる可能性が低い。逆に、ライブビュー表示をしていないメニュー画面の設定画面や、光学ファインダでの撮影を行っている際の設定画面をユーザが見る場合は、撮影設定を素早く変更する操作を行うことがある。そのためタッチ操作に対する感度、追随性などが低いとユーザに不便を感じさせるおそれがある。このような設定画面は動きの遅い画像の表示であり、本実施形態によればフレームレートを落としてサブスキャン回数を上げるので、操作感を向上させることができる。すなわち、撮像装置の撮影設定画面であれば、素早い撮影設定の変更を可能とし、撮影設定操作の遅れに起因して撮影機会を逸する可能性を低減することができる。 In addition, depending on the user, there may be a case where it is desired to display an image with a slow motion without reducing the frame rate. Therefore, the user may be able to select whether or not to change the frame rate. In addition, the user may select whether to change the frame rate of the live view display (can be selected and set in advance). If it is set not to change the frame rate according to the frame rate setting of the live view display, even if the image is slow moving, it will be displayed without reducing the frame rate while the live view is displayed. When the view is not being displayed, if a slow moving image is displayed, the frame rate can be reduced to improve the touch operation sensitivity and operation feeling. During live view display, it is a scene where the shutter timing of shooting is being measured, and if the frame rate of live view falls, the shutter timing of a fast-moving subject may be missed. However, by setting the frame rate for live view display so that the frame rate is not changed, the possibility of missing the shutter timing of a fast-moving subject can be reduced. In addition, because the shooting shutter timing is being measured as described above during live view display, there are not many operations by touch operation, so the user can feel the operation feeling without increasing the sensitivity of the touch operation. There is a low possibility of making you feel the problem. On the other hand, when the user views the setting screen of the menu screen that is not displaying the live view or the setting screen when shooting with the optical viewfinder, an operation of quickly changing the shooting setting may be performed. For this reason, if the sensitivity to touch operation, followability, and the like are low, the user may feel inconvenience. Such a setting screen is a display of a slow moving image. According to the present embodiment, the frame rate is lowered and the number of sub-scans is increased, so that the operational feeling can be improved. That is, if the shooting setting screen of the imaging apparatus is used, it is possible to quickly change the shooting setting, and the possibility of missing a shooting opportunity due to a delay in the shooting setting operation can be reduced.
さらに、S302及びS306の判定では、動きの少ない画像を表示しているか否かの判定を、画像内の動体の速度に応じて判定するものとして説明したが、画像内の動体の速度を検知することなく、以下のように判別してもよい。すなわち、表示装置112にライブビュー画像を表示しているか否かの判定を行い、ライブビュー画像を表示している場合は動きのある画像を表示しているものとしてS302、S306をそれぞれNoと判定する。ライブビュー画像を表示していない場合は動きの少ない画像を表示しているものとしてS302、S306をそれぞれYesと判定する。あるいは、表示装置112に動画を再生表示しているか否かの判定を行い、動画を再生表示している場合は動きのある画像を表示しているものとしてS302、S306をそれぞれNoと判定する。動画を再生表示している場合は動きの少ない画像を表示しているものとしてS302、S306をそれぞれYesと判定する。また、ライブビューと動画の双方の判定を行い、表示装置112にてライブビュー表示あるいは動画再生表示の少なくとも一方を行っている場合は動きのある画像を表示しているものとしてS302、S306をそれぞれNoと判定する。ライブビュー表示あるいは動画再生表示のいずれも行っていない場合は動きの少ない画像を表示しているものとしてS302、S306をそれぞれYesと判定する。また、S302及びS306の判定を、表示装置112に表示している表示物のスクロール速度に基づいた判定としてもよい。すなわち、表示物をスクロールしているか否か、および/またはスクロール速度の判定を行い、表示物をスクロールしている、あるいは所定速度以上でスクロールしている場合には動きのある画像を表示しているものとしてS302、S306をそれぞれNoと判定する。表示物をスクロールしていない、あるいは表示物をスクロールしているが所定速度未満である場合には動きの少ない画像を表示しているものとしてS302、S306をそれぞれYesと判定する。表示物のスクロールは、例えばユーザによるスクロール操作(ボタン操作や、タッチ操作によるドラッグ、フリック、スワイプなどの操作)によって行われる。表示物のスクロールの判定と、上述のライブビュー表示/動画再生表示の判定を組み合わせてももちろん良い。その場合、ライブビュー表示、動画再生表示、スクロール表示/所定速度以上のスクロール表示の少なくとも1つが行われている場合には動きのある画像を表示しているものとしてS302、S306をそれぞれNoと判定する。ライブビュー表示、動画再生表示、スクロール表示/所定速度以上のスクロール表示のいずれも行われていない場合には動きの少ない画像を表示しているものとしてS302、S306をそれぞれYesと判定する。すなわち、撮像手段で撮像されたライブビュー画像の表示、動画の再生表示、表示物のスクロール表示のいずれでもない表示を行う場合には、撮像手段で撮像されたライブビュー画像の表示、動画の再生表示、表示物のスクロール表示の少なくとも1つを行う場合に比べて、更新周期を長くし、1水平同期信号HSYNCでのサブスキャン回数を増加させる。 Furthermore, in the determinations in S302 and S306, it has been described that the determination of whether or not an image with little motion is displayed is determined according to the speed of the moving object in the image, but the speed of the moving object in the image is detected. Instead, the determination may be made as follows. That is, it is determined whether or not a live view image is displayed on the
また、本実施形態では、静電容量式のタッチ検出方式を用いたが、本発明はこれに限定されず、走査線によりセンサ部を順次駆動する方式のタッチパネルであれば、タッチ検出方式に関わらず適用可能である。当然ながら、電極数や電極の構成、タッチ検出方法に限定されるものではない。例えば、ADコンバータや積分回路の構成、データ変換の順番、有無に至るまで限定されるものではない。本実施形態ではインセルタッチパネルと呼ばれる構成を採用したが、それ以外の方式のタッチパネルにおいても適用が可能である。 In the present embodiment, the capacitive touch detection method is used. However, the present invention is not limited to this, and any touch panel that sequentially drives the sensor unit by scanning lines may be used. It is applicable. Of course, the number of electrodes, the configuration of the electrodes, and the touch detection method are not limited. For example, it is not limited to the configuration of the AD converter or the integration circuit, the order of data conversion, and the presence or absence. In this embodiment, a configuration called an in-cell touch panel is adopted, but the present invention can also be applied to touch panels of other methods.
なお、システム制御部105の制御は1つのハードウェアが行ってもよいし、複数のハードウェアが処理を分担することで、装置全体の制御を行ってもよい。 Note that the control of the
また、本発明をその好適な実施形態に基づいて詳述してきたが、本発明はこれら特定の実施形態に限られるものではなく、この発明の要旨を逸脱しない範囲の様々な形態も本発明に含まれる。 Although the present invention has been described in detail based on the preferred embodiments thereof, the present invention is not limited to these specific embodiments, and various forms without departing from the gist of the present invention are also included in the present invention. included.
また、上述した実施形態においては、本発明をレンズ交換式の一眼レフデジタルカメラに適用した場合を例に説明したが、本発明はこの例に限定されず、表示装置にタッチ検出機能が実装された装置であれば適用可能である。すなわち、本発明は、パーソナルコンピュータやその一種であるタブレット、携帯電話やその一種であるスマートフォン(眼鏡型端末や腕時計型端末を含む)、PDA(携帯情報端末)、携帯型の画像ビューワ、表示装置を備えるプリンタ、デジタルフォトフレーム、音楽プレーヤ、ゲーム機、電子ブックリーダ、ファクシミリや複写機などのOA機器、心電図や血圧計などの医療機器、ATM(現金自動預け払い機)などに適用可能である。 In the above-described embodiment, the case where the present invention is applied to an interchangeable lens single-lens reflex digital camera has been described as an example. However, the present invention is not limited to this example, and a touch detection function is mounted on a display device. Any device can be applied. That is, the present invention relates to a personal computer, a tablet that is a kind thereof, a mobile phone and a smartphone that is a kind thereof (including eyeglass-type terminals and wristwatch-type terminals), a PDA (personal digital assistant), a portable image viewer, and a display device. It can be applied to printers, digital photo frames, music players, game machines, electronic book readers, facsimile machines, copiers, and other office equipment, medical equipment such as electrocardiograms and blood pressure monitors, and ATMs (automated teller machines). .
[他の実施形態]
本発明は、上述の実施形態の1以上の機能を実現するプログラムを、ネットワーク又は記憶媒体を介してシステム又は装置に供給し、そのシステム又は装置のコンピュータにおける1つ以上のプロセッサーがプログラムを読出し実行する処理でも実現可能である。また、1以上の機能を実現する回路(例えば、ASIC)によっても実現可能である。[Other Embodiments]
The present invention supplies a program that realizes one or more functions of the above-described embodiments to a system or apparatus via a network or a storage medium, and one or more processors in a computer of the system or apparatus read and execute the program This process can be realized. It can also be realized by a circuit (for example, ASIC) that realizes one or more functions.
105…システム制御部、118…フレームレート可変制御部、112…表示装置、115…タッチパネル部、214…列電極、215…行電極DESCRIPTION OF
| Application Number | Priority Date | Filing Date | Title |
|---|---|---|---|
| JP2015168135AJP2017045326A (en) | 2015-08-27 | 2015-08-27 | Display device, control method therefor, program, and storage medium |
| Application Number | Priority Date | Filing Date | Title |
|---|---|---|---|
| JP2015168135AJP2017045326A (en) | 2015-08-27 | 2015-08-27 | Display device, control method therefor, program, and storage medium |
| Publication Number | Publication Date |
|---|---|
| JP2017045326Atrue JP2017045326A (en) | 2017-03-02 |
| Application Number | Title | Priority Date | Filing Date |
|---|---|---|---|
| JP2015168135APendingJP2017045326A (en) | 2015-08-27 | 2015-08-27 | Display device, control method therefor, program, and storage medium |
| Country | Link |
|---|---|
| JP (1) | JP2017045326A (en) |
| Publication number | Priority date | Publication date | Assignee | Title |
|---|---|---|---|---|
| JP2020052739A (en)* | 2018-09-27 | 2020-04-02 | シャープ株式会社 | Touch panel display and control method for touch panel display |
| EP3789861A1 (en) | 2019-08-29 | 2021-03-10 | Alpine Electronics, Inc. | Touch panel-equipped display device and control method of touch panel-equipped display device |
| JP2021061512A (en)* | 2019-10-04 | 2021-04-15 | キヤノン株式会社 | Display control unit and display control method, and imaging apparatus |
| JP2021061511A (en)* | 2019-10-04 | 2021-04-15 | キヤノン株式会社 | Electronic device and control method of the same |
| JPWO2022153946A1 (en)* | 2021-01-15 | 2022-07-21 | ||
| CN115129176A (en)* | 2021-03-10 | 2022-09-30 | 夏普显示科技株式会社 | Display device with touch panel and control method thereof |
| Publication number | Priority date | Publication date | Assignee | Title |
|---|---|---|---|---|
| JP2020052739A (en)* | 2018-09-27 | 2020-04-02 | シャープ株式会社 | Touch panel display and control method for touch panel display |
| JP7041036B2 (en) | 2018-09-27 | 2022-03-23 | シャープ株式会社 | Touch panel display and touch panel display control method |
| EP3789861A1 (en) | 2019-08-29 | 2021-03-10 | Alpine Electronics, Inc. | Touch panel-equipped display device and control method of touch panel-equipped display device |
| JP2021061512A (en)* | 2019-10-04 | 2021-04-15 | キヤノン株式会社 | Display control unit and display control method, and imaging apparatus |
| JP2021061511A (en)* | 2019-10-04 | 2021-04-15 | キヤノン株式会社 | Electronic device and control method of the same |
| JP7425575B2 (en) | 2019-10-04 | 2024-01-31 | キヤノン株式会社 | Display control device and display control method, imaging device |
| JP7449062B2 (en) | 2019-10-04 | 2024-03-13 | キヤノン株式会社 | Electronic equipment and its control method |
| JPWO2022153946A1 (en)* | 2021-01-15 | 2022-07-21 | ||
| CN115129176A (en)* | 2021-03-10 | 2022-09-30 | 夏普显示科技株式会社 | Display device with touch panel and control method thereof |
| Publication | Publication Date | Title |
|---|---|---|
| US9069407B2 (en) | Display control apparatus and display control method | |
| US10165189B2 (en) | Electronic apparatus and a method for controlling the same | |
| US10055081B2 (en) | Enabling visual recognition of an enlarged image | |
| US8289400B2 (en) | Image capturing device having continuous image capture | |
| US10222903B2 (en) | Display control apparatus and control method thereof | |
| CN108377329B (en) | Image pickup apparatus and control method thereof | |
| JP2017045326A (en) | Display device, control method therefor, program, and storage medium | |
| US20110019239A1 (en) | Image Reproducing Apparatus And Image Sensing Apparatus | |
| KR20140054959A (en) | Method for controlling camera of terminal and terminal thereof | |
| JP6562773B2 (en) | Imaging apparatus, control method therefor, program, and storage medium | |
| CN108156365A (en) | Photographic device, image capture method and recording medium | |
| JP2017188760A (en) | Image processing apparatus, image processing method, computer program, and electronic apparatus | |
| JP2012217101A (en) | Information processor, control method of the same, program, and storage medium | |
| US10120496B2 (en) | Display control apparatus and control method thereof | |
| JP2019186728A (en) | Electronic device, control method therefor, program, and storage medium | |
| US9641757B2 (en) | Image processing apparatus that sets moving image area, image pickup apparatus, and method of controlling image processing apparatus | |
| US12395601B2 (en) | Electronic apparatus, method of controlling the same, and computer-readable storage medium storing program | |
| WO2021014921A1 (en) | Image capturing device and control method for same | |
| JP6120541B2 (en) | Display control apparatus and control method thereof | |
| JP2015114880A (en) | Display device with touch panel | |
| KR101889702B1 (en) | Method for correcting user’s hand tremor, machine-readable storage medium and imaging device | |
| JP2021029034A (en) | Exposure setting device, control method of the same, program, and storage medium | |
| US20250292369A1 (en) | Image processing apparatus, imaging apparatus, and control method of image processing apparatus | |
| JP6688086B2 (en) | Imaging device, control method thereof, and program | |
| JP6708402B2 (en) | Electronic device, touch panel control method, program, and storage medium |