





















本発明は、磁気治療具および磁気治療具の製造方法に関する。特に、任意の適切な身体の位置に配置することができ、配置した位置において比較的広範囲に磁気効果を及ぼすことが可能な磁気治療具に関する。 The present invention relates to a magnetic therapy device and a method for manufacturing a magnetic therapy device. In particular, the present invention relates to a magnetic treatment device that can be disposed at any appropriate body position and can exert a magnetic effect over a relatively wide range at the disposed position.
昭和36年の薬事法施工令の中で、磁石は治療器具の1つとして登録されている。磁気治療は、確実な効果を発揮しており、例えば、人体表面の温度分布を測定する赤外線サーモグラフィを使って試験してみると、磁気作用は明らかに血行を良くして、体温を上昇させることがわかっている。あらゆるコリやストレスに即効性があるとは言えないまでも、かなりの高確率で驚異的な効果を発揮していることは紛れもない事実である(例えば、特許文献1参照)。 Magnets are registered as one of the treatment instruments in the 1966 Pharmaceutical Order. Magnetic therapy has a positive effect, for example when tested using an infrared thermography that measures the temperature distribution on the surface of the human body, the magnetic action clearly improves blood circulation and increases body temperature. I know. Even if it cannot be said that every kind of stiffness and stress are immediately effective, it is a fact that it has an amazing effect with a very high probability (see, for example, Patent Document 1).
血液成分の中には、プラスイオンとマイナスイオンに電離するものが含まれており、これが血液中を流れるので、電流が流れるのと等しい状態となっている。ここに磁石によって地場を加えると、「フレミングの左手の法則」により力が発生する。この力がイオンの流れを活発にし、血液の流れを良くするものと考えられる。 Some blood components are ionized into positive ions and negative ions, which flow through the blood, so that the current is equal to the current. If a place is added here with a magnet, a force is generated according to the “Fleming's left-hand rule”. This force is considered to activate the flow of ions and improve the flow of blood.
脳波、心電図、筋電図など、生体には様々な電気現象がみられ、電気と磁気は密接に関わりがあり、空気や水とともに、磁気は健康になくてはならないものである。このようなことから、磁石を身につけて身体のつぼを刺激して血行を促進し、筋肉のこりをほぐし、自律神経のバランスを回復することを目的として、多様な磁気治療器が使用されている。 Various electrical phenomena such as brain waves, electrocardiograms, and electromyograms are observed in the living body. Electricity and magnetism are closely related to each other, and magnetism is essential for health along with air and water. For this reason, various magnetic therapy devices are used for the purpose of wearing a magnet to stimulate the body's acupuncture to promote blood circulation, relieve muscle stiffness, and restore autonomic balance. .
代表的なものとして、貼付式磁気治療器がある。人体のつぼに磁石をあて、これを粘着剤の付いたシートで上から被せて固定するものである。この方法は、磁石を直接人体のつぼに密着させることができるので効果的である。そのような貼付式磁気治療器しては、例えば、特許文献2に示すような磁気治療器を挙げることができる。 A typical example is a sticking type magnetic therapy device. A magnet is applied to the vase of the human body, and this is covered and fixed from above with a sheet with an adhesive. This method is effective because the magnet can be brought into close contact with the pot of the human body directly. As such a sticking type magnetic therapy device, for example, a magnetic therapy device as shown in Patent Document 2 can be cited.
特許文献2に開示された磁気治療器を図19および図20(a)及び(b)に示す。図19は、磁気治療器1100の斜視図である。そして、図20(a)及び(b)は、磁気治療器1100における粒状磁石体114の部分を示す断面図である。 The magnetic therapy device disclosed in Patent Document 2 is shown in FIGS. 19 and 20 (a) and 20 (b). FIG. 19 is a perspective view of the
図19に示すように、磁気治療器1100では、下部剥離シート115の上に、切れ目116が入った上部剥離紙112が配置されている。図20(a)に示すように、下部剥離シート115の下には、粘着性の基層111が位置しており、基層111の底面に粒状磁石体114が取り付けられている。図20(a)は、図19に示した下部剥離シート115から剥がされた状態を示しており、そして、粒状磁石体114を皮膚150に接触させる。次いで、図20(b)に示すように、上部剥離紙112を剥がすことにより、基層111によって粒状磁石体114を皮膚150の上に固定することができる。 As shown in FIG. 19, in the
図19及び図20に示した貼付式磁気治療器1100は、磁気を効かせたい任意の場所に粒状磁石体114を皮膚150に直接接触させることができるので、非常に便利である。しかしながら、粒状磁石体114が皮膚150に直接接触することにより、接触皮膚炎を起こす人(ユーザ)に使う場合、粒状磁石体114から溶出した成分(例えば、金属イオンなど)で皮膚炎を生じさせてしまうかもしれないという問題がある。つまり、貼付式磁気治療器1100は、その構造が単純で安価に製造することができ、また任意の場所に貼ることができるので便利であるが、粒状磁石体114が直接皮膚に接触することによる問題がある。 The adhesive
特許文献3には、磁石と、磁石を覆うリング状の樹脂から構成された磁気治療器具が開示されている。このリング状の磁気治療器具の場合、ネックレス等として用いることで、首回りの血行促進の作用を発揮させることができる。また、この構成では、磁気治療器具を直接肌に接触させた場合でも、磁石と皮膚とが直接接触することを回避することができる。その結果、磁石が皮膚に与える影響を確実に抑制することができる。 Patent Document 3 discloses a magnetic therapy device composed of a magnet and a ring-shaped resin that covers the magnet. In the case of this ring-shaped magnetic therapy device, the effect of promoting blood circulation around the neck can be exhibited by using it as a necklace or the like. Further, with this configuration, even when the magnetic treatment instrument is brought into direct contact with the skin, direct contact between the magnet and the skin can be avoided. As a result, the influence of the magnet on the skin can be reliably suppressed.
しかしながら、特許文献3の磁気治療器具の場合、ネックレス等として首回り(または、手首周り)に使用することができるが、任意の場所にピンポイントで、磁石をくっつけることができないという問題がある。 However, in the case of the magnetic therapy device of Patent Document 3, it can be used as a necklace or the like around the neck (or around the wrist), but there is a problem that the magnet cannot be pinned at an arbitrary place.
特許文献4には、隣り合う永久磁石の身体に添わせる面の極性を互いに逆極性にした磁気治療具が開示されている。特許文献4に示した磁気治療具を図21に示す。図21に示した磁気治療具1200は、身体に装着できる構成になっており、肩当て部120aおよび背当て部120bからなる胴着部と、複数の永久磁石121とから構成されている。永久磁石121は、片面がS極、他面がN極の異方性のフェライト磁石からなり、隣り合う永久磁石121同士は、逆極性になるように交互に逆向きに配列させている。このようにすることにより、一つの永久磁石のN極から出た磁力線125が、当該一つの永久磁石121のN極だけでなく、これに隣接した永久磁石121のS極にも到達することになる。
これにより、磁気を身体に対して深く且つ広範囲に浸透させることができ、その結果、肩こりをさらに効果的に解消することができる。Patent Document 4 discloses a magnetic therapy device in which the polarities of the surfaces of adjacent permanent magnets attached to the body are opposite to each other. FIG. 21 shows the magnetic therapy device shown in Patent Document 4. As shown in FIG. The
Thereby, magnetism can be penetrated deeply and extensively into the body, and as a result, shoulder stiffness can be more effectively eliminated.
特許文献4に示した磁気治療具1200の場合、磁気を身体に対して深く且つ広範囲に浸透させることができるという優れた効果を得ることができるが、永久磁石121が皮膚に直接接触する場合には、磁石が皮膚に与える影響が生じてしまう。また、磁気治療具1200は、身体の胴体に装着させることができるので、身体のかなり広い範囲をカバーすることができるが、身体の胴体に着るのが面倒で、ピンポイントで磁気を当てることを望むユーザも存在し得る。 In the case of the
また、図22に示す磁気治療具1300ように、隣り合う永久磁石121を、S極とN極の極性が反転するように長尺ベルト127に配置した構成をとることも可能である。この場合、身体の胴体に装着する面倒さはなく、また磁石が皮膚に与える影響を回避することができる。しかしながら、磁気治療具1300の場合、首回りだけしか磁気の効果を得ることができない。特に、背中や腰まわりのコリなどに対応することができない。 Moreover, it is also possible to take the structure which has arrange | positioned the
本願発明者は、隣り合う永久磁石121をS極とN極の極性が反転するように配置する構成を用いて、任意の場所に永久磁石121を貼り付ける貼付式磁気治療器を検討したところ、次のような問題が生じることが新たにわかった。まず、図20(a)に示したように、1枚の粘着性の支持層111の下面に、S極の永久磁石121とN極の永久磁石121とを並べて配置すると、そのままでは、二つの永久磁石121はS極・N極の力で引っ付いてしまう。したがって、下部剥離シート115から剥がした後は、粘着性の基層111をピンと張って(張力を加えて)、二つの永久磁石121がくっつかないようにしながら、皮膚150に貼り付けることが必要になる。 The inventor of the present application has examined a sticking type magnetic therapy device in which the
ユーザには、老人や手先が器用でない人も多く、ただでさえ、粘着性の支持層111を皮膚150に上手に貼れない人がいるのに、二つの永久磁石121が互いに引っ付くと、その二つの引っ付いた永久磁石121を剥がすのに苦労するとともに、粘着性の支持層111が二つ折りのような形でくっつく可能性・確率が格段に高まってしまう。すると、気軽に、任意の場所に貼りやすいというメリットが無くなってしまい、結局は、使いにくく商品力が低い貼付式磁気治療器ができるだけになってしまう。 There are many users who are elderly people or those who are not skillful at hand, and even if there are people who can not stick the
そのような中、本願発明者は、任意の場所に貼り付けることができる磁気治療器でありながら、磁気を身体に対して深く且つ広範囲に浸透させることができるものを鋭意検討し、さらには、磁石が皮膚に与える影響にも考慮したものを開発し続けた。 Under such circumstances, the inventor of the present application diligently studied what is capable of penetrating magnetism deeply and widely into the body while being a magnetic therapy device that can be attached to an arbitrary place, We continued to develop a magnet that takes into account the effects of magnets on the skin.
本発明はかかる点に鑑みてなされたものであり、その主な目的は、任意の適切な身体の位置に配置することができ、配置した位置において比較的広範囲に磁気効果を及ぼすことが可能な磁気治療具を提供することにある。 The present invention has been made in view of the above points, and the main object of the present invention is to be able to be placed at any appropriate body position, and to exert a magnetic effect over a relatively wide range at the placed position. It is to provide a magnetic therapy device.
本発明に係る磁気治療具は、複数の磁石を含む磁気治療具であり、第1極性を表面にし、第2極性を裏面にする第1磁石と、第2極性を表面にし、第1極性を裏面にする第2磁石と、前記第1磁石の前記表面および第2磁石の前記表面を覆うとともに、前記第1磁石および前記第2磁石を固定する樹脂部材とを備えている。前記樹脂部材において、前記第1磁石と前記第2磁石とは互いに離間して配置されており、前記樹脂部材、前記第1磁石の前記裏面、前記第2磁石の前記裏面は、テーピング部材の表面に配置されている。 The magnetic treatment device according to the present invention is a magnetic treatment device including a plurality of magnets, the first magnet having the first polarity on the front surface and the second polarity on the back surface, the second polarity on the surface, and the first polarity on the surface. A second magnet on the back surface, and a resin member that covers the surface of the first magnet and the surface of the second magnet and that fixes the first magnet and the second magnet are provided. In the resin member, the first magnet and the second magnet are spaced apart from each other, and the resin member, the back surface of the first magnet, and the back surface of the second magnet are surfaces of the taping member. Is arranged.
ある好適な実施形態において、前記第1磁石は、前記第1極性がS極の永久磁石であり、前記第2磁石は、前記第2極性がN極の永久磁石であり、前記樹脂部材は、シリコーン樹脂から構成されており、前記テーピング部材は、接着剤によって、前記第1磁石および前記第2磁石を固定している前記樹脂部材と接着されており、前記テーピング部材の表面のうちの前記樹脂部材が位置している部分を除く領域には、粘着層が形成されており、前記粘着層の上には、剥離層が形成されている。 In a preferred embodiment, the first magnet is a permanent magnet having an S pole of the first polarity, the second magnet is a permanent magnet having an N pole of the second polarity, and the resin member is The taping member is bonded to the resin member fixing the first magnet and the second magnet with an adhesive, and the resin on the surface of the taping member is made of silicone resin. An adhesive layer is formed in a region excluding a portion where the member is located, and a release layer is formed on the adhesive layer.
ある好適な実施形態において、前記第1磁石および前記第2磁石は、フェライト磁石であり、前記第1磁石と前記第2磁石とが離間している隙間距離は、2mm以上10mm以下である。 In a preferred embodiment, the first magnet and the second magnet are ferrite magnets, and a gap distance between the first magnet and the second magnet is 2 mm or more and 10 mm or less.
ある好適な実施形態において、前記樹脂部材は、前記第1磁石および前記第2磁石を収容する凹部を有しており、前記凹部は、前記樹脂部材の裏面に形成されており、前記樹脂部材の表面は、皮膚に接する面であり、前記樹脂部材の表面のうち、前記第1磁石と前記第2磁石との間に位置する領域には陥没部が形成されている。 In a preferred embodiment, the resin member has a recess that accommodates the first magnet and the second magnet, and the recess is formed on a back surface of the resin member. The surface is a surface in contact with the skin, and a depressed portion is formed in a region located between the first magnet and the second magnet in the surface of the resin member.
ある好適な実施形態において、前記樹脂部材には、前記第1磁石および前記第2磁石以外の第3磁石が収納されている。 In a preferred embodiment, the resin member contains a third magnet other than the first magnet and the second magnet.
ある好適な実施形態においては、前記テーピング部材の表面に、複数の前記樹脂部材が配置されている。 In a preferred embodiment, a plurality of the resin members are arranged on the surface of the taping member.
本発明の係る他の磁気治療具は、複数の磁石を含む磁気治療具であり、第1凹部および第2凹部を有する樹脂構造体と、前記第1凹部に収納され、第1極性を上面にし第2極性を下面にする第1磁石と、前記第2凹部に収納され、第2極性を上面にし第1極性を下面にする第2磁石とを備えている。第1凹部および第2凹部は、前記樹脂構造体の下面に開口を有しており、前記樹脂構造体の上面は、使用者の皮膚に接触する面である。 Another magnetic treatment device according to the present invention is a magnetic treatment device including a plurality of magnets. The magnetic treatment device includes a resin structure having a first recess and a second recess, and is housed in the first recess, with the first polarity as an upper surface. A first magnet having a second polarity on the bottom surface; and a second magnet housed in the second recess, the second magnet having the second polarity on the top surface and the first polarity on the bottom surface. The first recess and the second recess have an opening on the lower surface of the resin structure, and the upper surface of the resin structure is a surface that contacts the user's skin.
ある好適な実施形態において、前記第1凹部の開口および第2凹部の開口を含む前記樹脂構造体の下面は、シート部材によって覆われている。 In a preferred embodiment, the lower surface of the resin structure including the opening of the first recess and the opening of the second recess is covered with a sheet member.
ある好適な実施形態において、前記シート部材の上面のうち、前記樹脂構造体が位置する領域を除く領域は、粘着層であり、前記粘着層の上層には、剥離層が形成されている。 In a preferred embodiment, a region of the upper surface of the sheet member excluding a region where the resin structure is located is an adhesive layer, and a release layer is formed on the upper layer of the adhesive layer.
ある好適な実施形態において、前記シート部材の上面のうち、前記樹脂構造体が位置する領域には、前記シート部材と前記樹脂構造体を接着させる接着層が形成されている。 In a preferred embodiment, an adhesive layer for bonding the sheet member and the resin structure is formed in a region of the upper surface of the sheet member where the resin structure is located.
ある好適な実施形態において、前記シート部材は、伸縮性を有するサポーター部材である。 In a preferred embodiment, the sheet member is a support member having elasticity.
ある好適な実施形態において、前記樹脂構造体が行列状にシート部材の上に配列されている。 In a preferred embodiment, the resin structures are arranged on the sheet member in a matrix.
ある好適な実施形態において、前記樹脂構造体は、シリコーン樹脂から構成されており、前記第1磁石および前記第2磁石は、フェライト磁石であり、前記第1磁石と前記第2磁石とが離間している隙間距離は、2mm以上10mm以下であり、前記樹脂構造体の上面のうち、前記第1磁石と前記第2磁石との間に位置する領域には陥没部が形成されている。 In a preferred embodiment, the resin structure is made of a silicone resin, the first magnet and the second magnet are ferrite magnets, and the first magnet and the second magnet are separated from each other. The gap distance is 2 mm or more and 10 mm or less, and a depression is formed in a region located between the first magnet and the second magnet on the upper surface of the resin structure.
本発明に係る貼付方法は、複数の磁石を含む磁気治療具を皮膚に貼り付ける方法であり、S極を表面にした第1磁石と、N極を表面にした第2磁石とを覆う樹脂材料からなる樹脂構造体がシート部材上に配置された磁気治療具を用意する工程と、前記樹脂材料を介在させて、前記第1磁石の前記S極および前記第2磁石のN極を皮膚に接触させる工程と、前記シート部材を前記皮膚に接触させる工程とを含む。 The sticking method according to the present invention is a method of sticking a magnetic treatment device including a plurality of magnets to the skin, and a resin material that covers a first magnet having an S pole as a surface and a second magnet having an N pole as a surface. Preparing a magnetic therapy device in which a resin structure made of a resin is disposed on a sheet member, and contacting the S pole of the first magnet and the N pole of the second magnet with skin through the resin material And a step of bringing the sheet member into contact with the skin.
ある好適な実施形態において、前記シート部材は、支持基層と粘着層と剥離層との積層構造を有しており、前記剥離層を剥がしてから、前記シート部材を前記皮膚に接触させる工程を実行し、それによって、前記樹脂材料を介在させて、前記第1磁石の前記S極および前記第2磁石のN極を皮膚に接触させた状態にする。 In a preferred embodiment, the sheet member has a laminated structure of a support base layer, an adhesive layer, and a release layer, and after the release layer is peeled off, the step of bringing the sheet member into contact with the skin is performed. Then, the resin material is interposed, and the S pole of the first magnet and the N pole of the second magnet are brought into contact with the skin.
ある好適な実施形態において、前記第1磁石および前記第2磁石は、フェライト磁石であり、前記第1磁石と前記第2磁石とが離間している隙間距離は、2mm以上10mm以下である。 In a preferred embodiment, the first magnet and the second magnet are ferrite magnets, and a gap distance between the first magnet and the second magnet is 2 mm or more and 10 mm or less.
本発明に係る磁気治療具の製造方法は、複数の磁石を含む磁気治療具を製造する方法であり、第1磁石となる第1磁性材料、および、第2磁石となる第2磁性材料を、樹脂構造体の凹部に配置する工程と、前記第1磁性材料および前記第2磁性材料の極性が互いに反対になるように着磁する工程とを含む。 The method for manufacturing a magnetic therapy device according to the present invention is a method for manufacturing a magnetic therapy device including a plurality of magnets, and includes a first magnetic material to be a first magnet and a second magnetic material to be a second magnet. A step of disposing the resin structure in the recess, and a step of magnetizing the first magnetic material and the second magnetic material so that the polarities of the first magnetic material and the second magnetic material are opposite to each other.
ある好適な実施形態では、前記着磁工程の後、前記樹脂構造体をシート部材に固定する工程を実行する。 In a preferred embodiment, after the magnetization step, a step of fixing the resin structure to a sheet member is performed.
本発明に係る他の磁気治療具の製造方法は、基板の上に、S極を表面にした第1磁石と、N極を表面にした第2磁石を配置する工程と、前記第1磁石および第2磁石を覆うように、前記基板の上に樹脂材料を堆積する工程と、前記第1磁石および第2磁石がペアになるように前記樹脂材料を型抜きして、前記第1磁石および第2磁石を含む樹脂構造体を形成する工程とを含む。 According to another aspect of the invention, there is provided a method of manufacturing a magnetic therapy device, the step of disposing a first magnet having an S pole as a surface and a second magnet having an N pole as a surface on a substrate, the first magnet, A step of depositing a resin material on the substrate so as to cover the second magnet, and the resin material is die-cut so that the first magnet and the second magnet are paired; Forming a resin structure including two magnets.
ある好適な実施形態において、前記樹脂構造体は、シリコーン樹脂から構成されており、前記第1磁石および前記第2磁石は、フェライト磁石であり、前記第1磁石と前記第2磁石とが離間している隙間距離は、2mm以上10mm以下である。 In a preferred embodiment, the resin structure is made of a silicone resin, the first magnet and the second magnet are ferrite magnets, and the first magnet and the second magnet are separated from each other. The gap distance is 2 mm or more and 10 mm or less.
本発明の磁気治療具によれば、第1極性(例えばS極)を表面にした第1磁石と、第2極性(例えばN極)を表面にした第2磁石と、第1磁石及び第2磁石の表面を覆うとともに両者を互いに離間して固定する樹脂部材が、テーピング部材の表面に配置されているので、樹脂部材を介して、第1磁石及び第2磁石を使用者の皮膚に接触させることができる。したがって、第1磁石のS極と第2磁石のN極との組み合わせによって、単一の極(例えばS極のみ)の磁石の場合と比較して、磁気を身体に対して深く且つ広範囲に浸透させることができるとともに、その磁石ペアによる磁気の効果を、テーピング部材によって、任意の適切な身体の位置に配置することができる。さらに、樹脂部材(例えば、シリコーン樹脂)を介して、その磁石ペアの表面を皮膚に接触させることので、磁石が皮膚に直接接触する際に生じる影響(炎症など)を回避することができる。加えて、樹脂部材によって、第1磁石及び第2磁石を互いに離間して固定することができるので、第1磁石のS極と第2磁石のN極とが互いに引っ付いてしまうことを防止することができる。その結果、磁石が皮膚に直接接触する際に生じる影響(炎症など)を回避でき、任意の適切な身体の位置に配置することができるとともに、配置した位置において比較的広範囲に磁気効果を及ぼすことが可能な磁気治療具を実現することができる。 According to the magnetic therapy device of the present invention, the first magnet having the first polarity (for example, S pole) as the surface, the second magnet having the second polarity (for example, N pole) as the surface, the first magnet and the second magnet. Since the resin member that covers the surface of the magnet and fixes them apart from each other is disposed on the surface of the taping member, the first magnet and the second magnet are brought into contact with the user's skin via the resin member. be able to. Therefore, the combination of the S pole of the first magnet and the N pole of the second magnet penetrates the magnet deeply and widely into the body compared to a single pole (for example, only S pole) magnet. And the magnetic effect of the magnet pair can be placed at any suitable body location by the taping member. Furthermore, since the surface of the magnet pair is brought into contact with the skin via a resin member (for example, a silicone resin), an influence (such as inflammation) that occurs when the magnet is in direct contact with the skin can be avoided. In addition, since the first magnet and the second magnet can be fixed apart from each other by the resin member, it is possible to prevent the S pole of the first magnet and the N pole of the second magnet from sticking to each other. Can do. As a result, it is possible to avoid the influence (such as inflammation) that occurs when the magnet is in direct contact with the skin, and it can be placed at any appropriate body position, and has a relatively wide magnetic effect at the placed position. It is possible to realize a magnetic therapy device capable of performing the above.
本願出願人は、肩こり等の治療効果に優れる磁気治療具の開発を日々行っており、特に、隣り合う永久磁石の身体に添わせる面の極性を互いに逆極性にした磁気治療具の研究開発および製造販売に力を入れている。さらに説明すると、磁気治療具は、通常、製造工程の容易さや製造コストの関係から、一方の極(例えば、S極)だけを上にして他の面を皮膚に貼り付けるようにする。一方、それとは異なって、S極とN極が交互に配置するようにすると、同じ磁石(同じ寸法、同じ磁力の磁石)を用いて、磁力線の流れが変わることを本願出願人は着目し、開発を続けている。 The applicant of the present application is developing a magnetic treatment device with excellent treatment effects such as stiff shoulders, and in particular, research and development of a magnetic treatment device in which the polarities of the surfaces of adjacent permanent magnets attached to the body are opposite to each other. Focus on manufacturing and sales. To explain further, a magnetic treatment device is usually attached to the skin with only one pole (for example, the S pole) facing upward because of the ease of the manufacturing process and manufacturing cost. On the other hand, the applicant of the present application pays attention to the fact that when the S poles and N poles are alternately arranged, the flow of magnetic lines of force changes using the same magnet (the same size and the same magnetic force), Development continues.
図17は、永久磁石91、92を、互いに離間させながら近接させて配置した様子を示している。ここでは、磁力線を視覚化するために砂鉄(93a、93b)で、磁力線の様子を表現している。永久磁石91はS極を上面として配置し、永久磁石92はN極を上面として配置している。 FIG. 17 shows a state in which the
図17からわかるように、永久磁石91および永久磁石92は、それぞれ下方向に磁力線(93a)を延ばすとともに、それに加えて、S極とN極との間に磁力線が流れることから、永久磁石91と永久磁石92との間を跨がる磁力線(93b)が発生する。このような交互に極性反転させた磁石配列(S極・N極・S極)により、磁気(磁力線93a、93b)を身体に対して深く、且つ、広範囲に浸透させることができる。 As can be seen from FIG. 17, each of the
一方、図18に示すように、N極を上面にした永久磁石91を配列させた場合は、それぞれの永久磁石91から下方向に磁力線(93a)が延びるだけで、隣接する永久磁石91に磁力線は延びない。つまりは、磁力の効果は、単独の磁石91の足し算だけに終わってしまう。そして、通常の磁気治療具は、図18に示した効果を発揮する形で設計されている。 On the other hand, as shown in FIG. 18, when the
本願出願人が、図17に示した磁力線の効果を得られるような貼付式磁気治療器の開発を行ったが、典型的な貼付式磁気治療器の場合、一枚のシール部材の中心に一個の永久磁石が固定されているだけであるので、それだけでは、図17に示すような効果は得られない。また、典型的な貼付式磁気治療器の場合、製造工程の関係上、磁石の極は同じ向きで揃っているので、仮に、典型的な貼付式磁気治療器を近接して配置したとしても、図18に示すような効果しか得られない。 The applicant of the present application has developed a sticking type magnetic therapy device capable of obtaining the effect of the magnetic field lines shown in FIG. 17, but in the case of a typical sticking type magnetic therapy device, there is one at the center of one seal member. Since only the permanent magnet is fixed, the effect as shown in FIG. 17 cannot be obtained. In addition, in the case of a typical patch-type magnetic therapy device, because the poles of the magnet are aligned in the same direction due to the manufacturing process, even if a typical patch-type magnetic therapy device is arranged close to the Only the effect shown in FIG. 18 can be obtained.
さらに、一枚のシール部材に、2個の永久磁石を極性が反転するように配置した場合、シール部材は、実質的に紙のような強度であるので、2個の永久磁石がS極とN極で互いにくっついてしまい、うまく皮膚に貼ることが難しい。そのような中、鋭意検討して、人間の皮膚に悪影響が少ないシリコーン樹脂を用いて、2個の永久磁石を互いに極性を反転させて離間した形で固定させることで、図17に示すような磁力線の効果を発揮するものを構築することができ、本発明に至った。 Furthermore, when two permanent magnets are arranged on one seal member so that the polarities are reversed, the seal members are substantially paper-like strength, and therefore, the two permanent magnets have the S pole. They stick to each other at the N pole and are difficult to apply to the skin. Under such circumstances, as shown in FIG. 17, the two permanent magnets are fixed apart from each other by reversing the polarity using a silicone resin that has little adverse effect on human skin. What can exhibit the effect of magnetic lines of force can be constructed, and the present invention has been achieved.
以下、図面を参照しながら、本発明の好適な実施形態を説明する。以下の図面においては、説明の簡潔化のために、同じ作用を奏する部材、部位には同じ符号を付し、重複する説明は省略または簡略化することがある。また、各図における寸法関係(長さ、幅、厚さ等)は、必ずしも実際の寸法関係を正確に反映していない場合がある。ただし、図1から図3、又は、図4・図5などのように、各図において寸法関係を一致させているものもあり、その場合は、各図の寸法・位置関係から、六面図を導き出すことが可能である。 Hereinafter, preferred embodiments of the present invention will be described with reference to the drawings. In the following drawings, for simplification of description, members and parts having the same action are denoted by the same reference numerals, and redundant description may be omitted or simplified. In addition, the dimensional relationship (length, width, thickness, etc.) in each drawing may not necessarily accurately reflect the actual dimensional relationship. However, some of the figures have the same dimensional relationship as shown in FIGS. 1 to 3 or FIGS. 4 and 5, and in that case, from the dimensional / positional relationship of each figure, Can be derived.
また、本明細書において特に言及している事項以外の事柄であって本発明の実施に必要な事項は、当該分野における従来技術に基づく当業者の設計事項として把握され得る。本発明は、本明細書及び図面によって開示されている内容と当該分野における技術常識とに基づいて実施することができる。加えて、本発明は、以下の実施形態に限定されるものではない。 Further, matters necessary for the implementation of the present invention other than matters specifically mentioned in the present specification can be grasped as design matters of those skilled in the art based on the prior art in this field. The present invention can be carried out based on the contents disclosed in the present specification and drawings and the common general technical knowledge in the field. In addition, the present invention is not limited to the following embodiments.
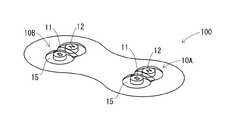
図1は、本発明の実施形態に係る磁気治療具100の構成を示す斜視図である。また、図2(a)から(c)は、本実施形態の磁気治療具100に含まれる樹脂構造体10の構成を示す平面図、横断面図および縦断面図である。加えて、図3(a)から(c)は、本実施形態の磁気治療具100の構成を示した平面図、横断面図および縦断面図である。 FIG. 1 is a perspective view showing a configuration of a
本実施形態の磁気治療具100は、複数の磁石(11、12)を含む磁気治療具100である。磁気治療具100に含まれている複数の磁石(第1磁石11、第2磁石12)は、互いに隣接している磁石の極性は反転して配列されている。本実施形態の構成では、第1磁石11は、第1極性(例えば、S極)を表面にし、第2極性(例えば、N極)を裏面している。また、第2磁石12は、第2極性(例えば、N極)を表面にし、第1極性(例えば、S極)を裏面にしている。第1磁石11の表面および第2磁石12の表面は、樹脂部材15によって覆われており、そして、樹脂部材15は、第1磁石11および第2磁石12を固定している。また、樹脂部材15で覆われて固定された第1磁石11および第2磁石12は、互いに離間(G)して配置されている。さらに、樹脂部材15、第1磁石11の裏面、第2磁石12の裏面は、テーピング部材20の表面(20a)に配置されている。 The
さらに説明すると、本実施形態の構成では、第1磁石11は、第1極性がS極の永久磁石(例えば、異方性のフェライト磁石)であり、第2磁石12は、第2極性がN極の永久磁石(例えば、異方性のフェライト磁石)である。この例では、図2(a)に示すように、第1磁石11の表面(上面)がS極となっており、第2磁石12の表面(上面)がN極となっている。本実施形態の構成では、樹脂部材15は第1磁石11および第2磁石12を含めた形で、樹脂構造体10を構築している。 More specifically, in the configuration of the present embodiment, the
図2(a)から(c)に示すように、樹脂構造体10には、第1凹部16aおよび第2凹部16bが形成されている。第1凹部16aには、第1磁石11が収納されている。また、第2凹部16bには、第2磁石12が収納されている。第1凹部16aおよび第2凹部16bは、樹脂構造体10の下面10bに開口(16c)を有している。また、樹脂構造体10の上面10aは、使用者の皮膚に接触する面となっている。 As shown in FIGS. 2A to 2C, the
この例では、第1凹部16aに収納された第1磁石11の裏面(下面)、および、第2凹部16bに収納された第2磁石12の裏面(下面)は、樹脂構造体10の下面10bに位置する開口(16c)から露出している。なお、第1磁石11または第2磁石12は、それぞれ、第1凹部16aの開口16cまたは第1凹部16aの開口16cから取り出し可能であるが、当該開口16cを樹脂(又は他の材料)や接着剤で封入して埋めることも可能である。 In this example, the back surface (lower surface) of the
樹脂部材15から構成された樹脂構造体10は、テーピング部材(シート部材)20の上に配置されている。さらに説明すると、第1凹部16aの開口16cおよび第2凹部16bの開口16cを含む樹脂構造体10の下面10bは、テーピング部材20によって覆われている。本実施形態のテーピング部材20は、支持基層と粘着層と剥離層とが積層された構造を有するシート部材(シート状又はフィルム状の部材)である。テーピング部材20の厚さは、例えば、0.3mm〜1.0mm(典型的には0.5mm)である。 The
本実施形態のテーピング部材20の上面20aは、剥離層が位置している。剥離層を取ると、粘着層付きの支持基層が露出する。この例において、剥離層は、例えば、剥離紙であり、粘着層は、例えばアクリル系樹脂の粘着剤から構成されている。支持基層は、シート形状を保持できるような材料から構成されていればよく、支持基層を構成する材料としては、例えば、ウレタン不織布、塩化ビニル、伸縮性綿布、ウレタンフィルム、オレフィンフィルムなどを用いることができる。テーピング部材20は、典型的には、粘着層が形成された支持基層と、剥離層との組み合わせたロール状の製品から作製することができる。なお、粘着層は、皮膚にできるだけ悪影響を与えない成分のものであることが好ましい。 The release layer is located on the
本実施形態の樹脂構造体10(樹脂部材15)は、接着剤によってテーピング部材20に固定されている。具体的には、テーピング部材20の表面のうちの樹脂構造体10が位置している部分を除く領域には、粘着層が形成されており、そして、その粘着層の上に剥離層を配置することができる。テーピング部材20の表面のうち、樹脂構造体10が位置する領域には、接着層(接着剤が付与された層)が形成されており、その接着層によって樹脂構造体10とテーピング部材20の両者が固定されている。テーピング部材20を構成する支持基層の上に接着層を形成して、樹脂構造体10(樹脂部材15)と固定してすることができる。あるいは、接着強度を確保できるのであれば、テーピング部材20のうちの粘着層の上に、接着層を形成して、その接着層で樹脂構造体10と固定してもよい。なお、図3(b)において、樹脂構造体10の下に位置する層、または、テーピング部材20と樹脂構造体10の間に位置する層を、接着層21として表している。接着層21は、例えば、両面テープ、または、接着剤による固着層である。 The resin structure 10 (resin member 15) of the present embodiment is fixed to the taping
本実施形態の樹脂構造体10を構成している材料(樹脂部材15)は、シリコーン樹脂である。シリコーン樹脂は、人の皮膚に影響を与え難いので、他の材料(特に、人の皮膚に刺激を与えてしまう材料)と比較して好ましい。なお、樹脂構造体10を構成している材料としては、シリコーン樹脂の他、ウレタン樹脂、あるいは、エラストマー特性を示すエラストマー樹脂(例えば、シリコーンゴム、ウレタンゴム、フッ素ゴム)を使用してもよい。磁気治療具100の製造コストは上がるが、樹脂構造体10の上面10aに、人の皮膚に影響を与え難い材料(例えば、シリコーン樹脂、または、生体適合性材料など)をコーティングできるのであれば、樹脂構造体10を構成する材料の選択の幅はひろがる。樹脂構造体10を構成する材料がシリコーン樹脂の場合、テーピング部材20に固定する接着手段としては、両面テープ(例えば、シリコーン接着剤/アクリル系接着剤の両面テープ、または、シリコーン粘着剤/アクリル系粘着剤の粘着系の両面テープ)、または、両者を接合可能な接着剤などを用いることができる。 The material (resin member 15) constituting the
本実施形態の第1磁石11および第2磁石12は、樹脂構造体10内において離間して配置されている。図2(b)に示すように、第1磁石11および第2磁石12の離間している距離(G)は、第1磁石11と第2磁石12における互いに対向する面の境界線の間の距離(隙間距離、または空間距離)である。なお、第1磁石11および第2磁石12の間の距離(隙間距離)Gがゼロになると、第1磁石11と第2磁石12とが一体となり1個の磁石となってしまう。つまり、図17に示したような広範囲の磁気の効果を得ることができず、1つの磁石になることで、図18に示したような狭い範囲の磁気の効果になってしまう。 The
本実施形態の第1磁石11、第2磁石は、永久磁石であることが好ましい。また、磁力線の流れの設計をしやすくするために、同種の磁石(例えば、フェライト磁石)、特に、同種で、同一寸法で、同一磁力(例えば、同一の磁束密度)を用いることが製造プロセスや大量購入・大量生産の点でも好ましい。本実施形態の第1磁石11、第2磁石12は、フェライト磁石であり、フェライト磁石は、鉄酸化物粉末を主原料にした磁石であり、焼結磁石のため耐腐性・耐酸化性にも優れているという特長がある。また、フェライト磁石は、磁気保持力が高いので減磁しにくく、安定しており、規格品やロットがまとまった場合に最も安価な磁石ということで、性質の安定性、および、コスト面で有利である。 The
本実施形態の第1磁石11、第2磁石は、例えば、70ミリテスラ(磁束密度:mT)から200ミリテスラ(mT)のものを使用することができる。一例では、第1磁石11、第2磁石は、フェライト磁石で、100mT(1000ガウス)、または、130mTである。あるいは、第1磁石11、第2磁石として、80mT、150mTなどのものを使用することができる。加えて、第1磁石11、第2磁石は、希土類永久磁石(例えば、ネオジム磁石、または、サマコバ磁石)を使用することができる。希土類永久磁石(例えば、ネオジム磁石)の第1磁石11、第2磁石12でも、例えば、70ミリテスラ(磁束密度:mT)から200ミリテスラ(mT)のものを使用することができるが、フェライト磁石よりも、その上限を挙げることができる(例えば、500mTのネオジム磁石)。 As the
第1磁石11と第2磁石との間の距離(隙間距離)Gは、例えば、2mm以上10mm以下にすることができる。ただし、隙間距離Gは、使用する磁石の強さ(例えば、磁束密度(mT))によって変化し得るので、性能にあわせて適宜好適な距離Gを選択すればよい。図1に示した例の構成では、隙間距離Gは2.5mmである。なお、隙間距離Gと、第1磁石11および第2磁石12の磁石の強さ(磁束密度)についての関係について、本願発明者は検討したので、それを以下に示す。 The distance (gap distance) G between the
隙間距離Gがどのくらい離れると、磁石間の磁気ブリッジ効果(図17中の「93b」)が無くなるかについて簡単に判定することは実は難しい。それは、図17に示すように、S極とN極とに反転させた磁石91・92との間の磁力線は、皮膚の深さ方向に潜るために、皮膚表面での数字(磁束密度)としては現れにくいからである。ただし、皮膚表面(平面上)での数字(磁束密度)としては現れにくいとはいえ、何らかの参考になるということで、隙間距離Gを変化させて、その中間点(Gが4mmであれば、その真ん中の点(磁石の境界から2mmの点))での、平面上の磁束密度を測定した。ここでの「平面上」とは、第1磁石11と第2磁石が配置されている同一平面(基準面の平面)の上ということである。 It is actually difficult to simply determine how far the gap distance G is from when the magnetic bridge effect between magnets (“93b” in FIG. 17) disappears. As shown in FIG. 17, the lines of magnetic force between the
まず、第1磁石11および第2磁石12の磁束密度がそれぞれ100mTの実験結果について説明する。隙間距離Gが2.5mmのときは8mT、3mmのときは4.5mT、4mmのときは3mT、5mmのときは1.8mT、6mmのときは0.18mT、7mmのときは0.14mT、8mmのときは0.10mT、10mmのときは0.05mTである。隙間距離Gが10mmのときも、平面上で0.05mTの値を示しているので、第1磁石11および第2磁石12の間の磁気ブリッジ効果が発生しているものと推測される。なお、2.0mmのとき、又は、1.5mmのときは、磁気ブリッジ効果は確認されると推測されるが、0.5mmまたはそれ以下になると、第1磁石11と第2磁石12とが一体になる効果の方が強調されてしまう可能性が高くなることが推測される。 First, experimental results in which the magnetic flux densities of the
次に、第1磁石11および第2磁石12の磁束密度がそれぞれ130mTの実験結果について説明する。隙間距離Gが2.5mmのときは8.7mT、3mmのときは4.5mT、4mmのときは2.3mT、5mmのときは2.3mT、6mmのときは1.1mT、7mmのときは0.8mT、8mmのときは0.4mT、10mmのときは0.13mTである。隙間距離Gが10mmのときも、平面上で0.13mTの値を示しているので、第1磁石11および第2磁石12の間の磁気ブリッジ効果が発生しているものと推測される。なお、磁束密度が130mTの磁石(11、12)の場合も、2.0mmのとき、又は、1.5mmのときは、磁気ブリッジ効果は確認されると推測されるが、0.5mmまたはそれ以下になると、第1磁石11と第2磁石12とが一体になる効果の方が強調されてしまう可能性が高くなることが推測される。 Next, an experimental result in which the magnetic flux densities of the
本実施形態の第1磁石11および第2磁石12は、円柱形状を有している。第1磁石11(または第2磁石12)の直径は、例えば3mm〜10mmであり、典型的には5mmである。また、第1磁石11(または第2磁石12)の高さ(厚さ)は、例えば、0.5mm〜5mmであり、典型的には1mmである。また、第1磁石11(または第2磁石12)の形状は、円柱形状でなく、他の形状であっても構わない。例えば、立方体、直方体、球形、ラグビーボール形状などである。円柱形状、直方体形状などの場合、その角は丸くしたり、角の部分がテーパー状になっているものであってもよい。加えて、球形、ラグビーボール形状、又は、変形の球形のように曲面上になっている場合は、S極、N極を示す面(表面・裏面、又は、上面・下面)は、北半球、南半球のようにエリアを分けることで、規定することが可能である。なお、第1磁石11および第2磁石12の寸法や形状などは、磁石の磁力(磁束密度など)、永久磁石の種類(フェライト磁石、ネオジム磁石など)によって適宜好適なものに変えることができる。したがって、上述した数字に限定されるものではない。 The
本実施形態の樹脂構造体10は、第1磁石11および第2磁石12を収納する構造を有している。したがって、樹脂構造体10に形成された第1凹部16aおよび第2凹部16bは、第1磁石11および第2磁石12に対応した形状および寸法を有している。また、樹脂構造体10は、第1磁石11および第2磁石12の互いの反対の極がくっついて一体になってしまわない程度の硬度を有している。樹脂構造体10の硬度は、例えば、10度〜30度(典型的に20度、または、15度〜25度)である。樹脂構造体10(シリコーン樹脂製の樹脂構造体)が10度近傍または10度を下回る場合は、当該樹脂が相対的に柔らかすぎる傾向がある。また、樹脂構造体10(シリコーン樹脂製の樹脂構造体)が30度近傍または30度を上回る場合は、当該樹脂が皮膚に接触させ続けたときに相対的に硬すぎる傾向がある。なお、樹脂構造体10の構造によっては、硬度が10度近傍(またはそれ以下)の場合でも適切に使用できる場合があるし、硬度が30度近傍(またはそれ以上)の場合でも適切に使用できる場合がある。 The
図2に示した例の樹脂構造体10は、球形(変形した球形を含む)の一部(最上部周辺)が切断された形状のものが二つ連結されたような形状を有している。樹脂構造体10の上面10aは、上に凸の曲面を有しており、第1磁石11および第2磁石12に対応する位置を頂点として、皮膚に接触するような構造となっている。また、樹脂構造体10の上面10aのうちの第1磁石11および第2磁石12の境界に位置する部位は、陥没部(または凹部)17となっている。このような陥没部(または凹部)17を形成することで、デザイン性を良くすることができるとともに、樹脂構造体10に使用する樹脂の量を減らすことが可能となる。本実施形態の樹脂構造体10の形状(構造)では、第1磁石11および第2磁石12のそれぞれを樹脂が覆うような構造上または形状上の特徴を有しているので、磁石の硬さが樹脂(シリコーン樹脂またはエラストマー樹脂)の柔らかさで覆われて肌に接した時に心地良いという効果を得ることができる。 The
本実施形態の樹脂構造体10(磁気治療具100)では、第1磁石11および第2磁石12の上面(表面)と、使用者(ユーザ)の皮膚の間に、樹脂部材(例えば、シリコーン樹脂)15が介在する。したがって、第1磁石11および第2磁石12が直接肌に触れることがないので、使用者の接触性皮膚炎(例えば、金属イオンアレルギー)の問題を回避することができる。第1磁石11(又は第2磁石12)の上に位置する樹脂部材15の厚さは、例えば0.5mm〜5mm(典型的には1mm)である。樹脂部材15の厚さがあまりに厚すぎると、第1磁石11および第2磁石12の磁気効果が弱まってしまうため、適度な厚さにしておくことが望ましい。なお、第1磁石11および第2磁石12の表面を樹脂部材15が覆えばよいので、樹脂部材15の厚さが薄くても問題はないが、あまりに薄すぎて、第1磁石11および第2磁石12が樹脂部材15を破ってしまうことがないようにすることが望ましい。 In the resin structure 10 (magnetic therapy device 100) of the present embodiment, a resin member (for example, a silicone resin) is provided between the upper surfaces (surfaces) of the
本実施形態の樹脂構造体10の寸法は、第1磁石11および第2磁石12の形状又は寸法によって決定されるので、適宜好適なものを採用すればよい。一例を挙げると、図2に示した例においては、樹脂構造体10の長さ(縦長さ)Lは、例えば10〜30mm(典型的には18mm)である。また、樹脂構造体10の幅(横長さ)Wは、例えば5mm〜20mm(典型的には10mm)である。さらに、樹脂構造体10の高さTは、例えば1mm〜5mm(典型的には2mm)である。 Since the dimension of the
なお、樹脂構造体10の形状は、図2に示したようなものに限らず、上面から見て矩形(または正方形)のようなものでも構わない。図2に示した陥没部17を形成してもよいし、形成しなくてもよい。また、樹脂構造体10の形状は、上面から見て、楕円形形状、長円形状、直線と円弧からなるトラック形状、円形形状、多角形形状(例えば、六角形、八角形など)のようなものでもよい。樹脂構造体10の上面から見た形状は、基本的に、対称形が好ましいが、非対称の形状(例えば、台形)にしたり、樹脂構造体10の形状を、星、花、動物、キャラクター(アニメやマンガの主人公・登場人物など)の形状にしても構わない。 The shape of the
図3(a)から(c)は、それぞれ、図1に示した磁気治療具100の上面、縦側面から見た断面、横側面から見た断面を示している。図3に示した磁気治療具100は、図2に示した樹脂構造体10をテーピング部材(シート部材)20の中心部に接合した構造となっている。 FIGS. 3A to 3C show a cross section viewed from the top surface, the vertical side surface, and a horizontal side surface of the
本実施形態のテーピング部材20の形状または寸法は、樹脂構造体10の構造(形状又は寸法など)によって決定されるので、適宜好適なものを採用することができる。一例を挙げると、図3に示した例においては、テーピング部材20の長さ(縦長さ)L2は、例えば15mm〜50mm(典型的には30〜35mm)である。また、樹脂構造体10の幅(横長さ)W2は、例えば10mm〜50mm(典型的には20mm)である。 Since the shape or dimension of the taping
なお、テーピング部材20の形状は、図3(a)に示したような、直線と円弧からなるトラック形状に限らず、上面から見て矩形(または正方形)のようなものでも構わない。なお、肌に付けるテーピング部材の特性上、テーピング部材の角は丸く(アールに)なっていることが好ましい。また、テーピング部材20の形状は、上面から見て、楕円形形状、長円形状、円形形状、多角形形状(例えば、六角形、八角形など)のようなものでもよい。テーピング部材20の上面から見た形状は、基本的に、対称形の形状が好ましいが、非対称の形状(例えば、台形)にしたり、テーピング部材20の形状を、星、花、動物、キャラクター(アニメやマンガの主人公・登場人物など)の形状にしても構わない。 The shape of the taping
本実施形態の磁気治療具100は、図4および図5に示すように改変することができる。図4に示した磁気治療具100は、図1に示した磁気治療具100と比較して、テーピング部材20の長さL3が長いものである。図4に示したテーピング部材20の長さ(縦長さ)L3は、例えば20mm〜1200mm(典型的には40〜60mm)である。また、樹脂構造体10の幅(横長さ)W3は、例えば10mm〜50mm(典型的には20mm)である。図4に示した構成は、テーピング部材20の長さ(L3)が長いので、使用者(ユーザー)の身体のうちの比較的長い筋肉や腱などの部位をテーピングして、磁気治療するのに適しているおり、また、粘着面積が大きいので取れにくいという利点がある。 The
さらに、本実施形態の磁気治療具100は、図6および図7に示すように改変することができる。上述した実施形態の磁気治療具100においては、テーピング部材20の上に、樹脂構造体10を1個だけ配置したが、図6に示した磁気治療具100では、樹脂構造体10は、1つのテーピング部材20の上に複数(ここでは、2個)の配置されている。具体的には、テーピング部材20の上面における右側に樹脂構造体10Aが形成され、左側に樹脂構造体10Bが形成されている。このような構成にすれば、1つの磁気治療具100(1枚のテーピング部材20)で、複数箇所の磁気治療を実行することが可能となる。 Furthermore, the
そして、本実施形態の磁気治療具100は、図8(a)及び(b)に示したように、使用者1000の身体の前面側・背面側の任意箇所に貼り付けることができ、したがって、使用者1000の望む場所を磁気治療することができ、その結果、コリなどを取ることができる。ここでは、樹脂構造体10の上面(表面)10aが皮膚に接触し、テーピング部材20の上面20aに位置する粘着層が、第1磁石11及び第2磁石12を包摂する樹脂構造体10を皮膚に固定することができる。なお、上面および下面の意味については、図1から図3に示したものを基準にしているので、鉛直方向の下側や水平方向に沿って「上面」が位置することがある。 And, as shown in FIGS. 8A and 8B, the
本実施形態の磁気治療具100は、S極を表面(上面)にした第1磁石11と、N極を表面(上面)にした第2磁石とを備えており、そして、第1磁石11及び第2磁石12の表面を覆うとともに両者(11、12)を互いに離間(G)して固定する樹脂部材15(または樹脂構造体10)が、テーピング部材20の表面(20a)に配置されている。したがって、樹脂部材(例えば、シリコーン樹脂製の部材)15を介して、第1磁石11及び第2磁石12を使用者1000の皮膚に接触させることができる。 The
この構成によれば、図17に示すように、第1磁石(11、91)のS極(裏面はN極)と、第2磁石(12、92)のN極(裏面はS極)との組み合わせによって、単一の極(例えば、図18の表面S極のみ)の磁石の場合と比較して、磁気を身体に対して深く且つ広範囲に浸透させることができる。そして、その磁石ペア(11、12)による磁気の効果を、テーピング部材20によって、図8(a)および(b)に示すように、任意の適切な身体の位置に配置することができる。 According to this configuration, as shown in FIG. 17, the S pole (back surface is N pole) of the first magnet (11, 91) and the N pole (back surface is S pole) of the second magnet (12, 92). This combination allows the magnetism to penetrate deeply and extensively into the body as compared to a single pole (eg, only the surface S pole in FIG. 18) magnet. And the magnetic effect by the magnet pair (11, 12) can be arranged at any appropriate body position by the taping
さらに、樹脂部材(例えば、シリコーン樹脂)15を介して、その磁石ペア(11、12)の表面を皮膚に接触させるので、すなわち、磁石ペア(11、12)を間接的に皮膚に接触させるので、磁石(11、12)が皮膚に直接接触する際に生じる影響(炎症など)を回避することができる。加えて、樹脂部材15によって、第1磁石11及び第2磁石12を互いに離間(G)して固定することができるので、第1磁石11のS極(又はN極)と第2磁石12のN極(又はS極)とが互いに引っ付いてしまうことを防止することができる。 Furthermore, since the surface of the magnet pair (11, 12) is brought into contact with the skin through the resin member (for example, silicone resin) 15, that is, the magnet pair (11, 12) is brought into contact with the skin indirectly. In addition, the influence (such as inflammation) that occurs when the magnets (11, 12) are in direct contact with the skin can be avoided. In addition, since the
したがって、本実施形態の磁気治療具100によれば、磁石が皮膚に直接接触する際に生じる影響(炎症など)を回避でき、任意の適切な身体の位置に配置することができるとともに、配置した位置において比較的広範囲に磁気効果を及ぼすことができる。 Therefore, according to the
次に、図9を参照しながら、本実施形態の磁気治療具100の製造方法について説明する。図9は、磁気治療具100(樹脂構造体10)の製造工程(着磁工程)を説明するための工程断面図である。 Next, a method for manufacturing the
本実施形態の磁気治療具100は、隣り合う磁石(11、12)同士が逆極性になるように交互に逆向きに配列させるために、上面が一律にS極(又はN極)として配列される場合と比較して、製造工程が煩雑となる。すなわち、すべての磁石のS極とN極の位置を規定して、その位置を把握した状態で、樹脂構造体10の凹部(16a、16b)に挿入する必要がある。 In the
一方で、そのような手法ではなく、図9に示すように行うことが可能である。図9に示した構造は、着磁前の第1磁性材料(例えば、円柱形状の粒状)11a、第2磁性材料(例えば、円柱形状の粒状)11bを、樹脂構造体10Xの凹部(16a、16b)に充填する。第1磁性材料11aおよび第2磁性材料11bは、着磁前であるので、まだ極性はなく、それゆえに、樹脂構造体10Xの凹部(16a、16b)に一律に充填することができる。そのような状態で、着磁装置(30A、30B)を用いて、樹脂構造体10Xの凹部(16a、16b)内の第1磁性材料11a、第2磁性材料11bを着磁して、隣り合う磁石(11、12)同士が逆極性になるようにすることができる。 On the other hand, instead of such a method, it can be performed as shown in FIG. The structure shown in FIG. 9 includes a first magnetic material (for example, a columnar particle) 11a and a second magnetic material (for example, a columnar particle) 11b that are not magnetized, and a recess (16a, 16b). Since the first
このように、第1磁石11及び第2磁石12が充填された樹脂構造体10を製造した後、テーピング部材20に固定したら、本実施形態の磁気治療具100を得ることができる。 Thus, if the
さらには、図10(a)から(c)に示すようにして、樹脂構造体10を製造することができる。図10(a)から(c)は、樹脂構造体10を製造する工程を示す工程断面図である。 Furthermore, the
まず、図10(a)に示すように、第1磁石11、第2磁石12を基板35の上に配列させる。すなわち、隣り合う磁石(11、12)同士が逆極性になるように交互に逆向きに基板35上に配列させる。 First, as shown in FIG. 10A, the
次に、図10(b)に示すように、第1磁石11、第2磁石12を覆うように、樹脂材料(例えばシリコーン樹脂)16を基板35の上に堆積させる。この樹脂材料の堆積工程は、製造したい樹脂構造体10の形状や寸法にあわせて実行する。 Next, as shown in FIG. 10B, a resin material (for example, silicone resin) 16 is deposited on the
その後、図10(c)に示すように、樹脂構造体10の構造を規定する型(不図示)を用いて、図10(b)に示した堆積体(11、12、16)から、樹脂構造体10を切り出して(型抜きして)、本実施形態の樹脂構造体10を得る。 Thereafter, as shown in FIG. 10 (c), a resin (11, 12, 16) shown in FIG. 10 (b) is used to form a resin by using a mold (not shown) that defines the structure of the
図10(a)から(c)に示した製造工程によっても、樹脂構造体10の凹部16a、16bに、第1磁石11、第2磁石12の位置を合わせながら充填すること工程を省略することができる。得られた樹脂構造体10は、テーピング部材20に接着して固定することで、本実施形態の磁気治療具100にすることができる。 Even in the manufacturing process shown in FIGS. 10A to 10C, the process of filling the
また、本実施形態の磁気治療具100は、図11から図13に示した構造に改変することも可能である。 Further, the
図11に示した磁気治療具100Bは、4つ葉マーク型のテーピング部材20Bを備えている。そして、テーピング部材20Bにおける4つ葉マーク部位のそれぞれに、樹脂構造体10が配置されている。 A
図12に示した磁気治療具100Cは、中心中央部に開口部23が形成されたテーピング部材20Cを備えている。テーピング部材20Cは、複数(ここでは、奇数、又は、3つ)の頂点部位を有しており、それぞれの頂点部位に、樹脂構造体10が配置されている。 A magnetic treatment device 100C shown in FIG. 12 includes a taping member 20C having an
図13に示した磁気治療具100Dは、十字型のテーピング部材20Dを備えている。テーピング部材20Dの中心中央部には開口部23が形成されている。そして、十字型のテーピング部材20Dの上・下・右・左において、樹脂構造体10が配置されている。 A
図11から図13に示した磁気治療具100B、100C、100Dは、図14(a)及び(b)に示したように、使用者1000の身体の前面側・背面側の任意箇所に貼り付けることができる。特に、肘、膝、肩などの良く動く箇所に、好適に貼り付けることができ、そして、使用者1000の望む場所を磁気治療することができる。 The magnetic
さらに、本実施形態の磁気治療具100では、粘着性のテーピング部材(シート部材)20に限らず、伸縮性を有するサポーター部材(シート部材20)の表面または内部に磁気治療具10を配置しても構わない。そのようなサポーター部材としては、弾力性/伸縮性のある円筒形状のもの(例えば、膝や肘を覆うスポーツ用サポータ)を挙げることができ、内面に粘着性を必要としていないものが典型的であるが、内面に粘着性を持たせてもよい。そのようなサポーター部材の材料としては、例えば、ナイロン、ポリウレタンのようなものを用いることができる。 Furthermore, in the
上述した実施形態では、樹脂構造体10をテーピング部材20に固定して磁気治療具100の形態にしていたが、それだけに限らず、樹脂構造体10単体だけでも利用価値は大きい。例えば、図15は、樹脂構造体10をシート基材(シート部材)25の上にマトリックス状(行列状)に配列したシート配列タイプ製品90である。 In the embodiment described above, the
図15に示したシート配列タイプ製品90では、シート基材25の下面は、粘着層付きの支持基板になっており、樹脂構造体10の下面は、その粘着層に粘着される状態になっている。シート基材25の上面のうち、樹脂構造体10以外のところは、表面層または剥離層(離型テープ部材)が載っている。樹脂構造体10の外枠境界15aのところを輪郭として、シート基材25の粘着層から、樹脂構造体10を取り外すことができる。 In the sheet
図15に示したシート配列タイプ製品90の場合、その状態で、大量の樹脂構造体10を搬送することができるので便利である。そして、この樹脂構造体10をテーピング部材(シート部材)20に固定さえすれば、所望の場所・時期に、磁気治療具100を製造することが可能である。特に、所望形態のテーピング部材20(20B〜20D)を、樹脂構造体10を組み合わせて用いたい場合に便利である。また、樹脂構造体10のスペア販売の目的で、シート配列タイプ製品90の形態で薬局などに卸したり、薬局などで販売することもできる。 The sheet
なお、上述した実施形態では、樹脂構造体10に二つの磁石(11、12)を含めていたが、それに限るものではない。例えば、図16に示すように、3つの磁石(11a、12、11b)を配列させて、樹脂構造体10を構築してもよい。図16では3つの磁石を直線的に配列させたが、4つ以上の磁石を配列させてもよいし、また、隣接する磁石の極が反転する配列形態で二次元的に(例えば、市松模様)樹脂構造体10の中に複数の磁石を配列されてもよい。 In addition, in embodiment mentioned above, although the two magnets (11, 12) were included in the
以上、本発明を好適な実施形態により説明してきたが、こうした記述は限定事項ではなく、勿論、種々の改変が可能である。上述した実施形態または改変例の構成または手法は相互に適用可能である。例えば、図16に示した樹脂構造体10を、図15に示したシート基材25に配列させることも可能である。 As mentioned above, although this invention was demonstrated by suitable embodiment, such description is not a limitation matter and of course various modifications are possible. The configurations or techniques of the above-described embodiments or modifications are mutually applicable. For example, the
本発明によれば、任意の適切な身体の位置に配置することができ、配置した位置において比較的広範囲に磁気効果を及ぼすことが可能な磁気治療具を提供することができる。 ADVANTAGE OF THE INVENTION According to this invention, the magnetic therapy tool which can be arrange | positioned in arbitrary appropriate body positions and can exert a magnetic effect in a comparatively wide range in the arrange | positioned position can be provided.
10 樹脂構造体
10a 樹脂構造体の上面
10b 樹脂構造体の下面
11 第1磁石
12 第2磁石
15 樹脂部材
16a、16b 樹脂構造体の凹部
16c 凹部の開口
17 陥没部
20 テーピング部材
21 接着層
23 テーピング部材の開口部
25 シート基材(シート部材)
35 基板
90 シート配列タイプ製品
91、92 磁石
93a、93b 磁力線
100 磁気治療具
1000 使用者
1100 貼付式磁気治療器
1200、1300 磁気治療具DESCRIPTION OF
35
血液成分の中には、プラスイオンとマイナスイオンに電離するものが含まれており、これが血液中を流れるので、電流が流れるのと等しい状態となっている。ここに磁石によって磁場を加えると、「フレミングの左手の法則」により力が発生する。この力がイオンの流れを活発にし、血液の流れを良くするものと考えられる。
Some blood components are ionized into positive ions and negative ions, which flow through the blood, so that the current is equal to the current. The addition ofmagnetic field here by the magnet, the force by "Fleming's left-hand rule" occurs. This force is considered to activate the flow of ions and improve the flow of blood.
代表的なものとして、貼付式磁気治療器がある。人体のつぼに磁石をあて、これを粘着剤の付いたシートで上から被せて固定するものである。この方法は、磁石を直接人体のつぼに密着させることができるので効果的である。そのような貼付式磁気治療器としては、例えば、特許文献2に示すような磁気治療器を挙げることができる。
A typical example is a sticking type magnetic therapy device. A magnet is applied to the vase of the human body, and this is covered and fixed from above with a sheet with an adhesive. This method is effective because the magnet can be brought into close contact with the pot of the human body directly. It isa such a patch-type magnet therapy, for example, a magnet therapy as described in Patent Document 2.
本発明の磁気治療具によれば、第1極性(例えばS極)を表面にした第1磁石と、第2極性(例えばN極)を表面にした第2磁石と、第1磁石及び第2磁石の表面を覆うとともに両者を互いに離間して固定する樹脂部材が、テーピング部材の表面に配置されているので、樹脂部材を介して、第1磁石及び第2磁石を使用者の皮膚に接触させることができる。したがって、第1磁石のS極と第2磁石のN極との組み合わせによって、単一の極(例えばS極のみ)の磁石の場合と比較して、磁気を身体に対して深く且つ広範囲に浸透させることができるとともに、その磁石ペアによる磁気の効果を、テーピング部材によって、任意の適切な身体の位置に配置することができる。さらに、樹脂部材(例えば、シリコーン樹脂)を介して、その磁石ペアの表面を皮膚に接触させるので、磁石が皮膚に直接接触する際に生じる影響(炎症など)を回避することができる。加えて、樹脂部材によって、第1磁石及び第2磁石を互いに離間して固定することができるので、第1磁石のS極と第2磁石のN極とが互いに引っ付いてしまうことを防止することができる。その結果、磁石が皮膚に直接接触する際に生じる影響(炎症など)を回避でき、任意の適切な身体の位置に配置することができるとともに、配置した位置において比較的広範囲に磁気効果を及ぼすことが可能な磁気治療具を実現することができる。
According to the magnetic therapy device of the present invention, the first magnet having the first polarity (for example, S pole) as the surface, the second magnet having the second polarity (for example, N pole) as the surface, the first magnet and the second magnet. Since the resin member that covers the surface of the magnet and fixes them apart from each other is disposed on the surface of the taping member, the first magnet and the second magnet are brought into contact with the user's skin via the resin member. be able to. Therefore, the combination of the S pole of the first magnet and the N pole of the second magnet penetrates the magnet deeply and widely into the body compared to a single pole (for example, only S pole) magnet. And the magnetic effect of the magnet pair can be placed at any suitable body location by the taping member. Further, the resin member (e.g., silicone resin) through the surface of the magnet pairsthan Ru in contact with the skin, it is possible to avoid the magnets impact generated when in direct contact with the skin (such as inflammation). In addition, since the first magnet and the second magnet can be fixed apart from each other by the resin member, it is possible to prevent the S pole of the first magnet and the N pole of the second magnet from sticking to each other. Can do. As a result, it is possible to avoid the influence (such as inflammation) that occurs when the magnet is in direct contact with the skin, and it can be placed at any appropriate body position, and has a relatively wide magnetic effect at the placed position. It is possible to realize a magnetic therapy device capable of performing the above.
この例では、第1凹部16aに収納された第1磁石11の裏面(下面)、および、第2凹部16bに収納された第2磁石12の裏面(下面)は、樹脂構造体10の下面10bに位置する開口(16c)から露出している。なお、第1磁石11または第2磁石12は、それぞれ、第1凹部16aの開口16cまたは第2凹部16bの開口16cから取り出し可能であるが、当該開口16cを樹脂(又は他の材料)や接着剤で封入して埋めることも可能である。
In this example, the back surface (lower surface) of the
本実施形態のテーピング部材20の上面20aは、剥離層が位置している。剥離層を取ると、粘着層付きの支持基層が露出する。この例において、剥離層は、例えば、剥離紙であり、粘着層は、例えばアクリル系樹脂の粘着剤から構成されている。支持基層は、シート形状を保持できるような材料から構成されていればよく、支持基層を構成する材料としては、例えば、ウレタン不織布、塩化ビニル、伸縮性綿布、ウレタンフィルム、オレフィンフィルムなどを用いることができる。テーピング部材20は、典型的には、粘着層が形成された支持基層と、剥離層とを組み合わせたロール状の製品から作製することができる。なお、粘着層は、皮膚にできるだけ悪影響を与えない成分のものであることが好ましい。
The release layer is located on the
本実施形態の樹脂構造体10(樹脂部材15)は、接着剤によってテーピング部材20に固定されている。具体的には、テーピング部材20の表面のうちの樹脂構造体10が位置している部分を除く領域には、粘着層が形成されており、そして、その粘着層の上に剥離層を配置することができる。テーピング部材20の表面のうち、樹脂構造体10が位置する領域には、接着層(接着剤が付与された層)が形成されており、その接着層によって樹脂構造体10とテーピング部材20の両者が固定されている。テーピング部材20を構成する支持基層の上に接着層を形成して、樹脂構造体10(樹脂部材15)と固定することができる。あるいは、接着強度を確保できるのであれば、テーピング部材20のうちの粘着層の上に、接着層を形成して、その接着層で樹脂構造体10と固定してもよい。なお、図3(b)において、樹脂構造体10の下に位置する層、または、テーピング部材20と樹脂構造体10の間に位置する層を、接着層21として表している。接着層21は、例えば、両面テープ、または、接着剤による固着層である。
The resin structure 10 (resin member 15) of the present embodiment is fixed to the taping
本実施形態の第1磁石11、第2磁石12は、永久磁石であることが好ましい。また、磁力線の流れの設計をしやすくするために、同種の磁石(例えば、フェライト磁石)、特に、同種で、同一寸法で、同一磁力(例えば、同一の磁束密度)を用いることが製造プロセスや大量購入・大量生産の点でも好ましい。本実施形態の第1磁石11、第2磁石12は、フェライト磁石であり、フェライト磁石は、鉄酸化物粉末を主原料にした磁石であり、焼結磁石のため耐腐性・耐酸化性にも優れているという特長がある。また、フェライト磁石は、磁気保持力が高いので減磁しにくく、安定しており、規格品やロットがまとまった場合に最も安価な磁石ということで、性質の安定性、および、コスト面で有利である。
The
本実施形態の第1磁石11、第2磁石12は、例えば、70ミリテスラ(磁束密度:mT)から200ミリテスラ(mT)のものを使用することができる。一例では、第1磁石11、第2磁石12は、フェライト磁石で、100mT(1000ガウス)、または、130mTである。あるいは、第1磁石11、第2磁石12として、80mT、150mTなどのものを使用することができる。加えて、第1磁石11、第2磁石は、希土類永久磁石(例えば、ネオジム磁石、または、サマコバ磁石)を使用することができる。希土類永久磁石(例えば、ネオジム磁石)の第1磁石11、第2磁石12でも、例えば、70ミリテスラ(磁束密度:mT)から200ミリテスラ(mT)のものを使用することができるが、フェライト磁石よりも、その上限を上げることができる(例えば、500mTのネオジム磁石)。
As the
第1磁石11と第2磁石12との間の距離(隙間距離)Gは、例えば、2mm以上10mm以下にすることができる。ただし、隙間距離Gは、使用する磁石の強さ(例えば、磁束密度(mT))によって変化し得るので、性能にあわせて適宜好適な距離Gを選択すればよい。図1に示した例の構成では、隙間距離Gは2.5mmである。なお、隙間距離Gと、第1磁石11および第2磁石12の磁石の強さ(磁束密度)についての関係について、本願発明者は検討したので、それを以下に示す。
The distance (gap distance) G between the
隙間距離Gがどのくらい離れると、磁石間の磁気ブリッジ効果(図17中の「93b」)が無くなるかについて簡単に判定することは実は難しい。それは、図17に示すように、S極とN極とに反転させた磁石91・92との間の磁力線は、皮膚の深さ方向に潜るために、皮膚表面での数字(磁束密度)としては現れにくいからである。ただし、皮膚表面(平面上)での数字(磁束密度)としては現れにくいとはいえ、何らかの参考になるということで、隙間距離Gを変化させて、その中間点(Gが4mmであれば、その真ん中の点(磁石の境界から2mmの点))での、平面上の磁束密度を測定した。ここでの「平面上」とは、第1磁石11と第2磁石12が配置されている同一平面(基準面の平面)の上ということである。
It is actually difficult to simply determine how far the gap distance G is from when the magnetic bridge effect between magnets (“93b” in FIG. 17) disappears. As shown in FIG. 17, the lines of magnetic force between the
本実施形態の磁気治療具100は、図4および図5に示すように改変することができる。図4及び図5に示した磁気治療具100は、図1に示した磁気治療具100と比較して、テーピング部材20の長さL3が長いものである。図4及び図5に示したテーピング部材20の長さ(縦長さ)L3は、例えば20mm〜1200mm(典型的には40〜60mm)である。また、樹脂構造体10の幅(横長さ)W3は、例えば10mm〜50mm(典型的には20mm)である。図4及び図5に示した構成は、テーピング部材20の長さ(L3)が長いので、使用者(ユーザー)の身体のうちの比較的長い筋肉や腱などの部位をテーピングして、磁気治療するのに適しており、また、粘着面積が大きいので取れにくいという利点がある。
The
さらに、本実施形態の磁気治療具100は、図6および図7に示すように改変することができる。上述した実施形態の磁気治療具100においては、テーピング部材20の上に、樹脂構造体10を1個だけ配置したが、図6に示した磁気治療具100では、樹脂構造体10は、1つのテーピング部材20の上に複数(ここでは、2個)配置されている。具体的には、テーピング部材20の上面における右側に樹脂構造体10Aが形成され、左側に樹脂構造体10Bが形成されている。このような構成にすれば、1つの磁気治療具100(1枚のテーピング部材20)で、複数箇所の磁気治療を実行することが可能となる。
Furthermore, the
一方で、そのような手法ではなく、図9に示すように行うことが可能である。図9に示した構造は、着磁前の第1磁性材料(例えば、円柱形状の粒状)11a、第2磁性材料(例えば、円柱形状の粒状)12aを、樹脂構造体10の凹部(16a、16b)に充填する。第1磁性材料11aおよび第2磁性材料12aは、着磁前であるので、まだ極性はなく、それゆえに、樹脂構造体10の凹部(16a、16b)に一律に充填することができる。そのような状態で、着磁装置(30A、30B)を用いて、樹脂構造体10の凹部(16a、16b)内の第1磁性材料11a、第2磁性材料12aを着磁して、隣り合う磁石(11、12)同士が逆極性になるようにすることができる。
On the other hand, instead of such a method, it can be performed as shown in FIG. The structure shown in FIG. 9 includes a first magnetic material (for example, a columnar particle) 11a and a second magnetic material (for example, a columnar particle)12a that are not magnetized, anda concave portion ( 16a, 16b). Since the first
図10(a)から(c)に示した製造工程によっても、樹脂構造体10の凹部16a、16bに、第1磁石11、第2磁石12の位置を合わせながら充填する工程を省略することができる。得られた樹脂構造体10は、テーピング部材20に接着して固定することで、本実施形態の磁気治療具100にすることができる。
By the manufacturing process shown in FIG. 10 (a) from (c), is omitted
なお、上述した実施形態では、樹脂構造体10に二つの磁石(11、12)を含めていたが、それに限るものではない。例えば、図16に示すように、3つの磁石(11a、12、11b)を配列させて、樹脂構造体10を構築してもよい。図16では3つの磁石を直線的に配列させたが、4つ以上の磁石を配列させてもよいし、また、隣接する磁石の極が反転する配列形態で二次元的に(例えば、市松模様)樹脂構造体10の中に複数の磁石を配列させてもよい。In addition, in embodiment mentioned above, although the two magnets (11, 12) were included in the
| Application Number | Priority Date | Filing Date | Title |
|---|---|---|---|
| JP2015143226AJP6075919B2 (en) | 2015-07-17 | 2015-07-17 | Magnetic therapy device and method for manufacturing magnetic therapy device |
| Application Number | Priority Date | Filing Date | Title |
|---|---|---|---|
| JP2015143226AJP6075919B2 (en) | 2015-07-17 | 2015-07-17 | Magnetic therapy device and method for manufacturing magnetic therapy device |
| Publication Number | Publication Date |
|---|---|
| JP2017023286Atrue JP2017023286A (en) | 2017-02-02 |
| JP6075919B2 JP6075919B2 (en) | 2017-02-08 |
| Application Number | Title | Priority Date | Filing Date |
|---|---|---|---|
| JP2015143226AActiveJP6075919B2 (en) | 2015-07-17 | 2015-07-17 | Magnetic therapy device and method for manufacturing magnetic therapy device |
| Country | Link |
|---|---|
| JP (1) | JP6075919B2 (en) |
| Publication number | Priority date | Publication date | Assignee | Title |
|---|---|---|---|---|
| CN108721785A (en)* | 2017-04-13 | 2018-11-02 | 信越聚合物株式会社 | Magnetic therapeutic utensil and its manufacturing method |
| US12311170B2 (en) | 2020-05-04 | 2025-05-27 | Btl Healthcare Technologies A.S. | Device and method for unattended treatment of a patient |
| US12427307B2 (en) | 2020-05-04 | 2025-09-30 | Btl Healthcare Technologies A.S. | Device and method for unattended treatment of a patient |
| Publication number | Priority date | Publication date | Assignee | Title |
|---|---|---|---|---|
| JPS5718642U (en)* | 1980-07-02 | 1982-01-30 | ||
| JPS57187535U (en)* | 1981-05-25 | 1982-11-29 | ||
| JP3150172B2 (en)* | 1991-09-20 | 2001-03-26 | キヤノン株式会社 | Reading and printing device |
| JP2003265630A (en)* | 2002-03-19 | 2003-09-24 | Nobuhide Ikeyama | Magnetic therapy tool |
| JP2006325716A (en)* | 2005-05-24 | 2006-12-07 | Aso Seiyaku Kk | Adhesive plaster with magnet |
| JP2011024653A (en)* | 2009-07-22 | 2011-02-10 | Ksa:Kk | Magnetic therapeutic device with permanent magnet for domestic use |
| Publication number | Priority date | Publication date | Assignee | Title |
|---|---|---|---|---|
| JPS5718642U (en)* | 1980-07-02 | 1982-01-30 | ||
| JPS57187535U (en)* | 1981-05-25 | 1982-11-29 | ||
| JP3150172B2 (en)* | 1991-09-20 | 2001-03-26 | キヤノン株式会社 | Reading and printing device |
| JP2003265630A (en)* | 2002-03-19 | 2003-09-24 | Nobuhide Ikeyama | Magnetic therapy tool |
| JP2006325716A (en)* | 2005-05-24 | 2006-12-07 | Aso Seiyaku Kk | Adhesive plaster with magnet |
| JP2011024653A (en)* | 2009-07-22 | 2011-02-10 | Ksa:Kk | Magnetic therapeutic device with permanent magnet for domestic use |
| Publication number | Priority date | Publication date | Assignee | Title |
|---|---|---|---|---|
| CN108721785A (en)* | 2017-04-13 | 2018-11-02 | 信越聚合物株式会社 | Magnetic therapeutic utensil and its manufacturing method |
| US12311170B2 (en) | 2020-05-04 | 2025-05-27 | Btl Healthcare Technologies A.S. | Device and method for unattended treatment of a patient |
| US12427307B2 (en) | 2020-05-04 | 2025-09-30 | Btl Healthcare Technologies A.S. | Device and method for unattended treatment of a patient |
| Publication number | Publication date |
|---|---|
| JP6075919B2 (en) | 2017-02-08 |
| Publication | Publication Date | Title |
|---|---|---|
| US6126588A (en) | Flexible magnetic pad | |
| JP6075919B2 (en) | Magnetic therapy device and method for manufacturing magnetic therapy device | |
| AU2010246907A1 (en) | Magnetic field apparatus | |
| CN1208344A (en) | Patches that carry particulate matter and magnets | |
| JP6858506B2 (en) | Cosmetic equipment for improved percutaneous penetration and its manufacturing method | |
| JP6894826B2 (en) | Magnetic therapy device | |
| JP3085521U (en) | Magnetic health appliances | |
| JP5491654B2 (en) | Adhesive magnet needle | |
| JP3191469U (en) | Magnetic therapy device | |
| JP3049245U (en) | Therapy equipment | |
| JP2006325716A (en) | Adhesive plaster with magnet | |
| JP2023065912A (en) | magnetic therapy device | |
| KR101129155B1 (en) | Magnet ring for health by magnetic force | |
| JP6413132B2 (en) | Blood circulation device | |
| JP3149452U (en) | Magnetic therapy device | |
| JP3208909U (en) | Cardigan type magnetic therapy device | |
| JP2005081037A (en) | Magnetism generator | |
| CN213192154U (en) | Magnetic therapy block and magnetic therapy waistband | |
| JP2006026376A (en) | Magnetic therapeutic device | |
| CN203852741U (en) | Negative Magnetic Energy Pad | |
| KR101083861B1 (en) | Magnetic Magnets for Health | |
| JP2001346890A (en) | Multiple magnet | |
| JPH01230376A (en) | Magnetic treatment machine | |
| KR200404561Y1 (en) | magnet for remedy | |
| JP3100199U (en) | Magnetic therapy instruments |
| Date | Code | Title | Description |
|---|---|---|---|
| A621 | Written request for application examination | Free format text:JAPANESE INTERMEDIATE CODE: A621 Effective date:20151125 | |
| A871 | Explanation of circumstances concerning accelerated examination | Free format text:JAPANESE INTERMEDIATE CODE: A871 Effective date:20151125 | |
| A975 | Report on accelerated examination | Free format text:JAPANESE INTERMEDIATE CODE: A971005 Effective date:20160106 | |
| A131 | Notification of reasons for refusal | Free format text:JAPANESE INTERMEDIATE CODE: A131 Effective date:20160126 | |
| A521 | Request for written amendment filed | Free format text:JAPANESE INTERMEDIATE CODE: A523 Effective date:20160328 | |
| A131 | Notification of reasons for refusal | Free format text:JAPANESE INTERMEDIATE CODE: A131 Effective date:20160614 | |
| A601 | Written request for extension of time | Free format text:JAPANESE INTERMEDIATE CODE: A601 Effective date:20160811 | |
| A521 | Request for written amendment filed | Free format text:JAPANESE INTERMEDIATE CODE: A523 Effective date:20161011 | |
| TRDD | Decision of grant or rejection written | ||
| A01 | Written decision to grant a patent or to grant a registration (utility model) | Free format text:JAPANESE INTERMEDIATE CODE: A01 Effective date:20161227 | |
| A61 | First payment of annual fees (during grant procedure) | Free format text:JAPANESE INTERMEDIATE CODE: A61 Effective date:20170107 | |
| R150 | Certificate of patent or registration of utility model | Ref document number:6075919 Country of ref document:JP Free format text:JAPANESE INTERMEDIATE CODE: R150 | |
| R250 | Receipt of annual fees | Free format text:JAPANESE INTERMEDIATE CODE: R250 | |
| R250 | Receipt of annual fees | Free format text:JAPANESE INTERMEDIATE CODE: R250 | |
| R250 | Receipt of annual fees | Free format text:JAPANESE INTERMEDIATE CODE: R250 | |
| R250 | Receipt of annual fees | Free format text:JAPANESE INTERMEDIATE CODE: R250 | |
| R250 | Receipt of annual fees | Free format text:JAPANESE INTERMEDIATE CODE: R250 | |
| R250 | Receipt of annual fees | Free format text:JAPANESE INTERMEDIATE CODE: R250 |