














本発明は、半導体装置の製造方法、基板処理装置およびプログラムに関する。 The present invention relates to a semiconductor device manufacturing method, a substrate processing apparatus, and a program.
半導体装置(デバイス)の製造工程の一工程として、処理室内の基板に対して原料と反応体とを供給して基板上に膜を形成する処理が行われることがある(例えば特許文献1参照)。 As a process of manufacturing a semiconductor device (device), a process of supplying a raw material and a reactant to a substrate in a processing chamber to form a film on the substrate may be performed (see, for example, Patent Document 1). .
本発明の目的は、基板上に形成する膜の膜質を向上させることが可能な技術を提供することにある。 An object of the present invention is to provide a technique capable of improving the film quality of a film formed on a substrate.
本発明の一態様によれば、
処理室内の基板に対して、水素およびハロゲン元素を含む原料を、前記原料が単独で存在した場合に前記原料が熱分解するような条件であって、前記処理室内への前記原料の供給流量が前記処理室内からの前記原料の排気流量よりも大きくなるような条件下で供給し、第1層を形成する工程と、
前記処理室内の前記基板に対して反応体を供給し、前記第1層を改質して第2層を形成する工程と、
を非同時に所定回数行うことで、前記基板上に膜を形成する工程を有する技術が提供される。According to one aspect of the invention,
A raw material containing hydrogen and a halogen element with respect to the substrate in the processing chamber is such that the raw material is thermally decomposed when the raw material is present alone, and the supply flow rate of the raw material into the processing chamber is Supplying under conditions such that the exhaust flow rate of the raw material from the processing chamber is larger, and forming a first layer;
Supplying a reactant to the substrate in the processing chamber and modifying the first layer to form a second layer;
Is performed a predetermined number of times at the same time, thereby providing a technique including a step of forming a film on the substrate.
本発明によれば、基板上に形成する膜の膜質を向上させることが可能となる。 According to the present invention, the film quality of a film formed on a substrate can be improved.
<本発明の一実施形態>
以下、本発明の一実施形態について図1〜図3を参照しながら説明する。<One Embodiment of the Present Invention>
Hereinafter, an embodiment of the present invention will be described with reference to FIGS.
(1)基板処理装置の構成
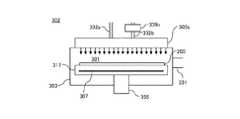
図1に示すように、処理炉202は加熱機構(温度調整部)としてのヒータ207を有する。ヒータ207は円筒形状であり、保持板としてのヒータベース(図示せず)に支持されることにより垂直に据え付けられている。ヒータ207は、後述するようにガスを熱で活性化(励起)させる活性化機構(励起部)としても機能する。(1) Configuration of Substrate Processing Apparatus As shown in FIG. 1, the
ヒータ207の内側には、ヒータ207と同心円状に反応管203が配設されている。反応管203は、例えば石英(SiO2)または炭化シリコン(SiC)等の耐熱性材料からなり、上端が閉塞し下端が開口した円筒形状に形成されている。反応管203の下方には、反応管203と同心円状に、マニホールド(インレットフランジ)209が配設されている。マニホールド209は、例えばステンレス(SUS)等の金属からなり、上端および下端が開口した円筒形状に形成されている。マニホールド209の上端部は、反応管203の下端部に係合しており、反応管203を支持するように構成されている。マニホールド209と反応管203との間には、シール部材としてのOリング220aが設けられている。マニホールド209がヒータベースに支持されることにより、反応管203は垂直に据え付けられた状態となる。主に、反応管203とマニホールド209とにより処理容器(反応容器)が構成されている。処理容器の筒中空部には処理室201が形成されている。処理室201は、複数枚の基板としてのウエハ200を、後述するボート217によって水平姿勢で垂直方向に多段に配列した状態で収容可能に構成されている。A
処理室201内には、ノズル249a,249bが、マニホールド209の側壁を貫通するように設けられている。ノズル249a,249bには、ガス供給管232a,232bが、それぞれ接続されている。このように、反応管203には2本のノズル249a,249bと、2本のガス供給管232a,232bとが設けられており、処理室201内へ複数種類のガスを供給することが可能となっている。 In the
ガス供給管232a,232bには、上流方向から順に、流量制御器(流量制御部)であるマスフローコントローラ(MFC)241a,241bおよび開閉弁であるバルブ243a,243bがそれぞれ設けられている。ガス供給管232a,232bのバルブ243a,243bよりも下流側には、不活性ガスを供給するガス供給管232c,232dがそれぞれ接続されている。ガス供給管232c,232dには、上流方向から順に、流量制御器(流量制御部)であるMFC241c,241dおよび開閉弁であるバルブ243c,243dがそれぞれ設けられている。 The
ガス供給管232aの先端部には、ノズル249aが接続されている。ノズル249aは、図2に示すように、反応管203の内壁とウエハ200との間における平面視において円環状の空間に、反応管203の内壁の下部より上部に沿って、ウエハ200の積載方向上方に向かって立ち上がるように設けられている。すなわち、ノズル249aは、ウエハ200が配列されるウエハ配列領域の側方の、ウエハ配列領域を水平に取り囲む領域に、ウエハ配列領域に沿うように設けられている。すなわち、ノズル249aは、処理室201内へ搬入された各ウエハ200の端部(周縁部)の側方にウエハ200の表面(平坦面)と垂直に設けられている。ノズル249aはL字型のロングノズルとして構成されており、その水平部はマニホールド209の側壁を貫通するように設けられており、その垂直部は少なくともウエハ配列領域の一端側から他端側に向かって立ち上がるように設けられている。ノズル249aの側面には、ガスを供給するガス供給孔250aが設けられている。ガス供給孔250aは、反応管203の中心を向くように開口しており、ウエハ200に向けてガスを供給することが可能となっている。ガス供給孔250aは、反応管203の下部から上部にわたって複数設けられ、それぞれが同一の開口面積を有し、更に同じ開口ピッチで設けられている。 A
ガス供給管232bの先端部には、ノズル249bが接続されている。ノズル249bは、ガス分散空間であるバッファ室237内に設けられている。バッファ室237は、反応管203の内壁と隔壁237aとの間に形成されている。バッファ室237(隔壁237a)は、図2に示すように、反応管203の内壁とウエハ200との間における平面視において円環状の空間に、また、反応管203の内壁の下部より上部にわたる部分に、ウエハ200の積載方向に沿って設けられている。すなわち、バッファ室237(隔壁237a)は、ウエハ配列領域の側方の、ウエハ配列領域を水平に取り囲む領域に、ウエハ配列領域に沿うように設けられている。隔壁237aのウエハ200と対向(隣接)する面の端部には、ガスを供給するガス供給孔250cが設けられている。ガス供給孔250cは、反応管203の中心を向くように開口しており、ウエハ200に向けてガスを供給することが可能となっている。ガス供給孔250cは、反応管203の下部から上部にわたって複数設けられ、それぞれが同一の開口面積を有し、更に同じ開口ピッチで設けられている。 A
ノズル249bは、バッファ室237のガス供給孔250cが設けられた端部と反対側の端部に、反応管203の内壁の下部より上部に沿って、ウエハ200の積載方向上方に向かって立ち上がるように設けられている。すなわち、ノズル249bは、ウエハ200が配列されるウエハ配列領域の側方の、ウエハ配列領域を水平に取り囲む領域に、ウエハ配列領域に沿うように設けられている。すなわち、ノズル249bは、処理室201内へ搬入されたウエハ200の端部の側方にウエハ200の表面と垂直に設けられている。ノズル249bはL字型のロングノズルとして構成されており、その水平部はマニホールド209の側壁を貫通するように設けられており、その垂直部は少なくともウエハ配列領域の一端側から他端側に向かって立ち上がるように設けられている。ノズル249bの側面には、ガスを供給するガス供給孔250bが設けられている。ガス供給孔250bは、バッファ室237の中心を向くように開口している。ガス供給孔250bは、ガス供給孔250cと同様に、反応管203の下部から上部にわたって複数設けられている。バッファ室237内と処理室201内との差圧が小さい場合、複数のガス供給孔250bの開口面積および開口ピッチを、上流側(下部)から下流側(上部)にわたりそれぞれ同一にするとよい。また、バッファ室237内と処理室201内との差圧が大きい場合、ガス供給孔250bの開口面積を上流側から下流側に向かって徐々に大きくしたり、ガス供給孔250bの開口ピッチを上流側から下流側に向かって徐々に小さくしたりするとよい。 The
ガス供給孔250bのそれぞれの開口面積や開口ピッチを、上流側から下流側にかけて上述のように調節することで、ガス供給孔250bのそれぞれから、流速の差はあるものの、流量がほぼ同量であるガスを噴出させることが可能となる。そして、これら複数のガス供給孔250bのそれぞれから噴出するガスを、一旦、バッファ室237内に導入することで、バッファ室237内においてガスの流速差の均一化を行うことが可能となる。複数のガス供給孔250bのそれぞれよりバッファ室237内に噴出したガスは、バッファ室237内で粒子速度が緩和された後、複数のガス供給孔250cより処理室201内へ噴出する。複数のガス供給孔250bのそれぞれよりバッファ室237内に噴出したガスは、ガス供給孔250cのそれぞれより処理室201内へ噴出する際には、均一な流量と流速とを有するガスとなる。 By adjusting the opening area and the opening pitch of each
このように、本実施形態では、反応管203の側壁の内壁と、反応管203内に配列された複数枚のウエハ200の端部(周縁部)と、で定義される平面視において円環状の縦長の空間内、すなわち、円筒状の空間内に配置したノズル249a,249bおよびバッファ室237を経由してガスを搬送している。そして、ノズル249a,249bおよびバッファ室237にそれぞれ開口されたガス供給孔250a〜250cから、ウエハ200の近傍で初めて反応管203内にガスを噴出させている。そして、反応管203内におけるガスの主たる流れを、ウエハ200の表面と平行な方向、すなわち、水平方向としている。このような構成とすることで、各ウエハ200に均一にガスを供給でき、各ウエハ200に形成される膜の膜厚の均一性を向上させることが可能となる。ウエハ200の表面上を流れたガス、すなわち、反応後の残ガスは、排気口、すなわち、後述する排気管231の方向に向かって流れる。但し、この残ガスの流れの方向は、排気口の位置によって適宜特定され、垂直方向に限ったものではない。 Thus, in the present embodiment, an annular shape in a plan view defined by the inner wall of the side wall of the
ガス供給管232aからは、原料として、例えば、シリコン(Si)、水素(H)およびハロゲン元素を含むハロシラン原料ガス(水素化ハロシラン原料ガス)が、MFC241a、バルブ243a、ノズル249aを介して処理室201内へ供給される。 From the
原料ガスとは、気体状態の原料、例えば、常温常圧下で液体状態である原料を気化することで得られるガスや、常温常圧下で気体状態である原料等のことである。本明細書において「原料」という言葉を用いた場合は、「液体状態である液体原料」を意味する場合、「気体状態である原料ガス」を意味する場合、または、その両方を意味する場合がある。 The raw material gas is a gaseous raw material, for example, a gas obtained by vaporizing a raw material that is in a liquid state under normal temperature and normal pressure, or a raw material that is in a gaseous state under normal temperature and normal pressure. In the present specification, when the term “raw material” is used, it means “a liquid raw material in a liquid state”, “a raw material gas in a gaseous state”, or both. is there.
また、ハロシラン原料とは、塩素(Cl)、フッ素(F)、臭素(Br)、ヨウ素(I)等のハロゲン元素を有するシラン原料のことである。すなわち、ハロシラン原料とは、クロロ基、フルオロ基、ブロモ基、ヨード基等のハロゲン基を有するシラン原料のことである。ハロシラン原料は、ハロゲン化物の一種ともいえる。ハロシラン原料の中でもさらにHを含むものを、水素化ハロシラン原料ともいう。 The halosilane raw material is a silane raw material having a halogen element such as chlorine (Cl), fluorine (F), bromine (Br), iodine (I) or the like. That is, the halosilane raw material is a silane raw material having a halogen group such as a chloro group, a fluoro group, a bromo group, or an iodo group. It can be said that the halosilane raw material is a kind of halide. Among the halosilane materials, those further containing H are also referred to as hydrogenated halosilane materials.
ハロシラン原料ガスとしては、例えば、Si、HおよびClを含む原料ガス、すなわち、SixHyClzの組成式(x、y、zはそれぞれ1以上の整数)で表されるクロロシラン原料ガス(水素化クロロシラン原料ガス)を用いることができる。水素化クロロシラン原料ガスとしては、モノクロロシラン(SiH3Cl、略称:MCS)ガスや、ジクロロシラン(SiH2Cl2、略称:DCS)ガスや、トリクロロシラン(SiHCl3、略称:TCS)ガス等を用いることができる。これらのガスは、Si、HおよびClを含み、Si−H結合、Si−Cl結合を有する原料ガスであるともいえる。これらのガスは、Siソースとして作用する。As the halosilane source gas, for example, a source gas containing Si, H and Cl, that is, a chlorosilane source gas represented by a composition formula of Six Hy Clz (x, y and z are each an integer of 1 or more) ( Hydrogenated chlorosilane source gas) can be used. As the hydrogenated chlorosilane source gas, monochlorosilane (SiH3 Cl, abbreviation: MCS) gas, dichlorosilane (SiH2 Cl2 , abbreviation: DCS) gas, trichlorosilane (SiHCl3 , abbreviation: TCS) gas, or the like is used. Can be used. These gases contain Si, H, and Cl, and can be said to be source gases having Si—H bonds and Si—Cl bonds. These gases act as Si sources.
ガス供給管232aからは、原料とは化学構造(分子構造)が異なるガスとして、例えば、H非含有のCl含有ガスや、Cl非含有のH含有ガス等が、MFC241a、バルブ243a、ノズル249aを介して処理室201内へ供給される。H非含有のCl含有ガスとしては、例えば、塩素(Cl2)ガスを用いることができる。Cl非含有のH含有ガスとしては、例えば、水素(H2)ガスやモノシラン(SiH4)ガスを用いることができる。これらのガスを上述の原料ガスと一緒に処理室201内へ供給する場合、これらのガスを、原料ガスに含めて考えることもできる。From the
ガス供給管232bからは、原料とは化学構造(分子構造)が異なる反応体(リアクタント)として、例えば、酸素(O)含有ガスが、MFC241b、バルブ243b、ノズル249b、バッファ室237を介して処理室201内へ供給される。 From the
O含有ガスは、酸化剤(酸化ガス)、すなわち、Oソースとして作用する。O含有ガスとしては、後述する理由からH非含有(水素フリー)のガスを用いることが好ましく、例えば、オゾン(O3)ガスや酸素(O2)ガス等を好適に用いることができる。酸化剤としてO2ガスを用いる場合、例えば、後述するプラズマ源を用いてこのガスをプラズマ励起し、プラズマ励起ガス(O2*ガス)として供給することで、酸化力を高めることが可能となる。The O-containing gas acts as an oxidizing agent (oxidizing gas), that is, an O source. As the O-containing gas, an H-free (hydrogen-free) gas is preferably used for the reasons described later, and for example, ozone (O3 ) gas, oxygen (O2 ) gas, or the like can be suitably used. In the case of using O2 gas as the oxidant, for example, this gas is plasma-excited using a plasma source described later and supplied as plasma excitation gas (O2* gas), thereby increasing the oxidizing power. .
ガス供給管232bからは、原料とは化学構造が異なる反応体(リアクタント)として、例えば、窒素(N)含有ガスが、MFC241b、バルブ243b、ノズル249b、バッファ室237を介して処理室201内へ供給される。 From the
N含有ガスは、窒化剤(窒化ガス)、すなわち、Nソースとして作用する。N含有ガスとしては、例えば、アンモニア(NH3)ガスを用いることができる。窒化剤としてNH3ガスを用いる場合、例えば、後述するプラズマ源を用いてこのガスをプラズマ励起し、プラズマ励起ガス(NH3*ガス)として供給することで、窒化力を高めることが可能となる。The N-containing gas acts as a nitriding agent (nitriding gas), that is, an N source. As the N-containing gas, for example, ammonia (NH3 ) gas can be used. When NH3 gas is used as the nitriding agent, for example, this gas is plasma-excited using a plasma source described later and supplied as a plasma excitation gas (NH3* gas), thereby increasing the nitriding power. .
ガス供給管232c,232dからは、不活性ガスとして、例えば、窒素(N2)ガスが、それぞれMFC241c,241d、バルブ243c,243d、ガス供給管232a,232b、ノズル249a,249b、バッファ室237を介して処理室201内へ供給される。From the
ガス供給管232aから上述の原料を供給する場合、主に、ガス供給管232a、MFC241a、バルブ243aにより、第1供給系としての原料供給系(プリカーサ供給系)が構成される。ノズル249aを原料供給系に含めて考えてもよい。原料供給系を原料ガス供給系と称することもできる。ガス供給管232aからハロシラン原料を供給する場合、原料供給系をハロシラン原料供給系、或いは、ハロシラン原料ガス供給系と称することもできる。 When supplying the above-mentioned raw material from the
また、ガス供給管232bから上述の反応体を供給する場合、主に、ガス供給管232b、MFC241b、バルブ243bにより、第2供給系としての反応体供給系(リアクタント供給系)が構成される。ノズル249b、バッファ室237を反応体供給系に含めて考えてもよい。反応体供給系を反応ガス供給系と称することもできる。ガス供給管232bから酸化剤を供給する場合、反応体供給系を酸化剤供給系、酸化ガス供給系、或いは、O含有ガス供給系と称することもできる。ガス供給管232bから窒化剤を供給する場合、反応体供給系を窒化剤供給系、窒化ガス供給系、或いは、N含有ガス供給系と称することもできる。 In addition, when the above-described reactant is supplied from the
また、主に、ガス供給管232c,232d、MFC241c,241d、バルブ243c,243dにより、不活性ガス供給系が構成される。 Further, an inert gas supply system is mainly configured by the
バッファ室237内には、図2に示すように、導電体からなり、細長い構造を有する2本の棒状電極269,270が、反応管203の下部より上部にわたりウエハ200の配列方向に沿って配設されている。棒状電極269,270のそれぞれは、ノズル249bと平行に設けられている。棒状電極269,270のそれぞれは、上部より下部にわたって電極保護管275により覆われることで保護されている。棒状電極269,270のいずれか一方は、整合器272を介して高周波電源273に接続され、他方は、基準電位であるアースに接続されている。高周波電源273から棒状電極269,270間に高周波(RF)電力を印加することで、棒状電極269,270間のプラズマ生成領域224にプラズマが生成される。主に、棒状電極269,270、電極保護管275によりプラズマ発生器(プラズマ発生部)としてのプラズマ源が構成される。整合器272、高周波電源273をプラズマ源に含めて考えてもよい。プラズマ源は、後述するように、ガスをプラズマ励起、すなわち、プラズマ状態に励起(活性化)させるプラズマ励起部(活性化機構)として機能する。 In the
電極保護管275は、棒状電極269,270のそれぞれをバッファ室237内の雰囲気と隔離した状態でバッファ室237内へ挿入できる構造となっている。電極保護管275の内部のO濃度が外気(大気)のO濃度と同程度であると、電極保護管275内へそれぞれ挿入された棒状電極269,270は、ヒータ207による熱で酸化されてしまう。電極保護管275の内部にN2ガス等の不活性ガスを充填しておくか、不活性ガスパージ機構を用いて電極保護管275の内部をN2ガス等の不活性ガスでパージすることで、電極保護管275の内部のO濃度を低減させ、棒状電極269,270の酸化を防止することができる。The
反応管203には、処理室201内の雰囲気を排気する排気管231が設けられている。排気管231には、処理室201内の圧力を検出する圧力検出器(圧力検出部)としての圧力センサ245および排気バルブ(圧力調整部)としてのAPC(Auto Pressure Controller)バルブ244を介して、真空排気装置としての真空ポンプ246が接続されている。APCバルブ244は、真空ポンプ246を作動させた状態で弁を開閉することで、処理室201内の真空排気および真空排気停止を行うことができ、更に、弁開度を調節することで、処理室201内の圧力を調整することができるように構成されているバルブである。真空ポンプ246を作動させつつ、圧力センサ245により検出された圧力情報に基づいてAPCバルブ244の弁の開度を調節することで、処理室201内の「実際の圧力」を、所定の「設定圧力」に近づけることができる。処理室201内の「設定圧力」とは、処理室201内の圧力制御を行う際の「目標圧力」と同義と考えることができ、その値に、処理室201内の「実際の圧力」が追随することとなる。主に、排気管231、APCバルブ244、圧力センサ245により、排気系が構成される。真空ポンプ246を排気系に含めて考えてもよい。排気管231は、反応管203に設ける場合に限らず、ノズル249a,249bと同様にマニホールド209に設けてもよい。 The
マニホールド209の下方には、マニホールド209の下端開口を気密に閉塞可能な炉口蓋体としてのシールキャップ219が設けられている。シールキャップ219は、マニホールド209の下端に垂直方向下側から当接されるように構成されている。シールキャップ219は、例えばSUS等の金属からなり、円盤状に形成されている。シールキャップ219の上面には、マニホールド209の下端と当接するシール部材としてのOリング220bが設けられている。シールキャップ219の処理室201と反対側には、後述するボート217を回転させる回転機構267が設置されている。回転機構267の回転軸255は、シールキャップ219を貫通してボート217に接続されている。回転機構267は、ボート217を回転させることでウエハ200を回転させるように構成されている。シールキャップ219は、反応管203の外部に垂直に設置された昇降機構としてのボートエレベータ115によって垂直方向に昇降されるように構成されている。ボートエレベータ115は、シールキャップ219を昇降させることで、ボート217を処理室201内外に搬入および搬出することが可能なように構成されている。ボートエレベータ115は、ボート217すなわちウエハ200を、処理室201内外に搬送する搬送装置(搬送機構)として構成されている。また、マニホールド209の下方には、ボートエレベータ115によりシールキャップ219を降下させている間、マニホールド209の下端開口を気密に閉塞可能な炉口蓋体としてのシャッタ219sが設けられている。シャッタ219sは、例えばSUS等の金属により構成され、円盤状に形成されている。シャッタ219sの上面には、マニホールド209の下端と当接するシール部材としてのOリング220cが設けられている。シャッタ219sの開閉動作(昇降動作や回動動作等)は、シャッタ開閉機構115sにより制御される。 Below the manifold 209, a
基板支持具としてのボート217は、複数枚、例えば25〜200枚のウエハ200を、水平姿勢で、かつ、互いに中心を揃えた状態で垂直方向に整列させて多段に支持するように、すなわち、間隔を空けて配列させるように構成されている。ボート217は、例えば石英やSiC等の耐熱性材料からなる。ボート217の下部には、例えば石英やSiC等の耐熱性材料からなる断熱板218が多段に支持されている。この構成により、ヒータ207からの熱がシールキャップ219側に伝わりにくくなっている。但し、本実施形態はこのような形態に限定されない。例えば、ボート217の下部に断熱板218を設けずに、石英やSiC等の耐熱性材料からなる筒状の部材として構成された断熱筒を設けてもよい。 The
反応管203内には、温度検出器としての温度センサ263が設置されている。温度センサ263により検出された温度情報に基づきヒータ207への通電具合を調整することで、処理室201内の温度が所望の温度分布となる。温度センサ263は、ノズル249a,249bと同様にL字型に構成されており、反応管203の内壁に沿って設けられている。 A
図3に示すように、制御部(制御手段)であるコントローラ121は、CPU(Central Processing Unit)121a、RAM(Random Access Memory)121b、記憶装置121c、I/Oポート121dを備えたコンピュータとして構成されている。RAM121b、記憶装置121c、I/Oポート121dは、内部バス121eを介して、CPU121aとデータ交換可能なように構成されている。コントローラ121には、例えばタッチパネル等として構成された入出力装置122が接続されている。 As shown in FIG. 3, the
記憶装置121cは、例えばフラッシュメモリ、HDD(Hard Disk Drive)等で構成されている。記憶装置121c内には、基板処理装置の動作を制御する制御プログラムや、後述する成膜処理の手順や条件等が記載されたプロセスレシピ等が、読み出し可能に格納されている。プロセスレシピは、後述する成膜処理における各手順をコントローラ121に実行させ、所定の結果を得ることが出来るように組み合わされたものであり、プログラムとして機能する。以下、プロセスレシピや制御プログラム等を総称して、単に、プログラムともいう。また、プロセスレシピを、単に、レシピともいう。本明細書においてプログラムという言葉を用いた場合は、レシピ単体のみを含む場合、制御プログラム単体のみを含む場合、または、その両方を含む場合がある。RAM121bは、CPU121aによって読み出されたプログラムやデータ等が一時的に保持されるメモリ領域(ワークエリア)として構成されている。 The
I/Oポート121dは、上述のMFC241a〜241d、バルブ243a〜243d、圧力センサ245、APCバルブ244、真空ポンプ246、温度センサ263、ヒータ207、回転機構267、ボートエレベータ115、シャッタ開閉機構115s、整合器272、高周波電源273等に接続されている。 The I /
CPU121aは、記憶装置121cから制御プログラムを読み出して実行すると共に、入出力装置122からの操作コマンドの入力等に応じて記憶装置121cからレシピを読み出すように構成されている。CPU121aは、読み出したレシピの内容に沿うように、MFC241a〜241dによる各種ガスの流量調整動作、バルブ243a〜243dの開閉動作、APCバルブ244の開閉動作および圧力センサ245に基づくAPCバルブ244による圧力調整動作、真空ポンプ246の起動および停止、温度センサ263に基づくヒータ207の温度調整動作、回転機構267によるボート217の回転および回転速度調節動作、ボートエレベータ115によるボート217の昇降動作、シャッタ開閉機構115sによるシャッタ219sの開閉動作、整合器272によるインピーダンス調整動作、高周波電源273の電力供給等を制御するように構成されている。 The
コントローラ121は、外部記憶装置(例えば、磁気テープ、フレキシブルディスクやハードディスク等の磁気ディスク、CDやDVD等の光ディスク、MO等の光磁気ディスク、USBメモリやメモリカード等の半導体メモリ)123に格納された上述のプログラムを、コンピュータにインストールすることにより構成することができる。記憶装置121cや外部記憶装置123は、コンピュータ読み取り可能な記録媒体として構成されている。以下、これらを総称して、単に、記録媒体ともいう。本明細書において記録媒体という言葉を用いた場合は、記憶装置121c単体のみを含む場合、外部記憶装置123単体のみを含む場合、または、その両方を含む場合がある。なお、コンピュータへのプログラムの提供は、外部記憶装置123を用いず、インターネットや専用回線等の通信手段を用いて行ってもよい。 The
(2)基板処理
上述の基板処理装置を用い、半導体装置(デバイス)の製造工程の一工程として、基板上に膜を形成するシーケンス例について、図4を用いて説明する。以下の説明において、基板処理装置を構成する各部の動作はコントローラ121により制御される。(2) Substrate Processing An example of a sequence for forming a film on a substrate as one step of a semiconductor device (device) manufacturing process using the above-described substrate processing apparatus will be described with reference to FIG. In the following description, the operation of each part constituting the substrate processing apparatus is controlled by the
図4に示す成膜シーケンスでは、
処理室201内の基板としてのウエハ200に対して、HおよびClを含む原料としてのTCSガスを、TCSが単独で存在した場合にTCSが熱分解するような条件であって、処理室201内へのTCSガスの供給流量が処理室201内からのTCSガスの排気流量よりも大きくなるような条件下で供給し、第1層としてのシリコン層(Si層)を形成するステップと、
処理室201内のウエハ200に対して反応体としてのO3ガスを供給し、第1層を改質して第2層としてのシリコン酸化層(SiO層)を形成するステップと、
を非同時に所定回数(n回)行うことで、ウエハ200上にシリコン酸化膜(SiO膜)を形成する。In the film forming sequence shown in FIG.
The TCS gas as a raw material containing H and Cl with respect to the
Supplying O3 gas as a reactant to the
The silicon oxide film (SiO film) is formed on the
本明細書では、図4に示す成膜処理のシーケンスを、便宜上、以下のように示すこともある。以下の変形例や他の実施形態の説明においても、同様の表記を用いることとする。 In this specification, the film forming process sequence shown in FIG. 4 may be shown as follows for convenience. The same notation is also used in the following modifications and other embodiments.
(TCS→O3)×n ⇒ SiO(TCS → O3 ) × n ⇒ SiO
本明細書において「ウエハ」という言葉を用いた場合は、「ウエハそのもの」を意味する場合や、「ウエハとその表面に形成された所定の層や膜等との積層体(集合体)」を意味する場合、すなわち、表面に形成された所定の層や膜等を含めてウエハと称する場合がある。また、本明細書において「ウエハの表面」という言葉を用いた場合は、「ウエハそのものの表面(露出面)」を意味する場合や、「ウエハ上に形成された所定の層や膜等の表面、すなわち、積層体としてのウエハの最表面」を意味する場合がある。 In this specification, when the term “wafer” is used, it means “wafer itself” or “a laminate (aggregate) of a wafer and a predetermined layer or film formed on the surface”. In other words, it may be called a wafer including a predetermined layer or film formed on the surface. In addition, when the term “wafer surface” is used in this specification, it means “the surface of the wafer itself (exposed surface)” or “the surface of a predetermined layer or film formed on the wafer”. That is, it may mean “the outermost surface of the wafer as a laminated body”.
従って、本明細書において「ウエハに対して所定のガスを供給する」と記載した場合は、「ウエハそのものの表面(露出面)に対して所定のガスを直接供給する」ことを意味する場合や、「ウエハ上に形成されている層や膜等に対して、すなわち、積層体としてのウエハの最表面に対して所定のガスを供給する」ことを意味する場合がある。また、本明細書において「ウエハ上に所定の層(または膜)を形成する」と記載した場合は、「ウエハそのものの表面(露出面)上に所定の層(または膜)を直接形成する」ことを意味する場合や、「ウエハ上に形成されている層や膜等の上、すなわち、積層体としてのウエハの最表面の上に所定の層(または膜)を形成する」ことを意味する場合がある。 Therefore, in the present specification, the phrase “supplying a predetermined gas to the wafer” means “supplying a predetermined gas directly to the surface (exposed surface) of the wafer itself”. , It may mean that “a predetermined gas is supplied to a layer, a film, or the like formed on the wafer, that is, to the outermost surface of the wafer as a laminated body”. Further, in this specification, when “describe a predetermined layer (or film) on the wafer” is described, “determine a predetermined layer (or film) directly on the surface (exposed surface) of the wafer itself”. This means that a predetermined layer (or film) is formed on a layer or film formed on the wafer, that is, on the outermost surface of the wafer as a laminate. There is a case.
また、本明細書において「基板」という言葉を用いた場合も、「ウエハ」という言葉を用いた場合と同義である。 In this specification, the term “substrate” is also synonymous with the term “wafer”.
(搬入ステップ)
複数枚のウエハ200がボート217に装填(ウエハチャージ)されると、シャッタ開閉機構115sによりシャッタ219sが移動させられて、マニホールド209の下端開口が開放される(シャッタオープン)。その後、図1に示すように、複数枚のウエハ200を支持したボート217は、ボートエレベータ115によって持ち上げられて処理室201内へ搬入(ボートロード)される。この状態で、シールキャップ219は、Oリング220bを介してマニホールド209の下端をシールした状態となる。(Import step)
When a plurality of
(圧力・温度調整ステップ)
処理室201内、すなわち、ウエハ200が存在する空間が所望の圧力(真空度)となるように、真空ポンプ246によって真空排気(減圧排気)される。この際、処理室201内の圧力は圧力センサ245で測定され、この測定された圧力情報に基づきAPCバルブ244がフィードバック制御される。真空ポンプ246は、少なくともウエハ200に対する処理が終了するまでの間は常時作動させた状態を維持する。また、処理室201内のウエハ200が所望の温度(後述する第1温度)となるようにヒータ207によって加熱される。この際、処理室201内が所望の温度分布となるように、温度センサ263が検出した温度情報に基づきヒータ207への通電具合がフィードバック制御される。ヒータ207による処理室201内の加熱は、少なくともウエハ200に対する処理が終了するまでの間は継続して行われる。また、回転機構267によるボート217およびウエハ200の回転を開始する。回転機構267によるボート217およびウエハ200の回転は、少なくとも、ウエハ200に対する処理が終了するまでの間は継続して行われる。(Pressure / temperature adjustment step)
Vacuum exhaust (reduced pressure) is performed by the
(成膜ステップ)
その後、次の2つのステップ、すなわち、ステップ1,2を順次実施する。(Deposition step)
Thereafter, the next two steps, that is, steps 1 and 2 are sequentially performed.
[ステップ1]
このステップでは、処理室201内のウエハ200に対してTCSガスを供給する。このとき、処理室201内へのTCSガスの供給流量が処理室201内からのTCSガスの排気流量よりも大きくなるような条件下でTCSガスを処理室201内へ供給する。これにより、排気系を実質的に閉塞した状態(排気系を閉塞した状態と実質的に等しい、もしくは、類似した状態)、すなわち、処理室201内へTCSガスを実質的に封じ込めた状態(処理室201内へTCSガスを封じ込めた状態と実質的に等しい、もしくは、類似した状態)を形成する。[Step 1]
In this step, TCS gas is supplied to the
図4は、処理室201内の設定圧力を高くする等してAPCバルブ244を僅かに開くようにする(開度を小さくする)ことで、処理室201内へのTCSガスの供給流量が、処理室201内からのTCSガスの排気流量よりも大きくなるような条件(状態)を作り出す例を示している。但し、本実施形態はこのような態様に限定されない。例えば、処理室201内へTCSガスを供給する際に、APCバルブ244を全閉とすることで、排気系を閉塞した状態、すなわち、処理室201内へTCSガスを封じ込めた状態を形成するようにしてもよい。本明細書では、APCバルブ244を僅かに開いて排気系を実質的に閉塞した状態や、APCバルブ244を全閉として排気系を完全に閉塞した状態を、便宜上、単に、排気系を閉塞した状態(排気系による処理室201内の排気を停止した状態)と表現することがある。また、本明細書では、処理室201内へTCSガスを実質的に封じ込めた状態や、処理室201内へTCSガスを完全に封じ込めた状態を、便宜上、単に、処理室201内へTCSガスを封じ込めた状態と表現することがある。 FIG. 4 shows that the supply flow rate of the TCS gas into the
この状態、ここでは、APCバルブ244を僅かに開いた状態で、バルブ243aを開き、ガス供給管232a内へTCSガスを流す。TCSガスはMFC241aにより流量調整され、ノズル249aを介して処理室201内へ供給される。このとき同時にバルブ243cを開き、ガス供給管232c内へN2ガスを流す。ガス供給管232c内を流れたN2ガスは、MFC241cにより流量調整され、TCSガスと一緒に処理室201内へ供給される。また、バッファ室237、ノズル249b内へのTCSガスの侵入を防止するため、バルブ243dを開き、ガス供給管232d内へN2ガスを流す。N2ガスは、ガス供給管232b、ノズル249b、バッファ室237を介して処理室201内へ供給される。In this state, here, with the
以上の処理手順により、処理室201内へTCSガスを封じ込めることができる。 The TCS gas can be contained in the
MFC241aで制御するTCSガスの供給流量は、例えば1〜2000sccm、好ましくは10〜1000sccmの範囲内の流量とする。MFC241c,241dで制御するN2ガスの供給流量は、それぞれ、例えば100〜10000sccmの範囲内の流量とする。The supply flow rate of the TCS gas controlled by the
排気系を閉塞した状態で処理室201内へTCSガスを供給することにより、処理室201内の圧力が上昇し始める。処理室201内の圧力が所定の処理圧力に到達したら、処理室201内へのTCSガスの供給を停止し、処理室201内へTCSガスを封じ込めた状態を維持する。目標とする処理室201内の圧力(処理圧力)は、例えば133〜6650Pa(1〜50Torr)、好ましくは665〜5320Pa(5〜40Torr)、より好ましくは933〜2660Pa(7〜20Torr)の範囲内の圧力とする。この圧力帯は、少なくとも後述する温度帯において処理室201内にTCSガスが単独で存在した場合にTCSガスが自己分解(熱分解)し得る圧力である。 By supplying the TCS gas into the
処理圧力が6650Paを超えると、過剰な気相反応が生じることで、処理室201内において異物が発生する場合がある。また、最終的に形成されるSiO膜の膜厚均一性が低下する場合もある。処理圧力を6650Pa以下とすることで、過剰な気相反応を抑制し、また、膜厚均一性を高めることが可能となる。処理圧力を5320Pa以下とすることで、過剰な気相反応をさらに抑制し、また、膜厚均一性をさらに高めることが可能となる。処理圧力を2660Pa以下とすることで、過剰な気相反応を確実に回避し、膜厚均一性をより一層高めることが可能となる。 When the processing pressure exceeds 6650 Pa, foreign gas may be generated in the
処理圧力が133Pa未満となると、処理室201内へ供給されたTCSガスが熱分解し難くなり、ウエハ200上へ第1層(Si層)が形成されにくくなる。また、後述するHとの反応によるClの脱離効果が得られ難くなり、ステップ1で形成されるSi層中、すなわち、最終的に形成されるSiO膜中にClが残留しやすくなる。処理圧力を133Pa以上とすることで、TCSガスを充分に熱分解させ、また、Clの脱離効果を充分に高めることが可能となる。処理圧力を665Pa以上とすることで、TCSガスの熱分解をさらに促進させ、また、Clの脱離効果をさらに高めることが可能となる。処理圧力を933Pa以上とすることで、TCSガスの熱分解を確実に進行させ、また、Clの脱離効果をより一層高めることが可能となる。 When the processing pressure is less than 133 Pa, the TCS gas supplied into the
ヒータ207の温度は、ウエハ200の温度(処理温度)が、例えば350〜1000℃、好ましくは500〜800℃の範囲内の温度となるような温度に設定する。この温度帯は、少なくとも上述の圧力帯において処理室201内にTCSガスが単独で存在した場合にTCSガスが自己分解(熱分解)し得る温度である。 The temperature of the
処理温度が1000℃を超えると、ウエハ200上に吸着したSiが凝集しやすくなり、ステップ1で形成されるSi層、すなわち、最終的に形成されるSiO膜の表面ラフネスが悪化することがある。また、過剰な気相反応が生じることで、処理室201内において異物が発生する場合がある。また、ウエハ200上に形成されるSiO膜の膜厚均一性が低下する場合もある。処理温度を1000℃以下とすることで、Siの凝集や異物の発生等を充分に回避することが可能となる。処理温度を800℃以下とすることで、Siの凝集や異物の発生等を確実に回避することが可能となる。ここで「表面ラフネス」とは、ウエハ面内の高低差を意味しており、表面粗さと同様の意味を有している。表面ラフネスが向上するとは、この高低差が小さくなり、表面が平滑になることを意味している。表面ラフネスが悪化するとは、この高低差が大きくなり、表面が粗くなることを意味している。 When the processing temperature exceeds 1000 ° C., Si adsorbed on the
処理温度が350℃未満となると、処理室201内へ供給されたTCSガスが熱分解し難くなり、ウエハ200上へSi層が形成されにくくなる。また、後述するHとの反応によるClの脱離効果が得られ難くなり、Si層中、すなわち、最終的に形成されるSiO膜中にClが残留しやすくなる。また、Si層中、すなわち、最終的に形成されるSiO膜中にHも残留しやすくなる。処理温度を350℃以上とすることで、TCSガスを充分に熱分解させ、また、ClやHの脱離効果を充分に高めることが可能となる。処理温度を500℃以上とすることで、TCSガスの熱分解をさらに促進させ、また、ClやHの脱離効果をさらに高めることが可能となる。 When the processing temperature is lower than 350 ° C., the TCS gas supplied into the
排気系を閉塞した状態でTCSガスをウエハ200に対して供給する時間、すなわち、ガス供給時間(封じ込め状態を維持する時間)は、例えば1〜100秒、好ましくは5〜60秒の範囲内の時間とする。 The time for supplying the TCS gas to the
上述の処理条件(処理圧力、処理温度、封じ込め時間)下でウエハ200に対してTCSガスを供給することにより、TCSを熱分解させることができ、TCSに含まれるSi−H結合やSi−Cl結合を切り離すことができる。HやClは、互いに反応することでHCl等の反応副生成物を生成し、Siから脱離する(引き抜かれる)。HやClとの結合が切り離されることで未結合手(ダングリングボンド)を有することとなったSiは、ウエハ200上に堆積(吸着)してSi−Si結合を形成する。これにより、ウエハ200(表面の下地膜)上に、第1層として、例えば1原子層未満から数原子層程度の厚さのSi層が形成されることとなる。ここで、1原子層未満の厚さの層とは不連続に形成される原子層のことを意味しており、1原子層の厚さの層とは連続的に形成される原子層のことを意味している。 By supplying TCS gas to the
ウエハ200上に形成される第1層の厚さが数原子層を超えると、後述するステップ2での酸化の作用が第1層の全体に届かなくなる。また、ウエハ200上に形成可能な第1層の厚さの最小値は1原子層未満である。よって、第1層の厚さは1原子層未満から数原子層程度とするのが好ましい。 When the thickness of the first layer formed on the
ステップ1で形成する第1層の厚さを数原子層とすることで、1サイクルあたりに形成される第2層(SiO層)の厚さ、すなわち、サイクルレートを増やすことができる。結果として、成膜レートを高くすることも可能となる。 By setting the thickness of the first layer formed in step 1 to several atomic layers, the thickness of the second layer (SiO layer) formed per cycle, that is, the cycle rate can be increased. As a result, the film formation rate can be increased.
また、ステップ1で形成する第1層の厚さを1原子層以下、すなわち、1原子層または1原子層未満とすることで、後述するステップ2での酸化の作用を相対的に高めることができ、ステップ2での酸化に要する時間を短縮することもできる。ステップ1での第1層の形成に要する時間を短縮することもできる。結果として、1サイクルあたりの処理時間を短縮することができ、トータルでの処理時間を短縮することも可能となる。すなわち、成膜レートを高くすることも可能となる。また、第1層の厚さを1原子層以下とすることで、膜厚均一性の制御性を高めることも可能となる。 Further, by setting the thickness of the first layer formed in step 1 to one atomic layer or less, that is, one atomic layer or less than one atomic layer, the action of oxidation in step 2 described later can be relatively enhanced. In addition, the time required for the oxidation in step 2 can be shortened. The time required for forming the first layer in step 1 can also be shortened. As a result, the processing time per cycle can be shortened, and the total processing time can be shortened. That is, the film forming rate can be increased. Moreover, the controllability of the film thickness uniformity can be improved by setting the thickness of the first layer to 1 atomic layer or less.
封じ込め状態を所定時間維持することで第1層(Si層)が形成された後、APCバルブ244を開き、真空ポンプ246により処理室201内を真空排気し、処理室201内に残留する未反応もしくは第1層の形成に寄与した後のTCSガスや反応副生成物等を処理室201内から排除する。また、バルブ243c,243dは開いたままとして、処理室201内へのN2ガスの供給を維持する。N2ガスはパージガスとして作用し、これにより、処理室201内に残留する未反応もしくは第1層の形成に寄与した後のガス等を処理室201内から排除する効果を高めることができる。After the first layer (Si layer) is formed by maintaining the containment state for a predetermined time, the
このとき、処理室201内に残留するガスを完全に排除しなくてもよく、処理室201内を完全にパージしなくてもよい。処理室201内に残留するガスが微量であれば、その後に行われるステップ2において悪影響が生じることはない。このとき処理室201内へ供給するN2ガスの流量も大流量とする必要はなく、例えば、反応管203(処理室201)の容積と同程度の量を供給することで、ステップ2において悪影響が生じない程度のパージを行うことができる。このように、処理室201内を完全にパージしないことで、パージ時間を短縮し、スループットを向上させることができる。また、N2ガスの消費も必要最小限に抑えることが可能となる。At this time, the gas remaining in the
原料ガスとしては、TCSガスの他、MCSガス、DCSガスを用いることができる。また、原料ガスとしては、モノクロロジシラン(Si2H5Cl)ガス、ジクロロジシラン(Si2H4Cl2)ガス、トリクロロジシラン(Si2H3Cl3)ガス、テトラクロロジシラン(Si2H2Cl4)ガス、モノクロロトリシラン(Si3H5Cl)ガス、ジクロロトリシラン(Si3H4Cl2)ガス等を用いることもできる。As the source gas, MCS gas and DCS gas can be used in addition to TCS gas. As source gases, monochlorodisilane (Si2 H5 Cl) gas, dichlorodisilane (Si2 H4 Cl2 ) gas, trichlorodisilane (Si2 H3 Cl3 ) gas, tetrachlorodisilane (Si2 H2). Cl4 ) gas, monochlorotrisilane (Si3 H5 Cl) gas, dichlorotrisilane (Si3 H4 Cl2 ) gas, or the like can also be used.
不活性ガスとしては、N2ガスの他、Arガス、Heガス、Neガス、Xeガス等の希ガスを用いることができる。As the inert gas, a rare gas such as Ar gas, He gas, Ne gas, or Xe gas can be used in addition to N2 gas.
[ステップ2]
ウエハ200上に第1層が形成された後、処理室201内のウエハ200に対してO3ガスを供給する。このとき、排気系を開放した状態でO3ガスを処理室201内へ供給する。[Step 2]
After the first layer is formed on the
具体的には、APCバルブ244の開度を適正に調整し、排気系による処理室201内の排気を実施する。また、バルブ243b〜243dの開閉制御を、ステップ1におけるバルブ243a,243c,243dの開閉制御と同様の手順で行う。O3ガスは、MFC241bにより流量制御され、ノズル249b、バッファ室237を介して処理室201内へ供給され、排気管231から排気される。Specifically, the opening degree of the
このとき、MFC241bで制御するO3ガスの供給流量は、例えば10〜10000sccm、好ましくは100〜1000sccmの範囲内の流量とする。処理室201内の圧力は、例えば1〜1330Pa、好ましくは20〜665Paの範囲内の圧力とする。処理室201内の圧力をこのような圧力帯とすることで、O3ガスをノンプラズマで熱的に活性化させることが可能となる。O3ガスは、熱で活性化させて供給した方が、比較的ソフトな反応を生じさせることができ、後述する酸化を比較的ソフトに行うことができる。O3ガスをウエハ200に対して供給する時間、すなわち、ガス供給時間(照射時間)は、例えば1〜100秒、好ましくは5〜60秒の範囲内の時間とする。At this time, the supply flow rate of the O3 gas controlled by the
その他の処理条件は、例えば、ステップ1と同様な処理条件とする。 The other processing conditions are, for example, the same processing conditions as in Step 1.
上述の条件下でウエハ200に対してO3ガスを供給することで、ステップ1でウエハ200上に形成された第1層(Si層)の少なくとも一部が酸化(改質)される。第1層が改質されることで、第2層として、シリコン酸化層(SiO層)が形成されることとなる。ステップ1で形成した第1層中にClやH等の不純物が微量に含まれていたとしても、これらの不純物は、O3ガスによる改質反応の過程において、少なくともClやHを含むガス状物質を構成し、処理室201内から排出される。すなわち、第1層中のClやH等の不純物は、第1層中から引き抜かれたり、脱離したりすることで、第1層から分離する。これにより、第2層は、第1層に比べてClやH等の不純物がさらに少ない層となる。By supplying O3 gas to the
酸化ガスとしては、O3ガスの他、例えば、プラズマ励起させた酸素(O2)ガス、プラズマ励起させた一酸化窒素(NO)ガス、プラズマ励起させた亜酸化窒素(N2O)ガス、プラズマ励起させた二酸化窒素(NO2)ガス等を好適に用いることが可能である。Examples of the oxidizing gas include O3 gas, for example, plasma excited oxygen (O2 ) gas, plasma excited nitrogen monoxide (NO) gas, plasma excited nitrous oxide (N2 O) gas, A plasma-excited nitrogen dioxide (NO2 ) gas or the like can be preferably used.
不活性ガスとしては、N2ガスの他、例えば、上述の各種希ガスを用いることができる。As the inert gas, for example, the above-described various rare gases can be used in addition to the N2 gas.
[所定回数実施]
上述したステップ1,2を非同時に、すなわち、同期させることなく行うサイクルを所定回数(n回)、すなわち、1回以上実施する。これにより、ウエハ200上に、所定組成および所定厚さのSiO膜を形成することができる。上述のサイクルは、複数回繰り返すのが好ましい。すなわち、1サイクルあたりに形成する第2層(SiO層)の厚さを所望の膜厚よりも小さくし、第2層を積層することで形成されるSiO膜の膜厚が所望の膜厚になるまで、上述のサイクルを複数回繰り返すのが好ましい。[Perform a specified number of times]
A cycle in which steps 1 and 2 described above are performed non-simultaneously, that is, without being synchronized, is performed a predetermined number of times (n times), that is, one or more times. Thereby, a SiO film having a predetermined composition and a predetermined thickness can be formed on the
(大気圧復帰ステップ)
ウエハ200上へのSiO膜の形成が完了したら、バルブ243c,243dを開き、ガス供給管232c,232dのそれぞれからN2ガスを処理室201内へ供給し、排気管231から排気する。N2ガスはパージガスとして作用する。これにより、処理室201内がパージされ、処理室201内に残留するガスや反応副生成物が処理室201内から除去される(パージ)。その後、処理室201内の雰囲気が不活性ガスに置換され(不活性ガス置換)、処理室201内の圧力が常圧に復帰される(大気圧復帰)。(Atmospheric pressure return step)
When the formation of the SiO film on the
(搬出ステップ)
その後、ボートエレベータ115によりシールキャップ219が下降されて、マニホールド209の下端が開口されるとともに、処理済のウエハ200が、ボート217に支持された状態でマニホールド209の下端から反応管203の外部に搬出(ボートアンロード)される。ボートアンロードの後は、シャッタ219sが移動させられ、マニホールド209の下端開口がOリング220cを介してシャッタ219sによりシールされる(シャッタクローズ)。処理済のウエハ200は、反応管203の外部に搬出された後、ボート217より取り出されることとなる(ウエハディスチャージ)。(Unloading step)
Thereafter, the
(3)本実施形態による効果
本実施形態によれば、以下に示す1つ又は複数の効果が得られる。(3) Effects According to the Present Embodiment According to the present embodiment, one or more effects shown below can be obtained.
(a)ステップ1では、処理室201内のウエハ200に対し、HおよびClを含むTCSガスを、TCSが単独で存在した場合にTCSが熱分解するような条件であって、処理室201内へのTCSガスの供給流量が処理室201内からのTCSガスの排気流量よりも大きくなるような条件下で供給するようにしている。これにより、ウエハ200上に形成するSiO膜を、膜中のH濃度やCl濃度が低い良質な膜とすることが可能となる。結果として、ウエハ200上に作製される半導体デバイスの特性や信頼性を向上させることが可能となる。以下、詳しく説明する。(A) In step 1, TCS gas containing H and Cl is applied to the
まず、発明者等が明らかにした課題について説明する。発明者等の鋭意研究によれば、原料として例えばヘキサクロロジシラン(Si2Cl6、略称:HCDS)ガスのようなH非含有のクロロシラン原料ガスを用いると、反応体としてO3ガスのようなH非含有の酸化ガスを用いているにも関わらず、SiO膜中にH等の不純物が多く混入してしまう場合があることが判明した。すなわち、原料および反応体としてそれぞれH非含有の物質を用いているにも関わらず、最終的に形成される膜中にH等が多く混入してしまう場合があることが判明した。First, the problems clarified by the inventors will be described. According to the earnest studies by the inventors, when a chlorosilane source gas containing no H such as hexachlorodisilane (Si2 Cl6 , abbreviation: HCDS) gas is used as a raw material, H as a O3 gas is used as a reactant. It has been found that a large amount of impurities such as H may be mixed in the SiO film despite using non-containing oxidizing gas. That is, it has been found that a large amount of H or the like may be mixed in the finally formed film despite using H-free substances as raw materials and reactants.
また、発明者等の鋭意研究によれば、原料として、HCDSガスのようなH非含有のクロロシラン原料ガスを用いると、トリスジメチルアミノシラン(Si[N(CH3)2]3H、略称:3DMAS)ガスやモノシラン(SiH4、略称:MS)ガスのようなHを含むシラン原料ガスを用いる場合よりも、SiO膜中にH等の不純物が多く混入してしまう場合があることも判明した。すなわち、原料としてH非含有の物質を用いているにも関わらず、原料としてHを含む物質を用いる場合よりも、最終的に形成される膜中にH等の不純物が多く混入してしまう場合があることが判明した。Further, according to the earnest studies by the inventors, when a chlorosilane raw material gas containing no H such as HCDS gas is used as a raw material, trisdimethylaminosilane (Si [N (CH3 )2 ]3 H, abbreviation: 3DMAS It has also been found that more impurities such as H may be mixed in the SiO film than when a silane source gas containing H such as gas or monosilane (SiH4 , abbreviation: MS) gas is used. In other words, even when a material that does not contain H is used as a raw material, a larger amount of impurities such as H are mixed in the finally formed film than when a material containing H is used as a raw material. Turned out to be.
発明者等の更なる鋭意研究によれば、これらは、膜中に残留することとなったハロゲン元素(Cl)が水分(H2O)等を引き寄せるように作用するためであることが判明した。HCDSガスのようなクロロシラン原料ガスを用いてSiO膜を形成すると、膜中にClが微量に残留することがある。Clを含むSiO膜の表面が大気に晒されると、大気中に含まれるH2O等がClに引き寄せられ、膜中に取り込まれる場合がある。結果として、SiO膜中にH等の不純物が多く混入することとなるのである。SiO膜中に混入することとなったHは、ウエハ200上に形成された半導体デバイスの特性や信頼性に影響を及ぼす場合がある。According to further earnest studies by the inventors, it has been found that these are because the halogen element (Cl) remaining in the film acts to attract moisture (H2 O) and the like. . When a SiO film is formed using a chlorosilane source gas such as HCDS gas, a trace amount of Cl may remain in the film. When the surface of the SiO film containing Cl is exposed to the atmosphere, H2 O or the like contained in the atmosphere may be attracted to Cl and taken into the film. As a result, a large amount of impurities such as H are mixed in the SiO film. The H mixed into the SiO film may affect the characteristics and reliability of the semiconductor device formed on the
発明者等の鋭意研究により初めて明らかとなったこれらの課題に対し、本実施形態では、原料ガスとして、HおよびClを含むTCSガスを用いるようにしている。すなわち、SiO膜中のH濃度やCl濃度を低減させるために、あえて、HおよびClを含む水素化クロロシラン原料ガスを用いるようにしている。そしてステップ1において、TCSガスを、上述の処理手順、処理条件(処理圧力、処理温度)下で供給することで、TCSに含まれるHとClとを反応させ、TCSに含まれるSiからHやClを脱離させるようにしている。これにより、第1層中のH濃度やCl濃度を大幅に低減させることができ、結果として、ウエハ200上に形成するSiO膜を、H濃度やCl濃度が低い良質な膜とすることが可能となるのである。また、本実施形態によれば、ウエハ200上に形成するSiO膜中のCl濃度を充分に低減させておくことで、成膜処理後のウエハ200が大気中に搬出(炉口が開放)された際等に、大気に晒されることとなったSiO膜中へのH2Oの取り込みを抑制することも可能となる。結果として、ウエハ200上に形成されたSiO膜を、H濃度等の低い良質な状態のまま維持することが可能となる。In response to these problems that have been clarified for the first time by the inventors' diligent research, in this embodiment, a TCS gas containing H and Cl is used as the source gas. That is, in order to reduce the H concentration and the Cl concentration in the SiO film, a hydrogenated chlorosilane source gas containing H and Cl is used. In step 1, the TCS gas is supplied under the above-described processing procedure and processing conditions (processing pressure and processing temperature), thereby causing H and Cl contained in the TCS to react with each other. Cl is desorbed. As a result, the H concentration and Cl concentration in the first layer can be greatly reduced, and as a result, the SiO film formed on the
(b)ステップ1では、処理室201内へTCSガスを供給して封じ込め、この状態を所定時間維持するようにしている。これにより、第1層の形成に寄与するTCSガスの割合、すなわち、TCSガスの利用効率を高めることが可能となる。結果として、成膜コスト(ガスコスト)を低減させることが可能となる。また、TCSガスの封じ込め状態を維持することで、ウエハ200上への第1層の形成レート、すなわち、ウエハ200上へのSiO膜の成膜レートを高めることも可能となる。また、TCSガスの封じ込め状態を維持することで、TCSガスに含まれるHとClとの反応、すなわち、SiからのHやClの脱離をさらに促進させることも可能となる。(B) In step 1, TCS gas is supplied and sealed in the
(c)ステップ1では、APCバルブ244を全閉とせず、僅かに開くようにしている。このようにすることで、処理室201内にTCSガスを封じ込める際に、処理室201内から排気管231へと向かうガスの流れを僅かに形成することができる。これにより、処理室201内で生成されたHCl等の反応副生成物を処理室201内から除去し、成膜処理の品質を向上させることが可能となる。例えば、HCl等に含まれるHがSiO膜中に取り込まれたり、SiO膜に含まれるSiと反応してSi−H結合を形成したりすることを回避することが可能となる。また例えば、処理室201内で生成されたHClによるSiO膜や処理室201内の部材等のエッチングダメージを回避することが可能となる。(C) In step 1, the
但し、上述したように、ステップ1では、APCバルブ244を全閉とするようにしてもよい。このようにすることで、処理室201内の圧力を短時間で上昇させることができ、ウエハ200上への第1層の形成レート、すなわち、ウエハ200上へのSiO膜の成膜レートをさらに高めることが可能となる。また、TCSガスの利用効率をさらに高め、成膜コストをさらに低下させることも可能となる。 However, as described above, in step 1, the
(d)ステップ2では、酸化ガスとして、H非含有(水素フリー)のO含有ガスであるO3ガスを用いている。これにより、第1層を酸化させる際に、第1層中へのHの添加を防止することができ、最終的に形成されるSiO膜中のH濃度の増加を回避することが可能となる。発明者等は、O2ガスとH2ガスとを反応させて得られる酸化種を用いて酸化処理を行う場合や、H2Oガスを用いて酸化処理を行う場合には、第1層を酸化させる際に、第1層中へHが添加されてしまう場合があることを確認している。(D) In step 2, O3 gas which is an O-containing gas not containing H (hydrogen-free) is used as the oxidizing gas. Thereby, when the first layer is oxidized, addition of H into the first layer can be prevented, and an increase in H concentration in the finally formed SiO film can be avoided. . The inventors, when performing an oxidation process using an oxidizing species obtained by reacting an O2 gas and an H2 gas, or when performing an oxidation process using an H2 O gas, It has been confirmed that H may be added into the first layer during oxidation.
(e)ステップ2では、酸化ガスとして、酸化力の強いO3ガスを用いている。これにより、ステップ1で形成した第1層の酸化を確実に行うことができる。また、第1層中にClやH等の不純物が微量に含まれていたとしても、これらを第1層中から効率的に脱離させることが可能となる。これにより、最終的に形成されるSiO膜を、不純物濃度の極めて低い良質な膜とすることが可能となる。(E) In step 2, O3 gas having strong oxidizing power is used as the oxidizing gas. Thereby, the oxidation of the 1st layer formed at Step 1 can be performed reliably. Further, even if a minute amount of impurities such as Cl and H are contained in the first layer, these can be efficiently desorbed from the first layer. Thereby, the finally formed SiO film can be a high-quality film having an extremely low impurity concentration.
(f)上述の効果は、原料としてTCSガス以外の上述の水素化クロロシラン原料ガスを用いる場合や、反応体としてO3ガス以外の上述のO含有ガスを用いる場合にも、同様に得ることができる。(F) The above-described effects can be obtained in the same manner when the above-described hydrogenated chlorosilane source gas other than the TCS gas is used as a raw material, or when the above-described O-containing gas other than O3 gas is used as a reactant. it can.
(4)変形例
本実施形態における基板処理のシーケンスは、図4に示す態様に限定されず、以下に示す変形例のように変更することができる。(4) Modified Example The substrate processing sequence in the present embodiment is not limited to the mode shown in FIG. 4, and can be changed as in the following modified example.
(変形例1)
ステップ1では、排気系を実質的に閉塞した状態、または、排気系を完全に閉塞した状態で、処理室201内へのTCSガスの供給を間欠的に繰り返すようにしてもよい。図5は、ステップ1において、排気系を実質的に閉塞した状態で、TCSガスの供給を間欠的に3回行う例を示している。本変形例の成膜シーケンスを、便宜上、以下のように示すこともある。(Modification 1)
In step 1, the supply of TCS gas into the
(TCS→TCS→・・・→TCS→O3)×n ⇒ SiO(TCS → TCS → ・ ・ ・ → TCS → O3 ) × n ⇒ SiO
本変形例においても、図4に示す成膜シーケンスと同様の効果が得られる。また、TCSガスの供給を間欠的に行うことで、第1層を形成する過程でのClの脱離を、より効果的に行うことが可能となる。結果として、ウエハ200上に形成するSiO膜を、膜中のH濃度やCl濃度のさらに低い良質な膜とすることが可能となる。 Also in this modification, the same effect as the film-forming sequence shown in FIG. 4 is acquired. Further, by intermittently supplying the TCS gas, it is possible to more effectively desorb Cl in the process of forming the first layer. As a result, the SiO film formed on the
(変形例2)
ステップ1では、排気系を実質的に閉塞した状態、または、排気系を完全に閉塞した状態で、処理室201内へのTCSガスの供給を間欠的に繰り返すとともに、TCSガスの供給停止期間中におけるN2ガスの供給流量を、TCSガスの供給期間におけるN2ガスの供給流量よりも一時的に増加させる(大流量パージを行う)ようにしてもよい。すなわち、ステップ1では、排気系を実質的または完全に閉塞した状態で、処理室201内へのTCSガスの供給と、処理室201内の大流量パージと、を交互に繰り返すようにしてもよい。図6は、ステップ1において、排気系を実質的に閉塞した状態で、TCSガスの供給と、処理室201内の大流量パージとを交互に3回ずつ行う例を示している。(Modification 2)
In step 1, the TCS gas supply into the
本変形例においても、図4に示す成膜シーケンスや変形例1と同様の効果が得られる。また、ステップ1におけるN2ガスの流量制御を上述のように行うことで、HCl等の反応副生成物の処理室201内からの除去を促すことができ、成膜処理の品質をさらに向上させることが可能となる。Also in this modification, the same effect as the film-forming sequence shown in FIG. 4 and the modification 1 is acquired. Further, by performing the N2 gas flow rate control in Step 1 as described above, removal of reaction by-products such as HCl from the
(変形例3)
ステップ1では、排気系を実質的に閉塞した状態、または、排気系を完全に閉塞した状態で、処理室201内へのTCSガスの供給を間欠的に繰り返すとともに、TCSガスの供給停止期間におけるAPCバルブ244の開度を、TCSガスの供給期間におけるAPCバルブ244の開度よりも一時的に大きくする(排気レートを大きくする)ようにしてもよい。すなわち、ステップ1では、処理室201内へのTCSガスの供給と、排気系による排気レートをTCSガス供給時よりも大きくする動作と、を交互に繰り返すようにしてもよい。図7は、ステップ1において、排気系を実質的に閉塞した状態で行うTCSガスの供給と、排気レートをTCSガス供給時よりも大きくする動作と、を交互に3回ずつ行う例を示している。(Modification 3)
In step 1, the supply of TCS gas into the
本変形例においても、図4に示す成膜シーケンスや変形例1と同様の効果が得られる。また、ステップ1におけるAPCバルブ244の開度制御を上述のように行うことで、変形例2と同様に、HCl等の反応副生成物の処理室201内からの除去を促すことができ、成膜処理の品質をさらに向上させることが可能となる。 Also in this modification, the same effect as the film-forming sequence shown in FIG. 4 and the modification 1 is acquired. Further, by performing the opening degree control of the
(変形例4)
図8に示すように、上述の変形例2,3を組み合わせるようにしてもよい。すなわち、ステップ1では、処理室201内へのTCSガスの供給と、処理室201内の大流量パージおよび排気系による排気レートをTCSガス供給時よりも大きくする動作と、を交互に繰り返すようにしてもよい。これにより、HCl等の反応副生成物の処理室201内からの除去をさらに促すことができ、成膜処理の品質を一層向上させることが可能となる。(Modification 4)
As shown in FIG. 8, the above-described modifications 2 and 3 may be combined. That is, in Step 1, the supply of the TCS gas into the
なお、変形例1〜4では、ステップ1において排気系を完全に閉塞した状態とするよりも、排気系を実質的に閉塞した状態、すなわち、排気系を僅かに開放し排気系より僅かにガスを排気した状態とする方が、上述の各効果をより高めることができる。 In the modified examples 1 to 4, rather than the exhaust system being completely closed in step 1, the exhaust system is substantially closed, that is, the exhaust system is slightly opened and the exhaust system is slightly opened. The above-described effects can be further enhanced by exhausting the air.
(変形例5)
図9に示すように、ウエハ200上にSiO膜を形成した後、同一の処理室201内で、SiO膜上にキャップ層をin−situにて形成してもよい。キャップ層は、成膜処理後のウエハ200が大気中に搬出された際、大気中のH2OがSiO膜に到達(接触)することを防ぐブロック層として機能する。SiO膜を形成する処理を実施した後、成膜処理後のウエハ200を処理室201内から取り出すことなく処理室201内に収容した状態でSiO膜上にキャップ層を形成することで、SiO膜中に僅かにClが残留していた場合であっても、SiO膜中へのH2Oの取り込みを、より確実に防止することが可能となる。(Modification 5)
As shown in FIG. 9, after the SiO film is formed on the
キャップ層は、SiO膜を保護する役割を終えた後、所定のエッチング処理が施されることで除去される。そのため、キャップ層は、SiO膜とはエッチング耐性の異なる材料で形成するのが好ましい。例えば、SiO膜上に、キャップ層として、シリコン層(Si層)あるいはシリコン窒化層(SiN層)を形成するのが好ましい。Si層は、処理室201内のウエハ200に対して原料としてシラン原料ガスを供給するステップを所定回数(1回以上)行うことで形成することができる。SiN層は、処理室201内のウエハ200に対して原料としてシラン原料ガスを供給するステップと、処理室201内のウエハ200に対して反応体としてNH3ガス等の窒化ガスを供給するステップと、を同時あるいは非同時に所定回数(1回以上)行うことで形成することができる。The cap layer is removed by performing a predetermined etching process after finishing the role of protecting the SiO film. Therefore, the cap layer is preferably formed of a material having a different etching resistance from that of the SiO film. For example, it is preferable to form a silicon layer (Si layer) or a silicon nitride layer (SiN layer) as a cap layer on the SiO film. The Si layer can be formed by performing a step of supplying a silane source gas as a source to the
キャップ層を形成する処理では、図4に示す成膜シーケンスと同様に、原料ガスとしてHおよびClを含むTCSガスを用いるようにしてもよい。そして、図4に示す成膜シーケンスのステップ1と同様に、TCSが単独で存在した場合にTCSが熱分解するような条件であって、処理室201内へのTCSの供給流量が処理室201内からのTCSの排気流量よりも大きくなるような条件下で、TCSガスを供給するようにしてもよい。さらには、TCSガスを処理室201内へ封じ込めた状態を所定時間維持するようにしてもよい。このようにすることで、キャップ層のH濃度やCl濃度を充分に低減させることができ、結果として、キャップ層からSiO膜へのHやClの拡散を抑制することが可能となる。キャップ層のH濃度やCl濃度を低減させる技術的意義は、キャップ層形成後にウエハ200に対してHやClの拡散が生じ得るような高温処理を実施する場合に、特に大きくなる。但し、キャップ層形成後にウエハ200に対して高温処理を実施せず、HやClの拡散が生じないような場合には、キャップ層を形成する際にTCSガスの封じ込めを実施しなくてもよい。 In the process of forming the cap layer, a TCS gas containing H and Cl may be used as the source gas, as in the film forming sequence shown in FIG. Similar to step 1 of the film forming sequence shown in FIG. 4, the TCS is thermally decomposed when the TCS is present alone, and the supply flow rate of the TCS into the
キャップ層の厚さは、例えば、数原子層以上数十原子層以下の範囲内の厚さとするのが好ましい。キャップ層の厚さが数原子層未満、例えば1原子層程度となると、上述のブロック層としての機能が不充分となることがある。キャップ層の厚さを数原子層以上とすることで、キャップ層をブロック層として充分に機能させることが可能となる。また、キャップ層の厚さが数十原子層、例えば100原子層を超えると、キャップ層の除去に必要な処理時間が長くなり、半導体デバイスの生産性低下を招くことがある。キャップ層の厚さを数十原子層以下とすることで、半導体デバイスの生産性低下を回避することができる。 The thickness of the cap layer is preferably a thickness in the range of several atomic layers to several tens atomic layers, for example. When the thickness of the cap layer is less than several atomic layers, for example, about one atomic layer, the function as the block layer described above may be insufficient. By setting the thickness of the cap layer to several atomic layers or more, the cap layer can sufficiently function as a block layer. In addition, when the thickness of the cap layer exceeds several tens of atomic layers, for example, 100 atomic layers, the processing time required for removing the cap layer becomes long, and the productivity of the semiconductor device may be reduced. By setting the thickness of the cap layer to several tens of atomic layers or less, it is possible to avoid a decrease in productivity of the semiconductor device.
ウエハ200に対してTCSガスとO3ガスとを交互にm回供給することでSiO膜を形成した後、TCSガスとNH3ガスとを交互にn回供給することでキャップ層(SiN層)を形成する成膜シーケンスを、便宜上、以下のように示すこともある。NH3ガスを供給するステップの処理手順、処理条件は、図4に示す成膜シーケンスにおけるステップ2の処理手順、処理条件と同様とすることができる。NH3ガスは、プラズマ励起させて供給するようにしてもよい。After a SiO film is formed by alternately supplying TCS gas and O3 gas to the wafer 200 m times, a cap layer (SiN layer) is supplied by alternately supplying TCS gas and NH3 gas n times. The film forming sequence for forming the film may be shown as follows for convenience. The processing procedure and processing conditions of the step of supplying NH3 gas can be the same as the processing procedure and processing conditions of step 2 in the film forming sequence shown in FIG. The NH3 gas may be supplied after being plasma-excited.
(TCS→O3)×m→(TCS→NH3)×n ⇒ SiN/SiO(TCS → O3 ) × m → (TCS → NH3 ) × n ⇒ SiN / SiO
(変形例6)
上述したように、ステップ2では、プラズマ励起させたO2ガス等を供給するようにしてもよい。ウエハ200に対してプラズマ励起させたO2ガスを供給する場合には、MFC241bで制御するO2ガスの供給流量を、例えば100〜10000sccmの範囲内の流量とする。棒状電極269,270間に印加する高周波電力(RF電力)は、例えば50〜1000Wの範囲内の電力とする。処理室201内の圧力は、例えば1〜1330Pa、好ましくは1〜665Pa、より好ましくは1〜100Paの範囲内の圧力とする。他の処理手順、処理条件は、上述の処理手順、処理条件と同様とする。本変形例によっても、図4に示す成膜シーケンスと同様の効果が得られる。本変形例の成膜シーケンスを、便宜上、以下のように示すこともある。(Modification 6)
As described above, in step 2, plasma-excited O2 gas or the like may be supplied. When supplying the plasma-excited O2 gas to the
(TCS→O2*)×n ⇒ SiO(TCS → O2* ) × n ⇒ SiO
(変形例7)
図12に示すように、ウエハ200上にSiO膜を形成した後、このSiO膜の表面へO3ガスやプラズマ励起させたO2ガス等を供給するステップを行うことで、SiO膜の表面を改質するようにしてもよい。SiO膜の表面を改質するステップにおけるO3ガス等の供給時間は、例えば、ステップ2におけるO3ガスの供給時間よりも長くすることが好ましく、例えば、120〜600秒の範囲内の時間とする。これにより、SiO膜の表面からHやClをさらに脱離させることが可能となり、SiO膜の膜質をさらに向上させることが可能となる。また、SiO膜の表面からClをさらに脱離させることで、大気に晒されることとなったSiO膜中へのH2Oの取り込みをより確実に抑制することも可能となる。(Modification 7)
As shown in FIG. 12, after the SiO film is formed on the
(変形例8)
上述したように、ステップ1では、原料に含まれるHとClとを反応させ、HとClとを脱離させるようにしている。但し、原料に含まれるHの量と、原料に含まれるClの量と、の比率によっては、第1層中に、HおよびClのうちいずれか一方が多く残留してしまう場合がある。第1層からHおよびClの両方をバランスよく低減させるには、原料と一緒に、Cl2ガス等のH非含有のCl含有ガス、或いは、H2ガスやSiH4ガス等のCl非含有のH含有ガスを供給することが有効な場合もある。(Modification 8)
As described above, in Step 1, H and Cl contained in the raw material are reacted to desorb H and Cl. However, depending on the ratio between the amount of H contained in the raw material and the amount of Cl contained in the raw material, either one of H and Cl may remain in the first layer. In order to reduce both H and Cl in a balanced manner from the first layer, together with the raw material, an H-free Cl-containing gas such as Cl2 gas, or a Cl-free gas such as H2 gas or SiH4 gas is contained. It may be effective to supply H-containing gas.
例えば、原料として、1分子中に含まれるH原子の数よりも、1分子中に含まれるCl原子の数の方が少ない物質(SiH3Cl、Si2H5Cl、Si2H4Cl2、Si3H5Cl、Si3H4Cl2等)を用いる場合、第1層中にHが比較的多く残留する場合がある。この場合、図10に示すように、ステップ1において、原料ガスと一緒にCl2ガス等を供給するようにすればよい。例えば、原料ガスとしてSiH3Clガスを用いる場合、SiH3ClガスとCl2ガスとを1:1等の流量比率で一緒に供給するようにしてもよい。流量比率を適正に調整することで、第1層からHおよびClの両方をバランスよく低減させることが可能となる。For example, as a raw material, a substance (SiH3 Cl, Si2 H5 Cl, Si2 H4 Cl2) in which the number of Cl atoms contained in one molecule is smaller than the number of H atoms contained in one molecule. , Si3 H5 Cl, Si3 H4 Cl2, etc.), a relatively large amount of H may remain in the first layer. In this case, as shown in FIG. 10, in step 1, Cl2 gas or the like may be supplied together with the source gas. For example, when SiH3 Cl gas is used as the source gas, SiH3 Cl gas and Cl2 gas may be supplied together at a flow rate ratio of 1: 1 or the like. By appropriately adjusting the flow rate ratio, it is possible to reduce both H and Cl in a balanced manner from the first layer.
また例えば、原料ガスとして、1分子中に含まれるH原子の数よりも、1分子中に含まれるCl原子の数の方が多い物質(SiHCl3、Si2H2Cl4等)を用いる場合、第1層中にClが比較的多く残留する場合がある。この場合、図11に示すように、ステップ1において、原料ガスと一緒にH2ガスやSiH4ガス等を供給するようにすればよい。例えば、原料ガスとしてSiHCl3ガスを用いる場合、SiHCl3ガスとH2ガスとを1:1等の流量比率で一緒に供給するようにしてもよい。流量比率を適正に調整することで、第1層からHおよびClの両方をバランスよく低減させることが可能となる。Further, for example, when a material (SiHCl3 , Si2 H2 Cl4, etc.) in which the number of Cl atoms contained in one molecule is larger than the number of H atoms contained in one molecule is used as the source gas. In some cases, a relatively large amount of Cl may remain in the first layer. In this case, as shown in FIG. 11, in step 1, H2 gas, SiH4 gas or the like may be supplied together with the source gas. For example, when SiHCl3 gas is used as the source gas, SiHCl3 gas and H2 gas may be supplied together at a flow rate ratio of 1: 1 or the like. By appropriately adjusting the flow rate ratio, it is possible to reduce both H and Cl in a balanced manner from the first layer.
なお、原料ガスとして、1分子中に含まれるH原子の数と、1分子中に含まれるCl原子の数と、が等しい物質(SiH2Cl2、Si2H3Cl3等)を用いる場合、第1層からHおよびClの両方をバランスよく低減させることが比較的容易となる。但し、ステップ1における処理圧力や処理温度等の処理条件によっては、第1層中にHおよびClのうちいずれか一方が多く残留してしまう場合もある。この場合、原料ガスと一緒にCl2ガス或いはH2ガスのうちいずれか一方のガスを所定の流量で供給することで、第1層からHおよびClの両方をバランスよく低減させることが可能となる。Note that a material (SiH2 Cl2 , Si2 H3 Cl3, etc.) in which the number of H atoms contained in one molecule is equal to the number of Cl atoms contained in one molecule is used as the source gas. It is relatively easy to reduce both H and Cl in a balanced manner from the first layer. However, depending on the processing conditions such as the processing pressure and processing temperature in Step 1, a large amount of either H or Cl may remain in the first layer. In this case, it is possible to reduce both H and Cl in a balanced manner from the first layer by supplying either the Cl2 gas or the H2 gas together with the source gas at a predetermined flow rate. Become.
また、原料ガスとして、1分子中に含まれるH原子の数よりも1分子中に含まれるCl原子の数の方が少ない物質と、1分子中に含まれるH原子の数よりも1分子中に含まれるCl原子の数の方が多い物質と、を所定の比率で混合させて用いるようにしてもよい。例えば、原料ガスとして、SiH3ClガスとSiHCl3ガスとを1:1等の比率で混合させて用いるようにしてもよい。ガスの比率を適正に調整することで、第1層からHおよびClの両方をバランスよく低減させることが可能となる。In addition, as a source gas, a substance having a smaller number of Cl atoms contained in one molecule than the number of H atoms contained in one molecule, and a molecule in one molecule than the number of H atoms contained in one molecule. A substance having a larger number of Cl atoms contained in may be mixed at a predetermined ratio and used. For example, SiH3 Cl gas and SiHCl3 gas may be mixed at a ratio of 1: 1 or the like as the source gas. By appropriately adjusting the gas ratio, it is possible to reduce both H and Cl in a balanced manner from the first layer.
また、原料ガスとして、1分子中に含まれるH原子の数と1分子中に含まれるCl原子の数とが等しい物質と、1分子中に含まれるH原子の数と1分子中に含まれるCl原子の数とが異なる物質と、を所定の比率で混合させて用いるようにしてもよい。例えば、原料ガスとして、SiH2Cl2ガスとSiH3ClガスとSiHCl3ガスとを2:1:1等の比率で混合させて用いるようにしてもよい。これらによっても、第1層からHおよびClの両方をバランスよく低減させることが可能となる。ガスの比率を適正に調整することで、第1層からHおよびClの両方をバランスよく低減させることが可能となる。Further, as the source gas, a substance in which the number of H atoms contained in one molecule is equal to the number of Cl atoms contained in one molecule, and the number of H atoms contained in one molecule and one molecule are contained. Substances having different numbers of Cl atoms may be mixed and used at a predetermined ratio. For example, SiH2 Cl2 gas, SiH3 Cl gas, and SiHCl3 gas may be mixed and used as a source gas at a ratio of 2: 1: 1 or the like. These also make it possible to reduce both H and Cl in a balanced manner from the first layer. By appropriately adjusting the gas ratio, it is possible to reduce both H and Cl in a balanced manner from the first layer.
<本発明の他の実施形態>
以上、本発明の実施形態について具体的に説明した。しかしながら、本発明は上述の実施形態に限定されるものではなく、その要旨を逸脱しない範囲で種々変更可能である。<Other Embodiments of the Present Invention>
The embodiment of the present invention has been specifically described above. However, the present invention is not limited to the above-described embodiment, and various modifications can be made without departing from the scope of the present invention.
例えば、上述の実施形態では、原料を供給した後に反応体を供給する例について説明した。しかしながら、本発明はこのような態様に限定されず、原料、反応体の供給順序は逆でもよい。すなわち、反応体を供給した後に原料を供給するようにしてもよい。供給順序を変えることにより、形成される膜の膜質や組成比を変化させることが可能となる。 For example, in the above-described embodiment, the example in which the reactant is supplied after the raw material is supplied has been described. However, the present invention is not limited to such an embodiment, and the order of supplying the raw materials and reactants may be reversed. That is, the raw material may be supplied after the reactants are supplied. By changing the supply order, the film quality and composition ratio of the formed film can be changed.
また、上述の実施形態では、原料ガスとして水素化クロロシラン原料ガスを用いる例について説明した。本発明はこのような態様に限定されず、水素化クロロシラン原料ガス以外の水素化ハロシラン原料ガス、例えば、水素化フルオロシラン原料ガスや水素化ブロモシラン原料ガス等を用いてもよい。このときの処理条件は、例えば上述の実施形態と同様な処理条件とすることができる。 Moreover, in the above-mentioned embodiment, the example using hydrogenated chlorosilane source gas as source gas was demonstrated. The present invention is not limited to such an embodiment, and a hydrogenated halosilane source gas other than the hydrogenated chlorosilane source gas, for example, a hydrogenated fluorosilane source gas or a hydrogenated bromosilane source gas may be used. The processing conditions at this time can be set to the same processing conditions as in the above-described embodiment, for example.
上述の実施形態の手法により形成したシリコン系絶縁膜を、サイドウォールスペーサとして使用することにより、リーク電流が少なく、加工性に優れたデバイス形成技術を提供することが可能となる。また、上述のシリコン系絶縁膜を、エッチストッパーとして使用することにより、加工性に優れたデバイス形成技術を提供することが可能となる。また、一部の変形例を除き、プラズマを用いずにシリコン系絶縁膜を形成できることから、例えばDPTのSADP膜等、プラズマダメージを懸念する工程への適用も可能となる。 By using the silicon-based insulating film formed by the method of the above-described embodiment as a side wall spacer, it is possible to provide a device forming technique with less leakage current and excellent workability. In addition, by using the above-described silicon-based insulating film as an etch stopper, it is possible to provide a device forming technique with excellent workability. In addition, since a silicon-based insulating film can be formed without using plasma except for some modifications, it can be applied to a process that is concerned about plasma damage, such as a DDP SADP film.
また、本発明は、ウエハ200上に、チタン(Ti)、ジルコニウム(Zr)、ハフニウム(Hf)、タンタル(Ta)、ニオブ(Nb)、アルミニウム(Al)、モリブデン(Mo)、タングステン(W)等の金属元素を含む酸化膜、すなわち、金属系酸化膜を形成する場合においても、好適に適用可能である。すなわち、本発明は、ウエハ200上に、TiO膜、ZrO膜、HfO膜、TaO膜、NbO膜、AlO膜、MoO膜、WO膜を形成する場合にも、好適に適用することが可能となる。 In the present invention, titanium (Ti), zirconium (Zr), hafnium (Hf), tantalum (Ta), niobium (Nb), aluminum (Al), molybdenum (Mo), tungsten (W) is formed on the
例えば、原料として、上述の金属元素、HおよびClを含む金属化合物(以下、金属原料)を用い、以下に示す成膜シーケンスにより、ウエハ200上に、上述の金属系酸化膜等を形成する場合においても、本発明は好適に適用可能である。 For example, when the above-described metal-based oxide film or the like is formed on the
(金属原料→O3)×n ⇒ 金属系酸化膜(Metal raw material → O3 ) × n ⇒ Metal oxide film
(金属原料→O2*)×n ⇒ 金属系酸化膜(Metal raw material → O2* ) × n ⇒ Metal oxide film
(金属原料→金属原料→・・・→金属原料→O3)×n ⇒ 金属系酸化膜(Metal raw material → Metal raw material → ・ ・ ・ → Metal raw material → O3 ) × n ⇒ Metal oxide film
(金属原料→金属原料→・・・→金属原料→O2*)×n ⇒ 金属系酸化膜(Metal raw material → Metal raw material → ・ ・ ・ → Metal raw material → O2* ) × n ⇒ Metal oxide film
すなわち、本発明は、半導体元素や金属元素を含む酸化膜を形成する場合に、好適に適用することができる。成膜処理の処理手順、処理条件は、上述の実施形態や変形例の処理手順、処理条件と同様とすることができる。これらの場合においても、上述の実施形態や変形例と同様の効果が得られる。 That is, the present invention can be suitably applied when forming an oxide film containing a semiconductor element or a metal element. The processing procedure and processing conditions of the film forming process can be the same as the processing procedure and processing conditions of the above-described embodiments and modifications. In these cases, the same effects as those of the above-described embodiments and modifications can be obtained.
基板処理に用いられるレシピ(処理手順や処理条件等が記載されたプログラム)は、処理内容(形成する膜の膜種、組成比、膜質、膜厚、処理手順、処理条件等)に応じて個別に用意し、電気通信回線や外部記憶装置123を介して記憶装置121c内に格納しておくことが好ましい。そして、基板処理を開始する際、CPU121aが、記憶装置121c内に格納された複数のレシピの中から、処理内容に応じて適正なレシピを適宜選択することが好ましい。これにより、1台の基板処理装置で様々な膜種、組成比、膜質、膜厚の膜を、再現性よく形成することができるようになる。また、オペレータの負担(処理手順や処理条件等の入力負担等)を低減でき、操作ミスを回避しつつ、基板処理を迅速に開始できるようになる。 Recipes used for substrate processing (programs describing processing procedures, processing conditions, etc.) are individually determined according to the processing details (film type, composition ratio, film quality, film thickness, processing procedures, processing conditions, etc.) And stored in the
上述のレシピは、新たに作成する場合に限らず、例えば、基板処理装置に既にインストールされていた既存のレシピを変更することで用意してもよい。レシピを変更する場合は、変更後のレシピを、電気通信回線や当該レシピを記録した記録媒体を介して、基板処理装置にインストールしてもよい。また、既存の基板処理装置が備える入出力装置122を操作し、基板処理装置に既にインストールされていた既存のレシピを直接変更するようにしてもよい。 The above-mentioned recipe is not limited to a case of newly creating, and for example, it may be prepared by changing an existing recipe that has already been installed in the substrate processing apparatus. When changing the recipe, the changed recipe may be installed in the substrate processing apparatus via an electric communication line or a recording medium on which the recipe is recorded. Further, an existing recipe that has already been installed in the substrate processing apparatus may be directly changed by operating the input /
上述の実施形態では、一度に複数枚の基板を処理するバッチ式の基板処理装置を用いて膜を形成する例について説明した。本発明は上述の実施形態に限定されず、例えば、一度に1枚または数枚の基板を処理する枚葉式の基板処理装置を用いて膜を形成する場合にも、好適に適用できる。また、上述の実施形態では、ホットウォール型の処理炉を有する基板処理装置を用いて膜を形成する例について説明した。本発明は上述の実施形態に限定されず、コールドウォール型の処理炉を有する基板処理装置を用いて膜を形成する場合にも、好適に適用できる。これらの場合においても、処理手順、処理条件は、例えば上述の実施形態と同様な処理手順、処理条件とすることができる。 In the above-described embodiment, an example in which a film is formed using a batch-type substrate processing apparatus that processes a plurality of substrates at one time has been described. The present invention is not limited to the above-described embodiment, and can be suitably applied to a case where a film is formed using, for example, a single-wafer type substrate processing apparatus that processes one or several substrates at a time. In the above-described embodiment, an example in which a film is formed using a substrate processing apparatus having a hot wall type processing furnace has been described. The present invention is not limited to the above-described embodiment, and can be suitably applied to a case where a film is formed using a substrate processing apparatus having a cold wall type processing furnace. Also in these cases, the processing procedure and processing conditions can be the same processing procedure and processing conditions as in the above-described embodiment, for example.
例えば、図14に示す処理炉302を備えた基板処理装置を用いて膜を形成する場合にも、本発明は好適に適用できる。処理炉302は、処理室301を形成する処理容器303と、処理室301内へガスをシャワー状に供給するガス供給部としてのシャワーヘッド303sと、1枚または数枚のウエハ200を水平姿勢で支持する支持台317と、支持台317を下方から支持する回転軸355と、支持台317に設けられたヒータ307と、を備えている。シャワーヘッド303sのインレット(ガス導入口)には、ガス供給ポート332a,332bが接続されている。ガス供給ポート332aには、上述の実施形態の第1供給系と同様の供給系がそれぞれ接続されている。ガス供給ポート332bには、ガスをプラズマ励起させて供給する励起部としてのリモートプラズマユニット(プラズマ生成装置)339bと、上述の実施形態の第2供給系と同様の供給系がそれぞれ接続されている。シャワーヘッド303sのアウトレット(ガス排出口)には、処理室301内へガスをシャワー状に供給するガス分散板が設けられている。シャワーヘッド303sは、処理室301内へ搬入されたウエハ200の表面と対向(対面)する位置に設けられている。処理容器303には、処理室301内を排気する排気ポート331が設けられている。排気ポート331には、上述の実施形態の排気系と同様の排気系が接続されている。 For example, the present invention can be preferably applied to the case where a film is formed using a substrate processing apparatus including the
また例えば、図15に示す処理炉402を備えた基板処理装置を用いて膜を形成する場合にも、本発明は好適に適用できる。処理炉402は、処理室401を形成する処理容器403と、1枚または数枚のウエハ200を水平姿勢で支持する支持台417と、支持台417を下方から支持する回転軸455と、処理容器403内のウエハ200に向けて光照射を行うランプヒータ407と、ランプヒータ407の光を透過させる石英窓403wと、を備えている。処理容器403には、ガス供給ポート432a,432bが接続されている。ガス供給ポート432aには、上述の実施形態の第1供給系と同様の供給系がそれぞれ接続されている。ガス供給ポート432bには、上述のリモートプラズマユニット339bと、上述の実施形態の第2供給系と同様の供給系がそれぞれ接続されている。ガス供給ポート432a,432bは、処理室401内へ搬入されたウエハ200の端部の側方、すなわち、処理室401内へ搬入されたウエハ200の表面と対向しない位置にそれぞれ設けられている。処理容器403には、処理室401内を排気する排気ポート431が設けられている。排気ポート431には、上述の実施形態の排気系と同様の排気系が接続されている。 Further, for example, the present invention can be suitably applied to the case where a film is formed using a substrate processing apparatus including the
これらの基板処理装置を用いる場合においても、上述の実施形態や変形例と同様な処理手順、処理条件にて成膜処理を行うことができ、上述の実施形態や変形例と同様の効果が得られる。 Even when these substrate processing apparatuses are used, the film forming process can be performed with the same processing procedure and processing conditions as in the above-described embodiment and modification, and the same effect as in the above-described embodiment and modification can be obtained. It is done.
また、上述の実施形態や変形例等は、適宜組み合わせて用いることができる。また、このときの処理条件は、例えば上述の実施形態と同様な処理条件とすることができる。 Moreover, the above-mentioned embodiment, a modification, etc. can be used in combination as appropriate. Further, the processing conditions at this time can be the same processing conditions as in the above-described embodiment, for example.
以下、上述の実施形態や変形例で得られる効果を裏付ける実験結果について説明する。 Hereinafter, experimental results supporting the effects obtained in the above-described embodiments and modifications will be described.
上述の実施形態の基板処理装置を用い、図4に示す成膜シーケンスにより、ウエハ上に、サンプル1としてSiO膜を形成した。原料としてはTCSガスを、反応体としてはO3ガスを用いた。処理手順、処理条件は上述の実施形態と同様とした。すなわち、TCSガスを供給するステップでは、処理室内へのTCSガスの供給流量を処理室内からのTCSガスの排気流量よりも大きな流量とし、TCSガスの処理室内への実質的な封じ込めを実施した。Using the substrate processing apparatus of the above-described embodiment, an SiO film was formed as a sample 1 on the wafer by the film forming sequence shown in FIG. TCS gas was used as a raw material, and O3 gas was used as a reactant. The processing procedure and processing conditions are the same as in the above-described embodiment. That is, in the step of supplying the TCS gas, the supply flow rate of the TCS gas into the processing chamber is set to a flow rate larger than the exhaust flow rate of the TCS gas from the processing chamber, and the TCS gas is substantially contained in the processing chamber.
上述の実施形態の基板処理装置を用い、原料を供給するステップと反応体を供給するステップとを交互に実施する成膜シーケンスにより、ウエハ上に、サンプル2としてSiO膜を形成した。原料としてはTCSガスを、反応体としてはO3ガスを用いた。TCSガスを供給するステップでは、処理室内へのTCSガスの供給流量を処理室内からのTCSガスの排気流量以下の流量とし、TCSガスの処理室内への封じ込めを不実施とした。他の処理手順、処理条件は、サンプル1を作製する際の処理手順、処理条件と同様とした。Using the substrate processing apparatus of the above-described embodiment, an SiO film was formed as a sample 2 on the wafer by a film forming sequence in which a step of supplying a raw material and a step of supplying a reactant were alternately performed. TCS gas was used as a raw material, and O3 gas was used as a reactant. In the step of supplying the TCS gas, the supply flow rate of the TCS gas into the processing chamber is set to a flow rate equal to or lower than the exhaust flow rate of the TCS gas from the processing chamber, and the TCS gas is not contained in the processing chamber. Other processing procedures and processing conditions were the same as the processing procedures and processing conditions for producing Sample 1.
成膜処理が終了した後、処理済みのウエハを大気中に搬出し、ウエハ上に形成されたSiO膜をそれぞれ大気に晒した。そして、サンプル1,2のSiO膜中におけるH濃度をそれぞれ測定した。図13は、サンプル1,2のSiO膜の膜中不純物の評価結果を示す図である。図13の縦軸は膜中におけるH濃度(atoms/cm3)を、横軸はサンプル1,2を順に示している。After the film formation process was completed, the processed wafer was taken out into the atmosphere, and the SiO films formed on the wafer were each exposed to the atmosphere. Then, the H concentrations in the SiO films of Samples 1 and 2 were measured. FIG. 13 is a diagram showing evaluation results of impurities in the SiO films of Samples 1 and 2. In FIG. The vertical axis of FIG. 13 indicates the H concentration (atoms / cm3 ) in the film, and the horizontal axis indicates the samples 1 and 2 in order.
図13によれば、サンプル1におけるSiO膜中のH濃度は、サンプル2におけるSiO膜中のH濃度よりも、1桁以上少ないことが分かる。すなわち、TCSガスを供給するステップにおいてTCSガスの処理室内への実質的な封じ込めを実施することで、H濃度が低い良質なSiO膜を形成できることが分かる。 According to FIG. 13, it can be seen that the H concentration in the SiO film in sample 1 is one digit lower than the H concentration in the SiO film in sample 2. That is, it can be seen that a high-quality SiO film having a low H concentration can be formed by substantially confining the TCS gas in the processing chamber in the step of supplying the TCS gas.
<本発明の好ましい態様>
以下、本発明の好ましい態様について付記する。<Preferred embodiment of the present invention>
Hereinafter, preferred embodiments of the present invention will be additionally described.
(付記1)
本発明の一態様によれば、
処理室内の基板に対して、水素およびハロゲン元素を含む原料を、前記原料が単独で存在した場合に前記原料が熱分解するような条件であって、前記処理室内への前記原料の供給流量が前記処理室内からの前記原料の排気流量よりも大きくなるような条件下で供給し、第1層を形成する工程と、
前記処理室内の前記基板に対して反応体を供給し、前記第1層を改質して第2層を形成する工程と、
を非同時に所定回数(n回)行うことで、前記基板上に膜を形成する工程を有する半導体装置の製造方法、または、基板処理方法が提供される。(Appendix 1)
According to one aspect of the invention,
A raw material containing hydrogen and a halogen element with respect to the substrate in the processing chamber is such that the raw material is thermally decomposed when the raw material is present alone, and the supply flow rate of the raw material into the processing chamber is Supplying under conditions such that the exhaust flow rate of the raw material from the processing chamber is larger, and forming a first layer;
Supplying a reactant to the substrate in the processing chamber and modifying the first layer to form a second layer;
Are performed a predetermined number of times (n times) at the same time, thereby providing a method for manufacturing a semiconductor device or a substrate processing method including a step of forming a film on the substrate.
(付記2)
付記1に記載の方法であって、好ましくは、
前記第1層を形成する工程では、前記原料に含まれる水素とハロゲン元素とを反応させ、ハロゲン元素を脱離させる(引き抜く)。(Appendix 2)
The method according to appendix 1, preferably,
In the step of forming the first layer, hydrogen and a halogen element contained in the raw material are reacted to desorb (extract) the halogen element.
(付記3)
付記1又は2に記載の方法であって、好ましくは、
前記第1層を形成する工程における処理条件(処理圧力および/または処理温度)を、前記原料に含まれる水素とハロゲン元素とが反応し、ハロゲン元素が脱離する(引き抜かれる)ような条件(処理圧力および/または処理温度)とする。(Appendix 3)
The method according to appendix 1 or 2, preferably,
The processing conditions (processing pressure and / or processing temperature) in the step of forming the first layer are such that hydrogen contained in the raw material reacts with the halogen element and the halogen element is desorbed (extracted) ( Treatment pressure and / or treatment temperature).
(付記4)
付記1乃至3のいずれかに記載の方法であって、好ましくは、
前記第1層を形成する工程では、前記処理室内を排気する排気系を(実質的、または、完全に)閉塞した状態で前記原料を前記処理室内へ供給して(実質的、または、完全に)封じ込める。(Appendix 4)
The method according to any one of appendices 1 to 3, preferably,
In the step of forming the first layer, the raw material is supplied (substantially or completely) while the exhaust system for exhausting the processing chamber is closed (substantially or completely). ) Contain.
(付記5)
付記1乃至4のいずれかに記載の方法であって、好ましくは、
前記第1層を形成する工程では、前記処理室内を排気する排気系を(実質的、または、完全に)閉塞した状態で前記原料を前記処理室内へ供給して(実質的、または、完全に)封じ込め、前記原料に含まれる水素とハロゲン元素とが反応し、ハロゲン元素が脱離するような処理条件を作り出す。(Appendix 5)
The method according to any one of appendices 1 to 4, preferably,
In the step of forming the first layer, the raw material is supplied (substantially or completely) while the exhaust system for exhausting the processing chamber is closed (substantially or completely). ) Containment, a process condition is created such that hydrogen contained in the raw material reacts with the halogen element and the halogen element is desorbed.
(付記6)
付記1乃至5のいずれかに記載の方法であって、好ましくは、
前記原料として、SixHyClzの組成式(x、y、zはそれぞれ1以上の整数)で表される物質(水素化クロロシラン化合物)を用いる。(Appendix 6)
The method according to any one of appendices 1 to 5, preferably,
As the raw material, a substance (hydrogenated chlorosilane compound) represented by a composition formula of Six Hy Clz (x, y, and z are each an integer of 1 or more) is used.
(付記7)
付記1乃至6のいずれかに記載の方法であって、好ましくは、
前記原料として、SiH3Cl、SiH2Cl2、SiHCl3、Si2H5Cl、Si2H4Cl2、Si2H3Cl3、Si2H2Cl4、Si3H5Cl、Si3H4Cl2からなる群より選択される少なくとも1つを用いる。(Appendix 7)
The method according to any one of appendices 1 to 6, preferably,
As the raw material, SiH3 Cl, SiH2 Cl2 , SiHCl3 , Si2 H5 Cl, Si2 H4 Cl2 , Si2 H3 Cl3 , Si2 H2 Cl4 , Si3 H5 Cl, SiAt least one selected from the group consisting of3 H4 Cl2 is used.
(付記8)
付記1乃至7のいずれかに記載の方法であって、好ましくは、
原料として、1分子中(組成式中)に含まれる水素の数と、1分子中に含まれる塩素の数と、が等しい物質(SiH2Cl2、Si2H3Cl3等)を用いる。(Appendix 8)
The method according to any one of appendices 1 to 7, preferably,
As a raw material, a substance (SiH2 Cl2 , Si2 H3 Cl3 or the like) in which the number of hydrogen contained in one molecule (in the composition formula) is equal to the number of chlorine contained in one molecule is used.
(付記9)
付記1乃至7のいずれかに記載の方法であって、好ましくは、
前記第1層を形成する工程では、前記基板に対して前記原料と一緒に水素非含有の塩素含有ガスを供給する。より好ましくは、前記第1層を形成する工程では、原料として、1分子中に含まれる水素原子の数よりも、1分子中に含まれる塩素原子の数の方が少ない物質を用い、前記基板に対して前記原料と一緒に前記塩素含有ガスを供給する。(Appendix 9)
The method according to any one of appendices 1 to 7, preferably,
In the step of forming the first layer, a hydrogen-free chlorine-containing gas is supplied to the substrate together with the raw material. More preferably, in the step of forming the first layer, a material having a smaller number of chlorine atoms in one molecule than a number of hydrogen atoms in one molecule is used as a raw material. The chlorine-containing gas is supplied together with the raw material.
(付記10)
付記1乃至7のいずれかに記載の方法であって、好ましくは、
前記第1層を形成する工程では、前記基板に対して前記原料と一緒に塩素非含有の水素含有ガスを供給する。より好ましくは、前記第1層を形成する工程では、原料として、1分子中に含まれる水素原子の数よりも、1分子中に含まれる塩素原子の数の方が多い物質を用い、前記基板に対して前記原料と一緒に前記水素含有ガスを供給する。(Appendix 10)
The method according to any one of appendices 1 to 7, preferably,
In the step of forming the first layer, a chlorine-free hydrogen-containing gas is supplied to the substrate together with the raw material. More preferably, in the step of forming the first layer, a material having a larger number of chlorine atoms in one molecule than a number of hydrogen atoms in one molecule is used as a raw material. The hydrogen-containing gas is supplied together with the raw material.
(付記11)
付記1乃至10のいずれかに記載の方法であって、好ましくは、
前記反応体として、水素非含有(水素フリー)の酸素含有ガスを用いる。(Appendix 11)
The method according to any one of appendices 1 to 10, preferably,
As the reactant, a hydrogen-free (hydrogen-free) oxygen-containing gas is used.
(付記12)
付記1乃至11のいずれかに記載の方法であって、好ましくは、
前記反応体として、O3ガスまたはプラズマ励起させた酸素含有ガスからなる群より選択される少なくとも1つを用いる。(Appendix 12)
The method according to any one of appendices 1 to 11, preferably,
As the reactant, at least one selected from the group consisting of O3 gas or plasma-excited oxygen-containing gas is used.
(付記13)
付記1乃至12のいずれかに記載の方法であって、好ましくは、
前記反応体として、O3ガス、プラズマ励起させたO2ガス、プラズマ励起させたNOガス、プラズマ励起させたN2Oガスおよびプラズマ励起させたNO2ガスからなる群より選択される少なくとも1つを用いる。(Appendix 13)
The method according to any one of appendices 1 to 12, preferably:
The reactant is at least one selected from the group consisting of O3 gas, plasma-excited O2 gas, plasma-excited NO gas, plasma-excited N2 O gas, and plasma-excited NO2 gas. Is used.
(付記14)
付記1乃至13のいずれかに記載の方法であって、好ましくは、
前記基板上に膜を形成する工程を実施した後、同一の前記処理室内で、すなわち、前記膜が形成された前記基板を前記処理室内から取り出すことなく前記処理室内に収容した状態で、前記膜上にキャップ層を形成する工程を、さらに有する。(Appendix 14)
The method according to any one of appendices 1 to 13, preferably:
After performing the step of forming a film on the substrate, the film is stored in the same processing chamber, that is, in a state where the substrate on which the film is formed is accommodated in the processing chamber without being taken out of the processing chamber. The method further includes the step of forming a cap layer thereon.
(付記15)
付記14に記載の方法であって、好ましくは、
前記キャップ層を、前記膜とはエッチング耐性の異なる材料で形成する。より好ましくは、前記基板上に膜を形成する工程では前記基板上にシリコン酸化膜を形成し、前記キャップ層を形成する工程では前記基板上にシリコン層およびシリコン窒化層のうち少なくともいずれかを形成する。(Appendix 15)
The method according to appendix 14, preferably,
The cap layer is formed of a material having a different etching resistance from that of the film. More preferably, in the step of forming a film on the substrate, a silicon oxide film is formed on the substrate, and in the step of forming the cap layer, at least one of a silicon layer and a silicon nitride layer is formed on the substrate. To do.
(付記16)
付記14又は15に記載の方法であって、好ましくは、
前記キャップ層の厚さを数原子層以上数十原子層以下の厚さとする。(Appendix 16)
The method according to appendix 14 or 15, preferably,
The cap layer has a thickness of several atomic layers to several tens atomic layers.
(付記17)
本発明の他の態様によれば、
基板を処理する処理室と、
前記処理室内の基板を加熱するヒータと、
前記処理室内の基板に対して水素およびハロゲン元素を含む原料を供給する第1供給系と、
前記処理室内の基板に対して反応体を供給する第2供給系と、
前記処理室内を排気する排気系と、
前記処理室内の基板に対して、前記原料を、前記原料が単独で存在した場合に前記原料が熱分解するような条件であって、前記処理室内への前記原料の供給流量が前記処理室内からの前記原料の排気流量よりも大きくなるような条件下で供給し、第1層を形成する処理と、前記処理室内の前記基板に対して反応体を供給し、前記第1層を改質して第2層を形成する処理と、を非同時に所定回数行うことで、前記基板上に膜を形成する処理を実施させるように、前記ヒータ、前記第1供給系、前記第2供給系および前記排気系を制御するよう構成される制御部と、
を備える基板処理装置が提供される。(Appendix 17)
According to another aspect of the invention,
A processing chamber for processing the substrate;
A heater for heating the substrate in the processing chamber;
A first supply system for supplying a raw material containing hydrogen and a halogen element to a substrate in the processing chamber;
A second supply system for supplying reactants to the substrate in the processing chamber;
An exhaust system for exhausting the processing chamber;
When the raw material is present alone, the raw material is thermally decomposed with respect to the substrate in the processing chamber, and the supply flow rate of the raw material into the processing chamber is from the processing chamber. And supplying a reactant to the substrate in the processing chamber to modify the first layer. And performing the process of forming a film on the substrate by performing the process of forming the second layer non-simultaneously a predetermined number of times, so that the heater, the first supply system, the second supply system, and the A controller configured to control the exhaust system;
A substrate processing apparatus is provided.
(付記18)
本発明のさらに他の態様によれば、
処理室内の基板に対して、水素およびハロゲン元素を含む原料を、前記原料が単独で存在した場合に前記原料が熱分解するような条件であって、前記処理室内への前記原料の供給流量が前記処理室内からの前記原料の排気流量よりも大きくなるような条件下で供給し、第1層を形成する手順と、
前記処理室内の前記基板に対して反応体を供給し、前記第1層を改質して第2層を形成する手順と、
を非同時に所定回数行うことで、前記基板上に膜を形成する手順をコンピュータに実行させるプログラム、または、該プログラムを記録したコンピュータ読み取り可能な記録媒体が提供される。(Appendix 18)
According to yet another aspect of the invention,
A raw material containing hydrogen and a halogen element with respect to the substrate in the processing chamber is such that the raw material is thermally decomposed when the raw material is present alone, and the supply flow rate of the raw material into the processing chamber is A procedure for supplying under conditions such that the flow rate of the raw material from the processing chamber is larger than the exhaust flow rate, and forming the first layer;
Supplying a reactant to the substrate in the processing chamber, modifying the first layer to form a second layer;
By performing a predetermined number of times simultaneously, a program for causing a computer to execute a procedure for forming a film on the substrate, or a computer-readable recording medium on which the program is recorded is provided.
200 ウエハ(基板)
201 処理室
202 処理炉
207 ヒータ
231 排気管
232a ガス供給管
232b ガス供給管200 wafer (substrate)
201
| Application Number | Priority Date | Filing Date | Title |
|---|---|---|---|
| JP2015114830AJP6529348B2 (en) | 2015-06-05 | 2015-06-05 | Semiconductor device manufacturing method, substrate processing apparatus and program |
| US15/170,352US9773661B2 (en) | 2015-06-05 | 2016-06-01 | Method of manufacturing semiconductor device, substrate processing apparatus, and recording medium |
| Application Number | Priority Date | Filing Date | Title |
|---|---|---|---|
| JP2015114830AJP6529348B2 (en) | 2015-06-05 | 2015-06-05 | Semiconductor device manufacturing method, substrate processing apparatus and program |
| Publication Number | Publication Date |
|---|---|
| JP2017005016Atrue JP2017005016A (en) | 2017-01-05 |
| JP6529348B2 JP6529348B2 (en) | 2019-06-12 |
| Application Number | Title | Priority Date | Filing Date |
|---|---|---|---|
| JP2015114830AActiveJP6529348B2 (en) | 2015-06-05 | 2015-06-05 | Semiconductor device manufacturing method, substrate processing apparatus and program |
| Country | Link |
|---|---|
| US (1) | US9773661B2 (en) |
| JP (1) | JP6529348B2 (en) |
| Publication number | Priority date | Publication date | Assignee | Title |
|---|---|---|---|---|
| JP2018147955A (en)* | 2017-03-02 | 2018-09-20 | 株式会社日立国際電気 | Semiconductor device manufacturing method, program, and recording medium |
| CN110310884A (en)* | 2018-03-27 | 2019-10-08 | 株式会社国际电气 | Manufacturing method of semiconductor device, substrate processing apparatus, and storage medium |
| JP2020047809A (en)* | 2018-09-20 | 2020-03-26 | 株式会社Kokusai Electric | Semiconductor device manufacturing method, substrate processing apparatus, and program |
| CN112071752A (en)* | 2019-06-11 | 2020-12-11 | 东京毅力科创株式会社 | Substrate processing method and substrate processing apparatus |
| US12351908B2 (en) | 2020-11-27 | 2025-07-08 | Kokusai Electric Corporation | Substrate processing method, recording medium, and substrate processing apparatus |
| Publication number | Priority date | Publication date | Assignee | Title |
|---|---|---|---|---|
| TWI663281B (en)* | 2015-06-16 | 2019-06-21 | 美商慧盛材料美國責任有限公司 | Preparation and composition of halidosilane compounds, and container containing same |
| US11142462B2 (en) | 2016-09-26 | 2021-10-12 | Jiangsu Nata Opto-Electronic Materials Co. Ltd. | Trichlorodisilane |
| JP6814057B2 (en)* | 2017-01-27 | 2021-01-13 | 株式会社Kokusai Electric | Semiconductor device manufacturing methods, substrate processing devices, and programs |
| JP6778166B2 (en)* | 2017-09-08 | 2020-10-28 | 株式会社Kokusai Electric | Manufacturing method of semiconductor devices |
| JP6843298B2 (en) | 2018-04-27 | 2021-03-17 | 株式会社Kokusai Electric | Semiconductor device manufacturing methods, substrate processing devices, and programs |
| CN110307731B (en)* | 2019-02-22 | 2021-02-09 | 湖南省鑫源新材料股份有限公司 | Rotary material table for high-temperature equipment |
| Publication number | Priority date | Publication date | Assignee | Title |
|---|---|---|---|---|
| JPS6341017A (en)* | 1986-08-06 | 1988-02-22 | Mitsubishi Electric Corp | Vapor phase growth method |
| JPH02174225A (en)* | 1988-12-27 | 1990-07-05 | Tel Sagami Ltd | processing equipment |
| JP2007042823A (en)* | 2005-08-02 | 2007-02-15 | Tokyo Electron Ltd | Film forming method, film forming apparatus, and storage medium |
| JP2011029284A (en)* | 2009-07-22 | 2011-02-10 | Tokyo Electron Ltd | Film forming method and film forming device |
| JP2012195564A (en)* | 2011-02-28 | 2012-10-11 | Hitachi Kokusai Electric Inc | Semiconductor device manufacturing method, substrate processing method, substrate processing apparatus, and program |
| WO2014080785A1 (en)* | 2012-11-26 | 2014-05-30 | 株式会社日立国際電気 | Method for manufacturing semiconductor device, substrate processing device, and recording medium |
| Publication number | Priority date | Publication date | Assignee | Title |
|---|---|---|---|---|
| JP5541223B2 (en) | 2010-07-29 | 2014-07-09 | 東京エレクトロン株式会社 | Film forming method and film forming apparatus |
| JP5959307B2 (en) | 2011-06-22 | 2016-08-02 | 株式会社日立国際電気 | Semiconductor device manufacturing method, substrate processing method, substrate processing apparatus, and program |
| Publication number | Priority date | Publication date | Assignee | Title |
|---|---|---|---|---|
| JPS6341017A (en)* | 1986-08-06 | 1988-02-22 | Mitsubishi Electric Corp | Vapor phase growth method |
| JPH02174225A (en)* | 1988-12-27 | 1990-07-05 | Tel Sagami Ltd | processing equipment |
| JP2007042823A (en)* | 2005-08-02 | 2007-02-15 | Tokyo Electron Ltd | Film forming method, film forming apparatus, and storage medium |
| JP2011029284A (en)* | 2009-07-22 | 2011-02-10 | Tokyo Electron Ltd | Film forming method and film forming device |
| JP2012195564A (en)* | 2011-02-28 | 2012-10-11 | Hitachi Kokusai Electric Inc | Semiconductor device manufacturing method, substrate processing method, substrate processing apparatus, and program |
| WO2014080785A1 (en)* | 2012-11-26 | 2014-05-30 | 株式会社日立国際電気 | Method for manufacturing semiconductor device, substrate processing device, and recording medium |
| Publication number | Priority date | Publication date | Assignee | Title |
|---|---|---|---|---|
| JP2018147955A (en)* | 2017-03-02 | 2018-09-20 | 株式会社日立国際電気 | Semiconductor device manufacturing method, program, and recording medium |
| CN110310884A (en)* | 2018-03-27 | 2019-10-08 | 株式会社国际电气 | Manufacturing method of semiconductor device, substrate processing apparatus, and storage medium |
| JP2019175911A (en)* | 2018-03-27 | 2019-10-10 | 株式会社Kokusai Electric | Semiconductor device manufacturing method, substrate processing apparatus, and program |
| JP2020047809A (en)* | 2018-09-20 | 2020-03-26 | 株式会社Kokusai Electric | Semiconductor device manufacturing method, substrate processing apparatus, and program |
| US11170995B2 (en) | 2018-09-20 | 2021-11-09 | Kokusai Electric Corporation | Method of manufacturing semiconductor device, substrate processing apparatus, and recording medium |
| KR20200141935A (en)* | 2019-06-11 | 2020-12-21 | 도쿄엘렉트론가부시키가이샤 | Substrate processing method and substrate processing apparatus |
| JP2020200510A (en)* | 2019-06-11 | 2020-12-17 | 東京エレクトロン株式会社 | Substrate treatment method and substrate treatment apparatus |
| CN112071752A (en)* | 2019-06-11 | 2020-12-11 | 东京毅力科创株式会社 | Substrate processing method and substrate processing apparatus |
| KR102392368B1 (en)* | 2019-06-11 | 2022-05-02 | 도쿄엘렉트론가부시키가이샤 | Substrate processing method and substrate processing apparatus |
| JP7300898B2 (en) | 2019-06-11 | 2023-06-30 | 東京エレクトロン株式会社 | Substrate processing method and substrate processing apparatus |
| US11732357B2 (en) | 2019-06-11 | 2023-08-22 | Tokyo Electron Limited | Substrate processing method and substrate processing apparatus |
| CN112071752B (en)* | 2019-06-11 | 2024-07-19 | 东京毅力科创株式会社 | Substrate processing method and substrate processing apparatus |
| US12351908B2 (en) | 2020-11-27 | 2025-07-08 | Kokusai Electric Corporation | Substrate processing method, recording medium, and substrate processing apparatus |
| Publication number | Publication date |
|---|---|
| US20160358767A1 (en) | 2016-12-08 |
| US9773661B2 (en) | 2017-09-26 |
| JP6529348B2 (en) | 2019-06-12 |
| Publication | Publication Date | Title |
|---|---|---|
| JP6484478B2 (en) | Semiconductor device manufacturing method, substrate processing apparatus, and program | |
| JP6176811B2 (en) | Semiconductor device manufacturing method, substrate processing apparatus, and program | |
| JP6529348B2 (en) | Semiconductor device manufacturing method, substrate processing apparatus and program | |
| JP5775947B2 (en) | Semiconductor device manufacturing method, substrate processing method, substrate processing apparatus, and program | |
| JP6086934B2 (en) | Semiconductor device manufacturing method, substrate processing apparatus, and program | |
| JP6086942B2 (en) | Semiconductor device manufacturing method, substrate processing apparatus, and program | |
| JP6568508B2 (en) | Semiconductor device manufacturing method, substrate processing apparatus, and program | |
| JP6460874B2 (en) | Semiconductor device manufacturing method, substrate processing apparatus, and program | |
| JP6456764B2 (en) | Semiconductor device manufacturing method, substrate processing apparatus, and program | |
| JP2016072587A (en) | Semiconductor device manufacturing method, substrate processing apparatus, and program | |
| JP2014216342A (en) | Semiconductor device manufacturing method, substrate processing apparatus and program | |
| JP6470060B2 (en) | Semiconductor device manufacturing method, substrate processing apparatus, and program | |
| JP6347548B2 (en) | Semiconductor device manufacturing method, substrate processing apparatus, and program | |
| JP2016157871A (en) | Method for manufacturing semiconductor device, substrate processing device, and program | |
| JP2018137356A (en) | Semiconductor device manufacturing method, substrate processing apparatus, and program | |
| WO2018055724A1 (en) | Method for manufacturing semiconductor device, substrate treatment apparatus, and program | |
| WO2017158848A1 (en) | Semiconductor device production method, substrate processing device, and recording medium | |
| JP6339236B2 (en) | Semiconductor device manufacturing method, substrate processing apparatus, and program | |
| WO2017199570A1 (en) | Cleaning method, method for manufacturing semiconductor device, substrate processing apparatus and program | |
| JP6608516B2 (en) | Semiconductor device manufacturing method, substrate processing apparatus, and program | |
| WO2018193538A1 (en) | Semiconductor device production method, substrate processing device and recording medium | |
| KR102760329B1 (en) | Substrate processing method, method of manufacturing semiconductor device, substrate processing apparatus, and program | |
| WO2017056155A1 (en) | Semiconductor device manufacturing method, substrate processing device, and recording medium | |
| JP6654232B2 (en) | Semiconductor device manufacturing method, substrate processing apparatus, and program |
| Date | Code | Title | Description |
|---|---|---|---|
| A621 | Written request for application examination | Free format text:JAPANESE INTERMEDIATE CODE: A621 Effective date:20180322 | |
| A711 | Notification of change in applicant | Free format text:JAPANESE INTERMEDIATE CODE: A712 Effective date:20180727 | |
| A521 | Request for written amendment filed | Free format text:JAPANESE INTERMEDIATE CODE: A523 Effective date:20180809 | |
| RD03 | Notification of appointment of power of attorney | Free format text:JAPANESE INTERMEDIATE CODE: A7423 Effective date:20181112 | |
| A977 | Report on retrieval | Free format text:JAPANESE INTERMEDIATE CODE: A971007 Effective date:20190121 | |
| A131 | Notification of reasons for refusal | Free format text:JAPANESE INTERMEDIATE CODE: A131 Effective date:20190205 | |
| A521 | Request for written amendment filed | Free format text:JAPANESE INTERMEDIATE CODE: A523 Effective date:20190403 | |
| TRDD | Decision of grant or rejection written | ||
| A01 | Written decision to grant a patent or to grant a registration (utility model) | Free format text:JAPANESE INTERMEDIATE CODE: A01 Effective date:20190417 | |
| A61 | First payment of annual fees (during grant procedure) | Free format text:JAPANESE INTERMEDIATE CODE: A61 Effective date:20190514 | |
| R150 | Certificate of patent or registration of utility model | Ref document number:6529348 Country of ref document:JP Free format text:JAPANESE INTERMEDIATE CODE: R150 | |
| R250 | Receipt of annual fees | Free format text:JAPANESE INTERMEDIATE CODE: R250 | |
| R250 | Receipt of annual fees | Free format text:JAPANESE INTERMEDIATE CODE: R250 | |
| R250 | Receipt of annual fees | Free format text:JAPANESE INTERMEDIATE CODE: R250 | |
| R250 | Receipt of annual fees | Free format text:JAPANESE INTERMEDIATE CODE: R250 |