














本発明は、請求項1の序文に記載されるカプセルに関する。この種類のカプセルは、特にコーヒーやお茶などの飲料準備機として、飲料の準備のために様々な形態で広く使用されている。 The present invention relates to a capsule as described in the preamble of claim 1. This type of capsule is widely used in various forms for beverage preparation, especially as a beverage preparation machine for coffee or tea.
ここで、カプセルは、2つの機能を発揮する。1つは、内部の物質が外部に流出することを防止し、内部の芳香を維持することで、もう1つは、飲料準備機との協働により、高圧時に温水の通路となるという機械的な機能を発揮することである。ここで、カプセルは醸造過程において高圧耐性のある醸造室に受け入れられる。多くの飲料準備機では、密閉されている醸造室に、ポンプの作動によって水がカプセルに流入できるようベースが貫通している。カプセル本体を密閉するカバーは、暖かい飲料が醸造室から外に流れ出せるよう、貫通型のものであっても、内部気圧の上昇によりいくつかのポイントを引きちぎって開けるようなものであってもよい。この種のカプセルは例えば、国際特許登録2012/080501にも記載されている。 Here, the capsule performs two functions. One is to prevent the internal substance from flowing out and maintain the internal fragrance, and the other is a mechanical mechanism that, in cooperation with the beverage preparation machine, becomes a passage of hot water at high pressure. It is to demonstrate the function. Here, the capsule is received in a brewing room that is resistant to high pressure during the brewing process. In many beverage preparation machines, a base penetrates a sealed brewing room so that water can flow into the capsule by actuation of the pump. The cover that seals the capsule body may be of a penetrating type so that warm beverages can flow out of the brewing room, or it can be opened by tearing off several points due to an increase in internal pressure. . This type of capsule is also described, for example, in International Patent Registration 2012/080501.
プラスチック素材でできたカプセルには、その素材の弾力性の結果、ベースが突き破られる際、ベースはその突き破る手段に対してしっかり耐性があり、単位時間あたりの流入水量が例えばアルミニウム製のカプセルよりも少なくなってしまうという問題がある。そこで、カプセル製造の段階でベースに追加の開口を設けておき、前記開口が飲料製造器内への流入割合を増加させることが極めて有用であると判明した。この開口は、無圧時には閉じており、圧力がかかった際一種のバルブの機能を有する、素材の除去を伴わないで製造されるスリットが好適である。 Capsule made of plastic material, as a result of the elasticity of the material, when the base is pierced, the base is firmly resistant to the means of piercing, and the amount of inflow water per unit time is, for example, that of aluminum capsules There is also a problem that it will decrease. Thus, it has been found that it is extremely useful to provide an additional opening in the base at the capsule manufacturing stage and to increase the rate of inflow into the beverage maker. This opening is preferably closed when no pressure is applied, and has a function of a kind of valve when pressure is applied, and is preferably a slit manufactured without removing the material.
しかしながら、この実施例の欠点は、個々のカプセルが防臭の袋内でまだ別々に包装されなければならない点にある。しかしながら、ベース上の開口は別として、防酸素、防臭のカプセルの実施例のカプセルは容易には得られるので、この追加包装手段はなしで済ませるのが望ましい。そこでこの発明の目的は、導入部で説明したような追加の外部スリーブがなく飲料準備機への流入割合がカプセルのベース上の任意の開口によって調節されるような種類のカプセルを創出することにある。この目的は請求項1の特徴を有するカプセルの発明に従って達成される。 However, the disadvantage of this embodiment is that the individual capsules still have to be packaged separately in a deodorant bag. However, apart from the opening on the base, it is desirable to dispense with this additional packaging means, since the capsules of the oxygen and deodorant capsule embodiments are readily obtained. The object of the present invention is therefore to create a capsule of the kind in which there is no additional external sleeve as described in the introduction and the rate of flow into the beverage preparation machine is adjusted by any opening on the base of the capsule. is there. This object is achieved according to the invention of a capsule having the features of claim 1.
カプセル本体はある意味それ自体公知のバリア層で既に提供されている。バリア特性を有するいくつかの層で構成されるプラスチックフィルムは公知である。バリア特性を有するカバーもまた公知である。工場で製造されたカプセルベース内の開口を通じて水蒸気や酸素の流出を防ぐため、あるいは、香りの漏洩を防ぐため、開口に関し閉鎖空間内を密閉するために、バリア特性を有する膜がベースの内側に設置されてもよい。ここで膜は、ベースの外周をたどる接合ゾーンに沿って接合される。ベース内に既に設けられた全ての開口はこのように、ベースと膜が飲料準備機内で貫通手段により同時にのみ貫かれるよう密閉される。 The capsule body is already provided in a sense with a barrier layer known per se. Plastic films composed of several layers having barrier properties are known. Covers having barrier properties are also known. In order to prevent the outflow of water vapor and oxygen through the opening in the capsule base manufactured at the factory, or to prevent the leakage of fragrance, a membrane having a barrier property is sealed inside the base to seal the inside of the closed space with respect to the opening. It may be installed. Here, the membrane is bonded along a bonding zone that follows the outer periphery of the base. All openings already provided in the base are thus sealed so that the base and the membrane can only be penetrated simultaneously by the penetration means in the beverage preparation machine.
接合ゾーンの寸法設定はベースへの十分に厳重な接合が確保されるように選択される。ここで、接合ゾーンが、膜とベースとが接合していないカプセルベースの中央部を取り囲むのが格別に好適であり得る。この接合していない場所が膜内の折りたたみや痕跡などのむらの補てんに寄与してもよい。 The dimensioning of the bonding zone is selected to ensure a sufficiently tight bond to the base. Here, it may be particularly suitable that the joining zone surrounds the central part of the capsule base where the membrane and the base are not joined. This unjoined location may contribute to the compensation of unevenness such as folding or traces in the membrane.
しかしながら他方で、開口が膜がベースと接合していない中央部において少なくとも部分的に配置されているのもまた、格別に好適であり得る。この方法により、開口を通じて流入する液体は、十分な流入が保持されるよう膜の接合していない場所であらゆる方向に速やかに拡散することが可能となる。 On the other hand, however, it may also be particularly suitable for the openings to be at least partly arranged in the middle where the membrane is not joined to the base. This method allows the liquid flowing in through the opening to quickly diffuse in all directions where the membrane is not joined so that sufficient inflow is maintained.
カプセルは回転対称であってもよく、接合ゾーンは環状に延在してもよい。もちろん、同様の原理は例えば横断面が多角形でベースも多角形のカプセルのケースでももたらされる。 The capsule may be rotationally symmetric and the joining zone may extend annularly. Of course, the same principle can be achieved, for example, in the case of a capsule with a polygonal cross-section and a base.
環状の接合ゾーンのケースでは、接合ゾーンの外径が14から17mmの間にあり、内径が8から11mmの間にある時に格別の利点があることが証明されている。これらの寸法の結果、一方で膜とベースの厳重な接合が確保されつつ、他方で、膜がベースと接合していない十分に大きな中央部が残される。 In the case of an annular joining zone, it has proven to be particularly advantageous when the outer diameter of the joining zone is between 14 and 17 mm and the inner diameter is between 8 and 11 mm. As a result of these dimensions, on the one hand a tight bond between the membrane and the base is ensured, while on the other hand a sufficiently large central part is left where the membrane is not bonded to the base.
「バリア特性」という言葉は食料品のパッケージの分野で熟練した人の間では一般的に知られている。ここで鍵となる基準は、例えば23℃または25℃などの一定の温度のもとでのそれぞれのケースの酸素透過率及び水蒸気透過率である。例として、ポリエチレンビニールアルコール(EVOH))が素晴らしいバリア特性を有するプラスチック素材として知られている。この素材はバリア層としてラミネートされたフィルムに使用されることができ、0.01から1の範囲の透過性質を有する。プラスチックフィルムの酸素透過性はDIN 53 380に従って測定される。酸素透過性は、cm3/m2×d×バールで求められる。本出願では、1人前のコーヒー向けの熱成形プラスチックカプセルに既に使用されている透過性率を適用する。The term “barrier property” is generally known among those skilled in the field of food packaging. The key criteria here are the oxygen transmission rate and the water vapor transmission rate of each case under a constant temperature such as 23 ° C. or 25 ° C., for example. As an example, polyethylene vinyl alcohol (EVOH) is known as a plastic material with excellent barrier properties. This material can be used in films laminated as a barrier layer and has a transmission property in the range of 0.01 to 1. The oxygen permeability of the plastic film is measured according to DIN 53 380. Oxygen permeability is determined by cm3 / m2 × d × bar. In this application, we apply the permeability that is already used in thermoformed plastic capsules for serving coffee.
一定のケースでは、膜はカプセルのベース全体にわたって接合していることもまた好都合の場合もあろう。機械上の貫通手段の実施例によるが、この種類の開口もまたより良い流入率をもたらす場合もあろう。これはとりわけ貫通手段がカプセルベースのスリットの場所を貫く場合である。 In certain cases, it may also be advantageous for the membrane to be bonded across the capsule base. Depending on the embodiment of the penetration means on the machine, this type of opening may also provide a better inflow rate. This is especially the case when the penetration means penetrates the location of the capsule base slit.
導入部で既に説明した通り、開口は圧力のかかっていない時は閉じており、水圧、空気圧及び機械圧に晒された際に開くスリットであることが好適である。個々のスリットは直線またはカーブに延在し、あるいはこれらのスリットもまたスリットを交差するかもしれない。圧力時に同様に開いているスリットバルブの好適な実施例は、様々な技術分野における当業者には公知のものである。 As already described in the introduction section, the opening is preferably a slit that is closed when no pressure is applied and opens when exposed to water pressure, air pressure, and mechanical pressure. Individual slits may extend in a straight line or curve, or these slits may also intersect the slits. Suitable embodiments of slit valves that are similarly open when under pressure are known to those skilled in the art in various technical fields.
もちろん、スリットに代えて特に円形や多角形の穴などのその他の種類の開口が用いられてもよい。 Of course, other types of openings such as circular or polygonal holes may be used instead of the slits.
特に最適な効果は、多数(3つ以上が望ましい)の開口が、ベースに設けられている場合に得ることができる。これは飲料準備機内の貫通手段に対するカプセルの相対位置がいつも予知できるわけではないという事実に起因するものである。しかしながら、少なくとも3つの開口があることで、好ましくない相対位置となる危険を相当程度減らすことが可能となる。 A particularly optimum effect can be obtained when a large number (preferably three or more) of openings are provided in the base. This is due to the fact that the relative position of the capsule relative to the penetration means in the beverage preparation machine is not always predictable. However, the presence of at least three openings can significantly reduce the risk of undesired relative positions.
ベースの外側周辺は多数のくぼみで形成される補強ゾーンと隣接するのが特に好適である。これにより、カプセル本体を曲げることなく、飲料準備機内の空間への液体の通り道となる貫通手段がベースを貫通することが可能となる。例えば、プラスチックはアルミニウムよりも貫通に対する抵抗が大きいため、カプセル底の十分な抵抗力は特にプラスチック素材のカプセルで重要である。 It is particularly preferred that the outer periphery of the base is adjacent to a reinforcement zone formed by a number of indentations. Thereby, the penetration means which becomes a passage way of the liquid to the space in the beverage preparation machine can penetrate the base without bending the capsule body. For example, since plastic has a greater resistance to penetration than aluminum, a sufficient resistance at the bottom of the capsule is particularly important for plastic capsules.
先に述べたくぼみは円形の表面の直径が膜の直径にほぼ一致する一般的な円周上にある内壁を有するかもしれない。膜はこのような方法で内壁の中央に位置づけられ、製造方法に前向きな影響を与える。 The recesses described above may have an inner wall that lies on a general circumference where the diameter of the circular surface approximately matches the diameter of the membrane. The membrane is positioned in the middle of the inner wall in this way and has a positive impact on the manufacturing method.
膜はアルミニウムベースのフィルムで構成されてもよいかもしれない。ここでのフィルムはアルミニウム合金製のフィルムや少なくとも1つのアルミニウム層から構成されるラミネートでもよいかもしれない。カプセル本体を閉じるカバーも同じフィルム素材で製造されてもよいかもしれない。公知のとおり、アルミニウムは拡散に対するバリア効果において素晴らしい特性を有する。この理由により、このタイプのフィルムはしばしば食品製造において防臭なパッケージとしても使用されている。 The membrane may be composed of an aluminum based film. The film here may be a film made of an aluminum alloy or a laminate composed of at least one aluminum layer. The cover that closes the capsule body may also be made of the same film material. As is known, aluminum has excellent properties in the barrier effect against diffusion. For this reason, this type of film is often used as a deodorant package in food production.
カプセル本体は特に便宜的に熱成形部として形成される。熱成形手法の中でパッケージされた中身とカプセルの使用に正確に順応した複層プラスチック層が加工処理されるかもしれない。しかしながら、もちろん、カプセル本体を例えば注入口の鋳形された部分のように形成することもまた容易に想像できることである。 The capsule body is particularly formed as a thermoformed part for convenience. Multiple plastic layers may be processed that are precisely adapted to the use of packaged contents and capsules in a thermoforming technique. However, of course, it is also easily conceivable to form the capsule body, for example like a cast part of the inlet.
本発明は請求項13記載の特徴を有するカプセルのためのカプセル本体の製造方法にも関する。ここで、カプセルのベース上の開口が、カプセル本体の製造に従い別々の過程のステップで作られると特に有利であることが証明されている。このようにして、求める効果のために極めて重要な開口を正確に配置することが可能となる。ここでカプセルのベースの輪郭に表面の輪郭がほぼ一致した膜が挿入される。既に述べたとおり、ここでベースの輪郭に従った接合ゾーンまたは表面全体にわたって接合がなされる。 The invention also relates to a method for manufacturing a capsule body for a capsule having the features of
カプセル本体部が熱成形手法で製造され、その底部が平坦な表面を形成されることが望ましいという点においても製造過程の最適化が達成される。表面が曲がっているよりも平坦な方が開口を設置しやすい。最後に、ベースの表面が平坦な方が膜もまたより良い適用が可能である。 Optimization of the manufacturing process is also achieved in that it is desirable that the capsule body is manufactured by a thermoforming technique and the bottom is formed with a flat surface. A flat surface is easier to install than a curved surface. Finally, a flat base surface allows better application of the film.
休止時には閉じているスリットが製造されるといった注入手段によって、開口は素材の除去をすることなく形成される。ここで、ベースは鋭い切り端で貫かれるのが望ましい。しかしながら、開口はもちろん、例えばレーザービームで焼くなどにより打ち破られてもよい。 The opening is formed without removing the material by means of an injection means that a closed slit is produced at rest. Here, it is desirable that the base is penetrated with a sharp cut end. However, the opening may of course be broken by, for example, baking with a laser beam.
膜は例えば封止ワックスなどによって適宜に封止される層を備え、熱封止によってベースに好適に接合されている。しかしながら、接合剤で接合、溶接、純粋に機械プレスするなどの方法によることもまた想像できることである。 The film includes a layer appropriately sealed with, for example, sealing wax, and is suitably bonded to the base by heat sealing. However, it is also conceivable to use a method such as joining with a bonding agent, welding, or purely mechanical pressing.
最後に、本発明は先に述べたような物質の満たされたカプセルとカプセルを受け止めるカプセルホルダーを有する飲料準備機と、飲料準備機がカプセルのベース上に少なくとも1つ有する貫通装置として飲料を提供するために物質の抽出または除去をするための液体の通り道の配置を備える構成からなるシステムにも関する。それ自体は知られている飲料準備機内で発明に従ったカプセルの使用により、前記飲料準備機の性能はおそらく増進されるであろう。追加の開口がポンプの負荷を低減し、その結果、耐用年数を伸ばすであろう。それにも関わらず、カプセルは完全に防臭で、追加の外部包装を要しない。 Finally, the present invention provides a beverage preparation machine having a capsule filled with a substance as described above and a capsule holder for receiving the capsule, and a beverage as a penetrating device that the beverage preparation machine has at least one on the base of the capsule It also relates to a system comprising an arrangement of liquid passages for extracting or removing substances. The use of the capsule according to the invention in a beverage preparation machine known per se will probably enhance the performance of the beverage preparation machine. The additional opening will reduce the load on the pump and consequently increase the service life. Nevertheless, the capsules are completely deodorized and do not require additional external packaging.
少なくとも1つの貫通手段が1つの開口と隣接しているなどの方法により、ベースを貫通する装置に開口やカプセルベース上の開口の配置が採用されている点においてもこのシステムのさらなる利点が達成される。開口の形状に依存して、すばらしい流入率がこのように獲得可能である。 A further advantage of this system is also achieved in that the arrangement of the openings or openings on the capsule base is adopted in the device that penetrates the base, such as by at least one penetrating means adjacent to one opening. The Depending on the shape of the opening, a great inflow rate can thus be obtained.
この発明のさらなる利点及び発明固有の特徴は、以下に説明する例示的な実施例と図によって明らかになるであろう。 Further advantages and unique features of the invention will become apparent from the exemplary embodiments and figures described below.
図1によれば、それ自体知られたカプセル1は、実質的に回転対照なカプセル本体2が、側壁3及びベース4を備えた構成から成る。カプセル本体2には全体にわたって等間隔に切頭の錐が形成され、最後の切頭の錐部17は縦の中心軸に対して最も急勾配の切頭錐となっている。ベース4は実質的に平坦に広がり、しかし製造上の理由により、中央部にわずかにくぼんだ湾部25を備えるかもしれない。補強リブ18は側壁3の周囲に、等しい角度で分布するように配置される。周囲のフランジ19は、一方で飲料準備機を封止しつつ、他方でカバー5を固定する。 According to FIG. 1, the capsule 1 known per se consists of a configuration in which a
ベース4の外側周辺は個々のくぼみ14で形成される補強ゾーン13によって結合されている。これらのくぼみは切頭の錐部17を妨げ、ある意味等角度に分布する。 The outer periphery of the
図2において特によくわかるように、スリット形の開口8がベース4上に配置され、完全にベースを貫くが、休止時には素材の弾性によって閉じる。例示的な実施例では、各例とも、90°の角度で4つのスリットを配置している。 As can be seen particularly well in FIG. 2, a slit-shaped
より明瞭にするために、図3から5では、物質の満たされたカプセルではなく、また、カバー部5によってカプセル開口が閉じられたものでもなく、空の状態のカプセル本体を優先して示す。図3からわかるように、カプセルベースはその内側を膜9で覆われる。ここで、膜がベースと固定的に接合する接合ゾーン10は破線で示される。ここでは接合ゾーンはベースの周辺をたどり、円形である。 For the sake of clarity, FIGS. 3 to 5 preferentially show the capsule body in an empty state, not a capsule filled with a substance, nor a capsule opening closed by the
図4は補強ゾーン13または個々のくぼみ14のさらなる詳細を示す。それぞれのくぼみは内壁部15を備え、カプセルの縦の中心軸とほぼ平行に広がりセクションにまたがる。内壁部15は膜9の外側の直径にほぼ一致する共通の円形の外周上に位置する。それぞれのくぼみ14は、追加的にそれぞれをベース4よりわずかに広げる2つの側壁16を有する。このようにして、カプセルベースへの外部からの力の負荷に対する非常に良好なレベルの安定性が得られる。 FIG. 4 shows further details of the
簡素化した図6は、飲料準備機内でカプセルベース4が貫通手段12によって貫かれている様子を示す。膜9は、円形の接合ゾーン10においてカプセルベース4と固定的に接合している。この膜は、例えばアルミニウムなどのバリア特性を有する防臭のフィルムで構成される。プラスチック素材から成るカプセル本体部2もまた、図には詳細に記載していないが、同タイプの防臭バリア層を有する。接合ゾーンは、膜9の外側直径とほぼ一致する外側直径d1を有する。しかしながら膜9は、カプセルの側壁3と部分的に重なり合う。接合ゾーンの内側直径d2は、膜9がカプセルベース4と固定的に接合していない中央部11を内包する。貫通手段12は、カプセルベースと膜9の内部あるいは中央部の外側の適切な部分も突き通す。暖かく醸成された水は、休止時には閉じている開口8と、貫通手段12によって作られた膜9内の開口を通ってカプセルベース4と膜9の間に流入する。しかしながら、同時に、醸成された水は貫通手段12によって作られるのと同じようなベース4上の開口を通じても流入する。飲料準備機への挿入に先立ち、カプセルによって形成された部屋6は外気との関係において密閉されたままである。 FIG. 6, which is simplified, shows how the
図7は、本発明に従ったカプセルのためのカプセル本体の個別の製造順序を示す。図aによれば、カプセル本体部2は最初に熱成形ツール20内で製造される。製造技術及び素材については、当分野に熟練した人には知られている。例として、ポリプロプレンやポリエチレンを基礎としたかなりの数の層を有するフィルムを用いることが可能である。 FIG. 7 shows the individual manufacturing sequence of the capsule body for the capsule according to the invention. According to FIG. A, the
bによって完成したカプセル本体2は貫通ツール21によりベース上に開口が設けられる。 The
cによれば、膜9がここでカプセル本体の内側に設置される。
dによれば、膜9は上記で述べたような方法で熱封止ツール22を用いてカプセル本体部2のベースに固定的に接合される。最初に完全に平坦であったカプセル本体部のベースは、熱封止過程の結果内側に沿ってわずかにくぼんだ湾型になるかもしれない。According to c, the membrane 9 is now placed inside the capsule body.
According to d, the membrane 9 is fixedly joined to the base of the
eによれば、カプセル本体は、注入ステーション23より、例えばコーヒー粉などの物質7で満たされる。 According to e, the capsule body is filled with a
最後にfによれば、カプセル本体2は、閉鎖ツール24によって、カバー5によって閉鎖される。特に、ステップd過程は、時間的にステップe及びf過程とかなり離れて行うことができる。あらかじめ準備されたカプセル本体部2は、例えばdステップ過程に従い、注入ステーションに送られるまでの間、このままの状態で重ねて蓄えられることができる。 Finally, according to f, the
図8によれば、別の例示的な実施例として、開口8はベース4を貫通する合計8つの円形の穴から成る。 According to FIG. 8, as another exemplary embodiment, the
図9のカプセルは図2のカプセルと、開口をなす4つのスリット8が、比較的外部ほぼくぼみ部14に近い部分に配置される点で異なる。この形状の配置では、開口が接合ゾーンすなわち膜9がカプセルのベース4に固定的に接合されている場所に位置する。これは膜がベースと円形の接合ゾーンのみで接合しているか、表面全体にわたって接合しているかとは関係がない。 The capsule of FIG. 9 differs from the capsule of FIG. 2 in that the four
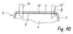
図10は、膜9がベース4の表面全体にわたって接合する例示的な実施例を示す。スリット形状の開口8はここでも図9に見られるのと同じようにかなり外側に広がっている。貫通手段12及び12’もまたベース4の外側周辺部分において、ベース4を貫通する。図の貫通手段12は、開口が配置されていない地域でベースを貫いている。この段階では流入量の増加は見られない。対照的に、貫通手段12’はベース4上の、開口8も配置された場所を貫く。 ここで、スリット8は流入割合の増加をもたらし、それは一方で開口の断面が拡大されたことによるもので、他方で、ベースの壁の回復機能の低下によるものでもある。
FIG. 10 shows an exemplary embodiment in which the membrane 9 is bonded over the entire surface of the
| Application Number | Priority Date | Filing Date | Title |
|---|---|---|---|
| PCT/EP2013/062462WO2014202105A1 (en) | 2013-06-17 | 2013-06-17 | Capsule having a capsule body and method for producing said capsule |
| Publication Number | Publication Date |
|---|---|
| JP2016529942Atrue JP2016529942A (en) | 2016-09-29 |
| Application Number | Title | Priority Date | Filing Date |
|---|---|---|---|
| JP2016520290APendingJP2016529942A (en) | 2013-06-17 | 2013-06-17 | Capsule having a capsule body and method for producing the capsule |
| Country | Link |
|---|---|
| EP (1) | EP3010838B2 (en) |
| JP (1) | JP2016529942A (en) |
| AU (1) | AU2013392999B2 (en) |
| BR (1) | BR112015031232B1 (en) |
| DK (1) | DK3010838T4 (en) |
| ES (1) | ES2634334T5 (en) |
| PT (1) | PT3010838T (en) |
| WO (1) | WO2014202105A1 (en) |
| Publication number | Priority date | Publication date | Assignee | Title |
|---|---|---|---|---|
| EP3089639B1 (en) | 2014-01-03 | 2018-07-11 | Koninklijke Douwe Egberts B.V. | Exchangeable supply pack for a beverage dispensing machine, doser, pump assembly and method of manufacturing. |
| NL2016781B1 (en) | 2015-05-15 | 2016-12-30 | Douwe Egberts Bv | A capsule, a system for preparing a potable beverage from such a capsule and use of such a capsule in a beverage preparation device |
| ES2690990T3 (en) | 2015-05-15 | 2018-11-23 | Koninklijke Douwe Egberts B.V. | A capsule, a system for preparing a drinkable beverage from said capsule and use of said capsule in a beverage preparation device |
| DK3134332T3 (en) | 2015-05-15 | 2019-08-26 | Douwe Egberts Bv | COVER, SYSTEM FOR PREPARING A DRINKABLE BEVERAGE FROM SUCH A COVER AND USING SUCH A COVER IN A BEVERAGE COOKING DEVICE |
| EP3566977B2 (en) | 2015-05-15 | 2025-07-09 | Koninklijke Douwe Egberts B.V. | A capsule, a system for preparing a potable beverage from such a capsule and use of such a capsule in a beverage preparation device |
| AU2016264690A1 (en) | 2015-05-15 | 2017-12-14 | Koninklijke Douwe Egberts B.V. | A capsule, a system for preparing a potable beverage from such a capsule and use of such a capsule in a beverage preparation device |
| ES2743219T3 (en) | 2015-05-15 | 2020-02-18 | Douwe Egberts Bv | A capsule, a system for preparing a drinkable beverage from said capsule and use of said capsule in a beverage preparation device |
| AU2016346005B2 (en) | 2015-10-27 | 2022-05-19 | Koninklijke Douwe Egberts B.V. | Capsule, system and method for preparing a beverage |
| ITUB20161103A1 (en)* | 2016-02-26 | 2017-08-26 | Gruppo Gimoka S R L | CAPSULE FOR THE DRINK PREPARATION |
| NL2016779B1 (en) | 2016-05-13 | 2017-11-16 | Douwe Egberts Bv | A capsule and a system for preparing a potable beverage from such a capsule |
| NL2016780B1 (en) | 2016-05-13 | 2017-11-16 | Douwe Egberts Bv | A capsule, a system for preparing a potable beverage from such a capsule and use of such a capsule in a beverage preparation device |
| NL2019254B9 (en) | 2016-10-07 | 2018-09-10 | Douwe Egberts Bv | A capsule, a system for preparing a potable beverage from such a capsule and use of such a capsule in a beverage preparation device |
| NL2017587B1 (en) | 2016-10-07 | 2018-04-16 | Douwe Egberts Bv | Capsule, system and method for preparing a beverage |
| NL2019253B1 (en) | 2017-07-14 | 2019-01-28 | Douwe Egberts Bv | Assembly of a capsule and a brew chamber, brew chamber, beverage preparation machine, capsule and use of a capsule. |
| US11812785B2 (en)* | 2020-06-23 | 2023-11-14 | Altria Client Services Llc | Capsules including internal heaters, heat-not-burn (HNB) aerosol-generating devices, and methods of generating an aerosol |
| Publication number | Priority date | Publication date | Assignee | Title |
|---|---|---|---|---|
| JPH05199937A (en)* | 1991-07-05 | 1993-08-10 | Soc Prod Nestle Sa | Closed hard cartridge shaped package and manufacture thereof |
| JP2011530321A (en)* | 2008-01-29 | 2011-12-22 | サラ リー/デーエー ナムローゼ フェンノートシャップ | Beverage preparation system, method and capsule |
| JP2012505128A (en)* | 2008-10-08 | 2012-03-01 | エシカル コーヒー カンパニー ソシエテ アノニム | Packaging containers for preparing beverages |
| US20120070543A1 (en)* | 2010-09-20 | 2012-03-22 | Gotthard Mahlich | Portion capsule and method for producing a beverage using a portion capsule |
| JP2012530532A (en)* | 2009-06-17 | 2012-12-06 | コーニンクラケ ダウ エグバート ビー.ブイ. | System and method for making a predetermined amount of beverage |
| Publication number | Priority date | Publication date | Assignee | Title |
|---|---|---|---|---|
| EP0512142A1 (en) | 1991-05-08 | 1992-11-11 | Societe Des Produits Nestle S.A. | Method for producing beverages by means of sealed cartridges and apparatus for accomplishing the method |
| ZA924490B (en)† | 1991-07-05 | 1993-03-31 | Nestle Sa | A flexible package with a stiffening element and a process for its production |
| ATE373438T1 (en)† | 2003-07-23 | 2007-10-15 | Nestec Sa | DEVICE AND METHOD FOR DISPENSING BEVERAGES WITH DIFFERENT QUANTITIES OF FOAM FROM CAPSULES |
| DE102004056224A1 (en) | 2004-11-19 | 2006-05-24 | Tchibo Gmbh | System with a coffee maker and a portion capsule |
| DE102005016297A1 (en)† | 2005-04-08 | 2006-10-12 | Tchibo Gmbh | portion capsule |
| EP2266446A1 (en)† | 2007-03-29 | 2010-12-29 | Tchibo GmbH | System with a drinks dispensing machine and with portion capsules |
| ES2394135T3 (en) | 2009-01-22 | 2013-01-22 | Nestec S.A. | Capsule with exfoliable injection media |
| ES2437679T3 (en) | 2010-12-17 | 2014-01-13 | Delica Ag | Capsule, system and procedure for preparing a drink |
| CA2829071A1 (en)* | 2011-03-03 | 2012-10-26 | Biserkon Holdings Ltd. | Capsule, device and method for preparing a beverage by extraction |
| GB2489409B (en)* | 2011-03-23 | 2013-05-15 | Kraft Foods R & D Inc | A capsule and a system for, and a method of, preparing a beverage |
| WO2013076519A1 (en)* | 2011-11-22 | 2013-05-30 | Tuttoespresso S.R.L. | Capsule for beverage preparation |
| DK2794427T4 (en) | 2011-12-21 | 2021-11-01 | Delica Ag | Capsule, capsule body, method and system for preparing a beverage |
| RU2596593C2 (en)† | 2012-02-10 | 2016-09-10 | Лэндмарк Графикс Корпорейшн | System and method for selecting facies model |
| Publication number | Priority date | Publication date | Assignee | Title |
|---|---|---|---|---|
| JPH05199937A (en)* | 1991-07-05 | 1993-08-10 | Soc Prod Nestle Sa | Closed hard cartridge shaped package and manufacture thereof |
| JP2011530321A (en)* | 2008-01-29 | 2011-12-22 | サラ リー/デーエー ナムローゼ フェンノートシャップ | Beverage preparation system, method and capsule |
| JP2012505128A (en)* | 2008-10-08 | 2012-03-01 | エシカル コーヒー カンパニー ソシエテ アノニム | Packaging containers for preparing beverages |
| JP2012530532A (en)* | 2009-06-17 | 2012-12-06 | コーニンクラケ ダウ エグバート ビー.ブイ. | System and method for making a predetermined amount of beverage |
| US20120070543A1 (en)* | 2010-09-20 | 2012-03-22 | Gotthard Mahlich | Portion capsule and method for producing a beverage using a portion capsule |
| Publication number | Publication date |
|---|---|
| ES2634334T5 (en) | 2020-10-05 |
| EP3010838B1 (en) | 2017-04-26 |
| AU2013392999B2 (en) | 2018-01-18 |
| AU2013392999A1 (en) | 2016-02-04 |
| BR112015031232B1 (en) | 2021-01-19 |
| BR112015031232A2 (en) | 2017-07-25 |
| PT3010838T (en) | 2017-07-17 |
| ES2634334T3 (en) | 2017-09-27 |
| EP3010838A1 (en) | 2016-04-27 |
| EP3010838B2 (en) | 2020-02-26 |
| WO2014202105A1 (en) | 2014-12-24 |
| DK3010838T3 (en) | 2017-07-31 |
| DK3010838T4 (en) | 2020-04-27 |
| Publication | Publication Date | Title |
|---|---|---|
| JP2016529942A (en) | Capsule having a capsule body and method for producing the capsule | |
| JP6629223B2 (en) | Beverage capsule | |
| AU2012356914B2 (en) | Capsule, system and method for preparing a beverage | |
| CN108349646B (en) | capsules for beverages | |
| RU2658271C1 (en) | Capsule for preparing beverages | |
| JP6062555B2 (en) | Capsules for beverage production machines | |
| JP2017148532A (en) | Portion capsule and method for producing beverage by means of portion capsule | |
| JP2016539675A (en) | Beverage capsule | |
| JP2014501583A (en) | Dual material capsule | |
| US11661270B2 (en) | Single use capsule for machines for the dispensing of infused beverages | |
| JP2023552715A (en) | Capsules and systems for preparing beverages | |
| CN109689532B (en) | Capsules for the preparation of infused and soluble beverages | |
| KR102321312B1 (en) | beverage preparation capsules | |
| JP7058279B2 (en) | Beverage preparation capsule | |
| WO2018020391A1 (en) | Capsule for the preparation of beverages, having an easily perforable bottom | |
| US20150197376A1 (en) | Access Structure | |
| US20210094753A1 (en) | Beverage Preparation Capsule | |
| JP2022550277A (en) | Valves for packaging containers |
| Date | Code | Title | Description |
|---|---|---|---|
| A621 | Written request for application examination | Free format text:JAPANESE INTERMEDIATE CODE: A621 Effective date:20160420 | |
| A521 | Request for written amendment filed | Free format text:JAPANESE INTERMEDIATE CODE: A523 Effective date:20160519 | |
| A131 | Notification of reasons for refusal | Free format text:JAPANESE INTERMEDIATE CODE: A131 Effective date:20170104 | |
| A977 | Report on retrieval | Free format text:JAPANESE INTERMEDIATE CODE: A971007 Effective date:20161228 | |
| A521 | Request for written amendment filed | Free format text:JAPANESE INTERMEDIATE CODE: A523 Effective date:20170330 | |
| A02 | Decision of refusal | Free format text:JAPANESE INTERMEDIATE CODE: A02 Effective date:20170822 |