



















本発明は、受信装置、放送システム、受信方法及びプログラムに関する。 The present invention relates to a receiving apparatus, a broadcasting system, a receiving method, and a program.
放送サービスの高度化の一環として、画質のみならず、音質が高い番組が視聴されるように、より多くの再生方式の音声を放送することが検討されている。例えば、従来からのモノラル音声(1.0ch(channel))、ステレオ音声(2.0ch)よりも多くの音声チャンネルを用いるサラウンド方式(例えば、5.1ch)が提供されることがある。テレビジョン受信装置には、サラウンド方式の音声をそのまま再生することができる受信装置もあるが、モノラル音声のみ、またはモノラル音声とステレオ音声しか再生できない受信装置もある。サラウンド方式に非対応の受信装置では、サラウンド音声をより少ない音声チャンネル数の音声データに変換するダウンミックス処理を行うことがある。ダウンミックス処理は、変換前の音声チャンネルの音声データを、変換後の複数の音声チャンネルのいずれかに振り分ける処理や、変換前の複数の音声チャンネルの音声データを合成(加算)して変換後の音声チャンネルの音声データを生成する処理を含む。 As part of the advancement of broadcasting services, it has been considered to broadcast more playback methods of audio so that not only image quality but also high sound quality programs can be viewed. For example, a surround system (for example, 5.1 ch) that uses more audio channels than conventional monaural audio (1.0 ch (channel)) and stereo audio (2.0 ch) may be provided. Some television receivers can reproduce surround sound as it is, but there are other receivers that can reproduce only monaural sound or only monaural sound and stereo sound. A receiving device that does not support the surround system may perform a downmix process for converting surround sound into sound data having a smaller number of sound channels. Downmix processing is processing that distributes the audio data of the audio channel before conversion to one of the plurality of audio channels after conversion, or synthesizes (adds) the audio data of the plurality of audio channels before conversion. Including a process of generating audio data of the audio channel.
次世代テレビジョン放送サービス、例えば、4K、8K超高解像度テレビジョン放送(UHDTV:Ultra High Definition Television)では、1つの番組に対し、複数の異なった再生方式の音声や、複数の言語の音声を放送するサービスであるサイマル放送が予定されている。 In next-generation television broadcasting services such as 4K and 8K Ultra High Definition Television (UHDTV), audio from multiple different playback formats and audio in multiple languages can be sent to a single program. Simultaneous broadcasting, which is a broadcasting service, is planned.
しかしながら、従来の受信装置、例えば、特許文献1に記載の放送受信装置は、必ずしも全ての方式の音声データに対応していない。そのため、受信した音声データについてダウンミックス処理を行って、生成した音声データに基づく音声を再生することが考えられる。ダウンミックス処理の特性は、処理を実行するデバイス(例えば、(Integrated Circuit)ICチップ)の性能に依存する。そのため、一部の音声チャンネルの音声(例えば、スポーツ放送における解説者音声)の選択受聴又は削除を実現できないことや、処理によって雑音や歪の付加などによる品質の劣化といった課題が生じうる。これらの課題は、番組の制作段階で、受信装置におけるダウンミックス処理を想定していないことによる。また、従来の受信装置は、再生能力に関わらず受信した全ての音声チャンネルの音声データについて一旦復号処理を行った後に、再生能力に応じてダウンミックス処理を行うことがあった。特に、サラウンド方式(22.2ch)のように音声チャンネル数が多い再生方式では、高度な復号処理能力が要求される他、煩雑なダウンミックス処理による品質の劣化が顕著になる。 However, a conventional receiving apparatus, for example, a broadcast receiving apparatus described in
本発明は、上記の課題を解決するためになされたものであり、本発明の一態様は、受信したデータから1つの番組において複数の方式及び言語のセットの音声データの存在を検出する検出部と、前記音声データを復号する復号部と、前記複数のセットのうち所定の言語を含むセットを、他の言語を含むセットよりも優先して示す通知情報を出力する通知部と、前記複数の方式のうち前記通知情報が示すセットを、操作入力に応じて選択する選択部と、を備える受信装置である。 The present invention has been made to solve the above-described problem, and one aspect of the present invention is a detection unit that detects the presence of audio data of a plurality of methods and languages in one program from received data. A decoding unit that decodes the audio data, a notification unit that outputs notification information indicating a set including a predetermined language among the plurality of sets in preference to a set including another language, and the plurality of sets It is a receiving apparatus provided with the selection part which selects the set which the said notification information shows among systems according to operation input.
本発明によれば、受信した複数の方式及び言語の存在をユーザーに気付かせ、ユーザー所望の方式及び言語に係る音声データに基づく音声を再生することができる。そのため、合成処理による品質の劣化を伴わずに番組制作者が意図した音声を再生することができる。 According to the present invention, it is possible to make the user aware of the presence of a plurality of received methods and languages, and to reproduce sound based on the sound data related to the user-desired methods and languages. Therefore, it is possible to reproduce the sound intended by the program producer without degrading the quality due to the synthesis process.
(第1の実施形態)
本発明の第1の実施形態について、図面を参照しながら説明する。
図1は、本実施形態に係る放送システム1の構成を示すブロック図である。放送システム1は、送信装置11と、受信装置31とを含んで構成される。送信装置11は、例えば、放送事業者の放送設備を構成する。受信装置31は、送信装置11から放送される放送番組を受信し、受信した放送番組の映像を表示し、当該放送番組の音声を再生する。受信装置31は、例えば、各家庭や事業所等に設置される。(First embodiment)
A first embodiment of the present invention will be described with reference to the drawings.
FIG. 1 is a block diagram showing a configuration of a
送信装置11は、放送番組を表す番組データを、放送伝送路12を介して受信装置31に送信する。番組データは、例えば、音声データと、映像データとを含む。音声データは、1種類の音声データに限らず、同時に複数の再生方式の音声データを含むことがある。再生方式とは、再生に係る音声チャンネル数、スピーカの配置を意味し、音声モードと呼ばれることがある。再生方式は、例えば、ステレオ2ch、サラウンド5.1ch、等である。これら複数の再生方式の音声データを1つの番組データで提供するサービスをサイマルキャストと呼ぶ。サイマルキャストは、サイマル放送と呼ばれることもある。以下の説明では、当該サービス自体、又は当該サービスで提供される音声をサイマル音声と呼ぶことがある。 The
放送伝送路12は、送信装置11が送信する各種のデータを同時に不特定多数の受信装置31に一方向的に伝送する伝送路である。放送伝送路12は、例えば、放送衛星13で中継される所定の周波数帯域の電波(放送波)である。放送伝送路12の一部には、通信回線、例えば、送信装置11から電波を送信するための送信設備までの通信回線が含まれてもよい。 The
受信装置31は、送信装置11から放送伝送路12を介して受信した番組データに基づく番組の映像を表示し、当該番組の音声を再生する。受信装置31は、受信した番組データから複数の方式の音声データの存在、つまりサイマル音声を検出する。また、受信装置31は、番組データに含まれる複数の方式のうち、少なくともいずれかの方式の音声データを復号する復号部を有し、複数の方式のうち復号部が処理可能な方式のいずれかを選択する。受信装置31は、例えば、テレビジョン受信装置、映像記録装置、等、テレビジョン放送を受信することができる機能を有する電子機器である。 The
(送信装置の構成)
次に、本実施形態に係る送信装置11の構成について説明する。
図2は、本実施形態に係る送信装置11の構成を示すブロック図である。送信装置11は、番組データ生成部111、構成情報生成部112、多重化部113、暗号化部114及び送信部115を含んで構成される。(Configuration of transmitter)
Next, the configuration of the
FIG. 2 is a block diagram illustrating a configuration of the
番組データ生成部111には、放送番組を構成する映像を示す映像データと音声を示す音声データを取得する。番組データ生成部111は、所定の映像符号化方式で符号化された映像データを取得する。所定の映像符号化方式は、例えば、ISO/IEC 23008 HEVC(International Organization for Standardization/International Electronical Commision 23008 Part2 High Efficiency Video Coding、単にHEVCとも呼ばれる)で規格化された方式である。また、番組データ生成部111は、所定の音声符号化方式で符号化された音声データを取得する。所定の音声符号化方式は、例えば、ISO/IEC 14496 Part3(MPEG−4オーディオとも呼ばれる)で規定された音声符号化方式である。番組データ生成部111は、1つの番組において同時に複数の再生方式の音声データを取得することがある。番組データ生成部111は、取得した映像データと音声データから所定の形式の番組データを生成し、生成した番組データを多重化部113に出力する。所定の形式の番組データは、例えば、ISO/IEC 23008 Part1 MMT(MPEG Media Transport、単にMMTとも呼ばれる)で規定されたMPU(Media Processing Unit)である。各MPUには、映像や音声の復号処理を行うことができる単位の映像データ又は音声データが含まれる。 The program
構成情報生成部112には、放送番組や放送に伴って提供されるサービスを構成するための情報である構成要素情報を取得する。構成要素情報は、放送番組やサービスの構成要素であるアセットのリストや、それらの諸要件を示す情報、例えば、番組においてマルチビューサービスが存在するか否かを示す情報を含む。アセットとは、番組の構成要素である要素データ、例えば、個々のストリームの音声データ、映像データ、等である。構成情報生成部112は、取得した構成要素情報から所定の形式の構成情報を生成し、生成した構成情報を多重化部113に出力する。所定の形式の構成情報は、例えば、MMT−SI(MMT−System Information)を構成するMPT(MMT Package Table)である。MPTの例については後述する。 The configuration
多重化部113は、番組データ生成部111から入力された番組データ、及び構成情報生成部112から入力された取得情報を多重化して、所定の形式(例えば、TLV(Type Length Value)パケット)の多重化データを生成する。多重化部113は、生成した多重化データを暗号化部114に出力する。
暗号化部114は、多重化部113から入力された多重化データを所定の暗号化方式(例えば、AES(Advanced Encryption Standard))を用いて暗号化する。暗号化部114は、暗号化した多重化データを送信部115に出力する。
送信部115は、暗号化部114から入力された多重化データを受信装置31に放送伝送路12を介して送信する。ここで、送信部115は、ベースバンド信号である多重化データで所定の搬送周波数を有する搬送波を変調させて、搬送周波数に対応したチャネル帯域の電波(放送波)をアンテナ(図示せず)により放射する。The
The
The
(MPTのデータ構造)
次に、構成情報に含まれるMPTの例について説明する。
図3は、MPTの例を示す図である。図3に示す例では、MPTは、MPT記述子領域(MPT_descriptors_byte)とアセット毎にアセットタイプ(asset_type)を含む。MPT記述子領域(MPT_descriptors_byte)は、MPTの記述子が記述される領域である。構成情報生成部112は、MH−音声コンポーネント記述子(MH−Audio_Component_Descriptor())を生成する。MH−音声コンポーネント記述子(MH−Audio_Component_Descriptor())は、番組を構成する音声データに関するパラメータが記述される記述子である。サイマル音声を提供する場合には、構成情報生成部112は、再生方式毎にMH−音声コンポーネント記述子(MH−Audio_Component_Descriptor())を生成する。構成情報生成部112は、生成したMH−音声コンポーネント記述子(MH−Audio_Component_Descriptor())をMPT記述子領域(MPT_descriptors_byte)に含める。アセットタイプ(asset_type)には、アセットの種類を示す符号が記述される。構成情報生成部112は、アセットタイプ(asset_type)として、例えば、HEVCで符号化された映像データを示すhcv1と、MPEG−4オーディオで符号化された音声データを示すmp4aを記述する。(MPT data structure)
Next, an example of MPT included in the configuration information will be described.
FIG. 3 is a diagram illustrating an example of MPT. In the example shown in FIG. 3, the MPT includes an MPT descriptor area (MPT_descriptors_byte) and an asset type (asset_type) for each asset. The MPT descriptor area (MPT_descriptors_byte) is an area in which an MPT descriptor is described. The configuration
(MH−音声コンポーネント記述子のデータ構造)
次に、MH−音声コンポーネント記述子の例について説明する。
図4は、MH−音声コンポーネント記述子の例を示す図である。図4に示す例では、MH−音声コンポーネント記述子(MH−Audio_Component_Descriptor()は、コンポーネント種別(component_type)、コンポーネントタグ(component_tag)、サイマルキャストグループ識別(simulcast_group_tag)及び主コンポーネントフラグ(main_component_tag)を含む。コンポーネント種別(component_type)には、再生方式を示す番号が記述される。コンポーネントタグ(component_tag)には、個々の再生方式の音声データのコンポーネントストリームを識別する番号が記述される。サイマルキャストグループ識別(simulcast_group_tag)には、1つのサイマルキャストを行う音声データのグループに属する音声データに対して同一の番号が記述される。但し、サイマルキャストを行わない音声データについては、特定の符号‘0xFF’が記述される。従って、サイマル音声を提供する場合には、構成情報生成部112は、再生方式間で共通であって、‘0xFF’以外の番号をサイマルキャストグループ識別(simulcast_group_tag)に記述する。サイマル音声を提供しない場合には、構成情報生成部112は、‘0xFF’をサイマルキャストグループ識別(simulcast_group_tag)に記述する。主コンポーネントフラグ(main_component_tag)は、その音声データが主音声であるか否かを示すフラグである。例えば、主音声として、いかなる受信装置においても再生可能な再生方式、例えば、シングルモノ1ch(モノラル1チャンネル)の音声データが主音声として指定されることがある。(MH-Data structure of voice component descriptor)
Next, an example of the MH-voice component descriptor will be described.
FIG. 4 is a diagram illustrating an example of the MH-voice component descriptor. In the example illustrated in FIG. 4, the MH-audio component descriptor (MH-Audio_Component_Descriptor () includes a component type (component_type), a component tag (component_tag), a simulcast group identification (simulcast_group_tag), and a main component flag (main_gmp). The component type (component_type) describes a number indicating a reproduction method, and the component tag (component_tag) describes a number identifying a component stream of audio data of each reproduction method. simulcast_group_tag) has one The same number is described for the audio data belonging to the group of audio data to be subjected to the immalcast, but the specific code “0xFF” is described for the audio data not to be subjected to the simulcast. The configuration
(コンポーネント種別の例)
次に、コンポーネント種別(component_type)に記述される再生方式について説明する。
図5は、コンポーネント種別の例を示す図である。図5には、コンポーネント種別を示す番号として、‘0x01’、‘0x02’、‘0x03’、‘0x09’、‘0x0C’、‘0x11’が列挙されている。‘0x01’、‘0x02’、‘0x03’、‘0x09’、‘0x0C’、‘0x11’は、再生方式としてそれぞれ1/0モード、1/0+1/0モード、2/0モード、3/2.1モード、5/2.1モード、3/3/3−5/2/3−3/0/0.2モードを示す値である。ここで、…/〜とは、受聴点を基準とした再生用スピーカの配置が、前方に…個(…音声チャンネル)であり、後方に〜個(〜音声チャンネル)であることを意味する。また、小数点以下の数値は、低域の音声を再生するための音声チャンネル数を示す。なお、音声チャンネルは、音声の再生単位であるチャンネルを意味し、放送波の周波数帯域を示す放送チャンネルと区別される。従って、1/0モードは、シングルモノ1chを示す。1/0+1/0モードはデュアルモノ1ch×2を示す。2/0モードは、ステレオ2chを示す。3/2.1モードは、サラウンド5.1chを示す。5/2.1モードは、サラウンド7.1chを示す。なお、3/3/3−5/2/3−3/0/0.2モードは、サラウンド22.2chを示す。3/3/3−5/2/3−3/0/0.2モードの3/3/3とは、スピーカの配置が、受聴点を基準として上層前方、側方、後方に3個ずつであることを示す。5/2/3とは、スピーカの配置が、受聴点を基準として中層前方、側方、後方にそれぞれ5、2、3個であることを示す。3/0/0.2とは、スピーカの配置が、受聴点を基準として下層前方、側方、後方にそれぞれ5、0、2個であることを示す。但し、下層後方の2チャンネルは、いずれも低域の音声を再生するためのチャンネルである。(Example of component type)
Next, the reproduction method described in the component type (component_type) will be described.
FIG. 5 is a diagram illustrating an example of component types. In FIG. 5, “0x01”, “0x02”, “0x03”, “0x09”, “0x0C”, and “0x11” are listed as numbers indicating the component types. '0x01', '0x02', '0x03', '0x09', '0x0C', and '0x11' are 1/0 mode, 1/0 + 1/0 mode, 2/0 mode, and 3/2. It is a value indicating 1 mode, 5 / 2.1 mode, 3/3 / 3-5 / 2 / 3-3-0 / 0.2 mode. Here, ... / ~ means that the arrangement of the reproduction speakers based on the listening point is ... (voice channel) in the front and ~ (voice channel) in the rear. The numerical value after the decimal point indicates the number of audio channels for reproducing low-frequency audio. The audio channel means a channel that is a reproduction unit of audio, and is distinguished from a broadcast channel indicating a frequency band of broadcast waves. Therefore, the 1/0 mode indicates single mono 1ch. The 1/0 + 1/0 mode indicates dual mono 1ch × 2. The 2/0 mode indicates stereo 2ch. The 3 / 2.1 mode indicates surround 5.1ch. The 5 / 2.1 mode indicates surround 7.1ch. The 3/3 / 3-5 / 2 / 3- 3/0 / 0.2 mode indicates surround 22.2ch. 3/3/3/5/2 / 3- 3/0 / 0.2
(MH−音声コンポーネント記述子の設定例)
次に、6つの再生方式の音声A1、A1+1、A2、A5.1、A7.1、A22.2からなるサイマル音声が提供される場合を例にして、構成情報生成部112による各コンポーネントグループの設定例について説明する。
図6は、MH−音声コンポーネント記述子の設定例を示す図である。図6の第1列に示す例では、音声A1、A1+1、A2、A5.1、A7.1、A22.2について、サイマルキャストグループ識別(simulcast_group_tag)として共通の番号‘0x01’が設定されている。この設定は、これら6つの再生方式でサイマル音声が提供されることを示す。第2列では、音声A1、A1+1、A2、A5.1、A7.1、A22.2について、それぞれ異なるコンポーネントタグ(component_tag)‘0x10’、‘0x11’、‘0x12’、‘0x13’、‘0x14’、‘0x15’が設定されている。この設定により、それぞれの音声データが識別される。第3列では、音声A1、A1+1、A2、A5.1、A7.1、A22.2について、それぞれ異なるコンポーネント種別(component_type)‘0x01’、‘0x02’、‘0x03’、‘0x09’、‘0x0C’、‘0x11’が設定されている。この設定は、音声A1、A1+1、A2、A5.1、A7.1、A22.2の再生方式が、それぞれシングルモノ1ch、デュアルモノ1ch×2、ステレオ2ch、サラウンド5ch、サラウンド7.1ch、サラウンド22.2chであることを示す。第4列は、音声A1について主コンポーネントフラグ(main_component_flag)が‘1’であり、音声A1+1、A2、A5.1、A7.1、A22.2について、主コンポーネントフラグ(main_component_flag)が‘0’であることを示す。この設定は、音声A1が主音声であり、音声A1+1、A2、A5.1、A7.1、A22.2が、いずれも副音声であることを示す。(Example of setting MH-voice component descriptor)
Next, taking as an example a case in which simulative audio composed of audio A1, A1 + 1, A2, A5.1, A7.1, and A22.2 of six playback methods is provided, each component group by the configuration
FIG. 6 is a diagram illustrating a setting example of the MH-voice component descriptor. In the example shown in the first column of FIG. 6, a common number '0x01' is set as the simulcast group identification (simulcast_group_tag) for the voices A1, A1 + 1, A2, A5.1, A7.1, and A22.2. . This setting indicates that simulative audio is provided by these six playback methods. In the second column, different component tags (component_tag) '0x10', '0x11', '0x12', '0x13', and '0x14' for voices A1, A1 + 1, A2, A5.1, A7.1, and A22.2. ',' 0x15 'is set. With this setting, each audio data is identified. In the third column, different component types (component_type) '0x01', '0x02', '0x03', '0x09', and '0x0C' for voices A1, A1 + 1, A2, A5.1, A7.1, and A22.2. ',' 0x11 'is set. In this setting, the playback methods of audio A1, A1 + 1, A2, A5.1, A7.1, A22.2 are single mono 1ch, dual mono 1ch × 2, stereo 2ch, surround 5ch, surround 7.1ch, surround, respectively. Indicates 22.2 ch. In the fourth column, the main component flag (main_component_flag) is “1” for the voice A1, and the main component flag (main_component_flag) is “0” for the voices A1 + 1, A2, A5.1, A7.1, and A22.2. It shows that there is. This setting indicates that the voice A1 is the main voice and the voices A1 + 1, A2, A5.1, A7.1, and A22.2 are all sub voices.
(受信装置の構成)
次に、受信装置31の構成について説明する。
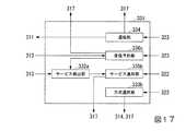
図7は、本実施形態に係る受信装置31の構成を示すブロック図である。受信装置31は、受信部311(チューナー)、復号部312、分離部313、音声復号部314、拡声部315、映像復号部316、GUI合成部317、表示部318、記憶部322、操作入力部323、及び制御部331を含んで構成される。(Receiver configuration)
Next, the configuration of the receiving
FIG. 7 is a block diagram illustrating a configuration of the receiving
受信部311は、送信装置11が送信した放送波を、放送伝送路12を介して受信する。受信部311は、制御部331から入力された放送チャンネル信号で指定される放送チャンネルに応じた放送チャンネル帯域を特定する。受信部311は、放送波として受信した放送チャンネル帯域の受信信号をベースバンド信号である多重化データに復調する。受信部311は、復調した多重化データを復号部312に出力する。
復号部312は、受信部311から入力された多重化データ(暗号化されている)を、送信装置11の暗号化部114で用いられた方式に対応する復号方式(例えば、AES)で復号し、復号した多重化データを生成する。復号部312は、生成した多重化データを分離部313に出力する。The receiving
The
分離部313は、復号部312から入力された多重化データから番組データ及び構成情報に分離する。分離部313は、構成情報を制御部331に出力する。また、分離部313は、番組データから音声データと映像データを抽出する。分離部313は、抽出した音声データを音声復号部314に出力し、映像データを映像復号部316に出力する。 The
音声復号部314は、分離部313から入力された音声データを、符号化に用いられた符号化方式(例えば、MPEG−4 オーディオ)と対応する復号方式で復号し、元の音声データを生成する。復号した音声データは、各時刻における音声のレベルを示すデータである。サイマル音声が提供される場合には、音声復号部314に複数の再生方式の音声データが入力され、制御部331から方式選択信号が入力されることがある。方式選択信号は、複数の再生方式の音声のうちのいずれかの音声を指示する信号である。音声復号部314は、所定の複数の再生方式の音声データのうち、自部が処理能力を有する再生方式であって方式選択信号で指定される再生方式に係る音声データについて復号を行い、元の音声データを生成する。音声復号部314は、復号した元の音声データを拡声部315に出力する。よって、サイマル音声が提供される場合、方式選択信号で指定された再生方式の音声が拡声部315で再生される。なお、方式選択信号が入力されない場合には、音声復号部314は、主音声に係る元の音声データを拡声部315に出力する。
拡声部315は、音声復号部314から入力された音声データに基づく音声を再生する。拡声部315は、例えば、スピーカを含んで構成される。拡声部315は、少なくとも所定のチャンネル数に相当する個数のスピーカを含んで構成される。所定のチャンネル数とは、音声復号部314において音声データを処理可能な再生方式で指定されるチャンネル数に相当する。The
The
映像復号部316は、分離部313から入力された映像データを、符号化に用いられた符号化方式(例えば、HEVC)と対応する復号方式で入力された映像データを復号し、元の映像データを生成する。復号した映像データは、各時刻における映像(フレーム画像)を形成する信号値を示すデータである。映像復号部316は、復号した映像データをGUI合成部317に出力する。
GUI(Graphical User Interface)合成部317は、映像復号部316から入力された映像データと、制御部331から入力された各種のGUI画面データとを合成し、表示用の映像を示す映像データを生成する。GUI画面データには、例えば、放送チャンネルを選択するための選局画面データ、電子番組表(EPG:Electric Program Guide)データ、等がある。
表示部318は、GUI合成部317から入力された映像データに基づく映像を再生する。従って、表示部318には、受信した映像データに係る映像にGUI画面が重畳して表示される。表示部318は、例えば、ディスプレイを含んで構成される。The
A GUI (Graphical User Interface) combining
The
記憶部322は、各種のデータを記憶する。記憶部322は、記憶媒体、例えば、HDD(Hard−disk Drive)、フラッシュメモリ、ROM(Read−only Memory)、RAM(Random Access Memory)又はそれらの組み合わせを含んで構成される。
操作入力部323は、ユーザーによる操作入力を受け付けて生成される操作信号を取得し、取得した操作信号を制御部331に出力する。操作信号は、例えば、電源のオン/オフを示す信号、放送波のチャネルを示す信号、がある。操作入力部323は、例えば、操作ボタン、リモートコントローラ、携帯端末装置等の電子機器から操作信号を受信する入力インタフェース、等である。The
The
制御部331は、受信装置31の種々の動作を制御する。例えば、制御部331は、分離部313から入力された構成情報から1つの番組で複数の再生方式の音声データが提供されるサイマル音声の存在を検出する。また、制御部331は、サイマル音声の存在を検出した場合、複数の再生方式のうち音声復号部314において処理可能な再生方式であって最上位の再生方式を選択する。制御部331は、選択した再生方式を示す方式選択信号を音声復号部314に出力する。なお、制御部331は、操作入力部323から入力された操作信号に基づいて各種のGUI画面データを生成し、生成したGUI画面データをGUI合成部317に出力する。 The
(制御部の構成)
次に、本実施形態に係る制御部331の構成について説明する。図8は、本実施形態に係る制御部331の構成を示すブロック図である。制御部331は、サービス検出部332、方式選択部333及び選局部334を含んで構成される。(Configuration of control unit)
Next, the configuration of the
サービス検出部332は、分離部313から入力された構成情報からMPTを検出し、検出したMPTに基づいてサイマル音声が提供されるか否かを判定する。ここで、サービス検出部332は、音声データに係るアセット毎にMPTのMPT記述子領域(MPT_descriptors_byte)に記述されたMH−音声コンポーネント記述子(MH−Audio_Component_Descriptor()を参照する。サービス検出部332は、MH−音声コンポーネント記述子(MH−Audio_Component_Descriptor()に含まれるサイマルキャストグループ識別(simulcast_group_tag)に記述された番号が、所定の番号‘0xFF’以外の番号である場合、サイマル音声が提供されると判定する。サイマルキャストグループ識別(simulcast_group_tag)は、当該音声データと同一の内容を異なる方式で符号化した音声データの有無、つまり、サイマル音声の有無を示す識別子である。サイマルキャストグループ識別(simulcast_group_tag)に記述された番号が、所定の番号‘0xFF’である場合には、サービス検出部332は、サイマル音声が提供されないと判定する。 The
サービス検出部332は、サイマル音声が提供されると判定した場合、サイマルキャストグループ識別(simulcast_group_tag)に所定の番号‘0xFF’以外の共通の番号が記述されているMH−音声コンポーネント記述子(MH−Audio_Component_Descriptor()を特定する。サービス検出部332は、特定したMH−音声コンポーネント記述子(MH−Audio_Component_Descriptor()のそれぞれに記述されたコンポーネント種別(component_type)、コンポーネントタグ(component_tag)及び主コンポーネントフラグ(main_component_tag)にそれぞれ記述された値を読み取る。サービス検出部332は、読み取った値に基づいてコンポーネントタグで指定される音声データのストリーム毎に再生方式と、主信号であるか否かと、を特定する。サービス検出部332は、ストリーム毎の再生方式を示すサービス情報を方式選択部333に出力する。サービス検出部332は、主信号に係るストリームを示す主信号情報を音声復号部314に出力する。 If the
方式選択部333は、サービス検出部332から入力されたサービス情報が示すストリーム毎の再生方式のうち、音声復号部314が処理能力を有する再生方式のいずれか、例えば、最も上位の再生方式を選択する。具体的には、方式選択部333は、記憶部322に予め記憶した音声処理方式テーブルを参照し、サービス情報が示す再生方式のうち、音声処理方式テーブルが示す再生方式を特定する。音声処理方式テーブルは、音声復号部314が処理能力を有する再生方式を示すデータである。方式選択部333は、特定した再生方式のうち、最も上位の再生方式を選択する。「上位」とは、高い処理能力が要求されること、例えば、音声チャンネル数が多いことを意味する。一般に上位の再生方式の音声データほどデータ量が多いので原音への再現性が高い。例えば、音声チャンネル数が多いほど原音で表現された多様な空間環境を的確に再現することができる。方式選択部333は、選択した再生方式を示す方式選択情報を生成し、生成した方式選択情報を音声復号部314に出力する。よって、音声復号部314は、方式選択部333が選択した再生方式で復号した音声データを拡声部315に出力する。 The
選局部334は、操作入力部323から入力された操作信号で指定される放送チャンネルを選択し、選択した放送チャンネルを示す放送チャンネル信号を受信部311に出力する。そのため、選局部334は、受信部311に対して選択した放送チャンネルに対応したチャンネル帯域の放送波を受信させることができる。また、記憶部322には、放送チャンネルを選択するための選局画面データを予め記憶しておく。選局部334は、選局画面データを読み取り、読み取った選局画面データをGUI合成部317に出力する。なお、選局部334は、選択した放送チャンネルを示す文字データをGUI合成部317に出力してもよい。 The
(音声再生方式テーブルの例)
次に、方式選択部333が参照する音声再生方式テーブルの例について説明する。
図9は、音声再生方式テーブルの例を示す図である。音声再生方式テーブルは、音声復号部314が処理能力を有する再生方式を示すコンポーネント種別の番号を表すデータである。図9に示す例では、音声再生方式テーブルは、コンポーネント種別として、‘0x01’、‘0x02’、‘0x03’、‘0x09’、‘0x09’を示す。これにより、音声復号部314が、再生方式としてシングルモノ1ch、デュアルモノ1ch×2、ステレオ2ch、サラウンド5ch、サラウンド7.1chのいずれも処理可能であることが示される。(Example of audio playback method table)
Next, an example of the audio reproduction method table referred to by the
FIG. 9 is a diagram illustrating an example of an audio reproduction method table. The audio reproduction method table is data representing component type numbers indicating the reproduction methods in which the
(受信処理)
次に、本実施形態に係る受信処理について説明する。
図10は、本実施形態に係る受信処理を示すフローチャートである。
(ステップS101)受信部311は、送信装置11が送信した放送波を受信し、受信した放送波を復調する。復号部312は、復調により得られた、暗号化された多重化データを復号する。分離部313は、復号により得られた多重化データを番組データと構成情報に分離する。その後、ステップS102に進む。
(ステップS102)サービス検出部332は、分離された構成情報からMPTを検出し、検出したMPTを解析することにより放送される番組に複数の再生方式の音声(サイマル音声)があるか否かを判定する。その後、ステップS103に進む。(Reception processing)
Next, the reception process according to the present embodiment will be described.
FIG. 10 is a flowchart showing a reception process according to the present embodiment.
(Step S <b> 101) The receiving
(Step S <b> 102) The
(ステップS103)サイマル音声があると判定された場合(ステップS103 YES)、ステップS104に進む。サイマル音声がないと判定された場合(ステップS103 NO)、ステップS106に進む。この場合には、MPTを解析して特定された1つの再生方式の音声データが復号処理の対象となる。
(ステップS104)方式選択部333は、MPTを解析して特定された再生方式のうち、記憶部322に予め記憶した音声処理方式テーブルを参照して、音声復号部314が処理能力を有する再生方式を特定し、特定した再生方式のうち最上位の方式を選択する。その後、ステップS105に進む。
(ステップS105)方式選択部333は、選択した再生方式で音声データを復号すると決定し、当該再生方式を示す方式選択情報を音声復号部314に出力する。その後、ステップS106に進む。(Step S103) When it is determined that there is simul sound (YES in Step S103), the process proceeds to Step S104. When it is determined that there is no simul sound (NO in step S103), the process proceeds to step S106. In this case, the audio data of one reproduction method specified by analyzing the MPT is the target of the decoding process.
(Step S104) The
(Step S <b> 105) The
(ステップS106)音声復号部314は、方式選択部333から入力された方式選択情報で指示される再生方式を用いて符号化された音声データについて復号処理を開始する。その後、図10に示す処理を終了する。(Step S <b> 106) The
(再生方式の判定)
次に、受信した番組データに含まれる音声データに対する再生方式判定処理について説明する。以下の再生方式判定処理は、ステップS102におけるサイマル音声の有無の判定の際に行われる。(Determination of playback method)
Next, a playback method determination process for audio data included in the received program data will be described. The following playback method determination processing is performed when determining whether or not there is simul sound in step S102.
図11は、本実施形態に係る再生方式判定処理を示すフローチャートである。
(ステップS201)サービス検出部332は、検出したMPTのMPT記述子領域(MPT_descriptors_byte)からMH−音声コンポーネント記述子(MH−Audio_Component_Descriptor()を抽出する。その後、ステップS202に進む。
(ステップS202)サービス検出部332は、抽出したMH−音声コンポーネント記述子(MH−Audio_Component_Descriptor()からサイマルキャストグループ識別(simulcast_group_tag)に記述された番号を読み取る。その後、ステップS203に進む。FIG. 11 is a flowchart showing a playback method determination process according to the present embodiment.
(Step S201) The
(Step S202) The
(ステップS203)サービス検出部332は、読み取った値が所定の値’0xFF’であるか否かを判定する。値が’0xFF’であると判定した場合には(ステップS203 YES)、音声データに係る処理対象のアセットについてサイマル音声が提供されないと判定し、ステップS205に進む。値が’0xFF’ではないと判定した場合には(ステップS203 NO)、処理対象のアセット(音声データ)についてサイマル音声が提供されると判定し、ステップS204に進む。(Step S <b> 203) The
(ステップS204)サービス検出部332は、処理対象のアセットについてMH−音声コンポーネント記述子(MH−Audio_Component_Descriptor()からコンポーネント種別(component_type)とコンポーネントタグ(component_tag)を読み取る。サービス検出部332は、読み取ったコンポーネント種別(component_type)とコンポーネントタグ(component_tag)を対応付けて記憶部322に記憶(格納)する。これにより、サイマル音声に係るアセット毎の再生方式が特定される。その後、ステップS205に進む。(Step S204) The
(ステップS205)サービス検出部332は、処理対象のアセットについてMH−音声コンポーネント記述子(MH−Audio_Component_Descriptor()からコンポーネント種別(component_type)を読み取る。これにより、サイマル音声が提供されない場合の再生方式が特定される。その後、ステップS206に進む。(Step S205) The
(ステップS206)サービス検出部332は、処理対象のアセットが、MPTに記述されたアセットに係るループの最後か否かを判定する。ループの最後と判定された場合には(ステップS206 YES)、図11に示す処理を終了する。ループの最後ではないと判定された場合には(ステップS206 NO)、処理対象のアセットを次の未処理のアセットに変更し、ステップS202に進む。よって、受信した番組データについてサイマル音声が提供されるか否かが判定される。サイマル音声が提供される場合には、提供に係る複数の再生方式が特定される。サイマル音声が提供されない場合には、受信した1つの音声データの再生方式が特定される。(Step S206) The
以上に説明したように、本実施形態に係る受信装置31は、送信装置11から受信した構成情報から1つの番組で複数の再生方式の音声データの存在を検出するサービス検出部332と、送信装置11から受信した音声データを復号する音声復号部314を備える。また、受信装置31は、複数の再生方式のうち音声復号部314が復号可能な再生方式を選択する方式選択部333を備える。
この構成により、受信装置31は、受信した複数の再生方式の音声データのうち、いずれかの方式の音声データに基づく音声を再生することができる。そのため、受信装置31は、合成処理による品質の劣化を伴わずに番組制作者が意図した音声を再生することができる。As described above, the
With this configuration, the
また、本実施形態に係る受信装置31において方式選択部333は、音声復号部314が復号可能な再生方式のうち最も処理能力の高い再生方式を選択する。
この構成により、受信装置31は、受信した複数の再生方式の音声データのうち、復号可能であって最も処理能力の高い方式の音声データに基づく音声を再生することができる。そのため、ユーザーは番組制作者が意図した音声サービスのうち最も原音への再現性が高い音声サービスを享受することができる。Further, in the receiving
With this configuration, the
(第2の実施形態)
次に、本発明の第2の実施形態について説明する。上述した説明と同一の構成については、同一の符号を付して説明を援用する。
受信装置31は、サービス検出部332に代えてサービス検出部332a(図示せず)を備える。サービス検出部332aは、MPTに代えてMH−イベント情報テーブル(MH−EIT:MH−Event Information Table)を用いてマルチビューサービスが提供されるか否かを判定する。(Second Embodiment)
Next, a second embodiment of the present invention will be described. About the structure same as the description mentioned above, the same code | symbol is attached | subjected and description is used.
The receiving
MH−EITは、送信装置11から受信される構成情報における構成要素の一つであり、放送される番組の名称、放送日時、等の番組に関する情報を表す。本実施形態では、送信装置11の構成情報生成部112は、マルチビューサービスを提供する番組(イベント)について、記述子領域(descriptor())に、MH−音声コンポーネント記述子(MH−Audio_Component_Descriptor()を記述したMH−EITを生成する。構成情報生成部112は、生成したMH−EITを含む構成情報を多重化部113に出力する。 The MH-EIT is one of the components in the configuration information received from the
そこで、サービス検出部332aは、MH−EITの記述子領域(descriptor())にMH−音声コンポーネント記述子(MH−Audio_Component_Descriptor())が記述されているか否かを判定する。当該記述子が記述されている場合、サービス検出部332aは、当該記述子(MH−Audio_Component_Descriptor()を参照し、サービス検出部332と同様にサイマル音声が提供されるか否かを判定する。サイマル音声が提供されると判定した場合、サイマルキャストグループ識別(simulcast_group_tag)に共通の番号が記述されているMH−音声コンポーネント記述子(MH−Audio_Component_Descriptor())を特定する。サービス検出部332aは、特定したMH−音声コンポーネント記述子(MH−Audio_Component_Descriptor())を参照してコンポーネントタグで指定される音声データのストリーム毎に再生方式と、主信号であるか否かを特定する。サービス検出部332aは、ストリーム毎の再生方式を示すサービス情報を方式選択部333に出力する。サービス検出部332aは、主信号に係るストリームを示す主信号情報を音声復号部314に出力する。
なお、処理対象のMH−EITは、例えば、その時点で放送されている番組に係るMH−EITであってもよいし、受信予約の対象となる番組に係るMH−EITであってもよい。Therefore, the
Note that the MH-EIT to be processed may be, for example, the MH-EIT related to a program that is being broadcast at that time, or may be the MH-EIT related to a program that is a target of reception reservation.
(MH−EITのデータ構造)
次に、構成情報に含まれるMH−EITの例について説明する。
図12は、MH−EITの例を示す図である。図12に示す例では、MH−EITは、イベント(番組)毎に、イベント識別(event_id)、開始時刻(start_time)、継続時間(duration)及び記述子領域(descriptor())を含む。イベント識別(event_id)には、個々のイベントの識別番号が記述される。開始時刻(start_time)、継続時間(duration)には、そのイベント(番組)の開始時刻、継続時間がそれぞれ記述される。従って、方式選択部333は、これらの情報を読み取ることにより、番組の開始時刻、終了時刻を知得し、放送状態(開始前、放送中、終了済) を判定することができる。記述子領域(descriptor())は、上述したMH−音声コンポーネント記述子(MH−Audio_Component_Descriptor())が記述される領域である。また、各イベントについて、複数の記述子領域(descriptor())が記述可能である。つまり、1つの番組について音声データの再生方式を指定するMH−音声コンポーネント記述子(MH−Audio_Component_Descriptor())が複数個、例えば、複数の音声データのストリーム(アセットに相当)のそれぞれについて記述されることがある。(MH-EIT data structure)
Next, an example of MH-EIT included in the configuration information will be described.
FIG. 12 is a diagram illustrating an example of the MH-EIT. In the example illustrated in FIG. 12, the MH-EIT includes an event identification (event_id), a start time (start_time), a duration (duration), and a descriptor area (descriptor ()) for each event (program). In the event identification (event_id), an identification number of each event is described. The start time (start_time) and duration (duration) describe the start time and duration of the event (program), respectively. Therefore, the
(受信処理)
次に、本実施形態に係る受信処理について説明する。
図13は、本実施形態に係る受信処理を示すフローチャートである。本実施形態に係る受信処理は、ステップS101、S102a、及びS103−S106を含む。ステップS101、及びS103−S106の処理は、図10に示すものと同様であるため、それらの説明を援用する。
図13に示す処理では、ステップS101の処理が終了した後、ステップS102aに進む。
(ステップS102a)サービス検出部332aは、分離された構成情報からMH−EITを検出し、検出したMH−EITを解析することにより放送される番組に複数の再生方式の音声(サイマル音声)があるか否かを判定する。なお、MH−EITの解析において、サービス検出部332aは、MPTに代えてMH−EITについて再生方式判定処理(図11)を行う。その後、ステップS103に進む。(Reception processing)
Next, the reception process according to the present embodiment will be described.
FIG. 13 is a flowchart showing the reception process according to the present embodiment. The reception process according to the present embodiment includes steps S101, S102a, and S103-S106. Since the process of step S101 and S103-S106 is the same as that of what is shown in FIG. 10, those description is used.
In the process shown in FIG. 13, after the process of step S101 is completed, the process proceeds to step S102a.
(Step S102a) The
以上に説明したように、本実施形態に係る受信装置31は、送信装置11から受信した構成情報のうちMH−EITから1つの番組で複数の再生方式の音声データの存在を検出するサービス検出部332aと、送信装置11から受信した音声データを復号する音声復号部314を備える。また、受信装置31は、複数の再生方式のうち音声復号部314が復号可能な再生方式を選択する方式選択部333を備える。
この構成により、受信装置31は、受信した複数の再生方式の音声データのうち、いずれかの再生方式の音声データに基づく音声を再生することができる。そのため、受信装置31は、合成処理による品質の劣化を伴わずに番組制作者が意図した音声を再生することができる。また、MH−EITから1つの番組で複数の再生方式の音声データが提供されるサイマル音声の存在を番組単位で効率的に検出することができる。As described above, the
With this configuration, the
(第3の実施形態)
次に、本発明の第3の実施形態について説明する。上述した説明と同一の構成については、同一の符号を付して説明を援用する。
上述した実施形態に係る受信装置31の方式選択部333は、受信した複数の再生方式の音声データのうち、最も再生能力の高い再生方式の音声データを選択していたため、必ずしもユーザー所望の再生方式が選択されるとは限られない。本実施形態では、次に説明する構成を備えることにより、放送中の番組データに含まれる複数の再生方式の音声データから、ユーザーが所望の方式の音声データを選択できるようにする。(Third embodiment)
Next, a third embodiment of the present invention will be described. About the structure same as the description mentioned above, the same code | symbol is attached | subjected and description is used.
Since the
図14は、本実施形態に係る制御部331の構成を示すブロック図である。本実施形態に係る受信装置31の制御部331は、方式選択部333に代えて方式選択部333bを備え、さらにサービス通知部335bを備える。
方式選択部333bは、方式選択部333と同様に、記憶部322に予め記憶した音声処理方式テーブルを参照し、サービス検出部332から入力されたサービス情報が示す再生方式のうち、音声復号部314が処理能力を有する再生方式を特定する。
他方、方式選択部333bには、特定した再生方式のいずれかを示す操作信号が操作入力部323から入力されるとき、入力された操作信号に基づいて再生方式を選択する。方式選択部333bは、選択した再生方式を示す方式選択情報を生成し、生成した方式選択情報を音声復号部314に出力する。FIG. 14 is a block diagram illustrating a configuration of the
Similarly to the
On the other hand, when an operation signal indicating one of the specified reproduction methods is input from the
サービス通知部335bは、操作により再生方式を選択するための方式選択ボタンを示す方式選択ボタンデータを、記憶部322から読み取る。記憶部322には、予め方式選択ボタンデータを記憶しておく。サービス通知部335bは、方式選択部333bでサービス情報に基づいて特定された再生方式を示す文字を方式選択ボタンに重ね合わせ、当該文字を重ね合わせた方式選択ボタンを示す通知情報をGUI合成部317に出力する。これにより、方式選択ボタンが表示部318に表示される。なお、方式選択ボタンの表示開始から所定の時間(例えば、1分間)、操作入力部323から操作信号が入力されない場合には、サービス通知部335bは、通知情報の出力を停止する。従って、方式選択ボタンの表示期間が制限されるので、ユーザーによる番組の視聴が妨げられずに済む。 The
(方式選択ボタン)
次に、サービス通知部335bが表示部318に表示させる方式選択ボタンの例を示す。
図15は、本実施形態に係る方式選択ボタンの例(方式選択ボタン41)を示す図である。図15に示す例では、3種類の再生方式(ステレオ2ch、サラウンド5.1ch、サラウンド7.1ch)の音声データが処理可能である受信装置31が、送信装置11から4種類の再生方式(ステレオ2ch、サラウンド5.1ch、サラウンド7.1ch、サラウンド22.2ch)の音声データを受信した場合を例にする。(Method selection button)
Next, an example of a method selection button displayed on the
FIG. 15 is a diagram illustrating an example of the method selection button (method selection button 41) according to the present embodiment. In the example shown in FIG. 15, the receiving
方式選択ボタン41は、表示部318の表示面Dの中心部よりも1つの頂点(右上端)に近接した位置に表示されているボタンである。この位置に方式選択ボタン41が表示されることで、ユーザーによる番組の視聴が妨害されない。
方式選択ボタン41に付された「ステレオ」の文字42−1、「5.1ch」の文字42−2、及び「7.1ch」の文字42−3は、再生方式として、それぞれステレオ2ch、サラウンド5.1ch、サラウンド7.1chが可能であることを示す表示である。The
The “stereo” character 42-1, the “5.1ch” character 42-2, and the “7.1ch” character 42-3 attached to the
図15に示す例では、これらの表示に対する操作入力部323による操作が可能である。例えば、方式選択部333bは、操作入力部323から入力された操作信号が示す位置を含む表示領域に表示された文字42−1〜42−3のいずれかに係る再生方式を選択する。文字42−2に重ねて表示されている網掛け部43は、文字42−2に係る再生方式としてサラウンド5.1chが選択されていることを示す表示である。よって、ユーザーは、番組で提供される音声について、受信装置31が処理可能な再生方式のうち所望の再生方式の音声を選択することができる。なお、方式選択部333bに操作信号が入力されていない場合には、予め定めた処理可能な再生方式、例えば、MH−音声コンポーネント記述子(MH−Audio_Component_Descriptor())において主音声と指定された再生方式を選択してもよい。 In the example illustrated in FIG. 15, the
(受信処理)
次に、本実施形態に係る受信処理について説明する。
図16は、本実施形態に係る受信処理を示すフローチャートである。本実施形態に係る受信処理は、ステップS101−S103、S105、S106、及びS111b−S116bを含む。ステップS101−S103、S105及びS106の処理は、図10に示すものと同様であるため、それらの説明を援用する。
図16に示す処理では、ステップS103においてサイマル音声があると判定された場合(ステップS103 YES)、ステップS111bに進む。サイマル音声がないと判定された場合(ステップS103 NO)、ステップS116bに進む。(Reception processing)
Next, the reception process according to the present embodiment will be described.
FIG. 16 is a flowchart showing a reception process according to this embodiment. The reception process according to the present embodiment includes steps S101 to S103, S105, S106, and S111b to S116b. Since the process of step S101-S103, S105, and S106 is the same as that of what is shown in FIG. 10, those description is used.
In the process shown in FIG. 16, when it is determined in step S103 that there is a simulative sound (step S103 YES), the process proceeds to step S111b. If it is determined that there is no simultaneous sound (NO in step S103), the process proceeds to step S116b.
(ステップS111b)方式選択部333bは、記憶部322に予め記憶した音声処理方式テーブルを参照し、サービス検出部332から入力されたサービス情報が示す再生方式のうち、音声復号部314が処理可能な再生方式を特定する。その後、ステップS112bに進む。
(ステップS112b)サービス通知部335bは、方式選択ボタンデータを記憶部322から読み取り、特定された再生方式を示す文字を方式選択ボタンに重ね合わせた方式選択ボタンを示す通知情報をGUI合成部317に出力する。これにより、方式選択ボタンが表示部318に表示される。その後、ステップS113bに進む。(Step S111b) The
(Step S <b> 112 b) The
(ステップS113b)方式選択部333bには、特定した再生方式のいずれかを示す操作信号が操作入力部323から入力されたか否かを判定する。ユーザーによる再生方式の選択があるか否かが判定される。入力されたと判定された場合には(ステップS113b YES)、入力された操作信号に基づいて再生方式を選択する。その後、ステップS105に進む。入力されていないと判定された場合には(ステップS113b NO)、ステップS114bに進む。(Step S113b) The
(ステップS114b)方式選択部333bは、方式選択ボタンの表示開始から所定の時間(例えば、1分間)経過したか否かを判定する。経過したと判定された場合には(ステップS114b YES)、方式選択部333bは、デフォルトの再生方式として上述の主音声を選択し、ステップS115bに進む。経過していないと判定された場合には(ステップS114b NO)、ステップS113bに進む。
(ステップS115b)サービス通知部335bは、通知情報の出力を停止する。これにより、方式選択ボタンが消去される。その後、図16に示す処理を終了する。(Step S114b) The
(Step S115b) The
(ステップS116b)サービス通知部335bは、MPTを解析して特定された1つの再生方式、つまり、MH−音声コンポーネント記述子(MH−Audio_Component_Descriptor()に記述されたコンポーネント種別(component_type)で指示された再生方式を示す通知情報をGUI合成部317に出力する。これにより、指示された再生方式が表示される。その後、図16に示す処理を終了する。(Step S116b) The
以上に説明したように、本実施形態に係る受信装置31は、複数の再生方式のうち音声復号部314が処理可能な再生方式を示す通知情報を出力するサービス通知部335bを備え、方式選択部333bは、操作入力に応じて通知情報により方式選択ボタンとして表される再生方式のいずれかを選択する。
この構成により、受信装置31は、受信した複数の方式の音声データのうち、復号可能であって操作入力に応じて選択された方式の音声データに基づく音声を再生することができる。そのため、ユーザーは、番組制作者が意図した音声サービスのうち、所望の再生可能な音声サービスを選択することができる。As described above, the receiving
With this configuration, the
また、本実施形態に係る受信装置31は、操作入力に応じて放送波を受信する放送チャンネルを選択する選局部334を備える。また、サービス検出部332は、受信した多重化データに含まれるMPTから番組を構成する音声データと同一の内容を異なる方式で符号化した音声データの有無を示す識別子を抽出する。また、サービス検出部332は、抽出した識別子に基づいて複数の方式の音声データの存在を検出する。
この構成により、選択された放送チャンネルで受信した番組を構成する音声データから、ユーザーが所望の方式の音声データに基づく音声を再生することができる。In addition, the receiving
With this configuration, it is possible to reproduce audio based on audio data of a desired format from the audio data constituting the program received on the selected broadcast channel.
(第4の実施形態)
次に、本発明の第4の実施形態について説明する。上述した説明と同一の構成については、同一の符号を付して説明を援用する。
本実施形態では、次に説明する構成を備えることにより、受信予約時に受信しようとする番組で放送されることになる複数の再生方式の音声データから、ユーザーが所望の方式の音声データを選択できるようにする。受信予約は、録画予約、視聴予約のいずれであってもよい。(Fourth embodiment)
Next, a fourth embodiment of the present invention will be described. About the structure same as the description mentioned above, the same code | symbol is attached | subjected and description is used.
In the present embodiment, the configuration described below allows the user to select audio data of a desired format from a plurality of playback format audio data to be broadcast in a program to be received at the time of reception reservation. Like that. The reception reservation may be either a recording reservation or a viewing reservation.
ここで、送信装置11の構成情報生成部112は、番組の放送予定を示す電子番組表を表す情報として、上述したMH−EITとMH−サービス記述テーブル(MH−SDT:MH−Service Description Table)を生成する。MH−SDTは、編成チャンネル(つまり、個々の放送チャンネル)の名称、放送事業者の名称等の編成チャンネルに関する情報を示す情報である。構成情報生成部112は、生成したMH−EITとMH−SDTを含む構成情報を、多重化部113に出力する。以下に説明するように、受信装置31は、送信装置11からMH−EITとMH−SDTを受信し、受信したMH−EITとMH−SDTに基づいてEPGデータを生成する。 Here, the configuration
図17は、本実施形態に係る制御部331の構成を示すブロック図である。本実施形態に係る受信装置31の制御部331は、サービス検出部332a、方式選択部333b、選局部334、及びサービス通知部335bを備え、さらに受信予約部336cを備える。 FIG. 17 is a block diagram illustrating a configuration of the
受信予約部336cは、分離部313から入力された構成情報からMH−SDTとMH−EITを抽出し、抽出したMH−SDTが示す放送チャンネル毎にMH−EITが示す個々の番組の放送時間を特定する。受信予約部336cは、番組毎に特定した放送チャンネルと放送時間を、放送チャンネル毎に放送時間が早い順に配列してEPGを構成する。受信予約部336cは、構成したEPGを示すEPGデータを生成し、生成したEPGデータをGUI合成部317に出力する。これにより、表示部318には、EPGが表示される。
受信予約部336cは、EPGデータが示す番組から、操作入力部323から入力された操作信号に基づいて、受信予約に係る番組を選択する。受信予約部336cは、例えば、操作信号が示す位置が、EPG上の表示領域に含まれる番組を選択する。受信予約部336cは、選択した番組を示す番組情報をサービス検出部332aに出力する。The
The
サービス検出部332aは、受信予約部336cから入力された番組情報が示す番組に係るMH−EITを解析し、当該番組に複数の再生方式の音声があるか否かを判定する。複数の再生方式の音声データがあると判定された場合、サービス通知部335bは、複数の再生方式のうち音声復号部314が処理可能な再生方式を示す方式選択ボタンを表示部318に表示させる。方式選択部333bは、操作入力部323から入力された操作信号に基づいて方式選択ボタンに表示される再生方式のいずれかを選択する。方式選択部333bは、選択した再生方式を示す方式選択情報を音声復号部314に出力する。 The
なお、受信予約部336cには、操作入力部323から当該番組の受信時間として受信開始時刻と受信終了時刻を指示する操作信号が入力される。受信予約部336cは、受信開始時刻において受信開始を指示する受信開始信号を音声復号部314及び映像復号部316に出力する。受信予約部336cは、受信終了時刻において受信終了を指示する受信終了信号を音声復号部314及び映像復号部316に出力する。
よって、音声復号部314は、操作入力により指示された受信時間において、選択された再生方式を用いて音声データについて復号処理を行い、映像復号部316は映像データについて復号処理を行う。The
Therefore, the
(受信処理)
次に、本実施形態に係る受信処理について説明する。
図18は、本実施形態に係る受信処理を示すフローチャートである。本実施形態に係る受信処理は、ステップS101−S103、S105、S111b−S114b、S116b、及びS121c−S124cを含む。ステップS101−S103及びS105の処理は、図10に示すものと同様であり、ステップS111b−S114b、S116b、の処理は、図16に示すものと同様であるため、それらの説明を援用する。(Reception processing)
Next, the reception process according to the present embodiment will be described.
FIG. 18 is a flowchart showing a reception process according to this embodiment. The reception process according to the present embodiment includes steps S101-S103, S105, S111b-S114b, S116b, and S121c-S124c. The processes in steps S101 to S103 and S105 are the same as those shown in FIG. 10, and the processes in steps S111b to S114b and S116b are the same as those shown in FIG.
図18に示す処理では、ステップS101の後、ステップS121cに進む。
(ステップS121c)受信予約部336cは、構成情報から抽出したMH−SDTが示す放送チャンネル毎にEITが示す個々の番組の放送時間を特定する。受信予約部336cは、番組毎の放送チャンネルと特定した放送時間を、放送チャンネル毎に放送時間の順序で配列したEPGデータを生成する。受信予約部336cは、生成したEPGデータをGUI合成部317に出力することにより、表示部318にEPGを表示させる。その後、ステップS122cに進む。
(ステップS122c)受信予約部336cは、EPGデータが示す番組から、操作入力部323から入力された操作信号に基づいて受信予約、つまり視聴又は録画予約に係る番組を選択する。その後、ステップS102に進む。ステップS102では、選択された番組に係るMH−EITが解析される。In the process shown in FIG. 18, after step S101, the process proceeds to step S121c.
(Step S121c) The
(Step S122c) The
ステップS105もしくはS116bが終了した後、又はステップS114bにおいて所定の時間経過したと判定された場合(ステップS114b YES)、ステップS123cに進む。この段階では、方式選択部333bにより再生方式が決定されている。
(ステップS123c)サービス通知部335bは、表示部318に表示させていた方式選択ボタンを消去させる。その後、ステップS124cに進む。
(ステップS124c)音声復号部314は、受信予約部336cで指示された受信開始時刻において、方式選択部333bが選択した再生方式を用いて音声データについて復号処理を開始する。その後、図18に示す処理を終了する。After step S105 or S116b is completed, or when it is determined in step S114b that a predetermined time has elapsed (YES in step S114b), the process proceeds to step S123c. At this stage, the reproduction method is determined by the
(Step S123c) The
(Step S124c) The
なお、上述では受信予約として視聴予約が指示された場合を例にしたが、録画予約が指示された場合には、記憶部322には、当該番組を示す番組情報と、音声復号部314が復号した音声データと、映像復号部316が復号した映像データとを対応付けて記憶される。その場合、音声復号部314は、復号した音声データを拡声部315に出力しなくてもよいし、映像復号部316は復号した映像データをGUI合成部317に出力しなくてもよい。 In the above description, a case where a viewing reservation is instructed as a reception reservation is taken as an example. However, when a recording reservation is instructed, program information indicating the program and a
以上に説明したように、本実施形態に係る受信装置31は、操作入力に応じて放送予定の番組のうちいずれかの番組の受信を予約する受信予約部336cを備える。また、サービス検出部332aは、受信したMH−EITから放送予定の番組毎の放送時間と、当該番組を構成する音声データと同一の内容を異なる方式で符号化した音声データの有無を示す識別子とを含む番組情報を抽出する。また、サービス検出部332aは、当該識別子に基づいて受信予約部336cが受信を予約した番組データにおいて複数の方式の音声データの存在を検出する。
この構成により、選択された番組で受信されることになる複数の方式の音声データのうち、いずれかの方式の音声データを記憶又はその音声を再生することができる。そのため、選択された番組で放送されることになる番組について、音声合成処理による品質の劣化を伴わずに番組制作者が意図した音声に係る音声データのうち所望の方式の音声データを記録又はその音声を再生することができる。As described above, the receiving
With this configuration, it is possible to store or reproduce the sound data of any one of a plurality of sound data to be received in the selected program. Therefore, for the program to be broadcast in the selected program, the audio data of the desired system is recorded or the audio data related to the audio intended by the program producer without deterioration of quality due to the voice synthesis process. Audio can be played back.
(第5の実施形態)
次に、本発明の第5の実施形態について説明する。上述した説明と同一の構成については、同一の符号を付して説明を援用する。
本実施形態では、次に説明する構成を備えることにより、複数の再生方式及び言語のセットの音声データを示す表示を、所定の言語を他の言語よりも優先して表示部318に表示させる。(Fifth embodiment)
Next, a fifth embodiment of the present invention will be described. About the structure same as the description mentioned above, the same code | symbol is attached | subjected and description is used.
In the present embodiment, by providing the configuration described below, a display showing audio data of a set of a plurality of playback methods and languages is displayed on the
図19は、本実施形態に係る制御部331の構成を示すブロック図である。本実施形態に係る受信装置31の制御部331は、サービス検出部332d、方式選択部333b、選局部334、及びサービス通知部335dを備える。記憶部322(図7)には、優先度と言語との対応関係を示す優先言語データが予め記憶させておく。優先度とは、その番組を構成する同一の内容の音声を表現する言語が複数ある場合に、その音声データに係る表示を他の言語よりも優先して表示させるか否か、もしくは言語間における優先順位を意味する。例えば、記憶部322には、日本語を他の言語(英語、中国語、等)よりも優先させることを示す優先言語データを記憶させておく。優先言語データとして、受信装置31の機能を発揮もしくは調整するための画面表示に用いる言語を示す言語設定データが用いられてもよい。 FIG. 19 is a block diagram illustrating a configuration of the
サービス検出部332dは、上述したようにMPT又はMH−EITに基づいてサイマル音声が提供されるか否かを判定し、音声データのアセット毎に再生方式を特定する。本実施形態では、サービス検出部332dは、サイマル音声が提供されると判定した場合に、アセット毎にその音声を表現する言語を特定する。
具体的には、サービス検出部332dは、MPT又はMH−EITに記述されたMH−音声コンポーネント記述子(MH−Audio_Component_Descriptor()から言語コード(ISO_639_language_code)を読み取る。そして、サービス検出部332dは、アセット毎に特定した再生方式と言語とのセットを示すサービス情報をサービス通知部335bに出力する。As described above, the
Specifically, the
サービス通知部335dは、サービス検出部332dから入力されたサービス情報が示すアセット毎の再生方式と言語のセットを特定する。サービス通知部335dは、記憶部322から読み取った優先言語データが示す言語の優先度に応じて、特定したセットの順序を変更する。例えば、優先言語データが日本語を他の言語よりも優先させることを示す場合、サービス通知部335dは、特定したセットのうち、日本語を含むセットを他の言語を含むセットより先行させる。サービス通知部335bは、記憶部322から方式ボタンデータを読み取る。サービス通知部335dは、変更した順序に従って、それぞれのセットを示す文字を配列して方式ボタンに重ね合わせる。サービス通知部335dは、当該文字を重ね合わせた方式選択ボタンを示す通知情報をGUI合成部317に出力することにより、当該通知情報が示す方式選択ボタンを表示部318に表示させる。 The
(方式選択ボタン)
次に、サービス通知部335dが表示部318に表示させる方式選択ボタンの例を示す。
図20は、本実施形態に係る方式選択ボタンの例(方式選択ボタン51)を示す図である。方式選択ボタン51は、6つのセット52−1〜52−6を示し、日本語に係るセット52−1〜52−3が、他の言語もしくは言語が設定されていないセット52−4〜52−6よりも優先されていることを示す。セット52−1は、ステレオ2chによる日本語の音声、セット52−2は、サラウンド5.1chによる日本語の音声、セット52−3は、サラウンド7.1chによる日本語の音声、セット52−4は、ステレオ2chによる英語の音声をそれぞれ示す。セット52−5、52−6では、いずれも言語が指定おらず、再生方式としてサラウンド5.1ch、7.1chがそれぞれ指定されている。セット52−1〜52−6の表示により、図15に示す例と同様に、該当するセットに係る音声データを選択するための操作が可能である。
このように、受信装置31において日本語に係るセットが、他の言語に係るセットもしくは言語の指定がないセットよりも先の順序に配列される。そのため、ユーザーは日本語に係るセットに関する音声データの選択が促される。(Method selection button)
Next, an example of a method selection button displayed on the
FIG. 20 is a diagram showing an example of the method selection button (method selection button 51) according to the present embodiment. The
In this manner, in the receiving
なお、上述した例では、言語の優先度として、1つの言語である日本語について他の言語よりも優先させるという2段階の優先度が指定される場合について説明したが、これには限られない。優先言語データにおいて複数の言語について3段階以上の優先度が指定され、サービス通知部335dがその優先度に応じた順序でアセット毎の再生方式と言語のセットを示す文字を配列してもよい。また、言語の指定がないセットについては、サービス通知部335dは、所定の優先度、例えば、最優先の言語と同一の優先度で当該セットを示す文字を配列してもよい。また、同一の言語について再生方式が複数種類ある場合には、サービス通知部335dは、より上位の再生方式ほど、当該セットを示す文字を優先して配列してもよい。
なお、サービス通知部335dは、優先度が高いセットほど表示部318に対して高い視認性で表示させてもよい。視認性を高くするために、サービス通知部335dは、より大きい文字を用いてもよいし、背景の輝度とのコントラストを強調してもよい。In the above-described example, a case has been described in which a priority of two levels of giving priority to Japanese, which is one language, over other languages is specified as the priority of the language, but is not limited thereto. . Three or more levels of priority may be specified for a plurality of languages in the priority language data, and the
The
以上に説明したように、本実施形態に係る受信装置31によれば、1つの番組が複数の再生方式及び言語のセットの音声データを含むとき、サービス通知部335dは、方式選択ボタンを示す通知情報として、所定の言語に係るセットを示す文字を、他の言語に係るセットを示す文字よりも優先してGUI合成部317に出力する。
この構成により、番組を構成する音声データの複数の方式及び言語のセットのうち、所定の言語と方式のセットを示す情報が、他の言語と方式のセットを示す情報よりも優先して通知される。そのため、ユーザーに対して所定の言語を含むセットに係る音声の選択を促すことができる。As described above, according to the receiving
With this configuration, information indicating a set of a predetermined language and method among a plurality of methods and language sets of audio data constituting the program is notified in preference to information indicating a set of other languages and methods. The Therefore, it is possible to prompt the user to select a sound related to a set including a predetermined language.
なお、本発明は上述した各実施形態に限定されるものではなく、特許請求の範囲に示した範囲で種々の変更が可能であり、異なる実施形態にそれぞれ開示された技術的構成を適宜組み合わせて得られる実施形態についても本発明の技術的範囲に含まれる。
また、本発明の各構成要素は、任意に取捨選択することができ、取捨選択した構成を具備する発明も本発明に含まれるものである。It should be noted that the present invention is not limited to the above-described embodiments, and various modifications are possible within the scope indicated in the claims, and the technical configurations disclosed in different embodiments are appropriately combined. The obtained embodiment is also included in the technical scope of the present invention.
Each component of the present invention can be arbitrarily selected, and an invention having a selected configuration is also included in the present invention.
例えば、受信装置31との間で各種のデータが送受信可能であれば拡声部315、表示部318が省略されてもよい。また、映像復号部316が省略されてもよい。
受信装置31において方式選択部333は、上位の再生方式として音声チャンネル数が多い再生方式を選択する場合を例にしたが、これには限られない。例えば、2以上の再生方式において、音声チャンネル数が同一でサンプリング周波数が異なる場合には、方式選択部333はサンプリング周波数が高い再生方式を選択してもよい。また、2以上の再生方式において、音声チャンネル数及びサンプリング周波数が同一で量子化精度が異なる場合には、方式選択部333は量子化精度が高い再生方式を選択してもよい。For example, the
In the receiving
サンプリング周波数(sampling_rate)は、図4に示されるようにMH音声コンポーネント記述子(MH−Audio_Component_Descriptor())で記載される。量子化精度は、MH音声コンポーネント記述子(MH−Audio_Component_Descriptor())において音質表示(quality_indicator)として記述される。音質表示(quality_indicator)では、モード1〜3のいずれかが指定可能である。モード1〜3のうち、モード1が最も量子化精度が高く、モード1、2、3の順に量子化精度が低くなる。従って、サービス検出部332、332aは、MH音声コンポーネント記述子(MH−Audio_Component_Descriptor())からコンポーネントタグで指定される音声データのストリーム毎にサンプリング周波数と量子化精度を特定することができる。 The sampling frequency (sampling_rate) is described in the MH audio component descriptor (MH-Audio_Component_Descriptor ()) as shown in FIG. The quantization accuracy is described as a sound quality display (quality_indicator) in the MH audio component descriptor (MH-Audio_Component_Descriptor ()). In the sound quality display (quality_indicator), any one of
上述した実施形態では、各種のデータを伝送するための伝送方式として、MPEG−Hで規定されたMMT(MPEG Media Transport)によるメディアトランスポート方式が用いる場合を例にしたが、その他の伝送方式、例えば、MPEG−2 Systemsで規定された方式が用いられてもよい。また、伝送に係るデータ形式、暗号化方式、符号化方式も、その伝送方式で規定された形式または方式が用いられてもよい。 In the above-described embodiment, the case where the media transport method according to MMT (MPEG Media Transport) defined by MPEG-H is used as a transmission method for transmitting various data is exemplified. For example, a method defined by MPEG-2 Systems may be used. In addition, a data format, an encryption method, and an encoding method related to transmission may be a format or a method defined by the transmission method.
また、上述した実施形態における送信装置11の一部、受信装置31の一部をコンピュータで実現するようにしてもよい。その場合、この制御機能を実現するためのプログラムをコンピュータ読み取り可能な記録媒体に記録して、この記録媒体に記録されたプログラムをコンピュータシステムに読み込ませ、実行することによって実現してもよい。なお、ここでいう「コンピュータシステム」とは、認識データ伝送装置に内蔵されたコンピュータシステムであって、OSや周辺機器等のハードウェアを含むものとする。また、「コンピュータ読み取り可能な記録媒体」とは、フレキシブルディスク、光磁気ディスク、ROM、CD−ROM等の可搬媒体、コンピュータシステムに内蔵されるハードディスク等の記憶装置のことをいう。さらに「コンピュータ読み取り可能な記録媒体」とは、インターネット等のネットワークや電話回線等の通信回線を介してプログラムを送信する場合の通信線のように、短時間、動的にプログラムを保持するもの、その場合のサーバーやクライアントとなるコンピュータシステム内部の揮発性メモリのように、一定時間プログラムを保持しているものも含んでもよい。また上記プログラムは、前述した機能の一部を実現するためのものであってもよく、さらに前述した機能をコンピュータシステムにすでに記録されているプログラムとの組み合わせで実現できるものであってもよい。 Further, a part of the
なお、本発明は次の態様でも実施することができる。
(1)受信したデータから1つの番組において複数の方式及び言語のセットの音声データの存在を検出する検出部と、前記音声データを復号する復号部と、前記複数のセットのうち所定の言語を含むセットを、他の言語を含むセットよりも優先して示す通知情報を出力する通知部と、前記複数の方式のうち前記通知情報が示すセットを、操作入力に応じて選択する選択部と、を備える受信装置。In addition, this invention can be implemented also in the following aspect.
(1) A detection unit that detects the presence of audio data of a plurality of systems and languages in one program from received data, a decoding unit that decodes the audio data, and a predetermined language of the plurality of sets. A notification unit that outputs the notification information indicating the set including the other language in preference to the set including another language; and a selection unit that selects a set indicated by the notification information among the plurality of methods according to an operation input; A receiving device.
(2)前記所定の言語は、自装置の機能に係る言語設定において指定された言語である(1)の受信装置。(2) The receiving device according to (1), wherein the predetermined language is a language specified in a language setting relating to a function of the own device.
(3)前記通知情報が示す方式及び言語のセットは、前記復号部が処理可能な方式を含むセットである(1)または(2)の受信装置。(3) The receiving device according to (1) or (2), wherein the set of methods and languages indicated by the notification information includes a method that can be processed by the decoding unit.
(4)操作入力に応じて前記データを受信する放送チャンネルを選択する選局部を備え、
前記検出部は、前記受信したデータから番組を構成する音声データと同一の内容を異なる方式で符号化した音声データの有無を示す識別子と当該音声データの言語を示す識別子とを抽出し、前記識別子に基づいて前記複数のセットの存在を検出する(1)から(3)のいずれかの受信装置。(4) a channel selection unit for selecting a broadcast channel for receiving the data according to an operation input;
The detection unit extracts, from the received data, an identifier indicating presence / absence of audio data obtained by encoding the same content as audio data constituting a program by a different method and an identifier indicating a language of the audio data, and the identifier The receiving apparatus according to any one of (1) to (3), wherein presence of the plurality of sets is detected based on
(5)操作入力に応じて放送予定の番組のうちいずれかの番組の受信を予約する受信予約部を備え、前記検出部は、前記受信したデータから前記放送予定の番組毎の放送時間を検出し、当該番組を構成する音声データと同一の内容を異なる方式で符号化した音声データの有無を示す識別子と前記音声データの言語を示す識別子とを抽出し、前記識別子に基づいて前記複数のセットの存在を検出する(1)から(4)のいずれかの受信装置。(5) A reception reservation unit that reserves reception of any one of the programs scheduled to be broadcast in response to an operation input, and the detection unit detects a broadcast time for each program scheduled to be broadcast from the received data And extracting an identifier indicating the presence / absence of audio data obtained by encoding the same content as the audio data constituting the program by a different method and an identifier indicating the language of the audio data, and setting the plurality of sets based on the identifier The receiving device according to any one of (1) to (4).
(6)データを送信する送信装置と、前記データを受信する受信装置とを備える放送システムであって、前記受信装置は、受信したデータから1つの番組において複数の方式及び言語のセットの音声データの存在を検出する検出部と、前記音声データを復号する復号部と、前記複数のセットのうち所定の言語を含むセットを、他の言語を含むセットよりも優先して示す通知情報を出力する通知部と、
前記複数の方式のうち前記通知情報が示すセットを、操作入力に応じて選択する選択部と、を備える放送システム。(6) A broadcasting system including a transmitting device for transmitting data and a receiving device for receiving the data, wherein the receiving device is audio data of a set of a plurality of systems and languages in one program from the received data. A notification unit that detects the presence of the voice data, a decoding unit that decodes the audio data, and a notification that indicates a set that includes a predetermined language among the plurality of sets in preference to a set that includes another language. A notification unit;
A broadcasting system comprising: a selection unit that selects a set indicated by the notification information among the plurality of methods according to an operation input.
(7)受信装置における受信方法であって、受信したデータから1つの番組において複数の方式及び言語のセットの音声データの存在を検出する検出過程と、前記音声データを復号する復号部と、前記複数のセットのうち所定の言語を含むセットを、他の言語を含むセットよりも優先して示す通知情報を出力する通知過程と、前記複数の方式のうち前記通知情報が示すセットを、操作入力に応じて選択する選択過程と、を有する受信方法。(7) A receiving method in the receiving apparatus, wherein a detection process for detecting the presence of audio data of a plurality of schemes and languages in one program from received data, a decoding unit for decoding the audio data, A notification process for outputting notification information indicating a set including a predetermined language among a plurality of sets in preference to a set including other languages, and a set indicated by the notification information among the plurality of methods. And a selection process for selecting according to the reception method.
(8)受信装置のコンピュータに、受信したデータから1つの番組において複数の方式及び言語のセットの音声データの存在を検出する検出手順と、前記音声データを復号する復号手順と、前記複数のセットのうち所定の言語を含むセットを、他の言語を含むセットよりも優先して示す通知情報を出力する通知手順と、前記複数の方式のうち前記通知情報が示すセットを、操作入力に応じて選択する選択手順と、を実行させるためのプログラム。(8) A detection procedure for detecting the presence of audio data of a plurality of systems and languages in one program from received data in a computer of the receiving device, a decoding procedure for decoding the audio data, and the plurality of sets A notification procedure for outputting notification information indicating a set including a predetermined language in preference to a set including another language, and a set indicated by the notification information among the plurality of methods according to an operation input. A selection procedure for selecting, and a program for executing the selection procedure.
1…放送システム、11…送信装置、111…番組データ生成部、112…構成情報生成部、113…多重化部、114…暗号化部、115…送信部、12…放送伝送路、13…放送衛星、31…受信装置、311…受信部、312…復号部、313…分離部、314…音声復号部、315…拡声部、316…映像復号部、317…GUI合成部、318…表示部、322…記憶部、323…操作入力部、331…制御部、332、332a、332d…サービス検出部、333、333b…方式選択部、334…選局部、335b、335d…サービス通知部、336c…受信予約部 DESCRIPTION OF
| Application Number | Priority Date | Filing Date | Title |
|---|---|---|---|
| JP2014227533AJP6137754B2 (en) | 2014-11-07 | 2014-11-07 | Receiving device, receiving method and program |
| Application Number | Priority Date | Filing Date | Title |
|---|---|---|---|
| JP2014227533AJP6137754B2 (en) | 2014-11-07 | 2014-11-07 | Receiving device, receiving method and program |
| Application Number | Title | Priority Date | Filing Date |
|---|---|---|---|
| JP2016175749ADivisionJP2017017740A (en) | 2016-09-08 | 2016-09-08 | Broadcast system |
| JP2016246883ADivisionJP6279063B2 (en) | 2016-12-20 | 2016-12-20 | Receiving device, receiving method and program |
| Publication Number | Publication Date |
|---|---|
| JP2016092696Atrue JP2016092696A (en) | 2016-05-23 |
| JP2016092696A5 JP2016092696A5 (en) | 2016-09-23 |
| JP6137754B2 JP6137754B2 (en) | 2017-05-31 |
| Application Number | Title | Priority Date | Filing Date |
|---|---|---|---|
| JP2014227533AExpired - Fee RelatedJP6137754B2 (en) | 2014-11-07 | 2014-11-07 | Receiving device, receiving method and program |
| Country | Link |
|---|---|
| JP (1) | JP6137754B2 (en) |
| Publication number | Priority date | Publication date | Assignee | Title |
|---|---|---|---|---|
| JP2018011252A (en)* | 2016-07-15 | 2018-01-18 | シャープ株式会社 | Reception device, reception method and program |
| Publication number | Priority date | Publication date | Assignee | Title |
|---|---|---|---|---|
| JP2002335460A (en)* | 2001-05-10 | 2002-11-22 | Funai Electric Co Ltd | Broadcast receiver with audio automatic selecting function |
| JP2006525717A (en)* | 2003-04-30 | 2006-11-09 | コーニンクレッカ フィリップス エレクトロニクス エヌ ヴィ | Video language filtering based on user profiling |
| JP2008118523A (en)* | 2006-11-07 | 2008-05-22 | Seiko Epson Corp | Reservation reception apparatus and reservation reception method |
| JP2008299938A (en)* | 2007-05-30 | 2008-12-11 | Toshiba Corp | Video / audio playback device |
| JP2010187158A (en)* | 2009-02-12 | 2010-08-26 | Funai Electric Co Ltd | Content processing device |
| JP2014507878A (en)* | 2011-01-19 | 2014-03-27 | サムスン エレクトロニクス カンパニー リミテッド | Control message composition apparatus and method in broadcast system |
| Publication number | Priority date | Publication date | Assignee | Title |
|---|---|---|---|---|
| JP2002335460A (en)* | 2001-05-10 | 2002-11-22 | Funai Electric Co Ltd | Broadcast receiver with audio automatic selecting function |
| JP2006525717A (en)* | 2003-04-30 | 2006-11-09 | コーニンクレッカ フィリップス エレクトロニクス エヌ ヴィ | Video language filtering based on user profiling |
| JP2008118523A (en)* | 2006-11-07 | 2008-05-22 | Seiko Epson Corp | Reservation reception apparatus and reservation reception method |
| JP2008299938A (en)* | 2007-05-30 | 2008-12-11 | Toshiba Corp | Video / audio playback device |
| JP2010187158A (en)* | 2009-02-12 | 2010-08-26 | Funai Electric Co Ltd | Content processing device |
| JP2014507878A (en)* | 2011-01-19 | 2014-03-27 | サムスン エレクトロニクス カンパニー リミテッド | Control message composition apparatus and method in broadcast system |
| Title |
|---|
| ARIB STD-B60 デジタル放送におけるMMTによるメディアトランスポート方式, vol. 1.0版, JPN6017010042, 31 July 2014 (2014-07-31), JP, pages 90 - 93, ISSN: 0003522687* |
| ETSI EN 300 468 V1.14.1 (2014-05) DIGITAL VIDEO BROADCASTING (DVB); SPECIFICATION FOR SERVICE INFOR, JPN6017010043, May 2014 (2014-05-01), FR, pages 40 - 43, ISSN: 0003522688* |
| Publication number | Priority date | Publication date | Assignee | Title |
|---|---|---|---|---|
| JP2018011252A (en)* | 2016-07-15 | 2018-01-18 | シャープ株式会社 | Reception device, reception method and program |
| CN109417648A (en)* | 2016-07-15 | 2019-03-01 | 夏普株式会社 | Reception device, method of reseptance and program |
| JP2021108471A (en)* | 2016-07-15 | 2021-07-29 | シャープ株式会社 | Receiving device |
| JP2021119668A (en)* | 2016-07-15 | 2021-08-12 | シャープ株式会社 | Receiver |
| CN109417648B (en)* | 2016-07-15 | 2021-08-17 | 夏普株式会社 | Receiving device and receiving method |
| JP7058782B2 (en) | 2016-07-15 | 2022-04-22 | シャープ株式会社 | Receiver |
| Publication number | Publication date |
|---|---|
| JP6137754B2 (en) | 2017-05-31 |
| Publication | Publication Date | Title |
|---|---|---|
| JP7062115B2 (en) | Receiver | |
| JP2010187158A (en) | Content processing device | |
| JP6700658B2 (en) | Receiving device, receiving method, and program | |
| JP6137755B2 (en) | Receiving device, receiving method and program | |
| JP6137754B2 (en) | Receiving device, receiving method and program | |
| JP6279140B1 (en) | Receiver | |
| JP2017017740A (en) | Broadcast system | |
| JP6359134B2 (en) | Receiving device, receiving method, program, and storage medium | |
| JP6279063B2 (en) | Receiving device, receiving method and program | |
| JP6309061B2 (en) | Broadcast system | |
| JP6327711B2 (en) | Receiving apparatus, broadcasting system, receiving method and program | |
| JP2018142971A (en) | Receiving device, receiving method and program | |
| JP6559542B2 (en) | Receiving device, receiving method and program | |
| JP6429402B2 (en) | Reception device, television reception device, reception method, program, and storage medium | |
| JP6508831B2 (en) | Receiving device, receiving method, broadcast system and program | |
| JP6238086B2 (en) | Receiving device, receiving method, program, and storage medium | |
| JP2016116032A (en) | Receiving device, broadcasting system, receiving method, and program | |
| JP2016116172A (en) | Reception device, reception method, program, and transmission device | |
| JP6175207B1 (en) | Broadcast signal receiving apparatus, broadcast signal receiving method, television receiver, control program, and recording medium | |
| JP6436573B2 (en) | Receiving apparatus, receiving method, and program | |
| JP6355263B2 (en) | Receiving apparatus, receiving method, and program | |
| JP2013157919A (en) | Receiving apparatus, receiving method, and program | |
| JP2018019409A (en) | Receiver, television apparatus, program, storage medium, and control method | |
| JP2016092719A (en) | Receiver unit, broadcasting system, reception method, and program | |
| JP2017184207A (en) | Receiving apparatus, program, and receiving method |
| Date | Code | Title | Description |
|---|---|---|---|
| A521 | Request for written amendment filed | Free format text:JAPANESE INTERMEDIATE CODE: A523 Effective date:20160803 | |
| A621 | Written request for application examination | Free format text:JAPANESE INTERMEDIATE CODE: A621 Effective date:20160803 | |
| A871 | Explanation of circumstances concerning accelerated examination | Free format text:JAPANESE INTERMEDIATE CODE: A871 Effective date:20160803 | |
| A977 | Report on retrieval | Free format text:JAPANESE INTERMEDIATE CODE: A971007 Effective date:20161006 | |
| A975 | Report on accelerated examination | Free format text:JAPANESE INTERMEDIATE CODE: A971005 Effective date:20161007 | |
| A131 | Notification of reasons for refusal | Free format text:JAPANESE INTERMEDIATE CODE: A131 Effective date:20161108 | |
| A521 | Request for written amendment filed | Free format text:JAPANESE INTERMEDIATE CODE: A523 Effective date:20161220 | |
| TRDD | Decision of grant or rejection written | ||
| A01 | Written decision to grant a patent or to grant a registration (utility model) | Free format text:JAPANESE INTERMEDIATE CODE: A01 Effective date:20170328 | |
| A61 | First payment of annual fees (during grant procedure) | Free format text:JAPANESE INTERMEDIATE CODE: A61 Effective date:20170424 | |
| R150 | Certificate of patent or registration of utility model | Ref document number:6137754 Country of ref document:JP Free format text:JAPANESE INTERMEDIATE CODE: R150 | |
| LAPS | Cancellation because of no payment of annual fees |