













本発明は、たとえば人の生体組織やその他の所望の検査対象物質内の情報を光学的手法によって取得するのに用いられる検査装置、およびこれに関連する技術に関する。 The present invention relates to an inspection apparatus used to acquire information in, for example, a human biological tissue or other desired substance to be inspected by an optical technique, and a technique related thereto.
検査装置の従来例として、特許文献1に記載されたものがある。同文献に記載された検査装置は、いわゆる多点測定の手法を用いたものであり、以下に述べる第1および第2の構成に区分される。
第1の構成においては、1つの光源と、2つの受光部とが具備されている。光源は、検査対象の物質内に光を入射させるべく前記物質の表面に光を照射するためのものである。2つの受光部は、前記光源から発せられて前記物質内を拡散(拡散反射を含み、以下同様)することによって前記物質の表面の光照射部とは異なる2箇所に到達した光をそれぞれ受けるように設定される。これら2つの受光部からは、それぞれの受光量に対応したレベルの信号が出力される。
このような構成によれば、2つの受光部のうち、光照射部に近い一方の受光部には、物質内の比較的浅い部分を通過した光が到達するのに対し、光照射部から遠い他方の受光部には、物質内の比較的深い部分をも通過した光が到達する。このため、前記一方の受光部の受光量を参照データとして、前記2つの受光部のそれぞれの受光量の差分スペクトルを得ることにより、物質内の比較的浅い部分の光学的情報を排除した情報、すなわち物質内深部の光学的特性情報(たとえば、特定波長域についての吸光係数)を求めることができる。この光学的特性情報に基づき、物質内の特定成分の濃度(たとえば、血清総ビリルビンの濃度など)を非侵襲で判断することが可能である。As a conventional example of an inspection apparatus, there is one described in Patent Document 1. The inspection apparatus described in this document uses a so-called multipoint measurement technique, and is divided into first and second configurations described below.
In the first configuration, one light source and two light receiving units are provided. The light source is for irradiating light on the surface of the substance so that the light enters the substance to be inspected. The two light receiving parts receive light that has been emitted from the light source and diffused in the substance (including diffuse reflection, the same applies hereinafter) and reached two different points from the light irradiation part on the surface of the substance. Set to From these two light receiving sections, signals of levels corresponding to the respective amounts of received light are output.
According to such a configuration, one of the two light receiving units, which is close to the light irradiation unit, reaches light that has passed through a relatively shallow portion of the substance, but is far from the light irradiation unit. The light that has passed through the relatively deep portion of the substance reaches the other light receiving portion. For this reason, by using the received light amount of the one light receiving unit as reference data, obtaining the difference spectrum of the received light amount of each of the two light receiving units, information that eliminates the optical information of a relatively shallow portion in the substance, That is, optical characteristic information (for example, an extinction coefficient for a specific wavelength region) in the deep part of the substance can be obtained. Based on this optical characteristic information, the concentration of a specific component in the substance (for example, the concentration of serum total bilirubin) can be determined non-invasively.
一方、第2の構成においては、2つの光源と、1つの受光部とが具備されており、2つの光源が設けられていることにより、検査対象の物質の表面には、2箇所の光照射部が設定される。ただし、2つの光源は個別に点灯駆動される。
このような構成によれば、2箇所の光照射部のうち、一方の光照射部から受光部には、物質内の比較的浅い部分を通過した光が到達し、かつ他方の光照射部から受光部には、物質内の比較深い部分をも通過した光が到達する。したがって、前記した第1の構成の場合と同様な手法により、物質内の比較的浅い部分の光学的情報が排除された物質内深部の光学的特性情報を求めることができる。On the other hand, in the second configuration, two light sources and one light receiving unit are provided, and two light sources are provided, so that the surface of the substance to be inspected is irradiated with two light beams. Set. However, the two light sources are individually turned on.
According to such a configuration, light that has passed through a relatively shallow portion in the substance reaches the light receiving unit from one of the two light irradiation units, and from the other light irradiation unit. The light that has passed through the comparatively deep part of the substance reaches the light receiving part. Therefore, the optical characteristic information of the deep part in the substance from which the optical information of the relatively shallow part in the substance is excluded can be obtained by the same method as in the case of the first configuration described above.
しかしながら、前記従来技術においては、次に述べるように、未だ改善すべき余地があった。 However, the prior art still has room for improvement as described below.
第1に、物質の表面に設定される光照射部と受光部との離間距離は、正確な測定値が得られるように、最適な距離に設定することが望まれる。前記離間距離が短すぎると、たとえば物質の表面による反射光(界面反射光)が受光部に多く到達する不具合を生じる。これとは反対に、前記離間距離が長すぎると、いわゆる回り込み光(本来の検査対象領域よりも浅い部分にある界面領域を伝わる光、および浅い部分を通過した光)が受光部に多く到達したり、あるいはダイナミックレンジが狭くなるといった不具合を生じる。また、光照射部と受光部との最適な離間距離は、検査項目などによっても異なる。これに対し、前記従来技術においては、受光部が点状の領域であって、しかも受光部と光照射部との離間距離は固定されている。このため、検査項目などに応じて、前記離間距離として最適な距離を求め、かつこの求めた距離に調整するといったことは困難である。その結果、測定精度が劣る場合があり、測定精度の信頼性を高める上で未だ改善の余地があった。 First, it is desirable that the separation distance between the light irradiation unit and the light receiving unit set on the surface of the substance is set to an optimal distance so that an accurate measurement value can be obtained. If the separation distance is too short, for example, there is a problem that a large amount of reflected light (interface reflected light) from the surface of the substance reaches the light receiving portion. On the other hand, if the separation distance is too long, so-called sneak light (light transmitted through the interface region in the shallower part than the original inspection target region and light that has passed through the shallow part) reaches the light receiving unit. Or the dynamic range becomes narrow. Further, the optimum separation distance between the light irradiating unit and the light receiving unit varies depending on the inspection item. On the other hand, in the prior art, the light receiving part is a dot-like region, and the distance between the light receiving part and the light irradiation part is fixed. For this reason, it is difficult to obtain an optimum distance as the separation distance and adjust to the obtained distance according to the inspection item. As a result, the measurement accuracy may be inferior, and there is still room for improvement in improving the reliability of the measurement accuracy.
第2に、前記従来技術においては、光照射部を複数設けること、または受光部を複数設けることが必須とされているが、多点測定の手法においては、それら複数の光照射部または複数の受光部における物質表面についての情報は同一であると仮定される。ところが、実際には、複数の光照射部どうし、あるいは複数の受光部どうしの間では、物質表面についての情報が異なる場合がある。たとえば、検査対象が生体組織である場合、2つの光照射部あるいは受光部の一方には、皮膚の傷、ほくろ、体毛などが存在せず、かつ他方にはそれらが存在する場合がある。このような場合、検査結果の誤差が大きくなる。前記した不具合を解消するには、検査位置をずらし、再検査を行なう必要があるが、これでは手間である。また、仮に、再検査を行なったとしても、やはり前記した場合と同様に、皮膚の傷などに起因して誤差が大きい検査結果が得られる虞がある。 Second, in the prior art, it is essential to provide a plurality of light irradiation units or a plurality of light receiving units. However, in the multipoint measurement technique, the plurality of light irradiation units or the plurality of light irradiation units are provided. It is assumed that the information about the material surface in the light receiving part is the same. However, in practice, information on the material surface may be different between a plurality of light irradiation sections or between a plurality of light receiving sections. For example, when the examination target is a living tissue, there may be no skin wound, mole, body hair, etc. on one of the two light irradiating units or light receiving units and the other on the other. In such a case, the error of the inspection result becomes large. In order to eliminate the above-described problems, it is necessary to shift the inspection position and perform re-inspection, but this is troublesome. Even if re-inspection is performed, there is a possibility that an inspection result with a large error may be obtained due to a skin wound or the like, as in the case described above.
本発明は、前記したような事情のもとで考え出されたものであって、簡易な構成により、検査対象の物質内の吸光係数などの光学的特性情報を正確に求めることができ、信頼性の高い適正な検査結果を得ることが可能な検査装置、この検査装置を構成するアタッチメント、携帯型通信端末、および携帯型通信端末制御用のプログラムを提供することを、その課題としている。 The present invention has been conceived under the circumstances described above, and with a simple configuration, it is possible to accurately obtain optical characteristic information such as an extinction coefficient in a substance to be inspected. An object of the present invention is to provide an inspection apparatus capable of obtaining a highly accurate and appropriate inspection result, an attachment constituting the inspection apparatus, a portable communication terminal, and a program for controlling the portable communication terminal.
本発明においては、上述した課題を解決するため、次のような技術的手段を講じている。 In the present invention, in order to solve the above-described problems, the following technical means are taken.
本発明の第1の側面により提供される検査装置は、検査対象の物質内に光を入射させるべく前記物質の表面に光を照射するための光源と、この光源から発せられて前記物質内を拡散することにより前記物質の表面の光照射部とは異なる部分に到達した光を受け、かつその受光量に対応したレベルの信号を出力する受光手段と、この受光手段から出力される信号のデータに基づいて前記物質内の特定波長域についての光学的特性情報を求める処理を実行するデータ処理部と、を備えている、検査装置であって、前記受光手段は、1次元または2次元のイメージセンサを用いて構成され、かつ前記物質の表面を撮像することにより、前記光照射部からの離間距離が相違する複数の撮像点ごとの光到達量を示す撮像画像データを含む信号を出力可能であり、前記データ処理部は、前記光学的特性情報を求めるためのデータとして、前記撮像画像データを用いるように構成されていることを特徴としている。
ここで、「光学的特性情報」としては、たとえば吸光係数、光透過係数、または透過率などを挙げることができる。An inspection apparatus provided by the first aspect of the present invention includes a light source for irradiating light on a surface of the substance so that light is incident on the substance to be inspected, and a light source emitted from the light source to pass through the substance. Light receiving means for receiving light reaching a part different from the light irradiation part on the surface of the substance by diffusing, and outputting a signal of a level corresponding to the amount of light received, and signal data output from the light receiving means A data processing unit that executes a process for obtaining optical characteristic information for a specific wavelength region in the substance based on the inspection device, wherein the light receiving means is a one-dimensional or two-dimensional image. By using the sensor and imaging the surface of the substance, it is possible to output a signal including captured image data indicating the amount of light reaching each of a plurality of imaging points with different separation distances from the light irradiation unit There, the data processing unit, as data for determining the optical characteristic information, is characterized in that it is configured to use the captured image data.
Here, examples of the “optical characteristic information” include an extinction coefficient, a light transmission coefficient, or a transmittance.
このような構成によれば、次のような効果が得られる。
第1に、吸光係数などの光学的特性情報を求めるためのデータとしては、検査対象の物質の表面の撮像画像データであって、光照射部からの離間距離が相違する複数の撮像点ごとの光到達量を示す撮像画像データが用いられるために、光学的特性情報を求める場合には、前記した撮像画像データの中から最適またはこれに近いと考えられる適正なデータを選択し、かつこの選択したデータに基づいて光学的特性情報を求めることが可能となる。より具体的には、光照射部からの離間距離が相違する複数の撮像点ごとの光到達量を示す撮像画像データの中からは、たとえば検査項目などに応じて、光照射部からの離間距離が
最適な距離であると考えられる撮像点の光到達量を適宜に選択し、かつこれらの値に基づいて光学的特性情報を求めることが可能である。また、後述するように、たとえば撮像画像データから界面反射光や回り込み光による悪影響を受けていない適切なデータを選択し、かつこの適切なデータに基づいて光学的特性情報を求めるといったことも可能である。その結果、測定精度を前記従来技術よりも高くし、検査の信頼性を高めることができる。
第2に、検査対象の物質の表面に、たとえば傷が存在するなどの理由から、物質の表面の情報が均一ではない場合であっても、撮像画像データの中に、傷が存在しない領域に相当する複数の画素のデータが含まれていれば、このデータを利用して正確な光学的特性情報を求めることが可能となる。2つの光照射部または受光部の一方に傷などが存在することに起因して、測定値の誤差が大きくなるといった従来技術の不具合を好適に解消することが可能である。According to such a configuration, the following effects can be obtained.
First, as data for obtaining optical characteristic information such as an extinction coefficient, it is captured image data of the surface of a substance to be inspected, and is for each of a plurality of imaging points with different separation distances from the light irradiation unit. Since the captured image data indicating the light arrival amount is used, when obtaining the optical characteristic information, the appropriate data considered to be optimal or close to the selected captured image data is selected and this selection is performed. Optical characteristic information can be obtained based on the obtained data. More specifically, from the captured image data indicating the amount of light reaching each of a plurality of imaging points with different separation distances from the light irradiation unit, for example, according to the inspection item, the separation distance from the light irradiation unit It is possible to appropriately select the amount of light reaching the imaging point that is considered to be the optimum distance, and obtain optical characteristic information based on these values. Further, as will be described later, for example, it is possible to select appropriate data that is not adversely affected by interface reflected light or sneak light from captured image data, and obtain optical characteristic information based on this appropriate data. is there. As a result, the measurement accuracy can be made higher than that of the prior art, and the inspection reliability can be increased.
Second, even if the information on the surface of the substance is not uniform due to, for example, the presence of scratches on the surface of the substance to be inspected, in the captured image data, the area where no scratch exists. If data of a plurality of corresponding pixels are included, accurate optical characteristic information can be obtained using this data. Due to the presence of scratches or the like in one of the two light irradiating units or the light receiving unit, it is possible to suitably solve the problems of the prior art such as an increase in measurement value error.
本発明において、好ましくは、前記データ処理部は、前記撮像画像データのうち、いずれの範囲のデータが、前記光照射部からの離間距離と受光量の対数値とが線形関係にある拡散光受光領域のデータであるかを判断し、かつこの拡散光受光領域の範囲にあると判断したデータを用いて前記物質内の光学的特性情報を求めるように構成されている。 In the present invention, preferably, the data processing unit is configured to receive diffused light in which any range of the captured image data has a linear relationship between a separation distance from the light irradiation unit and a logarithmic value of the amount of received light. The optical property information in the substance is obtained by determining whether the data is the region data and using the data determined to be in the range of the diffused light receiving region.
このような構成によれば、物質の表面における界面反射光、および物質内部において発生した回り込み光の悪影響を排除した正確な光学的特性情報を求めることができる。 According to such a configuration, it is possible to obtain accurate optical characteristic information excluding the adverse effects of the interface reflected light on the surface of the substance and the sneak light generated inside the substance.
本発明において、好ましくは、前記イメージセンサとして、2次元イメージセンサが用いられており、前記データ処理部は、前記2次元イメージセンサを利用して撮像された前記物質の表面の2次元撮像画像のデータの中から、前記物質の表面における直線状領域の画像に相当するデータを選出し、かつこの選出されたデータを対象として、前記拡散光受光領域の範囲の判断を行なうように構成されている。 In the present invention, preferably, a two-dimensional image sensor is used as the image sensor, and the data processing unit is configured to capture a two-dimensional captured image of the surface of the substance imaged using the two-dimensional image sensor. Data corresponding to an image of a linear region on the surface of the substance is selected from the data, and the range of the diffused light receiving region is determined for the selected data. .
このような構成によれば、次のような効果が得られる。
2次元撮像画像データは、そのデータ量が多いため、たとえばこの2次元撮像画像データの中から、拡散光受光領域に相当するデータを一斉に求めようとすると、その処理が煩雑化する。これに対し、前記構成によれば、2次元撮像画像データの中から直線状領域の画像に相当するデータを選出してデータ量の縮小化を図り、かつこのデータを対象として拡散光受光領域の範囲の判断を行なうために、そのデータ処理が容易化する。According to such a configuration, the following effects can be obtained.
Since the amount of data of the two-dimensional captured image data is large, for example, if it is attempted to obtain data corresponding to the diffused light receiving area simultaneously from the two-dimensional captured image data, the processing becomes complicated. On the other hand, according to the above configuration, the data corresponding to the image of the linear region is selected from the two-dimensional captured image data to reduce the data amount, and the diffused light receiving region of this data is targeted. Data processing is facilitated to determine the range.
本発明において、好ましくは、前記データ処理部は、前記撮像画像データ中に、前記物質の表面の不均一性に起因する異常データが含まれているか否かを判断し、かつ前記異常データが含まれていると判断した場合には、前記異常データが除外された撮像画像データに基づいて前記光学的特性情報を求める処理を実行するように構成されている。 In the present invention, preferably, the data processing unit determines whether or not the captured image data includes abnormal data due to non-uniformity of the surface of the substance, and the abnormal data is included. If it is determined that the optical characteristic information has been determined, the optical characteristic information is determined based on the captured image data from which the abnormal data has been excluded.
このような構成によれば、物質の表面にたとえば傷、黒子、体毛が存在することなどに起因する異常データが撮像画像データ中に含まれる状況が生じたとしても、前記異常データの影響を排除し、正確な光学的特性情報を得ることができる。 According to such a configuration, even if there is a situation in which abnormal data due to the presence of, for example, scratches, moles, or hair on the surface of the substance is included in the captured image data, the influence of the abnormal data is eliminated. Thus, accurate optical characteristic information can be obtained.
好ましくは、本発明に係る検査装置は、光源、イメージセンサを用いたカメラおよびこのカメラから出力される信号のデータ処理を実行可能な制御部をそれぞれ備えた携帯型通信端末と、この携帯型通信端末への着脱が可能なアタッチメントと、を組み合わせて構成されており、前記物質の表面に光を照射させるための光源、前記受光手段および前記データ処理部としては、前記携帯型通信端末の光源、カメラおよび制御部がそれぞれ用いられる構成とされており、前記アタッチメントは、前記物質の表面に当接させることによって前記物質の表面と前記カメラとの離間距離を前記カメラの撮像可能距離に設定することが可能な測定プローブを有している。 Preferably, the inspection apparatus according to the present invention includes a portable communication terminal including a light source, a camera using an image sensor, and a control unit capable of executing data processing of a signal output from the camera, and the portable communication. An attachment that can be attached to and detached from a terminal, and a light source for irradiating light on the surface of the substance, as the light receiving means and the data processing unit, a light source of the portable communication terminal, A camera and a control unit are used, respectively, and the attachment sets the separation distance between the surface of the substance and the camera to be an imageable distance of the camera by contacting the surface of the substance. It has a measuring probe that can.
このような構成によれば、携帯型通信端末とアタッチメントとを組み合わせた簡易かつ合理的な構成によって、本発明が意図する検査装置を適切に構成することができる。携帯型通信端末の光源、カメラ、および制御部が検査装置の構成要素として有効に利用されているため、より合理的である。また、測定プローブの存在により、検査対象の表面の撮像も好適に行なうことが可能である。 According to such a configuration, the inspection device intended by the present invention can be appropriately configured with a simple and rational configuration in which the portable communication terminal and the attachment are combined. Since the light source, camera, and control unit of the portable communication terminal are effectively used as components of the inspection apparatus, it is more rational. Further, due to the presence of the measurement probe, imaging of the surface of the inspection object can be suitably performed.
好ましくは、本発明に係る検査装置は、イメージセンサを用いたカメラおよびこのカメラから出力される信号のデータ処理を実行可能な制御部を備えた携帯型通信端末と、この携帯型通信端末への着脱が可能なアタッチメントと、を組み合わせて構成されており、前記受光手段および前記データ処理部としては、前記携帯型通信端末のカメラおよび制御部がそれぞれ用いられる構成とされており、前記アタッチメントは、前記光源と、前記物質の表面に当接させることによって前記物質の表面と前記カメラとの離間距離を前記カメラの撮像可能距離に設定することが可能な測定プローブと、を有している。 Preferably, the inspection apparatus according to the present invention includes a portable communication terminal including a camera using an image sensor and a control unit capable of executing data processing of a signal output from the camera, and the portable communication terminal. And a removable attachment, and the light receiving means and the data processing unit are configured such that a camera and a control unit of the portable communication terminal are used, respectively. The light source, and a measurement probe capable of setting a separation distance between the surface of the substance and the camera to be an imageable distance of the camera by being brought into contact with the surface of the substance.
このような構成によれば、携帯型通信端末とアタッチメントとを組み合わせた簡易な構成によって、本発明が意図する検査装置を適切に構成することができる。携帯型通信端末のカメラおよび制御部が検査装置の構成要素として有効に利用されているため、やはり合理的である。測定プローブの存在により、検査対象の表面の撮像も好適に行なうこともできる。 According to such a configuration, the inspection device intended by the present invention can be appropriately configured with a simple configuration in which the portable communication terminal and the attachment are combined. Since the camera and control unit of the portable communication terminal are effectively used as components of the inspection apparatus, it is also reasonable. Due to the presence of the measurement probe, imaging of the surface of the inspection object can be suitably performed.
本発明において、好ましくは、前記光源、前記受光手段および前記データ処理部は、1つの共通のケース内に組み込まれており、前記ケースには、前記光源から発せられた光を前記物質の表面に導くことが可能であるとともに、前記物質の表面に当接させることにより前記物質の表面と前記受光手段との離間距離を撮像可能距離に設定することが可能な測定プローブが設けられている。 In the present invention, preferably, the light source, the light receiving means, and the data processing unit are incorporated in a common case, and light emitted from the light source is applied to the surface of the substance in the case. There is provided a measurement probe that can be guided and can set the separation distance between the surface of the substance and the light receiving means to an imageable distance by being brought into contact with the surface of the substance.
このような構成によれば、検査装置を、いわゆる専用機として構成し、使い勝手の良いものとすることができる。 According to such a configuration, the inspection apparatus can be configured as a so-called dedicated machine and can be easily used.
好ましくは、前記測定プローブは、前記物質の表面に当接させた際に前記表面の撮像対象領域の全体を平面状に押さえ付けることが可能な透光性を有する平面状の先端面を有している。 Preferably, the measurement probe has a planar tip surface having translucency capable of pressing the entire imaging target region on the surface in a planar shape when being brought into contact with the surface of the substance. ing.
このような構成によれば、物質の表面を撮像する際に、撮像対象領域の各所をいわゆるピントぼけのない鮮明な状態に撮像することができる。このことは、後述する図7の対比例からも理解できる。 According to such a configuration, when imaging the surface of the substance, it is possible to capture various portions of the imaging target region in a clear state without so-called out-of-focus. This can be understood from the comparison of FIG.
本発明において、好ましくは、前記光源から発せられた光の発散を抑制しつつこの光を前記物質の表面に導くための導光路を備えている。 In the present invention, it is preferable to provide a light guide for guiding the light to the surface of the substance while suppressing the divergence of the light emitted from the light source.
このような構成によれば、検査対象の物質の表面への光照射を的確に、かつ効率良く行なうことができる。 According to such a configuration, light irradiation onto the surface of the substance to be inspected can be performed accurately and efficiently.
本発明において、好ましくは、前記光照射部として、前記イメージセンサによる撮像対象領域の周囲に位置して互いに間隔を隔てた複数の光照射部、または前記撮像対象領域を囲む円環状の光照射部を設定可能とされている。 In the present invention, preferably, as the light irradiation unit, a plurality of light irradiation units located around the imaging target region by the image sensor and spaced apart from each other, or an annular light irradiation unit surrounding the imaging target region Can be set.
このような構成によれば、物質内への照射光量を多くすることが簡易に実現できる。前記照射光量を多くすれば、物質の表面への拡散光の到達量も多くすることができるために
、イメージセンサからの出力信号のSN比を高くし、高精度の測定値を得る上でより好ましい。According to such a configuration, it is possible to easily realize an increase in the amount of light irradiated into the substance. If the amount of irradiation light is increased, the amount of diffused light reaching the surface of the substance can also be increased. Therefore, the S / N ratio of the output signal from the image sensor is increased to obtain a highly accurate measurement value. preferable.
本発明の第2の側面により提供される検査装置は、検査対象の物質内に光を入射させるべく前記物質の表面に光を照射するための光源と、この光源から発せられて前記物質内を拡散することにより前記物質の表面の光照射部とは異なる部分に到達した光を受け、かつその受光量に対応したレベルの信号を出力する受光手段と、この受光手段から出力される信号のデータに基づいて前記物質内の特定波長域についての光学的特性情報を求める処理を実行するデータ処理部と、を備えている、検査装置であって、前記受光手段は、1次元または2次元のイメージセンサを備えており、前記物質の表面の一部分に対して前記物質内から異なる角度で到達してから前記表面を通過する光を、前記表面への到達角度ごとに前記イメージセンサの各部に振り分けて受光させるように導く導光部材を、さらに具備しており、前記イメージセンサから出力される信号として、前記物質の表面の一部分に到達した光の到達角ごとの光量の分布を示す受光データの信号が出力され、前記データ処理部は、前記光学的特性情報を求めるためのデータとして、前記受光データを用いるように構成されていることを特徴としている。 An inspection apparatus provided by the second aspect of the present invention includes a light source for irradiating light on the surface of the substance so that the light is incident on the substance to be inspected, and a light source emitted from the light source and passing through the substance. Light receiving means for receiving light reaching a part different from the light irradiation part on the surface of the substance by diffusing, and outputting a signal of a level corresponding to the amount of light received, and signal data output from the light receiving means A data processing unit that executes a process for obtaining optical characteristic information for a specific wavelength region in the substance based on the inspection device, wherein the light receiving means is a one-dimensional or two-dimensional image. A sensor is provided, and light that passes through the surface after reaching a part of the surface of the material at a different angle from the inside of the material is applied to each part of the image sensor for each angle of arrival at the surface. A light guide member that further guides the light so as to be received separately, and that receives light as a signal output from the image sensor, and indicates a light amount distribution for each arrival angle of light reaching a part of the surface of the substance. The data processing unit is configured to use the received light data as data for obtaining the optical characteristic information.
このような構成によれば、次のような効果が得られる。
すなわち、吸光係数などの光学的特性情報を求めるためのデータとして、物質の表面の一部分に到達した光の到達角ごとの光量の分布を示す受光データが用いられているが、この受光データは、本発明の第1の側面により提供される検査装置のイメージセンサを利用して得られる撮像画像データ(光照射部からの離間距離が相違する複数の撮像点ごとの光到達量を示す撮像画像データ)と、その本質は同じものである。このため、光学的特性情報を求める場合には、前記した受光データの中から最適またはこれに近いと考えられるデータを選択し、かつこの選択したデータに基づいて光学的特性情報を正確に求めることが可能となる。
また、検査対象の物質の表面に、たとえば傷が存在するなどの理由から、物質の表面の情報が均一ではない場合であっても、前記受光データの中に、傷が存在しない領域に相当するデータが含まれていれば、このデータを利用して光学的特性情報を好適に求めることが可能となる。
さらに、イメージセンサが受ける光は、物質内を拡散して物質の表面の一部分に到達してきた光であり、撮像点は実質的に1箇所である。このため、たとえば複数の受光部を設定していた従来技術とは異なり、物質の表面のうち、複数の受光部(撮像点)が設定される部分の情報のばらつきに起因する測定誤差がなくなり、測定精度を高める上でより好ましいものとなる。According to such a configuration, the following effects can be obtained.
That is, as data for obtaining optical characteristic information such as an extinction coefficient, received light data indicating the distribution of the amount of light for each angle of arrival of light reaching a part of the surface of the substance is used. Captured image data obtained by using the image sensor of the inspection apparatus provided by the first aspect of the present invention (captured image data indicating light arrival amounts at a plurality of imaging points with different separation distances from the light irradiation unit) ) And its essence are the same. For this reason, when obtaining the optical characteristic information, the data considered to be optimal or close to the received light data is selected, and the optical characteristic information is accurately obtained based on the selected data. Is possible.
Further, even if the information on the surface of the substance is not uniform because the surface of the substance to be inspected is present, for example, it corresponds to a region where no flaw exists in the received light data. If data is included, it is possible to suitably obtain optical characteristic information using this data.
Furthermore, the light received by the image sensor is light that has diffused through the substance and reaches a part of the surface of the substance, and there is substantially one imaging point. For this reason, for example, unlike the prior art in which a plurality of light receiving units are set, there is no measurement error due to the variation in information of the portion where the plurality of light receiving units (imaging points) are set on the surface of the substance. This is more preferable for improving measurement accuracy.
本発明の第3の側面により提供されるアタッチメントは、イメージセンサを用いたカメラおよびこのカメラから出力される信号のデータ処理を実行可能な制御部を備えた携帯型通信端末に装着して用いられ、本発明の第1の側面により提供される検査装置を構築するのに用いられる、アタッチメントであって、このアタッチメントに取り付けられた光源、または前記携帯型通信端末に具備されている光源から発せられた光を前記物質の表面に導いて照射可能とする照明用のプローブ部と、前記物質の表面に一部分を当接させることによって前記物質の表面と前記カメラとの離間距離を前記カメラの撮像可能距離に設定するための撮像用のプローブ部と、を備えていることを特徴としている。 The attachment provided by the third aspect of the present invention is used by being attached to a camera using an image sensor and a portable communication terminal having a control unit capable of executing data processing of signals output from the camera. An attachment used for constructing the inspection apparatus provided by the first aspect of the present invention, the light source attached to the attachment, or emitted from the light source provided in the portable communication terminal The illumination probe unit that can irradiate the surface of the material with the light, and a part of the probe surface abuts on the surface of the material, so that the distance between the surface of the material and the camera can be imaged. And an imaging probe section for setting the distance.
このような構成のアタッチメントは、本発明の第1の側面により提供される検査装置を構築するのに適し、本発明の検査装置について述べたのと同様な効果を得る上で好ましい。 The attachment having such a configuration is suitable for constructing the inspection apparatus provided by the first aspect of the present invention, and is preferable for obtaining the same effect as described for the inspection apparatus of the present invention.
本発明の第4の側面により提供される携帯型通信端末は、操作部、イメージセンサを利
用したカメラおよびこのカメラから出力される撮像画像信号のデータ処理を実行可能な制御部を備えており、本発明の第3の側面により提供されるアタッチメントと組み合わせて用いられることにより、検査対象の物質内の特定波長域についての光学的特性情報を求める処理を実行可能な検査装置を構成する、携帯型通信端末であって、前記制御部は、前記操作部において所定の操作がなされたときに、この携帯型通信端末を検査処理モードに設定し、かつこのモード時において、前記アタッチメントに取り付けられた光源、またはこの携帯型通信端末に具備された光源から発せられた光が前記物質の表面に照射されたときには、前記物質の表面の光照射部とは異なる部分を前記カメラにより撮像させることにより、前記物質内を拡散して前記物質の表面に到達した光の量に対応する撮像画像のデータを取得するとともに、この取得した撮像画像のデータの中から、前記光照射部からの離間距離が相違する複数の撮像点ごとの光到達量を示す撮像画像データを選択し、かつこの選択されたデータに基づいて前記光学的特性情報を求める処理を実行するように構成されていることを特徴としている。A portable communication terminal provided by the fourth aspect of the present invention includes an operation unit, a camera using an image sensor, and a control unit capable of executing data processing of a captured image signal output from the camera. A portable type that constitutes an inspection apparatus capable of executing processing for obtaining optical characteristic information about a specific wavelength region in a substance to be inspected by being used in combination with the attachment provided by the third aspect of the present invention. A communication terminal, wherein the control unit sets the portable communication terminal to an inspection processing mode when a predetermined operation is performed on the operation unit, and a light source attached to the attachment in this mode. Or, when light emitted from a light source provided in the portable communication terminal is irradiated on the surface of the substance, light irradiation on the surface of the substance is performed. By capturing an image of a portion different from the image with the camera, the captured image data corresponding to the amount of light that has diffused through the material and reached the surface of the material is acquired. A process of selecting picked-up image data indicating the amount of light reaching each of a plurality of pick-up points with different separation distances from the light irradiation unit, and obtaining the optical characteristic information based on the selected data It is characterized by being configured to execute.
このような構成の携帯型通信端末は、本発明の第3の側面により提供されるアタッチメントと組み合わされることにより、本発明の第1の側面により提供される検査装置を適切に構築することができ、本発明の検査装置について述べたのと同様な効果を得る上で好ましい。 The portable communication terminal having such a configuration can appropriately construct the inspection apparatus provided by the first aspect of the present invention by being combined with the attachment provided by the third aspect of the present invention. It is preferable to obtain the same effect as described for the inspection apparatus of the present invention.
本発明の第5の側面により提供される携帯型通信端末用の制御プログラムは、操作部、イメージセンサを利用したカメラ、およびこのカメラから出力される撮像画像信号のデータ処理を実行可能な制御部を備えている携帯型通信端末の前記制御部の記憶部に記憶され、かつ前記携帯型通信端末を請求項12に記載のアタッチメントと組み合わせて用いることにより、検査対象の物質内の特定波長域についての光学的特性情報を求める処理を実行する検査装置を構成するのに用いられる携帯型通信端末用の制御プログラムであって、前記操作部において所定の操作がなされたときに、前記携帯型通信端末を検査処理モードに設定するステップと、前記検査処理モード時において、前記アタッチメントに取り付けられた光源、または前記携帯型通信端末に具備された光源から発せられた光が前記物質の表面に照射されたときに、前記物質の表面の光照射部とは異なる部分を前記カメラにより撮像させることにより、前記物質内を拡散して前記物質の表面に到達した光の量に対応する撮像画像のデータを取得するステップと、前記撮像画像のデータの中から、前記光照射部からの離間距離が相違する複数の撮像点ごとの光到達量を示す撮像画像データを選択し、かつこの選択されたデータに基づいて前記光学的特性情報を求める処理を実行するステップと、を前記制御部に実行させるためのデータを含んでいることを特徴としている。 A control program for a portable communication terminal provided by the fifth aspect of the present invention includes an operation unit, a camera using an image sensor, and a control unit capable of executing data processing of a captured image signal output from the camera. A specific wavelength region in a substance to be examined by using the portable communication terminal in combination with the attachment according to
このような構成によれば、本発明の第4の側面により提供される携帯型通信端末を好適に実現することができる。 According to such a configuration, the portable communication terminal provided by the fourth aspect of the present invention can be suitably realized.
本発明のその他の特徴および利点は、添付図面を参照して以下に行なう発明の実施の形態の説明から、より明らかになるであろう。 Other features and advantages of the present invention will become more apparent from the following description of embodiments of the present invention with reference to the accompanying drawings.
以下、本発明の好ましい実施の形態について、図面を参照して具体的に説明する。 Hereinafter, preferred embodiments of the present invention will be specifically described with reference to the drawings.
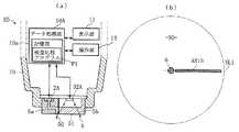
図1に示す検査装置E1は、携帯型通信端末Bと、この携帯型通信端末Bへの着脱が可能なアタッチメントA1とを組み合わせて構成されている。
この検査装置E1は、たとえば肝機能検査のための血清総ビリルビン濃度の測定など、人の生体組織における特定成分の濃度測定に用いられる。以降においては、理解の容易のため、検査対象の物質が、皮膚90および皮下組織91を有する生体組織9である場合を前提として説明する。もちろん、本発明でいう検査対象の種類は、これに限定されず、後述するように、種々の物質を検査対象とすることができる。The inspection apparatus E1 shown in FIG. 1 is configured by combining a portable communication terminal B and an attachment A1 that can be attached to and detached from the portable communication terminal B.
This inspection device E1 is used for measuring the concentration of a specific component in a human biological tissue, for example, measuring the serum total bilirubin concentration for a liver function test. Hereinafter, for ease of understanding, the description will be made on the assumption that the substance to be examined is the
携帯型通信端末Bは、スマートフォンであり、図2に示すように、制御部10の記憶部10aに検査処理プログラムP1が記憶されている点を除くと、それ以外の構成は、従来既知のスマートフォンと同様である。すなわち、携帯型通信端末Bは、前記した制御部10に加え、光源2、カラー撮像が可能なカメラ3、通信回路11、液晶パネルや有機ELパネルなどを用いて構成された表示部12、タッチパネル方式の操作部13、およびスピーカ14を備えている。制御部10は、携帯型通信端末Bの各部の動作処理やデータ処理を実行するものであるが、本発明でいうデータ処理部の一例に相当し、制御プログラムP1に基づき、血清総ビリルビン濃度などの特定成分の濃度を求めるデータ処理も実行する。ただし、その具体的な内容については後述する。 The portable communication terminal B is a smartphone, and, as shown in FIG. 2, except for the point that the inspection processing program P1 is stored in the
光源2は、カメラ3による撮像時の照明用であるが、後述するように、皮膚90の表面に光を照射し、かつ生体組織9内に光を入射させるための光源としても用いられる。光源2は、たとえば白色LEDを用いて構成されており、カメラ3に比較的接近した位置にある。 The
カメラ3は、本発明でいう受光手段の一例に相当し、後述するように、皮膚90の表面を撮像し、生体組織9内を拡散した光が皮膚90の表面の各部へ到達した量を検出するのに用いられる。カメラ3は、集光レンズ30、RGBのカラーフィルタ31、およびイメ
ージセンサ32を組み合わせて構成されている。イメージセンサ32は、たとえばCCDまたはCMOSなどの2次元イメージセンサ(エリアイメージセンサ)であり、微細な受光面を有する多数の受光素子が縦横に並んだ構造を有している。RGBのカラーフィルタ31は、イメージセンサ32の多数の受光面のそれぞれに対応して設けられており、イメージセンサ32からは、撮像画像信号として、RGBのそれぞれの受光量に対応した出力レベル(電圧レベル)の3種類の信号が出力される。RGBのカラーフィルタ31は、検査に必要な波長域の光を選択するためのフィルタとして利用することが可能である。たとえば、血清総ビリルビン濃度測定の場合には、Rの信号は使用されず、GおよびBの信号のみが利用される。カメラ3から出力されるアナログの撮像画像信号は、増幅部15によって増幅された後に、A/D変換部16によってデジタル信号に変換されてから制御部10に入力する。The
図1(c)に示すように、アタッチメントA1は、携帯型通信端末Bの四隅部分のうち、カメラ3および光源2に近い1つの隅部19を取り付け対象とする。このアタッチメントA1は、アタッチメント本体部4と、測定プローブ5とを有している。アタッチメント本体部4は、樹脂製であり、平面視L字状の上壁部40と、これに繋がった縦壁部41とを有している。測定プローブ5は、縦壁部41の下部に接合されており、この測定プローブ5と上壁部40との相互間には、携帯型通信端末Bの隅部19を嵌入させるための凹部42が形成されている。凹部42への隅部19の嵌入により、アタッチメントA1を携帯型通信端末Bに対して位置決めした状態に装着することが可能である。 As shown in FIG. 1C, the attachment A <b> 1 has one
測定プローブ5は、照明用および撮像用のプローブ部5a,5bを有している。
照明用のプローブ部5aの内部には、光源2から発せられた光がプローブ部5aの外部へ発散することを防止しつつ、この光を皮膚90の表面に向けて効率よく導いて照射させるための導光路50が設けられている。導光路50は、たとえば光ファイバー、イメージコンジット、あるいはミラーを用いて構成されている。好ましくは、図1(a),(b)に示すように、導光路50は、光を光源2の直下位置よりもプローブ5b寄りの位置に導き、カメラ3による撮像対象領域にできるだけ接近した位置において皮膚90に光を照射するように設定されている。The
In order to efficiently guide and irradiate the light emitted from the
撮像用のプローブ部5bは、特定成分の濃度測定に用いられる波長域の光を透過させる材質とされ、平面状の先端面51を有している。この先端面51を皮膚90の撮像対象領域に当接させることにより、この撮像対象領域を平面状に維持し、かつこの撮像対象領域とカメラ3との離間距離Laをカメラ3の撮像可能距離に設定することが可能である。仮に、カメラ3が皮膚90にかなり接近し、その距離がカメラ3の撮像可能最小距離よりも小さい場合には適切な撮像が困難となる。これに対し、撮像用のプローブ部5bは、皮膚90とカメラ3との離間距離Laを、カメラ3の撮像可能最小距離よりも大きくし、ピントぼけのない適切な撮像を可能とする役割を果たす。たとえば、図7に示すように、先端部が開口した筒状のプローブ部59を用いた場合には、皮膚90の表面が適当寸法Lbだけ盛り上がるため、ピントぼけした撮像画像が得られる虞がある。これに対し、本実施形態におけるプローブ部5bを用いれば、そのような虞が解消される。プローブ部5bの外側面は遮光性を備えており、プローブ部5b内への外乱光の進入は阻止されている。プローブ部5bと導光路50との間にも遮光性が備えられており、導光路50の光がプローブ部5b内に直接進入することも阻止されている。 The
次に、検査装置E1の作用の一例について説明する。併せて、検査処理プログラムP1に基づく制御部10によるデータ処理手順の一例について、図6のフローチャートを参照しつつ説明する。 Next, an example of the operation of the inspection apparatus E1 will be described. In addition, an example of a data processing procedure by the
まず、携帯型通信端末Bにおいて所定のスイッチ操作がなされると、この携帯型通信端
末Bの動作モードは、検査処理モードに設定される(S1:YES,S2)。このモード設定時において、測定プローブ5をたとえば人の胸骨部または前額部などの皮膚90に押し当てて光源2を点灯駆動させると、カメラ3がオンとされ、皮膚90の表面が撮像される(S3:YES,S4)。この撮像により、たとえば図3(a)に示すように、皮膚90の表面のうち、光照射部6に隣接する領域AR1(格子模様部分)を撮影した2次元の撮像画像データD1が得られる。光照射部6から生体組織9内に入射した光は、生体組織9内において拡散反射して皮膚90の表面の各部(撮像点)に到達するため、撮像画像データD1は、そのような到達光量分布に対応した撮像画像データとなる。図3(a)に示す円C1は、光照射部6を中心として光が生体組織9内を拡散する範囲の一例である。First, when a predetermined switch operation is performed in the portable communication terminal B, the operation mode of the portable communication terminal B is set to the inspection processing mode (S1: YES, S2). When setting the mode, when the
次いで、制御部10は、前記した2次元の撮像画像データD1の中から、直線状領域AR10の撮像画像データD10を選出する(S5)。直線状領域AR10は、たとえば光照射部6を通過する直線SL1に沿った線状または帯状の領域(図3(a)のクロスハッチング部分)である。この直線状領域AR10の撮像画像データD10は、光照射部6からの離間距離が相違する複数の撮像点ごとの光到達量を示すデータに相当する。ただし、撮像画像データD10としては、RGBの3種類の撮像画像データのうち、たとえばGおよびBの撮像画像データが用いられ、Rの撮像画像データは用いられない。このことにより、後述するように、撮像画像データD10に基づき、生体組織9内の青色光(中心波長450nm)から緑色光(中心波長550nm)にわたる波長域についての吸光係数を測定することが可能となる。血清総ビリルビン濃度の測定に際し、赤色光の画像データは不要である。 Next, the
一方、直線状領域AR10の撮像画像データD10の選出は、直線状領域AR10に傷、黒子、あるいは体毛などの異質部H(図4および図5を参照)が存在せず、直線状領域AR10に相当する皮膚90の表面に大きな不均一性がないことが条件とされる。異質部Hが存在する場合、その位置やサイズは撮像画像データD1において明確に判別することが可能である。たとえば、図4に示すように、直線状領域AR10に傷などの異質部Hが存在する場合には、吸光係数を求めるためのデータとして直線状領域AR10の撮像画像データは選出されない。この場合には、たとえば図5(a)に示すように、直線SL1から適当寸法Lcだけオフセットされた直線状領域AR11,AR12の双方または一方の撮像画像データが選出され、異質部Hの画像データが含まれないようにされる。異質部Hが含まれないようにするための他の手法として、たとえば図5(b)に示すように、直線SL1に対して適当な角度だけ傾斜して延びる直線状領域AR13の撮像画像データを選出してもかまわない。さらには、図5(c)に示すように、直線SL1に対して直交する方向に延びる直線状領域AR14の撮像画像データを選出してもかまわない。 On the other hand, the picked-up image data D10 of the linear region AR10 is selected so that the linear region AR10 does not have a foreign part H (see FIGS. 4 and 5) such as a wound, mole, or body hair, and the linear region AR10. The condition is that there is no significant non-uniformity on the surface of the corresponding
前記した撮像画像データD10は、たとえば図3(b)に示すような内容であり、全体的には、光照射部6からの離間距離が大きくなるほどその位置における受光量(到達光量)が少なくなる傾向がある。制御部10は、このような撮像画像データD10において、光照射部6からの離間距離と受光量の対数値とが線形関係にある拡散光受光領域の範囲R2を判断し、かつこの範囲R2内のデータを用いて生体組織9内の青色光から緑色光にわたる特定波長域についての吸光係数を求める(S6)。
ここで、図3(b)の光照射部6に近い範囲R1は、皮膚90によって反射された界面反射光が到達することに起因して受光量が過度に多くなった界面反射光受光領域である。一方、光照射部6から遠い範囲R3は、皮下脂肪伝導光などの回り込み光が到達した回り込み光受光領域である。前記した拡散光受光領域R2のデータは、生体組織9内を拡散してきた光が適切に到達してきた領域のデータであって、前記した界面反射光や回り込み光を含まない、または殆ど含まないデータである。The above-described captured image data D10 has a content as shown in FIG. 3B, for example, and overall, the greater the distance from the
Here, the range R1 close to the
前記した拡散光受光領域R2のデータを用いて生体組織9内の特定波長域についての吸
光係数を求める場合、拡散光受光領域R2の範囲内のうち、吸光係数の算出に最適または最適に近いと考えられる複数の個別のデータを選択することができる。具体的には、たとえば、拡散光受光領域R2のうち、互いの離間距離の差が最大に近い2つの撮像点P1,P2における受光量a1,a1のデータを選択することができる。もちろん、選択されるデータは、これに限定されない。たとえば、試験などを予め行なうことにより最適と考えられる2つの撮像点P1,P2の候補を定めておき、この候補に相当するデータを選択するようにしてもよい。When obtaining the extinction coefficient for the specific wavelength region in the
次いで、前記選択したデータに基づいて、生体組織9内の前記特定波長域についての吸光係数を求める演算処理が実行される(S7)。この演算処理は、たとえば次のような演算式1を用いて実行される。
D :光照射部に入射する光量
a1 :第1の撮像点P1の受光量
a2 :第2の撮像点P2の受光量
L1 :光照射部から第1の撮像点P1(光照射部に近い側)までの平均光路長(拡散光が辿る距離の平均値)
L2 :光照射部から第2の撮像点P2(光照射部に遠い側)までの平均光路長(拡散光が辿る距離の平均値)
Abs1:撮像点P1の吸光度
Abs2:撮像点P2の吸光度
F :測定対象物の分子吸光係数εと濃度Cの積
1成分の場合
F=ε・C
n成分の場合
F=ε1+C1+ε2+C2+・・・εn+Cn
Abs1=log(D/a1)=F/L1
Abs2=log(D/a2)=F/L2
Abs2−Abs1=log(D/a2)−log(D/a1)
=log((D/a2)・(a1/D))
=log(a1/a2)
=F・L2−F・L1
=F(L2−L1)
以上より、
Abs2−Abs1=log(a1/a2)=F(L2−L1)・・・(式1)
となり、撮像点P1、撮像点P2の吸光度差をとることにより、光拡散体中の平均光路長差に依存した吸光度を得ることができる。
光拡散体中での光路長差は深部で最も大きくなることが知られているため、上記差分吸光度は深部情報を多く含むことになり、測定対象物深部の分子種、濃度情報を得ることが可能となる。Next, a calculation process for obtaining an extinction coefficient for the specific wavelength region in the
D: Amount of light incident on the light irradiation unit a1: Amount of light received at the first imaging point P1 a2: Amount of light received at the second imaging point P2 L1: First imaging point P1 from the light irradiation unit (side closer to the light irradiation unit) ) Average optical path length (average distance traveled by diffused light)
L2: Average optical path length from the light irradiation unit to the second imaging point P2 (on the side far from the light irradiation unit) (average value of distance traveled by diffused light)
Abs1 : Absorbance at imaging point P1 Abs2 : Absorbance at imaging point P2 F: Product of molecular extinction coefficient ε and concentration C of measurement object
In case of 1 component
F = ε · C
In case of n component
F = ε1 + C1 + ε2 + C2 +... Εn + Cn
Abs1 = log (D / a1) = F / L1
Abs2 = log (D / a2) = F / L2
Abs 2 -Abs 1 = log (D / a2) -log (D / a1)
= Log ((D / a2). (A1 / D))
= Log (a1 / a2)
= F ・ L2-F ・ L1
= F (L2-L1)
From the above,
Abs 2 -Abs 1 = log (a1 / a2) = F (L2-L1) ··· ( Equation 1)
Thus, by taking the absorbance difference between the imaging point P1 and the imaging point P2, it is possible to obtain the absorbance depending on the average optical path length difference in the light diffuser.
Since the optical path length difference in the light diffuser is known to be the largest in the deep part, the differential absorbance will contain a lot of deep part information, and the molecular species and concentration information in the deep part of the measurement object can be obtained. It becomes possible.
制御部10は、前記吸光係数を求めた後には、その値に基づいて皮下組織91内の血清総ビリルビン濃度を求め、かつその結果を表示部12に表示させる処理を実行させる(S8,S9)。前記吸光係数と血清総ビリルビン濃度とは一定の対応関係があるため、前記吸光係数を換算し、血清総ビリルビン濃度を容易にかつ正確に求めることが可能である。 After obtaining the extinction coefficient, the
前記したように、本実施形態においては、吸光係数を求めるためのデータとして、図3
(b)に示した撮像画像データD10の中から、界面反射光や回り込み光の影響のないデータが選択して用いられるため、吸光係数の算出値を正確なものとすることが可能である。また、撮像画像データ10は、皮膚90の傷などに起因する異常データを含まないものとされているため、吸光係数の算出値をより正確なものとすることができる。As described above, in the present embodiment, as data for obtaining the extinction coefficient, FIG.
Since the data that is not influenced by the interface reflected light or the sneak light is selected and used from the captured image data D10 shown in (b), the calculated value of the extinction coefficient can be made accurate. Moreover, since the captured
検査装置E1は、携帯型通信端末Bを利用して構成されているが、携帯型通信端末Bは、検査装置E1の構成機器として特化したものではなく、日常において通話、メール送受信、あるいはインターネット接続などに支障なく使用することが可能である。その結果、たとえば検査装置全体を専用機器として構成した場合と比較すると、本実施形態の検査装置E1は携帯型通信端末Bを有効に利用した合理的な構成とされており、システム全体の実質的な製造コストを廉価にすることが可能である。携帯型通信端末Bの制御部10のみならず、光源2やカメラ3も検査装置E1の構成要素として有効に利用されているため、アタッチメントA1の構成の簡素化を図り、全体の製造コストをより廉価にすることが可能である。 Although the inspection device E1 is configured using the portable communication terminal B, the portable communication terminal B is not specialized as a component device of the inspection device E1, and is used for daily calls, mail transmission / reception, or the Internet. It can be used without any problems in connection. As a result, for example, compared with a case where the entire inspection apparatus is configured as a dedicated device, the inspection apparatus E1 of the present embodiment has a rational configuration that effectively uses the portable communication terminal B, and the substantial system overall. The manufacturing cost can be reduced. Since not only the
図8〜図14は、本発明の他の実施形態を示している。これらの図において、前記実施形態と同一または類似の要素には、前記実施形態と同一の符号を付し、重複説明は省略する。 8-14 show other embodiments of the present invention. In these drawings, elements that are the same as or similar to those in the above embodiment are denoted by the same reference numerals as those in the above embodiment, and redundant description is omitted.
図8に示す検査装置E2においては、アタッチメントA2の上壁部40が平面視略コ字状とされ、上壁部40の下方には、これに対向する下壁部43が設けられている。測定プローブ5および下壁部43の両者と上壁部40との間には、携帯型通信端末Bの一端部およびその近傍部分が嵌入可能な凹部42aが設けられている。
本実施形態によれば、携帯型通信端末Bの一端部およびその近傍を凹部42aに嵌入させることにより、携帯型通信端末BへのアタッチメントA2の装着が可能であり、携帯型通信端末Bの1つの隅部にアタッチメントA1を装着させていた前記実施形態と比較すると、アタッチメントA2の装着状態をより安定させることが可能である。ただし、本発明においては、携帯型通信端末に対するアタッチメントの具体的な取り付け手段は、前記したような嵌合方式に限定されず、他の方式を採用することもできる。In the inspection apparatus E2 shown in FIG. 8, the
According to the present embodiment, the attachment A2 can be attached to the portable communication terminal B by fitting one end of the portable communication terminal B and the vicinity thereof into the
図9に示す検査装置E3においては、アタッチメントA3に光源2Aが取り付けられており、この光源2Aから発せられる光を皮膚90に照射可能とされている。光源2Aの点灯駆動に必要な電力供給は、たとえばアタッチメントA3に小サイズの電池を搭載する手段、あるいは携帯型通信端末Bに設けられている出力端子から電力供給を受けるようにする手段を採用することができる。
本実施形態によれば、携帯型通信端末Bに光源が設けられていない場合、あるいは仮に携帯型通信端末Bに光源が設けられている場合であってもカメラ3との相対的な位置関係などの理由から皮膚90への光の照射用途には余り適さないような場合にも、好適に対処することが可能である。In the inspection apparatus E3 shown in FIG. 9, the
According to this embodiment, even if the portable communication terminal B is not provided with a light source, or even if the portable communication terminal B is provided with a light source, the relative positional relationship with the
図10に示す検査装置E4は、携帯型通信端末を利用しない検査専用の装置として構成されている。具体的には、データ処理部10A、表示部12、操作部13、光源2A、および2次元イメージセンサを用いたカメラ3が、1つの共通のケース70内に組み付けられている。ケース70の下部には、測定プローブ5が下向きに突出した状態に設けられている。
本実施形態の検査装置E4は、携帯型通信端末Bを利用していないものの、その基本的な構成は、先に述べた検査装置E1〜E3と同様であり、本発明が意図する作用を得ることが可能である。The inspection apparatus E4 shown in FIG. 10 is configured as an apparatus dedicated to inspection that does not use a portable communication terminal. Specifically, the
Although the inspection device E4 of the present embodiment does not use the portable communication terminal B, the basic configuration is the same as the inspection devices E1 to E3 described above, and the intended effect of the present invention is obtained. It is possible.
図11(a)に示す検査装置E5においては、検査対象物質の表面を撮像するための手
段として、1次元イメージセンサ(ラインイメージセンサ)32Aが用いられている。この1次元イメージセンサ32Aによる撮像対象領域は、同図(b)に示すように、たとえば皮膚90の表面の光照射部6に隣接する領域のうち、光照射部6を通過する直線SL1に沿った線状の領域AR15である。この領域AR15は、図3(a)に示した直線状領域AR10に対応する。したがって、1次元イメージセンサ32Aによる撮像によっても、図3(b)に示したような撮像画像データを得ることができ、本発明が意図する検査処理を適切に行なうことが可能である。1次元イメージセンサ32Aによる撮像画像データ中に異常データが含まれている場合においては、この異常データを除いた残余のデータを基づいて吸光係数を求めることも可能である。In the inspection apparatus E5 shown in FIG. 11A, a one-dimensional image sensor (line image sensor) 32A is used as means for imaging the surface of the inspection target substance. The region to be imaged by the one-
図12(a)に示す実施形態においては、2次元イメージセンサによる撮像対象領域AR1を挟むようにして2つの光照射部6を皮膚90の表面に設定可能とされている。2つの光照射部6は、撮像対象領域AR1の中央部Oaを中心とする点対称の配置である。2つの光照射部6を設定可能とする手段として、たとえば2つの点状の光源(図示略)が用いられている。
本実施形態によれば、2つの光照射部6を結ぶ直線SL1に沿った領域の撮像画像データD2は、たとえば図12(b)に示すような内容となる。この撮像画像データD2においては、撮像対象領域AR1の左右両端側が中央部側よりも受光量が多く、同図の2つの範囲R2が、撮像位置(光照射部からの離間距離)と受光量の対数値とが線形関係となる範囲である。したがって、2つの範囲R2のいずれか一方または双方の範囲内にあるデータを利用して吸光係数を求めることが可能である。本実施形態においては、2つの光照射部6を設定しているため、イメージセンサの受光量を多くし、イメージセンサから出力される撮像画像信号のSN比を高くすることができる。In the embodiment shown in FIG. 12A, the two
According to the present embodiment, the captured image data D2 in the region along the straight line SL1 connecting the two
図13(a)に示す実施形態においては、3つの光照射部6が撮像対象領域AR1の周囲に等角度間隔で位置し、撮像対象領域AR1の中央部Oaを中心とする回転対称性を有する配置に設定されている。このような設定は、たとえば3つの点状光源を利用することにより実現できる。もちろん、本発明においては、光照射部6の数を4以上に設定した構成とすることもできる。 In the embodiment shown in FIG. 13A, the three
図13(b)に示す実施形態においては、円環状の光照射部6aが撮像対象領域AR1の周囲に設定されている。この光照射部6aは、撮像対象領域AR1と同心状であり、撮像対象領域AR1の中央部Oaを中心とする回転対称性を有する配置である。円環状の光照射部6aは、透光性を有する円環状の光散乱プレートと、この光散乱プレートの適所に光を照射する複数の点状光源とを備え、かつ前記光散乱プレートを発光面とする光源装置を用いることにより設定することができる。 In the embodiment shown in FIG. 13B, an annular
これら図13(a),(b)に示した実施形態においては、皮膚90への光照射量を、図12に示した実施形態よりもさらに多くし、イメージセンサから出力される撮像画像信号のSN比を一層高めることが可能である。
図12および図13などに示す実施形態から理解されるように、本発明においては、光照射部の具体的な数、配置、形状などは限定されるものではない。光源としては、LED光源以外の光源を用いることができる。In the embodiment shown in FIGS. 13 (a) and 13 (b), the amount of light applied to the
As can be understood from the embodiments shown in FIGS. 12 and 13, the specific number, arrangement, shape, and the like of the light irradiation units are not limited in the present invention. As the light source, a light source other than the LED light source can be used.
図14(a)に示す検査装置E6においては、光源2Bとして、同図(b)に示すような円環状の光照射部6aを皮膚90の表面に設定可能な円環状の光源が用いられている。加えて、皮膚90の表面のうち、光照射部6aの中心部に相当する箇所は、撮像点Paとされ、この撮像点Pa上にボールレンズ75が配されている。ボールレンズ75の上側には、2次元のイメージセンサ32が配されている。ボールレンズ75は、本発明でいう導光部材の一例に相当し、光照射部6aから生体組織9内に入射して拡散し、かつ撮像点P
aに異なる角度で到達してから皮膚90をその上方へ通過する光を、その到達角α(本明細書では法線に対する傾斜角)ごとにイメージセンサ32の各部に振り分け受光させるように導く。より詳しくは、撮像点Paに対する到達角αが小さい光は、イメージセンサ32の中央寄りの位置へ導かれて受光され、到達角αが大きくなるに連れてイメージセンサ32の端部寄りの位置へ導かれて受光されるように構成されている。このため、イメージセンサ32からは、撮像点Paに到達した光の到達角αごとの光量の分布を示す受光データの信号が出力される。この受光データのうち、イメージセンサ32の受光面の中心を通過する直線に沿った複数の受光素子から出力される受光データD4を選出すると、この受光データD4は、図14(c)に示すようなものとなる。In the inspection apparatus E6 shown in FIG. 14 (a), an annular light source capable of setting an annular
After reaching a at a different angle, the light passing through the
生体組織9内の浅い領域を拡散してきた光は、その到達角αが大きく、光の拡散進行深さが深くなるに連れて到達角αは徐々に小さくなる。このため、受光データD4は、たとえば図12(b)に示した光照射部からの離間距離と受光量との相対関係を示す撮像画像データと同様な性質のものとなる。したがって、図14(c)に示した受光データD4に基づき、生体組織内の特定波長域についての吸光係数をデータ処理部(不図示)において演算し、かつこの吸光係数に基づいて血清総ビリルビン濃度を求めることが可能である。 The light that has diffused in the shallow region in the
本実施形態によれば、イメージセンサ32による撮像対象領域を、1つの撮像点Paのみとすることができるため、複数の撮像点を設定する場合とは異なり、撮像点ごとの表面情報のバラツキに起因する測定誤差が解消される。より具体的には、皮膚90の色は各所同一ではなく、バラツキがあるため、複数の撮像点を設定した場合、1つの撮像点が他の1つの撮像点よりも白色気味あるいは黒色気味の皮膚上に設定されることに起因して、2つの撮像点における撮像画像に差を生じてしまう虞がある。これに対し、本実施形態によれば、そのような虞が適切に解消される利点が得られる。
なお、図14に示した実施形態において、光源としては、点状の光源を用い、かつイメージセンサとして、1次元イメージセンサを用いた構成とすることもできる。According to the present embodiment, since the imaging target region by the
In the embodiment shown in FIG. 14, a point light source may be used as the light source, and a one-dimensional image sensor may be used as the image sensor.
本発明は、上述した実施形態の内容に限定されない。本発明に係る検査装置、アタッチメント、および携帯型通信端末の各部の具体的な構成は、本発明の意図する範囲内において種々に設計変更可能である。本発明に係る制御プログラムの具体的な内容も、本発明の意図する範囲内において種々に変更可能である。 The present invention is not limited to the contents of the above-described embodiment. The specific configuration of each part of the inspection apparatus, attachment, and portable communication terminal according to the present invention can be variously modified within the scope of the present invention. The specific contents of the control program according to the present invention can be variously changed within the intended scope of the present invention.
上述の実施形態においては、人体の皮下組織内の血清総ビリルビン濃度を測定する場合を具体例として説明したが、測定対象項目は、これに限定されず、光の波長域を変更することによって他の特定成分の濃度(たとえば、溶解一酸化炭素,二酸化炭素など)を測定するように構成することが可能である。また、検査対象物質は、人および動物の生体組織に限らず、植物の組織、果実などの食品類など、種々の物質をその検査対象とすることが可能である。したがって、検査に用いる光の波長域も限定されない。本発明でいう光学的特性情報は、吸光係数の他、光透過係数や透過率なども含む概念である。 In the above-described embodiment, the case of measuring the serum total bilirubin concentration in the subcutaneous tissue of the human body has been described as a specific example. However, the measurement target item is not limited to this, and other items can be obtained by changing the wavelength range of light. Can be configured to measure the concentration of a particular component (eg, dissolved carbon monoxide, carbon dioxide, etc.). In addition, the substance to be inspected is not limited to human and animal living tissues, and various substances such as plant tissues and foods such as fruits can be used as the object to be inspected. Therefore, the wavelength range of light used for inspection is not limited. The optical characteristic information referred to in the present invention is a concept including a light transmission coefficient, a transmittance and the like in addition to an absorption coefficient.
イメージセンサの具体的な画素数、画素密度、光電変換方式などは限定されない。
携帯型通信端末の具体的な種類も問わない。スマートフォンに代えて、携帯電話機、タブレット型端末などを用いることもできる。The specific number of pixels, pixel density, photoelectric conversion method, and the like of the image sensor are not limited.
The specific type of portable communication terminal is not limited. Instead of the smartphone, a mobile phone, a tablet terminal, or the like can be used.
E1〜E6 検査装置
A1,A2 アタッチメント
B 携帯型通信端末
2 光源
3 カメラ(受光手段)
5 測定プローブ
5a 照明用の測定プローブ部
5b 撮像用の測定プローブ部
6 光照射部
9 生体組織(検査対象の物質)
10 制御部(データ処理部)
32,32a イメージセンサE1-E6 Inspection devices A1, A2 Attachment B
5
10 Control unit (data processing unit)
32, 32a Image sensor
| Application Number | Priority Date | Filing Date | Title |
|---|---|---|---|
| JP2014196382AJP6474148B2 (en) | 2014-09-26 | 2014-09-26 | Inspection device |
| PCT/JP2015/077099WO2016047754A1 (en) | 2014-09-26 | 2015-09-25 | Inspection device, attachment configuring said inspection device, portable communication terminal, and program for controlling portable communication terminal |
| Application Number | Priority Date | Filing Date | Title |
|---|---|---|---|
| JP2014196382AJP6474148B2 (en) | 2014-09-26 | 2014-09-26 | Inspection device |
| Publication Number | Publication Date |
|---|---|
| JP2016070666Atrue JP2016070666A (en) | 2016-05-09 |
| JP6474148B2 JP6474148B2 (en) | 2019-02-27 |
| Application Number | Title | Priority Date | Filing Date |
|---|---|---|---|
| JP2014196382AActiveJP6474148B2 (en) | 2014-09-26 | 2014-09-26 | Inspection device |
| Country | Link |
|---|---|
| JP (1) | JP6474148B2 (en) |
| WO (1) | WO2016047754A1 (en) |
| Publication number | Priority date | Publication date | Assignee | Title |
|---|---|---|---|---|
| US9934589B2 (en) | 2014-04-02 | 2018-04-03 | Bilibaby, Llc | System and method for determining bilirubin levels in newborn babies |
| KR102734132B1 (en)* | 2019-10-05 | 2024-11-26 | 주식회사 파이퀀트 | Detachable spectroscopic apparatus for analyzing specific material |
| EP4392785A4 (en) | 2021-08-27 | 2025-05-07 | Bilibaby, Llc | Systems and methods for determining and communicating levels of bilirubin and other subcutaneous substances |
| Publication number | Priority date | Publication date | Assignee | Title |
|---|---|---|---|---|
| JP2006098098A (en)* | 2004-09-28 | 2006-04-13 | Sanyo Electric Co Ltd | Cellular phone having moisture sensing function |
| JP2012125370A (en)* | 2010-12-15 | 2012-07-05 | Hitachi Ltd | Biological measurement apparatus |
| WO2013028731A1 (en)* | 2011-08-22 | 2013-02-28 | Northeastern University | Density analysis os living organisms by magnetic levitation |
| JP2013103094A (en)* | 2011-11-16 | 2013-05-30 | Sony Corp | Measurement device, measurement method, program, and recording medium |
| JP2013121420A (en)* | 2011-12-09 | 2013-06-20 | Sony Corp | Measuring apparatus, measuring method, program, and recording medium |
| US20140154152A1 (en)* | 2012-12-05 | 2014-06-05 | Rob Chumanov | Adapter For Hand-Held Electronic Devices For Use In Detecting Optical Properties Of Samples |
| Publication number | Priority date | Publication date | Assignee | Title |
|---|---|---|---|---|
| JP2006098098A (en)* | 2004-09-28 | 2006-04-13 | Sanyo Electric Co Ltd | Cellular phone having moisture sensing function |
| JP2012125370A (en)* | 2010-12-15 | 2012-07-05 | Hitachi Ltd | Biological measurement apparatus |
| WO2013028731A1 (en)* | 2011-08-22 | 2013-02-28 | Northeastern University | Density analysis os living organisms by magnetic levitation |
| JP2013103094A (en)* | 2011-11-16 | 2013-05-30 | Sony Corp | Measurement device, measurement method, program, and recording medium |
| JP2013121420A (en)* | 2011-12-09 | 2013-06-20 | Sony Corp | Measuring apparatus, measuring method, program, and recording medium |
| US20140154152A1 (en)* | 2012-12-05 | 2014-06-05 | Rob Chumanov | Adapter For Hand-Held Electronic Devices For Use In Detecting Optical Properties Of Samples |
| Publication number | Publication date |
|---|---|
| WO2016047754A1 (en) | 2016-03-31 |
| JP6474148B2 (en) | 2019-02-27 |
| Publication | Publication Date | Title |
|---|---|---|
| KR102506587B1 (en) | Camera having light emitting device, method for imaging skin and method for detecting skin conditions using the same | |
| RU2763756C1 (en) | Obtaining images for use in determining one or more properties of the subject's skin | |
| US12335455B2 (en) | User interface for intraoral scanning with tooth color detection | |
| KR101799184B1 (en) | Illumination system attachable to a mobile device for multispectral imaging of skin regions | |
| JP6032837B2 (en) | Analysis equipment | |
| JP6201316B2 (en) | Blood component measuring method, blood component measuring apparatus and medical device | |
| US20070216797A1 (en) | Image capturing apparatus | |
| KR20210019444A (en) | Method for evaluating the suitability of lighting conditions to detect analytes in a sample using a mobile device's camera | |
| JPH04193158A (en) | Blood flow measuring device | |
| JP2016154648A (en) | Information acquisition device | |
| JP5970785B2 (en) | Biological measuring device, biological measuring method, program, and recording medium | |
| JP6474148B2 (en) | Inspection device | |
| US11737673B1 (en) | Systems for detecting carious lesions in teeth using short-wave infrared light | |
| US9531950B2 (en) | Imaging system and imaging method that perform a correction of eliminating an influence of ambient light for measurement data | |
| JP6256345B2 (en) | Condensing unit, condensing method, and light detection system | |
| US20120092471A1 (en) | Endoscopic device | |
| JP6096173B2 (en) | High luminous flux collimated illumination device and method for illumination of uniform reading field | |
| WO2015102102A1 (en) | Analysis system, analysis assistance device composing same, mobile communication terminal, and program for controlling mobile communication terminal | |
| JP2018054575A (en) | Lens appearance inspection device | |
| US20180092539A1 (en) | Optical probe for detecting biological tissue | |
| CN215128482U (en) | Microcirculation imaging system | |
| JPWO2014050945A1 (en) | Non-invasive living body measurement device | |
| JP6948069B2 (en) | Lipid measuring device and its method | |
| KR20150143986A (en) | Apparatus and method for skin diagnoses |
| Date | Code | Title | Description |
|---|---|---|---|
| A711 | Notification of change in applicant | Free format text:JAPANESE INTERMEDIATE CODE: A711 Effective date:20160331 | |
| A521 | Request for written amendment filed | Free format text:JAPANESE INTERMEDIATE CODE: A821 Effective date:20160331 | |
| A621 | Written request for application examination | Free format text:JAPANESE INTERMEDIATE CODE: A621 Effective date:20170921 | |
| A521 | Request for written amendment filed | Free format text:JAPANESE INTERMEDIATE CODE: A821 Effective date:20170921 | |
| A131 | Notification of reasons for refusal | Free format text:JAPANESE INTERMEDIATE CODE: A131 Effective date:20180706 | |
| A521 | Request for written amendment filed | Free format text:JAPANESE INTERMEDIATE CODE: A523 Effective date:20180828 | |
| TRDD | Decision of grant or rejection written | ||
| A01 | Written decision to grant a patent or to grant a registration (utility model) | Free format text:JAPANESE INTERMEDIATE CODE: A01 Effective date:20190123 | |
| A61 | First payment of annual fees (during grant procedure) | Free format text:JAPANESE INTERMEDIATE CODE: A61 Effective date:20190128 | |
| R150 | Certificate of patent or registration of utility model | Ref document number:6474148 Country of ref document:JP Free format text:JAPANESE INTERMEDIATE CODE: R150 | |
| R250 | Receipt of annual fees | Free format text:JAPANESE INTERMEDIATE CODE: R250 | |
| R250 | Receipt of annual fees | Free format text:JAPANESE INTERMEDIATE CODE: R250 |