Movatterモバイル変換


[0]ホーム

URL:


JP2016049313A - Liquid discharge device - Google Patents

Liquid discharge device
Download PDF

Info

Publication number
JP2016049313A
JP2016049313AJP2014176733AJP2014176733AJP2016049313AJP 2016049313 AJP2016049313 AJP 2016049313AJP 2014176733 AJP2014176733 AJP 2014176733AJP 2014176733 AJP2014176733 AJP 2014176733AJP 2016049313 AJP2016049313 AJP 2016049313A
Authority
JP
Japan
Prior art keywords
liquid
storage unit
liquid storage
power
capsule
Prior art date
Legal status (The legal status is an assumption and is not a legal conclusion. Google has not performed a legal analysis and makes no representation as to the accuracy of the status listed.)
Pending
Application number
JP2014176733A
Other languages
Japanese (ja)
Inventor
一二 小林
Kazuji Kobayashi
一二 小林
谷口 尚司
Shoji Taniguchi
尚司 谷口
広昭 井上
Hiroaki Inoue
広昭 井上
Current Assignee (The listed assignees may be inaccurate. Google has not performed a legal analysis and makes no representation or warranty as to the accuracy of the list.)
Aquatech Ltd
Original Assignee
Aquatech Ltd
Priority date (The priority date is an assumption and is not a legal conclusion. Google has not performed a legal analysis and makes no representation as to the accuracy of the date listed.)
Filing date
Publication date
Application filed by Aquatech LtdfiledCriticalAquatech Ltd
Priority to JP2014176733ApriorityCriticalpatent/JP2016049313A/en
Publication of JP2016049313ApublicationCriticalpatent/JP2016049313A/en
Pendinglegal-statusCriticalCurrent

Links

Images

Landscapes

Abstract

PROBLEM TO BE SOLVED: To provide a liquid discharge device capable of saving power, without using power for motive force for discharging a liquid.SOLUTION: A liquid discharge device 1 comprises a liquid storage part 2 which is a volume variable type, capable of varying a volume by resilience of an elastic body as motive force, and discharges a liquid 10 stored in the liquid storage part 2 by varying the volume of the liquid storage part 2 by resilience of the elastic body. The liquid storage part 2 uses a bellows 21, and the elastic body uses a stretchable spring 31. By the resilience in which the stretchable spring 31 returns to an original state from a compressed state, the volume of the liquid storage part 2 is reduced, and the liquid 10 is discharged from the liquid storage part 2.SELECTED DRAWING: Figure 1

Description

Translated fromJapanese

本発明は、液体を吐出する液体吐出装置に関するものである。  The present invention relates to a liquid ejection device that ejects liquid.

従来から、液体吐出装置において、例えば動物の体内に埋め込まれて、動物に薬液などの液体を投与するのに用いられるものがある。このような液体吐出装置において、弾性を有するチューブを複数のフィンガーにより順次押圧してくことにより、チューブ内の液体を吐出するようにしたものが知られている(例えば特許文献1、非特許文献1、及び非特許文献2参照)。この液体吐出装置では、電力によって、フィンガーを動作させてチューブを押圧するようになっている。  2. Description of the Related Art Conventionally, there are liquid ejecting apparatuses that are embedded in the body of an animal and used to administer a liquid such as a chemical solution to the animal. In such a liquid ejecting apparatus, one that ejects the liquid in the tube by sequentially pressing the elastic tube with a plurality of fingers is known (for example,Patent Document 1 and Non-Patent Document 1). And Non-Patent Document 2). In this liquid ejecting apparatus, the fingers are operated to press the tube with electric power.

特開2011−111989号公報JP 2011-111989

iPRECIO、[online]、[平成26年6月30日検索]、インターネット<URL:http://www.iprecio.com/products/tabid/182/Default.aspx>iPRECIO, [online], [Search June 30, 2014], Internet <URL: http: //www.iprecio.com/products/tabid/182/Default.aspx>プライムテック株式会社、[online]、[平成26年6月30日検索]、インターネット<URL:http://www.primetech.co.jp/products/tabid/90/pdid/196/language/ja-JP/Default.aspx#productDetail>Primetech, [online], [Search June 30, 2014], Internet <URL: http: //www.primetech.co.jp/products/tabid/90/pdid/196/language/ja- JP / Default.aspx # productDetail>

しかしながら、上述した従来の液体吐出装置は、液体を吐出する動力(フィンガーによってチューブを押圧する動力)に電力を利用しているため、消費電力が大きい。また、複数のフィンガーを順次動作させてチューブを順次押圧していくため、構成が複雑である。  However, the above-described conventional liquid ejection device consumes a large amount of power because it uses electric power for power to eject liquid (power to press the tube with fingers). In addition, since the plurality of fingers are sequentially operated to sequentially press the tube, the configuration is complicated.

本発明は、上記課題を解決するものであり、液体を吐出する動力に電力の利用を必要とせず、省電力かつ構成簡単な液体吐出装置を提供することを目的とする。  The present invention solves the above-described problems, and an object of the present invention is to provide a liquid discharge apparatus that does not require the use of electric power for the power for discharging liquid, and that can save power and has a simple configuration.

上記目的を達成するために本発明の液体吐出装置は、弾性体の復元力を原動力として容積を変化させることができる容積可変の液体収納部を備え、弾性体の復元力で液体収納部の容積を変化させることにより、液体収納部に収納された液体を吐出するように構成されている、ものである。  In order to achieve the above object, a liquid ejection apparatus according to the present invention includes a variable volume liquid storage unit that can change a volume by using a restoring force of an elastic body as a driving force, and the volume of the liquid storage unit by the restoring force of the elastic body. The liquid stored in the liquid storage part is discharged by changing the above.

本発明の液体吐出装置において、液体収納部は、ベローズ、シリンジ、又はチューブを用いたものである、ことが好ましい。  In the liquid ejection apparatus of the present invention, it is preferable that the liquid storage unit uses a bellows, a syringe, or a tube.

また、本発明の液体吐出装置において、弾性体は、バネ、弾性復元力を有する復元性ベローズ、又は気体を用いたものである、ことが好ましい。  In the liquid ejection apparatus of the present invention, it is preferable that the elastic body uses a spring, a restoring bellows having an elastic restoring force, or a gas.

また、本発明の液体吐出装置において、液体を液体収納部に充填するときの液体の圧力によって、弾性体の復元力のもとになるエネルギーをチャージアップする、ことが好ましい。  In the liquid ejection device of the present invention, it is preferable that the energy that causes the restoring force of the elastic body is charged up by the pressure of the liquid when the liquid storage unit is filled with the liquid.

また、本発明の液体吐出装置において、弾性体に接続された糸状部材を引っ張ることにより、弾性体の復元力のもとになるエネルギーをチャージアップする、ことが好ましい。  Further, in the liquid ejection device of the present invention, it is preferable to charge up the energy that becomes the restoring force of the elastic body by pulling the thread-like member connected to the elastic body.

また、本発明の液体吐出装置において、液体収納部の容積の変化を制御する制御部をさらに備える、ことが好ましい。  In the liquid ejection apparatus of the present invention, it is preferable that the liquid ejection apparatus further includes a control unit that controls a change in the volume of the liquid storage unit.

また、本発明の液体吐出装置において、制御部は、弾性体の復元力を液体収納部に伝達する状態と伝達しない状態とに切換える動力伝達規制機構を有し、外部から無線送信される制御信号、又は、タイマ内蔵のときは該タイマ出力に基いて、外部から空間伝送される電力、又は、電池内蔵のときは該電池電力により動力伝達規制機構を動作させる、ことが好ましい。  In the liquid ejection apparatus of the present invention, the control unit has a power transmission restriction mechanism that switches between a state in which the restoring force of the elastic body is transmitted to the liquid storage unit and a state in which the elastic body is not transmitted, and a control signal that is wirelessly transmitted from the outside Or, when the timer is built-in, it is preferable to operate the power transmission regulating mechanism by the power transmitted from the outside based on the timer output, or when the battery is built-in, by the battery power.

また、本発明の液体吐出装置において、制御部は、液体収納部の液体吐出路を開く状態と閉じる状態とに切換える吐出弁を有し、外部から無線送信される制御信号、又は、タイマ内蔵のときは該タイマ出力に基いて、外部から空間伝送される電力、又は、電池内蔵のときは該電池電力により吐出弁を動作させる、ことが好ましい。  In the liquid ejection apparatus of the present invention, the control unit includes a discharge valve that switches between a state in which the liquid ejection path of the liquid storage unit is opened and a state in which the liquid ejection path is closed. In some cases, it is preferable that the discharge valve is operated by electric power transmitted from the outside based on the timer output, or by battery power when the battery is built-in.

本発明によれば、弾性体の復元力を利用して液体収納部の容積を変化させることにより、液体収納部から液体が吐出されるので、液体吐出のために液体収納部の容積を変化させる動力に電力の利用を必要とせず、省電力であり、かつ、簡単な構成となる。  According to the present invention, since the liquid is discharged from the liquid storage part by changing the volume of the liquid storage part using the restoring force of the elastic body, the volume of the liquid storage part is changed for liquid discharge. It does not require the use of electric power for power, saves power, and has a simple configuration.

(a)は本発明の第1の実施形態に係る液体吐出装置の液体が充填されていない状態を示す断面図、(b)は同液体吐出装置の液体が充填された状態を示す断面図、(c)は同液体吐出装置の液体が途中まで吐出された状態を示す断面図。(A) is sectional drawing which shows the state with which the liquid of the liquid discharge apparatus which concerns on the 1st Embodiment of this invention is not filled, (b) is sectional drawing which shows the state with which the liquid of the liquid discharge apparatus was filled, (C) is sectional drawing which shows the state by which the liquid of the liquid discharge apparatus was discharged to the middle.(a)は変形実施形態に係る液体吐出装置の液体が充填されていない状態を示す断面図、(b)は同液体吐出装置の液体が充填された状態を示す断面図、(c)は同液体吐出装置の液体が途中まで吐出された状態を示す断面図。(A) is sectional drawing which shows the state with which the liquid of the liquid discharge apparatus which concerns on deformation | transformation embodiment is not filled, (b) is sectional drawing which shows the state with which the liquid of the liquid discharge apparatus was filled, (c) is the same. Sectional drawing which shows the state by which the liquid of the liquid discharge apparatus was discharged to the middle.(a)はさらに変形実施形態に係る液体吐出装置の液体が充填されていない状態を示す断面図、(b)は同液体吐出装置の液体が充填された状態を示す断面図、(c)は同液体吐出装置の液体が途中まで吐出された状態を示す断面図。(A) is sectional drawing which shows the state with which the liquid of the liquid discharge apparatus which concerns on further modification is not filled, (b) is sectional drawing which shows the state with which the liquid of the liquid discharge apparatus was filled, (c) is Sectional drawing which shows the state by which the liquid of the liquid discharge apparatus was discharged to the middle.(a)はさらに変形実施形態に係る液体吐出装置の液体が充填されていない状態を示す断面図、(b)は同液体吐出装置の液体が充填された状態を示す断面図、(c)は同液体吐出装置の液体が途中まで吐出された状態を示す断面図。(A) is sectional drawing which shows the state with which the liquid of the liquid discharge apparatus which concerns on further modification is not filled, (b) is sectional drawing which shows the state with which the liquid of the liquid discharge apparatus was filled, (c) is Sectional drawing which shows the state by which the liquid of the liquid discharge apparatus was discharged to the middle.さらに変形実施形態に係る液体吐出装置の断面図。Furthermore, sectional drawing of the liquid discharge apparatus which concerns on deformation | transformation embodiment.さらに変形実施形態に係る液体吐出装置の断面図。Furthermore, sectional drawing of the liquid discharge apparatus which concerns on deformation | transformation embodiment.さらに変形実施形態に係る液体吐出装置の断面図。Furthermore, sectional drawing of the liquid discharge apparatus which concerns on deformation | transformation embodiment.本発明の第2の実施形態に係る液体吐出装置の断面図、(b)は同液体吐出装置の別の角度の断面図。Sectional drawing of the liquid discharge apparatus which concerns on the 2nd Embodiment of this invention, (b) is sectional drawing of another angle of the liquid discharge apparatus.変形実施形態に係る液体吐出装置の液体が充填されていない状態を示す断面図。Sectional drawing which shows the state with which the liquid of the liquid discharge apparatus which concerns on deformation | transformation embodiment is not filled.(a)は同液体吐出装置の液体が充填された状態を示す断面図、(b)は同液体吐出装置の別の角度の断面図。(A) is sectional drawing which shows the state with which the liquid of the liquid discharge apparatus was filled, (b) is sectional drawing of another angle of the liquid discharge apparatus.同液体吐出装置の液体が途中まで吐出された状態を示す断面図。Sectional drawing which shows the state by which the liquid of the liquid discharge apparatus was discharged to the middle.本発明の第3の実施形態に係る液体吐出装置の断面図。Sectional drawing of the liquid discharge apparatus which concerns on the 3rd Embodiment of this invention.(a)は同液体吐出装置の吐出弁の駆動停止時の断面図、(b)は同別の角度の断面図。(A) is sectional drawing at the time of the drive stop of the discharge valve of the liquid discharge apparatus, (b) is sectional drawing of another angle.(a)は同吐出弁の駆動時の断面図、(b)は同別の角度の断面図。(A) is sectional drawing at the time of the drive of the discharge valve, (b) is sectional drawing of another angle.本発明の第4の実施形態に係る液体吐出装置の断面図。Sectional drawing of the liquid discharge apparatus which concerns on the 4th Embodiment of this invention.本発明の第5の実施形態に係る液体吐出装置の断面図。Sectional drawing of the liquid discharge apparatus which concerns on the 5th Embodiment of this invention.変形実施形態に係る液体吐出装置の断面図。Sectional drawing of the liquid discharge apparatus which concerns on deformation | transformation embodiment.さらに変形実施形態に係る液体吐出装置の断面図。Furthermore, sectional drawing of the liquid discharge apparatus which concerns on deformation | transformation embodiment.さらに変形実施形態に係る液体吐出装置の断面図。Furthermore, sectional drawing of the liquid discharge apparatus which concerns on deformation | transformation embodiment.(a)は同上変形実施形態に係る液体吐出装置の動力伝達規制機構の別の構成例を示す平面図、(b)は同側面図、(c)は(a)のA−A線断面図。(A) is a top view which shows another structural example of the power transmission control mechanism of the liquid discharge apparatus which concerns on a modified embodiment same as the above, (b) is the side view, (c) is the sectional view on the AA line of (a). .(a)は本発明の第6の実施形態に係る液体吐出装置の断面図、(b)は同液体吐出装置の別の角度の断面図、(c)は同液体吐出装置の動力伝達規制機構の一部を示す平面図。(A) is sectional drawing of the liquid discharge apparatus which concerns on the 6th Embodiment of this invention, (b) is sectional drawing of another angle of the liquid discharge apparatus, (c) is the power transmission control mechanism of the liquid discharge apparatus. The top view which shows a part of.

以下、本発明を具体化した実施形態による液体吐出装置について図面を参照して説明する。
<第1の実施形態>
図1(a)(b)(c)は、第1の実施形態による液体吐出装置1の構成を示す。液体吐出装置1は、液体10を吐出する装置であり、例えば動物の体内に埋め込まれて動物に薬液などの液体10を投与するのに用いられる。液体吐出装置1は、弾性体の復元力を原動力として容積を変化させることができる、液体10を収納する容積可変の液体収納部2と、弾性体の復元力を利用して(弾性体の復元力を原動力として)液体収納部2の容積を変化させる動力源3と、液体収納部2及び動力源3を収納するカプセル4と、を備える。液体吐出装置1は、動力源3が弾性体の復元力を利用して液体収納部2の容積を変化させることにより、液体収納部2に収納された液体10をカプセル4外に吐出するように構成されている。
DESCRIPTION OF EXEMPLARY EMBODIMENTS Hereinafter, a liquid ejection apparatus according to an embodiment of the invention will be described with reference to the drawings.
<First Embodiment>
1A, 1B, and 1C show the configuration of theliquid ejection apparatus 1 according to the first embodiment. The liquid ejectingapparatus 1 is an apparatus that ejects theliquid 10, and is used, for example, to be implanted in the body of an animal and administer theliquid 10 such as a chemical solution to the animal. The liquid ejectingapparatus 1 can change the volume by using the restoring force of the elastic body as a driving force, and uses theliquid storage section 2 having a variable volume for storing theliquid 10 and the restoring force of the elastic body (restoring the elastic body). Apower source 3 that changes the volume of theliquid storage unit 2 and acapsule 4 that stores theliquid storage unit 2 and thepower source 3 are provided. In theliquid ejection apparatus 1, thepower source 3 changes the volume of theliquid storage unit 2 using the restoring force of the elastic body so that theliquid 10 stored in theliquid storage unit 2 is discharged out of thecapsule 4. It is configured.

液体収納部2は、伸縮自在な筒状の部材であるベローズ21を用いたものである。液体収納部2は、ベローズ21と、ベローズ21の開口を塞ぐ固定側蓋体22及び移動側蓋体23と、液体10を吐出するための液体吐出管24とを有する。ベローズ21は、伸縮方向の両端が開口している。固定側蓋体22は、ベローズ21の伸縮方向の一端側に固着されており、ベローズ21の一端側の開口を塞いでいる。移動側蓋体23は、ベローズ21の伸縮方向の他端側に固着されており、ベローズ21の他端側の開口を塞いでいる。ベローズ21と固定側蓋体22及び移動側蓋体23とによって囲まれた空間が液体収納空間2aであり、液体収納空間2a内に液体10が収納される。  Theliquid storage unit 2 uses abellows 21 that is a tubular member that can be expanded and contracted. Theliquid storage unit 2 includes abellows 21, a fixed-side lid body 22 and a movable-side lid body 23 that block the opening of thebellows 21, and aliquid discharge pipe 24 that discharges theliquid 10. Thebellows 21 is open at both ends in the expansion / contraction direction. The fixed-side lid 22 is fixed to one end side of thebellows 21 in the expansion / contraction direction, and closes the opening on one end side of thebellows 21. The movingside cover body 23 is fixed to the other end side of thebellows 21 in the expansion / contraction direction, and closes the opening on the other end side of thebellows 21. A space surrounded by thebellows 21, thefixed lid 22 and themovable lid 23 is theliquid storage space 2a, and theliquid 10 is stored in theliquid storage space 2a.

液体吐出管24は、ベローズ21の伸縮方向と平行な方向に真っ直ぐに伸びていて、基端側が固定側蓋体22に繋がっており、先端側がカプセル4の外部に露出している。固定側蓋体22と液体吐出管24は、一体的に構成されている。液体吐出管24の管内空間が液体吐出路24aであり、液体吐出路24aを通って液体10が吐出される。液体吐出路24aは、固定側蓋体22の孔22aを通じて、液体収納空間2aとカプセル4外の空間とを連通している。液体収納部2は、液体吐出路24aから以外は、液体や気体の出入りがないように構成されている。固定側蓋体22は、不図示の固定部材を介してカプセル4に固定されている。移動側蓋体23は、カプセル4に固定されておらず、固定側蓋体22に対して移動可能になっている。移動側蓋体23は、固定側蓋体22に対して移動するとき、ベローズ21を伸縮させながら移動する。移動側蓋体23が移動すると、固定側蓋体22と移動側蓋体23との距離が変化し、液体収納部2の容積(液体収納空間2aの体積)が変化する。  Theliquid discharge pipe 24 extends straight in a direction parallel to the expansion / contraction direction of thebellows 21, the proximal end side is connected to the fixed-side lid body 22, and the distal end side is exposed to the outside of thecapsule 4. Thefixed side lid 22 and theliquid discharge pipe 24 are integrally configured. The space inside theliquid discharge pipe 24 is aliquid discharge path 24a, and theliquid 10 is discharged through theliquid discharge path 24a. Theliquid discharge path 24 a communicates theliquid storage space 2 a with the space outside thecapsule 4 through thehole 22 a of thefixed side lid 22. Theliquid storage unit 2 is configured so that no liquid or gas enters or leaves except from theliquid discharge path 24a. The fixedside lid 22 is fixed to thecapsule 4 via a fixing member (not shown). The movingside lid 23 is not fixed to thecapsule 4 and is movable with respect to thestationary side lid 22. When the movinglid 23 moves relative to the fixedlid 22, the movinglid 23 moves while expanding and contracting thebellows 21. When the movement-side lid 23 moves, the distance between the fixed-side lid 22 and the movement-side lid 23 changes, and the volume of the liquid storage unit 2 (volume of theliquid storage space 2a) changes.

動力源3は、伸縮自在な弾性体である伸縮バネ31を用いたものである。すなわち、動力源3は、伸縮バネ31と、伸縮バネ31を固定しておくための固定体32と、伸縮バネ31の復元力を液体収納部2に伝達するための動力伝達体33とを有する。伸縮バネ31は、一端側が固定体32に固定的に繋がっており、他端側が動力伝達体33に固定的に繋がっている。固定体32は、移動側蓋体23から見て固定側蓋体22とは反対側の位置において、不図示の固定部材を介してカプセル4に固定されている。動力伝達体33は、移動側蓋体23に固定的に繋がっている。動力伝達体33と移動側蓋体23は、一体的に構成されている。伸縮バネ31の伸縮方向は、ベローズ21の伸縮方向と同じ方向である。  Thepower source 3 uses atelescopic spring 31 that is a stretchable elastic body. That is, thepower source 3 includes anexpansion spring 31, a fixedbody 32 for fixing theexpansion spring 31, and apower transmission body 33 for transmitting the restoring force of theexpansion spring 31 to theliquid storage unit 2. . Theextension spring 31 has one end side fixedly connected to the fixedbody 32 and the other end side fixedly connected to thepower transmission body 33. The fixedbody 32 is fixed to thecapsule 4 via a fixing member (not shown) at a position opposite to the fixed side cover 22 as viewed from the movingside cover 23. Thepower transmission body 33 is fixedly connected to the movingside lid body 23. Thepower transmission body 33 and the movingside lid body 23 are integrally formed. The expansion / contraction direction of the expansion /contraction spring 31 is the same direction as the expansion / contraction direction of thebellows 21.

伸縮バネ31は、弾性変形していない状態から圧縮された状態で固定体32及び動力伝達体33に繋がっている。従って、動力伝達体33は、伸縮バネ31の圧縮された状態から伸びようとする(弾性変形していない元の状態に戻ろうとする)復元力によって、移動側蓋体23を固定側蓋体22側に押している。また、伸縮バネ31は、ベローズ21が完全に縮んだ状態(図1(a)に示される状態)でも、弾性変形していない状態から圧縮された状態となっているように設計されている。つまり、伸縮バネ31は、ベローズ21が完全に縮んだ状態でも、伸びようとする復元力を有するようになっている。従って、動力伝達体33は、ベローズ21が完全に縮んで移動側蓋体23がそれ以上は固定側蓋体22側に移動できない状態でも、伸縮バネ31の復元力によって、移動側蓋体23を固定側蓋体22側に押している。カプセル4は、液体吐出管24の先端側を露出させた状態で、液体収納部2及び動力源を収納している。カプセル4は、ベローズ21の伸縮方向と直交する面の断面形状が円形の円柱形状をしており、カプセル4の大きさは、直径が5mm程度、長さが1cm程度である。ベローズ21、液体吐出管24、及びカプセル4は、液体10を視認できるように、透明又は半透明の材料によって作製されている。  Theexpansion spring 31 is connected to the fixedbody 32 and thepower transmission body 33 in a compressed state from a state where it is not elastically deformed. Therefore, thepower transmission body 33 causes the movingside cover 23 to be fixed to the fixedside cover 22 by a restoring force that tends to extend from the compressed state of the expansion spring 31 (returns to the original state that is not elastically deformed). Pushing to the side. Further, even when the bellows 21 is completely contracted (the state shown in FIG. 1A), thetelescopic spring 31 is designed so as to be in a compressed state from a state where it is not elastically deformed. That is, theexpansion spring 31 has a restoring force that tends to extend even when the bellows 21 is completely contracted. Therefore, even if thepower transmission body 33 is in a state in which thebellows 21 is completely contracted and the movingside cover body 23 cannot move further to the fixedside cover body 22 side, the restoring force of theexpansion spring 31 causes the movingside cover body 23 to move. It is pushing toward the fixedlid 22 side. Thecapsule 4 stores theliquid storage unit 2 and the power source in a state where the tip end side of theliquid discharge pipe 24 is exposed. Thecapsule 4 has a cylindrical shape with a circular cross-section on the surface orthogonal to the expansion and contraction direction of thebellows 21, and the size of thecapsule 4 is about 5 mm in diameter and about 1 cm in length. The bellows 21, theliquid discharge pipe 24, and thecapsule 4 are made of a transparent or translucent material so that the liquid 10 can be visually recognized.

このように構成された液体吐出装置1において、液体収納部2に液体10が充填されていないときには、動力伝達体33は、伸縮バネ31の圧縮された状態から伸びようとする復元力によって移動側蓋体23を固定側蓋体22側に押しており、液体収納部2は、ベローズ21が完全に縮められた状態になっている(図1(a)参照)。液体収納部2への液体10の充填は、以下のようにして行われる。まず、液体10の入っている注射器(不図示)の針を液体吐出路24aに差し込んで、注射器から液体収納部2内に(液体収納空間2aに)液体10を注入する。液体収納部2内に液体10が注入されることにより、液体収納部2内に存在していた空気が液体吐出路24aから排出される。  In theliquid ejecting apparatus 1 configured as described above, when theliquid storage unit 2 is not filled with the liquid 10, thepower transmission body 33 is moved to the moving side by the restoring force that tries to extend from the compressed state of theexpansion spring 31. Thelid 23 is pushed to the fixedlid 22 side, and theliquid storage part 2 is in a state in which thebellows 21 is completely contracted (see FIG. 1A). The filling of the liquid 10 into theliquid storage unit 2 is performed as follows. First, a needle of a syringe (not shown) containing the liquid 10 is inserted into theliquid discharge path 24a, and the liquid 10 is injected from the syringe into the liquid storage unit 2 (into theliquid storage space 2a). By injecting the liquid 10 into theliquid storage unit 2, the air present in theliquid storage unit 2 is discharged from theliquid discharge path 24 a.

空気が全て排出された後、液体吐出路24aを塞いだ状態にして、さらに注射器から液体10を注入する。注入する液体10の圧力によって、移動側蓋体23がベローズ21を伸ばしながら、また、動力伝達体33を押しながら固定側蓋体22と反対側に移動していく。これにより、伸縮バネ31が圧縮されていき、また、液体収納部2の容積(液体収納空間2aの体積)が増大していき、容積の増大していく液体収納部2内に液体10が注入されていく。液体収納部2への液体10の充填は、このようにして行われる。液体収納部2に液体10を充填するとき、伸縮バネ31は、液体10の圧力によって圧縮される。すなわち、液体吐出装置1は、液体10を液体収納部2に充填するときの液体10の圧力によって、伸縮バネ31が圧縮されることにより、動力源3の(伸縮バネ31の)復元力のもとになるエネルギーをチャージアップするようになっている。  After all the air is discharged, theliquid discharge path 24a is closed, and the liquid 10 is further injected from the syringe. Due to the pressure of the liquid 10 to be injected, the movingside cover 23 moves to the opposite side to the fixed side cover 22 while extending thebellows 21 and pushing thepower transmission body 33. As a result, theexpansion spring 31 is compressed, and the volume of the liquid storage unit 2 (volume of theliquid storage space 2a) increases, so that the liquid 10 is injected into theliquid storage unit 2 where the volume increases. It will be done. Filling theliquid storage unit 2 with the liquid 10 is performed in this way. When theliquid storage unit 2 is filled with the liquid 10, theexpansion spring 31 is compressed by the pressure of the liquid 10. That is, theliquid ejection device 1 has a restoring force (of the expansion spring 31) of thepower source 3 by compressing theexpansion spring 31 by the pressure of the liquid 10 when the liquid 10 is filled in theliquid storage unit 2. It is designed to charge up energy.

液体収納部2に液体10を充填した後、液体吐出路24aから注射器の針を抜いて、液体吐出路24aを開放すると、液体収納部2に充填された液体10が液体吐出路24aからカプセル4外に吐出されていく(図1(b)参照)。すなわち、伸縮バネ31の圧縮された状態から伸びようとする復元力によって、動力伝達体33が移動側蓋体23を押しながら固定側蓋体22側に移動していく。これにより、移動側蓋体23がベローズ21を縮めながら固定側蓋体22側に移動していき、液体収納部2の容積が縮小していき、容積の縮小していく液体収納部2から液体10が吐出されていく。つまり、動力源3が伸縮バネ31の伸びようとする復元力を利用して液体収納部2の容積を縮小させていくことにより、液体収納部2に収納された液体10が液体吐出路24aからカプセル4外に吐出されていく。  After filling theliquid storage part 2 with the liquid 10, the needle of the syringe is pulled out from theliquid discharge path 24 a and theliquid discharge path 24 a is opened, so that the liquid 10 filled in theliquid storage part 2 is transferred from theliquid discharge path 24 a to thecapsule 4. It is discharged outside (see FIG. 1B). In other words, thepower transmission body 33 moves toward the fixedlid body 22 while pushing themovable lid body 23 by the restoring force that tends to extend from the compressed state of theelastic spring 31. As a result, the moving-side lid 23 moves toward the fixed-side lid 22 while shrinking thebellows 21, the volume of theliquid storage unit 2 is reduced, and the liquid is reduced from theliquid storage unit 2 whose volume is reduced. 10 is discharged. That is, when thepower source 3 reduces the volume of theliquid storage unit 2 by using a restoring force that theexpansion spring 31 tries to extend, the liquid 10 stored in theliquid storage unit 2 is discharged from theliquid discharge path 24a. It is discharged out of thecapsule 4.

液体10が吐出されていくと、液体収納部2の容積は小さくなっていき、液体収納部2内の液体10の残量が少なくなっていく(図1(c)参照)。その後、ベローズ21が完全に縮んだ状態になるまで、動力伝達体33が移動側蓋体23を押しながら固定側蓋体22側に移動していって、液体収納部2の容積が縮小していき、液体収納部2から液体10が吐出されていく。伸縮バネ31は、ベローズ21が完全に縮んだ状態でも、伸びようとする復元力を有しているため、ベローズ21が完全に縮んだ状態になるまで、液体収納部2の容積を縮小させて、液体10を吐出させることが可能である。液体10の時間あたりの吐出量は、液体収納部2に収納されている液体10の圧力が弱いほど(従って、伸縮バネ31の復元力が弱いほど、また、移動側蓋体23が液体を押す面積が大きいほど)少なく、また、液体吐出路24aの断面積が小さいほど少ない。伸縮バネ31の弾性係数、移動側蓋体23が液体10を押す面積、及び液体吐出路24aの断面積は、液体収納部2に充填された液体10が所定時間(例えば3日程度)かけて吐出されるように設定されている。液体吐出装置1は、例えば、動物に薬液などの液体10を投与するのに用いられる。この場合、液体10を充填した液体吐出装置1が動物の体内に埋め込まれ、液体吐出管24がその動物の食道管や腸管に接続される。  As the liquid 10 is discharged, the volume of theliquid storage unit 2 decreases, and the remaining amount of the liquid 10 in theliquid storage unit 2 decreases (see FIG. 1C). Thereafter, until thebellows 21 is completely contracted, thepower transmission body 33 moves toward thestationary lid 22 while pushing themovable lid 23, and the volume of theliquid storage unit 2 is reduced. Then, the liquid 10 is discharged from theliquid storage unit 2. The expansion /contraction spring 31 has a restoring force to expand even when the bellows 21 is completely contracted. Therefore, the volume of theliquid storage unit 2 is reduced until thebellows 21 is fully contracted. The liquid 10 can be discharged. The discharge amount per hour of the liquid 10 is such that the pressure of the liquid 10 stored in theliquid storage unit 2 is weaker (therefore, the lower the restoring force of thetelescopic spring 31 is, the more the movingside lid 23 pushes the liquid. The smaller the area, the smaller the area, and the smaller the cross-sectional area of theliquid discharge path 24a, the smaller. The elastic coefficient of theexpansion spring 31, the area where the moving-side lid 23 pushes the liquid 10, and the cross-sectional area of theliquid discharge path 24 a are calculated over a predetermined time (for example, about 3 days) for the liquid 10 filled in theliquid storage unit 2. It is set to be discharged. Theliquid ejection device 1 is used, for example, to administer a liquid 10 such as a chemical solution to an animal. In this case, theliquid ejection device 1 filled with the liquid 10 is embedded in the body of the animal, and theliquid ejection tube 24 is connected to the esophageal or intestinal tract of the animal.

本実施形態の液体吐出装置1によれば、動力源3が伸縮バネ31の伸びようとする復元力を利用して液体収納部2の容積を縮小させることにより、液体収納部2からカプセル4外に液体10が吐出される。すなわち、液体10は、伸縮バネ31の復元力を利用して吐出される。従って、液体10を吐出する動力(液体収納部2の容積を変化させる動力)に電力の利用を必要とせず、省電力である。また、1つの動力伝達体33の単純な直線運動によって液体収納部2の容積を変化させるため、液体吐出装置1の構成が簡素である。また、液体収納部2は、ベローズ21を用いたものであるため、液体収納部2の構成が簡素である。また、動力源3は、伸縮バネ31を用いたものであるため、動力源3の構成が簡素である。また、液体10を液体収納部2に充填するときの液体10の圧力によって、動力源3の復元力のもとになるエネルギーがチャージアップされるので、動力源3の復元力のもとになるエネルギーをチャージアップするための構成が不要であり、液体吐出装置1の構成が簡素である。  According to theliquid ejection apparatus 1 of the present embodiment, thepower source 3 reduces the volume of theliquid storage unit 2 using the restoring force that theexpansion spring 31 tries to extend, so that thecapsule 4 is removed from theliquid storage unit 2.Liquid 10 is discharged to the surface. That is, the liquid 10 is discharged using the restoring force of theexpansion spring 31. Therefore, the power for discharging the liquid 10 (the power for changing the volume of the liquid storage unit 2) does not require the use of electric power, thus saving power. Further, since the volume of theliquid storage unit 2 is changed by a simple linear motion of onepower transmission body 33, the configuration of theliquid ejection device 1 is simple. Moreover, since theliquid storage part 2 uses thebellows 21, the structure of theliquid storage part 2 is simple. Moreover, since thepower source 3 uses theexpansion spring 31, the structure of thepower source 3 is simple. In addition, since the energy that becomes the restoring force of thepower source 3 is charged by the pressure of the liquid 10 when theliquid storage unit 2 is filled with the liquid 10, the restoring force of thepower source 3 becomes the source. A configuration for charging up energy is unnecessary, and the configuration of theliquid ejection apparatus 1 is simple.

なお、本実施形態において、動力源3は、弾性復元力を有するベローズを用いたものであってもよい。すなわち、液体収納部2のベローズ21に代えて、弾性復元力を有するベローズを用いたものであってもよい。この構成によれば、伸縮バネ31、固定体32、動力伝達体33が不要であり、液体収納部2及び動力源3の構成が簡素である。また、液体収納部2は、柔軟性を有する袋状の部材であってもよい。すなわち、動力伝達体33が伸縮バネ31の復元力によって袋状の部材を押圧して、袋状部材の容積を変化させることにより、袋状部材から液体10を吐出するようになっていてもよい。また、液体吐出管24に、液体吐出路24aの断面積を調整できる絞りが設けられていてもよい。この構成によれば、絞りによって液体吐出路24aの断面積を調整することで、液体10の時間あたりの吐出量を調整することができる。また、液体吐出路24aとは別に、液体収納部2内とカプセル4外とを連通する空気排出路を設けて、液体収納部2への液体10の充填時に、空気排出路から液体収納部2内の空気を排出するようにしてもよい。この場合、空気排出路は、液体収納部2への液体10の充填時に、液体収納部2内の空気が排出された時点で、栓によって塞がれる。  In the present embodiment, thepower source 3 may use a bellows having an elastic restoring force. That is, instead of thebellows 21 of theliquid storage unit 2, a bellows having an elastic restoring force may be used. According to this configuration, thetelescopic spring 31, the fixedbody 32, and thepower transmission body 33 are unnecessary, and the configuration of theliquid storage unit 2 and thepower source 3 is simple. Theliquid storage unit 2 may be a flexible bag-shaped member. That is, thepower transmission body 33 may press the bag-like member by the restoring force of theexpansion spring 31 to change the volume of the bag-like member, thereby discharging the liquid 10 from the bag-like member. . In addition, theliquid discharge pipe 24 may be provided with a throttle that can adjust the cross-sectional area of theliquid discharge path 24a. According to this configuration, it is possible to adjust the discharge amount per hour of the liquid 10 by adjusting the cross-sectional area of theliquid discharge path 24a by the diaphragm. In addition to theliquid discharge path 24 a, an air discharge path that communicates the inside of theliquid storage unit 2 and the outside of thecapsule 4 is provided, and when the liquid 10 is filled in theliquid storage unit 2, theliquid storage unit 2 is supplied from the air discharge path. The air inside may be discharged. In this case, the air discharge path is closed by the plug when the air in theliquid storage unit 2 is discharged when the liquid 10 is filled in theliquid storage unit 2.

図2(a)(b)(c)は、上記の変形実施形態による液体吐出装置の構成を示す。本実施形態の液体吐出装置1は、動力源3の構成が上記第1の実施形態と異なっている。本実施形態における他の構成については、上記第1の実施形態と同様である(以下同様)。本実施形態では、動力源3は、上記実施形態と異なり、固定体32が液体収納部2の固定側蓋体22に固定的に繋がっている。固定体32と固定側蓋体22は、一体的に構成されている。動力伝達体33は、上記実施形態と同様に、液体収納部2の移動側蓋体23に固定的に繋がっている。伸縮バネ31の伸縮方向は、液体収納部2のベローズ21の伸縮方向と同じ方向である。  2A, 2B, and 2C show the configuration of the liquid ejection apparatus according to the above-described modified embodiment. Theliquid ejection apparatus 1 according to the present embodiment is different from the first embodiment in the configuration of thepower source 3. Other configurations in the present embodiment are the same as those in the first embodiment (the same applies hereinafter). In the present embodiment, thepower source 3 is different from the above embodiment in that the fixedbody 32 is fixedly connected to the fixed-side lid body 22 of theliquid storage unit 2. The fixedbody 32 and the fixedside lid body 22 are integrally formed. Thepower transmission body 33 is fixedly connected to the movingside cover body 23 of theliquid storage unit 2 as in the above embodiment. The expansion / contraction direction of the expansion /contraction spring 31 is the same as the expansion / contraction direction of thebellows 21 of theliquid storage unit 2.

また、伸縮バネ31は、上記実施形態と異なり、弾性変形していない状態から伸張された状態で固定体32及び動力伝達体33に繋がれている。従って、動力伝達体33は、伸縮バネ31の伸張された状態から縮もうとする(弾性変形していない元の状態に戻ろうとする)復元力によって、移動側蓋体23を固定側蓋体22側に押している。また、伸縮バネ31は、ベローズ21が完全に縮んだ状態(図2(a)に示される状態)でも、弾性変形していない状態から伸張された状態となっているように設計されている。つまり、伸縮バネ31は、ベローズ21が完全に縮んだ状態でも、縮もうとする復元力を有するようになっている。従って、動力伝達体33は、ベローズ21が完全に縮んで移動側蓋体23がそれ以上は固定側蓋体22側に移動できない状態でも、伸縮バネ31の復元力によって、移動側蓋体23を固定側蓋体22側に押している。  In addition, unlike the above-described embodiment, theexpansion spring 31 is connected to the fixedbody 32 and thepower transmission body 33 in an extended state from a state where it is not elastically deformed. Accordingly, thepower transmission body 33 causes the movingside lid 23 to be fixed to the fixedside lid 22 by a restoring force that tends to shrink from the stretched state of the expansion spring 31 (returns to the original state that is not elastically deformed). Pushing to the side. Further, even when the bellows 21 is completely contracted (the state shown in FIG. 2A), thetelescopic spring 31 is designed so as to be extended from a state where it is not elastically deformed. That is, theexpansion spring 31 has a restoring force to try to contract even when the bellows 21 is completely contracted. Therefore, even if thepower transmission body 33 is in a state in which thebellows 21 is completely contracted and the movingside cover body 23 cannot move further to the fixedside cover body 22 side, the restoring force of theexpansion spring 31 causes the movingside cover body 23 to move. It is pushing toward the fixedlid 22 side.

このように構成された液体吐出装置1において、液体収納部2に液体10が充填されていないときには、動力伝達体33は、伸縮バネ31の伸張された状態から縮もうとする復元力によって移動側蓋体23を固定側蓋体22に押しており、液体収納部2は、ベローズ21が完全に縮められた状態になっている(図2(a)参照)。液体収納部2への液体10の充填は、上記実施形態と同様に行われる。但し、本実施形態では、移動側蓋体23が液体10の圧力によって動力伝達体33を押しながら移動していくとき、動力伝達体33が伸縮バネ31を伸張しながら移動していく。すなわち、本実施形態では、液体10を液体収納部2に充填するときの液体10の圧力によって、伸縮バネ31が伸張されることにより、動力源3の(伸縮バネ31の)復元力のもとになるエネルギーをチャージアップするようになっている。  In theliquid ejecting apparatus 1 configured as described above, when theliquid storage unit 2 is not filled with the liquid 10, thepower transmission body 33 is moved to the moving side by a restoring force that tries to contract from the expanded state of theexpansion spring 31. Thelid body 23 is pushed against the stationaryside lid body 22, and theliquid storage part 2 is in a state in which thebellows 21 is completely contracted (see FIG. 2A). Theliquid storage unit 2 is filled with the liquid 10 in the same manner as in the above embodiment. However, in this embodiment, when the movingside cover body 23 moves while pushing thepower transmission body 33 by the pressure of the liquid 10, thepower transmission body 33 moves while extending theexpansion spring 31. That is, in the present embodiment, theexpansion spring 31 is expanded by the pressure of the liquid 10 when the liquid 10 is filled in theliquid storage unit 2, thereby generating the restoring force (of the expansion spring 31) of thepower source 3. The energy to become will be charged up.

液体収納部2に液体10を充填した後、液体吐出路24aを開放すると、上記実施形態と同様に、液体収納部2に収納された液体10がカプセル4外に吐出されていく(図2(b)(c)参照)。但し、本実施形態では、伸縮バネ31の伸張された状態から縮もうとする復元力によって、動力伝達体33が移動側蓋体23を押しながら移動していく。つまり、本実施形態では、動力源3が伸縮バネ31の縮もうとする復元力を利用して液体収納部2の容積を縮小させていくことにより、液体収納部2に収納された液体10がカプセル4外に吐出されていく。伸縮バネ31は、ベローズ21が完全に縮んだ状態でも、縮もうとする復元力を有しているため、ベローズ21が完全に縮んだ状態になるまで、液体収納部2の容積を縮小させて、液体10を吐出させることが可能である。  When theliquid discharge path 24a is opened after theliquid storage section 2 is filled with the liquid 10, the liquid 10 stored in theliquid storage section 2 is discharged out of thecapsule 4 as in the above embodiment (FIG. 2 ( b) (see c)). However, in the present embodiment, thepower transmission body 33 moves while pushing the moving-side lid body 23 by a restoring force that tends to shrink from the stretched state of theexpansion spring 31. That is, in this embodiment, thepower source 3 reduces the volume of theliquid storage unit 2 by using the restoring force that theexpansion spring 31 attempts to contract, so that the liquid 10 stored in theliquid storage unit 2 is reduced. It is discharged out of thecapsule 4. The expansion /contraction spring 31 has a restoring force that attempts to contract even when the bellows 21 is completely contracted. Therefore, the volume of theliquid storage unit 2 is reduced until thebellows 21 is fully contracted. The liquid 10 can be discharged.

本実施形態の液体吐出装置1によれば、上記実施形態と同様の作用、効果が得られる。なお、本実施形態において、固定体32は、カプセル4に固定されていてもよい。  According to theliquid ejection device 1 of the present embodiment, the same operation and effect as the above-described embodiment can be obtained. In the present embodiment, the fixedbody 32 may be fixed to thecapsule 4.

図3(a)(b)(c)は、さらに変形実施形態による液体吐出装置の構成を示す。本実施形態の液体吐出装置1は、上記実施形態の構成に加え、動力源3の復元力のもとになるエネルギーをチャージアップするための糸状部材5をさらに備える。糸状部材5は、一端側が動力源3の動力伝達体33に固定的に接続(動力伝達体33を介して伸縮バネ31の他端側に接続)されており、他端側が固定側蓋体22とは反対側においてカプセル4の外部に引き出されている。糸状部材5の先端には、摘み5aが設けられている。  FIGS. 3A, 3B, and 3C further illustrate the configuration of the liquid ejection apparatus according to a modified embodiment. In addition to the configuration of the above-described embodiment, theliquid ejection device 1 of the present embodiment further includes a thread-like member 5 for charging up energy that becomes a restoring force of thepower source 3. One end side of the thread-like member 5 is fixedly connected to thepower transmission body 33 of the power source 3 (connected to the other end side of the expansion /contraction spring 31 via the power transmission body 33), and the other end side is fixedside cover body 22. It is pulled out of thecapsule 4 on the opposite side. Aknob 5 a is provided at the tip of the thread-like member 5.

このように構成された液体吐出装置1において、液体収納部2に液体10が充填されていないときには、上記実施形態と同様に、動力伝達体33は、伸縮バネ31の伸張された状態から縮もうとする復元力によって移動側蓋体23を固定側蓋体22に押しており、液体収納部2は、ベローズ21が完全に縮められた状態になっている(図3(a)参照)。液体収納部2への液体10の充填は、以下のようにして行われる。まず、カプセル4の外部から糸状部材5を引っ張る。これにより、動力伝達体33が糸状部材5に引っ張られて、動力伝達体33が伸張バネ31を伸張しながら固定側蓋体22と反対側に移動し、伸縮バネ31が伸張される。すなわち、液体吐出装置1は、糸状部材5をカプセル4外から引っ張ることによって、伸縮バネ31が伸張されることにより、動力源3の(伸縮バネ31の)復元力のもとになるエネルギーをチャージアップするようになっている。また、動力伝達体33が固定側蓋体22と反対側に移動することにより、移動側蓋体23がベローズ21を伸ばしながら固定側蓋体22と反対側に移動し、液体収納部2の容積が増大する。そして、この状態で、上記実施形態と同様に、液体10を液体収納部2内に注入する。液体収納部2内に液体10が注入されることにより、液体収納部2内に存在していた空気が液体吐出路24aから排出され、液体収納部2に液体10が充填される。液体収納部2への液体10の充填は、このようにして行われる。  In theliquid ejection device 1 configured as described above, when theliquid storage unit 2 is not filled with the liquid 10, thepower transmission body 33 is retracted from the stretched state of theexpansion spring 31 as in the above embodiment. The moving-side lid 23 is pushed against the fixed-side lid 22 by the restoring force, and thebellows 21 is completely contracted in the liquid storage unit 2 (see FIG. 3A). The filling of the liquid 10 into theliquid storage unit 2 is performed as follows. First, the thread-like member 5 is pulled from the outside of thecapsule 4. As a result, thepower transmission body 33 is pulled by the thread-like member 5, and thepower transmission body 33 moves to the side opposite to the fixed-side cover body 22 while stretching theextension spring 31, so that theextension spring 31 is extended. That is, theliquid ejecting apparatus 1 charges the energy that becomes the restoring force (of the expansion spring 31) of thepower source 3 by extending theexpansion spring 31 by pulling the thread-like member 5 from the outside of thecapsule 4. It is supposed to be up. Further, when thepower transmission body 33 moves to the side opposite to the fixedside lid body 22, the movingside lid body 23 moves to the side opposite to the stationaryside lid body 22 while extending thebellows 21, and the volume of theliquid storage unit 2 is increased. Will increase. And in this state, the liquid 10 is inject | poured in theliquid storage part 2 similarly to the said embodiment. By injecting the liquid 10 into theliquid storage unit 2, the air present in theliquid storage unit 2 is discharged from theliquid discharge path 24 a, and theliquid storage unit 2 is filled with the liquid 10. Filling theliquid storage unit 2 with the liquid 10 is performed in this way.

液体収納部2に液体10を充填した後、液体吐出路24aを開放し、糸状部材5の引っ張りを解除すると、上記実施形態と同様に、液体収納部2に収納された液体10がカプセル4外に吐出されていく(図3(b)(c)参照)。なお、液体吐出装置1が動物の体内に埋め込まれて使用される場合、糸状部材5は、液体収納部2に液体10を充填した後(液体吐出装置1を動物の体内に埋め込む前)に切断される。  After theliquid container 2 is filled with the liquid 10, theliquid discharge path 24 a is opened and the tension of the thread-like member 5 is released. (See FIGS. 3B and 3C). When theliquid ejection device 1 is used while being embedded in an animal body, the thread-like member 5 is cut after theliquid storage unit 2 is filled with the liquid 10 (before theliquid ejection device 1 is implanted in the animal body). Is done.

本実施形態の液体吐出装置1によれば、上記実施形態と同様の作用、効果が得られる。また、糸状部材5を引っ張ることにより、動力源3の復元力のもとになるエネルギーがチャージアップされるので、容易に、動力源3の復元力のもとになるエネルギーをチャージアップすることができる。なお、本実施形態において、動力源3は、上記実施形態と同様の構成であってもよい。  According to theliquid ejection device 1 of the present embodiment, the same operation and effect as the above-described embodiment can be obtained. Further, by pulling the thread-like member 5, the energy that becomes the restoring force of thepower source 3 is charged up. Therefore, the energy that becomes the restoring force of thepower source 3 can be easily charged up. it can. In the present embodiment, thepower source 3 may have the same configuration as in the above embodiment.

図4(a)(b)(c)は、さらに変形実施形態による液体吐出装置の構成を示す。本実施形態の液体吐出装置1は、液体収納部2の構成が上記実施形態と異なっている。本実施形態では、液体収納部2は、シリンジである。液体収納部2は、筒状のシリンダ25と、シリンダ25に挿入されたピストン26と、液体10を吐出するための液体吐出管24とを有する。シリンダ25とピストン26とによって囲まれた空間が液体収納空間2aであり、液体収納空間2a内に液体10が収納される。液体吐出管24は、ピストン26の移動方向に真っ直ぐに伸びていて、基端側がシリンダ25に繋がっており、先端側がカプセル4の外部に露出している。シリンダ25と液体吐出管24は、一体的に構成されている。液体吐出路24aは、シリンダ25の孔25aを通じて、液体収納空間2aとカプセル4外の空間とを連通している。液体収納部2は、液体吐出路24aから以外は、液体や気体の出入りがないように構成されている。  4A, 4B, and 4C further illustrate the configuration of the liquid ejection apparatus according to a modified embodiment. Theliquid ejection apparatus 1 of this embodiment is different from the above embodiment in the configuration of theliquid storage unit 2. In the present embodiment, theliquid storage unit 2 is a syringe. Theliquid storage unit 2 includes acylindrical cylinder 25, apiston 26 inserted into thecylinder 25, and aliquid discharge pipe 24 for discharging the liquid 10. A space surrounded by thecylinder 25 and thepiston 26 is aliquid storage space 2a, and the liquid 10 is stored in theliquid storage space 2a. Theliquid discharge pipe 24 extends straight in the moving direction of thepiston 26, the proximal end side is connected to thecylinder 25, and the distal end side is exposed to the outside of thecapsule 4. Thecylinder 25 and theliquid discharge pipe 24 are integrally formed. Theliquid discharge path 24 a communicates theliquid storage space 2 a and the space outside thecapsule 4 through thehole 25 a of thecylinder 25. Theliquid storage unit 2 is configured so that no liquid or gas enters or leaves except from theliquid discharge path 24a.

シリンダ25は、不図示の固定部材を介してカプセル4に固定されている。ピストン26は、カプセル4に固定されておらず、シリンダ25に対して移動可能になっている。ピストン26が移動すると、液体収納部2の容積(液体収納空間2aの体積)が変化する。シリンダ25は、液体10を視認できるように、透明又は半透明の材料によって作製されている。  Thecylinder 25 is fixed to thecapsule 4 via a fixing member (not shown). Thepiston 26 is not fixed to thecapsule 4 and can move with respect to thecylinder 25. When thepiston 26 moves, the volume of the liquid storage unit 2 (volume of theliquid storage space 2a) changes. Thecylinder 25 is made of a transparent or translucent material so that the liquid 10 can be visually recognized.

動力源3は、上記実施形態と同様である。但し、本実施形態では、固定体32は、液体収納部2のシリンダ25に固定的に繋がっており、動力伝達体33は、液体収納部2のピストン26に固定的に繋がっている。固定体32とシリンダ25は、一体的に構成されている。また、動力伝達体33とピストン26も、一体的に構成されている。伸縮バネ31の伸縮方向は、液体収納部2のピストン26の移動方向と同じ方向である。  Thepower source 3 is the same as that of the said embodiment. However, in this embodiment, the fixedbody 32 is fixedly connected to thecylinder 25 of theliquid storage unit 2, and thepower transmission body 33 is fixedly connected to thepiston 26 of theliquid storage unit 2. The fixedbody 32 and thecylinder 25 are integrally formed. Further, thepower transmission body 33 and thepiston 26 are also integrally formed. The expansion / contraction direction of the expansion /contraction spring 31 is the same as the movement direction of thepiston 26 of theliquid storage unit 2.

伸縮バネ31は、弾性変形していない状態から伸張された状態で固定体32及び動力伝達体33に繋がれている。従って、動力伝達体33は、伸縮バネ31の伸張された状態から縮もうとする(弾性変形していない元の状態に戻ろうとする)復元力によって、ピストン26をシリンダ25内に押し込む方向に押している。また、伸縮バネ31は、ピストン26がシリンダ25内に完全に押し込まれた状態(図4(a)に示される状態)でも、弾性変形していない状態から伸張された状態となっているように設計されている。つまり、伸縮バネ31は、ピストン26がシリンダ25内に完全に押し込まれた状態でも、縮もうとする復元力を有するようになっている。従って、動力伝達体33は、ピストン26がシリンダ25内に完全に押し込まれてそれ以上は移動できない状態でも、伸縮バネ31の復元力によって、ピストン26をシリンダ25内に押し込む方向に押している。  The expansion /contraction spring 31 is connected to the fixedbody 32 and thepower transmission body 33 in a state where the expansion /contraction spring 31 is stretched from a state where it is not elastically deformed. Therefore, thepower transmission body 33 pushes thepiston 26 in the direction in which thepiston 26 is pushed into thecylinder 25 by a restoring force that tries to shrink from the stretched state of the expansion spring 31 (returns to the original state that is not elastically deformed). Yes. Further, even when thepiston 26 is completely pushed into the cylinder 25 (the state shown in FIG. 4A), thetelescopic spring 31 is extended from a state where it is not elastically deformed. Designed. That is, theexpansion spring 31 has a restoring force to try to contract even when thepiston 26 is completely pushed into thecylinder 25. Accordingly, thepower transmission body 33 pushes thepiston 26 into thecylinder 25 by the restoring force of theexpansion spring 31 even when thepiston 26 is completely pushed into thecylinder 25 and cannot move any further.

このように構成された液体吐出装置1において、液体収納部2に液体10が充填されていないときには、動力伝達体33は、伸縮バネ31の復元力によってピストン26をシリンダ25内に押し込む方向に押しており、ピストン26がシリンダ25内に完全に押し込まれた状態になっている(図4(a)参照)。  In theliquid ejection device 1 configured as described above, when theliquid storage unit 2 is not filled with the liquid 10, thepower transmission body 33 pushes thepiston 26 in the direction in which thepiston 26 is pushed into thecylinder 25 by the restoring force of theexpansion spring 31. Thus, thepiston 26 is completely pushed into the cylinder 25 (see FIG. 4A).

液体収納部2への液体10の充填は、上記実施形態と同様に行われる。但し、本実施形態では、ピストン26が液体10の圧力によって動力伝達体33を押しながら移動していくことにより、伸縮バネ31が伸張されていき、また、液体収納部2の容積が増大していき、液体収納部2内に液体10が充填される。液体収納部2に液体10を充填した後、液体吐出路24aを開放すると、上記実施形態と同様に、液体収納部2に収納された液体10がカプセル4外に吐出されていく(図4(b)(c)参照)。但し、本実施形態では、ピストン26が伸縮バネ31の復元力によって動力伝達体33に押されながら移動していくことにより、液体収納部2の容積が縮小されていって、液体収納部2からカプセル4外に液体10が吐出されていく。伸縮バネ31は、ピストン26がシリンダ25内に完全に押し込まれた状態でも、縮もうとする復元力を有しているため、ピストン26がシリンダ25内に完全に押し込まれた状態になるまで、液体収納部2の容積を縮小させて、液体10を吐出させることが可能である。  Theliquid storage unit 2 is filled with the liquid 10 in the same manner as in the above embodiment. However, in this embodiment, when thepiston 26 moves while pushing thepower transmission body 33 by the pressure of the liquid 10, theexpansion spring 31 is extended, and the volume of theliquid storage unit 2 increases. Then, the liquid 10 is filled in theliquid storage unit 2. When theliquid discharge path 24a is opened after theliquid storage section 2 is filled with the liquid 10, the liquid 10 stored in theliquid storage section 2 is discharged out of thecapsule 4 as in the above embodiment (FIG. 4 ( b) (see c)). However, in the present embodiment, thepiston 26 moves while being pushed by thepower transmission body 33 by the restoring force of theexpansion spring 31, thereby reducing the volume of theliquid storage unit 2. The liquid 10 is discharged out of thecapsule 4. The expansion /contraction spring 31 has a restoring force to try to contract even when thepiston 26 is completely pushed into thecylinder 25. Therefore, until thepiston 26 is completely pushed into thecylinder 25, It is possible to discharge the liquid 10 by reducing the volume of theliquid storage unit 2.

本実施形態の液体吐出装置1によれば、上記実施形態と同様の作用、効果が得られる。また、液体収納部2は、シリンジであるため、液体収納部2の構成が簡素である。なお、本実施形態において、固定体32は、カプセル4に固定されていてもよい。また、動力源3は、上記実施形態と同様の構成であってもよい。この場合、動力伝達体33は、ピストン26に繋がれる。また、上記実施形態と同様の糸状部材5をさらに備えていてもよい。  According to theliquid ejection device 1 of the present embodiment, the same operation and effect as the above-described embodiment can be obtained. Moreover, since theliquid storage part 2 is a syringe, the structure of theliquid storage part 2 is simple. In the present embodiment, the fixedbody 32 may be fixed to thecapsule 4. Further, thepower source 3 may have the same configuration as that of the above embodiment. In this case, thepower transmission body 33 is connected to thepiston 26. Moreover, you may further provide the thread-like member 5 similar to the said embodiment.

図5は、さらに変形実施形態による液体吐出装置の構成を示す。本実施形態の液体吐出装置1は、動力源3の構成が上記実施形態と異なっている。本実施形態では、動力源3は、弾性体である駆動気体40を用いたものである。動力源3は、駆動気体40の弾性を利用した気体バネ41と、駆動気体40を発生させる気体発生部42と、駆動気体40を気体バネ41に供給するための給気管43及び給気弁44と、駆動気体40を排出するための排気管45及び排気弁46と、給気弁44及び排気弁46を動作させる駆動部47とを有する。  FIG. 5 shows a configuration of a liquid ejection apparatus according to a further modified embodiment. Theliquid ejection apparatus 1 according to this embodiment is different from the above embodiment in the configuration of thepower source 3. In the present embodiment, thepower source 3 uses a drivinggas 40 that is an elastic body. Thepower source 3 includes agas spring 41 that uses the elasticity of the drivinggas 40, agas generating unit 42 that generates the drivinggas 40, anair supply pipe 43 and anair supply valve 44 for supplying the drivinggas 40 to thegas spring 41. And anexhaust pipe 45 and anexhaust valve 46 for discharging thedrive gas 40, and adrive unit 47 that operates theair supply valve 44 and theexhaust valve 46.

気体バネ41は、ベローズ51と、ベローズ51の一端側に設けられた固定体52と、ベローズ51の他端側に設けられた動力伝達体53と、気体バネ41内(ベローズ51と固定体52及び動力伝達体53とによって囲まれた空間内)に閉じ込められた駆動気体40とを有する。気体バネ41は、気体バネ41内の駆動気体40が圧縮されているときには、駆動気体40の圧縮された状態から膨張しようとする(弾性変形していない元の状態に戻ろうとする)復元力によって、動力伝達体53と固定体52とがベローズ51の伸縮方向に互いに離反するように動作する。固定体52は、気体バネ41を固定しておくためのものであり、不図示の固定部材を介してカプセル4に固定されている。動力伝達体53は、気体バネ41の復元力(駆動気体40の復元力)を液体収納部2に伝達するためのものであり、液体収納部2の移動側蓋体23に固定的に繋がっている。動力伝達体53と移動側蓋体23は、一体的に構成されている。ベローズ51の伸縮方向は、液体収納部2のベローズ21の伸縮方向と同じ方向である。  Thegas spring 41 includes a bellows 51, a fixedbody 52 provided at one end of thebellows 51, apower transmission body 53 provided at the other end of thebellows 51, and the gas spring 41 (thebellows 51 and the fixedbody 52. And a drivinggas 40 confined in a space surrounded by thepower transmission body 53. When the drivinggas 40 in thegas spring 41 is compressed, thegas spring 41 tends to expand from the compressed state of the driving gas 40 (returns to the original state where it is not elastically deformed). Thepower transmission body 53 and the fixedbody 52 operate so as to be separated from each other in the expansion / contraction direction of thebellows 51. The fixedbody 52 is for fixing thegas spring 41, and is fixed to thecapsule 4 via a fixing member (not shown). Thepower transmission body 53 is for transmitting the restoring force of the gas spring 41 (restoring force of the driving gas 40) to theliquid storage unit 2, and is fixedly connected to the movingside lid 23 of theliquid storage unit 2. Yes. Thepower transmission body 53 and the movingside lid body 23 are integrally formed. The expansion / contraction direction of thebellows 51 is the same as the expansion / contraction direction of thebellows 21 of theliquid storage unit 2.

気体発生部42は、容器61と、容器61内に装填された駆動気体源62とを有する。駆動気体源62は、駆動気体40を発生させるための液体が含まれたものであり、例えば、駆動気体40を発生させるための液体を多孔質物質に含浸させたもの又は駆動気体40を発生させるための液体をゲル化したものである。駆動気体源62に含まれている液体(駆動気体40を発生させるための液体)は、所定温度(例えば動物の体温程度の温度)の温度環境下での蒸気圧が液体10を吐出させるのに十分な圧力になる液体である。液体の蒸気(液体から蒸発により気化して発生した気体)が駆動気体40となる。このような液体は、例えばアセトアルデヒドやホルムアルデヒド等を用いることができる。また、液体を含浸させる多孔質物質は、例えば珪藻土、軽石、不織布、ウレタンスポンジ等を用いることができる。駆動気体源62は、液体吐出装置1の作製段階において、容器61の装填孔61aから容器61内に装填される。装填孔61aは、駆動気体源62を装填した後、栓63によって塞がれる。  Thegas generation unit 42 includes acontainer 61 and a drivinggas source 62 loaded in thecontainer 61. The drivinggas source 62 includes a liquid for generating the drivinggas 40. For example, the drivinggas source 62 includes a porous material impregnated with a liquid for generating the drivinggas 40 or generates the drivinggas 40. The liquid for this purpose is gelled. The liquid contained in the driving gas source 62 (the liquid for generating the driving gas 40) has a vapor pressure in a temperature environment of a predetermined temperature (for example, a temperature about the body temperature of an animal) to discharge the liquid 10. A liquid with sufficient pressure. The liquid vapor (gas generated by evaporation from the liquid by evaporation) becomes the drivinggas 40. For example, acetaldehyde or formaldehyde can be used as such a liquid. As the porous material impregnated with the liquid, for example, diatomaceous earth, pumice, non-woven fabric, urethane sponge and the like can be used. The drivinggas source 62 is loaded into thecontainer 61 from theloading hole 61 a of thecontainer 61 in the manufacturing stage of theliquid ejection apparatus 1. Theloading hole 61 a is closed by aplug 63 after the drivinggas source 62 is loaded.

給気管43は、気体バネ41と気体発生部42との間に接続されており、給気管43内の給気路43aが気体バネ41内(ベローズ51と固定体52及び動力伝達体53とによって囲まれた空間)と気体発生部42内(容器61内の空間)とを連通している。給気弁44は、給気路43aに設けられており、駆動部47によって動作されて、給気路43aを開閉する。給気弁44は、駆動部47によって駆動されていないときには、給気路43aを閉じており、駆動部47によって駆動されることにより、給気路43aを開く。排気管45は、気体バネ41と給気弁44との間において、給気管43から分岐しており、排気管45内の排気路45aが給気管43内の給気路43aと給気管43外の空間とを連通している。排気弁46は、排気路45aに設けられており、駆動部47によって動作されて、排気路45aを開閉する。排気弁46は、駆動部47によって駆動されていないときには、排気路45aを閉じており、駆動部47によって駆動されることにより、排気路45aを開く。  Theair supply pipe 43 is connected between thegas spring 41 and thegas generating unit 42, and theair supply path 43 a in theair supply pipe 43 is formed in the gas spring 41 (by thebellows 51, the fixedbody 52, and thepower transmission body 53. The enclosed space) communicates with the inside of the gas generator 42 (the space within the container 61). Theair supply valve 44 is provided in theair supply path 43a, and is operated by thedrive unit 47 to open and close theair supply path 43a. When theair supply valve 44 is not driven by thedrive unit 47, theair supply passage 43 a is closed, and theair supply passage 43 a is opened by being driven by thedrive unit 47. Theexhaust pipe 45 is branched from thesupply pipe 43 between thegas spring 41 and thesupply valve 44, and theexhaust path 45 a in theexhaust pipe 45 is outside thesupply path 43 a in thesupply pipe 43 and thesupply pipe 43. It communicates with the space. Theexhaust valve 46 is provided in theexhaust path 45a, and is operated by thedrive unit 47 to open and close theexhaust path 45a. When theexhaust valve 46 is not driven by thedrive unit 47, theexhaust path 45 a is closed and is driven by thedrive unit 47 to open theexhaust path 45 a.

駆動部47は、カプセル4の外部から無線送信される制御信号を受信する受信部(不図示)と、給気弁44及び排気弁46を動作させる電力を供給するための電池(不図示)とを有する。駆動部47は、受信部により受信した制御信号に基いて、すなわち、カプセル4の外部から無線送信される制御信号に基いて、電池の電力により給気弁44及び排気弁46を動作させる。すなわち、駆動部47は、カプセル4の外部から無線送信される制御信号に基いて、電池の電力により給気弁44及び排気弁46を駆動して、給気路43a及び排気路45aを開いた状態にし、また、給気弁44及び排気弁46の駆動を停止して、給気路43a及び排気路45aを閉じた状態にする。  The drivingunit 47 includes a receiving unit (not shown) that receives a control signal wirelessly transmitted from the outside of thecapsule 4, and a battery (not shown) for supplying power for operating theair supply valve 44 and theexhaust valve 46. Have Thedrive unit 47 operates theair supply valve 44 and theexhaust valve 46 by the power of the battery based on the control signal received by the reception unit, that is, based on the control signal wirelessly transmitted from the outside of thecapsule 4. That is, thedrive unit 47 opens theair supply passage 43a and theexhaust passage 45a by driving theair supply valve 44 and theexhaust valve 46 with the power of the battery based on a control signal wirelessly transmitted from the outside of thecapsule 4. Further, the driving of theair supply valve 44 and theexhaust valve 46 is stopped, and theair supply path 43a and theexhaust path 45a are closed.

液体収納部2への液体10の充填は、以下のようにして行われる。まず、カプセル4の外部の通信手段から液体充填開始の旨の制御信号を無線送信する。駆動部47は、その制御信号に基いて、排気弁46を駆動して、排気路45aを開く。そして、この状態で、上記第1の実施形態と同様に、液体10を液体収納部2内に注入する。液体収納部2内に液体10が注入されることにより、液体収納部2内に存在していた空気が液体吐出路24aから排出される。また、注入する液体10の圧力によって、動力伝達体53が固定体52側に移動していくことにより、気体バネ41内に存在していた空気が排気路45aから排出される。液体10の注入を終えると、カプセル4の外部の通信手段から液体充填完了の旨の制御信号を無線送信する。駆動部47は、その制御信号に基いて、排気弁46の駆動を停止して、排気路45aを閉じる。液体収納部2への液体10の充填は、このようにして行われる。  The filling of the liquid 10 into theliquid storage unit 2 is performed as follows. First, a control signal indicating the start of liquid filling is wirelessly transmitted from communication means outside thecapsule 4. Based on the control signal, thedrive unit 47 drives theexhaust valve 46 to open theexhaust path 45a. In this state, the liquid 10 is injected into theliquid storage unit 2 as in the first embodiment. By injecting the liquid 10 into theliquid storage unit 2, the air present in theliquid storage unit 2 is discharged from theliquid discharge path 24 a. Further, thepower transmission body 53 moves toward thestationary body 52 due to the pressure of the liquid 10 to be injected, so that the air present in thegas spring 41 is discharged from theexhaust path 45a. When the injection of the liquid 10 is completed, a control signal indicating completion of liquid filling is wirelessly transmitted from communication means outside thecapsule 4. Based on the control signal, thedrive unit 47 stops driving theexhaust valve 46 and closes theexhaust path 45a. Filling theliquid storage unit 2 with the liquid 10 is performed in this way.

液体収納部2に液体10を充填した後、液体吐出装置1を所定温度以上の温度環境下(例えば動物の体内)におく。これにより、駆動気体源62から駆動気体40が発生し、気体発生部42内の気圧が上昇していく。なお、液体10を充填する前に、液体吐出装置1が所定温度以上の温度環境下におかれていた場合には、既に、駆動気体源62から駆動気体40が発生して、気体発生部42内の気圧が上昇した状態になっている。その後、カプセル4の外部の通信手段から液体吐出開始の旨の制御信号を無線送信する。駆動部47は、その制御信号に基いて、給気弁44を駆動して、給気路43aを開く。これにより、気体発生部42内の気圧と気体バネ41内の気圧が同じになるように、気体発生部42内の駆動気体40が気体バネ41に供給される。そして、駆動部47は、給気弁44の駆動を停止して、給気路43aを閉じる。  After theliquid container 2 is filled with the liquid 10, theliquid ejection apparatus 1 is placed in a temperature environment (for example, the body of an animal) of a predetermined temperature or higher. As a result, the drivinggas 40 is generated from the drivinggas source 62, and the atmospheric pressure in thegas generation unit 42 increases. If theliquid ejection device 1 is placed in a temperature environment equal to or higher than a predetermined temperature before filling with the liquid 10, the drivinggas 40 has already been generated from the drivinggas source 62, and thegas generating unit 42. The pressure inside is in an elevated state. Thereafter, a control signal indicating the start of liquid ejection is wirelessly transmitted from the communication means outside thecapsule 4. Based on the control signal, thedrive unit 47 drives theair supply valve 44 to open theair supply path 43a. Thereby, thedrive gas 40 in thegas generation part 42 is supplied to thegas spring 41 so that the atmospheric pressure in thegas generation part 42 and the atmospheric pressure in thegas spring 41 become the same. And thedrive part 47 stops the drive of theair supply valve 44, and closes theair supply path 43a.

このとき、気体バネ41内の気圧は、気体バネ41外の気圧よりも高くなっている。すなわち、気体バネ41内の駆動気体40は、圧縮された状態になっている。従って、気体バネ41内の駆動気体40の圧縮された状態から膨張しようとする(弾性変形していない元の状態に戻ろうとする)復元力によって、動力伝達体53が移動側蓋体23を押しながら固定側蓋体22側に移動していく。これにより、液体収納部2の容積が縮小していき、容積の縮小していく液体収納部2からカプセル4外に液体10が吐出されていく。つまり、本実施形態では、駆動気体40が気体発生部42から気体バネ41に供給されて、気体バネ41内の気圧が気体バネ41外の気圧よりも高くなることにより、動力源3の(気体バネ41の)復元力のもとになるエネルギーをチャージアップするようになっている。そして、動力源3が気体バネ41の復元力(駆動気体40の膨張しようとする復元力)を利用して液体収納部2の容積を縮小させていくことにより、液体収納部2に収納された液体10がカプセル4外に吐出されていく。  At this time, the pressure inside thegas spring 41 is higher than the pressure outside thegas spring 41. That is, the drivinggas 40 in thegas spring 41 is in a compressed state. Therefore, thepower transmission body 53 pushes the moving-side lid body 23 by a restoring force that tries to expand from the compressed state of the drivinggas 40 in the gas spring 41 (to return to the original state that is not elastically deformed). However, it moves to the fixedside lid 22 side. Thereby, the volume of theliquid storage part 2 is reduced, and the liquid 10 is discharged out of thecapsule 4 from theliquid storage part 2 whose volume is reduced. That is, in the present embodiment, the drivinggas 40 is supplied from thegas generation unit 42 to thegas spring 41, and the pressure inside thegas spring 41 becomes higher than the pressure outside thegas spring 41. The energy that is the basis of the restoring force of thespring 41 is charged up. Thepower source 3 is stored in theliquid storage unit 2 by reducing the volume of theliquid storage unit 2 by using the recovery force of the gas spring 41 (the recovery force of the drivinggas 40 to expand). The liquid 10 is discharged out of thecapsule 4.

本実施形態の液体吐出装置1によれば、上記実施形態と同様の作用、効果が得られる。また、動力源3は、駆動気体40を用いたものであるため、駆動気体40の圧力を調整する(給気弁44及び排気弁46を動作させる)ことにより、動力源3の復元力を調整して、液体10の時間あたりの吐出量を調整することができる。  According to theliquid ejection device 1 of the present embodiment, the same operation and effect as the above-described embodiment can be obtained. Further, since thepower source 3 uses the drivinggas 40, the restoring force of thepower source 3 is adjusted by adjusting the pressure of the driving gas 40 (operating theair supply valve 44 and the exhaust valve 46). Thus, the discharge amount of the liquid 10 per hour can be adjusted.

本実施形態では、給気弁44及び排気弁46を動作させるのに電力を利用するが、これらの電力は、液体10を液体収納部2に充填するときに、一時的に排気弁46を駆動する(排気路45aを開く)だけの電力、及び、気体バネ41に復元力を持たせるために、一時的に給気弁44を駆動する(給気路43aを開く)だけの電力である。これらの電力は、液体10を吐出する動力(液体収納部2の容積を変化させる動力)に電力を利用する場合と比較して、少ないものである。従って、液体10を吐出する動力に電力を利用する場合よりも、電力の利用が少なくて済み、省電力である。  In this embodiment, electric power is used to operate theair supply valve 44 and theexhaust valve 46, but these electric powers temporarily drive theexhaust valve 46 when filling theliquid storage unit 2 with the liquid 10. The electric power required to open theexhaust passage 45a and the electric power required to temporarily drive the air supply valve 44 (open theair supply passage 43a) in order to give the gas spring 41 a restoring force. These electric powers are small compared with the case where electric power is used for the power for discharging the liquid 10 (the power for changing the volume of the liquid storage unit 2). Therefore, less power is used than in the case of using electric power for the power for discharging the liquid 10, which saves power.

なお、本実施形態において、駆動部47は、カプセル4の外部から空間伝送される電力を受電する受電部を有し、カプセル4の外部から空間伝送される電力により給気弁44及び排気弁46を動作させるようになっていてもよい。また、駆動部47は、タイマを内蔵し、タイマの出力に基いて給気弁44を動作させるようになっていてもよい。また、液体収納部2は、上記図4の構成と同様の構成であってもよい。この場合、動力伝達体53は、ピストン26に繋がれる。また、容器61の装填孔61aは、容器61内とカプセル4外とを連通していて、駆動気体源62をカプセル4外から装填孔61aを通して容器61内に装填するようになっていてもよい。  In the present embodiment, thedrive unit 47 includes a power receiving unit that receives power that is spatially transmitted from the outside of thecapsule 4, and theair supply valve 44 and theexhaust valve 46 are generated by the power that is spatially transmitted from the outside of thecapsule 4. May be operated. Thedrive unit 47 may include a timer and operate theair supply valve 44 based on the output of the timer. Further, theliquid storage unit 2 may have the same configuration as that shown in FIG. In this case, thepower transmission body 53 is connected to thepiston 26. Further, theloading hole 61a of thecontainer 61 communicates the inside of thecontainer 61 with the outside of thecapsule 4, and the drivinggas source 62 may be loaded into thecontainer 61 from the outside of thecapsule 4 through theloading hole 61a. .

図6は、さらに変形実施形態による液体吐出装置の構成を示す。本実施形態の液体吐出装置1は、動力源3の気体発生部42及び駆動部47の構成が上記実施形態と異なっている。本実施形態では、気体発生部42は、上記実施形態の構成に加え、駆動気体源62に含まれている液体(駆動気体40を発生させるための液体)を電気分解するための電解電極68をさらに有する。また、駆動気体源62に含まれている液体が上記実施形態と異なっている。本実施形態では、駆動気体源62に含まれている液体は、電気分解によって気体を発生する液体である。電気分解によって発生した気体が駆動気体40となる。このような液体は、例えばポリエチレンオキシド、ポリアクリルニトリル、ポリフッ化ビリニデン、ポリメチルメタクリレート等を用いることができる。  FIG. 6 shows a configuration of a liquid ejection apparatus according to a further modified embodiment. Theliquid ejection apparatus 1 according to this embodiment is different from the above embodiment in the configuration of thegas generation unit 42 and thedrive unit 47 of thepower source 3. In the present embodiment, thegas generating unit 42 includes anelectrolytic electrode 68 for electrolyzing the liquid (liquid for generating the driving gas 40) contained in the drivinggas source 62 in addition to the configuration of the above embodiment. Also have. Further, the liquid contained in the drivinggas source 62 is different from that in the above embodiment. In the present embodiment, the liquid contained in the drivinggas source 62 is a liquid that generates gas by electrolysis. The gas generated by the electrolysis becomes the drivinggas 40. As such a liquid, for example, polyethylene oxide, polyacrylonitrile, polyvinylidene fluoride, polymethyl methacrylate and the like can be used.

駆動部47は、上記実施形態と同様に給気弁44及び排気弁46を動作させることに加え、カプセル4の外部から無線送信される制御信号に基いて、電池の電力により電解電極68への通電、通電停止を行う。液体収納部2への液体10の充填は、電解電極68に通電していない状態で、上記実施形態と同様に行われる。液体収納部2に液体10を充填した後、カプセル4の外部の通信手段から気体発生開始の旨の制御信号を無線送信する。駆動部47は、その制御信号に基いて、電解電極68に通電を開始する。これにより、駆動気体源62に含まれている液体(駆動気体40を発生させるための液体)が電気分解されて、駆動気体源62から駆動気体40が発生し、気体発生部42内の気圧が上昇していく。そして、気体発生部42内の気圧が所定の圧力まで上昇すると(このことは、所定の時間が経過したことで判断される)、カプセル4の外部の通信手段から気体発生停止の旨の制御信号を無線送信する。駆動部47は、その制御信号に基いて、電解電極68への通電を停止する。  Thedrive unit 47 operates theair supply valve 44 and theexhaust valve 46 in the same manner as in the above-described embodiment, and supplies power to theelectrolytic electrode 68 by battery power based on a control signal wirelessly transmitted from the outside of thecapsule 4. Energize and de-energize. The filling of the liquid 10 into theliquid storage unit 2 is performed in the same manner as in the above embodiment in a state where theelectrolytic electrode 68 is not energized. After theliquid container 2 is filled with the liquid 10, a control signal indicating the start of gas generation is wirelessly transmitted from communication means outside thecapsule 4. Thedrive unit 47 starts energizing theelectrolytic electrode 68 based on the control signal. Thereby, the liquid (liquid for generating the driving gas 40) contained in the drivinggas source 62 is electrolyzed, the drivinggas 40 is generated from the drivinggas source 62, and the atmospheric pressure in thegas generating unit 42 is increased. It rises. When the atmospheric pressure in thegas generating unit 42 rises to a predetermined pressure (this is determined when a predetermined time has elapsed), a control signal indicating that gas generation is stopped from the communication means outside thecapsule 4. Is transmitted wirelessly. Thedrive unit 47 stops energization to theelectrolytic electrode 68 based on the control signal.

その後、カプセル4の外部の通信手段から液体吐出開始の旨の制御信号を無線送信する。駆動部47は、その制御信号に基いて、上記実施形態と同様に、給気弁44を駆動、駆動停止して給気路43aを開閉する。これにより、上記実施形態と同様に、気体発生部42内の駆動気体40が気体バネ41に供給され、液体収納部2に収納された液体10がカプセル4外に吐出されていく。  Thereafter, a control signal indicating the start of liquid ejection is wirelessly transmitted from the communication means outside thecapsule 4. Based on the control signal, thedrive unit 47 drives and stops theair supply valve 44 to open and close theair supply path 43a, as in the above embodiment. As a result, the drivinggas 40 in thegas generating unit 42 is supplied to thegas spring 41 and the liquid 10 stored in theliquid storage unit 2 is discharged out of thecapsule 4 as in the above embodiment.

本実施形態の液体吐出装置1によれば、上記実施形態と同様の作用、効果が得られる。なお、本実施形態では、給気弁44及び排気弁46を動作させるのに加え、駆動気体40を発生させるために電解電極68に通電するのに電力を利用するが、これらの電力は、液体10を吐出する動力に電力を利用する場合と比較して、少ないものである。  According to theliquid ejection device 1 of the present embodiment, the same operation and effect as the above-described embodiment can be obtained. In this embodiment, in addition to operating theair supply valve 44 and theexhaust valve 46, electric power is used to energize theelectrolytic electrode 68 in order to generate the drivinggas 40. Compared to the case where electric power is used for the motive power for discharging 10, it is less.

図7は、さらに変形実施形態による液体吐出装置の構成を示す。本実施形態の液体吐出装置1は、動力源3の気体発生部42及び駆動部47の構成が上記実施形態と異なっている。本実施形態では、気体発生部42は、上記実施形態の構成に加え、駆動気体源62を加熱するための電熱線69をさらに有する。また、駆動気体源62に含まれている液体(駆動気体40を発生させるための液体)が上記実施形態と異なっている。本実施形態では、駆動気体源62に含まれている液体は、加熱されることによって気体を発生する液体である。加熱によって発生した気体が駆動気体40となる。  FIG. 7 shows a configuration of a liquid ejection apparatus according to a further modified embodiment. Theliquid ejection apparatus 1 according to this embodiment is different from the above embodiment in the configuration of thegas generation unit 42 and thedrive unit 47 of thepower source 3. In the present embodiment, thegas generation unit 42 further includes aheating wire 69 for heating the drivinggas source 62 in addition to the configuration of the above embodiment. Moreover, the liquid (liquid for generating the drive gas 40) contained in thedrive gas source 62 is different from the above embodiment. In the present embodiment, the liquid contained in the drivinggas source 62 is a liquid that generates gas when heated. The gas generated by the heating becomes the drivinggas 40.

駆動部47は、上記実施形態と同様に給気弁44及び排気弁46を動作させることに加え、カプセル4の外部から無線送信される制御信号に基いて、電池の電力により電熱線69への通電、通電停止を行う。液体収納部2への液体10の充填は、電熱線69に通電していない状態で、上記実施形態と同様に行われる。液体収納部2に液体10を充填した後、カプセル4の外部の通信手段から気体発生開始の旨の制御信号を無線送信する。駆動部47は、その制御信号に基いて、電熱線69に通電を開始する。これにより、駆動気体源62に含まれている液体(駆動気体40を発生させるための液体)が加熱されて、駆動気体源62から駆動気体40が発生し、気体発生部42内の気圧が上昇していく。そして、気体発生部42内の気圧が所定の圧力まで上昇すると(このことは、所定の時間が経過したことで判断される)、カプセル4の外部の通信手段から気体発生停止の旨の制御信号を無線送信する。駆動部47は、その制御信号に基いて、電熱線69への通電を停止する。  Thedrive unit 47 operates theair supply valve 44 and theexhaust valve 46 in the same manner as in the above embodiment, and supplies power to theheating wire 69 by the battery power based on a control signal wirelessly transmitted from the outside of thecapsule 4. Energize and de-energize. The filling of the liquid 10 into theliquid storage unit 2 is performed in the same manner as in the above embodiment in a state where theheating wire 69 is not energized. After theliquid container 2 is filled with the liquid 10, a control signal indicating the start of gas generation is wirelessly transmitted from communication means outside thecapsule 4. Thedrive unit 47 starts energizing theheating wire 69 based on the control signal. Thereby, the liquid (liquid for generating the drive gas 40) contained in thedrive gas source 62 is heated, thedrive gas 40 is generated from thedrive gas source 62, and the atmospheric pressure in thegas generator 42 is increased. I will do it. When the atmospheric pressure in thegas generating unit 42 rises to a predetermined pressure (this is determined when a predetermined time has elapsed), a control signal indicating that gas generation is stopped from the communication means outside thecapsule 4. Is transmitted wirelessly. Thedrive unit 47 stops energizing theheating wire 69 based on the control signal.

その後、カプセル4の外部の通信手段から液体吐出開始の旨の制御信号を無線送信する。駆動部47は、その制御信号に基いて、上記実施形態と同様に、給気弁44を駆動、駆動停止して給気路43aを開閉する。これにより、上記実施形態と同様に、気体発生部42内の駆動気体40が気体バネ41に供給され、液体収納部2に収納された液体10がカプセル4外に吐出されていく。  Thereafter, a control signal indicating the start of liquid ejection is wirelessly transmitted from the communication means outside thecapsule 4. Based on the control signal, thedrive unit 47 drives and stops theair supply valve 44 to open and close theair supply path 43a, as in the above embodiment. As a result, the drivinggas 40 in thegas generating unit 42 is supplied to thegas spring 41 and the liquid 10 stored in theliquid storage unit 2 is discharged out of thecapsule 4 as in the above embodiment.

本実施形態の液体吐出装置1によれば、上記実施形態と同様の作用、効果が得られる。なお、本実施形態では、給気弁44及び排気弁46を動作させるのに加え、駆動気体40を発生させるために電熱線69に通電するのに電力を利用するが、これらの電力は、液体10を吐出する動力に電力を利用する場合と比較して、少ないものである。  According to theliquid ejection device 1 of the present embodiment, the same operation and effect as the above-described embodiment can be obtained. In the present embodiment, in addition to operating theair supply valve 44 and theexhaust valve 46, electric power is used to energize theheating wire 69 in order to generate the drivinggas 40. Compared to the case where electric power is used for the motive power for discharging 10, it is less.

<第2の実施形態>
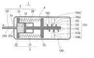
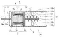
図8(a)(b)は、第2の実施形態による液体吐出装置の構成を示す。本実施形態の液体吐出装置1は、液体収納部2の形状及びカプセル4の形状が上記第1の実施形態と異なっている。
<Second Embodiment>
8A and 8B show the configuration of the liquid ejection apparatus according to the second embodiment. Theliquid ejection apparatus 1 of the present embodiment is different from the first embodiment in the shape of theliquid storage unit 2 and the shape of thecapsule 4.

本実施形態では、液体収納部2は、ベローズ21の伸縮方向の寸法が上記第1の実施形態よりも小さくなっており、ベローズ21の伸縮方向と直交する方向の寸法が上記第1の実施形態よりも大きくなっている。また、液体吐出管24がベローズ21の伸縮方向と直交する方向に伸びている。液体収納部2の容積は、上記第1の実施形態と同程度である。カプセル4は、ベローズ21の伸縮方向と直交する面の断面形状が円形のコイン形状をしている。カプセル4の大きさは、直径が1cm程度、厚さが5mm程度である。なお、本実施形態では、液体収納部2の固定側蓋体22と動力源3の固定体32は、支持体39を介して互いに繋がっている。本実施形態の液体吐出装置1によれば、上記第1の実施形態と同様の作用、効果が得られる。なお、本実施形態において、動力源3は、上記図2の構成と同様の構成であってもよい。また、上記糸状部材5をさらに備えていてもよい。  In the present embodiment, theliquid storage unit 2 has a size in the expansion / contraction direction of thebellows 21 smaller than that in the first embodiment, and a size in a direction orthogonal to the expansion / contraction direction of thebellows 21 is in the first embodiment. Is bigger than. Further, theliquid discharge pipe 24 extends in a direction orthogonal to the expansion / contraction direction of thebellows 21. The volume of theliquid storage unit 2 is approximately the same as that in the first embodiment. Thecapsule 4 has a coin shape in which the cross-sectional shape of the surface orthogonal to the expansion / contraction direction of thebellows 21 is circular. Thecapsule 4 has a diameter of about 1 cm and a thickness of about 5 mm. In the present embodiment, thestationary lid 22 of theliquid storage unit 2 and thestationary body 32 of thepower source 3 are connected to each other via thesupport 39. According to theliquid ejection apparatus 1 of the present embodiment, the same operations and effects as in the first embodiment can be obtained. In the present embodiment, thepower source 3 may have the same configuration as that shown in FIG. Further, the thread-like member 5 may be further provided.

図9、図10(a)(b)、図11は、上記の変形実施形態による液体吐出装置の構成を示す。本実施形態の液体吐出装置1は、液体収納部2及び動力源3の構成が上記実施形態と異なっている。本実施形態では、液体収納部2は、内部が中空のチューブ28を用いたものである。液体収納部2は、チューブ28と、チューブ28を保持するチューブ保持体29と、液体10を吐出するための液体吐出管24とを有する。  9, 10 (a), 10 (b), and 11 show the configuration of the liquid ejection apparatus according to the above-described modified embodiment. Theliquid ejection apparatus 1 of the present embodiment is different from the above-described embodiment in the configuration of theliquid storage unit 2 and thepower source 3. In the present embodiment, theliquid storage unit 2 uses atube 28 having a hollow inside. Theliquid storage unit 2 includes atube 28, atube holder 29 that holds thetube 28, and aliquid discharge pipe 24 that discharges the liquid 10.

チューブ28は、柔軟性を有していて変形自在である。但し、チューブ28は、伸縮性及び弾性は有していない。つまり、チューブ28は、力が加えられると変形し、力が加えられなくなると、その変形した形状を保つ。チューブ28内の空間が液体収納空間2aであり、液体収納空間2a内に液体10が収納される。チューブ保持体29は、円環状に形成されており、チューブ保持体29の内周面は円になっている。チューブ28は、チューブ保持体29の内周面に沿って円弧状に配置されており、チューブ保持体29の内周面に接着されて保持されている。チューブ保持体29は、不図示の固定部材を介してカプセル4に固定されている。  Thetube 28 has flexibility and is deformable. However, thetube 28 does not have elasticity or elasticity. That is, thetube 28 deforms when a force is applied, and maintains the deformed shape when the force is no longer applied. The space in thetube 28 is theliquid storage space 2a, and the liquid 10 is stored in theliquid storage space 2a. Thetube holder 29 is formed in an annular shape, and the inner peripheral surface of thetube holder 29 is a circle. Thetube 28 is arranged in an arc shape along the inner peripheral surface of thetube holding body 29, and is held by being bonded to the inner peripheral surface of thetube holding body 29. Thetube holder 29 is fixed to thecapsule 4 via a fixing member (not shown).

液体吐出管24は、基端側がチューブ28に繋がっており、先端側がカプセル4の外部に露出している。液体吐出管24は、チューブ保持体29と一体的に構成されている。液体吐出路24aは、チューブ28の孔28aを通じて、液体収納空間2aとカプセル4外の空間とを連通している。液体収納部2は、液体吐出路24aから以外は、液体や気体の出入りがないように構成されている。チューブ28が変形すると、液体収納部2の容積(液体収納空間2aの体積)が変化する。チューブ28は、液体10を視認できるように、透明又は半透明の材料によって作製されている。  Theliquid discharge pipe 24 is connected to thetube 28 at the proximal end side and is exposed to the outside of thecapsule 4 at the distal end side. Theliquid discharge pipe 24 is configured integrally with thetube holder 29. Theliquid discharge path 24 a communicates theliquid storage space 2 a and the space outside thecapsule 4 through thehole 28 a of thetube 28. Theliquid storage unit 2 is configured so that no liquid or gas enters or leaves except from theliquid discharge path 24a. When thetube 28 is deformed, the volume of the liquid storage unit 2 (volume of theliquid storage space 2a) changes. Thetube 28 is made of a transparent or translucent material so that the liquid 10 can be visually recognized.

動力源3は、螺旋状に巻かれた弾性体である巻きバネ71を用いたものである。すなわち、動力源3は、巻きバネ71と、巻きバネ71を固定しておくための固定体72と、巻きバネ71の復元力を液体収納部2に伝達するための動力伝達体である回転軸73、回転レバー74、及びローラ75と、これらを支持する支持体76とを有する。巻きバネ71は、一端側が固定体72に固定的に繋がっており、他端側が取付部材79を介して回転軸73に固定的に繋がっている。固定体72は、支持体76に固定的に支持されている。回転軸73は、支持体76に回転自在に支持されている。支持体76は、チューブ保持体29と固定的に繋がっている。支持体76とチューブ保持体29は、一体的に構成されている。また、支持体76は、不図示の固定部材を介してカプセル4に固定されている。  Thepower source 3 uses a windingspring 71 that is an elastic body wound spirally. That is, thepower source 3 includes a windingspring 71, a fixingbody 72 for fixing the windingspring 71, and a rotating shaft that is a power transmission body for transmitting the restoring force of the windingspring 71 to theliquid storage unit 2. 73, therotation lever 74, theroller 75, and thesupport body 76 which supports these. One end side of the windingspring 71 is fixedly connected to the fixedbody 72, and the other end side is fixedly connected to therotating shaft 73 via theattachment member 79. The fixedbody 72 is fixedly supported by thesupport body 76. The rotatingshaft 73 is rotatably supported by thesupport body 76. Thesupport body 76 is fixedly connected to thetube holding body 29. Thesupport body 76 and thetube holding body 29 are integrally formed. Further, thesupport 76 is fixed to thecapsule 4 via a fixing member (not shown).

回転レバー74は、回転軸73に固定的に連結されており、ローラ75は、回転レバー74の先端に回転自在に取付けられている。ローラ75は、チューブ保持体29の内周面とローラ75との間にチューブ28があるように、回転レバー74に取付けられている。回転軸73の延長線は、チューブ保持体29の内周面の円の中心を通っており、また、回転軸73の延長線上からローラ75の外端までの距離は、チューブ保持体29の内周面の円の半径と同じになっている(但し、チューブ28の厚みは考慮していない)。従って、回転軸73が回転すると、回転レバー74が回転し、ローラ75は、チューブ保持体29との間にチューブ28を挟んで、チューブ28を押し潰しながら、チューブ保持体29の内周面に沿って移動する。ローラ75の幅は、チューブ28の幅よりも大きくなっている。ローラ75は、回転レバー74が固定体72に接触することで、チューブ28の孔28aの位置を通過しないようになっている。固定体72は、ローラ75が孔28aの位置を通過しないように回転レバー74の回転を規制する役割を担っている。  Therotation lever 74 is fixedly connected to therotation shaft 73, and theroller 75 is rotatably attached to the tip of therotation lever 74. Theroller 75 is attached to therotation lever 74 so that thetube 28 is between the inner peripheral surface of thetube holder 29 and theroller 75. The extension line of therotation shaft 73 passes through the center of the circle on the inner peripheral surface of thetube holder 29, and the distance from the extension line of therotation shaft 73 to the outer end of theroller 75 is the inside of thetube holder 29. It is the same as the radius of the circle on the peripheral surface (however, the thickness of thetube 28 is not considered). Therefore, when therotation shaft 73 rotates, therotation lever 74 rotates, and theroller 75 sandwiches thetube 28 between thetube holder 29 and squeezes thetube 28 while pressing thetube 28 on the inner peripheral surface of thetube holder 29. Move along. The width of theroller 75 is larger than the width of thetube 28. Theroller 75 is configured not to pass the position of thehole 28 a of thetube 28 by therotation lever 74 coming into contact with the fixedbody 72. The fixedbody 72 plays a role of restricting the rotation of therotation lever 74 so that theroller 75 does not pass through the position of thehole 28a.

巻きバネ71は、弾性変形していない状態から巻きバネ71の他端側(回転軸73に繋がっている側)を時計回りの回転方向(図9中に示す矢印Pの回転方向)と反対方向に巻き上げた状態で固定体72及び回転軸73に繋がれている。従って、回転軸73は、巻きバネ71の他端側が時計回りの回転方向に移動しようとする(弾性変形していない元の状態に戻ろうとする)復元力によって、回転レバー74を介して、ローラ75を時計回りの回転方向に押している。また、巻きバネ71は、回転レバー74が固定体72に時計回りの回転方向に接触している状態(図9に示される状態)でも、弾性変形していない状態から巻き上げた状態となっているように設計されている。つまり、巻きバネ71は、回転レバー74が固定体72に時計回りの回転方向に接触している状態でも、復元力を有するようになっている。従って、回転軸73は、回転レバー74が固定体72に時計回りの回転方向に接触してローラ75がそれ以上は移動できない状態でも、巻きバネ71の復元力によって、ローラ75を時計回りの回転方向に押している。  In the windingspring 71, the other end side (the side connected to the rotation shaft 73) of the windingspring 71 is in a direction opposite to the clockwise rotation direction (the rotation direction of the arrow P shown in FIG. 9) from the state where it is not elastically deformed. It is connected to the fixedbody 72 and therotating shaft 73 while being wound up. Accordingly, the rotatingshaft 73 is moved through the rotatinglever 74 by the restoring force that the other end side of the windingspring 71 tries to move in the clockwise rotation direction (returns to the original state that is not elastically deformed). 75 is pushed clockwise. Further, the windingspring 71 is in a state of being wound up from a state where it is not elastically deformed even when the rotatinglever 74 is in contact with the fixedbody 72 in the clockwise rotation direction (the state shown in FIG. 9). Designed to be That is, the windingspring 71 has a restoring force even when therotation lever 74 is in contact with the fixedbody 72 in the clockwise rotation direction. Therefore, the rotatingshaft 73 rotates theroller 75 clockwise by the restoring force of the windingspring 71 even when the rotatinglever 74 contacts the fixedbody 72 in the clockwise rotating direction and theroller 75 cannot move any further. Pushing in the direction.

このように構成された液体吐出装置1において、液体収納部2に液体10が充填されていないときには、回転レバー74が巻きバネ71の復元力によって固定体72に時計回りの回転方向に押し付けられていて、ローラ75がチューブ28の孔28aよりも時計回りの回転方向と反対方向側にある状態になっている(図9参照)。チューブ28内のローラ75よりも末端側(ローラ75よりも時計回りの回転方向と反対方向側)の部分には、空気(及び他の気体や液体)は入っていない。なお、チューブ28の末端に、チューブ28内のローラ75よりも末端側の部分の空気を抜くための空気抜き孔が設けられていてもよい。  In theliquid ejection device 1 configured as described above, when theliquid storage unit 2 is not filled with the liquid 10, therotation lever 74 is pressed against the fixedbody 72 in the clockwise rotation direction by the restoring force of the windingspring 71. Thus, theroller 75 is in a state opposite to the clockwise rotation direction with respect to thehole 28a of the tube 28 (see FIG. 9). Air (and other gases and liquids) are not contained in a portion of thetube 28 on the end side of the roller 75 (on the side opposite to the clockwise rotation direction of the roller 75). It should be noted that an air vent hole may be provided at the end of thetube 28 for extracting air from the end side of theroller 28 in thetube 28.

液体収納部2への液体10の充填は、上記第1の実施形態と同様に行われる。但し、本実施形態では、注入する液体10の圧力によって、チューブ28が膨らみながらローラ75を時計回りの回転方向と反対方向に押していき、回転レバー74及び回転軸73が時計回りの回転方向と反対方向に回転していく。これにより、巻きバネ71の他端側が時計回りの回転方向と反対方向に巻き上げられていき、また、液体収納部2の容積が増大していき、容積の増大していく液体収納部2内に液体10が注入されていく。本実施形態では、液体10を液体収納部2に充填するときの液体10の圧力によって、巻きバネ71が巻き上げられることにより、動力源3の(巻きバネ71の)復元力のもとになるエネルギーをチャージアップするようになっている。  Filling theliquid storage unit 2 with the liquid 10 is performed in the same manner as in the first embodiment. However, in this embodiment, the pressure of the liquid 10 to be injected pushes theroller 75 in the direction opposite to the clockwise rotation direction while thetube 28 swells, and therotation lever 74 and therotation shaft 73 are opposite to the clockwise rotation direction. Rotate in the direction. Thereby, the other end side of the windingspring 71 is wound up in the direction opposite to the clockwise rotation direction, and the volume of theliquid storage unit 2 increases, and the volume of theliquid storage unit 2 increases.Liquid 10 is injected. In the present embodiment, the energy that causes the restoring force (of the winding spring 71) of thepower source 3 by the windingspring 71 being wound up by the pressure of the liquid 10 when the liquid 10 is filled in theliquid storage unit 2. To charge up.

液体収納部2に液体10を充填した後、液体吐出路24aを開放すると、巻きバネ71の巻き上げられた状態から戻ろうとする(弾性変形していない元の状態に戻ろうとする)復元力によって、回転軸73及び回転レバー74が時計回りの回転方向に回転し、ローラ75がチューブ28を押し潰しながら時計回りの回転方向に移動していく。これにより、液体収納部2の容積が縮小していき、容積の縮小していく液体収納部2からカプセル4外に液体10が吐出されていく(図10(a)、図11参照)。つまり、本実施形態では、動力源3が巻きバネ71の元の状態に戻ろうとする復元力を利用して液体収納部2の容積を縮小させていくことにより、液体収納部2に収納された液体10がカプセル4外に吐出されていく。その後、回転レバー74が固定体72に接触するまで、ローラ75がチューブ28を押し潰しながら時計回りの回転方向に移動していって、液体収納部2の容積が縮小していき、液体収納部2から液体10が吐出されていく。巻きバネ71は、回転レバー74が固定体72に接触した状態でも、復元力を有しているため、回転レバー74が固定体72に接触するまで、液体収納部2の容積を縮小させて、液体10を吐出させることが可能である。巻きバネ71の弾性係数、及び液体吐出路24aの断面積は、液体収納部2に充填された液体10が所定時間(例えば3日程度)かけて吐出されるように設定されている。  When theliquid discharge path 24a is opened after theliquid container 2 is filled with the liquid 10, the restoring force of the windingspring 71 tries to return from the wound state (returns to the original state without elastic deformation), Therotation shaft 73 and therotation lever 74 rotate in the clockwise rotation direction, and theroller 75 moves in the clockwise rotation direction while crushing thetube 28. Thereby, the volume of theliquid storage unit 2 is reduced, and the liquid 10 is discharged out of thecapsule 4 from theliquid storage unit 2 whose volume is reduced (see FIGS. 10A and 11). In other words, in the present embodiment, thepower source 3 is stored in theliquid storage unit 2 by reducing the volume of theliquid storage unit 2 using a restoring force for returning the windingspring 71 to the original state. The liquid 10 is discharged out of thecapsule 4. Thereafter, until therotation lever 74 contacts the fixedbody 72, theroller 75 moves in the clockwise rotation direction while crushing thetube 28, and the volume of theliquid storage unit 2 is reduced.Liquid 10 is discharged from 2. Since the windingspring 71 has a restoring force even when therotation lever 74 is in contact with the fixedbody 72, the volume of theliquid storage unit 2 is reduced until therotation lever 74 contacts the fixedbody 72. The liquid 10 can be ejected. The elastic coefficient of the windingspring 71 and the cross-sectional area of theliquid discharge path 24a are set so that the liquid 10 filled in theliquid storage unit 2 is discharged over a predetermined time (for example, about 3 days).

本実施形態の液体吐出装置1によれば、上記実施形態と同様の作用、効果が得られる。また、回転軸73、回転レバー74、及びローラ75の単純な回転運動によって液体収納部2の容積を変化させるため、液体吐出装置1の構成が簡素である。また、液体収納部2は、チューブ28を用いたものであるため、液体収納部2の構成が簡素である。また、動力源3は、巻きバネ71を用いたものであるため、動力源3の力を回転運動によって液体収納部2に伝達して液体収納部2の容積を変化させる構成において、動力源3の構成が簡素である。  According to theliquid ejection device 1 of the present embodiment, the same operation and effect as the above-described embodiment can be obtained. Further, since the volume of theliquid storage unit 2 is changed by a simple rotational movement of therotation shaft 73, therotation lever 74, and theroller 75, the configuration of theliquid ejection device 1 is simple. Moreover, since theliquid storage part 2 uses thetube 28, the structure of theliquid storage part 2 is simple. In addition, since thepower source 3 uses the windingspring 71, thepower source 3 is configured in such a manner that the force of thepower source 3 is transmitted to theliquid storage unit 2 by rotational movement to change the volume of theliquid storage unit 2. The configuration is simple.

なお、本実施形態において、上記糸状部材5をさらに備えていてもよい。この場合、糸状部材5の一端側は、回転レバー74に繋がれる。また、回転レバー74及びローラ75に代えて回転軸73の回転運動を直線運動に変換するスクリューを用い、また、液体収納部2として上記図1又は図4と同様の構成のものを用い、スクリューの直線運動によって液体収納部2の容積を縮小させて液体10を吐出するようにしてもよい。  In the present embodiment, thethread member 5 may be further provided. In this case, one end side of the thread-like member 5 is connected to therotation lever 74. Moreover, it replaces with therotation lever 74 and theroller 75, the screw which converts the rotational motion of therotating shaft 73 into a linear motion is used, and the thing similar to the said FIG. 1 or FIG. The liquid 10 may be discharged by reducing the volume of theliquid storage unit 2 by the linear motion.

<第3の実施形態>
図12は、第3の実施形態による液体吐出装置の構成を示す。本実施形態の液体吐出装置1は、上記第1の実施形態の構成に加え、動力源3による液体収納部2の容積の変化を制御する制御部100をさらに備える。制御部100は、液体収納部2の液体吐出路24aを開く状態と閉じる状態とに切換える吐出弁101を有する。また、制御部100は、吐出弁101を動作させる駆動部102と、カプセル4の外部から無線送信される制御信号を受信する受信部(不図示)と、吐出弁101を動作させるための電力を供給する電池(不図示)とを有する。吐出弁101は、液体吐出路24aに設けられており、駆動部102によって動作されて、液体吐出路24aを開く状態と閉じる状態とに切換える。吐出弁101は、駆動部102によって駆動されていないときには、液体吐出路24aを閉じており、駆動部102によって駆動されることにより、液体吐出路24aを開く。
<Third Embodiment>
FIG. 12 shows the configuration of the liquid ejection apparatus according to the third embodiment. In addition to the configuration of the first embodiment, theliquid ejection device 1 of the present embodiment further includes acontrol unit 100 that controls a change in the volume of theliquid storage unit 2 by thepower source 3. Thecontrol unit 100 includes adischarge valve 101 that switches between a state in which theliquid discharge path 24a of theliquid storage unit 2 is opened and a state in which it is closed. Thecontrol unit 100 also includes adrive unit 102 that operates thedischarge valve 101, a receiving unit (not shown) that receives a control signal wirelessly transmitted from the outside of thecapsule 4, and power for operating thedischarge valve 101. A battery to be supplied (not shown). Thedischarge valve 101 is provided in theliquid discharge path 24a, and is operated by the drivingunit 102 to switch between theliquid discharge path 24a and the closed state. When thedischarge valve 101 is not driven by thedrive unit 102, theliquid discharge path 24 a is closed, and theliquid discharge path 24 a is opened by being driven by thedrive unit 102.

図13(a)(b)、図14(a)(b)は、吐出弁101の構成を示す。吐出弁101は、液体吐出管24の途中に設けられた中継管111と、中継管111の内部に移動自在に設けられた棒状磁石112と、棒状磁石112をガイドする磁石ガイド113と、棒状磁石112を移動させるための安定化磁性体114及びコイル115とを有する。中継管111は、内周面が円柱状の円柱部117と、内周面が円錐状の円錐部118とを有する。円柱部117の管内径(円柱部117の内周面の径)は、液体吐出路24aの径よりも大きくなっている。円錐部118の管内径(円錐部118の内周面の径)は、円柱部117側の端部において円柱部117の管内径と等しく、液体吐出管24に近づくほど小さくなり、液体吐出管24側の端部において液体吐出路24aの径と等しくなっている。すなわち、円錐部118の内周面は、液体吐出管24に近づくにつれて細くなる円錐状になっている。  FIGS. 13A and 13B and FIGS. 14A and 14B show the configuration of thedischarge valve 101. Thedischarge valve 101 includes arelay pipe 111 provided in the middle of theliquid discharge pipe 24, abar magnet 112 provided movably inside therelay pipe 111, amagnet guide 113 for guiding thebar magnet 112, and a bar magnet A stabilizingmagnetic body 114 and acoil 115 for moving 112 are included. Therelay pipe 111 has acylindrical portion 117 whose inner peripheral surface is cylindrical and aconical portion 118 whose inner peripheral surface is conical. The inner diameter of the tube of the cylindrical portion 117 (the diameter of the inner peripheral surface of the cylindrical portion 117) is larger than the diameter of theliquid discharge path 24a. The tube inner diameter of the conical portion 118 (the diameter of the inner peripheral surface of the conical portion 118) is equal to the tube inner diameter of thecolumnar portion 117 at the end on thecolumnar portion 117 side, and becomes smaller as it approaches theliquid discharge tube 24. It is equal to the diameter of theliquid discharge path 24a at the end on the side. That is, the inner peripheral surface of theconical portion 118 has a conical shape that becomes narrower as it approaches theliquid discharge pipe 24.

棒状磁石112は、円柱状に形成されている。但し、棒状磁石112の端部は、球面状に形成されている。棒状磁石112の径は、液体吐出路24aの径よりも大きく、かつ、円柱部117の管内径よりも小さい。磁石ガイド113は、円柱部117の内周面から突出しており、棒状磁石112を移動自在に支持している。磁石ガイド113は、円柱部117の内周面の周方向に所定の間隔を空けて、複数設けられている。これにより、棒状磁石112を移動自在に支持しつつ、隣り合う磁石ガイド113同士の間の空間によって、液体10の流路を確保している。  The rod-shapedmagnet 112 is formed in a cylindrical shape. However, the end of thebar magnet 112 is formed in a spherical shape. The diameter of the rod-shapedmagnet 112 is larger than the diameter of theliquid discharge path 24 a and smaller than the tube inner diameter of thecylindrical portion 117. Themagnet guide 113 protrudes from the inner peripheral surface of thecylindrical portion 117, and supports the rod-shapedmagnet 112 so as to be movable. A plurality of magnet guides 113 are provided at predetermined intervals in the circumferential direction of the inner peripheral surface of thecylindrical portion 117. Thereby, the flow path of the liquid 10 is ensured by the space between adjacent magnet guides 113, while supporting the rod-shapedmagnet 112 movably.

安定化磁性体114は、中継管111の外部(液体吐出管24の外部でもある)において、液体吐出管24の先端側の円錐部118と液体吐出管24と接続部付近に取付けられている。コイル115は、中継管111の外部において、円柱部117の外周面に取付けられている。棒状磁石112は、安定化磁性体114側(液体吐出管24の先端側)にN極があり、コイル115側にS極がある。コイル115は、駆動部102によって駆動(通電)される。コイル115は、駆動されることによって、棒状磁石112を引き付ける磁力を発生する。  The stabilizingmagnetic body 114 is attached to theconical part 118 on the tip side of theliquid discharge pipe 24, theliquid discharge pipe 24, and the vicinity of the connection portion outside the relay pipe 111 (also outside the liquid discharge pipe 24). Thecoil 115 is attached to the outer peripheral surface of thecylindrical portion 117 outside therelay pipe 111. The rod-shapedmagnet 112 has an N pole on the stabilizingmagnetic body 114 side (the tip side of the liquid discharge tube 24) and an S pole on thecoil 115 side. Thecoil 115 is driven (energized) by the drivingunit 102. Thecoil 115 generates a magnetic force that attracts thebar magnet 112 when driven.

コイル115が駆動されていないときには、棒状磁石112は、棒状磁石112の磁力によって安定化磁性体114に引き付けられて、円錐部118の内周面に接している。すなわち、棒状磁石112が液体吐出路24aを塞いでいて、中継管111の管内空間と液体吐出路24aとが連通しておらず、液体吐出路24aが閉じた状態になっている(図13(a)参照)。コイル115が駆動されると、棒状磁石112は、コイル115の磁力によってコイル115側(安定化磁性体114と反対側)に移動して、円錐部118の内周面から離れる。これにより、中継管111の管内空間と液体吐出路24aとが連通して、液体吐出路24aが開いた状態になる(図14(a)参照)。コイル115が駆動停止されると、コイル115の磁力がなくなり、棒状磁石112は、棒状磁石112の磁力によって安定化磁性体114側に移動して、円錐部118の内周面に接する。これにより、液体吐出路24aが閉じた状態になる(図13(a)参照)。  When thecoil 115 is not driven, thebar magnet 112 is attracted to the stabilizingmagnetic body 114 by the magnetic force of thebar magnet 112 and is in contact with the inner peripheral surface of theconical portion 118. That is, the rod-shapedmagnet 112 blocks theliquid discharge path 24a, the space inside therelay pipe 111 and theliquid discharge path 24a are not in communication, and theliquid discharge path 24a is closed (FIG. 13 ( a)). When thecoil 115 is driven, thebar magnet 112 moves to thecoil 115 side (the side opposite to the stabilizing magnetic body 114) by the magnetic force of thecoil 115, and moves away from the inner peripheral surface of theconical portion 118. Thereby, the inner space of therelay pipe 111 communicates with theliquid discharge path 24a, and theliquid discharge path 24a is opened (see FIG. 14A). When the driving of thecoil 115 is stopped, the magnetic force of thecoil 115 disappears, and thebar magnet 112 moves to the stabilizingmagnetic body 114 side by the magnetic force of thebar magnet 112 and comes into contact with the inner peripheral surface of theconical portion 118. As a result, theliquid discharge path 24a is closed (see FIG. 13A).

制御部100は、受信部により受信した制御信号に基いて、すなわち、カプセル4の外部から無線送信される制御信号に基いて、駆動部102によって電池の電力により吐出弁101を動作させる。すなわち、制御部100は、カプセル4の外部から無線送信される制御信号に基いて、駆動部102によって電池の電力により吐出弁101を駆動(コイル115を駆動)して、液体吐出路24aを開いた状態にし、また、駆動部102による吐出弁101の駆動を停止して、液体吐出路24aを閉じた状態にする。制御部100は、吐出弁101を動作させて、液体吐出路24aを開いた状態と閉じた状態とに切換えることにより、動力源3の力による液体収納部2の容積の変化を制御し、液体収納部2からカプセル4外への液体10の吐出を制御する。  Based on the control signal received by the receiving unit, that is, based on the control signal wirelessly transmitted from the outside of thecapsule 4, thecontrol unit 100 causes thedriving unit 102 to operate thedischarge valve 101 with the battery power. That is, thecontrol unit 100 opens theliquid discharge path 24a by driving the discharge valve 101 (driving the coil 115) with the power of the battery by the drivingunit 102 based on a control signal wirelessly transmitted from the outside of thecapsule 4. In addition, the driving of thedischarge valve 101 by thedrive unit 102 is stopped, and theliquid discharge path 24a is closed. Thecontrol unit 100 operates thedischarge valve 101 to switch between the open state and the closed state of theliquid discharge path 24a, thereby controlling the change in the volume of theliquid storage unit 2 due to the force of thepower source 3, and the liquid The ejection of the liquid 10 from thestorage unit 2 to the outside of thecapsule 4 is controlled.

液体収納部2への液体10の充填は、以下のようにして行われる。まず、カプセル4の外部の通信手段から液体充填開始の旨の制御信号を無線送信する。制御部100は、その制御信号に基いて、吐出弁101を駆動して、液体吐出路24aを開く。そして、この状態で、上記第1の実施形態と同様に、液体10を液体収納部2に注入する。液体10の注入を終えると、カプセル4の外部の通信手段から液体充填完了の旨の制御信号を無線送信する。制御部100は、その制御信号に基いて、吐出弁101の駆動を停止して、液体吐出路24aを閉じる。これにより、液体収納部2に液体10が収納された状態で、液体収納部2からカプセル4外への液体10の吐出が停止している状態となる。液体収納部2への液体10の充填は、このようにして行われる。  The filling of the liquid 10 into theliquid storage unit 2 is performed as follows. First, a control signal indicating the start of liquid filling is wirelessly transmitted from communication means outside thecapsule 4. Based on the control signal, thecontroller 100 drives thedischarge valve 101 to open theliquid discharge path 24a. In this state, the liquid 10 is injected into theliquid storage unit 2 as in the first embodiment. When the injection of the liquid 10 is completed, a control signal indicating completion of liquid filling is wirelessly transmitted from communication means outside thecapsule 4. Based on the control signal, thecontrol unit 100 stops driving thedischarge valve 101 and closes theliquid discharge path 24a. Thereby, in a state where the liquid 10 is stored in theliquid storage unit 2, the discharge of the liquid 10 from theliquid storage unit 2 to the outside of thecapsule 4 is stopped. Filling theliquid storage unit 2 with the liquid 10 is performed in this way.

液体収納部2に液体10を充填した後、カプセル4の外部の通信手段から液体吐出開始の旨の制御信号を無線送信すると、制御部100は、その制御信号に基いて、吐出弁101を駆動して、液体吐出路24aを開く。これにより、上記第1の実施形態と同様に、動力源3の力によって液体収納部2の容積が縮小されていき、液体収納部2からカプセル4外に液体10が吐出されていく。すなわち、伸縮バネ31の復元力によって、動力伝達体33が移動側蓋体23を押しながら固定側蓋体22側に移動していくことにより、液体収納部2の容積が縮小されていき、液体収納部2から液体10が吐出されていく。また、カプセル4の外部の通信手段から液体吐出停止の旨の制御信号を無線送信すると、制御部100は、その制御信号に基いて、吐出弁101の駆動を停止して、液体吐出路24aを閉じる。これにより、動力源3の力による液体収納部2の容積の縮小が停止し、液体収納部2からの液体10の吐出が停止する。  After theliquid storage unit 2 is filled with the liquid 10, when a control signal indicating the start of liquid discharge is wirelessly transmitted from the communication means outside thecapsule 4, thecontrol unit 100 drives thedischarge valve 101 based on the control signal. Then, theliquid discharge path 24a is opened. As a result, similarly to the first embodiment, the volume of theliquid storage unit 2 is reduced by the force of thepower source 3, and the liquid 10 is discharged from theliquid storage unit 2 to the outside of thecapsule 4. In other words, thepower transmission body 33 moves toward thestationary lid 22 while pushing the movinglid 23 by the restoring force of theexpansion spring 31, thereby reducing the volume of theliquid storage unit 2 and reducing the liquid. The liquid 10 is discharged from thestorage unit 2. In addition, when a control signal indicating that the liquid discharge is stopped is wirelessly transmitted from the communication unit outside thecapsule 4, thecontrol unit 100 stops driving thedischarge valve 101 based on the control signal, and theliquid discharge path 24a is set. close up. Thereby, the reduction of the volume of theliquid storage unit 2 due to the force of thepower source 3 is stopped, and the discharge of the liquid 10 from theliquid storage unit 2 is stopped.

その後、カプセル4の外部の通信手段から液体吐出開始の旨の制御信号を無線送信する都度、制御部100は、吐出弁101を駆動して、液体吐出路24aを開く。また、カプセル4の外部の通信手段から液体吐出停止の旨の制御信号を無線送信する都度、制御部100は、吐出弁101の駆動を停止して、液体吐出路24aを閉じる。これにより、その後、液体吐出開始の旨の制御信号を無線送信する都度、液体10の吐出が開始され、液体吐出停止の旨の制御信号を無線送信する都度、液体10の吐出が停止する。すなわち、液体収納部2に液体10を充填した後、液体吐出開始の旨の制御信号を無線送信する都度、その後に液体吐出停止の旨の制御信号を無線送信するまで(又はベローズ21が完全に縮んだ状態になるまで)の間、液体10が吐出される。  Thereafter, each time a control signal indicating the start of liquid discharge is wirelessly transmitted from communication means outside thecapsule 4, thecontrol unit 100 drives thedischarge valve 101 to open theliquid discharge path 24a. In addition, whenever the control signal indicating that the liquid discharge is stopped is wirelessly transmitted from the communication unit outside thecapsule 4, thecontrol unit 100 stops driving thedischarge valve 101 and closes theliquid discharge path 24 a. As a result, each time the control signal indicating the start of liquid discharge is wirelessly transmitted, the discharge of the liquid 10 is started. Whenever the control signal indicating the stop of the liquid discharge is transmitted wirelessly, the discharge of the liquid 10 is stopped. That is, after theliquid storage unit 2 is filled with the liquid 10, every time the control signal indicating the start of liquid discharge is wirelessly transmitted, the control signal indicating that the liquid discharge is stopped is transmitted wirelessly thereafter (or thebellows 21 is completely The liquid 10 is discharged during the period until the contracted state is reached.

本実施形態の液体吐出装置1によれば、上記第1の実施形態と同様の作用、効果が得られる。また、制御部100によって、動力源3の力による液体収納部2の容積の変化を制御することにより、液体10の吐出を制御することができる。また、制御部100は、吐出弁101によって液体吐出路24aを開いた状態と閉じた状態とに切換えることにより、動力源3の力による液体収納部2の容積の変化を制御する構成であるため、簡単な構成によって、動力源3の力による液体収納部2の容積の変化を制御して、液体10の吐出を制御することができる。また、制御部100は、カプセル4の外部から無線送信される制御信号に基いて、吐出弁101を動作させるため、液体吐出開始の旨の制御信号及び液体吐出停止の旨の制御信号の送信タイミングを調整することにより、液体10を所望のタイミングで所望の量だけ吐出することができる。  According to theliquid ejection apparatus 1 of the present embodiment, the same operations and effects as in the first embodiment can be obtained. Further, by controlling the change in the volume of theliquid storage unit 2 due to the force of thepower source 3 by thecontrol unit 100, the discharge of the liquid 10 can be controlled. Further, thecontrol unit 100 is configured to control the change in the volume of theliquid storage unit 2 due to the force of thepower source 3 by switching theliquid discharge path 24a between the open state and the closed state by thedischarge valve 101. With a simple configuration, it is possible to control the discharge of the liquid 10 by controlling the change in the volume of theliquid storage unit 2 due to the force of thepower source 3. Further, since thecontrol unit 100 operates thedischarge valve 101 based on a control signal wirelessly transmitted from the outside of thecapsule 4, the transmission timing of the control signal indicating the start of liquid discharge and the control signal indicating the stop of liquid discharge By adjusting this, the liquid 10 can be discharged by a desired amount at a desired timing.

本実施形態では、吐出弁101を動作させるのに電力を利用するが、この電力は、液体収納部2に液体10を充填するとき及び液体収納部2から液体10を吐出するときに吐出弁101を駆動する(液体吐出路24aを開く)だけの電力である。この電力は、液体10を吐出する動力(液体収納部2の容積を変化させる動力)に電力を利用する場合と比較して、少ないものである。従って、液体10を吐出する動力に電力を利用する場合よりも、電力の利用が少なくて済み、省電力である。  In the present embodiment, power is used to operate thedischarge valve 101, and this power is used when theliquid storage unit 2 is filled with the liquid 10 and when the liquid 10 is discharged from theliquid storage unit 2. Power for driving (opening theliquid discharge path 24a). This electric power is less than that in the case where electric power is used for power for discharging the liquid 10 (power for changing the volume of the liquid storage unit 2). Therefore, less power is used than in the case of using electric power for the power for discharging the liquid 10, which saves power.

なお、本実施形態において、制御部100は、カプセル4の外部から空間伝送される電力を受電する受電部を有し、カプセル4の外部から空間伝送される電力により吐出弁101を動作させるようになっていてもよい。また、制御部100は、タイマを有し、液体収納部2に液体10を充填した後、タイマの出力に基いて吐出弁101を動作させるようになっていてもよい。また、液体収納部2及び動力源3は、上記図2、図4〜図9と同様の構成であってもよい。また、上記糸状部材5をさらに備えていてもよい。この場合、液体10の充填は、吐出弁101を駆動して、液体吐出路24aを開いた状態で、糸状部材5を引っ張って動力源3の復元力を増大させ、この状態で液体吐出路24aから液体10を注入することにより行われる。  In the present embodiment, thecontrol unit 100 includes a power receiving unit that receives power that is spatially transmitted from the outside of thecapsule 4, and operates thedischarge valve 101 using power that is spatially transmitted from the outside of thecapsule 4. It may be. Thecontrol unit 100 may have a timer, and after theliquid storage unit 2 is filled with the liquid 10, thedischarge valve 101 may be operated based on the output of the timer. Further, theliquid storage unit 2 and thepower source 3 may have the same configuration as that shown in FIGS. 2 and 4 to 9. Further, the thread-like member 5 may be further provided. In this case, the filling of the liquid 10 is performed by driving thedischarge valve 101 and opening theliquid discharge path 24a to pull the thread-like member 5 to increase the restoring force of thepower source 3, and in this state theliquid discharge path 24a By injecting the liquid 10.

<第4の実施形態>
図15は、第4の実施形態による液体吐出装置の構成を示す。本実施形態の液体吐出装置1は、上記実施形態の構成に加え、動力源3による液体収納部2の容積の変化を制御する制御部100をさらに備える。また、糸状部材5のカプセル4外への引き出し方が上記実施形態と異なっている。本実施形態の液体吐出装置1は、液体10の吐出精度の高精度化を図るものである。制御部100は、動力源3の力(伸縮バネ31の復元力)を液体収納部2に伝達する状態と伝達しない状態とに切換える動力伝達規制機構121を有する。また、制御部100は、動力伝達規制機構121を動作させる駆動部(不図示)と、カプセル4の外部から無線送信される制御信号を受信する受信部(不図示)と、動力伝達規制機構121を動作させるための電力を供給する電池(不図示)とを有する。
<Fourth Embodiment>
FIG. 15 shows the configuration of the liquid ejection apparatus according to the fourth embodiment. Theliquid ejection apparatus 1 according to the present embodiment further includes acontrol unit 100 that controls a change in the volume of theliquid storage unit 2 by thepower source 3 in addition to the configuration of the above embodiment. Further, the method of pulling the thread-like member 5 out of thecapsule 4 is different from the above embodiment. Theliquid ejection apparatus 1 of the present embodiment is intended to increase the accuracy of ejection of the liquid 10. Thecontrol unit 100 includes a powertransmission restriction mechanism 121 that switches between a state in which the force of the power source 3 (restoring force of the expansion spring 31) is transmitted to theliquid storage unit 2 and a state in which the force is not transmitted. Thecontrol unit 100 also includes a drive unit (not shown) that operates the powertransmission restriction mechanism 121, a reception unit (not shown) that receives a control signal wirelessly transmitted from the outside of thecapsule 4, and the powertransmission restriction mechanism 121. And a battery (not shown) for supplying power for operating.

動力伝達規制機構121は、カプセル4に回転自在に支持された回転軸131と、回転軸131に固定的に連結された大径糸車132、小径糸車133、及び雁木車134と、雁木車134に係合、係合解除される係合レバー135と、係合レバー135を動作させるための電磁石136とを有する。大径糸車132の径は、小径糸車133の径及び雁木車134の径よりも大きく、小径糸車133の径は、大径糸車132の径及び雁木車134の径よりも小さい。糸状部材5は、上記実施形態と同様に、一端側が動力源3の動力伝達体33に固定的に接続されており、他端側がカプセル4の外部に露出している。但し、本実施形態では、糸状部材5の途中の箇所が大径糸車132及び小径糸車133に巻き付けられている。具体的には、糸状部材5は、動力側糸状部材5bと引出側糸状部材5cとを有しており、動力側糸状部材5bは、一端側が動力源3の動力伝達体33に固定的に接続され、他端側が小径糸車133に巻き付けられており、引出側糸状部材5cは、一端側が大径糸車132に巻き付けられ、他端側がカプセル4の外部に露出されている。  The powertransmission restricting mechanism 121 includes arotating shaft 131 rotatably supported by thecapsule 4, a large-diameter spinning wheel 132, a small-diameter spinning wheel 133, astraw wheel 134, and astraw wheel 134 that are fixedly connected to therotating shaft 131. The engaginglever 135 is engaged and disengaged, and theelectromagnet 136 is used to operate the engaginglever 135. The diameter of the large-diameter spinning wheel 132 is larger than the diameter of the small-diameter spinning wheel 133 and the diameter of thestraw wheel 134, and the diameter of the small-diameter spinning wheel 133 is smaller than the diameter of the large-diameter spinning wheel 132 and thestraw wheel 134. As in the above embodiment, one end of the thread-like member 5 is fixedly connected to thepower transmission body 33 of thepower source 3, and the other end is exposed to the outside of thecapsule 4. However, in this embodiment, the middle part of the thread-like member 5 is wound around the large-diameter spinning wheel 132 and the small-diameter spinning wheel 133. Specifically, the thread-like member 5 includes a power-side thread-like member 5b and a draw-out-side thread-like member 5c. The other end side is wound around the small-diameter spinning wheel 133, and one end side of the drawing-side thread-like member 5 c is wound around the large-diameter spinning wheel 132, and the other end side is exposed to the outside of thecapsule 4.

動力側糸状部材5bは、動力伝達体33と小径糸車133との間において弛みのないように、小径糸車133に巻き付けられている。従って、動力伝達体33が固定側蓋体22側に移動するとき、動力側糸状部材5bが動力伝達体33に引っ張られて、小径糸車133が回転し、大径糸車132と雁木車134も回転して、引出側糸状部材5cが大径糸車132に巻き付けられてカプセル4内に引き込まれる。また、引出側糸状部材5cがカプセル4外から引っ張れると、大径糸車132が逆方向に回転し、小径糸車133と雁木車134も逆方向に回転して、動力側糸状部材5bが小径糸車133に巻き付けられて動力伝達体33を引っ張り、動力伝達体33が動力側糸状部材5bに引っ張られて固定側蓋体22と反対側に移動する。雁木車134は、複数の移動爪137を有する。複数の移動爪137は、雁木車134の回転方向に等間隔に設けられている。  The power-side thread-like member 5b is wound around the small-diameter spinning wheel 133 so that there is no slack between thepower transmission body 33 and the small-diameter spinning wheel 133. Therefore, when thepower transmission body 33 moves to the fixedlid 22 side, the power side thread-like member 5b is pulled by thepower transmission body 33, the small-diameter spinning wheel 133 rotates, and the large-diameter spinning wheel 132 and thestraw wheel 134 also rotate. Then, the draw-out side thread-like member 5 c is wound around the large-diameter spinning wheel 132 and drawn into thecapsule 4. When the pull-out side thread-like member 5c is pulled from the outside of thecapsule 4, the large-diameter spinning wheel 132 rotates in the reverse direction, the small-diameter spinning wheel 133 and thestraw wheel 134 also rotate in the reverse direction, and the power-side thread-like member 5b turns into the small-diameter spinning wheel 133. Then, thepower transmission body 33 is pulled and thepower transmission body 33 is pulled by the power-side thread-like member 5b and moves to the side opposite to the fixed-side lid body 22. Thewooden cart 134 has a plurality of movingclaws 137. The plurality of movingclaws 137 are provided at equal intervals in the rotation direction of thewooden cart 134.

係合レバー135は、支軸138によって回動自在に支持されており、移動爪137に係合、係合解除される留め外し爪139を有する。留め外し爪139は、係合レバー135の一端側に設けられている。電磁石136は、駆動部(不図示)によって駆動(電磁石136のコイルに通電)される。電磁石136は、駆動されることによって磁力を発生し、その磁力によって係合レバー135の他端側(留め外し爪139と反対側)を引き付ける。  Theengagement lever 135 is rotatably supported by asupport shaft 138 and has arelease claw 139 that is engaged with and released from the movingclaw 137. Therelease claw 139 is provided on one end side of theengagement lever 135. Theelectromagnet 136 is driven (the coil of theelectromagnet 136 is energized) by a drive unit (not shown). Theelectromagnet 136 generates a magnetic force when driven, and attracts the other end side of the engagement lever 135 (the side opposite to the release claw 139) by the magnetic force.

電磁石136が駆動されていないときには、係合レバー135は、係合レバー135の自重によって(又は不図示の弾性バネの力によって)、留め外し爪139が移動爪137と係合し得る位置(移動爪137の移動経路上)に進出している。電磁石136が駆動されると、電磁石136の磁力によって、係合レバー135の他端側(留め外し爪139と反対側)が電磁石136に引き付けられ、これにより、係合レバー135は、留め外し爪139が雁木車134から後退するように回動する。このとき、留め外し爪139は、移動爪137と係合し得えない位置に後退する。電磁石136が駆動停止されると、電磁石136の磁力がなくなり、係合レバー135は、係合レバー135の自重によって(又は不図示の弾性バネの力によって)、留め外し爪139が雁木車134に向かって進出するように回動し、留め外し爪139が移動爪137と係合し得る位置に進出する。  When theelectromagnet 136 is not driven, the engaginglever 135 is moved to a position (moving position) where the releasingclaw 139 can be engaged with the movingclaw 137 by its own weight (or by the force of an elastic spring (not shown)). It moves on the movement path of theclaw 137. When theelectromagnet 136 is driven, the other end side of the engagement lever 135 (on the side opposite to the release claw 139) is attracted to theelectromagnet 136 by the magnetic force of theelectromagnet 136, whereby theengagement lever 135 is released from the release claw. 139 rotates so as to retract from thewooden cart 134. At this time, therelease claw 139 moves back to a position where it cannot engage with the movingclaw 137. When the driving of theelectromagnet 136 is stopped, the magnetic force of theelectromagnet 136 is lost, and the engaginglever 135 is pulled by the weight of the engaging lever 135 (or by the force of an elastic spring (not shown)), and therelease claw 139 is attached to thewooden cart 134. It rotates so that it may advance toward the front, and it advances to the position where theremoval claw 139 can engage with the movingclaw 137.

留め外し爪139が移動爪137と係合していないときは、雁木車134は回転することができ、これにより、動力伝達体33は固定側蓋体22側に移動することができる。従って、このときは、上記実施形態と同様に、伸縮バネ31の復元力によって、動力伝達体33が移動側蓋体23を固定側蓋体22側に押すことになり、動力源3の力(伸縮バネ31の復元力)が液体収納部2に伝達されることになる。一方、留め外し爪139が移動爪137と係合しているときは、雁木車134は回転することができず、これにより、動力伝達体33は固定側蓋体22側に移動することができない。従って、このときは、動力伝達体33が移動側蓋体23を押さないことになり、動力源3の力が液体収納部2に伝達されないことになる。動力伝達規制機構121は、動力伝達体33の位置(動力源3の力による動力伝達体33の移動)を規制する役割を担っている。また、動力伝達規制機構121は、留め外し爪139と移動爪137との係合、係合解除による雁木車134の回転角度規制を、小径糸車133と動力側糸状部材5bとにより直進位置規制に変換して、動力伝達体33の位置を規制するようになっている。  When the detachingclaw 139 is not engaged with the movingclaw 137, thecart 134 can be rotated, whereby thepower transmission body 33 can be moved to the fixedlid 22 side. Therefore, at this time, similarly to the above-described embodiment, thepower transmission body 33 pushes the moving-side lid body 23 toward the fixed-side lid body 22 by the restoring force of the expansion /contraction spring 31, and the force ( The restoring force of the expansion spring 31) is transmitted to theliquid storage unit 2. On the other hand, when therelease claw 139 is engaged with the movingclaw 137, thewheelbarrow 134 cannot rotate, and thus thepower transmission body 33 cannot move to the fixedlid 22 side. . Therefore, at this time, thepower transmission body 33 does not push the movingside cover body 23, and the power of thepower source 3 is not transmitted to theliquid storage unit 2. The powertransmission restriction mechanism 121 plays a role of restricting the position of the power transmission body 33 (movement of thepower transmission body 33 by the force of the power source 3). In addition, the powertransmission restricting mechanism 121 restricts the rotation angle of thestraw wheel 134 by engaging / disengaging the disengagingclaw 139 and the movingclaw 137 to restrict the rectilinear position by the small-diameter spinning wheel 133 and the power-side thread-like member 5b. By converting, the position of thepower transmission body 33 is regulated.

制御部100は、受信部により受信した制御信号に基いて、すなわち、カプセル4の外部から無線送信される制御信号に基いて、電池の電力により動力伝達規制機構121を動作させる。すなわち、制御部100は、カプセル4の外部から無線送信される制御信号に基いて、駆動部によって電池の電力により電磁石136を駆動し、また、駆動部による電磁石136の駆動を停止する。そして、制御部100は、電磁石136を駆動、駆動停止することにより、係合レバー135を動作(留め外し爪139を後退、進出)させて、動力源3の力が液体収納部2に伝達される状態と伝達されない状態とに切換える。制御部100は、動力伝達規制機構100を動作させて、動力源3の力が液体収納部2に伝達される状態と伝達されない状態とに切換えることにより、動力源3の力による液体収納部2の容積の変化を制御し、液体収納部2からカプセル4外への液体10の吐出を制御する。  Based on the control signal received by the receiving unit, that is, based on the control signal wirelessly transmitted from the outside of thecapsule 4, thecontrol unit 100 operates the powertransmission restriction mechanism 121 with the power of the battery. That is, thecontrol unit 100 drives theelectromagnet 136 with the power of the battery by the driving unit based on a control signal wirelessly transmitted from the outside of thecapsule 4 and stops driving theelectromagnet 136 by the driving unit. Then, thecontrol unit 100 drives and stops theelectromagnet 136 to operate the engagement lever 135 (retracting and advancing the detaching claw 139), and the force of thepower source 3 is transmitted to theliquid storage unit 2. Switch to a non-transmitted state. Thecontrol unit 100 operates the powertransmission restriction mechanism 100 to switch between the state in which the power of thepower source 3 is transmitted to theliquid storage unit 2 and the state in which the force is not transmitted to theliquid storage unit 2. The volume of the liquid 10 is controlled to discharge the liquid 10 from theliquid storage unit 2 to the outside of thecapsule 4.

液体収納部2への液体10の充填は、以下のようにして行われる。まず、カプセル4の外部の通信手段からチャージアップ開始の旨の制御信号を無線送信する。制御部100は、その制御信号に基いて、電磁石136を駆動して、留め外し爪139を後退させる。カプセル4の外部から引出側糸状部材5cを引っ張る。これにより、大径糸車132が回転して小径糸車133(及び雁木車134)が回転し、動力伝達体33が動力側糸状部材5bに引っ張られ、上記実施形態と同様に、動力伝達体33が伸張バネ31を伸張しながら固定側蓋体22と反対側に移動し、また、移動側蓋体23がベローズ21を伸ばしながら固定側蓋体22と反対側に移動して、液体収納部2の容積が増大する。続いて、カプセル4の外部の通信手段からチャージアップ完了の旨の制御信号を無線送信する。制御部100は、その制御信号に基いて、電磁石136の駆動を停止して、留め外し爪139を進出させる。そして、カプセル4の外部からの引出側糸状部材5cの引っ張りを解除する。これにより、留め外し爪139が移動爪137と係合されて、動力源3の力(伸縮バネ31の復元力)が液体収納部2に伝達されない状態になり、動力源3の力による液体収納部2の容積の変化が起らない状態になる。そして、この状態で、上記実施形態と同様に、液体10を液体収納部2に注入する。これにより、液体収納部2に液体10が収納された状態で、液体収納部2からカプセル4外への液体10の吐出が停止している状態となる。液体収納部2への液体10の充填は、このようにして行われる。  The filling of the liquid 10 into theliquid storage unit 2 is performed as follows. First, a control signal indicating the start of charge-up is wirelessly transmitted from communication means outside thecapsule 4. Based on the control signal, thecontrol unit 100 drives theelectromagnet 136 to retract therelease claw 139. The drawing-side thread-like member 5 c is pulled from the outside of thecapsule 4. As a result, the large-diameter spinning wheel 132 rotates and the small-diameter spinning wheel 133 (and the straw wheel 134) rotates, and thepower transmission body 33 is pulled by the power-side thread-like member 5b. Theextension spring 31 moves to the opposite side of the fixedlid 22 while extending, and themovable lid 23 moves to the opposite side of the fixedlid 22 while extending thebellows 21, so that theliquid storage unit 2 The volume increases. Subsequently, a control signal indicating completion of charge-up is wirelessly transmitted from a communication unit outside thecapsule 4. Based on the control signal, thecontrol unit 100 stops driving theelectromagnet 136 and advances therelease claw 139. Then, the pulling of the drawing-side thread-like member 5c from the outside of thecapsule 4 is released. As a result, therelease claw 139 is engaged with the movingclaw 137 so that the force of the power source 3 (restoring force of the expansion spring 31) is not transmitted to theliquid storage unit 2, and the liquid storage by the force of thepower source 3 is performed. The volume of thepart 2 is not changed. And in this state, the liquid 10 is inject | poured into theliquid storage part 2 similarly to the said embodiment. Thereby, in a state where the liquid 10 is stored in theliquid storage unit 2, the discharge of the liquid 10 from theliquid storage unit 2 to the outside of thecapsule 4 is stopped. Filling theliquid storage unit 2 with the liquid 10 is performed in this way.

液体収納部2に液体10を充填した後、カプセル4の外部の通信手段から液体吐出開始の旨の制御信号を無線送信すると、制御部100は、その制御信号に基いて、電磁石136を駆動して、留め外し爪139を後退させる。これにより、留め外し爪139と移動爪137との係合が解除されて、動力源3の力が液体収納部2に伝達される状態になり、上記実施形態と同様に、動力源3の力によって液体収納部2の容積が縮小されていき、液体収納部2からカプセル4外に液体10が吐出されていく。すなわち、伸縮バネ31の復元力によって、動力伝達体33が移動側蓋体23を押しながら固定側蓋体22側に移動していくことにより、液体収納部2の容積が縮小されていき、液体収納部2から液体10が吐出されていく。このとき、動力伝達体33が移動することにより、小径糸車133が回転し、雁木車134も回転する。そして、制御部100は、電磁石136の駆動を停止して、留め外し爪139を再び進出させる。雁木車134が回転していき、留め外し爪139が次の移動爪137と係合すると、動力源3の力が液体収納部2に伝達されない状態になり、動力源3の力による液体収納部2の容積の縮小が停止し、液体収納部2からの液体10の吐出が停止する。  After theliquid storage unit 2 is filled with the liquid 10, when a control signal indicating the start of liquid discharge is wirelessly transmitted from the communication means outside thecapsule 4, thecontrol unit 100 drives theelectromagnet 136 based on the control signal. Then, therelease claw 139 is retracted. As a result, the engagement between therelease claw 139 and the movingclaw 137 is released, and the force of thepower source 3 is transmitted to theliquid storage unit 2, and the force of thepower source 3 is the same as in the above embodiment. As a result, the volume of theliquid storage unit 2 is reduced, and the liquid 10 is discharged from theliquid storage unit 2 to the outside of thecapsule 4. In other words, thepower transmission body 33 moves toward thestationary lid 22 while pushing the movinglid 23 by the restoring force of theexpansion spring 31, thereby reducing the volume of theliquid storage unit 2 and reducing the liquid. The liquid 10 is discharged from thestorage unit 2. At this time, when thepower transmission body 33 moves, the small-diameter spinning wheel 133 rotates and thestraw wheel 134 also rotates. And thecontrol part 100 stops the drive of theelectromagnet 136, and advances the removal nail | claw 139 again. When thewooden wheel 134 rotates and therelease claw 139 engages with the next movingclaw 137, the power of thepower source 3 is not transmitted to theliquid storage unit 2, and the liquid storage unit by the power of thepower source 3 2 is stopped, and the discharge of the liquid 10 from theliquid storage unit 2 is stopped.

その後、カプセル4の外部の通信手段から液体吐出開始の旨の制御信号を無線送信する都度、制御部100は、上記と同様に、留め外し爪139を後退させた後に再び進出させる。これにより、その後、液体吐出開始の旨の制御信号を無線送信する都度、留め外し爪139と移動爪137が次に係合するまで液体収納部2の容積が縮小されて、液体10が吐出される。すなわち、液体収納部2に液体10を充填した後、液体吐出開始の旨の制御信号を無線送信する都度、液体収納部2の容積が移動爪137の間隔に対応して一定容積ずつ縮小されて、液体10が移動爪137の間隔に対応して一定量ずつ吐出される。  Thereafter, every time a control signal indicating the start of liquid ejection is wirelessly transmitted from the communication means outside thecapsule 4, thecontrol unit 100 retreats theseparation claw 139 and advances it again as described above. As a result, each time a control signal to start liquid discharge is transmitted wirelessly, the volume of theliquid storage unit 2 is reduced until therelease claw 139 and the movingclaw 137 are next engaged, and the liquid 10 is discharged. The That is, each time the control signal indicating the start of liquid ejection is wirelessly transmitted after theliquid storage unit 2 is filled with the liquid 10, the volume of theliquid storage unit 2 is reduced by a certain volume corresponding to the distance between the movingclaws 137. The liquid 10 is ejected by a certain amount corresponding to the distance between the movingclaws 137.

本実施形態の液体吐出装置1によれば、上記実施形態と同様の作用、効果が得られる。また、制御部100によって、動力源3の力による液体収納部2の容積の変化を制御することにより、液体10の吐出を制御することができる。また、制御部100は、動力伝達規制機構121によって動力源3の力を液体収納部2に伝達する状態と伝達しない状態とに切換えることにより、動力源3の力による液体収納部2の容積の変化を制御する構成であるため、簡単な構成によって、動力源3の力による液体収納部2の容積の変化を制御して、液体10の吐出を制御することができる。また、動力伝達規制機構121は、等間隔に設けられた移動爪137の係合、係合解除により、動力源3の力を液体収納部2に伝達しない状態と伝達する状態とに切換える構成であるため、液体収納部2の容積を移動爪137の間隔に対応する一定容積ずつ変化させて、液体10を移動爪137の間隔に対応する一定量ずつ吐出させることができる。これにより、液体10の吐出精度を高めることができる。また、動力側糸状部材5bは、雁木車134よりも径の小さい小径糸車133に巻き付けられているため、移動爪137の間隔を狭くするのと同様に、移動爪137の係合、係合解除による動力伝達体33の移動量を細分化することができ、移動爪137の間隔に対応する液体10の吐出量を少量化することができる。小径糸車133の径を小さくするほど、動力伝達体33の移動量を細分化することができ、移動爪137の間隔に対応する液体10の吐出量を少量化することができる。これにより、液体10の少量吐出制御を行うことができる。また、引出側糸状部材5cは、小径糸車133よりも径の大きい大径糸車132に巻き付けられているため、引出側糸状部材5cを引っ張って動力源3の復元力のもとになるエネルギーをチャージアップするとき、てこの原理によって弱い力でチャージアップすることができる。大径糸車132の径を大きくするほど、弱い力でチャージアップすることができる。また、大径糸車132と小径糸車133をチャージアップのためと液体10の吐出制御のために使い分けることにより、弱い力でのチャージアップと液体10の少量吐出制御を両立することができる。また、制御部100は、カプセル4の外部から無線送信される制御信号に基いて、動力伝達規制機構121を動作させるため、液体吐出開始の旨の制御信号の送信タイミングを調整することにより、液体10を所望のタイミングで吐出することができる。  According to theliquid ejection device 1 of the present embodiment, the same operation and effect as the above-described embodiment can be obtained. Further, by controlling the change in the volume of theliquid storage unit 2 due to the force of thepower source 3 by thecontrol unit 100, the discharge of the liquid 10 can be controlled. In addition, thecontrol unit 100 switches the state of transmitting the force of thepower source 3 to theliquid storage unit 2 and the state of not transmitting the force of thepower source 3 to theliquid storage unit 2 by the powertransmission restriction mechanism 121. Since the change is controlled, the change of the volume of theliquid storage unit 2 due to the force of thepower source 3 can be controlled with a simple configuration, and the discharge of the liquid 10 can be controlled. The powertransmission restricting mechanism 121 is configured to switch between a state in which the force of thepower source 3 is not transmitted to theliquid storage unit 2 and a state in which the force is transmitted to theliquid storage unit 2 by engagement and disengagement of the movingclaws 137 provided at equal intervals. For this reason, the volume of theliquid storage unit 2 can be changed by a certain volume corresponding to the interval between the movingclaws 137, and the liquid 10 can be discharged by a certain amount corresponding to the interval between the movingclaws 137. Thereby, the discharge accuracy of the liquid 10 can be improved. Further, since the power-side thread-like member 5b is wound around a small-diameter spinning wheel 133 having a diameter smaller than that of thestraw wheel wheel 134, the movingclaw 137 is engaged and disengaged similarly to the case where the distance between the movingclaws 137 is narrowed. The amount of movement of thepower transmission body 33 can be subdivided, and the discharge amount of the liquid 10 corresponding to the distance between the movingclaws 137 can be reduced. The smaller the diameter of the small-diameter spinning wheel 133, the more the movement amount of thepower transmission body 33 can be subdivided, and the discharge amount of the liquid 10 corresponding to the interval between the movingclaws 137 can be reduced. Thereby, a small amount discharge control of the liquid 10 can be performed. Further, since the drawing-side thread-like member 5c is wound around the large-diameter spinning wheel 132 having a diameter larger than that of the small-diameter spinning wheel 133, the drawing-side thread-like member 5c is charged with energy that becomes a restoring force of thepower source 3. When it is up, it can be charged up with weak force by lever principle. The larger the diameter of the large-diameter spinning wheel 132, the lower the charge can be made. In addition, by using the large-diameter spinning wheel 132 and the small-diameter spinning wheel 133 separately for charging up and discharging control of the liquid 10, it is possible to achieve both charging up with a weak force and small amount discharging control of the liquid 10. Further, thecontrol unit 100 operates the powertransmission restriction mechanism 121 based on a control signal wirelessly transmitted from the outside of thecapsule 4, and thus adjusts the transmission timing of the control signal indicating the start of liquid discharge, thereby adjusting the liquid 10 can be discharged at a desired timing.

制御部100は、動力伝達規制機構121を動作させるのに電力を利用するが、この電力は、液体収納部2に液体10を充填するとき及び液体収納部2から液体10を吐出するときに係合レバー135を動作させる(留め外し爪139を後退させる)だけの電力である。この電力は、液体10を吐出する動力(液体収納部2の容積を変化させる動力)に電力を利用する場合と比較して、少ないものである。従って、液体10を吐出する動力に電力を利用する場合よりも、電力の利用が少なくて済み、省電力である。  Thecontrol unit 100 uses electric power to operate the powertransmission restricting mechanism 121. This electric power is used when theliquid storage unit 2 is filled with the liquid 10 and when the liquid 10 is discharged from theliquid storage unit 2. The electric power is sufficient to operate the combination lever 135 (retract the detaching claw 139). This electric power is less than that in the case where electric power is used for power for discharging the liquid 10 (power for changing the volume of the liquid storage unit 2). Therefore, less power is used than in the case of using electric power for the power for discharging the liquid 10, which saves power.

なお、本実施形態において、制御部100は、カプセル4の外部から空間伝送される電力を受電する受電部を有し、カプセル4の外部から空間伝送される電力により動力伝達規制機構121を動作させるようになっていてもよい。また、制御部100は、タイマを有し、液体収納部2に液体10を充填した後、タイマの出力に基いて動力伝達規制機構121を動作させるようになっていてもよい。また、液体収納部2及び動力源3は、各々、上記図1、4、8、9と同様の構成であってもよい。  In the present embodiment, thecontrol unit 100 includes a power receiving unit that receives power that is spatially transmitted from the outside of thecapsule 4, and operates the powertransmission restriction mechanism 121 by the power that is spatially transmitted from the outside of thecapsule 4. It may be like this. Thecontrol unit 100 may include a timer, and after theliquid storage unit 2 is filled with the liquid 10, the powertransmission restriction mechanism 121 may be operated based on the output of the timer. Theliquid storage unit 2 and thepower source 3 may have the same configuration as that shown in FIGS.

<第5の実施形態>
図16は、第5の実施形態による液体吐出装置の構成を示す。本実施形態の液体吐出装置1は、液体収納部2及び動力源3の構成が上記第1の実施形態と異なっている。また、動力源3による液体収納部2の容積の変化を制御する制御部100をさらに備える。本実施形態の液体吐出装置1は、液体10の吐出精度の高精度化を図るものである。液体収納部2は、主収納部81と、主収納部81よりも容積の小さい副収納部82と、主収納部81に液体10を注入するための液体注入管83と、主収納部81から副収納部82に液体10を供給するための液体供給管84と、液体10を吐出するための液体吐出管24とを有する。
<Fifth Embodiment>
FIG. 16 shows the configuration of the liquid ejection apparatus according to the fifth embodiment. Theliquid ejection apparatus 1 of the present embodiment is different from the first embodiment in the configuration of theliquid storage unit 2 and thepower source 3. Moreover, thecontrol part 100 which controls the change of the volume of theliquid storage part 2 by thepower source 3 is further provided. Theliquid ejection apparatus 1 of the present embodiment is intended to increase the accuracy of ejection of the liquid 10. Theliquid storage unit 2 includes amain storage unit 81, asub storage unit 82 having a smaller volume than themain storage unit 81, aliquid injection pipe 83 for injecting the liquid 10 into themain storage unit 81, and themain storage unit 81. Aliquid supply pipe 84 for supplying the liquid 10 to thesub-accommodating portion 82 and aliquid discharge pipe 24 for discharging the liquid 10 are provided.

主収納部81及び副収納部82は、各々、上記図1の液体収納部2と同様の構成である。但し、主収納部81は、上記図1の液体吐出管24に代えて、液体供給管84を有している。また、副収納部82は、上記図1の構成に加え、液体供給管84を有している。液体供給管84は、主収納部81と副収納部82との間に接続されており、液体供給管84内の液体供給路84aが主収納部81内と副収納部82内とを連通している。液体注入管83は、液体供給管84から分岐しており、液体注入管83内の液体注入路83aが液体供給路84aとカプセル4外の空間とを連通している。液体吐出管24は、副収納部82に繋がっており、液体吐出管24内の液体吐出路24aが副収納部82内とカプセル4外の空間とを連通している。動力源3は、主収納部81の容積を変化させる主動力源91と、副収納部82の容積を変化させる副動力源92とを有する。主動力源91及び副動力源92は、各々、上記図2の動力源3と同様の構成である。  Each of themain storage portion 81 and thesub storage portion 82 has the same configuration as theliquid storage portion 2 in FIG. However, themain storage portion 81 has aliquid supply pipe 84 instead of theliquid discharge pipe 24 of FIG. Thesub-accommodating section 82 has aliquid supply pipe 84 in addition to the configuration shown in FIG. Theliquid supply pipe 84 is connected between themain storage part 81 and thesub storage part 82, and theliquid supply path 84 a in theliquid supply pipe 84 communicates between themain storage part 81 and thesub storage part 82. ing. Theliquid injection pipe 83 is branched from theliquid supply pipe 84, and theliquid injection path 83 a in theliquid injection pipe 83 communicates theliquid supply path 84 a and the space outside thecapsule 4. Theliquid discharge pipe 24 is connected to thesub-accommodating portion 82, and aliquid discharge path 24 a in theliquid discharge pipe 24 communicates the inside of thesub-accommodating portion 82 and the space outside thecapsule 4. Thepower source 3 includes amain power source 91 that changes the volume of themain storage portion 81, and asub power source 92 that changes the volume of thesub storage portion 82. Themain power source 91 and thesub power source 92 have the same configuration as that of thepower source 3 in FIG.

制御部100は、液体供給路84aを開く状態と閉じる状態とに切換える供給弁141と、液体吐出路24aを開く状態と閉じる状態とに切換える吐出弁142とを有する。また、制御部100は、供給弁141及び吐出弁142を動作させる駆動部143と、カプセル4の外部から無線送信される制御信号を受信する受信部(不図示)と、供給弁141及び吐出弁142を動作させるための電力を供給する電池(不図示)とを有する。供給弁141は、液体注入路83aと副収納部82との間において、液体供給路84aに設けられており、駆動部143によって動作されて、液体供給路84aを開く状態と閉じる状態とに切換える。供給弁141は、駆動部143によって駆動されていないときには、液体供給路84aを閉じており、駆動部143によって駆動されることにより、液体供給路84aを開く。  Thecontroller 100 includes asupply valve 141 that switches between opening and closing theliquid supply path 84a, and adischarge valve 142 that switches between opening and closing theliquid discharge path 24a. Thecontrol unit 100 includes adrive unit 143 that operates thesupply valve 141 and thedischarge valve 142, a reception unit (not shown) that receives a control signal wirelessly transmitted from the outside of thecapsule 4, and thesupply valve 141 and the discharge valve. And a battery (not shown) for supplying electric power for operating 142. Thesupply valve 141 is provided in theliquid supply path 84a between theliquid injection path 83a and thesub-accommodating portion 82, and is operated by thedrive unit 143 to switch between the open state and the closed state of theliquid supply path 84a. . When thesupply valve 141 is not driven by thedrive unit 143, theliquid supply path 84a is closed, and theliquid supply path 84a is opened by being driven by thedrive unit 143.

吐出弁142は、液体吐出路24aに設けられており、駆動部143によって動作されて、液体吐出路24aを開く状態と閉じる状態とに切換える。吐出弁142は、駆動部143によって駆動されていないときには、液体吐出路24aを閉じており、駆動部143によって駆動されることにより、液体吐出路24aを開く。供給弁141及び吐出弁142は、上記実施形態の吐出弁101と同様の構成である。  Thedischarge valve 142 is provided in theliquid discharge path 24a, and is operated by the drivingunit 143 to switch between the open state and the closed state of theliquid discharge path 24a. When thedischarge valve 142 is not driven by thedrive unit 143, theliquid discharge path 24a is closed, and theliquid discharge path 24a is opened by being driven by thedrive unit 143. Thesupply valve 141 and thedischarge valve 142 have the same configuration as thedischarge valve 101 of the above embodiment.

制御部100は、受信部により受信した制御信号に基いて、すなわち、カプセル4の外部から無線送信される制御信号に基いて、駆動部143によって電池の電力により供給弁141及び吐出弁142を動作させる。すなわち、制御部100は、カプセル4の外部から無線送信される制御信号に基いて、駆動部143によって電池の電力により供給弁141及び吐出弁142を駆動して、液体供給路84a及び液体吐出路24aを開いた状態にし、また、駆動部143による供給弁141及び吐出弁142の駆動を動停止して、液体供給路84a及び液体吐出路24aを閉じた状態にする。制御部100は、供給弁141及び吐出弁142を動作させて、液体供給路84a及び液体吐出路24aを開いた状態と閉じた状態とに切換えることにより、主動力源91の力による主収納部81の容積の変化及び副動力源92の力による副収納部82の容積の変化を制御し、主収納部81から副収納部82への液体10の供給、及び副収納部82からカプセル4外への液体10の吐出を制御する。  Thecontrol unit 100 operates thesupply valve 141 and thedischarge valve 142 by the power of the battery by the drivingunit 143 based on the control signal received by the receiving unit, that is, based on the control signal wirelessly transmitted from the outside of thecapsule 4. Let That is, thecontrol unit 100 drives thesupply valve 141 and thedischarge valve 142 with the battery power by the drivingunit 143 based on the control signal wirelessly transmitted from the outside of thecapsule 4, and thereby theliquid supply path 84 a and the liquid discharge path. 24a is opened, and the driving of thesupply valve 141 and thedischarge valve 142 by thedrive unit 143 is stopped, and theliquid supply path 84a and theliquid discharge path 24a are closed. Thecontrol unit 100 operates thesupply valve 141 and thedischarge valve 142 to switch between the open state and the closed state of theliquid supply path 84a and theliquid discharge path 24a, so that the main storage section by the force of themain power source 91 is obtained. 81, and the change of the volume of thesub-accommodating portion 82 due to the force of thesub-power source 92 is controlled to supply the liquid 10 from the mainaccommodating portion 81 to thesub-accommodating portion 82, and from thesub-accommodating portion 82 to the outside of thecapsule 4. The discharge of the liquid 10 to the head is controlled.

液体収納部2への液体10の充填は、以下のようにして行われる。まず、カプセル4の外部の通信手段から液体充填開始の旨の制御信号を無線送信する。制御部100は、その制御信号に基いて、供給弁141を駆動して、液体供給路84aを開く。封止栓89を外して、液体注入路83aから、上記第1の実施形態と同様の手法で、液体10を注入する。注入する液体10の圧力によって、主収納部81及び副収納部82の容積が増大していきながら、主収納部81内及び副収納部82内に液体10が注入されていき、また、主動力源91及び副動力源92の復元力のもとになるエネルギーがチャージアップされる。液体10の注入を終ると、封止栓89を液体注入路83aに嵌めて、液体注入路83aを封止する。カプセル4の外部の通信手段から液体充填完了の旨の制御信号を無線送信する。制御部100は、その制御信号に基いて、供給弁141の駆動を停止して、液体供給路84aを閉じる。これにより、主収納部81及び副収納部82に液体10が収納された状態で、主収納部81から副収納部82への液体10の供給が停止し、また、副収納部82から(液体収納部2から)カプセル4外への液体10の吐出が停止している状態となる。液体収納部2への液体10の充填は、このようにして行われる。  The filling of the liquid 10 into theliquid storage unit 2 is performed as follows. First, a control signal indicating the start of liquid filling is wirelessly transmitted from communication means outside thecapsule 4. Based on the control signal, thecontroller 100 drives thesupply valve 141 to open theliquid supply path 84a. The sealingplug 89 is removed, and the liquid 10 is injected from theliquid injection path 83a by the same method as in the first embodiment. The liquid 10 is injected into themain storage portion 81 and thesub storage portion 82 while the volumes of themain storage portion 81 and thesub storage portion 82 are increased by the pressure of the liquid 10 to be injected. The energy that becomes the restoring force of thesource 91 and theauxiliary power source 92 is charged up. When the injection of the liquid 10 is finished, the sealingplug 89 is fitted into theliquid injection path 83a to seal theliquid injection path 83a. A control signal indicating completion of liquid filling is wirelessly transmitted from communication means outside thecapsule 4. Based on the control signal, thecontrol unit 100 stops driving thesupply valve 141 and closes theliquid supply path 84a. As a result, in a state where the liquid 10 is stored in themain storage portion 81 and thesub storage portion 82, the supply of the liquid 10 from themain storage portion 81 to thesub storage portion 82 is stopped. The discharge of the liquid 10 to the outside of the capsule 4 (from the storage unit 2) is stopped. Filling theliquid storage unit 2 with the liquid 10 is performed in this way.

液体収納部2に液体10を充填した後、カプセル4の外部の通信手段から液体吐出開始の旨の制御信号を無線送信すると、制御部100は、その制御信号に基いて、吐出弁142を駆動して、液体吐出路24aを開く。これにより、副動力源92の復元力によって、副収納部82の容積が縮小していき、副収納部82に収納されている液体10が液体吐出路24aからカプセル4外に吐出されていく。そして、制御部100は、副収納部82内の液体10が全て吐出されると(このことは、所定の時間が経過したことで判断される)、吐出弁142の駆動を停止して、液体吐出路24aを閉じた後、供給弁141を駆動して、液体供給路84aを開く。これにより、主収納部81から副収納部82に液体10が充填される。すなわち、主動力源91の復元力によって、主収納部81の容積が縮小していき、主収納部81に収納されている液体10が液体供給路84aから副収納部82に供給されていく。そして、主収納部81から副収納部82に供給される液体10の圧力によって、副収納部82の容積が増大していきながら、副収納部82内に液体10が注入されていき、また、副動力源92の復元力のもとになるエネルギーがチャージアップされる。そして、制御部100は、副収納部82への液体10の充填が完了すると(このことは、所定の時間が経過したことで判断される)、供給弁141の駆動を停止して、液体供給路84aを閉じる。  When theliquid storage unit 2 is filled with the liquid 10 and then a control signal indicating the start of liquid discharge is wirelessly transmitted from communication means outside thecapsule 4, thecontrol unit 100 drives thedischarge valve 142 based on the control signal. Then, theliquid discharge path 24a is opened. As a result, the volume of thesecondary storage portion 82 is reduced by the restoring force of thesecondary power source 92, and the liquid 10 stored in thesecondary storage portion 82 is discharged out of thecapsule 4 from theliquid discharge path 24a. Then, when all of the liquid 10 in thesub-accommodating unit 82 is discharged (this is determined when a predetermined time has elapsed), thecontrol unit 100 stops the driving of thedischarge valve 142, and the liquid After closing thedischarge path 24a, thesupply valve 141 is driven to open theliquid supply path 84a. As a result, the liquid 10 is filled from themain storage portion 81 to thesub storage portion 82. That is, the volume of themain storage portion 81 is reduced by the restoring force of themain power source 91, and the liquid 10 stored in themain storage portion 81 is supplied to thesub storage portion 82 from theliquid supply path 84a. Then, due to the pressure of the liquid 10 supplied from themain storage unit 81 to thesub storage unit 82, the liquid 10 is injected into thesub storage unit 82 while the volume of thesub storage unit 82 increases, The energy that becomes the restoring force of theauxiliary power source 92 is charged up. Then, when the filling of the liquid 10 into thesub-accommodating unit 82 is completed (this is determined when a predetermined time has elapsed), thecontrol unit 100 stops driving thesupply valve 141 and supplies the liquid. Close thepath 84a.

その後、カプセル4の外部の通信手段から液体吐出開始の旨の制御信号を無線送信する都度、制御部100は、上記と同様に、吐出弁142及び供給弁141を駆動、駆動停止して、液体吐出路24a及び液体供給路84aを開閉する。これにより、その後、液体吐出開始の旨の制御信号を無線送信する都度、上記と同様に、副収納部82からの液体10の吐出が開始され、副収納部82に収納されている液体10が全て吐出されると、液体10の吐出が停止して、副収納部82に液体10が充填される。すなわち、液体収納部2に液体10を充填した後、液体吐出開始の旨の制御信号を無線送信する都度、副収納部82に収納されている液体10が全て吐出されて、液体10が副収納部82の容積に等しい一定量ずつ吐出される。  Thereafter, every time a control signal indicating the start of liquid discharge is wirelessly transmitted from the communication means outside thecapsule 4, thecontrol unit 100 drives and stops thedischarge valve 142 and thesupply valve 141 in the same manner as described above, thereby Thedischarge path 24a and theliquid supply path 84a are opened and closed. Thereby, each time when a control signal for starting the liquid discharge is transmitted wirelessly, the discharge of the liquid 10 from thesub storage unit 82 is started in the same manner as described above, and the liquid 10 stored in thesub storage unit 82 is discharged. When all of the liquid is discharged, the discharge of the liquid 10 is stopped, and thesub-accommodating portion 82 is filled with the liquid 10. That is, every time the control signal indicating that the liquid discharge is started is wirelessly transmitted after theliquid storage unit 2 is filled with the liquid 10, all the liquid 10 stored in thesub storage unit 82 is discharged and the liquid 10 is sub stored. A certain amount equal to the volume of theportion 82 is discharged.

本実施形態の液体吐出装置1によれば、上記第1の実施形態と同様の作用、効果が得られる。また、制御部100によって、主動力源91及び副動力源92の力による液体収納部2主収納部81及び副収納部82の容積の変化を制御することにより、主収納部81から副収納部82への液体10の充填及び副収納部82からカプセル4外への液体10の吐出を制御することができる。また、制御部100は、供給弁141及び吐出弁142によって液体供給路84a及び液体吐出路24aを開閉することにより、主収納部81及び副収納部82の容積の変化を制御する構成であるため、簡単な構成によって、主収納部81及び副収納部82の容積の変化を制御して、副収納部82への液体10の充填及び副収納部82からの液体10の吐出を制御することができる。また、制御部100は、主収納部81から副収納部82に液体10を充填させて、副収納部82に充填された液体10を吐出させるため、液体10を副収納部82の容積に等しい一定量ずつ吐出させることができる。これにより、液体10の吐出精度を高めることができる。また、制御部100は、カプセル4の外部から無線送信される制御信号に基いて、供給弁141及び吐出弁142を動作させるため、液体吐出開始の旨の制御信号の送信タイミングを調整することにより、液体10を所望のタイミングで吐出することができる。  According to theliquid ejection apparatus 1 of the present embodiment, the same operations and effects as in the first embodiment can be obtained. Further, thecontrol unit 100 controls the change in volume of theliquid storage unit 2main storage unit 81 and thesub storage unit 82 due to the forces of themain power source 91 and thesub power source 92, so that themain storage unit 81 changes to the sub storage unit. It is possible to control the filling of the liquid 10 into the 82 and the discharge of the liquid 10 from thesub-storage unit 82 to the outside of thecapsule 4. Further, thecontrol unit 100 is configured to control changes in the volumes of themain storage unit 81 and thesub storage unit 82 by opening and closing theliquid supply path 84a and theliquid discharge path 24a by thesupply valve 141 and thedischarge valve 142. By changing the volume of themain storage part 81 and thesub storage part 82 with a simple configuration, the filling of the liquid 10 into thesub storage part 82 and the discharge of the liquid 10 from thesub storage part 82 can be controlled. it can. Further, since thecontrol unit 100 causes thesub storage unit 82 to be filled with the liquid 10 from themain storage unit 81 and discharges the liquid 10 filled in thesub storage unit 82, the liquid 10 is equal to the volume of thesub storage unit 82. A fixed amount can be discharged. Thereby, the discharge accuracy of the liquid 10 can be improved. In addition, thecontrol unit 100 operates thesupply valve 141 and thedischarge valve 142 based on a control signal wirelessly transmitted from the outside of thecapsule 4, thereby adjusting the transmission timing of the control signal indicating the start of liquid discharge. The liquid 10 can be discharged at a desired timing.

本実施形態では、供給弁141及び吐出弁142を動作させるのに電力を利用するが、これらの電力は、副収納部82に液体10を充填するときに供給弁141を駆動する(液体供給路84aを開く)だけの電力、及び、副収納部82から液体10を吐出するときに吐出弁142を駆動する(液体吐出路24aを開く)だけの電力である。これらの電力は、液体10を吐出する動力(主収納部81及び副収納部82の容積を変化させる動力)に電力を利用する場合と比較して、少ないものである。従って、液体10を吐出する動力に電力を利用する場合よりも、電力の利用が少なくて済み、省電力である。  In the present embodiment, electric power is used to operate thesupply valve 141 and thedischarge valve 142, but these electric powers drive thesupply valve 141 when thesub storage unit 82 is filled with the liquid 10 (liquid supply path). Power for opening 84a) and power for driving the discharge valve 142 (opening theliquid discharge path 24a) when the liquid 10 is discharged from thesub-accommodating portion 82. These electric powers are small compared with the case where electric power is used for the power for discharging the liquid 10 (the power for changing the volumes of themain storage unit 81 and the sub storage unit 82). Therefore, less power is used than in the case of using electric power for the power for discharging the liquid 10, which saves power.

なお、本実施形態において、制御部100は、カプセル4の外部から空間伝送される電力を受電する受電部を有し、カプセル4の外部から空間伝送される電力により供給弁141及び吐出弁142を動作させるようになっていてもよい。また、制御部100は、タイマを有し、液体収納部2に液体10を充填した後、タイマの出力に基いて供給弁141及び吐出弁142を動作させるようになっていてもよい。また、主動力源91及び副動力源92は、各々、上記第1の実施形態の動力源3と同様の構成であってもよい。  In the present embodiment, thecontrol unit 100 includes a power receiving unit that receives power that is spatially transmitted from the outside of thecapsule 4, and thesupply valve 141 and thedischarge valve 142 are controlled by the power that is spatially transmitted from the outside of thecapsule 4. It may be made to operate. Thecontrol unit 100 may include a timer, and after theliquid storage unit 2 is filled with the liquid 10, thesupply valve 141 and thedischarge valve 142 may be operated based on the output of the timer. Themain power source 91 and thesub power source 92 may each have the same configuration as that of thepower source 3 of the first embodiment.

図17は、変形実施形態による液体吐出装置の構成を示す。本実施形態の液体吐出装置1は、主収納部81、及び副収納部82の構成が上記実施形態と異なっている。本実施形態では、主収納部81及び副収納部82は、各々、上記図4の液体収納部2と同様の構成である。液体収納部2への液体10の充填は、上記実施形態と同様に行われ、また、上記実施形態と同様に、液体収納部2からカプセル4外に液体10が吐出され、上記実施形態と同様の作用、効果が得られる。  FIG. 17 shows a configuration of a liquid ejection apparatus according to a modified embodiment. In theliquid ejection device 1 of the present embodiment, the configurations of themain storage portion 81 and thesub storage portion 82 are different from those of the above embodiment. In the present embodiment, each of themain storage portion 81 and thesub storage portion 82 has the same configuration as theliquid storage portion 2 in FIG. Filling theliquid storage unit 2 with the liquid 10 is performed in the same manner as in the above-described embodiment, and the liquid 10 is discharged from theliquid storage unit 2 to the outside of thecapsule 4 in the same manner as in the above-described embodiment. The effects and effects are obtained.

図18は、変形実施形態による液体吐出装置の構成を示す。本実施形態の液体吐出装置1は、上記実施形態の構成に加え、動力源3による液体収納部2の容積の変化を制御する制御部100をさらに備える。本実施形態の液体吐出装置1は、液体10の吐出精度の高精度化を図るものである。制御部100は、動力源3の力(伸縮バネ31の復元力)を液体収納部2に伝達する状態と伝達しない状態とに切換える動力伝達規制機構151を有する。また、制御部100は、動力伝達規制機構151を動作させる駆動部(不図示)と、カプセル4の外部から無線送信される制御信号を受信する受信部(不図示)と、動力伝達規制機構151を動作させるための電力を供給する電池(不図示)とを有する。  FIG. 18 shows a configuration of a liquid ejection apparatus according to a modified embodiment. Theliquid ejection apparatus 1 according to the present embodiment further includes acontrol unit 100 that controls a change in the volume of theliquid storage unit 2 by thepower source 3 in addition to the configuration of the above embodiment. Theliquid ejection apparatus 1 of the present embodiment is intended to increase the accuracy of ejection of the liquid 10. Thecontrol unit 100 includes a powertransmission restriction mechanism 151 that switches between a state in which the force of the power source 3 (restoring force of the expansion spring 31) is transmitted to theliquid storage unit 2 and a state in which the force is not transmitted. Thecontrol unit 100 also includes a drive unit (not shown) that operates the powertransmission restriction mechanism 151, a reception unit (not shown) that receives a control signal wirelessly transmitted from the outside of thecapsule 4, and the powertransmission restriction mechanism 151. And a battery (not shown) for supplying power for operating.

動力伝達規制機構151は、動力源3に接続された移動体161と、移動体161に設けられた複数の移動爪162と、移動爪162に係合、係合解除される2つの留め外し爪163a、163bと、留め外し爪163a、163bを動作させる2つの爪動作ユニット164a、164bとを有する。移動体161は、動力源3の動力伝達体33に固定的に繋がれている。従って、動力伝達体33が移動するとき、移動体161及び複数の移動爪162も移動する。複数の移動爪162は、動力伝達体33の移動方向に並んで等間隔に設けられている。また、複数の移動爪162は、移動体161の側面から交互に逆側に突出している。  The powertransmission restricting mechanism 151 includes a movingbody 161 connected to thepower source 3, a plurality of movingclaws 162 provided on the movingbody 161, and two release claws that are engaged with and released from the movingclaws 162. 163a, 163b and twoclaw operation units 164a, 164b for operating therelease claws 163a, 163b. The movingbody 161 is fixedly connected to thepower transmission body 33 of thepower source 3. Therefore, when thepower transmission body 33 moves, the movingbody 161 and the plurality of movingclaws 162 also move. The plurality of movingclaws 162 are provided at equal intervals along the moving direction of thepower transmission body 33. The plurality of movingclaws 162 protrude alternately from the side surface of the movingbody 161 to the opposite side.

留め外し爪163a、163bは、各々、爪動作ユニット164a、164bによって進出、後退自在に支持されている。留め外し爪163aと留め外し爪163bは、動力伝達体33の移動方向において、同じ位置に配置されている。爪動作ユニット164a、164bは、各々、留め外し爪163a、163bを動作させるための弾性バネ及び電磁石(いずれも不図示)を内蔵している。爪動作ユニット164a、164bは、駆動部(不図示)によって個別に駆動(電磁石のコイルに通電)される。  Therelease claws 163a and 163b are supported by theclaw operation units 164a and 164b so as to advance and retract, respectively. Therelease claw 163a and therelease claw 163b are arranged at the same position in the moving direction of thepower transmission body 33. Theclaw operation units 164a and 164b each incorporate an elastic spring and an electromagnet (both not shown) for operating therelease claws 163a and 163b. Theclaw operation units 164a and 164b are individually driven (energized to the electromagnet coil) by a driving unit (not shown).

留め外し爪163a、163bは、各々、爪動作ユニット164a、164bが駆動されていないときには、爪動作ユニット164a、164bの弾性バネの力によって、移動爪162と係合し得る位置(移動爪162の移動経路上)に進出している。そして、留め外し爪163a、163bは、各々、爪動作ユニット164a、164bが駆動されると、爪動作ユニット164a、164bの電磁石の磁力によって、移動爪162と係合し得えない位置に後退する。また、留め外し爪163a、163bは、各々、爪動作ユニット164a、164bが駆動停止されると、電磁石の磁力がなくなり、爪動作ユニット164a、164bの弾性バネの力によって、移動爪162と係合し得る位置に進出する。  When theclaw operation units 164a and 164b are not driven, therelease claws 163a and 163b can be engaged with the movingclaw 162 by the force of the elastic springs of theclaw operation units 164a and 164b (themovement claw 162 On the travel route). Then, when theclaw operation units 164a and 164b are driven, therelease claws 163a and 163b are retracted to positions where they cannot be engaged with the movingclaw 162 by the magnetic force of the electromagnets of theclaw operation units 164a and 164b. . Further, when theclaw operation units 164a and 164b are stopped, therelease claws 163a and 163b are engaged with the movingclaw 162 by the force of the elastic springs of theclaw operation units 164a and 164b. Advance to a possible position.

留め外し爪163a、163bのどちらも移動爪162と係合していないときは、移動体161及び複数の移動爪162は移動することができ、これにより、動力伝達体33は移動することができる。従って、このときは、上記実施形態と同様に、伸縮バネ31の復元力によって、動力伝達体33が移動側蓋体23を固定側蓋体22側に押すことになり、動力源3の力(伸縮バネ31の復元力)が液体収納部2に伝達されることになる。一方、留め外し爪163a、163bのどちらかが移動爪162と係合しているときは、移動体161及び複数の移動爪162は移動することができず、これにより、動力伝達体33は移動することができない。従って、このときは、動力伝達体33が移動側蓋体23を押さないことになり、動力源3の力が液体収納部2に伝達されないことになる。  When neither of therelease claws 163a and 163b is engaged with the movingclaw 162, the movingbody 161 and the plurality of movingclaws 162 can move, and thus thepower transmission body 33 can move. . Therefore, at this time, similarly to the above-described embodiment, thepower transmission body 33 pushes the moving-side lid body 23 toward the fixed-side lid body 22 by the restoring force of the expansion /contraction spring 31, and the force ( The restoring force of the expansion spring 31) is transmitted to theliquid storage unit 2. On the other hand, when either one of therelease claws 163a and 163b is engaged with the movingclaw 162, the movingbody 161 and the plurality of movingclaws 162 cannot move, whereby thepower transmission body 33 moves. Can not do it. Therefore, at this time, thepower transmission body 33 does not push the movingside cover body 23, and the power of thepower source 3 is not transmitted to theliquid storage unit 2.

制御部100は、受信部により受信した制御信号に基いて、すなわち、カプセル4の外部から無線送信される制御信号に基いて、電池の電力により動力伝達規制機構151を動作させる。すなわち、制御部100は、カプセル4の外部から無線送信される制御信号に基いて、駆動部によって電池の電力により爪動作ユニット164a、164bを駆動し、また、駆動部による爪動作ユニット164a、164bの駆動を停止する。そして、制御部100は、爪動作ユニット164a、164bを駆動、駆動停止することにより、留め外し爪163a、163bを後退、進出させて、動力源3の力が液体収納部2に伝達される状態と伝達されない状態とに切換える。制御部100は、動力伝達規制機構151を動作させて、動力源3の力が液体収納部2に伝達される状態と伝達されない状態とに切換えることにより、動力源3の力による液体収納部2の容積の変化を制御し、液体収納部2からカプセル4外への液体10の吐出を制御する。  Based on the control signal received by the receiving unit, that is, based on the control signal wirelessly transmitted from the outside of thecapsule 4, thecontrol unit 100 operates the powertransmission restriction mechanism 151 with the battery power. That is, thecontrol unit 100 drives theclaw operation units 164a and 164b by the power of the battery by the driving unit based on a control signal wirelessly transmitted from the outside of thecapsule 4, and theclaw operation units 164a and 164b by the driving unit. Stop driving. Then, thecontrol unit 100 drives and stops theclaw operation units 164a and 164b, thereby retracting and advancing therelease claws 163a and 163b so that the force of thepower source 3 is transmitted to theliquid storage unit 2. And switch to a state where it is not transmitted. Thecontrol unit 100 operates the powertransmission restriction mechanism 151 to switch between the state in which the force of thepower source 3 is transmitted to theliquid storage unit 2 and the state in which the force is not transmitted to theliquid storage unit 2. The volume of the liquid 10 is controlled to discharge the liquid 10 from theliquid storage unit 2 to the outside of thecapsule 4.

液体収納部2への液体10の充填は、以下のようにして行われる。まず、カプセル4の外部の通信手段から液体充填開始の旨の制御信号を無線送信する。制御部100は、その制御信号に基いて、爪動作ユニット164a、164bを駆動して、留め外し爪163a、163bの両方を後退させる。そして、液体10を液体収納部2に注入する。液体10の注入を終えると、カプセル4の外部の通信手段から液体充填完了の旨の制御信号を無線送信する。制御部100は、その制御信号に基いて、爪動作ユニット164a、164bの駆動を停止して、留め外し爪163a、163bの両方を進出させる。これにより、留め外し爪163aが最も動力伝達体33側の移動爪162と係合されて、動力源3の力(伸縮バネ31の復元力)が液体収納部2に伝達されない状態になり、動力源3の力による液体収納部2の容積の変化が起らない状態になる。すなわち、液体収納部2に液体10が収納された状態で、液体収納部2からカプセル4外への液体10の吐出が停止している状態となる。液体収納部2への液体10の充填は、このようにして行われる。  The filling of the liquid 10 into theliquid storage unit 2 is performed as follows. First, a control signal indicating the start of liquid filling is wirelessly transmitted from communication means outside thecapsule 4. Based on the control signal, thecontrol unit 100 drives theclaw operation units 164a and 164b to retract both therelease claws 163a and 163b. Then, the liquid 10 is injected into theliquid storage unit 2. When the injection of the liquid 10 is completed, a control signal indicating completion of liquid filling is wirelessly transmitted from communication means outside thecapsule 4. Based on the control signal, thecontrol unit 100 stops the driving of theclaw operation units 164a and 164b, and advances both therelease claws 163a and 163b. As a result, thedisengagement claw 163a is engaged with the movingclaw 162 closest to thepower transmission body 33, and the force of the power source 3 (restoring force of the expansion spring 31) is not transmitted to theliquid storage unit 2, and the power The volume of theliquid storage unit 2 is not changed by the force of thesource 3. That is, in a state where the liquid 10 is stored in theliquid storage unit 2, the discharge of the liquid 10 from theliquid storage unit 2 to the outside of thecapsule 4 is stopped. Filling theliquid storage unit 2 with the liquid 10 is performed in this way.

液体収納部2に液体10を充填した後、カプセル4の外部の通信手段から液体吐出開始の旨の制御信号を無線送信すると、制御部100は、その制御信号に基いて、爪動作ユニット164aを駆動して、留め外し爪163aを後退させる。これにより、留め外し爪163aと移動爪162との係合が解除されて、動力源3の力が液体収納部2に伝達される状態になり、上記実施形態と同様に、動力源3の力によって液体収納部2の容積が縮小されていき、液体収納部2からカプセル4外に液体10が吐出されていく。すなわち、伸縮バネ31の復元力によって、動力伝達体33が移動側蓋体23を押しながら固定側蓋体22側に移動していくことにより、液体収納部2の容積が縮小されていき、液体収納部2から液体10が吐出されていく。このとき、動力伝達体33が移動することにより、移動体161及び複数の移動爪162も移動する。そして、制御部100は、爪動作ユニット164aの駆動を停止して、留め外し爪163aを再び進出させる。移動体161及び複数の移動爪162が移動していき、留め外し爪163bが次の移動爪162と係合すると、動力源3の力が液体収納部2に伝達されない状態になり、動力源3の力による液体収納部2の容積の縮小が停止し、液体収納部2からの液体10の吐出が停止する。  When theliquid storage unit 2 is filled with the liquid 10 and then wirelessly transmits a control signal indicating the start of liquid discharge from the communication means outside thecapsule 4, thecontrol unit 100 moves theclaw operation unit 164a based on the control signal. Driven to retract therelease claw 163a. As a result, the engagement between thedisengagement claw 163a and the movingclaw 162 is released, and the force of thepower source 3 is transmitted to theliquid storage unit 2, and the force of thepower source 3 is the same as in the above embodiment. As a result, the volume of theliquid storage unit 2 is reduced, and the liquid 10 is discharged from theliquid storage unit 2 to the outside of thecapsule 4. In other words, thepower transmission body 33 moves toward thestationary lid 22 while pushing the movinglid 23 by the restoring force of theexpansion spring 31, thereby reducing the volume of theliquid storage unit 2 and reducing the liquid. The liquid 10 is discharged from thestorage unit 2. At this time, as thepower transmission body 33 moves, the movingbody 161 and the plurality of movingclaws 162 also move. And thecontrol part 100 stops the drive of the nail | claw operation |movement unit 164a, and advances the removal nail | claw 163a again. When the movingbody 161 and the plurality of movingclaws 162 move and the detachingclaw 163b engages with the next movingclaw 162, the power of thepower source 3 is not transmitted to theliquid storage unit 2, and thepower source 3 The reduction of the volume of theliquid storage unit 2 due to the force is stopped, and the discharge of the liquid 10 from theliquid storage unit 2 is stopped.

その後、カプセル4の外部の通信手段から液体吐出開始の旨の制御信号を無線送信すると、制御部100は、その制御信号に基いて、爪動作ユニット164bを駆動して、留め外し爪163bを後退させる。これにより、留め外し爪163bと移動爪162との係合が解除されて、動力源3の力が液体収納部2に伝達される状態になり、動力源3の力によって液体収納部2の容積が縮小されていき、液体収納部2からカプセル4外に液体10が吐出されていく。そして、制御部100は、爪動作ユニット164bの駆動を停止して、留め外し爪163bを再び進出させる。移動体161及び複数の移動爪162が移動していき、留め外し爪163aが次の移動爪162と係合すると、動力源3の力が液体収納部2に伝達されない状態になり、動力源3の力による液体収納部2の容積の縮小が停止し、液体収納部2からの液体10の吐出が停止する。  Thereafter, when a control signal indicating the start of liquid ejection is wirelessly transmitted from the communication means outside thecapsule 4, thecontrol unit 100 drives theclaw operation unit 164b based on the control signal, and retracts therelease claw 163b. Let As a result, the engagement between therelease claw 163b and the movingclaw 162 is released, and the force of thepower source 3 is transmitted to theliquid storage unit 2, and the volume of theliquid storage unit 2 is increased by the force of thepower source 3. Then, the liquid 10 is discharged from theliquid storage unit 2 to the outside of thecapsule 4. And thecontrol part 100 stops the drive of the nail | claw operation |movement unit 164b, and advances the removal nail | claw 163b again. When the movingbody 161 and the plurality of movingclaws 162 move and the detachingclaw 163a engages with the next movingclaw 162, the power of thepower source 3 is not transmitted to theliquid storage unit 2, and thepower source 3 The reduction of the volume of theliquid storage unit 2 due to the force is stopped, and the discharge of the liquid 10 from theliquid storage unit 2 is stopped.

その後、カプセル4の外部の通信手段から液体吐出開始の旨の制御信号を無線送信する都度、制御部100は、留め外し爪163aを後退させた後に再び進出させる動作と、留め外し爪163bを後退させた後に再び進出させる動作を、交互に行う。これにより、その後、液体吐出開始の旨の制御信号を無線送信する都度、留め外し爪163bと移動爪162が次に係合するまで液体収納部2の容積が縮小されて、液体10が吐出される動作と、留め外し爪163aと移動爪162が次に係合するまで液体収納部2の容積が縮小されて、液体10が吐出される動作が、交互に行われる。すなわち、液体収納部2に液体10を充填した後、液体吐出開始の旨の制御信号を無線送信する都度、液体収納部2の容積が移動爪162の間隔に対応して一定容積ずつ縮小されて、液体10が移動爪162の間隔に対応して一定量ずつ吐出される。  After that, every time a control signal indicating the start of liquid discharge is wirelessly transmitted from the communication means outside thecapsule 4, thecontrol unit 100 retracts therelease claw 163 a and then advances again, and retracts therelease claw 163 b. After that, the operation of advancing again is performed alternately. As a result, each time a control signal indicating the start of liquid discharge is transmitted wirelessly, the volume of theliquid storage unit 2 is reduced until therelease claw 163b and the movingclaw 162 are next engaged, and the liquid 10 is discharged. The operation in which the volume of theliquid storage unit 2 is reduced and the liquid 10 is discharged is alternately performed until therelease claw 163a and the movingclaw 162 are next engaged. That is, each time the control signal indicating the start of liquid discharge is wirelessly transmitted after theliquid storage unit 2 is filled with the liquid 10, the volume of theliquid storage unit 2 is reduced by a certain volume corresponding to the interval between the movingclaws 162. The liquid 10 is discharged by a certain amount corresponding to the interval between the movingclaws 162.

本実施形態の液体吐出装置1によれば、上記実施形態と同様の作用、効果が得られる。また、制御部100によって、動力源3の力による液体収納部2の容積の変化を制御することにより、液体10の吐出を制御することができる。また、制御部100は、動力伝達規制機構151によって動力源3の力を液体収納部2に伝達する状態と伝達しない状態とに切換えることにより、動力源3の力による液体収納部2の容積の変化を制御する構成であるため、簡単な構成によって、動力源3の力による液体収納部2の容積の変化を制御して、液体10の吐出を制御することができる。また、動力伝達規制機構151は、等間隔に設けられた移動爪162の係合、係合解除により、動力源3の力を液体収納部2に伝達しない状態と伝達する状態とに切換える構成であるため、液体収納部2の容積を移動爪162の間隔に対応する一定容積ずつ変化させて、液体10を移動爪162の間隔に対応する一定量ずつ吐出させることができる。これにより、液体10の吐出精度を高めることができる。また、制御部100は、カプセル4の外部から無線送信される制御信号に基いて、動力伝達規制機構151を動作させるため、液体吐出開始の旨の制御信号の送信タイミングを調整することにより、液体10を所望のタイミングで吐出することができる。  According to theliquid ejection device 1 of the present embodiment, the same operation and effect as the above-described embodiment can be obtained. Further, by controlling the change in the volume of theliquid storage unit 2 due to the force of thepower source 3 by thecontrol unit 100, the discharge of the liquid 10 can be controlled. Further, thecontrol unit 100 switches the state of thepower source 3 to be transmitted to theliquid storage unit 2 and the state of not transmitting it to theliquid storage unit 2 by the powertransmission restriction mechanism 151, thereby increasing the volume of theliquid storage unit 2 by the power of thepower source 3. Since the change is controlled, the change of the volume of theliquid storage unit 2 due to the force of thepower source 3 can be controlled with a simple configuration, and the discharge of the liquid 10 can be controlled. Further, the powertransmission restriction mechanism 151 is configured to switch between the state in which the power of thepower source 3 is not transmitted to theliquid storage unit 2 and the state in which the force is transmitted to theliquid storage unit 2 by the engagement and disengagement of the movingclaws 162 provided at equal intervals. Therefore, the volume of theliquid storage unit 2 can be changed by a certain volume corresponding to the interval between the movingclaws 162, and the liquid 10 can be discharged by a certain amount corresponding to the interval between the movingclaws 162. Thereby, the discharge accuracy of the liquid 10 can be improved. In addition, thecontrol unit 100 adjusts the transmission timing of the control signal indicating the start of liquid discharge in order to operate the powertransmission restriction mechanism 151 based on the control signal wirelessly transmitted from the outside of thecapsule 4. 10 can be discharged at a desired timing.

本実施形態では、動力伝達規制機構151を動作させるのに動作に電力を利用するが、これらの電力は、液体収納部2に液体10を充填するとき及び液体収納部2から液体10を吐出するときに留め外し爪163a、163bを動作させる(留め外し爪163a、163bを後退させる)だけの電力である。これらの電力は、液体10を吐出する動力(液体収納部2の容積を変化させる動力)に電力を利用する場合と比較して、少ないものである。従って、液体10を吐出する動力に電力を利用する場合よりも、電力の利用が少なくて済み、省電力である。  In the present embodiment, electric power is used for the operation to operate the powertransmission restriction mechanism 151, and these electric powers discharge the liquid 10 from theliquid storage unit 2 when theliquid storage unit 2 is filled with the liquid 10. Sometimes the power is sufficient to operate therelease claws 163a and 163b (retract therelease claws 163a and 163b). These electric powers are small compared with the case where electric power is used for the power for discharging the liquid 10 (the power for changing the volume of the liquid storage unit 2). Therefore, less power is used than in the case of using electric power for the power for discharging the liquid 10, which saves power.

なお、本実施形態において、制御部100は、カプセル4の外部から空間伝送される電力を受電する受電部を有し、カプセル4の外部から空間伝送される電力により動力伝達規制機構151を動作せるようになっていてもよい。また、制御部100は、タイマを有し、液体収納部2に液体10を充填した後、タイマの出力に基いて動力伝達規制機構151を動作せるようになっていてもよい。また、上記糸状部材5をさらに備えていてもよい。この場合、液体10の充填は、爪動作ユニット164a、164bを駆動して、留め外し爪163a、163bを後退させた状態で、糸状部材5を引っ張って液体収納部2の容積を増大させ、この状態で液体吐出路24aから液体10を注入することにより行われる。  In the present embodiment, thecontrol unit 100 includes a power receiving unit that receives power that is spatially transmitted from the outside of thecapsule 4, and operates the powertransmission restriction mechanism 151 by the power that is spatially transmitted from the outside of thecapsule 4. It may be like this. Thecontrol unit 100 may have a timer, and after theliquid storage unit 2 is filled with the liquid 10, the powertransmission restriction mechanism 151 may be operated based on the output of the timer. Further, the thread-like member 5 may be further provided. In this case, the filling of the liquid 10 increases the volume of theliquid storage unit 2 by pulling the thread-like member 5 in a state where theclaw operation units 164a and 164b are driven to retract theclaw 163a and 163b. In this state, the liquid 10 is injected from theliquid discharge path 24a.

図19は、変形実施形態による液体吐出装置の構成を示す。本実施形態の液体吐出装置1は、液体収納部2の構成が上記実施形態と異なっている。本実施形態では、液体収納部2は、上記図4と同様の構成である。液体収納部2への液体10の充填は、上記実施形態と同様に行われ、また、上記実施形態と同様に、液体収納部2からカプセル4外に液体10が吐出され、上記実施形態と同様の作用、効果が得られる。  FIG. 19 shows a configuration of a liquid ejection apparatus according to a modified embodiment. Theliquid ejection apparatus 1 of this embodiment is different from the above embodiment in the configuration of theliquid storage unit 2. In the present embodiment, theliquid storage unit 2 has the same configuration as that shown in FIG. Filling theliquid storage unit 2 with the liquid 10 is performed in the same manner as in the above-described embodiment, and the liquid 10 is discharged from theliquid storage unit 2 to the outside of thecapsule 4 in the same manner as in the above-described embodiment. The effects and effects are obtained.

図20(a)(b)(c)は、上記実施形態における動力伝達規制機構151の変形例を示す。この変形例では、動力伝達規制機構151は、移動体161と、移動体161の側面に螺旋状に配列された複数の移動爪162A〜162Lと、移動爪162A〜162Lにそれぞれ係合、係合解除される複数の留め外し爪163A〜163Lと、留め外し爪163A〜163Lをそれぞれ動作させる複数の爪動作ユニット164A〜164Lとを有する。  20A, 20B, and 20C show a modification of the powertransmission restricting mechanism 151 in the above embodiment. In this modification, the powertransmission restricting mechanism 151 is engaged with and engaged with the movingbody 161, the plurality of movingclaws 162A to 162L arranged in a spiral on the side surface of the movingbody 161, and the movingclaws 162A to 162L, respectively. A plurality ofrelease claws 163A to 163L to be released and a plurality ofclaw operation units 164A to 164L for operating therelease claws 163A to 163L, respectively.

移動体161は、動力源3の動力伝達体33に固定的に繋がっている。複数の移動爪162A〜162Lは、動力伝達体33の移動方向において、等間隔に設けられている。留め外し爪163A〜163Lは、動力伝達体33の移動方向において、同じ位置に配置されている。爪動作ユニット164A〜164Lは、各々、上記実施形態における爪動作ユニット164a、164bと同様の構成である。爪動作ユニット164A〜164Lは、個別に駆動される。留め外し爪163A〜163Lは、各々、爪動作ユニット164A〜164Lが駆動されていないときに、移動爪162A〜162Lと係合し得る位置(移動爪162A〜162Lの移動経路上)に進出し、爪動作ユニット164A〜164Lが駆動されているときに、移動爪162A〜162Lと係合し得えない位置に後退する。  The movingbody 161 is fixedly connected to thepower transmission body 33 of thepower source 3. The plurality of movingclaws 162 </ b> A to 162 </ b> L are provided at equal intervals in the moving direction of thepower transmission body 33. Therelease claws 163A to 163L are arranged at the same position in the moving direction of thepower transmission body 33. Theclaw operation units 164A to 164L have the same configuration as theclaw operation units 164a and 164b in the above embodiment, respectively. Theclaw operation units 164A to 164L are individually driven. Therelease claws 163A to 163L advance to positions where they can be engaged with the movingclaws 162A to 162L (on the movement path of the movingclaws 162A to 162L) when theclaw operation units 164A to 164L are not driven, When theclaw operation units 164A to 164L are driven, theclaw operation units 164A to 164L are retracted to positions where they cannot be engaged with the movingclaws 162A to 162L.

制御部100は、カプセル4の外部から無線送信される制御信号に基いて、爪動作ユニット164A〜164Lを駆動し、また、爪動作ユニット164A〜164Lの駆動を停止する。そして、制御部100は、爪動作ユニット164A〜164Lを駆動、駆動停止することにより、留め外し爪163A〜163Lを後退、進出させて、動力源3の力が液体収納部2に伝達される状態と伝達されない状態とに切換える。  Thecontrol unit 100 drives theclaw operation units 164A to 164L based on a control signal wirelessly transmitted from the outside of thecapsule 4 and stops driving theclaw operation units 164A to 164L. Thecontroller 100 drives and stops theclaw operation units 164A to 164L, thereby retracting and advancing therelease claws 163A to 163L so that the force of thepower source 3 is transmitted to theliquid storage unit 2. And switch to a state where it is not transmitted.

液体収納部2への液体10の充填は、以下のようにして行われる。まず、カプセル4の外部の通信手段から液体充填開始の旨の制御信号を無線送信する。制御部100は、その制御信号に基いて、爪動作ユニット164A〜164Lを駆動して、留め外し爪163A〜163Lの全てを後退させる。そして、液体10を液体収納部2に注入する。液体10の注入を終えると、カプセル4の外部の通信手段から液体充填完了の旨の制御信号を無線送信する。制御部100は、その制御信号に基いて、爪動作ユニット164A〜164Lの駆動を停止して、留め外し爪163A〜163Lの全てを進出させる。これにより、留め外し爪163Aが最も動力伝達体33側の移動爪162Aと係合された状態となる。液体収納部2への液体10の充填は、このようにして行われる。  The filling of the liquid 10 into theliquid storage unit 2 is performed as follows. First, a control signal indicating the start of liquid filling is wirelessly transmitted from communication means outside thecapsule 4. Based on the control signal, thecontrol unit 100 drives theclaw operation units 164A to 164L to retract all theremoval claws 163A to 163L. Then, the liquid 10 is injected into theliquid storage unit 2. When the injection of the liquid 10 is completed, a control signal indicating completion of liquid filling is wirelessly transmitted from communication means outside thecapsule 4. Based on the control signal, thecontrol unit 100 stops the driving of theclaw operation units 164A to 164L and advances all of theremoval claws 163A to 163L. Thereby, therelease claw 163A is engaged with the movingclaw 162A closest to thepower transmission body 33. Filling theliquid storage unit 2 with the liquid 10 is performed in this way.

液体収納部2に液体10を充填した後、カプセル4の外部の通信手段から液体吐出開始の旨の制御信号を無線送信すると、制御部100は、その制御信号に基いて、爪動作ユニット164Aを駆動して、留め外し爪163Aを後退させる。これにより、留め外し爪163Aと移動爪162Aとの係合が解除されて、動力源3の力が液体収納部2に伝達される状態になり、動力源3の力によって液体収納部2の容積が縮小されていき、液体収納部2からカプセル4外に液体10が吐出されていく。そして、制御部100は、爪動作ユニット164Aの駆動を停止して、留め外し爪163Aを再び進出させる。移動体161及び複数の移動爪162A〜162Lが移動していき、留め外し爪163Bが次の移動爪162Bと係合すると、動力源3の力が液体収納部2に伝達されない状態になり、液体収納部2からの液体10の吐出が停止する。  After theliquid storage unit 2 is filled with the liquid 10, when a control signal indicating the start of liquid discharge is wirelessly transmitted from the communication means outside thecapsule 4, thecontrol unit 100 moves theclaw operation unit 164A based on the control signal. Driven to retract therelease claw 163A. As a result, the engagement between the detachingclaw 163A and the movingclaw 162A is released, and the force of thepower source 3 is transmitted to theliquid storage unit 2, and the volume of theliquid storage unit 2 is increased by the force of thepower source 3. Then, the liquid 10 is discharged from theliquid storage unit 2 to the outside of thecapsule 4. Then, thecontrol unit 100 stops driving theclaw operation unit 164A and advances the detachingclaw 163A again. When the movingbody 161 and the plurality of movingclaws 162A to 162L move and the detachingclaw 163B engages with the next movingclaw 162B, the force of thepower source 3 is not transmitted to theliquid storage portion 2, and the liquid The discharge of the liquid 10 from thestorage unit 2 stops.

その後、カプセル4の外部の通信手段から液体吐出開始の旨の制御信号を無線送信する都度、制御部100は、上記留め外し爪163Aを後退させた後に再び進出させたのと同様に、爪動作ユニット164Bを駆動、駆動停止して、留め外し爪163Bを後退させた後に再び進出させる動作、爪動作ユニット164Cを駆動、駆動停止して、留め外し爪163Cを後退させた後に再び進出させる動作、・・・を順に行う。これにより、その後、液体吐出開始の旨の制御信号を無線送信する都度、留め外し爪163Cと移動爪162Cが係合するまで液体収納部2の容積が縮小されて、液体10が吐出される動作、留め外し爪163Dと移動爪162Dが係合するまで液体収納部2の容積が縮小されて、液体10が吐出される動作、・・・が順に行われる。すなわち、液体収納部2に液体10を充填した後、液体吐出開始の旨の制御信号を無線送信する都度、液体収納部2の容積が移動爪162A〜162Lの間隔に対応して一定容積ずつ縮小されて、液体10が移動爪162A〜162Lの間隔に対応して一定量ずつ吐出される。動力伝達規制機構151は、このような構成であってもよい。  Thereafter, every time a control signal indicating the start of liquid ejection is wirelessly transmitted from the communication means outside thecapsule 4, thecontrol unit 100 performs the nail operation in the same manner as when therelease claw 163A is retracted and then advanced again. An operation of driving and stopping theunit 164B, retreating theremoval claw 163B, and advancing again; ... are performed in order. Thereby, each time a control signal indicating that liquid discharge is started is transmitted wirelessly, the volume of theliquid storage unit 2 is reduced until the disengagement claw 163C and the movingclaw 162C are engaged, and the liquid 10 is discharged. The volume of theliquid container 2 is reduced until thedisengagement claw 163D and the movingclaw 162D are engaged, and the operation of discharging the liquid 10 is sequentially performed. That is, each time the control signal indicating the start of liquid discharge is wirelessly transmitted after theliquid storage unit 2 is filled with the liquid 10, the volume of theliquid storage unit 2 is reduced by a certain volume corresponding to the interval between the movingclaws 162A to 162L. Thus, the liquid 10 is discharged by a certain amount corresponding to the interval between the movingclaws 162A to 162L. The powertransmission restriction mechanism 151 may have such a configuration.

<第6の実施形態>
図21は、第6の実施形態による液体吐出装置の構成を示す。本実施形態の液体吐出装置1は、上記実施形態の構成に加え、動力源3による液体収納部2の容積の変化を制御する制御部100をさらに備える。本実施形態の液体吐出装置1は、液体10の吐出精度の高精度化を図るものである。制御部100は、動力源3の力(巻きバネ71の復元力)を液体収納部2に伝達する状態と伝達しない状態とに切換える動力伝達規制機構171を有する。また、制御部100は、動力伝達規制機構171を動作させる駆動部172と、カプセル4の外部から無線送信される制御信号を受信する受信部(不図示)と、動力伝達規制機構171を動作させるための電力を供給する電池(不図示)とを有する。
<Sixth Embodiment>
FIG. 21 shows the configuration of the liquid ejection apparatus according to the sixth embodiment. Theliquid ejection apparatus 1 according to the present embodiment further includes acontrol unit 100 that controls a change in the volume of theliquid storage unit 2 by thepower source 3 in addition to the configuration of the above embodiment. Theliquid ejection apparatus 1 of the present embodiment is intended to increase the accuracy of ejection of the liquid 10. Thecontrol unit 100 includes a powertransmission restriction mechanism 171 that switches between a state in which the force of the power source 3 (restoring force of the winding spring 71) is transmitted to theliquid storage unit 2 and a state in which the force is not transmitted. In addition, thecontrol unit 100 operates thedrive unit 172 that operates the powertransmission restriction mechanism 171, the reception unit (not illustrated) that receives a control signal wirelessly transmitted from the outside of thecapsule 4, and the powertransmission restriction mechanism 171. And a battery (not shown) for supplying electric power for the purpose.

動力伝達規制機構171は、動力源3に接続された第1のギヤ181と、支持体76に回転自在に支持された回転軸182と、回転軸182に固定的に連結され、第1のギヤ181に噛合された第2のギヤ183と、回転軸182に固定的に連結された雁木車184とを有する。また、動力伝達規制機構171は、雁木車184に係合、係合解除される係合体185と、係合体185を動作させる電磁石186とを有する。  The powertransmission restricting mechanism 171 is fixedly coupled to thefirst gear 181 connected to thepower source 3, therotating shaft 182 rotatably supported by thesupport 76, and therotating shaft 182. Thesecond gear 183 meshed with thegear 181 and thewheeled wheel 184 fixedly connected to therotating shaft 182 are included. The powertransmission restricting mechanism 171 includes anengaging body 185 that is engaged with and released from thecart 184, and anelectromagnet 186 that operates theengaging body 185.

第1のギヤ181は、動力源3の回転軸73に固定的に連結されている。従って、回転軸73が回転するとき、第1のギヤ181が回転し、第2のギヤ183が回転し、雁木車184も回転する。雁木車184は、複数の移動爪187を有する。複数の移動爪187は、雁木車184の回転方向に等間隔に設けられている。  Thefirst gear 181 is fixedly connected to therotating shaft 73 of thepower source 3. Therefore, when the rotatingshaft 73 rotates, thefirst gear 181 rotates, thesecond gear 183 rotates, and thewooden cart 184 also rotates. Thewooden cart 184 has a plurality of movingclaws 187. The plurality of movingclaws 187 are provided at equal intervals in the rotation direction of thewooden wheel 184.

係合体185は、支軸191によって回動自在に支持されており、移動爪187に係合、係合解除される2つの留め外し爪192a、192bと、係合体185を動作させるための磁石193とを有する。留め外し爪192aは、係合体185の一端側に設けられており、留め外し爪192bは、係合体185の他端側に設けられている。磁石193は、係合体185の一端側(留め外し爪192a側)にN極があり、係合体185の他端側(留め外し爪192b側)にS極がある。電磁石186は、2つのコイル194a、194bを有する。コイル194a、194bは、駆動部172によって個別に駆動(通電)される。コイル194aは、駆動されることによって、磁石193のN極を反発させる磁力を発生する。コイル194bは、駆動されることによって、磁石193のS極を反発させる磁力を発生する。  Theengagement body 185 is rotatably supported by asupport shaft 191, and tworelease claws 192 a and 192 b that are engaged with and released from the movingclaw 187, and amagnet 193 for operating theengagement body 185. And have. Therelease claw 192a is provided on one end side of theengagement body 185, and therelease claw 192b is provided on the other end side of theengagement body 185. Themagnet 193 has an N pole on one end side (detachment claw 192a side) of theengagement body 185, and an S pole on the other end side (detachment claw 192b side) of theengagement body 185. Theelectromagnet 186 has twocoils 194a and 194b. Thecoils 194a and 194b are individually driven (energized) by the drivingunit 172. Thecoil 194a is driven to generate a magnetic force that repels the N pole of themagnet 193. Thecoil 194b is driven to generate a magnetic force that repels the south pole of themagnet 193.

コイル194aが駆動され、コイル194bが駆動停止されると、コイル194aの磁力によって磁石193のN極が反発され、これにより、係合体185は、留め外し爪192aが雁木車184に向かって進出する(その結果、留め外し爪192bが雁木車184から後退する)ように回動する。このとき、留め外し爪192aは、移動爪187と係合し得る位置(移動爪187の移動経路上)まで進出し、留め外し爪192bは、移動爪187と係合し得ない位置まで後退する。また、コイル194aが駆動停止され、コイル194bが駆動されると、コイル194bの磁力によって磁石193のS極が反発され、これにより、係合体185は、留め外し爪192bが雁木車184に向かって進出する(その結果、留め外し爪192aが雁木車184から後退する)ように回動する。このとき、留め外し爪192bは、移動爪187と係合し得る位置まで進出し、留め外し爪192aは、移動爪187と係合し得ない位置まで後退する。また、コイル194aとコイル194bの両方が駆動されると、コイル194aの磁力によって磁石193のN極が反発され、また、コイル194bの磁力によって磁石193のS極が反発され、これにより、係合体185は、留め外し爪192aと留め外し爪192bの両方が中立位置(留め外し爪192a、192bの両方とも移動爪187と係合し得ない位置)になるように回動する。また、コイル194aとコイル194bの両方が駆動停止されると、係合体185は、直前の状態を維持する。  When thecoil 194a is driven and the drive of thecoil 194b is stopped, the N pole of themagnet 193 is repelled by the magnetic force of thecoil 194a, whereby theengagement body 185 advances thedisengagement claw 192a toward thewooden wheel 184. (As a result, thedisengagement claw 192b retreats from the wheelbarrow 184). At this time, therelease claw 192a advances to a position where it can engage with the moving claw 187 (on the movement path of the movement claw 187), and therelease claw 192b moves back to a position where it cannot engage with themovement claw 187. . Further, when the drive of thecoil 194a is stopped and thecoil 194b is driven, the south pole of themagnet 193 is repelled by the magnetic force of thecoil 194b, whereby theengagement body 185 has therelease claw 192b directed toward thewooden wheel 184. It rotates so as to advance (as a result, therelease claw 192a moves backward from the wooden cart 184). At this time, therelease claw 192b advances to a position where it can engage with the movingclaw 187, and therelease claw 192a moves back to a position where it cannot engage with themovement claw 187. When both thecoil 194a and thecoil 194b are driven, the N pole of themagnet 193 is repelled by the magnetic force of thecoil 194a, and the S pole of themagnet 193 is repelled by the magnetic force of the coil 194b. 185 rotates so that both therelease claw 192a and therelease claw 192b are in a neutral position (a position where both therelease claw 192a and 192b cannot engage with the moving claw 187). Further, when the driving of both thecoil 194a and thecoil 194b is stopped, the engagingbody 185 maintains the immediately preceding state.

留め外し爪192a、192bのどちらも移動爪187と係合していないときは、雁木車184は回転することができ、これにより、回転軸73は回転することができる。従って、このときは、上記実施形態と同様に、巻きバネ71の復元力によって、回転軸73が回転して、ローラ75が移動することになり、動力源3の力(巻きバネ71の復元力)が液体収納部2に伝達されることになる。一方、留め外し爪192a、192bのどちらかが移動爪187と係合しているときは、雁木車184は回転することができず、これにより、回転軸73は回転することができない。従って、このときは、ローラ75が移動しないことになり、動力源3の力が液体収納部2に伝達されないことになる。  When neither of therelease claws 192a and 192b is engaged with the movingclaw 187, thestraw wheel 184 can be rotated, and thus therotating shaft 73 can be rotated. Therefore, at this time, similarly to the above-described embodiment, the rotatingshaft 73 is rotated by the restoring force of the windingspring 71 and theroller 75 moves, and the force of the power source 3 (the restoring force of the windingspring 71). ) Is transmitted to theliquid storage unit 2. On the other hand, when one of therelease claws 192a and 192b is engaged with the movingclaw 187, thestraw wheel 184 cannot rotate, and therotation shaft 73 cannot rotate. Accordingly, at this time, theroller 75 does not move, and the force of thepower source 3 is not transmitted to theliquid storage unit 2.

制御部100は、受信部により受信した制御信号に基いて、すなわち、カプセル4の外部から無線送信される制御信号に基いて、電池の電力により動力伝達規制機構171を動作させる。すなわち、制御部100は、カプセル4の外部から無線送信される制御信号に基いて、駆動部172によって電池の電力により電磁石186のコイル194a、194bを駆動し、また、駆動部172による電磁石186のコイル194a、194bの駆動を停止する。そして、制御部100は、コイル194a、194bを駆動、駆動停止することにより、係合体185を動作(留め外し爪192a、192bを進出、後退)させて、動力源3の力が液体収納部2に伝達される状態と伝達されない状態とに切換える。制御部100は、動力伝達規制機構171を動作させて、動力源3の力が液体収納部2に伝達される状態と伝達されない状態とに切換えることにより、動力源3の力による液体収納部2の容積の変化を制御し、液体収納部2からカプセル4外への液体10の吐出を制御する。  Based on the control signal received by the receiving unit, that is, based on the control signal wirelessly transmitted from the outside of thecapsule 4, thecontrol unit 100 operates the powertransmission restriction mechanism 171 with the battery power. That is, thecontrol unit 100 drives thecoils 194a and 194b of theelectromagnet 186 by the power of the battery by the drivingunit 172 based on the control signal wirelessly transmitted from the outside of thecapsule 4, and theelectromagnet 186 by the drivingunit 172. The driving of thecoils 194a and 194b is stopped. Then, thecontrol unit 100 drives and stops thecoils 194a and 194b to operate the engaging body 185 (the detachingclaws 192a and 192b are advanced and retracted), and the power of thepower source 3 is applied to theliquid storage unit 2. The state is switched between the state that is transmitted to and the state that is not transmitted. Thecontrol unit 100 operates the powertransmission restriction mechanism 171 to switch between a state where the force of thepower source 3 is transmitted to theliquid storage unit 2 and a state where the force is not transmitted to theliquid storage unit 2. The volume of the liquid 10 is controlled to discharge the liquid 10 from theliquid storage unit 2 to the outside of thecapsule 4.

液体収納部2への液体10の充填は、以下のようにして行われる。まず、カプセル4の外部の通信手段から液体充填開始の旨の制御信号を無線送信する。制御部100は、その制御信号に基いて、電磁石186のコイル194a、コイル194bの両方を駆動して、留め外し爪192a、192bを中立位置にする。そして、上記実施形態と同様に、液体10を液体収納部2に注入する。液体10の注入を終えると、カプセル4の外部の通信手段から液体充填完了の旨の制御信号を無線送信する。制御部100は、その制御信号に基いて、コイル194aの駆動を維持したまま、コイル194bの駆動を停止して、留め外し爪192aを進出させ、留め外し爪192bを後退させる。これにより、留め外し爪192aが移動爪187と係合されて、動力源3の力(巻きバネ71の復元力)が液体収納部2に伝達されない状態になり、動力源3の力による液体収納部2の容積の変化が起らない状態になる。すなわち、液体収納部2に液体10が収納された状態で、液体収納部2からカプセル4外への液体10の吐出が停止している状態となる。そして、制御部100は、コイル194aの駆動を停止する。これにより、留め外し爪192aは、進出した状態に維持され、留め外し爪192aが移動爪187と係合した状態に維持される。液体収納部2への液体10の充填は、このようにして行われる。  The filling of the liquid 10 into theliquid storage unit 2 is performed as follows. First, a control signal indicating the start of liquid filling is wirelessly transmitted from communication means outside thecapsule 4. Based on the control signal, thecontrol unit 100 drives both thecoil 194a and thecoil 194b of theelectromagnet 186 to bring therelease claws 192a and 192b to the neutral position. And the liquid 10 is inject | poured into theliquid storage part 2 similarly to the said embodiment. When the injection of the liquid 10 is completed, a control signal indicating completion of liquid filling is wirelessly transmitted from communication means outside thecapsule 4. Based on the control signal, thecontrol unit 100 stops the driving of thecoil 194b while maintaining the driving of thecoil 194a, advances therelease claw 192a, and retracts therelease claw 192b. As a result, therelease claw 192a is engaged with the movingclaw 187 so that the force of the power source 3 (restoring force of the winding spring 71) is not transmitted to theliquid storage unit 2, and the liquid storage by the force of thepower source 3 is performed. The volume of thepart 2 is not changed. That is, in a state where the liquid 10 is stored in theliquid storage unit 2, the discharge of the liquid 10 from theliquid storage unit 2 to the outside of thecapsule 4 is stopped. Then, thecontrol unit 100 stops driving thecoil 194a. Accordingly, therelease claw 192a is maintained in the advanced state, and therelease claw 192a is maintained in a state of being engaged with the movingclaw 187. Filling theliquid storage unit 2 with the liquid 10 is performed in this way.

液体収納部2に液体10を充填した後、カプセル4の外部の通信手段から液体吐出開始の旨の制御信号を無線送信すると、制御部100は、その制御信号に基いて、電磁石186のコイル194bを駆動して、留め外し爪192bを進出させ、留め外し爪192aを後退させる。これにより、留め外し爪192aと移動爪187との係合が解除されて、動力源3の力が液体収納部2に伝達される状態になり、上記実施形態と同様に、動力源3の力によって液体収納部2の容積が縮小されていき、液体収納部2からカプセル4外に液体10が吐出されていく。すなわち、巻きバネ71の復元力によって、回転軸73及び回転レバー74が回転して、ローラ75がチューブ28を押し潰しながら移動していくことにより、液体収納部2の容積が縮小されていき、液体収納部2から液体10が吐出されていく。このとき、回転軸73が回転することにより、雁木車184も回転する。そして、制御部100は、コイル194bの駆動を停止する。これにより、留め外し爪192bは、進出した状態に維持される。雁木車184が回転していき、留め外し爪192bが次の移動爪187と係合すると、動力源3の力が液体収納部2に伝達されない状態になり、動力源3の力による液体収納部2の容積の縮小が停止し、液体収納部2からの液体10の吐出が停止する。  When theliquid storage unit 2 is filled with the liquid 10 and wirelessly transmits a control signal indicating the start of liquid discharge from the communication means outside thecapsule 4, thecontrol unit 100, based on the control signal, thecoil 194 b of theelectromagnet 186. Is driven to advance the detachingclaw 192b and retract the detachingclaw 192a. As a result, the engagement between thedisengagement claw 192a and the movingclaw 187 is released, and the force of thepower source 3 is transmitted to theliquid storage unit 2, and the force of thepower source 3 is the same as in the above embodiment. As a result, the volume of theliquid storage unit 2 is reduced, and the liquid 10 is discharged from theliquid storage unit 2 to the outside of thecapsule 4. That is, the rotatingshaft 73 and therotating lever 74 are rotated by the restoring force of the windingspring 71, and theroller 75 moves while crushing thetube 28, whereby the volume of theliquid storage unit 2 is reduced. The liquid 10 is discharged from theliquid storage unit 2. At this time, thewooden wheel 184 is also rotated by the rotation of therotation shaft 73. And thecontrol part 100 stops the drive of thecoil 194b. As a result, therelease claw 192b is maintained in the advanced state. When thewooden wheel 184 rotates and thedisengagement claw 192b engages with the next movingclaw 187, the power of thepower source 3 is not transmitted to theliquid storage unit 2, and the liquid storage unit by the force of thepower source 3 2 is stopped, and the discharge of the liquid 10 from theliquid storage unit 2 is stopped.

その後、カプセル4の外部の通信手段から液体吐出開始の旨の制御信号を無線送信すると、制御部100は、その制御信号に基いて、電磁石186のコイル194aを駆動して、留め外し爪192aを進出させ、留め外し爪192bを後退させる。これにより、留め外し爪192bと移動爪187との係合が解除されて、動力源3の力が液体収納部2に伝達される状態になり、動力源3の力によって液体収納部2の容積が縮小されていき、液体収納部2からカプセル4外に液体10が吐出されていく。そして、制御部100は、コイル194aの駆動を停止する。これにより、留め外し爪192aは、進出した状態に維持される。雁木車184が回転していき、留め外し爪192aが次の移動爪187と係合すると、動力源3の力が液体収納部2に伝達されない状態になり、動力源3の力による液体収納部2の容積の縮小が停止し、液体収納部2からの液体10の吐出が停止する。  Thereafter, when a control signal indicating the start of liquid discharge is wirelessly transmitted from the communication means outside thecapsule 4, thecontrol unit 100 drives thecoil 194 a of theelectromagnet 186 based on the control signal to remove theclaw 192 a. The advancement is made, and therelease claw 192b is retracted. As a result, the engagement between therelease claw 192b and the movingclaw 187 is released, and the force of thepower source 3 is transmitted to theliquid storage unit 2, and the volume of theliquid storage unit 2 is increased by the force of thepower source 3. Then, the liquid 10 is discharged from theliquid storage unit 2 to the outside of thecapsule 4. Then, thecontrol unit 100 stops driving thecoil 194a. Thereby, theremoval claw 192a is maintained in the advanced state. When thewooden wheel 184 rotates and thedisengagement claw 192a engages with the next movingclaw 187, the power of thepower source 3 is not transmitted to theliquid storage unit 2, and the liquid storage unit due to the force of thepower source 3 2 is stopped, and the discharge of the liquid 10 from theliquid storage unit 2 is stopped.

その後、カプセル4の外部の通信手段から液体吐出開始の旨の制御信号を無線送信する都度、制御部100は、留め外し爪192bを進出させて留め外し爪192aを後退させる動作と、留め外し爪192aを進出させて留め外し爪192bを後退させる動作を、交互に行う。これにより、その後に、液体吐出開始の旨の制御信号を無線送信する都度、留め外し爪192bと移動爪187が次に係合するまで液体収納部2の容積が縮小されて、液体10が吐出される動作と、留め外し爪192aと移動爪187が次に係合するまで液体収納部2の容積が縮小されて、液体10が吐出される動作が、交互に行われる。すなわち、液体収納部2に液体10を充填した後、液体吐出開始の旨の制御信号を無線送信する都度、液体収納部2の容積が移動爪187の間隔に対応して一定容積ずつ縮小されて、液体10が移動爪187の間隔に対応して一定量ずつ吐出される。  Thereafter, every time a control signal indicating the start of liquid ejection is wirelessly transmitted from the communication means external to thecapsule 4, thecontrol unit 100 moves therelease claw 192b forward to retract therelease claw 192a, and the release claw The operation of advancing 192a and retracting theclaw 192b is performed alternately. As a result, each time a control signal indicating that liquid discharge is started is transmitted wirelessly, the volume of theliquid storage unit 2 is reduced until therelease claw 192b and the movingclaw 187 are next engaged, and the liquid 10 is discharged. The operation in which the volume of theliquid storage unit 2 is reduced and the liquid 10 is discharged is alternately performed until therelease claw 192a and the movingclaw 187 are next engaged. That is, each time the control signal indicating that the liquid discharge is started is wirelessly transmitted after theliquid storage unit 2 is filled with the liquid 10, the volume of theliquid storage unit 2 is reduced by a certain volume corresponding to the interval between the movingclaws 187. The liquid 10 is ejected by a certain amount corresponding to the interval between the movingclaws 187.

本実施形態の液体吐出装置1によれば、上記実施形態と同様の作用、効果が得られる。また、制御部100によって、動力源3の力による液体収納部2の容積の変化を制御することにより、液体10の吐出を制御することができる。また、制御部100は、動力伝達規制機構171によって動力源3の力を液体収納部2に伝達する状態と伝達しない状態とに切換えることにより、動力源3の力による液体収納部2の容積の変化を制御する構成であるため、簡単な構成によって、動力源3の力による液体収納部2の容積の変化を制御して、液体10の吐出を制御することができる。また、動力伝達規制機構171は、等間隔に設けられた移動爪187の係合、係合解除により、動力源3の力を液体収納部2に伝達しない状態と伝達する状態とに切換える構成であるため、液体収納部2の容積を移動爪187の間隔に対応する一定容積ずつ変化させて、液体10を移動爪187の間隔に対応する一定量ずつ吐出させることができる。これにより、液体10の吐出精度を高めることができる。また、第1のギヤ181と第2のギヤ183のギヤ比を調整することにより、液体収納部2の容積の変化量を調整して、液体10の吐出量を調整することができる。また、制御部100は、カプセル4の外部から無線送信される制御信号に基いて、動力伝達規制機構171を動作させるため、液体吐出開始の旨の制御信号の送信タイミングを調整することにより、液体10を所望のタイミングで吐出することができる。  According to theliquid ejection device 1 of the present embodiment, the same operation and effect as the above-described embodiment can be obtained. Further, by controlling the change in the volume of theliquid storage unit 2 due to the force of thepower source 3 by thecontrol unit 100, the discharge of the liquid 10 can be controlled. Further, thecontrol unit 100 switches the state of thepower source 3 to be transmitted to theliquid storage unit 2 and the state where it is not transmitted to theliquid storage unit 2 by the powertransmission restriction mechanism 171, thereby increasing the volume of theliquid storage unit 2 by the force of thepower source 3. Since the change is controlled, the change of the volume of theliquid storage unit 2 due to the force of thepower source 3 can be controlled with a simple configuration, and the discharge of the liquid 10 can be controlled. The powertransmission restricting mechanism 171 is configured to switch between the state in which the force of thepower source 3 is not transmitted to theliquid storage unit 2 and the state in which the force is transmitted to theliquid storage unit 2 by the engagement and disengagement of the movingclaws 187 provided at equal intervals. Therefore, the volume of theliquid storage unit 2 can be changed by a certain volume corresponding to the interval between the movingclaws 187, and the liquid 10 can be discharged by a certain amount corresponding to the interval between the movingclaws 187. Thereby, the discharge accuracy of the liquid 10 can be improved. Further, by adjusting the gear ratio between thefirst gear 181 and thesecond gear 183, the amount of change in the volume of theliquid storage unit 2 can be adjusted to adjust the discharge amount of the liquid 10. Thecontrol unit 100 operates the powertransmission restriction mechanism 171 based on a control signal wirelessly transmitted from the outside of thecapsule 4, and adjusts the transmission timing of the control signal indicating the start of liquid discharge, so that the liquid 10 can be discharged at a desired timing.

本実施形態では、動力伝達規制機構171を動作させるのに電力を利用するが、これらの電力は、液体収納部2に液体10を充填するとき及び液体収納部2から液体10を吐出するときに係合体185を動作させる(留め外し爪192a、192bを進出、後退させる)だけの電力である。これらの電力は、液体10を吐出する動力(液体収納部2の容積を変化させる動力)に電力を利用する場合と比較して、少ないものである。従って、液体10を吐出する動力に電力を利用する場合よりも、電力の利用が少なくて済み、省電力である。  In the present embodiment, electric power is used to operate the powertransmission restriction mechanism 171, and these electric powers are used when theliquid container 2 is filled with the liquid 10 and when the liquid 10 is discharged from theliquid container 2. The electric power is sufficient to operate the engagement body 185 (to move therelease claws 192a and 192b forward and backward). These electric powers are small compared with the case where electric power is used for the power for discharging the liquid 10 (the power for changing the volume of the liquid storage unit 2). Therefore, less power is used than in the case of using electric power for the power for discharging the liquid 10, which saves power.

なお、本実施形態において、制御部100は、カプセル4の外部から空間伝送される電力を受電する受電部を有し、カプセル4の外部から空間伝送される電力により動力伝達規制機構171を動作させるようになっていてもよい。また、制御部100は、タイマを有し、液体収納部2に液体10を充填した後、タイマの出力に基いて動力伝達規制機構171を動作させるようになっていてもよい。また、上記糸状部材5をさらに備えていてもよい。この場合、液体10の充填は、電磁石186のコイル194a、194bの両方を駆動して、留め外し爪192a、192bを中立位置にした状態で、糸状部材5を引っ張って液体収納部2の容積を増大させ、この状態で液体吐出路24aから液体10を注入することにより行われる。  In the present embodiment, thecontrol unit 100 includes a power receiving unit that receives power that is spatially transmitted from the outside of thecapsule 4, and operates the powertransmission restriction mechanism 171 by the power that is spatially transmitted from the outside of thecapsule 4. It may be like this. Further, thecontrol unit 100 may include a timer, and after theliquid storage unit 2 is filled with the liquid 10, the powertransmission restriction mechanism 171 may be operated based on the output of the timer. Further, the thread-like member 5 may be further provided. In this case, the filling of the liquid 10 is performed by driving both thecoils 194a and 194b of theelectromagnet 186 and pulling the thread-like member 5 in a state where therelease claws 192a and 192b are in the neutral position. In this state, the liquid 10 is injected from theliquid discharge path 24a.

1 液体吐出装置
2 液体収納部
2a 液体収納空間
3 動力源
4 カプセル
5、5b、5c 糸状部材
10 液体
21 ベローズ
22 固定側蓋体
23 移動側蓋体
24 液体吐出管
24a 液体吐出路
25 シリンダ
26 ピストン
28 チューブ
29 チューブ保持体
31 伸縮バネ(弾性体)
32 固定体
33 動力伝達体
40 駆動気体(弾性体)
41 気体バネ
51 ベローズ
52 固定体
53 動力伝達体
71 巻きバネ(弾性体)
72 固定体
73 回転軸
74 回転レバー
75 ローラ
76 支持体
81 主収納部(液体収納部)
82 副収納部(液体収納部)
91 主動力源(動力源)
92 副動力源(動力源)
100 制御部
101 吐出弁
102 駆動部
121 動力伝達規制機構
141 供給弁
142 吐出弁
151 動力伝達規制機構
171 動力伝達規制機構
172 駆動部
DESCRIPTION OFSYMBOLS 1Liquid discharge apparatus 2Liquid storage part 2aLiquid storage space 3Power source 4Capsule 5, 5b, 5c Threadedmember 10Liquid 21Bellows 22 Fixedside cover body 23 Movingside cover body 24Liquid discharge pipe 24aLiquid discharge path 25Cylinder 26Piston 28Tube 29Tube holder 31 Expansion spring (elastic body)
32Fixed body 33Power transmission body 40 Driving gas (elastic body)
41Gas spring 51Bellows 52Fixed body 53Power transmission body 71 Winding spring (elastic body)
72Fixed body 73 Rotatingshaft 74 Rotatinglever 75Roller 76Support body 81 Main storage section (liquid storage section)
82 Sub-storage part (liquid storage part)
91 Main power source (power source)
92 Sub power source (power source)
DESCRIPTION OFSYMBOLS 100Control part 101Discharge valve 102Drive part 121 Powertransmission control mechanism 141Supply valve 142Discharge valve 151 Powertransmission control mechanism 171 Powertransmission control mechanism 172 Drive part

Claims (8)

Translated fromJapanese
弾性体の復元力を原動力として容積を変化させることができる容積可変の液体収納部を備え、
前記弾性体の復元力で前記液体収納部の容積を変化させることにより、前記液体収納部に収納された液体を吐出するように構成されていることを特徴とする液体吐出装置。
A variable volume liquid storage unit capable of changing the volume with the restoring force of the elastic body as a driving force,
A liquid ejection apparatus configured to eject the liquid stored in the liquid storage unit by changing a volume of the liquid storage unit by a restoring force of the elastic body.
前記液体収納部は、ベローズ、シリンジ、又はチューブを用いたものであることを特徴とする請求項1に記載の液体吐出装置。  The liquid ejecting apparatus according to claim 1, wherein the liquid storage unit uses a bellows, a syringe, or a tube. 前記弾性体は、バネ、弾性復元力を有する復元性ベローズ、又は気体を用いたものであることを特徴とする請求項1又は請求項2に記載の液体吐出装置。  The liquid ejecting apparatus according to claim 1, wherein the elastic body uses a spring, a restoring bellows having an elastic restoring force, or a gas. 液体を前記液体収納部に充填するときの液体の圧力によって、前記弾性体の復元力のもとになるエネルギーをチャージアップすることを特徴とする請求項1乃至請求項3のいずれか一項に記載の液体吐出装置。  4. The energy according to claim 1, wherein the energy that becomes the restoring force of the elastic body is charged up by the pressure of the liquid when the liquid storage portion is filled with the liquid. 5. The liquid discharge apparatus as described. 前記弾性体に接続された糸状部材を引っ張ることにより、前記弾性体の復元力のもとになるエネルギーをチャージアップすることを特徴とする請求項1乃至請求項3のいずれか一項に記載の液体吐出装置。  4. The energy as a basis of a restoring force of the elastic body is charged up by pulling a thread-like member connected to the elastic body. 5. Liquid ejection device. 前記液体収納部の容積の変化を制御する制御部をさらに備えることを特徴とする請求項1乃至請求項5のいずれか一項に記載の液体吐出装置。  The liquid ejecting apparatus according to claim 1, further comprising a control unit that controls a change in volume of the liquid storage unit. 前記制御部は、
前記弾性体の復元力を前記液体収納部に伝達する状態と伝達しない状態とに切換える動力伝達規制機構を有し、
外部から無線送信される制御信号、又は、タイマ内蔵のときは該タイマ出力に基いて、外部から空間伝送される電力、又は、電池内蔵のときは該電池電力により前記動力伝達規制機構を動作させることを特徴とする請求項6に記載の液体吐出装置。
The controller is
A power transmission restricting mechanism for switching between a state where the restoring force of the elastic body is transmitted to the liquid storage portion and a state where the elastic body is not transmitted;
The power transmission regulating mechanism is operated by the control signal transmitted from the outside or the timer output when the timer is built-in, or the power transmitted from the outside or the battery power when the battery is built-in. The liquid ejecting apparatus according to claim 6.
前記制御部は、
前記液体収納部の液体吐出路を開く状態と閉じる状態とに切換える吐出弁を有し、
外部から無線送信される制御信号、又は、タイマ内蔵のときは該タイマ出力に基いて、外部から空間伝送される電力、又は、電池内蔵のときは該電池電力により前記吐出弁を動作させることを特徴とする請求項6に記載の液体吐出装置。
The controller is
A discharge valve that switches between a state of opening and closing a liquid discharge path of the liquid storage unit;
The discharge valve is operated by the control signal transmitted from the outside or the timer output when the timer is built-in, or the power transmitted from the outside or the battery power when the battery is built-in. The liquid ejecting apparatus according to claim 6, wherein the liquid ejecting apparatus is a liquid ejecting apparatus.
JP2014176733A2014-09-012014-09-01Liquid discharge devicePendingJP2016049313A (en)

Priority Applications (1)

Application NumberPriority DateFiling DateTitle
JP2014176733AJP2016049313A (en)2014-09-012014-09-01Liquid discharge device

Applications Claiming Priority (1)

Application NumberPriority DateFiling DateTitle
JP2014176733AJP2016049313A (en)2014-09-012014-09-01Liquid discharge device

Publications (1)

Publication NumberPublication Date
JP2016049313Atrue JP2016049313A (en)2016-04-11

Family

ID=55657305

Family Applications (1)

Application NumberTitlePriority DateFiling Date
JP2014176733APendingJP2016049313A (en)2014-09-012014-09-01Liquid discharge device

Country Status (1)

CountryLink
JP (1)JP2016049313A (en)

Cited By (3)

* Cited by examiner, † Cited by third party
Publication numberPriority datePublication dateAssigneeTitle
KR20210060891A (en)*2019-11-192021-05-27부경대학교 산학협력단Compact mechanical pumps with constant flow
JP2022528550A (en)*2019-04-102022-06-14ザルトリウス ステディム バイオテック ゲゼルシャフト ミット ベシュレンクテル ハフツング Small liquid container
CN115300713A (en)*2022-07-272022-11-08王颖 An easy-to-use self-extrusion magnetic control infusion nursing stent

Citations (5)

* Cited by examiner, † Cited by third party
Publication numberPriority datePublication dateAssigneeTitle
JPS56500241A (en)*1979-02-281981-03-05
US4443218A (en)*1982-09-091984-04-17Infusaid CorporationProgrammable implantable infusate pump
US5810015A (en)*1995-09-011998-09-22Strato/Infusaid, Inc.Power supply for implantable device
JP2007507267A (en)*2003-10-072007-03-29ポドゥヴァン,ジャン‐マリー Implantable perfusion device
WO2013075109A2 (en)*2011-11-182013-05-23Minipumps, LlcAccurate flow control in drug pump devices

Patent Citations (5)

* Cited by examiner, † Cited by third party
Publication numberPriority datePublication dateAssigneeTitle
JPS56500241A (en)*1979-02-281981-03-05
US4443218A (en)*1982-09-091984-04-17Infusaid CorporationProgrammable implantable infusate pump
US5810015A (en)*1995-09-011998-09-22Strato/Infusaid, Inc.Power supply for implantable device
JP2007507267A (en)*2003-10-072007-03-29ポドゥヴァン,ジャン‐マリー Implantable perfusion device
WO2013075109A2 (en)*2011-11-182013-05-23Minipumps, LlcAccurate flow control in drug pump devices

Cited By (6)

* Cited by examiner, † Cited by third party
Publication numberPriority datePublication dateAssigneeTitle
JP2022528550A (en)*2019-04-102022-06-14ザルトリウス ステディム バイオテック ゲゼルシャフト ミット ベシュレンクテル ハフツング Small liquid container
JP7635144B2 (en)2019-04-102025-02-25ザルトリウス ステディム バイオテック ゲゼルシャフト ミット ベシュレンクテル ハフツング Small volume liquid container
KR20210060891A (en)*2019-11-192021-05-27부경대학교 산학협력단Compact mechanical pumps with constant flow
KR102352188B1 (en)*2019-11-192022-01-19부경대학교 산학협력단Compact mechanical pumps with constant flow
CN115300713A (en)*2022-07-272022-11-08王颖 An easy-to-use self-extrusion magnetic control infusion nursing stent
CN115300713B (en)*2022-07-272023-09-05东南大学附属中大医院 An easy-to-use self-extruding magnetically controlled infusion nursing support

Similar Documents

PublicationPublication DateTitle
JP2016049313A (en)Liquid discharge device
CA2589899C (en)Medicine injection devices and methods
KR102568480B1 (en)Needleless syringe
US8277412B2 (en)One shot injector with dual springs
JP4402648B2 (en) Intra-subject introduction device
KR102444344B1 (en) needleless syringe
EP1843809B1 (en)An automatic injection device with a top release mechanism
US7905352B2 (en)Kits containing medicine injection devices and containers
RU2014152728A (en) INTRAOCULAR LENS INJECTION DEVICE
US20120172804A1 (en)Medicament delivery devices
RU2650584C2 (en)Needle-free injection device
JP2013533789A5 (en) Device for intraluminal delivery of an intravascular injection device
EP2412394A1 (en)Ear irrigation device
EP2268892A1 (en)Method and apparatus for cleaning a drill string
CA2678523A1 (en)A miniaturized injection device for medical use
WO2017041996A1 (en)Medicament delivery device
EP0483981A1 (en)Caulking gun
KR101282666B1 (en)Bypass type needlefree injector
JP2015062563A (en)Medical aid and medical instrument
WO2012046129A3 (en)Surgical device for interrupted suture
CN203898858U (en)Electromagnetic energy-storage-type needleless injector
RU2016105099A (en) CARTRIDGE INFUSION DEVICE USED INSIDE THE TUNNEL
JP2001087382A (en)Chemical injection device
AU2012201276B2 (en)Medicine injection devices and methods
CN211300118U (en)Intelligent control formula intracavity exposes ware

Legal Events

DateCodeTitleDescription
A621Written request for application examination

Free format text:JAPANESE INTERMEDIATE CODE: A621

Effective date:20160623

A977Report on retrieval

Free format text:JAPANESE INTERMEDIATE CODE: A971007

Effective date:20170317

A131Notification of reasons for refusal

Free format text:JAPANESE INTERMEDIATE CODE: A131

Effective date:20170404

A521Request for written amendment filed

Free format text:JAPANESE INTERMEDIATE CODE: A523

Effective date:20170605

A131Notification of reasons for refusal

Free format text:JAPANESE INTERMEDIATE CODE: A131

Effective date:20171205

A02Decision of refusal

Free format text:JAPANESE INTERMEDIATE CODE: A02

Effective date:20180529


[8]ページ先頭

©2009-2025 Movatter.jp