Movatterモバイル変換


[0]ホーム

URL:


JP2015513963A - Tissue thickness compensator with tissue ingrowth mechanism - Google Patents

Tissue thickness compensator with tissue ingrowth mechanism
Download PDF

Info

Publication number
JP2015513963A
JP2015513963AJP2015503528AJP2015503528AJP2015513963AJP 2015513963 AJP2015513963 AJP 2015513963AJP 2015503528 AJP2015503528 AJP 2015503528AJP 2015503528 AJP2015503528 AJP 2015503528AJP 2015513963 AJP2015513963 AJP 2015513963A
Authority
JP
Japan
Prior art keywords
staple
layer
view
staple cartridge
anvil
Prior art date
Legal status (The legal status is an assumption and is not a legal conclusion. Google has not performed a legal analysis and makes no representation as to the accuracy of the status listed.)
Pending
Application number
JP2015503528A
Other languages
Japanese (ja)
Inventor
シェルトン・フレデリック・イー・ザ・フォース
ビアカーナム・マーティ
Current Assignee (The listed assignees may be inaccurate. Google has not performed a legal analysis and makes no representation or warranty as to the accuracy of the list.)
Ethicon Endo Surgery Inc
Original Assignee
Ethicon Endo Surgery Inc
Priority date (The priority date is an assumption and is not a legal conclusion. Google has not performed a legal analysis and makes no representation as to the accuracy of the date listed.)
Filing date
Publication date
Priority claimed from US13/433,126external-prioritypatent/US9320523B2/en
Application filed by Ethicon Endo Surgery IncfiledCriticalEthicon Endo Surgery Inc
Publication of JP2015513963ApublicationCriticalpatent/JP2015513963A/en
Pendinglegal-statusCriticalCurrent

Links

Images

Classifications

Landscapes

Abstract

Translated fromJapanese

異なる実施形態において、コンペンセータは、締結器具のアンビル(22760)に取り付け可能である。コンペンセータは、アンビルに取り付けられるように構成された支持層(24226)及び支持層に取り付けられた足場(24222)を有しうる。少なくとも1つの実施形態において、足場は、生体適合性材料で構成された足場層(24227)及び複数のキャビティを有してよく、これらの層とキャビティとが、組織及び細胞の内部成長にとって好ましいマトリックスを画定することができる。In a different embodiment, the compensator can be attached to a fastener anvil (22760). The compensator can have a support layer (24226) configured to be attached to the anvil and a scaffold (24222) attached to the support layer. In at least one embodiment, the scaffold may have a scaffold layer (24227) composed of a biocompatible material and a plurality of cavities, the layers and cavities being a preferred matrix for tissue and cell ingrowth. Can be defined.

Description

Translated fromJapanese

本発明は、外科用器具に関するものであり、様々な実施形態において、組織の切断及びステープル留めを行うように設計された、外科用切断及びステープル留め器具並びにステープルカートリッジに関する。  The present invention relates to surgical instruments and, in various embodiments, to surgical cutting and stapling instruments and staple cartridges that are designed to cut and staple tissue.

以下は、特許請求されるか又は特許請求される可能性を有する本発明の実施形態を非包括的に列記したものである。
1.成形表面を有する締結器具のアンビルに取り付け可能なコンペンセータであって、
前記アンビルに取り付けられるように構成された支持層と、
前記支持層に取り付けられた足場であって、
生体適合性材料で構成された複数の足場層と、
複数のキャビティと、を有する足場と、を有し、前記層と前記キャビティとが組織及び細胞の内部成長にとって好ましいマトリックスを画定する、コンペンセータ。
2.前記各足場層が繊維織物で構成される、実施形態1に記載のコンペンセータ。
3.前記複数の足場層が第1の層及び第2の層を有し、前記第1の層が第1の繊維のパターンを有し、前記第2の層が第2の繊維のパターンを有し、前記第1の繊維のパターンが前記第2の繊維のパターンと異なる、実施形態1又は実施形態2に記載のコンペンセータ。
4.前記複数の足場層が第1の層及び第2の層を有し、前記第1の層が第1の方向に配向した繊維を有し、前記第2の層が第2の方向に配向した繊維を有し、前記第1の方向が前記第2の方向に対して斜めである、実施形態1〜3のいずれか1つに記載のコンペンセータ。
5.前記複数の足場層内に含まれる薬剤を更に有する、実施形態1〜4のいずれか1つに記載のコンペンセータ。
6.前記複数の足場層が第1の層及び第2の層を有し、前記第1の層が第1の材料で構成され、前記第2の層が第2の材料で構成され、前記第1の材料が前記第2の材料と異なる、実施形態1〜5のいずれか1つに記載のコンペンセータ。
7.前記複数の足場層が第1の層及び第2の層を有し、前記第1の層内に第1の薬剤が吸収され、前記第2の層内に第2の薬剤が吸収され、前記第1の薬剤が前記第2の薬剤と異なる、実施形態1〜6のいずれか1つに記載のコンペンセータ。
8.前記足場が外表面を有し、前記各キャビティが前記外表面に開口部を有する、実施形態1〜7のいずれか1つに記載のコンペンセータ。
9.成形表面を有する締結器具のアンビルに取り付け可能なコンペンセータであって、
前記アンビルに取り付けられるように構成された取り付け層と、
前記取り付け層に取り付けられた構造マトリックスであって、
生体適合性材料で構成された複数のマトリックス層と、
複数のウェルと、を有する構造マトリックスと、を有し、前記マトリックス層と前記ウェルとが組織及び細胞の内部成長にとって好ましい構造支持体を画定する、コンペンセータ。
10.前記各マトリックス層が繊維織物で構成される、実施形態9に記載のコンペンセータ。
11.前記複数のマトリックス層が第1の層及び第2の層を有し、前記第1の層が第1の繊維のパターンを有し、前記第2の層が第2の繊維のパターンを有し、前記第1の繊維のパターンが前記第2の繊維のパターンと異なる、実施形態9又は実施形態10に記載のコンペンセータ。
12.前記複数のマトリックス層が第1の層及び第2の層を有し、前記第1の層が第1の方向に配向した繊維を有し、前記第2の層が第2の方向に配向した繊維を有し、前記第1の方向が前記第2の方向に対して斜めである、実施形態9〜11のいずれか1つに記載のコンペンセータ。
13.前記複数のマトリックス層内に含まれる薬剤を更に有する、実施形態9〜12のいずれか1つに記載のコンペンセータ。
14.前記複数のマトリックス層が第1の層及び第2の層を有し、前記第1の層が第1の材料で構成され、前記第2の層が第2の材料で構成され、前記第1の材料が前記第2の材料と異なる、実施形態9〜13のいずれか1つに記載のコンペンセータ。
15.前記複数のマトリックス層が第1の層及び第2の層を有し、前記第1の層内に第1の薬剤が吸収され、前記第2の層内に第2の薬剤が吸収され、前記第1の薬剤が前記第2の薬剤と異なる、実施形態9〜14のいずれか1つに記載のコンペンセータ。
16.前記構造マトリックスが外表面を有し、前記各ウェルが前記外表面に開口部を有する、実施形態9〜15のいずれか1つに記載のコンペンセータ。
17.締結器具と共に使用するためのステープル留めアセンブリであって、
成形表面を有するアンビルと、
コンペンセータであって、
前記アンビルに取り付けられた支持層と、
前記支持層に取り付けられた足場であって、
生体適合性材料で構成された複数の足場層と、
前記足場層に埋め込まれた薬剤と、
複数のキャビティと、を有する足場と、を有し、前記層と前記キャビティとが組織及び細胞の内部成長にとって好ましいマトリックスを画定する、コンペンセータ。
The following is a non-exhaustive list of embodiments of the invention that are claimed or have the potential to be claimed.
1. A compensator attachable to an anvil of a fastener having a molded surface,
A support layer configured to be attached to the anvil;
A scaffold attached to the support layer,
A plurality of scaffold layers composed of biocompatible materials;
And a scaffold having a plurality of cavities, wherein the layer and the cavities define a preferred matrix for tissue and cell ingrowth.
2. The compensator according toembodiment 1, wherein each scaffold layer is composed of a textile fabric.
3. The plurality of scaffold layers have a first layer and a second layer, the first layer has a pattern of first fibers, and the second layer has a pattern of second fibers The compensator according toembodiment 1 or 2, wherein the pattern of the first fibers is different from the pattern of the second fibers.
4). The plurality of scaffold layers have a first layer and a second layer, the first layer has fibers oriented in a first direction, and the second layer is oriented in a second direction The compensator according to any one ofEmbodiments 1 to 3, wherein the compensator has fibers, and the first direction is oblique to the second direction.
5). The compensator according to any one ofembodiments 1 to 4, further comprising a drug contained in the plurality of scaffold layers.
6). The plurality of scaffold layers have a first layer and a second layer, the first layer is made of a first material, the second layer is made of a second material, and the first layer Embodiment 6. The compensator according to any one ofEmbodiments 1 to 5, wherein the material is different from the second material.
7). The plurality of scaffold layers have a first layer and a second layer, the first drug is absorbed in the first layer, the second drug is absorbed in the second layer, and The compensator according to any one of embodiments 1-6, wherein the first agent is different from the second agent.
8).Embodiment 8. The compensator according to any one of embodiments 1-7, wherein the scaffold has an outer surface and each cavity has an opening in the outer surface.
9. A compensator attachable to an anvil of a fastener having a molded surface,
An attachment layer configured to be attached to the anvil;
A structural matrix attached to the attachment layer,
A plurality of matrix layers composed of biocompatible materials;
A compensator having a plurality of wells, wherein the matrix layer and the wells define a preferred structural support for tissue and cell ingrowth.
10. The compensator according to embodiment 9, wherein each matrix layer is composed of a fiber fabric.
11. The plurality of matrix layers have a first layer and a second layer, the first layer has a pattern of first fibers, and the second layer has a pattern of second fibers. The compensator according to embodiment 9 orembodiment 10, wherein the pattern of the first fibers is different from the pattern of the second fibers.
12 The plurality of matrix layers have a first layer and a second layer, the first layer has fibers oriented in a first direction, and the second layer is oriented in a second direction The compensator according to any one of embodiments 9 to 11, comprising fibers, wherein the first direction is oblique to the second direction.
13. Embodiment 13. The compensator according to any one of embodiments 9-12, further comprising a drug contained within the plurality of matrix layers.
14 The plurality of matrix layers have a first layer and a second layer, the first layer is made of a first material, the second layer is made of a second material, and the first layer is made ofEmbodiment 14. The compensator according to any one of embodiments 9 to 13, wherein the material of is different from the second material.
15. The plurality of matrix layers have a first layer and a second layer, a first drug is absorbed in the first layer, a second drug is absorbed in the second layer, and The compensator according to any one of embodiments 9-14, wherein the first agent is different from the second agent.
16. Embodiment 16. The compensator according to any one of embodiments 9-15, wherein the structural matrix has an outer surface and each well has an opening in the outer surface.
17. A stapling assembly for use with a fastener, comprising:
An anvil having a molding surface;
A compensator,
A support layer attached to the anvil;
A scaffold attached to the support layer,
A plurality of scaffold layers composed of biocompatible materials;
A drug embedded in the scaffold layer;
And a scaffold having a plurality of cavities, wherein the layer and the cavities define a preferred matrix for tissue and cell ingrowth.

本発明の特徴及び利点、並びにそれらを実現する方法は、以下の本発明の実施形態の説明文を添付の図面と併せて参照することでより明らかとなり、発明自体のより深い理解が得られるであろう。
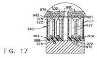
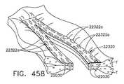
外科用器具の一実施形態の断面図である。移植式ステープルカートリッジの一実施形態の斜視図である。移植式ステープルカートリッジによって組織をクランプ締め及びステープル留めするエンドエフェクタの部分を示す。移植式ステープルカートリッジによって組織をクランプ締め及びステープル留めするエンドエフェクタの部分を示す。移植式ステープルカートリッジによって組織をクランプ締め及びステープル留めするエンドエフェクタの部分を示す。移植式ステープルカートリッジによって組織をクランプ締め及びステープル留めするエンドエフェクタの部分を示す。エンドエフェクタが外科用ステープルカートリッジを支持し、そのアンビルが開位置にある、外科用器具の一部に連結された別のエンドエフェクタの部分断面図である。閉位置にある図2のエンドエフェクタの別の部分断面図である。ナイフバーがエンドエフェクタを通じて前進し始める際の、図2及び図3のエンドエフェクタの別の部分断面図である。ナイフバーが内部を通じて部分的に前進させられた図2〜4のエンドエフェクタの別の部分断面側面図である。外科用切断及びステープル留め装置内に設置された別のステープルカートリッジの実施形態の斜視図である。図6に示される装置の外科用ステープルカートリッジ及び長尺状溝部材の平面図である。エンドエフェクタの長尺状溝部材内に設置された別の外科用ステープルカートリッジの実施形態の平面図である。アンビルの底面図である。ステープル列の一部を成形する複数のステープルの部分斜視図である。外科用切断及びステープル留め装置のアンビルと接触することによりそのステープルが成形された後の図10のステープル列の別の部分斜視図である。別のステープル列の一部を成形する、別のステープルの部分斜視図である。別のステープル列の一部を成形する、別のステープルの部分斜視図である。別のステープル列の実施形態の一部を成形する、別のステープルの部分斜視図である。ステープルカートリッジを支持するエンドエフェクタの断面図である。移植式ステープルカートリッジ本体部分及びステープルが取り外された後の図15のエンドエフェクタの長尺状溝部分の断面図である。別のステープルカートリッジを支持するエンドエフェクタの断面図である。少なくとも1つの実施形態による、圧潰可能なステープルカートリッジ本体内に配置された外科用ステープルの変形を示す図である。少なくとも1つの実施形態による、圧潰可能なステープルカートリッジ本体内に配置された外科用ステープルの変形を示す図である。少なくとも1つの実施形態による、圧潰可能なステープルカートリッジ本体内に配置された外科用ステープルの変形を示す図である。少なくとも1つの実施形態による、圧潰可能なステープルカートリッジ本体内に配置された外科用ステープルの変形を示す図である。圧潰可能なステープルカートリッジ本体内に配置されたステープルを示す図である。アンビルにより圧潰された、図19Aの圧潰可能なステープルカートリッジ本体を示す図である。アンビルにより更に圧潰された、図19Aの圧潰可能なステープルカートリッジを示す図である。完全に成形された状態の図19Aのステープル及び完全に圧潰した状態の図19Aの圧潰可能なステープルカートリッジを示す図である。ステープルカートリッジ支持表面に接して配置されたステープルを示し、それらの間で可能な相対的運動を示す図である。図20のステープルの基部を安定化させるように構成された、スロット又はトラフを含む、ステープルカートリッジ支持表面の断面図である。少なくとも1つの別の実施形態により、オーバーモールドされたクラウン、及びクラウンの一部分を受容するように構成されたスロット又はトラフを含む、ステープルの断面図である。圧潰可能なステープルカートリッジ本体内に埋め込まれたステープルを含む、少なくとも1つの実施形態による、ステープルカートリッジの平面図である。図23のステープルカートリッジの立面図である。圧潰可能なステープルカートリッジ本体内に配置された、ステープルを囲む、保護層を含む、少なくとも1つの実施形態によるステープルカートリッジの立面図である。図25の直線26−26に沿った、図25のステープルカートリッジの断面図である。圧潰可能なステープルカートリッジ本体の外側で少なくとも部分的に延びるステープルと、ステープルカートリッジ本体を囲む保護層とを含む、少なくとも1つの実施形態による、ステープルカートリッジの立面図である。図27の直線28−28に沿った、図27のステープルカートリッジの断面図である。ステープルは、少なくとも一部が、ステープルカートリッジ本体のステープルキャビティ空間内に配置される、少なくとも一部が圧潰可能なステープルカートリッジ本体内に埋め込まれた、ステープルを含む、少なくとも1つの実施形態による、ステープルカートリッジの部分切り欠き図である。図29の直線30−30に沿った、図29のステープルカートリッジの断面図である。少なくとも1つの実施形態による、ステープルカートリッジの部分切り欠き図である。少なくとも一部が圧潰可能なステープルカートリッジ本体内に埋め込まれステープルと、ステープルを連結し、ステープルを互いに対して整列させる、アラインメントマトリックスとを含む、少なくとも1つの実施形態による、ステープルカートリッジの部分切り欠き図である。図32の直線33−33に沿った、図32のステープルカートリッジの断面図である。圧縮可能なカートリッジ本体の内側層の部分切り欠き図である。移送プレートと支持プレートとの間で圧縮される、図34の内側層を示す図である。図35の圧縮された内側層内に挿入されたステープルを示す図である。内側層から取り除かれた、図35の支持プレートの図である。図34の内側層と、外側層に挿入された図36のステープルとを含む、サブアセンブリの図である。封止したステープルカートリッジを形成するために封止された、図38の外側層を示す図である。図39の封止したステープルカートリッジの断面図である。少なくとも1つの実施形態による、ステープルカートリッジ、及びステープルカートリッジ溝部材の断面図である。変形した状態の図41のステープルカートリッジの一部分を示す図である。開位置におけるアンビルと、ステープルカートリッジ溝部材内に配置されたステープルカートリッジとを含む、外科用ステープラのエンドエファクタの立面図である。閉位置にあるアンビル、及びアンビルとステープルカートリッジ溝部材との間で圧縮されたステープルカートリッジを例示する、図43のエンドエフェクタの立面図である。別の様式でステープルカートリッジ溝部材内に配置された、図43のステープルカートリッジを例示する、図43のエンドエフェクタの立面図である。ステープルカートリッジ溝部材内に配置された圧縮可能なステープルカートリッジ、及びアンビルに取り付けられた一片のバットレス材料を含む、外科用ステープラのエンドエフェクタの断面図である。閉位置にあるアンビルを例示する、図46のエンドエフェクタの断面図である。水不透過性層を含むステープルカートリッジを含む、外科用ステープラのエンドエフェクタの別の実施形態の断面図である。外科用ステープラのエンドエフェクタの別の一実施形態の断面図である。段差が形成されたアンビルを含む外科用ステープラのエンドエフェクタ、及び、段差が形成されたカートリッジ本体を含むステープルカートリッジの別の一実施形態の断面図である。外科用ステープラのエンドエフェクタの別の一実施形態の断面図である。傾斜した組織接触表面を含む外科用ステープラのエンドエフェクタの別の一実施形態の断面図である。傾斜した組織接触表面を含む外科用ステープラのエンドエフェクタの別の一実施形態の断面図である。ステープルカートリッジを支持するように構成された支持インサートを含む、外科用ステープラのエンドエフェクタの別の一実施形態の断面図である。複数の圧縮可能な層を含む、ステープルカートリッジを含む、外科用ステープラのエンドエフェクタの別の一実施形態の断面図である。段差が形成された圧縮可能カートリッジ本体を含む、ステープルカートリッジを含む、外科用ステープラのエンドエフェクタの別の一実施形態の断面図である。段差が形成された圧縮可能なカートリッジ本体を含む、ステープルカートリッジを含む、外科用ステープラのエンドエフェクタの別の他の一実施形態の断面図である。湾曲した組織接触表面を含む、ステープルカートリッジを含む、外科用ステープラのエンドエフェクタの別の一実施形態の断面図である。傾斜した組織接触表面を有する、ステープルカートリッジを含む、外科用ステープラのエンドエフェクタの別の一実施形態の断面図である。ステープル及び内部に貯蔵された少なくとも1種の薬剤を含む、圧縮可能なステープルの断面図である。圧縮され、内部に収容されたステープルが変形した後の、図60の圧縮可能なステープルカートリッジを示す図である。少なくとも1つの実施形態による、ステープルカートリッジの部分切り欠き図である。図62のステープルカートリッジの断面図である。少なくとも1つの別の実施形態による、移植されたステープルカートリッジの斜視図である。図64の移植されたステープルカートリッジの断面図である。ステープルカートリッジの外側層から延びる変形可能な部材を含む、ステープルカートリッジの代替的実施形態の斜視図である。内側層に組み合わされたステープルカートリッジの外側層を含むステープルカートリッジの代替的実施形態の斜視図である。複数のステープル、圧縮可能な層、及びプレジット層を含む、ステープルカートリッジの代替的実施形態の断面図である。図68のプレジット層の斜視図である。図68のプレジット層から分離にされたプレジット、及びプレジットの溝と整列されたステープルの斜視図である。図68のプレジット層からの、2つの連結されたプレジットの斜視図である。分離されたプレジットから取り除かれた、図68のプレジット層のプレジット支持フレームの斜視図である。内部にステープルを含む圧縮可能なステープルカートリッジ、及びアンビルに対してステープルを駆動するためのシステムの代替的実施形態の分解斜視図である。図73のステープルカートリッジの代替的実施形態の部分切り欠き図である。図73のステープルカートリッジの断面図である。図73のステープルカートリッジを横断し、ステープルをアンビルの方向に動かすように構成されたスレッドの立面図である。図75のスレッドによって、アンビルの方に持ち上げられうる、ステープルドライバの図である。ステープルドライバ内に配置された、ステープルを含む少なくとも1つの代替的実施形態による、ステープルカートリッジの切り欠き図である。ステープルカートリッジ溝部材内に配置された、図77のステープルカートリッジの断面図である。閉位置に動かされたアンビル、及びアンビルにより変形されたステープルカートリッジ内に収容されるステープルを例示する、図77のステープルカートリッジの断面図である。アンビルから上方に動かされたステープルを例示する、図77のステープルカートリッジの断面図である。ステープルカートリッジの可撓性側部を連結するストラップを含む、ステープルカートリッジの代替的実施形態の斜視図である。スレッド及び切断部材アセンブリの斜視図である。図77のステープルカートリッジのステープルを持ち上げるために使用される、図82のスレッド及び切断部材アセンブリの図である。ステープルと係合してこれをアンビルの方に持ち上げるように構成されたスレッド及び、スレッドが遠位方向に移動することを選択的に可能にするように構成されたロックアウトシステムを示す図である。A〜Cは、ステープルクラウン内に挿入されるステープルの前進を例示する。支持パン又はリテーナを含むステープルカートリッジの断面図である。少なくとも1つの代替的実施形態による、圧縮可能なステープルカートリッジの部分断面図である。移植された状態の図87のステープルカートリッジを示す図である。少なくとも1つの代替的な実施形態による、圧縮可能なステープルカートリッジの部分切り欠き図である。図89のステープルカートリッジの部分断面図である。移植された状態の図89のステープルカートリッジを示す図である。少なくとも1つの代替的実施形態による、圧潰可能なステープルカートリッジの部分断面図である。複数の圧潰可能な要素を含む、少なくとも1つの実施形態による、圧潰可能なステープルカートリッジの部分切り欠き図である。圧し潰されていない状態の、図93の圧潰可能な要素の斜視図である。圧し潰された状態の、図94の圧潰可能な要素の斜視図である。ジョーがそこに取り付けられた保持マトリックスを含むジョー、ジョーと反対側に配置されたステープルカートリッジ溝部材、及びステープルカートリッジ溝部材内に配置されたステープルカートリッジを含む、外科用ステープル留め器具のエンドエフェクタの部分断面図である。ステープルカートリッジ溝部材の方向に動かされるジョー、アンビル及び保持マトリックによって圧縮されるステープルカートリッジ、並びに保持マトリックス及びステープルカートリッジの中間に配置された組織を通じて少なくとも部分的に延びるステープルを例示する、図96Aのエンドエフェクタの部分断面図である。最終位置にあるジョー、及び図96Bのステープルと係合する保持マトリックスを示す図96Aのエンドエフェクタの部分断面図である。移植されたステープルカートリッジ及び保持マトリックスからジョー及びステープルカートリッジ溝部材が取り除かれていることを例示する、図96Aのエンドエフェクタの部分断面図である。内部を通じて延びる締結具脚と係合するように構成された複数の保持部材を含む、少なくとも1つの別の実施形態による、保持マトリックスの保持開口部の斜視図である。6つの保持部材を含む、少なくとも1つの別の実施形態による、保持マトリックスの保持開口部の斜視図である。8つの保持部材を含む、少なくとも1つの別の実施形態による、保持マトリックスの保持開口部の斜視図である。内部を通じて延びる締結具脚と係合するように構成された複数の保持部材を含む、少なくとも1つの別の実施形態による、保持マトリックスの保持開口部の斜視図である。6つの保持部材を含む、少なくとも1つの別の実施形態による、保持マトリックスの保持開口部の斜視図である。8つの保持部材を含む、少なくとも1つの別の実施形態による、保持マトリックスの保持開口部の斜視図である。金属シートからスタンピングされた、複数の保持部材を含む、少なくとも1つの他の実施形態による、保持マトリックの保持開口部の斜視図である。保持開口部の外周部の周囲に延びる、複数の開口部を含む、少なくとも1つの別の実施形態による、保持マトリックスの保持開口部の斜視図である。少なくとも1つの別の実施形態による保持マトリックスの保持開口部の平面図である。少なくとも1つの別の実施形態による保持マトリックスの保持開口部の平面図である。少なくとも1つの別の実施形態による保持マトリックスの保持開口部の平面図である。少なくとも1つの別の実施形態による保持マトリックスの保持開口部の平面図である。少なくとも1つの別の実施形態による保持マトリックスの保持開口部の平面図である。少なくとも1つの実施形態による、保持開口部内に延びる保持タブを含む、保持マトリックスの保持開口部の平面図である。少なくとも1つの別の実施形態による、保持開口部内に延びる保持タブを含む、保持マトリックスの保持開口部の平面図である。複数のステープル、ステープルと係合する保持マトリックス、及びステープルを整列するように構成されたアラインメントマトリックスを含む、締結システムの斜視図である。図112の保持マトリックスの斜視図である。図112のアラインメントマトリックスの斜視図である。図112のステープルと係合する、図112の保持マトリックスの部分平面図である。図112のステープルと係合する、図112の保持マトリックスの部分底面図である。図112の締結システムの部分立面図である。図112の締結システムの部分斜視図である。図112のステープルと係合する、図112の保持マトリックスの部分平面図である。図112の締結システムの部分断面図である。ステープルの脚に組み合わせられた保護キャップを更に含む、図112の締結システムの斜視図である。図121の締結システム構成の底面斜視図である。図121の締結システム構成の部分斜視図である。図121の締結システム構成の部分断面図である。開位置にあるジョー、ジョー内に配置された保持マトリックス及び複数の保護キャップ、並びにステープルカートリッジ溝部材内に配置されたステープルカートリッジを含む、少なくとも1つの実施形態による、エンドエフェクタの立面図である。閉位置にある、図125のエンドエフェクタの立面図である。発射位置にある、図125のエンドエフェクタの立面図である。図125のステープルカートリッジに組み合わされた、図125の保持マトリックス及び保護キャップの立面図である。図128の構成の詳細図である。ジョーが開位置にあり、保持マトリックスとステープルカートリッジとの間により薄い組織が配置されているのを例示する、図125のエンドエフェクタの立面図である。図130のより薄い組織に対して閉鎖した位置にある、ジョーを例示する、図125のエンドエフェクタの立面図である。保持マトリックスとステープルカートリッジとの間に、図130のより薄い組織を捕捉するために、発射位置にあるジョーを例示する、図125のエンドエフェクタの立面図である。図130の薄い組織がその間に配置されている、図125のステープルカートリッジに組み合わされた、図125の保持マトリックス及び保護キャップの立面図である。図133の構成の詳細図である。少なくとも1つの別の実施形態により、ステープル脚の先端部状に配置された、保護キャップの断面図である。材料シート内に埋め込まれた複数の保護キャップの斜視図である。内部に複数の保護キャップを受容するように構成された、複数の凹部を含む、ジョーの斜視図である。図137のジョー内に配置された、保護キャップを被覆するシートを含む、ジョーの一部分の詳細図である。保護キャップが内部成形表面を含む、少なくとも1つの別の実施形態による、ステープル脚の先端部上に配置された保護キャップの断面図である。成形表面に対して変形された、ステープル脚を例示する、図139の保護キャップの別の断面図である。複数の連結されたマトリックス要素を含む、保持マトリックスの別の実施形態の平面図である。複数の連結されたマトリックス要素を含む、保持マトリックスの別の実施形態の平面図である。複数の連結されたマトリックス要素を含む、保持マトリックスの別の実施形態の平面図である。複数の連結されたマトリックス要素を含む、保持マトリックスの別の実施形態の平面図である。複数の連結されたマトリックス要素を含む、保持マトリックスの別の実施形態の平面図である。圧縮可能なカバーを含む保持マトリックスを含むジョーの部分分解図である。図146の保持マトリックスの詳細図である。圧縮可能な層、及び1つ又は2つ以上の薬剤を封入する複数のセルを含む保持マトリックスを含む、締結システムの部分断面図である。保持マトリックスと係合する際に、図148のセルを貫通したステープル脚を示す図である。圧縮可能な層を含む、保持マトリックスを含む締結システムの部分断面図である。ホルダ、第1の締結カートリッジ、及び第2の締結カートリッジを含む、締結カートリッジ挿入アセンブリの立面図である。第1のジョー及び第2のジョーを含む、外科用ステープラのエンドエフェクタの立面図であり、第2のジョーは開放構成において例示されている。第2のジョーが閉鎖構成にあり、図151の締結カートリッジ挿入アセンブリが、第1のジョーを第1カートリッジに、第2のジョーを第2カートリッジに充填するために使用されるのを例示する、図152のエンドエフェクタの立面図である。カートリッジ挿入アセンブリがエンドエフェクタから取り除かれ、第2のジョーが再び開放構成にあり、組織が第1のジョーと第2のジョーの中間に配置された状態を例示する、図153の充填されたエンドエフェクタの立面図である。発射構成にある、図154の充填されたエンドエフェクタの立面図である。移植された状態にある、第1カートリッジ及び第2カートリッジの立面図である。少なくとも1つの実施形態により、第1カートリッジの一部分が依然として第1のジョーと係合しているのを例示する、図152のエンドエフェクタの立面図である。ホルダ、第1の締結カートリッジ、及び第2の締結カートリッジを含む、締結カートリッジ挿入アセンブリの別の実施形態の立面図である。エンドエフェクタの第1のジョーに第1カートリッジを充填し、第2のジョーに第2カートリッジを充填するために使用される、図158の締結具カートリッジ挿入アセンブリの立面図である。図159の充填されたエンドエフェクタの断面図である。外科用ステープラの部分が取り除かれた、少なくとも1つの実施形態による、下側ジョー及び上側ジョーを含む、外科用ステープラの斜視図である。上側ジョーが取り除かれた、図161の外科用ステープラの斜視図である。第1摺動可能アンビル及び第2摺動可能アンビルを含む、図161の外科用ステープラの上側ジョーの摺動可能アンビルシステムの斜視図である。図163の摺動可能アンビルシステムの端面図である。図163の摺動可能アンビルシステムの平面図である。非発射状態にある、図163の摺動可能アンビルシステムを示す図である。非発射位置にある図163の摺動可能アンビルシステムの第1摺動可能アンビル、及び非配備位置にある下側ジョー内に配置されたステープルを示す図である。配備構成にある、下側ジョー内のステープル、及びステープルの第1の群のステープル脚を変形させるように近位方向に引かれた、図167の第1摺動可能アンビルを示す図である。完全に変形した状態へと変形された、図168の第1の群のステープルを示す図である。第2の群のステープル脚を変形するように、遠位方向に押された、図163の摺動可能アンビルシステムの第2摺動可能アンビルを示す図である。少なくとも1つの実施形態において、複数の成形ポケットを構成するアンビルの部分斜視図である。図171のアンビルの断面端面図である。図171の成形ポケットを製造する第1工程を示す図である。図171の成形ポケットを製造する第2工程を示す図である。図171のアンビルの、成形ポケット構成の平面図である。アンビルを製造するための製造プロセスの第1工程を示す図である。図176の製造プロセスの第2工程を示す図である。図176の製造プロセスの第3工程を示す図である。リンクトリガによる自動後退と、ラチェット手動後退機構とを含むハンドル部分を備えた、外科用ステープル留め及び切断器具の左正面斜視図である。図179の外科用ステープル留め及び切断器具の、長尺状シャフトの一部を切り取りハンドルハウジングの右半分シェルを除去して、自動の発射終了移動後退機構と手動の発射後退機構とを露出させた、右後部斜視図である。図179の外科用ステープル留め及び切断器具のハンドル部分及び長尺状シャフトの右後部斜視分解図である。右半分シェルと実施部分の外側部分が除去されて、初期状態の閉鎖及び発射機構が露出されている、図179の外科用ステープル留め及び切断器具の右後部斜視図である。図182の一部分解した外科用ステープル留め及び切断器具の右側面立面図である。閉鎖機構を閉じてクランプした状態であり、側面つめ発射機構が第1のストロークを完了しており、手動後退機構が除去されて、発射機構の自動後退をトリガする連結ラックの遠位側リンクが露出している、図182の一部分解した外科用ステープル留め及び切断器具の右後部斜視図である。側面つめ発射機構が解除され、遠位側リンクが自動後退にアプローチしている、図183の一部分解した外科用ステープル留め及び切断器具の右後部斜視図である。エンドエフェクタが開き、後退防止機構がかかった初期状態である、図183の一部分解した外科用ステープル留め及び切断器具の左側面立面図である。図186のハンドル部分の右半分シェルと後退防止リリースレバーの左側面詳細図である。閉鎖トリガがクランプ締めされ、発射トリガが最後のストロークを実施しており、遠位側リンクが自動後退を外すよう配置されている、図179の外科用ステープル留め及び切断器具の左側面詳細立面図である。遠位側リンクが後退防止リリースレバーを作動させ前にロックした直後に、連結ラックを後退させる状態にある、図188の分解した外科用ステープル留め及び切断器具の左側詳細立面図である。図179の外科用ステープル留め及び切断器具の手動後退機構の、アイドラー及び後方ギアと手動後退レバー並びにラチェットつめの右分解斜視図である。手動後退レバーが部分的に切除されて、ラチェットつめに係合する後側ギア上の小直径ラチェットギアが露出されている、図190の手動後退機構の右斜視図である。後退防止機構が完全に発射された連結ラックに係合しており、これは、図190の手動後退レバーの作動の前に、張力/圧縮併用ばねから外されている、図179の外科用ステープル留め及び切断器具の一部分解した左側面立面図である。後退防止リリースレバー、後側ギア、及び手動発射リリースレバーの隠れた部分は点線で示されている、図192の外科用ステープル留め及び切断器具の一部分解した左側面立面図である。手動発射リリースレバーの作動により手動で連結ラックを後退させた後である、図193の外科用ステープル留め及び切断器具の一部分解した左側面立面図である。連結ラックが省略され、手動発射リリースレバーが後退防止機構を外している、図194の外科用ステープル留め及び切断器具の一部分解した左側面立面図である。図179の外科用ステープル留め及び切断器具の別の後退防止リリースレバー及びハンドルハウジングの左側面詳細図である。図196の別の後退防止リリースレバー、後側ギア軸、及び自動後退カムホイールの左側分解斜視図である。図196の別の後退防止解放機構の右側面立面図であり、連結ラックが後退位置にあり、後退防止リリースレバーが近位側に配置され、後退防止プレートが発射ロッドに係合している。図198の後側ギア、自動後退カムホイール及び最も遠位側リンクの右詳細側面立面図である。最初の発射ストローク後の、図198の後退防止解放機構の右側面立面図である。図199の後側ギア、自動後退カムホイール及び第2のリンクの右詳細側面立面図である。第2の発射ストローク後の、図199の後退防止解放機構の右側面立面図である。図200の後側ギア、自動後退カムホイール及び第3のリンクの右詳細側面立面図である。第3発射及び最終ストローク後の、図200の後退防止解放機構の右側面立面図である。図201の後側ギア、自動後退カムホイール及び最も近位側第4のリンクの右詳細側面立面図である。更なる発射ストロークにより自動後退カムホイールが遠位側に摺動して後退防止リリースレバーをロックさせ、後退防止機構が外れた後の状態である、図201の自動解放機構の右側面立面図である。ステープル溝部材に含まれている交換可能ステープルカートリッジの右半分を伴った、開いた状態のステープル適用アセンブリの左前側斜視図である。完全な交換可能ステープルカートリッジと非関節接合シャフト構成を伴う、図203のステープル適用アセンブリの分解斜視図である。図203のステープル適用アセンブリの、2ピースのナイフ及び発射バー(Eビーム)の斜視図である。ステープル適用アセンブリのステープルカートリッジのウェッジスレッドの斜視図である。図203のステープル適用アセンブリの中心線207−207に沿った長手方向断面の左側面立面図である。交換可能ステープルカートリッジがなく、ステープル溝部材の一部が2ピースのナイフ及び発射バーの中間ピンに隣接し、ステープル溝部材の遠位部分がない、図203の、開いた状態のステープル適用アセンブリの斜視図である。ステープルカートリッジの内部ステープルドライバと、2ピースのナイフ及び発射バーの一部が示されている、図203のステープル適用アセンブリの線209−209に沿った断面の正面立面図である。2ピースのナイフとウェッジスレッドとの間の中央接触点が含まれ、また、ステープルカートリッジ内のステープルとステープルドライバを示すため横方向にずれている、図203の閉じたステープル適用アセンブリの線207−207の長手方向軸に概ね沿った左側面立面図である。ステープルカートリッジ交換に典型的な、2ピースのナイフがわずかに後退した状態である。図210のステープル適用アセンブリ左側面詳細立面図である。図210に示される構造に対応し、2ピースのナイフが発射し始めている、図211のステープル適用アセンブリの左側面詳細立面図である。2ピースのナイフ及び発射バーが遠位側に発射された後の、図210の閉じたステープル適用アセンブリの左側断面立面図である。ステープルカートリッジの発射と2ピースナイフの後退の後の、図213の閉じたステープル適用アセンブリの左側断面立面図である。2ピースナイフがロックアウト位置に落ちることができるようになっている、図214のステープル適用アセンブリの左側断面詳細立面図である。本発明の少なくとも1つの実施形態による、外科用ステープル留め器具とともに使用するための、剛性支持部分及び圧縮可能な組織厚さコンペンセータを含むステープルカートリッジの斜視図である。図216のステープルカートリッジの一部分解図である。図216のステープルカートリッジの完全分解図である。組織厚さコンペンセータを覆うラップがない、図216のステープルカートリッジの別の分解図である。図216のステープルカートリッジのカートリッジ本体(又は支持部分)の斜視図である。ステープルカートリッジからステープルを配備するための、図216のステープルカートリッジ内で動くことができるスレッドの上面斜視図である。図221のスレッドの下面斜視図である。図221のスレッドの立面図である。ステープルカートリッジからステープルを発射するための、1つ以上のステープルを支持し、図221のスレッドにより上に持ち上げられるように構成されたドライバの上面斜視図である。図224のドライバの下面斜視図である。ステープルカートリッジの圧縮可能な組織厚さコンペンセータを少なくとも部分的に取り巻くように構成されたラップである。第1シーケンス中にステープルが未発射位置から発射済み位置へと移動した状態を示している、剛性支持部分及び圧縮可能な組織厚さコンペンセータを含むステープルカートリッジの一部切除図である。図227のステープルカートリッジの立面図である。図227のステープルカートリッジの詳細立面図である。図227のステープルカートリッジの断面図である。図227のステープルカートリッジの底面図である。図227のステープルカートリッジの詳細底面図である。第1シーケンス中にステープルが未発射位置から発射済み位置へと移動した状態を示している、閉位置のアンビル、並びに、剛性支持部分及び圧縮可能な組織厚さコンペンセータを含むステープルカートリッジの、長手方向断面図である。発射シーケンスが完了した後の開位置にあるアンビルを示している、図233のアンビル及びステープルカートリッジの別の断面図である。未発射位置にあるステープルを示している、図233のステープルカートリッジの部分詳細図である。未発射位置にあるステープルを示している、剛性支持部分及び圧縮可能な組織厚さコンペンセータを備えるステープルカートリッジの断面立面図である。図236のステープルカートリッジの詳細図である。未発射位置にあるステープルを示している、開位置にあるアンビルと、剛性支持部分及び圧縮可能な組織厚さコンペンセータを含むステープルカートリッジの立面図である。未発射位置にあるステープルと、アンビルと組織厚さコンペンセータとの間に捕捉された組織を示している、閉位置にあるアンビルと、剛性支持部分及び圧縮可能な組織厚さコンペンセータを含むステープルカートリッジの立面図である。図239のアンビル及びステープルカートリッジの詳細図である。未発射位置にあるステープルと、アンビルとステープルカートリッジとの間に捕捉されたより厚い組織を示している、閉位置にあるアンビルと、剛性支持部分及び圧縮可能な組織厚さコンペンセータを含むステープルカートリッジの立面図である。図241のアンビル及びステープルカートリッジの詳細図である。アンビルとステープルカートリッジとの間に配置された、異なる厚さを有する組織を示している、図241のアンビル及びステープルカートリッジの立面図である。図243に示されている、図241のアンビル及びステープルカートリッジの詳細図である。異なるステープル内に捕捉された異なる組織厚さを補償する、組織厚さコンペンセータを示している図である。ステープル列により切断された1本以上の脈管に対して圧縮圧力を適用している組織厚さコンペンセータを示している図である。1本以上のステープルが成形不良である状況を示している図である。成形不良ステープルを補償しうる組織厚さコンペンセータを示している図である。複数のステープル列が交差する組織領域に配置された組織厚さコンペンセータを示している図である。ステープル内に捕捉された組織を示している図である。ステープル内に捕捉された組織及び組織厚さコンペンセータを示している図である。ステープル内に捕捉された組織を示している図である。ステープル内に捕捉された厚い組織及び組織厚さコンペンセータを示している図である。ステープル内に捕捉された薄い組織及び組織厚さコンペンセータを示している図である。ステープル内に捕捉された中間の厚さを有する組織及び組織厚さコンペンセータを示している図である。ステープル内に捕捉された別の中間の厚さを有する組織及び組織厚さコンペンセータを示している図である。ステープル内に捕捉された厚い組織及び組織厚さコンペンセータを示している図である。後退した未発射位置にある発射バーとステープル発射スレッドを示している、外科用ステープル留め器具のエンドエフェクタの部分断面図である。部分的に前進した位置にある発射バーとステープル発射スレッドを示している、図258のエンドエフェクタの別の部分断面図である。完全に前進した(発射済み)位置にある発射バーを示している、図258のエンドエフェクタの断面図である。発射後の後退位置にある発射バーと、完全発射済み位置に残されているステープル発射スレッドを示している、図258のエンドエフェクタの断面図である。図261の、後退位置にある発射バーの詳細図である。少なくともその中に部分的に配置された状態で組織厚さコンペンセータとステープルを含むステープルカートリッジを備えた、外科用ステープル留め器具のエンドエフェクタの部分断面図である。ステープルが、ステープルカートリッジと反対側に配置されているアンビルに対して、少なくとも部分的に移動及び/又は回転していることを示している、図263のエンドエフェクタの別の部分断面図である。少なくとも1つの実施形態による外科用ステープル留め器具のエンドエフェクタの部分断面図である。少なくとも1つの別の実施形態による、エンドエフェクタの部分断面図である。別の他の実施形態による、エンドエフェクタの別の部分断面図である。少なくとも1つの実施形態による外科用ステープル器具のエンドエフェクタの斜視図である。屈曲状態にある、図268のエンドエフェクタの部分断面図である。解放状態にある、図269のエンドエフェクタの部分断面図である。組織厚さコンペンセータソックスを含むエンドエフェクタの斜視図である。図271の組織厚さコンペンセータソックスの後側斜視図である。支持部分から延びる複数のレールと、内部に画定された長手方向キャビティを有する組織厚さコンペンセータとを含む、エンドエフェクタの斜視図である。図273の組織厚さコンペンセータの斜視図である。支持部分から延びる複数の歯と、そこに係合する組織厚さコンペンセータとを含む、エンドエフェクタの斜視図である。少なくとも1つの実施形態による、ポケット配列を含むアンビルの斜視図である。図276のアンビルの部分詳細図である。図276のアンビルの長手方向部分断面図である。図276のアンビルの横断面図である。ほぼB字型形状を含む発射済みステープルの立面図である。内側に変形された1本の脚と、外側に変形された1本の脚とを含む、発射済みステープルの立面図である。外側に変形された両方の脚を含む、発射済みステープルの立面図である。取り外し可能及び/又は交換可能なステープル脚ガイドを含む、ステープルカートリッジの支持部分の部分斜視図である。ステープルカートリッジから配備されているステープルを示している、図283のステープルカートリッジの部分断面図である。ステープルカートリッジが発射された後の、図284の断面詳細図である。内部に画定された空間を含む組織厚さコンペンセータを備えた、ステープルカートリッジの分解図である。組織に対して移植された、図286の組織厚さコンペンセータを示す図である。組織に対して移植された、図286の組織厚さコンペンセータを示す別の図である。組織厚さコンペンセータを定位置に保持するように構成された、支持部分から延びる横方向保持部材を含む、ステープルカートリッジの断面斜視図である。組織にステープル適用を行っている、図289のステープルカートリッジの断面図である。移植された組織厚さコンペンセータから離れるよう移動している支持部分を示す、図289のステープルカートリッジの別の断面図である。組織厚さコンペンセータを支持部分に対して保持するように構成された横方向保持部材を含む、ステープルカートリッジの断面斜視図である。組織にステープル適用を行っている、図292のステープルカートリッジの断面図である。移植された組織厚さコンペンセータから離れるよう移動している支持部分を示す、図292のステープルカートリッジの別の断面図である。少なくとも1つの実施形態による、ステープルカートリッジの支持部分に対して組織厚さコンペンセータを保持するリテーナの、断面詳細図である。少なくとも1つの実施形態による、異なる高さを有するステープルドライバを含む、ステープルカートリッジの部分切除図である。図296のステープルドライバと、その上に支持されている異なる未発射高さを有するステープルと、を示している図である。変化する厚さを含む組織厚さコンペンセータ、異なる高さを有するステープルドライバ、及び異なる未成形高さを有するステープルを示している図である。組織に移植された、図297のステープル及び組織厚さコンペンセータを示している図である。少なくとも1つの実施形態による、変化する厚さを含む組織厚さコンペンセータを含むステープルカートリッジの部分断面図である。開位置にある外科用ステープル留め器具のエンドエフェクタの断面図である。一部発射済み状態の、図300のエンドエフェクタの断面図である。再び開いた状態で示されている、図300のエンドエフェクタの断面図である。少なくとも1つの実施形態による、異なる高さ及び凹凸があるデッキ表面を有するステープルドライバを含む、外科用ステープル留め器具のエンドエフェクタの断面図である。少なくとも1つの実施形態による、異なる高さ及び段付きのデッキ表面を有するステープルドライバを含む、外科用ステープル留め器具のエンドエフェクタの断面図である。ステープルカートリッジアプリケータを利用する外科用ステープル留め器具のエフェクタに装填されたステープルカートリッジの斜視図である。図305のステープルカートリッジアプリケータの底面斜視図である。ステープルカートリッジに組み立てられた図305のステープルカートリッジアプリケータの側面図である。図307のアセンブリの断面図である。少なくとも1つの実施形態による、ステープルカートリッジアプリケータの上側表面に配置された、上側組織厚さコンペンセータを更に含む、ステープルカートリッジアプリケータアセンブリの斜視図である。図309の上側組織厚さコンペンセータ及びステープルカートリッジアプリケータの分解図である。ステープルカートリッジアプリケータに接着された上側組織厚さコンペンセータを取り外すように構成された引っ張り部材を含む、ステープルカートリッジアプリケータアセンブリの分解図である。少なくとも1つの別の実施形態による、ステープルカートリッジアプリケータアセンブリの部分分解図である。それ自体から延びる複数の保持機構を備えた上側組織厚さコンペンセータと、下側組織厚さコンペンセータを含むステープルカートリッジと、を含むステープルカートリッジアプリケータアセンブリの、斜視図である。アンビルがステープルカートリッジアプリケータアセンブリ上に閉じられている、ステープルカートリッジ溝部材内に配置された図312のステープルカートリッジアプリケータアセンブリの立面図である。図312のステープルカートリッジアプリケータがエンドエフェクタから取り出されつつある、再び開位置にある図313のアンビルの立面図である。図312の上側組織厚さコンペンセータと下側組織厚さコンペンセータの中間に配置された組織の断面図である。組織にステープルで止められ、切断部材によって切断された、上側組織厚さコンペンセータと下側組織厚さコンペンセータを示している断面図である。少なくとも1つの実施形態による、アンビルに挿入されている組織厚さコンペンセータを示す図である。図315の組織厚さコンペンセータの断面図である。少なくとも1つの別の実施形態による、組織厚さコンペンセータとアンビルの分解図である。少なくとも1つの実施形態による、アンビルに取り付けられるように構成された上側組織厚さコンペンセータを含む、ステープルカートリッジアプリケータアセンブリの斜視図である。アンビルが上側組織厚さコンペンセータに向かって移動しつつある、ステープルカートリッジ溝部材内に配置された図318のステープルカートリッジアプリケータアセンブリの立面図である。上側組織厚さコンペンセータがアンビルに係合した後、エンドエフェクタから取り外された、図318のステープルカートリッジアプリケータを示す。図318の上側組織厚さコンペンセータに向かって移動されているアンビルの断面端面図である。上側組織厚さコンペンセータと係合したアンビルの断面端面図である。複数の締結具によってステープルカートリッジの支持部分に取り付けられた、分離可能な組織厚さコンペンセータを備えたステープルカートリッジを含む、外科用ステープル留め器具のエンドエフェクタの断面図である。部分的に発射済み位置にある発射部材を示している、図323のエンドエフェクタの断面図である。部分的に移植された組織厚さコンペンセータから離れるよう移動している支持部分を示している、図323のエンドエフェクタの断面図である。図323の支持部分の部分斜視図である。本発明の少なくとも1つの実施形態によるステープル配備スレッドの斜視図である。図327のスレッドの立面図である。組織厚さコンペンセータと、組織厚さコンペンセータ上に配置された複数のステープルガイドとを備えたステープルカートリッジを含む、外科用ステープル留め器具のエンドエフェクタの斜視図である。未発射状態にある図329の組織厚さコンペンセータ及びステープルガイドの部分断面図である。発射済み状態にある図329の組織厚さコンペンセータ及びステープルガイドの部分断面図である。少なくとも1つの実施形態による、組織厚さコンペンセータ及び支持部分を含むステープルカートリッジの断面図である。組織厚さコンペンセータ、ステープルガイド層、及び未発射位置にあるステープルの部分断面図である。少なくとも1つの別の実施形態による、組織厚さコンペンセータ、ステープルガイド層、及び未発射位置にあるステープルの部分断面図である。少なくとも1つの別の実施形態による、組織厚さコンペンセータ、ステープルガイド層、及び未発射位置にあるステープルの部分断面図である。少なくとも1つの別の実施形態による、組織厚さコンペンセータ、ステープルガイド層、及び未発射位置にあるステープルの部分断面図である。少なくとも1つの別の実施形態による、組織厚さコンペンセータ、ステープルガイド層、及び未発射位置にあるステープルの部分断面図である。少なくとも1つの別の実施形態による、組織厚さコンペンセータ、ステープルガイド層、及び未発射位置にあるステープルの部分断面図である。少なくとも1つの別の実施形態による、組織厚さコンペンセータ、ステープルガイド層、及び未発射位置にあるステープルの部分断面図である。図339のステープル先端を取り囲む領域の詳細図である。少なくとも1つの別の実施形態による、組織厚さコンペンセータ、ステープルガイド層、及び未発射位置にあるステープルの部分断面図である。図341のステープル先端を取り囲む領域の詳細図である。少なくとも1つの別の実施形態による、組織厚さコンペンセータ、ステープルガイド層、及び未発射位置にあるステープルの部分断面図である。少なくとも1つの別の実施形態による、ステープルガイド層、及び未発射位置にある複数のステープルの斜視図である。外科用円形ステープラとともに使用するように構成された組織厚さコンペンセータの端面図である。組織厚さコンペンセータ及び図345の外科用円形ステープラの斜視図である。少なくとも1つの別の実施形態による、外科用円形ステープラとともに使用するように構成された組織厚さコンペンセータの端面図である。組織厚さコンペンセータ及び図347の外科用円形ステープラの斜視図である。外科用円形ステープラとともに使用するように構成された組織厚さコンペンセータの端面図である。図349の組織厚さコンペンセータの部分的に膨張した構成の端面図である。少なくとも1つの実施形態による、ステープルカートリッジを含む外科用ステープル留め器具の立面図である。組織に対して配置された、図351の外科用ステープル留め器具の端面図である。ステープルカートリッジと組織との間に配置された組織厚さコンペンセータを更に含む、図351の外科用ステープル留め器具の端面図である。組織厚さコンペンセータなしで、図351の外科用ステープル留め器具から組織内に配備されたステープルの部分斜視図である。組織厚さコンペンセータを伴って、図351の外科用ステープル留め器具から組織内に配備されたステープルの部分斜視図である。第1の配置にあるアンビルプレートを含む、図351の外科用ステープル留め器具のエンドエフェクタの部分断面図である。第2の配置にある図356のアンビルプレートを示す、図351の外科用ステープル留め器具のエンドエフェクタの部分断面図である。隙間設定エレメントを備えたステープルカートリッジを含む、外科用ステープル留め器具のエンドエフェクタの断面図である。発射部材の発射ストロークの終了時における、図358の隙間設定エレメントを切断する発射部材を示す斜視図である。可撓性ノーズを備えたステープルカートリッジを含む、外科用ステープル留め器具のエンドエフェクタの断面図である。屈曲状態にあるノーズを示している、図360のエンドエフェクタの断面図である。摺動可能部分を備えたステープルカートリッジを含む、外科用ステープル留め器具のエンドエフェクタの断面図である。遠位側に摺動した摺動可能部分を示す、図362のエンドエフェクタの断面図である。上り傾斜のデッキ表面と、厚さ変化を含む組織厚さコンペンセータとを含む支持部分を含んだ、外科用ステープル留め器具のエンドエフェクタの断面図である。上り傾斜のデッキ表面と、均一な厚さを含む組織厚さコンペンセータとを含む支持部分を含んだ、外科用ステープル留め器具のエンドエフェクタの断面図である。厚さ変化を有する組織厚さコンペンセータを含むステープルカートリッジの斜視図である。図366のステープルカートリッジの端面図である。長手方向層を含む組織厚さコンペンセータの断面斜視図である。少なくとも1つの別の実施形態による、複数の層を含む組織厚さコンペンセータの断面斜視図である。それ自体に組織厚さコンペンセータを解放可能に保持するように構成された保持部材を含む、使い捨て装填ユニットの斜視図である。組織厚さコンペンセータを使い捨て装填ユニットに解放可能に保持するように構成された保持部材を含む、組織厚さコンペンセータの斜視図である。使い捨て装填ユニットに取り付けられた図371の組織厚さコンペンセータの斜視図である。図372の使い捨て装填ユニットの端面図である。組織厚さコンペンセータを使い捨て装填ユニットに解放可能に保持するように構成された保持部材を含む、組織厚さコンペンセータの斜視図である。使い捨て装填ユニットに取り付けられた図374の組織厚さコンペンセータの斜視図である。図375の使い捨て装填ユニットの端面図である。組織厚さコンペンセータを使い捨て装填ユニットに解放可能に保持するように構成された保持部材を含む、組織厚さコンペンセータの斜視図である。使い捨て装填ユニットに取り付けられた図377の組織厚さコンペンセータの斜視図である。使い捨て装填ユニットのエフェクタ内に配置された組織厚さコンペンセータアプリケータの斜視図である。図379の組織厚さコンペンセータアプリケータの上面斜視図である。図379の組織厚さコンペンセータアプリケータの底面斜視図である。少なくとも1つの別の実施形態による、使い捨て装填ユニットのエフェクタ内に配置された組織厚さコンペンセータアプリケータの斜視図である。図382の組織厚さコンペンセータアプリケータの上面斜視図である。図382の組織厚さコンペンセータアプリケータの底面斜視図である。ステープルカートリッジを支持するように構成された枢動可能なジョーを備えた、使い捨て装填ユニットの立面図である。少なくとも1つの実施形態による、ステープルカートリッジの支持部分に対して取り付けられた組織厚さコンペンセータを含むステープルカートリッジの断面図である。少なくとも1つの実施形態による、ステープルカートリッジの支持部分に対して取り付けられた組織厚さコンペンセータを含むステープルカートリッジの断面図である。少なくとも1つの実施形態による、ステープルカートリッジの支持部分に対して取り付けられた組織厚さコンペンセータを備えるステープルカートリッジの断面図である。図387の組織厚さコンペンセータの斜視図である。本発明の少なくとも1つの実施形態による、リテーナ及び2つの組織厚さコンペンセータを含むリテーナアセンブリの分解図である。図2390に示されるリテーナアセンブリの斜視図である。これとともに図390のリテーナアセンブリを使用することができるアンビルの斜視図である。アンビル及びステープルカートリッジを有する外科用ステープラのエンドエフェクタに挿入されつつある図390のリテーナアセンブリを示す図である。図393のステープルカートリッジと係合された図390に示されるリテーナアセンブリの側面図である。閉位置にあるアンビルを示す、図393のステープル及びアンビルと係合された図390に示されるリテーナアセンブリの側面図である。図393のエンドエフェクタから引き抜かれつつある図390のリテーナアセンブリの側面図である。リテーナの斜視図である。一方の組織厚さコンペンセータが、アンビルを有する外科用ステープラ内のステープルカートリッジと係合している状態を示す、上面及び下面に組織厚さコンペンセータが取り付けられた図397のリテーナの側面図である。閉位置にある図398のアンビルを示す側面図である。少なくとも1つの実施形態による、リテーナ及び組織厚さコンペンセータの分解斜視図である。図400の組織厚さコンペンセータ及び外科用ステープラのアンビルの斜視図である。少なくとも1つの実施形態による、リテーナ及び組織厚さコンペンセータの分解上面斜視図である。図402のリテーナ及び組織厚さコンペンセータの分解底面斜視図である。外科用ステープラに係合した図402のリテーナ及び組織厚さコンペンセータの上面斜視図である。図404の外科用ステープラに係合した図402のリテーナ及び組織厚さコンペンセータの底面斜視図である。図404の外科用ステープラに係合した図402のリテーナ及び組織厚さコンペンセータの側面斜視図である。図404の外科用ステープラのアンビルに取り付けられた組織厚さコンペンセータを示す図402のリテーナ及び組織厚さコンペンセータの底面斜視図である。図407のアンビルに取り付けられた組織厚さコンペンセータを示す図402のリテーナ及び組織厚さコンペンセータの上面斜視図である。図407のアンビルに取り付けられた図402の組織厚さコンペンセータの側面図である。外科用ステープラのステープルカートリッジ及び溝部材に取り付けられた図402及び403のリテーナ及び組織厚さコンペンセータの断面図である。組織厚さコンペンセータと係合した外科用ステープラのアンビルを示す、図410の外科用ステープラのステープルカートリッジ及び溝部材に取り付けられた図402及び403のリテーナ及び組織厚さコンペンセータの断面図である。外科用ステープラのアンビルに取り付けられ、リテーナから離れる方向に動かされつつある図402の組織厚さコンペンセータの断面図である。少なくとも1つの実施形態による、リテーナ、リテーナの第1及び第2の表面に取り付けられた組織厚さコンペンセータ、及びリテーナの穴に通されたコネクタを有するリテーナアセンブリの側面断面図である。説明の目的で組織厚さコンペンセータの一部を取り除いて示した図413のリテーナアセンブリの斜視図である。開位置で示されたアンビルを有する外科用ステープラに係合された図413のリテーナアセンブリの側面図である。図413のリテーナアセンブリ及び閉位置で示された図415のアンビルの側面図である。リテーナアセンブリの組織厚さコンペンセータの間から引き抜かれるリテーナを示す、図413のリテーナアセンブリの側面図である。図413の組織厚さコンペンセータから引き抜かれたリテーナの側面図である。少なくとも1つの実施形態による、外科用ステープラのアンビルと係合するように構成されたリテーナの斜視図である。図419のリテーナの上面図である。図419のリテーナの側面図である。図419のリテーナの底面図である。図419のリテーナ及び外科用ステープラ用のステープルカートリッジに取り付けられる組織厚さコンペンセータを含むリテーナアセンブリを示す。外科用ステープラのエンドエフェクタのアンビルと係合する図423のリテーナ及びステープルカートリッジを示す。図424の外科用ステープラのエンドエフェクタのアンビルと係合する図423のリテーナアセンブリ及びステープルカートリッジを示す。図424の外科用ステープラのアンビル上に係合した図423のリテーナ及びステープルカートリッジを示す。図424の外科用ステープラのアンビル上に係合した図423のリテーナアセンブリ及びステープルカートリッジと、閉位置に動かされつつあるアンビルを示す。組織厚さコンペンセータが取り付けられた、開位置にある図424の外科用ステープラのアンビル及び外科用ステープラのステープルカートリッジ溝部材に嵌合されたリテーナを示す。図424の外科用ステープラのステープルカートリッジ溝部材に嵌合された図423のリテーナ及び開位置にあるアンビルを示す。外科用ステープラのアンビルと係合するように構成された突起部又は翼状部を有する組織厚さコンペンセータを有するリテーナの断面図である。外科用ステープラのアンビルと係合するように構成されたソックスを有する組織厚さコンペンセータを有するリテーナの断面図である。少なくとも1つの実施形態による、ヒンジによって連結された2枚のプレートを有するリテーナの斜視図である。図432のリテーナの側面図である。図432のリテーナとともに使用されるように構成された挿入ツールの一実施形態の背面斜視図である。図434の挿入ツールの上面斜視図である。説明の目的で挿入ツールの一部が取り除かれた図434の挿入ツールの背面斜視図である。説明の目的で挿入ツールの一部が取り除かれた図434の挿入ツールの側面図である。図434の挿入ツールの平面図である。図432のリテーナ、リテーナ上に配置された組織厚さコンペンセータ、リテーナ上に配置されたステープルカートリッジ、及びリテーナと係合した図434の挿入ツールを有するリテーナアセンブリの斜視図であり、説明の目的で挿入ツールの一部が取り除かれている。図432のリテーナ、リテーナ上に配置された組織厚さコンペンセータ、及びリテーナと係合した図434の挿入ツールを有するリテーナアセンブリの側面図であり、説明の目的で挿入ツールの一部が取り除かれている。アンビル及びステープルカートリッジ溝部材を有する外科用器具に挿入されつつある図439のリテーナアセンブリを示し、説明の目的で挿入ツールの一部が取り除かれている。アンビル及びステープルカートリッジ溝部材を有する外科用器具に挿入されつつある図439のリテーナアセンブリを示し、説明の目的で挿入ツールの一部が取り除かれている。ステープルカートリッジ溝部材内にステープルカートリッジを係合させるとともに、組織厚さコンペンセータをアンビルと係合させるようにリテーナに対して動かされつつある図434の挿入ツールを示し、説明の目的で挿入ツールの一部が取り除かれている。リテーナを組織厚さコンペンセータから、更に、ステープルカートリッジから離脱させるようにリテーナに対して動かされつつある図434の挿入ツールを示し、説明の目的で挿入ツールの一部が取り除かれている。少なくとも1つの実施形態による、外科用ステープル留め器具のアンビルに取り付けられた組織厚さコンペンセータの断面図である。図445の組織厚さコンペンセータをその中に少なくとも部分的に捕捉した変形後のステープルを示す図である。少なくとも1つの実施形態による、第1の組織厚さコンペンセータを有するステープルカートリッジと、第2の組織厚さコンペンセータを有するアンビルとを含む外科用ステープル留め器具のエンドエフェクタの断面図である。ステープルカートリッジからのステープルが非発射位置から発射位置へと動かされた状態を示す、図447のエンドエフェクタの断面図である。少なくとも1つの実施形態による、エンドエフェクタのアンビルに取り付けられた組織厚さコンペンセータの斜視図であり、組織厚さコンペンセータは複数のカプセルを有している。図449の組織厚さコンペンセータの部分斜視図である。非発射位置から発射位置に動かされることによって図449の組織厚さコンペンセータのカプセルに穿孔しているステープルの断面図である。少なくとも1つの実施形態による、アンビル及び組織厚さコンペンセータの分解図である。少なくとも1つの実施形態による、複数のステープル成形ポケットを有するアンビル、及び成形ポケットと整列された複数のカプセルを有する組織厚さコンペンセータの断面図である。図452の組織厚さコンペンセータのカプセルの詳細図である。組織の両側に配置されたステープルカートリッジからのステープルによってステープル留めしようとする組織に対して配置された図452のアンビル及び組織厚さコンペンセータを示す図である。図454のステープルカートリッジの方向に動かされた図452のアンビル、及びステープルカートリッジから部分的に発射されたステープルを示す図である。完全に発射された形態にある図455のステープル、及び破裂した状態の図452の組織厚さコンペンセータのカプセルを示す図である。誤って発射された状態の図455のステープルを示す図である。完全に発射された形態にある図455のステープル、及び少なくとも部分的に切断された状態の図452の組織厚さコンペンセータを示す図である。少なくとも1つの実施形態による、組織厚さコンペンセータの代替的実施形態の断面斜視図である。外科用ステープル留め器具の切断部材と整列された複数のカプセルを有する組織厚さコンペンセータの代替的実施形態の斜視図である。図460のカプセルの詳細図である。外科用ステープル留め器具のアンビルのナイフスロットと整列された複数のカプセルを有する図460の組織厚さコンペンセータの斜視図である。アンビルに取り付けられつつある組織厚さコンペンセータの代替的実施形態を示す。アンビルに取り付けられつつある組織厚さコンペンセータの代替的実施形態を示す。少なくとも1つの実施形態による、アンビル及びコンペンセータの断面分解図である。アンビルに取り付けられた図465のコンペンセータを示す。少なくとも1つの実施形態による、組織厚さコンペンセータ及び組織厚さコンペンセータを切開する切断部材の部分斜視図である。少なくとも1つの実施形態による、組織厚さコンペンセータの代替的実施形態の部分断面図である。少なくとも1つの実施形態による、組織厚さコンペンセータの別の代替的実施形態の部分断面図である。異なる実施形態による、複数の不規則かつ/又は非対称的なキャビティを有する組織厚さコンペンセータを示す図である。少なくとも1つの実施形態による、外科用ステープル留め器具のアンビルに取り付けられた組織厚さコンペンセータの部分切欠き図である。少なくとも1つの実施形態による、組織厚さコンペンセータのシームレス押出成形されたケーシング又は外側チューブの斜視図である。少なくとも1つの実施形態による、組織厚さコンペンセータの別のシームレス押出成形されたケーシング又は外側チューブの斜視図である。酸化再生セルロース繊維の斜視図である。図474の繊維よりも短い酸化再生セルロースの斜視図である。図475の繊維を使用してストランドに織られつつある図474の繊維を示す図である。毛羽立たせられ、少なくとも部分的に切断された図476のストランドを示す。組織厚さコンペンセータのケーシング又は外側チューブを通して挿入され、図476のストランドを把持するように配置されたグラスパを示す。ケーシングから引き出されつつある図478のグラスパ及びケーシングを通じて引かれつつある図476のストランドを示す。セグメント化されつつある図479のケーシング及びストランドを示す。熱溶接及び/又は封止されつつあるケーシングの両端を示す。側部シームなしで組織厚さコンペンセータを形成するプロセスを示す。外科用ステープル留め器具のアンビル及びアンビルに選択的に取り付けることが可能な複数のコンペンセータを示しており、コンペンセータのそれぞれは毛管溝のアレイを有している。アンビルに取り付けられるように構成されたコンペンセータの平面図である。図484のコンペンセータの一部の詳細図である。外科用ステープル留め器具のエンドエフェクタの斜視図である。エンドエフェクタの組織厚さコンペンセータ上に配置されつつある液体を示す、図486のエンドエフェクタの別の斜視図である。エンドエフェクタのアンビルに取り付けられたコンペンセータを示す図488のエンドエフェクタの別の斜視図である。図488のコンペンセータ上の毛管溝のアレイの詳細図である。少なくとも1つの実施形態による、複数の層を有するコンペンセータの分解図である。少なくとも1つの実施形態による、外科用ステープル留め器具のコンペンセータ及びアンビルの分解図である。図491のコンペンセータ及びアンビルの部分断面図である。少なくとも1つの実施形態による、細胞の内部成長マトリックスを有するコンペンセータの分解図である。図493のコンペンセータの斜視図である。コンペンセータの材料の繊維質層の斜視図である。少なくとも1つの実施形態による、互いに積層された複数の繊維質層の斜視図である。少なくとも1つの実施形態による、互いに積層された別の複数の繊維質層の斜視図である。コンペンセータの材料の繊維質層の斜視図である。少なくとも1つの実施形態による、互いに積層された複数の繊維質層の斜視図であり、繊維は異なる方向に配列されている。少なくとも1つの実施形態による、互いに積層された別の複数の繊維質層の斜視図である。少なくとも1つの実施形態による、外科用器具のエンドエフェクタの斜視図である。少なくとも1つの実施形態による、外科用器具のエンドエフェクタ内に配置された組織厚さコンペンセータの立面図である。少なくとも1つの実施形態による、外科用器具のエンドエフェクタ内に配置された組織厚さコンペンセータの立面図である。少なくとも1つの実施形態による、外科用器具のエンドエフェクタのアンビル上に配置されたスリーブの斜視図である。図504のスリーブの叉状部分の平面図である。図504のスリーブの叉状部分の平面図である。図504のスリーブの叉状部分の端面図である。図504のスリーブの叉状部分の斜視図である。少なくとも1つの実施形態による、スリーブの組織コンペンセータの平面図である。図509の組織コンペンセータの斜視図である。図509の組織コンペンセータの立面図である。少なくとも1つの実施形態による、スリーブの組織コンペンセータの平面図である。図512の組織コンペンセータの斜視図である。図512の組織コンペンセータの立面図である。図504のスリーブのノーズの斜視図である。図515のノーズの別の斜視図である。内部形状を破線で示した図515のノーズの平面図である。内部形状を破線で示した図515のノーズの立面図である。アンビル上に配置された図504のスリーブの別の斜視図である。アンビル上に配置された図504のスリーブの平面図である。アンビル上に配置された図504のスリーブの立面図である。破線で示された直進運動する発射バーを示す、アンビル上に配置された図504のスリーブの平面図である。破線で示された直進運動する発射バーを示す、アンビル上に配置された図504のスリーブの立面図である。スリーブからノーズが外される様子を示した、アンビル上に配置された図504のスリーブの平面図である。スリーブからノーズが外される様子を示した、アンビル上に配置された図504のスリーブの立面図である。発射バーを破線で示し、スリーブからノーズが外される様子を示した、アンビル上に配置された図504のスリーブの平面図である。発射バーを破線で示し、スリーブからノーズが外される様子を示した、アンビル上に配置された図504のスリーブの立面図である。図526のスリーブ、アンビル、及び発射バーの部分斜視図である。図526のスリーブ、アンビル、及び発射バーの別の部分斜視図である。図504のスリーブ及びアンビルの立面断面図である。スリーブから組織コンペンセータが外される様子を示した、図504のアンビルの立面断面図である。少なくとも1つの実施形態による、エンドエフェクタインサートの平面図である。図532のエンドエフェクタインサートの立面図である。図534のエンドエフェクタインサートの斜視図である。外科用器具のエンドエフェクタのアンビルと嵌合するエンドエフェクタインサートを示す、図532のエンドエフェクタインサートの部分斜視図である。外科用器具のエンドエフェクタのステープルカートリッジと嵌合するエンドエフェクタインサートを示す、図532のエンドエフェクタインサートの部分斜視図である。外科用器具のエンドエフェクタと嵌合するエンドエフェクタインサートを示す、図532のエンドエフェクタインサートの立面図である。外科用器具のエンドエフェクタ内に配置された図532のエンドエフェクタインサートの立面図である。組織厚さコンペンセータの一部が切欠きにより示された、少なくとも1つの実施形態による外科用器具のエンドエフェクタ内に配置された組織厚さコンペンセータの斜視図である。静電荷によってエンドエフェクタのアンビルに固定された図539の組織厚さコンペンセータの斜視図である。吸引要素によってエンドエフェクタのアンビルに固定された図539の組織厚さコンペンセータの斜視図である。フック・アンド・ループ式ファスナによってエンドエフェクタのアンビルに固定された図539の組織厚さコンペンセータの斜視図である。バンドによってエンドエフェクタのアンビルに固定された図539の組織厚さコンペンセータの部分斜視図である。組織厚さコンペンセータの遠位端のソックスによってエンドエフェクタのアンビルに固定された図539の組織厚さコンペンセータの部分斜視図である。少なくとも1つの実施形態による、外科用器具のエンドエフェクタのアンビルに固定された組織厚さコンペンセータの斜視部分断面図である。図545の組織厚さコンペンセータの立面断面図である。図545の組織厚さコンペンセータの別の立面断面図である。少なくとも1つの実施形態による、閉位置にあるラッチを示した、外科用器具のエンドエフェクタのアンビルに固定された組織厚さコンペンセータの立面断面図である。開位置にあるラッチを示した、図548の組織厚さコンペンセータの立面断面図である。少なくとも1つの実施形態による、外科用器具のエンドエフェクタのアンビルに固定された組織厚さコンペンセータの立面断面図である。少なくとも1つの実施形態による、外科用器具のエンドエフェクタのアンビルに固定された組織厚さコンペンセータの立面断面図である。少なくとも1つの実施形態による、外科用器具のエンドエフェクタのアンビルに固定された組織厚さコンペンセータの立面断面図である。少なくとも1つの実施形態による、外科用器具のエンドエフェクタのアンビルに固定された組織厚さコンペンセータの立面断面図である。少なくとも1つの実施形態による、外科用器具のエンドエフェクタのアンビルに固定された組織厚さコンペンセータの斜視部分分解図である。アンビルに向かう組織厚さコンペンセータの運動を示した、図554の組織厚さコンペンセータの斜視図である。アンビルと係合した図554の組織厚さコンペンセータの立面断面図である。少なくとも1つの実施形態による、外科用器具のエンドエフェクタのアンビルに固定された組織厚さコンペンセータの斜視断面図である。図557の組織厚さコンペンセータ及びアンビルの斜視断面分解図である。少なくとも1つの実施形態による、組織厚さコンペンセータの立面図である。図559の組織厚さコンペンセータの斜視図である。図559の組織厚さコンペンセータの別の斜視図である。外科用器具のエンドエフェクタのアンビルに向かう組織厚さコンペンセータの運動を示す、図559の組織厚さコンペンセータの斜視図である。アンビル上に配置された図559の組織厚さコンペンセータの平面断面図である。アンビル上に配置された図559の組織厚さコンペンセータの斜視図である。切断要素が組織厚さコンペンセータを切断する様子を示す、アンビル上に配置された図559の組織厚さコンペンセータの斜視図である。少なくとも1つの実施形態による、アンビル及び帯電可能層を有する外科用ステープル留め器具のエンドエフェクタの断面立面図である。図566のアンビル及び帯電可能層の底面図である。図566のアンビル及び帯電可能層、並びに帯電可能層に着脱可能に取り付け可能な組織厚さコンペンセータの分解図である。少なくとも1つの実施形態による、組織厚さコンペンセータの斜視図である。図569の組織厚さコンペンセータの平面図である。少なくとも1つの代替的実施形態による、組織厚さコンペンセータの斜視図である。図569Aの組織厚さコンペンセータの平面図である。少なくとも1つの代替的実施形態による、組織厚さコンペンセータの斜視図である。図571の組織厚さコンペンセータの平面図である。少なくとも1つの実施形態による、組織厚さコンペンセータの斜視図である。少なくとも1つの実施形態による、アンビルに取り付けられた組織厚さコンペンセータの斜視図である。図574のアンビル及び組織厚さコンペンセータの断面図である。図574の組織厚さコンペンセータの断面図である。少なくとも1つの代替的実施形態による、アンビルに取り付けられた組織厚さコンペンセータの斜視図である。図577のアンビル及び組織厚さコンペンセータの断面図である。開いた形態にある図577の組織厚さコンペンセータの断面図である。少なくとも1つの代替的実施形態による、アンビルに取り付けられた組織厚さコンペンセータの斜視図である。図580のアンビル及び組織厚さコンペンセータの断面図である。少なくとも1つの代替的実施形態による、アンビルに取り付けられた組織厚さコンペンセータの斜視図である。図582のアンビル及び組織厚さコンペンセータの断面図である。少なくとも1つの代替的実施形態による、アンビルに取り付けられた組織厚さコンペンセータの斜視図である。図584のアンビル及び組織厚さコンペンセータの断面図である。少なくとも1つの代替的実施形態による、アンビルに取り付けられた組織厚さコンペンセータの斜視図である。図586のアンビル及び組織厚さコンペンセータの断面図である。
The features and advantages of the present invention, as well as the manner in which they are realized, will become more apparent from the following description of embodiments of the invention, taken in conjunction with the accompanying drawings, to provide a deeper understanding of the invention itself. I will.
1 is a cross-sectional view of one embodiment of a surgical instrument. 1 is a perspective view of one embodiment of an implantable staple cartridge. FIG. FIG. 6 shows a portion of an end effector that clamps and staples tissue with an implantable staple cartridge. FIG. 6 shows a portion of an end effector that clamps and staples tissue with an implantable staple cartridge. FIG. 6 shows a portion of an end effector that clamps and staples tissue with an implantable staple cartridge. FIG. 6 shows a portion of an end effector that clamps and staples tissue with an implantable staple cartridge. FIG. 9 is a partial cross-sectional view of another end effector coupled to a portion of a surgical instrument with an end effector supporting a surgical staple cartridge and an anvil thereof in an open position. FIG. 3 is another partial cross-sectional view of the end effector of FIG. 2 in a closed position. FIG. 4 is another partial cross-sectional view of the end effector of FIGS. 2 and 3 as the knife bar begins to advance through the end effector. FIG. 5 is another partial cross-sectional side view of the end effector of FIGS. 2-4 with the knife bar partially advanced through the interior. FIG. 6 is a perspective view of another staple cartridge embodiment installed in a surgical cutting and stapling apparatus. FIG. 7 is a plan view of the surgical staple cartridge and elongated groove member of the apparatus shown in FIG. 6. FIG. 10 is a plan view of another surgical staple cartridge embodiment installed in an elongated groove member of an end effector. It is a bottom view of an anvil. It is a fragmentary perspective view of the some staple which shape | molds a part of staple row | line | column. FIG. 11 is another partial perspective view of the staple row of FIG. 10 after the staple has been formed by contact with the anvil of the surgical cutting and stapling apparatus. FIG. 5 is a partial perspective view of another staple forming a portion of another staple row. FIG. 5 is a partial perspective view of another staple forming a portion of another staple row. FIG. 6 is a partial perspective view of another staple forming a portion of another staple row embodiment. It is sectional drawing of the end effector which supports a staple cartridge. FIG. 16 is a cross-sectional view of the implantable staple cartridge body portion and the elongated groove portion of the end effector of FIG. 15 after the staples have been removed. FIG. 6 is a cross-sectional view of an end effector that supports another staple cartridge. FIG. 10 illustrates a deformation of a surgical staple disposed within a collapsible staple cartridge body in accordance with at least one embodiment. FIG. 10 illustrates a deformation of a surgical staple disposed within a collapsible staple cartridge body in accordance with at least one embodiment. FIG. 10 illustrates a deformation of a surgical staple disposed within a collapsible staple cartridge body in accordance with at least one embodiment. FIG. 10 illustrates a deformation of a surgical staple disposed within a collapsible staple cartridge body in accordance with at least one embodiment. It is a figure which shows the staple arrange | positioned in the staple cartridge main body which can be crushed. FIG. 19B shows the collapsible staple cartridge body of FIG. 19A crushed by an anvil. FIG. 19B shows the collapsible staple cartridge of FIG. 19A further crushed by an anvil. FIG. 19B illustrates the staple of FIG. 19A in a fully formed state and the collapsible staple cartridge of FIG. 19A in a fully collapsed state. FIG. 6 shows staples placed against a staple cartridge support surface and showing the relative motion possible between them. FIG. 21 is a cross-sectional view of a staple cartridge support surface including slots or troughs configured to stabilize the base of the staple of FIG. FIG. 6 is a cross-sectional view of a staple that includes an overmolded crown and a slot or trough configured to receive a portion of the crown, according to at least one other embodiment. FIG. 3 is a plan view of a staple cartridge according to at least one embodiment including staples embedded within a collapsible staple cartridge body. FIG. 24 is an elevational view of the staple cartridge of FIG. 23. 1 is an elevational view of a staple cartridge according to at least one embodiment, including a protective layer surrounding a staple, disposed within a collapsible staple cartridge body. FIG. FIG. 26 is a cross-sectional view of the staple cartridge of FIG. 25 taken along line 26-26 of FIG. FIG. 3 is an elevational view of a staple cartridge according to at least one embodiment including staples extending at least partially outside the collapsible staple cartridge body and a protective layer surrounding the staple cartridge body. FIG. 28 is a cross-sectional view of the staple cartridge of FIG. 27 taken along line 28-28 of FIG. The staple cartridge according to at least one embodiment, wherein the staple comprises a staple that is at least partially disposed within a staple cavity space of the staple cartridge body and at least partially embedded within the collapsible staple cartridge body. FIG. FIG. 30 is a cross-sectional view of the staple cartridge of FIG. 29 taken along line 30-30 of FIG. 29. FIG. 3 is a partial cutaway view of a staple cartridge, according to at least one embodiment. Partial cutaway view of a staple cartridge according to at least one embodiment, comprising at least a portion embedded within a collapsible staple cartridge body and comprising an alignment matrix that couples the staples and aligns the staples relative to each other. It is. FIG. 33 is a cross-sectional view of the staple cartridge of FIG. 32 taken along line 33-33 of FIG. FIG. 6 is a partial cutaway view of an inner layer of a compressible cartridge body. FIG. 35 shows the inner layer of FIG. 34 compressed between a transfer plate and a support plate. FIG. 36 shows staples inserted into the compressed inner layer of FIG. 35. FIG. 36 is a view of the support plate of FIG. 35 removed from the inner layer. FIG. 35 is a view of a subassembly including the inner layer of FIG. 34 and the staple of FIG. 36 inserted into the outer layer. FIG. 39 illustrates the outer layer of FIG. 38 sealed to form a sealed staple cartridge. FIG. 40 is a cross-sectional view of the sealed staple cartridge of FIG. 39. FIG. 6 is a cross-sectional view of a staple cartridge and a staple cartridge groove member, according to at least one embodiment. FIG. 42 is a view showing a part of the staple cartridge of FIG. 41 in a deformed state. FIG. 3 is an elevation view of an end effector of a surgical stapler including an anvil in an open position and a staple cartridge disposed within a staple cartridge groove member. FIG. 44 is an elevational view of the end effector of FIG. 43 illustrating the anvil in the closed position and the staple cartridge compressed between the anvil and the staple cartridge groove member. FIG. 44 is an elevational view of the end effector of FIG. 43 illustrating the staple cartridge of FIG. 43 disposed in the staple cartridge groove member in another manner. 1 is a cross-sectional view of a surgical stapler end effector including a compressible staple cartridge disposed within a staple cartridge groove member and a piece of buttress material attached to an anvil. FIG. FIG. 47 is a cross-sectional view of the end effector of FIG. 46 illustrating the anvil in the closed position. FIG. 10 is a cross-sectional view of another embodiment of an end effector of a surgical stapler including a staple cartridge that includes a water impermeable layer. FIG. 6 is a cross-sectional view of another embodiment of an end effector of a surgical stapler. FIG. 9 is a cross-sectional view of another embodiment of a staple cartridge including an end effector of a surgical stapler including a stepped anvil and a cartridge body formed with a step. FIG. 6 is a cross-sectional view of another embodiment of an end effector of a surgical stapler. FIG. 9 is a cross-sectional view of another embodiment of an end effector of a surgical stapler that includes an angled tissue contacting surface. FIG. 9 is a cross-sectional view of another embodiment of an end effector of a surgical stapler that includes an angled tissue contacting surface. FIG. 10 is a cross-sectional view of another embodiment of an end effector of a surgical stapler including a support insert configured to support a staple cartridge. FIG. 9 is a cross-sectional view of another embodiment of an end effector of a surgical stapler including a staple cartridge that includes a plurality of compressible layers. FIG. 10 is a cross-sectional view of another embodiment of an end effector of a surgical stapler including a staple cartridge including a stepped compressible cartridge body. FIG. 10 is a cross-sectional view of another embodiment of an end effector of a surgical stapler that includes a staple cartridge that includes a compressible cartridge body with a step formed therein. FIG. 9 is a cross-sectional view of another embodiment of an end effector of a surgical stapler that includes a staple cartridge that includes a curved tissue contacting surface. FIG. 6 is a cross-sectional view of another embodiment of an end effector of a surgical stapler including a staple cartridge having a tilted tissue contacting surface. 1 is a cross-sectional view of a compressible staple including a staple and at least one drug stored therein. FIG. FIG. 61 shows the compressible staple cartridge of FIG. 60 after the compressed and contained staples are deformed. FIG. 3 is a partial cutaway view of a staple cartridge, according to at least one embodiment. FIG. 63 is a cross-sectional view of the staple cartridge of FIG. 62. FIG. 6 is a perspective view of an implanted staple cartridge according to at least one alternative embodiment. FIG. 65 is a cross-sectional view of the implanted staple cartridge of FIG. 64. FIG. 10 is a perspective view of an alternative embodiment of a staple cartridge including a deformable member extending from the outer layer of the staple cartridge. FIG. 7 is a perspective view of an alternative embodiment of a staple cartridge that includes an outer layer of staple cartridges combined with an inner layer. FIG. 6 is a cross-sectional view of an alternative embodiment of a staple cartridge that includes a plurality of staples, a compressible layer, and a pledget layer. FIG. 69 is a perspective view of the pledget layer of FIG. 68. FIG. 69 is a perspective view of a pledget separated from the pledget layer of FIG. 68 and staples aligned with pledget grooves. FIG. 69 is a perspective view of two connected pledgets from the pledget layer of FIG. 68. FIG. 69 is a perspective view of the pledget support frame of the pledget layer of FIG. 68, removed from the separated pledget. FIG. 6 is an exploded perspective view of an alternative embodiment of a compressible staple cartridge containing staples therein and a system for driving the staples against the anvil. FIG. 74 is a partial cutaway view of an alternative embodiment of the staple cartridge of FIG. 73. FIG. 74 is a cross-sectional view of the staple cartridge of FIG. 73. FIG. 74 is an elevational view of a sled configured to traverse the staple cartridge of FIG. 73 and move the staples toward the anvil. FIG. 76 is a view of a staple driver that can be lifted toward the anvil by the sled of FIG. 75; FIG. 7 is a cutaway view of a staple cartridge according to at least one alternative embodiment including staples disposed within a staple driver. FIG. 78 is a cross-sectional view of the staple cartridge of FIG. 77 disposed within a staple cartridge groove member. FIG. 78 is a cross-sectional view of the staple cartridge of FIG. 77 illustrating the anvil moved to the closed position and staples contained within the staple cartridge deformed by the anvil. FIG. 78 is a cross-sectional view of the staple cartridge of FIG. 77 illustrating staples moved upward from the anvil. FIG. 10 is a perspective view of an alternative embodiment of a staple cartridge including a strap connecting the flexible sides of the staple cartridge. FIG. 6 is a perspective view of a thread and cutting member assembly. FIG. 89 is a view of the sled and cutting member assembly of FIG. 82 used to lift the staples of the staple cartridge of FIG. 77. FIG. 5 illustrates a sled configured to engage and lift a staple toward an anvil and a lockout system configured to selectively allow the sled to move distally. . A to C illustrate the advancement of the staple inserted into the staple crown. FIG. 3 is a cross-sectional view of a staple cartridge including a support pan or retainer. FIG. 6 is a partial cross-sectional view of a compressible staple cartridge according to at least one alternative embodiment. FIG. 88 is a diagram showing the staple cartridge of FIG. 87 in an implanted state. FIG. 6 is a partial cutaway view of a compressible staple cartridge in accordance with at least one alternative embodiment. FIG. 90 is a partial cross-sectional view of the staple cartridge of FIG. 89. FIG. 90 shows the staple cartridge of FIG. 89 in an implanted state. FIG. 5 is a partial cross-sectional view of a collapsible staple cartridge according to at least one alternative embodiment. 1 is a partial cutaway view of a collapsible staple cartridge according to at least one embodiment including a plurality of collapsible elements. FIG. FIG. 94 is a perspective view of the collapsible element of FIG. 93 in an uncollapsed state. FIG. 95 is a perspective view of the collapsible element of FIG. 94 in a collapsed state. An end effector of a surgical stapling instrument comprising: a jaw including a retaining matrix with a jaw attached thereto; a staple cartridge groove member disposed opposite the jaw; and a staple cartridge disposed within the staple cartridge groove member. It is a fragmentary sectional view. The end of FIG. 96A illustrating a staple cartridge compressed by a jaw, anvil and retention matrix moved in the direction of the staple cartridge groove member, and a staple extending at least partially through tissue disposed intermediate the retention matrix and staple cartridge. It is a fragmentary sectional view of an effector. FIG. 96B is a partial cross-sectional view of the end effector of FIG. 96A showing the jaws in the final position and the retention matrix engaging the staples of FIG. 96B. FIG. 96B is a partial cross-sectional view of the end effector of FIG. 96A illustrating that the jaws and staple cartridge groove members have been removed from the implanted staple cartridge and retention matrix. FIG. 7 is a perspective view of a retention opening in a retention matrix, according to at least one alternative embodiment, including a plurality of retention members configured to engage fastener legs extending therethrough. FIG. 7 is a perspective view of a retention opening of a retention matrix, according to at least one alternative embodiment, including six retention members. FIG. 6 is a perspective view of a retention opening of a retention matrix, according to at least one alternative embodiment, including eight retention members. FIG. 7 is a perspective view of a retention opening in a retention matrix, according to at least one alternative embodiment, including a plurality of retention members configured to engage fastener legs extending therethrough. FIG. 7 is a perspective view of a retention opening of a retention matrix, according to at least one alternative embodiment, including six retention members. FIG. 6 is a perspective view of a retention opening of a retention matrix, according to at least one alternative embodiment, including eight retention members. FIG. 6 is a perspective view of a retention opening of a retention matrix according to at least one other embodiment that includes a plurality of retention members stamped from a metal sheet. FIG. 6 is a perspective view of a retention opening of a retention matrix, according to at least one alternative embodiment, including a plurality of openings extending around an outer periphery of the retention opening. FIG. 6 is a plan view of a retention opening of a retention matrix according to at least one other embodiment. FIG. 6 is a plan view of a retention opening of a retention matrix according to at least one other embodiment. FIG. 6 is a plan view of a retention opening of a retention matrix according to at least one other embodiment. FIG. 6 is a plan view of a retention opening of a retention matrix according to at least one other embodiment. FIG. 6 is a plan view of a retention opening of a retention matrix according to at least one other embodiment. FIG. 6 is a plan view of a retention opening in a retention matrix including retention tabs extending into the retention opening according to at least one embodiment. FIG. 6 is a plan view of a retention opening in a retention matrix including retention tabs extending into the retention opening according to at least one alternative embodiment. 1 is a perspective view of a fastening system that includes a plurality of staples, a retention matrix that engages the staples, and an alignment matrix configured to align the staples. FIG. FIG. 113 is a perspective view of the retention matrix of FIG. 112. FIG. 113 is a perspective view of the alignment matrix of FIG. 112. FIG. 113 is a partial plan view of the retention matrix of FIG. 112 engaging the staples of FIG. 112; FIG. 113 is a partial bottom view of the retention matrix of FIG. 112 engaged with the staple of FIG. 112; FIG. 113 is a partial elevation view of the fastening system of FIG. 112. FIG. 113 is a partial perspective view of the fastening system of FIG. 112. FIG. 113 is a partial plan view of the retention matrix of FIG. 112 engaging the staples of FIG. 112; FIG. 113 is a partial cross-sectional view of the fastening system of FIG. 112. FIG. 113 is a perspective view of the fastening system of FIG. 112 further including a protective cap associated with the staple legs. FIG. 122 is a bottom perspective view of the fastening system configuration of FIG. 121. It is a fragmentary perspective view of the fastening system structure of FIG. It is a fragmentary sectional view of the fastening system structure of FIG. FIG. 10 is an elevational view of an end effector according to at least one embodiment including a jaw in an open position, a retention matrix and a plurality of protective caps disposed within the jaws, and a staple cartridge disposed within a staple cartridge groove member. . FIG. 126 is an elevational view of the end effector of FIG. 125 in a closed position. FIG. 126 is an elevational view of the end effector of FIG. 125 in a firing position. FIG. 126 is an elevational view of the retention matrix and protective cap of FIG. 125 combined with the staple cartridge of FIG. 125; FIG. 129 is a detailed view of the configuration of FIG. 128. FIG. 126 is an elevational view of the end effector of FIG. 125 illustrating the jaws in the open position and thinner tissue disposed between the retention matrix and the staple cartridge. FIG. 126 is an elevation view of the end effector of FIG. 125 illustrating the jaws in a closed position relative to the thinner tissue of FIG. FIG. 126 is an elevation view of the end effector of FIG. 125 illustrating the jaws in a firing position to capture the thinner tissue of FIG. 130 between the retention matrix and the staple cartridge. 125 is an elevation view of the retention matrix and protective cap of FIG. 125 combined with the staple cartridge of FIG. 125 with the thin tissue of FIG. 130 disposed therebetween. FIG. 134 is a detailed view of the configuration of FIG. 133. FIG. 6 is a cross-sectional view of a protective cap disposed at the tip of a staple leg according to at least one other embodiment. It is a perspective view of a plurality of protective caps embedded in a material sheet. FIG. 5 is a perspective view of a jaw including a plurality of recesses configured to receive a plurality of protective caps therein. 138 is a detailed view of a portion of a jaw including a sheet covering a protective cap disposed within the jaw of FIG. FIG. 7 is a cross-sectional view of a protective cap disposed on a staple leg tip according to at least one alternative embodiment, wherein the protective cap includes an internal molded surface. FIG. 140 is another cross-sectional view of the protective cap of FIG. 139 illustrating the staple legs deformed relative to the molding surface. FIG. 6 is a plan view of another embodiment of a retention matrix that includes a plurality of linked matrix elements. FIG. 6 is a plan view of another embodiment of a retention matrix that includes a plurality of linked matrix elements. FIG. 6 is a plan view of another embodiment of a retention matrix that includes a plurality of linked matrix elements. FIG. 6 is a plan view of another embodiment of a retention matrix that includes a plurality of linked matrix elements. FIG. 6 is a plan view of another embodiment of a retention matrix that includes a plurality of linked matrix elements. FIG. 3 is a partially exploded view of a jaw including a retention matrix that includes a compressible cover. FIG. 147 is a detailed view of the retention matrix of FIG. 1 is a partial cross-sectional view of a fastening system that includes a compressible layer and a retention matrix that includes a plurality of cells that enclose one or more drugs. FIG. FIG. 149 shows the staple legs passing through the cells of FIG. 148 when engaged with the retention matrix. 1 is a partial cross-sectional view of a fastening system including a retention matrix that includes a compressible layer. FIG. 3 is an elevational view of a fastening cartridge insertion assembly including a holder, a first fastening cartridge, and a second fastening cartridge. 1 is an elevational view of an end effector of a surgical stapler including a first jaw and a second jaw, the second jaw being illustrated in an open configuration. FIG. Exemplifying that the second jaw is in a closed configuration and the fastening cartridge insertion assembly of FIG. 151 is used to fill the first jaw into the first cartridge and the second jaw into the second cartridge; FIG. 157 is an elevational view of the end effector of FIG. 152. The filled end of FIG. 153 illustrating the cartridge insertion assembly removed from the end effector, the second jaw again in the open configuration, and the tissue positioned between the first jaw and the second jaw. It is an elevation view of an effector. 156 is an elevation view of the filled end effector of FIG. 154 in a firing configuration. FIG. FIG. 6 is an elevational view of the first cartridge and the second cartridge in an implanted state. 157 is an elevational view of the end effector of FIG. 152 illustrating a portion of the first cartridge still engaging the first jaw in accordance with at least one embodiment. FIG. 10 is an elevational view of another embodiment of a fastening cartridge insertion assembly including a holder, a first fastening cartridge, and a second fastening cartridge. 159 is an elevational view of the fastener cartridge insertion assembly of FIG. 158 used to fill the first jaw of the end effector with the first cartridge and the second jaw with the second cartridge. FIG. FIG. 159 is a cross-sectional view of the filled end effector of FIG. 159; 1 is a perspective view of a surgical stapler including a lower jaw and an upper jaw, according to at least one embodiment, with a portion of the surgical stapler removed. FIG. 164 is a perspective view of the surgical stapler of FIG. 161 with the upper jaw removed. FIG. FIG. 167 is a perspective view of the upper jaw slidable anvil system of the surgical stapler of FIG. 161 including a first slidable anvil and a second slidable anvil; FIG. 164 is an end view of the slidable anvil system of FIG. 163; FIG. 164 is a plan view of the slidable anvil system of FIG. 163; FIG. 167 illustrates the slidable anvil system of FIG. 163 in a non-fired state. FIG. 167 illustrates the first slidable anvil of the slidable anvil system of FIG. 163 in a non-fired position and the staples disposed in the lower jaw in a non-deployed position. 167 is a diagram of the first slidable anvil of FIG. 167 pulled proximally to deform the staples in the lower jaw and the staple legs of the first group of staples in a deployed configuration. FIG. 169 is a diagram of the first group of staples of FIG. 168 deformed into a fully deformed state. FIG. FIG. 167 shows the second slidable anvil of the slidable anvil system of FIG. 163 pushed distally to deform the second group of staple legs. FIG. 5 is a partial perspective view of an anvil that forms a plurality of molded pockets in at least one embodiment. 171 is a cross-sectional end view of the anvil of FIG. FIG. 172 is a diagram showing a first step for manufacturing the molding pocket of FIG. 171. It is a figure which shows the 2nd process of manufacturing the shaping | molding pocket of FIG. FIG. 172 is a plan view of a molding pocket configuration of the anvil of FIG. 171; It is a figure which shows the 1st process of the manufacturing process for manufacturing an anvil. FIG. 176 is a diagram showing a second step of the manufacturing process in FIG. 176. FIG. 176 is a diagram showing a third step of the manufacturing process in FIG. 176. FIG. 6 is a left front perspective view of a surgical stapling and cutting instrument with a handle portion that includes an automatic retraction by link trigger and a ratchet manual retraction mechanism. A portion of the elongate shaft of the surgical stapling and cutting instrument of FIG. 179 was cut away to remove the right half shell of the handle housing to expose an automatic end-of-fire movement retraction mechanism and a manual firing retraction mechanism. FIG. 179 is a right rear perspective exploded view of the handle portion and elongate shaft of the surgical stapling and cutting instrument of FIG. 179; FIG. 179 is a right rear perspective view of the surgical stapling and cutting instrument of FIG. 179 with the right half shell and outer portion of the implementation portion removed to expose the initial closure and firing mechanism. FIG. 183 is a right side elevational view of the partially exploded surgical stapling and cutting instrument of FIG. 182; With the closure mechanism closed and clamped, the side pawl firing mechanism has completed the first stroke, the manual retraction mechanism is removed, and the distal link of the linkage rack triggering automatic retraction of the firing mechanism 187 is a right rear perspective view of the partially exploded surgical stapling and cutting instrument of FIG. 182 exposed. FIG. 186 is a right rear perspective view of the partially exploded surgical stapling and cutting instrument of FIG. 183 with the side pawl firing mechanism released and the distal link approaching automatic retraction. FIG. 184 is a left side elevational view of the partially exploded surgical stapling and cutting instrument of FIG. 183 in an initial state with the end effector opened and the anti-retraction mechanism engaged; 186 is a detailed left side view of the right half shell of the handle portion of FIG. 186 and a reverse prevention release lever. FIG. The left side detail elevation of the surgical stapling and cutting instrument of FIG. 179 with the closure trigger clamped, the firing trigger performing the final stroke, and the distal link positioned to disengage the automatic retraction FIG. 188 is a left side detail elevation view of the exploded surgical stapling and cutting instrument of FIG. 188 with the linkage rack retracted immediately after the distal link has actuated and locked the anti-retraction release lever. 179 is a right exploded perspective view of the idler and posterior gear, manual retract lever and ratchet pawl of the manual retract mechanism of the surgical stapling and cutting instrument of FIG. 179; 190 is a right perspective view of the manual retraction mechanism of FIG. 190 with the manual retraction lever partially cut away to expose a small diameter ratchet gear on the rear gear that engages the ratchet pawl. FIG. The surgical staple of FIG. 179 has an anti-retraction mechanism engaged with a fully fired linkage rack that has been removed from the combined tension / compression spring prior to actuation of the manual retract lever of FIG. FIG. 3 is a left side elevational view with parts of the fastening and cutting instrument partially disassembled. 192 is a partially exploded left side elevational view of the surgical stapling and cutting instrument of FIG. 192, with hidden portions of the anti-retraction release lever, rear gear, and manual firing release lever shown in dotted lines. FIG. 194 is a partially exploded left side elevational view of the surgical stapling and cutting instrument of FIG. 193 after manually retracting the linkage rack by actuation of a manual firing release lever. 195 is a partially exploded left side elevational view of the surgical stapling and cutting instrument of FIG. 194 with the linkage rack omitted and the manual firing release lever removing the anti-retraction mechanism. 179 is a left side detail view of another anti-retraction release lever and handle housing of the surgical stapling and cutting instrument of FIG. 179; 196 is an exploded left side perspective view of another reverse prevention release lever, rear gear shaft, and automatic reverse cam wheel of FIG. 196. FIG. 196 is a right side elevational view of the alternate anti-retraction release mechanism of FIG. 196, with the linkage rack in the retracted position, the anti-retraction release lever positioned proximally, and the anti-retraction plate engaging the firing rod. . FIG. 198 is a right detailed side elevational view of the rear gear, automatic retracting cam wheel, and most distal link of FIG. 198; FIG. 198 is a right side elevation view of the anti-retraction release mechanism of FIG. 198 after the initial firing stroke. FIG. 199 is a right detailed side elevational view of the rear gear, the automatically retracting cam wheel and the second link of FIG. 199; FIG. 200 is a right side elevation view of the anti-retraction release mechanism of FIG. 199 after a second firing stroke. FIG. 200 is a right detailed side elevational view of the rear gear, the automatically retracting cam wheel and the third link of FIG. FIG. 212 is a right side elevational view of the anti-retraction release mechanism of FIG. 200 after the third launch and final stroke. FIG. 201 is a right detail side elevational view of the rear gear, the automatically retracting cam wheel and the most proximal fourth link of FIG. A right side elevational view of the automatic release mechanism of FIG. 201, after the automatic retraction cam wheel slides distally with a further firing stroke to lock the anti-retraction release lever and the anti-retraction mechanism disengages. It is. FIG. 7 is a left front perspective view of the staple application assembly in an open state with the right half of a replaceable staple cartridge included in the staple groove member. FIG. 204 is an exploded perspective view of the staple application assembly of FIG. 203 with a fully replaceable staple cartridge and a non-articulated shaft configuration. FIG. 204 is a perspective view of a two-piece knife and firing bar (E-beam) of the staple application assembly of FIG. 203. FIG. 3 is a perspective view of a wedge thread of a staple cartridge of a staple application assembly. FIG. 204 is a left side elevational view in longitudinal section along the centerline 207-207 of the staple application assembly of FIG. 203; The open staple application assembly of FIG. 203 without the replaceable staple cartridge, with a portion of the staple groove member adjacent to the two-piece knife and the intermediate pin of the firing bar and no distal portion of the staple groove member. It is a perspective view. FIG. 220 is a front elevational view in cross-section along line 209-209 of the staple application assembly of FIG. 203 showing the internal staple driver of the staple cartridge and a portion of the two-piece knife and firing bar. 203 of the closed staple application assembly of FIG. 203 that includes a central contact point between the two-piece knife and the wedge thread and is laterally offset to show the staples and staple drivers in the staple cartridge. 207 is a left side elevation view generally along the longitudinal axis of 207; FIG. A two piece knife, which is typical for staple cartridge replacement, is slightly retracted. FIG. 222 is a detailed elevation view of the left side of the staple application assembly of FIG. 210; FIG. 222 is a left side detail elevation view of the staple application assembly of FIG. 211, corresponding to the structure shown in FIG. 210, with a two piece knife beginning to fire. FIG. 222 is a left cross-sectional elevation view of the closed staple application assembly of FIG. 210 after a two-piece knife and firing bar have been fired distally. 224 is a left cross-sectional elevation view of the closed staple application assembly of FIG. 213 after firing the staple cartridge and retracting the two-piece knife. FIG. 227 is a left side cross-sectional detail elevation view of the staple application assembly of FIG. 214, wherein the two-piece knife is allowed to fall into the lockout position; 1 is a perspective view of a staple cartridge including a rigid support portion and a compressible tissue thickness compensator for use with a surgical stapling instrument, according to at least one embodiment of the present invention. FIG. FIG. 227 is a partial exploded view of the staple cartridge of FIG. 216; FIG. 227 is a fully exploded view of the staple cartridge of FIG. 216; 226 is another exploded view of the staple cartridge of FIG. 216 without a wrap covering the tissue thickness compensator. 227 is a perspective view of the cartridge main body (or supporting portion) of the staple cartridge of FIG. 216; FIG. 226 is a top perspective view of a sled that can be moved within the staple cartridge of FIG. 216 for deploying staples from the staple cartridge; FIG. 223 is a bottom perspective view of the sled of FIG. 221. FIG. 223 is an elevational view of the thread of FIG. 223 is a top perspective view of a driver configured to support one or more staples and to be raised up by the sled of FIG. 221 for firing staples from a staple cartridge. FIG. 224 is a bottom perspective view of the driver of FIG. 224; FIG. A wrap configured to at least partially surround a compressible tissue thickness compensator of a staple cartridge. FIG. 6 is a partial cutaway view of a staple cartridge including a rigid support portion and a compressible tissue thickness compensator showing the staples moving from an unfired position to a fired position during a first sequence. 228 is an elevational view of the staple cartridge of FIG. 227; FIG. 228 is a detailed elevation view of the staple cartridge of FIG. 227; FIG. 227 is a cross-sectional view of the staple cartridge of FIG. 227. FIG. 227 is a bottom view of the staple cartridge of FIG. 227; FIG. 227 is a detailed bottom view of the staple cartridge of FIG. 227; FIG. Longitudinal direction of a staple cartridge including a closed position anvil and a rigid support portion and a compressible tissue thickness compensator showing the staple moved from an unfired position to a fired position during the first sequence It is sectional drawing. 234 is another cross-sectional view of the anvil and staple cartridge of FIG. 233 showing the anvil in an open position after the firing sequence is complete. 234 is a partial detail view of the staple cartridge of FIG. 233 showing the staple in an unfired position. FIG. 1 is a cross-sectional elevation view of a staple cartridge with a rigid support portion and a compressible tissue thickness compensator showing the staple in an unfired position. FIG. 237 is a detailed view of the staple cartridge of FIG. 236. FIG. 1 is an elevational view of a staple cartridge including an anvil in an open position, a rigid support portion and a compressible tissue thickness compensator showing the staple in an unfired position. FIG. A staple cartridge comprising a staple in an unfired position and an anvil in a closed position showing tissue captured between the anvil and the tissue thickness compensator, a rigid support portion and a compressible tissue thickness compensator. FIG. 239 is a detailed view of the anvil and staple cartridge of FIG. 239; Standing staple cartridge comprising a staple in an unfired position, an anvil in a closed position, showing thicker tissue captured between the anvil and staple cartridge, a rigid support portion and a compressible tissue thickness compensator FIG. FIG. 242 is a detailed view of the anvil and staple cartridge of FIG. 241; 242 is an elevational view of the anvil and staple cartridge of FIG. 241 showing tissue having different thicknesses disposed between the anvil and the staple cartridge. FIG. 242 is a detailed view of the anvil and staple cartridge of FIG. 241 shown in FIG. 243; FIG. 5 shows a tissue thickness compensator that compensates for different tissue thicknesses captured in different staples. FIG. 5 shows a tissue thickness compensator applying compression pressure to one or more vessels cut by a staple row. It is a figure which shows the condition where one or more staples are malformed. FIG. 6 shows a tissue thickness compensator that can compensate for imperfectly formed staples. It is a figure which shows the tissue thickness compensator arrange | positioned in the tissue area | region where several staple rows cross | intersect. FIG. 3 shows tissue captured within a staple. FIG. 6 shows tissue and tissue thickness compensator captured within a staple. FIG. 3 shows tissue captured within a staple. FIG. 3 shows a thick tissue and tissue thickness compensator captured within a staple. FIG. 5 shows a thin tissue and tissue thickness compensator captured within a staple. FIG. 5 shows a tissue having an intermediate thickness captured in a staple and a tissue thickness compensator. FIG. 6 shows a tissue having another intermediate thickness captured within a staple and a tissue thickness compensator. FIG. 3 shows a thick tissue and tissue thickness compensator captured within a staple. FIG. 6 is a partial cross-sectional view of an end effector of a surgical stapling instrument showing the firing bar and staple firing thread in a retracted unfired position. 259 is another partial cross-sectional view of the end effector of FIG. 258 showing the firing bar and staple firing sled in a partially advanced position. 259 is a cross-sectional view of the end effector of FIG. 258 showing the firing bar in a fully advanced (fired) position. 259 is a cross-sectional view of the end effector of FIG. 258 showing the firing bar in the retracted position after firing and the staple firing thread remaining in the fully fired position. 261 is a detailed view of the firing bar in the retracted position of FIG. 1 is a partial cross-sectional view of an end effector of a surgical stapling instrument with a staple cartridge including a tissue thickness compensator and staples at least partially disposed therein. FIG. 264 is another partial cross-sectional view of the end effector of FIG. 263 showing that the staples are at least partially moved and / or rotated relative to the anvil disposed opposite the staple cartridge. FIG. 6 is a partial cross-sectional view of an end effector of a surgical stapling instrument according to at least one embodiment. FIG. 6 is a partial cross-sectional view of an end effector according to at least one other embodiment. FIG. 10 is another partial cross-sectional view of an end effector according to another alternative embodiment. FIG. 3 is a perspective view of an end effector of a surgical stapling instrument according to at least one embodiment. FIG. 273 is a partial cross-sectional view of the end effector of FIG. 268 in a bent state. FIG. 269 is a partial cross-sectional view of the end effector of FIG. 269 in a released state; FIG. 6 is a perspective view of an end effector including a tissue thickness compensator sock. 281 is a rear perspective view of the tissue thickness compensator socks of FIG. 271; FIG. FIG. 6 is a perspective view of an end effector including a plurality of rails extending from a support portion and a tissue thickness compensator having a longitudinal cavity defined therein. FIG. 273 is a perspective view of the tissue thickness compensator of FIG. 273; FIG. 6 is a perspective view of an end effector including a plurality of teeth extending from a support portion and a tissue thickness compensator engaging therewith. FIG. 3 is a perspective view of an anvil including a pocket arrangement, according to at least one embodiment. 276 is a partial detail view of the anvil of FIG. 276; 276 is a longitudinal cross-sectional view of the anvil of FIG. 276; 276 is a cross-sectional view of the anvil of FIG. FIG. 3 is an elevation view of a fired staple that includes a generally B-shaped shape. FIG. 4 is an elevational view of a fired staple including one leg deformed inward and one leg deformed outward. FIG. 3 is an elevation view of a fired staple including both legs deformed outward. FIG. 6 is a partial perspective view of a support portion of a staple cartridge including a removable and / or replaceable staple leg guide. FIG. 283 is a partial cross-sectional view of the staple cartridge of FIG. 283 illustrating staples being deployed from the staple cartridge; FIG. 283 is a cross-sectional detail view of FIG. 284 after the staple cartridge has been fired; FIG. 3 is an exploded view of a staple cartridge with a tissue thickness compensator that includes a space defined therein. FIG. 287 shows the tissue thickness compensator of FIG. FIG. 290 is another view of the tissue thickness compensator of FIG. 286 implanted against tissue. FIG. 3 is a cross-sectional perspective view of a staple cartridge including a lateral retention member extending from a support portion configured to hold a tissue thickness compensator in place. FIG. 290 is a cross-sectional view of the staple cartridge of FIG. 289 applying staples to tissue. FIG. 290 is another cross-sectional view of the staple cartridge of FIG. 289 showing the support portion moving away from the implanted tissue thickness compensator. FIG. 5 is a cross-sectional perspective view of a staple cartridge including a transverse retention member configured to retain a tissue thickness compensator against a support portion. FIG. 293 is a cross-sectional view of the staple cartridge of FIG. 292 applying staples to tissue. FIG. 292 is another cross-sectional view of the staple cartridge of FIG. 292 showing the support portion moving away from the implanted tissue thickness compensator. FIG. 4 is a cross-sectional detail view of a retainer holding a tissue thickness compensator against a support portion of a staple cartridge, according to at least one embodiment. FIG. 6 is a partial cutaway view of a staple cartridge including staple drivers having different heights according to at least one embodiment. 296 illustrates the staple driver of FIG. 296 and staples having different unfired heights supported thereon. FIG. FIG. 5 shows a tissue thickness compensator with varying thickness, a staple driver with different heights, and a staple with different green heights. FIG. 209 shows the staple and tissue thickness compensator of FIG. 297 implanted in tissue. FIG. 3 is a partial cross-sectional view of a staple cartridge including a tissue thickness compensator with varying thickness according to at least one embodiment. FIG. 6 is a cross-sectional view of an end effector of a surgical stapling instrument in an open position. FIG. 330 is a cross-sectional view of the end effector of FIG. 300 in a partially fired state. FIG. 330 is a cross-sectional view of the end effector of FIG. 300 shown reopened. 1 is a cross-sectional view of an end effector of a surgical stapling instrument including a staple driver having deck surfaces with different heights and irregularities according to at least one embodiment. FIG. 1 is a cross-sectional view of an end effector of a surgical stapling instrument including a staple driver having different heights and stepped deck surfaces according to at least one embodiment. FIG. FIG. 3 is a perspective view of a staple cartridge loaded into an effector of a surgical stapling instrument that utilizes a staple cartridge applicator. 306 is a bottom perspective view of the staple cartridge applicator of FIG. 305; FIG. 306 is a side view of the staple cartridge applicator of FIG. 305 assembled into a staple cartridge. FIG. 307 is a cross-sectional view of the assembly of FIG. FIG. 6 is a perspective view of a staple cartridge applicator assembly further comprising an upper tissue thickness compensator disposed on the upper surface of the staple cartridge applicator, according to at least one embodiment. FIG. 309 is an exploded view of the upper tissue thickness compensator and staple cartridge applicator of FIG. 309; FIG. 3 is an exploded view of a staple cartridge applicator assembly including a pull member configured to remove an upper tissue thickness compensator adhered to the staple cartridge applicator. FIG. 6 is a partially exploded view of a staple cartridge applicator assembly according to at least one other embodiment. FIG. 10 is a perspective view of a staple cartridge applicator assembly including an upper tissue thickness compensator with a plurality of retention features extending from itself and a staple cartridge including a lower tissue thickness compensator. FIG. 322 is an elevational view of the staple cartridge applicator assembly of FIG. 312 disposed in a staple cartridge groove member with the anvil closed on the staple cartridge applicator assembly. 334 is an elevational view of the anvil of FIG. 313 in the open position again, with the staple cartridge applicator of FIG. 312 being removed from the end effector. FIG. 4B is a cross-sectional view of the tissue disposed between the upper tissue thickness compensator and the lower tissue thickness compensator of FIG. 312. FIG. 3 is a cross-sectional view showing an upper tissue thickness compensator and a lower tissue thickness compensator stapled to tissue and cut by a cutting member. FIG. 6 illustrates a tissue thickness compensator being inserted into an anvil according to at least one embodiment. FIG. 315 is a cross-sectional view of the tissue thickness compensator of FIG. 315. FIG. 4 is an exploded view of a tissue thickness compensator and anvil, according to at least one alternative embodiment. FIG. 10 is a perspective view of a staple cartridge applicator assembly including an upper tissue thickness compensator configured to be attached to an anvil according to at least one embodiment. 318 is an elevational view of the staple cartridge applicator assembly of FIG. 318 disposed within the staple cartridge groove member with the anvil moving toward the upper tissue thickness compensator. 318 shows the staple cartridge applicator of FIG. 318 removed from the end effector after the upper tissue thickness compensator has engaged the anvil. FIG. 318 is a cross-sectional end view of the anvil being moved toward the upper tissue thickness compensator of FIG. 318. FIG. 7 is a cross-sectional end view of an anvil engaged with an upper tissue thickness compensator. 1 is a cross-sectional view of an end effector of a surgical stapling instrument including a staple cartridge with a separable tissue thickness compensator attached to a support portion of the staple cartridge by a plurality of fasteners. FIG. 324 is a cross-sectional view of the end effector of FIG. 323 showing the firing member in a partially fired position. FIG. 323 is a cross-sectional view of the end effector of FIG. 323 showing the support portion moving away from the partially implanted tissue thickness compensator. FIG. 323 is a partial perspective view of the support portion in FIG. 323. FIG. 3 is a perspective view of a staple deployment thread according to at least one embodiment of the invention. FIG. 327 is an elevation view of the thread of FIG. 327; 1 is a perspective view of an end effector of a surgical stapling instrument including a staple cartridge with a tissue thickness compensator and a plurality of staple guides disposed on the tissue thickness compensator. FIG. FIG. 329 is a partial cross-sectional view of the tissue thickness compensator and staple guide of FIG. 329 in an unfired state. FIG. 329 is a partial cross-sectional view of the tissue thickness compensator and staple guide of FIG. 329 in a fired state. FIG. 4 is a cross-sectional view of a staple cartridge including a tissue thickness compensator and a support portion, according to at least one embodiment. FIG. 5 is a partial cross-sectional view of a tissue thickness compensator, a staple guide layer, and a staple in an unfired position. FIG. 5 is a partial cross-sectional view of a tissue thickness compensator, a staple guide layer, and a staple in an unfired position, according to at least one other embodiment. FIG. 5 is a partial cross-sectional view of a tissue thickness compensator, a staple guide layer, and a staple in an unfired position, according to at least one other embodiment. FIG. 5 is a partial cross-sectional view of a tissue thickness compensator, a staple guide layer, and a staple in an unfired position, according to at least one other embodiment. FIG. 5 is a partial cross-sectional view of a tissue thickness compensator, a staple guide layer, and a staple in an unfired position, according to at least one other embodiment. FIG. 5 is a partial cross-sectional view of a tissue thickness compensator, a staple guide layer, and a staple in an unfired position, according to at least one other embodiment. FIG. 5 is a partial cross-sectional view of a tissue thickness compensator, a staple guide layer, and a staple in an unfired position, according to at least one other embodiment. FIG. 339 is a detailed view of a region surrounding the staple front end of FIG. 339. FIG. 5 is a partial cross-sectional view of a tissue thickness compensator, a staple guide layer, and a staple in an unfired position, according to at least one other embodiment. FIG. 341 is a detailed view of a region surrounding the staple front end of FIG. 341; FIG. 5 is a partial cross-sectional view of a tissue thickness compensator, a staple guide layer, and a staple in an unfired position, according to at least one other embodiment. FIG. 6 is a perspective view of a staple guide layer and a plurality of staples in an unfired position, according to at least one other embodiment. 1 is an end view of a tissue thickness compensator configured for use with a surgical circular stapler. FIG. 346 is a perspective view of the tissue thickness compensator and the surgical circular stapler of FIG. FIG. 6 is an end view of a tissue thickness compensator configured for use with a surgical circular stapler according to at least one alternative embodiment. FIG. 347 is a perspective view of the tissue thickness compensator and the surgical circular stapler of FIG. 347; 1 is an end view of a tissue thickness compensator configured for use with a surgical circular stapler. FIG. FIG. 349 is an end view of the partially expanded configuration of the tissue thickness compensator of FIG. 349. 1 is an elevational view of a surgical stapling instrument including a staple cartridge, according to at least one embodiment. FIG. 356 is an end view of the surgical stapling instrument of FIG. 351 positioned against tissue. 356 is an end view of the surgical stapling instrument of FIG. 351 further including a tissue thickness compensator disposed between the staple cartridge and the tissue. 356 is a partial perspective view of a staple deployed in tissue from the surgical stapling instrument of FIG. 351 without a tissue thickness compensator; 356 is a partial perspective view of a staple deployed into tissue from the surgical stapling instrument of FIG. 351 with a tissue thickness compensator; FIG. 356 is a partial cross-sectional view of the end effector of the surgical stapling instrument of FIG. 351 including the anvil plate in a first configuration; 356 is a partial cross-sectional view of the end effector of the surgical stapling instrument of FIG. 351 showing the anvil plate of FIG. 356 in a second configuration. 1 is a cross-sectional view of an end effector of a surgical stapling instrument including a staple cartridge with a gap setting element. FIG. 359 is a perspective view showing the firing member cutting the gap setting element of FIG. 358 at the end of the firing stroke of the firing member. FIG. 1 is a cross-sectional view of an end effector of a surgical stapling instrument including a staple cartridge with a flexible nose. FIG. FIG. 360 is a cross-sectional view of the end effector of FIG. 360 showing the nose in a bent state. 1 is a cross-sectional view of an end effector of a surgical stapling instrument including a staple cartridge with a slidable portion. FIG. FIG. 367 is a cross-sectional view of the end effector of FIG. 362 showing the slidable portion slid distally; 1 is a cross-sectional view of an end effector of a surgical stapling instrument including a support portion that includes an upwardly inclined deck surface and a tissue thickness compensator that includes a thickness change. FIG. 1 is a cross-sectional view of an end effector of a surgical stapling instrument including a support portion that includes an up-sloped deck surface and a tissue thickness compensator that includes a uniform thickness. FIG. FIG. 6 is a perspective view of a staple cartridge including a tissue thickness compensator having a thickness change. 366 is an end view of the staple cartridge of FIG. 366; FIG. FIG. 6 is a cross-sectional perspective view of a tissue thickness compensator including a longitudinal layer. FIG. 6 is a cross-sectional perspective view of a tissue thickness compensator comprising a plurality of layers according to at least one other embodiment. FIG. 6 is a perspective view of a disposable loading unit that includes a retaining member configured to releasably retain a tissue thickness compensator on itself. FIG. 10 is a perspective view of a tissue thickness compensator including a retaining member configured to releasably hold the tissue thickness compensator to a disposable loading unit. 372 is a perspective view of the tissue thickness compensator of FIG. 371 attached to a disposable loading unit. FIG. FIG. 372 is an end view of the disposable loading unit of FIG. 372; FIG. 10 is a perspective view of a tissue thickness compensator including a retaining member configured to releasably hold the tissue thickness compensator to a disposable loading unit. FIG. 375 is a perspective view of the tissue thickness compensator of FIG. 374 attached to a disposable loading unit. FIG. 376 is an end view of the disposable loading unit of FIG. 375; FIG. 10 is a perspective view of a tissue thickness compensator including a retaining member configured to releasably hold the tissue thickness compensator to a disposable loading unit. FIG. 377 is a perspective view of the tissue thickness compensator of FIG. 377 attached to a disposable loading unit; FIG. 6 is a perspective view of a tissue thickness compensator applicator disposed within an effector of a disposable loading unit. 379 is a top perspective view of the tissue thickness compensator applicator of FIG. 379. FIG. 379 is a bottom perspective view of the tissue thickness compensator applicator of FIG. 379. FIG. FIG. 6 is a perspective view of a tissue thickness compensator applicator disposed within an effector of a disposable loading unit, according to at least one other embodiment. FIG. 382 is a top perspective view of the tissue thickness compensator applicator of FIG. 382; FIG. 382 is a bottom perspective view of the tissue thickness compensator applicator of FIG. 382; FIG. 6 is an elevational view of a disposable loading unit with a pivotable jaw configured to support a staple cartridge. 2 is a cross-sectional view of a staple cartridge including a tissue thickness compensator attached to a support portion of the staple cartridge, according to at least one embodiment. FIG. 2 is a cross-sectional view of a staple cartridge including a tissue thickness compensator attached to a support portion of the staple cartridge, according to at least one embodiment. FIG. FIG. 4 is a cross-sectional view of a staple cartridge comprising a tissue thickness compensator attached to a support portion of the staple cartridge, according to at least one embodiment. 387 is a perspective view of the tissue thickness compensator of FIG. 387. FIG. FIG. 3 is an exploded view of a retainer assembly including a retainer and two tissue thickness compensators according to at least one embodiment of the invention. FIG. 23 is a perspective view of the retainer assembly shown in FIG. 2390. 390 is a perspective view of an anvil with which the retainer assembly of FIG. 390 can be used. FIG. 390 illustrates the retainer assembly of FIG. 390 being inserted into an end effector of a surgical stapler having an anvil and a staple cartridge. FIG. 390 is a side view of the retainer assembly shown in FIG. 390 engaged with the staple cartridge of FIG. 393; 394 is a side view of the retainer assembly shown in FIG. 390 engaged with the staple and anvil of FIG. 393 showing the anvil in the closed position. FIG. 390 is a side view of the retainer assembly of FIG. 390 being pulled from the end effector of FIG. 393; It is a perspective view of a retainer. 397 is a side view of the retainer of FIG. 397 with the tissue thickness compensator attached to the top and bottom surfaces showing one tissue thickness compensator engaged with a staple cartridge in a surgical stapler having an anvil. FIG. 398 is a side view of the anvil of FIG. 398 in the closed position. FIG. 3 is an exploded perspective view of a retainer and tissue thickness compensator according to at least one embodiment. FIG. 43 is a perspective view of the anvil of the tissue thickness compensator and surgical stapler of FIG. 400. FIG. 3 is an exploded top perspective view of a retainer and tissue thickness compensator according to at least one embodiment. FIG. 43 is an exploded bottom perspective view of the retainer and tissue thickness compensator of FIG. 402; FIG. 43 is a top perspective view of the retainer and tissue thickness compensator of FIG. 402 engaged with a surgical stapler. FIG. 404 is a bottom perspective view of the retainer and tissue thickness compensator of FIG. 402 engaged with the surgical stapler of FIG. 404; FIG. 404 is a side perspective view of the retainer and tissue thickness compensator of FIG. 402 engaged with the surgical stapler of FIG. 404; FIG. 404 is a bottom perspective view of the retainer and tissue thickness compensator of FIG. 402 showing the tissue thickness compensator attached to the anvil of the surgical stapler of FIG. 404; FIG. 443 is a top perspective view of the retainer and tissue thickness compensator of FIG. 402 showing the tissue thickness compensator attached to the anvil of FIG. 407; FIG. 443 is a side view of the tissue thickness compensator of FIG. 402 attached to the anvil of FIG. 407; FIG. 4D is a cross-sectional view of the retainer and tissue thickness compensator of FIGS. 402 and 403 attached to a staple cartridge and groove member of a surgical stapler. FIG. 443 is a cross-sectional view of the retainer and tissue thickness compensator of FIGS. 402 and 403 attached to the staple cartridge and groove member of the surgical stapler of FIG. 410 showing the anvil of the surgical stapler engaged with the tissue thickness compensator. FIG. 43 is a cross-sectional view of the tissue thickness compensator of FIG. 402 being attached to the anvil of the surgical stapler and being moved away from the retainer. FIG. 5 is a side cross-sectional view of a retainer assembly having a retainer, a tissue thickness compensator attached to the first and second surfaces of the retainer, and a connector threaded through a hole in the retainer, according to at least one embodiment. FIG. 414 is a perspective view of the retainer assembly of FIG. 413 shown with a portion of the tissue thickness compensator removed for purposes of illustration. FIG. 414 is a side view of the retainer assembly of FIG. 413 engaged with a surgical stapler having an anvil shown in an open position; 414 is a side view of the retainer assembly of FIG. 413 and the anvil of FIG. 415 shown in a closed position; FIG. 414 is a side view of the retainer assembly of FIG. 413 showing the retainer withdrawn from between the tissue thickness compensators of the retainer assembly; FIG. 414 is a side view of the retainer withdrawn from the tissue thickness compensator of FIG. 413; FIG. 6 is a perspective view of a retainer configured to engage an anvil of a surgical stapler, according to at least one embodiment. FIG. 419 is a top view of the retainer of FIG. 419; 419 is a side view of the retainer of FIG. FIG. 419 is a bottom view of the retainer of FIG. 419; 419 shows a retainer assembly including the retainer of FIG. 419 and a tissue thickness compensator attached to a staple cartridge for a surgical stapler. 424 shows the retainer and staple cartridge of FIG. 423 engaging the anvil of the end stapler of the surgical stapler. 424 shows the retainer assembly and staple cartridge of FIG. 423 engaging the anvil of the end effector of the surgical stapler of FIG. 424 shows the retainer and staple cartridge of FIG. 423 engaged on the anvil of the surgical stapler of FIG. 424 shows the retainer assembly and staple cartridge of FIG. 423 engaged on the anvil of the surgical stapler of FIG. 424 and the anvil being moved to the closed position. 424 shows the anvil of the surgical stapler of FIG. 424 in the open position and the retainer fitted to the staple cartridge groove member of the surgical stapler with the tissue thickness compensator attached. 424 shows the retainer of FIG. 423 fitted in the staple cartridge groove member of the surgical stapler of FIG. 424 and the anvil in the open position. 3 is a cross-sectional view of a retainer having a tissue thickness compensator having a protrusion or wing configured to engage an anvil of a surgical stapler. FIG. FIG. 6 is a cross-sectional view of a retainer having a tissue thickness compensator having socks configured to engage an anvil of a surgical stapler. FIG. 6 is a perspective view of a retainer having two plates connected by a hinge, according to at least one embodiment. FIG. 433 is a side view of the retainer of FIG. 432; FIG. 431 is a rear perspective view of one embodiment of an insertion tool configured to be used with the retainer of FIG. 432; 434 is a top perspective view of the insertion tool of FIG. 434; FIG. FIG. 434 is a rear perspective view of the insertion tool of FIG. 434 with a portion of the insertion tool removed for illustrative purposes; FIG. 434 is a side view of the insertion tool of FIG. 434 with a portion of the insertion tool removed for illustrative purposes. FIG. 434 is a plan view of the insertion tool of FIG. 434; 432 is a perspective view of the retainer assembly having the retainer of FIG. 432, the tissue thickness compensator disposed on the retainer, the staple cartridge disposed on the retainer, and the insertion tool of FIG. 434 engaged with the retainer; Part of the insertion tool has been removed. 432 is a side view of a retainer assembly having the retainer of FIG. 432, a tissue thickness compensator disposed on the retainer, and the insertion tool of FIG. 434 engaged with the retainer, with portions of the insertion tool removed for illustrative purposes; Yes. 439 shows the retainer assembly of FIG. 439 being inserted into a surgical instrument having an anvil and staple cartridge groove members, with portions of the insertion tool removed for purposes of illustration. 439 shows the retainer assembly of FIG. 439 being inserted into a surgical instrument having an anvil and staple cartridge groove members, with portions of the insertion tool removed for purposes of illustration. 434 illustrates the insertion tool of FIG. 434 being engaged with the staple cartridge within the staple cartridge groove member and being moved relative to the retainer to engage the tissue thickness compensator with the anvil; The part has been removed. The insertion tool of FIG. 434 is being moved relative to the retainer to disengage the retainer from the tissue thickness compensator and further from the staple cartridge, a portion of the insertion tool being removed for illustrative purposes. FIG. 6 is a cross-sectional view of a tissue thickness compensator attached to an anvil of a surgical stapling instrument, according to at least one embodiment. FIG. 445 illustrates the deformed staple having at least partially captured therein the tissue thickness compensator of FIG. 445; 2 is a cross-sectional view of an end effector of a surgical stapling instrument including a staple cartridge having a first tissue thickness compensator and an anvil having a second tissue thickness compensator, according to at least one embodiment. FIG. FIG. 447 is a cross-sectional view of the end effector of FIG. 447 showing the staples from the staple cartridge being moved from a non-fired position to a fired position; FIG. 3 is a perspective view of a tissue thickness compensator attached to an anvil of an end effector according to at least one embodiment, the tissue thickness compensator having a plurality of capsules. FIG. 449 is a partial perspective view of the tissue thickness compensator of FIG. 449; FIG. 456 is a cross-sectional view of a staple drilled into the capsule of the tissue thickness compensator of FIG. 449 by being moved from a non-fired position to a fired position; FIG. 3 is an exploded view of an anvil and tissue thickness compensator according to at least one embodiment. 2 is a cross-sectional view of an anvil having a plurality of staple forming pockets and a tissue thickness compensator having a plurality of capsules aligned with the forming pockets, according to at least one embodiment. FIG. FIG. 452 is a detailed view of the capsule of the tissue thickness compensator of FIG. 452. FIG. 453 shows the anvil and tissue thickness compensator of FIG. 452 positioned against tissue to be stapled by staples from staple cartridges positioned on both sides of the tissue. FIG. 454 illustrates the anvil of FIG. 452 moved in the direction of the staple cartridge of FIG. 454 and the staples partially fired from the staple cartridge; FIG. 456 shows the staple of FIG. 455 in a fully fired configuration and the capsule of the tissue thickness compensator of FIG. 452 in a ruptured state. FIG. 465 is a diagram showing the staple of FIG. 455 in a state of being fired in error. FIG. 454 illustrates the staple of FIG. 455 in a fully fired configuration and the tissue thickness compensator of FIG. 452 in an at least partially cut state. FIG. 6 is a cross-sectional perspective view of an alternative embodiment of a tissue thickness compensator, according to at least one embodiment. FIG. 6 is a perspective view of an alternative embodiment of a tissue thickness compensator having a plurality of capsules aligned with a cutting member of a surgical stapling instrument. FIG. 460 is a detailed view of the capsule of FIG. FIG. 460 is a perspective view of the tissue thickness compensator of FIG. 460 having a plurality of capsules aligned with the anvil knife slot of the surgical stapling instrument; Fig. 5 illustrates an alternative embodiment of a tissue thickness compensator being attached to an anvil. Fig. 5 illustrates an alternative embodiment of a tissue thickness compensator being attached to an anvil. 2 is a cross-sectional exploded view of an anvil and a compensator, according to at least one embodiment. FIG. FIG. 465 shows the compensator of FIG. 465 attached to the anvil. FIG. 4 is a partial perspective view of a tissue thickness compensator and a cutting member incising the tissue thickness compensator according to at least one embodiment. FIG. 6 is a partial cross-sectional view of an alternative embodiment of a tissue thickness compensator according to at least one embodiment. FIG. 4 is a partial cross-sectional view of another alternative embodiment of a tissue thickness compensator, according to at least one embodiment. FIG. 6 shows a tissue thickness compensator having multiple irregular and / or asymmetric cavities, according to different embodiments. FIG. 3 is a partial cutaway view of a tissue thickness compensator attached to an anvil of a surgical stapling instrument, according to at least one embodiment. FIG. 6 is a perspective view of a seamless extruded casing or outer tube of a tissue thickness compensator, according to at least one embodiment. FIG. 5 is a perspective view of another seamless extruded casing or outer tube of a tissue thickness compensator, according to at least one embodiment. It is a perspective view of oxidized regenerated cellulose fiber. FIG. 474 is a perspective view of oxidized regenerated cellulose shorter than the fiber of FIG. 474; FIG. 474 illustrates the fiber of FIG. 474 being woven into strands using the fiber of FIG. 475; 473 shows the strand of FIG. 476 being fluffed and at least partially cut. FIG. 473 shows a glass passer inserted through the tissue thickness compensator casing or outer tube and positioned to grip the strand of FIG. 473 shows the glass of FIG. 478 being pulled out of the casing and the strand of FIG. 476 being pulled through the casing; 473 shows the casing and strand of FIG. 479 being segmented. Fig. 3 shows both ends of a casing being heat welded and / or sealed. FIG. 4 illustrates a process for forming a tissue thickness compensator without side seams. Fig. 2 shows an anvil of a surgical stapling instrument and a plurality of compensators that can be selectively attached to the anvil, each of the compensators having an array of capillary grooves. It is a top view of the compensator comprised so that it might be attached to an anvil. FIG. 484 is a detailed view of a portion of the compensator of FIG. 484; FIG. 6 is a perspective view of an end effector of a surgical stapling instrument. FIG. 485 is another perspective view of the end effector of FIG. 486 showing fluid being placed on the end effector tissue thickness compensator; FIG. 487 is another perspective view of the end effector of FIG. 488 showing the compensator attached to the anvil of the end effector. FIG. 487 is a detailed view of an array of capillary grooves on the compensator of FIG. 488; 2 is an exploded view of a compensator having multiple layers, according to at least one embodiment. FIG. FIG. 3 is an exploded view of a compensator and anvil of a surgical stapling instrument, according to at least one embodiment. FIG. 492 is a partial cross-sectional view of the compensator and anvil of FIG. 491; FIG. 3 is an exploded view of a compensator having a cellular ingrowth matrix, according to at least one embodiment. FIG. 494 is a perspective view of the compensator of FIG. 493; It is a perspective view of the fibrous layer of the material of a compensator. FIG. 3 is a perspective view of a plurality of fibrous layers laminated together, according to at least one embodiment. FIG. 6 is a perspective view of another plurality of fibrous layers laminated together, according to at least one embodiment. It is a perspective view of the fibrous layer of the material of a compensator. FIG. 3 is a perspective view of a plurality of fibrous layers stacked on top of one another according to at least one embodiment, with the fibers arranged in different directions. FIG. 6 is a perspective view of another plurality of fibrous layers laminated together, according to at least one embodiment. 1 is a perspective view of an end effector of a surgical instrument, according to at least one embodiment. FIG. FIG. 5 is an elevation view of a tissue thickness compensator disposed within an end effector of a surgical instrument, according to at least one embodiment. FIG. 5 is an elevation view of a tissue thickness compensator disposed within an end effector of a surgical instrument, according to at least one embodiment. FIG. 5 is a perspective view of a sleeve disposed on an anvil of an end effector of a surgical instrument, according to at least one embodiment. FIG. 507 is a plan view of the forked portion of the sleeve of FIG. 504; FIG. 507 is a plan view of the forked portion of the sleeve of FIG. 504; FIG. 507 is an end view of the forked portion of the sleeve of FIG. 504; FIG. 507 is a perspective view of a forked portion of the sleeve of FIG. 504; FIG. 6 is a plan view of a sleeve tissue compensator according to at least one embodiment. FIG. 509 is a perspective view of the tissue compensator of FIG. 509; FIG. 509 is an elevation view of the tissue compensator of FIG. 509; FIG. 6 is a plan view of a sleeve tissue compensator according to at least one embodiment. FIG. 513 is a perspective view of the tissue compensator of FIG. 512. FIG. 513 is an elevation view of the tissue compensator of FIG. 512; FIG. 507 is a perspective view of the nose of the sleeve of FIG. 504; FIG. 515 is another perspective view of the nose of FIG. 515; FIG. 515 is a plan view of the nose of FIG. 515 showing the internal shape with a broken line; FIG. 515 is an elevational view of the nose of FIG. 515 showing the internal shape with a dashed line; FIG. 530 is another perspective view of the sleeve of FIG. 504 positioned on the anvil. FIG. 507 is a plan view of the sleeve of FIG. 504 disposed on the anvil; FIG. 507 is an elevation view of the sleeve of FIG. 504 disposed on the anvil; FIG. 507 is a plan view of the sleeve of FIG. 504 positioned on the anvil showing a straight-running firing bar indicated by dashed lines; FIG. 530 is an elevational view of the sleeve of FIG. 504 positioned on the anvil showing the rectilinear firing bar shown in dashed lines; FIG. 507 is a plan view of the sleeve of FIG. 504 disposed on the anvil showing the nose being removed from the sleeve; FIG. 521 is an elevational view of the sleeve of FIG. 504 disposed on the anvil showing the nose being removed from the sleeve; FIG. 507 is a plan view of the sleeve of FIG. 504 disposed on the anvil showing the firing bar in broken lines and showing the nose being removed from the sleeve; FIG. 507 is an elevational view of the sleeve of FIG. 504 placed on the anvil showing the firing bar in broken lines and showing the nose being removed from the sleeve; 526 is a partial perspective view of the sleeve, anvil, and firing bar of FIG. 526; 526 is another partial perspective view of the sleeve, anvil, and firing bar of FIG. 526; FIG. 507 is an elevational cross-sectional view of the sleeve and anvil of FIG. 504; FIG. 527 is an elevational cross-sectional view of the anvil of FIG. 504 showing the tissue compensator being removed from the sleeve; FIG. 6 is a plan view of an end effector insert, according to at least one embodiment. FIG. 532 is an elevational view of the end effector insert of FIG. 532; 534 is a perspective view of the end effector insert of FIG. 534; FIG. FIG. 532 is a partial perspective view of the end effector insert of FIG. 532 showing the end effector insert mating with the end effector anvil of the surgical instrument; FIG. 532 is a partial perspective view of the end effector insert of FIG. 532 showing the end effector insert mating with the staple cartridge of the surgical instrument end effector; FIG. 532 is an elevation view of the end effector insert of FIG. 532 showing the end effector insert mating with the end effector of the surgical instrument; FIG. 532 is an elevation view of the end effector insert of FIG. 532 positioned within the end effector of the surgical instrument; FIG. 3 is a perspective view of a tissue thickness compensator disposed within an end effector of a surgical instrument according to at least one embodiment, with a portion of the tissue thickness compensator indicated by a cutout. FIG. 539 is a perspective view of the tissue thickness compensator of FIG. 539 secured to the anvil of the end effector by an electrostatic charge. FIG. 539 is a perspective view of the tissue thickness compensator of FIG. 539 secured to the anvil of the end effector by a suction element. FIG. 539 is a perspective view of the tissue thickness compensator of FIG. 539 secured to the anvil of the end effector by hook and loop fasteners. FIG. 539 is a partial perspective view of the tissue thickness compensator of FIG. 539 secured to the anvil of the end effector by a band; FIG. 539 is a partial perspective view of the tissue thickness compensator of FIG. 539 secured to the anvil of the end effector by socks at the distal end of the tissue thickness compensator; 6 is a perspective partial cross-sectional view of a tissue thickness compensator secured to an anvil of an end effector of a surgical instrument, according to at least one embodiment. FIG. 545 is an elevational cross-sectional view of the tissue thickness compensator of FIG. 545; FIG. 556 is another elevational cross-sectional view of the tissue thickness compensator of FIG. 545; 1 is an elevational cross-sectional view of a tissue thickness compensator secured to an anvil of an end effector of a surgical instrument, showing the latch in a closed position, according to at least one embodiment. FIG. 5 is an elevational cross-sectional view of the tissue thickness compensator of FIG. 548 showing the latch in an open position. FIG. 6 is an elevational cross-sectional view of a tissue thickness compensator secured to an anvil of an end effector of a surgical instrument, according to at least one embodiment. FIG. 6 is an elevational cross-sectional view of a tissue thickness compensator secured to an anvil of an end effector of a surgical instrument, according to at least one embodiment. FIG. 6 is an elevational cross-sectional view of a tissue thickness compensator secured to an anvil of an end effector of a surgical instrument, according to at least one embodiment. FIG. 6 is an elevational cross-sectional view of a tissue thickness compensator secured to an anvil of an end effector of a surgical instrument, according to at least one embodiment. FIG. FIG. 6 is a perspective partial exploded view of a tissue thickness compensator secured to an anvil of an end effector of a surgical instrument, according to at least one embodiment. FIG. 564 is a perspective view of the tissue thickness compensator of FIG. 554 illustrating the motion of the tissue thickness compensator toward the anvil. FIG. 557 is an elevational cross-sectional view of the tissue thickness compensator of FIG. 554 engaged with an anvil. 6 is a perspective cross-sectional view of a tissue thickness compensator secured to an anvil of an end effector of a surgical instrument, according to at least one embodiment. FIG. FIG. 557 is a perspective cross-sectional exploded view of the tissue thickness compensator and anvil of FIG. 557; 1 is an elevation view of a tissue thickness compensator according to at least one embodiment. FIG. FIG. 559 is a perspective view of the tissue thickness compensator of FIG. 559; FIG. 559 is another perspective view of the tissue thickness compensator of FIG. 559; FIG. 561 is a perspective view of the tissue thickness compensator of FIG. 559 illustrating the movement of the tissue thickness compensator toward the anvil of the surgical instrument end effector. FIG. 560 is a cross-sectional plan view of the tissue thickness compensator of FIG. 559 disposed on an anvil. FIG. 560 is a perspective view of the tissue thickness compensator of FIG. 559 disposed on an anvil; FIG. 59 is a perspective view of the tissue thickness compensator of FIG. 559 disposed on an anvil showing the cutting element cutting the tissue thickness compensator; FIG. 3 is a cross-sectional elevation view of an end effector of a surgical stapling instrument having an anvil and a chargeable layer, according to at least one embodiment. FIG. 56 is a bottom view of the anvil and chargeable layer of FIG. 566. FIG. 56 is an exploded view of the anvil and chargeable layer of FIG. 566 and a tissue thickness compensator that can be removably attached to the chargeable layer. FIG. 3 is a perspective view of a tissue thickness compensator according to at least one embodiment. FIG. 60 is a plan view of the tissue thickness compensator of FIG. 569; FIG. 6 is a perspective view of a tissue thickness compensator according to at least one alternative embodiment. FIG. 5B is a plan view of the tissue thickness compensator of FIG. 569A. FIG. 6 is a perspective view of a tissue thickness compensator according to at least one alternative embodiment. FIG. 571 is a plan view of the tissue thickness compensator of FIG. 571; FIG. 3 is a perspective view of a tissue thickness compensator according to at least one embodiment. FIG. 3 is a perspective view of a tissue thickness compensator attached to an anvil according to at least one embodiment. FIG. 574 is a cross-sectional view of the anvil and tissue thickness compensator of FIG. 574; 574 is a cross-sectional view of the tissue thickness compensator of FIG. 574; FIG. 6 is a perspective view of a tissue thickness compensator attached to an anvil according to at least one alternative embodiment. FIG. 58 is a cross-sectional view of the anvil and tissue thickness compensator of FIG. 577; FIG. 58 is a cross-sectional view of the tissue thickness compensator of FIG. 577 in an open configuration; FIG. 6 is a perspective view of a tissue thickness compensator attached to an anvil according to at least one alternative embodiment. FIG. 560 is a cross-sectional view of the anvil and tissue thickness compensator of FIG. 580; FIG. 6 is a perspective view of a tissue thickness compensator attached to an anvil according to at least one alternative embodiment. FIG. 582 is a cross-sectional view of the anvil and tissue thickness compensator of FIG. 582; FIG. 6 is a perspective view of a tissue thickness compensator attached to an anvil according to at least one alternative embodiment. FIG. 58 is a cross-sectional view of the anvil and tissue thickness compensator of FIG. 584; FIG. 6 is a perspective view of a tissue thickness compensator attached to an anvil according to at least one alternative embodiment. FIG. 586 is a cross-sectional view of the anvil and tissue thickness compensator of FIG. 586;

対応する参照符合は、複数の図面を通じて対応する部材を示す。本明細書に記載される例示は、本発明の特定の実施形態を1つの形態として示すものであり、このような例示は、いかなる意味においても本発明の範囲を限定するものとして解釈されるべきではない。  Corresponding reference characters indicate corresponding parts throughout the several views. The illustrations set forth in this specification are intended to illustrate specific embodiments of the invention in one form, and such illustrations should be construed as limiting the scope of the invention in any way. is not.

本願の出願人は、各出願の全容を参照により本明細書にそれぞれ援用するところの、下記に示す米国特許出願も所有するものである。すなわち、
発明の名称が「SURGICAL INSTRUMENTS WITH RECONFIGURABLE SHAFT SEGMENTS」である米国特許出願第12/894,311号(代理人整理番号END6734USNP/100058);
発明の名称が「SURGICAL STAPLE CARTRIDGES SUPPORTING NON−LINEARLY ARRANGED STAPLES AND SURGICAL STAPLING INSTRUMENTS WITH COMMON STAPLE−FORMING POCKETS」である米国特許出願第12/894,340号(代理人整理番号END6735USNP/100059);
発明の名称が「JAW CLOSURE ARRANGEMENTS FOR SURGICAL INSTRUMENTS」である米国特許出願第12/894,327号(代理人整理番号END6736USNP/100060);
発明の名称が「SURGICAL CUTTING AND FASTENING INSTRUMENTS WITH SEPARATE AND DISTINCT FASTENER DEPLOYMENT AND TISSUE CUTTING SYSTEMS」である米国特許出願第12/894,351号(代理人整理番号END6839USNP/100524);
発明の名称が「IMPLANTABLE FASTENER CARTRIDGE HAVING A NON−UNIFORM ARRANGEMENT」である米国特許出願第12/894,338号(代理人整理番号END6840USNP/100525);
発明の名称が「IMPLANTABLE FASTENER CARTRIDGE COMPRISING A SUPPORT RETAINER」である米国特許出願第12/894,369号(代理人整理番号END6841USNP/100526);
発明の名称が「IMPLANTABLE FASTENER CARTRIDGE COMPRISING MULTIPLE LAYERS」である米国特許出願第12/894,312号(代理人整理番号END6842USNP/100527);
発明の名称が「SELECTIVELY ORIENTABLE IMPLANTABLE FASTENER CARTRIDGE」である米国特許出願第12/894,377号(代理人整理番号END6843USNP/100528);
発明の名称が「SURGICAL STAPLING INSTRUMENT WITH COMPACT ARTICULATION CONTROL ARRANGEMENT」である米国特許出願第12/894,339号(代理人整理番号END6847USNP/100532);
発明の名称が「SURGICAL STAPLING INSTRUMENT WITH A VARIABLE STAPLE FORMING SYSTEM」である米国特許出願第12/894,360号(代理人整理番号END6848USNP/100533);
発明の名称が「SURGICAL STAPLING INSTRUMENT WITH INTERCHANGEABLE STAPLE CARTRIDGE ARRANGEMENTS」である米国特許出願第12/894,322号(代理人整理番号END6849USNP/100534);
発明の名称が「SURGICAL STAPLE CARTRIDGES WITH DETACHABLE SUPPORT STRUCTURES AND SURGICAL STAPLING INSTRUMENTS WITH SYSTEMS FOR PREVENTING ACTUATION MOTIONS WHEN A CARTRIDGE IS NOT PRESENT」である米国特許出願第12/894,350号(代理人整理番号END6855USNP/100540);
発明の名称が「IMPLANTABLE FASTENER CARTRIDGE COMPRISING BIOABSORBABLE LAYERS」である米国特許出願第12/894,383号(代理人整理番号END6856USNP/100541);
発明の名称が「COMPRESSIBLE FASTENER CARTRIDGE」である米国特許出願第12/894,389号(代理人整理番号END6857USNP/100542);
発明の名称が「FASTENERS SUPPORTED BY A FASTENER CARTRIDGE SUPPORT」である米国特許出願第12/894,345号(代理人整理番号END6858USNP/100543);
発明の名称が「COLLAPSIBLE FASTENER CARTRIDGE」である米国特許出願第12/894,306号(代理人整理番号END6859USNP/100544);
発明の名称が「FASTENER SYSTEM COMPRISING A PLURALITY OF CONNECTED RETENTION MATRIX ELEMENTS」である米国特許出願第12/894,318号(代理人整理番号END6860USNP/100546);
発明の名称が「FASTENER SYSTEM COMPRISING A RETENTION MATRIX AND AN ALIGNMENT MATRIX」である米国特許出願第12/894,330号(代理人整理番号END6861USNP/100547);
発明の名称が「FASTENER SYSTEM COMPRISING A RETENTION MATRIX」である米国特許出願第12/894,361号(代理人整理番号END6862USNP/100548);
発明の名称が「FASTENING INSTRUMENT FOR DEPLOYING A FASTENER SYSTEM COMPRISING A RETENTION MATRIX」である米国特許出願第12/894,367号(代理人整理番号END6863USNP/100549);
発明の名称が「FASTENER SYSTEM COMPRISING A RETENTION MATRIX AND A COVER」である米国特許出願第12/894,388号(代理人整理番号END6864USNP/100550);
発明の名称が「FASTENER SYSTEM COMPRISING A PLURALITY OF FASTENER CARTRIDGES」である米国特許出願第12/894,376号(代理人整理番号END6865USNP/100551);
発明の名称が「SURGICAL STAPLER ANVIL COMPRISING A PLURALITY OF FORMING POCKETS」である米国特許出願第13/097,865号(代理人整理番号END6735USCIP1/100059CIP1);
発明の名称が「TISSUE THICKNESS COMPENSATOR FOR A SURGICAL STAPLER」である米国特許出願第13/097,936号(代理人整理番号END6736USCIP1/100060CIP1);
発明の名称が「STAPLE CARTRIDGE COMPRISING A VARIABLE THICKNESS COMPRESSIBLE PORTION」である米国特許出願第13/097,954号(代理人整理番号END6840USCIP1/100525CIP1);
発明の名称が「STAPLE CARTRIDGE COMPRISING STAPLES POSITIONED WITHIN A COMPRESSIBLE PORTION THEREOF」である米国特許出願第13/097,856号(代理人整理番号END6841USCIP1/100526CIP1);
発明の名称が「TISSUE THICKNESS COMPENSATOR COMPRISING DETACHABLE PORTIONS」である米国特許出願第13/097,928号(代理人整理番号END6842USCIP1/100527CIP1);
発明の名称が「TISSUE THICKNESS COMPENSATOR FOR A SURGICAL STAPLER COMPRISING AN ADJUSTABLE ANVIL」である米国特許出願第13/097,891号(代理人整理番号END6843USCIP1/100528CIP1);
発明の名称が「STAPLE CARTRIDGE COMPRISING AN ADJUSTABLE DISTAL PORTION」である米国特許出願第13/097,948号(代理人整理番号END6847USCIP1/100532CIP1);
発明の名称が「COMPRESSIBLE STAPLE CARTRIDGE ASSEMBLY」である米国特許出願第13/097,907号(代理人整理番号END6848USCIP1/100533CIP1);
発明の名称が「TISSUE THICKNESS COMPENSATOR COMPRISING PORTIONS HAVING DIFFERENT PROPERTIES」である米国特許出願第13/097,861号(代理人整理番号END6849USCIP1/100534CIP1);
発明の名称が「STAPLE CARTRIDGE LOADING ASSEMBLY」である米国特許出願第13/097,869号(代理人整理番号END6855USCIP1/100540CIP1);
発明の名称が「COMPRESSIBLE STAPLE CARTRIDGE COMPRISING ALIGNMENT MEMBERS」である米国特許出願第13/097,917号(代理人整理番号END6856USCIP1/100541CIP1);
発明の名称が「STAPLE CARTRIDGE COMPRISING A RELEASABLE PORTION」である米国特許出願第13/097,873号(代理人整理番号END6857USCIP1/100542CIP1);
発明の名称が「STAPLE CARTRIDGE COMPRISING COMPRESSIBLE DISTORTION RESISTANT COMPONENTS」である米国特許出願第13/097,938号(代理人整理番号END6858USCIP1/100543CIP1);
発明の名称が「STAPLE CARTRIDGE COMPRISING A TISSUE THICKNESS COMPENSATOR」である米国特許出願第13/097,924号(代理人整理番号END6859USCIP1/100544CIP1);
発明の名称が「SURGICAL STAPLER WITH FLOATING ANVIL」である米国特許出願第13/242,029号(代理人整理番号END6841USCIP2/100526CIP2);
発明の名称が「CURVED END EFFECTOR FOR A STAPLING INSTRUMENT」である米国特許出願第13/242,066号(代理人整理番号END6841USCIP3/100526CIP3);
発明の名称が「STAPLE CARTRIDGE INCLUDING COLLAPSIBLE DECK」である米国特許出願第13/242,086号(代理人整理番号END7020USNP/110374);
発明の名称が「STAPLE CARTRIDGE INCLUDING COLLAPSIBLE DECK ARRANGEMENT」である米国特許出願第13/241,912号(代理人整理番号END7019USNP/110375);
発明の名称が「SURGICAL STAPLER WITH STATIONARY STAPLE DRIVERS」である米国特許出願第13/241,922号(代理人整理番号END7013USNP/110377);
発明の名称が「SURGICAL INSTRUMENT WITH TRIGGER ASSEMBLY FOR GENERATING MULTIPLE ACTUATION MOTIONS」である米国特許出願第13/241,637号(代理人整理番号END6888USNP3/110378);及び
発明の名称が「SURGICAL INSTRUMENT WITH SELECTIVELY ARTICULATABLE END EFFECTOR」である米国特許出願第13/241,629号(代理人整理番号END6888USNP2/110379)。
The applicant of this application also owns the following US patent applications, each of which is incorporated herein by reference in its entirety: That is,
US patent application Ser. No. 12 / 894,311 (Attorney Docket No. END6734USNP / 100058) whose title is “SURGICAL INSTRUMENTS WITH RECONFIGURABLE SHAFFT SEGMENTS”;
The title of the invention is “SURGICAL STAPLE CARTRIDGES SUPPORTING NON-LINEARLY ARRANGED STAPLES AND SURGICAL STAPLING INSTRUMENTS WITH COMMON STAPLE-FORM 35” US Patent No.
US patent application Ser. No. 12 / 894,327 (Attorney Docket No. END6736USNP / 100060) whose title is “JAW CLOSEURE ARRANGEMENTS FOR SURGICAL INSTRUMENTS”;
US Patent Application No. 12/894, 351D (Attorney) No. 12/894, 351D, US Patent Application No. 12 / 894,351D, US Patent Application No. 12/894, N
US patent application Ser. No. 12 / 894,338 (Attorney Docket No. END6840USNP / 100525) whose title is “IMPLANTABLE FASTNER CARTRIDGE HAVING A NON-UNIFORM ARRANGEMENT”;
US patent application Ser. No. 12 / 894,369 (Attorney Docket No. END6841USNP / 100526) whose title is “IMPLANTABLE FASTNER CARTRIDGE COMPRISING A SUPPORT RETAINER”;
US patent application Ser. No. 12 / 894,312 (Attorney Docket No. END6842USNP / 100527) whose title is “IMPLANTABLE FASTNER CARTRIDGE COMPRISING MULTIPLE LAYERS”;
US patent application Ser. No. 12 / 894,377 (Attorney Docket No. END6843USNP / 100528), whose title is “SELECTIVELY ORIENTABLE IMPLANTABLE FASTENER CARTRIDGE”;
US patent application Ser. No. 12 / 894,339 (Attorney Docket No. END6847USNP / 100532) whose title is “SURGICAL STAPLING INSTRUMENT WITH COMPACT ARTICULATION CONTROL ARRANGEMENT”;
US patent application Ser. No. 12 / 894,360 (Attorney Docket No. END6848USNP / 100533) whose title is “SURGICAL STAPLING INSTRUMENT WITH A VARIABLE STAPLE FORMING SYSTEM”;
US patent application Ser. No. 12 / 894,322 (Attorney Docket No. END6849USNP / 100534) whose title is “SURGICAL STAPLING INSTRUMENT WITH INTERCHANGABLE STAPLE CARTRIDGE ARRANGEMENTS”;
Entitled "SURGICAL STAPLE CARTRIDGES WITH DETACHABLE SUPPORT STRUCTURES AND SURGICAL STAPLING INSTRUMENTS WITH SYSTEMS FOR PREVENTING ACTUATION MOTIONS WHEN A CARTRIDGE IS NOT PRESENT" is a U.S. Patent Application No. 12 / 894,350 (Attorney Docket No. END6855USNP / 100540) ;
US patent application Ser. No. 12 / 894,383 (Attorney Docket No. END6856USNP / 100541) whose title is “IMPLANTABLE FASTENER CARTRIDGE COMPRISING BIOABSORBABLE LAYERS”;
US patent application Ser. No. 12 / 894,389 (Attorney Docket No. END6857USNP / 100542) whose title is “COMPRESSABLE FASTNER CARTRIDGE”;
US patent application Ser. No. 12 / 894,345 (Attorney Docket No. END6858USNP / 100543), whose title is “FASTENERS SUPPORTED BY A FASTENER CARTRIDGE SUPPORT”;
US patent application Ser. No. 12 / 894,306 (Attorney Docket No. END6859USNP / 100544), whose title is “COLLAPSIBLE FASTENER CARTRIDGE”;
US patent application Ser. No. 12 / 894,318 (Attorney Docket No. END6860USNP / 100546) whose title is “FASTENER SYSTEM COMPRISING A PLURALITY OF CONNECTED RETENTION MATRIX ELEMENTS”;
US patent application Ser. No. 12 / 894,330 (Attorney Docket No. END6861USNP / 100547) whose title is “FASTENER SYSTEM COMPRISING A RETENTION MATRIX AND AN ALIGNMENT MATRIX”;
US patent application Ser. No. 12 / 894,361 (Attorney Docket No. END 6862 USNP / 100548), whose title is “FASTENER SYSTEM COMPRISING A RETENTION MATRIX”;
US Patent Application No. 12 / 894,367 (Attorney Docket No. END 6863USNP / 100549) whose title is “FASTENING INSTRUMENT FOR DEPLOYING A FASTENER SYSTEM COMPRISING A RETENTION MATRIX”;
US patent application Ser. No. 12 / 894,388 (Attorney Docket No. END 6864 USNP / 100550) whose title is “FASTENER SYSTEM COMPRISING A RETENTION MATRIX AND A COVER”;
US patent application Ser. No. 12 / 894,376 (Attorney Docket No. END6865USNP / 100551) whose title is “FASTENER SYSTEM COMPRISING A PLULARITY OF FASTENER CARTRIDGES”;
US Patent Application No. 13 / 097,865 (Attorney Docket No. END6735USCIP1 / 100059CIP1) whose title is “SURGICAL STAPLLER ANVIL COMPRISING A PLURALITY OF FORMING POCKETS”;
US Patent Application No. 13 / 097,936 (Attorney Docket No. END6736USCIP1 / 100060CIP1) whose title is “TISSUE THICKNESS COMPENSATOR FOR A SURGICAL STAPLE”;
US Patent Application No. 13 / 097,954 (Attorney Docket No. END6840USCIP1 / 100525CIP1) whose title is “STAPLE CARTRIDGE COMPRISING A VARIABLE THICKNESS COMPRESIBLE POTION”;
US Patent Application No. 13 / 097,856 (Attorney Docket No. END6841USCIP1 / 100526CIP1) whose title is "STAPLE CARTRIDGE COMPRISING STAPLES POSITIONED WITHIN A COMPRESIBLE PORTION THEREOF";
US Patent Application No. 13 / 097,928 (Attorney Docket No. END6842USCIP1 / 100527CIP1) whose title is “TISSUE THICKNESS COMPENSATOR COMPRISING DETACHABLE PORTIONS”;
US Patent Application No. 13 / 097,891 (Attorney Docket No. END6843USCIP1 / 100528CIP1) whose title is “TISSUE THICKNESS COMPENSATOR FOR A SURGICAL STAPLLER COMPRISING AN ADJUSTABLE ANVIL”;
US Patent Application No. 13 / 097,948 (Attorney Docket No. END6847 USCIP1 / 10032 CIP1) whose title is “STAPLE CARTRIDGE COMPRISING AN ADJUSTABLE DISPORTION”;
US Patent Application No. 13 / 097,907 (Attorney Docket No. END6848USCIP1 / 1003353CIP1) having the name of the invention “COMPRESSLESS STAPLE CARTRIDGE ASSEMBLY”;
US Patent Application No. 13 / 097,861 (Attorney Docket No. END6849USCIP1 / 10000534CIP1) whose title is “TISSUE THICKNESS COMPENSATOR COMPRISING PORTIONS HAVING DIFFERENT PROPERITES”;
US Patent Application No. 13 / 097,869 (Attorney Docket No. END6855 USCIP1 / 100540CIP1) with the title of the invention “STAPLE CARTRIDGE LOADING ASSEMBLY”;
US Patent Application No. 13 / 097,917 (Attorney Docket No. END6856USCIP1 / 1001541CIP1) whose title is “COMPRESSLESS STAPLE CARTRIDGE COMPRISING ALIGNMENT MEMBERS”;
U.S. Patent Application No. 13 / 097,873 (Attorney Docket No. END6857USCIP1 / 100542CIP1) whose title is "STAPLE CARTRIDGE COMPRISING A RELEASABLE POTION";
US Patent Application No. 13 / 097,938 (Attorney Docket No. END6858 USCIP1 / 1003153CIP1) whose title is "STAPLE CARTRIDING COMPRISING COMPRESSITE DISTORTION REISTANT COMPONENTS";
US Patent Application No. 13 / 097,924 (Attorney Docket No. END6859USCIP1 / 100544CIP1) whose title is “STAPLE CARTRIDGE COMPRISING A TISSUE THICKNESS COMPENSATOR”;
US patent application Ser. No. 13 / 242,029 (Attorney Docket No. END6841USCIP2 / 100526CIP2), whose title is “SURGICAL STAPLER WITH FLOATING ANVIL”;
US Patent Application No. 13 / 242,066 (Attorney Docket No. END6841USCIP3 / 100526CIP3) having the title of the invention "CURVED END EFFECTOR FOR A STAPLING INSTRUMENT";
US Patent Application No. 13 / 242,086 (Attorney Docket No. END7020USNP / 110374), whose title is "STAPLE CARTRIDGE INCLUDING COLLAPSIBLE DECK";
US Patent Application No. 13 / 241,912 (Attorney Docket No. END7019USNP / 110375), whose title is “STAPLE CARTRIDGE INCLUDING COLLAPSIBLE DECK ARRANGEMENT”;
US patent application Ser. No. 13 / 241,922 (Attorney Docket No. END7013USNP / 110377), whose title is “SURGICAL STALPLE WITH STATIONARY STAPLE DRIVERS”;
US Patent Application No. 13 / 241,637 USNP3ITRUS3, ITUITLE TIMER, SUMITAL ACTUAL, MOTIONS, and US Patent Application No. 13 / 241,637 (Certificate No. END6888USNP3S US patent application Ser. No. 13 / 241,629, “EFFECTOR” (Attorney Docket No. END6888 USNP2 / 110379).

本願の出願人はまた、本願と同一出願日に出願され、各出願の全容を参照によって本明細書にそれぞれ援用するところの、下記に示す米国特許出願も所有するものである。すなわち、
発明の名称が「TISSUE THICKNESS COMPENSATOR COMPRISING A PLURALITY OF CAPSULES」である米国特許出願第__________号(代理人整理番号END6864USCIP1/100550CIP1);
発明の名称が「TISSUE THICKNESS COMPENSATOR COMPRISING A PLURALITY OF LAYERS」である米国特許出願第_________号(代理人整理番号END6864USCIP2/100550CIP2);
発明の名称が「EXPANDABLE TISSUE THICKNESS COMPENSATOR」である米国特許出願第__________号(代理人整理番号END6843USCIP2/100528CIP2)。
発明の名称が「TISSUE THICKNESS COMPENSATOR COMPRISING A RESERVOIR」である米国特許出願第__________号(代理人整理番号END6843USCIP3/100528CIP3);
発明の名称が「RETAINER ASSEMBLY INCLUDING A TISSUE THICKNESS COMPENSATOR」である米国特許出願第__________号(代理人整理番号END6843USCIP4/100528CIP4);
発明の名称が「TISSUE THICKNESS COMPENSATOR COMPRISING AT LEAST ONE MEDICAMENT」である米国特許出願第__________号(代理人整理番号END6843USCIP5/100528CIP5);
発明の名称が「TISSUE THICKNESS COMPENSATOR COMPRISING CONTROLLED RELEASE AND EXPANSION」である米国特許出願第__________号(代理人整理番号END6843USCIP6/100528CIP6);
発明の名称が「TISSUE THICKNESS COMPENSATOR COMPRISING FIBERS TO PRODUCE A RESILIENT LOAD」である米国特許出願第__________号(代理人整理番号END6843USCIP7/100528CIP7);
発明の名称が「TISSUE THICKNESS COMPENSATOR COMPRISING STRUCTURE TO PRODUCE A RESILIENT LOAD」である米国特許出願第__________号(代理人整理番号END6843USCIP8/100528CIP8);
発明の名称が「TISSUE THICKNESS COMPENSATOR COMPRISING RESILIENT MEMBERS」である米国特許出願第__________号(代理人整理番号END6843USCIP9/100528CIP9);
発明の名称が「METHODS FOR FORMING TISSUE THICKNESS COMPENSATOR ARRANGEMENTS FOR SURGICAL STAPLERS」である米国特許出願第__________号(代理人整理番号END6843USCIP10/100528CP10);
発明の名称が「TISSUE THICKNESS COMPENSATORS」である米国特許出願第__________号(代理人整理番号END6843USCIP11/100528CP11);
発明の名称が「LAYERED TISSUE THICKNESS COMPENSATOR」である米国特許出願第__________号(代理人整理番号END6843USCIP12/100528CP12);
発明の名称が「TISSUE THICKNESS COMPENSATORS FOR CIRCULAR SURGICAL STAPLERS」である米国特許出願第__________号(代理人整理番号END6843USCIP13/100528CP13);
発明の名称が「TISSUE THICKNESS COMPENSATOR COMPRISING CAPSULES DEFINING A LOW PRESSURE ENVIRONMENT」である米国特許出願第__________号(代理人整理番号END7100USNP/110601);
発明の名称が「TISSUE THICKNESS COMPENSATOR COMPRISED OF A PLURALITY OF MATERIALS」である米国特許出願第__________号(代理人整理番号END7101USNP/110602);
発明の名称が「MOVABLE MEMBER FOR USE WITH A TISSUE THICKNESS COMPENSATOR」である米国特許出願第__________号(代理人整理番号END7107USNP/110603);
発明の名称が「TISSUE THICKNESS COMPENSATOR COMPRISING A PLURALITY OF MEDICAMENTS」である米国特許出願第__________号(代理人整理番号END7102USNP/110604);
発明の名称が「TISSUE THICKNESS COMPENSATOR AND METHOD FOR MAKING THE SAME」である米国特許出願第__________号(代理人整理番号END7103USNP/110605);
発明の名称が「TISSUE THICKNESS COMPENSATOR COMPRISING CHANNELS」である米国特許出願第__________号(代理人整理番号END7104USNP/110606);及び
発明の名称が「DEVICES AND METHODS FOR ATTACHING TISSUE THICKNESS COMPENSATING MATERIALS TO SURGICAL STAPLING INSTRUMENTS」である米国特許出願第__________号(代理人整理番号END7106USNP/110608)である。
Applicants also own the following US patent applications filed on the same filing date as the present application, each of which is incorporated herein by reference in its entirety: That is,
US Patent Application No. _________ (Attorney Docket No. END6864USCIP1 / 100550CIP1) whose title is "TISSUE THICKNESS COMPENSATOR COMPRISING A PLULARITY OF CAPSULES";
US Patent Application No. ________ (Attorney Docket No. END6864USCIP2 / 100550CIP2) whose title is "TISSUE TICHKNESS COMPENSATOR COMPRISING A PLULARITY OF LAYERS";
US Patent Application No. __________ (Attorney Docket No. END6843USCIP2 / 100528CIP2) whose title is "EXPANDABLE TISSUE TICHKNESS COMPENSATOR".
US Patent Application No. _________ (Attorney Docket No. END6843USCIP3 / 100528CIP3) whose title is "TISSUE TICHKNESS COMPENSATOR COMPRISING A RESERVOIR";
US Patent Application No. _________ (Attorney Docket No. END6843USCIP4 / 100528CIP4) whose title is "RETAINER ASSEMBLY INCLUDING A TISSUE THICKNESS COMPENSATOR";
US Patent Application No. _________ (Attorney Docket No. END6843USCIP5 / 100528CIP5) whose title is "TISSUE THICKNESS COMPENSATOR COMPRISING AT Least ONE MEDICENT";
US Patent Application No. __________ (Attorney Docket No. END6843USCIP6 / 100528CIP6) whose title is "TISSUE THICKNESS COMPENSATOR COMPRISING CONTROLLED RELEASE AND EXPANSION";
US Patent Application No. __________ (Attorney Docket No. END6843USCIP7 / 100528CIP7) whose title is “TISSUE TICHKNESS COMPENSATOR COMPRISING FIBERS TO PRODUCE A RESILIENT LOAD”;
US Patent Application No. __________ (Attorney Docket No. END6843USCIP8 / 100528CIP8) whose title is "TISSUE TICHKNESS COMPENSATOR COMPRISING STRUCTURE TO PRODUCE A RESILIENT LOAD"
US Patent Application No. _________ (Attorney Docket No. END6843USCIP9 / 100528CIP9) whose title is "TISSUE THICKNESS COMPENSATOR COMPRISING RESILIENT MEMBERS";
US Patent Application No. _________ (Attorney Docket No. END6843USCIP10 / 100528CP) whose title is "METHODS FOR FORMING TISSUE TICHKNESS COMPENSATOR ARRANGEMENTS FOR SURGICAL STAPLERS"
US Patent Application No. __________ (Attorney Docket No. END6843USCIP11 / 100528CP11) whose title is "TISSUE TICHKNESS COMPENSATORS";
US Patent Application No. __________ (Attorney Docket No. END6843USCIP12 / 100528CP12) whose title is "LAYERED TISSUE THICKNESS COMPENSATOR";
US Patent Application No. _________ (Attorney Docket No. END6843USCIP13 / 100528CP13) whose title is "TISSUE THICKNESS COMPENSATORS FOR CIRCULAR SURGICAL STAPLERS";
US Patent Application No. _________ (Attorney Docket No. END7100USNP / 110601) whose title is “TISSUE TICHKNESS COMPENSATOR COMPRISING CAPSULES DEFING A LOW PRESURE ENVIRONMENT”;
US Patent Application No. __________ (Attorney Docket No. END7101USNP / 110602) whose title is "TISSUE THICKNESS COMPENSATOR COMPRISED OF A PLULARITY OF MATERIALS";
US Patent Application No. _________ (Attorney Docket No. END7107USNP / 110603) whose title is "MOVABLE MEMBER FOR USE WITH A TISSUE THICKNESS COMPENSATOR";
US Patent Application No. __________ (Attorney Docket No. END7102USNP / 110604) whose title is "TISSUE THICKNESS COMPENSATOR COMPRISING A PLURALITY OF MEDICAMETS";
US Patent Application No. _________ (Attorney Docket No. END7103USNP / 110605) whose title is “TISSUE TICHKNESS COMPENSATOR AND METHOD FOR MAKING THE SAME”;
In and entitled "DEVICES AND METHODS FOR ATTACHING TISSUE THICKNESS COMPENSATING MATERIALS TO SURGICAL STAPLING INSTRUMENTS"; entitled "TISSUE THICKNESS COMPENSATOR COMPRISING CHANNELS" is US Patent Application No. __________ No. (Attorney Docket No. END7104USNP / 110606) It is a U.S. Patent Application No. __________ (Attorney Docket No. END7106 USNP / 110608).

本明細書で開示される装置並びに方法の構造、機能、製造、及び使用の原理の全体的な理解が与えられるよう、特定の例示的実施形態について以下に説明する。これらの実施形態の1つ又は2つ以上の例を添付図面に示す。当業者であれば、本明細書に詳細に述べられ、添付の図面に示される装置及び方法は、非限定的かつ例示的な実施形態である点は理解されるであろう。1つの例示的な実施形態との関連において例示又は説明される特徴は、他の実施形態の特徴と組み合わせることが可能である。そのような改変及び変形は本発明の範囲に含まれるものとする。  Certain exemplary embodiments are described below to provide a general understanding of the principles of structure, function, manufacture, and use of the devices and methods disclosed herein. One or more examples of these embodiments are illustrated in the accompanying drawings. Those skilled in the art will appreciate that the devices and methods described in detail herein and shown in the accompanying drawings are non-limiting and exemplary embodiments. Features illustrated or described in the context of one exemplary embodiment can be combined with features of other embodiments. Such modifications and variations are intended to be included within the scope of the present invention.

ある物品又は製品を作製、生成、又は他の何らかの形態で製造するための、本明細書において開示又は特許請求される方法のいずれを用いることによっても、対象となる物品又は製品の全体若しくは部分を作製、生成、又は他の何らかの形態で製造することが可能であり、このような方法を用いて、対象となる物品又は製品の部分が作製、生成、又は他の何らかの態様で製造される場合、物品又は製品の残りの部分は、対象となる物品又は製品を作製、生成、又は他の何らかの態様で製造するために開示又は特許請求される他の方法のいずれかを用いることを含むあらゆる方法によって製造することが可能であり、そのようにして製造された異なる部分は任意の方法で組み合わせることが可能である。同様に、本明細書において開示又は特許請求されるすべての物品又は製品は、単独で、又はそれが適合性を有する本明細書において開示される他の任意の物品又は製品と組み合わせるか若しくはその一体の部分として存在しうるものである。したがって、ある物品、製品又は方法との関連で図示又は述べられる特定の機能、構造、又は特徴は、その全体又は部分において、1又は2以上の他の適合する物品、製品又は方法の機能、構造、又は特徴と制限なく組み合わせることが可能である。そのような改変及び変形は本発明の範囲に含まれるものとする。  By using any of the methods disclosed or claimed herein to make, produce, or manufacture some article or product in some other form, all or part of the article or product of interest Can be made, produced, or manufactured in some other form, and using such methods, when the article or product part of interest is made, produced, or manufactured in some other manner, The remaining part of the article or product is by any method, including using any of the other methods disclosed or claimed to make, produce, or manufacture in any other manner the subject article or product. It is possible to manufacture and the different parts thus manufactured can be combined in any way. Similarly, all articles or products disclosed or claimed herein may be combined alone or in combination with any other article or product disclosed herein with which it is compatible. Can exist as a part of Thus, a particular function, structure, or feature illustrated or described in the context of an article, product, or method may, in whole or in part, be a function, structure of one or more other suitable articles, products, or methods. Or can be combined with features without limitation. Such modifications and variations are intended to be included within the scope of the present invention.

特定の図面を参照するにせよ、参照しないにせよ、本発明の特定の実施形態、又は特定の物品、製品若しくは方法が特定の構造、特徴、又は機能を有しうることが本明細書において開示される場合、このことは、これらの構造、特徴、又は機能が、対象となる物品、製品、又は方法において任意の適合する組み合わせで実施されうることは読者により理解されるところであろう。詳細には、多くの任意構造、特徴、又は機能のこのような開示は、これらの構造、特徴又は機能の組み合わせのすべてを、互いの代替物として開示される構造、特徴、又は機能の場合を除いて開示するためのものでもあることは理解されたい。このような構造、特徴、又は機能が互いの代替物として開示される場合、これはこれらの代替物を互いの代用物として開示するものと理解されたい。  It is disclosed herein that a particular embodiment of the present invention or a particular article, product, or method may have a particular structure, feature, or function, with or without reference to a particular drawing. If so, this will be understood by the reader that these structures, features, or functions may be implemented in any suitable combination in the subject article, product, or method. In particular, such disclosure of a number of arbitrary structures, features or functions is intended to cover all combinations of these structures, features or functions in the case of structures, features or functions disclosed as alternatives to each other It should be understood that this is also for disclosure purposes. Where such structures, features, or functions are disclosed as alternatives to each other, it should be understood that these alternatives are disclosed as alternatives to each other.

「近位」及び「遠位」なる用語は、本明細書において、外科用器具のハンドル部分を操作する医師を基準として用いられる。「近位」なる用語は、医師に最も近い部分を指し、「遠位」という用語は、臨床医から離れた位置にある部分を指す。便宜上、また分かりやすさのため、「垂直」、「水平」、「上」、「下」といった空間的用語は、本明細書では、図面に対して使用される場合がある点は更に理解されるであろう。しかしながら、外科用器具は、多くの向き及び位置で使用されるものであり、これらの用語は、限定的及び/又は絶対的なものであることを意図するものではない。  The terms “proximal” and “distal” are used herein with reference to the physician operating the handle portion of the surgical instrument. The term “proximal” refers to the portion closest to the physician and the term “distal” refers to the portion that is remote from the clinician. For convenience and clarity, it is further understood that spatial terms such as “vertical”, “horizontal”, “top”, “bottom” may be used herein with respect to the drawings. It will be. However, surgical instruments are used in many orientations and positions, and these terms are not intended to be limiting and / or absolute.

腹腔鏡下及び低侵襲の外科手術を行うための様々な例示的な装置及び方法が提供される。しかしながら、本明細書で開示する様々な方法及び装置は、開放的外科手術と関連するものを含む多くの外科手術及び用途で用いられうる点は読者には直ちに理解されよう。本明細書の「発明を実施するための形態」を読み進めることで、読者は、本明細書に開示される様々な器具が、例えば、天然の開口部を通じて、組織に形成された切開又は穿刺穴を通じてなど、任意の方法で体内に挿入されうることを更に認識するであろう。これらの器具の作用部分すなわちエンドエフェクタ部分は、患者の体内に直接に挿入することもでき、又は、外科用器具のエンドエフェクタ及び長尺状シャフトを進めることが可能な作用通路を有するトロカールのようなアクセス装置を通じて挿入することもできる。  Various exemplary devices and methods are provided for performing laparoscopic and minimally invasive surgery. However, the reader will readily appreciate that the various methods and devices disclosed herein can be used in many surgical procedures and applications, including those associated with open surgery. By reading the “Mode for Carrying Out the Invention” herein, the reader will be able to see that the various instruments disclosed herein can be incised or punctured into tissue, eg, through natural openings. It will further be appreciated that it can be inserted into the body in any way, such as through a hole. The working or end effector portions of these instruments can be inserted directly into the patient's body or like a trocar having a working channel through which the surgical instrument end effector and elongate shaft can be advanced. It can also be inserted through any access device.

同様の参照符号が複数の図を通じて同様の構成要素を示している図面に戻ると、図1は、いくつかの固有の効果を実施することが可能な外科用器具10を示している。外科用ステープル留め器具10は、これに動作可能に取り付けられる、様々な形状及び大きさのエンドエフェクタ12を操作及び/又は作動させるように設計されている。図1〜1Eにおいて、エンドエフェクタ12は、エンドエフェクタ12の下側ジョー13を形成する長尺状溝部材14を有している。長尺状溝部材14は、「移植式」ステープル留めカートリッジ30を支持するように構成され、またエンドエフェクタ12の上側ジョー15として機能するアンビル20を動作可能に支持している。  Returning to the drawings, wherein like reference numerals indicate like components throughout the several views, FIG. 1 shows asurgical instrument 10 capable of performing some inherent effects.Surgical stapling instrument 10 is designed to manipulate and / or actuateend effectors 12 of various shapes and sizes operably attached thereto. 1E, theend effector 12 has along groove member 14 that forms a lower jaw 13 of theend effector 12. Theelongate groove member 14 is configured to support an “implantable” staplingcartridge 30 and operatively supports ananvil 20 that functions as the upper jaw 15 of theend effector 12.

長尺状溝部材14は、300 & 400シリーズ、17−4 & 17−7ステンレス鋼、チタンなどから作製されてもよく、離間した側壁16が形成されてもよい。アンビル20は、例えば、300 & 400シリーズ、17−4 & 17−7ステンレス鋼、チタンなどから作製されてもよく、内部に形成された複数のステープル成形ポケット23を有する、一般的に22として示される、ステープル成形下面を有しうる。図1B〜1Eを参照されたい。更に、アンビル20は、近位方向に突出する二叉の傾斜アセンブリ24を有している。アンビルピン26が傾斜アセンブリ24の各側壁から突出して長尺状溝部材14の側壁16内の対応するスロット又は開口部18内に受容されており、長尺状溝部材14に対する可動又は枢動可能な取り付けが容易となっている。  Theelongate groove member 14 may be made of 300 & 400 series, 17-4 & 17-7 stainless steel, titanium, or the like, and may be formed with spaced side walls 16.Anvil 20 may be made of, for example, 300 & 400 series, 17-4 & 17-7 stainless steel, titanium, etc., and has a plurality ofstaple forming pockets 23 formed therein, generally indicated as 22. And may have a staple-formed lower surface. See Figures 1B-1E. In addition, theanvil 20 has a bifurcatedramp assembly 24 that projects proximally. Ananvil pin 26 projects from each side wall of theramp assembly 24 and is received in a corresponding slot or opening 18 in the side wall 16 of theelongate groove member 14 and is movable or pivotable relative to theelongate groove member 14. Mounting is easy.

様々な形態の移植式ステープルカートリッジを、本明細書において開示される外科用器具とともに使用することができる。特定のステープルカートリッジ構成及び構造について、以下で更に詳細に述べる。しかしながら、図1Aには、移植式ステープルカートリッジ30が示されている。ステープルカートリッジ30は、内部に未成形の金属ステープル32が支持されている、例えば、酸化再生セルロース(「ORC」)又は生体吸収性発泡材などの圧縮可能な止血材料で形成された本体部分31を有している。導入及び配置過程においてステープルが影響を受け、止血材料が活性化されることを防ぐため、カートリッジ全体を、生分解性フィルム38、例えば、商標名PDS(登録商標)で販売されるポリジオキサノンフィルム、又はポリグリセロールセバケート(PGS)フィルム、又はPGA(商品名Vicrylで販売されるポリグリコール酸)、PCL(ポリカプロラクトン)、PLA若しくはPLLA(ポリ乳酸)、PHA(ポリヒドロキシアルカノエート)、PGCL(商品名Monocrylで販売されるポリグレカプロン25)、又は破裂するまでは不透過性であるPGA、PCL、PLA、PDSの複合材料で形成された他の生分解性フィルムでコーティング又は被覆することができる。ステープルカートリッジ30の本体31は、図示されるように、長尺状溝部材14内に取り外し可能に支持されるような大きさであり、これにより、アンビル20がステープルカートリッジ30と成形接触する際に、内部の各ステープル32が、アンビル内の対応するステープル成形ポケット23と整列される。  Various forms of implantable staple cartridges can be used with the surgical instruments disclosed herein. Specific staple cartridge configurations and structures are described in further detail below. However, in FIG. 1A, animplantable staple cartridge 30 is shown. Thestaple cartridge 30 includes abody portion 31 formed of a compressible hemostatic material, such as oxidized regenerated cellulose (“ORC”) or bioabsorbable foam, with anunformed metal staple 32 supported therein. Have. In order to prevent staples from being affected and activation of the hemostatic material during the introduction and placement process, the entire cartridge may bebiodegradable film 38, such as polydioxanone film sold under the trade name PDS®. Or polyglycerol sebacate (PGS) film, or PGA (polyglycolic acid sold under the trade name Vicryl), PCL (polycaprolactone), PLA or PLLA (polylactic acid), PHA (polyhydroxyalkanoate), PGCL ( Polygrecapron sold under the trade name Monocryl 25) or other biodegradable film made of PGA, PCL, PLA, PDS composites that are impervious until rupture may be coated or coated it can. Themain body 31 of thestaple cartridge 30 is sized to be removably supported within theelongated groove member 14 as shown, so that theanvil 20 is in molding contact with thestaple cartridge 30. Eachinternal staple 32 is aligned with a correspondingstaple forming pocket 23 in the anvil.

使用時には、エンドエフェクタ12が標的組織に隣接して配置されたなら、エンドエフェクタ12を操作して、ステープルカートリッジ30の上面36と、アンビル20のステープル成形表面22との間に、標的組織を捕捉又はクランプ締めする。ステープル32は、アンビル20を長尺状溝部材14にほぼ平行な経路で動かし、ステープル成形表面22、より詳細にはその内部のステープル成形ポケット23を、ステープルカートリッジ30の上面36とほぼ同時に接触させることによって成形される。アンビル20がステープルカートリッジ30内に動き続けると、ステープル32の脚34がアンビル20の対応するステープル成形ポケット23と接触し、ステープル成形ポケット23は、ステープル脚34を折り曲げてステープル32を「B字型」に成形するように機能する。アンビル20が長尺状溝部材14に更に近づく運動により、ステープル32が更に圧縮され、所望の最終的に成形された高さ「FF」へと成形される。  In use, once theend effector 12 is positioned adjacent to the target tissue, theend effector 12 is manipulated to capture the target tissue between thetop surface 36 of thestaple cartridge 30 and thestaple forming surface 22 of theanvil 20. Or clamp it.Staples 32move anvil 20 in a path substantially parallel to elongategroove member 14 to bringstaple forming surface 22, and more particularly staple formingpocket 23 therein, into contact withtop surface 36 ofstaple cartridge 30 at substantially the same time. It is formed by. As theanvil 20 continues to move into thestaple cartridge 30, thelegs 34 of thestaples 32 contact the correspondingstaple forming pockets 23 of theanvil 20, and thestaple forming pockets 23 fold thestaple legs 34 to make thestaples 32 “B-shaped”. ”To function. The movement of theanvil 20 closer to theelongated groove member 14 further compresses thestaple 32 and forms it to the desired final formed height “FF”.

上記のステープル成形プロセスが、図1B〜1Eに一般的に示されている。例えば図1Bは、アンビル20と移植式ステープルカートリッジ30の上面36との間に標的組織「T」が位置した状態のエンドエフェクタ12を示している。図1Cは、アンビル20の初期クランプ締め位置を例示し、アンビル20は標的組織「T」の上に閉じられて、アンビル20とステープルカートリッジ30の上面36との間で標的組織「T」をクランプ締めしている。図1Dは、初期のステープル成形状態を示しており、アンビル20はステープルカートリッジ30を圧縮しはじめ、これによりステープル32の脚34は、アンビル20内のステープル成形ポケット23によって成形され始めている。図1Eは、分かりやすくする目的でアンビル20が取り除かれた、標的組織「T」を貫通したその最終的な成形状態にあるステープル32を示している。ステープル32が成形され、標的組織「T」に締結された時点で、外科医がアンビル20を開位置へと動かすとエンドエフェクタ12が患者から引き抜かれる間、カートリッジ本体31及びステープル32は標的組織に固定されたままとなる。エンドエフェクタ12は、2つのジョー13、15が互いにクランプ締めされる際にすべてのステープルを同時に成形する。残りの「圧し潰された」本体材料31は、止血剤(ORC)及びステープル列補強部(PGA、PDS又は上記の他のいずれかのフィルム組成物38)の両方として機能する。更に、ステープル32は、成形時にカートリッジ本体31を離れることはないため、ステープル32が成形時に不適切に成形される可能性が最小に抑えられる。本明細書において使用する「移植式」なる用語は、ステープル以外に、ステープルを支持するカートリッジ本体の材料も患者の体内に留まり、最終的に患者の身体に吸収されうることを意味する。このような移植式ステープルカートリッジは、発射された後に全体がエンドエフェクタ内に位置したままである従来のカートリッジの構成とは区別される。  The above staple forming process is generally illustrated in FIGS. For example, FIG. 1B shows theend effector 12 with the target tissue “T” positioned between theanvil 20 and thetop surface 36 of theimplantable staple cartridge 30. FIG. 1C illustrates the initial clamping position of theanvil 20, where theanvil 20 is closed over the target tissue “T” to clamp the target tissue “T” between theanvil 20 and thetop surface 36 of thestaple cartridge 30. It is tightened. FIG. 1D shows an initial staple forming state where theanvil 20 begins to compress thestaple cartridge 30 such that thelegs 34 of thestaples 32 are being formed by thestaple forming pockets 23 in theanvil 20. FIG. 1E shows the staple 32 in its final molded state through the target tissue “T” with theanvil 20 removed for clarity. Once thestaple 32 is formed and fastened to the target tissue “T”, thecartridge body 31 and the staple 32 are secured to the target tissue while theend effector 12 is withdrawn from the patient when the surgeon moves theanvil 20 to the open position. Will remain. Theend effector 12 forms all the staples simultaneously when the two jaws 13, 15 are clamped together. The remaining “crushed”body material 31 functions as both a hemostatic agent (ORC) and staple row reinforcement (PGA, PDS or anyother film composition 38 described above). Furthermore, since the staple 32 does not leave thecartridge body 31 during molding, the possibility that the staple 32 is improperly molded during molding is minimized. As used herein, the term “implantable” means that in addition to staples, the material of the cartridge body that supports the staples can also remain in the patient's body and eventually be absorbed by the patient's body. Such implantable staple cartridges are distinct from conventional cartridge configurations that remain entirely within the end effector after firing.

様々な実現形態において、エンドエフェクタ12は、ハンドルアセンブリ100から突出する長尺状シャフトアセンブリ40と連結されるように構成される。エンドエフェクタ12(閉鎖時)及び長尺状シャフトアセンブリ40は、同様の断面形状を有してもよく、トロカール管又は別の形状のアクセス器具内の作業通路を動作可能に通過するようなサイズとすることができる。本明細書において使用する「動作可能に通過する」なる用語は、エンドエフェクタ及び長尺状シャフトアセンブリの少なくとも一部を通路又は管路の開口部を通じて挿入するか、又は通過させることができ、外科用ステープル留め手術を完了するために必要に応じて内部で操作することができることを意味する。エンドエフェクタ12のジョー13及び15は、閉位置にある場合に、概ね円形の横断面形状をエンドエフェクタに与えることができ、その形状により、エンドエフェクタが円形の通路/開口部を通り抜けることが容易となる。しかしながら、本発明のエンドエフェクタ及び長尺状シャフトアセンブリに、非円形の横断面形状を有するアクセス通路及び開口部を通過することができる他の横断面形状を与えることも考えられる。したがって、閉じたエンドエフェクタの横断面の全体的な大きさは、エンドエフェクタを通すための通路又は開口部の大きさと関連する。したがって、あるエンドエフェクタを例えば「5mmの」エンドエフェクタと呼ぶ場合があるが、これは、直径が少なくとも約5mmである開口部をそのエンドエフェクタが動作可能に通り抜けうることを意味する。  In various implementations, theend effector 12 is configured to be coupled to anelongate shaft assembly 40 that protrudes from thehandle assembly 100. End effector 12 (when closed) andelongate shaft assembly 40 may have similar cross-sectional shapes and are sized to operably pass through a working channel in a trocar tube or other shaped access device. can do. As used herein, the term “operably passing” means that at least a portion of the end effector and elongate shaft assembly can be inserted or passed through a passage or conduit opening, This means that it can be manipulated internally as needed to complete the stapling operation. The jaws 13 and 15 of theend effector 12 can provide the end effector with a generally circular cross-sectional shape when in the closed position, which facilitates the end effector through the circular passage / opening. It becomes. However, it is also conceivable to provide the end effector and elongate shaft assembly of the present invention with other cross-sectional shapes that can pass through access passages and openings having a non-circular cross-sectional shape. Thus, the overall size of the cross-section of the closed end effector is related to the size of the passage or opening for passing the end effector. Thus, an end effector may be referred to as, for example, a “5 mm” end effector, which means that the end effector can operatively pass through an opening that is at least about 5 mm in diameter.

長尺状シャフトアセンブリ40は、閉位置にあるエンドエフェクタ12の外径とほぼ同じ外径を有しうる。例えば、5mmのエンドエフェクタは、5mmの断面直径を有する長尺状シャフトアセンブリ40と連結することができる。しかしながら、本発明の詳細な説明を読み進めるにつれ、本発明は、異なるサイズのエンドエフェクタとともに効果的に使用されうる点が明らかとなろう。例えば、10mmのエンドエフェクタは、5mmの断面直径を有する長尺状シャフトと連結することができる。逆に、10mm以上のアクセス開口部又は経路が与えられる用途において、長尺状シャフトアセンブリ40は10mm(又はそれ以上)の断面直径を有してもよいが、5mm又は10mmのエンドエフェクタを作動させることも可能である。したがって、外側シャフト40は、これに取り付けられる閉じたエンドエフェクタ12の外径と同じか又はこれと異なる外径を有することができる。  Theelongate shaft assembly 40 can have an outer diameter that is substantially the same as the outer diameter of theend effector 12 in the closed position. For example, a 5 mm end effector can be coupled with anelongate shaft assembly 40 having a 5 mm cross-sectional diameter. However, as the detailed description of the present invention proceeds, it will become apparent that the present invention can be effectively used with different sized end effectors. For example, a 10 mm end effector can be coupled to an elongate shaft having a 5 mm cross-sectional diameter. Conversely, in applications where an access opening or path of 10 mm or more is provided, theelongate shaft assembly 40 may have a cross-sectional diameter of 10 mm (or more), but actuates a 5 mm or 10 mm end effector. It is also possible. Thus, theouter shaft 40 can have an outer diameter that is the same as or different from the outer diameter of theclosed end effector 12 attached thereto.

図に示されるように、長尺状シャフトアセンブリ40は、ハンドルアセンブリ100からほぼ真っ直ぐ遠位方向に延びて長手方向軸A−Aを規定する。例えば、長尺状シャフトアセンブリ40は、約229〜406ミリメートル(9〜16インチ)の長さとすることができる。しかしながら、長尺状シャフトアセンブリ40は他の長さで与えられてもよく、又はその内部に関節を有してもよく、又は下記に詳しく述べるようにシャフト又はハンドルアセンブリの他の部分に対してエンドエフェクタ12の関節運動を容易にするような構成とすることができる。長尺状シャフトアセンブリ40は、ハンドルアセンブリ100からエンドエフェクタ12に延びる脊柱部材50を有している。エンドエフェクタ12の長尺状溝部材14の近位端は、そこから突出する一対の保持トラニオン17を有しており、保持トラニオン17は、エンドエフェクタ12を長尺状シャフトアセンブリ40と取り外し可能に連結することを可能にするために脊柱部材50の遠位端に設けられた対応するトラニオン開口部又はクレードル52に受容されるサイズとなっている。脊柱部材50は、例えば、6061又は7075アルミニウム、ステンレス鋼、チタンなどから作製することができる。  As shown, theelongate shaft assembly 40 extends generally straight distally from thehandle assembly 100 to define a longitudinal axis AA. For example, theelongate shaft assembly 40 may be approximately 229 to 406 millimeters (9 to 16 inches) long. However, theelongate shaft assembly 40 may be provided in other lengths, or may have a joint therein, or relative to other portions of the shaft or handle assembly as described in detail below. Theend effector 12 can be configured to facilitate articulation. Theelongate shaft assembly 40 includes aspinal member 50 that extends from thehandle assembly 100 to theend effector 12. The proximal end of theelongated groove member 14 of theend effector 12 has a pair of retainingtrunnions 17 projecting therefrom, the retainingtrunnions 17 allowing theend effector 12 to be removed from theelongated shaft assembly 40. It is sized to be received in a corresponding trunnion opening orcradle 52 provided at the distal end of thespinal column member 50 to allow connection. Thespinal member 50 can be made from, for example, 6061 or 7075 aluminum, stainless steel, titanium, or the like.

ハンドルアセンブリ100は、組み立ての目的のために2以上の部品で作製されうるピストルグリップ型のハウジングを有している。例えば、図示されるハンドルアセンブリ100は、ポリマー又はプラスチック部材から成形又は他の方法で作製された、互いに嵌合するように設計された右側ケース部材102及び左側ケース部材を有している(図示せず)。このようなケース部材は、その内側に成形又は他の方法により形成されたスナップ機構、ペグ、及びソケットにより、かつ/又は接着剤、ねじなどによって互いに取り付けることができる。脊椎部材50はフランジ56が形成された近位端54を有している。フランジ56は、各ケース部材102、104から内側に突出する嵌合リブ108によって形成される溝106内に回転可能に支持されるような構成となっている。このような構成は、脊柱部材50のハンドルアセンブリ100への取り付けを促す一方で脊柱部材50がハンドルアセンブリ100に対して長手方向軸A−Aを中心として360°の経路で回転することを可能にするものである。  Thehandle assembly 100 has a pistol grip type housing that can be made of two or more parts for assembly purposes. For example, the illustratedhandle assembly 100 has aright case member 102 and a left case member designed to fit together, molded or otherwise made from a polymer or plastic member (not shown). ) Such case members may be attached to each other by snap mechanisms, pegs and sockets molded or otherwise formed therein and / or by adhesives, screws, and the like. Thespinal member 50 has a proximal end 54 with aflange 56 formed thereon. Theflange 56 is configured to be rotatably supported in a groove 106 formed by a fitting rib 108 protruding inward from eachcase member 102, 104. Such a configuration facilitates attachment of thespine member 50 to thehandle assembly 100 while allowing thespine member 50 to rotate in a 360 ° path about the longitudinal axis AA relative to thehandle assembly 100. To do.

図1に更に見られるように、脊柱部材50は、ハンドルアセンブリ100に回転可能に取り付けられた取り付けブッシング60を通過し、これによって支持されている。取り付けブッシング60は、ハンドルアセンブリ100のノーズ部分101をそれらの間に回転可能に受容するように構成された回転溝65を形成する近位フランジ62と遠位フランジ64とを有している。このような構成は、取り付けブッシング60がハンドルアセンブリ100に対して長手方向軸A−Aを中心として回転することを可能とするものである。脊柱部材50は、脊柱ピン66によって取り付けブッシング60に回転不能にピン留めされている。更に、取り付けブッシング60には回転ノブ70が取り付けられている。例えば、回転ノブ70は、取り付けブッシング60の一部を内部に受容するような大きさに構成された中空の取り付けフランジ部分72を有する。回転ノブ70は、例えば、ガラス又は炭素充填ナイロン、ポリカーボネート、Ultem(登録商標)などから作製されてもよく、また同様に脊柱ピン66によって取り付けブッシング60に取り付けられる。更に、内側に突出する保持フランジ74は、取り付けフランジ部分72に形成され、取り付けブッシング60に形成された径方向溝68内に延びるように構成されている。したがって、医師は、回転ノブ70を把持し、これをハンドルアセンブリ100に対して回転させることによって、脊柱部材50(及びこれに取り付けられたエンドエフェクタ12)を長手方向軸A−Aを中心として360°の経路で回転させることができる。  As further seen in FIG. 1, thespinal member 50 passes through and is supported by a mountingbushing 60 that is rotatably mounted to thehandle assembly 100. The mountingbushing 60 has a proximal flange 62 and a distal flange 64 that form arotational groove 65 configured to rotatably receive the nose portion 101 of thehandle assembly 100 therebetween. Such a configuration allows the mountingbushing 60 to rotate relative to thehandle assembly 100 about the longitudinal axis A-A.Spinal member 50 is non-rotatably pinned to mountingbushing 60 byspinal pin 66. Further, arotation knob 70 is attached to theattachment bushing 60. For example, therotary knob 70 has a hollow mountingflange portion 72 sized to receive a portion of the mountingbushing 60 therein. Therotary knob 70 may be made of, for example, glass or carbon-filled nylon, polycarbonate, Ultem®, etc., and is similarly attached to the mountingbushing 60 by aspinal pin 66. Further, an inwardly projecting retainingflange 74 is formed in the mountingflange portion 72 and is configured to extend into aradial groove 68 formed in the mountingbushing 60. Accordingly, the physician grasps therotation knob 70 and rotates it relative to thehandle assembly 100 to cause the spine member 50 (and theend effector 12 attached thereto) to 360 about the longitudinal axis AA. It can be rotated by a path of °.

アンビル20は、アンビルばね21及び/又は他の付勢機構によって開位置に維持されている。アンビル20は、一般的に109として示される発射システムによって、開位置から異なる閉位置又はクランプ締め位置及び発射位置へと選択的に動かすことができる。発射システム109は、「発射部材」110を有しており、これは異なる実施形態において、中空発射管110を含む。中空発射管110は、脊柱部材50上で軸方向に可動であり、したがって長尺状シャフトアセンブリ40の外部を形成する。発射管110は、ポリマー、又は他の好適な材料から作製されてもよく、発射システム109の発射ヨーク114に取り付けられる近位端を有しうる。例えば、発射ヨーク114は、発射管110の近位端にオーバーモールドすることができる。しかしながら、他の締結具機構を用いることもできる。  Theanvil 20 is maintained in the open position by ananvil spring 21 and / or other biasing mechanism.Anvil 20 can be selectively moved from an open position to a different closed or clamping position and firing position by a firing system, generally designated 109.Firing system 109 includes a “firing member” 110, which in a different embodiment includes ahollow firing tube 110. Thehollow firing tube 110 is axially movable on thespine member 50 and thus forms the exterior of theelongate shaft assembly 40. The firingtube 110 may be made from a polymer or other suitable material and may have a proximal end attached to the firing yoke 114 of thefiring system 109. For example, the firing yoke 114 can be overmolded to the proximal end of the firingtube 110. However, other fastener mechanisms can be used.

図1に見られるように、発射ヨーク114は、ハンドルアセンブリ100内で軸方向に動くように構成された、支持カラー120内で回転可能に支持されうる。支持カラー120は、それぞれ、右側ケース部材及び左側ケース部材に形成されるフィンスロット内に摺動可能に受容されるようなサイズに構成された一対の横方向に延びるフィンを有している。したがって、支持カラー120は、ハンドルハウジング100内において軸方向に摺動可能である一方で、発射ヨーク114及び発射管110がこれに対して長手方向軸A−Aを中心として回転することを可能とする。本発明によれば、長手方向スロットが発射管110を通るように設けられていることにより、脊柱ピン66が内部を通じて脊柱部材50内に延びることを可能とする一方で、脊柱部材50上における発射管110の軸方向の移動を促す。  As can be seen in FIG. 1, the firing yoke 114 can be rotatably supported within a support collar 120 that is configured to move axially within thehandle assembly 100. Each of the support collars 120 has a pair of laterally extending fins sized to be slidably received within fin slots formed in the right and left case members. Thus, the support collar 120 is slidable axially within thehandle housing 100 while allowing the firing yoke 114 and thefiring tube 110 to rotate about the longitudinal axis AA. To do. In accordance with the present invention, a longitudinal slot is provided through the firingtube 110 to allow thespinal pin 66 to extend through the interior into thespinal member 50 while firing on thespinal member 50. The axial movement of thetube 110 is urged.

発射システム109は更に、脊柱部材50上の発射管110の軸方向の運動を制御するように機能する発射トリガ130を有している。図1を参照されたい。発射管110をこのように遠位方向に軸方向に移動させて発射のためにアンビル20と相互作用させることをここでは「発射運動」と称する。図1に見られるように、発射トリガ130は枢動ピン132によってハンドルアセンブリ100に可動、又は枢動可能に連結されている。発射トリガ130を、非作動の「開」位置又は始点位置へとハンドルアセンブリ100のピストルグリップ部分107から離れる方向に付勢するためにトーションばね135が利用されている。図1に見られるように、発射トリガ130は、支持カラー120に可動に取り付けられた(ピン留めされた)発射リンク136に可動に取り付けられた(ピン留めされた)上側部分134を有している。したがって、始点位置(図1)から、ハンドルアセンブリ100のピストルグリップ部分107に隣接する終点位置に向かう発射トリガ130の運動によって、発射ヨーク114及び発射管110は遠位方向「DD」に動く。発射トリガ130の、ハンドルアセンブリ100のピストルグリップ部分107から離れる方向への運動(トーションばね135の付勢による)により、発射ヨーク114及び発射管110は、脊柱部材50上で近位方向「PD」に動く。  Thefiring system 109 further includes afiring trigger 130 that functions to control the axial movement of the firingtube 110 on thespine member 50. Please refer to FIG. This movement of the firingtube 110 in the distal direction in the axial direction and interacting with theanvil 20 for firing is referred to herein as “firing motion”. As can be seen in FIG. 1, the firingtrigger 130 is movably or pivotally coupled to thehandle assembly 100 by apivot pin 132. Atorsion spring 135 is utilized to bias the firingtrigger 130 away from thepistol grip portion 107 of thehandle assembly 100 to an inoperative “open” or starting position. As seen in FIG. 1, the firingtrigger 130 has anupper portion 134 movably attached (pinned) to a firing link 136 movably attached (pinned) to the support collar 120. Yes. Accordingly, movement of the firingtrigger 130 from the starting position (FIG. 1) toward the ending position adjacent to thepistol grip portion 107 of thehandle assembly 100 causes the firing yoke 114 and thefiring tube 110 to move in the distal direction “DD”. Movement of the firingtrigger 130 away from thepistol grip portion 107 of the handle assembly 100 (by biasing the torsion spring 135) causes the firing yoke 114 and thefiring tube 110 to move in a proximal direction “PD” on thespinal member 50. It moves to.

本発明は、異なるサイズ及び構成の移植式ステープルカートリッジとともに使用することができる。例えば、外科用器具10は、第1の発射アダプタ140とともに使用される場合、移植式ステープルカートリッジ30を支持する長さ約20mm(又は他の長さ)の5mmエンドエフェクタ12とともに使用することができる。このようなエンドエフェクタのサイズは、例えば、比較的微細な切開及び血管切断を行ううえで特に好適である。しかしながら、下記により詳細に述べるように、外科用器具10は、例えば、第1の発射アダプタ140を第2の発射アダプタと交換することにより、他の大きさのエンドエフェクタ及びステープルカートリッジとともに用いることもできる。更なる代替例として、長尺状シャフトアセンブリ40を、少なくとも1つの形状又はサイズのエンドエフェクタに取り付けられるように構成することもできる。  The present invention can be used with implantable staple cartridges of different sizes and configurations. For example, thesurgical instrument 10 when used with thefirst firing adapter 140 can be used with a 5mm end effector 12 about 20 mm (or other length) that supports theimplantable staple cartridge 30. . Such a size of the end effector is particularly suitable for performing a relatively fine incision and blood vessel cutting, for example. However, as will be described in more detail below, thesurgical instrument 10 may be used with other sizes of end effectors and staple cartridges, for example, by replacing thefirst firing adapter 140 with a second firing adapter. it can. As a further alternative, theelongate shaft assembly 40 can be configured to attach to an end effector of at least one shape or size.

次に、エンドエフェクタ12を脊柱部材50に着脱可能に連結する一方法について説明する。この連結プロセスは、長尺状溝部材14上の保持トラニオン17を、脊柱部材50のトラニオンクレードル52内に挿入することにより開始される。その後、外科医が、発射トリガ130を、ハウジングアセンブリ100のピストルグリップ107の方向に前進させ、発射管110及び第1の発射アダプタ140を、長尺状溝部材14の近位端部分47上で遠位方向に前進させるとトラニオン17がそれぞれのクレードル52内に保持される。トラニオン17上の第1の発射アダプタ140のこの位置は、本明細書において「連結位置」と称される。本発明は、エンドエフェクタ12が脊柱部材50に取り付けられた後、発射トリガ130を定位置にロックするために、エンドエフェクタロックアセンブリを有してもよい。  Next, one method for detachably connecting theend effector 12 to thespine member 50 will be described. This coupling process is initiated by inserting the retainingtrunnion 17 on theelongated groove member 14 into thetrunnion cradle 52 of thespine member 50. Thereafter, the surgeon advances the firingtrigger 130 in the direction of thepistol grip 107 of thehousing assembly 100, and moves the firingtube 110 and thefirst firing adapter 140 far over the proximal end portion 47 of theelongated groove member 14. Thetrunnions 17 are held in therespective cradles 52 when advanced in the lateral direction. This position of thefirst firing adapter 140 on thetrunnion 17 is referred to herein as a “coupled position”. The present invention may have an end effector lock assembly to lock thefiring trigger 130 in place after theend effector 12 is attached to thespinal member 50.

より詳細には、エンドエフェクタロックアセンブリ160の一実施形態は、発射トリガ130の上側部分134内に可動に支持された保持ピン162を有する。上記に述べたように、発射管110は最初に、第1の発射アダプタ140がエンドエフェクタ12の保持トラニオン17を脊柱部材50のトラニオンクレードル52内に保持する連結位置へと、遠位方向に前進されなくてはならない。外科医は、発射トリガ130を始点位置からピストルグリップ107の方向に引くことによって、発射アダプタ140を連結位置へと遠位方向に前進させる。発射トリガ130が最初に作動されると、保持ピン162は、発射管110が第1の発射アダプタ140を連結位置まで前進させるまで遠位方向に動き、その時点で保持ピン162は、ケース部材内に形成されたロックキャビティ164内に付勢される。場合により、保持ピン162がロックキャビティ164に入るとき、ピン162は、耳に聞こえるような「カチッ」という音、又は他の音を生じてもよく、またエンドエフェクタ12が脊柱部材50に「ロックされた」という触覚的指示を外科医に与えることができる。加えて、外科医は、保持ピン162をロックキャビティ164から外れるように意図的に付勢しないかぎり、不注意によって発射トリガ130を作動し続けて、エンドエフェクタ12内でステープル32を成形し始めることはない。同様に、発射トリガ130が連結位置にある場合に外科医が発射トリガ130を解放する場合、発射トリガ130は保持ピン162によってその位置に保持されるために、発射トリガ130が始点位置に戻ってエンドエフェクタ12が脊柱部材50から解放することが防止される。  More particularly, one embodiment of the end effector lock assembly 160 has a retainingpin 162 that is movably supported within theupper portion 134 of the firingtrigger 130. As described above, the firingtube 110 is initially advanced distally to a coupling position where thefirst firing adapter 140 retains the retainingtrunnion 17 of theend effector 12 within thetrunnion cradle 52 of thespinal member 50. It must be done. The surgeon advances the firingadapter 140 distally to the coupled position by pulling the firingtrigger 130 from the starting position toward thepistol grip 107. When the firingtrigger 130 is initially activated, the retainingpin 162 moves distally until the firingtube 110 advances thefirst firing adapter 140 to the coupled position, at which point the retainingpin 162 is within the case member. Is urged into a lock cavity 164 formed in Optionally, when the retainingpin 162 enters the lock cavity 164, thepin 162 may produce an audible “click” or other sound, and theend effector 12 “locks” to thespinal member 50. A tactile indication that “done” has been given. In addition, unless the surgeon intentionally biases the retainingpin 162 away from the lock cavity 164, the surgeon may inadvertently actuate thefiring trigger 130 and begin forming the staple 32 within theend effector 12. Absent. Similarly, if the surgeon releases the firingtrigger 130 when the firingtrigger 130 is in the coupled position, the firingtrigger 130 is held in that position by the retainingpin 162 so that the firingtrigger 130 returns to the starting position and ends. Theeffector 12 is prevented from being released from thespinal column member 50.

本発明は、ハンドルアセンブリ100に枢動可能に取り付けられた発射システムロックボタン137を更に含みうる。一形態において、発射システムロックボタン137は、その遠位端に形成されたラッチ138を有し、ラッチ138は、発射解放ボタンが第1のラッチ位置にある場合に発射ヨーク114と係合する向きとなる。図1に見られるように、ラッチばね139は、発射システムロックボタン137を第1のラッチ位置へと付勢するように機能する。異なる状況において、ラッチ138は、脊柱部材50上の発射ヨーク114の位置が、第1の発射アダプタ140がアンビル20上のクランプ締め傾斜面28を遠位方向へと前進して登り始める点と対応する点において、発射ヨーク114と係合するように機能する。第1の発射アダプタ140がクランプ締め傾斜面28を軸方向に前進して登ると、アンビル20は、そのステープル成形表面部分22がステープルカートリッジ30の上面36とほぼ平行となるような経路で動く点は理解されるであろう。  The present invention may further include a firingsystem lock button 137 pivotally attached to thehandle assembly 100. In one form, the firingsystem lock button 137 has a latch 138 formed at its distal end, the latch 138 being oriented to engage the firing yoke 114 when the firing release button is in the first latched position. It becomes. As seen in FIG. 1, thelatch spring 139 functions to bias the firingsystem lock button 137 to the first latched position. In different circumstances, the latch 138 corresponds to the position of the firing yoke 114 on thespine member 50 where thefirst firing adapter 140 begins to advance distally through the clampingramp 28 on theanvil 20. In that respect, it functions to engage the firing yoke 114. As thefirst firing adapter 140 moves axially forward up theclamping ramp 28, theanvil 20 moves in a path such that its staple formingsurface portion 22 is substantially parallel to thetop surface 36 of thestaple cartridge 30. Will be understood.

エンドエフェクタ12が脊柱部材50と連結された後、発射システムロックボタン137を最初に押し込むことによってステープル成形プロセスが開始され、発射ヨーク114が脊柱部材50上で遠位方向に更に動き、最終的にアンビル20をステープルカートリッジ30に押し付ける。発射システムロックボタン137を押し込んだ後、外科医が発射トリガ130をピストルグリップ107の方に作動し続けることによって第1のステープルカラー140が、対応するステープル成形傾斜面29を登るように駆動され、アンビル20をステープルカートリッジ30内のステープル32と成形接触させる。発射システムロックボタン137は、外科医がプロセスを開始する準備が整うまで、ステープル32の不注意による成形を防止する。この実施形態では、発射トリガ130が更に作動されてステープル成形プロセスが開始されるのに先だって、外科医が発射システムロックボタン137を押し込まなくてはならない。  After theend effector 12 is coupled with thespine member 50, the stapling process is initiated by first pushing the firingsystem lock button 137, and the firing yoke 114 is further moved distally over thespine member 50 and finally. Theanvil 20 is pressed against thestaple cartridge 30. After depressing the firingsystem lock button 137, the surgeon continues to actuate thefiring trigger 130 toward thepistol grip 107 to drive thefirst staple collar 140 to climb the corresponding staple forming ramp 29 and the anvil. 20 is brought into molding contact with thestaples 32 in thestaple cartridge 30. The firingsystem lock button 137 prevents inadvertent shaping of the staple 32 until the surgeon is ready to begin the process. In this embodiment, the surgeon must press the firingsystem lock button 137 before the firingtrigger 130 is further actuated to initiate the stapling process.

外科用器具10は、それが望ましい場合には、単に組織ステープル留め装置として使用することができる。しかしながら、本発明は、一般的に170として示される組織切断システムも含みうる。少なくとも一形態において、組織切断システム170は、ナイフ前進トリガ200を作動することによってエンドエフェクタ12の近位端に隣接する非作動位置から作動位置へと選択的に進めることができるナイフ部材172を含む。ナイフ部材172は脊柱部材50内に可動に支持されて取り付けられるか、又は別の方法によりナイフロッド180から突出している。ナイフ部材172は、例えば、38HRC超の硬度(Rockwell硬度Cスケール)を有する420又は440ステンレス鋼から作製されてもよく、その遠位端174に形成され、アンビル20のスロット及びステープルカートリッジ30の中央に配置されたスロット33を通って摺動可能に延びてエンドエフェクタ12内でクランプ締めされた組織を切断するように構成された組織切断刃176を有している。ナイフロッド180は脊柱部材50を通って延び、ナイフ前進トリガ200に動作可能に取り付けられたナイフトランスミッションと駆動可能にインターフェースする近位端部分を有している。ナイフ前進トリガ200は発射トリガ130を作動させることなく枢動させるか又は他の方法で作動させることができるように枢動ピン132に取り付けられている。本発明によれば、枢動ピン132には第1のナイフギア192も取り付けられているため、ナイフ前進トリガ200の作動により第1のナイフギア192も枢動する。発射戻りばね202は、第1のナイフギア192とハンドルハウジング100との間に取り付けられて、ナイフ前進トリガ200を始点位置すなわち非作動位置に付勢する。  Thesurgical instrument 10 can simply be used as a tissue stapling device if it is desired. However, the present invention may also include a tissue cutting system, generally designated as 170. In at least one form, the tissue cutting system 170 includes aknife member 172 that can be selectively advanced from a non-actuated position adjacent the proximal end of theend effector 12 to an activated position by actuating theknife advance trigger 200. .Knife member 172 is movably supported and mounted withinspinal column member 50 or otherwise protrudes fromknife rod 180. Theknife member 172 may be made, for example, from 420 or 440 stainless steel having a hardness of more than 38 HRC (Rockwell hardness C scale), formed at its distal end 174, and the slot of theanvil 20 and the center of thestaple cartridge 30 And atissue cutting blade 176 configured to slidably extend through theslot 33 disposed in theend effector 12 and cut tissue clamped in theend effector 12. Theknife rod 180 extends through thespine member 50 and has a proximal end portion that operably interfaces with a knife transmission operably attached to theknife advance trigger 200.Knife advance trigger 200 is attached to pivotpin 132 so that it can be pivoted or otherwise actuated without firingtrigger 130 being actuated. According to the present invention, since the first knife gear 192 is also attached to thepivot pin 132, the first knife gear 192 is also pivoted by the operation of theknife advance trigger 200. The firingreturn spring 202 is mounted between the first knife gear 192 and thehandle housing 100 to urge theknife advance trigger 200 to the starting position or non-actuated position.

ナイフトランスミッションは更に、第2のギアスピンドル上に回転可能に支持され、第1のナイフギア192と噛合した第2のナイフギア194を含んでいる。第2のナイフギア194は、第3のギアスピンドル上に支持された第3のナイフギア196と噛合している。第3のギアスピンドル195には第4のナイフギア198も支持されている。第4のナイフギア198は、ナイフロッド180の近位端の一連の環状ギア歯又はリングと駆動可能に係合するように構成されている。したがって、このような構成により、第4のナイフギア198がナイフロッド180を遠位方向「DD」又は近位方向「PD」に軸方向に駆動することが可能である一方で、発射ロッド180が第4のナイフギア198に対して長手方向軸A−Aを中心として回転することが可能である。したがって、外科医は、ナイフ前進トリガ200をハンドルアセンブリ100のピストルグリップ107の方向に引くことによって、発射ロッド180を軸方向に前進させ、最終的にナイフ部材172を遠位方向に前進させることができる。  The knife transmission further includes asecond knife gear 194 rotatably supported on the second gear spindle and meshed with the first knife gear 192. Thesecond knife gear 194 meshes with athird knife gear 196 supported on the third gear spindle. Afourth knife gear 198 is also supported on the third gear spindle 195. Thefourth knife gear 198 is configured to driveably engage a series of annular gear teeth or rings at the proximal end of theknife rod 180. Thus, such a configuration allows thefourth knife gear 198 to drive theknife rod 180 axially in the distal direction “DD” or the proximal direction “PD” while the firingrod 180 is It is possible to rotate about the longitudinal axis AA with respect to the four knife gears 198. Thus, the surgeon can advance the firingrod 180 axially and ultimately advance theknife member 172 distally by pulling theknife advance trigger 200 in the direction of thepistol grip 107 of thehandle assembly 100. .

本発明は更に、発射トリガ130が完全な発射位置にまで引かれないかぎり、ナイフ部材172の前進を防止するナイフロックアウトシステム210を含んでいる。したがってこのような機構は、ステープルが最初に組織内に発射されるか又は成形されないかぎり、ナイフ前進システム170の作動を防止するものである。図1に見られるように、ナイフロックアウトシステム210の異なる実現形態は、ハンドルアセンブリ100のピストルグリップ部分107内に枢動可能に支持されたナイフロックアウトバー211を含んでいる。ナイフロックアウトバー211は、発射トリガ130が完全に発射位置にある場合に発射トリガ130と係合するように構成された作動端部212を有している。更に、ナイフロックアウトバー211は、第1の切断ギア192のラッチロッド216に引っ掛かるように係合するように構成された保持フック214をその他端に有している。ナイフロックアウトバー211を「ロック」位置に付勢するためにナイフロックばね218が用いられており、保持フック214がラッチロッド216と係合した状態に維持されることにより、発射トリガ130が完全に発射位置にある場合を除いてナイフ前進トリガ200の作動が防止される。  The present invention further includes aknife lockout system 210 that prevents the advancement of theknife member 172 unless the firingtrigger 130 is pulled to the full firing position. Such a mechanism thus prevents operation of the knife advancement system 170 unless the staple is first fired or molded into tissue. As seen in FIG. 1, a different implementation of theknife lockout system 210 includes a knife lockout bar 211 pivotally supported within thepistol grip portion 107 of thehandle assembly 100. Knife lockout bar 211 has anactuating end 212 configured to engage firingtrigger 130 when firingtrigger 130 is fully in the firing position. In addition, the knife lockout bar 211 has a holdinghook 214 at its other end configured to engage thelatch rod 216 of the first cutting gear 192. Aknife lock spring 218 is used to bias the knife lockout bar 211 to the “locked” position, and the retaininghook 214 is kept engaged with thelatch rod 216 so that the firingtrigger 130 is fully engaged. Theknife advance trigger 200 is prevented from operating except in the firing position.

ステープルが標的組織内に「発射」(成形)された後、外科医が発射トリガ解放ボタン167を押し込むことで発射トリガ130がトーションばね135の付勢力により始点位置に戻ることが可能となり、これによりアンビル20はばね21の付勢力により開位置へと付勢される。開位置にある場合に、外科医は、移植式ステープルカートリッジ30及びステープル32を後ろに残してエンドエフェクタ12を引くことができる。エンドエフェクタが通路、作業通路などから挿入される用途では、外科医は、発射トリガ130を作動することによってアンビル20を閉位置に戻すことにより、経路又は作業通路からエンドエフェクタ12を引き抜くことができる。しかしながら、ステープルの発射の後に外科医が標的組織を切断することを望む場合、外科医はナイフ前進トリガ200を上記の要領で作動させて、標的組織を通じてナイフバー172をエンドエフェクタの端部まで押し込む。その後、外科医はナイフ前進トリガ200を解放することができ、これにより発射戻しばね202は、発射トランスミッションがナイフバー172を始点(非作動)位置に戻すことを可能とする。ナイフバー172が始点位置に戻った時点で、外科医はエンドエフェクタのジョー13、15を開いて移植式カートリッジ30を患者の体内で解放し、その後エンドエフェクタ12を患者から引き抜く。したがって、このような外科用器具は、比較的小さな作業通路及び通路を通じて挿入することができる小型の移植式ステープルカートリッジの使用を促進する一方で、外科医に、組織を切断せずにステープルを発射するか又は必要な場合にはステープルが発射された後に組織の切断も行う選択肢を提供するものである。  After the staple is “fired” (molded) into the target tissue, the surgeon presses the firing trigger release button 167 to allow thefiring trigger 130 to return to the starting position due to the biasing force of thetorsion spring 135, thereby enabling the anvil. 20 is urged to the open position by the urging force of thespring 21. When in the open position, the surgeon can pull theend effector 12 leaving behind theimplantable staple cartridge 30 andstaples 32. In applications where the end effector is inserted from a passage, working passage, etc., the surgeon can pull theend effector 12 out of the passage or working passage by actuating the firingtrigger 130 to return theanvil 20 to the closed position. However, if the surgeon wishes to cut the target tissue after staple firing, the surgeon operates theknife advance trigger 200 as described above to push theknife bar 172 through the target tissue to the end effector end. Thereafter, the surgeon can release theknife advance trigger 200 so that the firingreturn spring 202 allows the firing transmission to return theknife bar 172 to its starting (non-actuated) position. When theknife bar 172 returns to the starting position, the surgeon opens the end effector jaws 13, 15 to release theimplantable cartridge 30 within the patient's body and then withdraws theend effector 12 from the patient. Thus, such a surgical instrument facilitates the use of a relatively small working channel and a small implantable staple cartridge that can be inserted through the channel while firing the staples without cutting tissue. Or, if necessary, provides an option to cut tissue after the staples have been fired.

本発明の様々な固有かつ新規の実施形態では、アンビルと接触成形するための実質的な固定位置にステープルを支持する圧縮可能なステープルカートリッジを使用する。アンビルは未成形ステープルに押し込まれるが、例えば、達成されるステープル成形の程度はアンビルがどこまでステープルに押し込まれるかによって決まる。このような構成は、外科医がステープルに作用する成形圧力又は発射圧力の大きさを調節することで最終的に成形されるステープルの高さを変えることを可能とするものである。本発明では、外科用ステープル留め機構は、ステープルをアンビルの方向に持ち上げることができるステープル駆動要素を使用することができる。これについては下記に更に詳述する。  Various unique and novel embodiments of the present invention use a compressible staple cartridge that supports staples in a substantially fixed position for contact molding with an anvil. Although the anvil is pushed into the green staple, for example, the degree of staple forming achieved depends on how far the anvil is pushed into the staple. Such a configuration allows the surgeon to change the height of the final formed staple by adjusting the magnitude of the forming pressure or firing pressure acting on the staple. In the present invention, the surgical stapling mechanism can use a staple driving element that can lift the staples in the direction of the anvil. This is described in further detail below.

場合により、上記に関して可動アンビルに加えられる発射運動の量は、発射トリガの作動の程度によって決まる。例えば、外科医が部分的にのみ成形されたステープルを得ることを望む場合、発射トリガは、ピストルグリップ107に向かって内側に部分的にのみ押し込まれる。更なるステープルの成形を行うには、外科医が単純に発射トリガを更に押すと、これによりアンビルは、ステープルと接触成形するように更に駆動される。本明細書において使用する「接触成形する」なる用語は、ステープル成形表面又はステープル成形ポケットがステープル脚の端部と接触し、脚を成形された位置へと成形又は曲げはじめていることを意味する。ステープル成形の程度とは、ステープル脚がどれだけ折り畳まれたかを指し、ひいては、上記のステープル成形高さと関係する。発射運動が加えられる際、アンビル20がステープルカートリッジとほぼ平行な関係で移動するため、各ステープルはほぼ同時に、ほぼ同じ成形高さで成形される点は、当業者であれば更に理解されるであろう。  In some cases, the amount of firing motion applied to the movable anvil in relation to the above depends on the degree of actuation of the firing trigger. For example, if the surgeon wishes to obtain a partially molded staple, the firing trigger is only partially pushed inward toward thepistol grip 107. To perform further staple forming, the surgeon simply pushes the firing trigger further, thereby further driving the anvil into contact forming with the staple. As used herein, the term “contact forming” means that the staple forming surface or staple forming pocket is in contact with the end of the staple leg and the leg is beginning to be molded or bent into the formed position. The degree of staple forming refers to how much the staple leg is folded, and thus relates to the above-described staple forming height. Those skilled in the art will further understand that, as the firing motion is applied, theanvil 20 moves in a generally parallel relationship with the staple cartridge so that each staple is formed at approximately the same forming height at approximately the same time. I will.

図2及び図3は、ナイフバー172’を収容するように構成された以下の相違点を除けば、上記のエンドエフェクタ12’と同様の別のエンドエフェクタ12”を示している。ナイフバー172’は、ナイフロッド180に連結されるか又はこれから突出し、それ以外の点においては、ナイフバー172に関して上記に述べた要領で操作される。しかしながら、本実施形態では、ナイフバー172’は、エンドエフェクタ12”の全長を横断するだけの充分な長さであり、したがって別個の遠位ナイフ部材はエンドエフェクタ12”では用いられていない。ナイフバー172’は、その上に形成された上側横断部材173’及び下側横断部材175’を有している。上側横断部材173’は、アンビル20”の対応する長尺状スロット250を摺動可能に横断する方向に向けられ、下側横断部材175’は、エンドエフェクタ12”の長尺状溝部材14”の長尺状スロット252を横断する方向に向けられている。アンビル20”内には離脱スロット(図示せず)も設けられ、これによりナイフバー172’が薄いエンドエフェクタ12”とともに終点位置にまで駆動されると、上側横断部材173’は対応するスロットを通って降下し、アンビル20”が開位置へと動いてステープル留め及び切断された組織から離脱する。アンビル20”は、その他の点においては上記のアンビル20と同じであってよく、長尺状溝部材14”はその他の点においては上記の長尺状溝部材14と同じであってよい。  2 and 3 show anotherend effector 12 "similar to the end effector 12 'described above, except for the following differences configured to accommodate the knife bar 172'. The knife bar 172 ' , Coupled to or protruding from theknife rod 180 and otherwise operated in the manner described above with respect to theknife bar 172. However, in this embodiment, the knife bar 172 ' It is long enough to traverse the entire length and therefore a separate distal knife member is not used in theend effector 12 ". The knife bar 172 'has an upper transverse member 173' formed thereon and a lower side It has a transverse member 175 '. The upper transverse member 173' is a correspondingelongated slot 250 in theanvil 20 ". Directed toward slidably traverse the lower cross member 175 'is oriented in a direction transverse to theelongate slot 252 of the "long-shapedgroove member 14 of the"end effector 12. A release slot (not shown) is also provided in theanvil 20 "so that when the knife bar 172 'is driven to the end position with thethin end effector 12", the upper cross member 173' passes through the corresponding slot. Lower and theanvil 20 "moves to the open position and disengages from the stapled and cut tissue. Theanvil 20" may otherwise be the same as theanvil 20 described above, and theelongated groove member 14 ″ may be otherwise the same as theelongated groove member 14 described above.

これらの実施形態では、アンビル20”は、ばね又は他の開放機構(図示なし)によって、完全に開いた位置(図2)に付勢される。アンビル20”は、上記の要領により、発射アダプタ150の軸方向の移動によって、開位置と、完全にクランプ締めされた位置との間で動かされる。発射アダプタ150が完全にクランプ締めされた位置(図3)まで前進させられた時点で、外科医は更にナイフバー172”を上記の要領で遠位方向に前進させることができる。外科医がエンドエフェクタを、組織を操作するための把持装置として使用する場合、発射アダプタは近位方向に動かされて、アンビル20”が長尺状溝部材14”から離れる方向に動くことが可能となる(図4に破線で表される)。この実施形態では、ナイフバー172”が遠位方向に動くと、上側横断部材173’及び下側横断部材175’がアンビル20”及び長尺状溝部材14”を一緒に引くことにより、ナイフバー172”がエンドエフェクタ12”を通じて遠位方向に前進するのにしたがって、所望のステープル成形が行われる。図5を参照されたい。したがって、この実施形態では、ステープル成形は組織切断と同時に行われるが、ステープル自体は、ナイフバー172”が遠位方向に駆動される際に順次成形されてもよい。  In these embodiments, theanvil 20 "is biased to the fully open position (FIG. 2) by a spring or other opening mechanism (not shown). With 150 axial movements, it is moved between an open position and a fully clamped position. Once the firingadapter 150 has been advanced to the fully clamped position (FIG. 3), the surgeon can further advance theknife bar 172 ″ distally in the manner described above. When used as a grasping device for manipulating tissue, the firing adapter is moved proximally, allowing theanvil 20 "to move away from theelongate groove member 14" (dashed line in FIG. 4). In this embodiment, when theknife bar 172 ″ moves distally, the uppertransverse member 173 ′ and the lowertransverse member 175 ′ pull theanvil 20 ″ and theelongated groove member 14 ″ together. Thus, as theknife bar 172 "is advanced distally through theend effector 12", the desired stapling takes place. Please refer to FIG. Thus, in this embodiment, staple forming occurs simultaneously with tissue cutting, but the staples themselves may be sequentially formed as theknife bar 172 ″ is driven in the distal direction.

本発明の様々な外科用ステープルカートリッジ及び外科用器具の固有かつ新規な特徴は、これらのカートリッジの各ステープルが1又は2以上の直線状又は非直線状の列に配列されることを可能にする。複数のこのようなステープル列は、内部を通じて組織切断部材を受容するためにステープルカートリッジ内の中央に配置された長尺状スロットの両側に設けることができる。一構成において、例えば、1つの列内の各ステープルは、隣接するステープル列内の各ステープルとほぼ平行であってよいが、各ステープルからオフセットされていてもよい。更なる代替例として、1又は2以上のステープルの列は、非直線的なものでもよい。すなわち、あるステープルの列内の少なくとも1つのステープルの基部が、同じステープル列内の他のステープルの基部に対してほぼ横断方向となる軸に沿って延びてもよい。例えば、以下でより詳細に検討するように、代替例として長尺状スロットの両側のステープル列はジグザグの外観を有してもよい。このような非直線状のステープル配列は、従来のステープルカートリッジにおいて用いられる様々な直線状ステープル配列よりも少ないステープルでより良好な組織締結の結果を得ることできる。  The unique and novel features of the various surgical staple cartridges and surgical instruments of the present invention allow each staple of these cartridges to be arranged in one or more linear or non-linear rows. . A plurality of such staple rows can be provided on either side of an elongated slot centrally disposed within the staple cartridge for receiving a tissue cutting member therethrough. In one configuration, for example, each staple in one row may be substantially parallel to each staple in an adjacent staple row, but may be offset from each staple. As a further alternative, the row of one or more staples may be non-linear. That is, the base of at least one staple in a row of staples may extend along an axis that is generally transverse to the base of other staples in the same staple row. For example, as discussed in more detail below, as an alternative, the staple rows on either side of the elongated slot may have a zigzag appearance. Such non-linear staple arrays can provide better tissue fastening results with fewer staples than the various linear staple arrays used in conventional staple cartridges.

図6は、エンドエフェクタの実施形態612’における外科用ステープルカートリッジの実施形態900の使用を示している。図6及び図7に見られるように、外科用ステープルカートリッジ900の実施形態は、近位端903を通じて遠位端905に隣接する領域まで延びる、中央に配置された長尺状スロット904を有するカートリッジ本体902を有している。長尺状スロット904は、上記の要領による組織切断操作において、ナイフ本体がその内部を通って軸方向に動くことが可能であるように構成されている。カートリッジ本体902は、例えば、酸化再生セルロース(「ORC」)、又は例えば、PGA(商品名Vicrylで販売されるポリグリコール酸)、PCL(ポリカプロラクトン)、PLA若しくはPLLA(ポリ乳酸)、PDS(ポリジオキサノン)、PHA(ポリヒドロキシアルカノエート)、PGCL(商品名Monocrylで販売されるポリグレカプロン25)、若しくはPGA、PCL、PLA及びPDSの複合物から作製される生体吸収性発泡材などの圧縮可能な止血材料で構成され、この中に未成形のステープル922の列920、930が支持される。しかしながら、カートリッジ本体902は、所望の向きで未成形ステープル922を支持するように機能する他の材料から作製されてもよく、それによりこれらの材料は、アンビル910’が材料と接触する際に圧縮されうる。ステープルカートリッジ900は移植可能であり、ステープル留め手術が完了した後に、ステープル留めされた組織に取り付けられたまま残置される。ステープル922が影響を受け、止血材料が導入及び配置課程において活性化されることを防ぐため、カートリッジ900全体を、生分解性フィルム906、例えば、商品名PDS(登録商標)で販売されるポリジオキサノンフィルム、又はポリグリセロールセバケート(PGS)フィルム、又は例えば、PGA(商標Vicrylの商品名で販売されるポリグリコール酸)、PCL(ポリカプロラクトン)、PLA、若しくはPLLA(ポリ乳酸)、PHA(ポリヒドロキシアルカノエート)、PGCL(商品名Monocrylで販売されるポリグレカプロン25)、又はPGA、PCL、PLA、PDSの複合物(破裂するまでは不透過性である)から作製された他の生分解性フィルムでコーティング又は被覆することができる。ステープルカートリッジ900のカートリッジ本体902は、エンドエフェクタ612’の長尺状溝部材内に着脱可能に支持されるようなサイズに構成されている。  FIG. 6 illustrates the use of a surgicalstaple cartridge embodiment 900 in an end effector embodiment 612 '. As seen in FIGS. 6 and 7, an embodiment of the surgicalstaple cartridge 900 has a centrally locatedelongated slot 904 that extends through theproximal end 903 to a region adjacent to thedistal end 905. Amain body 902 is provided. Theelongated slot 904 is configured such that the knife body can move axially therethrough in the tissue cutting operation as described above. Thecartridge body 902 is, for example, oxidized regenerated cellulose (“ORC”), or, for example, PGA (polyglycolic acid sold under the trade name Vicryl), PCL (polycaprolactone), PLA or PLLA (polylactic acid), PDS (polydioxanone). ), PHA (polyhydroxyalkanoate), PGCL (polygrecapron 25 sold under the trade name Monocryl), or a bioabsorbable foam made from a composite of PGA, PCL, PLA and PDS Constructed of hemostatic material, in whichrows 920, 930 ofunformed staples 922 are supported. However, thecartridge body 902 may be made from other materials that function to support thegreen staple 922 in the desired orientation so that these materials are compressed as theanvil 910 ′ contacts the material. Can be done. Thestaple cartridge 900 is implantable and is left attached to the stapled tissue after the stapling operation is complete. To preventstaples 922 from being affected and the hemostatic material from being activated during the introduction and placement process, theentire cartridge 900 is abiodegradable film 906, such as polydioxax sold under the trade name PDS®. Non-film, or polyglycerol sebacate (PGS) film, or, for example, PGA (polyglycolic acid sold under the trade name Vicryl), PCL (polycaprolactone), PLA, or PLLA (polylactic acid), PHA (poly Hydroxyalkanoates), PGCL (Polygrecapron 25 sold under the trade name Monocryl), or other biodegradation made from PGA, PCL, PLA, PDS composites (impervious until rupture) It can be coated or coated with an adhesive film. The cartridgemain body 902 of thestaple cartridge 900 is configured to be detachably supported in the long groove member of the end effector 612 '.

図6、10及び11では、外科用ステープルカートリッジ900は、長尺状スロット904の一方の横方向側部907のステープル922の第1の列920、及び長尺状スロット904の他方の横方向側部909のステープル922の第2の列930を動作可能に支持している。ステープル922は、例えば、チタン、チタン合金(例えば、6AI−4Vチタン、3al−2.5Vチタン)、ステンレス鋼などの金属材料で作製することができ、ステープル基部924及びそこから突出する2つの起立したステープル脚926を有している。各ステープル脚926は、上部に形成された組織貫通先端部928を有しうる。ステープル922の第1の列920において、少なくとも1つのステープル922のステープル基部924は、別のステープル922のステープル基部と重なり合っている。各ステープル922のステープル基部924は、第1のステープルの列920の各端部の最後のステープル922の基部924を除き、2個の隣接するステープル922のステープル基部924と重なり合うことが好ましい。図10を参照されたい。したがって、第1のステープルの列920は、ほぼ非直線状の形状を有している。より詳細には、上から見た場合に、第1のステープルの列920はほぼジグザグの外観を有している。  In FIGS. 6, 10 and 11, the surgicalstaple cartridge 900 is shown in afirst row 920 ofstaples 922 on onelateral side 907 of theelongated slot 904 and the other lateral side of theelongated slot 904. Asecond row 930 ofstaples 922 insection 909 is operably supported. The staple 922 can be made of a metallic material such as titanium, a titanium alloy (e.g., 6AI-4V titanium, 3al-2.5V titanium), stainless steel, and the like, and has astaple base 924 and two uprights protruding therefrom. Thestaple legs 926 have been prepared. Eachstaple leg 926 can have atissue penetrating tip 928 formed thereon. In thefirst row 920 ofstaples 922, thestaple base 924 of at least onestaple 922 overlaps the staple base of anotherstaple 922. Thestaple base 924 of each staple 922 preferably overlaps thestaple base 924 of twoadjacent staples 922 except for thebase 924 of thelast staple 922 at each end of the firststaple row 920. Please refer to FIG. Accordingly, the firststaple row 920 has a substantially non-linear shape. More specifically, when viewed from above, the firststaple row 920 has a substantially zigzag appearance.

図9に見られるように、アンビル90は、2つの連続した長手方向のステープル成形ポケット912を有しており、そのそれぞれが、ステープル922の第1の列920の形状に対応したほぼジグザグの形状を有していることにより、アンビル910が各ステープル922と成形接触させられる際に、その脚926は図11に示されるように成形されることになる。したがって、1つのステープルの遠位の脚は、長手方向の次のステープルの近位の脚と同じポケットを共有する。このような構成は、ステープル同士が相互作用する(例えば、互いの上に折り畳まれる)点にまで、より密度の高いポケットパターンを可能とするものである。従来のステープルポケットの構成では、一般的に、1つのポケットの群から次の群まで、0.13〜0.38mm(0.005〜0.015インチ)の金属/間隔が存在しなければならない。しかしながら、本発明のこの実施形態では、例えば、1つのステープルが次のステープルと嵌まり合うことから、例えば、0〜0.5mm(0〜0.02インチ)の干渉/重なり合い(ほぼ−0.5mm(−0.02”))の間隔の構成を有している。このような構成では、同じ空間内に15〜30%多いステープルを配置することが可能となる。更に、ステープル同士が連結される場合、複数の横方向のステープル列を設ける必要性が小さくなる。従来の構成では、一般的に組織切断線の両側に3つの列を用いて、血液が通過しうる開放経路が存在することを防止している。連結されたステープルの列では、血液が通過しうる経路が残る可能性はより低くなる。本発明の様々な連結ステープル機構によって提供される別の明らかな利点は、ステープルの列を引き裂いて開くために必要な力の量に関する「破裂強度」の向上に関するものである。  As seen in FIG. 9, the anvil 90 has two continuous longitudinalstaple forming pockets 912, each of which has a generally zigzag shape that corresponds to the shape of thefirst row 920 ofstaples 922. , When theanvil 910 is brought into molding contact with each staple 922, itslegs 926 are molded as shown in FIG. Thus, the distal leg of one staple shares the same pocket as the proximal leg of the next longitudinal staple. Such a configuration allows for a more dense pocket pattern to the point where staples interact (eg, fold over each other). In conventional staple pocket configurations, there should generally be between 0.13-0.38 mm (0.005-0.015 inches) of metal / spacing from one pocket group to the next. . However, in this embodiment of the invention, for example, one staple mates with the next, so, for example, 0-0.5 mm (0-0.02 inch) interference / overlap (approximately -0. 5 mm (−0.02 ″)). With such a configuration, 15 to 30% more staples can be arranged in the same space. Further, the staples are connected to each other. If so, there is less need to provide a plurality of lateral staple rows, and conventional arrangements typically use three rows on either side of the tissue cutting line to provide an open path through which blood can pass. The connected staple rows are less likely to leave a path through which blood can pass, and another obvious advantage provided by the various connected staple mechanisms of the present invention is: On the amount of force required to tear open the columns of tables relate improvement in "burst strength".

別のステープル成形ポケットの構成は、共通のステープル成形ポケットを含むことができる。本明細書において使用する用語「共通のステープル成形ポケット」とは、成形される各ステープルの各脚に対して別個の成形ポケットが設けられた従来のアンビルの設計と異なり、1個の成形ポケットによって単一のステープル列内のすべてのステープルを成形することが可能であることを意味する。  Another staple forming pocket configuration may include a common staple forming pocket. As used herein, the term “common staple forming pocket” refers to a single forming pocket, unlike conventional anvil designs in which a separate forming pocket is provided for each leg of each staple being formed. It means that it is possible to mold all the staples in a single staple row.

図12は、基部924’が、基部924’同士のより緊密な重なり合いを促すオフセット部分929を有する更に別のステープルの実施形態922’を示している。上記に述べたように、ステープルカートリッジ900は、長尺状スロット904の第2の横方向側部909に支持されたステープル922の第2の列930を有している。ステープル922の第2の列930は、ステープル922の第1の列920とほぼ同様である。したがって、アンビル910は、ステープルの第2の列930と成形接触するためにステープルの第2の列930と対応した第2の共通ステープル成形ポケット912を有している。しかしながら、代替例では、ステープル922の第2の列930は、ステープルの第1の列920と、形状、及び場合によりステープルの数が異なってもよい。  FIG. 12 shows yet another staple embodiment 922 ', where the bases 924' have an offsetportion 929 that facilitates closer overlap between the bases 924 '. As described above, thestaple cartridge 900 has asecond row 930 ofstaples 922 supported on the secondlateral side 909 of theelongated slot 904. Thesecond row 930 ofstaples 922 is substantially similar to thefirst row 920 ofstaples 922. Accordingly, theanvil 910 has a second commonstaple forming pocket 912 corresponding to the second row ofstaples 930 for forming contact with the second row ofstaples 930. However, in the alternative, thesecond row 930 ofstaples 922 may differ from the first row ofstaples 920 in shape and possibly the number of staples.

図8は、内部に支持されたステープル922の列920’、930’を除き、上記のステープルカートリッジ900とほぼ同様である外科用ステープルカートリッジ900’を示している。例えば、この実施形態では、ステープル922の列920’は、少なくとも1つのステープル基部924の基部軸S−Sが、少なくとも1つの他の隣接するステープル922のステープル基部924の基部軸S−Sに対してほぼ横断方向となるようにして互いに配置されている。ステープルのこのような所定のパターンは、上から見た場合にほぼジグザグの配列を有している。図13では、ステープル922の各基部924は更に、図示されるように基部924を覆ってオーバーモールドされた基部支持部材927を有している。基部支持部材927は、例えば、ポリエーテルエーテルケトン「PEEK」などの非吸収性プラスチック、又はポリグリコール酸「PGA」、ポリ乳酸「PLA」又は「PLLA」、ポリジオキサノン「PDS」、PCL(ポリカプロラクトン)、PHA(ポリヒドロキシアルカノエート)、PGCL(ポリグレカプロン25、商品名Monocrylで販売されるもの)、若しくはPGS、PDS、PLA、PGA及びPCLの様々な複合混合物などの吸収性プラスチックから作製することができる。基部支持部材927は、ステープル自体を重なり合わせることなく、ステープル間の連結を促進する。したがって、このような構成によれば、ステープルの脚が互いに重なり合うことなく、「B」字形、又は反転した「W」字形の形状を形成することができる。しかしながら、各クラウンは、基部支持部材によって連結されるため、重なり合ったステープルと同様に機能する。このような構成によれば、組み合わされたポケットが、各脚に対して2つの別個の経路を有することができる。  FIG. 8 shows a surgical staple cartridge 900 'that is substantially similar to thestaple cartridge 900 described above, except for the rows 920', 930 'ofstaples 922 supported therein. For example, in this embodiment, therow 920 ′ ofstaples 922 is such that the base axis SS of at least onestaple base 924 is relative to the base axis SS of thestaple base 924 of at least one otheradjacent staple 922. Are arranged in a substantially transverse direction. Such a predetermined pattern of staples has a substantially zigzag arrangement when viewed from above. In FIG. 13, eachbase 924 ofstaple 922 further includes abase support member 927 overmolded overbase 924 as shown. Thebase support member 927 is, for example, a non-absorbable plastic such as polyether ether ketone “PEEK”, or polyglycolic acid “PGA”, polylactic acid “PLA” or “PLLA”, polydioxanone “PDS”, PCL (polycaprolactone) Made from absorbent plastics such as PHA (polyhydroxyalkanoate), PGCL (polygrecapron 25, sold under the trade name Monocryl), or various composite mixtures of PGS, PDS, PLA, PGA and PCL Can do. Thebase support member 927 facilitates the connection between the staples without overlapping the staples themselves. Therefore, according to such a configuration, the “B” shape or the inverted “W” shape can be formed without overlapping the legs of the staples. However, since each crown is connected by a base support member, it functions like an overlapping staple. With such a configuration, the combined pocket can have two separate paths for each leg.

図14は、ステープルの列920”を用いたものであり、この場合、隣接したステープル922の脚926同士は、成形又は別の方法でこれに取り付けられたカップラ部分929によって互いに連結されている。各カップラ部分929は、例えば、ポリエーテルエーテルケトン「PEEK」、又はポリグリコール酸「PGA」、ポリ乳酸「PLA」又は「PLLA」、ポリジオキサノン「PDS」、PCL(ポリカプロラクトン)、PHA(ポリヒドロキシアルカノエート)、PGCL(ポリグレカプロン25、商品名Monocrylで販売)、若しくはPGS、PDS、PLA、PGA及びPCLの様々な合成混合物、などの吸収性プラスチックから作製することができる。このようなステープル列920”は、上から見た場合、ほぼジグザグの外観を有している。以上、異なる外科用ステープルカートリッジの実施形態900、900’について、エンドエフェクタ612’との使用に関連して説明したが、ステープル留めカートリッジ900、900’は、本明細書において上記に述べた他の様々なエンドエフェクタ及び外科用器具とともに効果的に使用することが可能であり、アンビルが動いてステープルと成形接触する際に所望の量のステープル成形を実現するためにこれらの器具のアンビルに適切なステープル成形ポケット機構が設けられる点は理解されるであろう。  FIG. 14 uses astaple row 920 ″, where thelegs 926 ofadjacent staples 922 are connected to each other by acoupler portion 929 that is molded or otherwise attached thereto. Eachcoupler portion 929 includes, for example, polyetheretherketone “PEEK”, or polyglycolic acid “PGA”, polylactic acid “PLA” or “PLLA”, polydioxanone “PDS”, PCL (polycaprolactone), PHA (polyhydroxyalkano). 8), PGCL (sold under the trade name Monocryl 25), or various synthetic blends of PGS, PDS, PLA, PGA and PCL. Such astaple row 920 "has a generally zigzag appearance when viewed from above. Thus, different surgicalstaple cartridge embodiments 900, 900 'are associated with use with an end effector 612'. As described above, the staplingcartridges 900, 900 ′ can be used effectively with the various other end effectors and surgical instruments described hereinabove, with the anvil moving and stapling. It will be appreciated that an appropriate staple forming pocket mechanism is provided on the anvil of these instruments to achieve the desired amount of staple forming upon forming contact.

図15及び図16は、外科用器具10の長尺状溝部材14内に支持された別の外科用ステープルカートリッジ940の実施形態を示している。外科用ステープルカートリッジ940は、その内部を通じて少なくとも部分的に延びる、中央に配置された長尺状スロット944を有するカートリッジ本体942を有している。長尺状スロット944は、上記の要領による組織切断操作において、外科用器具10のナイフ本体が内部を通って軸方向に動くことができるように構成されている。カートリッジ本体942は、未成形ステープル922の列946、948、950、952が内部に支持された、上記又は下記の種類の酸化再生セルロース(「ORC」)又は生体吸収性発泡材など、圧縮可能な止血材料からなる。ステープル922が影響を受け、止血材料が導入及び配置課程において活性化されることを防ぐため、カートリッジ940全体を、生分解性フィルム954、例えば、商品名PDS(登録商標)で販売されるポリジオキサノンフィルム、又はポリグリセロールセバケート(PGS)フィルム、又は例えば、PGA(商品名Vicrylの商標名で販売されるポリグリコール酸)、PCL(ポリカプロラクトン)、PLA、若しくはPLLA(ポリ乳酸)、PHA(ポリヒドロキシアルカノエート)、PGCL(商品名Monocrylで販売されるポリグレカプロン25)、又はPGA、PCL、PLA、PDSの複合物(破裂するまでは不透過性である)から作製される他の生分解性フィルムでコーティング又は被覆することができる。  FIGS. 15 and 16 illustrate another surgicalstaple cartridge 940 embodiment supported within theelongate groove member 14 of thesurgical instrument 10. Surgicalstaple cartridge 940 has acartridge body 942 having a centrally locatedelongated slot 944 extending at least partially therethrough. Theelongated slot 944 is configured to allow the knife body of thesurgical instrument 10 to move axially therethrough during a tissue cutting operation as described above. Thecartridge body 942 is compressible, such as oxidized regenerated cellulose ("ORC") or bioabsorbable foam of the type described above or below, withrows 946, 948, 950, 952 ofunformed staples 922 supported therein. Made of hemostatic material. To preventstaples 922 from being affected and the hemostatic material from being activated during the introduction and placement process, theentire cartridge 940 may be replaced with abiodegradable film 954, such as polydioxax sold under the trade name PDS®. Non-film, or polyglycerol sebacate (PGS) film or, for example, PGA (polyglycolic acid sold under the trade name Vicryl), PCL (polycaprolactone), PLA, or PLLA (polylactic acid), PHA ( Polyhydroxyalkanoate), PGCL (Polygrecapron 25 sold under the trade name Monocryl), or other raw materials made from PGA, PCL, PLA, PDS composites that are impervious until rupture It can be coated or coated with a degradable film.

図15では、カートリッジ940は、カートリッジ本体942に連結されたカートリッジ支持部材960を更に有している。カートリッジ支持部材960は、例えば、チタン、ステンレススチール、アルミニウム、これらの合金などの剛性材料から作製されてもよく、かつカートリッジ本体942内に部分的に埋め込まれてもよい。カートリッジ支持部材960は、例えば、フィルム954によって定位置に保持されてもよい。また、限定的な接着が望ましい場合には、2つの構成要素を互いに「接着」するためにシアノアクリレートを散発的に使用することもできる。更なる代替例として、カートリッジ本体942は、加熱してカートリッジ支持部材960に「溶接」又は「融着」することができる。カートリッジ支持部材960は、長尺状溝部材14と嵌合するようにカートリッジ本体942の底面の少なくとも一部を形成している。カートリッジ支持部材960は、カートリッジ支持部材960を長尺状溝部材14に解放可能に連結するためにそこから突出した1つ又は2つ以上のスナップ機構962を有している。カートリッジ支持部材960を長尺状溝部材14に解放可能に連結するために他の形態のスナップ機構/締結機構を用いることもできる。  In FIG. 15, thecartridge 940 further includes acartridge support member 960 connected to the cartridgemain body 942. Thecartridge support member 960 may be made from a rigid material such as, for example, titanium, stainless steel, aluminum, alloys thereof, and may be partially embedded within thecartridge body 942. Thecartridge support member 960 may be held in place by afilm 954, for example. Also, if limited bonding is desired, cyanoacrylate can be used sporadically to “glue” the two components together. As a further alternative, thecartridge body 942 can be heated and “welded” or “fused” to thecartridge support member 960. Thecartridge support member 960 forms at least a part of the bottom surface of the cartridgemain body 942 so as to be fitted to theelongated groove member 14. Thecartridge support member 960 has one ormore snap mechanisms 962 projecting therefrom to releasably connect thecartridge support member 960 to theelongated groove member 14. Other forms of snap / fastening mechanisms may be used to releasably connect thecartridge support member 960 to theelongated groove member 14.

カートリッジ支持部材960には一連の支持隆起部964、966、968、970、972、974、976が形成されているため、図15に示されるように、ステープルの列946、948、950、952のステープル922の基部924に一定の横方向の支持が与えられる。このため、支持隆起部はステープル列とほぼ同じ範囲に拡がっている。図17は、ステープル922に更なる横方向の支持を与えるために各支持隆起部964、966、968、970、972、976から突出した起立フィン部分978、979、980、981、982、983を含む点を除いて、カートリッジ940とほぼ同様の別のステープルカートリッジ実施形態940’を示している。フィン部分は、カートリッジ支持部材960と一体に形成されてもよく、カートリッジの高さの約1/2以下の高さを有しうる。したがって、例えば、発泡材を支持する起立機構は、発泡材の最大圧縮高さよりも上方にまで延びることはない。したがって、例えば、発射される際にその元の高さの1/3にまで圧縮するようにカートリッジが設計されている場合、フィンは、非圧縮高さの66%から非圧縮高さの10%の範囲に及ぶ。  Since thecartridge support member 960 is formed with a series ofsupport ridges 964, 966, 968, 970, 972, 974, 976, as shown in FIG. A constant lateral support is provided to thebase 924 of thestaple 922. For this reason, the support bulge extends to substantially the same range as the staple row. FIG. 17 shows the raisedfin portions 978, 979, 980, 981, 982, 983 protruding from eachsupport ridge 964, 966, 968, 970, 972, 976 to provide further lateral support to thestaple 922. Anotherstaple cartridge embodiment 940 ′ is shown that is substantially similar to thecartridge 940 except that it includes. The fin portion may be integrally formed with thecartridge support member 960 and may have a height that is about ½ or less of the height of the cartridge. Therefore, for example, the standing mechanism that supports the foam material does not extend above the maximum compression height of the foam material. Thus, for example, if the cartridge is designed to compress to 1/3 of its original height when fired, the fins will be 66% of the uncompressed height to 10% of the uncompressed height. Range.

使用時には、上記の要領でステープル922がアンビル20との接触によって成形された時点で、アンビル20が開かれ、エンドエフェクタ12がステープル留めされた組織から引き抜かれる。エンドエフェクタ12がステープル留めされた組織から引き抜かれる際、カートリッジ本体942は、ステープル留めされた組織に締結されたままであり、その後、カートリッジ支持部材960から分離され、カートリッジ支持部材960は長尺状溝部材14と連結されたままとなる。カートリッジ支持部材960は、カートリッジ本体942を構成する材料の色及び長尺状溝部材14の色とは異なる色を有している。このような構成は、エンドエフェクタ内にステープルカートリッジが存在しないことを示す、容易に認識可能な指示を外科医に与えるものである。したがって、外科医が、誤って、始めに新しいステープルカートリッジをエンドエフェクタ内に置かずにエンドエフェクタを再挿入/使用することがなくなる。そのためには、外科医は、カートリッジ支持部材960のスナップ機構を長尺状溝部材14から単純に外すことで、新しいステープルカートリッジ940のカートリッジ支持部材960を内部に配置することが可能となる。以上、ステープルカートリッジ940、940’を、外科用器具10との関連において説明したが、これらのカートリッジは、本発明の趣旨及び範囲から逸脱することなく、本発明に開示される他の外科用器具の多くとともに効果的に使用することができる点は理解されるであろう。  In use, when thestaple 922 is formed by contact with theanvil 20 in the manner described above, theanvil 20 is opened and theend effector 12 is withdrawn from the stapled tissue. As theend effector 12 is withdrawn from the stapled tissue, thecartridge body 942 remains fastened to the stapled tissue and is then detached from thecartridge support member 960, which is in the elongated groove. It remains connected to themember 14. Thecartridge support member 960 has a color different from the color of the material constituting the cartridgemain body 942 and the color of theelongated groove member 14. Such a configuration provides the surgeon with an easily recognizable indication that no staple cartridge is present in the end effector. Thus, the surgeon will not accidentally reinsert / use the end effector without first placing a new staple cartridge in the end effector. To that end, the surgeon can place thecartridge support member 960 of thenew staple cartridge 940 inside by simply removing the snap mechanism of thecartridge support member 960 from theelongated groove member 14. While thestaple cartridges 940, 940 ′ have been described in the context of thesurgical instrument 10, these cartridges may be used with other surgical instruments disclosed in the present invention without departing from the spirit and scope of the present invention. It will be appreciated that it can be used effectively with many of the above.

本発明によれば、ステープルカートリッジは、カートリッジ本体、及びカートリッジ本体内に格納された複数のステープルを含みうる。使用時には、ステープルカートリッジを手術部位に導入し、治療される組織の一方の側に配置することができる。更に、ステープル成形アンビルを組織の反対側に配置することができる。アンビルは第1のジョーにより保持されてよく、ステープルカートリッジは第2のジョーによって保持されてよく、第1のジョー及び/又は第2のジョーは他方の方向に動くことができる。ステープルカートリッジ及びアンビルを組織に対して配置した時点で、ステープルをステープルカートリッジ本体から発射することができ、ステープルは組織を貫通してステープル成形アンビルと接触することができる。ステープルがステープルカートリッジ本体から配備された時点で、ステープルカートリッジ本体を手術部位から引き抜くことができる。ステープルカートリッジ又はステープルカートリッジの少なくとも一部はステープルとともに移植することができる。例えば、下記により詳細に述べるように、ステープルカートリッジは、アンビルが開位置から閉位置へと動く際、アンビルによって圧縮、圧壊、及び/又は圧潰されうるカートリッジ本体を有しうる。カートリッジ本体が圧縮、圧壊及び/又は圧潰される際、カートリッジ本体内に配置されたステープルは、アンビルによって変形される。あるいは、ステープルカートリッジを支持するジョーが、アンビルの方向に閉位置に動いてもよい。いずれの場合にも、ステープルは少なくとも部分的にカートリッジ本体内に配置された状態で変形されうる。特定の場合では、ステープルはステープルカートリッジから射出されずともよく、他の場合では、ステープルはカートリッジ本体の一部とともにステープルカートリッジから射出されてもよい。  According to the present invention, the staple cartridge can include a cartridge body and a plurality of staples stored in the cartridge body. In use, a staple cartridge can be introduced into the surgical site and placed on one side of the tissue to be treated. In addition, a staple forming anvil can be placed on the opposite side of the tissue. The anvil may be held by the first jaw, the staple cartridge may be held by the second jaw, and the first jaw and / or the second jaw may move in the other direction. Once the staple cartridge and anvil are positioned against the tissue, the staple can be fired from the staple cartridge body and the staple can penetrate the tissue and contact the staple forming anvil. When the staple is deployed from the staple cartridge body, the staple cartridge body can be withdrawn from the surgical site. The staple cartridge or at least a portion of the staple cartridge can be implanted with staples. For example, as described in more detail below, the staple cartridge can have a cartridge body that can be compressed, crushed, and / or crushed by the anvil as the anvil moves from the open position to the closed position. As the cartridge body is compressed, crushed and / or crushed, staples disposed within the cartridge body are deformed by the anvil. Alternatively, the jaws that support the staple cartridge may move to the closed position in the direction of the anvil. In either case, the staple can be deformed while at least partially disposed within the cartridge body. In certain cases, the staples may not be ejected from the staple cartridge, and in other cases, the staples may be ejected from the staple cartridge along with a portion of the cartridge body.

次に図18A〜18Dを参照すると、例えば、ステープルカートリッジ1000などの圧縮可能なステープルカートリッジは、圧縮可能な移植式カートリッジ本体1010、及び、更に、圧縮可能なカートリッジ本体1010内に配置された複数のステープル1020を含みうるが、図18A〜18Dでは、1つのステープル1020のみが示されている。図18Aは、ステープルカートリッジ支持体又はステープルカートリッジ溝部材1030によって支持されたステープルカートリッジ1000を示しており、ステープルカートリッジ1000は非圧縮状態で示されている。このような非圧縮状態では、アンビル1040は、組織Tと接触してもしなくてもよい。使用時には、アンビル1040は、開位置から動いて図18Bに示されるように組織Tと接触し、組織Tをカートリッジ本体1010に押しつけて配置することができる。再び図18Bを参照すると、アンビル1040は、組織Tをステープルカートリッジ本体1010の組織接触表面1019に押しつけて配置することができるが、ステープルカートリッジ本体1010は、この時点では圧縮力又は圧力を(受けたとしても)ほとんど受けず、ステープル1020は未成形又は非発射状態に留まりうる。図18A及び図18Bに示されるように、ステープルカートリッジ本体1010は、1又は2以上の層を含んでもよく、ステープル1020のステープル脚1021がこれらの層を貫通して上方に延びることができる。カートリッジ本体1010は、第1の層1011、第2の層1012、第3の層1013を有してよく、第2の層1012は、第1の層1011と第3の層1013及び第4の層1014との間に配置することができ、第3の層1013は、第2の層1012と第4の層1014との間に配置することができる。ステープル1020の基部1022は第4の層1014のキャビティ1015内に配置され、ステープル脚1021は基部1022から第4の層1014、第3の層1013、及び第2の層1012を貫通して上方に延びることができる。必要に応じて、各変形可能な脚1021は例えば鋭い先端部1023のような先端部を有してもよく、先端部は例えばステープルカートリッジ1000が非圧縮状態にある場合には第2の層1012内に位置しうる。例えば、先端部1023は、第1の層1011内にかつ/又は第1の層1011を貫通して延びない場合もあり、先端部1023は、ステープルカートリッジ1000が非圧縮状態にある場合には組織接触表面1019を貫通して突出しなくともよい。ステープルカートリッジが非圧縮状態にある場合、鋭い先端部1023は、第3の層1013及び/又は他の任意の適当な層内に位置してもよい。あるいは、ステープルカートリッジのカートリッジ本体は、例えば4層よりも少ないか、又は4層よりも多い任意の適当な数の層を有してもよい。  Referring now to FIGS. 18A-18D, a compressible staple cartridge, such as, for example, astaple cartridge 1000, includes a compressibleimplantable cartridge body 1010 and a plurality of cartridges disposed within thecompressible cartridge body 1010. Althoughstaples 1020 may be included, only onestaple 1020 is shown in FIGS. FIG. 18A shows astaple cartridge 1000 supported by a staple cartridge support or staplecartridge groove member 1030, thestaple cartridge 1000 being shown in an uncompressed state. In such an uncompressed state, theanvil 1040 may or may not be in contact with the tissue T. In use, theanvil 1040 can be moved from the open position to contact the tissue T as shown in FIG. 18B and press the tissue T against thecartridge body 1010 for placement. Referring again to FIG. 18B, theanvil 1040 can be placed by pressing the tissue T against thetissue contacting surface 1019 of thestaple cartridge body 1010, but thestaple cartridge body 1010 is now subjected to a compressive force or pressure (received). (If any),staple 1020 may remain in an unformed or unfired state. As shown in FIGS. 18A and 18B, thestaple cartridge body 1010 may include one or more layers, and thestaple legs 1021 of thestaples 1020 can extend upwardly through these layers. Thecartridge body 1010 may include a first layer 1011, asecond layer 1012, and athird layer 1013. Thesecond layer 1012 includes the first layer 1011, thethird layer 1013, and the fourth layer. Thethird layer 1013 can be disposed between thesecond layer 1012 and thefourth layer 1014. Thebase 1022 of thestaple 1020 is disposed within thecavity 1015 of thefourth layer 1014, and thestaple legs 1021 pass upward from thebase 1022 through thefourth layer 1014, thethird layer 1013, and thesecond layer 1012. Can extend. If desired, eachdeformable leg 1021 may have a tip, such as asharp tip 1023, for example, thesecond layer 1012 when thestaple cartridge 1000 is in an uncompressed state. Can be located within. For example, thetip 1023 may not extend into and / or through the first layer 1011, and thetip 1023 may be tissue when thestaple cartridge 1000 is in an uncompressed state. It does not have to protrude through thecontact surface 1019. When the staple cartridge is in an uncompressed state, thesharp tip 1023 may be located in thethird layer 1013 and / or any other suitable layer. Alternatively, the cartridge body of the staple cartridge may have any suitable number of layers, for example, fewer than four layers, or more than four layers.

必要に応じて、下記により詳細に述べるように、第1の層1011は、バットレス材料及び/又はプラスチック材料、例えば、ポリジオキサノン(PDS)及び/又はポリグリコール酸(PGA)で構成することができ、第2の層1012は、生体吸収性発泡材料及び/又は圧縮可能な止血材料、例えば、酸化再生セルロース(ORC)で構成することができる。必要に応じて、第1の層1011、第2の層1012、第3の層1013、及び第4の層1014の1又は2以上が、ステープルカートリッジ本体1010内部にステープル1020を保持することができ、更に、各ステープル1020を互いに整列された状態に維持することができる。第3の層1013は、ステープル1020のステープル脚1021を互いに対して定位置に保持するように構成することが可能なバットレス材料又は比較的非圧縮性又は非弾性の材料で構成することができる。更に、第3の層1013の両側に配置される第2の層1012及び第4の層1014は圧縮可能な発泡材又は弾性材料で構成される場合もあるが、ステープル1020を安定化させるか又はその動きを低減させることができる。ステープル脚1021のステープル先端部1023は、その一部が第1の層1011内に埋め込まれてもよい。例えば、第1の層1011及び第3の層1013は、協働してしっかりとステープル脚1021を定位置に保持するように構成することができる。第1の層1011及び第3の層1013はそれぞれ、生体吸収性プラスチックのシート、例えば、商品名Vicrylで販売されるポリグリコール酸(PGA)、ポリ乳酸(PLA又はPLLA)、ポリジオキサノン(PDS)、ポリヒドロキシアルカノエート(PHA)、商品名Monocrylで販売されるポリグレカプロン25(PGCL)、ポリカプロラクトン(PCL)、及び/又はPGA、PLA、PDS、PHA、PGCL及び/若しくはPCLの複合物で構成することができ、第2の層1012及び第4の層1014はそれぞれ、少なくとも1種類の止血材料又は薬剤で構成することができる。  If desired, the first layer 1011 can be composed of a buttress material and / or a plastic material, such as polydioxanone (PDS) and / or polyglycolic acid (PGA), as described in more detail below. Thesecond layer 1012 can be composed of a bioabsorbable foam material and / or a compressible hemostatic material, such as oxidized regenerated cellulose (ORC). If desired, one or more of the first layer 1011, thesecond layer 1012, thethird layer 1013, and thefourth layer 1014 can hold thestaple 1020 within thestaple cartridge body 1010. In addition, thestaples 1020 can be kept aligned with each other. Thethird layer 1013 can be composed of a buttress material or a relatively incompressible or inelastic material that can be configured to hold thestaple legs 1021 of thestaples 1020 in place relative to each other. Further, thesecond layer 1012 and thefourth layer 1014 disposed on both sides of thethird layer 1013 may be composed of a compressible foam or elastic material, but may stabilize the staple 1020 or The movement can be reduced. A part of the stapleleading end portion 1023 of thestaple leg 1021 may be embedded in the first layer 1011. For example, the first layer 1011 and thethird layer 1013 can be configured to cooperate to securely hold thestaple legs 1021 in place. Each of the first layer 1011 and thethird layer 1013 is a sheet of bioabsorbable plastic, such as polyglycolic acid (PGA), polylactic acid (PLA or PLLA), polydioxanone (PDS) sold under the trade name Vicryl, Consists of polyhydroxyalkanoate (PHA), polygrecapron 25 (PGCL), polycaprolactone (PCL) and / or a composite of PGA, PLA, PDS, PHA, PGCL and / or PCL sold under the trade name Monocryl Each of thesecond layer 1012 and thefourth layer 1014 can be composed of at least one hemostatic material or drug.

第1の層1011は圧縮性を有するものでよく、第2の層1012は第1の層1011よりも大幅に高い圧縮性を有しうる。例えば、第2の層1012は、第1の層1011の約2倍の圧縮性、約3倍の圧縮性、約4倍の圧縮性、約5倍の圧縮性、及び/又は約10倍の圧縮性を有しうる。別の言い方をすると、第2の層1012は、所定の力によって第1の層1011の約2倍、約3倍、約4倍、約5倍、及び/又は約10倍の量で圧縮しうる。第2の層1012は、第1の層1011の約2倍〜約10倍の圧縮性を有しうる。第2の層1012は、内部に複数の空気空間が画定されてもよく、第2の層1012の空気空間の量及び/又は大きさは、第2の層1012の所望の圧縮性を与えるために調節することができる。上記と同様、第3の層1013が圧縮性を有してもよいが、第4の層1014は第3の層1013よりも大幅に高い圧縮性を有するものとすることができる。例えば、第4の層1014は、第3の層1013の約2倍の圧縮性、約3倍の圧縮性、約4倍の圧縮性、約5倍の圧縮性、及び/又は約10倍の圧縮性を有しうる。別の言い方をすると、第4の層1014は、所定の力によって第3の層1013の約2倍、約3倍、約4倍、約5倍、及び/又は約10倍の量で圧縮しうる。第4の層1014は、第3の層1013の、約2倍〜約10倍の圧縮性を有しうる。第4の層1014は、内部に複数の空気空間が画定されてもよく、第4の層1014の空気空間の量及び/又は大きさは、第4の層1014の所望の圧縮性を与えるために調節することができる。様々な状況において、カートリッジ本体、又はカートリッジ本体層の圧縮性は、圧縮率(すなわち、所定量の力によって層が圧縮される距離)によって表すことができる。例えば、高い圧縮率を有する層は、その層に作用する所定量の圧縮力によって、より低い圧縮率を有する層と比較してより大きな距離だけ圧縮する。すなわち、第2の層1012は、第1の層1011よりも高い圧縮率を有しうるものであり、同様に第4の層1014は、第3の層1013よりも高い圧縮率を有しうる。第2の層1012及び第4の層1014は、同じ材料で構成されてもよく、同じ圧縮率を有してもよい。第2の層1012及び第4の層1014は、異なる圧縮率を有する材料で構成することもできる。同様に第1の層1011及び第3の層1013は、同じ材料で構成されてもよく、同じ圧縮率を有してもよい。第1の層1011及び第3の層1013は、異なる圧縮率を有する材料で構成することもできる。  The first layer 1011 may have compressibility, and thesecond layer 1012 may have significantly higher compressibility than the first layer 1011. For example, thesecond layer 1012 may be about twice as compressible, about three times compressible, about four times compressible, about five times compressible, and / or about ten times greater than the first layer 1011. Can have compressibility. In other words, thesecond layer 1012 is compressed by a predetermined force in an amount about 2 times, about 3 times, about 4 times, about 5 times, and / or about 10 times that of the first layer 1011. sell. Thesecond layer 1012 may have a compressibility that is between about 2 times and about 10 times that of the first layer 1011. Thesecond layer 1012 may have a plurality of air spaces defined therein, and the amount and / or size of the air space in thesecond layer 1012 provides the desired compressibility of thesecond layer 1012. Can be adjusted to. Similar to the above, thethird layer 1013 may have compressibility, but thefourth layer 1014 may have significantly higher compressibility than thethird layer 1013. For example, thefourth layer 1014 may be about twice as compressible, about three times compressible, about four times compressible, about five times compressible, and / or about ten times thethird layer 1013. Can have compressibility. In other words, thefourth layer 1014 is compressed by a predetermined force in an amount of about 2 times, about 3 times, about 4 times, about 5 times, and / or about 10 times that of thethird layer 1013. sell. Thefourth layer 1014 may have a compressibility that is between about 2 times and about 10 times that of thethird layer 1013. Thefourth layer 1014 may have a plurality of air spaces defined therein, and the amount and / or size of the air space of thefourth layer 1014 provides the desired compressibility of thefourth layer 1014. Can be adjusted to. In various situations, the compressibility of a cartridge body, or cartridge body layer, can be represented by the compressibility (ie, the distance that the layer is compressed by a predetermined amount of force). For example, a layer with a high compressibility compresses a greater distance than a layer with a lower compressibility by a predetermined amount of compressive force acting on that layer. That is, thesecond layer 1012 can have a higher compression ratio than the first layer 1011, and similarly thefourth layer 1014 can have a higher compression ratio than thethird layer 1013. . Thesecond layer 1012 and thefourth layer 1014 may be made of the same material and may have the same compressibility. Thesecond layer 1012 and thefourth layer 1014 can also be made of materials having different compression ratios. Similarly, the first layer 1011 and thethird layer 1013 may be made of the same material and may have the same compression rate. The first layer 1011 and thethird layer 1013 can also be formed using materials having different compression ratios.

図18Cに示されるように、アンビル1040が閉位置に動くと、アンビル1040は組織Tと接触し、組織T及びステープルカートリッジ1000に圧縮力を加えることができる。このような状況では、アンビル1040は、カートリッジ本体1010の上面又は組織接触表面1019をステープルカートリッジ支持体1030の方向に下方に押すことができる。ステープルカートリッジ支持体1030は、カートリッジ支持表面1031を有してよく、カートリッジ支持表面1031は、ステープルカートリッジ1000がカートリッジ支持表面1031とアンビル1040の組織接触表面1041との間で圧縮される際に、ステープルカートリッジ1000を支持するように構成することができる。アンビル1040によって加えられる圧力により、カートリッジ本体1010が圧縮され、アンビル1040がステープル1020と接触することができる。より詳細には、カートリッジ本体1010の圧縮、及び組織接触表面1019の下方への移動により、ステープル脚1021の先端1023がカートリッジ本体1010の第1の層1011を貫通し、組織Tを貫通して、アンビル1040の成形ポケット1042内に入ることができる。カートリッジ本体1010が、アンビル1040によって更に圧縮されると、先端部1023は成形ポケット1042を画定する壁部と接触し、その結果、脚1021は例えば図18Cに示されるように、変形するか又は内側に湾曲することができる。やはり図18Cに見られるように、ステープル脚1021が変形すると、ステープル1020の基部1022は、ステープルカートリッジ支持体1030と接触するか又はこれによって支持されうる。必要に応じて、下記により詳細に述べるように、ステープルカートリッジ支持体1030は、ステープル1020が変形される際にステープル1020又は少なくともステープル1020の基部1022を支持するように構成することができる、例えばステープル支持溝、スロット又はトラフ1032のような複数の支持機構を有することができる。やはり図18Cに示されるように、第4の層1014のキャビティ1015は、ステープルカートリッジ本体1010に加えられる圧縮力の結果として圧潰しうる。キャビティ1015に加えて、ステープルカートリッジ本体1010は、例えば空間1016のような1つ又は2つ以上の空間を更に有してもよく、こうした空間は、内部にステープルの一部分が配置されてもされなくてもよく、カートリッジ本体1010が圧潰するように構成することができる。キャビティ1015及び/又は空間1016は、キャビティ及び/又は壁部を画定する壁が下方に撓んでカートリッジ支持表面1031と接触し、かつ/又はキャビティ及び/若しくは空間の下に位置するカートリッジ本体1010の層と接触するようにして圧潰するように構成することができる。  As shown in FIG. 18C, when theanvil 1040 is moved to the closed position, theanvil 1040 can contact the tissue T and apply a compressive force to the tissue T and thestaple cartridge 1000. In such a situation, theanvil 1040 can push the top surface ortissue contacting surface 1019 of thecartridge body 1010 downward toward thestaple cartridge support 1030.Staple cartridge support 1030 may have acartridge support surface 1031 that is stapled whenstaple cartridge 1000 is compressed betweencartridge support surface 1031 andtissue contacting surface 1041 ofanvil 1040. Thecartridge 1000 can be configured to be supported. The pressure applied by theanvil 1040 compresses thecartridge body 1010 and allows theanvil 1040 to contact thestaple 1020. More specifically, the compression of thecartridge body 1010 and the downward movement of thetissue contacting surface 1019 causes thetips 1023 of thestaple legs 1021 to penetrate the first layer 1011 of thecartridge body 1010 and the tissue T, Theanvil 1040 can enter themolding pocket 1042. As thecartridge body 1010 is further compressed by theanvil 1040, thetip 1023 contacts the wall defining themolding pocket 1042, so that thelegs 1021 are deformed or inward as shown, for example, in FIG. 18C. Can be curved. As can also be seen in FIG. 18C, when thestaple legs 1021 are deformed, thebase 1022 of the staple 1020 can contact or be supported by thestaple cartridge support 1030. If desired, thestaple cartridge support 1030 can be configured to support the staple 1020 or at least thebase 1022 of the staple 1020 as thestaple 1020 is deformed, eg, staples, as described in more detail below. There can be multiple support mechanisms such as support grooves, slots ortroughs 1032. As also shown in FIG. 18C, thecavities 1015 of thefourth layer 1014 can collapse as a result of the compressive force applied to thestaple cartridge body 1010. In addition to thecavity 1015, thestaple cartridge body 1010 may further include one or more spaces, such as aspace 1016, which may or may not have a portion of staples disposed therein. Alternatively, thecartridge body 1010 may be configured to be crushed. Thecavity 1015 and / orspace 1016 is a layer of thecartridge body 1010 in which the walls defining the cavity and / or wall deflect downwardly into contact with thecartridge support surface 1031 and / or are located below the cavity and / or space. It can comprise so that it may collide so that it may contact.

図18Bと図18Cとを比較すると、第2の層1012及び第4の層1014が、アンビル1040によって加えられた圧縮圧力によって大きく圧縮されていることがはっきりと分かる。第1の層1011及び第3の層1013も同様に圧縮されていることは認識されるであろう。アンビル1040がその閉位置に動かされると、アンビル1040は、組織接触表面1019をステープルカートリッジ支持体1030の方向に下方に押すことによって、カートリッジ本体1010を更に圧縮し続けることができる。図18Dに示されるように、カートリッジ本体1010が更に圧縮されると、アンビル1040はステープル1020をその完全に成形された形状へと変形させることができる。図18Dを参照すると、各ステープル1020の脚1021は、各ステープル1020の基部1022の方向に下方に変形されることによって、変形可能な脚1021と基部1022との間に、組織Tの少なくとも一部、第1の層1011、第2の層1012、第3の層1013、及び第4の層1014を捕捉することができる。図18Cと図18Dとを比較すると、第2の層1012及び第4の層1014が、アンビル1040によって加えられた圧縮圧力によって更に大きく圧縮されていることが更にはっきりと分かる。図18Cと図18Dを比較すると、第1の層1011及び第3の層1013も同様に更に圧縮されていることが認識されるであろう。ステープル1020が完全に、又は少なくとも充分に成形された後、アンビル1040を組織Tから離れる方向に持ち上げると、ステープルカートリッジ1030はステープルカートリッジ1000から離れる方向に動くか、かつ/又はステープルカートリッジ1000から分離しうる。図18Dに示されるように、上記の結果として、カートリッジ本体1010は、ステープル1020とともに移植することができる。様々な状況において、移植されたカートリッジ本体1010は、ステープルの列に沿って組織を支持することができる。特定の状況において、移植されたカートリッジ本体1010内に含まれる止血剤及び/又は他の任意の適当な治療用薬剤は、時間の経過とともに組織を治療することができる。上記のように、止血剤が、ステープル留め及び/又は切開された組織の出血を低減させる一方で、結合剤又は組織接着剤は、時間の経過とともに組織に強度を与えることができる。移植されたカートリッジ本体1010は、例えば、ORC(酸化再生セルロース)、タンパク質マトリックス、商品名Vircylで販売されるポリグリコール酸(PGA)、ポリ乳酸(PLA又はPLLA)、ポリジオキサノン(PDS)、ポリヒドロキシアルカノエート(PHA)、商品名Monocrylで販売されるポリグレカプロン25(PGCL)、ポリカプロラクトン(PCL)、並びに/又はPGA、PLA、PDS、PHA、PGCL及び/若しくはPCLの複合物などの材料で構成することができる。特定の状況において、カートリッジ本体1010は、手術部位における感染の可能性を低減させることが可能な、例えばコロイド銀及び/又はトリクロサンのような抗生物質及び/又は抗菌物質を含むことができる。  Comparing FIG. 18B and FIG. 18C clearly shows that thesecond layer 1012 and thefourth layer 1014 are greatly compressed by the compression pressure applied by theanvil 1040. It will be appreciated that the first layer 1011 and thethird layer 1013 are similarly compressed. As theanvil 1040 is moved to its closed position, theanvil 1040 can continue to compress thecartridge body 1010 further by pushing thetissue contacting surface 1019 downward toward thestaple cartridge support 1030. As shown in FIG. 18D, when thecartridge body 1010 is further compressed, theanvil 1040 can deform the staple 1020 to its fully molded shape. Referring to FIG. 18D, thelegs 1021 of each staple 1020 are deformed downward in the direction of thebase 1022 of each staple 1020 so that at least a portion of the tissue T is between thedeformable legs 1021 and thebase 1022. The first layer 1011, thesecond layer 1012, thethird layer 1013, and thefourth layer 1014 can be captured. Comparing FIG. 18C and FIG. 18D, it can be seen more clearly that thesecond layer 1012 and thefourth layer 1014 are more greatly compressed by the compression pressure applied by theanvil 1040. Comparing FIG. 18C and FIG. 18D, it will be appreciated that the first layer 1011 and thethird layer 1013 are further compressed as well. When theanvil 1040 is lifted away from the tissue T after thestaple 1020 is fully or at least fully formed, thestaple cartridge 1030 moves away from thestaple cartridge 1000 and / or separates from thestaple cartridge 1000. sell. As shown in FIG. 18D, as a result of the above, thecartridge body 1010 can be implanted withstaples 1020. In various situations, the implantedcartridge body 1010 can support tissue along a staple row. In certain circumstances, the hemostatic agent and / or any other suitable therapeutic agent contained within the implantedcartridge body 1010 can treat the tissue over time. As described above, a hemostatic agent reduces bleeding in stapled and / or incised tissue, while a binder or tissue adhesive can impart strength to the tissue over time. The transplantedcartridge body 1010 is composed of, for example, ORC (oxidized regenerated cellulose), protein matrix, polyglycolic acid (PGA), polylactic acid (PLA or PLLA), polydioxanone (PDS), polyhydroxyalkano sold under the trade name Vircyl. Consists of materials such as ATE (PHA), polygrecapron 25 (PGCL), polycaprolactone (PCL), and / or composites of PGA, PLA, PDS, PHA, PGCL and / or PCL sold under the trade name Monocryl can do. In certain circumstances, thecartridge body 1010 can include antibiotics and / or antibacterials such as colloidal silver and / or triclosan that can reduce the likelihood of infection at the surgical site.

カートリッジ本体1010の各層は、互いに結合されてもよい。例えば、フィブリン及び/又はタンパク質ヒドロゲルなどの少なくとも1種類の接着剤を使用して、第2の層1012を第1の層1011と接着し、第3の層1013を第2の層1012と接着し、第4の層1014を第3の層1013と接着することができる。図示はしないが、カートリッジ本体1010の各層が、連結機械機構によって互いに結合されてもよい。例えば、第1の層1011及び第2の層1012はそれぞれ、例えば、舌部及び溝部機構及び/又はあり継手機構などの対応した連結機構を有することができる。同様に、第2の層1012及び第3の層1013がそれぞれ、対応した連結機構を有してもよく、第3の層1013及び第4の層1014がそれぞれ、対応した連結機構を有してもよい。図示はしないが、ステープルカートリッジ1000は、例えば、カートリッジ本体1010の1つ又は2つ以上の層を貫通して延びうる1つ又は2つ以上のリベットを有してもよい。例えば、各リベットは、第1の層1011と隣接して配置される第1の端部又はヘッド、及びこのリベットの第2の端部に組み付けられるか又は第2の端部によって形成されうる、第4の層1014と隣接して配置される第2のヘッドを有しうる。カートリッジ本体1010の圧縮可能な性質により、リベットはカートリッジ本体1010を圧縮することができ、これにより、リベットのヘッドは、例えば、組織接触表面1019及び/又はカートリッジ本体1010の底面1018に対して陥凹することができる。例えば、リベットは、商品名Vircylで販売されるポリグリコール酸(PGA)、ポリ乳酸(PLA又はPLLA)、ポリジオキサノン(PDS)、ポリヒドロキシアルカノエート(PHA)、商品名Monocrylで販売されるポリグレカプロン25(PGCL)、ポリカプロラクトン(PCL)、並びに/又はPGA、PLA、PDS、PHA、PGCL及び/若しくはPCLの複合物などの生体吸収性材料で構成することができる。カートリッジ本体1010の各層は、内部に含まれるステープル1020以外によって互いに結合されなくてもよい。例えば、ステープル脚1021とカートリッジ本体1010との摩擦嵌合によってカートリッジ本体1010の各層を一体に保持することができ、ステープルが成形された時点で各層はステープル1020内に捕捉されうる。ステープル脚1021の少なくとも一部が、ステープル1020とカートリッジ本体1010との間の摩擦力を大きくすることができる非平坦化表面又は非平坦化コーティングを有してもよい。  The layers of thecartridge body 1010 may be coupled together. For example, thesecond layer 1012 is adhered to the first layer 1011 and thethird layer 1013 is adhered to thesecond layer 1012 using at least one adhesive such as fibrin and / or protein hydrogel. Thefourth layer 1014 can be bonded to thethird layer 1013. Although not shown, the layers of thecartridge body 1010 may be coupled to each other by a connecting mechanical mechanism. For example, the first layer 1011 and thesecond layer 1012 can each have a corresponding coupling mechanism, such as, for example, a tongue and groove mechanism and / or a dovetail mechanism. Similarly, thesecond layer 1012 and thethird layer 1013 may each have a corresponding coupling mechanism, and thethird layer 1013 and thefourth layer 1014 each have a corresponding coupling mechanism. Also good. Although not shown, thestaple cartridge 1000 may include one or more rivets that may extend through one or more layers of thecartridge body 1010, for example. For example, each rivet may be assembled or formed by a first end or head disposed adjacent to the first layer 1011 and a second end of the rivet. There may be a second head disposed adjacent to thefourth layer 1014. Due to the compressible nature of thecartridge body 1010, the rivet can compress thecartridge body 1010 so that the head of the rivet is recessed relative to thetissue contacting surface 1019 and / or thebottom surface 1018 of thecartridge body 1010, for example. can do. For example, rivets are polyglycolic acid (PGA), polylactic acid (PLA or PLLA), polydioxanone (PDS), polyhydroxyalkanoate (PHA) sold under the trade name Vircyl, polygrecapron sold under the trade name Monocryl. 25 (PGCL), polycaprolactone (PCL), and / or bioabsorbable materials such as PGA, PLA, PDS, PHA, PGCL and / or PCL composites. The layers of thecartridge body 1010 may not be coupled to each other except by thestaple 1020 included therein. For example, the layers of thecartridge body 1010 can be held together by a friction fit between thestaple legs 1021 and thecartridge body 1010, and each layer can be captured within thestaple 1020 when the staple is formed. At least a portion of thestaple legs 1021 may have a non-planarized surface or non-planarized coating that can increase the frictional force between the staple 1020 and thecartridge body 1010.

上記のように、外科用器具は、ステープルカートリッジ1030を含む第1のジョーと、アンビル1040を含む第2のジョーとを有しうる。必要に応じて、下記により詳しく述べるように、ステープルカートリッジ1000は、ステープルカートリッジ支持体1030と係合する結果、ステープルカートリッジ1000をステープルカートリッジ支持体1030に解放可能に保持するように構成することができる1つ又は2つ以上の保持機構を含んでもよい。ステープルカートリッジ1000は、例えば、フィブリン及び/又はタンパク質ヒドロゲルなどの少なくとも1種類の接着剤によってステープルカートリッジ支持体1030と接着することができる。使用時には、少なくとも1つの状況、特に腹腔鏡及び/又は内視鏡手術において、例えば、第1及び第2のジョーをトロカールに通して手術部位に挿入することができるように、第2のジョーを第1のジョーと対向する閉位置に動かすことができる。例えば、トロカールは、約5mmの開口部又はカニューレを画定してよく、これを通じて第1及び第2のジョーを挿入することができる。第2のジョーは、ステープルカートリッジ本体1010内に含まれるステープル1020を変形させることなく、トロカールを通じて第1及び第2のジョーを挿入することを可能とする、開位置と閉位置との中間の部分的に閉じた位置に動かすことができる。例えば、第2のジョーが部分的に閉じたその中間位置にある場合、アンビル1040がステープルカートリッジ本体1010に圧縮力を作用させる場合もあるが、第2のジョーが部分的に閉じた中間位置にある場合に、アンビル1040がステープルカートリッジ本体1010を圧縮する場合もある。アンビル1040はそのような中間位置にある場合にステープルカートリッジ本体1010を圧縮しうるが、アンビル1040は、アンビル1040がステープル1020と接触するうえで、かつ/又はステープル1020がアンビル1040によって変形されるうえでステープルカートリッジ本体1010を充分に圧縮しない場合がある。第1及び第2のジョーがトロカールを通じて手術部位に挿入された時点で、第2のジョーを再び開くことができ、アンビル1040及びステープルカートリッジ1000を上記に述べたように標的組織に対して配置することができる。  As described above, the surgical instrument can have a first jaw that includes astaple cartridge 1030 and a second jaw that includes ananvil 1040. If desired, thestaple cartridge 1000 can be configured to releasably hold thestaple cartridge 1000 to thestaple cartridge support 1030 as a result of engaging thestaple cartridge support 1030, as described in more detail below. One or more retaining mechanisms may be included. Thestaple cartridge 1000 can be adhered to thestaple cartridge support 1030 by at least one adhesive, such as, for example, fibrin and / or protein hydrogel. In use, in at least one situation, particularly in laparoscopic and / or endoscopic surgery, for example, the second jaw can be inserted so that the first and second jaws can be inserted through the trocar and into the surgical site. It can be moved to a closed position opposite the first jaw. For example, the trocar may define an opening or cannula of about 5 mm through which the first and second jaws can be inserted. The second jaw is an intermediate portion between the open and closed positions that allows the first and second jaws to be inserted through the trocar without deforming thestaple 1020 contained within thestaple cartridge body 1010. Can be moved to a closed position. For example, when the second jaw is in its partially closed intermediate position, theanvil 1040 may exert a compressive force on thestaple cartridge body 1010, but the second jaw is in its partially closed intermediate position. In some cases, theanvil 1040 may compress thestaple cartridge body 1010. While theanvil 1040 may compress thestaple cartridge body 1010 when in such an intermediate position, theanvil 1040 may cause theanvil 1040 to contact thestaple 1020 and / or thestaple 1020 may be deformed by theanvil 1040. The staple cartridgemain body 1010 may not be sufficiently compressed. Once the first and second jaws are inserted through the trocar into the surgical site, the second jaw can be reopened and theanvil 1040 andstaple cartridge 1000 are positioned relative to the target tissue as described above. be able to.

次に図19A〜19Dを参照すると、外科用ステープラのエンドエフェクタは、アンビル1140とステープルカートリッジ支持体1130との間に配置された移植可能なステープルカートリッジ1100を含みうる。上記と同様、アンビル1140は組織接触表面1141を有してもよく、ステープルカートリッジ1100は組織接触表面1119を有してもよく、ステープルカートリッジ支持体1130はステープルカートリッジ1100を支持するように構成することが可能な支持表面1131を有してもよい。図19Aを参照すると、アンビル1140は、ステープルカートリッジ1100を変形することなく、ステープルカートリッジ1100の組織接触表面1119に対して組織Tを配置するために使用され、アンビル1140がこのような位置にある場合、組織接触表面1141は、ステープルカートリッジ支持表面1131から距離1101aに位置し、組織接触表面1119はステープルカートリッジ支持表面1131から距離1102aに位置しうる。この後、アンビル1140がステープルカートリッジ支持体1130の方向に動かされ、次に図19Bを参照すると、アンビル1140は、ステープルカートリッジ1100の上面又は組織接触表面1119を下方に押し、カートリッジ本体1110の第1の層1111及び第2の層1112を圧縮することができる。再び図19Bを参照すると、層1111及び1112が圧縮されるにしたがって、第2の層1112が圧し潰され、ステープル1120の脚1121が、第1の層1111を貫通して組織T内に進入しうる。例えば、ステープル1120は第2の層1112のステープルキャビティ又は空間1115内に少なくとも一部が配置されてよく、第2の層1112が圧縮される際、ステープルキャビティ1115が圧潰し、その結果、第2の層1112がステープル1120の周囲に圧潰することが可能となる。第2の層1112は、ステープルキャビティ1115上に延び、かつステープルキャビティ1115を包囲するか又は少なくとも部分的に包囲しうるカバー部分1116を含んでもよい。図19Bは、ステープルキャビティ1115内へと下方に圧潰されるカバー部分1116を示している。第2の層1112は、第2の層1112の圧潰を促進しうる1つ又は2つ以上の脆弱化部分を含んでもよい。必要に応じて、このような脆弱化部分は、カートリッジ本体1110の制御された圧潰を促しうる、例えば、刻み目、ミシン目、及び/又は薄い断面を有しうる。第1の層1111は、第1の層1111にステープル脚1121を貫通しやすくする1つ又は2つ以上の脆弱化部分を含んでもよい。必要に応じて、このような脆弱化部分は、例えば、刻み目、ミシン目、及び/又は薄い断面を含んでもよく、これはステープル脚1121と整列されるか又は少なくともほぼ整列されうる。  Referring now to FIGS. 19A-19D, the surgical stapler end effector may include animplantable staple cartridge 1100 disposed between theanvil 1140 and thestaple cartridge support 1130. As above, theanvil 1140 may have atissue contacting surface 1141, thestaple cartridge 1100 may have atissue contacting surface 1119, and thestaple cartridge support 1130 is configured to support thestaple cartridge 1100. It may have asupport surface 1131 capable of. Referring to FIG. 19A, theanvil 1140 is used to position the tissue T against thetissue contacting surface 1119 of thestaple cartridge 1100 without deforming thestaple cartridge 1100, with theanvil 1140 in such a position. Thetissue contacting surface 1141 can be located at a distance 1101a from the staplecartridge support surface 1131 and thetissue contacting surface 1119 can be located at a distance 1102a from the staplecartridge support surface 1131. After this, theanvil 1140 is moved in the direction of thestaple cartridge support 1130, and referring now to FIG. 19B, theanvil 1140 pushes down on the upper surface ortissue contacting surface 1119 of thestaple cartridge 1100, and the first of thecartridge body 1110. Thefirst layer 1111 and thesecond layer 1112 can be compressed. Referring again to FIG. 19B, as thelayers 1111 and 1112 are compressed, thesecond layer 1112 is crushed and thelegs 1121 of the staple 1120 enter the tissue T through thefirst layer 1111. sell. For example, thestaple 1120 may be at least partially disposed within the staple cavity orspace 1115 of thesecond layer 1112 such that when thesecond layer 1112 is compressed, thestaple cavity 1115 collapses, resulting in asecond Layer 1112 can be collapsed around thestaple 1120. Thesecond layer 1112 may include acover portion 1116 that extends over thestaple cavity 1115 and may surround or at least partially surround thestaple cavity 1115. FIG. 19B shows acover portion 1116 that is crushed down into thestaple cavity 1115.Second layer 1112 may include one or more weakened portions that may facilitate crushing ofsecond layer 1112. If desired, such weakened portions can have, for example, notches, perforations, and / or thin cross-sections that can facilitate controlled crushing of thecartridge body 1110. Thefirst layer 1111 may include one or more weakened portions that facilitate penetrating thestaple legs 1121 in thefirst layer 1111. If desired, such weakened portions may include, for example, notches, perforations, and / or thin cross-sections, which can be aligned or at least approximately aligned with thestaple legs 1121.

再び図19Aを参照すると、アンビル1140が、部分的に閉じた未発射位置にある場合、アンビル1140は、カートリッジ支持表面1131から距離1101aに配置されることにより、それらの間に間隙が画定される。この間隙はステープルカートリッジ高さ1102aを有するステープルカートリッジ1100及び組織Tで充填されうる。再び図19Bを参照すると、アンビル1140が下方に動かされてステープルカートリッジ1100を圧縮すると、組織接触表面1141とカートリッジ支持表面1131との間の距離は、距離1101aよりも短い距離1101bによって規定されうる。様々な状況において、距離1101bにより規定されるアンビル1140の組織接触表面1141とカートリッジ支持表面1131との間の間隙は、元の未変形のステープルカートリッジ高さ1102aよりも大きくなりうる。次に図19Cを参照すると、アンビル1140がカートリッジ支持表面1131に近づく方向に動かされるにしたがって、第2の層1112は引き続き圧潰し、ステープル脚1121と成形ポケット1142との間の距離は接近しうる。同様に、組織接触表面1141とカートリッジ支持表面1131との間の距離は、距離1101cまで接近しうるが、距離1101cは元の未変形のカートリッジ高さ1102aよりも大きいか、これと等しいか、又はこれより小さくなりうる。図19Dを参照すると、アンビル1140は、ステープル1120が完全に成形されるか又は少なくとも所望の高さまで成形された最終的な発射位置まで動かすことができる。この位置では、アンビル1140の組織接触表面1141は、カートリッジ支持表面1131から距離1101dの距離にあってよく、その場合、距離1101dは元の未変形のカートリッジ高さ1102aより短くなりうる。やはり図19Dに示されるように、ステープルキャビティ1115は、完全に、又は少なくともほぼ圧潰しており、ステープル1120は圧潰した第2の層1112によって完全に、又は少なくともほぼ囲まれうる。様々な状況において、アンビル1140はこの後、ステープルカートリッジ1100から離れる方向に動かすことができる。アンビル1140がステープルカートリッジ1100から離脱した後、カートリッジ本体1110は、様々な位置(すなわち例えば隣接するステープル1120の間の位置)において少なくとも部分的に再拡張しうる。圧潰したカートリッジ本体1110は弾性的に再拡張しない場合もある。成形されたステープル1120及び、更に、隣接するステープル1120間に位置するカートリッジ本体1110が組織Tに圧力又は圧縮力を作用する場合があり、これにより様々な治療的効果が与えられうる。  Referring again to FIG. 19A, when theanvil 1140 is in a partially closed unfired position, theanvil 1140 is positioned at a distance 1101a from thecartridge support surface 1131 to define a gap therebetween. . This gap may be filled withstaple cartridge 1100 having a staple cartridge height 1102a and tissue T. Referring again to FIG. 19B, when theanvil 1140 is moved downward to compress thestaple cartridge 1100, the distance between thetissue contacting surface 1141 and thecartridge support surface 1131 may be defined by adistance 1101b that is shorter than the distance 1101a. In various situations, the gap between thetissue contacting surface 1141 of theanvil 1140 and thecartridge support surface 1131 defined by thedistance 1101b can be larger than the original undeformed staple cartridge height 1102a. Referring now to FIG. 19C, as theanvil 1140 is moved toward thecartridge support surface 1131, thesecond layer 1112 continues to collapse and the distance between thestaple legs 1121 and the formingpocket 1142 can approach. . Similarly, the distance between thetissue contacting surface 1141 and thecartridge support surface 1131 can approach up to adistance 1101c, but thedistance 1101c is greater than or equal to the original undeformed cartridge height 1102a, or It can be smaller than this. Referring to FIG. 19D, theanvil 1140 can be moved to a final firing position where thestaples 1120 are fully formed or at least formed to the desired height. In this position, thetissue contacting surface 1141 of theanvil 1140 may be adistance 1101d from thecartridge support surface 1131, in which case thedistance 1101d may be shorter than the original undeformed cartridge height 1102a. As also shown in FIG. 19D, thestaple cavities 1115 may be completely or at least substantially crushed, and thestaple 1120 may be completely or at least substantially surrounded by the crushedsecond layer 1112. In various situations, theanvil 1140 can then be moved away from thestaple cartridge 1100. After theanvil 1140 is disengaged from thestaple cartridge 1100, thecartridge body 1110 can be at least partially re-expanded at various positions (ie, for example, positions between adjacent staples 1120). The crushedcartridge body 1110 may not elastically re-expand. The shapedstaple 1120 and thecartridge body 1110 located betweenadjacent staples 1120 may exert pressure or compressive force on the tissue T, which may provide various therapeutic effects.

再び図19Aを参照すると、上記に述べたように、各ステープル1120からはステープル脚1121が延出しうる。ステープル1120は、2本のステープル脚1121を有するものとして示されているが、1本のステープル脚、又は2本よりも多いステープル脚、例えば3本のステープル脚、又は4本のステープル脚を有する様々なステープルを使用することができる。図19Aに示されるように、各ステープル脚1121はカートリッジ本体1110の第2の層1112内に包埋されてよく、これによりステープル1120が第2の層1112内で固定される。ステープル1120は、ステープル脚1121の先端部1123が基部1122よりも先にキャビティ1115内に入るようにして、カートリッジ本体1110のステープルキャビティ1115内に挿入することができる。先端1123は、キャビティ1115内に挿入された後、カバー部分1116内に押し込まれて、第2の層1112を切開する。ステープル1120は、ステープル1120が第2の層1112に対して動かないか又は少なくともほぼ動かないように、第2の層1112内部の充分な深さに置くことができる。ステープル1120は、基部1122がステープルキャビティ1115内に位置するか又は包埋されるように第2の層1112内部の充分な深さに置くことができる。あるいは、基部1122は、第2の層1112内に位置しないか、又は包埋されない場合もある。再び図19Aを参照すると、基部1122は、カートリッジ本体1110の底面1118の下に延びてもよい。基部1122は、カートリッジ支持表面1130上に置かれるか、又はカートリッジ支持表面1130と直接接して配置されうる。カートリッジ支持表面1130は、ここから貫通して延びるか、及び/又は内部に画定される支持機構を有してもよく、その場合、下記により詳しく述べるように、例えばステープル1120の基部1122は、ステープルカートリッジ支持体1130の1又は2以上の支持溝、スロット、又はトラフ1132内に配置されるか、又はこれによって支持されうる。  Referring again to FIG. 19A, astaple leg 1121 can extend from each staple 1120 as described above.Staple 1120 is shown as having twostaple legs 1121, but has one staple leg, or more than two staple legs, such as three staple legs, or four staple legs. A variety of staples can be used. As shown in FIG. 19A, eachstaple leg 1121 may be embedded within thesecond layer 1112 of thecartridge body 1110, thereby securing thestaple 1120 within thesecond layer 1112. The staple 1120 can be inserted into thestaple cavity 1115 of thecartridge body 1110 such that theleading end 1123 of thestaple leg 1121 enters thecavity 1115 before thebase 1122. Thetip 1123 is inserted into thecavity 1115 and then pushed into thecover portion 1116 to cut through thesecond layer 1112. The staple 1120 can be placed at a sufficient depth within thesecond layer 1112 such that thestaple 1120 does not move or at least substantially does not move relative to thesecond layer 1112. The staple 1120 can be placed deep enough within thesecond layer 1112 such that thebase 1122 is located or embedded within thestaple cavity 1115. Alternatively, thebase 1122 may not be located in thesecond layer 1112 or may not be embedded. Referring again to FIG. 19A, thebase 1122 may extend below thebottom surface 1118 of thecartridge body 1110. Thebase 1122 can be placed on thecartridge support surface 1130 or placed directly in contact with thecartridge support surface 1130. Thecartridge support surface 1130 may have a support mechanism extending therethrough and / or defined therein, in which case, for example, thebase 1122 of thestaple 1120 is a staple, as described in more detail below. Thecartridge support 1130 may be disposed in or supported by one or more support grooves, slots, ortroughs 1132 of thecartridge support 1130.

次に図20を参照すると、上記に加えて、ステープル1120の基部1122は、ステープルカートリッジ支持体1130の支持表面1131に直接接して直接配置することができる。必要に応じて、例えば、ステープル基部1122が円形又は円弧状の底面1124を含む場合などでは、ステープル基部1122は、ステープルカートリッジ支持表面1131に沿って動くか又は摺動することができる。このような摺動は、ステープル成形過程においてアンビル1140がステープル脚1121の先端部1123に対して押し付けられる際に生じうる。上記に述べたように、また、次に図21を参照すると、ステープルカートリッジ支持体1130には1又は2以上の支持スロット1132が設けられてもよく、こうした支持スロット1132は、ステープル基部1122とカートリッジ支持表面1131との相対運動を防止するか又は少なくとも低減するように構成することができる。例えば、各支持スロット1132は、その中に配置されるステープルの底面の外形と一致するか、又は少なくともほぼ一致する表面外形によって画定されうる。例えば、図21に示される基部1122の底面1124は円形又は少なくともほぼ円形の表面を有してもよく、支持スロット1132も円形又は少なくともほぼ円形の表面を有しうる。例えば、スロット1132を画定する表面は、底面1124を画定する曲率半径よりも大きいか又はこれと等しい曲率半径によって画定されうる。スロット1132は、ステープル1120とステープルカートリッジ支持体1130との相対的な摺動運動を防止するか又は低減する助けとなりうるが、スロット1132は、ステープル1120とステープルカートリッジ支持体1130と間の回転運動を防止するか又は低減するように構成することもできる。より詳細には、スロット1132を、基部1122を緊密に受容するように構成することによって軸1129を中心としたステープル1120の回転を防止するか又は低減することができ、これにより、ステープル1120が変形される際に回転したり捻れることがなくなる。  Referring now to FIG. 20, in addition to the above, thebase 1122 of the staple 1120 can be placed directly against thesupport surface 1131 of thestaple cartridge support 1130. If desired, thestaple base 1122 can move or slide along the staplecartridge support surface 1131, for example, where thestaple base 1122 includes a circular orarcuate bottom surface 1124. Such sliding can occur when theanvil 1140 is pressed against thetip 1123 of thestaple leg 1121 during the staple forming process. As described above, and referring now to FIG. 21, thestaple cartridge support 1130 may be provided with one ormore support slots 1132, which supportslots 1132 include thestaple base 1122 and the cartridge. Relative movement with thesupport surface 1131 can be prevented or at least reduced. For example, eachsupport slot 1132 may be defined by a surface profile that matches, or at least approximately matches, the profile of the bottom surface of the staples disposed therein. For example, thebottom surface 1124 of the base 1122 shown in FIG. 21 may have a circular or at least approximately circular surface, and thesupport slot 1132 may also have a circular or at least approximately circular surface. For example, the surface that definesslot 1132 may be defined by a radius of curvature that is greater than or equal to the radius of curvature that definesbottom surface 1124. Theslot 1132 can help prevent or reduce relative sliding movement between the staple 1120 and thestaple cartridge support 1130, while theslot 1132 provides rotational movement between the staple 1120 and thestaple cartridge support 1130. It can also be configured to prevent or reduce. More particularly, theslot 1132 can be configured to tightly receive thebase 1122 to prevent or reduce the rotation of the staple 1120 about theshaft 1129, which causes thestaple 1120 to deform. It will not rotate or twist when it is done.

上記に加えて、各ステープル1120は丸いか又は少なくともほぼ丸いワイヤで形成することができる。各ステープルの脚及び基部は、例えば、矩形の断面のような非円形の断面を有するワイヤで形成することもできる。例えば、ステープルカートリッジ1130は、例えば、こうしたステープルの基部を受容するように構成された矩形のスロットなどの対応する非円形のスロットを有してもよい。次に図22を参照すると、各ステープル1120は、例えば、基部1122にオーバーモールドされたクラウン1125のようなクラウンを有してもよく、その場合、各クラウン1125は、ステープルカートリッジ支持体1130の支持スロット内に配置されうる。例えば、各クラウン1125は正方形及び/又は矩形の断面を有してもよく、こうした断面は、例えばステープルカートリッジ支持体1130の正方形及び/又は長方形のスロット1134内に受容されるように構成することができる。クラウン1125は、商品名Vicrylで市販されるポリグリコール酸(PGA)、ポリ乳酸(PLA又はPLLA)、ポリジオキサノン(PDS)、ポリヒドロキシアルカノエート(PHA)、商品名Monocrylで市販されるポリグレカプロン25(PGCL)、ポリカプロラクトン(PCL)、並びに/又はPGA、PLA、PDS、PHA、PGCL及び/若しくはPCLの複合物などの生体吸収性プラスチックで構成することができ、例えば、射出成形プロセスによって、ステープル1120の基部1122の周囲に形成することができる。様々なクラウン及び様々なクラウンを形成する方法は、発明の名称が「SURGICAL STAPLES HAVING COMPRESSIBLE OR CRUSHABLE MEMBERS FOR SECURING TISSUE THEREIN AND STAPLING INSTRUMENTS FOR DEPLOYING THE SAME」である2006年9月29日出願の米国特許出願第11/541,123号に開示されており、その開示内容の全体を本明細書に参照によって援用する。再び図22を参照すると、スロット1134は、スロット1134内へのクラウン1125の挿入を促すように構成することができる導入部又はベベル1135を更に有しうる。ステープル1120の基部及び/又はクラウンは、ステープルカートリッジ1100がステープルカートリッジ支持体1130に組み付けられる際にスロット1134内に配置することができる。ステープル1120のクラウン1125は、ステープルカートリッジ1100がステープルカートリッジ支持体1130に組み付けられる際にスロット1134と整列させてもよい。例えば、クラウン1125は、圧縮力がステープル脚1121に加えられ、ステープル1120の基部及び/又はクラウンがスロット1134内へと下方に押されるまで、スロット1134内に入らないようにすることもできる。  In addition to the above, each staple 1120 can be formed of round or at least substantially round wire. The legs and base of each staple can also be formed of a wire having a non-circular cross section, for example, a rectangular cross section. For example, thestaple cartridge 1130 may have a corresponding non-circular slot such as, for example, a rectangular slot configured to receive a base of such staples. Referring now to FIG. 22, each staple 1120 may have a crown, such as acrown 1125 overmolded to thebase 1122, in which case eachcrown 1125 supports astaple cartridge support 1130. It can be placed in a slot. For example, eachcrown 1125 may have a square and / or rectangular cross-section that can be configured to be received within a square and / orrectangular slot 1134 of thestaple cartridge support 1130, for example. it can. Thecrown 1125 is polyglycolic acid (PGA), polylactic acid (PLA or PLLA), polydioxanone (PDS), polyhydroxyalkanoate (PHA), which is commercially available under the trade name Vicryl, and polygrecapron 25, which is commercially available under the trade name Monocryl. (PGCL), polycaprolactone (PCL), and / or bioabsorbable plastics such as PGA, PLA, PDS, PHA, PGCL and / or PCL composites, for example, by an injection molding process, 1120 can be formed around thebase 1122. Various crowns and methods for forming various crowns are named “SURGICAL STAPLES HAVING COMPRESIBLE OR CRUSSHABLE MEMBERS FOR SECURING TUSSUE THEREIN AND STAPLING INSTRUMENTY IN 29 DAY 9” No. 11 / 541,123, the entire disclosure of which is incorporated herein by reference. Referring again to FIG. 22, theslot 1134 can further include an introducer orbevel 1135 that can be configured to facilitate insertion of thecrown 1125 into theslot 1134. The base and / or crown of the staple 1120 can be placed in theslot 1134 when thestaple cartridge 1100 is assembled to thestaple cartridge support 1130. Thecrown 1125 of the staple 1120 may be aligned with theslot 1134 when thestaple cartridge 1100 is assembled to thestaple cartridge support 1130. For example, thecrown 1125 can be prevented from entering theslot 1134 until a compressive force is applied to thestaple legs 1121 and the base and / or crown of thestaple 1120 is pushed down into theslot 1134.

次に図23及び図24を参照すると、例えば、ステープルカートリッジ1200のようなステープルカートリッジは、外側層1211及び内側層1212を有する圧縮可能な移植式カートリッジ本体1210を有しうる。上記と同様、ステープルカートリッジ1200は、カートリッジ本体1210内に配置された複数のステープル1220を有しうる。必要に応じて、各ステープル1220は、基部1222及び基部1222から延びる1本又は2本以上のステープル脚1221を有しうる。例えば、ステープル脚1221は内側層1212内に挿入され、例えば、ステープル1220の基部1222が内側層1212の底面1218と当接するか、かつ/又は底面1218に隣接して配置されるような深さに置かれうる。図23及び図24では、内側層1212はステープル1220の一部を受容するように構成されたステープルキャビティを有していないが、代替例として内側層1212がこのようなステープルキャビティを有してもよい。上記に加えて、内側層1212は、圧縮荷重が加えられる際にカートリッジ本体1210が圧潰するように構成することができる、例えば生体吸収性発泡材及び/又は酸化再生セルロース(ORC)などの圧縮可能な材料で構成することができる。内側層1212は、例えば、ポリ乳酸(PLA)及び/又はポリグリコール酸(PGA)を含む凍結乾燥発泡材で構成することができる。ORCは、商品名Surgicelで市販されており、緩く編まれた(外科用スポンジのような)ファブリック、(コットンボールのような)緩い繊維、及び/又は発泡材を含みうる。内側層1212は、例えば、水で活性化されるかかつ/又は患者の体液によって活性化されうる、内側層1212に含まれるかかつ/又は内側層1212にコーティングされた凍結乾燥トロンビン及び/又はフィブリンのような医薬品を含む材料で構成されうる。例えば、凍結乾燥したトロンビン及び/又はフィブリンをVicryl(PGA)マトリックス上に保持することができる。しかしながら、特定の状況では、ステープルカートリッジ1200が例えば患者の体内の手術部位に挿入される際、活性化可能な医薬品が意図せずして活性化される場合がある。再び図23及び図24を参照すると、外側層1211は、水不透過性、又は少なくともほぼ水不透過性の材料で構成することができ、これにより、カートリッジ本体1210が圧縮されてステープル脚が外側層1211を貫通する後、及び/又は外側層1211が何らかの方法により切開される後まで、液体が内側層1212と接触しないか又は少なくともほぼ接触しない。外側層1211は、例えば、ポリジオキサノン(PDS)及び/又はポリグリコール酸(PGA)などのバットレス材料及び/又はプラスチック材料で構成することができる。外側層1211は、内側層1212及びステープル1220を包囲するラップを含みうる。より詳細には、ステープル1220を内側層1212内に挿入することができ、外側層1211を内側層1212及びステープル1220を含むサブアセンブリの周囲に巻き、その後封止することができる。  Referring now to FIGS. 23 and 24, for example, a staple cartridge such asstaple cartridge 1200 may have a compressibleimplantable cartridge body 1210 having anouter layer 1211 and aninner layer 1212. Similar to the above, thestaple cartridge 1200 may have a plurality ofstaples 1220 disposed within thecartridge body 1210. Eachstaple 1220 can have abase 1222 and one or morestaple legs 1221 extending from thebase 1222 as desired. For example, thestaple legs 1221 are inserted into theinner layer 1212 and, for example, to a depth such that thebase 1222 of thestaple 1220 abuts and / or is disposed adjacent to thebottom surface 1218 of theinner layer 1212. Can be placed. In FIGS. 23 and 24, theinner layer 1212 does not have a staple cavity configured to receive a portion of thestaple 1220, but alternatively, theinner layer 1212 may have such a staple cavity. Good. In addition to the above, theinner layer 1212 can be configured to collapse thecartridge body 1210 when a compressive load is applied, such as a bioabsorbable foam and / or oxidized regenerated cellulose (ORC) compressible Can be made of any material. Theinner layer 1212 can be made of, for example, a freeze-dried foam material containing polylactic acid (PLA) and / or polyglycolic acid (PGA). The ORC is marketed under the trade name Surgicel and may include loosely knitted fabrics (such as surgical sponges), loose fibers (such as cotton balls), and / or foam. Theinner layer 1212 can be activated with water and / or activated by a patient's body fluid, for example, and / or lyophilized thrombin and / or fibrin contained in and / or coated on theinner layer 1212 It can be comprised with the material containing pharmaceuticals like. For example, lyophilized thrombin and / or fibrin can be retained on a Vicryl (PGA) matrix. However, in certain circumstances, when thestaple cartridge 1200 is inserted into, for example, a surgical site in a patient's body, an activatable medicament may be activated unintentionally. Referring again to FIGS. 23 and 24, theouter layer 1211 can be constructed of a water impermeable, or at least substantially water impermeable material, which compresses thecartridge body 1210 and causes the staple legs to be outward. The liquid does not contact or at least substantially does not contact theinner layer 1212 after penetrating thelayer 1211 and / or until after theouter layer 1211 is cut in some way. Theouter layer 1211 can be composed of a buttress material and / or a plastic material such as, for example, polydioxanone (PDS) and / or polyglycolic acid (PGA). Theouter layer 1211 can include a wrap surrounding theinner layer 1212 and thestaples 1220. More particularly, thestaple 1220 can be inserted into theinner layer 1212 and theouter layer 1211 can be wrapped around the subassembly including theinner layer 1212 and thestaple 1220 and then sealed.

次に図25及び図26を参照すると、例えば、ステープルカートリッジ1300のようなステープルカートリッジは、外側層1311及び内側層1312を含む、圧縮可能な移植式カートリッジ本体1310を有しうる。上記と同様、ステープルカートリッジ1300は、カートリッジ本体1310内に配置されたステープル1320を更に有してよく、各ステープル1320は、基部1322及び基部1322から延びる1本又は2本以上の脚1321を有しうる。ステープルカートリッジ1200と同様、ステープル1320の基部1322は、内側層1312の底面1318の下に延びてもよく、外側層1311が基部1322を囲むことができる。例えば、外側層1311は各ステープル基部1322を包み込むような充分な可撓性を有してよく、これにより、外側層1311は基部1322の外形と一致する。あるいは、再び図24を参照すると、外側層1211は、各基部1222と形状一致することなく基部1222の周囲に延びるような充分な剛性を有するものでもよい。いずれの場合も、外側層1311は、ステープル1320の基部1322と、例えばステープルカートリッジ1300を支持する支持表面1031又は1131のようなステープルカートリッジ支持表面との間に配置されうる。例えば、外側層1311は、基部1322と、例えばステープルカートリッジ支持表面に画定されるスロット1032又は1132などの支持スロットとの間に配置することができる。例えば、上記に加えて、外側層1311は、基部1322の運動を制限し、かつ/又は基部1322とステープルカートリッジ支持表面及び/若しくは支持スロットとの間の摩擦係数を増大させることによってそれらの間の相対運動を低減させるように構成することができる。あるいは、次に図27及び図28を参照すると、例えばステープルカートリッジ1400のようなステープルカートリッジの外側層は、その内部に配置されたステープルを完全に包囲せずともよい。例えば、圧縮可能な移植式カートリッジ本体1410の外側層1411は、ステープル1420のステープル脚1421をカートリッジ本体1410内に挿入する前に、内側層1412に組み付けることができる。上記の結果として、ステープル1420の基部1422は外側層1411の外側に延びてもよく、基部1422を例えばカートリッジ支持表面1031又は1131内の支持スロット1032又は1132内に直接配置することができる。ステープル脚1421が外側層1411を貫通して挿入される際にステープル脚1421が外側層1411を切開してもよい。様々な状況において、ステープル脚1421によって形成される穴は、ステープル脚1421と外側層1411との間で流体が(漏れたとしても)ほとんど漏れないように、ステープル脚1421を緊密に囲むことができ、これにより、ステープルカートリッジ本体1410内に含まれる薬剤が、早期に活性化され、かつ/又はカートリッジ本体1410から漏出する可能性を低減するか又はこれを防止することができる。  Referring now to FIGS. 25 and 26, for example, a staple cartridge such asstaple cartridge 1300 may have a compressibleimplantable cartridge body 1310 that includes anouter layer 1311 and aninner layer 1312. Similar to the above, thestaple cartridge 1300 may further includestaples 1320 disposed within thecartridge body 1310, each staple 1320 having abase 1322 and one ormore legs 1321 extending from thebase 1322. sell. Similar to thestaple cartridge 1200, thebase 1322 of the staple 1320 may extend below thebottom surface 1318 of theinner layer 1312, and theouter layer 1311 may surround thebase 1322. For example, theouter layer 1311 may be flexible enough to wrap eachstaple base 1322, so that theouter layer 1311 matches the outer shape of thebase 1322. Alternatively, referring again to FIG. 24, theouter layer 1211 may have sufficient rigidity to extend around thebase 1222 without conforming to eachbase 1222. In either case, theouter layer 1311 can be disposed between thebase 1322 of thestaple 1320 and a staple cartridge support surface, such as asupport surface 1031 or 1131 that supports thestaple cartridge 1300, for example. For example, theouter layer 1311 can be disposed between the base 1322 and a support slot, such asslot 1032 or 1132 defined in the staple cartridge support surface, for example. For example, in addition to the above, theouter layer 1311 may limit the movement of thebase 1322 and / or increase the coefficient of friction between them by increasing the coefficient of friction between the base 1322 and the staple cartridge support surface and / or the support slot. It can be configured to reduce relative motion. Alternatively, referring now to FIGS. 27 and 28, an outer layer of a staple cartridge, such asstaple cartridge 1400, may not completely enclose the staples disposed therein. For example, theouter layer 1411 of the compressibleimplantable cartridge body 1410 can be assembled to theinner layer 1412 prior to inserting thestaple legs 1421 of thestaples 1420 into thecartridge body 1410. As a result of the above, thebase 1422 of the staple 1420 may extend outside theouter layer 1411 and thebase 1422 may be placed directly into thesupport slot 1032 or 1132 within thecartridge support surface 1031 or 1131, for example. Thestaple legs 1421 may cut through theouter layer 1411 as thestaple legs 1421 are inserted through theouter layer 1411. In various situations, the holes formed by thestaple legs 1421 can tightly surround thestaple legs 1421 such that little fluid (even if leaked) leaks between thestaple legs 1421 and theouter layer 1411. This can reduce or prevent the possibility that the medicament contained within thestaple cartridge body 1410 is activated early and / or leaks from thecartridge body 1410.

再び図23及び図24を参照すると、上記に述べたように、ステープル1220の脚1221は、カートリッジ本体1210内に包埋されてもよく、ステープル1220の基部1222が内側層1212の底面1218から外側に延びてもよい。上記に加えて、内側層1212は、ステープル1220を受容するように構成されたステープルキャビティを有さずともよい。あるいは、次に図29及び図30を参照すると、例えば、ステープルカートリッジ1500のようなステープルカートリッジは、ステープル1520の少なくとも一部をその内部に受容するように構成することができるステープルキャビティ1515を有する圧縮可能な移植式カートリッジ本体1510を有してもよい。例えば、ステープル1520のステープル脚1521の上部が内側層1512内に包埋されうるのに対して、ステープル脚1521の底部及び基部1522はステープルキャビティ1515内に配置されうる。基部1522は、ステープルキャビティ1515内に全体が配置されてもよく、又は、少なくともその一部が内側層1512の底面1518の下に延びてもよい。上記と同様、外側層1511は、内側層1512及び内部に配置されたステープル1520を包囲することができる。あるいは、次に図31を参照すると、ステープルカートリッジ1600は、圧縮可能な移植式カートリッジ本体1610内のステープルキャビティ1615内に配置されたステープル1620を有してもよく、その場合、ステープル1620の少なくとも一部が外側層1611によって包囲されない。例えば、ステープル1620は、内側層1612内に少なくとも部分的に包埋されたステープル脚1621、及び、更に、外側層1611の周囲に外側に延びた基部1622を有しうる。  Referring again to FIGS. 23 and 24, as described above, thelegs 1221 of thestaples 1220 may be embedded within thecartridge body 1210 and thebase 1222 of thestaples 1220 is external to thebottom surface 1218 of theinner layer 1212. May extend. In addition to the above, theinner layer 1212 may not have staple cavities configured to receive thestaples 1220. Alternatively, referring now to FIGS. 29 and 30, a staple cartridge, such as astaple cartridge 1500, for example, has astaple cavity 1515 that can be configured to receive at least a portion of the staple 1520 therein. A possibleimplantable cartridge body 1510 may be included. For example, the top ofstaple legs 1521 ofstaples 1520 can be embedded withininner layer 1512, while the bottom andbase 1522 ofstaple legs 1521 can be disposed withinstaple cavities 1515. Thebase 1522 may be disposed entirely within thestaple cavity 1515, or at least a portion thereof may extend below thebottom surface 1518 of theinner layer 1512. Similar to the above, theouter layer 1511 can surround theinner layer 1512 and thestaples 1520 disposed therein. Alternatively, referring now to FIG. 31, thestaple cartridge 1600 may havestaples 1620 disposed withinstaple cavities 1615 within the compressibleimplantable cartridge body 1610, in which case at least one of thestaples 1620. The part is not surrounded by theouter layer 1611. For example, thestaple 1620 can have staple legs 1621 at least partially embedded within theinner layer 1612 and abase 1622 that extends outwardly around theouter layer 1611.

次に図32及び図33を参照すると、例えば、ステープルカートリッジ1700のようなステープルカートリッジは、圧縮可能な移植式カートリッジ本体1710、及び少なくとも一部がカートリッジ本体1710内に配置された複数のステープル1720を有しうる。カートリッジ本体1710は、外側層1711、内側層1712、及び、更に、ステープル1720をカートリッジ本体1710内の定位置に整列及び/又は保持するように構成することができるアラインメントマトリックス1740を含みうる。内側層1712は、アラインメントマトリックス1740をその内部に受容するように構成することができる凹部1741を有しうる。アラインメントマトリックス1140は、凹部1741内に圧入するか、及び/ないしは別の方法により、例えば、フィブリン及び/又はタンパク質ヒドロゲルなどの少なくとも1種類の接着剤を使用して内側層1712に好適に固定することができる。凹部1741は、アラインメントマトリックス1740の底面1742が内側層1712の底面1718と整列するか又は少なくともほぼ整列するように構成することができる。アラインメントマトリックスの底面1742は、第2の層1712の底面1718に対して陥没しうる、及び/又はここから延在しうる。必要に応じて、各ステープル1720は、基部1722及び基部1722から延びる1本又は2本以上の脚1721を有してもよく、ステープル脚1721の少なくとも一部がアラインメントマトリックス1740を通じて延びてもよい。アラインメントマトリックス1740は、例えば、内部を通じて延びる複数の開口部及び/又はスロットを更に有してもよく、複数の開口部及び/又はスロットは内部にステープル脚1721を受容するように構成することができる。例えば、各開口部は、ステープル脚1721と開口部の側壁との間に(あったとして)相対的運動がほとんどないように、ステープル脚1721を緊密に受容するように構成することができる。アラインメントマトリックス開口部は、アラインメントマトリックス1740全体を通じて延びずともよく、ステープル脚1721はステープル脚1721がアラインメントマトリックス1740を通じて押される際にアラインメントマトリックス1740を切開する必要が生じる場合もある。  Referring now to FIGS. 32 and 33, for example, a staple cartridge such asstaple cartridge 1700 includes a compressible implantable cartridge body 1710 and a plurality ofstaples 1720 at least partially disposed within the cartridge body 1710. Can have. The cartridge body 1710 can include anouter layer 1711, aninner layer 1712, and analignment matrix 1740 that can be configured to align and / or hold thestaples 1720 in place within the cartridge body 1710.Inner layer 1712 can have arecess 1741 that can be configured to receivealignment matrix 1740 therein. Thealignment matrix 1140 may be press fit into therecess 1741 and / or otherwise secured to theinner layer 1712 using at least one adhesive such as, for example, fibrin and / or protein hydrogel. Can do. Therecesses 1741 can be configured such that thebottom surface 1742 of thealignment matrix 1740 is aligned or at least substantially aligned with thebottom surface 1718 of theinner layer 1712. The alignmentmatrix bottom surface 1742 may be recessed with respect to and / or extend from thebottom surface 1718 of thesecond layer 1712. As desired, each staple 1720 may have abase 1722 and one ormore legs 1721 extending from thebase 1722, and at least a portion of thestaple legs 1721 may extend through thealignment matrix 1740. Thealignment matrix 1740 may further include, for example, a plurality of openings and / or slots extending therethrough, and the plurality of openings and / or slots can be configured to receive thestaple legs 1721 therein. . For example, each opening can be configured to closely receive thestaple legs 1721 such that there is little (if any) relative movement between thestaple legs 1721 and the sidewalls of the openings. The alignment matrix opening may not extend through thealignment matrix 1740 and thestaple legs 1721 may need to incise thealignment matrix 1740 as thestaple legs 1721 are pushed through thealignment matrix 1740.

アラインメントマトリックス1740は、例えば、内側層1712及び/又は外側層1711よりも堅いか又はより圧縮性が低い、成形されたプラスチック本体で構成することができる。例えば、アラインメントマトリックス1740は、プラスチック材料及び/又は他の任意の適当な材料、例えば、ポリジオキサノン(PDS)及び/又はポリグリコール酸(PGA)などで構成することができる。アラインメントマトリックス1740は内側層1712に組み付けることができ、その後、ステープル脚1721をアラインメントマトリックス1740を通じて挿入し、内側層1712内に包埋することができる。アラインメントマトリックス1740の底面1742は、例えば、1つ又は2つ以上の溝、スロット又はトラフを有してもよく、これらは、ステープル1720の基部1722の少なくとも一部を受容するように構成することができる。上記と同様、この後、外側層1711を、内側層1712、アラインメントマトリックス1740及びステープル1720を含むサブアセンブリの周囲に配置することができる。あるいは、外側層1711は、内側層1712及びアラインメントマトリックス1740を含むサブアセンブリの周囲に配置してもよく、その後、ステープル1720を、外側層1711、アラインメントマトリックス1740及び内側層1712を通じて挿入することもできる。いずれの場合も、上記の結果として、内側層1712、アラインメントマトリックス1740、及び/又は外側層1711は、上記のようにこれらがアンビルによって変形されるまで及び/又はその後にステープル1720を定位置に保持するように構成することができる。例えば、アラインメントマトリックス1740は、ステープルカートリッジ1700が患者内に移植される前にはステープル1720を定位置に保持するように機能し、更にステープルカートリッジ1700が埋め込まれた後にはステープルの列に沿って組織を固定するように機能しうる。例えば、ステープル1720は、内側層1712及び/又は外側層1711内に包埋されることなく、アラインメントマトリックス1740内に固定することができる。  Thealignment matrix 1740 can be comprised of a molded plastic body that is, for example, stiffer or less compressible than theinner layer 1712 and / or theouter layer 1711. For example, thealignment matrix 1740 can be composed of a plastic material and / or any other suitable material, such as polydioxanone (PDS) and / or polyglycolic acid (PGA). Thealignment matrix 1740 can be assembled to theinner layer 1712 and then thestaple legs 1721 can be inserted through thealignment matrix 1740 and embedded within theinner layer 1712. Thebottom surface 1742 of thealignment matrix 1740 may include, for example, one or more grooves, slots, or troughs that are configured to receive at least a portion of thebase 1722 of thestaple 1720. it can. As above, theouter layer 1711 can then be placed around a subassembly that includes theinner layer 1712, thealignment matrix 1740 and thestaples 1720. Alternatively,outer layer 1711 may be placed around a subassembly that includesinner layer 1712 andalignment matrix 1740, after whichstaples 1720 may be inserted throughouter layer 1711,alignment matrix 1740, andinner layer 1712. . In any case, as a result of the above,inner layer 1712,alignment matrix 1740, and / orouter layer 1711hold staples 1720 in place until and / or thereafter as they are deformed by the anvil. Can be configured to. For example, thealignment matrix 1740 functions to hold thestaples 1720 in place before thestaple cartridge 1700 is implanted in the patient, and further along the row of staples after thestaple cartridge 1700 is implanted. Can function to fix. For example, thestaple 1720 can be secured within thealignment matrix 1740 without being embedded within theinner layer 1712 and / or theouter layer 1711.

次に図34〜40を参照すると、例えば、ステープルカートリッジ1800のようなステープルカートリッジは、内側層1812を圧縮し、例えばステープル1820のようなステープルを内側層1812内に挿入し、内側層1812を外側層1811で包むことによって組み立てることができる。主に図34を参照すると、圧縮可能な内側層1812が、内部に画定された複数のステープルキャビティ1815を有するものとして示されているが、上記に述べたように内側層1812がステープルキャビティを含まない代替例も考えられる。図35を参照すると、圧縮可能な内側層1812は、移送プレート1850と支持プレート1860との間に配置され、それらのそれぞれの圧縮表面1852と1862との間で圧縮されうる。図35に示されるように、内側層1812の上面及び底面は互いの方向に圧縮され、これに応じて内側層1812は横方向に外側に膨らみうる。内側層1812は、例えば、その元の高さの約1/3の高さまで圧縮されうるものであり、例えばその圧縮状態において約1.5mm(0.06”)〜約2.0mm(0.08”)の高さ又は厚さを有しうる。やはり図35に示されるように、移送プレート1850は、複数のステープルウェル1853内に配置された、例えばステープル1820のような複数のステープルを更に含みうる。更に、移送プレート1850は、ステープル1820を上方に、ステープルウェル1853の外に押すように構成することができる複数のドライバ1851を更に有しうる。次に図36を参照すると、ドライバ1851を用いてステープル1820のステープル脚1821を、圧縮された内側層1812内に内側層1812に貫通させて押しこむことができる。ドライバ1851は、ステープル1820が移送プレート1850のステープルウェル1853から完全に配備された際に、その上面が移送プレート1850の圧縮表面1852と同一平面になるか、又は少なくとも同一平面に近くなるように構成することができる。やはり図36に示されるように、支持プレート1860は、ステープル脚1821又は少なくともステープル脚1821の先端部が内側層1812を通じて押し込まれた後に先端部を受容するように構成することができる複数の受容開口部1861を有しうる。受容開口部1861又はこれに準ずる構成は、内側層1812がステープル1820の高さよりも低い高さにまで圧縮される場合に必要とされ、したがって、ステープル1820がステープルウェル1853から完全に射出される際にステープル脚1821は、圧縮された内側層1812の上面から突出しうる。内側層1812は、ステープル1820の高さよりも高い高さにまで圧縮されてもよく、その結果、支持プレート1860の受容開口部1861が必要とされない場合もある。  Referring now to FIGS. 34-40, for example, a staple cartridge, such asstaple cartridge 1800, compressesinner layer 1812 and inserts staples, such asstaple 1820, intoinner layer 1812, withinner layer 1812 on the outer side. Can be assembled by wrapping withlayer 1811. Referring primarily to FIG. 34, the compressibleinner layer 1812 is shown as having a plurality ofstaple cavities 1815 defined therein, but theinner layer 1812 includes staple cavities as described above. There are no alternatives possible. Referring to FIG. 35, a compressibleinner layer 1812 may be disposed between thetransfer plate 1850 and thesupport plate 1860 and compressed between theirrespective compression surfaces 1852 and 1862. As shown in FIG. 35, the top and bottom surfaces of theinner layer 1812 are compressed in the direction of each other, and theinner layer 1812 can bulge outward in the lateral direction accordingly. Theinner layer 1812 can be compressed, for example, to a height of about 1/3 of its original height, for example, about 1.5 mm (0.06 ″) to about 2.0 mm (0. May have a height or thickness of 08 ″). As also shown in FIG. 35, thetransfer plate 1850 can further include a plurality of staples, such asstaples 1820, disposed within the plurality ofstaple wells 1853. In addition, thetransfer plate 1850 can further include a plurality ofdrivers 1851 that can be configured to push thestaples 1820 upward and out of thestaple well 1853. Referring now to FIG. 36, adriver 1851 can be used to push thestaple legs 1821 of thestaples 1820 through theinner layer 1812 and into the compressedinner layer 1812. Thedriver 1851 is configured such that when thestaple 1820 is fully deployed from the staple well 1853 of thetransfer plate 1850, its top surface is flush with, or at least close to, thecompression surface 1852 of thetransfer plate 1850. can do. As also shown in FIG. 36, thesupport plate 1860 includes a plurality of receiving openings that can be configured to receive the tips after thestaple legs 1821 or at least the tips of thestaple legs 1821 are pushed through theinner layer 1812. Aportion 1861 may be included. A receivingopening 1861 or similar configuration is required when theinner layer 1812 is compressed to a height that is lower than the height of thestaple 1820, and thus when thestaple 1820 is fully ejected from thestaple well 1853. Thestaple legs 1821 can protrude from the top surface of the compressedinner layer 1812. Theinner layer 1812 may be compressed to a height that is higher than the height of thestaples 1820 so that the receivingopenings 1861 in thesupport plate 1860 may not be required.

ステープル1820が内側層1812内に挿入された後、次に図37を参照すると、支持プレート1860を移送プレート1850から離れる方向に動かすことによって内側層1812の圧縮を解くことができる。このような状況では、内側層1812は、弾性的にその元の高さ、又は少なくとも元の高さに近い非圧縮高さまで弾力的に再膨張することができる。内側層1812が再膨張すると、内側層1812の高さは、これがステープル1820の高さを超えるように増大することができるが、これにより、ステープル1820のステープル脚1821は内側層1812の上面から突出しなくなる。様々な実施形態において、受容開口部1861は、少なくとも脚1821が受容開口部1861内に位置しなくなるように支持プレート1860が充分に遠くに動くまで、ステープル脚1821を定位置に保持するように構成することができる。このような状況では、受容開口部1861は、内側層1812が再膨張する際に、内側層1812の内部でステープル1820の相対的アラインメントを維持する助けとなりうる。様々な状況において、内側層1812及びその内部に配置されたステープル1820はサブアセンブリ1801を構成してもよく、これを、例えば次に図38を参照して、外側層1811内に挿入することができる。例えば、外側層1811は、内部にサブアセンブリ1801を受容するように構成することができるキャビティ1802が内部に画定されてもよい。様々な状況において、例えばプライヤ1855などのツールを使用して外側層1811をサブアセンブリ1801に被せて引くことができる。次に図39を参照すると、サブアセンブリ1801が外側層1811の充分に内側に配置された時点で外側層1811を封止することができる。外側層1811は、その一部に熱エネルギーを加えることによって封止することができる。より詳細には、外側層1811はプラスチック材料で構成することができ、外側層1811の開放端部は、1つ又は2つ以上の熱要素又はアイロン1856により熱かしめすることによって外側層1811の開放端部の外周を互いに接着及び/又は封止することができる。例えば、次に図40を参照すると、外側層1811の余剰部分1857は取り除くことができ、この後、ステープルカートリッジ1800を本明細書で述べるように使用することができる。  After thestaples 1820 are inserted into theinner layer 1812, referring now to FIG. 37, theinner layer 1812 can be uncompressed by moving thesupport plate 1860 away from thetransfer plate 1850. In such a situation, theinner layer 1812 can elastically re-expand elastically to its original height, or at least an uncompressed height close to the original height. As theinner layer 1812 re-expands, the height of theinner layer 1812 can increase so that it exceeds the height of thestaple 1820, which causes thestaple legs 1821 of the staple 1820 to protrude from the top surface of theinner layer 1812. Disappear. In various embodiments, the receivingopening 1861 is configured to hold thestaple legs 1821 in place until thesupport plate 1860 has moved far enough so that at least thelegs 1821 are not located within the receivingopenings 1861. can do. In such situations, the receivingopening 1861 can help maintain the relative alignment of thestaples 1820 within theinner layer 1812 as theinner layer 1812 re-expands. In various situations, theinner layer 1812 and thestaples 1820 disposed therein may form asubassembly 1801, which can then be inserted into theouter layer 1811, for example with reference to FIG. it can. For example, theouter layer 1811 may have acavity 1802 defined therein that may be configured to receive thesubassembly 1801 therein. In various situations, theouter layer 1811 can be pulled over thesubassembly 1801 using a tool such as apliers 1855, for example. Referring now to FIG. 39, theouter layer 1811 can be sealed when thesubassembly 1801 is positioned sufficiently inside theouter layer 1811. Theouter layer 1811 can be sealed by applying thermal energy to a portion thereof. More specifically, theouter layer 1811 can be composed of a plastic material, and the open end of theouter layer 1811 is opened by heat caulking with one or more thermal elements orirons 1856. The outer peripheries of the ends can be bonded and / or sealed together. For example, referring now to FIG. 40, theexcess portion 1857 of theouter layer 1811 can be removed, and then thestaple cartridge 1800 can be used as described herein.

上記のように、ステープルカートリッジは、ステープルカートリッジ取り付け部分内に配置され、かつ/又はこれに固定されうる。図41及び図42を参照すると、ステープルカートリッジ取り付け部分は、その内部にステープルカートリッジ1900のようなステープルカートリッジの少なくとも一部を受容するように構成することができる、例えばステープルカートリッジ溝部材1930のようなステープルカートリッジ溝部材を有することができる。ステープルカートリッジ溝部材1930は、底部支持表面1931、第1の側部支持壁1940及び第2の側部支持壁1941を有しうる。使用時には、ステープルカートリッジ1900は、底部支持表面1931に接するかかつ/又は底部支持表面1931と隣接して配置され、かつ第1の側部支持壁1940と第2の側部支持壁1941との間に配置されるようにしてステープルカートリッジ溝部材1930内に配置することができる。第1の側部支持壁1940及び第2の側部支持壁1941は、それらの間に横方向間隙を画定しうる。例えば、ステープルカートリッジ1900は、支持壁部1940と1941との間に画定される横方向間隙と同じかかつ/又はこれよりも広い横幅1903を有してよく、これにより、ステープルカートリッジ1900の圧縮可能な移植式カートリッジ本体1910は壁部1940と1941との間にしっかりと嵌まり込むことができる。ステープルカートリッジ1900の横幅1903は、第1の側壁1940と第2の側壁1941との間に画定される間隙よりも短くてよい。必要に応じて、壁1940及び1941並びに底部支持表面1931の少なくとも一部を、スタンピングした金属溝部材によって形成するか、又は、代わりに側部支持壁1940及び/又は側部支持壁1941の少なくとも一部を、例えばエラストマー材などの可撓性材料で構成することができる。主に図41を参照すると、ステープルカートリッジ溝部材1930の第1の側壁1940及び第2の側壁1941はそれぞれ、底部支持表面1931から上方に延びる剛性部分1933、及び剛性部分1933から上方に延びる可撓性部分1934で構成されうる。  As described above, the staple cartridge may be disposed within and / or secured to the staple cartridge mounting portion. 41 and 42, the staple cartridge mounting portion can be configured to receive at least a portion of a staple cartridge such as astaple cartridge 1900 therein, such as a staplecartridge groove member 1930. It may have a staple cartridge groove member. Staplecartridge groove member 1930 can have abottom support surface 1931, a firstside support wall 1940, and a secondside support wall 1941. In use, thestaple cartridge 1900 is disposed in contact with and / or adjacent to thebottom support surface 1931 and between the firstside support wall 1940 and the secondside support wall 1941. In the staplecartridge groove member 1930. The firstside support wall 1940 and the secondside support wall 1941 can define a lateral gap therebetween. For example, thestaple cartridge 1900 may have alateral width 1903 that is the same and / or wider than the lateral gap defined between thesupport walls 1940 and 1941 so that thestaple cartridge 1900 can be compressed. Theimplantable cartridge body 1910 can fit securely between thewalls 1940 and 1941. Thelateral width 1903 of thestaple cartridge 1900 may be shorter than the gap defined between thefirst side wall 1940 and thesecond side wall 1941. Optionally,walls 1940 and 1941 and at least a portion ofbottom support surface 1931 are formed by stamped metal groove members, or alternatively, at least one ofside support wall 1940 and / orside support wall 1941. The portion can be made of a flexible material such as an elastomer material. Referring primarily to FIG. 41, thefirst side wall 1940 and thesecond side wall 1941 of the staplecartridge groove member 1930 are respectively arigid portion 1933 extending upwardly from thebottom support surface 1931 and a flexible portion extending upwardly from therigid portion 1933.Sex portion 1934 may be configured.

上記に加えて、ステープルカートリッジ1900のカートリッジ本体1910は、例えば第1の層1911及び第2の層1912などの1又は2以上の圧縮可能な層を含みうる。カートリッジ本体1910が、上記に述べたようにアンビルによって底部支持表面1931に対して圧縮されるとカートリッジ本体1910の側部が横方向に膨張しうる。ステープルカートリッジ1930が剛性の側壁を有する場合、カートリッジ本体1910のこのような横方向の膨張は剛性の側壁によって防止されるか又は少なくとも制限され、その結果、相当量の内圧又は応力がカートリッジ本体1910内に生じうる。ステープルカートリッジ1930の少なくとも一部が可撓性側壁で構成されている場合、可撓性側壁は横方向に撓んでカートリッジ本体1910の側部が横方向に膨張することを許容し、これにより、カートリッジ本体1910内に生じる内圧又は応力を低減させる。カートリッジ溝部材が側部側壁を有さないか、又はステープルカートリッジよりも比較的短い側部側壁を有する場合には、ステープルカートリッジの側部は横方向に妨害されずに、又は少なくともほぼ妨害されずに膨張することができる。いずれの場合も、次に図42を参照すると、ステープルカートリッジ溝部材2030は、例えば、エラストマー材料などの可撓性材料で全体を構成することができる側部側壁2040及び2041を有しうる。ステープルカートリッジ2030は、側部側壁2040及び2041の少なくとも一部をその内部に受容して固定するように構成することができる、ステープルカートリッジ溝部材2030の底部支持表面2031の側部に沿って延びる側部スロット2033を更に有しうる。側部側壁2040及び2041はスナップ嵌め及び/又は圧入機構によりスロット2033内に固定することができるが、1以上の接着剤によってスロット2033内に固定することもできる。側壁2040及び2041は、使用時に底部支持表面2031から分離することができる。いずれの場合も、圧縮可能な移植式カートリッジ本体2010は、カートリッジ本体2010がステープル2020とともに移植される際、側部側壁2040及び2041から分離及び/又は離脱させることができる。  In addition to the above, thecartridge body 1910 of thestaple cartridge 1900 can include one or more compressible layers, such as afirst layer 1911 and asecond layer 1912, for example. When thecartridge body 1910 is compressed against thebottom support surface 1931 by the anvil as described above, the sides of thecartridge body 1910 can expand laterally. When thestaple cartridge 1930 has rigid side walls, such lateral expansion of thecartridge body 1910 is prevented or at least limited by the rigid side walls so that a substantial amount of internal pressure or stress is generated within thecartridge body 1910. Can occur. If at least a portion of thestaple cartridge 1930 is comprised of flexible side walls, the flexible side walls flex laterally and allow the sides of thecartridge body 1910 to expand laterally, thereby allowing the cartridge The internal pressure or stress generated in themain body 1910 is reduced. If the cartridge groove member does not have side walls or has side walls that are relatively shorter than the staple cartridge, the side of the staple cartridge is not obstructed laterally or at least substantially unobstructed. Can expand. In any case, referring now to FIG. 42, the staplecartridge groove member 2030 can haveside sidewalls 2040 and 2041 that can be entirely comprised of a flexible material, such as, for example, an elastomeric material. Thestaple cartridge 2030 is a side extending along the side of thebottom support surface 2031 of the staplecartridge groove member 2030 that can be configured to receive and secure at least a portion of the side sidewalls 2040 and 2041 therein. Apart slot 2033 may be further provided. Side sidewalls 2040 and 2041 can be secured withinslot 2033 by a snap-fit and / or press-fit mechanism, but can also be secured withinslot 2033 by one or more adhesives.Sidewalls 2040 and 2041 can be separated frombottom support surface 2031 in use. In either case, the compressible implantable cartridge body 2010 can be separated and / or detached from theside walls 2040 and 2041 when the cartridge body 2010 is implanted with the staples 2020.

次に図43を参照すると、外科用器具は、シャフト2150及びシャフト2150の遠位端から延びるエンドエフェクタを有しうる。エンドエフェクタは、上記と同様、ステープルカートリッジ溝部材2130、開位置と閉位置との間で動くことができるアンビル2140、及び、ステープルカートリッジ溝部材2130とアンビル2140との間に配置されうるステープルカートリッジ2100を有しうる。やはり上記と同様、ステープルカートリッジ2100は、圧縮可能な移植式カートリッジ本体2110、及びカートリッジ本体2110内に配置された複数のステープル2120を有しうる。ステープルカートリッジ溝部材2130は、1)ステープルカートリッジ2100をこれに接して配置することができる底部支持表面2131、2)遠位端2135、及び3)近位端2136を有しうる。図43に示されるように、ステープルカートリッジ2100は、ステープルカートリッジ溝部材2130の遠位端2135内に配置可能な第1の端部2105と、ステープルカートリッジ溝部材2130の近位端2136内に配置可能な第2の端部2106とを有しうる。ステープルカートリッジ溝部材2130の遠位端2135は、例えば保持壁2137のような少なくとも1つの遠位保持機構を有してもよく、同様に、近位端2136は、例えば保持壁2138のような少なくとも1つの近位保持機構を含みうる。例えば、遠位保持壁2137と近位保持壁2138とは、ステープルカートリッジ2100の長さと等しいか又はそれよりも短い間隙をそれらの間に画定してよく、これによりステープルカートリッジ2100はステープルカートリッジ溝部材2130内に挿入される際にステープルカートリッジ溝部材2130内に緊密に嵌まり込むことができる。  Referring now to FIG. 43, the surgical instrument can have ashaft 2150 and an end effector extending from the distal end of theshaft 2150. The end effector is similar to the above, the staplecartridge groove member 2130, theanvil 2140 that can move between the open position and the closed position, and thestaple cartridge 2100 that can be disposed between the staplecartridge groove member 2130 and theanvil 2140. Can be included. Again, as described above, thestaple cartridge 2100 can have a compressibleimplantable cartridge body 2110 and a plurality ofstaples 2120 disposed within thecartridge body 2110. The staplecartridge groove member 2130 can have 1) abottom support surface 2131, 2) adistal end 2135, and 3) aproximal end 2136 on which thestaple cartridge 2100 can be placed. As shown in FIG. 43, thestaple cartridge 2100 can be disposed within afirst end 2105 that can be disposed within thedistal end 2135 of the staplecartridge groove member 2130 and aproximal end 2136 of the staplecartridge groove member 2130.Second end 2106. Thedistal end 2135 of the staplecartridge groove member 2130 may have at least one distal retention mechanism, such as aretention wall 2137, and similarly theproximal end 2136 is at least, for example, aretention wall 2138. One proximal retention mechanism may be included. For example, thedistal retaining wall 2137 and theproximal retaining wall 2138 may define a gap therebetween that is equal to or shorter than the length of thestaple cartridge 2100 so that thestaple cartridge 2100 has a staple cartridge groove member. When inserted into the staplecartridge groove member 2130, the staplecartridge groove member 2130 can be tightly fitted.

再び図23及び図24を参照すると、例えば、ステープルカートリッジ1200のようなステープルカートリッジは、平坦又は少なくともほぼ平坦な組織接触表面1219を有しうる。例えば、ステープルカートリッジ1200のステープルカートリッジ本体1210は、第1の高さ又は厚さ1207によって規定されうる第1の端部1205、及び第2の高さ又は厚さ1208によって規定されうる第2の端部1206を有してよく、第1の高さ1207は、第2の高さ1208と同等であるか、又は少なくともほぼ同等でありうる。カートリッジ本体1210の高さ又は厚さは、第1の端部1205と第2の端部1206との間で一定又は少なくともほぼ一定であってよい。例えば、組織接触表面1219は、カートリッジ本体1210の底面1218と平行であるか、又は少なくともほぼ平行でありうる。再び図43を参照すると、ステープルカートリッジ2100のカートリッジ本体2110の第1の端部2105は、第2の端部2106の第2の高さ2108とは異なる第1の高さ2107により画定されうる。図に示されるように、第1の高さ2107は、第2の高さ2108よりも大きいが、代わりに第2の高さ2108が第1の高さ2107よりも大きい場合もある。カートリッジ本体2110の高さは、第1の端部2105と第2の端部2106との間で直線的に及び/又は幾何級数的に減少しうる。例えば、第1の端部2105と第2の端部2106との間に延びる組織接触表面2119は、その間に画定される所定の角度に沿った向きを有しうる。例えば、組織接触表面2119は、カートリッジ本体2110の底面2118及び/又はステープルカートリッジ溝部材2130の支持表面2131と平行でない場合もある。  Referring again to FIGS. 23 and 24, for example, a staple cartridge such asstaple cartridge 1200 may have a flat or at least substantially flat tissue contacting surface 1219. For example, thestaple cartridge body 1210 of thestaple cartridge 1200 has afirst end 1205 that can be defined by a first height orthickness 1207 and a second end that can be defined by a second height orthickness 1208. A portion 1206 may be included, and thefirst height 1207 may be equal to or at least approximately equal to thesecond height 1208. The height or thickness of thecartridge body 1210 may be constant or at least substantially constant between thefirst end 1205 and the second end 1206. For example, the tissue contacting surface 1219 can be parallel or at least substantially parallel to thebottom surface 1218 of thecartridge body 1210. Referring again to FIG. 43, thefirst end 2105 of thecartridge body 2110 of thestaple cartridge 2100 can be defined by afirst height 2107 that is different from thesecond height 2108 of thesecond end 2106. As shown, thefirst height 2107 is greater than thesecond height 2108, but instead thesecond height 2108 may be greater than thefirst height 2107. The height of thecartridge body 2110 can decrease linearly and / or geometrically between thefirst end 2105 and thesecond end 2106. For example, thetissue contacting surface 2119 extending between thefirst end 2105 and thesecond end 2106 can have an orientation along a predetermined angle defined therebetween. For example, thetissue contacting surface 2119 may not be parallel to thebottom surface 2118 of thecartridge body 2110 and / or thesupport surface 2131 of the staplecartridge groove member 2130.

再び図43及び図44を参照すると、アンビル2140は組織接触表面2141を有してもよく、組織接触表面2141は、図44に示されるようにアンビル2140が閉位置にある場合、ステープルカートリッジ溝部材2130の支持表面2131と平行又は少なくともほぼ平行でありうる。アンビル2140が閉位置にある場合、アンビル2140は、第1の端部2105のより高い高さ、及び第2の端部2106のより低い高さのために、ステープルカートリッジ2100の第1の端部2105を第2の端部2106よりも圧縮するように構成することができる。組織接触表面2119と2141との間に配置される組織Tが一定又は少なくともほぼ一定の厚さを有する状況を含む、特定の状況において、組織T及びカートリッジ2100内に生じる圧力は、エンドエフェクタの遠位端において、エンドエフェクタの近位端におけるよりも大きくなりうる。より詳細には、アンビル2140とステープルカートリッジ2100との間の組織Tがほぼ一定の厚さを有する場合、アンビル2140の遠位端2145とステープルカートリッジ2100の第1の端部2105との間に配置される組織Tは、アンビル2140の近位端2146とステープルカートリッジ2100の第2の端部2106との間に配置される組織Tよりも圧縮されうる。本発明によれば、エンドエフェクタの近位端と遠位端との間の組織T内に圧力勾配が生じうる。より詳細には、アンビル2140とステープルカートリッジ2100との間の組織Tがほぼ一定の厚さを有し、ステープルカートリッジ2100の高さがエンドエフェクタの遠位端から近位端へと直線的に減少する場合、組織T内の圧力は、エンドエフェクタの遠位端からエンドエフェクタの近位端へと直線的に減少しうる。同様に、アンビル2140とステープルカートリッジ2100との間の組織Tがほぼ一定の厚さを有し、ステープルカートリッジ2100の高さがエンドエフェクタの遠位端から近位端へと幾何級数的に減少する際、組織T内の圧力は、エンドエフェクタの遠位端からエンドエフェクタの近位端へと幾何級数的に減少しうる。  Referring again to FIGS. 43 and 44, theanvil 2140 may have atissue contacting surface 2141 that is staple cartridge groove member when theanvil 2140 is in the closed position as shown in FIG. It can be parallel or at least substantially parallel to thesupport surface 2131 of 2130. When theanvil 2140 is in the closed position, theanvil 2140 has a first end of thestaple cartridge 2100 due to the higher height of thefirst end 2105 and the lower height of thesecond end 2106. 2105 can be configured to compress more than thesecond end 2106. In certain situations, including situations where the tissue T disposed between thetissue contacting surfaces 2119 and 2141 has a constant or at least approximately constant thickness, the pressure generated in the tissue T and thecartridge 2100 may cause the distal effector to At the distal end, it can be larger than at the proximal end of the end effector. More particularly, when the tissue T between theanvil 2140 and thestaple cartridge 2100 has a substantially constant thickness, it is disposed between thedistal end 2145 of theanvil 2140 and thefirst end 2105 of thestaple cartridge 2100. The tissue T to be applied can be compressed more than the tissue T disposed between theproximal end 2146 of theanvil 2140 and thesecond end 2106 of thestaple cartridge 2100. In accordance with the present invention, a pressure gradient can be created in the tissue T between the proximal and distal ends of the end effector. More specifically, the tissue T between theanvil 2140 and thestaple cartridge 2100 has a substantially constant thickness, and the height of thestaple cartridge 2100 decreases linearly from the distal end to the proximal end of the end effector. If so, the pressure in the tissue T may decrease linearly from the distal end effector end to the end effector proximal end. Similarly, tissue T betweenanvil 2140 andstaple cartridge 2100 has a substantially constant thickness, and the height ofstaple cartridge 2100 decreases geometrically from the distal end to the proximal end of the end effector. In doing so, the pressure in the tissue T may decrease geometrically from the distal end effector end to the end effector proximal end.

再び図43を参照すると、ステープルカートリッジ2100とアンビル2140との間に配置される組織Tは、全体を通じて一定の厚さを有さない場合がある。少なくとも1つのこのような状況において、アンビル2140の近位端2146とステープルカートリッジ2100の第2の端部2106との間に配置される組織Tは、アンビル2140の遠位端2145とステープルカートリッジ2100の第1の端部2105との間に配置される組織Tよりも厚い場合がある。このような状況では、その結果、より厚い組織Tをステープルカートリッジ2100のより短い近位端2106の上に一般的に配置し、より薄い組織Tをより高い遠位端2105の上に一般的に配置することができる。図44に示されるように、使用時には、シャフト2150の発射カラー2152をシャフト脊柱2151に沿って遠位方向に前進させることにより、発射カラー2152がアンビル2140のカム部分2143と係合し、アンビル2140をステープルカートリッジ2100の方向に回転させる。アンビル2140が完全に閉じた位置へと回転した時点で、組織Tは、組織接触表面2119と2141との間で圧縮され、ステープルカートリッジ2100の高さがエンドエフェクタの近位端と遠位端との間で一定でない場合があるにもかかわらず、組織Tに作用する圧力又は圧縮力は組織全体にわたって一定であるか、又は少なくともほぼ一定となりうる。より詳細には、より薄い組織Tはステープルカートリッジ2100のより高い高さに関連付けられ、より厚い組織Tは、ステープルカートリッジ2100のより短い高さに関連付けられうるため、組織T及びステープルカートリッジ2100の累積又は合計高さは、エンドエフェクタの近位端と遠位端との間で一定又は少なくともほぼ一定となりうるため、その結果、アンビル2140によるこの累積高さの圧縮は、組織全体にわたって一定か又は少なくともほぼ一定となりうる。  Referring again to FIG. 43, the tissue T disposed between thestaple cartridge 2100 and theanvil 2140 may not have a constant thickness throughout. In at least one such situation, the tissue T disposed between theproximal end 2146 of theanvil 2140 and thesecond end 2106 of thestaple cartridge 2100 can be removed from thedistal end 2145 of theanvil 2140 and thestaple cartridge 2100. It may be thicker than the tissue T disposed between thefirst end 2105 and thefirst end 2105. In such a situation, the result is that the thicker tissue T is typically placed on the shorterproximal end 2106 of thestaple cartridge 2100 and the thinner tissue T is typically placed on the higherdistal end 2105. Can be arranged. As shown in FIG. 44, in use, thefiring collar 2152 of theshaft 2150 is advanced distally along theshaft spine 2151 so that thefiring collar 2152 engages thecam portion 2143 of theanvil 2140, and theanvil 2140. Is rotated in the direction of thestaple cartridge 2100. When theanvil 2140 is rotated to the fully closed position, the tissue T is compressed between thetissue contacting surfaces 2119 and 2141 and the height of thestaple cartridge 2100 is increased between the proximal and distal ends of the end effector. The pressure or compressive force acting on the tissue T may be constant throughout the tissue, or at least approximately constant, although it may not be constant between. More particularly, the thinner tissue T can be associated with a higher height of thestaple cartridge 2100 and the thicker tissue T can be associated with a shorter height of thestaple cartridge 2100 so that the accumulation of tissue T andstaple cartridge 2100 Or, the total height can be constant or at least approximately constant between the proximal and distal ends of the end effector so that the compression of this cumulative height by theanvil 2140 is constant or at least constant throughout the tissue. Can be almost constant.

再び図43及び図44を参照すると、ステープルカートリッジ2100は、非対称的な形態を有してもよい。例えば、ステープルカートリッジ2100の第1の端部2105における高さが、カートリッジ2100の第2の端部2106における高さよりも高くともよい。ステープルカートリッジ2100及び/又はステープルカートリッジ溝部材2130は、ステープルカートリッジ2100がステープルカートリッジ溝部材2130内において1つの向き(すなわち、第1の端部2105がステープルカートリッジ2130の遠位端2135内に配置され、第2の端部2106が近位端2136内に配置される向き)で確実に配置されるように構成することができる1つ又は2つ以上のアラインメント及び/又は保持機構を有してもよい。あるいは、ステープルカートリッジ2100及び/又はステープルカートリッジ溝部材2130は、ステープルカートリッジ2100が、ステープルカートリッジ溝部材2130内において、2つ以上の向きで配置されることを可能とするように構成することができる1つ又は2つ以上のアラインメント及び/又は保持機構を有してもよい。次に図45を参照すると、例えば、ステープルカートリッジ2100は、ステープルカートリッジ2100の第1の端部2105がステープルカートリッジ溝部材2130の近位端2136内に配置され、第2の端部2106が遠位端2135内に配置されるようにしてステープルカートリッジ溝部材2130内に配置することができる。必要に応じて、その結果、ステープルカートリッジ2100のより低い高さが、遠位保持壁2137に隣接して配置され、ステープルカートリッジ2100のより高い高さが近位保持壁2138に隣接して配置されうる。例えば、ステープルカートリッジ2100は、エンドエフェクタの遠位端内においてより厚い部分を有し、エンドエフェクタの近位端内においてより薄い部分を有する組織Tに一定又は少なくともほぼ一定のクランプ締め圧を作用させるように適宜構成することができる。ステープルカートリッジ2100は例えば、ステープルカートリッジ溝部材2130内で選択的に方向付けすることができる。例えば、ステープルカートリッジ2100のアラインメント及び/又は保持機構は対称的であってよく、外科医は、ステープルカートリッジ溝部材2130内のステープルカートリッジ2100を、例えば、図43及び図45に示される向きで選択的に配置することができる。  Referring again to FIGS. 43 and 44, thestaple cartridge 2100 may have an asymmetric configuration. For example, the height at thefirst end 2105 of thestaple cartridge 2100 may be higher than the height at thesecond end 2106 of thecartridge 2100. Thestaple cartridge 2100 and / or the staplecartridge groove member 2130 may be disposed in one orientation within the staple cartridge groove member 2130 (ie, thefirst end 2105 is disposed within thedistal end 2135 of thestaple cartridge 2130; There may be one or more alignment and / or retention mechanisms that may be configured to be securely positioned (in the orientation in which thesecond end 2106 is positioned within the proximal end 2136). . Alternatively, thestaple cartridge 2100 and / or the staplecartridge groove member 2130 can be configured 1 to allow thestaple cartridge 2100 to be disposed in more than one orientation within the staplecartridge groove member 2130 1. There may be one or more alignment and / or retention mechanisms. Referring now to FIG. 45, for example, thestaple cartridge 2100 includes afirst end 2105 of thestaple cartridge 2100 disposed within theproximal end 2136 of the staplecartridge groove member 2130 and asecond end 2106 distally. The staplecartridge groove member 2130 may be disposed so as to be disposed in theend 2135. As a result, as a result, the lower height ofstaple cartridge 2100 is positioned adjacent todistal retention wall 2137 and the higher height ofstaple cartridge 2100 is positioned adjacent toproximal retention wall 2138. sell. For example, thestaple cartridge 2100 exerts a constant or at least substantially constant clamping pressure on tissue T having a thicker portion within the distal end of the end effector and a thinner portion within the proximal end of the end effector. It can be configured as appropriate. Thestaple cartridge 2100 can be selectively oriented, for example, within the staplecartridge groove member 2130. For example, the alignment and / or retention mechanism of thestaple cartridge 2100 may be symmetric and the surgeon selectively moves thestaple cartridge 2100 in the staplecartridge groove member 2130, for example, in the orientation shown in FIGS. Can be arranged.

上記に加えて、移植式カートリッジ本体2110は、ステープルカートリッジ2100がステープルカートリッジ溝部材2130内に配置される際にエンドエフェクタの近位端と遠位端との間に延びる長手方向軸2109を有しうる。カートリッジ本体2110の厚さは、第1の端部2105と、第2の端部2106との間で、長手方向軸2109に沿って一般的に減少するか、かつ/又は一般的に増加しうる。例えば、底面2118と組織接触表面2119との間の距離又は高さは、第1の端部2105と、第2の端部2106との間で一般的に減少する及び/又は一般的に増加しうる。カートリッジ本体2110の厚さは、長手方向軸2109に沿って増加、及び減少しうる。例えば、カートリッジ本体2110の厚さは、厚さが増加する1つ又は2つ以上の部分、及び厚さが減少しうる1つ又は2つ以上の部分を含みうる。ステープルカートリッジ2100の内部には複数のステープル2120が配置されうる。使用時には、上記に述べたように、ステープル2120は、アンビル2140が閉位置に動かされる際に変形されうる。各ステープル2120は、同じか又は少なくともほぼ同じ高さを有してもよい。例えば、ステープルの高さは、例えば、ステープルの基部の底部から、ステープルの最も高い脚の頂部又は先端部までで測定することができる。  In addition to the above, theimplantable cartridge body 2110 has a longitudinal axis 2109 that extends between the proximal and distal ends of the end effector when thestaple cartridge 2100 is disposed within the staplecartridge groove member 2130. sell. The thickness of thecartridge body 2110 can generally decrease and / or generally increase along the longitudinal axis 2109 between thefirst end 2105 and thesecond end 2106. . For example, the distance or height between thebottom surface 2118 and thetissue contacting surface 2119 generally decreases and / or generally increases between thefirst end 2105 and thesecond end 2106. sell. The thickness of thecartridge body 2110 can increase and decrease along the longitudinal axis 2109. For example, the thickness of thecartridge body 2110 can include one or more portions where the thickness increases and one or more portions where the thickness can decrease. A plurality ofstaples 2120 can be disposed inside thestaple cartridge 2100. In use, as described above, thestaple 2120 can be deformed when theanvil 2140 is moved to the closed position. Eachstaple 2120 may have the same or at least approximately the same height. For example, staple height can be measured, for example, from the bottom of the staple base to the top or tip of the highest leg of the staple.

ステープルカートリッジ内のステープルは、異なるステープル高さを有してもよい。例えば、ステープルカートリッジは、圧縮可能なカートリッジ本体の第1の部分内に配置された第1のステープル高さを有する第1のステープル群と、圧縮可能なカートリッジ本体の第2の部分内に配置された第2のステープル高さを有する第2のステープル群とを含みうる。第1のステープル高さは、第2のステープル高さよりも高くともよく、第1のステープル群がステープルカートリッジ2100の第1の端部2105に配置されうる一方で、第2のステープル群は第2の端部2106に配置されうる。あるいは、より高い第1のステープル群がステープルカートリッジ2100の第2の端部2106に配置されてもよく、より短い第2のステープル群が第1の端部2105に配置されてもよい。各群が異なるステープル高さを有する複数のステープル群を使用することができる。例えば、中間的なステープル高さを有する第3の群を、カートリッジ本体2110内の第1のステープル群と第2のステープル群との間に配置することもできる。必要に応じて、ステープルカートリッジ内のステープル列内の各ステープルが異なるステープル高さを有してもよい。あるステープル列内の最も高いステープルをステープル列の第1の端部に配置し、最も短いステープルを、そのステープル列の反対側の端部に配置することができる。例えば、最も高いステープルと最も短いステープルとの間に配置されるステープルは、例えば、最も高いステープルと最も短いステープルとの間でステープル高さが下降するように構成することができる。  The staples in the staple cartridge may have different staple heights. For example, the staple cartridge is disposed within a first staple group having a first staple height disposed within a first portion of the compressible cartridge body and a second portion of the compressible cartridge body. And a second group of staples having a second staple height. The first staple height may be higher than the second staple height, and the first staple group may be disposed at thefirst end 2105 of thestaple cartridge 2100 while the second staple group is the second staple group. Can be disposed at theend 2106 of the. Alternatively, a higher first staple group may be disposed at thesecond end 2106 of thestaple cartridge 2100 and a shorter second staple group may be disposed at thefirst end 2105. Multiple staple groups, each group having a different staple height, can be used. For example, a third group having an intermediate staple height can be disposed between the first staple group and the second staple group in thecartridge body 2110. If desired, each staple in the staple row in the staple cartridge may have a different staple height. The tallest staple in a staple row can be placed at the first end of the staple row and the shortest staple can be placed at the opposite end of the staple row. For example, staples disposed between the highest and shortest staples can be configured, for example, such that the staple height is lowered between the highest and shortest staples.

次に図46を参照すると、外科用ステープラのエンドエフェクタは、アンビル2240、ステープルカートリッジ溝部材2230、及びステープルカートリッジ溝部材2230によって支持されたステープルカートリッジ2200を有しうる。ステープルカートリッジ2200は、圧縮可能な移植式カートリッジ本体2210、及び例えばステープルカートリッジ2200内に配置された、例えばステープル2220a及びステープル2220bのような複数のステープルを有しうる。ステープルカートリッジ溝部材2230は、カートリッジ支持表面2231、及びステープルカートリッジ溝部材2230に画定された、例えば支持スロット2232a及び2232bのような複数のステープル支持スロットを有しうる。例えば、ステープルカートリッジ2200は、2列の外側ステープル列2220a及び2列の内側ステープル列2220bを含んでよく、その場合、支持スロット2232aをステープル2220aを支持するように構成し、支持スロット2232bをステープル2220bを支持するように構成することができる。図46及び図47を参照すると、アンビル2240には、アンビル2240がステープルカートリッジ2200の方向に動かされる際に、ステープル2220a及び2220bを受容してこれを変形するように構成することができる複数のステープル成形ポケット2242が画定されうる。例えば、支持スロット2232aの底面は、ステープル成形ポケット2242の上面から第1の距離2201aだけ離れていてよく、支持スロット2232bの底面は、ステープル成形ポケット2242の上面から第2の距離2201bだけ離れていてよい。例えば、支持スロット2232bは、支持スロット2232bが画定された支持表面2231内の隆起段差により、アンビル2240のより近くに配置される。異なる距離2201a及び2201bのため、ステープル2220aの外側列とステープル2220bの内側列とは、異なる形成される高さに変形されうる。様々な状況において、異なる成形高さに変形されたステープルは、ステープル留めされた組織Tに対して異なるクランプ締め圧又は力を加えることができる。上記に加えて、ステープルは、異なる未成形ステープル高さから開始することもできる。例えば、再び図46を参照すると、外側ステープル2220aは、内側ステープル2220bの初期の未成形高さよりも高い初期の未成形高さを有しうる。図46及び図47に示されるように、外側ステープル2220aよりも短い未成形高さを有する内側ステープル2220bはまた、外側ステープル2220bよりも低い成形高さを有しうる。あるいは、内側ステープル2220bが外側ステープル2220aよりも高い未成形高さを有し、外側ステープル2220aよりも低い変形後のステープル高さを有してもよい。  Referring now to FIG. 46, the end effector of the surgical stapler may have ananvil 2240, a staplecartridge groove member 2230, and astaple cartridge 2200 supported by the staplecartridge groove member 2230. Thestaple cartridge 2200 can include a compressibleimplantable cartridge body 2210 and a plurality of staples, such asstaples 2220a and 2220b, disposed within thestaple cartridge 2200, for example. Staplecartridge groove member 2230 may have acartridge support surface 2231 and a plurality of staple support slots defined in staplecartridge groove member 2230, such assupport slots 2232a and 2232b, for example. For example, thestaple cartridge 2200 may include two rows ofouter staple rows 2220a and two rows ofinner staple rows 2220b, where thesupport slot 2232a is configured to support thestaples 2220a, and thesupport slots 2232b arestaples 2220b. Can be configured to support. 46 and 47, theanvil 2240 includes a plurality of staples that can be configured to receive and deform thestaples 2220a and 2220b as theanvil 2240 is moved toward thestaple cartridge 2200. Amolding pocket 2242 may be defined. For example, the bottom surface of thesupport slot 2232a may be separated from the top surface of thestaple forming pocket 2242 by afirst distance 2201a, and the bottom surface of thesupport slot 2232b is separated from the top surface of thestaple forming pocket 2242 by asecond distance 2201b. Good. For example, thesupport slot 2232b is positioned closer to theanvil 2240 due to a raised step in thesupport surface 2231 in which thesupport slot 2232b is defined. Due to thedifferent distances 2201a and 2201b, the outer rows ofstaples 2220a and the inner rows ofstaples 2220b can be deformed to different formed heights. In various situations, staples deformed to different forming heights can apply different clamping pressures or forces to the stapled tissue T. In addition to the above, the staples can also start from different green staple heights. For example, referring again to FIG. 46, theouter staple 2220a may have an initial unformed height that is higher than the initial unformed height of theinner staple 2220b. As shown in FIGS. 46 and 47, theinner staple 2220b having a shorter unformed height than theouter staple 2220a may also have a lower formed height than theouter staple 2220b. Alternatively, theinner staple 2220b may have a higher unformed height than theouter staple 2220a and a deformed staple height lower than theouter staple 2220a.

上記に加えて、アンビル2240を図47に示されるような閉位置に動かすことにより、カートリッジ本体2210を圧縮してステープル2220a及び2220bを変形することができる。例えば、図46及び図47に示されるエンドエフェクタを有する外科用ステープラは、アンビル2240とステープルカートリッジ2200との間に配置された組織Tを切断するように構成することができる切断部材を更に有してもよい。例えば、アンビル2240、ステープルカートリッジ溝部材2230、及び/又はステープルカートリッジ2200は、内部に切断部材を摺動可能に受容するように構成されたスロットを画定しうる。より詳細には、アンビル2240がスロット部分2249を有し、ステープルカートリッジ溝部材2230がスロット部分2239を有してよく、ステープルカートリッジ2200が、アンビル2240が閉じた、又は少なくともほぼ閉じた位置にある場合に互いに整列又は少なくともほぼ整列されうるスロット部分2203を有することができる。切断部材は、アンビル2240が閉じ、ステープル2220a、2220bが変形された後に、エンドエフェクタの近位端からエンドエフェクタの遠位端の方向に動かすことができる。切断部材はステープルの変形プロセスとは独立して動かすことができる。切断部材はステープルが変形されるのと同時に前進させることもできる。いずれの場合も、切断部材は、ステープル2220bの内側列の間に配置された経路に沿って組織を切開するように構成することができる。  In addition to the above, by moving theanvil 2240 to the closed position as shown in FIG. 47, thecartridge body 2210 can be compressed to deform thestaples 2220a and 2220b. For example, the surgical stapler having the end effector shown in FIGS. 46 and 47 further includes a cutting member that can be configured to cut tissue T disposed between theanvil 2240 and thestaple cartridge 2200. May be. For example,anvil 2240, staplecartridge groove member 2230, and / orstaple cartridge 2200 may define a slot configured to slidably receive a cutting member therein. More particularly, theanvil 2240 may have aslot portion 2249 and the staplecartridge groove member 2230 may have aslot portion 2239 when thestaple cartridge 2200 is in a closed or at least substantially closed position. Can haveslot portions 2203 that can be aligned or at least substantially aligned with each other. The cutting member can be moved from the proximal end of the end effector to the distal end of the end effector after theanvil 2240 is closed and thestaples 2220a, 2220b are deformed. The cutting member can be moved independently of the staple deformation process. The cutting member can also be advanced simultaneously with the staple being deformed. In either case, the cutting member can be configured to incise the tissue along a path disposed between the inner rows ofstaples 2220b.

必要に応じて、図47に示されるように、内側ステープル2220bは、外側ステープル2220aよりも低い高さまで成形されてもよく、その場合、内側ステープル2220bは、切断部材によって形成される切断線に隣接する組織により大きなクランプ締め圧又は力を加えることができる。例えば、内側ステープル2220bによって発生されるより大きなクランプ締め圧又は力が、切開した組織Tからの出血の低減などの様々な治療的効果をもたらしうる一方で、外側ステープル2220aによって発生されるより小さいクランプ締め圧は、ステープル留めされた組織内に可撓性を与えることができる。図46及び図47を参照すると、アンビル2240には、例えばバットレス材料2260のような少なくとも1つのバットレス材料が更に取り付けられてもよい。例えば、ステープル2220a、2220bの脚は、ステープルカートリッジ2200がアンビル2240により圧縮される際にバットレス材料2260を切開し、かつ/又はバットレス材料2260の開口部を通過し、その後、アンビル2240のステープル成形ポケット2242と接触するように構成することができる。ステープル2220a、2220bの脚が変形されるにしたがって、各脚はバットレス材料2260と再び接触し、かつ/又はこれを切開することができる。バットレス材料2260は、ステープル留めされる組織の止血性を高め、かつ/又は強度を与えることができる。  If desired, as shown in FIG. 47, theinner staple 2220b may be formed to a lower height than theouter staple 2220a, in which case theinner staple 2220b is adjacent to the cutting line formed by the cutting member. A greater clamping pressure or force can be applied to the tissue being applied. For example, a larger clamping pressure or force generated by theinner staple 2220b can provide various therapeutic effects such as reduced bleeding from the incised tissue T, while a smaller clamp generated by theouter staple 2220a. The clamping pressure can provide flexibility within the stapled tissue. 46 and 47, theanvil 2240 may further be attached with at least one buttress material, such as buttressmaterial 2260, for example. For example, the legs of thestaples 2220a, 2220b cut through the buttressmaterial 2260 and / or pass through the opening in the buttressmaterial 2260 as thestaple cartridge 2200 is compressed by theanvil 2240, after which the staple forming pocket of theanvil 2240 2242 can be configured to contact. As the legs ofstaples 2220a, 2220b are deformed, each leg can re-contact and / or incise buttressmaterial 2260. Buttress material 2260 can increase hemostasis and / or provide strength to the tissue being stapled.

図46及び図47を参照すると、カートリッジ本体2210の底面は、カートリッジ支持表面2231の段差が形成された外形と一致又は少なくともほぼ一致する段差が形成された外形を有してもよい。カートリッジ本体2210の底面は、カートリッジ支持表面2231の外形と一致又は少なくともほぼ一致するように変形することができる。次に図48を参照すると、例えば、図46に示されるエンドエフェクタと同様のエンドエフェクタは、内部に配置されたステープルカートリッジ2300を有しうる。ステープルカートリッジ2300は、内側層2312及び外側層2311を有する圧縮可能かつ移植可能な本体2310を有してもよく、上記に加えて、外側層2311は水不透過性材料で構成することができる。外側層2311はステープル2220a、2220bの周囲に延びてよく、それぞれ、ステープル2220a、2220bと、支持スロット2232a、2232bとの間に配置されうる。次に図49を参照すると、例えば、図46に示されるエンドエフェクタと同様のエンドエフェクタは、内部に配置されたステープルカートリッジ2400を有しうる。ステープルカートリッジ2300と同様、ステープルカートリッジ2400の圧縮可能な移植式カートリッジ本体2410は、内側層2412及び外側層2411を有しうるが、カートリッジ本体2410は内部に切断部材スロットを有さなくともよい。例えば、切断部材は、ステープルカートリッジを通じて前進させられる際に、例えば内側層2412及び/又は外側層2411を切開することが求められる場合もある。  46 and 47, the bottom surface of thecartridge body 2210 may have an outer shape formed with a step that matches or at least substantially matches the outer shape of thecartridge support surface 2231 where the step is formed. The bottom surface of thecartridge body 2210 can be deformed to match or at least approximately match the outer shape of thecartridge support surface 2231. Referring now to FIG. 48, for example, an end effector similar to the end effector shown in FIG. 46 may have a staple cartridge 2300 disposed therein. The staple cartridge 2300 may have a compressible andimplantable body 2310 having an inner layer 2312 and anouter layer 2311, and in addition to the above, theouter layer 2311 can be constructed of a water impermeable material. Theouter layer 2311 may extend around thestaples 2220a, 2220b and may be disposed between thestaples 2220a, 2220b and thesupport slots 2232a, 2232b, respectively. Referring now to FIG. 49, for example, an end effector similar to the end effector shown in FIG. 46 may have a staple cartridge 2400 disposed therein. Similar to the staple cartridge 2300, the compressibleimplantable cartridge body 2410 of the staple cartridge 2400 can have aninner layer 2412 and anouter layer 2411, although thecartridge body 2410 need not have a cutting member slot therein. For example, the cutting member may be required to incise, for example, theinner layer 2412 and / or theouter layer 2411 as it is advanced through the staple cartridge.

次に図50を参照すると、外科用ステープラのエンドエフェクタは、アンビル2540、ステープルカートリッジ溝部材2530、及びステープルカートリッジ溝部材2530内に配置されたステープルカートリッジ2500を有しうる。上記と同様、ステープルカートリッジ2500は、圧縮可能な移植式カートリッジ本体2510、外側ステープル列2220a、及び内側ステープル列2220bを含みうる。ステープルカートリッジ溝部材2530は、平坦又は少なくともほぼ平坦なカートリッジ支持表面2531、及び溝部材2530に画定されたステープル支持スロット2532を有しうる。アンビル2540は、段差形成表面2541、及びアンビル2540に画定された例えば成形ポケット2542a及び2542bのような複数のステープル成形ポケットを有しうる。上記と同様、成形ポケット2542aと支持スロット2532との間には、成形ポケット2452bと支持スロット2532との間の距離よりも大きな距離が規定されうる。アンビル2540は、アンビル2540の段差形成表面2541に取り付けられたバットレス材料2560を更に有しうる。例えば、バットレス材料2560は、段差形成表面2541の形状と一致又は少なくともほぼ一致しうる。バットレス材料2560は、例えばフィブリン及び/又はタンパク質ヒドロゲルなどの少なくとも1種類の接着剤によって表面2541に着脱可能に取り付けることができる。カートリッジ本体2510もまた、例えばアンビル2540の段差形成表面2541と平行又は少なくともほぼ平行である段差が形成された外形を有してもよい。より詳細には、アンビル2540は、ステープルカートリッジ2500の方向に延びる段差2548を有してもよく、その場合、段差2548は、カートリッジ本体2510から延びる段差2508の段差高さに等しいか又は少なくともほぼ等しい段差高さを有してもよい。例えば、上記の結果として、第1のステープル2220a内に捕捉されうる圧縮可能なカートリッジ本体2510の量は、例えば第2のステープル2220b内に捕捉されうる圧縮可能なカートリッジ本体2510の量と異なりうる。  Referring now to FIG. 50, the surgical stapler end effector may include ananvil 2540, a staplecartridge groove member 2530, and astaple cartridge 2500 disposed within the staplecartridge groove member 2530. Similar to the above, thestaple cartridge 2500 can include a compressibleimplantable cartridge body 2510, anouter staple row 2220a, and aninner staple row 2220b. The staplecartridge groove member 2530 can have a flat or at least substantially flatcartridge support surface 2531 and astaple support slot 2532 defined in thegroove member 2530. Theanvil 2540 can have astep forming surface 2541 and a plurality of staple forming pockets defined in theanvil 2540, such as formingpockets 2542a and 2542b. Similar to the above, a distance greater than the distance between the molding pocket 2452b and thesupport slot 2532 can be defined between themolding pocket 2542a and thesupport slot 2532.Anvil 2540 can further include a buttressmaterial 2560 attached to the steppedsurface 2541 of theanvil 2540. For example, the buttressmaterial 2560 can match or at least approximately match the shape of thestep forming surface 2541. Buttress material 2560 can be removably attached tosurface 2541 by at least one adhesive, such as fibrin and / or protein hydrogel. Thecartridge body 2510 may also have an outer shape formed with a step that is parallel or at least substantially parallel to thestep forming surface 2541 of theanvil 2540, for example. More specifically, theanvil 2540 may have astep 2548 extending in the direction of thestaple cartridge 2500, in which case thestep 2548 is equal to or at least approximately equal to the step height of thestep 2508 extending from thecartridge body 2510. It may have a step height. For example, as a result of the above, the amount ofcompressible cartridge body 2510 that can be captured within thefirst staple 2220a can differ from the amount ofcompressible cartridge body 2510 that can be captured within thesecond staple 2220b, for example.

次に図51を参照すると、エンドエフェクタは、アンビル2640、ステープルカートリッジ溝部材2530、及びそれらの間に配置されたステープルカートリッジ2600を有しうる。ステープルカートリッジ2600は、内側層2612、外側層2611、及び内部に配置されたステープル2220a及び2200bのような複数のステープルを含む圧縮可能な移植式カートリッジ本体2610を有しうる。アンビル2640は、表面2641に複数のステープル成形ポケット2642を有してもよく、ステープルカートリッジ溝部材2530は、支持表面2531に画定された複数のステープル成形スロット2532を有しうる。図51に示されるように、アンビル表面2641は、カートリッジ支持表面2531と平行又はほぼ平行であってよく、各成形ポケット2642は、対向した対応するステープル支持スロット2532から等距離又は少なくともほぼ等距離に配置されうる。ステープルカートリッジ2600は、同じか又は少なくともほぼ同じ初期の未成形のステープル高さ、更に、同じか又は少なくともほぼ同じ成形後のステープル高さを有するステープルを含みうる。外側ステープル列はステープル2220aを含んでよく、内側ステープル列はステープル2220bを含んでよく、上記に述べたように、ステープル2220aと2220bとは異なる未成形のステープル高さを有しうる。アンビル2640がステープルカートリッジ2600の方向に閉位置へと動かされる際、ステープル2220a及び2220bは、それらが同じか又は少なくともほぼ同じ成形後のステープル高さを有するように成形されうる。例えば、上記の結果として、成形後の外側ステープル2220aと内側ステープル2220bとは、内部に収容される圧縮可能なカートリッジ本体2610の量が同じか又は少なくともほぼ同じでありうるが、例えば、外側ステープル2220aは内側ステープル2220bよりも高い未成形のステープル高さを有しながらも同じ成形後のステープル高さを有するため、外側ステープル2220aには内側ステープル2220bよりも高いクランプ締め圧が発生しうる。  Referring now to FIG. 51, the end effector can have ananvil 2640, a staplecartridge groove member 2530, and astaple cartridge 2600 disposed therebetween.Staple cartridge 2600 can have a compressibleimplantable cartridge body 2610 that includes aninner layer 2612, anouter layer 2611, and a plurality of staples such asstaples 2220a and 2200b disposed therein. Theanvil 2640 may have a plurality ofstaple forming pockets 2642 on thesurface 2641, and the staplecartridge groove member 2530 may have a plurality ofstaple forming slots 2532 defined in thesupport surface 2531. As shown in FIG. 51, theanvil surface 2641 may be parallel or substantially parallel to thecartridge support surface 2531 and eachmolding pocket 2642 is equidistant or at least approximately equidistant from the opposing correspondingstaple support slot 2532. Can be arranged.Staple cartridge 2600 may include staples having the same or at least about the same initial unformed staple height and the same or at least about the same post-formed staple height. The outer staple row may includestaples 2220a, the inner staple row may includestaples 2220b, and may have an unformed staple height different fromstaples 2220a and 2220b, as described above. As theanvil 2640 is moved toward the closed position in the direction of thestaple cartridge 2600, thestaples 2220a and 2220b can be molded so that they have the same or at least approximately the same staple height after molding. For example, as a result of the above, theouter staple 2220a and theinner staple 2220b after molding may have the same or at least approximately the same amount ofcompressible cartridge body 2610 housed therein, for example, theouter staple 2220a. Has a higher unformed staple height than theinner staple 2220b but has the same post-molded staple height, theouter staple 2220a can have a higher clamping pressure than theinner staple 2220b.

次に図52を参照すると、外科用ステープラのエンドエフェクタは、アンビル2740、ステープルカートリッジ溝部材2530、及びステープルカートリッジ溝部材2530内に配置されたステープルカートリッジ2700を有しうる。上記と同様、ステープルカートリッジ2700は、内側層2712、外側層2711、並びに、例えばその内部に配置されたステープル2220a及び2220bのような複数のステープルを含む圧縮可能な移植式ステープルカートリッジ本体2710を有しうる。カートリッジ本体2710の厚さはその幅にわたって変化しうる。例えば、カートリッジ本体2710は中央部分2708及び側部2709を含んでよく、中央部分2708は、側部2709よりも大きな厚さを有しうる。カートリッジ本体2710の最も厚い部分は中央部分2708に位置し、カートリッジ本体2710の最も薄い部分は側部2709に位置しうる。例えば、カートリッジ本体2710の厚さは中央部分2708と側部2709との間で徐々に減少しうる。カートリッジ本体2710の厚さは、中央部分2708と側部2709との間で直線的及び/又は幾何学的に減少しうる。例えば、カートリッジ本体2710の組織接触表面2719は、中央部分2708から側部2709に向かって下方に傾斜する2つの傾斜表面又は角度付け表面を含みうる。アンビル2740は、傾斜した組織接触表面2719と平行又は少なくともほぼ平行である2つの傾斜表面又は角度付け表面を含みうる。アンビル2740は、アンビル2740の傾斜表面に取り付けられた少なくとも1つのバットレス材料2760を更に有しうる。  Referring now to FIG. 52, the end effector of the surgical stapler can have ananvil 2740, a staplecartridge groove member 2530, and astaple cartridge 2700 disposed within the staplecartridge groove member 2530. As above, thestaple cartridge 2700 has a compressible implantablestaple cartridge body 2710 that includes aninner layer 2712, anouter layer 2711, and a plurality of staples, eg,staples 2220a and 2220b disposed therein. sell. The thickness of thecartridge body 2710 can vary across its width. For example, thecartridge body 2710 may include acentral portion 2708 andside portions 2709, and thecentral portion 2708 can have a greater thickness than theside portions 2709. The thickest portion of thecartridge body 2710 can be located at thecentral portion 2708 and the thinnest portion of thecartridge body 2710 can be located at theside 2709. For example, the thickness of thecartridge body 2710 can gradually decrease between thecentral portion 2708 and theside portion 2709. The thickness of thecartridge body 2710 may decrease linearly and / or geometrically between thecentral portion 2708 and theside 2709. For example, thetissue contacting surface 2719 of thecartridge body 2710 can include two inclined or angled surfaces that are inclined downwardly from thecentral portion 2708 toward theside 2709.Anvil 2740 may include two inclined or angled surfaces that are parallel or at least approximately parallel to inclinedtissue contacting surface 2719.Anvil 2740 can further include at least one buttressmaterial 2760 attached to the inclined surface ofanvil 2740.

上記に加えて、ステープルカートリッジ2700内の内側ステープル列はより高いステープル2220aを含んでよく、外側ステープル列はより短いステープル2220bを含みうる。より高いステープル2220aは、より厚い中央部分2708内及び/又はこれに隣接して配置することができるのに対して、ステープル2220bは、側部2709内及び/又はこれに隣接して配置することができる。例えば、上記の結果として、より高いステープル2220aは、より短いステープル2220bよりも移植式カートリッジ本体2710の材料をより多く捕捉しうる。このような状況では、ステープル2220aは、ステープル2220bよりも大きなクランプ締め圧を組織Tに作用させることになる。より高いステープル2220aは、より短いステープル2220bよりもより多くのカートリッジ本体2710の材料をその中に捕捉しうるが、ステープル成形ポケット2742a及び2742bの傾斜した構成のため、ステープル2220aは、より短いステープル2220bよりも、より高い成形後のステープル高さを有しうる。このような考慮を行うことにより、ステープル2220a及び2220bによって捕捉される組織内において所望のクランプ締め圧が実現され、その結果、例えばステープル2220a内のクランプ締め圧を、ステープル2220bによって組織に加えられるクランプ締め圧よりも大きくするか、小さくするか、又は同等とすることができる。図52に示されるエンドエフェクタの代替例として、より短いステープル2220bは、カートリッジ本体2710のより厚い中央部分2708の内部、かつ/又はこれに隣接するように配置され、より高いステープル2220aは、より薄い側部2709の内部、かつ/又はこれに隣接するように配置することができる。更に、ステープルカートリッジ2700はステープルの内側列及び外側列を含むものとして示されているが、ステープルカートリッジ2700は、例えば、ステープルの内側列と外側列との間に配置されるステープル列のような更なるステープル列を含みうる。例えば、中間のステープル列は、ステープル2220a及び2220bの未成形のステープル高さ、並びに、例えば、ステープル2220a及び2220bの成形後のステープル高さの中間の未成形のステープル高さを有するステープルを含みうる。  In addition to the above, the inner staple row instaple cartridge 2700 may includehigher staples 2220a and the outer staple row may includeshorter staples 2220b. Thehigher staple 2220a can be placed in and / or adjacent to the thickercentral portion 2708, while thestaple 2220b can be placed in and / or adjacent to theside 2709. it can. For example, as a result of the above, thehigher staple 2220a may capture more material of theimplantable cartridge body 2710 than theshorter staple 2220b. In such a situation, thestaple 2220a applies a greater clamping pressure to the tissue T than the staple 2220b. Thehigher staples 2220a can capturemore cartridge body 2710 material therein than theshorter staples 2220b, but because of the slanted configuration ofstaple forming pockets 2742a and 2742b, thestaples 2220a areshorter staples 2220b. May have a higher post-mold staple height. By taking such considerations, a desired clamping pressure is achieved in the tissue captured by thestaples 2220a and 2220b so that, for example, the clamping pressure in the staple 2220a is applied to the tissue by thestaple 2220b. It can be greater than, less than or equal to the clamping pressure. As an alternative to the end effector shown in FIG. 52, theshorter staple 2220b is positioned within and / or adjacent to the thickercentral portion 2708 of thecartridge body 2710, with thehigher staple 2220a being thinner. It can be arranged inside theside portion 2709 and / or adjacent thereto. Further, although thestaple cartridge 2700 is shown as including an inner row and an outer row of staples, thestaple cartridge 2700 may be a staple row such as, for example, a staple row disposed between an inner row and an outer row of staples. A staple row can be included. For example, the intermediate staple row may include staples having an unformed staple height ofstaples 2220a and 2220b and an unformed staple height that is intermediate to the staple height after forming ofstaples 2220a and 2220b, for example. .

次に図53を参照すると、外科用ステープラのエンドエフェクタは、アンビル2840、ステープルカートリッジ溝部材2530、及びステープルカートリッジ溝部材2530内に配置されたステープルカートリッジ2800を有しうる。上記と同様、ステープルカートリッジ2800は、内側層2812、外側層2811、並びに、例えば、その内部に配置されたステープル2220a及び2220bなどの複数のステープルを含む圧縮可能な移植式ステープルカートリッジ本体2810を含みうる。カートリッジ本体2810の厚さは、その幅にわたって変化しうる。例えば、カートリッジ本体2810は、中央部分2808及び側部2809を含むことができ、中央部分2808は側部2809の厚さよりも小さな厚さを有しうる。カートリッジ本体2810の最も薄い部分は中央部分2808に位置してよく、カートリッジ本体2810の最も厚い部分は、側部2809に位置してよい。例えば、カートリッジ本体2810の厚さは、中央部分2808と側部2809との間で徐々に減少しうる。カートリッジ本体2810の厚さは、中央部分2808と側部2809との間で直線的及び/又は幾何学的に増大しうる。例えば、カートリッジ本体2810の組織接触表面2819は、中央部分2808から側部2809に向かって上方に傾斜する2つの傾斜表面又は角度付け表面を含みうる。アンビル2840は、傾斜した組織接触表面2819と平行又は少なくともほぼ平行である2つの傾斜表面又は角度付け表面を含みうる。アンビル2840は、アンビル2840の傾いた表面に取り付けられた少なくとも1つのバットレス材料2860を更に有しうる。上記に加えて、ステープルカートリッジ2800内の外側ステープル列は、より高いステープル2220aを含んでよく、内側ステープル列は、より短いステープル2220bを含みうる。より高いステープル2220aがより厚い側部2809内及び/又はこれに隣接して配置することができるのに対してステープル2220bは、中央部分2808内及び/又はこれに隣接して配置することができる。例えば、上記の結果として、より高いステープル2220aは、より短いステープル2220bよりも移植式カートリッジ本体2810の材料をより多く捕捉しうる。  Referring now to FIG. 53, the end effector of the surgical stapler can include ananvil 2840, a staplecartridge groove member 2530, and astaple cartridge 2800 disposed within the staplecartridge groove member 2530. Similar to the above, thestaple cartridge 2800 can include a compressible implantablestaple cartridge body 2810 that includes aninner layer 2812, anouter layer 2811, and a plurality of staples, eg,staples 2220a and 2220b disposed therein. . The thickness of thecartridge body 2810 can vary across its width. For example, thecartridge body 2810 can include acentral portion 2808 andside portions 2809, and thecentral portion 2808 can have a thickness that is less than the thickness of theside portions 2809. The thinnest portion of thecartridge body 2810 may be located in thecentral portion 2808 and the thickest portion of thecartridge body 2810 may be located in theside 2809. For example, the thickness of thecartridge body 2810 can gradually decrease between thecentral portion 2808 and theside 2809. The thickness of thecartridge body 2810 can increase linearly and / or geometrically between thecentral portion 2808 and theside 2809. For example, thetissue contacting surface 2819 of thecartridge body 2810 can include two inclined or angled surfaces that are inclined upwardly from thecentral portion 2808 toward theside 2809.Anvil 2840 can include two inclined or angled surfaces that are parallel or at least approximately parallel to inclinedtissue contacting surface 2819.Anvil 2840 can further include at least one buttressmaterial 2860 attached to the inclined surface ofanvil 2840. In addition to the above, the outer staple row instaple cartridge 2800 may includehigher staples 2220a and the inner staple row may includeshorter staples 2220b.Staples 2220b can be positioned in and / or adjacent tocentral portion 2808, whilehigher staples 2220a can be positioned in and / or adjacent tothicker sides 2809. For example, as a result of the above, thehigher staple 2220a may capture more material of theimplantable cartridge body 2810 than theshorter staple 2220b.

例えば、図46に関して上記に述べたように、ステープルカートリッジ溝部材2230は、アンビル2240に対して異なる高さでステープル2220a及び2220bを支持するように構成することが可能な段差形成支持表面2231を有しうる。ステープルカートリッジ溝部材2230は金属で構成することができ、支持表面2231の段差は、例えば、グラインダー操作によって支持表面2231に形成することができる。図54を参照すると、外科用器具のエンドエフェクタは、その内部に支持インサート2935が配置されたステープルカートリッジ溝部材2930を含みうる。より詳細には、ステープルカートリッジ溝部材2930は、ステープルカートリッジ2200のステープル2220a及び2220bを異なる高さで支持するための段差形成表面を有するインサート2935を支持するように構成することが可能な例えば平坦又は少なくともほぼ平坦な支持表面2931を有するように形成することができる。例えば、インサート2935は、支持表面2931に接して配置されうる平坦又は少なくともほぼ平坦な底面を有しうる。インサート2935は、支持スロット、溝又はトラフ2932a及び2932bを更に有してもよく、これらはそれぞれ、ステープル2220a及び2220bを異なる高さで支持するように構成することができる。上記と同様、インサート2935は、切断部材が内部を通過できるように構成することが可能なナイフスロット2939がその内部に画定されてもよい。ステープルカートリッジ溝部材2930は、支持インサート2935と同じ材料又はこれと異なる材料で構成することができる。ステープルカートリッジ溝部材2930及び支持インサート2935は両方とも、例えば金属で構成してもよいが、代わりにステープルカートリッジ溝部材2930を例えば金属から構成し、支持インサート2935を例えばプラスチックで構成することができる。支持インサート2935は、ステープルカートリッジ溝部材2930内に締結するか、かつ/又はこれに溶接することができる。支持インサート2935は、ステープルカートリッジ溝部材2930内にスナップ嵌め及び/又は圧入されてもよい。支持インサート2935は、接着剤を使用してステープルカートリッジ溝部材2930に固定することもできる。  For example, as described above with respect to FIG. 46, staplecartridge groove member 2230 has a steppedsupport surface 2231 that can be configured to supportstaples 2220a and 2220b at different heights relative toanvil 2240. Yes. The staplecartridge groove member 2230 can be made of metal, and the step of thesupport surface 2231 can be formed on thesupport surface 2231 by, for example, a grinder operation. Referring to FIG. 54, the end effector of a surgical instrument can include a staplecartridge groove member 2930 with a support insert 2935 disposed therein. More specifically, the staplecartridge groove member 2930 can be configured to support an insert 2935 having a stepped surface for supporting thestaples 2220a and 2220b of thestaple cartridge 2200 at different heights, for example flat or It can be formed to have at least a substantiallyflat support surface 2931. For example, the insert 2935 can have a flat or at least substantially flat bottom surface that can be disposed against thesupport surface 2931. The insert 2935 may further include support slots, grooves ortroughs 2932a and 2932b, which may be configured to support thestaples 2220a and 2220b, respectively, at different heights. As above, the insert 2935 may have aknife slot 2939 defined therein that can be configured to allow a cutting member to pass therethrough. The staplecartridge groove member 2930 can be constructed of the same material as the support insert 2935 or a different material. Both staplecartridge groove member 2930 and support insert 2935 may be comprised of, for example, metal, but alternatively staplecartridge groove member 2930 may be comprised of, for example, metal, and support insert 2935 may be comprised of, for example, plastic. The support insert 2935 can be fastened into and / or welded to the staplecartridge groove member 2930. Support insert 2935 may be snapped and / or press fit into staplecartridge groove member 2930. Support insert 2935 can also be secured to staplecartridge groove member 2930 using an adhesive.

次に図55を参照すると、外科用ステープラのエンドエフェクタは、アンビル3040、ステープルカートリッジ溝部材3030、及びステープルカートリッジ溝部材3030内に配置された圧縮可能な移植式ステープルカートリッジ3000を有することができる。上記と同様、アンビル3040は、内部に画定された複数のステープル成形ポケット3042、及び内部に切断部材を摺動可能に受容するように構成することが可能なナイフスロット3049を有しうる。上記と同様、ステープルカートリッジ溝部材3030は、内部に画定された複数のステープル支持スロット3032、及びやはり内部に切断部材を摺動可能に受容するように構成することができるナイフスロット3039を有しうる。ステープルカートリッジ3000は、第1の層3011、第2の層3012、並びに、例えばその内部に配置されたステープル3020a及び3020bのような複数のステープルを有しうる。ステープル3020aは、ステープル3020bの未成形ステープル高さよりも高い未成形ステープル高さを有しうる。第1の層3011は第1の圧縮性材料で構成することができ、第2の層3012は第2の圧縮性材料で構成することができる。第1の圧縮性材料は第2の圧縮性材料よりも大きな速度で圧縮されてもよいが、第1の圧縮性材料は第2の圧縮性材料よりも低い速度で圧縮されてもよい。第1の圧縮性材料は、第1のばね定数を有しうる弾性材料で構成することができ、第2の圧縮性材料は、第1のばね定数とは異なる第2のばね定数を有しうる弾性材料で構成することができる。第1の圧縮性材料は、第2の圧縮性材料のばね定数よりも高いばね定数を有しうる。第1の圧縮性材料は、第2の圧縮性材料のばね定数よりも低いばね定数を有しうる。第1の圧縮性層は第1の剛性を有してよく、第2の圧縮性層は第2の剛性を有してよく、第1の剛性は第2の剛性とは異なる。第1の圧縮性層は、第2の圧縮性層の剛性よりも高い剛性を有しうる。第1の圧縮性層は、第2の圧縮性層の剛性よりも低い剛性を有しうる。  Referring now to FIG. 55, the surgical stapler end effector can include ananvil 3040, a staplecartridge groove member 3030, and a compressibleimplantable staple cartridge 3000 disposed within the staplecartridge groove member 3030. As above, theanvil 3040 can have a plurality ofstaple forming pockets 3042 defined therein and aknife slot 3049 that can be configured to slidably receive a cutting member therein. Similar to the above, the staplecartridge groove member 3030 can have a plurality ofstaple support slots 3032 defined therein and aknife slot 3039 that can also be configured to slidably receive a cutting member therein. .Staple cartridge 3000 may include afirst layer 3011, asecond layer 3012, and a plurality of staples, such asstaples 3020a and 3020b disposed therein, for example.Staples 3020a can have an unformed staple height that is higher than the unformed staple height ofstaples 3020b. Thefirst layer 3011 can be composed of a first compressible material, and thesecond layer 3012 can be composed of a second compressible material. The first compressible material may be compressed at a higher rate than the second compressible material, but the first compressible material may be compressed at a lower rate than the second compressible material. The first compressible material can be composed of an elastic material that can have a first spring constant, and the second compressible material has a second spring constant that is different from the first spring constant. It can be made of an elastic material. The first compressible material may have a spring constant that is higher than the spring constant of the second compressible material. The first compressible material may have a spring constant that is lower than the spring constant of the second compressible material. The first compressible layer may have a first stiffness, the second compressible layer may have a second stiffness, and the first stiffness is different from the second stiffness. The first compressible layer can have a stiffness that is higher than the stiffness of the second compressible layer. The first compressible layer may have a stiffness that is lower than that of the second compressible layer.

再び図55を参照すると、ステープルカートリッジ3000の第2の層3012は、その幅にわたって一定又は少なくともほぼ一定の厚さを有しうる。第1の層3011は、その幅にわたって変動する厚さを有しうる。例えば、第1の層3011は、例えば中央部分のようなカートリッジ本体3010の中央部分においてカートリッジ3010の厚さを増加させうる1つ又は2つ以上の段差3008を有しうる。再び図55を参照すると、より短いステープル3020bは、段差3008(すなわち、カートリッジ本体3010のより厚い部分)に配置されるか又はこれと整列されてよく、より高いステープル3020aは、カートリッジ本体3010のより薄い部分に配置されるか又はこれと整列されうる。必要に応じて、カートリッジ本体3010のより厚い部分及びより薄い部分の結果として、カートリッジ本体3010の剛性は、内側ステープル列3020bに沿って外側ステープル3020a列よりも高くなりうる。第1の層3011は第2の層3012と結合されうる。例えば第1の層3011及び第2の層3012は、層3011と3012とを一体に保持しうる連結機構を含みうる。第1の層3011は第1の積層体を含んでよく、第2の層3012は第2の積層体を含んでよく、第1の積層体は1又は2以上の接着剤により第2の積層体に接着することができる。ステープルカートリッジ3000は、その内部に切断部材を摺動可能に受容するように構成することができるナイフスロット3003を有しうる。  Referring again to FIG. 55, thesecond layer 3012 of thestaple cartridge 3000 can have a constant or at least approximately constant thickness across its width. Thefirst layer 3011 can have a thickness that varies across its width. For example, thefirst layer 3011 can have one ormore steps 3008 that can increase the thickness of thecartridge 3010 in a central portion of thecartridge body 3010, such as the central portion. Referring again to FIG. 55, theshorter staple 3020b may be placed in or aligned with the step 3008 (ie, the thicker portion of the cartridge body 3010), while thehigher staple 3020a It can be placed in a thin section or aligned with it. If desired, as a result of the thicker and thinner portions of thecartridge body 3010, the stiffness of thecartridge body 3010 can be higher along theinner staple row 3020b than theouter staple row 3020a. Thefirst layer 3011 can be combined with thesecond layer 3012. For example, thefirst layer 3011 and thesecond layer 3012 can include a coupling mechanism that can hold thelayers 3011 and 3012 together. Thefirst layer 3011 may include a first stack, thesecond layer 3012 may include a second stack, and the first stack may be a second stack with one or more adhesives. Can be glued to the body. Thestaple cartridge 3000 can have aknife slot 3003 that can be configured to slidably receive a cutting member therein.

次に図56を参照すると、ステープルカートリッジ3100は、単一層の圧縮可能な材料、更に、例えばその内部に配置されたステープル3020bのような複数のステープルを含む圧縮可能な移植式カートリッジ本体3110を含みうる。カートリッジ本体3110の厚さはその幅にわたって変化しうる。例えば、カートリッジ本体3110はその側部に沿って延びる段差3108を含みうる。次に図57を参照すると、ステープルカートリッジ3200は、単一層の圧縮可能な材料、更に、例えばその内部に配置されたステープル3020bのような複数のステープルを含む圧縮可能な移植式カートリッジ本体3210を含みうる。カートリッジ本体3210の厚さはその幅にわたって変化しうる。例えば、カートリッジ本体3210はその中央部分に沿って延びる段差3208を含みうる。次に図58を参照すると、ステープルカートリッジ3300は、圧縮可能な移植式カートリッジ本体3310を有してもよく、上記と同様、カートリッジ本体3310の厚さはその幅にわたって変化しうる。カートリッジ本体3310の厚さは、カートリッジ本体3310の側部と中央部分との間で幾何級数的に増大しうる。例えば、カートリッジ本体3310の厚さは円弧状又は湾曲した外形によって画定されてよく、円弧状又は湾曲した組織接触表面3319を形成しうる。本体3310の厚さ及び組織接触表面3319の外形は、例えば1つの曲率半径、あるいは複数の曲率半径によって画定されうる。次に図59を参照すると、ステープルカートリッジ3400は、圧縮可能な移植式カートリッジ本体3410を有してもよく、その場合、カートリッジ本体3410の厚さは、カートリッジ本体3410の側部と中央部分との間で直線的又は少なくともほぼ直線的に増大しうる。  Referring now to FIG. 56, astaple cartridge 3100 includes a compressibleimplantable cartridge body 3110 that includes a single layer of compressible material and a plurality of staples, eg,staples 3020b disposed therein. sell. The thickness of thecartridge body 3110 can vary across its width. For example, thecartridge body 3110 can include astep 3108 extending along its side. Referring now to FIG. 57, astaple cartridge 3200 includes a compressibleimplantable cartridge body 3210 that includes a single layer of compressible material and a plurality of staples, eg,staples 3020b disposed therein. sell. The thickness of thecartridge body 3210 can vary across its width. For example, thecartridge body 3210 can include a step 3208 extending along its central portion. Referring now to FIG. 58, thestaple cartridge 3300 may have a compressibleimplantable cartridge body 3310, and the thickness of thecartridge body 3310 may vary across its width, as described above. The thickness of thecartridge body 3310 can increase geometrically between the side and center portions of thecartridge body 3310. For example, the thickness of thecartridge body 3310 may be defined by an arcuate or curved profile and may form an arcuate or curvedtissue contacting surface 3319. The thickness of thebody 3310 and the outer shape of thetissue contacting surface 3319 can be defined, for example, by a single radius of curvature or multiple radii of curvature. Referring now to FIG. 59, thestaple cartridge 3400 may have a compressibleimplantable cartridge body 3410 where the thickness of thecartridge body 3410 is between the side and center portions of thecartridge body 3410. It can increase linearly or at least approximately linearly between.

次に図60を参照すると、ステープルカートリッジ3500は、圧縮可能な移植式カートリッジ本体3510及びその内部に配置された複数のステープル3520を含みうる。移植式カートリッジ本体3510は、第1の内側層3512、第2の内側層3513、及び外側層3511を含みうる。第1の内側層3512は第1の厚さを有してよく、第2の内側層3513は第2の厚さを有してよく、第2の内側層3513は第1の層3512よりも厚くてよい。あるいは、第1の内側層3512が第2の内側層3513よりも厚くともよい。更なる代替例として、第1の内側層3512は、第2の内側層3513と同じか又はほぼ同じ厚さを有してもよい。各ステープル3520は、基部3522及び基部3522から延出する1本又は2本以上の変形可能な脚3521を有しうる。必要に応じて、各脚3521は、第1の内側層3511内に包埋された先端部3523を有してもよく、更に、ステープル3520の各基部3522は第2の内側層3512内に包埋されうる。第1の内側層3512及び/又は第2の層3513は、その内部に貯蔵された少なくとも1つの薬剤を含んでよく、外側層3511は、第1の内側層3512及び第2の内側層3513を封入及び密封することができ、これにより、外側層3511がステープル3520によって穿孔される後まで、薬剤はステープルカートリッジ本体3510から流出しない。より詳細には、上記に加えて、アンビルは、ステープルカートリッジ3500の組織接触表面3519に接して配置された組織に対して下方に押され、これによりカートリッジ本体3510が圧縮されて表面3519が下方に、ステープル先端部3523よりも少なくとも部分的に下に動かされ、これにより先端部3523が外側層3511を破裂させるか又は穿孔する。外側層3511がステープル脚3521によって裂かれた後、少なくとも1種類の薬剤Mが、ステープル脚3521の周囲のカートリッジ本体3510から流出しうる。様々な状況において、カートリッジ本体3510の更なる圧縮によって、図61に示されるように、カートリッジ本体3510から更なる薬剤Mが絞り出される。  Referring now to FIG. 60, astaple cartridge 3500 can include a compressible implantable cartridge body 3510 and a plurality ofstaples 3520 disposed therein. The implantable cartridge body 3510 can include a firstinner layer 3512, a second inner layer 3513, and anouter layer 3511. The firstinner layer 3512 may have a first thickness, the second inner layer 3513 may have a second thickness, and the second inner layer 3513 is more than thefirst layer 3512. It can be thick. Alternatively, the firstinner layer 3512 may be thicker than the second inner layer 3513. As a further alternative, the firstinner layer 3512 may have the same or substantially the same thickness as the second inner layer 3513. Eachstaple 3520 can have abase 3522 and one or moredeformable legs 3521 extending from thebase 3522. If desired, eachleg 3521 may have atip 3523 embedded within the firstinner layer 3511, and eachbase 3522 of the staple 3520 may be encased within the secondinner layer 3512. Can be buried. The firstinner layer 3512 and / or the second layer 3513 may include at least one drug stored therein, and theouter layer 3511 includes the firstinner layer 3512 and the second inner layer 3513. It can be encapsulated and sealed so that the drug does not flow out of the staple cartridge body 3510 until after theouter layer 3511 has been perforated by thestaple 3520. More specifically, in addition to the above, the anvil is pushed downward against tissue disposed against thetissue contacting surface 3519 of thestaple cartridge 3500, thereby compressing the cartridge body 3510 and lowering thesurface 3519 downward. , At least partially below thestaple tip 3523, causing thetip 3523 to rupture or perforate theouter layer 3511. After theouter layer 3511 is cleaved by thestaple legs 3521, at least one drug M can flow out of the cartridge body 3510 around thestaple legs 3521. In various situations, further compression of the cartridge body 3510 squeezes additional drug M from the cartridge body 3510, as shown in FIG.

再び図60を参照すると、外側層3511は、水に対して不透過性又は少なくともほぼ不透過性のラップを含んでもよく、このラップは、1)薬剤がステープルカートリッジ3500から早期に流出することを防止し、2)手術部位内の液体がステープルカートリッジ3500に早期に流入することを防止するように構成することができる。第1の内側層3512はその内部に第1の薬剤を貯蔵又は吸収することができ、第2の内側層3513はその内部に第2の薬剤を貯蔵又は吸収することができ、第2の薬剤は第1の薬剤と異なりうる。外側層3511の破裂を生じるカートリッジ本体3510の最初の圧縮は、一般的に第1の薬剤を第1の内側層3512から絞り出すことができ、その後のカートリッジ本体3510の圧縮が、一般的に第2の薬剤を第2の内側層3513から絞り出すことができる。しかしながら、このような場合、第1の薬剤及び第2の薬剤の一部が同時に搾り出されうるが、最初に搾り出される薬剤の大部分が第1の薬剤からなり、その後搾り出される薬剤の大部分が第2の薬剤からなりうる。上記に加えて、第1の内側層3512は第2の内側層3513よりも圧縮性の高い材料で構成されてよく、これにより、後の圧縮力又は圧力よりも低い場合がある最初の圧縮力又は圧力が、第1の内側層3512内において第2の内側層3513よりも大きい最初の撓みを生じうる。第1の内側層3512内のこのようなより大きな最初の撓みにより、第2の内側層3513から絞り出される第2の薬剤よりも大きな割合の第1の薬剤が第1の内側層3512から搾り出される。第1の内側層3512は、第2の内側層3513よりもより多孔質及び/又は可撓性でありうる。例えば、第1の内側層3512は、内部に画定された複数の孔又は空間3508を有してもよく、第2の内側層3513は、内部に画定された複数の孔又は空間3509を有してもよく、孔3508を、第1の内側層3512内に第1の薬剤を貯蔵するように構成し、孔3509を、第2の内側層3513内に第2の薬剤を貯蔵するように構成することができる。第1の内側層3512内の孔3508、及び第2の内側層3513内の孔3509の大きさ及び密度は、本明細書に述べられる所望の結果を与えるように選択することができる。  Referring again to FIG. 60, theouter layer 3511 may include a wrap that is impermeable or at least substantially impermeable to water, which wraps 1) that the drug flows out of thestaple cartridge 3500 early. 2) it can be configured to prevent liquid in the surgical site from flowing into thestaple cartridge 3500 early. The firstinner layer 3512 can store or absorb a first drug therein, the second inner layer 3513 can store or absorb a second drug therein, and the second drug May be different from the first agent. Initial compression of the cartridge body 3510 that results in the rupture of theouter layer 3511 can generally squeeze the first drug from the firstinner layer 3512, and subsequent compression of the cartridge body 3510 is generally second. Can be squeezed out of the second inner layer 3513. However, in such a case, the first drug and a part of the second drug can be squeezed at the same time. However, most of the drug squeezed first consists of the first drug, and then the squeezed drug The majority can consist of a second drug. In addition to the above, the firstinner layer 3512 may be composed of a material that is more compressible than the second inner layer 3513, so that the initial compressive force may be lower than the subsequent compressive force or pressure. Or, the initial deflection can be greater in the firstinner layer 3512 than in the second inner layer 3513. Such a larger initial deflection in the firstinner layer 3512 causes a greater percentage of the first drug to squeeze out of the firstinner layer 3512 than the second drug squeezed out of the second inner layer 3513. Is issued. The firstinner layer 3512 can be more porous and / or flexible than the second inner layer 3513. For example, the firstinner layer 3512 may have a plurality of holes orspaces 3508 defined therein, and the second inner layer 3513 has a plurality of holes orspaces 3509 defined therein. Thehole 3508 may be configured to store a first drug in the firstinner layer 3512 and thehole 3509 may be configured to store a second drug in the second inner layer 3513. can do. The size and density of theholes 3508 in the firstinner layer 3512 and theholes 3509 in the second inner layer 3513 can be selected to provide the desired results described herein.

図60及び図61を参照すると、外側層3511、第1の内側層3512、及び/又は第2の内側層3513は生体吸収性材料で構成することができる。第1の内側層3512を第1の生体吸収性材料で構成し、第2の内側層3513を第2の生体吸収性材料で構成し、外側層3511を第3の生体吸収性材料で構成し、第1の生体吸収解性材料、第2の生体吸収性材料、及び/又は第3の生体吸収性材料を異なる材料で構成することができる。第1の生体吸収解性材料は第1の速度で生体吸収されてよく、第2の生体吸収性材料は第2の速度で生体吸収されてよく、第3の生体吸収性材料は第3の速度で生体吸収されてよく、第1の速度、第2の速度及び/又は第3の速度は異なってよい。例えば、材料が特定の速度で生体吸収される場合、このような速度は、単位時間に患者の身体に吸収される材料の質量として定義することができる。知られているように、異なる患者の身体は、異なる材料を異なる速度で吸収しうるため、このような速度はこのようなばらつきを説明するため平均速度として表すことができる。いずれの場合も、より速い速度とは、より遅い速度に比べ、単位時間により多くの質量が生体吸収されうるような速度である。図60及び図61を参照すると、第1の内側層3512及び/又は第2の内側層3513は、外側層3511を構成する材料よりも大きな速度で生体吸収する材料で構成することができる。例えば、第1の内側層3512及び/又は第2の内側層3513は、生体吸収性発泡材料、組織シーラント、及び/又は、例えば、酸化再生セルロース(ORC)などの止血材料から構成することができ、外側層3511は、バットレス材料及び/又は例えばポリグリコール酸(PGA)(商品名Vicrylで市販される)、ポリ乳酸(PLA又はPLLA)、ポリジオキサン(PDS)、ポリヒドロキシアルカノエート(PHA)、ポリグレカプロン25(PGCL)(商品名Monocrylで市販される)、ポリカプロラクトン(PCL)、及び/又はPGA、PLA、PDS、PHA、PGCL及び/又はPCLの複合物などのプラスチック材料で構成することができる。このような場合、第1の内側層3512及び/又は第2の内側層3513は速やかに組織を治療することができるとともに組織からの出血を低減することができ、例えば、外側層3514は、長期の構造的支持を与えることができ、より遅い速度で生体吸収されうる。  60 and 61, theouter layer 3511, the firstinner layer 3512, and / or the second inner layer 3513 can be composed of a bioabsorbable material. The firstinner layer 3512 is made of a first bioabsorbable material, the second inner layer 3513 is made of a second bioabsorbable material, and theouter layer 3511 is made of a third bioabsorbable material. The first bioabsorbable material, the second bioabsorbable material, and / or the third bioabsorbable material can be made of different materials. The first bioabsorbable material may be bioabsorbed at a first rate, the second bioabsorbable material may be bioabsorbed at a second rate, and the third bioabsorbable material may be a third May be bioabsorbed at a rate, and the first rate, the second rate and / or the third rate may be different. For example, if the material is bioabsorbed at a specific rate, such rate can be defined as the mass of material absorbed into the patient's body per unit time. As is known, different patient bodies can absorb different materials at different rates, so such rates can be expressed as average rates to account for such variability. In any case, the faster speed is the speed at which more mass can be bioabsorbed per unit time than the slower speed. Referring to FIGS. 60 and 61, the firstinner layer 3512 and / or the second inner layer 3513 can be made of a material that is bioabsorbed at a higher rate than the material that makes up theouter layer 3511. For example, the firstinner layer 3512 and / or the second inner layer 3513 can be comprised of a bioabsorbable foam material, tissue sealant, and / or a hemostatic material such as, for example, oxidized regenerated cellulose (ORC). ,Outer layer 3511 may be made of buttress material and / or polyglycolic acid (PGA) (commercially available under the trade name Vicryl), polylactic acid (PLA or PLLA), polydioxane (PDS), polyhydroxyalkanoate (PHA), Polygrecapron 25 (PGCL) (commercially available under the trade name Monocryl), polycaprolactone (PCL), and / or plastic materials such as PGA, PLA, PDS, PHA, PGCL and / or PCL composites. Can do. In such cases, the firstinner layer 3512 and / or the second inner layer 3513 can quickly treat the tissue and reduce bleeding from the tissue, for example, the outer layer 3514 can be a long-term Structural support and can be bioabsorbed at a slower rate.

上記に加えて、外側層3511の生体吸収性のより遅い速度のため、外側層3511は、ステープルの列内の組織が治癒する際に組織を強化又は構造的に補強することができる。第1の内側層3512及び第2の内側層3513の一方を他方よりも早く生体吸収されうる材料で構成することができ、これにより、層の一方が治療物質の初期放出を行うことができ、他方の層が、同じ治療物質及び/又は異なる治療物質の持続的放出を行うことができる。例えば、治療物質が層3512、3513から放出される速度は、薬剤が吸収又は分散される基材層の生体吸収性の関数でありうる。例えば、第1の内側層3512を構成する基材が第2の内側層3513を構成する基材よりも早く生体吸収されてもよく、その結果、薬剤は、例えば第2の層3513よりも早く第1の内側層3512から放出されうる。必要に応じて、本明細書に述べられるように、カートリッジ本体3510の層3511、3512及び3513の1つ又は2つ以上を、例えば、フィブリン及び/又はタンパク質ヒドロゲルなどの少なくとも1種類の接着剤によって互いに接着することができる。接着剤は、水溶性のものとし、ステープルカートリッジ3500が埋め込まれる際に、かつ/又はその少し後に、層間の結合を剥離するように構成することができる。例えば、接着剤は、外側層3511、第1の内側層3512及び/又は第2の内側層3513よりも早く生体吸収するように構成することができる。  In addition to the above, because of the slower rate of bioabsorbability of theouter layer 3511, theouter layer 3511 can strengthen or structurally strengthen the tissue as the tissue in the staple row heals. One of the firstinner layer 3512 and the second inner layer 3513 can be composed of a material that can be bioabsorbed faster than the other, so that one of the layers can provide an initial release of the therapeutic substance, The other layer can provide sustained release of the same therapeutic agent and / or different therapeutic agents. For example, the rate at which the therapeutic agent is released from thelayers 3512, 3513 can be a function of the bioabsorbability of the substrate layer where the drug is absorbed or dispersed. For example, the substrate that makes up the firstinner layer 3512 may be bioabsorbed earlier than the substrate that makes up the second inner layer 3513 so that the drug is faster than, for example, the second layer 3513 It can be released from the firstinner layer 3512. Optionally, as described herein, one or more of thelayers 3511, 3512 and 3513 of the cartridge body 3510 may be attached by at least one adhesive, such as fibrin and / or protein hydrogels, for example. Can be glued together. The adhesive can be water soluble and can be configured to release the bond between the layers when and / or shortly after thestaple cartridge 3500 is implanted. For example, the adhesive can be configured to bioabsorb faster than theouter layer 3511, the firstinner layer 3512 and / or the second inner layer 3513.

次に図62及び図63を参照すると、例えば、ステープルカートリッジ3600のようなステープルカートリッジは、圧縮可能な第1の層3611、第1の層3611に取り付けられた第2の層3612、及び第2の層3612に取り付けられた剥離可能な圧縮性層3613を含む、カートリッジ本体3610を有しうる。例えば、第1の層3611は、圧縮可能な発泡材料で構成することができ、第2の層3612は、1つ又は2つ以上の接着剤を使用して第1の層3611に接着された積層体材料を含んでよく、第3の層3613は、例えば1つ又は2つ以上の接着剤を使用して第2の層3612に剥離可能に取り付けられた圧縮性発泡材料で構成することができる。ステープルカートリッジ3600は、カートリッジ本体3610内に配置された、例えば、ステープル3620のような複数のステープルを更に含みうる。例えば、各ステープル3620は、第3の層3613内に配置される基部3622、及び基部3622から第2の層3612を貫通して第1の層3611内へと上方に延びる1つ又は2つ以上の変形可能な脚3621を含みうる。上記に加えて、使用時には、ステープルカートリッジ本体3610の上面3619は、ステープル脚3621が上面3619及び標的組織を貫通してアンビルと接触するまでアンビルによって下方に押されうる。ステープル脚3621が充分に変形された後、アンビルをステープルカートリッジ3600から離れる方向に動かすことにより、圧縮可能な各層が少なくとも部分的に再膨張することができる。様々な状況において、組織を貫通するステープルの挿入によって組織の出血を生じる場合がある。第3の層3613は、ステープル留めされた組織から血液を吸収することができる例えばタンパク質ヒドロゲルなどの吸収性材料で構成することができる。上記に加えて、又は上記の代わりに、第3の層3613は、組織からの出血を低減するように構成することができる止血材料及び/又は組織シーラント、例えば、凍結乾燥トロンビン及び/又はフィブリンで構成することができる。第3の層3613は、第1の層3611及び第2の層3612に構造的支持を与えることができ、その場合、第3の層3613は生体吸収性材料及び/又は非生体吸収性材料で構成することができる。いずれの場合も、第3の層3613は、ステープルカートリッジ3610が移植された後に第2の層3612から分離することができる。第3の層3613が移植可能な品質の材料を含む場合、外科医は、カートリッジ本体3610の第3の層3613を剥離するかどうかを選択することができる。第3の層3613は、第2の層3612から一体として剥離されるように構成することができる。  Referring now to FIGS. 62 and 63, a staple cartridge, such as, for example, astaple cartridge 3600, includes a compressiblefirst layer 3611, asecond layer 3612 attached to thefirst layer 3611, and a second layer. Thecartridge body 3610 may include a peelablecompressible layer 3613 attached to thelayer 3612 of the cartridge. For example, thefirst layer 3611 can be composed of a compressible foam material, and thesecond layer 3612 is adhered to thefirst layer 3611 using one or more adhesives. Thethird layer 3613 may comprise a laminate material and may be composed of a compressible foam material that is releasably attached to thesecond layer 3612 using, for example, one or more adhesives. it can.Staple cartridge 3600 can further include a plurality of staples, such as, for example,staple 3620, disposed withincartridge body 3610. For example, each staple 3620 includes a base 3622 disposed in thethird layer 3613 and one or more extending upward from thebase 3622 through thesecond layer 3612 and into thefirst layer 3611. Ofdeformable legs 3621. In addition to the above, in use, thetop surface 3619 of thestaple cartridge body 3610 can be pushed downward by the anvil until thestaple legs 3621 penetrate thetop surface 3619 and the target tissue and contact the anvil. After thestaple legs 3621 are fully deformed, each compressible layer can be at least partially re-inflated by moving the anvil away from thestaple cartridge 3600. In various situations, insertion of staples through tissue can cause tissue bleeding. Thethird layer 3613 can be composed of an absorbent material, such as a protein hydrogel, that can absorb blood from the stapled tissue. In addition to or in lieu of the above, thethird layer 3613 is made of a hemostatic material and / or tissue sealant that can be configured to reduce bleeding from the tissue, such as lyophilized thrombin and / or fibrin. Can be configured. Thethird layer 3613 can provide structural support to thefirst layer 3611 and thesecond layer 3612, in which case thethird layer 3613 is a bioabsorbable material and / or a non-bioabsorbable material. Can be configured. In either case, thethird layer 3613 can be separated from thesecond layer 3612 after thestaple cartridge 3610 has been implanted. If thethird layer 3613 comprises an implantable quality material, the surgeon can choose whether to peel thethird layer 3613 of thecartridge body 3610. Thethird layer 3613 can be configured to be peeled from thesecond layer 3612 as a unit.

第1の層3611は第1の発泡材料で構成することができ、第3の層3613は第1の発泡材料とは異なりうる第2の発泡材料で構成することができる。第1の発泡材料は第1の密度を有してよく、第2の発泡材料は第2の密度を有してよく、第1の密度は第2の密度と異なってよい。例えば、第2の密度は第1の密度よりも高くてもよく、その結果、第3の層3613は第1の層3611よりも圧縮性が低くなるか又はより低い圧縮速度を有しうる。あるいは、第1の密度は第2の密度よりも高くてもよく、その結果、第1の層3611は第3の層3613より圧縮性が低くなるか又はより低い圧縮速度を有しうる。次に図64及び図65を参照すると、ステープルカートリッジ3600と同様、ステープルカートリッジ3700は、第1の圧縮性発泡材料層3711、第1の層3711に取り付けられた第2の層3712、及び第2の層3712に剥離可能に取り付けられた分離可能な第3の圧縮性発泡材料層3713を含むカートリッジ本体3710を含みうる。例えば、第3の層3713は、それぞれ内部に例えばステープル基部3622のようなステープル3620の少なくとも一部を受容するように構成することができる複数のステープル受容スロット又は切り抜き部3709を有しうる。ステープル3620はステープル受容スロット3709内で摺動するように構成することができ、換言すると、第3の層3713は、ステープルカートリッジ3700が標的組織に接して配置され、アンビルによって圧縮される際にステープル3620に対して摺動するように構成することができる。受容スロット3709は、ステープル3620と受容スロット3709の側壁との間に隙間が存在するように構成することができる。例えば、図64及び図65に示されるように、上記の結果として、ステープル3620は、ステープル3620が変形される際、その内部に第3の層3713の一部を捕捉しないことがある。第2の層3712に隣接するステープル受容スロット3709の両端が第3の層3713の一部によって閉鎖されるうるため、その結果、第3の層3713の少なくとも一部が、ステープル3620が変形する際にステープル3620内に捕捉されうる。いずれの場合も、第3の層3713は例えば図64に示されるように、第3の層3713が2つ以上の部分として第2の層3712から剥離されうるように構成することができる1本又は2本以上のミシン目及び/又は刻み目3708を有しうる。図64では、第3の層3713の部分の1つがツール3755から剥離されつつある様子が示されている。ミシン目3708は、第1のステープル列と、第2のステープル列との間に位置する線に沿って配置されうる。  Thefirst layer 3611 can be composed of a first foam material, and thethird layer 3613 can be composed of a second foam material that can be different from the first foam material. The first foam material may have a first density, the second foam material may have a second density, and the first density may be different from the second density. For example, the second density may be higher than the first density, so that thethird layer 3613 may be less compressible or have a lower compression rate than thefirst layer 3611. Alternatively, the first density may be higher than the second density, so that thefirst layer 3611 may be less compressible or have a lower compression rate than thethird layer 3613. 64 and 65, similar to thestaple cartridge 3600, thestaple cartridge 3700 includes a first compressiblefoam material layer 3711, asecond layer 3712 attached to thefirst layer 3711, and a second layer. Acartridge body 3710 that includes a detachable third layer ofcompressible foam material 3713 releasably attached to thelayer 3712 of the cartridge. For example, thethird layer 3713 can have a plurality of staple receiving slots orcutouts 3709 that can each be configured to receive at least a portion of astaple 3620, such as astaple base 3622, for example. Staple 3620 can be configured to slide withinstaple receiving slot 3709, in other words,third layer 3713 is stapled whenstaple cartridge 3700 is placed against the target tissue and compressed by the anvil. It can be configured to slide relative to 3620. The receivingslot 3709 can be configured such that there is a gap between the staple 3620 and the side wall of the receivingslot 3709. For example, as shown in FIGS. 64 and 65, as a result of the above, thestaple 3620 may not capture a portion of thethird layer 3713 therein when thestaple 3620 is deformed. Both ends of thestaple receiving slot 3709 adjacent to thesecond layer 3712 can be closed by a portion of thethird layer 3713 so that at least a portion of thethird layer 3713 is deformed when thestaple 3620 is deformed. Can be captured within thestaple 3620. In any case, thethird layer 3713 can be configured such that thethird layer 3713 can be peeled from thesecond layer 3712 as two or more portions, for example, as shown in FIG. Or it may have two or more perforations and / orindents 3708. In FIG. 64, one of the portions of thethird layer 3713 is shown being peeled from thetool 3755. Theperforation 3708 can be disposed along a line located between the first staple row and the second staple row.

再び図64及び図65を参照すると、ステープル3620の基部3622は受容スロット3709内に配置することができ、受容スロット3709の側壁はステープル脚3621と接触してステープル脚3621を解放可能に定位置に保持するように構成することができる。図には示されていないが、第3の層3713は、1つのステープルの列内のステープルのすべてを囲む、長尺状スロットを有しうる。例えば、4つのステープル列を含むステープルカートリッジは、ステープルカートリッジの底層内の各ステープル列と整列された長尺状スロットを含みうる。上記に加えて、ステープルカートリッジ3600及び/又はステープルカートリッジ3700の少なくとも一部を患者の体内に移植することが可能であり、ステープルカートリッジの少なくとも一部を患者から取り出し可能とすることができる。再び図64及び図65を参照すると、第1の層3711及び第2の層3712は、ステープル3620内に捕捉されうるものであり、ステープル3620とともに移植することができ、第3の層3713は、必要に応じて、ステープルカートリッジ3700から剥離するか又は分離することができる。様々な状況において、移植されたステープルカートリッジの一部を除去することにより、患者の身体が再吸収しなければならない、様々な治療的効果をもたらしうる物質の量を低減することができる。例えば、ステープルカートリッジの一部が腹腔鏡3755によって分離されて取り除かれる場合、分離されたステープルカートリッジ部分は、例えば5mmの開口部を有するトロカールのようなトロカールを通じて手術部位から取り除くことができる。カートリッジ本体は、取り除くことが可能な2つ以上の層を有しうる。例えば、カートリッジ本体3710は第4の層を含んでもよく、カートリッジ本体3710の第3の層3713は止血材料で構成することができ、第4の層は支持層で構成することができる。例えば、外科医は支持層を除去し、その後例えば、止血層を除去するかどうかを選択することができる。  Referring again to FIGS. 64 and 65, thebase 3622 of the staple 3620 can be placed in thereceiving slot 3709 and the side wall of the receivingslot 3709 contacts thestaple leg 3621 to releasably place thestaple leg 3621 in place. It can be configured to hold. Although not shown in the figure, thethird layer 3713 may have an elongated slot that surrounds all of the staples in a single staple row. For example, a staple cartridge that includes four staple rows may include an elongated slot that is aligned with each staple row in the bottom layer of the staple cartridge. In addition to the above, at least a portion of thestaple cartridge 3600 and / or thestaple cartridge 3700 can be implanted in the patient's body and at least a portion of the staple cartridge can be removed from the patient. Referring again to FIGS. 64 and 65, thefirst layer 3711 and thesecond layer 3712 can be captured within thestaple 3620 and can be implanted with thestaple 3620, and thethird layer 3713 can be If desired, thestaple cartridge 3700 can be peeled off or separated. In various situations, removal of a portion of the implanted staple cartridge can reduce the amount of material that can have various therapeutic effects that the patient's body must reabsorb. For example, if a portion of the staple cartridge is separated and removed by alaparoscope 3755, the separated staple cartridge portion can be removed from the surgical site through a trocar, such as a trocar having a 5 mm opening, for example. The cartridge body can have two or more layers that can be removed. For example, thecartridge body 3710 may include a fourth layer, thethird layer 3713 of thecartridge body 3710 may be composed of a hemostatic material, and the fourth layer may be composed of a support layer. For example, the surgeon can choose to remove the support layer and then remove the hemostatic layer, for example.

次に図66を参照すると、例えば、ステープルカートリッジ3800のようなステープルカートリッジは、外側層3811及び内側層3812を有するカートリッジ本体3810を含みうる。内側層3812は、圧縮可能な発泡材料で構成することができ、外側層3811は内側層3812の周囲に少なくとも部分的に巻きつけることができる。外側層3811は、内側層3812の第1の側面上に配置されるように構成された第1の部分3811a、及び内側層3812の第2の側面上に配置されるように構成された第2の部分3811bを有してよく、第1の部分3811aと第2の部分3811bとは、例えばヒンジ3809のような可撓性ヒンジによって連結することができる。例えば、フィブリン及び/又はタンパク質ヒドロゲルなどの少なくとも1種類の接着剤を内側層3812の第1の側面及び/又は第2の側面に外側層3811の一部を固定するために塗布することができる。外側層3811は、外側層3811から延出する1つ又は2つ以上の締結部材を有しうる。例えば、外側層3811は、圧縮可能な内側層3812内に配置されうる、外側層3811の一方の側面から延びる複数の変形可能な脚3821を有しうる。例えば、脚3821は内側層3812の第2の側面から突出せずともよく、あるいは、代わりに脚3821は内側層3812から少なくとも部分的に突出してもよい。圧縮可能なカートリッジ本体3810が使用時に圧縮される際、脚3821は、内側層3812及び外側層3811の第2の部分3811bを貫通するように構成されうる。外側層3811の第2の部分3811bには、ステープル脚3821を受容するように構成することができる、例えば開口部3808のような開口部が画定されうる。ステープルカートリッジ3800の少なくとも一部は、内部に切断部材を摺動可能に受容するように構成することができるナイフスロット3803を有しうる。例えば、ナイフスロット3803は、カートリッジ本体3810の厚さを完全に貫通して延在してもよく、その結果、切断部材がカートリッジ本体3810に対して動かされる際にカートリッジ本体3810を切開することができる。  Referring now to FIG. 66, for example, a staple cartridge such as staple cartridge 3800 can include acartridge body 3810 having anouter layer 3811 and aninner layer 3812.Inner layer 3812 can be comprised of a compressible foam material andouter layer 3811 can be at least partially wrapped aroundinner layer 3812. Theouter layer 3811 has afirst portion 3811a configured to be disposed on the first side of theinner layer 3812 and a second configured to be disposed on the second side of theinner layer 3812. Thefirst portion 3811a and thesecond portion 3811b can be connected by a flexible hinge such as ahinge 3809, for example. For example, at least one adhesive, such as fibrin and / or protein hydrogel, can be applied to secure a portion of theouter layer 3811 to the first side and / or the second side of theinner layer 3812. Theouter layer 3811 can have one or more fastening members extending from theouter layer 3811. For example, theouter layer 3811 can have a plurality ofdeformable legs 3821 extending from one side of theouter layer 3811 that can be disposed within the compressibleinner layer 3812. For example, thelegs 3821 may not protrude from the second side of theinner layer 3812, or alternatively, thelegs 3821 may protrude at least partially from theinner layer 3812. When thecompressible cartridge body 3810 is compressed in use, thelegs 3821 can be configured to penetrate theinner layer 3812 and thesecond portion 3811b of theouter layer 3811. Thesecond portion 3811b of theouter layer 3811 can be defined with an opening, such as anopening 3808, that can be configured to receive thestaple legs 3821. At least a portion of the staple cartridge 3800 can have aknife slot 3803 that can be configured to slidably receive a cutting member therein. For example, theknife slot 3803 may extend completely through the thickness of thecartridge body 3810 so that thecartridge body 3810 can be incised as the cutting member is moved relative to thecartridge body 3810. it can.

次に図67を参照し、ステープルカートリッジ3900は、ステープルカートリッジ3800と同様に、内側層3812及び外側層3811を有するカートリッジ本体3910を含むことができ、外側層3811は、内側層3812の第1の側面に隣接して配置された第1の部分3811a、及び内側層3812の第2の側面に隣接して配置された第2の部分3811bを含みうる。上記と同様、外側層3811は、外側層3811から延出する1つ又は2つ以上の締結部材を有しうる。例えば、外側層3811は、圧縮可能な内側層3812内に配置されうる、外側層3811の一方の側面から延びる複数の変形可能な脚3921を有しうる。各変形可能な脚3921からは、外側層3811の第2の部分3811bと係合する結果、外側層3811を内側層3812に対して保持するように構成することができる少なくとも1つのフック又は返し部3923が突出してもよい。例えば、返し部3923は、内側層3812の第2の側面から突出して外側層3811の第2の部分3811bの開口部3808を貫通して延びるように構成することができ、これにより、返し部3923が外側層3811の外側表面と係合して、外側層3811を内側層3812に固定することができる。ステープルカートリッジ3900を構成するには、内側層3812を少なくとも部分的に圧縮することによって、内側層3812から返し部を突出させて開口部3808内に入るようにすればよい。例えば、ステープルカートリッジ3900は、例えばステープルカートリッジに挿入される際に少なくとも部分的に予め圧縮することができる。上記に加えて、脚3921の少なくとも一部を外側層3811の第1の部分3811a内に埋め込むことができ、その場合、外側層3811を例えばポリジオキサノン(PDS)及び/又はポリグリコール酸(PGA)などのプラスチック材料で構成することができ、プラスチック材料を脚3921の少なくとも一部の周囲にオーバーモールドすることができる。  Referring now to FIG. 67, thestaple cartridge 3900 can include acartridge body 3910 having aninner layer 3812 and anouter layer 3811, similar to the staple cartridge 3800, where theouter layer 3811 is a first of theinner layer 3812. Afirst portion 3811a disposed adjacent to the side surface and asecond portion 3811b disposed adjacent to the second side surface of theinner layer 3812 may be included. As above, theouter layer 3811 can have one or more fastening members extending from theouter layer 3811. For example, theouter layer 3811 can have a plurality ofdeformable legs 3921 extending from one side of theouter layer 3811 that can be disposed within the compressibleinner layer 3812. From eachdeformable leg 3921, at least one hook or barb that can be configured to hold theouter layer 3811 against theinner layer 3812 as a result of engaging thesecond portion 3811b of theouter layer 3811. 3923 may protrude. For example, the barb 3923 can be configured to protrude from the second side of theinner layer 3812 and extend through theopening 3808 of thesecond portion 3811b of theouter layer 3811, thereby providing the barb 3923. Can engage the outer surface of theouter layer 3811 to secure theouter layer 3811 to theinner layer 3812. Thestaple cartridge 3900 can be constructed by at least partially compressing theinner layer 3812 so that the barbs protrude from theinner layer 3812 into theopening 3808. For example, thestaple cartridge 3900 can be pre-compressed at least partially when inserted into the staple cartridge, for example. In addition to the above, at least a portion of theleg 3921 can be embedded within thefirst portion 3811a of theouter layer 3811, in which case theouter layer 3811 can be, for example, polydioxanone (PDS) and / or polyglycolic acid (PGA), etc. The plastic material can be overmolded around at least a portion of theleg 3921.

次に図68〜72を参照すると、例えば、ステープルカートリッジ4000のようなステープルカートリッジは、圧縮可能な第1の層4011及び第2の層4012を含む、カートリッジ本体4010、更に、カートリッジ本体4010内に配置された複数のステープル4020を有しうる。図70を参照すると、各ステープル4020は、基部4022、及び基部4022から延びる変形可能な少なくとも1本の脚4023を含みうる。図68を参照すると、ステープルカートリッジ4000は、ステープルカートリッジ溝部材4030と、外科用ステープラのエンドエフェクタのアンビル4040との間に配置され、カートリッジ本体4010の第2の層4012及び/又はステープル4020の基部4022は、ステープルカートリッジ溝部材4030に接して配置されうる。次に図69を参照すると、第2の層4012は、プレジット支持フレーム4061によって互いに連結されたプレジットの層4060を含みうる。例えば、プレジット4060及びプレジット支持フレーム4061は、例えばポリグリコール酸(PGA)などの、成形されたプラスチック材料で構成することができる。各プレジット4060は、図70及び図71において示されるように、内部を通じて延びるステープル脚4021を受容するように構成することができる、1つ又は2つ以上の開口部又はスロット4062を有しうる。各プレジット4060は、ステープル4020の基部4022を受容するように構成することができる、内部に画定された受容スロット4063を更に有しうる。再び図69を参照すると、プレジット4060及び/又はプレジット支持フレーム4061は、プレジット4060を所望の位置においてプレジット支持フレーム4061から分離できるように構成することができる複数の刻み目、ミシン目などを有しうる。同様に、図71を参照すると、1つ又は2つ以上のプレジット4060は、例えば、ミシン目及び/又は刻み目4064を含む線に沿って互いに連結されうる。使用時には、圧縮可能な発泡材層4011は標的組織Tに接して配置することができ、カートリッジ本体4010がアンビル4040によって圧縮されることによって、アンビル4040がステープル4020を変形することができる。ステープル4020が変形される際、各ステープル4020のステープル脚4021は、組織T、第1の層4011の一部、及びプレジット4060を、変形されたステープル内に捕捉しうる。例えば、ステープルカートリッジ溝部材4030が、移植されたステープルカートリッジ4060から離れる方向に動かされると、プレジット支持フレーム4061がプレジット4060から分離され、かつ/又はプレジット4060が互いに分離されうる。特定の状況において、プレジット4060は、上記のようにステープル4020がアンビル4040によって変形される際に、フレーム4061から、かつ/又は互いから分離されうる。  68-72, for example, a staple cartridge, such asstaple cartridge 4000, includes a compressiblefirst layer 4011 and asecond layer 4012, acartridge body 4010, and further within thecartridge body 4010. There may be a plurality ofstaples 4020 arranged. Referring to FIG. 70, each staple 4020 can include abase 4022 and at least one deformable leg 4023 extending from thebase 4022. Referring to FIG. 68, thestaple cartridge 4000 is disposed between the staplecartridge groove member 4030 and theend effector anvil 4040 of the surgical stapler and thesecond layer 4012 of thecartridge body 4010 and / or the base of thestaple 4020. 4022 can be disposed in contact with the staplecartridge groove member 4030. Referring now to FIG. 69, thesecond layer 4012 can include a layer ofpledgets 4060 that are connected together by apledget support frame 4061. For example,pledget 4060 andpledget support frame 4061 can be constructed of a molded plastic material, such as, for example, polyglycolic acid (PGA). Eachpledget 4060 can have one or more openings orslots 4062 that can be configured to receivestaple legs 4021 extending therethrough, as shown in FIGS. 70 and 71. Eachpledget 4060 can further include areceiving slot 4063 defined therein that can be configured to receive thebase 4022 of thestaple 4020. Referring again to FIG. 69, thepledget 4060 and / orpledget support frame 4061 can have a plurality of indentations, perforations, etc. that can be configured to allow thepledget 4060 to be separated from thepledget support frame 4061 at a desired location. . Similarly, referring to FIG. 71, one ormore pledgets 4060 may be coupled together, for example, along a line that includes perforations and / ornotches 4064. In use, thecompressible foam layer 4011 can be placed against the target tissue T, and theanvil 4040 can deform the staple 4020 as thecartridge body 4010 is compressed by theanvil 4040. As thestaples 4020 are deformed, thestaple legs 4021 of each staple 4020 can capture the tissue T, a portion of thefirst layer 4011, and thepledget 4060 within the deformed staples. For example, when the staplecartridge groove member 4030 is moved away from the implantedstaple cartridge 4060, thepledget support frame 4061 can be separated from thepledget 4060 and / or thepledgets 4060 can be separated from each other. In certain circumstances, thepledgets 4060 may be separated from theframe 4061 and / or from each other when thestaples 4020 are deformed by theanvil 4040 as described above.

本明細書に述べられるように、ステープルカートリッジのステープルは、アンビルが閉位置に動かされる際、アンビルによって完全に成形されうる。あるいは、次に図73〜76を参照すると、例えばステープルカートリッジ4100のようなステープルカートリッジのステープルは、アンビルが閉位置へと動く際、アンビルによって、更に、ステープルを閉じたアンビルの方向に動かすステープルドライバシステムによって、変形されうる。ステープルカートリッジ4100は、例えば、発泡材材料及び圧縮可能なカートリッジ本体4110内に少なくとも部分的に配置された複数のステープル4120で構成することができる圧縮可能なカートリッジ本体4110を含みうる。ステープルドライバシステムは、ドライバホルダ4160、ドライバホルダ4160内に配置された複数のステープルドライバ4162、及びドライバホルダ4160内にステープルドライバ4162を保持するように構成することができるステープルカートリッジパン4180を含みうる。例えば、ステープルドライバ4162は、ドライバホルダ4160の1つ又は2つ以上のスロット4163内に配置することができ、その場合、スロット4163の側壁がステープルドライバ4162をアンビルに向かって上方に案内する助けとなりうる。ステープル4120はステープルドライバ4162によってスロット4163内において支持され、ステープル4120は、ステープル4120及びステープルドライバ4162がそれらの非発射位置にある場合、スロット4163内に完全に配置されうる。あるいは、ステープル4120の少なくとも一部が、ステープル4120及びステープルドライバ4162がそれらの非発射位置にある場合、スロット4163の開放端部4161を通じて上方に延びてもよい。例えば、次に主に図74を参照すると、ステープル4120の基部はドライバホルダ4160内に配置することができ、ステープル4120の先端部は圧縮可能なカートリッジ本体4110内に埋め込まれうる。ステープル4120の高さの約1/3がドライバホルダ4160内に配置されてよく、ステープル4120の高さの約2/3がカートリッジ本体4110内に配置されうる。図73Aを参照すると、ステープルカートリッジ4100は、例えばカートリッジ本体4110及びドライバホルダ4160を囲む水不透過性ラップ又は膜4111を更に含みうる。  As described herein, the staples of the staple cartridge can be completely formed by the anvil when the anvil is moved to the closed position. Alternatively, referring now to FIGS. 73-76, staples of a staple cartridge, such asstaple cartridge 4100, for example, are staple drivers that move the staple further toward the closed anvil as the anvil moves to the closed position. It can be modified by the system.Staple cartridge 4100 can include, for example, acompressible cartridge body 4110 that can be comprised of a foam material and a plurality ofstaples 4120 disposed at least partially withincompressible cartridge body 4110. The staple driver system can include adriver holder 4160, a plurality ofstaple drivers 4162 disposed in thedriver holder 4160, and astaple cartridge pan 4180 that can be configured to hold thestaple drivers 4162 in thedriver holder 4160. For example, thestaple driver 4162 can be placed in one ormore slots 4163 of thedriver holder 4160, where the side walls of theslot 4163 help guide thestaple driver 4162 upward toward the anvil. sell.Staple 4120 is supported inslot 4163 bystaple driver 4162, and staple 4120 can be fully disposed inslot 4163 when staple 4120 andstaple driver 4162 are in their unfired positions. Alternatively, at least a portion of the staple 4120 may extend upward through the open end 4161 of theslot 4163 when thestaple 4120 and thestaple driver 4162 are in their unfired positions. For example, referring now primarily to FIG. 74, the base of the staple 4120 can be disposed within thedriver holder 4160 and the distal end of the staple 4120 can be embedded within thecompressible cartridge body 4110. About one third of the height of the staple 4120 may be disposed within thedriver holder 4160 and about two thirds of the height of the staple 4120 may be disposed within thecartridge body 4110. Referring to FIG. 73A, thestaple cartridge 4100 may further include a water impermeable wrap ormembrane 4111 that surrounds thecartridge body 4110 and thedriver holder 4160, for example.

使用時には、ステープルカートリッジ4100は、例えばステープルカートリッジ溝部材内に配置することができ、アンビルをステープルカートリッジ4100に向かって閉位置へと動かすことができる。アンビルは、その閉位置に動かされる際、圧縮可能なカートリッジ本体4110と接触し、かつこれを圧縮することができる。アンビルは、その閉位置にある場合、ステープル4120に接触しなくてもよい。アンビルは、その閉位置に動かされる際に、ステープル4120の脚と接触し、ステープル4120を少なくとも部分的に変形させることができる。いずれの場合も、ステープルカートリッジ4100は、ステープルカートリッジ4100内で長手方向に前進させることができる1つ又は2つ以上のスレッド4170を更に含んでもよく、それにより、スレッド4170はステープルドライバ4162と順次係合し、ステープルドライバ4162及びステープル4120をアンビルの方向に動かすことができる。スレッド4170は、ステープルカートリッジパン4180とステープルドライバ4162との間で摺動しうる。アンビルを閉じることによってステープル4120の成形プロセスが開始される場合、アンビルに向かうステープル4120の上方への動きによって成形プロセスが完了し、ステープル4120をその完全に成形された、又は少なくとも所望の高さへと変形させることができる。アンビルを閉じることによってステープル4120が変形されない場合、アンビルに向かうステープル4120の上方への動きによって成形プロセスが開始及び完了し、ステープル4120をその完全に成形した、又は少なくとも所望の高さへと変形させることができる。スレッド4170がステープルカートリッジ4100の近位端からステープルカートリッジ4100の遠位端まで前進することができることにより、ステープルカートリッジ4100の近位端に配置されたステープル4120は、ステープルカートリッジ4100の遠位端に配置されたステープル4120が完全に成形されるよりも前に完全に成形される。図75を参照すると、スレッド4170は、それぞれ少なくとも1つの角度付き表面又は傾いた表面4711を含むことができ、表面4711は、図76に示されるように、ステープルドライバ4162の下で摺動し、ステープルドライバ4162を持ち上げるように構成することができる。  In use, thestaple cartridge 4100 can be placed, for example, in a staple cartridge groove member and the anvil can be moved toward thestaple cartridge 4100 to a closed position. When the anvil is moved to its closed position, it can contact and compress thecompressible cartridge body 4110. The anvil may not contact thestaple 4120 when in the closed position. When the anvil is moved to its closed position, it can contact the legs of thestaple 4120 and cause thestaple 4120 to deform at least partially. In any case, thestaple cartridge 4100 may further include one ormore threads 4170 that can be advanced longitudinally within thestaple cartridge 4100 such that thethreads 4170 are in sequential engagement with thestaple driver 4162. Thestaple driver 4162 and the staple 4120 can be moved in the direction of the anvil. Thesled 4170 can slide between thestaple cartridge pan 4180 and thestaple driver 4162. If the forming process of thestaple 4120 is initiated by closing the anvil, the upward movement of the staple 4120 toward the anvil completes the forming process, and thestaple 4120 is fully formed, or at least to the desired height. And can be transformed. If thestaple 4120 is not deformed by closing the anvil, the upward movement of the staple 4120 toward the anvil initiates and completes the forming process, causing thestaple 4120 to be fully formed, or at least deformed to the desired height. be able to. By allowing thesled 4170 to advance from the proximal end of thestaple cartridge 4100 to the distal end of thestaple cartridge 4100, thestaple 4120 disposed at the proximal end of thestaple cartridge 4100 is disposed at the distal end of thestaple cartridge 4100. The formedstaple 4120 is fully formed before it is fully formed. Referring to FIG. 75, thethreads 4170 can each include at least one angled orinclined surface 4711 that slides under thestaple driver 4162 as shown in FIG. Thestaple driver 4162 can be configured to lift.

上記に加えて、ステープル4120が成形されることによって、組織Tの少なくとも一部及びステープルカートリッジ4100の圧縮可能なカートリッジ本体4110の少なくとも一部がその内部に捕捉されうる。ステープル4120が成形された後、外科用ステープラのアンビル及びステープルカートリッジ溝部材4130を、移植されたステープルカートリッジ4100から離れる方向に動かすことができる。様々な状況において、カートリッジパン4180はステープルカートリッジ溝部材4130と固定的に嵌合され、その結果、カートリッジパン4180は、ステープルカートリッジ溝部材4130が、移植されたカートリッジ本体4110から引き離される際に圧縮可能なカートリッジ本体4110から分離されうる。再び図73を参照すると、カートリッジパン4180は、その間にカートリッジ本体4110が取り外し可能に取り付けられうる、対向した側壁4181を有しうる。例えば、圧縮可能なカートリッジ本体4110が側壁4181の間で圧縮されることにより、カートリッジ本体4110は使用中に側壁4181の間に取り外し可能に保持され、カートリッジパン4180が引き離される際にカートリッジパン4180から解放可能に離脱されうる。例えば、ドライバホルダ4160は、カートリッジパン4180が手術部位から取り出される際、ドライバホルダ4160、ドライバ4162、及び/又はスレッド4170がカートリッジパン4180内に留まるようにしてカートリッジパン4180と連結されうる。ドライバ4162はドライバホルダ4160から射出されて手術部位に残置されてもよい。例えば、ドライバ4162は、商品名Vircylで販売されるポリグリコール酸(PGA)、ポリ乳酸(PLA又はPLLA)、ポリジオキサノン(PDS)、ポリヒドロキシアルカノエート(PHA)、商品名Monocrylで販売されるポリグレカプロン25(PGCL)、ポリカプロラクトン(PCL)、並びに/又はPGA、PLA、PDS、PHA、PGCL及び/若しくはPCLの複合物などの生体吸収性材料で構成することができる。ドライバ4162は、ステープル4120とともに配備されるようにステープル4120に取り付けることができる。例えば各ドライバ4162は、例えばステープル4120の基部を受容するように構成されたトラフを有してもよく、その場合、各トラフは、圧入及び/又はスナップ嵌めにより、ステープル基部を受容するように構成することができる。  In addition to the above, forming thestaple 4120 allows at least a portion of the tissue T and at least a portion of thecompressible cartridge body 4110 of thestaple cartridge 4100 to be captured therein. After thestaple 4120 is formed, the surgical stapler anvil and staplecartridge groove member 4130 can be moved away from the implantedstaple cartridge 4100. In various situations, thecartridge pan 4180 is securely fitted with the staplecartridge groove member 4130 so that thecartridge pan 4180 is compressible when the staplecartridge groove member 4130 is pulled away from the implantedcartridge body 4110. Thecartridge body 4110 can be separated. Referring again to FIG. 73, thecartridge pan 4180 can have opposingsidewalls 4181 between which thecartridge body 4110 can be removably mounted. For example, thecompressible cartridge body 4110 is compressed between theside walls 4181 so that thecartridge body 4110 is removably retained between theside walls 4181 during use, and is removed from thecartridge pan 4180 when thecartridge pan 4180 is pulled apart. Can be releasably released. For example, thedriver holder 4160 can be coupled to thecartridge pan 4180 such that thedriver holder 4160,driver 4162, and / orsled 4170 remain within thecartridge pan 4180 when thecartridge pan 4180 is removed from the surgical site. Thedriver 4162 may be ejected from thedriver holder 4160 and left at the surgical site. For example, thedriver 4162 includes polyglycolic acid (PGA), polylactic acid (PLA or PLLA), polydioxanone (PDS), polyhydroxyalkanoate (PHA) sold under the trade name Vircyl, and polygregal sold under the trade name Monocryl. It can be composed of a bioabsorbable material such as capron 25 (PGCL), polycaprolactone (PCL), and / or a composite of PGA, PLA, PDS, PHA, PGCL and / or PCL.Driver 4162 can be attached to staple 4120 for deployment withstaple 4120. For example, eachdriver 4162 may have a trough configured to receive a base ofstaples 4120, for example, where each trough is configured to receive a staple base by press fit and / or snap fit. can do.

上記に加えて、ドライバホルダ4160及び/又はスレッド4170はカートリッジパン4180から射出されうる。例えば、スレッド4170がカートリッジパン4180とドライバホルダ4160との間で摺動することができることにより、スレッド4170が前進させられてステープルドライバ4162及びステープル4120を上方に押し上げる際、スレッド4170は、ドライバホルダ4160も同様にカートリッジパン4180の外部へ上方に動かすことができる。例えば、ドライバホルダ4160及び/又はスレッド4170は、商品名Vircylで販売されるポリグリコール酸(PGA)、ポリ乳酸(PLA又はPLLA)、ポリジオキサノン(PDS)、ポリヒドロキシアルカノエート(PHA)、商品名Monocrylで販売されるポリグレカプロン25(PGCL)、ポリカプロラクトン(PCL)、並びに/又はPGA、PLA、PDS、PHA、PGCL及び/若しくはPCLの複合物などの生体吸収性材料で構成することができる。スレッド4170は、ステープルカートリッジ4100を通じてスレッド4170を押すドライババー又は切断部材と一体的に形成するか、かつ/又はこれに取り付けることができる。そのような場合、スレッド4170はカートリッジパン4180から射出されなくてもよく、外科用ステープラとともに留まりうるが、スレッド4170がドライババーに取り付けられない他の場合では、スレッド4170は手術部位に残置されてもよい。いずれの場合も、上記に加えて、カートリッジ本体4110の圧縮性のために、ステープラのアンビルが閉じられる際にカートリッジ本体4110が圧縮又は収縮しうることから、より厚いステープルカートリッジを外科用ステープラのエンドエフェクタ内において使用することができる。アンビルが閉じる際にステープルが少なくとも部分的に変形される結果、例えば、約4.6mm(0.18”)のステープル高さを有するステープルのようなより高いステープルを使用することが可能であり、その場合、ステープル高さの約3.0mm(0.12”)を圧縮可能な層4110内に配置することができ、圧縮可能な層4110は例えば約3.6mm(0.14”)の非圧縮高さを有しうる。  In addition to the above,driver holder 4160 and / orsled 4170 can be ejected fromcartridge pan 4180. For example, thesled 4170 can slide between thecartridge pan 4180 and thedriver holder 4160 so that when thesled 4170 is advanced and pushes thestaple driver 4162 and staple 4120 upward, thesled 4170 is in thedriver holder 4160. Can be moved upward to the outside of thecartridge pan 4180 in the same manner. For example, thedriver holder 4160 and / or thethread 4170 may be polyglycolic acid (PGA), polylactic acid (PLA or PLLA), polydioxanone (PDS), polyhydroxyalkanoate (PHA), trade name Monocryl sold under the trade name Vircyl. Can be composed of a bioabsorbable material such as polygrecapron 25 (PGCL), polycaprolactone (PCL), and / or a composite of PGA, PLA, PDS, PHA, PGCL and / or PCL sold on the market. Thesled 4170 can be integrally formed and / or attached to a driver bar or cutting member that pushes thesled 4170 through thestaple cartridge 4100. In such a case, thesled 4170 may not be ejected from thecartridge pan 4180 and may stay with the surgical stapler, but in other cases where thesled 4170 is not attached to the driver bar, thesled 4170 is left behind at the surgical site. Also good. In any case, in addition to the above, because of the compressibility of thecartridge body 4110, thecartridge body 4110 can be compressed or contracted when the stapler anvil is closed, so that a thicker staple cartridge is attached to the end of the surgical stapler. Can be used in effectors. As a result of the at least partial deformation of the staples as the anvil closes, it is possible to use higher staples such as, for example, staples having a staple height of about 4.6 mm (0.18 "); In that case, a staple height of about 3.0 mm (0.12 ″) can be placed in thecompressible layer 4110, and thecompressible layer 4110 can be, for example, about 3.6 mm (0.14 ″) non- Can have a compressed height.

次に図77〜80を参照すると、例えばステープルカートリッジ4200のようなステープルカートリッジは、圧縮可能なカートリッジ本体4210、その内部に配置された複数のステープル4220、及び複数の可撓性側部支持部材4234を含みうる。次に図78を参照すると、ステープルカートリッジ4200は、アンビル4240とステープルカートリッジ溝部材4230との間に配置され、側部支持部材4234はステープルカートリッジ溝部材4230に取り付けることができる。図79に示されるように、アンビル4240が下方に動かされてカートリッジ本体4210を圧縮し、ステープル4220を少なくとも部分的に変形させる際、カートリッジ本体4210の側部は、横方向に膨らんで側部支持部材4234を外側に押しうる。例えば、側部支持部材4234はカートリッジ本体4210に取り付けてもよく、上記のようにカートリッジ本体4210が横方向に膨らむ際、図79に示されるように、側部支持部材4234はカートリッジ本体4210から分離しうる。側部支持部材4234は、フィブリン及び/又はタンパク質ヒドロゲルなどの少なくとも1種類の接着剤を使用してカートリッジ本体4210に接着することができる。上記と同様、アンビル4240が閉じることにより、ステープル4220が部分的にしか変形しない場合があり、その場合、ステープル4220の成形は、図80に示されるようにステープルカートリッジ4200を通じた1つ又は2つ以上のスレッド4270の前進によって完了されうる。次に図82及び図83を参照すると、スレッド4270は切断部材4280によってステープルカートリッジ4200の近位端からステープルカートリッジ4200の遠位端へと前進させることができる。例えば、切断部材4280は、組織T及び/又は圧縮可能なカートリッジ本体4210を通じて前進させることができる切断要素又はナイフ4283を含みうる。切断部材4280は、ジョー4230及び4240の外側表面に沿って移動してジョーを動かすか又は定位置に保持することができるカム部材4282を有しうる。必要に応じて、上記の結果として、ステープル4220は、組織Tが切開されると同時又は少なくともほぼ同時にこれらの最終的な形状へと成形されうる。例えば、スレッド4270は、ナイフ4283に対して遠位に配置することができ、これにより組織Tは、例えば、組織の処置部分が完全にステープル留めされた場合にのみ切開される。  77-80, a staple cartridge, such as astaple cartridge 4200, for example, includes acompressible cartridge body 4210, a plurality ofstaples 4220 disposed therein, and a plurality of flexibleside support members 4234. Can be included. Referring now to FIG. 78, thestaple cartridge 4200 can be positioned between theanvil 4240 and the staplecartridge groove member 4230 and theside support member 4234 can be attached to the staplecartridge groove member 4230. As shown in FIG. 79, when theanvil 4240 is moved downward to compress thecartridge body 4210 and at least partially deform thestaple 4220, the side of thecartridge body 4210 bulges laterally to support the side. Themember 4234 can be pushed outward. For example, theside support member 4234 may be attached to thecartridge body 4210, and when thecartridge body 4210 bulges in the lateral direction as described above, theside support member 4234 is separated from thecartridge body 4210 as shown in FIG. Yes.Side support member 4234 can be adhered tocartridge body 4210 using at least one adhesive such as fibrin and / or protein hydrogel. As above, closing theanvil 4240 may cause thestaple 4220 to be only partially deformed, in which case the formation of thestaple 4220 is one or two through thestaple cartridge 4200 as shown in FIG. The above-described advancement of thethread 4270 can be completed. 82 and 83, thesled 4270 can be advanced by the cuttingmember 4280 from the proximal end of thestaple cartridge 4200 to the distal end of thestaple cartridge 4200. For example, cuttingmember 4280 can include a cutting element orknife 4283 that can be advanced through tissue T and / orcompressible cartridge body 4210. The cuttingmember 4280 can have acam member 4282 that can move along the outer surfaces of thejaws 4230 and 4240 to move the jaws or hold them in place. If desired, as a result of the above,staples 4220 can be formed into their final shape at the same time or at least about the same time as tissue T is incised. For example, thethread 4270 can be placed distal to theknife 4283 so that the tissue T is incised only when, for example, the treated portion of tissue is fully stapled.

再び図82及び図83を参照すると、スレッド4270は、切断部材4280によって一緒に前進させられる別個の摺動可能な部材を含みうる。例えば、スレッド4270をステープルカートリッジ4200内に収容し、切断部材4280を発射バー4281によってステープルカートリッジ4200内に前進させることができ、これにより、切断部材4280はスレッド4270と係合してスレッド4270を遠位方向に前進させる。スレッド4270は互いに連結されてもよい。いずれの場合も、各スレッド4270は、ステープル列内で整列されたステープル4220を持ち上げるように構成することができる角度付けされた表面又はカム4271を有しうる。角度付けされた表面4271は、切断部材4280と一体に形成することができる。再び図82及び図83を参照すると、各ステープル4200は、基部、基部から延びる少なくとも1つの変形可能な部材、並びに、基部及び/又はステープル4200の変形可能な部材の少なくとも一部の周囲にオーバーモールドされるかかつ/又は配置されたクラウン4229を有しうる。必要に応じて、このようなクラウン4229は、例えばスレッド4270によって直接押されるように構成することができる。より詳細には、ステープル4220のクラウン4229は、スレッド4270の角度付けされた表面4271が下方で摺動し、それらの間にステープルドライバが配置されることなく、クラウン4229と直接接触するように構成することができる。このような場合、各クラウン4229は、スレッド4270の角度付けされた表面4271と係合することができる少なくとも1つの協働する角度付けされた、又は傾いた表面を有してもよく、これにより、スレッド4270がステープル4220の下で摺動する際に、協働する角度付けされた表面がステープル4220を上方に押すことができる。  Referring again to FIGS. 82 and 83, thesled 4270 can include separate slidable members that are advanced together by the cuttingmember 4280. For example, thesled 4270 can be contained within thestaple cartridge 4200 and the cuttingmember 4280 can be advanced into thestaple cartridge 4200 by thefiring bar 4281 so that the cuttingmember 4280 engages thesled 4270 and disengages thesled 4270. Advance forward. Thethreads 4270 may be coupled together. In any case, eachthread 4270 can have an angled surface orcam 4271 that can be configured to lift thestaples 4220 aligned within the staple row. Theangled surface 4271 can be formed integrally with the cuttingmember 4280. Referring again to FIGS. 82 and 83, each staple 4200 is overmolded around a base, at least one deformable member extending from the base, and / or at least a portion of the deformable member of the staple and / orstaple 4200. And / or have acrown 4229 arranged. If desired, such acrown 4229 can be configured to be pushed directly by, for example, athread 4270. More particularly, thecrown 4229 of thestaple 4220 is configured such that theangled surface 4271 of thesled 4270 slides downward and is in direct contact with thecrown 4229 without a staple driver disposed therebetween. can do. In such a case, eachcrown 4229 may have at least one cooperating angled or inclined surface that can engage theangled surface 4271 of thesled 4270, thereby As thesled 4270 slides under thestaple 4220, cooperating angled surfaces can push thestaple 4220 upward.

次に図81を参照すると、例えばステープルカートリッジ4300のようなステープルカートリッジは、圧縮可能な本体4310及び圧縮可能な本体4310内に配置された複数のステープル4320を有しうる。上記と同様、ステープルカートリッジ4300は、ステープルカートリッジ溝部材に取り付けられるか、かつ/又は圧縮可能な本体4310に接着することができる可撓性の側部支持体4334を有しうる。上記に加えて、可撓性側部支持体4334は、側部支持体4334を一体に保持するように構成することができる1つ又は2つ以上の支材、又は連結部材4335によって互いに連結されうる。使用時には、連結部材4335は、側部支持体4334がカートリッジ本体4310から早期に分離することを防止又は少なくとも抑制するように構成することができる。連結部材4335は、ステープルカートリッジ4300がアンビルによって圧縮された後に、側部支持体4334を一体に保持するように構成することができる。このような場合、側部支持体4334は、カートリッジ本体4310の側部の横方向への膨らみ又は変位に抗することができる。例えば、切断部材4280のような切断部材は、切断部材4280がカートリッジ本体4310内で遠位方向に動く際に連結部材4335を切断するように構成することができる。例えば、切断部材4280は、スレッド4270などの1つ又は2つ以上のスレッドを例えば遠位方向に押すことによってステープル4320をアンビルに押しつけて成形するように構成することができる。スレッド4270は、連結部材4335に隣接するステープル4320が完全に成形されるか又は少なくとも所望の高さに成形されるまで切断部材4280がその連結部材4335を切断しないように切断刃4283を導くことができる。様々な状況において、連結部材4335は、側部支持体4334と協働して圧縮可能なカートリッジ本体4310の横方向の動きを防止するか又は少なくとも低減することができ、同時に、カートリッジ本体4310内に配置されたステープル4320の横方向の動きを防止するか又は少なくとも低減することができる。特定の状況において、連結部材4335は、ステープル4320が変形されるまでステープル4320を定位置に保持することができ、連結部材4335はその後切断されてカートリッジ本体4310の側部が解放されうる。上記のように、側部支持体4334は、ステープルカートリッジ溝部材と連結することも可能であり、その結果、ステープルカートリッジ4300が移植された後に側部支持体4334をステープルカートリッジ溝部材とともに手術部位から取り出すことができる。側部支持体4334は、移植可能な材料で構成し、手術部位に残置させることもできる。連結部材4335はカートリッジ本体4310と組織Tとの間に配置され、連結部材4335が側部支持体4334から分離された後に連結部材4335を患者の体内に移植したままとすることができる。例えば、連結部材4335は移植可能な材料で構成することができ、連結部材4335は例えば側部支持体4334と同じ材料で構成することができる。連結部材4335及び/又は側部支持体4334は、商品名Vircylで販売されるポリグリコール酸(PGA)、ポリ乳酸(PLA又はPLLA)、ポリジオキサノン(PDS)、ポリヒドロキシアルカノエート(PHA)、商品名Monocrylで販売されるポリグレカプロン25(PGCL)、ポリカプロラクトン(PCL)、並びに/又はPGA、PLA、PDS、PHA、PGCL及び/若しくはPCLの複合物などの可撓性生体吸収性材料で構成することができる。本発明によれば、連結部材は側部支持体4334を連結する材料のシートを有しうる。ステープルカートリッジは、カートリッジ本体4310の上面にわたって延びる連結部材と、更にカートリッジ本体4310の底面の周囲に延びる連結部材とを含みうる。  Referring now to FIG. 81, a staple cartridge, such asstaple cartridge 4300, for example, can have acompressible body 4310 and a plurality ofstaples 4320 disposed within thecompressible body 4310. Similar to the above, thestaple cartridge 4300 can have aflexible side support 4334 that can be attached to a staple cartridge groove member and / or adhered to acompressible body 4310. In addition to the above, the flexible side supports 4334 are connected to each other by one or more struts or connectingmembers 4335 that can be configured to hold the side supports 4334 together. sell. In use, the connectingmember 4335 can be configured to prevent or at least inhibit theside support 4334 from separating early from thecartridge body 4310. The connectingmember 4335 can be configured to hold theside support 4334 together after thestaple cartridge 4300 is compressed by the anvil. In such a case, theside support 4334 can resist lateral bulging or displacement of the side of thecartridge body 4310. For example, a cutting member, such as cuttingmember 4280, can be configured to cutcoupling member 4335 as cuttingmember 4280 moves distally withincartridge body 4310. For example, the cuttingmember 4280 can be configured to press and staple thestaple 4320 against the anvil, eg, by pushing one or more threads, such as thethread 4270, distally. Thethread 4270 may guide thecutting blade 4283 so that the cuttingmember 4280 does not cut the connectingmember 4335 until the staple 4320 adjacent to the connectingmember 4335 is fully formed or at least formed to a desired height. it can. In various situations, thecoupling member 4335 can cooperate with theside support 4334 to prevent or at least reduce lateral movement of thecompressible cartridge body 4310 while at the same time within thecartridge body 4310. Lateral movement of thedisposed staple 4320 can be prevented or at least reduced. In certain circumstances, the connectingmember 4335 can hold the staple 4320 in place until thestaple 4320 is deformed, and the connectingmember 4335 can then be cut to release the side of thecartridge body 4310. As described above, theside support 4334 can also be coupled to the staple cartridge groove member so that theside support 4334 together with the staple cartridge groove member can be removed from the surgical site after thestaple cartridge 4300 has been implanted. It can be taken out. Theside support 4334 can be composed of an implantable material and can be left at the surgical site. The connectingmember 4335 is disposed between thecartridge body 4310 and the tissue T, and the connectingmember 4335 can remain implanted in the patient's body after the connectingmember 4335 is separated from theside support 4334. For example, the connectingmember 4335 can be made of an implantable material, and the connectingmember 4335 can be made of the same material as theside support 4334, for example. The connectingmember 4335 and / or theside support 4334 is made of polyglycolic acid (PGA), polylactic acid (PLA or PLLA), polydioxanone (PDS), polyhydroxyalkanoate (PHA), trade name sold under the trade name Vircyl. Consists of flexible bioabsorbable materials such as polygrecapron 25 (PGCL), polycaprolactone (PCL) and / or composites of PGA, PLA, PDS, PHA, PGCL and / or PCL sold by Monocryl be able to. According to the present invention, the connecting member can have a sheet of material connecting the side supports 4334. The staple cartridge may include a connecting member that extends over the top surface of thecartridge body 4310 and a connecting member that extends around the bottom surface of thecartridge body 4310.

次に図84を参照すると、ステープルカートリッジは、クラウン部分に挿入されたワイヤ部分を含みうるステープル4420のようなステープルを有しうる。ワイヤ部分は、例えば、チタン及び/ステンレススチールなどの金属、並びに/又は、例えば、ポリジオキサノン(PDS)及び/若しくはポリグリコール酸などのプラスチックで構成することができる。クラウン部分は、例えば、チタン及び/ステンレス鋼などの金属、並びに/又は、例えば、ポリジオキサノン(PDS)及び/又はポリグリコール酸(PGA)などのプラスチックで構成することができる。各ステープル4420のワイヤ部分は、基部4422及び基部4422から延びる変形可能な脚4421を有してもよく、各ステープル4420のクラウン部分は、基部4422の少なくとも一部を内部に受容するように構成することができるクラウン4429を含みうる。次に図85A〜85Cを参照すると、各ステープル4420の各部分を組み立てるには、ワイヤ部分の脚4421をクラウン4429の開口部4426内に挿入すればよく、その場合、開口部4426は、脚4421を基部チャンバ4427に案内するように構成することができる。ワイヤ部分を更にクラウン4429内に挿入することにより、脚4421が基部チャンバ4427を脱出し、ワイヤ部分の基部4422が基部チャンバ4427内に入る。例えば、基部チャンバ4427を、基部4422が基部チャンバ4427に入る際にクラウン4429内でワイヤ部分が回転するように構成することができ、これにより、ステープル脚4421は上方向又は少なくともほぼ上方向に向けられる。再び図84を参照すると、クラウン4429は、内部にステープル脚4421を受容するように構成することができる出口孔4425を有しうる。  Referring now to FIG. 84, the staple cartridge can have staples such as staple 4420 that can include a wire portion inserted into the crown portion. The wire portion can be composed of metals such as titanium and / or stainless steel and / or plastics such as polydioxanone (PDS) and / or polyglycolic acid. The crown portion can be composed of metals such as titanium and / or stainless steel and / or plastics such as polydioxanone (PDS) and / or polyglycolic acid (PGA). The wire portion of each staple 4420 may have abase 4422 and adeformable leg 4421 extending from thebase 4422, and the crown portion of each staple 4420 is configured to receive at least a portion of the base 4422 therein. Acrown 4429 that can be included. Referring now to FIGS. 85A-85C, to assemble the portions of each staple 4420, thewire portion legs 4421 may be inserted into theopenings 4426 of thecrown 4429, in which case theopenings 4426 may be connected to thelegs 4421. Can be configured to guide thebase chamber 4427. By further inserting the wire portion into thecrown 4429, thelegs 4421 exit thebase chamber 4427 and thewire portion base 4422 enters thebase chamber 4427. For example, thebase chamber 4427 can be configured such that the wire portion rotates within thecrown 4429 as thebase 4422 enters thebase chamber 4427 so that thestaple legs 4421 are directed upward or at least substantially upward. It is done. Referring again to FIG. 84, thecrown 4429 can have anexit hole 4425 that can be configured to receive thestaple legs 4421 therein.

上記に加えて、外科用ステープラは、ステープルカートリッジ4400及びステープルカートリッジ溝部材4430を横断して、カートリッジ本体4410内に収容されたステープル4420をアンビルの方向に動かすように構成されたスレッド4470を有しうる。様々な状況において、スレッド4470は、ステープルカートリッジ溝部材4430の近位端からカートリッジ溝部材4430の遠位端へと動かされることによって、カートリッジ本体4410及びステープル4420を移植することができる。特定の状況において、スレッド4470をカートリッジ溝部材4430の近位端にまで後退させるか又は戻すことができ、別のステープルカートリッジ4400をカートリッジ溝部材4430内に挿入することができる。新しいステープルカートリッジ4400がカートリッジ溝部材4430内に配置された時点で、スレッド4470を再び遠位方向に前進させることができる。外科用ステープラは、新しいカートリッジ4400がカートリッジ溝部材4430内に配置されないまま、スレッド4470が遠位方向に再び前進させられることを防止することができる1つ又は2つ以上のロックアウト機構を有しうる。例えば、再び図84を参照すると、ステープルカートリッジ溝部材4430は、スレッド4470のこのような遠位方向の動きを防止するか又は少なくとも制限するように構成することができるロックアウト肩部4439を含みうる。より詳細には、スレッド4470は、例えばステープルカートリッジ4400内の最も近位のステープル4420間に延在する持ち上げ機構4428によって、スレッド4470が肩部4439上に少なくとも部分的に上方に持ち上げられない限りは、肩部4439と当接するように構成することができる。換言すれば、新しいステープルカートリッジ4400内に最も近位のステープル4420が存在しなければ、ステープル4470を前進させることはできない。したがって、カートリッジ溝部材4430内に使用済みのステープルカートリッジ4400が存在するか、又はカートリッジ溝部材4430内にステープルカートリッジ4400がまったく存在しない場合、スレッド4470をカートリッジ溝部材4430内で前進させることはできない。  In addition to the above, the surgical stapler includes asled 4470 configured to move thestaple 4420 contained within the cartridge body 4410 in the direction of the anvil across the staple cartridge 4400 and the staplecartridge groove member 4430. sell. In various situations, thesled 4470 can be implanted from the proximal end of the staplecartridge groove member 4430 to the distal end of thecartridge groove member 4430 to implant the cartridge body 4410 and thestaple 4420. In certain circumstances, thesled 4470 can be retracted or returned to the proximal end of thecartridge groove member 4430 and another staple cartridge 4400 can be inserted into thecartridge groove member 4430. When a new staple cartridge 4400 is placed in thecartridge groove member 4430, thesled 4470 can be advanced distally again. The surgical stapler has one or more lockout mechanisms that can prevent thesled 4470 from being advanced again distally while the new cartridge 4400 is not disposed within thecartridge groove member 4430. sell. For example, referring again to FIG. 84, the staplecartridge groove member 4430 can include alockout shoulder 4439 that can be configured to prevent or at least limit such distal movement of thesled 4470. . More specifically, thesled 4470 is not lifted up at least partially over theshoulder 4439 by alifting mechanism 4428 extending between, for example, the mostproximal staples 4420 in the staple cartridge 4400. , And can be configured to contact theshoulder 4439. In other words, thestaple 4470 cannot be advanced without the mostproximal staple 4420 in the new staple cartridge 4400. Accordingly, thesled 4470 cannot be advanced within thecartridge groove member 4430 if there is a used staple cartridge 4400 in thecartridge groove member 4430 or if there is no staple cartridge 4400 in thecartridge groove member 4430.

図86を参照すると、上記に加えて、例えばステープルカートリッジ4500のようなステープルカートリッジをステープルカートリッジ溝部材4530内に配置することができ、ステープルカートリッジ4500は、圧縮可能なカートリッジ本体4510、カートリッジ本体4510内に配置された複数のステープル4520、及びカートリッジパン又はリテーナ4580を含みうる。圧縮可能なカートリッジ本体4510は、外側層4511及び内側層4512を含んでよく、外側層4511は、内側層4512を封止状態で封入することができる。例えば、外側層4511は内側層4512とカートリッジパン4580との間に延在してよい。外側層4511は内側層4512を部分的にのみ包囲すればよく、例えば、外側層4511とカートリッジパン4580とが協働して、内側層4512を包囲又は少なくともほぼ包囲することができる。上記に加えて、ステープル4520は、カートリッジパン4580によって支持されてもよく、カートリッジパン4580はステープル4520を支持するように構成された1つ又は2つ以上のステープル支持溝部材を含みうる。カートリッジパン4580は、カートリッジ本体4510に取り付けられてもよく、その場合、例えばカートリッジ本体4510は、カートリッジパン4580の対向する側壁の間で横方向に圧縮されうる。カートリッジパン4580の側壁は、カートリッジ本体4510を横方向に支持することが可能であり、例えば、カートリッジパン4580は下方支持体4583からカートリッジ本体4510まで上方に延びる1つ又は2つ以上の壁又はフィン4582を含みうる。例えば、カートリッジ本体4510は、壁4582を受容するか、かつ/又はこれと嵌まり合うように構成することができる1つ又は2つ以上のスロット又は溝部材を内部に有してもよい。壁4582は、カートリッジ本体4510の一部又はほぼ全体を貫通して延びうる。例えば、壁部4582は、第1のステープル列4520と第2のステープルの列4520との間で、ステープルカートリッジ4500を長手方向に貫通して延びてよい。  Referring to FIG. 86, in addition to the above, a staple cartridge such as a staple cartridge 4500 can be disposed in the staplecartridge groove member 4530, and the staple cartridge 4500 can be compressed in thecartridge body 4510 and thecartridge body 4510. Can include a plurality ofstaples 4520 and a cartridge pan orretainer 4580. Thecompressible cartridge body 4510 may include anouter layer 4511 and aninner layer 4512 that can encapsulate theinner layer 4512 in a sealed state. For example, theouter layer 4511 may extend between theinner layer 4512 and thecartridge pan 4580. Theouter layer 4511 need only partially surround theinner layer 4512. For example, theouter layer 4511 and thecartridge pan 4580 can cooperate to surround or at least substantially surround theinner layer 4512. In addition to the above, thestaple 4520 may be supported by thecartridge pan 4580, and thecartridge pan 4580 may include one or more staple support groove members configured to support thestaple 4520. Thecartridge pan 4580 may be attached to thecartridge body 4510, in which case, for example, thecartridge body 4510 may be compressed laterally between opposing sidewalls of thecartridge pan 4580. The side wall of thecartridge pan 4580 can support thecartridge body 4510 laterally, for example, thecartridge pan 4580 has one or more walls or fins extending upwardly from thelower support 4583 to thecartridge body 4510. 4582 may be included. For example, thecartridge body 4510 may have one or more slots or groove members therein that can be configured to receive and / or mate with thewall 4582. Thewall 4582 can extend through a portion or substantially theentire cartridge body 4510. For example, thewall 4582 may extend longitudinally through the staple cartridge 4500 between thefirst staple row 4520 and thesecond staple row 4520.

カートリッジ本体4510及び/又はカートリッジパン4580は、カートリッジパン4580とカートリッジ本体4510との間のスナップ嵌めを与える、協働する保持機構を有してもよい。ステープルカートリッジ4500は、カートリッジ溝部材4530内に配置されてもよく、これにより、カートリッジパン4580は、カートリッジ溝部材4530に接して配置されるか、及び/又はこれに取り付けられる。カートリッジパン4580はカートリッジ溝部材4530に分離可能に連結されてもよく、これにより、ステープルカートリッジ4500がアンビル4540によって圧縮されてステープル4520が変形された後、カートリッジパン4580をカートリッジ溝部材4530から分離することができ、カートリッジ本体4510とともに移植することができる。例えば、カートリッジパン4580は、商品名Vircylで販売されるポリグリコール酸(PGA)、ポリ乳酸(PLA又はPLLA)、ポリジオキサノン(PDS)、ポリヒドロキシアルカノエート(PHA)、商品名Monocrylで販売されるポリグレカプロン25(PGCL)、ポリカプロラクトン(PCL)、並びに/又はPGA、PLA、PDS、PHA、PGCL及び/若しくはPCLの複合物などの生体吸収性材料で構成することができる。外科用ステープラは、カートリッジパン4580をカートリッジ溝部材4530から持ち上げるか又は射出するように構成することができる、ステープルカートリッジ溝部材4530とカートリッジパン4580の底部駆動表面との間で摺動されうる発射機構及び/又はドライバを更に有してもよい。カートリッジ本体4510はカートリッジパン4580と分離可能に連結することが可能であり、これにより、ステープルカートリッジ4500がアンビル4540によって圧縮されてステープル4520が変形された後にカートリッジ本体4510をカートリッジパン4580から分離することができる。例えば、カートリッジパン4580は、カートリッジ溝部材4530と固定的に嵌合した状態に維持されてもよく、これにより、カートリッジパン4580をカートリッジ溝部材4530とともに手術部位から取り出すことができる。外科用ステープラは、カートリッジ本体4510をカートリッジパン4580から持ち上げるか又は射出するように構成することができる、ステープルカートリッジパン4580とカートリッジパン4510の底部駆動表面との間で摺動されうる発射機構及び/又はドライバを更に含みうる。例えば、ステープルカートリッジ4500は、カートリッジパン4580とステープル4520との間に配置されたステープルドライバを更に有してもよく、これにより、発射機構が遠位方向に摺動される際、ステープルドライバ及びステープル4520がアンビルの方向に上方に押されうる。例えば、ステープルドライバは少なくともその一部が圧縮可能なカートリッジ本体4510内に埋め込まれうる。  Thecartridge body 4510 and / or thecartridge pan 4580 may have cooperating retention mechanisms that provide a snap fit between thecartridge pan 4580 and thecartridge body 4510. The staple cartridge 4500 may be disposed within thecartridge groove member 4530 such that thecartridge pan 4580 is disposed against and / or attached to thecartridge groove member 4530. Thecartridge pan 4580 may be detachably coupled to thecartridge groove member 4530 such that thecartridge pan 4580 is separated from thecartridge groove member 4530 after the staple cartridge 4500 is compressed by theanvil 4540 and thestaple 4520 is deformed. Can be implanted with thecartridge body 4510. For example, thecartridge pan 4580 is made of polyglycolic acid (PGA), polylactic acid (PLA or PLLA), polydioxanone (PDS), polyhydroxyalkanoate (PHA) sold under the trade name Vircyl, and poly sold under the trade name Monocryl. It can be composed of a bioabsorbable material such as Grecapron 25 (PGCL), polycaprolactone (PCL) and / or a composite of PGA, PLA, PDS, PHA, PGCL and / or PCL. The surgical stapler can be configured to lift or eject thecartridge pan 4580 from thecartridge groove member 4530 and can be slid between the staplecartridge groove member 4530 and the bottom drive surface of thecartridge pan 4580. And / or further drivers. Thecartridge body 4510 can be detachably coupled to thecartridge pan 4580 so that thecartridge body 4510 is separated from thecartridge pan 4580 after the staple cartridge 4500 is compressed by theanvil 4540 and thestaple 4520 is deformed. Can do. For example, thecartridge pan 4580 may be maintained in a fixedly engaged state with thecartridge groove member 4530, whereby thecartridge pan 4580 can be removed from the surgical site together with thecartridge groove member 4530. The surgical stapler can be configured to lift or eject thecartridge body 4510 from thecartridge pan 4580 and can be slid between thestaple cartridge pan 4580 and the bottom drive surface of thecartridge pan 4510 and / or Or it may further include a driver. For example, the staple cartridge 4500 may further include a staple driver disposed between thecartridge pan 4580 and the staple 4520 so that when the firing mechanism is slid in the distal direction, the staple driver and the staple 4520 can be pushed upward in the direction of the anvil. For example, at least a portion of the staple driver can be embedded in thecompressible cartridge body 4510.

必要に応じて、上記と同様、ステープルカートリッジ4500は、未発射ステープルカートリッジ4500がステープルカートリッジ溝部材4530内に配置されない限り、切断部材の遠位方向への動きを防止するか又は少なくとも制限するように構成することができるロックアウト機構を含みうる。ステープルカートリッジパン4580は、例えば、ステープルカートリッジ溝部材4530内で切断部材を上方かつ固定表面上に持ち上げる表面を有しうる。カートリッジパン4580を含むステープルカートリッジ4500がカートリッジ溝部材4530内に存在しない場合、切断部材を前進させることはできない。ステープルカートリッジ4500内の最も近位のステープル、及び/又は他の任意の適当なステープルは、固定表面上に切断部材を充分に持ち上げることができる持ち上げ表面を含みうる。上記に加えて、又はその代わりに、ステープルカートリッジ4500の異なる部分を異なる色を有する材料で構成することができる。このような場合、外科医は未発射及び/又は発射済みステープルカートリッジが、ステープルカートリッジ溝部材4530内に存在する場合に、これを視覚的に特定することができる。例えば、カートリッジ本体4510の外側層4511は第1の色を有してよく、カートリッジパン4580は第2の色を有してよく、ステープルカートリッジ溝部材4530は第3の色を有してよい。第1の色が見える場合、外科医は非発射のカートリッジ4500がステープルカートリッジ溝部材4530内に存在していることを知ることができ、第2の色が見える場合、外科医は発射済みカートリッジ4500がステープルカートリッジ溝部材4530内に存在しており、残留するカートリッジパン4580を取り出す必要があることを知ることができ、第3の色が見える場合、外科医は、ステープルカートリッジ4500のいずれの部分もカートリッジ溝部材4530内に残留していないことを知ることができる。  Optionally, as described above, the staple cartridge 4500 may prevent or at least limit distal movement of the cutting member unless the unfired staple cartridge 4500 is disposed within the staplecartridge groove member 4530. A lockout mechanism can be included that can be configured. Thestaple cartridge pan 4580 can have a surface that lifts the cutting member upward and onto a fixed surface within the staplecartridge groove member 4530, for example. If the staple cartridge 4500 including thecartridge pan 4580 is not present in thecartridge groove member 4530, the cutting member cannot be advanced. The most proximal staple in staple cartridge 4500, and / or any other suitable staple, can include a lifting surface that can sufficiently lift the cutting member over the stationary surface. In addition to or in lieu of the above, different portions of the staple cartridge 4500 can be constructed of materials having different colors. In such a case, the surgeon can visually identify when an unfired and / or fired staple cartridge is present in the staplecartridge groove member 4530. For example, theouter layer 4511 of thecartridge body 4510 may have a first color, thecartridge pan 4580 may have a second color, and the staplecartridge groove member 4530 may have a third color. If the first color is visible, the surgeon knows that an unfired cartridge 4500 is present in the staplecartridge groove member 4530, and if the second color is visible, the surgeon has the fired cartridge 4500 stapled. If the third color is visible, and the surgeon can see that any portion of the staple cartridge 4500 is present in thecartridge groove member 4530 and the remainingcartridge pan 4580 needs to be removed, the cartridge groove member It can be seen that it does not remain in 4530.

次に図87を参照すると、例えばステープルカートリッジ4600のようなステープルカートリッジは、圧縮可能な移植式カートリッジ本体4610及び内部に配置された複数のステープル4620を有しうる。カートリッジ本体4610は、外側層4611及び内側層4612を有しうる。内側層4612は、カートリッジ本体4610の圧潰を促すことができる例えば内部に画定されたポケット又はキャビティ4615のような複数のポケットを含みうる。例えば、内側層4612は、圧縮力又は圧力が一定の閾値を上回らない範囲において、圧縮力又は圧力に耐えるように構成することができる波形又はハニカム状の格子を有してもよい。閾値を上回らない場合、内側層4612は、作用する圧縮力又は圧力に対して直線的又は少なくともほぼ直線的な速度で変形しうる。圧縮力又は圧力が閾値を上回った後、内側層4612は、圧縮荷重の結果、大きな撓曲に対して急に降伏して圧潰又は座屈する場合がある。内側層4612の格子は、互いに連結されうる複数の副層4612aを含みうる。各副層4612aは、交互に配された複数の谷部及び山部、すなわち波形部を有してよく、これらの谷部及び山部は、隣接する副層4612aの交互に配された谷部及び山部と整列されうる。例えば、第1の副層4612aの谷部を第2の副層4612aの山部と隣接して配置することができ、同様に、第1の副層4612aの山部を第2の副層4612aの谷部と隣接して配置することができる。隣接する副層4612aは、例えば、フィブリン及び/又はタンパク質ヒドロゲルなどの少なくとも1種類の接着剤によって互いにかつ/又は外側層4611に接着されうる。図88は、カートリッジ本体4610が圧し潰され、ステープル4620が変形されることによって組織Tを捕捉し、カートリッジ本体4610に接して保持した後のステープルカートリッジ4600を示している。  Referring now to FIG. 87, a staple cartridge, such asstaple cartridge 4600, for example, can have a compressibleimplantable cartridge body 4610 and a plurality ofstaples 4620 disposed therein. Thecartridge body 4610 can have anouter layer 4611 and aninner layer 4612.Inner layer 4612 can include a plurality of pockets, such as pockets defined therein orcavities 4615 that can facilitate crushing ofcartridge body 4610. For example, theinner layer 4612 may have a corrugated or honeycomb lattice that can be configured to withstand the compressive force or pressure to the extent that the compressive force or pressure does not exceed a certain threshold. If the threshold is not exceeded, theinner layer 4612 may deform at a linear or at least approximately linear velocity with respect to the applied compressive force or pressure. After the compressive force or pressure exceeds a threshold, theinner layer 4612 may suddenly yield and collapse or buckle for large flexures as a result of the compressive load. The lattice of theinner layer 4612 can include a plurality of sublayers 4612a that can be coupled together. Eachsublayer 4612a may have a plurality of alternating valleys and peaks, i.e., corrugations, which are alternately arranged valleys of adjacent sublayers 4612a. And can be aligned with the peaks. For example, the valleys of thefirst sublayer 4612a can be placed adjacent to the peaks of thesecond sublayer 4612a, and similarly, the peaks of thefirst sublayer 4612a can be placed in thesecond sublayer 4612a. It can arrange | position adjacent to the trough part. Adjacent sublayers 4612a can be adhered to each other and / or toouter layer 4611 by at least one adhesive, such as fibrin and / or protein hydrogels. 88 shows thestaple cartridge 4600 after thecartridge body 4610 is crushed and thestaple 4620 is deformed to capture the tissue T and hold it against thecartridge body 4610. FIG.

図89〜91を参照すると、例えば、ステープルカートリッジ4700のようなステープルカートリッジは、圧縮可能な移植式カートリッジ本体4710、及びカートリッジ本体4710内に配置された複数のステープル4720を有しうる。上記と同様、カートリッジ本体4710は外側層4711及び内側層4712を含んでよく、その場合、内側層4712は複数の副層4712aを含みうる。上記と同様、各副層4712aは、交互に配された谷部4717及び山部4718を含んでよく、これらの谷部4717及び山部4718は互いに整列されることによってそれらの間にポケット又はキャビティ4715を画定しうる。例えば、谷部4717及び/又は山部4718は、互いに平行であり、かつ/又は長手方向軸4709と平行な軸に沿って延びうる。ステープル4720は、互いに平行でありかつ/又は長手方向軸4709と平行な軸に沿って延びうる複数のステープル列内で整列されうる。あるいは、再び図87及び図88を参照すると、カートリッジ本体4600内に収容されたステープル4620は、副層4612aの谷部及び山部によって画定される軸に対して横方向又は垂直な軸に沿って延びうる。図89〜91を再び参照すると、ステープル4720は谷部4717及び山部4718を通じて延びてよく、ステープル4720と副層4712aとの間の摩擦力が、ステープル4720をカートリッジ本体4710内に保持することができる。複数の副層4712aは、例えば、図89及び図90に示されるようにステープル4720を直立方向に保持し、かつ/又はステープル4720を互いに対して整列させるように構成することができるバットレス材料及び/又はプラスチック材料、例えば、ポリジオキサノン(PDS)及び/又はポリグリコール酸(PGA)などで構成することができる。図91は、カートリッジ本体4710が圧し潰され、ステープル4720が変形されることによって組織Tを捕捉し、カートリッジ本体4700に対して保持した後のステープルカートリッジ4710を示している。  Referring to FIGS. 89-91, for example, a staple cartridge, such asstaple cartridge 4700, can have a compressibleimplantable cartridge body 4710 and a plurality ofstaples 4720 disposed within thecartridge body 4710. Similar to the above, thecartridge body 4710 may include anouter layer 4711 and aninner layer 4712, in which case theinner layer 4712 may include a plurality of sub-layers 4712a. Similar to the above, each sublayer 4712a may include alternatingvalleys 4717 andpeaks 4718, which are aligned with each other so that there are pockets or cavities between them. 4715 may be defined. For example, thevalleys 4717 and / orpeaks 4718 may extend along an axis that is parallel to each other and / or parallel to thelongitudinal axis 4709. Thestaples 4720 can be aligned within a plurality of staple rows that can be parallel to each other and / or extend along an axis parallel to thelongitudinal axis 4709. Alternatively, referring again to FIGS. 87 and 88, thestaples 4620 received within thecartridge body 4600 are along an axis that is transverse or perpendicular to the axis defined by the valleys and peaks of the sublayer 4612a. Can extend. Referring again to FIGS. 89-91, thestaple 4720 may extend through thetrough 4717 and thecrest 4718, and the frictional force between the staple 4720 and thesublayer 4712 a may hold thestaple 4720 within thecartridge body 4710. it can. The plurality of sub-layers 4712a may be configured to holdstaples 4720 in an upright direction and / or alignstaples 4720 relative to each other, for example as shown in FIGS. 89 and 90, and / or Alternatively, it can be made of a plastic material such as polydioxanone (PDS) and / or polyglycolic acid (PGA). FIG. 91 shows thestaple cartridge 4710 after thecartridge body 4710 is crushed and thestaple 4720 is deformed to capture the tissue T and hold it against thecartridge body 4700.

再び図89〜91を参照すると、カートリッジ本体4710は圧縮される際、弾力的に又は弾性的に圧し潰されうる。例えば、谷部4717及び山部4718によって各副層4712a内に形成される波形部は、カートリッジ本体4710が圧縮される際に平坦化するか、又は少なくともほぼ平坦化され、これにより、それらの間に画定されるキャビティ4715が圧し潰されるか又は少なくともほぼ圧し潰されうる。様々な状況において、圧縮力又は圧力がカートリッジ本体4710から取り除かれた後、カートリッジ本体4710又はカートリッジ本体4710の少なくとも一部が弾力的又は弾性的に再膨張しうる。例えば、カートリッジ本体4710が圧縮される際、隣接する副層4712aの谷部4717と山部4718との間の連結が完全又はほぼ完全な状態に維持されうることにより、圧縮力がカートリッジ本体4710から取り除かれた後、副層4712aはこれらを互いから離れる方向に付勢することができ、その結果、カートリッジ本体4710が少なくとも部分的に再膨張しうる。カートリッジ本体4710は圧縮される際、塑性的に変形又は圧壊し、その結果、カートリッジ本体4710から圧縮力又は圧力が取り除かれた後にカートリッジ本体4710が再膨張しない場合もある。図92を参照すると、例えば、ステープルカートリッジ4800のようなステープルカートリッジは、外側層4811及び内側層4812を有する圧壊可能なカートリッジ本体4810を有してもよく、その場合、内側層4812は、複数のポケット又はキャビティ4815が内部に画定された波形のハニカム状の格子を有しうる。内側層4812の格子を画定する壁は、カートリッジ本体4810が圧縮される際に、格子を画定する壁が破断することを可能とするように構成することができる1つ又は2つ以上の脆弱化された、又は薄い断面4819を有しうる。このような状況では、カートリッジ本体4810は、ステープルカートリッジ4800が移植される際に圧壊しうる。  Referring again to FIGS. 89-91, thecartridge body 4710 may be crushed elastically or elastically when compressed. For example, the corrugations formed in eachsublayer 4712a byvalleys 4717 andpeaks 4718 are flattened or at least substantially flattened when thecartridge body 4710 is compressed, thereby providing a Thecavity 4715 defined in FIG. 1 may be crushed or at least substantially crushed. In various situations, after the compressive force or pressure is removed from thecartridge body 4710, thecartridge body 4710 or at least a portion of thecartridge body 4710 can be re-expanded elastically or elastically. For example, when thecartridge body 4710 is compressed, the connection between thevalleys 4717 and thepeaks 4718 of theadjacent sublayer 4712a can be maintained in a complete or almost complete state, so that the compression force is removed from thecartridge body 4710. After being removed, the sublayer 4712a can bias them away from each other so that thecartridge body 4710 can be at least partially re-inflated. When thecartridge body 4710 is compressed, it may plastically deform or collapse, and as a result, thecartridge body 4710 may not re-expand after the compression force or pressure is removed from thecartridge body 4710. Referring to FIG. 92, for example, a staple cartridge, such asstaple cartridge 4800, may have acollapsible cartridge body 4810 having anouter layer 4811 and aninner layer 4812, where theinner layer 4812 includes a plurality of layers. Pockets orcavities 4815 can have a corrugated honeycomb lattice defined therein. The walls defining the lattice of theinner layer 4812 can be configured to allow the walls defining the lattice to break when thecartridge body 4810 is compressed. Or have athin cross-section 4819. Under such circumstances, thecartridge body 4810 can collapse when thestaple cartridge 4800 is implanted.

次に図93〜95を参照すると、例えばステープルカートリッジ4900のようなステープルカートリッジは、外側層4911、及び外側層4911の上部と下部との間に配置された複数の圧潰可能要素4912を含むカートリッジ本体4910を含みうる。主に図93及び図94を参照すると、ステープルカートリッジ4900は、複数のステープル4920を更に有してもよく、その場合、各ステープル4920は圧潰可能要素4912内に配置されうる。より詳細には、各圧潰可能要素4912は、第1の部分4912a、第2の部分4012b、及び第3の部分4012cを含んでよく、これらは協働して、ステープル4920を受容するように構成されたキャビティ4915を内部に画定しうる。上記に加えて、使用時には、ステープルカートリッジ4900はステープルカートリッジ溝部材内に配置され、組織接触表面4919に圧縮力が加えられることによってカートリッジ本体4910が圧縮されうる。組織接触表面4919が下方に動かされるにしたがって圧潰可能要素4912は圧し潰れることができる。このような状況では、圧潰可能要素4912の第2の部分4912bは、対応する第1の部分4912a内に圧し潰れることができ、同様に、各圧潰可能要素4912の第3の部分4912cは、対応する第2の部分4912b内に圧し潰れることができる。カートリッジ本体4910が圧縮され、圧潰可能要素4912が圧し潰されると、圧潰可能要素4912内に配置されたステープル4920は、図95に示されるように変形されうる。各圧潰可能要素4912の第2の部分4912bは、対応する第1の部分4912a内に摩擦を介して嵌合及び/又は圧入され、これにより、圧潰可能要素4912に加えられる圧縮力が、第1の部分4912a及び第2の部分4912bをその延長位置(図94)に保持する保持力を上回ると、第1の部分4912aと第2の部分4912bとは互いに対して摺動し始める。同様に、各圧潰可能要素4912の第3の部分4912cは、対応する第2の部分4912b内に摩擦を介して嵌合及び/又は圧入され、これにより、圧潰可能要素4912に加えられる圧縮力が、第2の部分4912b及び第3の部分4912cをその延長位置(図94)に保持する保持力を上回ると、第2の部分4912bと第3の部分4912cとは互いに対して摺動し始める。  93-95, a staple cartridge, such as astaple cartridge 4900, for example, includes anouter layer 4911 and a plurality ofcollapsible elements 4912 disposed between the upper and lower portions of theouter layer 4911. 4910 may be included. Referring primarily to FIGS. 93 and 94, thestaple cartridge 4900 may further include a plurality ofstaples 4920, in which case each staple 4920 may be disposed within acollapsible element 4912. More particularly, eachcollapsible element 4912 may include afirst portion 4912a, a second portion 4012b, and a third portion 4012c that are configured to cooperate to receive thestaple 4920. A definedcavity 4915 may be defined therein. In addition to the above, in use, thestaple cartridge 4900 can be disposed within the staple cartridge groove member and thecartridge body 4910 can be compressed by applying a compressive force to thetissue contacting surface 4919. As thetissue contacting surface 4919 is moved downward, thecollapsible element 4912 can collapse. In such a situation, thesecond portion 4912b of thecollapsible element 4912 can be collapsed into the correspondingfirst portion 4912a, and similarly, thethird portion 4912c of eachcollapsible element 4912 is corresponding. Can be crushed into thesecond portion 4912b. When thecartridge body 4910 is compressed and thecollapsible element 4912 is collapsed, thestaples 4920 disposed within thecollapsible element 4912 can be deformed as shown in FIG. Thesecond portion 4912b of eachcollapsible element 4912 is frictionally fitted and / or pressed into the correspondingfirst portion 4912a, so that the compressive force applied to thecollapsible element 4912 is first. When the holding force that holds theportion 4912a and thesecond portion 4912b in the extended position (FIG. 94) is exceeded, thefirst portion 4912a and thesecond portion 4912b begin to slide relative to each other. Similarly, thethird portion 4912c of eachcollapsible element 4912 is fitted and / or press-fit into the correspondingsecond portion 4912b via friction, thereby providing a compressive force applied to thecollapsible element 4912. When the holding force holding thesecond portion 4912b and thethird portion 4912c in their extended position (FIG. 94) is exceeded, thesecond portion 4912b and thethird portion 4912c begin to slide relative to each other.

本明細書に述べられるように、ステープルカートリッジは、内部に複数のステープルを有しうる。必要に応じて、このようなステープルは、2本のステープル脚を有するほぼU字型の形態に変形される金属ワイヤで構成することができる。ステープルが、3本以上のステープル脚を有する互いに連結された2本以上のワイヤなどの異なる形態を有する代替例も考えられる。ステープルを形成するために使用されるワイヤは、丸いか又は少なくともほぼ丸い断面を有しうる。ステープルワイヤは、例えば正方形及び/又は長方形の断面などの他の任意の適当な断面を有しうる。ステープルは、プラスチックワイヤで構成することができる。ステープルは、プラスチックコーティングされた金属ワイヤで構成することができる。本発明によれば、カートリッジは、ステープルに加えて、又はその代わりに、任意の適当な種類の締結具を含んでもよい。例えば、このような締結具は、アンビルと係合する際に折り畳まれる枢動可能なアームを含みうる。2つの部分からなる締結具を使用することができる。例えば、ステープルカートリッジは複数の第1の締結部分を含んでよく、アンビルはステープルカートリッジに対して圧縮される際に第1の締結部分と連結される複数の第2の締結部分を有することができる。上記のように、スレッド又はドライバをステープルカートリッジ内で前進されることによってステープルの成形プロセスを完了することができる。スレッド又はドライバをアンビル内で前進させることによって、1つ又は2つ以上の成形部材を下方に動かして、内部に配置された対向するステープルカートリッジ及びステープル又は締結具と係合させることができる。  As described herein, a staple cartridge can have a plurality of staples therein. If desired, such staples can be comprised of a metal wire that is deformed into a generally U-shaped configuration having two staple legs. Alternatives are contemplated where the staples have different forms, such as two or more wires connected to each other having three or more staple legs. The wires used to form the staples can be round or at least have a substantially round cross section. The staple wire may have any other suitable cross section, such as a square and / or rectangular cross section. Staples can be constructed of plastic wire. Staples can be composed of plastic-coated metal wires. According to the present invention, the cartridge may include any suitable type of fastener in addition to or instead of staples. For example, such a fastener may include a pivotable arm that is folded when engaged with an anvil. A two-part fastener can be used. For example, the staple cartridge may include a plurality of first fastening portions, and the anvil may have a plurality of second fastening portions that are coupled to the first fastening portions when compressed against the staple cartridge. . As described above, the staple forming process can be completed by advancing a thread or driver within the staple cartridge. By advancing the sled or driver within the anvil, one or more forming members can be moved downwardly into engagement with opposing staple cartridges and staples or fasteners disposed therein.

本明細書において述べられるように、ステープルカートリッジは、内部に格納された4列のステープルを有しうる。4つのステープル列は、2つの内側ステープル列及び2つの外側ステープル列として配列することができる。例えば、1つの内側ステープル及び1つの外側ステープル列をステープルカートリッジ内の切断部材又はナイフスロットの第1の側部に配置することができ、同様に、1つの内側ステープル列及び1つの外側ステープル列を切断部材又はナイフスロットの第2の側部に配置することができる。ステープルカートリッジは切断部材スロットを有さなくともよいが、このようなステープルカートリッジは、ステープルカートリッジスロットの代わりに、切断部材によって切開されるように構成された指定部分を有しうる。各内側ステープル列は、ステープルカートリッジ内において、切断部材スロットから均等又は少なくともほぼ均等に離間するように配置することができる。同様に、各外側ステープル列は、ステープルカートリッジ内において、切断部材スロットから均等又は少なくともほぼ均等に離間するように配置することができる。本発明によれば、ステープルカートリッジは、ステープルカートリッジ内に格納された4列よりも多いか又は少ないステープルを含みうる。ステープルカートリッジは、6列のステープルを有しうる。例えば、ステープルカートリッジは、切断部材スロットの第1の側部に3列のステープルを有し、切断部材スロットの第2の側部に3列のステープルを有することができる。ステープルカートリッジは、奇数のステープル列を有してもよい。例えば、ステープルカートリッジは、切断部材スロットの第1の側部に2列のステープルを有し、切断部材スロットの第2の側部に3列のステープルを有することができる。ステープル列は、同じか又は少なくともほぼ同じ未成形のステープル高さを有することができる。あるいは、1つ又は2つ以上のステープル列が、他のステープルとは異なる未成形のステープル高さを有するステープルを含んでもよい。例えば、切断部材スロットの第1の側部のステープルが第1の未成形高さを有してよく、切断部材スロットの第2の側部のステープルが第1の高さとは異なる第2の未成形高さを有してよい。  As described herein, a staple cartridge can have four rows of staples stored therein. The four staple rows can be arranged as two inner staple rows and two outer staple rows. For example, one inner staple row and one outer staple row can be disposed on a first side of a cutting member or knife slot in a staple cartridge, and similarly one inner staple row and one outer staple row can be It can be located on the second side of the cutting member or knife slot. The staple cartridge may not have a cutting member slot, but such a staple cartridge may have a designated portion configured to be incised by the cutting member instead of the staple cartridge slot. Each inner staple row may be positioned within the staple cartridge so as to be evenly or at least approximately equally spaced from the cutting member slot. Similarly, each outer staple row may be positioned within the staple cartridge so that it is equally or at least substantially equally spaced from the cutting member slot. In accordance with the present invention, the staple cartridge can include more or fewer staples than four rows stored in the staple cartridge. The staple cartridge can have six rows of staples. For example, a staple cartridge can have three rows of staples on a first side of a cutting member slot and three rows of staples on a second side of the cutting member slot. The staple cartridge may have an odd number of staple rows. For example, the staple cartridge can have two rows of staples on the first side of the cutting member slot and three rows of staples on the second side of the cutting member slot. The staple rows can have the same or at least about the same unformed staple height. Alternatively, one or more rows of staples may include staples having an unformed staple height that is different from other staples. For example, the staples on the first side of the cutting member slot may have a first unformed height, and the staples on the second side of the cutting member slot are different from the first height. It may have a molding height.

図96A〜96Dを参照すると、外科用ステープラのエンドエフェクタは、例えば、ステープルカートリッジ5030のようなカートリッジ取り付け部分、ステープルカートリッジ5000のような、ステープルカートリッジ溝部材5030内に着脱可能に配置された締結具カートリッジ、並びに、ステープルカートリッジ5000及びステープルカートリッジ溝部材5030に対向して配置されたジョー5040を含みうる。ステープルカートリッジ5000は、圧縮可能な本体5010、及び複数のステープル5020、並びに/又は少なくとも一部が圧縮可能な本体5010内に配置された他の任意の適当な締結具を含みうる。例えば、各ステープル5020は、基部5022、更に基部5022から上方に延びる脚5021を含むことができ、その場合、脚5021の少なくとも一部はカートリッジ本体5010内に埋め込まれうる。圧縮可能な本体5010は、上面又は組織接触表面5019及び下面5018を有してよく、下面5018は、ステープルカートリッジ溝部材5030の支持表面5031に接して配置され、支持表面5031により支持されうる。上記と同様、支持表面5031は、例えばステープル5020の基部5022を受容して支持するように構成することができる、内部に画定された複数の支持スロット5032(図96D)を有することができる。外科用ステープラのエンドエフェクタは、例えばステープル5020と係合してそれらの間に組織を捕捉するように構成することができる、保持マトリックス5050のような保持マトリックスを更に有することができる。例えば保持マトリックス5050は、ジョー5040に着脱可能に取り付けることができる。使用時には、カートリッジ5000がステープルカートリッジ溝部材5030内に配置された時点で、ジョー5040及びこれに取り付けられた保持マトリックス5050を、ステープルカートリッジ5000及びステープルカートリッジ溝部材5030の方向に動かすことができる。ジョー5040は軸5099に沿って下方に動かすことができ、これにより、ジョー5040が閉じられる際、ジョー5040とステープルカートリッジ溝部材5030とは互いに平行又は少なくともほぼ平行な状態に維持される。より詳細には、ジョー5040は、ジョー5040がステープルカートリッジ5000の方向に動かされる際、保持マトリックス5050の組織接触表面5051がステープルカートリッジ5000の組織接触表面5019と平行又は少なくともほぼ平行であるようにして閉じることができる。  Referring to FIGS. 96A-96D, the end effector of a surgical stapler includes a cartridge mounting portion, such as astaple cartridge 5030, a fastener removably disposed within a staplecartridge groove member 5030, such as astaple cartridge 5000, for example. The cartridge may include ajaw 5040 disposed opposite thestaple cartridge 5000 and the staplecartridge groove member 5030.Staple cartridge 5000 may include acompressible body 5010 and a plurality ofstaples 5020 and / or any other suitable fastener at least partially disposed withincompressible body 5010. For example, each staple 5020 can include abase 5022 and further aleg 5021 extending upward from thebase 5022, in which case at least a portion of theleg 5021 can be embedded within thecartridge body 5010. Thecompressible body 5010 may have an upper ortissue contacting surface 5019 and alower surface 5018 that can be disposed against and supported by thesupport surface 5031 of the staplecartridge groove member 5030. As above, thesupport surface 5031 can have a plurality of support slots 5032 (FIG. 96D) defined therein that can be configured to receive and support thebase 5022 of thestaple 5020, for example. The end effector of the surgical stapler can further include a retention matrix, such as aretention matrix 5050, that can be configured to engage and capture tissue between thestaples 5020, for example. For example, theretention matrix 5050 can be removably attached to thejaw 5040. In use, when thecartridge 5000 is positioned within the staplecartridge groove member 5030, thejaws 5040 and the retainingmatrix 5050 attached thereto can be moved toward thestaple cartridge 5000 and staplecartridge groove member 5030. Thejaw 5040 can be moved downward along theaxis 5099 so that when thejaw 5040 is closed, thejaw 5040 and the staplecartridge groove member 5030 are maintained in parallel or at least substantially parallel to each other. More specifically, thejaw 5040 is arranged such that thetissue contacting surface 5051 of theretention matrix 5050 is parallel or at least substantially parallel to thetissue contacting surface 5019 of thestaple cartridge 5000 when thejaw 5040 is moved in the direction of thestaple cartridge 5000. Can be closed.

次に図96Aを参照すると、保持マトリックス5050は、ジョー5040に取り付けられる際、保持マトリックス5050とジョー5040との間にほとんど(あるとしても)相対運動がないようにジョー5040に分離可能に固定されうる。ジョー5040は、保持マトリックス5050を定位置に保持するように構成することができる1つ又は2つ以上の保持機構を含みうる。例えば、保持マトリックス5050は、ジョー5040内にスナップ嵌め及び/又は圧入することができる。保持マトリックス5050は、少なくとも1種類の接着剤を使用してジョー5040に接着することができる。いずれの場合も、ジョー5040は、保持マトリックス5050が組織Tと接触し、組織Tがステープルカートリッジ5000の組織接触表面5019に接して配置されるような位置に動かすことができる。組織Tがジョー5040によってステープルカートリッジ5000に接して配置される際、ステープルカートリッジ5000の圧縮可能な本体5010は、ジョー5040によって圧縮されても、されなくてもよい。いずれの場合も、ステープル5200の脚5021は、図96Aに示されるように、ステープルカートリッジ5000の組織接触表面5019を貫通して突出せずともよい。更に、やはり図96Aに示されるように、ジョー5040は、保持マトリックス5050をステープル5020と係合させることなく、圧縮可能な本体5010に対して組織Tを保持することができる。これらの構成により、外科医は、例えば組織Tを損傷することなく、ジョー5040を複数回開閉することによって手術部位内でエンドエフェクタの望ましい位置を得ることができる。しかしながら、カートリッジ本体5010がアンビル5040によって圧縮される前にステープル先端部5023が組織接触表面5019から突出しうる代替例も考えられる。次に図96Bを参照すると、エンドエフェクタが適当に配置された時点で、ジョー5040をステープルカートリッジ溝部材5030に向かって下方に動かすことができ、これにより、圧縮可能な本体5010はアンビル5040によって圧縮され、組織接触表面5019がステープル5020に対して下方に押される。組織接触表面5019が下方に押されると、ステープル脚5021の先端部5023が組織接触表面5019を貫通し、更に組織Tの少なくとも一部に貫通しうる。そのような状況では、保持マトリックス5050の保持開口部5052がステープル脚5021の先端部5023と整列するか又は少なくともほぼ整列するようにして保持マトリックス5050をステープル5020の上に配置することができる。  Referring now to FIG. 96A, theretention matrix 5050 is releasably secured to thejaw 5040 so that there is little (if any) relative movement between theretention matrix 5050 and thejaw 5040 when attached to thejaw 5040. sell. Thejaw 5040 can include one or more holding mechanisms that can be configured to hold the holdingmatrix 5050 in place. For example, theretention matrix 5050 can be snapped and / or press fit into thejaw 5040. Theretention matrix 5050 can be adhered to thejaws 5040 using at least one adhesive. In either case, thejaws 5040 can be moved to a position such that theretention matrix 5050 is in contact with the tissue T and the tissue T is positioned against thetissue contacting surface 5019 of thestaple cartridge 5000. When the tissue T is placed against thestaple cartridge 5000 by thejaws 5040, thecompressible body 5010 of thestaple cartridge 5000 may or may not be compressed by thejaws 5040. In either case, thelegs 5021 of the staple 5200 may not protrude through thetissue contacting surface 5019 of thestaple cartridge 5000, as shown in FIG. 96A. Further, as also shown in FIG. 96A, thejaws 5040 can hold the tissue T against thecompressible body 5010 without engaging the holdingmatrix 5050 with thestaples 5020. These configurations allow the surgeon to obtain the desired position of the end effector within the surgical site by opening and closing thejaws 5040 multiple times without damaging the tissue T, for example. However, alternatives are contemplated where thestaple tip 5023 can protrude from thetissue contacting surface 5019 before thecartridge body 5010 is compressed by theanvil 5040. Referring now to FIG. 96B, when the end effector is properly positioned, thejaw 5040 can be moved downward toward the staplecartridge groove member 5030 so that thecompressible body 5010 is compressed by theanvil 5040. Thetissue contacting surface 5019 is pushed downward against thestaple 5020. When thetissue contacting surface 5019 is pushed downward, thetip 5023 of thestaple leg 5021 can penetrate thetissue contacting surface 5019 and further penetrate at least a portion of the tissue T. In such circumstances, theretention matrix 5050 can be positioned over thestaples 5020 such that theretention openings 5052 of theretention matrix 5050 are aligned or at least substantially aligned with thetips 5023 of thestaple legs 5021.

次に図96Cを参照すると、保持マトリックス5050が軸5099に沿って下方に押されるにしたがって、ステープル5020のステープル脚5021が保持開口部5052内に進入しうる。ステープル脚5021は、保持開口部5052の側壁と係合しうる。下記により詳細に述べるように、保持マトリックス5050は、ステープル脚5021と係合しうる、保持開口部5052内及び/又は周囲に延びる1つ又は2つ以上の保持部材を含みうる。いずれの場合も、ステープル脚5021を保持開口部5052内に保持することができる。様々な状況において、ステープル脚5021の先端部5023は、保持開口部5052内に進入することができ、開口部5052の保持部材及び/又は側壁と摩擦を介して係合しうる。保持マトリックス5050がステープル5020の基部5022の方向に押されるにしたがって、ステープル脚5021は側壁及び/又は保持部材に対して摺動することができる。上記の結果、ステープル脚5021と保持マトリックス5050との間に摺動摩擦力が生じうるが、このような摺動摩擦力は、保持マトリックス5050のステープル5020上への挿入に抗しうるものである。保持マトリックス5050とステープル5020との間の摺動摩擦力は、ステープル5020のステープル脚5021に沿って保持マトリックス5050が下方に摺動する際に一定又は少なくともほぼ一定でありうる。例えば、ステープル脚5021、保持開口部5052、及び/又は保持開口部5052内にかつ/又は周囲に延びる保持部材の形状の変動のため、保持マトリックス5050がステープル脚5021に沿って下方に摺動する際に、摺動摩擦力は増加及び/又は減少しうる。保持マトリックス5050のステープル5020上への挿入はまた、ステープルカートリッジ5000の圧縮可能な本体5010による抵抗も受けうる。より詳細には、圧縮可能な本体5010は、圧縮可能な本体5010が圧縮される距離が増加するのにともなって増加する抵抗力を保持マトリックス5050に加えることができる例えば弾性材料で構成することができる。例えば、カートリッジ本体5010によって生じる抵抗力の増大は、カートリッジ本体5010が圧縮される距離に直線的に比例、又は少なくともほぼ直線的に比例しうる。カートリッジ本体5010によって生じる抵抗力の増加は、カートリッジ本体5010が圧縮される距離に対して幾何級数的に比例してもよい。  Referring now to FIG. 96C, thestaple legs 5021 of thestaples 5020 can enter into theretention openings 5052 as theretention matrix 5050 is pushed down along theaxis 5099.Staple legs 5021 can engage the sidewalls ofretention openings 5052. As described in more detail below, theretention matrix 5050 can include one or more retention members that extend into and / or around theretention openings 5052 that can engage thestaple legs 5021. In either case, thestaple leg 5021 can be held in theholding opening 5052. In various situations, thetip 5023 of thestaple leg 5021 can enter theretaining opening 5052 and can frictionally engage the retaining member and / or the sidewall of theopening 5052. As theretention matrix 5050 is pushed in the direction of thebase 5022 of thestaple 5020, thestaple legs 5021 can slide relative to the sidewalls and / or retention members. As a result, a sliding frictional force can be generated between thestaple legs 5021 and the holdingmatrix 5050. Such a sliding frictional force can resist the insertion of the holdingmatrix 5050 onto thestaple 5020. The sliding frictional force between theretention matrix 5050 and the staple 5020 can be constant or at least approximately constant as theretention matrix 5050 slides downward along thestaple legs 5021 of thestaple 5020. For example, theretention matrix 5050 slides downward along thestaple legs 5021 due to variations in the shape of thestaple members 5021, theretention openings 5052, and / or the retention members extending into and / or around theretention openings 5052. In this case, the sliding frictional force can be increased and / or decreased. Insertion of theretention matrix 5050 onto thestaples 5020 can also be resisted by thecompressible body 5010 of thestaple cartridge 5000. More particularly, thecompressible body 5010 may be comprised of, for example, an elastic material that can apply a resistance force to theretention matrix 5050 that increases as the distance to which thecompressible body 5010 is compressed increases. it can. For example, the increase in resistance generated by thecartridge body 5010 may be linearly proportional, or at least approximately linearly proportional to the distance to which thecartridge body 5010 is compressed. The increase in resistance generated by thecartridge body 5010 may be geometrically proportional to the distance to which thecartridge body 5010 is compressed.

上記に加えて、充分な発射力をジョー5040及び保持マトリックス5050に作用させることによって上記の抵抗及び摩擦力を克服することができる。使用時には、保持マトリックス5050は、ステープル5020に対して任意の適当な深さに配置されうる。保持マトリックス5050をステープル5020の基部5022に対して所定の深さで配置することによって、組織の2つ以上の層を互いに固定し、組織内部に圧縮力又は圧力を生じさせることができる。様々な状況において、保持マトリックス5050及びステープル5020を含むシステムは、外科医が保持マトリックス5050が配置される深さを選択することによって、組織に加えられる圧縮力又は圧力の量を選択することを可能とするものである。保持マトリックス5050は、支持スロット5032の底部から一定の深さ5011に保持マトリックス5050が位置するまでステープル5020のステープル基部5022に向かって下方に押されてよく、その場合、より短い深さ5011では、組織Tに加えられる圧縮力又は圧力がより低くなりうる、より高い深さ5011と比較して、より高い圧縮力又は圧力が組織Tに作用することになる。組織Tに作用する圧縮力又は圧力は、保持マトリックス5050が配置される深さ5011に対して直線的に比例するか、又は少なくともほぼ直線的に比例しうる。様々な状況において、組織Tに作用する圧縮力又は圧力は、保持マトリックス5050とステープルカートリッジ5020との間に配置される組織Tの厚さに依存しうる。より詳細には、所定の距離5011では、より厚い組織Tの存在により、より薄い組織Tよりも高い圧縮力又は圧力が生じうる。  In addition to the above, the above resistance and frictional forces can be overcome by applying sufficient firing force to thejaws 5040 and the retainingmatrix 5050. In use, theretention matrix 5050 can be disposed at any suitable depth relative to thestaple 5020. By placing theretention matrix 5050 at a predetermined depth relative to thebase 5022 of thestaple 5020, two or more layers of tissue can be secured together, creating a compressive force or pressure within the tissue. In various situations, a system that includes aretention matrix 5050 andstaples 5020 allows a surgeon to select the amount of compressive force or pressure applied to the tissue by selecting the depth at which theretention matrix 5050 is disposed. To do. Theretention matrix 5050 may be pushed downward from the bottom of thesupport slot 5032 toward thestaple base 5022 of the staple 5020 until theretention matrix 5050 is positioned at aconstant depth 5011, in which case, at ashorter depth 5011, A higher compression force or pressure will act on the tissue T as compared to thehigher depth 5011 where the compression force or pressure applied to the tissue T may be lower. The compressive force or pressure acting on the tissue T can be linearly proportional or at least approximately linearly proportional to thedepth 5011 at which theretention matrix 5050 is disposed. In various situations, the compressive force or pressure acting on the tissue T may depend on the thickness of the tissue T disposed between theretention matrix 5050 and thestaple cartridge 5020. More specifically, at a givendistance 5011, the presence of thicker tissue T may cause a higher compressive force or pressure than thinner tissue T.

上記に加えて、様々な状況において、外科医は、保持マトリックス5050が配置される深さを調節することによって、エンドエフェクタ内に配置された、より厚い及び/又はより薄い組織に適合させて、組織の厚さにかかわらず組織Tに一定又は所定の圧力を作用させることができる。例えば、外科医は、より薄い組織Tを締結する際にはより短い深さ5011に、又はより厚い組織Tを締結する際にはより高い深さ5011に保持マトリックス5050を配置することによって、組織内部において同じか又はほぼ同じ圧縮圧力を得ることができる。上記に加えて、外科医は、保持マトリックス5050とステープルカートリッジ5010との間に配置された組織Tに作用する圧縮圧力の量を選択的に決定することもできる。様々な状況において、外科医は保持マトリックス5050をステープル5020と係合させ、保持マトリックス5050をステープル5020の基部5022から第1の距離だけ離れた位置に配置することによって、組織に第1の圧縮圧力を作用させることができる。あるいは、外科医は、第1の距離よりも短い第2の距離だけ基部5022から離れた位置に保持マトリックス5050を配置することによって、組織に第1の圧力よりも高い第2の圧縮圧力を作用させることができる。あるいは、外科医は、第2の距離よりも短い第3の距離だけ基部5022から離れた位置に保持マトリックス5050を配置することによって、組織に第2の圧力よりも高い第3の圧縮圧力を作用させることができる。保持マトリックス5050及びステープル5020を含む締結システムは、外科医が標的組織に広範な圧縮圧力を作用させることができるように構成することができる。  In addition to the above, in various situations, the surgeon may adjust the depth at which theretention matrix 5050 is disposed to adapt to the thicker and / or thinner tissue disposed within the end effector. Regardless of the thickness, a constant or predetermined pressure can be applied to the tissue T. For example, the surgeon may place theretention matrix 5050 at ashorter depth 5011 when fastening thinner tissue T or at ahigher depth 5011 when fastening thicker tissue T. The same or nearly the same compression pressure can be obtained. In addition to the above, the surgeon can also selectively determine the amount of compression pressure that acts on the tissue T disposed between theretention matrix 5050 and thestaple cartridge 5010. In various situations, the surgeon engages theretention matrix 5050 with thestaple 5020 and places theretention matrix 5050 at a first distance from thebase 5022 of the staple 5020 to apply a first compression pressure to the tissue. Can act. Alternatively, the surgeon places a second compression pressure higher than the first pressure on the tissue by placing theretention matrix 5050 at a location that is separated from thebase 5022 by a second distance that is less than the first distance. be able to. Alternatively, the surgeon places a third compression pressure higher than the second pressure on the tissue by placing theretention matrix 5050 at a position that is separated from thebase 5022 by a third distance that is shorter than the second distance. be able to. The fastening system that includes theretention matrix 5050 and thestaples 5020 can be configured to allow the surgeon to apply a wide range of compression pressures to the target tissue.

次に図96Dを参照すると、ステープル脚5021は、ステープル脚先端部5023が、保持マトリックス5050の上面の上に延びるように、保持マトリックス5050を貫通して挿入することができる。再び図96Cを参照すると、ジョー5040は更に、ステープル先端5023が保持マトリックス5050内の保持開口部5052を通過する際に、ステープル脚先端5023を受容するように構成することができる隙間開口部5042がその内部に画定されてもよい。例えば、隙間開口部5042は、脚5021がジョー5040と接触しないように保持開口部5052と整列することができる。隙間開口部5042は、保持マトリックス5050が配置される距離にかかわらず、ステープル脚5021がジョー5040と接触しないような充分な深さを有することができる。次に図96Dを参照すると、保持マトリックス5050がステープル5020と係合して望ましい位置に配置された後、ステープルカートリッジ溝部材5030及びジョー5040を組織Tから離れる方向に動かすことができる。より詳細には、ステープルカートリッジ溝部材5030を、移植されたステープルカートリッジ5000から分離することができ、アンビル5040を、移植された保持マトリックス5050から分離することができる。ジョー5040が保持マトリックス5050から離れる方向に動かされ、ステープル支持体5032がステープル基部5022から離れる方向に動かされる際、保持マトリックス5050と基部5022の底部との間の距離5011は、ジョー5040及びステープルカートリッジ溝部材5030がもはやそこに支持を与えていないにもかかわらず、維持されうる。ステープル脚5021と保持マトリックス5050との間の静摩擦力は、圧縮されたカートリッジ本体5010及び/又は圧縮された組織Tによって保持マトリックス5050に対して作用する付勢力にもかかわらず、保持マトリックス5050を定位置に維持するうえで充分でありうる。例えば、カートリッジ本体5010は、圧縮された場合に、保持マトリックス5050とステープル5020とが離れる方向に押すように保持マトリックス5050及びステープル5020に対して弾性付勢力を作用させる弾力性材料で構成することができるが、このような動きはステープル脚5021と保持マトリックス5050との間の摩擦係合によって妨げられる。  Referring now to FIG. 96D, thestaple legs 5021 can be inserted through theretention matrix 5050 such that thestaple leg tips 5023 extend above the upper surface of theretention matrix 5050. Referring again to FIG. 96C, thejaw 5040 further has agap opening 5042 that can be configured to receive thestaple leg tip 5023 as thestaple tip 5023 passes through theholding opening 5052 in the holdingmatrix 5050. It may be defined within it. For example, thegap opening 5042 can be aligned with theretention opening 5052 so that thelegs 5021 do not contact thejaws 5040. Thegap opening 5042 can have sufficient depth such that thestaple legs 5021 do not contact thejaws 5040 regardless of the distance at which theretention matrix 5050 is disposed. Referring now to FIG. 96D, after theretention matrix 5050 engages thestaple 5020 and is positioned in the desired position, the staplecartridge groove member 5030 and thejaw 5040 can be moved away from the tissue T. More particularly, the staplecartridge groove member 5030 can be separated from the implantedstaple cartridge 5000 and theanvil 5040 can be separated from the implantedretention matrix 5050. When thejaw 5040 is moved away from theretention matrix 5050 and thestaple support 5032 is moved away from thestaple base 5022, thedistance 5011 between theretention matrix 5050 and the bottom of thebase 5022 is determined by thejaw 5040 and the staple cartridge. Thegroove member 5030 can be maintained despite no longer providing support thereto. The static friction force between thestaple legs 5021 and theretention matrix 5050 defines theretention matrix 5050 despite the biasing force acting on theretention matrix 5050 by thecompressed cartridge body 5010 and / or the compressed tissue T. It may be sufficient to maintain the position. For example, thecartridge body 5010 may be made of an elastic material that applies an elastic biasing force to the holdingmatrix 5050 and the staple 5020 so as to push the holdingmatrix 5050 and thestaple 5020 away from each other when compressed. Although possible, such movement is hindered by frictional engagement between thestaple legs 5021 and theretention matrix 5050.

必要に応じて、上記のように、保持マトリックスは複数の保持開口部を有してもよく、その場合、それぞれの保持開口部は内部に締結具脚を受容するように構成することができる。次に図97を参照すると、外周部5156によって画定される保持開口部5152を有しうる保持マトリックス5150の一部が示されている。開口部5152の外周部5156は、円形又は少なくともほぼ円形の外形及び/又は他の任意の適当な外形を有しうる。保持マトリックス5150は、開口部5152内に延びて、締結具脚が挿通される際に締結具脚と係合するように構成することができる例えば保持部材5153のような1つ又は2つ以上の保持部材を有しうる。例えば、各保持部材5153は、中心軸5159に向かって、すなわち、開口部5152の中央に向かって内側に延びるカンチレバーを含みうる。必要に応じて、各カンチレバーは、保持マトリックス本体5158に取り付けられる第1の端部と、保持開口部5152の外周部5156を形成する第2の端部とを有しうる。保持開口部5152の外周部5156は、第1の直径又は幅によって規定することができ、締結具脚は、第2の直径又は幅によって規定することができ、第2の直径は第1の直径よりも大きくてよい。例えば、締結具脚は、保持部材5153の1つ又は2つ以上と接触してこれを撓曲させるように構成することにより、締結具脚が挿通される際に保持開口部5152の直径が大きくなりうる。上記に加えて、締結具脚は保持開口部5152の外周部5156よりも大きい外周部を画定してもよく、これにより、締結具脚が保持開口部5152に挿通される際に外周部5156を拡張することができる。  Optionally, as described above, the retention matrix may have a plurality of retention openings, in which case each retention opening can be configured to receive a fastener leg therein. Referring now to FIG. 97, a portion of aretention matrix 5150 that can have aretention opening 5152 defined by anouter periphery 5156 is shown. Theouter periphery 5156 of theopening 5152 can have a circular or at least substantially circular profile and / or any other suitable profile. Theretention matrix 5150 extends into theopening 5152 and can be configured to engage the fastener legs as the fastener legs are inserted, such as one or more of theretention members 5153, for example. A holding member may be included. For example, each holdingmember 5153 can include a cantilever that extends inward toward thecentral axis 5159, that is, toward the center of theopening 5152. If desired, each cantilever can have a first end that is attached to theretention matrix body 5158 and a second end that forms anouter perimeter 5156 of theretention opening 5152. Theouter perimeter 5156 of theretention opening 5152 can be defined by a first diameter or width, the fastener leg can be defined by a second diameter or width, and the second diameter is the first diameter. Larger than that. For example, the fastener legs can be configured to contact and bend one or more of the holdingmembers 5153 so that the diameter of theholding opening 5152 increases when the fastener legs are inserted. Can be. In addition to the above, the fastener legs may define an outer periphery that is larger than theouter periphery 5156 of theretaining opening 5152 so that when the fastener leg is inserted through theretaining opening 5152, theouter periphery 5156 Can be extended.

図97を参照すると、開口部5152は、変形可能部材5153によって画定されてもよく、各変形可能部材5153は、他の変形可能部材5153に対して、又は独立して撓曲するように構成することができる。例えば、隣接する変形可能部材5153は、各変形可能部材5153が他の変形可能部材5153に対して撓曲できるように構成することができるスロット5154によって分離されうる。各スロット5154は、保持マトリックス本体5158内の第1の端部5155、保持開口部5152内に開く第2の端部開口部、及び第1の端部5155と第2の端部との間に延びる一定又は少なくともほぼ一定の幅を有しうる。あるいは、各スロット5154の幅は一定でなくともよく、各スロット5154はその第1の端部と第2の端部との間で幅が増大かつ/又は減少しうる。スロット5154の第1の端部5155は、1)保持マトリックス本体5158に取り付けられた変形可能部材5153の基部に歪み解放を与え、かつ、2)変形可能部材5153の可撓性を増大させるための手段を与えることができる円形部分などの拡大部分を有しうる。変形可能部材5153及び/又はスロット5154の形状は、変形可能部材5153に所望の可撓性を与えるように選択することができる。例えば、スロット5154を長くすることにより、より長さが短い変形可能部材5153よりも高い可撓性を有しうる、より長い変形可能部材5153が与えられる。各変形可能部材5153の幅は、その所望の可撓性を与えるように選択することができる。より詳細には、より薄い幅を有する変形可能部材は、より厚い幅を有する変形可能部材よりも高い可撓性を有しうる。図97を参照すると、保持マトリックス本体5158に取り付けられた変形可能部材5153のカンチレバーの第1の端部は、カンチレバーの第2の端部よりも幅を広くすることができる。例えば、カンチレバーは、その第1の端部と第2の端部との間で直線的又は少なくともほぼ直線的にテーパ状に形成することができる。  Referring to FIG. 97, theopenings 5152 may be defined bydeformable members 5153, eachdeformable member 5153 configured to flex with respect to otherdeformable members 5153 or independently. be able to. For example, adjacentdeformable members 5153 can be separated byslots 5154 that can be configured such that eachdeformable member 5153 can flex with respect to otherdeformable members 5153. Eachslot 5154 includes afirst end 5155 in theretention matrix body 5158, a second end opening that opens into theretention opening 5152, and between thefirst end 5155 and the second end. It may have a constant or at least approximately constant width extending. Alternatively, the width of eachslot 5154 may not be constant, and eachslot 5154 may increase and / or decrease in width between its first end and second end. Thefirst end 5155 of theslot 5154 is for 1) providing strain relief to the base of thedeformable member 5153 attached to the holdingmatrix body 5158, and 2) increasing the flexibility of thedeformable member 5153. It can have an enlarged portion such as a circular portion that can provide a means. The shape of thedeformable member 5153 and / or theslot 5154 can be selected to give thedeformable member 5153 the desired flexibility. For example, elongating theslot 5154 provides a longerdeformable member 5153 that may have greater flexibility than adeformable member 5153 having a shorter length. The width of eachdeformable member 5153 can be selected to provide its desired flexibility. More particularly, a deformable member having a thinner width may have greater flexibility than a deformable member having a thicker width. 97, the first end of the cantilever of thedeformable member 5153 attached to the holdingmatrix body 5158 can be wider than the second end of the cantilever. For example, the cantilever can be linearly or at least substantially linearly tapered between its first end and second end.

再び図97を参照すると、保持マトリックス本体5158は、組織接触表面5151及び上面5157を有する平坦又は少なくともほぼ平坦な材料のシートを含みうる。例えば、組織接触表面5151及び上面5157は、互いに平行又は少なくともほぼ平行とすることができる。必要に応じて、各変形可能部材5153は、第1の部分5153a及び第2の部分5153bを有してもよく、その場合、第1の部分5153aは第1の方向に延びてよく、第2の部分5253bは異なる方向又は第2の方向に延びてよい。例えば、保持マトリックス本体5158は平面を画定してよく、変形可能部材5153の第1の部分5253aはその平面内に位置しうる。変形可能部材5153の第2の部分5153bは、第1の部分5153aに対して所定の角度をなして延びることができる。例えば、第2の部分5153bは、保持マトリックス本体5158の上面5157から離れる方向を向くように延びてよく、第2の部分5153bは、保持開口部5152の中心軸5159に向かって収束することができる。いずれの場合も、第2の部分5153bは、締結具脚が挿通される際に中心軸5159から離れる方向に撓曲するように構成することができる。ステープル5020のステープル脚5021が保持開口部5152内に挿入される場合、変形可能部材5153はステープル5120の基部5122から一般的に離れる方向に変形することができる。その結果、変形可能部材5153は、ステープル脚5021が挿入されつつある方向と同じか又は少なくともほぼ同じ一般的方向に撓曲しうる。  Referring again to FIG. 97, theretention matrix body 5158 may include a flat or at least substantially flat sheet of material having a tissue contacting surface 5151 and anupper surface 5157. For example, the tissue contacting surface 5151 and thetop surface 5157 can be parallel to each other or at least approximately parallel. If desired, eachdeformable member 5153 may have afirst portion 5153a and asecond portion 5153b, in which case thefirst portion 5153a may extend in the first direction and thesecond portion 5153a.Portion 5253b may extend in a different direction or a second direction. For example, theretention matrix body 5158 may define a plane and thefirst portion 5253a of thedeformable member 5153 may be located in that plane. Thesecond portion 5153b of thedeformable member 5153 can extend at a predetermined angle with respect to thefirst portion 5153a. For example, thesecond portion 5153 b may extend in a direction away from theupper surface 5157 of the holdingmatrix body 5158, and thesecond portion 5153 b can converge toward thecentral axis 5159 of theholding opening 5152. . In any case, thesecond portion 5153b can be configured to bend in a direction away from thecentral axis 5159 when the fastener leg is inserted. When thestaple leg 5021 of thestaple 5020 is inserted into theholding opening 5152, thedeformable member 5153 can be deformed in a direction generally away from the base 5122 of the staple 5120. As a result, thedeformable member 5153 may bend in the same general direction or at least about the same general direction as thestaple legs 5021 are being inserted.

図BDを参照すると、変形可能部材5153の第2の部分5153bはそれぞれ、ステープル脚5021が挿入される際にステープル脚5021と接して摺動するように構成することができる例えば鋭利な先端部を有してもよい。第2の部分5153bの鋭利な先端部は、ステープル脚5021が反対方向(すなわち、ステープル脚5021を保持開口部5052から引き抜く方向)に引かれる際にステープル脚5021に食い込むように構成することもできる。特定の状況では、第2の部分5153bは90°よりも大きい所定の角度でステープル脚5021の側面に対して傾斜してもよく、その結果、ステープル脚5021にステープル脚5021を保持開口部5052から引き抜こうとする力がかかると第2の部分5153bがステープル脚5021の側面に食い込むか又は入り込むことができる。ステープル脚5021はその表面に、例えばその中に変形部材5053の先端部を受容するように構成することができる例えば微小凹部のような凹み及び/又は凹部を有することができる。例えば、変形可能部材5053の先端部は、引き抜こうとする力がステープル脚5021に作用すると、ステープル脚5021の凹部に引っ掛かってこれに食い込むことができる。必要に応じて、第2の部分5153bがステープル脚5021内に食い込む結果、ステープル脚5021を保持開口部5022から引き抜くように働く力は、第2の部分5153bをステープル脚5021内により深く配置させるだけであり、ステープル脚5021を引き抜くために要する力を増大させうる。更に、第2の部分5153bが上方に傾斜していることにより、第2の部分5153bは、保持開口部5152内へのステープル脚5021の挿入をより容易とすると同時にステープル脚5021の引き抜きに対してはより大きな抵抗を与えうる。その結果、ステープル脚5021を保持開口部5022内に挿入するのに要する力は、ステープル脚5021を保持開口部5022から引き抜くのに要する力よりも小さくなりうる。例えば、ステープル脚5021を保持開口部5022から引き抜くのに要する力は、ステープル脚5021を保持開口部5022に挿入するのに要する力よりも約50%大きくてよい。あるいは、例えば、ステープル脚5021を引き抜くのに要する力は、ステープル脚5021を挿入するのに要する力よりも約10%〜100%大きくてもよい。例えば、ステープル脚5021を引き抜くのに要する力は、ステープル脚5021を挿入するのに要する力よりも約100%、約150%、約200%、及び/又は約200%超大きくてもよい。  Referring to FIG. BD, each of thesecond portions 5153b of thedeformable member 5153 can be configured to slide against thestaple legs 5021 when thestaple legs 5021 are inserted, for example, sharp edges. You may have. The sharp tip of thesecond portion 5153b can also be configured to bite into thestaple legs 5021 when thestaple legs 5021 are pulled in the opposite direction (ie, the direction in which thestaple legs 5021 are pulled out of the retaining openings 5052). . In certain circumstances, thesecond portion 5153b may be inclined relative to the side of thestaple leg 5021 at a predetermined angle greater than 90 °, resulting in thestaple leg 5021 being held from theretaining opening 5052 to thestaple leg 5021. When a force for pulling is applied, thesecond portion 5153 b can bite into or enter the side surface of thestaple leg 5021. Thestaple legs 5021 can have recesses and / or recesses on the surface thereof, such as, for example, micro-recesses that can be configured to receive the tip of the deformable member 5053 therein. For example, when the force to be pulled out acts on thestaple leg 5021, the distal end portion of the deformable member 5053 can be caught in the recess of thestaple leg 5021. If necessary, thesecond portion 5153b bites into thestaple leg 5021 so that the force acting to pull thestaple leg 5021 out of theretaining opening 5022 only causes thesecond portion 5153b to be placed deeper within thestaple leg 5021. The force required to pull out thestaple legs 5021 can be increased. Further, since thesecond portion 5153b is inclined upward, thesecond portion 5153b makes it easier to insert thestaple leg 5021 into theholding opening 5152 and at the same time against the withdrawal of thestaple leg 5021. Can give greater resistance. As a result, the force required to insert thestaple leg 5021 into theholding opening 5022 can be less than the force required to pull thestaple leg 5021 out of theholding opening 5022. For example, the force required to pull thestaple leg 5021 from the holdingopening 5022 may be approximately 50% greater than the force required to insert thestaple leg 5021 into theholding opening 5022. Alternatively, for example, the force required to pull out thestaple legs 5021 may be about 10% to 100% greater than the force required to insert thestaple legs 5021. For example, the force required to pull thestaple legs 5021 may be greater than about 100%, about 150%, about 200%, and / or greater than about 200% than the force required to insert thestaple legs 5021.

再び図97を参照すると、第2の部分5153bは、開口部5152の周囲に周方向に配置され、それらの間にポケットを画定することができる。より詳細には、第2の部分5153bは、締結具脚が保持開口部5152に挿入される際に締結具脚の先端部を受容するように構成することができるポケット5160を画定することができる。例えば、変形可能部材5153の第2の部分5153bは、協働してポケット1560の環状又は少なくともほぼ環状の外形を画定することができる環状又は少なくともほぼ環状の外形を有しうる。例えば、第2の部分5153bは円錐又は切頭円錐状のポケットを画定しうる。ポケットは、適当な数の変形可能部材、例えば4つの変形可能部材5153(図97)、6つの変形可能部材5153(図98)、又は8つの変形可能部材5153(図99)によって画定されうる。次に図100を参照すると、保持マトリックス5250のような保持マトリックスの変形可能部材は、角錐形状又は少なくともほぼ角錐形状を形成しうる。本発明によれば、保持マトリックス5250は、外周部5256によって画定されうる、例えば保持開口部5252のような複数の保持開口部を有しうる。外周部5256は、多角形又は少なくともほぼ多角形の外形及び/又は他の任意の適当な外形を有しうる。保持マトリックス5250は、開口部5252内に延びて、締結具脚が挿通される際に締結具脚と係合するように構成することができる例えば保持部材5253のような1つ又は2つ以上の保持部材を有しうる。例えば、各保持部材5253は、中心軸5259に向かって、すなわち、開口部5252の中央に向かって内側に延びるカンチレバーを含みうる。必要に応じて、各カンチレバーは、保持マトリックス本体5258に取り付けられる第1の端部と、保持開口部5252の外周部5256を形成する第2の端部とを有しうる。保持開口部5252の外周部5256は、第1の直径又は幅によって規定することができ、締結具脚は、第2の直径又は幅によって規定することができ、第2の直径は第1の直径よりも大きくてよい。例えば、締結具脚は、保持部材5253の1つ又は2つ以上と接触してこれを撓曲させるように構成することにより、締結具脚が挿通される際に保持開口部5252の直径が大きくなりうる。上記に加えて、締結具脚は保持開口部5252の外周部5256よりも大きい外周部を画定してもよく、これにより、締結具脚が保持開口部5252に挿通される際に外周部5256を拡張することができる。  Referring again to FIG. 97, thesecond portion 5153b can be circumferentially disposed around theopening 5152 and define a pocket therebetween. More particularly, thesecond portion 5153b can define a pocket 5160 that can be configured to receive the tip of the fastener leg as the fastener leg is inserted into theretention opening 5152. . For example, thesecond portion 5153b of thedeformable member 5153 can have an annular or at least substantially annular profile that can cooperate to define an annular or at least approximately annular profile of the pocket 1560. For example, thesecond portion 5153b may define a conical or frustoconical pocket. The pocket may be defined by a suitable number of deformable members, for example, four deformable members 5153 (FIG. 97), six deformable members 5153 (FIG. 98), or eight deformable members 5153 (FIG. 99). Referring now to FIG. 100, a deformable member of the retention matrix, such asretention matrix 5250, may form a pyramid shape or at least approximately a pyramid shape. In accordance with the present invention, theretention matrix 5250 can have a plurality of retention openings, such asretention openings 5252, that can be defined by theouter periphery 5256. Theouter periphery 5256 may have a polygonal or at least approximately polygonal outline and / or any other suitable outline. Theretention matrix 5250 extends into theopening 5252 and can be configured to engage the fastener legs as the fastener legs are inserted, such as one or more of theretention members 5253. A holding member may be included. For example, each holdingmember 5253 can include a cantilever that extends inward toward thecentral axis 5259, that is, toward the center of theopening 5252. If desired, each cantilever can have a first end that is attached to theretention matrix body 5258 and a second end that forms theouter periphery 5256 of theretention opening 5252. Theouter periphery 5256 of theretaining opening 5252 can be defined by a first diameter or width, the fastener legs can be defined by a second diameter or width, and the second diameter is the first diameter. Larger than that. For example, the fastener legs can be configured to contact and bend one or more of the holdingmembers 5253 so that the diameter of theholding opening 5252 increases when the fastener legs are inserted. Can be. In addition to the above, the fastener legs may define an outer periphery that is larger than theouter periphery 5256 of theretaining opening 5252 so that when the fastener leg is inserted through theretaining opening 5252 theouter periphery 5256 Can be extended.

図100を参照すると、開口部5252は、変形可能部材5253によって画定されてもよく、各変形可能部材5253は、他の変形可能部材5253に対して、又は独立して撓曲するように構成することができる。例えば、隣接する変形可能部材5253は、各変形可能部材5253が他の変形可能部材5253に対して撓曲できるように構成することができるスロット5254によって分離されうる。保持マトリックス本体5258は、組織接触表面5251及び上面5257を有する平坦又は少なくともほぼ平坦な材料のシートを含みうる。例えば、組織接触表面5251及び上面5257は、互いに平行又は少なくともほぼ平行とすることができる。必要に応じて、各変形可能部材5253は、第1の部分5253a及び第2の部分5253bを有してもよく、その場合、第1の部分5253aは第1の方向に延びてよく、第2の部分5253bは異なる方向又は第2の方向に延びてよい。例えば、保持マトリックス5258は平面を画定してよく、変形可能部材5253の第1の部分5253aはその平面内に位置しうる。変形可能部材5253の第2の部分5253bは、第1の部分5253aに対して所定の角度をなして延びることができる。例えば、第2の部分5253bは、保持マトリックス本体5258の上面5257から離れる方向を向くように延びてよく、第2の部分5253bは、保持開口部5252の中心軸5259に向かって収束することができる。いずれの場合も、第2の部分5253bは、締結具脚が挿通される際に中心軸5259から離れる方向に撓曲するように構成することができる。図100を参照すると、第2の部分5253bは、開口部5252の周囲に周方向に配置され、それらの間にポケットを画定することができる。より詳細には、第2の部分5253bは、締結具脚が保持開口部5252に挿入される際に締結具脚の先端部を受容するように構成することができるポケットを画定することができる。例えば、変形可能部材5253の第2の部分5253bは、多角形又は少なくともほぼ多角形のポケットを画定することができる。ポケットは例えば、正方形を画定しうる4つの変形可能部材5253(図100)、六角形を画定しうる6つの変形可能部材5253(図101)、又は八角形を画定しうる8つの変形可能部材5253(図102)などの任意の数の変形可能部材によって画定されうる。  Referring to FIG. 100, theopening 5252 may be defined by adeformable member 5253, eachdeformable member 5253 configured to flex with respect to otherdeformable members 5253 or independently. be able to. For example, adjacentdeformable members 5253 can be separated byslots 5254 that can be configured such that eachdeformable member 5253 can flex with respect to otherdeformable members 5253. Theretention matrix body 5258 may include a flat or at least substantially flat sheet of material having atissue contacting surface 5251 and anupper surface 5257. For example, thetissue contacting surface 5251 and theupper surface 5257 can be parallel or at least substantially parallel to each other. If desired, eachdeformable member 5253 may have afirst portion 5253a and asecond portion 5253b, in which case thefirst portion 5253a may extend in the first direction and thesecond portion 5253a.Portion 5253b may extend in a different direction or a second direction. For example, theretention matrix 5258 may define a plane and thefirst portion 5253a of thedeformable member 5253 may be located in that plane. Thesecond portion 5253b of thedeformable member 5253 can extend at a predetermined angle with respect to thefirst portion 5253a. For example, thesecond portion 5253b may extend away from thetop surface 5257 of theretention matrix body 5258, and thesecond portion 5253b may converge toward thecentral axis 5259 of theretention opening 5252. . In any case, thesecond portion 5253b can be configured to bend in a direction away from thecentral axis 5259 when the fastener leg is inserted. Referring to FIG. 100, thesecond portion 5253b can be circumferentially disposed around theopening 5252 and define a pocket therebetween. More particularly, thesecond portion 5253b can define a pocket that can be configured to receive the tip of the fastener leg as the fastener leg is inserted into theretention opening 5252. For example, thesecond portion 5253b of thedeformable member 5253 can define a polygon or at least a substantially polygonal pocket. The pocket may be, for example, four deformable members 5253 (FIG. 100) that may define a square, six deformable members 5253 (FIG. 101) that may define a hexagon, or eightdeformable members 5253 that may define an octagon. It can be defined by any number of deformable members, such as (FIG. 102).

次に図103を参照すると、例えば、保持マトリックス5350のような保持マトリックスは、例えばチタン及び/又はステンレスシートなどの平坦又は少なくともほぼ平坦な材料のシートから形成することができる。例えば、複数の開口部5352は、1又は2以上のスタンピングプロセスにより、保持マトリックス5350の本体5358に形成することができる。材料のシートは、スタンピングダイ内に置くことができ、こうしたスタンピングダイは作動されると材料の特定の部分を打ち抜くことによって、スロット5354、スロット5354の開口部5355、及び/又は保持開口部5352の外周部5356を形成することができる。スタンピングダイはまた、変形可能部材5353を適当な形態に曲げるように構成することもできる。例えば、スタンピングダイは、第2の部分5353bを、折り目線5353cに沿って第1の部分5353aに対して上方に変形することができる。次に図104を参照すると、保持マトリックス5450のような保持マトリックスは、例えば複数の保持開口部5452を有しうる。上記と同様、各保持開口部5452の外周部5456は、スロット又はスリット5454によって隔てられた複数の変形可能部材5453によって画定されうる。例えば、各変形可能部材5453の全体が上方に曲げられてもよく、その場合、変形可能部材5453を構成するカンチレバーの自由端が外周部5456を画定しうる。保持マトリックス5450は、保持開口部5452を囲むか又は少なくともほぼ囲む複数の開口部5455を有しうる。例えば、開口部5455は、変形可能部材5453のカンチレバーの固定端によって画定される外周を囲むか又はこれを包囲する円形の配列に配置することができる。各開口部5455は、円形又は少なくともほぼ円形の外周及び/又は他の任意の適当な外周を有しうる。使用時には、開口部5455は、1)保持マトリックス本体5458に取り付けられた変形可能部材5453の基部に歪み解放を与え、かつ、2)変形可能部材5453の可撓性を増大させるための手段を与えることができる。必要に応じて、より大きな開口部5455は、より小さい開口部5455と比較してより高い可撓性を変形可能部材5453に与えることができる。更に、変形可能部材5453により近い開口部5455は、より遠い開口部5455と比較してより高い可撓性を与えることができる。  Referring now to FIG. 103, for example, a retention matrix, such asretention matrix 5350, can be formed from a sheet of flat or at least substantially flat material, such as, for example, a titanium and / or stainless steel sheet. For example, the plurality ofopenings 5352 can be formed in thebody 5358 of theretention matrix 5350 by one or more stamping processes. A sheet of material can be placed in a stamping die, and when such a stamping die is actuated, by punching out a specific portion of the material,slot 5354,slot 5354opening 5355, and / or retainingopening 5352. An outerperipheral portion 5356 can be formed. The stamping die can also be configured to bend thedeformable member 5353 into a suitable form. For example, the stamping die can deform thesecond portion 5353b upward with respect to thefirst portion 5353a along thecrease line 5353c. Referring now to FIG. 104, a retention matrix, such asretention matrix 5450, can have a plurality ofretention openings 5252, for example. Similar to the above, theouter perimeter 5456 of each retainingopening 5452 can be defined by a plurality ofdeformable members 5453 separated by slots or slits 5454. For example, theentire deformable member 5453 may be bent upward, in which case the free end of the cantilever constituting thedeformable member 5453 may define theouter periphery 5456. Theretention matrix 5450 may have a plurality ofopenings 5455 that surround or at least approximately surround theretention openings 5252. For example, theopenings 5455 can be arranged in a circular array that surrounds or surrounds the outer periphery defined by the fixed end of the cantilever of thedeformable member 5453. Eachopening 5455 may have a circular or at least substantially circular periphery and / or any other suitable periphery. In use, theopening 5455 provides 1) a strain relief to the base of thedeformable member 5453 attached to theretention matrix body 5458, and 2) a means for increasing the flexibility of thedeformable member 5453. be able to. If desired, thelarger opening 5455 can provide thedeformable member 5453 with greater flexibility compared to thesmaller opening 5455. Furthermore, theopening 5455 closer to thedeformable member 5453 can provide greater flexibility compared to thefarther opening 5455.

次に図105を参照すると、保持マトリックス5550のような保持マトリックスは例えば複数の保持開口部5552を有しうる。各保持開口部5552は、拡大された円形又は少なくともほぼ円形の端部5555を有する長尺状スロット5554を有しうる。例えば、端部5555は、スロット5554よりも広い直径によって画定されうる。長尺状スロット5554及び端部5555は長手方向軸5559に沿って配置されるか、かつ/又は長手方向軸5559に沿って中心が合わせられる。スロット5554及び端部5555は、締結具脚が挿通される際に締結具脚と係合して撓曲するように構成することができる2つの対向するタブ5553を画定することができる。より大きな外周又は直径を有する端部5555は、より小さい外周又は直径を有する端部5555によって画定されるタブ5553よりも高い可撓性を有しうる、より長いタブ5553を画定することができる。端部5555は同じ外周及び直径を有してよく、例えば各タブ5553は、長手方向軸5559と垂直又は少なくともほぼ垂直な軸に対して対称でありうる。あるいは、端部5555は異なる外周及び/又は直径を有してもよく、その場合、各端部5553はその軸に対して対称でなくともよい。例えばタブ5553は、締結具脚が保持開口部5552に挿通される際にそれらの軸を中心として捩れてもよい。次に図106を参照すると、保持マトリックス5650のような保持マトリックスは、例えば複数の保持開口部5652を有しうる。各保持開口部5652は、円形又は少なくともほぼ円形の端部5655を有する長尺状スロット5654を有しうる。例えば、長尺状スロット5654及び端部5655は、長手方向軸5659に沿って配置されるか、かつ/又は長手方向軸5659に沿って中心が合わせられる。必要に応じて、各端部5655は、スロット5654の幅と同じか又は少なくともほぼ同じ直径によって画定されうる。  Referring now to FIG. 105, a retention matrix, such asretention matrix 5550, can have a plurality ofretention openings 5552, for example. Eachretention opening 5552 can have an elongatedslot 5554 having an enlarged circular or at least substantiallycircular end 5555. For example,end 5555 can be defined by a wider diameter thanslot 5554.Elongated slot 5554 andend 5555 are disposed alonglongitudinal axis 5559 and / or centered alonglongitudinal axis 5559.Slot 5554 and end 5555 can define two opposingtabs 5553 that can be configured to engage and flex the fastener legs as the fastener legs are inserted. Anend 5555 having a larger perimeter or diameter can define alonger tab 5553 that may have greater flexibility than atab 5553 defined by theend 5555 having a smaller perimeter or diameter. The ends 5555 may have the same circumference and diameter, for example, eachtab 5553 may be symmetric about an axis that is perpendicular or at least substantially perpendicular to thelongitudinal axis 5559. Alternatively, theends 5555 may have different perimeters and / or diameters, in which case eachend 5553 may not be symmetric about its axis. For example, thetabs 5553 may be twisted about their axes when the fastener legs are inserted through the retainingopenings 5552. Referring now to FIG. 106, a retention matrix, such asretention matrix 5650, can have a plurality of retention openings 5562, for example. Each retention opening 5562 can have an elongatedslot 5654 having a circular or at least substantiallycircular end 5655. For example, theelongated slot 5654 and theend 5655 are disposed along thelongitudinal axis 5659 and / or centered along thelongitudinal axis 5659. If desired, eachend 5655 can be defined by a diameter that is the same or at least approximately the same as the width of theslot 5654.

次に図107を参照すると、保持マトリックス5750のような保持マトリックスは、例えば複数の保持開口部5752を有しうる。各保持開口部5752は、拡大した端部5755を有する例えばスロット5754のような複数のスロットを含みうる。例えば、長尺状スロット5754及び端部5755は、長手方向軸5759に沿って配置されるか、かつ/又は長手方向軸5759に沿って中心が合わせられる。各軸5759は、互いに垂直又は横断する方向に延びうる。スロット5754及び端5755は、締結具脚が保持開口部5752に挿通される際に、締結具脚と係合して撓曲するように構成することができる例えば4つのタブ5753を画定することができる。各タブ5753は、例えば正三角形などの三角形又は少なくともほぼ三角形の形態を有しうる。あるいは、次に図108を参照すると、例えば保持マトリックス5850のような保持マトリックスは複数の保持開口部5852を有しうる。各保持開口部5852は、端部5855を有する例えばスロット5854のような複数のスロットを含んでよく、その場合、スロット5854及び端部5855は、長手方向軸5859に沿って配置されるか、かつ/又は長手方向軸5859に沿って中心が合わせられる。軸5859は、互いに垂直又は横断する方向に延びうる。例えば、スロット5854及び端部5855は、締結具脚が保持開口部5852に挿通される際、締結具脚と係合して撓曲するように構成することができるタブ5853を画定しうる。各タブ5853は、円弧状の断面を有しうる。より詳細には、各タブ5853は、締結具脚と接触するように構成することができる、図105に示された尖った端部とは異なる、湾曲した端部を含みうる。  Referring now to FIG. 107, a retention matrix, such asretention matrix 5750, may have a plurality ofretention openings 5752, for example. Eachretention opening 5752 may include a plurality of slots, such asslot 5754, having enlarged ends 5755. For example, theelongated slot 5754 and theend 5755 are disposed along thelongitudinal axis 5759 and / or centered along thelongitudinal axis 5759. Eachaxis 5759 may extend in a direction perpendicular or transverse to each other. Theslot 5754 andend 5755 may define, for example, fourtabs 5753 that may be configured to engage and flex with the fastener legs as the fastener legs are inserted through theretention openings 5752. it can. Eachtab 5753 can have the form of a triangle, such as an equilateral triangle, or at least approximately triangular. Alternatively, referring now to FIG. 108, a retention matrix, such asretention matrix 5850, can have a plurality ofretention openings 5852. Eachretention opening 5852 may include a plurality of slots, such asslot 5854, having ends 5855, in which case theslots 5854 and ends 5855 are disposed along thelongitudinal axis 5859, and And / or centered alonglongitudinal axis 5859. Theshafts 5859 can extend in directions perpendicular or transverse to each other. For example, theslot 5854 and theend 5855 can define atab 5853 that can be configured to engage and flex with the fastener leg as the fastener leg is inserted through theretention opening 5852. Eachtab 5853 may have an arcuate cross section. More particularly, eachtab 5853 may include a curved end that may be configured to contact a fastener leg, unlike the pointed end shown in FIG.

次に図109を参照すると、保持マトリックス5950のような保持マトリックスは、例えば複数の保持開口部5952を有しうる。各保持開口部5952は、例えばスロット5954のような複数のスロットを含んでよく、その場合、各スロット5954は、軸5959に沿って延びるか、かつ/又は軸5959に沿って中心が合わせられる。各軸5959は、互いに横断方向であり、例えば軸5959は、すべての軸5959が保持開口部5952の中心を通り、互いに等間隔又は少なくともほぼ等間隔で離間するように配置されうる。各スロット5954は、保持開口部5952の中心に面した開放端部と、スロット5954の反対側の端部の第2の閉鎖端部5955とを有しうる。上記と同様、スロット5954及び端部5955は、締結具脚が保持開口部5952に挿入される際に締結具脚と係合して撓曲するように構成することができる、例えば3つのタブ5953を画定することができる。必要に応じて、各端部5953は、スロット5954の隣り合う端部5955の間に延びる円弧状の形態を構成してもよい。次に図110を参照すると、保持マトリックス6050のような保持マトリックスは、例えば複数の保持開口部6052を有しうる。各保持開口部6052は、締結具脚が保持開口部6052に挿入される際に締結具脚と係合して撓曲するように構成することができるタブ6053を有しうる。例えば、タブ6053は、保持マトリックス本体6058に固定された基部、及び締結具脚に接触するように構成することができる、円弧状又は湾曲した外形6056を有する自由端を有しうる。締結具脚は、丸いワイヤで構成されたステープル脚であってよく、その場合、湾曲した外形6056は、丸いワイヤの湾曲した外側表面と一致するか又は少なくともほぼ一致するように構成することができる。  Referring now to FIG. 109, a retention matrix, such asretention matrix 5950, can have a plurality ofretention openings 5952, for example. Eachretention opening 5952 may include a plurality of slots, such asslots 5954, in which case eachslot 5954 extends alongaxis 5959 and / or is centered alongaxis 5959. Eachshaft 5959 is transverse to each other, for example, theshafts 5959 can be arranged such that all theshafts 5959 pass through the center of theretaining opening 5952 and are spaced equidistantly or at least approximately equidistant from each other. Eachslot 5954 can have an open end facing the center of theretention opening 5952 and a secondclosed end 5955 at the opposite end of theslot 5954. Similar to the above, theslot 5954 and end 5955 can be configured to engage and flex with the fastener leg when the fastener leg is inserted into theretention opening 5952, eg, threetabs 5953. Can be defined. If desired, eachend 5953 may form an arcuate shape extending betweenadjacent ends 5955 of theslot 5954. Referring now to FIG. 110, a retention matrix, such asretention matrix 6050, can have a plurality ofretention openings 6052, for example. Eachretention opening 6052 can have atab 6053 that can be configured to engage and flex with the fastener leg as the fastener leg is inserted into theretention opening 6052. For example, thetab 6053 can have a base secured to the retention matrix body 6058 and a free end having an arcuate orcurved profile 6056 that can be configured to contact the fastener legs. The fastener legs may be staple legs composed of round wire, in which case thecurved profile 6056 may be configured to match or at least approximately match the curved outer surface of the round wire. .

再び図110を参照すると、保持マトリックス本体6058は、保持開口部6052のタブ6053及び異なる部分を画定するように構成することができる複数のスロット6054及び開口部6055を有しうる。タブ6053は、平行又は少なくともほぼ平行な辺を有する長方形の構成を有しうる。次に図111を参照すると、保持マトリックス6150のような保持マトリックスは、例えば複数の保持開口部6152を有しうる。各保持開口部6152は、は、締結具脚が保持開口部6152に挿入される際に締結具脚と係合して撓曲するように構成することができるタブ6153を有しうる。例えば、タブ6153は、保持マトリックス本体6158に固定された基部と、締結具脚に接触するように構成することができる、円弧状又は湾曲した外形6156を有する自由端とを有しうる。保持マトリックス本体6158は、保持開口部6152のタブ6153及び異なる部分を画定するように構成することができる複数のスロット6154及び開口部6155を含みうる。タブ6153は、円弧状の辺を有するテーパ状の構成を有しうる。例えば、タブ6153は、例えば基部が自由端部よりも広くなった、幾何学的なテーパ状の形状でありうる。  Referring again to FIG. 110, the retention matrix body 6058 can have a plurality ofslots 6054 andopenings 6055 that can be configured to definetabs 6053 and different portions of theretention openings 6052. Thetab 6053 can have a rectangular configuration with parallel or at least substantially parallel sides. Referring now to FIG. 111, a retention matrix, such asretention matrix 6150, can have a plurality ofretention openings 6152, for example. Eachretention opening 6152 can have atab 6153 that can be configured to engage and flex with the fastener leg as the fastener leg is inserted into theretention opening 6152. For example, thetab 6153 can have a base secured to the retention matrix body 6158 and a free end having an arcuate orcurved profile 6156 that can be configured to contact the fastener legs. The retention matrix body 6158 can include a plurality ofslots 6154 andopenings 6155 that can be configured to definetabs 6153 and different portions of theretention openings 6152.Tab 6153 may have a tapered configuration with arcuate sides. For example, thetab 6153 can be a geometrically tapered shape, for example with a base wider than the free end.

必要に応じて、上記のように、締結システムは、保持マトリックスの複数の保持開口部を通じて挿入されるステープル脚を有する複数のステープルを含みうる。下記により詳細に述べるように、ステープルは第1のジョーに保持されてよく、保持マトリックスは第2のジョーに保持されてよく、第1のジョー及び第2のジョーの少なくとも一方を互いに対して動かすことができる。様々な状況において、第1のジョー内に配置されたステープルは、保持マトリックスがステープル脚と係合する際に、ステープル脚が保持開口部と整列するようにその内部に固定することができる。図112及び図113を参照すると、締結システムは、例えば外科用ステープラの第1のジョー内に配置されたステープルカートリッジ6200、及び例えば外科用ステープラの第2のジョー内に配置された保持マトリックス6250を含むことができる。上記に加えて、図119及び図120を参照すると、保持マトリックス6250は複数の保持開口部6252を含んでよく、各保持開口部6252は1つ又は2つ以上の撓曲可能な部材6253により画定された外周部6256を含みうる。例えば、上記に加えて、各開口部6252を画定する撓曲可能な部材6253は、ポケット6201を画定しうる。必要に応じて、各ポケット6201は、例えばステープル脚が保持開口部6252とずれており、撓曲可能な部材6253及び/又は組織接触表面6251と最初に接触した場合に、ステープル脚の先端部を開口部6252に案内するように構成することができる、例えば湾曲かつ/又は凹状の表面を有してもよい。  Optionally, as described above, the fastening system can include a plurality of staples having staple legs inserted through a plurality of retention openings in the retention matrix. As described in more detail below, the staples may be held on the first jaw and the holding matrix may be held on the second jaw, moving at least one of the first and second jaws relative to each other. be able to. In various situations, staples disposed within the first jaw can be secured therein such that the staple legs are aligned with the retention openings when the retention matrix engages the staple legs. 112 and 113, the fastening system includes astaple cartridge 6200 disposed, for example, in a first jaw of a surgical stapler, and aretention matrix 6250 disposed, for example, in a second jaw of the surgical stapler. Can be included. In addition to the above, referring to FIGS. 119 and 120, theretention matrix 6250 may include a plurality ofretention openings 6252, eachretention opening 6252 defined by one or moredeflectable members 6253. The outerperipheral portion 6256 may be included. For example, in addition to the above, thebendable member 6253 that defines eachopening 6252 can define apocket 6201. If desired, eachpocket 6201 can be configured so that, for example, the staple leg is offset from theretention opening 6252 and the distal end of the staple leg is brought into contact with thebendable member 6253 and / or thetissue contacting surface 6251 for the first time. For example, it may have a curved and / or concave surface that can be configured to guide into theopening 6252.

上記に加えて、締結システムは、保持マトリックス6250の保持開口部6252に挿通されうるステープル脚6221を有する複数のステープル6220を更に含みうる。例えば、各ステープル6220は、そこから上方にステープル脚6221が延びうる基部6222を含む例えばほぼU字形の形態を有しうる。次に図115及び図116を参照すると、保持マトリックス6250の保持開口部6252は、保持マトリックスの長手方向軸に沿って、又は長手方向軸と平行に延びうる例えば平行又は少なくともほぼ平行な2つの列に配列することができる。第1の列の保持開口部6252は、第2の列の保持開口部6252に対してオフセットしているか、又は互い違いに配置されている。例えば、各ステープル6220は、第1のステープル脚6221が第1の列の保持開口部6252内に配置され、第2のステープル脚6221が第2の列の保持開口部6252内に配置されてよく、その結果、基部6222は、保持マトリックス6250の長手方向軸に対して横断する方向に延びうる。例えば、ステープル6220は、互いに平行又は少なくともほぼ平行でありうる。より詳細には、例えばステープル6220aの基部6222aは、ステープル6220bの基部6222bと平行又は少なくともほぼ平行であり、基部6222bは、ステープル6220cの基部6222cと平行又は少なくともほぼ平行でありうる。ステープル6220aのステープル脚6221aは平面を画定してよく、これはステープル6220bのステープル脚6221bにより画定される平面と平行又は少なくともほぼ平行であり、この平面は例えば、ステープル6220cのステープル脚6221により画定される平面と平行又は少なくともほぼ平行でありうる。  In addition to the above, the fastening system can further include a plurality ofstaples 6220 havingstaple legs 6221 that can be inserted through theretention openings 6252 of theretention matrix 6250. For example, each staple 6220 can have a generally U-shaped configuration, including a base 6222 from whichstaple legs 6221 can extend upward. Referring now to FIGS. 115 and 116, theretention openings 6252 of theretention matrix 6250 can extend along, or parallel to, the longitudinal axis of the retention matrix, for example, two rows that are parallel or at least substantially parallel. Can be arranged. The first row ofretention openings 6252 are offset or staggered relative to the second row ofretention openings 6252. For example, each staple 6220 may have a firststaple leg 6221 disposed within a first row ofretention openings 6252 and a secondstaple leg 6221 disposed within a second row ofretention openings 6252. As a result, thebase 6222 may extend in a direction transverse to the longitudinal axis of theretention matrix 6250. For example, thestaples 6220 can be parallel or at least substantially parallel to each other. More specifically, for example, thebase 6222a of the staple 6220a may be parallel or at least substantially parallel to thebase 6222b of thestaple 6220b, and thebase 6222b may be parallel or at least substantially parallel to thebase 6222c of the staple 6220c. Thestaple legs 6221a of the staple 6220a may define a plane that is parallel or at least substantially parallel to the plane defined by thestaple legs 6221b of thestaple 6220b, which is defined by thestaple legs 6221 of the staple 6220c, for example. Parallel to, or at least approximately parallel to, the plane.

図112及び図114を参照すると、ステープルカートリッジ6200は、複数のステープル6220、及び、更に例えばステープル6220を整列させるように構成することができるスロット、溝及び/又は開口部などの複数の整列ガイドを有するアラインメントマトリックス6260を含みうる。様々な状況において、アラインメントマトリックス6260は、保持マトリックス6250がステープル脚6221と係合するより前に、ステープル6220のステープル脚6221が、保持マトリックス6250の保持開口部6252と整列されるように構成することができる。次に図117及び図118を参照すると、アラインメントマトリックス6260は、ステープル6220のステープル脚6221を緊密に受容するように構成することができる複数のアラインメント開口部6262を有しうる。例えば、各ステープル6220は、基部6222及び基部6222から延びる2本のステープル脚6221を有してよく、その場合、ステープル6220の基部6222は、保持マトリックス6260の底部表面6264の周囲に延びてよく、ステープル脚6221は、アラインメント開口部6262を通じて上方に延びうる。各アラインメント開口部6262は、円形又は少なくともほぼ円形であり、これに通されるステープル脚6221の直径に等しいか、又はわずかに大きい直径によって画定されうる。アラインメントマトリックス6260は、アラインメントマトリックス6260の上面6261から上方に延びてアラインメント開口部6262を囲むか又は少なくとも部分的に囲みうる複数の隆起部材6263を更に有しうる。隆起部材6263は、より長いアラインメント開口部6262を与えうるものであり、様々な状況において、より長い開口部6262はステープル脚6221のアラインメントに対して、より短い開口部6262よりも高い制御性を与えることができる。  112 and 114, thestaple cartridge 6200 includes a plurality ofstaples 6220 and a plurality of alignment guides such as slots, grooves and / or openings that can be further configured to align thestaples 6220, for example. Analignment matrix 6260 may be included. In various situations, thealignment matrix 6260 is configured such that thestaple legs 6221 of thestaples 6220 are aligned with theretention openings 6252 of theretention matrix 6250 before theretention matrix 6250 engages thestaple legs 6221. Can do. Referring now to FIGS. 117 and 118, thealignment matrix 6260 can have a plurality ofalignment openings 6262 that can be configured to closely receive thestaple legs 6221 of thestaples 6220. FIG. For example, each staple 6220 may have abase 6222 and twostaple legs 6221 extending from thebase 6222, in which case thebase 6222 of the staple 6220 may extend around thebottom surface 6264 of theretention matrix 6260, Thestaple legs 6221 can extend upward through thealignment openings 6262. Eachalignment opening 6262 is circular or at least approximately circular and may be defined by a diameter that is equal to or slightly larger than the diameter of thestaple legs 6221 passed therethrough. Thealignment matrix 6260 may further include a plurality of raisedmembers 6263 that extend upward from thetop surface 6261 of thealignment matrix 6260 and may surround or at least partially surround thealignment opening 6262. The raisedmember 6263 can provide alonger alignment opening 6262, and in various situations, thelonger opening 6262 provides greater control over the alignment of thestaple legs 6221 than theshorter opening 6262. be able to.

使用時には、ステープルカートリッジ6200を支持する第1のジョーを、ステープル留めされる組織の一方の側に配置し、保持マトリックス6250を支持する第2のジョーを、組織の他方の側に配置することができる。ジョーが組織に対して適当に配置された時点で、第2のジョー及び保持マトリックス6250を、ステープルカートリッジ6200の方向に動かすことができる。ステープル脚6221が保持マトリックス6250aの保持開口部6252に挿通されると、保持マトリックス6250の組織接触表面又は底面6251が、組織と接触し、組織をアラインメントマトリックス6260の組織接触表面又は上面6261に対して押し付ける。あるいは、下記により詳細に述べるように、ステープルカートリッジ6200は、組織と接触しうる、例えばアラインメントマトリックス6260の上面6261の上に配置された圧縮可能なカートリッジ本体を更に有してもよい。図114及び図118を参照すると、アラインメントマトリックス6260には、アラインメントマトリックス6260が組織に接して配置される際、その中に組織の一部を受容するように構成することができる1つ又は2つ以上の開口部6203が更に画定されてもよい。圧縮可能なカートリッジ本体が、アラインメントマトリックス6260の上、及び/又はこれに接して配置される場合、カートリッジ本体が圧縮される際に、圧縮可能カートリッジ本体の一部が開口部6203内に入ることができる。同様に、保持マトリックス6250は、保持マトリックス6250が組織に接して配置されるときに、その中に組織の少なくとも一部を受容するように構成することができる複数の開口部6202を有しうる。  In use, the first jaw supporting thestaple cartridge 6200 may be placed on one side of the tissue to be stapled and the second jaw supporting theretention matrix 6250 may be placed on the other side of the tissue. it can. Once the jaws are properly positioned relative to the tissue, the second jaw andretention matrix 6250 can be moved toward thestaple cartridge 6200. When thestaple legs 6221 are inserted through theretention openings 6252 of the retention matrix 6250a, the tissue contacting surface orbottom surface 6251 of theretention matrix 6250 contacts the tissue and the tissue against the tissue contacting surface orupper surface 6261 of thealignment matrix 6260. Press. Alternatively, as will be described in more detail below, thestaple cartridge 6200 may further include a compressible cartridge body disposed on thetop surface 6261 of thealignment matrix 6260, which may contact tissue, for example. 114 and 118, thealignment matrix 6260 includes one or two that can be configured to receive a portion of tissue therein when thealignment matrix 6260 is placed against the tissue. Theabove opening 6203 may be further defined. If the compressible cartridge body is positioned on and / or in contact with thealignment matrix 6260, a portion of the compressible cartridge body may enter theopening 6203 when the cartridge body is compressed. it can. Similarly, theretention matrix 6250 can have a plurality ofopenings 6202 that can be configured to receive at least a portion of the tissue therein when theretention matrix 6250 is placed against the tissue.

上記に加えて、ステープル6220のステープル脚6221が、保持マトリックス6250の保持開口部6252に挿通される際、ステープル脚6221の先端部は、保持マトリックス6250の上面6257から上方に突出しうる。上記のように、様々な状況において、ステープル脚6221の先端部は、保持開口部6252に挿通された後に曲げられないままである場合もある。次に図121〜124を参照すると、ステープルカートリッジ6200及び保持マトリックス6250を含む締結システムは、保持マトリックス6250上に突出するステープル脚6221に組み付けることができる、例えばキャップ6270のような複数の保護キャップ又はカバーを更に有してもよい。必要に応じて、各キャップ6270は、ステープル脚6221の鋭利な端部を全体的又は少なくとも部分的に被覆することができ、これにより鋭利な端部は、これに隣接して配置される組織に接触しない。次に図124を参照すると、各キャップ6270には、その内部にステープル脚6221の先端を緊密に受容するように構成することができる開口部6271が画定されてもよい。キャップ6270は、例えば、シリコーン、ポリイソプレン、サノプレン、及び/又は天然ゴムなどの弾性材料で構成することができる。開口部6271は、内部に挿入されるステープル脚6221の外周又は直径よりも小さい外周又は直径を有することができる。例えば、保護キャップ6270内の開口部6271は、その内部にステープル脚6221を受容するように拡がることができる。あるいは、キャップ6270が開口部を有さない場合もあり、ステープル脚6221の先端部を、脚6221がキャップ6270の内部に挿入される際に、キャップ6270を切開するように構成することができる。いずれの場合も、各キャップ6270は、キャップ6270の基部6272が、保持マトリックス6250の上面6257に当接するか又は上面6257に隣接して位置するまで、ステープル脚6221上に嵌め込まれる。様々な状況において、キャップ6270は、キャップ6270が容易に外れないように、ステープル脚6221の先端部上にぴったりと嵌まるように構成することができる。各キャップ6270は例えば、円錐状又は少なくともほぼ円錐状の外側表面を含みうる。キャップ6270は、例えば、放物線状又は少なくともほぼ放物線状の外側表面を含む形状など、任意の適当な形状を有しうる。  In addition to the above, when thestaple legs 6221 of the staple 6220 are inserted through the holdingopenings 6252 of the holdingmatrix 6250, the leading ends of thestaple legs 6221 can protrude upward from theupper surface 6257 of the holdingmatrix 6250. As described above, in various situations, the tip of thestaple leg 6221 may remain unbent after being inserted through theretention opening 6252. 121-124, a fastening system including astaple cartridge 6200 and aretention matrix 6250 can be assembled tostaple legs 6221 protruding above theretention matrix 6250, such as a plurality of protective caps, such ascaps 6270, or the like. You may further have a cover. If desired, eachcap 6270 can cover, in whole or at least, the sharp ends of thestaple legs 6221 so that the sharp ends can be placed on tissue disposed adjacent thereto. Do not touch. Referring now to FIG. 124, eachcap 6270 may be defined with anopening 6271 that may be configured to closely receive the tip of thestaple leg 6221 therein. Thecap 6270 can be made of an elastic material such as silicone, polyisoprene, sanoprene, and / or natural rubber, for example. Theopening 6271 can have an outer periphery or diameter that is smaller than the outer periphery or diameter of thestaple legs 6221 inserted therein. For example, theopening 6271 in theprotective cap 6270 can be expanded to receive thestaple leg 6221 therein. Alternatively, thecap 6270 may not have an opening, and the tip of thestaple leg 6221 can be configured to incise thecap 6270 when theleg 6221 is inserted into thecap 6270. In any case, eachcap 6270 is fitted over thestaple legs 6221 until thebase 6272 of thecap 6270 is in contact with or located adjacent to theupper surface 6257 of theretention matrix 6250. In various situations, thecap 6270 can be configured to fit snugly on the tips of thestaple legs 6221 so that thecap 6270 does not easily dislodge. Eachcap 6270 may include, for example, a conical or at least substantially conical outer surface. Thecap 6270 can have any suitable shape, for example, a parabolic shape or a shape that includes at least a substantially parabolic outer surface.

例えば、上記の締結システムは、例えば、図125〜127に示される外科用ステープラを使用して運用することができる。エンドエフェクタは、その内部にステープルカートリッジ6200を支持するように構成することができる第1のジョー又はステープルカートリッジ溝部材6230と、保持マトリックス6250及び複数の保護キャップ6270を支持するように構成することができる第2のジョー6240とを含みうる。開いた形態の第2のジョー6240を示す図125を主に参照すると、組織Tが、保持マトリックス6250とステープルカートリッジ6200との間に配置されるようにして、ジョー6230及び6240を組織Tに対して配置することができる。必要に応じて、上記のように、ステープルカートリッジ6200は、その内部にステープル6220及びアラインメントマトリックス6260が配置される、例えばカートリッジ本体6210のような圧縮可能カートリッジ本体を更に有しうる。組織Tは、例えばカートリッジ本体6210の上面に接して配置することができる。第2のジョー6240は、複数の保護キャップ6270を受容するように構成された複数の凹部又は開口部6245、及び更に、保持マトリックス6250をキャップ6270上の定位置に保持するように構成することができる1つ又は2つ以上の保持機構又は保持部を含みうる。例えば、保持マトリックス6250は、開口部6245内にキャップ6270を保持するように構成することができる。図137を参照すると、各開口部6245は、キャップ6270の一部又は全体をその内部に受容するように構成することができる。開口部6245は、例えば、キャップ6270が、圧入及び/又はスナップ嵌め機構の少なくとも一方により内部に固定されうるように充分な大きさ及び構成とすることができる。少なくとも1種類の接着剤を使用してキャップ6270を開口部6245内に固定することができる。例えば、このような接着剤は、キャップ6270がステープル脚6221と係合し、第2のジョー6240が移植された締結アセンブリから分離された後に、キャップ6270を第2のジョー6240から外れるように選択することができる。次に図138を参照すると、第2のジョー6240は、第2のジョー6240に組み付けられ、キャップ6270覆って延在してキャップ6270を開口部6245内に保持することができる少なくとも1つのカバーシート6246を有してもよい。例えば、カバーシート6246の少なくとも一部を、例えば少なくとも1種類の接着剤を使用してジョー6240に固定することができる。使用時には、カバーシート6246は、エンドエフェクタが手術部位に挿入される前に、ジョー6240から少なくとも部分的に取り外すことができる。カバーシート6246は、ステープル脚6221が保持マトリックス6250から突出する際にステープル脚6221によって切開されうる例えばPDS及び/又はPGAなどの移植可能な材料で構成することができる。カバーシート6246は、例えば、カバー6270と保持マトリックス6250との間で締結システムに固定されうる。  For example, the fastening system described above can be operated using, for example, a surgical stapler shown in FIGS. The end effector may be configured to support a first jaw or staplecartridge groove member 6230 that may be configured to support astaple cartridge 6200 therein, aretention matrix 6250, and a plurality ofprotective caps 6270. Asecond jaw 6240 that can be made. Referring primarily to FIG. 125 showing thesecond jaw 6240 in an open configuration, thejaws 6230 and 6240 are positioned against the tissue T such that the tissue T is disposed between theretention matrix 6250 and thestaple cartridge 6200. Can be arranged. If desired, as described above, thestaple cartridge 6200 can further include a compressible cartridge body, such as thecartridge body 6210, within which thestaples 6220 and thealignment matrix 6260 are disposed. The tissue T can be disposed in contact with the upper surface of thecartridge body 6210, for example. Thesecond jaw 6240 may be configured to hold a plurality of recesses oropenings 6245 configured to receive a plurality ofprotective caps 6270, and further to hold theretention matrix 6250 in place on thecap 6270. One or more possible holding mechanisms or holding parts may be included. For example, theretention matrix 6250 can be configured to retain thecap 6270 within theopening 6245. Referring to FIG. 137, eachopening 6245 can be configured to receive a portion or all of thecap 6270 therein. Theopening 6245 can be sufficiently sized and configured, for example, such that thecap 6270 can be secured therein by at least one of a press-fit and / or snap-fit mechanism. At least one type of adhesive can be used to securecap 6270 withinopening 6245. For example, such an adhesive may be selected to disengage thecap 6270 from thesecond jaw 6240 after thecap 6270 engages thestaple leg 6221 and thesecond jaw 6240 is separated from the implanted fastening assembly. can do. Referring now to FIG. 138, thesecond jaw 6240 is assembled to thesecond jaw 6240 and extends over thecap 6270 to hold thecap 6270 within theopening 6245. 6246 may be included. For example, at least a portion ofcover sheet 6246 can be secured tojaw 6240 using, for example, at least one adhesive. In use,cover sheet 6246 can be at least partially removed fromjaw 6240 before the end effector is inserted into the surgical site. Thecover sheet 6246 can be constructed of an implantable material such as PDS and / or PGA that can be incised by thestaple legs 6221 as thestaple legs 6221 protrude from theretention matrix 6250.Cover sheet 6246 may be secured to the fastening system betweencover 6270 andretention matrix 6250, for example.

上記に加えて、次に図126を参照すると、ジョー6240は、開位置から、組織Tが保持マトリックス6250及びカートリッジ本体6210に接して配置される閉位置へと動かすことができる。この位置では、保持マトリックス6250は、ステープル6220とまだ係合しなくともよい。ジョー6240は、アクチュエータ6235によって、その開位置とその閉位置との間で動かされる。例えば、ジョー6240は、これから延びる遠位ピン6243及び近位ピン6244を有してよく、遠位ピン6243は、カートリッジ溝部材6230に画定された遠位スロット6233内において垂直又は少なくともほぼ垂直に摺動することができ、近位ピン6244はやはりステープルカートリッジ溝部材6230に画定された近位スロット6234内で垂直又は少なくともほぼ垂直に摺動することができる。図126に示されるように、使用時には、アクチュエータ6235を近位方向に後退させることによって、ピン6243及び6244が各スロット6233及び6234の上端へと動かされる。例えば、アクチュエータ6235は、遠位駆動スロット6236及び近位駆動スロット6237を有してよく、その場合、駆動スロット6236及び6237の側壁を、アクチュエータ6235が近位方向に動くにしたがって遠位ピン6243及び近位ピン6244とそれぞれ接触してピン6243及び6244を上方に動かすように構成することができる。より詳細には、アクチュエータ6235が近位方向に動くにしたがって、遠位ピン6243は、遠位駆動スロット6236の傾斜した第1の部分6236aを摺動して上り、中間の又は第2の部分6236bへと入り、同様に、近位ピン6244は、遠位駆動スロット6237の傾斜した第1の部分6237aを摺動して上り、中間の又は第2の部分6237bへと入ることができる。ピン6243及び6244が両方とも上方に動くにしたがって、ジョー6240は、組織Tに向かって下方に、閉位置へと回転しうる。  In addition to the above, referring now to FIG. 126, thejaw 6240 can be moved from an open position to a closed position where the tissue T is placed against theretention matrix 6250 and thecartridge body 6210. In this position, theretention matrix 6250 may not yet engage thestaple 6220.Jaw 6240 is moved between its open and closed positions byactuator 6235. For example, thejaw 6240 may have adistal pin 6243 and aproximal pin 6244 extending therefrom, thedistal pin 6243 sliding vertically or at least substantially vertically within thedistal slot 6233 defined in thecartridge groove member 6230. Theproximal pin 6244 can also slide vertically or at least approximately vertically within theproximal slot 6234 defined in the staplecartridge groove member 6230. As shown in FIG. 126, in use,pins 6243 and 6244 are moved to the upper end of eachslot 6233 and 6234 by retractingactuator 6235 proximally. For example, theactuator 6235 may have adistal drive slot 6236 and aproximal drive slot 6237, in which case thedistal pins 6243 and 6237 and the 6237 sidewalls move in the proximal direction as theactuator 6235 moves proximally.Pins 6243 and 6244 can be configured to move upwardly in contact withproximal pin 6244, respectively. More specifically, as theactuator 6235 moves in the proximal direction, thedistal pin 6243 slides up the slantedfirst portion 6236a of thedistal drive slot 6236 and enters the intermediate orsecond portion 6236b. Similarly, theproximal pin 6244 can slide up the inclinedfirst portion 6237a of thedistal drive slot 6237 and enter the middle orsecond portion 6237b. As bothpins 6243 and 6244 move upward,jaw 6240 may rotate downward toward tissue T to a closed position.

上記に加えて、次に図127を参照すると、アクチュエータ6235を更に近位方向に引くことにより、第2のジョー6240が第1のジョー6230に向かって下方に押され、カートリッジ本体6210が圧縮され、保持マトリックス6250及び複数の保護キャップ6270がステープル6220のステープル脚と係合しうる。例えば、アクチュエータ6235の更なる近位方向への動きにより、駆動スロット6236及び6237の側壁がピン6243及び6244と接触し、ピン6243及び6244をスロット6233及び6234の下端の方向に下方にそれぞれ動かす。このような状況では、アクチュエータ6235を近位方向に引くことができ、これにより、1)遠位ピン6243が駆動スロット6236の第2の部分6236bを出て、傾斜した第3の部分6236cに入り、同様に、近位ピン6244が駆動スロット6237の第2の部分6237bから出て、傾斜した第3の部分6237cに入る。ピン6243及び6244が両方とも下方に動くにしたがって、第2のジョー6240は、第1のジョー6230に向かって、発射後の位置へと下方に動くことができる。例えば、第2のジョー6240は、保持マトリックス6250がカートリッジ本体6210の上面と平行若しくは少なくともほぼ平行かつ/又はアラインメントマトリックス6260と平行又は少なくともほぼ平行な状態に保たれたままで下方に動かすことができる。いずれの場合も、図129に示されるように、保持マトリックス6250及び保護キャップ6270がステープル6220のステープル脚6221と係合した時点で、第2のジョー6240を、開位置又は少なくともほぼ開位置に戻すことができる。例えば、アクチュエータ6235を遠位方向に押すことによって、ピン6243及び6244がそれぞれスロット6233及び6234の上端に動かされた後、各ピンが各駆動スロット6236及び6237の中間部分6236b及び6237bを通過した時点で、スロット6233及び6234の下端に向かって下方に動かされうる。図128に示されるように、第2のジョー6240が開かれた時点で、第1のジョー6230を、移植されたステープルカートリッジ6200から分離することができ、第1のジョー6230及び第2のジョー6240を、移植された締結アセンブリから取り外すことができる。  In addition to the above, referring now to FIG. 127, pullingactuator 6235 further proximally pushessecond jaw 6240 downward towardfirst jaw 6230, compressingcartridge body 6210. Aretention matrix 6250 and a plurality ofprotective caps 6270 can engage the staple legs of thestaple 6220. For example, further proximal movement ofactuator 6235 causes the sidewalls ofdrive slots 6236 and 6237 to contactpins 6243 and 6244, causingpins 6243 and 6244 to move downward toward the lower ends ofslots 6233 and 6234, respectively. In such a situation, theactuator 6235 can be pulled proximally so that 1) thedistal pin 6243 exits thesecond portion 6236b of thedrive slot 6236 and enters the inclinedthird portion 6236c. Similarly, theproximal pin 6244 exits thesecond portion 6237b of thedrive slot 6237 and enters the inclinedthird portion 6237c. As bothpins 6243 and 6244 move downward, thesecond jaw 6240 can move downward toward thefirst jaw 6230 to the post-fired position. For example, thesecond jaw 6240 can be moved downwards while theretention matrix 6250 is held parallel or at least approximately parallel to the top surface of thecartridge body 6210 and / or parallel or at least approximately parallel to thealignment matrix 6260. In any case, as shown in FIG. 129, when theretention matrix 6250 andprotective cap 6270 engage thestaple legs 6221 of thestaple 6220, thesecond jaw 6240 is returned to the open position or at least approximately the open position. be able to. For example, when thepins 6243 and 6244 are moved to the upper ends of theslots 6233 and 6234, respectively, by pushing theactuator 6235 in the distal direction, and then each pin passes through theintermediate portions 6236b and 6237b of thedrive slots 6236 and 6237. Thus, it can be moved downward toward the lower ends of theslots 6233 and 6234. As shown in FIG. 128, when thesecond jaw 6240 is opened, thefirst jaw 6230 can be separated from the implantedstaple cartridge 6200, and thefirst jaw 6230 and thesecond jaw 6240 can be removed from the implanted fastening assembly.

再び図127を参照すると、保持マトリックス6250及びキャップ6270がステープル脚6221と係合しているにもかかわらず、ピン6243及び6244はそれぞれのスロット6233及び6234の最下端に位置している状態で示されていない点に読者は気付くであろう。このような状況は、保持マトリックス6250とカートリッジ本体6210との間に厚い組織Tが配置される場合に生じうる。次に図130を参照すると、より薄い組織Tが保持マトリックス6250とカートリッジ本体6210との間に配置される状況では、ピン6243及び6244は、図132に示されるように、それぞれのスロット6233及び6234内へ更に下方に動かされうる。一般的に、例えば、アクチュエータ6235を近位方向に引くことによって、上記に述べ、図130〜132に示した過程によりピン6243及び6244が上方及び下方に動かされ、より薄い組織Tのために、保持マトリックス6250及び保護キャップ6270は、図133及び図134に示されるように、ステープル6220のステープル脚6221上に更に押し込まれうる。必要に応じて、保持マトリックス6250によって得られる調節可能性の結果として、エンドエフェクタ内に捕捉される組織が厚いか薄いかにかかわらず、同じか又は少なくともほぼ同じ圧縮圧力が締結された組織内で得られる。保持マトリックス6250によって得られる調節可能性は、外科医が、保持マトリックス6250が配置される深さを選択することによって、組織に対してより大きな圧縮圧力を作用させるか、又はより小さな圧縮圧力を作用させるかを選択することを可能とする。例えば、保持マトリックス6250がステープル脚6221に嵌め付けられる範囲は、例えば、スロット6233及び6234の長さ又は範囲によって決定されうる。  Referring again to FIG. 127, thepins 6243 and 6244 are shown at the lowest end of theirrespective slots 6233 and 6234, despite theretention matrix 6250 andcap 6270 engaging thestaple legs 6221. The reader will notice that this is not done. Such a situation can occur when a thick tissue T is placed between theretention matrix 6250 and thecartridge body 6210. Referring now to FIG. 130, in a situation where a thinner tissue T is disposed between theretention matrix 6250 and thecartridge body 6210, thepins 6243 and 6244 have theirrespective slots 6233 and 6234 as shown in FIG. It can be moved further down inwards. In general, for example, by pulling theactuator 6235 proximally, thepins 6243 and 6244 are moved up and down by the process described above and shown in FIGS. Theretention matrix 6250 andprotective cap 6270 can be pushed further onto thestaple legs 6221 of the staple 6220 as shown in FIGS. 133 and 134. Optionally, as a result of the adjustability provided by theretention matrix 6250, the same or at least about the same compression pressure is obtained in the fastened tissue, regardless of whether the tissue captured in the end effector is thick or thin. It is done. The adjustability provided by theretention matrix 6250 allows the surgeon to apply a greater or lesser compression pressure to the tissue by selecting the depth at which theretention matrix 6250 is placed. It is possible to select. For example, the extent to which theretention matrix 6250 is fitted to thestaple legs 6221 can be determined by the length or extent of theslots 6233 and 6234, for example.

必要に応じて、上記に述べたように、保護キャップ6270は、ステープル脚6221の端部をしっかりつかむように構成することができる、例えば柔らかな又は可撓性材料で構成することができる。保護キャップ6270は、生体吸収性プラスチック、商品名Vicrylで市販されるポリグリコール酸(PGA)、ポリ乳酸(PLA又はPLLA)、ポリジオキサノン(PDS)、ポリヒドロキシアルカノエート(PHA)、商品名Monocrylで市販されるポリグレカプロン25(PGCL)、ポリカプロラクトン(PCL)、並びに/又はPGA、PLA、PDS、PHA、PGCL及び/若しくはPCLの合成体、並びに/あるいは、チタン及び/又はステンレス鋼などの生体適合性金属で構成することができる。図124に示されるように、各キャップ6270は、他のキャップ6270に連結されなくともよい。あるいは、1つ又は2つ以上のキャップ6270は、保持マトリックス6250に取り付けることもできる。例えば、キャップ6270は、例えば、少なくとも1種類の接着剤によって保持マトリックス6250に取り付けることができ、その場合、キャップ6270の開口部6271は、保持マトリックス6270内の保持開口部6252と整列されるか又は少なくともほぼ整列されうる。図135を参照すると、例えばキャップ6370のような保護キャップは、例えばその内部にステープル脚6221の先端部を受容するように構成することができる内側キャビティ又はドーム6374を画定しうる。例えば、キャップ6370は、底部6372、及び底部6372を貫通して延びる開口部6371を有しうる。開口部6371は、ステープル脚6221が挿通される際に撓曲するように構成することができる1つ又は2つ以上の撓曲可能部材6373によって画定されうる。例えば、2つ以上のキャップ6370は、互いに連結されてキャップ6370の配列を形成しうる。例えば、図136を参照すると、複数のキャップ6370は材料のシート6375によって互いに連結されうる。シート6375は、充分な剛性を有しているため、所望の配置及び/又はキャップ6370のアラインメントが維持されうる。キャップ6370は、チタン及び/又はステンレス鋼などの生体適合性金属を含んでよく、シート6375は、生体吸収性プラスチック、商品名Vicrylで市販されるポリグリコール酸(PGA)、ポリ乳酸(PLA又はPLLA)、ポリジオキサノン(PDS)、ポリヒドロキシアルカノエート(PHA)、商品名Monocrylで市販されるポリグレカプロン25(PGCL)、ポリカプロラクトン(PCL)、並びに/又はPGA、PLA、PDS、PHA、PGCL及び/若しくはPCLの複合物などで構成することができる。本発明によれば、シート6375は、例えば、内部に貯蔵及び/又は分散されるコロイド状銀及び/又はトリクロサンなどの抗菌剤を含む生体吸収性材料を含んでよく、これらは例えば、シート6375が生体吸収される際に放出されうる。  If desired, as noted above, theprotective cap 6270 can be configured to grip the end of thestaple leg 6221, eg, a soft or flexible material. Theprotective cap 6270 is a bioabsorbable plastic, commercially available under the trade name Vicryl, polyglycolic acid (PGA), polylactic acid (PLA or PLLA), polydioxanone (PDS), polyhydroxyalkanoate (PHA), available under the trade name Monocryl. Polygrecapron 25 (PGCL), polycaprolactone (PCL) and / or PGA, PLA, PDS, PHA, PGCL and / or PCL composites and / or biocompatible such as titanium and / or stainless steel It can be made of a conductive metal. As shown in FIG. 124, eachcap 6270 may not be connected to theother cap 6270. Alternatively, one ormore caps 6270 can be attached to theretention matrix 6250. For example, thecap 6270 can be attached to theretention matrix 6250 by, for example, at least one adhesive, in which case theopenings 6271 of thecap 6270 are aligned with theretention openings 6252 in theretention matrix 6270 or It can be at least approximately aligned. Referring to FIG. 135, a protective cap, such ascap 6370, can define an inner cavity ordome 6374 that can be configured to receive the tip ofstaple leg 6221 therein, for example. For example, thecap 6370 can have a bottom 6372 and an opening 6371 extending through the bottom 6372. The opening 6371 can be defined by one or morebendable members 6373 that can be configured to bend as thestaple legs 6221 are inserted. For example, two ormore caps 6370 can be coupled together to form an array ofcaps 6370. For example, referring to FIG. 136, a plurality ofcaps 6370 can be coupled together by a sheet ofmaterial 6375. Theseat 6375 has sufficient rigidity so that the desired placement and / or alignment of thecap 6370 can be maintained. Thecap 6370 may comprise a biocompatible metal such as titanium and / or stainless steel, and thesheet 6375 is a bioabsorbable plastic, polyglycolic acid (PGA), polylactic acid (PLA or PLLA, commercially available under the trade name Vicryl. ), Polydioxanone (PDS), polyhydroxyalkanoate (PHA), polygrecapron 25 (PGCL), polycaprolactone (PCL) and / or PGA, PLA, PDS, PHA, PGCL and / or commercially available under the trade name Monocryl. Alternatively, it can be composed of a PCL composite. In accordance with the present invention, thesheet 6375 may comprise a bioabsorbable material comprising an antibacterial agent such as colloidal silver and / or triclosan stored and / or dispersed therein, for example, thesheet 6375 It can be released when absorbed by the body.

上記に加えて、シート6375は、例えば射出成形プロセスを利用してキャップ6370の周囲に射出成形することができ、これにより、キャップ6370は、シート6375内に埋め込まれる。シート6375は、例えば、射出成形プロセスを使用して成形することができ、開口部6376は、射出成形プロセスの間、及び/又は射出成形プロセスの後に、スタンピングプロセスを使用してシート6375に形成することができる。いずれの場合も、キャップ6370は、圧入及び/又はスナップ嵌め連結、及び/又は少なくとも1種類の接着剤を使用して開口部6376に挿入して固定することができる。各キャップ6370は、その中に開口部6376の外周を受容するように構成することができる、キャップ6370の外周を囲むか又は少なくとも部分的に囲む環状の溝を有してもよい。シート6375は、キャップ6370内の相対運動を可能にしうる可撓性及び/又は柔軟な材料で構成することができる。例えば、可撓性シート6375は、例えば、ゴム、プラスチック及び/又はシリコーン材料で構成することができ、キャップ6370は、例えば金属などの剛性材料で構成することができる。例えば、上記と同様、可撓性材料をキャップ6370の周囲に成形することができる。キャップ6370は例えば、事前に成形したシート6375内に押し込まれうる。所望の硬度のシート6375を与えるために可撓性材料のジュロ硬度を選択することができる。シート6375は可撓性バンドを含むように構成することができる。いずれの場合も、シート6375は、複数のキャップ6370がエンドエフェクタ内に同時に配置され、かつ/又は整列される際、キャップ6370をエンドエフェクタへの組み付けを容易にしうる。更に、キャップ6370を連結するシート6375は、移植された場合、例えばステープル列に沿った組織を強化又は補強することができる。キャップ6370を連結するシートに加えるか、又はその代わりに、キャップ6370は、複数の連結部によって互いに連結することもできる。例えば、このような連結部は可撓性であってよく、キャップ6370間の相対運動を可能とする。  In addition to the above, thesheet 6375 can be injection molded around thecap 6370 using, for example, an injection molding process, whereby thecap 6370 is embedded within thesheet 6375.Sheet 6375 can be formed using, for example, an injection molding process, andopenings 6376 are formed insheet 6375 using a stamping process during and / or after the injection molding process. be able to. In any case, thecap 6370 can be inserted and secured into theopening 6376 using a press-fit and / or snap-fit connection and / or at least one adhesive. Eachcap 6370 may have an annular groove that surrounds or at least partially surrounds the outer periphery of thecap 6370 that may be configured to receive the outer periphery of theopening 6376 therein. Thesheet 6375 can be composed of a flexible and / or soft material that can allow relative movement within thecap 6370. For example, theflexible sheet 6375 can be made of, for example, rubber, plastic, and / or silicone material, and thecap 6370 can be made of, for example, a rigid material such as metal. For example, a flexible material can be molded around thecap 6370 as described above. Thecap 6370 can be pushed into apre-formed sheet 6375, for example. The durometer of the flexible material can be selected to provide asheet 6375 of the desired hardness. Thesheet 6375 can be configured to include a flexible band. In any case, thesheet 6375 may facilitate assembly of thecap 6370 to the end effector when the plurality ofcaps 6370 are simultaneously placed and / or aligned within the end effector. Further, thesheet 6375 connecting thecap 6370 can reinforce or reinforce tissue along the staple row, for example, when implanted.Cap 6370 may be added to the connecting sheet or alternatively,cap 6370 may be connected to each other by a plurality of connecting portions. For example, such a connection may be flexible, allowing relative movement between thecaps 6370.

次に図139及び図140を参照すると、例えば、キャップ6470のような保護キャップは、ステープル脚の先端部を変形するように構成することができる成形表面を含んでもよい。例えば、キャップ6470は、これを貫通して延びる開口部6471を含みうる基部6472を有しうる。開口部6471は、例えば、ステープル脚6221のようなステープル脚を、その内部に緊密に受容するように構成することができる。開口部6471は、ステープル脚6221の直径又は外周に等しいか又はそれよりも大きくてよい直径又は外周によって画定されうる。キャップ6470は、ステープル脚6221の先端部がキャップ6470に挿入される際にこれを受容するように構成することができるキャビティ又はドーム6474を更に有しうる。主に図140を参照すると、キャップ6470は、ステープル脚6221を撓曲及び変形するように構成することができるアンビル又は成形表面6473を更に有してもよい。様々な状況において、成形表面6473は、例えば、湾曲しているかかつ/又は凹状であってよく、ステープル脚6221がキャップ6470に挿入される際にこれを曲げるように構成することができる。ステープル脚6221は、開口部6471から引き抜くことができないように充分に変形されてよく、その結果、キャップ6470は、ステープル脚6221に固定されうる。例えば、キャップ6470の基部6472は、変形されたステープル脚6221がキャビティ6474から外れることを防止することができる、開口部6471の周囲に延びるリップを画定することができる。様々な状況において、上記の結果として、1つ又は2つ以上のキャップ6470は、例えば、保持マトリックス6250のような保持マトリックスが、ステープル6220から後退するか又は離脱することを防止又は制限することができる。必要に応じて、図に示されていないが、キャップ6470は、対称的又は少なくともほぼ対称的に形成することができ、開口部6471は、キャップ6470を通じて延びる中心軸6479に沿って配置することができる。あるいは、再び図139を参照すると、開口部6471は、中心軸6479に対してオフセットしてもよい。例えば、オフセットした開口部6471は、上記の中央合わせされた開口部6471を含む実施形態において生じうるように成形表面6473の中心と接触する代わりに、ステープル脚6221が成形表面6473の側部に接触し、成形表面6473のもう一方の側部の方へと湾曲することを可能にしうる。  Referring now to FIGS. 139 and 140, for example, a protective cap, such ascap 6470, may include a molded surface that can be configured to deform the tips of the staple legs. For example, thecap 6470 can have a base 6472 that can include anopening 6471 extending therethrough. Theopening 6471 can be configured to closely receive, for example, a staple leg such as thestaple leg 6221 therein.Opening 6471 may be defined by a diameter or circumference that may be equal to or greater than the diameter or circumference ofstaple leg 6221. Thecap 6470 can further include a cavity ordome 6474 that can be configured to receive the tip of thestaple leg 6221 as it is inserted into thecap 6470. Referring primarily to FIG. 140, thecap 6470 may further include an anvil or moldedsurface 6473 that can be configured to flex and deform thestaple legs 6221. In various situations, themolding surface 6473 may be curved and / or concave, for example, and may be configured to bend thestaple legs 6221 as they are inserted into thecap 6470. Thestaple leg 6221 may be sufficiently deformed so that it cannot be withdrawn from theopening 6471 so that thecap 6470 can be secured to thestaple leg 6221. For example, thebase 6472 of thecap 6470 can define a lip extending around theopening 6471 that can prevent the deformedstaple leg 6221 from detaching from thecavity 6474. In various situations, as a result of the above, one ormore caps 6470 may prevent or limit a retention matrix, such asretention matrix 6250, from retracting or detaching from staple 6220, for example. it can. Optionally, although not shown in the figure, thecap 6470 can be formed symmetrically or at least approximately symmetrically and theopening 6471 can be disposed along acentral axis 6479 extending through thecap 6470. it can. Alternatively, referring again to FIG. 139, theopening 6471 may be offset with respect to thecentral axis 6479. For example, the offset opening 6471 contacts the side of themolding surface 6473 instead of contacting the center of themolding surface 6473 as may occur in embodiments including the centeredopening 6471 described above. And may be able to curve toward the other side of themolding surface 6473.

必要に応じて、上記に述べたように、保持マトリックス6250のような保持マトリックスは例えば材料のシート及び材料のシートを貫通して延びる複数の保持開口部6252から構成することができる。保持マトリックス6250を構成する材料のシートは、剛性又はほぼ非可撓性のものとすることができる。あるいは、保持マトリックスは、保持マトリックス要素の配列、保持マトリックス要素を連結する複数の可撓性コネクタ又は連結部から構成することもできる。図141を参照すると、保持マトリックス6550又は保持マトリックスの一部は、1つ又は2つ以上の連結接続部6507によって互いに連結されうる複数の要素本体6505を含みうる。各要素本体6505は、保持開口部6552が画定された複数の変形可能部材6553を有しうる。保持マトリックス6550の要素本体6505と連結接続部6507とは、一体に形成することができ、一体形成された材料で構成されうる。保持マトリックス6550は、例えばチタン及び/又はステンレス鋼などの金属材料から例えばスタンピング又はキャスティングすることができる。保持マトリックス6550はプラスチック、例えば、ポリエーテルエーテルケトン(PEEK)、商標名Proleneで市販されるポリプロピレン、ポリエステル、商標名Ethibond及びMersileneで市販される、ポリエチレンテレフタレート、ポリフッ化ビニリデン、ポリフッ化ビニリデン−co−ヘキサフルオロプロピレン、商標名Pronovaで市販される、ポリヘキサフルオロプロピレン−VDF、及び/又はEthilon & Nurolonで市販される、長鎖脂肪酸ポリマーナイロン6及びナイロン6,6などで構成することができ、例えば射出成形プロセスによって形成することができる。要素本体6505は、連結接続部6507と一体に形成することができる。本発明によれば、複数の単一の要素本体6505を作製し、次いでこれらを互いに連結して保持マトリックス内に埋め込むことができる。例えば、要素本体6505は、例えば、チタン及び/又はステンレス鋼などの金属材料からスタンピングされて、プラスチック射出成形型に入れられ、プラスチック材料が成形型内に射出されることにより、1)要素本体6505を囲むか又は少なくともほぼ囲む材料のリム6506、及び2)リム6506から延びる連結接続部6507を形成することができる。あるいは、複数のリム6506内に画定された開口部を含む1つ又は2つ以上のコネクタ格子を形成してもよく、その場合、このような開口部はそれぞれ内部に要素本体6505を受容するように構成することができる。各要素本体6505は、円形又は少なくともほぼ円形の外周を有してよく、同様に各リム6506には円形又は少なくともほぼ円形の開口部が画定されてよく、開口部の直径は、要素本体6505の直径に等しいか又はそれより小さくてよい。例えば、要素本体6505は、リム6505の開口部内に圧入されるか又は埋め込むことができる。要素本体6505は、少なくとも1種類の接着剤を使用して開口部内に固定することができる。  If desired, as described above, a retention matrix, such asretention matrix 6250, can be comprised of, for example, a sheet of material and a plurality ofretention openings 6252 extending through the sheet of material. The sheet of material comprising theretention matrix 6250 can be rigid or nearly inflexible. Alternatively, the retention matrix can be comprised of an array of retention matrix elements, a plurality of flexible connectors or connections that connect the retention matrix elements. Referring to FIG. 141, theretention matrix 6550 or a portion of the retention matrix can include a plurality ofelement bodies 6505 that can be coupled together by one ormore coupling connections 6507. Eachelement body 6505 can have a plurality ofdeformable members 6553 in whichretention openings 6552 are defined. The elementmain body 6505 and theconnection connection portion 6507 of the holdingmatrix 6550 can be integrally formed, and can be formed of an integrally formed material. Theretention matrix 6550 can be stamped or cast, for example, from a metallic material such as titanium and / or stainless steel. Retainingmatrix 6550 is a plastic, for example, polyetheretherketone (PEEK), polypropylene, polyester, commercially available under the trade name Proline, polyethylene terephthalate, polyvinylidene fluoride, polyvinylidene fluoride-co-, commercially available under the trade names Ethibond and Mersilene. Hexafluoropropylene, commercially available under the trade name Pronova, polyhexafluoropropylene-VDF, and / or long chain fatty acid polymer nylon 6 and nylon 6,6, etc. marketed by Ethilon & Neuron, etc. It can be formed by an injection molding process. The elementmain body 6505 can be formed integrally with theconnection connecting portion 6507. In accordance with the present invention, a plurality ofsingle element bodies 6505 can be made and then connected together and embedded in a retention matrix. For example, theelement body 6505 is stamped from a metallic material such as, for example, titanium and / or stainless steel, placed in a plastic injection mold, and the plastic material is injected into the mold, thereby 1) the element body 6505A rim 6506 of material that surrounds or at least substantially surrounds 2) and a connectingconnection 6507 extending from therim 6506. Alternatively, one or more connector grids may be formed that include openings defined in the plurality ofrims 6506, in which case such openings each receive anelement body 6505 therein. Can be configured. Eachelement body 6505 may have a circular or at least approximately circular perimeter, and similarly eachrim 6506 may be defined with a circular or at least approximately circular opening, the diameter of the opening being the size of theelement body 6505. It may be equal to or smaller than the diameter. For example, theelement body 6505 can be press fit or embedded in the opening of therim 6505.Element body 6505 can be secured within the opening using at least one adhesive.

上記に加えて、例えば、図142〜145に示されるように、保持マトリックスは、複数の要素本体6505、及び要素本体6505を任意の適当な配列で連結しうる複数の連結接続部6507を有しうる。配列のパターンとは関係なく、連結接続部6507は、要素本体6505及び保持開口部6552が互いに対して動くことを可能にするように構成することができる。例えば、保持マトリックス6550を構成する要素本体6505の格子及び連結接続部6507は、組織と係合すると、伸張するか、捻れるか、収縮するか、かつ/又は別の形態で曲がることによって、組織内での少なくともある程度の運動を許容する一方で、同時に大きな運動には抵抗するように構成することができる。必要に応じて、各連結接続部6507は、伸張するか、捻れるか、収縮するか、かつ/又は別の形態で曲がることによって保持マトリックス6550が各マトリックス保持要素6505間で曲がることを可能とするように構成された可撓性部材を含みうる。再び図141を参照すると、リム6506から延びる各接続部6507は、要素本体6505及び/又はリム6506の幅よりも狭い幅によって画定されうる。図142〜145を参照すると、1つ又は2つ以上の接続部6507は、例えば、隣接する要素本体6506間の直線に沿って延びる直線部分を有しうる。例えば、各接続部6507は、第1のリム6506に取り付けられた第1の端部、及び第2のリム6506に取り付けられた第2の端部を有しうる。再び図141を参照すると、2つ以上の接続部6507を互いに連結することもできる。例えば、2つ以上の接続部6507は、例えば、中間ヒンジ6509で連結されうる。ヒンジ6509は、接続部6507の断面厚さと比較して1つ又は2つ以上の方向に断面厚さが低減されてもよく、これにより例えば、連結された接続部6507同士が互いに対して動くことが可能となる。保持マトリックス6550は、接続部6507をリム6506に連結して接続部6507とリム6506との間の相対運動を可能とするヒンジ6508を更に有してもよい。ヒンジ6509と同様に、ヒンジ6508は、例えば、接続部6507の断面厚さと比較して、1つ又は2つ以上の方向に断面厚さが低減されてもよい。  In addition to the above, for example, as shown in FIGS. 142-145, the retention matrix has a plurality ofelement bodies 6505 and a plurality ofconnection connections 6507 that can connect theelement bodies 6505 in any suitable arrangement. sell. Regardless of the arrangement pattern, thecoupling connection 6507 can be configured to allow theelement body 6505 and theretention opening 6552 to move relative to each other. For example, the lattice and connectingconnections 6507 of theelement body 6505 that make up theretention matrix 6550 may expand, twist, contract, and / or bend in other forms when engaged with tissue. It can be configured to allow at least some movement within, while at the same time resisting large movements. As required, eachlinking connection 6507 allows theretention matrix 6550 to bend between eachmatrix retention element 6505 by stretching, twisting, contracting, and / or bending in another form. A flexible member configured to do so. Referring again to FIG. 141, eachconnection 6507 extending from therim 6506 may be defined by a width that is narrower than the width of theelement body 6505 and / or therim 6506. With reference to FIGS. 142-145, one or more of theconnections 6507 can have, for example, straight portions that extend along a straight line betweenadjacent element bodies 6506. For example, eachconnection 6507 can have a first end attached to thefirst rim 6506 and a second end attached to thesecond rim 6506. Referring again to FIG. 141, two ormore connections 6507 can be coupled together. For example, the two ormore connection parts 6507 may be connected by anintermediate hinge 6509, for example. Thehinge 6509 may have a reduced cross-sectional thickness in one or more directions compared to the cross-sectional thickness of theconnection 6507, such that, for example, the connectedconnections 6507 move relative to each other. Is possible. Theretention matrix 6550 may further include ahinge 6508 that couples theconnection 6507 to therim 6506 to allow relative movement between theconnection 6507 and therim 6506. Similar to hinge 6509,hinge 6508 may have a reduced cross-sectional thickness in one or more directions, for example, compared to the cross-sectional thickness ofconnection 6507.

上記に加えて、連結接続部6507は異なる方向に延びてもよい。例えば、第1の接続部6507は、第1の方向に延びてよく、第2の接続部6507は第2の方向に延びてよく、第1の方向は第2の方向と異なってよい。第1の接続部6507は、第1の線に沿って延びてよく、第2の接続部6507は、第2の線に沿って延びてよく、第1の線と第2の線とは、例えば、約30°、約45°、約60°、及び/又は約90°の角度で互いに交差しうる。ヒンジ6508及び/又はヒンジ6509は、接続部6507が、破断することなく互いに対して何度も動くことを可能とするリビングヒンジを含んでもよい。ヒンジ6508及び/又はヒンジ6509は、大きく曲げすぎるかかつ/又は過剰な回数で曲げると破断しうる、脆弱な、又は容易に破断する部分を有しうる。例えば、このような脆弱部分は、保持マトリックス6550の1つ又は2つ以上の部分が、保持マトリックス6550の別の部分から破断して分離することを可能にしうる。例えば、ヒンジ6508及び/又はヒンジ6509は、保持マトリックス6550の他の部分よりも切開が容易な保持マトリックス6550の区画を有しうる。より詳細には、移植された保持マトリックス及び移植された保持マトリックスによって締結された組織は、しばしば、様々な理由により、切断部材によって切開されうるが、このような切断を促すために、ヒンジ6508及び/又はヒンジ6509は、例えば、そこを通って切断部材がより容易に保持マトリックス6550を通過することができる通路又は薄い区画を与えることができる。上記に加えて、連結接続部6507は、連結接続部6507の曲げ、破断、及び/又は切開を促すことができる、例えば1つ又は2つ以上の圧印部又は材料据込みが画定されてもよい。  In addition to the above, the connectingconnection 6507 may extend in different directions. For example, thefirst connection portion 6507 may extend in a first direction, thesecond connection portion 6507 may extend in a second direction, and the first direction may be different from the second direction. Thefirst connection portion 6507 may extend along the first line, thesecond connection portion 6507 may extend along the second line, and the first line and the second line are: For example, they may intersect each other at an angle of about 30 °, about 45 °, about 60 °, and / or about 90 °. Thehinge 6508 and / or thehinge 6509 may include a living hinge that allows theconnection 6507 to move multiple times relative to each other without breaking.Hinge 6508 and / orhinge 6509 may have portions that are too fragile and / or fragile or easily ruptured when bent excessively. For example, such a weakened portion may allow one or more portions of theretention matrix 6550 to break and separate from another portion of theretention matrix 6550. For example,hinge 6508 and / orhinge 6509 may have a section ofretention matrix 6550 that is easier to cut than other portions ofretention matrix 6550. More particularly, the implanted retention matrix and the tissue fastened by the implanted retention matrix can often be incised by a cutting member for a variety of reasons, but to facilitate such a cut, hinges 6508 and Thehinge 6509 can provide, for example, a passage or thin section through which the cutting member can more easily pass through theretention matrix 6550. In addition to the above, thecoupling connection 6507 may be defined with, for example, one or more coinings or material upsets that may facilitate bending, breaking, and / or incision of thecoupling connection 6507. .

本発明によれば、保持マトリックスは、材料の可撓性シート又はバンド内に埋め込むことができる、例えばマトリックス要素本体6505のような複数の保持マトリックス要素を有してもよい。材料の可撓性シートは、生体吸収性、エラストマー材料、例えば、シリコーンで形成することができ、可撓性シートは、複数の開口部が画定されたものを作製することができる。例えば、中実の可撓性シートを成形し、この可撓性シートに複数の開口部を打ち抜くことができる。あるいは、可撓性シートを成形し、成形プロセスの間に内部に画定された開口部を形成することもできる。いずれの場合も、保持マトリックス要素6505を例えば可撓性シート内に挿入及び保持することができる。あるいは、上記と同様、可撓性シートは、マトリックス要素6505の周囲に形成することもできる。可撓性シートは、例えば、織布メッシュ、及び/又は他の任意の適当な材料で構成することができる。上記に加えて、このような織布メッシュは、容易に切断されうる。  In accordance with the present invention, the retention matrix may have a plurality of retention matrix elements, such asmatrix element body 6505, that can be embedded within a flexible sheet or band of material. The flexible sheet of material can be formed of a bioabsorbable, elastomeric material, such as silicone, and the flexible sheet can be made with a plurality of openings defined therein. For example, a solid flexible sheet can be formed and a plurality of openings can be punched into the flexible sheet. Alternatively, the flexible sheet can be molded to form openings defined therein during the molding process. In either case, theretention matrix element 6505 can be inserted and retained, for example, in a flexible sheet. Alternatively, similar to the above, the flexible sheet can be formed around thematrix element 6505. The flexible sheet can be composed of, for example, a woven mesh, and / or any other suitable material. In addition to the above, such a woven mesh can be easily cut.

次に図146及び図147を参照すると、例えば、保持マトリックス6250のような保持マトリックスを含む締結システムは、ステープル脚6221が保持マトリックス6250の上面6257を超えて延びる際にその先端部を被覆することができる、例えばカバー6670のようなカバーを含みうる。カバー6670は、保持マトリックス6250に取り付けることができる。カバー6670及び/又は保持マトリックス6250は、カバー6670を保持マトリックス6250に対して保持するように構成することができる保持機構を含みうる。少なくとも1種類の接着剤を使用してカバー6670を保持マトリックス6250に接着することができる。下記により詳細に述べるように、カバー6670は、2つの層を含むものとして示されているが、カバー6670は単一の層で構成することもできる。主に図147を参照すると、ステープル脚6221の先端部は、カバー6670の底面6673を貫通して延びてよいが、カバー6670は、ステープル先端部がカバー6670の上面6675を貫通しないように充分な厚さを有しうる。例えば、その結果、ステープル脚6221の先端部は、カバー6670から突出しないことがある。カバー6670は、複数の層を有しうる。例えば、カバー6670は、第1の層6671及び第2の層6672を含みうる。第1の層6671及び第2の層6672は互いに取り付けられてよく、第2の層6672は、第1の層6671に接着された底面6676を有しうる。第1の層6671及び第2の層6672は、異なる厚さを有してもよいが同じ厚さを有してもよい。第1の層6671及び第2の層6672は、ほぼ同じ幅及び/又は長さを有しうる。あるいは、層6671及び6672は、異なる幅及び/又は長さを有してもよい。  146 and 147, a fastening system that includes a retention matrix, such asretention matrix 6250, for example, covers the tip of thestaple legs 6221 as they extend beyond theupper surface 6257 of theretention matrix 6250. A cover such ascover 6670 can be included.Cover 6670 can be attached toretention matrix 6250.Cover 6670 and / orretention matrix 6250 can include a retention mechanism that can be configured to retaincover 6670 againstretention matrix 6250. At least one adhesive can be used to adhere thecover 6670 to theretention matrix 6250. As described in more detail below, thecover 6670 is shown as including two layers, but thecover 6670 can also be composed of a single layer. Referring primarily to FIG. 147, the tip ofstaple leg 6221 may extend throughbottom surface 6673 ofcover 6670, but cover 6670 is sufficient to prevent the staple tip from penetratingtop surface 6675 ofcover 6670. It can have a thickness. For example, as a result, the tip of thestaple leg 6221 may not protrude from thecover 6670.Cover 6670 can have multiple layers. For example, thecover 6670 can include afirst layer 6671 and asecond layer 6672. Thefirst layer 6671 and thesecond layer 6672 may be attached to each other, and thesecond layer 6672 may have abottom surface 6676 bonded to thefirst layer 6671. Thefirst layer 6671 and thesecond layer 6672 may have different thicknesses, but may have the same thickness. Thefirst layer 6671 and thesecond layer 6672 can have substantially the same width and / or length. Alternatively, layers 6671 and 6672 may have different widths and / or lengths.

上記に加えて、第1の層6671は、ステープル脚6211によって切開されうる、例えば、圧縮可能な発泡材料、メッシュ材料、及び/又はヒドロゲルで構成することができる。第2の層6672は、より硬い材料又は例えば、PGA及び/又はPDSのようなスキン、及び/又は任意の適当なバットレス材料で構成することができる。例えば、ステープル脚6221は、第1の層6671を貫通するように構成することができるが、ステープル脚6221は、第2の層6672を貫通できなくともよい。第2の層6672は、第2の層6672がステープル脚6221と接触してステープル脚6221によって変位されることは可能とするが、ステープル脚6221のステープル先端部によって切開されないか又はわずかに切開されるのみであるような充分な弾力性及び/又は靭性を有する材料で構成することができる。図には示されていないが、カバーは3層以上を含んでよく、このような層の1つ又は2つ以上を貫通性のないものとすることができる。使用時には、例えば、保持マトリックス6250は、締結される組織に接して配置されて下方に押され、これにより、ステープル6220のステープル脚6221が組織T及び保持マトリックス6250の保持開口部6252を通じて押され、カバー6270の第1の層6271内に入る。ステープル脚6221の先端部は、カバー6270の第2の層6272に入らないか、又は少なくともほとんど入らずともよい。図146に示されるように、保持マトリックス6250が適当に配置された後、ジョー6240が開放され、カバー6670及び保持マトリックス6250は、ジョー6240から分離されうる。図146に示されるように、ジョー6640は、2つ以上の保持マトリックス6250及びカバー6670を保持するように構成することができる。例えば、ジョー6640は2つの溝部材6679を含むことができ、これらはそれぞれ内部のカバー6670と、その上に配置された保持マトリックス6250を受容するように構成することができ、各保持マトリックス6250の組織接触表面6251は、ジョー6240の底部から下方に位置する。例えば、保持マトリックス6250及びカバー6270は、ナイフスロット6678の各側において、ジョー6640内に収容される。使用時には、保持マトリックス6250及びカバー6670は、同時に、及び/又は、例えば、これにわたって配置される、カートリッジ6200などの対向するステープルカートリッジに対して同じ深さに配備される場合がある。その後、締結された組織は、ナイフスロット6678を横断する切断部材によって切断線に沿って切開され、ジョー6640がその再び開放される。カバー6670は、保持マトリックス6250に取り付けられないことがある。例えば、カバー6670は、溝部材6679に配置することができ、ジョー6640に固定されうる保持マトリックス6250によって溝部材6679に保持される場合がある。各保持マトリックス6250は、これらの各カバー6670よりも広い及び/又は長くてよく、それによって保持マトリックス6250は、カバー6670の全体を定位置に保持することができる。各保持マトリックス6250は、例えば、これらの各カバー6670と同じ幅及び/又は長さを有しうる。  In addition to the above, thefirst layer 6671 can be composed of, for example, a compressible foam material, a mesh material, and / or a hydrogel that can be incised by the staple legs 6211. Thesecond layer 6672 can be comprised of a harder material or skin such as, for example, PGA and / or PDS, and / or any suitable buttress material. For example, thestaple legs 6221 can be configured to penetrate thefirst layer 6671, but thestaple legs 6221 need not be able to penetrate thesecond layer 6672. Thesecond layer 6672 allows thesecond layer 6672 to be displaced by thestaple legs 6221 in contact with thestaple legs 6221, but is not incised or slightly incised by the staple tips of thestaple legs 6221. It can be made of a material having sufficient elasticity and / or toughness. Although not shown in the figure, the cover may include more than two layers, and one or more of such layers may be non-penetrating. In use, for example, theretention matrix 6250 is placed against the tissue to be fastened and pushed downward, thereby pushing thestaple legs 6221 of the staple 6220 through theretention openings 6252 of the tissue T and theretention matrix 6250, Entersfirst layer 6271 ofcover 6270. The tips of thestaple legs 6221 may or may not enter at least thesecond layer 6272 of thecover 6270. As shown in FIG. 146, after theretention matrix 6250 is properly positioned, thejaws 6240 can be opened and thecover 6670 and theretention matrix 6250 can be separated from thejaws 6240. As shown in FIG. 146, thejaw 6640 can be configured to hold more than one holdingmatrix 6250 andcover 6670. For example,jaw 6640 can include twogroove members 6679, each of which can be configured to receive aninner cover 6670 and aretention matrix 6250 disposed thereon, with eachretention matrix 6250Tissue contact surface 6251 is located below the bottom ofjaw 6240. For example,retention matrix 6250 andcover 6270 are housed withinjaw 6640 on each side ofknife slot 6678. In use, theretention matrix 6250 andcover 6670 may be deployed at the same depth with respect to opposing staple cartridges, such ascartridge 6200, disposed at the same time and / or, for example, across it. The fastened tissue is then incised along the cutting line by a cutting member that traverses theknife slot 6678 and thejaw 6640 is reopened.Cover 6670 may not be attached toretention matrix 6250. For example, thecover 6670 may be disposed on thegroove member 6679 and may be retained on thegroove member 6679 by aretention matrix 6250 that may be secured to thejaw 6640. Eachretention matrix 6250 may be wider and / or longer than each of thesecovers 6670 so that theretention matrix 6250 can hold theentire cover 6670 in place. Eachretention matrix 6250 may have the same width and / or length as each of thesecovers 6670, for example.

必要に応じて、上記のように、締結システムは、材料層を含んでよく、これは、例えば、保持マトリックス6250のような保持マトリックスに取り付けることができる。次に図150を参照すると、材料の層6870は、保持マトリックス6250の底面6251に取り付けられうる。層6870及び/又は保持マトリックス6250は、保持機構を含んでよく、これは、層6870を保持マトリックス6250に保持するように構成することができる。層6870を保持マトリックス6250に接着させるために、少なくとも1種類の接着剤が使用されうる。いずれの場合も、層6870は、底面又は組織接触表面6873を含んでよく、これは、保持マトリックス6250がステープル6220に向かって下方に動かされ、保持開口部6252をステープル脚6221と係合させるときに、組織Tと接触するように構成することができる。例えば、層6870は、例えば生体吸収性発泡材料などの圧縮可能な材料で構成することができ、これが保持マトリックス6250の底面6251と組織Tとの間で圧縮されうる。層6870は、その内部に貯蔵及び/又は吸収された少なくとも1つの薬剤を更に含むことができ、層6870が圧縮されるとこの層6870からこの薬剤が搾り出される。薬剤は、少なくとも1つの組織封止剤、止血剤、及び/又は抗菌剤物質、例えば、イオン化銀、及び/又はトリクロサンを含みうる。層6870の圧縮は、層6870から薬剤を絞り出すことができ、それにより組織Tの表面の全体、又は少なくとも多くの部分が、薬剤によって被覆される。更に、層6870が圧縮され、ステープル脚6221が組織T及び層6870を貫通すると、薬剤がステープル脚6221から流れ落ち、例えば、ステープル脚6221によって切開されたばかりの組織を治療しうる。保持マトリックス6250の本体は、例えば、チタン及び/又はステンレス鋼などの生体適合性の材料を含む第1の層を含んでもよく、底面6870は、例えば、酸化再生セルロース(ORC)、フィブリン及び/又はトロンビンなどの生物学的に活性の薬剤(液状又は乾燥凍結のいずれか)、グリセリン、吸収性ブタゼラチン(煙又は発泡材状)、及び/又は抗菌、例えば、イオン化銀及び/又はトリクロサンなどの生体適合性材料を含む第2の層を含んでもよい。追加的な生体適合性材料は、Surgicel Nu−Knit、Surgicel Fibrillar、コラーゲン/ORC(組み込まれたコラーゲンマトリックスとの複合であり、商標名Promogranで市販されている)、ポリグリコール酸(PGA)(商品名Vicrylで市販されている)、ポリ乳酸(PLA又はPLLA)、ポリジオキサノン(PDS)、ポリヒドロキシアルカノエート(PHA)、ポリグレカプロン25(PGCL)(商品名Monocrylで市販される)、ポリカプロラクトン(PCL)、及び/又はPGA、PLA、PDS、PHA、PGCL及び/又はPCLの複合物を含みうる。図150においては1つの層6870のみが例示されるが、任意の適当な数の層が使用されうる。第1の薬剤を含む第1の層が保持マトリックス6250に取り付けられ得、第2及び異なる薬剤を含む第2の層が、第1の層に取り付けられうる。例えば、複数の層が使用され、各層は、異なる薬剤及び/又は内部に収容される薬剤の異なる組み合わせを含みうる。  Optionally, as described above, the fastening system may include a material layer, which can be attached to a retention matrix, such asretention matrix 6250, for example. Referring now to FIG. 150, a layer ofmaterial 6870 can be attached to thebottom surface 6251 of theretention matrix 6250.Layer 6870 and / orretention matrix 6250 may include a retention mechanism, which may be configured to retainlayer 6870 inretention matrix 6250. At least one adhesive may be used to adhere thelayer 6870 to theretention matrix 6250. In any case, thelayer 6870 may include a bottom surface or tissue contacting surface 6873 when theretention matrix 6250 is moved downward toward the staple 6220 to engage theretention openings 6252 with thestaple legs 6221. Further, it can be configured to come into contact with the tissue T. For example, thelayer 6870 can be composed of a compressible material, such as a bioabsorbable foam material, which can be compressed between thebottom surface 6251 of theretention matrix 6250 and thetissue T. Layer 6870 can further include at least one drug stored and / or absorbed therein, and the drug is squeezed out oflayer 6870 whenlayer 6870 is compressed. The agent can include at least one tissue sealant, hemostatic agent, and / or antimicrobial agent, such as ionized silver and / or triclosan. The compression oflayer 6870 can squeeze the drug fromlayer 6870 so that the entire surface of tissue T, or at least many portions, is covered by the drug. Further, as thelayer 6870 is compressed and thestaple legs 6221 penetrate the tissue T and thelayer 6870, the drug can flow down from thestaple legs 6221 and treat, for example, the tissue just incised by thestaple legs 6221. The body of theretention matrix 6250 may include a first layer that includes a biocompatible material, such as, for example, titanium and / or stainless steel, and thebottom surface 6870 includes, for example, oxidized regenerated cellulose (ORC), fibrin, and / or Biologically active agents such as thrombin (either liquid or dry frozen), glycerin, absorbable porcine gelatin (in the form of smoke or foam), and / or antibacterials such as ionized silver and / or triclosan A second layer comprising a compatible material may be included. Additional biocompatible materials are Surgicel Nu-Knit, Surgicel Fibrilla, Collagen / ORC (composite with an embedded collagen matrix, marketed under the trade name Promogran), polyglycolic acid (PGA) (commercial product) Polylactic acid (PLA or PLLA), polydioxanone (PDS), polyhydroxyalkanoate (PHA), polygrecapron 25 (PGCL) (commercially available under the trade name Monocryl), polycaprolactone (commercially available under the name Vicryl) PCL) and / or a composite of PGA, PLA, PDS, PHA, PGCL and / or PCL. Although only onelayer 6870 is illustrated in FIG. 150, any suitable number of layers can be used. A first layer containing a first agent can be attached to theretention matrix 6250, and a second layer containing a second and different agent can be attached to the first layer. For example, multiple layers may be used, and each layer may contain different drugs and / or different combinations of drugs contained within.

次に図148を参照すると、締結システムは、保持マトリックス6250の底面6251に取り付けられた、材料の層6770を有しうる。層6770及び/又は保持マトリックス6250は、保持機構を含んでよく、これは、層6770を保持マトリックス6250に保持するように構成することができる。層6770を保持マトリックス6250に接着させるために、少なくとも1種類の接着剤が使用されうる。いずれの場合も、層6770は、底面又は組織接触表面6773を含んでよく、これは、保持マトリックス6250がステープル6220に向かって下方に動かされ、保持開口部6252をステープル脚6221と係合させるときに、組織Tと接触するように構成することができる。例えば、層6770は、例えば、生体吸収性発泡材料などの圧縮可能な材料で構成することができ、これが保持マトリックス6250の面6251と組織Tとの間で圧縮されうる。層6770は更に1つ又は2つ以上の封入部又はセル6774を有してもよく、これは内部に少なくとも1つの薬剤を貯蔵するように構成することができる。図149を参照すると、封入部6774は、保持開口部6252と整列されるか、少なくともほぼ整列され、それによりステープル脚6221が組織T及び層6770を通じて押される際に、ステープル脚6221が、封入部6774を穿刺及び/又は別の方法で破裂させることができる。封入部6774が破裂した後、封入部6774内に貯蔵されていた少なくとも1つの薬剤Mが組織Tへと流出しうる。例えば、薬剤Mはステープル脚6221を流れ落ちるか又は伝って落ちる液体を含み、ステープル脚によって切開されたばかりの組織Tを治療する。上記の結果として、封入部6774内に貯蔵された薬剤は、組織に対して局所的な治療を提供する。シート6770の封入部6774は、内部に貯蔵された異なる薬剤を含みうる。例えば、封入部6774の第1の群は、内部に貯蔵された、第1の薬剤又は薬剤の第1の組み合わせを含んでよく、封入部の第2の群は、内部に貯蔵された異なる薬剤、又は異なる薬剤の組み合わせを含みうる。層6770は、可撓性シリコーンシートを含んでよく、封入部6774は、シリコーンシートに空間をもたらすことができる。例えば、シリコーンシートは、互いに取り付けられうる2つの層を含んでよく、封入部6774は、これら2つの層の間で画定されうる。層6770は、1つ又は2つ以上の薄い区画又は脆弱化部分、例えば、部分的穿孔を有してもよく、これは、脚6221による、層6770の切開、及び封入部6774の破裂を促進する場合がある。封入部6774の少なくとも一部が、ドーム6777内に配置できて、ドーム6777は、シート6770から上方に延びうる。例えば、ドーム6777及び/又は封入部6774の少なくとも一部が、保持マトリックス6250内に形成されたポケット6201内に配置されうる。封入部6774は、互いに連結されていない別個のセルを有しうる。あるいは、封入部6774の1つ又は2つ以上が、例えば、層6770を通じて延びる1つ又は2つ以上の経路、導管及び/又は溝部材を通じて互いに流体連通しうる。2010年8月24日に発行された、米国特許第7,780,685号、表題「ADHESIVE AND MECHANICAL FASTENER」の全容を、本明細書に参照により援用する。  Referring now to FIG. 148, the fastening system can have a layer ofmaterial 6770 attached to thebottom surface 6251 of theretention matrix 6250.Layer 6770 and / orretention matrix 6250 may include a retention mechanism, which may be configured to retainlayer 6770 inretention matrix 6250. At least one adhesive may be used to adhere thelayer 6770 to theretention matrix 6250. In any case, thelayer 6770 may include a bottom surface ortissue contacting surface 6773 that is moved when theretention matrix 6250 is moved downward toward the staple 6220 to engage theretention openings 6252 with thestaple legs 6221. Further, it can be configured to come into contact with the tissue T. For example, thelayer 6770 can be comprised of a compressible material, such as a bioabsorbable foam material, which can be compressed between theface 6251 of theretention matrix 6250 and thetissue T. Layer 6770 may further include one or more enclosures orcells 6774, which can be configured to store at least one drug therein. Referring to FIG. 149, theencapsulant 6774 is aligned with, or at least substantially aligned with, theretention opening 6252 so that when thestaple leg 6221 is pushed through the tissue T and thelayer 6770, thestaple leg 6221 is 6774 can be punctured and / or otherwise ruptured. After theencapsulating part 6774 ruptures, at least one medicine M stored in theenclosing part 6774 can flow out into the tissue T. For example, the drug M includes liquid that flows down or travels down thestaple legs 6221 to treat the tissue T that has just been incised by the staple legs. As a result of the above, the drug stored in theenclosure 6774 provides a local treatment for the tissue. Theencapsulant 6774 of thesheet 6770 can include different drugs stored therein. For example, a first group ofenclosures 6774 may include a first drug or a first combination of drugs stored therein, and a second group of enclosures may include different drugs stored therein. Or a combination of different agents.Layer 6770 may include a flexible silicone sheet andencapsulant 6774 may provide space for the silicone sheet. For example, the silicone sheet may include two layers that can be attached to each other, and anencapsulant 6774 can be defined between the two layers.Layer 6770 may have one or more thin sections or weakened portions, for example, partial perforations, which facilitate incision oflayer 6770 and rupture ofencapsulant 6774 bylegs 6221. There is a case. At least a portion of theenclosure 6774 can be disposed within thedome 6777, and thedome 6777 can extend upward from theseat 6770. For example, at least a portion of thedome 6777 and / or theenclosure 6774 can be disposed in apocket 6201 formed in theretention matrix 6250. Theenclosure 6774 may have separate cells that are not connected to each other. Alternatively, one or more of theenclosures 6774 can be in fluid communication with each other, eg, through one or more pathways, conduits, and / or groove members that extend through thelayer 6770. The entire contents of US Pat. No. 7,780,685, entitled “ADHESIVE AND MECHANICAL FASTENER”, issued August 24, 2010, is hereby incorporated by reference.

上記に加えて、内部にカートリッジ本体、ステープル、及び/又はアラインメントマトリックスを含むステープルカートリッジが、エンドエフェクタの第1のジョー内に充填され、同様に保持マトリックス及び/又は1つ又は2つ以上のカバーが、エンドエフェクタの第2のジョー内に充填されうる。次に図151を参照すると、例えば、カートリッジ充填器6990などの器具が、2つ以上の締結具カートリッジを同時にエンドエフェクタ内に挿入するために使用されうる。カートリッジ充填器6990は、ハンドル6991及びカートリッジキャリア6992を含むことができ、カートリッジキャリア6992は、そこにステープルカートリッジ6200のカートリッジ本体6210を保持するように構成された第1の保持部分と、カートリッジ本体6980を保持するように構成された第2の保持部分を含むことができ、この第2の部分は、1)内部に複数の保護キャップ6270を、2)その底部表面に沿って保持マトリックス6250を支持する。第1の保持部分及び第2の保持部分は、それぞれ、カートリッジ本体6210及び6980を解放可能に係合させるように構成された、1つ又は2つ以上の保持部材を含みうる。次に図152及び図153を参照すると、エンドエフェクタは、第1の、又は下側ジョー6230と、第2の、又は上側ジョー6940を含んでよく、ステープルカートリッジ6200は、第1のジョー6230に充填され、カートリッジ本体6980は、第2のジョー6940に充填されうる。様々な状況において、上側ジョー6940は、アクチュエータ6235によって開位置(図152)から閉位置(図153)に回転される場合があり、アクチュエータ6235の動作は、先に記載されており、簡潔さのためにここで繰り返さない。次に図153を参照すると、上側ジョー6940がその閉位置となった時点で、カートリッジキャリア6992の遠位端6993は、エンドエフェクタに挿入される場合があり、それによりステープルカートリッジ6200は、第1のジョー6930の遠位端6938を通じて、第1のジョー6230内の第1の取り付け部分又は溝部材6939へと摺動する。同様に、カートリッジキャリア6992の遠位端6993は、エンドエフェクタ内に挿入される場合があり、それによりカートリッジ本体6980は、第2のジョー6940の遠位端6948を通じて、第2のジョー6940内の第2の取り付け部分又は溝部材6949へと摺動される。カートリッジ充填器6990のハンドル6991を保持する、外科医又は他の臨床医は、ステープルカートリッジ6200及びカートリッジ本体6980を、それぞれ溝部材6939及び6949を通じて、ステープルカートリッジ6200及びカートリッジ本体6980が完全に内部に位置するまで、押すことができる。  In addition to the above, a staple cartridge containing a cartridge body, staples, and / or alignment matrix therein is filled into the first jaw of the end effector, as well as the retention matrix and / or one or more covers. Can be filled into the second jaw of the end effector. Referring now to FIG. 151, an instrument such as, for example, acartridge filler 6990 can be used to simultaneously insert two or more fastener cartridges into the end effector. Thecartridge filler 6990 can include ahandle 6991 and acartridge carrier 6992, thecartridge carrier 6992 having a first holding portion configured to hold thecartridge body 6210 of thestaple cartridge 6200, and thecartridge body 6980. A second holding portion configured to hold a first holding portion 6) a plurality ofprotective caps 6270 therein and 2) a holdingmatrix 6250 along its bottom surface. To do. The first holding portion and the second holding portion may include one or more holding members configured to releasably engage thecartridge bodies 6210 and 6980, respectively. Referring now to FIGS. 152 and 153, the end effector may include a first orlower jaw 6230 and a second orupper jaw 6940, and thestaple cartridge 6200 is attached to thefirst jaw 6230. Filled, thecartridge body 6980 can fill thesecond jaw 6940. In various situations, theupper jaw 6940 may be rotated from the open position (FIG. 152) to the closed position (FIG. 153) by theactuator 6235, and the operation of theactuator 6235 has been previously described and is simplified. So don't repeat here. Referring now to FIG. 153, when theupper jaw 6940 is in its closed position, thedistal end 6993 of thecartridge carrier 6992 may be inserted into the end effector so that thestaple cartridge 6200 is in the first position. Slides through thedistal end 6938 of thejaw 6930 to the first attachment portion orgroove member 6939 in thefirst jaw 6230. Similarly, thedistal end 6993 of thecartridge carrier 6992 may be inserted into the end effector such that thecartridge body 6980 passes through thedistal end 6948 of thesecond jaw 6940 and within thesecond jaw 6940. Slide into the second attachment portion orgroove member 6949. The surgeon or other clinician holding thehandle 6991 of thecartridge filler 6990 places thestaple cartridge 6200 and thecartridge body 6980 completely inside thestaple cartridge 6200 and thecartridge body 6980 through thegroove members 6939 and 6949, respectively. You can press up.

ステープルカートリッジ6200及びステープル本体6980が配置されると、下記により詳しく述べるように、ステープルカートリッジ6200及びカートリッジ本体6980はそれぞれ、これらの各ジョー6230及び6940内の1つ又は2つ以上の保持位置に係合することができる。いずれの場合も、次に図154を参照して、ステープルカートリッジ6200及びカートリッジ本体6980が配置された時点で、カートリッジ充填器6990がステープルカートリッジ6200から分離され、かつカートリッジ本体6980がエンドエフェクタから取り外される。例えば、第1のジョー6230内にステープルカートリッジ6200を保持する保持力は、ステープルカートリッジ6200をカートリッジキャリア6992に保持する保持力よりも大きく、それにより、カートリッジキャリア6992がエンドエフェクタから遠位方向に引き出される際に、ステープルカートリッジ6200は、第1のジョー6230の後ろに残り得る。同様に、カートリッジ本体6980を第2のジョー6940内に保持する保持力は、カートリッジ本体6940をカートリッジキャリア6992に保持する保持力よりも高い場合があり、カートリッジキャリア6992がエンドエフェクタから遠位方向に引き出される際に、カートリッジ本体6940は、第2のジョー6940の後ろに残る場合がある。カートリッジ充填器6990がエンドエフェクタから取り外された時点で、充填された第1のジョー6230及び充填された第2のジョー6940は、ステープル留めされる組織Tに対して配置されうる。次に図155を参照すると、第2のジョー6940は、カートリッジ本体6980によって保持される保持マトリックス6250及び複数の保護キャップ6270を、ステープルカートリッジ6200内に配置されたステープル6220と係合させるため、開位置(図154)から発射位置(図155)へと動かされる。  Once thestaple cartridge 6200 andstaple body 6980 are in place, thestaple cartridge 6200 andcartridge body 6980 are each associated with one or more holding positions within theirrespective jaws 6230 and 6940, as described in more detail below. Can be combined. In any case, referring now to FIG. 154, when thestaple cartridge 6200 andcartridge body 6980 are placed, thecartridge filler 6990 is separated from thestaple cartridge 6200 and thecartridge body 6980 is removed from the end effector. . For example, the holding force that holds thestaple cartridge 6200 within thefirst jaw 6230 is greater than the holding force that holds thestaple cartridge 6200 to thecartridge carrier 6992, thereby pulling thecartridge carrier 6992 distally from the end effector. In doing so, thestaple cartridge 6200 may remain behind thefirst jaw 6230. Similarly, the holding force that holds thecartridge body 6980 in thesecond jaw 6940 may be higher than the holding force that holds thecartridge body 6940 on thecartridge carrier 6992 so that thecartridge carrier 6992 moves distally from the end effector. When pulled out, thecartridge body 6940 may remain behind thesecond jaw 6940. When thecartridge filler 6990 is removed from the end effector, the filledfirst jaw 6230 and the filledsecond jaw 6940 can be placed against the tissue T to be stapled. Referring now to FIG. 155, thesecond jaw 6940 is opened to engage theretention matrix 6250 and the plurality ofprotective caps 6270 held by thecartridge body 6980 with thestaples 6220 disposed within thestaple cartridge 6200. Moved from position (FIG. 154) to firing position (FIG. 155).

次に図156及び図157を参照すると、第2のジョー6940は、再び開放され、複数の保護キャップ6270及び保持マトリックス6250は、カートリッジ本体6980から分離され、それによってキャップ6270及び保持マトリックス6250は、組織T及びステープルカートリッジ6200と係合したままでありうる。カートリッジ本体6980は、複数のキャップ6270が取り外し可能に配置されうる複数のポケットと、そこに保持マトリックス6250を取り外し可能に保持するように構成された1つ又は2つ以上の保持スロットとを含む。カートリッジ本体6980と係合した第2のジョー6940の保持部材が、第2のジョー6940が開放された後に、第2のジョー6940内にカートリッジ本体6980を保持しうる。カートリッジ本体6980は、第2のジョー6940が開放される際に破断するように構成することができ、それにより、カートリッジ本体6980の一部分が、キャップ6270及び保持マトリックス6250とともに埋め込まれ、カートリッジ本体6980の一部分が第2のジョー6940内に残る。同様に、再び図156及び157を参照すると、カートリッジ本体6210と係合した第1のジョー6230の保持部材が、第2のジョー6940が開放された後に、第1のジョー6230内にカートリッジ本体6210を保持しうる。カートリッジ本体6210は、第1のジョー6230が移植されたカートリッジ6200から引き離される際に破断するように構成され、それによってカートリッジ本体6210の一部分がステープル6220及びアラインメントマトリックス6260とともに埋め込まれ、カートリッジ本体6210の一部分が第1のジョー6230内に残る。次に図158〜160を参照すると、例えば、ステープルカートリッジ6900のようなステープルカートリッジは、カートリッジ本体6910の長さに沿って延びる1つ又は2つ以上の細長保持スロット6913を含んでよく、これは、例えば、ステープルカートリッジ6900がジョー6930内に挿入される際に、内部においてジョー6930から延びる1つ又は2つ以上の長手方向保持レール6916を受容するように構成することができる。使用時には、保持スロット6913の端が、ステープルカートリッジ6900が例えば、保持溝部材6939の遠位端6938を通じて摺動する前に、保持レール6916の遠位端と整列されうる。  Referring now to FIGS. 156 and 157, thesecond jaw 6940 is reopened and the plurality ofprotective caps 6270 andretention matrix 6250 are separated from thecartridge body 6980 so that thecap 6270 andretention matrix 6250 are It can remain engaged with tissue T andstaple cartridge 6200. Thecartridge body 6980 includes a plurality of pockets in which a plurality ofcaps 6270 can be removably disposed and one or more retaining slots configured to removably retain the retainingmatrix 6250 therein. The holding member of thesecond jaw 6940 engaged with thecartridge body 6980 can hold thecartridge body 6980 in thesecond jaw 6940 after thesecond jaw 6940 is opened. Thecartridge body 6980 can be configured to break when thesecond jaw 6940 is opened so that a portion of thecartridge body 6980 is embedded with thecap 6270 and theretention matrix 6250 so that the cartridge body 6980 A portion remains in thesecond jaw 6940. Similarly, referring again to FIGS. 156 and 157, the retaining member of thefirst jaw 6230 engaged with thecartridge body 6210 is moved into thecartridge body 6210 within thefirst jaw 6230 after thesecond jaw 6940 is opened. Can be retained. Thecartridge body 6210 is configured to break when thefirst jaw 6230 is pulled away from the implantedcartridge 6200 so that a portion of thecartridge body 6210 is embedded with thestaples 6220 and thealignment matrix 6260 so that the cartridge body 6210 A portion remains in thefirst jaw 6230. Referring now to FIGS. 158-160, for example, a staple cartridge, such asstaple cartridge 6900, may include one or moreelongated retention slots 6913 that extend along the length of thecartridge body 6910, which is For example, when thestaple cartridge 6900 is inserted into thejaw 6930, it can be configured to receive one or morelongitudinal retaining rails 6916 extending from thejaw 6930 therein. In use, the end of theretention slot 6913 can be aligned with the distal end of theretention rail 6916 before thestaple cartridge 6900 slides through thedistal end 6938 of theretention groove member 6939, for example.

再び図160を参照すると、ジョー6940は、2つの保持溝部材6949を含んでよく、各保持溝部材6949は、複数のキャップ6270及び保持マトリックス6250を内部に含むカートリッジ本体6980を受容するように構成することができる。各カートリッジ本体6980は、1つ又は2つ以上の長手方向保持肩部6917を含んでよく、これらは、カートリッジ本体6980が、ジョー6940内のこれらの対応する保持溝部材6949内に挿入される際に、第2のジョー6940の1つ又は2つ以上の長手方向保持レール6918に沿って摺動するように構成することができる。保持レール6918及び保持肩部6917は、カートリッジ本体6980が、内部に格納されるキャップ6270及び保持マトリックス6250から分離される際に、協働してカートリッジ本体6980を第2のジョー6940内に保持しうる。次に図159を参照すると、第2のジョー6940は、そこから延びる1つ又は2つ以上の遠位突起部、又は保持部材6915を更に含み、これはカートリッジ本体6980をこれらの対応する保持溝部材内に取り外し可能に固定するように構成することができる。例えば、第2のジョー6940は、カートリッジ本体6980が溝部材6949内に挿入される際に、各カートリッジ本体6980が突起部6915の周囲で屈曲しうるようにして、各保持溝部材6949に対して構成され、配置された、遠位突起部6915を有してもよく、カートリッジ本体6915が溝部材6949内に完全に配置される際に、カートリッジ本体6980の遠位端が突起部6915を超えてその上で嵌る。上記のように、カートリッジ本体6980を、これらが使用された後に取り外すため、カートリッジ本体6980が突起部6915の上で引き戻され、保持溝部材6949から取り外されうる。上記と同様、第1のジョー6930は、そこから延びる1つ又は2つ以上の遠位保持突起部6914を含んでよく、これは、ステープルカートリッジ6900が完全に配置された際に、カートリッジ本体6910の1つ又は2つ以上の保持溝又はスロット6912に受容されるように構成することができる(図158)。  Referring again to FIG. 160, thejaw 6940 may include tworetention groove members 6949, eachretention groove member 6949 configured to receive acartridge body 6980 that includes a plurality ofcaps 6270 and aretention matrix 6250 therein. can do. Eachcartridge body 6980 may include one or morelongitudinal retaining shoulders 6917 that are inserted when thecartridge body 6980 is inserted into their correspondingretaining groove member 6949 in thejaw 6940. In addition, thesecond jaw 6940 can be configured to slide along one or more longitudinal retaining rails 6918. Theretention rail 6918 andretention shoulder 6917 cooperate to retain thecartridge body 6980 in thesecond jaw 6940 when thecartridge body 6980 is separated from thecap 6270 andretention matrix 6250 stored therein. sell. Referring now to FIG. 159, thesecond jaw 6940 further includes one or more distal protrusions, orretention members 6915 extending therefrom, that cause thecartridge body 6980 to have their corresponding retention grooves. It can be configured to be removably secured within the member. For example, thesecond jaw 6940 can be bent with respect to each holdinggroove member 6949 so that eachcartridge body 6980 can be bent around theprotrusion 6915 when thecartridge body 6980 is inserted into thegroove member 6949. The distal end of thecartridge body 6980 may extend beyond theprotrusion 6915 when thecartridge body 6915 is fully disposed within thegroove member 6949. Fit on it. As described above, in order to remove thecartridge body 6980 after they are used, thecartridge body 6980 can be pulled back over theprotrusion 6915 and removed from the retaininggroove member 6949. Similar to the above, thefirst jaw 6930 may include one or moredistal retention protrusions 6914 extending therefrom, which when thestaple cartridge 6900 is fully deployed, thecartridge body 6910. Can be configured to be received in one or more retaining grooves or slots 6912 (FIG. 158).

上記に加えて、内部配置された複数の第1の締結具を含む第1の締結カートリッジは、外科用締結装置の第1のジョー内に配置することができ、内部に配置された複数の第2の締結具を含む第2の締結カートリッジは、外科用締結装置の第2のジョー内に配置される場合がある。使用時には、第1の締結具と第2の締結具とを係合させ、組織をその間に固定するために、第1のジョー及び/又は第2のジョーは、互いに対して動かされうる。第1の締結カートリッジ、及び第2の締結カートリッジは、第1の締結具が第2の締結具と係合する際に、互いに係合されうる。第1の締結カートリッジの本体は、第1の圧縮性材料を含んでよく、第2の締結カートリッジの本体は、第2の圧縮性材料を含んでよく、第1の本体及び/又は第2の本体は、締結される組織に対して圧縮される場合がある。組織が締結された後、第1のジョーは、移植された第1の締結カートリッジから動かされる場合があり、第2のジョーは、移植された締結カートリッジから動かされる場合がある。その後、第1のジョーは、別の第1の締結カートリッジなどを再充填される場合があり、第2のジョーは、別の第2の締結カートリッジなどを再充填される場合があり、外科用締結器具が再使用されうる。ステープルが使用されうるが、例えば、互いに係合する際に、一緒に固定される二部構成締結具などの、他の種類の締結具を含む代替例が想到される。例えば、第1の締結具部分を格納するための第1の格納部分を含むことができ、第2の締結カートリッジは、第2の締結具部分を格納するための第2の格納部分を含みうる。本発明において記載される締結システムは、任意の適当な種類の材料及び/又は形状を含む締結具を使用しうる。締結具は貫通部材を有することができる。このような貫通部材は、例えば、ポリマー、複合物、及び/又は多層基材で構成することができる。多層基材の例は、エラストマー又はポリマーコーティングを有するワイヤ又はシート基材でありうる。貫通部材が、連結部材に対して垂直、又は少なくともほぼ垂直に向けられるように形成された薄いシートでありうる。貫通部材は、矩形の外形の、半円形の外形、及び/又は任意のビーム外形を有しうる。本明細書において記載される締結具は、例えば、ワイヤ押出プロセスなどの任意の適当なプロセスを使用して製造されうる。別の可能性は、中空の貫通部材を生じるための、微細繊維化の使用である。これらの貫通部材は、ワイヤ押出プロセスとは異なるプロセスで作製される場合があり、材料の組み合わせを使用する場合がある。  In addition to the above, a first fastening cartridge that includes a plurality of first fasteners disposed therein can be disposed within the first jaw of the surgical fastening device, wherein the plurality of second fasteners disposed therein. A second fastening cartridge containing two fasteners may be disposed in the second jaw of the surgical fastening device. In use, the first jaw and / or the second jaw can be moved relative to each other to engage the first fastener and the second fastener and secure the tissue therebetween. The first fastening cartridge and the second fastening cartridge can be engaged with each other when the first fastener is engaged with the second fastener. The body of the first fastening cartridge may include a first compressible material and the body of the second fastening cartridge may include a second compressible material, the first body and / or the second The body may be compressed against the tissue to be fastened. After the tissue is fastened, the first jaw may be moved from the implanted first fastening cartridge and the second jaw may be moved from the implanted fastening cartridge. Thereafter, the first jaw may be refilled with another first fastening cartridge or the like, the second jaw may be refilled with another second fastening cartridge or the like, and the surgical Fasteners can be reused. Staples can be used, but alternatives are envisioned that include other types of fasteners, such as, for example, two-part fasteners that are secured together when engaged with each other. For example, a first storage portion can be included for storing the first fastener portion, and a second fastening cartridge can include a second storage portion for storing the second fastener portion. . The fastening system described in the present invention may use fasteners that include any suitable type of material and / or shape. The fastener can have a penetrating member. Such a penetrating member can be composed of, for example, a polymer, a composite, and / or a multilayer substrate. An example of a multi-layer substrate can be a wire or sheet substrate with an elastomer or polymer coating. The penetrating member can be a thin sheet formed to be oriented perpendicularly or at least substantially perpendicular to the connecting member. The penetrating member may have a rectangular profile, a semi-circular profile, and / or any beam profile. The fasteners described herein can be manufactured using any suitable process, such as, for example, a wire extrusion process. Another possibility is the use of microfibrosis to produce a hollow penetrating member. These penetrating members may be made by a process different from the wire extrusion process and may use a combination of materials.

上記のように、保持マトリックスを通じて突出するステープル脚の先端部は、1つ又は2つ以上のキャップ及び/又はカバーによって被覆されうる。ステープル脚の先端は、これらが保持マトリックスを通じて挿入された後に、変形されうる。保持マトリックスを保持するジョーは、保持開口部の上に配置された及び/又はこれと整列されるアンビルポケットを更に有してもよく、これらは、ステープル脚が保持マトリックスの上に突出する際に、これらを変形させるように構成することができる。各ステープルのステープル脚は、例えば、互いに向かって内側に、及び/又はステープルの中心に向かって歪曲させられうる。あるいは、ステープルの1つ又は2つ以上のステープル脚は、他のステープルから、及び/又はステープルの中央から離れるように外側に歪曲させることができる。必要に応じて、ステープル脚が歪曲させられる方向とは無関係に、ステープル脚の先端は、保持マトリックスの本体と接触することができ、ステープルによって締結された組織に再び入らないことがある。保持マトリックスを通過した後のステープル脚の変形は、保持マトリックスを適所に固定しうる。  As noted above, the tips of the staple legs that protrude through the retention matrix can be covered by one or more caps and / or covers. The tips of the staple legs can be deformed after they are inserted through the retaining matrix. The jaws holding the retention matrix may further have an anvil pocket disposed over and / or aligned with the retention opening, as these staple legs protrude above the retention matrix. These can be configured to be deformed. The staple legs of each staple may be distorted inwardly toward each other and / or toward the center of the staple, for example. Alternatively, one or more staple legs of the staple can be distorted outwardly from other staples and / or away from the center of the staple. If desired, regardless of the direction in which the staple legs are distorted, the tips of the staple legs can contact the body of the retention matrix and may not reenter the tissue fastened by the staples. Deformation of the staple legs after passing through the retention matrix can secure the retention matrix in place.

次に図161及び図162を参照すると、例えば、外科用ステープラ7000などの外科用ステープル留め器具は、第1のジョー7030及び第2のジョー7040を有してもよく、第2のジョー7040は、アクチュエータ6235の動きによって、第1のジョー7030に向かい、及び第1のジョー7030から離れる方向に動きうる。アクチュエータ6235の動作は上記の通りであり、簡潔さのためにここで繰り返すことはしない。第1のジョー7030は、遠位端7031及び近位端7032を含むことができ、第1のジョー7030は、遠位端7031と近位端7032との間に延びる溝部材を画定することができ、これは、ステープルカートリッジを受容するように構成される。例示目的のため、このようなステープルカートリッジのカートリッジ本体は、図161に示されないが、このようなステープルカートリッジは、カートリッジ本体、カートリッジ本体内に配置されたステープル6220、及びステープル6220の下に配置されたステープルドライバ7012を有しうる。明確性のために図161には示されていないが、第2のジョー7040は、ステープル6220の上で、例えば、保持マトリックス6250のような保持マトリックスを保持し、及び/又は、上記のように、保持マトリックスをステープル6220の脚と係合させるように動かすように構成することができる。外科用ステープル7000は、第1のジョー7030内に配置されたスレッド7010を更に含むことができ、これは例えば、第1のジョー7030の遠位端7031から近位端7032の方へと摺動することができ、ステープルドライバ7012及び上部に支持されるステープル6220を、保持マトリックス及び第2のジョー7040の方向に持ち上げる。あるいは、スレッド7010は、例えば、ステープル6020を配備するために、近位端7032から遠位端7031に向かって動かされうる。スレッド7010は、1つ又は2つ以上の傾斜した傾斜面又はカム7011を含んでよく、これらは、ステープルドライバ7012の下で摺動し、ステープルドライバ7012を情報に持ち上げるように構成することができる。外科用ステープル7000は更に、スレッド7010に動作可能に連結された、引く又は押すためのロッドを有してもよく、これは、ハンドル上に位置する作動装置、及び/又は外科用ステープル7000のシャフトによって近位方向及び/又は遠位方向に動かされうる。  Referring now to FIGS. 161 and 162, for example, a surgical stapling instrument, such assurgical stapler 7000, may have afirst jaw 7030 and asecond jaw 7040, where The movement of theactuator 6235 can move toward and away from thefirst jaw 7030. The operation ofactuator 6235 is as described above and will not be repeated here for the sake of brevity. Thefirst jaw 7030 can include adistal end 7031 and aproximal end 7032, and thefirst jaw 7030 can define a groove member extending between thedistal end 7031 and theproximal end 7032. This can be configured to receive a staple cartridge. For purposes of illustration, the cartridge body of such a staple cartridge is not shown in FIG. Astaple driver 7012 may be included. Although not shown in FIG. 161 for clarity, thesecond jaw 7040 holds a retention matrix, such asretention matrix 6250, onstaple 6220 and / or as described above. The retention matrix can be configured to move into engagement with the legs of thestaple 6220. Thesurgical staple 7000 can further include athread 7010 disposed within thefirst jaw 7030, which slides from thedistal end 7031 of thefirst jaw 7030 toward theproximal end 7032, for example. Thestaple driver 7012 and the upper supportedstaple 6220 can be lifted in the direction of the retention matrix andsecond jaw 7040. Alternatively, thesled 7010 can be moved from theproximal end 7032 toward thedistal end 7031 to deploy the staple 6020, for example. Thesled 7010 may include one or more inclined ramps orcams 7011 that can be configured to slide under thestaple driver 7012 and lift thestaple driver 7012 to information. .Surgical staple 7000 may further include a rod for pulling or pushing operatively connected tosled 7010, which includes an actuator located on the handle and / or a shaft ofsurgical staple 7000. Can be moved proximally and / or distally.

再び図161を参照すると、外科用ステープラ7000の第2のジョー7040は、フレーム7041、遠位端7048、及び遠位端7048の反対側に配置された近位端部7049を含みうる。第2のジョー7040は、更に、フレーム7041の長手方向軸に沿って延びる、例えば、ガイドレール7045及び7046などの、1つ又は2つ以上のガイドレールを含むガイドシステムを更に有してもよく、これは、下記により詳細に述べるように、ステープル6220のステープル脚6221が保持マトリックスを通過した後に、ステープル6220のステープル脚と係合し、変形しうる1つ又は2つ以上のアンビル又はカムを案内するように構成することができる。例えば、ガイドレール7045及び7046は、例えば、フレーム7041の頂部又は表面に沿って、遠位ポスト7047の周囲から戻ってフレーム7041の頂部又は上面に沿って延びるガイドワイヤ又はケーブルを含みうる。必要に応じて、上記のように、かつここで主に図163及び図165を参照すると、第2のジョー7040は更に、例えば、第1のアンビル7050及び第2のアンビル7060などの、1つ又は2つ以上のアンビル又はカムを更に有してもよく、これは、ステープル6220の脚が、保持マトリックスを通過した後に、これらを変形させるために、第2のジョー7040に沿って長手方向に動く場合がある。外科用ステープラ7000は更に、第1のアンビル7050に連結される及び/又は動作可能に連結された、第1のアンビルドライバ又は作動装置7051を更に有してもよく、これは、第1のアンビル7050を近位方向に引く、及び/又は第1のアンビル7050を遠位方向に押すように構成することができる。同様に、外科用ステープル7000は更に、第2のアンビル7060に連結される及び/又は動作可能に連結された、第2のアンビルドライバ又は作動装置を更に有してもよく、これは、第2のアンビル7060を遠位方向に押す、及び/又は第2のアンビル7060を近位方向に引くように構成することができる。第1のアンビル7050はガイドスロット7052を含むことができ、第2のアンビル7060はガイドスロット7062を含むことができ、これらはそれぞれ、内部にガイドレール7045又はガイドレール7046を摺動可能に受容するように構成することができる。例えば、ガイドレール7045及び7046は、ガイドスロット7052及び7062内に緊密に受容され、それによってその間の相対的な横方向の、又は横から横への移動が防がれるか、又は少なくとも制限される。  Referring again to FIG. 161, thesecond jaw 7040 of thesurgical stapler 7000 can include aframe 7041, adistal end 7048, and aproximal end 7049 disposed opposite thedistal end 7048. Thesecond jaw 7040 may further include a guide system that includes one or more guide rails, such asguide rails 7045 and 7046, extending along the longitudinal axis of theframe 7041. This includes one or more anvils or cams that engage and deform the staple legs of the staple 6220 after thestaple legs 6221 of the staple 6220 have passed through the retention matrix, as described in more detail below. It can be configured to guide. For example,guide rails 7045 and 7046 may include guide wires or cables that extend along the top or top surface offrame 7041, for example, along the top or surface offrame 7041, back from the periphery ofdistal post 7047. Optionally, as described above and now mainly referring to FIGS. 163 and 165, thesecond jaw 7040 may further include one such as, for example, afirst anvil 7050 and asecond anvil 7060. Or may further include two or more anvils or cams, which are longitudinally along thesecond jaw 7040 to deform the legs of the staple 6220 after passing the retention matrix. It may move.Surgical stapler 7000 may further include a first anvil driver oractuator 7051 coupled to and / or operably coupled to thefirst anvil 7050, which includes thefirst anvil 7050. It can be configured to pull 7050 proximally and / or push thefirst anvil 7050 distally. Similarly, thesurgical staple 7000 may further comprise a second anvil driver or actuator coupled to and / or operably coupled to thesecond anvil 7060, which includes a second Oneanvil 7060 can be pushed distally and / or thesecond anvil 7060 can be pulled proximally. Thefirst anvil 7050 can include aguide slot 7052 and thesecond anvil 7060 can include aguide slot 7062, each of which slidably receives aguide rail 7045 or aguide rail 7046 therein. It can be constituted as follows. For example,guide rails 7045 and 7046 are tightly received inguide slots 7052 and 7062, thereby preventing or at least limited relative lateral or side-to-side movement therebetween. .

上記に加えて、第1のアンビル7050は、近位方向に引くことができ、第2のアンビル7060は遠位方向に引くことができる。図161を参照すると、ガイドレール7045及び7046、並びに遠位ポスト7047は、第2のアンビル7060を遠位方向に引き、及び/又は第2のアンビル7060を近位方向に引くように構成された滑車システムを含みうる。例えば、ガイドレール7045及びガイドレール7046は、遠位ポスト7047の周囲に延びる、連続的なワイヤ又はケーブルを有してもよく、連続的なワイヤの一部分が、ワイヤを遠位ポスト7047で周回するように引かれうる。例えば、ガイドレール7046は、第2のアンビル7060に取り付けられてよく、それにより、連続的なケーブルが第1の方向に周回されるときに、第2のアンビル7060は、ジョー7040の遠位端7048に向かって遠位方向に引かれることができ、連続的なケーブルが第2又は反対方向に周回するとき、第2のアンビル7060は、近位端7049に向かって近位方向に引かれうる。次に図163を参照すると、ガイドレール7046は、ガイドスロット7062内に固定することができ、それによりその間に牽引力が伝達されうる。例えば、ガイドレール7045は、他方のガイドスロット8062内で摺動するように構成することができる。第1のアンビル7050は、第2のアンビル7060と別個に動作してよく、滑車システム及び第1のアンビル7050内に画定されるガイドスロット7052は、その間の相対移動が可能にされるように、ガイドレール7045及び7046を摺動可能に受容するように構成することができる。ガイドレール7045及び7046を含む連続的なケーブルは、上方ジョー7040の開閉に適合するように、充分に可撓性でありうる。連続的なケーブルはまた、第2のアンビル7060の下側ジョー7030に向かう、及びこれから離れる垂直運動に適合するために充分に可撓性であってよく、これは下記により詳細に述べる。  In addition to the above, thefirst anvil 7050 can be pulled proximally and thesecond anvil 7060 can be pulled distally. Referring to FIG. 161,guide rails 7045 and 7046 anddistal post 7047 are configured to pullsecond anvil 7060 distally and / or pullsecond anvil 7060 proximally. A pulley system may be included. For example,guide rail 7045 andguide rail 7046 may have a continuous wire or cable extending arounddistal post 7047, and a portion of the continuous wire wraps around the wire atdistal post 7047. Can be pulled as For example, theguide rail 7046 may be attached to thesecond anvil 7060 so that thesecond anvil 7060 is moved to the distal end of thejaw 7040 when a continuous cable is routed in the first direction. 7048 can be pulled distally toward 7048 and thesecond anvil 7060 can be pulled proximally toward theproximal end 7049 as the continuous cable wraps around in the second or opposite direction. . Referring now to FIG. 163, theguide rail 7046 can be secured within theguide slot 7062 so that traction can be transmitted therebetween. For example, theguide rail 7045 can be configured to slide within the other guide slot 8062. Thefirst anvil 7050 may operate separately from thesecond anvil 7060, such that the pulley system and theguide slot 7052 defined in thefirst anvil 7050 are allowed relative movement therebetween.Guide rails 7045 and 7046 can be slidably received. The continuous cable includingguide rails 7045 and 7046 can be sufficiently flexible to accommodate the opening and closing of theupper jaw 7040. The continuous cable may also be sufficiently flexible to accommodate vertical movement toward and away from thelower jaw 7030 of thesecond anvil 7060, which is described in more detail below.

再び図163及び図165を参照すると、アンビル7050は、そこから延びるカム従動部7055を含むことができ、これは第2のジョー7040のフレーム7041内に画定される、例えばカムスロット7070(図166)などの1つ又は2つ以上のカムスロット又はガイドスロット内に位置するように構成することができる。より詳細には、フレーム7041は、フレーム7041の第1の側部に沿って長手方向に延びる第1のカムスロット7070、及びフレーム7041の第2の反対側の側部に沿って長手方向に延びる第2のカム7070を含んでよく、第1のアンビル7050の第1の側部から延びるカム従動部7055は、第1のカムスロット7070内に位置する場合があり、第1のアンビル7050の第2の側部から延びるカム従動部7055は、第2のカムスロット7070内に位置する場合がある。例えば、各カムスロット7070の外形は、同一又は少なくともほぼ同一であり、互いに整列されるか、又は少なくともほぼ整列される場合がある。同様に、第2のアンビル7060は、そこから延びるカム従動部7065を有してもよく、これは第2のジョー7040のフレーム7041内に画定されるカムスロット7070(図166)内に位置するように構成することができる。より詳細には、第2のアンビル7060の第1の側部から延びるカム従動部7065は、第1のカムスロット7070内に位置する場合があり、第2のアンビル7060の第2の側部から延びるカム従動部7065は、第2のカムスロット7070内に位置しうる。使用時には、第1のアンビル7050のカム従動部7055、及び第2のアンビル7060のカム従動部7065は、カムスロット7070内で摺動することができ、それによって第1のアンビル7050及び第2のアンビル7060が近位方向に引かれ及び/又は遠位方向に押される際に、第1のアンビル7050及び第2のアンビル7060は、カムスロット7070の外形に従う。必要に応じて、下記により詳細に述べるように、各カムスロット7070は、複数の平行部又は上部7071、及び複数のドライバ又は下部7072を含むことができ、これは、アンビル7050及び7060が長手方向に動かされる(フレーム7041の遠位端7048と近位端7049との間で)のと同時に、アンビル7050及び7060を垂直方向に動かすように構成することができる(すなわち、下方ジョー7030にむかって、及びこれから離れるように)。  Referring again to FIGS. 163 and 165, theanvil 7050 can include acam follower 7055 extending therefrom, which is defined within theframe 7041 of thesecond jaw 7040, eg, a cam slot 7070 (FIG. 166 ), Etc., can be configured to be located in one or more cam slots or guide slots. More specifically,frame 7041 extends longitudinally along afirst cam slot 7070 that extends longitudinally along a first side offrame 7041 and a second opposite side offrame 7041. Acam follower 7055 that may include asecond cam 7070 and extends from the first side of thefirst anvil 7050 may be located in thefirst cam slot 7070 and the second of thefirst anvil 7050 Thecam follower 7055 extending from the second side may be located in thesecond cam slot 7070. For example, the outer shape of eachcam slot 7070 may be the same or at least approximately the same and aligned with each other or at least approximately aligned. Similarly, thesecond anvil 7060 may have acam follower 7065 extending therefrom, which is located in a cam slot 7070 (FIG. 166) defined in theframe 7041 of thesecond jaw 7040. It can be constituted as follows. More specifically, acam follower 7065 that extends from the first side of thesecond anvil 7060 may be located within thefirst cam slot 7070 and from the second side of thesecond anvil 7060. Anextended cam follower 7065 can be located in thesecond cam slot 7070. In use, thecam follower 7055 of thefirst anvil 7050 and thecam follower 7065 of thesecond anvil 7060 can slide within thecam slot 7070 so that thefirst anvil 7050 and thesecond anvil 7050 As theanvil 7060 is pulled proximally and / or pushed distally, thefirst anvil 7050 and thesecond anvil 7060 follow the profile of thecam slot 7070. Optionally, as described in more detail below, eachcam slot 7070 can include a plurality of parallel portions orupper portions 7071 and a plurality of drivers orlower portions 7072, such that theanvils 7050 and 7060 are longitudinal. At the same time (between thedistal end 7048 and theproximal end 7049 of the frame 7041), theanvils 7050 and 7060 can be configured to move vertically (ie towards the lower jaw 7030). , And away from this).

図166を参照すると、外科用ステープラ7000が非発射状態にあるとき、第1のアンビル7050は、フレーム7041の遠位端7048に配置される場合があり、第2のアンビル7060は、フレーム7041の近位端7049に配置される場合があり、更に次に図167を参照すると、外科用ステープラ7000が非発射状態にあるとき、第1のジョー7030内に配置されたステープル6220はまだ組織Tに挿入されていなくともよく、及び/又は保持マトリックスはその上に配置されている。使用時には、次に図168を参照すると、ステープル6220は、ステープルドライバ7012によってステープルカートリッジのステープルキャビティ7033内で上方に駆動される場合があり、更に、第1のアンビル7050は、ステープル6220のステープル脚6221に係合するために、フレーム7041の遠位端7048から遠位端7049へと近位方向に動かされる場合がある。ステープル6220は、第1のアンビル7050がそのステープル脚6221と係合する前に上方に駆動されうる。必要に応じて、すべてのステープル6220は、第1のアンビル7050がステープル脚6221と接触するように前進させられる前に、スレッド7010によって上方に配備されてもよく、あるいは、スレッド7010は、第1のアンビル7050が近位方向に動かされるのと同時に近位方向に動かされてもよいが、スレッド7010は、ステープル6220を第1のアンビル7050の前方に配備するために、第1のアンビル7050を充分に導くことがある。必要に応じて、図168に示されるように、カムスロット7070は、第1のカム7050が平行部又は上部を通過する際に、第1のカム7050の例えば、成形表面又はカム表面7053及び7054などの成形表面が、ステープル脚6221の少なくとも一部と接触しうるように、構成及び配置されうる。様々な状況において、第1のアンビル7050のカム従動部7055はそれぞれ、カムスロット7070の平行部7071内に配置され、それによって成形表面7053及び7054は、隆起部分にあり、ステープル脚6221は、アンビル7050が平行部においてそこを通過する際に部分的にのみ変形される。図169に示されるように、第1のカム7050は、カムスロット7070に沿って更に動かれる際に、第1のアンビル7050のカム従動部7055は、カムスロット7070の駆動された又はより低い部分7072へと駆動される場合があり、それにより成形表面7053及び7054は、ステープル脚6021をこれらの最終的に成形された構成へと駆動するために、ステープル脚6021に向かって垂直に下方に動く。その後、第1のアンビル7050は、カムスロット7070に沿って更に前進すると、第1のアンビル7050は、カムスロット7070の平行部7071の別の組へと垂直に上方に駆動されうる。図168及び図169に示されるように、読者には、第1のアンビル7050がステープル脚のいくつかとのみ係合し、他のものとはしない場合があることがわかるであろう。例えば、第1のアンビル7050は、例えば、ステープル6220の遠位ステープル脚6221を含むステープル脚の群のみを変形させるように構成することができる。例えば、第1のアンビル7050は、遠位ステープル脚6221をステープル6220の中心に向かって変形させるように構成することができる。必要に応じて、各近位ステープル脚6221は、第1のアンビル7050と2度、(すなわち、第1の成形表面7053、及び第1の成形表面7053と整列された第2の成形表面7054と)接触しうる。例えば、第1の成形表面7053は、第1のアンビル7050がへ平行部又は上部にある際に、遠位ステープル脚6221を部分的に変形された構成へと変形させることができ、第2の成形表面7054は、第1のアンビル7050が駆動部又は下部へと移動される際に、遠位ステープル脚6221を完全に成形された構成へと変形することができる。次に図163及び図164を参照すると、ステープル脚6221が2つ以上の列又はラインに構成される際に、ステープル6220の遠位ステープル脚6221を変形させるために、第1のアンビル7050は、複数の第1の成形表面7053及び複数の第2の成形表面7054を有しうる。必要に応じて、下記により詳細に述べるように、ステープル6020の近位ステープル脚6221は、例えば、第2のアンビル7060によって変形されうる。  Referring to FIG. 166, when thesurgical stapler 7000 is in a non-fired state, thefirst anvil 7050 may be disposed at thedistal end 7048 of theframe 7041 and thesecond anvil 7060 is disposed on theframe 7041. Referring further to FIG. 167, which may be disposed at theproximal end 7049, thestaple 6220 disposed in thefirst jaw 7030 is still in the tissue T when thesurgical stapler 7000 is in an unfired state. It may not be inserted and / or the retention matrix is disposed thereon. In use, referring now to FIG. 168, thestaple 6220 may be driven upward within thestaple cavity 7033 of the staple cartridge by thestaple driver 7012, and thefirst anvil 7050 may be the staple leg of thestaple 6220. To engage 6221, it may be moved proximally from thedistal end 7048 of theframe 7041 to thedistal end 7049. The staple 6220 can be driven upward before thefirst anvil 7050 engages itsstaple leg 6221. If desired, allstaples 6220 may be deployed upward bysled 7010 beforefirst anvil 7050 is advanced into contact withstaple legs 6221, orsled 7010 may be While theanvil 7050 may be moved proximally at the same time as theanvil 7050 is moved proximally, thesled 7010 causes thefirst anvil 7050 to be deployed in front of thefirst anvil 7050. There is enough guidance. Optionally, as shown in FIG. 168, thecam slot 7070 can be formed on thefirst cam 7050, for example, molding surfaces orcam surfaces 7053 and 7054 as thefirst cam 7050 passes through the parallel portion or top. Can be configured and arranged such that the molding surface can contact at least a portion of thestaple legs 6221. In various situations, thecam followers 7055 of thefirst anvil 7050 are each disposed within theparallel portion 7071 of thecam slot 7070 so that themolding surfaces 7053 and 7054 are in the raised portion and thestaple legs 6221 are in the anvil. 7050 is only partially deformed as it passes through it in the parallel section. As shown in FIG. 169, when thefirst cam 7050 is moved further along thecam slot 7070, thecam follower 7055 of thefirst anvil 7050 is driven or lower part of thecam slot 7070. 7072 may cause themolding surfaces 7053 and 7054 to move vertically downward toward the staple legs 6021 to drive the staple legs 6021 to their final molded configuration. . Thereafter, as thefirst anvil 7050 is further advanced along thecam slot 7070, thefirst anvil 7050 can be driven vertically upward to another set ofparallel portions 7071 of thecam slot 7070. As shown in FIGS. 168 and 169, the reader will appreciate that thefirst anvil 7050 may only engage some of the staple legs and not others. For example, thefirst anvil 7050 can be configured to deform only a group of staple legs including, for example, the distalstaple legs 6221 of thestaple 6220. For example, thefirst anvil 7050 can be configured to deform the distalstaple leg 6221 toward the center of thestaple 6220. Optionally, each proximalstaple leg 6221 has asecond anvil 7050 and twice (ie, afirst molding surface 7053 and asecond molding surface 7054 aligned with thefirst molding surface 7053). ) Can touch. For example, thefirst molding surface 7053 can cause the distalstaple legs 6221 to deform into a partially deformed configuration when thefirst anvil 7050 is in the parallel portion or at the top, and the second Themolding surface 7054 can transform the distalstaple leg 6221 into a fully molded configuration as thefirst anvil 7050 is moved to the drive or lower portion. Referring now to FIGS. 163 and 164, thefirst anvil 7050 can be used to deform the distalstaple legs 6221 of thestaples 6220 when thestaple legs 6221 are configured in more than one row or line. There may be a plurality offirst molding surfaces 7053 and a plurality of second molding surfaces 7054. If desired, the proximalstaple leg 6221 of the staple 6020 can be deformed, for example, by thesecond anvil 7060, as described in more detail below.

上記に加えて、第1のアンビル7050は、ステープル6220の遠位ステープル脚6221すべてを変形させるために、フレーム7041の遠位端部7048から近位端7049へと動かされる場合がある。読者が気付くように、第1のアンビル7050は、変形していない近位ステープル脚6221に対して上下に動かすことができ、かつそのような移動に適合するために、第1のアンビル7050は1つ又は2つ以上の隙間スロット7057(図165)を含んでよく、これは、第1のアンビル7050が遠位ステープル脚6221を曲げる際に、曲がっていない近位ステープル脚6221を受容するように構成することができる。同様に、図163を再び参照すると、第2のアンビル7060は、上記のように、アンビル7050がその平行部と駆動部との間で動かされる際に、上下に動く、第1のカム作動装置7051の垂直移動に適合されるように構成することができる、隙間スロット7067を有しうる。すべての遠位ステープル脚6221が曲げられた後、第2のアンビル7060は、アンビル作動装置7061により、フレーム7041の近位端7049から、遠位端7048へと動かされうる。次に図170を参照すると、上記と同様、第2のアンビル7060のカム従動部7065は、カムスロット7070内で摺動することができ、近位ステープル脚6221を、例えば、ステープル6220の中央に向かって内側に変形させるために、第2のアンビル7060は、平行部又は上部と、駆動部又は下部との間で動かされうる。上記と同様、第2のアンビル7060は、複数の第1の成形又はカム表面7063と、複数の第2の成形又はカム表面7064とを含んでよく、これらはそれぞれ、近位ステープル脚6021の1つ又は2つ以上を少なくとも部分的に変形させ、及び/又は完全に変形させるように構成することができる。図164を再び参照すると、第2のアンビル7060は、複数の第1の成形表面7063、及び複数の第2の成形表面7064を含んでよく、これらは、例えば、複数の列又は線に配置された、ステープル6220の近位ステープル脚6221を変形させるように構成することができる。また図164に示されるように、第2のアンビル7060の第1の成形表面7063及び第2の成形表面7064は、第1のアンビル7050の第1の成形表面7053及び第2の成形表面7054と整列されなくてもよく、結果としてステープル6220の近位脚6221は、ステープル6220の遠位脚6221とは異なる列又は線に配置されうる。読者が気付くように、第2のアンビル7060は、第2のアンビル7060が遠位方向に動かされる際に、第1のアンビル7050を押すことがある。例えば、第2のアンビル7060は、フレーム7041の遠位端7048内に第1のアンビル7050を押し戻し、それにより第1のアンビル7050は、その最初の発射前の位置へと戻されうる。ステープル6220の近位ステープル脚6221のすべてが変形された後、第2のアンビル7060は、その最初の又は非発射位置へと近位方向に後退し、戻されうる。このようにして、外科用ステープラ7000をもう一度使用するために、新しいステープルカートリッジが第1のジョー7030内に配置され、新しい保持マトリックスが第2のジョー7040内に配置されうるように、外科用ステープル7000はリセットされうる。  In addition to the above, thefirst anvil 7050 may be moved from thedistal end 7048 of theframe 7041 to theproximal end 7049 to deform all of the distalstaple legs 6221 of thestaple 6220. As the reader will notice, thefirst anvil 7050 can be moved up and down relative to the undeformed proximalstaple leg 6221, and in order to accommodate such movement, thefirst anvil 7050 is 1 One or more gap slots 7057 (FIG. 165) may be included so that thefirst anvil 7050 receives the unbent proximalstaple legs 6221 as the distalstaple legs 6221 are bent. Can be configured. Similarly, referring again to FIG. 163, thesecond anvil 7060 moves up and down as described above when theanvil 7050 is moved between its parallel portion and the drive portion. There may be agap slot 7067 that may be configured to accommodate 7051 vertical movement. After all distalstaple legs 6221 have been bent, thesecond anvil 7060 can be moved from theproximal end 7049 of theframe 7041 to thedistal end 7048 by theanvil actuator 7061. Referring now to FIG. 170, similar to the above, thecam follower 7065 of thesecond anvil 7060 can slide within thecam slot 7070 and the proximalstaple leg 6221 can be positioned, for example, in the middle of thestaple 6220. Thesecond anvil 7060 can be moved between a parallel part or upper part and a drive part or lower part in order to deform inwardly towards it. As above, thesecond anvil 7060 may include a plurality of first molding orcam surfaces 7063 and a plurality of second molding orcam surfaces 7064, each of which is one of the proximal staple legs 6021. One or more can be configured to be at least partially deformed and / or fully deformed. Referring again to FIG. 164, thesecond anvil 7060 may include a plurality offirst shaping surfaces 7063 and a plurality of second shaping surfaces 7064, which are arranged, for example, in a plurality of rows or lines. Also, the proximalstaple leg 6221 of the staple 6220 can be configured to deform. Also as shown in FIG. 164, thefirst molding surface 7063 and thesecond molding surface 7064 of thesecond anvil 7060 are connected to thefirst molding surface 7053 and thesecond molding surface 7054 of thefirst anvil 7050. As a result, theproximal legs 6221 of thestaples 6220 may be arranged in a different row or line than thedistal legs 6221 of thestaples 6220. As the reader will notice, thesecond anvil 7060 may push thefirst anvil 7050 as thesecond anvil 7060 is moved distally. For example, thesecond anvil 7060 can push thefirst anvil 7050 back into thedistal end 7048 of theframe 7041 so that thefirst anvil 7050 can be returned to its pre-launch position. After all of the proximalstaple legs 6221 of the staple 6220 have been deformed, thesecond anvil 7060 can be retracted proximally back to its initial or unfired position. In this manner, thesurgical stapler 7000 can be used again so that a new staple cartridge can be placed in thefirst jaw 7030 and a new retention matrix can be placed in thesecond jaw 7040. 7000 can be reset.

必要に応じて、上記のように、外科用ステープルは、横方向において複数のステープルの脚に係合するように、長手方向に移動しうる2つ以上のアンビルを有しうる。外科用ステープラは、第1の群のステープル脚を変形させるために、近位方向に動かされ、第2の群のステープル脚を変形させるために遠位方向に移動される、アンビルを含みうる。例えば、このようなアンビルは、例えば、近位方向に向く成形表面、及び遠位方向に向く成形表面を含みうる。  If desired, as described above, a surgical staple can have two or more anvils that can move longitudinally to engage a plurality of staple legs in the lateral direction. The surgical stapler can include an anvil that is moved proximally to deform the first group of staple legs and moved distally to deform the second group of staple legs. For example, such an anvil can include, for example, a molding surface facing proximally and a molding surface facing distally.

次に図171を参照すると、例えば、アンビル7140などのアンビルは、底面又は組織接触表面7141、及び内部に画定される複数の成形ポケット7142を有しうる。アンビル7140は、例えば、ポケットプレート7143などの、2つ以上のプレートを有してもよく、これは、フレーム7144に溶接されうる。例えば、各ポケットプレート7143は、フレーム7144内のプレート溝部材7145内に配置され、長手方向の溶接7147を形成するために、フレーム7144を貫通して延びる溶接スロット7146を通じてフレーム7144に溶接されうる。様々な状況において、長手方向の溶接7147は、溶接スロット7146の全長に沿って延びる連続的な溶接と、その長さに沿って延びる、一連の離間した点溶接とを有しうる。必要に応じて、各ポケットプレート7143は、互いに溶接された、2つ以上のプレート部分を含みうる。例えば、各ポケットプレート7143は、第1プレート7143a及び第2プレート部分7143bを有してもよく、これらは、シーム7148に沿って一緒に溶接される場合がある。各プレート7143において、第1プレート部分7143a及び第2プレート部分7143bは、プレート7143がフレーム7144内のプレート溝部材7145に溶接される前に一緒に溶接されうる。例えば、第1プレート部分7143a及び第2プレート部分7143bは、例えば、図171に示される歯付き外形などの協調する外形を含むことができ、これらは、互いに適合して緊密なシーム7148を形成する。各プレート7143は、例えば、プレート溝部材7145の深さよりも高いことがある、約0.5mm(0.02”)の高さを含んでよく、それによってその組織接触表面7141は、アンビル7040のフレーム7044から延びる。次に図172を参照すると、プレート7143は、例えば、プレート7143の遠位端における少なくとも1つの溶接7149によって互いに連結されうる。  Referring now to FIG. 171, for example, an anvil such asanvil 7140 may have a bottom surface ortissue contacting surface 7141 and a plurality of moldedpockets 7142 defined therein.Anvil 7140 may have two or more plates, such as, for example,pocket plate 7143, which can be welded toframe 7144. For example, eachpocket plate 7143 may be welded to theframe 7144 through aweld slot 7146 disposed within theplate groove member 7145 in theframe 7144 and extending through theframe 7144 to form alongitudinal weld 7147. In various circumstances, thelongitudinal weld 7147 can have a continuous weld extending along the entire length of theweld slot 7146 and a series of spaced spot welds extending along the length. If desired, eachpocket plate 7143 can include two or more plate portions welded together. For example, eachpocket plate 7143 may have afirst plate 7143a and asecond plate portion 7143b, which may be welded together along aseam 7148. In eachplate 7143, thefirst plate portion 7143 a and thesecond plate portion 7143 b can be welded together before theplate 7143 is welded to theplate groove member 7145 in theframe 7144. For example, thefirst plate portion 7143a and thesecond plate portion 7143b can include cooperating contours, such as, for example, the toothed contour shown in FIG. 171 which fit together to form atight seam 7148. . Eachplate 7143 may include a height of about 0.5 mm (0.02 ″), which may be, for example, greater than the depth of theplate groove member 7145 so that itstissue contacting surface 7141 may be Extending from the frame 7044. Referring now to Fig. 172, theplates 7143 can be coupled together, for example, by at least oneweld 7149 at the distal end of theplate 7143.

図171及び図172に示されるように、各ポケットプレート7143は、内部に画定される複数の成形ポケット7142を含みうる。成形ポケット7142は例えば、粉砕プロセス及び/又は電極燃焼プロセスなどの、任意の適当な製造プロセスによって、プレート7143内に形成されうる。例えば、次に図173及び図174を参照すると、各成形ポケット7142は、最初に深いウェル7150を形成し、その後、深いウェル7150を囲む、円弧状の又は湾曲した表面7151を形成し、かつその後湾曲した表面7151内にステープル脚ガイド溝7152を形成することによって製造されうる。あるいは、これらの工程は、任意の適当な順序で行うことができる。次に図175を参照すると、ステープル成形ポケット7142は、成形ポケットの内縁部7153が、一定の又は少なくともほぼ一定の間隙7154によって隔てられるように、形成されうる。例えば、間隙7154は、例えば、約0.2mm(.008”)でありうる。更に、成形ポケット7142は、2つ以上の列又はラインに沿って配置でき、その中央線は、一定又は少なくともほぼ一定の間隔7155によって隔てられうる。例えば、中央線の間の間隔7155は、例えば、約0.89mm(.035”)でありうる。図175を再び参照すると、各成形ポケット7142は、狭い幅7156と広い幅7157との間で先細になる場合がある。例えば、狭い幅7156は、約1.1mm(.045”)であり、広い幅7157は、約1.9mm(.075”)でありうる。プレート7143は、フレーム7144と同じ材料で構成することができる。例えば、プレート7143及びフレーム7144は両方とも、例えば、300シリーズ若しくは400シリーズステンレススチールなどの、ステンレススチール、及び/又はチタンなどで構成することができる。あるいは、プレート7143及びフレーム7144は、異なる材料で構成することができる。例えば、プレート7143は、例えば、セラミック材料で構成することができ、フレーム7144は、ステンレス鋼及び/又はチタンなどで構成することができる。使用される材料により、様々な状況において、例えば、上記の溶接プロセスに加えて、又はその代わりに、プレート7143をフレーム7144内に固定するために少なくとも1つの鑞着プロセスが使用されうる。  As shown in FIGS. 171 and 172, eachpocket plate 7143 can include a plurality of moldedpockets 7142 defined therein. Themolding pocket 7142 can be formed in theplate 7143 by any suitable manufacturing process, such as, for example, a grinding process and / or an electrode combustion process. For example, referring now to FIGS. 173 and 174, each moldedpocket 7142 first forms adeep well 7150, and then forms an arcuate orcurved surface 7151 that encloses thedeep well 7150, and thereafter It can be manufactured by forming stapleleg guide grooves 7152 in thecurved surface 7151. Alternatively, these steps can be performed in any suitable order. Referring now to FIG. 175, thestaple forming pocket 7142 can be formed such that theinner edge 7153 of the forming pocket is separated by a constant or at least approximatelyconstant gap 7154. For example, thegap 7154 can be, for example, about 0.2 mm (.008 "). Further, themolding pocket 7142 can be disposed along two or more rows or lines, the centerline of which is constant or at least approximately Thespacing 7155 may be separated by aconstant spacing 7155. For example, thespacing 7155 between the centerlines may be, for example, about 0.89 mm (0.035 "). Referring again to FIG. 175, eachmolding pocket 7142 may taper between anarrow width 7156 and awide width 7157. For example, thenarrow width 7156 can be about 1.1 mm (0.045 ″) and thewide width 7157 can be about 1.9 mm (0.075 ″). Theplate 7143 can be made of the same material as theframe 7144. For example, both theplate 7143 and theframe 7144 can be comprised of stainless steel, such as, for example, 300 series or 400 series stainless steel, and / or titanium. Alternatively, theplate 7143 and theframe 7144 can be composed of different materials. For example, theplate 7143 can be made of, for example, a ceramic material, and theframe 7144 can be made of stainless steel and / or titanium. Depending on the material used, in various situations, for example, in addition to or instead of the welding process described above, at least one fastening process may be used to secure theplate 7143 in theframe 7144.

次に図176〜178を参照すると、アンビル7240は、フレーム7244、及びフレーム7244に挿入されうる複数のポケットプレート7243を有しうる。上記と同様、各ポケットプレート7243は、内部に画定される複数の成形ポケット7242を有しうる。アンビルフレーム7244は、内部に画定された保持スロット7246を含むことができ、これらはそれぞれ、ポケットプレート7243から延びる保持レール7247を受容するように構成することができる。ポケットプレート7243をアンビルフレーム7244に組み合わせるため、各保持スロット7246が内部のポケットプレート7243の保持レール7247を受容しうるように、保持スロット7246を広げるため、図177に示されるように、アンビルフレーム7244の側壁7245は、外側に屈折するか又は広がってもよい。保持レール7247が保持スロット7246内に配置された時点で、側壁7245は、図178に示されるように、解放される場合があり、それによって、フレーム7244がその非屈曲状態へと弾力的に収縮する及び/又は戻ることを可能にする。このような状況において、保持スロット7246は収縮し、かつそれによって内部に保持レール7247を捕捉しうる。保持レール7247及び/又は保持スロット7246は、1つ又は2つ以上の協働するテーパ状表面を含んでよく、これは、屈折した保持スロット7246が解放された後、カムは保持スロット7246内に保持レール7247を保持しうる、テーパ固定係合を形成しうる。上記と同様、ポケットプレート7243は、フレーム7244と同じ材料、又はこれとは異なる材料で構成することができる。例えば、プレート7243は、例えば、セラミック材料で構成することができ、フレーム7244は、ステンレス鋼及び/又はチタンなどで構成することができる。使用される材料により、様々な状況において、プレート7243をフレーム7244内に固定するために、少なくとも1つの鑞着プロセス、及び/又は少なくとも1つの溶接プロセスが使用されうる。  Referring now to FIGS. 176-178, the anvil 7240 can have aframe 7244 and a plurality ofpocket plates 7243 that can be inserted into theframe 7244. As above, eachpocket plate 7243 can have a plurality of moldedpockets 7242 defined therein.Anvil frame 7244 can includeretention slots 7246 defined therein, each of which can be configured to receiveretention rails 7247 extending frompocket plate 7243. In order to assemble thepocket plate 7243 to theanvil frame 7244, to expand theretention slot 7246 so that eachretention slot 7246 can receive theretention rail 7247 of theinterior pocket plate 7243, as shown in FIG. Theside wall 7245 may be refracted or widened outward. When theretention rail 7247 is placed in theretention slot 7246, thesidewall 7245 may be released, as shown in FIG. 178, so that theframe 7244 elastically contracts to its unbent state. Allows to do and / or return. Under such circumstances, theretention slot 7246 can contract and thereby capture theretention rail 7247 therein.Retention rail 7247 and / orretention slot 7246 may include one or more cooperating tapered surfaces such that after the refractedretention slot 7246 is released, the cam is withinretention slot 7246. A tapered locking engagement can be formed that can hold the retainingrail 7247. Similar to the above, thepocket plate 7243 can be made of the same material as theframe 7244 or a different material. For example, theplate 7243 can be made of, for example, a ceramic material, and theframe 7244 can be made of stainless steel and / or titanium. Depending on the materials used, at least one gluing process and / or at least one welding process may be used to secure theplate 7243 in theframe 7244 in various situations.

図179及び180において、外科用ステープル留め及び切断器具8010はアンビル8014を含んでよく、これは長尺状ステープル溝部材8016への枢動可能取り付けを中心に繰り返し開閉することができる。ステープル適用アセンブリ8012はアンビル8014と溝部材8016を含み、このアセンブリ8012の近位側が長尺状シャフト8018に近位側に取り付けられて実施部分8022を形成しうる。ステープル適用アセンブリ8012が閉じているとき、又は少なくともほぼ閉じているとき、実施部分8022は、トロカールにステープル適用アセンブリ8012を挿入するのに好適な、充分に小さな断面を呈しうる。アセンブリ8012は、シャフト8018に連結されたハンドル8020によって操作することができる。このハンドル8020は、例えば、長尺状シャフト8018とステープル適用アセンブリ8012とをシャフト8018の長手方向軸を中心に回転させる回転ノブ8030などのような、ユーザー制御を含みうる。閉鎖トリガ8026は、ピストルグリップ8036の前で、ハンドルハウジング8154を横断して横方向に係合する閉鎖トリガピン8152(図181)を中心に枢動することができ、これを押圧することでステープル適用アセンブリ8012を閉じることができる。本発明によれば、詳しくは後述されるように、閉鎖トリガ8026がクランプされたとき、閉鎖解放ボタン8038はハンドル8020上の外側にあってもよく、これにより解放ボタン8038を押圧して閉鎖トリガ8026のクランプを解除してステープル適用アセンブリ8012を開くことができる。発射トリガ8034は、閉鎖トリガ8026の前で枢動することができ、これによりステープル適用アセンブリ8012に、その中にクランプ締めされた組織の切断とステープルを同時に行わせることができる。様々な状況において、詳しくは後述されるように、発射トリガ8034を用いて複数の発射ストロークを利用し、ストローク1回につき、外科医の手がかける必要な力の量を低減することができる。ハンドル8020は、回転可能な右及び/又は左インジケーターホイール8040、8041(図181)を含んでもよく、これが発射の進行を示しうる。例えば、発射全行程は、発射トリガ8034の発射全ストローク3回分を必要としてよく、よってインジケーターホイール8040、8041は、発射トリガ8034の各ストローク当たり3分の1回転まで回転しうる。詳しくは後述されるように、手動発射解放レバー8042は、望ましい場合、発射全行程が完了する前に発射システムを後退させることができ、これに加えて、発射解放レバー8042は、発射システムが固着及び/又は失敗した場合に、外科医又は他の医師が、発射システムを後退させることを可能にする。  In FIGS. 179 and 180, the surgical stapling and cuttinginstrument 8010 may include ananvil 8014 that can be repeatedly opened and closed around a pivotable attachment to the elongatestaple groove member 8016.Staple application assembly 8012 may include ananvil 8014 and agroove member 8016, with the proximal side ofassembly 8012 attached proximally to elongateshaft 8018 to form animplementation portion 8022. When thestaple application assembly 8012 is closed, or at least substantially closed, theimplementation portion 8022 may exhibit a sufficiently small cross section suitable for inserting thestaple application assembly 8012 into the trocar. Theassembly 8012 can be operated by ahandle 8020 coupled to theshaft 8018. Thehandle 8020 can include user controls, such as, for example, arotary knob 8030 that rotates theelongate shaft 8018 andstaple application assembly 8012 about the longitudinal axis of theshaft 8018. Theclosure trigger 8026 can pivot about a closure trigger pin 8152 (FIG. 181) that engages laterally across thehandle housing 8154, in front of thepistol grip 8036, and pressing it causes the staple application. Theassembly 8012 can be closed. According to the present invention, as will be described in detail below, when theclosure trigger 8026 is clamped, theclosure release button 8038 may be on the outside of thehandle 8020, thereby pressing therelease button 8038 to close the closure trigger. The 8026 clamp can be released to open thestaple application assembly 8012. Thefiring trigger 8034 can pivot in front of theclosure trigger 8026 so that thestaple application assembly 8012 can simultaneously cut and staple the tissue clamped therein. In various situations, as will be described in detail below, afiring trigger 8034 can be used to utilize multiple firing strokes to reduce the amount of force required by the surgeon's hand per stroke. Thehandle 8020 may include rotatable right and / orleft indicator wheels 8040, 8041 (FIG. 181), which may indicate the progress of firing. For example, the full firing stroke may require three full firing strokes of thefiring trigger 8034, and thus theindicator wheels 8040, 8041 may rotate up to one third of a revolution for each stroke of thefiring trigger 8034. As will be described in detail below, the manualfiring release lever 8042 can retract the firing system before the entire firing stroke is completed, if desired, and in addition, the firingrelease lever 8042 can be secured to the firing system. And / or allows the surgeon or other physician to retract the firing system in case of failure.

図179及び181を参照すると、長尺状シャフト8018は長手方向に回帰する閉鎖管8024を含む外側構造を含んでいてよく、これが、ハンドル8020の閉鎖トリガ8026の近位方向押圧に応答して、アンビル8014を閉位置方向へと枢動させ得る。長尺状溝部材8018は、閉鎖管8024の内部にあるフレーム8028(図181)によってハンドル8020に連結されうる。フレーム8028は回転可能にハンドル8020に対して係合していてよく、これにより回転ノブ8030(図179)の回転が、実施部分8022を回転させることができる。図181を特に参照し、回転ノブ8030は2つの半シェルから構成されていてよく、これらは1つ以上の内向き突起8031を有してよく、これが、閉鎖管8024内の1つ以上の長尺状側面開口部8070を通って延在し、フレーム8028と係合することが可能である。上記の結果、回転ノブ8030とフレーム8028は一緒、又は同期的に回転することができ、これによりノブ8030の回転位置が、実施部分8022の回転位置を決定する。長い開口部8070の長手方向長さは、閉鎖管8024の長手方向の閉鎖方向の動きと開放方向の動きを可能にするのに充分な長さである。閉鎖管8024の閉じる動きの生成に関して、主に図181及び183を参照して、閉鎖トリガ8026の上部分8160は、閉鎖リンク8164を介して閉鎖ヨーク8162に向かって押すことができる。閉鎖リンク8164は閉鎖ヨークピン8166によってその遠位側が閉鎖ヨーク8162に枢動可能に取り付けられており、また閉鎖リンクピン8168によってその近位側が枢動可能に取り付けられている。閉鎖トリガ8026は、閉鎖トリガ張力ばね8246によって開位置に付勢され、このばねは近位側が閉鎖トリガ8026の上部分8160と、右半分及び左半分のシェル8156、8158によって形成されるハンドルハウジング8154とに連結されている。張力ばね8246によって適用された張力は、ヨーク8162、閉鎖リンク8164、及び閉鎖管8024を遠位方向に前進させるために閉鎖トリガ8026に適用される閉鎖力によって打ち負かされうる。  With reference to FIGS. 179 and 181, theelongate shaft 8018 may include an outer structure that includes a longitudinally returningclosure tube 8024, which is responsive to a proximal press of theclosure trigger 8026 of thehandle 8020,Anvil 8014 may be pivoted toward the closed position. Theelongated groove member 8018 can be coupled to thehandle 8020 by a frame 8028 (FIG. 181) inside theclosure tube 8024.Frame 8028 may be rotatably engaged to handle 8020 so that rotation of rotation knob 8030 (FIG. 179) can causeimplementation portion 8022 to rotate. With particular reference to FIG. 181, therotation knob 8030 may be comprised of two half-shells, which may have one or moreinward projections 8031, which may be one or more lengths within theclosure tube 8024. It can extend through the scaledside opening 8070 and engage theframe 8028. As a result of the above, therotary knob 8030 and theframe 8028 can rotate together or synchronously so that the rotational position of theknob 8030 determines the rotational position of theimplementation portion 8022. The longitudinal length of thelong opening 8070 is long enough to allow longitudinal closing and opening movements of theclosure tube 8024. With respect to generating the closing movement of theclosing tube 8024, mainly referring to FIGS. 181 and 183, theupper portion 8160 of theclosing trigger 8026 can be pushed toward theclosing yoke 8162 via theclosing link 8164. Theclosure link 8164 is pivotally attached to theclosure yoke 8162 at its distal side by aclosure yoke pin 8166 and is pivotally attached at its proximal side by aclosure link pin 8168. Theclosure trigger 8026 is biased to the open position by a closuretrigger tension spring 8246 which is proximally formed by atop portion 8160 of theclosure trigger 8026 and right and lefthalf shells 8156, 8158. And connected to The tension applied by thetension spring 8246 can be overcome by the closure force applied to theclosure trigger 8026 to advance theyoke 8162, theclosure link 8164, and theclosure tube 8024 in the distal direction.

上記のように閉鎖トリガ8026が作動又は押圧される際、閉鎖解放ボタン8038は、外科医又は他の医師が、望ましい場合に閉鎖解放ボタン8038を押して、閉鎖トリガ8026及び他の外科用器具を、非作動状態へと戻すことを可能にすることができる。閉鎖解放ボタン8038は中央外側枢動軸8173によって枢動するロッキングアーム8172に連結され、これにより、解放ボタン8038とロッキングアーム8172との間で動きが伝達されうる。図181を再び参照して、圧縮ばね8174は閉鎖解放ボタン8038を近位側に(すなわち、右から見たときに中央外側枢動軸8173を中心として時計方向に)付勢することができ、閉鎖トリガ8026の上部分8160は、後部ノッチ8171を備えた近位稜8170を含みうる。閉鎖トリガ8026が押圧されると、枢動ロッキングアーム8172が近位稜8170の上に乗り、閉鎖トリガ8026が完全に押圧された位置に達すると、後部ノッチ8171が枢動ロッキングアーム8172の下になり、後部ノッチ8171内に落下して後部ノッチ8171に対して、圧縮ばね8174の付勢力の下でロックされる。この時点で、閉鎖解放ボタン8038を手動押圧すると、枢動ロッキングアーム8172を上方向に回転させ、後部ノッチ8171から外れ、これによって閉鎖トリガ8026がアンロックされ、閉鎖トリガ8026が、クランプ締めされていない位置に戻ることができる。  When theclosure trigger 8026 is actuated or pressed as described above, theclosure release button 8038 causes the surgeon or other physician to depress theclosure release button 8038, if desired, to close theclosure trigger 8026 and other surgical instruments. It can be possible to return to the operating state. Theclosure release button 8038 is connected to alocking arm 8172 that is pivoted by a centralouter pivot shaft 8173 so that movement can be transmitted between therelease button 8038 and thelocking arm 8172. Referring again to FIG. 181,compression spring 8174 can biasclosure release button 8038 proximally (ie, clockwise about centralouter pivot axis 8173 when viewed from the right) Theupper portion 8160 of theclosure trigger 8026 can include aproximal ridge 8170 with arear notch 8171. When theclosure trigger 8026 is depressed, the pivotinglocking arm 8172 rides on theproximal ridge 8170 and when theclosure trigger 8026 reaches the fully depressed position, therear notch 8171 is below the pivotinglocking arm 8172. It falls into therear notch 8171 and is locked to therear notch 8171 under the biasing force of thecompression spring 8174. At this point, manually pressing theclosure release button 8038 will cause thepivoting locking arm 8172 to rotate upward and disengage from therear notch 8171, thereby unlocking theclosure trigger 8026 and closing thetrigger 8026 to be clamped. Can return to no position.

閉鎖トリガ8026が近位側でクランプ締めされると、上述のように、発射ロッド8032をハンドル8020から遠位方向に前進させるために、発射トリガ8034がピストルグリップ8036に向かって引っ張られうる。発射トリガ8034は横方向に横切る発射トリガピン8202を中心に枢動することができ、かつハンドル8020の右半分及び左半分のシェル8156、8158と係合している。発射トリガ8034は、作動されると、リンクされている伝達発射機構8150を前進させ得る。リンクされている伝達発射機構8150は、ばね8184によって後退された未発射位置へと付勢され、詳しくは後述されるように、このばねは第1に、ハンドル8020のピストルグリップ8036に取り付けられ、第2に、リンクされている伝達発射機構8150のリンクの1つに取り付けられる。ばね8184は、ハウジング8154に連結された不動端8186と、スチールバンド8192の近位端8190に連結された移動端8188とを含みうる。スチールバンド8192の遠位側端8194は、複数のリンク8196a〜8196dの前側リンク8196a上の取り付け機構8195に取り付けることができる。連結ラック8200は可撓性であってよく、これによりピストルグリップ8036側に容易に後退させてハンドル8020の長さを最小化する一方、まっすぐで剛性のラックアセンブリを形成することができ、これが発射ロッド8032に対して及び/又はこれを通して、顕著な発射力を伝達することができる。詳しくは後述されるように、発射トリガ8034は、発射トリガ8034の第1の作動中に第1のリンク8196aと係合し、発射トリガ8034の第2の作動中に第2のリンク8196bと係合し、発射トリガ8034の第3の作動中に第3のリンク8196cと係合し、及び発射トリガ8034の第4の作動中に第4のリンク8196dと係合することができ、発射トリガ8034の各作動により、連結ラック8200を遠位側に増分量前進させることができる。上記に対して更に、発射トリガ1034の複数のストロークが左右のインジケーターゲージホイール1040、1041を回転させ、これにより、連結ラック8200が前進した距離を示すことができる。  Once theclosure trigger 8026 is clamped proximally, thefiring trigger 8034 can be pulled toward thepistol grip 8036 to advance thefiring rod 8032 distally from thehandle 8020 as described above. Thefiring trigger 8034 can pivot about afiring trigger pin 8202 traversing laterally and is engaged with the right and lefthalf shells 8156, 8158 of thehandle 8020.Firing trigger 8034, when activated, may advance linkedtransmission firing mechanism 8150. The linkedtransmission firing mechanism 8150 is biased to the unfired position retracted by aspring 8184, which is first attached to thepistol grip 8036 of thehandle 8020, as will be described in detail below. Second, it is attached to one of the links of the linkedtransmission firing mechanism 8150.Spring 8184 may include a stationary end 8186 coupled tohousing 8154 and a movingend 8188 coupled toproximal end 8190 ofsteel band 8192. Thedistal end 8194 of thesteel band 8192 can be attached to anattachment mechanism 8195 on the front link 8196a of the plurality of links 8196a-8196d. Thelinkage rack 8200 may be flexible, which allows it to be easily retracted toward thepistol grip 8036 to minimize the length of thehandle 8020, while forming a straight and rigid rack assembly that is fired. A significant firing force can be transmitted to and / or through therod 8032. As described in more detail below, firingtrigger 8034 engages first link 8196a during a first actuation of firingtrigger 8034 and engages withsecond link 8196b during a second actuation of firingtrigger 8034. Thethird link 8196c during the third actuation of thefiring trigger 8034, and thefourth link 8196d during the fourth actuation of thefiring trigger 8034. Each of these actuations allows thelinkage rack 8200 to be advanced distally by an incremental amount. Further to the above, multiple strokes of the firing trigger 1034 can cause the left and rightindicator gauge wheels 1040, 1041 to rotate, thereby indicating the distance that the linkedrack 8200 has advanced.

次に図181及び183を参照して、後退防止機構8250は、発射ストロークの合間に、張力/圧縮併用ばね8184が、連結ラック8200を後退させるのを防ぐことができる。本発明によれば、連結スライドチューブ8131は第1のリンク8196aを支え、発射ロッド8032に連結して、発射運動を伝達する。発射ロッド8032は、フレーム8028の近位端から近位側に出て、後退防止プレート8266の貫通穴8408を通って延びる。貫通穴8408は、垂直に整列しているときに発射ロッド8032を摺動的に受容するが、傾いているときには拘束するような寸法にされている。下側タブアタッチメント8271はフレーム8028の近位端の下側リップから近位側に延び、後退防止プレート8266の下側エッジの開口部8296を通って延びる。この下側タブアタッチメント8271は、後退防止プレート8266の下側部分フレーム8028に近接するよう引っ張り、これによりこの後退防止プレート8266は、発射ロッド8032が遠位側に前進したときに垂直になり、発射ロッド8032が後退しようと試みると、上部後側を拘束状態に傾けることができる。後退防止圧縮ばね8264はフレーム8028の近位端によって遠位方向に拘束され、後退防止プレート8266の上部を近位方向に支えて、この後退防止プレート8266をロック状態に付勢している。ばねの付勢に対抗して、後退防止カムチューブ8268が連結スライドチューブ8131を摺動可能に包囲し、後退防止プレート8266を支える。後退防止カムチューブ8268に取り付けられた、近位側に突出している後退防止ヨーク8256は、閉鎖ヨーク8162の上を覆って延びる。  Referring now to FIGS. 181 and 183, theanti-retraction mechanism 8250 can prevent the combined tension /compression spring 8184 from retracting theinterlocking rack 8200 between firing strokes. According to the present invention, the connectingslide tube 8131 supports the first link 8196a and is connected to thefiring rod 8032 to transmit the firing motion.Firing rod 8032 exits proximally from the proximal end offrame 8028 and extends through throughhole 8408 inanti-retraction plate 8266. The through-hole 8408 is dimensioned to slidably receive thefiring rod 8032 when vertically aligned but to restrain when tilted. Thelower tab attachment 8271 extends proximally from the lower lip at the proximal end of theframe 8028 and extends through theopening 8296 in the lower edge of theanti-retraction plate 8266. Thelower tab attachment 8271 pulls close to the lowerpartial frame 8028 of theanti-retraction plate 8266 so that theanti-retraction plate 8266 becomes vertical when thefiring rod 8032 is advanced distally and fires. If therod 8032 attempts to retreat, the upper rear side can be tilted into a restrained state. Theanti-retraction compression spring 8264 is restrained in the distal direction by the proximal end of theframe 8028 and supports the upper portion of theanti-retraction plate 8266 in the proximal direction to urge theanti-retraction plate 8266 in a locked state. The reverse movementprevention cam tube 8268 slidably surrounds the connectingslide tube 8131 and supports the backwardmovement prevention plate 8266 against the spring bias. A proximally protrudinganti-retraction yoke 8256 attached to theanti-retraction cam tube 8268 extends over theclosure yoke 8162.

図181を参照すると、リンクトリガによる自動後退機8289が、外科用ステープル留め及び切断器具8010に組み込まれており、全発射行程の終わりにナイフを後退させる。この際、遠位リンク8196dにはタング8290が含まれ、これは、遠位リンク8196dが、閉鎖ヨーク8162内に形成されたラック溝部材8291(図181)内に前進すると、上向きに突出する。このタング8290は後退防止リリースレバー8248(図186)上の下側近位カム8292を起動するよう整列される。図186及び187を特に参照して、右半分及び左半分のシェル8156、8158内に形成された構造が、後退防止リリースレバー8248の動きを拘束する。右半分及び左半分のシェル8156、8158の間にそれぞれ形成されたピン受容部8296と円形ピン8293が、後退防止リリースレバー8248内に形成された長手方向に長尺の開口部8294を通って下側近位カム8292の遠位側に受容され、これにより、長手方向の並進とともに円形ピン8293を中心とする回転が可能になる。右半分シェル8156において、近位側開放溝部材8295には、近位側水平部8295aが含まれ、この部分は、後退防止リリースレバー8248の近位端近くで右向き後側ピン8297(図187)を受容する、上方及び遠位に角度がつけられた部分8295bと連通しており、これにより、後退防止リリースレバー8248が並進運動の最も遠位の部分に達したときに、上向きの回転を付与する。後退防止リリースレバー8248の近位側にある、右半分シェル8156内に形成されたブロック構造は、近位側開放溝部材8295内の右向き後側ピン8297を維持するよう組み立てられると、その近位側の動きを阻止する。  Referring to FIG. 181, a link triggerautomatic retractor 8289 is incorporated into the surgical stapling and cuttinginstrument 8010 to retract the knife at the end of the entire firing stroke. At this time, thedistal link 8196d includes atongue 8290 that protrudes upward as thedistal link 8196d advances into a rack groove member 8291 (FIG. 181) formed in theclosure yoke 8162. Thistongue 8290 is aligned to activate the lowerproximal cam 8292 on the anti-retraction release lever 8248 (FIG. 186). With particular reference to FIGS. 186 and 187, the structure formed in the right and lefthalf shells 8156, 8158 restrains the movement of theanti-retraction release lever 8248. Apin receiving portion 8296 and acircular pin 8293 formed between the right and lefthalf shells 8156 and 8158, respectively, pass through a longitudinallylong opening 8294 formed in theanti-retraction release lever 8248. Received on the distal side of the sideproximal cam 8292, which allows for rotation about thecircular pin 8293 with longitudinal translation. In theright half shell 8156, the proximalopen groove member 8295 includes a proximalhorizontal portion 8295a, which is a right-facingrear pin 8297 near the proximal end of the anti-retraction release lever 8248 (FIG. 187). In communication with an upwardly and distally angledportion 8295b that provides upward rotation when theanti-retraction release lever 8248 reaches the most distal portion of translational motion. To do. The block structure formed in theright half shell 8156 on the proximal side of theanti-retraction release lever 8248, when assembled to maintain the right-facingrear pin 8297 in the proximalopen groove member 8295, Block side movements.

上記に対して更に、図187及び188に示すように、後退防止リリースレバー8248の遠位端8254はこれにより遠位側及び下向きに付勢され、右向き前側ピン8298がこれによって右半分シェル8156内に形成された遠位側開放段差構造8299内に落とされ、これは、右向き前側ピン8298と長手方向に長尺の開口部8294との間の後退防止リリースレバー8248に上の左向きフック8301に引っ掛けられた圧縮ばね8300(図188)によってこの係合に付勢されている。圧縮ばね8300のもう一方の端は、閉鎖ヨーク8266の直上の、より近位側で下側の位置にある、右半分シェル8156内に形成されたフック8302(図186、188、189)に取り付けられている。圧縮ばね8300はこのようにして、後退防止リリースレバー8248の遠位端8254を下向き及び後ろ側に引っ張り、これにより、遠位側に前進したときに、右向き前側ピン8298が遠位側開放段差構造8299内に固定される。よって、図189を参照すると、いったん外されると、後退防止リリースレバー8248が前進したまま後退防止プレート8266を垂直に保持し、よって、連結ラック8200を後退させることができる。エンドエフェクタ8012のクランプを外して、これにより閉鎖ヨーク8266が後退すると、閉鎖ヨーク8266上の、上向きに突出しているリセットタング8303が、後退防止リリースレバー8248の下側遠位カム8305に接触し、右向き前側ピン8298を持ち上げて遠位側開放段差構造8299から出し、これにより、後退防止圧縮ばね8264が後退防止カムチューブ8268と後退防止リリースレバー8248を近位側に押して、それらの後退位置にすることができる(図186)。  Further to the above, as shown in FIGS. 187 and 188, thedistal end 8254 of theanti-retraction release lever 8248 is thereby biased distally and downward, thereby causing theright front pin 8298 to thereby move within theright half shell 8156. Dropped into a distalopen step structure 8299 formed on the left-hand hook 8301 on theanti-retraction release lever 8248 between the right-facingfront pin 8298 and the longitudinallylong opening 8294. The compression spring 8300 (FIG. 188) is biased to this engagement. The other end of thecompression spring 8300 attaches to a hook 8302 (FIGS. 186, 188, 189) formed in theright half shell 8156, just above theclosure yoke 8266, in a more proximal and lower position. It has been. Thecompression spring 8300 thus pulls thedistal end 8254 of theanti-retraction release lever 8248 downward and rearward, thereby causing the right-facingfront pin 8298 to move to the distal open step structure when advanced distally. It is fixed in 8299. Thus, referring to FIG. 189, once removed, theanti-retraction release lever 8248 is held forward to hold theanti-retraction plate 8266 vertically, and thus the connectingrack 8200 can be retracted. When theend effector 8012 is unclamped and thereby theclosure yoke 8266 is retracted, the upwardly projectingreset tongue 8303 on theclosure yoke 8266 contacts the lower distal cam 8305 of theanti-retraction release lever 8248; Theright forward pin 8298 is lifted out of the distalopen step structure 8299 so that theanti-retraction compression spring 8264 pushes theanti-retraction cam tube 8268 and theanti-retraction release lever 8248 proximally into their retracted positions. (FIG. 186).

図179及び189を参照すると、発射トリガ8034は、任意の適当な方法で、連結ラック8200に操作可能に係合させることができる。図180及び185を特に参照し、発射トリガ8034は、ハウジング8154に連結された発射トリガピン8202を中心に枢動する。発射トリガ8034の上側部分8204は、発射トリガ8034がピストルグリップ8036の方へと押圧されると、発射トリガピン8202を中心に遠位方向に動き、発射トリガ8034の上側部分8204とハウジング8154との間で近位側に連結された、近位方向に定置された発射トリガ張力ばね8206(図181)を伸張する。発射トリガ8034の上側部分8204は、ばねで付勢された側面つめ機構8210を介して、毎回の発射トリガ押圧の間、連結ラック8200を係合する。発射トリガが解放されると、この側面つめ機構が、連結ラック8200から外れ、発射トリガが非押圧(非発射)位置に戻ることができる。使用時には、リンク8196a〜8196dのそれぞれにおいて、近位側及び右側に向いた斜面8284によって形成されている、傾斜面右側トラックが、側面つめアセンブリ8285によって係合される。特に、つめスライド8270(図181及び183)は、右下及び左下ガイド8272を有し、これらはそれぞれ、ラック溝部材8291の下の閉鎖ヨーク8266内に形成された左側トラック8274(図181)と、ラック溝部材8291に平行でラック溝部材カバー8277に取り付けられている閉鎖ヨーク8276内の右側トラック8275とに、それぞれ摺動し、ここで溝部材カバー8277は、つめスライド8270の行程に対して遠位側の閉鎖ヨーク8266内で、ラック溝部材8291の右向き開放部分を閉じる。図181、182、及び185において、圧縮ばね8278は、閉鎖ヨークレール8276の上の上側近位位置にあるフック8279と、つめスライド8270の遠位右側にあるフック8280との間に取り付けられており、これが、つめスライド8270を近位側に引っ張って、発射トリガ8034の上側部分8204に接触させた状態にしている。  Referring to FIGS. 179 and 189, thefiring trigger 8034 can be operably engaged with thelinkage rack 8200 in any suitable manner. With particular reference to FIGS. 180 and 185, firingtrigger 8034 pivots about firingtrigger pin 8202 coupled tohousing 8154. Theupper portion 8204 of thefiring trigger 8034 moves distally about the firingtrigger pin 8202 when thefiring trigger 8034 is pressed toward thepistol grip 8036 and between theupper portion 8204 of thefiring trigger 8034 and thehousing 8154. The proximally placed firing trigger tension spring 8206 (FIG. 181) is extended proximally. Theupper portion 8204 of thefiring trigger 8034 engages thelinkage rack 8200 during each firing trigger press via a spring biasedside pawl mechanism 8210. When the firing trigger is released, the side pawl mechanism can be disengaged from thelinkage rack 8200 and the firing trigger can be returned to the non-pressed (non-fired) position. In use, an inclined right track, formed by a proximal and right-facingramp 8284, is engaged by aside pawl assembly 8285 in each of the links 8196a-8196d. In particular, pawl slide 8270 (FIGS. 181 and 183) has a lower right and lower left guide 8272, each of which has a left track 8274 (FIG. 181) formed in aclosing yoke 8266 belowrack groove member 8291. , And slides to the right track 8275 in theclosing yoke 8276 that is parallel to therack groove member 8291 and attached to the rackgroove member cover 8277, where thegroove member cover 8277 is relative to the stroke of thepawl slide 8270. Within thedistal closing yoke 8266, the right open portion of therack groove member 8291 is closed. 181, 182, and 185,compression spring 8278 is mounted betweenhook 8279 in the upper proximal position aboveclosure yoke rail 8276 andhook 8280 on the distal right side ofpawl slide 8270. This pullspawl slide 8270 proximally into contact withupper portion 8204 of firingtrigger 8034.

図181を特に参照し、つめブロック8318は、垂直後方ピン8320を中心に枢動するつめスライド8270の上に乗っており、このピンはつめブロック8318とつめスライド8230の左近位角を貫通している。キックアウトブロック凹部8322が、垂直ピン8236により枢動可能にピン止めされているキックアウトブロック8324を受容するよう、ブロック8318の上面の遠位部分に形成されており、このピンの下側先端は、つめスライド8270の上面のつめばね凹部8328内へと延在している。つめばね凹部8328内のつめばね8330は、垂直前側ピン8326の右側に延び、つめブロック8318を、上から見て時計方向に回転するよう付勢し、傾斜した右側トラック8282に係合させる。キックアウトブロック凹部8322内の小さなコイルばね8322は、キックアウトブロック8324を、上から見て時計方向に回転するよう付勢し、その近位端は、ラック溝部材8291の上の閉鎖ヨーク8266内に形成された凹凸のあるリップ8334に接触するよう付勢されている。図184に示すように、小さなコイルばね8332よりも、つめばね8330の方がより強い機械的利点を有しているため、このことは、つめブロック8318が、時計方向に回転したキックアウトブロック8324と係合する傾向になることを意味する。図185において、発射トリガ8034が完全に押圧され、解放され始めると、つめスライド8270が後退する際に、キックアウトブロック8324が、凹凸のあるリップ8334内の隆起部8336に当たり、キックアウトブロック8324を上から見て時計方向に回転させ、これによってつめブロック8318を、連結ラック8200との係合から追い出す。キックアウトブロック凹部8322の形状により、キックアウトブロック8324の時計方向回転が停止して、凹凸のあるリップ8334に対して垂直の向きになり、完全後退の間中、この外れた状態を維持し、これによりラチェットノイズを解消する。  With particular reference to FIG. 181,pawl block 8318 rides onpawl slide 8270 pivoting about verticalrear pin 8320, which passes through the left proximal corner ofpawl block 8318 andpawl slide 8230. Yes. A kickout block recess 8322 is formed in the distal portion of the top surface ofblock 8318 to receive akickout block 8324 pivotally pinned by avertical pin 8236, the lower tip of this pin being , Extending into thepawl spring recess 8328 on the upper surface of thepawl slide 8270. A pawl spring 8330 inpawl spring recess 8328 extends to the right side of verticalfront pin 8326 and urgespawl block 8318 to rotate clockwise as viewed from above to engage inclinedright track 8282. A small coil spring 8322 in the kickout block recess 8322 urges thekickout block 8324 to rotate clockwise as viewed from above, with its proximal end within theclosure yoke 8266 above therack groove member 8291. It is urged | biased to contact the uneven |corrugated lip 8334 formed in this. This is because the pawl spring 8330 has a stronger mechanical advantage than the small coil spring 8332, as shown in FIG. Means tending to engage. In FIG. 185, when thefiring trigger 8034 is fully pressed and begins to be released, when thepawl slide 8270 is retracted, thekickout block 8324 hits the raised portion 8336 in theuneven lip 8334 and thekickout block 8324 is When viewed from above, thepawl block 8318 is rotated from the engagement with the connectingrack 8200 by rotating clockwise. Due to the shape of the kickout block recess 8322, the clockwise rotation of thekickout block 8324 stops and is oriented perpendicular to theuneven lip 8334, maintaining this disengaged state during complete retraction, This eliminates ratchet noise.

図181、183、190、及び195において、外科用ステープル留め及び切断器具8010は、発射機構の手動解放、手動後退を提供し、及び1つのバージョン(図196〜202)では更に、完全発射行程の最後に自動後退を実施する、手動後退機構8500を含みうる。次に図181、190、及び191を参照すると、特に、前側アイドラーギア8220は、連結ラック8200の歯のある左上側表面8222に係合し、このとき前側アイドラーギア8220は、小さな右側ラチェットギア8231を有する後側アイドラーギア8230にも係合する。前側アイドラーギア8220と後側アイドラーギア8230は、それぞれ前側アイドラー軸8232と後側アイドラー軸8234の上で、ハンドルハウジング8154に回動可能に連結されている。後側軸8232の両端はそれぞれハウジング右半分シェルと左半分シェル8156、8158を貫通して延在し、左右のインジケーターゲージホイール8040、8041に取り付けられているため、後側軸8234がハンドルハウジング8154内で自由にスピンし後側ギア8230へのキー係合を有していることにより、インジケーターゲージホイール8040、8041が後側ギア8230とともに回転する。連結ラック8200とアイドラーギア8220と後側ギア8230との間のギアの関係は、歯状上方表面8222が好適な強さの歯寸法を有し、連結した伝送発射機構8150の完全な発射移動中に後側ギア8230が1回転未満回転するように、有利に選択されうる。発射行程又は進行を視覚的に示すギア機構8502に加えて、ギア機構8502は更に、ナイフを手動で後退させるのに使用することもできる。後側アイドラーギア8230の右側の小さなラチェットギア8231は、手動後退レバー8042のハブ8506内に延在し、特にハブ8506を二分する、垂直長手方向に揃えて整列されたスロット8508(図190)に整列される。ハブ8506の横貫通穴8510は、上側凹部8512と連通している。前側部分8514は、近位側に導かれるロックつめ8516を受容するよう形作られ、このロックつめは、上側凹部8512の遠位端に形成された右向き横方向ピン8518を中心に枢動する。後側部分8520は、L字型ばねタブ8522を受容するよう形作られ、これがロックつめ8516を下方向に付勢し、右側の小さなラチェットギア8231に係合させる。保持構造8524(図186及び193)は右半分シェル8156から上側凹部8512内に突出しており、手動後退レバー8042が下りているときは、右側の小さなラチェットギア8231に係合しないようにロックつめ8516を上に保持する(図193)。コイルばね8525(図181)は、手動後退レバー8042を下方向に付勢する。  In FIGS. 181, 183, 190, and 195, the surgical stapling and cuttinginstrument 8010 provides manual release of the firing mechanism, manual retraction, and in one version (FIGS. 196-202) further of the full firing stroke. Amanual retraction mechanism 8500 may be included that finally performs automatic retraction. Referring now to FIGS. 181, 190, and 191, in particular, thefront idler gear 8220 engages the toothed upperleft surface 8222 of the connectingrack 8200, where thefront idler gear 8220 is a smallright ratchet gear 8231. Therear idler gear 8230 having Thefront idler gear 8220 and therear idler gear 8230 are rotatably connected to thehandle housing 8154 on thefront idler shaft 8232 and therear idler shaft 8234, respectively. Both ends of therear shaft 8232 extend through the housing right half shell and theleft half shell 8156, 8158, respectively, and are attached to the left and rightindicator gauge wheels 8040, 8041. Theindicator gauge wheels 8040 and 8041 rotate together with therear gear 8230 by freely spinning inside and having key engagement with therear gear 8230. The gear relationship between thelinkage rack 8200,idler gear 8220, andrear gear 8230 is such that the toothedupper surface 8222 has a tooth size of suitable strength and during complete firing movement of the connectedtransmission firing mechanism 8150. Therear gear 8230 can be advantageously selected such that it rotates less than one revolution. In addition to thegear mechanism 8502 that visually indicates the firing stroke or progression, thegear mechanism 8502 can also be used to manually retract the knife. Asmall ratchet gear 8231 on the right side of therear idler gear 8230 extends into thehub 8506 of themanual retraction lever 8042, particularly in a vertically aligned longitudinally aligned slot 8508 (FIG. 190) that bisects thehub 8506. Aligned. The lateral throughhole 8510 of thehub 8506 communicates with theupper recess 8512. Thefront portion 8514 is shaped to receive a proximally guidedlocking pawl 8516 that pivots about a rightwardlateral pin 8518 formed at the distal end of theupper recess 8512. Therear portion 8520 is shaped to receive an L-shapedspring tab 8522 that biases thelocking pawl 8516 downward and engages asmall ratchet gear 8231 on the right side. The retaining structure 8524 (FIGS. 186 and 193) protrudes from theright half shell 8156 into theupper recess 8512 andlock pawl 8516 so that it does not engage thesmall ratchet gear 8231 on the right when the manual retractlever 8042 is lowered. Is held up (FIG. 193). A coil spring 8525 (FIG. 181) biases themanual retraction lever 8042 downward.

使用時には、図192及び193に示されるように、張力/圧縮併用ばね8184は、遠位側に配置された連結ラックとの連結が外れた状態になりうる。図194及び195において、手動後退レバー8042が上がると、ロックつめ8516が時計方向に回転し、保持構造8524により保持されなくなり、小さな右側ラチェットギア8231に係合し、後側アイドラーギア8230を左から見て時計方向に回転させる。よって、前側アイドラーギア8220は反時計方向に動き、連結ラック8200を後退させる。加えて、右側にカーブした稜8510が、ハブ8506から突出し、後退防止リリースレバー8248と接触して遠位方向に動かすような寸法にされており、これにより、手動後退レバー8042が回転すると、後退防止機構8250が解放される。  In use, as shown in FIGS. 192 and 193, the combined tension /compression spring 8184 can be disconnected from the distally disposed linkage rack. In FIGS. 194 and 195, when themanual retraction lever 8042 is raised, thelock pawl 8516 rotates in the clockwise direction and is not held by the holdingstructure 8524, engages the smallright ratchet gear 8231, and therear idler gear 8230 is moved from the left. Rotate clockwise to see. Therefore, thefront idler gear 8220 moves counterclockwise, and moves the connectingrack 8200 backward. In addition, aridge 8510 curved to the right protrudes from thehub 8506 and is dimensioned to move distally in contact with theanti-retraction release lever 8248 so that when themanual retraction lever 8042 rotates, Theprevention mechanism 8250 is released.

図196〜202において、外科用ステープル留め及び切断器具8010a用の自動後退機構8600には、完全発射行程の最後に、歯8602を有する前側アイドラーギア8220aに入り、この歯は、3回の発射ストロークに対応するほぼ完全な1回転を行った後、ブロック8608に当たるまで、カムホイール8606内の円形溝8604内で動くような、自動後退が組み込まれうる。そのような状況において、右側稜8610は上方向に回転されて下側カム凹部8612に接触し、後退防止リリースレバー8248aを遠位方向に動かす。図197を特に参照して、後退防止リリースレバー8248aには、前述のように作動する遠位端8254が含まれる。右半分及び左半分のシェル8156、8158に形成された円形ピン8293とピン受容部8296は、下側カム8192の後側の後退防止リリースレバー8248a内に形成された、概ね矩形の開口部8294aを通って受容され、これにより、後退防止リリースレバー8248aの遠位端8254の長手方向並進と下向きのロック運動とが可能になる。右半分シェル8156において、水平近位開放溝部材8295aが、後退防止リリースレバー8248aの近位端近くの右向き後側ピン8297を受容する。  In FIGS. 196-202, theautomatic retraction mechanism 8600 for the surgical stapling and cutting instrument 8010a enters thefront idler gear 8220a with theteeth 8602 at the end of the full firing stroke, which teeth have three firing strokes. An automatic retraction may be incorporated that moves within acircular groove 8604 in thecam wheel 8606 after making a nearly complete one turn corresponding to. In such a situation, theright ridge 8610 is rotated upward to contact thelower cam recess 8612 and move theanti-retraction release lever 8248a in the distal direction. With particular reference to FIG. 197,anti-retraction release lever 8248a includes adistal end 8254 that operates as described above. Circular pins 8293 andpin receptacles 8296 formed in the right and lefthalf shells 8156, 8158 have a generallyrectangular opening 8294a formed in the back-releaseprevention release lever 8248a on the rear side of thelower cam 8192. Received through, thereby allowing longitudinal translation and downward locking movement of thedistal end 8254 of theanti-retraction release lever 8248a. In theright half shell 8156, a horizontal proximalopen groove member 8295a receives a right-facingrear pin 8297 near the proximal end of theanti-retraction release lever 8248a.

操作中、発射前に、図198、198Aにおいて、連結ラック8200と後退防止カムチューブ8268は後退位置にあり、後退防止圧縮ばね8264が近位側で後退防止プレート8266に接触して、後退防止機構8250を固定している。自動後退機構8600は、後退防止リリースレバー8248aが、前側アイドラーギア8220aに接触するリンク8196aで後退された状態の初期状態である。歯8602は、反時計方向に進行する円形溝8604の全行程で、歯8602のすぐ近位側に右向き稜8610がある状態で、6時の位置にある。図199、199Aにおいて、1回の発射ストロークにより、1つの遠位リンク8196bを前進させ、前側アイドラーギア8220aに接触させる。歯8602は、静止カムホイール8606の円形溝8604を通って3分の1回転進行する。図200、200Aにおいて、第2の発射ストロークにより、もう1つのリンク8196cを前進させ、前側アイドラーギア8220aに接触させる。歯8602は、静止カムホイール8606の円形溝8604を通って3分の2回転進行する。図201、201Aにおいて、第3の発射ストロークにより、1つの遠位リンク8196dを前進させ、前側アイドラーギア8220aに接触させる。歯8602は円形溝8604を完全に1回転してブロック8608に接触し、カムホイール8606の反時計方向回転(右から見たときに)を開始し、右向き稜8608を後退防止リリースレバー8248aに接触させる。図202において、後退防止リリースレバー8248aは、それに応答して遠位側に動き、右向き前側ピン8298を遠位側開放段差構造8299に固定し、後退防止機構8250を解放する。同様の外科用ステープル留め器具が、米国特許第7,083,075号(2006年8月1日発行)に開示されており、その開示内容全体を参照により本明細書に援用する。  In operation, prior to firing, in FIGS. 198 and 198A, thelinkage rack 8200 andanti-retraction cam tube 8268 are in the retracted position and theanti-retraction compression spring 8264 contacts theanti-retraction plate 8266 proximally to prevent the anti-retraction mechanism. 8250 is fixed. Theautomatic reverse mechanism 8600 is an initial state in which the reverseprevention release lever 8248a is retracted by the link 8196a that contacts thefront idler gear 8220a. Thetooth 8602 is at the 6 o'clock position, with the right-hand ridge 8610 just proximal to thetooth 8602 in the entire stroke of thecircular groove 8604 traveling in the counterclockwise direction. In FIG. 199, 199A, a single firing stroke advances onedistal link 8196b and contacts thefront idler gear 8220a. Theteeth 8602 travel one third of a turn through thecircular groove 8604 of thestationary cam wheel 8606. In FIGS. 200 and 200A, the second firing stroke causes theother link 8196c to advance and contact thefront idler gear 8220a. Theteeth 8602 travel two thirds through thecircular groove 8604 of thestationary cam wheel 8606. In FIGS. 201 and 201A, the third firing stroke causes onedistal link 8196d to advance and contact thefront idler gear 8220a. Thetooth 8602 makes a complete rotation of thecircular groove 8604 to contact theblock 8608, starts the counterclockwise rotation of the cam wheel 8606 (when viewed from the right), and contacts therightward ridge 8608 to theanti-retraction release lever 8248a. Let In FIG. 202, theanti-retraction release lever 8248a moves distally in response thereto, fixing theright forward pin 8298 to the distalopen step structure 8299 and releasing theanti-retraction mechanism 8250. A similar surgical stapling instrument is disclosed in US Pat. No. 7,083,075 (issued August 1, 2006), the entire disclosure of which is incorporated herein by reference.

図203を参照すると、外科用ステープル留め器具9010のステープル適用アセンブリ9012は、シャフトフレーム9070に対してシャフト9016を長手方向に下げるよう伝達される2つの異なる動きによって、組織上にクランプし、ステープルを駆動し、組織を切断する機能を達成する。このシャフトフレーム9070は、外科用ステープル留め器具のハンドルに近位側が取り付けられ、長手方向軸を中心に回転するよう連結されている。外科用ステープル留め及び切断用器具の例示的なマルチストロークハンドルは、その開示内容の全体を参照により本明細書に援用する、同時係属かつ共同出願の米国特許出願第10/374,026号「SURGICAL STAPLING INSTRUMENT INCORPORATING A MULTISTROKE FIRING POSITION INDICATOR AND RETRACTION MECHANISM」に詳細が記述されている。本発明と共通する他の適用では、例えば、同時係属かつ共同出願の、本明細書にその開示内容の全体を援用するところの米国特許出願第10/441,632号「SURGICAL STAPLING INSTRUMENT HAVING SEPARATE DISTINCT CLOSING AND FIRING SYSTEMS」に述べられるような単一発射ストロークを組み込むことができる。  Referring to FIG. 203, thestaple application assembly 9012 of thesurgical stapling instrument 9010 clamps the staples on the tissue by two different movements transmitted to theshaft frame 9070 to longitudinally lower theshaft 9016. Drives and achieves the function of cutting tissue. Theshaft frame 9070 is attached proximally to the handle of the surgical stapling instrument and is connected to rotate about the longitudinal axis. An exemplary multi-stroke handle for a surgical stapling and cutting instrument is described in co-pending and co-pending US patent application Ser. No. 10 / 374,026, “SURGICAL”, the entire disclosure of which is incorporated herein by reference. Details are described in “STAPLING INSTRUMENT INCORPORATION A MULTISTROKE FIRING POSITION INDICATOR AND RETRATION MECHANISM”. Other applications in common with the present invention include, for example, co-pending and co-pending US patent application Ser. No. 10 / 441,632 “SURGICAL STAPLING INSTRUMENT HAVING SEPARATE DISTINCT, which is hereby incorporated by reference in its entirety. A single firing stroke can be incorporated as described in “CLOSING AND FIRING SYSTEMS”.

図204を特に参照して、シャフトフレーム9070の遠位端が、ステープル溝部材9018に取り付けられている。アンビル9022は、ステープル溝部材9018の近位端9074内に枢動可能に受容される近位枢動端9072を有し、これはシャフトフレーム9070との係合のすぐ遠位側である。アンビル9022が下向きに枢動すると、アンビル9022が、組織接触表面9028を動かし、相対するステープルカートリッジに向かってポケット9026を形成し、これについては下記に詳述される。アンビル9022の枢動端9072には、近位側であるが、ステープル溝部材9018との枢動可能な取付よりも遠位側にある、閉鎖機構9076が含まれる。よって、閉鎖管9078は、その遠位端にこの閉鎖機構9076と係合する馬蹄形開口部9080が含まれ、上述と同様に、閉鎖トリガに応じてシャフトフレーム9070の上を摺動しながら、閉鎖管907の、近位側長手方向運動中にアンビル9022に対する開放運動と、遠位側長手方向運動中にアンビル9022に対する閉鎖運動とを選択的に付与する。シャフトフレーム9070は、長手方向に往復する2ピースのナイフ及び発射バー9090を介して、ハンドルからの発射運動を包含しガイドする。特に、シャフトフレーム9070には、長手方向に往復する2ピースのナイフ及び発射バー9090の近位部分を受容する長手方向発射バースロット9092が含まれ、具体的にはラミネート先細発射バー9094が含まれる。ラミネート先細発射バー9094は、固体の発射バー及び/又はその他の好適な材料で置き換えられうることが理解されよう。  With particular reference to FIG. 204, the distal end ofshaft frame 9070 is attached tostaple groove member 9018.Anvil 9022 has aproximal pivot end 9072 that is pivotally received withinproximal end 9074 ofstaple groove member 9018, which is just distal to engagement withshaft frame 9070. As theanvil 9022 pivots downward, theanvil 9022 moves thetissue contacting surface 9028 to form apocket 9026 toward the opposing staple cartridge, as described in detail below. Thepivot end 9072 of theanvil 9022 includes aclosure mechanism 9076 that is proximal but distal to the pivotable attachment with thestaple channel member 9018. Thus, theclosure tube 9078 includes a horseshoe-shapedopening 9080 at its distal end that engages theclosure mechanism 9076 and, as described above, slides over theshaft frame 9070 in response to a closure trigger.Tube 907 is selectively imparted with an opening movement relative toanvil 9022 during proximal longitudinal movement and a closing movement relative toanvil 9022 during distal longitudinal movement. Theshaft frame 9070 includes and guides the firing movement from the handle via a two piece knife and firingbar 9090 reciprocating in the longitudinal direction. In particular, theshaft frame 9070 includes a longitudinally reciprocating two-piece knife and a longitudinalfiring bar slot 9092 that receives a proximal portion of thefiring bar 9090, specifically a laminated taperedfiring bar 9094. . It will be appreciated that the laminated taperedfiring bar 9094 can be replaced with a solid firing bar and / or other suitable material.

Eビーム9102は、2ピースのナイフ及び発射バー9090の遠位部分であり、これは別々の閉鎖と発射を促進し、また発射中に長尺状ステープル溝部材9018からのアンビル9022の間隔あけを促進する。特に図204及び205を参照して、鑞付け又は接着剤などの任意の取付処理に加えて、ナイフ及び発射バー9090は、Eビーム9102内に近位側に形成されたメスの垂直取付開口部9104で形成され、これが、ラミネート先細発射バー9094により遠位側に置かれる、対応するオスの取付部材9106を受容し、これにより、それぞれの部分が、それぞれ異なる機能に好適な選択された材料及びプロセスで形成される(例えば強度、可撓性、摩擦)。Eビーム9102は、一対の上側ピン9110、一対の中間ピン9112、及び下側ピン又は脚9114を形成するのに好適な材料特性を有し、かつ鋭い刃先9116を得ることができるような材料で、有利なように形成されうる。加えて、刃先9116の各垂直端を支えて保持している、一体形成され近位側に突出している上側ガイド9118及び中間ガイド9120は更に、切断の前に組織を鋭い刃先9116の方へガイドするのを補助する組織準備エリア9122を画定する。中間ガイド9120は更に、ウェッジスレッド9126(図206)の段付き中央部材9124を支えることによりステープル適用器具9012を係合かつ発射するのに使用され、詳しくは後述されるように、ステープル適用アセンブリ9012によるステープル成形を行う。これらの形状(例えば上側ピン9110、中間ピン9112及び下側脚9114)をEビーム9102とともに一体形成することで、複数の部品を組み立てた場合に比べ、互いに対しての許容誤差を小さくして製造することが促進され、これによって、ステープル適用アセンブリ9012の、発射中の望ましい動作及び/又は様々なロックアウト機能との効果的な相互作用が確実になる。  E-beam 9102 is the distal part of a two-piece knife and firingbar 9090 that facilitates separate closure and firing and also spacedanvil 9022 from elongatestaple channel member 9018 during firing. Facilitate. With particular reference to FIGS. 204 and 205, in addition to any attachment process such as brazing or adhesive, the knife and firingbar 9090 is a female vertical attachment opening formed proximally within theE-beam 9102. 9104, which receives a correspondingmale attachment member 9106 that is placed distally by a laminated taperedfiring bar 9094 so that each portion is selected with a selected material suitable for a different function and Formed in the process (eg strength, flexibility, friction). TheE-beam 9102 has a material characteristic suitable for forming the pair ofupper pins 9110, the pair ofintermediate pins 9112, and the lower pins orlegs 9114, and is made of a material capable of obtaining asharp cutting edge 9116. Can be formed in an advantageous manner. In addition, the integrally formed proximally projectingupper guide 9118 andintermediate guide 9120 that support and hold each vertical end of thecutting edge 9116 further guide tissue toward thesharp cutting edge 9116 prior to cutting. Atissue preparation area 9122 is defined to assist in doing so. Theintermediate guide 9120 is further used to engage and fire thestaple applicator 9012 by supporting the steppedcentral member 9124 of the wedge thread 9126 (FIG. 206), as will be described in more detail below. Staple forming is performed. These shapes (for example, theupper pin 9110, theintermediate pin 9112, and the lower leg 9114) are integrally formed with theE-beam 9102, so that the tolerance with respect to each other is made smaller than when a plurality of parts are assembled. This facilitates the effective operation of thestaple application assembly 9012 with the desired operation during firing and / or various lockout functions.

図207及び208において、ステープル適用アセンブリ9012は開いた状態で、Eビーム9102は完全に後退した状態で示されている。組立中、Eビーム9102の下側脚9114は、ステープル溝部材9018内の広がった穴9130を通ってこの中に落ち、次にEビーム9102が前進し、これによってEビーム9102が、ステープル溝部材9018内に形成された下側トラック9132に沿って遠位側に摺動する。特に、下側トラック9132には、ステープル溝部材9018の下側表面の広がったスロット9134として開放している狭いスロット9133が含まれ、これは図208及び209に特に示すように、広がった穴9130と連通した、横断面における逆T字型を形成する。いったん組み立てると、ラミネート先細発射バー9094に近位側が連結されたコンポーネントにより、下側脚9114が再び近位側に移動して広がった穴9130に入り係合を外すことは許さない。図210を参照すると、ラミネート先細発射バー9094は、ステープル適用アセンブリ9012をトロカールを通して挿入することを促進する。特に、完全に後退したときに、より遠位で下側の突起9136がEビーム9102を持ち上げる。これは、ステープル溝部材9018内の広がった穴9130の近位側エッジに、上向きにカムが係合する点の、下向き突起9136の配置によって達成される。次に図211を参照すると、ラミネート先細発射バー9094は更に、特定のロックアウト機構の操作を強化し、このような機構は、発射行程の最初の部分の間にシャフトフレーム9070によって下向きに付勢される、より近位側の上向き突起9138を含めることによって、ステープル溝部材9018に組み込まれうる。特に、横方向バー9140は、シャフトフレーム9070内の一対の矩形開口部9142の間で画定される(図204)。横方向バー9140を包むクリップばね9144が、長手方向発射バースロット9092から遠位側に突出しているラミネート先細発射バー9094の一部分を下向きに付勢し、これにより、適切な場合に、特定の有利なロックアウト機構が確実に係合される。この付勢は、上向き突起9138がクリップばね9144に接触するとき、発射行程の一部だけに対していっそう際立ち、又はいっそう制限される。  In FIGS. 207 and 208, thestaple application assembly 9012 is shown open and theE-beam 9102 is shown fully retracted. During assembly, thelower leg 9114 of theE-beam 9102 falls into this through the widenedhole 9130 in thestaple groove member 9018, and then theE-beam 9102 is advanced so that theE-beam 9102 is moved into the staple groove member. Slide distally alonglower track 9132 formed in 9018. In particular, thelower track 9132 includes anarrow slot 9133 that opens as awidened slot 9134 on the lower surface of thestaple groove member 9018, which is a widenedhole 9130, as shown particularly in FIGS. 208 and 209. Inverted T-shaped in cross section, communicating with the. Once assembled, the component connected proximally to the laminated taperedfiring bar 9094 does not allow thelower leg 9114 to move proximally again into the widenedhole 9130 and disengage. Referring to FIG. 210, a laminatedtapered firing bar 9094 facilitates insertion of thestaple application assembly 9012 through the trocar. In particular, the more distal andlower projection 9136 lifts theE-beam 9102 when fully retracted. This is accomplished by the placement of thedownward projection 9136 at the point where the cam engages upwardly at the proximal edge of the widenedhole 9130 in thestaple groove member 9018. Referring now to FIG. 211, the laminatedtaper firing bar 9094 further enhances the operation of certain lockout mechanisms that are biased downward by theshaft frame 9070 during the initial portion of the firing stroke. Can be incorporated intostaple groove member 9018 by including a more proximalupward projection 9138. In particular, thetransverse bar 9140 is defined between a pair ofrectangular openings 9142 in the shaft frame 9070 (FIG. 204). Aclip spring 9144 wrapping thetransverse bar 9140 biases downward a portion of the laminated taperedfiring bar 9094 that projects distally from the longitudinalfiring bar slot 9092, thereby providing certain advantages when appropriate. A secure lockout mechanism is securely engaged. This bias is more prominent or more limited to only a portion of the firing stroke when theupward projection 9138 contacts theclip spring 9144.

図207及び208において、Eビーム9102は、アンビル9022の枢動近位端近くのアンビルポケット9150内で、Eビーム9102の上側ピン9110によって後退される。下向きの開放垂直アンビルスロット9152(図203)は、アンビル9022内で横方向に広げてアンビル内部トラック9154にし、発射中にこれが遠位側に前進する際、図210及び211に示すように、ステープル溝部材9018からのアンビル9022の間隔を積極的にあけて、Eビーム9102の上側ピン9110を捕捉する。よって、Eビーム9102が後退した状態で、外科医は、ステープルと切断のために中に捕捉した組織の配置と向きに満足するまで、繰り返して、ステープル適用アセンブリ9012を開閉することができ、しかも、Eビーム9102は、直径が小さく、それに対応して剛性が低減したステープル適用アセンブリ9012にであっても、組織の適切な配置を支援する。図203、204、206、207、209、及び215において、ステープル適用アセンブリ9012が、ウェッジスレッド9126を含む交換可能ステープルカートリッジ9020とともに示されている。長手方向に整列した平行な複数の下向き開放ウェッジスロット9202(図209)は、ウェッジスレッド9126に一体化されたそれぞれのウェッジ9204を受容する。図209〜211において、ウェッジスレッド9126は複数のステープルドライバ9206に上向きにカム係合し、このドライバはステープルドライバ凹部9208内で垂直に摺動可能である。この例示バージョンにおいて、各ステープルドライバ9206には、2本の垂直の尖った突起があり、それぞれが、それぞれのステープル穴9210又はキャビティ9024内へと上向きに移動して、ステープル9023を上向きに押し出して変形させ、アンビル9022のステープル成形表面9214(図211)に対して収まるようにする。中央発射凹部9216(図204)は、ステープル溝部材9018に近接するステープルカートリッジ9020内で画定されており、これによりウェッジスレッド9126の下部水平部分9218(図206)と、Eビーム9102の中間ピン9112との通過が可能になる。特に、ステープルカートリッジトレイ9220(図204、209)がポリマー製ステープルカートリッジ本体9222に取り付けられてその下側にあり、このポリマー製ステープルカートリッジ本体は、それ自体に成形されたステープルドライバ凹部9208、ステープル穴9210、及び中央発射凹部9216を有する。ステープル9023がこれによりいずれかの側に形成されると、鋭い刃先9116が、最も遠位の端のみを除き、ステープルカートリッジ9020の長手方向軸を通過するスロット9230を垂直に通って入り込む。  In FIGS. 207 and 208, E-beam 9102 is retracted byupper pin 9110 of E-beam 9102 withinanvil pocket 9150 near the pivoting proximal end ofanvil 9022. A downward open vertical anvil slot 9152 (FIG. 203) expands laterally withinanvil 9022 to an anvilinternal track 9154, as it is advanced distally during firing, as shown in FIGS. 210 and 211. Theanvil 9022 is actively spaced from thegroove member 9018 to capture theupper pin 9110 of theE-beam 9102. Thus, with theE-beam 9102 retracted, the surgeon can repeatedly open and close thestaple application assembly 9012 until satisfied with the placement and orientation of the tissue captured therein for stapling and cutting, E-beam 9102 assists in proper tissue placement, even instaple application assemblies 9012 that have a small diameter and correspondingly reduced stiffness. In FIGS. 203, 204, 206, 207, 209, and 215, astaple application assembly 9012 is shown with areplaceable staple cartridge 9020 that includes awedge thread 9126. A plurality of longitudinally aligned parallel downward open wedge slots 9202 (FIG. 209) receiverespective wedges 9204 integrated into thewedge thread 9126. In FIGS. 209-211,wedge thread 9126 cams upwardly into a plurality ofstaple drivers 9206, which can slide vertically withinstaple driver recess 9208. In this exemplary version, eachstaple driver 9206 has two vertical pointed projections that each move upward into a respective staple hole 9210 orcavity 9024 to push thestaple 9023 upward. It is deformed to fit against the staple forming surface 9214 (FIG. 211) of theanvil 9022. A central firing recess 9216 (FIG. 204) is defined in thestaple cartridge 9020 proximate to thestaple groove member 9018 so that the lower horizontal portion 9218 (FIG. 206) of thewedge thread 9126 and theintermediate pin 9112 of theE-beam 9102. Can be passed. In particular, a staple cartridge tray 9220 (FIGS. 204, 209) is attached to and underneath the polymerstaple cartridge body 9222, which has astaple driver recess 9208, staple holes formed therein. 9210 and acentral firing recess 9216. When thestaple 9023 is thereby formed on either side, thesharp cutting edge 9116 enters vertically through aslot 9230 that passes through the longitudinal axis of thestaple cartridge 9020 except for only the most distal end.

図211に示すように、ステープル適用アセンブリ9012の発射は、2ピースのナイフ及び発射バー9090を、下向き突起9136がEビーム上の中間ガイド9120を上側及び後側にカム係合するまで、近位側に引くことで開始され、これによって、図203及び207に示すように、アンビル9022が開いているときに、新しいステープルカートリッジ9020がステープル溝部材9018に挿入される。図212において、2ピースのナイフ及び発射バー9090は、小さな距離だけ遠位側に前進しており、これにより、ラミネート先細発射バー9094の上向き突起9138に対するクリップばね9144の付勢力の下で、下向き突起9136が下側トラック9132の広がった穴9130の中に落ちる。中間ガイド9120が、ウェッジスレッド9126の段付き中央部材9124の上に乗ることにより、更なる下向き回転を防ぎ、これにより、Eビームの中間ピン9112を、中央発射凹部9216内に保持する。図213において、2ピースのナイフ及び発射バー9090が遠位方向に発射されており、ウェッジスレッド9126が前進してステープル9023を成形させている一方、アンビル9022と、鋭い刃先9116を有するステープルカートリッジ9020との間に挟まれた組織9242を切断する。その後、図214において、2ピースのナイフ及び発射バー9090を後退させ、ウェッジスレッド9126を遠位側に配置されたまま残す。図215において、中間ピン9112は、ステープル溝部材9018内に形成されたロックアウト凹部9240内に平行移動して下りることができる(図208、211も参照)。このようにして、ウェッジスレッド9126(図215には図示なし)が近位側に配置されていない状態(すなわち、ステープルカートリッジ9020又は使用済みステープルカートリッジ9020がない状態)のときに、中間ピン9112がロックアウト凹部9240の遠位エッジに当たる際に、手術者は触覚的指標を受け取ることができる。同様の外科用ステープル留め器具が、米国特許第7,380,696号(2008年6月3日発行)に開示されており、その開示内容全体を参照により本明細書に援用する。  As shown in FIG. 211, firing of thestaple application assembly 9012 is performed proximally until the two-piece knife and firingbar 9090 cam down themiddle guide 9120 above and below the E-beam on the E-beam. Pulling sideways causes anew staple cartridge 9020 to be inserted into thestaple groove member 9018 when theanvil 9022 is open, as shown in FIGS. In FIG. 212, the two-piece knife and firingbar 9090 has been advanced distally by a small distance, thereby causing theclip tape 9144 to move downward under the biasing force of theclip spring 9144 against theupward projection 9138 of the laminatetaper firing bar 9094. Theprotrusion 9136 falls into the widenedhole 9130 of thelower track 9132. Theintermediate guide 9120 rides on the steppedcentral member 9124 of thewedge thread 9126 to prevent further downward rotation, thereby retaining the E-beamintermediate pin 9112 in thecentral firing recess 9216. In FIG. 213, a two-piece knife and firingbar 9090 has been fired in the distal direction and thewedge thread 9126 has advanced to form thestaple 9023 while thestaple cartridge 9020 having ananvil 9022 and asharp cutting edge 9116. Thetissue 9242 sandwiched between the two is cut. Thereafter, in FIG. 214, the two-piece knife and firingbar 9090 are retracted, leaving thewedge thread 9126 disposed distally. In FIG. 215, theintermediate pin 9112 can be translated and lowered into alockout recess 9240 formed in the staple groove member 9018 (see also FIGS. 208 and 211). Thus, when the wedge thread 9126 (not shown in FIG. 215) is not disposed proximally (ie, without thestaple cartridge 9020 or the used staple cartridge 9020), theintermediate pin 9112 is Upon hitting the distal edge oflockout recess 9240, the operator can receive a tactile indication. Similar surgical stapling instruments are disclosed in US Pat. No. 7,380,696 (issued June 3, 2008), the entire disclosure of which is hereby incorporated by reference.

必要に応じて、上述のように、ステープルカートリッジは、内部に画定された複数のステープルキャビティを有するカートリッジ本体を含みうる。カートリッジ本体は、デッキ及びデッキ上表面を有してよく、各ステープルキャビティは、デッキ表面に開口部を画定しうる。上述のように、ステープルは、そこから発射されるまでの間、カートリッジ本体内に格納されるように、各ステープルキャビティ内に配置することができる。ステープルは、カートリッジ本体から発射される前に、ステープルがデッキ表面の上に突出しないように、カートリッジ本体内に受容されうる。ステープルはデッキ表面の下に配置されているため、そのような場合、ステープルの損傷及び/又は標的組織に早期に接触する可能性を低減することができる。様々な状況において、ステープルは、カートリッジ本体から突出していない未発射位置と、カートリッジ本体から出現して、ステープルカートリッジに対向して配置されているアンビルに接触することができる発射済み位置との間で、移動することができる。アンビル、及び/又はアンビル内に画定されている成形ポケットは、デッキ表面の上の所定距離に配置することができ、これにより、ステープルがカートリッジ本体から配備される際に、ステープルが所定の成形高さに変形される。特定の状況において、アンビルとステープルカートリッジとの間に捕捉された組織の厚さは変化する可能性があり、その結果、より厚い組織が特定のステープル内に捕捉されることがある一方、より薄い組織が他の特定のステープル内に捕捉されうる。いずれの場合においても、ステープルによって組織にかかるクランプ圧力又はクランプ力は、ステープルによって変化する可能性があり、あるいは、例えば、ステープル列の一方の端にあるステープルと、そのステープル列の他方の端にあるステープルとの間で変わる可能性がある。特定の状況において、アンビルとステープルカートリッジデッキとの間の隙間は、ステープルが各ステープル内に所定の最低クランプ圧力を適用するように制御することができる。しかしながら、いくつかのそのような状況において、異なるステープル内でクランプ圧力の顕著な変動が依然として存在しうる。  Optionally, as described above, the staple cartridge can include a cartridge body having a plurality of staple cavities defined therein. The cartridge body may have a deck and a deck upper surface, and each staple cavity may define an opening in the deck surface. As described above, staples can be placed in each staple cavity so that they are stored in the cartridge body until fired therefrom. The staples can be received within the cartridge body before firing from the cartridge body so that the staples do not protrude above the deck surface. Since the staples are located below the deck surface, in such cases, the damage to the staples and / or the possibility of premature contact with the target tissue can be reduced. In various situations, the staple is between an unfired position that does not protrude from the cartridge body and a fired position that emerges from the cartridge body and can contact an anvil disposed opposite the staple cartridge. Can move. The anvil, and / or the molding pocket defined within the anvil, can be placed at a predetermined distance above the deck surface so that the staple can be positioned at a predetermined molding height when the staple is deployed from the cartridge body. It will be transformed. In certain situations, the thickness of the tissue captured between the anvil and the staple cartridge can vary so that thicker tissue may be captured within a particular staple while being thinner Tissue can be captured within other specific staples. In any case, the clamping pressure or clamping force exerted on the tissue by the staples can vary with the staples, or, for example, at one end of a staple row and the other end of the staple row. There is a possibility of changing between certain staples. In certain circumstances, the gap between the anvil and the staple cartridge deck can be controlled such that the staples apply a predetermined minimum clamping pressure within each staple. However, in some such situations, there may still be significant fluctuations in clamping pressure within different staples.

本明細書に述べられるように、ステープルカートリッジは、ステープルカートリッジから配備されるステープル内に捕捉される組織の厚さに関して補償を行う手段を含みうる。図216を参照すると、ステープルカートリッジ(例えばステープルカートリッジ10000)は、剛性の第1の部分(例えば、支持部分10010)と、圧縮可能な第2の部分(例えば、組織厚さコンペンセータ10020)とを含みうる。主に図218を参照すると、支持部分10010は、カートリッジ本体、デッキ上側表面10011、及び複数のステープルキャビティ10012を有してよく、上記と同様、各ステープルキャビティ10012はデッキ表面10011に開口部を画定しうる。例えばステープル10030は、各ステープルキャビティ10012内に取り外し可能に配置することができる。例えば、図245を主に参照し、かつ詳しくは後述されるように、各ステープル10030は、底面10031と、底面10031から延びる1本又は複数の脚10032と、を含みうる。ステープル10030が配備される前に、これも詳しくは後述されるように、ステープル10030の底面10031は、支持部分10010内に配置されているステープルドライバによって支持することができ、同時に、ステープル10030の脚10032は、ステープルキャビティ10012内に少なくとも部分的に収容されうる。ステープル10030は、脚10032が組織厚さコンペンセータ10020を貫通して動き、組織厚さコンペンセータ10020の上側表面を貫通し、組織Tに入り込み、ステープルカートリッジ10000に対向して配置されるアンビルに接触するよう、未発射位置と発射済み位置との間に配備することができる。脚10032がアンビルに当たって変形されると、各ステープル10030の脚10032が、各ステープル10030内で、組織厚さコンペンセータ10020の一部と組織Tの一部とを捕捉し、この組織に圧縮力をかけることができる。上記に対して更に、各ステープル10030の脚10032は、ステープルの底面10031に向かって下向きに変形して、ステープル捕捉領域10039を形成することができ、組織Tと組織厚さコンペンセータ10020が捕捉されうる。様々な状況において、ステープル捕捉領域10039は、変形した脚10032の内側表面と、底面10031の内側表面との間で画定されうる。ステープルの捕捉領域の大きさは、例えば脚の長さ、脚の直径、底面の幅、及び/又は脚の変形の程度などのいくつかの要素に依存しうる。  As described herein, a staple cartridge can include means for compensating for the thickness of tissue captured in staples deployed from the staple cartridge. Referring to FIG. 216, a staple cartridge (eg, staple cartridge 10000) includes a rigid first portion (eg, support portion 10010) and a compressible second portion (eg, tissue thickness compensator 10020). sell. Referring primarily to FIG. 218, thesupport portion 10010 may include a cartridge body, a deckupper surface 10011, and a plurality ofstaple cavities 10012, similar to the above, eachstaple cavity 10012 defining an opening in thedeck surface 10011. Yes. For example,staples 10030 can be removably disposed within eachstaple cavity 10012. For example, each staple 10030 can include abottom surface 10031 and one ormore legs 10032 extending from thebottom surface 10031, as primarily described with reference to FIG. 245 and described in detail below. Before thestaple 10030 is deployed, thebottom surface 10031 of thestaple 10030 can be supported by a staple driver disposed within thesupport portion 10010 and, at the same time, the legs of thestaple 10030, as will also be described in detail below. 10032 can be at least partially housed within thestaple cavity 10012. Thestaple 10030 moves such that thelegs 10032 move through thetissue thickness compensator 10020, penetrate the upper surface of thetissue thickness compensator 10020, enter the tissue T, and contact an anvil disposed opposite thestaple cartridge 10000. , Can be deployed between an unfired position and a fired position. As thelegs 10032 are deformed against the anvil, thelegs 10032 of each staple 10030 capture a portion of thetissue thickness compensator 10020 and a portion of the tissue T within eachstaple 10030 and apply a compressive force to the tissue. be able to. Further to the above, theleg 10032 of each staple 10030 can be deformed downward toward thebottom surface 10031 of the staple to form astaple capture region 10039, and the tissue T andtissue thickness compensator 10020 can be captured. . In various situations, the staple capture region 1000039 can be defined between the inner surface of thedeformed leg 10032 and the inner surface of thebottom surface 10031. The size of the staple capture area may depend on several factors, such as, for example, leg length, leg diameter, bottom width, and / or degree of leg deformation.

過去においては、外科医はしばしば、ステープルを適用する組織に対して適切なステープル高さを有する適切なステープルを選択する必要があった。例えば外科医は、厚い組織に使用するには長いステープルを選択し、薄い組織に使用するには短いステープルを選択することができた。しかしながら特定の状況において、ステープルが適用される組織は均一な厚さを有しておらず、ステープルによっては、望ましい発射形状を達成することができなかった。例えば、図250は、薄い組織に使用された長いステープルを示す。次に図251を参照すると、組織厚さコンペンセータ(例えば組織厚さコンペンセータ10020)を薄い組織に使用した場合、大きなステープルであっても、望ましい発射形状に成形することができる。  In the past, surgeons often have to select appropriate staples having the appropriate staple height for the tissue to which they are applied. For example, a surgeon could select long staples for use with thick tissue and short staples for use with thin tissue. However, in certain circumstances, the tissue to which the staples are applied does not have a uniform thickness and some staples have not been able to achieve the desired firing shape. For example, FIG. 250 shows a long staple used for thin tissue. Referring now to FIG. 251, when a tissue thickness compensator (eg, tissue thickness compensator 10020) is used with thin tissue, even large staples can be formed into the desired firing shape.

組織厚さコンペンセータの圧縮性のおかげで、組織厚さコンペンセータは、各ステープル内に捕捉された組織の厚さを補償することができる。より詳細には、次に図245及び246を参照して、組織厚さコンペンセータ(例えば組織厚さコンペンセータ10020)は、ステープル捕捉領域10039内に捕捉された組織の厚さ及び/又はタイプに応じて、各ステープル10030のステープル捕捉領域10039のより大きな部分及び/又はより小さな部分を占めることができる。例えば、より薄い組織Tがステープル10030内に捕捉された場合、組織厚さコンペンセータ10020は、より厚い組織Tがそのステープル10030内に捕捉された場合に比べ、ステープル捕捉領域10039のより大きな部分を占めることができる。これに対応して、より厚い組織Tがステープル10030内に捕捉された場合、組織厚さコンペンセータ10020は、より薄い組織Tがそのステープル10030内に捕捉された場合に比べ、ステープル捕捉領域10039の中で、より小さな部分を占めることができる。このようにして、組織厚さコンペンセータは、より薄い組織及び/又はより厚い組織を補償することができ、ステープル内に捕捉された組織厚さとは無関係に、又は少なくともほぼ無関係に、圧縮圧力を組織に適用することができる。上記に加えて、組織厚さコンペンセータ10020は、異なるステープル10030内に捕捉された組織の様々なタイプ又は圧縮性を、補償することができる。次に図246を参照して、組織厚さコンペンセータ10020は、管Vを含みうる脈管組織Tに対して圧縮力を適用することができ、その結果、圧縮性のより低い管Vを通る血流を制限する一方、周囲の組織Tに対して望ましい圧縮圧力を適用することができる。様々な状況において、上記に対して更に、組織厚さコンペンセータ10020はまた、成形不良ステープルをも補償することができる。図247を参照して、様々なステープル10030の成形不良により、そのようなステープル内で画定される、より大きなステープル捕捉領域10039が生じることがある。組織厚さコンペンセータ10020の弾力性のおかげで、次に図248を参照すると、成形不良ステープル10030内に配置された組織厚さコンペンセータ10020は、そのような成形不良ステープル10030内に画定されたステープル捕捉領域10039が増大している場合であっても、依然として組織Tに充分な圧縮圧力を適用することができる。様々な状況において、例えば、隣接するステープル10030の中間にある組織厚さコンペンセータ10020は、成形不良ステープル10030を取り囲む適正成形ステープル10030により、組織Tに対して付勢することができ、その結果、周囲の組織、及び/又は成形不良ステープル10030内に捕捉された組織に対して、圧縮圧力を適用することができる。様々な状況において、組織厚さコンペンセータは、例えば石灰化、線維性領域、及び/又は以前にステープル又は治療が行われた組織などによって生じうる、異なる組織密度を補償することができる。  Thanks to the compressibility of the tissue thickness compensator, the tissue thickness compensator can compensate for the thickness of the tissue captured within each staple. More particularly, referring now to FIGS. 245 and 246, a tissue thickness compensator (eg, tissue thickness compensator 10020) depends on the thickness and / or type of tissue captured in thestaple capture region 10039. , Eachstaple 10030 may occupy a larger portion and / or a smaller portion of thestaple capture area 10030. For example, when thinner tissue T is captured in thestaple 10030, thetissue thickness compensator 10020 occupies a larger portion of thestaple capture region 10030 than when thicker tissue T is captured in thestaple 10030. be able to. Correspondingly, when a thicker tissue T is captured in thestaple 10030, thetissue thickness compensator 10020 is within thestaple capture region 10030 compared to when a thinner tissue T is captured in thestaple 10030. It can occupy a smaller part. In this way, the tissue thickness compensator can compensate for thinner and / or thicker tissue, and compresses the tissue pressure regardless of, or at least substantially, the tissue thickness captured within the staple. Can be applied to. In addition to the above, thetissue thickness compensator 10020 can compensate for various types or compressibility of tissue captured indifferent staples 10030. Referring now to FIG. 246, thetissue thickness compensator 10020 can apply a compressive force against the vascular tissue T that can include the tube V, resulting in blood passing through the less compressible tube V. While restricting flow, the desired compression pressure can be applied to the surrounding tissue T. In various situations, in addition to the above, thetissue thickness compensator 10020 can also compensate for malformed staples. Referring to FIG. 247, misforming ofvarious staples 10030 may result in a larger staple capture region 1000039 defined within such staples. Thanks to the elasticity of thetissue thickness compensator 10020, referring now to FIG. Even whenregion 10039 is increasing, sufficient compression pressure can still be applied to tissue T. In various situations, for example, thetissue thickness compensator 10020 in the middle ofadjacent staples 10030 can be biased against the tissue T by the properly formedstaples 10030 surrounding themalformed staples 10030, so that the surroundings Compressive pressure can be applied to the tissue and / or tissue captured in themalformed staple 10030. In various situations, the tissue thickness compensator can compensate for different tissue densities that can be caused by, for example, calcification, fibrotic regions, and / or previously stapled or treated tissue.

本明細書によれば、固定された(変更不能な)組織間隔は、支持部分とアンビルとの間で画定することができ、その結果、ステープルは、ステープル内に捕捉された組織の厚さにかかわらず、所定の高さに変形されうる。組織厚さコンペンセータをこれらの場合に使用すると、組織厚さコンペンセータが、アンビルと支持部分ステープルカートリッジとの間に捕捉された組織に対して適合することができ、この組織厚さコンペンセータのおかげで、組織厚さコンペンセータが追加の圧縮圧力を組織に対して適用することができる。次に図252〜257を参照すると、ステープル10030は、所定の高さHに成形されている。図252に関して、組織厚さコンペンセータは使用されておらず、組織Tがステープル捕捉領域10039の全体を占めている。図259に関して、組織厚さコンペンセータ10020の一部がステープル10030内に捕捉され、組織Tを圧縮し、ステープル捕捉領域10039の少なくとも一部を占めている。次に図254を参照して、薄い組織Tがステープル10030内に捕捉されている。この実施形態では、例えば、圧縮された組織Tは約2/9Hの高さを有し、圧縮された組織厚さコンペンセータ10020は約7/9Hの高さを有する。次に図255を参照すると、中間の厚さを有する組織Tが、ステープル10030内に捕捉されている。この実施形態では、例えば、圧縮された組織Tは約4/9Hの高さを有し、圧縮された組織厚さコンペンセータ10020は約5/9Hの高さを有する。次に図256を参照すると、中間の厚さを有する組織Tが、ステープル10030内に捕捉されている。この実施形態では、例えば、圧縮された組織Tは約2/3Hの高さを有し、圧縮された組織厚さコンペンセータ10020は約1/3Hの高さを有する。次に図255を参照して、厚い組織Tがステープル10030内に捕捉されている。この実施形態では、例えば、圧縮された組織Tは約8/9Hの高さを有し、圧縮された組織厚さコンペンセータ10020は約1/9Hの高さを有する。様々な状況において、この組織厚さコンペンセータは、例えば、ステープル捕捉高さの約10%、ステープル捕捉高さの約20%、ステープル捕捉高さの約30%、ステープル捕捉高さの約40%、ステープル捕捉高さの約50%、ステープル捕捉高さの約60%、ステープル捕捉高さの約70%、ステープル捕捉高さの約80%、及び/又はステープル捕捉高さの約90%を含む圧縮高さを有しうる。  According to the present specification, a fixed (non-changeable) tissue spacing can be defined between the support portion and the anvil so that the staples are at the thickness of the tissue captured within the staples. Regardless, it can be deformed to a predetermined height. When a tissue thickness compensator is used in these cases, the tissue thickness compensator can be adapted to the tissue captured between the anvil and the support portion staple cartridge, thanks to this tissue thickness compensator, A tissue thickness compensator can apply additional compression pressure to the tissue. Next, referring to FIGS. 252 to 257, thestaple 10030 is formed to a predetermined height H. With respect to FIG. 252, the tissue thickness compensator is not used and the tissue T occupies the entirestaple capture area 10039. Referring to FIG. 259, a portion of thetissue thickness compensator 10020 is captured within thestaple 10030, compresses the tissue T, and occupies at least a portion of the staple capture region 10037. Referring now to FIG. 254, thin tissue T has been captured withinstaple 10030. In this embodiment, for example, the compressed tissue T has a height of about 2 / 9H and the compressedtissue thickness compensator 10020 has a height of about 7 / 9H. Referring now to FIG. 255, tissue T having an intermediate thickness is captured withinstaple 10030. In this embodiment, for example, the compressed tissue T has a height of about 4 / 9H and the compressedtissue thickness compensator 10020 has a height of about 5 / 9H. Referring now to FIG. 256, tissue T having an intermediate thickness has been captured withinstaple 10030. In this embodiment, for example, the compressed tissue T has a height of about 2 / 3H and the compressedtissue thickness compensator 10020 has a height of about 1 / 3H. Referring now to FIG. 255, thick tissue T has been captured within thestaple 10030. In this embodiment, for example, the compressed tissue T has a height of about 8 / 9H and the compressedtissue thickness compensator 10020 has a height of about 1 / 9H. In various situations, the tissue thickness compensator can be, for example, about 10% of staple capture height, about 20% of staple capture height, about 30% of staple capture height, about 40% of staple capture height, Compression comprising about 50% of staple capture height, about 60% of staple capture height, about 70% of staple capture height, about 80% of staple capture height, and / or about 90% of staple capture height Can have a height.

ステープル10030は任意の適当な未成形高さを含みうる。ステープル10030は、例えば約2mm〜4.8mmの未成形高さを有しうる。ステープル10030は、例えば約2.0mm、約2.5mm、約3.0mm、約3.4mm、約3.5mm、約3.8mm、約4.0mm、約4.1mm、及び/又は約4.8mmの未成形高さを有しうる。ステープルが変形されうる高さHは、支持部分10010のデッキ表面10011と、それに相対するアンビルとの間の距離によって規定されうる。デッキ表面10011とアンビルの組織接触表面との間の距離は、例えば約2.5mm(0.097”)でありうる。高さHは、アンビル内に画定される成形ポケットの深さによっても規定されうる。成形ポケットは、例えば、組織接触表面から測定される深さを有しうる。必要に応じて、詳しくは後述されるように、ステープルカートリッジ10000は更にステープルドライバを有してよく、これはステープル10030をアンビルに向かって持ち上げることができ、ステープルをデッキ表面10011の上に持ち上げる(又は「オーバードライブさせる」)ことができる。そのような場合、ステープル10030が成形される高さHは、ステープル10030がオーバードライブされる距離によっても規定されうる。例えば、ステープル10030は、例えば約0.71mm(.028”)オーバードライブされてよく、これによりステープル10030が例えば約4.80mm(0.189”)の高さに成形されうる。ステープル10030は例えば、約0.8mm、約1.0mm、約1.5mm、約1.8mm、約2.0mm、及び/又は約2.25mmの高さに成形されうる。ステープルは例えば、約2.25mm〜約3.0mmの高さに成形されうる。上記に対して更に、ステープルのステープル捕捉領域の高さは、ステープルの成形高さと、そのステープルを構成するワイヤの幅(又は直径)とによって決定されうる。ステープル10030のステープル捕捉領域10039の高さは、ステープルの成形高さHから、ワイヤの直径幅の2倍を引いたものとなりうる。ステープルワイヤは、例えば、約0.23mm(0.0089”)の直径を含みうる。ステープルワイヤは、例えば、約0.18mm(0.0069”)〜約0.30mm(0.0119”)の直径を含みうる。例えば、ステープル10030の成形された高さHは、約4.8mm(0.189”)であってもよく、ステープルワイヤ直径は約0.23mm(0.0089”)であってもよく、これによりステープル捕捉高さは約4.34mm(0.171”)となる。  Staple 10030 may include any suitable green height. Thestaple 10030 can have an unformed height of, for example, about 2 mm to 4.8 mm. Thestaple 10030 may be, for example, about 2.0 mm, about 2.5 mm, about 3.0 mm, about 3.4 mm, about 3.5 mm, about 3.8 mm, about 4.0 mm, about 4.1 mm, and / or about 4 May have an unformed height of 8 mm. The height H at which the staple can be deformed can be defined by the distance between thedeck surface 10011 of thesupport portion 10010 and the anvil relative to it. The distance between thedeck surface 10011 and the tissue contacting surface of the anvil can be, for example, about 2.5 mm (0.097 ″). The height H is also defined by the depth of the molding pocket defined in the anvil. The molding pocket can have a depth measured, for example, from the tissue contacting surface, and optionally, thestaple cartridge 10000 can further include a staple driver, as described in detail below. Can lift thestaple 10030 toward the anvil and can lift (or “overdrive”) the staple onto thedeck surface 10011. In such a case, the height H at which thestaple 10030 is formed can also be defined by the distance over which thestaple 10030 is overdriven. For example, thestaple 10030 may be overdriven, for example, about 0.71 mm (.028 "), so that thestaple 10030 may be formed to a height of, for example, about 4.80 mm (0.189").Staple 10030 can be formed to a height of, for example, about 0.8 mm, about 1.0 mm, about 1.5 mm, about 1.8 mm, about 2.0 mm, and / or about 2.25 mm. The staple can be formed to a height of about 2.25 mm to about 3.0 mm, for example. Further to the above, the height of the staple capturing area of the staple can be determined by the forming height of the staple and the width (or diameter) of the wire constituting the staple. The height of thestaple capturing region 10030 of thestaple 10030 can be obtained by subtracting twice the diameter width of the wire from the forming height H of the staple. The staple wire can include, for example, a diameter of about 0.23 mm (0.0089 ″). The staple wire can be, for example, about 0.18 mm (0.0069 ″) to about 0.30 mm (0.0119 ″). For example, the formed height H of thestaple 10030 may be about 4.8 mm (0.189 ") and the staple wire diameter is about 0.23 mm (0.0089"). This may result in a staple capture height of about 4.31 mm (0.171 ").

上記に対して更に、組織厚さコンペンセータは、未圧縮(又は配備前の)高さを有し、複数の圧縮高さの1つに変形されるように構成することができる。組織厚さコンペンセータは例えば、約3.18mm(0.125”)の未圧縮高さを含みうる。組織厚さコンペンセータは例えば、約2.0mm(0.080”)以上の未圧縮高さを含みうる。組織厚さコンペンセータは、ステープルの未発射高さよりも高い、未圧縮(又は配備前)高さを含みうる。組織厚さコンペンセータの未圧縮(又は配備前)高さは、未発射のステープル高さよりも、例えば、約10%、約20%、約30%、約40%、約50%、約60%、約70%、約80%、約90%、及び/又は約100%高くてもよい。組織厚さコンペンセータの未圧縮(又は配備前)高さは、例えば、未発射のステープル高さよりも、最高約100%高くてもよい。組織厚さコンペンセータの未圧縮(又は配備前)高さは、例えば、未発射のステープル高さよりも、100%以上高くてもよい。組織厚さコンペンセータは、ステープルの未発射高さに等しい未圧縮高さを含みうる。組織厚さコンペンセータは、ステープルの未発射高さより低い未圧縮高さを含みうる。厚さコンペンセータの未圧縮(又は配備前)高さは、例えば、ステープルの未発射高さよりも、約10%、約20%、約30%、約40%、約50%、約60%、約70%、約80%、及び/又は約90%小さくてもよい。圧縮可能な第2の部分は、ステープル適用される組織Tの未圧縮高さよりも高い、未圧縮高さを有しうる。組織厚さコンペンセータは、ステープル適用される組織Tの未圧縮高さに等しい未圧縮高さを有しうる。組織厚さコンペンセータは、ステープル適用される組織Tの未圧縮高さよりも低い未圧縮高さを有しうる。  Further to the above, the tissue thickness compensator can be configured to have an uncompressed (or pre-deployment) height and be deformed to one of a plurality of compressed heights. The tissue thickness compensator can include, for example, an uncompressed height of about 3.18 mm (0.125 ″). The tissue thickness compensator can, for example, have an uncompressed height of about 2.0 mm (0.080 ″) or greater. May be included. The tissue thickness compensator can include an uncompressed (or pre-deployment) height that is higher than the unfired height of the staples. The uncompressed (or pre-deployment) height of the tissue thickness compensator is, for example, about 10%, about 20%, about 30%, about 40%, about 50%, about 60%, than the unfired staple height. About 70%, about 80%, about 90%, and / or about 100% higher. The uncompressed (or pre-deployment) height of the tissue thickness compensator may be, for example, up to about 100% higher than the unfired staple height. The uncompressed (or pre-deployment) height of the tissue thickness compensator may be, for example, 100% higher than the unfired staple height. The tissue thickness compensator can include an uncompressed height equal to the unfired height of the staples. The tissue thickness compensator can include an uncompressed height that is less than the unfired height of the staples. The uncompressed (or pre-deployment) height of the thickness compensator is, for example, about 10%, about 20%, about 30%, about 40%, about 50%, about 60%, about It may be 70%, about 80%, and / or about 90% smaller. The compressible second portion may have an uncompressed height that is higher than the uncompressed height of the tissue T to be stapled. The tissue thickness compensator may have an uncompressed height that is equal to the uncompressed height of the tissue T to be stapled. The tissue thickness compensator may have an uncompressed height that is lower than the uncompressed height of the tissue T to be stapled.

上述のように、組織厚さコンペンセータは、ステープル内に捕捉される組織が厚いか薄いかにかかわらず、複数の成形されたステープル内に圧縮されうる。例えば、ステープルライン(列)内のステープルは、各ステープルのステープル捕捉領域が例えば、約2.0mmの高さを含むように変形され、組織Tと組織厚さコンペンセータが、この高さ内に圧縮されうる。特定の状況において、例えば、組織Tは、ステープル捕捉領域内に約1.75mmの圧縮高さを含みうる一方、組織厚さコンペンセータは、ステープル捕捉領域内に約0.25mmの圧縮高さを有してよく、これによって合計で約2.0mmのステープル捕捉領域高さとなる。特定の状況において、例えば、組織Tは、ステープル捕捉領域内に約1.50mmの圧縮高さを含みうる一方、組織厚さコンペンセータは、ステープル捕捉領域内に約0.50mmの圧縮高さを有してよく、これによって合計で約2.0mmのステープル捕捉領域高さとなる。特定の状況において、例えば、組織Tは、ステープル捕捉領域内に約1.25mmの圧縮高さを含みうる一方、組織厚さコンペンセータは、ステープル捕捉領域内に約0.75mmの圧縮高さを有してよく、これによって合計で約2.0mmのステープル捕捉領域高さとなる。特定の状況において、例えば、組織Tは、ステープル捕捉領域内に約1.0mmの圧縮高さを含みうる一方、組織厚さコンペンセータは、ステープル捕捉領域内に約1.0mmの圧縮高さを有してよく、これによって合計で約2.0mmのステープル捕捉領域高さとなる。特定の状況において、例えば、組織Tは、ステープル捕捉領域内に約0.75mmの圧縮高さを含みうる一方、組織厚さコンペンセータは、ステープル捕捉領域内に約1.25mmの圧縮高さを有してよく、これによって合計で約2.0mmのステープル捕捉領域高さとなる。特定の状況において、例えば、組織Tは、ステープル捕捉領域内に約1.50mmの圧縮高さを含みうる一方、組織厚さコンペンセータは、ステープル捕捉領域内に約0.50mmの圧縮高さを有してよく、これによって合計で約2.0mmのステープル捕捉領域高さとなる。特定の状況において、例えば、組織Tは、ステープル捕捉領域内に約0.25mmの圧縮高さを含みうる一方、組織厚さコンペンセータは、ステープル捕捉領域内に約1.75mmの圧縮高さを有してよく、これによって合計で約2.0mmのステープル捕捉領域高さとなる。  As described above, the tissue thickness compensator can be compressed into a plurality of shaped staples regardless of whether the tissue captured in the staples is thick or thin. For example, the staples in the staple line (row) are deformed such that the staple capture area of each staple includes a height of, for example, about 2.0 mm, and the tissue T and tissue thickness compensator are compressed within this height Can be done. In certain circumstances, for example, tissue T may include a compressed height of about 1.75 mm in the staple capture region, while a tissue thickness compensator has a compressed height of about 0.25 mm in the staple capture region. This may result in a total staple capture area height of about 2.0 mm. In certain circumstances, for example, tissue T may include a compressed height of about 1.50 mm in the staple capture region, while tissue thickness compensator has a compressed height of about 0.50 mm in the staple capture region. This may result in a total staple capture area height of about 2.0 mm. In certain circumstances, for example, tissue T may include a compressed height of about 1.25 mm within the staple capture area, while a tissue thickness compensator has a compressed height of about 0.75 mm within the staple capture area. This may result in a total staple capture area height of about 2.0 mm. In certain circumstances, for example, tissue T may include a compressed height of about 1.0 mm in the staple capture area, while tissue thickness compensator has a compressed height of about 1.0 mm in the staple capture area. This may result in a total staple capture area height of about 2.0 mm. In certain circumstances, for example, tissue T may include a compressed height of about 0.75 mm in the staple capture region, while a tissue thickness compensator has a compressed height of about 1.25 mm in the staple capture region. This may result in a total staple capture area height of about 2.0 mm. In certain circumstances, for example, tissue T may include a compressed height of about 1.50 mm in the staple capture region, while tissue thickness compensator has a compressed height of about 0.50 mm in the staple capture region. This may result in a total staple capture area height of about 2.0 mm. In certain circumstances, for example, tissue T may include a compressed height of about 0.25 mm in the staple capture area, while tissue thickness compensator has a compressed height of about 1.75 mm in the staple capture area. This may result in a total staple capture area height of about 2.0 mm.

上記に対して更に、組織厚さコンペンセータは、ステープルの発射済み高さよりも低い未圧縮高さを有しうる。組織厚さコンペンセータは、ステープルの発射済み高さに等しい未圧縮高さを有しうる。組織厚さコンペンセータは、ステープルの発射済み高さよりも高い未圧縮高さを有しうる。例えば、組織厚さコンペンセータの未圧縮高さは例えば、成形済みステープル高さの約110%、成形済みステープル高さの約120%、成形済みステープル高さの約130%、成形済みステープル高さの約140%、成形済みステープル高さの約150%、成形済みステープル高さの約160%、成形済みステープル高さの約170%、成形済みステープル高さの約180%、成形済みステープル高さの約190%、及び/又は成形済みステープル高さの約200%の厚さを含みうる。組織厚さコンペンセータは、ステープルの発射済み高さよりも2倍以上高い未圧縮高さを有しうる。組織厚さコンペンセータは例えば、成形済みステープル高さの約85%〜約150%の圧縮高さを有しうる。必要に応じて、上述のように、組織厚さコンペンセータは、未圧縮厚さと圧縮済み厚さとの間まで圧縮されうる。組織厚さコンペンセータの圧縮済み厚さは例えば、未圧縮厚さの約10%、未圧縮厚さの約20%、未圧縮厚さの約30%、未圧縮厚さの約40%、未圧縮厚さの約50%、未圧縮厚さの約60%、未圧縮厚さの約70%、未圧縮厚さの約80%、及び/又は未圧縮厚さの約90%でありうる。組織厚さコンペンセータの未圧縮厚さは例えば、圧縮済み厚さの約2倍、約10倍、約50倍、及び/又は約100倍でありうる。組織厚さコンペンセータの圧縮済み厚さは、未圧縮厚さの約60%〜約99%でありうる。組織厚さコンペンセータの圧縮済み厚さは、圧縮済み厚さより少なくとも50%厚くてもよい。組織厚さコンペンセータの圧縮済み厚さは、圧縮済み厚さより最高100倍厚くてもよい。圧縮可能な第2の部分は、弾性、又は少なくとも部分的に弾性であってもよく、ステープルの変形した脚に対して組織Tを付勢しうる。例えば、圧縮可能な第2の部分は、組織Tをステープルの脚に対して押し付けるために、組織Tとステープルの底面との間で弾力的に膨張しうる。詳しくは後述されるように、組織厚さコンペンセータは組織Tと変形したステープル脚との中間に配置されうる。様々な状況において、上記の結果、組織厚さコンペンセータは、ステープル捕捉領域内の任意の隙間を埋めるように構成することができる。  Further to the above, the tissue thickness compensator can have an uncompressed height that is less than the fired height of the staples. The tissue thickness compensator can have an uncompressed height equal to the fired height of the staples. The tissue thickness compensator can have an uncompressed height that is higher than the fired height of the staples. For example, the uncompressed height of the tissue thickness compensator may be, for example, about 110% of the formed staple height, about 120% of the formed staple height, about 130% of the formed staple height, of the formed staple height. About 140%, about 150% of the formed staple height, about 160% of the formed staple height, about 170% of the formed staple height, about 180% of the formed staple height, of the formed staple height It may include a thickness of about 190% and / or about 200% of the formed staple height. The tissue thickness compensator can have an uncompressed height that is more than twice as high as the fired height of the staples. The tissue thickness compensator can have, for example, a compressed height of about 85% to about 150% of the formed staple height. If desired, the tissue thickness compensator can be compressed to between an uncompressed thickness and a compressed thickness, as described above. The compressed thickness of the tissue thickness compensator is, for example, about 10% of uncompressed thickness, about 20% of uncompressed thickness, about 30% of uncompressed thickness, about 40% of uncompressed thickness, uncompressed It can be about 50% of thickness, about 60% of uncompressed thickness, about 70% of uncompressed thickness, about 80% of uncompressed thickness, and / or about 90% of uncompressed thickness. The uncompressed thickness of the tissue thickness compensator can be, for example, about 2 times, about 10 times, about 50 times, and / or about 100 times the compressed thickness. The compressed thickness of the tissue thickness compensator can be about 60% to about 99% of the uncompressed thickness. The compressed thickness of the tissue thickness compensator may be at least 50% thicker than the compressed thickness. The compressed thickness of the tissue thickness compensator may be up to 100 times thicker than the compressed thickness. The compressible second portion may be elastic or at least partially elastic and may bias the tissue T against the deformed leg of the staple. For example, the compressible second portion can elastically expand between the tissue T and the bottom surface of the staple to press the tissue T against the staple legs. As will be described in detail below, the tissue thickness compensator can be placed between the tissue T and the deformed staple leg. In various situations, as a result of the above, the tissue thickness compensator can be configured to fill any gaps in the staple capture region.

組織厚さコンペンセータは、ポリマー組成物を含みうる。このポリマー組成物は、1つ以上の合成ポリマー及び/又は1つ以上の非合成ポリマーを含みうる。この合成ポリマーは、吸収性合成ポリマー及び/又は非吸収性合成ポリマーを含みうる。ポリマー組成物は例えば、生体適合性発泡材料を含みうる。生体適合性発泡材には例えば、多孔質連続気泡発泡材、及び/又は多孔質独立気泡発泡材が含まれうる。生体適合性発泡材は均一の孔形態を有していてよく、あるいは勾配のある孔形態(すなわち、発泡材の厚さにわたって一方向に、小さい孔から大きい孔へと徐々に大きくなる)を有していてもよい。ポリマー組成物は、多孔質足場、多孔質マトリックス、ゲルマトリックス、ヒドロゲル溶液、溶液マトリックス、繊維状マトリックス、管状マトリックス、複合体マトリックス、膜状マトリックス、生体安定性ポリマー、及び生分解性ポリマー、及びこれらの組み合わせのうち1つ又は2つ以上を含みうる。例えば、組織厚さコンペンセータは、繊維状マトリックスにより補強された発泡材を含んでもよく、また、体液の存在下で膨張して組織に更に圧力を提供する追加のヒドロゲル層を有する発泡材を含んでもよい。本発明によれば、組織厚さコンペンセータは、更に材料の上のコーティングから構成されてもよく、及び/又は体液の存在下で膨張して組織に更に圧力を提供する第2若しくは第3の層を含んでもよい。そのような層は、例えば、合成及び/又は天然由来の材料でありうるヒドロゲルであってよく、かつ、生体耐久性及び/又は生分解性であってもよい。組織厚さコンペンセータは、追加の柔軟性、合成、及び/又は強度を提供しうるような、例えば、繊維性不織布材料又は繊維性メッシュタイプ構成要素で強化されうる。本発明によれば、組織厚さコンペンセータは、多孔質形態を有し、これは例えば、一方の表面に小さい孔、もう一方の表面により大きい孔を備えた勾配構造を呈する。そのような形態は、成長中の組織又は止血処置用に、より最適でありうる。更に、この勾配は、様々な生体吸収性プロフィールとともに構成することもできる。短期的な吸収プロフィールは、止血対処のために好ましく、一方、長期的な吸収プロフィールは、漏れを生じずにより良い組織治癒を行いうる。  The tissue thickness compensator can include a polymer composition. The polymer composition can include one or more synthetic polymers and / or one or more non-synthetic polymers. The synthetic polymer can include an absorbent synthetic polymer and / or a non-absorbable synthetic polymer. The polymer composition can include, for example, a biocompatible foam material. The biocompatible foam material may include, for example, a porous open-cell foam material and / or a porous closed-cell foam material. The biocompatible foam may have a uniform pore morphology, or it may have a gradient pore morphology (ie, gradually increase from small to large pores in one direction across the thickness of the foam). You may do it. Polymer compositions include porous scaffolds, porous matrices, gel matrices, hydrogel solutions, solution matrices, fibrous matrices, tubular matrices, composite matrices, membranous matrices, biostable polymers, and biodegradable polymers, and these One or more of the combinations may be included. For example, a tissue thickness compensator may include a foam reinforced with a fibrous matrix, or may include a foam with an additional hydrogel layer that expands in the presence of body fluid to provide more pressure to the tissue. Good. According to the present invention, the tissue thickness compensator may further comprise a coating on the material and / or a second or third layer that expands in the presence of body fluid to provide more pressure to the tissue. May be included. Such a layer may be, for example, a hydrogel that may be a synthetic and / or naturally derived material, and may be biodurable and / or biodegradable. The tissue thickness compensator can be reinforced with, for example, a fibrous nonwoven material or a fibrous mesh type component, which can provide additional flexibility, synthesis, and / or strength. According to the present invention, the tissue thickness compensator has a porous morphology, which exhibits, for example, a gradient structure with small pores on one surface and larger pores on the other surface. Such a form may be more optimal for growing tissue or hemostasis treatment. Furthermore, this gradient can be configured with various bioabsorbable profiles. A short-term absorption profile is preferred for hemostasis management, while a long-term absorption profile can provide better tissue healing without leaks.

非合成ポリマーの例には、凍結乾燥した多糖類、糖たんぱく、エラスチン、プロテオグリカン、ゼラチン、コラーゲン、及び酸化再生セルロースが挙げられるがこれらに限定されない。合成吸収性ポリマーの例には、ポリ(乳酸)(PLA)、ポリ(L−乳酸)(PLLA)、ポリカプロラクトン(PCL)、ポリグリコール酸(PGA)、ポリ(トリメチレンカーボネート)(TMC)、ポリエチレンテレフタレート(PET)、ポリヒドロキシアルカノエート(PHA)、グリコリドとε−カプロラクトンのコポリマー(PGCL)、グリコリドとトリメチレンカーボネートのコポリマー、ポリ(グリセロールセバケート)(PGS)、ポリジオキサノン、ポリ(オルトエステル)、ポリ無水物、多糖類、ポリ(エステル−アミド)、チロシン系ポリアリレート、チロシン系ポリイミノカーボネート、チロシン系ポリカーボネート、ポリ(D,L−ラクチド−ウレタン)、ポリ(B−ヒドロキシブチレート)、ポリ(E−カプロラクトン)、ポリエチレングリコール(PEG)、ポリ[ビス(カルボキシラトフェノキシ)ホスファゼン]、ポリ(アミノ酸)、擬似ポリ(アミノ酸)、吸収性ポリウレタン、及びこれらの組み合わせが挙げられるがこれらに限定されない。このポリマー組成物には例えば、PLLAのポリマー組成物が約50重量%〜約90重量%、PCLのポリマー組成物が約50重量%〜約10重量%含まれうる。このポリマー組成物には例えば、PLLAが約70重量%、PCLが約30重量%含まれうる。このポリマー組成物には例えば、PGAのポリマー組成物が約55重量%〜約85重量%、PCLのポリマー組成物が15重量%〜45重量%含まれうる。このポリマー組成物には例えば、PGAが約65重量%、PCLが約35重量%含まれうる。このポリマー組成物には例えば、PGAのポリマー組成物が約90重量%〜約95重量%、PLAのポリマー組成物が約5重量%〜約10重量%含まれうる。  Examples of non-synthetic polymers include, but are not limited to, lyophilized polysaccharides, glycoproteins, elastin, proteoglycans, gelatin, collagen, and oxidized regenerated cellulose. Examples of synthetic absorbent polymers include poly (lactic acid) (PLA), poly (L-lactic acid) (PLLA), polycaprolactone (PCL), polyglycolic acid (PGA), poly (trimethylene carbonate) (TMC), Polyethylene terephthalate (PET), polyhydroxyalkanoate (PHA), copolymer of glycolide and ε-caprolactone (PGCL), copolymer of glycolide and trimethylene carbonate, poly (glycerol sebacate) (PGS), polydioxanone, poly (orthoester) , Polyanhydrides, polysaccharides, poly (ester-amides), tyrosine-based polyarylate, tyrosine-based polyiminocarbonate, tyrosine-based polycarbonate, poly (D, L-lactide-urethane), poly (B-hydroxybutyrate), Poly (E- Caprolactone), polyethylene glycol (PEG), poly [bis (carboxymethyl Lato phenoxy) phosphazene], poly (amino acids), pseudo-poly (amino acids), absorbent polyurethane, and combinations thereof without limitation. The polymer composition can include, for example, about 50% to about 90% by weight of the PLLA polymer composition and about 50% to about 10% by weight of the PCL polymer composition. The polymer composition may include, for example, about 70% PLLA and about 30% PCL. The polymer composition can include, for example, about 55 wt% to about 85 wt% PGA polymer composition and 15 wt% to 45 wt% PCL polymer composition. The polymer composition may include, for example, about 65% by weight of PGA and about 35% by weight of PCL. The polymer composition can include, for example, about 90% to about 95% by weight of the PGA polymer composition and about 5% to about 10% by weight of the PLA polymer composition.

合成吸収性ポリマーは、生体吸収性で生体適合性のエラストマーコポリマーを含みうる。適した生体吸収性、生体適合性のエラストマーコポリマーは、イプシロン−カプロラクトンとグリコリドとのコポリマー(好ましくは、イプシロン−カプロラクトン対グリコリドのモル比が、約30:70〜約70:30、好ましくは35:65〜約65:35、より好ましくは45:55〜35:65);イプシロン−カプロラクトンとラクチド(L−ラクチド、D−ラクチド、これらの配合物、又は乳酸コポリマーを含む)とのエラストマーコポリマー(好ましくは、イプシロン−カプロラクトン対ラクチドのモル比が、約35:65〜約65:35、より好ましくは45:55〜30:70);p−ジオキサノン(1,4−ジオキサン−2−オン)とラクチド(L−ラクチド、D−ラクチド、及び乳酸を含む)とのエラストマーコポリマー(好ましくは、p−ジオキサノン対ラクチドのモル比が、約40:60〜約60:40);イプシロン−カプロラクトンとp−ジオキサノンとのエラストマーコポリマー(好ましくは、イプシロン−カプロラクトン対p−ジオキサノンのモル比が、約30:70〜約70:30);p−ジオキサノンと炭酸トリメチレンとのエラストマーコポリマー(好ましくは、p−ジオキサノン対炭酸トリメチレンのモル比が、約30:70〜約70:30);炭酸トリメチレンとグリコリドとのエラストマーコポリマー(好ましくは、炭酸トリメチレン対グリコリドのモル比が、約30:70〜約70:30);炭酸トリメチレンとラクチド(L−ラクチド、D−ラクチド、これらの配合物、又は乳酸コポリマーを含む)とのエラストマーコポリマー(好ましくは、炭酸トリメチレン対ラクチドのモル比が、約30:70〜約70:30)及びこれらの配合物が挙げられるが、これらに限定されない。エラストマーコポリマーは、グリコリドとイプシロン−カプロラクトンとのコポリマーであってよい。あるいは、エラストマーコポリマーは、ラクチドとイプシロン−カプロラクトンとのコポリマーである。  Synthetic absorbable polymers can include bioabsorbable and biocompatible elastomeric copolymers. Suitable bioabsorbable, biocompatible elastomer copolymers are copolymers of epsilon-caprolactone and glycolide (preferably having a molar ratio of epsilon-caprolactone to glycolide of from about 30:70 to about 70:30, preferably 35: 65 to about 65:35, more preferably 45:55 to 35:65); elastomeric copolymers of epsilon-caprolactone and lactide (including L-lactide, D-lactide, blends thereof, or lactic acid copolymers) (preferably Is a molar ratio of epsilon-caprolactone to lactide of about 35:65 to about 65:35, more preferably 45:55 to 30:70); p-dioxanone (1,4-dioxane-2-one) and lactide Elastomer copoly with L-lactide, D-lactide, and lactic acid -(Preferably a molar ratio of p-dioxanone to lactide of about 40:60 to about 60:40); an elastomeric copolymer of epsilon-caprolactone and p-dioxanone (preferably a mole of epsilon-caprolactone to p-dioxanone. A ratio of about 30:70 to about 70:30); an elastomeric copolymer of p-dioxanone and trimethylene carbonate (preferably a molar ratio of p-dioxanone to trimethylene carbonate of about 30:70 to about 70:30); An elastomeric copolymer of trimethylene carbonate and glycolide (preferably the molar ratio of trimethylene carbonate to glycolide is about 30:70 to about 70:30); trimethylene carbonate and lactide (L-lactide, D-lactide, blends thereof) Or elastomeric copolymer with lactic acid copolymer) (Preferably, the molar ratio of trimethylene carbonate to-lactide is from about 30:70 to about 70:30) and although these formulations include, but are not limited to. The elastomeric copolymer may be a copolymer of glycolide and epsilon-caprolactone. Alternatively, the elastomeric copolymer is a copolymer of lactide and epsilon-caprolactone.

米国特許第5,468,253号「ELASTOMERIC MEDICAL DEVICE」(1995年11月21日発行)、及び同第6,325,810号「FOAM BUTTRESS FOR STAPLING APPARATUS」(2001年12月4日)に開示されており、そのそれぞれの全容を参照により本明細書に援用する。  Disclosure in US Pat. No. 5,468,253 “ELASTOMERIC MEDICAL DEVICE” (issued November 21, 1995) and US Pat. No. 6,325,810 “FOAM BUTTRESS FOR STAPLING APPARATUS” (December 4, 2001) Each of which is hereby incorporated by reference in its entirety.

合成吸収性ポリマーは例えば、90/10ポリ(グリコリド−L−ラクチド)コポリマー(Ethicon、Inc.から商品名VICRYL(ポリグラクチン(polyglactic)910)として市販)、ポリグリコリド(American Cyanamid Co.から商品名DEXONとして市販)、ポリジオキサノン(Ethicon、Inc.から商品名PDSとして市販)、ポリ(グリコリド−トリメチレンカーボネート)ランダムブロックコポリマー(American Cyanamid Co.から商品名MAXONとして市販)、75/25ポリ(グリコリド−E−カプロラクトン−ポリグレカプロラクトン25)コポリマー(Ethiconから商品名MONOCRYLとして市販)のうち1つ以上を含みうる。  Synthetic absorbent polymers are, for example, 90/10 poly (glycolide-L-lactide) copolymer (commercially available from Ethicon, Inc. under the trade name VICRYL (polyglactic 910)), polyglycolide (trade name DEXON from American Cyanamid Co.). , Polydioxanone (commercially available from Ethicon, Inc. under the trade name PDS), poly (glycolide-trimethylene carbonate) random block copolymer (commercially available from American Cyanamid Co. as trade name MAXON), 75/25 poly (glycolide-E -Caprolactone-polygrecaprolactone 25) may comprise one or more of the copolymers (commercially available from Ethicon under the trade name MONOCRYL).

合成非吸収性ポリマーの例としては、発泡ポリウレタン、ポリプロピレン(PP)、ポリエチレン(PE)、ポリカーボネート、ポリアミド(例えばナイロン)、ポリ塩化ビニル(PVC)、ポリメチルメタクリレート(PMMA)、ポリスチレン(PS)、ポリエステル、ポリエーテルエーテルケトン(PEEK)、ポリテトラフルオロエチレン(PTFE)、ポリトリフルオロクロロエチレン(PTFCE)、ポリフッ化ビニル(PVF)、フッ素化エチレンプロピレン(FEP)、ポリアセタール、ポリスルホン、及びこれらの組み合わせが挙げられるがこれらに限定されない。合成非吸収性ポリマーには、例えばシリコーン、ポリイソプレン、及びゴムなどの発泡エラストマー及び多孔質エラストマーが挙げられうるがこれらに限定されない。合成ポリマーは、W.L.Gore & Associates,Inc.社から商品名GORE−TEX Soft Tissue patchで市販される拡大ポリテトラフルオロエチレン(ePTFE)、及び、Polyganics社から商品名NASOPOREで市販されるco−ポリエーテルエステルウレタン発泡体を含みうる。  Examples of synthetic non-absorbable polymers include foamed polyurethane, polypropylene (PP), polyethylene (PE), polycarbonate, polyamide (eg nylon), polyvinyl chloride (PVC), polymethyl methacrylate (PMMA), polystyrene (PS), Polyester, polyetheretherketone (PEEK), polytetrafluoroethylene (PTFE), polytrifluorochloroethylene (PTFCCE), polyvinyl fluoride (PVF), fluorinated ethylene propylene (FEP), polyacetal, polysulfone, and combinations thereof However, it is not limited to these. Synthetic non-absorbable polymers may include, but are not limited to, foamed elastomers and porous elastomers such as silicone, polyisoprene, and rubber. Synthetic polymers are described in W.W. L. Gore & Associates, Inc. Expanded polytetrafluoroethylene (ePTFE) marketed under the trade name GORE-TEX Soft Tissue Patch from the company and co-polyether ester urethane foams marketed under the trade name NASOPORE from Polyganics.

組織厚さコンペンセータのポリマー組成物は、例えば、パーセント有孔率、孔サイズ、及び/又は硬度によって特性付けられうる。ポリマー組成物は例えば、約30体積%〜約99体積%のパーセント有孔率を有しうる。ポリマー組成物は例えば、約60体積%〜約98体積%のパーセント有孔率を有しうる。ポリマー組成物は例えば、約85体積%〜約97体積%のパーセント有孔率を有しうる。ポリマー組成物は例えば、約70重量%のPLLAと約30重量%のPCLを有してよく、例えば約90体積%の有孔率を有しうる。例えば、その結果、ポリマー組成物は約10体積%のコポリマーを含みうる。ポリマー組成物は例えば、約65重量%のPGAと約35重量%のPCLを有してよく、例えば、約93体積%〜約95体積%の有孔率を有しうる。ポリマー組成物は、85%超の有孔率を有しうる。ポリマー組成物は、例えば、約5マイクロメートル〜約2000マイクロメートルの孔サイズを有しうる。ポリマー組成物は、例えば、約10マイクロメートル〜約100マイクロメートルの孔サイズを有しうる。例えば、ポリマー組成物は例えば、PGAとPClのコポリマーを含みうる。ポリマー組成物は、例えば、約100マイクロメートル〜約1000マイクロメートルの孔サイズを有しうる。例えば、ポリマー組成物は例えば、PLLAとPClのコポリマーを含みうる。特定の態様により、ポリマー組成物の硬度は、ショア硬度で表わすことができ、これは例えばショアデュロメータなどのデュロメータで測定される、材料の恒久的な陥凹に対する抵抗として定義されうる。所与の材料のデュロメータ値を評価するために、ASTM手順D2240−00「Standard Test Method for Rubber Property−Durometer Hardness」に従って、デュロメータインデンターフットで、材料に対して圧力が適用される。デュロメータインデンターフットは、例えば15秒間などの充分な時間、材料に対して適用してよく、この測定値が適切な目盛で取得される。使用する目盛のタイプに応じて、インデンターフットが材料に完全に貫入したときに読取り値0が得られ、材料に対する貫入が起こらなかった場合に読取り値100が得られる。この読取り値は無次元である。デュロメータは、ASTM D2240−00に従って、任意の適当な目盛、例えばタイプA及び/又はタイプOOに従って測定されうる。組織厚さコンペンセータのポリマー組成物は、例えば約4A〜約16AのショアA硬度値を有してよく、これはショアOO範囲で約45 OO〜約65 OOである。例えば、ポリマー組成物は例えば、PLLA/PCLコポリマー又はPGA/PCLコポリマーを含みうる。組織厚さコンペンセータのポリマー組成物は、15A未満のショアA硬度値を有しうる。組織厚さコンペンセータのポリマー組成物は、15A未満のショアA硬度値を有しうる。組織厚さコンペンセータのポリマー組成物は、15A未満のショアA硬度値を有しうる。ポリマー組成物は例えば、約35 OO〜約75 OOのショアOO組成物値を有しうる。  The tissue composition of the tissue thickness compensator can be characterized, for example, by percent porosity, pore size, and / or hardness. The polymer composition can have, for example, a percent porosity of about 30% to about 99% by volume. The polymer composition can have, for example, a percent porosity of about 60% to about 98% by volume. The polymer composition can have, for example, a percent porosity of about 85% to about 97% by volume. The polymer composition may have, for example, about 70% by weight PLLA and about 30% by weight PCL, for example, may have a porosity of about 90% by volume. For example, as a result, the polymer composition may comprise about 10% by volume copolymer. The polymer composition may have, for example, about 65% by weight PGA and about 35% by weight PCL, for example, may have a porosity of about 93% to about 95% by volume. The polymer composition may have a porosity greater than 85%. The polymer composition can have a pore size of, for example, from about 5 micrometers to about 2000 micrometers. The polymer composition can have a pore size of, for example, from about 10 micrometers to about 100 micrometers. For example, the polymer composition can include, for example, a copolymer of PGA and PCl. The polymer composition can have, for example, a pore size of about 100 micrometers to about 1000 micrometers. For example, the polymer composition can include, for example, a copolymer of PLLA and PCl. According to a particular embodiment, the hardness of the polymer composition can be expressed in terms of Shore hardness, which can be defined as the resistance to permanent depression of the material, as measured, for example, by a durometer such as a Shore durometer. In order to evaluate the durometer value of a given material, pressure is applied to the material at the durometer indenter foot according to ASTM procedure D2240-00 “Standard Test Method for Rubber Property-Durometer Hardness”. The durometer indenter foot may be applied to the material for a sufficient amount of time, for example 15 seconds, and this measurement is taken on an appropriate scale. Depending on the type of scale used, a reading of 0 is obtained when the indenter foot is fully penetrated into the material and a reading of 100 is obtained when no penetration into the material has occurred. This reading is dimensionless. The durometer can be measured according to any suitable scale, for example type A and / or type OO, according to ASTM D2240-00. The polymer composition of the tissue thickness compensator may have, for example, a Shore A hardness value of about 4A to about 16A, which is about 45 OO to about 65 OO in the Shore OO range. For example, the polymer composition can include, for example, a PLLA / PCL copolymer or a PGA / PCL copolymer. The polymer composition of the tissue thickness compensator can have a Shore A hardness value of less than 15A. The polymer composition of the tissue thickness compensator can have a Shore A hardness value of less than 15A. The polymer composition of the tissue thickness compensator can have a Shore A hardness value of less than 15A. The polymer composition can have, for example, a Shore OO composition value of about 35 OO to about 75 OO.

ポリマー組成物は、上述の特性のうち少なくとも2つを有しうる。ポリマー組成物は、上述の特性のうち少なくとも3つを有しうる。ポリマー組成物は、85体積%〜97体積%の有孔率、5マイクロメートル〜2000マイクロメートルの孔サイズ、及び4A〜16AのショアA硬度、及び45 OO〜65 OOのショアOO硬度値を有しうる。ポリマー組成物は例えば、70重量%のPLLAポリマー組成物と30重量%のPCLポリマー組成物を含み、90体積%の有孔率、100マイクロメートル〜1000マイクロメートルの孔サイズ、及び4A〜16AのショアA硬度、及び45 OO〜65 OOのショアOO硬度値を有しうる。ポリマー組成物は例えば、65重量%のPGAポリマー組成物と35重量%のPCLポリマー組成物を含み、93体積%〜95体積%の有孔率、10マイクロメートル〜100マイクロメートルの孔サイズ、及び4A〜16AのショアA硬度値、及び45 OO〜65 OOのショアOO硬度値を有しうる。  The polymer composition may have at least two of the properties described above. The polymer composition can have at least three of the properties described above. The polymer composition has a porosity of 85% to 97% by volume, a pore size of 5 micrometers to 2000 micrometers, and a Shore A hardness of 4A to 16A, and a Shore OO hardness value of 45 OO to 65 OO. Yes. The polymer composition includes, for example, 70% by weight PLLA polymer composition and 30% by weight PCL polymer composition, 90% by volume porosity, 100 micrometer to 1000 micrometer pore size, and 4A to 16A. It may have a Shore A hardness and a Shore OO hardness value of 45 OO to 65 OO. The polymer composition includes, for example, 65% by weight PGA polymer composition and 35% by weight PCL polymer composition, 93 volume% to 95 volume% porosity, 10 micrometer to 100 micrometer pore size, and It can have a Shore A hardness value of 4A-16A and a Shore OO hardness value of 45OO-65OO.

ポリマー組成物は、製薬的活性薬剤を含みうる。ポリマー組成物は、治療有効量の製薬的活性薬剤を放出しうる。製薬的活性薬剤は、ポリマー組成物が脱着/吸着される際に放出されうる。製薬的活性薬剤は、そのポリマー組成物の上又は中を通過する液体(例えば、血液)内に放出されうる。製薬的活性薬剤の例としては、止血薬剤及び薬剤(例えばフィブリン、トロンビン、及び酸化再生セルロース(ORC))、抗炎症薬(例えばジクロフェナク、アスピリン、ナプロキセン、スリンダク、及びヒドロコルチゾン)、抗生物質及び抗菌薬剤又は薬剤(例えば、トリクロサン、銀イオン、アンピシリン、ゲンタマイシン、ポリミキシンB、クロラムフェニコール)、並びに抗癌剤(例えばシスプラチン、ミトマイシン、アドリアマイシン)が挙げられうるがこれらに限定されない。  The polymer composition can include a pharmaceutically active agent. The polymer composition can release a therapeutically effective amount of the pharmaceutically active agent. The pharmaceutically active agent can be released as the polymer composition is desorbed / adsorbed. The pharmaceutically active agent can be released into a liquid (eg, blood) that passes over or through the polymer composition. Examples of pharmaceutically active agents include hemostatic agents and agents (eg, fibrin, thrombin, and oxidized regenerated cellulose (ORC)), anti-inflammatory agents (eg, diclofenac, aspirin, naproxen, sulindac, and hydrocortisone), antibiotics and antibacterial agents Or drugs (eg, triclosan, silver ion, ampicillin, gentamicin, polymyxin B, chloramphenicol), as well as anti-cancer agents (eg, cisplatin, mitomycin, adriamycin).

次に図216を参照すると、ステープルカートリッジ(例えば、ステープルカートリッジ10000)は、支持部分10010と圧縮可能な組織厚さコンペンセータ10020とを含みうる。次に図218〜220を参照して、支持部分10010は、支持部分10010内に画定されたデッキ表面10011及び複数のステープルキャビティ10012を含みうる。各ステープルキャビティ10012は、例えば、その中にステープル(例えばステープル10030)を取り外し可能に保管するような寸法で構成されうる。ステープルカートリッジ10000は更に、複数のステープルドライバ10040を有してよく、これはそれぞれ、ステープル10030とステープルドライバ10040が未発射位置にあるときに、ステープルキャビティ10012内に1つ以上のステープル10030を支持するように構成することができる。例えば、図224及び225を主に参照すると、各ステープルドライバ10040は、例えば、1つ又は2つ以上の受台(又はトラフ)10041を有してよく、これはステープルを支持し、かつステープル10030とステープルドライバ10040との間の相対的な動きを制限するように構成することができる。再び図218を参照すると、ステープルカートリッジ10000は、ステープル発射スレッド10050を更に有してよく、これは、ステープルドライバ10040とステープル10030とを、それらの未発射位置から、ステープルカートリッジ10000に対向して配置されているアンビルに向かって連続的に持ち上げるために、ステープルカートリッジの近位端10001から遠位端10002へと動くことができる。図218及び220を主に参照すると、各ステープル10030は、底面10031と、その底面10031から延びる1本又は複数の脚10032とを含み、各ステープルは例えば、ほぼU字型及びほぼV字型の少なくとも1つでありうる。ステープル10030は、ステープル10030が未発射位置にあるときに、ステープル脚10032の先端が支持部分10010のデッキ表面10011に対して引っ込んでいるように構成することができる。ステープル10030は、ステープル10030が未発射位置にあるときに、ステープル脚10032の先端が支持部分10010のデッキ表面10011に対して同一面であるように構成することができる。ステープル10030は、ステープル10030が未発射位置にあるときに、ステープル脚10032の先端、又はステープル脚10032の少なくとも一部が、支持部分10010のデッキ表面10011の上に延出するように構成することができる。そのような場合、ステープル脚10032は、ステープル10030が未発射位置にあるときに、組織厚さコンペンセータ10020内に延出し、この中に埋め込まれうる。例えば、ステープル脚10032は例えば、デッキ表面10011の上に約1.9mm(0.075”)延出しうる。ステープル脚10032は例えば、デッキ表面10011の上に約0.64mm(0.025”)〜約3.18mm(0.125”)の距離延出しうる。上記に対して更に、組織厚さコンペンセータ10020は例えば、約2.0mm(0.08”)〜約3.18mm(0.125”)の未圧縮厚さを含みうる。  Referring now to FIG. 216, a staple cartridge (eg, staple cartridge 10000) can include asupport portion 10010 and a compressibletissue thickness compensator 10020. Referring now to FIGS. 218-220, thesupport portion 10010 can include adeck surface 10011 and a plurality ofstaple cavities 10012 defined within thesupport portion 10010. Eachstaple cavity 10012 may be sized, for example, to removably store a staple (eg, staple 10030) therein. Thestaple cartridge 10000 may further include a plurality ofstaple drivers 10040 that each support one ormore staples 10030 within thestaple cavity 10012 when thestaples 10030 and 10040 are in an unfired position. It can be constituted as follows. For example, referring primarily to FIGS. 224 and 225, eachstaple driver 10040 may include, for example, one or more cradle (or trough) 10040 that supports staples andstaples 10030. And thestaple driver 10040 can be configured to limit relative movement. Referring again to FIG. 218, thestaple cartridge 10000 may further include astaple firing thread 10050, which positions thestaple driver 10040 and thestaple 10030 from their unfired positions opposite thestaple cartridge 10000. The staple cartridge can be moved from theproximal end 10001 to thedistal end 10002 for continuous lifting toward the anvil that is being operated. Referring primarily to FIGS. 218 and 220, eachstaple 10030 includes abottom surface 10031 and one ormore legs 10032 extending from thebottom surface 10031, each staple being, for example, generally U-shaped and generally V-shaped. There can be at least one. Thestaple 10030 can be configured such that the tips of thestaple legs 10032 are retracted against thedeck surface 10011 of thesupport portion 10010 when thestaple 10030 is in the unfired position. Thestaple 10030 can be configured such that the tips of thestaple legs 10032 are flush with thedeck surface 10011 of thesupport portion 10010 when thestaple 10030 is in the unfired position.Staple 10030 may be configured such that the tip ofstaple leg 10032 or at least a portion ofstaple leg 10032 extends abovedeck surface 10011 ofsupport portion 10010 whenstaple 10030 is in the unfired position. it can. In such a case, thestaple legs 10032 can extend into and be embedded within thetissue thickness compensator 10020 when thestaple 10030 is in the unfired position. For example, thestaple legs 10032 may, for example, extend approximately 1.9 mm (0.075 ") above thedeck surface 10011. Thestaple legs 10032, for example, approximately 0.64 mm (0.025") above thedeck surface 10011. Thetissue thickness compensator 10020 can be, for example, about 2.0 mm (0.08 ") to about 3.18 mm (0.125"). ”) Uncompressed thickness.

使用時には、上記に対して更に、図233を主に参照して、アンビル(例えばアンビル10060)は、ステープルカートリッジ10000に相対する閉位置に動くことができる。詳しくは後述されるように、アンビル10060は、組織厚さコンペンセータ10020に対するように組織を配置することができ、かつ、例えば、組織厚さコンペンセータ10020を、支持部分10010のデッキ表面10011に対して圧縮することができる。アンビル10060が適当に配置されると、図233にも示されているように、ステープル10030を配備することができる。必要に応じて、前述のように、ステープル発射スレッド10050は、図234に示すように、ステープルカートリッジ10000の近位端10001から、遠位端10002に向かって動くことができる。スレッド10050が前進すると、スレッド10050がステープルドライバ10040に接触して、ステープルドライバ10040をステープルキャビティ10012内で上方向に持ち上げる。スレッド10050とステープルドライバ10040はそれぞれ、1つ又は2つ以上の傾斜面(斜めの面)を有してよく、これが協働して、ステープルドライバ10040を未発射位置から上側に動かすことができる。例えば、図221〜225を参照して、各ステープルドライバ10040は、少なくとも1つの傾斜面10042を有してよく、スレッド10050は、少なくとも1つ又は複数の傾斜面10052を有してよく、これは、スレッド10050がステープルカートリッジ内で遠位方向に前進する際に、傾斜面10052が傾斜面10042の下を摺動できるように構成することができる。ステープルドライバ10040がそれぞれのステープルキャビティ10012内で上側に持ち上げられると、ステープルドライバ10040がステープル10030を上側に持ち上げ、これによりステープル10030がステープルデッキ10011の開口部を通ってステープルキャビティ10012から上に現われることができる。代表的な発射シーケンス中に、図227〜229を主に参照して、スレッド10050は最初にステープル10030aに接触し、ステープル10030aを上に持ち上げ始めることができる。スレッド10050が更に遠位方向に前進すると、スレッド10050が順に、ステープル10030b、10030c、10030d、10030e、及び10030f、及び他の後続ステープルを、更に持ち上げ始めることができる。図229に示すように、スレッド10050はステープル10030を上方向に駆動することができ、これによりステープル脚10032が相対するアンビルに接触し、望ましい形状に変形され、支持部分10010から発射される。様々な状況において、スレッド10030は、発射シーケンスの一部として同時に、いくつかのステープルを上側に動かすことができる。図229に示す発射シーケンスに関して、ステープル10030a及び10030bは、完全に発射済みの位置に動かされ、支持部分10010から発射されており、ステープル10030c及び10030dは発射が進行中で、少なくとも部分的に支持部分10010内に収容されており、ステープル10030e及び10030fはまだ未発射位置にある。  In use, and with reference primarily to FIG. 233, the anvil (eg, anvil 10060) can move to a closed position relative to thestaple cartridge 10000 in addition to the above. As will be described in detail below, theanvil 10060 can place tissue as opposed to thetissue thickness compensator 10020 and, for example, compress thetissue thickness compensator 10020 against thedeck surface 10011 of thesupport portion 10010. can do. Once theanvil 10060 is properly positioned,staples 10030 can be deployed, as also shown in FIG. If desired, thestaple firing sled 10050 can move from theproximal end 10001 of thestaple cartridge 10000 toward thedistal end 10002, as shown in FIG. As thethread 10050 advances, thethread 10050 contacts thestaple driver 10040 and lifts thestaple driver 10040 upward within thestaple cavity 10012. Each of thesled 10050 and thestaple driver 10040 may have one or more inclined surfaces (oblique surfaces), which can cooperate to move thestaple driver 10040 upward from the unfired position. For example, referring to FIGS. 221-225, eachstaple driver 10040 may have at least oneinclined surface 10042, and thethread 10050 may have at least one or moreinclined surfaces 10052, which Thesloping surface 10052 can be configured to slide under thesloping surface 10042 as thesled 10050 is advanced distally within the staple cartridge. As thestaple driver 10040 is lifted upward within therespective staple cavity 10012, thestaple driver 10040 lifts thestaple 10030 upward so that thestaple 10030 emerges from thestaple cavity 10012 through the opening in thestaple deck 10011. Can do. During a typical firing sequence, primarily referring to FIGS. 227-229, thesled 10050 can first contact the staple 10030a and begin to lift the staple 10030a up. As thesled 10050 is advanced further in the distal direction, thesled 10050 may in turn begin to further lift thestaples 10030b, 10030c, 10030d, 10030e, and 10030f, and other subsequent staples. As shown in FIG. 229, thesled 10050 can drive thestaple 10030 upward so that thestaple leg 10032 contacts the opposing anvil, deforms to the desired shape, and is fired from thesupport portion 10010. In various situations, thesled 10030 can move several staples upward simultaneously as part of the firing sequence. With respect to the firing sequence shown in FIG. 229, thestaples 10030a and 10030b have been moved to the fully fired position and fired from thesupport portion 10010, and thestaples 10030c and 10030d are at least partially supported by firing. Housed in 10010,staples 10030e and 10030f are still in the unfired position.

前述のように、図235を参照すると、ステープル10030のステープル脚10032は、ステープル10030が未発射位置にあるときに、支持部分10010のデッキ表面10011の上に延出しうる。更に、図229に示されるこの発射シーケンスに関して、ステープル10030e及び10030fは未発射位置に図示されており、そのステープル脚10032は、デッキ表面10011の上に出て、組織厚さコンペンセータ10020内に延出している。ステープル10030が未発射位置にあるときには、ステープル脚10032の先端、又はステープル脚10032のいずれの部分も、組織厚さコンペンセータ10020の組織接触上側表面10021を貫通して突出することはできない。ステープル10030が未発射位置から発射済み位置へと動くと、図229に示すように、ステープル脚の先端が、組織接触表面10032を貫通して突出しうる。ステープル脚10032の先端は鋭い先端を有してよく、これが組織厚さコンペンセータ10020を切開し貫入することができる。組織厚さコンペンセータ10020は複数の開口部を有してよく、これはステープル脚10032を受容して、ステープル脚10032が組織厚さコンペンセータ10020に対して相対的に摺動することができるように構成することができる。支持部分10010は更に、デッキ表面10011から延出する複数のガイド10013を含みうる。ガイド10013は、デッキ表面10011内のステープルキャビティ開口部に隣接して配置することができ、これによりステープル脚10032は、ガイド10013により少なくとも部分的に支持されうる。ガイド10013は、ステープルキャビティ開口部の近位端及び/又は遠位端に配置されうる。本発明によれば、第1のガイド10013は、各ステープルキャビティ開口部の第1の端に配置することができ、第2のガイド10013は、各ステープルキャビティ開口部の第2の端に配置することができ、これにより各第1のガイド10013は、ステープル10030の第1のステープル脚10032を支持することができ、各第2のガイド10013は、ステープルの第2のステープル脚10032を支持することができる。図235を参照すると、各ガイド10013は、溝又はスロット(例えば溝10016)を有してよく、この中にステープル脚10032が摺動可能に収容されうる。必要に応じて、各ガイド10013は、デッキ表面10011から延出しうる滑り止め、突起、及び/又はスパイクを含んでよく、これが組織厚さコンペンセータ10020内に延びることができる。詳しくは後述されるように、滑り止め、突起、及び/又はスパイクは、組織厚さコンペンセータ10020と支持部分10010との間の相対的な動きを低減させることができる。ステープル脚10032の先端は、ガイド10013内に配置することができ、ステープル10030が未発射位置にあるときに、ガイド10013の上側表面の上に延びることはできない。例えば、ガイド10013はガイド高さを画定し、ステープル10030は未発射位置にあるときにこのガイド高さを超えて延びることはできない。  As described above, referring to FIG. 235, thestaple legs 10032 of thestaple 10030 can extend over thedeck surface 10011 of thesupport portion 10010 when thestaple 10030 is in the unfired position. Further, with respect to this firing sequence shown in FIG. 229,staples 10030e and 10030f are shown in an unfired position, and theirstaple legs 10032 exit abovedeck surface 10011 and extend intotissue thickness compensator 10020. ing. When thestaple 10030 is in the unfired position, the tip of thestaple leg 10032 or any portion of thestaple leg 10032 cannot protrude through the tissue contactingupper surface 10021 of thetissue thickness compensator 10020. As thestaple 10030 moves from the unfired position to the fired position, the tip of the staple leg may protrude through thetissue contacting surface 10032 as shown in FIG. The tip of thestaple leg 10032 may have a sharp tip, which can incise and penetrate thetissue thickness compensator 10020. Thetissue thickness compensator 10020 may have a plurality of openings that are configured to receive thestaple legs 10032 and allow thestaple legs 10032 to slide relative to thetissue thickness compensator 10020. can do.Support portion 10010 can further include a plurality ofguides 10013 extending fromdeck surface 10011. Theguide 10013 can be positioned adjacent the staple cavity opening in thedeck surface 10011 such that thestaple legs 10032 can be at least partially supported by theguide 10013.Guide 10013 may be disposed at the proximal and / or distal end of the staple cavity opening. In accordance with the present invention, afirst guide 10013 can be disposed at the first end of each staple cavity opening and asecond guide 10013 is disposed at the second end of each staple cavity opening. Eachfirst guide 10013 can support a firststaple leg 10032 of astaple 10030, and eachsecond guide 10013 can support a secondstaple leg 10032 of a staple. Can do. Referring to FIG. 235, eachguide 10013 may have a groove or slot (eg, groove 10016) in whichstaple legs 10032 may be slidably received. If desired, eachguide 10013 may include a non-slip, protrusion, and / or spike that can extend from thedeck surface 10011, which can extend into thetissue thickness compensator 10020. As described in detail below, anti-slip, protrusions, and / or spikes can reduce relative movement between thetissue thickness compensator 10020 and thesupport portion 10010. The tips of thestaple legs 10032 can be disposed within theguide 10013 and cannot extend over the upper surface of theguide 10013 when thestaple 10030 is in the unfired position. For example, theguide 10013 defines a guide height, and thestaple 10030 cannot extend beyond this guide height when in the unfired position.

本発明によれば、組織厚さコンペンセータ(例えば、組織厚さコンペンセータ10020)は、1枚のシート材料で構成することができる。組織厚さコンペンセータは、支持部分10010のデッキ上側表面10011全体を覆うことができる、あるいは、デッキ表面10011全体よりも小さい領域を覆うことができる、1枚の連続シート材料を含みうる。シート材料は、支持部分10010のステープルキャビティ開口部を覆うことができる一方、代替例として、シート材料は開口部を有してよく、これはステープルキャビティ開口部と整列、又は少なくとも部分的に整列させることができる。本発明によれば、組織厚さコンペンセータは、複数層の材料で構成することができる。次に図217を参照すると、組織厚さコンペンセータは、圧縮可能コアと、その圧縮可能コアを包むラップとを含みうる。ラップ10022は、圧縮可能コアを支持部分10010に対して解放可能に保持するように構成することができる。例えば、支持部分10010は、そこから延出する1つ又は2つ以上の突起(例えば、突起10014(図220))を含み、これは、ラップ10022内に画定された1つ又は2つ以上の開口部及び/又はスロット(例えば、開口部10024)内に受容されうる。突起10014と開口部10024は、突起10014がラップ10022を支持部分10010に対して固定できるように構成することができる。突起10014の端は、例えば、熱カシメ工程などによって変形させることができ、これにより突起10014の端を大きくし、その結果、ラップ10022と支持部分10010の間の相対的動きを制限することができる。図217に示すように、ラップ10022は1つ以上の穿孔10025を含み、これがラップ10022を支持部分10010から剥がすのを促進しうる。次に図226を参照すると、組織厚さコンペンセータは、複数の開口部10223を備えるラップ10222を有してよく、開口部10223は、支持部分10010のステープルキャビティ開口部と整列、又は少なくとも部分的に整列させることができる。組織厚さコンペンセータのコアも、開口部を有してよく、これらは、ラップ10222の開口部10223と整列、又は少なくとも部分的に整列されうる。あるいは、組織厚さコンペンセータのコアは連続体を有してよく、これは、連続体がデッキ表面10011のステープルキャビティ開口部を覆うように、開口部10223の下側に延在させることができる。  According to the present invention, a tissue thickness compensator (eg, tissue thickness compensator 10020) can be constructed of a single sheet material. The tissue thickness compensator can include a single continuous sheet material that can cover the entire deckupper surface 10011 of thesupport portion 10010 or can cover a smaller area than theentire deck surface 10011. While the sheet material can cover the staple cavity opening of thesupport portion 10010, as an alternative, the sheet material may have an opening that is aligned with, or at least partially aligned with, the staple cavity opening. be able to. According to the present invention, the tissue thickness compensator can be composed of multiple layers of material. Referring now to FIG. 217, the tissue thickness compensator can include a compressible core and a wrap that encloses the compressible core. Thewrap 10022 can be configured to releasably hold the compressible core relative to thesupport portion 10010. For example, thesupport portion 10010 includes one or more protrusions (eg, protrusion 10014 (FIG. 220)) extending therefrom, which can include one or more protrusions defined within thewrap 10022. An opening and / or slot (eg, opening 10024) may be received. Theprotrusion 10014 and theopening 10024 can be configured such that theprotrusion 10014 can secure thewrap 10022 to thesupport portion 10010. The ends of theprotrusions 10014 can be deformed, for example, by a thermal caulking process, etc., thereby increasing the ends of theprotrusions 10014 and consequently limiting the relative movement between thewrap 10022 and thesupport portion 10010. . As shown in FIG. 217, thewrap 10022 may include one ormore perforations 10025, which may facilitate peeling thewrap 10022 from thesupport portion 10010. Referring now to FIG. 226, the tissue thickness compensator may have awrap 10222 that includes a plurality ofopenings 10223 that are aligned, or at least partially, with staple cavity openings in thesupport portion 10010. Can be aligned. The core of the tissue thickness compensator may also have openings, which may be aligned or at least partially aligned with theopenings 10223 of thewrap 10222. Alternatively, the tissue thickness compensator core may have a continuum that may extend below theopening 10223 such that the continuum covers the staple cavity opening in thedeck surface 10011.

必要に応じて、上述のように、組織厚さコンペンセータは、圧縮可能コアを支持部分10010に対して解放可能に保持しているラップを含みうる。例えば、図218を参照すると、ステープルカートリッジは更に保持クリップ10026を有してよく、これは、ラップ及び圧縮可能コアが、支持部分10010から早期に外れるのを阻止するように構成することができる。必要に応じて、各保持クリップ10026は開口部10028を有してよく、これは、支持部分10010から延びる突起10014を受容し、これにより保持クリップ10026が支持部分10010に固定されうるように構成することができる。保持クリップ10026は、それぞれ、少なくとも1つの皿状部分10027を有してよく、これは支持部分10010の下側に延在し、ステープルドライバ10040を支持部分10010内に保持することができる。上述のように、組織厚さコンペンセータは、ステープル10030によって支持部分10010に取り外し可能に取り付けることができる。より詳細には、これも上述のように、ステープル10030が未発射位置にあるときに、ステープル10030の脚が組織厚さコンペンセータ10020内に延びることができ、その結果、組織厚さコンペンセータ10020を支持部分10010に解放可能に保持することができる。ステープル10030の脚は、各ステープルキャビティ10012の側壁と接触状態にあってよく、ステープル脚10032と側壁との間の摩擦のおかげで、ステープル10030がステープルカートリッジ10000から配備されるまでの間、ステープル10030と組織厚さコンペンセータ10020が定位置に保持されうる。ステープル10030が配備されたとき、組織厚さコンペンセータ10020は、ステープル10030内に捕捉され、ステープル適用された組織Tに対して保持されうる。次にアンビルが開位置に動いて組織Tを解放すると、組織に固定されている支持部分10010が組織厚さコンペンセータ10020から離れる方向に動くことができる。接着剤を使用して、組織厚さコンペンセータ10020を支持部分10010に取り外し可能に保持することができる。2成分接着剤を使用することができ、接着剤の第1の成分をデッキ表面10011上に配置し、接着剤の第2の成分を組織厚さコンペンセータ10020上に配置することができ、これにより、組織厚さコンペンセータ10020がデッキ表面10011に対向して配置されたときに、第1の成分が第2の成分と接触して接着剤を活性化させ、組織厚さコンペンセータ10020を支持部分10010に対して取り外し可能に結合させることができる。必要に応じて、任意の他の好適な手段を使用して、組織厚さコンペンセータをステープルカートリッジの支持部分に取り外し可能に保持することができる。  Optionally, as described above, the tissue thickness compensator can include a wrap that releasably holds the compressible core relative to thesupport portion 10010. For example, referring to FIG. 218, the staple cartridge may further include a retainingclip 10026, which can be configured to prevent the wrap and compressible core from prematurely disengaging from thesupport portion 10010. If desired, each retainingclip 10026 may have an opening 1000028 that is configured to receive aprotrusion 10014 extending from thesupport portion 10010 so that the retainingclip 10026 can be secured to thesupport portion 10010. be able to. Each retainingclip 10026 may have at least one dishedportion 10027 that extends below thesupport portion 10010 and can hold thestaple driver 10040 within thesupport portion 10010. As described above, the tissue thickness compensator can be removably attached to thesupport portion 10010 bystaples 10030. More particularly, as also described above, when thestaple 10030 is in the unfired position, the legs of thestaple 10030 can extend into thetissue thickness compensator 10020, thereby supporting thetissue thickness compensator 10020. Theportion 10010 can be releasably held. Thestaple 10030 legs may be in contact with the side walls of eachstaple cavity 10012, and thestaple 10030 until thestaple 10030 is deployed from thestaple cartridge 10000, thanks to friction between thestaple legs 10032 and the side walls. And thetissue thickness compensator 10020 can be held in place. When thestaple 10030 is deployed, thetissue thickness compensator 10020 can be captured within thestaple 10030 and held against the stapled tissue T. When the anvil is then moved to the open position to release the tissue T, thesupport portion 10010 secured to the tissue can move away from thetissue thickness compensator 10020. An adhesive can be used to removably hold thetissue thickness compensator 10020 to thesupport portion 10010. A two-component adhesive can be used, a first component of the adhesive can be placed on thedeck surface 10011, and a second component of the adhesive can be placed on thetissue thickness compensator 10020, thereby When thetissue thickness compensator 10020 is positioned opposite thedeck surface 10011, the first component contacts the second component to activate the adhesive, and thetissue thickness compensator 10020 is attached to thesupport portion 10010. It can be detachably coupled to it. If desired, any other suitable means can be used to removably hold the tissue thickness compensator to the support portion of the staple cartridge.

上記に対して更に、スレッド10050を近位端10001から遠位端10002に前進させて、ステープルカートリッジ10000内に受容されているステープル10030すべてを完全に配備させることができる。次に図258〜262を参照すると、スレッド10050は、外科用ステープラの発射部材(又はナイフバー)10052によって、支持部分10010内の長手方向キャビティ10016内で遠位方向に前進することができる。使用時には、ステープルカートリッジ10000は、外科用ステープラのジョー内のステープルカートリッジ溝部材(例えばステープルカートリッジ溝部材10070)に挿入され、これにより、図258に示すように、発射部材10052が前進してスレッド10050に接触することができる。スレッド10050が発射部材10052によって遠位方向に前進すると、スレッド10050が最も近位側のステープルドライバ(又はドライバ10040)に接触でき、上述のように、カートリッジ本体10010からステープル10030を発射又は発出させることができる。図258に示すように、発射部材10052は更に刃先10053を有してよく、ステープル10030が発射されると、これが、支持部分10010内のナイフスロットを通って遠位方向に前進しうる。本発明によれば、対応するナイフスロットは、ステープルカートリッジ10000に対向して配置されるアンビルを通って延びることができ、これにより、刃先10053がアンビルと支持部分10010との間に延在し、その間にある組織及び組織厚さコンペンセータを切断することができる。様々な状況において、スレッド10050は、図260に示すように、スレッド10050がステープルカートリッジ10000の遠位端10002に達するまで、発射部材10052により遠位側に前進することができる。その時点において、発射部材10052は近位側に後退させることができる。スレッド10050は、発射部材10052で近位側に後退させることができるが、次に図261を参照すると、スレッド10050は、発射部材10052が後退したときに、ステープルカートリッジ10000の遠位端10002側に残されうる。発射部材10052が充分に後退すると、アンビルが再び開き、組織厚さコンペンセータ10020が支持部分10010から離れ、消費されたステープルカートリッジ10000の残りの非インプラント部分(支持部分10010を含む)が、ステープルカートリッジ溝部材10070から除去されうる。  Further to the above, thesled 10050 can be advanced from theproximal end 10001 to thedistal end 10002 to fully deploy all thestaples 10030 received within thestaple cartridge 10000. Referring now to FIGS. 258-262, thesled 10050 can be advanced distally within thelongitudinal cavity 10016 in thesupport portion 10010 by the firing member (or knife bar) 10052 of the surgical stapler. In use, thestaple cartridge 10000 is inserted into a staple cartridge groove member (eg, staple cartridge groove member 10070) in the jaws of the surgical stapler, which causes the firingmember 10052 to advance andthread 10050 as shown in FIG. Can contact. Assled 10050 is advanced distally by firingmember 10052,sled 10050 can contact the most proximal staple driver (or driver 10040) to fire or eject staple 10030 fromcartridge body 10010 as described above. Can do. As shown in FIG. 258, the firingmember 10052 may further include acutting edge 10053 that may be advanced distally through the knife slot in thesupport portion 10010 when thestaple 10030 is fired. In accordance with the present invention, a corresponding knife slot can extend through an anvil disposed opposite thestaple cartridge 10000 such that thecutting edge 10053 extends between the anvil and thesupport portion 10010; The tissue and tissue thickness compensator in between can be cut. In various situations, thesled 10050 can be advanced distally by the firingmember 10052 until thesled 10050 reaches thedistal end 10002 of thestaple cartridge 10000, as shown in FIG. At that point, the firingmember 10052 can be retracted proximally. Thesled 10050 can be retracted proximally at the firingmember 10052, but referring now to FIG. 261, thesled 10050 can be moved to thedistal end 10002 side of thestaple cartridge 10000 when the firingmember 10052 is retracted. Can be left behind. When the firingmember 10052 is fully retracted, the anvil reopens, thetissue thickness compensator 10020 moves away from thesupport portion 10010, and the remaining non-implanted portion of the consumed staple cartridge 10000 (including the support portion 10010) becomes staple cartridge grooves. It can be removed frommember 10070.

消費されたステープルカートリッジ10000がステープルカートリッジ溝部材から除去された後、上記に対して更に、新しいステープルカートリッジ10000、又は任意の他の好適なステープルカートリッジを、ステープルカートリッジ溝部材10070に挿入することができる。上記に対して更に、ステープルカートリッジ溝部材10070、発射部材10052、及び/又はステープルカートリッジ10000は、協働機能を構成することができ、これは、ステープルカートリッジ溝部材10070内に配置される新しい(又は未発射の)ステープルカートリッジ10000なしに、2回目(又は後続)に発射部材10052が遠位側に前進するのを阻止することができる。より詳細には、再び図258を参照して、発射部材10052が前進してスレッド10050に接触し、スレッド10050が近位側の未発射位置にあるとき、発射部材10052の支持ノーズ10055は、スレッド10050の支持棚部10056の上及び/又は上方に配置することができ、これにより、発射部材10052が充分に上側の位置に保持され、発射部材10052から延びるロック(又はビーム)10054が、ステープルカートリッジ溝部材内に画定されるロック凹部内に落ちるのを防ぐことができる。ロック10054がロック凹部に落ちない場合、そのような状況において、ロック10054は、発射部材10052が前進する際に、ロック凹部の遠位側側壁10057に接しない。発射部材10052がスレッド10050を遠位側に押すと、発射部材10052は、支持棚部10056の上に乗った支持ノーズ10055のおかげで、上側の発射位置に支持されうる。発射部材10052がスレッド10050に対して後退されると、前述のように、かつ図261に示すように、支持ノーズ10055がスレッド10050の支持棚部10056の上に乗った状態ではなくなり、発射部材10052がその上側位置から下に向かって落ちうる。例えば、外科用ステープルは、ばね10058、及び/又は任意の他の好適な付勢構成要素を有してよく、これは、発射部材10052を下側位置に付勢するように構成することができる。発射部材10052がいったん完全に後退すると、図262に示すように、発射部材10052は使用済みステープルカートリッジ10000を通って再び遠位方向に前進することはできない。より詳細には、スレッド10050は、操作シーケンスのこの時点において、ステープルカートリッジ10000の遠位端10002に残されているため、発射部材10052は、スレッド10050によって上位置に保持することができない。よって、前述のように、発射部材10052が再び、ステープルカートリッジの交換なしに前進された場合、ロックビーム10054がロック凹部の側壁10057に接触し、これにより発射部材10052がステープルカートリッジ10000に対して再び遠位方向に前進するのを妨げる。換言すれば、使用済みステープルカートリッジ10000を新しいステープルカートリッジと交換すれば、その新しいステープルカートリッジは近位側に配置されたスレッド10050を有し、これが発射部材10052を上側位置に保持することができ、発射部材10052が再び遠位方向に前進するのが可能になる。  After the consumedstaple cartridge 10000 is removed from the staple cartridge groove member, anew staple cartridge 10000, or any other suitable staple cartridge, can be further inserted into the staplecartridge groove member 10070 relative to the above. . Further to the above, the staplecartridge groove member 10070, the firingmember 10052, and / or thestaple cartridge 10000 can constitute a cooperating function, which is a new (or new) disposed within the staplecartridge groove member 10070. Without the (unfired)staple cartridge 10000, the firingmember 10052 can be prevented from advancing distally a second time (or subsequent). More specifically, referring again to FIG. 258, when the firingmember 10052 is advanced to contact thesled 10050 and thesled 10050 is in the proximal unfired position, thesupport nose 10055 of the firingmember 10052 is A 10050support shelf 10056 may be positioned above and / or above so that the firingmember 10052 is held in a sufficiently upper position and a lock (or beam) 10054 extending from the firingmember 10052 is a staple cartridge. It can prevent falling into the lock recess defined in the groove member. If thelock 10054 does not fall into the lock recess, in such a situation, thelock 10054 does not contact thedistal sidewall 10057 of the lock recess as the firingmember 10052 is advanced. When the firingmember 10052 pushes thesled 10050 distally, the firingmember 10052 can be supported in the upper firing position thanks to thesupport nose 10055 riding on thesupport shelf 10056. When the firingmember 10052 is retracted with respect to thesled 10050, as described above and as shown in FIG. 261, thesupport nose 10055 is no longer on thesupport shelf 10056 of thesled 10050, and the firingmember 10052 is removed. Can fall from its upper position downward. For example, the surgical staple may have aspring 10058 and / or any other suitable biasing component, which can be configured to bias the firingmember 10052 to a lower position. . Once the firingmember 10052 is fully retracted, the firingmember 10052 cannot be advanced again distally through the usedstaple cartridge 10000, as shown in FIG. More specifically, the firingmember 10052 cannot be held in the up position by thesled 10050 because thesled 10050 is left at thedistal end 10002 of thestaple cartridge 10000 at this point in the sequence of operations. Thus, as described above, when the firingmember 10052 is advanced again without replacement of the staple cartridge, thelock beam 10054 contacts theside wall 10057 of the locking recess, thereby causing the firingmember 10052 to again move relative to thestaple cartridge 10000. Prevents advancement in the distal direction. In other words, if the usedstaple cartridge 10000 is replaced with a new staple cartridge, the new staple cartridge has asled 10050 disposed proximally, which can hold the firingmember 10052 in the upper position, The firingmember 10052 can again be advanced in the distal direction.

上述のように、スレッド10050は、支持部分10010からステープル10030を発射するために、第1の未発射位置と、第2の発射済み位置との間で、ステープルドライバ10040を動かすように構成することができる。ステープル10030が支持部分10010から発射された後、ステープルドライバ10040は、ステープルキャビティ10012内に受容されうる。支持部分10010は1つ以上の保持機構を構成することができ、これは、ステープルドライバ10040がステープルキャビティ10012から発射され又は脱落するのを阻止するように構成することができる。あるいは、スレッド10050は、ステープル10030内の支持部分10010からステープルドライバ10040を発射するように構成することができる。例えば、ステープルドライバ10040は、生体吸収性及び/又は生体適合性の材料(例えばUltemなど)で構成することができる。ステープルドライバは、ステープル10030に取り付けることができる。例えば、ステープルドライバは、ドライバがステープルと一体成形されるように、各ステープル10030の底面の上及び/又は周囲に成形することができる。米国特許出願番号第11/541,123号「SURGICAL STAPLES HAVING COMPRESSIBLE OR CRUSHABLE MEMBERS FOR SECURING TISSUE THEREIN AND STAPLING INSTRUMENTS FOR DEPLOYING THE SAME」(2006年9月29日出願)を、参照によりその全容を本明細書に援用する。  As described above, thesled 10050 is configured to move thestaple driver 10040 between a first unfired position and a second fired position to fire the staple 10030 from thesupport portion 10010. Can do. After thestaple 10030 is fired from thesupport portion 10010, thestaple driver 10040 can be received within thestaple cavity 10012.Support portion 10010 can constitute one or more retention mechanisms, which can be configured to preventstaple driver 10040 from being fired or dropped fromstaple cavity 10012. Alternatively, thethread 10050 can be configured to fire thestaple driver 10040 from thesupport portion 10010 within thestaple 10030. For example, thestaple driver 10040 can be constructed of a bioabsorbable and / or biocompatible material (eg, Ultem). A staple driver can be attached to thestaple 10030. For example, a staple driver can be molded on and / or around the bottom surface of each staple 10030 such that the driver is molded integrally with the staple. US Patent Application No. 11 / 541,123 "SURGICAL STAPLES HAVING COMPRESIBLE OR CRUSSHABLE MEMBERS FOR SECURING TISSUE THEHERE AND STAPLING INSTRUMENTS FOR DEPLOYING 9 Incorporated into.

様々な状況において、上記に対して更に、圧縮可能な組織厚さコンペンセータは、ステープルカートリッジの下の剛性支持部分に対して、動き、ねじれ、及び/又は撓曲することができる。支持部分、及び/又は任意の他の好適なステープルカートリッジの部分は、組織厚さコンペンセータと支持部分との間での相対的な動きを制限するように構成された1つ又は2つ以上の機構を含みうる。上述のように、ステープル10030の少なくとも一部が、支持部分10010のデッキ表面10011の上に延びていてよく、特定の状況において、次に図263及び264を参照すると、例えば、組織厚さコンペンセータ10120にかけられた横方向の力は、ステープル10030及び/又は支持部分10010から延びる滑り止め10013による抵抗を受ける。様々な状況において、ステープル10030は、ステープルキャビティ10012内で傾き及び/又は屈曲することができる一方、組織厚さコンペンセータ10120の横方向の動きに抵抗し、ステープルキャビティ10012とステープル10030は、ステープル10030の脚10032と、相対するアンビル10060内の成形ポケット10062との間の相対的なアラインメントを維持するような寸法と構成にすることができ、これによりステープル10000は、ステープル成形プロセス中に適切に成形される。ステープル10030及び/又は滑り止め10013は、図264に示すように、組織厚さコンペンセータ10020内の横方向ひずみを阻止又は少なくとも制限するように構成することができる。例えば、ステープル10030及び/又は滑り止め10013は、例えば、硬化するか、あるいは、組織厚さコンペンセータの第2(下側)表面10029に対する、第1(組織接触側)表面10021の、横方向及び/又は長手方向の動きを制限するように構成することができる。本発明によれば、ステープルカートリッジ、及び/又はステープルカートリッジが配置されるステープルカートリッジ溝部材は、少なくとも1つのひずみ最小化部材を含むことができ、これは上側に延在して、組織厚さコンペンセータの横方向及び/又は長手方向の動き、あるいはひずみを、制限することができる。前述のように、組織厚さコンペンセータを少なくとも部分的に包むラップも、組織厚さコンペンセータの横方向及び/又は長手方向の動き、あるいはひずみを、防止し、あるいは少なくとも制限することができる。  In various situations, in addition to the above, the compressible tissue thickness compensator can move, twist, and / or flex with respect to the rigid support portion under the staple cartridge. The support portion, and / or any other suitable staple cartridge portion, is one or more mechanisms configured to limit relative movement between the tissue thickness compensator and the support portion. Can be included. As described above, at least a portion of thestaple 10030 may extend above thedeck surface 10011 of thesupport portion 10010, and in certain circumstances, referring now to FIGS. 263 and 264, for example, thetissue thickness compensator 10120. The lateral force applied to the sheet is resisted by theanti-slip 10013 extending from thestaple 10030 and / or thesupport portion 10010. In various situations, thestaple 10030 can tilt and / or bend within thestaple cavity 10012 while resisting lateral movement of thetissue thickness compensator 10120, and thestaple cavity 10012 and thestaple 10030 can be It can be sized and configured to maintain relative alignment between thelegs 10032 and the formingpocket 10062 in the opposinganvil 10060 so that thestaple 10000 is properly formed during the staple forming process. TheStaple 10030 and / oranti-slip 10013 may be configured to prevent or at least limit lateral strain withintissue thickness compensator 10020, as shown in FIG. For example, thestaple 10030 and / or theanti-slip 10013 may be cured or, for example, laterally and / or laterally of the first (tissue contacting side)surface 10021 relative to the second (lower) surface 1000029 of the tissue thickness compensator. Or it can be configured to limit longitudinal movement. In accordance with the present invention, the staple cartridge and / or the staple cartridge groove member in which the staple cartridge is disposed may include at least one strain minimizing member that extends upwardly and is a tissue thickness compensator. Lateral and / or longitudinal movement, or strain, can be limited. As described above, the wrap that at least partially wraps the tissue thickness compensator can also prevent or at least limit lateral and / or longitudinal movement or distortion of the tissue thickness compensator.

再び図263及び264を参照すると、組織厚さコンペンセータ(例えば、組織厚さコンペンセータ10120)は、コア10128と被覆10122を含みうる。被覆10122と圧縮可能コア10128は、異なる材料から構成することができ、またあるいは、同じ材料から構成することもできる。いずれの場合でも、被覆10122はコア10128よりも高い密度を有しうる。被覆10122が組織厚さコンペンセータ10120の上面を構成する状況において、ステープル脚10032の先端は、被覆10122内に埋め込まれうる。被覆が組織厚さコンペンセータ10120の下側を含む場合、ステープル脚10032は、被覆を貫通して延び、コア内に入ることができる。いずれの場合でも、組織厚さコンペンセータの被覆は、ステープル脚10032をアンビル10060の成形ポケット10062と整列させて保持するのに役立ちうる。被覆10122は、例えば、コア10128の密度より約10%高い密度、コア10128の密度より約20%高い密度、コア10128の密度より約30%高い密度、コア10128の密度より約40%高い密度、コア10128の密度より約50%高い密度、コア10128の密度より約60%高い密度、コア10128の密度より約70%高い密度、コア10128の密度より約80%高い密度、コア10128の密度より約90%高い密度、及び/又はコア10128の密度より約100%高い密度を有しうる。被覆10122は、例えば、コア10128の密度より高く、かつコア10128の密度の2倍より低い密度を有しうる。被覆10122は、例えば、コア10128の密度の2倍を超える密度を有しうる。上記に対して更に、被覆10122とコア10128は、同時に形成又は製造することができる。例えば、本明細書に開示される任意の適当な材料を含む液体を、皿又は型に流し込み、液体が固化する際に、この液体が被膜又は層を形成することができ、これが材料の他の部分よりも高い密度を有しうる。必要に応じて、材料内の複数層は、1つ又は複数の後続の材料層をすでに固化した層の上に流し込むプロセスを利用することによって、形成することができる。2層以上の層を、例えば、接着剤で互いに接着することができる。2層以上の層を、例えば、1つ以上の締結具及び/又は1つ以上の機械的係合機構によって、互いに取り付けることができる。例えば、隣接する層は、例えば、1つ以上のあり継手で合わせて接合することができる。被覆は、液体の流れを妨げ、又は少なくとも制限することができるような、密封表面を含みうる。被覆は、例えば、開放セル連続気泡構造を含みうる。  Referring again to FIGS. 263 and 264, a tissue thickness compensator (eg, tissue thickness compensator 10120) can include acore 10128 and acoating 10122. The covering 10122 and thecompressible core 10128 can be composed of different materials, or alternatively, can be composed of the same material. In any case, thecoating 10122 can have a higher density than thecore 10128. In situations where the covering 10122 constitutes the top surface of thetissue thickness compensator 10120, the tips of thestaple legs 10032 may be embedded within thecovering 10122. If the coating includes the underside of thetissue thickness compensator 10120, thestaple legs 10032 can extend through the coating and enter the core. In any case, the coating of the tissue thickness compensator can help keep thestaple legs 10032 aligned with the formingpocket 10062 of theanvil 10060. Thecoating 10122 may be, for example, a density about 10% higher than the density of thecore 10128, a density about 20% higher than the density of thecore 10128, a density about 30% higher than the density of thecore 10128, a density about 40% higher than the density of thecore 10128, About 50% higher density than thecore 10128, about 60% higher than thecore 10128, about 70% higher than thecore 10128, about 80% higher than thecore 10128, about 10% higher than thecore 10128 The density may be 90% higher and / or about 100% higher than the density of thecore 10128. Thecoating 10122 can have, for example, a density that is higher than the density of thecore 10128 and lower than twice the density of thecore 10128. Thecoating 10122 may have a density that is greater than twice the density of thecore 10128, for example. Further to the above, thecoating 10122 and thecore 10128 can be formed or manufactured simultaneously. For example, a liquid containing any suitable material disclosed herein can be poured into a dish or mold, and when the liquid solidifies, it can form a film or layer, It can have a higher density than the part. If desired, multiple layers within the material can be formed by utilizing a process in which one or more subsequent material layers are cast over the already solidified layer. Two or more layers can be bonded together, for example, with an adhesive. Two or more layers can be attached to each other, for example, by one or more fasteners and / or one or more mechanical engagement mechanisms. For example, adjacent layers can be joined together, for example, with one or more dovetail joints. The coating can include a sealing surface that can prevent or at least restrict the flow of liquid. The coating can include, for example, an open cell open cell structure.

上記に対して更に、被覆は組織厚さコンペンセータから切り出されうる。組織厚さコンペンセータは、より大きな材料ブロックから切り出し、これにより組織厚さコンペンセータが被覆を含まないようにすることができる。例えば、組織厚さコンペンセータは、例えば、大きな孔を含んだ均質な、又は少なくともほぼ均質な材料で構成することができる。  Further to the above, the coating can be cut from the tissue thickness compensator. The tissue thickness compensator can be cut from a larger block of material so that the tissue thickness compensator does not contain a coating. For example, the tissue thickness compensator can be composed of, for example, a homogeneous or at least nearly homogeneous material that includes large pores.

本発明によれば、ステープルカートリッジは、それぞれが内部に配置されたステープルを含む複数のステープルキャビティを有してよく、ステープルキャビティは複数の列に配列することができ、かつ、ステープルカートリッジに対向して配置されたアンビルは、ステープルカートリッジ内のステープルキャビティに対応する複数の成形ポケットを含みうる。換言すれば、アンビルは、複数の成形ポケット列を有してよく、各成形ポケットは、ステープルカートリッジ内のステープルキャビティに対向して配置されうる。必要に応じて、各成形ポケットは、ステープル10030のステープル脚10032を受容するように構成された2つの成形カップを有してよく、各成形カップは、例えば、ステープル脚10032を受容し、他のステープル脚10032に向かってステープル脚10032を成形又は湾曲させるように構成される。様々な状況において、脚10032は、成形カップから外れ、又は適切に入らないことがあり、その結果、ステープル脚10032は発射シーケンス中に成形不良となることがある。本明細書に述べられるように、アンビルは、成形ポケットの配列又はグリッドを有してよく、これらはそれぞれ、ステープル脚を受容して成形するように構成される。例えば、成形ポケットの配列は、ステープルカートリッジ内に含まれるステープルの数を超える、一定量の成形ポケットを含みうる。ステープルカートリッジは、例えば、長手方向に6列のステープルキャビティを有してよく、アンビルは、6列のステープルキャビティと整列した6列の成形ポケットを有してよく、更に、成形ポケットの列の間に配置された成形ポケットも含みうる。例えば、アンビルの一方の面において、アンビルは、第1の列のステープルキャビティの上に配置することができる第1の列の成形ポケットと、第1の列のステープルキャビティに隣接する第2の列のステープルキャビティの上に配置することができる第2の列の成形ポケットとを含み、更に、第1の列の成形ポケットと第2の列の成形ポケットとの間に配置された1列の成形ポケットを含みうる。次に図276〜279を参照すると、アンビル10260は、6列の成形ポケット10261を有してよく、これはステープルカートリッジ10200内のステープルキャビティの対応する6列の上に配置されるように構成することができる。例えば、成形ポケット10262の中間列は、成形ポケット10261の列の間及び/又はこれに隣接して配置されうる。次に図277、278、及び280を参照すると、各成形ポケット10261及び10262は、2つの成形カップを有してよく、各成形カップは、ステープル脚10032を近位側に成形又は湾曲するように構成しうる遠位部分10263と、ステープル脚10032を遠位側に成形又は湾曲するように構成しうる近位部分10264と、を含みうる。様々なその他の状況において、ステープル10030は、様々な他の方法で成形することができる。例えば、ステープル10030は、一方の脚10032を外向きに成形し、もう一方の脚10032を内向きに成形するよう成形することができ(図281)、あるいは、両方の脚10032を外向きに成形することができ(図282)、これらは例えば、(1)ステープル脚10032がどの成形カップに入るか、(2)脚10032が各成形カップの近位部分10263に入るか遠位部分10064に入るか、によって変わる。  In accordance with the present invention, a staple cartridge may have a plurality of staple cavities, each containing staples disposed therein, the staple cavities being arranged in a plurality of rows and facing the staple cartridge. The disposed anvil can include a plurality of molding pockets corresponding to staple cavities in the staple cartridge. In other words, the anvil may have a plurality of rows of forming pockets, and each forming pocket may be disposed opposite a staple cavity in the staple cartridge. If desired, each molding pocket may have two molding cups configured to receivestaple legs 10032 ofstaples 10030, each molding cup receiving, for example,staple legs 10032 and other Thestaple legs 10032 are configured to be shaped or curved toward thestaple legs 10032. In various situations, theleg 10032 may come off the molding cup or may not fit properly, so that thestaple leg 10032 may become malformed during the firing sequence. As described herein, the anvil may have an array or grid of molding pockets, each configured to receive and mold staple legs. For example, the array of molding pockets can include a certain amount of molding pockets that exceeds the number of staples contained within the staple cartridge. The staple cartridge may, for example, have six rows of staple cavities in the longitudinal direction, the anvil may have six rows of molding pockets aligned with the six rows of staple cavities, and between the rows of molding pockets. May also include a molded pocket disposed on the surface. For example, on one side of the anvil, the anvil includes a first row of molding pockets that can be positioned over the first row of staple cavities and a second row adjacent to the first row of staple cavities. A second row of molding pockets that can be disposed over the staple cavities of the first row and further disposed between the first row of molding pockets and the second row of molding pockets. May include a pocket. Referring now to FIGS. 276-279, theanvil 10260 may have six rows of formingpockets 10261 that are configured to be positioned over corresponding six rows of staple cavities within thestaple cartridge 10200. be able to. For example, the middle row ofmolding pockets 10262 can be disposed between and / or adjacent to the rows of molding pockets 10261. Referring now to FIGS. 277, 278, and 280, eachmolding pocket 10261 and 10262 may have two molding cups such that each molding cup molds or curves thestaple legs 10032 proximally. Adistal portion 10263 that can be configured and aproximal portion 10264 that can be configured to shape or curve thestaple leg 10032 distally. In various other situations, thestaple 10030 can be formed in various other ways. For example, thestaple 10030 can be shaped so that oneleg 10032 is shaped outward and theother leg 10032 is shaped inward (FIG. 281), or bothlegs 10032 are shaped outward. (FIG. 282), for example: (1) which forming cup thestaple leg 10032 enters, (2) theleg 10032 enters theproximal portion 10263 or the distal portion 10063 of each forming cup. Or it depends on.

上記に対して更に、各成形ポケット10261及び/又は成形ポケット10262は、例えば、三角形又は菱形形状を有しうる。成形ポケットの各遠位部分10263及び/又は各近位部分10264は、三角形形状を有してよく、例えば、遠位部分10263と近位部分10264の三角形形状は、頂点が互いに反対を向くように配置することができる。アンビルは、例えば、ほぼ正方形の成形ポケットの配列を含みうる。例えば、各正方形成形ポケットの成形表面は、正方形の辺の間に延びる円弧状表面を含みうる。アンビルは、例えば、円形又は球形のくぼみの配列を含みうる。上記に対して更に、成形ポケット10261は、1本又は複数の線に沿って配置することができ、同様に、成形ポケット10262も1本又は複数の線に沿って配置することができる。あるいは、成形ポケット10261及び/又は成形ポケット10262は、1本以上の円形列に配列することができる。例えば、成形ポケット10261は主円周に沿って配列することができ、成形ポケット10262は別の円周に沿って配列することができる。主円周と別の円周は同心円であってよく、又は少なくともほぼ同心円でありうる。例えば、成形ポケット10262は、主円周に対して内側の径方向に配置された内側円周に沿って配置することができ、及び/又は、主円周に対して外側の径方向に配置された外側円周に沿って配置することができる。主円周は、主直径によって画定することができ、内側円周は内側直径によって画定することができ、また外側円周は外側直径によって画定することができる。例えば、内側直径は主直径よりも短くてもよく、外側直径は主直径よりも長くてもよい。  Further to the above, eachmolding pocket 10261 and / ormolding pocket 10262 may have, for example, a triangular or diamond shape. Eachdistal portion 10263 and / or eachproximal portion 10264 of the molding pocket may have a triangular shape, for example, the triangular shape of thedistal portion 10263 and theproximal portion 10264 is such that the apexes are opposite to each other. Can be arranged. An anvil can include, for example, an array of generally square shaped pockets. For example, the forming surface of each square forming pocket may include an arcuate surface extending between the sides of the square. An anvil can include, for example, an array of circular or spherical indentations. Further to the above, themolding pocket 10261 can be disposed along one or more lines, and similarly, themolding pocket 10262 can be disposed along one or more lines. Alternatively, the molding pockets 10261 and / or the molding pockets 10262 can be arranged in one or more circular rows. For example, the molding pockets 10261 can be arranged along the main circumference and the molding pockets 10262 can be arranged along another circumference. The main circumference and another circumference may be concentric, or at least approximately concentric. For example, themolding pocket 10262 can be disposed along an inner circumference disposed radially inward with respect to the main circumference and / or disposed radially outward with respect to the main circumference. Can be arranged along the outer circumference. The main circumference can be defined by the main diameter, the inner circumference can be defined by the inner diameter, and the outer circumference can be defined by the outer diameter. For example, the inner diameter may be shorter than the main diameter and the outer diameter may be longer than the main diameter.

必要に応じて、上述のように、アンビルは、開位置から閉位置へと動くことができ、これにより、組織をステープルカートリッジの組織厚さコンペンセータ(例えば、組織厚さコンペンセータ10020)に対して圧縮することができる。様々な状況において、組織厚さコンペンセータは、組織厚さコンペンセータが組織に対して配置されるより前に、ステープルカートリッジの支持部分に隣接して配置することができる。組織厚さコンペンセータ10020は、アンビルが閉位置に移動する前に、支持部分10018に接する位置にありうる。組織厚さコンペンセータ10020は、コンペンセータ10020と支持部分10018との間に隙間が存在するような位置に配置することができる。例えば、アンビルは、組織厚さコンペンセータ10020が支持部分10018に接するまで、組織及び組織厚さコンペンセータ10020を下にずらすことができ、そのような時点で、アンビルは閉位置に移動して、組織内に圧縮をもたらすことができる。アンビルとステープルカートリッジとの間の組織の配置に外科医が満足しない場合には、外科医はアンビルを開き、アンビルとステープルカートリッジの位置を調整し、アンビルを再び閉じることができる。組織に対するステープルカートリッジのそのような配置と再配置のおかげで、様々な状況において、例えば、組織厚さコンペンセータ10020の遠位端が、支持部分10010から外れうる。いくつかのそのような状況において、組織厚さコンペンセータ10020の遠位端は、組織に接触し、支持部分10010から剥がれ、又は支持部分に対して巻き込まれることがありうる。必要に応じて、詳しくは後述されるように、ステープルカートリッジは、組織厚さコンペンセータを、ステープルカートリッジの下の支持部分に対して、解放可能に保持するように構成された、1つ又は2つ以上の機能を含みうる。  If desired, as described above, the anvil can move from an open position to a closed position, thereby compressing the tissue against the tissue thickness compensator (eg, tissue thickness compensator 10020) of the staple cartridge. can do. In various situations, the tissue thickness compensator can be positioned adjacent to the support portion of the staple cartridge prior to the tissue thickness compensator being positioned against the tissue. Thetissue thickness compensator 10020 can be in a position that contacts the support portion 10018 before the anvil moves to the closed position. Thetissue thickness compensator 10020 can be positioned such that there is a gap between thecompensator 10020 and the support portion 10018. For example, the anvil can move the tissue andtissue thickness compensator 10020 down until thetissue thickness compensator 10020 contacts the support portion 10018, at which point the anvil moves to a closed position and moves into the tissue. Can bring about compression. If the surgeon is not satisfied with the placement of tissue between the anvil and the staple cartridge, the surgeon can open the anvil, adjust the position of the anvil and staple cartridge, and close the anvil again. Thanks to such placement and repositioning of the staple cartridge relative to the tissue, for example, the distal end of thetissue thickness compensator 10020 can be disengaged from thesupport portion 10010 in various situations. In some such situations, the distal end of thetissue thickness compensator 10020 may contact the tissue, peel away from thesupport portion 10010, or be engulfed with respect to the support portion. If desired, the staple cartridge is configured to releasably hold the tissue thickness compensator against a support portion under the staple cartridge, as described in detail below. The above functions can be included.

次に図265を参照すると、ステープルカートリッジ10300は、支持部分10310と、支持部分10310により支持される組織厚さコンペンセータ10320と、組織厚さコンペンセータ10320の遠位端10325を定位置に解放可能に保持するように構成されたノーズ10303を備えた遠位端10302と、を含みうる。ノーズ10303は、組織厚さコンペンセータ10320の遠位端10325を受容するように構成されたスロット10305を含みうる。遠位端10325は、スロット10305内で圧縮又はくさびで締めることができ、これにより遠位端10325は、ステープルカートリッジ10300が組織に対して配置される際に、定位置に保持されうる。例えば、スロット10305は、支持部分10310のデッキ表面10311に対して平行、又は少なくともほぼ平行である方向に向きうる。スロット10305は、デッキ表面10311に対して水平でありうる。あるいは、次に図266を参照すると、ステープルカートリッジ10400は、支持部分と、支持部分により支持される組織厚さコンペンセータ10420と、組織厚さコンペンセータ10420の遠位端10425を定位置に解放可能に保持するように構成されたノーズ10403を備えた遠位端10402と、を含みうる。遠位端10425は、そこから延出する突起を有してよく、ノーズ10403は、この遠位端10425の突起を受容するように構成された垂直スロット10405を含みうる。遠位端10425、及び/又はそこから延出する突起は、スロット10405内で圧縮又はくさびで締めることができ、これにより遠位端10425は、ステープルカートリッジ10400が組織に対して配置される際に、定位置に保持されうる。組織厚さコンペンセータ10420は、例えば、スロット10429などのスロットを有してよく、これはその中にノーズ10403の少なくとも一部を受容するように構成することができる。スロット10405は、支持部分のデッキ表面10411に対して垂直、又は少なくともほぼ垂直である方向に向きうる。次に図267を参照すると、ステープルカートリッジ10500は、支持部分と、支持部分により支持される組織厚さコンペンセータ10520と、組織厚さコンペンセータ10520の遠位端10525を定位置に解放可能に保持するように構成されたノーズを備えた遠位端10502と、を含みうる。ノーズは、組織厚さコンペンセータ10520の遠位端10525を受容するように構成された垂直スロット10505を含みうる。遠位端10525は、スロット10505内で圧縮又はくさびで締めることができ、これにより遠位端10525は、ステープルカートリッジ10500が組織に対して配置される際に、定位置に保持されうる。  Referring now to FIG. 265,staple cartridge 10300 releasably holdssupport portion 10310,tissue thickness compensator 10320 supported bysupport portion 10310, and distal end 10325 oftissue thickness compensator 10320 in place. Adistal end 10302 with anose 10303 configured to. Thenose 10303 can include aslot 10305 configured to receive the distal end 10325 of thetissue thickness compensator 10320. The distal end 10325 can be compressed or wedged within theslot 10305 so that the distal end 10325 can be held in place as thestaple cartridge 10300 is placed against tissue. For example, theslot 10305 can be oriented in a direction that is parallel or at least substantially parallel to thedeck surface 10311 of thesupport portion 10310. Theslot 10305 can be horizontal to thedeck surface 10311. Alternatively, referring now to FIG. 266, thestaple cartridge 10400 releasably holds the support portion, thetissue thickness compensator 10420 supported by the support portion, and thedistal end 10425 of thetissue thickness compensator 10420 in place. And adistal end 10402 with anose 10403 configured to. Thedistal end 10425 may have a protrusion extending therefrom and thenose 10403 may include avertical slot 10405 configured to receive the protrusion at thedistal end 10425. Thedistal end 10425 and / or the protrusion extending therefrom can be compressed or wedged within theslot 10405 so that thedistal end 10425 is positioned when thestaple cartridge 10400 is positioned against tissue. Can be held in place.Tissue thickness compensator 10420 may have a slot, such asslot 10429, for example, which may be configured to receive at least a portion ofnose 10403 therein. Theslot 10405 may be oriented in a direction that is perpendicular, or at least approximately perpendicular, to the deck surface 10411 of the support portion. Referring now to FIG. 267, thestaple cartridge 10500 is releasably holding the support portion, thetissue thickness compensator 10520 supported by the support portion, and thedistal end 10525 of thetissue thickness compensator 10520 in place. And adistal end 10502 with a nose configured. The nose can include avertical slot 10505 configured to receive thedistal end 10525 of thetissue thickness compensator 10520. Thedistal end 10525 can be compressed or wedged within theslot 10505 so that thedistal end 10525 can be held in place as thestaple cartridge 10500 is placed against tissue.

再び図265を参照すると、組織厚さコンペンセータ10320は、上側表面10324を有してよく、これはノーズ10303の上側表面10304の上に配置することができる。組織厚さコンペンセータの上側表面がステープルカートリッジのノーズの上に配置される別の例が、図238に示されており、例えば、組織厚さコンペンセータ10720の上側表面10721は、ノーズ10003の上側表面10004の上に配置される。使用時には、再び図265を参照して、組織はノーズ10303の上側表面10304の上を摺動することができ、また特定の状況において、組織は組織厚さコンペンセータ10320の遠位端10325に接することができ、組織厚さコンペンセータ10320に対して力をかける可能性があり、支持部分10310から組織厚さコンペンセータ10320を剥離させる傾向をもたらす。この剥離力は、ノーズ10303内でくさびにより締め付けられた遠位端10325の部分によって抵抗されうる。いずれの場合も、組織がいったん、ステープルカートリッジ13000に対して適当に配置されると、アンビルを回転させて閉位置にし、支持部分10310に対して、組織と組織厚さコンペンセータ10320とを圧縮することができる。例えば、アンビルは、ノーズ10303の上側表面10304に接触する位置へと回転することができ、この結果、アンビルが更に回転することが阻止されうる。様々な状況において、組織厚さコンペンセータ10320の上側表面10324がノーズ10303の上側表面10304の上に配置されることにより、例えば、上側表面10324は、アンビルが閉じる際に支持部分10310に向かって下側に押され、またある状況において、上側表面10324は、ノーズ10303の上側表面10304の下に押されうる。ステープルカートリッジ10300内に収容されているステープルが配備され、組織厚さコンペンセータ10320が切断されると、本明細書に述べられるように、支持部分10310とノーズ10303が組織厚さコンペンセータ10320から離れる方向に動くことができ、これにより組織厚さコンペンセータ10320の遠位端10325がスロット10305から滑り出ることができる。  Referring again to FIG. 265, thetissue thickness compensator 10320 can have anupper surface 10324 that can be disposed over theupper surface 10304 of thenose 10303. Another example where the upper surface of the tissue thickness compensator is positioned over the nose of the staple cartridge is shown in FIG. 238, for example, theupper surface 10721 of thetissue thickness compensator 10720 is theupper surface 10004 of thenose 10003. Placed on top. In use, referring again to FIG. 265, the tissue can slide over theupper surface 10304 of thenose 10303, and in certain circumstances, the tissue contacts the distal end 10325 of thetissue thickness compensator 10320. And may exert a force on thetissue thickness compensator 10320, resulting in a tendency to peel thetissue thickness compensator 10320 from thesupport portion 10310. This peel force can be resisted by the portion of the distal end 10325 clamped by the wedge within thenose 10303. In either case, once the tissue is properly positioned with respect to thestaple cartridge 13000, the anvil is rotated to the closed position to compress the tissue andtissue thickness compensator 10320 against thesupport portion 10310. Can do. For example, the anvil can be rotated to a position that contacts theupper surface 10304 of thenose 10303 so that the anvil can be prevented from rotating further. In various circumstances, theupper surface 10324 of thetissue thickness compensator 10320 is positioned over theupper surface 10304 of thenose 10303 so that, for example, theupper surface 10324 is lowered toward thesupport portion 10310 when the anvil is closed. And in some circumstances, theupper surface 10324 may be pushed under theupper surface 10304 of thenose 10303. When the staples contained in thestaple cartridge 10300 are deployed and thetissue thickness compensator 10320 is cut, thesupport portion 10310 and thenose 10303 are moved away from thetissue thickness compensator 10320 as described herein. Can move, thereby allowing the distal end 10325 of thetissue thickness compensator 10320 to slide out of theslot 10305.

上述のように、アンビル(例えばアンビル10060)は、回転して閉位置になることができ、ここでアンビル10060はステープルカートリッジ(例えばステープルカートリッジ10000)のノーズ上側表面10004に接触する。いったんアンビルが閉位置に達すると、組織厚さコンペンセータ(例えば組織厚さコンペンセータ10020)が圧縮される程度は、特に、組織厚さコンペンセータの未圧縮厚さ又は高さと、組織の厚さとに依存する。次に図236及び237を参照すると、組織厚さコンペンセータ10920は、ノーズ10003の上側表面10004に対して同一面である、又は少なくともほぼ同一面である、上側表面を含みうる。そのような場合、組織厚さコンペンセータ10920の上側表面は、ノーズ10003の上側表面10004の下に押されうる。次に図241及び242を参照すると、組織厚さコンペンセータ(例えば組織厚さコンペンセータ10820)は、組織厚さコンペンセータ10820が組織Tとアンビル10060によって圧縮される前に、ノーズ上側表面10004の下に配置される上側表面10821を含みうる。組織Tが比較的薄い状況において、図239及び240に示すように、組織厚さコンペンセータ10920は、比較的小さな圧縮をもたらしうる。次に図241及び242を参照すると、組織厚さコンペンセータ10820は、組織Tが比較的厚い場合に、より大きな圧縮をもたらしうる。組織Tが薄い部分とより厚い部分の両方を有する状況において、図243及び244に示すように、例えば、組織厚さコンペンセータ10820は、より厚い組織Tの下に配置されたときはより大量に圧縮され、より薄い組織Tの下に配置されたときはより少なく圧縮されうる。このようにして、上述のように、組織厚さコンペンセータは、異なる組織厚さについて補償することができる。  As described above, the anvil (eg, anvil 10060) can be rotated to the closed position, where theanvil 10060 contacts the noseupper surface 10004 of the staple cartridge (eg, staple cartridge 10000). Once the anvil reaches the closed position, the degree to which the tissue thickness compensator (eg, tissue thickness compensator 10020) is compressed depends, among other things, on the uncompressed thickness or height of the tissue thickness compensator and the tissue thickness. . Referring now to FIGS. 236 and 237, thetissue thickness compensator 10920 can include an upper surface that is coplanar with, or at least substantially coplanar with, theupper surface 10004 of thenose 10003. In such a case, the upper surface of thetissue thickness compensator 10920 can be pushed under theupper surface 10004 of thenose 10003. Referring now to FIGS. 241 and 242, a tissue thickness compensator (eg, tissue thickness compensator 10820) is positioned below the noseupper surface 10004 before thetissue thickness compensator 10820 is compressed by the tissue T andanvil 10060. Theupper surface 10821 can be included. In situations where the tissue T is relatively thin, as shown in FIGS. 239 and 240, thetissue thickness compensator 10920 can provide a relatively small compression. Referring now to FIGS. 241 and 242, thetissue thickness compensator 10820 can provide greater compression when the tissue T is relatively thick. In situations where the tissue T has both thin and thicker portions, as shown in FIGS. 243 and 244, for example, thetissue thickness compensator 10820 compresses in greater amounts when placed under the thicker tissue T. And less compressed when placed under thinner tissue T. In this way, as described above, the tissue thickness compensator can compensate for different tissue thicknesses.

次に図268〜270を参照すると、外科用ステープル留め器具は、(1)ステープルカートリッジ16600を受容するように構成されたカートリッジ溝部材16670と、(2)カートリッジ溝部材16670に枢動可能に連結されたアンビル16660と、を含みうる。ステープルカートリッジ16600は、支持部分16610と、組織厚さコンペンセータ16620とを有してよく、組織厚さコンペンセータ16620の遠位端16625は、ステープルカートリッジ16600の遠位端16602においてノーズ16603により、支持部分16610に対して解放可能に保持されうる。ノーズ16603はスロット16605を有してよく、可撓性材料で構成することができる。使用時には、主に図269を参照して、ノーズ16603は、スロット16605の開口部を拡張するため、下側に曲げることができる。ノーズ16603は、ノッチ又は切り欠き16606を有してよく、これはノーズ16603が下側に曲がれるように構成することができる。いずれの場合も、様々な状況において、スロット16605の拡張された開口部によって、組織厚さコンペンセータ16620の遠位端16625をスロット16605に挿入するのが容易になる。組織厚さコンペンセータ16620が適当に配置された時点で、ノーズ16603が解放され、ノーズ16603を構成する材料の弾性のおかげで、ノーズ16603は、屈曲されていない状態へと戻るか、少なくともほぼ戻ることができ、図270に示すように、デッキ表面16611に対して組織厚さコンペンセータ16620の遠位端16625が挟み込まれる。使用時には、上記と同様、支持部分16610がステープル留めされた組織から離れるよう動くと、遠位端16625はスロット16605から引き抜かれうる。様々な状況において、可撓性ノーズ16603は、組織厚さコンペンセータ16620が支持部分16610から外れる際に、撓曲するように構成することができる。再び図270を参照すると、組織厚さコンペンセータ16620は、ノーズ16603の上側表面16604と整列している、又は少なくともほぼ整列している、上側表面16621を含みうる。  Referring now to FIGS. 268-270, the surgical stapling instrument includes (1) acartridge groove member 16670 configured to receive astaple cartridge 16600 and (2) a pivotally coupled to thecartridge groove member 16670.Anvil 16660.Staple cartridge 16600 may have asupport portion 16610 and atissue thickness compensator 16620, withdistal end 16625 oftissue thickness compensator 16620 being supported bynose 16603 atdistal end 16602 ofstaple cartridge 16600. Can be held releasably. Thenose 16603 may have aslot 16605 and may be constructed of a flexible material. In use, primarily referring to FIG. 269, thenose 16603 can be bent downward to expand the opening of theslot 16605. Thenose 16603 may have a notch or notch 16606, which can be configured such that thenose 16603 is bent downward. In any case, in various situations, the expanded opening ofslot 16605 facilitates insertion ofdistal end 16625 oftissue thickness compensator 16620 intoslot 16605. When thetissue thickness compensator 16620 is properly positioned, thenose 16603 is released and, due to the elasticity of the material comprising thenose 16603, thenose 16603 returns to an unbent state or at least approximately returns. Thedistal end 16625 of thetissue thickness compensator 16620 is sandwiched against thedeck surface 16611 as shown in FIG. In use, thedistal end 16625 can be withdrawn from theslot 16605 as thesupport portion 16610 moves away from the stapled tissue, as described above. In various situations, theflexible nose 16603 can be configured to flex when thetissue thickness compensator 16620 is disengaged from thesupport portion 16610. Referring again to FIG. 270, thetissue thickness compensator 16620 can include anupper surface 16621 that is aligned with, or at least substantially aligned with, theupper surface 16604 of thenose 16603.

図271を参照すると、外科用ステープル留め器具は、(1)ステープルカートリッジ10700を受容するように構成された溝部材10770と、(2)溝部材10770に回転可能に連結されたアンビル10760と、を含みうる。ステープルカートリッジ10700は、支持部分10710と組織厚さコンペンセータ10720と、を含みうる。組織厚さコンペンセータ10720は、支持部分10710に摺動して重なることができるノーズソックス10703によって定位置に保持されうる。主に図272を参照すると、ノーズソックス10703は1つ以上の側面スロット10707を有してよく、これは、例えば、支持部分10710に沿って延びる1本以上の取付レールを取り外し可能に受容するように構成することができる。組織厚さコンペンセータ10720は、側面スロット10707の中間に配置されうる。ノーズソックス10703は更に、遠位端10702と、遠位端10702に画定されたキャビティ10706とを有してよく、キャビティ10706はまた、例えば、支持部分10710の少なくとも一部を受容するように構成することができる。使用時には、ノーズソックス10703は、遠位側から近位側への方向に、支持部分10710の上に滑らせることができる。組織厚さコンペンセータ10720は、ノーズソックス10703に取り外し可能に取り付けることができ、これにより、ステープルが組織厚さコンペンセータ10720を通って発射された後、支持部分10710とノーズソックス10703が組織厚さコンペンセータ10720から離れるよう動く際に、組織厚さコンペンセータ10720をノーズソックス10703から外すことができる。組織厚さコンペンセータ10720の上側表面10721は、ノーズ10703の上側表面10704の下に配置されうる。  Referring to FIG. 271, a surgical stapling instrument includes (1) agroove member 10770 configured to receive astaple cartridge 10700, and (2) ananvil 10760 rotatably coupled to thegroove member 10770. May be included.Staple cartridge 10700 can include asupport portion 10710 and atissue thickness compensator 10720. Thetissue thickness compensator 10720 can be held in place by anose sock 10703 that can slide over and overlap thesupport portion 10710. Referring primarily to FIG. 272, thenose sock 10703 may have one ormore side slots 10707, which, for example, removably receive one or more mounting rails extending along thesupport portion 10710. Can be configured. Thetissue thickness compensator 10720 can be placed in the middle of theside slot 10707. Thenose socks 10703 may further include a distal end 10702 and acavity 10706 defined in the distal end 10702, thecavity 10706 also configured to receive at least a portion of thesupport portion 10710, for example. be able to. In use, thenose socks 10703 can be slid over thesupport portion 10710 in a distal-to-proximal direction. Thetissue thickness compensator 10720 can be removably attached to thenose socks 10703 so that after the staples are fired through thetissue thickness compensator 10720, thesupport portion 10710 and thenose socks 10703 aretissue thickness compensator 10720. Thetissue thickness compensator 10720 can be detached from thenose socks 10703 as it moves away from the nose. Theupper surface 10721 of thetissue thickness compensator 10720 can be disposed below theupper surface 10704 of thenose 10703.

次に図273及び274を参照すると、外科用ステープル留め器具は、(1)ステープルカートリッジ11000を受容するように構成されたステープルカートリッジ溝部材11070と、(2)溝部材11070に回転可能に連結されたアンビル11060と、を含みうる。ステープルカートリッジ11000は、支持部分11010と組織厚さコンペンセータ11020とを含みうる。組織厚さコンペンセータ11020は、支持部分11010のデッキ11011から延びる1本以上の長手方向レール11019によって定位置に保持されうる。長手方向レール11019は、組織厚さコンペンセータ11020内に埋め込むことができる。主に図274を参照して、組織厚さコンペンセータ11020は長手方向凹部11029を有してよく、これは長手方向レール11019を受容するように構成することができる。例えば、凹部11029は、例えば、圧入機構でレール11019を受容するような寸法及び構成にすることができる。そのような機構は、上記に対して更に、組織厚さコンペンセータ11020と支持部分11010との間の相対的横方向の動きを阻止、又は少なくとも制限するように構成することができ、更に、例えば、支持部分11010からの組織厚さコンペンセータ11020の時期尚早の解放を制限することができる。次に図275を参照すると、外科用ステープル留め器具は、(1)ステープルカートリッジ11100を受容するように構成されたステープルカートリッジ溝部材11170と、(2)溝部材11770に回転可能に連結されたアンビル11160と、を含みうる。ステープルカートリッジ11100は、支持部分11110と組織厚さコンペンセータ11120とを含みうる。組織厚さコンペンセータ11120は、支持部分11110のデッキ11111から延びるスパイク(又は歯)11119の、1本以上の長手方向列によって、定位置に保持されうる。スパイク11119の長手方向列は、組織厚さコンペンセータ11120内に埋め込むことができる。  Referring now to FIGS. 273 and 274, the surgical stapling instrument includes (1) a staplecartridge groove member 11070 configured to receive astaple cartridge 11000 and (2) a rotatable connection to thegroove member 11070.Anvil 11060.Staple cartridge 11000 can include asupport portion 11010 and atissue thickness compensator 11020.Tissue thickness compensator 11020 can be held in place by one or morelongitudinal rails 11019 extending fromdeck 11011 ofsupport portion 11010.Longitudinal rail 11019 can be embedded withintissue thickness compensator 11020. Referring primarily to FIG. 274, thetissue thickness compensator 11020 may have alongitudinal recess 11029 that can be configured to receive alongitudinal rail 11019. For example, therecess 11029 can be sized and configured to receive therail 11019 with a press-fit mechanism, for example. Such a mechanism can be further configured to prevent or at least limit relative lateral movement between thetissue thickness compensator 11020 and thesupport portion 11010 relative to the above, and further, for example, Premature release of thetissue thickness compensator 11020 from thesupport portion 11010 can be limited. Referring now to FIG. 275, a surgical stapling instrument includes (1) a staplecartridge groove member 11170 configured to receive astaple cartridge 11100, and (2) an anvil rotatably coupled to the groove member 11770. 11160.Staple cartridge 11100 can include asupport portion 11110 and atissue thickness compensator 11120. Thetissue thickness compensator 11120 can be held in place by one or more longitudinal rows of spikes (or teeth) 11119 extending from thedeck 11111 of thesupport portion 11110. The longitudinal rows ofspikes 11119 can be embedded within thetissue thickness compensator 11120.

図273に関して、上記に対して更に、ステープルカートリッジ11000の組織厚さコンペンセータ11020は、その中に画定されたステープルキャビティ10012からステープルが発射される際に、支持部分11010から連続的に解放されうる。より詳細には、上記に対して更に、ステープルキャビティ10012内に配置されたステープルが、ステープルカートリッジ11000の近位端11001とステープルカートリッジ11000の遠位端11002との間で連続的に発射され、これによって、ステープルが発射される際に、ステープルが組織厚さコンペンセータ11020に対して上向きの付勢力を適用し、これが組織厚さコンペンセータ11020を押してレール11019から外すよう作用する。そのような状況において、組織厚さコンペンセータ11020の近位端11006は、ステープルが最も近位側のステープルキャビティ10012から発射される際に、支持部分11010から解放されうる。すると、ステープルがステープルカートリッジ11000の近位端11001と遠位端11002との間で支持部分11010から連続的に発射される際に、組織厚さコンペンセータ11020が、支持部分11010から連続的に解放されうる。最も遠位側のステープルキャビティ10012内に配置されたステープルが支持部分11010から発射されるとき、組織厚さコンペンセータ11020の遠位端11007が支持部分11010から解放されうる。図275に関して、組織厚さコンペンセータ11120は、ステープルがステープルカートリッジの近位端11101と遠位端11102との間から連続的に発射される際に、支持部分11110から延びるスパイク11119から連続的に解放されうる。  With respect to FIG. 273, in addition to the above, thetissue thickness compensator 11020 of thestaple cartridge 11000 can be continuously released from thesupport portion 11010 as staples are fired from thestaple cavity 10012 defined therein. More specifically, in addition to the above, staples disposed within thestaple cavity 10012 are fired continuously between theproximal end 11001 of thestaple cartridge 11000 and thedistal end 11002 of thestaple cartridge 11000, Thus, as the staple is fired, the staple applies an upward biasing force against thetissue thickness compensator 11020, which acts to push thetissue thickness compensator 11020 away from therail 11019. In such a situation, theproximal end 11006 of thetissue thickness compensator 11020 can be released from thesupport portion 11010 as the staple is fired from the most proximalstaple cavity 10012. Thetissue thickness compensator 11020 is then continuously released from thesupport portion 11010 as staples are fired continuously from thesupport portion 11010 between theproximal end 11001 and thedistal end 11002 of thestaple cartridge 11000. sell. Thedistal end 11007 of thetissue thickness compensator 11020 can be released from thesupport portion 11010 when a staple disposed within the distal-moststaple cavity 10012 is fired from thesupport portion 11010. Referring to FIG. 275,tissue thickness compensator 11120 continuously releases fromspike 11119 extending fromsupport portion 11110 as staples are fired continuously between theproximal end 11101 anddistal end 11102 of the staple cartridge. Can be done.

前述のように、組織厚さコンペンセータは、ステープルが支持部分から連続的に発射されて組織厚さコンペンセータに接触する際に、ステープルカートリッジの支持部分から連続的に解放されうる。ステープルの脚(例えば、ステープル脚10032)は、支持部分から組織厚さコンペンセータを解放することなく、組織厚さコンペンセータを貫通することができる。そのような場合、組織厚さコンペンセータは、ステープルの底面(例えば、底面10031)が組織厚さコンペンセータに接触して上側に押し上げるまで、支持部分に係合したままになりうる。しかしながら、必要に応じて、支持部分から延びる滑り止め及び/又はその他の機構が、例えば、支持部分からの組織厚さコンペンセータの解放に対抗しうる。詳しくは後述されるように、ステープルがステープルカートリッジから連続的に発射される際に、支持部分は、支持部分から組織厚さコンペンセータを連続的に解放するように構成することができる保持機構を含みうる。次に図283を参照すると、ステープルカートリッジ(例えばステープルカートリッジ11200)は、組織厚さコンペンセータ11220(図284)を支持部分11210に解放可能に保持するように構成することができる保持機構11213を備えた支持部分11210を含みうる。例えば、保持機構11213は、各ステープルキャビティ11212の端に配置することができ、各保持機構11213は、それ自体の中に画定され、ステープル10030のステープル脚10032を摺動可能に受容するように構成されたガイド溝11216を含みうる。そのような場合、ステープル脚10032と保持機構11213は両方とも、組織厚さコンペンセータ11220を支持部分11210に解放可能に保持するように構成することができる。使用時には、次に図284を参照して、上述のように、支持部分11210内に収容されたステープルドライバ10040は、スレッド10050によって上向きに駆動されてよく、ステープルドライバ10040は、保持機構11213に接触し、支持部分11210から保持機構11213を少なくとも部分的に外し、保持機構11213をステープル10030及びステープルキャビティ11212から外側に離すよう移動させるように構成することができる。図284に示すように、保持機構11213が、支持部分11210から外れるか、かつ/又は外側に動かされると、保持機構11213は組織厚さコンペンセータ11220をもはや支持部分11210に対して保持することはできなくなり、その結果、組織厚さコンペンセータ11220は支持部分11210から解放されうる。上記と同様、組織厚さコンペンセータ11220は、ステープル10030がステープルカートリッジからアンビル(例えばアンビル11260)に向かって連続的に発射される際、支持部分11210から連続的に解放されうる。例えば、ステープルドライバ10040の上側表面が、支持部分11210のデッキ表面11211と同一平面上、又は少なくともほぼ同一平面上となった場合、ステープルドライバ10040は、保持機構11213に接触しうる。そのような場合、ステープル10030が完全に成形又は完全に発射された形状に成形されると同時に、及び/又はその直前に、組織厚さコンペンセータ11220は、支持部分11210から解放されうる。例えば、主に図285を参照して、ドライバ10040はオーバードライブすることができ、これによってデッキ表面11211の上方に押されて、ステープル10030を完全に成形し、オーバードライブのプロセス中に、保持機構11213を突破して支持部分11210から離れる。再び図284を参照すると、保持機構11213は、外側に外れるか動かされる前に、ステープルキャビティ11212内に延出し(又は張り出し)てもよく、これにより、ドライバ10040がデッキ表面11211に到達すると同時に、ドライバ10040は保持機構11213に接触できる。いずれの場合も、組織厚さコンペンセータ11220がいったん支持部分11210から解放されると、次に図285を参照して、支持部分11210は、移植された組織厚さコンペンセータ11220から離れるよう動かすことができる。  As described above, the tissue thickness compensator can be continuously released from the support portion of the staple cartridge as the staples are continuously fired from the support portion and contact the tissue thickness compensator. Staple legs (eg, staple legs 10032) can penetrate the tissue thickness compensator without releasing the tissue thickness compensator from the support portion. In such cases, the tissue thickness compensator can remain engaged with the support portion until the staple bottom surface (eg, bottom surface 10031) contacts the tissue thickness compensator and pushes upward. However, if desired, a non-slip and / or other mechanism extending from the support portion may counter, for example, the release of the tissue thickness compensator from the support portion. As will be described in detail below, the support portion includes a retention mechanism that can be configured to continuously release the tissue thickness compensator from the support portion as the staples are continuously fired from the staple cartridge. sell. Referring now to FIG. 283, a staple cartridge (eg, staple cartridge 11200) includes aretention mechanism 11213 that can be configured to releasably retain the tissue thickness compensator 11220 (FIG. 284) on thesupport portion 11210.Support portion 11210 may be included. For example, aretention mechanism 11213 can be disposed at the end of eachstaple cavity 11212, with eachretention mechanism 11213 being defined within itself and configured to slidably receive thestaple legs 10032 of thestaple 10030. Theguide groove 11216 may be included. In such cases, both thestaple leg 10032 and theretention mechanism 11213 can be configured to releasably retain thetissue thickness compensator 11220 on thesupport portion 11210. In use, referring now to FIG. 284, as described above, thestaple driver 10040 contained within thesupport portion 11210 may be driven upward by thesled 10050, and thestaple driver 10040 contacts theholding mechanism 11213. Theholding mechanism 11213 can be at least partially removed from thesupport portion 11210 and theholding mechanism 11213 can be moved away from thestaple 10030 and thestaple cavity 11212. As shown in FIG. 284, when theretention mechanism 11213 is disengaged from thesupport portion 11210 and / or moved outward, theretention mechanism 11213 can no longer retain thetissue thickness compensator 11220 against thesupport portion 11210. As a result, thetissue thickness compensator 11220 can be released from thesupport portion 11210. Similar to the above, thetissue thickness compensator 11220 can be continuously released from thesupport portion 11210 as thestaple 10030 is continuously fired from the staple cartridge toward the anvil (eg, anvil 11260). For example, thestaple driver 10040 can contact theretention mechanism 11213 when the upper surface of thestaple driver 10040 is flush with, or at least substantially flush with, thedeck surface 11211 of thesupport portion 11210. In such a case, thetissue thickness compensator 11220 can be released from thesupport portion 11210 at the same time as and / or immediately before thestaple 10030 is formed into a fully formed or fully fired shape. For example, referring primarily to FIG. 285, thedriver 10040 can be overdriven, thereby being pushed over thedeck surface 11211 to fully form thestaple 10030 and during the overdrive process, theretention mechanism 11213 breaks away from thesupport portion 11210. Referring again to FIG. 284, theretention mechanism 11213 may extend (or overhang) into thestaple cavity 11212 before it is disengaged or moved so that thedriver 10040 reaches thedeck surface 11211 at the same time. Thedriver 10040 can contact theholding mechanism 11213. In either case, once thetissue thickness compensator 11220 is released from thesupport portion 11210, referring now to FIG. 285, thesupport portion 11210 can be moved away from the implantedtissue thickness compensator 11220. .

上述のように、ステープルカートリッジの圧縮可能な組織厚さコンペンセータは、ステープルがステープルカートリッジから発射又は配備されると、ステープルカートリッジの支持部分又はカートリッジ本体から、連続的に解放されうる。様々な状況において、そのような解放は、支持部分から組織厚さコンペンセータを連続的に放つことを含んでよく、ある状況において、組織厚さコンペンセータの支持部分からの完全な離脱は、アンビルが開いて、移植された組織厚さコンペンセータから支持部分が離れるよう移動するまでは起こらない。次に図289を参照すると、ステープルカートリッジ(例えば、ステープルカートリッジ11300)は、支持部分11310に解放可能に保持されている組織厚さコンペンセータ11320を含みうる。支持部分11310は、そこから延びる複数の保持部材11313を含み、これは、組織厚さコンペンセータ11320の長手方向側面を支持部分11310に解放可能に圧縮して保持するように構成される。例えば、各保持部材11313は、内向きの溝部材又はスロット11316を有してよく、これは、その中に組織厚さコンペンセータ11320の長手方向側面を受容するように構成することができる。様々な状況において、複数の保持部材11313は、支持部分11310の第1の長手方向側面に沿って延びることができ、複数の保持部材11313は、支持部分11310の第2の長手方向側面に沿って延びることができ、特定の状況において、保持部材11313は、組織厚さコンペンセータ11320と支持部分11310との間の相対的な横方向の動きを阻止又は少なくとも制限するように構成することができ、更に加えて、組織厚さコンペンセータ11320が支持部分11310から早期に解放されるのを阻止又は少なくとも制限することができる。例えば、保持部材11313は支持部分11310とともに一体成形することができ、更に図290を参照すると、保持部材11313は、支持部分11310から離脱又は少なくとも部分的に離脱するように構成することができ、これによって、図291に示すように、組織厚さコンペンセータ11320が支持部分11310から離脱することができる。アンビル(例えばアンビル11360)は、組織厚さコンペンセータ11320を圧縮するように構成することができ、更に、組織厚さコンペンセータ11320内に生じた圧力に応じて、組織厚さコンペンセータ11320が横方向に膨張して、保持部材11313を組織厚さコンペンセータ11320から少なくとも部分的に離脱させ、又は外すことができる。上述のように、アンビル11360及びステープルカートリッジ11300を通るナイフ部材の前進によって、その中に含まれるステープルを配備することができ、同時に、アンビル11360とステープルカートリッジ11300を互いに近づけるよう押し込み、これが組織厚さコンペンセータ11320への追加の圧縮圧力を適用することができ、よって、ナイフ部材がステープルカートリッジ11300を通過する際に保持部材11313が連続的に離脱されうる。  As noted above, the compressible tissue thickness compensator of the staple cartridge can be continuously released from the staple cartridge support portion or cartridge body as the staple is fired or deployed from the staple cartridge. In various situations, such release may include continuously releasing the tissue thickness compensator from the support portion, and in some situations, complete removal from the support portion of the tissue thickness compensator may cause the anvil to open. Does not occur until the support portion has moved away from the implanted tissue thickness compensator. Referring now to FIG. 289, a staple cartridge (eg, staple cartridge 11300) can include atissue thickness compensator 11320 that is releasably held on asupport portion 11310. Thesupport portion 11310 includes a plurality ofretention members 11313 extending therefrom, which are configured to releasably compress and hold the longitudinal sides of thetissue thickness compensator 11320 to thesupport portion 11310. For example, eachretention member 11313 may have an inwardly facing groove member orslot 11316 that can be configured to receive the longitudinal side of thetissue thickness compensator 11320 therein. In various circumstances, the plurality of retainingmembers 11313 can extend along the first longitudinal side of thesupport portion 11310, and the plurality of retainingmembers 11313 can be along the second longitudinal side of thesupport portion 11310. In certain circumstances, theretention member 11313 can be configured to prevent or at least limit relative lateral movement between thetissue thickness compensator 11320 and thesupport portion 11310, and In addition, thetissue thickness compensator 11320 can be prevented or at least limited from being released early from thesupport portion 11310. For example, the retainingmember 11313 can be integrally formed with thesupport portion 11310, and referring further to FIG. 290, the retainingmember 11313 can be configured to detach from or at least partially detach from thesupport portion 11310. , Thetissue thickness compensator 11320 can be detached from thesupport portion 11310 as shown in FIG. The anvil (eg, anvil 11360) can be configured to compress thetissue thickness compensator 11320, and further, thetissue thickness compensator 11320 expands laterally in response to pressure generated in thetissue thickness compensator 11320. Thus, theretention member 11313 can be at least partially detached from or removed from thetissue thickness compensator 11320. As described above, advancement of the knife member through theanvil 11360 andstaple cartridge 11300 can deploy the staples contained therein, while simultaneously pushing theanvil 11360 andstaple cartridge 11300 closer together, which is tissue thickness. Additional compression pressure can be applied to thecompensator 11320 so that the holdingmember 11313 can be continuously released as the knife member passes thestaple cartridge 11300.

次に図292〜294を参照すると、ステープルカートリッジ(例えば、ステープルカートリッジ11400)は、支持部分11410に取り外し可能に取り付けられた組織厚さコンペンセータ11420を含みうる。ステープルカートリッジ11400は、1本以上の保持バー11413を有してよく、これは組織厚さコンペンセータ11420の長手方向側面をデッキ表面11411に対して保持するように構成することができる。例えば、各保持バー11413は、相対するアーム11418を有してよく、この間に溝部材11416を画定することができる。そのような場合、アーム11418の一方が組織厚さコンペンセータ11420の上に延びるように構成することができ、もう一方のアーム11418が、支持部分11410から延びるリップ11419の下に延びるように構成することができる。主に図292を参照して、各保持バー11413の溝部材11416は、ステープルカートリッジ11400を使用する前に、組織厚さコンペンセータ11420の長手方向側面に対して圧縮力を適用するような寸法及び構成にすることができる。使用時には、主に図293を参照して、ステープルカートリッジ11400は、ステープルカートリッジ溝部材内に配置することができ、ステープルカートリッジ11400がいったん適当に配置されると、アンビル(例えばアンビル11460)は、組織厚さコンペンセータ11420を圧縮できる位置に動かすことができる。上記と同様、組織厚さコンペンセータ11420は、圧縮されると、横方向又は外側に膨張し、その結果、保持バー11413をステープルカートリッジ11400から外すことができる。アンビル11460を閉じることで、保持バー11413がステープルカートリッジから外れることはなく、又は完全に外れることはない。例えば、上記の、発射バーをステープルカートリッジ11400を通して前進させることにより、支持部分11410からステープル10030を配備することができ、同時に、アンビル11460とステープルカートリッジ11400を互いに近づけるよう押し込んで、組織厚さコンペンセータ11420に対する圧縮力を適用し、これは、組織厚さコンペンセータ11420を横方向に膨張させて保持バー11413をステープルカートリッジ11400から外すのに充分である。保持バー11413がステープルカートリッジ11400からいったん外れると、図294を参照して、支持部分11410が、移植された組織厚さコンペンセータ11420から離れるよう移動でき、手術部位から除去されうる。あるいは、次に図295を参照すると、ステープルカートリッジ11400’は保持バー11413’を有してよく、これは上記と同様、そこから延びるアーム11418’を含みうる。例えば、各アーム11418’は、ウェッジロック斜面11417’を有してよく、これはステープルカートリッジ11400’に保持バー11413’を解放可能に引っ掛けるように構成することができる。より詳細には、ステープルカートリッジ11400’の支持部分11410’は、アンダーカット11419’を有してよく、これはウェッジロック斜面11417’と協働して、保持バー11413’をステープルカートリッジ11400に対して解放可能に保持し、かつ組織厚さコンペンセータ11420が支持部分11410’から早期に外れるのを防ぐように構成することができる。使用時には、上記と同様、例えば、充分な圧縮力が組織厚さコンペンセータ11420に適用されたとき、保持バー11413’はステープルカートリッジ11400’から外れることができる。  Referring now to FIGS. 292-294, a staple cartridge (eg, staple cartridge 11400) may include atissue thickness compensator 11420 removably attached to thesupport portion 11410.Staple cartridge 11400 may include one ormore retention bars 11413 that may be configured to retain the longitudinal side oftissue thickness compensator 11420 againstdeck surface 11411. For example, eachretention bar 11413 may have anopposing arm 11418, between which agroove member 11416 can be defined. In such a case, one of thearms 11418 can be configured to extend over thetissue thickness compensator 11420 and theother arm 11418 can be configured to extend under thelip 11419 extending from thesupport portion 11410. Can do. Referring primarily to FIG. 292, thegroove member 11416 of eachretention bar 11413 is sized and configured to apply a compressive force against the longitudinal side of thetissue thickness compensator 11420 prior to use of thestaple cartridge 11400. Can be. In use, referring primarily to FIG. 293, thestaple cartridge 11400 can be placed in a staple cartridge groove member, and once thestaple cartridge 11400 is properly placed, the anvil (eg, anvil 11460) can be Thethickness compensator 11420 can be moved to a position where it can be compressed. Similar to the above, thetissue thickness compensator 11420 expands laterally or outwardly when compressed, so that theretention bar 11413 can be removed from thestaple cartridge 11400. Closing theanvil 11460 does not remove theretention bar 11413 from the staple cartridge or completely. For example, by advancing the firing bar described above through thestaple cartridge 11400, thestaple 10030 can be deployed from thesupport portion 11410, while simultaneously pushing theanvil 11460 and thestaple cartridge 11400 closer together and thetissue thickness compensator 11420. This is sufficient to apply thetissue thickness compensator 11420 laterally to disengage theretention bar 11413 from thestaple cartridge 11400. Once theretention bar 11413 is removed from thestaple cartridge 11400, referring to FIG. 294, thesupport portion 11410 can be moved away from the implantedtissue thickness compensator 11420 and removed from the surgical site. Alternatively, referring now to FIG. 295, the staple cartridge 11400 'may have a retention bar 11413', which may include an arm 11418 'extending therefrom, as described above. For example, each arm 11418 'may have a wedge lock ramp 11417' that can be configured to releasably retain the retention bar 11413 'on the staple cartridge 11400'. More particularly, thesupport portion 11410 ′ of thestaple cartridge 11400 ′ may have an undercut 11419 ′ that cooperates with thewedge lock bevel 11417 ′ to move theretention bar 11413 ′ relative to thestaple cartridge 11400. It may be configured to releasably hold and prevent thetissue thickness compensator 11420 from prematurely disengaging from thesupport portion 11410 ′. In use, similar to the above, the retention bar 11413 'can be disengaged from the staple cartridge 11400' when, for example, sufficient compressive force is applied to thetissue thickness compensator 11420.

様々な状況において、上述のように、また再び図259及び260を参照すると、ステープルカートリッジ10000のスレッド10050と、外科用ステープル留め器具の発射部材10052は、ステープルカートリッジ10000の近位端10001からステープルカートリッジ10000の遠位端10002(図219)へと移動でき、これによりステープル10030が支持部分10010から配備される。少なくとも1つのそのような状況において、各ステープル10030は、未発射位置から発射済み位置へと移動でき、支持部分10010から発射されて、アンビル10060とステープルカートリッジ10000との間に配置されている組織に対して、組織厚さコンペンセータ10020を全体に捕捉することができる。特定の状況において、外科医はステープル10030全部をステープルカートリッジ10000から発射する必要はない場合があり、外科医は、ステープルカートリッジ10000の近位端10001と遠位端10002との中間にある点においてスレッド10050と発射バー10052の進行を止めることがある。そのような状況において、組織厚さコンペンセータ10020は、組織Tに部分的にのみ埋め込むことができ、組織厚さコンペンセータ10020の埋め込まれていない部分を支持部分10010から外すために、外科医は、支持部分10010を、部分的に埋め込まれている組織厚さコンペンセータ10020から引っ張って離し、これにより埋め込まれていない部分を支持部分10010から剥離又は引き剥がすことができる。これらの構成は様々な状況において好適であるが、改善が図300〜302に示されており、ステープルカートリッジ11500の組織厚さコンペンセータ(例えば組織厚さコンペンセータ11520)は、互いに外せるように構成できる複数の連結されたセグメントを含みうる。例えば、組織厚さコンペンセータ11520には、第1の(最も近位側の)セグメント11520a、第1のセグメント11520aに取り外し可能に連結された第2のセグメント11520b、第2のセグメント11520bに取り外し可能に連結された第3のセグメント11520c、第3のセグメント11520cに取り外し可能に連結された第4のセグメント11520d、及び第4のセグメント11520dに取り外し可能に連結された第5のセグメント11520e、が含まれうる。組織厚さコンペンセータ11520は、任意の2つの隣接するセグメント11520a〜11520eの中間に配置された、少なくとも1つの薄い部分11529を有してよく、これは、組織厚さコンペンセータセグメントが互いに分離できる所定の断裂点又は分離点を画定するように構成できる。組織厚さコンペンセータは、穿孔、薄い部分、及び/又はその他の、組織厚さコンペンセータ内に分離点を形成する任意の他の手段の、任意の適当な配列を含みうる。主に図301を参照して、アンビル11560は閉位置で示されており、発射部材10052はステープルカートリッジ11500内を部分的に前進した状態で示されており、これにより、第1のセグメント11520a、第2のセグメント11520b、及び第3のセグメント11520cの下にあるステープル10030が発射されて、組織Tに対する組織厚さコンペンセータ11520を捕捉する。そのような位置において、例えば、発射部材10052は、まだ第4のセグメント11520d及び第5のセグメント11520eの下にあるステープル10030を配備するところまで前進していない。次に図302を参照して、アンビル11560は開位置に移動しており、ステープルカートリッジ11500の支持部分11510は、埋め込まれている組織厚さコンペンセータ11520の部分から離れるよう移動されている。図302に示すように、第3のセグメント11520cと第4のセグメント11520dとの中間にある薄い部分11529(図300)によって、組織厚さコンペンセータ11520の移植されていない部分を、移植された部分から分離することが可能になる。  In various situations, and as described above and with reference again to FIGS. 259 and 260, thesled 10050 of thestaple cartridge 10000 and the firingmember 10052 of the surgical stapling instrument are staple cartridges from theproximal end 10001 of thestaple cartridge 10000. 10000 can be moved to the distal end 10002 (FIG. 219), which deploys the staple 10030 from thesupport portion 10010. In at least one such situation, each staple 10030 can be moved from an unfired position to a fired position and is fired from thesupport portion 10010 to tissue disposed between theanvil 10060 and thestaple cartridge 10000. In contrast, the entiretissue thickness compensator 10020 can be captured. In certain circumstances, the surgeon may not need to fire all of thestaples 10030 from thestaple cartridge 10000, and the surgeon may have thesled 10050 at a point midway between theproximal end 10001 and thedistal end 10002 of thestaple cartridge 10000. The firingbar 10052 may stop moving. In such a situation, thetissue thickness compensator 10020 can only be partially embedded in the tissue T, and in order to remove the unimplanted portion of thetissue thickness compensator 10020 from thesupport portion 10010, thesurgeon 10010 can be pulled away from the partially implantedtissue thickness compensator 10020 so that the unimplanted portion can be peeled or peeled away from thesupport portion 10010. While these configurations are suitable in a variety of situations, improvements are shown in FIGS. 300-302, and the tissue thickness compensators (eg, tissue thickness compensator 11520) ofstaple cartridge 11500 can be configured to be detachable from one another. Of connected segments. For example, thetissue thickness compensator 11520 includes a first (most proximal)segment 11520a, asecond segment 11520b removably coupled to thefirst segment 11520a, and removable to thesecond segment 11520b. Athird segment 11520c coupled, afourth segment 11520d removably coupled to thethird segment 11520c, and afifth segment 11520e removably coupled to thefourth segment 11520d. . Thetissue thickness compensator 11520 may have at least onethin portion 11529 disposed in the middle of any twoadjacent segments 11520a-11520e, which may be a predetermined thickness that allows the tissue thickness compensator segments to be separated from one another. It can be configured to define a break or separation point. The tissue thickness compensator may include any suitable arrangement of perforations, thin sections, and / or any other means of forming separation points within the tissue thickness compensator. Referring primarily to FIG. 301, theanvil 11560 is shown in the closed position and the firingmember 10052 is shown partially advanced within thestaple cartridge 11500, thereby providing thefirst segment 11520a,Staples 10030 under thesecond segment 11520b and thethird segment 11520c are fired to capture thetissue thickness compensator 11520 for the tissue T. In such a position, for example, firingmember 10052 has not yet been advanced to deploystaple 10030 underfourth segment 11520d andfifth segment 11520e. Referring now to FIG. 302, theanvil 11560 has been moved to the open position and thesupport portion 11510 of thestaple cartridge 11500 has been moved away from the portion of thetissue thickness compensator 11520 that is implanted. As shown in FIG. 302, a thin portion 11529 (FIG. 300) intermediate thethird segment 11520c and thefourth segment 11520d allows the unimplanted portion of thetissue thickness compensator 11520 to be removed from the implanted portion. It becomes possible to separate.

上記に対して更に、ステープルカートリッジは、組織厚さコンペンセータをステープルカートリッジの支持部分に対して解放可能に保持するように構成された複数の締結具を含みうる。支持部分は、例えば、デッキ表面に画定された複数の開口部を含み、締結具が組織厚さコンペンセータを貫通して延び、支持部分開口部内に解放可能に保持されうる。使用時には、締結具は、ステープルが支持部分から連続的に発射される際に、支持部分から連続的に解放されうる。例えば、締結具は組織厚さコンペンセータとともに埋め込むことができ、例えば、締結具は少なくとも1つの生体吸収性材料で構成することができる。組織厚さコンペンセータが少なくとも部分的に移植された後、移植された組織厚さコンペンセータから支持部分が離れるように移動すると、締結具は支持部分から外れることができる。次に図323〜325を参照すると、ステープルカートリッジ(例えば、ステープルカートリッジ11600)は、複数の締結具11613によって支持部分11610に解放可能に取り付けられた組織厚さコンペンセータ11620を含みうる。各締結具11613は、組織厚さコンペンセータ11620内に埋め込まれ及び/又はその他の方法で係合されている第1の端部11618と、支持部分11610に係合している第2の端部11618と、第1の端部11618を第2の端部11618に連結しているコネクタ11616と、を含みうる。締結具11613は、支持部分11610内に画定されたナイフスロット11615を貫通して延在しうる。使用時には、上述の発射部材10052は、支持部分11610のナイフスロット11615を通ってナイフエッジを動かし、締結具11613を切断することができ、これにより、組織厚さコンペンセータ11620を支持部分11610から解放することができる。例えば、発射バー10052は、ステープルカートリッジ11600の近位端11601からステープルカートリッジ11600の遠位端11602へと前進させることができ、これによって、前述のように、(1)スレッド10050を遠位が泡に前進させ、連続的にステープル10030を発射させ、(2)締結具11613を連続的に切断及び/又は破壊し、組織厚さコンペンセータ11620を支持部分11610から連続的に解放する。上記と同様、例えば、組織厚さコンペンセータ11620は、複数の取り外し可能なセグメント11620a〜11620eを有してよく、これらはそれぞれ、1つ又は2つ以上の締結具11613によって支持部分11610に対して保持されうる。発射部材10052がステープルカートリッジ11600の近位端11601と遠位端11602との中間で停止した場合、アンビル11660が開き、支持部分11610が組織Tから離れる方向に動いた後(図325に示される)、締結具11613が支持部分11610に対して組織厚さコンペンセータ11620の埋め込まれていない部分を保持するのを支援する(図324)。上記に対して更に、発射部材10052の刃先10053は、締結具11613を切断及び/又は破壊するように構成することができる。あるいは、次に図327及び328を参照すると、ステープル配備スレッド(例えば、スレッド11650)は、スレッド11650がステープルカートリッジ11600を横切る際に締結具11613のコネクタ11616を切断するように構成可能な、ナイフエッジ11653を含みうる。例えば、各コネクタ11616は、締結具11613のT字端11618の間に延びる円柱状部材を有してよく、ナイフエッジ11653は、例えば円柱状コネクタ11616を受容するように構成することができる凹形状11653を含みうる。  Further to the above, the staple cartridge can include a plurality of fasteners configured to releasably hold the tissue thickness compensator relative to the support portion of the staple cartridge. The support portion can include, for example, a plurality of openings defined in the deck surface, with fasteners extending through the tissue thickness compensator and releasably retained within the support portion openings. In use, the fastener can be continuously released from the support portion as the staples are fired continuously from the support portion. For example, the fastener can be implanted with a tissue thickness compensator, for example, the fastener can be composed of at least one bioabsorbable material. After the tissue thickness compensator is at least partially implanted, the fastener can be disengaged from the support portion when the support portion moves away from the implanted tissue thickness compensator. Referring now to FIGS. 323-325, a staple cartridge (eg, staple cartridge 11600) can include atissue thickness compensator 11620 releasably attached to asupport portion 11610 by a plurality offasteners 11613. Eachfastener 11613 has afirst end 11618 that is embedded and / or otherwise engaged within thetissue thickness compensator 11620 and asecond end 11618 that engages thesupport portion 11610. And aconnector 11616 that couples thefirst end 11618 to thesecond end 11618.Fastener 11613 may extend throughknife slot 11615 defined insupport portion 11610. In use, the firingmember 10052 described above can move the knife edge through theknife slot 11615 of thesupport portion 11610 to cut thefastener 11613, thereby releasing thetissue thickness compensator 11620 from thesupport portion 11610. be able to. For example, the firingbar 10052 can be advanced from theproximal end 11601 of thestaple cartridge 11600 to thedistal end 11602 of thestaple cartridge 11600, thereby (1) causing thethread 10050 to foam distally as described above. To continuously fire thestaple 10030, (2) continuously cut and / or break thefastener 11613, and continuously release thetissue thickness compensator 11620 from thesupport portion 11610. As above, for example, thetissue thickness compensator 11620 may have a plurality of removable segments 11620a-11620e, each held against thesupport portion 11610 by one ormore fasteners 11613. Can be done. If the firingmember 10052 stops midway between theproximal end 11601 and thedistal end 11602 of thestaple cartridge 11600, after theanvil 11660 has opened and thesupport portion 11610 has moved away from the tissue T (shown in FIG. 325). Thefastener 11613 assists in holding the unimplanted portion of thetissue thickness compensator 11620 relative to the support portion 11610 (FIG. 324). Further to the above, thecutting edge 10053 of the firingmember 10052 can be configured to cut and / or break thefastener 11613. Alternatively, referring now to FIGS. 327 and 328, a staple deployment thread (eg, thread 11650) can be configured to cut theconnector 11616 of thefastener 11613 as thethread 11650 traverses thestaple cartridge 11600. 11653 can be included. For example, eachconnector 11616 may include a cylindrical member that extends between the T-shaped ends 11618 of thefasteners 11613 and theknife edge 11653 may be configured to receive, for example, acylindrical connector 11616. 11653 can be included.

前述のように、ステープルカートリッジは、外科用ステープル留め器具のステープルカートリッジ溝部材に装填することができる。様々な状況において、外科医又は他の医師が、ステープルカートリッジに下向きの力をかけて、ステープルカートリッジを定位置にロックすることで、ステープルカートリッジをステープルカートリッジ溝部材に挿入することができる。いくつかのそのような状況において、例えば、医師が親指をステープルカートリッジの上側表面に置いて、そのような下向きの力をかけることができる。ステープルカートリッジの上側表面は、組織厚さコンペンセータの上側表面を有してよく、上述のように、組織厚さコンペンセータは圧縮可能であってよく、組織厚さコンペンセータに下向きの力をかけると、支持部分内に保管されているステープルの先端に医師の親指が接触する程度まで、組織厚さコンペンセータが圧縮されうる。本発明によれば、ステープルカートリッジアプリケータを利用して、ステープルカートリッジをステープルカートリッジ溝部材に挿入することができ、これは、医師がステープルカートリッジ内のステープルに触れる可能性を阻止するか、少なくとも制限するように構成することができる。ステープルカートリッジがステープルカートリッジ溝部材内に適当に配置された後、詳しくは後述されるように、アプリケータはステープルカートリッジから取り外すことができる。  As described above, the staple cartridge can be loaded into the staple cartridge groove member of the surgical stapling instrument. In various situations, a surgeon or other physician can apply a downward force to the staple cartridge to lock the staple cartridge in place to insert the staple cartridge into the staple cartridge groove member. In some such situations, for example, a physician can place such a downward force by placing a thumb on the upper surface of the staple cartridge. The upper surface of the staple cartridge may have the upper surface of the tissue thickness compensator, and as described above, the tissue thickness compensator may be compressible and support when a downward force is applied to the tissue thickness compensator. The tissue thickness compensator can be compressed to the extent that the physician's thumb contacts the tips of the staples stored in the section. In accordance with the present invention, a staple cartridge applicator can be utilized to insert a staple cartridge into a staple cartridge groove member, which prevents or at least restricts the possibility of a physician touching the staples in the staple cartridge. Can be configured to. After the staple cartridge is properly positioned in the staple cartridge groove member, the applicator can be removed from the staple cartridge, as will be described in detail below.

次に図305及び306を参照すると、ステープルカートリッジアプリケータは、剛性のカバー(例えば、カバー10080)を有してよく、これはステープルカートリッジ10000に取り付けることができる。上記に対して更に、カバー10080は、ステープルカートリッジ10000がステープルカートリッジ溝部材に挿入されたときに、ステープルカートリッジ10000内に配置されているステープル10030の先端に、例えば、医師の親指が触れる可能性を阻止するか、少なくとも抑制するように構成することができる。次に図307及び308を参照して、カバー10080は、組織厚さコンペンセータ10020の、上側表面10021の上、又は少なくとも上側表面10021の一部分の上に延びることができ、これには、(1)組織厚さコンペンセータ10020の上に延在及び/又は接しうる下側表面10081と、(2)医師が下向きの力をかけるための押圧表面を提供できる上側表面10082と、が含まれうる。使用時には、医師はカバー10080のハンドル部分10084を握り、ステープルカートリッジ10000の支持部分10010をステープルカートリッジ溝部材に整列させ、ステープルカートリッジ10000をステープルカートリッジ溝部材内に少なくとも部分的に挿入することができる。この後、医師は、カバー10880の上側表面10082に下向きの力をかけ、支持部分10010に直接下向きの力が伝達しうることによって、ステープルカートリッジ10000をステープルカートリッジ溝部材内に完全に収めることができる。例えば、カバー10080は近位側支持体10087を有してよく、これは下側に延びて支持部分のデッキ表面10011に接触することができる。カバー10080は更に、ノーズ10003に接するように構成できる遠位側支持部分10083を含みうる。下向きの力がカバー10080にかかると、この下向きの力は近位側支持体10087及び/又は遠位側支持部分10083を介して伝達され、この下向きの力は、組織厚さコンペンセータ10020を介して支持部分10010に伝達されることはないか、又は少なくともほぼ伝達されることはない。様々な状況において、上記の結果、医師は組織厚さコンペンセータ10020に直接接触することはない。また上記の結果、ステープルカートリッジ10000がステープルカートリッジ溝部材に挿入される際、カバー10080は、組織厚さコンペンセータ10020を圧縮することはなく、又は少なくともほぼ圧縮することはない。本発明によれば、カバーは、任意の適当な数の支持体を含むことができ、これらは、下向きの力を組織厚さコンペンセータを介して伝達することなく、又は少なくともほぼ伝達することなしに、下向きの力を支持部分に伝達するように構成される。支持体は、組織厚さコンペンセータの遠位端、近位端、及び/又は長手方向側面の周囲に延在しうる。支持体は組織厚さコンペンセータを貫通して延在しうる。例えば、支持体は組織厚さコンペンセータ内の開口部を通って延在し、支持部分のデッキに接することができる。支持体の少なくともいくつかは、下向きの力がカバーにかかる前はデッキに接触できない。しかしながら、カバーは、支持体が支持部分のデッキに接触するまで、下向きに屈曲又は動くように構成することができる。そのような点において、カバーの下向きの屈曲又は動きは、更に屈曲しないよう、妨げるか、又は少なくともほぼ妨げることができる。  Referring now to FIGS. 305 and 306, the staple cartridge applicator may have a rigid cover (eg, cover 10080) that can be attached to thestaple cartridge 10000. In addition to the above, thecover 10080 prevents, for example, a doctor's thumb from touching the leading end of thestaple 10030 disposed in thestaple cartridge 10000 when thestaple cartridge 10000 is inserted into the staple cartridge groove member. It can be configured to block or at least suppress. Referring now to FIGS. 307 and 308, thecover 10080 can extend over theupper surface 10021 or at least a portion of theupper surface 10021 of thetissue thickness compensator 10020, including (1) Alower surface 10081 that can extend and / or contact thetissue thickness compensator 10020 and (2) anupper surface 10024 that can provide a pressing surface for the physician to apply a downward force. In use, the physician can grasp thehandle portion 10084 of thecover 10080, align thesupport portion 10010 of thestaple cartridge 10000 with the staple cartridge groove member, and at least partially insert thestaple cartridge 10000 into the staple cartridge groove member. Thereafter, the physician can place thestaple cartridge 10000 fully within the staple cartridge groove member by applying a downward force to theupper surface 10082 of thecover 10880 and transmitting a downward force directly to thesupport portion 10010. . For example, thecover 10080 may have a proximal support 1000087 that can extend down to contact thedeck surface 10011 of the support portion. Thecover 10080 can further include adistal support portion 10084 that can be configured to contact thenose 10003. When a downward force is applied to thecover 10080, this downward force is transmitted through theproximal support 10087 and / or thedistal support portion 10084, and this downward force is transmitted through thetissue thickness compensator 10020. There is no transmission or at least almost no transmission to thesupport portion 10010. In various situations, the above results in the physician not having direct contact with thetissue thickness compensator 10020. Also, as a result of the above, thecover 10080 does not compress or at least substantially compress thetissue thickness compensator 10020 when thestaple cartridge 10000 is inserted into the staple cartridge groove member. In accordance with the present invention, the cover can include any suitable number of supports, which do not transmit or at least approximately transmit downward force through the tissue thickness compensator. , Configured to transmit a downward force to the support portion. The support can extend around the distal end, proximal end, and / or longitudinal side of the tissue thickness compensator. The support can extend through the tissue thickness compensator. For example, the support can extend through an opening in the tissue thickness compensator and touch the deck of the support portion. At least some of the supports cannot contact the deck before a downward force is applied to the cover. However, the cover can be configured to bend or move downward until the support contacts the deck of the support portion. At such points, downward bending or movement of the cover can be prevented or at least substantially prevented from further bending.

上述のように、カバー10080はステープルカートリッジ10000に取り付けることができ、ステープルカートリッジ10000の位置を操作するのに使用することができる。カバー10080は、任意の適当な数のグリップ部材を含むことができ、これは例えば、ステープルカートリッジ10000の支持部分10010に対してカバー10080を解放可能に保持するように構成することができる。例えば、カバー10080は更に、例えば、1つ以上の保持部材、例えばラッチアーム10088及び/又は10089を含みうる。ラッチアーム10089はノーズ10003の側面周囲に延在し、かつノーズ10003の下側表面10009(図306)に係合するように構成することができる。同様に、ラッチアーム10088は支持部分10010のロック突起10008の側面周囲に延在し、ロック突起10008の下側表面と係合することができる。これらのラッチアームは、ステープルが支持部分10010内に保管されるゾーン又は領域の上に、カバー10080を配置するように構成することができる。いずれの場合も、ステープルカートリッジ10000がいったん適当に配置されると、カバー10080はステープルカートリッジ10000から取り外すことができる。医師は、カバー10080の遠位端をステープルカートリッジ10000の遠位端10002から外すために、ハンドル10084に上向きの持ち上げ力をかけることができる。例えば、ハンドル10084が上側に持ち上げられると、ラッチアーム10088及び10089は外側に屈曲でき、これによりラッチアーム10088及び10089はそれぞれ、ロック突起10008とノーズ10003の回りで屈曲することができる。この後、カバー10080の近位端を、ステープルカートリッジの近位端10001から離すよう持ち上げることができ、カバー10080をステープルカートリッジ10000から離れるよう動かすことができる。  As described above, thecover 10080 can be attached to thestaple cartridge 10000 and can be used to manipulate the position of thestaple cartridge 10000. Thecover 10080 can include any suitable number of grip members, which can be configured to releasably hold thecover 10080 against thesupport portion 10010 of thestaple cartridge 10000, for example. For example, thecover 10080 can further include, for example, one or more retaining members, such aslatch arms 10088 and / or 10089. The latch arm 10099 can be configured to extend around the side of thenose 10003 and engage the lower surface 10009 (FIG. 306) of thenose 10003. Similarly, thelatch arm 10088 can extend around the side of the lockingprojection 10008 of thesupport portion 10010 and engage the lower surface of the lockingprojection 10008. These latch arms can be configured to place thecover 10080 over a zone or region where staples are stored in thesupport portion 10010. In either case, thecover 10080 can be removed from thestaple cartridge 10000 once thestaple cartridge 10000 is properly positioned. The practitioner can apply an upward lifting force to thehandle 10084 to disengage the distal end of thecover 10080 from thedistal end 10002 of thestaple cartridge 10000. For example, when thehandle 10084 is lifted upward, thelatch arms 10088 and 10089 can be bent outward, so that thelatch arms 10088 and 10089 can be bent around the lockingprojections 10008 and thenose 10003, respectively. Thereafter, the proximal end of thecover 10080 can be lifted away from the staple cartridgeproximal end 10001 and thecover 10080 can be moved away from thestaple cartridge 10000.

次に図309及び310を参照すると、ステープルカートリッジアプリケータ(例えばステープルカートリッジアプリケータ10680)は、ステープルカートリッジ(例えばステープルカートリッジ10600)を、ステープルカートリッジ溝部材内で配置することに加え、例えば、上側組織厚さコンペンセータ(例えば組織厚さコンペンセータ10690)を、アンビルに対して配置するように構成することができる。上記と同様、アプリケータ10680はラッチアーム10688を有してよく、これはステープルカートリッジ10600の支持部分10610から延びるロック突起10608と解放可能に係合することができ、これによってアプリケータ10680は、ステープルカートリッジ10600の組織厚さコンペンセータ10620の上の位置に保持されうる。上側組織厚さコンペンセータ10690は、ステープルカートリッジアプリケータ10680に取り外し可能に取り付けることができ、これによって外科用器具のアンビル(例えば、アンビル10060)が、アプリケータ10680上で閉じ、組織厚さコンペンセータ10690に係合し、組織厚さコンペンセータ10690をアプリケータ10680から外すことができる。組織厚さコンペンセータ10690及び/又はアンビル10060は、1つ以上の保持機構を有してよく、これは組織厚さコンペンセータ10690をアンビル10060に対して解放可能に保持するように構成することができる。例えば、組織厚さコンペンセータ10690は長手方向レール10695を有してよく、これは例えば、組織厚さコンペンセータ10690の上側表面10691から延びて、アンビル10060内に画定された長手方向ナイフスロット10065内に受容されうる。組織厚さコンペンセータ10690と長手方向レール10695は、例えば、本特許出願に記述されているもののような、任意の適当な圧縮性材料から構成することができ、例えば、長手方向レール10695は、例えば、ナイフスロット10065内で圧縮及び/又は締め付けられうる。アンビル10060がいったん組織厚さコンペンセータ10690内で係合すると、アンビル10060は開位置に戻ることができ、そのような状況において、組織厚さコンペンセータ10690はアプリケータ10680から外れることができる。この後、アプリケータ10680はステープルカートリッジ10600から外すことができ、これによってアンビル10060とステープルカートリッジ10600は、ステープル及び/又は切断される予定の組織に対して配置することができる。使用時には、ステープル配備スレッド(例えばスレッド10050(図236))は、発射部材10052(図236)によってステープルカートリッジ10600を通って遠位側に前進し、例えば、これにより、上記で概説したようにステープルがステープルカートリッジ10060から発射される。ステープルが変形されると、各ステープルが、組織の上側表面に対する組織厚さコンペンセータ10690の一部と、組織の下側表面に対する組織厚さコンペンセータ10620の一部とを捕捉することができる。同時に、発射部材10052は、組織厚さコンペンセータ10620及び/又は組織厚さコンペンセータ10690を通ってナイフエッジ10053(図236)を前進させることができ、ここで、長手方向レール10695を切断し組織厚さコンペンセータ10690をアンビル10060から連続的に外すために、ナイフエッジ10053は長手方向レール10695を通って前進することができる。ステープルを配備した後、アンビル10060を再び開放し、移植された組織厚さコンペンセータ10690から離れるよう移動することができ、同様に、ステープルカートリッジ10600の支持部分10610が、移植された組織厚さコンペンセータ10620から離れるよう移動することができる。上記に対して更に、組織厚さコンペンセータ10620及び/又は組織厚さコンペンセータ10690は、複数の取り外し可能セグメントを有してよく、これは、組織厚さコンペンセータ10620及び10690の一部のみがステープルによって埋め込まれている場合に、互いに分離できるように構成することができる。  Referring now to FIGS. 309 and 310, a staple cartridge applicator (eg, staple cartridge applicator 10680) can be used, for example, to place a staple cartridge (eg, staple cartridge 10600) within a staple cartridge groove member, eg A thickness compensator (eg, tissue thickness compensator 10690) can be configured to be placed against the anvil. As above, theapplicator 10680 may have alatch arm 10688 that can releasably engage a lockingprotrusion 10608 extending from asupport portion 10610 of thestaple cartridge 10600 so that theapplicator 10680 can be stapled. Thecartridge 10600 can be held in position above thetissue thickness compensator 10620. The uppertissue thickness compensator 10690 can be removably attached to thestaple cartridge applicator 10680 so that the surgical instrument anvil (eg, anvil 10060) is closed on theapplicator 10680 and thetissue thickness compensator 10690 is attached. Engaging and disengaging thetissue thickness compensator 10690 from theapplicator 10680 can occur. Thetissue thickness compensator 10690 and / or theanvil 10060 may have one or more retention mechanisms, which can be configured to releasably retain thetissue thickness compensator 10690 relative to theanvil 10060. For example, thetissue thickness compensator 10690 may have alongitudinal rail 10695 that extends from, for example, theupper surface 10691 of thetissue thickness compensator 10690 and is received in alongitudinal knife slot 10065 defined in theanvil 10060. Can be done. Thetissue thickness compensator 10690 and thelongitudinal rail 10695 can be comprised of any suitable compressible material, such as those described in this patent application, for example, thelongitudinal rail 10695 can be, for example, It can be compressed and / or clamped inknife slot 10065. Once theanvil 10060 is engaged within thetissue thickness compensator 10690, theanvil 10060 can return to the open position, and in such circumstances, thetissue thickness compensator 10690 can be disengaged from theapplicator 10680. Thereafter, theapplicator 10680 can be removed from thestaple cartridge 10600 so that theanvil 10060 andstaple cartridge 10600 can be placed against the tissue to be stapled and / or cut. In use, a staple deployment sled (eg, sled 10050 (FIG. 236)) is advanced distally throughstaple cartridge 10600 by firing member 10052 (FIG. 236), for example, thereby stapling as outlined above. Are fired from thestaple cartridge 10060. As the staples are deformed, each staple can capture a portion of thetissue thickness compensator 10690 for the upper surface of the tissue and a portion of thetissue thickness compensator 10620 for the lower surface of the tissue. At the same time, firingmember 10052 can advance knife edge 10053 (FIG. 236) throughtissue thickness compensator 10620 and / ortissue thickness compensator 10690, where it cutslongitudinal rail 10695 to cut tissue thickness. To continuously remove thecompensator 10690 from theanvil 10060, theknife edge 10053 can be advanced through thelongitudinal rail 10695. After the staple is deployed, theanvil 10060 can be reopened and moved away from the implantedtissue thickness compensator 10690, and similarly, thesupport portion 10610 of thestaple cartridge 10600 can be moved to the implantedtissue thickness compensator 10620. You can move away from. Further to the above, thetissue thickness compensator 10620 and / or thetissue thickness compensator 10690 may have a plurality of removable segments, which are only a portion of thetissue thickness compensators 10620 and 10690 are implanted with staples. Can be separated from each other.

上記に対して更に、アプリケータ10680は1つ又は2つ以上の保持機構を有してよく、これは組織厚さコンペンセータ10690をアプリケータ10680に対して解放可能に保持するように構成することができる。例えば、主に図310を参照すると、アプリケータ10680は長手方向保持レール10685を有してよく、これは例えば、組織厚さコンペンセータ10690の下側表面10692内に画定された長手方向保持スロット10694に圧入により受容されるように構成することができる。様々な状況において、保持レール10685と保持スロット10694は、上述のように、アンビル10060によって充分な上向きの持ち上げ力が組織厚さコンペンセータ10690に掛けられるまで、組織厚さコンペンセータ10690をアプリケータ10680に対して保持するように構成することができる。例えば、アプリケータ10680から延びる保持レール10685は更に、保持レール10685の近位端と遠位端に配置されたエンドストップ10686を有してよく、これは、組織厚さコンペンセータ10690とアプリケータ10680との間の相対的長手方向の動きを阻止又は少なくとも制限するように構成することができる。再び図310を参照すると、1つ又は2つ以上の接着剤(例えば、長手方向接着剤ストリップ10693)を、組織厚さコンペンセータ10690の接触表面10691に配置することができ、これにより、アンビル10060が組織厚さコンペンセータ10690に接触するとき、上述のように、接着剤が組織厚さコンペンセータ10690をアンビル10060に対して解放可能に接合することができる。必要に応じて、例えば、上述の圧縮可能保持機構に加えて、又はその代わりに、1つ以上の接着剤を利用することができる。1つ又は2つ以上の接着剤を利用して、組織厚さコンペンセータをステープルカートリッジアプリケータに対して解放可能に保持することができる。次に図310Aを参照して、カバー10080は、例えば、1つ以上の接着剤パッド12185を有してよく、これは上側組織厚さコンペンセータ(例えば組織厚さコンペンセータ12190)を、カバー10080の上側表面10082に解放可能に保持するように構成できる。例えば、上記と同様に、アンビルは、組織厚さコンペンセータ12190に対して閉じ、組織厚さコンペンセータ12190の長手方向保持レール12195に係合することができる。解放機構を、組織厚さコンペンセータ12190とカバー10080との中間に配置することができ、これを利用して、組織厚さコンペンセータ12190をカバー10080に保持している接着剤結合を破壊し、組織厚さコンペンセータ12190をカバー10080から外すことができる。解放機構はプルタブ12196とループ12197を有してよく、ループ12197は、プルタブ12196に取り付けられた第1及び第2末端を含みうる。ループ12197は縫合糸を有してよく、例えば、これは接着剤パッド12185を取り囲む外周を画定することができ、これにより、プルタブ12196が遠位方向に引っ張られると、縫合糸が組織厚さコンペンセータ12190とカバー10080との間で摺動し、組織パッド12185に接触することができる。そのような状況において、縫合糸は、例えば、接着剤パッド12185を組織厚さコンペンセータ12190から分離すること、接着剤パッド12185をカバー10080から分離すること、及び/又は接着剤パッド12185を切断することのうち、少なくとも1つを行うことができる。  Further to the above, theapplicator 10680 may have one or more retention mechanisms, which may be configured to releasably retain thetissue thickness compensator 10690 relative to theapplicator 10680. it can. For example, referring primarily to FIG. 310, theapplicator 10680 may have a longitudinal retention rail 10485 that is, for example, in alongitudinal retention slot 10694 defined in thelower surface 10682 of thetissue thickness compensator 10690. It can be configured to be received by press-fitting. In various situations, the retention rail 10485 and theretention slot 10694 may cause thetissue thickness compensator 10690 relative to theapplicator 10680 until sufficient upward lifting force is applied to thetissue thickness compensator 10690 by theanvil 10060 as described above. And can be configured to be held. For example, the retention rail 10665 extending from theapplicator 10680 may further include end stops 10686 disposed at the proximal and distal ends of the retention rail 10665, which may includetissue thickness compensator 10690 andapplicator 10680. Can be configured to prevent or at least limit relative longitudinal movement between the two. Referring again to FIG. 310, one or more adhesives (eg, longitudinal adhesive strip 10673) can be placed on thecontact surface 10691 of thetissue thickness compensator 10690 so that theanvil 10060 When contacting thetissue thickness compensator 10690, the adhesive can releasably bond thetissue thickness compensator 10690 to theanvil 10060 as described above. If desired, one or more adhesives can be utilized, for example, in addition to or in place of the compressible retention mechanism described above. One or more adhesives can be utilized to releasably hold the tissue thickness compensator against the staple cartridge applicator. Referring now to FIG. 310A, thecover 10080 may include, for example, one or moreadhesive pads 12185 that connect the upper tissue thickness compensator (eg, tissue thickness compensator 12190) to the upper side of thecover 10080. It can be configured to releasably hold on thesurface 10082. For example, similar to the above, the anvil can be closed relative to thetissue thickness compensator 12190 and engage thelongitudinal retaining rail 12195 of thetissue thickness compensator 12190. A release mechanism can be placed intermediate thetissue thickness compensator 12190 and thecover 10080, which is used to break the adhesive bond that holds thetissue thickness compensator 12190 to thecover 10080 and Thecompensator 12190 can be removed from thecover 10080. The release mechanism may include apull tab 12196 and aloop 12197, which may include first and second ends attached to thepull tab 12196. Theloop 12197 may include a suture, for example, which may define an outer periphery that surrounds theadhesive pad 12185 so that when thepull tab 12196 is pulled distally, the suture is tissue thickness compensator. It can slide between 12190 andcover 10080 and can contacttissue pad 12185. In such a situation, the suture may, for example, separate theadhesive pad 12185 from thetissue thickness compensator 12190, separate theadhesive pad 12185 from thecover 10080, and / or cut theadhesive pad 12185. At least one of them can be performed.

次に図311を参照すると、ステープルカートリッジは支持部分10710を有してよく、例えば、これは、上記と同様、それ自体を貫通して延びる長手方向ナイフスロット10715を含みうる。例えば、ステープルカートリッジアプリケータ(例えばアプリケータ10780)は、長手方向保持及びアラインメント部材10786を有してよく、これが支持部分10710内のナイフスロット10715に延びうる。保持部材10786は、例えば圧入によりナイフスロット10715の側壁に係合するように構成することができ、これによりアプリケータ10780は、支持部分10710に対して解放可能に保持されうる。必要に応じて、図示されていないが、組織厚さコンペンセータの第1の部分は保持部材10786の第1の側面に配置することができ、組織厚さコンペンセータの第2の部分は、保持部材10786の相対する第2の側面に配置することができる。上記と同様、組織厚さコンペンセータの第1及び第2の部分は、例えば、保持部材10013を介してステープルカートリッジの支持部分10710に取り付けることができる。また上記と同様、上側組織厚さコンペンセータ10790は、アプリケータ10780の装填表面10782から延びる長手方向保持部材10785を介して、アプリケータ10780に取り外し可能に取り付けることができ、保持部材10785は、例えば、組織厚さコンペンセータ10790の下側表面10792に画定された長手方向スロット10794に解放可能に圧入することができる。必要に応じて、また上記と同様、組織厚さコンペンセータ10790は更に、組織厚さコンペンセータ10790の上側表面10791から延びる長手方向保持部材10795を有してよく、これは、アンビル10060内に画定される長手方向ナイフスロット10065に解放可能に保持されうる。例えば、長手方向保持部材10795は、下側部分より大きい上側部分を含む楔形断面を有してよく、下側部分は例えば、保持部材10795を組織厚さコンペンセータ10790に取り付けることができる。  Referring now to FIG. 311, the staple cartridge may have asupport portion 10710, for example, which may include alongitudinal knife slot 10715 that extends through itself, as described above. For example, a staple cartridge applicator (eg, applicator 10780) may have a longitudinal retention andalignment member 10786 that can extend into aknife slot 10715 in thesupport portion 10710. The retainingmember 10786 can be configured to engage the side wall of theknife slot 10715, for example, by press fit, so that theapplicator 10780 can be releasably retained relative to thesupport portion 10710. Optionally, although not shown, the first portion of the tissue thickness compensator can be disposed on the first side of theretention member 10786 and the second portion of the tissue thickness compensator is theretention member 10786. Can be disposed on opposite second side surfaces. Similar to the above, the first and second portions of the tissue thickness compensator can be attached to thesupport portion 10710 of the staple cartridge via a holdingmember 10013, for example. Also, similar to the above, the uppertissue thickness compensator 10790 can be removably attached to theapplicator 10780 via alongitudinal holding member 10785 extending from the loading surface 10784 of theapplicator 10780. Thetissue thickness compensator 10790 can be releasably press-fit into alongitudinal slot 10794 defined in thelower surface 10792. Optionally, and similar to the above, thetissue thickness compensator 10790 may further include alongitudinal retention member 10795 extending from theupper surface 10791 of thetissue thickness compensator 10790, which is defined within theanvil 10060. It can be releasably held in thelongitudinal knife slot 10065. For example, thelongitudinal retention member 10795 may have a wedge-shaped cross section that includes an upper portion that is larger than the lower portion, and the lower portion may, for example, attach theretention member 10795 to thetissue thickness compensator 10790.

次に図312及び313を参照すると、支持部分10810と組織厚さコンペンセータ10820を含むステープルカートリッジ10800は、例えば、ステープルカートリッジアプリケータ10880とともにステープルカートリッジ溝部材に装填することができる。上記と同様、ステープルカートリッジアプリケータ10880は、例えば、アンビル(例えばアンビル10060)に対して上側組織厚さコンペンセータ10890を配置するように構成することができ、これにより、アンビル10060が閉じているとき、アンビル10060が組織厚さコンペンセータ10890に接触して係合できる。組織厚さコンペンセータ10890は、組織厚さコンペンセータ10890の上側表面10891から延びる複数の保持脚10895を有してよく、これは、アンビル10060と係合し、アンビル10060に対して組織厚さコンペンセータ10890を解放可能に保持するように構成できる。例えば、脚10895は長手方向の列に配列することができ、各脚10895は、アンビル10060内に画定されたナイフスロット10065に入って係合するように構成された少なくとも1つの足部を含みうる。脚10895のうちいくつかの足部は一方向に延在してもよく、他の足部は別の方向に延在していてもよい。足部の一部のものは反対方向に延びてもよい。いずれの場合も、アンビル10060が組織厚さコンペンセータ10890といったん係合すると、次に図313及び314を参照して、アンビル10060が再び開き、医師はステープルカートリッジアプリケータ10880を、組織厚さコンペンセータ10820及び10890から離すよう動かすことができる。この後、図314Aを参照すると、上側組織厚さコンペンセータ10890は標的組織と組織厚さコンペンセータ10820の第1の側面に配置することができ、これは下側組織厚さコンペンセータを有してよく、組織の第2の側面に配置することができる。組織厚さコンペンセータ10820及び10890が適当に配置された後、次に図314Bを参照して、発射部材のナイフエッジ(例えばナイフエッジ10053)は、組織及び組織厚さコンペンセータを通って前進することができる。次に図318を参照すると、ステープルカートリッジアプリケータ(例えば、アプリケータ12280)は、その上に取り外し可能に取り付けられた組織厚さコンペンセータ12290を有してよく、これは、上記と同様、図319に示すように、ステープルカートリッジ溝部材に挿入され、アンビル10060が閉位置に移動すると、アンビル10060によって係合されうる。例えば、組織厚さコンペンセータ12290は、組織厚さコンペンセータ12290の上側表面12291から上向きに延びる複数の保持部材12295を有してよく、各保持部材12295は複数の可撓性脚12296を有してよく、これらはアンビル10060内のナイフスロット10065に挿入されるように構成することができる。主に図321及び322を参照して、各保持部材12295の可撓性脚12296が、隙間12298によって分離されていてよく、これにより、脚12296がナイフスロット10065に挿入されると、脚12296が内側に屈曲し、可撓性脚12296の膨張した足部がナイフスロット10065を通過した後、弾性的に外側に戻ることができる。可撓性脚12296の膨張した足部が、アンビル10060内に画定された対向した保持リップ12997の向こう側に屈曲でき、脚12296とリップ12297との相互作用の結果、組織厚さコンペンセータ12290がアンビル10060に保持されうる。その後、ステープルカートリッジアプリケータ12280は、図320に示すように、組織厚さコンペンセータ12290から離れるよう動かすことができる。使用時には、組織厚さコンペンセータ12290が、ステープルカートリッジ10000から配備されたステープルによって組織に対していったん埋め込まれると、例えば、アンビル10060が再び開くことができ、更に、アンビル10060が、移植された組織厚さコンペンセータ12290から離れるよう動かされると、保持部材12995の脚12296が内側に屈曲し、これによりナイフスロット10065から引き抜かれうる。  Referring now to FIGS. 312 and 313, astaple cartridge 10800 that includes asupport portion 10810 and atissue thickness compensator 10820 can be loaded into a staple cartridge groove member with, for example, astaple cartridge applicator 10880. As above, thestaple cartridge applicator 10880 can be configured to position the uppertissue thickness compensator 10890 relative to, for example, an anvil (eg, anvil 10060) so that when theanvil 10060 is closed,Anvil 10060 can contact and engagetissue thickness compensator 10890. Thetissue thickness compensator 10890 may have a plurality of retaininglegs 10895 extending from theupper surface 10891 of thetissue thickness compensator 10890 that engages theanvil 10060 and causes thetissue thickness compensator 10890 to move against theanvil 10060. Can be configured to hold releasably. For example, thelegs 10895 can be arranged in a longitudinal row, and eachleg 10895 can include at least one foot configured to enter and engage aknife slot 10065 defined in theanvil 10060. . Some legs of theleg 10895 may extend in one direction and other legs may extend in another direction. Some of the feet may extend in the opposite direction. In either case, once theanvil 10060 is engaged with thetissue thickness compensator 10890, then referring to FIGS. 313 and 314, theanvil 10060 is reopened and the physician repositions thestaple cartridge applicator 10880 and thetissue thickness compensator 10820. And can be moved away from 10890. Thereafter, referring to FIG. 314A, the uppertissue thickness compensator 10890 can be placed on the target tissue and the first side of thetissue thickness compensator 10820, which can have a lower tissue thickness compensator, It can be placed on the second side of the tissue. After thetissue thickness compensators 10820 and 10890 are properly positioned, referring now to FIG. 314B, the knife edge (eg, knife edge 10053) of the firing member may be advanced through the tissue and tissue thickness compensator. it can. Referring now to FIG. 318, a staple cartridge applicator (eg, applicator 12280) may have atissue thickness compensator 12290 removably mounted thereon, similar to that described above with reference to FIG. As shown, theanvil 10060 can be engaged when inserted into the staple cartridge groove member and moved to the closed position. For example, thetissue thickness compensator 12290 may include a plurality of retainingmembers 12295 that extend upward from theupper surface 12291 of thetissue thickness compensator 12290, and each retainingmember 12295 may include a plurality offlexible legs 12296. These can be configured to be inserted intoknife slot 10065 inanvil 10060. Referring primarily to FIGS. 321 and 322, theflexible legs 12296 of each retainingmember 12295 may be separated by agap 12298 so that when thelegs 12296 are inserted into theknife slot 10065, thelegs 12296 are Bending inward, the expanded leg offlexible leg 12296 can elastically return to the outside after passing throughknife slot 10065. The inflated foot of theflexible leg 12296 can bend across the opposing retaining lip 12997 defined in theanvil 10060 and the interaction of theleg 12296 andlip 12297 results in thetissue thickness compensator 12290 being anvil. 10060. Thereafter, thestaple cartridge applicator 12280 can be moved away from thetissue thickness compensator 12290, as shown in FIG. In use, once thetissue thickness compensator 12290 is implanted into the tissue with staples deployed from thestaple cartridge 10000, for example, theanvil 10060 can be reopened, and further, theanvil 10060 can be transferred to the implanted tissue thickness. When moved away from thecompensator 12290, thelegs 12296 of the retainingmember 12995 can bend inward and thereby be withdrawn from theknife slot 10065.

次に図315及び316を参照すると、組織厚さコンペンセータ(例えば、組織厚さコンペンセータ11990)は、アンビル(例えば、アンビル11960)に長手方向に装填されうる。より詳細には、組織厚さコンペンセータ11990は1本以上の長手方向レール11995を有してよく、これは、アンビル11960のナイフスロット11965の遠位側開口部に挿入してから、組織厚さコンペンセータ11990がアンビル11960内に適正に収まるまで、近位側に押し込むことができる。例えば、各レール11995は、長手方向保持足部11996を有してよく、これは例えば、ナイフスロット11965を少なくとも部分的に画定している長手方向保持リップ11997の向こう側に配置することができる。図316に示すように、足部11996は、ナイフスロット11965の反対側に配置される保持リップ11997の向こう側に配置するために、反対方向に延ばすことができる。本発明によれば、長手方向隙間11998は、レール11995の間に画定され、これは、組織厚さコンペンセータ11990がアンビル11960から外れた時に、レール11995が互いに内側に向かって屈曲できるように構成することができる。次に図317を参照すると、組織厚さコンペンセータ(例えば、組織厚さコンペンセータ12090)は、1本以上のロックアーム12098を有してよく、これは、アンビル(例えば、アンビル12060)の側面に回り込んで延在しうる。使用時には、ロックアーム12098はアンビル12060に係合し、組織厚さコンペンセータ12090をアンビル12060に対して解放可能に保持することができる。例えば、アンビル12060は1つ以上のノッチ又はロックショルダー12097を有してよく、これはそれぞれ、ロックアーム12098から延びる足部を受容するように構成することができる。使用時には、組織厚さコンペンセータ12090が少なくとも部分的に移植された後、アンビル12060が組織厚さコンペンセータ12090から離れたときに、アーム12098は外側に屈曲してアンビル12060から外れることができる。  Referring now to FIGS. 315 and 316, a tissue thickness compensator (eg, tissue thickness compensator 111990) can be longitudinally loaded into an anvil (eg, anvil 11960). More particularly, the tissue thickness compensator 111990 may have one or more longitudinal rails 111995 that are inserted into the distal opening of theknife slot 11965 of theanvil 11960 and then the tissue thickness compensator. It can be pushed proximally until 11990 is properly seated withinanvil 11960. For example, each rail 111995 may have a longitudinal retaining foot 111996 that may be disposed, for example, beyond a longitudinal retaining lip 111997 that at least partially defines aknife slot 11965. As shown in FIG. 316, the foot 111996 can be extended in the opposite direction for placement beyond theretention lip 11997 located on the opposite side of theknife slot 11965. In accordance with the present invention, a longitudinal gap 111998 is defined between therails 11995, which configures therails 11995 to bend inward from one another when the tissue thickness compensator 111990 is disengaged from theanvil 11960. be able to. Referring now to FIG. 317, a tissue thickness compensator (eg, tissue thickness compensator 12090) may have one or more lockingarms 12098 that rotate around the side of the anvil (eg, anvil 12060). Can extend. In use, thelock arm 12098 can engage theanvil 12060 to releasably hold thetissue thickness compensator 12090 against theanvil 12060. For example, theanvil 12060 may have one or more notches or lockshoulders 12097, each of which can be configured to receive a foot extending from thelock arm 12098. In use, after thetissue thickness compensator 12090 has been at least partially implanted, thearm 12098 can bend outward and disengage from theanvil 12060 when theanvil 12060 moves away from thetissue thickness compensator 12090.

上述のように、外科用ステープル留め器具は、ステープルカートリッジと、ステープルカートリッジ溝部材に回転可能に連結されたアンビルと、アンビル及びステープルカートリッジ溝部材に対して移動可能なナイフエッジを含む発射部材とを受容するように構成された、ステープルカートリッジ溝部材を含みうる。使用時には、ステープルカートリッジはステープルカートリッジ溝部材内に配置され、ステープルカートリッジが少なくとも部分的に消費された後、ステープルカートリッジをステープルカートリッジ溝部材から取り出し、新しいステープルカートリッジに交換することができる。例えば、外科用ステープル留め器具のステープルカートリッジ溝部材、アンビル、及び/又は発射部材は、交換用ステープルカートリッジとともに再使用することができる。あるいは、ステープルカートリッジは、使い捨て装填ユニットアセンブリの一部を含むことができ、これには、ステープルカートリッジ溝部材、アンビル、及び/又は発射部材が含まれてよく、例えば、これは、使い捨て装填ユニットアセンブリの交換の一環として、ステープルカートリッジとともに交換することができる。特定の使い捨て装填ユニットアセンブリは、米国特許出願第12/031,817号「END EFFECTOR COUPLING ARRANGEMENTS FOR A SURGICAL CUTTING AND STAPLING INSTRUMENT」(2008年2月15日出願)に開示されており、この開示全体を参照により本明細書に援用する。次に図370を参照して、使い捨て装填ユニット(例えば使い捨て装填ユニット12500)は、支持部分12510、支持部分12510に回転可能に連結されたアンビル12560、及び支持部分12510から延びる長尺状シャフト12570を含みうる。本明細書に記述されるステープルカートリッジと同様、支持部分12510は、複数のステープルキャビティ10012と、例えば各ステープルキャビティ10012に配置されたステープル(例えばステープル10030)とを含みうる。使い捨て装填ユニット12500は更に発射部材12552を有してよく、これは、図370に示す開位置から閉位置へとアンビル12560を動かすために、遠位方向に前進させることができる。使い捨て装填ユニット12500は更に、支持部分12510の上に配置又はこれに取り付けられた組織厚さコンペンセータ12520を有してよく、アンビル12560が閉位置にあるときに、アンビル12560は組織厚さコンペンセータ12520に相対するよう配置することができ、場合によっては、アンビル12560が閉位置にあるとき、アンビル12560は少なくとも部分的に組織厚さコンペンセータ12520を圧縮することができる。いずれの場合でも、発射部材12552は、支持部分12510からステープルを発射するために、更に前進させることができる。ステープルが発射されると、そのステープルはアンビル12560によって変形され、その中に組織厚さコンペンセータ12520の少なくとも一部を捕らえることができる。その後、発射部材12552を近位側に後退させることができ、アンビル12560は再び開き、支持部分12510は、移植された組織厚さコンペンセータ12520から離れるよう移動されうる。  As described above, a surgical stapling instrument includes a staple cartridge, an anvil rotatably coupled to the staple cartridge groove member, and a firing member including a knife edge movable relative to the anvil and the staple cartridge groove member. A staple cartridge groove member configured to receive may be included. In use, the staple cartridge is disposed within the staple cartridge groove member, and after the staple cartridge is at least partially consumed, the staple cartridge can be removed from the staple cartridge groove member and replaced with a new staple cartridge. For example, a staple cartridge groove member, anvil, and / or firing member of a surgical stapling instrument can be reused with a replacement staple cartridge. Alternatively, the staple cartridge can include a portion of a disposable loading unit assembly, which can include a staple cartridge groove member, an anvil, and / or a firing member, eg, a disposable loading unit assembly. As part of the replacement, the staple cartridge can be replaced. A specific disposable loading unit assembly is disclosed in US patent application Ser. No. 12 / 031,817 “END EFFECTOR COUPLING ARRANGEMENTS FOR A SURGICAL CUTING AND STAPLING INSTRUMENT” (filed on Feb. 15, 2008). Which is incorporated herein by reference. Referring now to FIG. 370, a disposable loading unit (eg, disposable loading unit 12500) includes asupport portion 12510, ananvil 12560 rotatably coupled to thesupport portion 12510, and anelongate shaft 12570 extending from thesupport portion 12510. May be included. Similar to the staple cartridge described herein, thesupport portion 12510 can include a plurality ofstaple cavities 10012 and staples (eg, staples 10030) disposed in eachstaple cavity 10012, for example. Thedisposable loading unit 12500 can further include a firingmember 12552, which can be advanced distally to move theanvil 12560 from the open position shown in FIG. 370 to the closed position. Thedisposable loading unit 12500 may further include atissue thickness compensator 12520 disposed on or attached to thesupport portion 12510 such that when theanvil 12560 is in the closed position, theanvil 12560 is attached to thetissue thickness compensator 12520. In some cases, theanvil 12560 can at least partially compress thetissue thickness compensator 12520 when theanvil 12560 is in the closed position. In either case, firingmember 12552 can be further advanced to fire staples fromsupport portion 12510. As the staples are fired, the staples are deformed by theanvil 12560, and at least a portion of thetissue thickness compensator 12520 can be captured therein. The firingmember 12552 can then be retracted proximally, theanvil 12560 can be reopened, and thesupport portion 12510 can be moved away from the implantedtissue thickness compensator 12520.

上記に対して更に、組織厚さコンペンセータ12520は、支持部分12510取り外し可能に取り付けることができる。例えば、支持部分12510は、その各側メインに取り付けられた長手方向保持レール12526を含み、各レール12526は、1つ以上の開口部12528を有してよく、これはその中に組織厚さコンペンセータ12520の少なくとも一部を受容するように構成することができる。組織厚さコンペンセータ12520がいったん、少なくとも部分的に埋め込まれると、支持部分12510が除去され、組織厚さコンペンセータ12520を開口部12528から引き出すことができる。次に図371〜373を参照して、使い捨て装填ユニット12600は、支持部分12610、その支持部分12610に取り外し可能に取り付けられた組織厚さコンペンセータ12620、及び、組織厚さコンペンセータ12620の下に延在しかつ組織厚さコンペンセータ12620を支持部分12610に取り付けるように構成することができる1本以上の保持レール12626を含みうる。各保持レール12626は、例えば複数の保持フック12628を有してよく、これは、例えば支持部分12610内に画定される保持スロット12614を介して、支持部分12610に係合されうる。使用時には、例えば、組織厚さコンペンセータ12620は、組織厚さコンペンセータ12620が少なくとも部分的に埋め込まれ、かつ支持部分12610が組織厚さコンペンセータ12620から離れるよう動かされた後、保持レール12626から外れるように構成することができる。次に図374〜376を参照すると、使い捨て装填ユニット12700は、1本以上の保持レール12726を有してよく、これはそれぞれ、組織厚さコンペンセータ12720の下に延びる下側バー12725と、組織厚さコンペンセータ12620の上側表面12621の上に延びる上側バー12727と、を含みうる。組織厚さコンペンセータ12620は、上側バー12727と下側バー12725との間で少なくとも部分的に圧縮され、これにより、保持レール12726が、組織厚さコンペンセータ12620を支持部分12610に対して解放可能に保持することができる。例えば、各保持レール12726は、1本以上の保持フック12728を有してよく、これが支持部分12610に係合して保持レール12726を支持部分12610に保持することができる。  Further to the above, thetissue thickness compensator 12520 can be removably attached to thesupport portion 12510. For example, thesupport portion 12510 includes alongitudinal retaining rail 12526 attached to each side main thereof, and eachrail 12526 may have one ormore openings 12528, which have a tissue thickness compensator therein. It can be configured to receive at least a portion of 12520. Once thetissue thickness compensator 12520 is at least partially implanted, thesupport portion 12510 can be removed and thetissue thickness compensator 12520 can be withdrawn from theopening 12528. Referring now to FIGS. 371-373, thedisposable loading unit 12600 extends below asupport portion 12610, atissue thickness compensator 12620 removably attached to thesupport portion 12610, and atissue thickness compensator 12620. And one ormore retention rails 12626 that can be configured to attach thetissue thickness compensator 12620 to thesupport portion 12610. Eachretention rail 12626 may include, for example, a plurality of retention hooks 12628, which may be engaged with thesupport portion 12610, for example, viaretention slots 12614 defined within thesupport portion 12610. In use, for example, thetissue thickness compensator 12620 can be removed from the retainingrail 12626 after thetissue thickness compensator 12620 is at least partially implanted and thesupport portion 12610 is moved away from thetissue thickness compensator 12620. Can be configured. Referring now to FIGS. 374-376, thedisposable loading unit 12700 may have one ormore retention rails 12726, each of which has alower bar 12725 extending below the tissue thickness compensator 12720, and a tissue thickness. And anupper bar 12727 extending above the upper surface 12621 of thecompensator 12620. Thetissue thickness compensator 12620 is at least partially compressed between theupper bar 12727 and thelower bar 12725 so that the retainingrail 12726 releasably holds thetissue thickness compensator 12620 relative to thesupport portion 12610. can do. For example, eachretention rail 12726 may have one or more retention hooks 12728 that can engage thesupport portion 12610 to retain theretention rail 12726 on thesupport portion 12610.

次に図377及び378を参照して、使い捨て装填ユニット12800は保持部材12822を有してよく、これは組織厚さコンペンセータ12620を支持部分12610に取り付けるように構成することができる。例えば、保持部材12822は、支持部分のデッキ表面12611に対して配置される1枚のシート材料を有してよく、組織厚さコンペンセータ12620が、例えば、少なくとも1種類の接着剤によって、この1枚のシート材料に取り付けられうる。保持部材12822は更に、支持部分12610内に画定されたナイフスロット12615内に下向きに延びるように構成された長手方向保持レール12825を含みうる。例えば、保持レール12825は、ナイフスロット12615の側壁間で圧縮されるような寸法及び構成にすることができる。使用時には、発射部材12552は、発射部材12552が遠位側に前進して組織厚さコンペンセータ12620と保持レール12825を長手方向に切断する際に、ナイフスロット12615を通過することができるナイフエッジを含みうる。また、使用時には、支持部分12610から発射されたステープルは、保持部材12822、組織厚さコンペンセータ12820、及び、組織厚さコンペンセータ12820とアンビル12560との間に配置された組織を、貫通することができる。保持部材12822は、生体適合性及び/又は生体吸収性材料で構成することができる。保持部材12822は、組織厚さコンペンセータ12620の下にある組織厚さコンペンセータを含むよう、充分に圧縮可能な材料で構成することができる。次に図379〜381を参照すると、使い捨て装填ユニット12900は、支持部分12610に取り外し可能に取り付けられうる下側部分12922と、アンビル12560に取り外し可能に取り付けられうる上側部分12990と、下側部分12922と上側部分12990を連結する可撓性継手12991とを備えた、装填アセンブリを含みうる。上記と同様、長手方向保持レール12825は、下側部分12922から下向きに延びて、支持部分12610内に画定されたナイフスロット12615内に入るようになっていてよく、これにより、下側部分12922が支持部分12610に対して解放可能に保持されうる。同様に、長手方向保持レール12995は、上側部分12990から上向きに延びて、アンビル12560内に画定されたナイフスロット内に入るようになっていてよく、これにより、上側部分12990がアンビル12560に対して解放可能に保持されうる。図380及び381に示すように、組織厚さコンペンセータ12620は装填アセンブリの下側部分12922に取り付けることができ、組織厚さコンペンセータ12620を支持部分12610に対して配置するために、医師は、上側部分12990と下側部分12922を互いに近づけるよう曲げて、アンビル12560と支持部分12610との間に装填アセンブリを配置し、曲げた装填アセンブリを解放することで、弾性的に膨張させて上側部分12990をアンビル12560に対して付勢し、下側部分12922を支持部分12610に対して付勢することができる。次に図382〜384を参照すると、装填アセンブリは更に、それ自体から延びる1本以上のラッチフック(例えば、ラッチフック12994)を有してよく、これは、上側部分12990をアンビル12560に対して解放可能に連結し、及び/又は下側部分12922を支持部分12610に対して解放可能に連結するように構成することができる。  Referring now to FIGS. 377 and 378, thedisposable loading unit 12800 may include aretention member 12822 that can be configured to attach thetissue thickness compensator 12620 to thesupport portion 12610. For example, theretention member 12822 may comprise a sheet of material that is disposed against thedeck surface 12611 of the support portion, and thetissue thickness compensator 12620 is attached to the sheet by, for example, at least one adhesive. Can be attached to other sheet materials. Theretention member 12822 can further include alongitudinal retention rail 12825 configured to extend downward into aknife slot 12615 defined in thesupport portion 12610. For example, theretention rail 12825 can be sized and configured to be compressed between the sidewalls of theknife slot 12615. In use, firingmember 12552 includes a knife edge that can pass throughknife slot 12615 as firingmember 12552 is advanced distally to longitudinally cuttissue thickness compensator 12620 andretention rail 12825. sell. Also, in use, staples fired from thesupport portion 12610 can penetrate the retainingmember 12822, the tissue thickness compensator 12820, and the tissue disposed between the tissue thickness compensator 12820 and theanvil 12560. . The retainingmember 12822 can be composed of a biocompatible and / or bioabsorbable material. Theretention member 12822 can be constructed of a material that is sufficiently compressible to include the tissue thickness compensator underlying thetissue thickness compensator 12620. Referring now to FIGS. 379-381, thedisposable loading unit 12900 includes alower portion 12922 that can be removably attached to thesupport portion 12610, anupper portion 12990 that can be removably attached to theanvil 12560, and alower portion 12922. And a flexible joint 12991 connecting theupper portion 12990 may be included. Similar to the above, thelongitudinal retaining rail 12825 may extend downward from thelower portion 12922 to enter aknife slot 12615 defined in thesupport portion 12610 so that thelower portion 12922 is It can be releasably held against thesupport portion 12610. Similarly, thelongitudinal retention rail 12995 may extend upward from theupper portion 12990 and into a knife slot defined within theanvil 12560 so that theupper portion 12990 is relative to theanvil 12560. It can be held releasably. As shown in FIGS. 380 and 381, thetissue thickness compensator 12620 can be attached to thelower portion 12922 of the loading assembly, and in order to place thetissue thickness compensator 12620 relative to thesupport portion 12610, the physician Bending the 12990 and thelower portion 12922 closer together, placing the loading assembly between theanvil 12560 and thesupport portion 12610 and releasing the bent loading assembly to elastically expand theupper portion 12990 to anvil Thelower portion 12922 can be biased against thesupport portion 12610 while biasing against the 12560. Referring now to FIGS. 382-384, the loading assembly may further include one or more latch hooks (eg, latch hook 12994) extending from itself, which connects theupper portion 12990 to theanvil 12560. The releasable connection and / or thelower portion 12922 may be configured to releasably connect to thesupport portion 12610.

次に図385を参照して、使い捨て装填ユニット15900は、例えば、アンビル15960とステープルカートリッジ溝部材15970を有してよく、ステープルカートリッジ溝部材15970はアンビル15960に対して回転することができる。例えばアンビル15960は回転できなくともよい。組織は、アンビル15960とステープルカートリッジ溝部材15970との間に配置することができ、その後、ステープルカートリッジ溝部材15970を組織に向かって回転させ、組織をアンビルに対してクランプすることができる。例えば、使い捨て装填ユニット15900は更に、組織に接触するように構成することができる組織厚さコンペンセータ15920を含みうる。  Referring now to FIG. 385, thedisposable loading unit 15900 may include, for example, ananvil 15960 and a staplecartridge groove member 15970, which can rotate relative to theanvil 15960. For example, theanvil 15960 may not be able to rotate. The tissue can be disposed between theanvil 15960 and the staplecartridge groove member 15970, and the staplecartridge groove member 15970 can then be rotated toward the tissue to clamp the tissue against the anvil. For example, thedisposable loading unit 15900 can further include atissue thickness compensator 15920 that can be configured to contact tissue.

前述のように、また図332を参照して、ステープルカートリッジ(例えばステープルカートリッジ10000)は、支持部分10010及び組織厚さコンペンセータ10020を有してよく、複数のステープル10030は少なくとも部分的に支持部分10010に保管され、ステープル10030が未発射位置にあるときに、組織厚さコンペンセータ10020内に延びることができる。ステープル10030が未発射位置にあるときに、ステープル10030の先端は組織厚さコンペンセータ10020から突出しない。ステープル10030がステープルドライバ10040によって、未発射位置から発射済み位置へと動かされると、前述のように、ステープル10030の先端は、組織厚さコンペンセータ10020を貫通でき、及び/又は上側層又は被覆10022を貫通できる。あるいは、ステープル10030が未発射位置にあるときに、ステープル10030の先端は、組織厚さコンペンセータ10020の上側表面及び/又は被覆10022を通って突出できる。いずれの場合でも、ステープル10030は、配備される前に支持部分10010から上向きに延出しているため、上述のように、支持部分に対して傾き及び/又は撓曲することがある。次に図329を参照すると、ステープルカートリッジ(例えばステープルカートリッジ13000)は、複数のガイド部材又は保持具を有してよく、これは、ステープルカートリッジ13000の支持部分13010とその中に配置されるステープルの先端との間の相対的な動きを制限するように構成できる。主に図330を参照して、ステープルカートリッジ13000は、支持部分13010に取り付けられた組織厚さコンペンセータ13020を有してよく、更に、組織厚さコンペンセータ13020の上側表面13021に取り付けられた複数のプレジット13022を含みうる。必要に応じて、各プレジット13022は、その中に画定された複数の開口部13029を有してよく、これはその中のステープル13030の脚13022を摺動可能に受容及び/又はガイドするように構成することができる。開口部に加え、又はその代わりに、プレジットは、スロット、ガイド、及び/又は溝などの、任意の適当な開口部を有してよく、これらは脚13022を摺動可能に受容及び/又はガイドするように構成することができる。図330に示すように、ステープル脚13032の先端は、ステープル13030が未発射位置にあるときに、開口部13029内に配置されうる。例えば、ステープル脚13032の先端は、ステープルが未発射位置にあるときに、プレジット13022の上に突出しうる。ステープル脚13032の先端は、ステープル13030が未発射位置にあるときに、プレジット13022のすぐ下にあってもよく、これにより、ステープル13030が組織厚さコンペンセータ13020を通って上に移動すると、ステープル脚13032がプレジット13022の開口部13029に入り、その中を摺動することができる。いずれの場合も、ステープル13030の脚13032がプレジット内に配置されたとき、ステープル脚13032の横方向及び/又は長手方向の動きは、ステープル13030が配備されるときにステープル脚13032の上向きの動きを妨げることなく、制限することができる。ステープル13030が配備されると、次に図331を参照して、ステープル脚13032はプレジット13022を通って上向きに摺動し、組織Tに進入し、ステープルカートリッジ13030に対向して配置されているアンビルに接触し、下向きに変形されて、その中にある組織Tと組織厚さコンペンセータ13030とを捕捉することができる。  As described above and with reference to FIG. 332, a staple cartridge (eg, staple cartridge 10000) may have asupport portion 10010 and atissue thickness compensator 10020, and the plurality ofstaples 10030 are at least partially supportportion 10010. And can extend into thetissue thickness compensator 10020 when thestaple 10030 is in the unfired position. Thestaple 10030 tip does not protrude from thetissue thickness compensator 10020 when thestaple 10030 is in the unfired position. As thestaple 10030 is moved from the unfired position to the fired position by thestaple driver 10040, the tip of thestaple 10030 can penetrate thetissue thickness compensator 10020 and / or penetrate the upper layer orcoating 10022 as described above. Can penetrate. Alternatively, thestaple 10030 tip can protrude through the upper surface of thetissue thickness compensator 10020 and / or thecoating 10022 when thestaple 10030 is in the unfired position. In any case, thestaple 10030 extends upward from thesupport portion 10010 prior to deployment, and thus may be tilted and / or bent relative to the support portion as described above. Referring now to FIG. 329, a staple cartridge (eg, staple cartridge 13000) may have a plurality of guide members or retainers that support thesupport portion 13010 of thestaple cartridge 13000 and the staples disposed therein. It can be configured to limit relative movement between the tip. Referring primarily to FIG. 330, thestaple cartridge 13000 may have atissue thickness compensator 13020 attached to thesupport portion 13010, and a plurality of pledgets attached to theupper surface 13021 of thetissue thickness compensator 13020. 13022 may be included. If desired, eachpledget 13022 may have a plurality ofopenings 13029 defined therein to slidably receive and / or guide thelegs 13022 of thestaples 13030 therein. Can be configured. In addition to or instead of the openings, the pledget may have any suitable opening, such as slots, guides, and / or grooves, which slidably receive and / or guide thelegs 13022. Can be configured to. As shown in FIG. 330, the tips of thestaple legs 13032 can be disposed in theopening 13029 when thestaples 13030 are in the unfired position. For example, the tips of thestaple legs 13032 can protrude above thepledget 13022 when the staples are in the unfired position. The tip of thestaple leg 13032 may be just below thepledget 13022 when thestaple 13030 is in the unfired position, so that as thestaple 13030 moves up through thetissue thickness compensator 13020, thestaple leg 13032 enters theopening 13029 of thepledget 13022 and can slide therein. In either case, when thelegs 13032 of thestaples 13030 are placed in the pledget, the lateral and / or longitudinal movement of thestaple legs 13032 causes the upward movement of thestaple legs 13032 when thestaples 13030 are deployed. You can limit without interfering. Oncestaple 13030 is deployed, referring now to FIG. 331,staple leg 13032 slides upward throughpledget 13022, enters tissue T, and is positioned againststaple cartridge 13030. And can be deformed downward to capture tissue T andtissue thickness compensator 13030 therein.

上記に対して更に、プレジット13022は、例えば少なくとも1つの生体適合性及び/又は生体吸収性接着剤を利用して、組織厚さコンペンセータ13020に取り付けることができる。プレジット13022、及び/又は各プレジットから延びる保持部材は、組織厚さコンペンセータ13020内に少なくとも部分的に埋め込まれうる。例えば、組織厚さコンペンセータ13020はその中に画定されたポケットを含み、これはプレジット13022を少なくとも部分的に受容するように構成することができる。組織厚さコンペンセータ13020は、成形製造工程中に、プレジット13022を一体成形又はその周囲に成形することができる。プレジット13022は、互いに独立して動くことができる個別の保持具を有しうる。主に図330を参照して、各プレジット13022は、相互係合及び/又はキー係合機能を有してよく、これは、プレジット13022間の相対的な横方向及び長手方向の動きを可能にし、かつある程度制限するように構成することができる。例えば、各プレジット13022は、突起13026と1つ以上の凹部13027とを有してよく、例えば、第1プレジット13022の突起13026は、隣接する第2及び第3のプレジット13022の凹部13027の中に、かつ/又はこれに対して整列させて、配置することができる。必要に応じて、隣接するプレジット13022の間には隙間があってもよく、これによって、プレジット13022が、隣接するプレジット13022に接触するまで、互いに相対的に移動又は摺動することができる。プレジット13022はゆるやかに相互連結させることができる。プレジット13022は取り外し可能に連結させることができる。例えば、プレジット13022は、相互連結されたプレジットのシートとして製造することができ、充分な力がシートにかかると、1つ以上のプレジット13022が破断して他のプレジットから離れうる。再び図329を参照すると、プレジット13022の第1のシート13024は、長手方向スロット13025の第1の側面上に配置することができ、プレジット13022の第2のシート13024は、スロット13025の第2の側面上に配置することができる。上記に対して更に、組織厚さコンペンセータ13020を貫通して延びる長手方向スロット13025は、発射部材のナイフエッジが組織厚さコンペンセータ13020を通るのを促進し、かつ、発射部材が通過する際、発射部材がシート13024に対して圧縮力をかけてプレジット13022の少なくともいくつかを分離又はバラバラにするように、構成することができる。  Further to the above, thepledget 13022 can be attached to thetissue thickness compensator 13020 utilizing, for example, at least one biocompatible and / or bioabsorbable adhesive. Thepledgets 13022 and / or retention members extending from each pledget can be at least partially embedded within thetissue thickness compensator 13020. For example,tissue thickness compensator 13020 includes a pocket defined therein, which can be configured to at least partially receivepledget 13022. Thetissue thickness compensator 13020 can integrally mold or around thepledget 13022 during the molding manufacturing process. Thepledgets 13022 can have separate retainers that can move independently of each other. Referring primarily to FIG. 330, eachpledget 13022 may have an interengagement and / or key engagement feature that allows for relative lateral and longitudinal movement betweenpledgets 13022. And can be configured to be limited to some extent. For example, eachpledget 13022 may have aprotrusion 13026 and one ormore recesses 13027, for example, theprotrusion 13026 of thefirst pledget 13022 is in therecess 13027 of the adjacent second andthird pledgets 13022. And / or aligned with respect thereto. If desired, there may be a gap betweenadjacent pledgets 13022 so that thepledgets 13022 can move or slide relative to each other until they contact theadjacent pledgets 13022.Pledgets 13022 can be gently interconnected.Pledget 13022 can be removably coupled. For example, thepledget 13022 can be manufactured as a sheet of interconnected pledgets, and when sufficient force is applied to the sheet, one ormore pledgets 13022 can break away from the other pledgets. Referring again to FIG. 329, thefirst sheet 13024 of thepledget 13022 can be placed on the first side of thelongitudinal slot 13025, and thesecond sheet 13024 of thepledget 13022 is the second sheet of theslot 13025. Can be placed on the side. Further to the above, thelongitudinal slot 13025 extending through thetissue thickness compensator 13020 facilitates the knife edge of the firing member passing through thetissue thickness compensator 13020 and firing as the firing member passes. The member can be configured to apply a compressive force against thesheet 13024 to separate or separate at least some of thepledgets 13022.

プレジット13022は、例えば、生体適合性及び/又は生体吸収性プラスチックで構成することができる。プレジット13022は、例えば、固体材料、準固体材料、及び/又は可撓性材料で構成することができる。プレジット13022は組織厚さコンペンセータ内に埋め込まれてよく、これによりプレジット13022は組織厚さコンペンセータとともに動くことができる。例えば、プレジット13022は充分に可撓性であってよく、これにより組織厚さコンペンセータの上側表面とともに屈曲することができる。プレジット13022は組織厚さコンペンセータ内に埋め込まれたままになるように構成することができるが、一方、プレジット13022は、組織厚さコンペンセータから飛び出し、又は外れるように構成することができる。プレジット13022は、組織厚さコンペンセータの上側表面に対して同一面である上側表面を含みうる。プレジット13022の上側表面は、組織厚さコンペンセータの上側表面より上及び/又は下に配置されうる。プレジット13022の上側表面は、組織厚さコンペンセータの上側表面を見たときに見えるように配置することができ、一方、代替例として、プレジット13022の上側表面は例えば、組織厚さコンペンセータの層の下に配置することができる。例えば、組織厚さコンペンセータの上側表面に、ガイド機構を成形することができる。例えば、組織厚さコンペンセータは、複合材料から構成されてはならず、例えば、一体型の材料を含みうる。  Pledget 13022 can be composed of, for example, a biocompatible and / or bioabsorbable plastic.Pledget 13022 can be composed of, for example, a solid material, a quasi-solid material, and / or a flexible material.Pledget 13022 may be embedded within the tissue thickness compensator so thatpledget 13022 can move with the tissue thickness compensator. For example,pledget 13022 may be sufficiently flexible so that it can bend with the upper surface of the tissue thickness compensator. Thepledget 13022 can be configured to remain embedded within the tissue thickness compensator, while thepledget 13022 can be configured to protrude or disengage from the tissue thickness compensator.Pledget 13022 may include an upper surface that is flush with the upper surface of the tissue thickness compensator. The upper surface of thepledget 13022 can be positioned above and / or below the upper surface of the tissue thickness compensator. The upper surface of thepledget 13022 can be positioned so that it is visible when looking at the upper surface of the tissue thickness compensator, while in the alternative, the upper surface of thepledget 13022 is, for example, below the layer of tissue thickness compensator Can be arranged. For example, a guide mechanism can be formed on the upper surface of the tissue thickness compensator. For example, the tissue thickness compensator must not be composed of a composite material and can include, for example, a unitary material.

次に図338を参照すると、ステープルカートリッジは、例えば、組織厚さコンペンセータ13620及び被覆又は上層13621を有しうる。例えば、1つ又は2つ以上のプレジット又は保持具13622は、例えば、被覆13621内に埋め込むことができる。各保持具13622は、その中に画定された1つ又は2つ以上の開口部13629を有してよく、これは、図338に示すように、ステープル13030が未発射位置にあるときに、ステープル13030のステープル脚13032をその中に受容するように構成することができる。使用時には、上記に対して更に、例えば、ステープル13030が未発射位置から発射済み位置まで動くとき、ステープル13030の底面13031が組織厚さコンペンセータ13620に接し、プレジット13622の下側表面に対して組織厚さコンペンセータ13620の少なくとも一部を圧縮するまで、ステープル脚10032は、開口部13629を通って摺動することができる。次に図333を参照すると、ステープルカートリッジは、例えば、組織厚さコンペンセータ13120及び被覆又は上層13122を有しうる。例えば、組織厚さコンペンセータ13120は、円錐形隆起、突起、及び/又は突出部13128を有してよく、例えば、これは組織厚さコンペンセータ13120の上側表面13121から上向きに延出しうる。この突起13128は、図333に示すように、ステープル13030が未発射位置にあるときに、ステープル13030のステープル脚13032の先端を受容し包み込むように構成することができる。上側層13122も、円錐形隆起、突起、及び/又は突出部13129を有してよく、これらは突起13128と整列、又は少なくともほぼ整列しうる。使用時には、ステープル脚10032は突起13128及び13129に貫通し、組織厚さコンペンセータ13120から出現しうる。次に図337を参照すると、ステープルカートリッジは、例えば、組織厚さコンペンセータ13520及び被覆又は上層13522を有しうる。例えば、被覆13522は、円錐形隆起、突起、及び/又は突出部13529を有してよく、例えば、これは組織厚さコンペンセータ13520の上側表面13521から上向きに延出しうる。上記と同様、突起13529は、図337に示すように、ステープル13030が未発射位置にあるときに、ステープル13030のステープル脚13032の先端を受容し包み込むように構成することができる。使用時には、ステープル脚10032は突起13529に貫通し、被覆13522から出現しうる。  Referring now to FIG. 338, a staple cartridge can have, for example, atissue thickness compensator 13620 and a coating ortop layer 13621. For example, one or more pledgets orretainers 13622 can be embedded within thecoating 13621, for example. Eachretainer 13622 may have one ormore openings 13629 defined therein, such as when thestaple 13030 is in an unfired position, as shown in FIG. 13030staple legs 13032 may be configured to be received therein. In use, in addition to the above, for example, when thestaple 13030 moves from the unfired position to the fired position, thebottom surface 13031 of the staple 13030 contacts thetissue thickness compensator 13620 and the tissue thickness relative to the lower surface of thepledget 13622. Thestaple legs 10032 can slide through theopening 13629 until at least a portion of thecompensator 13620 is compressed. Referring now to FIG. 333, the staple cartridge can have atissue thickness compensator 13120 and a coating ortop layer 13122, for example. For example, thetissue thickness compensator 13120 may have a conical ridge, protrusion, and / orprotrusion 13128, for example, that can extend upward from theupper surface 13121 of thetissue thickness compensator 13120. Theprotrusion 13128 can be configured to receive and wrap around the tip of thestaple leg 13032 of thestaple 13030 when thestaple 13030 is in the unfired position, as shown in FIG. Theupper layer 13122 may also have conical ridges, protrusions, and / orprotrusions 13129 that may be aligned with, or at least approximately aligned with, theprotrusions 13128. In use, thestaple legs 10032 can penetrate theprotrusions 13128 and 13129 and emerge from thetissue thickness compensator 13120. Referring now to FIG. 337, a staple cartridge can have atissue thickness compensator 13520 and a coating ortop layer 13522, for example. For example, thecoating 13522 may have conical ridges, protrusions, and / orprotrusions 13529, for example, that can extend upward from theupper surface 13521 of thetissue thickness compensator 13520. Similar to the above, theprotrusion 13529 can be configured to receive and wrap the tip of thestaple leg 13032 of thestaple 13030 when thestaple 13030 is in the unfired position, as shown in FIG. In use, thestaple legs 10032 can penetrate theprotrusion 13529 and emerge from thecovering 13522.

次に図334を参照すると、ステープルカートリッジは、例えば、組織厚さコンペンセータ13220及び被覆又は上層13222を有しうる。例えば、組織厚さコンペンセータ13220は、円錐形くぼみ及び/又は凹部13128を有してよく、例えば、これは組織厚さコンペンセータ13220の上側表面13221に下向きに延在しうる。図334に示すように、ステープル脚13032の先端は、ステープル13030が未発射位置にあるときに、凹部13128を貫通して延在しうる。上側層13222も、円錐形くぼみ及び/又は凹部13129を有してよく、これらは突起13128と整列、又は少なくともほぼ整列しうる。次に図335を参照すると、ステープルカートリッジは、例えば、組織厚さコンペンセータ13320及び被覆又は上層13322を有しうる。例えば、被覆13320は、厚い部分13329を有してよく、これは組織厚さコンペンセータ13320の上側表面13321内に下向きに延出しうる。様々な状況において、図335に示すように、この厚い部分13329は、ステープル13030が未発射位置にあるときに、ステープル13030のステープル脚13032の少なくとも一部を受容するように構成することができる。そのような場合、厚い部分13329は、ステープル脚13032を定位置に保持することができ、これにより脚13032は、組織厚さコンペンセータ13320に対向して配置されるアンビルのステープル成形ポケットと整列、又は少なくともほぼ整列しうる。次に図336を参照すると、ステープルカートリッジは、例えば、組織厚さコンペンセータ13420及び被覆又は上層13422を有しうる。被覆13422は厚い部分13429を有してよく、これは組織厚さコンペンセータ13420の上側表面13421内に上向きに延出しうる。様々な状況において、図336に示すように、この厚い部分13429は、ステープル13030が未発射位置にあるときに、ステープル13030のステープル脚13032の少なくとも一部を受容するように構成することができる。そのような場合、厚い部分13429は、ステープル脚13032を定位置に保持することができ、これにより脚13032は、組織厚さコンペンセータ13420に対向して配置されるアンビルのステープル成形ポケットと整列、又は少なくともほぼ整列しうる。  Referring now to FIG. 334, the staple cartridge can have atissue thickness compensator 13220 and a coating ortop layer 13222, for example. For example, thetissue thickness compensator 13220 may have a conical depression and / or arecess 13128, for example, that can extend downward to the upper surface 13221 of thetissue thickness compensator 13220. As shown in FIG. 334, the tips ofstaple legs 13032 can extend throughrecess 13128 whenstaples 13030 are in the unfired position. Theupper layer 13222 may also have conical depressions and / orrecesses 13129 that may be aligned with, or at least substantially aligned with, theprotrusions 13128. Referring now to FIG. 335, a staple cartridge can have, for example, atissue thickness compensator 13320 and a coating ortop layer 13322. For example, thecoating 13320 can have athick portion 13329 that can extend downward into theupper surface 13321 of thetissue thickness compensator 13320. In various situations, as shown in FIG. 335, thisthick portion 13329 can be configured to receive at least a portion of thestaple legs 13032 of thestaple 13030 when thestaple 13030 is in the unfired position. In such a case, thethick portion 13329 can hold thestaple legs 13032 in place so that thelegs 13032 are aligned with the anvil staple forming pockets positioned opposite thetissue thickness compensator 13320, or It can be at least approximately aligned. Referring now to FIG. 336, a staple cartridge can have atissue thickness compensator 13420 and a coating ortop layer 13422, for example. Thecoating 13422 may have athick portion 13429 that can extend upward into theupper surface 13421 of thetissue thickness compensator 13420. In various circumstances, as shown in FIG. 336, thisthick portion 13429 can be configured to receive at least a portion of thestaple legs 13032 of thestaple 13030 when thestaple 13030 is in the unfired position. In such a case, thethick portion 13429 can hold thestaple legs 13032 in place so that thelegs 13032 are aligned with the anvil staple forming pockets positioned opposite thetissue thickness compensator 13420, or It can be at least approximately aligned.

次に図339及び340を参照すると、ステープルカートリッジは、例えば、組織厚さコンペンセータ13720と、被覆(又は上側層)13721とを含みうる。例えば、組織厚さコンペンセータ13720は角錐形及び/又は階段状隆起、突起及び/又は突出部13728を有してよく、例えば、これは組織厚さコンペンセータ13720の上側表面13721から上向きに延出しうる。この突起13728は、図340に示すように、ステープル13030が未発射位置にあるときに、ステープル13030のステープル脚13032の先端を受容し包み込むように構成することができる。同様に、上側層13721は、角錐形及び/又は階段状隆起、突起及び/又は突出部13729を有してよく、これらは突起13728と整列、又は少なくともほぼ整列しうる。被覆13721は更に、突起13729から上向きに延出する1つ又は2つ以上の歯13727を含み、これは上側層13721に対して配置された組織を係合し、かつ、組織、上側層13721、及び/又はステープル脚13032の先端の間の相対的な横方向及び/又は長手方向の動きを阻止するか、又は少なくとも制限するように構成することができる。使用時には、ステープル脚13032は、ステープル13030が未発射位置から発射済み位置へと動く際に、突起13728及び13729に貫入し、組織厚さコンペンセータ13720から出現することができる。次に図341及び342を参照すると、ステープルカートリッジは、例えば、組織厚さコンペンセータ13820と、被覆(又は上側層)13821とを含みうる。例えば、組織厚さコンペンセータ13820は角錐形及び/又は階段状隆起、突起及び/又は突出部13828を有してよく、例えば、これは組織厚さコンペンセータ13820の上側表面13821から上向きに延出しうる。この突起13828は、図342に示すように、ステープル13030が未発射位置にあるときに、ステープル13030のステープル脚13032の先端を受容し包み込むように構成することができる。同様に、上側層13821は、角錐形及び/又は階段状隆起、突起及び/又は突出部13829を有してよく、これらは突起13828と整列、又は少なくともほぼ整列しうる。上側層13821は更に、組織厚さコンペンセータ13820内に向かって下向きに延びる1つ以上の歯13827を有してよく、これは例えば、上側層13821と組織厚さコンペンセータ13820との間の相対的な横方向及び/又は長手方向の動きを阻止するか、又は少なくとも制限するように構成することができる。使用時には、ステープル脚10032は、ステープル13030が未発射位置から発射済み位置へと動く際に、突起13828及び13829に貫入し、組織厚さコンペンセータ13820から出現することができる。  Referring now to FIGS. 339 and 340, the staple cartridge can include, for example, atissue thickness compensator 13720 and a coating (or upper layer) 13721. For example, thetissue thickness compensator 13720 may have a pyramidal and / or stepped ridge, protrusion and / orprotrusion 13728, for example, which may extend upward from theupper surface 13721 of thetissue thickness compensator 13720. Theprotrusion 13728 can be configured to receive and wrap the tip of thestaple leg 13032 of thestaple 13030 when thestaple 13030 is in the unfired position, as shown in FIG. 340. Similarly, theupper layer 13721 may have pyramidal and / or stepped ridges, protrusions and / orprotrusions 13729, which may be aligned with, or at least substantially aligned with, theprotrusions 13728. The covering 13721 further includes one ormore teeth 13727 extending upwardly from theprotrusion 13729, which engages tissue disposed against theupper layer 13721 and includes tissue,upper layer 13721, And / or may be configured to prevent or at least limit relative lateral and / or longitudinal movement between the tips of thestaple legs 13032. In use, thestaple legs 13032 can penetrate theprotrusions 13728 and 13729 and emerge from thetissue thickness compensator 13720 as thestaple 13030 moves from the unfired position to the fired position. Referring now to FIGS. 341 and 342, the staple cartridge can include, for example, atissue thickness compensator 13820 and a coating (or upper layer) 13821. For example, thetissue thickness compensator 13820 may have pyramidal and / or stepped ridges, protrusions and / orprotrusions 13828, which, for example, can extend upward from theupper surface 13821 of thetissue thickness compensator 13820. Theprotrusions 13828 can be configured to receive and wrap the tips of thestaple legs 13032 of thestaples 13030 when thestaples 13030 are in the unfired position, as shown in FIG. Similarly, theupper layer 13821 may have pyramidal and / or stepped ridges, protrusions and / orprotrusions 13829, which may be aligned with, or at least substantially aligned with, theprotrusions 13828. Theupper layer 13821 may further include one ormore teeth 13827 that extend downward into thetissue thickness compensator 13820, which may be, for example, a relative relationship between theupper layer 13821 and thetissue thickness compensator 13820. It can be configured to prevent or at least restrict lateral and / or longitudinal movement. In use, thestaple legs 10032 can penetrate theprotrusions 13828 and 13829 and emerge from thetissue thickness compensator 13820 as thestaple 13030 moves from the unfired position to the fired position.

次に図343を参照すると、ステープルカートリッジは組織厚さコンペンセータ(例えば、組織厚さコンペンセータ13920)を有してよく、これはその中に画定された山13923と谷13924を備え、谷13924は山13923の間に画定されうる。必要に応じて、各山13923は同じ高さ、ほぼ同じ高さ、又は異なる高さを有しうる。同様に、各谷13924は同じ深さ、ほぼ同じ深さ、又は異なる深さを有しうる。本発明によれば、複数のステープル13030が、組織厚さコンペンセータ13920内に少なくとも部分的に保管されていてよく、これによりステープル13030の先端が山13923内に配置されるようにすることができる。例えば、例えばステープル13030が未発射位置に保管されているときに、ステープル13030のステープル脚13032は、組織厚さコンペンセータ13920、及び/又は組織厚さコンペンセータ13920に取り付けられている被覆(又は上側層)13921から突出することはない。山13923及び/又は谷13924は、ステープルカートリッジの横断方向に延在しうる。例えば、ステープルカートリッジは長手方向ナイフスロットを有してよく、山13923と谷13924は、横断方向、及び/又はナイフスロットに対して垂直方向に延在しうる。様々な状況において、山13923は、ステープル13030が未発射位置から発射済み位置へと移動するまで、ステープル脚13032の先端を定位置に保持するように構成することができる。次に図344を参照すると、組織厚さコンペンセータ、及び/又は組織厚さコンペンセータを覆う被覆は、長手方向の山及び/又は谷を含みうる。例えば、組織厚さコンペンセータは、山14023及び谷14024により画定される上側表面を含み、谷14024は、例えば、山14023の間に画定されうる。組織厚さコンペンセータは被覆14021を有してよく、これは、ステープル脚13032を受容するようそれぞれ構成されうる、内部に画定された複数の開口部14029を含みうる。開口部14029は山14023の中に画定することができ、ステープル脚13032の先端は、山14029の頂点14028より下に配置され、頂点14028と同一面に配置され、及び/又は頂点14028より上に配置されうる。上記に加えて、又は上記の代わりに、開口部14029は例えば、谷14024の中に画定することができる。各開口部は、浮き出しによって取り囲まれ、又は浮き出しによって少なくとも部分的に取り囲まれており、開口部を取り囲む被覆及び/又は組織厚さコンペンセータを補強することができる。いずれの場合も、上記に対して更に、被覆14021は、例えば少なくとも1種類の接着剤を含む任意の適当な方法で、組織厚さコンペンセータに取り付けることができる。  Referring now to FIG. 343, the staple cartridge may have a tissue thickness compensator (eg, tissue thickness compensator 13920) that includespeaks 13923 andvalleys 13924 defined therein, where thevalleys 13924 are peaks. 13923 can be defined. Depending on needs, each peak 13923 can have the same height, approximately the same height, or different heights. Similarly, eachvalley 13924 may have the same depth, approximately the same depth, or different depths. In accordance with the present invention, a plurality ofstaples 13030 may be at least partially stored in thetissue thickness compensator 13920 so that the tips of thestaples 13030 are disposed in theridge 13923. For example, when thestaple 13030 is stored in an unfired position, thestaple leg 13032 of thestaple 13030 is attached to thetissue thickness compensator 13920 and / or the tissue thickness compensator 13920 (or upper layer). It does not protrude from 13921. Thepeaks 13923 and / orvalleys 13924 can extend in the transverse direction of the staple cartridge. For example, the staple cartridge may have a longitudinal knife slot, and thepeaks 13923 andvalleys 13924 may extend transversely and / or perpendicular to the knife slot. In various situations, theridge 13923 can be configured to hold the tip of thestaple leg 13032 in place until thestaple 13030 moves from the unfired position to the fired position. Referring now to FIG. 344, the tissue thickness compensator and / or the coating covering the tissue thickness compensator can include longitudinal peaks and / or valleys. For example, the tissue thickness compensator can include an upper surface defined bypeaks 14023 andvalleys 14024, which can be defined betweenpeaks 14023, for example. The tissue thickness compensator may have acoating 14021 that may include a plurality ofopenings 14029 defined therein that may each be configured to receivestaple legs 13032. Anopening 14029 can be defined in theridge 14023, and the tips of thestaple legs 13032 are located below thevertex 14028 of theridge 14029, are flush with thevertex 14028, and / or above thevertex 14028. Can be arranged. In addition to or in lieu of the above, theopening 14029 can be defined in avalley 14024, for example. Each opening may be surrounded by an embossment or at least partially surrounded by an embossment to reinforce the covering and / or tissue thickness compensator surrounding the opening. In any case, in addition to the above, thecoating 14021 can be attached to the tissue thickness compensator by any suitable method including, for example, at least one adhesive.

上述のように、再び図233を参照すると、外科用ステープル留め器具は、アンビル(例えばアンビル10060)を有してよく、これは、例えば、ステープルカートリッジ10000の組織厚さコンペンセータ10020に対して組織Tを圧縮するために、開位置と閉位置との間で動かすことができる。様々な状況において、アンビル10060は、ステープルカートリッジ10000の何らかの部分、及び/又は、ステープルカートリッジ10000が配置される溝部材の何らかの部分によって、下向きの動きが停止されるまで、ステープルカートリッジ10000に向かって回転することができる。少なくとも1つのそのような状況において、アンビル10060は、下向きの動きがステープルカートリッジ10000のノーズ10003、及び/又は、ノーズ10003とステープルカートリッジ10000の中間に配置された組織Tによって抵抗を受けるまで、下向きに回転することができる。特定の状況において、アンビル10060は、組織Tがステープル10030の先端に接触できるよう、組織厚さコンペンセータ10020を充分に圧縮しうる。特定の状況において、組織Tの厚さによっては、アンビル10060は組織厚さコンペンセータ10020を充分に圧縮することができ、これによってアンビル10060は、アンビル10060が完全に閉位置に達する時までに、ステープル10030と接触する。換言すれば、そのような状況において、アンビル10060は、発射部材10052がステープルカートリッジ10000内を前進してステープル10030を発射させるより前に、ステープル10030を変形しうる。そのような状況は特定の場合において許容できる場合がある。しかしながら、次に図358及び359を参照すると、代替例では、遠位側隙間設定エレメント(例えば、エレメント10059)を利用して、発射バー10052がステープルカートリッジ10000内を前進する前にアンビル10060が閉じることができる距離を制限することができるように構想されている。エレメント10059は、組織厚さコンペンセータ10020の上側表面10021から上向きに延在していてもよく、これにより、組織Tがエレメント10059に対して圧縮され、その間に抵抗力が生じる際に、アンビル10060の下向きの動きを止めることができる。使用時には、上述のように、発射部材10052はステープルカートリッジ10000の中を、ステープルカートリッジ10000の遠位端10002に向かって遠位方向に前進することができ、これにより、ステープル10030を支持部分10010から発射させる。同時に、発射部材10052はアンビル10060に係合でき、支持部分10010のデッキ表面10011(図218)からの望ましい距離で、成形されるステープル10030の上にアンビル10060を配置することができる。このようにして、発射部材10052がアンビル10060の組織接触表面とデッキ表面10011との間の距離又は隙間を特定の位置で制御することができ、この特定の位置は、発射部材10052が遠位方向に前進する際に、遠位方向に前進させることができる。様々な状況において、この隙間距離は、組織厚さコンペンセータ10020の遠位端で遠位端で隙間設定エレメント10059により制御又は規定されるアンビル10060とデッキ表面10011との間の隙間よりも、短いことがある。次に図359を参照して、発射部材10052のナイフエッジ10053は、発射部材10052が組織厚さコンペンセータ10020の遠位端に達するときに、遠位端隙間設定エレメント10059を横断するように構成することができ、これにより、エレメント10059が横断した後、発射部材10052がアンビル10060を支持部分10010に向かって下向きに引っ張り、ステープル10030をステープルカートリッジ10000の遠位端で発射する際の望ましい隙間高さまでこの隙間を閉じる。あるいは、遠位端隙間設定エレメントは、発射部材がステープルカートリッジの遠位端に近づくと潰れるように構成することができる。例えば、遠位端隙間設定エレメントは、上述のようにアンビルに対して抵抗力を提供しうる柱を有してよく、これは、発射部材がステープルカートリッジの遠位端に近づいて、隙間設定エレメントの座屈強度に達すると、突然座屈しうる。この座屈力は例えば約44N(10lbf)でありうる。隙間設定エレメントは、例えば、所定量を超える力が隙間設定エレメントにかかったときに、支持部分のデッキ内に下向きに落ちるように構成することができる。遠位端隙間は、ステープルカートリッジのノーズによって制御することができる。例えば、アンビル10060の下向きの動きは、発射部材がカートリッジの遠位端に達するまでの間、ノーズによって制御され、発射部材がカートリッジの遠位端に達する時点で、ノーズにかかる圧縮力によってノーズを潰すことができる。ノーズはキャビティ壁によって画定されるキャビティを有してよく、これにより、適用される圧縮力が所定の力を超えると、このキャビティが潰れるようにすることができる。例えば、キャビティは、圧潰可能な壁によって画定されうる。  As described above, referring again to FIG. 233, the surgical stapling instrument may have an anvil (eg, anvil 10060), which is, for example, tissue T relative totissue thickness compensator 10020 ofstaple cartridge 10000. Can be moved between an open position and a closed position. In various situations, theanvil 10060 rotates toward thestaple cartridge 10000 until downward movement is stopped by any portion of thestaple cartridge 10000 and / or any portion of the groove member in which thestaple cartridge 10000 is disposed. can do. In at least one such situation, theanvil 10060 may face downward until the downward movement is resisted by thenose 10003 of thestaple cartridge 10000 and / or the tissue T located between thenose 10003 and thestaple cartridge 10000. Can rotate. In certain circumstances, theanvil 10060 may sufficiently compress thetissue thickness compensator 10020 so that the tissue T can contact the tips of thestaples 10030. In certain circumstances, depending on the thickness of the tissue T, theanvil 10060 can fully compress thetissue thickness compensator 10020 so that theanvil 10060 can be stapled by the time theanvil 10060 reaches the fully closed position. Contact with 10030. In other words, in such a situation, theanvil 10060 may deform thestaple 10030 before the firingmember 10052 is advanced through thestaple cartridge 10000 to fire thestaple 10030. Such a situation may be acceptable in certain cases. However, referring now to FIGS. 358 and 359, in an alternative, ananvil 10060 is closed before the firingbar 10052 is advanced through thestaple cartridge 10000 using a distal clearance setting element (eg, element 10059). It is envisioned to be able to limit the distance that can be.Element 10059 may extend upward from theupper surface 10021 oftissue thickness compensator 10020 so that when tissue T is compressed againstelement 10059 and resistance is created therebetween,anvil 10060 Can stop downward movement. In use, as described above, the firingmember 10052 can be advanced distally through thestaple cartridge 10000 toward thedistal end 10002 of thestaple cartridge 10000, thereby moving the staple 10030 from thesupport portion 10010. Let it fire. At the same time, the firingmember 10052 can engage theanvil 10060 and theanvil 10060 can be placed over thestaple 10030 to be molded at a desired distance from the deck surface 10011 (FIG. 218) of thesupport portion 10010. In this manner, the firingmember 10052 can control the distance or gap between the tissue contacting surface of theanvil 10060 and thedeck surface 10011 at a particular position, which is determined by the firingmember 10052 in the distal direction. Can be advanced in the distal direction as it is advanced. In various situations, this gap distance may be shorter than the gap between theanvil 10060 and thedeck surface 10011 controlled or defined at the distal end by thegap setting element 10059 at the distal end of thetissue thickness compensator 10020. There is. Referring now to FIG. 359, theknife edge 10053 of the firingmember 10052 is configured to traverse the distal endclearance setting element 10059 when the firingmember 10052 reaches the distal end of thetissue thickness compensator 10020. After theelement 10059 has traversed, the firingmember 10052 pulls theanvil 10060 downward toward thesupport portion 10010 to the desired gap height when firing thestaple 10030 at the distal end of thestaple cartridge 10000. Close this gap. Alternatively, the distal end gap setting element can be configured to collapse as the firing member approaches the distal end of the staple cartridge. For example, the distal end gap setting element may include a post that may provide resistance to the anvil as described above, such that the firing member approaches the distal end of the staple cartridge so that the gap setting element When the buckling strength is reached, it can suddenly buckle. This buckling force can be, for example, about 44 N (10 lbf). The gap setting element can be configured to fall downward into the deck of the support portion when, for example, a force exceeding a predetermined amount is applied to the gap setting element. The distal end gap can be controlled by the nose of the staple cartridge. For example, the downward movement of theanvil 10060 is controlled by the nose until the firing member reaches the distal end of the cartridge, and when the firing member reaches the distal end of the cartridge, the nose is compressed by the compressive force applied to the nose. Can be crushed. The nose may have a cavity defined by a cavity wall, which allows the cavity to collapse when the applied compressive force exceeds a predetermined force. For example, the cavity can be defined by a collapsible wall.

必要に応じて、上述のように、アンビル(例えば、アンビル10060)は、アンビルとステープルカートリッジの支持部分との間の組織厚さコンペンセータを圧縮するために、開位置と閉位置との間で動くことができる。特定の状況において、次に図360及び361を参照して、ステープルカートリッジの組織厚さコンペンセータ(例えばステープルカートリッジ14100の組織厚さコンペンセータ14120)は、組織厚さコンペンセータ14120がステープルカートリッジ14100の支持部分14110に対して圧縮されるとき、横方向及び/又は長手方向に膨張しうる。組織厚さコンペンセータ14120の端及び/又は側面は、支持部分14110及び/又はアンビル10060によって拘束されておらず、その結果、組織厚さコンペンセータ14120は、組織厚さコンペンセータ14120内に、圧縮圧力を生成することなく、又は少なくとも望ましくない圧縮圧力を生成することなく、これらの方向に膨張することができる。そのような場合、組織厚さコンペンセータ14120を通過する発射部材(例えば、発射部材10052(図236))は、例えば、組織厚さコンペンセータ14120内の望ましくない圧縮圧力によって、過度に妨げられることがない。あるいは、再び図360を参照すると、組織厚さコンペンセータ14120の遠位端14125は、例えば、ステープルカートリッジ14100のノーズ14103によって拘束されうる。この特定の実施形態では、上記と同様、組織厚さコンペンセータ14120が早期に支持部分14110から外れる可能性を低減するために、組織厚さコンペンセータ14120の遠位端14125を、ノーズ14103によって拘束することができる。いずれの場合も、上記の結果、遠位端14125内に大きな内部圧力が生じ得、これが、特に発射部材10052が遠位端14125に達したときに、発射部材10052の前進を妨げることができる。より詳細には、特定の状況において、発射部材10052は、組織厚さコンペンセータ14120を横断する際に、組織厚さコンペンセータ14120を押し、かき分け、及び/又は遠位方向にずらすことができ、その結果、組織厚さコンペンセータ14120の遠位端14125内に更に大きな内部圧力が生じうる。組織厚さコンペンセータ14120内のこの圧力を少なくとも部分的に分散させるために、ノーズ14103は可撓性材料から構成することができ、これによりノーズ14103は例えば遠位方向に屈曲することができ、組織厚さコンペンセータ14120のために追加のスペースを生み出すことができる。次に図362及び363を参照して、ステープルカートリッジのノーズは、遠位方向に摺動できる部分を含みうる。より詳細には、ステープルカートリッジ14200のノーズ14203は、ノーズ14203に摺動可能に連結されうる摺動可能部分14204を有してよく、これにより、アンビル10060が閉じるか、及び/又は発射部材10052がステープルカートリッジの遠位端14200に前進するとき、摺動可能部分14204が遠位方向に摺動し、組織厚さコンペンセータ14200のために追加の余地をつくりだし、その中の内部圧力を少なくとも部分的に緩和することができる。ノーズ14203と摺動可能部分14204のうちいずれか一方が、1本以上のレールを有してよく、ノーズ14203と摺動可能部分14204のうちもう一方が、そのレールを摺動可能に受容するように構成された1本以上の溝部材を含みうる。例えば、溝部材とレールは、例えば、長手方向の遠位側経路への摺動可能部分14204の動きを協働的に制限するよう成すことができる。  Optionally, as described above, an anvil (eg, anvil 10060) moves between an open position and a closed position to compress the tissue thickness compensator between the anvil and the support portion of the staple cartridge. be able to. In certain circumstances, referring now to FIGS. 360 and 361, the tissue thickness compensator of the staple cartridge (eg, thetissue thickness compensator 14120 of the staple cartridge 14100) is thesupport thickness 14110 of thestaple cartridge 14100. When compressed against, it can expand laterally and / or longitudinally. The ends and / or sides of thetissue thickness compensator 14120 are not constrained by thesupport portion 14110 and / or theanvil 10060 so that thetissue thickness compensator 14120 generates a compression pressure within thetissue thickness compensator 14120. Can be expanded in these directions without, or at least without generating undesired compression pressures. In such cases, the firing member (eg, firing member 10052 (FIG. 236)) that passes through thetissue thickness compensator 14120 is not overly disturbed by, for example, undesirable compression pressure within thetissue thickness compensator 14120. . Alternatively, referring again to FIG. 360, thedistal end 14125 of thetissue thickness compensator 14120 can be constrained, for example, by thenose 14103 of thestaple cartridge 14100. In this particular embodiment, as described above, thedistal end 14125 of thetissue thickness compensator 14120 is constrained by thenose 14103 to reduce the likelihood that thetissue thickness compensator 14120 will disengage from thesupport portion 14110 early. Can do. In either case, the above results can result in a large internal pressure in thedistal end 14125, which can prevent the firingmember 10052 from advancing, particularly when the firingmember 10052 reaches thedistal end 14125. More particularly, in certain circumstances, firingmember 10052 may push, scrape, and / or displace distallytissue thickness compensator 14120 as it traversestissue thickness compensator 14120, and as a result. Even greater internal pressure can occur within thedistal end 14125 of thetissue thickness compensator 14120. To at least partially distribute this pressure within thetissue thickness compensator 14120, thenose 14103 can be composed of a flexible material so that thenose 14103 can be bent, for example, distally, Additional space can be created for thethickness compensator 14120. Referring now to FIGS. 362 and 363, the nose of the staple cartridge can include a portion that can slide in the distal direction. More particularly, thenose 14203 of thestaple cartridge 14200 may have aslidable portion 14204 that may be slidably coupled to thenose 14203 such that theanvil 10060 is closed and / or the firingmember 10052 is moved. When advanced to thedistal end 14200 of the staple cartridge, theslidable portion 14204 slides in the distal direction, creating additional room for thetissue thickness compensator 14200, and at least partially reducing the internal pressure therein. Can be relaxed. Either one of thenose 14203 and theslidable portion 14204 may have one or more rails, and the other of thenose 14203 and theslidable portion 14204 slidably receives the rail. One or more groove members may be included. For example, the groove member and the rail can be configured to cooperatively limit movement of theslidable portion 14204, for example, to a longitudinal distal path.

様々な状況において、上記に対して更に、特定のステープル、例えばステープルカートリッジ内で最も遠位側のステープルは、ステープルカートリッジ内の近位側のステープルよりも、より大きな部分の組織厚さコンペンセータを捕捉しうる。そのような状況において、その結果、遠位側ステープル内には、近位側ステープルに比べ、大きなクランプ圧力が捕捉された組織にかかる可能性がある。このような状況は、上述のように、組織厚さコンペンセータがほぼ均一の厚さを有するほぼ均質な材料から構成されていたとしても、使用中に、組織厚さコンペンセータの少なくとも一部が遠位側にずれた場合、及び/又は遠位側に集まった場合に起こり得る。様々な状況において、特定のステープルが、他のステープルよりも、組織に対してより高いクランプ圧力をかけることが望ましい場合があり、支持部分及び/又は組織厚さコンペンセータは、どのステープルが組織に対してより高いクランプ圧力をかけ得るか、また、どのステープルが組織に対してより低いクランプ圧力をかけ得るかを制御できるよう、構築かつ配置することができる。次に図364を参照すると、ステープルカートリッジ14300は支持部分14310と、それに加えて、支持部分14310のデッキ表面14311に配置された組織厚さコンペンセータ14320とを含みうる。平坦な、又は少なくともほぼ平坦なデッキ表面を有する支持部分14310を含む、本出願に開示されている他の実施形態と比較して、デッキ表面14311は、支持部分14310の遠位端14305と近位端14306との間で上り勾配及び/又は下り勾配でありうる。支持部分14310のデッキ表面14311は、近位端14306でのデッキ高さよりも低い遠位端14305でのデッキ高さを有しうる。例えば、ステープルカートリッジの遠位端14300でのステープル10030は、近位端のステープル10030よりも、デッキ表面14311からより長い距離離れて上に延在しうる。あるいは、支持部分のデッキ表面は、近位端の高さよりも高い遠位端側の高さを有しうる。再び図364を参照すると、組織厚さコンペンセータ14320は、その長手方向長さに沿って異なる厚さを有しうる。組織厚さコンペンセータ14320は、例えば、近位端14326での厚さよりも厚い遠位端14325での厚さを含みうる。例えば、組織厚さコンペンセータ14322は、支持部分14310の上り勾配又は下り勾配のデッキ表面14311に合わせ、又は少なくともほぼ合わせて、上り勾配又は下り勾配になりうる、下側表面14322を含みうる。その結果、組織厚さコンペンセータ14320の上側(又は組織接触)表面14321は、平坦、又は少なくともほぼ平坦な、組織Tを配置しうる表面を含みうる。いずれの場合も、組織厚さコンペンセータ14320が遠位端14325でより厚い場合、遠位側ステープル10030は近位側ステープル10030に比べ、内部により大きな部分の組織厚さコンペンセータ14320を捕捉することができ、その結果、特にアンビル10060とデッキ表面14311との間の隙間距離がステープルカートリッジの近位端と遠位端で一定である場合、又は少なくともほぼ一定である場合に、遠位側ステープル10030は組織Tに対してより大きな圧縮力をかけることができる。しかしながら特定の状況において、アンビル10060は完全な閉位置に達しないことがあり、その結果、アンビル10060とデッキ表面14311との間の隙間距離は、ステープルカートリッジ14300の近位端よりも遠位端でより大きくなりうる。様々な状況において、遠位側ステープル10030は完全に成形されないことがあり、その結果、遠位側ステープル10030は、望ましいクランプ圧力を組織Tにかけることができなくなりうる。組織厚さコンペンセータがステープルカートリッジの遠位端で厚くなっている場合、組織厚さコンペンセータは、ステープルの成形不足を補償することし、組織Tに充分な圧力をかけることができる。  In various circumstances, in addition to the above, certain staples, such as the most distal staple in the staple cartridge, capture a larger portion of the tissue thickness compensator than the proximal staple in the staple cartridge. Yes. In such a situation, the result is that a greater clamping pressure can be applied to the captured tissue in the distal staple as compared to the proximal staple. Such a situation can occur when, as described above, at least a portion of the tissue thickness compensator is distal during use, even though the tissue thickness compensator is composed of a substantially homogeneous material having a substantially uniform thickness. This can happen if they are shifted to the side and / or gathered distally. In various situations, it may be desirable for certain staples to exert a higher clamping pressure on the tissue than other staples, and the support portion and / or tissue thickness compensator may determine which staples are against the tissue. And can be constructed and arranged to control which higher clamping pressures can be applied and which staples can apply lower clamping pressures to the tissue. Referring now to FIG. 364, thestaple cartridge 14300 can include asupport portion 14310 and, in addition, a tissue thickness compensator 14320 disposed on thedeck surface 14311 of thesupport portion 14310. Compared to other embodiments disclosed in this application, including asupport portion 14310 having a flat or at least substantially flat deck surface, thedeck surface 14311 is proximal to thedistal end 14305 of thesupport portion 14310. There may be an upward slope and / or a downward slope with respect to theend 14306. Thedeck surface 14311 of thesupport portion 14310 can have a deck height at thedistal end 14305 that is lower than the deck height at theproximal end 14306. For example, thestaple 10030 at thedistal end 14300 of the staple cartridge may extend a greater distance away from thedeck surface 14311 than the staple 10030 at the proximal end. Alternatively, the deck surface of the support portion may have a distal end height that is higher than the proximal end height. Referring again to FIG. 364, the tissue thickness compensator 14320 can have different thicknesses along its longitudinal length. Tissue thickness compensator 14320 can include a thickness atdistal end 14325 that is greater than a thickness atproximal end 14326, for example. For example, thetissue thickness compensator 14322 can include alower surface 14322 that can be uphill or downhill to match, or at least approximately, the uphill or downhilldeck surface 14311 of thesupport portion 14310. As a result, the upper (or tissue contacting)surface 14321 of the tissue thickness compensator 14320 can include a surface on which the tissue T can be placed that is flat, or at least substantially flat. In either case, if the tissue thickness compensator 14320 is thicker at thedistal end 14325, thedistal staple 10030 can capture a larger portion of the tissue thickness compensator 14320 internally than theproximal staple 10030. As a result, thedistal staple 10030 is tissue, particularly when the gap distance between theanvil 10060 and thedeck surface 14311 is constant, or at least substantially constant, at the proximal and distal ends of the staple cartridge. A larger compressive force can be applied to T. However, in certain circumstances, theanvil 10060 may not reach a fully closed position, so that the clearance distance between theanvil 10060 and thedeck surface 14311 is more distal than the proximal end of thestaple cartridge 14300. Can be larger. In various situations, thedistal staple 10030 may not be fully formed, so that thedistal staple 10030 may not be able to apply the desired clamping pressure to the tissue T. If the tissue thickness compensator is thickened at the distal end of the staple cartridge, the tissue thickness compensator can compensate for underforming of the staples and apply sufficient pressure to the tissue T.

次に図365を参照すると、ステープルカートリッジ(例えばステープルカートリッジ14400)は、支持部分14410と、それに加えて、支持部分14410のデッキ表面14411上に配置された組織厚さコンペンセータ14420とを含みうる。上記と同様、デッキ表面14411は、上り勾配及び/又は下り勾配であってよく、これにより、例えば、支持部分14410の遠位端14405は、近位端14406でのデッキ高さよりも低いデッキ高さを有しうる。組織厚さコンペンセータ14420は、その長さに沿って均一、又は少なくともほぼ均一の厚さを有してよく、その結果、組織厚さコンペンセータ14420の上側(又は組織接触)表面14421は、デッキ表面14411の外形と平行、又は少なくともほぼ平行でありうる。ステープルカートリッジ14400のステープル10030は、ステープル10030が未発射位置にあるときに、組織厚さコンペンセータ14420及び支持部分14410内に完全に埋め込まれうる。ステープルカートリッジ14400の近位端に配置されているステープル10030は、ステープル10030が未発射位置にあるときに、組織厚さコンペンセータ14420及び支持部分14410内に完全に埋め込まれている場合があり、一方、デッキ14411と上側表面14421の下り勾配により、特定のステープル10030(ステープルカートリッジの遠位端14400にあるステープル10030を含む)の先端は、ステープル10030が未発射位置にあるときに、組織厚さコンペンセータ14420の上側表面14421を貫通して突出しうる。  Referring now to FIG. 365, a staple cartridge (eg, staple cartridge 14400) can include asupport portion 14410 and, in addition, atissue thickness compensator 14420 disposed on thedeck surface 14411 of thesupport portion 14410. Similar to above, thedeck surface 14411 may be uphill and / or downhill so that, for example, thedistal end 14405 of thesupport portion 14410 is lower than the deck height at theproximal end 14406. Can be included. Thetissue thickness compensator 14420 may have a uniform, or at least substantially uniform thickness along its length so that the upper (or tissue contacting)surface 14421 of thetissue thickness compensator 14420 is adeck surface 14411. Parallel to, or at least substantially parallel toStaples 10030 ofstaple cartridge 14400 can be fully embedded withintissue thickness compensator 14420 andsupport portion 14410 whenstaples 10030 are in an unfired position.Staple 10030 located at the proximal end ofstaple cartridge 14400 may be fully embedded withintissue thickness compensator 14420 andsupport portion 14410 whenstaple 10030 is in the unfired position, while Due to the descending slope of thedeck 14411 and theupper surface 14421, the tip of a particular staple 10030 (including thestaple 10030 at thedistal end 14400 of the staple cartridge) istissue thickness compensator 14420 when thestaple 10030 is in the unfired position. Can protrude through theupper surface 14421.

必要に応じて、上述のように、組織厚さコンペンセータは単一材料から構成され、組織厚さコンペンセータ全体が、同じ、又は少なくともほぼ同じ、例えば、密度、剛性、ばね定数、デュロメータ、及び/又は弾性などの材料特性を全体にわたって有しうる。あるいは、次に図368を参照すると、組織厚さコンペンセータ(例えば組織厚さコンペンセータ14520)は、複数の材料又は材料層を含みうる。組織厚さコンペンセータ14520は、第1(中央)層14520aと、第1の層14520aの相対する面に取り付けられている第2(中間)層14520bと、各第2の層14520bそれぞれに取り付けられている第3(外側)層14520cとを含みうる。中間層14520bは、少なくとも1種類の接着剤を用いて中央層14520aに取り付けることができ、同様に、外側層14520cは、少なくとも1種類の接着剤を用いて第2の層14520に取り付けることができる。接着剤に加えて、又はその代わりに、層14520a〜14520cは、例えば1つ以上の相互係合及び/又は締結具によって合わせて保持することができる。いずれの場合も、内側層14520aは、第1の群の材料特性を有する第1の材料から構成することができ、中間層14520bは、第2の群の材料特性を有する第2の材料から構成することができ、かつ外側層14520cは、第3の群の材料特性を有する第3の材料から構成することができる。これらの材料特性群には、例えば密度、剛性、ばね定数、デュロメータ、及び/又は弾性が挙げられうる。ステープルカートリッジは例えば、6列のステープル10030を有してよく、ステープル10030の列は少なくとも、例えば、各外側層14520cと各中間層14520bに、少なくとも部分的に配置することができ、2列のステープル10030が、内側層14520aに、少なくとも部分的に配置することができる。使用時には、上記と同様、ステープル10030は、ステープルカートリッジから発射されうる。ステープル10030のステープル脚10032が組織厚さコンペンセータ14520の上側表面14521を貫通し、アンビルにより上側表面14521に対して配置されている組織を貫通することができ、次にアンビルに接触して、脚10032が変形され、ステープル10030内の組織厚さコンペンセータ14520と組織を捕捉することができる。また上記と同様、発射部材がステープルカートリッジを通って前進する際、組織厚さコンペンセータ14520を発射部材が横断しうる。例えば、発射部材は、例えば、内側層14520aと、軸14529によって画定される経路に沿った組織と、を横断することができる。  Optionally, as described above, the tissue thickness compensator is composed of a single material, and the entire tissue thickness compensator is the same, or at least approximately the same, eg, density, stiffness, spring constant, durometer, and / or It may have material properties such as elasticity throughout. Alternatively, referring now to FIG. 368, a tissue thickness compensator (eg, tissue thickness compensator 14520) can include multiple materials or layers of materials. Atissue thickness compensator 14520 is attached to each of the first (center) layer 14520a, the second (intermediate) layer 14520b attached to the opposing surface of the first layer 14520a, and each second layer 14520b. A third (outer) layer 14520c. The intermediate layer 14520b can be attached to the central layer 14520a using at least one adhesive, and similarly, the outer layer 14520c can be attached to thesecond layer 14520 using at least one adhesive. . In addition to or instead of the adhesive, the layers 14520a-14520c can be held together, for example, by one or more interengages and / or fasteners. In any case, the inner layer 14520a can be composed of a first material having a first group of material properties, and the intermediate layer 14520b can be composed of a second material having a second group of material properties. And the outer layer 14520c can be comprised of a third material having a third group of material properties. These material property groups can include, for example, density, stiffness, spring constant, durometer, and / or elasticity. The staple cartridge may have, for example, six rows ofstaples 10030, and the rows ofstaples 10030 may be at least partially disposed at least, for example, in each outer layer 14520c and each intermediate layer 14520b. 10030 can be at least partially disposed on the inner layer 14520a. In use, similar to the above, thestaple 10030 can be fired from the staple cartridge. Thestaple legs 10032 of thestaple 10030 can penetrate theupper surface 14521 of thetissue thickness compensator 14520 and through the tissue disposed against theupper surface 14521 by the anvil, and then contact the anvil to contact theleg 10032. Can be deformed to capturetissue thickness compensator 14520 and tissue withinstaple 10030. Also as described above, the firing member may traverse thetissue thickness compensator 14520 as it is advanced through the staple cartridge. For example, the firing member can traverse, for example, the inner layer 14520a and the tissue along the path defined by theaxis 14529.

上記に対して更に、内側層14520a内に配置されたステープル10030の列は、横断された組織の端に最も近いステープル列を含みうる。これに対応して、外側層14520c内に配置されたステープル10030の列は、横断された組織の端から最も遠いステープル列を含みうる。例えば、内側層14520aを含む第1の材料は、中間層14520bを含む第2の材料の密度よりも高い密度を有してよく、同様に、第2の材料の密度は、外側層14520cを含む第3の材料の密度よりも高い場合がありうる。様々な状況において、その結果、中間層14520b及び外側層14520c内に配置されたステープル10030内に生じる圧縮力に比べて、内側層14520a内に配置されたステープル10030内の方に、より大きな圧縮力が生じうる。同様に、例えば、外側層14520c内に配置されたステープル10030内に生じる圧縮力に比べて、中間層14520b内に配置されたステープル10030内の方に、より大きな圧縮力が生じうる。あるいは、例えば、内側層14520aを含む第1の材料は、中間層14520bを含む第2の材料の密度よりも低い密度を有してよく、同様に、第2の材料の密度は、外側層14520cを含む第3の材料の密度よりも低い場合がありうる。様々な状況において、その結果、中間層14520b及び内側層14520a内に配置されたステープル10030内に生じる圧縮力に比べて、外側層14520c内に配置されたステープル10030内の方に、より大きな圧縮力が生じうる。同様に、例えば、内側層14520a内に配置されたステープル10030内に生じる圧縮力に比べて、中間層14520b内に配置されたステープル10030内の方に、より大きな圧縮力が生じうる。あるいは、任意の他の好適な層、材料、及び/又は材料特性を利用することができる。いずれの場合も、組織厚さコンペンセータ14520の層14520a〜14520cは、移植された後に互いに取り付けられたままになるように構成することができる。組織厚さコンペンセータ14520の層14520a〜14520cは、移植された後に互いに分離されるように構成することができる。例えば、層14520a〜14520cは、1つ以上の生体吸収性接着剤を利用して合わせて接合することができ、これは最初に層を一緒に保持することができ、時間経過後に層が互いに解放されるようにすることができる。  Further to the above, the row ofstaples 10030 disposed within the inner layer 14520a may include the staple row closest to the end of the traversed tissue. Correspondingly, the row ofstaples 10030 disposed in the outer layer 14520c may include the staple row furthest from the end of the traversed tissue. For example, the first material that includes the inner layer 14520a may have a higher density than the density of the second material that includes the intermediate layer 14520b, and similarly, the density of the second material includes the outer layer 14520c. It may be higher than the density of the third material. In various circumstances, the resulting compression force is greater in thestaple 10030 disposed in the inner layer 14520a than in thestaple 10030 disposed in the intermediate layer 14520b and the outer layer 14520c. Can occur. Similarly, for example, a greater compressive force can be generated in thestaples 10030 disposed in the intermediate layer 14520b than in thestaples 10030 disposed in the outer layer 14520c. Alternatively, for example, the first material that includes the inner layer 14520a may have a density that is lower than the density of the second material that includes the intermediate layer 14520b, and similarly, the density of the second material may be the outer layer 14520c. It may be lower than the density of the third material containing. In various circumstances, the resulting compression force is greater in thestaples 10030 disposed in the outer layer 14520c than in thestaples 10030 disposed in the intermediate layer 14520b and the inner layer 14520a. Can occur. Similarly, for example, a greater compressive force can be generated in thestaple 10030 disposed in the intermediate layer 14520b than in a staple force generated in thestaple 10030 disposed in the inner layer 14520a. Alternatively, any other suitable layer, material, and / or material property can be utilized. In either case, the layers 14520a-14520c of thetissue thickness compensator 14520 can be configured to remain attached to each other after implantation. The layers 14520a-14520c of thetissue thickness compensator 14520 can be configured to be separated from each other after being implanted. For example, layers 14520a-14520c can be joined together utilizing one or more bioabsorbable adhesives, which can initially hold the layers together, and the layers release each other over time. Can be done.

上述のように、ステープルカートリッジの組織厚さコンペンセータ(例えば組織厚さコンペンセータ14520)は、複数の長手方向層を含みうる。あるいは、次に図369を参照すると、ステープルカートリッジは、組織厚さコンペンセータ(例えば、組織厚さコンペンセータ14620)を有してよく、これは複数の水平層を含みうる。例えば、組織厚さコンペンセータ14620は、第1(下側)層14620a、下側層14620aに取り付けられた第2(中間)層14620b、及び中間層14620bに取り付けられた第3(上側)層14620cを含みうる。第1の層14620aは、例えば、平坦又はほぼ平坦な下側表面14626aと、三角形又は角錐形の上側表面14625aと、を含みうる。例えば、第2の層14620bは三角形又は角錐形の下側表面14626bを有してよく、これは第1の層14620aの上側表面14625aに平行でこれに接するように構成することができる。上記と同様、第2の層14620bは三角形又は角錐形の上側表面14625bを有してよく、これは例えば、第3の層14620cの三角形又は角錐形の下側表面14626cに平行でこれに接しうる。第3の層の上側表面14626cは、平坦、又は少なくともほぼ平坦な、組織接触表面14621を含みうる。また上記と同様、組織厚さコンペンセータ14620は、内部に6列のステープル(例えばステープル10030)を少なくとも部分的に保管するように構成することができ、発射部材は、例えば、軸14629を通って延びる経路に沿って最も内側の2列のステープルの間にある組織厚さコンペンセータ14620を横断することができる。上記と同様、各層14620a、14620b、及び14620cは、異なる材料特性を有しうる異なる材料から構成することができ、層14620a〜14620cの三角形又は角錐形の形状の結果、組織厚さコンペンセータ14620が内部の様々な場所で全体に異なる特性を有しうる。例えば、最も外側の列のステープル10030は、内部に第1の層14620aより多くの第3の層14620cを捕捉することができ、一方、最も内側の列のステープル10030は、第1の層14620aよりも少ない第3の層14620cを捕捉することができ、その結果、組織厚さコンペンセータ14620は、例えば、組織厚さコンペンセータ14620は、全体にわたる厚さが同じ、又は少なくともほぼ同じであるにもかかわらず、最も内側のステープル10030内に捕捉される組織とは異なった程度で、最も外側のステープル10030内に捕捉された組織を圧縮することができる。  As described above, a tissue thickness compensator (eg, tissue thickness compensator 14520) of a staple cartridge can include a plurality of longitudinal layers. Alternatively, referring now to FIG. 369, a staple cartridge may have a tissue thickness compensator (eg, tissue thickness compensator 14620), which may include a plurality of horizontal layers. For example, thetissue thickness compensator 14620 includes a first (lower) layer 14620a, a second (middle) layer 14620b attached to the lower layer 14620a, and a third (upper) layer 14620c attached to the intermediate layer 14620b. May be included. The first layer 14620a can include, for example, a flat or substantially flat lower surface 14626a and a triangular or pyramidal upper surface 14625a. For example, the second layer 14620b may have a triangular or pyramidal lower surface 14626b that can be configured to be parallel to and in contact with the upper surface 14625a of the first layer 14620a. As above, the second layer 14620b may have a triangular or pyramidal upper surface 14625b, which may be parallel to and in contact with the triangular or pyramidal lower surface 14626c of the third layer 14620c, for example. . The upper surface 14626c of the third layer can include atissue contacting surface 14621 that is flat, or at least substantially flat. Also as described above, thetissue thickness compensator 14620 can be configured to at least partially store six rows of staples (eg, staples 10030) therein, and the firing member extends, for example, through theshaft 14629. Atissue thickness compensator 14620 between the innermost two rows of staples along the path can be traversed. As above, each layer 14620a, 14620b, and 14620c can be composed of different materials that can have different material properties, resulting in the triangular or pyramidal shape of the layers 14620a-14620c resulting in thetissue thickness compensator 14620 being internal. Can have different characteristics throughout. For example, the outermost row ofstaples 10030 can capture more third layers 14620c than the first layer 14620a therein, while the innermost rows ofstaples 10030 than the first layer 14620a. Fewer third layers 14620c can be captured, so that thetissue thickness compensator 14620, for example, thetissue thickness compensator 14620, although the overall thickness is the same or at least approximately the same The tissue captured in theoutermost staple 10030 can be compressed to a different extent than the tissue captured in theinnermost staple 10030.

次に図286を参照すると、ステープルカートリッジの組織厚さコンペンセータ(例えば、ステープルカートリッジ14700の組織厚さコンペンセータ14720)は、例えば、それ自体の中に画定される空間、ポケット、溝部材、及び/又は溝を有してよく、これにより組織厚さコンペンセータ14720の厚さが変わり得る。例えば、組織厚さコンペンセータ14720は、ステープルカートリッジ14700の支持部分14710のデッキ表面14711に対して配置することができ、これにより、組織厚さコンペンセータ14720の下側表面14722内に画定された空間14723は、特定のステープルキャビティ10012に重なるが、他の場所には重ならない状態になりうる。空間14723は、例えば、支持部分14710のナイフスロット14715を横切って、ナイフスロット14715に対して垂直で、及び/又はナイフスロット14715に平行で、延在しうる。空間14723は、組織厚さコンペンセータ14720の下側表面14722におけるトレッドパターンを画定しうる。いずれの場合も、ステープル(例えばステープル10030)が支持部分14710から配備されるとき、次に図287及び288を参照して、特定のステープル10030は、空間14723を含む領域内の組織厚さコンペンセータ14720を捕捉することができる一方、他のステープル10030は、空間14723の中間に配置された領域内の組織厚さコンペンセータ14720を捕捉しうる。上記に加えて、又は上記に代わり、組織厚さコンペンセータ14720は、例えば、上側(組織接触)表面14721の中に画定される空間、ポケット、溝部材、及び/又は溝を含みうる。次に図366及び367を参照すると、ステープルカートリッジ14800は、組織厚さコンペンセータ14820を有してよく、これには、組織厚さコンペンセータ14820の上側表面14821から上向き方向、中央溝14825に向かって内側方向、及び/又はステープルカートリッジの遠位端14800に向かって遠位方向のうち少なくとも1つの方向に延びる、複数のトレッド14823が含まれうる。例えば、トレッド14823は、溝部材、スロット、及び/又は溝(例えば、溝部材14824)によって分離されうる。様々な状況において、上記の結果、組織厚さコンペンセータの全体的厚さは、ステープル列の間で変化し、及び/又はステープル列内のステープル間で変化しうる。特定の状況において、トレッド(又は厚い部分)は、組織厚さコンペンセータが圧縮されたときに、望ましい方向(例えば内向き方向)に流れるよう構築及び配置することができる。  Referring now to FIG. 286, the tissue thickness compensator of the staple cartridge (eg, thetissue thickness compensator 14720 of the staple cartridge 14700) can be, for example, a space, pocket, groove member, and / or defined within itself. There may be grooves, which may change the thickness of thetissue thickness compensator 14720. For example, thetissue thickness compensator 14720 can be positioned against thedeck surface 14711 of thesupport portion 14710 of thestaple cartridge 14700 so that thespace 14723 defined in thelower surface 14722 of thetissue thickness compensator 14720 is , May overlap aparticular staple cavity 10012 but not overlap elsewhere. Thespace 14723 may extend, for example, across theknife slot 14715 of thesupport portion 14710, perpendicular to theknife slot 14715, and / or parallel to theknife slot 14715. Thespace 14723 may define a tread pattern in thelower surface 14722 of thetissue thickness compensator 14720. In either case, when a staple (eg, staple 10030) is deployed from thesupport portion 14710, referring now to FIGS. 287 and 288, theparticular staple 10030 has atissue thickness compensator 14720 in the region that includes thespace 14723. Whileother staples 10030 may capturetissue thickness compensator 14720 in an area located midway throughspace 14723. In addition to or in lieu of the above, thetissue thickness compensator 14720 can include, for example, a space, pocket, groove member, and / or groove defined in the upper (tissue contact)surface 14721. Referring now to FIGS. 366 and 367, thestaple cartridge 14800 may include atissue thickness compensator 14820, which is directed upwardly from theupper surface 14821 of thetissue thickness compensator 14820 and inward toward thecentral groove 14825. A plurality oftreads 14823 may be included that extend in at least one of the directions and / or distal directions toward thedistal end 14800 of the staple cartridge. For example, thetread 14823 can be separated by groove members, slots, and / or grooves (eg, groove member 14824). In various circumstances, as a result of the above, the overall thickness of the tissue thickness compensator may vary between staple rows and / or may vary between staples within a staple row. In certain circumstances, the tread (or thicker portion) can be constructed and positioned to flow in a desired direction (eg, inward direction) when the tissue thickness compensator is compressed.

次に図303を参照すると、ステープルカートリッジ(例えば、ステープルカートリッジ14900)は、支持部分14910と、それに加えて、支持部分14910に対して配置された組織厚さコンペンセータ14920とを含みうる。上記と同様、支持部分14910は、支持部分14910内に少なくとも部分的に配置されたステープル(例えばステープル10030)を、ステープルカートリッジ14900に対向して配置されたアンビル(例えばアンビル10060)に向かって持ち上げるために、ステープル配備スレッドにより上に持ち上げることができるステープルドライバを含みうる。支持部分14910は、例えば、6列のステープルキャビティ(例えば、外側2列のステープルキャビティ、内側2列のステープルキャビティ、及び内側列と外側列の中間に配列された中間2列のステープルキャビティ)を有してよく、アンビル10060は、ステープルキャビティに整列、又は少なくともほぼ整列した、6列の成形ポケット10062を含みうる。ステープルキャビティの内側列には、その中に配置されたステープルドライバ14940aが含まれてよく、ステープルキャビティの中間列には、その中に配置されたステープルドライバ14940bが含まれてよく、ステープルキャビティの外側列には、その中に配置されたステープルドライバ14940cが含まれてよく、ステープルドライバ14940aはそれぞれ、ステープル10030を支えるように構成された受台14949aを有してよく、ステープルドライバ14940bはそれぞれ、ステープル10030を支えるように構成された受台14949bを有してよく、ステープルドライバ14940cはそれぞれ、ステープル10030を支えるように構成された受台14949cを含みうる。未発射位置において、すなわち、ステープルドライバ14940a〜14940cが、支持部分14910の下側に延びるドライバ支持台14926の上にあるとき、ステープルドライバ14940aのクレードル14949aは、ステープルドライバ14940bのクレードル14949b及びステープルドライバ14940cのクレードル14949cよりも、アンビル10060の近くに配置されうる。そのような位置において、第1の成形距離は、受台14949aと、受台14949aの上に配置された成形ポケット10062との間で画定することができ、第2の成形距離は、受台14949bと、受台14949bの上に配置された成形ポケット10062との間で画定することができ、第3の成形距離は、受台14949cと、受台14949cの上に配置された成形ポケット10062との間で画定することができ、例えば、第1の成形距離は第2の成形距離よりも短くともよく、また第2の成形距離は第3の成形距離よりも短いことがある。ステープルドライバ14940a〜14940cがその未発射位置(図303)から発射済み位置へと移動するとき、各ステープルドライバ14940a〜14940cは、ステープル配備スレッドによりアンビル10060に向かって等距離、又は少なくともほぼ等距離、上に移動することができ、これにより、第1のドライバ14940aはそれぞれのステープル10030を第1の成形高さへと駆動し、第2のドライバ14940bはそれぞれのステープル10030を第2の成形高さへと駆動し、第3のドライバ14940cはそれぞれのステープル10030を第3の成形高さへと駆動し、例えば、第1の成形高さは第2の成形高さより短くともよく、第2の成形高さは第3の成形高さより短いことがある。様々な代替例が構想され、第1のステープルドライバ14940aは第1の距離分上に移動し、第2のステープルドライバ14940bは第2の距離分上に移動し、第3のステープルドライバ14940cは第3の距離分上に移動し、第1の距離、第2の距離、及び第3の距離のうち1つ以上が異なりうる。  Referring now to FIG. 303, a staple cartridge (eg, staple cartridge 14900) can include asupport portion 14910 and, in addition, atissue thickness compensator 14920 disposed relative to thesupport portion 14910. As above, thesupport portion 14910 lifts staples (eg, staples 10030) disposed at least partially within thesupport portion 14910 toward an anvil (eg, anvil 10060) disposed opposite thestaple cartridge 14900. Can include a staple driver that can be lifted up by a staple deployment sled. Thesupport portion 14910 has, for example, six rows of staple cavities (eg, two outer rows of staple cavities, two inner rows of staple cavities, and two middle rows of staple cavities arranged between the inner and outer rows). Theanvil 10060 may include six rows ofmolding pockets 10062 aligned with, or at least approximately aligned with, the staple cavities. The inner rows of staple cavities may include staple drivers 14940a disposed therein, and the intermediate rows of staple cavities may includestaple drivers 14940b disposed therein, outside the staple cavities. The rows may includestaple drivers 14940c disposed therein, each of the staple drivers 14940a having a cradle 14949a configured to support thestaples 10030, and each of thestaple drivers 14940b being staples. A cradle 14949b configured to support 10030 may be included, and thestaple drivers 14940c may each include acradle 14949c configured to support thestaple 10030. In the unfired position, i.e., when the staple drivers 14940a-14940c are on thedriver support pedestal 14926 extending below thesupport portion 14910, the cradle 14949a of the staple driver 14940a is cradle 14949b and thestaple driver 14940c of thestaple driver 14940b. Can be placed closer to theanvil 10060 than thecradle 14949c. In such a position, a first molding distance can be defined between the cradle 14949a and amolding pocket 10062 disposed on the cradle 14949a, and a second molding distance can be defined as the cradle 14949b. And amolding pocket 10062 disposed on the cradle 14949b, a third molding distance can be defined between thecradle 14949c and themolding pocket 10062 disposed on thecradle 14949c. For example, the first forming distance may be shorter than the second forming distance, and the second forming distance may be shorter than the third forming distance. As the staple drivers 14940a-14940c move from their unfired position (FIG. 303) to the fired position, each staple driver 14940a-14940c is equidistant, or at least approximately equidistant, toward theanvil 10060 by the staple deployment thread, The first driver 14940a can drive each staple 10030 to a first forming height, and thesecond driver 14940b can move each staple 10030 to a second forming height. And thethird driver 14940c drives each staple 10030 to a third forming height, for example, the first forming height may be less than the second forming height, and the second forming height The height may be shorter than the third molding height. Various alternatives are envisaged, with the first staple driver 14940a moving up a first distance, thesecond staple driver 14940b moving up a second distance, and thethird staple driver 14940c being the first. Move up three distances, and one or more of the first distance, the second distance, and the third distance may be different.

再び図303を参照すると、支持部分14910のデッキ表面14911は、アンビル10060の組織接触表面10061に対する高さが変わり得る。この高さの変動は横方向に生じてよく、例えば、内側列のステープルキャビティを取り囲むデッキ表面14911の高さは、外側列のステープルキャビティを取り囲むデッキ表面14911の高さよりも高いことがある。組織厚さコンペンセータ14920の下側表面14922は、支持部分14910のデッキ表面14911に対して平行か、又は少なくともほぼ平行であるように構成することができる。上記に対して更に、組織厚さコンペンセータ14920は、厚さも変わることがあり、組織厚さコンペンセータ14920の上側(組織接触)表面14921は、その外側エッジから内側に向かって傾斜しうる。例えば、上記の結果、組織厚さコンペンセータ14920は、例えば、内側列のステープルキャビティの上に配置された領域で薄く、外側列のステープルキャビティの上に配置された領域で厚くなりうる。次に図304を参照すると、支持部分15010のデッキ表面は、例えば、段付きデッキ表面を有してよく、例えば、段付き表面の最も高い段は、内側列のステープルキャビティを取り囲むことができ、段付き表面の最も低い段は、外側列のステープルキャビティを取り囲むことができる。例えば、中間高さを有する段は、中間列のステープルキャビティを取り囲みうる。組織厚さコンペンセータ(例えば、組織厚さコンペンセータ15020)は、支持部分15010のデッキ表面に平行でこれに接しうる。組織厚さコンペンセータの上側(組織接触)表面15021は、円弧状、放物線状、及び/又は曲面表面を有してよく、これは例えば、ステープルカートリッジ15000に整列した軸、又は少なくともほぼ整列した軸を備えて、組織厚さコンペンセータ15020の第1の外側側面から組織厚さコンペンセータ15020の第2の外側側面へと延在しうる。次に図299を参照すると、ステープルカートリッジ15300は、例えば、支持部分15310と、その支持部分15310内に画定されたステープルキャビティ内に移動可能に配置された複数のステープルドライバ15340と、支持部分15310のデッキ表面15311の上方に配置された組織厚さコンペンセータ15320と、を含みうる。ステープルカートリッジ15300は更に、1つ以上の下側皿状部分15326を有してよく、これは支持部分15310に取り付けられて、支持部分15310の下側を回って延在し、未発射位置にあるドライバ15340、及びステープル15330を支持することができる。ステープル配備スレッドがステープルカートリッジを通って前進すると、スレッドが組織厚さコンペンセータ15320を通してステープルドライバ15340とステープル15330を上に持ち上げる際に、スレッドも、下側皿状部分15326によって支持されうる。組織厚さコンペンセータ15320は、内側列のステープルキャビティの上に配置された第1(内側)の部分15322a、中間列のステープルキャビティの上に配置された第2(中間)の部分15322b、及び外側列のステープルキャビティの上に配置された第3(外側)の部分15322cを有してよく、例えば、内側部分15322aは中間部分15322bより厚くてよく、中間部分15322bは外側部分15322cより厚くてよい。組織厚さコンペンセータ15320は、例えば、その中に画定された長手方向溝部材を有してよく、これは組織厚さコンペンセータ15320のより薄い部分15322b及び15322cを形成しうる。あるいは、長手方向溝部材は、組織厚さコンペンセータの上側表面及び/又は下側表面内に画定することができる。組織厚さコンペンセータ15320の上側表面15321は、例えば、平坦な、又は少なくともほぼ平坦な表面を含みうる。  Referring again to FIG. 303, thedeck surface 14911 of thesupport portion 14910 can vary in height relative to thetissue contacting surface 10061 of theanvil 10060. This height variation may occur laterally, for example, the height of thedeck surface 14911 surrounding the inner row staple cavities may be higher than the height of thedeck surface 14911 surrounding the outer row staple cavities. Thelower surface 14922 of thetissue thickness compensator 14920 can be configured to be parallel or at least substantially parallel to thedeck surface 14911 of thesupport portion 14910. Further to the above, the thickness of thetissue thickness compensator 14920 can also vary, and the upper (tissue contact)surface 14921 of thetissue thickness compensator 14920 can be inclined inwardly from its outer edge. For example, as a result of the above, thetissue thickness compensator 14920 can be, for example, thin in the region disposed over the inner row of staple cavities and thicker in the region disposed over the outer row of staple cavities. Referring now to FIG. 304, the deck surface of thesupport portion 15010 can have, for example, a stepped deck surface, for example, the highest step of the stepped surface can surround the inner row of staple cavities; The lowest step of the stepped surface can surround the outer row of staple cavities. For example, a step having an intermediate height can surround an intermediate row of staple cavities. A tissue thickness compensator (eg, tissue thickness compensator 15020) may be parallel to and in contact with the deck surface of thesupport portion 15010. The upper (tissue contact)surface 15021 of the tissue thickness compensator may have an arcuate, parabolic, and / or curved surface, such as an axis aligned with, or at least substantially aligned with, thestaple cartridge 15000. In addition, thetissue thickness compensator 15020 may extend from the first outer side surface to thetissue thickness compensator 15020 second outer side surface. Referring now to FIG. 299, thestaple cartridge 15300 includes, for example, asupport portion 15310, a plurality ofstaple drivers 15340 movably disposed within staple cavities defined in thesupport portion 15310, and thesupport portion 15310. And atissue thickness compensator 15320 disposed above thedeck surface 15311. Thestaple cartridge 15300 may further include one or more lower dishedportions 15326 that are attached to thesupport portion 15310 and extend around the underside of thesupport portion 15310 and are in an unfired position.Drivers 15340 and staples 15330 can be supported. As the staple deployment sled advances through the staple cartridge, the sled can also be supported by thelower dish 15326 as the sled lifts thestaple driver 15340 and staple 15330 up through thetissue thickness compensator 15320. Thetissue thickness compensator 15320 includes a first (inner) portion 15322a disposed over the inner row of staple cavities, a second (intermediate) portion 15322b disposed over the intermediate row of staple cavities, and an outer row. A third (outer)portion 15322c disposed above the staple cavities, for example, the inner portion 15322a may be thicker than the intermediate portion 15322b, and the intermediate portion 15322b may be thicker than theouter portion 15322c. Thetissue thickness compensator 15320 may have, for example, a longitudinal groove member defined therein, which may form thethinner portions 15322b and 15322c of thetissue thickness compensator 15320. Alternatively, the longitudinal groove member can be defined in the upper surface and / or the lower surface of the tissue thickness compensator. Theupper surface 15321 of thetissue thickness compensator 15320 can include, for example, a flat or at least substantially flat surface.

次に図296を参照すると、ステープルカートリッジは、組織厚さコンペンセータ(例えば組織厚さコンペンセータ15120)を有してよく、これは異なる厚さを有する複数の部分を含みうる。組織厚さコンペンセータ15120は、第1の厚さを有しうる第1(内側)の部分15122aと、それぞれ第2の厚さを有してよく、第1の部分15122aから延びる第2(中間)の部分15122bと、それぞれ第3の厚さを有してよく、第2の部分15122bから延びる第3(中間)の部分15122cと、を含みうる。例えば、第3の厚さは、第2の厚さよりも厚くてよく、第2の厚さは、第1の厚さよりも厚くてよいが、任意の適当な厚さを用いることができる。組織厚さコンペンセータ15120の部分15122a〜15122cは、異なる厚さを有する段を含みうる。上記と同様、ステープルカートリッジは、いくつかの列のステープル10030と、ステープル10030を異なる成形高さに変形できる、異なる高さを有する複数のステープルドライバと、を含みうる。また上記と同様、ステープルカートリッジは、それ自体の上に支持されているステープル10030を第1の成形高さに駆動することができる第1のステープルドライバ15140aと、それ自体の上に支持されているステープル10030を第2の成形高さに駆動することができる第2のステープルドライバ15140bと、それ自体の上に支持されているステープル10030を第3の成形高さに駆動することができる第3のステープルドライバ15140cと、を有してよく、例えば、第1の成形高さは第2の成形高さより短くてよく、第2の成形高さは第3の成形高さより短くてよい。必要に応じて、図296に示すように、各ステープル10030は、同じ、又はほぼ同じの未発射又は発射済みの高さを含みうる。あるいは、次に図296Aを参照すると、第1のドライバ15140a、第2のドライバ15140b、及び/又は第3のドライバ15140cは、異なる未成形高さを有するステープルを支持しうる。例えば、第1のステープルドライバ15140aは第1の未成形高さを有するステープル15130aを支持することができ、第2のステープルドライバ15140bは第2の未成形高さを有するステープル15130bを支持することができ、第3のステープルドライバ15140cは第3の未成形高さを有するステープル15130cを支持することができ、例えば、第1の未成形高さは第2の未成形高さより短くてよく、第2の未成形高さは第3の未成形高さより短くてよい。再び図296Aを参照すると、ステープル15130a、15130b、及び/又は15130cの先端は、同じ平面内、又は少なくともほぼ同じ平面内にあってよく、一方、代替例において、ステープル15130a、15130b、及び/又は15130cの先端は、同じ平面内にはないことがある。次に図297を参照すると、上述のように、ステープルカートリッジには、ステープル15130a、15130b、及び/又は15130cによって組織Tに埋め込まれうる、異なる厚さを有する複数の部分を有する組織厚さコンペンセータ15220が含まれうる。次に図298を参照して、ステープル15130a、15130b、及び/又は15130cは、異なる成形高さに変形することができ、第1のステープル15130aは第1の成形高さに変形され、第2のステープル15130bは第2の成形高さに変形され、第3のステープル15130cは第3の成形高さに変形され、例えば、第1の成形高さは第2の成形高さより短くてよく、第2の成形高さは第3の成形高さより短くてよい。代替例が構想され、ステープル15130a、15130b、及び15130cは、任意の適当な成形高さ及び/又は任意の相対的な成形高さに成形することができる。  Referring now to FIG. 296, the staple cartridge may have a tissue thickness compensator (eg, tissue thickness compensator 15120), which may include multiple portions having different thicknesses. Thetissue thickness compensator 15120 may have a first (inner)portion 15122a that may have a first thickness and a second (intermediate) portion that may each have a second thickness and extend from thefirst portion 15122a. Portion 15122b and each may have a third thickness and may include a third (intermediate)portion 15122c extending from the second portion 15122b. For example, the third thickness may be greater than the second thickness and the second thickness may be greater than the first thickness, but any suitable thickness can be used. Theportions 15122a-15122c of thetissue thickness compensator 15120 can include steps having different thicknesses. Similar to the above, the staple cartridge can include several rows ofstaples 10030 and a plurality of staple drivers having different heights that can deform thestaples 10030 to different molding heights. Also, as described above, the staple cartridge is supported on itself, with afirst staple driver 15140a capable of driving thestaple 10030 supported on itself to a first forming height. Asecond staple driver 15140b capable of driving thestaple 10030 to a second forming height and a third capable of driving thestaple 10030 supported on itself to a third forming height. For example, the first molding height may be shorter than the second molding height, and the second molding height may be shorter than the third molding height. If desired, as shown in FIG. 296, each staple 10030 may include the same or approximately the same unfired or fired height. Alternatively, referring now to FIG. 296A, thefirst driver 15140a, thesecond driver 15140b, and / or thethird driver 15140c may support staples having different unformed heights. For example, thefirst staple driver 15140a can supportstaples 15130a having a first unformed height, and thesecond staple driver 15140b can supportstaples 15130b having a second unformed height. Thethird staple driver 15140c can support a staple 15130c having a third unformed height, for example, the first unformed height can be shorter than the second unformed height, The unformed height may be shorter than the third unformed height. Referring again to FIG. 296A, the tips of thestaples 15130a, 15130b, and / or 15130c may be in the same plane, or at least approximately in the same plane, while in the alternative, thestaples 15130a, 15130b, and / or 15130c. The tips may not be in the same plane. Referring now to FIG. 297, as described above, the staple cartridge includes atissue thickness compensator 15220 having a plurality of portions having different thicknesses that can be embedded in the tissue T bystaples 15130a, 15130b, and / or 15130c. Can be included. Referring now to FIG. 298, thestaples 15130a, 15130b, and / or 15130c can be deformed to different forming heights, thefirst staple 15130a is deformed to a first forming height, and the second The staple 15130b is deformed to the second molding height, and thethird staple 15130c is deformed to the third molding height. For example, the first molding height may be shorter than the second molding height, The molding height may be shorter than the third molding height. Alternatives are envisioned, andstaples 15130a, 15130b, and 15130c can be molded to any suitable forming height and / or any relative forming height.

必要に応じて、上述のように、外科用ステープル留め器具のアンビルは、開位置と閉位置との間を動くことができる。そのような状況において、アンビルの組織接触表面は、アンビルが閉位置に移動する際に、その最終(成形)位置に移動されうる。アンビルがいったん閉位置になると、組織接触表面はもはや調整不能になりうる。あるいは、次に図351を参照して、外科用ステープラ(例えば外科用ステープラ15500)は、アンビル溝部材15560と、そのアンビル溝部材15560内に配置される調整可能な組織接触アンビル調整プレート15561と、を含みうる。そのような場合、アンビルプレート15561は、アンビルプレート15561に対向して配置されるステープルカートリッジに対して、アンビルプレート15561の組織接触表面の位置を調整するため、アンビル溝部材15560内で上下させることができる。外科用ステープラ15500は、調整スライド15564を有してよく、これは、図356及び357を参照すると、アンビルプレート15561とステープルカートリッジとの間の距離を制御するために、アンビル溝部材15560とアンビルプレート15561の中間で摺動しうる。再び図351及び352を参照すると、外科用ステープラ15500は更に、調整スライド15564に連結されたアクチュエータ15562を有してよく、これは、調整スライド15564を近位側に摺動させるために近位側に摺動され、及び/又は調整スライド15564を遠位側に摺動させるために遠位側に摺動されうる。再び図356及び357を参照すると、アクチュエータ15562は、アンビルプレート15561を2つ以上のそれぞれの位置の間で調整するために、2つ以上の定義済み位置の間で摺動させることができる。そのような定義済み位置は、例えば、外科用ステープラ15500上に目印15563(図351)として印をつけることができる。図357を参照すると、調整スライド15564は複数の支持表面(例えば、第1の支持表面15565a、第2の支持表面15565b、及び第3の支持表面15565c)を有してよく、これは、アンビルプレート15561を第1の配置に配置するために、アンビルプレート15561の裏側で、複数のプレート配置表面(例えば、第1の配置表面15569a、第2の配置表面15569b、及び第3の配置表面15569c)とそれぞれ整列させることができる。アンビルプレート15561を第2の配置に配置するために、例えば、アンビルプレート15561の配置表面15569a〜15569cに対して、スライド15564の支持表面15565a〜15565cを再整列させるために、アクチュエータ15562とスライド15564を近位側に摺動させることができる。より詳細には、図356を参照して、スライド15564は遠位側に摺動させることができ、これにより、アンビルプレート15561をステープルカートリッジに近づけるために、スライド15564の第1の支持表面15565aを、アンビルプレート15561の第2の配置表面15569bの向こう側に配置することができ、また、スライド15564の第2の支持表面15565bを、アンビルプレート15561の第3の配置表面15569cの向こう側に配置することができる。アンビルプレート15561が第1の配置から第2の配置へと移動されるとき、そのような状況において、調整可能アンビルプレート15561は、アンビルプレート15561とステープルカートリッジとの間に配置されている組織Tを更に圧縮することができる。上記に加えて、アンビルプレート15561を調整して、アンビルプレート15561内に画定されている成形ポケットがステープルカートリッジに近づき及び/又は離れるよう動くことによって、ステープルの成形高さは、ステープルカートリッジに対するアンビルプレート15561の位置によって制御されうる。上記では2つの位置のみについて検討したが、スライド15564は、アンビルプレート15561をステープルカートリッジに近づけ及び/又は離すよう動かすのに、好適な数の位置に摺動させることができる。いずれの場合も、アンビルプレート15561がいったん適当に配置されると、ステープル配備スレッド15550をステープルカートリッジ内で遠位方向に摺動させることができ、これによって、図354に示すように、アンビルプレート15561に向かってステープルドライバ15540とステープル15530を持ち上げ、組織Tにステープルを行うことができる。同様の外科用ステープラが、米国特許出願番号第13/036,647号「SURGICAL STAPLING INSTRUMENT」(2011年2月28日出願)に開示されており、その開示内容の全体を参照により本明細書に援用する。  If desired, as described above, the anvil of the surgical stapling instrument can move between an open position and a closed position. In such a situation, the tissue contacting surface of the anvil can be moved to its final (molded) position as the anvil moves to the closed position. Once the anvil is in the closed position, the tissue contacting surface can no longer be adjusted. Alternatively, referring now to FIG. 351, a surgical stapler (eg, surgical stapler 15500) includes ananvil groove member 15560 and an adjustable tissue contactanvil adjustment plate 15561 disposed within theanvil groove member 15560; Can be included. In such a case, theanvil plate 15561 can be raised and lowered within theanvil groove member 15560 to adjust the position of the tissue contacting surface of theanvil plate 15561 relative to the staple cartridge disposed opposite theanvil plate 15561. it can.Surgical stapler 15500 may have anadjustment slide 15564, which, with reference to FIGS. 356 and 357, to control the distance between theanvil plate 15561 and the staple cartridge, theanvil groove member 15560 and the anvil plate. It can slide in the middle of 15561. Referring again to FIGS. 351 and 352, thesurgical stapler 15500 may further include anactuator 15562 coupled to theadjustment slide 15564, which is proximal to slide theadjustment slide 15564 proximally. And / or can be slid distally to slide theadjustment slide 15564 distally. Referring again to FIGS. 356 and 357, theactuator 15562 can be slid between two or more predefined positions to adjust theanvil plate 15561 between two or more respective positions. Such a defined location can be marked as a landmark 15563 (FIG. 351) on thesurgical stapler 15500, for example. Referring to FIG. 357, theadjustment slide 15564 may have a plurality of support surfaces (eg, a first support surface 15565a, a second support surface 15565b, and a third support surface 15565c), which may be an anvil plate. A plurality of plate placement surfaces (eg, a first placement surface 15569a, a second placement surface 15569b, and a third placement surface 15569c) on the back side of theanvil plate 15561 to place the 15561 in the first placement; Each can be aligned. To place theanvil plate 15561 in the second configuration, for example, to realign the support surfaces 15565a-15565c of theslide 15564 with respect to the placement surfaces 15569a-15569c of theanvil plate 15561, theactuator 15562 and theslide 15564 are Can be slid proximally. More particularly, referring to FIG. 356, theslide 15564 can be slid distally, thereby moving the first support surface 15565a of theslide 15564 closer to the staple cartridge. , The second placement surface 15569b of theanvil plate 15561 can be placed beyond the second placement surface 15569b, and the second support surface 15565b of theslide 15564 is placed over the third placement surface 15569c of theanvil plate 15561. be able to. In such a situation, when theanvil plate 15561 is moved from the first configuration to the second configuration, theadjustable anvil plate 15561 removes the tissue T disposed between theanvil plate 15561 and the staple cartridge. Further compression is possible. In addition to the above, theanvil plate 15561 is adjusted so that the molding pockets defined in theanvil plate 15561 move toward and / or away from the staple cartridge so that the molding height of the staples is adjusted relative to the staple cartridge. It can be controlled by the position of 15561. Although only two positions have been discussed above, theslide 15564 can be slid to a suitable number of positions to move theanvil plate 15561 closer to and / or away from the staple cartridge. In either case, once theanvil plate 15561 is properly positioned, thestaple deployment sled 15550 can be slid distally within the staple cartridge, thereby providing ananvil plate 15561 as shown in FIG. Thestaple driver 15540 andstaple 15530 can be lifted toward the tissue T to staple the tissue T. A similar surgical stapler is disclosed in US patent application Ser. No. 13 / 036,647 “SURGICAL STAPLING INSTRUMENT” (filed Feb. 28, 2011), the entire disclosure of which is incorporated herein by reference. Incorporate.

次に図353を参照すると、ステープルカートリッジは、外科用ステープラ15500のステープルカートリッジ溝部材15570内に配置することができ、これは組織厚さコンペンセータ(例えば、組織厚さコンペンセータ15520)を含みうる。アンビルプレート15561がステープルカートリッジに向かって移動すると、上述のように、アンビルプレート15561は、アンビルプレート15561と組織厚さコンペンセータ15520の中間に配置された、組織厚さコンペンセータ15520及び/又は組織Tを圧縮することができる。ステープル15530がステープルカートリッジから配備されると、図355を参照して、ステープル15530は、組織Tに対して組織厚さコンペンセータを圧縮し、埋め込むことができる。必要に応じて、アンビルプレート15561がスライド15564に対して配置され、組織がまだアンビルプレート15561と組織厚さコンペンセータ15520との間に配置されていない場合、アンビルプレート15561が第1の配置にあるときの組織厚さコンペンセータ15520の上側表面15521とアンビルプレート15561との間に、隙間が画定されうる。アンビルプレート15561が第2の配置に移動されると、アンビルプレート15561が組織厚さコンペンセータ15520に接触しうる。あるいは、アンビルプレート15561がスライド15564に対して配置され、組織がまだアンビルプレート15561と組織厚さコンペンセータ15520との間に配置されていない場合、アンビルプレート15561が第1の配置及び/又は第2の配置にあるときの組織厚さコンペンセータ15520の上側表面15521とアンビルプレート15561との間に、隙間が画定されうる。例えば、アンビルプレート15561は、組織厚さコンペンセータ15520と接触しえない。あるいは、アンビルプレート15561がスライド15564に対して配置され、組織がまだアンビルプレート15561と組織厚さコンペンセータ15520との間に配置されていない場合、例えば、アンビルプレート15561が第1の配置及び/又は第2の配置のいずれにあるかにかかわらず、アンビルプレート15561は、組織厚さコンペンセータ15520の上側表面15521に接触しうる。本明細書ではアンビルプレート15611の2つの位置のみについて記述されているが、アンビルプレート15611は、任意の適当な数の位置に配置することができる。  Referring now to FIG. 353, the staple cartridge can be disposed within the staplecartridge groove member 15570 of thesurgical stapler 15500, which can include a tissue thickness compensator (eg, tissue thickness compensator 15520). As theanvil plate 15561 moves toward the staple cartridge, as described above, theanvil plate 15561 compresses thetissue thickness compensator 15520 and / or the tissue T disposed between theanvil plate 15561 and thetissue thickness compensator 15520. can do. Once thestaple 15530 is deployed from the staple cartridge, referring to FIG. If necessary, when theanvil plate 15561 is positioned relative to theslide 15564 and the tissue is not yet positioned between theanvil plate 15561 and thetissue thickness compensator 15520, theanvil plate 15561 is in the first configuration. A gap may be defined between theupper surface 15521 of thetissue thickness compensator 15520 and theanvil plate 15561. As theanvil plate 15561 is moved to the second configuration, theanvil plate 15561 may contact thetissue thickness compensator 15520. Alternatively, if theanvil plate 15561 is positioned relative to theslide 15564 and the tissue has not yet been positioned between theanvil plate 15561 and thetissue thickness compensator 15520, theanvil plate 15561 may be in the first configuration and / or the second A gap may be defined between theupper surface 15521 of thetissue thickness compensator 15520 and theanvil plate 15561 when in position. For example, theanvil plate 15561 cannot contact thetissue thickness compensator 15520. Alternatively, if theanvil plate 15561 is positioned relative to theslide 15564 and the tissue is not yet positioned between theanvil plate 15561 and thetissue thickness compensator 15520, for example, theanvil plate 15561 may be in the first configuration and / or the first Regardless of which of the two configurations, theanvil plate 15561 can contact theupper surface 15521 of thetissue thickness compensator 15520. Although only two positions of theanvil plate 15611 are described herein, theanvil plate 15611 can be placed in any suitable number of positions.

必要に応じて、上記の結果、外科用ステープル留め器具は、異なる状況において異なる組織厚さの補償を行うことができる、ステープルの成形高さを調整するための手段を有しうる。加えて、外科用ステープル留め器具は、例えば、異なる組織厚さ及び/又は組織内の厚さ偏差について補償するための他の手段を含みうる。例えば、アンビルプレート15561は、ステープルの成形(発射済み)高さを増加させるため、相対するステープルカートリッジから上向きに、又は離れるように調整することができる。同様に、アンビルプレート15561は、ステープルの成形(発射済み)高さを減少させるため、相対するステープルカートリッジから下向きに、又は近づくように調整することができる。アンビルプレート15561の調整には、例えば、アンビルプレート15561内に画定される成形ポケットと、ステープルドライバの発射高さ、又はより具体的には例えば、ステープルドライバ受台の発射高さとの間の隙間を調整することができる。より厚い及び/又は薄い組織のために、ステープルの成形高さを調整するそのような機能を伴っていても、例えば、組織厚さコンペンセータは更に、より厚い及び/又は薄い組織の補償を行うことができ、及び/又は、上述のように、組織内の厚さ偏差を補償することができる。そのような場合、外科医には、同じ外科用ステープル留め器具内で、いくつかの補償手段が提供されうる。  If desired, as a result of the above, the surgical stapling instrument can have means for adjusting the forming height of the staples that can compensate for different tissue thicknesses in different situations. In addition, the surgical stapling instrument can include other means, for example, to compensate for different tissue thicknesses and / or thickness deviations within the tissue. For example, theanvil plate 15561 can be adjusted upward or away from the opposing staple cartridge to increase the formed (fired) height of the staples. Similarly, theanvil plate 15561 can be adjusted downward or closer to the opposing staple cartridge to reduce staple forming (fired) height. Adjustments to theanvil plate 15561 include, for example, a gap between the molding pocket defined in theanvil plate 15561 and the firing height of the staple driver, or more specifically, for example, the firing height of the staple driver cradle. Can be adjusted. For example, a tissue thickness compensator may further compensate for thicker and / or thinner tissue, even with such a function to adjust the forming height of the staples for thicker and / or thinner tissue. And / or can compensate for thickness deviations in the tissue, as described above. In such a case, the surgeon may be provided with several compensation means within the same surgical stapling instrument.

上述のように、外科用ステープル留め器具は、ステープルキャビティとステープルの線形配列を有するステープルカートリッジを利用することができ、発射部材はステープルカートリッジを通って遠位側に前進し、ステープルキャビティからステープルを配備することができる。ステープルカートリッジは、曲線であるステープルキャビティ及びステープルの列を含みうる。次に図345及び346を参照すると、外科用ステープル留め器具(例えば、ステープラ15600)は、円形又は環状の支持部分15610内に画定された1つ又は2つ以上の円形又は環状のステープルキャビティ列を含みうる。そのような円形ステープル列は、例えば、内側ステープルキャビティ15612の円形列と、外側ステープルキャビティ15613の円形列とを含みうる。例えば、ステープルキャビティの円形列は、ステープラ15600内に画定された円形又は環状の開口部15615を取り囲むことができ、これが、その中に移動可能に配置される円形又は環状のナイフを受容しうる。使用時には、組織は支持部分15610のデッキ表面15611に対して配置され、アンビル(図示なし)は、開口部15615を通って延びる及び/又はこの中に配置されるアクチュエータを介して外科用ステープラ15600に組み入れることができ、これによって、アクチュエータが作動すると、アンビルが支持部分15610に向かってクランプ締めされ、デッキ表面15611に対して組織を圧縮することができる。組織が充分に圧縮されると、ステープルキャビティ15612及び15613内に配置されたステープルが、支持部分15610から発射されて組織を貫通し、これにより、ステープルがアンビルに接触でき、その中に組織を捕捉するのに充分なように変形されうる。ステープルが発射される際、及び/又はステープルが発射された後、円形ナイフが前進して、組織を切断する。その後、アンビルが支持部分15610から離れ、及び/又は外科用ステープラ15600から外れることができ、これによりアンビルと外科用ステープラ15600を、手術部位から除去することができる。そのような外科用ステープラ15600とそのような外科的技法は、例えば、大腸の2つの部分を接合するのに利用することができる。様々な状況において、大腸の部分を互いに保持しながら組織を治癒させ、同時に、大腸の各部分を弾性的に拡張させるよう、円形ステープル列を構成することができる。類似の外科用ステープル留め器具及び外科的技法が、米国特許第5,285,945号「SURGICAL ANASTOMOSIS STAPLING INSTRUMENT」(1994年2月15日発行)に開示されており、その開示内容の全体を参照により本明細書に援用する。  As described above, a surgical stapling instrument can utilize a staple cartridge having a linear array of staple cavities and staples, and the firing member is advanced distally through the staple cartridge to remove staples from the staple cavities. Can be deployed. The staple cartridge can include staple cavities and rows of staples that are curved. Referring now to FIGS. 345 and 346, a surgical stapling instrument (eg, stapler 15600) includes one or more circular or annular staple cavity rows defined within a circular orannular support portion 15610. May be included. Such circular staple rows can include, for example, a circular row of innerstaple cavities 15612 and a circular row of outerstaple cavities 15613. For example, a circular row of staple cavities can surround a circular orannular opening 15615 defined in thestapler 15600, which can receive a circular or annular knife movably disposed therein. In use, tissue is placed against thedeck surface 15611 of thesupport portion 15610 and an anvil (not shown) extends through theopening 15615 and / or to thesurgical stapler 15600 via an actuator placed therein. Can be incorporated so that when the actuator is actuated, the anvil is clamped toward thesupport portion 15610 to compress the tissue against thedeck surface 15611. When the tissue is fully compressed, the staples disposed within thestaple cavities 15612 and 15613 are fired from thesupport portion 15610 and penetrate the tissue, thereby allowing the staples to contact the anvil and capture the tissue therein. It can be deformed enough to do. When the staples are fired and / or after the staples are fired, the circular knife is advanced to cut the tissue. Thereafter, the anvil can move away from thesupport portion 15610 and / or disengage from thesurgical stapler 15600 so that the anvil and thesurgical stapler 15600 can be removed from the surgical site. Such asurgical stapler 15600 and such a surgical technique can be utilized, for example, to join two parts of the large intestine. In various situations, circular staple rows can be configured to heal tissue while holding the large intestine portions together and at the same time elastically expand each portion of the large intestine. Similar surgical stapling instruments and surgical techniques are disclosed in US Pat. No. 5,285,945 “SURGICAL ANASTOMOSIS STAPLING INSTRUMENT” (issued February 15, 1994), the entire disclosure of which is hereby incorporated by reference. Is incorporated herein by reference.

上記に対して更に、組織厚さコンペンセータは、例えば、外科用ステープラ15600の支持部分15610に対して配置されうるか、及び/又はこれに対して取り付けられうる。組織厚さコンペンセータは、例えば、内径と外径を含む円形又は環状のリング材料で構成することができる。特定の状況において、組織は、このリング材料に対して配置することができ、アンビルを使って組織を支持部分15610に向かって移動させると、組織厚さコンペンセータが、組織とデッキ表面15611との間で圧縮されうる。使用時には、ステープルは組織厚さコンペンセータと組織を貫通して発射することができ、これによりステープルはアンビルに接触してその発射位置で変形され、ステープル内に組織及び組織厚さコンペンセータの一部を捕捉することができる。様々な状況において、上記に対して更に、組織厚さコンペンセータを含むリング材料は、ステープル列を取り囲む大腸の部分が膨張できるよう、充分に弾力性でなければならない。再び図345及び346を参照すると、可撓性組織厚さコンペンセータ15620は、例えば、円形又は環状の可撓性内側リング15624を備えてよく、例えば、これは、円形又は環状の開口部15625を画定しうる。内側リング15624は、外科用ステープラ15600から配備されたステープル内に捕捉されないように構成されうる。すなわちむしろ、内側リング15624は、ステープルキャビティ15612の内側列に対して半径方向内側に配置されうる。例えば、組織厚さコンペンセータ15620は、それ自体から延びる複数のタグ(例えば内側タグ15622及び外側タグ15623)を含んでよく、これにより、タグは、ステープルが変形されるときにステープル内に少なくとも部分的に捕捉されうる。より詳細には、主に図345を参照して、各内側タグ15622は、外科用ステープラ15600内に画定されたステープルキャビティ15612の上に配置されるヘッド部を有してよく、ヘッド部は、例えば、ネック部15626によって内側リング15624に取り付けることができ、また同様に、各外側タグ15623は、外科用ステープラ15600内に画定されたステープルキャビティ15613の上に配置されるヘッド部を有してよく、ヘッド部は、例えば、ネック部156267によって内側リング15624に取り付けることができる。内側タグ15622と外側タグ15623のヘッド部は、例えば円形、卵形、及び/又は楕円形など、任意の適当な形状を含みうる。ネック部15626及び/又は15627も、任意の適当な形状を有してよく、外側タグ15623のヘッド部を内側リング15624に連結するネック部15627は、支持部分15610の隣接する内側ステープルキャビティ15612の間に延びるように構成することができ、これによってネック部15627は、内側ステープルキャビティ15612から配備されたステープル内には捕捉されない。  Further to the above, the tissue thickness compensator can be positioned and / or attached to, for example, thesupport portion 15610 of thesurgical stapler 15600. The tissue thickness compensator can be composed of, for example, a circular or annular ring material including an inner diameter and an outer diameter. In certain circumstances, the tissue can be placed against this ring material, and when the anvil is used to move the tissue toward thesupport portion 15610, the tissue thickness compensator is placed between the tissue and thedeck surface 15611. Can be compressed. In use, the staple can be fired through the tissue thickness compensator and the tissue so that the staple contacts the anvil and is deformed at its firing position, causing a portion of the tissue and tissue thickness compensator to enter the staple. Can be captured. In various situations, in addition to the above, the ring material including the tissue thickness compensator must be sufficiently resilient so that the portion of the large intestine surrounding the staple row can expand. Referring again to FIGS. 345 and 346, the flexibletissue thickness compensator 15620 may comprise a circular or annular flexibleinner ring 15624, for example, which defines a circular orannular opening 15625. Yes.Inner ring 15624 can be configured not to be captured within staples deployed fromsurgical stapler 15600. Rather, theinner ring 15624 can be disposed radially inward with respect to the inner row ofstaple cavities 15612. For example, thetissue thickness compensator 15620 may include a plurality of tags (eg,inner tag 15622 and outer tag 15623) extending from itself so that the tag is at least partially within the staple when the staple is deformed. Can be captured. More particularly, referring primarily to FIG. 345, eachinner tag 15622 may have a head portion disposed over thestaple cavities 15612 defined in thesurgical stapler 15600, the head portions being For example, theneck 15626 can be attached to theinner ring 15624 and, similarly, eachouter tag 15623 can have a head portion disposed over thestaple cavities 15613 defined within thesurgical stapler 15600. The head portion can be attached to theinner ring 15624 by a neck portion 156267, for example. The head portions of theinner tag 15622 and theouter tag 15623 can include any suitable shape, such as, for example, circular, oval, and / or elliptical. Thenecks 15626 and / or 15627 may also have any suitable shape, and the neck 15627 that connects the head of theouter tag 15623 to theinner ring 15624 is between adjacentinner staple cavities 15612 of thesupport portion 15610. The neck portion 15627 is not captured in staples deployed from theinner staple cavity 15612.

次に図347及び348を参照すると、可撓性組織厚さコンペンセータ15720は、例えば、円形又は環状の可撓性外側リング15724を含みうる。外側リング15724は、外科用ステープラ15600から配備されたステープル内に捕捉されないように構成することができる。すなわちむしろ、外側リング15724は、ステープルキャビティ15613の外側列に対して半径方向外側に配置されうる。例えば、組織厚さコンペンセータ15720は、それ自体から延びる複数のタグ(例えば内側タグ15622及び外側タグ15623)を有してよく、これにより、タグは、ステープルが変形されるときにステープル内に少なくとも部分的に捕捉されうる。より詳細には、主に図347を参照して、各内側タグ15622は、外科用ステープラ15600内に画定されたステープルキャビティ15612の上に配置されるヘッド部を有してよく、ヘッド部は、例えば、ネック部15726によって外側リング15724に取り付けることができ、また同様に、各外側タグ15623は、外科用ステープラ15600内に画定されたステープルキャビティ15613の上に配置されるヘッド部を有してよく、ヘッド部は、例えば、ネック部15727によって外側リング15724に取り付けることができる。内側タグ15622と外側タグ15623のヘッド部は、例えば円形、卵形、及び/又は楕円形など、任意の適当な形状を含みうる。ネック部15726及び/又は15727も、任意の適当な形状を有してよく、内側タグ15622のヘッド部を外側リング15724に連結するネック部15726は、隣接する外側ステープルキャビティ15613の間に延びるように構成することができ、これによってネック部15726は、外側ステープルキャビティ15613から配備されたステープル内には捕捉されない。あるいは、組織厚さコンペンセータは、円形又は環状の可撓性内側リング、円形又は環状の可撓性外側リング、及び、これに加えて、内側リング及び/又は外側リングに連結できる複数のタグを含みうる。特定のタグを内側リングに連結し、特定の他のタグを外側リングに連結することができる。少なくともいくつかのタグが、内側リングと外側リングの両方に連結できる。いずれの場合も、上記に対して更に、移植された組織の膨張及び/又は収縮に対処するために、組織厚さコンペンセータ15620の内側リング15624、組織厚さコンペンセータ15720の外側リング15724、及び/又は他の任意の適当な組織厚さコンペンセータを、弾性的に膨張及び/又は収縮するように構成することができる。更に、円形又は環状支持リングを含む様々な実施形態が本明細書で記述されているが、組織厚さコンペンセータは、タグを連結するための任意の適当な形状の支持構造を含みうる。上記に対して更に、アンビルと支持部分との間に捕捉された組織を切断するために、外科用ステープラによって前進された円形ナイフは、バットレス材料も切断しうる。ナイフは例えば、ネック部を切断することによって、内側支持リングとタグを分離することができる。  Referring now to FIGS. 347 and 348, the flexibletissue thickness compensator 15720 can include a circular or annular flexibleouter ring 15724, for example.Outer ring 15724 may be configured not to be captured within staples deployed fromsurgical stapler 15600. Rather, theouter ring 15724 can be disposed radially outward relative to the outer row ofstaple cavities 15613. For example, thetissue thickness compensator 15720 may have a plurality of tags (eg,inner tag 15622 and outer tag 15623) extending from itself so that the tag is at least partially disposed within the staple when the staple is deformed. Can be captured. More particularly, referring primarily to FIG. 347, eachinner tag 15622 may have a head portion disposed over thestaple cavities 15612 defined in thesurgical stapler 15600, the head portions being For example, it can be attached to theouter ring 15724 by aneck 15726, and similarly eachouter tag 15623 can have a head portion that is disposed over astaple cavity 15613 defined within thesurgical stapler 15600. The head portion can be attached to theouter ring 15724 by aneck portion 15727, for example. The head portions of theinner tag 15622 and theouter tag 15623 can include any suitable shape, such as, for example, circular, oval, and / or elliptical.Neck portions 15726 and / or 15727 may also have any suitable shape such thatneck portion 15726 that connects the head portion ofinner tag 15622 toouter ring 15724 extends between adjacent outerstaple cavities 15613. Can be configured so that theneck 15726 is not captured within the staple deployed from theouter staple cavity 15613. Alternatively, the tissue thickness compensator includes a circular or annular flexible inner ring, a circular or annular flexible outer ring, and in addition, a plurality of tags that can be coupled to the inner ring and / or outer ring. sell. Certain tags can be coupled to the inner ring and certain other tags can be coupled to the outer ring. At least some tags can be coupled to both the inner and outer rings. In any case, in addition to the above, theinner ring 15624 of thetissue thickness compensator 15620, theouter ring 15724 of thetissue thickness compensator 15720, and / or to address the expansion and / or contraction of the implanted tissue. Any other suitable tissue thickness compensator can be configured to elastically expand and / or contract. In addition, although various embodiments including circular or annular support rings are described herein, the tissue thickness compensator may include any suitable shaped support structure for connecting tags. Further to the above, a circular knife advanced by a surgical stapler to cut tissue captured between the anvil and the support portion can also cut the buttress material. The knife can separate the inner support ring and the tag, for example, by cutting the neck.

上記に対して更に、組織厚さコンペンセータは、取り外し可能及び/又は相対的に運動可能な部分を有してよく、これは、移植された組織の動きに対処するために、組織厚さコンペンセータが膨張及び/又は収縮できるように構成しうる。次に図349及び350を参照して、円形又は環状の組織厚さコンペンセータ15820は、外科用ステープラ15600のデッキ表面15611に対して配置され、及び/又はこれによって支持され、組織に対して移植されたものであるためこれは未膨張位置に保持されうる(図349)。組織厚さコンペンセータ15820が移植された後、組織厚さコンペンセータ15820は、図350に示すように、外側に膨張するように構成することができる。組織厚さコンペンセータ15820は、例えば、内側リング15824によって互いに連結されうる複数の円弧状部分15822を含みうる。円弧状部分15822はシーム15828によって互いに分離されうる。あるいは、円弧状部分15822は互いに連結することができ、例えば、互いに分離するために、穿孔を配置することにより、円弧状部分15822を互いに分離させることができる。いずれの場合でも、円弧状部分15822はそれぞれ、相互係合機構(例えば突起15826及びノッチ15823)を有してよく、これが協働して、組織厚さコンペンセータ15820が埋め込まれる前の、円弧状部分15822間の相対的な動きを制限することができる。上記に対して更に、各円弧状部分15822は、1つ以上のコネクタ15827で内側リング15824に連結することができ、例えばこれは、円弧状部分15822を定位置で解放可能に保持するように構成することができる。支持部分15610に保管されているステープル(例えばステープル10030)が組織に対して組織厚さコンペンセータ15620を埋め込むのに利用された後、主に図350を参照して、コネクタ15827は、内側リング15824から分離することができ、これにより組織厚さコンペンセータ15820が少なくとも部分的に膨張して、下にある組織内の動きに対応できる。様々な状況において、円弧状部分15822のすべてが内側リング15824から取り外せる一方、他の状況においては、円弧状部分15822の一部だけが内側リング15824から取り外すことができる。あるいは、円弧状部分15822は可撓性部分によって連結することができ、これにより、円弧状部分15822が互いに相対的に動くことができるが、互いに分離されることはない。例えば、可撓性部分はその中にステープルを受容することはなく、円弧状部分15822の相対的な動きに対処するために伸縮するように構成することができる。図349及び350において、組織厚さコンペンセータ15820は、例えば、8つの円弧状部分15822を含みうる。あるいは、組織厚さコンペンセータは、任意の適当な数の円弧状部分を有してよく、例えば、2つ以上の円弧状部分を含みうる。  Further to the above, the tissue thickness compensator may have a removable and / or relatively moveable portion that allows the tissue thickness compensator to handle movement of the implanted tissue. It can be configured to be able to expand and / or contract. Referring now to FIGS. 349 and 350, the circular or annulartissue thickness compensator 15820 is positioned against and / or supported by thedeck surface 15611 of thesurgical stapler 15600 and implanted into the tissue. This can be held in the unexpanded position (FIG. 349). After thetissue thickness compensator 15820 is implanted, thetissue thickness compensator 15820 can be configured to expand outwardly as shown in FIG. Thetissue thickness compensator 15820 can include a plurality ofarcuate portions 15822 that can be coupled together, for example, by aninner ring 15824. Thearcuate portions 15822 can be separated from each other byseams 15828. Alternatively,arcuate portions 15822 can be coupled together, for example,arcuate portions 15822 can be separated from each other by placing perforations to separate them from each other. In any case, eacharcuate portion 15822 may have an interengagement mechanism (eg,protrusion 15826 and notch 15823) that cooperates to form the arcuate portion beforetissue thickness compensator 15820 is implanted. The relative movement between 15822 can be limited. Further to the above, eacharcuate portion 15822 can be coupled to theinner ring 15824 with one ormore connectors 15827, eg, configured to releasably hold thearcuate portion 15822 in place. can do. Referring primarily to FIG. 350, after the staple (eg, staple 10030) stored in thesupport portion 15610 has been utilized to embed thetissue thickness compensator 15620 into the tissue, theconnector 15827 is removed from theinner ring 15824. Can be separated, thereby allowingtissue thickness compensator 15820 to at least partially expand to accommodate movement in the underlying tissue. In various situations, all of thearcuate portion 15822 can be removed from theinner ring 15824, while in other situations, only a portion of thearcuate portion 15822 can be removed from theinner ring 15824. Alternatively, thearcuate portions 15822 can be joined by flexible portions so that thearcuate portions 15822 can move relative to each other but are not separated from each other. For example, the flexible portion does not receive staples therein and can be configured to expand and contract to accommodate the relative movement of thearcuate portion 15822. In FIGS. 349 and 350, thetissue thickness compensator 15820 can include, for example, eightarcuate portions 15822. Alternatively, the tissue thickness compensator may have any suitable number of arcuate portions, and may include, for example, two or more arcuate portions.

上記に対して更に、組織厚さコンペンセータ15620、15720、及び/又は15820は、例えば、外科用器具15600のアンビルと支持部分15610の間に捕捉された、より厚い及び/又はより薄い組織に対して、補償するように構成することができる。必要に応じて、上記と同様、ステープルの成形(発射済み)高さは、アンビルを支持部分15610に近づけ及び/又は遠ざける移動によって調整することができる。より詳細には、アンビルを支持部分15610に近づくように移動させて、ステープルの成形高さを減少させることができ、一方、アンビルを支持部分15610から遠ざけるよう移動させて、ステープルの成形高さを増加させることができる。そのような場合、その結果、外科医は、厚い組織に対応するためにアンビルを支持部分15610から離すように調整し、薄い組織に対応するためにアンビルを支持部分15610に近づけるように調整することができる。様々なその他の状況において、外科医は、より薄い及び/又は厚い組織に対処するために、アンビルを全く調整せず、組織厚さコンペンセータに頼るように判断することができる。必要に応じて、その結果、外科用器具15600は、異なる組織厚さ及び/又は組織厚さの偏差に対する補償のために、少なくとも2つの方法を含みうる。  In addition to the above,tissue thickness compensators 15620, 15720, and / or 15820 may be used for thicker and / or thinner tissue, eg, captured between an anvil andsupport portion 15610 ofsurgical instrument 15600. , Can be configured to compensate. If desired, as described above, the formed (fired) height of the staple can be adjusted by moving the anvil closer and / or away from thesupport portion 15610. More specifically, the anvil can be moved closer to thesupport portion 15610 to reduce the forming height of the staple, while the anvil can be moved away from thesupport portion 15610 to increase the staple forming height. Can be increased. In such cases, as a result, the surgeon may adjust the anvil away from thesupport portion 15610 to accommodate thick tissue and adjust the anvil closer to thesupport portion 15610 to accommodate thin tissue. it can. In various other situations, the surgeon may decide not to adjust the anvil at all and to rely on the tissue thickness compensator to deal with thinner and / or thicker tissue. As a result, as a result,surgical instrument 15600 can include at least two methods for compensating for different tissue thicknesses and / or variations in tissue thickness.

必要に応じて、上述のように、組織厚さコンペンセータは、ステープルカートリッジの支持部分に取り付けることができる。組織厚さコンペンセータの下側表面は、フック層又はループ層のうち一方を有してよく、支持部分のデッキ表面は、フック層又はループ層のうちもう一方を含みうる。例えば、このフック層とループ層は互いに係合し、組織厚さコンペンセータを支持部分に解放可能に保持するように構成することができる。必要に応じて、各フックは、例えば、ネック部から延びる膨張したヘッド部を含みうる。例えば、ループを含む複数のパッドを、組織厚さコンペンセータの下側表面に接着することができ、一方、フックを含む複数のパッドを、支持部分のデッキ表面に接着することができる。支持部分は、例えば、1つ以上の開口部及び/又は凹部を有してよく、これはフック及び/又はループを含みその中に挿入物を受容するように構成することができる。上記に加えて、又は上記に代わり、組織厚さコンペンセータは、例えば、そのようなフック・ループの面ファスナ配列を利用してアンビルに取り外し可能に取り付けることができる。フック・ループの面ファスナ配列は繊維性表面を含みうる。  If desired, the tissue thickness compensator can be attached to the support portion of the staple cartridge, as described above. The lower surface of the tissue thickness compensator may have one of a hook layer or a loop layer, and the deck surface of the support portion may include the other of the hook layer or the loop layer. For example, the hook and loop layers can be configured to engage each other and releasably hold the tissue thickness compensator to the support portion. If desired, each hook may include, for example, an inflated head portion that extends from the neck portion. For example, multiple pads including loops can be bonded to the lower surface of the tissue thickness compensator, while multiple pads including hooks can be bonded to the deck surface of the support portion. The support portion may include, for example, one or more openings and / or recesses, which can include hooks and / or loops and can be configured to receive inserts therein. In addition to or in lieu of the above, a tissue thickness compensator can be removably attached to an anvil utilizing, for example, such hook and loop hook-and-loop arrangements. The hook and loop hook-and-loop fastener arrangement may include a fibrous surface.

必要に応じて、上述のように、ステープルカートリッジは、支持部分と、その支持部分に取り付けられた組織厚さコンペンセータとを含みうる。これも上述のように、支持部分は、その中に切断部材を受容するように構成された長手方向スロットを有してよく、また、組織厚さコンペンセータは、長手方向スロット内に保持されうる保持部材を含みうる。次に図386を参照すると、ステープルカートリッジ16000は、デッキ表面16011と長手方向スロット16015を含む支持部分16010を含みうる。ステープルカートリッジ16000は更に、デッキ表面16011の上方に配置された組織厚さコンペンセータ16020を含みうる。組織厚さコンペンセータ16020は長手方向保持部材16025を有してよく、これは下向きに延びて長手方向スロット16015に入る。例えば、保持部材16025はスロット16015に圧入することができ、これにより、保持部材16025とスロット16015との間の相互作用によって、支持部分16010と組織厚さコンペンセータ16020との間の相対的な動きに抵抗することができる。組織厚さコンペンセータ16020の本体は、第1の材料から構成することができ、保持部材16025は、第2の、又は別の材料から構成することができる。組織厚さコンペンセータ16020の本体は、第1のデュロメータ硬度を有する材料から構成することができ、保持部材16025は、第2のデュロメータ硬度を有する材料から構成することができ、例えば、第2のデュロメータ硬度は第1のデュロメータ硬度よりも高いことがある。使用時には、ステープル10030はステープルドライバ10040によって上に押し上げることができ、これによりステープル10030の先端が組織厚さコンペンセータ16020の本体を貫通し、組織接触表面16021から出現し、標的組織に対して、少なくとも一部の組織厚さコンペンセータ16020を捕捉することができる。本発明によれば、スロット16015を通過する切断部材は、ステープル10030が配備される際に、保持部材16025を横断することができる。組織厚さコンペンセータ16020がいったん埋め込まれると、保持部材16025をスロット16015から引き出すことができる。組織厚さコンペンセータ16020の本体は、保持部材16025から分離するように構成することができる。  Optionally, as described above, the staple cartridge can include a support portion and a tissue thickness compensator attached to the support portion. As also described above, the support portion may have a longitudinal slot configured to receive a cutting member therein, and the tissue thickness compensator may be retained within the longitudinal slot. A member may be included. Referring now to FIG. 386, thestaple cartridge 16000 can include asupport portion 16010 that includes adeck surface 16011 and a longitudinal slot 16015. Thestaple cartridge 16000 can further include a tissue thickness compensator 16020 disposed above thedeck surface 16011. The tissue thickness compensator 16020 may have a longitudinal retention member 16025 that extends downward and enters the longitudinal slot 16015. For example, the retention member 16025 can be press fit into the slot 16015 so that the interaction between the retention member 16025 and the slot 16015 causes relative movement between thesupport portion 16010 and the tissue thickness compensator 16020. Can resist. The body of the tissue thickness compensator 16020 can be composed of a first material and the retention member 16025 can be composed of a second or another material. The body of the tissue thickness compensator 16020 can be made of a material having a first durometer hardness, and the holding member 16025 can be made of a material having a second durometer hardness, for example, a second durometer. The hardness may be higher than the first durometer hardness. In use, thestaple 10030 can be pushed up by thestaple driver 10040 so that the tip of thestaple 10030 penetrates the body of the tissue thickness compensator 16020 and emerges from thetissue contacting surface 16021, at least relative to the target tissue. Some tissue thickness compensators 16020 can be captured. In accordance with the present invention, a cutting member that passes through the slot 16015 can traverse the retaining member 16025 when thestaple 10030 is deployed. Once the tissue thickness compensator 16020 is implanted, the retention member 16025 can be withdrawn from the slot 16015. The body of the tissue thickness compensator 16020 can be configured to separate from the retention member 16025.

次に図387及び389を参照すると、ステープルカートリッジ17000は、デッキ表面17011と長手方向スロット17015を含む支持部分17010を含みうる。ステープルカートリッジ17000は更に、デッキ表面17011の上方に配置された組織厚さコンペンセータ17020を含みうる。組織厚さコンペンセータ17020は長手方向保持部材17025を有してよく、これは下向きに延びて長手方向スロット17015に入る。例えば、保持部材17025はスロット17015に圧入することができ、これにより、保持部材17025とスロット17015との間の相互作用によって、支持部分17010と組織厚さコンペンセータ17020との間の相対的な動きに抵抗することができる。保持部材17025は、上側表面17021に向かって組織厚さコンペンセータ17020全体を貫通して延び、組織厚さコンペンセータ17020の本体部分17024は、保持部材17025の相対する側に取り付けることができる。例えば、保持部材17025は、例えば、組織厚さコンペンセータ17020の横方向偏向に抵抗するように構成することができる。本体部分17024は第1の材料から構成することができ、保持部材17025は、第2の、又は別の材料から構成することができる。本体部分17024は第1のデュロメータ硬度を有する材料から構成することができ、保持部材17025は、第2のデュロメータ硬度を有する材料から構成することができ、例えば、第2のデュロメータ硬度は第1のデュロメータ硬度よりも高いことがある。上記に対して更に、スロット17015を通過する切断部材は、ステープル10030が配備される際に、保持部材17025を横断することができる。組織厚さコンペンセータ17020がいったん埋め込まれると、保持部材17025をスロット17015から引き出すことができる。本体部分17024は、保持部材17025から分離するように構成することができる。  Referring now to FIGS. 387 and 389, thestaple cartridge 17000 can include asupport portion 17010 that includes adeck surface 17011 and alongitudinal slot 17015. Thestaple cartridge 17000 can further include atissue thickness compensator 17020 disposed above thedeck surface 17011. Thetissue thickness compensator 17020 may have alongitudinal retention member 17025 that extends downward and enters thelongitudinal slot 17015. For example, theretention member 17025 can be press fit into theslot 17015 such that the interaction between theretention member 17025 and theslot 17015 causes relative movement between thesupport portion 17010 and thetissue thickness compensator 17020. Can resist. The retainingmember 17025 extends through the entiretissue thickness compensator 17020 toward theupper surface 17021, and thebody portion 17024 of thetissue thickness compensator 17020 can be attached to the opposite side of the retainingmember 17025. For example, theretention member 17025 can be configured to resist lateral deflection of thetissue thickness compensator 17020, for example. Thebody portion 17024 can be composed of a first material and the retainingmember 17025 can be composed of a second or another material. Thebody portion 17024 can be composed of a material having a first durometer hardness, and the holdingmember 17025 can be composed of a material having a second durometer hardness, for example, the second durometer hardness is a first durometer hardness. May be higher than durometer hardness. Further to the above, the cutting member that passes through theslot 17015 can cross the retainingmember 17025 when thestaple 10030 is deployed. Once thetissue thickness compensator 17020 is implanted, theretention member 17025 can be withdrawn from theslot 17015. Thebody portion 17024 can be configured to be separated from the holdingmember 17025.

次に図388を参照すると、ステープルカートリッジ18000は、デッキ表面18011と長手方向スロット18015を含む支持部分18010を含みうる。ステープルカートリッジ18000は更に、デッキ表面18011の上方に配置された組織厚さコンペンセータ18020を含みうる。組織厚さコンペンセータ18020は長手方向保持部材18025を有してよく、これは下向きに延びて長手方向スロット18015に入る。例えば、保持部材18025はスロット18015に圧入することができ、これにより、保持部材18025とスロット18015との間の相互作用によって、支持部分18010と組織厚さコンペンセータ18020との間の相対的な動きに抵抗することができる。保持部材18025は、上側表面18021に向かって組織厚さコンペンセータ18020全体を貫通して延び、組織厚さコンペンセータ18020の本体部分18024は、保持部材18025の相対する側に取り付けることができる。保持部材18025は、膨張した部分18026を有してよく、これがスロット18015内に画定されたキャビティ18016内に受容されうる。例えば、膨張した部分18026は、スロット18015からの保持部材18025の脱出に抵抗しうる。  Referring now to FIG. 388, the staple cartridge 18000 can include asupport portion 18010 that includes adeck surface 18011 and alongitudinal slot 18015. The staple cartridge 18000 can further include atissue thickness compensator 18020 disposed above thedeck surface 18011. Thetissue thickness compensator 18020 may have alongitudinal retention member 18025 that extends downward and enters thelongitudinal slot 18015. For example, theretention member 18025 can be press fit into theslot 18015 so that the interaction between theretention member 18025 and theslot 18015 causes relative movement between thesupport portion 18010 and thetissue thickness compensator 18020. Can resist. Theretention member 18025 extends through the entiretissue thickness compensator 18020 toward theupper surface 18021, and thebody portion 18024 of thetissue thickness compensator 18020 can be attached to the opposite side of theretention member 18025. The retainingmember 18025 may have an inflatedportion 18026 that can be received in acavity 18016 defined in theslot 18015. For example, theinflated portion 18026 can resist escape of the retainingmember 18025 from theslot 18015.

次に図445を参照すると、例えば組織厚さコンペンセータ22020のような組織厚さコンペンセータを、例えばアンビル22060のような外科用ステープル留め器具のアンビルに取り付けることができる。組織厚さコンペンセータ22020は、第1のフィルム22026と第2のフィルム22027との間に画定されたキャビティ22024を有してよく、第1のフィルム22026の少なくとも一部は第2のフィルム22027に接着されている。例えば、第1のフィルム22026は、例えば側部シーム22028a及び22028bに沿って第2のフィルム22027と接着することができる。第1のフィルム22026は封止された外周部に沿って第2のフィルム22027と接着することでキャビティ22024を密封することができる。第1のフィルム22026と第2のフィルム22027とは、例えば、側部シーム22028a、22028b及び/又はフィルム22026とフィルム22027とを結合する他の任意のシームに沿って熱溶接することができる。再び図445を参照すると、アンビル22060は、ステープルの脚を受容して変形させるようにそれぞれ構成することができる複数のステープル成形ポケット22062を有してよく、第2のフィルム22027は成形ポケット22062内に延びうる突起部22022を有しうる。突起部22022は、成形ポケット22062内にぴったりと嵌まり、組織厚さコンペンセータ22020をアンビル22060に対して保持することができるようなサイズ及び構成とすることができる。例えば、図に示されるように、アンビル22060は6列の成形ポケット22062を有してよく、その場合、組織厚さコンペンセータ22020は成形ポケット22062と整列した6列の突起部22022を有しうる。6列よりも多い、又は少ない成形ポケット22062及び/又は突起部22022を有する他の実施形態を用いることもできる。組織厚さコンペンセータ22020をアンビル22060に対して保持するために1以上の接着剤を使用することができる。  Referring now to FIG. 445, a tissue thickness compensator, such as atissue thickness compensator 22020, can be attached to an anvil of a surgical stapling instrument, such as ananvil 22060, for example. Thetissue thickness compensator 22020 may have acavity 22024 defined between thefirst film 22026 and thesecond film 22027, at least a portion of thefirst film 22026 adheres to thesecond film 22027. Has been. For example, thefirst film 22026 can be adhered to thesecond film 22027, for example along side seams 22028a and 22028b. Thefirst film 22026 can seal thecavity 22024 by adhering to thesecond film 22027 along the sealed outer peripheral portion. Thefirst film 22026 and thesecond film 22027 can be heat welded, for example, alongside seams 22028a, 22028b and / or any other seam that joins thefilm 22026 andfilm 22027. Referring again to FIG. 445, theanvil 22060 may have a plurality ofstaple forming pockets 22062 that can each be configured to receive and deform staple legs, and thesecond film 22027 is within the formingpocket 22062. It may have aprotrusion 22022 that can extend to the surface. Theprotrusion 22022 can be sized and configured to fit snugly within themolding pocket 22062 and hold thetissue thickness compensator 22020 against theanvil 22060. For example, as shown, theanvil 22060 may have six rows of molding pockets 22062, in which case thetissue thickness compensator 22020 may have six rows ofprotrusions 22022 aligned with the molding pockets 22062. Other embodiments having more or less than six rows of molding pockets 22062 and / orprotrusions 22022 can also be used. One or more adhesives can be used to hold thetissue thickness compensator 22020 against theanvil 22060.

上記に述べたように、組織厚さコンペンセータ22020は、内部に画定されたキャビティ22024を有しうる。キャビティ22024は、アンビル22060に沿って長手方向に延びうる。再び図445を参照すると、組織厚さコンペンセータ22020は、キャビティ22024内に配置された圧縮可能な材料を有しうる。次に図446を参照すると、例えばステープル22030のようなステープルをステープルカートリッジから射出することができ、これによりステープル22030は組織Tを貫通し、更にアンビル22060と接触する前に組織厚さコンペンセータ22020を貫通する。ステープル22030の脚がアンビル22060によって変形されると脚は下向きに曲げられて再び組織厚さコンペンセータ22020を再貫通することができる。いずれの場合にも、いったんステープル22030が組織厚さコンペンセータ22020を貫通すると、例えばキャビティ22024内に含まれる1以上の液体が組織厚さコンペンセータ22020から組織T上に流出又は滲出する。キャビティ22024内には1以上の粉末が含まれてもよく、この粉末は例えば組織厚さコンペンセータ22020がステープル22030によって少なくとも部分的に破られるとキャビティ22024から漏出しうる。本発明によれば、例えば、ステープル22030がその発射後の形態に変形されるとキャビティ22024内に配置された材料22025がステープル22030内で圧縮又は圧搾されることにより、材料22025内に貯蔵された液体が材料22025から絞り出される。再び図446を参照すると、ステープル22030は、例えば組織Tの他方の側面に接してステープルカートリッジに着脱可能に取り付けられたコンペンセータ22029のような組織厚さコンペンセータを捕捉するように構成することもできる。  As noted above, thetissue thickness compensator 22020 can have acavity 22024 defined therein. Thecavity 22024 can extend longitudinally along theanvil 22060. Referring again to FIG. 445, thetissue thickness compensator 22020 can have a compressible material disposed within thecavity 22024. Referring now to FIG. 446, staples, such asstaples 22030, can be ejected from the staple cartridge, such that thestaples 22030 penetrate tissue T and havetissue thickness compensator 22020 prior to contactinganvil 22060. To penetrate. When the leg ofstaple 22030 is deformed byanvil 22060, the leg can be bent down and re-penetrate throughtissue thickness compensator 22020. In either case, once the staple 22030 has penetrated thetissue thickness compensator 22020, for example, one or more liquids contained within thecavity 22024 flow or exude onto the tissue T from thetissue thickness compensator 22020. Thecavity 22024 may include one or more powders that may leak out of thecavity 22024, for example, when thetissue thickness compensator 22020 is at least partially broken by thestaples 22030. In accordance with the present invention, for example, when thestaple 22030 is deformed to its fired form, thematerial 22025 disposed in thecavity 22024 is stored in thematerial 22025 by being compressed or squeezed in thestaple 22030. Liquid is squeezed out ofmaterial 22025. Referring again to FIG. 446, thestaple 22030 can also be configured to capture a tissue thickness compensator, such as acompensator 22029 detachably attached to the staple cartridge, for example, against the other side of the tissue T.

上記に加えて、材料22025は、例えば凍結乾燥トロンビン、凍結乾燥フィブリン、及び/又は小径繊維不織布酸化再生セルロースを含みうる。材料22025は、圧縮粉末ウェーハを含んでもよい。密封キャビティ22024は、組織厚さコンペンセータ22020の周囲の大気圧よりも低い圧力を有する内部雰囲気を含んでもよい。そうした場合、内部キャビティ22024内の雰囲気と大気との間の圧力差のためにフィルム22027及び22028は内側に引かれうる。上記に述べたように内部キャビティ22024がステープル22030によって破られると、内部キャビティ22024内の真空が周囲の大気と等しくなり、やはり上記に述べたように材料22025が内部キャビティ22024から脱出することができる。こうした状況では、組織厚さコンペンセータ22020は膨張し、ステープル22030内に捕捉された組織Tに圧縮力を作用させうる。材料22025が組織厚さコンペンセータ22020内に真空パックされている場合、材料22025は内部キャビティ22024が穿孔された後に膨張することができる。フィルム22026、22027は生体吸収性材料で構成することができ、患者の体内への留置後に溶解するように構成することができる。例えば、各フィルム22026、22027は、例えば厚さ約0.0064mm(0.25ミル)〜約0.013mm(0.50ミル)の層又は積層体で構成することができる。いずれの場合も、上記に加えて、材料22025を含む組織厚さコンペンセータ22020は、ステープル22030がそのステープルカートリッジから発射される際に切断要素によって切断されてもよい。  In addition to the above,material 22025 can include, for example, lyophilized thrombin, lyophilized fibrin, and / or small fiber non-woven oxidized regenerated cellulose.Material 22025 may comprise a compressed powder wafer. The sealedcavity 22024 may include an internal atmosphere having a pressure that is less than atmospheric pressure around thetissue thickness compensator 22020. In such a case, thefilms 22027 and 22028 can be pulled inward due to the pressure difference between the atmosphere in theinternal cavity 22024 and the atmosphere. As described above, when theinternal cavity 22024 is broken by thestaples 22030, the vacuum in theinternal cavity 22024 is equal to the ambient atmosphere, and again thematerial 22025 can escape from theinternal cavity 22024 as described above. . Under such circumstances, thetissue thickness compensator 22020 can expand and exert a compressive force on the tissue T captured within thestaple 22030. If thematerial 22025 is vacuum packed into thetissue thickness compensator 22020, thematerial 22025 can expand after theinternal cavity 22024 is drilled. Thefilms 22026, 22027 can be composed of a bioabsorbable material and can be configured to dissolve after placement in the patient's body. For example, eachfilm 22026, 22027 can comprise a layer or laminate, for example, having a thickness of about 0.0064 mm (0.25 mil) to about 0.013 mm (0.50 mil). In any case, in addition to the above,tissue thickness compensator 22020 comprisingmaterial 22025 may be cut by a cutting element asstaple 22030 is fired from its staple cartridge.

図445を再び参照すると、組織厚さコンペンセータ22020のキャビティ22024及び材料22025は、ステープル成形ポケット22062の内側の4列の下に配置することができるのに対して、シーム22028a,22028bは成形ポケット22062の外側の列の下に配置することができる。そうした場合、外側のステープルの列の各ステープルは材料22025と係合せず、したがって、その中に材料22025を捕捉しない場合がある。むしろ、このようなステープルは、シーム22028a,22028bに沿ってフィルム22026及び22027のみを捕捉しうる。あるいは、次に図447及び448を参照すると、組織厚さコンペンセータ22120は、上記と同様、第1のフィルム22126、第2のフィルム22127、及び第1のフィルム22126と第2のフィルム22127との間に捕捉された複数の材料22125a〜dを有してもよい。例えば、主に図447を参照すると、第1の材料22125aは、ステープルカートリッジ22000内の外側のステープル22030の列及びアンビル22060内の外側のステープルキャビティ22062の列と整列させることができ、第2の材料22125b及び第3の材料22125cは、ステープル22030及びステープルキャビティ22062の内側の2列とそれぞれ整列させることができ、第4の材料22126dは別の外側のステープル22030及びステープルキャビティ22062の列と整列させることができる。そうした場合、次に図448を参照すると、ステープル22030のすべてを、材料22125a〜22125dの少なくとも1つをその中に捕捉することができるように配置することができる。図447及び448に示されるように、上記に加えて、ステープル22030は、ステープルカートリッジ22000内に配置されたステープルドライバ22040によって未発射の位置と発射後の位置との間で上方に持ち上げることができる。  Referring again to FIG. 445, thecavities 22024 andmaterial 22025 of thetissue thickness compensator 22020 can be placed under the four rows inside thestaple forming pocket 22062, while theseams 22028a, 22028b are formed in the formingpocket 22062. Can be placed under the outer row. In such a case, each staple in the outer staple row may not engage thematerial 22025 and thus may not capture thematerial 22025 therein. Rather, such staples can only capturefilms 22026 and 22027 alongseams 22028a, 22028b. Alternatively, referring now to FIGS. 447 and 448, thetissue thickness compensator 22120 may be similar to thefirst film 22126, thesecond film 22127, and between thefirst film 22126 and thesecond film 22127. May have a plurality ofmaterials 22125a-d trapped therein. For example, referring primarily to FIG. 447, thefirst material 22125a can be aligned with the rows ofouter staples 22030 in thestaple cartridge 22000 and the rows of outerstaple cavities 22062 in theanvil 22060, thesecond Material 22125b andthird material 22125c can be aligned with two inner rows ofstaples 22030 andstaple cavities 22062, respectively, and fourth material 22126d is aligned with another outer row ofstaples 22030 andstaple cavities 22062. be able to. In such a case, referring now to FIG. 448, all of thestaples 22030 can be positioned such that at least one of thematerials 22125a-22125d can be captured therein. As shown in FIGS. 447 and 448, in addition to the above, thestaple 22030 can be lifted up between an unfired position and a post-fired position by astaple driver 22040 disposed within thestaple cartridge 22000. .

再び図447及び448を参照すると、層22126と層22127とは、内部に材料22125a〜dを配置することができる1以上の密封キャビティを画定することができる。層22126と層22127とは、例えば熱及び/又はレーザ溶接などの任意の適当なプロセスを用いて例えば側部シーム22128a及び22128bを含みうる外周部に沿って互いに封止することができる。材料22125a〜22125dのそれぞれを別々のキャビティ内に密封することもできるが、代わりに材料22125a〜22125dの内の2以上を同じキャビティ内に密封することもできる。材料22125a〜22125dは同じ材料で構成することもできるが、材料22125a〜22125dの内の1以上を異なる材料で構成することもできる。例えば、材料22125a〜22125dの内の1以上をステアリン酸ナトリウム及び/又はLAEで構成することができる。材料22125a〜22125dは潤滑剤を含んでもよい。そうした場合、ステープルの脚が組織厚さコンペンセータ22120の材料22125a〜22125dを貫通する際にステープル22030の脚が潤滑剤に曝露されうる。脚は、組織厚さコンペンセータ22120を貫通した後、アンビル22060と接触してよく、その際、潤滑剤がステープル脚とアンビル22060との間の摩擦係数及び摩擦力を低減させうる。こうした状況では、ステープル22030を発射するために必要とされる力が低減されうる。アンビル22060と接した組織厚さコンペンセータ22120の位置のため、ステープル22030のステープル脚は、組織厚さコンペンセータ22120から脱出した直後にアンビル22060と接触することができることから、ステープル脚がアンビル22060と接触する前に潤滑剤がステープル脚から拭い取られる可能性が低減される。同様に、ステープル22030のステープル脚は、組織厚さコンペンセータ22120内の1以上の薬剤に曝露された直後にアンビル22060と接触することができるため、ステープル脚が組織Tに再進入する前に薬剤がステープル脚から拭い取られる可能性が低減される。特定の状況では、例えば、ステープル脚は下向きに変形されながら組織厚さコンペンセータ22120に再進入しうるため、ステープル脚は組織Tに再進入する前に薬剤に再び曝露されうる。場合により、上記と同様、第2のフィルム22127が例えば複数の突起部22122を有してもよく、例えばこれらの突起部22122がステープルキャビティ22062内にぴったりと受容されることにより組織厚さコンペンセータ22120がアンビル22060に対して保持される。  Referring again to FIGS. 447 and 448,layer 22126 andlayer 22127 can define one or more sealed cavities in whichmaterial 22125a-d can be disposed.Layer 22126 andlayer 22127 may be sealed together along the outer periphery, which may include, for example, side seams 22128a and 22128b using any suitable process, such as heat and / or laser welding. Each of thematerials 22125a-22125d can be sealed in separate cavities, but two or more of thematerials 22125a-22125d can alternatively be sealed in the same cavity. Thematerials 22125a to 22125d can be made of the same material, but one or more of thematerials 22125a to 22125d can be made of different materials. For example, one or more ofmaterials 22125a-22125d can be comprised of sodium stearate and / or LAE. Thematerials 22125a-22125d may include a lubricant. In such a case, thestaple 22030 legs may be exposed to the lubricant as the staple legs penetrate the material 22125a-22125d of thetissue thickness compensator 22120. The leg may pass through thetissue thickness compensator 22120 and then contact theanvil 22060, where the lubricant may reduce the coefficient of friction and friction force between the staple leg and theanvil 22060. In such situations, the force required to fire thestaple 22030 may be reduced. Because of the position of thetissue thickness compensator 22120 in contact with theanvil 22060, the staple legs of thestaple 22030 can contact theanvil 22060 immediately after exiting thetissue thickness compensator 22120, such that the staple leg contacts theanvil 22060. The likelihood that the lubricant will be wiped off the staple legs before is reduced. Similarly, the staple legs ofstaples 22030 can contactanvil 22060 immediately after exposure to one or more drugs intissue thickness compensator 22120 so that the drugs can be re-entered before the staple legs re-enter tissue T. The possibility of wiping from the staple legs is reduced. In certain circumstances, for example, the staple legs can re-enter thetissue thickness compensator 22120 while being deformed downward, so that the staple legs can be re-exposed to the drug before re-entering the tissue T. In some cases, similar to the above, thesecond film 22127 may have, for example, a plurality ofprotrusions 22122, eg, thetissue thickness compensator 22120 by receiving theseprotrusions 22122 snugly within thestaple cavity 22062. Is held againstanvil 22060.

次に図449及び450を参照すると、外科用ステープル留め器具のエンドエフェクタは、アンビル22060のステープル成形ポケット22062と整列した複数のキャビティ22222を有しうる例えばコンペンセータ22220のような組織厚さコンペンセータを有しうる。コンペンセータ22220は、第1の層すなわち下層22226と第2の層すなわち上層22227とから構成することができ、その場合、第1の層22226及び/又は第2の層22227は、キャビティ22222を画定しうる複数の隆起部又は部分球状部を有しうる。図449に示されるように、組織厚さコンペンセータ22220は、各キャビティ22222がアンビル22060のステープル成形ポケット22062と整列するか又は少なくともほぼ整列するようにしてアンビル22060に取り付けることができる。場合により、各キャビティ22222は、例えば酸化再生セルロース、カルシウム、及び/又はアルギン酸塩などの1以上の薬剤を内部に含んでもよい。例えば、使用時には、各キャビティ22222は、ステープルカートリッジ22000から射出されるステープル22030によって穿孔されるまでは、密封された穿孔されていない状態であってよい。次に図450を参照すると、ステープル22030の脚が組織Tを貫通した後、各ステープル脚は第1の層22226に穿孔及び貫通し、キャビティ22222内に進入し、そこでステープル脚は、第2の層22227に穿孔及び貫通する前にキャビティ22222内に含まれる1以上の薬剤を通過することができる。上記と同様、ステープル22030の脚はこの後、アンビル22060と接触することができる。  Referring now to FIGS. 449 and 450, the end effector of the surgical stapling instrument has a tissue thickness compensator, such as acompensator 22220, which can have a plurality ofcavities 22222 aligned with thestaple forming pockets 22062 of theanvil 22060. Yes. Thecompensator 22220 can be comprised of a first orlower layer 22226 and a second orupper layer 22227, in which case thefirst layer 22226 and / or thesecond layer 22227 define acavity 22222. It can have a plurality of raised bulges or partial spheres. As shown in FIG. 449, thetissue thickness compensator 22220 can be attached to theanvil 22060 such that eachcavity 22222 is aligned or at least substantially aligned with thestaple forming pocket 22062 of theanvil 22060. Optionally, eachcavity 22222 may include one or more agents therein, such as oxidized regenerated cellulose, calcium, and / or alginate. For example, in use, eachcavity 22222 may be sealed and unperforated until it is perforated bystaples 22030 ejected fromstaple cartridge 22000. Referring now to FIG. 450, after the legs ofstaples 22030 have penetrated tissue T, each staple leg pierces and penetrates thefirst layer 22226 and enters thecavity 22222, where the staple legs are second One or more drugs contained within thecavity 22222 can pass through before piercing and penetrating thelayer 22227. As above, the legs ofstaples 22030 can then contact theanvil 22060.

キャビティ22222は、破られるまで、内部に貯蔵された前記1以上の薬剤を乾燥状態又は少なくともほぼ乾燥状態に維持することができる。キャビティ22222が破られた後、例えば血液などの液体がキャビティ22222に入り込み、前記1以上の薬剤と混ざり合うことができる。液体と薬剤との混合によって薬剤はキャビティ22222内で膨張しうるが、その場合、薬剤は例えば少なくとも1種類のヒドロゲルを含みうる。薬剤は例えば少なくとも1種類の止血材料を含んでもよい。第1の層22226及び第2の層22227の少なくともいずれかを、延伸することによって薬剤の膨張を吸収することができる柔軟な材料で構成することができる。層22226,22227は、例えばCAP/GLY材料で構成することができる。いずれの場合も、薬剤の膨張によって、例えばステープル22030内に捕捉された、かつ/又はその周囲に位置する組織Tに圧縮力が作用しうる。異なる状況において、薬剤の膨張によってキャビティ22222の破裂が生じる。例えば、キャビティ22222の第1の群が内部に第1の薬剤を含んでよく、キャビティ22222の第2の群が内部に第2の薬剤を含んでよい。例えば、第1の薬剤を、第1の量だけ、かつ/又は第1の速度で膨張するように構成し、第2の薬剤を第2の量だけ、かつ/又は第2の速度で膨張するように構成することができ、その場合、第1の量は第2の量と異なってよく、かつ/又は第1の速度は第2の速度と異なってよい。上記に加えて、1以上のキャビティ22222が、各キャビティ内に貯蔵された2以上の薬剤を含んでもよく、その場合、薬剤は例えば第1の薬剤及び第2の薬剤を含みうる。キャビティ22222は、破られるまで、第1の薬剤及び第2の薬剤を乾燥状態又は少なくともほぼ乾燥状態に維持することができる。キャビティ22222が破られた後、上記に述べたように例えば血液がキャビティ22222に入り込み、前記第1及び第2の薬剤と混ざり合うことができ、その場合、第1及び第2の薬剤は膨張するゲルを形成することができる。  Thecavity 22222 can maintain the one or more drugs stored therein in a dry state or at least substantially dry until it is breached. After thecavity 22222 is breached, a liquid such as blood can enter thecavity 22222 and mix with the one or more drugs. The mixing of the liquid and the drug can cause the drug to expand in thecavity 22222, in which case the drug can include, for example, at least one hydrogel. The medicament may comprise at least one hemostatic material, for example. At least one of thefirst layer 22226 and thesecond layer 22227 can be formed using a flexible material that can absorb expansion of the drug by stretching. Thelayers 22226 and 22227 can be made of, for example, a CAP / GLY material. In either case, a compressive force may act on the tissue T captured and / or located in thestaple 22030, for example, by the expansion of the drug. In different circumstances, thecavity 22222 ruptures due to the expansion of the drug. For example, a first group ofcavities 22222 may include a first agent therein, and a second group ofcavities 22222 may include a second agent therein. For example, the first agent is configured to expand by a first amount and / or at a first rate, and the second agent is expanded by a second amount and / or at a second rate. In which case the first quantity may be different from the second quantity and / or the first speed may be different from the second speed. In addition to the above, one ormore cavities 22222 may include two or more drugs stored within each cavity, in which case the drugs may include, for example, a first drug and a second drug. Thecavity 22222 can maintain the first and second agents in a dry state or at least substantially dry until they are breached. After thecavity 22222 is breached, for example, blood can enter thecavity 22222 and mix with the first and second agents as described above, in which case the first and second agents expand. A gel can be formed.

次に図451〜453を参照すると、例えばコンペンセータ22320のような組織厚さコンペンセータは、ステープル成形ポケット22062a及び22062bとそれぞれ整列させることが可能な複数の第1のキャビティ22322a及び複数の第2のキャビティ22322bを有しうる。主に図452を参照すると、ステープル成形ポケット22062a及び22062bは、アンビル22060上の別々の段差表面に画定することができる。より詳細には、成形ポケット22062aはアンビル22060の第1の表面22069aに画定し、成形ポケット22062bは第2の表面22069bに画定することができるが、その際、例えば、第1の表面22069aは第2の表面22069bに対してオフセットした、又はより高い位置に位置しうる。組織厚さコンペンセータ22320の第1のキャビティ22322aは、第2のキャビティ22322bよりも大きくすることができ、その場合、例えば、第1のキャビティ22322aは第2のキャビティ22322bよりも高く延在してよい。上記の結果、第1のキャビティ22322aは第1のステープル成形ポケット22062a内へと上方に延び、同時に第2のキャビティ22322bは第2のステープル成形ポケット22062b内へと上方に延びうる。場合により、第1のキャビティ22322aのそれぞれを、例えば第2のキャビティ22322bよりも多量の薬剤を含むように構成することができる。あるいは、第1のキャビティ22322a及び第2のキャビティ22322bは、キャビティ22322aとキャビティ22322bとは大きさが異なりうるものの、同じか又は少なくともほぼ同じ量の薬剤を含んでもよい。  Referring now to FIGS. 451-453, a tissue thickness compensator, such ascompensator 22320, for example, has a plurality offirst cavities 22322a and a plurality of second cavities that can be aligned withstaple forming pockets 22062a and 22062b, respectively. 22322b. Referring primarily to FIG. 452,staple forming pockets 22062a and 22062b can be defined on separate stepped surfaces onanvil 22060. More particularly, themolding pocket 22062a can be defined on thefirst surface 22069a of theanvil 22060 and themolding pocket 22062b can be defined on thesecond surface 22069b, where, for example, thefirst surface 22069a is thefirst surface 22069a. Thesecond surface 22069b may be offset or located higher. Thefirst cavity 22322a of thetissue thickness compensator 22320 can be larger than thesecond cavity 22322b, in which case, for example, thefirst cavity 22322a can extend higher than thesecond cavity 22322b. . As a result of the above, thefirst cavity 22322a can extend upward into the firststaple forming pocket 22062a, and at the same time thesecond cavity 22322b can extend upward into the secondstaple forming pocket 22062b. In some cases, each of thefirst cavities 22322a can be configured to contain a greater amount of drug than, for example, thesecond cavities 22322b. Alternatively, thefirst cavity 22322a and thesecond cavity 22322b may include the same or at least approximately the same amount of drug, although thecavities 22322a and 22322b may be different in size.

上記以外に第1のキャビティ22322aを特定の列に配置し、第2のキャビティ22322bを異なる列に配置することもできる。組織厚さコンペンセータは、各成形ポケットと整列したキャビティを有しうるが、代わりに、図459を参照すると、例えば組織厚さコンペンセータ22420のような組織厚さコンペンセータは、一部の成形ポケットのみと整列したキャビティを有してもよい。再び図452を参照すると、コンペンセータ22320はアンビル22060に取り付けることができる。キャビティ22322a及び/又はキャビティ22322bは、それぞれステープル成形ポケット22062a及び22062b内にぴったりと嵌まるように構成することができる。コンペンセータ22320は、コンペンセータ22320の第2の層22327がアンビル22060の第2の表面22069bと接して位置するようにアンビル22060に組み付けることができる。あるいは、次に図454及び455を参照すると、コンペンセータ22320は、アンビル22060がステープルカートリッジ22000の方向に変位してその間で組織Tを圧縮する際に、コンペンセータ22320がアンビル22060と当接するように、アンビル22060に隣接して配置することもできる。次に図456を参照すると、ステープル22030がステープルカートリッジ22000から発射されてアンビル22060により変形させられた時点で、コンペンセータ22320はステープル22030により組織Tと接して捕捉され、アンビル22060をコンペンセータ22320から離れる方向に動かすことができる。次に図457を参照すると、特定の状況では、ステープル22030の内の1以上のものがアンビル22030によって適切に変形されない場合がある。次に図458を参照すると、こうした状況では、誤って発射又は誤って変形されたステープルに重なる位置の組織厚さコンペンセータのキャビティが、ステープルが発射された際に穿孔されない可能性がある。例えば、組織厚さコンペンセータは、溶解した後、穿孔されていないキャビティ内に含まれる薬剤を放出することができる生体吸収性材料で構成することができる。  In addition to the above, thefirst cavities 22322a may be arranged in a specific row, and thesecond cavities 22322b may be arranged in different rows. The tissue thickness compensator may have a cavity aligned with each molding pocket, but instead referring to FIG. 459, a tissue thickness compensator, such as, for example,tissue thickness compensator 22420, may have only a portion of the molding pocket. It may have aligned cavities. Referring again to FIG. 452, thecompensator 22320 can be attached to theanvil 22060.Cavity 22322a and / orcavity 22322b can be configured to fit snugly withinstaple forming pockets 22062a and 22062b, respectively. Thecompensator 22320 can be assembled to theanvil 22060 such that thesecond layer 22327 of thecompensator 22320 is located in contact with thesecond surface 22069b of theanvil 22060. Alternatively, referring now to FIGS. 454 and 455, thecompensator 22320 may be configured such that thecompensator 22320 abuts theanvil 22060 as theanvil 22060 is displaced toward thestaple cartridge 22000 and compresses the tissue T therebetween. It can also be placed adjacent to 22060. Referring now to FIG. 456, when thestaple 22030 is fired from thestaple cartridge 22000 and deformed by theanvil 22060, thecompensator 22320 is captured against the tissue T by thestaple 22030 and theanvil 22060 is moved away from thecompensator 22320. Can be moved to. Referring now to FIG. 457, in certain situations, one or more of thestaples 22030 may not be properly deformed by theanvil 22030. Referring now to FIG. 458, in such a situation, the tissue thickness compensator cavity at a location that overlaps an accidentally fired or misformed staple may not be punctured when the staple is fired. For example, a tissue thickness compensator can be composed of a bioabsorbable material that can dissolve and then release a drug contained within a non-perforated cavity.

上記に加えて、組織厚さコンペンセータ22320の第1のキャビティ22322a及び/又は第2のキャビティ22322bは、内部に空気、二酸化炭素、及び/又は窒素などのガスが封じ込められてもよい。キャビティ22322a及び/又はキャビティ22322bは、キャビティ22322a及び/又はキャビティ22322bを貫通してステープル22030が発射される際に破裂することによって内部のガスを放出することができる気泡を含みうる。このような破裂により、キャビティ22322a及びキャビティ22322bが破裂しつつあるという音によるフィードバックが外科医に与えられる。しかしながら、特定の状況では、上記に述べたようにステープル22030の一部が誤って発射される場合があり、そのステープルに付随するキャビティ22322a及びキャビティ22322bが破裂しない場合がある。異なる状況において、外科医は破裂しなかった気泡又はキャビティ22322a及びキャビティ22322bについて、ステープル留めされた組織をスキャンして、何らかの修正措置を取る必要があるかどうかを判断することができる。  In addition to the above, thefirst cavity 22322a and / or thesecond cavity 22322b of thetissue thickness compensator 22320 may contain a gas such as air, carbon dioxide, and / or nitrogen. Thecavities 22322a and / orcavities 22322b can include bubbles that can release internal gas by rupturing as thestaples 22030 are fired through thecavities 22322a and / orcavities 22322b. Such a burst provides the surgeon with a sound feedback that thecavity 22322a and thecavity 22322b are about to burst. However, in certain circumstances, as described above, some of thestaples 22030 may be fired accidentally, and thecavities 22322a and 22322b associated with the staples may not rupture. In different situations, the surgeon can scan the stapled tissue for bubbles orcavities 22322a and 22322b that have not ruptured to determine if any corrective action needs to be taken.

次に図460を参照すると、上記に述べたように、外科用ステープル留め器具は例えば発射部材22080を有してもよく、この発射部材22080は、カートリッジ22000からステープル22030を配備するために発射部材22080がカートリッジ22000を通って前進される際に組織T及び1以上の組織厚さコンペンセータを通じて前進させることができる切断部材又は切断刃22081を有しうる。主に図462を参照すると、例えばコンペンセータ22520のようなコンペンセータを外科用ステープル留め器具のアンビル22060に取り付けることができ、この場合、アンビル22060は切断部材22081の少なくとも一部を受容するようなサイズ及び構成を有するナイフスロット22061を有しうる。同様に、ステープルカートリッジ22000は、やはり切断部材22081の少なくとも一部を受容するサイズ及び構成を有するナイフスロット22011を有しうる。再び図460を参照すると、コンペンセータ22520は、コンペンセータ22520の切断線22521に沿って配置される例えばキャビティ22522のような1以上のキャビティを有してよく、その場合、キャビティ22522はアンビル22060内に画定されたナイフスロット22061と整列しうる。ステープル22030を配備するために切断部材22081がステープルカートリッジ22000を通って遠位方向に進められると、切断部材22081が組織T及びコンペンセータ22520のキャビティ22522を切断する。主に図461を参照すると、上記と同様、各キャビティ22522は、内部に1以上の薬剤22525を含みうる密封キャビティ22524を画定しうる。キャビティ22522の1以上のものを、切断部材22081によってキャビティ22522が少なくとも部分的に切断された場合に放出されうる液体を含むように構成することができる。異なる状況において、切断部材22081は各キャビティ22522を順次切断し、その結果、内部に含まれる薬剤を順次放出させることができる。  Referring now to FIG. 460, as described above, the surgical stapling instrument may include, for example, a firingmember 22080, which can be used to deploystaples 22030 from thecartridge 22000. There may be a cutting member or cuttingblade 22081 that can be advanced through the tissue T and one or more tissue thickness compensators as the 22080 is advanced through thecartridge 22000. Referring primarily to FIG. 462, a compensator, such as acompensator 22520, for example, can be attached to the surgicalstapling instrument anvil 22060, where theanvil 22060 is sized and sized to receive at least a portion of the cuttingmember 22081. There may be aknife slot 22061 having a configuration. Similarly, thestaple cartridge 22000 can have aknife slot 22011 that is also sized and configured to receive at least a portion of the cuttingmember 22081. Referring again to FIG. 460, thecompensator 22520 may have one or more cavities, such as thecavity 22522, disposed along thecutting line 22521 of thecompensator 22520, in which case thecavity 22522 is defined within theanvil 22060. Aligned with the formedknife slot 22061. As cuttingmember 22081 is advanced distally throughstaple cartridge 22000 to deploystaple 22030, cuttingmember 22081 cuts tissue T andcavity 22522 ofcompensator 22520. Referring primarily to FIG. 461, as described above, eachcavity 22522 may define a sealedcavity 22524 that may include one ormore medicaments 22525 therein. One or more of thecavities 22522 can be configured to include a liquid that can be released when thecavities 22522 are at least partially cut by the cuttingmember 22081. In different situations, the cuttingmember 22081 can sequentially cut eachcavity 22522 so that the drugs contained therein can be released sequentially.

主に図462を参照すると、コンペンセータ22520は、コンペンセータ22520の両側に沿って延びる横突出部又は翼状部22529を有しうる。突出部22529は、例えば1種類以上の接着剤を用いてアンビル表面22069a及び/又はアンビル表面22069bに固定することができる。突出部22522は、アンビル22060のナイフスロット22061内にぴったりと嵌まるようなサイズ及び構成となっているため、突出部22522はコンペンセータ22520をアンビル22060に対して保持することができる。横突出部22529は、ステープル成形ポケット22062b及び/又はステープル成形ポケット22062aを覆って延びる、又はこれと重なるようなサイズ及び構成とすることができる。あるいは、次に図463及び464を参照すると、コンペンセータ22620は、例えば、アンビル22060のステープル成形ポケット22062a及び22062b及び/又は他の任意のステープル成形ポケットを覆って延びていない、又はこれと重なっていない横突出部22629を有してもよい。例えば、コンペンセータ22620はステープルカートリッジ22030から射出されたステープル22030内に捕捉されない場合がある。再び図460を参照すると、いずれの場合も、ステープル22030によってコンペンセータ22520が組織Tに固定されるのにしたがって切断部材22081はコンペンセータ22520を切断することができる。そうした場合、コンペンセータ22520はアンビル22060から取り外しても組織Tに固定された状態に維持されうる。図463及び464に示されるコンペンセータ22620を再び参照すると、ステープル22030が、コンペンセータ22620をアンビル22060に固定しない場合があり、切断部材22081がコンペンセータ22620を切断した後にアンビル22060にくっついたままとなる場合がある。  Referring primarily to FIG. 462, thecompensator 22520 can have lateral protrusions orwings 22529 that extend along opposite sides of thecompensator 22520. Theprotrusion 22529 can be secured to theanvil surface 22069a and / or theanvil surface 22069b using, for example, one or more types of adhesive. Theprotrusion 22522 is sized and configured to fit snugly within theknife slot 22061 of theanvil 22060 so that theprotrusion 22522 can hold thecompensator 22520 against theanvil 22060. Thelateral protrusion 22529 can be sized and configured to extend over or overlap thestaple forming pocket 22062b and / or thestaple forming pocket 22062a. Alternatively, referring now to FIGS. 463 and 464, thecompensator 22620 does not extend over or overlap, for example, thestaple forming pockets 22062a and 22062b of theanvil 22060 and / or any other staple forming pocket. Alateral protrusion 22629 may be provided. For example, thecompensator 22620 may not be captured within thestaple 22030 ejected from thestaple cartridge 22030. Referring again to FIG. 460, in either case, the cuttingmember 22081 can cut thecompensator 22520 as thecompensator 22520 is secured to the tissue T by thestaples 22030. In such a case, thecompensator 22520 can remain fixed to the tissue T even when removed from theanvil 22060. Referring again to thecompensator 22620 shown in FIGS. 463 and 464, thestaples 22030 may not secure thecompensator 22620 to theanvil 22060 and may remain stuck to theanvil 22060 after the cuttingmember 22081 cuts thecompensator 22620. is there.

次に図465及び466を参照すると、外科用ステープル留め器具のエンドエフェクタは、とりわけアンビル22760のようなアンビルに取り付けるか、又は取り付けられるように構成することができる、例えばコンペンセータ22720のような組織厚さコンペンセータを有しうる。上記と同様、アンビル22760は、複数のステープル成形ポケット22762、及び、切断部材がエンドエフェクタを通じて前進される際に切断部材を受容するように構成された長手方向のナイフスロット22761を有しうる。コンペンセータ22720は、互いに接着されてキャビティ22724を画定する第1のフィルム層22726と第2のフィルム層22727とを有しうる。例えば、第1のフィルム層22726は、封止された外周部22728に沿って第2のフィルム層22727と接着することができ、その場合、封止された外周部22728は例えばキャビティ22724内に少なくとも1種類の薬剤22725を封じ込めることができる。図466に示されるように、キャビティ22724及び薬剤22725は、すべてのステープルキャビティ22762の下に延びてよく、封止された外周部22728は最も外側のステープルキャビティ22762に対して側方に位置しうる。コンペンセータ22720は、ナイフスロット22761内に上方に延びるように構成することができる例えば長手方向のリブ22721を更に有してもよい。例えば、リブ22721は、コンペンセータ22720をアンビル22760に固定するためにナイフスロット22761内にぴったりと嵌まるようなサイズ及び構成とすることができる。リブ22721は、コンペンセータ22720をアンビル22760と整列させるか又はアンビル22760に対して中心に位置決めするように構成することができる。図467を参照すると、同様に、組織厚さコンペンセータ22820は、コンペンセータ22820をアンビル22760に固定するために例えばナイフスロット22761内に配置することができる保持リブ22821を有してもよい。再び図466を参照すると、異なる状況において、切断部材がナイフスロット22761を通じて前進させられると切断部材はリブ22721を切断してアンビル22760からコンペンセータ22720を解放することができる。このような切断部材が例えば発射部材22080の一部として図467に示されている。  Referring now to FIGS. 465 and 466, the end effector of the surgical stapling instrument can be attached to or configured to attach to an anvil such as ananvil 22760, for example, a tissue thickness such as acompensator 22720. You can have a compensator. As above, theanvil 22760 can have a plurality ofstaple forming pockets 22762 and alongitudinal knife slot 22761 configured to receive a cutting member as the cutting member is advanced through the end effector. Thecompensator 22720 can have afirst film layer 22726 and asecond film layer 22727 that are bonded together to define acavity 22724. For example, thefirst film layer 22726 can be adhered to thesecond film layer 22727 along the sealedouter periphery 22728, in which case the sealedouter periphery 22728 is at least within thecavity 22724, for example. One type ofdrug 22725 can be contained. As shown in FIG. 466,cavities 22724 andmedicaments 22725 may extend under allstaple cavities 22762, and the sealedperimeter 22728 may be lateral to the outermoststaple cavities 22762. . Thecompensator 22720 may further include, for example, alongitudinal rib 22721 that can be configured to extend upward into theknife slot 22761. For example, therib 22721 can be sized and configured to fit snugly within theknife slot 22761 to secure thecompensator 22720 to theanvil 22760.Ribs 22721 may be configured to aligncompensator 22720 withanvil 22760 or to be centered relative toanvil 22760. Referring to FIG. 467, similarly, thetissue thickness compensator 22820 may have a retainingrib 22821 that can be placed, for example, in theknife slot 22761 to secure thecompensator 22820 to theanvil 22760. Referring again to FIG. 466, in a different situation, when the cutting member is advanced through theknife slot 22761, the cutting member can cut therib 22721 to release thecompensator 22720 from theanvil 22760. Such a cutting member is shown in FIG. 467 as part of firingmember 22080, for example.

再び図467を参照すると、組織厚さコンペンセータ22820は、複数の第1のパケット22824a及び複数の第2のパケット22824bを画定するように構成及び配置することができる第1の層22826及び第2の層22827を有しうる。第1のパケット22824aのそれぞれを第1の薬剤を含むように構成し、第2のパケット22824bのそれぞれを第2の薬剤を含むように構成することができ、その場合、第2の薬剤は第1の薬剤と異なるものとすることができる。第1のパケット22824aと第2のパケット22824bとは交互の配列に配置することができる。例えば、第1のパケット22824a及び第2のパケット22824bは、例えば第2のパケット22824bが2つの第1のパケット22824aの間に位置し、第1のパケット22824aが2つの第2のパケット22824bの間に位置するようにして組織厚さコンペンセータ22820を横にまたいで延在してよい。図467に示されるように、切断部材22080がコンペンセータ22820を通じて進められるにしたがって、切断部材22080は、第1のパケット22824a、次いで第2のパケット22824b、次いで第1のパケット22824a、次いで第2のパケット22824b、といった要領で切断する。これに対応して、こうした場合では、切断部材22080は、例えば交互に配置された第1のパケット22824aに含まれた第1の薬剤と、第2のパケット22824bに含まれた第2の薬剤とを順次放出させることができる。第1のパケット22824aと第2のパケット22824bとが互いに隣接して配置される場合、第1の薬剤及び第2の薬剤がそれぞれの第1のパケット22824a及び第2のキャビティ22322bから放出される際に第1の薬剤が第2の薬剤と混ざり合うように構成することができる。例えば、コンペンセータ22820を通じて切断部材を前進させることにより、第1の薬剤を第2の薬剤と混合することができる。  Referring again to FIG. 467, thetissue thickness compensator 22820 can be configured and arranged to define a plurality offirst packets 22824a and a plurality ofsecond packets 22824b. There may be alayer 22827. Each of thefirst packets 22824a can be configured to include a first drug and each of thesecond packets 22824b can be configured to include a second drug, in which case the second drug is the second drug It can be different from one drug. Thefirst packet 22824a and thesecond packet 22824b can be arranged in an alternating arrangement. For example, in thefirst packet 22824a and thesecond packet 22824b, for example, thesecond packet 22824b is located between twofirst packets 22824a, and thefirst packet 22824a is between twosecond packets 22824b. May extend across thetissue thickness compensator 22820 in a lateral position. As shown in FIG. 467, as the cuttingmember 22080 is advanced through thecompensator 22820, the cuttingmember 22080 receives thefirst packet 22824a, then thesecond packet 22824b, then thefirst packet 22824a, and then the second packet. It cut | disconnects in the way of 22824b. Correspondingly, in such a case, the cuttingmembers 22080 can include, for example, first drugs included in thefirst packets 22824a arranged alternately and second drugs included in thesecond packets 22824b. Can be released sequentially. When thefirst packet 22824a and thesecond packet 22824b are arranged adjacent to each other, the first drug and the second drug are released from thefirst packet 22824a and thesecond cavity 22322b, respectively. In addition, the first drug can be mixed with the second drug. For example, the first agent can be mixed with the second agent by advancing the cutting member through thecompensator 22820.

上記に加えて、第1の薬剤が第1の粉末を含み、第2の薬剤が第2の粉末を含んでもよい。第1の薬剤及び/又は第2の薬剤は、例えば、止血材料、酸化再生セルロース、アルギン酸塩、及び/又はカルシウムで構成することができる。第1の薬剤及び/又は第2の薬剤は液体を含んでもよい。1以上の第1のパケット22824a及び/又は1以上の第2のパケット22824bが、コンペンセータ22820及び/又は組織Tを通じて発射部材22080を前進させるのに要する力を低減することができる潤滑剤を含んでもよい。第1のフィルム層22826及び/又は第2のフィルム層22827は、例えばPDSのような生体吸収性材料で構成することができる。第1のフィルム層22826と第2のフィルム層22827とは、発射部材22080によって切断される前に第1のパケット22824aが第2のパケット22824bから封止されるように互いに接着することができる。第1のパケット22824a及び/又は第2のパケット22825bは、特定の破裂圧に耐えるように所定の破裂強度を有するものとすることができる。より詳細には、例えばアンビル22760のようなアンビルがアンビル22760と対向して配置されたステープルカートリッジに向かってコンペンセータ22820を動かす際、パケット22824a,22824bは、パケット22824a,22824bとステープルカートリッジとの間に配置された組織と接して配置することができ、その場合、アンビル22760をステープルカートリッジに向かって下方に押すか又はクランプ締めすることによってその間に配置された組織を圧縮することができる。このような状況では、パケット22824a,22824bには圧縮力が作用しうる。特定の状況では、パケット22824a及び/又はパケット22824bは、切断部材22080によって切断されるか、かつ/又はステープルカートリッジから発射されたステープルによって穿孔されるまで破られないことが望ましい場合がある。他の特定の状況では、パケット22824a及び/又はパケット22824bはこれらに作用するクランプ締め荷重によって破裂することが望ましい場合がある。  In addition to the above, the first agent may include a first powder and the second agent may include a second powder. The first drug and / or the second drug can be composed of, for example, a hemostatic material, oxidized regenerated cellulose, alginate, and / or calcium. The first drug and / or the second drug may include a liquid. The one or morefirst packets 22824a and / or the one or moresecond packets 22824b may include a lubricant that may reduce the force required to advance the firing member 2080 through thecompensator 22820 and / or the tissue T. Good. Thefirst film layer 22826 and / or the second film layer 22828 can be made of a bioabsorbable material such as PDS, for example. Thefirst film layer 22826 and thesecond film layer 22827 can be bonded together such that thefirst packet 22824a is sealed from thesecond packet 22824b before being cut by the firingmember 22080. Thefirst packet 22824a and / or the second packet 22825b may have a predetermined burst strength to withstand a specific burst pressure. More particularly, when an anvil, such asanvil 22760, movescompensator 22820 toward a staple cartridge disposedopposite anvil 22760,packets 22824a, 22824b are placed betweenpackets 22824a, 22824b and staple cartridges. The tissue placed therebetween can be compressed by pushing or clamping theanvil 22760 downward toward the staple cartridge. In such a situation, a compressive force may act on thepackets 22824a and 22824b. In certain circumstances, it may be desirable forpacket 22824a and / orpacket 22824b to not be broken until cut by cuttingmember 22080 and / or perforated by staples fired from a staple cartridge. In other specific situations, it may be desirable forpacket 22824a and / orpacket 22824b to burst due to a clamping load acting on them.

上記に述べたように、第1のパケット22824a及び第2のパケット22824bは、コンペンセータ22820を横にまたいで延在してよい。例えば、第1のパケット22824aが横軸22823aに沿って延びてよく、第2のパケット22824bが横軸22823bに沿って延びてよい。第1の軸22823a及び/又は第2の軸22823bは、コンペンセータ22820の長手方向軸22083に対して垂直又は少なくともほぼ垂直であってよい。例えば、長手方向軸22083は発射部材22080の切断経路を規定することができる。第1の軸22823a及び/又は第2の軸22823bは、長手方向軸22083に対して垂直でなくともよく、長手方向軸22083に対して斜めでもよい。場合により、上記に述べたように、第1のパケット22824aと第2のパケット22824bとを交互の配列に配置することができる。あるいは、第1のパケット22824aと第2のパケット22824bとの他の任意の適当な配列を用いることもできる。例えば、組織厚さコンペンセータ内に配置された一連のパケットが、第1のパケット22824a、第2のパケット22824b、第2のパケット22824b、及び第1のパケット22824aを含んでもよい。組織厚さコンペンセータは、第1の薬剤及び第2の薬剤と異なる第3の薬剤を含む複数の第3のパケットを更に有してもよい。例えば、第1のパケット、第2のパケット、及び第3のパケットを交互の配列に配置することができる。例えば、組織厚さコンペンセータ内に配置された一連のパケットが、例えば、第1のパケット、次いで第2のパケット、及びこれに続く第3のパケットを含んでもよい。  As mentioned above, thefirst packet 22824a and thesecond packet 22824b may extend across thecompensator 22820. For example, thefirst packet 22824a may extend along thehorizontal axis 22823a, and thesecond packet 22824b may extend along thehorizontal axis 22823b. Thefirst axis 22823a and / or thesecond axis 22823b may be perpendicular or at least substantially perpendicular to thelongitudinal axis 22083 of thecompensator 22820. For example,longitudinal axis 22083 can define a cutting path for firingmember 22080. Thefirst axis 22823 a and / or thesecond axis 22823 b may not be perpendicular to thelongitudinal axis 22083 and may be oblique to thelongitudinal axis 22083. In some cases, as described above, thefirst packet 22824a and thesecond packet 22824b can be arranged in an alternating arrangement. Alternatively, any other suitable arrangement of thefirst packet 22824a and thesecond packet 22824b can be used. For example, a series of packets placed in the tissue thickness compensator may include afirst packet 22824a, asecond packet 22824b, asecond packet 22824b, and afirst packet 22824a. The tissue thickness compensator may further include a plurality of third packets including a third drug different from the first drug and the second drug. For example, the first packet, the second packet, and the third packet can be arranged in an alternating arrangement. For example, a series of packets placed in the tissue thickness compensator may include, for example, a first packet, then a second packet, and a subsequent third packet.

再び図467を参照すると、組織厚さコンペンセータ22820の第1のパケット22824a及び/又は第2のパケット22824bは、例えばU字形状、又は少なくともほぼU字形状の断面を画定してもよい。次に図468を参照すると、組織厚さコンペンセータ22920の各パケット22924は、例えば、円形又は少なくともほぼ円形の断面を画定してもよい。次に図469を参照すると、組織厚さコンペンセータ23020の各パケット23024は、例えば、卵形及び/又は楕円形の断面を画定してもよい。再び図467を参照すると、第1のキャビティ22824a及び第2のキャビティ22824bは、平行又は少なくともほぼ平行な列として画定された対称的、又は少なくともほぼ対称的な形態を有してもよい。あるいは、次に図470を参照すると、コンペンセータ23120のような組織厚さコンペンセータは、例えば不規則かつ/又は非繰り返しパターンを有しうる、内部に画定された非対称的キャビティ23122を有してもよい。例えば、キャビティ23122のそれぞれはその内部に1以上の異なる薬剤を含むことができる。  Referring again to FIG. 467, thefirst packet 22824a and / or thesecond packet 22824b of thetissue thickness compensator 22820 may define a U-shaped, or at least substantially U-shaped cross-section, for example. Referring now to FIG. 468, eachpacket 22924 of thetissue thickness compensator 22920 may define a circular or at least approximately circular cross section, for example. Referring now to FIG. 469, eachpacket 23024 of thetissue thickness compensator 23020 may define an oval and / or elliptical cross section, for example. Referring again to FIG. 467, thefirst cavity 22824a and thesecond cavity 22824b may have a symmetric or at least substantially symmetric configuration defined as parallel or at least approximately parallel rows. Alternatively, referring now to FIG. 470, a tissue thickness compensator, such ascompensator 23120, may have anasymmetric cavity 23122 defined therein, which may have an irregular and / or non-repeating pattern, for example. . For example, each of thecavities 23122 can include one or more different agents therein.

次に図471を参照すると、例えば組織厚さコンペンセータ23220のような組織厚さコンペンセータは、内部にキャビティ23224を画定するケーシング23226、及びキャビティ23224内に配置された材料23225を有しうる。ケーシング23226は、例えば吸収性ポリマーPDS、PGA、PLLA、Cap Gly、及び/又はPCLで構成されてよく、材料23225は、粉末、繊維、及び/又はゲルなどの任意の適当な形態を取りうる例えば止血剤、酸化再生セルロース、Hercules、フィブリン、及び/又はトロンビンで構成することができる。ケーシング23226は、押出プロセスを用いて製造することができる。そのような場合、ケーシング23226は、その長さに沿って一定又は少なくともほぼ一定の断面を有してよく、こうした断面はシームを互いに溶接する必要なく形成することができる。例えば、キャビティ23224は、開口部が形成されていないその外周全体を囲んで延びる側壁によって画定することができる。ケーシング23226は、開口部が形成されたメッシュ及び/又はストロー状材料で構成することができる。開口部は、例えば、レーザ切削プロセス及び/又は打抜きプロセスによってケーシング23226に切り抜くことができる。  Referring now to FIG. 471, a tissue thickness compensator, such as, for example, atissue thickness compensator 23220, can have acasing 23226 that defines acavity 23224 therein, and amaterial 23225 disposed within thecavity 23224. Thecasing 23226 may be comprised of, for example, the absorbent polymers PDS, PGA, PLLA, Cap Gly, and / or PCL, and thematerial 23225 may take any suitable form such as powder, fiber, and / or gel, for example. It can be composed of hemostatic agents, oxidized regenerated cellulose, Hercules, fibrin, and / or thrombin.Casing 23226 can be manufactured using an extrusion process. In such a case, thecasing 23226 may have a constant or at least approximately constant cross section along its length, and such cross section may be formed without having to weld the seams together. For example, thecavity 23224 can be defined by a sidewall that extends around its entire periphery where no opening is formed. Thecasing 23226 can be made of a mesh and / or straw-like material in which openings are formed. The opening can be cut into thecasing 23226 by, for example, a laser cutting process and / or a punching process.

次に図474〜476を参照すると、材料23225の製造の一環として、例えば、酸化再生セルロースなどの繊維及び/又は繊維質材料を用いて撚り糸を形成することができる。図474に示されるより長い繊維23325と、図475に示されるより短い繊維23425とを図476に示されるように互いに混合することによって材料23225の撚り糸を形成することができる。こうした撚り糸を、引っ張るかかつ/又は張力を加えることによって内部に含まれる繊維を長手方向に延伸することができる。次に図477を参照すると、材料23225の撚り糸は、材料23225を把持して撚ることによって撚り糸の体積を増すことができるグラスパ23290によって毛羽立たせることができる。例えば、グラスパ23290は、例えば撚り糸がグラスパ23290に対して動くのにしたがって材料23225を毛羽立たせることができる。再び図477を参照すると、切断部材23291を使用して材料23225の撚り糸に例えば小さい切開及び/又は微小切開を形成することができる。上記と同様、切断部材23291は、撚り糸が切断部材23291に対して動くのにしたがって材料23225を切断することができる。材料23225の撚り糸は、上記の切開が形成される前に毛羽立たせてもよく、あるいは材料23225の撚り糸が毛羽立たされる前に撚り糸に切開を形成してもよい。  Referring now to FIGS. 474-476, as part ofmanufacturing material 23225, a twisted yarn can be formed using fibers and / or fibrous materials such as, for example, oxidized regenerated cellulose. Thelonger fiber 23325 shown in FIG. 474 and theshorter fiber 23425 shown in FIG. 475 can be mixed together to form a strand ofmaterial 23225 as shown in FIG. By pulling and / or applying tension to such a twisted yarn, the fibers contained therein can be stretched in the longitudinal direction. Referring now to FIG. 477, the twisted yarn ofmaterial 23225 can be fluffed by aglass blade 23290 that can increase the volume of the twisted yarn by grasping and twistingmaterial 23225. For example, thegrasper 23290 can fluff thematerial 23225 as, for example, the twisted yarn moves relative to thegrasper 23290. Referring again to FIG. 477, the cuttingmember 23291 can be used to make, for example, a small incision and / or a micro incision in the thread ofmaterial 23225. As above, the cuttingmember 23291 can cut thematerial 23225 as the twist moves relative to the cuttingmember 23291. The strand ofmaterial 23225 may be fluffed before the incision is made, or the incision may be made in the strand before the strand ofmaterial 23225 is fluffed.

材料23225の撚り糸が適宜調製されたならば、材料23225をケーシング23226内に配置することができる。次に図478を参照すると、上記に述べたような押出プロセスの一部として2以上のケーシング23226を同時に形成し、これらのケーシング23226同士を管23227の一部として連結することができる。材料23225の撚り糸は、管23227内に画定されたキャビティ23224内に配置するか又は引き込むことができる。材料23225の撚り糸は、キャビティ23224の第1の開口端23221に隣接するかかつ/又はその内部に配置することができ、その場合、グラスパ23292をキャビティ23224の第2の開口端23222から挿入することができる。次にグラスパ23292を、グラスパ23292のジョー23292aが第1の開口端23222を通過するか、かつ/又は第1の開口端23222に対して配置されるまでキャビティ23224を通じて押し込むことができる。グラスパは、材料23225の撚り糸を把持するように構成することができる例えばフック部材を有しうる。いずれの場合も、グラスパ23292が材料23225の撚り糸を充分に把持した時点で、グラスパ23292をキャビティ23224内に引き戻すことによって材料23225の撚り糸をキャビティ23224内に引き込むことができる。グラスパ23292は、撚り糸が管23227内に引き込まれる前、その間、及び/又はその後で材料23225の撚り糸を撚るように構成することができる。  Once the strand ofmaterial 23225 has been appropriately prepared,material 23225 can be placed incasing 23226. Referring now to FIG. 478, two ormore casings 23226 can be formed simultaneously as part of the extrusion process as described above, and thesecasings 23226 can be joined together as part of thetube 23227. A strand ofmaterial 23225 can be placed or drawn into acavity 23224 defined in thetube 23227. The strand ofmaterial 23225 can be disposed adjacent to and / or within the firstopen end 23221 of thecavity 23224, in which case theglass blade 23292 is inserted from the secondopen end 23222 of thecavity 23224. Can do. Thegrasper 23292 can then be pushed through thecavity 23224 until thejaw 23292a of thegrasper 23292 passes through the firstopen end 23222 and / or is positioned relative to the firstopen end 23222. The grasper can have, for example, a hook member that can be configured to grip a twist ofmaterial 23225. In any case, once the glass 23233 has sufficiently grasped the twisted yarn of thematerial 23225, the twisted yarn of thematerial 23225 can be drawn into thecavity 23224 by pulling the grass 23232 back into thecavity 23224.Graspa 23292 can be configured to twist the strands ofmaterial 23225 before, during and / or after the strands are drawn intotube 23227.

材料23225の撚り糸が管23227内に適切に配置された時点でグラスパ23292を操作して材料23225の撚り糸を解放することができる。撚り糸は、管23227の第2の開口端23222から撚り糸が引かれる前に解放してもよいが、代わりに図479に示されるように第2の開口端23222から撚り糸が引かれた後で解放してもよい。特定の状況では、第2の開口端23222から撚り糸を引くことができ、これにより、撚り糸が解放されると撚り糸は第2の開口端23222から管23227内に収縮するか又は跳ね戻ることができる。異なる状況において、撚り糸を第1の開口端23221に隣接した位置で切断することができ、これにより上記と同様、撚り糸は第1の開口端23222から管23227内に収縮するか又は跳ね戻ることができる。異なる状況において、上記に加えて、グラスパ23292によって材料23225の撚り糸に張力を加えることができ、これにより、グラスパ23292が撚り糸を解放するかかつ/又は撚り糸が切断されると、撚り糸の内部の張力が解放されることによって撚り糸が収縮することが可能となる。  Once the strand ofmaterial 23225 has been properly placed in thetube 23227, theglass blade 23292 can be manipulated to release the strand ofmaterial 23225. The twist may be released before the twist is pulled from the secondopen end 23222 of thetube 23227, but instead is released after the twist is pulled from the secondopen end 23222 as shown in FIG. May be. In certain circumstances, a twist can be pulled from the secondopen end 23222 so that when the twist is released, the twist can contract or bounce back into thetube 23227 from the secondopen end 23222. . In different circumstances, the twisted yarn can be cut at a location adjacent to the firstopen end 23221 so that, similar to the above, the twisted yarn can contract or bounce back from the firstopen end 23222 into thetube 23227. it can. In different circumstances, in addition to the above, tension can be applied to the twisted yarn ofmaterial 23225 by theglasser 23292 so that when thegrasser 23292 releases the twisted yarn and / or the twisted yarn is cut, the tension inside the twisted yarn. By releasing the thread, the twisted yarn can be contracted.

次に図480を参照すると、材料23225の撚り糸が充分に管23227内に配置された時点で、管23227及び材料23225を複数のセグメントに切断することができ、その場合、各セグメントを例えば組織厚さコンペンセータ23220とすることができる。それぞれのこのようなセグメントのカバー23226を通じて延びるキャビティ23224はその両端に開口端を有しうる。例えば、開口端の一方又は両方を、例えば、熱かしめ、熱溶接、及び/又はレーザ溶接プロセスによって閉鎖又は封止することができる。図481を参照すると、カバー23226及びその内部の材料23225の一部を有するセグメントを、カバー23226の開口端を閉鎖及び/又は封止するように構成された金型内に配置することができる。より詳細には、金型は、例えば底部23294及び可動部23296を有してよく、その場合、セグメントは底部23294内に画定されたキャビティ23295内に配置することができる。可動部23296はいったん配置された後、下方に動かすことによってセグメントに力を加えることができる。必要に応じて、底部23294及び/又は可動部23296を介してセグメントに熱を加えることができるが、その場合、セグメントに加えられる熱及び/又は力が、カバー23226を歪める場合がある。より詳細には、可動部23296は、カバー23226の開口端などのカバー23226の特定の部分に締め付け力を作用させるような形状とすることができるポケット23297を画定してよく、これにより組織厚さコンペンセータ23220のこうした部分を閉鎖するか、平らに圧し潰すか、かつ/又はネック形状に細くすることができる。例えば、ポケット23297は、組織厚さコンペンセータ23220の閉鎖端23228を成形し、両閉鎖端23228の中間に位置する組織厚さコンペンセータ23220の部分を平らに圧し潰すように構成することができる。組織厚さコンペンセータ23220が適当に成形された後、可動部23296を開位置に動かして組織厚さコンペンセータ23220を金型から取り出すことができる。次いで組織厚さコンペンセータ23220を冷却容器内に配置することができ、コンペンセータ23220を室温及び/又は他の任意の適当な温度にまで冷却することができる。  Referring now to FIG. 480, once the strand ofmaterial 23225 has been sufficiently placed within thetube 23227, thetube 23227 andmaterial 23225 can be cut into a plurality of segments, where each segment is, for example, a tissue thickness. Thecompensator 23220 can be used. Thecavity 23224 extending through thecover 23226 of each such segment may have open ends at both ends thereof. For example, one or both of the open ends can be closed or sealed, for example, by heat staking, heat welding, and / or laser welding processes. Referring to FIG. 481, a segment having acover 23226 and a portion of thematerial 23225 therein can be placed in a mold configured to close and / or seal the open end of thecover 23226. More particularly, the mold may have, for example, abottom 23294 and amovable part 23296, in which case the segment can be placed in acavity 23295 defined in thebottom 23294. Once themovable part 23296 is arranged, a force can be applied to the segment by moving it downward. If desired, heat can be applied to the segment through the bottom 23294 and / or themovable portion 23296, in which case heat and / or force applied to the segment may distort thecover 23226. More particularly, themovable portion 23296 may define apocket 23297 that can be shaped to exert a clamping force on a particular portion of thecover 23226, such as the open end of thecover 23226, thereby providing a tissue thickness. These portions of thecompensator 23220 can be closed, flattened and / or thinned into a neck shape. For example, thepocket 23297 can be configured to mold theclosed end 23228 of thetissue thickness compensator 23220 and flatten out and crush the portion of thetissue thickness compensator 23220 located between the closed ends 23228. After thetissue thickness compensator 23220 is properly formed, themovable portion 23296 can be moved to the open position to remove thetissue thickness compensator 23220 from the mold. Thetissue thickness compensator 23220 can then be placed in a cooling vessel and thecompensator 23220 can be cooled to room temperature and / or any other suitable temperature.

あるいは、上記に加えて、管23227を、その内部に材料23225が配置された後で熱成形型内に配置してもよい。管23227及びその内部に配置された材料23225が成形された後、管23227及び材料23225を例えば複数の組織厚さコンペンセータ23220にセグメント化することができる。再び図471を参照すると、組織厚さコンペンセータ23220は、例えばアンビル22060に取り付けられるように構成することができる側部翼状部又はクリップ23229を有しうる。例えば側部翼状部23229は、上記に述べたように金型部分23294と23296との間で組織厚さコンペンセータ23220が成形される際にカバー23226に成形することができる。次に図472を参照すると、組織厚さコンペンセータ23220は、カバー23326から延びる側部翼状部23329を有してもよい。次に図473を参照すると、組織厚さコンペンセータ23420は、上記に述べた熱成形型内でカバー23426に圧縮圧力が作用する際にカバー23426が撓んで平らに潰れることを可能とする、例えば1以上の側部可撓性接合部23428を有してもよい。場合により、上記の結果として、組織厚さコンペンセータ23220は側部シームを有さない場合もある。そのような場合、図471を再び参照すると、材料23225が例えばアンビル22060の側縁部にまで延在してもよい。  Alternatively, in addition to the above, thetube 23227 may be placed in a thermoforming mold after thematerial 23225 has been placed therein. After thetube 23227 and thematerial 23225 disposed therein are molded, thetube 23227 andmaterial 23225 can be segmented into a plurality oftissue thickness compensators 23220, for example. Referring again to FIG. 471, thetissue thickness compensator 23220 can have a side wing orclip 23229 that can be configured to attach to theanvil 22060, for example. For example, theside wings 23229 can be formed into thecover 23226 when thetissue thickness compensator 23220 is formed between themold portions 23294 and 23296 as described above. Referring now to FIG. 472, thetissue thickness compensator 23220 may haveside wings 23329 extending from thecover 23326. Referring now to FIG. 473, thetissue thickness compensator 23420 allows thecover 23426 to flex and collapse flatly when compression pressure is applied to thecover 23426 within the thermoforming mold described above, eg, 1 You may have the above side partflexible junction part 23428. In some cases, as a result of the above, thetissue thickness compensator 23220 may not have side seams. In such a case, referring again to FIG. 471, thematerial 23225 may extend, for example, to the side edges of theanvil 22060.

上記に述べたように、撚り糸を管を通じて引いてから所定の長さに切断することによって1以上の組織厚さコンペンセータを形成することができる。上記に加えて、剛性の材料のストランドを使用して撚り糸を管を通じて引くか又は押すことができる。例えばPCLなどの剛性ポリマー材料のストランドをそのガラス転移温度よりも高い温度に加熱し、変形した形状に延伸することができる。例えば、剛性ストランドは、その変形した形状に延伸された際に例えば真っ直ぐ、又は少なくともほぼ真っ直ぐな形状を有しうる未変形のS字状の形状を有しうる。その後、剛性ストランドがその変形した形状を維持できるように剛性ストランドを拘束した状態で剛性ストランドをその材料のガラス転移温度よりも低い温度にまで冷却することができる。剛性ストランドがその変形した形状となった時点で、例えばORC繊維を剛性ストランドの周囲に成形することができる。例えばORCの撚り糸を剛性ストランドの周囲に巻回するか、ストランドを覆ってフロックするか、かつ/又は折り重ねることができる。あるいは、剛性ストランドを例えばORC繊維内に挿入することもできる。剛性ストランドは、ORC繊維内に圧延するかかつ/又は浸漬することができる粘着性表面を有してもよい。いずれの場合も、この後、剛性ストランド及びORC繊維を上記と同様の管に挿入し、剛性ストランドのガラス転移温度よりも高い温度にまで再加熱することができる。そのような状況では、剛性ストランドは非拘束状態、又は少なくともほぼ非拘束状態としてよく、その元の変形していない形状に復帰又は少なくともほぼ復帰させることができる。例えば、剛性ストランドはその元の形状に復帰する際に収縮してORC繊維を管内に引き込むことができる。管の中心をクランプ締めすることによって、剛性の管が収縮する際に管の中心内の剛性ストランド及びORC繊維を保持することができる。上記と同様、管の両端を封止して剛性ストランド及びORC繊維をその内部に封入することができる。  As noted above, one or more tissue thickness compensators can be formed by drawing a twisted yarn through a tube and then cutting to a predetermined length. In addition to the above, strands of rigid material can be used to pull or push the yarn through the tube. For example, a strand of rigid polymer material such as PCL can be heated to a temperature above its glass transition temperature and stretched into a deformed shape. For example, a rigid strand can have an undeformed S-shape that can have, for example, a straight, or at least a substantially straight shape when stretched to its deformed shape. The rigid strand can then be cooled to a temperature below the glass transition temperature of the material with the rigid strand constrained so that the rigid strand can maintain its deformed shape. When the rigid strand is in its deformed shape, for example, ORC fibers can be formed around the rigid strand. For example, an ORC twist can be wound around a rigid strand, flocked over the strand, and / or folded. Alternatively, rigid strands can be inserted into, for example, ORC fibers. The rigid strands may have an adhesive surface that can be rolled and / or immersed in the ORC fibers. In either case, the rigid strand and ORC fiber can then be inserted into a tube similar to the above and reheated to a temperature above the glass transition temperature of the rigid strand. In such a situation, the rigid strand may be unconstrained, or at least substantially unconstrained, and may return or at least approximately return to its original undeformed shape. For example, the rigid strands can contract as they return to their original shape, drawing the ORC fibers into the tube. By clamping the tube center, the rigid strands and ORC fibers in the tube center can be retained as the rigid tube contracts. As above, both ends of the tube can be sealed to enclose the rigid strands and ORC fibers therein.

次に図573を参照すると、組織厚さコンペンセータ33320は、シェル33326、シェル33326内に配置された圧縮可能なコア、及びシェル33326内の圧縮可能なコアを封じ込めるように構成することができる閉鎖端33328を有しうる。上記に加えて、シェル33326は連続押出プロセスで製造することができ、その長さに沿って連続的な断面形状を有しうる。次に図574〜576を参照すると、組織厚さコンペンセータ33420は、シェル33426、シェル33426内に画定されたキャビティ33424、及びキャビティ33424内に配置されたコア33425を有しうる。例えば、シェル33426は、連続押出しされた形状から形成されたフィルム本体を有してよく、コア33425は例えばORCなどの繊維質薬剤コアを含みうる。シェル33426は、アンビル22060内に画定されたナイフスロット22063内に延びて組織厚さコンペンセータ33420をアンビル22060に対して解放可能に保持するように構成することができる1以上の可撓性脚33423を有しうる。次に図577〜579を参照すると、組織厚さコンペンセータ33520は、シェル33526、シェル33526内に画定されたキャビティ33524、及びキャビティ33524内に配置されたコア33425を有しうる。例えば、シェル33526は、連続押出しされた形状から形成されたフィルム本体を有してよく、コア33425は例えばORCなどの繊維質薬剤コアを含みうる。シェル33526は、アンビル22060の外表面の周囲に延びて組織厚さコンペンセータ33520をアンビル22060に対して解放可能に保持するように構成することができる1以上の保持部材33528を有しうる。例えば、主に図579を参照すると、シェル33526は、可動部分33527、及び各可動部分33527の間に画定される間隙33523を有してよく、その場合、組織厚さコンペンセータ33520がアンビル22060から取り外された後、可動部分33527が弾性的に開いてその中に封じ込められたコア33425を露出することができる。次に図580〜581を参照すると、組織厚さコンペンセータ33620は、シェル33626、シェル33626内に画定されたキャビティ33424、及びキャビティ33424内に配置されたコア33425を有しうる。例えば、シェル33626は、連続押出しされた形状から形成されたフィルム本体を有してよく、コア33425は例えばORCなどの繊維質薬剤コアを含みうる。シェル33626は、アンビル22060内に画定されたナイフスロット22063と整列されうる薄肉部分33623を有してよく、これにより、組織厚さコンペンセータ33620を通過する切断部材が薄肉部分33623を通過し、組織厚さコンペンセータ33620を切断するのに要する力又はエネルギーが低減されうる。次に図582〜583を参照すると、組織厚さコンペンセータ33720は、シェル33726、シェル33726内に画定されたキャビティ33424、及びキャビティ33424内に配置されたコア33425を有しうる。例えば、シェル33726は、連続押出しされた形状から形成されたフィルム本体を有してよく、コア33425は例えばORCなどの繊維質薬剤コアを含みうる。シェル33726は、アンビル22060の外表面の周囲を包み込んで組織厚さコンペンセータ33720をアンビル22060に対して解放可能に保持するように構成することができる1以上の保持部材33723を有しうる。次に図584〜585を参照すると、組織厚さコンペンセータ33820は、シェル33826、シェル33826内に画定されたキャビティ33424、及びキャビティ33424内に配置されたコア33425を有しうる。例えば、シェル33826は、連続押出しされた形状から形成されたフィルム本体を有してよく、コア33425は例えばORCなどの繊維質薬剤コアを含みうる。シェル33826は、例えば図583に示されるアーチ形のキャビティ33424及び組織接触表面と異なり、ほぼ矩形のキャビティ33424及びほぼ平坦な組織接触表面33829を有しうる。次に図586〜587を参照すると、組織厚さコンペンセータ33920は、シェル33926内に画定された複数のキャビティ33924、及びキャビティ33924のそれぞれの内部に配置されたコア33925を有しうる。例えば、シェル33926は、連続押出しされた形状から形成されたフィルム本体を有してよく、コア33925はそれぞれ、例えばORCなどの繊維質薬剤コアを含みうる。コア33925は異なる材料で構成することができる。シェル33926は、アンビル22060のナイフスロット22063内に延びるように構成することができる1以上の保持部材33923を有しうる。  Referring now to FIG. 573, thetissue thickness compensator 33320 can be configured to contain ashell 33326, a compressible core disposed within theshell 33326, and a compressible core within theshell 33326. 33328. In addition to the above, theshell 33326 can be manufactured in a continuous extrusion process and can have a continuous cross-sectional shape along its length. Referring now to FIGS. 574-576, thetissue thickness compensator 33420 can have ashell 33426, acavity 33424 defined in theshell 33426, and acore 33425 disposed in thecavity 33424. For example, theshell 33426 may have a film body formed from a continuously extruded shape, and thecore 33425 may include a fibrous drug core such as, for example, an ORC. Theshell 33426 has one or moreflexible legs 33423 that can be configured to extend into aknife slot 22063 defined in theanvil 22060 to releasably hold thetissue thickness compensator 33420 relative to theanvil 22060. Can have. Referring now to FIGS. 577-579, thetissue thickness compensator 33520 can have ashell 33526, acavity 33524 defined in theshell 33526, and acore 33425 disposed in thecavity 33524. For example, theshell 33526 may have a film body formed from a continuously extruded shape, and thecore 33425 may include a fibrous drug core such as, for example, ORC. Theshell 33526 can have one ormore retention members 33528 that can be configured to extend around the outer surface of theanvil 22060 to releasably retain thetissue thickness compensator 33520 relative to theanvil 22060. For example, referring primarily to FIG. 579, theshell 33526 may have amovable portion 33527 and agap 33523 defined between eachmovable portion 33527, in which case thetissue thickness compensator 33520 is removed from theanvil 22060. After being moved, themovable part 33527 can be elastically opened to expose thecore 33425 contained therein. Referring now to FIGS. 580-581, thetissue thickness compensator 33620 can have ashell 33626, acavity 33424 defined within theshell 33626, and acore 33425 disposed within thecavity 33424. For example, theshell 33626 may have a film body formed from a continuously extruded shape, and thecore 33425 may include a fibrous drug core such as, for example, ORC. Theshell 33626 may have athin portion 33623 that may be aligned with aknife slot 22063 defined in theanvil 22060 so that a cutting member that passes through thetissue thickness compensator 33620 passes through thethin portion 33623 and the tissue thickness. The force or energy required to cut thecompensator 33620 can be reduced. Referring now to FIGS. 582-583, thetissue thickness compensator 33720 can have ashell 33726, acavity 33424 defined in theshell 33726, and acore 33425 disposed within thecavity 33424. For example, theshell 33726 may have a film body formed from a continuously extruded shape and thecore 33425 may include a fibrous drug core such as, for example, ORC. Theshell 33726 can have one or more retaining members 33723 that can be configured to wrap around the outer surface of theanvil 22060 and releasably retain thetissue thickness compensator 33720 relative to theanvil 22060. Referring now to FIGS. 584-585, thetissue thickness compensator 33820 can have ashell 33826, acavity 33424 defined in theshell 33826, and acore 33425 disposed in thecavity 33424. For example, theshell 33826 may have a film body formed from a continuously extruded shape, and thecore 33425 may include a fibrous drug core such as ORC. Theshell 33826 may have a generallyrectangular cavity 33424 and a generally flat tissue contacting surface 33829, for example, unlike thearcuate cavity 33424 and tissue contacting surface shown in FIG. 583. Referring now to FIGS. 586-587, thetissue thickness compensator 33920 can have a plurality ofcavities 33924 defined within theshell 33926 and acore 33925 disposed within each of thecavities 33924. For example, theshell 33926 may have a film body formed from a continuously extruded shape, and thecores 33925 may each include a fibrous drug core, such as, for example, an ORC. Thecore 33925 can be composed of different materials. Theshell 33926 can have one ormore retaining members 33923 that can be configured to extend into theknife slot 22063 of theanvil 22060.

次に図482を参照すると、折りたたみプロセスを用いて組織厚さコンペンセータを形成することができる。本発明によれば、例えば酸化再生セルロースのような材料23525をカバーシート23526上に置き、このカバーシート23526を折り畳んでから封止することによって材料23525を封入することができる。例えば、カバーシート23526は例えばCap Glyで構成することができる。材料23525をカバーシート23526上に分注するように構成されたホッパ23592の下を通過させる連続プロセスを用いることができる。例えば、材料23525がカバーシート23526上に置かれる前にカバーシート23526をローラ23591とアンビル23590との間で平らに圧し潰すことができる。材料23525は、カバーシート23526の一方の側すなわち半分の上に置くことができ、その場合、カバーシート23526の他方の側すなわち半分を材料23525の上に折り畳むか又は裏返すことができる。材料23525がカバーシート23526上に置かれる前、その間、及び/又はその後で、カバーシート23526を折り畳むか又は少なくとも部分的に折り畳むことができる。例えば、アンビル23590は、例えば、長手方向に動くカバーシート23526の縁部又は一辺を持ち上げてからカバーシート23526を折り畳むように構成することができるカム面23594を有しうる。カム面23594は、カバーシート23526がカム面23594を通過する際にカバーシート23526の一部を徐々に持ち上げて裏返す3次元カム、又はバレルカムを含みうる。  Referring now to FIG. 482, a tissue thickness compensator can be formed using a folding process. According to the present invention, thematerial 23525 can be encapsulated by placing amaterial 23525 such as oxidized regenerated cellulose on thecover sheet 23526 and folding thecover sheet 23526 before sealing. For example, thecover sheet 23526 can be made of, for example, Cap Gly. A continuous process can be used in whichmaterial 23525 is passed under ahopper 23592 configured to dispense ontocover sheet 23526. For example, thecover sheet 23526 can be crushed flat between theroller 23591 and theanvil 23590 before thematerial 23525 is placed on thecover sheet 23526.Material 23525 can be placed on one side or half ofcover sheet 23526, in which case the other side or half ofcover sheet 23526 can be folded or flipped overmaterial 23525. Thecover sheet 23526 can be folded or at least partially folded before, during, and / or after thematerial 23525 is placed on thecover sheet 23526. For example, theanvil 23590 can have acam surface 23594 that can be configured, for example, to lift the edge or one side of thecover sheet 23526 moving in the longitudinal direction before folding thecover sheet 23526. Thecam surface 23594 may include a three-dimensional cam or a barrel cam that gradually lifts and flips a portion of thecover sheet 23526 as thecover sheet 23526 passes thecam surface 23594.

カバーシート23526が材料23525上に折り畳まれた後、折り畳まれたカバーシート23526とその内部に配置された材料23525は金型23593を通り抜け、金型23593は折り畳まれたカバーシート23526と材料23525を圧縮かつ/又は押し固めて管23527を形成することができる。折り畳まれたカバーシート23526の縁部は、例えば熱溶接及び/又はレーザ溶接などの任意の適当なプロセスを用いて封止して閉鎖することができる。管23527は、管23527の側壁が封止される前に例えば1以上のローラ23595によって更に平らに圧し潰すことができる。管23527は、管23527の側壁が封止された後で1以上のローラ23595によって更に平らに圧し潰されてもよい。いずれの場合も管23527は、別々の組織厚さコンペンセータを形成するために複数の部分にセグメント化される。組織厚さコンペンセータの端部は、例えば熱溶接及び/又はレーザ溶接などの任意の適当なプロセスを用いて封止することができるが、代わりに例えば組織厚さコンペンセータの端部の一方又は両方を開放した形態としたままとすることもできる。  After thecover sheet 23526 is folded on thematerial 23525, the foldedcover sheet 23526 and thematerial 23525 disposed therein pass through themold 23593, and themold 23593 compresses the foldedcover sheet 23526 and thematerial 23525. And / or can be compacted to formtube 23527. The edge of the foldedcover sheet 23526 can be sealed and closed using any suitable process such as, for example, thermal welding and / or laser welding. Thetube 23527 can be crushed more flat, for example by one ormore rollers 23595, before the side wall of thetube 23527 is sealed.Tube 23527 may be further flattened and crushed by one ormore rollers 23595 after the side wall oftube 23527 is sealed. In either case,tube 23527 is segmented into multiple portions to form separate tissue thickness compensators. The end of the tissue thickness compensator can be sealed using any suitable process such as, for example, thermal welding and / or laser welding, but instead one or both of the ends of the tissue thickness compensator, for example. It can also be left open.

次に図483を参照すると、コンペンセータは、例えばアンビル22060のようなアンビルに取り付けることができ、その場合、コンペンセータは少なくとも1種類の薬剤を内部に貯蔵するように構成することができる。コンペンセータ23620は、中央本体部分23626及びアンビル22060に取り付けられるように構成することができる側部取り付け部分23628を有しうる。コンペンセータ23620は、コンペンセータ23620の組織接触表面23625内に画定された毛管溝23627のアレイを更に有してよく、その場合、毛管溝23627は内部に1種類以上の薬剤を貯蔵するように構成することができる。例えば、薬剤は、液体の張力のために毛管溝23627の側壁管に保持されうる液体を含みうる。異なる状況において、薬剤は、コンペンセータ23620がアンビル22060に取り付けられる前にコンペンセータ23620に塗布されてもよいが、特定の状況では、薬剤は例えばコンペンセータ23620がアンビル22060に取り付けられた後にコンペンセータ23620に塗布されてもよい。いずれの場合も、コンペンセータ23620は、アンビル22060とアンビル22060に対向して配置されるステープルカートリッジとの間に配置される組織と接触するように構成することができ、その場合、毛管溝23627内に貯蔵された薬剤が組織上に流れることができる。異なる状況において、薬剤は毛管溝23627内を流れることができる。  Referring now to FIG. 483, the compensator can be attached to an anvil, such asanvil 22060, in which case the compensator can be configured to store at least one drug therein. Thecompensator 23620 can have aside attachment portion 23628 that can be configured to attach to thecentral body portion 23626 and theanvil 22060. Thecompensator 23620 may further include an array ofcapillary grooves 23627 defined within thetissue contacting surface 23625 of thecompensator 23620, where thecapillary grooves 23627 are configured to store one or more drugs therein. Can do. For example, the medicament can include a liquid that can be retained in the sidewall tube of thecapillary channel 23627 due to the tension of the liquid. In different situations, the drug may be applied to thecompensator 23620 before thecompensator 23620 is attached to theanvil 22060, but in certain situations, the drug is applied to thecompensator 23620 after thecompensator 23620 is attached to theanvil 22060, for example. May be. In any case, thecompensator 23620 can be configured to contact tissue disposed between theanvil 22060 and the staple cartridge disposed opposite theanvil 22060, in which case thecapillaries 23627 are within thecapillary groove 23627. The stored drug can flow over the tissue. In different situations, the drug can flow through thecapillary channel 23627.

再び図483に示されるコンペンセータ23620を参照すると、毛管溝23627のアレイは、第1の量の溝23627が第1の方向に延び、第2の量の溝23627が第2の方向に延びうる斜交平行パターンに構成及び配列することができる。第1の量の溝23627は、第2の量の溝23627と交差し、流体連通することができる。次に図484を参照すると、コンペンセータ23920は、組織接触表面23925内に画定された毛管溝23927のアレイを含む本体23926を有しうる。溝23927は直線経路に沿って画定されてもよいが、非直線経路に沿って画定されてもよい。例えば、第1の量の溝23927が軸23923に沿って延びてよく、第2の量の溝23927が軸23924に沿って延びてよく、その場合、軸23923は軸23924と異なる方向に延びてよい。軸線23923は、軸線23924に対して垂直又は少なくともほぼ垂直であってよく、その場合、溝23627はそれらの間に島23922を画定しうる。例えば、各島23922の上面は、コンペンセータ23920の組織接触表面23925を画定することができる。コンペンセータ23920は、長手方向軸23921を有してよく、各溝23627は長手方向軸23921に対して横断する方向又は斜めの方向に延びてよい。再び図483を参照すると、コンペンセータ23720は、本体23726及び本体23726に画定された複数の毛管溝23727を有しうる。コンペンセータ23720は、毛管溝23727と流体連通しうる長手方向溝23721を更に有しうる。必要に応じて、1種類以上の薬剤が長手方向溝23721内に貯蔵されてよく、その場合、各薬剤は例えば溝23721と毛管溝23727との間に流れることができる。溝23721は、アンビル22060に画定された長手方向ナイフスロット22061内へと上方に延びうる長手方向の突起部を画定しうる。  Referring again to thecompensator 23620 shown in FIG. 483, the array ofcapillary grooves 23627 is a slant that allows a first amount ofgrooves 23627 to extend in a first direction and a second amount ofgrooves 23627 to extend in a second direction. It can be configured and arranged in a cross-parallel pattern. The first amount ofgroove 23627 may intersect and be in fluid communication with the second amount ofgroove 23627. Referring now to FIG. 484, thecompensator 23920 can have abody 23926 that includes an array ofcapillary grooves 23927 defined within thetissue contacting surface 23925. Thegroove 23927 may be defined along a straight path, but may be defined along a non-linear path. For example, a first amount ofgroove 23927 may extend alongaxis 23923, and a second amount ofgroove 23927 may extend alongaxis 23924, in whichcase axis 23923 extends in a different direction fromaxis 23924. Good.Axis 23923 may be perpendicular or at least substantially perpendicular toaxis 23924, in whichcase groove 23627 may defineisland 23922 therebetween. For example, the upper surface of eachisland 23922 can define atissue contacting surface 23925 of thecompensator 23920. Thecompensator 23920 may have alongitudinal axis 23922, and eachgroove 23627 may extend in a direction transverse to or oblique to the longitudinal axis 23911. Referring again to FIG. 483, thecompensator 23720 can have abody 23726 and a plurality ofcapillary grooves 23727 defined in thebody 23726. Thecompensator 23720 can further include alongitudinal groove 23721 that can be in fluid communication with thecapillary groove 23727. If desired, one or more drugs may be stored in thelongitudinal groove 23721, in which case each drug may flow between, for example, thegroove 23721 and thecapillary groove 23727. Groove 23721 can define a longitudinal protrusion that can extend upward into alongitudinal knife slot 22061 defined inanvil 22060.

上記で述べたように、再び図483を参照すると、コンペンセータに画定された毛管溝のアレイは、斜交平行パターンを有しうる。しかしながら、代わりに毛管溝のアレイは任意の適当な形状又は形態を有してもよい。例えば、図483に示されるコンペンセータ23820を参照すると、コンペンセータ23820の本体23826に画定された溝23827は、例えば中央溝23821に近づく方向に収束するかかつ/又は離れる方向に発散する平行な斜め溝を有しうる。次に図487を参照すると、外科用ステープル留め器具のエンドエフェクタは、組織厚さコンペンセータ24010を有するステープルカートリッジ24000を有してよく、その場合、組織厚さコンペンセータ24010はその内部又はその表面に例えば薬剤24001のような少なくとも1種類の薬剤を含みうる。次に図488を参照すると、アンビル24060に取り付けられたコンペンセータ24020を閉位置に動かすことによって、コンペンセータ24020を組織厚さコンペンセータ24010と接触させることができる。このような状況では、例えば薬剤24001は、組織厚さコンペンセータ24010からコンペンセータ24020へと移行することができる。次に図489を参照すると、コンペンセータ24020は、組織厚さコンペンセータ24010と接触させることができる組織接触表面24025を有してよく、その場合、薬剤24001は、組織接触表面24025に画定された毛管溝24027に流入しうる。次に図486を参照すると、コンペンセータ24020は、その表面及び/又はその内部に、コンペンセータ24020から組織厚さコンペンセータ24010へと移行しうる薬剤24002のような少なくとも1種類の薬剤を含みうる。  As noted above, referring again to FIG. 483, the array of capillary grooves defined in the compensator may have an oblique parallel pattern. However, alternatively, the array of capillary grooves may have any suitable shape or form. For example, referring to thecompensator 23820 shown in FIG. 483, the groove 23828 defined in thebody 23826 of thecompensator 23820 is a parallel oblique groove that converges in a direction approaching and / or diverging away from, for example, the central groove 23818. Can have. Referring now to FIG. 487, the end effector of the surgical stapling instrument may include astaple cartridge 24000 having atissue thickness compensator 24010, in which case thetissue thickness compensator 24010 is disposed therein or on its surface, for example. At least one drug, such asdrug 24001, may be included. Referring now to FIG. 488, thecompensator 24020 can be brought into contact with thetissue thickness compensator 24010 by moving thecompensator 24020 attached to theanvil 24060 to the closed position. In such a situation, for example,drug 24001 can migrate fromtissue thickness compensator 24010 tocompensator 24020. Referring now to FIG. 489, thecompensator 24020 may have atissue contacting surface 24025 that can be contacted with thetissue thickness compensator 24010, in which case thedrug 24001 is a capillary groove defined in thetissue contacting surface 24025. 24027. Referring now to FIG. 486, thecompensator 24020 can include at least one agent on its surface and / or within it, such as anagent 24002 that can migrate from thecompensator 24020 to thetissue thickness compensator 24010.

次に図569及び570を参照すると、組織厚さコンペンセータ33020は、その表面に画定された複数の溝及び/又はウェルを有しうる。組織厚さコンペンセータ33020は、組織厚さコンペンセータ33020を通じて規定される長手方向軸に沿って延びる長手方向溝33026を有しうる。例えば、長手方向溝33026の端部は、組織厚さコンペンセータ33020の外周と流体連通してよい。組織厚さコンペンセータ33020は、複数のウェル33022、更にウェル33022及び長手方向溝33026と流体連通する複数の斜め溝33024を更に有しうる。組織厚さコンペンセータ33020は、ウェル33022及び組織厚さコンペンセータ33020の外周と流体連通しうる複数の流入/流出溝33027を更に有しうる。必要に応じて、上記の結果として、流体は、組織厚さコンペンセータ33020が患者の組織に接して移植される前、その間、及び/又はその後で組織厚さコンペンセータ33020に流入し、かつ/又は組織厚さコンペンセータ33020から流出することができる。組織厚さコンペンセータ33020の組織接触表面33025に画定される溝33024、33026及び33027及びウェル33022のパターンは、組織と接触して組織厚さコンペンセータ33020と組織との間の滑りを抑制するように構成することができるグリップエッジを画定することができる。次に図569A及び570Aを参照すると、組織厚さコンペンセータ33120は、その表面に画定された複数の円形溝を有しうる。組織厚さコンペンセータ33120は、組織厚さコンペンセータ33120の外周に画定される開口部を有する同心円状溝33127を有しうる。上記と同様、液体は溝33127を通って組織厚さコンペンセータ33120に流入し、かつ/又は組織厚さコンペンセータ33020から流出することができる。組織厚さコンペンセータ33120は、組織厚さコンペンセータ33120の外周に画定される開口部を有さなくともよい同心円状溝33122を有してもよい。次に図571及び572を参照すると、組織厚さコンペンセータ33020は、組織厚さコンペンセータ33220に接して配置される組織をグリップするように構成することができる、組織厚さコンペンセータ33220から延びる複数の隆起部33227を有しうる。隆起部33227は真っ直ぐであってもよく、又は隆起部33227は例えば湾曲した外形を有してもよい。上記に述べた隆起部及び溝は組織厚さコンペンセータにおいて有用でありうるが、このような隆起部及び溝は任意の適当な生体吸収性及び/又は生体適合性の層とともに用いることもできる。  Referring now to FIGS. 569 and 570, thetissue thickness compensator 33020 can have a plurality of grooves and / or wells defined in its surface. Thetissue thickness compensator 33020 can have alongitudinal groove 33026 extending along a longitudinal axis defined through thetissue thickness compensator 33020. For example, the end of thelongitudinal groove 33026 may be in fluid communication with the outer periphery of thetissue thickness compensator 33020. Thetissue thickness compensator 33020 can further include a plurality ofwells 33022 and a plurality ofoblique grooves 33024 in fluid communication with thewells 33022 and thelongitudinal grooves 33026. Thetissue thickness compensator 33020 can further include a plurality of inflow /outflow grooves 33027 that can be in fluid communication with the outer periphery of thewell 33022 and thetissue thickness compensator 33020. Optionally, as a result of the above, fluid may flow into thetissue thickness compensator 33020 and / or before, during and / or after thetissue thickness compensator 33020 is implanted against the patient's tissue. It can flow out of thethickness compensator 33020. The pattern ofgrooves 33024, 33026 and 33027 andwells 33022 defined in thetissue contacting surface 33025 of thetissue thickness compensator 33020 are configured to contact the tissue and inhibit slippage between thetissue thickness compensator 33020 and the tissue. A grip edge that can be defined can be defined. Referring now to FIGS. 569A and 570A, thetissue thickness compensator 33120 can have a plurality of circular grooves defined in its surface. Thetissue thickness compensator 33120 can have aconcentric groove 33127 having an opening defined in the outer periphery of thetissue thickness compensator 33120. Similar to the above, liquid can flow through thegroove 33127 into thetissue thickness compensator 33120 and / or out of thetissue thickness compensator 33020. Thetissue thickness compensator 33120 may haveconcentric grooves 33122 that may not have openings defined on the outer periphery of thetissue thickness compensator 33120. Referring now to FIGS. 571 and 572, thetissue thickness compensator 33020 can be configured to grip tissue disposed in contact with thetissue thickness compensator 33220 and a plurality of ridges extending from thetissue thickness compensator 33220. Aportion 33227 may be included. The raisedportion 33227 may be straight, or the raisedportion 33227 may have a curved outline, for example. Although the ridges and grooves described above can be useful in tissue thickness compensators, such ridges and grooves can also be used with any suitable bioabsorbable and / or biocompatible layer.

本発明によれば、コンペンセータは複数の層で構成することができる。コンペンセータは、例えば第1の層及び第1の層に接着された第2の層を有することができる。第1の層は、組織接触表面及び組織接触表面に画定された複数の毛管溝を有しうる。第1の層は、第2の層に面し、組織接触表面の反対側に面する面に画定される毛管溝を有してもよい。第2の層には毛管溝が画定されてもよい。コンペンセータの第1の層と第2の層との間にウェルが画定されてもよい。毛管溝は、例えば、各層が形成される成形プロセスにおいて、及び/又は熱かしめプロセスにおいてなど、任意の適当なプロセスを用いてコンペンセータの各層に形成することができる。例えば、熱かしめプロセスを用いてコンペンセータの各層を互いに接着することができる。例えば、各層は、例えばCAP/GLY(36/64)などの、熱が加えられると変形可能となりうる材料で構成することができる。いずれの場合も、コンペンセータの組織接触表面に画定された毛管溝は、外科用ステープル留め器具のアンビルとステープルカートリッジとの間に配置された組織に作用させられるグリップ又は制御性を向上させうるグリップ表面をそれらの間に画定しうる。別の言い方をすれば、コンペンセータの組織接触表面に画定される毛管溝は、コンペンセータが組織と接触することができる面積を小さくしうるものである。このような状況では、より小さい接触面積のために、一定の力に対して、コンペンセータと組織との接触圧力はより高くなる。異なる状況では、より高い接触圧力のために、コンペンセータと組織との間の滑りが低減されうる。  According to the present invention, the compensator can be composed of multiple layers. The compensator can have, for example, a first layer and a second layer bonded to the first layer. The first layer can have a tissue contacting surface and a plurality of capillary grooves defined in the tissue contacting surface. The first layer may have a capillary groove defined in a surface facing the second layer and facing away from the tissue contacting surface. A capillary groove may be defined in the second layer. A well may be defined between the first layer and the second layer of the compensator. The capillary grooves can be formed in each layer of the compensator using any suitable process, such as, for example, in the molding process in which each layer is formed and / or in a heat staking process. For example, the layers of the compensator can be bonded together using a heat staking process. For example, each layer can be composed of a material that can be deformed when heat is applied, such as CAP / GLY (36/64). In any case, the capillary groove defined in the tissue contacting surface of the compensator may provide a grip surface that may improve the grip or controllability that is applied to the tissue disposed between the anvil of the surgical stapling instrument and the staple cartridge. Can be defined between them. In other words, the capillary groove defined in the tissue contacting surface of the compensator can reduce the area where the compensator can contact the tissue. In such situations, the contact pressure between the compensator and the tissue is higher for a given force due to the smaller contact area. In different situations, slippage between the compensator and tissue may be reduced due to the higher contact pressure.

必要に応じて、毛管溝及び/又はその内部に画定される空間及び/又は第1の層と第2の層との間に1以上の薬剤を配置刷ることができる。コンペンセータを構成する複数の層は、治療薬層のパック又は治療薬を含みうる。例えば、第1の層が第1の薬剤で構成され、第2の層は第2の薬剤で構成されてよく、その場合、第1の薬剤は第2の薬剤と異なりうる。例えば、第1の層に画定された毛管溝が第3の薬剤を貯蔵し、第2の層に画定された毛管溝が第4の薬剤を貯蔵してもよく、その場合、例えば第1、第2、第3、及び/又は第4の薬剤は異なってよい。例えば第1、第2、第3、及び/又は第4の薬剤は異なりうる。次に図490を参照すると、コンペンセータ24120は、例えば層24121〜24125のような複数の層を含みうる。第1の層14121及び/又は第5の層24125は、それらの間に第2の層24122、第3の層24123、及び/又は第4の層24124を挟み込むことができる平坦な材料のシートを含みうる。必要に応じて、1以上の層24121〜24125はその内部に1以上の溝24127が画定されてもよい。溝24127は、コンペンセータ24120の一端から他端まで延びてよく、また、溝24127はコンペンセータ24120の一方の側面から他方の側面へと延びてよい。溝24127は、コンペンセータ24120の任意の適当な側面及び/又は端部の間で任意の適当な方向に延びることができる。次に図493及び図494を参照すると、コンペンセータ24820は、例えば、コンペンセータ24820の一方の側面から他方の側面に延びる横溝24822を画定しうる2以上の内側層24827を有しうる。再び図490を参照すると、層24121〜24125の1つに画定された溝24127は、その層に隣接して配置される層に画定される溝と整列しうる。層24121〜24125の1つに画定された溝24127は、その層に隣接して配置される層の平坦面に面するか、又はその方向に開放しうる。図490を再び参照すると、層24121〜24125の内の1以上が、内部に画定された少なくとも1つのウェル24129を有してもよい。各ウェル24129は、その層に画定された1以上の溝24127と流体連通しうる。上記と同様、各ウェル24129は、隣接層に向かって開放するか、又は隣接層に面する開口部を有してよく、その場合、隣接層が開口部を覆うことができる。  If desired, one or more agents can be placed and printed between the capillary groove and / or the space defined therein and / or between the first layer and the second layer. The plurality of layers comprising the compensator can include a pack of therapeutic layers or therapeutic agents. For example, the first layer may be composed of a first agent and the second layer may be composed of a second agent, in which case the first agent may be different from the second agent. For example, the capillary groove defined in the first layer may store a third drug and the capillary groove defined in the second layer may store a fourth drug, in which case, for example, the first, The second, third, and / or fourth agent may be different. For example, the first, second, third, and / or fourth agent may be different. Referring now to FIG. 490, thecompensator 24120 can include a plurality of layers, such as layers 24121-24125, for example. The first layer 14121 and / or thefifth layer 24125 is a sheet of a flat material in which thesecond layer 24122, thethird layer 24123, and / or thefourth layer 24124 can be sandwiched therebetween. May be included. If desired, one or more layers 24121-24125 may have one ormore grooves 24127 defined therein. Thegroove 24127 may extend from one end of thecompensator 24120 to the other end, and thegroove 24127 may extend from one side of thecompensator 24120 to the other side. Thegroove 24127 can extend in any suitable direction between any suitable side and / or end of thecompensator 24120. Referring now to FIGS. 493 and 494, thecompensator 24820 can have two or moreinner layers 24827 that can define, for example, atransverse groove 24822 that extends from one side of thecompensator 24820 to the other. Referring again to FIG. 490, agroove 24127 defined in one of the layers 24121-24125 can be aligned with a groove defined in a layer disposed adjacent to that layer. Agroove 24127 defined in one of the layers 24121-24125 may face the flat surface of a layer disposed adjacent to the layer or open in that direction. Referring again to FIG. 490, one or more of the layers 24121-24125 may have at least one well 24129 defined therein. Each well 24129 can be in fluid communication with one ormore grooves 24127 defined in the layer. As above, each well 24129 may have an opening that opens toward or faces the adjacent layer, in which case the adjacent layer may cover the opening.

上記に加えて、溝24127及び/又はウェル24129は内部に1以上の薬剤を含むように構成することができる。溝24127は、薬剤が溝24127から流出することを可能とする1以上の開放端を有しうる。同様に、溝24127は、例えば血液のような液体が溝24127に流入することを可能とするように構成された1以上の開口部を有しうる。そのような場合、液体はコンペンセータ24120に流入し、薬剤及び/又は層24121〜24125の少なくとも一部を吸収し、その後、コンペンセータ24120から流出することができる。再び図493及び494を参照すると、コンペンセータ24820は、例えば外側層24846に画定された開口部24828を有しうる。再び図490を参照すると、層24121〜24125は、例えば生体吸収性ポリマー、PLA、及び/又はPGAなどの任意の適当な材料で構成されうる。層24121〜24125のすべてを同じ材料で構成することができる。あるいは、層24121〜24125の内の1以上を異なる材料で構成することができる。必要に応じて、層24121〜24125の内の1以上には、例えば血液などの液体が溝24127、ウェル24126内に、かつ/又は層24121〜24125の内の2以上の間に流入することを可能とするように構成することができる通孔24128が貫通して延びてもよい。層24121〜24125の内の1以上を、例えば熱溶接及び/又はレーザ溶接によって互いに連結することができる。そのような場合、コンペンセータ24120に流入する1乃至複数の液体によって、層24121〜24125の溶接部分を溶解し、層24121〜24125を分離及び/又は剥離させることができる。層24121〜24125の内の1以上を、他の層24121〜24125を構成する1乃至複数の材料よりも速い速度及び/又は遅い速度で溶解する材料で構成することもできる。例えば、コンペンセータ24120の内側層24122〜24124を、例えば外側層24121及び24125を構成する1乃至複数の材料よりも速い速度で溶解する材料で構成することができる。そのような場合、コンペンセータ24120が一定、又はほぼ一定の大まかな形状を維持しうる一方で、コンペンセータ24120の内部は溶けさる。例えば、コンペンセータの最も外側の層を、例えばコンペンセータの最も内側の層を構成する1乃至複数の材料よりも速い速度で溶解する材料で構成することができる。各層は、例えば厚さ約0.025mm(1ミル)〜約0.01mm(4ミル)の材料のシートを含みうる。  In addition to the above, thegroove 24127 and / or the well 24129 can be configured to include one or more agents therein. Thegroove 24127 can have one or more open ends that allow the drug to flow out of thegroove 24127. Similarly, thegroove 24127 may have one or more openings configured to allow a liquid such as blood to flow into thegroove 24127. In such a case, the liquid can flow into thecompensator 24120, absorb at least a portion of the drug and / or layers 24121-24125, and then flow out of thecompensator 24120. Referring again to FIGS. 493 and 494, thecompensator 24820 can have anopening 24828 defined in the outer layer 24846, for example. Referring again to FIG. 490, the layers 24121-24125 can be composed of any suitable material such as, for example, a bioabsorbable polymer, PLA, and / or PGA. All of the layers 24121-24125 can be composed of the same material. Alternatively, one or more of thelayers 24121 to 24125 can be composed of different materials. If desired, one or more of the layers 24121-24125 may have a liquid, such as blood, for example, flow into thegroove 24127, the well 24126, and / or between two or more of the layers 24121-24125. A throughhole 24128 that may be configured to allow may extend therethrough. One or more of the layers 24121-24125 can be coupled together, for example, by thermal welding and / or laser welding. In such a case, one or more liquids flowing into thecompensator 24120 can dissolve the welded portions of the layers 24121-24125 and separate and / or peel the layers 24121-24125. One or more of thelayers 24121 to 24125 may be composed of a material that dissolves at a faster and / or slower rate than the material or materials that make up theother layers 24121 to 24125. For example, the inner layers 24122-24124 of thecompensator 24120 can be comprised of a material that dissolves at a faster rate than the material or materials that comprise theouter layers 24121 and 24125, for example. In such a case, the interior of thecompensator 24120 will melt while thecompensator 24120 may maintain a constant or nearly constant rough shape. For example, the outermost layer of the compensator can be composed of a material that dissolves at a faster rate than the material or materials that comprise, for example, the innermost layer of the compensator. Each layer may include a sheet of material having a thickness of, for example, about 0.025 mm (1 mil) to about 0.01 mm (4 mils).

次に図491及び492を参照すると、例えばコンペンセータ24220のようなコンペンセータは、例えばアンビル22060のようなアンビル及び/又はステープルカートリッジに取り付けられるように構成することができる支持層24226を有しうる。コンペンセータ24220は、支持層24226に取り付けられた足場24222を更に有してもよく、足場24222は複数の足場層24227を含みうる。足場は、例えば3次元構造マトリックスを構成しうる。必要に応じて、足場層24227のそれぞれは複数の繊維で構成されうる。次に図495を参照すると、各足場層は、第1の方向に延びる第1の複数の繊維24228、及び第2の(又は異なる)方向に延びる第2の複数の繊維24229を含む繊維織物で構成することができる。各繊維織物は、複数のポケット又はキャビティ24223を有してよく、その場合、層24227、繊維24228,24229、及びキャビティ24223は組織及び細胞の内部成長にとって好ましいマトリックスを画定することができる。繊維24228、24229及び/又は他の任意の適当な繊維を生体適合性材料で構成することができる。繊維は、互いに編み込むことができる例えば止血材、生物学的及び/又は薬学的に活性であるものなどの結合活性成分、及び/又は支持部材で構成することができる。いずれの場合も、繊維の材料は、例えば構造支持細胞の足場24222内への細胞遊走、ECM分泌及び/又は増殖などの所望の生物学的応答を誘導するように選択することができる。  Referring now to FIGS. 491 and 492, a compensator, such ascompensator 24220, can have asupport layer 24226 that can be configured to attach to an anvil and / or staple cartridge, such asanvil 22060, for example. Thecompensator 24220 may further include ascaffold 24222 attached to thesupport layer 24226, and thescaffold 24222 may include a plurality of scaffold layers 24227. The scaffold can constitute, for example, a three-dimensional structure matrix. Each of the scaffold layers 24227 can be composed of a plurality of fibers as needed. Referring now to FIG. 495, each scaffold layer is a textile fabric that includes a first plurality offibers 24228 extending in a first direction and a second plurality offibers 24229 extending in a second (or different) direction. Can be configured. Each fiber fabric may have a plurality of pockets orcavities 24223, in whichcase layer 24227,fibers 24228, 24229, andcavities 24223 may define a preferred matrix for tissue and cell ingrowth.Fibers 24228, 24229 and / or any other suitable fiber can be constructed of a biocompatible material. The fibers can be composed of, for example, hemostatic materials, binding active ingredients such as biologically and / or pharmaceutically active, and / or support members that can be knitted together. In either case, the fiber material can be selected to induce a desired biological response, such as, for example, cell migration into thescaffold 24222 of structural support cells, ECM secretion and / or proliferation.

上記に加えて、支持層24226は、支持層24226は足場24222を構造的に支持するように構成することができる。足場24222は、例えば1以上の生体吸収性接着剤を用いて支持層24226に接着することができる。同様に、支持層24226は、例えば1以上の生体適合性接着剤を用いてアンビル又はステープルカートリッジに接着することができる。足場24222の層24227は、任意の適当な要領で配置又は積層することができる。各層24227は所定の繊維のパターンを有してよく、その場合、各層24227は、層24227のパターンが互いに整列されるように足場24222内に配置することができる。図496を参照すると、各層24227は、第1の層24227内の繊維24228が第2の層24227内の繊維24228と整列されるように互いに積層することができる。同様に、各層24227は、第1の層24227内の繊維24229が第2の層24227内の繊維24229と整列されるように互いに積層することができる。次に図497を参照すると、足場24422は、複数の足場層24427を含んでもよく、その場合、各足場層24427内の繊維24429は例えば長手方向のような同じ方向に配向される。次に図499を参照すると、各足場層24427は所定の繊維のパターンを有してよく、その場合、各層24427は、各層24427のパターンが互いに整列されないように足場24322内に配置することができる。各層24427は、第1の層24227内の繊維24228が、第2の層24227内の繊維24228に対して横断する方向か又は斜めとなる方向に延びるように互いに積層することができる。同様に、各層24427は、第1の層24227内の繊維24229が、第2の層24227内の繊維24229に対して横断する方向か又は斜めとなる方向に延びるように互いに積層することができる。次に図500を参照すると、足場24522は、例えば各足場層24427内の繊維24229が異なる方向に配向するように配向された複数の足場層24427を含んでもよい。  In addition to the above, thesupport layer 24226 can be configured such that thesupport layer 24226 structurally supports thescaffold 24222. Thescaffold 24222 can be adhered to thesupport layer 24226 using, for example, one or more bioabsorbable adhesives. Similarly, thesupport layer 24226 can be adhered to the anvil or staple cartridge using, for example, one or more biocompatible adhesives. Thelayer 24227 of thescaffold 24222 can be placed or laminated in any suitable manner. Eachlayer 24227 may have a predetermined pattern of fibers, in which case eachlayer 24227 may be disposed within ascaffold 24222 such that the pattern oflayers 24227 are aligned with one another. Referring to FIG. 496, eachlayer 24227 can be laminated together such that thefibers 24228 in thefirst layer 24227 are aligned with thefibers 24228 in thesecond layer 24227. Similarly, eachlayer 24227 can be laminated together such that thefibers 24229 in thefirst layer 24227 are aligned with thefibers 24229 in thesecond layer 24227. Referring now to FIG. 497, thescaffold 24422 may include a plurality of scaffold layers 24427, in which case thefibers 24429 within eachscaffold layer 24427 are oriented in the same direction, eg, in the longitudinal direction. Referring now to FIG. 499, eachscaffold layer 24427 may have a predetermined pattern of fibers, in which case eachlayer 24427 may be disposed within thescaffold 24322 such that the pattern of eachlayer 24427 is not aligned with each other. . Eachlayer 24427 can be laminated together so that thefibers 24228 in thefirst layer 24227 extend in a direction transverse to or oblique to thefibers 24228 in thesecond layer 24227. Similarly, eachlayer 24427 can be laminated together such that thefibers 24229 in thefirst layer 24227 extend in a direction transverse to or oblique to thefibers 24229 in thesecond layer 24227. Referring now to FIG. 500, thescaffold 24522 may include a plurality of scaffold layers 24427 that are oriented, for example, such that thefibers 24229 within eachscaffold layer 24427 are oriented in different directions.

上記に加えて、例えば足場24222の第1の足場層24227を第1の材料で構成し、足場24222の第2の足場層24427を第2の(又は異なる)材料で構成することができる。例えば、第1の材料は第1の薬剤を含んでよく、第2の材料は第2の(又は異なる)薬剤を含んでよい。上記に加えて、例えば、足場24222の第1の足場層24227がその繊維内に吸収された第1の薬剤を有してよく、足場24222の第2の足場層24227がその繊維内に吸収された第2の(又は異なる)薬剤を有してもよい。例えば、第1の材料は第1の薬剤を含んでよく、第2の材料は第2の(又は異なる)薬剤を含んでよい。足場は、任意の適当な数の材料で構成された任意の適当な繊維密度を有する任意の適当な数の層を有しうる。  In addition to the above, for example, thefirst scaffold layer 24227 of thescaffold 24222 can be composed of a first material, and thesecond scaffold layer 24427 of thescaffold 24222 can be composed of a second (or different) material. For example, the first material may include a first agent and the second material may include a second (or different) agent. In addition to the above, for example, thefirst scaffold layer 24227 of thescaffold 24222 may have a first drug absorbed in its fibers, and thesecond scaffold layer 24227 of thescaffold 24222 is absorbed in its fibers. May also have a second (or different) drug. For example, the first material may include a first agent and the second material may include a second (or different) agent. The scaffold may have any suitable number of layers having any suitable fiber density composed of any suitable number of materials.

組織厚さコンペンセータは、リテーナを用いて例えば外科用切断及びステープル留め器具のような外科用装置内に設置することができる。リテーナは、グリップ表面を有し、外科医、看護師、技師、又は他の人員が、例えば1以上の組織厚さコンペンセータを、アンビル及び/又はステープルカートリッジのような外科用器具の要素と整列させることを可能とする。リテーナは、外科用器具のステープルカートリッジと係合することによって1以上の組織厚さコンペンセータを整列させる要素を有することができる。リテーナは、外科用器具のアンビルと係合することによって1以上の組織厚さコンペンセータを整列させる要素を含みうる。外科用器具のステープルカートリッジは、リテーナとともに含まれてよく、リテーナを外科用器具と係合させることでステープルカートリッジを外科用器具内に設置し、1以上の組織厚さコンペンセータを整列させることができる。組織厚さコンペンセータが外科用器具と整列され、外科用器具に取り付けられた後、リテーナを組織厚さコンペンセータから取り外し、次いで外科用器具から取り出すことができる。  The tissue thickness compensator can be placed in a surgical device such as a surgical cutting and stapling instrument using a retainer. The retainer has a grip surface that allows a surgeon, nurse, technician, or other person to align one or more tissue thickness compensators with elements of a surgical instrument such as an anvil and / or staple cartridge, for example. Is possible. The retainer can have an element that aligns one or more tissue thickness compensators by engaging a staple cartridge of a surgical instrument. The retainer may include an element that aligns one or more tissue thickness compensators by engaging an anvil of the surgical instrument. A staple cartridge of a surgical instrument may be included with the retainer, and the retainer may be engaged with the surgical instrument to place the staple cartridge within the surgical instrument and align one or more tissue thickness compensators. . After the tissue thickness compensator is aligned with and attached to the surgical instrument, the retainer can be removed from the tissue thickness compensator and then removed from the surgical instrument.

図390〜396は、例えば、第1の組織厚さコンペンセータ19002をアンビル19040に取り付け、第2の組織厚さコンペンセータ19004を外科用ステープラのステープルカートリッジ19050に取り付けるために使用することができるリテーナ19000の一実施形態を示している。リテーナ19000、第1の組織厚さコンペンセータ19002、及び第2の組織厚さコンペンセータ19004を有するリテーナアセンブリ19060を提供することができる。使用時には、リテーナアセンブリ19060は、アンビル19040とステープルカートリッジ19050との間に挿入することができる。その後、アンビル19040を閉じることができる。アンビル19040を閉じることにより、アンビル19040は下方に第1の組織厚さコンペンセータ19002上に押し付けられ、これにより第1の組織厚さコンペンセータ19002をアンビル19040に取り付けることができる。アンビル19040を閉じると、リテーナ19000を下方に押して、ステープルカートリッジ19050が外科用器具の溝内に位置する。アンビル19040が再び開かれると、第1の組織厚さコンペンセータ19002がリテーナ19000から外れ、それに続いて、リテーナ19000が外科用器具から取り外されると、リテーナ19000は第2の組織厚さコンペンセータ19004から外れることができる。これにより、外科用器具は、アンビル19040に第1の組織厚さコンペンセータ19002が取り付けられ、ステープルカートリッジ19050に第2の組織厚さコンペンセータ19004が取り付けられた状態で使用できる状態にある。  FIGS. 390-396 illustrate aretainer 19000 that can be used, for example, to attach a firsttissue thickness compensator 19002 to ananvil 19040 and a secondtissue thickness compensator 19004 to astaple cartridge 19050 of a surgical stapler. 1 illustrates one embodiment. Aretainer assembly 19060 having aretainer 19000, a firsttissue thickness compensator 19002, and a secondtissue thickness compensator 19004 may be provided. In use, theretainer assembly 19060 can be inserted between theanvil 19040 and thestaple cartridge 19050. Thereafter, theanvil 19040 can be closed. Closing theanvil 19040 pushes theanvil 19040 downward onto the firsttissue thickness compensator 19002 so that the firsttissue thickness compensator 19002 can be attached to theanvil 19040. Closing theanvil 19040 pushes theretainer 19000 downward and thestaple cartridge 19050 is positioned in the groove of the surgical instrument. When theanvil 19040 is reopened, the firsttissue thickness compensator 19002 is disengaged from theretainer 19000, and subsequently theretainer 19000 is disengaged from the secondtissue thickness compensator 19004 when theretainer 19000 is removed from the surgical instrument. be able to. Thus, the surgical instrument is ready for use with the firsttissue thickness compensator 19002 attached to theanvil 19040 and the secondtissue thickness compensator 19004 attached to thestaple cartridge 19050.

図390を参照すると、リテーナ19000は、外科器具を準備する外科医、看護師、又は技師などの人がリテーナ19000を把持することができるグリップ19014を有しうる。リテーナ19000は、第1の組織厚さコンペンセータ19002を配置することができる第1の表面19001、及び、第2の組織厚さコンペンセータ19004を配置することができる反対側の第2の表面19003を有しうる。必要に応じて、第1及び第2の組織厚さコンペンセータ19002及び19004を取り付けるために第1の表面19001及び/又は第2の表面19003に1以上の接着剤を塗布することができる。リテーナ19000は、例えば外科用器具のステープルカートリッジ19050と係合することができるクリップを更に有しうる。図393を参照すると、リテーナ19000は、ステープルカートリッジ19050の遠位端の凹部19056と係合するように構成された遠位クリップ19108、及び/又はステープルカートリッジ19050上の隆起部又は縁部と係合するように構成された近位クリップ19106を有しうる。  Referring to FIG. 390, theretainer 19000 can have agrip 19014 that allows a person such as a surgeon, nurse, or technician to prepare the surgical instrument to grip theretainer 19000. Theretainer 19000 has afirst surface 19001 on which a firsttissue thickness compensator 19002 can be placed and an oppositesecond surface 19003 on which a secondtissue thickness compensator 19004 can be placed. Yes. If desired, one or more adhesives can be applied to thefirst surface 19001 and / or thesecond surface 19003 to attach the first and secondtissue thickness compensators 19002 and 19004. Theretainer 19000 can further include a clip that can engage, for example, astaple cartridge 19050 of a surgical instrument. With reference to FIG. 393, theretainer 19000 engages adistal clip 19108 configured to engage arecess 19056 at the distal end of thestaple cartridge 19050 and / or a ridge or edge on thestaple cartridge 19050. Can have a proximal clip 19106 configured to.

図390を参照すると、第1の組織厚さコンペンセータ19002は、リテーナ対向表面19006及びアンビル対向表面19010を有している。リテーナ対向表面19006は、例えば接着剤及び/又は係合機構によってリテーナ19000の第1の表面19001に取り付けることができる。アンビル対向表面19010は、第1の組織厚さコンペンセータ19002を外科用器具のアンビル19040に取り付けることができる少なくとも1種類の接着剤をその表面上に有しうる。例えば、接着剤は、アンビル19040のステープル成形表面19044(図392)に接着しうる活性化可能な接着剤を含みうる。  Referring to FIG. 390, the firsttissue thickness compensator 19002 has aretainer facing surface 19006 and ananvil facing surface 19010. Theretainer facing surface 19006 can be attached to thefirst surface 19001 of theretainer 19000 by, for example, an adhesive and / or an engagement mechanism. The anvil-facingsurface 19010 may have at least one adhesive on its surface that can attach the firsttissue thickness compensator 19002 to theanvil 19040 of the surgical instrument. For example, the adhesive can include an activatable adhesive that can adhere to thestaple forming surface 19044 of the anvil 19040 (FIG. 392).

図390及び392〜395を参照すると、第1の組織厚さコンペンセータのアンビル対向表面19010は、アンビル19040上の同様の係合機構19042と係合する係合機構19020を有している。これにより、第1の保持力が第1の組織厚さコンペンセータ19002をリテーナ19000に対して保持することができ、第2の保持力が第1の組織厚さコンペンセータ19002をアンビル19040に対して保持することができる。第2の保持力は第1の保持力よりも大きくてよく、これにより、リテーナ19000がエンドエフェクタから取り外される際、第1の組織厚さコンペンセータ19002は、アンビル19040には取り付けられたままで、リテーナ19000からは分離することができる。  Referring to FIGS. 390 and 392-395, the anvil-facingsurface 19010 of the first tissue thickness compensator has anengagement mechanism 19020 that engages asimilar engagement mechanism 19042 on theanvil 19040. This allows the first holding force to hold the firsttissue thickness compensator 19002 to theretainer 19000 and the second holding force to hold the firsttissue thickness compensator 19002 to theanvil 19040. can do. The second retention force may be greater than the first retention force so that when theretainer 19000 is removed from the end effector, the firsttissue thickness compensator 19002 remains attached to theanvil 19040 and the retainer It can be separated from 19000.

再び図390を参照すると、第2の組織厚さコンペンセータ19004は、リテーナ対向表面19008及びステープルカートリッジ対向表面19012を有しうる。リテーナ対向表面19006は、例えば接着剤及び/又は係合機構によってリテーナ19000の第1の表面19001に取り付けることができる。ステープルカートリッジ対向表面19012は、第2の組織厚さコンペンセータ19004を外科用器具のステープルカートリッジ19050に接着することができる接着剤を有してもよい。例えば、図393を参照すると、接着剤は、第2の組織厚さコンペンセータ19004をステープルカートリッジ19050のステープルデッキ19052に接着することができる。ステープルカートリッジ対向表面19012は、ステープルカートリッジ19050上の協働する係合機構と係合する係合機構を有しうる。これにより、第1の保持力が第2の組織厚さコンペンセータ19004をリテーナ19000に対して保持することができ、第2の保持力が第2の組織厚さコンペンセータ19004をステープルカートリッジ19050に対して保持することができる。第2の保持力は第1の保持力よりも大きくてよく、これにより、リテーナ19000がエンドエフェクタから取り外される際、第2の組織厚さコンペンセータ19004は、ステープルカートリッジ19050には取り付けられたままで、リテーナ19000からは分離することができる。  Referring again to FIG. 390, the secondtissue thickness compensator 19004 can have aretainer facing surface 19008 and a staplecartridge facing surface 19012. Theretainer facing surface 19006 can be attached to thefirst surface 19001 of theretainer 19000 by, for example, an adhesive and / or an engagement mechanism. The staplecartridge facing surface 19012 may have an adhesive that can adhere the secondtissue thickness compensator 19004 to thestaple cartridge 19050 of the surgical instrument. For example, referring to FIG. 393, the adhesive can bond the secondtissue thickness compensator 19004 to thestaple deck 19052 of thestaple cartridge 19050. Staplecartridge facing surface 19012 can have an engagement mechanism that engages a cooperating engagement mechanism onstaple cartridge 19050. Thereby, the first holding force can hold the secondtissue thickness compensator 19004 against theretainer 19000 and the second holding force can hold the secondtissue thickness compensator 19004 against thestaple cartridge 19050. Can be held. The second retention force may be greater than the first retention force so that when theretainer 19000 is removed from the end effector, the secondtissue thickness compensator 19004 remains attached to thestaple cartridge 19050, It can be separated from theretainer 19000.

図393に示されるように、リテーナアセンブリ19060は、矢印Aにより示されるようにステープルカートリッジ19050に取り付けることができる。上記に述べたように、リテーナ19000上の遠位クリップ19018は、ステープルカートリッジ19050の凹部19056と係合し、リテーナ上の近位クリップ19016は、ステープルカートリッジ19050上の縁部又は隆起部19054と係合することができる。この時点で、リテーナ19000は、図394に示されるようにステープルカートリッジ19050に取り付けられ、第2の組織厚さコンペンセータ19004をステープルカートリッジ19050に取り付けることができる。図395に示されるように、外科用器具のアンビル19040を矢印Bの方向に閉じることにより、例えば、ステープル成形表面及び/又は組織接触表面のようなアンビルの表面19044が第1の組織厚さコンペンセータ19002と接触することができる。上記に述べたように、アンビル19040が第1の組織厚さコンペンセータ19002と接触することで、第1の組織厚さコンペンセータ19002はアンビル19040に取り付けられる。  As shown in FIG. 393, theretainer assembly 19060 can be attached to thestaple cartridge 19050 as indicated by arrow A. As noted above, thedistal clip 19018 on theretainer 19000 engages therecess 19056 of thestaple cartridge 19050, and theproximal clip 19016 on the retainer engages the edge orridge 19054 on thestaple cartridge 19050. Can be combined. At this point, theretainer 19000 can be attached to thestaple cartridge 19050 as shown in FIG. 394 and the secondtissue thickness compensator 19004 can be attached to thestaple cartridge 19050. As shown in FIG. 395, closing thesurgical instrument anvil 19040 in the direction of arrow B causes theanvil surface 19044, such as, for example, a staple forming surface and / or a tissue contacting surface, to be the first tissue thickness compensator. 19002 can be contacted. As described above, the firsttissue thickness compensator 19002 is attached to theanvil 19040 when theanvil 19040 contacts the firsttissue thickness compensator 19002.

リテーナアセンブリ19060がステープルカートリッジ19050に取り付けられ、アンビル19040が閉じられた後、第1の組織厚さコンペンセータ19002はアンビル19040に取り付けられ、第2の組織厚さコンペンセータ19004はステープルカートリッジ19050に取り付けられうる。上記に述べたように、第1の組織厚さコンペンセータ19002をリテーナ19000に対して保持する保持力は、第1の組織厚さコンペンセータ19002をアンビル19040に対して保持する保持力よりも小さくてよい。このため、アンビル19040が再び開かれると、第1の組織厚さコンペンセータ19002は、図396に示されるように、リテーナ19000から外れ、アンビル19040に残る。やはり上記に述べたように、第2の組織厚さコンペンセータ19004をリテーナ19000に対して保持する保持力は、第2の組織厚さコンペンセータ19004をステープルカートリッジ19050に対して保持する保持力よりも小さくてよい。このため、リテーナ19000が図396において矢印C及びDの方向に取り外される際にリテーナ19000は第2の組織厚さコンペンセータ19004から外れることができる。図396に示される外科用ステープラは、アンビル19040に取り付けられた第1の組織厚さコンペンセータ19002、及びステープルカートリッジ19050に取り付けられた第2の組織厚さコンペンセータ19004を有し、使用できる状態にある。  After theretainer assembly 19060 is attached to thestaple cartridge 19050 and theanvil 19040 is closed, the firsttissue thickness compensator 19002 can be attached to theanvil 19040 and the secondtissue thickness compensator 19004 can be attached to thestaple cartridge 19050. . As noted above, the holding force that holds the firsttissue thickness compensator 19002 against theretainer 19000 may be less than the holding force that holds the firsttissue thickness compensator 19002 against theanvil 19040. . Thus, when theanvil 19040 is reopened, the firsttissue thickness compensator 19002 disengages from theretainer 19000 and remains on theanvil 19040 as shown in FIG. As also noted above, the holding force that holds the secondtissue thickness compensator 19004 against theretainer 19000 is less than the holding force that holds the secondtissue thickness compensator 19004 against thestaple cartridge 19050. It's okay. Thus, theretainer 19000 can be disengaged from the secondtissue thickness compensator 19004 when theretainer 19000 is removed in the direction of arrows C and D in FIG. The surgical stapler shown in FIG. 396 has a firsttissue thickness compensator 19002 attached to theanvil 19040 and a secondtissue thickness compensator 19004 attached to thestaple cartridge 19050 and is ready for use. .

図390〜396は、第1の組織厚さコンペンセータ19002及び第2の組織厚さコンペンセータ19004とともに使用されているリテーナ19000を示している。リテーナ19000は、第1の組織厚さコンペンセータ19002及び第2の組織厚さコンペンセータ19004の一方のみとともに使用することもできる。例えば、第1の組織厚さコンペンセータ19002を省略することができる。  FIGS. 390-396 show aretainer 19000 used with a firsttissue thickness compensator 19002 and a secondtissue thickness compensator 19004. FIG. Theretainer 19000 can also be used with only one of the firsttissue thickness compensator 19002 and the secondtissue thickness compensator 19004. For example, the firsttissue thickness compensator 19002 can be omitted.

図397〜399は、表面19101上に係合機構を有しうるリテーナ19100の一実施形態を示している。図398及び399に示されるように、リテーナ19100上の嵌合機構19108は第1の組織厚さコンペンセータ19102上の協働する係合機構19109と係合する。  FIGS. 397-399 illustrate one embodiment of aretainer 19100 that may have an engagement mechanism on thesurface 19101. FIG. As shown in FIGS. 398 and 399, themating mechanism 19108 on theretainer 19100 engages a cooperatingengagement mechanism 19109 on the firsttissue thickness compensator 19102.

図400〜401は、組織厚さコンペンセータ19210をアンビル19230と整列させ、アンビル19230に取り付けるように構成された表面19202を有しうるリテーナ19200の一実施形態を示している。リテーナ19200は、表面19202から延びるアラインメントペグ19204を有しうる。図400及び401に示されるリテーナ19200は、4個のアラインメントペグ19204を有しているが、これよりも多いか又は少ないアラインメントペグ19204が存在してもよい。図401を参照すると、組織厚さコンペンセータ19210は、リテーナ19200から延びるアラインメントペグ19204の位置に対応するように配置することができる穴19216を有する本体19212を有することができる。組織厚さコンペンセータ19210のそれぞれの穴19216は、アラインメントペグ19204の上から嵌まり、穴19216とペグ19204との緊密な嵌め合いにより、組織厚さコンペンセータ19210をリテーナ19200と整列させることができる。必要に応じて、それぞれの穴19216はその対応するペグ19204よりわずかに小さくともよく、これにより、それぞれの穴19216はそのペグ19204上に被されると拡がる。このような拡がりによって穴19216はペグ19204を保持することができる。それぞれの穴19216が内部に接着剤を含むことにより、ペグ19204と組織厚さコンペンセータ19210との間に解放可能な接合を形成することができる。  FIGS. 400-401 illustrate one embodiment of aretainer 1920 that can have asurface 19202 configured to align and attach to theanvil 19230 thetissue thickness compensator 19210. Theretainer 19200 can have analignment peg 19204 extending from thesurface 19202. Theretainer 19200 shown in FIGS. 400 and 401 has four alignment pegs 19204, although there may be more or fewer alignment pegs 19204. Referring to FIG. 401, thetissue thickness compensator 19210 can have abody 19212 with ahole 19216 that can be positioned to correspond to the position of thealignment peg 19204 extending from theretainer 19200. Eachhole 19216 of thetissue thickness compensator 19210 fits over thealignment peg 19204, and the tight fit of thehole 19216 and peg 19204 can align thetissue thickness compensator 19210 with theretainer 19200. If desired, eachhole 19216 may be slightly smaller than itscorresponding peg 19204, so that eachhole 19216 expands when covered over itspeg 19204. Such an expansion allows thehole 19216 to hold thepeg 19204. Eachhole 19216 includes an adhesive therein to form a releasable bond between thepeg 19204 and thetissue thickness compensator 19210.

組織厚さコンペンセータ19220は、アンビル19230のスロット19234によって受容されるように構成することができる、組織厚さコンペンセータ19220の本体19212から延びるタブ19220を有しうる。アンビル19230のスロット19234は、例えばステープル成形表面19232内に配置することができる。リテーナ19200がステープルカートリッジに取り付けられた後、上記と同様、アンビル19230をリテーナ19200上の組織厚さコンペンセータ19210に対して閉じることができる。図401を参照すると、アンビル19230が閉じられると、組織厚さコンペンセータ19210上のタブ19220がスロット19234と嵌合することにより、組織厚さコンペンセータ19210がアンビル19230に取り付けられる。主に図400を参照すると、各タブ19220は、タブ19220をアンビル19230のスロット19234内に案内するテーパ部分19222を有しうる。テーパ部分19222は、傾斜壁を有してよく、その長さに沿って断面積が増大しうる。各タブ19220の基部19226は、テーパ部分19222の最大断面積よりも小さな断面積を有しうる。テーパ部分19222はロック表面19224を有してもよく、その場合、タブ19220がスロット19234に入るとロック表面19224がスロット19234内のリップ19235に引っ掛かることができる。その結果、ロック表面19224がスロット19234内にタブ19220を保持することによって、組織厚さコンペンセータ19210がアンビル19230に保持されうる。組織厚さコンペンセータ19210に画定され、各タブ19220間に延びるスロット19228により、各タブ19220は内側に撓み、スロット19234内に嵌まることが可能である。スロット19234によって保持されたタブ19220は、組織厚さコンペンセータ19210をアンビル19230に対して保持する第1の保持力を規定することができ、ペグ19204上に保持された組織厚さコンペンセータ19210の穴19216は第2の保持力を規定することができる。第1の保持力は第2の保持力よりも大きくてよく、これにより、リテーナ19200がエンドエフェクタから取り外される際、組織厚さコンペンセータ19210は、アンビル19230には取り付けられたままで、リテーナ19200からは分離することができる。  Thetissue thickness compensator 19220 can have atab 19220 extending from thebody 19212 of thetissue thickness compensator 19220 that can be configured to be received by theslot 19234 of theanvil 19230. Theslot 19234 of theanvil 19230 can be disposed, for example, in thestaple forming surface 19232. After theretainer 19200 is attached to the staple cartridge, theanvil 19230 can be closed against thetissue thickness compensator 19210 on theretainer 19200 as described above. Referring to FIG. 401, when theanvil 19230 is closed, thetab 19220 on thetissue thickness compensator 19210 mates with theslot 19234 so that thetissue thickness compensator 19210 is attached to theanvil 19230. Referring primarily to FIG. 400, eachtab 19220 can have a taperedportion 19222 that guides thetab 19220 into theslot 19234 of theanvil 19230. The taperedportion 19222 may have an inclined wall and may increase in cross-sectional area along its length. Thebase 19226 of eachtab 19220 can have a cross-sectional area that is less than the maximum cross-sectional area of the taperedportion 19222. The taperedportion 19222 may have alocking surface 19224 in which case the lockingsurface 19224 can be hooked to alip 19235 in theslot 19234 when thetab 19220 enters theslot 19234. As a result, the lockingsurface 19224 retains thetab 19220 within theslot 19234 such that thetissue thickness compensator 19210 can be retained on theanvil 19230.Slots 19228 defined intissue thickness compensator 19210 and extending betweentabs 19220 allow eachtab 19220 to flex inward and fit withinslot 19234. Thetab 19220 retained by theslot 19234 can define a first retention force that retains thetissue thickness compensator 19210 against theanvil 19230, and thehole 19216 of thetissue thickness compensator 19210 retained on thepeg 19204. Can define a second holding force. The first retention force may be greater than the second retention force such that when theretainer 19200 is removed from the end effector, thetissue thickness compensator 19210 remains attached to theanvil 19230 and from theretainer 19200. Can be separated.

図400及び401の組織厚さコンペンセータ19210の本体19212は、その内部にスロット19214を更に画定しうる。スロット19214は、組織厚さコンペンセータ19210の長手方向軸に沿って整列しうる。例えば、スロット19214は長手方向軸上に配置することができ、これにより、組織厚さコンペンセータ19210がアンビル19230に取り付けられる際、スロット19214が外科用器具の切断刃の長手方向の経路と整列される。スロット19214は、組織厚さコンペンセータ19210を切り開く切断刃によって必要とされるエネルギーの量を低減することができる。  Thebody 19212 of thetissue thickness compensator 19210 of FIGS. 400 and 401 can further define aslot 19214 therein. Theslot 19214 can be aligned along the longitudinal axis of thetissue thickness compensator 19210. For example, theslot 19214 can be disposed on the longitudinal axis so that when thetissue thickness compensator 19210 is attached to theanvil 19230, theslot 19214 is aligned with the longitudinal path of the surgical instrument cutting blade. . Theslot 19214 can reduce the amount of energy required by the cutting blade that cuts through thetissue thickness compensator 19210.

図402〜412は、リテーナ19300の第1の表面19302上にコンペンセータ19340を保持するように構成されたクリップ19310を有するリテーナ19300の一実施形態を示している。アンビル19360がリテーナ19300上に閉じられると、上記と同様、アンビル19360がクリップ19310を押して外側に変位させ、その結果、リテーナ19300が組織厚さコンペンセータ19340から外れることができる。組織厚さコンペンセータ19340は、アンビル19360が再び開かれる際にアンビル19360が組織厚さコンペンセータ19340に対して押し付けられてリテーナ19300から離れる方向に動かされる際、アンビル19360に取り付けられる。  FIGS. 402-412 illustrate one embodiment of aretainer 19300 having aclip 19310 configured to hold acompensator 19340 on afirst surface 19302 of theretainer 19300. FIGS. When theanvil 19360 is closed onto theretainer 19300, theanvil 19360 pushes theclip 19310 and displaces outward as described above, so that theretainer 19300 can be disengaged from thetissue thickness compensator 19340.Tissue thickness compensator 19340 is attached toanvil 19360 whenanvil 19360 is pressed againsttissue thickness compensator 19340 and moved away fromretainer 19300 whenanvil 19360 is reopened.

リテーナ19300は、図390〜399に関して上記に述べたものと同様のステープルカートリッジ取り付けクリップ19312及び19314を有しうる。上記に述べた第1の表面19302以外に、リテーナ19300は、第2の組織厚さコンペンセータが取り付けられるように構成することができる第2の表面19304を更に有しうる。第2の表面19304は例えば隆起稜線部19308のようなアラインメント機構を有しうる。隆起稜線部19308は、例えば第2の組織厚さコンペンセータのスロット及び/又はステープルカートリッジ19370のスロットに嵌合することができる。  Theretainer 19300 can have staplecartridge mounting clips 19312 and 19314 similar to those described above with respect to FIGS. In addition to thefirst surface 19302 described above, theretainer 19300 can further include asecond surface 19304 that can be configured to have a second tissue thickness compensator attached thereto. Thesecond surface 19304 can have an alignment mechanism such as a raisedridge 19308, for example. The raisedridge 19308 can fit into a slot of the second tissue thickness compensator and / or a slot of thestaple cartridge 19370, for example.

図404〜406を参照すると、リテーナ19300はクリップ19314及び19312によってステープルカートリッジ19370に取り付けることができる。第1の組織厚さコンペンセータ19340は、リテーナ19300の第1の表面19302上に置き、クリップ19310によって定位置に保持することができる。主に図410〜412を参照すると、各クリップは、リテーナ19300の第1の表面19302に対して第1の組織厚さコンペンセータ19340を固定することができる平坦部19313を有している。各クリップ19310は、内側に面したテーパ表面又は湾曲表面19311を有しうる。図411を参照すると、アンビル19360が矢印Eの方向に動くにしたがい、アンビル19360の縁部19366が、クリップ19310の内側に面した湾曲表面19311と接触することができる。アンビル19360が、矢印Eの方向に引き続き動くと、アンビル19360の縁部19366とクリップ19310の湾曲表面19311との間の干渉によって、クリップ19310が図411に示される矢印Fの方向に外側に押されうる。クリップ19310が矢印Fの方向に動くと、第1の組織厚さコンペンセータ19340はクリップ19310の平坦部19313から解放される。  404-406, theretainer 19300 can be attached to thestaple cartridge 19370 byclips 19314 and 19312. The firsttissue thickness compensator 19340 can be placed on thefirst surface 19302 of theretainer 19300 and held in place by theclip 19310. Referring primarily to FIGS. 410-412, each clip has aflat portion 19313 that can secure a firsttissue thickness compensator 19340 against afirst surface 19302 of aretainer 19300. Eachclip 19310 may have an inwardly tapered orcurved surface 19311. Referring to FIG. 411, as theanvil 19360 moves in the direction of arrow E, theedge 19366 of theanvil 19360 can contact thecurved surface 19311 facing the inside of theclip 19310. As theanvil 19360 continues to move in the direction of arrow E, the interference between theedge 19366 of theanvil 19360 and thecurved surface 19311 of theclip 19310 pushes theclip 19310 outward in the direction of arrow F shown in FIG. sell. As theclip 19310 moves in the direction of arrow F, the firsttissue thickness compensator 19340 is released from theflat portion 19313 of theclip 19310.

アンビル19360が矢印Eの方向に引き続き動くと、アンビル19360も組織厚さコンペンセータ19340と接触してこれに取り付けられる。例えばアンビル19360が矢印Eの方向に動くにしたがい、例えば隆起稜線部19344のような係合機構が、アンビル19360の溝19364と係合する。隆起稜線部19344は、溝19364と締まりばめするように構成されており、これにより組織厚さコンペンセータ19340がアンビル19360に取り付けられる。組織厚さコンペンセータ19340は、アンビル19360の表面と接着する接着剤を有してもよい。隆起稜線部19344は、溝19364の表面と接着する接着剤を有してもよい。同様に、組織厚さコンペンセータ19340の本体19342は、アンビル19360の表面19362と接着する接着剤を有してもよい。組織厚さコンペンセータ19340がアンビル19360に取り付けられた後、図412に示されるようにアンビル19360を矢印Gの方向に動かすことによりアンビル19360がその開いた位置に戻るのにしたがい、組織厚さコンペンセータ19340がリテーナ19300から持ち上がるが、アンビル19360には取り付けられたままとなる。  As theanvil 19360 continues to move in the direction of arrow E, theanvil 19360 also contacts and is attached to thetissue thickness compensator 19340. For example, as theanvil 19360 moves in the direction of arrow E, an engagement mechanism, such as a raisedridge 19344, engages thegroove 19364 of theanvil 19360. The raisedridge portion 19344 is configured to interference fit with thegroove 19364, thereby attaching thetissue thickness compensator 19340 to theanvil 19360. Thetissue thickness compensator 19340 may have an adhesive that adheres to the surface of theanvil 19360. The raisedridge line portion 19344 may have an adhesive that adheres to the surface of thegroove 19364. Similarly, thebody 19342 of thetissue thickness compensator 19340 may have an adhesive that adheres to thesurface 19362 of theanvil 19360. After thetissue thickness compensator 19340 is attached to theanvil 19360, thetissue thickness compensator 19340 is moved back to its open position by moving theanvil 19360 in the direction of arrow G as shown in FIG. 412. Lifts fromretainer 19300 but remains attached toanvil 19360.

図413は、リテーナ19400の一実施形態の断面側面図を示している。第1の組織厚さコンペンセータ19410がリテーナ19400の第1の面19402上に配置され、第2の組織厚さコンペンセータ19420がリテーナ19400の反対側の第2の面19404上に配置されている。リテーナ19400には、これを貫通して延びる1以上の穴19406が画定されている。第1の組織厚さコンペンセータ19410と第2の組織厚さコンペンセータ19420とは、穴19406を通じて延びるコネクタ19430によって穴を介して連結されている。第1の組織厚さコンペンセータ19410、第2の組織厚さコンペンセータ19420、及びコネクタ19430のすべてを一体の材料で形成することができる。例えば、第1の組織厚さコンペンセータ19410、第2の組織厚さコンペンセータ19420、及びコネクタ19430を、リテーナ19400上にオーバーモールドすることができる。あるいは、コネクタ19430を例えば第1の組織厚さコンペンセータ19410のような組織厚さコンペンセータの一部として成形することもできる。コネクタ19430を穴19406に通過させ、次いで例えば第2の組織厚さコンペンセータ19420のような残りの組織厚さコンペンセータに取り付けることができる。コネクタ19430は、例えばコネクタの端部と第2の組織厚さコンペンセータ19420の受容ポート(図示せず)との間に接着剤を用いるか又は締まりばめを用いることにより第2の組織厚さコンペンセータ19420に取り付けることができる。コネクタ19430は、穴19406内に置かれる別体の要素とし、例えば、コネクタ19430の端部と第1の組織厚さコンペンセータ19410及び第2の組織厚さコンペンセータ19420の受容ポートとの間に接着剤又は締まりばめを用いることによって第1の組織厚さコンペンセータ19410及び第2の組織厚さコンペンセータ19410に取り付けることができる。  FIG. 413 illustrates a cross-sectional side view of one embodiment of theretainer 19400. A firsttissue thickness compensator 19410 is disposed on thefirst surface 19402 of theretainer 19400 and a secondtissue thickness compensator 19420 is disposed on thesecond surface 19404 opposite theretainer 19400. Theretainer 19400 is defined with one ormore holes 19406 extending therethrough. The firsttissue thickness compensator 19410 and the secondtissue thickness compensator 19420 are connected through a hole by aconnector 19430 extending through thehole 19406. The firsttissue thickness compensator 19410, the secondtissue thickness compensator 19420, and theconnector 19430 can all be formed from a single piece of material. For example, the firsttissue thickness compensator 19410, the secondtissue thickness compensator 19420, and theconnector 19430 can be overmolded onto theretainer 19400. Alternatively, theconnector 19430 can be molded as part of a tissue thickness compensator, such as the firsttissue thickness compensator 19410, for example.Connector 19430 can be passed throughhole 19406 and then attached to the remaining tissue thickness compensator, such as secondtissue thickness compensator 19420, for example. Theconnector 19430 can be formed using a second tissue thickness compensator, such as by using an adhesive or an interference fit between the end of the connector and a receiving port (not shown) of the secondtissue thickness compensator 19420. It can be attached to 19420. Theconnector 19430 is a separate element placed in thehole 19406, for example, an adhesive between the end of theconnector 19430 and the receiving ports of the firsttissue thickness compensator 19410 and the secondtissue thickness compensator 19420. Alternatively, it can be attached to the firsttissue thickness compensator 19410 and the secondtissue thickness compensator 19410 by using an interference fit.

例えばリテーナ19400がステープルカートリッジ19450上に置かれた後、外科用装置のアンビル19440を矢印Hの方向に閉じた位置へと動かすことができる。第1の組織厚さコンペンセータ19410の表面19414上の接着剤及び/又は係合機構により、アンビル19440が閉じると第1の組織厚さコンペンセータ19410がアンビル19440に取り付けられる。同様に、第2の組織厚さコンペンセータ19420の表面19424上の接着剤及び/又は係合機構により、第2の組織厚さコンペンセータ19420がステープルカートリッジ19450に取り付けられる。アンビル19440が閉じられ、第1及び第2の組織厚さコンペンセータ19410及び19420が、アンビル19440及びステープルカートリッジ19450にそれぞれ取り付けられた後、リテーナ19400を矢印I(図417)の方向に引くことによって第1の組織厚さコンペンセータ19410と第2の組織厚さコンペンセータ19420との間からリテーナ19400を引き抜き、コネクタ19430を破断することができる。図418に示されるように、コネクタ19430が破断され、リテーナ19400が引き抜かれた後、アンビル19440を再び開くことができ、第1の組織厚さコンペンセータ19410がアンビル19440に取り付けられ、第2の組織厚さコンペンセータ19420がステープルカートリッジ19450に取り付けられている。  For example, after theretainer 19400 is placed on thestaple cartridge 19450, theanvil 19440 of the surgical device can be moved to a closed position in the direction of arrow H. The firsttissue thickness compensator 19410 is attached to theanvil 19440 when theanvil 19440 is closed by an adhesive and / or engagement mechanism on thesurface 19414 of the firsttissue thickness compensator 19410. Similarly, the secondtissue thickness compensator 19420 is attached to thestaple cartridge 19450 by an adhesive and / or engagement mechanism on thesurface 19424 of the secondtissue thickness compensator 19420. After theanvil 19440 is closed and the first and secondtissue thickness compensators 19410 and 19420 are attached to theanvil 19440 andstaple cartridge 19450 respectively, the first is achieved by pulling theretainer 19400 in the direction of arrow I (FIG. 417). Theretainer 19400 can be withdrawn from between the firsttissue thickness compensator 19410 and the secondtissue thickness compensator 19420, and theconnector 19430 can be broken. As shown in FIG. 418, after theconnector 19430 is broken and theretainer 19400 is withdrawn, theanvil 19440 can be reopened and the firsttissue thickness compensator 19410 is attached to theanvil 19440 and the second tissueA thickness compensator 19420 is attached to thestaple cartridge 19450.

本発明によれば、リテーナ19400の各穴19406の近位部分19407は切断縁部を有してよい。リテーナが矢印I(図417)の方向に引かれると、引く力が穴19406の近位部分19407に伝達されてコネクタが破断する。各穴19406の近位部分19407の切断縁部が、伝達された力を各コネクタの比較的小さい面積に集中させる。その結果、コネクタはより簡単に破断し、第1の組織厚さコンペンセータ19410と第2の組織厚さコンペンセータ19420との間からリテーナ19400を引き抜くのに要する力がより小さくなりうる。  In accordance with the present invention, the proximal portion 19407 of eachhole 19406 of theretainer 19400 may have a cutting edge. When the retainer is pulled in the direction of arrow I (FIG. 417), the pulling force is transmitted to the proximal portion 19407 of thehole 19406 and the connector breaks. The cutting edge of the proximal portion 19407 of eachhole 19406 concentrates the transmitted force on a relatively small area of each connector. As a result, the connector can be more easily broken and less force can be required to pull theretainer 19400 from between the firsttissue thickness compensator 19410 and the secondtissue thickness compensator 19420.

上記に述べたように、リテーナアセンブリは、第1の組織厚さコンペンセータと第2の組織厚さコンペンセータとの間に配置されたリテーナを有しており、その場合、2つの組織厚さコンペンセータが外科用器具のエンドエフェクタに挿入され、エンドエフェクタに取り付けられた後で、リテーナを組織厚さコンペンセータの間から引き抜き、エンドエフェクタから取り外すことができる。リテーナは、第1及び第2の第1の組織厚さコンペンセータの間にバリアを与えることができる。リテーナが第1及び第2の第1の組織厚さコンペンセータの間から引き抜かれると、例えば、第1の組織厚さコンペンセータ内及び/又は第1の組織厚さコンペンセータ上の物質が、第2の組織厚さコンペンセータ内及び/又は第2の組織厚さコンペンセータ上の物質と反応しうる。組織厚さコンペンセータの一方又は両方が、組織厚さコンペンセータ内に物質を閉じ込めることができるフィルムを有してもよい。これらのフィルムはリテーナに接着させることができ、その場合、上記に述べたようにリテーナが組織厚さコンペンセータの間から引き抜かれると、リテーナが組織厚さコンペンセータからフィルムを引き剥がして内部に含まれる物質が曝露されうる。この時点で、組織厚さコンペンセータのそれぞれの内部の物質は互いに相互作用することが可能となる。  As noted above, the retainer assembly has a retainer disposed between the first tissue thickness compensator and the second tissue thickness compensator, in which case the two tissue thickness compensators are After being inserted into and attached to the end effector of the surgical instrument, the retainer can be withdrawn from between the tissue thickness compensators and removed from the end effector. The retainer can provide a barrier between the first and second first tissue thickness compensators. When the retainer is withdrawn from between the first and second first tissue thickness compensators, for example, the substance in the first tissue thickness compensator and / or on the first tissue thickness compensator may be It may react with substances in the tissue thickness compensator and / or on the second tissue thickness compensator. One or both of the tissue thickness compensators may have a film that can confine material within the tissue thickness compensator. These films can be adhered to the retainer, in which case the retainer pulls the film away from the tissue thickness compensator as described above and is contained within the retainer when it is withdrawn from between the tissue thickness compensators. Substance can be exposed. At this point, the materials within each of the tissue thickness compensators can interact with each other.

図419〜429は、例えば外科用ステープラのような外科用装置のアンビルと係合するリテーナの一実施形態を示している。リテーナは、第1の組織厚さコンペンセータをアンビルと整列させ、第2の組織厚さコンペンセータをステープルカートリッジと整列させることができる。アンビルを閉じることにより、第1の組織厚さコンペンセータがアンビルに取り付けられ、第2の組織厚さコンペンセータがステープルカートリッジに取り付けられる。リテーナは、ステープルカートリッジを保持することもでき、必要に応じて組織厚さコンペンセータがリテーナとステープルカートリッジとの間に配置される。アンビルを閉じることにより、ステープルカートリッジが外科用ステープラの溝に取り付けられ、第1の組織厚さコンペンセータがアンビルに取り付けられる。  FIGS. 419-429 illustrate one embodiment of a retainer that engages an anvil of a surgical device, such as a surgical stapler. The retainer can align the first tissue thickness compensator with the anvil and the second tissue thickness compensator with the staple cartridge. Closing the anvil attaches the first tissue thickness compensator to the anvil and the second tissue thickness compensator to the staple cartridge. The retainer can also hold a staple cartridge, and a tissue thickness compensator is disposed between the retainer and the staple cartridge as needed. Closing the anvil attaches the staple cartridge to the surgical stapler groove and attaches the first tissue thickness compensator to the anvil.

図419〜422は、リテーナ19500の一実施形態を示している。リテーナ19500は、それにより外科医、看護師、技師、又は他の人員がリテーナ19500を操作することができるグリップ19502を有している。グリップ19502は、良好なグリップ表面を与えることができる例えば隆起部19503のような非平滑化表面を有しうる。リテーナ19500は、組織厚さコンペンセータを取り付けることができる表面19504を有しうる。表面19504は、組織厚さコンペンセータの凹部と嵌合し、組織厚さコンペンセータをリテーナ19500の表面19504に対して整列させることができる1以上の突起19506を有してもよい。組織厚さコンペンセータの凹部は突起19506よりもわずかに小さくてよく、これにより、突起19506が凹部と嵌合する際、突起19506は組織厚さコンペンセータを表面19504に対して保持することができる。突起19506は、組織厚さコンペンセータの穴に通され、例えば図424に示されるアンビル19550の切断刃スロット19558のようなスロットと嵌合することにより、組織厚さコンペンセータをリテーナ19500と整列させるとともにリテーナ19500のアンビル19550との更なるアラインメントを与えることができる。組織厚さコンペンセータ19540は、組織厚さコンペンセータをアンビル19550に取り付けるため、表面19542上に上記に述べたような接着剤及び/又は係合機構を有しうる。  FIGS. 419-422 illustrate one embodiment of aretainer 19500. FIG. Theretainer 19500 has agrip 19502 that allows a surgeon, nurse, technician, or other person to operate theretainer 19500. Thegrip 19502 can have a non-smoothed surface such as aridge 19503 that can provide a good grip surface. Theretainer 19500 can have asurface 19504 to which a tissue thickness compensator can be attached. Thesurface 19504 may have one ormore protrusions 19506 that mate with a recess in the tissue thickness compensator and allow the tissue thickness compensator to align with thesurface 19504 of theretainer 19500. The tissue thickness compensator recess may be slightly smaller than theprotrusion 19506 so that theprotrusion 19506 can hold the tissue thickness compensator against thesurface 19504 when theprotrusion 19506 mates with the recess.Protrusion 19506 is threaded through a hole in the tissue thickness compensator and mates with a slot such ascutting blade slot 19558 ofanvil 19550 shown in FIG. 424 to align the tissue thickness compensator withretainer 19500 and Further alignment with 19500anvils 19550 can be provided. Thetissue thickness compensator 19540 may have an adhesive and / or engagement mechanism as described above on thesurface 19542 to attach the tissue thickness compensator to theanvil 19550.

図423aに示されるように、ステープルカートリッジ19530はリテーナ19500に取り付けることができる。ステープルカートリッジ19530は、リテーナ19500から延びるクリップ19510及び19512によってリテーナ19500に取り付けることができる。リテーナ19500上のクリップ19512は、ステープルカートリッジ19530のスロット19534と係合することができる。リテーナ19500のクリップ19510は、ステープルカートリッジ19532の底部19532を包囲することができる。本発明によれば、第2の組織厚さコンペンセータはステープルカートリッジ19530に取り付けることができる。第2の組織厚さコンペンセータは、ステープルカートリッジ19530のステープルデッキ19536に取り付けることができる。  As shown in FIG. 423 a, thestaple cartridge 19530 can be attached to theretainer 19500.Staple cartridge 19530 can be attached toretainer 19500 byclips 19510 and 19512 extending fromretainer 19500.Clip 19512 onretainer 19500 can engageslot 19534 ofstaple cartridge 19530. Theclip 19510 of theretainer 19500 can surround thebottom 19532 of thestaple cartridge 19532. In accordance with the present invention, the second tissue thickness compensator can be attached to thestaple cartridge 19530. The second tissue thickness compensator can be attached to thestaple deck 19536 of thestaple cartridge 19530.

図424及び425に示されるように、リテーナ19500、組織厚さコンペンセータ19540、及びステープルカートリッジ19530を含むリテーナアセンブリ19590は、矢印Lの方向に外科用ステープラのような外科用装置のアンビル19550上で摺動することができる。リテーナ19500上の案内タブ19508が、アンビル19550の縁部19552を包囲し、アンビル19550に対してリテーナアセンブリ19590を配置することができる。図426及び427に示されるようにリテーナアセンブリ19590がアンビル19550と係合した後、アンビルを矢印Mの方向に閉じることができる。アンビル19550を閉じることにより、ステープルカートリッジ19530を外科用装置の溝19560内に配置することができる。アンビル19550を閉じることにより、リテーナ19500から延びるクリップ19510が溝19560の稜線部19562と係合することでステープルカートリッジ19530が溝19560内にしっかりと配置される。次に図428及び429を参照すると、アンビル19550が矢印Nの方向に再び開かれると、組織厚さコンペンセータ19540はアンビル19550には取り付けられたままであるが、リテーナ19500からは分離することができる。次いでリテーナ19500を外科用器具から矢印O(図428及び429)の方向に引き抜くと、ステープルカートリッジ19530は外科用装置の溝19560内に残り、組織厚さコンペンセータ19540はアンビル19550に取り付けられたままとなる。  As shown in FIGS. 424 and 425, aretainer assembly 19590 including aretainer 19500, atissue thickness compensator 19540, and astaple cartridge 19530 slides on ananvil 19550 of a surgical device, such as a surgical stapler, in the direction of arrow L. Can move. Aguide tab 19508 on theretainer 19500 surrounds theedge 19552 of theanvil 19550 and can position theretainer assembly 19590 relative to theanvil 19550. After theretainer assembly 19590 engages theanvil 19550 as shown in FIGS. 426 and 427, the anvil can be closed in the direction of arrow M. Closing theanvil 19550 allows thestaple cartridge 19530 to be placed in thegroove 19560 of the surgical device. Closing theanvil 19550 causes theclip 19510 extending from theretainer 19500 to engage theridge 19562 of thegroove 19560 so that thestaple cartridge 19530 is securely positioned within thegroove 19560. Referring now to FIGS. 428 and 429, when theanvil 19550 is reopened in the direction of arrow N, thetissue thickness compensator 19540 remains attached to theanvil 19550 but can be separated from theretainer 19500. When theretainer 19500 is then withdrawn from the surgical instrument in the direction of arrow O (FIGS. 428 and 429), thestaple cartridge 19530 remains in thegroove 19560 of the surgical device and thetissue thickness compensator 19540 remains attached to theanvil 19550. Become.

図430及び431は、組織厚さコンペンセータ19570及び19580の2つの代替的実施形態の例をそれぞれ示している。図430は、リテーナ19501に取り付けられた組織厚さコンペンセータ19570の断面図であり、その場合、組織厚さコンペンセータ19570は、アンビル19550の縁部19552と接触してアンビル19550の外側表面19556を部分的に包囲しうる突起部19574を有しうる。突起部は、アンビル19550を把持するか、かつ/又は1以上の接着剤を使用してアンビル19550に接着することができる。コンペンセータ19570が患者の組織に対して移植された後で組織厚さコンペンセータ19570をアンビル19550から解放するには、突起部19574がアンビル19550から外側に撓むことにより、組織厚さコンペンセータ19570をアンビル19550から引き離すことが可能となる。図431は、図430に示されるリテーナ19501に取り付けられた組織厚さコンペンセータ19580の断面図である。組織厚さコンペンセータ19580はアンビル19550を包囲して組織厚さコンペンセータ19580をアンビル19550と整列させ、かつ/又は組織厚さコンペンセータ19580をアンビル19550上に保持することができるソックス19584を有している。ソックス19584は、組織厚さコンペンセータ19580をアンビル19550上に保持することができる。ソックス19584をアンビル19550から取り外すには、組織厚さコンペンセータ19580を例えばミシン目19586においてソックス19584から破り取ることができる。これにより、ソックス19584がアンビル19550上に残ったままとなる一方で、組織厚さコンペンセータ19580の残りの部分は患者組織にステープル留めされたままとなりうる。  FIGS. 430 and 431 show examples of two alternative embodiments oftissue thickness compensators 19570 and 19580, respectively. FIG. 430 is a cross-sectional view of atissue thickness compensator 19570 attached to aretainer 19501, in which case thetissue thickness compensator 19570 partially contacts theedge 19552 of theanvil 19550 and theouter surface 19556 of theanvil 19550. It may have aprotrusion 19574 that can be surrounded. The protrusions can grip theanvil 19550 and / or adhere to theanvil 19550 using one or more adhesives. To release thetissue thickness compensator 19570 from theanvil 19550 after thecompensator 19570 has been implanted into the patient's tissue, theprotrusion 19574 deflects outward from theanvil 19550, thereby causing thetissue thickness compensator 19570 to move from theanvil 19550. It becomes possible to separate from. FIG. 431 is a cross-sectional view of thetissue thickness compensator 19580 attached to theretainer 19501 shown in FIG. Thetissue thickness compensator 19580 has a sock 1958 that can surround theanvil 19550 to align thetissue thickness compensator 19580 with theanvil 19550 and / or hold thetissue thickness compensator 19580 on theanvil 19550. Thesocks 19584 can hold thetissue thickness compensator 19580 on theanvil 19550. To remove thesocks 19584 from theanvil 19550, thetissue thickness compensator 19580 can be breached from thesocks 19584 at, for example,perforation 19586. This allows thesocks 19584 to remain on theanvil 19550 while the remaining portion of thetissue thickness compensator 19580 can remain stapled to the patient tissue.

例えば組織厚さコンペンセータ19570のような組織厚さコンペンセータは、内部に生体適合性物質が配置された内側部分を有しうる。このような生体適合性物質には、例えば抗炎症剤、凝固剤、及び/又は抗生物質が含まれる。本発明によれば、例えばウェーハのような本体を組織厚さコンペンセータ内部の内側部分内に挿入することができる。例えば、ウェーハは、組織厚さコンペンセータの開口端からその内部に画定されたキャビティ内に挿入することができる。ウェーハは締まりばめによって組織厚さコンペンセータのキャビティ内に保持することができる。ウェーハを組織厚さコンペンセータに組み付けるための工程は、組織厚さコンペンセータが膨張するように組織厚さコンペンセータを加熱する第1の工程を含みうる。組織厚さコンペンセータが膨張すると、その内部に画定されたキャビティも膨張しうる。組織厚さコンペンセータが膨張した状態にある場合、第2の工程によって、ウェーハをキャビティ内に挿入することができる。この後、組織厚さコンペンセータが冷却する際、第3の工程によって、キャビティがウェーハ上に収縮してウェーハをキャビティ内部の定位置に保持することができる。  For example, a tissue thickness compensator, such astissue thickness compensator 19570, can have an inner portion with a biocompatible material disposed therein. Such biocompatible materials include, for example, anti-inflammatory agents, coagulants, and / or antibiotics. According to the present invention, a body, such as a wafer, can be inserted into the inner portion of the tissue thickness compensator. For example, the wafer can be inserted from the open end of the tissue thickness compensator into a cavity defined therein. The wafer can be held in the cavity of the tissue thickness compensator by an interference fit. The step of assembling the wafer to the tissue thickness compensator may include a first step of heating the tissue thickness compensator such that the tissue thickness compensator expands. As the tissue thickness compensator expands, the cavity defined therein can also expand. When the tissue thickness compensator is in an expanded state, the second step allows the wafer to be inserted into the cavity. Thereafter, when the tissue thickness compensator cools, the third step allows the cavity to shrink onto the wafer and hold the wafer in place within the cavity.

図432〜444は、別体の挿入ツールを有するリテーナの一実施形態を示している。挿入ツールを使用して、例えば外科用ステープラのような外科用器具内にアセンブリを挿入することができる。挿入ツールは、ステープルカートリッジ及びリテーナアセンブリの1以上の組織厚さコンペンセータを外科用器具内の定位置に押し付けることもできる。図432及び433を参照すると、リテーナ19600は第1のプレート19620及び第2のプレート19622を有しうる。第1のプレート19620と第2のプレート19622とは、ヒンジ19612によって連結することができる。ヒンジ19612は、第1のプレート19620を第2のプレート19622に対して所定の角度に位置決めするとともに、第1のプレート19620がヒンジ19612を中心として第2のプレート19622に対して回転することを可能とする。  FIGS. 432-444 illustrate one embodiment of a retainer having a separate insertion tool. An insertion tool can be used to insert the assembly into a surgical instrument such as a surgical stapler. The insertion tool can also press one or more tissue thickness compensators of the staple cartridge and retainer assembly into place in the surgical instrument. Referring to FIGS. 432 and 433, theretainer 19600 can have afirst plate 19620 and asecond plate 19622. Thefirst plate 19620 and thesecond plate 19622 can be connected by ahinge 19612. Thehinge 19612 positions thefirst plate 19620 at a predetermined angle with respect to thesecond plate 19622 and allows thefirst plate 19620 to rotate relative to thesecond plate 19622 about thehinge 19612. And

第1のプレート19620は、外側対向表面19604及び内側対向表面19606を有しうる。同様に、第2のプレート19622は、外側対向表面19610及び内側対向表面19608を有しうる。第1のプレート19620の内側対向表面19606は、カム突起19614を有しうる。同様に、第2のプレート19622の内側対向表面19608は、カム突起19616を有しうる。図439〜444を参照すると、第1のプレートの外側対向表面19604は、その上に配置された組織厚さコンペンセータを有しうる。第2のプレート19622の外側対向表面19601もその上に配置された組織厚さコンペンセータを有しうる。各組織厚さコンペンセータは、接着剤、係合機構、及び/又は例えば図318〜322に関して上記に述べた保持部材12295のような他の適当な取り付け手段を用いて外側表面19604及び19610に取り付けることができる。リテーナ19600は、第2のプレート19622から延び、図439及び441〜444に示されるようなステープルカートリッジ19690と係合するように構成することができるクリップ19618を有してもよい。  Thefirst plate 19620 can have an outer facingsurface 19604 and an inner facingsurface 19606. Similarly, thesecond plate 19622 can have an outer facingsurface 19610 and an inner facingsurface 19608. The inner facingsurface 19606 of thefirst plate 19620 can have acam projection 19614. Similarly, the inner facingsurface 19608 of thesecond plate 19622 can have acam projection 19616. Referring to FIGS. 439-444, the outer opposingsurface 19604 of the first plate can have a tissue thickness compensator disposed thereon. The outer facing surface 19601 of thesecond plate 19622 can also have a tissue thickness compensator disposed thereon. Each tissue thickness compensator is attached toouter surfaces 19604 and 19610 using adhesives, engagement mechanisms, and / or other suitable attachment means such as retainingmember 12295 described above with respect to FIGS. 318-322, for example. Can do. Theretainer 19600 may have aclip 19618 that extends from thesecond plate 19622 and can be configured to engage astaple cartridge 19690 as shown in FIGS. 439 and 441-444.

次に図434〜438を参照すると、挿入ツール19630は第1の端部19632及び第2の端部19634を有しうる。第1の端部19632は、例えば外科医、看護師、及び/又は技師によって把持されるだけ充分な大きさを有しうる。第2の端部19634には、内部にカム19648が配置されうるキャビティ19640が画定されている。カム19648の第1の面は、第1のローブ19642、第2のローブ19644、及びそれらの間に配置される第1のアンチローブ19646を含みうる。カム19648の第2の面は、第3のローブ19643、第4のローブ19645、及びそれらの間に配置される第2のアンチローブ19647を含みうる。例えば各ローブ及び各アンチローブは鏡像関係に配置することができる。換言すれば、第1のローブ19642は、カム19648の第1の面上で、カム19648の第2の面上の第3のローブ19643の正反対に配置することができる。同様に、第2のローブ19644は、カム19648の第1の面上で、カム19648の第2の面上の第4のローブ19645の正反対に配置することができる。更に、第1のアンチローブ19464は、カム19648の第1の面上で、カム19648の第2の面上の第2のアンチローブ19647の正反対に配置することができる。  Referring now to FIGS. 434-438, theinsertion tool 19630 can have afirst end 19632 and asecond end 19634. Thefirst end 19632 can be large enough to be grasped by, for example, a surgeon, nurse, and / or technician. Thesecond end 19634 defines acavity 19640 in which acam 19648 can be disposed. The first surface of thecam 19648 can include afirst lobe 19642, asecond lobe 19644, and afirst anti-lobe 19646 disposed therebetween. The second surface of thecam 19648 can include athird lobe 19643, afourth lobe 19645, and asecond anti-lobe 19647 disposed therebetween. For example, each lobe and each anti-lobe can be arranged in a mirror image relationship. In other words, thefirst lobe 19642 can be positioned on the first surface of thecam 19648 and diametrically opposite thethird lobe 19643 on the second surface of thecam 19648. Similarly, thesecond lobe 19644 can be positioned on the first surface of thecam 19648 diametrically opposite thefourth lobe 19645 on the second surface of thecam 19648. Further, the first anti-lobe 19464 can be positioned on the first side of thecam 19648 and diametrically opposite thesecond anti-lobe 19647 on the second side of thecam 19648.

使用時には、挿入ツール19630の第2の端部19634がリテーナ19600の第1のプレート19620と第2のプレート19622との間に配置されることにより、例えば、第1のプレート19620上のカム突起19614がアンチローブ19646と係合し、第2のプレート19622上のカム突起19616がアンチローブ19647と係合する。図441及び442に示されるように、リテーナ19600、挿入ツール19630、1以上の組織厚さコンペンセータ、及びステープルカートリッジ19690を含む挿入アセンブリ19700を外科用器具に挿入することができる。外科用ステープラのような外科用器具は、ステープルカートリッジ19690を受容するように構成された溝19740、及びアンビル19720を有している。挿入アセンブリ19700は、ステープルカートリッジ19690を溝19740内にロックするために矢印P(図442)の方向に外科器具に挿入することができる。このような位置では、カム19614及び19616がアンチローブ19646及び19647とそれぞれ整列することができる。  In use, thesecond end 19634 of theinsertion tool 19630 is disposed between thefirst plate 19620 and thesecond plate 19622 of theretainer 19600 such that, for example, thecam projection 19614 on thefirst plate 19620 Engages withanti-lobe 19646 andcam projection 19616 onsecond plate 19622 engages withanti-lobe 19647. As shown in FIGS. 441 and 442, aninsertion assembly 19700 that includes aretainer 19600, aninsertion tool 19630, one or more tissue thickness compensators, and astaple cartridge 19690 can be inserted into a surgical instrument. A surgical instrument, such as a surgical stapler, has agroove 19740 configured to receive astaple cartridge 19690 and ananvil 19720. Theinsertion assembly 19700 can be inserted into the surgical instrument in the direction of arrow P (FIG. 442) to lock thestaple cartridge 19690 into thegroove 19740. In such a position,cams 19614 and 19616 can be aligned withantilobes 19646 and 19647, respectively.

図443に示されるようにステープルカートリッジ19690が溝19740内にロックされた後、挿入ツール19600を外科用器具に対して矢印Qの方向に引き続き動かすことができる。矢印Qの方向に挿入ツール19600を更に動かすと、第1のローブ19642が第1のカム突起19614と、第3のローブ19643が第2のカム突起19616と整列される。このようなアラインメントにより、リテーナプレート19620と19622とは、矢印R(図443)の方向にヒンジ19612を中心として互いから離れる方向に回転することができる。このような状況では、リテーナプレート19620及び組織厚さコンペンセータ19670がアンビル19720の方向に動き、リテーナプレート19622がアンビル19720の方向に動いてこれと接触することができる。必要に応じて、上記の結果、組織厚さコンペンセータ19670がアンビル19720上に配置されてもよい。組織厚さコンペンセータ19670がアンビル19720に取り付けられた後、挿入ツール19630を矢印S(図444に示される)の方向に引くか又は動かすことができる。挿入ツール19630を矢印Sの方向に動かすことにより、カム突起19614及び19616が第1のローブ19642及び第3のローブ19643からそれぞれ離れ、第1のアンチローブ19646及び第2のアンチローブ19647とそれぞれ再整列することができる。第2のローブ19642及び第4のローブ19645がカム突起19614及び19616とそれぞれ当接して、挿入ツール19630がリテーナ19600から完全に分離することを防止することができる。カム突起19614及び19616がアンチローブ19646及び19647と再整列すると、第1のプレート19620はヒンジ19612を中心として第2のプレート19622に近づく方向でアンビル19720から遠ざかる方向に少なくとも部分的に回転することができる。リテーナ19600もまた、溝19740から外れ、矢印Sの方向に引き抜くことができ、例えば組織厚さコンペンセータ19670がアンビル19720に取り付けられたままとなる。  Afterstaple cartridge 19690 is locked ingroove 19740 as shown in FIG. 443,insertion tool 19600 can continue to move in the direction of arrow Q relative to the surgical instrument. As theinsertion tool 19600 is further moved in the direction of arrow Q, thefirst lobe 19642 is aligned with thefirst cam protrusion 19614 and thethird lobe 19643 is aligned with thesecond cam protrusion 19616. Such an alignment allows theretainer plates 19620 and 19622 to rotate away from each other about thehinge 19612 in the direction of arrow R (FIG. 443). In such a situation, theretainer plate 19620 andtissue thickness compensator 19670 can move in the direction of theanvil 19720 and theretainer plate 19622 can move in the direction of theanvil 19720 to contact it. If desired, thetissue thickness compensator 19670 may be placed on theanvil 19720 as a result of the above. After thetissue thickness compensator 19670 is attached to theanvil 19720, theinsertion tool 19630 can be pulled or moved in the direction of arrow S (shown in FIG. 444). By moving theinsertion tool 19630 in the direction of arrow S, thecam protrusions 19614 and 19616 move away from thefirst lobe 19642 and thethird lobe 19643 respectively, and are reconnected with thefirst antilobe 19646 and thesecond antilobe 19647, respectively. Can be aligned. Thesecond lobe 19642 and thefourth lobe 19645 can abut thecam protrusions 19614 and 19616, respectively, to prevent theinsertion tool 19630 from being completely separated from theretainer 19600. When thecam projections 19614 and 19616 realign with theantilobes 19646 and 19647, thefirst plate 19620 may rotate at least partially in the direction away from theanvil 19720 about thehinge 19612 in the direction of approaching thesecond plate 19622. it can. Theretainer 19600 can also be removed from thegroove 19740 and withdrawn in the direction of arrow S, for example, thetissue thickness compensator 19670 remains attached to theanvil 19720.

本明細書に述べるように、リテーナアセンブリを使用して1以上の組織厚さコンペンセータを外科用ステープル留め器具のエンドエフェクタ内に設置することができる。リテーナアセンブリは、組織厚さコンペンセータ以外に各層を外科用器具内に設置することができる。これらの層は、例えば、吸収性材料及び/又は生体適合性材料を含みうる。  As described herein, a retainer assembly can be used to place one or more tissue thickness compensators into the end effector of a surgical stapling instrument. The retainer assembly can place each layer in a surgical instrument in addition to the tissue thickness compensator. These layers can include, for example, absorbent materials and / or biocompatible materials.

図501を参照すると、エンドエフェクタ12は、エンドエフェクタインサート25002を受容するように構成することができる。エンドエフェクタ12は、下側ジョー25070、及び下側ジョー25070に対して枢動するように構成されたアンビル19720を有しうる。エンドエフェクタインサート25002は、アンビルインサート25004に枢動可能に連結されたステープルカートリッジ25000を有しうる。エンドエフェクタ12は、エンドエフェクタインサート25002を受容するように構成することができ、これにより、例えばステープルカートリッジ25000が下側ジョー25070のステープルカートリッジ溝27072内に嵌合し、例えばアンビルインサート25004がアンビル25060と接触する。下側ジョー25070は、ステープルカートリッジ25000をステープルカートリッジ溝27072に対して固定するように構成された複数の固定部材25074を有しうる。アンビルインサート25004は、アンビル25060の少なくとも1つの保持溝と嵌合するように構成された少なくとも1つの保持突起を有しうる。アンビルインサート25004は、本明細書により詳しく述べるようにアンビル25060が下側ジョー25070に向かって枢動する際、ステープルカートリッジ25000に向かって対応して枢動するように構成することができる。  Referring to FIG. 501,end effector 12 can be configured to receive anend effector insert 25002. Theend effector 12 can have alower jaw 25070 and ananvil 19720 configured to pivot relative to thelower jaw 25070. Theend effector insert 25002 can have astaple cartridge 25000 pivotally connected to theanvil insert 25004. Theend effector 12 can be configured to receive theend effector insert 25002 so that, for example, thestaple cartridge 25000 fits within the staple cartridge groove 27072 of thelower jaw 25070 and theanvil insert 25004, for example, isanvil 25060. Contact with. Thelower jaw 25070 can have a plurality of securingmembers 25074 configured to secure thestaple cartridge 25000 relative to the staple cartridge groove 27072.Anvil insert 25004 can have at least one retention projection configured to mate with at least one retention groove inanvil 25060.Anvil insert 25004 can be configured to correspondingly pivot towardstaple cartridge 25000 asanvil 25060 pivots towardlower jaw 25070 as described in more detail herein.

引き続き図501を参照すると、エンドエフェクタインサート25002はリテーナ25010を更に有しうる。リテーナ25010は、ステープルカートリッジ25000及びアンビルインサート25004の少なくとも一方としっかりと係合することができる。リテーナ25010は、ステープルカートリッジ25000をクリップ留め、係合、スナップ嵌め、クランプ締め、及び/又は引っ掛けることが可能な少なくとも1つの固定クリップ25012を有しうる。図501に示されるように、リテーナ25010は、例えばその長手方向の側面のそれぞれに2個の固定クリップ25012を有しうる。例えば、固定クリップ25012は、例えばステープルカートリッジ25000の一部にクリップ留めされるように構成することができる。本発明によれば、組織厚さコンペンセータは、リテーナ25010によってエンドエフェクタインサート25002に対して定位置に保持することができる。例えば、組織厚さコンペンセータは、リテーナ25010とステープルカートリッジ25000との間に配置することができる。  With continued reference to FIG. 501, theend effector insert 25002 can further include aretainer 25010. Theretainer 25010 can securely engage at least one of thestaple cartridge 25000 and theanvil insert 25004. Theretainer 25010 may have at least one securingclip 25012 capable of clipping, engaging, snapping, clamping, and / or hooking thestaple cartridge 25000. As shown in FIG. 501, theretainer 25010 can have, for example, two securingclips 25012 on each of its longitudinal sides. For example, the securingclip 25012 can be configured to clip onto a portion of thestaple cartridge 25000, for example. According to the present invention, the tissue thickness compensator can be held in place relative to theend effector insert 25002 by theretainer 25010. For example, the tissue thickness compensator can be disposed between theretainer 25010 and thestaple cartridge 25000.

必要に応じて、リテーナ25010は、操作者がエンドエフェクタインサート25002をエンドエフェクタ12に挿入する際に操作者が把持するための堅い又はほぼ堅い要素を与えることができる。更に、リテーナ25010は、例えばリテーナ25010によって拘束された組織厚さコンペンセータの早期の変形を防止することができる。リテーナ25010は、エンドエフェクタ12を使用して組織を切断及び/又は締結する前にエンドエフェクタ12から取り外すことができる。また、リテーナ25010はエンドエフェクタ12内に配置したままとすることもできる。例えば、リテーナ25010は、ステープルがステープルカートリッジ25000内のステープルキャビティ25002(図536)から発射される際に切断要素25052(図536)によって切断されうる。リテーナ25010は、例えば、生体吸収性、生体適合性のエラストマーポリマーなどのポリマー組成物を含みうる。リテーナ25010は、例えば凍結乾燥多糖類、糖タンパク質、エラスチン、プロテオグリカン、ゼラチン、コラーゲン、及び/又は酸化再生セルロース(ORC)のような生体吸収性ポリマーを更に含みうる。リテーナ25010は、薬学的な活性成分又は薬剤のような少なくとも1種類の治療薬を含んでもよい。  If desired, theretainer 25010 can provide a rigid or nearly rigid element for the operator to grip as the operator inserts theend effector insert 25002 into theend effector 12. Furthermore, theretainer 25010 can prevent premature deformation of the tissue thickness compensator constrained by theretainer 25010, for example. Theretainer 25010 can be removed from theend effector 12 prior to cutting and / or fastening tissue using theend effector 12. Also, theretainer 25010 can be left in theend effector 12. For example, theretainer 25010 can be cut by the cutting element 25052 (FIG. 536) as the staples are fired from the staple cavities 25002 (FIG. 536) in thestaple cartridge 25000. Theretainer 25010 can include, for example, a polymer composition such as a bioabsorbable, biocompatible elastomeric polymer. Theretainer 25010 can further include a bioabsorbable polymer such as, for example, lyophilized polysaccharides, glycoproteins, elastin, proteoglycans, gelatin, collagen, and / or oxidized regenerated cellulose (ORC). Theretainer 25010 may include at least one therapeutic agent such as a pharmaceutically active ingredient or drug.

図502を参照すると、エンドエフェクタ26012は、アンビル26060及び下側ジョー26070を有しうる。本発明によれば、組織厚さコンペンセータ26020は、アンビル26060、下側ジョー26070、及び/又はアンビル26060及び下側ジョー26070の両方に対して解放可能に固定することができる。例えば、第1の組織厚さコンペンセータ26020は下側ジョー26070内のステープルカートリッジ26000に解放可能に固定することができ、第2の組織厚さコンペンセータ26022はアンビル26060に開放可能に固定することができる。第1及び第2の組織厚さコンペンセータ26020、26022は、本明細書に述べられる少なくとも1つの組織厚さコンペンセータと同様、変形可能かつ/又は弾性のものとすることができる。例えば、第1及び第2の組織厚さコンペンセータ26020、26022は、例えば、生体吸収性、生体適合性エラストマーポリマーなどのポリマー組成物を含みうる。第1及び第2の組織厚さコンペンセータ26020、26022は、例えば凍結乾燥多糖類、糖タンパク質、エラスチン、プロテオグリカン、ゼラチン、コラーゲン、及び/又は酸化再生セルロース(ORC)のような生体吸収性ポリマーを更に含みうる。第1及び第2の組織厚さコンペンセータ26020、26022は、薬学的な活性成分又は薬剤のような少なくとも1種類の治療薬を含んでもよい。  Referring to FIG. 502, theend effector 26012 can have ananvil 26060 and alower jaw 26070. In accordance with the present invention,tissue thickness compensator 26020 can be releasably secured toanvil 26060,lower jaw 26070, and / or bothanvil 26060 andlower jaw 26070. For example, the firsttissue thickness compensator 26020 can be releasably secured to the staple cartridge 26000 in thelower jaw 26070 and the secondtissue thickness compensator 26022 can be releasably secured to theanvil 26060. . The first and secondtissue thickness compensators 26020, 26022 can be deformable and / or elastic, similar to the at least one tissue thickness compensator described herein. For example, the first and secondtissue thickness compensators 26020, 26022 can include a polymer composition, such as, for example, a bioabsorbable, biocompatible elastomeric polymer. The first and secondtissue thickness compensators 26020, 26022 further comprise a bioabsorbable polymer such as lyophilized polysaccharide, glycoprotein, elastin, proteoglycan, gelatin, collagen, and / or oxidized regenerated cellulose (ORC). May be included. The first and secondtissue thickness compensators 26020, 26022 may include at least one therapeutic agent, such as a pharmaceutically active ingredient or drug.

組織厚さコンペンセータ26020、26022は、堅い、又はほぼ堅い先端部26024,26026を有しうる。例えば、第1の先端部26024は、第1の組織厚さコンペンセータ26020の遠位端に配置することができ、第2の先端部26026は、第2の組織厚さコンペンセータ26022の遠位端に配置することができる。先端部26024、26026は、組織厚さコンペンセータ26020、26022の早期の変形を防止又は抑制することができる。例えば、先端部26024、26026は、組織厚さコンペンセータ26020、26022が例えばトロカールを通じて動かされるかかつ/又は患者の組織の周囲に誘導される際、組織コンペンセータ26020、26022を保護することができる。同様に、図503を参照すると、エンドエフェクタ12は、下側ジョー25070内のステープルカートリッジ25000に解放可能に固定された第1の組織厚さコンペンセータ25020、及びアンビル25060に解放可能に固定された第2の組織厚さコンペンセータ25022を有しうる。本発明によれば、先端部25026を第2の組織厚さコンペンセータ25022の遠位端に配置することができる。先端部25026は、組織コンペンセータ25022の変形可能かつ/又は弾性部分に隣接して配置刷ることができる。先端部25026は、組織コンペンセータ25022の一部を覆って、かつ/又はその周囲に延びてよく、これにより、先端部25026が組織コンペンセータ25022の遠位端及び中間部分を保護することになる。  Tissue thickness compensators 26020, 26022 may have stiff or nearlystiff tips 26024, 26026. For example, thefirst tip 26024 can be disposed at the distal end of the firsttissue thickness compensator 26020 and thesecond tip 26026 is located at the distal end of the secondtissue thickness compensator 26022. Can be arranged. Thetips 26024, 26026 can prevent or suppress early deformation of thetissue thickness compensators 26020, 26022. For example, thetips 26024, 26026 can protect thetissue compensators 26020, 26022 when thetissue thickness compensators 26020, 26022 are moved, for example, through a trocar and / or guided around the patient's tissue. Similarly, with reference to FIG. 503, theend effector 12 is releasably secured to the firsttissue thickness compensator 25020 releasably secured to thestaple cartridge 25000 in thelower jaw 25070 and to theanvil 25060. There may be twotissue thickness compensators 25022. In accordance with the present invention, thetip 25026 can be placed at the distal end of the secondtissue thickness compensator 25022. Thetip 25026 can be placed adjacent to the deformable and / or elastic portion of thetissue compensator 25022.Tip 25026 may extend over and / or around a portion oftissue compensator 25022 so thattip 25026 protects the distal and intermediate portions oftissue compensator 25022.

図504〜531を参照すると、スリーブ27010を、例えば外科用器具のエンドエフェクタ12のアンビル25060と係合するように構成することができる。スリーブ27010は、叉状部分27040(図505〜508)、ノーズ27080(図515〜518)、及びコンペンセータ27120(図509〜511)を有しうる。スリーブ27010は、直進運動する発射バー25052(図525)がエンドエフェクタ12の遠位端に近づく際にコンペンセータ27020を解放するように構成することができる。コンペンセータ27020は、本明細書に述べられる少なくとも1つの組織厚さコンペンセータと同様、変形可能かつ/又は弾性のものとすることができる。例えば、コンペンセータ27020は、例えば、生体吸収性、生体適合性エラストマーポリマーなどのポリマー組成物を含みうる。コンペンセータ27020は、例えば凍結乾燥多糖類、糖タンパク質、エラスチン、プロテオグリカン、ゼラチン、コラーゲン、及び/又は酸化再生セルロース(ORC)のような生体吸収性ポリマーを更に含みうる。コンペンセータ27020は、薬学的な活性成分又は薬剤のような少なくとも1種類の治療薬を含んでもよい。主に図504を参照すると、叉状部分27040は、アンビル25060の外側表面25061上及び/又はその周囲に配置することができる。スリーブ27010のノーズ27080は、アンビル25060の遠位部分に、及び/又はその周囲に配置することができる。コンペンセータ27020は、アンビル25060の内側表面上、及び/又はその周囲に配置することができる。  Referring to FIGS. 504-531, thesleeve 27010 can be configured to engage ananvil 25060 of theend effector 12 of a surgical instrument, for example. Thesleeve 27010 can have a forked portion 27040 (FIGS. 505-508), a nose 27080 (FIGS. 515-518), and a compensator 27120 (FIGS. 509-511). Thesleeve 27010 may be configured to release thecompensator 27020 as the rectilinear firing bar 25052 (FIG. 525) approaches the distal end of theend effector 12. Thecompensator 27020 can be deformable and / or elastic, similar to at least one tissue thickness compensator described herein. For example,compensator 27020 can include a polymer composition, such as, for example, a bioabsorbable, biocompatible elastomeric polymer. Thecompensator 27020 can further include a bioabsorbable polymer such as, for example, lyophilized polysaccharides, glycoproteins, elastin, proteoglycans, gelatin, collagen, and / or oxidized regenerated cellulose (ORC). Thecompensator 27020 may include at least one therapeutic agent such as a pharmaceutically active ingredient or drug. Referring primarily to FIG. 504, the forkedportion 27040 can be disposed on and / or around theouter surface 25061 of theanvil 25060. Thenose 27080 of thesleeve 27010 can be disposed at and / or around the distal portion of theanvil 25060. Thecompensator 27020 can be placed on and / or around the inner surface of theanvil 25060.

引き続き図504を参照すると、叉状部分27040は少なくとも1つの叉27042aを有している。必要に応じて、図505〜508に示されるように、叉状部分27040は第1の叉27042a及び第2の叉27042bを含みうる。叉27042a、27042bは、例えば対称的又はほぼ対称的なものとすることができる。第1の叉27042aは、第2の叉27042bに対して非対称的であってもよい。第1及び/又は第2の叉27042a、27042bは、それらの遠位端において細く形成することができる。例えば、各叉27042a、27042bは、幅狭端部27048を有しうる。主に図507を参照すると、叉状部分27040は例えば外形を形成することができる。再び図504を参照すると、叉状部分27040の外形は、例えばアンビル25060の外側表面25061の外形と一致させるか又はほぼ一致させることができる。主に図507及び508を参照すると、叉状部分27040は、第1の叉27042aから延びる少なくとも1つのキャッチ27044aを更に有しうる。第1のキャッチ27044aは叉状部分27040の第1の側に配置することができ、第2のキャッチ27044bは叉状部分27040の第2の側に配置することができる。キャッチ27044a、27044bは、例えば叉状部分27040の近位端、又はその近くに配置することができる。キャッチ27044a、27044bは、例えば第1及び/又は第2の叉27042a、27042bに沿ってなど、叉状部分27040の遠位端、又はその近くに配置することができる。キャッチ27044a、27044bは、叉状部分27040の相当の長さに沿って、かつ/又は叉状部分27040のより短い長さに沿って延在しうる。例えば、複数のキャッチ27044a、27044bを、叉状部分の長手方向のそれぞれの側に沿って配置することができる。主に図508を参照すると、第1のキャッチ27044aは第1のキャッチ延長部27046aを有してよく、かつ/又は第2の27044bは第2のキャッチ延長部27046bを有してよい。第1のキャッチ延長部27046aは、例えばキャッチ27044aの少なくとも一部から突出してよく、第2のキャッチ延長部27046bは、キャッチ27044bの少なくとも一部から突出してよい。更に、第1のキャッチ延長部27046a及び第2のキャッチ延長部27046bは、本明細書で更に詳しく述べるように、コンペンセータ27020の隙間27128(図510)と嵌合するようにそれぞれ構成することができる。  With continued reference to FIG. 504, the forkedportion 27040 has at least onefork 27042a. If desired, the forkedportion 27040 can include afirst fork 27042a and asecond fork 27042b, as shown in FIGS. 505-508. Theforks 27042a, 27042b can be, for example, symmetric or nearly symmetric. Thefirst fork 27042a may be asymmetric with respect to thesecond fork 27042b. The first and / orsecond forks 27042a, 27042b may be narrowed at their distal ends. For example, eachfork 27042a, 27042b may have anarrow end 27048. Referring primarily to FIG. 507, the forkedportion 27040 may form an outer shape, for example. Referring again to FIG. 504, the profile of the forkedportion 27040 can match or approximately match the profile of theouter surface 25061 of theanvil 25060, for example. Referring primarily to FIGS. 507 and 508, the forkedportion 27040 can further include at least onecatch 27044a extending from thefirst fork 27042a. The first catch 27704a can be disposed on the first side of the forkedportion 27040, and the second catch 27704b can be disposed on the second side of the forkedportion 27040. Thecatches 27044a, 27044b can be located at or near the proximal end of the forkedportion 27040, for example. Thecatches 27044a, 27044b may be located at or near the distal end of the forkedportion 27040, such as along the first and / orsecond forks 27042a, 27042b. Thecatches 27044a, 27044b may extend along a substantial length of the forkedportion 27040 and / or along a shorter length of the forkedportion 27040. For example, a plurality ofcatches 27044a, 27044b can be disposed along each longitudinal side of the forked portion. Referring primarily to FIG. 508, thefirst catch 27044a may have afirst catch extension 27046a and / or the second 27044b may have asecond catch extension 27046b. For example, thefirst catch extension 27046a may protrude from at least a portion of thecatch 27044a, and thesecond catch extension 27046b may protrude from at least a portion of thecatch 27044b. Further, thefirst catch extension 27046a and thesecond catch extension 27046b can each be configured to mate with the gap 27128 (FIG. 510) of thecompensator 27020, as described in more detail herein. .

次に図530を参照すると、スリーブ27010のコンペンセータ27020は、長手方向の突起部27024、及びコンペンセータ27020の両側の長手方向の縁部27026を有しうる。コンペンセータ27020は、アンビル25060の内側表面25063に隣接して配置することができる。更に、スリーブ27010がアンビル25060上に配置される際、長手方向の突起部27024は、アンビル25060の長手方向のスロット25062とほぼ整列するか、かつ/又はその内部に配置されうる。コンペンセータ27020の各縁部27026は、アンビル25060の周囲をアンビル25060の外側表面に向かって少なくとも部分的に包み込むことができる。主に図509〜511を参照すると、スリーブ27110のコンペンセータ27120は、本体27122を有してよく、本体27122は少なくとも本体27122の一部に沿って延びる長手方向の突起部27124を有している。長手方向の突起部27124は、例えば本体27122の中心線に沿って長手方向の経路を規定することができる。長手方向の突起部27124は、スリーブ27110がアンビル25060上に配置される際にアンビル25060の長手方向のスロット25062(図530)によって受容されうる。主に図511を参照すると、長手方向の突起部27124は丸みを帯びた突起部を構成しうる。例えば、長手方向の突起部27124の断面は、アーチ及び/又は部分環を形成しうる。あるいは、長手方向の突起部27124は、角張った、かつ/又は段差のある突起部を構成してもよい。コンペンセータ27120は、縁部27126を更に有してよく、縁部27126は例えば直線状であっても、折れ曲がっていても、ひだ状であっても、波状であっても、かつ/又はジグザグ状であってもよい。縁部27126は、組み立てられたスリーブ27110がアンビル25060上に配置される際にキャッチ延長部27046a、27046b(図508)を受容するように構成することが可能な隙間27128を有しうる。キャッチ延長部27046a、27046bは、アンビル25060と係合するように隙間27128に嵌合し、これにより、例えばキャッチ延長部27046a、27046bがスリーブ27110をアンビル25060に固定する助けとなる。  Referring now to FIG. 530, thecompensator 27020 of thesleeve 27010 can have alongitudinal protrusion 27024 andlongitudinal edges 27026 on either side of thecompensator 27020. Thecompensator 27020 can be positioned adjacent to theinner surface 25063 of theanvil 25060. Further, when thesleeve 27010 is disposed on theanvil 25060, thelongitudinal protrusion 27024 can be substantially aligned with and / or disposed within thelongitudinal slot 25062 of theanvil 25060. Eachedge 27026 of thecompensator 27020 can at least partially wrap around theanvil 25060 toward the outer surface of theanvil 25060. Referring primarily to FIGS. 509-511, thecompensator 27120 of thesleeve 27110 may have abody 27122 that has alongitudinal protrusion 27124 extending along at least a portion of thebody 27122. Thelongitudinal protrusion 27124 can define a longitudinal path along the center line of thebody 27122, for example. Thelongitudinal protrusion 27124 can be received by the longitudinal slot 25062 (FIG. 530) of theanvil 25060 when thesleeve 27110 is positioned over theanvil 25060. Referring mainly to FIG. 511, thelongitudinal protrusion 27124 may constitute a rounded protrusion. For example, the cross section of thelongitudinal projection 27124 may form an arch and / or a partial ring. Alternatively, theprotrusions 27124 in the longitudinal direction may constitute protrusions that are angular and / or stepped. Thecompensator 27120 may further include anedge 27126, which may be, for example, straight, bent, pleated, wavy and / or zigzag. There may be. Theedge 27126 can have agap 27128 that can be configured to receive thecatch extensions 27046a, 27046b (FIG. 508) when the assembledsleeve 27110 is placed over theanvil 25060. Thecatch extensions 27046a, 27046b fit into thegap 27128 to engage theanvil 25060 so that, for example, thecatch extensions 27046a, 27046b help secure thesleeve 27110 to theanvil 25060.

主に図512〜514を参照すると、スリーブ27210のコンペンセータ27220は、本体27222を有してよく、本体27222は少なくとも本体27222の一部に沿って延びる長手方向の突起部27224を有している。必要に応じて、上記と同様、長手方向の突起部27224は、スリーブ27210がアンビル25060上に配置される際にアンビル25060の長手方向のスロット25062(図531)によって受容されうる。主に図514を参照すると、長手方向の突起部27224は、突起部70224の断面がほぼ矩形の形状を形成するような角張った突起部を構成してもよい。コンペンセータ27220は、縁部27226を更に有してよく、縁部27226は例えば直線状であっても、折れ曲がっていても、ひだ状であっても、波状であっても、かつ/又はジグザグ状であってもよい。縁部27226は、組み立てられたスリーブ27210がアンビル25060上に配置される際にキャッチ延長部27046a、27046b(図508)を受容するように構成することが可能な隙間27228を有しうる。キャッチ延長部27046a、27046bは、隙間27228に嵌合してアンビル25060と係合し、これにより、例えばキャッチ延長部27046a、27046bがスリーブ27210をアンビル25060に固定する助けとなる。コンペンセータ27220は、コンペンセータ27220の本体27222を横方向に横断する複数のリブ27229を更に有しうる。リブ27229は、スリーブ27210がアンビル25060上に配置される際、かつ/又はコンペンセータ27220が組織と接触する際に、コンペンセータ27220の本体27222を支持することができる。  Referring primarily to FIGS. 512-514, thecompensator 27220 of thesleeve 27210 may have abody 27222 that has alongitudinal projection 27224 that extends along at least a portion of thebody 27222. If desired, similar to the above, thelongitudinal protrusion 27224 can be received by the longitudinal slot 25062 (FIG. 531) of theanvil 25060 when thesleeve 27210 is positioned over theanvil 25060. Referring primarily to FIG. 514, thelongitudinal projections 27224 may comprise angular projections such that the cross-section of the projections 70224 forms a substantially rectangular shape. Thecompensator 27220 may further include anedge 27226, which may be, for example, straight, bent, pleated, wavy, and / or zigzag. There may be. Theedge 27226 can have agap 27228 that can be configured to receive thecatch extensions 27046a, 27046b (FIG. 508) when the assembledsleeve 27210 is placed on theanvil 25060. Thecatch extensions 27046a, 27046b fit into thegap 27228 and engage theanvil 25060 so that, for example, thecatch extensions 27046a, 27046b help secure thesleeve 27210 to theanvil 25060. Thecompensator 27220 may further include a plurality ofribs 27229 that laterally traverse thebody 27222 of thecompensator 27220. Theribs 27229 can support thebody 27222 of thecompensator 27220 when thesleeve 27210 is placed over theanvil 25060 and / or when thecompensator 27220 is in contact with tissue.

図515〜519を参照すると、スリーブ27010のノーズ27080は、アンビル25060の長手方向のスロット25062(図530)とほぼ整列しうるアラインメント隆起部27082を有しうる。アラインメント隆起部27082が長手方向のスロット25062と整列し、スリーブ27010がアンビル25060上に配置されると、ノーズ27082はスリーブ27010の叉状部分27040の遠位部分を少なくとも部分的に包囲することができる。例えば、各叉27042a、27042bの幅狭端部27048を、スリーブ27010がアンビル25060上に配置される際にノーズ27080内に配置することができる。本明細書でより詳細に述べるように、ノーズ27080は、叉状部分27042がノーズ27080と嵌合する際に叉27042a、27042bを互いに近づくように、かつ/又は下方に撓ませることができる。更に、図519に示されるように、叉状部分27040の幅狭端部27048がノーズ27080内に配置される際、例えば、叉状部分27040上のキャッチ27044a、27044bがコンペンセータ27020の各縁部27026と係合することができる。この係合の結果、コンペンセータ27010をアンビル25060に固定することができる。  Referring to FIGS. 515-519, thenose 27080 of thesleeve 27010 may have an alignment ridge 27708 that may be substantially aligned with the longitudinal slot 25062 (FIG. 530) of theanvil 25060. When the alignment ridge 27708 is aligned with thelongitudinal slot 25062 and thesleeve 27010 is disposed on theanvil 25060, the nose 27708 can at least partially surround the distal portion of the forkedportion 27040 of thesleeve 27010. . For example, thenarrow end 27048 of eachfork 27042a, 27042b can be placed in thenose 27080 when thesleeve 27010 is placed on theanvil 25060. As described in more detail herein, thenose 27080 can bend toward and / or down theforks 27042a, 27042b as the forked portion 27042 mates with thenose 27080. Further, as shown in FIG. 519, when the narrow end portion 27068 of the forkedportion 27040 is disposed within thenose 27080, for example, thecatches 27044a and 27044b on the forkedportion 27040 are eachedge 27026 of thecompensator 27020. Can be engaged. As a result of this engagement,compensator 27010 can be secured toanvil 25060.

図520〜524を参照すると、ノーズ27080がスリーブ27010の叉状部分27040に嵌合される際、コンペンセータ27020をアンビル25060に固定することができる。ノーズ27080は、発射バー25050がアンビル25060の長手方向のスロット25062の一部に沿って直進運動する際、叉状部分27040と嵌合したままでありうる。次に図524〜529を参照すると、発射バー25050上の切断要素25052、及び/又は、例えば保持フランジ25054のような発射バー25050の他の任意の適当な部分がアンビル25060の遠位端に近づく際、発射バー25050がノーズ27080を叉状部分27040から外すことができる。発射バー25050は例えばノーズ27080と接触し、ノーズ27080をアンビル25060から外れるように押し、これによりノーズ27080はスリーブ27010の叉状部分27040から分離される。次に図531を参照すると、第1及び第2の叉27042a、27042bは、ノーズ27080が叉状部分27040から外れる際に、アンビル25060から離れる方向に撓むように構成することができる。例えば、叉状部分27070がノーズ27080に嵌合されると、叉27042a、27042bは、互いに近づくように、かつ/又はアンビル25060に向かって下方に撓み、ノーズ27080によってその位置に保持される。叉27042a、27042bがノーズ27080によるばね荷重下で保持されることにより、叉27042a、27042bは、ノーズ27080が叉27042a、27042bから外れるとニュートラルな形態に戻ろうとする。また、叉27042a、27042bは、ノーズ27080が叉27042a、27042bから外されると発射バー25050によって叉27042a、27042bが外側に変形又は広げられるように充分に変形可能なものであってもよい。叉27042a、27042bがアンビル25060から離れる方向に動くと、各叉27042a、27042bの長手方向の側部に沿ったキャッチ27044a、27044bがコンペンセータ27020から外れ、これによりコンペンセータ27020がアンビル25060から解放される。  Referring to FIGS. 520-524, thecompensator 27020 can be secured to theanvil 25060 when thenose 27080 is mated to the forkedportion 27040 of thesleeve 27010. Thenose 27080 may remain engaged with the forkedportion 27040 as the firingbar 25050 moves straight along a portion of thelongitudinal slot 25062 of theanvil 25060. Referring now to FIGS. 524-529, the cuttingelement 25052 on the firingbar 25050 and / or any other suitable portion of the firingbar 25050, such as a retainingflange 25054, approaches the distal end of theanvil 25060. In doing so, the firingbar 25050 can remove thenose 27080 from the forkedportion 27040. Firingbar 25050 contacts, for example,nose 27080 and pushesnose 27080 away fromanvil 25060, thereby separatingnose 27080 from forkedportion 27040 ofsleeve 27010. Referring now to FIG. 531, the first andsecond forks 27042a, 27042b may be configured to flex away from theanvil 25060 when thenose 27080 is disengaged from the forkedportion 27040. For example, when the forked portion 27070 is mated to thenose 27080, theforks 27042a, 27042b bend toward each other and / or downward toward theanvil 25060 and are held in place by thenose 27080. By holding theforks 27042a, 27042b under a spring load by thenose 27080, theforks 27042a, 27042b attempt to return to the neutral configuration when thenose 27080 is disengaged from theforks 27042a, 27042b. Theforks 27042a, 27042b may be sufficiently deformable such that when thenose 27080 is removed from theforks 27042a, 27042b, theforks 27042a, 27042b are deformed or spread outward by the firingbar 25050. As theforks 27042a, 27042b move away from theanvil 25060, thecatches 27044a, 27044b along the longitudinal sides of eachfork 27042a, 27042b are disengaged from thecompensator 27020, thereby releasing thecompensator 27020 from theanvil 25060.

図532〜538を参照すると、外科用器具のエンドエフェクタ12は、例えばエンドエフェクタインサート28010を受容するように構成することができる。エンドエフェクタインサート28010は、コンペンセータ本体28012及び少なくとも1つのクリップ28014a、28014bを有しうる。エンドエフェクタインサート28010は、例えばコンペンセータ本体28012の近位端の近位クリップ28014b及びコンペンセータ本体28012の遠位端の遠位クリップ28014aを有しうる。主に図535を参照すると、遠位クリップ28014aは、アンビル25060の遠位端、又はその近くにおいてエンドエフェクタ12のアンビル25060に固定することができる。例えば、遠位クリップ28014aは、アンビル25060の長手方向のスロット25062とほぼ整列させるか、かつ/又は長手方向のスロット25062内に部分的に配置することができる。主に図536を参照すると、近位クリップ28014bは、エンドエフェクタ12の下側ジョー25070内でステープルカートリッジ25000に固定することができる(図537)。近位クリップ28014bは、ステープルカートリッジ25000の近位端、又はその近くにおいてステープルカートリッジ25000に固定することができる。例えば、近位クリップ28014bは、ステープルカートリッジ25000の長手方向のスロット25004とほぼ整列させるか、かつ/又は長手方向のスロット25004内に配置することができる。  Referring to FIGS. 532-538, the surgicalinstrument end effector 12 may be configured to receive anend effector insert 28010, for example. Theend effector insert 28010 can have a compensator body 28812 and at least oneclip 28014a, 28014b. Theend effector insert 28010 may have, for example, aproximal clip 28014b at the proximal end of the compensator body 28812 and a distal clip 28014a at the distal end of the compensator body 28812. Referring primarily to FIG. 535, the distal clip 28014a can be secured to theanvil 25060 of theend effector 12 at or near the distal end of theanvil 25060. For example, the distal clip 28014a can be substantially aligned with thelongitudinal slot 25062 of theanvil 25060 and / or partially disposed within thelongitudinal slot 25062. Referring primarily to FIG. 536, theproximal clip 28014b can be secured to thestaple cartridge 25000 within thelower jaw 25070 of the end effector 12 (FIG. 537).Proximal clip 28014b can be secured tostaple cartridge 25000 at or near the proximal end ofstaple cartridge 25000. For example, theproximal clip 28014b can be generally aligned with thelongitudinal slot 25004 of thestaple cartridge 25000 and / or disposed within thelongitudinal slot 25004.

次に図537及び538を参照すると、エンドエフェクタインサート28010を、外科用器具のエンドエフェクタ12内に挿入することができる。必要に応じて、コンペンセータ本体28012、遠位クリップ28014a、及び/又は近位クリップ28014bなどのエンドエフェクタインサート28010の少なくとも一部を、変形可能及び/又は弾性を有するものとすることができる。エンドエフェクタインサート28010がエンドエフェクタ12内に挿入されると、遠位及び/又は近位クリップ28014a、28014bが曲がるか又は撓むことができる。クリップ28014a、28014bが撓む際、例えば、クリップ28014a、28014bはそれらの初期の変形していない形態に戻ろうとし、例えば対応したスプリングバック又は復元力を発生しうる。必要に応じて、エンドエフェクタインサート28010は、エンドエフェクタ12内に配置される際、エンドエフェクタ12にばね荷重を作用させることができる。エンドエフェクタインサート28010は、操作者がエンドエフェクタインサート28010及びステープルカートリッジ25000をエンドエフェクタ12内に挿入する際にインサート28010を把持することができるように堅い又はほぼ堅いものとすることができる。  Referring now to FIGS. 537 and 538, theend effector insert 28010 can be inserted into theend effector 12 of the surgical instrument. If desired, at least a portion of theend effector insert 28010, such as the compensator body 28812, distal clip 28014a, and / orproximal clip 28014b, can be deformable and / or elastic. Asend effector insert 28010 is inserted intoend effector 12, distal and / orproximal clips 28014a, 28014b can bend or deflect. As theclips 28014a, 28014b flex, for example, theclips 28014a, 28014b may attempt to return to their initial undeformed configuration, for example, generating a corresponding springback or restoring force. If desired, theend effector insert 28010 can apply a spring load to theend effector 12 when placed in theend effector 12. Theend effector insert 28010 can be rigid or nearly rigid so that an operator can grip theinsert 28010 as theend effector insert 28010 andstaple cartridge 25000 are inserted into theend effector 12.

エンドエフェクタインサート28010は、エンドエフェクタ12の切断及び/又は締結動作に先立ってエンドエフェクタ12から取り出すことができる。あるいは、エンドエフェクタインサート28010は、切断及び/又は発射動作の間、エンドエフェクタ12内に配置されたままとすることもできる。例えば、エンドエフェクタインサート28010は、ステープルがステープルカートリッジ25000内のステープルキャビティ25002(図536)から発射される際に切断要素25052によって切断されうる。エンドエフェクタインサート28010は、本明細書に述べられる組織厚さコンペンセータの少なくとも1つと同様の組織厚さ補償材料を含みうる。例えば、エンドエフェクタインサート28010は、例えば、生体吸収性、生体適合性エラストマーポリマーなどのポリマー組成物を含みうる。エンドエフェクタインサート28010は、例えば凍結乾燥多糖類、糖タンパク質、エラスチン、プロテオグリカン、ゼラチン、コラーゲン、及び/又は酸化再生セルロース(ORC)のような生体吸収性ポリマーを更に含みうる。エンドエフェクタインサート28010は、薬学的な活性成分又は薬剤のような少なくとも1種類の治療薬を含んでもよい。  Theend effector insert 28010 can be removed from theend effector 12 prior to theend effector 12 being cut and / or fastened. Alternatively,end effector insert 28010 can remain disposed withinend effector 12 during a cutting and / or firing operation. For example,end effector insert 28010 can be cut by cuttingelement 25052 as staples are fired from staple cavities 25002 (FIG. 536) instaple cartridge 25000.End effector insert 28010 may include a tissue thickness compensation material similar to at least one of the tissue thickness compensators described herein. For example, theend effector insert 28010 can comprise a polymer composition such as, for example, a bioabsorbable, biocompatible elastomeric polymer.End effector insert 28010 may further comprise a bioabsorbable polymer such as, for example, lyophilized polysaccharides, glycoproteins, elastin, proteoglycans, gelatin, collagen, and / or oxidized regenerated cellulose (ORC).End effector insert 28010 may include at least one therapeutic agent, such as a pharmaceutically active ingredient or drug.

図539〜544を参照すると、組織厚さコンペンセータ29020を、外科用器具のエンドエフェクタ12内に配置することができる。組織厚さコンペンセータ29020は、本明細書に述べられる組織厚さコンペンセータの少なくとも1つとほぼ同様のものでありうる。例えば、組織厚さコンペンセータ29020は、組織厚さコンペンセータ29020の変形がスプリングバック又は復元力を発生するように充分に変形可能又は弾性を有するものとすることができる。主に図540を参照すると、静電荷が組織厚さコンペンセータ29020をエンドエフェクタ12のアンビル25060に引き寄せることにより、静電荷によって組織厚さコンペンセータ29020がアンビル25060に固定される。この静電荷は、アンビル25060が組織厚さコンペンセータ29020を解放するように中和することができる。これに加えるか又はこれに代えて、次に図541を参照すると、組織厚さコンペンセータ29020は少なくとも1つの吸引要素29022によってアンビル25060に固定することができる。例えば、組織厚さコンペンセータ29020の表面上の複数の微小吸引要素29022は、組織厚さコンペンセータ29020をアンビル25060に解放可能に固定することができる。これに加えるか又はこれに代えて、図542を参照すると、フック・アンド・ループ式ファスナ29024によって組織厚さコンペンセータ29020をアンビル25060に固定することもできる。例えば、組織厚さコンペンセータ29020の表面が複数のフックファスナ29024aを有し、例えばアンビル25060の表面が複数のループファスナ29024bを有することができる。フックファスナ29024aがループファスナ29024bと係合することにより、組織厚さコンペンセータ29020がアンビル25060に解放可能に固定される。  Referring to FIGS. 539-544, atissue thickness compensator 29020 can be placed in theend effector 12 of the surgical instrument.Tissue thickness compensator 29020 can be substantially similar to at least one of the tissue thickness compensators described herein. For example, thetissue thickness compensator 29020 can be sufficiently deformable or elastic so that deformation of thetissue thickness compensator 29020 generates a springback or restoring force. Referring primarily to FIG. 540, the electrostatic charge attracts thetissue thickness compensator 29020 to theanvil 25060 of theend effector 12, thereby securing thetissue thickness compensator 29020 to theanvil 25060 by the electrostatic charge. This electrostatic charge can be neutralized such that theanvil 25060 releases thetissue thickness compensator 29020. Additionally or alternatively, referring now to FIG. 541, thetissue thickness compensator 29020 can be secured to theanvil 25060 by at least one suction element 29002. For example, a plurality of microsuction elements 29902 on the surface of thetissue thickness compensator 29020 can releasably secure thetissue thickness compensator 29020 to theanvil 25060. Additionally or alternatively, referring to FIG. 542, thetissue thickness compensator 29020 can be secured to theanvil 25060 by hook andloop fasteners 29024. For example, the surface of thetissue thickness compensator 29020 can have a plurality of hook fasteners 29024a, for example, the surface of ananvil 25060 can have a plurality of loop fasteners 29024b. Hook fastener 29024a engages loop fastener 29024b to releasably securetissue thickness compensator 29020 toanvil 25060.

これに加えるか又はこれに代えて、次に図543を参照すると、組織厚さコンペンセータ29020はバンド29026によってアンビル25060に固定することができる。バンド29026はエラストマーポリマーで構成することができ、アンビル25060の周囲に巻くか、又は結びつけることができる。バンド29026がアンビル25060から取り外されると、組織厚さコンペンセータ29020はアンビル25060から解放されうる。バンド29026の取り外しを容易にするため、バンド29026は例えば伸ばすか、かつ/又は切断することができるものでよい。本発明によれば、複数のバンド29026によって組織厚さコンペンセータ29020をアンビル25060に固定することができる。これに代えるか又はこれに加えて、次に図544を参照すると、組織厚さコンペンセータ29020は、組織厚さコンペンセータ29020の遠位端に配置されたソックス29028によってアンビル25060に固定することができる。ソックス29028は、例えばアンビル25060の遠位端をその内部に受容するように構成することができる。組織厚さコンペンセータ29020上のアラインメント棚部29029は、アンビル25060の長手方向のスロット25062と整列するか、かつ又は長手方向のスロット25062内に配置されうる。例えば、アラインメント棚部29029は、組織厚さコンペンセータ29020が長手方向のスロット25062上に配置されるか、かつ/又は長手方向のスロット25062から取り出される際、長手方向のスロット25062内で摺動することができる。  In addition or alternatively, referring now to FIG. 543, thetissue thickness compensator 29020 can be secured to theanvil 25060 by aband 29026.Band 29026 can be composed of an elastomeric polymer and can be wrapped around or tied aroundanvil 25060. When theband 29026 is removed from theanvil 25060, thetissue thickness compensator 29020 can be released from theanvil 25060. To facilitate removal of theband 29026, theband 29026 can be stretched and / or cut, for example. According to the present invention, thetissue thickness compensator 29020 can be secured to theanvil 25060 by a plurality ofbands 29026. Alternatively or additionally, referring now to FIG. 544, thetissue thickness compensator 29020 can be secured to theanvil 25060 bysocks 29028 disposed at the distal end of thetissue thickness compensator 29020.Socks 29028 can be configured to receive, for example, the distal end ofanvil 25060 therein. The alignment shelf 29029 on thetissue thickness compensator 29020 can be aligned with or disposed within thelongitudinal slot 25062 of theanvil 25060. For example, the alignment shelf 29029 may slide within thelongitudinal slot 25062 when thetissue thickness compensator 29020 is disposed on and / or removed from thelongitudinal slot 25062. Can do.

図545〜547を参照すると、組織厚さコンペンセータ30020を、外科用器具のエンドエフェクタ12のアンビル25060内に配置することができる。組織厚さコンペンセータ30020は、本体30022及びポケット30024を有しうる。例えば本体30022とポケット30024との間にコンペンセータ材料30026が保持されうる。コンペンセータ材料30026は、例えば凍結乾燥多糖類、糖タンパク質、エラスチン、プロテオグリカン、ゼラチン、コラーゲン、及び/又は酸化再生セルロース(ORC)のような生体吸収性ポリマーを更に含みうる。これに加えるか又はこれに代えて、コンペンセータ材料30026は、薬学的な活性成分又は薬剤のような少なくとも1種類の治療薬を含んでもよい。組織厚さコンペンセータ30020は、本明細書に述べられる少なくとも1つの組織厚さコンペンセータと同様、変形可能かつ/又は弾性のものとすることができる。例えば、組織厚さコンペンセータ30020は、例えば、生体吸収性、生体適合性エラストマーポリマーなどのポリマー組成物を含みうる。組織厚さコンペンセータ30020は、例えば凍結乾燥多糖類、糖タンパク質、エラスチン、プロテオグリカン、ゼラチン、コラーゲン、及び/又は酸化再生セルロース(ORC)のような生体吸収性ポリマーを更に含みうる。  Referring to FIGS. 545-547, atissue thickness compensator 30020 can be placed in theanvil 25060 of theend effector 12 of the surgical instrument. Thetissue thickness compensator 30020 can have abody 30022 and apocket 30024. For example, thecompensator material 30026 may be held between thebody 30022 and thepocket 30024. Thecompensator material 30026 may further comprise a bioabsorbable polymer such as, for example, lyophilized polysaccharide, glycoprotein, elastin, proteoglycan, gelatin, collagen, and / or oxidized regenerated cellulose (ORC). In addition or alternatively, thecompensator material 30026 may include at least one therapeutic agent, such as a pharmaceutically active ingredient or drug. Thetissue thickness compensator 30020 can be deformable and / or elastic, similar to at least one tissue thickness compensator described herein. For example, thetissue thickness compensator 30020 can include a polymer composition such as, for example, a bioabsorbable, biocompatible elastomeric polymer. Thetissue thickness compensator 30020 can further include a bioabsorbable polymer such as, for example, lyophilized polysaccharides, glycoproteins, elastin, proteoglycans, gelatin, collagen, and / or oxidized regenerated cellulose (ORC).

主に図546を参照すると、組織厚さコンペンセータ30020の本体30022は、組織厚さコンペンセータ30020がアンビル25060に固定される際にアンビル25060の長手方向のスロット25062内に受容されうるアラインメント要素30028を有しうる。本体30022は、本体30022の形状がアンビル25060の形状とほぼ一致するように段差状の厚さを有することができる。更に、本体30022は、長手方向のフランジ30029を有しうる。例えば、長手方向のフランジ30029は、例えば組織厚さコンペンセータ30020の本体30022の長手方向のそれぞれの側部に沿って延びることができる。長手方向のフランジ30029は、アンビル25060の周囲を少なくとも部分的に包み込むことによってアンビル25060に組織厚さコンペンセータ30020を固定することができる。更に、長手方向のフランジ30029は、例えば、アンビル25060を収容し、かつ/又はアンビル25060と係合するように撓むことができるような充分な弾力性を有することができる。長手方向のフランジ30029は、フランジ30029がアンビル25060と係合する際にアンビル25060に締め付け力を作用させることができる。ポケット30024は凹み30025を有しうる。組織厚さコンペンセータ30020がアンビル25060に固定される際、凹み30025は例えばアンビル25060の長手方向のスロット25062とほぼ整列することができる。組織厚さコンペンセータ30020は凹み30025において薄くすることができ、これにより、薄くなっている部分において直進運動する切断要素25052(図536)が組織厚さコンペンセータ30020を切断する。  Referring primarily to FIG. 546, thebody 30022 of thetissue thickness compensator 30020 has analignment element 30028 that can be received in thelongitudinal slot 25062 of theanvil 25060 when thetissue thickness compensator 30020 is secured to theanvil 25060. Yes. Themain body 30022 can have a stepped thickness so that the shape of themain body 30022 substantially matches the shape of theanvil 25060. Further, thebody 30022 can have alongitudinal flange 30029. For example, thelongitudinal flange 30029 can extend along respective longitudinal sides of thebody 30022 of thetissue thickness compensator 30020, for example. Thelongitudinal flange 30029 can secure thetissue thickness compensator 30020 to theanvil 25060 by at least partially wrapping around theanvil 25060. Further, thelongitudinal flange 30029 can be sufficiently resilient to accommodate, for example, theanvil 25060 and / or bendable to engage theanvil 25060. Thelongitudinal flange 30029 can exert a clamping force on theanvil 25060 when theflange 30029 engages theanvil 25060. Thepocket 30024 can have arecess 30025. When thetissue thickness compensator 30020 is secured to theanvil 25060, therecess 30025 can be substantially aligned with thelongitudinal slot 25062 of theanvil 25060, for example. Thetissue thickness compensator 30020 can be thinned in therecess 30025 so that a cutting element 25052 (FIG. 536) that moves straight in the thinned portion cuts thetissue thickness compensator 30020.

次に図548及び549を参照すると、組織厚さコンペンセータ30120は、内部に補償材料30026を保持するように構成された本体30122を有しうる。組織厚さコンペンセータ30120は、アラインメント要素30128、凹み30125、及び/又は長手方向のフランジ30129を有しうる。組織厚さコンペンセータ30120は、開位置と閉位置との間で動かすことができるラッチ30124を更に有しうる。ラッチ30124が図548に示されるような閉位置にある場合には、補償材料30026を組織厚さコンペンセータ30120の本体30122内に封入することができ、ラッチ30124が図549に示されるような開位置にある場合には、補償材料30026は本体30122から脱出することができる。本発明に述べられる組織厚さコンペンセータの少なくとも1つと同様、組織厚さコンペンセータ30120は変形可能かつ/又は弾性のものとすることができる。例えば、組織厚さコンペンセータ30120は、例えば、生体吸収性、生体適合性エラストマーポリマーなどのポリマー組成物を含みうる。組織厚さコンペンセータ30120は、例えば凍結乾燥多糖類、糖タンパク質、エラスチン、プロテオグリカン、ゼラチン、コラーゲン、及び/又は酸化再生セルロース(ORC)のような生体吸収性ポリマーを更に含みうる。組織厚さコンペンセータ30120の弾性のため、本体30122の少なくとも一部は、ラッチ30124を開位置と閉位置との間で動かすように撓むことができる。組織厚さコンペンセータ30120の本体30122は、アンビルが手術部位から引き抜かれる際、アンビルに取り付けられたままでありうる。例えば、本体30122は、内部に本体30122を捕捉したステープルから引き剥がされるように構成することができる。  Referring now to FIGS. 548 and 549, thetissue thickness compensator 30120 can have abody 30122 configured to hold acompensation material 30026 therein. Thetissue thickness compensator 30120 can have analignment element 30128, arecess 30125, and / or alongitudinal flange 30129. Thetissue thickness compensator 30120 can further include alatch 30124 that can be moved between an open position and a closed position. When thelatch 30124 is in the closed position as shown in FIG. 548, thecompensation material 30026 can be enclosed within thebody 30122 of thetissue thickness compensator 30120, and thelatch 30124 is in the open position as shown in FIG. Thecompensation material 30026 can escape from thebody 30122. Similar to at least one of the tissue thickness compensators described in the present invention, thetissue thickness compensator 30120 can be deformable and / or elastic. For example, thetissue thickness compensator 30120 can include a polymer composition such as, for example, a bioabsorbable, biocompatible elastomeric polymer. Thetissue thickness compensator 30120 can further include bioabsorbable polymers such as, for example, lyophilized polysaccharides, glycoproteins, elastin, proteoglycans, gelatin, collagen, and / or oxidized regenerated cellulose (ORC). Due to the elasticity of thetissue thickness compensator 30120, at least a portion of thebody 30122 can flex to move thelatch 30124 between an open position and a closed position. Thebody 30122 of thetissue thickness compensator 30120 can remain attached to the anvil as the anvil is withdrawn from the surgical site. For example, thebody 30122 can be configured to be peeled away from staples that have captured thebody 30122 therein.

図550を参照すると、組織厚さコンペンセータ30220は、本体30222及びポケット30224を有しうる。補償材料30026が、例えば、本体30222とポケット30224との間に保持されうる。組織厚さコンペンセータ30220は、アラインメント要素、凹み、及び/又は長手方向のフランジ30229を有しうる。更に、少なくとも1つの長手方向のフランジ30229が、組織厚さコンペンセータ30220のポケット30224から延びるタブ30225を受容するように構成することができる、溝、又はスロット30228を有しうる。そのような場合、溝30228とタブ30225との嵌合により、本体30222とポケット30224とが連結されうる。更にそのような場合、溝30228とタブ30225との連結により、組織厚さコンペンセータ30220内部に補償材料30026が封入及び/又は保持されうる。次に図551を参照すると、組織厚さコンペンセータ30320のポケット30324は、ポケット30324から延出するアンカー30325を有しうる。更に、組織厚さコンペンセータ30320は、開口部30328を有する本体30322を有しうる。アンカー30325はポケット30324から延びて本体30322の開口部30328と嵌合することができる。このような構成では、ポケット30324と本体30322とはその間に補償材料30026を封入することができる。組織厚さコンペンセータ30320は、本体30322をアンビルに対して保持するためにアンビルに取り付けることができる1以上のフランジ30229を更に有してもよい。  Referring to FIG. 550, thetissue thickness compensator 30220 can have abody 30222 and apocket 30224.Compensation material 30026 may be held betweenbody 30222 andpocket 30224, for example. Thetissue thickness compensator 30220 can have alignment elements, indentations, and / orlongitudinal flanges 30229. Further, the at least onelongitudinal flange 30229 can have a groove orslot 30228 that can be configured to receive atab 30225 extending from thepocket 30224 of thetissue thickness compensator 30220. In such a case, themain body 30222 and thepocket 30224 can be connected by fitting thegroove 30228 and thetab 30225. Further, in such cases, thecompensation material 30026 may be encapsulated and / or retained within thetissue thickness compensator 30220 by coupling thegroove 30228 and thetab 30225. Referring now to FIG. 551, thepocket 30324 of thetissue thickness compensator 30320 can have ananchor 30325 extending from thepocket 30324. Further, thetissue thickness compensator 30320 can have abody 30322 having anopening 30328.Anchor 30325 can extend frompocket 30324 and mate withopening 30328 inbody 30322. In such a configuration, thecompensation material 30026 can be enclosed between thepocket 30324 and themain body 30322. Thetissue thickness compensator 30320 may further include one ormore flanges 30229 that can be attached to the anvil to hold thebody 30322 against the anvil.

次に図552を参照すると、組織厚さコンペンセータ30420は、本体30422及びポケット30424を有しうる。組織厚さコンペンセータ30420の本体30422とポケット30424との間に補償材料30026が保持されうる。本体30422はオリフィス30428を有してよく、ポケット30424はアンカー30425を有しうる。アンカー30425は、例えば、ポケット30424から、本体30422のオリフィス30428を通って延びることができる。アンカー30425は、例えば組織厚さコンペンセータ30420がアンビル25060に固定される際、アンビル25060と係合することができる。アンカー30525は、アンビル25060と係合する際にアンカー30425が撓むように充分に変形可能かつ弾性を有するものでありうる。更に、撓んだアンカー30425は、アンビル25060に締め付け力を作用させることによって組織厚さコンペンセータ30420をアンビル25060に固定するか、又は固定する助けとなりうる。また、アンカーは、コンペンセータ本体のオリフィスを完全に貫通して延びなくてもよい。図553を参照すると、コンペンセータ30520のポケット30524上のアンカー30525は、組織厚さコンペンセータ30520の本体30522のオリフィス30528と嵌合することができる。アンカー30525がオリフィス30528と嵌合することでポケット30524を本体30522に固定することができる。例えば、オリフィス30528はソケットにまで延びるネック部分を有してもよい。アンカー30525は、ネック部分を通過してソケットと係合することによりアンカー30525をオリフィス30528内に固定することができる固定縁部を有しうる。組織厚さコンペンセータ30520は、例えば、アラインメント要素、凹み、及び/又は長手方向のフランジ30529を更に有しうる。  Referring now to FIG. 552, thetissue thickness compensator 30420 can have abody 30422 and apocket 30424.Compensation material 30026 may be retained betweenbody 30422 andpocket 30424 oftissue thickness compensator 30420. Thebody 30422 can have anorifice 30428 and thepocket 30424 can have ananchor 30425.Anchor 30425 can extend frompocket 30424 throughorifice 30428 ofbody 30422, for example.Anchor 30425 can engageanvil 25060, for example whentissue thickness compensator 30420 is secured toanvil 25060. Theanchor 30525 can be sufficiently deformable and elastic so that theanchor 30425 bends when engaged with theanvil 25060. Further, the flexedanchor 30425 may secure or assist in securing thetissue thickness compensator 30420 to theanvil 25060 by exerting a clamping force on theanvil 25060. Also, the anchor need not extend completely through the orifice of the compensator body. Referring to FIG. 553, theanchor 30525 on thepocket 30524 of thecompensator 30520 can mate with theorifice 30528 of thebody 30522 of thetissue thickness compensator 30520. Thepocket 30524 can be fixed to themain body 30522 by fitting theanchor 30525 with theorifice 30528. For example, theorifice 30528 may have a neck portion that extends to the socket. Theanchor 30525 can have a fixed edge that allows theanchor 30525 to be secured within theorifice 30528 by passing through the neck portion and engaging the socket. Thetissue thickness compensator 30520 can further include, for example, an alignment element, a recess, and / or alongitudinal flange 30529.

図554〜556を参照すると、組織厚さコンペンセータ31020を、例えば外科用器具のエンドエフェクタ31012のアンビル31060と係合するように構成することができる。組織厚さコンペンセータ31020は、外側フィルム31022、内側フィルム31024、及びその間に配置された補償材料31026を有しうる。本発明に述べられる組織厚さコンペンセータの少なくとも1つと同様、組織厚さコンペンセータ31020は変形可能かつ/又は弾性のものとすることができる。例えば、補償材料31026は、例えば、生体吸収性、生体適合性エラストマーポリマーなどのポリマー組成物を含みうる。組織厚さコンペンセータ31020は、例えば凍結乾燥多糖類、糖タンパク質、エラスチン、プロテオグリカン、ゼラチン、コラーゲン、及び/又は酸化再生セルロース(ORC)のような生体吸収性ポリマーを更に含みうる。組織厚さコンペンセータ31020は、薬学的な活性成分又は薬剤のような少なくとも1種類の治療薬を含んでもよい。組織厚さコンペンセータ31020の補償材料31026が治療薬を含んでもよい。  Referring to FIGS. 554-556, thetissue thickness compensator 31020 can be configured to engage ananvil 31060 of anend effector 31012 of a surgical instrument, for example. Thetissue thickness compensator 31020 can have anouter film 31022, aninner film 31024, and acompensation material 31026 disposed therebetween. Similar to at least one of the tissue thickness compensators described in the present invention, thetissue thickness compensator 31020 can be deformable and / or elastic. For example, thecompensation material 31026 can comprise a polymer composition such as, for example, a bioabsorbable, biocompatible elastomeric polymer. Thetissue thickness compensator 31020 can further include a bioabsorbable polymer such as, for example, lyophilized polysaccharide, glycoprotein, elastin, proteoglycan, gelatin, collagen, and / or oxidized regenerated cellulose (ORC). Thetissue thickness compensator 31020 may include at least one therapeutic agent such as a pharmaceutically active ingredient or drug. Thecompensation material 31026 of thetissue thickness compensator 31020 may include a therapeutic agent.

内側フィルム31024は、例えば、アンビル31060のステープル成形ポケット31066に隣接して配置することができる。主に図554を参照すると、内側フィルム31024は、内側フィルム31024の形状がアンビル31060の形状とほぼ一致するように段差状の形態を有しうる。内側フィルム31024は、例えばアンビル31060の長手方向のスロット31062とほぼ整列するか、かつ/又は平行であってよいアラインメント稜線部31028を更に有しうる。本明細書により詳細に述べるように、内側フィルム31024は、内側フィルム31024の長手方向のそれぞれの側部から延び、キャッチ31027で終端する内側フランジ31025を有しうる。外側フィルム31022は、例えば、本体31021及び少なくとも1つの外側フランジ31023を有しうる。必要に応じて、外側フランジ30123は、例えば本体31021の長手方向のそれぞれの側部から延びてよい。外側フランジ31023を内側フランジ31025に固定することにより、補償材料31026を外側フィルム31022と内側フィルム31024との間に保持することができる。  Theinner film 31024 can be disposed adjacent to thestaple forming pocket 31066 of theanvil 31060, for example. Referring mainly to FIG. 554, theinner film 31024 may have a stepped shape such that the shape of theinner film 31024 substantially matches the shape of theanvil 31060. Theinner film 31024 may further include analignment ridge 31028 that may be substantially aligned with and / or parallel to thelongitudinal slot 31062 of theanvil 31060, for example. As described in more detail herein, theinner film 31024 may have aninner flange 31025 that extends from each longitudinal side of theinner film 31024 and terminates at acatch 31027. Theouter film 31022 can have, for example, abody 31021 and at least oneouter flange 31023. If necessary, the outer flange 30123 may extend from each longitudinal side of themain body 31021, for example. By securing theouter flange 31023 to theinner flange 31025, thecompensation material 31026 can be held between theouter film 31022 and theinner film 31024.

主に図556を参照すると、アンビル31060は、外側表面31061、及び外側表面31061の少なくとも一部に沿った少なくとも1つの溝31064を有しうる。本発明によれば、内側フィルム31024の内側フランジ31025上のキャッチ31027は、溝31064内に配置することができる。図555を参照すると、例えば組織厚さコンペンセータ31020はアンビル31060の周囲に滑らせることができる。アンビル31060上の溝31064は、アンビル31060の遠位端まで延びることができる。そのような場合、組織厚さコンペンセータ31020のキャッチ31027は、溝31064内で、組織厚さコンペンセータ31020の長さに沿って滑ることができる。  Referring primarily to FIG. 556, theanvil 31060 can have anouter surface 31061 and at least onegroove 31064 along at least a portion of theouter surface 31061. According to the present invention, thecatch 31027 on theinner flange 31025 of theinner film 31024 can be disposed in thegroove 31064. Referring to FIG. 555, for example, thetissue thickness compensator 31020 can be slid around theanvil 31060. Agroove 31064 on theanvil 31060 can extend to the distal end of theanvil 31060. In such a case, thecatch 31027 of thetissue thickness compensator 31020 can slide along the length of thetissue thickness compensator 31020 within thegroove 31064.

次に図557及び558を参照すると、組織厚さコンペンセータ31120は、補償材料31026及び少なくとも1つのコネクタ31124を有しうる。各コネクタ31124は、補償材料31026の周囲に延びてよく、その両端のキャッチ31127で終端しうる。キャッチ31127をアンビル31060の溝31064内に配置することにより、組織厚さコンペンセータ31120をアンビル31060に固定することができる。アンビル31060上の溝31164は、アンビル31060の遠位端まで延びることができる。そのような場合、コネクタ31124のキャッチ31127は、溝31064内で滑ることができる。また、コネクタ31124は、アンビル31060の周囲に撓んでスナップ嵌めされるように弾性を有するものでもよい。使用時には、コネクタ31124は、補償材料31026がアンビル31060から外れるまで補償材料31026を定位置に保持することができる。特定の状況では、コネクタ31124はアンビル31060に取り付けられたままであってよく、アンビルとともに手術部位から引き抜くことができる。特定の他の状況では、コネクタ31124はアンビル31060から取り外して、補償材料31026とともに移植することができる。  Referring now to FIGS. 557 and 558, thetissue thickness compensator 31120 can have acompensation material 31026 and at least oneconnector 31124. Eachconnector 31124 may extend around thecompensation material 31026 and may terminate withcatches 31127 at both ends thereof. Thetissue thickness compensator 31120 can be secured to theanvil 31060 by placing thecatch 31127 within thegroove 31064 of theanvil 31060. A groove 31164 on theanvil 31060 can extend to the distal end of theanvil 31060. In such a case, thecatch 31127 of theconnector 31124 can slide within thegroove 31064. Further, theconnector 31124 may be elastic so as to be bent and snap-fitted around theanvil 31060. In use, theconnector 31124 can hold thecompensation material 31026 in place until thecompensation material 31026 disengages from theanvil 31060. In certain circumstances, theconnector 31124 may remain attached to theanvil 31060 and can be withdrawn from the surgical site along with the anvil. In certain other situations, theconnector 31124 can be removed from theanvil 31060 and implanted with thecompensation material 31026.

図559〜565を参照すると、組織厚さコンペンセータ32120は、本体部分32022、少なくとも1つの長手方向のフランジ32024、及び少なくとも1つのポケット32026を有している。本発明に述べられる組織厚さコンペンセータの少なくとも1つと同様、組織厚さコンペンセータ31020は変形可能かつ/又は弾性のものとすることができる。例えば、補償材料31026は、例えば、生体吸収性、生体適合性エラストマーポリマーなどのポリマー組成物を含みうる。組織厚さコンペンセータ31020は、例えば凍結乾燥多糖類、糖タンパク質、エラスチン、プロテオグリカン、ゼラチン、コラーゲン、及び/又は酸化再生セルロース(ORC)のような生体吸収性ポリマーを更に含みうる。長手方向のフランジ32024は、本体部分32022の長手方向のそれぞれの側部に沿って延びることができる。主に図562を参照すると、組織厚さコンペンセータ32020の長手方向のフランジ32024はアンビル25060と係合するように構成することができる。例えば、組織厚さコンペンセータ32020はアンビル25060及び長手方向のフランジ32024上に滑らせることができ、アンビル25060の一部を少なくとも部分的に包み込むことができる。そのような場合、フランジ32024は、例えば組織厚さコンペンセータ32020をアンビル25060に固定することができる。必要に応じて、組織厚さコンペンセータ32020がアンビルに固定される際、組織厚さコンペンセータ32020の本体部分32022は、アンビル25060の内側表面上のステープル成形ポケット25066と重なり合うことができる。  Referring to FIGS. 559-565, the tissue thickness compensator 32120 has abody portion 32022, at least onelongitudinal flange 32024, and at least onepocket 32026. Similar to at least one of the tissue thickness compensators described in the present invention, thetissue thickness compensator 31020 can be deformable and / or elastic. For example, thecompensation material 31026 can comprise a polymer composition such as, for example, a bioabsorbable, biocompatible elastomeric polymer. Thetissue thickness compensator 31020 can further include a bioabsorbable polymer such as, for example, lyophilized polysaccharide, glycoprotein, elastin, proteoglycan, gelatin, collagen, and / or oxidized regenerated cellulose (ORC). Thelongitudinal flange 32024 can extend along respective longitudinal sides of thebody portion 32022. Referring primarily to FIG. 562, thelongitudinal flange 32024 of thetissue thickness compensator 32020 can be configured to engage theanvil 25060. For example, thetissue thickness compensator 32020 can slide over theanvil 25060 and thelongitudinal flange 32024 and can at least partially enclose a portion of theanvil 25060. In such a case, theflange 32024 can secure thetissue thickness compensator 32020 to theanvil 25060, for example. If desired, thebody portion 32022 of thetissue thickness compensator 32020 can overlap thestaple forming pocket 25066 on the inner surface of theanvil 25060 when thetissue thickness compensator 32020 is secured to the anvil.

上記に加えて、複数のポケット32026が、本体部分32022を横方向に横断しうる。主に図563を参照すると、複数のポケット32026は、薬学的な活性成分又は薬剤のような少なくとも1種類の治療薬を含むことができる。本発明によれば、複数の第1のポケット32026aは、第1の治療薬又はその組み合わせを含んでよく、複数の第2のポケット32026bは、第2の治療薬又はその組み合わせを含みうる。第1のポケット32026a及び第2のポケット32026bは、例えば本体部分32022に沿って交互に配置することができる。更に、第1のポケット32026aから第1の治療薬が放出され、第2のポケット32026bから第2の医薬品が放出される際、第1及び第2の治療薬が互いに反応するように構成することができる。図565を参照すると、ポケット32026は、例えば発射バー25050がアンビル25060の長手方向のスロット25062に沿って直進運動する際に内部に保持された治療薬を放出することができる。  In addition to the above, a plurality ofpockets 32026 can transverse thebody portion 32022 laterally. Referring primarily to FIG. 563, the plurality ofpockets 32026 can contain at least one therapeutic agent, such as a pharmaceutically active ingredient or drug. According to the present invention, the plurality of first pockets 32026a may contain a first therapeutic agent or a combination thereof, and the plurality ofsecond pockets 32026b may contain a second therapeutic agent or a combination thereof. The first pocket 32026a and thesecond pocket 32026b can be alternately arranged along thebody portion 32022, for example. Furthermore, when the first therapeutic agent is released from the first pocket 32026a and the second pharmaceutical agent is released from thesecond pocket 32026b, the first and second therapeutic agents are configured to react with each other. Can do. Referring to FIG. 565, thepocket 32026 can release the therapeutic agent retained therein, for example, when the firingbar 25050 moves straight along thelongitudinal slot 25062 of theanvil 25060.

次に図566を参照すると、外科用ステープル留め器具のエンドエフェクタは、アンビル32060及び組織厚さコンペンセータ32520を有するステープルカートリッジ32500を有しうる。上記と同様、ステープルカートリッジ32500は、その内部に少なくとも部分的に含まれ、ステープルカートリッジ32500から射出されてその中に組織厚さコンペンセータ32520を捕捉することができる複数のステープル32530を有しうる。やはり上記と同様、ステープル32530は、組織厚さコンペンセータ32520を貫通して、アンビル32560に画定されたステープル成形ポケット32562と接触することができる。次に図568を参照すると、アンビル32560は、組織厚さコンペンセータ32580をアンビル32560に対して保持するように構成することが可能な、アンビル32560に取り付けられる層32570を更に有しうる。例えば、層32570は、静電荷を保持及び/又は発生させ、組織厚さコンペンセータ32580を引きつけるように構成することができる帯電可能層を含みうる。より詳細には、例えば、能動的に作動されるものか又は受動的に作動されるものかによらず、ファンデルワールス分子間力によって組織厚さコンペンセータ32580を層32570に対して保持することができる。帯電可能層32570は、帯電可能層32570を電源と選択的に連結し、その結果、帯電可能層32570内に選択的に静電荷を発生させるように構成された制御部を有しうる外科用ステープル留め器具のハンドルと電気的に連絡していてよい。例えば、帯電可能層32570は、例えばポリマー内に包埋された導電性電極を有しうる。いずれの場合も、静電荷を帯電した層32570は、組織厚さコンペンセータ32580内の逆に帯電した粒子を引きつけて、組織厚さコンペンセータ32580をアンビルに対して保持することができる。次に図567を参照すると、帯電可能層32570は、互いに電気的に連絡した導電体のグリッド又は格子32571を有しうる。例えば、導電体は、アンビル32560内に画定されたステープル成形ポケット32562を包囲するように配置及び配列することができる。そのような場合、ステープル32530は、ステープルカートリッジ32500から射出された後、その中に導電体32571を捕捉することなくアンビル32560によって成形されうる。異なる状況において、ステープル32530が組織厚さコンペンセータ32580と係合した後で帯電可能層32570を電源から遮断することで層32570内の静電荷が消散しうる。特定の他の状況では、層32570は、ステープル32530が発射される前に電源から遮断することができる。いずれの場合も、静電荷が消散すると、アンビル32560を再び開いて、層32570を組織厚さコンペンセータ32580から離れる方向に動かすことができる。静電荷は、層32570を組織厚さコンペンセータ32580から取り外す前に完全に消失させなければならない場合もあるが、あるいは、層32570内の静電荷が完全に消散する前に層32570を組織厚さコンペンセータ32580から取り外すこともできる。上記の結果、組織厚さコンペンセータ32580を、化学接着剤を使用せずにアンビル32560に取り付けることができる。  Referring now to FIG. 566, the end effector of the surgical stapling instrument can have astaple cartridge 32500 having an anvil 32060 and atissue thickness compensator 32520. Similar to the above, thestaple cartridge 32500 can have a plurality ofstaples 32530 that are at least partially contained therein and can be ejected from thestaple cartridge 32500 to capture thetissue thickness compensator 32520 therein. Again, as described above, thestaple 32530 can penetrate thetissue thickness compensator 32520 and contact thestaple forming pocket 32562 defined in theanvil 32560. Referring now to FIG. 568, theanvil 32560 can further include alayer 32570 attached to theanvil 32560 that can be configured to hold thetissue thickness compensator 32580 against theanvil 32560. For example,layer 32570 can include a chargeable layer that can be configured to retain and / or generate an electrostatic charge and attracttissue thickness compensator 32580. More specifically, for example, holdingtissue thickness compensator 32580 againstlayer 32570 by van der Waals intermolecular forces, whether actively or passively actuated. it can. Thechargeable layer 32570 can have a controller configured to selectively couple thechargeable layer 32570 to a power source and thereby generate a static charge selectively within thechargeable layer 32570. It may be in electrical communication with the handle of the fastener. For example, thechargeable layer 32570 can have a conductive electrode embedded in, for example, a polymer. In either case, the electrostatically chargedlayer 32570 can attract the oppositely charged particles in thetissue thickness compensator 32580 to hold thetissue thickness compensator 32580 against the anvil. Referring now to FIG. 567, thechargeable layer 32570 may have a grid or grid ofconductors 32571 in electrical communication with each other. For example, the electrical conductor can be arranged and arranged to surround astaple forming pocket 32562 defined in ananvil 32560. In such a case, thestaple 32530 can be formed by theanvil 32560 after being ejected from thestaple cartridge 32500 without capturing theconductor 32571 therein. In different situations, the electrostatic charge inlayer 32570 can be dissipated by disconnectingchargeable layer 32570 from the power source afterstaple 32530 engagestissue thickness compensator 32580. In certain other situations, thelayer 32570 can be disconnected from the power source before thestaple 32530 is fired. In either case, once the electrostatic charge has dissipated, theanvil 32560 can be reopened to move thelayer 32570 away from thetissue thickness compensator 32580. The electrostatic charge may have to be completely dissipated before removinglayer 32570 fromtissue thickness compensator 32580, or alternatively,layer 32570 may be removed from tissue thickness compensator before static charge inlayer 32570 is completely dissipated. It can also be removed from 32580. As a result of the above, thetissue thickness compensator 32580 can be attached to theanvil 32560 without the use of chemical adhesives.

上記に加えて、層32570は、外科用ステープル留め器具のハンドルにフィードバック機能を与えることもできる。例えば、層32570は、感圧性であってよく、例えばアンビル32560によって層32570に加えられるクランプ締め圧を検出するように構成することができる。  In addition to the above, thelayer 32570 can also provide a feedback function to the handle of the surgical stapling instrument. For example, thelayer 32570 can be pressure sensitive and can be configured to detect clamping pressure applied to thelayer 32570 by theanvil 32560, for example.

上記に加えて、組織厚さコンペンセータは生体適合性材料で構成することができる。発泡材のような生体適合性材料は、粘着付与剤、界面活性剤、充填剤、架橋剤、顔料、色素、酸化防止剤及び他の安定化剤、並びに/又はこれらの組み合わせを含むことによって材料に所望の性質を与えることができる。生体適合性発泡材は、界面活性剤を含んでもよい。界面活性剤は、材料の表面に塗布するか、かつ/又は材料内に分散させることができる。いずれの特定の理論に束縛されることも望むものではないが、生体適合性材料に塗布される界面活性剤は、材料と接触する液体の表面張力を低減させるものと考えられる。例えば、界面活性剤は、材料と接触する水の表面張力を低下させることによって材料内への水の浸透を加速させると考えられる。水は触媒として作用する。界面活性剤は材料の親水性を高めることができる。  In addition to the above, the tissue thickness compensator can be composed of a biocompatible material. Biocompatible materials, such as foams, are made by including tackifiers, surfactants, fillers, crosslinkers, pigments, dyes, antioxidants and other stabilizers, and / or combinations thereof. Can be given the desired properties. The biocompatible foam material may include a surfactant. Surfactants can be applied to the surface of the material and / or dispersed within the material. While not wishing to be bound by any particular theory, it is believed that the surfactant applied to the biocompatible material reduces the surface tension of the liquid in contact with the material. For example, surfactants are believed to accelerate water penetration into the material by reducing the surface tension of water in contact with the material. Water acts as a catalyst. Surfactants can increase the hydrophilicity of the material.

界面活性剤は、アニオン性界面活性剤、カチオン性界面活性剤、及び/又は非イオン性界面活性剤を含みうる。界面活性剤の例としては、これらに限定されるものではないが、ポリアクリル酸、メタロース(methalose)、メチルセルロース、エチルセルロース、プロピルセルロース、ヒドロキシエチルセルロース、カルボキシメチルセルロース、ポリオキシエチレンセチルエーテル、ポリオキシエチレンラウリルエーテル、ポリオキシエチレンオクチルエーテル、ポリオキシエチレンオクチルフェニルエーテル、ポリオキシエチレンオレイルエーテル、ポリオキシエチレンソルビタンモノラウレート、ポリオキシエチレンステアリルエーテル、ポリオキシエチレンノニルフェニルエーテル、ジアルキルフェノキシポリ(エチレンオキシ)エタノール、及びポリオキサマー、並びにこれらの組み合わせが挙げられる。界面活性剤は、ポリエチレングリコールとポリプロピレングリコールとのコポリマーを含みうる。界面活性剤は、リン脂質界面活性剤を含んでもよい。リン脂質界面活性剤は、抗菌安定化特性を与え、かつ/又は生体適合性材料中に他の材料を分散させることができる。  Surfactants can include anionic surfactants, cationic surfactants, and / or nonionic surfactants. Examples of surfactants include, but are not limited to, polyacrylic acid, methalose, methylcellulose, ethylcellulose, propylcellulose, hydroxyethylcellulose, carboxymethylcellulose, polyoxyethylene cetyl ether, polyoxyethylene lauryl Ether, polyoxyethylene octyl ether, polyoxyethylene octyl phenyl ether, polyoxyethylene oleyl ether, polyoxyethylene sorbitan monolaurate, polyoxyethylene stearyl ether, polyoxyethylene nonylphenyl ether, dialkylphenoxy poly (ethyleneoxy) ethanol , And polyoxamers, and combinations thereof. The surfactant may comprise a copolymer of polyethylene glycol and polypropylene glycol. The surfactant may include a phospholipid surfactant. Phospholipid surfactants can provide antimicrobial stabilizing properties and / or disperse other materials in the biocompatible material.

組織厚さコンペンセータは、少なくとも1種類の薬剤を含むことができる。組織厚さコンペンセータは、本明細書に述べられる1以上の天然材料、非合成材料、及び/又は合成材料を含むことができる。組織厚さコンペンセータは、ゼラチン、コラーゲン、ヒアルロン酸、酸化再生セルロース、ポリグリコール酸、ポリカプロラクトン、ポリ乳酸、ポリジオキサノン、ポリヒドロキシアルカノエート、ポリグレカプロン、及びこれらの組み合わせを含む生体適合性発泡材を含みうる。組織厚さコンペンセータは、前記少なくとも1種類の薬剤を含むフィルムを含みうる。組織厚さコンペンセータは、前記少なくとも1種類の薬剤を含む生分解性フィルムを含みうる。薬剤は、液体、ゲル、及び/又は粉末を含みうる。薬剤は、例えばシスプラチン、マイトマイシン、及び/又はアドリアマイシンなどの抗がん剤を含みうる。  The tissue thickness compensator can include at least one drug. The tissue thickness compensator can include one or more natural materials, non-synthetic materials, and / or synthetic materials as described herein. The tissue thickness compensator comprises a biocompatible foam comprising gelatin, collagen, hyaluronic acid, oxidized regenerated cellulose, polyglycolic acid, polycaprolactone, polylactic acid, polydioxanone, polyhydroxyalkanoate, polygrecapron, and combinations thereof. May be included. The tissue thickness compensator can include a film containing the at least one drug. The tissue thickness compensator can include a biodegradable film containing the at least one drug. The medicament can include a liquid, a gel, and / or a powder. The drug can include an anticancer drug such as cisplatin, mitomycin, and / or adriamycin.

組織厚さコンペンセータは、生分解性材料が分解する際に前記少なくとも1種類の薬剤の制御された溶出又は放出を可能とする生分解性材料を含む事ができる。生分解性材料は、例えば活性化液のような活性化物質と接触する際に劣化するか、分解するか、又は構造的一体性を喪失する。活性化液は、例えば食塩水又は他の任意の電解液を含みうる。生分解性材料は、これらに限定されるものではないが、スプレー、浸漬、及び/又はブラッシングを含む従来の方法によって活性化液と接触させることができる。使用時には、例えば、外科医は、前記少なくとも1種類の薬剤を含む組織厚さコンペンセータを有するエンドエフェクタ及び/又はステープルカートリッジを、塩化ナトリウム、塩化カルシウム、及び/又は塩化カリウムなどの塩溶液を含む活性化液中に浸漬することができる。組織厚さコンペンセータは、組織厚さコンペンセータが分解する際に薬剤を放出することができる。組織厚さコンペンセータからの薬剤の溶出又は放出は、速やかな初期溶出又は放出速度、及びより遅い持続的溶出又は放出速度によって特徴付けることができる。  The tissue thickness compensator can include a biodegradable material that allows controlled elution or release of the at least one drug as the biodegradable material degrades. Biodegradable materials degrade, degrade, or lose structural integrity when contacted with an activator, such as an activation liquid. The activation liquid can include, for example, saline or any other electrolyte. The biodegradable material can be contacted with the activation liquid by conventional methods including, but not limited to, spraying, dipping, and / or brushing. In use, for example, a surgeon activates an end effector and / or staple cartridge having a tissue thickness compensator containing the at least one agent, including a salt solution such as sodium chloride, calcium chloride, and / or potassium chloride. It can be immersed in the liquid. The tissue thickness compensator can release the drug as the tissue thickness compensator degrades. The dissolution or release of the drug from the tissue thickness compensator can be characterized by a rapid initial dissolution or release rate and a slower sustained dissolution or release rate.

本発明によれば、組織厚さコンペンセータは、例えば酸化剤を含みうる生体適合性材料で構成することができる。酸化剤は、有機過酸化物及び/又は無機過酸化物であってよい。酸化剤の例としては、これらに限定されるものではないが、過酸化水素、過酸化尿素、過酸化カルシウム、及び過酸化マグネシウム、及び過炭酸ナトリウムを挙げることができる。酸化剤は、例えば過酸化水素、次亜塩素酸、次亜塩素酸塩、ハイポコダイト(hypocodite)、及び過炭酸塩などの過酸素系酸化剤及び次亜ハロゲン酸塩系酸化剤を含みうる。酸化剤は、例えば亜塩素酸ナトリウム、次亜塩素酸ナトリウム及び過ホウ酸ナトリウムなどのアルカリ金属の亜塩素酸塩、次亜塩素酸塩、及び過ホウ酸塩を含みうる。酸化剤は、バナジウム酸塩を含んでもよい。酸化剤は、アスコルビン酸を含んでもよい。酸化剤は、活性酸素発生物質を含んでもよい。本発明によれば、組織足場は、酸化剤を含む生体適合性材料を含みうる。  According to the present invention, the tissue thickness compensator can be comprised of a biocompatible material that can include, for example, an oxidizing agent. The oxidizing agent may be an organic peroxide and / or an inorganic peroxide. Examples of oxidants include, but are not limited to, hydrogen peroxide, urea peroxide, calcium peroxide, magnesium peroxide, and sodium percarbonate. The oxidant may include peroxygen and hypohalite oxidants such as hydrogen peroxide, hypochlorous acid, hypochlorite, hypocodite, and percarbonate. Oxidizing agents can include alkali metal chlorites, hypochlorites, and perborates, such as sodium chlorite, sodium hypochlorite, and sodium perborate. The oxidizing agent may include vanadate. The oxidizing agent may include ascorbic acid. The oxidizing agent may include an active oxygen generator. In accordance with the present invention, the tissue scaffold can include a biocompatible material that includes an oxidizing agent.

生体適合性材料は、液体、ゲル、及び/又は粉末を含みうる。酸化剤は、例えば微小粒子及び/又はナノ粒子を含みうる。例えば、酸化剤は、微小粒子及び/又はナノ粒子に粉砕することができる。酸化剤は、ポリマー溶液中に酸化剤を懸濁することによって生体適合性材料中に取り込ませることができる。酸化剤は、凍結乾燥プロセスの間に生体適合性材料中に取り込ませることもできる。凍結乾燥後、酸化剤を生体適合性材料の細胞壁に付着させることによって接触時に組織と相互作用させることができる。酸化剤は生体適合性材料に化学的に結合されなくともよい。過炭酸塩乾燥粉末を、生体適合性発泡材中に包埋することによって酸素の持続放出による長期の生物学的作用を与えることができる。過炭酸塩乾燥粉末を、不織布構造中のポリマー繊維内に包埋することによって、酸素の持続放出による長期の生物学的作用を与えることができる。生体適合性材料は、酸化剤及び例えばドキシサイクリン及びアスコルビン酸などの薬剤を含みうる。  The biocompatible material can include a liquid, a gel, and / or a powder. The oxidizing agent can include, for example, microparticles and / or nanoparticles. For example, the oxidizing agent can be pulverized into microparticles and / or nanoparticles. The oxidizing agent can be incorporated into the biocompatible material by suspending the oxidizing agent in the polymer solution. The oxidizing agent can also be incorporated into the biocompatible material during the lyophilization process. After lyophilization, the oxidant can be allowed to interact with the tissue upon contact by attaching it to the cell wall of the biocompatible material. The oxidizing agent may not be chemically bonded to the biocompatible material. By embedding a percarbonate dry powder in a biocompatible foam, a long-term biological effect can be provided by sustained release of oxygen. By embedding the percarbonate dry powder in polymer fibers in a nonwoven structure, a long-term biological effect can be provided by sustained release of oxygen. The biocompatible material can include oxidizing agents and agents such as doxycycline and ascorbic acid.

生体適合性材料は、速やかに放出される酸化剤及び/又はより遅く持続的に放出される酸化剤を含むことができる。生体適合性材料からの酸化剤の溶出又は放出は、速やかな初期溶出又は放出速度、及びより遅い持続的溶出又は放出速度によって特徴付けることができる。酸化剤は、例えば水などの体液と接触する際に酸素を発生してもよい。体液の例としては、これらに限定されるものではないが、血液、血漿、腹腔液、脳脊髄液、尿、リンパ液、滑液、硝子体液、唾液、胃腸管腔内容物、及び/又は胆汁が挙げられる。いずれの特定の理論に束縛されることも望むものではないが、酸化剤は、細胞死を低減させ、組織の生存率を高め、かつ/又は、切断及び/又はステープル留めの際に損傷しうる組織の機械的強度を維持するものと考えられる。  The biocompatible material can include an oxidizing agent that is released quickly and / or an oxidizing agent that is released more slowly and sustainably. The elution or release of the oxidant from the biocompatible material can be characterized by a rapid initial elution or release rate and a slower sustained elution or release rate. The oxidizing agent may generate oxygen when it comes into contact with a body fluid such as water. Examples of body fluids include, but are not limited to, blood, plasma, peritoneal fluid, cerebrospinal fluid, urine, lymph fluid, synovial fluid, vitreous fluid, saliva, gastrointestinal lumen contents, and / or bile. Can be mentioned. While not wishing to be bound by any particular theory, oxidizing agents can reduce cell death, increase tissue viability, and / or be damaged during cutting and / or stapling. It is thought to maintain the mechanical strength of the tissue.

生体適合性材料は、少なくとも1種類の微小粒子及び/又はナノ粒子を含みうる。生体適合性材料は、本明細書に述べられる1以上の天然材料、非合成材料、及び/又は合成材料を含むことができる。生体適合性材料は、約10nm〜約100nm、及び/又は約10μm〜約100μm、例えば45〜50nm及び/又は45〜50μmの平均直径を有する粒子を含みうる。生体適合性材料は、少なくとも1種類の微小粒子及び/又はナノ粒子が包埋された生体適合性発泡材を含みうる。微小粒子及び/又はナノ粒子は、生体適合性材料に化学的に結合されなくともよい。微小粒子及び/又はナノ粒子は、薬剤の制御放出を与えることができる。微小粒子及び/又はナノ粒子は、少なくとも1種類の薬剤を含みうる。微小粒子及び/又はナノ粒子は、例えば、止血剤、抗菌剤、及び/又は酸化剤を含みうる。組織厚さコンペンセータは、酸化再生セルロースを含む止血剤、ドキシサイクリン及び/又はゲンタマイシンを含む抗菌剤、及び/又はパーカーバント(percarbant)を含む酸化剤を含む生体適合性発泡材を含むことができる。微小粒子及び/又はナノ粒子は、例えば最大3日間にわたる薬剤の制御放出を与えることができる。  The biocompatible material can include at least one type of microparticles and / or nanoparticles. The biocompatible material can include one or more natural materials, non-synthetic materials, and / or synthetic materials as described herein. The biocompatible material may include particles having an average diameter of about 10 nm to about 100 nm, and / or about 10 μm to about 100 μm, such as 45-50 nm and / or 45-50 μm. The biocompatible material can include a biocompatible foam with at least one microparticle and / or nanoparticle embedded therein. The microparticles and / or nanoparticles may not be chemically bonded to the biocompatible material. Microparticles and / or nanoparticles can provide controlled release of the drug. The microparticles and / or nanoparticles can include at least one drug. The microparticles and / or nanoparticles can include, for example, hemostatic agents, antibacterial agents, and / or oxidizing agents. The tissue thickness compensator can include a biocompatible foam including a hemostatic agent including oxidized regenerated cellulose, an antibacterial agent including doxycycline and / or gentamicin, and / or an oxidizing agent including a percarbant. The microparticles and / or nanoparticles can provide controlled release of the drug over, for example, up to 3 days.

微小粒子及び/又はナノ粒子は、製造プロセスにおいて生体適合性材料中に包埋することができる。例えば、PGA/PCLなどの生体適合性ポリマーは例えばジオキサンなどの溶媒と接触して混合物を形成しうる。生体適合性ポリマーは粉砕して粒子を形成することもできる。ORC粒子を含むか又は含まない乾燥粒子をこの混合物と接触させて懸濁液を形成することができる。この懸濁液を凍結乾燥することによって、乾燥粒子及び/又はORC粒子が包埋されたPGA/PCLを含む生体適合性発泡材を形成することができる。  Microparticles and / or nanoparticles can be embedded in a biocompatible material in the manufacturing process. For example, a biocompatible polymer such as PGA / PCL can be contacted with a solvent such as dioxane to form a mixture. The biocompatible polymer can also be pulverized to form particles. Dry particles with or without ORC particles can be contacted with this mixture to form a suspension. By lyophilizing this suspension, a biocompatible foam comprising PGA / PCL with embedded dry particles and / or ORC particles can be formed.

本明細書に開示される組織厚さコンペンセータ又は層は、例えば吸収性ポリマーで構成することができる。組織厚さコンペンセータは、例えば、発泡材、フィルム、繊維質織布、繊維質不織布PGA、PGA/PCL(ポリ(グリコール酸−コ−カプロラクトン))、PLA/PCL(ポリ(乳酸−コ−ポリカプロラクトン))、PLLA/PCL、PGA/TMC(ポリ(グリコール酸−コ−トリメチレンカーボネート))、PDS、PEPBO又は他の吸収性ポリウレタン、ポリエステル、ポリカーボネート、ポリオルトエステル、ポリ無水物、ポリエステルアミド、及び/又はポリオキサエステルで構成することができる。本発明によれば、組織厚さコンペンセータは、例えば、PGA/PLA(ポリ(グリコール酸−コ−乳酸))及び/又はPDS/PLA(ポリ(p−ジオキサノン−コ−乳酸))で構成することができる。本発明によれば、組織厚さコンペンセータは、例えば有機材料で構成することができる。組織厚さコンペンセータは、例えばカルボキシメチルセルロース、アルギン酸ナトリウム、架橋ヒアルロン酸、及び/又は酸化再生セルロースで構成することができる。本発明によれば、組織厚さコンペンセータは、例えば、ショアA=3〜7(ショアOO=30〜50)の範囲のジュロ高度を有してよく、最大硬さはショアA=15(ショアOO=65)である。組織厚さコンペンセータは、例えば、13N(3lbf)の荷重下で40%の圧縮率、27N(6lbf)の荷重下で60%の圧縮率、及び/又は89N(20lbf)の荷重下で80%の圧縮率を示しうる。例えば、空気、窒素、二酸化炭素、及び/又は酸素のような1以上のガスを組織厚さコンペンセータに通じるか、かつ/又は組織厚さコンペンセータ内に封じ込めることができる。組織厚さコンペンセータは、組織厚さコンペンセータを構成する材料硬さの約50%〜約75%を構成するビーズを含みうる。  The tissue thickness compensator or layer disclosed herein can be comprised of, for example, an absorbent polymer. The tissue thickness compensator is, for example, foam, film, fibrous woven fabric, fibrous nonwoven fabric PGA, PGA / PCL (poly (glycolic acid-co-caprolactone)), PLA / PCL (poly (lactic acid-co-polycaprolactone). )), PLLA / PCL, PGA / TMC (poly (glycolic acid-co-trimethylene carbonate)), PDS, PEPBO or other absorbent polyurethane, polyester, polycarbonate, polyorthoester, polyanhydride, polyesteramide, and It can be composed of / or a polyoxaester. According to the present invention, the tissue thickness compensator is composed of, for example, PGA / PLA (poly (glycolic acid-co-lactic acid)) and / or PDS / PLA (poly (p-dioxanone-co-lactic acid)). Can do. According to the present invention, the tissue thickness compensator can be composed of, for example, an organic material. The tissue thickness compensator can be composed of, for example, carboxymethylcellulose, sodium alginate, crosslinked hyaluronic acid, and / or oxidized regenerated cellulose. According to the present invention, the tissue thickness compensator may have a durometer in the range of Shore A = 3-7 (Shore OO = 30-50), for example, with a maximum hardness of Shore A = 15 (Shore OO). = 65). The tissue thickness compensator is, for example, 40% compressibility under a load of 13N (3 lbf), 60% compressibility under a load of 27N (6 lbf), and / or 80% under a load of 89 N (20 lbf). Can indicate compression ratio. For example, one or more gases such as air, nitrogen, carbon dioxide, and / or oxygen can be passed through and / or contained within the tissue thickness compensator. The tissue thickness compensator can include beads that comprise about 50% to about 75% of the material hardness that makes up the tissue thickness compensator.

本発明によれば、組織厚さコンペンセータは、例えば、ヒアルロン酸、栄養素、フィブリン、トロンビン、高血小板血漿、スルファサラジン(アザルフィジン(登録商標)5ASA+スルファピリジンジアゾ結合))−プロドラッグ−結腸細菌(アゾレダクターゼ)、メサラミン(遅延放出のための異なるプロドラッグ形態を有する5ASA)、アサコール(登録商標)(5ASA+オイドラギット−Sコーティングしたもの−pH>7(コーティング溶解))、ペンタサ(登録商標)(5ASA+エチルセルロースコーティングしたものー時間/pH依存形徐放)、メササール(登録商標)(5ASA+オイドラギット−LコーティングしたものーpH>6)、オルサラジン(5ASA+5ASAー結腸細菌(アゾレダクターゼ))、バルサラジド(5ASA+4アミノベンゾイル−B−アラニン)−結腸細菌(アゾレダクターゼ))、顆粒化メサラミン、リアルダ(メサラミンの遅延及びSR製剤)、HMPL−004(TNF−α、インターロイキン−1β,及び核−κB活性化を阻害しうるハーブ混合物)、CCX282−B(腸粘膜内へのTリンパ球の移動を阻害する経口ケモカイン受容体アンタゴニスト)、リファキシミン(非吸収性広域スペクトラム抗生物質)、インフリキシマブ、マウスキメラ抗体(chymieric)(従来の治療に対する応答が不適切である中度/重度管腔及び瘻孔形成クローン病を有する成人/小児患者における兆候/症状の軽減及び臨床的寛解の維持について承認されたTNF−αを標的とするモノクローナル抗体)、アダリムマブ、全ヒトIgG1(クローン病の兆候/症状の軽減について、また、従来の治療に対する反応が不適切であるか又はインフリキシマブに対して不耐となった中度/重度活性クローン病を有する成人患者における臨床的寛解の誘導及び維持について承認された抗TNF−αモノクローナル抗体)、セルトリズマブペゴール、ヒト化抗−TNF FAB’(クローン病の兆候/症状の軽減について、又は従来の治療に対する反応が不適切である中度/重度疾患を有する成人患者における応答の誘導及び維持について承認された、ポリエチレングリコールに結合されたモノクローナル抗体フラグメント)、ナタリズマブ、第1非TNF−α阻害剤(クローン病に対して承認された生物学的化合物)、ヒト化モノクローナルIgG4抗体(α4インテグリンを標的とするもの。炎症のエビデンスを有し、従来のクローン病治療及びTNFαの阻害剤に対する反応が不適切であるか又は耐性を有さない中度/重度疾患を有する患者における臨床的応答及び寛解の誘導及び維持についてFDAにより承認されている。)、インフリキシマブと併用することが可能な同時投与免疫調節物質、アザチオプリン6−メルカプトプリン(プリン合成阻害剤ープロドラッグ)、メトトレキサート(テトレヒドロ葉酸合成に関与するジヒドロ葉酸レダクターゼ(DHFR)酵素と結合し、すべてのプリン合成を阻害する)、アロプリノール及びチオプリン療法、PPI、治癒線を保護するための酸抑制用のH2、C−Diff−フラジール、バンコマイシン(糞便転移治療(fecal translocation treatment);プロバイオティクス;正常な腸管内細菌叢の再増殖)、及び/又はリファキシミン(細菌過剰増殖の治療(特に肝性脳症)、消化管で吸収されず、腸管内細菌に作用する)を含みうる。  In accordance with the present invention, tissue thickness compensators are, for example, hyaluronic acid, nutrients, fibrin, thrombin, high platelet plasma, sulfasalazine (Asalphidin® 5ASA + sulfapyridine diazo linkage))-prodrug-colon bacteria (azo) Reductase), mesalamine (5ASA with different prodrug forms for delayed release), Asacol® (5ASA + Eudragit-S coated-pH> 7 (coating dissolution)), Pentasa® (5ASA + ethylcellulose) Coated-time / pH-dependent sustained release), Mesasar (registered trademark) (5ASA + Eudragit-L coated-pH> 6), olsalazine (5ASA + 5ASA-colonic bacteria (azoreductase)), val Razide (5ASA + 4 aminobenzoyl-B-alanine) -colon bacteria (azoreductase)), granulated mesalamine, rialda (mesalamine delayed and SR formulation), HMPL-004 (TNF-α, interleukin-1β, and nucleus-κB) Herbal mixture that can inhibit activation), CCX282-B (oral chemokine receptor antagonist that inhibits migration of T lymphocytes into the intestinal mucosa), rifaximin (non-absorbable broad spectrum antibiotic), infliximab, mouse chimeric antibody (Chymieric) (TNF-α approved for relief of signs / symptoms and maintenance of clinical remission in adult / pediatric patients with moderate / severe lumen and fistula Crohn's disease with inadequate response to conventional treatment Monoclonal antibody targeting), adalimumab, all human IgG1 ( Induction of clinical remission in adult patients with moderate / severe active Crohn's disease with reduced signs / symptoms of Crohn's disease and with inadequate response to conventional treatment or intolerance to infliximab And anti-TNF-α monoclonal antibody approved for maintenance), Sertolizumab Pegor, humanized anti-TNF FAB ′ (for reduction in signs / symptoms of Crohn's disease or in response to conventional therapy) Approved for the induction and maintenance of responses in adult patients with severe / severe disease, monoclonal antibody fragments conjugated to polyethylene glycol), natalizumab, first non-TNF-α inhibitor (biological approved for Crohn's disease) Compound), humanized monoclonal IgG4 antibody (targeting α4 integrin) . About the induction and maintenance of clinical response and remission in patients with moderate / severe disease who have evidence of inflammation and who have inadequate or resistant resistance to traditional Crohn's disease treatment and inhibitors of TNFα Approved by the FDA. ), Co-administered immunomodulators that can be used in combination with infliximab, azathioprine 6-mercaptopurine (purine synthesis inhibitor-prodrug), methotrexate (dihydrofolate reductase (DHFR) enzyme involved in tetrehydrofolate synthesis), Inhibit purine synthesis), allopurinol and thiopurine therapy, PPI, acid suppressive H2, C-Diff-Frazil, vancomycin (fecal translocation treatment; probiotics; normal Re-growth of intestinal flora) and / or rifaximin (treatment of bacterial overgrowth (especially hepatic encephalopathy), not absorbed in the gastrointestinal tract and acting on intestinal bacteria).

本明細書に述べられるように、組織厚さコンペンセータは、例えば、ステープルカートリッジから射出されたステープル内に捕捉された、かつ/又はステープル列内に含まれる組織の厚さの変化を補償することができる。別の言い方をすると、あるステープル列内の特定のステープルが組織の厚い部分を捕捉しうるのに対して、そのステープル列内の他のステープルは組織の薄い部分を捕捉しうる。そのような状況において、組織厚さコンペンセータは、ステープル内で異なる高さ及び厚さをとることができ、捕捉された組織が厚いか薄いかに関係なく、ステープル内に捕捉された組織に一定の圧縮力を加えることができる。本発明によれば、組織厚さコンペンセータは、組織の硬さの変化を補償することができる。例えば、あるステープル列内の特定のステープルが組織の圧縮性の高い部分を捕捉することができる一方で、そのステープル列内の他のステープルは組織のより圧縮性の低い部分を捕捉する場合がある。そのような状況において、組織厚さコンペンセータは、例えば、より圧縮性の高い、又はより低い硬さを有する組織を捕捉したステープル内におけるよりも、より圧縮性の低い、又はより高い硬さを有し、それに対応したより大きな高さを有するステープル内においてより小さい高さをとるように構成することができる。いずれの場合も、組織厚さコンペンセータは、組織の厚さの変化及び/又は組織の硬さの変化を補償するかによらず、例えば「組織コンペンセータ」及び/又は例えば「コンペンセータ」と呼ぶことができる。  As described herein, the tissue thickness compensator can compensate for changes in the thickness of tissue captured in and / or contained within staples ejected from, for example, a staple cartridge. it can. In other words, a particular staple in a staple row can capture a thick portion of tissue, while other staples in that staple row can capture a thin portion of tissue. In such a situation, the tissue thickness compensator can take on different heights and thicknesses within the staple and provides constant compression to the tissue captured within the staple, regardless of whether the captured tissue is thick or thin. You can apply power. According to the present invention, the tissue thickness compensator can compensate for changes in tissue hardness. For example, a particular staple in a staple row may capture a more compressible portion of tissue while other staples in that staple row may capture a less compressible portion of tissue. . In such a situation, the tissue thickness compensator has a less compressible or higher hardness than, for example, in a staple that has captured tissue that is more compressible or less rigid. However, it can be configured to take a smaller height within a staple having a corresponding higher height. In any case, the tissue thickness compensator may be referred to as, for example, “tissue compensator” and / or “compensator”, for example, regardless of whether it compensates for changes in tissue thickness and / or changes in tissue hardness. it can.

本明細書において開示される装置は、1回の使用の後に廃棄されるような設計とするか、又は複数回使用されるような設計とすることができる。しかしながら、いずれの場合も、装置は少なくとも1回の使用後、再使用のために再調整することができる。再調整は、装置の分解工程、これに続く洗浄工程又は特定部品の交換工程、及びその後の再組み立て工程の任意の組み合わせを含みうる。詳細には、装置は分解可能であり、装置の任意の数の特定の部品又は部材を、任意の組み合わせで選択的に交換又は取り外すことができる。特定の部材の洗浄及び/又は交換に際し、装置を再調整施設において、あるいは外科手術の直前に手術チームによって再組み立てしてからその後の使用に供することができる。当業者であれば、装置の再調整に、分解、洗浄/交換、及び再組み立てのための様々な技術を利用できる点は認識されるであろう。このような技術の使用、及びその結果として得られる再調整された装置は、すべて、本出願の範囲に含まれる。  The devices disclosed herein can be designed to be discarded after a single use, or designed to be used multiple times. In either case, however, the device can be reconditioned for reuse after at least one use. Reconditioning may include any combination of equipment disassembly steps, followed by cleaning steps or specific part replacement steps, and subsequent reassembly steps. In particular, the device can be disassembled, and any number of the particular parts or members of the device can be selectively replaced or removed in any combination. Upon cleaning and / or replacement of particular members, the device can be reassembled at a reconditioning facility or by a surgical team immediately prior to a surgical procedure and then used for subsequent use. One skilled in the art will recognize that various techniques for disassembly, cleaning / replacement, and reassembly can be used to recondition the device. The use of such techniques, and the resulting reconditioned device, are all within the scope of this application.

好ましくは、本明細書に述べられる本発明は、手術の前に処理される。まず、新しい又は使用済みの器具を得て、必要に応じて洗浄する。次に、器具を滅菌することができる。1つの滅菌法では、プラスチック又はTYVEKバッグなどの閉鎖かつ密封された容器に器具を入れる。次いで容器及び器具を、ガンマ線、X線又は高エネルギー電子線などの、容器を貫通することができる放射線野の中に置く。この放射線によって器具上及び容器内の細菌が殺菌される。滅菌された器具は、その後、無菌容器内で保管することができる。密封容器は医療施設において開封されるまで器具を無菌状態に保つ。  Preferably, the invention described herein is processed before surgery. First, a new or used instrument is obtained and cleaned as necessary. The instrument can then be sterilized. In one sterilization method, the instrument is placed in a closed and sealed container such as a plastic or TYVEK bag. The container and instrument are then placed in a field of radiation that can penetrate the container, such as gamma radiation, x-rays, or high energy electron beams. This radiation kills bacteria on the instrument and in the container. The sterilized instrument can then be stored in a sterile container. The sealed container keeps the instrument sterile until it is opened in the medical facility.

全体又は部分において、本明細書に参照により援用するものとされるいずれの特許公報又は他の開示物も、援用する文献が既存の定義、記載、又は本開示に記載されている他の開示物と矛盾しない範囲でのみ本明細書に援用される。このように、また必要な範囲で、本明細書に明確に記載される開示は、参照により本明細書に援用するあらゆる矛盾する内容に優先するものとする。本明細書に参照により援用するものとされているが既存の定義、見解、又は本明細書に記載された他の開示内容と矛盾するすべての内容、又はそれらの部分は、援用された内容と既存の開示内容との間にあくまで矛盾が生じない範囲でのみ援用するものとする。  Any patent publication or other disclosure that is incorporated by reference herein, in whole or in part, is the existing definition, description, or other disclosure that is incorporated in this disclosure. To the extent that they do not contradict each other. As such, and to the extent necessary, the disclosure expressly set forth herein shall supersede any conflicting content incorporated herein by reference. All content, or portions thereof, which is incorporated herein by reference but which contradicts existing definitions, views, or other disclosures contained herein, is incorporated herein by reference. It shall be incorporated only to the extent that no contradiction arises between the existing disclosure content.

以上、本発明を例示的な構成を有するものとして説明したが、本発明は本開示の趣旨及び範囲内で更に改変することができる。したがって、本出願はその一般的原理を利用した本発明のあらゆる変形、使用又は適応を網羅するものとする。更に、本出願は、本発明が関連する技術分野における公知の、又は従来の実施に含まれる本開示からの発展形を網羅するものとする。  While the present invention has been described as having an exemplary configuration, the present invention can be further modified within the spirit and scope of the present disclosure. This application is therefore intended to cover any variations, uses, or adaptations of the invention using its general principles. Furthermore, this application is intended to cover developments from the present disclosure that are known in the technical fields to which the invention pertains or are included in conventional implementations.

〔実施の態様〕
(1) 成形表面を有する締結器具のアンビルに取り付け可能なコンペンセータであって、
前記アンビルに取り付けられるように構成された支持層と、
前記支持層に取り付けられた足場であって、
生体適合性材料で構成された複数の足場層と、
複数のキャビティと、を有する足場と、を有し、前記層と前記キャビティとが組織及び細胞の内部成長にとって好ましいマトリックスを画定する、コンペンセータ。
(2) 前記各足場層が繊維織物で構成される、実施態様1に記載のコンペンセータ。
(3) 前記複数の足場層が第1の層及び第2の層を有し、前記第1の層が第1の繊維のパターンを有し、前記第2の層が第2の繊維のパターンを有し、前記第1の繊維のパターンが前記第2の繊維のパターンと異なる、実施態様1又は2に記載のコンペンセータ。
(4) 前記複数の足場層が第1の層及び第2の層を有し、前記第1の層が第1の方向に配向した繊維を有し、前記第2の層が第2の方向に配向した繊維を有し、前記第1の方向が前記第2の方向に対して斜めである、実施態様1〜3のいずれかに記載のコンペンセータ。
(5) 前記複数の足場層内に含まれる薬剤を更に有する、実施態様1〜4のいずれかに記載のコンペンセータ。
Embodiment
(1) A compensator attachable to an anvil of a fastening device having a molding surface,
A support layer configured to be attached to the anvil;
A scaffold attached to the support layer,
A plurality of scaffold layers composed of biocompatible materials;
And a scaffold having a plurality of cavities, wherein the layer and the cavities define a preferred matrix for tissue and cell ingrowth.
(2) The compensator according toembodiment 1, wherein each of the scaffold layers is composed of a fiber fabric.
(3) The plurality of scaffold layers have a first layer and a second layer, the first layer has a pattern of first fibers, and the second layer has a pattern of second fibers. The compensator according toembodiment 1 or 2, wherein the pattern of the first fibers is different from the pattern of the second fibers.
(4) The plurality of scaffold layers have a first layer and a second layer, the first layer has fibers oriented in a first direction, and the second layer has a second direction. The compensator according to any one ofEmbodiments 1 to 3, wherein the first direction is oblique with respect to the second direction.
(5) The compensator according to any one ofembodiments 1 to 4, further comprising a drug contained in the plurality of scaffold layers.

(6) 前記複数の足場層が第1の層及び第2の層を有し、前記第1の層が第1の材料で構成され、前記第2の層が第2の材料で構成され、前記第1の材料が前記第2の材料と異なる、実施態様1〜5のいずれかに記載のコンペンセータ。
(7) 前記複数の足場層が第1の層及び第2の層を有し、前記第1の層内に第1の薬剤が吸収され、前記第2の層内に第2の薬剤が吸収され、前記第1の薬剤が前記第2の薬剤と異なる、実施態様1〜6のいずれかに記載のコンペンセータ。
(8) 前記足場が外表面を有し、前記各キャビティが前記外表面に開口部を有する、実施態様1〜7のいずれかに記載のコンペンセータ。
(9) 成形表面を有する締結器具のアンビルに取り付け可能なコンペンセータであって、
前記アンビルに取り付けられるように構成された取り付け層と、
前記取り付け層に取り付けられた構造マトリックスであって、
生体適合性材料で構成された複数のマトリックス層と、
複数のウェルと、を有する構造マトリックスと、を有し、前記マトリックス層と前記ウェルとが組織及び細胞の内部成長にとって好ましい構造支持体を画定する、コンペンセータ。
(10) 前記各マトリックス層が繊維織物で構成される、実施態様9に記載のコンペンセータ。
(6) The plurality of scaffold layers have a first layer and a second layer, the first layer is made of a first material, and the second layer is made of a second material, Embodiment 6. The compensator according to any of embodiments 1-5, wherein the first material is different from the second material.
(7) The plurality of scaffold layers have a first layer and a second layer, the first drug is absorbed in the first layer, and the second drug is absorbed in the second layer. The compensator according to any ofembodiments 1 to 6, wherein the first drug is different from the second drug.
(8) The compensator according to any one ofembodiments 1 to 7, wherein the scaffold has an outer surface, and each of the cavities has an opening on the outer surface.
(9) A compensator attachable to an anvil of a fastener having a molded surface,
An attachment layer configured to be attached to the anvil;
A structural matrix attached to the attachment layer,
A plurality of matrix layers composed of biocompatible materials;
A compensator having a plurality of wells, wherein the matrix layer and the wells define a preferred structural support for tissue and cell ingrowth.
(10) The compensator according to embodiment 9, wherein each of the matrix layers is composed of a fiber fabric.

(11) 前記複数のマトリックス層が第1の層及び第2の層を有し、前記第1の層が第1の繊維のパターンを有し、前記第2の層が第2の繊維のパターンを有し、前記第1の繊維のパターンが前記第2の繊維のパターンと異なる、実施態様9又は10に記載のコンペンセータ。
(12) 前記複数のマトリックス層が第1の層及び第2の層を有し、前記第1の層が第1の方向に配向した繊維を有し、前記第2の層が第2の方向に配向した繊維を有し、前記第1の方向が前記第2の方向に対して斜めである、実施態様9〜11のいずれかに記載のコンペンセータ。
(13) 前記複数のマトリックス層内に含まれる薬剤を更に有する、実施態様9〜12のいずれかに記載のコンペンセータ。
(14) 前記複数のマトリックス層が第1の層及び第2の層を有し、前記第1の層が第1の材料で構成され、前記第2の層が第2の材料で構成され、前記第1の材料が前記第2の材料と異なる、実施態様9〜13のいずれかに記載のコンペンセータ。
(15) 前記複数のマトリックス層が第1の層及び第2の層を有し、前記第1の層内に第1の薬剤が吸収され、前記第2の層内に第2の薬剤が吸収され、前記第1の薬剤が前記第2の薬剤と異なる、実施態様9〜14のいずれかに記載のコンペンセータ。
(11) The plurality of matrix layers have a first layer and a second layer, the first layer has a pattern of first fibers, and the second layer has a pattern of second fibers. The compensator according toembodiment 9 or 10, wherein the first fiber pattern is different from the second fiber pattern.
(12) The plurality of matrix layers have a first layer and a second layer, the first layer has fibers oriented in a first direction, and the second layer has a second direction. The compensator according to any one of embodiments 9 to 11, wherein the first direction is oblique with respect to the second direction.
(13) The compensator according to any one of embodiments 9 to 12, further comprising a drug contained in the plurality of matrix layers.
(14) The plurality of matrix layers have a first layer and a second layer, the first layer is made of a first material, and the second layer is made of a second material,Embodiment 14. The compensator according to any of embodiments 9-13, wherein the first material is different from the second material.
(15) The plurality of matrix layers include a first layer and a second layer, the first drug is absorbed in the first layer, and the second drug is absorbed in the second layer. The compensator according to any of embodiments 9-14, wherein the first agent is different from the second agent.

(16) 前記構造マトリックスが外表面を有し、前記各ウェルが前記外表面に開口部を有する、実施態様9〜15のいずれかに記載のコンペンセータ。
(17) 締結器具と共に使用するためのステープル留めアセンブリであって、
成形表面を有するアンビルと、
コンペンセータであって、
前記アンビルに取り付けられた支持層と、
前記支持層に取り付けられた足場であって、
生体適合性材料で構成された複数の足場層と、
前記足場層に埋め込まれた薬剤と、
複数のキャビティと、を有する足場と、を有するコンペンセータと、を有し、前記層と前記キャビティとが組織及び細胞の内部成長にとって好ましいマトリックスを画定する、ステープル留めアセンブリ。
(16) The compensator according to any one of embodiments 9 to 15, wherein the structural matrix has an outer surface, and each well has an opening on the outer surface.
(17) A stapling assembly for use with a fastener, comprising:
An anvil having a molding surface;
A compensator,
A support layer attached to the anvil;
A scaffold attached to the support layer,
A plurality of scaffold layers composed of biocompatible materials;
A drug embedded in the scaffold layer;
A stapling assembly comprising: a scaffold having a plurality of cavities; and a compensator having a cavity, wherein the layers and the cavities define a preferred matrix for tissue and cell ingrowth.

Claims (17)

Translated fromJapanese
成形表面を有する締結器具のアンビルに取り付け可能なコンペンセータであって、
前記アンビルに取り付けられるように構成された支持層と、
前記支持層に取り付けられた足場であって、
生体適合性材料で構成された複数の足場層と、
複数のキャビティと、を有する足場と、を有し、前記層と前記キャビティとが組織及び細胞の内部成長にとって好ましいマトリックスを画定する、コンペンセータ。
A compensator attachable to an anvil of a fastener having a molded surface,
A support layer configured to be attached to the anvil;
A scaffold attached to the support layer,
A plurality of scaffold layers composed of biocompatible materials;
And a scaffold having a plurality of cavities, wherein the layer and the cavities define a preferred matrix for tissue and cell ingrowth.
前記各足場層が繊維織物で構成される、請求項1に記載のコンペンセータ。  The compensator according to claim 1, wherein each of the scaffold layers is made of a fiber fabric. 前記複数の足場層が第1の層及び第2の層を有し、前記第1の層が第1の繊維のパターンを有し、前記第2の層が第2の繊維のパターンを有し、前記第1の繊維のパターンが前記第2の繊維のパターンと異なる、請求項1又は2に記載のコンペンセータ。  The plurality of scaffold layers have a first layer and a second layer, the first layer has a pattern of first fibers, and the second layer has a pattern of second fibers The compensator according to claim 1 or 2, wherein the pattern of the first fibers is different from the pattern of the second fibers. 前記複数の足場層が第1の層及び第2の層を有し、前記第1の層が第1の方向に配向した繊維を有し、前記第2の層が第2の方向に配向した繊維を有し、前記第1の方向が前記第2の方向に対して斜めである、請求項1〜3のいずれか1項に記載のコンペンセータ。  The plurality of scaffold layers have a first layer and a second layer, the first layer has fibers oriented in a first direction, and the second layer is oriented in a second direction The compensator according to any one of claims 1 to 3, further comprising fibers, wherein the first direction is oblique to the second direction. 前記複数の足場層内に含まれる薬剤を更に有する、請求項1〜4のいずれか1項に記載のコンペンセータ。  The compensator according to any one of claims 1 to 4, further comprising a drug contained in the plurality of scaffold layers. 前記複数の足場層が第1の層及び第2の層を有し、前記第1の層が第1の材料で構成され、前記第2の層が第2の材料で構成され、前記第1の材料が前記第2の材料と異なる、請求項1〜5のいずれか1項に記載のコンペンセータ。  The plurality of scaffold layers have a first layer and a second layer, the first layer is made of a first material, the second layer is made of a second material, and the first layer The compensator according to claim 1, wherein the material is different from the second material. 前記複数の足場層が第1の層及び第2の層を有し、前記第1の層内に第1の薬剤が吸収され、前記第2の層内に第2の薬剤が吸収され、前記第1の薬剤が前記第2の薬剤と異なる、請求項1〜6のいずれか1項に記載のコンペンセータ。  The plurality of scaffold layers have a first layer and a second layer, the first drug is absorbed in the first layer, the second drug is absorbed in the second layer, and The compensator according to any one of claims 1 to 6, wherein the first drug is different from the second drug. 前記足場が外表面を有し、前記各キャビティが前記外表面に開口部を有する、請求項1〜7のいずれか1項に記載のコンペンセータ。  The compensator according to any one of claims 1 to 7, wherein the scaffold has an outer surface, and each of the cavities has an opening in the outer surface. 成形表面を有する締結器具のアンビルに取り付け可能なコンペンセータであって、
前記アンビルに取り付けられるように構成された取り付け層と、
前記取り付け層に取り付けられた構造マトリックスであって、
生体適合性材料で構成された複数のマトリックス層と、
複数のウェルと、を有する構造マトリックスと、を有し、前記マトリックス層と前記ウェルとが組織及び細胞の内部成長にとって好ましい構造支持体を画定する、コンペンセータ。
A compensator attachable to an anvil of a fastener having a molded surface,
An attachment layer configured to be attached to the anvil;
A structural matrix attached to the attachment layer,
A plurality of matrix layers composed of biocompatible materials;
A compensator having a plurality of wells, wherein the matrix layer and the wells define a preferred structural support for tissue and cell ingrowth.
前記各マトリックス層が繊維織物で構成される、請求項9に記載のコンペンセータ。  The compensator according to claim 9, wherein each of the matrix layers is composed of a fiber fabric. 前記複数のマトリックス層が第1の層及び第2の層を有し、前記第1の層が第1の繊維のパターンを有し、前記第2の層が第2の繊維のパターンを有し、前記第1の繊維のパターンが前記第2の繊維のパターンと異なる、請求項9又は10に記載のコンペンセータ。  The plurality of matrix layers have a first layer and a second layer, the first layer has a pattern of first fibers, and the second layer has a pattern of second fibers. The compensator according to claim 9 or 10, wherein the pattern of the first fibers is different from the pattern of the second fibers. 前記複数のマトリックス層が第1の層及び第2の層を有し、前記第1の層が第1の方向に配向した繊維を有し、前記第2の層が第2の方向に配向した繊維を有し、前記第1の方向が前記第2の方向に対して斜めである、請求項9〜11のいずれか1項に記載のコンペンセータ。  The plurality of matrix layers have a first layer and a second layer, the first layer has fibers oriented in a first direction, and the second layer is oriented in a second direction The compensator according to any one of claims 9 to 11, comprising fibers, wherein the first direction is oblique with respect to the second direction. 前記複数のマトリックス層内に含まれる薬剤を更に有する、請求項9〜12のいずれか1項に記載のコンペンセータ。  The compensator according to any one of claims 9 to 12, further comprising a drug contained in the plurality of matrix layers. 前記複数のマトリックス層が第1の層及び第2の層を有し、前記第1の層が第1の材料で構成され、前記第2の層が第2の材料で構成され、前記第1の材料が前記第2の材料と異なる、請求項9〜13のいずれか1項に記載のコンペンセータ。  The plurality of matrix layers have a first layer and a second layer, the first layer is made of a first material, the second layer is made of a second material, and the first layer is made of The compensator according to any one of claims 9 to 13, wherein the material is different from the second material. 前記複数のマトリックス層が第1の層及び第2の層を有し、前記第1の層内に第1の薬剤が吸収され、前記第2の層内に第2の薬剤が吸収され、前記第1の薬剤が前記第2の薬剤と異なる、請求項9〜14のいずれか1項に記載のコンペンセータ。  The plurality of matrix layers have a first layer and a second layer, a first drug is absorbed in the first layer, a second drug is absorbed in the second layer, and The compensator according to any one of claims 9 to 14, wherein the first drug is different from the second drug. 前記構造マトリックスが外表面を有し、前記各ウェルが前記外表面に開口部を有する、請求項9〜15のいずれか1項に記載のコンペンセータ。  The compensator according to any one of claims 9 to 15, wherein the structural matrix has an outer surface and each well has an opening in the outer surface. 締結器具と共に使用するためのステープル留めアセンブリであって、
成形表面を有するアンビルと、
コンペンセータであって、
前記アンビルに取り付けられた支持層と、
前記支持層に取り付けられた足場であって、
生体適合性材料で構成された複数の足場層と、
前記足場層に埋め込まれた薬剤と、
複数のキャビティと、を有する足場と、を有するコンペンセータと、を有し、前記層と前記キャビティとが組織及び細胞の内部成長にとって好ましいマトリックスを画定する、ステープル留めアセンブリ。
A stapling assembly for use with a fastener, comprising:
An anvil having a molding surface;
A compensator,
A support layer attached to the anvil;
A scaffold attached to the support layer,
A plurality of scaffold layers composed of biocompatible materials;
A drug embedded in the scaffold layer;
A stapling assembly comprising: a scaffold having a plurality of cavities; and a compensator having a cavity, wherein the layers and the cavities define a preferred matrix for tissue and cell ingrowth.
JP2015503528A2012-03-282013-03-27 Tissue thickness compensator with tissue ingrowth mechanismPendingJP2015513963A (en)

Applications Claiming Priority (3)

Application NumberPriority DateFiling DateTitle
US13/433,1262012-03-28
US13/433,126US9320523B2 (en)2012-03-282012-03-28Tissue thickness compensator comprising tissue ingrowth features
PCT/US2013/034099WO2013148834A2 (en)2012-03-282013-03-27Tissue thickness compensator comprising tissue ingrowth features

Related Child Applications (1)

Application NumberTitlePriority DateFiling Date
JP2017186064ADivisionJP6453410B2 (en)2012-03-282017-09-27 Tissue thickness compensator with tissue ingrowth mechanism

Publications (1)

Publication NumberPublication Date
JP2015513963Atrue JP2015513963A (en)2015-05-18

Family

ID=53198086

Family Applications (2)

Application NumberTitlePriority DateFiling Date
JP2015503528APendingJP2015513963A (en)2012-03-282013-03-27 Tissue thickness compensator with tissue ingrowth mechanism
JP2017186064AActiveJP6453410B2 (en)2012-03-282017-09-27 Tissue thickness compensator with tissue ingrowth mechanism

Family Applications After (1)

Application NumberTitlePriority DateFiling Date
JP2017186064AActiveJP6453410B2 (en)2012-03-282017-09-27 Tissue thickness compensator with tissue ingrowth mechanism

Country Status (4)

CountryLink
JP (2)JP2015513963A (en)
BR (1)BR112014024259B1 (en)
MX (1)MX355789B (en)
RU (1)RU2638686C2 (en)

Cited By (1)

* Cited by examiner, † Cited by third party
Publication numberPriority datePublication dateAssigneeTitle
JP2018531688A (en)*2015-09-302018-11-01エシコン エルエルシーEthicon LLC Implantable layers containing plastically deformed fibers

Families Citing this family (1)

* Cited by examiner, † Cited by third party
Publication numberPriority datePublication dateAssigneeTitle
US11766261B2 (en)*2020-09-162023-09-26Cilag Gmbh InternationalApparatus and method to apply buttress to end effector of surgical stapler via fixed base

Citations (6)

* Cited by examiner, † Cited by third party
Publication numberPriority datePublication dateAssigneeTitle
JP2001037763A (en)*1999-06-302001-02-13Ethicon IncFoaming material for staple application device
JP2006334412A (en)*2005-06-022006-12-14Tyco Healthcare Group LpStaple capable of expandable backspan
US20070141111A1 (en)*2003-08-202007-06-21Bioretec OyPorous medical device and method for its manufacture
JP2009006137A (en)*2007-06-272009-01-15Tyco Healthcare Group LpButtress and surgical stapling apparatus
JP2010240411A (en)*2009-03-312010-10-28Tyco Healthcare Group LpWound closure material
JP2011509786A (en)*2008-01-252011-03-31スミス アンド ネフュー ピーエルシー Multi-layer scaffold

Family Cites Families (3)

* Cited by examiner, † Cited by third party
Publication numberPriority datePublication dateAssigneeTitle
US7083075B2 (en)*2003-09-292006-08-01Ethicon Endo-Surgery, Inc.Multi-stroke mechanism with automatic end of stroke retraction
US7845533B2 (en)*2007-06-222010-12-07Tyco Healthcare Group LpDetachable buttress material retention systems for use with a surgical stapling device
US9888924B2 (en)*2007-03-062018-02-13Covidien LpWound closure material

Patent Citations (6)

* Cited by examiner, † Cited by third party
Publication numberPriority datePublication dateAssigneeTitle
JP2001037763A (en)*1999-06-302001-02-13Ethicon IncFoaming material for staple application device
US20070141111A1 (en)*2003-08-202007-06-21Bioretec OyPorous medical device and method for its manufacture
JP2006334412A (en)*2005-06-022006-12-14Tyco Healthcare Group LpStaple capable of expandable backspan
JP2009006137A (en)*2007-06-272009-01-15Tyco Healthcare Group LpButtress and surgical stapling apparatus
JP2011509786A (en)*2008-01-252011-03-31スミス アンド ネフュー ピーエルシー Multi-layer scaffold
JP2010240411A (en)*2009-03-312010-10-28Tyco Healthcare Group LpWound closure material

Cited By (1)

* Cited by examiner, † Cited by third party
Publication numberPriority datePublication dateAssigneeTitle
JP2018531688A (en)*2015-09-302018-11-01エシコン エルエルシーEthicon LLC Implantable layers containing plastically deformed fibers

Also Published As

Publication numberPublication date
BR112014024259A2 (en)2017-06-20
JP2018023801A (en)2018-02-15
BR112014024259B1 (en)2022-04-12
RU2638686C2 (en)2017-12-15
MX2014011774A (en)2015-03-05
RU2014143347A (en)2016-05-20
JP6453410B2 (en)2019-01-16
MX355789B (en)2018-04-27

Similar Documents

PublicationPublication DateTitle
US12213666B2 (en)Tissue thickness compensator comprising layers
US20210267589A1 (en)Tissue thickness compensator comprising a reservoir
US20220211367A1 (en)Retainer assembly including a tissue thickness compensator
JP6224070B2 (en) Retainer assembly including tissue thickness compensator
JP6290171B2 (en) Tissue thickness compensator
JP6305978B2 (en) Tissue thickness compensator for surgical circular staplers
JP6309515B2 (en) Tissue stapler having a thickness compensator incorporating a hydrophilic substance
JP6552961B2 (en) Method of forming a tissue thickness compensator arrangement for a surgical stapler
US10441285B2 (en)Tissue thickness compensator comprising tissue ingrowth features
JP6453410B2 (en) Tissue thickness compensator with tissue ingrowth mechanism
JP6258292B2 (en) Movable member for use with tissue thickness compensator

Legal Events

DateCodeTitleDescription
A621Written request for application examination

Free format text:JAPANESE INTERMEDIATE CODE: A621

Effective date:20160325

A131Notification of reasons for refusal

Free format text:JAPANESE INTERMEDIATE CODE: A131

Effective date:20170131

A977Report on retrieval

Free format text:JAPANESE INTERMEDIATE CODE: A971007

Effective date:20170131

A521Request for written amendment filed

Free format text:JAPANESE INTERMEDIATE CODE: A523

Effective date:20170405

A131Notification of reasons for refusal

Free format text:JAPANESE INTERMEDIATE CODE: A131

Effective date:20170627

A02Decision of refusal

Free format text:JAPANESE INTERMEDIATE CODE: A02

Effective date:20180206


[8]ページ先頭

©2009-2025 Movatter.jp