












本発明は、表示制御装置に関し、より詳しくは、画素回路に流す電流値を制御することでパネルの温度上昇を抑制し、画質の変化を抑えることができる表示制御装置に関する。 The present invention relates to a display control device, and more particularly, to a display control device that can suppress a temperature rise of a panel by controlling a value of a current flowing in a pixel circuit and suppress a change in image quality.
近年、液晶表示装置に続く次世代の表示デバイスとして、発光素子をマトリクス状に配列した表示パネル(画素アレイ)を備えた発光素子型の表示装置(発光装置)が注目されている。このような発光素子としては、例えば有機エレクトロルミネッセンス素子(有機EL素子)や無機エレクトロルミネッセンス素子(無機EL素子)、発光ダイオード(LED)等のような電流駆動型の発光素子が知られている。 2. Description of the Related Art In recent years, a light-emitting element type display device (light-emitting device) including a display panel (pixel array) in which light-emitting elements are arranged in a matrix is drawing attention as a next-generation display device following a liquid crystal display device. As such a light-emitting element, for example, a current-driven light-emitting element such as an organic electroluminescence element (organic EL element), an inorganic electroluminescence element (inorganic EL element), or a light-emitting diode (LED) is known.
特に、アクティブマトリクス型の駆動方式を適用した発光素子型の表示装置においては、周知の液晶表示装置に比較して、表示応答速度が速く、また、視野角依存性もほとんどなく、高輝度・高コントラスト化、表示画質の高精細化等が可能であるという優れた表示特性を有している。また、発光素子型の表示装置は、液晶表示装置のようにバックライトや導光板を必要としないので、一層の薄型軽量化が可能であるという極めて優位な特徴を有している。そのため、今後様々な電子機器への適用が期待されている。 In particular, a light-emitting element type display device to which an active matrix drive method is applied has a higher display response speed and almost no viewing angle dependency compared to a known liquid crystal display device, and has high luminance and high brightness. It has excellent display characteristics such that contrast, high definition display quality, etc. are possible. Further, unlike a liquid crystal display device, a light emitting element type display device does not require a backlight or a light guide plate, and thus has an extremely advantageous feature that it can be further reduced in thickness and weight. Therefore, application to various electronic devices is expected in the future.
このような発光素子型の表示装置として、例えば、特許文献1に記載されたような有機ELディスプレイ装置が知られている。この有機ELディスプレイ装置は、電圧信号によって電流制御されるアクティブマトリクス駆動表示装置であって、画像データに応じた電圧信号がゲートに印加されて、発光素子としての有機EL素子に電流を流す電流制御用薄膜トランジスタと、この電流制御用薄膜トランジスタのゲートに画像データに応じた電圧信号を供給するためのスイッチングを行うスイッチ用薄膜トランジスタとを有する回路(便宜的に、「画素回路」と記す)が、画素ごとに設けられている。また、表示映像データと電源容量から1画面に点灯している水平走査線数(点灯率)を制御することで、明るさを制御するようにしている。 As such a light emitting element type display device, for example, an organic EL display device as described in Patent Document 1 is known. This organic EL display device is an active matrix drive display device that is current-controlled by a voltage signal, and a current signal that causes a current to flow through an organic EL element as a light emitting element when a voltage signal corresponding to image data is applied to a gate. A circuit (for convenience, referred to as a “pixel circuit”) having a switching thin film transistor and a switching thin film transistor that performs switching for supplying a voltage signal corresponding to image data to the gate of the current control thin film transistor is provided for each pixel. Is provided. Further, the brightness is controlled by controlling the number of horizontal scanning lines (lighting rate) lit on one screen from the display video data and the power supply capacity.
しかし、有機ELディスプレイ装置のような発光素子は、環境温度および自らの発光による発熱に伴いパネル温度が上昇することで、画素回路に流れる電流値が本来の表示に必要な電流値よりも上昇してしまい、その結果発光輝度が高くなる傾向がある。そのため、同じ表示映像データであってもパネルの温度によって画質が変化してしまうという問題がある。また、電流値の上昇によりパネル温度が上昇し、その結果、さらに電流値が上昇するという悪循環も生じてしまう。 However, in a light emitting element such as an organic EL display device, the panel temperature rises due to the environmental temperature and the heat generated by its own light emission, so that the current value flowing through the pixel circuit rises higher than the current value necessary for display. As a result, the emission luminance tends to increase. Therefore, there is a problem that the image quality changes depending on the temperature of the panel even with the same display video data. Moreover, the panel temperature rises due to the increase in the current value, and as a result, a vicious cycle occurs in which the current value further increases.
本発明は、上述した課題においてなされたものであって、画素回路に流す電流値を制御することでパネルの温度上昇を抑制し、画質の変化を抑えることを目的とする。 The present invention has been made in the above-described problem, and an object of the present invention is to suppress a temperature rise of a panel by controlling a value of a current flowing in a pixel circuit and suppress a change in image quality.
本発明に係る表示制御装置は、表示パネルに配列された各画素PIXの特性に応じた共通電極に流れるカソード電流の予測値を算出する演算回路と、カソード電流の実測値から複数フレーム分の平均電流値を算出する演算回路と、前記演算回路の算出結果を比較する回路と、比較した結果に基づいて補正したデータで発光させる補正回路とを備えている。 The display control apparatus according to the present invention includes an arithmetic circuit that calculates a predicted value of the cathode current flowing through the common electrode according to the characteristics of each pixel PIX arranged on the display panel, and an average of a plurality of frames from the measured value of the cathode current. An arithmetic circuit that calculates a current value, a circuit that compares the calculation results of the arithmetic circuit, and a correction circuit that emits light with data corrected based on the comparison result are provided.
本発明に係る表示制御装置によれば、発光によるパネル温度上昇による所望の輝度以上での発光を抑制でき、また発光による過剰な温度上昇を防止できる。 According to the display control apparatus of the present invention, it is possible to suppress light emission at a desired luminance or higher due to panel temperature increase due to light emission, and it is possible to prevent an excessive temperature increase due to light emission.
以下、本発明の実施形態に係る、表示パネルの表示制御装置について、実施形態を示して、詳しく説明する。 Hereinafter, a display control apparatus for a display panel according to an embodiment of the present invention will be described in detail with reference to the embodiment.
図1は、本発明に係る表示制御装置を適用した表示装置の一実施形態を示す概略構成図である。図1に示すように、本実施形態に係る表示装置(発光装置)100は、概略、表示パネル(発光パネル)101と、走査ドライバ102と、電源ドライバ103と、データドライバ104と、コントローラ105と、を備えている。 FIG. 1 is a schematic configuration diagram showing an embodiment of a display device to which a display control device according to the present invention is applied. As shown in FIG. 1, a display device (light emitting device) 100 according to the present embodiment schematically includes a display panel (light emitting panel) 101, a
表示パネル101は、図1に示すように、走査方向(図面上下方向)及び列方向(図面左右方向)に2次元配列(例えばp行×q列;p、qは正の整数)された複数の画素PIX106と、各々走査方向(行方向)に配列された画素PIX106に接続するように配設された複数の走査ラインLs及び複数の電源ラインLaと、全画素PIXに共通に設けられた共通電極Ecと、列方向に配列された画素PIXに接続するように配設された複数のデータラインLdと、を有している。ここで、共通電極Ecを流れる電流を便宜的に以降、カソード電流と呼ぶ。コントローラ105には、共通電極Ecに対して電流電圧変換を行い、そのアナログ値をデジタル値に変換する機能を有し、本発明におけるカソード電流を利用した制御を実施する。 As shown in FIG. 1, the
また、表示パネル101に配列された画素PIX106は、後述するように、電流駆動型の発光素子と、該発光素子を発光駆動するための電流を生成する発光駆動回路と、を備えている。 Further, as will be described later, the
走査ドライバ102は、上記の表示パネル101の走査方向に配設された各走査ラインLsに接続されている。走査ドライバ102は、後述するコントローラ105から供給される走査制御信号に基づいて、各走査ラインLsに所定のタイミングで所定の電圧レベル(走査レベル又は非走査レベル)の走査信号Sselを順次印加することにより、各走査の画素PIX106を順次走査状態に設定する。 The
このような走査ドライバ102としては、例えば、シフトレジスタと出力回路を備えた構成が適用される。シフトレジスタは、コントローラ105から供給される走査制御信号(走査クロック信号、走査スタート信号)に基づいて、各走査ラインLsに対応するシフト信号を順次出力する。出力回路は、シフトレジスタからのシフト信号を所定の信号レベル(走査レベル;例えばハイレベル)に変換し、コントローラ105から供給される走査制御信号(出力イネーブル信号)に基づいて、各走査ラインLsに走査信号Sselとして順次出力する。 As such a
さらに、本実施形態に適用される走査ドライバ102においては、コントローラ105から供給される走査制御信号(シフト切替信号)に基づいて、シフトレジスタにおけるシフト信号の出力順序(シフト方向)が順方向又は逆方向に切り替え制御されるように構成されている。これにより、走査ドライバ102は、走査信号Sselを、表示パネル101の1行目の走査ラインLsから最終行目の走査ラインLs方向の順方向に順次出力する状態と、最終行目の走査ラインLsから1行目の走査ラインLs方向の逆方向に順次出力する状態に、走査方向が切り替え設定される。なお、走査ドライバ102における走査信号Sselの具体的な出力制御については後述する。 Further, in the
電源ドライバ103は、表示パネル101の走査方向に配設された各電源ラインLaに接続されている。電源ドライバ103は、後述するコントローラ105から供給される電源制御信号(例えば出力制御信号)に基づいて、各走査の電源ラインLaに所定のタイミングで所定の電圧レベル(発光レベル及び非発光レベル)の電源電圧Vsaを印加する。 The
データドライバ104は、表示パネル101に配設された複数のデータラインLdに接続され、各データドライバ104は、後述するコントローラ105から供給されるデータドライバ制御信号に基づいて駆動され、少なくとも表示動作(発光動作)時に、画像データに応じた階調信号(階調電圧Vdata)を生成して、各データラインLdを介して画素PIX106へ一斉に供給する。 The
図2は、本実施形態に係る表示パネルに適用される画素の一例を示す構成図である。ここでは、アクティブマトリクス型の駆動方式に対応した画素の構成を示し、また、発光素子として有機EL素子を適用した場合について説明する。 FIG. 2 is a configuration diagram illustrating an example of a pixel applied to the display panel according to the present embodiment. Here, a configuration of a pixel corresponding to an active matrix driving method is shown, and a case where an organic EL element is applied as a light emitting element will be described.
本実施形態に係る表示パネル101に適用される画素PIX106は、図2に示すように、走査ドライバ102に接続された走査ラインLsとデータドライバ104に接続されたデータラインLdとの各交点近傍に配置されている。各画素PIXは、電流駆動型の発光素子である有機EL素子OELと、該有機EL素子OELを発光駆動するための電流を生成する発光駆動回路DCと、を備えている。 As shown in FIG. 2, the
図2に示す発光駆動回路DCは、概略、トランジスタTr11〜Tr13と、キャパシタCsと、を備えた回路構成を有している。トランジスタTr11は、ゲート端子が走査ラインLsに接続され、また、ドレイン端子が電源ラインLaに接続され、また、ソース端子が接点N11に接続されている。トランジスタTr12は、ゲート端子が走査ラインLsに接続され、また、ソース端子がデータラインLdに接続され、また、ドレイン端子が接点N12に接続されている。トランジスタ(駆動制御素子)Tr13は、ゲート端子が接点N11に接続され、ドレイン端子が電源ラインLaに接続され、ソース端子が接点N12に接続されている。また、キャパシタ(容量素子)Csは、トランジスタTr13のゲート端子(接点N11)及びソース端子(接点N12)間に接続されている。ここで、キャパシタCsは、トランジスタTr13のゲート・ソース端子間に形成される寄生容量であってもよいし、該寄生容量に加えて接点N11及び接点N12間に別個の容量素子を並列に接続したものであってもよい。 The light emission drive circuit DC shown in FIG. 2 generally has a circuit configuration including transistors Tr11 to Tr13 and a capacitor Cs. The transistor Tr11 has a gate terminal connected to the scanning line Ls, a drain terminal connected to the power supply line La, and a source terminal connected to the contact N11. The transistor Tr12 has a gate terminal connected to the scanning line Ls, a source terminal connected to the data line Ld, and a drain terminal connected to the contact N12. The transistor (drive control element) Tr13 has a gate terminal connected to the contact N11, a drain terminal connected to the power supply line La, and a source terminal connected to the contact N12. The capacitor (capacitance element) Cs is connected between the gate terminal (contact N11) and the source terminal (contact N12) of the transistor Tr13. Here, the capacitor Cs may be a parasitic capacitance formed between the gate and the source terminal of the transistor Tr13. In addition to the parasitic capacitance, a separate capacitive element is connected in parallel between the contact N11 and the contact N12. It may be a thing.
また、有機EL素子OELは、アノード(アノード電極)が上記発光駆動回路DCの接点N12に接続され、カソード(カソード電極)が共通電極Ecに接続されている。共通電極Ecは、図示を省略した定電圧源に接続され、所定の基準電圧Vsc(例えば接地電位GND)が印加されている。 The organic EL element OEL has an anode (anode electrode) connected to the contact N12 of the light emission drive circuit DC and a cathode (cathode electrode) connected to the common electrode Ec. The common electrode Ec is connected to a constant voltage source (not shown), and a predetermined reference voltage Vsc (for example, ground potential GND) is applied.
なお、図2に示した画素PIXにおいて、トランジスタTr11〜Tr13については、例えば同一のチャネル型を有する薄膜トランジスタ(TFT)を適用することができる。トランジスタTr11〜Tr13は、アモルファスシリコン薄膜トランジスタであってもよいし、ポリシリコン薄膜トランジスタであってもよい。 In the pixel PIX shown in FIG. 2, for example, thin film transistors (TFTs) having the same channel type can be applied to the transistors Tr11 to Tr13. The transistors Tr11 to Tr13 may be amorphous silicon thin film transistors or polysilicon thin film transistors.
特に、図2に示すように、トランジスタTr11〜Tr13として、例えばnチャネル型の薄膜トランジスタを適用し、かつ、トランジスタTr11〜Tr13としてアモルファスシリコン薄膜トランジスタを適用した場合には、すでに確立されたアモルファスシリコン製造技術を適用して、多結晶型や単結晶型のシリコン薄膜トランジスタに比較して、簡易な製造プロセスで動作特性(電子移動度等)が均一で安定したトランジスタを実現することができる。 In particular, as shown in FIG. 2, when, for example, an n-channel thin film transistor is applied as the transistors Tr11 to Tr13 and an amorphous silicon thin film transistor is applied as the transistors Tr11 to Tr13, the already established amorphous silicon manufacturing technology. As a result, it is possible to realize a transistor with uniform and stable operating characteristics (such as electron mobility) by a simple manufacturing process as compared with a polycrystalline or single crystal silicon thin film transistor.
また、トランジスタTr11〜Tr13がポリシリコン薄膜トランジスタである場合、トランジスタTr11〜Tr13はpチャネル型の薄膜トランジスタであってもよい。この場合には発光駆動回路DCの構成において、各トランジスタTr11〜Tr13のソース端子とドレイン端子とが逆になる。 When the transistors Tr11 to Tr13 are polysilicon thin film transistors, the transistors Tr11 to Tr13 may be p-channel thin film transistors. In this case, in the configuration of the light emission drive circuit DC, the source terminal and the drain terminal of each of the transistors Tr11 to Tr13 are reversed.
また、上述した画素PIXにおいては、発光駆動回路DCとして3個のトランジスタTr11〜Tr13を備えた回路構成を示した。本発明はこの実施形態に限定されるものではなく、発光駆動回路DCが3個以上のトランジスタを備えた他の回路構成を有するものであってもよい。 Further, in the pixel PIX described above, the circuit configuration including the three transistors Tr11 to Tr13 as the light emission drive circuit DC is shown. The present invention is not limited to this embodiment, and the light emission drive circuit DC may have another circuit configuration including three or more transistors.
次いで、このような回路構成を有する画素PIXを備えた表示装置の表示動作について、簡単に説明する。図2に示した画素PIXを備えた表示装置の表示動作は、まず、走査期間において、走査ドライバ102から特定の行の走査ラインLsに走査レベル(例えばハイレベル)の走査電圧Vselを印加するとともに、電源ドライバ103から当該走査ラインの電源ラインLaに非発光レベル(基準電圧Vsc以下の電圧レベル;例えば負電圧)の電源電圧Vsaを印加する。これにより、各画素PIXのトランジスタTr11、Tr12がオン動作して、当該行の画素PIXが走査状態に設定される。このタイミングに同期して、画像データに応じた負の電圧値の階調電圧Vdataを、データドライバ104から各列のデータラインLdに印加することにより、階調電圧Vdataに応じた電位が各画素PIXの接点N12に印加される。 Next, a display operation of a display device including the pixel PIX having such a circuit configuration will be briefly described. In the display operation of the display device including the pixel PIX illustrated in FIG. 2, first, in the scanning period, the
これにより、各画素PIXのトランジスタTr13がオン動作して、トランジスタTr13のゲート・ソース間に生じた電位差に応じた書込電流が、電源ラインLaからトランジスタTr13、接点N12、トランジスタTr12を介してデータラインLd方向に流れる。このとき、各画素PIXのキャパシタCsには、接点N11及びN12間に生じた電位差に応じた電荷が蓄積される。 Thereby, the transistor Tr13 of each pixel PIX is turned on, and the write current corresponding to the potential difference generated between the gate and the source of the transistor Tr13 is transferred from the power supply line La through the transistor Tr13, the contact N12, and the transistor Tr12. It flows in the direction of the line Ld. At this time, charges corresponding to the potential difference generated between the contacts N11 and N12 are accumulated in the capacitor Cs of each pixel PIX.
ここで、電源ラインLaには、基準電圧Vsc以下の電源電圧Vsaが印加され、さらに、書込電流が画素PIXからデータラインLd方向に引き抜かれるように設定されている。これにより、有機EL素子OELのアノード(接点N12)に印加される電位は、カソードの電位(基準電圧Vsc)よりも低くなるため、有機EL素子OELには電流が流れず、有機EL素子OELは発光しない(非発光動作)。そして、このような書込動作を、表示パネル110に2次元配列された全ての走査ラインの画素PIXについて順次実行する。 Here, the power supply line La is set so that the power supply voltage Vsa equal to or lower than the reference voltage Vsc is applied, and the write current is drawn from the pixel PIX in the direction of the data line Ld. As a result, the potential applied to the anode (contact N12) of the organic EL element OEL is lower than the cathode potential (reference voltage Vsc). Therefore, no current flows through the organic EL element OEL, and the organic EL element OEL Does not emit light (non-emission operation). Then, such a writing operation is sequentially performed on the pixels PIX of all the scanning lines that are two-dimensionally arranged on the display panel 110.
次いで、非走査期間において、走査ドライバ102から走査ラインLsに非走査レベル(例えばローレベル)の走査電圧Vselを印加することにより、各画素PIXのトランジスタTr11、Tr12がオフ動作して、当該行の画素PIXが非走査状態に設定される。これにより、各画素PIXのキャパシタCsに走査期間において蓄積された電荷が保持されるので、トランジスタTr13はオン状態を維持する。そして、電源ドライバ103から電源ラインLaに発光レベル(基準電圧Vscよりも高い電圧レベル)の電源電圧Vsaを印加することにより、電源ラインLaからトランジスタTr13、接点N12を介して、有機EL素子OELに所定の発光駆動電流が流れる。 Next, in a non-scanning period, by applying a scanning voltage Vsel of a non-scanning level (for example, low level) from the
このとき、各画素PIXのキャパシタCsに蓄積される電荷(電圧成分)は、トランジスタTr13において階調電圧Vdataに対応する書込電流を流す場合の電位差に相当するので、有機EL素子OELに流れる発光駆動電流は、当該書込電流と略同等の電流値となる。これにより、各画素PIXの有機EL素子OELは、書込動作時に書き込まれた画像データ(階調電圧Vdata)に応じた輝度階調で発光し、表示パネル101に所望の画像情報が表示される。 At this time, the electric charge (voltage component) accumulated in the capacitor Cs of each pixel PIX corresponds to a potential difference when a write current corresponding to the gradation voltage Vdata is caused to flow in the transistor Tr13, and thus light emission flowing through the organic EL element OEL. The drive current has a current value substantially equal to the write current. As a result, the organic EL element OEL of each pixel PIX emits light with a luminance gradation corresponding to the image data (gradation voltage Vdata) written during the writing operation, and desired image information is displayed on the
図3・図4は、前述した画素PIX106を有する表示パネルにおいて、それぞれ初期輝度100cd/m2、200cd/m2で全面発光する画素データでの連続発光時の共通電極Ecの電流及び輝度の時間的推移を観測した実測例を示すグラフである。また図5は、その時の表示パネル表面の中心温度を示すグラフである。連続した発光状態で、いずれも時間とともに平衡状態に移行していくが、有機EL素子は、温度上昇に伴い発光輝度が高くなる傾向を有している。ディスプレイとしてみたときに、入力された画像データからの所望の表示とは見えない。初期輝度200cd/m2においては、温度上昇が100度近くあり、有機EL素子自身に劣化を生じさせ、有機EL素子の寿命を短くする要因ともなってしまう。FIGS. 3 and 4, in the display panel having a pixel PIX106 described above, each
そこで本発明では、共通電極Ecを流れる電流について、複数画面分の入力される画像データから、本来の表示に必要であると予測される全画素の平均電流値を求めるとともに、実際に画像を表示しているときの電流実測値から同画面分の平均電流値を求めて、両者を比較することにより、表示画像の明るさを制御し、過度の温度上昇を防止する。 Therefore, in the present invention, for the current flowing through the common electrode Ec, the average current value of all pixels predicted to be necessary for the original display is obtained from the image data input for a plurality of screens, and the image is actually displayed. The average current value for the same screen is obtained from the measured current value at the time when the current is being performed, and the two are compared, thereby controlling the brightness of the display image and preventing an excessive temperature rise.
図6は、前述の図3、図4、図5で使用した表示パネルにおいて、環境温度25℃で階調値(画素値)100〜255(2の8乗)の入力データに対し、全面発光させたときのカソード電流の実測値から、後述する電流値予測で用いられる近似多項式を求めて示す図である。近似多項式を求める際、発光による温度上昇が影響することのないよう、パネルには熱容量の大きな放熱ヒートシンクを両面に接触配置し表示部中心温度が上昇しないことを確認してカソード電流を実測する。入力データ(階調値)を256階調の中で100以上としたのは、パネルへのストレスが大きい、ある程度の発光を想定したためであり、実使用環境等において、これに限定するものではない。そして、この近似多項式で求められるカソード電流のデジタル値を、予測される電流値として使用する。また、本例では近似多項式をカソード電流の実測値から算出したが、トランジスタ特性、有機EL素子の発光効率、パネル画素サイズから求めてもよい。 FIG. 6 shows a case where the display panel used in the above-described FIGS. 3, 4 and 5 emits light entirely for input data of gradation values (pixel values) 100 to 255 (2 to the 8th power) at an environmental temperature of 25 ° C. It is a figure which calculates | requires and shows the approximate polynomial used by the current value prediction mentioned later from the measured value of the cathode current at the time of making it. When calculating the approximate polynomial, a heat sink with a large heat capacity is placed in contact with both sides of the panel so that the temperature rise due to light emission is not affected, and the cathode current is measured after confirming that the center temperature of the display section does not rise. The reason why the input data (gradation value) is set to 100 or more in 256 gradations is that a certain amount of light emission is expected due to a large stress on the panel, and the present invention is not limited to this. . Then, the digital value of the cathode current obtained by this approximate polynomial is used as the predicted current value. In this example, the approximate polynomial is calculated from the measured value of the cathode current. However, it may be obtained from the transistor characteristics, the light emission efficiency of the organic EL element, and the panel pixel size.
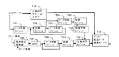
図7は、コントローラ105内の本発明にかかる回路構成を示す図である。図8は、複数画面分の入力される画像データ(濃淡を示す階調値)から全画素の画像データの平均を算出するフローチャートを示す。図9は、実際の表示している前述複数画面分の平均電流値を算出するフローチャートを示す。図10は、図8・図9に示したフローチャートによって算出した結果を比較して、コントローラ105からデータドライバ104へ転送する発光画像データを演算して明るさを制御するフローチャートを示す。 FIG. 7 is a diagram showing a circuit configuration of the
次に、図7に示した回路構成による制御方法を図8、図9、図10に基づいて説明する。
まずS801において、図7にて図示していないが垂直同期信号の入力に基づいてデータ加算モジュール701への入力が開始される。Next, a control method using the circuit configuration shown in FIG. 7 will be described with reference to FIGS.
First, in S801, although not shown in FIG. 7, input to the
次にS802において、入力された画像データ(階調値)を、データ加算モジュール701にて列方向に加算していく。 In step S <b> 802, the input image data (gradation value) is added in the column direction by the
次に、S803において、表示パネルの1走査の列方向画素数分、すなわち列方向画素の全データが加算されたかを判断し、到達していなければS802に戻る。 Next, in step S803, it is determined whether or not all the data in the column direction pixels for one scan of the display panel, that is, all the data in the column direction pixels have been added.
次にS804において、1走査の列方向の全加算データに対し除算モジュール702にて列方向画素数で除算する。 In step S804, the
次にS805において、S804で算出された結果を、データ加算モジュール703にて走査方向に加算する。 In step S <b> 805, the
次にS806において表示パネルの走査方向画素数分、データ加算モジュール703にて加算がなされたかを判断し、到達していなければS802に戻る。到達していれば表示パネルの1走査の列方向の画素平均値が全走査分、データ加算モジュール703にて加算されている。 Next, in S806, it is determined whether or not addition is performed by the
次にS807においてデータ加算モジュール703の結果に対して、除算モジュール702にて走査方向画素数で除算する。すなわち、除算結果は1画面分の入力データの全画素平均となる。 In step S <b> 807, the
次にS808においてS807で算出された結果をデータ加算モジュール704にて加算し、任意のn画面分データが加算されたかを判断し、到達していなければS801に戻り、垂直同期信号を待つ。到達していれば、1画面分の入力データの全画素平均がn画面分加算された結果が、データ加算モジュール704に格納されている。 Next, in S808, the result calculated in S807 is added by the
次にS809において除算モジュール705にてデータ加算モジュール704に格納されているデータをnで除算する。すなわち、この結果はn画面分の入力データの画素平均となる。 In step S809, the
次にS810において、除算モジュール705にて算出された結果に基づいて電流予測モジュール706にて近似多項式(図6参照)に従った演算を行って、全画素平均データから本来の表示に必要とされるべき電流値を算出する(必要電流値の予測)。この必要電流値は、デジタル変換されたものとなる。 Next, in S810, the current prediction module 706 performs an operation according to the approximate polynomial (see FIG. 6) based on the result calculated by the
続いて図9に示すフローチャートに従って説明する。
まず、共通電極Ecを流れるカソード電流はコントローラ105内の電流電圧変換器707にてカソード電流に従った電圧値に変換されてADC(Analog Degital Converter)708によってデジタルデータとしてある。Next, description will be made according to the flowchart shown in FIG.
First, the cathode current flowing through the common electrode Ec is converted into a voltage value according to the cathode current by a current-
S901において垂直同期信号の入力に基づいて処理が開始される。 In S901, processing is started based on the input of the vertical synchronization signal.
次にS902においてデータ加算モジュール709にてデジタル変換されたカソード電流値が各画面について加算される。 In step S902, the cathode current value digitally converted by the
次にS903においてデータ加算モジュール709にて加算されたカソード電流値がn画面分加算されたかを判断し、到達していなければS901に戻る。到達していれば、n画面分のカソード電流値が加算された結果がデータ加算モジュール709に格納されている。 In step S903, it is determined whether the cathode current values added by the
次にS904において除算モジュール710にてカソード電流値をnで除算する。
すなわちこの結果が実際のn画面分のカソード電流平均値となる。In step S904, the
That is, this result is the actual cathode current average value for n screens.
続いて図10に従って説明する。S101において、n画面分の全画素平均データからS810の処理にて算出された本来の表示に必要とされるべき電流値と、S904の処理にて算出されたn画面分のカソード電流平均値とを比較演算モジュール711にて比較する。n画面分のカソード電流平均値が、n画面分の全画素平均データから算出された本来の表示に必要とされるべき電流値よりも大きい場合はS102の処理に進み、逆に小さい場合はS103の処理に進む。 Next, description will be made with reference to FIG. In S101, the current value to be required for the original display calculated in the process of S810 from the average data of all the pixels for n screens, and the cathode current average value for the n screens calculated in the process of S904, Are compared by the
次にS102の処理において、実際に流れているカソード電流の平均値(実測値の平均)が、本来の表示に必要であると予測される電流値よりも大きいので、ドライバ転送データ演算モジュール712は、n画面分フレームメモリ713に格納されているn画面分の入力データを入力し、そのデータに対して演算処理を行う。具体的には、コントロ−ラ105がデータドライバ104に入力データをそのまま転送する場合よりも有機EL素子OELの輝度を下げるよう、ドライバ転送データ演算モジュール712は入力データの階調値を補正して(減少させて)転送する。 Next, in the processing of S102, since the average value of the cathode current actually flowing (average of the actual measurement values) is larger than the current value predicted to be necessary for the original display, the driver transfer
S102の処理に対してS103の処理は、実際に流れているカソード電流の平均値が、本来の表示に必要であると予測される電流値よりも小さいので、ドライバ転送データ演算モジュール712は、n画面分フレームメモリ713に格納されているn画面分の入力データを入力し、そのデータに対して演算処理を行う。具体的には、コントロ−ラ105がデータドライバ104に入力データをそのまま転送する場合よりも有機EL素子OELの輝度を上げるよう、ドライバ転送データ演算モジュール712は入力データの階調値を補正して(増加させて)転送する。 Since the average value of the cathode current that is actually flowing is smaller than the current value that is predicted to be necessary for the original display, the driver transfer
図3、図4、図5の試験で使用したパネルにて本実施例を実現したコントローラにて検証を行った結果を示す。図11は表示部中心温度、図12は輝度、図13はカソード電流の時間的推移である。環境温度は28度、パネルにはヒートシンク等の熱対策は実施せず、自然対流による放熱のみである。入力データは全画素同一データにて初期輝度を170cd/m2、370cd/m2、775cd/m2とした。いずれの結果も過度の上昇を抑制しており、目的である温度上昇抑制に対して顕著な効果を奏している。The result of having verified by the controller which implement | achieved a present Example with the panel used by the test of FIG.3, FIG.4, FIG.5 is shown. 11 shows the center temperature of the display unit, FIG. 12 shows the luminance, and FIG. 13 shows the temporal transition of the cathode current. The environmental temperature is 28 degrees, the panel does not take heat measures such as a heat sink, and only radiates heat by natural convection. The input data was the same data for all pixels, and the initial luminance was 170 cd / m2 , 370 cd / m2 , and 775 cd / m2 . All the results suppress excessive increase, and have a remarkable effect on the target temperature increase suppression.
本発明は、画素回路に流す電流値を制御することでパネルの温度上昇を抑制し、画質の変化を抑えることができる表示制御装置等に利用可能である。 The present invention can be used for a display control device or the like that can suppress a temperature rise of a panel by controlling a value of a current flowing in a pixel circuit and suppress a change in image quality.
100 表示装置
101 表示パネル
103 電源ドライバ
104 データドライバ
105 コントローラ
106 画素PIX
120 選択ドライバ
PIX 画素
DC 発光駆動回路
Tr11、Tr12、Tr13 トランジスタ
Cs キャパシタ
OEL 有機EL素子
701、703,704,709 データ加算モジュール
702、705、710 除算モジュール
706 電流予測モジュール
707 電流電圧変換器
708 ADC
711 比較演算モジュール
712 ドライバ転送データ演算モジュール
713 フレームメモリDESCRIPTION OF
120 selection driver PIX pixel DC light emission drive circuit Tr11, Tr12, Tr13 transistor Cs capacitor OEL
711
| Application Number | Priority Date | Filing Date | Title |
|---|---|---|---|
| JP2013181547AJP2015049399A (en) | 2013-09-02 | 2013-09-02 | Display control unit |
| PCT/JP2014/004057WO2015029337A1 (en) | 2013-09-02 | 2014-08-04 | Display control device |
| TW103129783ATW201510974A (en) | 2013-09-02 | 2014-08-29 | Display control device |
| Application Number | Priority Date | Filing Date | Title |
|---|---|---|---|
| JP2013181547AJP2015049399A (en) | 2013-09-02 | 2013-09-02 | Display control unit |
| Publication Number | Publication Date |
|---|---|
| JP2015049399Atrue JP2015049399A (en) | 2015-03-16 |
| Application Number | Title | Priority Date | Filing Date |
|---|---|---|---|
| JP2013181547APendingJP2015049399A (en) | 2013-09-02 | 2013-09-02 | Display control unit |
| Country | Link |
|---|---|
| JP (1) | JP2015049399A (en) |
| TW (1) | TW201510974A (en) |
| WO (1) | WO2015029337A1 (en) |
| Publication number | Priority date | Publication date | Assignee | Title |
|---|---|---|---|---|
| US10325547B2 (en)* | 2015-08-21 | 2019-06-18 | Samsung Display Co., Ltd. | Display device and method of compensating degradation of a display panel |
| Publication number | Priority date | Publication date | Assignee | Title |
|---|---|---|---|---|
| CN106878740B (en)* | 2015-12-10 | 2022-11-01 | 格科微电子(上海)有限公司 | Image compression method and image compression system suitable for liquid crystal display driving |
| EP4145435A4 (en)* | 2020-05-01 | 2023-10-25 | Sony Group Corporation | SIGNAL PROCESSING DEVICE, SIGNAL PROCESSING METHOD AND DISPLAY DEVICE |
| Publication number | Priority date | Publication date | Assignee | Title |
|---|---|---|---|---|
| JP3985763B2 (en)* | 1997-03-12 | 2007-10-03 | セイコーエプソン株式会社 | Display device and electronic device |
| JP2002311898A (en)* | 2001-02-08 | 2002-10-25 | Semiconductor Energy Lab Co Ltd | Light emitting device and electronic equipment using the same |
| JP4534031B2 (en)* | 2003-03-06 | 2010-09-01 | グローバル・オーエルイーディー・テクノロジー・リミテッド・ライアビリティ・カンパニー | Organic EL display device |
| JP2005107059A (en)* | 2003-09-29 | 2005-04-21 | Sanyo Electric Co Ltd | Display device |
| KR100914118B1 (en)* | 2007-04-24 | 2009-08-27 | 삼성모바일디스플레이주식회사 | Organic electroluminescent display and driving method thereof |
| JP5164987B2 (en)* | 2007-07-30 | 2013-03-21 | エルジー ディスプレイ カンパニー リミテッド | Image display device, image display device control method, and image display device adjustment system |
| Publication number | Priority date | Publication date | Assignee | Title |
|---|---|---|---|---|
| US10325547B2 (en)* | 2015-08-21 | 2019-06-18 | Samsung Display Co., Ltd. | Display device and method of compensating degradation of a display panel |
| Publication number | Publication date |
|---|---|
| TW201510974A (en) | 2015-03-16 |
| WO2015029337A1 (en) | 2015-03-05 |
| Publication | Publication Date | Title |
|---|---|---|
| US8872740B2 (en) | Display apparatus and display apparatus driving method | |
| US8384829B2 (en) | Display apparatus and display apparatus driving method | |
| JP5844525B2 (en) | Pixel, organic light emitting display device and driving method thereof | |
| US9990888B2 (en) | Organic light emitting diode display and method for driving the same | |
| CN105741776B (en) | Organic light emitting diode display and method for sensing its characteristic | |
| US9646533B2 (en) | Organic light emitting display device | |
| CN105225631B (en) | Show equipment | |
| JP5230806B2 (en) | Image display device and driving method thereof | |
| JP4844602B2 (en) | Display device, display control device, display control method, and program | |
| US8878753B2 (en) | Display apparatus | |
| JP2014219516A (en) | Pixel circuit and method of driving the same | |
| JP2022026269A (en) | Display device and method for driving display device | |
| JP2006038968A (en) | Display device and driving method thereof | |
| CN101577088B (en) | Organic light emitting display and method for driving the same | |
| CN110634442A (en) | OLED display device and driving method thereof | |
| CN102568367B (en) | Display device and display-apparatus driving method | |
| JP5399521B2 (en) | Display device and driving method thereof | |
| JP2012058634A (en) | Display device, method for driving the same and electronic equipment | |
| JP2011164136A (en) | Display device | |
| JP2015049399A (en) | Display control unit | |
| JP5192208B2 (en) | Image display device | |
| KR20160083591A (en) | Driving method of organic electroluminescent display apparatus | |
| JP2008304573A (en) | Display device | |
| JP2006030336A (en) | Image display device, driving method thereof, and scanning line driving circuit | |
| JP5170194B2 (en) | LIGHT EMITTING DEVICE, ITS DRIVE CONTROL METHOD, AND ELECTRONIC DEVICE |