










本発明は、加速度センサに関する。 The present invention relates to an acceleration sensor.
従来、差動容量型の加速度センサの出力を補正する技術が知られている。例えば、特許文献1の段落0040には、「複数の測定結果および較正サンプルは、DAC訂正表を形成するX−Y対の表に配列される。X−Y配列は、三次スプライン補間を使用して正確に設定された較正出力電圧レベルを供給する。」と記載されている。その他、補正機能を備えた加速度センサや角速度センサなどに関する先行技術文献として、特許文献2〜4などがある。 Conventionally, a technique for correcting the output of a differential capacitance type acceleration sensor is known. For example, in paragraph 0040 of
理想的な加速度センサによれば、印加する加速度に対して出力が比例するが、実際の出力には誤差が含まれるのが現状である。加速度センサの利用分野が増えるに伴い、加速度センサの高精度、高信頼性を実現することが望まれている。 According to an ideal acceleration sensor, the output is proportional to the applied acceleration, but the actual output currently includes an error. As the application field of acceleration sensors increases, it is desired to realize high accuracy and high reliability of acceleration sensors.
そこで、本発明は、出力誤差を低減することのできる加速度センサを得ることを目的とする。 Therefore, an object of the present invention is to obtain an acceleration sensor that can reduce an output error.
本発明は、差動容量型の加速度センサであって、外部から与えられた加速度に応じて可動する可動電極と、前記可動電極を用いて所定方向の加速度を検出して出力する検出部と、前記検出部から出力される加速度をa、補正係数をA、B、・・・とすると、3次以上の奇数次の項からなる多項式(Aa^3+Ba^5+・・・)によって表される補正値を加速度aから引き算する自動補正回路とを備えることを特徴とする。 The present invention is a differential capacitance type acceleration sensor, a movable electrode movable according to an acceleration given from the outside, a detection unit for detecting and outputting an acceleration in a predetermined direction using the movable electrode, If the acceleration output from the detection unit is a and the correction coefficients are A, B,..., The correction is expressed by a polynomial (Aa ^ 3 + Ba ^ 5 +. And an automatic correction circuit for subtracting the value from the acceleration a.
また、本発明において、前記自動補正回路は、平行平板型の静電ギャップdが変化することで加速度を検出する場合、誘電率をε、電極の対向面積をS、初期静電ギャップをd0、ギャップ変化量をΔdとすると、前記加速度aを以下に示すYとし、前記補正係数を以下に示すA、B・・・Nとしてもよい。In the present invention, the automatic correction circuit detects the acceleration by changing the parallel plate type electrostatic gap d, the dielectric constant is ε, the opposing area of the electrode is S, and the initial electrostatic gap is d0. When the gap change amount is Δd, the acceleration a may be Y shown below, and the correction coefficients may be A, B... N shown below.
Y=εS×{−2Δd/(d02−Δd2)}
A=−2・Δd3εS/d04
B=−2・Δd5εS/d06
:
N=−2・Δd2n+1εS/d02n+2
また、本発明において、前記自動補正回路は、トーション方式の静電ギャップdが変化することで加速度を検出する場合、誘電率をε、電極の対向面積をS、初期静電ギャップをd0、ギャップ変化量をΔdとすると、前記加速度aを以下に示すYとし、前記補正係数を以下に示すA、B・・・Nとしてもよい。Y = εS × {−2Δd / (d02 −Δd2 )}
A = −2 · Δd3 εS / d04
B = −2 · Δd5 εS / d06
:
N = −2 · Δd2n + 1 εS / d02n + 2
In the present invention, the automatic correction circuit detects the acceleration by changing the torsion type electrostatic gap d, the dielectric constant is ε, the opposing area of the electrode is S, the initial electrostatic gap is d0 , When the gap change amount is Δd, the acceleration a may be Y shown below, and the correction coefficients may be A, B... N shown below.
Y=εS/Δd×ln{(d02−Δd2)/d02}
A=−Δd3εS/2d04
B=−Δd5εS/3d06
:
N=−Δd2n+1εS/{(n×1)×d02n+2}Y = εS / Δd × ln {(d02 −Δd2 ) / d02 }
A = −Δd3 εS / 2d04
B = −Δd5 εS / 3d06
:
N = −Δd2n + 1 εS / {(n × 1) × d02n + 2 }
本発明によれば、出力誤差を低減することのできる加速度センサを提供することが可能となる。 ADVANTAGE OF THE INVENTION According to this invention, it becomes possible to provide the acceleration sensor which can reduce an output error.
以下、本発明の実施形態について図面を参照しつつ詳細に説明する。なお、以下では、同様の構成要素には共通の符号を付与するとともに、重複する説明を省略する。 Hereinafter, embodiments of the present invention will be described in detail with reference to the drawings. In addition, below, while attaching | subjecting a common code | symbol to the same component, the overlapping description is abbreviate | omitted.
〔パッケージの内部構成〕
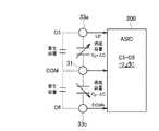
図1は、実施形態にかかる加速度センサを搭載したパッケージ300の内部構成例を示す斜視図である。ここでは、基板500に実装されたパッケージ300の蓋を開けた状態を示している。この図に示すように、パッケージ300には、センサチップ100や、センサチップ100からの出力に基づいて各種の演算を行うASIC200等が搭載されている。パッケージ300から端子400が引き出され、基板500に接続されている。この加速度センサは静電容量型の加速度センサであり、MEMS技術で製造される。XYZの3軸方向の加速度を検出するため、各軸個別の重り(可動電極)を形成し、センサチップ100内に配置している。[Internal structure of the package]
FIG. 1 is a perspective view illustrating an internal configuration example of a
〔加速度センサの構成〕
図2は、実施形態にかかる加速度センサ(センサチップ100)の分解斜視図である。この図に示すように、センサ部1の上下面が上部固定板2aと下部固定板2bにより挟持された構成となっている。センサ部1は、シリコンSOI基板等により形成され、上部固定板2aと下部固定板2bは、ガラス等の絶縁体により形成されている。[Configuration of acceleration sensor]
FIG. 2 is an exploded perspective view of the acceleration sensor (sensor chip 100) according to the embodiment. As shown in the figure, the upper and lower surfaces of the
以下、センサ部1のうち、X方向の加速度を検出する部分を「X検出部10」、Y方向の加速度を検出する部分を「Y検出部20」、Z方向の加速度を検出する部分を「Z検出部30」と呼ぶことにする。X方向は、平面方向のうちの一方向である。Y方向は、平面方向のうちの一方向であってX方向と直交する方向である。Z方向は、垂直方向である。 Hereinafter, in the
X検出部10は、一対のビーム部12a,12bを軸にして第1の可動電極11を揺動させることによりX方向の加速度を検出する。すなわち、一対のビーム部12a,12bを結ぶ直線を境界線として第1の可動電極11の表面の一方側及び他方側に対向させて第1の固定電極13a,13bを配置している。これにより、第1の可動電極11と第1の固定電極13a,13bとの間の静電容量の変化に基づいてX方向の加速度を検出することができる。 The
Y検出部20は、一対のビーム部22a,22bを軸にして第2の可動電極21を揺動させることによりY方向の加速度を検出する。すなわち、一対のビーム部22a,22bを結ぶ直線を境界線として第2の可動電極21の表面の一方側及び他方側に対向させて第2の固定電極23a,23bを配置している。これにより、第2の可動電極21と第2の固定電極23a,23bとの間の静電容量の変化に基づいてY方向の加速度を検出することができる。 The
Z検出部30は、二対のビーム部32a,32b,32c,32dにより保持された第3の可動電極31を垂直方向に平行移動させることによりZ方向の加速度を検出する。すなわち、第3の可動電極31の表面及び裏面に対向させて第3の固定電極33a,33bを配置している。これにより、第3の可動電極31と第3の固定電極33a,33bとの間の静電容量の変化に基づいてZ方向の加速度を検出することができる。 The
X検出部10とY検出部20は互いに90°回転させただけの同形状とし、これらを別形状のZ検出部30の両側に並べて1チップ内に配置している。すなわち、図2に示すように、フレーム部3には、3つの矩形枠10a,20a,30aが直線状に並んで形成されている。矩形枠10aには第1の可動電極11が配置され、矩形枠20aには第2の可動電極21が配置され、矩形枠30aには第3の可動電極31が配置されている。第1〜第3の可動電極11,21,31はいずれも略矩形形状である。第1〜第3の可動電極11,21,31と矩形枠10a,20a,30aの側壁部との間には所定サイズの隙間が空いた状態となっている。 The
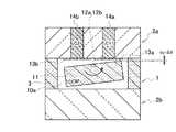
図3は、実施形態にかかる加速度センサの断面図であって、(a)はX検出部10の断面を示し、(b)はZ検出部30の断面を示している。Y検出部20の断面はX検出部10と同様であるため、ここでは図示を省略している。 3A and 3B are cross-sectional views of the acceleration sensor according to the embodiment, in which FIG. 3A shows a cross section of the
まず、X検出部10の断面は、図3(a)に示す通りである。すなわち、第1の可動電極11の表面の対向する2辺の略中央部と矩形枠10aの側壁部とを一対のビーム部12a,12bで連結することにより、第1の可動電極11がフレーム部3に対して揺動自在に支持されている。上部固定板2aの第1の可動電極11と対向する側には、ビーム部12aとビーム部12bを結ぶ直線を境界線として第1の固定電極13a,13bが設けられている。第1の固定電極13a,13bは、第1の貫通電極14a,14bを用いて上部固定板2aの上面(一方側)に引き出されている。第1の貫通電極14a,14bの材質は、シリコンやタングステン、銅等の導体であり、第1の貫通電極14a,14bを保持する周囲の材質は、ガラス等の絶縁体である。 First, the cross section of the
Y検出部20についても同様である。すなわち、第2の可動電極21の表面の対向する2辺の略中央部と矩形枠20aの側壁部とを一対のビーム部22a,22bで連結することにより、第2の可動電極21がフレーム部3に対して揺動自在に支持されている。上部固定板2aの第2の可動電極21と対向する側には、ビーム部22aとビーム部22bを結ぶ直線を境界線として第2の固定電極23a,23bが設けられている。第2の固定電極23a,23bは、第2の貫通電極24a,24bを用いて上部固定板2aの上面に引き出されている。第2の貫通電極24a,24bの材質は、シリコンやタングステン、銅等の導体であり、第2の貫通電極24a,24bを保持する周囲の材質は、ガラス等の絶縁体である。 The same applies to the
更に、Z検出部30の断面は、図3(b)に示す通りである。すなわち、第3の可動電極31の四隅と矩形枠30aの側壁部とを二対のL字形のビーム部32a,32b,32c,32dで連結することにより、第3の可動電極31が垂直方向に平行移動可能になっている。ビーム部32a,32b,32c,32dの形状は特に限定されるものではないが、L字形にすれば、ビーム部32a,32b,32c,32dを長くすることができる。上部固定板2aの第3の可動電極31と対向する側には第3の固定電極33aが設けられ、下部固定板2bの第3の可動電極31と対向する側には第3の固定電極33bが設けられている。第3の固定電極33aは、第3の貫通電極34aを用いて上部固定板2aの上面に引き出されている。第3の固定電極33bは、矩形領域33b1から突き出した突出領域33b2を備えている(図2参照)。突出領域33b2は、第3の可動電極31とは分離された柱状の固定電極34cに接続され、柱状の固定電極34cは、上部固定板2aに設けられた第3の貫通電極34bに接続される構成となっている。これにより、柱状の固定電極34c及び第3の貫通電極34bを用いて第3の固定電極33bを上部固定板2aの上面に引き出すことができる。第3の貫通電極34a,34bの材質は、シリコンやタングステン、銅等の導体であり、第3の貫通電極34a,34bを保持する周囲の材質は、ガラス等の絶縁体である。 Furthermore, the cross section of the
〔X方向の加速度検出原理〕
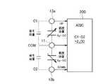
次に、X方向の加速度検出原理について説明する。まず、誘電率をε、電極の対向面積をS、電極の対向ギャップをdとした場合、静電容量Cは、C=εS/dにより算出することができる。加速度により可動電極が回転すると、対向ギャップdが変化するため、静電容量Cが変化する。そこで、ASIC200により差分容量(C1−C2)をCV変換する。出力誤差を低減する方法については後述する。[X-direction acceleration detection principle]
Next, the principle of acceleration detection in the X direction will be described. First, when the dielectric constant is ε, the opposing area of the electrode is S, and the opposing gap of the electrode is d, the capacitance C can be calculated by C = εS / d. When the movable electrode rotates due to acceleration, the facing gap d changes, so that the capacitance C changes. Therefore, the differential capacity (C1-C2) is CV-converted by the
図4は、X方向の加速度が印加されていない状態におけるX検出部10の断面を示している。この場合、図5に示すように、第1の可動電極11と第1の固定電極13a,13bとの間の静電容量C1,C2は等しくなる。ASIC200は、静電容量C1と静電容量C2の差分値(C1−C2=0)を算出し、X出力として出力する。 FIG. 4 shows a cross section of the
図6は、X方向に1Gの加速度が印加された状態におけるX検出部10の断面を示している。この場合、図7に示すように、第1の可動電極11と第1の固定電極13aとの間の静電容量C1は寄生容量+ΔCとなり、第1の可動電極11と第1の固定電極13bとの間の静電容量C2は寄生容量−ΔCとなる。ASIC200は、静電容量C1と静電容量C2の差分値(C1−C2=2ΔC)を算出し、X出力として出力する。 FIG. 6 shows a cross section of the
このように、X検出部10は、静電容量の変化に基づいてX方向の加速度を検出するようになっている。Y検出部20がY方向の加速度を検出する原理も同様である。 As described above, the
〔Z方向の加速度検出原理〕
図8は、Z方向に1Gの加速度が印加された状態におけるZ検出部30の断面を示している。この場合、図9に示すように、第3の可動電極31と第3の固定電極33aとの間の静電容量C5は寄生容量+ΔCとなり、第3の可動電極31と第3の固定電極33bとの間の静電容量C6は寄生容量−ΔCとなる。ASIC200は、静電容量C5と静電容量C6の差分値(C5−C6=2ΔC)を算出し、Z出力として出力する。このように、Z検出部30は、静電容量の変化に基づいてZ方向の加速度を検出するようになっている。[Z-direction acceleration detection principle]
FIG. 8 shows a cross section of the
〔出力誤差〕
図10は、理想的な加速度センサと実際の加速度センサ(比較例)の出力特性を示すグラフである。この図に示すように、理想的な加速度センサの出力(理想出力)O1は、印加する加速度に比例する。それに対して、実際の加速度センサの出力O2には、図中の矢印に示すような誤差が含まれるのが現状である。以下、平行平板型の静電ギャップdが変化することで加速度を検出する場合(図8参照)を例示して説明する。[Output error]
FIG. 10 is a graph showing output characteristics of an ideal acceleration sensor and an actual acceleration sensor (comparative example). As shown in this figure, an ideal acceleration sensor output (ideal output) O1 is proportional to the applied acceleration. On the other hand, the actual acceleration sensor output O2 currently includes an error as indicated by an arrow in the figure. Hereinafter, a case where acceleration is detected by changing the parallel plate type electrostatic gap d (see FIG. 8) will be described as an example.
まず、加速度印加時の第3の可動電極31の変化量は次式により表すことができる(フックの法則)。aは印加加速度、mは第3の可動電極31の重さ、kはばね定数、Δdは第3の可動電極31の変化量(ギャップ変化量)である。 First, the amount of change of the third
Δd=ma/k
また、加速度印加時の静電容量C5、C6は次式により表すことができる。εは誘電率、d0は初期静電ギャップ、Sは電極の対向面積である。Δd = ma / k
Further, the capacitances C5 and C6 at the time of acceleration application can be expressed by the following equations. ε is the dielectric constant, d0 is the initial electrostatic gap, and S is the opposing area of the electrodes.
C5=ε×S/(d0+Δd)
C6=ε×S/(d0−Δd)
そのため、差動容量は次式のようになる。C5 = ε × S / (d0 + Δd)
C6 = ε × S / (d0 −Δd)
Therefore, the differential capacitance is as follows:
C5−C6=εS×{−2Δd/(d02−Δd2)}
このような差動容量は、正確には直線の出力ではなく、誤差を含んでいる。そこで、本実施形態にかかる加速度センサは、出力誤差を低減するため、以下の構成を採用している。C5-C6 = εS × {−2Δd / (d02 −Δd2 )}
Such a differential capacitor does not accurately output a straight line but includes an error. Therefore, the acceleration sensor according to the present embodiment employs the following configuration in order to reduce output errors.
〔機能ブロック図〕
図11は、実施形態にかかる加速度センサの要部の機能ブロック図である。この図に示すように、ASIC200は、入力加速度aから補正値を引き算することで理想出力O1からのずれ(誤差)を補正する自動補正回路220を備える。補正値は、入力加速度aを変数とする多項式(Aa^3+Ba^5+・・・)から算出するようになっている。[Function block diagram]
FIG. 11 is a functional block diagram of a main part of the acceleration sensor according to the embodiment. As shown in this figure, the
具体的には、演算回路221は、X検出部10から出力される加速度aから補正値(Aa^3+Ba^5+・・・)を引き算して出力する。また、演算回路222は、Y検出部20から出力される加速度aから補正値(Aa^3+Ba^5+・・・)を引き算して出力する。更に、演算回路223は、Z検出部30から出力される加速度aから補正値(Aa^3+Ba^5+・・・)を引き算して出力する。このように、3次以上の奇数次の項からなる多項式(奇関数)を補正値とすると、直線性の補正を実現することができる。すなわち、従来に比べて加速度センサの出力を理想出力O1に近づけることができる。 Specifically, the
ここで、Z検出部30がZ方向の加速度を検出する場合など、平行平板型の静電ギャップdが変化することで加速度を検出する場合(図8参照)、加速度aは、以下に示すYで表すことができる。この場合、補正係数は、以下に示すA、B・・・Nとするのが好ましい。これにより、加速度センサの出力を理想出力O1により近づけることができる。 Here, when the acceleration is detected by changing the parallel plate electrostatic gap d (see FIG. 8), such as when the
Y=εS×{−2Δd/(d02−Δd2)}
A=−2・Δd3εS/d04
B=−2・Δd5εS/d06
:
N=−2・Δd2n+1εS/d02n+2
もちろん、補正値は、3次式(Aa^3)であってもよい。この場合も、加速度aは、上記のYで表すことができ、補正係数Aも、上記した通り、A=−2・Δd3εS/d04とする。Y = εS × {−2Δd / (d02 −Δd2 )}
A = −2 · Δd3 εS / d04
B = −2 · Δd5 εS / d06
:
N = −2 · Δd2n + 1 εS / d02n + 2
Of course, the correction value may be a cubic equation (Aa ^ 3). In this case as well, the acceleration a can be expressed by Y, and the correction coefficient A is also set to A = −2 · Δd3 εS / d04 as described above.
一方、X検出部10がX方向の加速度を検出する場合やY検出部20がY方向の加速度を検出する場合など、トーション方式の静電ギャップdが変化することで加速度を検出する場合(図6参照)、加速度aは、以下に示すYで表すことができる。この場合、補正係数は、以下に示すA、B・・・Nとするのが好ましい。これにより、加速度センサの出力を理想出力O1により近づけることができる。 On the other hand, when the
Y=εS/Δd×ln{(d02−Δd2)/d02}
A=−Δd3εS/2d04
B=−Δd5εS/3d06
:
N=−Δd2n+1εS/{(n×1)×d02n+2}
もちろん、補正値は、3次式(Aa^3)であってもよい。この場合も、加速度aは、上記のYで表すことができ、補正係数Aも、上記した通り、A=−Δd3εS/2d04とする。Y = εS / Δd × ln {(d02 −Δd2 ) / d02 }
A = −Δd3 εS / 2d04
B = −Δd5 εS / 3d06
:
N = −Δd2n + 1 εS / {(n × 1) × d02n + 2 }
Of course, the correction value may be a cubic equation (Aa ^ 3). Also in this case, the acceleration a can be expressed by the above Y, and the correction coefficient A is also set to A = −Δd3 εS / 2d04 as described above.
以上説明したように、実施形態にかかる加速度センサは、差動容量型の加速度センサであって、可動電極(第1の可動電極11、第2の可動電極21、又は第3の可動電極31)と、検出部(X検出部10、Y検出部20、又はZ検出部30)と、自動補正回路220とを備える。可動電極は、外部から与えられた加速度に応じて可動する。検出部は、可動電極を用いて所定方向の加速度を検出して出力する。自動補正回路220は、検出部から出力される加速度をa、補正係数をA、B、・・・とすると、3次以上の奇数次の項からなる多項式(Aa^3+Ba^5+・・・)によって表される補正値を加速度aから引き算する。これにより、従来に比べて加速度センサの出力を理想出力O1に近づけることができるため、従来に比べて出力誤差を低減することが可能である。 As described above, the acceleration sensor according to the embodiment is a differential capacitance type acceleration sensor, and is a movable electrode (first
また、自動補正回路220は、平行平板型の静電ギャップdが変化することで加速度を検出する場合、加速度aを以下に示すYとし、前記補正係数を以下に示すA、B・・・Nとするのが好ましい。ここでも、誘電率をε、電極の対向面積をS、初期静電ギャップをd0、ギャップ変化量をΔdとしている。これにより、加速度センサの出力を理想出力O1により近づけることができるため、より出力誤差を低減することが可能である。Further, when the
Y=εS×{−2Δd/(d02−Δd2)}
A=−2・Δd3εS/d04
B=−2・Δd5εS/d06
:
N=−2・Δd2n+1εS/d02n+2
一方、自動補正回路220は、トーション方式の静電ギャップdが変化することで加速度を検出する場合、加速度aを以下に示すYとし、前記補正係数を以下に示すA、B・・・Nとするのが好ましい。ここでも、誘電率をε、電極の対向面積をS、初期静電ギャップをd0、ギャップ変化量をΔdとしている。これにより、加速度センサの出力を理想出力O1により近づけることができるため、より出力誤差を低減することが可能である。Y = εS × {−2Δd / (d02 −Δd2 )}
A = −2 · Δd3 εS / d04
B = −2 · Δd5 εS / d06
:
N = −2 · Δd2n + 1 εS / d02n + 2
On the other hand, when the
Y=εS/Δd×ln{(d02−Δd2)/d02}
A=−Δd3εS/2d04
B=−Δd5εS/3d06
:
N=−Δd2n+1εS/{(n×1)×d02n+2}
以上、本発明の好適な実施形態について説明したが、本発明は上記実施形態には限定されず、種々の変形が可能である。例えば、上記実施形態では、X検出部10とY検出部20とZ検出部30とが1チップ内に配置された加速度センサを例示しているが、本発明は、X検出部10・Y検出部20・Z検出部30のみが1チップ内に配置された加速度センサに適用することもできる。もちろん、センサチップ100の細部のスペック(形状、大きさ、レイアウト等)も適宜変更することが可能である。Y = εS / Δd × ln {(d02 −Δd2 ) / d02 }
A = −Δd3 εS / 2d04
B = −Δd5 εS / 3d06
:
N = −Δd2n + 1 εS / {(n × 1) × d02n + 2 }
The preferred embodiments of the present invention have been described above. However, the present invention is not limited to the above embodiments, and various modifications can be made. For example, in the above embodiment, an acceleration sensor in which the
10 X検出部(検出部)
11 第1の可動電極(可動電極)
20 Y検出部(検出部)
21 第2の可動電極(可動電極)
30 Z検出部(検出部)
31 第3の可動電極(可動電極)
220 自動補正回路
ε 誘電率
S 電極の対向面積
d0 初期静電ギャップ
Δd ギャップ変化量
a、Y 加速度
A、B・・・N 補正係数10 X detector (detector)
11 First movable electrode (movable electrode)
20 Y detector (detector)
21 Second movable electrode (movable electrode)
30 Z detector (detector)
31 Third movable electrode (movable electrode)
220 Automatic correction circuit ε Dielectric constant S Electrode facing area d0 Initial electrostatic gap Δd Gap variation a, Y Acceleration A, B... N Correction coefficient
| Application Number | Priority Date | Filing Date | Title |
|---|---|---|---|
| JP2013143294AJP2015017819A (en) | 2013-07-09 | 2013-07-09 | Acceleration sensor |
| Application Number | Priority Date | Filing Date | Title |
|---|---|---|---|
| JP2013143294AJP2015017819A (en) | 2013-07-09 | 2013-07-09 | Acceleration sensor |
| Publication Number | Publication Date |
|---|---|
| JP2015017819Atrue JP2015017819A (en) | 2015-01-29 |
| Application Number | Title | Priority Date | Filing Date |
|---|---|---|---|
| JP2013143294APendingJP2015017819A (en) | 2013-07-09 | 2013-07-09 | Acceleration sensor |
| Country | Link |
|---|---|
| JP (1) | JP2015017819A (en) |
| Publication number | Priority date | Publication date | Assignee | Title |
|---|---|---|---|---|
| WO2021245993A1 (en) | 2020-06-04 | 2021-12-09 | パナソニックIpマネジメント株式会社 | Inertial force detection circuit, inertial force sensor, and inertial force detection method |
| US11754593B2 (en) | 2019-03-26 | 2023-09-12 | Panasonic Intellectual Property Management Co., Ltd. | Signal processing device, inertial sensor, signal processing method, and program |
| Publication number | Priority date | Publication date | Assignee | Title |
|---|---|---|---|---|
| US11754593B2 (en) | 2019-03-26 | 2023-09-12 | Panasonic Intellectual Property Management Co., Ltd. | Signal processing device, inertial sensor, signal processing method, and program |
| WO2021245993A1 (en) | 2020-06-04 | 2021-12-09 | パナソニックIpマネジメント株式会社 | Inertial force detection circuit, inertial force sensor, and inertial force detection method |
| Publication | Publication Date | Title |
|---|---|---|
| CN106597016B (en) | Capacitive MEMS (micro-electromechanical system) double-axis accelerometer | |
| US8836348B2 (en) | Electrostatic capacitance type physical quantity sensor and angular velocity sensor | |
| JP4931713B2 (en) | Mechanical quantity sensor | |
| CN102128953B (en) | Capacitive micro-accelerometer with symmetrical tilted folded beam structure | |
| US9958472B2 (en) | Inertial sensor | |
| KR20170015105A (en) | Micro-electro-mechanical system device with electrical compensation and readout circuit thereof | |
| CN206321662U (en) | A kind of MEMS twin-axis accelerometers | |
| WO2014163076A1 (en) | Capacitance type sensor, and method for correcting non-linear output | |
| JP6330055B2 (en) | Acceleration sensor | |
| JP2015017819A (en) | Acceleration sensor | |
| WO2014057623A1 (en) | Acceleration sensor | |
| JP2015010856A (en) | Acceleration sensor | |
| WO2018116549A1 (en) | Pressure sensor element and pressure sensor module provided with same | |
| JP2018115891A (en) | Acceleration sensor | |
| US10649000B2 (en) | Connection assembly | |
| JP6074854B2 (en) | Acceleration sensor | |
| WO2009090841A1 (en) | Electrostatic capacity type acceleration sensor | |
| JP2009175087A (en) | Acceleration sensor device | |
| JP6032407B2 (en) | Acceleration sensor | |
| US20160091526A1 (en) | Sensor | |
| JP5783222B2 (en) | Acceleration sensor | |
| JP2000121475A (en) | Capacitive pressure detector | |
| JP5783201B2 (en) | Capacitive physical quantity sensor | |
| CN113167582B (en) | Microelectromechanical inertial sensor having a substrate and an electromechanical structure disposed on the substrate | |
| JP2014077741A (en) | Acceleration sensor |
| Date | Code | Title | Description |
|---|---|---|---|
| A711 | Notification of change in applicant | Free format text:JAPANESE INTERMEDIATE CODE: A711 Effective date:20150225 | |
| RD03 | Notification of appointment of power of attorney | Free format text:JAPANESE INTERMEDIATE CODE: A7423 Effective date:20150409 |