












本発明は、半導体装置及びその製造方法に関し、特に炭化珪素を用いた半導体装置及びその製造方法に関する。 The present invention relates to a semiconductor device and a manufacturing method thereof, and more particularly to a semiconductor device using silicon carbide and a manufacturing method thereof.
炭化珪素(シリコンカーバイド:SiC)は、珪素(Si)に比べてバンドギャップが大きい高硬度の半導体材料である。SiCは、特に高い絶縁破壊電界を有するので、次世代の低損失パワーデバイスに最適な半導体として期待されている。 Silicon carbide (silicon carbide: SiC) is a high-hardness semiconductor material having a larger band gap than silicon (Si). Since SiC has a particularly high dielectric breakdown electric field, it is expected as an optimum semiconductor for the next generation low-loss power device.
SiCを用いたパワーデバイスのうち代表的な半導体装置はMISFET(Metal Insulator Semiconductor Field-Effect transistor)である。SiC−MISFETの損失を低減するためには、チャネルにおけるキャリアの移動度であるチャネル移動度を向上させることが重要である。また、SiC−MISFETにおいて、ボディダイオードに替えてチャネル領域を還流ダイオードとすることにより、結晶劣化を抑制することが検討されている(例えば、特許文献1を参照。)。このような素子においては特に、チャネル移動度を向上させることが重要である。 A typical semiconductor device among power devices using SiC is a MISFET (Metal Insulator Semiconductor Field-Effect Transistor). In order to reduce the loss of the SiC-MISFET, it is important to improve the channel mobility, which is the carrier mobility in the channel. In addition, in SiC-MISFETs, it has been studied to suppress crystal deterioration by using a channel region as a free-wheeling diode instead of a body diode (see, for example, Patent Document 1). In such an element, it is particularly important to improve channel mobility.
チャネル移動度を向上させる方法として、ゲート絶縁膜中及びSiC層とゲート絶縁膜との界面における欠陥を低減することが考えられる。ゲート絶縁膜を形成する標準的なプロセスにおいては、ドライ又はウェット雰囲気において1100℃以上の高温で熱酸化膜を形成する。しかし、標準的な熱酸化プロセスによりゲート絶縁膜を形成すると、SiC層とゲート絶縁膜との界面に多量の界面準位が生じ、SIC−MISFETの実用上のチャネル移動度が劣化すると報告されている(例えば、非特許文献1を参照。)。 As a method for improving channel mobility, it is conceivable to reduce defects in the gate insulating film and at the interface between the SiC layer and the gate insulating film. In a standard process for forming a gate insulating film, a thermal oxide film is formed at a high temperature of 1100 ° C. or higher in a dry or wet atmosphere. However, it is reported that when a gate insulating film is formed by a standard thermal oxidation process, a large amount of interface states are generated at the interface between the SiC layer and the gate insulating film, and the practical channel mobility of the SIC-MISFET deteriorates. (For example, see Non-Patent Document 1).
SiC層とゲート絶縁膜との界面における界面準位を低減する方法として、SiC層の表面に酸化物層を形成した後、1100℃よりも高く1250℃よりも低い温度範囲で酸化物層を窒素等のV族元素含有ガスを含む雰囲気に曝露する方法が検討されている(例えば、特許文献2を参照。)。この方法により、酸化物層の特性の劣化を防止しつつ、V族元素を酸化物層内に効率良く拡散させ、V族元素含有酸化物層を得ることができる。ゲート絶縁膜をV族元素含有酸化物層とすることにより、SiC層とゲート絶縁膜との界面における界面準位が低減される。 As a method for reducing the interface state at the interface between the SiC layer and the gate insulating film, after forming an oxide layer on the surface of the SiC layer, the oxide layer is nitrogenated in a temperature range higher than 1100 ° C. and lower than 1250 ° C. A method of exposing to an atmosphere containing a group V element-containing gas such as the above has been studied (for example, see Patent Document 2). By this method, the group V element can be efficiently diffused in the oxide layer while preventing the deterioration of the characteristics of the oxide layer, and the group V element-containing oxide layer can be obtained. By making the gate insulating film a group V element-containing oxide layer, the interface state at the interface between the SiC layer and the gate insulating film is reduced.
従来の半導体装置において、SiC層とゲート絶縁膜との界面及びその近傍の状態をさらに最適化することにより、チャネル移動度を向上させることが望まれている。 In the conventional semiconductor device, it is desired to improve the channel mobility by further optimizing the interface between the SiC layer and the gate insulating film and the state in the vicinity thereof.
本開示の課題は、SiC層とゲート絶縁膜との界面近傍における窒素並びに炭素の濃度及び分布を制御して、チャネル移動度が向上したSiC半導体装置を実現できるようにすることである。 An object of the present disclosure is to realize a SiC semiconductor device with improved channel mobility by controlling the concentration and distribution of nitrogen and carbon in the vicinity of the interface between the SiC layer and the gate insulating film.
本開示に係る半導体装置の一態様は、基板の第1の面に設けられ、第1導電型の第1領域と、第2導電型の第2領域と、第2領域により第1領域から分離された第1導電型の第3領域とを有するSiC半導体層と、第3領域に接して設けられた第1オーミック電極と、基板の第1の面と反対側の第2の面に設けられた第2オーミック電極と、SiC半導体層の上に設けられたゲート絶縁膜と、ゲート絶縁膜の上に設けられたゲート電極とを備え、ゲート絶縁膜は、SiC半導体層と接し、窒素を含む第1の膜と、第1の膜とゲート電極との間に設けられ、第1の膜よりも窒素濃度が低い第2の膜とを有し、ゲート絶縁膜における窒素濃度のピークは、第1の膜におけるSiC半導体層との界面から間隔をおき、且つ5nm以内の位置に存在し、第1の膜及び第2の膜に含まれる炭素の濃度は、1原子%以下である。 One embodiment of a semiconductor device according to the present disclosure is provided on a first surface of a substrate and is separated from a first region by a first conductivity type first region, a second conductivity type second region, and a second region. SiC semiconductor layer having a third region of the first conductivity type formed, a first ohmic electrode provided in contact with the third region, and a second surface opposite to the first surface of the substrate. A second ohmic electrode, a gate insulating film provided on the SiC semiconductor layer, and a gate electrode provided on the gate insulating film, the gate insulating film being in contact with the SiC semiconductor layer and containing nitrogen A first film, and a second film provided between the first film and the gate electrode and having a lower nitrogen concentration than the first film, and the peak of the nitrogen concentration in the gate insulating film is 1 is spaced from the interface with the SiC semiconductor layer and is located within 5 nm. The concentration of carbon contained in the first film and the second film is not more than 1 atomic%.
本開示に係る半導体装置及びその製造方法によれば、チャネル移動度が向上したSiC半導体装置を実現できる。 According to the semiconductor device and the manufacturing method thereof according to the present disclosure, an SiC semiconductor device with improved channel mobility can be realized.
(本発明に至った経緯)
本発明者らは、チャネル移動度のさらなる向上を目指し、鋭意検討を行なった。その結果、ゲート絶縁膜に含まれる窒素の濃度がある閾値を超えると、チャネルにおけるキャリアの移動度であるチャネル移動度が大きく低下することを見いだした。図1に示すように、チャネル移動度が低下する窒素濃度の閾値は、0.5原子%(atom%)以上、2.5原子%以下の範囲にある。ゲート絶縁膜とSiC層との界面における窒素濃度が、この範囲を超えるとチャネル移動度は大きく低下する。(Background to the present invention)
The present inventors have conducted intensive studies with the aim of further improving the channel mobility. As a result, it has been found that when the concentration of nitrogen contained in the gate insulating film exceeds a certain threshold, the channel mobility, which is the carrier mobility in the channel, is greatly reduced. As shown in FIG. 1, the threshold value of the nitrogen concentration at which the channel mobility decreases is in the range of 0.5 atomic% (atom%) to 2.5 atomic%. When the nitrogen concentration at the interface between the gate insulating film and the SiC layer exceeds this range, the channel mobility is greatly reduced.
ゲート絶縁膜に含まれる窒素の濃度がある閾値を超えると、チャネル移動度が低下する原因として、ゲート絶縁膜内に導入された窒素が固定電荷となることが挙げられる。SiC層の上に酸化膜であるゲート絶縁膜を形成した後、熱処理により窒素をゲート絶縁膜に導入すると、窒素はゲート絶縁膜内に均一に分布せず、ゲート絶縁膜とSiC層との界面近傍に窒素の濃度が高い遷移層が形成される。遷移層は、ゲート絶縁膜とSiC層との界面からゲート絶縁膜側に5nm程度又はそれ以下の範囲に形成される。遷移層の界面極近傍の1nm程度以下の範囲において、窒素の濃度が特に高くなり、これが固定電荷となり、界面における界面準位低減の効果を打ち消し、チャネル移動度を低下させる。 When the concentration of nitrogen contained in the gate insulating film exceeds a certain threshold, the channel mobility is decreased because nitrogen introduced into the gate insulating film becomes a fixed charge. After forming a gate insulating film that is an oxide film on the SiC layer, if nitrogen is introduced into the gate insulating film by heat treatment, the nitrogen is not uniformly distributed in the gate insulating film, and the interface between the gate insulating film and the SiC layer A transition layer having a high nitrogen concentration is formed in the vicinity. The transition layer is formed in a range of about 5 nm or less from the interface between the gate insulating film and the SiC layer to the gate insulating film side. In the range of about 1 nm or less in the vicinity of the interface layer of the transition layer, the concentration of nitrogen is particularly high, which becomes a fixed charge, negating the effect of reducing the interface state at the interface and reducing the channel mobility.
また、SiC層の上に熱酸化膜であるゲート絶縁膜を形成すると、ゲート絶縁膜におけるSiC層との界面に炭素が10原子%(atom%)程度導入され、当該炭素による固定電荷がチャネル移動度を低下させるという問題があることを本発明者らは見出した。 In addition, when a gate insulating film, which is a thermal oxide film, is formed on the SiC layer, about 10 atomic% (atom%) of carbon is introduced into the interface of the gate insulating film with the SiC layer, and the fixed charge due to the carbon moves through the channel. The present inventors have found that there is a problem of reducing the degree.
以上の知見に基づき、本発明者らは、チャネル移動度を向上させるべく、SiC層とゲート絶縁膜との界面近傍における窒素濃度及び分布、ならびにゲート絶縁膜における炭素濃度を最適化する半導体装置及び製造方法を検討し、本発明を着想した。なお、以上の説明は、以下に説明する本発明の実施形態を理解する上での一助とするものであり、本発明を限定するものではない。 Based on the above findings, the present inventors have proposed a semiconductor device that optimizes the nitrogen concentration and distribution in the vicinity of the interface between the SiC layer and the gate insulating film, and the carbon concentration in the gate insulating film, in order to improve channel mobility. The manufacturing method was examined and the present invention was conceived. In addition, the above description helps to understand the embodiment of the present invention described below, and does not limit the present invention.
(実施形態の概要)
半導体装置の一例は、基板の第1の面に設けられ、第1導電型の第1領域と、第2導電型の第2領域と、第2領域により第1領域から分離された第1導電型の第3領域とを有するSiC半導体層と、第3領域に接して設けられた第1オーミック電極と、基板の第1の面と反対側の第2の面に設けられた第2オーミック電極と、SiC半導体層の上に設けられたゲート絶縁膜と、ゲート絶縁膜の上に設けられたゲート電極とを備え、ゲート絶縁膜は、SiC半導体層と接し、窒素を含む第1の膜と、第1の膜とゲート電極との間に設けられ、第1の膜よりも窒素濃度が低い第2の膜とを有し、ゲート絶縁膜における窒素濃度のピークは、第1の膜におけるSiC半導体層との界面から間隔をおき、且つ5nm以内の位置に存在し、第1の膜及び第2の膜に含まれる炭素の濃度は、1原子%以下である。(Outline of the embodiment)
An example of a semiconductor device is provided on a first surface of a substrate, and includes a first conductivity type first region, a second conductivity type second region, and a first conductivity separated from the first region by the second region. SiC semiconductor layer having a third region of a mold, a first ohmic electrode provided in contact with the third region, and a second ohmic electrode provided on a second surface opposite to the first surface of the substrate A gate insulating film provided on the SiC semiconductor layer, and a gate electrode provided on the gate insulating film, the gate insulating film being in contact with the SiC semiconductor layer and including a first film containing nitrogen And a second film having a nitrogen concentration lower than that of the first film, the peak of the nitrogen concentration in the gate insulating film being SiC in the first film. Spaced from the interface with the semiconductor layer and located within 5 nm, the first film and The concentration of carbon contained in the second film is not more than 1 atomic%.
半導体装置の一例において、第1の膜とSiC半導体層との界面における窒素濃度は、2原子%以下であってもよい。 In an example of the semiconductor device, the nitrogen concentration at the interface between the first film and the SiC semiconductor layer may be 2 atomic% or less.
半導体装置の一例において、第2の膜における窒素濃度は1原子%以下であってもよい。 In an example of the semiconductor device, the nitrogen concentration in the second film may be 1 atomic% or less.
半導体装置に一例において、窒素濃度のピークは、第1の膜とSiC半導体層との界面から0.5nm以上離れた位置に存在していてもよい。 In one example of the semiconductor device, the peak of the nitrogen concentration may exist at a position separated by 0.5 nm or more from the interface between the first film and the SiC semiconductor layer.
半導体装置の一例において、第2の膜における窒素濃度の最大値は、第1の膜における窒素濃度の最小値以下であってもよい。 In an example of the semiconductor device, the maximum value of the nitrogen concentration in the second film may be equal to or less than the minimum value of the nitrogen concentration in the first film.
半導体装置の一例において、第1の膜と第2の膜との界面を挟んで、窒素濃度が階段状に低下してもよい。 In an example of the semiconductor device, the nitrogen concentration may decrease stepwise across the interface between the first film and the second film.
半導体装置の一例において、第1の膜の膜厚は1nm以上、5nm以下とし、第2の膜の膜厚は、5nm以上、200nm以下としてもよい。 In an example of the semiconductor device, the thickness of the first film may be 1 nm to 5 nm, and the thickness of the second film may be 5 nm to 200 nm.
半導体装置の一例において、SiC半導体層は、第3領域及び第2領域を貫通し、第1領域に達するトレンチを有し、ゲート絶縁膜は、トレンチの側面及び底面を覆うように設けられていてもよい。 In an example of the semiconductor device, the SiC semiconductor layer has a trench that penetrates the third region and the second region and reaches the first region, and the gate insulating film is provided so as to cover a side surface and a bottom surface of the trench. Also good.
半導体装置の一例において、SiC半導体層は、第1のSiC層と、第1のSiC層とゲート絶縁膜との間に設けられた第2のSiC層とを有し、第1領域、第2領域及び第3領域は、第1のSiC層に設けられ、第2のSiC層は、第2領域及び第3領域と接していてもよい。 In one example of the semiconductor device, the SiC semiconductor layer includes a first SiC layer and a second SiC layer provided between the first SiC layer and the gate insulating film, and includes a first region, a second region, and a second region. The region and the third region may be provided in the first SiC layer, and the second SiC layer may be in contact with the second region and the third region.
半導体装置の製造方法の一例は、基板の上に、第1導電型の第1領域と、第2導電型の第2領域と、第2領域により第1領域から分離された第1導電型の第3領域とを有するSiC半導体層を形成する工程と、SiC半導体層の上にゲート絶縁膜を形成する工程とを備え、ゲート絶縁膜を形成する工程は、SiC半導体層の上に、酸化膜からなる第1の膜を堆積する工程と、第1の膜をプラズマ窒化する工程と、第1の膜の上に、酸化膜からなる第2の膜を堆積する工程とを含み、ゲート絶縁膜における窒素濃度のピークを、第1の膜におけるSiC半導体層との界面から間隔をおき、且つ5nm以内の位置に設ける。 An example of a method for manufacturing a semiconductor device includes a first conductivity type first region, a second conductivity type second region, and a first conductivity type separated from the first region by a second region on a substrate. A step of forming a SiC semiconductor layer having a third region and a step of forming a gate insulating film on the SiC semiconductor layer, wherein the step of forming the gate insulating film comprises forming an oxide film on the SiC semiconductor layer. A gate insulating film comprising: a step of depositing a first film comprising: a step of plasma nitriding the first film; and a step of depositing a second film comprising an oxide film on the first film. The peak of the nitrogen concentration in is spaced from the interface with the SiC semiconductor layer in the first film and provided at a position within 5 nm.
製造方法の一例において、第1の膜は、SiC半導体層の上に酸化膜を堆積して形成してもよい。 In an example of the manufacturing method, the first film may be formed by depositing an oxide film on the SiC semiconductor layer.
製造方法の一例において、ゲート絶縁膜を形成する工程は、第1の膜をプラズマ窒化する工程よりも後に、非酸化雰囲気において1000℃以上の温度で熱処理する工程を含んでいてもよい。 In an example of the manufacturing method, the step of forming the gate insulating film may include a step of performing a heat treatment at a temperature of 1000 ° C. or higher in a non-oxidizing atmosphere after the step of plasma nitriding the first film.
製造方法の一例において、第1の膜の膜厚は1nm以上、5nm以下とし、第2の膜の膜厚は、5nm以上、200nm以下としてもよい。 In an example of the manufacturing method, the thickness of the first film may be 1 nm to 5 nm, and the thickness of the second film may be 5 nm to 200 nm.
製造方法の一例において、SiC半導体層を形成する工程は、第3領域及び第2領域を貫通し、第1領域に達するトレンチを形成する工程を含み、ゲート絶縁膜を形成する工程において、トレンチの側面及び底面を覆うようにゲート絶縁膜を形成してもよい。 In one example of the manufacturing method, the step of forming the SiC semiconductor layer includes a step of forming a trench that penetrates the third region and the second region and reaches the first region, and in the step of forming the gate insulating film, A gate insulating film may be formed so as to cover the side surface and the bottom surface.
製造方法の一例は、SiC半導体層を形成する工程において、第1のSiC層と第2のSiC層とを順次形成し、ゲート絶縁膜は、第2のSiC層の上に形成する構成としてもよい。 As an example of the manufacturing method, in the step of forming the SiC semiconductor layer, the first SiC layer and the second SiC layer may be sequentially formed, and the gate insulating film may be formed on the second SiC layer. Good.
本開示において、第1導電型はn型、第2導電型はp型として説明する。但し、第1導電型をp型、第2導電型をn型とすることも可能である。ドーパントの相対的な濃度を示す場合には、導電型を示すn又はpの符号に上付き文字の「+」又は「−」の符号を附す。例えば「n+」は「n-」よりもドーパントの濃度が高いことを表す。In the present disclosure, the first conductivity type is described as n-type, and the second conductivity type is described as p-type. However, the first conductivity type may be p-type and the second conductivity type may be n-type. When the relative concentration of the dopant is indicated, the superscript “+” or “−” is added to the sign of n or p indicating the conductivity type. For example, “n+ ” represents a higher dopant concentration than “n− ”.
本開示において、AはBの「上方」に設けられている又は形成されているという表現は、AとBとの間に他の部材が介在している場合と、AとBとが接している場合との両方を含む。AはBの「上」に設けられている又は形成されているという表現の場合も同様である。 In the present disclosure, the expression that A is provided or formed “above” B is the case where A and B are in contact with each other and when A and B are in contact with each other. Including both. The same applies to the expression that A is provided or formed “on” B.
炭化珪素膜(SiC膜)と酸化膜(SiO2膜)とを積層すると、ある程度の範囲に亘って組成の変化が生じる。このため、本開示においては、[C]/[Si]=1/2([O]/[Si])の位置を、SiC膜とSiO2膜との界面と定義する。ここで、[Si]、[C]及び[O]は、それぞれシリコン、炭素及び酸素の原子組成百分率(atom%)を表す。なお、[C]/[Si]及び[O]/[Si]は、二次イオン質量分析法(SIMS)、X線光電子分光分析法(XPS)、又はオージェ電子分光分析(AES)等により求めることができる。本開示においてはSIMSにより求めた。When a silicon carbide film (SiC film) and an oxide film (SiO2 film) are stacked, the composition changes over a certain range. For this reason, in the present disclosure, the position of [C] / [Si] = 1/2 ([O] / [Si]) is defined as the interface between the SiC film and the SiO2 film. Here, [Si], [C], and [O] represent atomic composition percentages (atom%) of silicon, carbon, and oxygen, respectively. [C] / [Si] and [O] / [Si] are obtained by secondary ion mass spectrometry (SIMS), X-ray photoelectron spectroscopy (XPS), Auger electron spectroscopy (AES), or the like. be able to. In this disclosure, it was determined by SIMS.
(一実施形態)
以下、図面を参照しつつ、実施形態の一具体例について説明する。(One embodiment)
Hereinafter, a specific example of the embodiment will be described with reference to the drawings.
以下の実施形態で示される数値、形状、材料、構成要素、構成要素の配置位置及び接続形態、ステップ、ステップの順序などは、あくまで一例であり、本発明を限定するものではない。また、以下の実施形態における構成要素のうち、本発明の最上位概念を示す独立請求項に記載されていない構成要素については、任意の構成要素として説明される。また、図面において、同じ符号を付した構成要素については、説明の繰り返しを省略する場合がある。また、図面は理解しやすくするために、それぞれの構成要素を模式的に示したもので、形状及び寸法比等については正確な表示ではない場合がある。また、製造方法においては、必要に応じて、各工程の順序等を変更でき、かつ、他の公知の工程を追加できる。 Numerical values, shapes, materials, components, arrangement positions and connection forms of components, steps, order of steps, and the like shown in the following embodiments are merely examples, and do not limit the present invention. In addition, among the constituent elements in the following embodiments, constituent elements that are not described in the independent claims indicating the highest concept of the present invention are described as optional constituent elements. In the drawings, description of components having the same reference numerals may be omitted. In addition, the drawings schematically show each component for easy understanding, and there are cases where the shape, dimensional ratio, and the like are not accurately displayed. Moreover, in a manufacturing method, the order of each process etc. can be changed as needed, and another well-known process can be added.
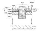
図2は、一実施形態に係る半導体装置100を示している。図1に示すように本実施形態の半導体装置100は縦型DMIS(Double-Diffused MIS)構造のSiCパワー半導体装置である。半導体装置100は、第1導電型の基板101の第1の面(表面)の上に設けられた、SiC半導体層111を有している。本実施形態において、基板101はn+SiC基板である。SiC半導体層111は、基板101側から順次設けられた第1のSiC層121及び第2のSiC層122を有している。FIG. 2 shows a
第1のSiC層121は、第1導電型の第1領域131と、第2導電型の第2領域132と、第2領域132により第1領域131から分離された第1導電型の第3領域133とを有している。第2領域132は第1のSiC層121の表層部に配置され、第3領域133は第2領域132内に配置されている。本実施形態において、第1領域131はn-型のドリフト層であり、第2領域132はp型のボディ領域(ウェル領域)であり、第3領域133は、n+型のソース領域である。The
第3領域133の上にはソース電極である第1オーミック電極113が設けられている。第1オーミック電極113は、第3領域133を貫通するように設けられた第2導電型の第4領域134と、第3領域133との両方に接している。本実施形態において第4領域134は、p+型のコンタクト領域である。なお、第1オーミック電極113が、第3領域133と第4領域134とにまたがって形成されている例を示したが、第1オーミック電極113は第4領域134と接していなくてもよい。この場合には、第4領域134の上にコンタクト電極を形成し、第1オーミック電極113とコンタクト電極とを配線等により接続すればよい。第4領域134は、第2領域132に設けられていればよく、第3領域133と接していなくてもよい。基板101の第1の面と反対側の面(裏面)には、ドレイン電極である第2オーミック電極114が設けられている。A first
本実施形態において、第2のSiC層122は、第1導電型の層であり、第1のSiC121上に、例えばエピタキシャル成長により形成されている。第2のSiC層122は、第2領域132及び第3領域133の両方と接している。第2のSiC層122は、第2領域132の上方の位置に、第1オーミック電極113と第2オーミック電極114との間に流れる電流の経路であるチャネル領域123を有しているため、チャネル層と呼ぶ場合がある。 In the present embodiment, the
第2のSiC層122の上には、ゲート絶縁膜117が設けられている。ゲート絶縁膜117は、堆積により形成された酸化膜(SiO2膜)である。ゲート絶縁膜117の上にはゲート電極115が設けられている。ゲート電極115と第1オーミック電極113との間には層間絶縁膜119が設けられている。A
本実施形態において、ゲート絶縁膜117は、第2のSiC層122の上に堆積により形成された窒素を含む酸化膜(SiO2膜)である。ゲート絶縁膜117は、第2のSiC層122と接して設けられ窒素を含む第1の膜151と、第1の膜151の上に設けられ、第1の膜151よりも窒素濃度が低い第2の膜152とを有している。第1の膜151は厚さが1nm以上、5nm以下とすることができ、第2の膜152は厚さが5nm以上、200nm以下とすることができる。第1の膜151と第2の膜152の間には、窒素濃度が急激に変化する5nm以下の境界層が存在していてもよい。各層における窒素のピーク濃度は第1の膜151において第2の膜152よりも2倍以上高くてもよい。In the present embodiment, the
ゲート絶縁膜117における窒素濃度のピークは、第1の膜151において第1の膜151と第2のSiC層122との界面から間隔をおいた位置に存在している。ピークの位置は、プロセスの制御性を考慮して第2のSiC層122との界面から1nm以上離れた位置とすればよい。また、ピークの位置は第1の膜151内にあればよく特に限定されないが、第2のSiC層122との界面から5nm以内の位置とすることができる。窒素濃度のピークを第1の膜151と第2のSiC層122との境界から5nm以内の位置とすることにより、SiC層の界面に近い位置に窒素が大量に導入されることを避けることができる。従って、導入された窒素が固定電荷として界面品質に及ぼす影響を低減することができる。 The peak of the nitrogen concentration in the
第1の膜151と第2のSiC層122との界面における窒素濃度は、2原子%以下とすればよく、1原子%以下としてもよい。ピークにおける窒素濃度は8原子%以上とすればよく、9原子%以上としてもよく、10原子%以上としてもよい。 The nitrogen concentration at the interface between the
本実施形態において、ゲート絶縁膜117は、熱酸化膜ではなく堆積により形成した酸化膜である。このため、ゲート絶縁膜117は理論的には炭素を含まない。実際には、成膜の際の不純物混入や拡散の影響を受けるため、ある程度の炭素が含まれるが、ゲート絶縁膜117における炭素の濃度は、SiC層122及びゲート絶縁膜117界面から5nmの炭素遷移層を除き、ゲート酸化膜領域で1原子%以下である。熱酸化によりゲート絶縁膜を形成した場合には、ゲート絶縁膜における炭素の濃度は、10原子%程度となる。従って、本実施形態においては、炭素の導入量を大幅に低減できる。ゲート絶縁膜117における炭素の濃度は、例えば5原子%以下とすればよく、3原子%以下としてもよく、1原子%以下としてもよい。 In the present embodiment, the
本実施形態の半導体装置は、ゲート絶縁膜117が窒素を含有しており、ゲート絶縁膜117と第2のSiC層122との界面に界面準位を低減させるのに必要な量の窒素、例えば2×1019cm-3以上、が導入されている。一方、ゲート絶縁膜117における窒素濃度のピークが第2のSiC層122との界面から間隔をおいて存在している。このため、ゲート絶縁膜117と第2のSiC層122との界面近傍、特に第1の膜151における第2のSiC層122との界面から1nm程度の位置までの界面極近傍に、界面準位を低減させるのに必要な量を超える過剰な窒素が導入されていない。また、ゲート絶縁膜117は固定電荷となる炭素もほとんど含んでいない。従って、界面準位を低減しつつ、固定電荷の導入が抑えられているので、チャネル移動度を大きく向上させることができる。In the semiconductor device of this embodiment, the
以上のような構成の半導体装置は、以下のようにして形成することができる。まず、図3に示すように、表面の上にSiC半導体である第1のSiC層121が形成されたn+型のSiCからなる基板101を準備する。基板101は、例えば、低抵抗(抵抗率0.01〜0.03Ωcm)のn型4H−SiCオフカット基板とすることができる。The semiconductor device having the above configuration can be formed as follows. First, as shown in FIG. 3, a
次に、図4に示すように、第1のSiC層121の所定の位置に、第2領域132、第3領域133及び第4領域134を形成する。第2領域132は、アルミニウム(Al)等のp型の不純物イオンを選択的にドーピングして形成すればよい。第3領域133は、窒素(N)等のn型の不純物イオンを選択的にドーピングして形成すればよい。第4領域134はアルミニウム等のp型の不純物イオンを選択的にドーピングして形成すればよい。イオン注入をされなかった部分は、第1領域131となる。 Next, as shown in FIG. 4, the
第1領域131における不純物濃度は、例えば1×1014cm-3〜1×1016cm-3程度とすることができる、第2領域132における不純物濃度は、例えば1×1016cm-3〜1×1019cm-3程度とすることができる。第3領域133における不純物濃度は、例えば1×1019cm-3〜1×1021cm-3程度とすることができる。第4領域134における不純物濃度は、例えば1×1016cm-3〜1×1019cm-3程度とすることができる。The impurity concentration in the
イオン注入の後、高温でアニールを行い、注入した不純物を活性化する。アニールは、注入ごとに行っても、いくつかの注入を行った後に行っても、すべての注入が終わった後に行ってもよい。イオン注入は、それぞれ所定の位置に開口部を有するマスクを用いて行えばよい。マスクは、それぞれ酸化膜又はポリシリコン膜等をパターニングして形成すればよい。 After the ion implantation, annealing is performed at a high temperature to activate the implanted impurities. Annealing may be performed after every implantation, after several implantations, or after all implantations are completed. The ion implantation may be performed using a mask having an opening at a predetermined position. The mask may be formed by patterning an oxide film or a polysilicon film, respectively.
次に、図5に示すように、第1のSiC層121の上に第2のSiC層122を形成する。第2のSiC層122は、エピタキシャル成長により形成する。第2の層122は、例えば、化学気相堆積(CVD)装置を用いて、基板を1450℃〜1650℃程度に加熱しながら、シリコン系ガス、カーボン系ガス及びドーパントガスを供給して形成すればよい。第2のSiC層122の厚さは50nm〜200nm程度とすればよい。第2のSiC層122の窒素ドーパント濃度は、例えば5×1017cm-3〜5×1019cm-3とすればよい。Next, as shown in FIG. 5,
次に、図6に示すように、第2のSiC層122の上に、ゲート絶縁膜117の第1の膜151を形成する。第1の膜151は、熱酸化ではなくCVD法等を用いて堆積により形成する。例えば、SiH4の流量を25sccm(0℃、1気圧におけるml/min)、N2Oの流量を1250sccmとし、圧力が0.6hPa、温度が800℃条件で成膜することができる。この場合の成膜速度は約0.89nm/minとなる。第1の膜151の膜厚は1nm以上とすればよく、2nm以上としてもよく、また10nm以下とすればよく、8nm以下としてもよく、5nm以下としてもよい。Next, as shown in FIG. 6, a
次に、第1の膜151に対してプラズマ窒化処理を行う。プラズマ窒化処理による窒素濃度のピーク位置は、プラズマ電力によって制御が可能である。プラズマ窒化処理は、例えば窒素の流量を500sccm、圧力を20mTorr(約2.7Pa)とし、2000W(DutyCycle5%、実効電力1000W)の条件で40秒間行えばよい。プラズマ窒化処理後、非酸化雰囲気においてアニールを行ってもよい。アニールは1000℃以上で行うことができ、例えば、圧力を1Torrとして、1050℃で45秒間とすることができる。 Next, plasma nitriding treatment is performed on the
次に、図7に示すように、プラズマ窒化処理した第1の膜151の上に第2の膜152を形成する。第2の膜152は、第1の膜151と同様の成膜条件で形成することができる。第2の膜152の膜厚は5nm以上とすればよく、10nm以上としてもよく、また200nm以下とすればよく、100nm以下としてもよい。第2の膜152を形成した後、非酸化雰囲気においてアニールを行ってもよい。アニールは1000℃以上で行うことができ、例えば、窒素雰囲気において、1200℃で1時間間とすることができる。第1の膜151のプラズマ窒化処理後及び第2の膜152の成膜後にそれぞれアニールを行うことにより、ゲート絶縁膜117の膜密度を向上させると共に、固定電荷をさらに低減することができる。但し、第1の膜151及び第2の膜152に対するアニールは行わなくてもよく、いずれか一方の膜にのみアニールを行ってもよい。 Next, as shown in FIG. 7, a
次に、図8に示すように、ゲート絶縁膜117の上にゲート電極115を形成する。例えば、不純物ドープしたポリシリコン膜をゲート絶縁膜117の上に形成した後、レジストパターニングとエッチングにより、ゲート電極115、ゲート絶縁膜117、及び第2のSiC層122の不要部分を除去すればよい。 Next, as illustrated in FIG. 8, the
次に、図9に示すように、ゲート電極115、ゲート絶縁膜117、及び第2のSiC層122を覆い、第3領域133及び第4領域134を露出する層間絶縁膜119を形成し、その後、レジストパターニング及びエッチングにより第1オーミック電極113を形成する。第1オーミック電極113は、例えば、層間絶縁膜119を形成した基板101上の全面にニッケル膜を形成し、不活性ガス雰囲気において、950℃で5分間熱処理し、シリサイド化した後、不要なニッケル膜を除去して形成すればよい。基板101の裏面には第2オーミック電極114を形成する。第2オーミック電極114も第1オーミック電極113と同様に、基板101の裏面をシリサイド化して形成すればよい。 Next, as shown in FIG. 9, an
本実施形態において、第1の膜151はプラズマ窒化処理されており、第1の膜151は窒素を含んでいる。第1の膜151中において窒素濃度は均一ではなく、第2のSiC層122との界面及び第2の膜152との界面から離れた位置にピークを有する。一方、第1の膜151と第2のSiC層122との界面における窒素濃度は2原子%以下である。また、第2の膜152はプラズマ窒化処理されていない。このため、第2の膜152の平均窒素濃度は、第1の膜151の平均窒素濃度よりも低く、例えば平均で1原子%以下である。第1の膜151と第2の膜152との界面を挟んで窒素濃度は急激に変化し、階段状に低下する。熱処理条件にも依存するが、例えば、窒素濃度が急激に変化する境界層の厚さは5nm以下である。各層における窒素のピーク濃度は第1の膜151において第2のSiC層122よりも2倍以上高い。 In the present embodiment, the
図10は、第2のSiC層122の上に第1の膜151を形成した状態での窒素プロファイルの一例を示している。図10における窒素プロファイルは、SIMS(Secondary Ion Mass Spectroscopy)により分析した。第1の膜151と第2のSiC層122との界面から遠ざかるに従い次第に濃度が上昇し、第1の膜151と第2のSiC層122との界面から1.8nm程度(第1の膜151の表面から0.5nm程度)の位置で濃度が最も高くなる。第1の膜151と第2のSiC層122との界面における窒素濃度は約1原子%であり、ピーク濃度は約10原子%である。 FIG. 10 shows an example of a nitrogen profile in a state where the
このように、第1の膜151における窒素濃度の最大値は高く、第1の膜151を平均してみた場合には強く窒化されている。しかし、第2のSiC層122との界面においては窒素濃度が2原子%以下に抑えられており、第1の膜151と第2のSiC層122との界面から1nm程度の領域における窒素濃度は、チャネル移動度が劣化しない程度に抑えられている。このため、第1の膜151と第2のSiC層122との界面において界面準位を低減できる一方、チャネル移動度を劣化させる過剰な窒素の導入を避けることができる。 Thus, the maximum value of the nitrogen concentration in the
第1の膜151と第2のSiC層122との界面近傍の窒素濃度及びプロファイルは、第1の膜151の膜厚により制御することができる。窒素濃度のピークを第1の膜151と第2のSiC層122との界面から間隔をおいた位置とするために、第1の膜151の膜厚は1nm以上とすればよく、2nm以上としてもよい。第1の膜151と第2のSiC層122との界面に界面準位の低減に必要な量の窒素を導入するためには、第1の膜151の膜厚を10nm以下とすればよく、8nm以下としてもよく、5nm以下としてもよい。 The nitrogen concentration and profile near the interface between the
ゲート絶縁膜117に窒素を導入することにより、ゲート絶縁膜117の比誘電率を高くすることもできる。これにより、実効的に電気的絶縁膜の厚さを変えることなく、物理的絶縁膜を厚くすることが可能となり、ゲート絶縁膜117の耐圧向上を図ることもできる。 By introducing nitrogen into the
また、本実施形態においては、ゲート絶縁膜117を堆積により形成しているため、ゲート絶縁膜117に含まれる炭素の濃度を低減することも可能となる。ゲート絶縁膜117に含まれる炭素は固定電荷となるため、移動度を低下させる原因となる。SiC膜を熱酸化してゲート絶縁膜を形成する場合には、ゲート絶縁膜に必ず炭素が含まれる。しかし、ゲート絶縁膜が堆積膜である場合には、ゲート絶縁膜に含まれる炭素の濃度を1原子%以下とすることができる。但しゲート絶縁膜に含まれる炭素の濃度は3原子%以下であってもよく、5原子%以下であってもよい。 In this embodiment, since the
本実施形態においては、第2の膜152に窒素を積極的に導入していないが、第2の膜152を窒素が積極的に導入された膜としてもよい。 In this embodiment, nitrogen is not actively introduced into the
本実施形態においては、SiC半導体層111を第1のSiC層121の上に第2のSiC層122を成長させた構成としたが、図11に示すように、第2のSiC層122を設けず、SiC半導体層111を第1のSiC層121の一層とし、第1のSiC層121の表面にゲート絶縁膜117を設けた半導体装置100Aとしてもよい。この場合には、第1のSiC層121の表面(第2の領域132の表面)にチャネル領域が形成される。 In the present embodiment, the
本実施形態においてはプレーナ型のMISFETについて説明したが、図12に示すように、トレンチ型のMISFETとしてもよい。トレンチ型のMISFETは、チャネル層を縦方向に形成することができるため、単位セルの微細化が有効であり、集積度を高くでき、素子のオン抵抗を低減することができる。 Although the planar type MISFET has been described in the present embodiment, a trench type MISFET may be used as shown in FIG. In the trench type MISFET, since the channel layer can be formed in the vertical direction, miniaturization of the unit cell is effective, the degree of integration can be increased, and the on-resistance of the element can be reduced.
トレンチ型の半導体装置100Bは、図12に示すように、第1導電型の基板101の表面の上に設けられた、SiC半導体層111を有している。SiC半導体層111は、基板101の上に設けられた第1のSiC層121を有している。第1のSiC層121は、基板101側から順次設けられたn-型の第1領域131と、p型の第2領域132と、n+型の第3領域133と有している。第1のSiC層121は、第3領域133及び第2領域132を貫通し第1領域131に達するトレンチを有している。トレンチの側面及び底面を覆うように第2のSiC層122が設けられている。第2のSiC層122の上にはゲート絶縁膜117を介してゲート電極115が設けられている。第2のSiC層122におけるトレンチの側面において第2領域132と接する部分は、チャネル領域となる。第1のSiC層121は、第3領域133を挟んでトレンチと反対側に設けられたp+型の第4領域134を有している。第3領域133及び第4領域134の上には第1オーミック電極113が設けられている。第1オーミック電極113とゲート電極115との間には層間絶縁膜119が設けられている。基板101の裏面には、第2オーミック電極114が設けられている。The trench
ゲート絶縁膜117は、プレーナ型の半導体装置100と同様にすることができる。具体的に、第2のSiC層122の上に堆積により形成された窒素を含む酸化膜(SiO2膜)である。ゲート絶縁膜117は、第2のSiC層122と接して設けられ、窒素を含む第1の膜151と、第1の膜151の上に設けられ、第1の膜151よりも窒素濃度が低い第2の膜152とを有している。第1の膜151は厚さが1nm以上、5nm以下とすることができ、第2の膜152は厚さが5nm以上、200nm以下とすることができる。ゲート絶縁膜117における窒素濃度のピークは、第1の膜151における第1の膜151と第2のSiC層122との界面から離れた位置に存在している。例えば、第2のSiC層122との界面から0.5nm以上離れた位置に存在していればよく、1nm以上離れた位置に存在していてもよい。また、窒素濃度のピークは、第1の膜151と第2のSiC層122との界面から5nm以内の位置に存在していてよい。第1の膜151と第2のSiC層122との界面における窒素濃度は、2原子%以下とすればよい。The
ゲート絶縁膜117は、熱酸化膜ではなく堆積により形成した酸化膜である。このため、ゲート絶縁膜117における炭素の濃度は、1原子%以下である。 The
トレンチ型の半導体装置100Bにおいても、プレーナ型の半導体装置100と同様に、チャネル移動度を向上させることができる。また、熱酸化によりゲート絶縁膜を形成する場合には、SiC層の結晶面方位の影響によりトレンチの底面においてゲート絶縁膜が薄くなる場合がある。しかし、堆積によりゲート絶縁膜を形成するため、トレンチ底面にもトレンチ側面と同程度の厚いゲート絶縁膜を形成できるという利点も得られる。 Also in the trench
トレンチ型のMISFETの場合にも、図13に示すように、第2のSiC層122を形成せず、第1のSiC層121の表面にゲート絶縁膜117を設けた半導体装置100Cとしてもよい。 Also in the case of the trench type MISFET, as shown in FIG. 13, the
以上、本開示を実施形態により説明してきたが、本開示は上記実施形態に限定されず種々の改変が可能である。例えば、半導体基板として4H−SiCを用いる例を示したが6H、3C又は15R等の他のポリタイプの基板を用いてもよい。SiC半導体層は、半導体基板の(0001)Si面の上に形成することができるが、(000−1)C面の上にSiC半導体層を形成してもよい。また、半導体基板の主面の面方位を他の結晶面としてもよい。主面は、0.5°以上10°以下のオフカット角度を有していてよいが、オフカット角度を有していなくてもよい。また、炭化珪素からなる半導体基板を用いた例を示したが、他の基板を用いることもできる。 As described above, the present disclosure has been described according to the embodiment. However, the present disclosure is not limited to the above embodiment, and various modifications can be made. For example, although an example in which 4H—SiC is used as the semiconductor substrate has been shown, another polytype substrate such as 6H, 3C, or 15R may be used. The SiC semiconductor layer can be formed on the (0001) Si surface of the semiconductor substrate, but the SiC semiconductor layer may be formed on the (000-1) C surface. The plane orientation of the main surface of the semiconductor substrate may be another crystal plane. The main surface may have an offcut angle of 0.5 ° to 10 °, but may not have an offcut angle. Moreover, although the example using the semiconductor substrate which consists of silicon carbide was shown, another board | substrate can also be used.
MISFET構造の半導体装置について説明したが、絶縁ゲートバイポーラトランジスタ(Insulated Gate Bipolar Transistor :IGBT)構造の半導体装置としてもよい。IGBT構造の半導体装置は、半導体基板とその直上に形成する半導体層とをそれぞれ互いに異なる導電型とすることにより作製することができる。この場合、第2領域はエミッタ領域又はコレクタ領域であり、第1オーミック電極はエミッタ電極又はコレクタ電極であり、第2オーミック電極はコレクタ電極又はエミッタ電極である。 Although the semiconductor device having the MISFET structure has been described, a semiconductor device having an insulated gate bipolar transistor (IGBT) structure may be used. The semiconductor device having the IGBT structure can be manufactured by making the semiconductor substrate and the semiconductor layer formed immediately above have different conductivity types. In this case, the second region is an emitter region or a collector region, the first ohmic electrode is an emitter electrode or a collector electrode, and the second ohmic electrode is a collector electrode or an emitter electrode.
また、ソース及びドレインを設けずMISキャパシタとすることも可能である。 Further, it is possible to provide a MIS capacitor without providing a source and a drain.
本開示の半導体装置及びその製造方法は、SiC層とゲート絶縁膜との界面に余分な固定電荷を導入することなく、チャネル移動度が向上したSiC半導体装置を実現でき、特にパワーデバイス等の分野において有用である。 The semiconductor device and the manufacturing method thereof of the present disclosure can realize a SiC semiconductor device with improved channel mobility without introducing an extra fixed charge at the interface between the SiC layer and the gate insulating film, particularly in the field of power devices and the like. Useful in.
100 半導体装置
100A 半導体装置
100B 半導体装置
100C 半導体装置
101 基板
111 SiC半導体層
113 第1オーミック電極
114 第2オーミック電極
115 ゲート電極
117 ゲート絶縁膜
119 層間絶縁膜
121 第1のSiC層
122 第2のSiC層
123 チャネル領域
131 第1領域
132 第2領域
133 第3領域
134 第4領域
151 第1の膜
152 第2の膜
100
| Application Number | Priority Date | Filing Date | Title |
|---|---|---|---|
| JP2013102401AJP2014222735A (en) | 2013-05-14 | 2013-05-14 | Semiconductor device and manufacturing method thereof |
| Application Number | Priority Date | Filing Date | Title |
|---|---|---|---|
| JP2013102401AJP2014222735A (en) | 2013-05-14 | 2013-05-14 | Semiconductor device and manufacturing method thereof |
| Publication Number | Publication Date |
|---|---|
| JP2014222735Atrue JP2014222735A (en) | 2014-11-27 |
| Application Number | Title | Priority Date | Filing Date |
|---|---|---|---|
| JP2013102401APendingJP2014222735A (en) | 2013-05-14 | 2013-05-14 | Semiconductor device and manufacturing method thereof |
| Country | Link |
|---|---|
| JP (1) | JP2014222735A (en) |
| Publication number | Priority date | Publication date | Assignee | Title |
|---|---|---|---|---|
| JP2016157762A (en)* | 2015-02-24 | 2016-09-01 | 株式会社東芝 | Semiconductor device and manufacturing method |
| JP2016157761A (en)* | 2015-02-24 | 2016-09-01 | 株式会社東芝 | Semiconductor device and manufacturing method thereof |
| WO2016143126A1 (en)* | 2015-03-12 | 2016-09-15 | 株式会社日立製作所 | Semiconductor device and power conversion device |
| JP2018056348A (en)* | 2016-09-29 | 2018-04-05 | 豊田合成株式会社 | Semiconductor device |
| JP2018082199A (en)* | 2017-12-26 | 2018-05-24 | 株式会社日立製作所 | Method of manufacturing semiconductor device |
| US10892332B2 (en) | 2019-03-15 | 2021-01-12 | Kabushiki Kaisha Toshiba | Gate insulating layer having a plurality of silicon oxide layer with varying thickness |
| JP2021118340A (en)* | 2020-01-29 | 2021-08-10 | 富士電機株式会社 | Silicon Carbide Semiconductor Device and Method for Manufacturing Silicon Carbide Semiconductor Device |
| US11469301B2 (en) | 2020-07-01 | 2022-10-11 | Kabushiki Kaisha Toshiba | Semiconductor device, semiconductor device manufacturing method, inverter circuit, driver device, vehicle, and elevator |
| KR20230073947A (en)* | 2021-11-19 | 2023-05-26 | 타이완 세미콘덕터 매뉴팩쳐링 컴퍼니 리미티드 | U-shaped channel access transistors and methods for forming the same |
| Publication number | Priority date | Publication date | Assignee | Title |
|---|---|---|---|---|
| JP2016157762A (en)* | 2015-02-24 | 2016-09-01 | 株式会社東芝 | Semiconductor device and manufacturing method |
| JP2016157761A (en)* | 2015-02-24 | 2016-09-01 | 株式会社東芝 | Semiconductor device and manufacturing method thereof |
| WO2016143126A1 (en)* | 2015-03-12 | 2016-09-15 | 株式会社日立製作所 | Semiconductor device and power conversion device |
| JPWO2016143126A1 (en)* | 2015-03-12 | 2017-08-24 | 株式会社日立製作所 | Semiconductor device and power conversion device |
| JP2018056348A (en)* | 2016-09-29 | 2018-04-05 | 豊田合成株式会社 | Semiconductor device |
| JP2018082199A (en)* | 2017-12-26 | 2018-05-24 | 株式会社日立製作所 | Method of manufacturing semiconductor device |
| US10892332B2 (en) | 2019-03-15 | 2021-01-12 | Kabushiki Kaisha Toshiba | Gate insulating layer having a plurality of silicon oxide layer with varying thickness |
| JP2021118340A (en)* | 2020-01-29 | 2021-08-10 | 富士電機株式会社 | Silicon Carbide Semiconductor Device and Method for Manufacturing Silicon Carbide Semiconductor Device |
| US11424325B2 (en) | 2020-01-29 | 2022-08-23 | Fuji Electric Co., Ltd. | Silicon carbide semiconductor device and method of manufacturing silicon carbide semiconductor device |
| US11469301B2 (en) | 2020-07-01 | 2022-10-11 | Kabushiki Kaisha Toshiba | Semiconductor device, semiconductor device manufacturing method, inverter circuit, driver device, vehicle, and elevator |
| US11764269B2 (en) | 2020-07-01 | 2023-09-19 | Kabushiki Kaisha Toshiba | Semiconductor device, semiconductor device manufacturing method, inverter circuit, driver device, vehicle, and elevator |
| KR20230073947A (en)* | 2021-11-19 | 2023-05-26 | 타이완 세미콘덕터 매뉴팩쳐링 컴퍼니 리미티드 | U-shaped channel access transistors and methods for forming the same |
| KR102684455B1 (en) | 2021-11-19 | 2024-07-11 | 타이완 세미콘덕터 매뉴팩쳐링 컴퍼니 리미티드 | U-shaped channel access transistors and methods for forming the same |
| Publication | Publication Date | Title |
|---|---|---|
| JP2014222735A (en) | Semiconductor device and manufacturing method thereof | |
| JP5119806B2 (en) | Silicon carbide semiconductor device and manufacturing method thereof | |
| US8658503B2 (en) | Semiconductor device and method of fabricating the same | |
| JP5603008B2 (en) | Method for forming SiCMOSFET having large inversion layer mobility | |
| JP5452062B2 (en) | Method for manufacturing silicon carbide semiconductor device | |
| US8564017B2 (en) | Silicon carbide semiconductor device and method for manufacturing same | |
| US20120193643A1 (en) | Semiconductor device | |
| JP5995347B2 (en) | SiC semiconductor device and manufacturing method thereof | |
| JP5236281B2 (en) | Manufacturing method of vertical MOSFET | |
| KR20100100585A (en) | Method of producing semiconductor device and semiconductor device | |
| US9269781B2 (en) | Semiconductor device and method for manufacturing the same | |
| JP6802454B2 (en) | Semiconductor devices and their manufacturing methods | |
| CN103477439A (en) | Semiconductor device and process for production thereof | |
| CN104064587A (en) | Semiconductor device and manufacturing method thereof | |
| US9741798B2 (en) | Semiconductor device | |
| JP2019004010A (en) | Semiconductor device and manufacturing method thereof | |
| CN114944338A (en) | SiC MOSFET with shortened channel length and high Vth | |
| JP2010034481A (en) | Method of manufacturing semiconductor device, and semiconductor device | |
| CN107078158B (en) | Silicon carbide semiconductor device and method for manufacturing same | |
| WO2017086253A1 (en) | Diamond electronic element | |
| JP2010027833A (en) | Silicon carbide semiconductor device and its manufacturing method | |
| JP2014222734A (en) | Semiconductor device and manufacturing method thereof | |
| JP7697210B2 (en) | Silicon carbide semiconductor device and method for manufacturing silicon carbide semiconductor device | |
| JP7532965B2 (en) | Silicon carbide semiconductor device and method for manufacturing silicon carbide semiconductor device | |
| JP2015069989A (en) | Method for manufacturing silicon carbide semiconductor device |
| Date | Code | Title | Description |
|---|---|---|---|
| A711 | Notification of change in applicant | Free format text:JAPANESE INTERMEDIATE CODE: A711 Effective date:20150312 |