
















本発明は、作業車両間での情報を共有する作業情報共有システムに関する。 The present invention relates to a work information sharing system for sharing information between work vehicles.
作業車両としての苗移植機は、圃場を走行する走行車体と、この走行車体の後部に取り付けた苗植付装置などの作業装置を有している。この種の苗移植機については、例えば、下記の特許文献1に開示されている。この特許文献1に示された苗移植機は、左右の車輪に設けられた電極板や深度センサ等により圃場の肥料濃度や深さをリアルタイムで計測し、計測結果に合わせて施肥装置の施肥量を増減させる。この特許文献1に示された苗移植機は、圃場の各場所毎に適切な量の肥料を供給することができ、作物の生育を圃場全体で安定化させ、品質の安定化や収穫作業時の作業能率の向上を図っている。 A seedling transplanter as a work vehicle has a traveling vehicle body that travels in a field and a working device such as a seedling planting device attached to the rear part of the traveling vehicle body. This type of seedling transplanter is disclosed, for example, in Patent Document 1 below. The seedling transplanter shown in this Patent Document 1 measures the fertilizer concentration and depth in the field in real time with electrode plates and depth sensors provided on the left and right wheels, and the fertilizer application amount according to the measurement results Increase or decrease. The seedling transplanter disclosed in Patent Document 1 can supply an appropriate amount of fertilizer for each place in the field, stabilizes the growth of the crop throughout the field, stabilizes quality, and is used during harvesting operations. To improve work efficiency.
ところで、特許文献1に示された苗移植機は、電極板や深度センサの計測結果をリアルタイムで反映する制御装置を設けることで、苗移植機などの作業車両のコストを高騰させてしまうという問題がある。また、特許文献1に示された苗移植機は、様々な部材を機体の各部に装着する必要があり、機体の重量が増加してしまうので、圃場の土質によっては機体が走行しにくく、作業能率が低下する問題がある。 By the way, the seedling transplanter shown in Patent Document 1 has a problem that it increases the cost of a work vehicle such as a seedling transplanter by providing a control device that reflects the measurement results of the electrode plate and the depth sensor in real time. There is. In addition, the seedling transplanting machine shown in Patent Document 1 requires that various members be attached to each part of the machine body, which increases the weight of the machine body. There is a problem that efficiency decreases.
さらに、電極板や深度センサを外し、習得したデータのみを用いて作業するときは、機体の重量が異なるので、取得したデータの施肥量が適切な量ではなく、かえって、施肥制度が低下する問題がある。また、肥料を施肥装置に補充した直後、肥料の重量により排出口付近の肥料は、肥料自体の自重によって下方に移動し易くなっているが、この自重による異動し易さに対する施肥量の補正は行なわれていないので、部分的に必要量以上の肥料が供給される場所が発生し、部分的に作物が過度に成育して、品質の低下や収穫作業時の作業能率の低下を招く問題があった。 Furthermore, when removing the electrode plate and depth sensor and working only with the acquired data, the weight of the aircraft is different, so the amount of fertilization of the acquired data is not an appropriate amount, and instead the fertilization system is reduced There is. In addition, immediately after the fertilizer is replenished to the fertilizer, the fertilizer near the discharge port is easy to move downward due to the weight of the fertilizer itself, but the fertilizer amount correction for the ease of movement due to its own weight is Since this is not done, there is a problem that a place where more fertilizer is supplied than necessary is partially generated, and there is a problem that the crop grows partly excessively, leading to deterioration of quality and work efficiency during harvesting work. there were.
そこで、本発明は、かかる従来例の有する不都合を改善し、コストの高騰を抑制しながらも、作物の生育を圃場全体で安定化させ、品質の安定化や収穫作業時の作業能率の向上を図ることができる作業情報共有システムを提供することを、その目的とする。 Therefore, the present invention improves the disadvantages of the conventional example and stabilizes the growth of the crop in the entire field while suppressing the increase in cost, stabilizing the quality and improving the work efficiency during the harvesting operation. It is an object of the present invention to provide a work information sharing system that can be used.
上記目的を達成する為、請求項1に記載の発明は、圃場の収穫作業を行う第1の作業車両(301)に設けられかつ前記第1の作業車両(301)の走行速度を検知する速度検知センサ(308)と、前記第1の作業車両(301)に設けられ、且つGPS信号を受信するGPS通信部(10)と、前記GPS通信部(10)からの情報と前記速度検知センサ(308)の検知した走行速度とを関連付けて記録するとともに、前記第1の作業車両(301)に着脱自在な記録装置(6)と、前記圃場に苗の植付作業を行う第2の作業車両(201)に設けられ、且つ、前記記録装置(6)に記録された情報に基いて、前記圃場の前記第1の作業車両(301)の走行速度が所定速度未満である位置では、所定速度以上である位置よりも、前記第2の作業車両(201)に設けられて前記圃場に肥料を供給する施肥装置(220)の前記圃場へ供給する前記肥料の量を減少させる制御装置(5)と、を備えることを特徴とする作業情報共有システム(1)である。 In order to achieve the above-mentioned object, the invention according to claim 1 is a speed which is provided in a first work vehicle (301) for performing a harvesting operation on a field and detects a traveling speed of the first work vehicle (301). A detection sensor (308), a GPS communication unit (10) that is provided in the first work vehicle (301) and receives a GPS signal, information from the GPS communication unit (10), and the speed detection sensor ( And a recording device (6) detachably attached to the first work vehicle (301) and a second work vehicle for planting seedlings in the field. (201) and based on the information recorded in the recording device (6), at a position where the traveling speed of the first work vehicle (301) in the field is less than a predetermined speed, the predetermined speed More than the position which is above And a control device (5) for reducing the amount of the fertilizer supplied to the field of a fertilizer applying device (220) provided on the work vehicle (201) for supplying the fertilizer to the field. A work information sharing system (1).
また、請求項2に記載の発明は、前記圃場に代掻き作業を行う第3の作業車両(101)に設けられ、且つ、前記記録装置(6)に記録された情報に基いて、前記圃場の前記第1の作業車両(301)の走行速度が所定速度未満である位置では、所定速度以上である位置よりも、前記第3の作業車両(101)に昇降自在に設けられて代掻き作業を行う代掻き装置(103)の代掻き深さを浅くさせる代掻き制御装置(3)を備えることを特徴とする請求項1に記載の作業情報共有システム(1)である。 According to a second aspect of the present invention, on the basis of information provided in a third work vehicle (101) that performs a scraping operation on the field and recorded in the recording device (6), At the position where the traveling speed of the first work vehicle (301) is less than a predetermined speed, the third work vehicle (101) is provided so as to be able to move up and down to perform the scraping work more than the position where the traveling speed is higher than the predetermined speed. The work information sharing system (1) according to claim 1, further comprising: a scraping control device (3) for reducing a scraping depth of the scraping device (103).
また、請求項3に記載の発明は、前記制御装置(5)は、前記施肥装置(220)の肥料の残量が所定量未満であることを検知する肥料残量センサ(216)が、前記所定量未満であることを検知した後に、前記施肥装置(220)に前記肥料が補充されて、非検知状態となると、前記施肥装置(220)の前記圃場へ供給する前記肥料の量を所定時間減少させることを特徴とする請求項1又は請求項2に記載の作業情報共有システム(1)である。 Moreover, the invention according to
また、請求項4に記載の発明は、圃場の収穫作業を行う第1の作業車両(301)に設けられ且つ前記第1の作業車両(301)の収穫量を検知する収穫量検知センサ(314)と、前記第1の作業車両(301)に設けられ、且つGPS信号を受信するGPS通信部(10)と、前記GPS通信部(10)からの情報と前記収穫量検知センサ(314)の検知した収穫量とを関連付けて記録するとともに、前記第1の作業車両(301)に着脱自在な記録装置(6)と、前記圃場に苗の植付作業を行う第2の作業車両(201)に設けられ、かつ、前記記録装置(6)に記録された情報に基いて、前記圃場の収穫量が所定量を超える位置では、所定量以下である位置よりも、施肥装置(220)の前記圃場へ供給する肥料の量を減少させることを特徴とする作業情報共有システム(1)である。 According to a fourth aspect of the present invention, there is provided a harvest amount detection sensor (314) that is provided in a first work vehicle (301) that performs a harvesting operation on a farm and detects the harvest amount of the first work vehicle (301). ), A GPS communication unit (10) that is provided in the first work vehicle (301) and receives a GPS signal, information from the GPS communication unit (10), and the yield detection sensor (314) A recording device (6) detachably attached to the first work vehicle (301) and a second work vehicle (201) for planting seedlings in the field while recording the associated harvest amount in association with each other. And at a position where the harvested amount of the field exceeds a predetermined amount based on the information recorded in the recording device (6), the fertilizer application (220) is more effective than a position where the amount is less than a predetermined amount. Reduce the amount of fertilizer supplied to the field Preparative a work information sharing system according to claim (1).
また、請求項5に記載の発明は、前記圃場に代掻き作業を行う第3の作業車両(101)に設けられ、かつ、前記記録装置(6)に記録された情報に基いて、前記圃場の収穫量が所定量を超える位置では、所定量以下である位置よりも、前記第3の作業車両(101)に昇降自在に設けられて代掻き作業を行う代掻き装置(103)の代掻き深さを浅くさせる代掻き制御装置(3)を備えることを特徴とする請求項4に記載の作業情報共有システム(1)である。 According to a fifth aspect of the present invention, there is provided a third work vehicle (101) that performs a scraping operation on the field, and based on information recorded in the recording device (6), In a position where the harvest amount exceeds a predetermined amount, the substitute scraping depth of the substitute scraping device (103) which is provided so as to be movable up and down on the third work vehicle (101) and performs the scraping operation is shallower than the position where the harvest amount is less than the prescribed amount. The work information sharing system (1) according to claim 4, further comprising a scraping control device (3) for causing the work information to be shared.
また、請求項6に記載の発明は、前記第2の作業車両(201)に設けられ、且つ前記第2の作業車両(201)の機体(202)の傾斜角度を検知する傾斜検知センサ(217)と、前記第2の作業車両(201)に設けられ、且つ前記第2の作業車両(201)の苗植付部(222)の苗が所定量未満であることを検知する苗残量検知センサ(228)と、を備え、前記制御装置(5)は、前記傾斜検知センサ(217)が前記機体(202)の前下がりに所定角度を超える傾斜角度を検知してから、前記機体(202)の前上がりに所定角度を超える傾斜角度を検知するまでの、前記苗残量検知センサ(228)の検知結果に基いて、苗の植付け量を算出することを特徴とする請求項1から請求項5のうちいずれか一項に記載の作業情報共有システム(1)である。 According to a sixth aspect of the present invention, there is provided an inclination detection sensor (217) that is provided in the second work vehicle (201) and detects an inclination angle of a body (202) of the second work vehicle (201). ), And a remaining seedling detection that detects that the number of seedlings in the seedling planting part (222) of the second work vehicle (201) is less than a predetermined amount. The control device (5) includes a sensor (228), and the control device (5) detects the tilt angle exceeding a predetermined angle by the tilt detection sensor (217) in front of the fuselage (202), and then detects the fuselage (202). The planting amount of the seedling is calculated based on the detection result of the seedling remaining amount detection sensor (228) until an inclination angle exceeding a predetermined angle is detected on the front rise of). The work information according to any one of items 5 to 5. Sharing is a system (1).
また、請求項7に記載の発明は、前記第2の作業車両(201)に設けられ、且つ前記第2の作業車両(201)の機体(202)の傾斜を検知する傾斜検知センサ(217)と、前記第2の作業車両(201)に設けられ、且つ前記第2の作業車両(201)の前記施肥装置(220)の肥料の残量が所定量未満であることを検知する肥料残量センサ(216)と、を備え、前記制御装置(5)は、前記傾斜検知センサ(217)が前記機体(202)の前下がりに所定角度を超える傾斜を検知してから、前記機体(202)の前上がりに所定角度を超える傾斜を検知するまでの、前記肥料残量センサ(216)の検知結果に基いて、前記施肥装置(220)の前記圃場へ供給した前記肥料の量を算出することを特徴とする請求項1から請求項6のうちいずれか一項に記載の作業情報共有システム(1)である。 According to a seventh aspect of the present invention, there is provided an inclination detection sensor (217) that is provided on the second work vehicle (201) and detects an inclination of a body (202) of the second work vehicle (201). And a fertilizer residual amount that is provided in the second work vehicle (201) and detects that the fertilizer remaining amount of the fertilizer application (220) of the second work vehicle (201) is less than a predetermined amount. The control device (5) includes a sensor (216), and the control device (5) detects a tilt exceeding a predetermined angle when the tilt detection sensor (217) detects a forward tilt of the fuselage (202), and then the fuselage (202). Calculating the amount of the fertilizer supplied to the field of the fertilizer applicator (220) based on the detection result of the fertilizer residual amount sensor (216) until a tilt exceeding a predetermined angle is detected in front of Claims from claim 1 characterized in that A work information sharing system according to any one (1) of
また、請求項8に記載の発明は、前記制御装置(5)は、前記苗残量検知センサ(228)の検知結果に基いて算出された苗の植付け量を圃場毎に関連付けて前記記録装置(6)に記録し、前記苗残量検知センサ(228)の検知結果と前記記録装置(6)に記録されている情報との差が所定量を超えると、前記第2の作業車両(201)に設けられた報知装置(9)に報知させることを特徴とする請求項6に記載の作業情報共有システム(1)である。 In the invention according to claim 8, the control device (5) associates the planting amount of the seedling calculated based on the detection result of the seedling remaining amount detection sensor (228) for each field, and the recording device (6), when the difference between the detection result of the seedling remaining amount detection sensor (228) and the information recorded in the recording device (6) exceeds a predetermined amount, the second work vehicle (201 The work information sharing system (1) according to
また、請求項9に記載の発明は、前記制御装置(5)は、前記肥料残量センサ(216)の検知結果に基いて算出された前記圃場へ供給した前記肥料の量を圃場毎に関連付けて前記記録装置(6)に記録し、前記肥料残量センサ(216)の検知結果と前記記録装置(6)に記録されている情報との差が所定量を超えると、前記第2の作業車両(201)に設けられた報知装置(9)に報知させることを特徴とする請求項7に記載の作業情報共有システム(1)である。 In the invention according to
また、請求項10に記載の発明は、前記第2の作業車両(201)に着脱自在に設けられ、且つ前記圃場の深度を検知する深度検知センサ(219)を備え、前記制御装置(5)は、前記第2の作業車両(201)に前記深度検知センサ(219)が取り付けられていると、前記圃場の前記深度検知センサ(219)の検知した深度が深い位置でのエンジン(204)の燃料噴射量を、浅い位置での燃料噴射量よりも増加させ、前記第2の作業車両(201)に設けられたGPS通信部(4)からの情報と前記深度検知センサ(219)の検知した深度とを関連付けて前記記録装置(6)に記録するとともに、前記深度検知センサ(219)が前記第2の作業車両(201)から取り外されると、前記記録装置(6)に記録された情報に基いて、エンジン(204)の燃料噴射量を制御することを特徴とする請求項1から請求項9のうちいずれか一項に記載の作業情報共有システム(1)である。 The invention according to
請求項1に記載の発明によれば、第1の作業車両(301)の収穫作業中の走行速度とGPS通信部(10)からの情報とを関連付けて記録装置(6)に記録し、記録装置(6)に記録された情報に基いて第2の作業車両(201)による植付作業時の施肥量を変更する。このように、作物の成育状況により変化する第1の作業車両(301)の走行速度に基いて、施肥量を変更するので、作物の生育を圃場全体で安定化させ、品質の安定化や収穫作業時の作業能率の向上を図ることができる。また、作業車両(201,301)間で持ち運ぶ記録装置(6)を設けるという簡潔な構成により、作物の生育を圃場全体で安定化させることができるので、コストの高騰を抑制できる。 According to the first aspect of the present invention, the traveling speed during the harvesting operation of the first work vehicle (301) and the information from the GPS communication unit (10) are associated with each other and recorded in the recording device (6). The fertilizer application amount at the time of planting work by the second work vehicle (201) is changed based on the information recorded in the device (6). In this way, since the fertilizer application amount is changed based on the traveling speed of the first work vehicle (301) that changes depending on the growth situation of the crop, the growth of the crop is stabilized throughout the field, and the quality is stabilized and harvested. The work efficiency during work can be improved. Moreover, since the growth of a crop can be stabilized in the whole farm field by the simple structure of providing the recording device (6) carried between work vehicles (201, 301), the rise in cost can be suppressed.
請求項2に記載の発明によれば、請求項1に記載の発明の効果に加えて、第1の作業車両(301)の収穫作業中の走行速度とGPS通信部(10)からの情報とを関連付けて記録装置(6)に記録し、記録装置(6)に記録された情報に基いて第3の作業車両(101)による代掻き作業時の代掻き深さを変更する。このように、作物の成育状況により変化する第1の作業車両(301)の走行速度に基いて、作物の成育状況に影響を与える代掻き深さを変更するので、作物の生育を圃場全体で安定化させ、品質の安定化や収穫作業時の作業能率の向上を図ることができる。 According to the invention described in claim 2, in addition to the effect of the invention described in claim 1, the traveling speed during the harvesting operation of the first work vehicle (301) and the information from the GPS communication unit (10) Are recorded in the recording device (6), and the scraping depth at the time of the scraping work by the third work vehicle (101) is changed based on the information recorded in the recording device (6). As described above, since the scraping depth that affects the growth status of the crop is changed based on the traveling speed of the first work vehicle (301) that changes depending on the growth status of the crop, the growth of the crop is stabilized throughout the field. To stabilize the quality and improve the work efficiency during harvesting.
請求項3に記載の発明によれば、請求項1又は請求項2に記載の発明の効果に加えて、施肥装置(220)への肥料の補充後に、施肥装置(220)の圃場へ供給する肥料の量を所定時間減少させるので、肥料の補充直後に意図しない多量の肥料を圃場に供給してしまうことを抑制できる。したがって、作物の生育を圃場全体で安定化させることができる。 According to invention of
請求項4に記載の発明によれば、第1の作業車両(301)の収穫作業中の収穫量とGPS通信部(10)からの情報とを関連付けて記録装置(6)に記録し、記録装置(6)に記録された情報に基いて第2の作業車両(201)による植付作業時の施肥量を変更する。このように、作物の成育状況により変化する第1の作業車両(301)の収穫量に基いて、施肥量を変更するので、作物の生育を圃場全体で安定化させ、品質の安定化や収穫作業時の作業能率の向上を図ることができる。また、作業車両(201,301)間で持ち運ぶ記録装置(6)を設けるという簡潔な構成により、作物の生育を圃場全体で安定化させることができるので、コストの高騰を抑制できる。 According to the fourth aspect of the present invention, the harvest amount during the harvesting operation of the first work vehicle (301) and the information from the GPS communication unit (10) are associated with each other and recorded in the recording device (6). The fertilizer application amount at the time of planting work by the second work vehicle (201) is changed based on the information recorded in the device (6). In this way, since the fertilizer application amount is changed based on the harvest amount of the first work vehicle (301) that changes depending on the growth situation of the crop, the growth of the crop is stabilized throughout the field, and the quality is stabilized and harvested. The work efficiency during work can be improved. Moreover, since the growth of a crop can be stabilized in the whole farm field by the simple structure of providing the recording device (6) carried between work vehicles (201, 301), the rise in cost can be suppressed.
請求項5に記載の発明によれば、請求項4に記載の発明の効果に加えて、第1の作業車両(301)の収穫作業中の収穫量とGPS通信部(10)からの情報とを関連付けて記録装置(6)に記録し、記録装置(6)に記録された情報に基いて第3の作業車両(101)による代掻き作業時の代掻き深さを変更する。このように、作物の成育状況により変化する第1の作業車両(301)の収穫量に基いて、作物の成育状況に影響を与える代掻き深さを変更するので、作物の生育を圃場全体で安定化させ、品質の安定化や収穫作業時の作業能率の向上を図ることができる。 According to the invention described in claim 5, in addition to the effect of the invention described in claim 4, the harvest amount during the harvesting operation of the first work vehicle (301) and the information from the GPS communication unit (10) Are recorded in the recording device (6), and the scraping depth at the time of the scraping work by the third work vehicle (101) is changed based on the information recorded in the recording device (6). In this way, the amount of scratching that affects the growth status of the crop is changed based on the yield of the first work vehicle (301) that changes depending on the growth status of the crop, so that the growth of the crop is stabilized throughout the field. To stabilize the quality and improve the work efficiency during harvesting.
請求項6に記載の発明によれば、請求項1から請求項5のうちいずれか一項に記載の発明の効果に加えて、前下がりに所定角度を超える傾斜角度を検知してから前上がりに所定角度を超える傾斜角度を検知するまで即ち圃場に入ってから出るまでの、苗の植付け量を算出する。したがって、計画的な苗の植付作業が可能になり、作業コストの適正化を図ることができる。 According to the invention described in
請求項7に記載の発明によれば、請求項1から請求項6のいずれか1項に記載の発明の効果に加えて、前下がりに所定角度を超える傾斜角度を検知してから前上がりに所定角度を超える傾斜角度を検知するまで即ち圃場に入ってから出るまでの、施肥装置(220)の圃場へ供給した肥料の量を算出する。したがって、計画的な苗の植付作業が可能になり、作業コストの適正化を図ることができる。 According to the invention described in
請求項8に記載の発明によれば、請求項6に記載の発明の効果に加えて、記録装置(6)に記録された苗の植付け量と実際の植付作業中の植付け量との差が所定量を超えると報知装置(9)に報知させるので、適正な植付け量の苗を植え付けることができ、計画的な苗の植付作業が可能になり、作業コストの適正化を図ることができる。 According to the invention described in claim 8, in addition to the effect of the invention described in
請求項9に記載の発明によれば、請求項7に記載の発明の効果に加えて、記録装置(6)に記録された肥料の供給量と実際の植付作業中の肥料の供給量との差が所定量を超えると報知装置(9)に報知させるので、適正な供給量の肥料を圃場に供給することができ、計画的な苗の植付作業が可能になり、作業コストの適正化を図ることができる。 According to the invention described in
請求項10に記載の発明によれば、請求項1から請求項9のいずれか1項に記載の発明の効果に加えて、深度に応じて燃料噴射量を制御するので、圃場の深度に合わせた走行トルクを確保でき、深度の深い場所でも圃場の抵抗に負けることなく走行することができ、作業能率が向上する。また、深度の浅い場所では、走行トルクを抑制するので、燃料の消費を抑制でき、燃費を向上できる。 According to the invention described in
以下に、本発明に係る作業情報共有システムの実施形態を図面に基づいて詳細に説明する。なお、この実施形態によりこの発明が限定されるものではない。また、下記実施形態における構成要素には、当業者が置換可能かつ容易なもの、或いは実質的に同一のものが含まれる。さらに、本発明は、上記実施形態に限定されるものではなく、本発明の骨子を逸脱しない範囲で種々変形して実施することができる。 Hereinafter, an embodiment of a work information sharing system according to the present invention will be described in detail with reference to the drawings. In addition, this invention is not limited by this embodiment. In addition, constituent elements in the following embodiments include those that can be easily replaced by those skilled in the art or those that are substantially the same. Furthermore, the present invention is not limited to the above-described embodiment, and various modifications can be made without departing from the scope of the present invention.
[実施形態1]
本発明の実施形態1に係る作業情報共有システム1を図面に基いて説明する。図1は、実施形態1に係る作業情報共有システムの概要の構成を示す図である。図2は、実施形態1に係る作業情報共有システムの記録装置に記録された収穫作業マップの一例を示す図である。図3は、実施形態1に係る作業情報共有システムの記録装置の表示部に表示された代掻き作業マップの一例を示す図である。図4は、実施形態1に係る作業情報共有システムの記録装置の表示部に表示された植付作業マップの一例を示す図である。[Embodiment 1]
A work information sharing system 1 according to Embodiment 1 of the present invention will be described with reference to the drawings. FIG. 1 is a diagram illustrating a schematic configuration of a work information sharing system according to the first embodiment. FIG. 2 is a diagram illustrating an example of a harvesting work map recorded in the recording device of the work information sharing system according to the first embodiment. FIG. 3 is a diagram illustrating an example of a scraping work map displayed on the display unit of the recording device of the work information sharing system according to the first embodiment. FIG. 4 is a diagram illustrating an example of a planting work map displayed on the display unit of the recording device of the work information sharing system according to the first embodiment.
実施形態1に係る作業情報共有システム1(以下、単に、共有システムと記す)は、第1の作業車両としてのコンバイン301(図10及び図11に示す)と、第2の作業車両としての苗移植機201(図13及び図14に示す)と、第3の作業車両としてのトラクタ101(図12に示す)との間で作業情報を共有するものである。 The work information sharing system 1 according to the first embodiment (hereinafter simply referred to as a sharing system) includes a combine 301 (shown in FIGS. 10 and 11) as a first work vehicle and a seedling as a second work vehicle. Work information is shared between the transplanter 201 (shown in FIGS. 13 and 14) and the tractor 101 (shown in FIG. 12) as a third work vehicle.
次に、実施形態1に係る共有システム1が適用される第1の作業車両としてのコンバイン301を図面に基いて説明する。図10は、実施形態1に係る作業情報共有システムが適用されるコンバインの側面図である。図11は、実施形態1に係る作業情報共有システムが適用されるコンバインの平面図である。 Next, a
コンバイン301は、駆動力源としてのエンジンが発生する駆動力によって、自走しながら稲、麦等の穀稈を刈り取り、脱穀して、圃場の収穫作業を行うものである。コンバイン301は、図10及び図11に示すように、エンジンを有した機体フレーム302と、走行装置304と、刈取装置305と、脱穀装置306と、グレンタンク307などを備える。 The
機体フレーム302は、エンジンを搭載している。エンジンは、コンバイン301で用いる駆動力の発生源である。エンジンの駆動力は、走行装置304を駆動して機体フレーム302を前進又は後進させるために使用されるだけでなく、刈取装置305と、脱穀装置306と、グレンタンク307などを駆動させるためにも使用される。機体フレーム302即ちコンバイン301には、走行装置304即ちコンバイン301の走行速度を検知する速度検知センサ308(図1に示す)が設けられている。さらに、機体フレーム302即ちコンバイン301には、コンバイン301の機体フレーム302の傾斜角度、特に前上がり又は前下がりの傾斜角度を検知する図示しない傾斜検知センサが設けられている。
走行装置304は、機体フレーム302の下側に設けられる。走行装置304は、エンジンからの駆動力によって、コンバイン301全体を前後方向に走行させるクローラ309を有する。刈取装置305は、機体フレーム302の前部に設けられる。刈取装置305は、エンジンからの駆動力によって駆動し穀稈を刈り取り、刈り取った穀稈を脱穀装置306などに搬送するものである。刈取装置305は、圃場に植生する穀稈を分草する分草体310と、倒伏している穀稈を引き起こす引起装置311と、引き起こされた穀稈を切断する刈刃312が設けられると共に、刈り取られた穀稈を搬送する図示しない搬送装置などを備えている。 The traveling
脱穀装置306は、刈取装置305の後方でかつグレンタンク307の側方に設けられ、下部の選別部と上部の脱穀部を有する。選別部は、エンジンからの駆動力によって、脱穀部により脱穀された穀稈の藁等の夾雑物と穀粒とを分離する装置である。脱穀部は、エンジンからの駆動力によって搬送された穀稈を脱穀するものである。なお、脱穀部を通過し、穀粒が扱ぎ取られた穀稈(排藁)は、図示しない排藁搬送装置によって、コンバイン301の後方側に配置されている排藁切断装置へ搬送される。排藁切断装置は、排藁搬送装置に投入された排藁を切断し、例えば、圃場に放出する。 The threshing
グレンタンク307は、脱穀装置306の側方に設けられる。グレンタンク307は、脱穀装置306の選別部が分離、回収した穀粒を一時的に貯蔵するものである。グレンタンク307は、排出オーガー313が接続される。排出オーガー313は、エンジンからの駆動力によってグレンタンク307内の穀粒を搬送し、グレンタンク307の外部へ排出させるものである。また、グレンタンク307即ちコンバイン301には、コンバイン301の収穫量を検知する収穫量検知センサ314(図1に示す)が設けられている。収穫量検知センサ314は、グレンタンク307への穀粒を蓄積量を検知したり、排出オーガー313からの穀粒の排出量を検知することで、収穫量を検知する。
次に、実施形態1に係る作業情報共有システムが適用される第3の作業車両としてのトラクタ101を図面に基いて説明する。図12は、実施形態1に係る作業情報共有システムが適用されるトラクタの側面図である。 Next, a
トラクタ101は、収穫作業後の圃場に代掻き用耕耘と代掻きとを同時に行うものである。代掻き用耕耘と代掻きは、代掻き作業に相当する。トラクタ101は、図12に示すように、エンジン104の駆動力により前後進する走行車体102と、走行車体102の後部に連結されかつ代掻き用耕耘と代掻きとを同時に行う代掻き装置103とを備えている。走行車体102には、エンジン104の他、左右一対の前輪105、左右一対の後輪106、操縦席107よりも前方のダッシュボードに設けられかつ前輪105を操舵するハンドル108などを備えている。 The
また、走行車体102の後部には、エンジン104の駆動力を代掻き装置103に伝えるPTO軸109が設けられている。さらに、走行車体102即ちトラクタ101には、トラクタ101の走行車体102の傾斜角度、特に前上がりか前下がりかの傾斜角度を検知する図示しない傾斜検知センサが設けられている。 In addition, a
代掻き装置103は、トラクタ101の後部にリフトアーム110で昇降されるロアリンク111やトップリンク112等の昇降リンク113を介して装着される。リフトアーム110によりロアリンク111やトップリンク112等が昇降されることで、代掻き装置103は、昇降される。 The
次に、実施形態1に係る作業情報共有システムが適用される第2の作業車両としての苗移植機201を図面に基いて説明する。図13は、実施形態1に係る作業情報共有システムが適用される苗移植機の側面図である。図14は、実施形態1に係る作業情報共有システムが適用される苗移植機の平面図である。 Next, a
苗移植機201は、代掻き作業後の圃場に苗を植え付けるものである。苗移植機201は、図13及び図14に示すように、エンジン204の駆動力により前後進する走行車体202(機体に相当)と、走行車体202の後部(後方側)に設けられた苗植付装置203とを備えている。 The
走行車体202は、エンジン204の他、左右一対の前輪205、左右一対の後輪206、前輪205を操舵するハンドル207などを備えている。苗移植機201において、エンジン204の駆動力は、走行車体202を前進または後退させるために使用されるだけでなく、苗植付装置203を駆動させるためにも使用される。 In addition to the
エンジン204は、ディーゼル機関やガソリン機関等の熱機関であって、出力軸から駆動力を出力する。出力軸は、走行車体202の左側方から突出している。エンジン204は、走行車体202の左右方向における略中央で、且つ、作業者が乗車時に足を載せるフロアステップ209よりも上方に突出させた状態で配置されている。このとき、エンジン204の出力軸は、フロアステップ209の床面よりも下方に位置している。 The
ここで、フロアステップ209は、走行車体202の前部(前方側)とエンジン204の後部(後方側)との間に渡って設けられている。フロアステップ209は、その一部が格子状となっており、靴に付いた泥を圃場に落とせるようにしている。また、フロアステップ209の後方には、後輪206のフェンダを兼ねたリアステップ210が設けられている。このリアステップ210は、後方に向うに従って上方に向う方向に傾斜した傾斜面を有しており、エンジン204の左右それぞれの側方に配置されている。 Here, the
エンジン204は、これらのフロアステップ209とリアステップ210とから上方に突出しており、これらのステップ209,210から突出している部分には、エンジン204を覆うエンジンカバー211が配設されている。即ち、エンジンカバー211は、フロアステップ209とリアステップ210とから上方に突出した状態で、エンジン204を覆っている。 The
また、走行車体202には、エンジンカバー211の上部に操縦席212が設置されており、操縦席212の前方で、且つ、走行車体202の前部には、フロントカバー213が配設されている。このフロントカバー213は、フロアステップ209の床面から上方に突出した状態で配置されており、フロアステップ209の前方側を左右に分断している。 Further, the traveling
このフロントカバー213の内部には、操作パネル等の操作装置、操舵機構およびエンジン用燃料の燃料タンク等が配設されている。また、フロントカバー213の上部には、各種操作レバー等や計器類、前述したハンドル207が配設されている。このハンドル207は、作業者が前輪205を操舵操作することにより走行車体202を操舵する操舵部材として設けられており、フロントカバー213内の操舵機構等を介して前輪205をステアリング操舵(転舵)させることが可能になっている。 Inside the
フロントカバー213の上部に設けられた各種操作レバーとしては、走行車体202の前後進、停止及び移動速度を切り替える走行操作レバー(図示せず)が配設されている。また、フロントカバー213の上部に設けられた各種操作レバーとしては、走行車体202が路上を走行する「路上走行モード」と、走行車体202が走行しながら圃場に苗を植え付ける「作業走行モード」等とを切り替える副変速操作レバー214(図14に示す)が配設されている。また、フロントカバー213の上部に設けられた各種操作レバーとしては、苗植付装置203が圃場に植え付ける苗の間隔(走行車体202の進行方向における苗の植付間隔)を変更する株間変更ダイヤル215(図14に示す)が配設されている。本実施形態では、株間変更ダイヤル215は、苗の株間(植付間隔)を、坪当たりの株数を37株とする状態と、42株とする状態と、47株とする状態と、50株とする状態と、60株とする状態と、70株とする状態と、80株とする状態と、90株とする状態とのいずれかに変更する。 As various operation levers provided on the upper portion of the
また、フロアステップ209におけるフロントカバー213の左右それぞれの側方に位置する部分には、補給用のマット状苗を載せておく3つの予備苗載台218が配置されている。この予備苗載台218は、フロアステップ209の床面から突出した支持軸(鉛直軸)によって回転自在に支持されており、作業者の手によって回動させることが可能になっている。 In addition, on the portions of the
また、走行車体202の操縦席212の後方に施肥装置220(図13及び図14に示す)が設けられている。施肥装置220は、肥料ホッパ221に貯留されている肥料を植付作業中に一定量ずつ圃場に放出する。施肥装置220の肥料ホッパ221の内部の空間は、苗植付部222の条数と同数に区画されている。実施形態1では、苗植付部222が6条植のものであるので、肥料ホッパ221内は、6つに区画されている。肥料ホッパ221内の各区画には、肥料残量センサ216(図1には、一つのみ示し、他を省略している)が設けられている。即ち、肥料残量センサ216は、6つ設けられている。肥料残量センサ216は、施肥装置220の肥料ホッパ221の各区画内の肥料の残量が所定量未満であることを検知する。 Further, a fertilizer application device 220 (shown in FIGS. 13 and 14) is provided behind the
さらに、走行車体202即ち苗移植機201には、苗移植機201の走行車体202の傾斜角度、特に前上がり又は前下がりの傾斜角度を検知する傾斜検知センサ217(図1に示す)が設けられている。更に、走行車体202即ち苗移植機201には、超音波を用いて圃場の深度を検知する深度検知センサ219(図1に示す)が着脱自在である。深度検知センサ219は、例えば、走行車体202の前部や、3つの予備苗載台218のうち中央の予備苗載台218に取り付けられるのが望ましい。 Further, the traveling
苗植付装置203は、走行車体202の後部に設けられる苗植付部222と、苗植付部222を昇降させる苗植付部昇降機構223とを有している。苗植付部昇降機構223は、昇降リンク装置224を有しており、苗植付部222は、この昇降リンク装置224を介して走行車体202に取り付けられている。昇降リンク装置224は、走行車体202の後部と苗植付部222とを連結させる平行リンク機構225を備えている。この平行リンク機構225は、上リンクと下リンクとを有しており、これらのリンクが、走行車体202の後端部に立設した背面視門型のリンクベースフレーム226に回動自在に連結され、各リンクの他端側が苗植付部222に回転自在に連結されることにより、苗植付部222を昇降可能に走行車体202に連結している。 The
また、苗植付部昇降機構223は、エンジン204の駆動力により発生する油圧によって伸縮する油圧昇降シリンダ227を有しており、油圧昇降シリンダ227の伸縮動作によって、苗植付部222を昇降させることが可能になっている。苗植付部昇降機構223は、その昇降動作によって、苗植付部222を非作業位置まで上昇させたり、作業位置(苗の植付位置)まで下降させたりすることが可能になっている。 The seedling planting
苗植付部222は、苗の植付範囲を複数の区画あるいは複数の列で、苗を圃場に植え付けることができる。本実施形態に係る苗移植機201は、苗を6つの区画で植え付ける、いわゆる6条植のものである。苗植付部222は、マット状苗を積載する苗載せ台229と、苗載せ台229に積載されたマット状苗を圃場に植え付ける植付機構230と、フロート231とを備えている。苗載せ台229及び植付機構230は、6つ設けられて、苗載せ台229が1条分のマット状苗を積載し、植付機構230が1条分のマット状苗の苗を圃場に植え付ける。また、苗載せ台229は、左右方向にマット状苗を2つ並べて積載する。 The
また、各苗載せ台229即ち苗移植機201には、苗植付部222の苗載せ台229に積載されたマット状苗が所定量未満であることを検知する苗残量検知センサ228(図1及び図14に示す)が設けられている。 Further, each
フロート231は、走行車体202の移動と共に、圃場上を滑走して整地するものである。フロート231は、走行車体202の左右方向における苗植付部222の中央に設けられた一つのセンターフロート231aと、該センターフロート231aの左右両側にそれぞれ設けられたサイドフロート231bとの3枚で構成されている。 The
また、各フロート213a,213bは、圃場表土面の凹凸に応じて前端側が上下動するように回動自在に取り付けられている。苗移植機201は、センターフロート213aの上下動を検知する迎角制御センサ(図示しない)を設けている。苗移植機201は、植付作業時にはセンターフロート213aの前部の上下動が迎角制御センサにより検知され、その検知結果に応じて後述する制御装置5により油圧昇降シリンダ227を制御する油圧バルブを切り替えて苗植付部222を昇降させることにより、苗の植付深さを常に一定に維持する。 Moreover, each float 213a, 213b is rotatably attached so that the front end side moves up and down according to the unevenness of the field topsoil surface. The
共有システム1は、図1に示すように、コンバイン301に設けられたGPS通信部10と、コンバイン301に設けられた制御装置11と、トラクタ101に設けられたGPS通信部2と、トラクタ101に設けられた制御装置3(代掻き制御装置に相当)と、苗移植機201に設けられたGPS通信部4と、苗移植機201に設けられた制御装置5と、制御装置3,5,11に着脱自在な記録装置6などを備えている。 As shown in FIG. 1, the sharing system 1 includes a
GPS通信部2,4,10は、複数のGPS(Global Positioning System、全地球測位システム)衛星から出力されるGPS信号をそれぞれ受信するものである。GPS通信部2,4,10は、受信したGPS信号を制御装置3,5,11に送る。制御装置3,5,11は、受信した複数のGPS信号を解析することで、自車の現在位置(位置情報)を検知する。 The
記録装置6は、タブレットPCやスマートフォンなどの携帯型の多機能携帯端末であって、情報を表示可能な表示部6aと、各種の命令や情報を入力可能な入力部6bとを備え、各種の情報を記録可能で作業者によって持ち運びが容易なものである。記録装置6は、コネクタ7を介して制御装置3,5,11に着脱自在であるとともに、制御装置3,5,11により情報が記録されたり、参照される。記録装置6は、収穫作業では、制御装置11にコネクタ7を介して取り付けられ、代掻き作業では、制御装置3にコネクタ7を介して取り付けられ、苗の植付作業では、制御装置5にコネクタ7を介して取り付けられる。なお、図1では、記録装置6は、3つ示されているが、本発明では、1つの記録装置6を共用する構成としてもよい。また、記録装置6として、本発明の主旨を逸脱しない範囲において、USBメモリなどの携帯可能でかつ情報の読み書き自在な記録媒体を用いても良い。 The
コンバイン301に設けられた制御装置11は、コンバイン301を構成する上述した構成要素をそれぞれ制御するものである。制御装置11は、例えば、前後進の変速制御、刈取装置305、脱穀装置306及びグレンタンク307の動作制御、エンジンを制御するエンジン制御等を実行している。 The control device 11 provided in the
制御装置11は、データベースを備えている。データベースは、種々の情報を記録するものである。データベースは、複数の圃場の情報を含む地図情報、特に、地図情報により特定される各圃場の外縁の位置など等を記録する。また、データベースは、コンバイン301に関する情報、例えば、刈取装置305の幅などを記録する。データベースに記録されている情報は、制御装置11によって適宜参照され、必要な情報が参照される。 The control device 11 includes a database. The database records various information. The database records map information including information on a plurality of fields, in particular, the position of the outer edge of each field identified by the map information, and the like. The database also records information related to the
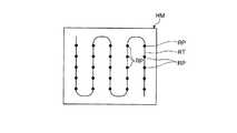
また、制御装置11は、コンバイン301の収穫作業中において、GPS通信部10からの情報と、コンバイン301の収穫作業に関する情報とを関連付けて、記録装置6に記録する。具体的には、制御装置11は、コンバイン301の収穫作業中において、GPS通信部10からの情報と、速度検知センサ308の検知した走行速度とを関連付けて、図2に一例を示す収穫作業マップHMを算出して、記録装置6に記録する。 Further, during the harvesting operation of the
収穫作業マップHMでは、収穫作業においてコンバイン301が実際に走行した圃場内の走行経路RT(図2中に一例を実線で示す)と、走行経路RTの複数の位置RP(図2中に黒丸で示す)の位置情報と、各位置RPでの速度検知センサ308の検知結果即ちコンバイン301の走行速度とが示されている。即ち、収穫作業マップHMでは、走行経路RTの複数の位置RPの位置情報と、各位置RPでの速度検知センサ308の検知結果であるコンバイン301の収穫作業に関する情報としての走行速度とが1対1の関係で関連付けられている。また、制御装置11は、傾斜検知センサが機体フレーム302の前下がりに所定角度を超える傾斜角度を検知すると、コンバイン301が圃場に入ったと判定する。制御装置11は、傾斜検知センサが機体フレーム302の前上がりに所定角度を超える傾斜角度を検知すると、コンバイン301が圃場から出たと判定する。 In the harvesting work map HM, the traveling route RT (an example is shown by a solid line in FIG. 2) in the field where the
トラクタ101に設けられた制御装置3は、トラクタ101を構成する上述した構成要素をそれぞれ制御するものである。制御装置3は、例えば、前後進の変速制御、代掻き装置103の昇降制御、エンジン104を制御するエンジン制御等を実行している。 The
制御装置3は、データベースを備えている。データベースは、種々の情報を記録するものである。データベースは、複数の圃場の情報を含む地図情報、特に、地図情報により特定される各圃場の外縁の位置など等を記録する。また、データベースは、トラクタ101に関する情報、例えば、代掻き装置103の幅などを記録する。データベースに記録されている情報は、制御装置3によって適宜参照され、必要な情報が参照される。 The
また、制御装置3は、記録装置6が取り付けられると、記録装置6に記録された収穫作業マップHMを取得する。そして、制御装置3は、収穫作業マップHMに基いて、代掻き作業マップTMを算出し、図3に示すように、記録装置6の表示部6aに代掻き作業マップTMを表示させるとともに記録装置6に代掻き作業マップTMを記録する。代掻き作業マップTMの算出にあたって、制御装置3は、収穫作業時のコンバイン301の走行速度と代掻き作業時のトラクタ101の代掻き装置103の深さ(以下、代掻き深さと呼ぶ)との関係を予め記録しておき、この予め記録された関係に基いて、圃場の各位置毎のトラクタ101の代掻き深さを算出する。なお、予め記録された関係は、適宜設定することができる。 Further, when the
具体的には、制御装置3は、収穫作業時のコンバイン301の走行速度が遅くなるのにしたがって、代掻き作業時のトラクタ101の代掻き深さが浅くなるように、代掻き作業マップTMを算出する。こうして、制御装置3は、記録装置6に記録された情報としての収穫作業マップHMに基いて、圃場のコンバイン301の走行速度が所定速度未満である位置では、所定速度以上である位置よりも、トラクタ101の代掻き装置103の代掻き深さを浅くさせる。これは、コンバイン301の走行速度が遅くなるのにしたがって作物が育ちすぎているからであり、トラクタ101の代掻き深さを浅くすることで、肥料の過度の堆積を抑制して作物が育ちすぎることを抑制できるからである。 Specifically, the
なお、図3に示す代掻き作業マップTMでは、圃場の各位置での代掻き装置103の代掻き深さが示されている。なお、図3に示す例では、圃場を複数に区分けし、区分けした各々について、代掻き装置103の代掻き深さを規定している。また、制御装置3は、傾斜検知センサが走行車体102の前下がりに所定角度を超える傾斜角度を検知すると、トラクタ101が圃場に入ったと判定する。制御装置3は、傾斜検知センサが走行車体102の前上がりに所定角度を超える傾斜角度を検知すると、トラクタ101が圃場から出たと判定する。 In addition, in the scraping work map TM shown in FIG. 3, the scraping depth of the
苗移植機201に設けられた制御装置5は、苗移植機201を構成する上述した構成要素をそれぞれ制御するものである。制御装置5は、例えば、変速制御、苗植付部昇降機構223による苗植付部222の昇降制御、エンジン204を制御するエンジン制御等を実行している。 The control device 5 provided in the
制御装置5は、図1に示すように、データベース8を備えている。データベース8は、種々の情報を記録するものである。データベース8は、複数の圃場の情報を含む地図情報、特に、地図情報により特定される各圃場の外縁の位置など等を記録する。また、データベース8は、苗移植機201に関する情報、例えば、苗植付装置203の植付機構230の個数、即ち苗植付装置203の条数を記録する。データベース8に記録されている情報は、制御装置5によって適宜参照され、必要な情報が参照される。 The control device 5 includes a database 8 as shown in FIG. The database 8 records various information. The database 8 records map information including information on a plurality of fields, in particular, the position of the outer edge of each field specified by the map information, and the like. The database 8 records information related to the
制御装置5は、記録装置6が取り付けられると、この記録装置6に記録されている収穫作業マップHMを取得する。そして、制御装置5は、収穫作業マップHMに基いて、植付作業マップPMを算出し、図4に示すように、記録装置6の表示部6aに植付作業マップPMを表示させるとともに記録装置6に植付作業マップPMを記録する。植付作業マップPMの算出にあたって、制御装置5は、収穫作業時のコンバイン301の走行速度と植付作業時の苗移植機201の施肥装置220の単位時間当たりの圃場へ供給する肥料の量(以下、施肥量と呼ぶ)との関係を予め記録しておき、この予め記録された関係に基いて、圃場の各位置毎の苗移植機201の施肥装置220の施肥量を算出する。なお、予め記録された関係は、適宜設定することができる。 When the
具体的には、制御装置5は、収穫作業時のコンバイン301の走行速度が遅くなるのにしたがって、植付作業時の苗移植機201の施肥装置220の施肥量が減少するように、植付作業マップPMを算出する。こうして、制御装置5は、記録装置6に記録された情報としての収穫作業マップHMに基いて、圃場のコンバイン301の走行速度が所定速度未満である位置では、所定速度以上である位置よりも、施肥装置220の施肥量を減少させる。これは、コンバイン301の走行速度が遅くなるのにしたがって作物が育ちすぎているからであり、施肥量を減少させることで、作物が育ちすぎることを抑制できるからである。 Specifically, the control device 5 plants the planting so that the fertilizer application amount of the
なお、図4に示す植付作業マップPMでは、圃場の各位置での施肥量が示されている。なお、図4に示す例では、圃場を複数に区分けし、区分けした各々について、施肥量を規定している。 In addition, in the planting work map PM shown in FIG. 4, the fertilization amount in each position of a farm field is shown. In the example shown in FIG. 4, the field is divided into a plurality of fields, and the amount of fertilization is defined for each of the divided fields.
また、制御装置5は、圃場への植付作業中において、肥料残量センサ216が、肥料ホッパ221内の肥料が所定量未満であることを検知した後に、施肥装置220の肥料ホッパ221に肥料が補充されて、非検知状態となると、施肥装置220の施肥量を例えば10秒程度、所定時間減少させる。制御装置5は、肥料ホッパ221内の肥料が所定量未満であることを検知した後に、施肥装置220の肥料ホッパ221に肥料が補充されて、非検知状態となった肥料残量センサ216が設けられた肥料ホッパ221の区画からの施肥量を所定時間、植付作業マップPMに規定された量から所定量減少させる。 Further, the controller 5 detects that the fertilizer remaining
制御装置5は、傾斜検知センサ217が走行車体202の前下がりに所定角度を超える傾斜角度を検知すると、苗移植機201が圃場に入ったと判定する。また、制御装置5は、傾斜検知センサ217が走行車体202の前上がりに所定角度を超える傾斜角度を検知すると、苗移植機201が圃場から出たと判定する。制御装置5は、苗移植機201が圃場に入ってから圃場から出るまでの、苗残量検知センサ228の検知結果に基いて、苗の植付け量を算出する。具体的には、苗移植機201が圃場に入ってから圃場から出るまでの、6つの苗残量検知センサ228の検知回数の合計をNとし、一つの苗載せ台229のマット状苗の積載枚数をnとすると、苗移植機201が圃場に入ってから圃場から出るまでの苗の植付け量を、マット状苗の枚数がN×nと算出する。例えば、6つの苗残量検知センサ228の検知回数が各々2回として、一つの苗載せ台229のマット状苗の積載枚数を2枚とすると、苗の植付け量を、回数と、マット状苗の枚数と植付条数、即ち2×6×2=24枚と算出する。 The control device 5 determines that the
そして、制御装置5は、圃場毎の苗の植付け量及び苗の植付け量に応じた情報としての苗残量検知センサ228の検知回数を、圃場と対応させて記録装置6に記録する。こうして、制御装置5は、苗残量検知センサ228の検知結果に基いて算出された苗の植付け量及び苗の植付け量に応じた情報としての苗残量検知センサ228の検知回数を圃場毎に関連付けて記録装置6に記録する。そして、制御装置5は、GPS通信部4からの情報に基いて、現在植付作業中の圃場の苗の植付け量等が記録装置6に記録されていると判定すると、現在植付作業中の圃場の苗の植付け量及び苗の植付け量に応じた情報としての苗残量検知センサ228の検知回数を記録装置6から取得する。制御装置5は、現在植付作業中の実際の苗残量検知センサ228の検知結果(検知回数)と、記録装置6に記憶されている現在植付作業中の圃場の苗の植付け量及び苗の植付け量に応じた情報としての苗残量検知センサ228の検知回数と、の差が所定量(所定回数)を超えると、報知装置9に報知させる。 Then, the control device 5 records the seedling planting amount for each field and the number of detections of the seedling remaining
また、制御装置5は、苗移植機201が圃場に入ってから圃場から出るまでの、肥料残量センサ216の検知結果に基いて、施肥量を算出する。具体的には、苗移植機201が圃場に入ってから圃場から出るまでの、6つの肥料残量センサ216の検知回数の合計をNAとし、一つの肥料ホッパ221内の肥料の補充量をnb(kg)とすると、苗移植機201が圃場に入ってから圃場から出るまでの施肥量を、NA×nb(kg)と算出する。例えば、6つの肥料残量センサ216の検知回数が各々2回として、一つの肥料ホッパ221内の肥料の補充量を9(kg)とすると、施肥量を、回数と施肥条数と肥料重量、即ち2×6×9=108(kg)と算出する。 Moreover, the control apparatus 5 calculates the fertilizer application amount based on the detection result of the fertilizer
そして、制御装置5は、圃場毎の施肥量及び施肥量に応じた情報としての肥料残量センサ216の検知回数を、圃場と対応させて記録装置6に記録する。こうして、制御装置5は、肥料残量センサ216の検知結果に基いて算出された施肥量及び施肥量に応じた情報としての肥料残量センサ216の検知回数を圃場毎に関連付けて記録装置6に記録する。そして、制御装置5は、GPS通信部4からの情報に基いて、現在植付作業中の圃場の施肥量等が記録装置6に記録されていると判定すると、現在植付作業中の圃場の施肥量及び施肥量に応じた情報としての肥料残量センサ216の検知回数を記録装置6から取得する。制御装置5は、現在植付作業中の実際の肥料残量センサ216の検知結果(検知回数)と、記録装置6に記憶されている現在植付作業中の圃場の施肥量及び施肥量に応じた情報としての肥料残量センサ216の検知回数と、の差が所定量(所定回数)を超えると、報知装置9に報知させる。 And the control apparatus 5 records the frequency | count of detection of the fertilizer
また、制御装置5は、深度検知センサ219が苗移植機201に取り付けられていると、深度検知センサ219の検知結果に基いてエンジン204の燃料噴射量を制御する。具体的には、制御装置5は、現在植付作業中の圃場の深度検知センサ219の検知した深度が深い位置でのエンジン204の燃料噴射量を、浅い位置での燃料噴射量よりも増加させる。制御装置5は、深度検知センサ219の検知した深度とエンジン204の燃料噴射量との関係を予め記録しており、予め記録した関係に基いて、深度が増加するのにしたがって燃料噴射量を増加させるのが望ましい。なお、予め記録された関係は、適宜設定することができる。また、制御装置5は、深度検知センサ219が苗移植機201に取り付けられていると、GPS通信部4からの情報と深度検知センサ219の検知した深度とを関連付けて記録装置6に記録する。制御装置5は、深度検知センサ219が苗移植機201から取り外されると、GPS通信部4からの情報を取得し、GPS通信部4からの情報と記録装置6に記録された情報に基いて、エンジン204の燃料噴射量を制御する。具体的には、制御装置5は、GPS通信部4からの情報に基いて苗移植機201の位置情報を取得し、取得した位置での圃場の深度を記録装置6に記録された情報から取得する。制御装置5は、記録装置6から取得した深度に基いて、前述したようにエンジン204の燃料噴射量を制御する。 When the depth detection sensor 219 is attached to the
次に、実施形態1に係る共有システム1のコンバイン301に設けられた制御装置11などの制御の一例について、図5に基いて説明する。図5は、実施形態1に係る作業情報共有システムのコンバインに設けられた制御装置の収穫作業マップを記録装置に記録するフローチャートの一例である。なお、図5に示されたフローチャートの制御ルーチンは、数msないし数十ms毎の制御周期で繰り返し実行される。 Next, an example of control of the control apparatus 11 provided in the
まず、制御装置11は、コンバイン301の傾斜検知センサ及びGPS通信部10などからの情報に基いて、コンバイン301が圃場において収穫作業中であると判定すると、速度検知センサ308の検知結果(走行速度)を取得する(ステップST11)。制御装置11は、GPS通信部10からの情報(位置情報)を取得し(ステップST12)、GPS通信部10からの情報(位置情報)と、速度検知センサ308の検知結果(走行速度)とを1対1の関係で関連付けて、記録装置6に記録する。また、制御装置6は、GPS通信部10からの情報(位置情報)に基いて、コンバイン301の走行経路RTを算出して、走行経路RTを記録装置6に記録する。 First, when the control device 11 determines that the
そして、制御装置11は、収穫作業マップHMを順に算出して、記録装置6に順に記録する(ステップST13)。制御装置11は、コンバイン301の傾斜検知センサ及びGPS通信部10などからの情報に基いて、コンバイン301の収穫作業が終了したか否かを判定し(ステップST14)、コンバイン301の収穫作業が終了していないと判定する(ステップST14:No)と、ステップST11に戻り、コンバイン301の収穫作業が終了したと判定する(ステップST14:Yes)と、記録装置6への記録を終了する。 And the control apparatus 11 calculates the harvest work map HM in order, and records it on the
次に、実施形態1に係る共有システム1のトラクタ101に設けられた制御装置3などの制御の一例について、図6に基いて説明する。図6は、実施形態1に係る作業情報共有システムのトラクタに設けられた制御装置の代掻き作業のフローチャートの一例である。なお、図6に示されたフローチャートの制御ルーチンは、数msないし数十ms毎の制御周期で繰り返し実行される。 Next, an example of control of the
まず、制御装置3は、記録装置6が取り付けられると、記録装置6に記録された情報としての収穫作業マップHMを取得する(ステップST21)。制御装置3は、収穫作業マップHMに基いて、代掻き作業マップTMを作成し、記録装置6に記録するとともに、表示部6aに表示する(ステップST22)。制御装置3は、トラクタ101の傾斜検知センサ及びGPS通信部2などからの情報に基いて、トラクタ101が圃場において代掻き作業中であると判定すると、GPS通信部2からの情報(位置情報)を取得する(ステップST23)。 First, when the
制御装置3は、GPS通信部2からの情報(位置情報)と、代掻き作業マップTMとに基いて、代掻き作業マップTMに規定される代掻き深さ通りに、代掻き装置103の代掻き深さを制御して、代掻き作業を行う(ステップST24)。制御装置3は、トラクタ101の傾斜検知センサ及びGPS通信部2などからの情報に基いて、トラクタ101の代掻き作業が終了したか否かを判定し(ステップST25)、トラクタ101の代掻き作業が終了していないと判定する(ステップST25:No)と、ステップST21に戻り、トラクタ101の代掻き作業が終了したと判定する(ステップST25:Yes)と、代掻き深さの制御を終了する。 Based on the information (position information) from the GPS communication unit 2 and the scraping work map TM, the
次に、実施形態1に係る共有システム1の苗移植機201に設けられた制御装置5などの制御の一例について、図7に基いて説明する。図7は、実施形態1に係る作業情報共有システムの苗移植機に設けられた制御装置の植付作業のフローチャートの一例である。なお、図7に示されたフローチャートの制御ルーチンは、数msないし数十ms毎の制御周期で繰り返し実行される。 Next, an example of control of the control device 5 and the like provided in the
まず、制御装置5は、記録装置6が取り付けられると、記録装置6に記録された情報としての収穫作業マップHMを取得する(ステップST31)。制御装置5は、収穫作業マップHMに基いて、植付作業マップPMを作成し、記録装置6に記録するとともに、表示部6aに表示する(ステップST32)。制御装置5は、苗移植機201の傾斜検知センサ217及びGPS通信部4などからの情報に基いて、苗移植機201が圃場において植付作業中であると判定すると、GPS通信部4からの情報(位置情報)を取得する(ステップST33)。制御装置5は、GPS通信部4からの情報(位置情報)と、植付作業マップPMとに基いて、施肥装置220の施肥量を算出する(ステップST34)。そして、制御装置5は、肥料残量センサ216からの検知結果に基いて、所定時間内において、施肥装置220の肥料ホッパ221に肥料を補充したか否かを判定する(ステップST35)。 First, when the
制御装置5は、施肥装置220の肥料ホッパ221に肥料を補充したと判定する(ステップST35:Yes)と、所定時間、予め定められた所定量を植付作業マップPMで規定される施肥量から減少させて(ステップST36)、施肥装置220から肥料を圃場に供給して植付作業を行う。また、制御装置5は、施肥装置220の肥料ホッパ221に肥料を補充していないと判定する(ステップST35:No)と、植付作業マップPMで規定される施肥量の肥料を施肥装置220から圃場に供給して植付作業を行う。 When determining that the fertilizer is replenished to the
制御装置5は、苗移植機201の傾斜検知センサ217及びGPS通信部4などからの情報に基いて、苗移植機201の苗の植付作業が終了したか否かを判定し(ステップST37)、苗移植機201の植付作業が終了していないと判定すると(ステップST37:No)、ステップST31に戻り、苗移植機201の植付作業が終了したと判定する(ステップST37:Yes)と、植付作業中の苗残量検知センサ228の検知結果及び肥料残量センサ216の検知結果に基いて、苗の植付け量及び施肥量を算出し、苗の植付け量、植付け量に応じた情報としての苗残量検知センサ228の検知回数、施肥量、施肥量に応じた情報としての肥料残量センサ216の検知回数を記録装置6に記録する(ステップST38)。 The control device 5 determines whether or not the seedling transplanting operation of the
次に、実施形態1に係る共有システム1の苗移植機201に設けられた制御装置5などの制御の他の例について、図8に基いて説明する。図8は、実施形態1に係る作業情報共有システムの苗移植機に設けられた制御装置の植付作業の他のフローチャートの一例である。なお、図8に示されたフローチャートの制御ルーチンは、図7に示されたフローチャートの制御ルーチンとともに実行され、数msないし数十ms毎の制御周期で繰り返し実行される。 Next, another example of control of the control device 5 provided in the
まず、制御装置5は、記録装置6が取り付けられると、GPS通信部4からの情報に基いて、現在、植付作業中の圃場の苗の植付け量及び施肥量が記録されているか否かを判定する(ステップST41)。制御装置5は、植付け量及び施肥量が記録されていないと判定する(ステップST41:No)と、ステップST41に戻り、植付け量及び施肥量等が記録されていると判定する(ステップST41:Yes)と、記録装置6に記録された苗残量検知センサ228の検知回数及び肥料残量センサ216の検知回数と、現在植付作業中の実際の苗残量検知センサ228の検知回数及び肥料残量センサ216の検知回数との差が所定量(所定回数)を超えているか否かを判定する(ステップST42)。 First, when the
制御装置5は、記録装置6に記録された苗残量検知センサ228の検知回数及び肥料残量センサ216の検知回数と、植付作業中の実際の苗残量検知センサ228の検知回数及び肥料残量センサ216の検知回数との差が所定量(所定回数)を超えていると判定する(ステップST42:Yes)と、報知装置9に報知させて(ステップST43)、ステップST41に戻る。制御装置5は、記録装置6に記録された苗残量検知センサ228の検知回数及び肥料残量センサ216の検知回数と、植付作業中の実際の苗残量検知センサ228の検知回数及び肥料残量センサ216の検知回数との差が所定量(所定回数)を超えていないと判定する(ステップST42:No)と、ステップST41に戻る。 The control device 5 includes the number of detections of the seedling remaining
次に、本実施形態に係る共有システム1の苗移植機201に設けられた制御装置5のエンジンの燃料噴射量の制御の一例について、図9に基いて説明する。図9は、実施形態1に係る作業情報共有システムの苗移植機に設けられた制御装置のエンジンの燃料噴射量制御のフローチャートの一例である。なお、図9に示されたフローチャートの制御ルーチンは、図7及び図8に示されたフローチャートの制御ルーチンとともに実行され、数msないし数十ms毎の制御周期で繰り返し実行される。 Next, an example of control of the fuel injection amount of the engine of the control device 5 provided in the
まず、制御装置5は、傾斜検知センサ217の検知結果及びGPS通信部4などからの情報に基いて、苗移植機201が苗の植付作業中であると判定すると、深度検知センサ219が苗移植機201に取り付けられているか否かを判定する(ステップST51)。制御装置5は、深度検知センサ219が苗移植機201に取り付けられていると判定する(ステップST51:Yes)と、深度検知センサ219の検知した深度を取得し、予め記録した関係に基いて検知した深度に応じた燃料噴射量を算出する(ステップST52)。制御装置5は、GPS通信部4からの情報(位置情報)を取得する(ステップST53)。制御装置5は、深度検知センサ219の検知した深度と、GPS通信部4からの情報を関連付けて記録装置6に記録するとともに、ステップST52で算出された燃料噴射量でエンジン204に燃料を噴射する(ステップST54)。 First, when the control device 5 determines that the
制御装置5は、深度検知センサ219が苗移植機201に取り付けられていないと判定する(ステップST51:No)と、GPS通信部4からの情報を取得し、現在、苗の植付作業中の圃場のGPS通信部4からの情報と深度検知センサ219の検知した深度とが関連付けられた情報を記録装置6から取得する(ステップST55)。制御装置5は、記録装置6から取得した情報に基いて、エンジン204の燃料噴射量を制御する(ステップST56)。 When the control device 5 determines that the depth detection sensor 219 is not attached to the seedling transplanter 201 (step ST51: No), the control device 5 acquires information from the GPS communication unit 4, and currently undergoes seedling planting work. Information associated with the information from the GPS communication unit 4 in the field and the depth detected by the depth detection sensor 219 is acquired from the recording device 6 (step ST55). The control device 5 controls the fuel injection amount of the
以上のように、実施形態1の共有システム1の構成によれば、コンバイン301の収穫作業中の走行速度とGPS通信部10からの情報とを関連付けて記録装置6に記録し、記録装置6に記録された情報に基いて苗移植機201による植付作業時の施肥量を変更する。このように、作物の成育状況により変化するコンバイン301の走行速度に基いて、例えば走行速度が遅くなる作物が育ちすぎの位置では施肥量を減少するように、施肥量を変更する。このために、作物の生育を圃場全体で安定化させ、品質の安定化や収穫作業時の作業能率の向上を図ることができる。また、コンバイン301と苗移植機201との間で持ち運ぶことができる記録装置6を設けるという簡潔な構成により、作物の生育を圃場全体で安定化させることができるので、コストの高騰を抑制できる。 As described above, according to the configuration of the sharing system 1 of the first embodiment, the traveling speed during the harvesting operation of the
また、実施形態1の共有システム1の構成によれば、コンバイン301の収穫作業中の走行速度とGPS通信部10からの情報とを関連付けて記録装置6に記録し、記録装置6に記録された情報に基いてトラクタ101による代掻き作業時の代掻き深さを変更する。このように、作物の成育状況により変化するコンバイン301の走行速度に基いて、作物の成育状況に影響を与える代掻き深さを、例えば走行速度が遅くなる作物が育ちすぎの位置では肥料が溜まり難くなるように代掻き深さを浅くするように、代掻き深さを変更する。このために、作物の生育を圃場全体で安定化させ、品質の安定化や収穫作業時の作業能率の向上を図ることができる。 Further, according to the configuration of the sharing system 1 of the first embodiment, the traveling speed of the
また、実施形態1の共有システム1の構成によれば、苗移植機201の施肥装置220への肥料の補充後に、施肥装置220の施肥量を所定時間減少させるので、肥料の補充直後に意図しない多量の肥料を圃場に供給してしまうことを抑制できる。したがって、作物の生育を圃場全体で安定化させることができる。 Further, according to the configuration of the sharing system 1 of the first embodiment, the fertilizer application amount of the
また、実施形態1の共有システム1の構成によれば、傾斜検知センサ217が前下がりに所定角度を検知してから前上がりに所定角度を検知するまで即ち圃場に入ってから出るまでの、苗の植付け量を算出する。したがって、計画的な苗の植付作業が可能になり、作業コストの適正化を図ることができる。 Further, according to the configuration of the sharing system 1 of the first embodiment, the seedlings from the time when the
また、実施形態1の共有システム1の構成によれば、傾斜検知センサ217が前下がりに所定角度を検知してから前上がりに所定角度を検知するまで即ち圃場に入ってから出るまでの施肥量を算出する。したがって、計画的な苗の植付作業が可能になり、作業コストの適正化を図ることができる。 In addition, according to the configuration of the sharing system 1 of the first embodiment, the fertilizer application amount from when the
また、実施形態1の共有システム1の構成によれば、記録装置6に記録された苗の植付け量と実際の植付作業中の植付け量との差が所定量を超えると報知装置9に報知させるので、適正な植付け量の苗を植え付けることができ、計画的な苗の植付作業が可能になり、作業コストの適正化を図ることができる。 Further, according to the configuration of the sharing system 1 of the first embodiment, the
また、実施形態1の共有システム1の構成によれば、記録装置6に記録された施肥量と実際の植付作業中の施肥量との差が所定量を超えると報知装置9に報知させるので、適正な施肥量の肥料を圃場に供給することができ、計画的な苗の植付作業が可能になり、作業コストの適正化を図ることができる。 Further, according to the configuration of the sharing system 1 of the first embodiment, the
また、実施形態1の共有システム1の構成によれば、深度検知センサ219が検知した深度に応じて燃料噴射量を制御するので、圃場の深度に合わせた走行トルクを確保でき、深度の深い場所でも圃場の抵抗に負けることなく苗移植機201が走行することができる。したがって、作業能率が向上する。また、深度の浅い場所では、走行トルクを抑制するので、燃料の消費を抑制でき、燃費を向上できる。 In addition, according to the configuration of the sharing system 1 of the first embodiment, the fuel injection amount is controlled according to the depth detected by the depth detection sensor 219. Therefore, it is possible to secure a traveling torque according to the depth of the field, and a place with a deep depth. However, the
[実施形態2]
本発明の実施形態2に係る共有システム1を図面に基いて説明する。実施形態2では、コンバイン301に設けられた制御装置11は、収穫作業中において、GPS通信部10からの情報と、収穫量検知センサ314の検知した収穫量とを関連付けて、収穫作業マップHMを算出して、記録装置6に記録する。[Embodiment 2]
A sharing system 1 according to Embodiment 2 of the present invention will be described with reference to the drawings. In the second embodiment, the control device 11 provided in the
実施形態2の収穫作業マップHMでは、収穫作業で実際にコンバイン301が圃場内で走行した走行経路RTと、走行経路RTの複数の位置RPの位置情報と、各位置RPでの収穫量検知センサ314の検知結果即ちコンバイン301の収穫量とが示されている。即ち、実施形態2の収穫作業マップHMでは、走行経路RTの複数の位置RPの位置情報と、各位置RPでの収穫量検知センサ314の検知結果であるコンバイン301の収穫作業に関する情報としての収穫量とが1対1の関係で関連付けられている。 In the harvesting work map HM of the second embodiment, the traveling route RT in which the
実施形態2では、トラクタ101に設けられた制御装置3は、記録装置6に記録された収穫作業マップHMに基いて、代掻き作業マップTMを算出するにあたって、収穫作業時のコンバイン301の収穫量と代掻き作業時のトラクタ101の代掻き装置103の代掻き深さとの関係を予め記録しておき、この予め記録された関係に基いて、圃場の各位置毎のトラクタ101の代掻き深さを算出する。なお、予め記録された関係は、適宜設定することができる。 In the second embodiment, the
具体的には、制御装置3は、収穫作業時のコンバイン301の収穫量が多くなるのにしたがって、代掻き作業時のトラクタ101の代掻き深さが浅くなるように、代掻き作業マップTMを算出する。こうして、制御装置3は、記録装置6に記録された情報としての収穫作業マップHMに基いて、圃場のコンバイン301の収穫量が所定量を超える位置では、所定量以下である位置よりも、トラクタ101の代掻き装置103の代掻き深さを浅くさせる。これは、コンバイン301の収穫量が多くなるのにしたがって作物が育ちすぎているからであり、トラクタ101の代掻き深さを浅くすることで、肥料の堆積を抑制して作物が育ちすぎることを抑制できるからである。 Specifically, the
実施形態2では、苗移植機201に設けられた制御装置5は、記録装置6に記録された収穫作業マップHMに基いて、植付作業マップPMを算出するにあたって、収穫作業時のコンバイン301の収穫量と植付作業時の苗移植機201の施肥装置220の施肥量との関係を予め記録しておき、この予め記録された関係に基いて、圃場の各位置毎の苗移植機201の施肥装置220の施肥量を算出する。なお、予め記録された関係は、適宜設定することができる。 In the second embodiment, the control device 5 provided in the
具体的には、制御装置5は、収穫作業時のコンバイン301の収穫量が多くなるのにしたがって、植付作業時の苗移植機201の施肥装置220の施肥量が減少するように、植付作業マップPMを算出する。こうして、制御装置5は、記録装置6に記録された情報としての収穫作業マップHMに基いて、圃場のコンバイン301の収穫量が所定量を超える位置では、所定量以下である位置よりも、施肥装置220の施肥量を減少させる。これは、コンバイン301の収穫量が多くなるのにしたがって作物が育ちすぎているからであり、施肥量を減少させることで、作物が育ちすぎることを抑制できるからである。 Specifically, the control device 5 plantes so that the fertilization amount of the
次に、実施形態2に係る共有システム1のコンバイン301に設けられた制御装置11などの制御の一例について、図15に基いて説明する。図15は、実施形態2に係る作業情報共有システムのコンバインに設けられた制御装置の収穫作業マップを記録装置に記録するフローチャートの一例である。なお、図15に示されたフローチャートの制御ルーチンは、数msないし数十ms毎の制御周期で繰り返し実行される。 Next, an example of control of the control apparatus 11 provided in the
まず、制御装置11は、コンバイン301の傾斜検知センサ及びGPS通信部10などからの情報に基いて、コンバイン301が圃場において収穫作業中であると判定すると、収穫量検知センサ314の検知結果(収穫量)を取得する(ステップST11a)。制御装置11は、GPS通信部10からの情報(位置情報)を取得し(ステップST12)、GPS通信部10からの情報(位置情報)と、収穫量検知センサ314の検知結果(収穫量)とを1対1の関係で関連付けて、記録装置6に記録する。また、制御装置11は、GPS通信部10からの情報(位置情報)に基いて、コンバイン301の走行経路RTを算出して、走行経路RTを記録装置6に記録する。 First, when the control device 11 determines that the
そして、制御装置11は、収穫作業マップHMを順に算出して、記録装置6に順に記録する(ステップST13a)。制御装置11は、コンバイン301の傾斜検知センサ及びGPS通信部10などからの情報に基いて、コンバイン301の収穫作業が終了したか否かを判定し(ステップST14)、コンバイン301の収穫作業が終了していないと判定する(ステップST14:No)と、ステップST11aに戻り、コンバイン301の収穫作業が終了したと判定する(ステップST14:Yes)と、記録装置6への記録を終了する。 And the control apparatus 11 calculates the harvest work map HM in order, and records it on the
次に、実施形態2に係る共有システム1のトラクタ101に設けられた制御装置3などの制御の一例について、図16に基いて説明する。図16は、実施形態2に係る作業情報共有システムのトラクタに設けられた制御装置の代掻き作業のフローチャートの一例である。なお、図16に示されたフローチャートの制御ルーチンは、数msないし数十ms毎の制御周期で繰り返し実行される。 Next, an example of control of the
まず、制御装置3は、記録装置6が取り付けられると、記録装置6に記録された情報としての収穫作業マップHMを取得する(ステップST21)。制御装置3は、収穫作業マップHMに基いて、代掻き作業マップTMを作成し、記録装置6に記録するとともに、表示部6aに表示する(ステップST22)。制御装置3は、トラクタ101の傾斜検知センサ及びGPS通信部2などからの情報に基いて、トラクタ101が圃場において代掻き作業中であると判定すると、GPS通信部2からの情報(位置情報)を取得する(ステップST23)。制御装置3は、GPS通信部2からの情報(位置情報)と、代掻き作業マップTMとに基いて、代掻き作業マップTMに規定される代掻き深さ通りに、代掻き装置103の代掻き深さを制御して、代掻き作業を行う(ステップST24)。 First, when the
制御装置3は、トラクタ101の傾斜検知センサ及びGPS通信部2などからの情報に基いて、トラクタ101の代掻き作業が終了したか否かを判定し(ステップST25)、トラクタ101の代掻き作業が終了していないと判定する(ステップST25:No)と、ステップST21に戻り、トラクタ101の代掻き作業が終了したと判定する(ステップST25:Yes)と、代掻き深さ制御を終了する。 Based on the information from the tilt detection sensor of the
次に、実施形態2に係る共有システム1の苗移植機201に設けられた制御装置5などの制御の一例について、図17に基いて説明する。図17は、実施形態2に係る作業情報共有システムの苗移植機に設けられた制御装置の植付作業のフローチャートの一例である。なお、図17に示されたフローチャートの制御ルーチンは、数msないし数十ms毎の制御周期で繰り返し実行される。 Next, an example of control of the control device 5 and the like provided in the
まず、制御装置5は、記録装置6が取り付けられると、記録装置6に記録された情報としての収穫作業マップHMを取得する(ステップST31)。制御装置5は、収穫作業マップHMに基いて、植付作業マップPMを作成し、記録装置6に記録するとともに、表示部6aに表示する(ステップST32)。制御装置5は、苗移植機201の傾斜検知センサ217及びGPS通信部4などからの情報に基いて、苗移植機201が圃場において植付作業中であると判定すると、GPS通信部4からの情報(位置情報)を取得する(ステップST33)。制御装置5は、GPS通信部4からの情報(位置情報)と、植付作業マップPMとに基いて、施肥装置220の施肥量を算出する(ステップST34)。 First, when the
そして、制御装置5は、肥料残量センサ216からの検知結果に基いて、所定時間内において、施肥装置220の肥料ホッパ221に肥料を補充したか否かを判定する(ステップST34)。制御装置5は、施肥装置220の肥料ホッパ221に肥料を補充したと判定する(ステップST35:Yes)と、所定時間、予め定められた所定量を植付作業マップPMで規定される施肥量から減少させて(ステップST36)、施肥装置220から肥料を圃場に供給して植付作業を行う。また、制御装置5は、施肥装置220の肥料ホッパ221に肥料を補充していないと判定する(ステップST35:No)と、植付作業マップPMで規定される施肥量の肥料を施肥装置220から圃場に供給して植付作業を行う。 And the control apparatus 5 determines whether the fertilizer was replenished to the
制御装置5は、苗移植機201の傾斜検知センサ217及びGPS通信部4などからの情報に基いて、苗移植機201の苗の植付作業が終了したか否かを判定し(ステップST37)、苗移植機201の植付作業が終了していないと判定すると(ステップST37:No)、ステップST31に戻り、苗移植機201の植付作業が終了したと判定する(ステップST37:Yes)と、植付作業中の苗残量検知センサ228の検知結果及び肥料残量センサ216の検知結果に基いて、苗の植付け量及び施肥量を算出し、苗の植付け量、植付け量に応じた情報としての苗残量検知センサ228の検知回数、施肥量、施肥量に応じた情報としての肥料残量センサ216の検知回数を記録装置6に記録する(ステップST38)。 The control device 5 determines whether or not the seedling transplanting operation of the
実施形態2の共有システム1の構成によれば、コンバイン301の収穫作業中の収穫量とGPS通信部10からの情報とを関連付けて記録装置6に記録し、記録装置6に記録された情報に基いて苗移植機201による植付作業時の施肥量を変更する。このように、作物の成育状況により変化するコンバイン301の収穫量に基いて、施肥量を変更するので、作物の生育を圃場全体で安定化させ、品質の安定化や収穫作業時の作業能率の向上を図ることができる。また、コンバイン301と苗移植機201との間で持ち運ぶことができる記録装置6を設けるという簡潔な構成により、作物の生育を圃場全体で安定化させることができるので、コストの高騰を抑制できる。 According to the configuration of the sharing system 1 of the second embodiment, the harvest amount during the harvesting operation of the
また、実施形態2の共有システム1の構成によれば、コンバイン301の収穫作業中の収穫量とGPS通信部10からの情報とを関連付けて記録装置6に記録し、記録装置6に記録された情報に基いてトラクタ101による代掻き作業時の代掻き深さを変更する。このように、作物の成育状況により変化するコンバイン301の収穫量に基いて、作物の成育状況に影響を与える代掻き深さを変更するので、作物の生育を圃場全体で安定化させ、品質の安定化や収穫作業時の作業能率の向上を図ることができる。 Further, according to the configuration of the sharing system 1 of the second embodiment, the harvest amount during the harvesting operation of the
なお、本発明は上記実施形態や変形例に限定されるものではない。即ち、本発明の骨子を逸脱しない範囲で種々変形して実施することができる。例えば、苗移植機201では、苗植付装置203を取り外して、種まき機を取り付け、コンバイン301の収穫作業時に得た情報に基いて、苗移植機201の種まき機からの種まき量を制御しても良い。さらに、苗移植機201のセンターフロート231aの回動し易さを、圃場の硬さに対応して変更しても良い。 In addition, this invention is not limited to the said embodiment and modification. That is, various modifications can be made without departing from the scope of the present invention. For example, the
1 作業情報共有システム
3 制御装置(代掻き制御装置)
5 制御装置
6 記録装置
9 報知装置
10 GPS通信部
101 トラクタ(第3の作業車両)
103 代掻き装置
201 苗移植機(第2の作業車両)
202 走行車体(機体)
204 エンジン
216 肥料残量センサ
217 傾斜検知センサ
219 深度検知センサ
220 施肥装置
222 苗植付部
228 苗残量検知センサ
201 コンバイン(第1の作業車両)
308 速度検知センサ
314 収穫量検知センサ1 Work
5
103
202 Car body (airframe)
308
| Application Number | Priority Date | Filing Date | Title |
|---|---|---|---|
| JP2013067474AJP2014187954A (en) | 2013-03-27 | 2013-03-27 | Work information sharing system |
| Application Number | Priority Date | Filing Date | Title |
|---|---|---|---|
| JP2013067474AJP2014187954A (en) | 2013-03-27 | 2013-03-27 | Work information sharing system |
| Publication Number | Publication Date |
|---|---|
| JP2014187954Atrue JP2014187954A (en) | 2014-10-06 |
| Application Number | Title | Priority Date | Filing Date |
|---|---|---|---|
| JP2013067474APendingJP2014187954A (en) | 2013-03-27 | 2013-03-27 | Work information sharing system |
| Country | Link |
|---|---|
| JP (1) | JP2014187954A (en) |
| Publication number | Priority date | Publication date | Assignee | Title |
|---|---|---|---|---|
| CN105638052A (en)* | 2014-11-28 | 2016-06-08 | 井关农机株式会社 | Farm work support system |
| JP2016154501A (en)* | 2015-02-25 | 2016-09-01 | 井関農機株式会社 | Agricultural work support system |
| JP2018068231A (en)* | 2016-10-31 | 2018-05-10 | 井関農機株式会社 | Working vehicle |
| JP2019004844A (en)* | 2017-06-28 | 2019-01-17 | 株式会社クボタ | Work vehicle |
| JP2019046401A (en)* | 2017-09-07 | 2019-03-22 | ヤンマー株式会社 | Leveling work area specification system |
| WO2019117094A1 (en) | 2017-12-15 | 2019-06-20 | 株式会社クボタ | Slip determination system, travel path generation system, and field work vehicle |
| WO2022004192A1 (en)* | 2020-06-30 | 2022-01-06 | 株式会社クボタ | Display device for operation machine |
| Publication number | Priority date | Publication date | Assignee | Title |
|---|---|---|---|---|
| CN105638052A (en)* | 2014-11-28 | 2016-06-08 | 井关农机株式会社 | Farm work support system |
| JP2016154501A (en)* | 2015-02-25 | 2016-09-01 | 井関農機株式会社 | Agricultural work support system |
| JP2018068231A (en)* | 2016-10-31 | 2018-05-10 | 井関農機株式会社 | Working vehicle |
| JP2019004844A (en)* | 2017-06-28 | 2019-01-17 | 株式会社クボタ | Work vehicle |
| US11317555B2 (en) | 2017-06-28 | 2022-05-03 | Kubota Corporation | Work vehicle |
| JP2019046401A (en)* | 2017-09-07 | 2019-03-22 | ヤンマー株式会社 | Leveling work area specification system |
| WO2019117094A1 (en) | 2017-12-15 | 2019-06-20 | 株式会社クボタ | Slip determination system, travel path generation system, and field work vehicle |
| KR20200096503A (en) | 2017-12-15 | 2020-08-12 | 가부시끼 가이샤 구보다 | Slip determination system, travel path generation system, and pavement vehicle |
| US11895937B2 (en) | 2017-12-15 | 2024-02-13 | Kubota Corporation | Slip determination system, travel path generation system, and field work vehicle |
| WO2022004192A1 (en)* | 2020-06-30 | 2022-01-06 | 株式会社クボタ | Display device for operation machine |
| JP2022011669A (en)* | 2020-06-30 | 2022-01-17 | 株式会社クボタ | Display device of work machine |
| JP7341954B2 (en) | 2020-06-30 | 2023-09-11 | 株式会社クボタ | Work equipment display device |
| Publication | Publication Date | Title |
|---|---|---|
| JP2014187954A (en) | Work information sharing system | |
| EP3725632B1 (en) | Travel path generation system and field work vehicle | |
| US8738244B2 (en) | Agricultural machine having a system for automatic setting of a working parameter, and associated method | |
| JP6956620B2 (en) | Travel route generation system and field work vehicle | |
| JP6704130B2 (en) | Agricultural work support system | |
| US20180035622A1 (en) | Method for optimizing an operating parameter of a machine for application of agricultural material to a field and a corresponding machine | |
| JP2014187953A (en) | Work information sharing system | |
| JP4057196B2 (en) | Combine harvester mapping device | |
| US12382849B2 (en) | Systems comprising agricultural implements connected to lifting hitches and related control systems and methods | |
| JP6976088B2 (en) | Travel route setting system and aerial work platform | |
| JP2016101145A5 (en) | ||
| JP2016101145A (en) | Farm work support system | |
| JP2020113121A (en) | Farming system | |
| JP2020113122A (en) | Farming system | |
| WO2021131670A1 (en) | Work machine | |
| US20240244988A1 (en) | Working machine | |
| JP2022092209A (en) | Work vehicle | |
| JP7403741B2 (en) | transplant machine | |
| JP2016149974A (en) | Work vehicle | |
| JP7713176B2 (en) | Work vehicles | |
| JP2021023223A (en) | Work support device, work support system, work-related information management device, and work-related information management system | |
| JP6651907B2 (en) | Work vehicle | |
| JP7331984B1 (en) | work vehicle | |
| JP7615506B2 (en) | Work vehicles | |
| US20240196779A1 (en) | Working machine |