















































































本発明は、外科用器具に関連し、様々な実施形態において、外科用切断及びステープリング器具、並びにステープルカートリッジ(したがってこれらは組織を切断及びステープリングするように設計される)に関連する。 The present invention relates to surgical instruments and, in various embodiments, to surgical cutting and stapling instruments, and staple cartridges (thus they are designed to cut and staple tissue).
内視鏡外科用器具は、多くの場合、より小さな切開部が手術後の回復時間及び合併症を低減させる傾向にあるために、従来の開腹手術装置よりも好ましい。したがって、トロカールのカニューレを通じて所望の手術部位に正確に配置するのに適した広範囲の内視鏡外科器具が開発されるに到った。これらの遠位端エンドエフェクタは診断又は治療効果を得るために様々な接触の仕方で組織と接触する(例えば、エンドカッター、把持器、カッター、ステープラー、クリップ適用器、アクセス装置、薬剤/遺伝子送達装置、及び超音波、高周波、レーザーなどを使用するエネルギー装置など)。 Endoscopic surgical instruments are often preferred over conventional open surgical devices because smaller incisions tend to reduce post-surgery recovery time and complications. Accordingly, a wide range of endoscopic surgical instruments suitable for precise placement at the desired surgical site through the trocar cannula has been developed. These distal end effectors contact the tissue in various ways to obtain a diagnostic or therapeutic effect (eg, end cutter, grasper, cutter, stapler, clip applier, access device, drug / gene delivery) Devices, and energy devices that use ultrasound, high frequency, lasers, etc.).
多くの内視鏡外科用用途において、特定の外科手術を達成するために必要なだけの大きさのみを有する、エンドエフェクタを利用することが望ましい。小さなエンドエフェクタは、手術部位のより良好な視認性をもたらす。小さなエンドエフェクタはまた小さな空間における良好なアクセス及び操作を可能にする。このようなエンドエフェクタの設計者は、小さなエンドエフェクタを開発しようとする際に、多くの課題に直面する。小さなエンドエフェクタ及び、より具体的に、組織を切断及びステープリングするように設計された小さなエンドカッターを操作する能力は、ステープルと切断された組織とが直線を形成するために一般的に必要とされる作動力の規模により阻害される。このような作動力はまた、処理される組織の厚さ及び成分により変化し得る。例えば、厚い組織を切断及びステープリングするために、より大きな作動力が一般的に必要とされる。一方で、より薄い組織を切断及びステープリングするために必要とされる作動力の規模は、一般的により小さい。したがって、多くの既存のエンドカッターは典型的には、特定の範囲の組織厚さに適合するように構成された、堅牢なアンビル閉鎖システム及びステープル駆動システムを利用する。このような装置は、しかしながら、より薄い組織を処理するために好適でない場合が多い。 In many endoscopic surgical applications, it is desirable to utilize an end effector that is only as large as necessary to accomplish a particular surgical procedure. A small end effector provides better visibility of the surgical site. A small end effector also allows good access and manipulation in a small space. Such end effector designers face many challenges when trying to develop small end effectors. The ability to manipulate small end effectors and, more specifically, small end cutters designed to cut and staple tissue, is typically required for staples and cut tissue to form a straight line. Is hindered by the magnitude of the actuating force applied. Such actuation forces can also vary with the thickness and composition of the tissue being processed. For example, higher actuation forces are generally required to cut and stap thick tissue. On the other hand, the magnitude of the actuation force required to cut and staple thinner tissue is generally smaller. Thus, many existing end cutters typically utilize a robust anvil closure system and staple drive system that is configured to fit a specific range of tissue thicknesses. Such devices, however, are often not suitable for processing thinner tissue.
従来のエンドカッター装置はまた一般的に、組織において切断部の両側でステープルが駆動及び形成される際に、組織を切断する。これらの装置は、組織が切断及び締結されることを必要とする、これらの手術において非常に有効であるが、これらは外科医に、組織を切断せずに締結具を挿入するという選択肢を与えない。同様に、アクセスを改善するために、様々な形態の作動エンドカッターが開発されてきたが、このような装置において一般的に利用される構成要素は、十分な発射及び閉鎖力を生成し、装置のハンドルからエンドエフェクタに伝達し得る構造に適合するために実質的に十分なものでなければならない。したがって、このようなエンドエフェクタは、身体内の狭い空間に効果的にアクセスするためには大きすぎる場合が多い。 Conventional end cutter devices also generally cut tissue as the staples are driven and formed on both sides of the cut in the tissue. While these devices are very effective in these procedures where the tissue needs to be cut and fastened, they do not give the surgeon the option of inserting the fastener without cutting the tissue . Similarly, various forms of actuated end cutters have been developed to improve access, but components commonly utilized in such devices generate sufficient firing and closing forces, and the device Must be substantially sufficient to accommodate a structure that can be transmitted from the handle of the device to the end effector. Accordingly, such end effectors are often too large to effectively access a narrow space within the body.
したがって、上記の課題の多くに対処する、外科用切断及びステープリング器具並びにステープルカートリッジ構成に対する必要性が存在する。 Accordingly, there is a need for a surgical cutting and stapling instrument and staple cartridge configuration that addresses many of the above challenges.
上述の議論は、本発明の分野にその当時に存在した欠点のいくつかを説明することのみを意図したものであり、特許請求の範囲を否定するものとみなされるべきではない。 The above discussion is intended only to illustrate some of the disadvantages present in the field of the invention at that time and should not be construed as denying the scope of the claims.
少なくとも1つの形態の少なくとも1つの一般的な態様により、そこに細長いスパイン部材が動作可能に取り付けられた、ハンドルアセンブリを含む、外科用器具が提供される。エンドエフェクタの近位端は、細長いスパイン部材に動作可能に連結され得る。エンドエフェクタは、そこに発射運動が適用される際に、第2ジョーに対して選択的に可動である、第1ジョーを有する。発射部材は、細長いスパイン部材に対して可動に支持され、第2ジョーを開放位置から閉位置へと動かすために、エンドエフェクタの第2ジョーに発射運動を選択的に適用するように構成される。発射トリガーは、ハンドルアセンブリによって支持され、発射部材が、第2ジョーに発射運動を適用するように、発射部材と動作可能に連動する。様々な実施形態において、外科用器具は、細長いスパイン部材に対して可動に支持されたナイフ部材を含み、発射運動とは別の切断運動をそこに適用した際に、エンドエフェクタの近位端に隣接する非作動位置から、エンドエフェクタの遠位端の作動位置へと可動である、選択的に作動可能な切断システムを更に含む。ナイフ前進トリガーは、ハンドルアセンブリによって支持され、そこに切断運動を任意により適用するためにナイフ部材と動作可能に連動する。 In accordance with at least one general aspect of at least one form, a surgical instrument is provided that includes a handle assembly having an elongated spine member operably attached thereto. The proximal end of the end effector can be operably coupled to the elongated spine member. The end effector has a first jaw that is selectively movable relative to the second jaw when a firing motion is applied thereto. The firing member is movably supported with respect to the elongated spine member and is configured to selectively apply a firing motion to the second jaw of the end effector to move the second jaw from the open position to the closed position. . The firing trigger is supported by the handle assembly and is operatively associated with the firing member such that the firing member applies a firing motion to the second jaw. In various embodiments, the surgical instrument includes a knife member that is movably supported relative to the elongated spine member at the proximal end of the end effector when a cutting motion separate from the firing motion is applied thereto. It further includes a selectively actuable cutting system that is movable from an adjacent non-actuated position to an actuated position at the distal end of the end effector. A knife advance trigger is supported by the handle assembly and is operatively associated with the knife member to optionally apply a cutting motion thereto.
少なくとも一形態の他の一般的な態様により、内部に埋め込み可能なステープルを動作可能に支持するように構成された、第1ジョー部材を有する、外科用器具が提供される。第2ジョー部材が第1ジョー部材に対して可動に支持され、そこに発射運動を適用した際に、第2ジョー部材が第1ジョー部材の埋め込み可能なステープルカートリッジから離間している開放位置から、第1ジョー部材と第2ジョー部材との間で埋め込み可能なステープルカートリッジを圧縮する閉鎖位置へと選択的に可動である。ナイフ部材は、第1及び第2ジョー部材に対して動作可能に支持され、発射運動とは別の切断運動をそこに適用した際に、第1ジョー部材の第1端部における非作動位置から、第1ジョー部材の第2端部の作動位置へと選択的に可動である。 According to another general aspect of at least one form, a surgical instrument is provided having a first jaw member configured to operably support an implantable staple therein. When the second jaw member is movably supported relative to the first jaw member and the firing motion is applied thereto, the second jaw member is spaced from the implantable staple cartridge of the first jaw member. , Selectively movable to a closed position for compressing the implantable staple cartridge between the first jaw member and the second jaw member. The knife member is operatively supported with respect to the first and second jaw members, and when applied thereto with a cutting motion different from the firing motion, from a non-actuated position at the first end of the first jaw member. , Selectively movable to the operating position of the second end of the first jaw member.
少なくとも一形態の、更に他の一般的な態様により、ハンドルアセンブリ及びそこに回転可能に取り付けられた細長いシャフトアセンブリを有する、外科用器具が提供される。細長いシャフトアセンブリは、ハンドルアセンブリに対し、長手方向軸を中心に選択的に回転可能である。様々な実施形態において、細長いシャフトアセンブリは、遠位端を有する、細長いスパイン部材を含む。発射管は、細長いスパイン部材上で軸方向に可動である。外科用器具は、細長いスパイン部材の遠位端に連結可能であり、これと共に、長手方向軸を中心に回転移動する、細長いチャネルを有する、エンドエフェクタを更に含む。アンビルは、細長いチャネルに対して可動に支持され、発射管によってそこに発射運動を適用した際に、開放位置と閉鎖位置との間で可動である。外科用器具は、ハンドルアセンブリに動作可能に支持される、発射トリガーを更に有する。発射トリガーは、発射トリガーの作動により発射管がアンビルに発射運動を適用するように、発射管と連動する。ナイフ部材は、細長いシャフト内に可動に支持され、発射運動とは別の切断運動がそこに適用された際に、スパイン部材の遠位端に隣接する非作動位置から、細長いチャネルの遠位端の作動位置へと選択的に可動である。ナイフ前進トリガーは、ハンドルアセンブリ上に動作可能に支持され、そこに切断運動を選択的に適用するために、ナイフ管と連動するように構成される。 According to yet another general aspect of at least one form, a surgical instrument is provided having a handle assembly and an elongate shaft assembly rotatably mounted thereon. The elongate shaft assembly is selectively rotatable about the longitudinal axis with respect to the handle assembly. In various embodiments, the elongate shaft assembly includes an elongate spine member having a distal end. The firing tube is axially movable on the elongated spine member. The surgical instrument further includes an end effector having an elongated channel that is connectable to the distal end of the elongated spine member and rotationally moves about the longitudinal axis. The anvil is movably supported with respect to the elongated channel and is movable between an open position and a closed position when a firing motion is applied thereto by the launch tube. The surgical instrument further has a firing trigger operatively supported on the handle assembly. The firing trigger is interlocked with the launch tube such that actuation of the launch trigger causes the launch tube to apply a firing motion to the anvil. The knife member is movably supported within the elongate shaft from a non-actuated position adjacent to the distal end of the spine member when a cutting motion separate from the firing motion is applied thereto. Is selectively movable to the operating position. A knife advance trigger is operably supported on the handle assembly and is configured to interface with the knife tube to selectively apply a cutting motion thereto.
本発明の上記の、並びに他の特徴及び利点、並びにそれらを実現する方法は、本発明の実施形態の以下の説明文を添付の図面と併せて参照することでより明らかとなり、また発明自体のより深い理解が得られるであろう。
対応する参照符合は、複数の図面を通じて対応する部材を示す。本明細書において説明される例示は、一形態における本明細書の好ましい実施形態を例示し、このような例示はいかなる方法においても本発明の範囲を制限するものとして解釈されるべきではない。 Corresponding reference characters indicate corresponding parts throughout the several views. The illustrations described herein illustrate preferred embodiments of the specification in one form and such illustration should not be construed as limiting the scope of the invention in any way.
本出願の出願人はまた、本明細書と同日に出願され、それらの全ての内容がそれぞれ、参照によって本明細書に組み込まれる、以下に示す米国特許出願も所有する。
米国特許出願番号第______、表題「Surgical Stapling Instrument With a Variable Staple Forming System」、代理人整理番号第END6848USNP/100533号、
米国特許出願番号第_______、表題「Surgical Stapling Instrument With Interchangeable Staple Cartridge Arrangements」、代理人整理番号第END6849USNP/100534号、
米国特許出願番号第号_______、表題「Surgical Stapling Instrument With Compact Articulation Control Arrangement」、代理人整理番号第END6847USNP/100532号、
米国特許出願番号第_______、表題「Jaw Closure Arrangements For Surgical Instruments」、代理人整理番号第END6736USNP/100060号、
米国特許出願番号第_______、表題「Surgical Instruments With Reconfigurable Shaft Segments」、代理人整理番号第END6734USNP/100058号、
米国特許出願番号第_______、表題「Surgical Staple Cartridges Supporting Non−Linearly Arranged Staples and Surgical Stapling Instruments With Common Staple−Forming Pockets」、代理人整理番号第END6735USNP/100059号、
米国特許出願番号第号_______、表題「Surgical Staple Cartridges With Detachable Support Structures and Surgical Stapling Instruments With Systems For Preventing Actuation Motions When a Cartridge is Not Present」、代理人整理番号第END6855USNP/100540号、
米国特許出願番号第号_______、表題「Implantable Fastener Cartridge Having a Non−Uniform Arrangement」、代理人整理番号第END6840USNP/100525号、
米国特許出願番号第号_______、表題「Implantable Fastener Cartridge Comprising a Support Retainer」、代理人整理番号第END6841USNP/100526号、
米国特許出願番号_______、表題「Implantable Fastener Cartridge Comprising Multiple Layers」、代理人整理番号第END6842USNP/100527号、
米国特許出願番号第、表題「Selectively Orientable Implantable Fastener Cartridge」、代理人整理番号第END6843USNP/100528号、
米国特許出願番号第_______、表題「Implantable Fastener Cartridge Comprising Bioabsorbable Layers」、代理人整理番号第END6856USNP/100541号、
米国特許出願番号第_______、表題「Compressible Fastener Cartridge」、代理人整理番号第END6857USNP/100542号、
米国特許出願番号第_______、表題「Fasteners Supported By a Fastener Cartridge Support」、代理人整理番号第END6858USNP/100543号、
米国特許出願番号第_______、表題「Collapsible Fastener Cartridge」、代理人整理番号第END6859USNP/100544号、
米国特許出願番号第_______、表題「Fastener System Comprising a Plurality of Connected Retention Matrix Elements」、代理人整理番号第END6860USNP/100546号、
米国特許出願番号第_______、表題「Fastener System Comprising a Retention Matrix and an Alignment Matrix」、代理人整理番号第END6861USNP/100547号、
米国特許出願番号第_______、表題「Fastener System Comprising a Retention Matrix」、代理人整理番号第END6862USNP/100548号、
米国特許出願番号第_______、表題「Fastening Instrument For Deploying a Fastener System Comprising a Retention Matrix」、代理人整理番号第END6863USNP/100549号、
米国特許出願番号第_______、表題「Fastener System Comprising a Retention Matrix and a Cover」、代理人整理番号第END6864USNP/100550号、
米国特許出願番号第_______、表題「Fastener System Comprising a Plurality of Fastener Cartridges」、代理人整理番号第END6865USNP/100551号。The applicant of this application also owns the following US patent applications filed on the same day as this specification, the entire contents of each of which are hereby incorporated by reference:
U.S. Patent Application No. ______, title "Surgical Stapling Instrument With a Variable Stable Forming System", Attorney Docket No. END6848USNP / 100353,
U.S. Patent Application No. _______, title "Surgical Stapling Instrument With Interchangeable Stable Cartridge Arrangements", Attorney Docket No. END6849USNP / 100534,
U.S. Patent Application No. _______, title “Surgical Stapling Instrument With Compact Control Control Arrangement”, Attorney Docket No. END 6847 USNP / 100532,
U.S. Patent Application No. _______, title "Jaw Closure Arrangements For Surgical Instruments", Attorney Docket No. END6736USNP / 100060,
U.S. Patent Application No. _______, title “Surgical Instruments With Reconfigurable Shaft Segments”, Attorney Docket No. END 6734 USNP / 100058,
U.S. Patent Application No. ______, title "Surgical Stapled Cartridges Supporting Non-Linearly Arranged Staples and Surgical Stapling Instruments No.
US patent application Ser. No. ______, entitled "Surgical Staple Cartridges With Detachable Support Structures and Surgical Stapling Instruments With Systems For Preventing Actuation Motions When a Cartridge is Not Present", Attorney Docket No. END6855USNP / 100540,
U.S. Patent Application No. _______, title “Implantable Fastener Carriage Harving a Non-Uniform Arrangement”, Attorney Docket No.
U.S. Patent Application No. _______, title "Implantable Fastener Carrying Completing a Support Retainer", Attorney Docket No. END6841USNP / 100526,
US patent application number _______, title "Implantable Fastener Cartridge Multiple Layers", Attorney Docket No. END6842USNP / 100527,
US Patent Application No., title “Selectively Orientable Implantable Fastener Cartridge”, Attorney Docket No. END6843USNP / 100528,
U.S. Patent Application No. ______, title "Implantable Fastener Cartridge Combining Bioabsorbable Layers", Attorney Docket No. END6856 USNP / 100541,
US Patent Application No. _______, title “Compressible Fastener Cartridge”, Attorney Docket No. END6857USNP / 100542.
United States Patent Application No. _______, title “Fasteners Supported By a Fastener Cartridge Support”, Attorney Docket No. END6858 USNP / 100543,
US patent application number _______, title "Collapsible Fastener Cartridge", Attorney Docket Number END6859USNP / 100544,
US Patent Application No. _______, title “Fastener System Compiling a Plurality of Connected Retention Matrix Elements”, Attorney Docket No. END6860USNP / 100546,
U.S. Patent Application No. _______, title "Faster Designer Completing a Retention Matrix and an Alignment Matrix", Attorney Docket No. END6861 USNP / 100547,
U.S. Patent Application No. _______, title "Fastener System Compiling a Retention Matrix", Attorney Docket No. END 6862 USNP / 100548,
US Patent Application No. _______, title “Fasting Instrument For Developing a Fastener System Compiling a Retention Matrix”, Attorney Docket No. END 6863USNP / 100549,
US Patent Application No. _______, title “Fastener System Compiling a Retention Matrix and a Cover”, Attorney Docket No. END 6864 USNP / 100550,
US patent application number ______, title "Fastener System Compiling a Plurality of Fastener Cartridges", Attorney Docket No. END6865USNP / 100551.
本明細書に開示される装置並びに方法の構造、機能、製造、及び使用の原理の全体的な理解が与えられるよう、特定の例示的実施形態について以下に説明する。これらの実施形態の1以上の例を添付図面に示す。本明細書で詳細に説明され、添付の図面に示される装置及び方法は、非限定的な例示的実施形態であること、並びに、本発明の各種の実施形態の範囲は、特許請求の範囲によってのみ定義されることは、当業者には理解されよう。ある例示的実施形態に関連して例示又は説明される特徴は、他の実施形態の特徴と組み合わせることができる。そのような改変及び変形は、本発明の範囲に含まれるものとする。 Certain exemplary embodiments are described below to provide an overall understanding of the principles of structure, function, manufacture, and use of the devices and methods disclosed herein. One or more examples of these embodiments are illustrated in the accompanying drawings. The devices and methods described in detail herein and illustrated in the accompanying drawings are non-limiting exemplary embodiments, and the scope of the various embodiments of the present invention is defined by the claims. It will be understood by those skilled in the art that only be defined. Features illustrated or described in connection with one exemplary embodiment may be combined with features of other embodiments. Such modifications and variations are intended to be included within the scope of the present invention.
本明細書全体を通して、「様々な実施形態」、「いくつかの実施形態」、「一実施形態」、又は「実施形態」等の参照は、その実施形態との関連において記述されている特定の特徴、構造、又は特性が、少なくとも1つの実施形態に含まれることを意味する。したがって、本明細書全体を通して複数の場所に出現する「様々な実施形態では」、「いくつかの実施形態では」、「一実施形態では」、又は「実施形態では」等のフレーズは、必ずしも全てが同一の実施形態を指すものではない。更に、特定の特徴、構造、又は特性は、1つ又は2つ以上の実施形態で、任意の好適なやり方で組み合わせることができる。故に、一実施形態に関して図示又は記載される特定の特徴、構造、又は特性は、1つ又は2つ以上の他の実施形態の特徴、構造、又は特性と、全体として又は部分的に、制限なしに組み合わせることができる。そのような改変及び変形は、本発明の範囲に含まれるものとする。 Throughout this specification, references such as “various embodiments,” “some embodiments,” “one embodiment,” or “embodiments” are specific to the particular embodiment described in connection with that embodiment. A feature, structure, or characteristic is meant to be included in at least one embodiment. Thus, phrases such as “in various embodiments”, “in some embodiments”, “in one embodiment”, or “in an embodiment” appearing in multiple places throughout this specification are not necessarily all. Do not refer to the same embodiment. Furthermore, the particular features, structures, or characteristics may be combined in any suitable manner in one or more embodiments. Thus, the particular features, structures, or characteristics illustrated or described with respect to one embodiment are not limited, in whole or in part, to the features, structures, or characteristics of one or more other embodiments. Can be combined. Such modifications and variations are intended to be included within the scope of the present invention.
「近位」及び「遠位」という用語は、本明細書において、外科用器具のハンドル部分を操作する臨床医を基準にして用いられている。「近位」という用語は、臨床医に最も近い部分を指し、「遠位」という用語は、臨床医から離れた位置にある部分を指す。便宜上、及び明確性のために、「垂直」、「水平」、「上」、「下」などの、空間的用語は、本明細書では、図面に関連して使用し得ることが更に理解されよう。しかしながら、外科用器具は、多くの向き及び位置で使用されるものであり、これらの用語は、限定的及び/又は絶対的であることを意図したものではない。 The terms “proximal” and “distal” are used herein with reference to the clinician operating the handle portion of the surgical instrument. The term “proximal” refers to the portion closest to the clinician, and the term “distal” refers to the portion that is remote from the clinician. For convenience and clarity, it is further understood that spatial terms such as “vertical”, “horizontal”, “top”, “bottom” may be used herein in connection with the drawings. Like. However, surgical instruments are used in many orientations and positions, and these terms are not intended to be limiting and / or absolute.
腹腔鏡、及び低侵襲性外科手術を行うための、様々な代表的な装置及び方法が提供される。しかしながら、当業者は、本明細書において開示される様々な方法及び装置が(例えば、開腹外科手術に関連するものを含む)、多くの外科手術及び用途において使用され得ることを容易に理解する。本明細書の詳細な記載を読み進めると、当業者は、本明細書において開示される様々な器具が、天然の管腔、組織に形成された切開部又は穿孔などを通じて、いずれかの方法により身体内に挿入され得ることを更に理解する。器具の作業部分又はエンドエフェクタ部分は、患者の身体内に直接挿入されてもよく、又は外科用器具のエンドエフェクタ及び細長いシャフトが内部を前進し得る、作業チャネルを有する、アクセス装置を通じて挿入されてもよい。 Various exemplary devices and methods for performing laparoscopes and minimally invasive surgery are provided. However, one of ordinary skill in the art will readily appreciate that the various methods and devices disclosed herein (including, for example, those associated with open surgery) can be used in many surgical procedures and applications. Upon reading the detailed description herein, one of ordinary skill in the art will recognize that the various instruments disclosed herein can be achieved in any way through natural lumens, incisions or perforations formed in tissue, etc. It is further understood that it can be inserted into the body. The working or end effector portion of the instrument may be inserted directly into the patient's body, or inserted through an access device having a working channel in which the end effector and the elongate shaft of the surgical instrument may be advanced. Also good.
図面を参照し、いくつかの図を通して、同様の番号は、同様の構成要素を示し、図1は、本発明のいくつかの固有の利益を実践し得る外科用器具10を示す。外科用ステープリング器具10は、これに動作可能に取り付けられた、様々な形状及び大きさのエンドエフェクタ12を操作及び/又は作動させるように設計される。例えば、図1及び図2に示される実施形態において、エンドエフェクタ12は、エンドエフェクタ12の下方ジョー13を形成する細長いチャネル14を含む。細長いチャネル14は、「埋め込み可能な」ステープカートリッジ30を支持するように構成され、またエンドエフェクタ12の上方ジョー15として機能するアンビル20を動作可能に支持する。 Referring to the drawings, wherein like numerals indicate like components throughout the several views, FIG. 1 illustrates a
様々な実施形態において、細長いチャネル14は、300 & 400シリーズ、17−4 & 17−7ステンレス・スチール、チタンなどから作製されてもよく、離間した側壁16で形成されてもよい。アンビル20は、例えば、300 & 400シリーズ、17−4 & 17−7ステンレス・スチール、チタンなどから作製されてもよく、内部に形成される複数のステープル形成ポケット23を有する、一般的に22として標識される、ステープル形成下面を有し得る。図1B〜1Eを参照されたい。加えて、アンビル20は、そこから近位方向に突出する、二又の傾斜アセンブリ24を有する。アンビルピン26は、細長いチャネル14の側壁16内の対応するスロット又は開口部18内に受容される、傾斜アセンブリ24の各側壁から突出し、ここに可動又は枢動可能に取り付けることを容易にする。 In various embodiments, the
様々な形態の埋め込み可能なステープルカートリッジが、本明細書において開示される外科用器具の様々な実施形態で利用され得る。特定のステープルカートリッジ構成及び構造は、以下で更に詳細に記載される。しかしながら、図1A及び9〜14に示される実施形態において、埋め込み可能なステープルカートリッジ30が示される。少なくとも一実施形態において、ステープルカートリッジ30は、内部に形成されていない金属ステープル32が並んでいる、例えば、酸化再生セルロース(「ORC」)又は生体吸収性フォームなどの圧縮可能な止血材料からなる、本体部分31を有する。少なくともいくつかの実施形態において、ステープルが影響を受け、止血材料が導入及び配置工程中に活性化することを防ぐため、カートリッジ全体が、生分解性フィルム38、例えば、商標名PDS(登録商標)において販売されるポリジオキサノンフィルム、又はポリグリセロールセバケート(PGS)フィルム、又はPGA(商標Vicrylの商標名で販売されるポリグリセロール酸)、PCL(ポリカプロラクトン)、PLA、若しくはPLLA(ポリ乳酸)、PHA(ポリヒドロキシアルカノエート)、PGCL(商標名Monocrylで販売されるポリグレカプロン25)、又はPGA、PCL、PLA、PDSの複合物(破裂するまでは不透過性である)から形成される他の生分解性フィルムで、コーティング又は被覆され得る。ステープルカートリッジ30の本体31は、図示されるように、細長いチャネル14内に取り外し可能に支持されるような大きさであり、それによって、アンビル20がステープルカートリッジ30と接触する際に、内部の各ステープル32が、アンビル内の対応するステープル形成ポケット23と位置合わせされる。 Various forms of implantable staple cartridges can be utilized in various embodiments of the surgical instrument disclosed herein. Specific staple cartridge configurations and structures are described in further detail below. However, in the embodiment shown in FIGS. 1A and 9-14, an
使用中、一度エンドエフェクタ12が標的組織に隣接するように位置付けられると、エンドエフェクタ12は、ステープルカートリッジ30の上面36と、アンビル20のステープル形成表面22との間に、標的組織を捕捉又はクランプするように操作される。ステープル32は、細長いチャネル14と実質的に平行な経路内でアンビル20を動かして、ステープル形成表面22、及びより具体的には内部のステープル形成ポケット23を、ステープルカートリッジ30の上面36と実質的に同時に接触されることによって形成される。アンビル20がステープルカートリッジ30内に動き続けると、ステープル32の脚部34はアンビル20内の対応するステープル形成ポケット23に接触して、ステープル脚部34を折り曲げ、ステープル32を「B字型」に形成するように機能する。アンビル20の細長いチャネル14への移動は、ステープル32を更に圧縮して、所望の最終的に形成される高さ「FH」へと形成する。 In use, once the
上記のステープル形成プロセスは、図1B〜1E内で一般的に示される。例えば図1Bは、アンビル20と埋め込み可能なステープルカートリッジ30の上面36との間に標的組織「T」を有する、エンドエフェクタ12を例示する。図1Cは、アンビル20の初期クランピング位置を例示し、アンビル20は標的組織「T」の上に閉鎖されて、アンビル20とステープルカートリッジ30の上面36との間に標的組織「T」をクランプする。図1Dは、初期ステープル形成を例示し、アンビル20はステープルカートリッジ30を圧縮しはじめ、それによってステープル32の脚部34は、アンビル20内のステープル形成ポケット23によって形成され始めている。図1Eは、明確性の目的のためにアンビル20が取り除かれた、標的組織「T」を貫通してその最終的な形成状態にある、ステープル32を例示する。一度ステープル32が標的組織「T」に形成及び締結されると、外科医はアンビル20を開放位置へと移動させて、エンドエフェクタ12が患者から引き抜かれる間、カートリッジ本体31及びステープル32が標的組織に固定されたままとなることを可能にする。エンドエフェクタ12は、2つのジョー13、15が一緒にクランピングされると、全てのステープルを同時に形成する。残っている「折り畳み式」本体材料31は、止血剤(ORC)及びステープルのライン補強部(PGA、PDS又は上記の他のいずれかのフィルム組成38)の両方として機能する。また、ステープル32は、形成中において、カートリッジ本体31を離れることはないため、ステープル32が形成中に不適切に形成される可能性は極小化される。本明細書において使用するとき、用語「埋め込み可能な」とは、ステープルに加えて、ステープルを支持するカートリッジ本体の材料もまた、患者内に留まり、最終的には患者の身体に吸収されることを意味する。このような埋め込み可能なステープルカートリッジは、エンドエフェクタと一緒のままであり、共に取り除かれる従来のカートリッジ構成とは区別される。このような「取り外し可能な」ステープルカートリッジは、典型的には、ステープル駆動構成要素を含むため、本発明のいくつかの固有かつ新規の埋め込み可能なステープルカートリッジ実施形態に関連して採用されるように設計される、本発明のエンドエフェクタよりも遥かに大きい場合がある。 The above staple forming process is shown generally in FIGS. For example, FIG. 1B illustrates the
様々な実施において、エンドエフェクタ12は、ハンドルアセンブリ100から突出する細長いシャフトアセンブリ40と連結されるように構成される。エンドエフェクタ12(閉鎖時)及び細長いシャフトアセンブリ40は、同様の断面形状を有してもよく、トロカール管又は別の形状のアクセス器具内の作業チャネルを動作可能に通過するような大きさであり得る。本明細書において使用するとき、用語「動作可能に通過」とは、エンドエフェクタ及び細長いシャフトアセンブリの少なくとも一部分が、チャネル又は管開口部を通じて挿入されるか、又は通過することができ、外科用ステープリング手技を完了するために必要性に応じて内部で操作され得ることを意味する。いくつかの実施形態において、閉鎖位置にある際、エンドエフェクタ12のジョー13及び15は、エンドエフェクタにほぼ円形の断面形状をもたらすことがあり、これは、円形の通路/開口部の通過を容易にする。しかしながら、本発明の様々な実施形態のエンドエフェクタ、加えて細長いシャフトアセンブリ実施形態は、非円形の断面形状を有するアクセス経路及び開口部を他の様式で通過する、他の断面形状を備える可能性もある。したがって、閉じたエンドエフェクタの断面の全体的な大きさは、これが通過することを意図される、経路又は開口部の大きさに関連する。したがって、例えば1つのエンドエフェクタは、「5mm」エンドエフェクタと称されることがあり、これは、このエンドエフェクタが少なくともおよそ5mmの直径の開口部を動作可能に通過し得ることを意味する。 In various implementations, the
本発明の様々な実施形態において、細長いシャフトアセンブリ40は、閉鎖位置にある際に、エンドエフェクタ12の外径と実質的に同じ外径を有し得る。例えば、5mmエンドエフェクタは、5mmの断面直径を有する、細長いシャフトアセンブリ40と連結されてもよい。しかしながら、本発明の詳細な説明を読み進めると、本発明の様々な実施形態が、異なる大きさのエンドエフェクタに関連して有効に使用され得ることが明らかにある。例えば、10mmエンドエフェクタは、5mmの断面直径を有する、細長いシャフトアセンブリに取り付けられてもよい。逆に、10mm以上のアクセス開口部又は経路が提供されるこれらの用途において、細長いシャフトアセンブリ40は、10mm(又はそれ以上)の断面直径を有してもよいが、また5mm又は10mmのエンドエフェクタを作動させることもできる。したがって、外側シャフト40は、これに取り付けられる閉鎖したエンドエフェクタ12の外径と同じ、又はこれと異なる外径を有してもよい。 In various embodiments of the present invention, the
示されるように、細長いシャフトアセンブリ40は、ハンドルアセンブリ100からほぼ直線上に遠位方向に延びて、長手方向軸A−A画定する。様々な実施形態において、例えば、細長いシャフトアセンブリ40は、およそ229〜406mm(9〜16インチ)の長さであり得る。しかしながら、細長いシャフトアセンブリ40は、他の長さで提供されてもよく、他の実施形態において、以下でより詳細に記載されるように、シャフト又はハンドルアセンブリの他の部分に対する、エンドエフェクタ12の関節運動を容易にするように、内部に関節を有するか、ないしは別の様式で構成されてもよい。様々な実施形態において、細長いシャフトアセンブリ40は、ハンドルアセンブリ100からエンドエフェクタ12まで延びる、スパイン部材50を含む。エンドエフェクタ12の細長いチャネル14の近位端は、そこから突出する一対の保持トラニオン17を有し、これはスパイン部材50の遠位端内に提供される、対応するトラニオン開口部又は受台52に受容される大きさであり、エンドエフェクタ12が、細長いシャフトアセンブリ40に取り外し可能に連結されることを可能にする。スパイン部材50は、例えば、6061又は7075アルミニウム、ステンレス・スチール、チタンなどから作製されてもよい。 As shown, the
様々な実施形態において、ハンドルアセンブリ100は、組み立てる目的のために、2つ以上の部品で作製され得る、ピストルグリップタイプのハウジングを含む。例えば、図示されるハンドルアセンブリ100は、右手ケース部材102、及び左手ケース部材104を含み(図5、7及び8)を含み、これらは、ポリマー又はプラスチック部材から作製され、互いに噛み合うように設計される。このようなケース部材102及び104は、成形されたないしは別の方法で内部に形成された、スナップ機構、ペグ及びソケットにより、並びに/又は接着剤、ねじなどにより、互いに取り付けられてもよい。スパイン部材50は、上部に形成されたフランジ56を有する、近位端54を有する。フランジ56は、各ケース部材102、104から内側に突出する噛み合うリブ108により形成される溝106内に回転可能に支持されるように構成される。このような構成は、スパイン部材50のハンドルアセンブリ100への取り付けを促進し、一方でスパイン部材50がハンドルアセンブリ100に対し、長手方向軸A−Aを中心に360°の起動で回転することを可能にする。 In various embodiments, the
図1及び図4に更に見られるように、スパイン部材50は、ハンドルアセンブリ100に回転可能に取り付けられた、取り付けブッシング60を通過し、これによって支持される。取り付けブッシング60は、近位フランジ62、及び遠位フランジ64を有し、これらは、その間のハンドルアセンブリ100の鼻部分101を回転可能に受容するように構成される回転可能な溝65を画定する。このような構成は、取り付けブッシング60が、ハンドルアセンブリ100に対し、長手方向軸A−Aを中心に回転することを可能にする。スパイン部材50は、スパインピン66により、取り付けブッシング60に回転不可能にピン留めされている。加えて、回転ノブ70は、取り付けブッシング60に取り付けられる。一実施形態において、例えば、回転ノブ70は、内部に取り付けブッシング60の一部分を受容するような大きさの中空の取り付けフランジ部分72を有する。様々な実施形態において、回転ノブ70は例えば、ガラス又は炭素充填ナイロン、ポリカーボネート、Ultem(登録商標)などから作製されてもよく、また同様にスパインピン66によって取り付けブッシング60に取り付けられる。加えて、内側に突出する保持フランジ74は、取り付けフランジ部分72上に形成され、取り付けブッシング60内に形成された放射状の溝68内に延びるように構成される。したがって、外科医は、回転ノブ70を把持し、これをハンドルアセンブリ100に対して回転させることによって、スパイン部材50(及びこれに取り付けられたエンドエフェクタ12)を長手方向軸A−Aを中心に、360°の経路で回転させてもよい。 As further seen in FIGS. 1 and 4, the
様々な実施形態において、アンビル20は、アンビルばね21、又は図1、9A、10A及び11Aに示されるような他の付勢構成によって開放位置に維持される。アンビル20は、一般的に109として指定される、発射システムによって、開放位置から様々な閉鎖又はクランピング及び発射位置へと、選択的に可動である。発射システム109は、「発射部材」110を含み、これは様々な実施形態において、中空発射管110を含む。中空発射管110は、スパイン部材50上で軸方向に可動であり、したがって、細長いシャフトアセンブリ40の外部を形成する。発射管110は、ポリマー、又は他の好適な材料から作製されてもよく、発射システム109の発射ヨーク114に取り付けられる近位端112を有してもよい。図4を参照されたい。様々な実施形態において、例えば、発射ヨーク114は、発射管110の近位端112にオーバーモールドされてもよい。しかしながら、他の締結具配置が利用されてもよい。 In various embodiments, the
図1及び図4に見られるように、発射ヨーク114は、ハンドルアセンブリ100内で軸方向に動くように構成された、支持カラー120内で回転可能に支持されてもよい。様々な実施形態において、支持カラー120は、一対の横方向に延びるフィン122を有し、これはそれぞれ、右手ケース部材102及び左手ケース部材104に形成される、フィンスロット103、及び105内に摺動自在に受容されるような大きさである。図7を参照されたい。したがって、支持カラー120はハンドルハウジング100内に軸方向に摺動可能であり得、一方で発射ヨーク114及び発射管110がこれに対して、長手方向軸A−Aを中心に回転することを可能にする。図4に見られるように、細長いスロット111が、発射管110を通じて提供され、スパインピン66が内部を通じてスパイン部材50内に延びることを可能にし、一方で、スパイン部材50上における発射管110の軸方向の移動を促進する。 As seen in FIGS. 1 and 4, the
発射システム109は更に、スパイン部材50上の発射管110の軸方向の移動を制御するように機能する、発射トリガー130を更に含む。図1を参照されたい。発射管110を遠位方向、軸方向に移動させて、発射のためにアンビル20と連動させることは、ここでは「発射運動」と称される。図1に見られるように、発射トリガー130は枢動ピン132によってハンドルアセンブリ100に可動、又は枢動可能に連結されている。発射トリガー130を、ハンドルアセンブリ100のピストルグリップ部分107から、非作動の「解放」又は開始位置へと付勢するために、トーションばね135が利用される。図1及び図4に見られるように、発射トリガー130は、支持カラー120に可動に取り付けられた(ピン留めされた)発射リンク136に可動に取り付けられた(ピン留めされ)上部134を有する。したがって、発射位置(図1及び図9)から、ハンドルアセンブリ100のピストルグリップ部分107に隣接する終了位置(図14)への、発射トリガー130の移動により、発射ヨーク114及び発射管110を遠位方向「DD」に移動させる。発射トリガー130のハンドルアセンブリ100のピストルグリップ部分107から離れる動き(トーションばね135の付勢により)により、発射ヨーク114及び発射管110は、スパイン部材50において近位方向「PD」に移動する。 The
本発明の様々な実施形態は、異なる大きさ及び構成の埋め込み可能なステープルカートリッジと利用することができる。例えば、外科用器具10は、第1発射アダプタ140と共に使用されるとき、埋め込み可能なステープルカートリッジ30を支持する、およそ20mm長さ(又は他の長さ)の、5mmエンドエフェクタ12と共に使用され得る。このようなエンドエフェクタの大きさは、例えば、比較的細かい切開、及び血管横切を完成させるために、特に好適である。しかしながら、以下でより詳細に記載されるように、外科用器具10はまた、例えば、第1発射アダプタ140を第2発射アダプタ150と交換することにより、他の大きさのエンドエフェクタ及びステープルカートリッジと共に利用され得る。更に他の実施形態において、細長いシャフトアセンブリ40は、少なくとも1つの形状又は大きさのエンドエフェクタに取り付けられるように構成され得る。このような実施形態において、例えば、圧力表面146又は158(通常、それぞれ、発射アダプタ140、150上に提供される)は、それと共に使用されるエンドエフェクタの特定の大きさにより、発射管110の遠位端に一体的に形成される。 Various embodiments of the present invention can be utilized with implantable staple cartridges of different sizes and configurations. For example, the
図2に見られるように、第1発射アダプタ140は実質的に中空であり、第1ばね部分142を有し、これは発射管110の開いた遠位端116内に延びるように構成される。第1保持ボタン144は、第1ばね部分142上に形成され、発射管110の遠位端部に提供される保持孔117内に受容されるような大きさである。図1及び図2参照。したがって、第1発射アダプタ140を発射管110から取り外すため、ユーザーは單純に、保持孔117から保持ボタン144を押圧し、第1発射アダプタ140を発射管110から引き出す。図2に見られるように、第1発射アダプタ140は、アンビル20の二又の傾斜アセンブリ24と連動するように構成された、内部圧力表面146を有する。 As seen in FIG. 2, the
様々な実施形態において、アンビル20の二又傾斜アセンブリ24は、ブレード受容溝(図示されない)によって分離された、一対の歯45を含む。各歯45は、アンビル20が閉鎖位置あるとき、細長いチャネル14の底部と実質的に並行な近位表面27を有する。近位表面27はその後、近位表面27の遠位にある、クランピング傾斜面28へと遷移する。図3を参照されたい。クランピング傾斜面28は、近位表面27に対し、クランピング角度「A」で向けられる。様々な実施形態において、例えば、クランピング角度「A」は、およそ15°〜30°であり得る。以下でより詳細に記載されるように、第1発射アダプタ140の第1圧力表面146は、クランピング傾斜面28と接触するとき、アンビル20は細長いチャネル14の方、より具体的には内部のステープルカートリッジ30の方に動かされる。第1発射アダプタ140が更に遠位に動くと、第1圧力表面146は、アンビル歯45それぞれのステープル形成傾斜面29と接触し、アンビル20をステープルカートリッジ30へと更に駆動し、内部でステープル32を形成する。図3に図示されるように、ステープル形成傾斜面29は、クランピング傾斜面27に対して傾斜角「B」で向けられる。様々な実施形態において、例えば、形成角「B」は、およそ5〜20°であり得る。アンビル20の傾斜面アセンブリ24は、上部に傾斜した下面25を更に有してもよく(例えば、角度「C」はおよそ5〜40°)、それによりアンビル20が開放位置にあるとき、傾斜した下面25表面は、アンビル20が、15°解放制限(図11Aの角度「β」)へと枢動することを可能にする。 In various embodiments, the
エンドエフェクタ12をスパイン部材50に取り外し可能に連結する1つの方法が説明される。連結プロセスは、細長いチャネル14上の保持トラニオン17を、スパイン部材50のトラニオン受台52内に挿入することにより開始される。その後、外科医が発射トリガー130を、ハウジングアセンブリ100のピストルグリップ107の方に前進させ、発射管110及び第1発射アダプタ140を、細長いチャネル14の近位端部分47を超えて遠位方向に前進させ、それによってトラニオン17をこれらの各受台52に保持する。図10及び図10Aを参照されたい。トラニオン17を超える第1発射アダプタ140のこのような位置は、本明細書において「連結位置」と称される。本発明の様々な実施形態はまた、エンドエフェクタ12がスパイン部材50に取り付けられた後、発射トリガー130を適所に固定するために、エンドエフェクタ固定アセンブリ160を有し得る。 One method of removably coupling the
より具体的に、図5、7及び8を参照し、エンドエフェクタ固定アセンブリ160の一実施形態は、発射トリガー130の上部134内に可動に支持される、保持ピン162を含む。保持ピン162は、保持ピン166によって、左手ケース部材104の方にばねで付勢される。発射トリガー130が非作動(開始)位置にあるとき、保持ピン162は、左手ケース部材104から内側に突出する、開始戻り止め163と隣接して接触するように、付勢される。図7及び図8を参照されたい。上記のように、発射管110は最初に、第1発射アダプタ140がエンドエフェクタ12の保持トラニオン17をスパイン部材50のトラニオン受台52内に保持する、連結位置へと、遠位方向に前進されなくてはならない。外科医は、発射トリガー130を開始位置からピストルグリップ107へと引くことによって、発射アダプタ140を連結位置へと遠位方向に前進させる。発射トリガー130が最初に作動されると、保持ピン162は、発射管110が第1発射アダプタ140を連結位置まで前進させるまで、開始戻り止め163に隣接して接触するまで摺動し、この点において保持ピン162は、左手ケース部材104内に形成される固定空洞164内に付勢される。図8を参照されたい。様々な実施形態において、保持ピン162が固定空洞164に入るとき、ピン162は、可聴「クリック音」、又は他の音を生じてもよく、またエンドエフェクタ12がスパイン部材50に「固定された」という触覚的指示を外科医に提供してもよい。加えて、外科医は、保持ピン162を固定空洞164から意図的に付勢しない限り、不注意により発射トリガー130を作動し続けて、ステープル32をエンドエフェクタ12内に形成し始めることはない。同様に、外科医が発射トリガー130を、これが連結位置にあるときに解放するとき、これは保持ピン162によってこの位置に保持され、発射トリガー130が開始位置に戻り、よってエンドエフェクタ12がスパイン部材50から解放するのを防ぐ。 More specifically, referring to FIGS. 5, 7 and 8, one embodiment of the end
様々な実施において、発射トリガー取り外しボタン167は、ハンドルアセンブリ100の左手ケース部材104内に取り付けられ、外科医が意図的に保持ピン162を解放することを可能にし、発射トリガー130が更に作動されるか、又は開始位置に戻ることを可能にする。図5、7及び8を参照。発射トリガー解放ボタン167は、固定空洞164内に可動に取り付けられ、非作動位置へとばねで付勢される(図8)。発射トリガー解放ボタン167が内側に押圧されると、保持ピン162と接触し、これを固定空洞163の外に動かし、発射トリガー130が更に作動されることを可能にする。 In various implementations, the firing
更に記載されるように、外科用器具10は組織を操作/配置するために、把持装置として使用されてもよい。トリガー130が固定解除された後(保持解放ボタン167を押圧することにより)、発射トリガー130のピストルグリップ部分107への更なる移動により、発射アダプタ140はアンビル20のクランピング傾斜面28と接触する。第1発射アダプタの圧力表面部分146がクランピング傾斜面28を登ると、アンビルが細長いチャネル14内にステープルカートリッジ30の方に移動する。したがって、外科医は、アンビル20をステープルカートリッジ30の方に、又はここから遠ざかるように操作して、ステープルを形成することなく、その間の組織を把持及び解放することができる。 As further described, the
本発明の様々な実施形態は、ハンドルアセンブリ100に枢動可能に取り付けられた、発射システム固定ボタン137を更に含み得る。図1及び図4を参照されたい。一形態において、発射システム固定ボタン137は、その遠位端上に形成されたラッチ138を有し、これは、発射解放ボタンが第1ラッチング位置にあるときに、発射ヨーク114と係合するように向けられる。図1及び図4に見られるように、ラッチばね139は、発射システム固定ボタン137を、第1ラッチング位置へと付勢するように機能する(図11及び図12)。以下でより詳細に記載されるように、ラッチ138は、スパイン部材50上の発射ヨーク114の位置が、第1発射アダプタ140の圧力表面146がアンビル20上のクランピング傾斜面28を遠位方向へと前進して上り始める点と対応する点において、発射ヨーク114と係合するように機能する。第1発射アダプタ140がクランピング傾斜面28を軸方向に前進して延びると、アンビル20が、そのステープル形成表面部分22がステープルカートリッジ30の上面36と実質的に平行となるようにして経路を移動する。 Various embodiments of the present invention may further include a firing
エンドエフェクタ12がスパイン部材50と連結すると、ステープル形成プロセスは、発射システム固定ボタン137を最初に押圧することによって開始され、発射ヨーク114がスパイン部材50上で遠位方向に更に移動され、最終的にアンビル20をステープルカートリッジ30へと圧迫する。図13を参照されたい。発射システム固定ボタン137を押圧した後、外科医は発射トリガー130をピストルグリップ107の方に作動し続け、それによって第1ステープルカラー140の圧力表面146を、対応するステープル形成傾斜面29を登るように駆動し、アンビル20を、ステープルカートリッジ30内のステープル32と接触するように促進する。発射システム固定ボタン137は、外科医がプロセスに備えるまで、ステープル32の不注意による形成を防ぐ。この実施形態において、外科医は、発射トリガー130が更に作動されてステープル形成プロセスを開始する前に、発射システム固定ボタン137を押圧しなくてはならない。 When the
外科用器具10は、所望される場合、単に、所望により組織ステープリング装置として使用され得る。しかしながら、本発明の様々な実施形態はまた、一般的に170として指定される、組織切断システムを含み得る。少なくとも一形態において、組織切断システム170は、ナイフ部材172を含み、これは、ナイフ前進トリガー200を作動することによって、エンドエフェクタ12の近位端に隣接する非作動位置(図1及び9〜13)から、作動位置(図14)へと選択的に前進し得る。ナイフ部材172は、スパイン部材50内に可動に支持され、取り付けられ、ないしは別の方法によりナイフロッド180から突出する。ナイフ部材172は、例えば、38HRC超の硬度(Rockwell硬度Cスケール)を有する420又は440ステンレス・スチールから作製されてもよく、かつその遠位端174上に形成される組織切断縁部176を有し、アンビル20のスロット31、及びステープルカートリッジ30の中央に配置されたスロット33を通じて摺動自在に延びて、エンドエフェクタ12内でクランプされた組織を通じて切断する。図14Aを参照されたい。図4に見られるように、ナイフロッド180は、スパイン部材50を通じて延び、近位端部分182を有する。近位端部分182は、ナイフ前進トリガー200に動作可能に取り付けられた、ナイフ伝達器190と駆動しながら連動する。様々な実施形態において、ナイフ前進トリガー200は、駆動ピン132に取り付けられ、それによってこれは、発射トリガー130を作動することなく、枢動するかないしは別の方法で作動し得る。様々な実施形態において、第1ナイフギア192はまた、枢動ピン132に取り付けられ、それによってナイフ前進トリガー200の作動がまた第1ナイフギア192を枢動させる。発射戻りばね202は、第1ナイフギア192とハンドルハウジング100との間に取り付けられて、ナイフ前進トリガー200を開始又は非作動位置に付勢する。図1及び図4を参照されたい。 The
図5及び図6を参照し、ナイフ伝達器190の様々な実施形態がまた、第2ギアスピンドル193上に回転可能に支持され、第1ナイフギア192と噛合係合する、第2ナイフギア194を含む。第2ナイフギア194は、第3ギアスピンドル195上に支持される第3ナイフギア196と噛合係合する。第4ナイフギア198もまた、第3ギアスピンドル195に支持される。第4ナイフギア198は、ナイフロッド180の近位端上で一連の環状ギア歯、及びリング184と駆動しながら係合するように適合される。このような配置は、第4ナイフギア198がナイフロッド180を遠位方向「DD」、又は近位方向「PD」に軸方向に駆動することを可能にし、一方で、発射ロッド180が第4ナイフギア198に対して長手方向軸A−Aを中心に回転することを可能にする。したがって、外科医は、ナイフ前進トリガー200をハンドルアセンブリ100のピストルグリップ107の方に引くことによって、発射ロッド180を軸方向に前進させ、最終的にナイフ部材172を遠位方向に前進させることができる。 With reference to FIGS. 5 and 6, various embodiments of the
本発明の様々な実施形態は、更にナイフロックアウトシステム210を含み、これは、発射トリガー130が完全な発射位置に引かれるとき以外(図13及び図14)、ナイフ部材72の前進を防ぐ。このような特徴はしたがって、ステープルが組織内に最初に発射されるか形成されるとき以外、ナイフ前進システム170の作動を防ぐ。図1に見られるように、ナイフロックアウトシステム210の様々な実施は、ハンドルアセンブリ100のピストルグリップ部分107内に枢動可能に支持される、ナイフロックアウトバー211を含む。ナイフロックアウトバー211は、発射トリガー130が完全に発射位置にあるときに、発射トリガー130と係合するように適合される、作動端部212を有する。加えて、ナイフロックアウトバー211は、その他端に保持フック214を有し、これは第1切断ギア192上のラッチロッド216に引っ掛けるようにして係合するように適合される。ナイフ固定ばね218は、ナイフロックアウトバー211を、「固定」位置に付勢するように利用され、ここで保持フック214はラッチロッド216と係合した状態に維持され、それによって、発射トリガー130が完全に発射位置にある場合を除いてナイフ前進トリガー200の作動を防ぐ。図9を参照されたい。 Various embodiments of the present invention further include a
本発明の外科用器具実施形態の少なくとも1つを操作する様々な方法がここで、図9、9A、10、10A、11、11A、12、12A、13、13A、14及び14Aを参照として説明される。図1、9及び9Aから理解され得るように、ナイフバー172が示される「開始」又は非作動位置にある場合、組織切断縁部176は、第1発射アダプタ140の遠位端の近位にあり、それにより鋭い組織切断縁部176がユーザーの方に露出しない。細長いシャフトアセンブリが単一の形態又は大きさのエンドエフェクタと共に使用するために製造される、代替的実施形態において(例えば、発射アダプタ140、150は利用されない)、ナイフバー172の切断縁部176は発射管の遠位端の近位方向に位置し、組織切断縁部176が、これらの実施形態においてもユーザーの方に露出することを防ぐ。 Various methods of manipulating at least one of the surgical instrument embodiments of the present invention will now be described with reference to FIGS. 9, 9A, 10, 10A, 11, 11A, 12, 12A, 13, 13A, 14 and 14A. Is done. As can be understood from FIGS. 1, 9 and 9A, when the
図9及び図9Aは、エンドエフェクタ12の保持トラニオン17をスパイン部材50のトラニオン受台52内に挿入することによって、スパイン部材50に取り付けられた後の、エンドエフェクタ12を例示する。図9に例示されるように、発射トリガー130は、非作動又は開始位置にあり、エンドエフェクタ12は未だ、第1発射アダプタ140によってスパイン部材50に固定されていない。「PO」は、第1発射アダプタ140がアンビル20のクランピング傾斜部分28を移動して上り始める前に、発射トリガー130が移動し得る距離を表す。ナイフ前進トリガー200はまた、固定した非作動位置にある。9 and 9A illustrate the
図10及び図10Aは、第1発射アダプタ40によってエンドエフェクタ12がスピンドル部材50に固定される位置まで前進した後の、発射トリガー130の位置を例示する。この位置は、本明細書において「連結」位置と称される。連結位置にあるとき、保持ピン162は固定空洞164(図8)スナップ嵌めされており、これにより外科医に、エンドエフェクタ12が現在スパイン部材50に固定されているという、可聴及び触覚的指示を提供する。発射トリガー130は、外科医が意図的に発射トリガー解放ボタン167を押圧し(図5、7及び8)、保持ピン62を固定空洞164から外に付勢するまで、更に作動させることはできない。第1発射アダプタ140の遠位端141が移動した距離は、距離「l」として表され(図10A)、スピン部材50上で発射ヨーク114が移動した対応する距離は、距離「l’」として表される。図11及び図11Aは、解放ボタン(図示されない)が押圧され、外科医が発射トリガー130を作動させて、第1発射アダプタ140をアンビル20上のクランピング傾斜面28の開始部まで移動させた後の、発射トリガー130の位置を例示する。これらの図に見られるように、アンビルばね21は、アンビル20を開放位置に付勢させている。第1発射アダプタ140の遠位端の移動は、距離「l1」として表され、スパイン部材50上で発射ヨーク114が移動した対応する距離は、「l’1」として表される。図12及び図12Aは、アンビル20のステープル形成傾斜面29の開始部まで前進した後の、第1発射アダプタ140の位置を例示する。この位置は、ステープル形成が開始する前に、得られるクランピングの最大力を表す。この位置は、本明細書において「最大クランプ位置」と称される。図12に見られるように、発射ヨーク114は、発射トリガー解放ボタン137上のラッチ138と接触しており、したがって発射トリガー解放ボタン137が押圧されるまで、遠位方向に更に前進させることができない。図12Aに見られるように、アンビル20のステープル形成表面22は、ステープルカートリッジ30の上面31と実質的に平行である。アンビル20のステープル形成部分22と、細長いチャネル14の頂部保持表面との間の距離は、「Cmax」として表される。様々な実施形態において、Cmaxは、例えば、実質的に同等の厚さを有する、本体部分31を有する、ステープルカートリッジ30において、例えば、2.15〜3.65mm(およそ0.085〜0.114インチ)であり得る。少なくとも一実施形態において、例えば、カートリッジ厚さは、ステープルの大きさよりも、0.25mm〜0.76mm(0.01〜0.03インチ)ほど大きい場合がある。第1発射アダプタ140が、開始位置からこの最大クランプ位置まで移動した、合計距離は、「l2」であり、発射ヨーク114がスパイン部材50上で移動した、対応する距離は、「l’2」として表される。図13及び図13Aは、ステープルカートリッジ30内のステープル32が完全に形成された、完全な発射位置における発射ヨーク114の位置を例示する。この位置にあるとき、アンビル20のステープル形成位置22と、細長いチャネル14の頂部保持表面との間における距離は、「Cmin」として表される。様々な実施形態において、「Cmin」は例えば、形成されていないときに、およそ1.90mm〜3.40mm(およそ0.075〜0.134インチ)長さ(図1Aにおける距離「UF」)である脚部を有し、完全に形成されたときに、例えば、0.63mm〜1.01mm(およそ0.025インチ〜0.04インチ)(これは、図1Dにおける距離「FF」を含む)の完全に形成された高さを有する、ステープルを支持するステープルカートリッジにおいて、0.38mm〜0.76mm(およそ0.015〜0.030インチ)であり得る。第1発射アダプタ140が、開始位置からこの完全に発射された位置まで移動した、合計距離は「l3」であり、発射ヨーク114がスパイン部材50上で移動した、対応する距離は、「l’3」として表される。また図13に見られるように、発射トリガー130は、完全に発射された位置にあり、ナイフロックアウトバー211の起動端部212と接触し、保持フック214を、第1切断ギア192上のラッチロッド216の係合から外すように付勢している。FIGS. 10 and 10A illustrate the position of the firing
特に血管の横切は、いずれかの外科手術において最も負荷の高い工程の1つであり得る。腹腔鏡環境において、これは更に負荷が高いことがあり、これは何か失敗が生じれば、深刻な事態が生じることを防ぐために、全手術をほぼ即座に開腹手術に切り替える必要があり得るためである。したがって、ステープルが展開された後に、任意により組織を切断する能力を有する、外科用ステープリング器具を利用することが望ましい場合がある。本発明の様々な実施形態は、このような必要性に応じる。 In particular, crossing a blood vessel can be one of the most demanding steps in any surgical procedure. In a laparoscopic environment, this can be even more burdensome, because if something fails, it may be necessary to switch all surgery to laparotomy almost immediately to prevent a serious situation from happening. It is. Accordingly, it may be desirable to utilize a surgical stapling instrument that optionally has the ability to cut tissue after the staples are deployed. Various embodiments of the present invention meet such a need.
ステープルが、標的組織内に「発射」(形成)された後、外科医は発射トリガー解放ボタン167を押圧して、発射トリガー130が、トーションばね135の付勢力により開始位置に戻ることを可能にし、これによりアンビル20はばね21の付勢力により開放位置に付勢される。開放位置にあるとき、外科医は、埋め込み可能なステープルカートリッジ30及びステープル32を後ろに残してエンドエフェクタ12を引いてもよい。エンドエフェクタが、経路、作業チャネルなどを通じて挿入された用途において、外科医は、発射トリガー130を起動して、アンビル20を閉鎖位置に戻し、エンドエフェクタ12が、経路又は作業チャネルを通じて引き出されることを可能にする。しかしながら、ステープルの発射の後に外科医が標的組織を切断することを所望する場合、外科医はナイフ前進トリガー200を上記の方法で起動して、標的組織を通じてナイフバー72を、図14、14Aに図示されるように、エンドエフェクタの端部まで駆動する。図14は、異なる長さのエンドエフェクタ/ステープルカートリッジの様々な実施形態における、ナイフ前進トリガー200の移動量を例示し、ナイフバー72は、エンドエフェクタ12内で完全に発射位置まで前進している。その後、外科医はナイフ前進トリガー200を解放し、これにより発射戻しばね202は、発射伝達器がナイフバー72を開始(非作動)位置(図13、13A)に戻すことを可能にする。一度ナイフバー72が開始位置に戻ると、外科医はエンドエフェクタジョー13、15を開き、埋め込み可能なカートリッジ30を患者内で解放し、その後エンドエフェクタ12を患者から引き抜く。したがって、本発明のこのような外科用器具は、比較的小さな作業チャネル及び経路を通じて挿入され得、一方で、外科医に、組織を切断せずにステープルを発射するか、又は所望によりまたステープルが発射された後に組織を切断する選択肢を提供する、小さい埋め込み可能ステープルカートリッジの使用を促進する。 After the staple is “fired” (formed) into the target tissue, the surgeon presses the fire
上記のように、外科用器具10は、他の大きさ及び数のステープルを含む、他の大きさのステープルカートリッジを支持する、他のエンドエフェクタと関連して使用され得る。図15〜19は、エンドエフェクタ12’の使用を例示し、これは、ステープルカートリッジ30内のステープル32よりも大きな、ステープル32’を有する、ステープルカートリッジ30’を動作可能に支持する。例えば、ステープルカートリッジ30内のステープル32は、およそ2.03〜2.15mm(およそ、0.080〜0.085インチ)のステープルであり得、ステープルカートリッジ30’内のステープル32’は、およそ1.90mm(およそ0.075インチ)であり得る。様々な実施形態において、ステープルカートリッジ30’は、ステープルカートリッジ30よりも長い。例えば、ステープルカートリッジ30は、およそ20mm(およそ0.78インチ)長さであり得、ステープルカートリッジ30’は、およそ40mm(およそ1.57インチ)長さであり得る。図15は、エンドエフェクタ12’、第2発射アダプタ150、及びスパイン部材50の遠位端55の分解図である。図15に見られるように、細長いチャネル14’は一対の離間した側壁16’を有し、これらはそれぞれ内部にスロット又は開口部18’を有し、これは、対応するアンビルピン26’を受容するような大きさである。アンビル20’及び細長いチャネル14’は、一緒にエンドエフェクタ12’を形成してもよく、これは、エンドエフェクタ12’が少なくともおよそ5.0mm(およそ0.20インチ)の直径を有する開口部を通過することを可能にする、全体的な直径を有する。アンビル20’はまた、内部に複数のステープル形成ポケットを有する、ステープル形成部分22’と、そこから近位方向に突出する二又傾斜アセンブリ24’とを有する。細長いチャネル14’の近位端15’は、そこから突出する一対の保持トラニオン17’を有し、これらはスパイン部材50内に提供される対応するトラニオン受台52内に受容されるような大きさである。 As described above, the
図15に見られるように、第2発射アダプタ150は、実質的に中空の本体部分151と、内側に延びる保持突起部154を内部に有する、近位カラー部分152とを有する。スロット156が本体部分151と、近位カラー部分152との間に提供され、カラー部分152が本体部分151に対して付勢されて、保持突起部154の、発射管110内の保持孔117内への挿入を容易にする。第2発射アダプタ150を発射管110から取り外すため、外科医は近位カラー部分152を押圧して、保持突起部154を保持孔117の外に動かし、それによって第2発射アダプタ150が、発射管110から遠位方向に引かれることを可能にする。 As seen in FIG. 15, the
様々な実施形態において、アンビル20’は、二又傾斜アセンブリ24’を有し、これは一対の歯45’を有し、これはそれぞれ近位表面27’を有し、これは近位表面27’の遠位方向にあるクランプ傾斜面28’へと遷移する。図15を参照されたい。クランピング傾斜面28’は、近位表面27’に対して角度「A’」で向けられている。様々な実施形態において、例えば、角度「A’」は、50〜30°である。以下で更に詳細に記載されるように、第2発射アダプタ150の第2圧力表面158がクランピング傾斜面28’と接触すると、アンビル20’は、細長いチャネル14’の方に、より具体的には内部のステープルカートリッジ30’の方に動かされる。図17を参照されたい。第2発射アダプタ150が更に遠位方向に動かされると、第2圧力表面158がアンビル歯45上のステープル形成表面29’と接触し、アンビル20’をステープルカートリッジ30’の方に駆動し、内部にステープル32’を形成する。図18を参照されたい。ステープル形成傾斜面29’は、クランピング傾斜面27’に対して角度「B’」で向けられる。様々な実施形態において、例えば、角度「B’」は、5〜20°のである。アンビル20’をこの開放位置に付勢するために、ばね(図示されない)が、傾斜アセンブリ24’と細長いチャネル14’の底部との間に提供されてもよい。 In various embodiments, the
図16は、外科医が第2発射アダプタ150を、クランピング傾斜部分28’の開始部へと、遠位方向に前進させた後の、第2発射アダプタ150の位置を図示する。第2発射アダプタ150の動作は、発射トリガー130により、第1発射アダプタ140に関して先に記載された方法で制御される。図17は、完全にクランプした位置にある、第2発射アダプタ150の位置を例示する。図18は、完全に発射された位置にある、第2発射アダプタ150の位置を例示し、ステープルカートリッジ30’のステープル32’が、クランプした組織(図示されない)を通じて形成されている。 FIG. 16 illustrates the position of the
上記のように、埋め込まれたステープルカートリッジ30’は、埋め込まれたステープルカートリッジ30よりも長い。したがって、図15に図示されるように、エンドエフェクタ12’はまた、細長いチャネル14’に可動に支持された遠位ナイフ部材124を含む。遠位ナイフ部材124は、組織切断縁部125、及びナイフバー72と係合するために構成された近位部分126を有する。したがって、外科医はステープルが発射された後に組織を切断することを所望する場合、外科医は発射トリガー200を、上記のように起動してナイフバー172を遠位方向に駆動して遠位ナイフ部材124と接触させ、図19に例示されるように、遠位ナイフ部材124を組織を通じて駆動する。遠位ナイフ部材124は、上部に少なくとも1つの保持部分を有してもよく、これは、細長いチャネル14’内に対応する形状のスロット(図示されない)を通じて摺動するように適合される。このような係合は、エンドエフェクタ12’が、ステープルが形成され組織が切断された後に開くことを可能にする。遠位ナイフ部材124は、アンビル20’内に留まり、患者から引き抜かれる際に、エンドエフェクタ12’と共に取り除かれる。 As described above, the embedded
したがって、外科用器具10の様々な実施形態は、別個のステープル及び組織切断機構を有し、それによって外科医は、組織を切断せずに組織をステープリングすることができる。本発明のステープリング器具の様々な実施形態は、異なる大きさ及び数のステープルに適合する、異なる大きさのエンドエフェクタと共に良好に利用され得る。外科用器具は器具10並びに、第1発射アダプタ140及び第2発射アダプタ150を含むキットの形態で提供されてもよく、これは器具が異なる大きさの埋め込み可能なステープルカートリッジを発射するように利用されることを可能にする。 Accordingly, various embodiments of the
本発明の様々な固有かつ新規の実施形態は、アンビルと接触する実質的に静的な位置にステープルを支持する、圧縮可能なステープルカートリッジを利用する。ステープル駆動要素を利用する、従来の外科用ステープル構成と異なり、本発明の様々な実施形態のカートリッジ内のステープルは、アンビルに駆動されない。本発明の様々な実施形態において、アンビルは非形成ステープルへと駆動される。得られるステープル形成の度合いは、アンビルがステープルへと駆動される度合いに依存する。このような構成は、外科医に、ステープルに適用される形成又は発射圧力の度合いを調節し、それによって最終的に形成されるステープルの高さを変更する能力を提供する。 Various unique and novel embodiments of the present invention utilize a compressible staple cartridge that supports staples in a substantially static position in contact with the anvil. Unlike conventional surgical staple configurations that utilize staple drive elements, the staples in the cartridges of the various embodiments of the present invention are not driven to the anvil. In various embodiments of the invention, the anvil is driven into non-formed staples. The degree of staple formation obtained depends on the degree to which the anvil is driven into staples. Such a configuration provides the surgeon with the ability to adjust the degree of forming or firing pressure applied to the staples, thereby changing the height of the final formed staples.
様々な実施形態において、可動アンビルに適用される発射運動の度合いは、発射トリガーの作動の度合いに依存する。例えば、外科医が部分的にのみ形成されたステープルを得ることを所望する場合、発射トリガーは、ピストルグリップ107の方に向かって内側に、部分的にのみ押圧される。更なるステープルの形成を得るため、外科医は単純に更に発射トリガーを圧縮し、これによりアンビルは、ステープルとより深く接触するように更に駆動される。本明細書において使用するとき、用語「接触する」とは、ステープル形成表面又はステープル形成ポケットがステープル脚部の端部と接触し、脚部を形成した位置へと形成又は屈曲させ始めたことを意味する。ステープル形成の度合いとは、ステープル脚部がどれだけ折り畳まれたかを指し、ひいては、上記のステープル形成高さに関連する。当業者は更に、アンビル20が、発射運動がそこに適用される際に、ステープルカートリッジと実質的に平行な関係で移動するため、ステープルが実質的に同時に、実質的に同じ形成高さで形成されることを理解する。 In various embodiments, the degree of firing motion applied to the movable anvil depends on the degree of actuation of the firing trigger. For example, if the surgeon wants to obtain a partially formed staple, the firing trigger is only partially pressed inwardly toward the
図20〜23は、ステープル高さ指示器アセンブリ220を利用する代替的外科用器具10を例示する。様々な実施形態において、ステープル高さ指示器アセンブリ220は、一緒に枢動移動するために、発射トリガー130の上部134に取り付けられた指示バー222を含む。上記のように、発射トリガー130がハンドルアセンブリ100のピストル部分107の方に枢動して、アンビル20をステープルカートリッジ30内に圧縮する際、指示器バー222は左手ケース部材104のウィンドー223を通じて可視である。この実施形態において、ステープル高さ指示器アセンブリ220はまた、一連の戻り止め24、26、28を含み、これらは左手ケース部材104内に形成され、ステープル形成の3段階に対応する。特に、一度発射トリガー130が最初に作動されると、保持ピン162は、発射管110が発射アダプタ140又は150を上記の固定位置まで前進させるまで(この点において保持ピン162は、左手ケース部材104内に形成される固定空洞164内に付勢される)、開始戻り止め163と隣接して接触したまま摺動する。外科医が、エンドエフェクタ12のジョー13、35の閉鎖開始を所望するとき、発射トリガー130が更に作動されるように、保持解放ボタン167が押圧される。発射トリガー解放ボタン167が内側に押圧されると、保持ピン162と接触し、これを固定空洞163の外に動かし、発射トリガー130が作動されることを可能にする。上記のように、外科医はここで、エンドエフェクタ12の下方ジョー13及び上方ジョー15をそれぞれ使用し、組織を把持及び操作してもよい。外科医がステープル形成プロセスの開始を所望するとき、発射トリガー解放ボタン167が押され、これにより、外科医が発射トリガー130を押し続ける際に発射ヨーク114が遠位方向に前進することが可能となる。 20-23 illustrate an alternative
発射トリガー130の更なる前進により、アンビル20が、ステープルカートリッジ30のステープル32と形成接触する。発射トリガー130が更に押圧されると、保持ピン162の平坦な端部165は、開始戻り止め163から摺動して外れて第1戻り止め224と接触し、これは左手ケース部材104上の第1ステープル高さ記号230により表される、第1ステープル形成度合いに対応する。図20を参照されたい。図示されるように、第1ステープル高さ記号230は、丁度形成し始めたステープルの図を含む。ステープル形成のこの段階を示すために、他の記号/しるしが使用され得る。保持ピン162が第1戻り止め224と係合する際に、外科医は可聴クリック音を聞くことがある。保持ピン162と第1戻り止め224の係合はまた、発射トリガー130を通じ、外科医に何らかの触覚的フィードバックを提供してもよい。加えて、ステープル高さバー222は、第1高さステープル記号230に隣接する観察ウィンドー223によって、見ることができる。外科医がステープルカートリッジ内においてステープル32を更に形成しようと所望する場合、保持ピン162は、第2の左手ケース部材104内に形成される、ボタン240を解放することによって第1戻り止め224との係合から押し出される。様々な実施形態において例えば、解放ボタン240は左手ケース部材104の一部であるヒンジ部分242と共に、左手ケース部材104と一体的に形成されてもよい。このような構成は、解放ボタン240が保持ピン162の端部165内に押し込まれて、これを動かし、第1戻り止め224、第2戻り止め226、第3戻り止め228のいずれかの係合と外すことを可能にする。一度保持ピン162が、第1戻り止め224から押し出されると、発射トリガー130は、保持ピン162が第2ステープル形成戻り止め226と係合するまで、更に押圧されてもよい。発射トリガー130のこのような位置によりアンビル20は更に移動して、ステープルカートリッジ30のステープル32とのステープル形成接触をする。また、保持ピン162は第2ステープル形成戻り止め226へと嵌合し、発射トリガー130が第2ステープル形成位置にあることを示す可聴及び触覚的フィードバックを外科医に提供する。この場所にあるとき、ステープル高さ指示バー222が、観察ウィンドー223を通じて観察され、第2ステープル高さ記号232に隣接してもよい。外科医がステープルカートリッジ30内にステープル32を更に形成することを所望する場合、保持ピン162は、解放ボタン240を押圧することによって、第2戻り止め226との係合から押し出される。その後、発射トリガー130は、保持ピン162がステープル形成の最終段階と対応する第3ステープル形成戻り止め228と係合するまで押されても良い。また、保持ピン162は、第3ステープル戻り止め228と嵌合し、発射トリガー130が第3ステープル形成位置にあることを示す可聴及び触覚的フィードバックを外科医に提供する。この場所にあるとき、ステープル高さ指示バー222が、観察ウィンドー223を通じて観察され、第2ステープル高さ記号234に隣接してもよい。ステープルが所望の程度形成された後、外科医は保持ピン162を第3ステープル高さ戻り止め228から外すように付勢して、発射トリガー130が開始位置に戻ることを可能にするようにしてもよい。又は、所望により、外科医はその後、発射トリガー130を開始位置に戻す前に、上記の組織切断手術を開始してもよい。 Further advancement of the firing
図24は、一般的に220’として指定されるステープル高さ指示器アセンブリが、様々なステープル形成に対応する一連の戻り止めを含まない、代替的実施形態を例示する。しかしながら、この実施形態はステープル高さ指示バー222及び観察ウィンドー223を含む。したがって、外科医は観察ウィンドー223を通じてステープル高さ指示バー222の位置を観察することによって達成される、ステープル形成の度合いの観察を行なってもよい。この実施形態は、上記のステープル高さ指示記号230、232、234を含む。加えて、この実施形態はまた、ステープル32がアンビル20により未だ形成され始めていない、開始位置に対応する、非形成ステープル記号229を含み得る。この実施形態は他の点においては、上記と同じ方法で動作する。 FIG. 24 illustrates an alternative embodiment in which the staple height indicator assembly, generally designated as 220 ', does not include a series of detents that accommodate various staple formations. However, this embodiment includes a staple
図25及び図26は、上記のエンドエフェクタ12’と同様の代替的エンドエフェクタ12”を例示するが、ただしナイフバー172’に適合するように構成された、以下の差異を含むものとする。ナイフバー172’は、ナイフロッド180に連結されるか、又はこれから突出し、他の点においては、ナイフバー172に関連する上記の方法で操作される。しかしながら、本実施形態において、ナイフバー172’は、エンドエフェクタ12”の全長を横断するために十分な長さであり、したがって別個の遠位ナイフ部材はエンドエフェクタ12”で利用されない。ナイフバー172’は、その上に形成される、上方横断部材173’、及び下方横断部材175’を有する。上方横断部材173’は、アンビル20”の対応する細長いスロット250を摺動自在に横断するように向けられ、下方横断部材175’は、エンドエフェクタ12”の細長いチャネル14”の細長いスロット252を横断するように向けられる。係合離脱スロット(図示されない)がまたアンビル20”内に提供され、それによりナイフバー172’が薄いエンドエフェクタ12”と共に終了位置に駆動されるとき、上方横断部材173’は対応するスロットを通じて降下し、アンビル20”が開放位置へと移動して、ステープリング及び切断された組織と係合離脱する。アンビル20”は、その他の点においては上記のアンビル20と同一であり得、細長いチャネル14”はその他の点においては、上記の細長いチャネル14と同一であり得る。 25 and 26 illustrate an
これらの実施形態において、アンビル20”は、ばね又は他の開口部構成(図示されない)によって、完全に開いた位置(図25)に付勢される。アンビル20”は、上記の方法により、発射アダプタ150の軸方向の移動によって、開放位置と、完全にクランプした位置との間で移動する。一度発射アダプタ150が完全にクランプした位置(図26)まで前進すると、外科医は次にナイフバー172”を上記の方法で遠位方向に前進させてもよい。外科医がエンドエフェクタを、組織を操作するための把持装置として使用すると、発射アダプタは近位方向に移動されて、アンビル20”が細長いチャネル14”から離れるように移動することを可能にする(図27に破線で表される)。この実施形態において、ナイフバー172”が遠位方向に移動すると、上方横断部材173’、及び下方横断部材175’は、アンビル20”及び細長いチャネル14”を一緒に引き、ナイフバー172”がエンドエフェクタ12”を通じて遠位方向に前進するに伴い、所望のステープル形成を達成する。図28を参照されたい。したがって、この実施形態において、ステープル形成は組織切断と同時に生じるが、ステープル自体は、ナイフバー172”が遠位方向に駆動される際に順次形成されてもよい。 In these embodiments, the
図29及び図30は、例えば、ステンレス・スチール、チタン、PGA(ポリグリコール酸)、又は他の吸収性プラスチックから作製され、若干可撓性である、アンビル20”を有する、エンドエフェクタ12”の使用を例示する。これらの図はまた、保持マトリックス6250、及び位置合わせマトリックス6206の使用を例示し、これらは以下でより詳細に記載される。図29に見られるように、アンビル20”は、ナイフバー172”が内部を通じて遠位方向に駆動される際に、完全に形成された位置へと屈曲する。 FIGS. 29 and 30 illustrate an
多くの外科的用途において、細長いシャフトアセンブリに対して関節運動し得るエンドエフェクタを有する外科用切断及びステープリング器具を利用することが望ましく又は有利である。しかしながら、従来的な関節運動可能な器具で、狭い領域にアクセス能力は、多くの場合において、エンドエフェクタの関節運動を生じるために使用される部材の大きさ及び構成により、制限されていた。図31〜40は、細長いシャフトに対してエンドエフェクタを関節運動させることができ、ハンドルアセンブリ内において比較的小さい関節運動制御構成を利用する、本発明の別の外科用器具実施形態を例示する。 In many surgical applications, it is desirable or advantageous to utilize a surgical cutting and stapling instrument having an end effector that can articulate relative to the elongated shaft assembly. However, with conventional articulatable instruments, the ability to access a small area has often been limited by the size and configuration of the members used to produce the end effector articulation. 31-40 illustrate another surgical instrument embodiment of the present invention that can articulate an end effector relative to an elongate shaft and utilizes a relatively small articulation control configuration within the handle assembly.
この実施形態の外科用器具310は、上記の様々な外科用実施形態10と実質的に同様であるが、ただしこの実施形態は、細長い長手方向軸A−Aに対するエンドエフェクタ12の選択的な位置付けを促進する、関節運動するシャフトアセンブリ312を利用する。外科用器具310は、本明細書において上記の種類のエンドエフェクタ12と共に使用するためのものとして記載されるが、当業者らは、外科用器具310はまたエンドエフェクタ12’又は他のエンドエフェクタ構成を作動させるために、第2発射アダプタ150と共に利用され得ることを理解する。図31及び図32に見られるように、関節運動するアセンブリ312は、ハンドルアセンブリ100に動作可能に連結する近位シャフトアセンブリ部分316に枢動可能に連結する、遠位シャフトアセンブリ部分314を含む。様々な実施形態において、例えば、遠位シャフトアセンブリ314は、内部にトラニオン17を受容するために、内部に一対のトラニオン受台322を有する、遠位スパイン部材320を含む。図32を参照されたい。遠位スパイン部材320は、そこから突出する枢動ピン328を有する、枢動基部326を含む、近位端324を有する。 The
図32に見られるように、近位シャフトセンブリ部分316は、近位枢動基部及びこれに取り付けられたナイフガイド332を有する、近位スパイン区分330を含む。ナイフガイド332は例えば、接着剤又は他の締結具構成により、近位スパイン区分330に溶接又は接着されてもよい。枢動孔334が近位枢動基部ナイフガイド332に提供されて、内部に枢動ピン328を回転可能に受容し、遠位スパイン区分320が近位スパイン区分330に対して、長手方向軸A−Aと実質的に横方向の第1枢動軸FA−FAを中心に枢動することを可能にする。外科用器具310は、第2軸SA−SAを中心に枢動移動するために、一対の発射管連結部380、382に枢動可能に連結される、遠位発射管区分370を更に含む。遠位発射管区分370は、内部に第1発射アダプタ140の保持ボタン144を受容するために、保持孔372を有する。発射管連結部380、382の対は、近位発射管390に枢動可能に連結されて、これに対し、第3枢動軸TA−TAを中心に枢動移動する。図32を参照されたい。 As seen in FIG. 32, the proximal shaft assembly portion 316 includes a
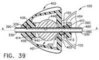
様々な実施形態により、近位発射管390は、ハンドルアセンブリ100に対して回転可能に取り付けられた、回転ノブ400に取り付けられる。図31、38及び39参照。回転ノブ400は、ポリマー又はプラスチック材料から成形され、ハブ部分402、及びハブ部分402から離間したフランジ部分404を含む。ハンドルアセンブリ100の鼻部101が、ハブ部分402と、フランジ部分404との間に受容されて、回転ノブ400が、ハンドルアセンブリ100に対して、長手方向軸A−Aを中心に回転可能である。他の実施形態において、回転ノブ400は、他の好適な材料から作製され得る。示される実施形態において、近位発射管390及び近位スパイン区分330は、それぞれ、回転ノブ400に動かないように取り付けられる。図38及び図39に見られるように、近位スパイン区分330及び近位発射管390は、ピン406によって回転ノブ400にピン留めされる。したがって、外科医は、回転ノブ400を回転させることにより、エンドエフェクタ12を、ハンドルハウジング100に対し、長手方向軸A−Aを中心に360°の軌道で回転させてもよい。 According to various embodiments, the
図37、38及び40を参照し、様々な実施形態において、エンドエフェクタ12は、遠位枢動基部326に取り付けられた一対の関節運動部材420、430、及び回転ノブ400のソケット408内に回転可能に支持された関節運動球440によって、長手方向軸A−Aに対して選択的に関節運動してもよい。様々な実施形態において、関節運動部材420、430は、例えば、マルチワイヤケーブル、ニチロール、チタンなどから作製される、ケーブルを含んでもよい。第1又は右関節運動部材420は、上部にラグ424を有する遠位端422を有し、このラグ424は、遠位枢動基部326内に提供される第1ケーブル取り付け孔327内に圧力嵌めされるような大きさである。同様に、第2又は左関節運動部材430は、上部にラグ434が形成された遠位端432を有し、このラグ434は、遠位枢動基部326内に提供される第2ケーブル取り付け孔329内に圧力嵌めされるような大きさである。図37を参照されたい。したがって、エンドエフェクタ12は、第1又は右関節運動部材420を引くことによって、第1軸FA−FA(図35及び図36)を中心に右に枢動してもよく、エンドエフェクタ12は、第2又は左関節運動部材430を引くことによって、第1軸FA−FAを中心に左に枢動されてもよい。様々な実施形態により、右関節運動部材420は、近位スパイン区分330内に形成された右ケーブルチャネル336内に摺動自在に受容されてもよく、左関節運動部材430は、近位スパイン区分330内の左ケーブルチャネル338内に摺動自在に受容されてもよい。 With reference to FIGS. 37, 38 and 40, in various embodiments, the
図38〜40を参照し、左関節運動部材420は、近位端426を有し、これは上部に据込みされるかないしは別の方法でこれに取り付けられる保持球428を有し、これは回転ノブ400のソケット401内に回転可能に支持された関節運動球440内の第1保持スロット442内に受容されるように適合される。同様に、第2関節運動部材430は近位端部436を有し、これは上部に据込みされるか、ないしは別の方法でこれに取り付けられる保持ボール438を有し、これは関節運動球440の第2保持スロット444内に受容されるように適合される。図40に見られるように、関節運動球440は更に内部を通じた作動スロット446を有し、これは内部の近位発射管区分390の阻害されない経路を促進する。図38に図示されるように、作動スロット446は、より広い開口部448、450から関節運動球440の中央における経路452に向かってテーパ状になっていることがあり、これは、近位発射管区分390の摺動経路をもたらす。以下でより詳細に記載されるように、関節運動球440は、ソケット401内に回転可能又は枢動可能に支持され、中立位置(図38において実線で示される)から第1関節運動制御位置及び第2関節運動制御位置(図38において破線で示される)まで選択的に可動である。関節運動球440はまたソケット401内で軸方向に可動である。 Referring to FIGS. 38-40, the
図40に見られるように、外科用器具310は、関節運動球440を、中立、第1及び第2関節運動制御位置のいずれか1つに固定するために、一般的に453として示される、固定構成を含み得る。様々な実施形態において、固定構成453は一連の固定戻り止め区分454を含み、これらは関節運動球440上に提供され、回転ノブ400のソケット領域401内に向けられるハブ部分402内に形成された陥没部408内に形成された固定リブ410と係合するように適合される。作動経路412は、ハブ部分402を通じて延び、関節運動球440内の作動スロット446と位置合わせして、内部を通じた近位発射管区分390に適合する。図38及び図39に見られるように、作動球ばね456は、回転ノブ400のばね保持ハブ414に軸支されて、関節運動球440を近位方向に付勢し、それによって、固定戻り止め454が、ハブ部分402の固定リブ410と保持係合する。 As seen in FIG. 40, the
関節運動球440への関節運動の適用を促進するため、一対の横方向に延びる関節運動ハンドル458、460が関節運動球440から、直径方向反対方向に突出する。様々な実施形態において、関節運動球440は、例えば、ポリカーボネート、ナイロン、Ultem(登録商標)(充填物なし、ガラス充填、炭素充填、ミネラル充填)などから作製されてもよく、かつ機械加工又は成形された固定戻り止め454を上部に有する。関節運動ハンドル458、460は、圧力嵌め、溶接などにより、関節運動球440に取り付けられてもよい。このような固定構成は、関節運動球440が中立、第1又は第2関節運動位置のいずれかに固定されることを可能にする。一度外科医が、エンドエフェクタの所望の関節運動位置を達成するために、関節運動球440を動かすと、外科医は関節運動球440を解放してもよく、作動球ばね456が関節運動球440を近位方向に付勢し、それによって固定戻り止め454が、ハブ部分402の固定リブ410と保持係合する。様々な実施形態において、作動球ばね456は、関節運動したエンドエフェクタがトロカール又は同様の開口部を通じて強制的に引かれる際に、関節運動球440が中立位置へとばねで戻り得るような大きさであり得る。更に、関節運動ハンドル458、460の使用は、関節運動の度合いを特定の外科的用途に合わせて「調整する」ことを可能にする。 A pair of laterally extending articulation handles 458, 460 project from the
図38に見られるように、第1又は右関節運動ハンドル458は、回転ノブ400の右スロット416を通じて突出し、第2又は左関節運動ハンドル460は、回転ノブ400の左スロット418を通じて突出する。エンドエフェクタ12を長手方向軸A−Aに対して関節運動させるため、外科医は最初に、右関節運動ハンドル458、及び左関節運動ハンドル460を、軸方向に遠位方向「DD」へと動かして、固定戻り止め454を、回転ノブ400のハブ部分402の固定ハブ410から係合離脱させる。その後、外科医は、関節運動ハンドル458、460を所望の方向に動かすことにより、関節運動球440を枢動させて、関節運動部材420、430に関節運動を適用してもよい。例えば、エンドエフェクタ12は、右関節運動ハンドル458を近位方向「PD」に、かつ左関節運動ハンドル460を遠位方向「DD」に移動することにより右に枢動されてもよく、右手関節運動部材420に牽引運動(関節運動)を、左関節運動部材430に押圧運動を適用する。同様に、エンドエフェクタ12は、左関節運動ハンドル460を近位方向「PD」に、かつ右関節運動ハンドル458を遠位方向「DD」に移動することにより左に枢動されてもよく、左関節運動部材430に牽引運動(関節運動)を、右手関節運動部材420に押圧運動を適用する。右関節運動ハンドル458、及び左関節運動ハンドル460の運動の様々な範囲は、図38において破線で例示される。このようにして、エンドエフェクタ12は、例えば、細長いシャフトアセンブリ40の回転又は他の運動を必要とせずに、時計回り、又は反時計回りに回転させることにより、様々な角度位置に最適に位置付けることができる。図35は、様々な実施形態において、0°〜45°である、角度αを示す。 As seen in FIG. 38, the first or right articulation handle 458 protrudes through the
外科用器具310の様々な実施形態は、ナイフバー472を含み、これは、中空の近位スパイン区分330内に、かつ狭い近位部分335から広い遠位部分337までテーパ状になっているナイフ支持スロット333を通じて可動に支持され、ナイフバー472がその周囲で屈曲してエンドエフェクタ12の長手方向軸A−Aを中心とした関節運動に適合することを可能にする。図37を参照されたい。様々な実施形態において、ナイフバー472は、例えば、300又は400シリーズステンレススチールから作製され、その遠位端状に形成された組織切断縁部476を有してもよい。図37に更にみられるように、ナイフバー472は、遠位枢動基部326内のナイフスロット473を摺動自在に通過する。ナイフバー472の近位端478は、近位スパイン区分330を通じて延びるナイフロッド480に取り付けられて、上記のように、発射伝達器190に駆動可能に係合する。図31を参照されたい。保持ピン406は、近位発射管区分390内の長手方向スロット392(図38)、及び近位スパイン区分330の孔339(図39)を通じて、ナイフロッド480の長手方向スロット482内へと延びて、近位発射管区分390、及びナイフロッド480が近位スパイン区分330及びハンドルアセンブリ100に対して軸方向に移動することを可能にする。したがって、外科医は、ナイフ前進トリガー200を上記の方法で操作して、ナイフバー472を選択的に操作して組織を切断してもよい。 Various embodiments of the
様々な関節運動構成は、2010年5月7日に出願された、米国特許出願番号第12/775,809号(代理人整理番号第END6755USNP)、表題「Laparoscopic Devices With Articulating End Effectors」(Frederick E.Shelton IVら)、及び2010年5月7日に出願された、米国特許出願番号第12/775,699号(代理人整理番号第END6756USNP)、表題「Bendable Shaft For Handle Positioning」(Frederick E.Shelton IV,et al)に開示され、各開示は本明細書において参照としてその全体が組み込まれる。図41及び図42は、関節運動するシャフトアセンブリ340と実質的に同一の、関節運動するシャフトアセンブリ340に利用される発射管連結部380と置換される中間発射管区分492を除いて、実質的に同様に操作される、代替的関節運動したシャフトアセンブリ490を例示する。図41及び図42に見られるように、中間発射管区分492は、遠位発射管区分370から近位発射管区分390まで延びる。様々な実施形態において、中間発射管区分492は、ナイロン、Isoplast(登録商標)又は他の可撓性プラスチックから作製され得る。様々な実施形態において、中間発射管区分492は、2つの長手方向に延びる圧縮スパイン部分494を有し、ここから、空間498によって隔てられる複数の離間したリブ区分496が延びて、実質的に中空の管区分を形成し、これを通じてスパインアセンブリの他の構成要素及びナイフバーが動作可能に通過し得る。スパイン部分494は、近位発射管区分390から遠位発射管区分370へと圧縮運動を伝達するように構成され、これらの区分はアンビル20を完全に発射された位置へと作動する一方で、エンドエフェクタ12が長手方向軸A−Aに対して選択的に関節運動することを可能にするために、十分な大きさである。中間発射管区分492は、例えば、ピン、スロット付き突起部、スナップ機構などによって遠位発射管区分に取り付けられた遠位端部491、並びに同一又は同様の手段により近位発射管区分390に取り付けられた、近位部分493を有してもよい。このような実施形態において、エンドエフェクタ12は、例えば、細長いシャフトアセンブリ490の回転又は他の運動を必要とせずに、時計回り、又は反時計回りに回転させることにより、様々な角度位置に最適に居続けることができる。図42は、様々な実施形態において、0°〜45°である、角度αを示す。 Various articulation configurations are described in US patent application Ser. No. 12 / 775,809 (Attorney Docket No. END6755USNP), entitled “Laparascopic Devices With Articulating End Effectors” (Frederic E Shelton IV et al.) And US patent application Ser. No. 12 / 775,699 (Attorney Docket No. END6756USNP), entitled “Bendable Shaft For Handle Positioning” (Frederick E. et al.), Filed May 7, 2010. Shelton IV, et al), the disclosures of each of which are incorporated herein by reference in their entirety. 41 and 42 are substantially the same as the articulating
図43〜47は、本発明の別の外科用器具実施形態を例示する。本実施形態の外科用器具510は、以下に記載の様々な差異を除き、上記の外科用器具実施形態310と実質的に同様である。外科用器具510は、本明細書において上記の種類のエンドエフェクタ12と共に使用するためのものとして記載されるが、当業者らは、外科用器具はまたエンドエフェクタ12’を作動させるための第2発射アダプタ150と共に利用され得るか、又はこれが他のエンドエフェクタ構成と共に使用され得ることを理解する。外科用器具510の様々な実施形態は、関節運動したシャフトアセンブリ512を含み、長手方向軸A−Aに対してエンドエフェクタ12を選択的に位置付けることを促進する。図43及び図44に見られるように、関節運動したシャフトアセンブリ512は、遠位スパイン部材520を有し、これは内部にトラニオン17を受容するために、内部に一対のトラニオン受台522を有する。遠位スパイン部材520は、近位スパイン区分530の遠位端531に枢動可能に連結される、近位端521を有する。特に、遠位スパイン区分520の近位端521は、一対の離間した遠位スパイン歯523を有し、これは関節運動ピン524を支持し、これは近位スパイン区分530の遠位端531を通じて延びて、長手方向軸A−Aと実質的に横方向である、関節運動軸AA−AAを画定する。図46を参照されたい。 43-47 illustrate another surgical instrument embodiment of the present invention. The
本発明の様々な実施形態において、エンドエフェクタ12は、長手方向軸A−Aを中心として、様々な異なる向きに関節運動可能である。例えば、図47の角度α’は、180°〜90°の範囲であり得る。エンドエフェクタ12は、関節運動連結部540へと連結された、少なくとも1つの関節運動部材550の手段により関節運動する。関節運動連結部540は、遠位ピン542によって、遠位スパイン区分520の遠位端521に枢動可能に連結される。図43を参照されたい。図46に図示されるように、関節運動連結部540は、関節運動ロッドピン554によって、関節運動ロッド550の遠位端552に枢動可能に連結される。図43に見られるように、関節運動部材550は、関節運動したシャフトアセンブリ512を通じて延び、ハンドルアセンブリ100に回転可能に連結された回転ノブ560内に延びる近位端部556を有する。関節運動部材550の近位端556は、関節運動制御部材又はボタン558に連結され、これは、回転ノブ560に摺動自在に連結してこれに対して選択的に軸方向に移動する。関節運動ボタン558を遠位方向「DD」で軸方向に摺動させると、エンドエフェクタ12が長手方向軸A−Aを中心に、図47に例示される方法で枢動する。エンドエフェクタを、エンドエフェクタが長手方向軸A−A上で同軸的に位置合わせさせた、開始非作動位置に戻すため、外科医は単純に作動ボタン558を、回転ノブ560上で近位方向「PD」に摺動させる。 In various embodiments of the invention, the
上記の実施形態のいくつかにおいて、回転ノブ560は、ハンドルアセンブリ100に回転可能に取り付けられた、取り付けブッシング570と回転しないように連結される。図43及び図47を参照されたい。取り付けハウジング570は近位フランジ572及び遠位フランジ574を有し、これらは、その間に回転溝575を画定し、その間にハンドルアセンブリ100の鼻部101を回転可能に受容する。このような構成は、取り付けブッシング570が、ハンドルアセンブリ100に対し、長手方向軸A−Aを中心に回転することを可能にする。近位スパイン区分530は、取り付けブッシング570に回転不能にピン留めされるか、ないしは別の方法で取り付けられ(溶接、接着剤など)、その結果長手方向軸A−Aを中心として回転ノブ560の回転が、エンドエフェクタ12の長手方向軸A−Aを中心とした回転を生じる。このような構成は、エンドエフェクタ12の、長手方向軸A−Aを中心とした360°の軌道の回転を促進し得る。 In some of the above embodiments, the
この実施形態はまた、第1発射アダプタ140に連結され、遠位スパイン区分520上で軸方向に可動の、遠位発射管区分580を有する。特に、第1発射アダプタ140上の保持ボタン144は、上記の方法により、遠位発射管区分580の保持孔581内に受容される。遠位発射管区分580は、これに取り付けられた少なくとも1つの発射部材により作動される。好ましい実施形態において、遠位発射管区分580は、これに取り付けられた一対の発射バンド582、584によって作動される。発射バンド582、584は、上記の方法で発射ヨーク114に取り付けられた近位発射管区分590に連結されたバンド取り付け部585に取り付けられる。また、カバー管592が近位スパイン区分530に軸支され、かつ共に回転するために回転ノブ560に連結される。近位発射管590及びバンド取り付け部585は、カバー管592に対して軸方向に可動である。図44Cに図示されるように、発射バンド582、584は、遠位スパイン部材520の横方向バンドチャネル526内に手動自在に受容される。様々な実施形態において、発射バンド582、584はそれぞれ、薄い可撓性部材を含み、これは、例えば、ステンレス・スチールから作製されてもよく、それぞれ、遠位発射管区分580を押して、上記の方法でアンビル20を作動又は閉鎖して、埋め込み可能なステープルカートリッジ30内にステープル32を形成することができる。発射ケーブル582、584の作動は、発射トリガー130を上記の方法で引くことにより達成される。発射トリガー130を開始位置に戻すことにより、発射ケーブル582、584を引き、それによって第1発射アダプタ140がアンビル20を開放位置に引くか、又はばね(図示されない)がアンビル20を開放位置に付勢する位置まで移動する。 This embodiment also has a distal
外科用器具510は、遠位スパイン区分520のナイフ支持スロット528内に可動に支持されるナイフ534を更に含み得る。図44Bを参照されたい。様々な実施形態において、ナイフバー534は、例えば、300又は400シリーズステンレススチールなどから作製され、その遠位端上に形成された組織切断縁部535を有してもよい。ナイフバー534は、300又は400シリーズステンレススチールから作製され得る、ナイフバンド536に取り付けられる。ナイフバンドは例えば、ロッドよりも硬質の、0.178〜0.305mm(0.007〜0.012インチ)厚さのステンレススチールバンド材料を含み得る。ナイフケーブル536は、遠位スパイン部材520、及び近位スパイン区分530を通じて延び、上記のように、発射伝達器190に駆動しながら係合する、ナイフロッド480に取り付けられる。したがって、外科医は、ナイフ前進トリガー200を上記の方法で操作して、ナイフバー534を選択的に操作して組織を切断してもよい。様々な実施形態はまた、汚れ、組織、くずなどが関節継手を汚さないように、ベローズ様カバー部材594を利用してもよい。図48を参照されたい。
図49〜53は、本発明の別の外科用器具実施形態を例示する。本実施形態の外科用器具610は、以下に記載の差異を除き、上記の外科用器具実施形態10と実質的に同様である。外科用器具610は、2つの可動ジョー613、615を有する、エンドエフェクタ612を作動するように構成される。様々な実施形態において、エンドエフェクタ612は、ハンドルアセンブリ100から突出する細長いシャフトアセンブリ655と連結される。図49を参照されたい。細長いシャフトアセンブリ655は、細長いスパインアセンブリ658、及びスパインアセンブリ658上で近位方向及び遠位方向で軸方向に可動である細長いクロージャ管アセンブリ680を含む。図示されるように、細長いシャフトアセンブリ655は、長手方向軸A−Aに沿ってほぼ直線状に、ハンドルアセンブリ100から遠位方向に延びる。様々な実施形態において、細長いシャフトアセンブリ655は、228.8mm〜406.4mm(およそ9〜16インチ)長さである。しかしながら、細長いシャフトアセンブリ655は、他の長さで提供されてもよい。 49-53 illustrate another surgical instrument embodiment of the present invention. The
図50及び図51を参照し、様々な実施形態において、エンドエフェクタ612の下方ジョー613は細長いチャネル614を含み、上方ジョー615はアンビル620を含む。細長いチャネル614は、一対の離間した側壁616を有し、これらはそれぞれ、上方に突出するクロージャ端部又は先端部618で終わっている。細長いチャネル614は、例えば、17−4又は400シリーズステンレススチールから作製されてもよく、ステープルカートリッジ630又は他の形態のステープルカートリッジを内部に動作可能に支持するような大きさである。アンビル620は、416、17−4、17−7などのステンレス・スチールから作製されてもよい。少なくとも一実施形態において、例えば、エンドエフェクタ612(閉鎖位置にあるとき)及び細長いシャフトアセンブリ655はそれぞれ、装置が、少なくともおよそ8〜12mm(およそ0.31〜0.47インチ)の直径を有する開口部を動作可能に通過することを可能にする、最大外径を有する。しかしながら、エンドエフェクタ612及び細長いシャフトアセンブリ655は、他の直径及び形状を有し得る。エンドエフェクタ612は更に、以下で更に説明されるように、近位スパイン区分670の遠位端と除去可能に連結されるように適合された、遠位スパイン区分660を更に含む。 50 and 51, in various embodiments, the
アンビル620は、内部に複数のステープル形成ポケットを有する、ステープル形成部分622を有する。加えて、アンビル620は、少なくとも1つ、及び好ましくは一対の下方に延びるクロージャ先端部625を含む、二又クロージャ部分624を有する。図50〜53に見られるように、少なくとも一実施形態において、クロージャ先端部625、及び細長いチャネル614の対応するクロージャ端部又は先端部618は、枢動ピン626により、スパインアセンブリ658の遠位スパイン区分660(図55)の二又遠位端662のスパインラグ663に枢動可能にピン留めされ、それによって側部から見た際に、クロージャ先端部625及びクロージャ先端部618は、一般的に628として指定される可動「ハサミ様」クロージャ構造を形成する。他の実施形態において、アンビル620は、細長いチャネル614に可動に連結されてもよい。
エンドエフェクタ612の様々な実施形態はまた、軸方向に可動なナイフアセンブリ640を含み、これは遠位スパイン区分660のスパインラグ663の間で軸方向に摺動するように構成された、そこから遠位方向に突出する一対の離間したナイフバー644を有する、ナイフプレート642を含む。図55を参照されたい。ナイフ部材646は、ナイフバー644の遠位端に取り付けられるか、ないしは別の方法で上部に形成される。様々な実施形態において、ナイフバー644及びナイフ部材646は、例えば、300又は400シリーズステンレススチールから作製されてもよい。組織切断縁部648は、ナイフ部材646の遠位端上に形成される。ナイフ部材646の下部649は、細長いシャフト614内に可動に支持される、ステープル駆動スレッド650と係合するように構成される。ステープル駆動スレッド650は、細長いチャネル614のスロット又はスロット構成(図示されない)内に保持されてもよく、開始位置(図50〜52)から終了位置(図53)までのステープル駆動スレッド650の軸方向の移動を促進し、その間細長いチャネル614に接続したままである。ステープル駆動スレッド650は、上部にステープル駆動表面652を有し、これらは、ステープルカートリッジ630内のステープル632と駆動可能に係合し、ナイフ部材646がエンドエフェクタ612を通じて遠位方向に前進する際に、ステープル632を、アンビル620のステープル形成部分622に向かって上方に駆動する。 Various embodiments of the
また様々な実施形態において、遠位スパインナット668は、スパイン区分660の近位端664と回転可能に連結し、これに対して、長手方向軸A−Aを中心に回転移動する。遠位スパインナット668は、遠位スパイン区分660が近位スパイン区分670に対して回転するのを可能にするため、ハンドルアセンブリ100から突出する近位スパイン区分670の遠位端672の、対応するトラニオンスロット674に受容される大きさの、一対の内側に延びるトラニオン669を有する。図49に見られるように、近位バネ区分670は、長手方向軸A−Aを中心としたエンドエフェクタ612の、360°の軌道の回転を促進するために、上記の方法によりハンドルアセンブリ100に回転可能に取り付けられた回転ノブ70にピン留めされている(ピン66により)。 Also in various embodiments, the
図49に見られるように、フランジ676は、近位スパイン区分670の近位端671上に形成される。フランジ676は、各ケース部材102、104から内側に突出する噛み合うリブ108により形成される溝106内に回転可能に支持されるように構成される。このような構成は、近位スパイン区分670のハンドルアセンブリ100への取り付けを促進し、一方で、近位スパイン区分670が、ハンドルアセンブリ100に対し、長手方向軸A−Aを中心に360°の軌道で回転することを可能にする。近位クロージャ管区分682は、ポリマー又は他の好適な材料から作製されてもよく、上記の様々な方法により、ハンドルアセンブリ100内に構成され、可動に取り付けられた、発射ヨーク114に取り付けられた近位端部683を有する。様々な実施形態により、例えば、発射ヨーク114は、近位クロージャ管区分682の近位端683にオーバーモールドされ得る。しかしながら、他の締結具構成が利用されてもよい。上記のように、発射ヨーク114は、ハンドルアセンブリ100内で軸方向に動くように構成された、支持カラー120内で回転可能に支持されてもよい。図49に見られるように、長手方向スロット681は、近位クロージャ管区分682を通じて提供されて、スパインピン66が内部を通じて近位端スパイン区分670内に延びることを可能にし、同時に遠位スパイン区分670上の近位クロージャ管区分682の軸方向移動を促進する。 As seen in FIG. 49, the
図49に見られるように、発射トリガー130は、支持カラー120に枢動可能に(ピン留めされた)発射連結部636、638に枢動可能に(ピン留めされた)、上部134を有する。したがって、発射トリガー130のハンドルアセンブリ100のピストルグリップ部分107の方への移動は、発射ヨーク114及び近位クロージャ管区分682の近位方向「PD」(図49において破線で示される)への移動を生じる。クランプ及び発射トリガー130の、ハンドルアセンブリ100のピストルグリップ部分107から遠ざかる運動により、発射ヨーク114及び発射管110は、近位スパイン区分670上で近位方向「DD」に動く。 As seen in FIG. 49, the firing
図50〜53に見られるように、近位クロージャ管区分682は、遠位クロージャ管区分690の近位端692に取り付けられるように構成された遠位端684を有する。例示される実施形態において、遠位クロージャ管区分690は、近位クロージャ管区分682の遠位端部684にねじにより取り付けられるように構成されている。遠位クロージャ管区分690の遠位端694は、内部にテーパ状駆動部材696を有し、これははさみ様クロージャ構造628と連動するように構成され、それにより遠位クロージャ管区分690が図51に例示される位置にあるとき、細長いチャネル614とアンビル620との間に位置付けられるエンドエフェクタばね617は、アンビル620をこの図に例示される開放位置まで付勢するように機能する。しかしながら、遠位クロージャ管区分690は、近位方向「PD」に引かれ、テーパ状駆動部材696は、はさみ様クロージャ構造628に接触し、ジョー613(細長いチャネル614)及び615(アンビル620)を互いに向かって枢動させる。図52及び図53を参照されたい。 As seen in FIGS. 50-53, the proximal
外科用器具610は更に、近位スパイン区分670を通じて延びる、ナイフロッド700を含み、上記の方法でナイフ前進トリガー200に動作可能に取り付けられた、発射伝達器190と駆動可能に連動する近位端部702を有する、ナイフ前進システム639を更に含み得る。したがって、外科医は、ナイフ前進トリガー200を上記の方法でひくことによって、ナイフロッド700を遠位方向に前進させてもよい。図52及び図53に見られるように、ナイフロッド700は、ナイフプレート642に係合するように構成された、上方ナイフロッド区分706、及び下方ナイフロッド区分708を含む、二又遠位端部704を有する。図51〜54に見られるように、上方ロッド区分706は、スパインナット668の上方スロット773を通じて摺動するように構成され、下方ナイフロッド区分708は、スパインナット668の下方スロット775を通じて摺動するように構成される。
外科用器具610を使用するため、スパインナット668上のトラニオン669を、近位スパイン区分670内のこれらの対応するトラニオン受台674に挿入することによってエンドエフェクタ612は、近位スパイン区分670の遠位端672に取り付けられる。図50を参照されたい。その後、外科医又は臨床医はエンドエフェクタ612を細長いシャフトアセンブリ655に対して回転させてもよく、遠位クロージャ管区分690を近位クロージャ管区分682上に螺着し、クロージャ管アセンブリ680を形成する。エンドエフェクタ612は、内部にステープルカートリッジ630を有してもよく、又は臨床医は、この時点又は後に、ステープルカートリッジを細長いチャネル614内に据付てもよい。一度エンドエフェクタ612が外科用器具610の細長いシャフトアセンブリ655に取り付けられると、外科医はエンドエフェクタ612及び細長いシャフトアセンブリ655を、患者内に延びるアクセス経路を通じて(例えば、トロカール若しくは内視鏡など、又は開腹手術の場合は切開部を通じて)、エンドエフェクタジョー613、615の間の標的組織を把持する。上記の様々な実施形態におけるように、ジョー613、615は、発射トリガー130を、ハンドルアセンブリ100のピストルグリップ107に対して操作することによって閉鎖される。一度標的組織が、エンドエフェクタジョー613、615の間で把持されると、外科医は、上記の方法によりアンビル620をステープルカートリッジ630内に圧縮することによって、標的組織内にステープル632を「発射」又は形成し得る。手術が標的組織の切断を必要としない場合、外科医は次に発射トリガー130を解放して、アンビル620が開放位置に動き(ばね617からの付勢運動により)それによりエンドエフェクタ612から埋め込み可能なステープルカートリッジ630を解放ことを可能にする。外科医はエンドエフェクタジョー613、615を再閉鎖し、エンドエフェクタ612が、アクセス経路又は作業チャネルを通じて引き出されることを可能にする。しかしながら、外科医がステープルのライン632の間で標的組織を切断することを所望する場合、外科医は上記の方法でナイフ前進トリガー200を操作してナイフアセンブリ640を発射し、標的組織を通じてナイフ部材648を遠位方向に駆動してもよい。ナイフ部材648が、エンドエフェクタ612を通じて遠位方向に移動すると、これはステープル駆動スレッド650に接触し、これはステープル632をアンビル620のステープル形成表面622と形成接触させるように機能し、ステープル632を更に形成する。図53を参照されたい。その後、外科医はエンドエフェクタ612を開いて、そこから切断/ステープリングされた組織、及び埋め込み可能なステープルカートリッジ630を解放する。 By using the
クロージャ管を遠位方向に動かすことによって、エンドエフェクタのジョーを閉鎖する、固有及び新規クロージャ管構成は、より小さいクロージャ構造が利用される一方で、依然としてステープルを形成するために必要な大きな閉鎖力を生成する能力を維持することを可能にする。加えて、本発明の実施形態は、組織を切断する必要のない用途において、組織を切断することなくこれをステープリングするための柔軟性を、外科医に提供する。 The unique and new closure tube configuration that closes the end effector jaws by moving the closure tube distally, while the smaller closure structure is utilized, still requires the large closing force required to form staples. Makes it possible to maintain the ability to generate. In addition, embodiments of the present invention provide the surgeon with the flexibility to staple the tissue without cutting it in applications that do not require cutting the tissue.
図56〜60は、以下に記載される差異を除き、上記の外科用器具610と実質的に同一の、代替的外科用器具実施形態810を例示する。外科用器具810は例えば、ハンドルアセンブリ100を形成する、ケース部材102、104それぞれから、内側に突出する噛み合うリブ108により形成される、溝106内に回転可能に受容される、上部にフランジ822を有する近位端を有する、可撓性スパインアセンブリ820を含む。図57及び図58を参照されたい。このような取り付け構成は、可撓性スパインアセンブリ820のハンドルアセンブリ100に対する回転移動を促進する。様々な実施形態において、可撓性スパインアセンブリ820は、例えば、ナイロン、アクリルニトリルブタジエンスチレン(ABS)、ポリカーボネート、液晶ポリマー、ステンレス・スチール、チタンなどから作製されてもよく、かつ上記の種類のエンドエフェクタ612との使用のために構成されてもよい。 56-60 illustrate an alternative
外科用器具810は更に、一般的に830により表される、細長いシャフトアセンブリを含む。例えば、様々な実施形態において、細長いシャフトアセンブリ830は、再構成可能なシャフト区分840、及び近位シャフト区分844を含む。例えば、図56に見られるように、再構成可能なシャフト区分840は、遠位取り付けカラー842を有してもよく、これは例えば、接着剤、溶接、締結具などにより、可撓性スパインアセンブリ820の一部分に動かないように取り付けられる。再構成可能なシャフト区分840は、再構成可能な区分840の全ての部分が互いに実質的に同軸的に位置合わせされた線形構成(すなわち、これらが実質的に直線状の空洞管状構造を有する)と、少なくとも1つの位置と、再構成可能な区分840の別の部分とを同軸状又は線形に位置合わせされていない構成との間で選択的に再構成可能である。例えば、図56に示される実施形態において、再構成可能なシャフト区分840は、ナイロン、アクリルニトリルブタジエンスチレン(ABS)、ポリカーボネートなどから作製されてもよく、線形又は同軸状に位置合わせされた位置から、非線形又は非同軸状の位置(例えば、S字、湾曲など)への区分840の再構成を促進し、手又は把持装置などの他の外科用器具の使用により、ユーザーがシャフト区分840を再構成するまで、このような向きのままである、複数のリブ846を有する。再構成可能なシャフト区分840は、「受動的に関節運動可能」であり、これは、装置が、区分840の関節運動を能動的に制御するための関節運動手段を備えないことを意味する。
様々な実施形態において、近位シャフト区分844は、例えば、連結機構又はピンなどにより、再構成可能なシャフト区分840に連結され、ハンドルアセンブリ100への再構成可能なシャフト区分840の回転可能な取り付けを促進するように機能する。例えば、少なくとも一実施形態において、近位シャフト区分844は、取り付けブッシング60に連結され、これは上記のハンドルアセンブリ100に回転可能に取り付けられる。図57及び図59を参照されたい。 In various embodiments, the
また、様々な実施形態において、クロージャ管区分832は、その上での選択的な移動のために、可撓性スパインアセンブリ820の一部分に可動に取り付けられる。図56及び図60を参照されたい。図60に見られるように、少なくとも一実施形態において、クロージャ管区分832、及びスパインアセンブリ820は、それぞれ対向するフランジ部分833、821を備えるようにして形成され、それによってクロージャ管区分832がスパインアセンブリ820から滑り出すことを防ぐと同時に上部に可動に取り付けられたままとする。様々な実施形態において、可撓性クロージャ部材848は、発射ヨーク114の一部分に連結されるか、又はこれを含む。図57及び図59を参照されたい。可撓性クロージャ部材848は、例えば、ステンレス・スチールなどから作製されてもよく、かつ遠位端部849を有し、これは、スパインアセンブリ820内の細長いスロット834を通じて延び、クロージャ管区分832に連結される。このような区分は、発射トリガー130を上記の方法で作動することによって、スパインアセンブリ820上の遠位方向「DD」、及び近位方向「PD」での、クロージャ管区分832の移動を促進する。 Also, in various embodiments, the
図56に見られるように、外科用器具810は、上記のエンドエフェクタ612と共に利用され得る。特に、エンドエフェクタ612は、スパインナット668上のトラニオン669を、スパインアセンブリ820の遠位端825の対応するトラニオンスロット825内に挿入することによって、可撓性スパインアセンブリ820に可動に連結され得る。図60を参照されたい。クロージャ管区分832の遠位端835は、上記の方法で遠位クロージャ管区分690の近位端692にねじにより取り付けられるように構成される。 As seen in FIG. 56, a
少なくとも一実施形態において、外科用器具810は更に、スパインアセンブリ820を通じて延びる、ナイフロッド700を含み、上記の方法でナイフ前進トリガー200に動作可能に取り付けられた、発射伝達器190と駆動しながら連動する近位端部702を有する、ナイフ前進システム639を更に含む。したがって、外科医は、ナイフ前進トリガー200を上記の方法でひくことによって、ナイフロッド700を遠位方向に前進させてもよい。ナイフロッド700は、エンドエフェクタ612内のナイフプレート642に係合するように構成された、上方ナイフロッド区分706、及び下方ナイフロッド区分708を含む、二又遠位端部704を有する。図60を参照されたい。 In at least one embodiment, the
外科用器具810を使用するため、スパインナット668上のトラニオン669を、これらの対応するトラニオン受台825に挿入することにより、エンドエフェクタ612が、スパインアセンブリ820の遠位端823に取り付けられる。その後、外科医又は臨床医は、エンドエフェクタ612を回転させて、遠位クロージャ管区分690をクロージャ管区分832に螺着する。エンドエフェクタ612は、内部にステープルカートリッジ630を有してもよく、又は臨床医は、この時点でステープルカートリッジを細長いチャネル614内に挿入してもよい。一度エンドエフェクタ612が、外科用器具810の細長いクロージャ管アセンブリ830に取り付けられると、外科医は再構成可能なシャフト区分840を構成してもよく、それにより細長いシャフトアセンブリ部分は、患者内に延びる開口部又は作業チャネル(例えば、トロカール若しくは内視鏡を通じて、又は開腹手術の場合は切開部を通じて)を通じて挿入するために、同軸状に位置合わせされる。その後、外科医は再構成可能なシャフト区分840を、その一部分が互いに同軸状に位置合わせされず、それに取り付けられたエンドエフェクタ612を標的組織に対して所望の位置に向けるように、再構成してもよい。上記の様々な実施形態におけるように、ジョー613、615は、発射トリガー130を、ハンドルアセンブリ100のピストルグリップ107に対して操作することによって閉鎖される。一度標的組織が、エンドエフェクタジョー613、615の間で把持されると、外科医は、上記の方法によりアンビル620をステープルカートリッジ630内に圧縮することによって、標的組織内にステープル632を「発射」又は形成し得る。手術が標的組織の切断を必要としない場合、外科医は発射トリガー130を解放して、アンビル620が開放位置に動き(ばね617からの付勢運動により)それによりエンドエフェクタ612から埋め込み可能なステープルカートリッジ630を解放することを可能にしてもよい。外科医はその後、エンドエフェクタジョー613、615を再閉鎖し、再構成シャフト区分840を再構成して、エンドエフェクタ612がアクセス経路又は作業チャネルを通じて引き出されることを可能にする。しかしながら、外科医がステープルのライン632の間で標的組織を切断することを所望する場合、外科医は上記の方法でナイフ前進トリガー200を操作してナイフアセンブリ640を発射し、標的組織を通じてナイフ部材648を遠位方向に駆動してもよい。ナイフ部材648が、エンドエフェクタ612を通じて遠位方向に移動すると、これはステープル駆動スレッド650に接触し、これはステープル632をアンビル620のステープル形成表面622と接触させるように機能し、ステープル632を更に形成する。その後、外科医はエンドエフェクタ612を開いて、そこから切断/ステープリングされた組織、及び埋め込み可能なステープルカートリッジ630を解放する。 To use
図61及び図62は、上記の外科用器具810実施形態と実質的に同一であるが、エンドエフェクタ612を操作するためにハンドルアセンブリ100に動作可能に連結された、細長いシャフトアセンブリ830’の一部分を含む、再構成されたシャフト区分850を例外とする、別の外科用器具実施形態810’を例示する。様々な実施形態において、再構成されたシャフト区分850は、複数の可動な相互接続された管状連結部852を含む。各管状連結部852は、例えば、ナイロン、アクリルニトリルブタジエンスチレン(ABS)、ポリカーボネート(ガラス又は炭素充填物を有する又は有さない)などから作製されてもよく、かつ管状本体部分854を有する。管状本体部分854は、上部に形成された、球面状、又は球形結合部分856を有してもよく、これは内部を通じてスパイン受容経路858を有する。加えて、管状スパイン受容経路858は、隣接する管状連結部852の球状結合部分856を可動に受容するような大きさの、管状本体部分854内に形成される、中空ソケット860内に延びる。球状結合部分856は、ソケット860に対し、内部に球状結合部856が嵌合し、シャフト区分が実質的に直線状である構成から、シャフト850が湾曲した(図62)又はS字型の構成を有し得る構成(図61)におけるまで維持されることを可能にするような大きさである。 61 and 62 are substantially the same as the
球状結合部分856、及びソケット860は互いに対して、区分850を外力がそこに適用されるまで、所望の構成に維持し得る、その間の少量の摩擦力を生成するような大きさであるが、図60及び図61に示される実施形態は、固定システム862を利用して、管状連結部852を所望の構成において、解放可能に保持するか、又は不動に固定する。これらの図面において見られるように、固定手段862は、その端部853に隣接する管状連結部852の外辺部上に形成される、少なくとも1つの、好ましくは複数の可撓性ラッチナブ又は部材864を含む。好ましい実施形態において、4つのラッチナブ864が利用される。他の実施形態は、1、2、3又は5つ以上のラッチナブ864を含み得る。各管状連結部852は、連結部852の他端865に隣接する各ラッチナブ864と対応する固定部材866を更に含む。各固定部材866は、内部の隣接する管状連結部852上に形成される、対応するラッチナブ864の一部分を解放可能に受容するように構成された、ラッチ受容ノッチ868を内部に有する。 The
外科用器具810’を使用するため、エンドエフェクタ612は、上記の方法によりスパインアセンブリ820の遠位端823に取り付けられる。エンドエフェクタ612の遠位クロージャ管区分690は、クロージャ管区分832上に螺着される。一度エンドエフェクタ612が、外科用器具810’の細長いクロージャ管アセンブリ830に取り付けられると、外科医は再構成可能なシャフト区分850を構成してもよく、それにより細長いシャフトアセンブリ部分は、患者内に延びる開口部又は作業チャネル(例えば、トロカール若しくは内視鏡を通じて、又は開腹手術の場合は切開部を通じて)を通じて挿入するために、同軸状に位置合わせされる。その後、外科医は例えば、把持器具869を利用して、再構成可能なシャフト区分850の可動連結部852を、所望の向きに構成し、各連結部852の適切な固定ナブ864を、これらの対応するラッチ受容ノッチ868に押し込み、連結部852を、所望の向きに固定する。図62を参照されたい。上記の様々な実施形態におけるように、ジョー613、615は、発射トリガー130を、ハンドルアセンブリ100のピストルグリップ107に対して操作することによって閉鎖される。一度標的組織が、エンドエフェクタジョー613、615の間で把持されると、外科医は、上記の方法によりアンビル620をステープルカートリッジ630内に圧縮することによって、標的組織内にステープル632を「発射」又は形成し得る。手術が標的組織の切断を必要としない場合、外科医は次に発射トリガー130を解放して、アンビル620が開放位置に動き(ばね617からの付勢運動により)それによりエンドエフェクタ612から埋め込み可能なステープルカートリッジ630を解放することを可能にする。外科医は、その後エンドエフェクタジョー613、615を再閉鎖し、把持器具869を使用して、固定ナブ864を、これらの対応するラッチ受容ノッチ868から取り外し、連結部852を、装置が、アクセス通路又は作業チャネルを通じて引き出されることを可能にするような方法で位置合わせされるようにする。しかしながら、外科医がステープルのライン632の間で標的組織を切断することを所望する場合、外科医は上記の方法でナイフ前進トリガー200を操作してナイフアセンブリ640を発射し、標的組織を通じてナイフ部材648を遠位方向に駆動してもよい。ナイフ部材648が、エンドエフェクタ612を通じて遠位方向に移動すると、これはステープル駆動スレッド650に接触し、これはステープル632をアンビル620のステープル形成表面622と形成接触させるように機能し、ステープル632を更に形成する。その後、外科医はエンドエフェクタ612を開いて、そこから切断/ステープリングされた標的組織、及び埋め込み可能なステープルカートリッジ630を解放する。 To use surgical instrument 810 ',
図63〜68は、細長いシャフトアセンブリの再構成可能なシャフト区分870、及び関連する固定システム882を除く、上記の外科用器具実施形態810、810’と実質的に同一の、別の外科用器具実施形態810”を例示する。様々な実施形態において、再構成可能なシャフト区分870は、複数の可動に相互接続された管状連結部872を含み、上記のハンドルアセンブリ100内に回転可能に支持される取り付けブッシング60に連結される、近位シャフト区分871に連結される。各管状連結部872は、例えば、ナイロン、アクリルニトリルブタジエンスチレン(ABS)、ポリカーボネートなどから作製されてもよく、管状本体部分874を有する。図67を参照されたい。管状本体部分874は、上部に形成された球面状、又は球形結合部分876を有してもよく、これは内部を通じて延びるスパイン受容経路878を有する。加えて、管状スパイン受容経路878は、隣接する管状連結部872の球状結合部分876を可動に受容するような大きさの、管状本体部分854内に形成される、中空ソケット880内に延びる。球状結合部分876は、ソケット880に対し、内部に球状結合部876が嵌合し、シャフト区分870が実質的に直線状である構成(図67)から、再構成シャフト870が湾曲した(図68)又はS字型の構成を有し得る所望の構成におけるまで維持されることを可能にするような大きさである。 FIGS. 63-68 illustrate another surgical instrument substantially identical to the
球状結合部分876、及びソケット880は、少なくとも一実施形態において、互いに対して、外力がそこに適用されるまで、再構成可能なシャフト区分870の管状連結部872を所望の構成に維持し得る、その間の少量の摩擦力を生成するような大きさであるが、図63〜68に示される実施形態は、管状連結部872を所望の構成において、解放可能に保持するか、又は不動に固定するために、固定システム882を利用する。図67及び図68に見られるように、固定手段882は、少なくとも1つ、及び好ましくは2つの、直径方向反対側の位置にある、管状連結部872を通じて延びる選択的に拡張可能な固定ブラダ884を含む。様々な実施形態において、固定ブラダ884は、例えば、ナイロンフィルムなどから作製され、加圧流体源886からの加圧流体を受け取るように適合されてもよい。図64に表される実施形態において、加圧流体源886は、圧力下で固定ブラダ884に空気を供給するように適合された、流体ポンプ構成888を含む。特に、少なくとも一実施形態において、流体ポンプ構成888は、内部にピストン890を有する、円筒889を含む。ピストン890は、その周辺部にOリング、又は他の封止構成891を有し、ハンドルアセンブリ100の一部分とねじにより係合する、螺着ポンプハンドル892に取り付けられる。したがって、ハンドルアセンブリ100にポンプハンドル892をねじ込むことにより、円筒890内の空気は、円筒890から延びる供給導管893を通じて、スパインアセンブリ820に受容されるマニホールドアセンブリ894まで、圧力下でポンプ移送される。空気圧力は、ポンプハンドル894を反対方向にねじ込むことにより、固定ブラダ884内に受容され得る。 The
図65に見られるように、マニホールドアセンブリ894は、両側をOリング又は他の封止部896によって封止された、環状マニホールド領域895を含む。環状マニホールド領域895は供給ライン897と連通し、これは近位シャフト区分871を通じて延び、排出のための固定ブラダ884に連結される。このような構成は、固定ブラダ884内に加圧空気を供給する一方で、ハンドルアセンブリ100に対する、長手方向軸A−Aを中心としたスパインアセンブリ820の回転移動を促進するように機能する。本明細書において使用するとき、加圧流体という用語は、例えば、空気、生理食塩水、又は好ましくはグリセリンを含む。代替的実施形態において、管状部材は、非常に低いジュロ硬度のゴム又はエラストマーを充填されてもよい。圧力がゴム材料に適用されるとき、これは変形して空隙を満たし、流体による実施形態と非常に似た様式でシャフトを固定する。 As seen in FIG. 65, the
外科用器具810”を使用するため、エンドエフェクタ612は、上記の方法によりスパインアセンブリ820’の遠位端823に取り付けられる。エンドエフェクタ612の遠位クロージャ管区分690は、クロージャ管区分832上に螺着される。一度エンドエフェクタ612が、外科用器具810”の細長いシャフトアセンブリ830”に取り付けられると、外科医は再構成可能なシャフト区分870を構成してもよく、それにより細長いシャフトアセンブリ部分830”は、患者内に延びる開口部又は作業チャネル(例えば、トロカール若しくは内視鏡を通じて、又は開腹手術の場合は切開部を通じて)を通じて挿入するために、同軸状に位置合わせされる。その後、外科医は例えば、再構成可能なシャフト区分870の可動連結部872を、所望の向きに構成するために把持器具を利用してもよい。一度再構成可能なシャフト区分870が所望の向きに向けられると、外科医はポンプハンドル892を、ハンドルハウジング100内にねじ込み、固定ブラダ884を加圧して可動連結部872を、図68に示されるように適所に固定する。上記の様々な実施形態におけるように、ジョー613、615は、発射トリガー130を、ハンドルアセンブリ100のピストルグリップ107に対して操作することによって閉鎖される。一度標的組織が、エンドエフェクタジョー613、615の間で把持されると、外科医は、上記の方法によりアンビル620をステープルカートリッジ630内に圧縮することによって、標的組織内にステープル632を「発射」又は形成し得る。手術が標的組織の切断を必要としない場合、外科医は次に発射トリガー130を解放して、アンビル620が開放位置に動き(ばね617からの付勢運動により)それによりエンドエフェクタ612から埋め込み可能なステープルカートリッジ630を解放する。外科医はその後、ポンプハンドル892のねじを反対方向に回すことにより、エンドエフェクタジョー613、615を再閉鎖し、固定ブラダ884内の圧力を解放してもよい。可動連結部872を、実質的に同軸状に位置合わせされた向き(図67)、又は装置を患者から引き抜けるようにするために必要な他の向きになるように操作するために、把持器具が利用され得る。しかしながら、外科医がステープルのライン632の間で標的組織を切断することを所望する場合、外科医は上記の方法でナイフ前進トリガー200を操作してナイフアセンブリ640を発射し、標的組織を通じてナイフ部材648を遠位方向に駆動してもよい。ナイフ部材648が、エンドエフェクタ612を通じて遠位方向に移動すると、これはステープル駆動スレッド650に接触し、これはステープル632をアンビル620のステープル形成表面622と形成接触させるように機能し、ステープル632を更に形成する。その後、外科医はエンドエフェクタ612を開いて、そこから切断/ステープリングされた標的組織、及び埋め込み可能なステープルカートリッジ630を解放する。 To use the
再構成可能なシャフト区分を含む本明細書において開示される様々な実施形態は、固定可能な関節継手を利用する、従来の関節運動可能な外科用器具構成に対する大幅な改善を提示する。このような外科用器具は、典型的には、エンドエフェクタを横切部位に配置するために、1又は2の自由度に制限される。本発明の様々な実施形態は、より広い範囲の可能なエンドエフェクタ位置を実現し、したがって単一のアクセスポートを通じて装置を使用する際に、外科医により高い柔軟性を提供する。 Various embodiments disclosed herein that include a reconfigurable shaft section present a significant improvement over conventional articulatable surgical instrument configurations that utilize a fixable articulation joint. Such surgical instruments are typically limited to one or two degrees of freedom to place the end effector at the transverse site. Various embodiments of the present invention provide a wider range of possible end effector positions, thus providing greater flexibility to the surgeon when using the device through a single access port.
本発明の様々な外科用ステープルカートリッジ、及び外科用器具の固有かつ新規の特徴は、これらのカートリッジのステープルが1つ又は2つ以上の線形又は非線形のラインに構成されることを可能にする。複数のこのようなステープルのラインは、内部を通じて組織切断部材を受容するために、ステープルカートリッジ内に中央に配置された、細長いスロットの両側に提供されてもよい。一構成において、例えば、1つのライン上のステープルは、ステープルの隣接するラインのステープルと実質的に平行であるが、ここからオフセットされていてもよい。更に他の実施形態において、1つ又は2つ以上のステープルのラインは、非線形の性質を有してもよい。すなわち、ステープルのラインの少なくとも1つのステープルの基部は、同じステープルのラインの他のステープルの基部と、実質的に横方向である、軸に沿って延びてもよい。例えば、以下でより詳細に記載されるように、代替的実施形態において、細長いスロットの各側のステープルのラインは、ジグザグの外観を有し得る。このような非線形のステープル構成は、ステープルがアンビル内へと上方に駆動されないという事実により可能となり得る。これらの様々な実施形態の代わりに、アンビルは、不動ステープルの先端部と形成接触する。このような非線形のステープル構成は、ステープルが実際に上方に駆動されてアンビルと形成接触する、従来のステープルカートリッジにおいて利用された様々な線形ステープル構成よりも、少ないステープルでより良好な組織締結の結果を得ることがある。 The unique and novel features of the various surgical staple cartridges and surgical instruments of the present invention allow the staples of these cartridges to be configured in one or more linear or non-linear lines. A plurality of such staple lines may be provided on either side of the elongated slot centrally disposed within the staple cartridge for receiving a tissue cutting member therethrough. In one configuration, for example, staples on one line are substantially parallel to staples on adjacent lines of staples, but may be offset therefrom. In still other embodiments, one or more staple lines may have non-linear properties. That is, the base of at least one staple in the staple line may extend along an axis that is substantially transverse to the other staple base in the same staple line. For example, as described in more detail below, in an alternative embodiment, the staple lines on each side of the elongated slot may have a zigzag appearance. Such a non-linear staple configuration may be possible due to the fact that the staples are not driven up into the anvil. Instead of these various embodiments, the anvil is in forming contact with the tip of the stationary staple. Such a non-linear staple configuration results in better tissue fastening with fewer staples than the various linear staple configurations utilized in conventional staple cartridges where the staples are actually driven upward to form and contact the anvil. You may get
図69は、本発明のエンドエフェクタ実施形態612’の外科用ステープルカートリッジ実施形態900の使用を例示する。エンドエフェクタ612’は、上記の様々な方法により、外科用器具610と関連して使用され得る。エンドエフェクタ612’は、以下に記載される差異を除いて、上記のエンドエフェクタ612と同一であり得る。図69及び図70に見られるように、外科用ステープルカートリッジ900の実施形態は、近位端903を通じて遠位端605に隣接する領域まで延びる、中央に配置された細長いスロット904を有する、カートリッジ本体902を有する。細長いスロット904は、上記の方法による組織切断操作中において、外科用器具610のナイフ本体646が内部を通じて軸方向に移動することを可能にするように構成される。少なくとも一実施形態において、カートリッジ本体902は、圧縮可能な止血材料、例えば、酸化再生セルロース(「ORC」)、並びに例えば、PGA(商標名Vicrylで販売されるポリグリコール酸)、PCL(ポリカプロラクトン)、PLA若しくはPLLA(ポリ乳酸)、PDS(ポリジオキサノン)、PHA(ポリヒドロキシアルカノエート)、PGCL(商標名Monocrylで販売されたポリグレカプロン25)又はPGA、PCL、PLA及びPDSの複合物から作製される生分解性フォームからなり、この中で形成されてないステープル922のライン920、930が支持される。しかしながら、カートリッジ本体902は、所望の向きで非形成ステープル922を支持するように機能する他の材料から作製されてもよく、これらは、アンビル910がこれらと接触する際に圧縮され得る。上記の他の様々な実施形態において、ステープルカートリッジ900は、埋め込み可能であり、ステープリング手術が完了した後に、ステープリングした組織に取り付けられたまま残される。少なくともいくつかの実施形態において、ステープル922が影響を受け、止血材料が導入及び配置工程中に活性化することを防ぐため、カートリッジ900全体が、生分解性フィルム906、例えば、商標名PDS(登録商標)において販売されるポリジオキサノンフィルム、又はポリグリセロールセバケート(PGS)フィルム、又は例えば、PGA(商標Vicrylの商標名で販売されるポリグリコール酸)、PCL(ポリカプロラクトン)、PLA、若しくはPLLA(ポリ乳酸)、PHA(ポリヒドロキシアルカノエート)、PGCL(商標名Monocrylで販売されるポリグレカプロン25)、又はPGA、PCL、PLA、PDSの複合物(破裂するまでは不透過性である)から作製される他の生分解性フィルムで、コーティング又は被覆され得る。ステープルカートリッジ900のカートリッジ本体902は、エンドエフェクタ612’の細長いチャネル614内に取り外し可能に支持されるような大きさである。 FIG. 69 illustrates the use of the surgical
図69、73及び74に表される実施形態において、外科用ステープルカートリッジ900は、細長いスロット904の一方の横方向側部907のステープル922の第1ライン920、及び細長いスロット904の他方の横方向側部909のステープル922の第2ライン930を動作可能に支持する。様々な実施形態において、ステープル922は、例えば、チタン、チタン合金(例えば、6AI−4Vチタン、3al−2.5Vチタン)、ステンレス・スチールなどの金属材料から作製されてもよく、ステープル基部924、及びそこから突出する2つの起立するステープル脚部926を有する。各ステープル脚部926は、上部に形成された組織貫通先端部928を有し得る。ステープル922の第1ライン920において、少なくとも1つのステープル922のステープル基部924は、別のステープル922のステープル基部と重複する。好ましい実施形態において、各ステープル922のステープル基部924は、第1ステープルのライン920の各端部上の最後のステープル922の基部924を除き、2つの隣接するステープル922のステープル基部924と重複する。図73を参照されたい。したがって、第1ステープルのライン920は、実質的に非線形の形状である。より具体的に、上から見ると、第1ステープルのライン920は、実質的にジグザグの外観を有する。 In the embodiment depicted in FIGS. 69, 73 and 74, the surgical
図72に見られるように、アンビル90は、ポケット912を形成する2つの連続的な長手方向ステープルを有し、それぞれは、ステープル922の第1ライン920の形状に対応する実質的にジグザグの形状を有し、それにより、アンビル910がステープル922と形成接触する際に、その脚部926が図74に示されるように形成される。したがって、1つのステープルの遠位脚部が、長手方向に続く次のステープルの近位脚部と、同じポケットを共有する。このような構成は、更にステープル自体が連動する(例えば、互いに折り畳まれる)点まで、より密度の高いポケットパターンを可能にする。従来のステープルポケット構成において、一般的に、1組のポケットから次の組まで、0.127〜0.381(0.005〜0.015インチ)の金属/間隔が存在するべきである。本発明の実施形態はしかしながら、1つのステープルが次のステープルと係合するため、0〜0.508(0〜0.02インチ)の連動/重複(本質的には、−0.508(−0.020”))の離間構成を有する。このような構成は、同じ空間に、15〜30%多いステープルを可能にする。更に、ステープルが連結するとき、ステープルの複数の横方向の列に対する必要性がより少ない。従来の構成は、一般的に組織切断線の両側に3つの列を利用し、血液が通過し得る開いた経路の存在を防止する。連結ステープルのラインは、血液が通過し得る経路を残す可能性がより低い。本発明の様々な連結ステープル構成により提供される別の利益は、改善された「破裂強度」に関連し、これはステープルのラインを引き裂いて開くために必要な力の量に関連する。 As seen in FIG. 72, the
本発明の別のステープル形成ポケット構成は、共通のステープル形成ポケットを含み得る。本明細書において使用するとき、用語「共通のステープル形成ポケット」は、形成される各ステープルの各脚部に対して別個の形成ポケットが提供された従来的なアンビル設計とは異なり、1つの形成ポケットが、ステープルの単一のライン内で全てのステープルを形成し得ることを意味する。 Another staple forming pocket configuration of the present invention may include a common staple forming pocket. As used herein, the term “common staple forming pocket” refers to one formation unlike conventional anvil designs in which a separate forming pocket is provided for each leg of each staple to be formed. A pocket means that all staples can be formed within a single line of staples.
図75は、基部924’が、基部924’のより狭い重複を促進する、オフセット部分928を有する、更に別のステープル実施形態922’を例示する。上記のように、ステープルカートリッジ900は、細長いスロット904の第2の横方向側部909上に支持される、ステープル922の第2ライン930を有する。ステープル922の第2ライン930は、ステープル922の第1ライン920と実質的に同一である。したがって、アンビル910は、内部で形成接触する、ステープルの第2ライン930と対応する、第2の共通ステープル形成ポケット912を有する。しかしながら、代替的実施形態において、ステープル922の第2ライン930は、ステープルの第1ライン920と、形状、及び恐らくはステープルの数において異なる。 FIG. 75 illustrates yet another staple embodiment 922 ', where the base 924' has an offset portion 928 that facilitates narrower overlap of the base 924 '. As described above, the
図71は、内部に支持されるステープル922のライン920’、930’を除き、上記のステープルカートリッジ900と実質的に同一である、外科用ステープルカートリッジ900’を例示する。例えば、この実施形態において、ステープル922のライン920’は、少なくとも1つのステープル基部924の基軸S−Sが、少なくとも1つの他の隣接するステープル922のステープル基部924の基軸S−Sと実質的に横方向であるようにして互いに配置される。ステープルのこのような規定のパターンは、上から見た際に、実質的にジグザグの構成を含む。図76に示される実施形態において、ステープル922の各基部924は更に、図示されるように上部にオーバーモールドされる、基本支持部材927を有する。様々な実施形態において、基部支持材料927は、例えば、ポリエーテルエーテルケトン「PEEK」などの非吸収性プラスチック、又はポリグリコール酸「PGA」、ポリ乳酸「PLA」又は「PLLA」、ポリジオキサノン「PDS」、PCL(ポリカプロラクトン)、PHA(ポリヒドロキシアルカノエート)、PGCL(ポリグレカプロン25、商標面Monocrylから販売)、若しくはPGS、PDS、PLA、PGA及びPCLの様々な合成混合物などの吸収性プラスチックから作製されてもよい。基部支持部材927は、ステープル自体を重複させることなく、ステープルの間の連結を促進する。したがって、このような構成は、ステープルの脚部を互いに重複させることなく、「B」字型、又は反転した「W」字型の形状を形成することができる。しかしながら、クラウンは、基部支持部材によって接続され、よってこれらは重複するステープルとして機能する。このような構成は、組み合わされたポケットが、各脚部のために、2つの別個の経路を有することを可能にする。 FIG. 71 illustrates a surgical staple cartridge 900 'that is substantially identical to the
図77に示される実施形態は、ステープルのライン920”を利用し、ここで隣接するステープル922の脚部926は、成形ないしは別の方法でこれに取り付けられた連結部929によって互いに連結される。各連結部分929は、例えば、ポリエーテルエーテルケトン「PEEK」、又はポリグリコール酸「PGA」、ポリ乳酸「PLA」又は「PLLA」、ポリジオキサノン「PDS」、PCL(ポリカプロラクトン)、PHA(ポリヒドロキシアルカノエート)、PGCL(ポリグレカプロン25、商標面Monocrylから販売)、若しくはPGS、PDS、PLA、PGA及びPCLの様々な合成混合物、などの吸収性プラスチックから作製されてもよい。このようなステープルのライン920”は、上から見た際に、実質的にジグザグの外観を有する。様々な外科用ステープルカートリッジ実施形態900、900’が、エンドエフェクタ612’及び外科用ステープリング器具610との使用に関連して説明されてきたが、ステープリングカートリッジ900、900’は、本明細書において先に記載された他の様々なエンドエフェクタ及び外科用器具と共に効果的に利用され得ることが理解され、アンビルが移動してステープルと形成接触する際に、所望の量のステープル形成を達成するために、これらの器具のアンビル内に、適切なステープル形成ポケット構成が提供される。 The embodiment shown in FIG. 77 utilizes a
図78及び図79は、本発明の外科用器具10の細長いチャネル14内に支持される別の外科用ステープルカートリッジ940実施形態を例示する。少なくとも一実施形態において、外科用ステープルカートリッジ940は、内部を通じて少なくとも部分的に延びる、中央に配置された細長いスロット944を有する、カートリッジ本体942を含む。細長いスロット944は、上記の方法による組織切断操作中において、外科用器具10のナイフ本体が内部を通じて軸方向に移動することを可能にするように構成される。様々な実施形態において、カートリッジ本体942は、非形成ステープル922のライン946、948、950、952が内部に支持される、上記又は下記の種類の酸化再生セルロース(「ORC」)、又は生分解性フォームなど、圧縮可能な止血材料からなる。少なくともいくつかの実施形態において、ステープル922が影響を受け、止血材料が導入及び配置工程中に活性化することを防ぐため、カートリッジ940全体が、生分解性フィルム954、例えば、商標名PDS(登録商標)において販売されるポリジオキサノンフィルム、又はポリグリセロールセバケート(PGS)フィルム、又は例えば、PGA(商標Vicrylの商標名で販売されるポリグリコール酸)、PCL(ポリカプロラクトン)、PLA、若しくはPLLA(ポリ乳酸)、PHA(ポリヒドロキシアルカノエート)、PGCL(商標名Monocrylで販売されるポリグレカプロン25)、又はPGA、PCL、PLA、PDSの複合物(破裂するまでは不透過性である)から作製される他の生分解性フィルムで、コーティング又は被覆され得る。 78 and 79 illustrate another surgical staple cartridge 940 embodiment supported within the
図78に示される実施形態において、カートリッジ940は更に、カートリッジ本体942に連結される、カートリッジ支持部材960を更に含む。様々な実施形態において、カートリッジ支持部材960は、例えば、チタン、ステンレス・スチール、アルミニウム、これらの合金などの剛体材料から作製されてもよく、かつカートリッジ本体942内に部分的に埋め込まれてもよい。様々な実施形態において、カートリッジ支持部材960は、例えばフィルム954によって適所に保持されてもよい。限定的な結合が所望される更に他の実施形態において、2つの構成要素を一緒に「接着」するために、シアノアクリレートの断続的な使用が用いられる。更に他の実施形態において、カートリッジ本体942は、加熱されて、カートリッジ支持部材960に「溶接」又は「融着」され得る。様々な実施形態において、細長いチャネル14と係合するために、カートリッジ支持部材960は、カートリッジ本体942の底面の少なくとも一部分を形成する。好ましい実施形態において、カートリッジ支持部材960は、カートリッジ支持部材960を細長いチャネル14に解放可能に連結するために、そこから突出する1つ又は2つ以上のスナップ機構962を有する。カートリッジ支持部材960を細長いチャネル14に解放可能に連結するために、他の形態のスナップ機構/締結配置が利用され得る。 In the embodiment shown in FIG. 78, the cartridge 940 further includes a cartridge support member 960 coupled to the cartridge body 942. In various embodiments, the cartridge support member 960 may be made from a rigid material such as, for example, titanium, stainless steel, aluminum, alloys thereof, and may be partially embedded within the cartridge body 942. . In various embodiments, the cartridge support member 960 may be held in place, for example by a film 954. In still other embodiments where limited bonding is desired, intermittent use of cyanoacrylate is used to “glue” the two components together. In still other embodiments, the cartridge body 942 can be heated and “welded” or “fused” to the cartridge support member 960. In various embodiments, the cartridge support member 960 forms at least a portion of the bottom surface of the cartridge body 942 to engage the
様々な実施形態において、カートリッジ支持部材960は、上部に形成された、一連の支持隆起部964、966、968、970、972、974、976を有し、図78に示されるように、ステープルのライン946、948、950、952のステープル922の基部924にいくつかの横方向の支持を提供する。したがって、少なくともいくつかの実施形態において、支持隆起部は、ステープルのラインと実質的に同一の広がりを持つ。図80は、ステープル922に追加的な横方向の支持を提供するために、各支持隆起部964、966、968、970、972、976から突出する、起立フィン部分978、979、980、981、982、983を含むことを除き、カートリッジ940と実質的に同一である、代替的ステープルカートリッジ実施形態940’を例示する。様々な実施形態において、フィン部分は、カートリッジ支持部材960と一体的に形成されてもよく、カートリッジの高さの約1/2以下の高さを有する。したがって、好ましい実施形態において、例えば、フォームを支持する起立機構は、フォームの最大圧縮高さよりも上に延びることができない。したがって、例えば、発射される際にその元の高さの1/3まで圧縮するようにカートリッジが設計されると、フィンは、非圧縮高さの66%から、非圧縮高さの10%までもの範囲に及ぶ。 In various embodiments, the cartridge support member 960 has a series of support ridges 964, 966, 968, 970, 972, 974, 976 formed at the top, as shown in FIG. Some lateral support is provided to the base 924 of the staple 922 in lines 946, 948, 950, 952. Thus, in at least some embodiments, the support ridges are substantially coextensive with the staple lines. FIG. 80 illustrates the raised fin portions 978, 979, 980, 981, protruding from each support ridge 964, 966, 968, 970, 972, 976 to provide additional lateral support to the
使用中、上記のように、一度ステープル922がアンビル20との接触により形成されると、アンビル20が解放されて、エンドエフェクタ12がステープリングされた組織から引かれる。エンドエフェクタ12がステープリングされた組織から引かれると、カートリッジ本体942は、ステープリングされた組織に締結されたままであり、その後細長いチャネル14と連結されたままであるカートリッジ支持部材960から分離される。様々な実施形態において、カートリッジ支持部材960は、カートリッジ本体942を含む材料の色、並びに細長いチャネル14の色と異なる色を備える。このような構成は、エンドエフェクタ内にステープルカートリッジが存在しないことを示す、容易に認識可能な指示を外科医にもたらす。したがって、外科医は、不注意により、最初に内部に新しいステープルカートリッジを挿入することなく、エンドエフェクタを再挿入/使用しようとすることがない。そのため、外科医は、新しいステープルカートリッジ940のカートリッジ支持部材960が内部に配置されることを可能にするため、カートリッジ支持部材960のスナップ機構を細長いチャネル14から単純に分離する。ステープルカートリッジ940、940’を、外科用器具10との関連において説明してきたが、本発明の趣旨及び範囲から逸脱することなく、本発明に開示される他の外科用器具実施形態の多くと効果的に利用されてもよいことが理解される。 In use, as described above, once the staple 922 is formed by contact with the
図81及び図82は、細長いチャネル14と可動に連結されるかないしは別の方法で内部に支持された、クロージャロックアウト構成991を例外として、上記のエンドエフェクタ12と実質的に同一である、エンドエフェクタ990と関連する、外科用器具実施形態10の使用を例示する。様々な実施形態において、クロージャロックアウト構成991は、遠位端993及び近位端994を有する、ロックアウトアーム992を含む。ロックアウトアーム992は、枢動部材又はトラニオン995を中心として細長いチャネルに枢動可能に連結される。遠位端部は、これにとりつけられた板ばね996又は他の付勢部材を有し、ロックアウト992を作動又は固定位置へと付勢し、近位端部994は、第1発射カラー141の遠位端141と係合して、第1発射カラー140が、最初に「発射」位置まで遠位方向に前進することを防ぐ。しかしながら、ステープルカートリッジ30が細長いチャネル14内に挿入されるとき、ステープルカートリッジ30によりロックアウトアーム992が非作動又は非固定位置に移動し、発射カラー140は、ロックアウトアーム992を超えて遠位方向に前進し、ステープル発射プロセスを完了してもよい。図81を参照されたい。 81 and 82 are substantially identical to the
固定位置にあるとき、発射カラー140は、遠位方向に前進して、発射プロセスを完了することができない。加えて、発射トリガー130は、ナイフロックアウトバー210が非固定位置に前進して、外科医がナイフバー172の前進を可能にする、完全に発射された位置まで前進することができない。したがって、エンドエフェクタ990内にカートリッジが存在しない場合、クロージャロックアウト構成991は、ナイフバー172が前進することを最終的に防ぐ、固定位置内にある。したがって、外科医は、カートリッジ30がエンドエフェクタ990内に存在しない限り、ナイフバー172を前進させて組織を切断することができない。上記のクロージャロックアウト構成991は、本発明の趣旨及び範囲から逸脱することなく、本明細書において開示される多くの外科用器具実施形態に、効果的に組み込まれてもよい。 When in the fixed position, the
様々な実施形態において、ステープルカートリッジは、カートリッジ本体、及びカートリッジ本体内に収容される複数のステープルを含み得る。使用中、ステープルカートリッジは、手術部位に組み込まれ、処理される組織の側に組み込まれ得る。加えて、ステープル形成アンビルは、組織の反対側に位置し得る。様々な実施形態において、アンビルは、第1ジョーにより保持され得、ステープルカートリッジは、第2ジョーによって保持され得、第1ジョー及び/又は第2ジョーは互いに向かって移動し得る。一度ステープルカートリッジ及びアンビルが組織に対して位置付けられると、ステープルがステープルカートリッジ本体から発射され得、ステープルが組織を貫通してスープル形成アンビルと接触し得る。一度ステープルがステープルカートリッジ本体から展開されると、ステープルカートリッジ本体がその後、手術部位から取り除かれてもよい。本明細書において開示される様々な実施形態において、ステープルカートリッジ又はステープルカートリッジの少なくとも一部分が、ステープルと共に埋め込まれ得る。少なくとも1つのこのような実施形態において、以下でより詳細に記載されるように、ステープルカートリッジは、アンビルが開放位置から閉鎖位置へと移動するときに、アンビルにより圧縮、圧壊、及び/又は折り畳まれ得る、カートリッジ本体を含み得る。カートリッジ本体が圧縮、圧壊及び/又は折り畳みされるとき、カートリッジ本体内に位置付けられるステープルは、アンビルによって変形され得る。あるいは、ステープルカートリッジを支持するジョーは、アンビルに向かい、閉鎖位置へと移動し得る。いずれにせよ、様々な実施形態において、ステープルは、これらが少なくとも部分的にカートリッジ本体内に位置付けられるときに、変形され得る。いくつかの実施形態において、ステープルは、ステープルカートリッジから発射されなくてもよく、一方でいくつかの実施形態において、ステープルは、カートリッジ本体の一部分と共に、ステープルカートリッジから発射され得る。 In various embodiments, a staple cartridge can include a cartridge body and a plurality of staples housed within the cartridge body. In use, the staple cartridge can be incorporated at the surgical site and on the side of the tissue to be processed. In addition, the staple forming anvil may be located on the opposite side of the tissue. In various embodiments, the anvil can be held by the first jaw, the staple cartridge can be held by the second jaw, and the first jaw and / or the second jaw can move toward each other. Once the staple cartridge and anvil are positioned with respect to the tissue, the staple can be fired from the staple cartridge body and the staple can penetrate the tissue and contact the spleating anvil. Once the staples are deployed from the staple cartridge body, the staple cartridge body may then be removed from the surgical site. In various embodiments disclosed herein, a staple cartridge or at least a portion of a staple cartridge can be embedded with staples. In at least one such embodiment, as described in more detail below, the staple cartridge is compressed, crushed, and / or folded by the anvil as the anvil moves from the open position to the closed position. A cartridge body may be included. When the cartridge body is compressed, crushed and / or folded, staples positioned within the cartridge body can be deformed by the anvil. Alternatively, the jaws that support the staple cartridge can move toward the anvil and into the closed position. In any case, in various embodiments, the staples can be deformed when they are positioned at least partially within the cartridge body. In some embodiments, the staples may not be fired from the staple cartridge, while in some embodiments, the staples may be fired from the staple cartridge along with a portion of the cartridge body.
ここで図83A〜83Dを参照し、例えば、ステープルカートリッジ1000などの圧縮可能なステープルカートリッジは、圧縮可能な、埋め込み可能なカートリッジ本体1010、及び、加えて、圧縮可能なカートリッジ本体1010内に位置付けられる、複数のステープル1020を含んでもよいが、図83A〜83Dでは、1つのステープル1020のみが示されている。図83Aは、ステープルカートリッジ支持体、又はステープルカートリッジチャネル1030によって支持されるカートリッジ1000を例示し、ステープルカートリッジ1000は、非圧縮状態で例示される。このような非圧縮状態において、アンビル1040は、組織Tと接触してもしなくてもよい。使用中、アンビル1040は、図83Bに見られるように、開放位置から組織Tへと接触するように移動されてもよく、組織Tを、カートリッジ本体1010に対して位置付ける。図83を再び参照し、アンビル1040は、組織Tをステープルカートリッジ本体1010の組織接触表面1019に対して位置付けることができるが、ステープルカートリッジ本体1010は、このような時点において、圧縮力又は圧力を(受けたとしても)ほとんど受けないことがあり、ステープル1020は、非形成又は非発射状態にあり得る。図83A及び図83Bに例示されるように、ステープルカートリッジ本体1010は、1つ又は2つ以上の層を含む場合があり、ステープル1020のステープル脚部1021は、これらの層を通じて上方に延びる場合がある。様々な実施形態において、カートリッジ本体1010は、第1層1011、第2層1012、第3層1013を含む場合があり、第2層1012は、第1層1011と第3層1013及び第4層1014との中間に位置付けられてもよく、第3層1013は、第2層1012と第4層1014との中間に位置付けられてもよい。少なくとも一実施形態において、ステープル1020の基部1022は、第4層1014の空洞1015内に位置付けられてもよく、ステープル脚部1021は、基部1022から第4層1014、第3層1013、及び第2層1012を通じて上方に延びてもよい。様々な実施形態において、各変形可能な脚部1021は、先端部、例えば鋭い先端部1023を含んでもよく、これは、例えばステープルカートリッジ1000が非圧縮状態にあるときに、第2層1012内に位置付けられてもよい。少なくとも1つのこのような実施形態において、先端部1023は、第1層1011内に及び/又はこれを通じて延びない場合があり、少なくとも一実施形態において、先端部1023は、ステープルカートリッジ1000が非圧縮状態にあるときに、組織接触表面1019を通じて突出しないことがある。いくつかの他の実施形態において、ステープルカートリッジが非圧縮状態にあるときに、鋭い先端部1023は、第3層1013、及び/又は他の任意の好適な層内に位置付けられてもよい。様々な代替的実施形態において、ステープルカートリッジのカートリッジ本体は、例えば、3層以下、又は5層以上など、任意の好適な数の層を有してもよい。 83A-83D, a compressible staple cartridge, such as, for example, a staple cartridge 1000, is positioned within a compressible, implantable cartridge body 1010, and in addition, a compressible cartridge body 1010. A plurality of staples 1020 may be included, but only one staple 1020 is shown in FIGS. 83A-83D. FIG. 83A illustrates a cartridge 1000 supported by a staple cartridge support, or staple cartridge channel 1030, which is illustrated in an uncompressed state. In such an uncompressed state, the anvil 1040 may or may not be in contact with the tissue T. In use, the anvil 1040 may be moved into contact with the tissue T from the open position, as seen in FIG. 83B, positioning the tissue T relative to the cartridge body 1010. Referring again to FIG. 83, the anvil 1040 can position the tissue T relative to the tissue contacting surface 1019 of the staple cartridge body 1010, but the staple cartridge body 1010 can apply compressive force or pressure at such time ( The staple 1020 may be in a non-formed or unfired state (if received). As illustrated in FIGS. 83A and 83B, the staple cartridge body 1010 may include one or more layers, and the staple legs 1021 of the staples 1020 may extend upwardly through these layers. is there. In various embodiments, the cartridge body 1010 may include a first layer 1011, a second layer 1012, and a third layer 1013, where the second layer 1012 includes the first layer 1011, the third layer 1013, and the fourth layer. The third layer 1013 may be positioned in the middle of the second layer 1012 and the fourth layer 1014. In at least one embodiment, the base 1022 of the staple 1020 may be positioned within the cavity 1015 of the fourth layer 1014, and the staple legs 1021 extend from the base 1022 to the fourth layer 1014, the third layer 1013, and the second. It may extend upward through layer 1012. In various embodiments, each deformable leg 1021 may include a tip, eg, a sharp tip 1023, which is within the second layer 1012 when, for example, the staple cartridge 1000 is in an uncompressed state. It may be positioned. In at least one such embodiment, the tip 1023 may not extend into and / or through the first layer 1011, and in at least one embodiment, the tip 1023 may be in an uncompressed state of the staple cartridge 1000. May not protrude through the tissue contacting surface 1019. In some other embodiments, the sharp tip 1023 may be positioned in the third layer 1013 and / or any other suitable layer when the staple cartridge is in an uncompressed state. In various alternative embodiments, the cartridge body of the staple cartridge may have any suitable number of layers, for example, 3 layers or less, or 5 layers or more.
様々な実施形態において、以下でより詳細に記載されるように、第1層1011は、バットレス材料及び/又はプラスチック材料、例えば、ポリジオキサノン(PDS)及び/又はポリグリコール酸(PGA)を含むことがあり、第2層1012は、生吸収性フォーム材料及び/又は圧縮可能な止血材料、例えば、酸化再生セルロース(ORC)を含むことがある。様々な実施形態により、1つ又は2つ以上の第1層1011、第2層1012、第3層1013、及び第4層1014は、ステープルカートリッジ本体1010内にステープル1020を保持してもよく、加えて、ステープル1020を、互いに位置合わせした状態に維持してもよい。様々な実施形態において、第3層1013は、バットレス材料、又は高度に非圧縮性又は非弾性の材料を含んでもよく、これはステープル1020のステープル脚部1021を互いに対して適所に保持するように構成され得る。更に、第3層1013の両側に配置される、第2層1012及び第4層1014は、第2層1012及び第4層1014が、圧縮可能なフォーム又は弾性材料を含み得るにもかかわらず、ステープル1020の移動を安定化又は低減することができる。いくつかの実施形態において、ステープル脚部1021のステープル先端部1023は、一部分が第1層1011内に埋め込まれていてもよい。少なくとも1つのこのような実施形態において、第1層1011及び第3層1013は、協調して、かつしっかりと、ステープル脚部1021を適所に保持するように構成され得る。少なくとも一実施形態において、第1層1011及び第3層1013はそれぞれ、生吸収性プラスチックのシート、例えば、商標名Vicrylで販売されるポリグリコール酸(PGA)、ポリ乳酸(PLA又はPLLA)、ポリジオキサノン(PDS)、ポリヒドロキシアルカノエート(PHA)、商標名Monocrylで販売されるポリグレカプロン25(PGCL)、ポリカプロラクトン(PCL)、及び/又はPGA、PLA、PDS、PHA、PGCL及び/若しくはPCLの混合物を含んでもよく、第2層1012及び第4層1014はそれぞれ、少なくとも1つの止血材料又は薬剤を含んでもよい。 In various embodiments, as described in more detail below, the first layer 1011 comprises a buttress material and / or a plastic material, such as polydioxanone (PDS) and / or polyglycolic acid (PGA). Yes, the second layer 1012 may comprise a bioabsorbable foam material and / or a compressible hemostatic material, such as oxidized regenerated cellulose (ORC). According to various embodiments, one or more of the first layer 1011, the second layer 1012, the third layer 1013, and the fourth layer 1014 may hold the staples 1020 within the staple cartridge body 1010; In addition, the staples 1020 may be maintained in alignment with each other. In various embodiments, the third layer 1013 may comprise a buttress material or a highly incompressible or inelastic material so that the staple legs 1021 of the staples 1020 are held in place relative to each other. Can be configured. Further, the second layer 1012 and the fourth layer 1014 disposed on both sides of the third layer 1013 may be used even though the second layer 1012 and the fourth layer 1014 may comprise a compressible foam or elastic material. The movement of the staple 1020 can be stabilized or reduced. In some embodiments, the staple tip 1023 of the staple leg 1021 may be partially embedded in the first layer 1011. In at least one such embodiment, the first layer 1011 and the third layer 1013 can be configured to coordinately and securely hold the staple legs 1021 in place. In at least one embodiment, the first layer 1011 and the third layer 1013 are each a sheet of bioabsorbable plastic, such as polyglycolic acid (PGA), polylactic acid (PLA or PLLA), polydioxanone sold under the trade name Vicryl. (PDS), polyhydroxyalkanoate (PHA), polygrecapron 25 (PGCL), polycaprolactone (PCL) and / or PGA, PLA, PDS, PHA, PGCL and / or PCL sold under the trade name Monocryl. The mixture may include a mixture and each of the second layer 1012 and the fourth layer 1014 may include at least one hemostatic material or drug.
第1層1011は、圧縮可能であり得、第2層1012は、第1層1011よりも実質的に圧縮可能である。例えば、第2層1012は、第1層1011の約2倍圧縮可能、約3倍圧縮可能、約4倍圧縮可能、約5倍圧縮可能、及び/又は約10倍圧縮可能であり得る。換言すると、第2層1012は、所定の力により第1層1011の約2倍、約3倍、約4倍、約5倍、及び/又は約10倍圧縮し得る。いくつかの実施形態において、第2層1012は、第1層1011の、約2倍〜約10倍圧縮可能であり得る。少なくとも一実施形態において、第2層1012は、内部に画定される複数の空隙を含むことがあり、第2層1012における空隙の量及び/又は大きさは、第2層1012の所望の圧縮性を提供するために制御され得る。上記と同様に、第3層1013は圧縮可能である場合があり、第4層1014は、第3層1013よりも実質的に圧縮可能であり得る。例えば、第4層1014は、第3層1013の約2倍圧縮可能、約3倍圧縮可能、約4倍圧縮可能、約5倍圧縮可能、及び/又は約10倍圧縮可能であり得る。換言すると、第4層1014は、所定の力により第3層1013の約2倍、約3倍、約4倍、約5倍、及び/又は約10倍圧縮し得る。いくつかの実施形態において、第4層1014は、第3層1013の、約2倍〜約10倍圧縮可能であり得る。少なくとも一実施形態において、第4層1014は、内部に画定される複数の空隙を含むことがあり、第4層1014における空隙の量及び/又は大きさは、第4層1014の所望の圧縮性を提供するために制御され得る。様々な状況において、カートリッジ本体の圧縮性、又はカートリッジ本体層は、圧縮率(すなわち、所定量の力において層が圧縮される距離)という観点で表現され得る。例えば、高い圧縮率を有する層は、層に適用される所定量の圧縮力において、より低い圧縮率を有する層と比較して、より大きな距離だけ圧縮する。すなわち、第2層1012は、第1層1011よりも高い圧縮率を有することがあり、同様に第4層1014は、第3層1013よりも高い圧縮率を有することがある。様々な実施形態において、第2層1012及び第4層1014は、同じ材料を含む場合があり、同じ圧縮率を含む場合がある。様々な実施形態において、第2層1012及び第4層1014は、異なる圧縮率を有する材料を含み得る。同様に第1層1011及び第3層1013は、同じ材料を含むことがあり、同じ圧縮率を含む場合がある。いくつかの実施形態において、第1層1011及び第3層1013は、異なる圧縮率を有する材料を含んでもよい。 The first layer 1011 can be compressible and the second layer 1012 is substantially more compressible than the first layer 1011. For example, the second layer 1012 may be about 2 times compressible, about 3 times compressible, about 4 times compressible, about 5 times compressible, and / or about 10 times compressible than the first layer 1011. In other words, the second layer 1012 may be compressed about twice, about three times, about four times, about five times, and / or about ten times the first layer 1011 with a predetermined force. In some embodiments, the second layer 1012 may be compressible from about 2 times to about 10 times that of the first layer 1011. In at least one embodiment, the second layer 1012 may include a plurality of voids defined therein, and the amount and / or size of the voids in the second layer 1012 is a desired compressibility of the second layer 1012. Can be controlled to provide. Similar to the above, the third layer 1013 may be compressible, and the fourth layer 1014 may be substantially more compressible than the third layer 1013. For example, the fourth layer 1014 may be about 2 times compressible, about 3 times compressible, about 4 times compressible, about 5 times compressible, and / or about 10 times compressible than the third layer 1013. In other words, the fourth layer 1014 may be compressed about twice, about three times, about four times, about five times, and / or about ten times the third layer 1013 with a predetermined force. In some embodiments, the fourth layer 1014 may be compressible from about 2 times to about 10 times that of the third layer 1013. In at least one embodiment, the fourth layer 1014 may include a plurality of voids defined therein, and the amount and / or size of the voids in the fourth layer 1014 is a desired compressibility of the fourth layer 1014. Can be controlled to provide. In various situations, the compressibility of the cartridge body, or the cartridge body layer, can be expressed in terms of compressibility (ie, the distance at which the layer is compressed at a predetermined amount of force). For example, a layer with a high compressibility compresses a greater distance at a given amount of compressive force applied to the layer compared to a layer with a lower compressibility. That is, the second layer 1012 may have a higher compression ratio than the first layer 1011, and similarly the fourth layer 1014 may have a higher compression ratio than the third layer 1013. In various embodiments, the second layer 1012 and the fourth layer 1014 may include the same material and may include the same compressibility. In various embodiments, the second layer 1012 and the fourth layer 1014 can include materials having different compressibility. Similarly, the first layer 1011 and the third layer 1013 may include the same material and may include the same compression rate. In some embodiments, the first layer 1011 and the third layer 1013 may include materials having different compressibility.
図83Cに例示されるように、アンビル1040が閉鎖位置に移動すると、アンビル1040は、組織Tに接触し、組織T及びステープルカートリッジ1000に圧縮力を適用することができる。このような状況において、アンビル1040は、カートリッジ本体1010の頂面又は組織接触表面1019を、ステープルカートリッジ支持体1030に向かって下方に押すことができる。様々な実施形態において、ステープルカートリッジ支持体1030は、カートリッジ支持表面1031を含む場合があり、これは、ステープルカートリッジ1000がカートリッジ支持表面1031と、アンビル1040の組織接触表面1041との間で圧縮される際に、ステープルカートリッジ1000を支持するように構成され得る。アンビル1040により適用される圧力により、カートリッジ本体1010は圧縮され得、アンビル1040がステープル1020と接触し得る。より具体的に、様々な実施形態において、カートリッジ本体1010の圧縮、及び組織接触表面1019の下方移動により、ステープル脚部1021の先端部1023がカートリッジ本体1010の第1層1011を貫通し、組織Tを貫通し、アンビル1040の形成ポケット1042内に入ることがある。カートリッジ本体1010が、アンビル1040によって更に圧縮されると、先端部1023は形成ポケット1042を画定する壁部に接触することができ、結果として脚部1021は例えば、図83Cに例示されるように、変形するか、内側に湾曲し得る。やはり図83Cに見られるように、ステープル脚部1021が変形すると、ステープル1020の基部1022は、ステープルカートリッジ1030と接触するか、又はこれによって支持され得る。様々な実施形態において、以下により詳細に記載されるように、ステープルカートリッジ支持体1030は例えば、複数の支持機構、例えば、ステープル支持溝、スロット又はトラフ1032を含む場合があり、これらは、ステープル1020が変形される際に、ステープル1020のステープル1020又は少なくとも基部1022を支持するように構成され得る。また図83Cに例示されるように、第4層1014の空洞1015は、ステープルカートリッジ本体1010に適用された圧縮力の結果として折り畳まれ得る。空洞1015に加えて、ステープルカートリッジ本体1010は、1つ又は2つ以上の空隙、例えば空隙1016を更に含むことがあり、これは、内部に位置付けられたステープルの一部分を含んでも、含まなくてもよく、これは、カートリッジ本体1010が折り畳まれることを可能にするように構成され得る。様々な実施形態において、空洞1015及び/又は空隙1016は、空洞及び/又は壁部を画定する壁部が下方に屈曲して、カートリッジ支持表面1031と接触し並びに/又は空洞及び/若しくは空隙の下に位置付けられるカートリッジ本体1010の層と接触するようにして、折り畳まれるように構成される。 As illustrated in FIG. 83C, when the anvil 1040 moves to the closed position, the anvil 1040 can contact the tissue T and apply a compressive force to the tissue T and the staple cartridge 1000. In such a situation, the anvil 1040 can push the top or tissue contacting surface 1019 of the cartridge body 1010 downward toward the staple cartridge support 1030. In various embodiments, the staple cartridge support 1030 may include a cartridge support surface 1031 that causes the staple cartridge 1000 to be compressed between the cartridge support surface 1031 and the tissue contacting surface 1041 of the anvil 1040. In some cases, the staple cartridge 1000 may be configured to be supported. Due to the pressure applied by the anvil 1040, the cartridge body 1010 can be compressed and the anvil 1040 can come into contact with the staples 1020. More specifically, in various embodiments, the compression of the cartridge body 1010 and the downward movement of the tissue contacting surface 1019 causes the distal end 1023 of the staple leg 1021 to penetrate the first layer 1011 of the cartridge body 1010 and the tissue T Through the formation pocket 1042 of the anvil 1040. As the cartridge body 1010 is further compressed by the anvil 1040, the tip 1023 can contact the wall defining the forming pocket 1042, resulting in the leg 1021 being, for example, as illustrated in FIG. 83C. It can be deformed or curved inward. As can also be seen in FIG. 83C, when the staple legs 1021 are deformed, the base 1022 of the staple 1020 can contact or be supported by the staple cartridge 1030. In various embodiments, as described in more detail below, staple cartridge support 1030 may include, for example, a plurality of support features, such as staple support grooves, slots or troughs 1032, which are staples 1020. Can be configured to support the staples 1020 or at least the base 1022 of the staples 1020 as they are deformed. Also, as illustrated in FIG. 83C, the cavity 1015 of the fourth layer 1014 may be folded as a result of the compressive force applied to the staple cartridge body 1010. In addition to the cavity 1015, the staple cartridge body 1010 may further include one or more voids, such as void 1016, which may or may not include a portion of staples positioned therein. Well, this can be configured to allow the cartridge body 1010 to be folded. In various embodiments, the cavity 1015 and / or the cavity 1016 are in contact with the cartridge support surface 1031 and / or below the cavity and / or cavity, with the wall defining the cavity and / or wall bent downward. And is configured to fold in contact with the layer of cartridge body 1010 positioned at the top.
図83B及び図83Cを比較すると、第2層1012及び第4層1014が、アンビル1040によって適用される圧縮圧力によって実質的に圧縮されていることが明らかである。第1層1011及び第3層1013が同様に圧縮されたことが認識され得る。アンビル1040がその閉鎖位置に移動されると、アンビル1040は、組織接触表面1019をステープルカートリッジ支持体1030に向かって下方に押すことによって、カートリッジ本体1010を更に圧縮し続けてもよい。図83Dに例示されるように、カートリッジ本体1010が更に圧縮されると、アンビル1040は、ステープル1020を、これらの完全に形成された形状に変形し得る。図83Dを参照し、各ステープル1020の脚部1021は、変形可能な脚部1021と基部1022との間に、組織T、第1層1011、第2層1012、第3層1013、及び第4層1014の少なくとも一部分を捕捉するため、各ステープル1020の基部1022の方に向かって下方に変形され得る。図83C及び図83Dを比較すると、第2層1012及び第4層1014が、アンビル1040によって適合される圧縮圧力によって実質的に圧縮されていることが明らかである。同様に、図83C及び図83Dを比較した際に、第1層1011及び第3層1013が更に圧縮されたことに留意してもよい。ステープル1020が完全に又は少なくとも十分に形成された後、アンビル1040が組織Tから離れるように持ち上げられる場合があり、ステープルカートリッジ1030が、ステープルカートリッジ1000から離れるように動かされる、及び/又はこれから分離されることがある。図83Dに示されるように、上記の結果として、カートリッジ本体1010は、ステープル1020と共に埋め込まれ得る。様々な状況において、埋め込まれたカートリッジ本体1010は、ステープルのラインに沿って組織を支持し得る。いくつかの状況において、埋め込まれたカートリッジ本体1010内に含まれる止血剤及び/又は他の任意の好適な治療用薬剤は、時間と共に組織を治療し得る。上記のように、止血剤は、ステープリング及び/又は切開された組織の出血を低減させ得る一方で、結合剤又は組織接着剤は、時間と共に組織に強度をもたらし得る。埋め込まれたカートリッジ本体1010は、例えば、ORC(酸化再生セルロース)、タンパク質マトリックス、商標名Vircylで販売されるポリグリコール酸(PGA)、ポリ乳酸(PLA又はPLLA)、ポリジオキサノン(PDS)、ポリヒドロキシアルカノエート(PHA)、商標名Monocrylで販売されるポリグレカプロン25(PGCL)、ポリカプロラクトン(PCL)、並びに/又はPGA、PLA、PDS、PHA、PGCL及び/若しくはPCLの混合物などの材料を含み得る。いくつかの状況において、カートリッジ本体1010は、抗生物質及び/又は抗菌剤物質、例えば、コロイド状銀及び/又はトリクロサンを含んでもよく、これらは、手術部位における感染の可能性を低減させることができる。 Comparing FIGS. 83B and 83C, it is clear that the second layer 1012 and the fourth layer 1014 are substantially compressed by the compression pressure applied by the anvil 1040. It can be appreciated that the first layer 1011 and the third layer 1013 have been similarly compressed. As the anvil 1040 is moved to its closed position, the anvil 1040 may continue to compress the cartridge body 1010 further by pushing the tissue contacting surface 1019 downward toward the staple cartridge support 1030. As illustrated in FIG. 83D, as the cartridge body 1010 is further compressed, the anvil 1040 may deform the staples 1020 to their fully formed shapes. 83D, the leg 1021 of each staple 1020 has a tissue T, a first layer 1011, a second layer 1012, a third layer 1013, and a fourth between the deformable leg 1021 and the base 1022. To capture at least a portion of the layer 1014, it can be deformed downward toward the base 1022 of each staple 1020. Comparing FIGS. 83C and 83D, it is clear that the second layer 1012 and the fourth layer 1014 are substantially compressed by the compression pressure applied by the anvil 1040. Similarly, when comparing FIG. 83C and FIG. 83D, it may be noted that the first layer 1011 and the third layer 1013 were further compressed. After the staple 1020 is fully or at least fully formed, the anvil 1040 may be lifted away from the tissue T, and the staple cartridge 1030 is moved away from and / or separated from the staple cartridge 1000. Sometimes. As shown in FIG. 83D, as a result of the above, the cartridge body 1010 can be embedded with staples 1020. In various situations, the implanted cartridge body 1010 can support tissue along a staple line. In some situations, the hemostatic agent and / or any other suitable therapeutic agent contained within the implanted cartridge body 1010 may treat the tissue over time. As noted above, hemostatic agents can reduce bleeding of stapled and / or incised tissue, while binders or tissue adhesives can provide strength to tissue over time. The embedded cartridge body 1010 can be, for example, ORC (oxidized regenerated cellulose), protein matrix, polyglycolic acid (PGA), polylactic acid (PLA or PLLA), polydioxanone (PDS), polyhydroxyalkano sold under the trade name Vircyl. May include materials such as Eate (PHA), Polygrecapron 25 (PGCL), polycaprolactone (PCL), and / or mixtures of PGA, PLA, PDS, PHA, PGCL and / or PCL sold under the trade name Monocryl . In some situations, the cartridge body 1010 may include antibiotic and / or antimicrobial agents, such as colloidal silver and / or triclosan, which can reduce the likelihood of infection at the surgical site. .
様々な実施形態において、カートリッジ本体1010の層は、互いに接続され得る。少なくとも一実施形態において、例えば、繊維素及び/又はタンパク質ヒドロゲルなどの少なくとも1つの接着剤を使用して、第2層1012は、第1層1011に接着されてもよく、第3層1013は、第2層1012に接着されてもよく、第4層1014は第3層1013に接着されてもよい。いくつかの実施形態において、例示されないが、カートリッジ本体1010の層は、連結機械機構によって互いに連結され得る。少なくとも1つのそのような実施形態において、第1層1011及び第2層1012はそれぞれ、例えば舌部及び溝部構成及び/又はあり継手構成などの、対応する連結機構を含み得る。同様に、第2層1012及び第3層1013はそれぞれ、対応する連結機構を含む場合があり、一方で第3層1013及び第4層1014はそれぞれ、対応する連結機構を含み得る。いくつかの実施形態において、例示されないが、ステープリングカートリッジ1000は、例えば、カートリッジ本体1010の1つ又は2つ以上の層を通じて延び得る1つ又は2つ以上のリベットを含み得る。少なくとも1つのこのような実施形態において、各リベットは、第1層1011と隣接するように位置付けられる第1端部又はヘッド、及び第2ヘッドであって、このリベットの第2端部によって組み立てられるか、又は形成され得る第4層1014と隣接するように位置付けられた、第2ヘッドを含み得る。カートリッジ本体1010の圧縮可能な性質により、少なくとも一実施において、リベットはカートリッジ本体1010を圧縮してもよく、これにより、リベットのヘッドは、例えば、組織接触表面1019、及び/又はカートリッジ本体1010の底面1018に対して陥没していることがある。少なくとも1つのこのような実施形態において、リベットは、商標名Vircylで販売されるポリグリコール酸(PGA)、ポリ乳酸(PLA又はPLLA)、ポリジオキサノン(PDS)、ポリヒドロキシアルカノエート(PHA)、商標名Monocrylで販売されるポリグレカプロン25(PGCL)、ポリカプロラクトン(PCL)、並びに/又はPGA、PLA、PDS、PHA、PGCL及び/若しくはPCLの混合物などの生吸収性材料を含み得る。いくつかの実施形態において、カートリッジ本体1010の層は、内部に含まれるステープル1020によって以外は、互いに接続されないことがある。少なくとも1つのこのような実施形態において、ステープル脚部1021と、カートリッジ本体1010との間の摩擦係合は、カートリッジ本体1010の層を一緒に保持することができ、一度ステープルが形成されると、層はステープル1020内に捕捉され得る。いくつかの実施形態において、ステープル脚部1021の少なくとも一部分は、非平坦化表面又は非平坦なコーティングを含む場合があり、これは、ステープル1020とカートリッジ本体1010との間の摩擦力を含み得る。 In various embodiments, the layers of the cartridge body 1010 can be connected to each other. In at least one embodiment, the second layer 1012 may be adhered to the first layer 1011 using at least one adhesive such as, for example, fibrin and / or protein hydrogel, and the third layer 1013 may be The second layer 1012 may be adhered, and the fourth layer 1014 may be adhered to the third layer 1013. In some embodiments, although not illustrated, the layers of the cartridge body 1010 can be coupled together by a coupling mechanical mechanism. In at least one such embodiment, the first layer 1011 and the second layer 1012 can each include a corresponding coupling mechanism, such as a tongue and groove configuration and / or a dovetail configuration, for example. Similarly, the second layer 1012 and the third layer 1013 may each include a corresponding coupling mechanism, while the third layer 1013 and the fourth layer 1014 may each include a corresponding coupling mechanism. In some embodiments, although not illustrated, the stapling cartridge 1000 may include one or more rivets that may extend through one or more layers of the cartridge body 1010, for example. In at least one such embodiment, each rivet is a first end or head positioned adjacent to the first layer 1011 and a second head, assembled by the second end of the rivet. Or may include a second head positioned adjacent to a fourth layer 1014 that may be formed. Due to the compressible nature of the cartridge body 1010, in at least one implementation, the rivet may compress the cartridge body 1010 so that the head of the rivet can, for example, have a tissue contacting surface 1019 and / or a bottom surface of the cartridge body 1010. May be depressed with respect to 1018. In at least one such embodiment, the rivet is polyglycolic acid (PGA), polylactic acid (PLA or PLLA), polydioxanone (PDS), polyhydroxyalkanoate (PHA), trade name sold under the trade name Vircyl. It may include bioabsorbable materials such as polygrecapron 25 (PGCL), polycaprolactone (PCL), and / or mixtures of PGA, PLA, PDS, PHA, PGCL and / or PCL sold by Monocryl. In some embodiments, the layers of cartridge body 1010 may not be connected to each other except by staples 1020 contained therein. In at least one such embodiment, the frictional engagement between the staple legs 1021 and the cartridge body 1010 can hold the layers of the cartridge body 1010 together, once the staples are formed. The layer can be captured within the staple 1020. In some embodiments, at least a portion of the staple legs 1021 can include a non-planarized surface or non-planar coating, which can include a frictional force between the staple 1020 and the cartridge body 1010.
上記のように、外科用器具は、ステープルカートリッジ1030を含む第1ジョー、及びアンビル1040を含む第2ジョーを含み得る。様々な実施形態において、以下でより詳細に記載されるように、ステープルカートリッジ1000は、1つ又は2つ以上の保持機構を含んでもよく、これはステープルカートリッジ支持体1030と係合するように構成されてもよく、結果として、ステープルカートリッジ1000をステープルカートリッジ支持体1030に解放可能に保持する。いくつかの実施形態において、ステープルカートリッジ1000は、例えば、繊維素及び/又はタンパク質ヒドロゲルなどの少なくとも1つの接着剤によって、ステープルカートリッジ支持体1030に接着され得る。使用中、少なくとも1つの状況において、特に腹腔鏡及び/又は内視鏡手術において、例えば、第2ジョーは第1ジョーと反対側の閉鎖位置に移動され得、それによって第1及び第2ジョーがトロカールを通じて手術部位に挿入され得る。少なくとも1つのこのような実施形態において、トロカールは、およそ5mmの開口部又はカニューレを画定する場合があり、これを通じて第1及び第2ジョーが挿入され得る。いくつかの実施形態において、第2ジョーは、開放位置と閉鎖位置との中間の部分的に閉鎖した位置に移動することができ、これは、ステープルカートリッジ本体1010内に含まれるステープル1020を変形することなく、トロカールを通じて第1及び第2ジョーが挿入されることを可能にし得る。少なくとも1つの実施形態において、第2ジョーがその部分的に閉じた中間位置にあるとき、アンビル1040は圧縮力をステープルカートリッジ本体1010に適用しないことがあり、他のいくつかの実施形態において、第2ジョーが部分的に閉じた中間位置にあるときに、アンビル1040はステープルカートリッジ本体1010を圧縮し得る。アンビル1040が、そのような中間位置にあるときに、ステープルカートリッジ本体1010を圧縮し得るにもかかわらず、アンビル1040は、アンビル1040がステープル1020と接触するために、及び/又はステープル1020がアンビル1040によって変形されるために、ステープルカートリッジ本体1010を十分に圧縮しないことがある。一度第1及び第2ジョーが、トロカールを通じて手術部位に挿入されると、第2ジョーはもう一度開放されることがあり、アンビル1040及びステープルカートリッジ1000は、上記のように標的組織に対して位置付けられることがある。 As described above, the surgical instrument may include a first jaw that includes a staple cartridge 1030 and a second jaw that includes an anvil 1040. In various embodiments, as described in more detail below, the staple cartridge 1000 may include one or more retention mechanisms that are configured to engage the staple cartridge support 1030. As a result, the staple cartridge 1000 is releasably retained on the staple cartridge support 1030. In some embodiments, the staple cartridge 1000 can be adhered to the staple cartridge support 1030 by at least one adhesive, such as, for example, fibrin and / or protein hydrogel. In use, in at least one situation, particularly in laparoscopic and / or endoscopic surgery, for example, the second jaw may be moved to a closed position opposite the first jaw, whereby the first and second jaws are moved. It can be inserted through the trocar into the surgical site. In at least one such embodiment, the trocar may define an approximately 5 mm opening or cannula through which the first and second jaws can be inserted. In some embodiments, the second jaw can be moved to a partially closed position intermediate between the open and closed positions, which deforms the staples 1020 contained within the staple cartridge body 1010. Without being able to allow the first and second jaws to be inserted through the trocar. In at least one embodiment, the anvil 1040 may not apply compressive force to the staple cartridge body 1010 when the second jaw is in its partially closed intermediate position, and in some other embodiments, the first jaw The anvil 1040 may compress the staple cartridge body 1010 when the two jaws are in a partially closed intermediate position. Despite the anvil 1040 being able to compress the staple cartridge body 1010 when in the intermediate position, the anvil 1040 is in contact with the staple 1020 and / or the staple 1020 is in the anvil 1040. Therefore, the staple cartridge body 1010 may not be sufficiently compressed. Once the first and second jaws are inserted through the trocar into the surgical site, the second jaws may be opened again and the anvil 1040 and staple cartridge 1000 are positioned relative to the target tissue as described above. Sometimes.
様々な実施形態により、図84A〜84Dを参照して、外科用ステープラーのエンドエフェクタは、アンビル1140とステープルカートリッジ支持体1130との中間に位置付けられた埋め込み可能なステープルカートリッジ1100を含むことがある。上記と同様に、アンビル1140は、組織接触表面1141を含むことがあり、ステープルカートリッジ1100は、組織接触表面1119を含むことがあり、ステープルカートリッジ支持体1130は支持表面1131を含むことがあり、これはステープルカートリッジ1100を支持するように構成されている。図84Aを参照し、アンビル1140は、ステープルカートリッジ1100を変形することなく、ステープルカートリッジ1100の組織接触表面1119に対して組織Tを位置付けるために使用され得、アンビル1140がこのような位置にあるとき、組織接触表面1141は、ステープルカートリッジ支持表面1131から距離1101aで位置付けられ得、組織接触表面1119は、ステープルカートリッジ支持表面1131から距離1102aで位置付けられ得る。その後、アンビル1140がステープルカートリッジ支持体1130に向かって移動され、図84Bを参照して、アンビル1140は、ステープルカートリッジ1100の頂面又は組織接触表面1119を下方に押し、カートリッジ本体1110の第1層1111及び第2層1112を圧縮することができる。図84Bを参照し、層1111及び1112が圧縮されると、第2層1112が圧壊し、ステープル1120の脚部1121が、第1層1111を通過して組織T内に貫通し得る。少なくとも一実施形態において、ステープル1120は第2層1112のステープル空洞又は空隙1115内に少なくとも一部分が位置付けられ得、第2層1112が圧縮されると、ステープル空洞1115が折り畳まれ、結果として、第2層1112がステープル1120の周囲で折り畳まれる。様々な実施形態において、第2層1112は、カバー部分1116を含んでもよく、これはステープル空洞1115上に延び、かつステープル空洞1115を包囲するか又は少なくとも一部分を包囲し得る。図84Bは、ステープル空洞1115内へと下方に圧壊される、カバー部分1116を例示する。いくつかの実施形態において、第2層1112は、1つ又は2つ以上の弱化部分を含んでもよく、これは第2層1112が折り畳まれるのを促進し得る。様々な実施形態において、このような弱化部分は、例えば、刻んだ線、穿孔、及び/又は薄い断面を含んでもよく、これはカートリッジ本体1110の制御された折りたたみを促進し得る。少なくとも一実施形態において、第1層1111は、1つ又は2つ以上の弱化部分を含んでもよく、これは、第1層1111を通じてステープル脚部1121の貫通を促進し得る。様々な実施形態において、このような弱化部分は、例えば、刻んだ線、穿孔、及び/又は薄い断面を含んでもよく、これはステープル脚部1121と位置合わせされるか又は少なくとも実質的に位置合わせされ得る。 84A-84D, the surgical stapler end effector may include an implantable staple cartridge 1100 positioned intermediate the anvil 1140 and the staple cartridge support 1130, according to various embodiments. Similar to the above, the anvil 1140 may include a tissue contacting surface 1141, the staple cartridge 1100 may include a tissue contacting surface 1119, and the staple cartridge support 1130 may include a supporting surface 1131. Is configured to support the staple cartridge 1100. Referring to FIG. 84A, the anvil 1140 can be used to position the tissue T relative to the tissue contacting surface 1119 of the staple cartridge 1100 without deforming the staple cartridge 1100, when the anvil 1140 is in such a position. The tissue contacting surface 1141 can be positioned at a distance 1101a from the staple cartridge support surface 1131 and the tissue contacting surface 1119 can be positioned at a distance 1102a from the staple cartridge supporting surface 1131. Thereafter, the anvil 1140 is moved toward the staple cartridge support 1130, and with reference to FIG. 84B, the anvil 1140 pushes down the top or tissue contacting surface 1119 of the staple cartridge 1100 and the first layer of the cartridge body 1110. 1111 and the second layer 1112 can be compressed. Referring to FIG. 84B, when layers 1111 and 1112 are compressed, the second layer 1112 can collapse and the legs 1121 of the staple 1120 can pass through the first layer 1111 and into the tissue T. In at least one embodiment, the staples 1120 can be positioned at least partially within the staple cavities or voids 1115 of the second layer 1112 such that when the second layer 1112 is compressed, the staple cavities 1115 are folded, resulting in a second Layer 1112 is folded around staple 1120. In various embodiments, the second layer 1112 may include a cover portion 1116 that extends over the staple cavity 1115 and may surround or at least partially surround the staple cavity 1115. FIG. 84B illustrates the cover portion 1116 being crushed down into the staple cavity 1115. In some embodiments, the second layer 1112 may include one or more weakened portions, which may facilitate the second layer 1112 to be folded. In various embodiments, such weakened portions may include, for example, scribed lines, perforations, and / or thin cross-sections, which may facilitate controlled folding of the cartridge body 1110. In at least one embodiment, the first layer 1111 may include one or more weakened portions, which may facilitate penetration of the staple legs 1121 through the first layer 1111. In various embodiments, such weakened portions may include, for example, scribed lines, perforations, and / or thin cross-sections that are aligned or at least substantially aligned with the staple legs 1121. Can be done.
図84Aを再び参照し、アンビル1140が、部分的に閉じた、発射していない位置にあるとき、アンビル1140は、カートリッジ支持表面1131から、その間に空隙が画定されるように、距離1101aで位置付けられ得る。空隙はステープルカートリッジ高さ1102aを有するステープルカートリッジ1100、及び組織Tで充填され得る。図84Bを再び参照し、アンビル1140が下方に移動されてステープルカートリッジ1100を圧縮すると、組織接触表面1141とカートリッジ支持表面1131との間の距離は、距離1101aよりも短い距離1101bによって画定され得る。様々な状況において、距離1101bにより画定される、アンビル1140の組織接触表面1141と、カートリッジ支持表面1131との間の空隙は、元々の変形していないステープルカートリッジ高さ1102aよりも大きいことがある。ここで図84Cを参照し、アンビル1140がカートリッジ支持表面1131により近く移動されると、第2層1112は、折りたたみ続け、ステープル脚部1121と形成ポケット1142との間の距離は減少し得る。同様に、組織接触表面1141とカートリッジ支持表面1131との間の距離は1101cまで減少することがあり、これは様々な実施形態において、元の変形してないカートリッジ高さ1102aより大きい、これと等しい、又はこれより小さいことがある。図84Dを参照し、アンビル1140は、最終的な、ステープル1120が完全に形成された又は少なくとも所望の高さまで形成された、発射位置まで移動され得る。このような位置において、アンビル1140の組織接触表面1141は、カートリッジ支持表面1131から距離1101dの距離であり得、距離1101dは、元の変形していないカートリッジ高さ1102aより短い場合がある。また図84Dに例示されるように、ステープル空洞1115は、完全に又は少なくとも実質的に、折り畳まれており、ステープル1120は完全に又は少なくとも実質的に折り畳まれた第2層1112によって囲まれる。様々な状況において、アンビル1140はその後、ステープルカートリッジ1100から離れるように動く場合がある。一度アンビル1140がステープルカートリッジ1100から係合離脱すると、カートリッジ本体1110は、様々な位置において(すなわち、例えばステープル1120に隣接するステープルの中間の位置)、少なくとも部分的に再拡張し得る。少なくとも一実施形態において、圧壊したカートリッジ本体1110は、弾性的に再拡張しないことがある。様々な実施形態において、形成されたステープル1120及び、加えて、隣接するステープル1120の中間に位置付けられるカートリッジ本体1110は、組織Tに圧力、又は圧縮力を適用することがあり、これは様々な治療的効果を提供し得る。 Referring again to FIG. 84A, when the anvil 1140 is in a partially closed, unfired position, the anvil 1140 is positioned at a distance 1101a from the cartridge support surface 1131 such that a gap is defined therebetween. Can be. The void may be filled with staple cartridge 1100 having a staple cartridge height 1102a and tissue T. Referring again to FIG. 84B, when the anvil 1140 is moved downward to compress the staple cartridge 1100, the distance between the tissue contacting surface 1141 and the cartridge support surface 1131 can be defined by a distance 1101b that is shorter than the distance 1101a. In various situations, the gap between the tissue contacting surface 1141 of the anvil 1140 and the cartridge support surface 1131, defined by the distance 1101b, may be larger than the original undeformed staple cartridge height 1102a. Referring now to FIG. 84C, as the anvil 1140 is moved closer to the cartridge support surface 1131, the second layer 1112 continues to fold and the distance between the staple legs 1121 and the forming pocket 1142 may decrease. Similarly, the distance between the tissue contacting surface 1141 and the cartridge support surface 1131 may be reduced to 1101c, which in various embodiments is greater than or equal to the original undeformed cartridge height 1102a. Or less. Referring to FIG. 84D, the anvil 1140 can be moved to a final firing position where the staples 1120 are fully formed or at least formed to a desired height. In such a position, the tissue contacting surface 1141 of the anvil 1140 may be a distance 1101d from the cartridge support surface 1131, which may be shorter than the original undeformed cartridge height 1102a. As also illustrated in FIG. 84D, the staple cavity 1115 is fully or at least substantially folded, and the staple 1120 is surrounded by a second layer 1112 that is fully or at least substantially folded. In various situations, the anvil 1140 may then move away from the staple cartridge 1100. Once the anvil 1140 is disengaged from the staple cartridge 1100, the cartridge body 1110 can be at least partially re-expanded at various positions (ie, for example, intermediate positions of staples adjacent to the staple 1120). In at least one embodiment, the collapsed cartridge body 1110 may not elastically re-expand. In various embodiments, the formed staple 1120 and, in addition, the cartridge body 1110 positioned midway between adjacent staples 1120 may apply pressure, or compressive force, to the tissue T, which may be subject to various treatments. Can provide a positive effect.
上記のように、図84Aに例示される実施形態を再び参照し、各ステープル1120は、そこから延びるステープル脚部1121を含み得る。ステープル1120は、2つのステープル脚部1121を含むものとして示されるが、1つのステープル脚部、又はあるいは2つを超えるステープル脚部、例えば、3つのステープル脚部、又は4つのステープル脚部を含む様々なステープルが使用される場合がある。図84Aに例示されるように、各ステープル脚部1121は、ステープル1120が第2層1112内に固定されるように、カートリッジ本体1110の第2層1112内に埋め込まれ得る。様々な実施形態において、ステープル1120は、ステープル脚部1121の先端部1123が、基部1122の前に空洞1115内に入るようにして、カートリッジ本体1110のステープル空洞1115内に挿入されることがある。先端部1123が、空洞1115内に挿入された後、様々な実施形態において、先端部1123は、カバー部分1116に押し込まれて、第2層1112を切開する。様々な実施形態において、ステープル1120は、ステープル1120が第2層1112に対して動かないか、又は少なくとも実質的に動かないように、第2層1112内の十分な深さに位置付けられ得る。いくつかの実施形態において、ステープル1120は、基部1122がステープル空洞1115内に位置付けられるか又は埋め込まれるように、第2層1112内の十分な深さに位置付けられ得る。他の様々な実施形態において、基部1122は、第2層1112内に位置付けられないか、又は埋め込まれない場合もある。いくつかの実施形態において、図84Aを参照し、基部1122は、カートリッジ本体1110の底面1118の下に延びてもよい。いくつかの実施形態において、基部1122は、カートリッジ支持表面1130上に位置し得るか、又はこれに対して直接位置付けられ得る。様々な実施形態において、カートリッジ支持表面1130は、ここから延びるか、及び/又は内部に画定される支持機構を含む場合があり、少なくとも1つのこのような実施形態において、ステープル1120の基部1122は、以下でより詳細に記載されるように、ステカートリッジ支持体1130内の、1つ又は2つ以上の支持溝、スロット、又はトラフ1132内に位置付けられるか、これによって支持され得る。 As noted above, referring again to the embodiment illustrated in FIG. 84A, each staple 1120 may include a staple leg 1121 extending therefrom. Staple 1120 is shown as including two staple legs 1121, but includes one staple leg, or alternatively more than two staple legs, eg, three staple legs, or four staple legs. Various staples may be used. As illustrated in FIG. 84A, each staple leg 1121 may be embedded within the second layer 1112 of the cartridge body 1110 such that the staple 1120 is secured within the second layer 1112. In various embodiments, the staple 1120 may be inserted into the staple cavity 1115 of the cartridge body 1110 such that the tip 1123 of the staple leg 1121 enters the cavity 1115 before the base 1122. After the tip 1123 is inserted into the cavity 1115, in various embodiments, the tip 1123 is pushed into the cover portion 1116 to cut through the second layer 1112. In various embodiments, the staple 1120 can be positioned at a sufficient depth within the second layer 1112 such that the staple 1120 does not move or at least substantially does not move relative to the second layer 1112. In some embodiments, the staple 1120 may be positioned at a sufficient depth within the second layer 1112 such that the base 1122 is positioned or embedded within the staple cavity 1115. In various other embodiments, the base 1122 may not be positioned or embedded within the second layer 1112. In some embodiments, referring to FIG. 84A, the base 1122 may extend below the bottom surface 1118 of the cartridge body 1110. In some embodiments, the base 1122 can be located on or directly relative to the cartridge support surface 1130. In various embodiments, the cartridge support surface 1130 may include a support mechanism extending therefrom and / or defined therein, and in at least one such embodiment, the base 1122 of the staple 1120 includes: As described in more detail below, one or more support grooves, slots, or troughs 1132 in the stem cartridge support 1130 may be positioned or supported by it.
上記に加え、図85を参照し、ステープル1120の基部1122は、ステープルカートリッジ支持体1130の支持表面1131に対して直接位置付けられ得る。例えば、ステープル基部1122が円形又は弓状の底面1124を含む実施形態を含む、様々な実施形態において、ステープル基部1122は、ステープルカートリッジ支持表面1131に沿って移動又は摺動し得る。このような摺動は、アンビル1140がステープル形成プロセス中に、ステープル脚部1121の先端部1123に対して押し付けられる際に生じ得る。いくつかの実施形態により、上記のように、かつ図86を参照し、ステープルカートリッジ支持体1130は、内部に1つ又は2つ以上の支持スロット1132を含む場合があり、これは、ステープル基部1122とカートリッジ支持表面1131との間の相対移動を排除するか又は少なくとも低減するように構成され得る。少なくとも1つのこのような実施形態において、各支持スロット1132は、内部に位置付けられたステープルの底面の輪郭と適合するか、又は少なくとも実質的に適合する、表面輪郭によって画定され得る。例えば、図86に示される基部1122の底面1124は、円形又は少なくとも実質的に円形の表面を含む場合があり、支持スロット1132はまた、円形の又は少なくとも実質的に円形の表面を含み得る。少なくとも1つのこのような実施形態において、スロット1132を画定する表面は、底面1124を画定する曲率半径を超える又はこれと等しい、曲率半径によって画定され得る。スロット1132は、ステープル1120と、ステープルカートリッジ支持体1130との間の相対的な摺動運動を防ぐ又は低減することを補助し得るが、スロット1132はまたステープル1120とステープルカートリッジ支持体1130との間の回転運動もまた防ぐか又は低減するように構成され得る。より具体的に、少なくとも一実施形態において、スロット1132は、ステープル1120が、これが変形する際に回転するか又は捻れることがないように、ステープル1120の軸1129を中心とした回転を防ぐか又は低減するため、基部1122を緊密に受容するように構成され得る。 In addition to the above, referring to FIG. 85, the base 1122 of the staple 1120 can be positioned directly relative to the support surface 1131 of the staple cartridge support 1130. For example, in various embodiments, including embodiments in which the staple base 1122 includes a circular or arcuate bottom surface 1124, the staple base 1122 can move or slide along the staple cartridge support surface 1131. Such sliding may occur when the anvil 1140 is pressed against the tip 1123 of the staple leg 1121 during the staple forming process. According to some embodiments, as described above and with reference to FIG. 86, staple cartridge support 1130 may include one or more support slots 1132 therein, which is staple base 1122. And can be configured to eliminate or at least reduce relative movement between the cartridge and the cartridge support surface 1131. In at least one such embodiment, each support slot 1132 may be defined by a surface profile that matches, or at least substantially matches, the bottom profile of the staple positioned therein. For example, the bottom surface 1124 of the base 1122 shown in FIG. 86 may include a circular or at least substantially circular surface, and the support slot 1132 may also include a circular or at least substantially circular surface. In at least one such embodiment, the surface that defines slot 1132 may be defined by a radius of curvature that is greater than or equal to the radius of curvature that defines bottom surface 1124. The slot 1132 may help prevent or reduce relative sliding movement between the staple 1120 and the staple cartridge support 1130, but the slot 1132 may also be between the staple 1120 and the staple cartridge support 1130. Can also be configured to prevent or reduce the rotational movement of the. More specifically, in at least one embodiment, the slot 1132 prevents rotation about the axis 1129 of the staple 1120 or prevents the staple 1120 from rotating or twisting as it deforms. To reduce, the base 1122 may be configured to closely receive.
上記に加え、様々な実施形態において、各ステープル1120は、丸い、又は少なくとも実質的に丸いワイヤから形成され得る。いくつかの実施形態において、各ステープルの脚部及び基部は、例えば、矩形の断面など、非円形の断面を有するワイヤから形成されることがある。少なくとも1つのこのような実施形態において、ステープルカートリッジ1130は、例えば、このようなステープルの基部を受容するように構成された矩形のスロットなどの、対応する非円形のスロットを含む場合がある。様々な実施形態において、ここでは図87を参照し、各ステープル1120は、例えば、基部1122にオーバーモールドされた、クラウン1125などのクラウンを含む場合があり、各クラウン1125は、ステープルカートリッジ支持体1130内の支持スロット内に位置付けられる場合がある。少なくとも1つのこのような実施形態において、各クラウン1125は、正方形及び/又は矩形の断面を含む場合があり、これは例えば、ステープルカートリッジ支持体1130内の正方形及び/又は矩形のスロット1134内に受容されるように構成され得る。様々な実施形態において、クラウン1125は、商標名Vicrylで市販されるポリグリコール酸(PGA)、ポリ乳酸(PLA又はPLLA)、ポリジオキサノン(PDS)、ポリヒドロキシアルカノエート(PHA)、商標名Monocrylで市販されるポリグレカプロン25(PGCL)、ポリカプロラクトン(PCL)、並びに/又はPGA、PLA、PDS、PHA、PGCL及び/若しくはPCLの混合物などの生吸収性プラスチックを含む場合があり、例えば、射出成形プロセスによって、ステープル1120の基部1122の周囲に形成され得る。様々なクラウン及び様々なクラウンを形成する方法は、2006年9月29日に出願された、米国特許出願番号第11/541,123号、表題「SURGICAL STAPLES HAVING COMPRESSIBLE OR CRUSHABLE MEMBERS FOR SECURING TISSUE THEREIN AND STAPLING INSTRUMENTS FOR DEPLOYING THE SAME」に開示され、その全開時は、本明細書において参照として組み込まれる。再び図87を参照し、スロット1134は、クラウン1125をスロット1134に挿入することを促進するように構成され得る、導入部又はベベル1135を更に含み得る。様々な実施形態において、ステープル1120の基部及び/又はクラウンは、ステープルカートリッジ1100が、ステープルカートリッジ支持体1130に組み立てられる際に、スロット1134内に位置付けられることがある。いくつかの実施形態において、ステープル1120のクラウン1125は、ステープルカートリッジ1100が、ステープルカートリッジ支持体1130に組み立てられる際に、スロット1134位置合わせされることがある。少なくとも1つのこのような実施形態において、クラウン1125は、圧縮力がステープル脚部1121に適用され、ステープル1120の基部及び/又はクラウンが、スロット1134内へと下方に押されるまで、スロット1134に入らないことがある。 In addition to the above, in various embodiments, each staple 1120 can be formed from round or at least substantially round wire. In some embodiments, the legs and base of each staple may be formed from a wire having a non-circular cross section, such as, for example, a rectangular cross section. In at least one such embodiment, staple cartridge 1130 may include a corresponding non-circular slot, such as, for example, a rectangular slot configured to receive the base of such a staple. In various embodiments, referring now to FIG. 87, each staple 1120 may include a crown, such as a crown 1125, for example, overmolded to the base 1122, and each crown 1125 includes a staple cartridge support 1130. May be positioned within a support slot within. In at least one such embodiment, each crown 1125 may include a square and / or rectangular cross-section that is received within, for example, a square and / or rectangular slot 1134 in the staple cartridge support 1130. Can be configured. In various embodiments, crown 1125 is commercially available under the trade name Vicryl, polyglycolic acid (PGA), polylactic acid (PLA or PLLA), polydioxanone (PDS), polyhydroxyalkanoate (PHA), and trade name Monocryl. Polygrecapron 25 (PGCL), polycaprolactone (PCL), and / or bioabsorbable plastics such as mixtures of PGA, PLA, PDS, PHA, PGCL and / or PCL, for example injection molding Depending on the process, it may be formed around the base 1122 of the staple 1120. Various crowns and methods of forming various crowns are described in US patent application Ser. No. 11 / 541,123, entitled “SURGICAL STAPLES HAVING COMPRESSIBLE OR CRUSSHABLE MEMBERS FOR SECURING TISSUE THERINE,” filed Sep. 29, 2006. STAPLING INSTRUMENTS FOR DEPLOYING THE SAME, which is fully incorporated herein by reference. Referring again to FIG. 87, the slot 1134 can further include an introducer or bevel 1135 that can be configured to facilitate inserting the crown 1125 into the slot 1134. In various embodiments, the base and / or crown of the staple 1120 may be positioned within the slot 1134 when the staple cartridge 1100 is assembled to the staple cartridge support 1130. In some embodiments, the crown 1125 of the staple 1120 may be aligned with the slot 1134 when the staple cartridge 1100 is assembled to the staple cartridge support 1130. In at least one such embodiment, the crown 1125 enters the slot 1134 until a compressive force is applied to the staple legs 1121 and the base and / or crown of the staple 1120 is pushed down into the slot 1134. There may not be.
様々な実施形態において、ここで図88及び図89を参照し、例えば、ステープルカートリッジ1200などのステープルカートリッジは、外層1211及び内層1212を含む、圧縮可能な、埋め込み可能なカートリッジ本体1210を含む場合がある。上記と同様に、ステープルカートリッジ1200は、カートリッジ本体1210内に位置付けられた、複数のステープル1220を含む場合がある。様々な実施形態において、各ステープル1220は、基部1222及びここから延びる1つ又は2つ以上のステープル脚部1221を含み得る。少なくとも1つのこのような実施形態において、ステープル脚部1221は、内層1212に挿入され、例えば、ステープル1220の基部1222が、内層1212の底面1218と隣接する、及び/又は隣接するように位置付けられるような深さに配置され得る。図88及び図89内に示される実施形態において、内層1212は、ステープル1220の一部分を受容するように構成されたステープル空洞を含まず、他の実施形態において内層1212は、このようなステープル空洞を含み得る。上記に加え、様々な実施形態において、内層1212は、例えば、生吸収性フォーム及び/又は酸化再生セルロース(ORC)などの、圧縮可能な材料を含む場合があり、これは、カートリッジ本体1210が圧縮負荷がそこに適用される際に折り畳まれることを可能にするように構成され得る。様々な実施形態において、内層1212は、例えば、ポリ乳酸(PLA)及び/又はポリグリコール酸(PGA)を含む凍結乾燥フォームから構成される場合がある。ORCは、商標名Surgicelで市販されていることがあり、遊離した織布(外科用スポンジなど)、遊離した遷移(木綿ボールなど)及び/又はフォームを含み得る。少なくとも一実施形態において、内層1212は、内部に収容され及び/又はその上にコーティングされた、凍結乾燥トロンビン及び/又は繊維素などの薬剤(これらは、例えば、水により活性化する及び/又は患者の体内の流体により活性化する)を含む物質から構成され得る。少なくとも1つのこのような実施形態において、凍結乾燥トロンビン及び/又は繊維素は、例えば、Vicryl(PGA)マトリックス上に保持される場合がある。しかしながら、いくつかの実施形態において、活性化可能な薬剤は、例えば、ステープルカートリッジ1200が患者内の手術部位に挿入される際に、意図せずして活性化される場合がある。様々な実施形態において、図88及び図89を参照として、外層1211は、水不透過性、又は少なくとも実質的に水不透過性の材料を含む場合があり、それによりカートリッジ本体1210が圧縮されてステープル脚部が外層1211を貫通する後、及び/又は外層1211がなんらかの様式により切開された後まで、液体が内層1212と接触しないか、又は少なくとも実質的に接触しない。様々な実施形態において、外層1211は、例えば、ポリジオキサノン(PDS)、及び/又はポリグリコール酸(PGA)などのバットレス材料及び/又はプラスチック材料から構成される場合がある。いくつかの実施形態において、外層1211は、内層1212及びステープル1220を囲むラップを含み得る。より具体的に、少なくとも一実施形態において、ステープル1220は、内層1212内に挿入されることがあり、外層1211は、内層1212及びステープル1220を含むサブアセンブリの周囲に巻かれ、その後封止され得る。 In various embodiments, referring now to FIGS. 88 and 89, a staple cartridge, such as, for example, staple cartridge 1200, may include a compressible, implantable cartridge body 1210 that includes an outer layer 1211 and an inner layer 1212. is there. Similar to the above, the staple cartridge 1200 may include a plurality of staples 1220 positioned within the cartridge body 1210. In various embodiments, each staple 1220 can include a base 1222 and one or more staple legs 1221 extending therefrom. In at least one such embodiment, the staple legs 1221 are inserted into the inner layer 1212 so that, for example, the base 1222 of the staple 1220 is positioned adjacent and / or adjacent to the bottom surface 1218 of the inner layer 1212. Can be arranged at any depth. In the embodiment shown in FIGS. 88 and 89, the inner layer 1212 does not include a staple cavity configured to receive a portion of the staple 1220, and in other embodiments the inner layer 1212 includes such a staple cavity. May be included. In addition to the above, in various embodiments, the inner layer 1212 may comprise a compressible material, such as, for example, bioabsorbable foam and / or oxidized regenerated cellulose (ORC), which is compressed by the cartridge body 1210. It can be configured to allow a load to be folded when applied thereto. In various embodiments, the inner layer 1212 may be composed of a lyophilized foam comprising, for example, polylactic acid (PLA) and / or polyglycolic acid (PGA). The ORC may be marketed under the trade name Surgicel and may include a free woven fabric (such as a surgical sponge), a free transition (such as a cotton ball) and / or foam. In at least one embodiment, the inner layer 1212 is encased therein and / or coated thereon with agents such as lyophilized thrombin and / or fibrin (which are activated, for example, by water and / or patients Activated by a fluid in the body of the body). In at least one such embodiment, lyophilized thrombin and / or fibrin may be retained on, for example, a Vicryl (PGA) matrix. However, in some embodiments, the activatable agent may be activated unintentionally, for example, when the staple cartridge 1200 is inserted into a surgical site within a patient. In various embodiments, with reference to FIGS. 88 and 89, the outer layer 1211 may comprise a water impermeable, or at least substantially water impermeable material, which causes the cartridge body 1210 to be compressed. The liquid does not contact or at least substantially does not contact the inner layer 1212 until after the staple legs have penetrated the outer layer 1211 and / or after the outer layer 1211 has been cut in some manner. In various embodiments, the outer layer 1211 may be composed of a buttress material and / or a plastic material such as, for example, polydioxanone (PDS) and / or polyglycolic acid (PGA). In some embodiments, the outer layer 1211 can include a wrap that surrounds the inner layer 1212 and the staples 1220. More specifically, in at least one embodiment, staples 1220 may be inserted into inner layer 1212, and outer layer 1211 may be wound around a subassembly that includes inner layer 1212 and staples 1220 and then sealed. .
様々な実施形態において、ここで図90及び図91を参照し、例えば、ステープルカートリッジ1300などのステープルカートリッジは、外層1311及び内層1312を含む、圧縮可能な、埋め込み可能なカートリッジ本体1310を含む場合がある。上記と同様に、ステープルカートリッジ1300は、カートリッジ本体1310内に位置付けられる、ステープル1320を更に含む場合があり、各ステープル1320は、基部1322、及びそこから延びる1つ又は2つ以上の脚部1321を含む場合がある。ステープルカートリッジ1200と同様に、ステープル1320の基部1322は、内層1312の底面1318の下に延びる場合があり、外層1311が基部1322を囲み得る。少なくとも1つのこのような実施形態において、外層1311は、外層1311が基部1322の輪郭に適合するように、各ステープル基部1322を包囲するように、十分に可撓性であり得る。少なくとも1つの代替的実施形態において、図89を参照し、外層1211は、これが各基部1222に適合することなく、基部1222の周囲に延びるように、十分に剛性であり得る。いずれにせよ、様々な実施形態において、外層1311は、ステープル1320の基部1322と、例えば、ステープルカートリッジ1300を支持する支持表面1031又は1131などの、ステープルカートリッジ支持表面との中間に位置付けられることがある。少なくとも1つのこのような実施形態において、外層1311は、基部1322と、例えば、ステープルカートリッジ支持表面内に画定される、スロット1032又は1132などの支持スロットとの中間に位置付けられることがある。上記に加え、このような実施形態に少なくとも1つにおいて、外層1311は、基部1322の移動を制限し、並びに/又は基部1322と、ステープルカートリッジ支持表面及び/若しくは支持スロットとの間の摩擦係数を、その間の相対的な移動を低減させるため、増加させるように構成され得る。様々な代替的実施形態において、図92及び図93を参照し、例えば、ステープルカートリッジ1400などのステープルカートリッジの外層が、内部に位置付けられたステープルを全体的に囲まないことがある。少なくとも1つのこのような実施形態において、圧縮可能な、埋め込み可能なカートリッジ本体1410の外層1411は、ステープル1420のステープル脚部1421が、カートリッジ本体1410内に挿入される前に、内層1412に組み立てられ得る。上記の結果として、ステープル1420の基部1422は、外層1411の外側に延びてもよく、少なくとも1つのこのような実施形態において、基部1422は、例えば、カートリッジ支持表面1031又は1131内の支持スロット1032又は1132内に直接位置付けられることがある。様々な実施形態において、ステープル脚部1421は、これらが内部を通じて挿入される際に、外層1411を切開してもよい。様々な状況において、ステープル脚部1421によって生成される孔は、ステープル脚部1421と外層1411との間で流体が(漏れたとしても)ほとんど漏れないように、ステープル脚部1421を緊密に囲むことがあり、これは、ステープルカートリッジ本体1410内に収容される薬剤が、時期尚早に活性化され、及び/又はカートリッジ本体1410から漏れる可能性を低減するか、又はこれを防ぐことがある。 In various embodiments, referring now to FIGS. 90 and 91, a staple cartridge such as, for example, a staple cartridge 1300 may include a compressible, implantable cartridge body 1310 that includes an outer layer 1311 and an inner layer 1312. is there. Similar to the above, the staple cartridge 1300 may further include staples 1320 positioned within the cartridge body 1310, each staple 1320 having a base 1322 and one or more legs 1321 extending therefrom. May include. Similar to the staple cartridge 1200, the base 1322 of the staple 1320 may extend below the bottom surface 1318 of the inner layer 1312, and the outer layer 1311 may surround the base 1322. In at least one such embodiment, the outer layer 1311 can be sufficiently flexible to surround each staple base 1322 such that the outer layer 1311 conforms to the contour of the base 1322. In at least one alternative embodiment, referring to FIG. 89, the outer layer 1211 can be sufficiently rigid so that it extends around the base 1222 without conforming to each base 1222. In any case, in various embodiments, the outer layer 1311 may be positioned intermediate the base 1322 of the staple 1320 and a staple cartridge support surface, such as the support surface 1031 or 1131 that supports the staple cartridge 1300, for example. . In at least one such embodiment, outer layer 1311 may be positioned intermediate base 1322 and a support slot, such as slot 1032 or 1132, defined, for example, in a staple cartridge support surface. In addition to the above, in at least one such embodiment, the outer layer 1311 limits the movement of the base 1322 and / or reduces the coefficient of friction between the base 1322 and the staple cartridge support surface and / or support slot. , May be configured to increase to reduce relative movement therebetween. In various alternative embodiments, referring to FIGS. 92 and 93, for example, an outer layer of a staple cartridge, such as staple cartridge 1400, may not generally surround the staples positioned therein. In at least one such embodiment, the outer layer 1411 of the compressible, implantable cartridge body 1410 is assembled to the inner layer 1412 before the staple legs 1421 of the staples 1420 are inserted into the cartridge body 1410. obtain. As a result of the above, the base 1422 of the staple 1420 may extend outside the outer layer 1411, and in at least one such embodiment, the base 1422 may include, for example, a support slot 1032 in the cartridge support surface 1031 or 1131 or 1132 may be located directly within 1132. In various embodiments, the staple legs 1421 may incise the outer layer 1411 as they are inserted through the interior. In various situations, the holes created by the staple legs 1421 tightly surround the staple legs 1421 so that little (if any) fluid leaks between the staple legs 1421 and the outer layer 1411. This may reduce or prevent the possibility that the medication contained within the staple cartridge body 1410 is prematurely activated and / or leaks from the cartridge body 1410.
上記のように、図88及び図89を参照して、ステープル1220の脚部1221は、カートリッジ本体1210内に埋め込まれることがあり、ステープル1220の基部1222が、内層1212の底面1218から外側に延びることがある。上記に加え、様々な実施形態において、内層1212は、ステープル1220を受容するように構成されたステープル空洞を含む場合がある。様々な他の実施形態により、図94及び図95を参照し、例えば、ステープルカートリッジ1500などのステープルカートリッジは、内部にステープル1520の少なくとも一部分を受容するように構成され得る、ステープル空洞1515を含む、圧縮可能で埋め込み可能なカートリッジ本体1510を含み得る。少なくとも1つのこのような実施形態において、ステープル1520のステープル脚部1521の頂部は、内層1512内に埋め込まれてもよく、一方で、ステープル脚部1521の底部、及び基部1522は、ステープル空洞1515内に位置付けられてもよい。いくつかの実施形態において、基部1522は、ステープル空洞1515内に全体的に位置付けられてもよく、いくつかの実施形態において、基部1522は、少なくともその一部分が、内層1512の底面1518の下に延びてもよい。上記と同様に、外層1511は、内層1512及び内部に位置付けられたステープル1520を包囲してもよい。いくつかの他の実施形態において、ここで図96を参照し、ステープルカートリッジ1600は、圧縮可能な、埋め込み可能なカートリッジ本体1610内のステープル空洞1615内に位置付けられたステープル1620を含んでもよく、ステープル1620の少なくとも一部分が外層1611によって囲まれない。少なくとも1つのこのような実施形態において、ステープル1620は、内層1612内に少なくとも一部分が埋め込まれたステープル脚部1621、及び加えて、外層1611の周囲で外側に延びる基部1622を含む場合がある。 As described above, with reference to FIGS. 88 and 89, the legs 1221 of the staple 1220 may be embedded within the cartridge body 1210, and the base 1222 of the staple 1220 extends outwardly from the bottom surface 1218 of the inner layer 1212. Sometimes. In addition to the above, in various embodiments, the inner layer 1212 may include staple cavities configured to receive the staples 1220. According to various other embodiments, referring to FIGS. 94 and 95, for example, a staple cartridge such as staple cartridge 1500 includes a staple cavity 1515 that can be configured to receive at least a portion of staple 1520 therein. A compressible and implantable cartridge body 1510 may be included. In at least one such embodiment, the top of staple legs 1521 of staples 1520 may be embedded within inner layer 1512, while the bottom of staple legs 1521 and base 1522 are within staple cavities 1515. May be positioned. In some embodiments, the base 1522 may be positioned generally within the staple cavity 1515, and in some embodiments, the base 1522 extends at least partially under the bottom surface 1518 of the inner layer 1512. May be. Similar to above, the outer layer 1511 may surround the inner layer 1512 and the staples 1520 positioned therein. In some other embodiments, referring now to FIG. 96, a staple cartridge 1600 may include staples 1620 positioned within staple cavities 1615 in a compressible, implantable cartridge body 1610. Staples At least a portion of 1620 is not surrounded by outer layer 1611. In at least one such embodiment, the staple 1620 may include a staple leg 1621 that is at least partially embedded within the inner layer 1612 and a base 1622 that extends outwardly around the outer layer 1611.
様々な実施形態において、ここで図97及び図98を参照し、例えば、ステープルカートリッジ1700などのステープルカートリッジは、圧縮可能な、埋め込み可能なカートリッジ本体1710、及び少なくとも一部分がカートリッジ本体1710内に位置付けられた、複数のステープル1720を含み得る。カートリッジ本体1710は、外層1711、内層1712、及び加えて、ステープル1720をカートリッジ本体1710内の適所に位置合わせ及び/又は保持するように構成され得る、位置合わせマトリックス1740を含み得る。少なくとも一実施形態において、内層1712は、内部に位置合わせマトリックス1740を受容するように構成され得る、陥没部1741を含み得る。様々な実施形態において、位置合わせマトリックス1140は、陥没部1741内に圧力嵌めされ得るか、及び/ないしは別の方法により、例えば、繊維素及び/又はタンパク質ヒドロゲルなどの少なくとも1つの接着剤を使用して、内層1712に好適に固定される。少なくとも一実施形態において、陥没部1741は、位置合わせマトリックス1740の底面1742が、内層1712の底面1718と位置合わせされるか又は少なくとも実質的に位置合わせされるように、構成され得る。いくつかの実施形態において、位置合わせマトリックスの底面1742は、第2層1712の底面1718に対して陥没し得る、及び/又はここから延び得る。様々な実施形態により、各ステープル1720は、基部1722、及び基部1722から延びる1つ又は2つ以上の脚部1721を含む場合があり、ステープル脚部1721の少なくとも一部分が位置合わせマトリックス1740を通じて延びることがある。位置合わせマトリックス1740は、例えば、内部を通じて延びる複数の開口部及び/又はスロットを更に含む場合があり、これは、内部にステープル脚部1721を受容するように構成され得る。少なくとも1つのこのような実施形態において、ステープル脚部1721と開口部の側壁との間に(あったとして)ほとんど相対移動が存在しないように、各開口部は、ステープル脚部1721を緊密に受容するように構成される場合がある。いくつかの実施形態において、位置合わせマトリックス開口部は、位置合わせマトリックス1740を通じて全体的に延びることがあり、ステープル脚部1721は、ステープル脚部1721がこれを通じて押される際に、位置合わせマトリックス1740を切開することを必要とする場合がある。 In various embodiments, referring now to FIGS. 97 and 98, for example, a staple cartridge, such as staple cartridge 1700, is compressible, implantable cartridge body 1710, and at least partially positioned within cartridge body 1710. In addition, a plurality of staples 1720 may be included. The cartridge body 1710 can include an outer layer 1711, an inner layer 1712, and additionally an alignment matrix 1740 that can be configured to align and / or hold the staples 1720 in place within the cartridge body 1710. In at least one embodiment, the inner layer 1712 can include a depression 1741 that can be configured to receive an alignment matrix 1740 therein. In various embodiments, the alignment matrix 1140 can be press fit within the depression 1741 and / or otherwise uses at least one adhesive, such as fibrin and / or protein hydrogel. The inner layer 1712 is suitably fixed. In at least one embodiment, the depression 1741 can be configured such that the bottom surface 1742 of the alignment matrix 1740 is aligned or at least substantially aligned with the bottom surface 1718 of the inner layer 1712. In some embodiments, the bottom surface 1742 of the alignment matrix can be recessed relative to the bottom surface 1718 of the second layer 1712 and / or can extend therefrom. According to various embodiments, each staple 1720 may include a base 1722 and one or more legs 1721 extending from the base 1722, with at least a portion of the staple legs 1721 extending through the alignment matrix 1740. There is. The alignment matrix 1740 may further include, for example, a plurality of openings and / or slots extending therethrough, which can be configured to receive the staple legs 1721 therein. In at least one such embodiment, each opening closely receives the staple leg 1721 such that there is little (if any) relative movement between the staple leg 1721 and the sidewall of the opening. May be configured to. In some embodiments, the alignment matrix openings may extend generally through the alignment matrix 1740 and the staple legs 1721 may cause the alignment matrix 1740 to move as the staple legs 1721 are pushed therethrough. An incision may be required.
様々な実施形態において、位置合わせマトリックス1740は、少なくとも一実施形態において、内層1712及び/又は外層1711よりも剛性であるか、又はより圧縮可能でない、形成されたプラスチック本体から構成される場合がある。少なくとも1つのこのような実施形態において、位置合わせマトリックス1740は、プラスチック材料及び/又は他の任意の好適な材料、例えば、ポリジオキサノン(PDS)及び/又はポリグリコール酸(PGA)などから構成される場合がある。いくつかの実施形態において、位置合わせマトリックス1740は、内層1712に組み合わされる場合があり、ステープル脚部1721は、その後、位置合わせマトリックス1740を通じて挿入され、内層1712に埋め込まれる場合がある。様々な実施形態において、位置合わせマトリックス1740の底面1742は、例えば、1つ又は2つ以上の溝、スロット又はトラフを含む場合があり、これは、ステープル1720の基部1722の少なくとも一部分を受容するように構成され得る。上記と同様に外層1711は、その後、内層1712、位置合わせマトリックス1740、及びステープル1720を含む、サブアセンブリの周囲に配置される場合がある。あるいは、外層1711は、内層1712及び位置合わせマトリックス1740を含む、サブアセンブリの周囲に配置される場合があり、ステープル1720はその後、外層1711、位置合わせマトリックス1740、及び内層1712を通じて挿入され得る。いずれにせよ、上記の結果として、内層1712、位置合わせマトリックス1740、及び/又は外層1711は、上記のようにこれらがアンビルによって変形されるまで及び/又はその後に適所にステープル1720を保持するように構成され得る。少なくとも1つのこのような実施形態において、位置合わせマトリックス1740、ステープルカートリッジ1700が患者内に埋め込まれる前に、ステープル1720を適所に保持するように機能し、ステープルカートリッジ1700が埋め込まれた後に、ステープルのラインに沿って組織を固定するように機能し得る。例えば、少なくとも一実施形態において、ステープル1720は、内層1712及び/又は外層1711内に埋め込まれることなく、位置合わせマトリックス1740内に固定され得る。 In various embodiments, the alignment matrix 1740 may be composed of a formed plastic body that is more rigid or less compressible than the inner layer 1712 and / or the outer layer 1711 in at least one embodiment. . In at least one such embodiment, the alignment matrix 1740 is comprised of a plastic material and / or any other suitable material, such as polydioxanone (PDS) and / or polyglycolic acid (PGA). There is. In some embodiments, the alignment matrix 1740 may be combined with the inner layer 1712 and the staple legs 1721 may then be inserted through the alignment matrix 1740 and embedded in the inner layer 1712. In various embodiments, the bottom surface 1742 of the alignment matrix 1740 may include, for example, one or more grooves, slots, or troughs that receive at least a portion of the base 1722 of the staple 1720. Can be configured. Similar to the above, the outer layer 1711 may then be placed around the subassembly, including the inner layer 1712, the alignment matrix 1740, and the staples 1720. Alternatively, the outer layer 1711 may be placed around the subassembly, including the inner layer 1712 and the alignment matrix 1740, and the staple 1720 may then be inserted through the outer layer 1711, the alignment matrix 1740, and the inner layer 1712. In any case, as a result of the above, the inner layer 1712, the alignment matrix 1740, and / or the outer layer 1711 will hold the staples 1720 in place until and / or thereafter they are deformed by the anvil. Can be configured. In at least one such embodiment, the alignment matrix 1740, which functions to hold the staples 1720 in place before the staple cartridge 1700 is implanted within the patient and after the staple cartridge 1700 is implanted, Can function to fix tissue along the line. For example, in at least one embodiment, the staples 1720 can be secured within the alignment matrix 1740 without being embedded within the inner layer 1712 and / or the outer layer 1711.
様々な実施形態において、ここで図99〜105を参照し、例えば、ステープルカートリッジ1800などの、ステープルカートリッジは、内層1812を圧縮し、例えば、ステープル1820などのステープルを内層1812内に挿入し、内層1812を外層1811で包むことによって組み立てることができる。主に図99を参照し、圧縮可能な内層1812が、内部に画定される複数のステープル空洞1815を含むものとして例示されるが、内層1812が上記のステープル空洞を含まない他の実施形態が想到され得る。図100を参照し、圧縮可能な内層1812は、移送プレート1850及び支持プレート1860の中間に位置付けられ、かつその、それぞれの圧縮表面1852と1862との間で圧縮され得る。図100に例示されるように、内面1812の頂面及び底面は、これに対応して、互いに圧縮されることがあり、内面1812は横方向外側に膨らむことがある。いくつかの実施形態において、内層1812は、例えば、その元々の高さのおよそ1/3の高さまで圧縮されることがあり、例えば、その圧縮状態においておよそ1.52mm(0.06”)〜およそ2.03mm(0.08”)の高さ又は厚さを有し得る。また図100に例示されるように、移送プレート1850は、複数のステープルウェル1853内に位置付けられた、例えば、ステープル1820などの、複数のステープルを更に含み得る。加えて、移送プレート1850は、複数のドライバ1851を更に含むことがあり、これは、ステープル1820を上方に、ステープルウェル1853の外側に押すように構成され得る。図101を参照し、ドライバ1851は、ステープル1820のステープル脚部1821を、圧縮された内層1812を通じて内部に押すために使用され得る。様々な実施形態において、ドライバ1851は、その頂面が、ステープル1820が移送プレート1850のステープルウェル1853から完全に展開された際に、移送プレート1850の圧縮表面1852と、同一平面になるか、又は少なくとも同一平面に近くなるように構成される。いくつかの実施形態において、やはり図101に例示されるように、支持プレート1860は複数の受容開口部1861を含むことがあり、これはステープル脚部1821、又は少なくともステープル脚部1821の先端部を、これらが内層1812を通じて押された後に、受容するように構成され得る。受容開口部1861などは、内層1812がステープル1820の高さよりも低い高さまで圧縮され、したがって、ステープル1820がステープルウェル1853から完全に排出された際に、ステープル脚部1821が圧縮された内層1812の頂面から突出し得る、実施形態において必要とされ得る。いくつかの他の実施形態において、内層1812は、ステープル1820の高さよりも高い高さまで圧縮されてもよく、その結果、支持プレート1860の受容開口部1861は不必要であり得る。 In various embodiments, referring now to FIGS. 99-105, a staple cartridge, such as, for example, a staple cartridge 1800, compresses the inner layer 1812 and inserts staples, such as, for example, staples 1820, into the inner layer 1812. It can be assembled by wrapping 1812 with outer layer 1811. Referring primarily to FIG. 99, although the compressible inner layer 1812 is illustrated as including a plurality of staple cavities 1815 defined therein, other embodiments are contemplated in which the inner layer 1812 does not include the staple cavities described above. Can be done. Referring to FIG. 100, a compressible inner layer 1812 can be positioned intermediate transfer plate 1850 and support plate 1860 and compressed between its respective compression surfaces 1852 and 1862. As illustrated in FIG. 100, the top and bottom surfaces of the inner surface 1812 may correspondingly be compressed together, and the inner surface 1812 may bulge laterally outward. In some embodiments, the inner layer 1812 may be compressed, for example, to a height that is approximately one third of its original height, such as from about 1.52 mm (0.06 ″) in its compressed state. It may have a height or thickness of approximately 2.03 mm (0.08 ″). Also as illustrated in FIG. 100, the transfer plate 1850 may further include a plurality of staples, such as, for example, staples 1820, positioned within the plurality of staple wells 1853. In addition, the transfer plate 1850 may further include a plurality of drivers 1851 that may be configured to push the staples 1820 up and out of the staple well 1853. With reference to FIG. 101, the driver 1851 can be used to push the staple legs 1821 of the staples 1820 inward through the compressed inner layer 1812. In various embodiments, the driver 1851 may have a top surface that is flush with the compression surface 1852 of the transfer plate 1850 when the staple 1820 is fully deployed from the staple well 1853 of the transfer plate 1850, or It is configured to be at least close to the same plane. In some embodiments, as also illustrated in FIG. 101, the support plate 1860 may include a plurality of receiving openings 1861 that includes staple legs 1821, or at least the tips of the staple legs 1821. , Can be configured to receive after they are pushed through the inner layer 1812. Receiving openings 1861 and the like may be compressed such that the inner layer 1812 is compressed to a height that is lower than the height of the staples 1820, and thus the staple legs 1821 are compressed when the staples 1820 are fully ejected from the staple well 1853. May be required in embodiments that may protrude from the top surface. In some other embodiments, the inner layer 1812 may be compressed to a height that is higher than the height of the staples 1820 so that the receiving openings 1861 in the support plate 1860 may be unnecessary.
ステープル1820が内面1812内に挿入された後、図102を参照し、支持プレート1860は、内層1812を減圧させるために、移送プレート1850から遠ざかるように移動され得る。このような状況において、内層1812は、弾性的にその元の高さ、又は少なくとも元の高さに近い非圧縮高さまで弾力的に再拡張し得る。内層1812が再拡張すると、内層1812の高さは、これがステープル1820の高さを超えるように増加することがあり、それによりステープル1820のステープル脚部1821は、内層1812の頂面からもはや突出しない。様々な実施形態により、受容開口部1861は、少なくとも、脚部1821が受容開口部1861内にもはや位置付けられないように、支持プレート1860が十分に離れるように移動されまで、適所にステープル脚部1821を保持するように構成され得る。このような状況において、受容開口部1861は、内層1812内で、これが再拡張する際に、ステープル1820の相対的位置合わせを維持することを補助し得る。様々な状況において、内層1812及び内部に位置付けられたステープル1820は、サブアセンブリ1801を含む場合があり、これは例えば、図103を参照し、外層1811内に挿入され得る。少なくとも1つのこのような実施形態において、外層1811は、内部に画定された空洞1802を含む場合があり、これは、内部にサブアセンブリ1801を受容するように構成され得る。様々な状況において、例えば、プライヤ1855などのツールが、外層1811をサブアセンブリ1801上に引くために利用され得る。図104を参照し、一度サブアセンブリ1801が外層1811内に十分に位置付けられると、外層1811が封止され得る。様々な実施形態において、外層1811は、その一部分への熱エネルギーの適用を利用して封止され得る。より具体的に少なくとも一実施形態において、外層1811は、プラスチック材料から構成される場合があり、外層1811の開放端部は、外層1811の開放端部の外辺部を一緒に結合及び/又は封止するために、1つ又は2つ以上の熱要素又はアイロン1856により熱頭造され得る。少なくとも1つのこのような実施形態において、図105を参照し、外層1811の超過部分1857は、取り除かれてもよく、ステープルカートリッジ1800はその後、本明細書に記載されるように使用され得る。 After the staples 1820 are inserted into the inner surface 1812, referring to FIG. 102, the support plate 1860 can be moved away from the transfer plate 1850 to depressurize the inner layer 1812. In such a situation, the inner layer 1812 can elastically re-expand to its original height, or at least an uncompressed height close to the original height. As the inner layer 1812 re-expands, the height of the inner layer 1812 may increase so that it exceeds the height of the staple 1820 so that the staple legs 1821 of the staple 1820 no longer protrude from the top surface of the inner layer 1812. . According to various embodiments, the receiving opening 1861 is at least in place with the staple legs 1821 until the support plate 1860 is moved sufficiently away so that the legs 1821 are no longer positioned within the receiving openings 1861. Can be configured to hold. In such a situation, the receiving opening 1861 may help maintain the relative alignment of the staple 1820 within the inner layer 1812 as it re-expands. In various situations, the inner layer 1812 and the staple 1820 positioned therein may include a subassembly 1801, which can be inserted into the outer layer 1811, for example, referring to FIG. In at least one such embodiment, the outer layer 1811 may include a cavity 1802 defined therein, which may be configured to receive the subassembly 1801 therein. In various situations, for example, a tool such as pliers 1855 can be utilized to pull the outer layer 1811 onto the subassembly 1801. Referring to FIG. 104, once the subassembly 1801 is fully positioned within the outer layer 1811, the outer layer 1811 can be sealed. In various embodiments, the outer layer 1811 can be sealed utilizing the application of thermal energy to a portion thereof. More specifically, in at least one embodiment, the outer layer 1811 may be composed of a plastic material, and the open end of the outer layer 1811 joins and / or seals the outer edges of the open end of the outer layer 1811 together. It can be hot-headed by one or more thermal elements or irons 1856 to stop. In at least one such embodiment, referring to FIG. 105, the excess portion 1857 of the outer layer 1811 may be removed and the staple cartridge 1800 may then be used as described herein.
上記のように、ステープルカートリッジは、ステープルカートリッジ取り付け部分内に位置付けられ、及び/又はこれに固定され得る。図106及び図107を参照し、様々な実施形態において、ステープルカートリッジ取り付け部分は、例えば、ステープルカートリッジチャネル1930などの、ステープルカートリッジを含む場合があり、これは、内部に例えば、ステープルカートリッジ1900などのステープルカートリッジの少なくとも一部分を受容するように構成され得る。少なくとも一実施形態において、ステープルカートリッジチャネル1930は、底部支持表面1931、第1横方向支持壁部1940、及び第2横方向支持壁部1941を含み得る。使用中、ステープルカートリッジ1900は、ステープルカートリッジ1900が、底部支持表面1931に対して及び/又はこれに隣接するように位置付けられ、第1横方向支持壁部1940と第2横方向支持壁部1941との中間に位置付けられるように、ステープルカートリッジチャネル1930内に位置付けられ得る。いくつかの実施形態において、第1横方向支持壁部1940及び第2横方向支持壁部1941は、その間に横方向空隙を画定し得る。少なくとも1つのこのような実施形態において、ステープルカートリッジ1900は、横方向幅1903を含む場合があり、これは、支持壁部1940と1941との間で画定される横方向空隙と同じである及び/又はこれより広い横方向幅を含む場合があり、ステープルカートリッジ1900の圧縮可能な、埋め込み可能なカートリッジ本体1910が、壁部1940と1941との間にしっかりと適合し得る。いくつかの他の実施形態において、ステープルカートリッジ1900の横方向幅1903は、第1側壁1940と第2側壁1941との間に画定される空隙よりも短い場合がある。様々な実施形態において、壁部1940及び1941、並びに底部支持表面1931の少なくとも一部分は、スタンピングした金属チャネルによって画定される場合があり、一方で少なくとも一実施形態において、横方向支持壁部1940及び/又は横方向支持壁部1941の少なくとも一部分が、例えば、エラストマー材などの可撓性材料を含む場合がある。主に図106を参照し、ステープルカートリッジチャネル1930の第1側壁1940及び第2側壁1941はそれぞれ、底部支持表面1931から上方に延びる剛性部分1933、及び剛性部分1933から上方に延びる可撓性部分1934を含み得る。 As described above, the staple cartridge may be positioned within and / or secured to the staple cartridge mounting portion. Referring to FIGS. 106 and 107, in various embodiments, the staple cartridge mounting portion may include a staple cartridge, such as, for example, a staple cartridge channel 1930, which internally includes, for example, a staple cartridge 1900. It may be configured to receive at least a portion of the staple cartridge. In at least one embodiment, staple cartridge channel 1930 can include a bottom support surface 1931, a first lateral support wall 1940, and a second lateral support wall 1941. In use, the staple cartridge 1900 is positioned such that the staple cartridge 1900 is relative to and / or adjacent to the bottom support surface 1931, and the first lateral support wall 1940 and the second lateral support wall 1941, Can be positioned within the staple cartridge channel 1930. In some embodiments, the first lateral support wall 1940 and the second lateral support wall 1941 can define a lateral gap therebetween. In at least one such embodiment, the staple cartridge 1900 may include a lateral width 1903 that is the same as the lateral gap defined between the support walls 1940 and 1941 and / or. Or it may include a wider lateral width and the compressible, implantable cartridge body 1910 of the staple cartridge 1900 may fit tightly between the walls 1940 and 1941. In some other embodiments, the lateral width 1903 of the staple cartridge 1900 may be shorter than the gap defined between the first side wall 1940 and the second side wall 1941. In various embodiments, walls 1940 and 1941 and at least a portion of bottom support surface 1931 may be defined by stamped metal channels, while in at least one embodiment, lateral support walls 1940 and / or Alternatively, at least a portion of the lateral support wall 1941 may include a flexible material such as, for example, an elastomeric material. Referring primarily to FIG. 106, the first and second sidewalls 1940 and 1941 of the staple cartridge channel 1930 are a rigid portion 1933 extending upwardly from the bottom support surface 1931 and a flexible portion 1934 extending upwardly from the rigid portion 1933, respectively. Can be included.
上記に加え、様々な実施形態において、ステープルカートリッジ1900のカートリッジ本体1910は、例えば、第1層1911、及び第2層1912などの1つ又は2つ以上の圧縮可能な層を含み得る。カートリッジ本体1910が、上記のように、アンビルによって下方支持表面1931に対して圧縮される場合、カートリッジ本体1910の側部が横方向に伸張し得る。ステープルカートリッジ1930が剛性の側壁を含む実施形態において、カートリッジ本体1910の横方向拡張は、剛性の側壁によって防がれるか、又は少なくとも制限され得、結果として、かなりの量の、内部圧力又は応力が、カートリッジ本体1910内で生じ得る。ステープルカートリッジ1930の少なくとも一部が可撓性側壁を含む実施形態において、可撓性側壁は、横方向に屈曲し、可撓性1910の側部が横方向に拡張することを可能にし、それによってカートリッジ本体1910内で生じる内部圧力又は応力を低減する。カートリッジチャネルが横方向側壁を含むか、又はステープルカートリッジよりも比較的短い横方向側壁を含む実施形態において、ステープルカートリッジの側部は、阻害されずに、又は少なくとも実質的に阻害されずに拡張し得る。いずれにせよ、図107を参照し、ステープルカートリッジチャネル2030は、横方向側壁2040及び2041を含む場合があり、これらは、例えば、エラストマー材などの可撓性材料を全体的に含み得る。ステープルカートリッジ2030は、ステープルカートリッジチャネル2030の底部支持表面2031の側部に沿って延びる横方向スロット2033を更に含む場合があり、これは、内部に横方向側部2040及び2041の少なくとも一部分を受容し、固定するように構成され得る。いくつかの実施形態において、横方向側壁2040及び2041は、スナップ嵌め及び/又は圧力嵌め構成によりスロット2033内に固定され得、一方少なくとも一実施形態において、横方向側壁2040及び2041は、1つ又は2つ以上の接着剤によってスロット2033内に固定され得る。少なくとも一実施形態において、側壁2040及び2041は、使用中に底部支持表面2031から分離能であり得る。いずれにせよ、圧縮可能な、埋め込み可能なカートリッジ本体2010は、カートリッジ本体2010がステープル2020と共に埋め込まれるときに、横方向側壁2040及び2041から分離、及び/又は係合離脱し得る。 In addition to the above, in various embodiments, the cartridge body 1910 of the staple cartridge 1900 can include one or more compressible layers, such as, for example, a first layer 1911 and a second layer 1912. When the cartridge body 1910 is compressed against the lower support surface 1931 by the anvil as described above, the sides of the cartridge body 1910 can extend laterally. In embodiments where the staple cartridge 1930 includes rigid sidewalls, lateral expansion of the cartridge body 1910 can be prevented or at least limited by the rigid sidewalls, resulting in a significant amount of internal pressure or stress. Can occur within the cartridge body 1910. In embodiments where at least a portion of the staple cartridge 1930 includes a flexible side wall, the flexible side wall bends laterally, allowing the sides of the flexible 1910 to expand laterally, thereby Reduce internal pressure or stress generated within the cartridge body 1910. In embodiments where the cartridge channel includes a lateral sidewall or includes a lateral sidewall that is relatively shorter than the staple cartridge, the side of the staple cartridge expands uninhibited or at least substantially uninhibited. obtain. In any case, referring to FIG. 107, the staple cartridge channel 2030 may include lateral sidewalls 2040 and 2041, which may generally include a flexible material, such as, for example, an elastomeric material. The staple cartridge 2030 may further include a lateral slot 2033 that extends along the side of the bottom support surface 2031 of the staple cartridge channel 2030, which receives at least a portion of the lateral sides 2040 and 2041 therein. , Can be configured to be fixed. In some embodiments, the lateral sidewalls 2040 and 2041 can be secured within the slot 2033 by a snap-fit and / or pressure-fit configuration, while in at least one embodiment, the lateral sidewalls 2040 and 2041 can be one or It can be secured in slot 2033 by two or more adhesives. In at least one embodiment, the sidewalls 2040 and 2041 can be separable from the bottom support surface 2031 during use. In any case, the compressible, implantable cartridge body 2010 can be separated and / or disengaged from the lateral side walls 2040 and 2041 when the cartridge body 2010 is implanted with the staples 2020.
ここで図108を参照し、様々な実施形態において、外科用器具は、シャフト2150、及びシャフト2150の遠位端から延びるエンドエフェクタを含み得る。エンドエフェクタは、上記と同様に、ステープルカートリッジチャネル2130、開放位置と閉鎖位置との間で可動なアンビル2140、及びステープルカートリッジチャネル2130とアンビル2140との中間に位置付けられ得るステープルカートリッジ2100を含み得る。また上記と同様に、ステープルカートリッジ2100は、圧縮可能な、埋め込み可能なカートリッジ本体2110、及びカートリッジ本体内2110に位置付けられる、複数のステープル2120を含み得る。様々な実施形態において、ステープルカートリッジチャネル2130は、1)ステープルカートリッジ2100がそこに位置付けられ得る底部支持表面2131、2)遠位端2135、及び3)近位端2136を含み得る。図108に例示されるように、少なくとも一実施形態において、ステープルカートリッジ2100は、ステープルカートリッジチャネル2130の遠位端2135内に位置付けることができる、第1端部2105と、ステープルカートリッジチャネル2130の近位端2136に位置付けることができる第2端部2106とを含み得る。様々な実施形態において、ステープルカートリッジチャネル2130の遠位端2135は、例えば、保持壁部2137などの少なくとも1つの遠位保持機構を含む場合があり、及び同様に、近位端2136は、例えば、保持壁部2138などの少なくとも1つの近位保持機構を含み得る。少なくとも1つのこのような実施形態において、遠位保持壁部2137及び近位保持壁部2138は、その間に空隙を画定することがあり、これは、ステープルカートリッジ2100の長さと同等以下であり得、それによって、ステープルカートリッジ2100は、ステープルカートリッジ2100が内部に挿入されるときに、ステープルカートリッジチャネル2130内にしっかりと適合し得る。 Referring now to FIG. 108, in various embodiments, a surgical instrument can include a shaft 2150 and an end effector that extends from the distal end of the shaft 2150. The end effector may include a staple cartridge channel 2130, an anvil 2140 movable between an open position and a closed position, and a staple cartridge 2100 that may be positioned intermediate the staple cartridge channel 2130 and anvil 2140, as described above. Also similar to the above, the staple cartridge 2100 may include a compressible, implantable cartridge body 2110 and a plurality of staples 2120 positioned within the cartridge body 2110. In various embodiments, the staple cartridge channel 2130 can include 1) a bottom support surface 2131, 2) a distal end 2135, and 3) a proximal end 2136 on which the staple cartridge 2100 can be positioned. As illustrated in FIG. 108, in at least one embodiment, the staple cartridge 2100 can be positioned within the distal end 2135 of the staple cartridge channel 2130 and the proximal end of the staple cartridge channel 2130. And a second end 2106 that can be positioned at the end 2136. In various embodiments, the distal end 2135 of the staple cartridge channel 2130 can include at least one distal retention mechanism, such as, for example, a retention wall 2137, and similarly, the proximal end 2136 can be, for example, At least one proximal retention mechanism such as retention wall 2138 may be included. In at least one such embodiment, the distal retaining wall 2137 and the proximal retaining wall 2138 may define a gap therebetween, which may be less than or equal to the length of the staple cartridge 2100; Thereby, the staple cartridge 2100 may fit securely within the staple cartridge channel 2130 when the staple cartridge 2100 is inserted therein.
図88及び図89を参照し、様々な実施形態において、例えば、ステープルカートリッジ1200などのステープルカートリッジは、平坦な、又は少なくとも実質的に平坦な、組織接触表面1219を含み得る。少なくとも1つのこのような実施形態において、ステープルカートリッジ1200のステープルカートリッジ本体1210は、第1の高さ又は厚さ1207によって画定され得る第1端部1205、及び第2高さ又は厚さ1208によって画定され得る第2端部1206を含むことがあり、第1高さ1207は、第2高さ1208と同等であるか、又は少なくとも実質的に同等であり得る。いくつかの実施形態において、カートリッジ本体1210は、一定の又は少なくとも実質的に一定の、第1端部1205と第2端部1206との間の高さ又は厚さを含み得る。少なくとも1つのこのような実施形態において、組織接触表面1219は、カートリッジ本体1210の底面1218と平行であるか、又は少なくとも実質的に平行であり得る。再び図108を参照し、様々な実施形態において、ステープルカートリッジ2100のカートリッジ本体2110の第1端部2105は、第2端部2106の第2高さ2108とは異なる第1高さ2107により画定され得る。例示される実施形態において、第1高さ2107は、高さ2108よりも大きいが、第2高さ2108は、代替的実施形態における第1高さ2107よりも大きいことがある。様々な実施形態において、カートリッジ本体2110の高さは、第1端部2105と第2端部2106との間で直線的に及び/又は幾何級数的に減少し得る。少なくとも1つのこのような実施形態において、第1端部2105と第2端部2106との間で延びる、組織接触表面2119は、その間に画定される角度に沿って向けられてもよい。少なくとも1つのこのような実施形態において、組織接触表面2119は、カートリッジ本体2110の底面2118と、及び/又はステープルカートリッジチャネル2130の支持表面2131と平行でないことがある。 Referring to FIGS. 88 and 89, in various embodiments, a staple cartridge such as, for example, staple cartridge 1200 can include a tissue contacting surface 1219 that is flat or at least substantially flat. In at least one such embodiment, the staple cartridge body 1210 of the staple cartridge 1200 is defined by a first end 1205 that can be defined by a first height or thickness 1207 and a second height or thickness 1208. A second end 1206 that may be included, and the first height 1207 may be equivalent to or at least substantially equivalent to the second height 1208. In some embodiments, the cartridge body 1210 can include a height or thickness between the first end 1205 and the second end 1206 that is constant or at least substantially constant. In at least one such embodiment, the tissue contacting surface 1219 can be parallel or at least substantially parallel to the bottom surface 1218 of the cartridge body 1210. Referring again to FIG. 108, in various embodiments, the first end 2105 of the cartridge body 2110 of the staple cartridge 2100 is defined by a first height 2107 that is different from the second height 2108 of the second end 2106. obtain. In the illustrated embodiment, the first height 2107 is greater than the height 2108, but the second height 2108 may be greater than the first height 2107 in alternative embodiments. In various embodiments, the height of the cartridge body 2110 can decrease linearly and / or geometrically between the first end 2105 and the second end 2106. In at least one such embodiment, the tissue contacting surface 2119 extending between the first end 2105 and the second end 2106 may be oriented along an angle defined therebetween. In at least one such embodiment, the tissue contacting surface 2119 may not be parallel to the bottom surface 2118 of the cartridge body 2110 and / or the support surface 2131 of the staple cartridge channel 2130.
様々な実施形態において、再び、図108及び図109を参照し、アンビル2140は、組織接触表面2141を含む場合があり、これは、図109に例示されるように、アンビル2140が閉鎖位置にあるときに、ステープルカートリッジチャネル2130の支持表面2131と平行であり得るか、又は少なくとも実質的に平行であり得る。アンビル2140が、閉鎖位置にあるとき、アンビル2140は、第1端部2105のより高い高さ、及び第2端部2106のより低い高さにより、ステープルカートリッジ2100の第1端部2105を、第2端部2106よりも圧縮するように構成され得る。組織接触表面2119と2141との中間に位置付けられる組織Tが一定の、又は少なくとも実質的に一定の厚さを有する状況を含む、いくつかの実施形態において、組織Tとカートリッジ2100との間に生じる圧力は、エンドエフェクタの遠位端において、エンドエフェクタの近位端におけるよりも大きい場合がある。より具体的に、アンビル2140とステープルカートリッジ2100との間の組織Tが実質的に一定の厚さを有する場合、アンビル2140の遠位端2145と、ステープルカートリッジ2100の第1端部2105との中間に位置付けられる組織Tは、アンビル2140の近位端2146と、ステープルカートリッジ2100の第2端部2106との中間に位置付けられる組織Tよりも圧縮されている場合がある。様々な実施形態において、圧力勾配がエンドエフェクタの近位端と遠位端との間の組織内に生成され得る。より具体的に、少なくとも一実施形態において、アンビル2140とステープルカートリッジ2100との間の組織Tが実質的に一定の厚さを有し、ステープルカートリッジ2100の高さがエンドエフェクタの遠位端から近位端へと直線的に減少する際、組織T内の圧力は、エンドエフェクタの遠位端から、エンドエフェクタの近位端まで直線的に減少し得る。同様に、少なくとも一実施形態において、アンビル2140とステープルカートリッジ2100との間の組織Tが実質的に一定の厚さを有し、ステープルカートリッジ2100の高さがエンドエフェクタの遠位端から近位端へと幾何級数的に減少する際、組織T内の圧力は、エンドエフェクタの遠位端から、エンドエフェクタの近位端まで幾何級数的に減少し得る。 In various embodiments, referring again to FIGS. 108 and 109, the anvil 2140 may include a tissue contacting surface 2141, which is in the closed position, as illustrated in FIG. Sometimes it may be parallel to the support surface 2131 of the staple cartridge channel 2130 or at least substantially parallel. When the anvil 2140 is in the closed position, the anvil 2140 causes the first end 2105 of the staple cartridge 2100 to move away from the first end 2105 due to the higher height of the first end 2105 and the lower height of the second end 2106. It may be configured to compress more than the two ends 2106. In some embodiments, including situations where the tissue T positioned intermediate the tissue contacting surfaces 2119 and 2141 has a constant, or at least substantially constant thickness, occurs between the tissue T and the cartridge 2100. The pressure may be greater at the distal end of the end effector than at the proximal end of the end effector. More specifically, when the tissue T between the anvil 2140 and the staple cartridge 2100 has a substantially constant thickness, intermediate between the distal end 2145 of the anvil 2140 and the first end 2105 of the staple cartridge 2100. May be more compressed than tissue T positioned intermediate the proximal end 2146 of the anvil 2140 and the second end 2106 of the staple cartridge 2100. In various embodiments, a pressure gradient can be created in the tissue between the proximal and distal ends of the end effector. More specifically, in at least one embodiment, the tissue T between the anvil 2140 and the staple cartridge 2100 has a substantially constant thickness, and the height of the staple cartridge 2100 is closer to the distal end of the end effector. As it decreases linearly toward the distal end, the pressure in the tissue T can decrease linearly from the distal end of the end effector to the proximal end of the end effector. Similarly, in at least one embodiment, the tissue T between the anvil 2140 and the staple cartridge 2100 has a substantially constant thickness, and the height of the staple cartridge 2100 extends from the distal end to the proximal end of the end effector. As it decreases geometrically, the pressure in the tissue T can decrease geometrically from the distal end of the end effector to the proximal end of the end effector.
様々な実施形態において、図108を再び参照し、ステープルカートリッジ2100とアンビル2140との中間に位置づけられる組織Tは、全体を通じて一定の厚さを有さないことがある。少なくとも1つのこのような状況において、アンビル2140の近位端2146と、ステープルカートリッジ2100の第2端部2106との間に位置付けられる組織Tは、アンビル2140の遠位端2145と、ステープルカートリッジ2100の第1端部2105との間に位置付けられる組織Tよりも厚い場合がある。このような状況において、結果として、より厚い組織Tは、ステープルカートリッジ2100のより短い近位端2106の上に一般的に位置付けられてもよく、より薄い組織Tは、より高い遠位端2105の上に一般的に位置付けられてもよい。図109に例示されるように、使用中、シャフト2150の発射カラー2152は、発射カラー2152がアンビル2140のカム位置2143に係合し、アンビル2140を、ステープルカートリッジ2100の方に回転させるようにして、シャフトスパイン2151に沿って遠位方向に前進することができる。一度アンビル2140が完全に閉鎖した位置へと回転すると、組織Tは、組織接触表面2119と2141との間で圧縮されてもよく、ステープルカートリッジ2100の高さがエンドエフェクタの近位端と遠位端との間で一定でないことがあるにもかかわらず、組織Tに適用される圧力又は圧縮力はこれにわたって、一定であるか、少なくとも実質的に一定であり得る。より具体的に、より薄い組織Tはステープルカートリッジ2100のより高い高さと関連することがあり、より厚い組織Tは、ステープルカートリッジ2100のより短い高さと関連することがあるため、組織T及びステープルカートリッジ2100の累積又は合計高さは、エンドエフェクタの近位端と遠位端との間で、一定又は少なくとも実質的に一定であり得、結果として、アンビル2140によるこの累積高さの圧縮は、これにわたって一定、又は少なくとも実質的に一定であり得る。 In various embodiments, referring again to FIG. 108, the tissue T positioned intermediate the staple cartridge 2100 and the anvil 2140 may not have a constant thickness throughout. In at least one such situation, the tissue T positioned between the proximal end 2146 of the anvil 2140 and the second end 2106 of the staple cartridge 2100 may cause the distal end 2145 of the anvil 2140 and the staple cartridge 2100 to It may be thicker than the tissue T positioned between the first end 2105. In such a situation, as a result, the thicker tissue T may be generally positioned on the shorter proximal end 2106 of the staple cartridge 2100 and the thinner tissue T may be positioned on the higher distal end 2105. It may be generally positioned above. As illustrated in FIG. 109, in use, the firing collar 2152 of the shaft 2150 causes the firing collar 2152 to engage the cam position 2143 of the anvil 2140, causing the anvil 2140 to rotate toward the staple cartridge 2100. , Can be advanced distally along the shaft spine 2151. Once the anvil 2140 has been rotated to the fully closed position, the tissue T may be compressed between the tissue contacting surfaces 2119 and 2141 and the height of the staple cartridge 2100 may be increased with the proximal and distal ends of the end effector. The pressure or compressive force applied to the tissue T can be constant or at least substantially constant over this, although it may not be constant between the ends. More specifically, tissue T and staple cartridges because thinner tissue T may be associated with a higher height of staple cartridge 2100 and thicker tissue T may be associated with a shorter height of staple cartridge 2100. The cumulative or total height of 2100 may be constant or at least substantially constant between the proximal and distal ends of the end effector, and as a result, compression of this cumulative height by the anvil 2140 Over time, or at least substantially constant.
図108及び図109を参照し、様々な実施形態において、ステープルカートリッジ2100は、対称の構成を含む場合がある。例えば、少なくとも1つのこのような実施形態において、ステープルカートリッジ2100の、その第1端部2105における高さは、カートリッジ2100のその第2端部2106における高さよりも高い場合がある。いくつかの実施形態において、ステープルカートリッジ2100及び/又はステープルカートリッジチャネル2130は、1つ又は2つ以上の位置合わせ及び/又は保持機構を含む場合があり、これは、ステープルカートリッジ2100が、ステープルカートリッジチャネル2130内において一方向(すなわち、第1端部2105がステープルカートリッジ2130の遠位端2135に位置付けられ、第2端部2106が近位端2136に位置付けられるような方向)でのみ位置付けられ得ることを確実にするように構成され得る。様々な代替的実施形態において、ステープルカートリッジ2100及び/又はステープルカートリッジチャネル2130は、1つ又は2つ以上の位置合わせ及び/又は保持機構を含む場合があり、これは、ステープルカートリッジ2100が、ステープルカートリッジチャネル2130内において、2つ以上の向きで位置付けられることを可能にするように構成され得る。例えば、図110を参照し、ステープルカートリッジ2100は、ステープルカートリッジ2100の第1端部2105がステープルカートリッジチャネル2130の近位端2136内に位置付けられ得、第2端部2106が遠位端2135内に位置付けられ得るようにして、ステープルカートリッジチャネル2130内に位置付けられ得る。様々な実施形態において、結果として、ステープルカートリッジ2100のより短い高さが、遠位保持壁部2137の近位に位置付けられ、ステープルカートリッジ2100のより高い高さが、近位保持壁部2138の近位に位置付けられる場合がある。少なくとも1つのこのような実施形態において、ステープルカートリッジ2100は、エンドエフェクタの遠位端内においてより厚い部分を有し、エンドエフェクタの近位端内においてより薄い部分を有する、組織Tに一定の、又は少なくとも実質的に一定のクランピング圧力を適用するように、好適に構成され得る。様々な実施形態において、ステープルカートリッジ2100は例えば、ステープルカートリッジチャネル2130内で選択的に向けられることがある。少なくとも1つのこのような実施形態において、ステープルカートリッジ2100の位置合わせ及び/又は保持機構は対称であり得、外科医は、ステープルカートリッジチャネル2130内のステープルカートリッジ2100を、例えば、図108及び図110に示される向きで選択的に配置することができる。 108 and 109, in various embodiments, the staple cartridge 2100 may include a symmetric configuration. For example, in at least one such embodiment, the height of the staple cartridge 2100 at its first end 2105 may be higher than the height at its second end 2106 of the cartridge 2100. In some embodiments, the staple cartridge 2100 and / or the staple cartridge channel 2130 may include one or more alignment and / or retention mechanisms, such that the staple cartridge 2100 is a staple cartridge channel. 2130 can only be positioned in one direction (ie, such that the first end 2105 is positioned at the distal end 2135 of the staple cartridge 2130 and the second end 2106 is positioned at the proximal end 2136). Can be configured to ensure. In various alternative embodiments, the staple cartridge 2100 and / or the staple cartridge channel 2130 may include one or more alignment and / or retention mechanisms, such that the staple cartridge 2100 is a staple cartridge. Within channel 2130 may be configured to allow positioning in more than one orientation. For example, referring to FIG. 110, the staple cartridge 2100 can be such that the first end 2105 of the staple cartridge 2100 can be positioned within the proximal end 2136 of the staple cartridge channel 2130 and the second end 2106 is within the distal end 2135. It can be positioned within the staple cartridge channel 2130 in such a way that it can be positioned. In various embodiments, as a result, the shorter height of the staple cartridge 2100 is positioned proximal to the distal retaining wall 2137 and the higher height of the staple cartridge 2100 is closer to the proximal retaining wall 2138. It may be positioned in the place. In at least one such embodiment, the staple cartridge 2100 has a thicker portion within the distal end of the end effector and a thinner portion within the proximal end of the end effector, constant to the tissue T. Or it may be suitably configured to apply at least a substantially constant clamping pressure. In various embodiments, the staple cartridge 2100 may be selectively directed within the staple cartridge channel 2130, for example. In at least one such embodiment, the alignment and / or retention mechanism of the staple cartridge 2100 can be symmetric, and the surgeon shows the staple cartridge 2100 in the staple cartridge channel 2130, for example, in FIGS. Can be selectively arranged in the orientation.
上記に加え、埋め込み可能なカートリッジ本体2110は、長手方向軸2109を含む場合があり、これは、ステープルカートリッジ2100がステープルカートリッジチャネル2130内に位置付けられる際に、エンドエフェクタの近位端と遠位端との間に延びることがある。様々な実施形態において、カートリッジ本体2110の厚さは、第1端部2105と、第2端部2106との間で、長手方向軸2109に沿って一般的に減少し得る、及び/又は一般的に増加し得る。少なくとも1つのこのような実施形態において、底面2118と組織接触表面2119との間の距離又は高さは、第1端部2105と、第2端部2106との間で一般的に減少する及び/又は一般的に増加し得る。いくつかの実施形態において、カートリッジ本体2110の厚さは、長手方向軸2109に沿って増加し、かつ減少する。少なくとも1つのこのような実施形態において、カートリッジ本体2110の厚さは、厚さが増加する1つ又は2つ以上の部分、及び厚さが減少し得る1つ又は2つ以上の部分を含み得る。図Zを参照し、様々な実施形態において、ステープルカートリッジ2100は、内部に位置付けられた複数のステープル2120を含み得る。使用中、上記のように、ステープル2120は、アンビル2140が閉鎖位置に動かされる際に、変形され得る。いくつかの実施形態において、各ステープル2120は、同じ又は少なくとも実質的に同じ高さを有し得る。少なくとも1つのこのような実施形態において、ステープルの高さは、例えば、ステープルの基部の底部から、ステープルの最も高い脚部の頂部又は先端部まで測定され得る。 In addition to the above, the implantable cartridge body 2110 may include a longitudinal axis 2109, which is the proximal and distal ends of the end effector when the staple cartridge 2100 is positioned within the staple cartridge channel 2130. May extend between. In various embodiments, the thickness of the cartridge body 2110 can generally decrease along the longitudinal axis 2109 between the first end 2105 and the second end 2106 and / or Can be increased. In at least one such embodiment, the distance or height between the bottom surface 2118 and the tissue contacting surface 2119 generally decreases between the first end 2105 and the second end 2106 and / or. Or it can generally increase. In some embodiments, the thickness of the cartridge body 2110 increases and decreases along the longitudinal axis 2109. In at least one such embodiment, the thickness of the cartridge body 2110 can include one or more portions that increase in thickness and one or more portions that can decrease in thickness. . Referring to FIG. Z, in various embodiments, the staple cartridge 2100 can include a plurality of staples 2120 positioned therein. In use, as described above, the staple 2120 can be deformed as the anvil 2140 is moved to the closed position. In some embodiments, each staple 2120 can have the same or at least substantially the same height. In at least one such embodiment, the staple height can be measured, for example, from the bottom of the staple base to the top or tip of the highest leg of the staple.
様々な実施形態において、ステープルカートリッジ内のステープルは、異なるステープル高さを有し得る。少なくとも1つのこのような実施形態において、ステープルカートリッジは、圧縮可能な本体の第1部分内に位置付けられた第1ステープル高さを有する第1群のステープルと、圧縮可能なカートリッジ本体の第2部分内に位置付けられた第2ステープル高さを有する第2群のステープルとを含み得る。少なくとも一実施形態において、第1ステープル高さは、第2ステープル高さよりも高いことがあり、第1群のステープルが、ステープルカートリッジ2100の第1端部2105に位置付けられ得る一方で、第2群のステープルは、第2端部2106に位置付けられ得る。あるいは、より高い第1群のステープルは、ステープルカートリッジ2100の第2端部2106に位置付けられることがあり、ステープルのより短い第2端部は、第1端部2105に位置付けられることがある。いくつかの実施形態において、複数のステープル群(各群は、異なるステープル高さを有する)が使用され得る。少なくとも1つのこのような実施形態において、中間的なステープル高さを有する第3群は、カートリッジ本体2110内において、第1群のステープルと第2群のステープルとの中間に位置付けられる場合がある。様々な実施形態において、ステープルカートリッジ内のステープル列内の各ステープルは、異なるステープル高さを含み得る。少なくとも一実施形態において、ステープル列内の最も高いステープルは、ステープル列の第1端部内に位置付けられる場合があり、最も短いステープルは、ステープル列の反対側の端部に位置付けられる場合がある。少なくとも1つのこのような実施形態において、最も高いステープルと、最も短いステープルとの中間に位置付けられるステープルは、例えば、最も高いステープルと、最も短いステープルとの間でステープル高さが下降するように構成され得る。 In various embodiments, the staples in the staple cartridge can have different staple heights. In at least one such embodiment, the staple cartridge includes a first group of staples having a first staple height positioned within the first portion of the compressible body and the second portion of the compressible cartridge body. And a second group of staples having a second staple height positioned therein. In at least one embodiment, the first staple height can be higher than the second staple height, and the first group of staples can be positioned at the first end 2105 of the staple cartridge 2100 while the second group. Of the staples may be positioned at the second end 2106. Alternatively, the higher first group of staples may be positioned at the second end 2106 of the staple cartridge 2100 and the shorter second end of the staples may be positioned at the first end 2105. In some embodiments, multiple staple groups (each group having a different staple height) may be used. In at least one such embodiment, a third group having an intermediate staple height may be positioned in the cartridge body 2110 intermediate the first group of staples and the second group of staples. In various embodiments, each staple in a staple row in a staple cartridge can include a different staple height. In at least one embodiment, the tallest staple in the staple row may be positioned within the first end of the staple row, and the shortest staple may be positioned at the opposite end of the staple row. In at least one such embodiment, the staple positioned intermediate the highest staple and the shortest staple is configured, for example, such that the staple height is lowered between the highest staple and the shortest staple. Can be done.
ここで図111を参照し、外科用ステープラーのエンドエフェクタは、アンビル2240、ステープルカートリッジチャネル2230、及びステープルカートリッジチャネル2230によって支持されるステープルカートリッジ2200を含む場合がある。ステープルカートリッジ2200は、圧縮可能な、埋め込み可能なカートリッジ本体2210、並びに例えば、内部に位置付けられる、複数のステープル、例えば、ステープル2220a、及びステープル2220bを含み得る。様々な実施形態において、ステープルカートリッジチャネル2230は、カートリッジ支持表面2231、並びに例えば、内部に画定される、複数のステープル支持スロット、例えば、支持スロット2232a、及び2232bを含み得る。少なくとも1つのこのような実施形態において、ステープルカートリッジ2200は、2つの外側列のステープル2220a、及び2つの内側列のステープル2220bを含む場合があり、支持スロット2232aは、ステープル2220aを支持するように構成され得、支持スロット2232bは、ステープル2220bを支持するように構成され得る。図111及び図112を参照し、アンビル2240は、内部に画定される複数のステープル形成ポケット2242を含む場合があり、これは、アンビル2240がステープルカートリッジ2200の方に動かされる場合に、ステープル2220a及び2220bを受容及び変形するように構成され得る。少なくとも1つのこのような実施形態において、支持スロット2232aの底面は、ステープル形成ポケット2242の頂面から第1距離2201aだけ離れている場合があり、一方で支持スロット2232bの底面は、ステープル形成ポケット2242の頂面から第2距離2201bだけ離れていることがある。少なくとも1つのこのような実施形態において、第2支持スロット2232bは、支持表面2231内に画定される、隆起ステップにより、アンビル2240の近くに位置付けられる。様々な実施形態において、異なる距離2201a及び2201bにより、ステープル2220aの外側列、及びステープル2220bの内側列は、異なる形成される高さへと変形され得る。様々な状況において、異なる形成された高さへと変形されたステープルは、ステープリングされた組織Tに対して異なるクランピング圧力又は力を適用することができる。上記に加え、ステープルは、異なる非形成ステープル高さで開始することができる。図111を再び参照し、少なくとも1つのこのような実施形態において、外側ステープル2220aは、内側ステープル2220bの、初期の非形成高さよりも高い、初期の非形成高さを有し得る。図111及び図112を参照し、外側ステープル2220aよりも短い、非形成高さを有する、内側ステープル2220bはまた、外側ステープル2220bよりも低い形成高さを有し得る。様々な代替的実施形態において、内側ステープル2220bは、外側ステープル2220aよりも高い非形成高さを有し得るが、外側ステープル2220aよりも低い変形されたステープル高さを有する。 Referring now to FIG. 111, the end effector of a surgical stapler may include an anvil 2240, a staple cartridge channel 2230, and a staple cartridge 2200 supported by the staple cartridge channel 2230. Staple cartridge 2200 may include a compressible, implantable cartridge body 2210 and a plurality of staples, eg, staples 2220a and 2220b, positioned therein, for example. In various embodiments, the staple cartridge channel 2230 can include a cartridge support surface 2231 and a plurality of staple support slots, eg, support slots 2232a and 2232b, defined therein, for example. In at least one such embodiment, the staple cartridge 2200 may include two outer rows of staples 2220a and two inner rows of staples 2220b, and the support slot 2232a is configured to support the staples 2220a. The support slot 2232b can be configured to support the staple 2220b. 111 and 112, the anvil 2240 may include a plurality of staple forming pockets 2242 defined therein, such that when the anvil 2240 is moved toward the staple cartridge 2200, the staples 2220a and It can be configured to receive and deform 2220b. In at least one such embodiment, the bottom surface of the support slot 2232a may be a first distance 2201a away from the top surface of the staple forming pocket 2242, while the bottom surface of the support slot 2232b is the staple forming pocket 2242. May be separated from the top surface by a second distance 2201b. In at least one such embodiment, the second support slot 2232b is positioned near the anvil 2240 by a raised step defined in the support surface 2231. In various embodiments, with different distances 2201a and 2201b, the outer rows of staples 2220a and the inner rows of staples 2220b can be deformed to different formed heights. In various circumstances, staples deformed to different formed heights can apply different clamping pressures or forces to the stapled tissue T. In addition to the above, staples can be started with different non-formed staple heights. Referring again to FIG. 111, in at least one such embodiment, the outer staple 2220a may have an initial unformed height that is higher than the initial unformed height of the inner staple 2220b. Referring to FIGS. 111 and 112, the inner staple 2220b, which has a shorter, non-formed height than the outer staple 2220a, may also have a formed height lower than the outer staple 2220b. In various alternative embodiments, the inner staple 2220b can have a higher unformed height than the outer staple 2220a, but has a deformed staple height that is lower than the outer staple 2220a.
上記に加え、様々な実施形態において、アンビル2240は、カートリッジ本体2210を圧縮し、ステープル2220a及び2220bを変形するために、図112に例示されるように、閉鎖位置に動かされる場合がある。いくつかの実施形態において、例えば、図111及び図112に示されるエンドエフェクタを含む外科用ステープラーは、更に切断部材を含む場合があり、これはアンビル2240とステープルカートリッジ2200との中間に位置付けられる組織Tを横切するように構成され得る。少なくとも1つのこのような実施形態において、アンビル2240、ステープルカートリッジチャネル2230、及び/又はステープルカートリッジ2200は、内部に切断部材を摺動自在に受容するように構成されたスロットを画定し得る。より具体的に、アンビル2240はスロット部分2249を含む場合があり、ステープルカートリッジ2230は、スロット部分2239を含む場合があり、ステープルカートリッジ2200は、アンビル2240が閉鎖した、又は少なくとも実質的に閉鎖した位置にある際に、互いに位置合わせされるか、又は少なくとも実質的に位置合わせされ得る、スロット部分2203を含み得る。様々な実施形態において、切断部材は、アンビル2240が閉鎖し、ステープル2220a、2220bが変形された後に、エンドエフェクタの近位端からエンドエフェクタの遠位端の方へと動かされ得る。少なくとも1つの実施形態において、切断部材は、ステープル変形プロセスとは別個に動かされる場合がある。いくつかの実施形態において、切断部材は、ステープルが変形されるのと同時に、前進させられることがある。いずれにせよ、少なくとも一実施形態において、切断部材は、ステープル2220bの内側列の中間に位置付けられた経路に沿って、組織を切開するように構成され得る。 In addition to the above, in various embodiments, the anvil 2240 may be moved to a closed position, as illustrated in FIG. 112, to compress the cartridge body 2210 and deform the staples 2220a and 2220b. In some embodiments, for example, a surgical stapler that includes the end effector shown in FIGS. 111 and 112 may further include a cutting member that is positioned intermediate the anvil 2240 and the staple cartridge 2200. It can be configured to traverse T. In at least one such embodiment, anvil 2240, staple cartridge channel 2230, and / or staple cartridge 2200 may define a slot configured to slidably receive a cutting member therein. More specifically, the anvil 2240 may include a slot portion 2249, the staple cartridge 2230 may include a slot portion 2239, and the staple cartridge 2200 may be in a position where the anvil 2240 is closed or at least substantially closed. , May include slot portions 2203 that may be aligned with each other or at least substantially aligned. In various embodiments, the cutting member can be moved from the proximal end of the end effector toward the distal end of the end effector after the anvil 2240 is closed and the staples 2220a, 2220b are deformed. In at least one embodiment, the cutting member may be moved separately from the staple deformation process. In some embodiments, the cutting member may be advanced simultaneously with the staple being deformed. In any case, in at least one embodiment, the cutting member may be configured to incise the tissue along a path positioned intermediate the inner row of staples 2220b.
図112に例示されるように、様々な実施形態において、内側ステープル2220bは、外側ステープル2220aよりも低い高さまで形成される場合があり、内側ステープル2220bは、切断部材によって生成される切断線に隣接する組織により大きさクランピング圧力又は力を適用することができる。少なくとも1つのこのような実施形態において、内側ステープル2220bによって生成されるより大きなクランピング圧力又は力は、切開した組織Tからの出血の低減などの、様々な治療的効果をもたらすことがあり、一方で、外側ステープル2220aによって生成されるより小さいクランピング圧力は、ステープリングされた組織内に可撓性を提供し得る。図111及び図112を参照し、様々な実施形態において、アンビル2240は、例えば、これに取り付けられた、バットレス材料2260など、少なくとも一片のバットレス材料を更に含む場合がある。少なくとも1つのこのような実施形態において、ステープル2220a、2220bの脚部は、ステープルカートリッジ2200がアンビル2240により圧縮される際に、バットレス材料2260を切開し、及び/又はバットレス材料2260内の開口部を通過し、その後、アンビル2240のステープル形成ポケット2242と接触するように構成され得る。ステープル2220a、2220bの脚部が変形されると、脚部がバットレス材料2260と再び接触し、及び/又はこれを切開し得る。様々な実施形態において、バットレス材料2260は、ステープリングされる組織の止血を改善し及び/又は強度を提供することができる。 As illustrated in FIG. 112, in various embodiments, the inner staple 2220b may be formed to a lower height than the outer staple 2220a, and the inner staple 2220b is adjacent to the cutting line generated by the cutting member. A greater clamping pressure or force can be applied depending on the tissue to be applied. In at least one such embodiment, the greater clamping pressure or force generated by the inner staple 2220b may provide various therapeutic effects, such as reduced bleeding from the dissected tissue T, while Thus, the smaller clamping pressure generated by the outer staple 2220a may provide flexibility within the stapled tissue. Referring to FIGS. 111 and 112, in various embodiments, anvil 2240 may further include at least a piece of buttress material, such as, for example, buttress material 2260 attached thereto. In at least one such embodiment, the legs of the staples 2220a, 2220b cut through the buttress material 2260 and / or open the openings in the buttress material 2260 when the staple cartridge 2200 is compressed by the anvil 2240. It may be configured to pass and then contact the staple forming pocket 2242 of the anvil 2240. As the legs of the staples 2220a, 2220b are deformed, the legs can re-contact the buttress material 2260 and / or incise it. In various embodiments, buttress material 2260 can improve hemostasis and / or provide strength of the tissue being stapled.
図111及び図112を参照し、いくつかの実施形態において、カートリッジ本体2210の底面は、ステップ付きの輪郭を含む場合があり、これは、カートリッジ支持表面2231のステップ付きの輪郭と、適合するか又は少なくとも実質的に適合する。いくつかの実施形態において、カートリッジ本体2210の底面は、カートリッジ支持表面2231の輪郭と適合するか、又は少なくとも実質的に適合するように変形し得る。ここで図113を参照し、様々な実施形態において、例えば、図111に示されるエンドエフェクタと同様のエンドエフェクタは、内部に位置付けられたステープルカートリッジ2300を含み得る。ステープルカートリッジ2300は、内層2312及び外層2311を含む、圧縮可能な、埋め込み可能な本体2310を含む場合があり、上記に加えて外層2311は、少なくとも一実施形態において、水不透過性材料を含む場合がある。様々な実施形態において、外層2311は、ステープル2220a、2220bの周囲に延びる場合があり、それぞれ、ステープル2220a、2220bと、支持スロット2232a、2232bとの中間に位置付けられる場合がある。ここで図114を参照し、様々な実施形態において、例えば、図111に示されるエンドエフェクタと同様のエンドエフェクタは、内部に位置付けられたステープルカートリッジ2400を含み得る。ステープルカートリッジ2300と同様に、ステープルカートリッジ2400の、圧縮可能な、埋め込み可能なカートリッジ本体2410は、内層2412及び外層2411を含む場合があるが、少なくとも一実施形態において、カートリッジ本体2410は、内部に切断部材スロットを含まないことがある。少なくとも1つのこのような実施形態において、切断部材は、これがステープルカートリッジを通じて前進する際に、例えば、内層2412及び/又は外層2411を切開することを必要とされることがある。 With reference to FIGS. 111 and 112, in some embodiments, the bottom surface of the cartridge body 2210 may include a stepped profile that matches the stepped profile of the cartridge support surface 2231. Or at least substantially compatible. In some embodiments, the bottom surface of the cartridge body 2210 can be deformed to match or at least substantially match the contour of the cartridge support surface 2231. Referring now to FIG. 113, in various embodiments, for example, an end effector similar to the end effector shown in FIG. 111 can include a staple cartridge 2300 positioned therein. The staple cartridge 2300 may include a compressible, implantable body 2310 that includes an inner layer 2312 and an outer layer 2311, and in addition to the above, the outer layer 2311, in at least one embodiment, includes a water-impermeable material. There is. In various embodiments, the outer layer 2311 may extend around the staples 2220a, 2220b and may be positioned intermediate the staples 2220a, 2220b and the support slots 2232a, 2232b, respectively. Referring now to FIG. 114, in various embodiments, for example, an end effector similar to the end effector shown in FIG. 111 can include a staple cartridge 2400 positioned therein. Similar to the staple cartridge 2300, the compressible, implantable cartridge body 2410 of the staple cartridge 2400 may include an inner layer 2412 and an outer layer 2411, although in at least one embodiment the cartridge body 2410 is cut internally. May not include member slots. In at least one such embodiment, the cutting member may be required to incise, for example, the inner layer 2412 and / or the outer layer 2411 as it advances through the staple cartridge.
ここで図115を参照し、外科用ステープラーのエンドエフェクタは、アンビル2540、ステープルカートリッジチャネル2530、及びステープルカートリッジチャネル2530内に位置するステープルカートリッジ2500を含む場合がある。上記と同様に、ステープルカートリッジ2500は、圧縮可能な、埋め込み可能なカートリッジ本体2510、外側列のステープル2220a、及び内側列のステープル2220bを含む場合がある。ステープルカートリッジチャネル2530は、平坦な、又は少なくとも実質的に平坦なカートリッジ支持表面2531、及び内部に画定されるステープル支持スロット2532を含む場合がある。アンビル2540は、ステップ付き表面2541、及び内部に画定される、複数のステープル形成ポケット、例えば、形成ポケット2542a及び2542bを含む場合がある。上記と同様に、形成ポケット2542a及び支持スロット2532はその間に、形成ポケット2452bと、支持スロット2532との間の距離よりも大きな距離を画定し得る。様々な実施形態において、アンビル2540は、アンビル2540のステップ付き表面2541に取り付けられた、一片のバットレス材料2560を更に含む場合がある。少なくとも1つのこのような実施形態において、バットレス材料2560は、ステップ付き表面2541と一致するか、少なくとも実質的に一致し得る。様々な実施形態において、バットレス材料2560は、例えば、繊維素及び/又はタンパク質ヒドロゲルなどの、少なくとも1つの接着剤によって、表面2541に取り外し可能に取り付けられ得る。いくつかの実施形態において、カートリッジ本体2510はまた、ステップ付き輪郭を含む場合があり、これは少なくとも一実施形態において、アンビル2540のステップ付き表面2541と平行であるか、又は少なくとも実質的に平行である。より具体的に、少なくとも一実施形態において、アンビル2540は、ステープルカートリッジ2500まで延びるステップ2548を含む場合があり、ステップ2548は、カートリッジ本体2510から延びる、ステップ2508のステップ高さと同等であるか、又は少なくとも実質的に同等であるステップ高さを含み得る。少なくとも1つのこのような実施形態において、上記の結果として、第1ステープル2220a内に捕捉され得る、圧縮可能なカートリッジ本体2510の量は、例えば、第2ステープル2220b内に捕捉され得る圧縮可能なカートリッジ本体2510の量と異なる場合がある。 Referring now to FIG. 115, the end effector of the surgical stapler may include an anvil 2540, a staple cartridge channel 2530, and a staple cartridge 2500 positioned within the staple cartridge channel 2530. Similar to the above, the staple cartridge 2500 may include a compressible, implantable cartridge body 2510, an outer row of staples 2220a, and an inner row of staples 2220b. Staple cartridge channel 2530 may include a flat, or at least substantially flat, cartridge support surface 2531 and a staple support slot 2532 defined therein. Anvil 2540 may include a stepped surface 2541 and a plurality of staple forming pockets defined therein, for example, forming pockets 2542a and 2542b. Similar to above, the forming pocket 2542a and the support slot 2532 may define a distance therebetween that is greater than the distance between the forming pocket 2452b and the support slot 2532. In various embodiments, the anvil 2540 may further include a piece of buttress material 2560 attached to the stepped surface 2541 of the anvil 2540. In at least one such embodiment, buttress material 2560 may coincide with or at least substantially coincide with stepped surface 2541. In various embodiments, buttress material 2560 can be removably attached to surface 2541 by at least one adhesive, such as, for example, fibrin and / or protein hydrogels. In some embodiments, the cartridge body 2510 may also include a stepped profile, which in at least one embodiment is parallel to or at least substantially parallel to the stepped surface 2541 of the anvil 2540. is there. More specifically, in at least one embodiment, the anvil 2540 may include a step 2548 that extends to the staple cartridge 2500, where step 2548 is equivalent to the step height of step 2508 extending from the cartridge body 2510, or It may include a step height that is at least substantially equivalent. In at least one such embodiment, as a result of the above, the amount of compressible cartridge body 2510 that can be captured in the first staple 2220a is, for example, a compressible cartridge that can be captured in the second staple 2220b. The amount of the main body 2510 may be different.
ここで図116を参照し、多くの実施形態において、エンドエフェクタは、アンビル2640、ステープルカートリッジチャネル2530、及びその間に位置付けられたステープルカートリッジ2600を含み得る。ステープルカートリッジ2600は、内層2612、外層2611、並びにその間に位置付けられたステープル2220a及び2200bなどの複数のステープルを含む、圧縮可能な、埋め込み可能なカートリッジ本体2610を含み得る。様々な実施形態において、アンビル2640は、表面2641に複数のステープル形成ポケット2642を含む場合があり、かつステープルカートリッジチャネル2530は、支持表面2531内に画定された複数のステープル形成スロット2532を含み得る。図116に例示されるように、アンビル表面2641は、カートリッジ支持表面2531と平行又は実質的に平行であり得、各形成ポケット2642は、反対の、対応するステープル支持スロット2532から、等距離又は少なくとも実質的に等距離に位置付けられ得る。様々な実施形態において、ステープルカートリッジ2600は、同じ、又は少なくとも実質的に同じ、初期の非形成ステープル高さ、及び加えて、同じ又は少なくとも実質的に同じ形成されたステープル高さを有する、ステープルを含む場合がある。いくつかの他の実施形態において、ステープルの外側列はステープル2220aを含む場合があり、ステープルの内側列はステープル2220bを含む場合があり、上記のように、ステープル2220a及び2220bは、異なる非形成ステープル高さを有し得る。アンビル2640が、ステープルカートリッジ2600に向かって閉鎖位置へと動かされるとき、ステープル2220a及び2220bは、これらが同じ、又は少なくとも実質的に同じ形成されたステープル高さを有するようにして、形成され得る。少なくとも1つのこのような実施形態において、上記の結果として、形成された外側ステープル2220a、及び内側ステープル2220bは、同じ又は少なくとも実質的に同じ、内部に収容される圧縮可能なカートリッジ本体2610の量を有してもよいが、外側ステープル2220aが、内側ステープル2220bよりも高い非形成ステープル高さを有しながらも、同じ形成されたステープル高さを有するため、外側ステープル2220aにおいて、例えば内側ステープル2220bよりも高いクランピング圧力が生成され得る。 Referring now to FIG. 116, in many embodiments, the end effector can include an anvil 2640, a staple cartridge channel 2530, and a staple cartridge 2600 positioned therebetween. The staple cartridge 2600 can include a compressible, implantable cartridge body 2610 that includes a plurality of staples, such as an inner layer 2612, an outer layer 2611, and staples 2220a and 2200b positioned therebetween. In various embodiments, the anvil 2640 can include a plurality of staple forming pockets 2642 on the surface 2641 and the staple cartridge channel 2530 can include a plurality of staple forming slots 2532 defined in the support surface 2531. As illustrated in FIG. 116, the anvil surface 2641 can be parallel or substantially parallel to the cartridge support surface 2531 and each forming pocket 2642 is equidistant or at least from the opposite, corresponding staple support slot 2532. It can be positioned at a substantially equal distance. In various embodiments, the staple cartridge 2600 has staples having the same, or at least substantially the same, initial, non-formed staple height, and in addition, the same, or at least, substantially the same formed staple height. May include. In some other embodiments, the outer rows of staples may include staples 2220a, the inner rows of staples may include staples 2220b, and as described above, the staples 2220a and 2220b may be different non-formed staples. Can have a height. When the anvil 2640 is moved toward the closed position toward the staple cartridge 2600, the staples 2220a and 2220b can be formed such that they have the same, or at least substantially the same formed staple height. In at least one such embodiment, as a result of the above, the formed outer staple 2220a and inner staple 2220b are the same or at least substantially the same amount of compressible cartridge body 2610 contained therein. Although the outer staple 2220a has the same formed staple height while having a higher non-formed staple height than the inner staple 2220b, the outer staple 2220a may have, for example, the inner staple 2220b. High clamping pressures can be generated.
ここで図117を参照し、外科用ステープラーのエンドエフェクタは、アンビル2740、ステープルカートリッジチャネル2530、及びステープルカートリッジチャネル2530内に位置するステープルカートリッジ2700を含む場合がある。上記と同様に、ステープルカートリッジ2700は、内層2712、外層2711、並びに、例えば、内部に位置付けられたステープル2220a及び2220bなどの、複数のステープルを含む、圧縮可能な、埋め込み可能なステープルカートリッジ本体2710を含み得る。少なくとも一実施形態において、カートリッジ本体2710の厚さは、その幅にわたって変化し得る。少なくとも1つのこのような実施形態において、カートリッジ本体2710は、中央部分2708及び側部2709を含む場合があり、中央部分2708は、側部2709の厚さよりも大きな厚さを含み得る。様々な実施形態において、カートリッジ本体2710の最も厚い部分は、中央部分2708に位置する場合があり、カートリッジ本体2710の最も薄い部分は、側部2709に位置する場合がある。少なくとも1つのこのような実施液体において、カートリッジ本体2710の厚さは、中央部分2708と側部2709との間で段階的に減少し得る。いくつかの実施形態において、カートリッジ本体2710の厚さが、中央部分2708と側部2709との間で直線的に及び/又は幾何学的に減少し得る。少なくとも1つのこのような実施形態において、カートリッジ本体2710の組織接触表面2719は、中央部分2708から側部2709に向かって下方に傾斜している2つの傾いた、又は角度を有する表面を含む場合がある。様々な実施形態において、アンビル2740は、傾斜した組織接触表面2719と平行であるか、又は少なくとも実質的に平行である、2つの傾いた、又は角度を有する表面を含む場合がある。少なくとも一実施形態において、アンビル2740は、アンビル2740の傾いた表面に取り付けられた、少なくとも一片のバットレス材料2760を更に含む場合がある。 Referring now to FIG. 117, the surgical stapler end effector may include an anvil 2740, a staple cartridge channel 2530, and a staple cartridge 2700 positioned within the staple cartridge channel 2530. Similar to the above, the staple cartridge 2700 includes a compressible, implantable staple cartridge body 2710 that includes an inner layer 2712, an outer layer 2711, and a plurality of staples, eg, staples 2220a and 2220b positioned therein. May be included. In at least one embodiment, the thickness of the cartridge body 2710 can vary across its width. In at least one such embodiment, the cartridge body 2710 can include a central portion 2708 and side portions 2709, which can include a thickness greater than the thickness of the side portions 2709. In various embodiments, the thickest portion of the cartridge body 2710 may be located in the central portion 2708 and the thinnest portion of the cartridge body 2710 may be located in the side 2709. In at least one such implementation liquid, the thickness of the cartridge body 2710 can be reduced stepwise between the central portion 2708 and the side 2709. In some embodiments, the thickness of the cartridge body 2710 may decrease linearly and / or geometrically between the central portion 2708 and the side 2709. In at least one such embodiment, the tissue contacting surface 2719 of the cartridge body 2710 may include two inclined or angled surfaces that are inclined downwardly from the central portion 2708 toward the side 2709. is there. In various embodiments, the anvil 2740 may include two inclined or angled surfaces that are parallel or at least substantially parallel to the inclined tissue contacting surface 2719. In at least one embodiment, the anvil 2740 may further include at least a piece of buttress material 2760 attached to the inclined surface of the anvil 2740.
上記に加え、様々な実施形態において、ステープルカートリッジ2700内の内側列のステープルは、より高いステープル2220aを含む場合があり、外側列のステープルは、より短いステープル2220bを含む場合がある。少なくとも一実施形態において、より高いステープル2220aは、より厚い中央部分2708内、及び/又はこれに隣接するように位置付けられることがあり、一方でステープル2220bは、側部2709内及び/又はこれに隣接するように位置付けられることがある。少なくとも1つのこのような実施形態において、上記の結果として、より高いステープル2220aは、より短いステープル2220bよりも、埋め込み可能なカートリッジ本体2710の材料をより多く捕捉し得る。このような状況は、ステープル2220bよりも大きなクランピング圧力を組織Tに適用する、ステープル2220aを生じ得る。いくつかの実施形態において、ステープリング形成ポケット2742a及び2742bの傾斜した構成により、より高いステープル2220aは、より短いステープル2220bよりも、カートリッジ本体2710の材料をより多く捕捉し得るにもかかわらず、ステープル2220aは、より短いステープル2220bよりも、より高い形成されたステープル高さを有し得る。ステープル2220a及び2220bによって捕捉される組織内において、所望のクランピング圧力を達成するために、このような検討が行われ、結果として、ステープル2220a内のクランピング圧力は、例えば、ステープル2220bによって組織に適用されるクランピング圧力よりも大きいか、少ないか、又は同等であり得る。図117に例示されるエンドエフェクタに対する様々な代替的実施形態において、より短いステープル2220bは、カートリッジ本体2710のより厚い中央部分2708内、及び/又はこれに隣接するように配置され得、より高いステープル2220aは、より薄い側部2709内に配置され得るか及び/又はこれらに隣接するように位置付けることができる。更に、ステープルカートリッジ2700が、ステープルの内側列及び外側列を含むものとして示されるにもかかわらず、ステープルカートリッジ2700は、例えば、ステープルの内側列と外側列との中間に位置付けられるステープル列などの、追加的なステープル列を含み得る。少なくとも1つのこのような実施形態において、中間ステープル列は、ステープル2220a及び2220bの非形成ステープル高さ、並びに、例えば、ステープル2220a及び2220bの形成されたステープル高さの中間の非形成ステープル高さを有する、ステープルを含み得る。 In addition to the above, in various embodiments, the inner row of staples in staple cartridge 2700 may include higher staples 2220a and the outer row of staples may include shorter staples 2220b. In at least one embodiment, the higher staple 2220a may be positioned within and / or adjacent to the thicker central portion 2708, while the staple 2220b is within and / or adjacent to the side 2709. May be positioned to do. In at least one such embodiment, as a result of the above, the higher staple 2220a may capture more material of the implantable cartridge body 2710 than the shorter staple 2220b. Such a situation can result in the staple 2220a applying a greater clamping pressure to the tissue T than the staple 2220b. In some embodiments, the slanted configuration of the stapling pockets 2742a and 2742b allows the higher staple 2220a to capture more of the cartridge body 2710 material than the shorter staple 2220b. 2220a may have a higher formed staple height than shorter staples 2220b. Such considerations are made to achieve the desired clamping pressure in the tissue captured by the staples 2220a and 2220b, and as a result, the clamping pressure in the staple 2220a is applied to the tissue by the staple 2220b, for example. It may be greater, less than or equal to the applied clamping pressure. In various alternative embodiments to the end effector illustrated in FIG. 117, the shorter staples 2220b can be positioned within and / or adjacent to the thicker central portion 2708 of the cartridge body 2710, with higher staples. 2220a may be disposed within and / or positioned adjacent to the thinner side 2709. Further, although the staple cartridge 2700 is shown as including an inner row and an outer row of staples, the staple cartridge 2700 is, for example, a staple row positioned intermediate the inner and outer rows of staples. Additional staple rows may be included. In at least one such embodiment, the intermediate staple row has a non-forming staple height of staples 2220a and 2220b and a non-forming staple height intermediate between the formed staple heights of staples 2220a and 2220b, for example. It may include staples.
ここで図118を参照し、外科用ステープラーのエンドエフェクタは、アンビル2840、ステープルカートリッジチャネル2530、及びステープルカートリッジチャネル2530内に位置するステープルカートリッジ2800を含む場合がある。上記と同様に、ステープルカートリッジ2800は、内層2812、外層2811、並びに、例えば、内部に位置付けられたステープル2220a及び2220bなどの、複数のステープルを含む、圧縮可能な、埋め込み可能なステープルカートリッジ本体2810を含み得る。少なくとも一実施形態において、カートリッジ本体2810の厚さは、その幅にわたって変化し得る。少なくとも1つのこのような実施形態において、カートリッジ本体2810は、中央部分2808及び側部2809を含む場合があり、中央部分2808は、側部2809の厚さよりも小さな厚さを含み得る。様々な実施形態において、カートリッジ本体2810の最も薄い部分は、中央部分2808に位置する場合があり、カートリッジ本体2810の最も薄い部分は、側部2809に位置する場合がある。少なくとも1つのこのような実施液体において、カートリッジ本体2810の厚さは、中央部分2808と側部2809との間で段階的に減少し得る。いくつかの実施形態において、カートリッジ本体2810の厚さが、中央部分2808と側部2809との間で直線的に及び/又は幾何学的に増加し得る。少なくとも1つのこのような実施形態において、カートリッジ本体2810の組織接触表面2819は、中央部分2808から側部2809に向かって上方に傾斜している2つの傾いた、又は角度を有する表面を含む場合がある。様々な実施形態において、アンビル2840は、傾斜した組織接触表面2819と平行であるか、又は少なくとも実質的に平行である、2つの傾いた、又は角度を有する表面を含む場合がある。少なくとも一実施形態において、アンビル2840は、アンビル2840の傾いた表面に取り付けられた、少なくとも一片のバットレス材料2860を更に含む場合がある。上記に加え、様々な実施形態において、ステープルカートリッジ2800内の外側列のステープルは、より高いステープル2220aを含む場合があり、内側列のステープルは、より短いステープル2220bを含む場合がある。少なくとも一実施形態において、より高いステープル2220aは、より厚い側部2809内、及び/又はこれに隣接するように位置付けられることがあり、一方でステープル2220bは、中央部分2808内及び/又はこれに隣接するように位置付けられることがある。少なくとも1つのこのような実施形態において、上記の結果として、より高いステープル2220aは、より短いステープル2220bよりも、埋め込み可能なカートリッジ本体2810の材料をより多く捕捉し得る。 Referring now to FIG. 118, the end effector of the surgical stapler may include an anvil 2840, a staple cartridge channel 2530, and a staple cartridge 2800 located within the staple cartridge channel 2530. Similar to the above, the staple cartridge 2800 includes a compressible, implantable staple cartridge body 2810 that includes an inner layer 2812, an outer layer 2811, and a plurality of staples, eg, staples 2220a and 2220b positioned therein. May be included. In at least one embodiment, the thickness of the cartridge body 2810 can vary across its width. In at least one such embodiment, the cartridge body 2810 can include a central portion 2808 and side portions 2809, which can include a thickness that is less than the thickness of the side portions 2809. In various embodiments, the thinnest portion of the cartridge body 2810 may be located at the central portion 2808 and the thinnest portion of the cartridge body 2810 may be located at the side 2809. In at least one such implementation liquid, the thickness of the cartridge body 2810 may decrease stepwise between the central portion 2808 and the side 2809. In some embodiments, the thickness of the cartridge body 2810 can increase linearly and / or geometrically between the central portion 2808 and the side 2809. In at least one such embodiment, the tissue contacting surface 2819 of the cartridge body 2810 may include two inclined or angled surfaces that are inclined upwardly from the central portion 2808 toward the side 2809. is there. In various embodiments, the anvil 2840 may include two inclined or angled surfaces that are parallel or at least substantially parallel to the inclined tissue contacting surface 2819. In at least one embodiment, the anvil 2840 may further include at least a piece of buttress material 2860 attached to the inclined surface of the anvil 2840. In addition to the above, in various embodiments, the outer rows of staples in staple cartridge 2800 may include higher staples 2220a and the inner rows of staples may include shorter staples 2220b. In at least one embodiment, the higher staple 2220a may be positioned in and / or adjacent to the thicker side 2809, while the staple 2220b is in and / or adjacent to the central portion 2808. May be positioned to do. In at least one such embodiment, as a result of the above, the higher staples 2220a may capture more material of the implantable cartridge body 2810 than the shorter staples 2220b.
例えば、図111の実施形態に関連して先に記載されたように、ステープルカートリッジチャネル2230は、アンビル2240に対して異なる高さでステープル2220a及び2220bを支持するように構成され得る、ステップ付き支持表面2231を含み得る。様々な実施形態において、ステープルカートリッジチャネル2230は、金属を含んでもよく、支持表面2231のステップは、例えば、粉砕操作によって支持表面2231に形成されてもよい。図119を参照し、様々な実施形態において、外科用器具のエンドエフェクタは、内部に位置付けられた、支持インサート2935を含む、ステープルカートリッジチャネル2930を含み得る。より具体的に、少なくとも一実施形態において、ステープルカートリッジチャネル2930は、これが、例えば、平坦な、又は少なくとも実質的に平坦な支持表面2931を有するようにして形成され得、これは、ステープルカートリッジ2200のステープル2220a及び2220bを異なる高さで支持するためのステップ付き表面を含む、インサート2935を支持するものとして構成され得る。少なくとも1つのこのような実施形態において、挿入部2935は、支持表面2931に対して位置付けられ得る、平坦な又は少なくとも実質的に平面な底面を含み得る。挿入部2935は、支持スロット、溝又はトラフ2932a及び2932bを更に含む場合があり、これらはそれぞれ、ステープル2220a及び2220bを異なる高さで支持するように構成され得る。上記と同様に、インサート2935は、内部に画定されたナイフスロット2939を含む場合があり、これは、切断部材が内部を通過することを可能にするように構成され得る。様々な実施形態において、ステープルカートリッジチャネル2930は、支持インサート2935と同じ材料又はこれと異なる材料を含む場合がある。少なくとも一実施形態において、ステープルカートリッジチャネル2930及び支持新サーと2935は両方とも、例えば金属を含む場合があり、一方で他の実施形態において、ステープルカートリッジチャネル2930は、例えば、金属を含んでよく、支持インサート2935は例えばプラスチックを含んでもよい。様々な実施形態において、支持インサート2935は、ステープルカートリッジチャネル2930に締結され及び/又はこれに溶接され得る。いくつかの実施形態において、支持インサート2935は、ステープルカートリッジチャネル2930にスナップ嵌め及び/又は圧力嵌めされ得る。少なくとも一実施形態において、支持インサート2935は、接着剤を使用して、ステープルカートリッジチャネル2930に固定され得る。 For example, as previously described in connection with the embodiment of FIG. 111, staple cartridge channel 2230 may be configured to support staples 2220a and 2220b at different heights relative to anvil 2240. A surface 2231 may be included. In various embodiments, the staple cartridge channel 2230 may comprise metal and the steps of the support surface 2231 may be formed on the support surface 2231 by, for example, a crushing operation. Referring to FIG. 119, in various embodiments, an end effector of a surgical instrument can include a staple cartridge channel 2930 that includes a support insert 2935 positioned therein. More specifically, in at least one embodiment, staple cartridge channel 2930 can be formed such that it has, for example, a flat or at least substantially flat support surface 2931, which is It can be configured to support an insert 2935 that includes a stepped surface for supporting the staples 2220a and 2220b at different heights. In at least one such embodiment, the insert 2935 can include a flat or at least substantially planar bottom surface that can be positioned relative to the support surface 2931. The insert 2935 may further include support slots, grooves or troughs 2932a and 2932b, which may be configured to support the staples 2220a and 2220b, respectively, at different heights. Similar to above, the insert 2935 may include a knife slot 2939 defined therein, which may be configured to allow a cutting member to pass therethrough. In various embodiments, the staple cartridge channel 2930 may comprise the same material as the support insert 2935 or a different material. In at least one embodiment, both the staple cartridge channel 2930 and the support cartridge 2935 can include, for example, metal, while in other embodiments, the staple cartridge channel 2930 can include, for example, metal. Support insert 2935 may include, for example, plastic. In various embodiments, the support insert 2935 can be fastened to and / or welded to the staple cartridge channel 2930. In some embodiments, the support insert 2935 can be snapped and / or pressure fitted to the staple cartridge channel 2930. In at least one embodiment, the support insert 2935 can be secured to the staple cartridge channel 2930 using an adhesive.
図120をここで参照し、様々な実施形態において、外科用ステープラーのエンドエフェクタは、アンビル3040、ステープルカートリッジチャネル3030、及びステープルカートリッジチャネル3030内に位置する圧縮可能な、埋め込み可能なステープルカートリッジ3000を含む場合がある。上記と同様に、アンビル3040は、内部に画定された複数のステープル形成ポケット3042、及び内部に切断部材を摺動自在に受容するように構成され得るナイフスロット3049を含む場合がある。上記と同様に、ステープルカートリッジチャネル3030は、内部に画定された複数のステープル支持スロット3032、及びやはり内部に切断部材を摺動自在に受容するように構成され得るナイフスロット3039を含む場合がある。様々な実施形態において、ステープルカートリッジ3000は、第1層3011、第2層3012、並びに、例えば内部に位置付けられたステープル3020a及び3020bなどの、複数のステープルを含む場合がある。少なくとも一実施形態において、ステープル3020aは、ステープル3020bの非形成ステープル高さよりも高い、非形成ステープル高さを含む場合がある。様々な実施形態において、第1層3011は、第1圧縮可能材料を含む場合があり、第2層3012は、第2圧縮可能材料を含む場合がある。いくつかの実施形態において、第1圧縮可能材料は、第2圧縮可能材料よりも高い速さで圧縮され得、いくつかの実施形態において、第1圧縮可能材料は、第2圧縮可能材料よりも低い速度で圧縮され得る。少なくとも一実施形態において、第1圧縮可能材料は、第1ばね速度を含み得る弾性材料を含む場合があり、第2圧縮可能材料は、第1ばね速度とは異なる第2ばね速度を含み得る、弾性材料を含み得る。様々な実施形態において、第1圧縮可能材料は、第2圧縮可能材料のばね速度よりも高いばね速度を含み得る。いくつかの他の実施形態において、第1圧縮可能材料は、第2圧縮可能材料のばね速度よりも低いばね速度を含み得る。様々な実施形態において、第1圧縮可能層は、第1剛性を含む場合があり、第2圧縮可能層は、第2剛性を含む場合があり、第1剛性は、第2剛性とは異なる。様々な実施形態において、第1圧縮可能層は、第2圧縮可能層の剛性よりも大きい場合がある。いくつかの他の実施形態において、第1圧縮可能層は、第2圧縮可能層の剛性よりも小さい場合がある。 Referring now to FIG. 120, in various embodiments, an end effector of a surgical stapler includes an anvil 3040, a staple cartridge channel 3030, and a compressible, implantable staple cartridge 3000 located within the staple cartridge channel 3030. May include. Similar to the above, the anvil 3040 may include a plurality of staple forming pockets 3042 defined therein and a knife slot 3049 that may be configured to slidably receive a cutting member therein. Similar to the above, the staple cartridge channel 3030 may include a plurality of staple support slots 3032 defined therein and a knife slot 3039 that may also be configured to slidably receive a cutting member therein. In various embodiments, the staple cartridge 3000 may include a first layer 3011, a second layer 3012, and a plurality of staples, such as staples 3020a and 3020b positioned therein, for example. In at least one embodiment, the staple 3020a may include a non-formed staple height that is higher than the non-formed staple height of the staple 3020b. In various embodiments, the first layer 3011 can include a first compressible material and the second layer 3012 can include a second compressible material. In some embodiments, the first compressible material can be compressed at a higher rate than the second compressible material, and in some embodiments, the first compressible material is more than the second compressible material. It can be compressed at low speed. In at least one embodiment, the first compressible material may include an elastic material that may include a first spring speed, and the second compressible material may include a second spring speed that is different from the first spring speed. Elastic material may be included. In various embodiments, the first compressible material can include a spring speed that is higher than the spring speed of the second compressible material. In some other embodiments, the first compressible material may include a spring speed that is lower than the spring speed of the second compressible material. In various embodiments, the first compressible layer can include a first stiffness, the second compressible layer can include a second stiffness, and the first stiffness is different from the second stiffness. In various embodiments, the first compressible layer may be greater than the stiffness of the second compressible layer. In some other embodiments, the first compressible layer may be less than the stiffness of the second compressible layer.
図120を再び参照し、様々な実施形態において、ステープルカートリッジ3000の第2層3012は、その幅にわたって一定の、又は少なくとも実質的に一定の厚さを含む場合がある。少なくとも一実施形態において、第1層3011は、その幅にわたって変動する厚さを含み得る。少なくとも1つのこのような実施形態において、第1層3011は、例えば、中央部分などの、カートリッジ本体3010の中央部分において、カートリッジ3010の厚さを増加させ得る、1つ又は2つ以上のステップ3008を含み得る。再び図120を参照し、より短いステープル3020bは、ステップ3008(すなわち、カートリッジ本体3010のより厚い部分)に位置付けられるか又はこれと位置合わせされることがあり、より高いステープル3020aは、カートリッジ本体3010のより薄い部分に位置付けられるか、これと位置合わせされ得る。様々な実施形態において、カートリッジ本体3010のより厚い部分及びより薄い部分の結果として、カートリッジ本体3010の剛性は、ステープルの内側列3020bに沿って、ステープル3020aの外側列よりも高い場合がある。様々な実施形態において、第1層3011は、第2層3012に接続され得る。少なくとも1つのこのような実施形態において、第1層3011及び第2層3012は、層3011及び3012を一緒に保持し得る、連結機構を含み得る。いくつかの実施形態において、第1層3011は、第1ラミネートを含む場合があり、第2層3012は、第2ラミネートを含む場合があり、第1ラミネートは、1つ又は2つ以上の接着剤により第2ラミネートに接着され得る。様々な実施形態において、ステープルカートリッジ3000は、内部に切断部材を摺動自在に受容するように構成され得る、ナイフスロット3003を含み得る。 Referring again to FIG. 120, in various embodiments, the second layer 3012 of the staple cartridge 3000 may include a constant or at least substantially constant thickness across its width. In at least one embodiment, the first layer 3011 can include a thickness that varies across its width. In at least one such embodiment, the first layer 3011 can increase the thickness of the cartridge 3010 in a central portion of the cartridge body 3010, such as, for example, the central portion, one or more steps 3008. Can be included. Referring again to FIG. 120, the shorter staple 3020b may be positioned or aligned with step 3008 (ie, the thicker portion of the cartridge body 3010), and the higher staple 3020a may be aligned with the cartridge body 3010. Can be positioned in or aligned with the thinner portion of the. In various embodiments, as a result of the thicker and thinner portions of the cartridge body 3010, the stiffness of the cartridge body 3010 may be higher along the staple inner row 3020b than the outer row of staples 3020a. In various embodiments, the first layer 3011 can be connected to the second layer 3012. In at least one such embodiment, the first layer 3011 and the second layer 3012 can include a coupling mechanism that can hold the layers 3011 and 3012 together. In some embodiments, the first layer 3011 can include a first laminate, the second layer 3012 can include a second laminate, and the first laminate can include one or more adhesives. It can be adhered to the second laminate by an agent. In various embodiments, the staple cartridge 3000 can include a knife slot 3003 that can be configured to slidably receive a cutting member therein.
ここで図121を参照し、様々な実施形態において、ステープルカートリッジ3100は、単一層の圧縮可能な材料、及び加えて、例えば、内部に配置されたステープル3020bなどの複数のステープルを含む、圧縮可能な、埋め込み可能なカートリッジ本体3110を含み得る。少なくとも一実施形態において、カートリッジ本体3110の厚さは、その幅にわたって変化し得る。少なくとも1つのこのような実施形態において、カートリッジ本体3110は、その側部に沿って延びるステップ3108を含み得る。ここで図122を参照し、様々な実施形態において、ステープルカートリッジ3200は、単一層の圧縮可能な材料、及び加えて、例えば、内部に配置されたステープル3020bなどの複数のステープルを含む、圧縮可能な、埋め込み可能なカートリッジ本体3210を含み得る。少なくとも一実施形態において、カートリッジ本体3210の厚さは、その幅にわたって変化し得る。少なくとも1つのこのような実施形態において、カートリッジ本体3210は、その中央部分に沿って延びるステップ3208を含み得る。ここで図123を参照し、様々な実施形態において、サンプルカートリッジ3300は、圧縮可能な、埋め込み可能なカートリッジ本体3310を含む場合があり、上記と同様に、カートリッジ本体3310の厚さは、その幅にわたって変動し得る。少なくとも一実施形態において、カートリッジ本体3310の厚さは、カートリッジ本体3310の側部と中央部分との間で幾何級数的に増加し得る。少なくとも1つのこのような実施形態において、カートリッジ本体3310の厚さは、弓状又は湾曲した輪郭によって画定されることがあり、弓状又は湾曲した組織接触表面3319を含む場合がある。いくつかの実施形態において、本体3310の厚さ、及び組織接触表面3319の輪郭は、例えば、1つの曲率半径、あるいはいくつかの曲率半径によって画定され得る。ここで図124を参照し、様々な実施形態において、ステープルカートリッジ3400は、圧縮可能な、埋め込み可能なカートリッジ本体3410を含む場合があり、カートリッジ本体3410の厚さは、カートリッジ本体3410の側部と中央部分との間で直線的に、又は少なくとも実質的に直線的に増加し得る。 Referring now to FIG. 121, in various embodiments, a staple cartridge 3100 includes a single layer of compressible material and, in addition, a plurality of staples such as, for example, staples 3020b disposed therein, a compressible. An implantable cartridge body 3110 can be included. In at least one embodiment, the thickness of the cartridge body 3110 can vary across its width. In at least one such embodiment, the cartridge body 3110 can include a step 3108 extending along its side. Referring now to FIG. 122, in various embodiments, a staple cartridge 3200 includes a single layer of compressible material and, in addition, a plurality of staples such as, for example, staples 3020b disposed therein, a compressible. An implantable cartridge body 3210 may be included. In at least one embodiment, the thickness of the cartridge body 3210 can vary across its width. In at least one such embodiment, the cartridge body 3210 can include a step 3208 extending along its central portion. Referring now to FIG. 123, in various embodiments, the sample cartridge 3300 may include a compressible, implantable cartridge body 3310, and, similar to the above, the thickness of the cartridge body 3310 is its width. Can vary over time. In at least one embodiment, the thickness of the cartridge body 3310 can increase geometrically between the side and center portions of the cartridge body 3310. In at least one such embodiment, the thickness of the cartridge body 3310 may be defined by an arcuate or curved profile and may include an arcuate or curved tissue contacting surface 3319. In some embodiments, the thickness of the body 3310 and the contour of the tissue contacting surface 3319 can be defined by, for example, one radius of curvature, or several radii of curvature. Referring now to FIG. 124, in various embodiments, the staple cartridge 3400 can include a compressible, implantable cartridge body 3410, wherein the thickness of the cartridge body 3410 is equal to the side of the cartridge body 3410. It can increase linearly or at least substantially linearly with the central portion.
ここで図125を参照し、様々な実施形態において、ステープルカートリッジ3500は、圧縮可能な、埋め込み可能なカートリッジ本体3510、及び内部に位置付けられる、複数のステープル3520を含み得る。埋め込み可能な本体3510は、第1内層3512、第2内層3513、及び外層3511を含み得る。少なくとも一実施形態において、第1内層3512は第1厚さを含む場合があり、第2内層3513は、第2厚さを含む場合があり、第2内層3513は、第1層3512よりも厚い場合がある。少なくとも1つの代替的実施形態において、第1内層3512は、第2内層3513よりも厚い場合がある。代替的な実施形態において、第1内層3512は、第2内層3513と、同じ又は実質的に同じ、厚さを有し得る。いくつかの実施形態において、各ステープル3520は、基部3522、及び基部3522から延びる1つ又は2つ以上の変形可能な脚部3521を含み得る。様々な実施形態において、各脚部3521は、第1内層3511内に埋め込まれた先端部3523を含む場合があり、加えて、ステープル3520の各基部3522は、第2内層3512内に埋め込まれ得る。少なくとも一実施形態において、第1内層3512及び/又は第2層3513は、内部に保存された少なくとも1つの薬剤を含む場合があり、様々な実施形態において、外層3511は、第1内層3512及び第2内層3513を封入する場合があり、外層3511がステープル3520によって穿孔される後まで、薬剤はステープルカートリッジ本体3510から流出しない。より具体的に、上記に加え、アンビルは、ステープルカートリッジ3500の組織接触表面3519に対して位置付けられた組織に対して下方に押し付けられることがあり、それによりカートリッジ本体3510が圧縮されて表面3519が、下方に、少なくとも部分的にステープル先端部3523の下に動かされ、先端部3523が外層3511を破裂させるか又は穿孔する。外層3511がステープル脚部3521によって破断された後、少なくとも1つの薬剤Mが、ステープル脚部3521の周囲のカートリッジ本体3510から流出し得る。様々な状況において、カートリッジ本体3510の追加的な圧縮は、図126に例示される、カートリッジ本体3510の追加的な薬剤Mを絞り出す。 Referring now to FIG. 125, in various embodiments, a staple cartridge 3500 can include a compressible, implantable cartridge body 3510 and a plurality of staples 3520 positioned therein. The implantable body 3510 can include a first inner layer 3512, a second inner layer 3513, and an outer layer 3511. In at least one embodiment, the first inner layer 3512 may include a first thickness, the second inner layer 3513 may include a second thickness, and the second inner layer 3513 is thicker than the first layer 3512. There is a case. In at least one alternative embodiment, the first inner layer 3512 may be thicker than the second inner layer 3513. In an alternative embodiment, the first inner layer 3512 may have the same or substantially the same thickness as the second inner layer 3513. In some embodiments, each staple 3520 can include a base 3522 and one or more deformable legs 3521 extending from the base 3522. In various embodiments, each leg 3521 can include a tip 3523 embedded within the first inner layer 3511, and in addition, each base 3522 of the staple 3520 can be embedded within the second inner layer 3512. . In at least one embodiment, the first inner layer 3512 and / or the second layer 3513 may include at least one agent stored therein, and in various embodiments, the outer layer 3511 includes the first inner layer 3512 and the first inner layer 3512. Two inner layers 3513 may be encapsulated, and the drug will not flow out of the staple cartridge body 3510 until after the outer layer 3511 is perforated by the staples 3520. More specifically, in addition to the above, the anvil may be pressed downward against tissue positioned against the tissue contacting surface 3519 of the staple cartridge 3500, thereby compressing the cartridge body 3510 and causing the surface 3519 to be compressed. , Down, at least partially moved below the staple tip 3523, the tip 3523 ruptures or perforates the outer layer 3511. After the outer layer 3511 is broken by the staple legs 3521, at least one drug M can flow out of the cartridge body 3510 around the staple legs 3521. In various situations, additional compression of the cartridge body 3510 squeezes out additional drug M in the cartridge body 3510, illustrated in FIG.
図125を参照し、様々な実施形態において、外層3511は、水不透過性の、又は少なくとも実質的に不透過性のラップを含んでもよく、これは1)薬剤がステープルカートリッジ3500から時期尚早に流出するのを防ぎ、2)手術部位の流体が、ステープルカートリッジ3500に時期尚早に流入するのを防ぐように、構成され得る。いくつかの実施形態において、第1内層3512は、内部に保存又は吸収される第1薬剤を含む場合があり、第2内層3513は、内部に保存又は吸収された第2薬剤を含む場合があり、第2薬剤は、第1薬剤と異なる場合がある。少なくとも一実施形態において、外層3511の破断を生じる、カートリッジ本体3510の最初の圧縮は一般的に、第1薬剤を第1内層3512から絞り出すことができ、その後カートリッジ本体3510の圧縮が、一般的に第2薬剤を第2内層3513から絞り出すことができる。しかしながら、このような実施形態において、第1薬剤及び第2薬剤の一部分が同時に搾り出されてもよいが、最初に搾り出される薬剤の大部分が第1薬剤を含むことがあり、その後搾り出される薬剤の大部分が、第2薬剤を含む場合がある。上記に加え、いくつかの実施形態において、第1内層3512は、第2内層3513よりも多くの圧縮可能材料を含む場合があり、それにより後の圧縮力又は圧力よりも低い場合がある、最初の圧縮力又は圧力が、第1内層3512内において、第2内層3513よりも大きい最初の屈曲を生じる場合がある。第1内層3512内のこのようなより大きな最初の屈曲により、第1薬剤が第1内層3512から、第2内層3513からの第2薬剤よりも、多く搾り出される。少なくとも一実施形態において、第1内層3512は、第2内層3513よりも多孔質及び/又は可撓性であり得る。少なくとも1つのこのような実施形態において、第1内層3512は、内部に画定された複数の孔又は空隙3508を含む場合があり、第2内層3513は、内部に画定された複数の孔又は空隙3509を含む場合があり、様々な実施形態において、孔3508は、第1内層3512内の第1薬剤を保存するように構成され得、孔3509は、第2内層3513内の第2薬剤を保存するように構成され得る。いくつかの実施形態において、第1内層3512内の孔3508、及び第2内層3513内の孔3509の大きさ及び密度は、本明細書において所望の結果をもたらすために選択され得る。 Referring to FIG. 125, in various embodiments, the outer layer 3511 may include a water impermeable, or at least substantially impermeable wrap, which 1) prematurely dispenses medication from the staple cartridge 3500. 2) may be configured to prevent spillage and 2) prevent fluid at the surgical site from prematurely flowing into the staple cartridge 3500. In some embodiments, the first inner layer 3512 may include a first agent stored or absorbed therein, and the second inner layer 3513 may include a second agent stored or absorbed therein. The second drug may be different from the first drug. In at least one embodiment, the initial compression of the cartridge body 3510 that results in the rupture of the outer layer 3511 can generally squeeze the first drug from the first inner layer 3512, after which the compression of the cartridge body 3510 generally The second drug can be squeezed out from the second inner layer 3513. However, in such an embodiment, a portion of the first drug and the second drug may be squeezed simultaneously, but the majority of the drug squeezed first may contain the first drug and then squeezed. The majority of drugs that are included may include a second drug. In addition to the above, in some embodiments, the first inner layer 3512 may include more compressible material than the second inner layer 3513, which may be lower than the subsequent compressive force or pressure. May cause a first bend in the first inner layer 3512 that is greater than the second inner layer 3513. Such a larger initial bend in the first inner layer 3512 squeezes more of the first drug from the first inner layer 3512 than the second drug from the second inner layer 3513. In at least one embodiment, the first inner layer 3512 can be more porous and / or flexible than the second inner layer 3513. In at least one such embodiment, the first inner layer 3512 may include a plurality of holes or voids 3508 defined therein, and the second inner layer 3513 includes a plurality of holes or voids 3509 defined therein. In various embodiments, the hole 3508 can be configured to store the first drug in the first inner layer 3512 and the hole 3509 stores the second drug in the second inner layer 3513. Can be configured as follows. In some embodiments, the size and density of the holes 3508 in the first inner layer 3512 and the holes 3509 in the second inner layer 3513 can be selected to provide the desired results herein.
図125及び図126を参照し、様々な実施形態において、外層3511、第1内層3512、及び/又は第2内層3513は、生吸収性材料を含み得る。少なくとも一実施形態において、第1内層3512は、第1生吸収性材料を含んでもよく、第2内層3513は、第2生吸収性材料を含んでもよく、外層3511は、第3生吸収性材料を含んでもよく、第1生吸収解性材料、第2生吸収性材料、及び/又は第3生吸収性材料は、異なる材料を含んでもよい。いくつかの実施形態において、第1生吸収性材料は、第1速度において生吸収されてもよく、第2生吸収性材料は、第2速度で生吸収されてもよく、かつ第3生吸収性材料は、第3速度で生吸収されてもよく、第1速度、第2速度及び/又は第3速度は異なる場合がある。少なくとも1つのこのような実施形態において、材料が特定の速度で生吸収されるとき、このような速度は、単位時間において患者の身体により吸収される材料の質量として定義され得る。既知であるように、異なる患者の身体は、異なる材料を異なる速度で吸収することがあり、したがってこのような速度は、このようなばらつきを考慮するために、平均速度として表され得る。いずれにせよ、より速い速度とは、より遅い速度に比べ、単位時間において、より多くの質量が生吸収され得るような速度である。図125及び図126を参照し、様々な実施形態において、第1内層3512及び/又は第2内層3513は、外層3511を含む材料よりも早く生吸収する材料を含む場合がある。少なくとも1つのこのような実施形態において、第1内層3512及び/又は第2内層3513は、生吸収性フォーム、組織封止材、及び/又は止血剤量、例えば、酸化再生セルロース(ORC)を含む場合があり、外層3511は、バットレス材料及び/又はプラスチック材料、例えば、ポリグリコール酸(PGA)(これは、商標名Vicrylで市販される)、ポリ乳酸(PLA又はPLLA)、ポリジオキサン(PDS)、ポリヒドロキシアルカノエート(PHA)、ポリグレカプロン25(PGCL)(これは、商標名Monocrylで市販される)、ポリカプロラクトン(PCL)、及び/又はPGA、PLA、PDS、PHA、PGCL及び/又はPCLの複合物である。このような実施形態において、第1内層3512及び/又は第2内層3513は、即座に組織を治療することができ、かつ組織からの出血を低減することができ、外層3514は、長期の構造的支持をもたらすことができ、より遅い速度で生吸収され得る。 125 and 126, in various embodiments, the outer layer 3511, the first inner layer 3512, and / or the second inner layer 3513 can include a bioabsorbable material. In at least one embodiment, the first inner layer 3512 may include a first bioabsorbable material, the second inner layer 3513 may include a second bioabsorbable material, and the outer layer 3511 may include a third bioabsorbable material. The first bioabsorbable material, the second bioabsorbable material, and / or the third bioabsorbable material may comprise different materials. In some embodiments, the first bioabsorbable material may be bioabsorbed at a first rate, the second bioabsorbable material may be bioabsorbed at a second rate, and a third bioabsorbable. The sex material may be bioabsorbed at a third rate, and the first rate, the second rate, and / or the third rate may be different. In at least one such embodiment, when the material is bioabsorbed at a particular rate, such rate can be defined as the mass of material absorbed by the patient's body in unit time. As is known, different patient bodies may absorb different materials at different rates, and thus such rates may be expressed as average rates to account for such variability. In any case, a faster rate is a rate at which more mass can be bioabsorbed per unit time than a slower rate. Referring to FIGS. 125 and 126, in various embodiments, the first inner layer 3512 and / or the second inner layer 3513 may comprise a material that bioabsorbs faster than the material comprising the outer layer 3511. In at least one such embodiment, the first inner layer 3512 and / or the second inner layer 3513 includes a bioabsorbable foam, a tissue sealant, and / or a hemostatic agent amount, eg, oxidized regenerated cellulose (ORC). In some cases, the outer layer 3511 is made of buttress material and / or plastic material, such as polyglycolic acid (PGA) (which is commercially available under the trade name Vicryl), polylactic acid (PLA or PLLA), polydioxane (PDS). , Polyhydroxyalkanoate (PHA), polygrecapron 25 (PGCL) (commercially available under the trade name Monocryl), polycaprolactone (PCL), and / or PGA, PLA, PDS, PHA, PGCL and / or It is a composite of PCL. In such embodiments, the first inner layer 3512 and / or the second inner layer 3513 can immediately treat tissue and reduce bleeding from the tissue, and the outer layer 3514 can be a long-term structural Support can be provided and can be bioabsorbed at a slower rate.
上記に加えて、外層3511の生吸収性のより遅い速度により、外層3511は、ステープルのライン内の組織を、これが治癒するに伴って、強化又は構造的に補強することができる。いくつかの実施形態において、第1内層3512及び第2内層3513の一方が、他方よりも早く生吸収され得る材料を含む場合があり、その結果、少なくとも一実施形態において、層の一方が治療物質の初期放出をもたらすことができ、他方の層が、同じ治療物質及び/又は異なる治療物質の持続放出をもたらすことができる。少なくとも1つのこのような実施形態において、治療物質が層3512、3513から放出され得る速度は、薬剤が吸収又は分散される基材層の生吸収性の関数であり得る。例えば、少なくとも一実施形態において、第1内層3512を含む基材は、第2内層3513を含む基材よりも早く生吸収されることがあり、結果として、薬剤は、例えば、第2層3513よりも早く、第1内層3512から放出され得る。本明細書において記載されるように、様々な実施形態において、カートリッジ本体3510の層3511、3512及び3513の1つ又は2つ以上が、例えば、繊維素及び/又はタンパク質ヒドロゲルなどの、少なくとも1つの接着剤によって互いに接着され得る。いくつかの実施形態において、接着剤は、水溶性であり、ステープルカートリッジ3500が埋め込まれる際に、及び/又はその少し後に、層間の接続を解放するように構成され得る。少なくとも1つのこのような実施形態において、接着剤は、外層3511、第1内層3512及び/又は第2内層3513よりも早く生吸収するように構成され得る。 In addition to the above, the slower rate of bioabsorbability of the outer layer 3511 allows the outer layer 3511 to strengthen or structurally reinforce the tissue in the staple line as it heals. In some embodiments, one of the first inner layer 3512 and the second inner layer 3513 may comprise a material that can be bioabsorbed faster than the other, so that in at least one embodiment, one of the layers is a therapeutic agent. The other layer can provide a sustained release of the same therapeutic agent and / or different therapeutic agents. In at least one such embodiment, the rate at which the therapeutic agent can be released from the layers 3512, 3513 can be a function of the bioabsorbability of the substrate layer at which the drug is absorbed or dispersed. For example, in at least one embodiment, a substrate that includes the first inner layer 3512 may be bioabsorbed faster than a substrate that includes the second inner layer 3513, so that the drug is, for example, more than the second layer 3513. As soon as it can be released from the first inner layer 3512. As described herein, in various embodiments, one or more of the layers 3511, 3512 and 3513 of the cartridge body 3510 are at least one of, for example, fibrin and / or protein hydrogels. Can be glued together by an adhesive. In some embodiments, the adhesive is water soluble and may be configured to release the connection between the layers when and / or shortly after the staple cartridge 3500 is implanted. In at least one such embodiment, the adhesive may be configured to bioabsorb faster than the outer layer 3511, the first inner layer 3512 and / or the second inner layer 3513.
図127及び図128を参照し、様々な実施形態において、例えば、ステープルカートリッジ3600などのステープルカートリッジは、圧縮可能な第1層3611、第1層3611に取り付けられた第2層3612、及び第2層3612に取り付けられた取り外し可能な圧縮可能層3613を含む、カートリッジ本体3610を含む場合がある。少なくとも1つのこのような実施形態において、第1層3611は、圧縮可能なフォーム材料を含む場合があり、第2層3612は、1つ又は2つ以上の接着剤を使用して、第1層3611に接着された積層体材料を含む場合があり、第3層3613は、例えば、1つ又は2つ以上の接着剤を使用して、第2層3612に取り外し可能に取り付けられた圧縮可能フォーム材料を含み得る。様々な実施形態において、ステープルカートリッジ3600は、カートリッジ本体3610内に位置付けられた、例えば、ステープル3620などの、複数のステープルを更に含み得る。少なくとも1つのこのような実施形態において、各ステープル3620は、第3層3613内に位置付けられた基部3622、及び基部3622から第2層3612を通じて、第1層3611へと上方に延びる1つ又は2つ以上の変形可能な脚部3621を含み得る。上記に加え、使用中、ステープルカートリッジ本体3610の頂面3619は、ステープル脚部3621が、頂面3619及び標的組織を通じて、貫通し、アンビルと接触するまで、アンビルにより下方に押され得る。ステープル脚部3621が、十分に変形された後、アンビルはステープルカートリッジ3600から、その圧縮可能な層が少なくとも部分的に再拡張されるように、離すように動かされ得る。様々な状況において、組織を通じたステープルの挿入は、組織の出血を生じる場合がある。少なくとも一実施形態において、第3層3613は、例えば、タンパク質ヒドロゲルなどの、吸収性材料を含む場合があり、これは、ステープリングされた組織から血液を回収することができる。上記に加え、又はその代わりに、第3層3613は、止血物質及び/又は組織封止材、例えば、凍結乾燥トロンビン及び/又は繊維素を含む場合があり、これは、組織からの流血を低減するように構成され得る。いくつかの実施形態において、第3層3613は、第1層3611及び第2層3612に構造的支持を提供する場合があり、第3層3613は、生吸収性材料及び/又は非生吸収性材料を含むことがある。いずれにせよ、様々な実施形態において、第3層3613は、ステープルカートリッジ3610が埋め込まれた後に、第2層3612から分離される場合がある。第3層3613が埋め込み可能な品質の材料を含む実施形態において、外科医は、カートリッジ本体3610の第3層3613を取り除くかどうかを選択することができる。少なくとも一実施形態において、第3層3613は、第2層3612から1つの断片としてとり除かれるように構成され得る。 127 and 128, in various embodiments, a staple cartridge, such as, for example, staple cartridge 3600, includes a compressible first layer 3611, a second layer 3612 attached to the first layer 3611, and a second layer. A cartridge body 3610 may be included, including a removable compressible layer 3613 attached to layer 3612. In at least one such embodiment, the first layer 3611 can comprise a compressible foam material, and the second layer 3612 can be formed using one or more adhesives. The third layer 3613 may include a laminate material bonded to 3611, and the third layer 3613 may be a compressible foam removably attached to the second layer 3612 using, for example, one or more adhesives. Material may be included. In various embodiments, the staple cartridge 3600 can further include a plurality of staples, such as, for example, staples 3620, positioned within the cartridge body 3610. In at least one such embodiment, each staple 3620 includes a base 3622 positioned in the third layer 3613 and one or two extending upwardly from the base 3622 through the second layer 3612 to the first layer 3611. One or more deformable legs 3621 may be included. In addition to the above, in use, the top surface 3619 of the staple cartridge body 3610 can be pushed down by the anvil until the staple legs 3621 penetrate through the top surface 3619 and the target tissue and contact the anvil. After the staple legs 3621 are fully deformed, the anvil can be moved away from the staple cartridge 3600 so that its compressible layer is at least partially re-expanded. In various situations, insertion of staples through tissue can cause tissue bleeding. In at least one embodiment, the third layer 3613 can include an absorbable material, such as, for example, a protein hydrogel, which can collect blood from the stapled tissue. In addition to or in lieu of the above, the third layer 3613 may include a hemostatic material and / or tissue sealant, such as lyophilized thrombin and / or fibrin, which reduces blood flow from the tissue. Can be configured to. In some embodiments, the third layer 3613 may provide structural support to the first layer 3611 and the second layer 3612, and the third layer 3613 may be a bioabsorbable material and / or a non-bioabsorbable material. May contain material. In any case, in various embodiments, the third layer 3613 may be separated from the second layer 3612 after the staple cartridge 3610 is implanted. In embodiments where the third layer 3613 includes an implantable quality material, the surgeon can choose whether to remove the third layer 3613 of the cartridge body 3610. In at least one embodiment, the third layer 3613 can be configured to be removed as a piece from the second layer 3612.
様々な実施形態において、第1層3611は、第1フォーム材料を含む場合があり、第3層3613は、第1フォーム材料とは異なり得る第2フォーム材料を含む場合がある。少なくとも一実施形態において、第1フォーム材料は、第1密度を含む場合があり、第2フォーム材料は、第2密度を有する場合があり、第1密度は、第2密度と異なる場合がある。少なくとも1つのこのような実施形態において、第2密度は、第1密度よりも高い場合があり、結果として、第3層3613は第1層3611より圧縮性が低く、又はより低い圧縮速度を有する。少なくとも1つのこのような実施形態において、第1密度は、第2密度よりも高い場合があり、結果として、第1層3611は第3層3613より圧縮性が低く、又はより低い圧縮速度を有する。ここで図129及び図130を参照し、様々な実施形態において、ステープルカートリッジ3600と同様に、ステープルカートリッジ3700は、第1圧縮可能フォーム層3711、第1層3711に取り付けられた第2層3712、及び第2層3712に取り外し可能に取り付けられた分離可能な第3圧縮可能フォーム層3713を含む、カートリッジ本体3710を含み得る。少なくとも1つのこのような実施形態において、第3層3713は、複数のステープル受容スロット又は切り抜き部3709を含む場合があり、これらはそれぞれ、内部に、例えばステープル基部3622などの、ステープル3620の少なくとも一部分を受容するように構成され得る。いくつかの実施形態において、ステープル3620は、ステープル受容スロット3709内で摺動するように構成され得、又は換言すると、第3層3713は、ステープルカートリッジ3700が標的組織に対して位置付けられ、アンビルによって圧縮される際に、ステープル3620に対して摺動するように構成され得る。少なくとも一実施形態において、受容スロット3709は、ステープル3620と、受容スロット3709の側壁との間に隙間が存在するように構成され得る。図129及び図130に例示されるように、少なくとも1つのこのような実施形態において、上記の結果として、ステープル3620は、ステープル3620が変形されるときに、内部に第3層3713の一部分を捕捉しないことがある。いくつかの他の実施形態において、第2層3712に隣接する、スロット3709を受容するステープルの端部は、第3層3713の一部分によって閉鎖されることがあり、結果として、第3層3713の少なくとも一部分が、ステープル3620内に、これらが変形する際に捕捉され得る。いずれにせよ、第3層3713は例えば、1つ又は2つ以上の穿孔及び/又は刻んだ線3708を含む場合があり、これは、図129に例示されるように、第3層3713が、2つ以上の断片として、第2層3712から取り除かれることを可能にするように構成され得る。図129において、第3層3713の断片の1つが、ツール3755から取り除かれるものとして例示される。様々な実施形態において、穿孔3708は、第1列のステープルと、第2列のステープルとの中間に位置付けられたラインに沿って配置され得る。 In various embodiments, the first layer 3611 can include a first foam material and the third layer 3613 can include a second foam material that can be different from the first foam material. In at least one embodiment, the first foam material may include a first density, the second foam material may have a second density, and the first density may be different from the second density. In at least one such embodiment, the second density may be higher than the first density, and as a result, the third layer 3613 is less compressible or has a lower compression rate than the first layer 3611. . In at least one such embodiment, the first density may be higher than the second density, and as a result, the first layer 3611 is less compressible than the third layer 3613 or has a lower compression rate. . 129 and 130, in various embodiments, similar to the staple cartridge 3600, the staple cartridge 3700 includes a first compressible foam layer 3711, a second layer 3712 attached to the first layer 3711, And a cartridge body 3710 including a detachable third compressible foam layer 3713 removably attached to the second layer 3712. In at least one such embodiment, the third layer 3713 may include a plurality of staple receiving slots or cutouts 3709, each of which is at least a portion of the staple 3620, such as the staple base 3622, for example. Can be configured to accept. In some embodiments, the staple 3620 can be configured to slide within the staple receiving slot 3709, or in other words, the third layer 3713 can be positioned against the target tissue and the staple cartridge 3700 can be positioned against the target tissue. It can be configured to slide relative to staple 3620 when compressed. In at least one embodiment, the receiving slot 3709 can be configured such that there is a gap between the staple 3620 and the side wall of the receiving slot 3709. As illustrated in FIGS. 129 and 130, in at least one such embodiment, as a result of the above, the staple 3620 captures a portion of the third layer 3713 therein when the staple 3620 is deformed. There are things that do not. In some other embodiments, the end of the staple that receives the slot 3709 adjacent to the second layer 3712 may be closed by a portion of the third layer 3713, resulting in the third layer 3713. At least a portion can be captured within the staple 3620 as they deform. In any case, the third layer 3713 may include, for example, one or more perforations and / or scribed lines 3708, as illustrated in FIG. It can be configured to allow removal from the second layer 3712 as two or more pieces. In FIG. 129, one of the pieces of the third layer 3713 is illustrated as being removed from the tool 3755. In various embodiments, the perforations 3708 can be disposed along a line positioned midway between the first row of staples and the second row of staples.
図129及び図130を参照し、様々な実施形態において、ステープル3620の基部3622は、受容スロット3709内に位置付けられる場合があり、少なくとも1つの実施形態において、受容スロット3709の側壁は、ステープル脚部3621と接触して、これらを適所に保持するように構成され得る。いくつかの実施形態において、例示されないが、第3層3713は、ステープルのライン内のステープルの全てを囲む、細長いスロットを含む場合がある。少なくとも1つのこのような実施形態において、例えば、4つのステープル列を含むステープルカートリッジは、ステープルカートリッジの底層内の各ステープル列と位置合わせされた細長いスロットを含む場合がある。上記に加え、ステープルカートリッジ3600及び/又はステープルカートリッジ3700の少なくとも一部分が、患者内の埋め込まれる場合があり、ステープルカートリッジの少なくとも一部分が、患者から取り外し可能であってもよい。図129及び図130を参照し、少なくとも一実施形態において、第1層3711及び第2層3712は、ステープル3620内に捕捉される場合があり、ステープル3620と共に埋め込まれる場合があり、第3層3713は、任意により、ステープルカートリッジ3700から取り除かれるか、又はここから分離される。様々な状況において、埋め込まれたステープルカートリッジの一部分の除去は、様々な治療的効果をもたらし得る、患者の身体が再吸収すべき物質の量を低減することができる。例えば、ステープルカートリッジの一部分が腹腔鏡3755によって、分離され、取り除かれる場合、分離されたステープルカートリッジ部分は、例えば、5mmの開口部を有するトロカールなどの、トロカールを通じて手術部位から取り除かれ得る。いくつかの実施形態において、カートリッジ本体は、取り除かれ得る、2つ以上の層を含む場合がある。例えば、カートリッジ本体3710は、第4層を含む場合があり、カートリッジ本体3710の第3層3713は、止血材料を含む場合があり、第4層は、支持層を含む場合がある。少なくとも1つのこのような実施形態において、外科医は支持層を取り除き、その後例えば、止血層を取り除くかどうか選択することができる。 129 and 130, in various embodiments, the base 3622 of the staple 3620 can be positioned within the receiving slot 3709, and in at least one embodiment, the sidewall of the receiving slot 3709 can be a staple leg. It can be configured to contact 3621 and hold them in place. In some embodiments, although not illustrated, the third layer 3713 may include an elongated slot that surrounds all of the staples in the staple line. In at least one such embodiment, for example, a staple cartridge that includes four staple rows may include an elongated slot that is aligned with each staple row in the bottom layer of the staple cartridge. In addition to the above, at least a portion of the staple cartridge 3600 and / or the staple cartridge 3700 may be implanted within the patient, and at least a portion of the staple cartridge may be removable from the patient. 129 and 130, in at least one embodiment, the first layer 3711 and the second layer 3712 may be captured within the staple 3620, may be embedded with the staple 3620, and the third layer 3713. Is optionally removed from or separated from the staple cartridge 3700. In various situations, removal of a portion of the implanted staple cartridge can reduce the amount of material that the patient's body should reabsorb, which can result in various therapeutic effects. For example, if a portion of the staple cartridge is separated and removed by the laparoscope 3755, the separated staple cartridge portion can be removed from the surgical site through the trocar, such as, for example, a trocar having a 5 mm opening. In some embodiments, the cartridge body may include more than one layer that can be removed. For example, the cartridge body 3710 may include a fourth layer, the third layer 3713 of the cartridge body 3710 may include a hemostatic material, and the fourth layer may include a support layer. In at least one such embodiment, the surgeon can remove the support layer and then choose, for example, whether to remove the hemostatic layer.
図131を参照し、様々な実施形態において、例えば、ステープルカートリッジ3800などのステープルカートリッジは、外層3811及び内層3812を含む、カートリッジ本体3810を含む場合がある。内層3812は、圧縮可能なフォーム材料を含む場合があり、外層3811は、少なくともその一部分が、内層3812の周囲に巻かれる場合がある。少なくとも一実施形態において、外層3811は、内層3812の第1側部上に位置付けられるように構成された第1部分3811a、及び内層3812の第2側部上に位置付けられるように構成された第2部分3811bを含む場合があり、第1部分3811a及び第2部分3811bは、例えばヒンジ3809などの可撓性ヒンジによって接続され得る。少なくとも1つのこのような実施形態において、例えば、繊維素及び/又はタンパク質ヒドロゲルなどの少なくとも1つの接着剤は、そこに外層3811の部分を固定するために、内層3812の第1側部及び/又は第2側部に適用され得る。様々な実施形態において、外層3811は、そこから延びる1つ又は2つ以上の締結部材を含む場合がある。少なくとも1つのこのような実施形態において、外層3811は、圧縮可能な内層3812内に位置し得る、外層3811の一方の側部から延びる、複数の変形可能な脚部3821を含む場合がある。少なくとも1つの実施形態において、脚部3821は、内層3812の第2側部から突出しないことがあり、少なくとも1つの代替的実施形態において、脚部3821は、内層3812から少なくとも一部分が突出することがある。圧縮可能なカートリッジ本体3810が使用中に圧縮される際、脚部3821は、内層3812、及び外層3811の第2部分3811bを貫通するように構成され得る。いくつかの実施形態において、外層3811の第2部分3811bは、ステープル脚部3821を受容するように構成され得る、内部に画定された、例えば開口部3808などの、開口部を含む場合がある。いくつかの実施形態において、ステープルカートリッジ3800の少なくとも部分が、内部に切断部材を摺動自在に受容するように構成され得る、ナイフスロット3803を含む場合がある。少なくとも1つのこのような実施形態において、ナイフスロット3803は、カートリッジ本体3810の厚さを通じて全体的に延びることがあり、結果として、切断部材は、カートリッジ本体3810を、これに対して動かす際に切開することがある。 Referring to FIG. 131, in various embodiments, a staple cartridge, such as, for example, staple cartridge 3800 may include a cartridge body 3810 that includes an outer layer 3811 and an inner layer 3812. Inner layer 3812 may comprise a compressible foam material, and outer layer 3811 may be at least partially wrapped around inner layer 3812. In at least one embodiment, the outer layer 3811 is configured to be positioned on the first side 3811a configured to be positioned on the first side of the inner layer 3812 and the second configured to be positioned on the second side of the inner layer 3812. A portion 3811b may be included, and the first portion 3811a and the second portion 3811b may be connected by a flexible hinge, such as a hinge 3809, for example. In at least one such embodiment, for example, at least one adhesive, such as fibrin and / or protein hydrogel, may be used to secure a portion of the outer layer 3811 to the first side of the inner layer 3812 and / or It can be applied to the second side. In various embodiments, the outer layer 3811 may include one or more fastening members extending therefrom. In at least one such embodiment, the outer layer 3811 may include a plurality of deformable legs 3821 extending from one side of the outer layer 3811 that may be located within the compressible inner layer 3812. In at least one embodiment, the leg 3821 may not protrude from the second side of the inner layer 3812, and in at least one alternative embodiment, the leg 3821 may protrude at least partially from the inner layer 3812. is there. When the compressible cartridge body 3810 is compressed in use, the legs 3821 can be configured to penetrate the inner layer 3812 and the second portion 3811b of the outer layer 3811. In some embodiments, the second portion 3811b of the outer layer 3811 may include an opening, such as an opening 3808, defined therein that may be configured to receive the staple legs 3821. In some embodiments, at least a portion of the staple cartridge 3800 may include a knife slot 3803 that may be configured to slidably receive a cutting member therein. In at least one such embodiment, knife slot 3803 may extend generally through the thickness of cartridge body 3810 so that the cutting member dissects as cartridge body 3810 is moved relative thereto. There are things to do.
図132を参照して、様々な実施形態において、ステープルカートリッジ3900は、ステープルカートリッジ3800と同様に、内層3812及び外層3811を含むカートリッジ本体3910を含む場合があり、外層3811は、内層3812の第1側部に隣接するように位置付けられた第1部分3811a、及び内層3812の第2側部に隣接するように位置付けられた第2部分3811bを含む場合がある。少なくとも一実施形態において、上記と同様に、外層3811は、そこから延びる1つ又は2つ以上の締結部材を含み得る。少なくとも1つのこのような実施形態において、外層3811は、圧縮可能な内層3812内に位置し得る、外層3811の一方の側部から延びる、複数の変形可能な脚部3921を含む場合がある。いくつかの実施形態において、各変形可能な脚部3921は、そこから延びる少なくとも1つのフック又は返し部3923を含む場合があり、これは、外層3811の第2部分3811bと係合するように構成される場合があり、結果として、内層3812の外層3811を保持する。少なくとも1つのこのような実施形態において、返し部3923は、内層3812の第2側部から突出し、外層3811の第2部分3811bの開口部3808を通じて延びるように構成される場合があり、それによって返し部3923は、外層3811の外側表面と係合して、外層3811を内層3812に固定することができる。ステープルカートリッジ3900を構成するために、内層3812は少なくとも一部分が圧縮されて、そこから返し部を突出させ、開口部3808に入れる。少なくとも1つのこのような実施形態において、ステープルカートリッジ3900は、例えば、これがステープルカートリッジに挿入される際に少なくとも一部分が事前に圧縮されてもよい。上記に加え、いくつかの実施形態において、脚部3921の少なくとも一部分が、外層3811の第1部分3811a内に埋め込まれる場合があり、少なくとも一実施形態において、外層3811は、例えば、ポリジオキサノン(PDS)及び/又はポリグリコール酸(PGA)などのプラスチック材料を含む場合があり、プラスチック材料は、脚部3921の少なくとも一部分の周囲でオーバーモールドされることがある。 Referring to FIG. 132, in various embodiments, the staple cartridge 3900 can include a cartridge body 3910 that includes an inner layer 3812 and an outer layer 3811, similar to the staple cartridge 3800, where the outer layer 3811 is the first of the inner layer 3812. A first portion 3811a positioned adjacent to the side and a second portion 3811b positioned adjacent to the second side of the inner layer 3812 may be included. In at least one embodiment, similar to the above, the outer layer 3811 can include one or more fastening members extending therefrom. In at least one such embodiment, the outer layer 3811 may include a plurality of deformable legs 3921 extending from one side of the outer layer 3811 that may be located within the compressible inner layer 3812. In some embodiments, each deformable leg 3921 may include at least one hook or barb 3923 extending therefrom, which is configured to engage the second portion 3811b of the outer layer 3811. As a result, the outer layer 3811 of the inner layer 3812 is retained. In at least one such embodiment, the barb 3923 may be configured to protrude from the second side of the inner layer 3812 and extend through the opening 3808 of the second portion 3811b of the outer layer 3811, thereby returning barb. Portions 3923 can engage the outer surface of outer layer 3811 to secure outer layer 3811 to inner layer 3812. To construct the staple cartridge 3900, the inner layer 3812 is at least partially compressed to project a barb therefrom into an opening 3808. In at least one such embodiment, the staple cartridge 3900 may be pre-compressed at least in part as it is inserted into the staple cartridge, for example. In addition to the above, in some embodiments, at least a portion of the leg 3921 may be embedded within the first portion 3811a of the outer layer 3811, and in at least one embodiment, the outer layer 3811 may be, for example, polydioxanone (PDS). And / or may include a plastic material such as polyglycolic acid (PGA), which may be overmolded around at least a portion of the leg 3921.
図133〜137を参照し、様々な実施形態において、例えば、ステープルカートリッジ4000などのステープルカートリッジは、圧縮可能な第1層4011及び第2層4012を含む、カートリッジ本体4010、加えて、カートリッジ本体4010内に位置付けられた複数のステープル4020を含む場合がある。図135を参照し、いくつかの実施形態において、各ステープル4020は、基部4022、及び基部4022から延び変形可能な少なくとも1つの脚部4023を含む場合がある。図133を参照し、少なくとも1つの実施形態において、ステープルカートリッジ4000は、ステープルカートリッジチャネル4030と、外科用ステープラーのエンドエフェクタのアンビル4040との間に位置付けられることがあり、カートリッジ本体4010の第2層4012及び/又はステープル4020の基部4022は、ステープルカートリッジチャネル4030に対して位置付けられる場合がある。図134を参照し、様々な実施形態において、第2層4012は、プレジット支持フレーム4061によって互いに接続された、プレジットの層4060を含み得る。少なくとも1つのこのような実施形態において、プレジット4060及びプレジット支持フレーム4061は、例えば、ポリグリコール酸(PGA)などの、成形されたプラスチック材料を含む場合がある。各プレジット4060は、図135及び図136において例示されるように、内部を通じて延びるステープル脚部4021を受容するように構成され得る、1つ又は2つ以上の開口部又はスロット4062を含む場合がある。各プレジット4060は、ステープル4020の基部4022を受容するように構成され得る、内部に画定された受容スロット4063を更に含む場合がある。再び図134を参照し、様々な実施形態において、プレジット4060及び/又はプレジット支持フレーム4061は、複数の刻んだ線、穿孔などを含む場合があり、これは、プレジット4060が、所望の位置において、プレジット支持フレーム4061から分離されることを可能にするような、構成であり得る。同様に、図136を参照し、1つ又は2つ以上のプレジット4060は、例えば、穿孔及び/又は刻み線4064を含む線に沿って互いに接続され得る。使用中、圧縮可能なフォーム層4011は、標的組織Tに対して位置付けられる場合があり、カートリッジ本体4010は、アンビル4040がステープル4020を変形し得るように、アンビル4040によって圧縮される場合がある。ステープル4020が変形されると、各ステープル4020のステープル脚部4021が、組織T、第1層4011の一部分、及びプレジット4060を、変形されたステープル内に捕捉し得る。例えば、ステープルカートリッジチャネル4030が、埋め込まれたステープルカートリッジ4060から離れるように動かされると、プレジット支持フレーム4061は、プレジット4060から分離される場合があり、及び/又はプレジット4060が互いに取り外される場合がある。いくつかの状況において、プレジット4060は、上記のようにステープル4020がアンビル4040によって変形される際に、フレーム4061から、及び/又は互いに分離される場合がある。 133-137, in various embodiments, a staple cartridge, such as, for example, a staple cartridge 4000, includes a cartridge body 4010 that includes a compressible first layer 4011 and a second layer 4012, in addition to the cartridge body 4010. There may be a plurality of staples 4020 positioned within. Referring to FIG. 135, in some embodiments, each staple 4020 may include a base 4022 and at least one leg 4023 that extends from the base 4022 and is deformable. Referring to FIG. 133, in at least one embodiment, the staple cartridge 4000 may be positioned between the staple cartridge channel 4030 and the end effector anvil 4040 of the surgical stapler, the second layer of the cartridge body 4010. 4012 and / or base 4022 of staple 4020 may be positioned relative to staple cartridge channel 4030. Referring to FIG. 134, in various embodiments, the second layer 4012 can include a pledget layer 4060 connected together by a pledget support frame 4061. In at least one such embodiment, pledget 4060 and pledget support frame 4061 may comprise a molded plastic material, such as, for example, polyglycolic acid (PGA). Each pledget 4060 may include one or more openings or slots 4062 that may be configured to receive staple legs 4021 extending therethrough, as illustrated in FIGS. 135 and 136. . Each pledget 4060 may further include a receiving slot 4063 defined therein that may be configured to receive the base 4022 of the staple 4020. Referring again to FIG. 134, in various embodiments, the pledget 4060 and / or pledget support frame 4061 may include a plurality of scored lines, perforations, etc., that allows the pledget 4060 to be in a desired location. It may be configured to allow separation from the pledget support frame 4061. Similarly, referring to FIG. 136, one or more pledgets 4060 may be connected to one another along a line including, for example, a perforation and / or score line 4064. In use, the compressible foam layer 4011 may be positioned against the target tissue T and the cartridge body 4010 may be compressed by the anvil 4040 so that the anvil 4040 can deform the staple 4020. As the staples 4020 are deformed, the staple legs 4021 of each staple 4020 may capture the tissue T, a portion of the first layer 4011, and the pledget 4060 within the deformed staples. For example, as staple cartridge channel 4030 is moved away from embedded staple cartridge 4060, pledget support frame 4061 may be separated from pledget 4060 and / or pledget 4060 may be removed from one another. . In some situations, the pledgets 4060 may be separated from the frame 4061 and / or from each other when the staples 4020 are deformed by the anvil 4040 as described above.
本明細書において記載される様々な実施形態において、ステープルカートリッジのステープルは、アンビルが閉鎖位置に動かされるときに、アンビルによって完全に形成され得る。図138〜141を参照し、様々な他の実施形態において、例えば、ステープルカートリッジ4100などのステープルカートリッジのステープルは、アンビルが閉鎖位置へと動くときにアンビルによって、加えて、ステープルを閉鎖したアンビルへと動かすステープルドライバシステムによって、変形され得る。ステープルカートリッジ4100は、例えば、フォーム材料、及び圧縮可能なカートリッジ本体4110内に少なくとも一部分が位置付けられた、複数のステープル4120を含み得る、圧縮可能なカートリッジ本体4110を含み得る。様々な実施形態において、ステープルドライバシステムは、ドライバホルダ4160、ドライバホルダ4160内に位置付けられた複数のステープルドライバ4162、及びドライバホルダ4160内にステープルドライバ4162を保持するように構成され得るステープルカートリッジパン4180を含み得る。少なくとも1つのこのような実施形態において、ステープルドライバ4162は、ドライバホルダ4160の1つ又は2つ以上のスロット4163内に位置付けられることがあり、スロット4163の側壁は、ステープルドライバ4162をアンビルに向かって上方に案内することを補助し得る。様々な実施形態において、ステープル4120は、ステープルドライバ4162によってスロット4163内に支持されることがあり、少なくとも一実施形態において、ステープル4120は、ステープル4120及びステープルドライバ4162がこれらの非発射位置にある際に、スロット4163内に完全に位置付けられることがある。いくつかの他の実施形態において、ステープル4120の少なくとも一部分は、ステープル4120及びステープルドライバ4162がこれらの非発射位置にあるときに、スロット4163の解放端部4161を通じて上方に延び得る。ここで図139を参照し、少なくとも1つのこのような実施形態において、ステープル4120の基部は、ドライバホルダ4160内に位置付けられることがあり、ステープル4120の先端部は、圧縮可能なカートリッジ本体4110内に埋め込まれることがある。いくつかの実施形態において、ステープル4120の高さのおよそ1/3がドライバホルダ4160内に位置付けられる場合があり、ステープル4120のおよそ2/3が、カートリッジ本体4110内に位置付けられることがある。図138Aを参照し、少なくとも一実施形態において、ステープルカートリッジ4100は、例えば、カートリッジ本体4110及びドライバホルダ4160を囲む、水透過性ラップ又は膜4111を更に含む場合がある。 In various embodiments described herein, the staples of the staple cartridge can be fully formed by the anvil when the anvil is moved to the closed position. Referring to FIGS. 138-141, in various other embodiments, staples of a staple cartridge, such as, for example, staple cartridge 4100, are moved by the anvil as the anvil moves to the closed position, in addition to the anvil having the staple closed. It can be deformed by a staple driver system that moves. Staple cartridge 4100 may include a compressible cartridge body 4110 that may include, for example, foam material and a plurality of staples 4120 positioned at least in part within compressible cartridge body 4110. In various embodiments, the staple driver system can be configured to hold a driver holder 4160, a plurality of staple drivers 4162 positioned within the driver holder 4160, and the staple driver 4162 within the driver holder 4160. Can be included. In at least one such embodiment, the staple driver 4162 may be positioned in one or more slots 4163 of the driver holder 4160, and the sidewalls of the slots 4163 direct the staple driver 4162 toward the anvil. It may help to guide upward. In various embodiments, the staple 4120 may be supported in the slot 4163 by the staple driver 4162, and in at least one embodiment, the staple 4120 is when the staple 4120 and the staple driver 4162 are in their non-fired positions. The slot 4163 may be completely positioned. In some other embodiments, at least a portion of the staple 4120 may extend upward through the open end 4161 of the slot 4163 when the staple 4120 and staple driver 4162 are in their unfired positions. Referring now to FIG. 139, in at least one such embodiment, the base of the staple 4120 may be positioned within the driver holder 4160, and the tip of the staple 4120 is within the compressible cartridge body 4110. May be embedded. In some embodiments, approximately one third of the height of the staple 4120 may be positioned within the driver holder 4160, and approximately two thirds of the staple 4120 may be positioned within the cartridge body 4110. Referring to FIG. 138A, in at least one embodiment, the staple cartridge 4100 may further include a water permeable wrap or membrane 4111 that surrounds the cartridge body 4110 and the driver holder 4160, for example.
使用中、ステープルカートリッジ4100は、例えば、ステープルカートリッジチャネル内に位置付けられることがあり、アンビルは、ステープルカートリッジ4100に向かって閉鎖位置へと動かされ得る。様々な実施形態において、アンビルは、アンビルがその閉鎖位置に動かされるときに、圧縮可能カートリッジ本体4110と接触し、かつこれを圧縮することができる。いくつかの実施形態において、アンビルは、アンビルがその閉鎖位置にあるときに、ステープル4120に接触しなくてもよい。いくつかの他の実施形態において、アンビルは、アンビルがその閉鎖位置に動かされる際に、ステープル4120の脚部に接触し、少なくとも部分的にステープル4120を変形させてもよい。いずれにせよ、ステープルカートリッジ4100は、1つ又は2つ以上のスレッド4170を更に含むことがあり、これは、ステープルカートリッジ4100内で長手方向に前進させられることがあり、それによって、スレッド4170は、連続的にステープルドライバ4162と係合し、ステープルドライバ4162及びステープル4120をアンビルの方に動かすことができる。様々な実施形態において、スレッド4170は、ステープルカートリッジパン4180と、ステープルドライバ4162との間で摺動し得る。アンビルのクロージャが、ステープル4120の形成プロセスを開始した場合の実施形態において、ステープル4120のアンビルへの上方への移動は、形成プロセスを完了し、ステープル4120をこれらの完全に形成した、又は少なくとも所望の高さへと変形させることができる。アンビルのクロージャが、ステープル4120を変形させていない場合の実施形態において、ステープル4120のアンビルへの上方への移動は、形成プロセスを開始及び完了し、ステープル4120をこれらの完全に形成した、又は少なくとも所望の高さへと変形させることができる。様々な実施形態において、スレッド4170は、ステープルカートリッジ4100の近位端から、ステープルカートリッジ4100の遠位端まで前進することができ、それによって、ステープルカートリッジ4100の近位端内に位置付けられるステープル4120は、ステープルカートリッジ4100の遠位端に位置付けられるステープル4120が完全に形成される前に、完全に形成される。図140を参照し、少なくとも一実施形態において、スレッド4170は、それぞれ、少なくとも1つの角度付き、又は傾いた表面4711を含む場合があり、これは、図141に例示されるように、ステープルドライバ4162の下を摺動し、ステープルドライバ4162を持ち上げるように構成され得る。 In use, the staple cartridge 4100 can be positioned, for example, within a staple cartridge channel, and the anvil can be moved toward the staple cartridge 4100 to a closed position. In various embodiments, the anvil can contact and compress the compressible cartridge body 4110 when the anvil is moved to its closed position. In some embodiments, the anvil may not contact the staple 4120 when the anvil is in its closed position. In some other embodiments, the anvil may contact the legs of the staple 4120 and at least partially deform the staple 4120 as the anvil is moved to its closed position. In any case, the staple cartridge 4100 may further include one or more sleds 4170 that may be advanced longitudinally within the staple cartridge 4100 such that the sled 4170 Continuously engaging the staple driver 4162, the staple driver 4162 and the staple 4120 can be moved toward the anvil. In various embodiments, the sled 4170 can slide between the staple cartridge pan 4180 and the staple driver 4162. In an embodiment where the anvil closure initiates the forming process of the staples 4120, the upward movement of the staples 4120 to the anvil completes the forming process and the staples 4120 are fully formed or at least desired. Can be deformed to the height of. In embodiments where the closure of the anvil has not deformed the staple 4120, the upward movement of the staple 4120 into the anvil initiates and completes the forming process, and the staple 4120 has been fully formed, or at least It can be deformed to a desired height. In various embodiments, the sled 4170 can be advanced from the proximal end of the staple cartridge 4100 to the distal end of the staple cartridge 4100 such that the staple 4120 positioned within the proximal end of the staple cartridge 4100 is The staple 4120 positioned at the distal end of the staple cartridge 4100 is fully formed before it is fully formed. Referring to FIG. 140, in at least one embodiment, each thread 4170 may include at least one angled or inclined surface 4711, which is illustrated in FIG. 141 as staple driver 4162. And can be configured to lift the staple driver 4162.
様々な実施形態において、上記に加え、ステープル4120は、組織Tの少なくとも一部分、及びステープルカートリッジ4100の圧縮可能なカートリッジ本体4110の少なくとも一部分を内部に捕捉するために、形成され得る。ステープル4120が形成された後、外科用ステープラーのアンビル及びステープルカートリッジチャネル4130は、埋め込まれたステープルカートリッジ4100から離れるように動かされ得る。様々な状況において、カートリッジパン4180は、ステープルカートリッジチャネル4130としっかりと固定され得、その結果、カートリッジパン4180は、ステープルカートリッジチャネル4130が、埋め込まれたカートリッジ本体4110から引き離される際に、圧縮可能なカートリッジ本体4110から取り外され得る。図138を再び参照し、様々な実施形態において、カートリッジパン4180は、その間にカートリッジ本体4110が取り外し可能に取り付けられ得る、対向する側壁4181を含む場合がある。少なくとも1つのこのような実施形態において、圧縮可能なカートリッジ本体4110は、カートリッジ本体4110が側壁4181の間で、使用中にその間に取り外し可能に保持され、カートリッジパン4180が引き離される際にカートリッジパン4180から解放可能に係合離脱されるように、圧縮され得る。少なくとも1つのこのような実施形態において、ドライバホルダ4160は、カートリッジパン4180が手術部位から取り外すときに、ドライバホルダ4160、ドライバ4162、及び/又はスレッド4170が、カートリッジパン4180内に留まり得るようにして、カートリッジパン4180内に接続され得る。他のいくつかの実施形態において、ドライバ4162は、ドライバ4160から排出されて、手術部位に残されることができる。少なくとも1つのこのような実施形態において、ドライバ4162は、商標名Vircylで販売されるポリグリコール酸(PGA)、ポリ乳酸(PLA又はPLLA)、ポリジオキサノン(PDS)、ポリヒドロキシアルカノエート(PHA)、商標名Monocrylで販売されるポリグレカプロン25(PGCL)、ポリカプロラクトン(PCL)、並びに/又はPGA、PLA、PDS、PHA、PGCL及び/若しくはPCLの混合物などの生吸収性材料を含み得る。様々な実施形態において、ドライバ4162は、ドライバ4162が、ステープル4120と共に展開されるように、ステープル4120に取り付けられることができる。少なくとも1つのこのような実施形態において、各ドライバ4162は、例えば、ステープル4120の基部を受容するように構成されたトラフを含む場合があり、少なくとも1つの実施形態において、トラフは、圧力嵌め及び/又はスナップ嵌めの方法により、ステープル器具を受容するように構成され得る。 In various embodiments, in addition to the above, staple 4120 can be formed to capture at least a portion of tissue T and at least a portion of compressible cartridge body 4110 of staple cartridge 4100 therein. After the staple 4120 is formed, the surgical stapler anvil and staple cartridge channel 4130 may be moved away from the implanted staple cartridge 4100. In various situations, the cartridge pan 4180 can be secured to the staple cartridge channel 4130 so that the cartridge pan 4180 can be compressed when the staple cartridge channel 4130 is pulled away from the embedded cartridge body 4110. It can be removed from the cartridge body 4110. Referring again to FIG. 138, in various embodiments, the cartridge pan 4180 may include opposing sidewalls 4181 between which the cartridge body 4110 can be removably attached. In at least one such embodiment, the compressible cartridge body 4110 is removably held between the sidewalls 4181 during use and the cartridge pan 4180 when the cartridge pan 4180 is pulled apart. Can be compressed so as to be releasably disengaged from. In at least one such embodiment, the driver holder 4160 allows the driver holder 4160, driver 4162, and / or sled 4170 to remain in the cartridge pan 4180 when the cartridge pan 4180 is removed from the surgical site. Can be connected within the cartridge pan 4180. In some other embodiments, the driver 4162 can be ejected from the driver 4160 and left at the surgical site. In at least one such embodiment, driver 4162 is a polyglycolic acid (PGA), polylactic acid (PLA or PLLA), polydioxanone (PDS), polyhydroxyalkanoate (PHA), trade name sold under the trade name Vircyl. It may include bioabsorbable materials such as polygrecapron 25 (PGCL), polycaprolactone (PCL), and / or mixtures of PGA, PLA, PDS, PHA, PGCL and / or PCL sold under the name Monocryl. In various embodiments, the driver 4162 can be attached to the staple 4120 such that the driver 4162 is deployed with the staple 4120. In at least one such embodiment, each driver 4162 may include, for example, a trough configured to receive the base of staple 4120, and in at least one embodiment, the trough may include a pressure fit and / or Or it may be configured to receive a stapling instrument by a snap-fit method.
更に上記に加え、いくつかの実施形態において、ドライバホルダ4160及び/又はスレッド4170は、カートリッジパン4180から排出され得る。少なくとも1つのこのような実施形態において、スレッド4170は、カートリッジパン4180と、ドライバホルダ4160との間で摺動する場合があり、それにより、スレッド4170がステープルドライバ4162及びステープル4120を上方に駆動するためにスレッド4170が前進する際に、スレッド4170がドライバホルダ4160も同様に、カートリッジパン4180の外側に上方へと移動させることができる。少なくとも1つのこのような実施形態において、ドライバホルダ4160及び/又はスレッド4170は、商標名Vircylで販売されるポリグリコール酸(PGA)、ポリ乳酸(PLA又はPLLA)、ポリジオキサノン(PDS)、ポリヒドロキシアルカノエート(PHA)、商標名Monocrylで販売されるポリグレカプロン25(PGCL)、ポリカプロラクトン(PCL)、並びに/又はPGA、PLA、PDS、PHA、PGCL及び/若しくはPCLの混合物などの生吸収性材料を含み得る。様々な実施形態において、スレッド4170は、ドライババー又は切断部材に一体的に形成される及び/又はこれに取り付けられる場合があり、これはステープルカートリッジ4100を通じてスレッド4170を押す。このような実施形態において、スレッド4170は、カートリッジパン4180から排出されなくてもよく、外科用ステープラーと共に留まってもよいが、スレッド4170がドライババーに取り付けられていない他の実施形態において、スレッド4170は、手術部位に残ってもよい。いずれにせよ、上記に加え、カートリッジ本体4110の圧縮性は、ステープルのアンビルが閉じるときにカートリッジ本体4110が圧縮又は収縮し得る際に、より厚いステープルカートリッジが、外科用ステープラーのエンドエフェクタ内で使用されることを可能にし得る。いくつかの実施形態において、アンビルの閉鎖の際に少なくとも一部分が変形されるステープルの結果として、例えば、およそ4.57mm(0.18”)を有するステープルなどのより高いステープルが使用される場合があり、およそ3.05mm(0.12”)のステープル高さが圧縮可能な層4110内に位置付けられる場合があり、圧縮可能な層4110は、例えば、およそ3.56mm(0.14”)の非圧縮高さを有し得る。 Further to the above, in some embodiments, the driver holder 4160 and / or sled 4170 can be ejected from the cartridge pan 4180. In at least one such embodiment, sled 4170 may slide between cartridge pan 4180 and driver holder 4160 so that sled 4170 drives staple driver 4162 and staple 4120 upward. Therefore, when the sled 4170 advances, the sled 4170 can also move the driver holder 4160 upward to the outside of the cartridge pan 4180 as well. In at least one such embodiment, driver holder 4160 and / or sled 4170 may be polyglycolic acid (PGA), polylactic acid (PLA or PLLA), polydioxanone (PDS), polyhydroxyalkano sold under the trade name Vircyl. Bioabsorbable materials such as ATE (PHA), polygrecapron 25 (PGCL), polycaprolactone (PCL) and / or mixtures of PGA, PLA, PDS, PHA, PGCL and / or PCL sold under the trade name Monocryl Can be included. In various embodiments, the sled 4170 may be integrally formed and / or attached to a driver bar or cutting member that pushes the sled 4170 through the staple cartridge 4100. In such embodiments, the sled 4170 may not be ejected from the cartridge pan 4180 and may remain with the surgical stapler, but in other embodiments in which the sled 4170 is not attached to the driver bar. May remain at the surgical site. In any case, in addition to the above, the compressibility of the cartridge body 4110 allows the thicker staple cartridge to be used within the end effector of the surgical stapler when the cartridge body 4110 can be compressed or contracted when the staple anvil is closed. May be able to be done. In some embodiments, higher staples such as, for example, staples having approximately 4.57 mm (0.18 ") may be used as a result of staples that are at least partially deformed upon anvil closure. A staple height of approximately 3.05 mm (0.12 ″) may be positioned within the compressible layer 4110, which may be, for example, approximately 3.56 mm (0.14 ″) Can have an uncompressed height.
ここで図142〜145を参照し、様々な実施形態において、例えば、ステープルカートリッジ4200などのステープルカートリッジは、圧縮可能なカートリッジ本体4210、内部に位置付けられた複数のステープル4220、及び複数の可撓性横方向支持部材4234を含む場合がある。ここで図143を参照し、様々な実施形態において、ステープルカートリッジ4200は、アンビル4240とステープルカートリッジチャネル4230との中間に位置付けられることがあり、少なくとも一実施形態において、横方向支持部材4234は、ステープルカートリッジチャネル4230に取り付けられる場合がある。図144に例示されるように、アンビル4240が下方に動かされてカートリッジ本体4210を圧縮し、少なくとも部分的にステープル4220を圧縮するとき、カートリッジ本体4210の側部は、横方向に膨らんで横方向支持部材4234を外側に押すことがある。少なくとも1つのこのような実施形態において、横方向支持部材4234は、カートリッジ本体4210に取り付けられることがあり、上記のようにカートリッジ本体4210が横方向に膨らむときに、横方向支持部材4234は、図144に例示されるように、カートリッジ本体4210が分離され得る。少なくとも一実施形態において、横方向支持部材4234は、繊維素及び/又はタンパク質ヒドロゲルなどの少なくとも1つの接着剤を使用して、カートリッジ本体4210に接着されることがある。上記と同様に、アンビル4240の閉鎖は、部分的にのみステープル4220を変形させることがあり、ステープル4220の形成は、図145に例示されるようにステープルカートリッジ4200を通じた1つ又は2つ以上のスレッド4270の前進によって完成される場合がある。図147及び図148を参照し、様々な実施形態により、スレッド4270は、切断部材4280によって、ステープルカートリッジ4200の近位端から、ステープルカートリッジ4200の遠位端へと、前進させることができる。少なくとも1つのこのような実施形態において、切断部材4280は、切断要素又はナイフ4283を含むことがあり、これは、組織T及び/又は圧縮可能なカートリッジ本体4210によって前進することができる。いくつかの実施形態において、切断部材4280は、カム部材4282を含む場合があり、これは、ジョー4230及び4240の外側表面に沿って移動し、ジョーを適所に保持することができる。上記の結果として、様々な実施形態において、ステープル4220は、組織Tが切開されるのと同時に、又は少なくとも実質的に同時に、これらの最終的な形状へと形成され得る。少なくとも1つのこのような実施形態において、スレッド4270は、ナイフ4283に対して遠位方向に位置付けられることがあり、それにより組織Tは、例えば、組織の処置部分が完全にステープリングしたときにのみ切開される。 142-145, in various embodiments, a staple cartridge, such as, for example, staple cartridge 4200, includes a compressible cartridge body 4210, a plurality of staples 4220 positioned therein, and a plurality of flexible. A lateral support member 4234 may be included. Referring now to FIG. 143, in various embodiments, the staple cartridge 4200 may be positioned intermediate the anvil 4240 and the staple cartridge channel 4230, and in at least one embodiment, the lateral support member 4234 may be stapled. It may be attached to the cartridge channel 4230. As illustrated in FIG. 144, when the anvil 4240 is moved downward to compress the cartridge body 4210 and at least partially compress the staple 4220, the sides of the cartridge body 4210 bulge laterally and laterally. The support member 4234 may be pushed outward. In at least one such embodiment, the lateral support member 4234 may be attached to the cartridge body 4210 such that when the cartridge body 4210 bulges laterally as described above, the lateral support member 4234 As illustrated at 144, the cartridge body 4210 may be separated. In at least one embodiment, the transverse support member 4234 may be adhered to the cartridge body 4210 using at least one adhesive, such as fibrin and / or protein hydrogel. Similar to the above, the closure of the anvil 4240 may only partially deform the staple 4220, and the formation of the staple 4220 may include one or more through the staple cartridge 4200 as illustrated in FIG. It may be completed by advancement of the thread 4270. With reference to FIGS. 147 and 148, according to various embodiments, the sled 4270 can be advanced by the cutting member 4280 from the proximal end of the staple cartridge 4200 to the distal end of the staple cartridge 4200. In at least one such embodiment, the cutting member 4280 can include a cutting element or knife 4283 that can be advanced by the tissue T and / or the compressible cartridge body 4210. In some embodiments, the cutting member 4280 may include a cam member 4282 that can move along the outer surface of the jaws 4230 and 4240 to hold the jaws in place. As a result of the above, in various embodiments, the staples 4220 can be formed into their final shape at the same time or at least substantially simultaneously with the tissue T being incised. In at least one such embodiment, the sled 4270 may be positioned distally relative to the knife 4283 so that the tissue T is, for example, only when the treated portion of the tissue is fully stapled. An incision is made.
再び図147及び図148を参照し、様々な実施形態において、スレッド4270は、切断部材4280によって一緒に前進する、別個の摺動自在な部材を含み得る。少なくとも1つのこのような実施形態において、スレッド4270は、ステープルカートリッジ4200内に収容される場合があり、切断部材4280は発射バー4281によってステープルカートリッジ4200内に前進させられる場合があり、それによって切断部材4280がスレッド4270に係合し、スレッド4270を遠位方向に前進させる。いくつかの実施形態において、スレッド4270は、互いに接続され得る。いずれにせよ、各スレッド4270は、角度を有する表面又はカム4271を含む場合があり、これは、ステープル列内で位置合わせされたステープル4220を持ち上げるように構成され得る。いくつかの実施形態において、角度を有する表面4271は、切断部材4280と一体的に形成され得る。再び図147及び図148を参照し、少なくとも一実施形態において、各ステープル4200は、基部、基部から延びる少なくとも1つの変形可能な部材、並びに基部及び/又はステープル4200の変形可能な部材の少なくとも一部分の周囲にオーバーモールドされた及び/又は位置付けられた、クラウン4229を含む場合がある。様々な実施形態において、このようなクラウン4229は、例えば、スレッド4270によって直接駆動されるように構成され得る。より具体的に、少なくとも一実施形態において、ステープル4220のクラウン4229は、スレッド4270の角度を有する表面4271が下方で摺動し、その間にステープルドライバが位置付けられることなく、クラウン4229と直接接触するように構成される。このような実施形態において、各クラウン4229は、少なくとも1つの協働する角度を有する、又は傾いた表面を含む場合があり、これはスレッド4270の角度を有する表面4271と係合することがあり、スレッド4270がステープル4220の下で摺動する際に、協働する角度を有する表面がステープル4220を上方に駆動し得る。 Referring again to FIGS. 147 and 148, in various embodiments, the sled 4270 can include separate slidable members that are advanced together by a cutting member 4280. In at least one such embodiment, the sled 4270 may be housed within the staple cartridge 4200 and the cutting member 4280 may be advanced into the staple cartridge 4200 by the firing bar 4281, thereby cutting member. 4280 engages sled 4270 and advances sled 4270 distally. In some embodiments, the threads 4270 can be connected to each other. In any case, each sled 4270 may include an angled surface or cam 4271 that may be configured to lift the staple 4220 aligned within the staple row. In some embodiments, the angled surface 4271 can be integrally formed with the cutting member 4280. Referring again to FIGS. 147 and 148, in at least one embodiment, each staple 4200 includes a base, at least one deformable member extending from the base, and at least a portion of the base and / or deformable member of the staple 4200. May include a crown 4229 that is overmolded and / or positioned around. In various embodiments, such a crown 4229 can be configured to be driven directly by a sled 4270, for example. More specifically, in at least one embodiment, the crown 4229 of the staple 4220 is in direct contact with the crown 4229 without sliding the surface 4271 having the angle of the sled 4270 while the staple driver is positioned therebetween. Configured. In such an embodiment, each crown 4229 may include at least one cooperating angled or inclined surface that may engage a surface 4271 having an angle of the sled 4270; As the sled 4270 slides under the staple 4220, surfaces having cooperating angles may drive the staple 4220 upward.
ここで図146を参照し、様々な実施形態において、例えば、ステープルカートリッジ4300などのステープルカートリッジは、圧縮可能な本体4310及び圧縮可能な本体4310内に位置付けられる複数のステープル4320を含む場合がある。上記と同様に、ステープルカートリッジ4300は、可撓性の横方向の支持体4334を含む場合があり、これらは、ステープルカートリッジチャネルに取り付けられ及び/又は圧縮可能な本体4310に接着され得る。上記に加え、可撓性横方向支持体4334は、横方向支持体4334を一緒に保持するように構成され得る、1つ又は2つ以上の支材、又は接続部材4335によって一緒に接続され得る。使用中、接続部材4335は、横方向の支持体4334が、カートリッジ本体4310から時期尚早に分離されることを防ぐか、又は少なくとも抑制するように構成され得る。いくつかの実施形態において、接続部材4335は、ステープルカートリッジ4300がアンビルによって圧縮された後に、横方向支持体4334を一緒に保持するように構成され得る。このような実施形態において、横方向支持体4334は、カートリッジ本体4310の横方向部分の、横方向への膨らみ、又は変位に抵抗することがある。いくつかの実施形態において、例えば、切断部材4280などの切断部材は、切断部材4280が、カートリッジ本体4310内で遠位方向に動く際に、接続部材4335を横切するように構成され得る。少なくとも1つのこのような実施形態において、切断部材4280は、アンビルに対してステープル4320を形成するために、例えばスレッド4270などの1つ又は2つ以上のスレッドを遠位方向に押すように構成され得る。切断部材4280が切断部材4335を、この接続部材4335に隣接するステープル4320が、完全に形成されるか、又は少なくとも所望の高さに形成されるまで、横切しないように、スレッド4270は、切断部材4283を導くことができる。様々な状況において、接続部材4335は、横方向支持体4334と協働して、圧縮可能なカートリッジ本体4310の横方向の移動を防ぐか又は少なくとも低減することができ、かつ同時に、カートリッジ本体4310内に位置付けられたステープル4320の横方向の移動を防ぐか、又は少なくとも低減することができる。いくつかの状況において、接続部材4335は、ステープル4320を、これらが変形されるまで適所に保持することができ、接続部材4335はその後カートリッジ本体4310の横方向部分を解放するために切断され得る。上記のように、横方向支持体4334は、ステープルカートリッジチャネルに接続される場合があり、結果として、ステープルカートリッジ4300が埋め込まれた後に、ステープルカートリッジチャネルと共に、手術部位から取り外され得る。いくつかの実施形態において、横方向支持体4334は、埋め込み可能な材料を含む場合があり、手術部位に残される場合がある。少なくとも一実施形態において、接続部材4335は、カートリッジ本体4310と組織Tとの中間に位置付けられることがあり、接続部材4335が横方向支持体4334から分離された後に、接続部材4335は、患者の中に埋め込まれたままであり得る。少なくとも1つのこのような実施形態において、接続部材4335は、埋め込み可能な材料を含む場合があり、いくつかの実施形態において、接続部材4335は、例えば、横方向支持体4334と同じ材料を含み得る。様々な実施形態において、接続部材4335及び/又は横方向支持体4334は、商標名Vircylで販売されるポリグリコール酸(PGA)、ポリ乳酸(PLA又はPLLA)、ポリジオキサノン(PDS)、ポリヒドロキシアルカノエート(PHA)、商標名Monocrylで販売されるポリグレカプロン25(PGCL)、ポリカプロラクトン(PCL)、並びに/又はPGA、PLA、PDS、PHA、PGCL及び/若しくはPCLの混合物などの可撓性生吸収性材料を含み得る。様々な実施形態において、接続部材は、横方向支持体4334を接続する材料のシートを含む場合がある。いくつかの実施形態において、ステープルカートリッジは、カートリッジ本体4310の頂面にわたって延びる接続部材と、加えてカートリッジ本体4310の底面の周囲に延びる接続部材とを含み得る。 Referring now to FIG. 146, in various embodiments, a staple cartridge, such as, for example, staple cartridge 4300, may include a compressible body 4310 and a plurality of staples 4320 positioned within the compressible body 4310. Similar to above, the staple cartridge 4300 may include a flexible lateral support 4334 that may be attached to a staple cartridge channel and / or adhered to a compressible body 4310. In addition to the above, the flexible lateral support 4334 can be connected together by one or more struts, or connecting members 4335, which can be configured to hold the lateral support 4334 together. . In use, the connection member 4335 can be configured to prevent or at least inhibit the lateral support 4334 from being prematurely separated from the cartridge body 4310. In some embodiments, the connecting member 4335 can be configured to hold the lateral support 4334 together after the staple cartridge 4300 is compressed by the anvil. In such embodiments, the lateral support 4334 may resist lateral bulging or displacement of the lateral portion of the cartridge body 4310. In some embodiments, for example, a cutting member such as cutting member 4280 can be configured to traverse connecting member 4335 as cutting member 4280 moves distally within cartridge body 4310. In at least one such embodiment, cutting member 4280 is configured to push one or more sleds, such as sled 4270, distally to form staple 4320 relative to the anvil. obtain. The thread 4270 is cut so that the cutting member 4280 does not cross the cutting member 4335 until the staple 4320 adjacent to the connecting member 4335 is fully formed or at least formed to the desired height. The member 4283 can be guided. In various situations, the connecting member 4335 can cooperate with the lateral support 4334 to prevent or at least reduce lateral movement of the compressible cartridge body 4310 and at the same time within the cartridge body 4310. The lateral movement of the staple 4320 positioned at the end can be prevented or at least reduced. In some situations, the connecting member 4335 can hold the staples 4320 in place until they are deformed, and the connecting member 4335 can then be cut to release the lateral portion of the cartridge body 4310. As described above, the lateral support 4334 may be connected to the staple cartridge channel and, as a result, may be removed from the surgical site along with the staple cartridge channel after the staple cartridge 4300 is implanted. In some embodiments, the lateral support 4334 may comprise an implantable material and may be left at the surgical site. In at least one embodiment, the connection member 4335 may be positioned intermediate the cartridge body 4310 and the tissue T, and after the connection member 4335 has been separated from the lateral support 4334, the connection member 4335 may be positioned within the patient. Can remain embedded. In at least one such embodiment, the connection member 4335 may comprise an implantable material, and in some embodiments, the connection member 4335 may comprise the same material as the lateral support 4334, for example. . In various embodiments, the connecting member 4335 and / or the lateral support 4334 are polyglycolic acid (PGA), polylactic acid (PLA or PLLA), polydioxanone (PDS), polyhydroxyalkanoate sold under the trade name Vircyl. (PHA), polygrecapron 25 (PGCL), polycaprolactone (PCL) and / or a mixture of PGA, PLA, PDS, PHA, PGCL and / or PCL sold under the trade name Monocryl Sexual material may be included. In various embodiments, the connecting member may include a sheet of material that connects the lateral supports 4334. In some embodiments, the staple cartridge may include a connecting member that extends over the top surface of the cartridge body 4310 and a connecting member that extends around the bottom surface of the cartridge body 4310.
ここで図149を参照し、様々な実施形態において、ステープルカートリッジは、ステープル4420などのステープルを含む場合があり、これは、クラウン部分に挿入されたワイヤ部分を含み得る。少なくとも一実施形態において、ワイヤ部分は、例えば、チタン及び/ステンレス・スチールなどの金属、並びに/又は、例えば、ポリジオキサノン(PDS)及び/若しくはポリグリコール酸などのプラスチックを含むことができる。少なくとも一実施形態において、クラウン部分は、例えば、チタン及び/ステンレス・スチールなどの金属、並びに/又は、例えば、ポリジオキサノン(PDS)及び/又はポリグリコール酸などのプラスチックを含むことができる。いくつかの実施形態において、各ステープル4420のワイヤ部分は、基部4422及び基部4422から延びる変形可能な脚部4421を含む場合があり、各ステープル4420のクラウン部分は、基部4422の少なくとも一部分を内部に受容するように構成され得る、クラウン4429を含み得る。ここで図150A〜150Cを参照し、各ステープル4420の部分を組み立てるために、ワイヤ部分の脚部4421が、クラウン4429の開口部4426内に挿入される場合があり、開口部4426は、脚部4421を基部チャンバ4427に案内するように構成され得る。ワイヤ部分は更に、脚部4421が基部チャンバ4427を出て、ワイヤ部分の基部4422が基部チャンバ4427内に入るように、クラウン4429内に挿入され得る。少なくとも1つのこのような実施形態において、ステープル脚部4421が、上方向、又は少なくとも実質的に上方向を向くようにして、基部4422が基部チャンバ4427に入る際に、クラウン4429内でワイヤ部分が回転するように、基部チャンバ4427は構成され得る。再び図149を参照し、様々な実施形態において、クラウン4429は、内部にステープル脚部4421を受容するように構成され得る、出口孔4425を含む場合がある。 Referring now to FIG. 149, in various embodiments, a staple cartridge can include staples, such as staple 4420, which can include a wire portion inserted into a crown portion. In at least one embodiment, the wire portion can comprise a metal such as, for example, titanium and / or stainless steel, and / or a plastic such as, for example, polydioxanone (PDS) and / or polyglycolic acid. In at least one embodiment, the crown portion can comprise a metal, such as, for example, titanium and / or stainless steel, and / or a plastic, such as, for example, polydioxanone (PDS) and / or polyglycolic acid. In some embodiments, the wire portion of each staple 4420 may include a base 4422 and a deformable leg 4421 extending from the base 4422, with the crown portion of each staple 4420 having at least a portion of the base 4422 therein. A crown 4429 may be included that may be configured to receive. Referring now to FIGS. 150A-150C, a wire portion leg 4421 may be inserted into the opening 4426 of the crown 4429 to assemble the portion of each staple 4420, the opening 4426 being a leg portion. 4421 may be configured to guide the base chamber 4427. The wire portion may further be inserted into the crown 4429 such that the leg 4421 exits the base chamber 4427 and the wire portion base 4422 enters the base chamber 4427. In at least one such embodiment, the wire portion is within crown 4429 as base 4422 enters base chamber 4427 such that staple legs 4421 are directed upward, or at least substantially upward. The base chamber 4427 can be configured to rotate. Referring again to FIG. 149, in various embodiments, the crown 4429 may include an exit hole 4425 that can be configured to receive the staple legs 4421 therein.
上記に加え、様々な実施形態において、外科用ステープラーは、ステープルカートリッジ4400及びステープルカートリッジチャネル4430を横切し、カートリッジ本体4410内に収容されたステープル4420をアンビルの方に動かすように構成されたスレッド4470を含む場合がある。様々な状況において、スレッド4470は、カートリッジ本体4410及びステープル4420を埋め込むために、ステープルカートリッジチャネル4430の近位端から、カートリッジチャネル4430の遠位端へと動かされる場合がある。いくつかの状況において、スレッド4470は、カートリッジチャネル4430の近位端に後退するか又は戻される場合があり、別のステープルカートリッジ4400は、カートリッジチャネル4430内に挿入される場合がある。一度新しいステープルカートリッジ4400が、カートリッジチャネル4430内に位置付けられると、スレッド4470は、再び遠位方向に前進し得る。様々な実施形態において、外科用ステープラーは、新しいカートリッジ4400がカートリッジチャネル4430内に位置付けられることなく、スレッド4470が遠位方向に再び前進することを防ぎ得る、1つ又は2つ以上のロックアウト機構を含む場合がある。再び図149を参照し、少なくとも1つのこのような実施形態において、ステープルカートリッジチャネル4430は、スレッド4470の遠位方向の動きを防ぐか、又は少なくとも制限するように構成され得る、ロックアウト肩部4439を含み得る。より具体的に、スレッド4470は、ステープルカートリッジ4400内で、最近位ステープル4420の間で延びる、持ち上げ機構4428によって、スレッド4470が肩部4439の上で少なくとも部分的に上方に持ち上げられない限り、肩部4439に隣接するように構成され得る。換言すれば、新しいステープルカートリッジ4400内の最近位ステープル4420の存在がない限り、ステープル4470は前進することができない。したがって、拡張したステープルカートリッジ4400がカートリッジチャネル4430内に存在するとき、又はステープルカートリッジ4400が、カートリッジチャネル4430内に全く存在しない場合、スレッド4470は、カートリッジチャネル4430内で前進し得ない。 In addition to the above, in various embodiments, the surgical stapler is configured to traverse the staple cartridge 4400 and the staple cartridge channel 4430 and to move the staple 4420 contained within the cartridge body 4410 toward the anvil. 4470 may be included. In various situations, sled 4470 may be moved from the proximal end of staple cartridge channel 4430 to the distal end of cartridge channel 4430 to embed cartridge body 4410 and staple 4420. In some situations, the sled 4470 may be retracted or returned to the proximal end of the cartridge channel 4430 and another staple cartridge 4400 may be inserted into the cartridge channel 4430. Once a new staple cartridge 4400 is positioned in the cartridge channel 4430, the sled 4470 can be advanced distally again. In various embodiments, the surgical stapler can include one or more lockout mechanisms that can prevent the sled 4470 from re-advancing in the distal direction without the new cartridge 4400 being positioned within the cartridge channel 4430. May be included. Referring again to FIG. 149, in at least one such embodiment, the staple cartridge channel 4430 may be configured to prevent or at least limit distal movement of the sled 4470. Can be included. More specifically, the sled 4470 extends between the proximal staples 4420 within the staple cartridge 4400 unless the sled 4470 is lifted at least partially above the shoulder 4439 by a lifting mechanism 4428. It may be configured to be adjacent to portion 4439. In other words, the staple 4470 cannot advance unless there is a nearest staple 4420 in the new staple cartridge 4400. Thus, the sled 4470 cannot advance within the cartridge channel 4430 when the expanded staple cartridge 4400 is present within the cartridge channel 4430 or when no staple cartridge 4400 is present within the cartridge channel 4430.
図151を参照し、上記に加え、例えば、ステープルカートリッジ4500などのステープルカートリッジは、ステープルカートリッジチャネル4530内に位置付けられる場合があり、圧縮カートリッジ本体4510、カートリッジ本体4510内に位置付けられた複数のステープル4520、及びカートリッジパン又は保持具4580を含み得る。様々な実施形態において、圧縮可能なカートリッジ本体4510は、外層4511及び内層4512を含む場合があり、少なくとも一実施形態において、外層4511は、内層4512を封止しながら閉鎖し得る。少なくとも1つのこのような実施形態において、外層4511は、内層4512とカートリッジパン4580との間で延びることがある。いくつかの他の実施形態において、外層4511は、内層4512を部分的にのみ囲む場合があり、少なくとも1つのこのような実施形態において、外層4511及びカートリッジパン4580は、協働して、内層4512を包囲するか、又は少なくとも実質的に包囲する。上記に加え、様々な実施形態において、ステープル4520は、カートリッジパン4580により支持される場合があり、カートリッジパン4580は、ステープル4520を支持するように構成された1つ又は2つ以上のステープル支持チャネルを含み得る。いくつかの実施形態において、カートリッジパン4580は、カートリッジ本体4510に取り付けられることがあり、少なくとも1つのこのような実施形態において、カートリッジ本体4510は、カートリッジパン4580の対向する側壁の間で横方向に圧縮される場合がある。様々な実施形態において、カートリッジパン4580の側壁は、カートリッジ本体4510を横方向に支持することができ、少なくとも1つのこのような実施形態において、カートリッジパン4580は、下方支持体4583からカートリッジ本体4510まで上方に延びる1つ又は2つ以上の壁部又はフィン4582を含む場合がある。少なくとも1つのこのような実施形態において、カートリッジ本体4510は、内部に1つ又は2つ以上のスロット又はチャネルを含む場合があり、これらは壁部4582を受容する、及び/又はこれと連結するように構成され得る。様々な実施形態において、壁部4582は、カートリッジ本体4510を通じて部分的に又はほぼ全体的に延びる場合がある。少なくとも1つのこのような実施形態において、壁部4582は、ステープルの第1列4520と、ステープルの第2列4520との間で、ステープルカートリッジ4500を通じて長手方向に延びる場合がある。 Referring to FIG. 151, in addition to the above, a staple cartridge such as, for example, staple cartridge 4500 may be positioned within staple cartridge channel 4530 and a plurality of staples 4520 positioned within compression cartridge body 4510 and cartridge body 4510. , And a cartridge pan or holder 4580. In various embodiments, the compressible cartridge body 4510 can include an outer layer 4511 and an inner layer 4512, and in at least one embodiment, the outer layer 4511 can be closed while sealing the inner layer 4512. In at least one such embodiment, the outer layer 4511 may extend between the inner layer 4512 and the cartridge pan 4580. In some other embodiments, outer layer 4511 may only partially surround inner layer 4512, and in at least one such embodiment, outer layer 4511 and cartridge pan 4580 cooperate to form inner layer 4512. Or at least substantially. In addition to the above, in various embodiments, the staple 4520 may be supported by a cartridge pan 4580, which is configured to support one or more staple support channels configured to support the staple 4520. Can be included. In some embodiments, the cartridge pan 4580 may be attached to the cartridge body 4510, and in at least one such embodiment, the cartridge body 4510 is laterally between the opposing sidewalls of the cartridge pan 4580. May be compressed. In various embodiments, the sidewalls of the cartridge pan 4580 can support the cartridge body 4510 laterally, and in at least one such embodiment, the cartridge pan 4580 extends from the lower support 4583 to the cartridge body 4510. It may include one or more walls or fins 4582 extending upward. In at least one such embodiment, the cartridge body 4510 may include one or more slots or channels therein to receive and / or couple to the wall 4582. Can be configured. In various embodiments, the wall 4582 may extend partially or substantially entirely through the cartridge body 4510. In at least one such embodiment, the wall 4582 may extend longitudinally through the staple cartridge 4500 between the first row of staples 4520 and the second row of staples 4520.
様々な実施形態において、カートリッジ本体4510及び/又はカートリッジパン4580は、協働する保持機構を含む場合があり、これらは、カートリッジパン4580とカートリッジ本体4510との間にスナップ嵌めを提供する場合がある。いくつかの実施形態において、ステープルカートリッジ4500は、カートリッジチャネル4530内に位置付けられる場合があり、それによってカートリッジパン4580は、カートリッジチャネル4530に対して位置付けられるか、及び/又はこれに取り付けられる。少なくとも一実施形態において、カートリッジパン4580は、カートリッジチャネル4530に分離可能に連結される場合があり、それにより、ステープルカートリッジ4500がアンビル4540によって圧縮されて、ステープル4520が変形された後、カートリッジパン4580は、カートリッジチャネル4530から分離されることがあり、カートリッジ本体4510と共に埋め込まれることがある。少なくとも1つのこのような実施形態において、カートリッジパン4580は、商標名Vircylで販売されるポリグリコール酸(PGA)、ポリ乳酸(PLA又はPLLA)、ポリジオキサノン(PDS)、ポリヒドロキシアルカノエート(PHA)、商標名Monocrylで販売されるポリグレカプロン25(PGCL)、ポリカプロラクトン(PCL)、並びに/又はPGA、PLA、PDS、PHA、PGCL及び/若しくはPCLの混合物などの生吸収性材料を含み得る。いくつかの実施形態において、外科用ステープラーは、ステープルカートリッジチャネル4530と、カートリッジパン4580上の底部駆動表面との中間で摺動され得る、発射機構及び/又はドライバを更に含む場合があり、これは、カートリッジパン4580を、カートリッジチャネル4530から持ち上げるか、又は発射するように構成され得る。いくつかの実施形態において、カートリッジ本体4510は、カートリッジパン4580に分離可能に連結されることがあり、それによって、ステープルカートリッジ4500がアンビル4540によって圧縮され、ステープル4520が変形された後にカートリッジ本体4510がカートリッジパン4580から分離され得る。少なくとも1つのこのような実施形態において、カートリッジパン4580は、カートリッジチャネル4530としっかりと係合したままであり、それにより、カートリッジパン4580は、カートリッジチャネル4530と共に手術部位から取り外される。いくつかの実施形態において、外科用ステープラーは、ステープルカートリッジパン4580と、カートリッジパン4510上の底部駆動表面との中間で摺動され得る、発射機構及び/又はドライバを更に含む場合があり、これは、カートリッジ本体4510を、カートリッジパン4580から持ち上げるか、又は排出するように構成され得る。少なくとも1つのこのような実施形態において、ステープルカートリッジ4500は、カートリッジパン4580とステープル4520との中間に位置付けられたステープルドライバを更に含む場合があり、それにより、発射機構が遠位方向に摺動する際に、ステープルドライバ及びステープル4520がアンビルに向かって上方に駆動され得る。少なくとも1つのこのような実施形態において、ステープルドライバは、少なくとも一部分が圧縮可能なカートリッジ本体4510内に埋め込まれ得る。 In various embodiments, the cartridge body 4510 and / or the cartridge pan 4580 may include cooperating retention mechanisms, which may provide a snap fit between the cartridge pan 4580 and the cartridge body 4510. . In some embodiments, the staple cartridge 4500 may be positioned within the cartridge channel 4530 such that the cartridge pan 4580 is positioned relative to and / or attached to the cartridge channel 4530. In at least one embodiment, the cartridge pan 4580 may be detachably coupled to the cartridge channel 4530 so that after the staple cartridge 4500 is compressed by the anvil 4540 and the staple 4520 is deformed, the cartridge pan 4580. May be separated from the cartridge channel 4530 and embedded with the cartridge body 4510. In at least one such embodiment, cartridge pan 4580 includes polyglycolic acid (PGA), polylactic acid (PLA or PLLA), polydioxanone (PDS), polyhydroxyalkanoate (PHA) sold under the trade name Vircyl, It may include bioabsorbable materials such as polygrecapron 25 (PGCL), polycaprolactone (PCL) and / or mixtures of PGA, PLA, PDS, PHA, PGCL and / or PCL sold under the trade name Monocryl. In some embodiments, the surgical stapler may further include a firing mechanism and / or driver that can be slid between the staple cartridge channel 4530 and the bottom drive surface on the cartridge pan 4580, which is The cartridge pan 4580 can be configured to lift or fire from the cartridge channel 4530. In some embodiments, the cartridge body 4510 may be detachably coupled to the cartridge pan 4580 such that the staple cartridge 4500 is compressed by the anvil 4540 and the cartridge body 4510 is deformed after the staple 4520 is deformed. It can be separated from the cartridge pan 4580. In at least one such embodiment, the cartridge pan 4580 remains securely engaged with the cartridge channel 4530 so that the cartridge pan 4580 is removed from the surgical site along with the cartridge channel 4530. In some embodiments, the surgical stapler may further include a firing mechanism and / or driver that can be slid between the staple cartridge pan 4580 and the bottom drive surface on the cartridge pan 4510, which is The cartridge body 4510 can be configured to lift or eject from the cartridge pan 4580. In at least one such embodiment, the staple cartridge 4500 may further include a staple driver positioned intermediate the cartridge pan 4580 and the staple 4520, thereby causing the firing mechanism to slide distally. In the meantime, the staple driver and staple 4520 can be driven upward toward the anvil. In at least one such embodiment, the staple driver may be embedded within a cartridge body 4510 that is at least partially compressible.
上記と同様に、様々な実施形態において、ステープルカートリッジ4500は、非発射ステープルカートリッジ4500がステープルカートリッジチャネル4530内に位置付けられない限り、切断部材の遠位方向の移動を防ぐか又は少なくとも制限するように構成され得る、ロックアウト機構を含み得る。いくつかの実施形態において、ステープルカートリッジパン4580は、例えば、ステープルカートリッジチャネル4530内で切断部材を上方に、かつ固定表面の上に持ち上げる、表面を含む場合がある。カートリッジパン4580を含むステープルカートリッジ4500が、カートリッジチャネル4530内に存在しない場合、切断部材は前進し得ない。少なくとも1つの実施形態において、ステープルカートリッジ4500内の最近位ステープル、及び/又は他の任意の好適なステープルは、固定表面の上で切断部材を十分に持ち上げることができる、持ち上げ表面を含み得る。上記に加え、又はその代わりに、ステープルカートリッジ4500の様々な部分が、異なる色を有する材料を含み得る。このような実施形態において、外科医は非発射及び/又は発射されたステープルカートリッジが、ステープルカートリッジチャネル4530内に存在するときに、これを視覚的に特定することができる場合がある。少なくとも1つのこのような実施形態において、カートリッジ本体4510の外層4511は、第1の色を有することがあり、カートリッジパン4580は、第2の色を有することがあり、ステープルカートリッジチャネル4530は、第3の色を有することがある。外科医が第1の色を見るとき、外科医は非発射のカートリッジ4500がステープルカートリッジチャネル4530内に存在することを知ることがあり、外科医が第2の色を見るとき、外科医は、発射されたカートリッジ4500がステープルカートリッジチャネル4530内に存在し、残っているカートリッジパン4580が取り外される必要があることを知ることがあり、外科医が第3の色を見るとき、外科医は、ステープルカートリッジ4500のいずれの部分も、カートリッジチャネル4530内に残っていないことを知ることがある。 As above, in various embodiments, the staple cartridge 4500 prevents or at least limits distal movement of the cutting member unless the non-fired staple cartridge 4500 is positioned within the staple cartridge channel 4530. A lockout mechanism may be included that may be configured. In some embodiments, the staple cartridge pan 4580 may include a surface that, for example, lifts the cutting member up and above the fixed surface within the staple cartridge channel 4530. If a staple cartridge 4500 containing a cartridge pan 4580 is not present in the cartridge channel 4530, the cutting member cannot advance. In at least one embodiment, the proximal staples in staple cartridge 4500, and / or any other suitable staple, can include a lifting surface that can sufficiently lift the cutting member over the fixed surface. In addition to or in lieu of the above, various portions of the staple cartridge 4500 can include materials having different colors. In such an embodiment, the surgeon may be able to visually identify an unfired and / or fired staple cartridge when present in the staple cartridge channel 4530. In at least one such embodiment, the outer layer 4511 of the cartridge body 4510 may have a first color, the cartridge pan 4580 may have a second color, and the staple cartridge channel 4530 may have a first color. May have 3 colors. When the surgeon looks at the first color, the surgeon may know that an unfired cartridge 4500 is present in the staple cartridge channel 4530, and when the surgeon looks at the second color, the surgeon will see the fired cartridge When the 4500 is present in the staple cartridge channel 4530 and the remaining cartridge pan 4580 needs to be removed and the surgeon sees the third color, the surgeon will see which part of the staple cartridge 4500 May know that it does not remain in the cartridge channel 4530.
図152を参照し、様々な実施形態において、例えば、ステープルカートリッジ4600などのステープルカートリッジは、圧縮可能な、埋め込み可能なカートリッジ本体4610、及び内部に位置付けられた複数のステープル4620を含む場合がある。カートリッジ本体4610は、外層4611、及び内層4612を含む場合がある。いくつかの実施形態において、内層4612は、内部に画定された、複数のポケット、例えば、ポケット又は空洞4615を含む場合があり、これは、カートリッジ本体4610の折り畳みを促進し得る。少なくとも1つのこのような実施形態において、内層4612は、波形の又は蜂の巣状の格子を含む場合があり、圧縮力又は圧力が一定の閾値を超えない限りにおいて、圧縮力又は圧力に耐えるように構成され得る。閾値を超えていないとき、内層4612は、適用される圧縮力又は圧力に対して、線形又は少なくとも実質的に線形の割合で変形し得る。圧縮力又は圧力が閾値を超えた後、内層4612は、圧縮負荷の結果として、突然、大きな屈曲及び折り畳み、又は座屈を被る場合がある。様々な実施形態において、内層4612の格子は、一緒に接続され得る複数の副層4612aを含み得る。少なくとも一実施形態において、各副層4612aは、複数の交互のわだち及び隆起部、又は波形部を含む場合があり、これは、隣接する交互の副層4612aのわだち及び隆起部と位置合わせされ得る。少なくとも1つのこのような実施形態において、第1副層4612aのわだちが、第2副層4612aの隆起部と隣接するように位置付けられる場合があり、同様に、第1副層4612aの隆起部は、第2副層4612aのわだちと隣接するように位置付けられ得る。様々な実施形態において、隣接する副層4612aは、例えば、繊維素及び/又はタンパク質ヒドロゲルなどの少なくとも1つの接着剤によって、互いに及び/又は外層4611に接着され得る。図153は、カートリッジ本体4610に対して組織Tを捕捉及び保持するために、カートリッジ本体4610が折り畳まれ、ステープル4620が変形した後の、ステープルカートリッジ4600を例示する。 Referring to FIG. 152, in various embodiments, a staple cartridge, such as, for example, staple cartridge 4600, may include a compressible, implantable cartridge body 4610 and a plurality of staples 4620 positioned therein. The cartridge body 4610 may include an outer layer 4611 and an inner layer 4612. In some embodiments, the inner layer 4612 may include a plurality of pockets, eg, pockets or cavities 4615, defined therein, which may facilitate folding of the cartridge body 4610. In at least one such embodiment, the inner layer 4612 may comprise a corrugated or honeycomb lattice and is configured to withstand the compressive force or pressure as long as the compressive force or pressure does not exceed a certain threshold. Can be done. When the threshold is not exceeded, the inner layer 4612 may deform in a linear or at least substantially linear ratio to the applied compressive force or pressure. After the compressive force or pressure exceeds the threshold, the inner layer 4612 may suddenly undergo large bending and folding, or buckling as a result of compressive loading. In various embodiments, the lattice of the inner layer 4612 can include multiple sublayers 4612a that can be connected together. In at least one embodiment, each sublayer 4612a may include a plurality of alternating ridges and ridges, or corrugations, which can be aligned with the adjacent alternating sublayer 4612a ridges and ridges. . In at least one such embodiment, the edges of the first sublayer 4612a may be positioned adjacent to the ridges of the second sublayer 4612a, and similarly, the ridges of the first sublayer 4612a may be The second sublayer 4612a may be positioned adjacent to the rudder. In various embodiments, adjacent sublayers 4612a can be adhered to each other and / or to outer layer 4611 by at least one adhesive, such as, for example, fibrin and / or protein hydrogels. FIG. 153 illustrates the staple cartridge 4600 after the cartridge body 4610 has been folded and the staple 4620 has been deformed to capture and retain the tissue T against the cartridge body 4610.
図154〜156を参照し、様々な実施形態において、例えば、ステープルカートリッジ4700などのステープルカートリッジは、圧縮可能な、埋め込み可能なカートリッジ本体4710、及びカートリッジ本体4710内に位置付けられる複数のステープル4720を含み得る。上記と同様に、カートリッジ本体4710は、外層4711及び内層4712を含む場合があり、内層4712は、複数の副層4712aを含み得る。上記と同様に、各副層4712aは、交互のわだち4717及び隆起部4718を含む場合があり、これらはその間にポケット又は空洞4715を画定するために、互いに位置合わせされ得る。少なくとも1つのこのような実施形態において、わだち4717及び/又は隆起部4718は、互いに平行であり及び/又は長手方向軸4709と平行である軸に沿って延び得る。様々な実施形態において、ステープル4720は、互いに平行であり及び/又は長手方向軸4709と平行である軸に沿って延び得る複数のステープル列内に位置合わせされることがある。図152及び図153を参照し、様々な代替的実施形態において、カートリッジ本体4600内に収容されるステープル4620は、副層4612aのわだち及び隆起部によって画定される軸に対して横方向又は垂直である、軸に沿って延びることがある。図154〜156を再び参照し、ステープル4720は、わだち4717及び隆起部4718を通じて延びることがあり、ステープル4720と副層4712aの間の摩擦力が、カートリッジ本体4710内のステープル4720を保持し得る。いくつかの実施形態において、複数の副層4712aは、バットレス材料及び/又はプラスチック材料、例えば、ポリジオキサノン(PDS)及び/又はポリグリコール酸(PGA)などを含む場合があり、これは、例えば、図154及び図155に例示されるように、ステープル4720を直立向きに保持し及び/又はステープル4720を、互いに対して位置合わせするように構成され得る。図156は、カートリッジ本体4710に対して組織Tを捕捉及び保持するために、カートリッジ本体4710が折り畳まれ、ステープル4720が変形した後の、ステープルカートリッジ4700を例示する。 With reference to FIGS. 154-156, in various embodiments, a staple cartridge, such as, for example, staple cartridge 4700 includes a compressible, implantable cartridge body 4710 and a plurality of staples 4720 positioned within the cartridge body 4710. obtain. Similar to the above, the cartridge body 4710 may include an outer layer 4711 and an inner layer 4712, and the inner layer 4712 may include a plurality of sublayers 4712a. Similar to the above, each sub-layer 4712a may include alternating grooves 4717 and ridges 4718, which may be aligned with each other to define a pocket or cavity 4715 therebetween. In at least one such embodiment, the ridges 4717 and / or ridges 4718 may extend along axes that are parallel to each other and / or parallel to the longitudinal axis 4709. In various embodiments, the staples 4720 may be aligned within a plurality of staple rows that may extend along an axis that is parallel to each other and / or parallel to the longitudinal axis 4709. Referring to FIGS. 152 and 153, in various alternative embodiments, the staples 4620 contained within the cartridge body 4600 are transverse or perpendicular to the axis defined by the ridges and ridges of the sublayer 4612a. May extend along an axis. Referring again to FIGS. 154-156, the staple 4720 may extend through the rut 4717 and the ridge 4718, and the frictional force between the staple 4720 and the sublayer 4712 a may hold the staple 4720 within the cartridge body 4710. In some embodiments, the plurality of sublayers 4712a may include a buttress material and / or a plastic material, such as polydioxanone (PDS) and / or polyglycolic acid (PGA), for example, FIG. As illustrated in 154 and FIG. 155, the staples 4720 may be configured to hold upright and / or align the staples 4720 relative to each other. FIG. 156 illustrates the staple cartridge 4700 after the cartridge body 4710 has been folded and the staple 4720 has been deformed to capture and retain the tissue T against the cartridge body 4710.
再び図154〜156を参照し、様々な実施形態において、カートリッジ本体4710は、これが圧縮されるときに、弾力的に又は弾性的に折り畳み得る。少なくとも1つのこのような実施形態において、わだち4717及び隆起部4718によって各副層4712a内で形成される波形部は、カートリッジ本体4710が圧縮されたときに平坦化するか、又は少なくとも実質的に平坦化され得、これは、その間に画定される空洞4715を折り畳むか、又は少なくとも実質的に折り畳み得る。様々な状況において、カートリッジ本体4710又はカートリッジ本体4710の少なくとも部分が、圧縮力又は圧力が、カートリッジ本体4710から取り外された後に弾力的又は弾性的に再拡張し得る。少なくとも1つのこのような実施形態において、カートリッジ本体4710が圧縮されるときに、隣接する副層4712aのわだち4717と隆起部4718との間の接続が、無傷又は実質的に無傷のままであり得、その結果、圧縮力がカートリッジ本体4710から取り外された後に、副層4712aは、これら自体を互いから離すように付勢し、結果としてカートリッジ本体4710を少なくとも部分的に再拡張し得る。いくつかの実施形態において、カートリッジ本体4710は、これが圧縮されたときに、塑性的に変形又は圧壊することがあり、その結果、カートリッジ本体4710は、圧縮力又は圧力がカートリッジ本体4710から取り外された後に再拡張しないことがある。図157を参照し、いくつかの実施形態において、例えば、ステープルカートリッジ4800などのステープルカートリッジは、外層4811及び内層4812を含む、圧壊可能なカートリッジ本体4810を含む場合があり、内層4812は、内部に画定された複数のポケット又は空洞4815を有する、波形の、蜂の巣状の格子を含む場合がある。様々な実施形態において、内層4812の格子を画定する壁部は、1つ又は2つ以上の弱化した、又は薄い断面4819を含むことがあり、これらは、カートリッジ本体4810が圧縮される際に、格子を画定する壁部が破断することを可能にするように構成され得る。このような状況において、カートリッジ本体4810は、ステープルカートリッジ4800が埋め込まれる際に圧壊し得る。 Referring again to FIGS. 154-156, in various embodiments, the cartridge body 4710 can be elastically or elastically folded when it is compressed. In at least one such embodiment, the corrugations formed in each sublayer 4712a by the ridges 4717 and ridges 4718 are flattened or at least substantially flat when the cartridge body 4710 is compressed. This may fold or at least substantially fold the cavity 4715 defined therebetween. In various situations, the cartridge body 4710 or at least a portion of the cartridge body 4710 may re-expand elastically or elastically after the compressive force or pressure is removed from the cartridge body 4710. In at least one such embodiment, when the cartridge body 4710 is compressed, the connection between the rut 4717 and the ridge 4718 of the adjacent sublayer 4712a can remain intact or substantially intact. As a result, after the compressive force is removed from the cartridge body 4710, the sublayers 4712a may urge themselves away from each other, resulting in at least partial reexpansion of the cartridge body 4710. In some embodiments, the cartridge body 4710 may plastically deform or collapse when it is compressed, so that the cartridge body 4710 is freed of compression force or pressure from the cartridge body 4710. May not re-expand later. Referring to FIG. 157, in some embodiments, a staple cartridge, such as, for example, a staple cartridge 4800, can include a collapsible cartridge body 4810 that includes an outer layer 4811 and an inner layer 4812, with the inner layer 4812 disposed therein. May include a corrugated honeycomb lattice having a plurality of pockets or cavities 4815 defined. In various embodiments, the walls that define the lattice of the inner layer 4812 may include one or more weakened or thin cross sections 4819 that, when the cartridge body 4810 is compressed. It may be configured to allow the walls defining the grid to break. Under such circumstances, the cartridge body 4810 can collapse when the staple cartridge 4800 is implanted.
様々な実施形態において、ここで図158〜160を参照し、例えば、ステープルカートリッジ4900などのステープルカートリッジは、外層4911、及び外層4911の上部と下部との中間に位置付けられる複数の圧壊可能な用語4912を含むカートリッジ本体4910を含み得る。主に図158及び図159を参照し、ステープルカートリッジ4900は、複数のステープル4920を更に含む場合があり、各ステープル4920は、圧壊可能な要素4912内に位置付けられることがある。より具体的に、各折り畳み可能な要素4912は、第1部分4912a、第2部分4012b、及び第3部分4012cを含む場合があり、これらは協働して内部に空洞4915を画定し、これはステープル4920を受容するように構成される。上記に加え、使用中、ステープルカートリッジ4900は、ステープルカートリッジチャネル内に位置付けられ、カートリッジ本体4910を圧縮するために、組織接触表面4919に圧縮力が適用され得る。組織接触表面4919が下方に動かされると、折り畳み可能な要素4912が折り畳まれ得る。このような状況において、折り畳み可能要素4912の第2部分4912bは、対応する第1部分4912aへと折り畳まれることができ、同様に、各折り畳み可能な要素4912の第3部分4912cは、対応する第2部分4912bに折り畳まれることができる。カートリッジ本体4910が圧縮され、折り畳み可能な要素4912が折り畳まれるとき、折り畳み可能な要素4912内に位置付けられるステープル4920は、図160に例示されるように変形され得る。様々な実施形態において、各折り畳み可能な要素4912の第2部分4912bは、対応する第1部分4912a内に摩擦しながら係合及び/又は圧力嵌めされることがあり、それによって、一度折り畳み可能な要素4912に適用される圧縮力が、第1部分4912a及び第2部分4912bをその延長位置(図159)に保持する保持力を超えると、第1部分4912a及び第2部分4912bは、互いに対して摺動し始める。同様に、各折り畳み可能な要素4912の第3部分4912cは、対応する第2部分4912b内に摩擦しながら係合及び/又は圧力嵌めされることがあり、それによって、一度折り畳み可能な要素4912に適用される圧縮力が、第1部分4912b及び第2部分4912cをその延長位置(図159)に保持する保持力を超えると、第2部分4912b及び第3部分4912cは、互いに対して摺動し始める。 In various embodiments, referring now to FIGS. 158-160, a staple cartridge, such as, for example, staple cartridge 4900, includes an outer layer 4911 and a plurality of collapsible terms 4912 positioned intermediate the upper and lower portions of the outer layer 4911. A cartridge body 4910 can be included. Referring primarily to FIGS. 158 and 159, the staple cartridge 4900 may further include a plurality of staples 4920, and each staple 4920 may be positioned within a collapsible element 4912. More specifically, each foldable element 4912 may include a first portion 4912a, a second portion 4012b, and a third portion 4012c, which cooperate to define a cavity 4915 therein, which Configured to receive staple 4920. In addition to the above, in use, the staple cartridge 4900 can be positioned within the staple cartridge channel and a compressive force applied to the tissue contacting surface 4919 to compress the cartridge body 4910. As the tissue contacting surface 4919 is moved downward, the foldable element 4912 can be folded. In such a situation, the second portion 4912b of the foldable element 4912 can be folded into the corresponding first portion 4912a, and similarly, the third portion 4912c of each foldable element 4912 is the corresponding first portion 4912c. Can be folded into two portions 4912b. When the cartridge body 4910 is compressed and the foldable element 4912 is folded, the staple 4920 positioned within the foldable element 4912 can be deformed as illustrated in FIG. In various embodiments, the second portion 4912b of each foldable element 4912 may be frictionally engaged and / or pressure-fitted into the corresponding first portion 4912a so that it can be folded once. When the compressive force applied to the element 4912 exceeds the holding force that holds the first portion 4912a and the second portion 4912b in their extended position (FIG. 159), the first portion 4912a and the second portion 4912b are relative to each other. Start sliding. Similarly, the third portion 4912c of each foldable element 4912 may be frictionally engaged and / or pressure-fitted within the corresponding second portion 4912b, thereby causing the foldable element 4912 to be once folded. When the applied compressive force exceeds the holding force that holds the first portion 4912b and the second portion 4912c in their extended position (FIG. 159), the second portion 4912b and the third portion 4912c slide relative to each other. start.
本明細書において記載される多くの実施形態において、ステープルカートリッジは、内部に複数のステープルを含む場合がある。様々な実施形態において、このようなステープルは、2つのステープル脚部を有する実質的にU字型の構成に変形される金属ワイヤを含むことがある。ステープルが、3つ以上のステープル脚部を有する、一緒に結合された2つ以上のワイヤなどの異なる構成を含み得る、他の実施形態が想到される。様々な実施形態において、ステープルを形成するために使用される、ワイヤが、丸い、又は少なくとも実質的に丸い断面を含み得る。少なくとも一実施形態において、ステープルワイヤは、例えば、正方形及び/又は矩形の断面などの、他の任意の好適な断面を含み得る。いくつかの実施形態において、ステープルは、プラスチックワイヤを含む場合がある。少なくとも一実施形態において、ステープルは、プラスチックコーティングされた金属ワイヤを含み得る。様々な実施形態において、カートリッジは、ステープルに加えて、又はその代わりに、任意の好適な種類の締結具を含む場合がある。少なくとも1つのこのような実施形態において、このような締結具は、アンビルと係合する際に折られ得る、枢動可能なアームを含む場合がある。いくつかの実施形態において、二部構成の締結具が使用され得る。少なくとも1つのこのような実施形態において、ステープルカートリッジは、複数の第1締結部分を含む場合があり、アンビルは、アンビルがステープルカートリッジに対して圧縮される際に、第1締結部分に接続される、複数の第2締結部分を含む場合がある。上記のように、いくつかの実施液体において、スレッド又はドライバは、ステープルの形成プロセスを完了するために、ステープルカートリッジ内で前進し得る。いくつかの実施形態において、スレッド又はドライバは、1つ又は2つ以上の形成部材を、内部に位置付けられた、対向するステープルカートリッジ及びステープル又は締結具と係合するように、下方に動かすために、アンビル内で前進し得る。 In many embodiments described herein, the staple cartridge may include a plurality of staples therein. In various embodiments, such staples may include a metal wire that is deformed into a substantially U-shaped configuration having two staple legs. Other embodiments are contemplated in which the staple may include different configurations such as two or more wires joined together having three or more staple legs. In various embodiments, the wire used to form the staple can include a round or at least substantially round cross-section. In at least one embodiment, the staple wire may include any other suitable cross section, such as, for example, a square and / or rectangular cross section. In some embodiments, the staple may include a plastic wire. In at least one embodiment, the staple may include a plastic-coated metal wire. In various embodiments, the cartridge may include any suitable type of fastener in addition to or instead of staples. In at least one such embodiment, such a fastener may include a pivotable arm that can be folded upon engagement with the anvil. In some embodiments, a two-part fastener may be used. In at least one such embodiment, the staple cartridge may include a plurality of first fastening portions, and the anvil is connected to the first fastening portion when the anvil is compressed against the staple cartridge. In some cases, a plurality of second fastening portions are included. As noted above, in some implementation liquids, the sled or driver may be advanced within the staple cartridge to complete the staple forming process. In some embodiments, the sled or driver moves one or more forming members downwardly to engage opposing staple cartridges and staples or fasteners positioned therein. You can move forward in the anvil.
本明細書において記載される様々な実施形態において、ステープルカートリッジは、内部に保存された4列のステープルを含み得る。少なくとも一実施形態において、4つのステープル列は、2つの内側ステープル列、及び2つの外側ステープル列に構成され得る。少なくとも1つのこのような実施形態において、内側ステープル及び外側ステープル列は、ステープルカートリッジ内の切断部材又はナイフスロットの第1側部に位置付けられることがあり、同様に、内側ステープル列及び外側ステープル列は、切断部材又はナイフスロットの第2側部に位置付けられることがある。いくつかの実施形態において、ステープルカートリッジは、切断部材スロットを含まない場合があるが、このようなステープルカートリッジは、ステープルカートリッジスロットの代わりに、切断部材によって切開されるように構成された指定部分を含み得る。様々な実施形態において、内側ステープル列は、ステープルカートリッジ内において、これらが切断部材スロットから均等に、又は少なくとも実質的に均等に離間するように配置され得る。同様に、他のステープル列は、ステープルカートリッジ内において、これらが切断部材スロットから均等に、又は少なくとも実質的に均等に離間するように配置され得る。様々な実施形態において、ステープルカートリッジは、ステープルカートリッジ内に保存された5列以上、又は3列以下のステープルを含み得る。少なくとも一実施形態において、ステープルカートリッジは、6列のステープルを含み得る。少なくとも1つのこのような実施形態において、ステープルカートリッジは、切断部材スロットの第1側部に3列のステープルを含み、切断部材スロットの第2側部に3列のステープルを含む。いくつかの実施形態において、ステープルカートリッジは、奇数のステープル列を含み得る。例えば、ステープルカートリッジは、切断部材スロットの第1側部に2列のステープルを含み、切断部材スロットの第2側部に3列のステープルを含む。様々な実施形態において、ステープル列は、同じ又は少なくとも実質的に同じ、形成されていないステープル高さを含み得る。いくつかの他の実施形態において、1つ又は2つ以上のステープル列は、他のステープルとは異なる非形成ステープル高さを有するステープルを含み得る。少なくとも1つのこのような実施形態において、切断部材スロットの第1側部のステープルは、第1の非形成高さを有し、切断部材スロットの第2側部は、第2非形成高さを有し、これは、例えば、第1高さとは異なる。 In various embodiments described herein, a staple cartridge can include four rows of staples stored therein. In at least one embodiment, the four staple rows can be configured into two inner staple rows and two outer staple rows. In at least one such embodiment, the inner staple row and the outer staple row may be positioned on a first side of a cutting member or knife slot in the staple cartridge, and similarly, the inner staple row and the outer staple row are May be positioned on the second side of the cutting member or knife slot. In some embodiments, the staple cartridge may not include a cutting member slot, but such a staple cartridge may have a designated portion configured to be incised by the cutting member instead of the staple cartridge slot. May be included. In various embodiments, the inner staple rows may be arranged within the staple cartridge such that they are evenly or at least substantially evenly spaced from the cutting member slot. Similarly, other staple rows may be arranged within the staple cartridge such that they are evenly or at least substantially evenly spaced from the cutting member slots. In various embodiments, the staple cartridge can include five or more rows, or no more than three rows of staples stored within the staple cartridge. In at least one embodiment, the staple cartridge may include six rows of staples. In at least one such embodiment, the staple cartridge includes three rows of staples on the first side of the cutting member slot and three rows of staples on the second side of the cutting member slot. In some embodiments, the staple cartridge may include an odd number of staple rows. For example, the staple cartridge includes two rows of staples on the first side of the cutting member slot and three rows of staples on the second side of the cutting member slot. In various embodiments, the staple rows can include the same or at least substantially the same unformed staple height. In some other embodiments, one or more staple rows may include staples having a different non-formed staple height than other staples. In at least one such embodiment, the staple on the first side of the cutting member slot has a first non-forming height and the second side of the cutting member slot has a second non-forming height. This is different from, for example, the first height.
図161A〜161Dを参照し、様々な実施形態において、外科用ステープラーのエンドエフェクタは、例えば、ステープルカートリッジ5030などのカートリッジ取り付け部分、ステープルカートリッジ5000などの、ステープルカートリッジチャネル5030内に取り外し可能に位置付けられた締結カートリッジ、並びに、ステープルカートリッジ5000及びステープルカートリッジチャネル5030の反対側に位置付けられた、ジョー5040を含み得る。ステープルカートリッジ5000は、圧縮可能な本体5010、及び複数のステープル5020、並びに/又は少なくとも一部分が圧縮可能な本体5010内に位置付けられた、他の任意の好適な締結具を含み得る。少なくとも1つのこのような実施形態において、各ステープル5020は、基部5022、及び加えて、基部5022から上方に延びる脚部5021を含む場合があり、脚部5021の少なくとも一部分が、カートリッジ本体5010内に埋め込まれることがある。様々な実施形態において、圧縮可能な本体5010は、頂面又は組織接触表面5019、及び下面5018を含む場合があり、下面5018は、ステープルカートリッジチャネル5030の支持表面5031に対して位置付けられるか、これによって支持され得る。上記と同様に、支持表面5031は、例えば、内部に画定された複数の支持スロット5032(図161D)を含むことができ、これは、ステープル5020の基部5022を受容及び支持するように構成され得る。様々な実施形態において、外科用ステープラーのエンドエフェクタは、例えば、保持マトリックス5050などの保持マトリックスを更に含む場合があり、これは、ステープル5020と係合し、その間に組織を捕捉するように構成され得る。少なくとも1つのこのような実施形態において、保持マトリックス5050は、ジョー5040に取り外し可能に搭載され得る。使用中、一度カートリッジ5000が、ステープルカートリッジチャネル5030内に位置付けられると、ジョー5040及びこれに取り付けられる保持マトリックス5050は、ステープルカートリッジ5000及びステープルカートリッジチャネル5030へと動かされ得る。少なくとも一実施形態において、ジョー5040は、ジョー5040及びステープルカートリッジチャネル5030が、ジョー5040が閉鎖する際に、平行、又は少なくとも実質的に平行なままであるように、軸5099に沿って下方に動かされ得る。より具体的に、少なくとも1つのこのような実施形態において、ジョー5040は、ジョー5040がステープルカートリッジ5000の方に動く際に、保持マトリックス5050の組織接触表面5051が、ステープルカートリッジ5000の組織接触表面5019と平行又は少なくとも実質的に平行であるような方法で閉鎖され得る。 Referring to FIGS. 161A-161D, in various embodiments, the end effector of a surgical stapler is removably positioned within a staple cartridge channel 5030, such as a cartridge mounting portion, such as a staple cartridge 5030, a staple cartridge 5000, for example. And a jaw 5040 positioned opposite the staple cartridge 5000 and staple cartridge channel 5030. Staple cartridge 5000 may include a compressible body 5010 and a plurality of staples 5020 and / or any other suitable fastener at least partially positioned within compressible body 5010. In at least one such embodiment, each staple 5020 may include a base 5022 and, in addition, a leg 5021 extending upward from the base 5022, with at least a portion of the leg 5021 within the cartridge body 5010. May be embedded. In various embodiments, the compressible body 5010 can include a top or tissue contacting surface 5019 and a bottom surface 5018 that is positioned relative to the support surface 5031 of the staple cartridge channel 5030. Can be supported by Similar to the above, the support surface 5031 can include, for example, a plurality of support slots 5032 (FIG. 161D) defined therein, which can be configured to receive and support the base 5022 of the staple 5020. . In various embodiments, the end effector of the surgical stapler may further include a retention matrix, such as, for example, retention matrix 5050, which is configured to engage the staple 5020 and capture tissue therebetween. obtain. In at least one such embodiment, the retention matrix 5050 can be removably mounted on the jaw 5040. In use, once the cartridge 5000 is positioned within the staple cartridge channel 5030, the jaws 5040 and the retaining matrix 5050 attached thereto can be moved into the staple cartridge 5000 and the staple cartridge channel 5030. In at least one embodiment, jaw 5040 moves downward along axis 5099 such that jaw 5040 and staple cartridge channel 5030 remain parallel or at least substantially parallel when jaw 5040 is closed. Can be done. More specifically, in at least one such embodiment, the jaw 5040 is configured such that when the jaw 5040 moves toward the staple cartridge 5000, the tissue contacting surface 5051 of the retention matrix 5050 is replaced by the tissue contacting surface 5019 of the staple cartridge 5000. Can be closed in such a way as to be parallel to or at least substantially parallel to.
ここで図161Aを参照し、様々な実施形態において、保持マトリックス5050は、保持マトリックス5050がジョー5040に取り付けられる際に、保持マトリックス5050とジョー5040との間に、ほとんど(あるとしても)相対移動が存在しないように、ジョー5040に分離可能に固定され得る。少なくとも一実施形態において、ジョー5040は、保持マトリックス5050を適所に保持するように構成され得る、1つ又は2つ以上の保持機構を含み得る。少なくとも1つのこのような実施形態において、保持マトリックス5050は、ジョー5040にスナップ嵌め及び/又は圧力嵌めされ得る。このような実施形態において、保持マトリックス5050は、少なくとも1つの接着剤を使用して、ジョー5040に接着され得る。いずれにせよ、ジョー5040は、保持マトリックス5050が組織Tと接触し、組織Tがステープルカートリッジ5000の組織接触表面5019に対して位置付けられるような位置に動かされ得る。組織Tがジョー5040によってステープルカートリッジ5000に対して位置付けられるとき、ステープルカートリッジ5000の圧縮本体5010は、ジョー5040によって圧縮されても、されなくてもよい。いずれにせよ、様々な状況において、ステープル5200の脚部5021は、図161Aに例示されるように、ステープルカートリッジ5000の組織接触表面5019を通じて突出しないことがある。更に、図161Aにも例示されるように、ジョー5040は、保持マトリックス5050とステープル5020を係合させることなく、圧縮可能な本体5010に対して組織Tを保持し得る。このような実施形態は、例えば、組織Tを損傷することなく、手術部位内のエンドエフェクタの所望の位置付けを得るために、外科医がジョー5040を複数回にわたって開閉することを可能にし得る。しかしながら、カートリッジ本体5010がアンビル5040によって圧縮される前に、ステープル先端部5023が、組織接触表面5019から突出し得るような他の実施形態が想到される。図161Bを参照し、一度エンドエフェクタが好適に位置付けられると、ジョー5040は、ステープルカートリッジチャネル5030に向かって下方に動かされることがあり、それによって圧縮可能な本体5010は、アンビル5040によって圧縮され、組織接触表面5019は、ステープル5020に対して下方に押される。組織接触表面5019が下方に押されると、ステープル脚部5021の先端部5023は、組織接触表面5019を貫通し、組織Tの少なくとも一部分を貫通し得る。このような状況において、保持マトリックス5050は、ステープル5020の上に位置付けられることがあり、保持マトリックス5050の保持開口部5052は、ステープル脚部5021の先端部5023と位置合わせされるか又は少なくとも実質的に位置合わせされる。 Referring now to FIG. 161A, in various embodiments, the retention matrix 5050 moves relatively (if any) between the retention matrix 5050 and the jaw 5040 when the retention matrix 5050 is attached to the jaw 5040. May be separably secured to the jaw 5040 so that there is no presence. In at least one embodiment, jaw 5040 may include one or more retention mechanisms that may be configured to retain retention matrix 5050 in place. In at least one such embodiment, the retention matrix 5050 can be snapped and / or pressure fitted to the jaw 5040. In such embodiments, the retention matrix 5050 can be adhered to the jaws 5040 using at least one adhesive. In any case, the jaws 5040 can be moved to a position such that the retention matrix 5050 contacts the tissue T and the tissue T is positioned relative to the tissue contacting surface 5019 of the staple cartridge 5000. When the tissue T is positioned relative to the staple cartridge 5000 by the jaw 5040, the compression body 5010 of the staple cartridge 5000 may or may not be compressed by the jaw 5040. In any case, in various situations, the legs 5021 of the staple 5200 may not protrude through the tissue contacting surface 5019 of the staple cartridge 5000, as illustrated in FIG. 161A. Further, as illustrated in FIG. 161A, jaws 5040 can retain tissue T against compressible body 5010 without engaging retention matrix 5050 and staples 5020. Such an embodiment may allow the surgeon to open and close the jaw 5040 multiple times, for example, to obtain the desired positioning of the end effector within the surgical site without damaging the tissue T. However, other embodiments are contemplated in which the staple tip 5023 can protrude from the tissue contacting surface 5019 before the cartridge body 5010 is compressed by the anvil 5040. Referring to FIG. 161B, once the end effector is suitably positioned, the jaws 5040 may be moved downward toward the staple cartridge channel 5030 so that the compressible body 5010 is compressed by the anvil 5040, The tissue contacting surface 5019 is pressed downward against the staple 5020. When the tissue contacting surface 5019 is pushed downward, the tips 5023 of the staple legs 5021 can penetrate the tissue contacting surface 5019 and penetrate at least a portion of the tissue T. In such a situation, the retention matrix 5050 may be positioned over the staples 5020 and the retention openings 5052 of the retention matrix 5050 are aligned or at least substantially aligned with the tips 5023 of the staple legs 5021. To be aligned.
ここで図161Cを参照し、保持マトリックス5050が軸5099に沿って下方に押されると、ステープル5020のステープル脚部5021は、保持開口部5052内に入る場合がある。様々な実施形態において、ステープル脚部5021は、保持開口部5052の側壁と係合し得る。以下でより詳細に記載されるように、いくつかの実施形態において、保持マトリックス5050は、ステープル脚部5021と係合し得る、保持開口部5052内及び/又は周囲に延びる、1つ又は2つ以上の保持部材を含む場合がある。いずれにせよ、ステープル脚部5021は、保持開口部5052内に保持される場合がある。様々な状況において、ステープル脚部5021の先端部5023は、保持開口部5052内に入る場合があり、開口部5052の保持部材及び/又は側壁と摩擦しながら係合することがある。保持マトリックス5050が、ステープル5020の基部5022の方に押されると、ステープル脚部5021は、側壁及び/又は保持部材に対して摺動し得る。上記の結果、ステープル脚部5021と、保持マトリックス5050との間に摺動摩擦力が生じる場合があり、このような摺動摩擦力は、保持マトリックス5050のステープル5020への挿入に抵抗し得る。様々な実施形態により、保持マトリックス5050と、ステープル5020との間の摺動摩擦力は、ステープル5020のステープル脚部5021に沿って保持マトリックス5050が下方に摺動する際に一定であるか、又は少なくとも実質的に一定であり得る。いくつかの実施形態において、例えば、ステープル脚部5021、保持開口部5052、及び/又は保持開口部5052内に及び/又は周囲に延びる保持部材の形状のばらつきにより、保持マトリックス5050がステープル脚部5021に沿って下方に摺動する際に、摺動摩擦力は増加及び/又は低減することがある。様々な実施形態により、保持マトリックス5050のステープル5020への挿入はまた、ステープルカートリッジ5000の圧縮可能な本体5010により抵抗を受ける場合がある。より具体的に、圧縮可能な本体5010は、例えば、弾性材料を含む場合があり、これは保持マトリックス5050に抵抗力を適用することがあり、これは圧縮可能な本体5010の圧縮距離が増加するに伴って増加する。少なくとも1つのこのような実施形態において、カートリッジ本体5010によって生じる抵抗力の増加は、カートリッジ本体5010の圧縮距離に直線的に比例、又は少なくとも実質的に直線的に比例し得る。いくつかの実施形態において、カートリッジ本体5010により生じる抵抗力の増加は、カートリッジ本体5010の圧縮距離に対して幾何級数的に比例し得る。 Referring now to FIG. 161C, when the retention matrix 5050 is pushed down along the axis 5099, the staple legs 5021 of the staples 5020 may enter the retention openings 5052. In various embodiments, the staple legs 5021 can engage the sidewalls of the retention openings 5052. As described in more detail below, in some embodiments, the retention matrix 5050 extends in and / or around the retention openings 5052 that can engage the staple legs 5021. The above holding member may be included. In any case, the staple leg 5021 may be held in the holding opening 5052. In various situations, the tip 5023 of the staple leg 5021 may enter the retaining opening 5052 and may frictionally engage the retaining member and / or the sidewall of the opening 5052. As the retention matrix 5050 is pushed toward the base 5022 of the staple 5020, the staple legs 5021 can slide relative to the sidewalls and / or retention members. As a result, sliding frictional forces may occur between the staple legs 5021 and the holding matrix 5050, and such sliding frictional forces can resist insertion of the holding matrix 5050 into the staples 5020. According to various embodiments, the sliding frictional force between the retention matrix 5050 and the staple 5020 is constant as the retention matrix 5050 slides downward along the staple legs 5021 of the staple 5020, or at least It can be substantially constant. In some embodiments, the retention matrix 5050 may become staple legs 5021 due to, for example, variations in the shape of the staple legs 5021, the retention openings 5052, and / or retention members that extend into and / or around the retention openings 5052. The sliding frictional force may increase and / or decrease when sliding downward along the line. According to various embodiments, insertion of retention matrix 5050 into staple 5020 may also be resisted by compressible body 5010 of staple cartridge 5000. More specifically, the compressible body 5010 may include, for example, an elastic material, which may apply a resistance force to the retention matrix 5050, which increases the compression distance of the compressible body 5010. It increases with. In at least one such embodiment, the increase in resistance generated by the cartridge body 5010 may be linearly proportional to the compression distance of the cartridge body 5010, or at least substantially linearly proportional. In some embodiments, the increase in resistance generated by the cartridge body 5010 can be geometrically proportional to the compression distance of the cartridge body 5010.
上記に加え、様々な実施形態において、上記の抵抗及び摩擦力を克服するために、十分な発射力が、ジョー5040及び保持マトリックス5050に適用される場合がある。使用中、保持マトリックス5050は、ステープル5020に対して、任意の好適な深さに配置され得る。少なくとも一実施形態において、保持マトリックス5050は、組織の2つ以上の層を一緒に固定し、組織内に圧縮力又は圧力を生成するために、ステープル5020の基部5022に対してある深さで配置され得る。様々な状況において、保持マトリックス5050及びステープル5020を含むシステムは、外科医が、保持マトリックス5050が配置される深さを選択することによって、組織に適用される圧縮力又は圧力の量を選択することを可能にし得る。保持マトリックス5050は、保持マトリックス5050が支持スロット5032の底部から一定の深さ5011だけ離れて配置されるまで、ステープル5020のステープル基部5022に向かって下方に押されることがあり、より短い深さ5011は、組織Tに適用されるより低い圧縮力又は圧力を生じ得るより高い深さ5011よりも、組織Tに適用されるより高い圧縮力又は圧力を生じることがある。様々な実施形態において、組織Tに適用される圧縮力又は圧力は、保持マトリックス5050が配置される深さ5011に対して線形に比例するか、又は少なくとも実質的に線形に比例し得る。様々な状況において、組織Tに適用される圧縮力又は圧力は、保持マトリックス5050とステープルカートリッジ5020との間に位置付けられる、組織Tの厚さに依存する場合がある。より具体的に、所定の距離5011において、より厚い組織Tの存在は、より薄い組織Tよりも高い圧縮力又は圧力を生じ得る。 In addition to the above, in various embodiments, sufficient firing force may be applied to jaw 5040 and retaining matrix 5050 to overcome the resistance and frictional forces described above. In use, the retention matrix 5050 can be placed at any suitable depth relative to the staples 5020. In at least one embodiment, the retention matrix 5050 is positioned at a depth relative to the base 5022 of the staple 5020 to secure two or more layers of tissue together and generate a compressive force or pressure within the tissue. Can be done. In various situations, a system including retention matrix 5050 and staple 5020 allows the surgeon to select the amount of compressive force or pressure applied to the tissue by selecting the depth at which retention matrix 5050 is disposed. Can be possible. The retention matrix 5050 may be pushed downward toward the staple base 5022 of the staple 5020 until the retention matrix 5050 is positioned a certain depth 5011 away from the bottom of the support slot 5032, with a shorter depth 5011. May produce a higher compressive force or pressure applied to the tissue T than a higher depth 5011 that may result in a lower compressive force or pressure applied to the tissue T. In various embodiments, the compressive force or pressure applied to the tissue T can be linearly proportional or at least substantially linearly proportional to the depth 5011 at which the retention matrix 5050 is disposed. In various situations, the compressive force or pressure applied to the tissue T may depend on the thickness of the tissue T positioned between the retention matrix 5050 and the staple cartridge 5020. More specifically, at a given distance 5011, the presence of thicker tissue T may produce a higher compressive force or pressure than thinner tissue T.
上記に加え、様々な実施形態において、外科医は、エンドエフェクタ内に位置付けられた、より厚い及び/又はより薄い組織を考慮し、組織の厚さにかかわらず組織Tに一定の、又は所定の圧力を適用するために、保持マトリックス5050が配置される深さを調節することができる。例えば、組織内において、同じ又は実質的に同じ圧縮圧力を達成するために、外科医は保持マトリックス5050を、より薄い組織Tを締結する際にはより短い深さ5011に、又はより厚い組織Tを締結する際にはより高い深さ5011に配置することができる。上記に加え、いくつかの実施形態において、外科医は、保持マトリックス5050とステープルカートリッジ5010との間に位置付けられた組織Tに適用する圧縮圧力の量を選択的に決定することができる。様々な状況において、組織に第1圧縮圧力を適用するために、外科医は保持マトリックス5050をステープル5020と係合させ、保持マトリックス5050を、ステープル5020の基部5022から第1距離だけ離れるように位置付けることができる。外科医は代替的に、組織に第1圧力よりも高い第2圧縮圧力を適用するために、第1距離よりも短い、第2距離だけ基部5022から離れた場所に、保持マトリックス5050を位置付けることができる。外科医は代替的に、組織に第2圧力よりも高い第3圧縮圧力を適用するために、第2距離よりも短い、第3距離だけ基部5022から離れた場所に、保持マトリックス5050を位置付けることができる。様々な実施形態において、保持マトリックス5050及びステープル5020を含む締結システムは、外科医が標的組織に広範な圧縮圧力を適用することを可能にするように構成され得る。 In addition to the above, in various embodiments, the surgeon considers thicker and / or thinner tissue positioned within the end effector, and a constant or predetermined pressure on the tissue T regardless of tissue thickness. In order to apply, the depth at which the retention matrix 5050 is disposed can be adjusted. For example, in order to achieve the same or substantially the same compression pressure within the tissue, the surgeon may have a retention matrix 5050, a shorter depth 5011 when fastening the thinner tissue T, or a thicker tissue T. When fastening, it can be arranged at a higher depth 5011. In addition to the above, in some embodiments, the surgeon can selectively determine the amount of compression pressure applied to the tissue T positioned between the retention matrix 5050 and the staple cartridge 5010. In various situations, to apply a first compression pressure to the tissue, the surgeon engages retention matrix 5050 with staple 5020 and positions retention matrix 5050 a first distance away from the base 5022 of staple 5020. Can do. The surgeon may alternatively position the retention matrix 5050 at a location away from the base 5022 by a second distance that is less than the first distance to apply a second compression pressure higher than the first pressure to the tissue. it can. The surgeon may alternatively position the retention matrix 5050 at a location that is less than the second distance and away from the base 5022 by a third distance to apply a third compression pressure higher than the second pressure to the tissue. it can. In various embodiments, a fastening system that includes a retention matrix 5050 and staples 5020 can be configured to allow the surgeon to apply a wide range of compression pressures to the target tissue.
ここで図161Dを参照し、様々な実施形態において、ステープル脚部5021は、ステープル脚部先端部5023が、保持マトリックス5050の頂面の上に延びるように、保持マトリックス5050を通じて挿入され得る。再び図161Cを参照し、少なくとも一実施形態において、ジョー5040は更に、内部に画定される隙間開口部5042を含む場合があり、これは、ステープル先端部5023が保持マトリックス5050内の保持開口部5052を通過する際に、ステープル脚部先端部5023を受容するように構成され得る。少なくとも1つのこのような実施形態において、隙間開口部5042は、脚部5021がジョー5040と接触しないように、保持開口部5052と位置合わせされ得る。様々な実施形態において、隙間開口部5042は、保持マトリックス5050が配置される距離にかかわらず、ステープル脚部5021がジョー5040と接触しないように十分な深さを有し得る。ここで図161Dを参照し、保持マトリックス5050は、ステープル5020と係合し、所望の位置に配置された後、ステープルカートリッジチャネル5030及びジョー5040は、組織Tから離れるように動かされる場合がある。より具体的にステープルカートリッジチャネル5030は、埋め込まれたステープルカートリッジ5000から分離される場合があり、アンビル5040は、埋め込まれた保持マトリックス5050から分離される場合がある。ジョー5040が保持マトリックス5050から取り除かれ、ステープル支持体5032がステープル基部5022から取り除かれる場合、保持マトリックス5050と基部5022の底部との間の距離5011は、ジョー5040及びステープルカートリッジチャネル5030がもはやそこに支持を提供していないにもかかわらず、維持され得る。様々な実施形態において、ステープル脚部5021と保持マトリックス5050との間の静止摩擦力は、圧縮されたカートリッジ本体5010及び/又は圧縮された組織Tによって保持マトリックス5050に付勢力が適用されるにもかかわらず、保持マトリックス5050を適所に維持するために十分であり得る。少なくとも一実施形態において、カートリッジ本体5010は、弾性材料を含んでもよく、これは、圧縮される際に、保持マトリックス5050及びステープル5020を別個に押すような方法で、保持マトリックス5050及びステープル5020に弾性付勢力を適用することができるが、このような運動は、ステープル脚部5021と保持マトリックス5050との間の摩擦係合によって抵抗を受ける。 Referring now to FIG. 161D, in various embodiments, the staple legs 5021 can be inserted through the retention matrix 5050 such that the staple leg tips 5023 extend above the top surface of the retention matrix 5050. Referring again to FIG. 161C, in at least one embodiment, the jaw 5040 may further include a gap opening 5042 defined therein, where the staple tip 5023 is a retention opening 5052 in the retention matrix 5050. Can be configured to receive staple leg tip 5023 as it passes through. In at least one such embodiment, the gap opening 5042 can be aligned with the retention opening 5052 such that the leg 5021 does not contact the jaw 5040. In various embodiments, the gap openings 5042 can have sufficient depth so that the staple legs 5021 do not contact the jaws 5040 regardless of the distance at which the retention matrix 5050 is disposed. Referring now to FIG. 161D, after the retention matrix 5050 engages the staple 5020 and is placed in the desired position, the staple cartridge channel 5030 and the jaw 5040 may be moved away from the tissue T. More specifically, the staple cartridge channel 5030 may be separated from the embedded staple cartridge 5000 and the anvil 5040 may be separated from the embedded retention matrix 5050. When the jaw 5040 is removed from the retention matrix 5050 and the staple support 5032 is removed from the staple base 5022, the distance 5011 between the retention matrix 5050 and the bottom of the base 5022 is such that the jaw 5040 and staple cartridge channel 5030 are no longer there. It can be maintained despite not providing support. In various embodiments, the static frictional force between the staple legs 5021 and the retention matrix 5050 can also be applied to the retention matrix 5050 by the compressed cartridge body 5010 and / or the compressed tissue T. Regardless, it may be sufficient to maintain the retention matrix 5050 in place. In at least one embodiment, the cartridge body 5010 may include an elastic material that elasticates the retention matrix 5050 and staples 5020 in a manner that, when compressed, pushes the retention matrix 5050 and staples 5020 separately. Although a biasing force can be applied, such movement is resisted by frictional engagement between the staple legs 5021 and the retention matrix 5050.
様々な実施形態において、上記のように、保持マトリックスは複数の保持開口部を含む場合があり、このような保持開口部は、内部に締結具脚部を受容するように構成され得る。図162を参照し、少なくとも一実施形態において、保持マトリックス5150の一部分がそこに例示され、これは、外辺部5156によって画定される保持開口部5152を含む場合がある。様々な実施形態において、開口部5152の外辺部5156は、円形の、又は少なくとも実質的に円形の輪郭、及び/又は他の任意の好適な輪郭を含み得る。いくつかの実施形態において、保持マトリックス5150は、例えば、保持部材5153などの1つ又は2つ以上の保持部材を含む場合があり、これは、開口部5152内に延び、締結具脚部が内部を通じて挿入される際に、締結具脚部と係合するように構成され得る。少なくとも1つのこのような実施形態において、各保持部材5153は、中央軸5159に向かって、すなわち、開口部5152の中央に向かって内側に延びる、カンチレバーを含む場合がある。様々な実施形態において、各カンチレバーは保持マトリックス本体5158に取り付けられた第1端部、及び保持開口部5152の外辺部5156を形成する第2端部を含む場合がある。いくつかの実施形態において、保持開口部5152の外辺部5156は、第1直径又は幅によって画定される場合があり、締結脚部は、第2直径又は幅によって画定される場合があり、第2直径は、第1直径よりも大きい場合がある。少なくとも1つのこのような実施形態において、締結具脚部が内部を通じて挿入される際に、保持開口部5152の直径を増加させるために、締結部脚部は、保持部材5153の1つ又は2つ以上と接触して、これらを屈曲させるように構成され得る。上記に加え、いくつかの実施形態において、締結具脚部は、保持開口部5152の外辺部5156よりも大きい外辺部を画定する場合があり、これにより締結具脚部は、締結具脚部が内部に挿入される際に、外辺部5156を拡張することができる。 In various embodiments, as described above, the retention matrix may include a plurality of retention openings, and such retention openings may be configured to receive fastener legs therein. Referring to FIG. 162, in at least one embodiment, a portion of a retention matrix 5150 is illustrated therein, which may include a retention opening 5152 defined by an outer edge 5156. In various embodiments, the outer edge 5156 of the opening 5152 can include a circular or at least substantially circular contour, and / or any other suitable contour. In some embodiments, the retention matrix 5150 may include one or more retention members, such as, for example, retention members 5153, which extend into the opening 5152 and the fastener legs are internal. And can be configured to engage the fastener legs when inserted through. In at least one such embodiment, each retaining member 5153 may include a cantilever that extends inwardly toward the central axis 5159, ie, toward the center of the opening 5152. In various embodiments, each cantilever may include a first end attached to the retention matrix body 5158 and a second end forming an outer edge 5156 of the retention opening 5152. In some embodiments, the outer edge 5156 of the retention opening 5152 may be defined by a first diameter or width, and the fastening legs may be defined by a second diameter or width, The two diameters may be larger than the first diameter. In at least one such embodiment, the fastening legs may be one or two of the holding members 5153 to increase the diameter of the holding opening 5152 as the fastener legs are inserted through the interior. It can be configured to bend in contact with the above. In addition to the above, in some embodiments, the fastener legs may define an outer side that is larger than the outer side 5156 of the retention opening 5152, whereby the fastener legs are When the part is inserted inside, the outer side part 5156 can be expanded.
図162を参照し、様々な実施形態において、開口部5152は、変形可能な部材5153によって画定される場合があり、各変形可能な部材5153は、他の変形可能な部材5153に対して、又はこれと別個に屈曲するように構成され得る。少なくとも1つのこのような実施形態において、隣接する変形可能な部材5153は、各変形可能な部材5153が他のものに対して屈曲することを可能にするように構成され得る、スロット5154によって分離され得る。いくつかの実施形態において、各スロット5154は、保持マトリックス本体5158内の第1端部5155、保持開口部5152内に開く第2端部開口部、及び第1端部5155と第2端部との間で延びる、一定の又は少なくとも実質的に一定の幅を含み得る。他の様々な実施形態において、各スロット5154の幅は、一定でないことがあり、各スロット5154は、その第1端部と第2端部との間で幅を増加及び/又は減少させることがある。いくつかの実施形態において、スロット5154の第1端部5155は、円形部分などの、細長い部分を含む場合があり、これは、1)保持マトリックス本体5158に取り付けられた、変形可能な部材5153の基部にひずみ解放を、及び2)変形可能部材5153の可撓性を増加させるための手段を提供し得る。様々な実施形態において、変形可能な部材5153、及び/又はスロット5154の形状は、変形可能な部材5153に、所望の可撓性を提供するように選択され得る。いくつかの実施形態において、例えば、スロット5154は、より短い長さを有する変形可能な部材5153よりも、より可撓性であり得るより長い変形可能部材5153を生じるために、長くされてもよい。少なくとも一実施形態において、各変形可能部材5153の幅は、その所望の可撓性を提供するように選択され得る。より具体的に、より薄い幅を有する変形可能部材は、より厚い幅を有する変形可能部材よりもより可撓性であり得る。図162を参照し、いくつかの実施形態において、保持マトリックス本体5158に取り付けられた、変形可能な部材5153のカンチレバーの第1端部は、カンチレバーの第2端部よりも幅が広い場合がある。少なくとも1つのこのような実施形態において、カンチレバーは、その第1端部と第2端部との間で、直線的又は実質的に直線的な様式でテーパ状になっていることがある。 162, in various embodiments, the opening 5152 may be defined by a deformable member 5153, each deformable member 5153 relative to other deformable members 5153, or It can be configured to bend separately. In at least one such embodiment, adjacent deformable members 5153 are separated by slots 5154 that may be configured to allow each deformable member 5153 to bend relative to the other. obtain. In some embodiments, each slot 5154 includes a first end 5155 in the retention matrix body 5158, a second end opening that opens into the retention opening 5152, and a first end 5155 and a second end. May include a constant or at least a substantially constant width extending between. In various other embodiments, the width of each slot 5154 may not be constant, and each slot 5154 may increase and / or decrease in width between its first and second ends. is there. In some embodiments, the first end 5155 of the slot 5154 may include an elongated portion, such as a circular portion, which is 1) of the deformable member 5153 attached to the retention matrix body 5158. A strain relief may be provided at the base and 2) a means for increasing the flexibility of the deformable member 5153. In various embodiments, the shape of the deformable member 5153 and / or the slot 5154 can be selected to provide the deformable member 5153 with the desired flexibility. In some embodiments, for example, the slot 5154 may be lengthened to yield a longer deformable member 5153 that may be more flexible than a deformable member 5153 having a shorter length. . In at least one embodiment, the width of each deformable member 5153 can be selected to provide its desired flexibility. More specifically, a deformable member having a thinner width may be more flexible than a deformable member having a thicker width. Referring to FIG. 162, in some embodiments, the first end of the cantilever of the deformable member 5153 attached to the retention matrix body 5158 may be wider than the second end of the cantilever. . In at least one such embodiment, the cantilever may be tapered between its first and second ends in a linear or substantially linear manner.
再び図162を参照し、様々な実施形態において、保持マトリックス本体5158は、組織接触表面5151、及び頂面5157を有する平坦な、又は少なくとも実質的に平坦な材料のシートを含む場合がある。少なくとも1つのこのような実施形態において、組織接触表面5151及び頂面5157は、互いに平行であるか、又は少なくとも実質的に平行であり得る。様々な実施形態において、各変形可能部材5153は、第1部分5153a及び第2部分5153bを含む場合があり、第1部分5153aは、第1方向で延びることがあり、第2部分5153bは異なる、又は第2方向に延びることがある。少なくとも1つのこのような実施形態において、保持マトリックス5158は平面を画定することがあり、変形可能な部材5153の第1部分5153aは、このような平面内に位置し得る。様々な実施形態において、変形可能部材5153の第2部分5153bは、第1部分5153aに対して角度を成すように延びることがある。少なくとも1つのこのような実施形態において、第2部分5153bは、保持マトリックス本体5158の頂面5157から離れる方向を向くように延びることがあり、いくつかの実施形態において、第2部分5153bは、保持開口部5152の中央軸5159の方に収束することがある。いずれにせよ、いくつかの実施形態において、第2部分5153bは、締結具脚部が内部を通じて挿入される際に、中央軸5159から離れるように屈曲するように構成され得る。ステープル5020のステープル脚部5021が、保持開口部5152内に挿入される実施形態において、変形可能部材5153は、ステープル5120の基部5122から一般的に離れる方向で変形することができる。結果として、いくつかの実施形態において、変形可能な部材5153は、ステープル脚部5021が挿入される方向と同じ、又は少なくとも実質的に同じ、一般的な方向において屈曲し得る。 Referring again to FIG. 162, in various embodiments, the retention matrix body 5158 may comprise a sheet of flat or at least substantially flat material having a tissue contacting surface 5151 and a top surface 5157. In at least one such embodiment, the tissue contacting surface 5151 and the top surface 5157 can be parallel to each other or at least substantially parallel. In various embodiments, each deformable member 5153 may include a first portion 5153a and a second portion 5153b, the first portion 5153a may extend in a first direction, and the second portion 5153b is different. Or it may extend in the second direction. In at least one such embodiment, the retention matrix 5158 may define a plane, and the first portion 5153a of the deformable member 5153 may be located in such a plane. In various embodiments, the second portion 5153b of the deformable member 5153 may extend at an angle with respect to the first portion 5153a. In at least one such embodiment, the second portion 5153b may extend away from the top surface 5157 of the retention matrix body 5158, and in some embodiments, the second portion 5153b may be retained. The central axis 5159 of the opening 5152 may converge. In any case, in some embodiments, the second portion 5153b can be configured to bend away from the central shaft 5159 when the fastener legs are inserted through the interior. In embodiments where the staple legs 5021 of the staples 5020 are inserted into the retention openings 5152, the deformable member 5153 can be deformed in a direction generally away from the base 5122 of the staples 5120. As a result, in some embodiments, the deformable member 5153 can bend in a general direction that is the same or at least substantially the same as the direction in which the staple legs 5021 are inserted.
図BDを参照し、様々な実施形態において、変形可能部材5153の第2部分5153bはそれぞれ、例えば鋭利な先端部を含む場合があり、これはステープル脚部5021が内部に挿入される際にステープル脚部5021に対して摺動するように構成され得る。第2先端部5153bの鋭利な先端部はまた、ステープル脚部5021が反対方向(すなわち、ステープル脚部5021を保持開口部5052から取り除く方向)で引かれる場合に、ステープル脚部5021と噛み合うように構成され得る。いくつかの実施形態において、第2部分5153bは、90°超である角度でステープル脚部5021の側部に対してある角度で傾斜する場合があり、その結果、第2部分5153bは、ステープル脚部5021がステープル脚部5021を保持開口部5052から引く傾向がある力を経験する際に、ステープル脚部5021の側部に穴を掘るか、又は入り込むことがある。いくつかの実施形態において、ステープル脚部5021はその表面に、陥没部及び/又は凹部、例えば微小陥没部を含む場合があり、これは例えば内部に変形部材5053の先端部を受容するように構成され得る。少なくとも1つのこのような実施形態において、変形可能部材5053の先端部は、引き出し力がステープル脚部5021に適用される際に、ステープル脚部5021の陥没部に適合し、これに入り込むことができる。様々な実施形態において、第2部分5153bをステープル脚部5021内に入り込ませた結果として、ステープル脚部5021を保持開口部5022から取り除くために働く力は、単に第2部分5153bをステープル脚部5021内へとより深く配置させ、ステープル脚部5021を取り除くために必要な力を増加させ得る。更に、第2部分5153bの上方への傾斜により、少なくとも一実施形態において、第2部分5153bは、保持開口部5152内のステープル脚部5021の挿入をより可能にし、かつステープル脚部5021の引き抜きにより抵抗することがある。少なくとも一実施形態において、結果として、ステープル脚部5021を保持開口部5022内に挿入するために必要な力は、ステープル脚部5021を保持開口部5022から取り外すために必要な力よりも小さいことがある。様々な実施形態において、ステープル脚部5021を保持開口部5022から取り外すために必要な力は、例えば、ステープル脚部5021を保持開口部5022に挿入するために必要な力よりもおよそ50%大きいことがある。様々な他の実施形態において、例えば、ステープル脚部5021を取り外すために必要な力は、ステープル脚部5021を挿入するために必要な力よりもおよそ10%〜100%大きい場合がある。いくつかの実施形態において、ステープル脚部5021を取り外すために必要な力は、例えば、ステープル脚部5021を挿入するために必要な力よりもおよそ100%、およそ150%、およそ200%、及び/又はおよそ200%超大きいことがある。 Referring to FIG. BD, in various embodiments, the second portion 5153b of the deformable member 5153 may each include, for example, a sharp tip, which is stapled when the staple legs 5021 are inserted therein. It can be configured to slide relative to the legs 5021. The sharp tip of the second tip 5153b also engages the staple leg 5021 when the staple leg 5021 is pulled in the opposite direction (ie, the direction in which the staple leg 5021 is removed from the retaining opening 5052). Can be configured. In some embodiments, the second portion 5153b may be inclined at an angle with respect to the side of the staple leg 5021 at an angle that is greater than 90 °, so that the second portion 5153b is at the staple leg. As the portion 5021 experiences a force that tends to pull the staple leg 5021 from the retaining opening 5052, the side of the staple leg 5021 may be digged or penetrated. In some embodiments, the staple legs 5021 may include depressions and / or depressions, such as micro-depressions, on the surface thereof, which are configured to receive, for example, the tips of the deformable members 5053 therein. Can be done. In at least one such embodiment, the distal end of the deformable member 5053 can fit into and enter the recessed portion of the staple leg 5021 when a withdrawal force is applied to the staple leg 5021. . In various embodiments, the force acting to remove the staple leg 5021 from the retention opening 5022 as a result of the second part 5153b entering the staple leg 5021 simply causes the second part 5153b to move away from the staple leg 5021. The force required to place it deeper into it and remove the staple legs 5021 may be increased. Furthermore, due to the upward slope of the second portion 5153b, in at least one embodiment, the second portion 5153b allows more insertion of the staple legs 5021 within the retention opening 5152 and by withdrawal of the staple legs 5021. May resist. In at least one embodiment, as a result, the force required to insert the staple leg 5021 into the retention opening 5022 may be less than the force required to remove the staple leg 5021 from the retention opening 5022. is there. In various embodiments, the force required to remove the staple leg 5021 from the retention opening 5022 is, for example, approximately 50% greater than the force required to insert the staple leg 5021 into the retention opening 5022. There is. In various other embodiments, for example, the force required to remove the staple legs 5021 may be approximately 10% to 100% greater than the force required to insert the staple legs 5021. In some embodiments, the force required to remove the staple legs 5021 is, for example, approximately 100%, approximately 150%, approximately 200%, and / or greater than the force required to insert the staple legs 5021. Or it may be greater than approximately 200%.
図162を参照し、いくつかの実施形態において、第2部分5153bは、開口部5152の周囲で周囲方向に配置され、その間にポケットを画定することがある。より具体的に、第2部分5153bは、ポケット5160を画定することがあり、これは、保持開口部5152に挿入される際に、締結脚部の先端部を受容するように構成される場合がある。様々な実施形態において、例えば、変形可能な部材5153の第2部分5153bは、環状、又は少なくとも実質的に環状の輪郭を含む場合があり、これは協働してポケット1560の環状、又は少なくとも実質的に環状の輪郭を動作可能に画定することがある。少なくとも1つのこのような実施形態において、第2部分5153bは、円錐形、又は円錐台系のポケットを画定し得る。様々な実施形態において、ポケットは、好適な数の変形可能部材、例えば、4つの変形可能部材5153(図162)、6つの変形可能部材5153(図163)、又は8つの変形可能部材5153(図164)によって画定する場合がある。図165を参照し、いくつかの実施形態において、保持マトリックス5250などの、保持マトリックスの変形可能部材は、角錐形状、又は少なくとも実質的に角錐の形状を形成し得る。様々な実施形態において、保持マトリックス5250は、保持開口部5252などの複数の保持開口部を含む場合があり、例えばこれは、外辺部5256によって画定され得る。様々な実施形態において、外辺部5256は、多角形又は少なくとも実質的に多角形の輪郭、及び/又は他の任意の好適な輪郭を含む場合がある。いくつかの実施形態において、保持マトリックス5250は、例えば、保持部材5253などの1つ又は2つ以上の保持部材を含む場合があり、これは、開口部5252内に延び、締結具脚部が内部を通じて挿入される際に、締結具脚部と係合するように構成され得る。少なくとも1つのこのような実施形態において、各保持部材5253は、中央軸5259に向かって、すなわち、開口部5252の中央に向かって内側に延びる、カンチレバーを含む場合がある。様々な実施形態において、保持マトリックス本体5258に取り付けられた第1端部、及び保持開口部5252の外辺部5256を形成する第2端部を含む場合がある。いくつかの実施形態において、保持開口部5252の外辺部5256は、第1直径又は幅によって画定される場合があり、締結脚部は、第2直径又は幅によって画定される場合があり、第2直径は、第1直径よりも大きい場合がある。少なくとも1つのこのような実施形態において、締結具脚部が内部を通じて挿入される際に、保持開口部5252の直径を増加させるために、締結部脚部は、保持部材5253の1つ又は2つ以上と接触して、これらを屈曲させるように構成され得る。上記に加え、いくつかの実施形態において、締結具脚部は、保持開口部5252の外辺部5256よりも大きい外辺部を画定する場合があり、これにより締結具脚部は、締結具脚部が内部に挿入される際に、外辺部5256を拡張することができる。 Referring to FIG. 162, in some embodiments, the second portion 5153b may be circumferentially disposed around the opening 5152 and define a pocket therebetween. More specifically, the second portion 5153b may define a pocket 5160, which may be configured to receive the distal end of a fastening leg when inserted into the retention opening 5152. is there. In various embodiments, for example, the second portion 5153b of the deformable member 5153 may include an annular, or at least substantially annular profile, which cooperates to form an annular, or at least substantially, pocket 1560. An annular profile may be operably defined. In at least one such embodiment, the second portion 5153b may define a conical or frustoconical pocket. In various embodiments, the pocket has a suitable number of deformable members, eg, four deformable members 5153 (FIG. 162), six deformable members 5153 (FIG. 163), or eight deformable members 5153 (FIG. 164). Referring to FIG. 165, in some embodiments, a deformable member of a retention matrix, such as retention matrix 5250, may form a pyramid shape, or at least substantially a pyramid shape. In various embodiments, the retention matrix 5250 may include a plurality of retention openings, such as retention openings 5252, for example, which can be defined by an outer edge 5256. In various embodiments, the outer edge 5256 may include a polygon or at least a substantially polygonal outline, and / or any other suitable outline. In some embodiments, the retention matrix 5250 may include one or more retention members, such as, for example, retention members 5253, which extend into the opening 5252 and the fastener legs are internal. And can be configured to engage the fastener legs when inserted through. In at least one such embodiment, each retaining member 5253 may include a cantilever that extends inwardly toward the central axis 5259, ie toward the center of the opening 5252. In various embodiments, it may include a first end attached to the retention matrix body 5258 and a second end that forms the outer edge 5256 of the retention opening 5252. In some embodiments, the outer edge 5256 of the retention opening 5252 may be defined by a first diameter or width, and the fastening legs may be defined by a second diameter or width, The two diameters may be larger than the first diameter. In at least one such embodiment, the fastener legs may be one or two of the retaining members 5253 to increase the diameter of the retaining opening 5252 as the fastener legs are inserted through the interior. It can be configured to bend in contact with the above. In addition to the above, in some embodiments, the fastener legs may define an outer edge that is larger than the outer edge 5256 of the retention opening 5252 so that the fastener legs are When the part is inserted inside, the outer side part 5256 can be expanded.
図165を参照し、様々な実施形態において、開口部5252は、変形可能な部材5253によって画定することができ、各変形可能部材5253は、他の変形可能部材5253対し、又はこれと別個に屈曲するように構成され得る。少なくとも1つのこのような実施形態において、隣接する変形可能な部材5253は、各変形可能な部材5253が他のものに対して屈曲することを可能にするように構成され得る、スロット5254によって分離され得る。様々な実施形態により、保持マトリックス本体5258は、組織接触表面5251及び頂面5257を有する、平坦な、又は少なくとも実質的に平坦な材料のシートを含み得る。少なくとも1つのこのような実施形態において、組織接触表面5251、及び頂面5257は、互いに平行であるか、少なくとも実質的に平行であり得る。様々な実施形態において、各変形可能部材5253は、第1部分5253a及び第2部分5253bを含む場合があり、第1部分5253aは、第1方向で延びることがあり、第2部分5253bは異なる、又は第2方向に延びることがある。少なくとも1つのこのような実施形態において、保持マトリックス5258は平面を画定することがあり、変形可能な部材5253の第1部分5253aは、このような平面内に位置し得る。様々な実施形態において、変形可能部材5253の第2部分5253bは、第1部分5253aに対して角度を成すように延びることがある。少なくとも1つのこのような実施形態において、第2部分5253bは、保持マトリックス本体5258の頂面5257から離れる方向を向くように延びることがあり、いくつかの実施形態において第2部分5253bは、保持開口部5252の中央軸5259の方に収束することがある。いずれにせよ、いくつかの実施形態において、第2部分5253bは、締結具脚部が内部を通じて挿入される際に、中央軸5259から離れるように屈曲するように構成され得る。図165を参照し、いくつかの実施形態において、第2部分5253bは、開口部5252の周囲で周囲方向に配置され、その間にポケットを画定することがある。より具体的に、第2部分5253bは、締結具脚部の先端部を、これが保持開口部5252に挿入される際に受容するように構成され得る、ポケットを画定し得る。変形可能な部材5253の第2部分5253bは例えば、多角形の、又は少なくとも実質的に多角形のポケットを画定し得る。様々な実施形態において、ポケットは例えば、正方形を画定し得る4つの変形可能部材5253(図165)、六角形を画定し得る6つの変形可能な部材5253(図166)、又は八角形を画定し得る8つの変形可能な部材5253(図167)などの、任意の数の変形可能部材により画定され得る。 Referring to FIG. 165, in various embodiments, the opening 5252 can be defined by a deformable member 5253, each deformable member 5253 bent against or separately from the other deformable member 5253. Can be configured to. In at least one such embodiment, adjacent deformable members 5253 are separated by slots 5254 that may be configured to allow each deformable member 5253 to bend relative to the other. obtain. According to various embodiments, the retention matrix body 5258 can include a sheet of flat or at least substantially flat material having a tissue contacting surface 5251 and a top surface 5257. In at least one such embodiment, the tissue contacting surface 5251 and the top surface 5257 can be parallel to each other or at least substantially parallel. In various embodiments, each deformable member 5253 may include a first portion 5253a and a second portion 5253b, where the first portion 5253a may extend in a first direction and the second portion 5253b is different. Or it may extend in the second direction. In at least one such embodiment, the retention matrix 5258 may define a plane, and the first portion 5253a of the deformable member 5253 may be located in such a plane. In various embodiments, the second portion 5253b of the deformable member 5253 may extend at an angle with respect to the first portion 5253a. In at least one such embodiment, the second portion 5253b may extend away from the top surface 5257 of the retention matrix body 5258, and in some embodiments the second portion 5253b may comprise a retention opening. The portion 5252 may converge toward the central axis 5259. In any case, in some embodiments, the second portion 5253b can be configured to bend away from the central shaft 5259 when the fastener legs are inserted through the interior. Referring to FIG. 165, in some embodiments, the second portion 5253b may be circumferentially disposed around the opening 5252 and define a pocket therebetween. More specifically, the second portion 5253b may define a pocket that may be configured to receive the distal end of the fastener leg as it is inserted into the retention opening 5252. The second portion 5253b of the deformable member 5253 can define, for example, a polygonal or at least substantially polygonal pocket. In various embodiments, the pocket defines, for example, four deformable members 5253 (FIG. 165) that can define a square, six deformable members 5253 (FIG. 166) that can define a hexagon, or an octagon. It can be defined by any number of deformable members, such as the resulting eight deformable members 5253 (FIG. 167).
ここで図168を参照し、様々な実施形態において、例えば、保持マトリックス5350などの保持マトリックスは、例えば、チタン及び/又はステンレスシートなどの、平坦な、又は少なくとも実質的に平坦な材料のシートから形成され得る。少なくとも1つのこのような実施形態において、複数の開口部5352は、1つ又は2つ以上のスタンピングプロセスにより、保持マトリックス5350の本体5358内に形成され得る。材料のシートが、スタンピングダイ内に位置付けられる場合があり、これは、作動されると、スロット5354、スロット5354の開口部5355、及び/又は保持開口部5352の外辺部5356を形成するために、材料のいくつかの部分を型抜きすることができる。スタンピングダイはまた、変形可能な部材5353を好適な構成に曲げるように構成され得る。少なくとも1つのこのような実施形態において、スタンピングダイは、第2部分5353bを、しわライン5353cに沿って、第1部分5353aに対して上方に変形することができる。ここで図169を参照し、様々な実施形態において、例えば、保持マトリックス5450などの保持マトリックスは、複数の保持開口部5452を含む場合がある。上記と同様に、各保持開口部5452の外辺部5456は、スロット又はスリット5454によって隔てられる複数の変形可能な部材5453によって画定され得る。少なくとも1つのこのような実施形態において、各変形可能な部材5453の全体は、上方に曲げられることがあり、変形可能な部材5453を含むカンチレバーの自由端は、外辺部5456を画定し得る。様々な実施形態において、保持マトリックス5450は、保持開口部5452を囲むか、少なくとも実質的に囲む、複数の開口部5455を含む場合がある。少なくとも1つのこのような実施形態において、開口部5455は、変形可能部材5453のカンチレバーの固定端によって画定される外辺部を囲むか又はこれを包囲する、円形の配列に配置される場合がある。いくつかの実施形態において、各開口部5455は、円形、又は少なくとも実質的に円形の外辺部及び/又は他の任意の好適な外辺部を含み得る。使用中、開口部5455は、1)保持マトリックス本体5458に取り付けられた変形可能部材5453の基部に歪み解放を、及び2)変形可能部材5453の可撓性を増加させるための手段を、提供することができる。様々な実施形態において、より大きな開口部5455は、より小さい開口部5455と比較して、より多くの可撓性を変形可能部材5453にもたらすことができる。更に、変形可能部材5453により近い開口部5455は、より遠い開口部5455と比較して、より多くの可撓性を提供し得る。 Referring now to FIG. 168, in various embodiments, the retention matrix, such as, for example, retention matrix 5350, is from a sheet of flat, or at least substantially flat material, such as, for example, titanium and / or stainless steel sheets. Can be formed. In at least one such embodiment, the plurality of openings 5352 can be formed in the body 5358 of the retention matrix 5350 by one or more stamping processes. A sheet of material may be positioned in the stamping die, which, when activated, forms a slot 5354, an opening 5355 in the slot 5354, and / or an outer edge 5356 in the retaining opening 5352. , Some parts of the material can be die cut. The stamping die can also be configured to bend the deformable member 5353 into a suitable configuration. In at least one such embodiment, the stamping die can deform the second portion 5353b upwardly relative to the first portion 5353a along the wrinkle line 5353c. Referring now to FIG. 169, in various embodiments, a retention matrix, such as, for example, retention matrix 5450, may include a plurality of retention openings 5452. Similar to the above, the outer edge 5456 of each retention opening 5252 may be defined by a plurality of deformable members 5453 separated by slots or slits 5454. In at least one such embodiment, the entirety of each deformable member 5453 may be bent upward, and the free end of the cantilever that includes the deformable member 5453 may define an outer edge 5456. In various embodiments, the retention matrix 5450 may include a plurality of openings 5455 that surround, or at least substantially surround, the retention openings 5252. In at least one such embodiment, the openings 5455 may be arranged in a circular array that surrounds or surrounds the outer perimeter defined by the fixed end of the cantilever of the deformable member 5453. . In some embodiments, each opening 5455 may include a circular or at least substantially circular outer periphery and / or any other suitable outer periphery. In use, the opening 5455 provides 1) strain relief to the base of the deformable member 5453 attached to the retention matrix body 5458 and 2) means to increase the flexibility of the deformable member 5453. be able to. In various embodiments, the larger opening 5455 can provide more flexibility to the deformable member 5453 compared to the smaller opening 5455. Further, the opening 5455 closer to the deformable member 5453 may provide more flexibility compared to the farther opening 5455.
ここで図170を参照し、様々な実施形態において、例えば、保持マトリックス5550などの保持マトリックスは、複数の保持開口部5552を含む場合がある。各保持開口部5552は、細長い円形の、又は少なくとも実質的に円形の端部5555を有する、細長いスロット5554を含む場合がある。少なくとも1つのこのような実施形態において、端部5555は、スロット5554よりも広い直径により画定され得る。いくつかの実施形態において、細長いスロット5554及び端部5555は、長手方向軸5559に沿って位置付けられ、及び/又はこれにそって中央にあわせられ得る。様々な実施形態において、スロット5554及び端部5555は、2つの対向するタブ5553を画定する場合があり、これらは、締結具脚部が内部を通じて挿入される際に、締結具の脚部に係合し、屈曲するように構成され得る。少なくとも一実施形態において、より大きな外辺部、又は直径を有する端部5555はより長いタブ5553を画定する場合があり、これは、より小さい外辺部又は直径を有する端部5555によって画定されるタブ5553よりも可撓性であり得る。様々な実施形態において、端部5555は、同じ外辺部及び直径を有し、少なくとも1つのこのような実施形態において、各タブ5553は、長手方向軸5559と垂直であるか、又は少なくとも実質的に垂直な、軸を中心に対称であり得る。あるいは、端部5555は、異なる外辺部及び/又は直径を有する場合があり、少なくとも一実施形態において、各端部5553は、その軸を中心に対称であり得る。少なくとも1つのこのような代替的実施形態において、タブ5553は、締結具脚部が保持開口部5552を通じて挿入される際に、これらの軸を中心に捩れてもよい。ここで図171を参照し、様々な実施形態において、例えば、保持マトリックス5650などの保持マトリックスは、複数の保持開口部5652を含む場合がある。各保持開口部5652は、細長い円形の、又は少なくとも実質的に円形の端部5655を有する、細長いスロット5654を含む場合がある。少なくとも1つのこのような実施形態において、細長いスロット5654及び端部5655は、長手方向軸5659に沿って位置付けられる、及び/又はこれに沿って中央に合わされる場合がある。様々な実施形態において、各端部5655は、スロット5654の幅と同じ又は少なくとも実質的に同じ、直径によって画定される場合がある。 Referring now to FIG. 170, in various embodiments, a retention matrix, such as, for example, retention matrix 5550, may include a plurality of retention openings 5552. Each retention opening 5552 may include an elongated slot 5554 having an elongated circular or at least substantially circular end 5555. In at least one such embodiment, end 5555 can be defined by a wider diameter than slot 5554. In some embodiments, the elongated slot 5554 and the end 5555 can be positioned along the longitudinal axis 5559 and / or centered therewith. In various embodiments, slot 5554 and end 5555 may define two opposing tabs 5553 that engage the fastener legs as the fastener legs are inserted through the interior. And can be configured to bend. In at least one embodiment, the larger perimeter, or end 5555 having a diameter, may define a longer tab 5553, which is defined by the end 5555 having a smaller perimeter or diameter. It may be more flexible than the tab 5553. In various embodiments, the ends 5555 have the same perimeter and diameter, and in at least one such embodiment, each tab 5553 is perpendicular to the longitudinal axis 5559 or at least substantially. Can be symmetrical about the axis. Alternatively, the ends 5555 may have different perimeters and / or diameters, and in at least one embodiment, each end 5553 may be symmetric about its axis. In at least one such alternative embodiment, the tab 5553 may twist about these axes as the fastener legs are inserted through the retention openings 5552. Referring now to FIG. 171, in various embodiments, a retention matrix, such as, for example, retention matrix 5650, may include a plurality of retention openings 5562. Each retention opening 5562 may include an elongated slot 5654 having an elongated circular or at least substantially circular end 5655. In at least one such embodiment, elongated slot 5654 and end 5655 may be positioned along and / or centered along longitudinal axis 5659. In various embodiments, each end 5655 may be defined by a diameter that is the same or at least substantially the same as the width of the slot 5654.
ここで図172を参照し、様々な実施形態において、例えば、保持マトリックス5750などの保持マトリックスは、複数の保持開口部5752を含む場合がある。各保持開口部5752は、細長い端部5755を有する、例えば、スロット5754などの、複数のスロットを含み得る。少なくとも1つのこのような実施形態において、細長いスロット5754及び端部5755は、長手方向軸5759に沿って位置付けられる、及び/又はこれに沿って中央に合わされる場合がある。様々な実施形態において、軸5759は、互いに垂直又は横方向である方向に延びる場合がある。いくつかの実施形態において、スロット5754及び端部5755は、例えば、4つのタブ5753を画定する場合があり、これは、締結具脚部が、保持開口部5752を通じて挿入されるときに、締結具脚部と係合し、屈曲するように構成され得る。少なくとも一実施形態において、各タブ5753は、三角形、又は少なくとも実質的に三角形の構成(例えば、正三角形)を含み得る。ここで図173を参照し、様々な実施形態において、例えば、保持マトリックス5850などの保持マトリックスは、複数の保持開口部5852を含む場合がある。各保持開口部5852は、端部5855を含む、例えばスロット5854などの複数のスロットを含む場合があり、スロット5854及び端部5855は、長手方向軸5859に沿って位置付けられる、及び/又は中央に合わせられる場合がある。様々な実施形態において、軸5859は、互いに垂直又は横方向である方向に延びる場合がある。いくつかの実施形態において、スロット5854及び端部5855は、例えば、タブ5853を画定し得る場合があり、これは、締結具脚部が、保持開口部5852を通じて挿入されるときに、締結具脚部と係合し、屈曲するように構成され得る。少なくとも一実施形態において、各タブ5853は、弓状の輪郭を含む場合がある。より具体的に、各タブ5853は、締結具脚部と接触するように構成され得る、図170に示される先のとがった端部と異なる、湾曲した端部を含み得る。 Referring now to FIG. 172, in various embodiments, a retention matrix, such as, for example, retention matrix 5750, may include a plurality of retention openings 5752. Each retention opening 5752 may include a plurality of slots, such as slot 5754, having an elongated end 5755. In at least one such embodiment, the elongated slot 5754 and the end 5755 may be positioned along the longitudinal axis 5759 and / or centered along it. In various embodiments, the axes 5759 may extend in a direction that is perpendicular or lateral to one another. In some embodiments, the slot 5754 and the end 5755 may define, for example, four tabs 5753 that are fastened when the fastener legs are inserted through the retention openings 5752. It can be configured to engage and bend the leg. In at least one embodiment, each tab 5753 can include a triangle, or at least a substantially triangular configuration (eg, equilateral triangle). Referring now to FIG. 173, in various embodiments, a retention matrix, such as, for example, retention matrix 5850, may include a plurality of retention openings 5852. Each retention opening 5852 may include a plurality of slots, such as slot 5854, including end 5855, where slot 5854 and end 5855 are positioned along longitudinal axis 5859 and / or centrally. May be adjusted. In various embodiments, the axes 5859 may extend in a direction that is perpendicular or transverse to each other. In some embodiments, the slot 5854 and the end 5855 may define, for example, a tab 5853, which when the fastener leg is inserted through the retention opening 5852. It can be configured to engage and bend the part. In at least one embodiment, each tab 5853 may include an arcuate profile. More specifically, each tab 5853 may include a curved end that is different from the pointed end shown in FIG. 170, which may be configured to contact the fastener leg.
ここで図174を参照し、様々な実施形態において、例えば、保持マトリックス5950などの保持マトリックスは、複数の保持開口部5952を含む場合がある。各保持具開口部5952は、例えば、スロット5954などの複数のスロットを含む場合があり、各スロット5954は、軸5959に沿って延びる及び/又はこれに沿って中央に合わせられる場合がある。様々な実施形態において、軸5959は、互いに横方向であり、少なくとも1つのこのような実施形態において、軸5959は、全ての軸5959が保持開口部5952の中央を通じて延び、互いに等間隔、又は少なくとも実質的に等間隔で離間するように構成され得る。少なくとも1つの実施形態において、各スロット5954は、保持開口部5952の中央に面する開放端部、及びスロット5954の反対側の端部に、第2の閉鎖端部5955を含み得る。上記と同様に、スロット5954及び端部5955は、例えば、3つのタブ5953を画定することがあり、これは、締結具脚部が保持開口部5952に挿入される際に、締結具脚部と係合して屈曲するように構成され得る。様々な実施形態において、各端部5953は、スロット5954の隣接する端部5955の間に延びる弓状の構成を含み得る。ここで図175を参照し、様々な実施形態において、例えば、保持マトリックス6050などの保持マトリックスは、複数の保持開口部6052を含む場合がある。各保持開口部6052はタブ6053を含む場合があり、これは、締結具脚部が保持開口部6052に挿入される際に締結具脚部と係合し、屈曲するように構成される場合がある。少なくとも1つのこのような実施形態において、タブ6053は、保持マトリックス本体6058に固定された基部、及び締結具脚部に接触するように構成され得る、弓状又は湾曲した輪郭6056を含む自由端部を含み得る。いくつかの実施形態において、締結具脚部は、丸いワイヤを含むステープル脚部であり得、湾曲した輪郭6056は、丸いワイヤの湾曲した外側表面と適合するか、又は少なくとも実質的に適合するように構成され得る。 Referring now to FIG. 174, in various embodiments, a retention matrix, such as, for example, retention matrix 5950, may include a plurality of retention openings 5952. Each retainer opening 5952 may include a plurality of slots, such as slots 5954, for example, and each slot 5954 may extend along and / or be centered along an axis 5959. In various embodiments, the shafts 5959 are lateral to each other, and in at least one such embodiment, the shafts 5959 extend all the shafts 5959 through the center of the retaining opening 5952 and are equidistant from each other, or at least It can be configured to be spaced at substantially equal intervals. In at least one embodiment, each slot 5954 may include an open end facing the center of the retention opening 5952 and a second closed end 5955 at the opposite end of the slot 5954. Similar to the above, the slot 5954 and the end 5955 may define, for example, three tabs 5953 that are coupled to the fastener legs when the fastener legs are inserted into the retention openings 5952. It can be configured to engage and bend. In various embodiments, each end 5953 can include an arcuate configuration that extends between adjacent ends 5955 of the slot 5954. Referring now to FIG. 175, in various embodiments, a retention matrix, such as, for example, retention matrix 6050, may include a plurality of retention openings 6052. Each retention opening 6052 may include a tab 6053, which may be configured to engage and bend the fastener leg when the fastener leg is inserted into the retention opening 6052. is there. In at least one such embodiment, the tab 6053 includes a base secured to the retention matrix body 6058 and a free end including an arcuate or curved profile 6056 that can be configured to contact the fastener legs. Can be included. In some embodiments, the fastener leg can be a staple leg that includes a round wire, and the curved contour 6056 matches or at least substantially matches the curved outer surface of the round wire. Can be configured.
図175を参照し、様々な実施形態において、保持マトリックス本体6058は、複数のスロット6054及び開口部6055を含み、これらは保持開口部6052のタブ6053及び様々な部分を画定するように構成され得る。少なくとも1つの実施形態において、タブ6053は、平行な又は少なくとも実質的に平行な側部を含む矩形の構成を含む場合がある。ここで図176を参照し、いくつかの実施形態において、例えば、保持マトリックス6150などの保持マトリックスは、複数の保持開口部6152を含む場合がある。各保持開口部6152はタブ6153を含む場合があり、これは、締結具脚部が保持開口部6152に挿入される際に締結具脚部と係合し、屈曲するように構成される場合がある。少なくとも1つのこのような実施形態において、タブ6153は、保持マトリックス本体6158に固定された基部、及び締結具脚部に接触するように構成され得る、弓状又は湾曲した輪郭6156を含む自由端部を含み得る。様々な実施形態において、保持マトリックス本体6158は、複数のスロット6154及び開口部6155を含み、これらは保持開口部6152のタブ6153及び様々な部分を画定するように構成され得る。少なくとも一実施形態において、タブ6153は、弓状の側部を含む、テーパ状の構成を含み得る。少なくとも1つのこのような実施形態において、タブ6153は、例えば、基部が自由端部よりも広くなるようにして、テーパ状の形状であり得る。 Referring to FIG. 175, in various embodiments, the retention matrix body 6058 includes a plurality of slots 6054 and openings 6055 that can be configured to define tabs 6053 and various portions of the retention openings 6052. . In at least one embodiment, tab 6053 may include a rectangular configuration that includes parallel or at least substantially parallel sides. Referring now to FIG. 176, in some embodiments, a retention matrix, such as, for example, retention matrix 6150, may include a plurality of retention openings 6152. Each retention opening 6152 may include a tab 6153, which may be configured to engage and bend the fastener leg when the fastener leg is inserted into the retention opening 6152. is there. In at least one such embodiment, the tab 6153 includes a base secured to the retention matrix body 6158 and a free end including an arcuate or curved profile 6156 that can be configured to contact the fastener legs. Can be included. In various embodiments, the retention matrix body 6158 includes a plurality of slots 6154 and openings 6155 that can be configured to define tabs 6153 and various portions of the retention openings 6152. In at least one embodiment, the tab 6153 may include a tapered configuration including arcuate sides. In at least one such embodiment, the tab 6153 can be tapered, for example, with the base wider than the free end.
上記のように、様々な実施形態において、締結システムは、保持マトリックスの複数の保持開口部を通じて挿入される、ステープル脚部を含む、複数のステープルを含む場合がある。以下でより詳細に記載されるように、いくつかの実施形態において、ステープルは、第1ジョーに保持され得、保持マトリックスは第2ジョーに保持され得、第1ジョー及び第2ジョーの少なくとも一方が、互いに対して動かされ得る。様々な状況において、第1ジョー内に位置付けられるステープルは内部に固定され得、それによって保持マトリックスがステープル脚部と係合する際に、ステープル脚部は保持開口部と位置合わせされる。図177及び図178を参照し、いくつかの実施形態において、外科用ステープラーの第1ジョー内に位置付けられるステープルカートリッジ6200、及び外科用ステープラーの第2ジョー内に位置付けられる、保持マトリックス6250を含む場合がある。上記に加え、図184及び図185を参照し、保持マトリックス6250は複数の保持開口部6252を含む場合があり、各保持開口部6252は、1つ又は2つ以上の屈曲可能な部材6253により画定される外辺部6256を含み得る。上記に加え、少なくとも1つのこのような実施形態において、各開口部6252を画定する屈曲可能な部材6253は、ポケット6201を画定し得る。様々な実施形態において、各ポケット6201は例えば、湾曲した及び/又は凹状の表面を含む場合があり、これは例えば、ステープル脚部が保持開口部6252とずれ、屈曲可能な部材6253及び/又は組織接触表面6251と最初に接触する場合に、ステープル脚部の先端部を開口部6252に案内するように構成され得る。 As noted above, in various embodiments, the fastening system may include a plurality of staples including staple legs that are inserted through a plurality of retention openings in the retention matrix. As described in more detail below, in some embodiments, the staples can be retained on the first jaw, the retention matrix can be retained on the second jaw, and at least one of the first jaw and the second jaw. Can be moved relative to each other. In various situations, staples positioned within the first jaw can be secured therein such that the staple legs are aligned with the retention openings as the retention matrix engages the staple legs. 177 and 178, in some embodiments, including a staple cartridge 6200 positioned in the first jaw of the surgical stapler and a
上記に加え、様々な実施形態において、締結システムは、保持開口部6252を通じて、保持マトリックス6250内に挿入され得る、ステープル脚部6221を含む、複数のステープル6220を更に含み得る。少なくとも1つのこのような実施形態において、各ステープル6220は、そこから上方にステープル脚部6221が延び得る、基部6222を含む、例えば実質的にU字型の構成を含み得る。ここで図180及び図181を参照し、様々な実施形態において、保持マトリックス6250内の保持開口部6252は、例えば、2つの平行な、又は少なくとも実質的に平行な列に構成される場合があり、これは、保持マトリックスの長手方向軸に沿って、又はこれと平行に延びる場合がある。いくつかの実施形態において、第1列の保持開口部6252は、第2列の保持開口部6252に対してオフセットされているか、又は食い違っている。少なくとも1つのこのような実施形態において、各ステープル6220は、第1列の保持開口部6252に位置付けられた第1ステープル脚部6221、及び第2列の保持開口部6252に位置付けられた第2ステープル脚部6221を含む場合があり、結果として、基部6222は、保持マトリックス6250の長手方向軸と横方向の方向に延び得る。少なくとも1つのこのような実施形態では、ステープル6220は、互いに平行であるか、又は少なくとも実質的に平行であり得る。より具体的に、例えば、ステープル6220aの基部6222aは、ステープル6220bの基部6222bと平行、又は少なくとも実質的に平行であり、これは、ステープル6220cの基部6222cと平行又は少なくとも実質的に平行である。少なくとも一実施形態において、例えば、ステープル6220aのステープル脚部6221aは平面を画定することがあり、これはステープル6220bのステープル脚部6221bにより画定される平面と平行又は少なくとも実質的に平行であり、この平面は例えば、ステープル6220cのステープル脚部6221により画定される平面と平行であるか、又は少なくとも実質的に平行であり得る。 In addition to the above, in various embodiments, the fastening system can further include a plurality of staples 6220 including staple legs 6221 that can be inserted into the
図177及び図179を参照し、様々な実施形態において、ステープルカートリッジ6200は、複数のステープル6220、並びに加えて、例えば、ステープル6220を位置合わせするように構成され得る、スロット、溝及び/又は開口部などの複数の位置合わせガイドを含む、位置合わせマトリックス6260を含み得る。様々な実施形態において、位置合わせマトリックス6260は、保持マトリックス6250がステープル脚部6221と係合する前に、ステープル6220のステープル脚部6221が、保持マトリックス6250の保持開口部6252と位置合わせされるように構成され得る。ここで図182及び図183を参照し、様々な実施形態において、位置合わせマトリックス6260は、複数の位置合わせ開口部6262を含む場合があり、これは、ステープル6220のステープル脚部6221を緊密に受容するように構成され得る。少なくとも1つのこのような実施形態において、各ステープル6220は、基部6222及び基部6222から延びる2つのステープル脚部6221を含む場合があり、ステープル6220の基部6222は、保持マトリックス6260の底部表面6264の周囲に延びる場合があり、ステープル脚部6221は、位置合わせ開口部6262を通じて上方に延びる場合がある。いくつかの実施形態において、各位置合わせ開口部6262は、円形、又は少なくとも実質的に円形であり、内部を通じて延びるステープル脚部6221の直径に等しいか、又は僅かに大きい直径によって画定され得る。様々な実施形態において、位置合わせマトリックス6260は、位置合わせマトリックス6260の頂面6261から上方に延び、位置合わせ開口部6262を囲むか、又は少なくとも部分的に囲み得る複数の隆起部材6263を更に含み得る。いくつかの実施形態において、隆起部材6263は、より長い位置合わせ開口部6262を提供することがあり、様々な実施形態において、より長い開口部6262はステープル脚部6221の位置合わせに対し、より短い開口部6262よりも、多くの制御を提供することができる。 Referring to FIGS. 177 and 179, in various embodiments, the staple cartridge 6200 can be configured to align a plurality of staples 6220, as well as staples 6220, for example, slots, grooves and / or openings. An
使用中、いくつかの実施形態において、ステープルカートリッジ6200を支持する第1ジョーは、ステープリングされる組織の一方の側に位置付けられることがあり、保持マトリックス6250を支持する第2ジョーは、組織の他方の側に位置付けられることがある。一度ジョーが組織に対して好適に位置付けられると、いくつかの実施形態において、第2ジョー及び保持マトリックス6250は、ステープルカートリッジ6200の方に動かされることがある。ステープル脚部6221は、保持マトリックス6250の保持開口部6252を通じて挿入されると、様々な実施形態において、保持マトリックス6250の組織接触表面又は底面6251が、組織と接触し、組織を、位置合わせマトリックス6260の組織接触表面又は頂面6261に対して押し付ける。以下でより詳細に記載されるように、様々な実施形態において、ステープルカートリッジ6200は、例えば、位置合わせマトリックス6260の頂面6261の上に位置付けられた圧縮可能なカートリッジ本体を更に含む場合があり、これは、組織と接触する場合がある。図179及び図183を参照し、いくつかの実施形態において、位置合わせマトリックス6260は、内部に画定された1つ又は2つ以上の開口部6203を更に含む場合があり、これは、位置合わせマトリックス6260が組織に対して位置付けられるときに、内部に組織の一部分を受容するように構成され得る。圧縮可能なカートリッジ本体が、位置合わせマトリックス6260上、及び/又はこれに対して位置付けられる実施形態において、カートリッジ本体が圧縮される際に、圧縮可能カートリッジ本体の一部分が開口部6203内に入る場合がある。同様に、保持マトリックス6250が、複数の開口部6202を含む場合があり、これは、保持マトリックス6250が組織に対して位置付けられるときに、内部に組織の少なくとも一部分を受容するように構成され得る。 In use, in some embodiments, the first jaw that supports the staple cartridge 6200 may be positioned on one side of the tissue being stapled, and the second jaw that supports the
上記に加え、ステープル6220のステープル脚部6221が、保持マトリックス6250の保持開口部6252を通じて挿入されるとき、ステープル脚部6221の先端部は、保持マトリックス6250の頂面6257から上方に突出し得る。上記のように、様々な実施形態において、ステープル脚部6221の先端部は、これらが、保持開口部6252を通じて挿入された後に曲がらずに留まることがある。ここで図186〜189を参照し、いくつかの実施形態において、ステープルカートリッジ6200及び保持マトリックス6250を含む締結システムは、複数の保護キャップ又はカバー、例えばキャップ6270を更に含む場合があり、これらは、保持マトリックス6250上に突出するステープル脚部6221と組み合わせられる。様々な実施形態において、各キャップ6270は、ステープル脚部6221の鋭利な端部を全体的に又は少なくとも部分的に被覆することがあり、これにより鋭利な端部は、これに隣接して位置付けられる組織に接触しない。ここで図189を参照し、少なくとも一実施形態において、各キャップ6270は、内部に画定された開口部6271を含む場合があり、これは、内部にステープル脚部6221の先端部を緊密に受容するように構成され得る。様々な実施形態において、キャップ6270は、例えば、シリコーン、ポリイソプレン、サノプレン、及び/又は天然ゴムなどの、弾性材料を含む場合がある。少なくとも一実施形態において、開口部6271は、内部に挿入されたステープル脚部6221の外辺部又は直径よりも小さい外辺部又は直径を含む場合がある。少なくとも1つのこのような実施形態において、保護キャップ6270内の、開口部6271は、内部にステープル脚部6221を受容するために拡張し得る。様々な代替的実施形態において、キャップ6270は、開口部を含まないことがあり、ステープル脚部6221の先端部は、脚部6221が内部に挿入される際に、キャップ6270を切開するように構成され得る。いずれにせよ、様々な実施形態において、各キャップ6270は、キャップ6270の基部6272が、保持マトリックス6250の頂面6257に隣接するか、又はこれに隣接するように位置付けられるまで、ステープル脚部6221上に配置され得る。様々な状況において、キャップ6270は、これらが容易にそこから外れないように、ステープル脚部6221の先端部上にぴったりと配置されるように、構成され得る。いくつかの実施形態において、各キャップ6270は例えば、円錐、又は少なくとも実質的に円錐の外側表面を含み得る。様々な実施形態において、キャップ6270は、例えば、放物線状、又は少なくとも実質的に放物線状の外側表面を含む形状など、任意の好適な形状を含み得る。 In addition to the above, when the staple legs 6221 of the staple 6220 are inserted through the retention openings 6252 of the
様々な実施形態において、例えば、上記の締結システムは、例えば、図190〜192に示される外科用ステープラーを使用して展開し得る。様々な実施形態において、エンドエフェクタは、内部にステープルカートリッジ6200を支持するように構成され得る第1ジョー、又はステープルカートリッジチャネル6230と、保持マトリックス6250及び複数の保護キャップ6270を支持するように構成され得る第2ジョー6240とを含み得る。開放構成に第2ジョー6240を例示する、図190を主に参照し、組織Tが、保持マトリックス6250とステープルカートリッジ6200との中間に位置付けられるようにして、ジョー6230及び6240が組織Tに対して位置付けられる場合がある。様々な実施形態において、上記のように、ステープルカートリッジ6200は、内部にステープル6220及び位置合わせマトリックス6260が位置付けられる、例えばカートリッジ本体6210などの圧縮可能カートリッジ本体を更に含む場合がある。少なくとも1つのこのような実施形態において、組織Tは、カートリッジ本体6210の頂面に対して位置付けられる場合がある。いくつかの実施形態において、第2ジョー6240は、複数の保護キャップ6270を受容するように構成された、複数の陥没部又は開口部6245と、加えて、保持マトリックス6250をキャップ6270上の適所に保持するように構成され得る1つ又は2つ以上の保持機構又は保持部とを含み得る。少なくとも1つのこのような実施形態において、保持マトリックス6250は、開口部6245内にキャップ6270を保持するように構成され得る。図202を参照し、様々な実施形態において、各開口部6245は、キャップ6270の一部分又は全体を内部に受容するように構成され得る。いくつかの実施形態において、開口部6245は、例えば、キャップ6270が、圧力嵌め及び/又はスナップ嵌め構成の少なくとも一方により内部に固定され得るように、十分な大きさ及び構成であり得る。いくつかの実施形態において、少なくとも1つの接着剤は、キャップ6270を開口部6245内に固定するために使用され得る。少なくとも1つのこのような実施形態において、このような接着剤は、キャップ6270がステープル脚部6221と係合し、第2ジョー6240が埋め込まれた締結アセンブリから離された後に、キャップ6270が第2ジョー6240から取り外され得るように、選択され得る。図203を参照し、いくつかの実施形態において、第2ジョー6240は、少なくとも1つのカバーシート6246を含む場合があり、これは第2ジョー6240に組み合わされ得、開口部6245内でキャップ6270にわたって延び、これを保持することができる。少なくとも1つのこのような実施形態において、カバーシート6246の少なくとも一部分が、例えば、少なくとも1つの接着剤を使用して、ジョー6240に固定され得る。使用中、少なくとも一実施形態において、カバーシート6246は、エンドエフェクタが手術部位に挿入される前に、ジョー6240から少なくとも部分的に取り外されることがある。いくつかの実施形態において、カバーシート6246は、例えば、PDS及び/又はPGAなどの埋め込み可能な材料を含む場合があり、これは、ステープル脚部6221が保持マトリックス6250から現れる際に、ステープル脚部6221によって切開され得る。少なくとも1つのこのような実施形態において、カバーシート6246は、カバー6270と保持マトリックス6250との間の締結システムに固定され得る。 In various embodiments, for example, the fastening system described above can be deployed using, for example, a surgical stapler shown in FIGS. 190-192. In various embodiments, the end effector is configured to support a first jaw or staple cartridge channel 6230 that can be configured to support a staple cartridge 6200 therein, a
上記に加え、ここで図191を参照し、ジョー6240は、開放位置から、組織Tが保持マトリックス6250及びカートリッジ本体6210に対して位置付けられる、閉鎖位置へと動かされる場合がある。このような位置において、保持マトリックス6250は、未だステープル6220と係合されないことがある。様々な実施形態において、ジョー6240は、作動装置6235によって、その開放位置からその閉鎖位置へと動かされ得る。少なくとも1つのこのような実施形態において、ジョー6240は、遠位ピン6243及びここから延びる近位ピン6244を含む場合があり、遠位ピン6243は、カートリッジチャネル6230内に画定される遠位スロット6233内において垂直に、又は少なくとも実質的に垂直に摺動することができ、近位ピン6244はまた、やはりステープルカートリッジチャネル6230内で画定される近位スロット6234内で垂直に、又は少なくとも実質的に垂直に摺動し得る。図191に例示されるように、使用中、作動装置6235は、ピン6243及び6244を、これらの各スロット6233及び6234の上端部内に駆動するために、近位方向に後退し得る。少なくとも1つのこのような実施形態において、作動装置6235は、遠位駆動スロット6236及び近位駆動スロット6237を含む場合があり、駆動スロット6236及び6237の側壁は、遠位ピン6243及び近位ピン6244とそれぞれ接触し、作動装置6235が近位方向に動くと、ピン6243及び6244を上方に駆動するように構成され得る。より具体的に、作動装置6235が近位方向に動くと、遠位ピン6243は、遠位駆動スロット6236の傾いた第1部分6236aを摺動して上り、中間的な又は第2部分6236bへと入り、同様に、近位ピン6244は、遠位駆動スロット6237の傾いた第1部分6237aを摺動して上り、中間的な又は第2部分6237bへと入り得る。ピン6243及び6244が両方とも上方に動くと、ジョー6240は、組織Tに向かって下方に、閉鎖位置へと回転し得る。 In addition to the above, referring now to FIG. 191, jaw 6240 may be moved from an open position to a closed position where tissue T is positioned relative to
上記に加え、図192を参照し、作動装置6235は、第2ジョー6240を第1ジョー6230に向かって下方に押し、カートリッジ本体6210を圧縮し、かつ保持マトリックス6250及び複数の保護キャップ6270をステープル6220のステープル脚部と係合させるために、近位方向に更に引かれ得る。少なくとも1つのこのような実施形態において、作動装置6235の追加的な近位方向への移動により、駆動スロット6236及び6237の側壁が、ピン6243及び6244と接触し、ピン6243及び6244をそれぞれ、スロット6233及び6234の底端部の方へと下方に駆動する。このような状況において、作動装置6235は、近位方向に引かれる場合があり、それにより、1)遠位ピン6243が駆動スロット6236の第2部分6236bを出て、傾いた第3部分6236cに入り、同様に、近位ピン6244が駆動スロット6237の第2部分6237bから出て、傾いた第3部分6237cに入る。ピン6243及び6244が両方とも下方に動かされると、第2ジョー6240は、第1ジョー6230に向かって、発射位置へと下方に動くことがある。少なくとも1つのこのような実施形態において、第2ジョー6240が下方に動かされることがあり、保持マトリックス6250は、カートリッジ本体6210の頂面と平行に若しくは少なくとも実質的に平行に、及び/又は位置合わせマトリックス6260と平行に若しくは少なくとも実質的に平行なままである。いずれにせよ、図194に例示されるように、一度保持マトリックス6250及び保護キャップ6270がステープル6220のステープル脚部6221と係合すると、第2ジョー6240は、開放位置、又は少なくとも実質的に開放位置に戻る場合がある。少なくとも1つのこのような実施形態において、作動装置6235は遠位方向に押され、ピン6243及び6244を、それぞれスロット6233及び6234の頂端部に駆動し、これはその後、ピンが一度各駆動スロット6236及び6237の中間部分6236b及び6237bを通過すると、スロット6233及び6234の底端部に向かって下方に駆動される。図193に例示されるように、一度第2ジョー6240が開放されると、第1ジョー6230は、埋め込まれたステープルカートリッジ6200から分離される場合があり、第1ジョー6230及び第2ジョー6240は、埋め込まれた締結アセンブリから取り外され得る。 In addition to the above, referring to FIG. 192, the actuator 6235 pushes the second jaw 6240 downward toward the first jaw 6230, compresses the cartridge body 6210, and staples the
再び、図192を参照し、読者は、ピン6243及び6244は、これらのスロット6233及び6234の最も底部に配置されるものとして例示されていないが、保持マトリックス6250及びキャップ6270は、ステープル脚部6221に係合している。このような状況は、厚い組織Tが保持マトリックス6250とカートリッジ本体6210との間に位置付けられる際に生じ得る。ここで図195を参照し、より薄い組織Tが保持マトリックス6250とカートリッジ本体6210との間に位置付けられる状況において、ピン6243及び6244は、図197に例示されるように、これらの対応するスロット6233及び6234内へと更に下方に駆動され得る。一般的に、少なくとも1つのこのような実施形態において、作動装置6235は近位方向に引かれ、上記及び図195〜197に例示される経過によりピン6243及び6244を上方及び下方に駆動し、かつより薄い組織Tにより、保持マトリックス6250及び保護キャップ6270は、図198及び図199に例示されるように、ステープル6220のステープル脚部6221上に更に駆動され得る。様々な実施形態において、保持マトリックス6250により可能となる調節可能性の結果として、エンドエフェクタ内に捕捉される組織が厚いか薄いかにかかわらず、同じ、又は少なくとも実質的に同じ圧縮圧力が締結された組織内で得られる。いくつかの実施形態において、保持マトリックス6250によって可能となる調節可能性は、外科医が、保持マトリックス6250が配置される深さを選択することによって、組織に対してより大きな圧縮圧力を適用するか、又はより小さな圧縮圧力を適用するかを選択できるようにする。少なくとも1つのこのような実施形態において、保持マトリックス6250がステープル脚部6221に配置され得る範囲は、例えば、スロット6233及び6234の長さ又は範囲によって決定され得る。 Referring again to FIG. 192, the reader is not illustrated that pins 6243 and 6244 are located at the bottom of these slots 6233 and 6234, but retaining
上記のように、様々な実施形態において、保護キャップ6270は、例えば、柔らかな又は可撓性材料を含む場合があり、これは、ステープル脚部6221の端部を把持するように構成され得る。いくつかの実施形態において、保護キャップ6270は、商標名Vicrylで市販されるポリグリコール酸(PGA)、ポリ乳酸(PLA又はPLLA)、ポリジオキサノン(PDS)、ポリヒドロキシアルカノエート(PHA)、商標名Monocrylで市販されるポリグレカプロン25(PGCL)、ポリカプロラクトン(PCL)、並びに/又はPGA、PLA、PDS、PHA、PGCL及び/若しくはPCLの混合物などの生吸収性プラスチック、並びに/あるいは、チタン及び/又はステンレス・スチールなどの、生体適合性金属を含む場合がある。図189に例示されるように、少なくとも一実施形態において、各キャップ6270は、他のキャップ6270に接続されない場合がある。いくつかの実施形態において、1つ又は2つ以上のキャップ6270は、保持マトリックス6250に取り付けられる場合がある。少なくとも1つのこのような実施形態において、キャップ6270は、例えば、少なくとも1つの接着剤によって保持マトリックス6250に接続される場合があり、キャップ6270の開口部6271は、保持マトリックス6270内の保持開口部6252と位置合わせされるか、又は少なくとも実質的に位置合わせされ得る。図200と参照し、様々な実施形態において、キャップ6370などの保護キャップは、内側空洞又はドーム6374を画定する場合があり、これは例えば、内部にステープル脚部6221の先端部を受容するように構成され得る。少なくとも1つのこのような実施形態において、キャップ6370は、底部6372、及び底部6372を通じて延びる開口部6371を含む場合がある。様々な実施形態において、開口部6371は、1つ又は2つ以上の屈曲可能部材6373によって画定される場合があり、これは、ステープル脚部6221が内部を通じて挿入される際に屈曲するように構成され得る。いくつかの実施形態において、例えば、2つ以上のキャップ6370は、一緒に接続されてキャップ6370の配列を形成し得る。図201を参照し、少なくとも1つのこのような実施形態において、複数のキャップ6370は、材料のシート6375によって一緒に接続され得る。いくつかの実施形態において、シート6375は、所望の配置及び/又はキャップ6370の位置合わせを維持するために、十分に剛性であり得る。少なくとも1つの実施形態において、キャップ6370は、チタン及び/又はステンレス・スチールなどの生体適合性金属を含む場合があり、シート6375は、生吸収性プラスチック、商標名Vicrylで市販されるポリグリコール酸(PGA)、ポリ乳酸(PLA又はPLLA)、ポリジオキサノン(PDS)、ポリヒドロキシアルカノエート(PHA)、商標名Monocrylで市販されるポリグレカプロン25(PGCL)、ポリカプロラクトン(PCL)、並びに/又はPGA、PLA、PDS、PHA、PGCL及び/若しくはPCLの混合物などを含む場合がある。様々な実施形態において、シート6375は、例えば、内部に保存及び/又は分散されるコロイド状銀及び/又はトリクロサン、などの抗菌剤を含む、生吸収性材料を含む場合があり、これらは例えば、シート6375が生吸収される際に放出され得る。 As described above, in various embodiments, the protective cap 6270 can include, for example, a soft or flexible material, which can be configured to grip the ends of the staple legs 6221. In some embodiments, protective cap 6270 is a polyglycolic acid (PGA), polylactic acid (PLA or PLLA), polydioxanone (PDS), polyhydroxyalkanoate (PHA), trade name Monocryl sold under the trade name Vicryl. Bioresorbable plastics such as polygrecapron 25 (PGCL), polycaprolactone (PCL), and / or mixtures of PGA, PLA, PDS, PHA, PGCL and / or PCL, and / or titanium and / or Or it may contain a biocompatible metal, such as stainless steel. As illustrated in FIG. 189, in at least one embodiment, each cap 6270 may not be connected to the other cap 6270. In some embodiments, one or more caps 6270 may be attached to the
上記に加え、様々な実施形態により、シート6375は、例えば、射出成形プロセスを利用して、キャップ6370の周囲で射出成形され得、それによってキャップ6370は、シート6375内に埋め込まれる。いくつかの他の実施形態において、シート6375は、例えば、射出成形プロセスを使用して成形される場合があり、開口部6376は、射出成形プロセス中、及び/又は射出成形プロセスの後に、スタンピングプロセスを使用して、シート6375に形成され得る。いずれにせよ、キャップ6370は、圧力嵌め及び/若しくはスナップ嵌め接続、並びに/又は少なくとも1つの接着剤を利用して、開口部6376に挿入され、固定される場合がある。いくつかの実施形態において、各キャップ6370は、キャップ6370の外辺部を囲むか、少なくとも部分的に囲む、環状の溝を含む場合があり、これは、内部に開口部6376の外辺部を受容するように構成され得る。いくつかの実施形態において、シート6375は、可撓性及び/又は柔軟な材料を含む場合があり、これは、キャップ6370内の相対移動を可能にし得る。少なくとも1つのこのような実施形態において、可撓性シート6375は、例えば、ゴム、プラスチック及び/又はシリコーン材料を含む場合があり、キャップ6370は、例えば、金属などの剛性材料を含む場合がある。上記と同様の、少なくとも1つのこのような実施形態では、可撓性材料がキャップ6370の周囲に成形され得る。いくつかの実施形態において、キャップ6370は例えば、事前に成形したシート6375内に押し込まれ得る。様々な実施形態において、所望の硬度のシート6375を提供するために、可撓性材料のジュロ硬度が選択され得る。いくつかの実施形態において、シート6375は、これが可撓性バンドを含むように構成され得る。いずれにせよ、シート6375は、複数のキャップ6370が、エンドエフェクタ内で同時に位置付けられる及び/又は位置合わせされる場合に、キャップ6370をエンドエフェクタに組み合わせることを容易にし得る。更に、キャップ6370を接続するシート6375は、一度埋め込まれると、例えば、ステープルのラインに沿った組織を強化又は補強することができる。キャップ6370を接続するシートに加えて、又はその代わりに、キャップ6370は、複数の連結部によって一緒に接続され得る。少なくとも1つのこのような実施形態において、このような接続部は、可撓性であり得、キャップ6370の間の相対移動を可能にし得る。 In addition to the above, according to various embodiments, the sheet 6375 can be injection molded around the cap 6370, for example, utilizing an injection molding process, whereby the cap 6370 is embedded within the sheet 6375. In some other embodiments, the sheet 6375 may be formed using, for example, an injection molding process, and the opening 6376 may be a stamping process during and / or after the injection molding process. Can be formed into a sheet 6375. In any case, the cap 6370 may be inserted and secured into the opening 6376 utilizing a pressure-fit and / or snap-fit connection and / or at least one adhesive. In some embodiments, each cap 6370 may include an annular groove that surrounds or at least partially surrounds the outer periphery of the cap 6370, which includes the outer periphery of the opening 6376 therein. Can be configured to accept. In some embodiments, the sheet 6375 may include a flexible and / or compliant material, which may allow relative movement within the cap 6370. In at least one such embodiment, the flexible sheet 6375 may include, for example, rubber, plastic, and / or silicone material, and the cap 6370 may include, for example, a rigid material such as metal. In at least one such embodiment, similar to the above, a flexible material can be molded around the cap 6370. In some embodiments, the cap 6370 can be pushed into a pre-formed sheet 6375, for example. In various embodiments, the durometer of the flexible material can be selected to provide a sheet 6375 of the desired hardness. In some embodiments, the sheet 6375 can be configured such that it includes a flexible band. In any case, the sheet 6375 can facilitate assembling the cap 6370 to the end effector when multiple caps 6370 are simultaneously positioned and / or aligned within the end effector. Furthermore, once the sheet 6375 connecting the cap 6370 is implanted, it can strengthen or reinforce the tissue along the staple line, for example. In addition to or in lieu of the sheet connecting the cap 6370, the cap 6370 may be connected together by a plurality of linkages. In at least one such embodiment, such a connection may be flexible and allow relative movement between the caps 6370.
図204及び図205を参照し、様々な実施形態において、例えば、キャップ6470などの保護キャップは、形成表面を含むことがあり、これはステープル脚部の先端部を変形するために構成され得る。少なくとも1つのこのような実施形態において、キャップ6470は、内部を通じて延びる開口部6471を含み得る、基部6472を含む場合がある。様々な実施形態において、開口部6471は、例えば、ステープル脚部6221などのステープル脚部を、内部に緊密に受容するように構成され得る。少なくとも一実施形態において、開口部6471は、ステープル脚部6221の直径又は外辺部と同等以上であり得る、直径又は外辺部によって画定され得る。様々な実施形態において、キャップ6470は、空洞又はドーム6474を更に含む場合があり、これは、ステープル脚部6221の先端部が、キャップ6470に挿入される際にこれを受容するように構成され得る。主に図205を参照し、キャップ6470は、アンビル又は形成表面6473を更に含む場合があり、これは、ステープル脚部6221を屈曲及び変形するように構成され得る。様々な状況において、形成表面6473は、例えば、湾曲している及び/又は凹状である場合があり、ステープル脚部6221がキャップ6470に挿入される際にこれを湾曲させるように構成され得る。いくつかの実施形態において、ステープル脚部6221は、開口部6471を通じてこれが引き抜かれないように十分に変形することがあり、結果としてキャップ6470は、ステープル脚部6221に固定され得る。少なくとも1つのこのような実施形態において、キャップ6470の基部6472は、開口部6471の周囲に延びるリップを画定する場合があり、これは、変形されたステープル脚部6221が空洞6474から取り外されることを防ぐ場合がある。様々な状況において、上記の結果として、1つ又は2つ以上のキャップ6470は、例えば、保持マトリックス6250などの保持マトリックスが、ステープル6220から後退するか又は係合離脱することを防ぐか又は抑制する場合がある。例示されないが、様々な実施形態において、キャップ6470は、対称的に、又は少なくとも実質的に対称的に形成され得、開口部6471は、キャップ6470を通じて延びる中央軸6479に沿って位置し得る。図204を再び参照し、様々な代替的実施形態において、開口部6471は、中央軸6479に対してオフセットされる場合がある。少なくとも1つのこのような実施形態において、オフセット開口部6471は、上記の中央に合わせた開口部6471を含む実施形態において生じ得るように、形成表面6473の中央と接触する代わりに、ステープル脚部6221が形成表面6473の側部に接触し、形成表面6473のもう一方の側部の方へと湾曲することを可能にし得る。 Referring to FIGS. 204 and 205, in various embodiments, a protective cap, such as, for example, cap 6470, can include a forming surface that can be configured to deform the tips of the staple legs. In at least one such embodiment, the cap 6470 may include a base 6472 that may include an opening 6471 extending therethrough. In various embodiments, the opening 6471 can be configured to closely receive a staple leg, such as, for example, a staple leg 6221 therein. In at least one embodiment, the opening 6471 can be defined by a diameter or perimeter that can be equal to or greater than the diameter or perimeter of the staple legs 6221. In various embodiments, the cap 6470 can further include a cavity or dome 6474 that can be configured to receive the tip of the staple leg 6221 as it is inserted into the cap 6470. . Referring primarily to FIG. 205, the cap 6470 may further include an anvil or forming surface 6473, which can be configured to bend and deform the staple legs 6221. In various circumstances, the forming surface 6473 may be curved and / or concave, for example, and may be configured to curve the staple legs 6221 as they are inserted into the cap 6470. In some embodiments, the staple leg 6221 may be sufficiently deformed so that it cannot be pulled through the opening 6471 so that the cap 6470 can be secured to the staple leg 6221. In at least one such embodiment, the base 6472 of the cap 6470 may define a lip that extends around the opening 6471, which causes the deformed staple leg 6221 to be removed from the cavity 6474. May prevent. In various situations, as a result of the above, one or more caps 6470 may prevent or inhibit a retention matrix, such as, for example,
上記のように、様々な実施形態において、保持マトリックス6250などの保持マトリックスは例えば、シート材料及びそこから延びる複数の保持開口部6252を含む場合がある。少なくともいくつかの実施形態において、保持マトリックス6250を含むシート材料は、剛性又は実質的に非可撓性であり得る。他のいくつかの実施形態において、保持マトリックスは、保持マトリックス要素、保持マトリックス要素を接続する複数の可撓性コネクタ又は連結部の配列を含む場合がある。図206を参照し、いくつかの実施形態において、保持マトリックス又は保持マトリックス6550の一部分は、1つ又は2つ以上の接続連結部6507によって一緒に接続され得る複数の要素本体6505を含む場合がある。少なくとも一実施形態において、各要素本体6505は、内部に保持開口部6552を画定する、複数の変形可能な部材6553を含む場合がある。いくつかの実施形態において、要素本体6505及び保持マトリックス6550の接続連結部6507は、一体的に形成される場合があり、材料の一体型の部品を含む場合がある。様々な実施形態により、保持マトリックス6550は、例えば、チタン及び/又はステンレス・スチールなどの、金属材料から、例えば、スタンピング又はキャスティングされ得る。少なくとも一実施形態において、保持マトリックス6550はプラスチック、例えば、ポリエーテルエーテルケトン(PEEK)、商標名Proleneで市販されるポリプロピレン、ポリエステル、商標名Ethibond及びMersileneで市販される、ポリエチレンテレフタレート、ポリフッ化ビニリデン、ポリフッ化ビニリデン−co−ヘキサフルオロプロピレン、商標名Pronovaで市販される、ポリヘキサフルオロプロピレン−VDF、及び/又はEthilon & Nurolonで市販される、長鎖脂肪酸ポリマーナイロン6及びナイロン6,6などを含む場合があり、かつ例えば、射出成形プロセスによって形成され得る。いくつかの実施形態において、要素本体6505は、接続連結部6507で一体的に形成される場合がある。様々な実施形態において、複数の単一の要素本体6505が作製され、これがその後一緒に接続されて、保持マトリックス内に埋め込まれる場合がある。少なくとも1つのこのような実施形態において、要素本体6505は、例えば、チタン及び/又はステンレス・スチールなどの金属材料からスタンピングされて、プラスチック射出成形型に入れられ、プラスチック材料が成形型に射出されて、1)要素本体6505を囲むか又は少なくとも実質的に囲むリム6506、及び2)リム6506から延びる接続連結部6507を形成し得る。いくつかの他の実施形態において、複数のリム6506内に画定される開口部を含む1つ又は2つ以上のコネクタ格子が形成される場合があり、このような開口部はそれぞれ、内部に要素本体6505を受容するように構成される。少なくとも1つの実施形態において、各要素本体6505は、円形の又は少なくとも実質的に円形の外側外辺部を含む場合があり、同様に各リム6506は、内部に円形の、又は少なくとも実質的に円形の開口部を画定する場合があり、開口部の直径は、要素本体6505の直径と同等か、又はそれより小さい場合がある。少なくとも1つのこのような実施形態において、要素本体6505は、リム6505の開口部内に圧力嵌めされるか、又は埋め込まれる場合がある。いくつかの実施形態において、要素本体6505は、少なくとも1つの接着剤を利用して、開口部内に固定され得る。 As described above, in various embodiments, a retention matrix, such as
上記に加え、様々な実施形態において、例えば、図207〜210に例示されるように、保持マトリックスは、複数の要素本体6505及び要素本体6505を任意の好適な配列で接続し得る複数の接続連結部6507を含む場合がある。配列のパターンとは関係なく、様々な実施形態において、接続連結部6507は、要素本体6505及び保持開口部6552が、互いに対して動かすことを可能にするように構成され得る。少なくとも1つのこのような実施形態において、要素本体6505の格子、及び保持マトリックス6550を含む接続連結部6507は、一度組織と係合すると、組織内での少なくともいくらかの移動を可能にしつつ、同時にそのより大きな移動に抵抗するように、伸張、捻り、収縮及び/又は別の方法により屈折するように構成され得る。様々な実施形態により、各接続連結部6507は、保持マトリックス6550がマトリックス保持要素6505の中間で屈折することを可能にするために、伸張、捻り及び/又は収縮するように構成された可撓性部材を含む場合がある。再び図206を参照し、リム6506から延びる各連結部6507は、要素本体6505及び/又はリム6506の幅よりも狭い幅によって画定され得る。図207〜210を参照し、いくつかの実施形態において、1つ又は2つ以上の連結部6507は、例えば、隣接する要素本体6506の間の直線に沿って延びる、直線部分を含む場合がある。少なくとも1つのこのような実施形態において、各リンク6507は、第1リム6506に取り付けられた第1端部、及び第2リム6506に取り付けられた第2端部を含む場合がある。図206を参照し、いくつかの実施形態において、2つ以上の連結部6507が互いに接続される場合がある。少なくとも1つのこのような実施形態において、2つ以上の連結部6507は、例えば、中間ヒンジ6509で接続され得る。様々な実施形態において、ヒンジ6509は、例えば、接続された連結部6507が互いに対して動くことを可能にし得る、連結部6507の断面厚さと比較して、1つ又は2つ以上の方向における断面厚さの低減を含み得る。いくつかの実施形態において、保持マトリックス6550は、ヒンジ6508を更に含む場合があり、これは、連結部6507をリム6506に接続して、連結部6507とリム6506との間の相対的な移動を可能にし得る。ヒンジ6509と同様に、ヒンジ6508は、例えば、連結部6507の断面厚さと比較して、1つ又は2つ以上の方向における断面厚さの低減を含む場合がある。 In addition to the above, in various embodiments, the retention matrix can connect a plurality of element bodies 6505 and element bodies 6505 in any suitable arrangement, as illustrated, for example, in FIGS. Part 6507 may be included. Regardless of the pattern of the arrangement, in various embodiments, the connection link 6507 can be configured to allow the element body 6505 and the retention opening 6552 to move relative to each other. In at least one such embodiment, the grid of element bodies 6505 and the connecting links 6507 including the retention matrix 6550, once engaged with tissue, at the same time allow for at least some movement within the tissue. It may be configured to stretch, twist, contract and / or refract by another method to resist greater movement. According to various embodiments, each connection link 6507 is configured to be flexible, configured to stretch, twist and / or contract to allow the retention matrix 6550 to bend in the middle of the matrix retention element 6505. May contain members. Referring again to FIG. 206, each connection 6507 extending from the rim 6506 can be defined by a width that is narrower than the width of the element body 6505 and / or the rim 6506. Referring to FIGS. 207-210, in some embodiments, one or more connections 6507 may include a straight portion that extends, for example, along a straight line between adjacent element bodies 6506. . In at least one such embodiment, each link 6507 may include a first end attached to the first rim 6506 and a second end attached to the second rim 6506. Referring to FIG. 206, in some embodiments, two or more linkages 6507 may be connected to each other. In at least one such embodiment, two or more linkages 6507 can be connected by, for example, an intermediate hinge 6509. In various embodiments, the hinge 6509 can be, for example, a cross-section in one or more directions compared to the cross-sectional thickness of the link 6507 that can allow the connected links 6507 to move relative to each other. Thickness reduction may be included. In some embodiments, the retention matrix 6550 may further include a hinge 6508 that connects the linkage 6507 to the rim 6506 to provide relative movement between the linkage 6507 and the rim 6506. Can be possible. Similar to hinge 6509, hinge 6508 may include a reduction in cross-sectional thickness in one or more directions, for example, as compared to the cross-sectional thickness of coupling 6507.
上記に加え、様々な実施形態において、接続連結部6507は、異なる方向に延びる場合がある。少なくとも1つのこのような実施形態において、第1連結部6507は、第1方向に延び、第2連結部6507は第2方向に延び、第1方向は、第2方向とは異なる場合がある。いくつかの実施形態において、第1連結部6507は、第1ラインに沿って延びる場合があり、第2連結部6507は、第2ラインに沿って延びる場合があり、第1ライン及び第2ラインは、例えば、およそ30°、およそ45°、およそ60°、及び/又はおよそ90°などの角度で互いに交差する場合がある。様々な実施形態において、ヒンジ6508及び/又はヒンジ6509は、リビングヒンジを含む場合があり、これは連結部6507が、破断することなく、互いに対して何度も移動することを可能にする。いくつかの実施形態において、ヒンジ6508及び/又はヒンジ6509は、脆い、又は容易に破断する部分を含む場合があり、これは、屈折しすぎる及び/又は屈折を繰り返しすぎると、破断し得る。少なくとも1つのこのような実施形態において、このような脆い部分は、保持マトリックス6550の1つ又は2つ以上の部分が、保持マトリックス6550の別の部分から破断して離れることを可能にし得る。様々な実施形態において、例えば、ヒンジ6508及び/又はヒンジ6509は、保持マトリックス6550の他の部分よりも切開が容易な、保持マトリックス6550の区分を含む場合がある。より具体的に、埋め込まれた保持マトリックス及び埋め込まれた保持マトリックスによって締結される組織は多くの場合において、様々な理由により、切断部材によって切開されることがあり得、かつこのような横切を促進するために、ヒンジ6508及び/又はヒンジ6509は、例えば、それを通じて切断部材がより容易に保持マトリックス6550を通過し得る、通路又は薄い区分を提供し得る。上記に加え、様々な実施形態において、接続連結部6507は、例えば、内部に画定される1つ又は2つ以上の圧印機構又は材料据込みを含む場合があり、これは、接続連結部6507の曲げ、破断、及び/又は切開を促進することができる。 In addition to the above, in various embodiments, the connection link 6507 may extend in different directions. In at least one such embodiment, the first connecting portion 6507 extends in the first direction, the second connecting portion 6507 extends in the second direction, and the first direction may be different from the second direction. In some embodiments, the first connection portion 6507 may extend along the first line, and the second connection portion 6507 may extend along the second line, and the first line and the second line. May intersect each other at an angle such as, for example, approximately 30 °, approximately 45 °, approximately 60 °, and / or approximately 90 °. In various embodiments, the hinge 6508 and / or the hinge 6509 may include a living hinge, which allows the couplings 6507 to move multiple times relative to each other without breaking. In some embodiments, the hinge 6508 and / or the hinge 6509 may include a portion that is brittle or easily broken, which may break if it is too refracted and / or repeated too much. In at least one such embodiment, such a fragile portion may allow one or more portions of retention matrix 6550 to break apart from another portion of retention matrix 6550. In various embodiments, for example, hinge 6508 and / or hinge 6509 may include a section of retention matrix 6550 that is easier to cut than other portions of retention matrix 6550. More specifically, the embedded retention matrix and the tissue fastened by the embedded retention matrix can often be incised by a cutting member for a variety of reasons, and such crossings can be made. To facilitate, hinge 6508 and / or hinge 6509 can provide a passage or thin section through which, for example, a cutting member can more easily pass through retention matrix 6550. In addition to the above, in various embodiments, the connection link 6507 may include, for example, one or more coining mechanisms or material upsets defined therein, which are connected to the connection link 6507. Bending, breaking, and / or incision can be facilitated.
様々な実施形態において、保持マトリックスは例えば、マトリックス要素本体6505などの、複数の保持マトリックス要素を含む場合があり、これは、材料の可撓性シート又はバンド内に埋め込まれてもよい。少なくとも一実施形態において、材料の可撓性シートは、生吸収性、エラストマー材料、例えばシリコーンから形成される場合があり、可撓性シートは、内部に画定される複数の開口部で作製され得る。少なくとも1つのこのような実施形態において、個体の可撓性シートが成形され得、可撓性シートに複数の開口部が穿孔され得る。様々な代替的実施形態において、可撓性シートが成形され得、成形プロセス中に、内部に画定される開口部が形成され得る。いずれにせよ、例えば、保持マトリックス要素6505は、可撓性シート内に挿入及び保持され得る。上記と同様に、いくつかの他の実施形態において、可撓性シートは、マトリックス要素6505の周囲に形成され得る。少なくとも一実施形態において、可撓性シートは、例えば、織布メッシュ、及び/又は他の任意の好適な材料を含む場合がある。 In various embodiments, the retention matrix may include a plurality of retention matrix elements, such as, for example, matrix element body 6505, which may be embedded within a flexible sheet or band of material. In at least one embodiment, the flexible sheet of material may be formed from a bioabsorbable, elastomeric material, such as silicone, and the flexible sheet may be made with a plurality of openings defined therein. . In at least one such embodiment, an individual flexible sheet can be molded and a plurality of openings can be perforated in the flexible sheet. In various alternative embodiments, a flexible sheet can be molded and an opening defined therein can be formed during the molding process. In any case, for example, the retention matrix element 6505 can be inserted and retained within the flexible sheet. Similar to the above, in some other embodiments, a flexible sheet may be formed around the matrix element 6505. In at least one embodiment, the flexible sheet may comprise, for example, a woven mesh, and / or any other suitable material.
上記に加え、このような織布メッシュは、容易に横切され得る。ここで図211及び図212を参照し、様々な実施形態において、例えば、保持マトリックス6250などの保持マトリックスを含む締結システムは、例えば、カバー6670などのカバーを含む場合があり、これは、ステープル脚部6221が保持マトリックス6250の頂面6257を超えて延びる際に、その先端部を被覆することができる。様々な実施形態において、カバー6670は、保持マトリックス6250に取り付けられることがある。いくつかの実施形態において、カバー6670、及び/又は保持マトリックス6250は、保持機構を含む場合があり、これは、カバー6670を保持マトリックス6250に保持するように構成され得る。少なくとも1つの実施形態において、カバー6670を保持マトリックス6250に接着させるために、少なくとも1つの接着剤が使用され得る。少なくとも一実施形態において、カバー6670は、単一の層を含む場合があるが、以下でより詳細に記載されるように、カバー6670は、2つの層を含むものとして例示されている。主に図212を参照し、様々な実施形態において、ステープル脚部6221の先端部は、カバー6670の底面6673を通じて延びる場合があるが、カバー6670は、ステープル先端部がカバー6670の頂面6675を通じて延びないように、十分な厚さを含み得る。少なくとも1つのこのような実施形態において、結果として、ステープル脚部6221の先端部は、カバー6670から突出しないことがある。様々な実施形態において、カバー6670は、複数の層を含む場合がある。少なくとも1つのこのような実施形態において、カバー6670は、第1層6671及び第2層6672を含む場合がある。少なくとも一実施形態において、第1層6671及び第2層6672は、互いに取り付けられることがあり、少なくとも一実施形態において、第2層6672は、第1層6671に接着された、底面6676を含む場合がある。様々な実施形態において、第1層6671及び第2層6672は、異なる厚さを含む場合があるが、いくつかの実施形態において、これらは同じ厚さを含み得る。少なくとも一実施形態において、第1層6671及び第2層6672は、実質的に同じ幅及び/又は長さを含み得る。代替的実施形態において、層6671及び6672は、異なる幅及び/又は長さを含み得る。 In addition to the above, such a woven mesh can be easily traversed. Referring now to FIGS. 211 and 212, in various embodiments, a fastening system that includes a retention matrix, such as, for example,
上記に加え、様々な実施形態において、第1層6671は、例えば、圧縮可能なフォーム、メッシュ材料、及び/又はヒドロゲルを含む場合があり、これはステープル脚部6211によって切開され得る。少なくとも一実施形態において、第2層6672は、より硬い材料又はスキン、例えば、PGA及び/若しくはPDS、並びに/又は任意の好適なバットレス材料を含む場合がある。少なくとも1つのこのような実施形態において、ステープル脚部6221は、第1層6671を貫通するように構成される場合があり、いくかの実施形態において、ステープル脚部6221は、第2層6672を貫通することができないことがある。いくつかの実施形態において、第2層6672は、十分な弾力性及び/又は強靭性を有する材料を含む場合があり、これは、第2層6672がステープル脚部6221と接触し、及びこれにより変位されるが、ステープル脚部6221のステープル先端部によって切開されないか又は僅かにのみ切開されることを可能にする。例示されないが、カバーは3層以上を含む場合があり、このような層の1つ又は2つ以上が、貫通に抵抗し得る。使用中、少なくとも1つのこのような実施形態において、保持マトリックス6250は、締結される組織に対して位置付けられ、下方に押されることがあり、それによってステープル6220のステープル脚部6221が、組織T及び保持マトリックス6250の保持開口部6252を通じて押され、カバー6270の第1層6271内に入る。様々な実施形態において、ステープル脚部6221の先端部は、カバー6270の第2層6272に入らないか、又は少なくとも実質的に入らないことがある。図211に例示されるように、保持マトリックス6250が好適に位置付けられた後、ジョー6240が開放され、カバー6670及び保持マトリックス6250は、ジョー6240から分離位されることがある。図211に例示されるように、ジョー6640は、2つ以上の保持マトリックス6250及びカバー6670を保持するように構成され得る。少なくとも1つのこのような実施形態において、ジョー6640は2つのチャネル6679を含む場合があり、これらはそれぞれ内部のカバー6670と、その上に位置付けられる保持マトリックス6250を受容するように構成され得、各保持マトリックス6250の組織接触表面6251は、ジョー6240の底部から下方に位置する。少なくとも1つのこのような実施形態において、保持マトリックス6250及びカバー6270は、ナイフスロット6678の各側において、ジョー6640内に収容される。使用中、保持マトリックス6250及びカバー6670は、同時に、及び/又は、例えば、これにわたって位置付けられる、カートリッジ6200などの対向するステープルカートリッジに対して同じ深さに展開される場合がある。その後、様々な実施形態において、締結された組織は、ナイフスロット6678を横断する切断部材によって切断線に沿って切開され得、ジョー6640がその再び開放される。いくつかの実施形態において、カバー6670は、保持マトリックス6250に取り付けられないことがある。少なくとも1つのこのような実施形態において、カバー6670は、チャネル6679に位置付けられることがあり、ジョー6640に固定され得る保持マトリックス6250によってチャネル6679に保持される場合がある。様々な実施形態において、各保持マトリックス6250は、これらの各カバー6670よりも広い及び/又は長いことがあり、それによって保持マトリックス6250は、カバー6670の全体を適所に保持することができる。いくつかの実施形態において、各保持マトリックス6250は、例えば、これらの各カバー6670と同じ幅及び/又は長さを含む場合がある。 In addition to the above, in various embodiments, the first layer 6671 can include, for example, compressible foam, mesh material, and / or hydrogel, which can be incised by the staple legs 6211. In at least one embodiment, the second layer 6672 may comprise a harder material or skin, such as PGA and / or PDS, and / or any suitable buttress material. In at least one such embodiment, the staple legs 6221 may be configured to penetrate the first layer 6671, and in some embodiments, the staple legs 6221 may include the second layer 6672. It may not be possible to penetrate. In some embodiments, the second layer 6672 may comprise a material having sufficient elasticity and / or toughness so that the second layer 6672 contacts the staple legs 6221 and thereby. Displaced, but not incised or only incised by the staple tips of the staple legs 6221. Although not illustrated, the cover may include more than two layers, and one or more of such layers may resist penetration. In use, in at least one such embodiment, the
上記のように、様々な実施形態において、締結システムは、材料層を含む場合があり、これは、例えば、保持マトリックス6250などの保持マトリックスに取り付けられる場合がある。図215を参照し、少なくとも一実施形態において、材料の層6870は、保持マトリックス6250の底面6251に取り付けられる場合がある。いくつかの実施形態において、層6870及び/又は保持マトリックス6250は、保持機構を含む場合があり、これは、層6870を保持マトリックス6250に保持するように構成され得る。少なくとも一実施形態において、層6870を保持マトリックス6250に接着させるために、少なくとも1つの接着剤が使用され得る。いずれにせよ、層6870は、底面又は組織接触表面6873を含む場合があり、これは、保持マトリックス6250がステープル6220に向かって下方に動かされ、保持開口部6252をステープル脚部6221と係合させるときに、組織Tと接触するように構成され得る。少なくとも1つのこのような実施形態において、層6870は、例えば、生吸収性フォームなどの圧縮可能な材料を含む場合があり、これは保持マトリックス6250の底面6251と、組織Tとの間で圧縮され得る。様々な実施形態において、層6870は内部に保存及び/又は吸収される少なくとも1つの薬剤を更に含む場合があり、これは、層6870が圧縮される際に層6870から搾り出され得る。少なくとも一実施形態において、薬剤は、少なくとも1つの組織封止剤、止血剤、及び/又は抗菌剤物質、例えば、イオン化銀、及び/又はトリクロサンを含む場合がある。様々な実施形態において、層6870の圧縮は、層6870から薬剤を絞り出すことができ、それにより組織Tの表面の全体、又は少なくとも多くの部分が、薬剤によって被覆される。更に、層6870が圧縮され、ステープル脚部6221が組織T及び層6870を貫通すると、薬剤がステープル脚部6221から流れ落ち、例えば、ステープル脚部6221によって切開されたばかりの組織を治療し得る。様々な実施形態において、保持マトリックス6250の本体は、例えば、チタン及び/又はステンレス・スチールなどの生体適合性の材料を含む第1層を含んでもよく、底面6870は、例えば、酸化再生セルロース(ORC)、繊維素及び/又はトロンビンなどの生物学的に活性の薬剤(液状又は乾燥凍結のいずれか)、グリセリン、吸収性ブタゼラチン(煙又はフォーム状)、及び/又は抗菌、例えば、イオン化銀及び/又はトリクロサンなどの生体適合性材料を含む第2層を含んでもよい。追加的な生体適合性材料は、Surgicel Nu−Knit、Surgicel Fibrillar、コラーゲン/ORC(組み込まれたコラーゲンマトリックスとの複合であり、商標名Promogranで市販されている)、ポリグリコール酸(PGA)(商標名Vicrylで市販されている)、ポリ乳酸(PLA又はPLLA)、ポリジオキサノン(PDS)、ポリヒドロキシアルカノエート(PHA)、ポリグレカプロン25(PGCL)(商標名Monocrylで市販される)、ポリカプロラクトン(PCL)、及び/又はPGA、PLA、PDS、PHA、PGCL及び/又はPCLの混合物を含み得る。図215においては1つの層6870のみが例示されるが、任意の好適な数の層が使用され得る。少なくとも一実施形態において、第1薬剤を含む第1層が保持マトリックス6250に取り付けられ得、第2及び異なる薬剤を含む第2層が、第1層に取り付けられ得る。少なくとも1つのこのような実施形態において、複数の層が使用され、各層は、異なる薬剤及び/又は内部に収容される薬剤の異なる組み合わせを含む場合がある。 As noted above, in various embodiments, the fastening system may include a material layer, which may be attached to a retention matrix, such as, for example,
図213を参照し、様々な実施形態において、締結システムは、保持マトリックス6250の底面6251に取り付けられた、材料の層6770を含む場合がある。いくつかの実施形態において、層6770及び/又は保持マトリックス6250は、保持機構を含む場合があり、これは、層6770を保持マトリックス6250に保持するように構成され得る。少なくとも一実施形態において、層6770を保持マトリックス6250に接着させるために、少なくとも1つの接着剤が使用され得る。いずれにせよ、層6770は、底面又は組織接触表面6773を含む場合があり、これは、保持マトリックス6250がステープル6220に向かって下方に動かされ、保持開口部6252をステープル脚部6221と係合させるときに、組織Tと接触するように構成され得る。少なくとも1つのこのような実施形態において、層6770は、例えば、生体吸収性フォームなどの圧縮可能な材料を含む場合があり、これは、保持マトリックス6250の表面6251と、組織Tとの間で圧縮され得る。様々な実施形態において、層6770は更に1つ又は2つ以上の封入部又はセル6774を含むことがあり、これは、内部に少なくとも1つの薬剤を保存するように構成され得る。図214を参照し、いくつかの実施形態において、封入部6774は、保持開口部6252と位置合わせされるか、少なくとも実質的に位置合わせされ、それによりステープル脚部6221が組織T及び層6770を通じて押される際に、ステープル脚部6221が、封入部6774を穿刺及び/又は別の方法で破裂させることができる。封入部6774が破裂された後、封入部6774に保存された少なくとも1つの薬剤Mが組織Tへと流れ出す。少なくとも1つのこのような実施形態において、薬剤Mは、ステープル脚部6221を下方に流れるか伝い、ステープル脚部によって切開されたばかりの組織Tを治療する、流体を含み得る。上記の結果として、封入部6774内に保存された薬剤は、組織に対して局所的な治療を提供する。いくつかの実施形態において、シート6770の封入部6774は、内部に保存された異なる薬剤を含み得る。例えば、封入部6774の第1群は、内部に保存された、第1薬剤又は薬剤の第1の組み合わせを含む場合があり、封入部の第2群は、内部に保存された異なる薬剤、又は異なる薬剤の組み合わせを含む場合がある。様々な実施形態において、層6770は、可撓性シリコーンシートを含む場合があり、封入部6774は、シリコーンシートに空隙をもたらすことができる。少なくとも1つのこのような実施形態において、シリコーンシートは、互いに取り付けられ得る2層を含む場合があり、封入部6774は、2層の間で画定され得る。様々な実施形態において、層6770は、1つ又は2つ以上の薄い区分又は弱化部分、例えば、部分的穿孔を含む場合があり、これは、脚部6221による、層6770の切開、及び封入部6774の破裂を促進する場合がある。いくつかの実施形態において、封入部6774の少なくとも一部分が、ドーム6777内に位置付けられる場合があり、ドーム6777は、シート6770から上方に延びる場合がある。少なくとも1つのこのような実施形態において、ドーム6777及び/又は封入部6774の少なくとも一部分が、保持マトリックス6250内に形成されたポケット6201内に位置付けられる場合がある。いくつかの実施形態において、封入部6774は、互いに接続されていない別個のセルを含む場合がある。いくつかの他の実施形態において、封入部6774の1つ又は2つ以上が、例えば、層6770を通じて延びる1つ又は2つ以上の経路、導管及び/又はチャネルを通じて互いに流体連通し得る。2010年8月24日に発行された、米国特許番号第7,780,685号、表題「ADHESIVE AND MECHANICAL FASTENER」は、本明細書において参照としてその全体を組み込まれる。 Referring to FIG. 213, in various embodiments, the fastening system may include a layer 6770 of material attached to the bottom surface 6251 of the
上記に加え、様々な実施形態において、内部にカートリッジ本体、ステープル、及び/又は位置合わせマトリックスを含むステープルカートリッジが、エンドエフェクタの第1ジョー内に充填され得、同様に保持マトリックス及び/又は1つ又は2つ以上のカバーが、エンドエフェクタの第2ジョー内に充填され得る。ここで図216を参照し、いくつかの実施形態において、例えば、カートリッジ充填器6990などの器具が、2つ以上の締結具カートリッジを同時にエンドエフェクタ内に挿入するために使用され得る。少なくとも一実施形態において、カートリッジ充填器6990は、ハンドル6991及びカートリッジキャリア6992を含む場合があり、カートリッジキャリア6992は、そこにステープルカートリッジ6200のカートリッジ本体6210を保持するように構成された第1保持部分と、カートリッジ本体6980を保持するように構成された第2保持部分を含む場合があり、この第2部分は、1)内部に複数の保護キャップ6270を、2)その底部表面に沿って保持マトリックス6250を支持する。様々な実施形態において、第1保持部分及び第2保持部分は、それぞれ、カートリッジ本体6210及び6980を解放可能に係合させるように構成された、1つ又は2つ以上の保持部材を含む場合がある。図217及び図218を参照し、エンドエフェクタは、第1又は底部ジョー6230と、第2の又は頂部ジョー6940を含む場合があり、ステープルカートリッジ6200は、第1ジョー6230に充填され得、カートリッジ本体6980は、第2ジョー6940に充填され得る。様々な状況において、頂部ジョー6940は、作動装置6235によって開放位置(図217)から閉鎖位置(図218)に回転される場合があり、作動装置6235の動作は、先に記載されており、簡潔さのためにここで繰り返さない。図218を参照し、一度頂部ジョー6940がその閉鎖位置にくると、カートリッジキャリア6992の遠位端6993は、エンドエフェクタに挿入される場合があり、それによりステープルカートリッジ6200は、第1ジョー6930の遠位端6938を通じて、第1ジョー6230内の第1取り付け部分又はチャネル6939へと摺動する。同様に、カートリッジキャリア6992の遠位端6993は、エンドエフェクタ内に挿入される場合があり、それによりカートリッジ本体6980は、第2ジョー6940の遠位端6948を通じて、第2ジョー6940内の第2取り付け部分又はチャネル6949へと摺動される。カートリッジ充填器6990のハンドル6991を保持する、外科医又は他の臨床医は、ステープルカートリッジ6200及びカートリッジ本体6980を、それぞれチャネル6939及び6949を通じて、ステープルカートリッジ6200及びカートリッジ本体6980が完全に内部に位置するまで、押すことができる。 In addition to the above, in various embodiments, a staple cartridge that includes a cartridge body, staples, and / or alignment matrix therein can be loaded into the first jaw of the end effector, as well as a retention matrix and / or one. Or more than one cover may be filled into the second jaw of the end effector. Referring now to FIG. 216, in some embodiments, an instrument such as, for example, a cartridge filler 6990 can be used to insert two or more fastener cartridges simultaneously into the end effector. In at least one embodiment, the cartridge filler 6990 may include a handle 6991 and a cartridge carrier 6992, the cartridge carrier 6992 having a first holding portion configured to hold the cartridge body 6210 of the staple cartridge 6200 therein. And a second holding portion configured to hold the cartridge body 6980, the second portion including 1) a plurality of protective caps 6270 therein and 2) a holding matrix along its bottom surface. 6250 is supported. In various embodiments, the first retaining portion and the second retaining portion may include one or more retaining members configured to releasably engage the cartridge bodies 6210 and 6980, respectively. is there. 217 and 218, the end effector may include a first or bottom jaw 6230 and a second or top jaw 6940, and the staple cartridge 6200 may be loaded into the first jaw 6230, and the cartridge body 6980 can be filled into the second jaw 6940. In various situations, the top jaw 6940 may be rotated from the open position (FIG. 217) to the closed position (FIG. 218) by the actuator 6235, and the operation of the actuator 6235 has been previously described and is briefly described. I will not repeat it here. Referring to FIG. 218, once the top jaw 6940 is in its closed position, the distal end 6993 of the cartridge carrier 6992 may be inserted into the end effector so that the staple cartridge 6200 can be attached to the first jaw 6930. Slide through the distal end 6938 to the first attachment portion or channel 6939 in the first jaw 6230. Similarly, the distal end 6993 of the cartridge carrier 6992 may be inserted into the end effector such that the cartridge body 6980 passes through the distal end 6948 of the second jaw 6940 and the second in the second jaw 6940. Slide into the mounting portion or channel 6949. The surgeon or other clinician holding the handle 6991 of the cartridge filler 6990 may move the staple cartridge 6200 and cartridge body 6980 through the channels 6939 and 6949, respectively, until the staple cartridge 6200 and cartridge body 6980 are fully internal. Can be pressed.
ステープルカートリッジ6200及びステープル本体6980が位置付けられると、以下でより詳細に記載されるように、ステープルカートリッジ6200及びカートリッジ本体6980はそれぞれ、これらの各ジョー6230及び6940内の1つ又は2つ以上の保持位置に係合することができる。いずれにせよ、ここで図219を参照して、一度ステープルカートリッジ6200及びカートリッジ本体6980が位置付けられると、カートリッジ充填器6990がステープルカートリッジ6200から分離され得、かつカートリッジ本体6980がエンドエフェクタから取り外される。少なくとも1つのこのような実施形態において、第1ジョー6230内にステープルカートリッジ6200を保持する保持力は、ステープルカートリッジ6200をカートリッジキャリア6992に保持する保持力よりも大きく、それにより、カートリッジキャリア6992がエンドエフェクタから遠位方向に引き出される際に、ステープルカートリッジ6200は、第1ジョー6230の後ろに残る場合がある。同様に、カートリッジ本体6980を第2ジョー6940内に保持する保持力は、カートリッジ本体6940をカートリッジキャリア6992に保持する保持力よりも高い場合があり、カートリッジキャリア6992がエンドエフェクタから遠位方向に引き出される際に、カートリッジ本体6940は、第2ジョー6940の後ろに残る場合がある。一度カートリッジ充填器6990がエンドエフェクタから取り外されると、充填された第1ジョー6230及び充填された第2ジョー6940は、ステープリングされる組織Tに対して位置付けられ得る。ここで図220を参照し、第2ジョー6940は、カートリッジ本体6980によって保持される保持マトリックス6250及びカートリッジ複数の保護キャップ6270を、ステープルカートリッジ6200内に位置付けられたステープル6220と係合させるため、第2ジョー6940が開放位置(図219)から発射位置(図220)へと動かされる。 Once the staple cartridge 6200 and staple body 6980 are positioned, the staple cartridge 6200 and cartridge body 6980 each hold one or more retainers within their respective jaws 6230 and 6940, as described in more detail below. Can be engaged in position. In any case, referring now to FIG. 219, once the staple cartridge 6200 and the cartridge body 6980 are positioned, the cartridge filler 6990 can be separated from the staple cartridge 6200 and the cartridge body 6980 is removed from the end effector. In at least one such embodiment, the retention force that retains the staple cartridge 6200 within the first jaw 6230 is greater than the retention force that retains the staple cartridge 6200 on the cartridge carrier 6992 so that the cartridge carrier 6992 ends. The staple cartridge 6200 may remain behind the first jaw 6230 when pulled distally from the effector. Similarly, the holding force that holds the cartridge body 6980 in the second jaw 6940 may be higher than the holding force that holds the cartridge body 6940 on the cartridge carrier 6992 and the cartridge carrier 6992 is pulled distally from the end effector. In some cases, the cartridge body 6940 may remain behind the second jaw 6940. Once the cartridge filler 6990 is removed from the end effector, the filled first jaw 6230 and filled second jaw 6940 can be positioned relative to the tissue T to be stapled. Referring now to FIG. 220, the second jaw 6940 engages the
ここで図221及び図222を参照し、第2ジョー6940は、再び開放され、複数の保護キャップ6270及び保持マトリックス6250は、カートリッジ本体6980から 分離され得、それによってキャップ6270及び保持マトリックス6250は、組織T及びステープルカートリッジ6200と係合したままであり得る。少なくとも一実施形態において、カートリッジ本体6980は、複数のキャップ6270が取り外し可能に位置付けられ得る複数のポケットと、そこに保持マトリックス6250を取り外し可能に保持するように構成された1つ又は2つ以上の保持スロットとを含む。様々な実施形態において、カートリッジ本体6980と係合した第2ジョー6940の保持部材が、第2ジョー6940が開放された後に、第2ジョー6940内にカートリッジ本体6980を保持し得る。いくつかの実施形態において、カートリッジ本体6980は、第2ジョー6940が開放される際に破断するように構成され得、それにより、カートリッジ本体6980の一部分が、キャップ6270及び保持マトリックス6250と共に埋め込まれ、カートリッジ本体6980の一部分が第2ジョー6940内に残る。同様に、図221及び222を参照し、カートリッジ本体6210と係合した第1ジョー6230の保持部材が、第2ジョー6940が開放された後に、第1ジョー6230内にカートリッジ本体6210を保持し得る。いくつかの実施形態において、カートリッジ本体6210は、第1ジョー6230が埋め込まれたカートリッジ6200から引き離される際に破断するように構成され得、それによってカートリッジ本体6210の一部分がステープル6220及び位置合わせマトリックス6260と共に埋め込まれ、カートリッジ本体6210の一部分が第1ジョー6230内に残る。図223〜225を参照し、様々な実施形態において、例えば、ステープルカートリッジ6900などのステープルカートリッジは、カートリッジ本体6910の長さに沿って延びる1つ又は2つ以上の細長い保持スロット6913を含む場合があり、これは、例えば、ステープルカートリッジ6900がジョー6930内に挿入される際に、内部においてジョー6930から延びる1つ又は2つ以上の長手方向保持レール6916を受容するように構成され得る。少なくとも一実施形態において、使用中、保持スロット6913の端部が、ステープルカートリッジ6900が例えば、保持チャネル6939の遠位端6938を通じて摺動する前に、保持レール6916の遠位端と位置合わせされ得る。 Referring now to FIGS. 221 and 222, the second jaw 6940 can be reopened and the plurality of protective caps 6270 and
図225を参照し、様々な実施形態において、ジョー6940は、2つの保持チャネル6949を含む場合があり、各保持チャネル6949は、複数のキャップ6270及び保持マトリックス6250を内部に含むカートリッジ本体6980を受容するように構成され得る。いくつかの実施形態において、各カートリッジ本体6980は、1つ又は2つ以上の長手方向保持肩部6917を含む場合があり、これらは、カートリッジ本体6980が、ジョー6940内のこれらの対応する保持チャネル6949内に挿入される際に、第2ジョー6940の1つ又は2つ以上の長手方向保持レール6918に沿って摺動するように構成され得る。様々な実施形態において、保持レール6918及び保持肩部6917は、カートリッジ本体6980が、内部に保存されるキャップ6270及び保持マトリックス6250から分離される際に、協働してカートリッジ本体6980を第2ジョー6940内に保持し得る。図224を参照し、様々な実施形態において、第2ジョー6940は、そこから延びる1つ又は2つ以上の遠位突起部、又は保持部材6915を更に含み、これはカートリッジ本体6980をこれらの対応する保持チャネル内に取り外し可能に固定するように構成され得る。少なくとも1つのこのような実施形態において、第2ジョー6940は、カートリッジ本体6980がチャネル6949内に挿入される際に、各カートリッジ本体6980が突起部6915の周囲で屈曲し得るようにして、各保持チャネル6949に対して構成され、位置付けられた、遠位突起部6915を含む場合があり、カートリッジ本体6915がチャネル6949内に完全に位置付けられる際に、カートリッジ本体6980の遠位端が突起部6915を超えてその上で嵌る。上記のように、カートリッジ本体6980を、これらが使用された後に取り外すため、カートリッジ本体6980が突起部6915の上で引き戻され、保持チャネル6949から取り外され得る。上記と同様に、第1ジョー6930は、そこから延びる1つ又は2つ以上の遠位保持突起部6914を含む場合があり、これは、ステープルカートリッジ6900が完全に配置された際に、カートリッジ本体6910の1つ又は2つ以上の保持溝又はスロット6912に受容されるように構成され得る(図223)。 Referring to FIG. 225, in various embodiments, the jaw 6940 may include two retention channels 6949, each retention channel 6949 receiving a cartridge body 6980 that includes a plurality of caps 6270 and a
上記に加え、様々な実施形態において、内部位置付けられた複数の第1締結具を含む第1締結カートリッジは、外科用締結装置の第1ジョー内に位置付けられることがあり、内部に位置付けられた複数の第2締結具を含む第2締結カートリッジは、外科用締結装置の第2ジョー内に位置付けられる場合がある。使用中、第1締結具と第2締結具とを係合させ、組織をその間に固定するために、第1ジョー及び/又は第2ジョーは、互いに対して動かされ得る。いくつかの実施形態において、第1締結カートリッジ、及び第2締結カートリッジは、第1締結具が第2締結具と係合する際に、互いに係合され得る。少なくとも一実施形態において、第1締結カートリッジの本体は、第1圧縮可能材料を含む場合があり、第2締結カートリッジの本体は、第2圧縮可能材料を含む場合があり、第1本体及び/又は第2本体は、締結される組織に対して圧縮される場合がある。組織が締結された後、第1ジョーは、埋め込まれた第1締結カートリッジから動かされる場合があり、第2ジョーは、埋め込まれた締結カートリッジから動かされる場合がある。その後、第1ジョーは、別の第1締結カートリッジなどを再充填される場合があり、第2ジョーは、別の第2締結カートリッジなどを再充填される場合があり、外科用締結器具が再使用され得る。いくつかの実施形態においてステープルが使用され得るが、例えば、互いに係合する際に、一緒に固定される二部構成締結具などの、他の種類の締結具を含む他の実施形態が想到される。少なくとも1つのこのような実施形態において、第1締結具部分を保存するための第1保存部分を含む場合があり、第2締結カートリッジは、第2締結具部分を保存するための第2保存部分を含む場合がある。様々な実施形態において、本発明において記載される締結システムは、任意の好適な種類の材料及び/又は形状を含む、締結具を使用し得る。いくつかの実施形態において、締結具は、貫通部材を含み得る。このような貫通部材は、例えば、ポリマー、複合物、及び/又は多層基材を含む場合がある。多層基材の例は、エラストマー又はポリマーコーティングを有するワイヤ又はシート基材であり得る。貫通部材が、接続部材に対して垂直、又は少なくとも実質的に垂直に向けられるように形成された薄いシートであり得る。貫通部材は、矩形の輪郭の、半円形の輪郭、及び/又は任意のビーム輪郭を含む場合がある。様々な実施形態において、本明細書において記載される締結具は、例えば、ワイヤ押出プロセスなどの任意の好適なプロセスを使用して製造され得る。別の可能性は、中空の貫通部材を生じるための、微細繊維化の使用である。 In addition to the above, in various embodiments, a first fastening cartridge that includes a plurality of first fasteners positioned internally may be positioned within a first jaw of a surgical fastening device, and the plurality positioned internally. The second fastening cartridge including the second fastener may be positioned within the second jaw of the surgical fastening device. In use, the first jaw and / or the second jaw can be moved relative to each other to engage the first fastener and the second fastener and secure the tissue therebetween. In some embodiments, the first fastening cartridge and the second fastening cartridge can be engaged with each other when the first fastener is engaged with the second fastener. In at least one embodiment, the body of the first fastening cartridge can include a first compressible material, the body of the second fastening cartridge can include a second compressible material, and the first body and / or The second body may be compressed against the tissue to be fastened. After the tissue is tightened, the first jaw may be moved from the implanted first fastening cartridge and the second jaw may be moved from the implanted fastening cartridge. Thereafter, the first jaw may be refilled with another first fastening cartridge or the like, the second jaw may be refilled with another second fastening cartridge or the like, and the surgical fastener is refilled. Can be used. While staples may be used in some embodiments, other embodiments are contemplated that include other types of fasteners, such as, for example, two-part fasteners that are secured together when engaged with each other. The In at least one such embodiment, the second storage cartridge may include a first storage portion for storing the first fastener portion, and the second fastening cartridge stores a second storage portion for storing the second fastener portion. May be included. In various embodiments, the fastening system described in the present invention may use fasteners that include any suitable type of material and / or shape. In some embodiments, the fastener may include a penetrating member. Such penetrating members may include, for example, polymers, composites, and / or multilayer substrates. An example of a multilayer substrate can be a wire or sheet substrate having an elastomer or polymer coating. The penetrating member may be a thin sheet formed to be oriented perpendicularly or at least substantially perpendicular to the connecting member. The penetrating member may include a rectangular profile, a semi-circular profile, and / or any beam profile. In various embodiments, the fasteners described herein can be manufactured using any suitable process, such as, for example, a wire extrusion process. Another possibility is the use of microfibrosis to produce a hollow penetrating member.
これらの貫通部材は、ワイヤ押出プロセスとは異なるプロセスで作製される場合があり、材料の組み合わせを使用する場合がある。上記のように、保持マトリックスを通じて突出するステープル脚部の先端部は、1つ又は2つ以上のキャップ及び/又はカバーによって被覆され得る。いくつかの実施形態において、ステープル脚部の先端部は、これらが保持マトリックスを通じて挿入された後に、変形され得る。少なくとも一実施形態において、保持マトリックスを保持するジョーは、保持開口部の上に位置付けられる及び/又はこれと位置合わせされるアンビルポケットを更に含む場合があり、これらは、ステープル脚部が保持マトリックスの上に突出する際に、これらを変形させるように構成され得る。様々な実施形態において、各ステープルのステープル脚部は、例えば、互いに対して、及び/又はステープルの中心に向かって内側に歪曲させられる場合がある。いくつかの他の実施形態において、ステープルの1つ又は2つ以上のステープル脚部は、他のステープルから、及び/又はステープルの中央から離れるように外側に歪曲させられる場合がある。様々な実施形態において、ステープル脚部が歪曲させられる方向とは無関係に、ステープル脚部の先端部は、保持マトリックスの本体と接触する場合があり、ステープルによって締結された組織に再び入らないことがある。少なくとも一実施形態において、保持マトリックスを通過した後のステープル脚部の変形は、保持マトリックスを適所に固定し得る。 These penetrating members may be made by a process different from the wire extrusion process and may use a combination of materials. As described above, the tips of the staple legs protruding through the retention matrix can be covered by one or more caps and / or covers. In some embodiments, the tips of the staple legs can be deformed after they are inserted through the retention matrix. In at least one embodiment, the jaws that retain the retention matrix may further include an anvil pocket that is positioned over and / or aligned with the retention opening, the staple legs of the retention matrix. These can be configured to deform as they protrude upward. In various embodiments, the staple legs of each staple may be distorted inward relative to each other and / or toward the center of the staple, for example. In some other embodiments, one or more staple legs of the staple may be distorted outward from the other staples and / or away from the center of the staples. In various embodiments, regardless of the direction in which the staple legs are distorted, the tips of the staple legs may contact the body of the retention matrix and may not reenter the tissue fastened by the staples. is there. In at least one embodiment, deformation of the staple legs after passing through the retention matrix may secure the retention matrix in place.
ここで図226及び図227を参照し、様々な実施形態において、例えば、外科用ステープル7000などの外科用ステープリング器具は、第1ジョー7030及び第2ジョー7040を含む場合があり、第2ジョー7040は、作動装置6235の動きよって、第1ジョー7030に向かい、及びこれから離れるように動き得る。作動装置6235の動作は上記の通りであり、簡潔さのためにここで繰り返すことはしない。様々な実施形態により、第1ジョー7030は、遠位端7031及び近位端7032を含む場合があり、第1ジョー7030は、遠位端7031と近位端7032との間に延びるチャネルを画定する場合があり、これは、ステープルカートリッジを受容するように構成される。例示目的のため、このようなステープルカートリッジのカートリッジ本体は、図226に示されないが、このようなステープルカートリッジは、カートリッジ本体、カートリッジ本体内に位置付けられるステープル6220、及びステープル6220の下に位置付けられるステープルドライバ7012を含む場合がある。明確性のために図226では例示されないが、いくつかの実施形態において、第2ジョー7040は、ステープル6220の上で、例えば、保持マトリックス6250などの保持マトリックスを保持し、及び/又は、上記のように、保持マトリックスをステープル6220の脚部と係合させるように動かすように構成され得る。少なくとも一実施形態において、外科用ステープル7000は、第1ジョー7030内に位置付けられるスレッド7010を更に含む場合があり、これは例えば、第1ジョー7030の遠位端7031から近位端7032へと摺動することができ、ステープルドライバ7012及び上部に支持されるステープル6220を、保持マトリックス及び第2ジョー7040の方に持ち上げる。様々な他の実施形態において、スレッド7010は、例えば、ステープル6020を展開するために、近位端7032から遠位端7031に向かって動かされ得る。少なくとも一実施形態において、スレッド7010は、1つ又は2つ以上の傾斜した傾斜面又はカム7011を含む場合があり、これらは、ステープルドライバ7012の下で摺動し、ステープルドライバ7012を情報に持ち上げるように構成され得る。様々な実施形態において、外科用ステープル7000は更に、スレッド7010に動作可能に連結された、引く又は押すためのロッドを含む場合があり、これは、ハンドル上に位置する作動装置、及び/又は外科用ステープル7000のシャフトによって近位方向及び/又は遠位方向に動かされうる。 Referring now to FIGS. 226 and 227, in various embodiments, a surgical stapling instrument, such as, for example, surgical staple 7000, may include a first jaw 7030 and a second jaw 7040, and the second jaw 7040 may move toward and away from first jaw 7030 by movement of actuator 6235. The operation of actuator 6235 is as described above and will not be repeated here for the sake of brevity. According to various embodiments, the first jaw 7030 can include a distal end 7031 and a proximal end 7032, and the first jaw 7030 defines a channel extending between the distal end 7031 and the proximal end 7032. Which is configured to receive a staple cartridge. For illustrative purposes, the cartridge body of such a staple cartridge is not shown in FIG. 226, but such a staple cartridge is a cartridge body, staples 6220 positioned within the cartridge body, and staples positioned below the staple 6220. A driver 7012 may be included. Although not illustrated in FIG. 226 for clarity, in some embodiments, the second jaw 7040 retains a retention matrix, such as
再び図226を参照し、様々な実施形態において、外科用ステープラー7000の第2ジョー7040は、フレーム7041、遠位端7048、及び遠位端7048の反対側に位置付けられた近位端部7049を含み得る。いくつかの実施形態において、第2ジョー7040は、更に、フレーム7041の長手方向軸に沿って延びる、例えば、ガイドレール7045及び7046などの、1つ又は2つ以上のガイドレールを含むガイドシステムを更に含む場合があり、これは、以下でより詳細に記載されるように、ステープル6220のステープル脚部6221が保持マトリックスを通過した後に、ステープル6220のステープル脚部と係合し、変形し得る1つ又は2つ以上のアンビル又はカムを案内するように構成され得る。少なくとも1つのこのような実施形態において、ガイドレール7045及び7046は、例えば、フレーム7041の頂部又は表面に沿って、遠位ポスト7047の周囲から戻ってフレーム7041の頂部又は頂面に沿って延びるガイドワイヤ又はケーブルを含む場合がある。様々な実施形態において、上記のように、かつここで主に図228及び図230を参照し、第2ジョー7040は更に、例えば、第1アンビル7050及び第2アンビル7060などの、1つ又は2つ以上のアンビル又はカムを更に含む場合があり、これは、ステープル6220の脚部が、保持マトリックスを通過した後に、これらを変形させるために、第2ジョー7040に沿って長手方向に動く場合がある。少なくとも一実施形態において、外科用ステープル7000は更に、第1アンビル7050に接続される及び/又は動作可能に連結された、第1アンビルドライバ又は作動装置7051を更に含む場合があり、これは、第1アンビル7050を近位方向に引く、及び/又は第1アンビル7050を遠位方向に押すように構成され得る。同様に、少なくとも一実施形態において、外科用ステープル7000は更に、第2アンビル7060に接続される及び/又は動作可能に連結された、第2アンビルドライバ又は作動装置を更に含む場合があり、これは、第2アンビル7060を遠位方向に押す、及び/又は第2アンビル7060を近位方向に引くように構成され得る。様々な実施形態において、第1アンビル7050はガイドスロット7052を含む場合があり、第2アンビル7060はガイドスロット7062を含む場合があり、これらはそれぞれ、内部にガイドレール7045又はガイドレール7046を摺動可能に受容するように構成され得る。少なくとも1つのこのような実施形態において、ガイドレール7045及び7046は、ガイドスロット7052及び7062内に緊密に受容され得、それによってその間の相対的な横方向の、又は横から横への移動が防がれるか、又は少なくとも制限される。 Referring again to FIG. 226, in various embodiments, the second jaw 7040 of the surgical stapler 7000 has a frame 7041, a distal end 7048, and a proximal end 7049 positioned opposite the distal end 7048. May be included. In some embodiments, the second jaw 7040 further includes a guide system that includes one or more guide rails, such as guide rails 7045 and 7046, that extend along the longitudinal axis of the frame 7041. It may further include, which may engage and deform the staple legs of the staple 6220 after the staple legs 6221 of the staple 6220 have passed through the retention matrix 1 as described in more detail below. It may be configured to guide one or more anvils or cams. In at least one such embodiment, the guide rails 7045 and 7046 extend, for example, along the top or surface of the frame 7041, back from the periphery of the distal post 7047, and along the top or top surface of the frame 7041. May include wire or cable. In various embodiments, as described above and now primarily referring to FIGS. 228 and 230, the second jaw 7040 can further include one or two, such as, for example, a first anvil 7050 and a second anvil 7060. One or more anvils or cams may further be included, which may cause the legs of the staple 6220 to move longitudinally along the second jaw 7040 to deform them after passing through the retention matrix. is there. In at least one embodiment, the surgical staple 7000 may further include a first anvil driver or actuator 7051 that is connected to and / or operably coupled to the first anvil 7050, which includes: It may be configured to pull one anvil 7050 proximally and / or push the first anvil 7050 distally. Similarly, in at least one embodiment, the surgical staple 7000 may further include a second anvil driver or actuator connected to and / or operably coupled to the second anvil 7060, which is Can be configured to push the second anvil 7060 distally and / or pull the second anvil 7060 proximally. In various embodiments, the first anvil 7050 may include a guide slot 7052 and the second anvil 7060 may include a guide slot 7062, each sliding a guide rail 7045 or guide rail 7046 therein. It can be configured to accept as possible. In at least one such embodiment, guide rails 7045 and 7046 may be closely received within guide slots 7052 and 7062, thereby preventing relative lateral or side-to-side movement therebetween. Or at least limited.
上記に加え、いくつかの実施形態において、第1アンビル7050は、近位方向に引かれ得、第2アンビル7060は遠位方向に引かれ得る。図226を参照し、少なくとも一実施形態において、ガイドレール7045及び7046、並びに遠位ポスト7047は、第2アンビル7060を遠位方向に引き、及び/又は第2アンビル7060を近位方向に引くように構成された滑車システムを含み得る。少なくとも1つのこのような実施形態において、ガイドレール7045及びガイドレール7046は、遠位ポスト7047の周囲に延びる、連続的なワイヤ又はケーブルを含む場合があり、連続的なワイヤの一部分が、ワイヤを遠位ポスト7047で周回するように引かれ得る。様々な実施形態において、例えば、ガイドレール7046は、第2アンビル7060に取り付けられることがあり、それにより、連続的なケーブルが第1方向に周回されるときに、第2アンビル7060は、ジョー7040の遠位端7048に向かって遠位方向に引かれる場合があり、連続的なケーブルが第2又は反対方向に周回するとき、第2アンビル7060は、近位端7049に向かって近位方向に引かれ得る。ここで図228を参照し、少なくとも一実施形態において、ガイドレール7046は、ガイドスロット7062内に固定される場合があり、それによりその間に牽引力が伝達され得る。少なくとも1つのこのような実施形態において、ガイドレール7045は、他のガイドスロット7062内で摺動するように構成され得る。様々な実施形態において、第1アンビル7050は、第2アンビル7060と別個に動作することがあり、滑車システム及び第1アンビル7050内に画定されるガイドスロット7052は、その間の相対移動が可能にされるように、ガイドレール7045及び7046を摺動可能に受容するように構成され得る。様々な実施形態において、ガイドレール7045及び7046を含む連続的なケーブルは、上方ジョー7040の開閉に適合するように、十分に可撓性であり得る。連続的なケーブルはまた、第2アンビル7060の下方ジョー7030に向かう、及びこれから離れる垂直運動に適合するために十分に可撓性であり得、これは以下でより詳細に記載される。 In addition to the above, in some embodiments, the first anvil 7050 can be pulled proximally and the second anvil 7060 can be pulled distally. Referring to FIG. 226, in at least one embodiment, guide rails 7045 and 7046 and distal post 7047 may pull second anvil 7060 distally and / or pull second anvil 7060 proximally. The pulley system may be configured. In at least one such embodiment, guide rail 7045 and guide rail 7046 may include a continuous wire or cable that extends around distal post 7047, and a portion of the continuous wire includes a wire. It can be pulled around the distal post 7047. In various embodiments, for example, the guide rail 7046 may be attached to the second anvil 7060 such that the second anvil 7060 is moved to the jaw 7040 when a continuous cable is circulated in the first direction. The second anvil 7060 may be pulled proximally toward the proximal end 7049 when the continuous cable circulates in the second or opposite direction. Can be pulled. Referring now to FIG. 228, in at least one embodiment, the guide rail 7046 may be secured within the guide slot 7062 so that traction can be transmitted therebetween. In at least one such embodiment, the guide rail 7045 can be configured to slide within the other guide slot 7062. In various embodiments, the first anvil 7050 may operate separately from the second anvil 7060 and the guide slot 7052 defined in the pulley system and the first anvil 7050 is allowed to move relative thereto. As such, the guide rails 7045 and 7046 may be configured to be slidably received. In various embodiments, the continuous cable including guide rails 7045 and 7046 can be sufficiently flexible to accommodate opening and closing of the upper jaw 7040. The continuous cable may also be flexible enough to accommodate vertical movement toward and away from the lower jaw 7030 of the second anvil 7060, which will be described in more detail below.
図228及び図230を参照し、様々な実施形態において、アンビル7050は、そこから延びるカム従動部7055を含む場合があり、これは第2ジョー7040のフレーム7041内に画定される、例えばカムスロット7070(図231)などの1つ又は2つ以上のカムスロット又はガイドスロット内に位置するように構成され得る。より具体的に、少なくとも一実施形態において、フレーム7041は、フレーム7041の第1側部に沿って長手方向に延びる第1カムスロット7070、及びフレーム7041の第2の反対側の側部に沿って長手方向に延びる第2カム7070を含む場合があり、第1アンビル7050の第1側部から延びるカム銃道部7055は、第1カムスロット7070内に位置する場合があり、第1アンビル7050の第2側部から延びるカム従動部7055は、第2カムスロット7070内に位置する場合がある。少なくとも1つのこのような実施形態において、各カムスロット7070の輪郭は、同一又は少なくとも実質的に同一であり、互いに位置合わせされるか、又は少なくとも実質的に位置合わせされる場合がある。同様に、様々な実施形態において、第2アンビル7060は、そこから延びるカム従動部7065を含む場合があり、これは第2ジョー7040のフレーム7041内に画定されるカムスロット7070(図231)内に位置するように構成され得る。より具体的に、少なくとも一実施形態において、第2アンビル7060の第1側部から延びるカム従動部7065は、第1カムスロット7070内に位置する場合があり、第2アンビル7060の第2側部から延びるカム従動部7065は、第2カムスロット7070内に位置し得る。使用中、第1アンビル7050のカム従動部7055、及び第2アンビル7060のカム従動部7065は、カムスロット7070内で摺動することができ、それによって第1アンビル7050及び第2アンビル7060が近位方向に引かれ及び/又は遠位方向に押される際に、第1アンビル7050及び第2アンビル7060は、カムスロット7070の輪郭に従う。様々な実施形態において、以下でより詳細に記載されるように、各カムスロット7070は、複数の平行部又は上部7071、及び複数のドライバ又は下部7072を含む場合があり、これは、アンビル7050及び7060が長手方向に動かされる(フレーム7041の遠位端7048と近位端7049との間で)のと同時に、アンビル7050及び7060を垂直方向に動かすように構成され得る(すなわち、下方ジョー7030にむかって、及びこれから離れるように)。 Referring to FIGS. 228 and 230, in various embodiments, the anvil 7050 may include a cam follower 7055 extending therefrom, which is defined within the frame 7041 of the second jaw 7040, eg, a cam slot. It may be configured to be located in one or more cam slots or guide slots, such as 7070 (FIG. 231). More specifically, in at least one embodiment, frame 7041 extends along a first cam slot 7070 that extends longitudinally along a first side of frame 7041 and a second opposite side of frame 7041. A second cam 7070 extending in the longitudinal direction may be included, and a cam trajectory portion 7055 extending from the first side of the first anvil 7050 may be located in the first cam slot 7070, A cam follower 7055 extending from the second side may be located in the second cam slot 7070. In at least one such embodiment, the contours of each cam slot 7070 are the same or at least substantially the same and may be aligned with each other or at least substantially aligned. Similarly, in various embodiments, the second anvil 7060 may include a cam follower 7065 extending therefrom, which is within a cam slot 7070 (FIG. 231) defined in the frame 7041 of the second jaw 7040. It may be configured to be located in More specifically, in at least one embodiment, the cam follower 7065 extending from the first side of the second anvil 7060 may be located within the first cam slot 7070 and the second side of the second anvil 7060. A cam follower 7065 extending from may be located in the second cam slot 7070. In use, the cam follower 7055 of the first anvil 7050 and the cam follower 7065 of the second anvil 7060 can slide within the cam slot 7070 so that the first anvil 7050 and the second anvil 7060 are in close proximity. The first anvil 7050 and the second anvil 7060 follow the profile of the cam slot 7070 when pulled in the lateral direction and / or pushed in the distal direction. In various embodiments, as described in more detail below, each cam slot 7070 may include a plurality of parallel portions or upper portions 7071 and a plurality of drivers or lower portions 7072 that includes an anvil 7050 and At the same time 7060 is moved longitudinally (between the distal end 7048 and proximal end 7049 of frame 7041), it can be configured to move anvils 7050 and 7060 vertically (ie, to lower jaw 7030). Away and away from it).
図231を参照し、外科用ステープル7000が非発射状態にあるとき、第1アンビル7050は、フレーム7041の遠位端7048に位置付けられる場合があり、第2アンビル7060は、フレーム7041の近位端7049に位置付けられる場合があり、更にここで図232を参照し、外科用ステープラー7000が非発射状態にあるとき、第1ジョー7030内に位置付けられたステープル6220はまた組織Tに挿入されていないことがあり、及び/又は保持マトリックスはその上に位置付けられている。使用中、ここで図233を参照し、ステープル6220は、ステープルドライバ7012によってステープルカートリッジのステープル空洞7033内で上方に駆動される場合があり、加えて、第1アンビル7050は、ステープル6220のステープル脚部6221に係合するために、フレーム7041の遠位端7048から遠位端7049へと近位方向に動かされる場合がある。少なくとも一実施形態において、ステープル6220は、第1アンビル7050がそのステープル脚部6221と係合する前に上方に駆動され得る。様々な実施形態において、全てのステープル6220は、第1アンビル7050がステープル脚部6221と接触するように前進させられる前に、スレッド7010によって上方に展開されてもよく、あるいは、スレッド7010は、第1アンビル7050が近位方向に動かされるのと同時に近位方向に動かされてもよいが、スレッド7010は、ステープル6220を第1アンビル7050の前方に展開するために、第1アンビル7050を十分に導くことがある。図233に例示されるように、様々な実施形態において、カムスロット7070は、第1カム7050が平行部又は上部を通過する際に、第1カム7050の例えば、形成又はカム表面7053及び7054などの形成表面が、ステープル脚部6221の少なくとも一部と接触し得るように、構成及び配置され得る。様々な実施形態において、第1アンビル7050のカム従動部7055はそれぞれ、カムスロット7070の平行部7071内に位置付けられ得、それによって形成表面7053及び7054は、隆起部分にあり、ステープル脚部6221は、アンビル7050が平行部においてそこを通過する際に部分的にのみ変形される。図234に例示されるように、第1カム7050は、カムスロット7070に沿って更に動かれる際に、第1アンビル7050のカム従動部7055は、カムスロット7070の駆動された又はより低い部分7072へと駆動される場合があり、それにより形成表面7053及び7054は、ステープル脚部6021をこれらの最終的に形成された構成へと駆動するために、ステープル脚部6021に向かって垂直に下方に動く。その後、第1アンビル7050は、カムスロット7070に沿って更に前進すると、第1アンビル7050は、カムスロット7070の平行部7071の別の組へと垂直に上方に駆動され得る。図233及び図234に例示されるように、読者は、第1アンビル7050がステープル脚部のいくつかとのみ係合し、他のものとはしない場合があることに気付く。少なくとも1つのこのような実施形態において、第1アンビル7050は、例えば、ステープル6220の遠位ステープル脚部6221を含むステープル脚部の群のみを変形させるように構成され得る。少なくとも1つのこのような実施形態において、第1アンビル7050は、遠位ステープル脚部6221をステープル6220の中心に向かって変形させるように構成され得る。様々な実施形態において、各近位ステープル脚部6221は、第1アンビル7050と2度、(すなわち、第1形成表面7053、及び第1形成表面7053と位置合わせされた第2形成表面7054と)接触し得る。少なくとも1つのこのような実施形態において、第1形成表面7053は、第1アンビル7050がへ平行部又は上部にある際に、遠位ステープル脚部6221を部分的に変形された構成へと変形させることができ、第2形成表面7054は、第1アンビル7050が駆動部又は下部へと移動される際に、遠位ステープル脚部6221を完全に形成された構成へと変形することができる。ここで図228及び図229を参照し、様々な実施形態において、ステープル脚部6221が2つ以上の列又はラインに構成される際に、ステープル6220の遠位ステープル脚部6221を変形させるために、第1アンビル7050は、複数の第1形成表面7053及び複数の第2形成表面7054を含む場合がある。様々な実施形態において、以下でより詳細に記載されるように、ステープル6020の近位ステープル脚部6221は、例えば、第2アンビル7060によって変形される場合がある。 Referring to FIG. 231, when the surgical staple 7000 is in an unfired state, the first anvil 7050 may be positioned at the distal end 7048 of the frame 7041 and the second anvil 7060 is positioned at the proximal end of the frame 7041. 7049, and now referring to FIG. 232, the staple 6220 positioned within the first jaw 7030 is also not inserted into the tissue T when the surgical stapler 7000 is in a non-fired state. And / or a retention matrix is positioned thereon. In use, referring now to FIG. 233, the staple 6220 may be driven upward within the staple cavity 7033 of the staple cartridge by the staple driver 7012, and in addition, the first anvil 7050 may be a staple leg of the staple 6220. To engage portion 6221, it may be moved proximally from distal end 7048 of frame 7041 to distal end 7049. In at least one embodiment, the staple 6220 can be driven upward before the first anvil 7050 engages its staple leg 6221. In various embodiments, all staples 6220 may be deployed upward by thread 7010 before first anvil 7050 is advanced into contact with staple legs 6221, or thread 7010 may be The sled 7010 may move the first anvil 7050 sufficiently to deploy the staple 6220 forward of the first anvil 7050, although the anvil 7050 may be moved proximally at the same time as the one anvil 7050 is moved proximally. May lead. As illustrated in FIG. 233, in various embodiments, the cam slot 7070 may be formed on the first cam 7050, such as formed or cam surfaces 7053 and 7054, as the first cam 7050 passes through the parallel portion or top. Can be configured and arranged such that the forming surface can be in contact with at least a portion of the staple legs 6221. In various embodiments, the cam followers 7055 of the first anvil 7050 can each be positioned within the parallel portion 7071 of the cam slot 7070 so that the forming surfaces 7053 and 7054 are in the raised portions and the staple legs 6221 are The anvil 7050 is only partially deformed as it passes through it in the parallel part. As illustrated in FIG. 234, when the first cam 7050 is moved further along the cam slot 7070, the cam follower 7055 of the first anvil 7050 is driven or lower portion 7072 of the cam slot 7070. The forming surfaces 7053 and 7054 vertically downward toward the staple legs 6021 to drive the staple legs 6021 to their final formed configuration. Move. Thereafter, as the first anvil 7050 is further advanced along the cam slot 7070, the first anvil 7050 can be driven vertically upward to another set of parallel portions 7071 of the cam slot 7070. As illustrated in FIGS. 233 and 234, the reader is aware that the first anvil 7050 may engage only some of the staple legs and not others. In at least one such embodiment, the first anvil 7050 can be configured to deform only the group of staple legs including the distal staple legs 6221 of the staple 6220, for example. In at least one such embodiment, the first anvil 7050 can be configured to deform the distal staple leg 6221 toward the center of the staple 6220. In various embodiments, each proximal staple leg 6221 is twice with the first anvil 7050 (ie, the first forming surface 7053 and the second forming surface 7054 aligned with the first forming surface 7053). Can touch. In at least one such embodiment, the first forming surface 7053 deforms the distal staple leg 6221 into a partially deformed configuration when the first anvil 7050 is parallel or at the top. The second forming surface 7054 can transform the distal staple leg 6221 into a fully formed configuration as the first anvil 7050 is moved to the drive or lower portion. Referring now to FIGS. 228 and 229, in various embodiments, to deform the distal staple legs 6221 of the staples 6220 when the staple legs 6221 are configured in more than one row or line. The first anvil 7050 may include a plurality of first forming surfaces 7053 and a plurality of second forming surfaces 7054. In various embodiments, the proximal staple leg 6221 of the staple 6020 may be deformed, for example, by the second anvil 7060, as described in more detail below.
上記に加え、様々な実施形態において、第1アンビル7050は、ステープル6220の遠位ステープル脚部6221全てを変形させるために、フレーム7041の遠位端部7048から近位端7049へと動かされる場合がある。読者が気付くように、第1アンビル7050は、変形していない近位ステープル脚部6221に対して上下に動かすことができ、かつそのような移動に適合するために、様々な実施形態において、第1アンビル7050は1つ又は2つ以上の隙間スロット7057(図230)を含む場合があり、これは、第1アンビル7050が遠位ステープル脚部6221を曲げる際に、曲がっていない近位ステープル脚部6221を受容するように構成され得る。同様に、図228を再び参照し、第2アンビル7060は、上記のように、アンビル7050がその平行部と駆動部との間で動かされる際に、上下に動く、第1カム作動装置7051の垂直移動に適合されるように構成され得る、隙間スロット7067を含む場合がある。全ての遠位ステープル脚部6221が曲げられた後、少なくとも一実施形態において、第2アンビル7060は、アンビル作動装置7061により、フレーム7041の近位端7049から、遠位端7048へと動かされ得る。ここで図235を参照し、上記と同様に、第2アンビル7060のカム従動部7065は、カムスロット7070内で摺動することができ、近位ステープル脚部6221を、例えば、ステープル6220の中央に向かって内側に変形させるために、第2アンビル7060は、平行部又は上部と、駆動部又は下部との間で動かされ得る。上記と同様に、第2アンビル7060は、複数の第1形成又はカム表面7063と、複数の第2形成又はカム表面7064とを含む場合があり、これらはそれぞれ、近位ステープル脚部6021の1つ又は2つ以上を少なくとも部分的に変形させ、及び/又は完全に変形させるように構成され得る。図229を再び参照し、第2アンビル7060は、複数の第1形成表面7063、及び複数の第2の形成表面7064を含む場合があり、これらは、例えば、複数の列又はラインに配置された、ステープル6220の近位ステープル脚部6221を変形させるように構成され得る。また図229に例示されるように、第2アンビル7060の第1形成表面7063及び第2形成表面7064は、第1アンビル7050の第1形成表面7053及び第2形成表面7054と位置合わせされないことがあり、結果としてステープル6220の近位脚部6221は、ステープル6220の遠位脚部6221とは異なる列又はラインに位置付けられることがある。読者が気付くように、第2アンビル7060は、第2アンビル7060が遠位方向に動かされる際に、第1アンビル7050を押すことがある。少なくとも1つのこのような実施形態において、第2アンビル7060は、フレーム7041の遠位端7048内に第1アンビル7050を押し戻し、それにより第1アンビル7050は、その最初の非発射位置へと戻され得る。ステープル6220の近位ステープル脚部6221の全てが変形された後、第2アンビル7060は、その最初の又は非発射位置へと近位方向に後退し、戻され得る。このようにして、外科用ステープラー7000をもう一度使用するために、新しいステープルカートリッジが第1ジョー7030内に位置付けられ、新しい保持マトリックスが第2ジョー7040内に位置付けられ得るように、外科用ステープル7000はリセットされ得る。 In addition to the above, in various embodiments, the first anvil 7050 is moved from the distal end 7048 of the frame 7041 to the proximal end 7049 to deform all of the distal staple legs 6221 of the staple 6220. There is. As the reader will notice, the first anvil 7050 can be moved up and down relative to the undeformed proximal staple leg 6221 and, in various embodiments, to accommodate such movement, One anvil 7050 may include one or more gap slots 7057 (FIG. 230), which is the proximal staple leg that is not bent as the first anvil 7050 bends the distal staple leg 6221. Can be configured to receive portion 6221. Similarly, referring again to FIG. 228, the second anvil 7060, as described above, of the first cam actuator 7051 moves up and down when the anvil 7050 is moved between its parallel portion and the drive portion. May include a gap slot 7067 that may be configured to be adapted for vertical movement. After all distal staple legs 6221 have been bent, in at least one embodiment, the second anvil 7060 can be moved from the proximal end 7049 of the frame 7041 to the distal end 7048 by the anvil actuator 7061. . Referring now to FIG. 235, similar to the above, the cam follower 7065 of the second anvil 7060 can slide within the cam slot 7070 and the proximal staple leg 6221 can be positioned, for example, in the middle of the staple 6220. The second anvil 7060 can be moved between a parallel part or upper part and a drive part or lower part to deform inwardly toward Similar to above, the second anvil 7060 may include a plurality of first formations or cam surfaces 7063 and a plurality of second formations or cam surfaces 7064, each of which is one of the proximal staple legs 6021. One or more may be configured to be at least partially deformed and / or fully deformed. Referring again to FIG. 229, the second anvil 7060 may include a plurality of first forming surfaces 7063 and a plurality of second forming surfaces 7064, which are arranged, for example, in a plurality of columns or lines. The proximal staple leg 6221 of the staple 6220 can be configured to deform. Also, as illustrated in FIG. 229, the first forming surface 7063 and the second forming surface 7064 of the second anvil 7060 may not be aligned with the first forming surface 7053 and the second forming surface 7054 of the first anvil 7050. As a result, the proximal leg 6221 of the staple 6220 may be positioned in a different row or line than the distal leg 6221 of the staple 6220. As the reader will notice, the second anvil 7060 may push the first anvil 7050 as the second anvil 7060 is moved distally. In at least one such embodiment, the second anvil 7060 pushes the first anvil 7050 back into the distal end 7048 of the frame 7041 so that the first anvil 7050 is returned to its initial unfired position. obtain. After all of the proximal staple legs 6221 of the staple 6220 are deformed, the second anvil 7060 can be retracted proximally back to its initial or non-fired position. In this way, the surgical staple 7000 can be positioned so that a new staple cartridge can be positioned in the first jaw 7030 and a new retention matrix can be positioned in the second jaw 7040 for another use of the surgical stapler 7000. It can be reset.
上記のように、様々な実施形態において、外科用ステープルは、横方向において複数のステープルの脚部に係合するように、長手方向に移動し得る2つ以上のアンビルを含む場合がある。いくつかの実施形態において、外科用ステープラーは、第1群のステープル脚部を変形させるために、近位方向に動かされ、第2群のステープル脚部を変形させるために遠位方向に移動される、アンビルを含み得る。少なくとも1つのこのような実施形態において、このようなアンビルは、例えば、近位方向に向く形成表面、及び遠位方向に向く形成表面を含み得る。 As described above, in various embodiments, a surgical staple may include two or more anvils that can move longitudinally to engage a plurality of staple legs in the lateral direction. In some embodiments, the surgical stapler is moved proximally to deform the first group of staple legs and moved distally to deform the second group of staple legs. An anvil can be included. In at least one such embodiment, such an anvil can include, for example, a proximally facing forming surface and a distally facing forming surface.
ここで図236を参照し、様々な実施形態において、例えば、アンビル7140などのアンビルは、底面又は組織接触表面7141、及び内部に画定される複数の形成ポケット7142を含む場合がある。少なくとも一実施形態において、アンビル7140は、例えば、ポケットプレート7143などの、2つ以上のプレートを含む場合があり、これは、フレーム7144に溶接され得る。少なくとも1つのこのような実施形態において、各ポケットプレート7143は、フレーム7144内のプレートチャネル7145内に位置付けられ、長手方向の溶接7147を形成するために、フレーム7144を通じて延びる溶接スロット7146を通じてフレーム7144に溶接され得る。様々な状況において、長手方向の溶接7147は、溶接スロット7146の全長に沿って延びる連続的な溶接と、その長さに沿って延びる、一連の離間した点溶接とを含む場合がある。様々な実施形態において、各ポケットプレート7143は、互いに溶接された、2つ以上のプレート部分を含む場合がある。少なくとも1つのこのような実施形態において、各ポケットプレート7143は、第1プレート7143a及び第2プレート部分7143bを含む場合があり、これらは、シーム7148に沿って一緒に溶接される場合がある。様々な実施形態において、各プレート7143において、第1プレート部分7143a及び第2プレート部分7143bは、プレート7143がフレーム7144内のプレートチャネル7145に溶接される前に一緒に溶接され得る。少なくとも1つのこのような実施形態において、第1プレート部分7143a及び第2プレート部分7143bは、例えば、図236に例示される歯付き輪郭などの協調する輪郭を含む場合があり、これらは、互いに適合して緊密なシーム7148を形成する。少なくとも一実施形態において、各プレート7143は、例えば、プレートチャネル7145の深さよりも高いことがある、およそ0.51mm(.02”)の高さを含む場合があり、それによってその組織接触表面7141は、アンビル7040のフレーム7044から延びる。図237を参照し、いくつかの実施形態において、プレート7143は、例えば、プレート7143の遠位端における少なくとも1つの溶接7149によって一緒に接続され得る。 Referring now to FIG. 236, in various embodiments, for example, an anvil such as anvil 7140 may include a bottom surface or tissue contacting surface 7141 and a plurality of forming pockets 7142 defined therein. In at least one embodiment, anvil 7140 may include two or more plates, such as pocket plate 7143, which may be welded to frame 7144. In at least one such embodiment, each pocket plate 7143 is positioned in a plate channel 7145 in the frame 7144 and into the frame 7144 through a weld slot 7146 extending through the frame 7144 to form a longitudinal weld 7147. Can be welded. In various circumstances, the longitudinal weld 7147 may include a continuous weld that extends along the entire length of the weld slot 7146 and a series of spaced spot welds that extend along that length. In various embodiments, each pocket plate 7143 may include two or more plate portions that are welded together. In at least one such embodiment, each pocket plate 7143 may include a first plate 7143a and a second plate portion 7143b, which may be welded together along a seam 7148. In various embodiments, in each plate 7143, the first plate portion 7143a and the second plate portion 7143b can be welded together before the plate 7143 is welded to the plate channel 7145 in the frame 7144. In at least one such embodiment, the first plate portion 7143a and the second plate portion 7143b may include cooperating contours such as, for example, a toothed contour illustrated in FIG. 236, which are compatible with each other. A tight seam 7148 is thus formed. In at least one embodiment, each plate 7143 may include a height of approximately 0.51 mm (0.02 ″), which may be, for example, higher than the depth of the plate channel 7145, thereby causing its tissue contacting surface 7141. Extends from the frame 7044 of the anvil 7040. Referring to Figure 237, in some embodiments, the plates 7143 can be connected together by, for example, at least one weld 7149 at the distal end of the plate 7143.
図236及び図237に例示されるように、各ポケットプレート7143は、内部に画定される複数の形成ポケット7142を含み得る。様々な実施形態において、形成ポケット7142は例えば、粉砕プロセス及び/又は電極燃焼プロセスなどの、任意の好適な製造プロセスによって、プレート7143内に形成され得る。ここで図238及び図239を参照し、少なくとも1つのこのような実施形態において、各形成ポケット7142は、最初に深いウェル7150を形成し、その後、深いウェル7150を囲む、弓状の又は湾曲した表面7151を形成し、かつその後湾曲した表面7151内にステープル脚部ガイド溝7152を形成することによって製造され得る。様々な他の実施形態において、これらの工程は、任意の好適な順番で行われ得る。図240を参照し、様々な実施形態において、ステープル形成ポケット7142は、形成ポケットの内縁部7153が、一定の又は少なくとも実質的に一定の空隙7154によって隔てられるように、形成され得る。少なくとも1つのこのような実施形態において、空隙7154は、例えば、およそ0.20mm(.008”)であり得る。更に、少なくとも1つのこのような実施形態において、形成ポケット7142は、2つ以上の列又はラインに沿って位置付けられる場合があり、その中央線は、一定又は少なくとも実質的に一定の間隔7155によって隔てられ得る。少なくとも1つのこのような実施形態において、中央線の間の間隔7155は、例えば、およそ0.89mm(0.35”)であり得る。様々な実施形態において、図240を参照し、各形成ポケット7142は、狭い幅7156と広い幅7157との間でテーパ状である場合がある。少なくとも1つのこのような実施形態において、狭い幅7156は、およそ1.14mm(.45”)であり、広い幅7157は、およそ1.91mm(.075”)であり得る。様々な実施形態において、プレート7143は、フレーム7144と同じ材料を含む場合がある。少なくとも1つのこのような実施形態において、プレート7143及びフレーム7144は両方とも、例えば、300シリーズ若しくは400シリーズステンレススチールなどの、ステンレス・スチール、及び/又はチタンなどを含む場合がある。様々な他の実施形態において、プレート7143及びフレーム7144は、異なる材料を含む場合がある。少なくとも1つのこのような実施形態において、プレート7143は、例えば、セラミック材料を含む場合があり、フレーム7144は、ステンレス・スチール及び/又はチタンなどを含む場合がある。使用される材料により、様々な実施形態において、例えば、上記の溶接プロセスに加えて、又はその代わりに、プレート7143をフレーム7144内に固定するために少なくとも1つの鑞着プロセスが使用され得る。 As illustrated in FIGS. 236 and 237, each pocket plate 7143 may include a plurality of forming pockets 7142 defined therein. In various embodiments, the formation pocket 7142 can be formed in the plate 7143 by any suitable manufacturing process, such as, for example, a grinding process and / or an electrode combustion process. Referring now to FIGS. 238 and 239, in at least one such embodiment, each forming pocket 7142 first forms a deep well 7150 and then surrounds the deep well 7150 in an arcuate or curved shape. It can be manufactured by forming the surface 7151 and then forming the staple leg guide groove 7152 in the curved surface 7151. In various other embodiments, these steps can be performed in any suitable order. Referring to FIG. 240, in various embodiments, the staple forming pocket 7142 can be formed such that the inner edge 7153 of the forming pocket is separated by a constant or at least substantially constant gap 7154. In at least one such embodiment, the gap 7154 may be, for example, approximately 0.20 mm (.008 "). Further, in at least one such embodiment, the forming pocket 7142 may include two or more May be positioned along a column or line, and their centerlines may be separated by a constant or at least substantially constant spacing 7155. In at least one such embodiment, the spacing 7155 between the centerlines is For example, approximately 0.89 mm (0.35 ″). In various embodiments, referring to FIG. 240, each forming pocket 7142 may be tapered between a narrow width 7156 and a wide width 7157. In at least one such embodiment, the narrow width 7156 may be approximately 1.14 mm (.45 ") and the wide width 7157 may be approximately 1.91 mm (.075"). In various embodiments, the plate 7143 may comprise the same material as the frame 7144. In at least one such embodiment, both plate 7143 and frame 7144 may include stainless steel, such as, for example, 300 series or 400 series stainless steel, and / or titanium. In various other embodiments, the plate 7143 and the frame 7144 may include different materials. In at least one such embodiment, the plate 7143 can include, for example, a ceramic material, and the frame 7144 can include, for example, stainless steel and / or titanium. Depending on the materials used, in various embodiments, for example, in addition to or in place of the welding process described above, at least one attachment process may be used to secure the plate 7143 within the frame 7144.
図241〜243を参照し、様々な実施形態において、アンビル7240は、フレーム7244、及びフレーム7244に挿入され得る複数のポケットプレート7243を含む場合がある。上記と同様に、各ポケットプレート7243は、内部に画定される複数の形成ポケット7242を含む場合がある。少なくとも一実施形態において、アンビルフレーム7244は、内部に画定された保持スロット7246を含む場合があり、これらはそれぞれ、ポケットプレート7243から延びる保持レール7247を受容するように構成され得る。ポケットプレート7243をアンビルフレーム7244に組み合わせるため、各保持スロット7246が内部のポケットプレート7243の保持レール7247を受容し得るように、保持スロット7246を広げるため、図242に例示されるように、アンビルフレーム7244の側壁7245は、外側に屈折するか又は広がってもよい。一度保持レール7247が保持スロット7246内に位置付けられると、側壁7245は、図243に例示されるように、解放される場合があり、それによって、フレーム7244がその非屈曲状態へと弾力的に収縮する及び/又は戻ることを可能にする。このような状況において、保持スロット7246は収縮し、かつそれによって内部に保持レール7247を捕捉し得る。いくつかの実施形態において、保持レール7247及び/又は保持スロット7246は、1つ又は2つ以上の協働するテーパ状表面を含む場合があり、これは、屈折した保持スロット7246が解放された後、カムは保持スロット7246内に保持レール7247を保持し得る、テーパ固定係合を形成し得る。上記と同様に、ポケットプレート7243は、フレーム7244と同じ材料、又はこれとは異なる材料を含む場合がある。少なくとも1つのこのような実施形態において、プレート7243は、例えば、セラミック材料を含む場合があり、フレーム7244は、ステンレス・スチール及び/又はチタンなどを含む場合がある。使用される材料により、様々な状況において、プレート7243をフレーム7244内に固定するために、少なくとも1つの鑞着プロセス、及び/又は少なくとも1つの溶接プロセスが使用され得る。 Referring to FIGS. 241-243, in various embodiments, an anvil 7240 may include a frame 7244 and a plurality of pocket plates 7243 that can be inserted into the frame 7244. Similar to the above, each pocket plate 7243 may include a plurality of forming pockets 7242 defined therein. In at least one embodiment, anvil frame 7244 may include retention slots 7246 defined therein, each of which may be configured to receive retention rails 7247 extending from pocket plate 7243. In order to assemble the pocket plate 7243 to the anvil frame 7244, to expand the retention slot 7246 so that each retention slot 7246 can receive the retention rail 7247 of the interior pocket plate 7243, as shown in FIG. The sidewall 7245 of 7244 may be refracted or widened outward. Once the retaining rail 7247 is positioned in the retaining slot 7246, the sidewall 7245 may be released, as illustrated in FIG. 243, so that the frame 7244 elastically contracts to its unbent state. Allows to do and / or return. Under such circumstances, the retention slot 7246 can contract and thereby capture the retention rail 7247 therein. In some embodiments, the retention rail 7247 and / or the retention slot 7246 may include one or more cooperating tapered surfaces, after the refracted retention slot 7246 has been released. The cam can form a taper locking engagement that can hold the holding rail 7247 within the holding slot 7246. Similar to the above, the pocket plate 7243 may comprise the same material as the frame 7244 or a different material. In at least one such embodiment, the plate 7243 may include, for example, a ceramic material, and the frame 7244 may include stainless steel and / or titanium or the like. Depending on the materials used, at least one gluing process and / or at least one welding process may be used to secure the plate 7243 in the frame 7244 in various situations.
本明細書において開示される装置は、1回の使用の後に処分されるような設計とするか、又は複数回使用されるような設計とすることができる。しかしながら、いずれの場合も、デバイスは少なくとも1回の使用後、再使用のために再調整されることができる。再調整は、装置の分解工程、これに続く洗浄工程又は特定部品の交換工程、及びその後の再組み付け工程の任意の組み合わせを含むことができる。詳細には、装置は分解可能であり、装置の任意の数の特定の部品又は部材を、任意の組み合わせで選択的に交換又は取り外すことができる。特定の部材の洗浄及び/又は交換に際し、装置を再調整施設において、あるいは外科手術の直前に手術チームによって再組み付けしてからその後の使用に供することができる。当業者であれば、装置の再調整に、分解、洗浄/交換、及び再組み付けのための様々な技術を利用できる点は認識されるであろう。このような技術の使用、及びその結果として得られる再調整された装置は、全て、本出願の範囲内にある。 The devices disclosed herein can be designed to be disposed of after a single use, or designed to be used multiple times. In either case, however, the device can be reconditioned for reuse after at least one use. Reconditioning can include any combination of equipment disassembly steps, subsequent cleaning steps or specific part replacement steps, and subsequent reassembly steps. In particular, the device can be disassembled, and any number of the particular parts or members of the device can be selectively replaced or removed in any combination. Upon cleaning and / or replacement of particular members, the device can be reassembled at a reconditioning facility or by a surgical team immediately prior to a surgical procedure and then used for subsequent use. One skilled in the art will recognize that various techniques for disassembly, cleaning / replacement, and reassembly can be used to recondition the device. The use of such techniques, and the resulting reconditioned device, are all within the scope of this application.
好ましくは、本明細書で説明した本発明は、外科手術の前に処理される。まず、新しい又は使用済みの器具を得て、必要に応じて洗浄する。次に、器具を滅菌することができる。1つの滅菌法では、プラスチック又はTYVEKバッグなどの閉鎖かつ密封された容器に器具を入れる。次いで容器及び器具を、ガンマ線、X線又は高エネルギー電子線などの、容器を貫通することができる放射線野の中に置く。この放射線によって器具上及び容器内の細菌が殺菌される。滅菌された器具は、その後、無菌容器内で保管することができる。密封容器は医療施設において開封されるまで器具を無菌状態に保つ。 Preferably, the invention described herein is processed before surgery. First, a new or used instrument is obtained and cleaned as necessary. The instrument can then be sterilized. In one sterilization method, the instrument is placed in a closed and sealed container such as a plastic or TYVEK bag. The container and instrument are then placed in a field of radiation that can penetrate the container, such as gamma radiation, x-rays, or high energy electron beams. This radiation kills bacteria on the instrument and in the container. The sterilized instrument can then be stored in a sterile container. The sealed container keeps the instrument sterile until it is opened in the medical facility.
全体又は部分において、本明細書に参照により組み込まれると称されるいずれの特許公報又は他の開示物も、組み込まれた事物が現行の定義、記載、又は本開示に記載されている他の開示物と矛盾しない範囲でのみ本明細書に組み込まれる。このように及び必要な範囲で、本明細書に明瞭に記載されている開示は、参照により本明細書に組み込んだ任意の矛盾する事物に取って代わるものとする。本明細書に参照により組み込むと称されているが現行の定義、記載、又は本明細書に記載されている他の開示物と矛盾するいずれの事物、又はそれらの部分は、組み込まれた事物と現行の開示事物との間に矛盾が生じない範囲でのみ組み込まれるものとする。 Any patent publication or other disclosure referred to herein, in whole or in part, is incorporated into the current definition, description, or other disclosure that is incorporated herein by reference. Incorporated in this specification only to the extent that they do not conflict with objects. Thus, to the extent necessary, the disclosure expressly set forth herein shall supersede any conflicting matter incorporated herein by reference. Anything referred to herein as incorporated by reference but inconsistent with the current definitions, descriptions, or other disclosures contained herein, or parts thereof, shall be It shall be incorporated only to the extent that there is no conflict with the current disclosure.
以上、本発明を例示的な構成を有するものとして説明したが、本発明は本開示の趣旨及び範囲内で更に改変することができる。したがって、本出願はその一般的原理を利用した本発明のあらゆる変形、使用又は適応を網羅するものとする。更に、本出願は、本発明が関連する技術分野における公知の、又は従来の実施に含まれるところの本開示からの発展形を網羅するものとする。 While the present invention has been described as having an exemplary configuration, the present invention can be further modified within the spirit and scope of the present disclosure. This application is therefore intended to cover any variations, uses, or adaptations of the invention using its general principles. Furthermore, this application is intended to cover developments from the present disclosure as known in the art to which this invention pertains or which are included in conventional practice.
〔実施の態様〕
(1) 外科用器具であって、
ハンドルアセンブリと、
前記ハンドルアセンブリに動作可能に連結され、前記ハンドルアセンブリから突出する細長いスパイン部材と、
前記細長いスパイン部材と動作可能に連結し得る近位端を有するエンドエフェクタであって、前記エンドエフェクタは、第2ジョーに発射運動が適用される際に前記第2ジョーに対して選択的に可動である、第1ジョーを有する、エンドエフェクタと、
前記細長いスパイン部材に対して可動に支持され、前記第2ジョーを開放位置から閉鎖位置へと動かすために、前記エンドエフェクタの前記第2ジョーに前記発射運動を選択的に適用するように構成される、発射部材と、
前記ハンドルアセンブリによって支持され、前記発射部材が前記第2ジョーに前記発射運動を適用するように、前記発射部材と動作可能に連動する、発射トリガーと、
選択的に作動可能な切断システムであって、
前記細長いスパイン部材に対して可動に支持されたナイフ部材であって、前記ナイフ部材は、前記発射運動とは別の前記ナイフ部材への切断運動を適用する際に、前記エンドエフェクタの前記近位端に隣接する非作動位置から、前記エンドエフェクタの遠位端の作動位置へと可動である、ナイフ部材、及び
前記ハンドルアセンブリにより支持され、前記ナイフ部材に任意により前記切断運動を適用するように前記ナイフ部材と動作可能に連動する、ナイフ前進トリガーを含む、選択的に作動可能な切断システムとを含む、外科用器具。
(2) 前記第1ジョーが、前記第1ジョー内にステープルカートリッジを動作可能に支持するように構成された、実施態様1に記載の外科用器具。
(3) 前記閉鎖位置は少なくとも、前記ステープルカートリッジ内のステープルを形成することなく、前記第2ジョーと前記ステープルカートリッジの上面との間で組織がクランピングされることを可能にするように、前記第2ジョーが前記ステープルカートリッジの前記上面に対して位置付けられた、最大クランピング位置と、前記ステープルが完全に形成された完全に発射された位置とを含む、実施態様2に記載の外科用器具。
(4) 前記第2ジョーが前記最大クランピング位置へと移動された後に、前記発射トリガーを意図せずして更に作動させることを防ぐための手段を更に含む、実施態様3に記載の外科用器具。
(5) 前記防ぐための手段が、前記ハンドルアセンブリ上に可動に支持された発射解放部材を含み、かつ前記発射解放部材は、前記第2ジョーが前記最大クランピング位置まで移動した後に、前記発射トリガーが意図せずして作動することを防ぐ係合位置と、前記発射トリガーが作動され得る非係合位置との間で選択的に可動である、実施態様4に記載の外科用器具。Embodiment
(1) a surgical instrument,
A handle assembly;
An elongated spine member operably coupled to the handle assembly and protruding from the handle assembly;
An end effector having a proximal end operably connectable with the elongate spine member, wherein the end effector is selectively movable relative to the second jaw when a firing motion is applied to the second jaw. An end effector having a first jaw,
Movably supported with respect to the elongate spine member and configured to selectively apply the firing motion to the second jaw of the end effector to move the second jaw from an open position to a closed position. A firing member;
A firing trigger supported by the handle assembly and operatively associated with the firing member such that the firing member applies the firing motion to the second jaw;
A selectively actuable cutting system,
A knife member movably supported relative to the elongate spine member, wherein the knife member is adapted to apply a cutting motion to the knife member that is different from the firing motion; A knife member movable from a non-actuated position adjacent the end to an actuated position of the distal end of the end effector, and supported by the handle assembly, optionally applying the cutting motion to the knife member A surgical instrument comprising a selectively actuable cutting system including a knife advance trigger operatively associated with the knife member.
The surgical instrument of claim 1, wherein the first jaw is configured to operably support a staple cartridge within the first jaw.
(3) the closed position allows at least tissue to be clamped between the second jaw and the top surface of the staple cartridge without forming staples in the staple cartridge; The surgical instrument of claim 2, including a maximum clamping position with a second jaw positioned relative to the top surface of the staple cartridge and a fully fired position with the staple fully formed. .
(4) The surgical of embodiment 3, further comprising means for preventing further activation of the firing trigger after the second jaw is moved to the maximum clamping position. Instruments.
(5) The means for preventing includes a firing release member movably supported on the handle assembly, and the firing release member is disposed after the second jaw has moved to the maximum clamping position. Embodiment 5. The surgical instrument of embodiment 4, wherein the surgical instrument is selectively movable between an engaged position that prevents the trigger from operating unintentionally and a disengaged position where the firing trigger can be operated.
(6) 前記発射トリガーが、前記第2ジョーの前記開放位置と対応する開始位置から、前記完全に発射された位置と対応する終了位置まで選択的に可動であり、かつ前記外科用器具は、前記発射トリガーを前記終了位置に取り外し可能に固定するための発射トリガー固定構成を更に含む、実施態様3に記載の外科用器具。
(7) 前記ナイフ前進トリガーが、前記発射トリガーが前記終了位置にあるとき以外は作動し得ない、実施態様6に記載の外科用器具。
(8) 前記ハンドルアセンブリによって動作可能に支持されたナイフロックアウト部材を更に含み、前記ナイフロックアウト部材が、前記発射トリガーの作動中に前記ナイフロックアウト部材が前記ナイフ前進トリガーと固定するようにして係合し、前記発射トリガーが前記終了位置まで動いた際に、前記ナイフ前進トリガーと係合離脱するように、前記ナイフ前進トリガー及び前記発射トリガーと可動に連動する、実施態様6に記載の外科用器具。
(9) 前記エンドエフェクタの前記近位端が、前記細長いスパイン部材に取り外し可能に連結され得、前記発射部材が、前記発射部材が前記エンドエフェクタの前記近位端を前記スパイン部材と連結係合するように保持する、連結位置へと選択的に可動である、実施態様1に記載の外科用器具。
(10) 前記発射部材を前記連結位置に取り外し可能に固定するための、エンドエフェクタ固定アセンブリを更に含む、実施態様9に記載の外科用器具。(6) The firing trigger is selectively movable from a start position corresponding to the open position of the second jaw to an end position corresponding to the fully fired position, and the surgical instrument is The surgical instrument of embodiment 3, further comprising a firing trigger locking arrangement for releasably locking the firing trigger in the end position.
(7) The surgical instrument according to embodiment 6, wherein the knife advance trigger cannot be operated except when the firing trigger is in the end position.
(8) further comprising a knife lockout member operably supported by the handle assembly, the knife lockout member securing the knife lockout member with the knife advance trigger during operation of the firing trigger; 7. The embodiment of claim 6, wherein when the firing trigger is moved to the end position, the knife advance trigger and the firing trigger are movably linked to disengage from the knife advance trigger when the firing trigger moves to the end position. Surgical instruments.
(9) The proximal end of the end effector may be removably coupled to the elongate spine member, and the firing member engages the proximal end of the end effector with the spine member. The surgical instrument of embodiment 1, wherein the surgical instrument is selectively movable to a connected position.
The surgical instrument of claim 9, further comprising an end effector securing assembly for releasably securing the firing member in the coupled position.
(11) 外科用器具であって、
埋め込み可能なステープルカートリッジを第1ジョー部材内に動作可能に支持するように構成された第1ジョー部材と、
前記第1ジョー部材に対して可動に支持された第2ジョー部材であって、前記第2ジョー部材が、前記第1ジョー部材内の前記埋め込み可能なステープルカートリッジから離間している開放位置と、前記第2ジョー部材に発射運動を適用した際に、前記第2ジョー部材が、前記第1ジョー部材と第2ジョー部材との間で前記埋め込み可能なステープルカートリッジを圧迫する閉鎖位置との間で選択的に可動である、第2ジョー部材と、
前記第1及び第2ジョー部材に対して動作可能に支持されたナイフ部材であって、前記発射運動とは別の前記ナイフ部材への切断運動を適用した際に、前記第1ジョー部材の第1端部における非作動位置から、前記第1ジョー部材の第2端部の作動位置へと、選択的に可動である、ナイフ部材とを含む、外科用器具。
(12) 前記第2ジョー部材と連動する発射システムにより、前記発射運動が前記第2ジョー部材に選択的に適用される、実施態様11に記載の外科用器具。
(13) 前記発射システムが、手動により作動可能な発射トリガーによって作動され得る、実施態様12に記載の外科用器具。
(14) 前記ナイフ部材と連動する切断システムによって、前記切断運動が前記ナイフ部材に選択的に適用される、実施態様13に記載の外科用器具。
(15) 前記切断システムが、
前記ナイフ部材と動作可能に連動する切断伝達器と、
前記切断伝達器と動作可能に連動するナイフ前進トリガーであって、前記ナイフ前進トリガーは、前記発射トリガーと別個に動作可能である、ナイフ前進トリガーとを含む、実施態様14に記載の外科用器具。(11) a surgical instrument,
A first jaw member configured to operably support an implantable staple cartridge within the first jaw member;
A second jaw member movably supported relative to the first jaw member, wherein the second jaw member is spaced apart from the implantable staple cartridge in the first jaw member; Between a closed position where the second jaw member compresses the implantable staple cartridge between the first jaw member and the second jaw member when a firing motion is applied to the second jaw member; A second jaw member that is selectively movable;
A knife member operably supported with respect to the first and second jaw members, wherein when a cutting motion to the knife member different from the firing motion is applied, the first jaw member A surgical instrument comprising a knife member that is selectively movable from a non-actuated position at one end to an actuated position of the second end of the first jaw member.
12. The surgical instrument of
The surgical instrument of
14. The surgical instrument of
(15) The cutting system is
A cutting transmitter operatively associated with the knife member;
The surgical instrument of
(16) 前記閉鎖位置は少なくとも、前記ステープルカートリッジ内のステープルを形成することなく、前記第2ジョーと前記ステープルカートリッジの上面との間で組織がクランピングされることを可能にするように、前記第2ジョー部材が前記ステープルカートリッジの前記上面に対して位置付けられた、最大クランピング位置と、前記ステープルが完全に形成された完全に発射された位置とを含む、実施態様12に記載の外科用器具。
(17) 前記第2ジョー部材が前記最大クランピング位置へと移動された後に、前記発射システムを意図せずして更に作動することを防ぐように、前記発射システムと連動する、発射システムロックを更に含む、実施態様16に記載の外科用器具。
(18) 前記切断運動が、前記ナイフ部材と連動する切断システムによって適用され、前記切断システムは、前記第2ジョー部材が前記完全に発射された位置にくるまで作動不可能である、実施態様16に記載の外科用器具。
(19) 外科用器具であって、
ハンドルアセンブリと、
前記ハンドルアセンブリに回転可能に取り付けられ、前記ハンドルアセンブリに対し、長手方向軸を中心に選択的に回転し得る、細長いシャフトアセンブリであって、前記細長いシャフトアセンブリは、
遠位端を有する細長いスパイン部材、及び
前記細長いスパイン部材上で軸方向に可動な発射管、を含む、細長いシャフトアセンブリとを含み、前記外科用器具は更に、
エンドエフェクタであって、
前記長手方向軸を中心に、前記細長いスパイン部材と共に回転移動するための、前記細長いスパイン部材の前記遠位端に連結可能である細長いチャネル、及び
前記細長いチャネルに対して可動に支持され、前記発射管によってアンビルに発射運動が適用される際に、開放位置と閉鎖位置との間で可動である、アンビルを含む、エンドエフェクタを含み、前記外科用器具は更に、
前記ハンドルアセンブリ上に動作可能に支持された発射トリガーであって、前記発射トリガーの作動により前記発射管が前記アンビルに前記発射運動を適用するように、前記発射管と連動する、発射トリガーと、
前記細長いシャフト内に可動に支持されたナイフ部材であって、前記発射運動とは別の前記ナイフ部材への切断運動が適用された際に、前記スパイン部材の前記遠位端に隣接する非作動位置から、前記細長いチャネルの遠位端の作動位置へと選択的に可動である、ナイフ部材と、
前記ハンドルアセンブリ上に動作可能に支持され、前記ナイフ管に前記切断運動を選択的に適用するように前記ナイフ管と連動する、ナイフ前進トリガーとを含む、外科用器具。
(20) 前記細長いチャネルが、前記細長いチャネル内に埋め込み可能なステープルカートリッジを支持するように構成される、実施態様19に記載の外科用器具。(16) The closed position allows at least tissue to be clamped between the second jaw and the top surface of the staple cartridge without forming staples in the staple cartridge. The surgical embodiment according to
(17) A firing system lock that is interlocked with the firing system to prevent unintentional further operation of the firing system after the second jaw member has been moved to the maximum clamping position. The surgical instrument according to
18. The
(19) a surgical instrument,
A handle assembly;
An elongate shaft assembly rotatably attached to the handle assembly and capable of selectively rotating about a longitudinal axis relative to the handle assembly, the elongate shaft assembly comprising:
An elongate shaft assembly comprising: an elongate spine member having a distal end; and a firing tube axially movable on the elongate spine member, the surgical instrument further comprising:
An end effector,
An elongate channel connectable to the distal end of the elongate spine member for rotational movement with the elongate spine member about the longitudinal axis; and movably supported relative to the elongate channel and the firing An end effector including an anvil that is movable between an open position and a closed position when a firing motion is applied to the anvil by the tube, the surgical instrument further comprising:
A firing trigger operatively supported on the handle assembly, wherein the firing trigger interacts with the firing tube such that actuation of the firing trigger causes the firing tube to apply the firing motion to the anvil;
A knife member movably supported within the elongate shaft, wherein a non-actuated adjacent to the distal end of the spine member when a cutting motion to the knife member separate from the firing motion is applied A knife member selectively movable from a position to an operating position at a distal end of the elongated channel;
A surgical instrument comprising a knife advance trigger operatively supported on the handle assembly and in conjunction with the knife tube to selectively apply the cutting motion to the knife tube.
The surgical instrument of
| Application Number | Priority Date | Filing Date | Title |
|---|---|---|---|
| US12/894,351 | 2010-09-30 | ||
| US12/894,351US9113864B2 (en) | 2010-09-30 | 2010-09-30 | Surgical cutting and fastening instruments with separate and distinct fastener deployment and tissue cutting systems |
| PCT/US2011/053083WO2012044552A2 (en) | 2010-09-30 | 2011-09-23 | Surgical cutting and fastening instruments with separate and distinct fastener deployment and tissue cutting systems |
| Publication Number | Publication Date |
|---|---|
| JP2013541983Atrue JP2013541983A (en) | 2013-11-21 |
| JP5917527B2 JP5917527B2 (en) | 2016-05-18 |
| Application Number | Title | Priority Date | Filing Date |
|---|---|---|---|
| JP2013531689AActiveJP5917527B2 (en) | 2010-09-30 | 2011-09-23 | Surgical cutting and fastening instrument having separate and separate fastener deployment and tissue cutting systems |
| Country | Link |
|---|---|
| JP (1) | JP5917527B2 (en) |
| BR (1) | BR112013007624B1 (en) |
| RU (1) | RU2599210C2 (en) |
| Publication number | Priority date | Publication date | Assignee | Title |
|---|---|---|---|---|
| JP2018525116A (en)* | 2015-08-17 | 2018-09-06 | エシコン エルエルシーEthicon LLC | Implantable layer for surgical instruments |
| CN111295718A (en)* | 2017-10-30 | 2020-06-16 | 爱惜康有限责任公司 | Mechanical force based control of electrical power output |
| EP3682816A1 (en)* | 2016-12-21 | 2020-07-22 | Ethicon LLC | Closure member arrangements for surgical instruments |
| US10905423B2 (en) | 2014-09-05 | 2021-02-02 | Ethicon Llc | Smart cartridge wake up operation and data retention |
| US10912559B2 (en) | 2018-08-20 | 2021-02-09 | Ethicon Llc | Reinforced deformable anvil tip for surgical stapler anvil |
| US10925605B2 (en) | 2008-02-14 | 2021-02-23 | Ethicon Llc | Surgical stapling system |
| US10932778B2 (en) | 2008-10-10 | 2021-03-02 | Ethicon Llc | Powered surgical cutting and stapling apparatus with manually retractable firing system |
| US10945731B2 (en) | 2010-09-30 | 2021-03-16 | Ethicon Llc | Tissue thickness compensator comprising controlled release and expansion |
| US10952728B2 (en) | 2006-01-31 | 2021-03-23 | Ethicon Llc | Powered surgical instruments with firing system lockout arrangements |
| US10952727B2 (en) | 2007-01-10 | 2021-03-23 | Ethicon Llc | Surgical instrument for assessing the state of a staple cartridge |
| US10959725B2 (en) | 2012-06-15 | 2021-03-30 | Ethicon Llc | Articulatable surgical instrument comprising a firing drive |
| USD914878S1 (en) | 2018-08-20 | 2021-03-30 | Ethicon Llc | Surgical instrument anvil |
| US10959727B2 (en) | 2016-12-21 | 2021-03-30 | Ethicon Llc | Articulatable surgical end effector with asymmetric shaft arrangement |
| US10966627B2 (en) | 2015-03-06 | 2021-04-06 | Ethicon Llc | Time dependent evaluation of sensor data to determine stability, creep, and viscoelastic elements of measures |
| US10980534B2 (en) | 2011-05-27 | 2021-04-20 | Ethicon Llc | Robotically-controlled motorized surgical instrument with an end effector |
| US10980539B2 (en) | 2015-09-30 | 2021-04-20 | Ethicon Llc | Implantable adjunct comprising bonded layers |
| US10987102B2 (en) | 2010-09-30 | 2021-04-27 | Ethicon Llc | Tissue thickness compensator comprising a plurality of layers |
| US10993713B2 (en) | 2005-11-09 | 2021-05-04 | Ethicon Llc | Surgical instruments |
| US11000275B2 (en) | 2006-01-31 | 2021-05-11 | Ethicon Llc | Surgical instrument |
| US11000279B2 (en) | 2017-06-28 | 2021-05-11 | Ethicon Llc | Surgical instrument comprising an articulation system ratio |
| US11000274B2 (en) | 2013-08-23 | 2021-05-11 | Ethicon Llc | Powered surgical instrument |
| US11013511B2 (en) | 2007-06-22 | 2021-05-25 | Ethicon Llc | Surgical stapling instrument with an articulatable end effector |
| US11020114B2 (en) | 2017-06-28 | 2021-06-01 | Cilag Gmbh International | Surgical instruments with articulatable end effector with axially shortened articulation joint configurations |
| US11020115B2 (en) | 2014-02-12 | 2021-06-01 | Cilag Gmbh International | Deliverable surgical instrument |
| US11020112B2 (en) | 2017-12-19 | 2021-06-01 | Ethicon Llc | Surgical tools configured for interchangeable use with different controller interfaces |
| US11026678B2 (en) | 2015-09-23 | 2021-06-08 | Cilag Gmbh International | Surgical stapler having motor control based on an electrical parameter related to a motor current |
| US11026684B2 (en) | 2016-04-15 | 2021-06-08 | Ethicon Llc | Surgical instrument with multiple program responses during a firing motion |
| US11039834B2 (en) | 2018-08-20 | 2021-06-22 | Cilag Gmbh International | Surgical stapler anvils with staple directing protrusions and tissue stability features |
| US11039836B2 (en) | 2007-01-11 | 2021-06-22 | Cilag Gmbh International | Staple cartridge for use with a surgical stapling instrument |
| US11039837B2 (en) | 2012-06-28 | 2021-06-22 | Cilag Gmbh International | Firing system lockout arrangements for surgical instruments |
| US11045192B2 (en) | 2018-08-20 | 2021-06-29 | Cilag Gmbh International | Fabricating techniques for surgical stapler anvils |
| US11051810B2 (en) | 2016-04-15 | 2021-07-06 | Cilag Gmbh International | Modular surgical instrument with configurable operating mode |
| US11051813B2 (en) | 2006-01-31 | 2021-07-06 | Cilag Gmbh International | Powered surgical instruments with firing system lockout arrangements |
| US11051807B2 (en) | 2019-06-28 | 2021-07-06 | Cilag Gmbh International | Packaging assembly including a particulate trap |
| US11058422B2 (en) | 2015-12-30 | 2021-07-13 | Cilag Gmbh International | Mechanisms for compensating for battery pack failure in powered surgical instruments |
| US11071543B2 (en) | 2017-12-15 | 2021-07-27 | Cilag Gmbh International | Surgical end effectors with clamping assemblies configured to increase jaw aperture ranges |
| US11071545B2 (en) | 2014-09-05 | 2021-07-27 | Cilag Gmbh International | Smart cartridge wake up operation and data retention |
| US11071554B2 (en) | 2017-06-20 | 2021-07-27 | Cilag Gmbh International | Closed loop feedback control of motor velocity of a surgical stapling and cutting instrument based on magnitude of velocity error measurements |
| US11076853B2 (en) | 2017-12-21 | 2021-08-03 | Cilag Gmbh International | Systems and methods of displaying a knife position during transection for a surgical instrument |
| US11076929B2 (en) | 2015-09-25 | 2021-08-03 | Cilag Gmbh International | Implantable adjunct systems for determining adjunct skew |
| US11083454B2 (en) | 2015-12-30 | 2021-08-10 | Cilag Gmbh International | Mechanisms for compensating for drivetrain failure in powered surgical instruments |
| US11083453B2 (en) | 2014-12-18 | 2021-08-10 | Cilag Gmbh International | Surgical stapling system including a flexible firing actuator and lateral buckling supports |
| US11083452B2 (en) | 2010-09-30 | 2021-08-10 | Cilag Gmbh International | Staple cartridge including a tissue thickness compensator |
| US11083456B2 (en) | 2004-07-28 | 2021-08-10 | Cilag Gmbh International | Articulating surgical instrument incorporating a two-piece firing mechanism |
| US11083457B2 (en) | 2012-06-28 | 2021-08-10 | Cilag Gmbh International | Surgical instrument system including replaceable end effectors |
| US11083458B2 (en) | 2018-08-20 | 2021-08-10 | Cilag Gmbh International | Powered surgical instruments with clutching arrangements to convert linear drive motions to rotary drive motions |
| US11090045B2 (en) | 2005-08-31 | 2021-08-17 | Cilag Gmbh International | Staple cartridges for forming staples having differing formed staple heights |
| US11090075B2 (en) | 2017-10-30 | 2021-08-17 | Cilag Gmbh International | Articulation features for surgical end effector |
| US11090048B2 (en) | 2016-12-21 | 2021-08-17 | Cilag Gmbh International | Method for resetting a fuse of a surgical instrument shaft |
| US11090049B2 (en) | 2017-06-27 | 2021-08-17 | Cilag Gmbh International | Staple forming pocket arrangements |
| US11090046B2 (en) | 2017-06-20 | 2021-08-17 | Cilag Gmbh International | Systems and methods for controlling displacement member motion of a surgical stapling and cutting instrument |
| US11096689B2 (en) | 2016-12-21 | 2021-08-24 | Cilag Gmbh International | Shaft assembly comprising a lockout |
| US11103269B2 (en) | 2006-01-31 | 2021-08-31 | Cilag Gmbh International | Motor-driven surgical cutting and fastening instrument with tactile position feedback |
| US11103241B2 (en) | 2008-09-23 | 2021-08-31 | Cilag Gmbh International | Motor-driven surgical cutting instrument |
| US11109859B2 (en) | 2015-03-06 | 2021-09-07 | Cilag Gmbh International | Surgical instrument comprising a lockable battery housing |
| US11129613B2 (en) | 2015-12-30 | 2021-09-28 | Cilag Gmbh International | Surgical instruments with separable motors and motor control circuits |
| US11129616B2 (en) | 2011-05-27 | 2021-09-28 | Cilag Gmbh International | Surgical stapling system |
| US11129615B2 (en) | 2009-02-05 | 2021-09-28 | Cilag Gmbh International | Surgical stapling system |
| US11133106B2 (en) | 2013-08-23 | 2021-09-28 | Cilag Gmbh International | Surgical instrument assembly comprising a retraction assembly |
| US11129680B2 (en) | 2017-12-21 | 2021-09-28 | Cilag Gmbh International | Surgical instrument comprising a projector |
| US11134942B2 (en) | 2016-12-21 | 2021-10-05 | Cilag Gmbh International | Surgical stapling instruments and staple-forming anvils |
| US11134938B2 (en) | 2007-06-04 | 2021-10-05 | Cilag Gmbh International | Robotically-controlled shaft based rotary drive systems for surgical instruments |
| US11135352B2 (en) | 2004-07-28 | 2021-10-05 | Cilag Gmbh International | End effector including a gradually releasable medical adjunct |
| US11134947B2 (en) | 2005-08-31 | 2021-10-05 | Cilag Gmbh International | Fastener cartridge assembly comprising a camming sled with variable cam arrangements |
| US11134944B2 (en) | 2017-10-30 | 2021-10-05 | Cilag Gmbh International | Surgical stapler knife motion controls |
| US11141153B2 (en) | 2014-10-29 | 2021-10-12 | Cilag Gmbh International | Staple cartridges comprising driver arrangements |
| US11147553B2 (en) | 2019-03-25 | 2021-10-19 | Cilag Gmbh International | Firing drive arrangements for surgical systems |
| US11147551B2 (en) | 2019-03-25 | 2021-10-19 | Cilag Gmbh International | Firing drive arrangements for surgical systems |
| US11147547B2 (en) | 2017-12-21 | 2021-10-19 | Cilag Gmbh International | Surgical stapler comprising storable cartridges having different staple sizes |
| US11147554B2 (en) | 2016-04-18 | 2021-10-19 | Cilag Gmbh International | Surgical instrument system comprising a magnetic lockout |
| US11154301B2 (en) | 2015-02-27 | 2021-10-26 | Cilag Gmbh International | Modular stapling assembly |
| US11154297B2 (en) | 2008-02-15 | 2021-10-26 | Cilag Gmbh International | Layer arrangements for surgical staple cartridges |
| US11154296B2 (en) | 2010-09-30 | 2021-10-26 | Cilag Gmbh International | Anvil layer attached to a proximal end of an end effector |
| US11160551B2 (en) | 2016-12-21 | 2021-11-02 | Cilag Gmbh International | Articulatable surgical stapling instruments |
| US11172929B2 (en) | 2019-03-25 | 2021-11-16 | Cilag Gmbh International | Articulation drive arrangements for surgical systems |
| US11179150B2 (en) | 2016-04-15 | 2021-11-23 | Cilag Gmbh International | Systems and methods for controlling a surgical stapling and cutting instrument |
| US11185325B2 (en) | 2014-10-16 | 2021-11-30 | Cilag Gmbh International | End effector including different tissue gaps |
| US11191545B2 (en) | 2016-04-15 | 2021-12-07 | Cilag Gmbh International | Staple formation detection mechanisms |
| US11197670B2 (en) | 2017-12-15 | 2021-12-14 | Cilag Gmbh International | Surgical end effectors with pivotal jaws configured to touch at their respective distal ends when fully closed |
| US11197671B2 (en) | 2012-06-28 | 2021-12-14 | Cilag Gmbh International | Stapling assembly comprising a lockout |
| US11202633B2 (en) | 2014-09-26 | 2021-12-21 | Cilag Gmbh International | Surgical stapling buttresses and adjunct materials |
| US11207064B2 (en) | 2011-05-27 | 2021-12-28 | Cilag Gmbh International | Automated end effector component reloading system for use with a robotic system |
| US11207065B2 (en) | 2018-08-20 | 2021-12-28 | Cilag Gmbh International | Method for fabricating surgical stapler anvils |
| US11213293B2 (en) | 2016-02-09 | 2022-01-04 | Cilag Gmbh International | Articulatable surgical instruments with single articulation link arrangements |
| US11213302B2 (en) | 2017-06-20 | 2022-01-04 | Cilag Gmbh International | Method for closed loop control of motor velocity of a surgical stapling and cutting instrument |
| US11219455B2 (en) | 2019-06-28 | 2022-01-11 | Cilag Gmbh International | Surgical instrument including a lockout key |
| US11224423B2 (en) | 2015-03-06 | 2022-01-18 | Cilag Gmbh International | Smart sensors with local signal processing |
| US11224427B2 (en) | 2006-01-31 | 2022-01-18 | Cilag Gmbh International | Surgical stapling system including a console and retraction assembly |
| US11224426B2 (en) | 2016-02-12 | 2022-01-18 | Cilag Gmbh International | Mechanisms for compensating for drivetrain failure in powered surgical instruments |
| US11224428B2 (en) | 2016-12-21 | 2022-01-18 | Cilag Gmbh International | Surgical stapling systems |
| US11224497B2 (en) | 2019-06-28 | 2022-01-18 | Cilag Gmbh International | Surgical systems with multiple RFID tags |
| US11229437B2 (en) | 2019-06-28 | 2022-01-25 | Cilag Gmbh International | Method for authenticating the compatibility of a staple cartridge with a surgical instrument |
| US11234698B2 (en) | 2019-12-19 | 2022-02-01 | Cilag Gmbh International | Stapling system comprising a clamp lockout and a firing lockout |
| US11241230B2 (en) | 2012-06-28 | 2022-02-08 | Cilag Gmbh International | Clip applier tool for use with a robotic surgical system |
| US11246678B2 (en) | 2019-06-28 | 2022-02-15 | Cilag Gmbh International | Surgical stapling system having a frangible RFID tag |
| US11246592B2 (en) | 2017-06-28 | 2022-02-15 | Cilag Gmbh International | Surgical instrument comprising an articulation system lockable to a frame |
| US11246618B2 (en) | 2013-03-01 | 2022-02-15 | Cilag Gmbh International | Surgical instrument soft stop |
| US11246590B2 (en) | 2005-08-31 | 2022-02-15 | Cilag Gmbh International | Staple cartridge including staple drivers having different unfired heights |
| US11253254B2 (en) | 2019-04-30 | 2022-02-22 | Cilag Gmbh International | Shaft rotation actuator on a surgical instrument |
| US11253256B2 (en) | 2018-08-20 | 2022-02-22 | Cilag Gmbh International | Articulatable motor powered surgical instruments with dedicated articulation motor arrangements |
| US11259799B2 (en) | 2014-03-26 | 2022-03-01 | Cilag Gmbh International | Interface systems for use with surgical instruments |
| US11259805B2 (en) | 2017-06-28 | 2022-03-01 | Cilag Gmbh International | Surgical instrument comprising firing member supports |
| US11259803B2 (en) | 2019-06-28 | 2022-03-01 | Cilag Gmbh International | Surgical stapling system having an information encryption protocol |
| US11266406B2 (en) | 2013-03-14 | 2022-03-08 | Cilag Gmbh International | Control systems for surgical instruments |
| US11266405B2 (en) | 2017-06-27 | 2022-03-08 | Cilag Gmbh International | Surgical anvil manufacturing methods |
| US11266409B2 (en) | 2014-04-16 | 2022-03-08 | Cilag Gmbh International | Fastener cartridge comprising a sled including longitudinally-staggered ramps |
| US11272938B2 (en) | 2006-06-27 | 2022-03-15 | Cilag Gmbh International | Surgical instrument including dedicated firing and retraction assemblies |
| US11278279B2 (en) | 2006-01-31 | 2022-03-22 | Cilag Gmbh International | Surgical instrument assembly |
| US11284953B2 (en) | 2017-12-19 | 2022-03-29 | Cilag Gmbh International | Method for determining the position of a rotatable jaw of a surgical instrument attachment assembly |
| US11284898B2 (en) | 2014-09-18 | 2022-03-29 | Cilag Gmbh International | Surgical instrument including a deployable knife |
| US11291440B2 (en) | 2018-08-20 | 2022-04-05 | Cilag Gmbh International | Method for operating a powered articulatable surgical instrument |
| US11291449B2 (en) | 2009-12-24 | 2022-04-05 | Cilag Gmbh International | Surgical cutting instrument that analyzes tissue thickness |
| US11291447B2 (en) | 2019-12-19 | 2022-04-05 | Cilag Gmbh International | Stapling instrument comprising independent jaw closing and staple firing systems |
| US11291451B2 (en) | 2019-06-28 | 2022-04-05 | Cilag Gmbh International | Surgical instrument with battery compatibility verification functionality |
| US11291441B2 (en) | 2007-01-10 | 2022-04-05 | Cilag Gmbh International | Surgical instrument with wireless communication between control unit and remote sensor |
| US11298127B2 (en) | 2019-06-28 | 2022-04-12 | Cilag GmbH Interational | Surgical stapling system having a lockout mechanism for an incompatible cartridge |
| US11298132B2 (en) | 2019-06-28 | 2022-04-12 | Cilag GmbH Inlernational | Staple cartridge including a honeycomb extension |
| US11298125B2 (en) | 2010-09-30 | 2022-04-12 | Cilag Gmbh International | Tissue stapler having a thickness compensator |
| US11304695B2 (en) | 2017-08-03 | 2022-04-19 | Cilag Gmbh International | Surgical system shaft interconnection |
| US11304696B2 (en) | 2019-12-19 | 2022-04-19 | Cilag Gmbh International | Surgical instrument comprising a powered articulation system |
| US11311290B2 (en) | 2017-12-21 | 2022-04-26 | Cilag Gmbh International | Surgical instrument comprising an end effector dampener |
| US11311292B2 (en) | 2016-04-15 | 2022-04-26 | Cilag Gmbh International | Surgical instrument with detection sensors |
| US11311294B2 (en) | 2014-09-05 | 2022-04-26 | Cilag Gmbh International | Powered medical device including measurement of closure state of jaws |
| US11317917B2 (en) | 2016-04-18 | 2022-05-03 | Cilag Gmbh International | Surgical stapling system comprising a lockable firing assembly |
| US11317913B2 (en) | 2016-12-21 | 2022-05-03 | Cilag Gmbh International | Lockout arrangements for surgical end effectors and replaceable tool assemblies |
| US11324501B2 (en) | 2018-08-20 | 2022-05-10 | Cilag Gmbh International | Surgical stapling devices with improved closure members |
| US11324503B2 (en) | 2017-06-27 | 2022-05-10 | Cilag Gmbh International | Surgical firing member arrangements |
| US11337698B2 (en) | 2014-11-06 | 2022-05-24 | Cilag Gmbh International | Staple cartridge comprising a releasable adjunct material |
| US11337693B2 (en) | 2007-03-15 | 2022-05-24 | Cilag Gmbh International | Surgical stapling instrument having a releasable buttress material |
| US11344299B2 (en) | 2015-09-23 | 2022-05-31 | Cilag Gmbh International | Surgical stapler having downstream current-based motor control |
| US11344303B2 (en) | 2016-02-12 | 2022-05-31 | Cilag Gmbh International | Mechanisms for compensating for drivetrain failure in powered surgical instruments |
| US11350928B2 (en) | 2016-04-18 | 2022-06-07 | Cilag Gmbh International | Surgical instrument comprising a tissue thickness lockout and speed control system |
| US11350935B2 (en) | 2016-12-21 | 2022-06-07 | Cilag Gmbh International | Surgical tool assemblies with closure stroke reduction features |
| US11350929B2 (en) | 2007-01-10 | 2022-06-07 | Cilag Gmbh International | Surgical instrument with wireless communication between control unit and sensor transponders |
| US11350932B2 (en) | 2016-04-15 | 2022-06-07 | Cilag Gmbh International | Surgical instrument with improved stop/start control during a firing motion |
| US11350916B2 (en) | 2006-01-31 | 2022-06-07 | Cilag Gmbh International | Endoscopic surgical instrument with a handle that can articulate with respect to the shaft |
| US11376098B2 (en) | 2019-06-28 | 2022-07-05 | Cilag Gmbh International | Surgical instrument system comprising an RFID system |
| US11382627B2 (en) | 2014-04-16 | 2022-07-12 | Cilag Gmbh International | Surgical stapling assembly comprising a firing member including a lateral extension |
| US11382628B2 (en) | 2014-12-10 | 2022-07-12 | Cilag Gmbh International | Articulatable surgical instrument system |
| US11382638B2 (en) | 2017-06-20 | 2022-07-12 | Cilag Gmbh International | Closed loop feedback control of motor velocity of a surgical stapling and cutting instrument based on measured time over a specified displacement distance |
| US11382626B2 (en) | 2006-10-03 | 2022-07-12 | Cilag Gmbh International | Surgical system including a knife bar supported for rotational and axial travel |
| US11395652B2 (en) | 2013-04-16 | 2022-07-26 | Cilag Gmbh International | Powered surgical stapler |
| US11399837B2 (en) | 2019-06-28 | 2022-08-02 | Cilag Gmbh International | Mechanisms for motor control adjustments of a motorized surgical instrument |
| US11399831B2 (en) | 2014-12-18 | 2022-08-02 | Cilag Gmbh International | Drive arrangements for articulatable surgical instruments |
| US11399829B2 (en) | 2017-09-29 | 2022-08-02 | Cilag Gmbh International | Systems and methods of initiating a power shutdown mode for a surgical instrument |
| US11399828B2 (en) | 2005-08-31 | 2022-08-02 | Cilag Gmbh International | Fastener cartridge assembly comprising a fixed anvil and different staple heights |
| US11406378B2 (en) | 2012-03-28 | 2022-08-09 | Cilag Gmbh International | Staple cartridge comprising a compressible tissue thickness compensator |
| US11406380B2 (en) | 2008-09-23 | 2022-08-09 | Cilag Gmbh International | Motorized surgical instrument |
| US11419606B2 (en) | 2016-12-21 | 2022-08-23 | Cilag Gmbh International | Shaft assembly comprising a clutch configured to adapt the output of a rotary firing member to two different systems |
| US11426251B2 (en) | 2019-04-30 | 2022-08-30 | Cilag Gmbh International | Articulation directional lights on a surgical instrument |
| US11426167B2 (en) | 2019-06-28 | 2022-08-30 | Cilag Gmbh International | Mechanisms for proper anvil attachment surgical stapling head assembly |
| US11432816B2 (en) | 2019-04-30 | 2022-09-06 | Cilag Gmbh International | Articulation pin for a surgical instrument |
| US11439470B2 (en) | 2011-05-27 | 2022-09-13 | Cilag Gmbh International | Robotically-controlled surgical instrument with selectively articulatable end effector |
| US11446029B2 (en) | 2019-12-19 | 2022-09-20 | Cilag Gmbh International | Staple cartridge comprising projections extending from a curved deck surface |
| US11446034B2 (en) | 2008-02-14 | 2022-09-20 | Cilag Gmbh International | Surgical stapling assembly comprising first and second actuation systems configured to perform different functions |
| US11452528B2 (en) | 2019-04-30 | 2022-09-27 | Cilag Gmbh International | Articulation actuators for a surgical instrument |
| US11452526B2 (en) | 2020-10-29 | 2022-09-27 | Cilag Gmbh International | Surgical instrument comprising a staged voltage regulation start-up system |
| US11457918B2 (en) | 2014-10-29 | 2022-10-04 | Cilag Gmbh International | Cartridge assemblies for surgical staplers |
| US11464512B2 (en) | 2019-12-19 | 2022-10-11 | Cilag Gmbh International | Staple cartridge comprising a curved deck surface |
| US11464514B2 (en) | 2008-02-14 | 2022-10-11 | Cilag Gmbh International | Motorized surgical stapling system including a sensing array |
| USD966512S1 (en) | 2020-06-02 | 2022-10-11 | Cilag Gmbh International | Staple cartridge |
| US11464601B2 (en) | 2019-06-28 | 2022-10-11 | Cilag Gmbh International | Surgical instrument comprising an RFID system for tracking a movable component |
| US11464513B2 (en) | 2012-06-28 | 2022-10-11 | Cilag Gmbh International | Surgical instrument system including replaceable end effectors |
| US11471155B2 (en) | 2017-08-03 | 2022-10-18 | Cilag Gmbh International | Surgical system bailout |
| US11471157B2 (en) | 2019-04-30 | 2022-10-18 | Cilag Gmbh International | Articulation control mapping for a surgical instrument |
| USD967421S1 (en) | 2020-06-02 | 2022-10-18 | Cilag Gmbh International | Staple cartridge |
| US11478247B2 (en) | 2010-07-30 | 2022-10-25 | Cilag Gmbh International | Tissue acquisition arrangements and methods for surgical stapling devices |
| US11478241B2 (en) | 2019-06-28 | 2022-10-25 | Cilag Gmbh International | Staple cartridge including projections |
| US11478244B2 (en) | 2017-10-31 | 2022-10-25 | Cilag Gmbh International | Cartridge body design with force reduction based on firing completion |
| US11484312B2 (en) | 2005-08-31 | 2022-11-01 | Cilag Gmbh International | Staple cartridge comprising a staple driver arrangement |
| US11484311B2 (en) | 2005-08-31 | 2022-11-01 | Cilag Gmbh International | Staple cartridge comprising a staple driver arrangement |
| US11484307B2 (en) | 2008-02-14 | 2022-11-01 | Cilag Gmbh International | Loading unit coupleable to a surgical stapling system |
| CN115317052A (en)* | 2022-08-17 | 2022-11-11 | 湖南华外医疗科技有限公司 | Executive part with split type cutting tool bit and anastomat |
| US11497488B2 (en) | 2014-03-26 | 2022-11-15 | Cilag Gmbh International | Systems and methods for controlling a segmented circuit |
| US11497492B2 (en) | 2019-06-28 | 2022-11-15 | Cilag Gmbh International | Surgical instrument including an articulation lock |
| US11504122B2 (en) | 2019-12-19 | 2022-11-22 | Cilag Gmbh International | Surgical instrument comprising a nested firing member |
| US11504116B2 (en) | 2011-04-29 | 2022-11-22 | Cilag Gmbh International | Layer of material for a surgical end effector |
| US11517325B2 (en) | 2017-06-20 | 2022-12-06 | Cilag Gmbh International | Closed loop feedback control of motor velocity of a surgical stapling and cutting instrument based on measured displacement distance traveled over a specified time interval |
| US11517311B2 (en) | 2014-12-18 | 2022-12-06 | Cilag Gmbh International | Surgical instrument systems comprising an articulatable end effector and means for adjusting the firing stroke of a firing member |
| US11517390B2 (en) | 2020-10-29 | 2022-12-06 | Cilag Gmbh International | Surgical instrument comprising a limited travel switch |
| US11523823B2 (en) | 2016-02-09 | 2022-12-13 | Cilag Gmbh International | Surgical instruments with non-symmetrical articulation arrangements |
| US11523822B2 (en) | 2019-06-28 | 2022-12-13 | Cilag Gmbh International | Battery pack including a circuit interrupter |
| US11523821B2 (en) | 2014-09-26 | 2022-12-13 | Cilag Gmbh International | Method for creating a flexible staple line |
| US11529142B2 (en) | 2010-10-01 | 2022-12-20 | Cilag Gmbh International | Surgical instrument having a power control circuit |
| US11529139B2 (en) | 2019-12-19 | 2022-12-20 | Cilag Gmbh International | Motor driven surgical instrument |
| US11529137B2 (en) | 2019-12-19 | 2022-12-20 | Cilag Gmbh International | Staple cartridge comprising driver retention members |
| US11529138B2 (en) | 2013-03-01 | 2022-12-20 | Cilag Gmbh International | Powered surgical instrument including a rotary drive screw |
| US11534259B2 (en) | 2020-10-29 | 2022-12-27 | Cilag Gmbh International | Surgical instrument comprising an articulation indicator |
| USD974560S1 (en) | 2020-06-02 | 2023-01-03 | Cilag Gmbh International | Staple cartridge |
| US11547404B2 (en) | 2014-12-18 | 2023-01-10 | Cilag Gmbh International | Surgical instrument assembly comprising a flexible articulation system |
| USD975278S1 (en) | 2020-06-02 | 2023-01-10 | Cilag Gmbh International | Staple cartridge |
| USD975851S1 (en) | 2020-06-02 | 2023-01-17 | Cilag Gmbh International | Staple cartridge |
| US11553916B2 (en) | 2015-09-30 | 2023-01-17 | Cilag Gmbh International | Compressible adjunct with crossing spacer fibers |
| US11553971B2 (en) | 2019-06-28 | 2023-01-17 | Cilag Gmbh International | Surgical RFID assemblies for display and communication |
| USD975850S1 (en) | 2020-06-02 | 2023-01-17 | Cilag Gmbh International | Staple cartridge |
| USD976401S1 (en) | 2020-06-02 | 2023-01-24 | Cilag Gmbh International | Staple cartridge |
| US11559496B2 (en) | 2010-09-30 | 2023-01-24 | Cilag Gmbh International | Tissue thickness compensator configured to redistribute compressive forces |
| US11559304B2 (en) | 2019-12-19 | 2023-01-24 | Cilag Gmbh International | Surgical instrument comprising a rapid closure mechanism |
| US11564686B2 (en) | 2017-06-28 | 2023-01-31 | Cilag Gmbh International | Surgical shaft assemblies with flexible interfaces |
| US11564682B2 (en) | 2007-06-04 | 2023-01-31 | Cilag Gmbh International | Surgical stapler device |
| US11571212B2 (en) | 2008-02-14 | 2023-02-07 | Cilag Gmbh International | Surgical stapling system including an impedance sensor |
| US11571231B2 (en) | 2006-09-29 | 2023-02-07 | Cilag Gmbh International | Staple cartridge having a driver for driving multiple staples |
| US11571215B2 (en) | 2010-09-30 | 2023-02-07 | Cilag Gmbh International | Layer of material for a surgical end effector |
| US11576672B2 (en) | 2019-12-19 | 2023-02-14 | Cilag Gmbh International | Surgical instrument comprising a closure system including a closure member and an opening member driven by a drive screw |
| USD980425S1 (en) | 2020-10-29 | 2023-03-07 | Cilag Gmbh International | Surgical instrument assembly |
| US11607239B2 (en) | 2016-04-15 | 2023-03-21 | Cilag Gmbh International | Systems and methods for controlling a surgical stapling and cutting instrument |
| US11607219B2 (en) | 2019-12-19 | 2023-03-21 | Cilag Gmbh International | Staple cartridge comprising a detachable tissue cutting knife |
| US11612394B2 (en) | 2011-05-27 | 2023-03-28 | Cilag Gmbh International | Automated end effector component reloading system for use with a robotic system |
| US11612393B2 (en) | 2006-01-31 | 2023-03-28 | Cilag Gmbh International | Robotically-controlled end effector |
| US11617577B2 (en) | 2020-10-29 | 2023-04-04 | Cilag Gmbh International | Surgical instrument comprising a sensor configured to sense whether an articulation drive of the surgical instrument is actuatable |
| US11622763B2 (en) | 2013-04-16 | 2023-04-11 | Cilag Gmbh International | Stapling assembly comprising a shiftable drive |
| US11622766B2 (en) | 2012-06-28 | 2023-04-11 | Cilag Gmbh International | Empty clip cartridge lockout |
| US11627960B2 (en) | 2020-12-02 | 2023-04-18 | Cilag Gmbh International | Powered surgical instruments with smart reload with separately attachable exteriorly mounted wiring connections |
| US11627959B2 (en) | 2019-06-28 | 2023-04-18 | Cilag Gmbh International | Surgical instruments including manual and powered system lockouts |
| US11638587B2 (en) | 2019-06-28 | 2023-05-02 | Cilag Gmbh International | RFID identification systems for surgical instruments |
| US11638582B2 (en) | 2020-07-28 | 2023-05-02 | Cilag Gmbh International | Surgical instruments with torsion spine drive arrangements |
| US11642128B2 (en) | 2017-06-28 | 2023-05-09 | Cilag Gmbh International | Method for articulating a surgical instrument |
| US11642125B2 (en) | 2016-04-15 | 2023-05-09 | Cilag Gmbh International | Robotic surgical system including a user interface and a control circuit |
| US11648005B2 (en) | 2008-09-23 | 2023-05-16 | Cilag Gmbh International | Robotically-controlled motorized surgical instrument with an end effector |
| US11648009B2 (en) | 2019-04-30 | 2023-05-16 | Cilag Gmbh International | Rotatable jaw tip for a surgical instrument |
| US11653914B2 (en) | 2017-06-20 | 2023-05-23 | Cilag Gmbh International | Systems and methods for controlling motor velocity of a surgical stapling and cutting instrument according to articulation angle of end effector |
| US11653920B2 (en) | 2020-12-02 | 2023-05-23 | Cilag Gmbh International | Powered surgical instruments with communication interfaces through sterile barrier |
| US11653915B2 (en) | 2020-12-02 | 2023-05-23 | Cilag Gmbh International | Surgical instruments with sled location detection and adjustment features |
| US11660163B2 (en) | 2019-06-28 | 2023-05-30 | Cilag Gmbh International | Surgical system with RFID tags for updating motor assembly parameters |
| US11672532B2 (en) | 2017-06-20 | 2023-06-13 | Cilag Gmbh International | Techniques for adaptive control of motor velocity of a surgical stapling and cutting instrument |
| US11678877B2 (en) | 2014-12-18 | 2023-06-20 | Cilag Gmbh International | Surgical instrument including a flexible support configured to support a flexible firing member |
| US11678882B2 (en) | 2020-12-02 | 2023-06-20 | Cilag Gmbh International | Surgical instruments with interactive features to remedy incidental sled movements |
| US11684360B2 (en) | 2010-09-30 | 2023-06-27 | Cilag Gmbh International | Staple cartridge comprising a variable thickness compressible portion |
| US11684434B2 (en) | 2019-06-28 | 2023-06-27 | Cilag Gmbh International | Surgical RFID assemblies for instrument operational setting control |
| US11690623B2 (en) | 2015-09-30 | 2023-07-04 | Cilag Gmbh International | Method for applying an implantable layer to a fastener cartridge |
| US11696761B2 (en) | 2019-03-25 | 2023-07-11 | Cilag Gmbh International | Firing drive arrangements for surgical systems |
| US11696757B2 (en) | 2021-02-26 | 2023-07-11 | Cilag Gmbh International | Monitoring of internal systems to detect and track cartridge motion status |
| US11701113B2 (en) | 2021-02-26 | 2023-07-18 | Cilag Gmbh International | Stapling instrument comprising a separate power antenna and a data transfer antenna |
| US11701111B2 (en) | 2019-12-19 | 2023-07-18 | Cilag Gmbh International | Method for operating a surgical stapling instrument |
| US11717289B2 (en) | 2020-10-29 | 2023-08-08 | Cilag Gmbh International | Surgical instrument comprising an indicator which indicates that an articulation drive is actuatable |
| US11717291B2 (en) | 2021-03-22 | 2023-08-08 | Cilag Gmbh International | Staple cartridge comprising staples configured to apply different tissue compression |
| US11717294B2 (en) | 2014-04-16 | 2023-08-08 | Cilag Gmbh International | End effector arrangements comprising indicators |
| US11717285B2 (en) | 2008-02-14 | 2023-08-08 | Cilag Gmbh International | Surgical cutting and fastening instrument having RF electrodes |
| US11723662B2 (en) | 2021-05-28 | 2023-08-15 | Cilag Gmbh International | Stapling instrument comprising an articulation control display |
| US11723658B2 (en) | 2021-03-22 | 2023-08-15 | Cilag Gmbh International | Staple cartridge comprising a firing lockout |
| US11723657B2 (en) | 2021-02-26 | 2023-08-15 | Cilag Gmbh International | Adjustable communication based on available bandwidth and power capacity |
| US11730473B2 (en) | 2021-02-26 | 2023-08-22 | Cilag Gmbh International | Monitoring of manufacturing life-cycle |
| US11737751B2 (en) | 2020-12-02 | 2023-08-29 | Cilag Gmbh International | Devices and methods of managing energy dissipated within sterile barriers of surgical instrument housings |
| US11737754B2 (en) | 2010-09-30 | 2023-08-29 | Cilag Gmbh International | Surgical stapler with floating anvil |
| US11737749B2 (en) | 2021-03-22 | 2023-08-29 | Cilag Gmbh International | Surgical stapling instrument comprising a retraction system |
| US11744583B2 (en) | 2021-02-26 | 2023-09-05 | Cilag Gmbh International | Distal communication array to tune frequency of RF systems |
| US11744581B2 (en) | 2020-12-02 | 2023-09-05 | Cilag Gmbh International | Powered surgical instruments with multi-phase tissue treatment |
| US11744603B2 (en) | 2021-03-24 | 2023-09-05 | Cilag Gmbh International | Multi-axis pivot joints for surgical instruments and methods for manufacturing same |
| US11749877B2 (en) | 2021-02-26 | 2023-09-05 | Cilag Gmbh International | Stapling instrument comprising a signal antenna |
| US11751869B2 (en) | 2021-02-26 | 2023-09-12 | Cilag Gmbh International | Monitoring of multiple sensors over time to detect moving characteristics of tissue |
| US11759202B2 (en) | 2021-03-22 | 2023-09-19 | Cilag Gmbh International | Staple cartridge comprising an implantable layer |
| US11766260B2 (en) | 2016-12-21 | 2023-09-26 | Cilag Gmbh International | Methods of stapling tissue |
| US11766258B2 (en) | 2017-06-27 | 2023-09-26 | Cilag Gmbh International | Surgical anvil arrangements |
| US11766259B2 (en) | 2016-12-21 | 2023-09-26 | Cilag Gmbh International | Method of deforming staples from two different types of staple cartridges with the same surgical stapling instrument |
| US11771419B2 (en) | 2019-06-28 | 2023-10-03 | Cilag Gmbh International | Packaging for a replaceable component of a surgical stapling system |
| US11779330B2 (en) | 2020-10-29 | 2023-10-10 | Cilag Gmbh International | Surgical instrument comprising a jaw alignment system |
| US11779420B2 (en) | 2012-06-28 | 2023-10-10 | Cilag Gmbh International | Robotic surgical attachments having manually-actuated retraction assemblies |
| US11786239B2 (en) | 2021-03-24 | 2023-10-17 | Cilag Gmbh International | Surgical instrument articulation joint arrangements comprising multiple moving linkage features |
| US11786243B2 (en) | 2021-03-24 | 2023-10-17 | Cilag Gmbh International | Firing members having flexible portions for adapting to a load during a surgical firing stroke |
| US11793522B2 (en) | 2015-09-30 | 2023-10-24 | Cilag Gmbh International | Staple cartridge assembly including a compressible adjunct |
| US11793516B2 (en) | 2021-03-24 | 2023-10-24 | Cilag Gmbh International | Surgical staple cartridge comprising longitudinal support beam |
| US11793518B2 (en) | 2006-01-31 | 2023-10-24 | Cilag Gmbh International | Powered surgical instruments with firing system lockout arrangements |
| US11793514B2 (en) | 2021-02-26 | 2023-10-24 | Cilag Gmbh International | Staple cartridge comprising sensor array which may be embedded in cartridge body |
| US11793513B2 (en) | 2017-06-20 | 2023-10-24 | Cilag Gmbh International | Systems and methods for controlling motor speed according to user input for a surgical instrument |
| US11801051B2 (en) | 2006-01-31 | 2023-10-31 | Cilag Gmbh International | Accessing data stored in a memory of a surgical instrument |
| US11806011B2 (en) | 2021-03-22 | 2023-11-07 | Cilag Gmbh International | Stapling instrument comprising tissue compression systems |
| US11812964B2 (en) | 2021-02-26 | 2023-11-14 | Cilag Gmbh International | Staple cartridge comprising a power management circuit |
| US11812958B2 (en) | 2014-12-18 | 2023-11-14 | Cilag Gmbh International | Locking arrangements for detachable shaft assemblies with articulatable surgical end effectors |
| US11826048B2 (en) | 2017-06-28 | 2023-11-28 | Cilag Gmbh International | Surgical instrument comprising selectively actuatable rotatable couplers |
| US11826132B2 (en) | 2015-03-06 | 2023-11-28 | Cilag Gmbh International | Time dependent evaluation of sensor data to determine stability, creep, and viscoelastic elements of measures |
| US11826012B2 (en) | 2021-03-22 | 2023-11-28 | Cilag Gmbh International | Stapling instrument comprising a pulsed motor-driven firing rack |
| US11826042B2 (en) | 2021-03-22 | 2023-11-28 | Cilag Gmbh International | Surgical instrument comprising a firing drive including a selectable leverage mechanism |
| US11832816B2 (en) | 2021-03-24 | 2023-12-05 | Cilag Gmbh International | Surgical stapling assembly comprising nonplanar staples and planar staples |
| US11839352B2 (en) | 2007-01-11 | 2023-12-12 | Cilag Gmbh International | Surgical stapling device with an end effector |
| US11844518B2 (en) | 2020-10-29 | 2023-12-19 | Cilag Gmbh International | Method for operating a surgical instrument |
| US11844520B2 (en) | 2019-12-19 | 2023-12-19 | Cilag Gmbh International | Staple cartridge comprising driver retention members |
| US11849945B2 (en) | 2021-03-24 | 2023-12-26 | Cilag Gmbh International | Rotary-driven surgical stapling assembly comprising eccentrically driven firing member |
| US11849952B2 (en) | 2010-09-30 | 2023-12-26 | Cilag Gmbh International | Staple cartridge comprising staples positioned within a compressible portion thereof |
| US11849941B2 (en) | 2007-06-29 | 2023-12-26 | Cilag Gmbh International | Staple cartridge having staple cavities extending at a transverse angle relative to a longitudinal cartridge axis |
| US11849944B2 (en) | 2021-03-24 | 2023-12-26 | Cilag Gmbh International | Drivers for fastener cartridge assemblies having rotary drive screws |
| US11849943B2 (en) | 2020-12-02 | 2023-12-26 | Cilag Gmbh International | Surgical instrument with cartridge release mechanisms |
| US11857183B2 (en) | 2021-03-24 | 2024-01-02 | Cilag Gmbh International | Stapling assembly components having metal substrates and plastic bodies |
| US11877745B2 (en) | 2021-10-18 | 2024-01-23 | Cilag Gmbh International | Surgical stapling assembly having longitudinally-repeating staple leg clusters |
| US11883026B2 (en) | 2014-04-16 | 2024-01-30 | Cilag Gmbh International | Fastener cartridge assemblies and staple retainer cover arrangements |
| USD1013170S1 (en) | 2020-10-29 | 2024-01-30 | Cilag Gmbh International | Surgical instrument assembly |
| US11883020B2 (en) | 2006-01-31 | 2024-01-30 | Cilag Gmbh International | Surgical instrument having a feedback system |
| US11890012B2 (en) | 2004-07-28 | 2024-02-06 | Cilag Gmbh International | Staple cartridge comprising cartridge body and attached support |
| US11890010B2 (en) | 2020-12-02 | 2024-02-06 | Cllag GmbH International | Dual-sided reinforced reload for surgical instruments |
| US11890005B2 (en) | 2017-06-29 | 2024-02-06 | Cilag Gmbh International | Methods for closed loop velocity control for robotic surgical instrument |
| US11896219B2 (en) | 2021-03-24 | 2024-02-13 | Cilag Gmbh International | Mating features between drivers and underside of a cartridge deck |
| US11896222B2 (en) | 2017-12-15 | 2024-02-13 | Cilag Gmbh International | Methods of operating surgical end effectors |
| US11896217B2 (en) | 2020-10-29 | 2024-02-13 | Cilag Gmbh International | Surgical instrument comprising an articulation lock |
| US11896218B2 (en) | 2021-03-24 | 2024-02-13 | Cilag Gmbh International | Method of using a powered stapling device |
| US11903582B2 (en) | 2021-03-24 | 2024-02-20 | Cilag Gmbh International | Leveraging surfaces for cartridge installation |
| US11903581B2 (en) | 2019-04-30 | 2024-02-20 | Cilag Gmbh International | Methods for stapling tissue using a surgical instrument |
| US11911032B2 (en) | 2019-12-19 | 2024-02-27 | Cilag Gmbh International | Staple cartridge comprising a seating cam |
| US11918220B2 (en) | 2012-03-28 | 2024-03-05 | Cilag Gmbh International | Tissue thickness compensator comprising tissue ingrowth features |
| US11918212B2 (en) | 2015-03-31 | 2024-03-05 | Cilag Gmbh International | Surgical instrument with selectively disengageable drive systems |
| US11925349B2 (en) | 2021-02-26 | 2024-03-12 | Cilag Gmbh International | Adjustment to transfer parameters to improve available power |
| US11931034B2 (en) | 2016-12-21 | 2024-03-19 | Cilag Gmbh International | Surgical stapling instruments with smart staple cartridges |
| USD1018577S1 (en) | 2017-06-28 | 2024-03-19 | Cilag Gmbh International | Display screen or portion thereof with a graphical user interface for a surgical instrument |
| US11931033B2 (en) | 2019-12-19 | 2024-03-19 | Cilag Gmbh International | Staple cartridge comprising a latch lockout |
| US11931025B2 (en) | 2020-10-29 | 2024-03-19 | Cilag Gmbh International | Surgical instrument comprising a releasable closure drive lock |
| US11937816B2 (en) | 2021-10-28 | 2024-03-26 | Cilag Gmbh International | Electrical lead arrangements for surgical instruments |
| US11944300B2 (en) | 2017-08-03 | 2024-04-02 | Cilag Gmbh International | Method for operating a surgical system bailout |
| US11944336B2 (en) | 2021-03-24 | 2024-04-02 | Cilag Gmbh International | Joint arrangements for multi-planar alignment and support of operational drive shafts in articulatable surgical instruments |
| US11944338B2 (en) | 2015-03-06 | 2024-04-02 | Cilag Gmbh International | Multiple level thresholds to modify operation of powered surgical instruments |
| US11944296B2 (en) | 2020-12-02 | 2024-04-02 | Cilag Gmbh International | Powered surgical instruments with external connectors |
| US11950779B2 (en) | 2021-02-26 | 2024-04-09 | Cilag Gmbh International | Method of powering and communicating with a staple cartridge |
| US11950777B2 (en) | 2021-02-26 | 2024-04-09 | Cilag Gmbh International | Staple cartridge comprising an information access control system |
| US11957337B2 (en) | 2021-10-18 | 2024-04-16 | Cilag Gmbh International | Surgical stapling assembly with offset ramped drive surfaces |
| US11974742B2 (en) | 2017-08-03 | 2024-05-07 | Cilag Gmbh International | Surgical system comprising an articulation bailout |
| US11980363B2 (en) | 2021-10-18 | 2024-05-14 | Cilag Gmbh International | Row-to-row staple array variations |
| US11980362B2 (en) | 2021-02-26 | 2024-05-14 | Cilag Gmbh International | Surgical instrument system comprising a power transfer coil |
| US11980366B2 (en) | 2006-10-03 | 2024-05-14 | Cilag Gmbh International | Surgical instrument |
| US11986183B2 (en) | 2008-02-14 | 2024-05-21 | Cilag Gmbh International | Surgical cutting and fastening instrument comprising a plurality of sensors to measure an electrical parameter |
| US11998198B2 (en) | 2004-07-28 | 2024-06-04 | Cilag Gmbh International | Surgical stapling instrument incorporating a two-piece E-beam firing mechanism |
| US11998199B2 (en) | 2017-09-29 | 2024-06-04 | Cllag GmbH International | System and methods for controlling a display of a surgical instrument |
| US12004740B2 (en) | 2019-06-28 | 2024-06-11 | Cilag Gmbh International | Surgical stapling system having an information decryption protocol |
| US12004745B2 (en) | 2016-12-21 | 2024-06-11 | Cilag Gmbh International | Surgical instrument system comprising an end effector lockout and a firing assembly lockout |
| US12016564B2 (en) | 2014-09-26 | 2024-06-25 | Cilag Gmbh International | Circular fastener cartridges for applying radially expandable fastener lines |
| US12035913B2 (en) | 2019-12-19 | 2024-07-16 | Cilag Gmbh International | Staple cartridge comprising a deployable knife |
| US12053175B2 (en) | 2020-10-29 | 2024-08-06 | Cilag Gmbh International | Surgical instrument comprising a stowed closure actuator stop |
| US12089841B2 (en) | 2021-10-28 | 2024-09-17 | Cilag CmbH International | Staple cartridge identification systems |
| US12102323B2 (en) | 2021-03-24 | 2024-10-01 | Cilag Gmbh International | Rotary-driven surgical stapling assembly comprising a floatable component |
| US12108951B2 (en) | 2021-02-26 | 2024-10-08 | Cilag Gmbh International | Staple cartridge comprising a sensing array and a temperature control system |
| US12171507B2 (en) | 2016-08-16 | 2024-12-24 | Cilag Gmbh International | Surgical tool with manual control of end effector jaws |
| US12207835B2 (en) | 2009-12-24 | 2025-01-28 | Cilag Gmbh International | Motor-driven surgical cutting instrument with electric actuator directional control assembly |
| US12213666B2 (en) | 2010-09-30 | 2025-02-04 | Cilag Gmbh International | Tissue thickness compensator comprising layers |
| US12232723B2 (en) | 2014-03-26 | 2025-02-25 | Cilag Gmbh International | Systems and methods for controlling a segmented circuit |
| US12239317B2 (en) | 2021-10-18 | 2025-03-04 | Cilag Gmbh International | Anvil comprising an arrangement of forming pockets proximal to tissue stop |
| US12245764B2 (en) | 2016-12-21 | 2025-03-11 | Cilag Gmbh International | Shaft assembly comprising a lockout |
| US12262888B2 (en) | 2018-08-20 | 2025-04-01 | Cilag Gmbh International | Surgical instruments with progressive jaw closure arrangements |
| US12274442B2 (en) | 2016-12-21 | 2025-04-15 | Cilag Gmbh International | Surgical staple cartridge alignment features |
| US12285166B2 (en) | 2014-03-26 | 2025-04-29 | Cilag Gmbh International | Feedback algorithms for manual bailout systems for surgical instruments |
| US12324580B2 (en) | 2021-02-26 | 2025-06-10 | Cilag Gmbh International | Method of powering and communicating with a staple cartridge |
| US12336705B2 (en) | 2017-12-21 | 2025-06-24 | Cilag Gmbh International | Continuous use self-propelled stapling instrument |
| US12383267B2 (en) | 2012-06-28 | 2025-08-12 | Cilag Gmbh International | Robotically powered surgical device with manually-actuatable reversing system |
| US12432790B2 (en) | 2021-10-28 | 2025-09-30 | Cilag Gmbh International | Method and device for transmitting UART communications over a security short range wireless communication |
| US12440213B2 (en) | 2022-12-05 | 2025-10-14 | Cilag Gmbh International | Surgical instrument having a power control circuit |
| Publication number | Priority date | Publication date | Assignee | Title |
|---|---|---|---|---|
| US11229472B2 (en) | 2001-06-12 | 2022-01-25 | Cilag Gmbh International | Modular battery powered handheld surgical instrument with multiple magnetic position sensors |
| US9089360B2 (en) | 2008-08-06 | 2015-07-28 | Ethicon Endo-Surgery, Inc. | Devices and techniques for cutting and coagulating tissue |
| US8663220B2 (en) | 2009-07-15 | 2014-03-04 | Ethicon Endo-Surgery, Inc. | Ultrasonic surgical instruments |
| US11090104B2 (en) | 2009-10-09 | 2021-08-17 | Cilag Gmbh International | Surgical generator for ultrasonic and electrosurgical devices |
| US8469981B2 (en) | 2010-02-11 | 2013-06-25 | Ethicon Endo-Surgery, Inc. | Rotatable cutting implement arrangements for ultrasonic surgical instruments |
| WO2013119545A1 (en) | 2012-02-10 | 2013-08-15 | Ethicon-Endo Surgery, Inc. | Robotically controlled surgical instrument |
| US9439668B2 (en) | 2012-04-09 | 2016-09-13 | Ethicon Endo-Surgery, Llc | Switch arrangements for ultrasonic surgical instruments |
| US20140005705A1 (en) | 2012-06-29 | 2014-01-02 | Ethicon Endo-Surgery, Inc. | Surgical instruments with articulating shafts |
| US9408622B2 (en) | 2012-06-29 | 2016-08-09 | Ethicon Endo-Surgery, Llc | Surgical instruments with articulating shafts |
| US9351754B2 (en) | 2012-06-29 | 2016-05-31 | Ethicon Endo-Surgery, Llc | Ultrasonic surgical instruments with distally positioned jaw assemblies |
| US9226767B2 (en) | 2012-06-29 | 2016-01-05 | Ethicon Endo-Surgery, Inc. | Closed feedback control for electrosurgical device |
| US20140005702A1 (en) | 2012-06-29 | 2014-01-02 | Ethicon Endo-Surgery, Inc. | Ultrasonic surgical instruments with distally positioned transducers |
| US9393037B2 (en) | 2012-06-29 | 2016-07-19 | Ethicon Endo-Surgery, Llc | Surgical instruments with articulating shafts |
| US9198714B2 (en) | 2012-06-29 | 2015-12-01 | Ethicon Endo-Surgery, Inc. | Haptic feedback devices for surgical robot |
| US9326788B2 (en) | 2012-06-29 | 2016-05-03 | Ethicon Endo-Surgery, Llc | Lockout mechanism for use with robotic electrosurgical device |
| US9095367B2 (en) | 2012-10-22 | 2015-08-04 | Ethicon Endo-Surgery, Inc. | Flexible harmonic waveguides/blades for surgical instruments |
| US20140135804A1 (en) | 2012-11-15 | 2014-05-15 | Ethicon Endo-Surgery, Inc. | Ultrasonic and electrosurgical devices |
| US9814514B2 (en) | 2013-09-13 | 2017-11-14 | Ethicon Llc | Electrosurgical (RF) medical instruments for cutting and coagulating tissue |
| US9265926B2 (en) | 2013-11-08 | 2016-02-23 | Ethicon Endo-Surgery, Llc | Electrosurgical devices |
| GB2521228A (en) | 2013-12-16 | 2015-06-17 | Ethicon Endo Surgery Inc | Medical device |
| US9795436B2 (en) | 2014-01-07 | 2017-10-24 | Ethicon Llc | Harvesting energy from a surgical generator |
| US9554854B2 (en) | 2014-03-18 | 2017-01-31 | Ethicon Endo-Surgery, Llc | Detecting short circuits in electrosurgical medical devices |
| US10092310B2 (en) | 2014-03-27 | 2018-10-09 | Ethicon Llc | Electrosurgical devices |
| US9737355B2 (en) | 2014-03-31 | 2017-08-22 | Ethicon Llc | Controlling impedance rise in electrosurgical medical devices |
| US9913680B2 (en) | 2014-04-15 | 2018-03-13 | Ethicon Llc | Software algorithms for electrosurgical instruments |
| US10285724B2 (en) | 2014-07-31 | 2019-05-14 | Ethicon Llc | Actuation mechanisms and load adjustment assemblies for surgical instruments |
| US10639092B2 (en) | 2014-12-08 | 2020-05-05 | Ethicon Llc | Electrode configurations for surgical instruments |
| US10245095B2 (en) | 2015-02-06 | 2019-04-02 | Ethicon Llc | Electrosurgical instrument with rotation and articulation mechanisms |
| US11051873B2 (en) | 2015-06-30 | 2021-07-06 | Cilag Gmbh International | Surgical system with user adaptable techniques employing multiple energy modalities based on tissue parameters |
| US11141213B2 (en) | 2015-06-30 | 2021-10-12 | Cilag Gmbh International | Surgical instrument with user adaptable techniques |
| US10034704B2 (en) | 2015-06-30 | 2018-07-31 | Ethicon Llc | Surgical instrument with user adaptable algorithms |
| US10898256B2 (en) | 2015-06-30 | 2021-01-26 | Ethicon Llc | Surgical system with user adaptable techniques based on tissue impedance |
| US11129669B2 (en) | 2015-06-30 | 2021-09-28 | Cilag Gmbh International | Surgical system with user adaptable techniques based on tissue type |
| US10194973B2 (en) | 2015-09-30 | 2019-02-05 | Ethicon Llc | Generator for digitally generating electrical signal waveforms for electrosurgical and ultrasonic surgical instruments |
| US10595930B2 (en) | 2015-10-16 | 2020-03-24 | Ethicon Llc | Electrode wiping surgical device |
| US11129670B2 (en) | 2016-01-15 | 2021-09-28 | Cilag Gmbh International | Modular battery powered handheld surgical instrument with selective application of energy based on button displacement, intensity, or local tissue characterization |
| US11229471B2 (en) | 2016-01-15 | 2022-01-25 | Cilag Gmbh International | Modular battery powered handheld surgical instrument with selective application of energy based on tissue characterization |
| US11051840B2 (en) | 2016-01-15 | 2021-07-06 | Ethicon Llc | Modular battery powered handheld surgical instrument with reusable asymmetric handle housing |
| US12193698B2 (en) | 2016-01-15 | 2025-01-14 | Cilag Gmbh International | Method for self-diagnosing operation of a control switch in a surgical instrument system |
| US10555769B2 (en) | 2016-02-22 | 2020-02-11 | Ethicon Llc | Flexible circuits for electrosurgical instrument |
| US10646269B2 (en) | 2016-04-29 | 2020-05-12 | Ethicon Llc | Non-linear jaw gap for electrosurgical instruments |
| US10456193B2 (en) | 2016-05-03 | 2019-10-29 | Ethicon Llc | Medical device with a bilateral jaw configuration for nerve stimulation |
| US10376305B2 (en) | 2016-08-05 | 2019-08-13 | Ethicon Llc | Methods and systems for advanced harmonic energy |
| US11266430B2 (en) | 2016-11-29 | 2022-03-08 | Cilag Gmbh International | End effector control and calibration |
| US12262937B2 (en) | 2019-12-30 | 2025-04-01 | Cilag Gmbh International | User interface for surgical instrument with combination energy modality end-effector |
| US12076006B2 (en) | 2019-12-30 | 2024-09-03 | Cilag Gmbh International | Surgical instrument comprising an orientation detection system |
| US12064109B2 (en) | 2019-12-30 | 2024-08-20 | Cilag Gmbh International | Surgical instrument comprising a feedback control circuit |
| US11911063B2 (en) | 2019-12-30 | 2024-02-27 | Cilag Gmbh International | Techniques for detecting ultrasonic blade to electrode contact and reducing power to ultrasonic blade |
| US11937863B2 (en) | 2019-12-30 | 2024-03-26 | Cilag Gmbh International | Deflectable electrode with variable compression bias along the length of the deflectable electrode |
| US11944366B2 (en) | 2019-12-30 | 2024-04-02 | Cilag Gmbh International | Asymmetric segmented ultrasonic support pad for cooperative engagement with a movable RF electrode |
| US20210196362A1 (en) | 2019-12-30 | 2021-07-01 | Ethicon Llc | Electrosurgical end effectors with thermally insulative and thermally conductive portions |
| US11937866B2 (en) | 2019-12-30 | 2024-03-26 | Cilag Gmbh International | Method for an electrosurgical procedure |
| US20210196357A1 (en) | 2019-12-30 | 2021-07-01 | Ethicon Llc | Electrosurgical instrument with asynchronous energizing electrodes |
| US11950797B2 (en) | 2019-12-30 | 2024-04-09 | Cilag Gmbh International | Deflectable electrode with higher distal bias relative to proximal bias |
| US12114912B2 (en) | 2019-12-30 | 2024-10-15 | Cilag Gmbh International | Non-biased deflectable electrode to minimize contact between ultrasonic blade and electrode |
| US12023086B2 (en) | 2019-12-30 | 2024-07-02 | Cilag Gmbh International | Electrosurgical instrument for delivering blended energy modalities to tissue |
| US11660089B2 (en) | 2019-12-30 | 2023-05-30 | Cilag Gmbh International | Surgical instrument comprising a sensing system |
| US11696776B2 (en) | 2019-12-30 | 2023-07-11 | Cilag Gmbh International | Articulatable surgical instrument |
| US11684412B2 (en) | 2019-12-30 | 2023-06-27 | Cilag Gmbh International | Surgical instrument with rotatable and articulatable surgical end effector |
| US12053224B2 (en) | 2019-12-30 | 2024-08-06 | Cilag Gmbh International | Variation in electrode parameters and deflectable electrode to modify energy density and tissue interaction |
| US11812957B2 (en) | 2019-12-30 | 2023-11-14 | Cilag Gmbh International | Surgical instrument comprising a signal interference resolution system |
| US12082808B2 (en) | 2019-12-30 | 2024-09-10 | Cilag Gmbh International | Surgical instrument comprising a control system responsive to software configurations |
| US11786291B2 (en) | 2019-12-30 | 2023-10-17 | Cilag Gmbh International | Deflectable support of RF energy electrode with respect to opposing ultrasonic blade |
| US11986201B2 (en) | 2019-12-30 | 2024-05-21 | Cilag Gmbh International | Method for operating a surgical instrument |
| US12343063B2 (en) | 2019-12-30 | 2025-07-01 | Cilag Gmbh International | Multi-layer clamp arm pad for enhanced versatility and performance of a surgical device |
| US11779387B2 (en) | 2019-12-30 | 2023-10-10 | Cilag Gmbh International | Clamp arm jaw to minimize tissue sticking and improve tissue control |
| US11452525B2 (en) | 2019-12-30 | 2022-09-27 | Cilag Gmbh International | Surgical instrument comprising an adjustment system |
| US12336747B2 (en) | 2019-12-30 | 2025-06-24 | Cilag Gmbh International | Method of operating a combination ultrasonic / bipolar RF surgical device with a combination energy modality end-effector |
| US11779329B2 (en) | 2019-12-30 | 2023-10-10 | Cilag Gmbh International | Surgical instrument comprising a flex circuit including a sensor system |
| US11786294B2 (en) | 2019-12-30 | 2023-10-17 | Cilag Gmbh International | Control program for modular combination energy device |
| Publication number | Priority date | Publication date | Assignee | Title |
|---|---|---|---|---|
| JPS6198249A (en)* | 1984-10-19 | 1986-05-16 | センメド・インコーポレイテツド | Staple closing instrument for surgery |
| JP2006218297A (en)* | 2005-02-07 | 2006-08-24 | Ethicon Endo Surgery Inc | Surgical stapling instrument incorporating multiple stroke firing mechanism with return spring rotating manual retraction system |
| JP2009078155A (en)* | 2004-10-21 | 2009-04-16 | Covidien Ag | Bipolar forceps having monopolar extension part |
| Publication number | Priority date | Publication date | Assignee | Title |
|---|---|---|---|---|
| AU694225B2 (en)* | 1994-08-02 | 1998-07-16 | Ethicon Endo-Surgery, Inc. | Ultrasonic hemostatic and cutting instrument |
| RU2161450C1 (en)* | 1999-07-22 | 2001-01-10 | Каншин Николай Николаевич | Surgical suturing device |
| RU61122U1 (en)* | 2006-07-14 | 2007-02-27 | Нина Васильевна Гайгерова | SURGICAL STAPER |
| Publication number | Priority date | Publication date | Assignee | Title |
|---|---|---|---|---|
| JPS6198249A (en)* | 1984-10-19 | 1986-05-16 | センメド・インコーポレイテツド | Staple closing instrument for surgery |
| JP2009078155A (en)* | 2004-10-21 | 2009-04-16 | Covidien Ag | Bipolar forceps having monopolar extension part |
| JP2006218297A (en)* | 2005-02-07 | 2006-08-24 | Ethicon Endo Surgery Inc | Surgical stapling instrument incorporating multiple stroke firing mechanism with return spring rotating manual retraction system |
| Publication number | Priority date | Publication date | Assignee | Title |
|---|---|---|---|---|
| US11684365B2 (en) | 2004-07-28 | 2023-06-27 | Cilag Gmbh International | Replaceable staple cartridges for surgical instruments |
| US12011165B2 (en) | 2004-07-28 | 2024-06-18 | Cilag Gmbh International | Surgical stapling instrument comprising replaceable staple cartridge |
| US11116502B2 (en) | 2004-07-28 | 2021-09-14 | Cilag Gmbh International | Surgical stapling instrument incorporating a two-piece firing mechanism |
| US11083456B2 (en) | 2004-07-28 | 2021-08-10 | Cilag Gmbh International | Articulating surgical instrument incorporating a two-piece firing mechanism |
| US11135352B2 (en) | 2004-07-28 | 2021-10-05 | Cilag Gmbh International | End effector including a gradually releasable medical adjunct |
| US11963679B2 (en) | 2004-07-28 | 2024-04-23 | Cilag Gmbh International | Articulating surgical stapling instrument incorporating a two-piece E-beam firing mechanism |
| US12029423B2 (en) | 2004-07-28 | 2024-07-09 | Cilag Gmbh International | Surgical stapling instrument comprising a staple cartridge |
| US11896225B2 (en) | 2004-07-28 | 2024-02-13 | Cilag Gmbh International | Staple cartridge comprising a pan |
| US11890012B2 (en) | 2004-07-28 | 2024-02-06 | Cilag Gmbh International | Staple cartridge comprising cartridge body and attached support |
| US11882987B2 (en) | 2004-07-28 | 2024-01-30 | Cilag Gmbh International | Articulating surgical stapling instrument incorporating a two-piece E-beam firing mechanism |
| US11998198B2 (en) | 2004-07-28 | 2024-06-04 | Cilag Gmbh International | Surgical stapling instrument incorporating a two-piece E-beam firing mechanism |
| US11812960B2 (en) | 2004-07-28 | 2023-11-14 | Cilag Gmbh International | Method of segmenting the operation of a surgical stapling instrument |
| US11246590B2 (en) | 2005-08-31 | 2022-02-15 | Cilag Gmbh International | Staple cartridge including staple drivers having different unfired heights |
| US11793512B2 (en) | 2005-08-31 | 2023-10-24 | Cilag Gmbh International | Staple cartridges for forming staples having differing formed staple heights |
| US11484311B2 (en) | 2005-08-31 | 2022-11-01 | Cilag Gmbh International | Staple cartridge comprising a staple driver arrangement |
| US11730474B2 (en) | 2005-08-31 | 2023-08-22 | Cilag Gmbh International | Fastener cartridge assembly comprising a movable cartridge and a staple driver arrangement |
| US11771425B2 (en) | 2005-08-31 | 2023-10-03 | Cilag Gmbh International | Stapling assembly for forming staples to different formed heights |
| US11839375B2 (en) | 2005-08-31 | 2023-12-12 | Cilag Gmbh International | Fastener cartridge assembly comprising an anvil and different staple heights |
| US11090045B2 (en) | 2005-08-31 | 2021-08-17 | Cilag Gmbh International | Staple cartridges for forming staples having differing formed staple heights |
| US11484312B2 (en) | 2005-08-31 | 2022-11-01 | Cilag Gmbh International | Staple cartridge comprising a staple driver arrangement |
| US11576673B2 (en) | 2005-08-31 | 2023-02-14 | Cilag Gmbh International | Stapling assembly for forming staples to different heights |
| US11179153B2 (en) | 2005-08-31 | 2021-11-23 | Cilag Gmbh International | Staple cartridges for forming staples having differing formed staple heights |
| US11134947B2 (en) | 2005-08-31 | 2021-10-05 | Cilag Gmbh International | Fastener cartridge assembly comprising a camming sled with variable cam arrangements |
| US11399828B2 (en) | 2005-08-31 | 2022-08-02 | Cilag Gmbh International | Fastener cartridge assembly comprising a fixed anvil and different staple heights |
| US11172927B2 (en) | 2005-08-31 | 2021-11-16 | Cilag Gmbh International | Staple cartridges for forming staples having differing formed staple heights |
| US11272928B2 (en) | 2005-08-31 | 2022-03-15 | Cilag GmbH Intemational | Staple cartridges for forming staples having differing formed staple heights |
| US11793511B2 (en) | 2005-11-09 | 2023-10-24 | Cilag Gmbh International | Surgical instruments |
| US10993713B2 (en) | 2005-11-09 | 2021-05-04 | Ethicon Llc | Surgical instruments |
| US11278279B2 (en) | 2006-01-31 | 2022-03-22 | Cilag Gmbh International | Surgical instrument assembly |
| US11944299B2 (en) | 2006-01-31 | 2024-04-02 | Cilag Gmbh International | Surgical instrument having force feedback capabilities |
| US11224454B2 (en) | 2006-01-31 | 2022-01-18 | Cilag Gmbh International | Motor-driven surgical cutting and fastening instrument with tactile position feedback |
| US11224427B2 (en) | 2006-01-31 | 2022-01-18 | Cilag Gmbh International | Surgical stapling system including a console and retraction assembly |
| US11350916B2 (en) | 2006-01-31 | 2022-06-07 | Cilag Gmbh International | Endoscopic surgical instrument with a handle that can articulate with respect to the shaft |
| US11364046B2 (en) | 2006-01-31 | 2022-06-21 | Cilag Gmbh International | Motor-driven surgical cutting and fastening instrument with tactile position feedback |
| US11051813B2 (en) | 2006-01-31 | 2021-07-06 | Cilag Gmbh International | Powered surgical instruments with firing system lockout arrangements |
| US11648024B2 (en) | 2006-01-31 | 2023-05-16 | Cilag Gmbh International | Motor-driven surgical cutting and fastening instrument with position feedback |
| US11058420B2 (en) | 2006-01-31 | 2021-07-13 | Cilag Gmbh International | Surgical stapling apparatus comprising a lockout system |
| US12161329B2 (en) | 2006-01-31 | 2024-12-10 | Cilag Gmbh International | Surgical systems comprising a control circuit including a timer |
| US11883020B2 (en) | 2006-01-31 | 2024-01-30 | Cilag Gmbh International | Surgical instrument having a feedback system |
| US10952728B2 (en) | 2006-01-31 | 2021-03-23 | Ethicon Llc | Powered surgical instruments with firing system lockout arrangements |
| US11890008B2 (en) | 2006-01-31 | 2024-02-06 | Cilag Gmbh International | Surgical instrument with firing lockout |
| US11890029B2 (en) | 2006-01-31 | 2024-02-06 | Cilag Gmbh International | Motor-driven surgical cutting and fastening instrument |
| US11000275B2 (en) | 2006-01-31 | 2021-05-11 | Ethicon Llc | Surgical instrument |
| US11648008B2 (en) | 2006-01-31 | 2023-05-16 | Cilag Gmbh International | Surgical instrument having force feedback capabilities |
| US11103269B2 (en) | 2006-01-31 | 2021-08-31 | Cilag Gmbh International | Motor-driven surgical cutting and fastening instrument with tactile position feedback |
| US11166717B2 (en) | 2006-01-31 | 2021-11-09 | Cilag Gmbh International | Surgical instrument with firing lockout |
| US11612393B2 (en) | 2006-01-31 | 2023-03-28 | Cilag Gmbh International | Robotically-controlled end effector |
| US11246616B2 (en) | 2006-01-31 | 2022-02-15 | Cilag Gmbh International | Motor-driven surgical cutting and fastening instrument with tactile position feedback |
| US11660110B2 (en) | 2006-01-31 | 2023-05-30 | Cilag Gmbh International | Motor-driven surgical cutting and fastening instrument with tactile position feedback |
| US11801051B2 (en) | 2006-01-31 | 2023-10-31 | Cilag Gmbh International | Accessing data stored in a memory of a surgical instrument |
| US11793518B2 (en) | 2006-01-31 | 2023-10-24 | Cilag Gmbh International | Powered surgical instruments with firing system lockout arrangements |
| US12433584B2 (en) | 2006-01-31 | 2025-10-07 | Cilag Gmbh International | Robotically-controlled end effector |
| US12171508B2 (en) | 2006-03-23 | 2024-12-24 | Cilag Gmbh International | Robotically-controlled surgical instrument with selectively articulatable end effector |
| US11272938B2 (en) | 2006-06-27 | 2022-03-15 | Cilag Gmbh International | Surgical instrument including dedicated firing and retraction assemblies |
| US11571231B2 (en) | 2006-09-29 | 2023-02-07 | Cilag Gmbh International | Staple cartridge having a driver for driving multiple staples |
| US11622785B2 (en) | 2006-09-29 | 2023-04-11 | Cilag Gmbh International | Surgical staples having attached drivers and stapling instruments for deploying the same |
| US11877748B2 (en) | 2006-10-03 | 2024-01-23 | Cilag Gmbh International | Robotically-driven surgical instrument with E-beam driver |
| US11980366B2 (en) | 2006-10-03 | 2024-05-14 | Cilag Gmbh International | Surgical instrument |
| US12178434B2 (en) | 2006-10-03 | 2024-12-31 | Cilag Gmbh International | Surgical stapling system including control circuit to monitor clamping pressure |
| US11382626B2 (en) | 2006-10-03 | 2022-07-12 | Cilag Gmbh International | Surgical system including a knife bar supported for rotational and axial travel |
| US11134943B2 (en) | 2007-01-10 | 2021-10-05 | Cilag Gmbh International | Powered surgical instrument including a control unit and sensor |
| US11666332B2 (en) | 2007-01-10 | 2023-06-06 | Cilag Gmbh International | Surgical instrument comprising a control circuit configured to adjust the operation of a motor |
| US11166720B2 (en) | 2007-01-10 | 2021-11-09 | Cilag Gmbh International | Surgical instrument including a control module for assessing an end effector |
| US11812961B2 (en) | 2007-01-10 | 2023-11-14 | Cilag Gmbh International | Surgical instrument including a motor control system |
| US11931032B2 (en) | 2007-01-10 | 2024-03-19 | Cilag Gmbh International | Surgical instrument with wireless communication between a control unit of a robotic system and remote sensor |
| US12004743B2 (en) | 2007-01-10 | 2024-06-11 | Cilag Gmbh International | Staple cartridge comprising a sloped wall |
| US11350929B2 (en) | 2007-01-10 | 2022-06-07 | Cilag Gmbh International | Surgical instrument with wireless communication between control unit and sensor transponders |
| US12082806B2 (en) | 2007-01-10 | 2024-09-10 | Cilag Gmbh International | Surgical instrument with wireless communication between control unit and sensor transponders |
| US11771426B2 (en) | 2007-01-10 | 2023-10-03 | Cilag Gmbh International | Surgical instrument with wireless communication |
| US11849947B2 (en) | 2007-01-10 | 2023-12-26 | Cilag Gmbh International | Surgical system including a control circuit and a passively-powered transponder |
| US11937814B2 (en) | 2007-01-10 | 2024-03-26 | Cilag Gmbh International | Surgical instrument for use with a robotic system |
| US11918211B2 (en) | 2007-01-10 | 2024-03-05 | Cilag Gmbh International | Surgical stapling instrument for use with a robotic system |
| US11844521B2 (en) | 2007-01-10 | 2023-12-19 | Cilag Gmbh International | Surgical instrument for use with a robotic system |
| US10952727B2 (en) | 2007-01-10 | 2021-03-23 | Ethicon Llc | Surgical instrument for assessing the state of a staple cartridge |
| US11000277B2 (en) | 2007-01-10 | 2021-05-11 | Ethicon Llc | Surgical instrument with wireless communication between control unit and remote sensor |
| US11291441B2 (en) | 2007-01-10 | 2022-04-05 | Cilag Gmbh International | Surgical instrument with wireless communication between control unit and remote sensor |
| US11039836B2 (en) | 2007-01-11 | 2021-06-22 | Cilag Gmbh International | Staple cartridge for use with a surgical stapling instrument |
| US11839352B2 (en) | 2007-01-11 | 2023-12-12 | Cilag Gmbh International | Surgical stapling device with an end effector |
| US11337693B2 (en) | 2007-03-15 | 2022-05-24 | Cilag Gmbh International | Surgical stapling instrument having a releasable buttress material |
| US11564682B2 (en) | 2007-06-04 | 2023-01-31 | Cilag Gmbh International | Surgical stapler device |
| US11559302B2 (en) | 2007-06-04 | 2023-01-24 | Cilag Gmbh International | Surgical instrument including a firing member movable at different speeds |
| US12035906B2 (en) | 2007-06-04 | 2024-07-16 | Cilag Gmbh International | Surgical instrument including a handle system for advancing a cutting member |
| US11648006B2 (en) | 2007-06-04 | 2023-05-16 | Cilag Gmbh International | Robotically-controlled shaft based rotary drive systems for surgical instruments |
| US11154298B2 (en) | 2007-06-04 | 2021-10-26 | Cilag Gmbh International | Stapling system for use with a robotic surgical system |
| US11911028B2 (en) | 2007-06-04 | 2024-02-27 | Cilag Gmbh International | Surgical instruments for use with a robotic surgical system |
| US12023024B2 (en) | 2007-06-04 | 2024-07-02 | Cilag Gmbh International | Robotically-controlled shaft based rotary drive systems for surgical instruments |
| US11992208B2 (en) | 2007-06-04 | 2024-05-28 | Cilag Gmbh International | Rotary drive systems for surgical instruments |
| US11147549B2 (en) | 2007-06-04 | 2021-10-19 | Cilag Gmbh International | Stapling instrument including a firing system and a closure system |
| US11134938B2 (en) | 2007-06-04 | 2021-10-05 | Cilag Gmbh International | Robotically-controlled shaft based rotary drive systems for surgical instruments |
| US11672531B2 (en) | 2007-06-04 | 2023-06-13 | Cilag Gmbh International | Rotary drive systems for surgical instruments |
| US11857181B2 (en) | 2007-06-04 | 2024-01-02 | Cilag Gmbh International | Robotically-controlled shaft based rotary drive systems for surgical instruments |
| US11013511B2 (en) | 2007-06-22 | 2021-05-25 | Ethicon Llc | Surgical stapling instrument with an articulatable end effector |
| US11998200B2 (en) | 2007-06-22 | 2024-06-04 | Cilag Gmbh International | Surgical stapling instrument with an articulatable end effector |
| US11925346B2 (en) | 2007-06-29 | 2024-03-12 | Cilag Gmbh International | Surgical staple cartridge including tissue supporting surfaces |
| US11849941B2 (en) | 2007-06-29 | 2023-12-26 | Cilag Gmbh International | Staple cartridge having staple cavities extending at a transverse angle relative to a longitudinal cartridge axis |
| US12023025B2 (en) | 2007-06-29 | 2024-07-02 | Cilag Gmbh International | Surgical stapling instrument having a releasable buttress material |
| US11638583B2 (en) | 2008-02-14 | 2023-05-02 | Cilag Gmbh International | Motorized surgical system having a plurality of power sources |
| US10925605B2 (en) | 2008-02-14 | 2021-02-23 | Ethicon Llc | Surgical stapling system |
| US12213671B2 (en) | 2008-02-14 | 2025-02-04 | Cilag Gmbh International | Motorized system having a plurality of power sources |
| US11571212B2 (en) | 2008-02-14 | 2023-02-07 | Cilag Gmbh International | Surgical stapling system including an impedance sensor |
| US11484307B2 (en) | 2008-02-14 | 2022-11-01 | Cilag Gmbh International | Loading unit coupleable to a surgical stapling system |
| US11998206B2 (en) | 2008-02-14 | 2024-06-04 | Cilag Gmbh International | Detachable motor powered surgical instrument |
| US11801047B2 (en) | 2008-02-14 | 2023-10-31 | Cilag Gmbh International | Surgical stapling system comprising a control circuit configured to selectively monitor tissue impedance and adjust control of a motor |
| US11446034B2 (en) | 2008-02-14 | 2022-09-20 | Cilag Gmbh International | Surgical stapling assembly comprising first and second actuation systems configured to perform different functions |
| US11986183B2 (en) | 2008-02-14 | 2024-05-21 | Cilag Gmbh International | Surgical cutting and fastening instrument comprising a plurality of sensors to measure an electrical parameter |
| US11464514B2 (en) | 2008-02-14 | 2022-10-11 | Cilag Gmbh International | Motorized surgical stapling system including a sensing array |
| US11612395B2 (en) | 2008-02-14 | 2023-03-28 | Cilag Gmbh International | Surgical system including a control system having an RFID tag reader |
| US11717285B2 (en) | 2008-02-14 | 2023-08-08 | Cilag Gmbh International | Surgical cutting and fastening instrument having RF electrodes |
| US11154297B2 (en) | 2008-02-15 | 2021-10-26 | Cilag Gmbh International | Layer arrangements for surgical staple cartridges |
| US11998194B2 (en) | 2008-02-15 | 2024-06-04 | Cilag Gmbh International | Surgical stapling assembly comprising an adjunct applicator |
| US11617576B2 (en) | 2008-09-23 | 2023-04-04 | Cilag Gmbh International | Motor-driven surgical cutting instrument |
| US11406380B2 (en) | 2008-09-23 | 2022-08-09 | Cilag Gmbh International | Motorized surgical instrument |
| US11648005B2 (en) | 2008-09-23 | 2023-05-16 | Cilag Gmbh International | Robotically-controlled motorized surgical instrument with an end effector |
| US11103241B2 (en) | 2008-09-23 | 2021-08-31 | Cilag Gmbh International | Motor-driven surgical cutting instrument |
| US11812954B2 (en) | 2008-09-23 | 2023-11-14 | Cilag Gmbh International | Robotically-controlled motorized surgical instrument with an end effector |
| US11684361B2 (en) | 2008-09-23 | 2023-06-27 | Cilag Gmbh International | Motor-driven surgical cutting instrument |
| US11517304B2 (en) | 2008-09-23 | 2022-12-06 | Cilag Gmbh International | Motor-driven surgical cutting instrument |
| US11871923B2 (en) | 2008-09-23 | 2024-01-16 | Cilag Gmbh International | Motorized surgical instrument |
| US11045189B2 (en) | 2008-09-23 | 2021-06-29 | Cilag Gmbh International | Robotically-controlled motorized surgical instrument with an end effector |
| US12029415B2 (en) | 2008-09-23 | 2024-07-09 | Cilag Gmbh International | Motor-driven surgical cutting instrument |
| US11617575B2 (en) | 2008-09-23 | 2023-04-04 | Cilag Gmbh International | Motor-driven surgical cutting instrument |
| US11730477B2 (en) | 2008-10-10 | 2023-08-22 | Cilag Gmbh International | Powered surgical system with manually retractable firing system |
| US11793521B2 (en) | 2008-10-10 | 2023-10-24 | Cilag Gmbh International | Powered surgical cutting and stapling apparatus with manually retractable firing system |
| US11583279B2 (en) | 2008-10-10 | 2023-02-21 | Cilag Gmbh International | Powered surgical cutting and stapling apparatus with manually retractable firing system |
| US10932778B2 (en) | 2008-10-10 | 2021-03-02 | Ethicon Llc | Powered surgical cutting and stapling apparatus with manually retractable firing system |
| US11129615B2 (en) | 2009-02-05 | 2021-09-28 | Cilag Gmbh International | Surgical stapling system |
| US11291449B2 (en) | 2009-12-24 | 2022-04-05 | Cilag Gmbh International | Surgical cutting instrument that analyzes tissue thickness |
| US12207835B2 (en) | 2009-12-24 | 2025-01-28 | Cilag Gmbh International | Motor-driven surgical cutting instrument with electric actuator directional control assembly |
| US11478247B2 (en) | 2010-07-30 | 2022-10-25 | Cilag Gmbh International | Tissue acquisition arrangements and methods for surgical stapling devices |
| US10987102B2 (en) | 2010-09-30 | 2021-04-27 | Ethicon Llc | Tissue thickness compensator comprising a plurality of layers |
| US12213666B2 (en) | 2010-09-30 | 2025-02-04 | Cilag Gmbh International | Tissue thickness compensator comprising layers |
| US11672536B2 (en) | 2010-09-30 | 2023-06-13 | Cilag Gmbh International | Layer of material for a surgical end effector |
| US11298125B2 (en) | 2010-09-30 | 2022-04-12 | Cilag Gmbh International | Tissue stapler having a thickness compensator |
| US11911027B2 (en) | 2010-09-30 | 2024-02-27 | Cilag Gmbh International | Adhesive film laminate |
| US11883025B2 (en) | 2010-09-30 | 2024-01-30 | Cilag Gmbh International | Tissue thickness compensator comprising a plurality of layers |
| US12178432B2 (en) | 2010-09-30 | 2024-12-31 | Cilag Gmbh International | Tissue thickness compensator comprising laterally offset layers |
| US11571215B2 (en) | 2010-09-30 | 2023-02-07 | Cilag Gmbh International | Layer of material for a surgical end effector |
| US11812965B2 (en) | 2010-09-30 | 2023-11-14 | Cilag Gmbh International | Layer of material for a surgical end effector |
| US11850310B2 (en) | 2010-09-30 | 2023-12-26 | Cilag Gmbh International | Staple cartridge including an adjunct |
| US11684360B2 (en) | 2010-09-30 | 2023-06-27 | Cilag Gmbh International | Staple cartridge comprising a variable thickness compressible portion |
| US11925354B2 (en) | 2010-09-30 | 2024-03-12 | Cilag Gmbh International | Staple cartridge comprising staples positioned within a compressible portion thereof |
| US11849952B2 (en) | 2010-09-30 | 2023-12-26 | Cilag Gmbh International | Staple cartridge comprising staples positioned within a compressible portion thereof |
| US11602340B2 (en) | 2010-09-30 | 2023-03-14 | Cilag Gmbh International | Adhesive film laminate |
| US11154296B2 (en) | 2010-09-30 | 2021-10-26 | Cilag Gmbh International | Anvil layer attached to a proximal end of an end effector |
| US11944292B2 (en) | 2010-09-30 | 2024-04-02 | Cilag Gmbh International | Anvil layer attached to a proximal end of an end effector |
| US10945731B2 (en) | 2010-09-30 | 2021-03-16 | Ethicon Llc | Tissue thickness compensator comprising controlled release and expansion |
| US11957795B2 (en) | 2010-09-30 | 2024-04-16 | Cilag Gmbh International | Tissue thickness compensator configured to redistribute compressive forces |
| US11583277B2 (en) | 2010-09-30 | 2023-02-21 | Cilag Gmbh International | Layer of material for a surgical end effector |
| US11395651B2 (en) | 2010-09-30 | 2022-07-26 | Cilag Gmbh International | Adhesive film laminate |
| US11737754B2 (en) | 2010-09-30 | 2023-08-29 | Cilag Gmbh International | Surgical stapler with floating anvil |
| US11857187B2 (en) | 2010-09-30 | 2024-01-02 | Cilag Gmbh International | Tissue thickness compensator comprising controlled release and expansion |
| US11559496B2 (en) | 2010-09-30 | 2023-01-24 | Cilag Gmbh International | Tissue thickness compensator configured to redistribute compressive forces |
| US11406377B2 (en) | 2010-09-30 | 2022-08-09 | Cilag Gmbh International | Adhesive film laminate |
| US11083452B2 (en) | 2010-09-30 | 2021-08-10 | Cilag Gmbh International | Staple cartridge including a tissue thickness compensator |
| US11529142B2 (en) | 2010-10-01 | 2022-12-20 | Cilag Gmbh International | Surgical instrument having a power control circuit |
| US11504116B2 (en) | 2011-04-29 | 2022-11-22 | Cilag Gmbh International | Layer of material for a surgical end effector |
| US11974747B2 (en) | 2011-05-27 | 2024-05-07 | Cilag Gmbh International | Surgical stapling instruments with rotatable staple deployment arrangements |
| US11439470B2 (en) | 2011-05-27 | 2022-09-13 | Cilag Gmbh International | Robotically-controlled surgical instrument with selectively articulatable end effector |
| US12290261B2 (en) | 2011-05-27 | 2025-05-06 | Cilag Gmbh International | Robotically-driven surgical instrument with E-beam driver |
| US11207064B2 (en) | 2011-05-27 | 2021-12-28 | Cilag Gmbh International | Automated end effector component reloading system for use with a robotic system |
| US11583278B2 (en) | 2011-05-27 | 2023-02-21 | Cilag Gmbh International | Surgical stapling system having multi-direction articulation |
| US12256930B2 (en) | 2011-05-27 | 2025-03-25 | Cilag Gmbh International | Robotically-driven surgical instrument with E-beam driver |
| US11129616B2 (en) | 2011-05-27 | 2021-09-28 | Cilag Gmbh International | Surgical stapling system |
| US11918208B2 (en) | 2011-05-27 | 2024-03-05 | Cilag Gmbh International | Robotically-controlled shaft based rotary drive systems for surgical instruments |
| US12059154B2 (en) | 2011-05-27 | 2024-08-13 | Cilag Gmbh International | Surgical instrument with detachable motor control unit |
| US12239316B2 (en) | 2011-05-27 | 2025-03-04 | Cilag Gmbh International | Automated end effector component reloading system for use with a robotic system |
| US11266410B2 (en) | 2011-05-27 | 2022-03-08 | Cilag Gmbh International | Surgical device for use with a robotic system |
| US10980534B2 (en) | 2011-05-27 | 2021-04-20 | Ethicon Llc | Robotically-controlled motorized surgical instrument with an end effector |
| US11612394B2 (en) | 2011-05-27 | 2023-03-28 | Cilag Gmbh International | Automated end effector component reloading system for use with a robotic system |
| US11918220B2 (en) | 2012-03-28 | 2024-03-05 | Cilag Gmbh International | Tissue thickness compensator comprising tissue ingrowth features |
| US12121234B2 (en) | 2012-03-28 | 2024-10-22 | Cilag Gmbh International | Staple cartridge assembly comprising a compensator |
| US11793509B2 (en) | 2012-03-28 | 2023-10-24 | Cilag Gmbh International | Staple cartridge including an implantable layer |
| US11406378B2 (en) | 2012-03-28 | 2022-08-09 | Cilag Gmbh International | Staple cartridge comprising a compressible tissue thickness compensator |
| US10959725B2 (en) | 2012-06-15 | 2021-03-30 | Ethicon Llc | Articulatable surgical instrument comprising a firing drive |
| US11707273B2 (en) | 2012-06-15 | 2023-07-25 | Cilag Gmbh International | Articulatable surgical instrument comprising a firing drive |
| US11278284B2 (en) | 2012-06-28 | 2022-03-22 | Cilag Gmbh International | Rotary drive arrangements for surgical instruments |
| US12383267B2 (en) | 2012-06-28 | 2025-08-12 | Cilag Gmbh International | Robotically powered surgical device with manually-actuatable reversing system |
| US12369911B2 (en) | 2012-06-28 | 2025-07-29 | Cilag Gmbh International | Firing system lockout arrangements for surgical instruments |
| US11109860B2 (en) | 2012-06-28 | 2021-09-07 | Cilag Gmbh International | Surgical end effectors for use with hand-held and robotically-controlled rotary powered surgical systems |
| US11083457B2 (en) | 2012-06-28 | 2021-08-10 | Cilag Gmbh International | Surgical instrument system including replaceable end effectors |
| US11510671B2 (en) | 2012-06-28 | 2022-11-29 | Cilag Gmbh International | Firing system lockout arrangements for surgical instruments |
| US11779420B2 (en) | 2012-06-28 | 2023-10-10 | Cilag Gmbh International | Robotic surgical attachments having manually-actuated retraction assemblies |
| US11464513B2 (en) | 2012-06-28 | 2022-10-11 | Cilag Gmbh International | Surgical instrument system including replaceable end effectors |
| US11202631B2 (en) | 2012-06-28 | 2021-12-21 | Cilag Gmbh International | Stapling assembly comprising a firing lockout |
| US11622766B2 (en) | 2012-06-28 | 2023-04-11 | Cilag Gmbh International | Empty clip cartridge lockout |
| US11058423B2 (en) | 2012-06-28 | 2021-07-13 | Cilag Gmbh International | Stapling system including first and second closure systems for use with a surgical robot |
| US11534162B2 (en) | 2012-06-28 | 2022-12-27 | Cilag GmbH Inlernational | Robotically powered surgical device with manually-actuatable reversing system |
| US11540829B2 (en) | 2012-06-28 | 2023-01-03 | Cilag Gmbh International | Surgical instrument system including replaceable end effectors |
| US11141156B2 (en) | 2012-06-28 | 2021-10-12 | Cilag Gmbh International | Surgical stapling assembly comprising flexible output shaft |
| US11141155B2 (en) | 2012-06-28 | 2021-10-12 | Cilag Gmbh International | Drive system for surgical tool |
| US11806013B2 (en) | 2012-06-28 | 2023-11-07 | Cilag Gmbh International | Firing system arrangements for surgical instruments |
| US12343013B2 (en) | 2012-06-28 | 2025-07-01 | Cilag Gmbh International | Interconnected joint segments forming drive tube for stapling assembly |
| US11918213B2 (en) | 2012-06-28 | 2024-03-05 | Cilag Gmbh International | Surgical stapler including couplers for attaching a shaft to an end effector |
| US11602346B2 (en) | 2012-06-28 | 2023-03-14 | Cilag Gmbh International | Robotically powered surgical device with manually-actuatable reversing system |
| US11154299B2 (en) | 2012-06-28 | 2021-10-26 | Cilag Gmbh International | Stapling assembly comprising a firing lockout |
| US11241230B2 (en) | 2012-06-28 | 2022-02-08 | Cilag Gmbh International | Clip applier tool for use with a robotic surgical system |
| US11857189B2 (en) | 2012-06-28 | 2024-01-02 | Cilag Gmbh International | Surgical instrument including first and second articulation joints |
| US11197671B2 (en) | 2012-06-28 | 2021-12-14 | Cilag Gmbh International | Stapling assembly comprising a lockout |
| US11039837B2 (en) | 2012-06-28 | 2021-06-22 | Cilag Gmbh International | Firing system lockout arrangements for surgical instruments |
| US11373755B2 (en) | 2012-08-23 | 2022-06-28 | Cilag Gmbh International | Surgical device drive system including a ratchet mechanism |
| US11246618B2 (en) | 2013-03-01 | 2022-02-15 | Cilag Gmbh International | Surgical instrument soft stop |
| US11957345B2 (en) | 2013-03-01 | 2024-04-16 | Cilag Gmbh International | Articulatable surgical instruments with conductive pathways for signal communication |
| US11529138B2 (en) | 2013-03-01 | 2022-12-20 | Cilag Gmbh International | Powered surgical instrument including a rotary drive screw |
| US12433627B2 (en) | 2013-03-01 | 2025-10-07 | Cilag Gmbh International | Surgical instrument soft stop |
| US11266406B2 (en) | 2013-03-14 | 2022-03-08 | Cilag Gmbh International | Control systems for surgical instruments |
| US11992214B2 (en) | 2013-03-14 | 2024-05-28 | Cilag Gmbh International | Control systems for surgical instruments |
| US11622763B2 (en) | 2013-04-16 | 2023-04-11 | Cilag Gmbh International | Stapling assembly comprising a shiftable drive |
| US11690615B2 (en) | 2013-04-16 | 2023-07-04 | Cilag Gmbh International | Surgical system including an electric motor and a surgical instrument |
| US11638581B2 (en) | 2013-04-16 | 2023-05-02 | Cilag Gmbh International | Powered surgical stapler |
| US12161320B2 (en) | 2013-04-16 | 2024-12-10 | Cilag Gmbh International | Powered surgical stapler |
| US12178429B2 (en) | 2013-04-16 | 2024-12-31 | Cilag Gmbh International | Surgical instruments having modular end effector selectively coupleable to housing assembly |
| US11395652B2 (en) | 2013-04-16 | 2022-07-26 | Cilag Gmbh International | Powered surgical stapler |
| US11406381B2 (en) | 2013-04-16 | 2022-08-09 | Cilag Gmbh International | Powered surgical stapler |
| US11633183B2 (en) | 2013-04-16 | 2023-04-25 | Cilag International GmbH | Stapling assembly comprising a retraction drive |
| US11564679B2 (en) | 2013-04-16 | 2023-01-31 | Cilag Gmbh International | Powered surgical stapler |
| US11389160B2 (en) | 2013-08-23 | 2022-07-19 | Cilag Gmbh International | Surgical system comprising a display |
| US11109858B2 (en) | 2013-08-23 | 2021-09-07 | Cilag Gmbh International | Surgical instrument including a display which displays the position of a firing element |
| US11918209B2 (en) | 2013-08-23 | 2024-03-05 | Cilag Gmbh International | Torque optimization for surgical instruments |
| US11376001B2 (en) | 2013-08-23 | 2022-07-05 | Cilag Gmbh International | Surgical stapling device with rotary multi-turn retraction mechanism |
| US12053176B2 (en) | 2013-08-23 | 2024-08-06 | Cilag Gmbh International | End effector detention systems for surgical instruments |
| US11134940B2 (en) | 2013-08-23 | 2021-10-05 | Cilag Gmbh International | Surgical instrument including a variable speed firing member |
| US11000274B2 (en) | 2013-08-23 | 2021-05-11 | Ethicon Llc | Powered surgical instrument |
| US11133106B2 (en) | 2013-08-23 | 2021-09-28 | Cilag Gmbh International | Surgical instrument assembly comprising a retraction assembly |
| US11504119B2 (en) | 2013-08-23 | 2022-11-22 | Cilag Gmbh International | Surgical instrument including an electronic firing lockout |
| US11701110B2 (en) | 2013-08-23 | 2023-07-18 | Cilag Gmbh International | Surgical instrument including a drive assembly movable in a non-motorized mode of operation |
| US11020115B2 (en) | 2014-02-12 | 2021-06-01 | Cilag Gmbh International | Deliverable surgical instrument |
| US12023023B2 (en) | 2014-03-26 | 2024-07-02 | Cilag Gmbh International | Interface systems for use with surgical instruments |
| US11259799B2 (en) | 2014-03-26 | 2022-03-01 | Cilag Gmbh International | Interface systems for use with surgical instruments |
| US12023022B2 (en) | 2014-03-26 | 2024-07-02 | Cilag Gmbh International | Systems and methods for controlling a segmented circuit |
| US11497488B2 (en) | 2014-03-26 | 2022-11-15 | Cilag Gmbh International | Systems and methods for controlling a segmented circuit |
| US12232723B2 (en) | 2014-03-26 | 2025-02-25 | Cilag Gmbh International | Systems and methods for controlling a segmented circuit |
| US12285166B2 (en) | 2014-03-26 | 2025-04-29 | Cilag Gmbh International | Feedback algorithms for manual bailout systems for surgical instruments |
| US11298134B2 (en) | 2014-04-16 | 2022-04-12 | Cilag Gmbh International | Fastener cartridge comprising non-uniform fasteners |
| US12089849B2 (en) | 2014-04-16 | 2024-09-17 | Cilag Gmbh International | Staple cartridges including a projection |
| US11974746B2 (en) | 2014-04-16 | 2024-05-07 | Cilag Gmbh International | Anvil for use with a surgical stapling assembly |
| US11963678B2 (en) | 2014-04-16 | 2024-04-23 | Cilag Gmbh International | Fastener cartridges including extensions having different configurations |
| US11717294B2 (en) | 2014-04-16 | 2023-08-08 | Cilag Gmbh International | End effector arrangements comprising indicators |
| US11596406B2 (en) | 2014-04-16 | 2023-03-07 | Cilag Gmbh International | Fastener cartridges including extensions having different configurations |
| US11944307B2 (en) | 2014-04-16 | 2024-04-02 | Cilag Gmbh International | Surgical stapling system including jaw windows |
| US11382627B2 (en) | 2014-04-16 | 2022-07-12 | Cilag Gmbh International | Surgical stapling assembly comprising a firing member including a lateral extension |
| US12324585B2 (en) | 2014-04-16 | 2025-06-10 | Cilag Gmbh International | Fastener cartridges including extensions having different configurations |
| US12285171B2 (en) | 2014-04-16 | 2025-04-29 | Cilag Gmbh International | Fastener cartridges including extensions having different configurations |
| US11382625B2 (en) | 2014-04-16 | 2022-07-12 | Cilag Gmbh International | Fastener cartridge comprising non-uniform fasteners |
| US12274445B2 (en) | 2014-04-16 | 2025-04-15 | Cilag Gmbh International | Fastener cartridges including extensions having different configurations |
| US12256931B2 (en) | 2014-04-16 | 2025-03-25 | Cilag Gmbh International | Fastener cartridges including extensions having different configurations |
| US11925353B2 (en) | 2014-04-16 | 2024-03-12 | Cilag Gmbh International | Surgical stapling instrument comprising internal passage between stapling cartridge and elongate channel |
| US11266409B2 (en) | 2014-04-16 | 2022-03-08 | Cilag Gmbh International | Fastener cartridge comprising a sled including longitudinally-staggered ramps |
| US11918222B2 (en) | 2014-04-16 | 2024-03-05 | Cilag Gmbh International | Stapling assembly having firing member viewing windows |
| US11883026B2 (en) | 2014-04-16 | 2024-01-30 | Cilag Gmbh International | Fastener cartridge assemblies and staple retainer cover arrangements |
| US11717297B2 (en) | 2014-09-05 | 2023-08-08 | Cilag Gmbh International | Smart cartridge wake up operation and data retention |
| US11653918B2 (en) | 2014-09-05 | 2023-05-23 | Cilag Gmbh International | Local display of tissue parameter stabilization |
| US12414768B2 (en) | 2014-09-05 | 2025-09-16 | Cilag Gmbh International | Staple cartridge electrical contacts |
| US11076854B2 (en) | 2014-09-05 | 2021-08-03 | Cilag Gmbh International | Smart cartridge wake up operation and data retention |
| US11406386B2 (en) | 2014-09-05 | 2022-08-09 | Cilag Gmbh International | End effector including magnetic and impedance sensors |
| US10905423B2 (en) | 2014-09-05 | 2021-02-02 | Ethicon Llc | Smart cartridge wake up operation and data retention |
| US12042147B2 (en) | 2014-09-05 | 2024-07-23 | Cllag GmbH International | Smart cartridge wake up operation and data retention |
| US11071545B2 (en) | 2014-09-05 | 2021-07-27 | Cilag Gmbh International | Smart cartridge wake up operation and data retention |
| US12336709B2 (en) | 2014-09-05 | 2025-06-24 | Cilag Gmbh International | Smart cartridge wake up operation and data retention |
| US11389162B2 (en) | 2014-09-05 | 2022-07-19 | Cilag Gmbh International | Smart cartridge wake up operation and data retention |
| US11311294B2 (en) | 2014-09-05 | 2022-04-26 | Cilag Gmbh International | Powered medical device including measurement of closure state of jaws |
| US12076017B2 (en) | 2014-09-18 | 2024-09-03 | Cilag Gmbh International | Surgical instrument including a deployable knife |
| US11284898B2 (en) | 2014-09-18 | 2022-03-29 | Cilag Gmbh International | Surgical instrument including a deployable knife |
| US12016564B2 (en) | 2014-09-26 | 2024-06-25 | Cilag Gmbh International | Circular fastener cartridges for applying radially expandable fastener lines |
| US11523821B2 (en) | 2014-09-26 | 2022-12-13 | Cilag Gmbh International | Method for creating a flexible staple line |
| US11202633B2 (en) | 2014-09-26 | 2021-12-21 | Cilag Gmbh International | Surgical stapling buttresses and adjunct materials |
| US12383259B2 (en) | 2014-09-26 | 2025-08-12 | Cilag Gmbh International | Method for creating a flexible staple line |
| US11918210B2 (en) | 2014-10-16 | 2024-03-05 | Cilag Gmbh International | Staple cartridge comprising a cartridge body including a plurality of wells |
| US11185325B2 (en) | 2014-10-16 | 2021-11-30 | Cilag Gmbh International | End effector including different tissue gaps |
| US11931031B2 (en) | 2014-10-16 | 2024-03-19 | Cilag Gmbh International | Staple cartridge comprising a deck including an upper surface and a lower surface |
| US11701114B2 (en) | 2014-10-16 | 2023-07-18 | Cilag Gmbh International | Staple cartridge |
| US12004741B2 (en) | 2014-10-16 | 2024-06-11 | Cilag Gmbh International | Staple cartridge comprising a tissue thickness compensator |
| US11931038B2 (en) | 2014-10-29 | 2024-03-19 | Cilag Gmbh International | Cartridge assemblies for surgical staplers |
| US11864760B2 (en) | 2014-10-29 | 2024-01-09 | Cilag Gmbh International | Staple cartridges comprising driver arrangements |
| US11457918B2 (en) | 2014-10-29 | 2022-10-04 | Cilag Gmbh International | Cartridge assemblies for surgical staplers |
| US11141153B2 (en) | 2014-10-29 | 2021-10-12 | Cilag Gmbh International | Staple cartridges comprising driver arrangements |
| US11241229B2 (en) | 2014-10-29 | 2022-02-08 | Cilag Gmbh International | Staple cartridges comprising driver arrangements |
| US11337698B2 (en) | 2014-11-06 | 2022-05-24 | Cilag Gmbh International | Staple cartridge comprising a releasable adjunct material |
| US11382628B2 (en) | 2014-12-10 | 2022-07-12 | Cilag Gmbh International | Articulatable surgical instrument system |
| US12114859B2 (en) | 2014-12-10 | 2024-10-15 | Cilag Gmbh International | Articulatable surgical instrument system |
| US11547403B2 (en) | 2014-12-18 | 2023-01-10 | Cilag Gmbh International | Surgical instrument having a laminate firing actuator and lateral buckling supports |
| US11517311B2 (en) | 2014-12-18 | 2022-12-06 | Cilag Gmbh International | Surgical instrument systems comprising an articulatable end effector and means for adjusting the firing stroke of a firing member |
| US11571207B2 (en) | 2014-12-18 | 2023-02-07 | Cilag Gmbh International | Surgical system including lateral supports for a flexible drive member |
| US11812958B2 (en) | 2014-12-18 | 2023-11-14 | Cilag Gmbh International | Locking arrangements for detachable shaft assemblies with articulatable surgical end effectors |
| US11083453B2 (en) | 2014-12-18 | 2021-08-10 | Cilag Gmbh International | Surgical stapling system including a flexible firing actuator and lateral buckling supports |
| US11678877B2 (en) | 2014-12-18 | 2023-06-20 | Cilag Gmbh International | Surgical instrument including a flexible support configured to support a flexible firing member |
| US11547404B2 (en) | 2014-12-18 | 2023-01-10 | Cilag Gmbh International | Surgical instrument assembly comprising a flexible articulation system |
| US12108950B2 (en) | 2014-12-18 | 2024-10-08 | Cilag Gmbh International | Surgical instrument assembly comprising a flexible articulation system |
| US11553911B2 (en) | 2014-12-18 | 2023-01-17 | Cilag Gmbh International | Surgical instrument assembly comprising a flexible articulation system |
| US11399831B2 (en) | 2014-12-18 | 2022-08-02 | Cilag Gmbh International | Drive arrangements for articulatable surgical instruments |
| US12029419B2 (en) | 2014-12-18 | 2024-07-09 | Cilag Gmbh International | Surgical instrument including a flexible support configured to support a flexible firing member |
| US11154301B2 (en) | 2015-02-27 | 2021-10-26 | Cilag Gmbh International | Modular stapling assembly |
| US11324506B2 (en) | 2015-02-27 | 2022-05-10 | Cilag Gmbh International | Modular stapling assembly |
| US12076018B2 (en) | 2015-02-27 | 2024-09-03 | Cilag Gmbh International | Modular stapling assembly |
| US11744588B2 (en) | 2015-02-27 | 2023-09-05 | Cilag Gmbh International | Surgical stapling instrument including a removably attachable battery pack |
| US11826132B2 (en) | 2015-03-06 | 2023-11-28 | Cilag Gmbh International | Time dependent evaluation of sensor data to determine stability, creep, and viscoelastic elements of measures |
| US11350843B2 (en) | 2015-03-06 | 2022-06-07 | Cilag Gmbh International | Time dependent evaluation of sensor data to determine stability, creep, and viscoelastic elements of measures |
| US11426160B2 (en) | 2015-03-06 | 2022-08-30 | Cilag Gmbh International | Smart sensors with local signal processing |
| US10966627B2 (en) | 2015-03-06 | 2021-04-06 | Ethicon Llc | Time dependent evaluation of sensor data to determine stability, creep, and viscoelastic elements of measures |
| US11109859B2 (en) | 2015-03-06 | 2021-09-07 | Cilag Gmbh International | Surgical instrument comprising a lockable battery housing |
| US11224423B2 (en) | 2015-03-06 | 2022-01-18 | Cilag Gmbh International | Smart sensors with local signal processing |
| US11944338B2 (en) | 2015-03-06 | 2024-04-02 | Cilag Gmbh International | Multiple level thresholds to modify operation of powered surgical instruments |
| US11918212B2 (en) | 2015-03-31 | 2024-03-05 | Cilag Gmbh International | Surgical instrument with selectively disengageable drive systems |
| JP2018525116A (en)* | 2015-08-17 | 2018-09-06 | エシコン エルエルシーEthicon LLC | Implantable layer for surgical instruments |
| US11058425B2 (en) | 2015-08-17 | 2021-07-13 | Ethicon Llc | Implantable layers for a surgical instrument |
| US11490889B2 (en) | 2015-09-23 | 2022-11-08 | Cilag Gmbh International | Surgical stapler having motor control based on an electrical parameter related to a motor current |
| US11344299B2 (en) | 2015-09-23 | 2022-05-31 | Cilag Gmbh International | Surgical stapler having downstream current-based motor control |
| US11849946B2 (en) | 2015-09-23 | 2023-12-26 | Cilag Gmbh International | Surgical stapler having downstream current-based motor control |
| US11026678B2 (en) | 2015-09-23 | 2021-06-08 | Cilag Gmbh International | Surgical stapler having motor control based on an electrical parameter related to a motor current |
| US11076929B2 (en) | 2015-09-25 | 2021-08-03 | Cilag Gmbh International | Implantable adjunct systems for determining adjunct skew |
| US12245901B2 (en) | 2015-09-25 | 2025-03-11 | Cilag Gmbh International | Implantable layer comprising boundary indicators |
| US11690623B2 (en) | 2015-09-30 | 2023-07-04 | Cilag Gmbh International | Method for applying an implantable layer to a fastener cartridge |
| US10980539B2 (en) | 2015-09-30 | 2021-04-20 | Ethicon Llc | Implantable adjunct comprising bonded layers |
| US12137912B2 (en) | 2015-09-30 | 2024-11-12 | Cilag Gmbh International | Compressible adjunct with attachment regions |
| US11903586B2 (en) | 2015-09-30 | 2024-02-20 | Cilag Gmbh International | Compressible adjunct with crossing spacer fibers |
| US11793522B2 (en) | 2015-09-30 | 2023-10-24 | Cilag Gmbh International | Staple cartridge assembly including a compressible adjunct |
| US11712244B2 (en) | 2015-09-30 | 2023-08-01 | Cilag Gmbh International | Implantable layer with spacer fibers |
| US11890015B2 (en) | 2015-09-30 | 2024-02-06 | Cilag Gmbh International | Compressible adjunct with crossing spacer fibers |
| US11944308B2 (en) | 2015-09-30 | 2024-04-02 | Cilag Gmbh International | Compressible adjunct with crossing spacer fibers |
| US11553916B2 (en) | 2015-09-30 | 2023-01-17 | Cilag Gmbh International | Compressible adjunct with crossing spacer fibers |
| US12156653B2 (en) | 2015-12-30 | 2024-12-03 | Cilag Gmbh International | Surgical instruments with motor control circuits |
| US11759208B2 (en) | 2015-12-30 | 2023-09-19 | Cilag Gmbh International | Mechanisms for compensating for battery pack failure in powered surgical instruments |
| US12324579B2 (en) | 2015-12-30 | 2025-06-10 | Cilag Gmbh International | Mechanisms for compensating for battery pack failure in powered surgical instruments |
| US11058422B2 (en) | 2015-12-30 | 2021-07-13 | Cilag Gmbh International | Mechanisms for compensating for battery pack failure in powered surgical instruments |
| US11484309B2 (en) | 2015-12-30 | 2022-11-01 | Cilag Gmbh International | Surgical stapling system comprising a controller configured to cause a motor to reset a firing sequence |
| US11129613B2 (en) | 2015-12-30 | 2021-09-28 | Cilag Gmbh International | Surgical instruments with separable motors and motor control circuits |
| US11083454B2 (en) | 2015-12-30 | 2021-08-10 | Cilag Gmbh International | Mechanisms for compensating for drivetrain failure in powered surgical instruments |
| US11730471B2 (en) | 2016-02-09 | 2023-08-22 | Cilag Gmbh International | Articulatable surgical instruments with single articulation link arrangements |
| US11213293B2 (en) | 2016-02-09 | 2022-01-04 | Cilag Gmbh International | Articulatable surgical instruments with single articulation link arrangements |
| US11523823B2 (en) | 2016-02-09 | 2022-12-13 | Cilag Gmbh International | Surgical instruments with non-symmetrical articulation arrangements |
| US11344303B2 (en) | 2016-02-12 | 2022-05-31 | Cilag Gmbh International | Mechanisms for compensating for drivetrain failure in powered surgical instruments |
| US11826045B2 (en) | 2016-02-12 | 2023-11-28 | Cilag Gmbh International | Mechanisms for compensating for drivetrain failure in powered surgical instruments |
| US11224426B2 (en) | 2016-02-12 | 2022-01-18 | Cilag Gmbh International | Mechanisms for compensating for drivetrain failure in powered surgical instruments |
| US11779336B2 (en) | 2016-02-12 | 2023-10-10 | Cilag Gmbh International | Mechanisms for compensating for drivetrain failure in powered surgical instruments |
| US11350932B2 (en) | 2016-04-15 | 2022-06-07 | Cilag Gmbh International | Surgical instrument with improved stop/start control during a firing motion |
| US11191545B2 (en) | 2016-04-15 | 2021-12-07 | Cilag Gmbh International | Staple formation detection mechanisms |
| US11607239B2 (en) | 2016-04-15 | 2023-03-21 | Cilag Gmbh International | Systems and methods for controlling a surgical stapling and cutting instrument |
| US11179150B2 (en) | 2016-04-15 | 2021-11-23 | Cilag Gmbh International | Systems and methods for controlling a surgical stapling and cutting instrument |
| US11284891B2 (en) | 2016-04-15 | 2022-03-29 | Cilag Gmbh International | Surgical instrument with multiple program responses during a firing motion |
| US12144500B2 (en) | 2016-04-15 | 2024-11-19 | Cilag Gmbh International | Surgical instrument with multiple program responses during a firing motion |
| US11931028B2 (en) | 2016-04-15 | 2024-03-19 | Cilag Gmbh International | Surgical instrument with multiple program responses during a firing motion |
| US11051810B2 (en) | 2016-04-15 | 2021-07-06 | Cilag Gmbh International | Modular surgical instrument with configurable operating mode |
| US11517306B2 (en) | 2016-04-15 | 2022-12-06 | Cilag Gmbh International | Surgical instrument with detection sensors |
| US11317910B2 (en) | 2016-04-15 | 2022-05-03 | Cilag Gmbh International | Surgical instrument with detection sensors |
| US11642125B2 (en) | 2016-04-15 | 2023-05-09 | Cilag Gmbh International | Robotic surgical system including a user interface and a control circuit |
| US11311292B2 (en) | 2016-04-15 | 2022-04-26 | Cilag Gmbh International | Surgical instrument with detection sensors |
| US11026684B2 (en) | 2016-04-15 | 2021-06-08 | Ethicon Llc | Surgical instrument with multiple program responses during a firing motion |
| US11559303B2 (en) | 2016-04-18 | 2023-01-24 | Cilag Gmbh International | Cartridge lockout arrangements for rotary powered surgical cutting and stapling instruments |
| US12261471B2 (en) | 2016-04-18 | 2025-03-25 | Cilag Gmbh International | Technologies for detection of drive train failures in a surgical instrument |
| US11350928B2 (en) | 2016-04-18 | 2022-06-07 | Cilag Gmbh International | Surgical instrument comprising a tissue thickness lockout and speed control system |
| US11811253B2 (en) | 2016-04-18 | 2023-11-07 | Cilag Gmbh International | Surgical robotic system with fault state detection configurations based on motor current draw |
| US11317917B2 (en) | 2016-04-18 | 2022-05-03 | Cilag Gmbh International | Surgical stapling system comprising a lockable firing assembly |
| US11147554B2 (en) | 2016-04-18 | 2021-10-19 | Cilag Gmbh International | Surgical instrument system comprising a magnetic lockout |
| US12171507B2 (en) | 2016-08-16 | 2024-12-24 | Cilag Gmbh International | Surgical tool with manual control of end effector jaws |
| US12004745B2 (en) | 2016-12-21 | 2024-06-11 | Cilag Gmbh International | Surgical instrument system comprising an end effector lockout and a firing assembly lockout |
| US11160553B2 (en) | 2016-12-21 | 2021-11-02 | Cilag Gmbh International | Surgical stapling systems |
| US11191540B2 (en) | 2016-12-21 | 2021-12-07 | Cilag Gmbh International | Protective cover arrangements for a joint interface between a movable jaw and actuator shaft of a surgical instrument |
| US11090048B2 (en) | 2016-12-21 | 2021-08-17 | Cilag Gmbh International | Method for resetting a fuse of a surgical instrument shaft |
| EP3682816A1 (en)* | 2016-12-21 | 2020-07-22 | Ethicon LLC | Closure member arrangements for surgical instruments |
| US11191539B2 (en) | 2016-12-21 | 2021-12-07 | Cilag Gmbh International | Shaft assembly comprising a manually-operable retraction system for use with a motorized surgical instrument system |
| US11350935B2 (en) | 2016-12-21 | 2022-06-07 | Cilag Gmbh International | Surgical tool assemblies with closure stroke reduction features |
| US12226100B2 (en) | 2016-12-21 | 2025-02-18 | Cilag Gmbh International | Method of deforming staples from two different types of staple cartridges with the same surgical stapling instrument |
| US12245764B2 (en) | 2016-12-21 | 2025-03-11 | Cilag Gmbh International | Shaft assembly comprising a lockout |
| US11564688B2 (en) | 2016-12-21 | 2023-01-31 | Cilag Gmbh International | Robotic surgical tool having a retraction mechanism |
| US11701115B2 (en) | 2016-12-21 | 2023-07-18 | Cilag Gmbh International | Methods of stapling tissue |
| US11931034B2 (en) | 2016-12-21 | 2024-03-19 | Cilag Gmbh International | Surgical stapling instruments with smart staple cartridges |
| US11096689B2 (en) | 2016-12-21 | 2021-08-24 | Cilag Gmbh International | Shaft assembly comprising a lockout |
| US11191543B2 (en) | 2016-12-21 | 2021-12-07 | Cilag Gmbh International | Assembly comprising a lock |
| US11350934B2 (en) | 2016-12-21 | 2022-06-07 | Cilag Gmbh International | Staple forming pocket arrangement to accommodate different types of staples |
| US11419606B2 (en) | 2016-12-21 | 2022-08-23 | Cilag Gmbh International | Shaft assembly comprising a clutch configured to adapt the output of a rotary firing member to two different systems |
| US11179155B2 (en) | 2016-12-21 | 2021-11-23 | Cilag Gmbh International | Anvil arrangements for surgical staplers |
| US11497499B2 (en) | 2016-12-21 | 2022-11-15 | Cilag Gmbh International | Articulatable surgical stapling instruments |
| US10959727B2 (en) | 2016-12-21 | 2021-03-30 | Ethicon Llc | Articulatable surgical end effector with asymmetric shaft arrangement |
| US11957344B2 (en) | 2016-12-21 | 2024-04-16 | Cilag Gmbh International | Surgical stapler having rows of obliquely oriented staples |
| US11653917B2 (en) | 2016-12-21 | 2023-05-23 | Cilag Gmbh International | Surgical stapling systems |
| US12185946B2 (en) | 2016-12-21 | 2025-01-07 | Cilag Gmbh International | Articulatable surgical stapling instruments |
| US11992213B2 (en) | 2016-12-21 | 2024-05-28 | Cilag Gmbh International | Surgical stapling instruments with replaceable staple cartridges |
| US11918215B2 (en) | 2016-12-21 | 2024-03-05 | Cilag Gmbh International | Staple cartridge with array of staple pockets |
| US11369376B2 (en) | 2016-12-21 | 2022-06-28 | Cilag Gmbh International | Surgical stapling systems |
| US11766260B2 (en) | 2016-12-21 | 2023-09-26 | Cilag Gmbh International | Methods of stapling tissue |
| US11160551B2 (en) | 2016-12-21 | 2021-11-02 | Cilag Gmbh International | Articulatable surgical stapling instruments |
| US11766259B2 (en) | 2016-12-21 | 2023-09-26 | Cilag Gmbh International | Method of deforming staples from two different types of staple cartridges with the same surgical stapling instrument |
| US11134942B2 (en) | 2016-12-21 | 2021-10-05 | Cilag Gmbh International | Surgical stapling instruments and staple-forming anvils |
| US11224428B2 (en) | 2016-12-21 | 2022-01-18 | Cilag Gmbh International | Surgical stapling systems |
| US11849948B2 (en) | 2016-12-21 | 2023-12-26 | Cilag Gmbh International | Method for resetting a fuse of a surgical instrument shaft |
| US12274442B2 (en) | 2016-12-21 | 2025-04-15 | Cilag Gmbh International | Surgical staple cartridge alignment features |
| US12011166B2 (en) | 2016-12-21 | 2024-06-18 | Cilag Gmbh International | Articulatable surgical stapling instruments |
| US11317913B2 (en) | 2016-12-21 | 2022-05-03 | Cilag Gmbh International | Lockout arrangements for surgical end effectors and replaceable tool assemblies |
| US11871939B2 (en) | 2017-06-20 | 2024-01-16 | Cilag Gmbh International | Method for closed loop control of motor velocity of a surgical stapling and cutting instrument |
| US11071554B2 (en) | 2017-06-20 | 2021-07-27 | Cilag Gmbh International | Closed loop feedback control of motor velocity of a surgical stapling and cutting instrument based on magnitude of velocity error measurements |
| US11672532B2 (en) | 2017-06-20 | 2023-06-13 | Cilag Gmbh International | Techniques for adaptive control of motor velocity of a surgical stapling and cutting instrument |
| US11090046B2 (en) | 2017-06-20 | 2021-08-17 | Cilag Gmbh International | Systems and methods for controlling displacement member motion of a surgical stapling and cutting instrument |
| US12274438B2 (en) | 2017-06-20 | 2025-04-15 | Cilag Gmbh International | Systems and methods for controlling motor velocity of a surgical stapling and cutting instrument according to articulation angle of end effector |
| US11382638B2 (en) | 2017-06-20 | 2022-07-12 | Cilag Gmbh International | Closed loop feedback control of motor velocity of a surgical stapling and cutting instrument based on measured time over a specified displacement distance |
| US11517325B2 (en) | 2017-06-20 | 2022-12-06 | Cilag Gmbh International | Closed loop feedback control of motor velocity of a surgical stapling and cutting instrument based on measured displacement distance traveled over a specified time interval |
| US11793513B2 (en) | 2017-06-20 | 2023-10-24 | Cilag Gmbh International | Systems and methods for controlling motor speed according to user input for a surgical instrument |
| US11213302B2 (en) | 2017-06-20 | 2022-01-04 | Cilag Gmbh International | Method for closed loop control of motor velocity of a surgical stapling and cutting instrument |
| US11653914B2 (en) | 2017-06-20 | 2023-05-23 | Cilag Gmbh International | Systems and methods for controlling motor velocity of a surgical stapling and cutting instrument according to articulation angle of end effector |
| US12161326B2 (en) | 2017-06-27 | 2024-12-10 | Cilag Gmbh International | Surgical anvil manufacturing methods |
| US11141154B2 (en) | 2017-06-27 | 2021-10-12 | Cilag Gmbh International | Surgical end effectors and anvils |
| US12207820B2 (en) | 2017-06-27 | 2025-01-28 | Cilag Gmbh International | Surgical anvil arrangements |
| US11324503B2 (en) | 2017-06-27 | 2022-05-10 | Cilag Gmbh International | Surgical firing member arrangements |
| US11266405B2 (en) | 2017-06-27 | 2022-03-08 | Cilag Gmbh International | Surgical anvil manufacturing methods |
| US11090049B2 (en) | 2017-06-27 | 2021-08-17 | Cilag Gmbh International | Staple forming pocket arrangements |
| US11766258B2 (en) | 2017-06-27 | 2023-09-26 | Cilag Gmbh International | Surgical anvil arrangements |
| US11000279B2 (en) | 2017-06-28 | 2021-05-11 | Ethicon Llc | Surgical instrument comprising an articulation system ratio |
| US12324581B2 (en) | 2017-06-28 | 2025-06-10 | Cilag Gmbh International | Surgical instrument comprising selectively actuatable rotatable couplers |
| US11484310B2 (en) | 2017-06-28 | 2022-11-01 | Cilag Gmbh International | Surgical instrument comprising a shaft including a closure tube profile |
| US11259805B2 (en) | 2017-06-28 | 2022-03-01 | Cilag Gmbh International | Surgical instrument comprising firing member supports |
| US11389161B2 (en) | 2017-06-28 | 2022-07-19 | Cilag Gmbh International | Surgical instrument comprising selectively actuatable rotatable couplers |
| US11826048B2 (en) | 2017-06-28 | 2023-11-28 | Cilag Gmbh International | Surgical instrument comprising selectively actuatable rotatable couplers |
| US11020114B2 (en) | 2017-06-28 | 2021-06-01 | Cilag Gmbh International | Surgical instruments with articulatable end effector with axially shortened articulation joint configurations |
| US11642128B2 (en) | 2017-06-28 | 2023-05-09 | Cilag Gmbh International | Method for articulating a surgical instrument |
| US11678880B2 (en) | 2017-06-28 | 2023-06-20 | Cilag Gmbh International | Surgical instrument comprising a shaft including a housing arrangement |
| US11058424B2 (en) | 2017-06-28 | 2021-07-13 | Cilag Gmbh International | Surgical instrument comprising an offset articulation joint |
| US11696759B2 (en) | 2017-06-28 | 2023-07-11 | Cilag Gmbh International | Surgical stapling instruments comprising shortened staple cartridge noses |
| US11478242B2 (en) | 2017-06-28 | 2022-10-25 | Cilag Gmbh International | Jaw retainer arrangement for retaining a pivotable surgical instrument jaw in pivotable retaining engagement with a second surgical instrument jaw |
| US11529140B2 (en) | 2017-06-28 | 2022-12-20 | Cilag Gmbh International | Surgical instrument lockout arrangement |
| US11564686B2 (en) | 2017-06-28 | 2023-01-31 | Cilag Gmbh International | Surgical shaft assemblies with flexible interfaces |
| US11246592B2 (en) | 2017-06-28 | 2022-02-15 | Cilag Gmbh International | Surgical instrument comprising an articulation system lockable to a frame |
| US11083455B2 (en) | 2017-06-28 | 2021-08-10 | Cilag Gmbh International | Surgical instrument comprising an articulation system ratio |
| USD1018577S1 (en) | 2017-06-28 | 2024-03-19 | Cilag Gmbh International | Display screen or portion thereof with a graphical user interface for a surgical instrument |
| US11890005B2 (en) | 2017-06-29 | 2024-02-06 | Cilag Gmbh International | Methods for closed loop velocity control for robotic surgical instrument |
| US11304695B2 (en) | 2017-08-03 | 2022-04-19 | Cilag Gmbh International | Surgical system shaft interconnection |
| US11974742B2 (en) | 2017-08-03 | 2024-05-07 | Cilag Gmbh International | Surgical system comprising an articulation bailout |
| US11471155B2 (en) | 2017-08-03 | 2022-10-18 | Cilag Gmbh International | Surgical system bailout |
| US11944300B2 (en) | 2017-08-03 | 2024-04-02 | Cilag Gmbh International | Method for operating a surgical system bailout |
| US11399829B2 (en) | 2017-09-29 | 2022-08-02 | Cilag Gmbh International | Systems and methods of initiating a power shutdown mode for a surgical instrument |
| US11998199B2 (en) | 2017-09-29 | 2024-06-04 | Cllag GmbH International | System and methods for controlling a display of a surgical instrument |
| CN111295718A (en)* | 2017-10-30 | 2020-06-16 | 爱惜康有限责任公司 | Mechanical force based control of electrical power output |
| US11134944B2 (en) | 2017-10-30 | 2021-10-05 | Cilag Gmbh International | Surgical stapler knife motion controls |
| US11090075B2 (en) | 2017-10-30 | 2021-08-17 | Cilag Gmbh International | Articulation features for surgical end effector |
| US12076011B2 (en) | 2017-10-30 | 2024-09-03 | Cilag Gmbh International | Surgical stapler knife motion controls |
| US11478244B2 (en) | 2017-10-31 | 2022-10-25 | Cilag Gmbh International | Cartridge body design with force reduction based on firing completion |
| US11963680B2 (en) | 2017-10-31 | 2024-04-23 | Cilag Gmbh International | Cartridge body design with force reduction based on firing completion |
| US11071543B2 (en) | 2017-12-15 | 2021-07-27 | Cilag Gmbh International | Surgical end effectors with clamping assemblies configured to increase jaw aperture ranges |
| US11896222B2 (en) | 2017-12-15 | 2024-02-13 | Cilag Gmbh International | Methods of operating surgical end effectors |
| US11197670B2 (en) | 2017-12-15 | 2021-12-14 | Cilag Gmbh International | Surgical end effectors with pivotal jaws configured to touch at their respective distal ends when fully closed |
| US11020112B2 (en) | 2017-12-19 | 2021-06-01 | Ethicon Llc | Surgical tools configured for interchangeable use with different controller interfaces |
| US11284953B2 (en) | 2017-12-19 | 2022-03-29 | Cilag Gmbh International | Method for determining the position of a rotatable jaw of a surgical instrument attachment assembly |
| US12076096B2 (en) | 2017-12-19 | 2024-09-03 | Cilag Gmbh International | Method for determining the position of a rotatable jaw of a surgical instrument attachment assembly |
| US11179152B2 (en) | 2017-12-21 | 2021-11-23 | Cilag Gmbh International | Surgical instrument comprising a tissue grasping system |
| US11337691B2 (en) | 2017-12-21 | 2022-05-24 | Cilag Gmbh International | Surgical instrument configured to determine firing path |
| US11129680B2 (en) | 2017-12-21 | 2021-09-28 | Cilag Gmbh International | Surgical instrument comprising a projector |
| US11364027B2 (en) | 2017-12-21 | 2022-06-21 | Cilag Gmbh International | Surgical instrument comprising speed control |
| US12336705B2 (en) | 2017-12-21 | 2025-06-24 | Cilag Gmbh International | Continuous use self-propelled stapling instrument |
| US11751867B2 (en) | 2017-12-21 | 2023-09-12 | Cilag Gmbh International | Surgical instrument comprising sequenced systems |
| US11311290B2 (en) | 2017-12-21 | 2022-04-26 | Cilag Gmbh International | Surgical instrument comprising an end effector dampener |
| US11179151B2 (en) | 2017-12-21 | 2021-11-23 | Cilag Gmbh International | Surgical instrument comprising a display |
| US11076853B2 (en) | 2017-12-21 | 2021-08-03 | Cilag Gmbh International | Systems and methods of displaying a knife position during transection for a surgical instrument |
| US11369368B2 (en) | 2017-12-21 | 2022-06-28 | Cilag Gmbh International | Surgical instrument comprising synchronized drive systems |
| US11883019B2 (en) | 2017-12-21 | 2024-01-30 | Cilag Gmbh International | Stapling instrument comprising a staple feeding system |
| US11576668B2 (en) | 2017-12-21 | 2023-02-14 | Cilag Gmbh International | Staple instrument comprising a firing path display |
| US11147547B2 (en) | 2017-12-21 | 2021-10-19 | Cilag Gmbh International | Surgical stapler comprising storable cartridges having different staple sizes |
| US11849939B2 (en) | 2017-12-21 | 2023-12-26 | Cilag Gmbh International | Continuous use self-propelled stapling instrument |
| US11583274B2 (en) | 2017-12-21 | 2023-02-21 | Cilag Gmbh International | Self-guiding stapling instrument |
| US11324501B2 (en) | 2018-08-20 | 2022-05-10 | Cilag Gmbh International | Surgical stapling devices with improved closure members |
| US11957339B2 (en) | 2018-08-20 | 2024-04-16 | Cilag Gmbh International | Method for fabricating surgical stapler anvils |
| US11045192B2 (en) | 2018-08-20 | 2021-06-29 | Cilag Gmbh International | Fabricating techniques for surgical stapler anvils |
| US10912559B2 (en) | 2018-08-20 | 2021-02-09 | Ethicon Llc | Reinforced deformable anvil tip for surgical stapler anvil |
| US11207065B2 (en) | 2018-08-20 | 2021-12-28 | Cilag Gmbh International | Method for fabricating surgical stapler anvils |
| USD914878S1 (en) | 2018-08-20 | 2021-03-30 | Ethicon Llc | Surgical instrument anvil |
| US12076008B2 (en) | 2018-08-20 | 2024-09-03 | Cilag Gmbh International | Method for operating a powered articulatable surgical instrument |
| US11253256B2 (en) | 2018-08-20 | 2022-02-22 | Cilag Gmbh International | Articulatable motor powered surgical instruments with dedicated articulation motor arrangements |
| US11291440B2 (en) | 2018-08-20 | 2022-04-05 | Cilag Gmbh International | Method for operating a powered articulatable surgical instrument |
| US11039834B2 (en) | 2018-08-20 | 2021-06-22 | Cilag Gmbh International | Surgical stapler anvils with staple directing protrusions and tissue stability features |
| US11083458B2 (en) | 2018-08-20 | 2021-08-10 | Cilag Gmbh International | Powered surgical instruments with clutching arrangements to convert linear drive motions to rotary drive motions |
| US12262888B2 (en) | 2018-08-20 | 2025-04-01 | Cilag Gmbh International | Surgical instruments with progressive jaw closure arrangements |
| US11696761B2 (en) | 2019-03-25 | 2023-07-11 | Cilag Gmbh International | Firing drive arrangements for surgical systems |
| US11147553B2 (en) | 2019-03-25 | 2021-10-19 | Cilag Gmbh International | Firing drive arrangements for surgical systems |
| US11147551B2 (en) | 2019-03-25 | 2021-10-19 | Cilag Gmbh International | Firing drive arrangements for surgical systems |
| US12290259B2 (en) | 2019-03-25 | 2025-05-06 | Cilag Gmbh International | Firing drive arrangements for surgical systems |
| US11172929B2 (en) | 2019-03-25 | 2021-11-16 | Cilag Gmbh International | Articulation drive arrangements for surgical systems |
| US11432816B2 (en) | 2019-04-30 | 2022-09-06 | Cilag Gmbh International | Articulation pin for a surgical instrument |
| US11471157B2 (en) | 2019-04-30 | 2022-10-18 | Cilag Gmbh International | Articulation control mapping for a surgical instrument |
| US11903581B2 (en) | 2019-04-30 | 2024-02-20 | Cilag Gmbh International | Methods for stapling tissue using a surgical instrument |
| US11452528B2 (en) | 2019-04-30 | 2022-09-27 | Cilag Gmbh International | Articulation actuators for a surgical instrument |
| US11648009B2 (en) | 2019-04-30 | 2023-05-16 | Cilag Gmbh International | Rotatable jaw tip for a surgical instrument |
| US11253254B2 (en) | 2019-04-30 | 2022-02-22 | Cilag Gmbh International | Shaft rotation actuator on a surgical instrument |
| US11426251B2 (en) | 2019-04-30 | 2022-08-30 | Cilag Gmbh International | Articulation directional lights on a surgical instrument |
| US11684369B2 (en) | 2019-06-28 | 2023-06-27 | Cilag Gmbh International | Method of using multiple RFID chips with a surgical assembly |
| US11771419B2 (en) | 2019-06-28 | 2023-10-03 | Cilag Gmbh International | Packaging for a replaceable component of a surgical stapling system |
| US11241235B2 (en) | 2019-06-28 | 2022-02-08 | Cilag Gmbh International | Method of using multiple RFID chips with a surgical assembly |
| US11660163B2 (en) | 2019-06-28 | 2023-05-30 | Cilag Gmbh International | Surgical system with RFID tags for updating motor assembly parameters |
| US11229437B2 (en) | 2019-06-28 | 2022-01-25 | Cilag Gmbh International | Method for authenticating the compatibility of a staple cartridge with a surgical instrument |
| US11376098B2 (en) | 2019-06-28 | 2022-07-05 | Cilag Gmbh International | Surgical instrument system comprising an RFID system |
| US11246678B2 (en) | 2019-06-28 | 2022-02-15 | Cilag Gmbh International | Surgical stapling system having a frangible RFID tag |
| US11553919B2 (en) | 2019-06-28 | 2023-01-17 | Cilag Gmbh International | Method for authenticating the compatibility of a staple cartridge with a surgical instrument |
| US12004740B2 (en) | 2019-06-28 | 2024-06-11 | Cilag Gmbh International | Surgical stapling system having an information decryption protocol |
| US11350938B2 (en) | 2019-06-28 | 2022-06-07 | Cilag Gmbh International | Surgical instrument comprising an aligned rfid sensor |
| US11464601B2 (en) | 2019-06-28 | 2022-10-11 | Cilag Gmbh International | Surgical instrument comprising an RFID system for tracking a movable component |
| US11478241B2 (en) | 2019-06-28 | 2022-10-25 | Cilag Gmbh International | Staple cartridge including projections |
| US11224497B2 (en) | 2019-06-28 | 2022-01-18 | Cilag Gmbh International | Surgical systems with multiple RFID tags |
| US11523822B2 (en) | 2019-06-28 | 2022-12-13 | Cilag Gmbh International | Battery pack including a circuit interrupter |
| US11497492B2 (en) | 2019-06-28 | 2022-11-15 | Cilag Gmbh International | Surgical instrument including an articulation lock |
| US11744593B2 (en) | 2019-06-28 | 2023-09-05 | Cilag Gmbh International | Method for authenticating the compatibility of a staple cartridge with a surgical instrument |
| US11399837B2 (en) | 2019-06-28 | 2022-08-02 | Cilag Gmbh International | Mechanisms for motor control adjustments of a motorized surgical instrument |
| US11553971B2 (en) | 2019-06-28 | 2023-01-17 | Cilag Gmbh International | Surgical RFID assemblies for display and communication |
| US11298132B2 (en) | 2019-06-28 | 2022-04-12 | Cilag GmbH Inlernational | Staple cartridge including a honeycomb extension |
| US11259803B2 (en) | 2019-06-28 | 2022-03-01 | Cilag Gmbh International | Surgical stapling system having an information encryption protocol |
| US11426167B2 (en) | 2019-06-28 | 2022-08-30 | Cilag Gmbh International | Mechanisms for proper anvil attachment surgical stapling head assembly |
| US11684434B2 (en) | 2019-06-28 | 2023-06-27 | Cilag Gmbh International | Surgical RFID assemblies for instrument operational setting control |
| US11219455B2 (en) | 2019-06-28 | 2022-01-11 | Cilag Gmbh International | Surgical instrument including a lockout key |
| US11051807B2 (en) | 2019-06-28 | 2021-07-06 | Cilag Gmbh International | Packaging assembly including a particulate trap |
| US11627959B2 (en) | 2019-06-28 | 2023-04-18 | Cilag Gmbh International | Surgical instruments including manual and powered system lockouts |
| US11638587B2 (en) | 2019-06-28 | 2023-05-02 | Cilag Gmbh International | RFID identification systems for surgical instruments |
| US11298127B2 (en) | 2019-06-28 | 2022-04-12 | Cilag GmbH Interational | Surgical stapling system having a lockout mechanism for an incompatible cartridge |
| US11291451B2 (en) | 2019-06-28 | 2022-04-05 | Cilag Gmbh International | Surgical instrument with battery compatibility verification functionality |
| US11234698B2 (en) | 2019-12-19 | 2022-02-01 | Cilag Gmbh International | Stapling system comprising a clamp lockout and a firing lockout |
| US11304696B2 (en) | 2019-12-19 | 2022-04-19 | Cilag Gmbh International | Surgical instrument comprising a powered articulation system |
| US11701111B2 (en) | 2019-12-19 | 2023-07-18 | Cilag Gmbh International | Method for operating a surgical stapling instrument |
| US11844520B2 (en) | 2019-12-19 | 2023-12-19 | Cilag Gmbh International | Staple cartridge comprising driver retention members |
| US11529137B2 (en) | 2019-12-19 | 2022-12-20 | Cilag Gmbh International | Staple cartridge comprising driver retention members |
| US11911032B2 (en) | 2019-12-19 | 2024-02-27 | Cilag Gmbh International | Staple cartridge comprising a seating cam |
| US11931033B2 (en) | 2019-12-19 | 2024-03-19 | Cilag Gmbh International | Staple cartridge comprising a latch lockout |
| US11529139B2 (en) | 2019-12-19 | 2022-12-20 | Cilag Gmbh International | Motor driven surgical instrument |
| US11504122B2 (en) | 2019-12-19 | 2022-11-22 | Cilag Gmbh International | Surgical instrument comprising a nested firing member |
| US12035913B2 (en) | 2019-12-19 | 2024-07-16 | Cilag Gmbh International | Staple cartridge comprising a deployable knife |
| US11464512B2 (en) | 2019-12-19 | 2022-10-11 | Cilag Gmbh International | Staple cartridge comprising a curved deck surface |
| US11559304B2 (en) | 2019-12-19 | 2023-01-24 | Cilag Gmbh International | Surgical instrument comprising a rapid closure mechanism |
| US11446029B2 (en) | 2019-12-19 | 2022-09-20 | Cilag Gmbh International | Staple cartridge comprising projections extending from a curved deck surface |
| US11576672B2 (en) | 2019-12-19 | 2023-02-14 | Cilag Gmbh International | Surgical instrument comprising a closure system including a closure member and an opening member driven by a drive screw |
| US11291447B2 (en) | 2019-12-19 | 2022-04-05 | Cilag Gmbh International | Stapling instrument comprising independent jaw closing and staple firing systems |
| US11607219B2 (en) | 2019-12-19 | 2023-03-21 | Cilag Gmbh International | Staple cartridge comprising a detachable tissue cutting knife |
| USD975850S1 (en) | 2020-06-02 | 2023-01-17 | Cilag Gmbh International | Staple cartridge |
| USD974560S1 (en) | 2020-06-02 | 2023-01-03 | Cilag Gmbh International | Staple cartridge |
| USD975278S1 (en) | 2020-06-02 | 2023-01-10 | Cilag Gmbh International | Staple cartridge |
| USD967421S1 (en) | 2020-06-02 | 2022-10-18 | Cilag Gmbh International | Staple cartridge |
| USD966512S1 (en) | 2020-06-02 | 2022-10-11 | Cilag Gmbh International | Staple cartridge |
| USD976401S1 (en) | 2020-06-02 | 2023-01-24 | Cilag Gmbh International | Staple cartridge |
| USD975851S1 (en) | 2020-06-02 | 2023-01-17 | Cilag Gmbh International | Staple cartridge |
| US11660090B2 (en) | 2020-07-28 | 2023-05-30 | Cllag GmbH International | Surgical instruments with segmented flexible drive arrangements |
| US11857182B2 (en) | 2020-07-28 | 2024-01-02 | Cilag Gmbh International | Surgical instruments with combination function articulation joint arrangements |
| US12064107B2 (en) | 2020-07-28 | 2024-08-20 | Cilag Gmbh International | Articulatable surgical instruments with articulation joints comprising flexible exoskeleton arrangements |
| US11737748B2 (en) | 2020-07-28 | 2023-08-29 | Cilag Gmbh International | Surgical instruments with double spherical articulation joints with pivotable links |
| US11883024B2 (en) | 2020-07-28 | 2024-01-30 | Cilag Gmbh International | Method of operating a surgical instrument |
| US11871925B2 (en) | 2020-07-28 | 2024-01-16 | Cilag Gmbh International | Surgical instruments with dual spherical articulation joint arrangements |
| US11974741B2 (en) | 2020-07-28 | 2024-05-07 | Cilag Gmbh International | Surgical instruments with differential articulation joint arrangements for accommodating flexible actuators |
| US11826013B2 (en) | 2020-07-28 | 2023-11-28 | Cilag Gmbh International | Surgical instruments with firing member closure features |
| US12161323B2 (en) | 2020-07-28 | 2024-12-10 | Cilag Gmbh International | Surgical instruments with torsion spine drive arrangements |
| US12220126B2 (en) | 2020-07-28 | 2025-02-11 | Cilag Gmbh International | Surgical instruments with double pivot articulation joint arrangements |
| US11864756B2 (en) | 2020-07-28 | 2024-01-09 | Cilag Gmbh International | Surgical instruments with flexible ball chain drive arrangements |
| US11638582B2 (en) | 2020-07-28 | 2023-05-02 | Cilag Gmbh International | Surgical instruments with torsion spine drive arrangements |
| USD980425S1 (en) | 2020-10-29 | 2023-03-07 | Cilag Gmbh International | Surgical instrument assembly |
| US12029421B2 (en) | 2020-10-29 | 2024-07-09 | Cilag Gmbh International | Surgical instrument comprising a staged voltage regulation start-up system |
| US11844518B2 (en) | 2020-10-29 | 2023-12-19 | Cilag Gmbh International | Method for operating a surgical instrument |
| US12226099B2 (en) | 2020-10-29 | 2025-02-18 | Cilag Gmbh International | Surgical stapler with pulse width modulated driven adjustable speed staple firing stroke |
| US11517390B2 (en) | 2020-10-29 | 2022-12-06 | Cilag Gmbh International | Surgical instrument comprising a limited travel switch |
| US11534259B2 (en) | 2020-10-29 | 2022-12-27 | Cilag Gmbh International | Surgical instrument comprising an articulation indicator |
| US11931025B2 (en) | 2020-10-29 | 2024-03-19 | Cilag Gmbh International | Surgical instrument comprising a releasable closure drive lock |
| US11779330B2 (en) | 2020-10-29 | 2023-10-10 | Cilag Gmbh International | Surgical instrument comprising a jaw alignment system |
| US11617577B2 (en) | 2020-10-29 | 2023-04-04 | Cilag Gmbh International | Surgical instrument comprising a sensor configured to sense whether an articulation drive of the surgical instrument is actuatable |
| US12053175B2 (en) | 2020-10-29 | 2024-08-06 | Cilag Gmbh International | Surgical instrument comprising a stowed closure actuator stop |
| USD1013170S1 (en) | 2020-10-29 | 2024-01-30 | Cilag Gmbh International | Surgical instrument assembly |
| US11452526B2 (en) | 2020-10-29 | 2022-09-27 | Cilag Gmbh International | Surgical instrument comprising a staged voltage regulation start-up system |
| US11717289B2 (en) | 2020-10-29 | 2023-08-08 | Cilag Gmbh International | Surgical instrument comprising an indicator which indicates that an articulation drive is actuatable |
| US11896217B2 (en) | 2020-10-29 | 2024-02-13 | Cilag Gmbh International | Surgical instrument comprising an articulation lock |
| US12076194B2 (en) | 2020-10-29 | 2024-09-03 | Cilag Gmbh International | Surgical instrument comprising an articulation indicator |
| US12171427B2 (en) | 2020-12-02 | 2024-12-24 | Cilag Gmbh International | Powered surgical instruments with smart reload with separately attachable exteriorly mounted wiring connections |
| US11653920B2 (en) | 2020-12-02 | 2023-05-23 | Cilag Gmbh International | Powered surgical instruments with communication interfaces through sterile barrier |
| US12369912B2 (en) | 2020-12-02 | 2025-07-29 | Cilag Gmbh International | Surgical instruments with interactive features to remedy incidental sled movements |
| US11737751B2 (en) | 2020-12-02 | 2023-08-29 | Cilag Gmbh International | Devices and methods of managing energy dissipated within sterile barriers of surgical instrument housings |
| US12016559B2 (en) | 2020-12-02 | 2024-06-25 | Cllag GmbH International | Powered surgical instruments with communication interfaces through sterile barrier |
| US11627960B2 (en) | 2020-12-02 | 2023-04-18 | Cilag Gmbh International | Powered surgical instruments with smart reload with separately attachable exteriorly mounted wiring connections |
| US11744581B2 (en) | 2020-12-02 | 2023-09-05 | Cilag Gmbh International | Powered surgical instruments with multi-phase tissue treatment |
| US11678882B2 (en) | 2020-12-02 | 2023-06-20 | Cilag Gmbh International | Surgical instruments with interactive features to remedy incidental sled movements |
| US11890010B2 (en) | 2020-12-02 | 2024-02-06 | Cllag GmbH International | Dual-sided reinforced reload for surgical instruments |
| US12232724B2 (en) | 2020-12-02 | 2025-02-25 | Cilag Gmbh International | Surgical instruments with sled location detection and adjustment features |
| US11944296B2 (en) | 2020-12-02 | 2024-04-02 | Cilag Gmbh International | Powered surgical instruments with external connectors |
| US11849943B2 (en) | 2020-12-02 | 2023-12-26 | Cilag Gmbh International | Surgical instrument with cartridge release mechanisms |
| US12133648B2 (en) | 2020-12-02 | 2024-11-05 | Cilag Gmbh International | Surgical instrument with cartridge release mechanisms |
| US11653915B2 (en) | 2020-12-02 | 2023-05-23 | Cilag Gmbh International | Surgical instruments with sled location detection and adjustment features |
| US11744583B2 (en) | 2021-02-26 | 2023-09-05 | Cilag Gmbh International | Distal communication array to tune frequency of RF systems |
| US11749877B2 (en) | 2021-02-26 | 2023-09-05 | Cilag Gmbh International | Stapling instrument comprising a signal antenna |
| US12035911B2 (en) | 2021-02-26 | 2024-07-16 | Cilag Gmbh International | Stapling instrument comprising a separate power antenna and a data transfer antenna |
| US11980362B2 (en) | 2021-02-26 | 2024-05-14 | Cilag Gmbh International | Surgical instrument system comprising a power transfer coil |
| US12144501B2 (en) | 2021-02-26 | 2024-11-19 | Cilag Gmbh International | Monitoring of manufacturing life-cycle |
| US12035910B2 (en) | 2021-02-26 | 2024-07-16 | Cllag GmbH International | Monitoring of internal systems to detect and track cartridge motion status |
| US12035912B2 (en) | 2021-02-26 | 2024-07-16 | Cilag Gmbh International | Adjustable communication based on available bandwidth and power capacity |
| US11723657B2 (en) | 2021-02-26 | 2023-08-15 | Cilag Gmbh International | Adjustable communication based on available bandwidth and power capacity |
| US12369909B2 (en) | 2021-02-26 | 2025-07-29 | Cilag Gmbh International | Monitoring of multiple sensors over time to detect moving characteristics of tissue |
| US11701113B2 (en) | 2021-02-26 | 2023-07-18 | Cilag Gmbh International | Stapling instrument comprising a separate power antenna and a data transfer antenna |
| US11793514B2 (en) | 2021-02-26 | 2023-10-24 | Cilag Gmbh International | Staple cartridge comprising sensor array which may be embedded in cartridge body |
| US12357309B2 (en) | 2021-02-26 | 2025-07-15 | Cilag Gmbh International | Staple cartridge comprising a power management circuit |
| US11696757B2 (en) | 2021-02-26 | 2023-07-11 | Cilag Gmbh International | Monitoring of internal systems to detect and track cartridge motion status |
| US11730473B2 (en) | 2021-02-26 | 2023-08-22 | Cilag Gmbh International | Monitoring of manufacturing life-cycle |
| US11925349B2 (en) | 2021-02-26 | 2024-03-12 | Cilag Gmbh International | Adjustment to transfer parameters to improve available power |
| US11812964B2 (en) | 2021-02-26 | 2023-11-14 | Cilag Gmbh International | Staple cartridge comprising a power management circuit |
| US12324580B2 (en) | 2021-02-26 | 2025-06-10 | Cilag Gmbh International | Method of powering and communicating with a staple cartridge |
| US11751869B2 (en) | 2021-02-26 | 2023-09-12 | Cilag Gmbh International | Monitoring of multiple sensors over time to detect moving characteristics of tissue |
| US11950779B2 (en) | 2021-02-26 | 2024-04-09 | Cilag Gmbh International | Method of powering and communicating with a staple cartridge |
| US11950777B2 (en) | 2021-02-26 | 2024-04-09 | Cilag Gmbh International | Staple cartridge comprising an information access control system |
| US12108951B2 (en) | 2021-02-26 | 2024-10-08 | Cilag Gmbh International | Staple cartridge comprising a sensing array and a temperature control system |
| US11826012B2 (en) | 2021-03-22 | 2023-11-28 | Cilag Gmbh International | Stapling instrument comprising a pulsed motor-driven firing rack |
| US11759202B2 (en) | 2021-03-22 | 2023-09-19 | Cilag Gmbh International | Staple cartridge comprising an implantable layer |
| US11826042B2 (en) | 2021-03-22 | 2023-11-28 | Cilag Gmbh International | Surgical instrument comprising a firing drive including a selectable leverage mechanism |
| US11737749B2 (en) | 2021-03-22 | 2023-08-29 | Cilag Gmbh International | Surgical stapling instrument comprising a retraction system |
| US11717291B2 (en) | 2021-03-22 | 2023-08-08 | Cilag Gmbh International | Staple cartridge comprising staples configured to apply different tissue compression |
| US11806011B2 (en) | 2021-03-22 | 2023-11-07 | Cilag Gmbh International | Stapling instrument comprising tissue compression systems |
| US12023026B2 (en) | 2021-03-22 | 2024-07-02 | Cilag Gmbh International | Staple cartridge comprising a firing lockout |
| US12042146B2 (en) | 2021-03-22 | 2024-07-23 | Cilag Gmbh International | Surgical stapling instrument comprising a retraction system |
| US11723658B2 (en) | 2021-03-22 | 2023-08-15 | Cilag Gmbh International | Staple cartridge comprising a firing lockout |
| US11793516B2 (en) | 2021-03-24 | 2023-10-24 | Cilag Gmbh International | Surgical staple cartridge comprising longitudinal support beam |
| US11896218B2 (en) | 2021-03-24 | 2024-02-13 | Cilag Gmbh International | Method of using a powered stapling device |
| US11903582B2 (en) | 2021-03-24 | 2024-02-20 | Cilag Gmbh International | Leveraging surfaces for cartridge installation |
| US11786243B2 (en) | 2021-03-24 | 2023-10-17 | Cilag Gmbh International | Firing members having flexible portions for adapting to a load during a surgical firing stroke |
| US12102323B2 (en) | 2021-03-24 | 2024-10-01 | Cilag Gmbh International | Rotary-driven surgical stapling assembly comprising a floatable component |
| US11857183B2 (en) | 2021-03-24 | 2024-01-02 | Cilag Gmbh International | Stapling assembly components having metal substrates and plastic bodies |
| US11944336B2 (en) | 2021-03-24 | 2024-04-02 | Cilag Gmbh International | Joint arrangements for multi-planar alignment and support of operational drive shafts in articulatable surgical instruments |
| US11744603B2 (en) | 2021-03-24 | 2023-09-05 | Cilag Gmbh International | Multi-axis pivot joints for surgical instruments and methods for manufacturing same |
| US11849944B2 (en) | 2021-03-24 | 2023-12-26 | Cilag Gmbh International | Drivers for fastener cartridge assemblies having rotary drive screws |
| US11896219B2 (en) | 2021-03-24 | 2024-02-13 | Cilag Gmbh International | Mating features between drivers and underside of a cartridge deck |
| US11849945B2 (en) | 2021-03-24 | 2023-12-26 | Cilag Gmbh International | Rotary-driven surgical stapling assembly comprising eccentrically driven firing member |
| US11832816B2 (en) | 2021-03-24 | 2023-12-05 | Cilag Gmbh International | Surgical stapling assembly comprising nonplanar staples and planar staples |
| US11786239B2 (en) | 2021-03-24 | 2023-10-17 | Cilag Gmbh International | Surgical instrument articulation joint arrangements comprising multiple moving linkage features |
| US11826047B2 (en) | 2021-05-28 | 2023-11-28 | Cilag Gmbh International | Stapling instrument comprising jaw mounts |
| US11723662B2 (en) | 2021-05-28 | 2023-08-15 | Cilag Gmbh International | Stapling instrument comprising an articulation control display |
| US11918217B2 (en) | 2021-05-28 | 2024-03-05 | Cilag Gmbh International | Stapling instrument comprising a staple cartridge insertion stop |
| US11998201B2 (en) | 2021-05-28 | 2024-06-04 | Cilag CmbH International | Stapling instrument comprising a firing lockout |
| US11877745B2 (en) | 2021-10-18 | 2024-01-23 | Cilag Gmbh International | Surgical stapling assembly having longitudinally-repeating staple leg clusters |
| US11957337B2 (en) | 2021-10-18 | 2024-04-16 | Cilag Gmbh International | Surgical stapling assembly with offset ramped drive surfaces |
| US12239317B2 (en) | 2021-10-18 | 2025-03-04 | Cilag Gmbh International | Anvil comprising an arrangement of forming pockets proximal to tissue stop |
| US11980363B2 (en) | 2021-10-18 | 2024-05-14 | Cilag Gmbh International | Row-to-row staple array variations |
| US12432790B2 (en) | 2021-10-28 | 2025-09-30 | Cilag Gmbh International | Method and device for transmitting UART communications over a security short range wireless communication |
| US12089841B2 (en) | 2021-10-28 | 2024-09-17 | Cilag CmbH International | Staple cartridge identification systems |
| US11937816B2 (en) | 2021-10-28 | 2024-03-26 | Cilag Gmbh International | Electrical lead arrangements for surgical instruments |
| CN115317052A (en)* | 2022-08-17 | 2022-11-11 | 湖南华外医疗科技有限公司 | Executive part with split type cutting tool bit and anastomat |
| US12440213B2 (en) | 2022-12-05 | 2025-10-14 | Cilag Gmbh International | Surgical instrument having a power control circuit |
| US12440209B2 (en) | 2023-05-09 | 2025-10-14 | Cilag Gmbh International | Surgical instrument with multiple program responses during a firing motion |
| US12440208B2 (en) | 2023-08-23 | 2025-10-14 | Cilag Gmbh International | Powered surgical instrument |
| Publication number | Publication date |
|---|---|
| BR112013007624B1 (en) | 2020-09-08 |
| RU2599210C2 (en) | 2016-10-10 |
| RU2013119977A (en) | 2014-11-10 |
| BR112013007624A2 (en) | 2016-08-09 |
| JP5917527B2 (en) | 2016-05-18 |
| Publication | Publication Date | Title |
|---|---|---|
| JP5917527B2 (en) | Surgical cutting and fastening instrument having separate and separate fastener deployment and tissue cutting systems | |
| JP5917529B2 (en) | Surgical stapling instrument having a compatible staple cartridge configuration | |
| JP5917528B2 (en) | Surgical stapling instrument with a variable stapling system | |
| JP5868985B2 (en) | Surgical stapling instrument with small articulation control configuration | |
| JP5902177B2 (en) | Implantable fastener cartridge including support retainer | |
| JP5902180B2 (en) | Fastening system including retention matrix and alignment matrix | |
| JP5917530B2 (en) | Compressible fastener cartridge | |
| JP5859550B2 (en) | Foldable fastener cartridge | |
| JP6153933B2 (en) | Surgical stapler with floating anvil | |
| JP5908483B2 (en) | Fasteners for deploying fastener systems that include a retention matrix | |
| JP5863808B2 (en) | Fasteners supported by a fastener cartridge support | |
| JP5911872B2 (en) | Fastener system including retention matrix and cover | |
| JP5902179B2 (en) | Surgical stapling instrument having a releasable support structure and a surgical stapling instrument having a system that prevents actuation movement when no cartridge is present | |
| JP5859549B2 (en) | Selectable orientable implantable fastener cartridge | |
| JP6014039B2 (en) | Implantable fastener cartridge including a bioabsorbable layer | |
| JP5931072B2 (en) | Jaw closure configuration for surgical instruments | |
| JP5908482B2 (en) | Fastener system including a retention matrix | |
| JP5863809B2 (en) | Fastener system including a plurality of fastener cartridges | |
| JP5868984B2 (en) | Implantable fastener cartridge containing multiple layers | |
| JP5886296B2 (en) | Fastener system including a plurality of connected retention matrix elements | |
| JP5989651B2 (en) | Surgical instrument having a reconfigurable shaft section | |
| JP5902178B2 (en) | Surgical staple cartridge for supporting non-linearly configured staples and a surgical stapling instrument having a common staple forming pocket |
| Date | Code | Title | Description |
|---|---|---|---|
| A621 | Written request for application examination | Free format text:JAPANESE INTERMEDIATE CODE: A621 Effective date:20140922 | |
| A977 | Report on retrieval | Free format text:JAPANESE INTERMEDIATE CODE: A971007 Effective date:20150722 | |
| A131 | Notification of reasons for refusal | Free format text:JAPANESE INTERMEDIATE CODE: A131 Effective date:20150901 | |
| A521 | Request for written amendment filed | Free format text:JAPANESE INTERMEDIATE CODE: A523 Effective date:20151127 | |
| TRDD | Decision of grant or rejection written | ||
| A01 | Written decision to grant a patent or to grant a registration (utility model) | Free format text:JAPANESE INTERMEDIATE CODE: A01 Effective date:20160308 | |
| A61 | First payment of annual fees (during grant procedure) | Free format text:JAPANESE INTERMEDIATE CODE: A61 Effective date:20160406 | |
| R150 | Certificate of patent or registration of utility model | Ref document number:5917527 Country of ref document:JP Free format text:JAPANESE INTERMEDIATE CODE: R150 | |
| R250 | Receipt of annual fees | Free format text:JAPANESE INTERMEDIATE CODE: R250 | |
| R250 | Receipt of annual fees | Free format text:JAPANESE INTERMEDIATE CODE: R250 | |
| R250 | Receipt of annual fees | Free format text:JAPANESE INTERMEDIATE CODE: R250 | |
| R250 | Receipt of annual fees | Free format text:JAPANESE INTERMEDIATE CODE: R250 | |
| R250 | Receipt of annual fees | Free format text:JAPANESE INTERMEDIATE CODE: R250 | |
| R250 | Receipt of annual fees | Free format text:JAPANESE INTERMEDIATE CODE: R250 | |
| R250 | Receipt of annual fees | Free format text:JAPANESE INTERMEDIATE CODE: R250 |