













本発明は、近接無線通信により外部装置との間でデータ通信を行う通信装置および通信装置の制御方法に関する。 The present invention relates to a communication device that performs data communication with an external device by proximity wireless communication, and a control method for the communication device.
近年、パーソナルコンピュータはもとより、デジタルスチルカメラなどの情報機器においては、無線通信により互いにデータの送受信を行うものがある。情報機器間の無線通信には、ICタグなどに代表されるNFC(Near Field Communication)技術を用いた近接無線通信などがある。近接無線通信は、対応する情報機器同士を近付けるだけで通信が確立し送受信が開始される。そのため、近接無線通信を用いることで、直感的な操作でデータ通信を行うことが可能となるという利点がある。特許文献1には、近接無線通信を行う情報機器が開示されている。 In recent years, in addition to personal computers, some information devices such as digital still cameras transmit and receive data to and from each other by wireless communication. Wireless communication between information devices includes proximity wireless communication using NFC (Near Field Communication) technology represented by IC tags and the like. In proximity wireless communication, communication is established and transmission / reception is started simply by bringing corresponding information devices close to each other. Therefore, using proximity wireless communication has an advantage that data communication can be performed with an intuitive operation. Patent Document 1 discloses an information device that performs close proximity wireless communication.
ここで、それぞれ異なる種類のデータを処理可能な情報機器間でデータを送受信する場合について考える。例えば、送信側の情報機器(以下、送信側機器)において、記憶媒体に格納されたデータから送信するデータを指定して受信側の情報機器(以下、受信側機器)に転送する。このような場合、送信するデータの、送信側機器と受信側機器との間での相互互換性を考慮する必要がある。 Here, consider a case where data is transmitted and received between information devices capable of processing different types of data. For example, in a transmission-side information device (hereinafter referred to as a transmission-side device), data to be transmitted is designated from data stored in a storage medium and transferred to a reception-side information device (hereinafter referred to as a reception-side device). In such a case, it is necessary to consider the mutual compatibility of the data to be transmitted between the transmission side device and the reception side device.
すなわち、受信側機器が処理可能なデータを適切に転送するために、送信側機器は、例えば、転送前に予め受信側機器機器から処理可能なデータに関する情報を取得し、その情報に基づいて転送するデータを選択する必要がある。 That is, in order to appropriately transfer data that can be processed by the receiving device, the transmitting device acquires, for example, information related to data that can be processed from the receiving device before the transfer, and transfers the data based on the information. It is necessary to select the data to be used.
また、受信側機器の空きメモリ容量の考慮も必要な場合もある。そのため、送信側機器は、転送可能なデータサイズに関する情報を転送前に予め受信側機器から取得し、その情報に基づいて転送するデータを選択する必要がある。 Also, it may be necessary to consider the free memory capacity of the receiving device. For this reason, the transmission-side device needs to acquire information on the transferable data size from the reception-side device in advance before transfer, and select data to be transferred based on the information.
従来では、送信側機器から受信側機器に対するデータ送信は、次のようにして行われていた。すなわち、送信側機器が受信側機器の処理可能なデータや転送可能なデータサイズに関する情報を取得してから、選択したデータを送信し終わるまでのやりとりを、送信側機器と受信側機器との間で確立された通信の接続状態を維持したままで行っていた。 Conventionally, data transmission from a transmission-side device to a reception-side device has been performed as follows. That is, the communication between the transmitting device and the receiving device after the transmitting device acquires information about the data that can be processed by the receiving device and the transferable data size until the selected data is transmitted. It was done while maintaining the connection state of communication established in.
ここで、機器間の通信に上述したような近接無線通信を用いる場合、その通信可能距離が例えば数cm程度であるという制約を受ける。そのため、一旦機器を近接させて受信側の機器の状態を受信した後に、近接した状態を維持したままユーザが実際のデータを送信するための操作を行わなければならず、操作が困難である。 Here, when proximity wireless communication as described above is used for communication between devices, there is a restriction that the communicable distance is, for example, about several centimeters. For this reason, once the devices are brought close to each other and the state of the receiving device is received, the user must perform an operation for transmitting actual data while maintaining the close state, which is difficult.
したがって、本発明の目的は、近接無線通信を用いたデータ通信を容易に行うことができる通信装置および通信装置の制御方法を提供することにある。 Accordingly, an object of the present invention is to provide a communication apparatus and a communication apparatus control method capable of easily performing data communication using proximity wireless communication.
本発明は、上述した課題を解決するために、近接無線通信による外部機器との接続が確立されているかを検出する検出手段と、近接無線通信により、接続が確立されている外部機器との間で通信を行う通信手段と、情報を表示する表示手段と、通信手段および表示手段を制御する制御手段とを有し、制御手段は、通信手段により接続が確立されている外部機器から、外部機器が処理可能なデータに関する情報である受信データ情報を受信した後に、検出手段により外部機器との接続の切断が検出されたら、外部機器に対して、データを記憶する記憶手段から読み出したデータをデータ送信するための設定をユーザに行わせる設定画面を受信データ情報に基づき生成して表示手段に対して表示させ、設定画面による設定が終了した後に検出手段により外部機器との近接無線通信による接続の確立が再度検出されたら、設定画面によってなされた設定に従い通信手段により外部機器に対してデータ送信を行うように制御することを特徴とする通信装置である。 In order to solve the above-described problems, the present invention provides a detection unit that detects whether a connection with an external device by proximity wireless communication is established and an external device that has established a connection by proximity wireless communication. Communication means for performing communication, display means for displaying information, control means for controlling the communication means and the display means, the control means from the external device connected by the communication means to the external device After receiving the received data information, which is information on the data that can be processed, if disconnection with the external device is detected by the detecting means, the data read from the storage means for storing the data to the external device A setting screen for allowing the user to perform settings for transmission is generated based on the received data information, displayed on the display means, and after the setting on the setting screen is completed, the detection means A communication apparatus that controls to transmit data to an external device by communication means according to the setting made on the setting screen when the establishment of a connection by proximity wireless communication with the external device is detected again. .
また、本発明は、近接無線通信による外部機器との接続が確立されているかを検出する検出手段と、近接無線通信により、接続が確立されている外部機器との間で通信を行う通信手段と、情報を表示する表示手段と、通信手段および表示手段を制御する制御手段とを有する通信装置の制御方法であって、通信手段により接続が確立されている外部機器から、外部機器が処理可能なデータに関する情報である受信データ情報を受信する受信ステップと、受信ステップにより受信データ情報を受信した後に、検出手段により外部機器との接続の切断が検出されたら、外部機器に対して、データを記憶する記憶手段から読み出したデータをデータ送信するための設定をユーザに行わせる設定画面を受信データ情報に基づき生成して表示手段に対して表示させる表示ステップと、表示ステップにより表示された設定画面による設定が終了した後に検出手段により外部機器との近接無線通信による接続の確立が再度検出されたら、設定画面に対してなされた設定に従い通信手段により外部機器に対してデータ送信を行う送信ステップとを有することを特徴とする制御方法である。 In addition, the present invention provides a detection unit that detects whether a connection with an external device is established by proximity wireless communication, and a communication unit that communicates with an external device that is established by proximity wireless communication. A method for controlling a communication apparatus, comprising: a display means for displaying information; a communication means; and a control means for controlling the display means, wherein the external device can process from an external device for which connection is established by the communication means A receiving step for receiving received data information, which is information relating to the data; and after receiving the received data information in the receiving step, if disconnection from the external device is detected by the detecting means, the data is stored in the external device Based on the received data information, a setting screen for causing the user to perform settings for data transmission of data read from the storage means is generated and displayed on the display means. When the detection means detects the establishment of the connection by the proximity wireless communication with the external device again after the setting on the setting screen displayed by the displaying step is completed, the communication is performed according to the setting made on the setting screen. And a transmission step of transmitting data to an external device by means.
また、本発明は、近接無線通信による外部機器との接続が確立されているかを検出する検出手段と、近接無線通信により接続が確立されている外部機器との間で通信を行う通信手段と、通信手段を制御する制御手段とを有し、制御手段は、処理可能なデータに関する情報である受信データ情報を通信手段により近接無線通信を介して外部機器に対して送信し、送信の後に、検出手段により外部機器との接続の切断が検出され再び外部機器との接続の確立が検出されたら、外部機器から送信されたデータを受信するように制御することを特徴とする通信装置である。 Further, the present invention is a detection means for detecting whether a connection with an external device by proximity wireless communication is established, and a communication means for performing communication between the external device having a connection established by proximity wireless communication; Control means for controlling the communication means, and the control means transmits received data information, which is information relating to processable data, to the external device via proximity wireless communication by the communication means, and detects after transmission. The communication apparatus is characterized in that when the disconnection of the connection with the external device is detected by the means and the establishment of the connection with the external device is detected again, control is performed so as to receive the data transmitted from the external device.
また、本発明は、近接無線通信による外部機器との接続が確立されているかを検出する検出手段と、近接無線通信により接続が確立されている外部機器との間で通信を行う通信手段と、通信手段を制御する制御手段とを有する通信装置の制御方法であって、処理可能なデータに関する情報である受信データ情報を通信手段により近接無線通信を介して外部機器に対して送信する送信ステップと、送信ステップにより受信データ情報が送信されたら、検出手段で外部機器との接続が確立されているかを検出する検出ステップと、検出ステップにより外部機器との接続の切断が検出された後、検出ステップにより再び外部機器との接続の確立が検出されたら、外部機器から送信されたデータを受信する受信ステップとを有することを特徴とする制御方法である。 Further, the present invention is a detection means for detecting whether a connection with an external device by proximity wireless communication is established, and a communication means for performing communication between the external device having a connection established by proximity wireless communication; A transmission step of transmitting received data information, which is information relating to data that can be processed, to an external device via proximity wireless communication; When the reception data information is transmitted by the transmission step, a detection step for detecting whether the connection with the external device is established by the detection means, and a detection step after detecting the disconnection with the external device by the detection step A reception step of receiving data transmitted from the external device when the establishment of a connection with the external device is detected again by the It is a method.
本発明によれば、近接無線通信を用いたデータ通信を容易に行うことができる。 According to the present invention, data communication using proximity wireless communication can be easily performed.
以下、本発明の実施形態について説明する。なお、本発明は、以下に説明する実施形態に限定されない。また、本発明の実施形態は、発明の最も望ましい形態を示すものであり、発明の範囲を限定するものではない。 Hereinafter, embodiments of the present invention will be described. The present invention is not limited to the embodiments described below. Further, the embodiments of the present invention show the most desirable modes of the invention, and do not limit the scope of the invention.
なお、本明細書において、「近接無線通信」とは、通信距離が1m未満、特には数10cm未満であることを想定して規定された通信プロトコルに基づく無線通信を意味するものとする。このような通信プロトコルとしては、通信距離が約70cm以下の「近傍型」、同約10cm以下の「近接型」非接触通信プロトコルが知られている。具体的には、ISO/IEC15693、ISO/IEC14434、ECMA−340(ISO/IEC18092)などの規格が存在する。 In the present specification, “proximity wireless communication” means wireless communication based on a communication protocol defined on the assumption that the communication distance is less than 1 m, particularly less than several tens of centimeters. As such a communication protocol, a “neighboring type” non-contact communication protocol having a communication distance of about 70 cm or less and a “proximity type” non-contact communication protocol having a communication distance of about 10 cm or less are known. Specifically, standards such as ISO / IEC 15693, ISO / IEC 14434, and ECMA-340 (ISO / IEC 18092) exist.
以下では、近接無線通信により外部装置に対してデータを送信するデータ送信装置がカメラ付き携帯電話端末(以下、携帯電話端末)であるものとする。また、データ送信装置から近接無線通信により送信されたデータを受信するデータ受信装置が携帯型音楽プレーヤであるものとする。データ送信装置から送信されるデータは、静止画像データ、動画像データ、音声データ、テキストデータなど、様々な種類のデータを含むことができる。
<データ送信装置について>
図1は、本発明の実施形態に適用可能な携帯電話端末100の構成の一例を示す。バス112に対して、撮像制御部102、表示再生制御部105、操作制御部107、電話通信制御部120および通信I/F122が接続される。バス112に対して、さらに、制御部108、システムメモリ109、メモリ110、通信部111および記憶制御部113が接続される。バス112に接続される各部は、バス112を介して互いにデータのやりとりが可能とされている。In the following, it is assumed that a data transmission device that transmits data to an external device by proximity wireless communication is a camera-equipped mobile phone terminal (hereinafter referred to as a mobile phone terminal). In addition, it is assumed that the data reception device that receives data transmitted from the data transmission device by the close proximity wireless communication is a portable music player. Data transmitted from the data transmission device can include various types of data such as still image data, moving image data, audio data, and text data.
<About data transmitter>
FIG. 1 shows an example of a configuration of a
記憶制御部113は、所定のファイルシステムに従って、記憶媒体114に対する各種のデータの書き込み、読み出しを行う。記憶媒体114は、携帯電話端末100への着脱が可能な不揮発性の半導体メモリや、ハードディスクドライブなどである。本実施形態では、記憶媒体114を携帯電話端末100に着脱可能なものとして説明するが、記憶媒体114が携帯電話端末100に内蔵されるものであってもよい。 The
制御手段としての制御部108は、例えばCPUを有し、プログラムに従い携帯電話端末100の全体を制御する。より具体的には、制御部108は、ROMであるシステムメモリ109に予め記憶されたプログラムデータを読み出してRAMであるメモリ110の作業領域に展開し、その展開したプログラムデータとの協働により、携帯電話端末100全体の動作を制御する。システムメモリ109は、制御部108の動作用の定数、変数、プログラムデータなどを予め記憶する。 The
メモリ110は、制御部108の作業領域として用いられる他に、撮影された静止画像データや再生されたデータ、後述する通信I/F122を介してネットワーク先のサーバやパーソナルコンピュータからダウンロードして取得したデータなどが格納される。また、メモリ110は、後述する通信部111により送信するデータや、受信されたデータが一時的に格納される。 In addition to being used as a work area for the
また、制御部108により実行されるプログラムにより、上述した記憶制御部113による記憶媒体114に対するデータの読み書きを管理するためのファイルシステムが実現される。 In addition, a file system for managing reading / writing of data with respect to the
撮像部101は、CCDやCMOSセンサといった撮像素子と、レンズやシャッタ機構、絞り機構などによる撮像光学系と、撮像素子の出力に対してゲイン調整やノイズ除去などの所定の信号処理を施してアナログ撮像信号を得る撮像信号処理部とを有する。さらに、撮像部101は、A/D変換部および画像処理部を有し、撮像部101で得られたアナログ撮像信号をA/D変換によりデジタル信号に変換し、ADCT(適応離散コサイン変換)などを用いて圧縮符号化して圧縮デジタル画像データとして出力する。撮像部101から出力された圧縮デジタル画像データは、撮像制御部102を介してバス112に供給される。撮像制御部102は、後述する制御部108の制御に応じて、撮像部101に対するズーム、フォーカス、絞り調整などの撮像に関する制御を行う。 The
表示手段としての表示再生制御部105は、表示部103および音声出力部104が接続され、制御部108の制御に応じて指定されたデータの、表示部103および音声出力部104に対する表示再生制御を行う。 The display
表示再生制御部105は、画像処理に関して、例えばJPEG方式で圧縮符号化された圧縮静止画像データをデコードするJPEGデコーダと、MPEG方式で圧縮符号化された圧縮動画像データをデコードするMPEGデコーダとを有する。表示再生制御部105は、バス112を介して供給された圧縮静止画像データや圧縮動画像データを対応するデコーダでデコードし、静止画像データや動画像データとして表示部103に供給する。 For image processing, the display /
さらに、表示再生制御部105は、音声処理に関して、例えばMP3方式で圧縮符号化された圧縮音声データをデコードするMP3デコーダを有する。表示再生制御部105は、バス112を介して供給された圧縮音声データをMP3デコーダでデコードし、デジタル音声信号として音声出力部104に供給する。また、表示再生制御部105は、動画像データから音声部分を取り出す機能を有する。 Furthermore, the display
表示部103は、LCDや有機ELパネルなどの表示デバイスと、当該表示デバイスを駆動する駆動回路とを有し、表示再生制御部105の制御に応じて、表示再生制御部105から供給された静止画像データや動像画像データの表示を行う。撮像部101から出力された静止画または動画像データや、記憶制御部113により記憶媒体114から読み出された静止画または動画像データが、表示再生制御部105の制御により、表示部103に表示される。 The
また、制御部108により、プログラムに従い表示制御信号が生成され、表示再生制御部105に供給される。表示再生制御部105は、供給された表示制御信号に基づき表示部103に対して所定の形状やデータを表示させることができる。これにより、プログラムに従い表示部103に対して所定のメッセージやメニュー画面などを表示させることができる。 Further, the
音声出力部104は、表示再生制御部105から供給されたデジタル音声信号をアナログ音声信号に変換するD/A変換部と、D/A変換部で変換されたアナログ音声信号に対して所定の信号処理を施す音声信号処理部とを有する。音声信号処理部から出力されたアナログ音声信号は、図示されないスピーカやヘッドフォン接続端子などに導出される。 The
操作部106は、ボタンやキーなど、ユーザ操作を受け付ける各種の操作子が設けられ、ユーザの操作子に対する操作に応じた信号を出力する。操作部106には、例えば電源ボタンやシャッタボタン、テンキー、十字キーなどの各種の操作子が設けられる。操作子をタッチパネルで構成することも可能である。この場合、操作部106を表示部103と一体的に構成することができる。操作制御部107は、ユーザ操作に応じて操作部106から出力された信号に基づきユーザ操作による指示を解釈し、制御信号として制御部108に対して出力する。制御部108は、操作制御部107から出力される制御信号に基づき、プログラムに従いこの携帯電話端末100の各部を制御することで、ユーザ操作に応じた動作を携帯電話端末100に実行させることができる。 The
検出手段および通信手段としての通信部111は、上述した近接無線通信による通信を行う。より具体的には、通信部111は、近接無線通信を行うためのアンテナと、近接無線通信によるデータの送受信を行う送受信回路を含む。通信部111は、近接無線通信による通信の接続および切断状態、すなわち、当該通信が確立されているか否かを検出することができるようにされ、検出結果が制御部108に通知される。他機器から近接無線通信により送信されたデータは、通信部111により受信され、例えば制御部108に供給される。制御部108は、通信部111から供給されたこのデータを、例えばメモリ110に一時的に格納する。 A
通信I/F122は、RS232C、USB、IEEE1394、LAN、無線通信などにより、外部機器との間でシリアル/パラレル通信によるデータの送受信を有線/無線で行う。無線通信を行う場合、通信I/F122には、アンテナが含まれる。また、通信I/F122は、複数の通信方式を、同時に、あるいは、切り替えて有効にすることが可能である。 The communication I /
電話通信制御部120は、アンテナ121が接続され、携帯電話端末100における電話通信機能を制御する。例えば、電話通信制御部120は、操作部106に対する操作に応じた制御部108の制御により、アンテナ121を介して基地局との通信を行って、無線電話通信を確立する。そして、図示されないマイクロフォンから出力されたアナログ音声信号をデジタル音声信号に変換し、さらに圧縮符号化および変調処理を行い、電波としてアンテナ121から送信する。また、アンテナ121で受信した電波を復調してデジタル音声信号とし、表示再生制御部105を介して音声出力部104に供給する。 The telephone
さらに、電話通信制御部120は、無線電話通信により、データ通信を行うことができる。このデータ通信により、携帯電話端末100をインターネットなどの外部ネットワークに接続させることができる。携帯電話端末100は、電話通信制御部120の制御により行われるデータ通信で、外部ネットワークを介してサーバなどに接続することができる。そして、サーバから、圧縮音声データ、圧縮動画像データ、圧縮静止画像データといったコンテンツデータをダウンロードすることができる。ダウンロードされたコンテンツデータは、制御部108の制御により一旦メモリ110に格納され、その後、必要に応じて記憶媒体114に記憶される。 Furthermore, the telephone
このように、本実施形態による携帯電話端末100は、圧縮静止画データ、圧縮動画像データおよび圧縮音声データに対応するデコード機能を備える表示再生制御部105を有する。そして、この表示再生制御部105により、記憶媒体114に格納された圧縮静止画データ、圧縮動画像データの画像部分を表示部103に出力させることができる。同様に、圧縮動画像データの音声部分や、圧縮音声データを復号して音声出力部104に出力させることが可能である。 As described above, the
なお、記憶媒体114へのデータの格納方法としては、撮像部101による撮影により取得した静止画像データや動画像データを表示再生制御部105で圧縮符号化して格納する方法が考えられる。これに限らず、通信I/F122によりLANなどのネットワークを介してサーバやパーソナルコンピュータに接続し、これらサーバやパーソナルコンピュータから静止画像データ、動画像データ、音声データをダウンロードして格納することもできる。さらには、無線電話通信により電話通信制御部120で得られた静止画像データ、動画像データ、音声データを、記憶媒体114に記憶することもできる。また、記憶媒体114が着脱可能な場合、記憶媒体114をパーソナルコンピュータなど他の情報機器に装着して、当該他の情報機器により静止画像データ、動画像データ、音声データを記憶媒体114に格納することもできる。 As a method for storing data in the
なお、本実施形態では、複数の制御部により携帯電話端末100の制御を行う構成としたが、制御部の構成は必ずしも本実施形態に限定されない。例えば、制御部を1つのハードウェアとし、その制御部が携帯電話端末100全体の制御を行うようにしてもよい。また、適宜複数のハードウェアが協働して携帯電話端末100全体の制御を行うようにしてもよい。これは後述する携帯型音楽プレーヤ200でも同様である。
<データ受信装置について>
図2は、本実施形態に適用可能な携帯型音楽プレーヤ200の一例の構成を示す。図2に例示される携帯型音楽プレーヤ200は、図1で示した携帯電話端末100に対し、撮像、電話通信および電話通信を行うための構成を持たない。より具体的には、携帯型音楽プレーヤ200は、携帯電話端末100に対して、撮像部101および撮像制御部102、電話通信制御部120およびアンテナ121、ならびに、表示部103を持たない。なお、この携帯型音楽プレーヤ200に対して、上述した携帯電話端末100と同様に、表示部を設けてもよい。In the present embodiment, the
<About data receiver>
FIG. 2 shows an example of the configuration of a
バス212に対して、音声再生制御部202、操作制御部204および通信I/F221が接続される。バス212に対して、さらに、制御部205、システムメモリ206、メモリ207、通信部208および記憶制御部210が接続される。バス212に接続される各部は、バス212を介して互いにデータのやりとりが可能とされている。 An audio
記憶制御部210は、所定のファイルシステムに従って、記憶媒体211に対する各種のデータの書き込み、読み出しを行う。記憶媒体211は、携帯型音楽プレーヤ200への着脱が可能な不揮発性の半導体メモリや、ハードディスクドライブなどである。本実施形態では、記憶媒体211を携帯型音楽プレーヤ200に着脱可能なものとして説明するが、記憶媒体211が携帯型音楽プレーヤ200に内蔵されるものであってもよい。 The
制御手段としての制御部205は、例えばCPUを有し、プログラムに従い携帯型音楽プレーヤ200の全体を制御する。より具体的には、制御部205は、ROMであるシステムメモリ206に予め記憶されたプログラムデータを読み出してRAMであるメモリ207の作業領域に展開し、その展開したプログラムデータとの協働により、携帯型音楽プレーヤ200全体の動作を制御する。システムメモリ206は、制御部205の動作用の定数、変数、プログラムデータなどを予め記憶する。 The
メモリ207は、制御部205の作業領域として用いられる他に、撮影された静止画像データや再生されたデータ、後述する通信I/F221を介してネットワーク先のサーバやパーソナルコンピュータからダウンロードして取得したデータなどが格納される。また、メモリ207は、後述する通信部208により受信されたデータや、送信するデータが一時的に格納される。 In addition to being used as a work area for the
また、制御部205により実行されるプログラムにより、上述した記憶制御部210による記憶媒体211に対するデータの読み書きを管理するためのファイルシステムが実現される。 In addition, a file system for managing reading / writing of data with respect to the
音声再生制御部202は、音声出力部201が接続され、制御部205の制御に応じて指定された音声データの、音声出力部201に対する再生制御を行う。すなわち、音声再生制御部202は、例えばMP3方式で圧縮符号化された圧縮音声データをデコードするMP3デコーダを有する。音声再生制御部202は、バス212を介して供給された圧縮音声データをMP3デコーダでデコードし、デジタル音声信号として音声出力部201に供給する。 The audio
音声出力部201は、音声再生制御部202から供給されたデジタル音声信号をアナログ音声信号に変換するD/A変換部と、D/A変換部で変換されたアナログ音声信号に対して所定の信号処理を施す音声信号処理部とを有する。音声信号処理部から出力されたアナログ音声信号は、図示されないスピーカやヘッドフォン接続端子などに導出される。 The
操作部203は、ボタンやキーなど、ユーザ操作を受け付ける各種の操作子が設けられ、ユーザの操作子に対する操作に応じた信号を出力する。操作部203には、例えば電源ボタンや十字キーなどの各種の操作子が設けられる。操作子をタッチパネルで構成することも可能である。この携帯型音楽プレーヤ200が表示部を場合、タッチパネルによる操作部203と表示部とを一体的に構成することができる。 The
操作制御部204は、ユーザ操作に応じて操作部203から出力された信号に基づきユーザ操作による指示を解釈し、制御信号として制御部205に対して出力する。制御部205は、この操作部203に対するユーザ操作に応じて操作制御部204から出力される制御信号に基づき、プログラムに従いこの携帯型音楽プレーヤ200の各部を制御する。これにより、ユーザ操作に応じた動作を携帯型音楽プレーヤ200に実行させることができる。 The
通信手段としての通信部208は、上述した近接無線通信による通信を行う。より具体的には、通信部208は、近接無線通信を行うためのアンテナと、近接無線通信によるデータの送受信を行う送受信回路を含む。通信部208は、近接無線通信による通信の接続および切断状態、すなわち、当該通信が確立されているか否かを検出することができるようにされ、検出結果が制御部205に通知される。他機器から近接無線通信により送信されたデータは、通信部208により受信され、例えば制御部205に供給される。制御部205は、通信部208から供給されたこのデータを、例えばメモリ207に一時的に格納する。 A
通信I/F221は、RS232C、USB、IEEE1394、LAN、無線通信などにより、外部機器との間でシリアル/パラレル通信によるデータの送受信を有線/無線で行う。無線通信を行う場合、通信I/F221には、アンテナが含まれる。また、通信I/F221は、複数の通信方式を、同時に、あるいは、切り替えて有効にすることが可能である。 The communication I /
このように、本実施形態による携帯型音楽プレーヤ200は、圧縮音声データに対応するデコード機能を備える音声再生制御部202により、記憶媒体211に格納された圧縮音声データを音声出力部201に出力させることが可能である。 As described above, the
記憶媒体211へのデータの格納方法としては、通信I/F221によりLAN上のサーバーやPCに接続して音楽データをダウンロードして格納する方法などがある。 As a method for storing data in the
なお、記憶媒体211へのデータの格納方法としては、様々に考えられる。例えば、通信I/F221によりLANなどのネットワークを介してサーバやパーソナルコンピュータに接続し、これらサーバやパーソナルコンピュータから静止画像データ、動画像データ、音声データをダウンロードして格納する方法がある。また、記憶媒体211が着脱可能な場合、記憶媒体211をパーソナルコンピュータなど他の情報機器に装着して、当該他の情報機器により静止画像データ、動画像データ、音声データを記憶媒体211に格納することもできる。
<近接無線通信についての概念的な説明>
次に、本発明の実施形態に適用可能な近接無線通信の概念について、図3を用いて説明する。図3の例では、携帯電話端末100に対して、通信部111のアンテナに対応する送受信部301が設けられる。また、携帯型音楽プレーヤ200に対して、通信部208のアンテナに対応する送受信部302が設けられる。Various methods for storing data in the
<Conceptual explanation of proximity wireless communication>
Next, the concept of close proximity wireless communication applicable to the embodiment of the present invention will be described with reference to FIG. In the example of FIG. 3, a transmission /
送受信部301は、外部機器とNFC技術を用いた近接無線通信を行う。図3(a)に例示するように、携帯電話端末100の送受信部301と携帯型音楽プレーヤ200の送受信部302とが通信可能範囲303の中にあれば、近接無線通信による通信を開始して通信接続される。また、図3(b)に例示されるように、送受信部301と送受信部302とが通信可能範囲303の外にあれば、近接無線通信による通信は開始されない。さらに、送受信部301および302が通信可能範囲303の中にあって通信接続されているときに、送受信部301および302が通信可能範囲303から出てしまった場合は、近接無線通信による通信接続が解除される。 The transmission /
携帯電話端末100(または携帯型音楽プレーヤ200)が近接無線通信の接続および切断状態を判断する方法の例について説明する。一例として、携帯電話端末100の通信部111は、接続先の機器と一定間隔で通信を行い、接続先機器からのレスポンスが一定時間内に無かった場合、通信が切断状態になったと判断することができる。通信の接続も同様に、例えば、通信部111は、接続が確立されていない状態で通信を試み、接続先機器からのレスポンスがあったら、通信が接続状態になったと判断することができる。 An example of a method in which the cellular phone terminal 100 (or the portable music player 200) determines the connection and disconnection state of close proximity wireless communication will be described. As an example, the
これに限らず、例えば電磁誘導により接続先機器に電力を供給するタイプの近接無線通信では、通信部111が電力供給側の場合、接続先機器が通信部111に接近して電力が供給されることで通信が開始される。そして、当該機器が通信部111から離れることで電力の供給が停止し、通信が中断される。これらの近接無線通信による通信の接続および切断の判断は、携帯型音楽プレーヤ200における通信部208でも同様にして行われる。
<データの管理構造について>
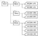
次に、本実施形態に適用可能なデータの管理構造について、概略的に説明する。図4は、携帯電話端末100における、記憶媒体114に格納されるデータの管理構造の一例を示す。携帯電話端末100では、ファイルシステムにより、記憶媒体114に記憶されるデータの管理を、図4に例示されるように階層構造を用いて行う。For example, in proximity wireless communication of a type that supplies power to a connection destination device by electromagnetic induction, when the
<About the data management structure>
Next, a data management structure applicable to the present embodiment will be schematically described. FIG. 4 shows an example of a management structure of data stored in the
すなわち、記憶媒体114において、データはファイルに格納され、ファイルはディレクトリに纏められる。ディレクトリは、さらに別のディレクトリに纏めることができる。このディレクトリにより、階層構造が定義される。階層構造における最上位のディレクトリを、ROOT(ルート)ディレクトリと呼ぶ。全てのファイルは、このROOTディレクトリからディレクトリを順次下位に辿っていくことで、アクセスすることができる。 That is, in the
図4の例では、記憶媒体114において、最上位のROOTディレクトリの直下に、ディレクトリIMAGE、ディレクトリVIDEOおよびディレクトリMUSICが設けられる。ディレクトリIMAGEには静止画像データが、ディレクトリVIDEOには動画像データが、ディレクトリMUSICには音声(音楽)データが格納されるように、制御部108により制御される。 In the example of FIG. 4, in the
図4の例では、ディレクトリIMAGEには、ファイルIMG_0001.JPGおよびファイルIMG_0002.JPGの2つの静止画像データが格納されている。ディレクトリVIDEOには、ファイルVDO_0001.MPGおよびファイルVDO_0002.MPGの2つの動画像データが格納されている。また、ディレクトリMUSICには、ファイルAUD_0001.MP3、ファイルAUD_0002.MP3、ファイルAUD_0003.MP3およびファイルAUD_0004.MP3の4つの音楽データが格納されている。 In the example of FIG. 4, the directory IMAGE contains files IMG_0001. JPG and file IMG — 0002. Two pieces of JPG still image data are stored. In the directory VIDEO, the file VDO_0001. MPG and file VDO — 0002. Two moving image data of MPG are stored. In the directory MUSIC, the file AUD_0001. MP3, file AUD_0002. MP3, file AUD_0003. MP3 and file AUD_0004. Four music data of MP3 are stored.
制御部108は、ファイルシステムにより、この階層構造すなわち各ディレクトリとファイルとの関係を管理すると共に、各ファイルの属性情報を管理する。ファイルの属性情報は、例えばファイル名、ファイルのデータサイズ、ファイルの更新日時、ファイルに対するアクセス許可情報(変更可、読み出しのみ可、など)が含まれる。 The
なお、ファイル名において、「.(ピリオド)」の後ろの3文字は、拡張子であって、ファイルに格納されるデータ種類を示す。図4の例では、拡張子「JPG」は、そのファイルにJPEG方式で圧縮符号化された静止画像データが格納されることを示す。拡張子「MPG」は、そのファイルにMPEG方式で圧縮符号化された動画像データが格納されることを示す。この場合、動画像データに対して、当該動画像データに対して同期的に再生するための音声データを付加させることができる。また、拡張子「MP3」は、そのファイルにMP3方式で圧縮符号化された音声データが格納されることを示す。制御部108は、例えばこの拡張子に基づきファイルに格納されるデータの種類を知ることができる。 In the file name, the three characters after “. (Period)” are extensions and indicate the type of data stored in the file. In the example of FIG. 4, the extension “JPG” indicates that still image data compressed and encoded by the JPEG method is stored in the file. The extension “MPG” indicates that moving image data compressed and encoded by the MPEG method is stored in the file. In this case, audio data for synchronously reproducing the moving image data can be added to the moving image data. The extension “MP3” indicates that audio data compressed and encoded by the MP3 method is stored in the file. For example, the
ユーザは、操作部106を操作することにより、記憶媒体114に上述のようにして格納されたデータから1または複数を選択して表示あるいは再生させることができる。 By operating the
なお、上述では、階層構造のデータ管理が携帯電話端末100に対して適用されるように説明したが、これはこの例に限定されない。すなわち、携帯型音楽プレーヤ200でも、記憶媒体211に格納されるデータを階層構造で管理することができる。また、データの管理構造は、階層構造に限られない。例えば、上述した拡張子のみを用いてデータ管理を行うことが可能である。また、上述では、ファイルの種類を拡張子で判別するように説明したが、これはこの例に限定されない。例えば、ファイルのヘッダ部分のファイルの種類を識別するための識別情報を記述しておき、制御部108は、このヘッダ部分に記述された識別情報に基づき、ファイルに格納されるデータ種類を判別することが考えられる。 In the above description, the hierarchical data management is applied to the
以下では、煩雑さを避けるため、MP3方式で圧縮符号化された音声データが格納されるファイルを、MP3ファイルと呼ぶ。同様に、JPEG方式で圧縮符号化された静止画像データが格納されるファイルをJPEGファイル、MPEG方式で圧縮符号化されたデータが格納されるファイルをMPEGファイルと呼ぶ。
<近接無線通信によるデータ送信のシーケンスについて>
次に、本実施形態における近接無線通信による通信シーケンスの一例について、図5を用いて概略的に説明する。ここでは、携帯電話端末100を携帯型音楽プレーヤ200に接近させて、携帯電話端末100の記憶媒体114に格納されるデータを携帯型音楽プレーヤ200に対して近接無線通信により送信する例について説明する。In the following, in order to avoid complexity, a file in which audio data compressed and encoded by the MP3 method is stored is referred to as an MP3 file. Similarly, a file storing still image data compressed and encoded by the JPEG method is called a JPEG file, and a file storing data compressed and encoded by the MPEG method is called an MPEG file.
<Data transmission sequence by proximity wireless communication>
Next, an example of a communication sequence by close proximity wireless communication in the present embodiment will be schematically described with reference to FIG. Here, an example in which the
先ず、ユーザは、携帯電話端末100を携帯型音楽プレーヤ200に接近させ、互いの送受信部301および302が通信可能範囲303の中に入るようにする(ステップS500)。携帯電話端末100の通信部111と携帯型音楽プレーヤ200の通信部208は、互いの距離が通信可能範囲303まで近付いたことを検知すると、通信部111および通信部208の間で所定のやりとりを行う。これにより、携帯電話端末100と携帯型音楽プレーヤ200との間で、近接無線通信による接続が確立される(SEQ500)。 First, the user brings the
SEQ500で近接無線通信による接続が確立されると、携帯電話端末100と携帯型音楽プレーヤ200との間で、機器情報の交換が行われる(SEQ501)。ここで交換される機器情報として、機器を一意に示すための機器IDと、送受信のモード設定情報が含まれる。携帯電話端末100および携帯型音楽プレーヤ200は、交換された機器情報に含まれるこれらの情報を用いて、相手側の機器の識別や、送信および受信の可否を判断する。 When the connection by the close proximity wireless communication is established in SEQ500, device information is exchanged between the
図6は、携帯電話端末100と携帯型音楽プレーヤ200との間で交換される機器情報の一例を示す。図6(a)は、携帯電話端末100から携帯型音楽プレーヤ200に送信される機器情報の例を示す。この例では、携帯電話端末100は、機器IDが“ABC”であり、送信モードが有効(ON)、受信モードが無効(OFF)になっていることが示される。これは、現在の携帯電話端末100が、データを送信するデータ送信装置として機能可能であることを示す。 FIG. 6 shows an example of device information exchanged between the
一方、図6(b)は、携帯型音楽プレーヤ200から携帯電話端末100に送信される機器情報の例を示す。この例では、携帯型音楽プレーヤ200は、機器IDが“XYZ”であり、送信モードが無効(OFF)、受信モードが有効(ON)になっていることが示される。これは、現在の携帯型音楽プレーヤ200が、データを受信するデータ受信装置として機能可能であることを示す。 On the other hand, FIG. 6B shows an example of device information transmitted from the
このような、機器IDと送受信モードを示す情報とを含む機器情報を交換することにより、携帯電話端末100と携帯型音楽プレーヤ200は、互いに相手機器の機器IDを認識することができる。それと共に、携帯電話端末100と携帯型音楽プレーヤ200は、携帯電話端末100から携帯型音楽プレーヤ200へのデータ転送が有効であることを認識できる。 By exchanging such device information including the device ID and information indicating the transmission / reception mode, the
SEQ501において携帯電話端末100と携帯型音楽プレーヤ200との間で機器情報の交換を行った後、データ受信装置である携帯型音楽プレーヤ200は、受信データ情報を携帯電話端末100に対して送信する(SEQ502)。受信データ情報は、携帯型音楽プレーヤ200が表示あるいは再生処理可能である圧縮符号化方式やデータフォーマットといったフォーマット情報と、携帯型音楽プレーヤ200が受信可能なデータサイズの情報とを含む。 After exchanging device information between the
図7は、携帯型音楽プレーヤ200から送信される受信データ情報の一例を示す。図7の例では、受信データ情報の送信元の機器IDが“XYZ”であることが示される。そして、この機器IDが“XYZ”である機器が処理可能なデータフォーマットが“MP3”であることがフォーマット情報により示される。また、記憶媒体211の空き容量、すなわち、携帯型音楽プレーヤ200が受信できる最大のデータサイズが“123kB”であることが示される。なお、データフォーマット“MP3”は、MP3方式で圧縮符号化されたデータであることを示す。 FIG. 7 shows an example of received data information transmitted from the
続いて、携帯電話端末100は、SEQ502で携帯型音楽プレーヤ200から送信された受信データ情報を受信した後、ユーザに対する切断報知処理を行う(SEQ503)。切断報知処理は、携帯電話端末100と携帯型音楽プレーヤ200との間で機器情報、受信データ情報の送受信の完了を、ユーザに報知するために行われる。具体的な例として、携帯電話端末100の音声出力部104によって報知音を鳴らしたり、図8に例示されるように、表示部103に対してメッセージ400が表示される。図8の例では、携帯電話端末100をデータ送信先の機器から離すことを促すメッセージと共に、次に送信するファイルを選択する動作が開始されることが報知される。 Subsequently, after receiving the reception data information transmitted from the
この携帯電話端末100における切断報知処理により、ユーザは、携帯電話端末100と携帯型音楽プレーヤ200との間で機器情報、受信データ情報の送受信が完了したことを知ることができる。また、次の送信ファイルの選択に進むためには、近接無線通信による通信接続を切断すればよいことを知ることができる。 Through the disconnection notification process in the
SEQ503の報知により近接無線通信が切断可能であることを知ったユーザにより、例えば携帯電話端末100が携帯型音楽プレーヤ200から遠ざけられる(ステップS501)。これにより、携帯電話端末100の送受信部301と携帯型音楽プレーヤ200の送受信部302とが通信可能範囲303から出ると、携帯電話端末100と携帯型音楽プレーヤ200との間の近接無線通信が切断される(SEQ504)。 For example, the
ステップS502において、携帯電話端末100は、操作部106に対する操作に応じて、ファイル送信のための設定を行う設定画面を表示部103に対して表示させる。より具体的には、携帯電話端末100は、表示部103に対して記憶媒体114に格納されているファイルの情報に基づき、送信ファイルを選択し指定する選択画面を、データ送信のための設定画面として表示部103に対して表示させる。このとき、携帯電話端末100は、上述のSEQ502で携帯型音楽プレーヤ200から取得した受信データ情報に含まれるフォーマット情報に一致するデータが格納されるファイルのみを、当該選択画面に表示させる。 In step S <b> 502, the
図9は、携帯電話端末100の表示部103に表示される選択画面410の一例を示す。図7を用いて説明したように、携帯電話端末100は、携帯型音楽プレーヤ200が“MP3”で示されるデータフォーマットおよび圧縮符号化を処理可能である旨を、受信データ情報のフォーマット情報に基づき取得している。 FIG. 9 shows an example of the
そこで、携帯電話端末100は、図9に例示されるように、選択画面410に対して、図4を用いて説明した記憶媒体114に格納されるファイルのうち、送信候補データとして、MP3ファイルを選択的にリスト表示する。一方、受信データ情報のフォーマット情報に基づき、携帯型音楽プレーヤ200が対応していないとされた、JPEGファイルおよびMPEGファイルは、選択画面410に表示しない。 Therefore, as illustrated in FIG. 9, the
図9に示される画面が表示された後、ユーザは、携帯電話端末100の操作部106を操作して、携帯型音楽プレーヤ200に送信するデータを指定する(ステップS502)。この選択操作の際には、携帯電話端末100と携帯型音楽プレーヤ200との間で、近接無線通信の接続を確立させておく必要は、無い。したがって、ユーザは、近接無線通信による通信可能範囲303の制約を受けることなく、送信データの指定を行うことができる。 After the screen shown in FIG. 9 is displayed, the user operates the
ステップS502の選択操作により、図9に例示されるように、ファイルAUD_0002.MP3およびファイルAUD_0003.MP3の2つのファイルが、携帯型音楽プレーヤ200に対して送信するファイルとして指定されたものとする。 As a result of the selection operation in step S502, as illustrated in FIG. MP3 and file AUD_0003. Assume that two MP3 files are designated as files to be transmitted to the
ステップS502では、さらに、携帯電話端末100は、送信するデータの指定を操作部106に対する操作により受け付ける際に、選択されたデータサイズのチェックを行う。すなわち、携帯電話端末100は、選択画面410により選択され送信ファイルとして指定されたファイルの合計サイズを、ファイルシステムにより取得する。そして、取得した合計サイズと、SEQ502にて携帯型音楽プレーヤ200から受信された受信データ情報に含まれる、携帯型音楽プレーヤ200が受信可能なデータサイズとを比較する。比較の結果、送信ファイルとして指定されたファイルの合計サイズが、携帯型音楽プレーヤ200が受信可能なデータサイズを超えた場合に、図10に例示されるように、その旨をユーザに警告するためのメッセージ420を表示部103に表示する。図10の例では、メッセージ420が選択画面410に対してオーバーラップして表示されている。なお、このメッセージ420が表示されている間は、選択完了ボタン411を指定することはできない。このメッセージ420の表示により、ユーザに対して、携帯型音楽プレーヤ200が受信可能なサイズの範囲内での送信データの指定をさせることが可能となる。 In step S502, the
選択画面410において、操作部106の操作により選択完了ボタン411が指定されると、送信ファイルの指定が完了したことが制御部108に通知される。なお、送信中止ボタン412を指定することで、一連のファイル送信操作を中止することができる。 When the
ユーザによる送信ファイルの指定が完了すると、携帯電話端末100は、表示部103に対して、図11に例示されるように、携帯電話端末100を再び携帯型音楽プレーヤ200に近付けるように促すメッセージ430を表示部103に対して表示させる。なお、この場合でも、送信中止ボタン431を指定することで、一連のファイル送信操作を中止することができる。 When the specification of the transmission file by the user is completed, the
送信ファイルの指定が完了した後、例えばメッセージ430に従い、ユーザにより再び携帯電話端末100が携帯型音楽プレーヤ200に近付けられる(ステップS503)。携帯電話端末100の送受信部301と携帯型音楽プレーヤ200の送受信部302とが通信可能範囲303の中に入ると、携帯電話端末100と携帯型音楽プレーヤ200との間で、近接無線通信が再度検出され、通信の接続が再確立される(SEQ505)。 After the designation of the transmission file is completed, for example, according to the message 430, the
SEQ505で携帯電話端末100と携帯型音楽プレーヤ200との間で近接無線通信による接続が確立されると、携帯電話端末100と携帯型音楽プレーヤ200の間で、再び、機器情報の交換が行われる(SEQ506)。SEQ506において携帯型音楽プレーヤ200との再接続を認識した携帯電話端末100は、次のSEQ507で、送信データ情報を携帯型音楽プレーヤ200に対して送信する。 When the connection by the close proximity wireless communication is established between the
送信データ情報は、上述のステップS502で送信対象として選択されたファイルに関する情報である。より具体的には、送信データ情報は、例えば送信するファイルの数、送信するファイルそれぞれの名前およびファイルサイズの情報を含む。携帯型音楽プレーヤ200は、携帯電話端末100から送信された送信データ情報を用いて、データ受信の準備を行う。 The transmission data information is information regarding the file selected as the transmission target in step S502 described above. More specifically, the transmission data information includes, for example, information on the number of files to be transmitted, the name of each file to be transmitted, and the file size. The
図12は、送信データ情報の一例を示す。この例では、送信データ情報において、データ送信を行う機器の機器IDが“ABC”であり、送信されるファイルの数が2ファイルであることが示される。さらに、送信される2ファイルのそれぞれについて、ファイル名(“AUD_0002.MP3”および“AUD_0003.MP3”と、ファイルサイズ(それぞれ50kB)とが示される。 FIG. 12 shows an example of transmission data information. In this example, the transmission data information indicates that the device ID of the device that performs data transmission is “ABC” and the number of files to be transmitted is two files. Furthermore, the file names (“AUD — 0002.MP3” and “AUD — 0003.MP3” and the file sizes (50 kB each) are shown for each of the two files to be transmitted.
続いて、携帯電話端末100は、携帯型音楽プレーヤ200に対するデータの送信を開始する(SEQ508)。この例では、図12の送信データ情報に示されるファイルAUD_0002.MP3とファイルAUD_0003.MP3とが、携帯電話端末100から携帯型音楽プレーヤ200に対して送信されるものとする。SEQ508において送信データ情報に記述された全てのデータの送信が完了すると、携帯電話端末100は、切断報知処理を行う(SEQ509)。例えば、携帯電話端末100は、表示部103に対して、指定された全てのファイルの送信が完了した旨を示すメッセージを表示させると共に、送信が完了したため近接無線通信を切断可能である旨を示すメッセージを表示させる。携帯電話端末100の音声出力部104によって、所定の報知音を出力するようにしてもよい。 Subsequently, the
このSEQ509における報知によって近接無線通信が切断可能であることを知ったユーザにより、携帯電話端末100と携帯型音楽プレーヤ200とが離される(ステップS504)。これにより、携帯電話端末100の送受信部301と携帯型音楽プレーヤ200の送受信部302とが通信可能範囲303の外に出ると、近接無線通信が切断される(SEQ510)。なお、SEQ509による報知から所定時間が経過したら、自動的に近接無線通信を切断するようにもできる。
<送信側および受信側の各機器における具体的な処理>
ここまでが、本実施形態におけるデータの送受信におけるシーケンスの説明である。次に、送信側および受信側の各装置における具体的な処理の例を示す。
<送信側機器における具体的な処理>
図13は、データ送信側である携帯電話端末100における処理の一例を示すフローチャートである。なお、図13のフローチャートの各処理は、制御部108によりプログラムに従って実行される。The
<Specific processing in each device on the transmission side and reception side>
Up to this point, the sequence of data transmission / reception in the present embodiment has been described. Next, an example of specific processing in each device on the transmission side and the reception side will be described.
<Specific processing in the transmitting device>
FIG. 13 is a flowchart showing an example of processing in the
先ず、ステップS1201で、制御部108は、データ送信先の機器である外部機器との間で近接無線通信による接続の確立が検出されるのを待機する。図3で示したように、外部機器の近接無線通信による送受信部と、携帯電話端末100の送受信部301とが通信可能範囲303の中に入れば、ユーザが特に操作を行うことなく、自動的に近接無線通信による接続が確立される。 First, in step S1201, the
ステップS1201で、外部機器との近接無線通信による通信接続の確立が検出されたら、処理はステップS1202に移行され、携帯電話端末100から外部機器に対して、機器情報が送信される。また、次のステップS1203で、携帯電話端末100は、当該外部機器から送信された機器情報を受信する。図6を用いて説明したように、機器情報には、機器IDと送受信のモード設定情報が含まれる。携帯電話端末100は、受信した機器情報を、例えばメモリ110に格納させる。機器情報を記憶媒体114に格納してもよい。 If it is detected in step S1201 that the communication connection with the external device is established by proximity wireless communication, the process proceeds to step S1202, and device information is transmitted from the
なお、携帯電話端末100は、メモリ110や記憶媒体114に、前回の通信相手の機器情報を保持しているものとする。この場合には、受信した機器情報の機器IDに基づき、保持されている機器情報から今回の接続先の外部機器に対応する機器情報を特定することができる。 It is assumed that the
次のステップS1204において、制御部108は、ステップS1203で受信された機器情報を送信した外部機器が、前回近接無線通信による通信を行った外部機器であるか否かが判定される。すなわち、ステップS1204では、ステップS1203で受信された機器情報を送信した外部機器が、ステップS1201で通信が確立されるより以前に通信した外部機器であるか否かを判定する。 In the next step S1204, the
ステップS1203で説明したように、携帯電話端末100は、前回通信した外部機器の機器IDと、今回のステップS1201で通信を確立した外部機器の機器IDとを保持している。ステップS1204では、制御部108は、前回通信した外部機器の機器IDと、今回通信が確立された外部機器の機器IDとを比較する。 As described in step S1203, the
若し、比較した機器IDが一致しないと判定されたら、処理はステップS1205に移行される。この場合、ステップS1201で接続が確立された外部機器とは、一連の処理において1度目の接続であることを意味する。ここでは、携帯電話端末100は、当該外部機器と初めて近接無線通信による接続を行ったものとして説明する。 If it is determined that the compared device IDs do not match, the process proceeds to step S1205. In this case, the external device whose connection is established in step S1201 means the first connection in a series of processes. Here, description will be given assuming that the
ステップS1205で、携帯電話端末100は、携帯型音楽プレーヤ200から送信された受信データ情報を受信する。ここでは、受信データ情報として、上述したように、接続先の外部機器が表示あるいは再生処理の可能な圧縮符号化やデータフォーマットを示すフォーマット情報、および携帯型音楽プレーヤ200が受信できるデータサイズの情報を取得する。この受信データ情報は、後述するようにして当該外部機器において生成され、携帯電話端末100に対して送信される。制御部108は、取得した受信データ情報を、メモリ110または記憶媒体114に格納させる。 In step S1205, the
ステップS1205での受信データ情報の取得が完了すると、処理はステップS1206に移行する。ステップS1206で、制御部108は、近接無線通信により接続された外部機器との通信の切断を促す報知処理を、表示部103に対するメッセージ400の表示や(図8参照)、音声出力部104による音声出力などを用いて行う。 When the acquisition of the reception data information in step S1205 is completed, the process proceeds to step S1206. In step S <b> 1206, the
次のステップS1207において、制御部108は、外部機器との近接無線通信による接続の切断を待機する。外部機器との近接無線通信による接続の切断が検出されたら、処理はステップS1208に移行される。 In the next step S <b> 1207, the
ステップS1208では、制御部108は、送信ファイルを指定するため、送信候補のファイルを一覧表示して示す選択画面410を表示部103に対して表示させる(図9参照)。ユーザは、この選択画面410に従い操作部106を操作することで、外部機器に送信するためのファイルを選択および指定することができる。 In step S1208, in order to designate a transmission file, the
なお、ステップS1208では、既に説明したように、制御部108は、ステップS1205にてメモリ110または記憶媒体114に記憶した受信データ情報に含まれるフォーマット情報と、記憶媒体114に格納しているファイルの情報とを比較する。そして、比較の結果、フォーマット情報に対応するデータフォーマットのデータが格納されたファイルのみを一覧表示して、表示部103に対して選択画面410を表示させる。 In step S1208, as already described, the
処理はステップS1209に移行され、制御部108は、操作部106に対する選択画面410に応じた操作を待機する。例えば、ステップS1209では、送信ファイルの選択操作、選択済みのファイルを未選択の状態に戻す操作、ならびに、ファイルの選択が完了した旨を示す操作が待機される。なお、ステップS1209でのファイルの選択は、累積的に行われる。 The process proceeds to step S1209, and the
選択画面410に従った操作部106対するユーザ操作により、携帯電話端末100から外部機器に対して送信したいファイルが選択されたら、制御部108は、現在選択されているファイルの合計サイズを算出する。そして、算出されたファイルの合計サイズが、ステップS1205で取得した受信データ情報に含まれる、外部機器が受信可能なデータサイズを超えるか否かを判定する。 When a file to be transmitted from the
若し、超えると判定した場合、処理がステップS1210に移行される。ステップS1210で、制御部108は、送信ファイルの合計サイズが外部機器の受信可能データサイズを超えていることを警告する警告メッセージ420を表示部103に表示させると共に(図10参照)、直前のファイル指定を無効とする。そして、処理はステップS1209に戻され、制御部108は、操作部106に対する次の操作を待機する。 If it is determined that it exceeds, the process proceeds to step S1210. In step S1210, the
一方、ステップS1209で、算出されたファイルの合計サイズが、外部機器が受信可能なデータサイズを超えないと判定されたら、処理はステップS1211に移行される。ステップS1211で、制御部108は、操作部106に対してファイル指定操作の完了を指示する操作が行われたか否かを判定する。若し、当該操作が行われていないと判定されたら、処理はステップS1209に戻され、制御部108は、選択画面410に従ったユーザ操作を待機する。 On the other hand, if it is determined in step S1209 that the calculated total file size does not exceed the data size that can be received by the external device, the process proceeds to step S1211. In step S1211, the
一方、ステップS1211で、ファイル指定操作の完了を支持する操作が行われたと判定されたら、送信ファイルが確定され、処理はステップS1212に移行される。ステップS1212で、制御部108は、携帯電話端末100と外部機器との近接無線通信による接続を再開させるため、互いの接近を促すメッセージ430を表示部103に表示させる(図11参照)。そして、処理はステップS1201に戻され、制御部108は、携帯電話端末100と外部機器との近接無線通信による接続の確立を待機する。 On the other hand, if it is determined in step S1211 that an operation supporting the completion of the file designation operation has been performed, the transmission file is determined, and the process proceeds to step S1212. In step S <b> 1212, the
なお、ステップS1212において、互いの接近を促すメッセージ430を表示した後に一定時間経過してもステップS1201での近接無線通信処理の確立が検出されない場合は、メッセージ430の表示を終了させてもよい。 In step S1212, when the establishment of the close proximity wireless communication process in step S1201 is not detected even after a predetermined time has elapsed after displaying the message 430 prompting the mutual approach, the display of the message 430 may be terminated.
次に、ステップS1201に処理が戻り、携帯電話端末100と携帯型音楽プレーヤ200との近接無線通信による通信接続が再開された場合の処理、すなわち、ステップS1213以降の処理について説明する。 Next, the processing when the processing returns to step S1201 and the communication connection by the close proximity wireless communication between the
上述のステップS1204での、前回通信した外部機器の機器IDと、今回通信が確立された外部機器の機器IDとの比較の結果、両者の機器IDが一致したと判定されたら、処理はステップS1213に移行される。この場合には、今回通信が確立された外部機器は、前回すなわち直近の処理により通信が確立し、その後、一旦通信が切断された外部機器であると判断することができる。 If it is determined in step S1204 that the device ID of the external device with which communication was performed last time and the device ID of the external device with which communication was established this time are determined to match, the process proceeds to step S1213. It is transferred to. In this case, it is possible to determine that the external device for which communication has been established this time is the external device for which communication has been established by the previous process, that is, the most recent process, and thereafter communication has been temporarily disconnected.
ステップS1213において、制御部108は、上述したステップS1211でユーザ操作により指定された送信データに関する送信データ情報を、通信部111から近接無線通信により外部機器に送信する処理を行う。送信データ情報は、既に説明したように、上述のステップS1209で送信対象として選択されたファイルに関する情報である。より具体的には、送信データ情報は、例えば送信するファイルの数、送信するファイルそれぞれの名前およびサイズの情報を含む。送信データ情報は、データの受信側である外部機器において、データの受信のための準備処理のために用いられる。 In step S1213, the
ステップS1213で送信データ情報が携帯電話端末100から外部機器に対して送信されると、処理はステップS1214に移行される。ステップS1214では、制御部108は、ステップS1211においてユーザから指定されたファイルを外部機器に対して送信する処理を行う。このとき、ステップS1214で、制御部108は、送信中であることを示すメッセージを携帯電話端末100の表示部103に表示させる(図示しない)。 When the transmission data information is transmitted from the
なお、途中で近接無線通信による通信が途切れた場合は、次回の通信時に制御部108がステップS1213からの処理をやり直すことでファイルの再送信を行うことができる。この場合、ステップS1211で確定された送信ファイルのうち送信が未完了のファイルを示す情報をメモリ110や記憶媒体114などに保持しておくとよい。 Note that, when communication by close proximity wireless communication is interrupted in the middle, the
ステップS1214によるファイル送信が完了すると、処理はステップS1215に移行される。ステップS1215で、制御部108は、近接無線通信による接続の解除を促すメッセージを表示部103に表示させる報知処理を行う。すなわち、携帯電話端末100では、この報知処理により、指定されたデータを送信した後に、携帯電話端末100を操作するユーザに対して近接無線通信による通信接続の解除を促すことができる。 When the file transmission in step S1214 is completed, the process proceeds to step S1215. In step S <b> 1215, the
なお、ステップS1205で受信データ情報を記憶媒体114に記憶している場合、ステップS1215におけるデータの送信が完了したことを検出した際に、制御部108は、この記憶媒体114に記憶した受信データ情報を自動的に削除してもよい。この処理を行うことで、携帯電話端末100の記憶媒体114の容量を削減することが可能になる。なお、ファイルの受信側である外部機器においても、上述した図8および図11に示すような、機器を離したり、近付けたりする動作を促す画面を表示してもよい。 When reception data information is stored in the
また、ステップS1216において制御部108は、保持していた通信相手に関する機器情報を消去する。この処理により、再度携帯型音楽プレーヤ200と通信した場合は、ステップS1205〜ステップS1212の処理を実行し、データの指定を改めて行うことができる。 In step S1216, the
上述した処理により、携帯電話端末100では、外部機器に対してデータを送信する場合に、近接無線通信による接続を保つことなく、外部機器が表示あるいは再生処理可能なデータを選択することが可能となる。また、選択された送信データは、外部機器との近接無線通信による接続が再び確立された際に、自動的に送信されることになる。
<受信側機器における具体的な処理>
図14は、データ受信側である携帯型音楽プレーヤ200における処理の一例を示すフローチャートである。なお、図14のフローチャートの各処理は、制御部205によりプログラムに従って実行される。Through the above-described processing, when transmitting data to an external device, the
<Specific processing in the receiving device>
FIG. 14 is a flowchart showing an example of processing in the
先ず、ステップS1301で、制御部205は、外部機器との間で近接無線通信による接続の確立が検出されるのを待機する。このステップS1301での処理は、上述した図13のフローチャートにおけるステップS1201の処理と同様にしてなされる。 First, in step S1301, the
ステップS1301で、外部機器との近接無線通信による通信接続の確立が検出されたら、処理はステップS1302に移行され、携帯型音楽プレーヤ200は、外部機器に対して機器情報を送信する。また、次のステップS1303で、携帯型音楽プレーヤ200は、当該外部機器から送信された機器情報を受信する。携帯型音楽プレーヤ200は、受信した機器情報を、例えばメモリ207に格納させる。機器情報を記憶媒体211に格納してもよい。 If establishment of a communication connection by proximity wireless communication with an external device is detected in step S1301, the process proceeds to step S1302, and the
なお、携帯型音楽プレーヤ200は、メモリ207や記憶媒体211に、前回の通信相手の機器情報を保持しているものとする。この場合には、受信した機器情報の機器IDに基づき、保持されている機器情報から今回の接続先の外部機器に対応する機器情報を特定することができる。 It is assumed that
次のステップS1304では、図13のフローチャートのステップS1203と同様にして、制御部205は、ステップS1303で受信された機器情報を送信した外部機器が、前回近接無線通信による通信を行った外部機器であるか否かを判定する。すなわち、ステップS1304では、ステップS1303で受信された機器情報を送信した外部機器が、ステップS1301で通信が確立されるより以前に通信した外部機器であるか否かを判定する。判定は、制御部205が、前回通信した外部機器の機器IDと、今回通信が確立された外部機器の機器IDとを比較することで行う。 In the next step S1304, similar to step S1203 in the flowchart of FIG. 13, the
若し、比較した機器IDが一致しないと判定されたら、処理はステップS1305に移行される。この場合、ステップS1301で接続が確立された外部機器とは、一連の処理において1度目の接続であることを意味する。ここでは、携帯型音楽プレーヤ200は、当該外部機器と初めて近接無線通信による接続を行ったものとして説明する。 If it is determined that the compared device IDs do not match, the process proceeds to step S1305. In this case, the external device whose connection is established in step S1301 means the first connection in a series of processes. Here, it is assumed that
ステップS1305で、携帯型音楽プレーヤ200において、制御部205は、外部機器に対して受信データ情報を送信する処理を行う。制御部205は、受信データ情報として、当該携帯型音楽プレーヤ200が表示あるいは再生処理の可能な圧縮符号化やデータフォーマットを示すフォーマット情報、および携帯型音楽プレーヤ200が受信できるデータサイズの情報を生成する。 In step S1305, in the
ステップS1305での受信データ情報の送信が完了すると、処理はステップS1306に移行され、制御部205は、外部機器との間の近接無線通信による通信の切断が検出されるのを待機する。通信の切断が検出されたら、処理はステップS1301に戻され、制御部205は、近接無線通信による接続が次に検出されるのを待機する。 When the transmission of the received data information in step S1305 is completed, the process proceeds to step S1306, and the
次に、ステップS1301に処理が戻り、携帯型音楽プレーヤ200と外部機器との近接無線通信による通信接続が再開された場合の処理、すなわち、ステップS1307以降の処理について説明する。 Next, the processing when the processing returns to step S1301 and the communication connection between the
上述のステップS1304での、前回通信した外部機器の機器IDと、今回通信が確立された外部機器の機器IDとの比較の結果、両者の機器IDが一致したと判定されたら、処理はステップS1307に移行される。この場合には、今回通信が確立された外部機器は、前回すなわち直近の処理により通信が確立し、その後、一旦通信が切断された外部機器であると判断することができる。 If it is determined in step S1304 that the device ID of the external device with which communication was performed last time and the device ID of the external device with which communication has been established as a result of comparison, the processing ID is determined to match, step S1307. It is transferred to. In this case, it is possible to determine that the external device for which communication has been established this time is the external device for which communication has been established by the previous process, that is, the most recent process, and thereafter communication has been temporarily disconnected.
ステップS1307において、制御部205は、外部機器から送信された送信データ情報を受信する処理を行う。送信データ情報は、上述したように、外部機器が携帯型音楽プレーヤ200に対して送信するファイルの数、送信するファイルそれぞれの名前およびサイズの情報を含む。携帯型音楽プレーヤ200は、受信した送信データ情報に基づき、データ受信のためのメモリの確保や、受信データをディレクトリ構造に追加するための更新処理など、データ受信のための準備処理を行う。 In step S1307, the
次のステップS1308で、制御部205は、外部機器から近接無線通信により、上述の送信データ情報に基づき送信されるデータを受信する処理を行う。受信されたデータは、制御部205の制御により、例えば記憶制御部210を介して記憶媒体211に格納される。 In the next step S1308, the
また、ステップS1309において制御部205は、保持していた通信相手に関する機器情報を消去する。この処理により、再度携帯電話端末100と通信した場合は、再度ステップS1305、ステップS1306の処理を実行することで、携帯電話端末100側でデータの指定を行うことができる。 In step S1309, the
上述した処理により、外部機器から近接無線通信を介して携帯型音楽プレーヤ200にデータを送信する際に、近接無線通信による接続状態を保つことなく、携帯型音楽プレーヤ200が表示あるいは再生可能なデータを外部機器側で選択させることが可能となる。また、選択された送信データは、近接無線通信による外部機器との接続が再び確立された際に、外部機器から自動的に送信されることになる。 By the above-described processing, when data is transmitted from an external device to the
なお、上述した実施形態は、一例を示すものであり、これに限定するものではない。上述した実施形態における構成および動作に関しては、適宜変更が可能である。 In addition, embodiment mentioned above shows an example and is not limited to this. The configuration and operation in the above-described embodiment can be changed as appropriate.
例えば、本実施形態では、携帯電話端末100と携帯型音楽プレーヤ200との間でデータを送受信する構成を示したが、これはこの例に限定されない。すなわち、本発明は、近接無線通信機能を備えた機器間での通信であれば、他の種類の機器であっても適用できる。例えば、近接無線通信機能を備えたデジタルカメラ、デジタルビデオカメラ、パーソナルコンピュータ、PDAなどに対して、本発明を適用することができる。 For example, in the present embodiment, a configuration in which data is transmitted and received between the
また、本実施形態では、受信データ情報に含まれるフォーマット情報として、データフォーマット“MP3”を一例として示して説明したが、受信データ情報に含まれるフォーマット情報は、この例に限定されない。すなわち、音声データに関しては、MP3方式以外、動画像データに関して、JPEG方式、MPEG2方式、MPEG4方式、H.264方式など、受信装置側のデータ処理機能に応じたフォーマット情報であってもよい。 In the present embodiment, the format information included in the received data information has been described by taking the data format “MP3” as an example. However, the format information included in the received data information is not limited to this example. That is, for audio data, other than the MP3 system, for moving image data, the JPEG system, the MPEG2 system, the MPEG4 system, H.264, etc. The format information according to the data processing function on the receiving apparatus side, such as H.264, may also be used.
また、本実施形態では、受信データ情報に対して、受信側機器が表示あるいは再生可能なフォーマット情報と、受信側機器が受信可能なデータサイズの情報とが含まれるものとしたが、これはこの例に限定されない。例えば、受信側機器が著作権保護されたデータを処理することが可能か否かを示す情報を、受信データ情報に含めてもよい。送信側機器が著作権保護されたデータを保持する場合は、この情報に基づいて、送信するデータを指定するための選択画面で一覧表示するデータに、著作権保護されたデータを含めるか否かを決定することができる。
<他の実施形態>
上述の実施形態は、システムあるいは装置のコンピュータ(或いはCPU、MPU等)によりソフトウェア的に実現することも可能である。したがって、上述の実施形態をコンピュータで実現するために、該コンピュータに供給されるコンピュータプログラム自体も本発明を実現するものである。つまり、上述の実施形態の機能を実現するためのコンピュータプログラム自体も本発明の一つである。Further, in the present embodiment, the received data information includes format information that can be displayed or reproduced by the receiving device and data size information that can be received by the receiving device. It is not limited to examples. For example, information indicating whether or not the receiving device can process copyright-protected data may be included in the received data information. If the sending device holds copyright-protected data, whether or not to include copyright-protected data in the data displayed in the list on the selection screen for specifying the data to be transmitted based on this information Can be determined.
<Other embodiments>
The above-described embodiment can also be realized in software by a computer (or CPU, MPU, etc.) of a system or apparatus. Accordingly, the computer program itself supplied to the computer in order to realize the above-described embodiment by the computer also realizes the present invention. That is, the computer program itself for realizing the functions of the above-described embodiments is also one aspect of the present invention.
なお、上述の実施形態を実現するためのコンピュータプログラムは、コンピュータで読み取り可能であれば、どのような形態であってもよい。例えば、オブジェクトコード、インタプリタにより実行されるプログラム、OSに供給するスクリプトデータ等で構成することができるが、これらに限るものではない。 The computer program for realizing the above-described embodiment may be in any form as long as it can be read by a computer. For example, it can be composed of object code, a program executed by an interpreter, script data supplied to the OS, but is not limited thereto.
上述の実施形態を実現するためのコンピュータプログラムは、記憶媒体又は有線/無線通信によりコンピュータに供給される。プログラムを供給するための記憶媒体としては、例えば、フレキシブルディスク、ハードディスク、磁気テープ等の磁気記憶媒体、MO、CD、DVD等の光/光磁気記憶媒体、不揮発性の半導体メモリなどがある。 A computer program for realizing the above-described embodiment is supplied to a computer via a storage medium or wired / wireless communication. Examples of the storage medium for supplying the program include a magnetic storage medium such as a flexible disk, a hard disk, and a magnetic tape, an optical / magneto-optical storage medium such as an MO, CD, and DVD, and a nonvolatile semiconductor memory.
有線/無線通信を用いたコンピュータプログラムの供給方法としては、コンピュータネットワーク上のサーバを利用する方法がある。この場合、本発明を形成するコンピュータプログラムとなりうるデータファイル(プログラムファイル)をサーバに記憶しておく。プログラムファイルとしては、実行形式のものであっても、ソースコードであっても良い。 As a computer program supply method using wired / wireless communication, there is a method of using a server on a computer network. In this case, a data file (program file) that can be a computer program forming the present invention is stored in the server. The program file may be an executable format or a source code.
そして、このサーバにアクセスしたクライアントコンピュータに、プログラムファイルをダウンロードすることによって供給する。この場合、プログラムファイルを複数のセグメントファイルに分割し、セグメントファイルを異なるサーバに分散して配置することも可能である。 Then, the program file is supplied by downloading to a client computer that has accessed the server. In this case, the program file can be divided into a plurality of segment files, and the segment files can be distributed and arranged on different servers.
つまり、上述の実施形態を実現するためのプログラムファイルをクライアントコンピュータに提供するサーバ装置も本発明の一つである。 That is, a server apparatus that provides a client computer with a program file for realizing the above-described embodiment is also one aspect of the present invention.
また、上述の実施形態を実現するためのコンピュータプログラムを暗号化して格納した記憶媒体を配布し、所定の条件を満たしたユーザに、暗号化を解く鍵情報を供給し、ユーザの有するコンピュータへのインストールを許可してもよい。鍵情報は、例えばインターネットを介してホームページからダウンロードさせることによって供給することができる。 In addition, a storage medium in which the computer program for realizing the above-described embodiment is encrypted and distributed is distributed, and key information for decrypting is supplied to a user who satisfies a predetermined condition, and the user's computer Installation may be allowed. The key information can be supplied by being downloaded from a homepage via the Internet, for example.
また、上述の実施形態を実現するためのコンピュータプログラムは、すでにコンピュータ上で稼働するOSの機能を利用するものであってもよい。 Further, the computer program for realizing the above-described embodiment may use an OS function already running on the computer.
さらに、上述の実施形態を実現するためのコンピュータプログラムは、その一部をコンピュータに装着される拡張ボード等のファームウェアで構成してもよいし、拡張ボード等が備えるCPUで実行するようにしてもよい。 Further, a part of the computer program for realizing the above-described embodiment may be configured by firmware such as an expansion board attached to the computer, or may be executed by a CPU provided in the expansion board. Good.
100 携帯電話端末
103 表示部
106 操作部
108 制御部
110 メモリ
111 通信部
200 携帯型音楽プレーヤ
203 操作部
205 制御部
207 メモリ
208 通信部100
| Application Number | Priority Date | Filing Date | Title |
|---|---|---|---|
| JP2013021794AJP5462964B2 (en) | 2013-02-06 | 2013-02-06 | COMMUNICATION DEVICE AND COMMUNICATION DEVICE CONTROL METHOD |
| Application Number | Priority Date | Filing Date | Title |
|---|---|---|---|
| JP2013021794AJP5462964B2 (en) | 2013-02-06 | 2013-02-06 | COMMUNICATION DEVICE AND COMMUNICATION DEVICE CONTROL METHOD |
| Application Number | Title | Priority Date | Filing Date |
|---|---|---|---|
| JP2009000390ADivisionJP5197387B2 (en) | 2009-01-05 | 2009-01-05 | COMMUNICATION DEVICE AND COMMUNICATION DEVICE CONTROL METHOD |
| Publication Number | Publication Date |
|---|---|
| JP2013093907Atrue JP2013093907A (en) | 2013-05-16 |
| JP5462964B2 JP5462964B2 (en) | 2014-04-02 |
| Application Number | Title | Priority Date | Filing Date |
|---|---|---|---|
| JP2013021794AActiveJP5462964B2 (en) | 2013-02-06 | 2013-02-06 | COMMUNICATION DEVICE AND COMMUNICATION DEVICE CONTROL METHOD |
| Country | Link |
|---|---|
| JP (1) | JP5462964B2 (en) |
| Publication number | Priority date | Publication date | Assignee | Title |
|---|---|---|---|---|
| WO2016049237A1 (en)* | 2014-09-26 | 2016-03-31 | Amazon Technologies, Inc. | Kiosk providing high speed data transfer |
| US9940583B1 (en) | 2014-09-26 | 2018-04-10 | Amazon Technologies, Inc. | Transmitting content to kiosk after determining future location of user |
| US10237329B1 (en) | 2014-09-26 | 2019-03-19 | Amazon Technologies, Inc. | Wirelessly preparing device for high speed data transfer |
| Publication number | Priority date | Publication date | Assignee | Title |
|---|---|---|---|---|
| JP2002244193A (en)* | 2001-02-20 | 2002-08-28 | Olympus Optical Co Ltd | Camera |
| JP2005159958A (en)* | 2003-11-28 | 2005-06-16 | Sony Corp | Radio information communication system, user terminal, communication target apparatus, radio information communication method, and program |
| Publication number | Priority date | Publication date | Assignee | Title |
|---|---|---|---|---|
| JP2002244193A (en)* | 2001-02-20 | 2002-08-28 | Olympus Optical Co Ltd | Camera |
| JP2005159958A (en)* | 2003-11-28 | 2005-06-16 | Sony Corp | Radio information communication system, user terminal, communication target apparatus, radio information communication method, and program |
| Publication number | Priority date | Publication date | Assignee | Title |
|---|---|---|---|---|
| WO2016049237A1 (en)* | 2014-09-26 | 2016-03-31 | Amazon Technologies, Inc. | Kiosk providing high speed data transfer |
| US9940583B1 (en) | 2014-09-26 | 2018-04-10 | Amazon Technologies, Inc. | Transmitting content to kiosk after determining future location of user |
| US10237329B1 (en) | 2014-09-26 | 2019-03-19 | Amazon Technologies, Inc. | Wirelessly preparing device for high speed data transfer |
| Publication number | Publication date |
|---|---|
| JP5462964B2 (en) | 2014-04-02 |
| Publication | Publication Date | Title |
|---|---|---|
| JP5084640B2 (en) | Data receiving apparatus, data transmitting apparatus, control method and program thereof | |
| US8634774B2 (en) | Communication device and control method thereof | |
| JP2019114910A (en) | Communication apparatus and control method thereof | |
| JP5197387B2 (en) | COMMUNICATION DEVICE AND COMMUNICATION DEVICE CONTROL METHOD | |
| CN103944870B (en) | Communicator and its control method | |
| JP2006323448A (en) | Data sharing system and method | |
| JP6393030B2 (en) | Transmission device, reception device, control method, program, and transmission / reception system | |
| JP6355424B2 (en) | COMMUNICATION DEVICE, ITS CONTROL METHOD, PROGRAM | |
| JP6400101B2 (en) | COMMUNICATION DEVICE, COMMUNICATION DEVICE CONTROL METHOD, PROGRAM | |
| JP2016127379A (en) | Information processing device, control method, and program | |
| JP5462964B2 (en) | COMMUNICATION DEVICE AND COMMUNICATION DEVICE CONTROL METHOD | |
| JP6433265B2 (en) | Information processing apparatus, electronic device, control method thereof, program, and storage medium | |
| JP2016076891A (en) | Communication equipment, control method for communication equipment, and program | |
| JP2016042655A (en) | Communication device, communication device control method, and program | |
| JP2003250079A (en) | Imaging apparatus, imaging system, and method for controlling imaging operation | |
| JP5385596B2 (en) | EDITING DEVICE, ITS CONTROL METHOD, AND IMAGING DEVICE | |
| JP7218164B2 (en) | Communication device and its control method | |
| JP2010157922A (en) | Communication device and method for controlling the same | |
| JP6433231B2 (en) | COMMUNICATION DEVICE, COMMUNICATION DEVICE CONTROL METHOD, PROGRAM | |
| JP2018006997A (en) | Communication device, method for controlling the same, system, program, and storage medium | |
| JP2016058970A (en) | Wireless communication apparatus, control method and program for wireless communication apparatus | |
| JP2015211353A (en) | Communication terminal, data transmission system and connection control method thereof | |
| CN112352465B (en) | Communication apparatus, control method of communication apparatus, and storage medium | |
| JP6386862B2 (en) | COMMUNICATION DEVICE, COMMUNICATION DEVICE CONTROL METHOD, PROGRAM | |
| JP2017085518A (en) | Communication apparatus, control method for communication apparatus, and program |
| Date | Code | Title | Description |
|---|---|---|---|
| A521 | Written amendment | Free format text:JAPANESE INTERMEDIATE CODE: A523 Effective date:20130307 | |
| A621 | Written request for application examination | Free format text:JAPANESE INTERMEDIATE CODE: A621 Effective date:20130307 | |
| A977 | Report on retrieval | Free format text:JAPANESE INTERMEDIATE CODE: A971007 Effective date:20131211 | |
| TRDD | Decision of grant or rejection written | ||
| A01 | Written decision to grant a patent or to grant a registration (utility model) | Free format text:JAPANESE INTERMEDIATE CODE: A01 Effective date:20131220 | |
| A61 | First payment of annual fees (during grant procedure) | Free format text:JAPANESE INTERMEDIATE CODE: A61 Effective date:20140117 | |
| R151 | Written notification of patent or utility model registration | Ref document number:5462964 Country of ref document:JP Free format text:JAPANESE INTERMEDIATE CODE: R151 |