




















本発明は、緊急時に危険の接近を視覚的に表示するための表示装置、及び当該表示装置で用いられる描画用プログラム、表示方法、並びに当該表示装置を用いる防災システムに関する。 The present invention relates to a display device for visually displaying an approach of danger in an emergency, a drawing program used in the display device, a display method, and a disaster prevention system using the display device.
巨大な自然災害が発生した場合、人は冷静な判断ができなくなることが多い。自然災害が発生した場合でも冷静な対処を行えるように、防災訓練などで日頃から対処方法が市民に対して教育されている。そのため、我が国においては、自然災害が起きても市民はパニックを起こすことなく比較的冷静に対処ができる体制が整えられている。 When a huge natural disaster occurs, people often cannot make calm decisions. Citizens are regularly educated on how to cope with natural disasters through disaster drills so that they can respond calmly even in the event of a natural disaster. Therefore, in Japan, there is a system in which citizens can respond relatively calmly without causing panic even if a natural disaster occurs.
また、我が国は自然災害が多い国の一つである。大陸プレートの境界上に位置している関係上、我が国においては自然災害の中でも特に地震が頻発しており、当該地震が発生した場合の被害も甚大なものとなっている。従って、当該地震が発生した場合の被害を最小限に食い止めるため多くの防災システムが開発されている。 Japan is one of the countries with many natural disasters. Due to the fact that it is located on the boundary of the continental plate, in Japan, earthquakes are particularly frequent among natural disasters, and the damage caused by such earthquakes is also enormous. Therefore, many disaster prevention systems have been developed to minimize damage in the event of the earthquake.
例えば、特許文献1において、地震が発生した際に伝播するS波とP波の時間差を利用して、本震到達前に数秒後の大きな揺れを予め通知するシステムである緊急地震速報システムを利用した発明が開示されている。当該発明によれば、緊急地震速報を携帯端末に対して一斉伝達することにより、市民は本震が到達する前にガスを止めることや机の下に隠れるなどの事前行動を予め取ることができる。上記システムを有効活用することで、家屋の倒壊による圧死や、2次火災といった地震に伴う人的被害を最小限に抑えることができる。
上述の防災システムが整備されている我が国において、通常の地震であれば死傷者数は数百人を超えることはまずない。しかしながら、想像を超える地震が発生した場合には、上記防災システムや日頃の防災訓練のみでは十分に対処できないことが昨日発生した地震で証明された。 In Japan, where the above-mentioned disaster prevention system is in place, the number of casualties is unlikely to exceed several hundred if a normal earthquake occurs. However, it was proved by the earthquake that occurred yesterday that an earthquake beyond imagination could not be dealt with by the above disaster prevention system and daily disaster prevention drills alone.
すなわち、地震によって最も恐れるものは津波である。津波は死傷者数を数十倍から数百倍に押し上げる最も危険な災害である。現状の防災システムでは、地震の発生と共に津波の到達場所、到達時刻、津波の大きさ(高さ)を警報で通知することで避難を促し被害を食い止めようとしている。 In other words, what is most feared by an earthquake is a tsunami. Tsunami is the most dangerous disaster that increases the number of casualties from tens to hundreds. In the current disaster prevention system, the tsunami arrival location, arrival time, and the magnitude (height) of the tsunami are notified by an alarm along with the occurrence of an earthquake to promote evacuation and prevent damage.
しかしながら、津波は人生で一度体験するかどうかの災害であり、加えて想像を遥かに上回る場合がある。従って津波警報により到達時刻を通知されてもその時に何が起こるか感覚的に捉えることは困難である。加えて、大津波が起きる場合は、事前に巨大地震を体感しており、防災訓練をしていても冷静さを欠いている。従って単に津波が来ることを知らしめるだけではユーザに正確な危機感を持たせることは不可能に近い。However, a tsunami is a disaster that can be experienced once in your life, and it can be far beyond your imagination. Therefore, even if the arrival time is notified by the tsunami warning, it is difficult to perceive what happens at that time. In addition, when a large tsunami occurs, they have experienced a huge earthquake in advance, and they are not cool even during disaster drills. Therefore, it is almost impossible to give the user an accurate sense of crisis simply by informing that a tsunami is coming.
すなわち、津波警報により津波が来ると分かっても、津波は想像することが難しい災害であるため、避難の初動が他の災害と比べて格段に遅れる。そして、肉眼で津波を捕らえたときに始めて事態の深刻さに気付くが、津波の速度は非常に速いためその段階で気付いても手遅れであることが多い。つまり、現在の防災システムで与えられる情報のみでは、警告の情報量として足りておらず、市民に危機意識を与えることが難しく適切な避難行動を取らせるには不十分であることが判明した。In other words, even if the tsunami warning indicates that a tsunami is coming, the tsunami is a disaster that is difficult to imagine, so the initial evacuation is significantly delayed compared to other disasters. And when you catch a tsunami with the naked eye, you will notice the seriousness of the situation, but the speed of the tsunami is so fast that it is often too late to notice at that stage. In other words, it was found that the information given by the current disaster prevention system alone is not sufficient as the amount of warning information, and it is difficult to give the citizens a sense of crisis, and it is not enough to take appropriate evacuation actions.
この教訓を活かし、最も危険な災害である津波に対してより適切な対応を取れる防災システムを構築しなおす必要がある。しかし、大掛かりな防災インフラストラクチャの構築は、巨額な費用がかかり、数十年に一度起きるかどうかの災害に対して日本全土に巨大な防波堤を整備することもまた現実的には不可能である。Utilizing this lesson, it is necessary to reconstruct a disaster prevention system that can take a more appropriate response to the most dangerous disaster, the tsunami. However, the construction of a large-scale disaster prevention infrastructure is very expensive, and it is practically impossible to develop huge breakwaters throughout Japan against disasters that occur once every decades. .
本願発明は、以上の課題を鑑み、比較的少ない予算で、津波を初めとする災害に対してより適切な避難を市民に行わせることができる防災システム及び当該システムで用いられる装置を提供することを目的とする。In view of the above problems, the present invention provides a disaster prevention system capable of causing citizens to perform more appropriate evacuation to tsunami and other disasters with a relatively small budget, and an apparatus used in the system. With the goal.
本願発明の表示装置は、地図情報を記憶する記憶手段と、津波の現在位置に関する情報を受信する受信手段と、前記地図情報に基づいて描画した地図に前記受信した津波の現在位置に関する情報に基づいて描画した津波の位置を示す描画パターンをオーバーレイ表示して表示する表示手段と、を有する。The display device of the present invention is based on storage means for storing map information, receiving means for receiving information on the current position of the tsunami, and information on the received current position of the tsunami on a map drawn based on the map information. Display means for overlaying and displaying a drawing pattern indicating the position of the tsunami drawn in this way.
また、本願発明の別の形態の表示装置は、地図情報を記憶する記憶手段と、津波の現在位置に関する情報を受信する受信手段と、前記受信した津波の現在位置に関する情報に基づいて津波の現在位置を求める算出手段と、前記求められた津波の現在位置を示す描画パターンを前記地図情報に基づいて描画した地図と合わせて表示する表示手段と、を具備する。According to another aspect of the present invention, there is provided a display device comprising: storage means for storing map information; receiving means for receiving information relating to the current position of the tsunami; and current information on the tsunami based on the received information relating to the current position of the tsunami. Calculation means for obtaining a position; and display means for displaying a drawing pattern indicating the obtained current position of the tsunami together with a map drawn based on the map information.
また、本発明の描画用プログラムは、外部からの信号を受信する受信手段で受信した津波の現在位置に関する情報を読み込む第1読み込みステップと、前記津波の現在位置に関する情報に基づいて津波の位置を示すパターンを描画する第1描画ステップと、地図情報を読み込む第2読み込みステップと、読み込んだ地図を描画する第2描画ステップと、前記第1描画ステップ及び第2描画ステップで描画した前記パターンと前記地図を重ね合わせる重畳ステップと、を計算機に実行させる。The drawing program of the present invention also includes a first reading step for reading information relating to the current position of the tsunami received by the receiving means for receiving an external signal, and the position of the tsunami based on the information relating to the current position of the tsunami. A first drawing step for drawing a pattern to be shown, a second reading step for reading map information, a second drawing step for drawing the read map, the pattern drawn in the first drawing step and the second drawing step, and the And a superimposing step of superimposing the maps.
また、本発明の防災システムは、災害情報管理システムと表示装置とから構成される防災システムであって、前記災害情報管理システムは、津波の位置を検出する複数の検出装置と、前記複数の検出装置から送信される信号に基づいて津波の現在位置に関する情報を生成する生成装置と、当該生成された津波の現在位置に関する情報を送信する送信装置と、から構成され、前記表示装置は、地図情報を記憶する記憶手段と、津波の現在位置に関する情報を受信する受信手段と、前記地図情報に基づいて描画した地図に前記受信した津波の現在位置に関する情報に基づいて描画した津波の位置を示す描画パターンをオーバーレイ表示して表示する表示手段と、を有する。The disaster prevention system of the present invention is a disaster prevention system including a disaster information management system and a display device, and the disaster information management system includes a plurality of detection devices for detecting a position of a tsunami, and the plurality of detections. A generating device that generates information on the current position of the tsunami based on a signal transmitted from the device, and a transmitting device that transmits information on the generated current position of the tsunami; and the display device is map information A storage means for storing the information, a receiving means for receiving information on the current position of the tsunami, and a drawing indicating the position of the tsunami drawn on the map drawn based on the map information based on the information on the received current position of the tsunami Display means for displaying the pattern in an overlay display.
本願発明によれは、比較的少ない予算で、現在の津波を初めとする災害に対してより適切な避難を市民に行わせることができる防災システム及び当該システムで用いられる装置を提供することができる。According to the invention of the present application, it is possible to provide a disaster prevention system capable of causing citizens to perform more appropriate evacuation for disasters including the current tsunami and a device used in the system with a relatively small budget. .
以下、本発明の実施の形態について、図面を参照して詳細に説明する。 Hereinafter, embodiments of the present invention will be described in detail with reference to the drawings.
(実施の形態1)
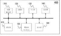
図1は、本発明の実施の形態1に係る防災システムのブロック図である。当該防災システムは、後述する災害等に関する緊急情報を生成する災害情報管理センターと、当該生成された緊急情報を送信する送信装置と、当該緊急情報を受信してユーザに適切な避難方法を提示する表示装置とから構成される。(Embodiment 1)
FIG. 1 is a block diagram of a disaster prevention system according to Embodiment 1 of the present invention. The disaster prevention system includes a disaster information management center that generates emergency information related to a disaster or the like to be described later, a transmission device that transmits the generated emergency information, and an appropriate evacuation method that is received by the emergency information and presented to the user. And a display device.
ここで、送信装置は、例えばFM放送送信装置、TV放送局装置、ITSによる路側通信装置、携帯基地局装置、インターネットサーバなど様々な送信装置が考えられ、予め定められたプロトコルに従って後述する緊急情報を送信する。送信形態は、無線、有線のどちらでもよく、またブロードキャスト、マルチキャスト等様々な形態を取ることが可能である。また、表示装置としては、カーナビゲーション装置、携帯電話端末装置、スマートフォン、携帯ゲーム機、テレビジョン受像装置、インターネットに接続された計算機装置など様々な形態をとることができる。以下、各装置の機能について詳細に説明する。Here, the transmission apparatus may be various transmission apparatuses such as an FM broadcast transmission apparatus, a TV broadcast station apparatus, an ITS roadside communication apparatus, a mobile base station apparatus, and an Internet server, and emergency information described later according to a predetermined protocol. Send. The transmission form may be either wireless or wired, and can take various forms such as broadcast and multicast. In addition, the display device can take various forms such as a car navigation device, a mobile phone terminal device, a smartphone, a portable game machine, a television receiver, and a computer device connected to the Internet. Hereinafter, functions of each device will be described in detail.
災害情報管理センターは、発生した災害に関する情報を収集して災害に関する緊急情報を生成する。The disaster information management center collects information about the disaster that has occurred and generates emergency information about the disaster.
図2に当該緊急情報のフォーマットを示す。緊急情報は、当該緊急情報に関する災害の種類を示す災害種別、当該災害の大きさを表す災害レベル情報、災害毎に災害の内容を表す災害情報などから構成される。また、緊急情報には、同一の緊急情報毎に一意に割り当てられる管理番号や当該緊急情報の送信日時などの情報も含まれている。FIG. 2 shows the format of the emergency information. The emergency information includes a disaster type indicating the type of disaster related to the emergency information, disaster level information indicating the magnitude of the disaster, disaster information indicating the content of the disaster for each disaster, and the like. In addition, the emergency information includes information such as a management number uniquely assigned to the same emergency information and a transmission date and time of the emergency information.
ここで、災害には、例えば、地震、火災、津波、竜巻、洪水、台風、などの自然災害のほか、空襲、核ミサイル接近、暴動発生、など人的災害も含む。また、緊急地震速報も当該災害種別でラベル付けされている。これらの災害は、図3に示すテーブルように災害種別でラベル付けされている。例えば、図3の災害種別管理テーブルにおいて、津波は“3”に、暴動発生は“13”に対応付けられている。このように1〜16までに対応する4ビットが災害の種類を表す災害種別として緊急情報内に含まれる。Here, the disaster includes, for example, natural disasters such as earthquakes, fires, tsunamis, tornadoes, floods, typhoons, and human disasters such as air strikes, nuclear missile approaches, and riots. The earthquake early warning is also labeled with the disaster type. These disasters are labeled with disaster types as shown in the table of FIG. For example, in the disaster type management table of FIG. 3, the tsunami is associated with “3” and the occurrence of riot is associated with “13”. In this way, 4 bits corresponding to 1 to 16 are included in the emergency information as a disaster type representing the type of disaster.
図4は、災害種別が地震であった場合に緊急情報内の災害情報に含まれる情報の一例を表している。当該災害情報には、震度の大きさ、震源位置、震源の深さ、地震発生時刻に関する情報、津波発生の有無に関する情報などが含まれる。また、災害種別が緊急地震速報であった場合には、予想震度の大きさ、震源位置、地震発生時刻、予想地震到達時刻などの情報が緊急情報内の災害情報に含まれる。 FIG. 4 shows an example of information included in the disaster information in the emergency information when the disaster type is earthquake. The disaster information includes the magnitude of the seismic intensity, the location of the epicenter, the depth of the epicenter, information about the time of occurrence of the earthquake, information about the presence / absence of a tsunami, and the like. In addition, when the disaster type is the emergency earthquake warning, information such as the magnitude of the predicted seismic intensity, the location of the epicenter, the occurrence time of the earthquake, and the expected arrival time of the earthquake is included in the disaster information in the emergency information.
図5は、災害種別が、暴動発生であった場合に緊急情報内の災害情報に含まれる情報を表している。当該災害情報には、暴動の内容に関する情報の他に暴動発生地域に関する情報が緊急情報内の災害情報に含まれる。 FIG. 5 shows information included in the disaster information in the emergency information when the disaster type is riot occurrence. In the disaster information, information on the area where the riot occurred is included in the disaster information in the emergency information in addition to the information on the contents of the riot.
図6は、災害種別が津波であった場合に緊急情報内の災害情報に含まれる情報を表している。災害情報には、少なくとも予想される津波の到達時刻、津波の到達場所、津波の高さに関する情報が緊急情報内の災害情報に含まれる。なお、図6では津波の到達場所として1つのエリアに関する災害情報の一例を示したが、複数のエリアに跨って津波警報が出される場合には、津波の到達場所毎に予想される津波の高さと到達時刻が災害情報に含まれる。 FIG. 6 shows information included in the disaster information in the emergency information when the disaster type is a tsunami. The disaster information includes at least information on the predicted arrival time of the tsunami, the tsunami arrival location, and the height of the tsunami in the emergency information. Although FIG. 6 shows an example of disaster information related to one area as a tsunami arrival location, when a tsunami warning is issued across multiple areas, the expected tsunami height for each tsunami arrival location is shown. And the arrival time are included in the disaster information.
なお、図示はしないが、その他の災害種別でラベル付けされる災害に関しても、災害の内容や災害の発生地域、発生時刻などその災害に関する情報が緊急情報内の災害情報に含まれる。 Although not shown, for disasters labeled with other disaster types, disaster information in the emergency information includes disaster information such as disaster contents, disaster occurrence area, and occurrence time.
次に、当該緊急情報を受信して避難誘導を行う表示装置について説明する。なお、ここでは、緊急情報が、それぞれ地震、津波、空襲の場合について説明する。なお、緊急情報がこれらに限られるものではないことは言うまでもない。 Next, a display device that receives the emergency information and guides evacuation will be described. Here, a case where emergency information is an earthquake, a tsunami, and an air raid will be described. Needless to say, the emergency information is not limited to these.
図7は、表示装置100の構成を示したブロック図である。表示装置100は、位置検出部110と、記憶部120と、入力部130と、算出部140と、受信部150と、表示部160とから構成される。 FIG. 7 is a block diagram showing the configuration of the
位置検出部110は現在の位置を求める検出手段であり、例えばGPSを用いた位置検出方法によって現在位置を求める。具体的には、複数の衛星から送信された衛星固有のC/Aコード信号をGPSアンテナを介して受信し、各衛星から受信した信号のタイミングを基に各衛星までの擬似距離を算出して現在の位置および時刻を求める。また、位置検出部110は、必要に応じて加速度を検出する加速度センサや方位を検出する方位センサなどを内部に具備し、これらのセンサで得られる加速度や方位、その他角速度などの情報を上記GPSで求められる位置と組み合わせてより正確な位置を求めることができる。また、位置検出部110は後述する地図情報を用いて、マップマッチング方法により正確な位置を求めることも可能である。 The
記憶部120は、地図情報と避難情報を記憶する。ここで地図情報は、例えばノードやリンクといった情報が含まれた一般的な地図情報である。また、避難情報は、緊急時の避難場所に関する情報が複数纏められた情報である。 The
図8に避難情報の一例を示す。避難情報には、管理番号、避難場所名、対応災害種別、住所、GPS情報、詳細情報、などがテーブル状に対応付けられている。FIG. 8 shows an example of evacuation information. In the evacuation information, a management number, an evacuation place name, a corresponding disaster type, an address, GPS information, detailed information, and the like are associated in a table form.
ここで管理番号は、それぞれの避難場所を管理するための番号である。避難場所毎に一意にナンバーが割り当てられている。Here, the management number is a number for managing each evacuation site. A unique number is assigned to each evacuation site.
避難場所名は、避難場所の一般的な名前を表している。The evacuation site name represents a general name of the evacuation site.
対応災害種別は、当該避難場所が対応可能な災害種別を示している。例えば、管理番号N00001の避難場所は公園であり、従って、地震や火災が発生した場合の一時的な避難場所となる。一方、公園は台風や津波の避難場所には適さないため、当該避難場所における対応災害種別としては、地震と火災が対応付けられている。一方、N00004の避難場所はビルディングであり、津波や竜巻が押し寄せてきた場合の一時的な避難場所となりうるが、他国より空襲されている場合の避難場所としては適さない。従って、当該避難場所に対する対応災害種別は、津波と竜巻が対応付けられている。他の避難場所についても同様であり、その避難場所で対応可能な災害の種別が記憶さている。なお、当該テーブルでは、「地震」や「津波」と記載しているが、上述した緊急情報に含まれる災害種別にラベルされた番号と対応する形で、番号も合わせて記憶されている。すなわち、図3に示す緊急情報に含まれる災害種別において津波は“3”が割り振られているため、避難情報の対応災害種別においても津波に対応可能な避難場所には“3”が記録されている。The corresponding disaster type indicates a disaster type that the evacuation site can handle. For example, the evacuation site with the management number N00001 is a park, and therefore becomes a temporary evacuation site when an earthquake or fire occurs. On the other hand, since parks are not suitable as evacuation sites for typhoons and tsunamis, earthquakes and fires are associated as the types of disasters that can be handled at the evacuation sites. On the other hand, the evacuation site of N00004 is a building and can be a temporary evacuation site when a tsunami or a tornado hits, but it is not suitable as an evacuation site when air raids from other countries. Therefore, the corresponding disaster type for the evacuation site is associated with a tsunami and a tornado. The same applies to other evacuation sites, and the types of disasters that can be handled at the evacuation sites are stored. In this table, “earthquake” and “tsunami” are described, but the numbers are also stored in correspondence with the numbers labeled for the disaster types included in the emergency information described above. That is, since “3” is assigned to the tsunami in the disaster type included in the emergency information shown in FIG. 3, “3” is recorded in the evacuation place that can handle the tsunami even in the disaster type corresponding to the evacuation information. Yes.
住所は、当該避難場所の住所を表している。The address represents the address of the evacuation site.
GPS情報は、当該避難場所のGPSによる位置情報が示されている。具体的には、当該避難場所の緯度(例:Lat34,12,00,05)、経度(例:Lon138,45,54,01)、海抜(Alt12.3m)などの情報が記録されている。The GPS information indicates position information by GPS of the evacuation site. Specifically, information such as the latitude (eg, Lat34, 12, 00, 05), longitude (eg, Lon138, 45, 54, 01), altitude (Alt12.3m) of the evacuation site is recorded.
詳細情報は、当該避難場所に関する具体的な情報が示されている。例えば、管理番号N36021の核シェルタでは収容人数や食料の備蓄があるかどうかなどの情報が合わせて記憶されている。
また、N00004の避難場所では、どれくらいの高さの津波に耐えられるかについての情報が記憶されている。また、図示はしないが、必要に応じてどのくらいの津波の強度に耐えられるかや、収容可能人数や、オートロック有りかどうか、などに関する情報も記録されている。The detailed information indicates specific information regarding the evacuation site. For example, in the nuclear shelter having the management number N36021, information such as the number of persons accommodated and whether or not there is a food reserve is stored together.
In addition, information on how high a tsunami can withstand is stored at the evacuation site of N00044. Further, although not shown in the figure, information on how much tsunami intensity can be withstood as necessary, the number of people that can be accommodated, whether there is an automatic lock, and the like are also recorded.
入力部130は、ユーザからの指示を入力するための入力手段であり、例えばタッチパネルや、入力キー、音声入力など様々なユーザインタフェース形態をとりうる。例えば、ユーザは目的地に関する情報を入力部130を介して装置100へ入力する。 The
受信部140は、上述した緊急情報を受信する。受信した緊急情報は、算出部140へ出力される。 The receiving
算出部150は、後述する最適経路の算出や最適な避難場所の算出など、様々な計算を行う処理手段であり、例えばCPU(Central processing unit)などがこれにあたる。当該CPUは必要に応じて装置全体の制御を管理するシステムコントローラとしての機能も果たしている。具体的には、算出部150は、以下に示す複数の処理を行う。The
算出部150は第1の算出処理として、ユーザが指定した目的地までの経路を算出する。算出部150は、前記入力部130を介してユーザより入力された目的地と、前記位置検出部110で検出された現在の位置と、前記記憶部120に記憶されている地図情報とに基づいて、目的地までの最適な経路を求める算出処理を行う。なお、算出部150は、必要に応じて、さらにVICS(VICSは登録商標。以下省略。)などで送信される渋滞や通行止めなどの交通補助情報などを合わせて用いることで最適な経路を求めることができる。As the first calculation process, the
また、算出部150は、第2の算出処理として、上記避難情報に含まれる複数の避難場所の中から最適な避難場所を特定する処理を行う。具体的には、前記受信部140で受信された緊急情報に含まれる災害種別から災害の種類を特定し、当該災害種別に対応する避難場所を前記避難情報から抽出する。次に抽出した避難場所のうち、前記位置検出部110で求められた現在位置から避難可能な避難場所を避難場所候補として抽出する。次に、抽出された避難場所候補の中から、所定の決定アルゴリズムに従って最適な避難場所を求める。ここで、算出部150は、当該最適な避難場所を求めるにあたり、現在位置からの距離や避難場所の強度、避難場所の収容可能人数、その他複数の要因に基づいて所定のアルゴリズムに従って最適な避難場所を求めることができる。 Moreover, the
また算出部150は、第3の算出処理として、前記位置検出部110で求められた現在位置から上記第2の算出処理で求められた最適の避難場所までの最適な避難経路を求める。最適な避難経路の求め方としては、例えば、記録部120に記録されている地図情報のノードやリンクに関する情報を組み合わせて、現在位置と最適な避難場所までの複数の経路のうち、最も移動距離が短い経路又は最も移動時間が短い経路を最適な避難経路として求める。なお、上記第1から第3までの算出処理の順番は順不同である。Further, as the third calculation process, the
表示部160は、算出部150で求められた最適の避難場所を表示する。また、表示部160は、最適の避難場所までの最適な避難経路も表示する。当該最適な経路を表示するための表示パネルとしては、例えば液晶ディスプレイ、有機ELディスプレイ、プラズマディスプレイ等様々なディスプレイを採用することができる。ここで、表示部160は、記憶部120に記憶されている地図情報に基づいて描画された地図の上に、前記算出部150で求められた最適な避難経路をオーバーレイ表示して表示することができる。また、表示部160は、地図情報に基づいて描画された地図の上に前記算出部150の第1算出処理により求められた目的地までの経路をオーバーレイ表示することも可能である。The
図9に、表示部160が表示パネル上で表示する画面の一例を示す。図9においては、表示部160は、算出部150における第2算出処理で求められた最適の避難場所800と、第3算出処理で求められた最適な避難場所までの最適な避難経路801と現在位置802とを、現在位置に対応する地図803にオーバーレイ表示する。FIG. 9 shows an example of a screen that the
また、図9において、表示部160は、更に以下の情報も表示している。表示部160は、算出部150における第2の算出処理で求められた最適な避難場所に関する情報804をウィンドウ表示する。当該最適な避難場所に関する情報は、表示部160が記憶部120に記憶されている緊急時の避難場所に関する情報が複数纏められた避難情報の中から、当該最適な避難場所に関する情報を読み込んで表示する。ここで、読み込まれる情報は、避難場所の名前や住所がある。In FIG. 9, the
また、表示部160は、受信部140で受信された緊急情報の内容804も表示する。また、表示部160は、現在位置から避難場所までにかかる時間である予想避難所要時間805を合わせて表示している。当該予想避難所要時間805は、算出部150によって求められて表示部160で表示される。すなわち、算出部150は、入力部110より入力された現在位置(表示装置が位置検出部を具備している場合は当該位置検出部で検出された現在位置)と上記最適な避難場所までの距離を当該避難場所までの交通手段(徒歩、車、自転車)における単位時間当たり平均移動距離(m/分)で除算することで予想避難所要時間を求める。The
次に、本表示装置内部で行われる処理の処理フローについて説明する。図10は、当該表示装置の動作を示したフローチャートである。Next, a processing flow of processing performed in the display device will be described. FIG. 10 is a flowchart showing the operation of the display device.
位置検出部110は、所定のタイミングで現在の位置を検出する(ステップ001)。ここで、所定のタイミングは例えば1秒に1回の割合で現在の位置を検出する。検出した位置に関する情報は、必要に応じて算出部に出力される。 The
次に、受信部140は、外部より送信された緊急情報を受信する(ステップ002)。受信部140で受信された緊急情報は算出部140へ出力される。Next, the receiving
算出部140は、受信部より緊急情報を入力すると、位置検出部110より現在の位置に関する情報である現在位置情報を読み込む(ステップ003)。 When the emergency information is input from the reception unit, the
次に、算出部140は、記憶部120より避難情報を読み込む(ステップ004)。なお、ステップ003とステップ004の順序は順不同であってよい。Next, the
次に算出部140は、緊急情報と避難情報と現在位置情報とに基づいて所定のアルゴリズムに従って最適な避難場所を選び出す(ステップ005)。Next, the
より具体的には、緊急情報に含まれる災害種別に基づいて、緊急時の避難場所に関する情報が複数纏められた避難情報の中から当該災害種別に対応可能とラベルされている複数の避難場所を避難場所候補として抽出する(ステップ005−a)。More specifically, based on the disaster type included in the emergency information, a plurality of evacuation sites labeled as corresponding to the disaster type are selected from the evacuation information in which a plurality of pieces of information related to the emergency evacuation sites are collected. Extract as evacuation site candidates (step 005-a).
次に、ステップ005−aで抽出された複数の避難場所の中から、上記現在位置情報に基づいて現在位置から所定の距離以内にある複数の避難場所を更に望ましい避難場所候補として抽出する(ステップ005−b)。より具体的には、緊急情報に含まれる予想津波到達時刻や退避完了要請時間に基づいて、現在位置から当該時間以内に移動可能な距離範囲に存在する複数の避難場所を抽出する。ここで退避完了要請時間とは、緊急情報に含まれる情報の一種であり、現在の時刻からどれだけの時間以内に退避を完了すべきであるかを示した時間情報である。災害の種類が津波であれば予想津波到達時刻と現在の時刻との差分がこれに該当する。その他、災害が、空襲、核ミサイル、竜巻、であれば、それぞれ予想空襲時刻、予想核ミサイル到達時刻、予想竜巻到達時刻と現在の時刻との差分がこれに該当する。その他の災害についても同様に、退避が求められる時間でとなる。Next, a plurality of evacuation sites within a predetermined distance from the current position are extracted as more desirable evacuation site candidates from the plurality of evacuation sites extracted in step 005-a based on the current position information (step 005-b). More specifically, based on the predicted tsunami arrival time and the evacuation completion request time included in the emergency information, a plurality of evacuation sites existing within a distance range that can be moved within the time from the current position are extracted. Here, the evacuation completion request time is a type of information included in the emergency information, and is time information indicating how long the evacuation should be completed from the current time. If the type of disaster is a tsunami, the difference between the predicted tsunami arrival time and the current time corresponds to this. In addition, if the disaster is an air raid, a nuclear missile, or a tornado, this corresponds to the expected air raid time, the expected nuclear missile arrival time, the difference between the expected tornado arrival time and the current time, respectively. Similarly, for other disasters, the time is required for evacuation.
次に、ステップ005−bで抽出されている避難場所候補の中から所定のアルゴリズムに基づいて1の最適な避難場所を選び出す(ステップ005−c)。ここで、当該アルゴリズムとしては、例えば後述するアルゴリズムを用いることが可能であるが、特に限定はない。Next, one optimum evacuation site is selected from the evacuation site candidates extracted in step 005-b based on a predetermined algorithm (step 005-c). Here, as the algorithm, for example, an algorithm described later can be used, but there is no particular limitation.
次に、表示部160は、ステップ005で選び出された最適な避難場所を画面に表示する(ステップ006)。Next, the
これと同時に、算出部150は、上記既に読み込んである現在位置情報と、ステップ005で選んだ最適な避難場所とに基づいて、現在位置から避難場所までの最適な避難経路を算出する(ステップ007)。At the same time, the
具体的には、算出部150は、記憶部120に記憶されている地図情報を読み込んで、現在位置から上記最適な避難場所まで到達するための多くの経路の中から所定のアルゴリズムに基づいて有力な候補となりうる複数の経路を抽出する(ステップ007−a)。ここで有力な候補となりうる複数の経路を抽出するためのアルゴリズムは、上記地図情報に基づいて、現在位置から上記最適な避難場所までの間に通過するノードの数が少ないほうから一定の数の経路を抽出するように構成しても良い。Specifically, the
次に、ステップ007−aで抽出した複数の経路の中から、最も移動距離が短くなる経路を最適な避難経路として特定する(ステップ007−b)Next, the route with the shortest travel distance is identified as the optimum evacuation route from among the plurality of routes extracted in step 007-a (step 007-b).
表示部160は、記憶部120から読み込んだ地図情報に基づいて地図を描画し、上記ステップ007で求めた現在位置から最適な避難場所までの最適な避難経路をオーバーレイ表示して表示する(ステップ008)。また、表示部160は、ステップ006で表示している最適な避難場所に関する情報やその他、算出部150が別途算出した現在位置から上記最適な避難場所までに要する予想移動所要時間などの情報も合わせて表示する。The
以上説明したように、本実施の形態1の表示装置は、避難情報を記憶する記憶部と、緊急情報を受信する受信部と、緊急情報と避難情報に基づいて避難先を決定する決定部と、決定した避難先を提示する提示部と、を備えている。このように、緊急情報を受信した場合に、避難先を提示する機能を有することでユーザは当該提示に従って避難を行うことができる。As described above, the display device according to the first embodiment includes a storage unit that stores evacuation information, a reception unit that receives emergency information, and a determination unit that determines an evacuation destination based on the emergency information and the evacuation information. And a presentation unit for presenting the determined evacuation destination. Thus, when emergency information is received, the user can evacuate according to the presentation by having a function of presenting an evacuation destination.
さらに、本実施の形態1の表示装置は、現在の位置を検出する位置検出部と、緊急時の避難場所に関する情報が複数纏められた避難情報を記憶する記憶部と、緊急情報を受信する受信部と、緊急情報及び現在の位置に基づいて、避難情報に含まれる複数の避難場所から最適の避難場所を求める第1の算出処理を行う算出部と、求められた最適の避難場所を表示する表示部と、を備えている。当該構成により、より最適な避難場所を求めて表示することができ、ユーザは当該表示された避難場所へ適切に避難することができる。Furthermore, the display device according to the first embodiment includes a position detection unit that detects a current position, a storage unit that stores evacuation information in which a plurality of pieces of information regarding an evacuation area in an emergency are collected, and reception that receives emergency information. Based on the emergency information and the current position, a calculation unit for performing a first calculation process for obtaining an optimum evacuation place from a plurality of evacuation places included in the evacuation information, and the obtained optimum evacuation place are displayed. And a display unit. With this configuration, a more optimal evacuation place can be obtained and displayed, and the user can evacuate appropriately to the displayed evacuation place.
さらに、本実施の形態1の表示装置において、記憶部は地図情報を更に記憶し、算出部は、地図情報と現在の位置とに基づいて、現在の位置から最適の避難場所までの最適な経路を求める第2の算出処理を行う。そして表示部は、最適な避難場所までの最適な経路を表示する構成をとる。当該構成により、更に最適な避難経路が表示されるため、より適切な避難行動を取ることができる。 Furthermore, in the display device according to the first embodiment, the storage unit further stores map information, and the calculation unit calculates the optimal route from the current position to the optimal evacuation site based on the map information and the current position. A second calculation process for obtaining the above is performed. And a display part takes the structure which displays the optimal route | route to the optimal evacuation site. With this configuration, since a more optimal evacuation route is displayed, a more appropriate evacuation action can be taken.
なお、表示部は、地図情報を読み込んで描画した地図に最適の避難場所までの最適な経路をオーバーレイ表示することができる。ユーザは、避難中においても現在の位置を見失わず、冷静に避難行動を取ることができる。 Note that the display unit can overlay display the optimum route to the optimum evacuation site on the map drawn by reading the map information. The user can take refuge behavior calmly without losing sight of the current position even during evacuation.
また、上記表示装置は、ユーザが指定する目的地へのナビゲーション機能を備えていると再利用できる機能が多数存在するためコストの面からも良好である。すなわち、表示装置が、目的地を入力する入力部を更に備え、算出部は、入力された目的地と検出された現在の位置と地図情報とに基づいて、現在の位置から目的地までの最適な経路を求める第3の算出処理を行う。そして、表示部は、地図情報を読み込んで描画した地図に目的地までの最適な経路をオーバーレイ表示する。このように構成されていても良い。Moreover, since the display device has many functions that can be reused if it has a navigation function to the destination designated by the user, it is favorable in terms of cost. That is, the display device further includes an input unit for inputting a destination, and the calculation unit is configured to optimize the current position to the destination based on the input destination, the detected current position, and the map information. A third calculation process for obtaining a simple route is performed. Then, the display unit overlays and displays the optimum route to the destination on the map read by reading the map information. It may be configured in this way.
但し、ユーザが指定する目的地と、緊急情報が受信されたことに基づいて算出部が求める最適の避難場所では、後者の方が遥かに重要度が高い。そこで、表示部は、目的地までの最適な経路をオーバーレイ表示している時に、受信した緊急情報に基づいて算出部における第2の算出処理によって最適の避難場所までの最適な避難経路が求められた場合は、目的地までの最適な経路のオーバーレイ表示を取りやめて最適の避難場所までの最適な避難経路を地図にオーバーレイ表示するよう構成しておくとなお良好である。なぜならば、冷静さを失っているときに今必要としていない目的地が表示されていると、誤った判断を招きかねないためである。However, the latter is much more important in the destination designated by the user and the optimum evacuation site that the calculation unit obtains based on the reception of the emergency information. Therefore, when the display unit displays the optimum route to the destination as an overlay, the optimum evacuation route to the optimum evacuation site is obtained by the second calculation process in the calculation unit based on the received emergency information. In such a case, it is more preferable that the overlay display of the optimum route to the destination is canceled and the optimum evacuation route to the optimum evacuation site is displayed on the map. This is because if a destination that is not needed at present is displayed when the user has lost calmness, an erroneous determination may be invited.
なお、上記説明では、算出部150は、上記第2算出処理において最適な避難場所を特定しているが、当該算出部は、避難方法毎に最適な避難場所を特定しても良い。すなわち、避難方法としては、徒歩、自転車、原付、バイク、車、車椅子、などユーザによって様々な避難方法をとるものと想定されるが、各避難方法毎に避難速度と可能避難距離は異なってくる。従って、算出部150は、上記緊急情報及び現在の位置に基づいて、上記避難情報に含まれる複数の避難場所の中から避難方法ごとに最適の避難場所を求める処理を行う構成であっても良い。表示部160には、避難方法ごとに最適の避難場所が表示される。In the above description, the
図21に、表示部160に表示される画面の一例を示す。画面には、避難方法毎に異なる避難場所が対応付けられて表示されている。また、避難方法毎に、第1避難場所、第2避難場所、予想避難所要時間、距離などが合わせて表示される。算出部150が、図21に示す各々の情報を算出し、又は記憶部より読み込んで表示部160に表示する。このように構成されていても良い。FIG. 21 shows an example of a screen displayed on the
また、算出部160は、第2の算出処理において最適の避難場所を求めるに当たり、現在の状況を踏まえて避難場所を求めても良い。すなわち、時間帯が朝、昼、夜、夜中では、避難速度に差が生じる。また通勤時や帰宅時には道路が込み合うため車における避難速度に遅れが生じる。また、地震により道路が寸断されている可能性もある。従って、最適な避難場所の算出には、これらの要因を考慮に入れた上で最適な避難場所が求められるよう構成しても良い。例えば、避難方法が自転車であって、昼間の自転車の平均移動距離が200m/分であり、夜中の自転車の平均移動距離が160m/分である場合であって10分以内に避難完了が求められている場合、夜中の避難においては昼間の避難と比べて1600m〜2000mの避難場所には辿り着くことができない。従って、算出部は位置検出部で検出される現在の時刻又は図示せぬ時刻を管理する時刻管理部から出力される現在の時刻に基づいて避難方法毎に避難速度の補正を行い、補正された避難速度に基づいて、退避完了要請時間までに移動可能な距離以内における避難場所を最適な避難場所として求めるよう構成されているとなお良好である。Further, the
なお、本表示装置は、上記説明したように災害を初めとする緊急事態における避難誘導に利用できるが、本発明は特に先日発生した大津波による被害を再度起こさないために、発明したものである。そこで、特に緊急情報が津波である場合について、より詳しく述べておく。Although the present display device can be used for evacuation guidance in emergency situations such as disasters as described above, the present invention has been invented in order not to cause damage caused by a large tsunami that occurred the other day. . Therefore, the case where the emergency information is a tsunami will be described in more detail.
本表示装置は、少なくとも予想される津波の高さと津波の到達時刻と津波の到達場所に関する情報を緊急情報として受信し、算出部は、緊急情報に含まれる予想される津波の高さと津波の到達場所と現在の位置に基づいて、現在の位置が津波の影響を受ける範囲に含まれているかどうかの判断を行い、前期範囲に含まれていると判断された場合は、避難情報に含まれる複数の緊急時の避難場所の中から、津波の到達時刻までに現在の位置から到達可能な1の避難場所を最適の避難場所として求めるものである。This display device receives at least information on the expected tsunami height, tsunami arrival time and tsunami arrival location as emergency information, and the calculation unit predicts the expected tsunami height and tsunami arrival included in the emergency information. Based on the location and the current position, it is determined whether the current position is included in the range affected by the tsunami. If it is determined that the current position is included in the previous period, the multiple items included in the evacuation information Among the emergency evacuation sites, one evacuation site that can be reached from the current position by the arrival time of the tsunami is obtained as the optimum evacuation site.
このように本実施の形態1の表示装置に寄れば、災害が発生した場合に、単に災害の情報を通知するだけではなく、適切な避難経路をユーザに提示することができる。従って、津波や空襲、核攻撃といった通常の避難訓練などでは想定しきれない事態が発生した場合に、思考力が低下しているユーザを適切に安全な場所まで誘導することができるため、災害による犠牲者を減らすことができる。As described above, if the display apparatus according to the first embodiment is used, when a disaster occurs, it is possible not only to notify the disaster information but also to present an appropriate evacuation route to the user. Therefore, when a situation that cannot be envisaged by normal evacuation drills such as tsunami, air raid, nuclear attack, etc., it is possible to guide the user whose thinking ability is reduced to a safe place appropriately. Victims can be reduced.
なお、上記表示装置100は、例えばカーナビゲーション装置や携帯電話端末などを一例として想定しているため位置検出部110を備える構成であったがこれに限るものではない。例えば位置検出部110を備えない形態をとることも可能である。図11に、別の形態の表示装置200のブロック図を示す。 In addition, since the said
図11の表示装置200は、記憶部120と、入力部130と、受信部140と、算出部150と、表示部160とから構成される。これらの各ブロックがバスを通じて相互に接続されている。 11 includes a
ここで当該表示装置200においては、ユーザは入力部130を介して現在の位置を登録することが可能となっている。ユーザより入力された現在の位置に関する情報である現在位置情報は記憶部120に記憶される。そして、受信部140で緊急情報が受信された場合は、前記算出部150は、前記記憶部120に記憶されている現在位置情報を読み込んで上述した第2又は第3の算出処理を行う。なお、当該表示装置200は位置検出部を有さないため、表示装置100の算出部が行う第1算出処理は行わない。Here, in the
すなわち、表示装置200は、現在の位置を入力する入力手段と、入力された現在の位置を現在位置情報として記憶すると共に位置緊急時の避難場所に関する情報が複数纏められた避難情報を記憶する記憶手段と、緊急情報を受信する受信手段と、緊急情報及び現在位置情報に基づいて、避難情報に含まれる複数の避難場所から最適の避難場所を求める算出処理を行う算出手段と、求められた最適の避難場所を表示する表示手段と、を具備する。In other words, the
このような表示装置200には、例えばテレビ受像装置やインターネットに接続された計算機などが想定される。テレビ受像装置やインターネットに接続された計算機が、上記構成を有することで、例えば家の中でテレビや計算機を使用していた場合に、テレビ放送やインターネットブロードキャストにより緊急情報が受信された場合に、家に留まるべきなのか、又は当該表示装置が示す避難場所に避難すべきなのかを適切に判断することが可能となる。As such a
従って、この度発生した津波のように、本来その津波の規模を鑑みれば避難すべきところを家の2階で待機しておけば大丈夫といった誤った判断をすることで命を落としてしまうといった事態を極力減らすことが可能となる。また、同時に、地震が発生する度に、過度に津波を警戒して高台へ避難を行うといったことを防ぐことができる。本来、安全を考えれば、地震が発生する度に高台に避難することは決して悪いことではない。しかし、実際に襲ってこない津波に対して毎回避難を行っているうちに、やがて危機意識が薄れていき、面倒くさがって避難しなくなるのが人間である。そして、本来避難すべき時に避難しないといった事態を招きかねない。そのため、避難すべきか避難すべきでないかを的確にナビゲートできる本装置は、災害発生時の人的被害を最小限に抑える有力な装置となる。 Therefore, like the tsunami that occurred this time, in view of the scale of the tsunami, it would be possible to lose your life by making an incorrect decision that it would be okay if you waited on the second floor of the house where you should evacuate. It is possible to reduce as much as possible. At the same time, every time an earthquake occurs, it is possible to prevent the tsunami from being overly alert and evacuating to high ground. Originally, considering safety, it is not a bad idea to evacuate to high ground whenever an earthquake occurs. However, human beings are not able to evacuate because they become less aware of the crisis and become troublesome as they make every effort to avoid tsunamis that do not actually attack. And when you should originally evacuate, you may invite a situation where you do not evacuate. For this reason, the present apparatus capable of accurately navigating whether or not to evacuate is an effective apparatus for minimizing human damage when a disaster occurs.
なお、当該表示装置200は、家の中に固定されていることがあるため、算出部150は第3の算出処理を行わなくても良い。すなわち、家の中に設置されるということは、当該表示装置200のユーザは、周囲の環境は熟知していると考えられる。従って、ユーザは第2の算出処理で求められた最適な避難場所さえ分かれば最適に当該避難場所まで辿り着けるものと考えられる。Note that since the
従って、当該表示装置200においては、以下のように構成されていても良い。すなわち、算出部150は、第2の算出処理として、上記避難情報に含まれる複数の避難場所の中から最適な避難場所を特定する処理を行う。具体的には、前記受信部140で受信された緊急情報に含まれる災害種別から災害の種類を特定し、当該災害種別に対応する避難場所を前記避難情報から抽出する。次に、前記入力部より入力されて記憶部120に登録・記憶されている現在位置を読み出す。避難可能な避難場所を抽出する。次に、当該現在位置に基づいて、抽出された避難場所の中から最適な避難場所を求める。Therefore, the
ここで、算出部150は、当該最適な避難場所を求めるにあたり、現在位置からの距離や避難場所の収容可能人数、現在位置から避難場所へ避難するために要する時間、その他複数の要因に基づいて所定のアルゴリズムに従って最適な避難場所を求める。Here, the
ここで、算出部150が最適な避難場所を求めるアルゴリズムは、避難に余裕を持たせられるよう一定のマージンが与えられることが望ましい。Here, it is desirable that the algorithm used by the
例えば、緊急情報が津波に関する情報であり、避難場所が高台である場合に、津波到達時刻が現在の時刻からみて20分後である場合に、現在位置から避難場所までに必要とする時間が20分丁度であることは好ましくない場合がある。すなわち、避難するにあたり、老人の避難速度が想定される避難速度よりも遅いことや、避難における混乱で予め想定された時間よりも長い時間を要する場合がある。この場合、避難場所に辿り着く前に津波が到達してしまうといった事態を招きかねない。For example, when the emergency information is information related to a tsunami and the evacuation site is on a hill, the time required from the current position to the evacuation site is 20 when the tsunami arrival time is 20 minutes after the current time. It may not be preferable to be exactly right. In other words, when evacuating, the evacuation speed of the elderly may be slower than the assumed evacuation speed, or it may take a longer time than expected due to confusion in evacuation. In this case, it may lead to a situation where a tsunami arrives before reaching the evacuation site.
従って、算出部150は、津波到達時刻まで20分である場合は、1/4のマージンをとって現在地から15分以内に到達可能な避難場所を最適な避難場所として選ぶように構成されていても良い。但し、上記アルゴリズムによりマージンを含んだ15分以内の移動範囲内に当該災害に対応できる避難場所が無い場合は、マージンを外して20分以内に到達できる避難場所の検索を行っても良い。算出部150は、当該検索により15分以上20分以下の時間で避難できる避難場所が見つかった場合には、このような避難場所の1つを最適な避難場所として特定しても良い。Therefore, the
また、同様に算出部150は、津波の高さに関してもマージンを与えた上で最適な避難場所を特定することが望ましい。例えば、算出部150で用いられる上記アルゴリズムにおいては、緊急情報が津波に関する情報である場合に、当該情報に含まれる津波の高さにマージンを与えた上で最適な避難場所を求めることが望ましい。Similarly, it is desirable that the
例えば、予想される津波の高さが6mであった場合に、避難場所の対応可能な津波の高さが6mであった場合には、予想が外れて更に大きな津波が押し寄せてきた場合に避難場所としてその機能を果たせなくなる場合が考えられる。従って、算出部150は、緊急情報に含まれる予想される津波の高さに所定のマージンを加えた津波の高さに対応できる避難場所を記憶部120に記憶されている緊急時の避難場所に関する情報が複数纏められた避難情報の中から抽出し、当該抽出された複数の避難場所の中から1の避難場所を最適な避難場所として特定しても良い。For example, if the expected tsunami height is 6m, and the tsunami height that can be accommodated in the evacuation site is 6m, the evacuation will occur if a larger tsunami comes out than expected. There are cases where the function cannot be performed as a place. Therefore, the
このように、予想される津波の高さに5m〜10mほどのマージンを持たせておくことで、例え予想される津波の高さよりも3〜5m高い津波が押し寄せても避難場所の機能を果たすことができる。従って、現在位置のより近くに6mの津波に耐えられる避難場所が存在しても、予想される津波到達時刻までに十分移動可能な範囲であって、20m以上の津波に絶えられる別の避難場所が存在するならば、算出部150は、後者の避難場所を最適な避難場所として特定しても良い。なお、上記到達時刻におけるマージンと同様、津波の高さにマージンを持たせた第1の検索において避難場所が見つからなかった場合は、当該マージンを外し、予想される津波の高さに耐えられる避難場所を検索しても良い。In this way, by providing a margin of about 5m to 10m to the expected tsunami height, even if a tsunami 3 to 5m higher than the expected tsunami height comes in, it functions as an evacuation site. be able to. Therefore, even if there is an evacuation site that can withstand a tsunami of 6m near the current location, it is within a range that can be sufficiently moved by the expected tsunami arrival time and can be stopped by a tsunami of 20m or more. If there is, the
ここで、当該表示装置200の算出部150は、第3の算出処理は行わなくてもよい。上述したとおり、ユーザは周囲の環境を熟知しているため、第2の算出処理で求められた最適な避難場所さえ特定できれば、例え緊急時で思考能力が落ちていても避難は可能であるためである。Here, the
従って、表示部160は、算出部150で求められた最適な避難場所に関する情報を表示する。このように構成されていても良い。災害時において思考力が低下した人が犯してしまう最も致命的な誤りは、避難すべき場所を間違ってしまうことである。すなわち、地震が起きて津波が来る可能性がある場合に、気が動転して、周囲の建物の崩落から身を守るために近くの公園に一時避難してしまう場合がある。しかし、津波の存在を考えれば、高台又は鉄筋コンクリートの堅固な建物へ避難する必要がある。ここで、本表示装置が、表示部を介してユーザに対して「予想高度6mの津波が20分以内に到達します。△△ビルディングの5階以上が最適な避難場所ですので直ちにそこへ避難してください!」といったメッセージを提示すれば、ユーザは気が動転していても、△△ビルディングの存在を熟知しているので十分避難が可能となる。Therefore, the
なお、上記説明では、緊急情報が津波に関する場合について特に詳しく説明したが、その他の災害でも同じである。算出部150が、最適な避難場所を選ぶアルゴリズムとして、予想される空襲時刻、予想される核ミサイル到達時刻、予想される竜巻到達時刻などの時間に対してマージンを含んだ範囲の避難場所を選ぶことや、避難場所が避難民で溢れかえる可能性を考慮して収容人数に余裕があるシェルタを最適な避難場所に選ぶことなどが考えられる。In the above description, the case where emergency information relates to a tsunami has been described in detail, but the same applies to other disasters. The
また、上記アルゴリズムは、現在の時刻、季節、曜日、交通規制の有無、など様々な要因に重み付けを行い、複数ある避難場所の中から1の避難場所を最適な避難場所として選ぶことが可能である。In addition, the above algorithm weights various factors such as the current time, season, day of the week, traffic restriction, etc., and it is possible to select one evacuation site as an optimum evacuation site from among a plurality of evacuation sites. is there.
また、上記説明では、算出部150は、第2の算出処理において、複数ある避難場所の中から1の避難場所を最適な避難場所として選ぶ場合について説明したが、これに限るものではない。複数ある避難場所の中から数個の避難場所を最適な避難場所候補として選び出してもよい。表示部160は、算出部150で選び出された上記数個の避難場所を最適な避難場所候補として表示しても良い。このように構成することで、ユーザにある程度決定権を与えることができる。但し、緊急時に複数の避難候補を提示されるとユーザが混乱する可能性があるため1の避難場所を最適な避難場所候補として提示する方が望ましい場合もある。一方、1の避難場所を最適な避難場所として提示すると、近くの住民がすべて1箇所の避難場所に集中してしまう可能性もあるため、ある程度分散させるために複数の避難場所を最適な避難場所候補として提示することも望ましい。In the above description, the
また、上記説明では、算出部で求められた最適の避難場所や避難経路を画面表示という形態でユーザに提示する構成を示したがこれに限るものではなく、音声を用いてユーザに注意喚起を行っても良い。すなわち、表示装置100及び200は、音声生成部を別途備え、求められた最適な避難場所や避難経路を音声に変換する。当該音声変換により生成された音声が図示せぬスピーカーを通じてユーザに提示される形態も可能である。この場合、上記表示装置は音声ナビゲーション装置ともなり、具体的な装置としては、画面付ラジオ、テレビ受像機、画面付音楽生成プレーヤーなど様々な形態をとることが可能となる。 In the above description, the optimum evacuation place and the evacuation route obtained by the calculation unit are presented to the user in the form of a screen display. However, the present invention is not limited to this, and the user is alerted using voice. You can go. That is, the
なお、記録部に記録される緊急時の避難場所を表す情報である避難情報が音声と合わせて記憶されていても良い。この形態の場合は、別途音声生成部は必要なく、算出部で求められた最適な避難場所を図示せぬ音声再生部が読み込み、スピーカーを通じて音声が発せられることになる。In addition, the evacuation information which is information showing the emergency evacuation place recorded in the recording unit may be stored together with the voice. In the case of this form, there is no need for a separate voice generation unit, and the voice reproduction unit (not shown) reads the optimum evacuation place obtained by the calculation unit, and voice is emitted through the speaker.
このように、本実施の形態の表示装置では、各々の装置が最適の避難場所を求めている。災害発生時などの場合は、その影響を受ける人の数が莫大な数に上ると共に、迅速な対応が求められる。従って、膨大な処理を極めて短時間に行うことを中央サーバで行わせた後に、各ユーザに対して個別に誘導を行うことは現状の計算機能力では限界がある。一方、本実施の形態の表示装置は、最適な避難場所を特定するのに必要となる僅かの情報をブロードキャストし、各々の装置が現在の状況を把握しながら最適な避難場所を分散して求める。従って、送信側及び受信側ともに簡単な構成で装置を組むことができるとともに、迅速に結果を算出してユーザを適切に避難させることを補助できる。Thus, in the display device of the present embodiment, each device seeks an optimum evacuation site. In the event of a disaster, the number of people affected is enormous, and prompt action is required. Therefore, there is a limit in the current calculation function ability to guide each user individually after performing a huge amount of processing in a very short time in the central server. On the other hand, the display device of the present embodiment broadcasts a small amount of information necessary to identify the optimum evacuation site, and each device scatters and obtains the optimum evacuation sites while grasping the current situation. . Therefore, it is possible to assemble a device with a simple configuration on both the transmission side and the reception side, and it is possible to assist in evacuating the user appropriately by quickly calculating the result.
(実施の形態2)
本実施の形態2の表示装置は、実施の形態1の表示装置と比較して避難情報を保有していない。その一方で、海抜まで含めた3次元地図を地図情報として記憶している。また、位置検出部は、海抜まで含めた3次元位置を検出する。以下、詳細に説明する。(Embodiment 2)
The display device according to the second embodiment does not have evacuation information as compared with the display device according to the first embodiment. On the other hand, a three-dimensional map including the sea level is stored as map information. The position detector detects a three-dimensional position including the sea level. Details will be described below.
図9は、本実施の形態2にかかる表示装置300のブロック図である。本実施の形態2にかかる表示装置300は、位置検出部310と、記憶部120と、入力部130と、受信部140と、算出部150と、表示部160と、から構成される。以下、各ブロックについて説明する。但し、実施の形態1の表示装置100と同一のブロックに関しては一部説明を省略する。FIG. 9 is a block diagram of the
位置検出部310は、現在の位置を求める検出手段であり例えばGPSを用いた位置検出方法によって現在位置を求める。ここで、位置検出部310は、緯度(Latitude)、経度(Longitude)に加えて海抜高度(altitude)も検出する。すなわち、位置検出部310はX方向、Y方向、Z方向の3次元における現在位置を検出する。The
記憶部120は、地図情報を記憶する。ここで記憶部120に記憶されている地図情報は、3次元地図であることを特徴としている。すなわち、記憶部120には、緯度、経度の他に海抜高度や等高線といった“高さ”の概念を有する地図が記憶されている。The
受信部140は、外部より緊急情報を受信する。ここでは、特に緊急情報が津波に関する情報であるとして説明する。受信部140は、緊急情報を受信すると、受信した当該緊急情報を算出部150へ出力する。The receiving
算出部150は、受信部140より津波に関する緊急情報を入力すると、位置検出部310より現在位置に関する情報である現在位置情報を読み込む。When the emergency information related to the tsunami is input from the
算出部150は、読み込んだ現在位置情報と緊急情報に含まれる津波に関する情報とに基づいて、現在位置が津波の被害を受ける可能性がある範囲内にあるかどうかの判断を行う。より具体的には、算出部150は、緊急情報に含まれる予想される津波の高さと津波の到達位置とに基づいて、津波の被害を受け得る範囲を特定するための第1算出処理を行う。次に、上記第1算出処理で求めた範囲内に現在位置が含まれるかを判定する第2算出処理を行う。上記第2算出処理によって現在の位置が津波の被害を受けうる範囲に属すると判定された場合は、上記津波の被害を受けない範囲であって、現在の位置から予想される津波の到達時刻までに移動可能な1の場所を上記地図情報に基づいて特定する第3算出処理を行う。算出部140は、特定された場所を避難場所として目的地に設定し、現在位置から当該避難場所までの最適な経路を求める第4算出処理を行う。The
表示部160は、記憶部120に記憶されている地図情報に基づいて描画した地図の上に、前記第1算出処理で求めた津波の被害を受けうる範囲を示す描画をオーバーレイ表示することで、津波の被害を受けうる範囲をユーザに警告する。また、表示部は、算出部150における前記第4算出処理で求めた最適な避難経路を合わせてオーバーレイ表示する。The
図13は、表示部160が表示する表示画面の一例を示している。表示部は、表示画面に、現在位置901、第1算出処理で求めた津波の被害を受けうる範囲902及び903と、第3算出処理で求められた避難場所904と、現在位置901から避難場所904までの最適な経路905を、描画した地図上にオーバーレイ表示して表示している。ここで902は津波の被害を高い確率で受ける範囲(いわゆる警報範囲であり退避勧告が出ている範囲)を示しており、903は津波の被害を受ける可能性がある範囲(いわゆる注意範囲であり、注意喚起が出ている範囲)である。FIG. 13 shows an example of a display screen displayed by the
次に、上記表示装置における処理動作について説明する。図14は、当該処理フローを示したフローチャートである。以下、津波に関する緊急情報を特に津波情報と記載して説明する。また、ここでは高さ6mの津波が予測される場合について説明する。Next, the processing operation in the display device will be described. FIG. 14 is a flowchart showing the processing flow. Hereinafter, emergency information related to tsunami is described as tsunami information in particular. Here, a case where a tsunami with a height of 6 m is predicted will be described.
位置検出部110は、所定のタイミングで現在の位置を検出する(ステップ001)。ここで、所定のタイミングは例えば1秒に1回の割合で現在の位置を検出する。検出した位置に関する情報は、必要に応じて算出部に出力される。 The
次に、受信部140は、外部より送信された津波情報を受信する(ステップ002)。受信部140で受信された津波情報は算出部140へ出力される。Next, the receiving
算出部140は、受信部より津波情報を入力すると、位置検出部110より現在の位置に関する情報である現在位置情報を読み込む(ステップ003)。 When the tsunami information is input from the receiving unit, the calculating
次に、算出部140は、読み込んだ現在位置情報と津波情報に含まれる津波警報が発令されている地域とから、現在の位置が津波の影響を受けるエリアであるかに関する大まかな判断を行う(ステップ004)。例えば、津波警報が日本海側に出ている場合に、現在位置が内陸部や太平洋側である場合には、避難誘導を行う必要が無いため処理を終了する。Next, the
一方、現在の位置が津波警報が発令されている地域内である場合には、津波情報に含まれる予想される津波の高さと津波到達場所と地図情報と現在位置に基づいて、陸地であって津波の影響を受ける場所を特定する(ステップ005)。当該特定方法を図15及び図16を用いて説明する。On the other hand, if the current position is in the area where the tsunami warning is issued, the land is based on the expected tsunami height, tsunami arrival location, map information, and current position included in the tsunami information. A place affected by the tsunami is specified (step 005). The identification method will be described with reference to FIGS.
図15は、上記3次元地図情報の中から海岸付近の地図をXZ平面図を切り出した図である。図右側のAの部分が海であり、図左側が陸地である。ここで点線は海面が津波により6m上昇した場合の海面の高さであり、上部の点線は海面が津波により10m上昇した場合の海面の高さを模式的に示している。FIG. 15 is a diagram obtained by cutting out an XZ plan view of a map near the coast from the three-dimensional map information. The portion A on the right side of the figure is the sea, and the left side of the figure is the land. Here, the dotted line is the height of the sea surface when the sea level rises by 6 meters due to the tsunami, and the upper dotted line schematically shows the height of the sea surface when the sea level rises by 10 meters due to the tsunami.
図から読み取れるように、海面が6m上昇した場合、海岸付近の陸地であって海抜が6m以下の場所は海面下となる。すなわち津波が押し寄せてきた場合被害を受けうる範囲となる。なお10mの場合も同様である。従って、図15内においてAlertで示されている位置は、6mの津波が襲ってきた場合に水没する地域であり、退避勧告が発せられる警戒地域となる。一方、予報が外れた場合や、地形によってさらに津波が内陸部まで入り込んでくる可能性を考慮して海抜10m以下のエリア(図12内においてCautionで示されている位置)が注意喚起が発せられる注意地域となる。As can be seen from the figure, when the sea level rises by 6 m, the land near the coast and below 6 m above sea level is below the sea level. In other words, if the tsunami is approaching, it will be in the range that can be damaged. The same applies to the case of 10 m. Therefore, the position indicated by “Alert” in FIG. 15 is an area that is submerged when a 6-meter tsunami hits, and is a warning area where an evacuation recommendation is issued. On the other hand, if the forecast is off, or if there is a possibility that a tsunami will enter the inland area due to topography, an area of 10 m or less above sea level (the position indicated by “Cation” in FIG. 12) will be alerted. It becomes an attention area.
図16は、図15に対応する地図をXY平面で表した図である。図右側が海であり、図左側が陸地を表している。ここで、図16において、斜線の範囲が注意喚起が発せされている範囲を、網掛けの範囲が退避勧告が発せられている範囲を示している。算出部150は、3次元の地図情報から海岸線から所定の距離以内であって海抜6m以下の範囲と10m以下の範囲を抽出し、当該範囲を津波の被害を受けうる範囲であると特定する。また、河川付近は、海抜が津波の高さ以上であっても容易に津波が浸食してくるため、算出部150は、河川付近についてはマージンを20mとり、海抜26m以下の河川付近の場所についても津波の被害を受けうる範囲として特定する。また、算出部150は、当該抽出した範囲に関するデータを図示せぬバッファメモリに一時記憶する。FIG. 16 is a diagram showing a map corresponding to FIG. 15 in the XY plane. The right side of the figure is the sea, and the left side is the land. Here, in FIG. 16, the shaded range indicates the range where the alert is issued, and the shaded range indicates the range where the evacuation recommendation is issued. The
次に、算出部150は、現在の位置がステップ005で特定された津波の被害を受けうる範囲内であるかどうかの判定を行う(ステップ006)。具体的には、バッファメモリに一時記憶されている津波の被害予想地域として抽出された位置範囲内に現在の位置が含まれているかどうかの判定を行う。Next, the
算出部150は、ステップ006において現在の位置が津波の被害を受けうる範囲内であると判断した場合には、津波の被害を受けうる範囲外であって、現在の位置から津波の到達時刻内に到達可能な場所を避難場所として特定する(ステップ007)。ここで、算出部150は、避難場所としては、現在位置と海岸とを結ぶ線上であって、海岸と反対側の位置でかつ海抜高度が予想される津波の高さに所定のマージンを加えた高さ以上の場所を避難場所として特定することができる。また、算出部150は、現在の位置から所定の半径の同心円内に、海抜高度が予想される津波の高さに所定のマージンを加えた高さ以上の場所がないかどうかの検索処理を行い、当該場所が存在する場合には、その場所を避難場所として特定しても良い。また、当該同心円内に該当する場所が無い場合には、同心円の半径を拡大して同様の処理を繰り返しても良い。If the
次に算出部150は、上記避難場所を新たな目的地として設定する(ステップ008)。予めユーザが目的地を入力して経路誘導が行われていた場合でも、上記ステップで求めた避難場所を新たな目的地として強制的に設定する。Next, the
次に、算出部150は、現在位置から上記避難場所までの最適な経路を算出する(ステップ009)。Next, the
次に、表示部160は、地図情報に基づいて描画した地図に、ステップ005で求めた津波の影響をうけうる範囲やステップ007で求めた避難場所やステップ008で求めた最適な経路をオーバーレイ表示する(S010)。このような処理を行うことにより、ユーザに適切な避難行動が取れるようにする。Next, the
以上説明したように本実施の形態2にかかる表示装置では、現在の位置を検出する位置検出手段と、3次元の地図情報を記憶する記憶手段と、少なくとも予想される津波の到達時刻と津波の到達場所と津波の高さに関する情報を含む津波情報を受信する受信手段と、前記津波情報が受信された場合に、前記地図情報と前記津波情報とに基づいて前記現在の位置から所定の範囲内において津波の影響を受け得る範囲を求める第1の算出処理を行う算出手段と、前記地図情報を読み込んで描画した地図に前記求められた津波の影響を受け得る範囲を示す描画をオーバーレイ表示する表示手段と、を具備する。As described above, in the display device according to the second embodiment, the position detection means for detecting the current position, the storage means for storing the three-dimensional map information, at least the expected arrival time of the tsunami and the tsunami Receiving means for receiving tsunami information including information on the arrival location and the height of the tsunami, and when the tsunami information is received, within a predetermined range from the current position based on the map information and the tsunami information A calculation means for performing a first calculation process for obtaining a range that can be affected by a tsunami, and a display that displays a drawing indicating the range that can be affected by the obtained tsunami on a map that has been read by drawing the map information Means.
このように構成することで、津波の被害を受けるエリアを視覚的に捉えることができるため、どこに避難すれば安全であるかを感覚的に捉えることができる。従って、冷静さを失っている場合においてもユーザは適切な避難行動を取ることが可能となる。By configuring in this way, it is possible to visually grasp the area affected by the tsunami, so it is possible to grasp sensuously where it is safe to evacuate. Therefore, even when the user has lost calmness, the user can take an appropriate evacuation action.
また、本実施の形態2にかかる表示装置では、算出手段が、前記3次元の地図情報に基づいて前記予想される津波の到達時刻までに現在位置から移動可能な範囲内であって、前記予想される津波の高さよりも海抜高度が高い1つの場所を最適な避難場所として選ぶ選択処理を行うことができる。このように構成することで、当該装置が適切な避難場所を提示するため、ユーザは、当該提示された避難場所に適切に避難することができる。Further, in the display device according to the second embodiment, the calculation unit is within a range that can be moved from the current position by the predicted arrival time of the tsunami based on the three-dimensional map information, and the prediction A selection process can be performed in which one place with an altitude above sea level higher than the height of the tsunami is selected as the optimum evacuation place. With this configuration, since the device presents an appropriate evacuation site, the user can evacuate appropriately to the presented evacuation site.
また、上記算出手段は、前記3次元の地図情報に基づいて前記予想される津波の到達時刻までに現在位置から移動可能な範囲内であって、前記予想される津波の高さよりも海抜高度が高い場所を避難場所候補として抽出する抽出処理をまず行う。そして、前期抽出した避難場所候補の中から、最適な避難場所として1の避難場所を選ぶ選択処理を行うことも可能である。このような2段階の処理で避難場所を特定することで処理速度を速めることができる。Further, the calculating means is within a range that can be moved from the current position by the predicted arrival time of the tsunami based on the three-dimensional map information, and the altitude above sea level is higher than the predicted tsunami height. First, an extraction process for extracting a high place as an evacuation place candidate is performed. It is also possible to perform selection processing for selecting one evacuation site as the optimum evacuation site from among the evacuation site candidates extracted in the previous period. The processing speed can be increased by specifying the evacuation site in such a two-step process.
また、上記前記算出手段は、前記現在の位置から前記選ばれた最適の避難場所までの最適な避難経路を求める第3の算出処理を行い、前記表示手段は、前記目的地までの最適な経路のオーバーレイ表示を中止し、前記最適の避難場所までの最適な避難経路を地図上にオーバーレイ表示することができる。その効果は実施の形態1の場合と同様である。The calculation means performs a third calculation process for obtaining an optimum evacuation route from the current position to the selected optimum evacuation place, and the display means obtains the optimum route to the destination. And the optimum evacuation route to the optimum evacuation site can be overlaid on the map. The effect is the same as in the first embodiment.
以上説明したように表示装置を上記構成とすることで、予め避難情報を保有しない場合でも現在位置の海抜と地図情報に含まれる海抜とに基づいて、予想される津波の高さよりも高い位置を最適な避難場所として特定し、当該避難場所を新たな目的地として経路誘導することが可能となる。As described above, by configuring the display device as described above, a position higher than the expected height of the tsunami can be obtained based on the sea level of the current position and the sea level included in the map information even if evacuation information is not held in advance. It becomes possible to identify the optimum evacuation place and guide the route as the new evacuation place.
また、上記表示装置では、現在位置情報と津波情報と地図情報とに基づいて現在位置周辺の津波の影響を受けうる範囲を特定し、視覚的にユーザに表示する。従って、津波の被害を受けうる範囲外にいるユーザが誤って津波の被害を受けうる範囲内に入ってしまうことを防ぐことができる。Further, the display device specifies a range that can be affected by the tsunami around the current position based on the current position information, the tsunami information, and the map information, and visually displays the range to the user. Therefore, it is possible to prevent a user who is outside the range that can be damaged by the tsunami from accidentally entering the range that can be damaged by the tsunami.
また、津波の影響を受ける範囲外から津波の影響を受ける範囲内に誤って入ってしまった場合は、図示せぬスピーカーより警告音を発するよう構成していても良い。すなわち、算出部150は、位置検出部110より入力した位置情報に基づいて、現在位置が津波の影響を受けうる範囲内であると判定した場合は、記憶部130に記憶されている所定の警告音を読み出して再生し、スピーカーよりユーザに注意喚起を行うよう構成するとなお良好である。In addition, if the user accidentally enters the area affected by the tsunami from outside the area affected by the tsunami, a warning sound may be generated from a speaker (not shown). That is, when the
また、避難する車や人が渋滞しないように、避難場所は津波の影響をうけうる範囲の境界線よりもより内陸側若しくはより高度の高い場所を避難場所として特定するアルゴリズムを用いることがなお良好である。Also, it is better to use an algorithm that identifies the evacuation site as an evacuation site inland or at a higher altitude than the boundary of the area that can be affected by the tsunami, so that evacuated cars and people are not congested It is.
次に、本願発明の特に好ましい表示装置の構成について以下詳細に説明する。本表示装置は、津波の第1波面の状況をリアルタイムで受信して表示することを特徴としている。Next, a particularly preferable configuration of the display device of the present invention will be described in detail below. The present display device is characterized by receiving and displaying the state of the first wavefront of the tsunami in real time.
当該防災システムは、大きく災害情報管理システムと当該表示装置より構成される。ここで、災害情報管理システムは、災害検出装置と、災害情報生成装置と、災害情報送信装置とで構成されている。なお、個々では災害を津波として説明するが、その他の災害においても同様である。すなわち、以下の説明では津波を災害と読み替えることができる。The disaster prevention system is mainly composed of a disaster information management system and the display device. Here, the disaster information management system includes a disaster detection device, a disaster information generation device, and a disaster information transmission device. Each disaster is described as a tsunami, but the same applies to other disasters. That is, in the following explanation, tsunami can be read as disaster.
災害検出装置は、津波の現在位置を検出する。災害情報管理システム内にはこのような検出装置が複数配置されている。当該災害検出装置は、検出した津波の位置を災害情報生成装置へ送信する。The disaster detection device detects the current position of the tsunami. A plurality of such detection devices are arranged in the disaster information management system. The disaster detection apparatus transmits the detected tsunami position to the disaster information generation apparatus.
災害情報生成装置は、複数の検出装置から送信される信号に基づいて津波の現在位置に関する情報を生成する。津波の現在位置に関する情報の一例としては、津波の最前線を表すGPSデータで構成される情報が想定される。この津波の最前線に関して所定の距離間隔でGPSデータが埋め込まれている。なお、当該情報の生成はリアルタイムで行われ、0.1秒〜10秒程度の更新間隔で当該情報が生成される。The disaster information generation device generates information related to the current position of the tsunami based on signals transmitted from a plurality of detection devices. As an example of information on the current position of the tsunami, information composed of GPS data representing the forefront of the tsunami is assumed. GPS data is embedded at predetermined distance intervals with respect to the forefront of this tsunami. The information is generated in real time, and the information is generated at an update interval of about 0.1 seconds to 10 seconds.
災害情報送信装置は、災害情報生成装置で生成された上記津波の現在位置に関する情報を送信する。送信方法としては、上述の場合と同様ブロードキャスト、マルチキャストで送信することができる。The disaster information transmitting device transmits information on the current position of the tsunami generated by the disaster information generating device. As a transmission method, it is possible to transmit by broadcast and multicast as in the case described above.
すなわち、災害情報管理システムは、衛星や各場所に配置されたセンサで捕らえた津波の現在の最前線の位置データ、より詳しくはGPSデータを各表示装置へリアルタイムで送信し続ける。送信間隔は例えば0.1秒毎〜10秒毎程度に設定できる。In other words, the disaster information management system continues to transmit, in real time, the position data of the current front line of the tsunami captured by the satellites and sensors arranged at each location, more specifically, GPS data to each display device. The transmission interval can be set to about every 0.1 seconds to every 10 seconds, for example.
一方表示装置は、少なくとも記憶部と、受信部と、表示部を具備する。On the other hand, the display device includes at least a storage unit, a receiving unit, and a display unit.
記憶部は、地図情報を記憶する。地図情報は上述した地図情報と同様の地図を用いることができる。受信部は、津波の現在位置に関する情報を受信する。当該情報は、当該津波の現在位置を示すリアルタイムの位置情報である。受信部は、当該受信した津波の現在位置に関する情報を算出部へ出力する。算出部は、当該情報に基づいて現在の津波の位置を特定する。より具体的には、当該情報に含まれる複数のGPSデータを線形補完等の処理を行うことで各点を繋ぎ合わせ、津波の第一波面を津波の現在位置を示す境界として求める。表示部は、当該求められた津波の位置を特定の描画パターンで地図上にオーバーレイ表示する。The storage unit stores map information. As the map information, a map similar to the map information described above can be used. The receiving unit receives information regarding the current position of the tsunami. The information is real-time position information indicating the current position of the tsunami. The receiving unit outputs information related to the current position of the received tsunami to the calculating unit. The calculation unit identifies the current tsunami position based on the information. More specifically, each point is connected by performing a process such as linear interpolation on a plurality of GPS data included in the information, and the first wavefront of the tsunami is obtained as a boundary indicating the current position of the tsunami. The display unit overlay-displays the obtained tsunami position on the map with a specific drawing pattern.
すなわち、上記構成の表示装置は、地図情報を記憶する記憶手段と、津波の現在位置に関する情報を受信する受信手段と、前記地図情報に基づいて描画した地図に前記受信した津波の現在位置に関する情報に基づいて描画した津波の位置を示す描画パターン(アイコン)をオーバーレイ表示して表示する表示手段と、を有する。当該構成により、迫り来る津波の位置を視覚的に認識しながら避難することができる。That is, the display device having the above configuration includes storage means for storing map information, receiving means for receiving information relating to the current position of the tsunami, and information relating to the received current position of the tsunami on a map drawn based on the map information Display means for overlaying and displaying a drawing pattern (icon) indicating the position of the tsunami drawn based on the tsunami. With this configuration, it is possible to evacuate while visually recognizing the position of the approaching tsunami.
このように津波の現在位置をナビゲートする表示装置を用いることで、避難が遅れた人に後どれくらいで現在の位置に津波が到達するかをリアルタイムで視覚的に提示することができるため、避難を急ぐことや、緊急的に近くの建物に逃げ込むといった対応が可能となる。津波の速度は車の速度と同等以上であり、津波が視界に入ってからこのような緊急行動をとっても間に合わないためである。しかし、津波の最前線を認識しておくことで緊急時の回避を行える可能性を高めることができ、人的被害を最小限に減らすことができる。By using a display device that navigates the current position of the tsunami in this way, it is possible to visually show in real time how long the tsunami will reach the current position to those who have delayed evacuation. It is possible to take measures such as hurrying up or urgently escaping to a nearby building. This is because the speed of the tsunami is equal to or greater than the speed of the car, and even if such an emergency action is taken after the tsunami enters the field of view, it is not in time. However, recognizing the forefront of the tsunami can increase the possibility of emergency avoidance and reduce human damage to a minimum.
なお、上記表示手段は、受信した津波の現在位置に関する情報に基づいて、津波の最前線部分を示すラインを描画して地図にオーバーレイ表示しても良いし、津波全体を津波の位置として例えば網掛け表示により地図上にあらわしてもよい。The display means may draw a line indicating the forefront portion of the tsunami based on the received information on the current position of the tsunami and display it overlaid on the map. It may be displayed on the map by a hung display.
なお、上記表示装置は、更に現在の位置を検出する位置検出部を備えるとなお良好である。ユーザは現在位置と津波の位置との位置関係を把握しやすくなるため、適切な避難の見極めを行うことができる。また、受信部が所定の頻度で受信する津波の位置に関する情報より求まる津波の位置の変化から津波の速度を算出する算出部を更に備えていているとなお良好である。表示部は、当該算出部における計算により求められた津波の速度を表示することでユーザは、より津波の位置関係を把握しやすくなるため適切な避難行動をとることができる。表示部は、地図情報に基づいて位置検出部で検出された現在位置周辺の地図を描画し、さらに津波の位置を示す描画パターンを描画し、これら2つの描画を合わせて表示する。In addition, it is further preferable that the display device further includes a position detection unit that detects the current position. Since the user can easily grasp the positional relationship between the current position and the tsunami position, it is possible to determine appropriate evacuation. In addition, it is further preferable to further include a calculation unit that calculates the tsunami velocity from the change in the tsunami position obtained from the information about the tsunami position received by the reception unit at a predetermined frequency. The display unit displays the speed of the tsunami obtained by the calculation in the calculation unit, so that the user can easily understand the positional relationship of the tsunami and can take appropriate evacuation behavior. The display unit draws a map around the current position detected by the position detection unit based on the map information, draws a drawing pattern indicating the tsunami position, and displays these two drawings together.
また、上記算出部は、位置検出部で検出された現在の位置と、計算した津波の速度と、津波の現在位置とに基づいて、津波の予想到達時間を計算するよう構成するとなお良好である。表示部は、算出部で計算された津波の予想到達時間を表示する。このように構成することで、避難途中にあるユーザは、あと何分何秒で津波が自分の位置まで到達するかを秒単位の精度で知ることが可能となる。なお、算出部はユーザの現在の移動速度を計算し、当該移動速度を考慮に入れた上で津波がユーザに迫るまでの時間を計算すると、より正確な到達時間を求めることができる。なお、現在の移動速度は、別途も受けられた速度センサや加速度センサや方位検出部などの情報を用いて求めても良いし、位置検出部で検出される現在位置の変化の差分からユーザの移動速度及び移動方向を示す移動ベクトルを求めても良い。Further, it is still preferable that the calculation unit is configured to calculate the expected arrival time of the tsunami based on the current position detected by the position detection unit, the calculated tsunami velocity, and the current position of the tsunami. . The display unit displays the expected arrival time of the tsunami calculated by the calculation unit. By configuring in this way, a user in the middle of an evacuation can know how many minutes and how many seconds the tsunami will reach his position with an accuracy of seconds. Note that the calculation unit calculates the current moving speed of the user, and calculates the time required for the tsunami to approach the user after taking the moving speed into consideration, thereby obtaining a more accurate arrival time. Note that the current moving speed may be obtained by using information such as a speed sensor, an acceleration sensor, and an azimuth detecting unit which are separately received, or the current moving speed is calculated based on the difference in change of the current position detected by the position detecting unit. You may obtain | require the movement vector which shows a moving speed and a moving direction.
また、算出部は、受信した津波の現在位置に関する情報に含まれる複数のGPSデータのうち、位置検出部で検出されたユーザの現在位置周辺のGPSデータのみを抽出する抽出処理を行う。次に、抽出した複数のGPSデータを直線補間等により繋ぎ合わせて津波の現在位置を求める。このように構成しても良い。In addition, the calculation unit performs an extraction process of extracting only GPS data around the current position of the user detected by the position detection unit from among a plurality of GPS data included in the received information regarding the current position of the tsunami. Next, the current position of the tsunami is obtained by connecting the extracted GPS data by linear interpolation or the like. You may comprise in this way.
また、算出部及び表示部は、以下のプログラムを実行することで上記機能を実現していても良い。すなわち、外部からの信号を受信する受信手段で受信した津波の現在位置に関する情報を読み込む第1読み込みステップと、前記津波の現在位置に関する情報に基づいて津波の位置を示すパターンを描画する第1描画ステップと、地図情報を読み込む第2読み込みステップと、読み込んだ地図を描画する第2描画ステップと、前記第1描画ステップ及び第2描画ステップで描画した前記パターンと前記地図を重ね合わせる重畳ステップと、をCPUに実行させる描画用プログラムとすることができる。Moreover, the calculation part and the display part may implement | achieve the said function by running the following programs. That is, a first reading step for reading information relating to the current position of the tsunami received by the receiving means for receiving an external signal, and a first drawing for drawing a pattern indicating the position of the tsunami based on the information relating to the current position of the tsunami Steps, a second reading step for reading map information, a second drawing step for drawing the read map, a superimposing step for superimposing the map and the pattern drawn in the first drawing step and the second drawing step, Can be a drawing program that causes the CPU to execute.
また、当該描画用プログラムは、位置検出部で検出された現在位置に基づいて、前記津波の現在位置に関する情報に含まれる津波の位置データのうち、前記検出された現在位置から所定の範囲内の前記位置データを抽出する抽出ステップを有し、上記第1描画ステップは、抽出ステップで抽出された前記位置データを繋ぎ合わせることで前記津波の位置を示すパターンを描画するステップであっても良い。Further, the drawing program is based on the current position detected by the position detection unit, and the tsunami position data included in the information on the current position of the tsunami is within a predetermined range from the detected current position. An extraction step of extracting the position data may be included, and the first drawing step may be a step of drawing a pattern indicating the position of the tsunami by connecting the position data extracted in the extraction step.
また、当該描画用プログラムは、津波の現在位置に関する情報に基づいて津波の現在位置を求める算出ステップを有していても良い。また、位置検出部で検出された現在位置を読み込む第3読み込みステップを有していても良い。当該算出ステップで求められた津波の現在位置と、第3読み込みステップで読み込まれた現在位置とに基づいて津波までの距離を算出する距離算出ステップや、津波が現在位置に到達するまでの時間を算出する到達時間算出ステップを有していても良い。当該描画用プログラムは、これらの処理をCPUに実行させる。また、上記距離算出ステップや到達時間算出ステップで求められた距離や到達予想時間などを表示部に表示させるステップを有していても良い。In addition, the drawing program may include a calculation step for obtaining the current position of the tsunami based on information regarding the current position of the tsunami. Moreover, you may have the 3rd reading step which reads the present position detected by the position detection part. The distance calculation step for calculating the distance to the tsunami based on the current position of the tsunami obtained in the calculation step and the current position read in the third reading step, and the time until the tsunami reaches the current position You may have the arrival time calculation step to calculate. The drawing program causes the CPU to execute these processes. Moreover, you may have the step which displays the distance calculated | required by the said distance calculation step or the arrival time calculation step, an estimated arrival time, etc. on a display part.
また、当該描画用プログラムは、第1読み込みステップで読み込んだ津波の現在位置に関する情報と、その後の読み込みステップで読み込んだ津波の現在位置に関する情報に基づいて津波の速度を計算する速度計算ステップを有していても良い。より具体的には、異なる時刻に送られている津波の現在位置に関する情報に基づいて求まる2つの津波の位置の差を上記の時間差で割る計算を行うことで津波の速度を求めることができる。The drawing program has a speed calculation step for calculating the tsunami speed based on the information on the current position of the tsunami read in the first reading step and the information on the current position of the tsunami read in the subsequent reading step. You may do it. More specifically, the speed of the tsunami can be obtained by performing a calculation to divide the difference between the positions of two tsunamis obtained based on the information on the current position of the tsunami sent at different times by the time difference.
また、当該描画用プログラムは、本装置(ユーザ)の移動速度を求める移動速度計算ステップを有し、当該移動速度計算ステップで求まる本装置(ユーザ)の移動速度と、上記速度計算ステップで求めた津波の移動速度と、津波の現在位置と装置(ユーザ)の現在位置との距離差と、に基づいて津波の予想到達時間を求めるステップを有していても良い。Further, the drawing program has a movement speed calculation step for obtaining the movement speed of the apparatus (user). The movement speed of the apparatus (user) obtained in the movement speed calculation step and the speed calculation step are obtained. You may have the step which calculates | requires the expected arrival time of a tsunami based on the moving speed of a tsunami, and the distance difference of the present position of a tsunami, and the apparatus (user) current position.
津波は、襲ってきた瞬間に数十センチ高いところに避難できるかできないかですら生死が問われる災害である。津波が襲ってくる5秒前に津波の到来を察知し、近くの建物に緊急的に避難することでも助かることがあり、数秒単位の精度で津波の到来を察知することができることで、人的被害をかなり減らすことが期待できる。現在の津波の位置との関係から予定した避難場所への避難が間に合わないことを上記表示装置を用いていち早く察知し、機転をきかせて近くの建物に逃げ込むことができることの効果は非常に大きい。The tsunami is a disaster where life and death can be questioned even if it is possible to evacuate to a place several tens of centimeters high at the moment of attack. Detecting the arrival of a tsunami 5 seconds before the tsunami strikes and urgently evacuating to a nearby building can also help, and it is possible to detect the arrival of a tsunami with accuracy of a few seconds. It can be expected to reduce the damage considerably. The effect of being able to quickly detect by using the above display device that the planned evacuation site is not in time due to the relationship with the current tsunami position and quickly escape to a nearby building by using the display device is very significant.
また、災害情報管理システムは、海岸線や街中に配置されたイメージセンサ等で取得された津波の写真を各表示装置にブロードキャストし、表示装置の受信部が、当該写真を受信し、当該写真を表示部で表示できるよう構成しても良い。In addition, the disaster information management system broadcasts tsunami photographs acquired by image sensors placed on the coastline or in the city to each display device, and the receiving unit of the display device receives the photos and displays the photos. You may comprise so that it can display in a part.
すなわち、画像を受信する受信手段と、当該画像を表示する表示手段とを備えると更に良好である。津波は、その規模の大きさを見誤り、逃げ場を失った後で後悔することが多い。数百メートル先まで押し寄せている津波の実際の映像を見ることで、津波の大きさの周囲の地形を見ることで避難が遅れたユーザはどのような行動をとることが生存率を高めるかを判断することができる。That is, it is even better to have a receiving means for receiving an image and a display means for displaying the image. Tsunamis often misrepresent their scale and regret after losing their escape. By seeing the actual image of the tsunami that is pushing several hundred meters away, the user who has been evacuated by looking at the terrain around the size of the tsunami can see what action will increase the survival rate Judgment can be made.
なお、0127段落〜149段落では、津波の位置検出、速度算出、予想到達時間算出、表示、写真表示について説明したが、他の災害について同様の構成を行うことができることは言うまでもない。例えば、核ミサイルが近づいている場合は、衛星で検出した核ミサイルの位置をブロードキャストし、各表示装置でその位置や速度や予想ミサイル到達時刻を表示したりしても良いし、空爆を行う爆撃機が近づいている場合は、その位置や速度や予想空襲時間を求めて表示しても良い。また、これらのミサイルや爆撃機の衛星写真などを各表示装置に送信して表示できる構成とすることで、迫りくる危機を正確に認識させることができる。竜巻、台風、地震なども同様である。In the paragraphs 0127 to 149, tsunami position detection, speed calculation, expected arrival time calculation, display, and photo display have been described, but it goes without saying that the same configuration can be performed for other disasters. For example, when a nuclear missile is approaching, the position of the nuclear missile detected by the satellite may be broadcast, and the position, speed, and predicted missile arrival time may be displayed on each display device, or a bomb that performs an air strike When the aircraft is approaching, the position, speed, and expected air attack time may be obtained and displayed. In addition, it is possible to accurately recognize a looming crisis by adopting a configuration in which these missiles and satellite images of bombers can be transmitted to each display device and displayed. The same applies to tornadoes, typhoons and earthquakes.
(実施の形態3)
本実施の形態3にかかる表示装置400は、新たに通信手段を有し、外部から追加的に送られている情報を用いて避難経路をリアルタイムで修正可能な構成をとる。(Embodiment 3)
The
図17は、本実施の形態3にかかる表示装置400の構成を示すブロック図である。当該表示装置400は、位置検出部110、記憶部120、入力部130、受信部140、算出部150、表示部160、通信部470、を備える。なお、表示装置100と同一のブロックについては一部説明を省略する。FIG. 17 is a block diagram illustrating a configuration of the
通信部470は、算出部150で求めた最適な避難場所をデータとするパケットを生成し、予め登録されているIPアドレスをあて先として外部へ送信する。ここで、パケットの宛先は避難場所の調整を行う災害情報管理センターのサーバのIPアドレスとなる。The
災害情報管理センターは、緊急情報を送信した後、複数の表示装置から送信されてくる最適の避難場所の統計をとる。ここで、それぞれの表示装置が緊急情報に基づいて独自に設定した最適の避難場所に偏りがある場合は、災害情報管理センターは、避難場所修正指示情報を送信する。ここで避難場所修正指示情報には、偏りがある避難場所を特定するための情報が含まれる。After transmitting emergency information, the disaster information management center takes statistics of the optimum evacuation site transmitted from a plurality of display devices. Here, when there is a bias in the optimum evacuation place set independently by each display device based on the emergency information, the disaster information management center transmits the evacuation place correction instruction information. Here, the evacuation site correction instruction information includes information for specifying an evacuation site with a bias.
表示装置400の受信部140は、緊急情報に続いて当該避難場所修正指示情報を受信し、当該情報を算出部150へ出力する。The receiving
算出部150は、受信部140より入力した避難場所修正指示情報に含まれる修正依頼が出されている避難場所と同一の避難場所を、緊急情報に基づいて求めた最適の避難場所と一致しているかを判定する。一致していると判定された場合は、当該避難場所は最適な避難場所として不適当であると判断し、当該避難場所を除く避難場所候補の中から改めて最適な避難場所を求める算出処理を行う。The calculating
このように構成することで、特定の避難場所に避難者が殺到してしまうことを調節することができる。By comprising in this way, it can adjust that an evacuee rushes to a specific evacuation place.
なお、災害情報管理センターは、その地域にいていると思われる人口と、表示装置から送られてくる各装置で求められた最適な避難場所に関する情報との統計から避難場所修正指示情報を送信するかどうかの判断を行う。すべての表示装置が当該送信機能を有しているとは限らないため、各装置から送られてきた「最適な避難情報」の数を基準にすると適切な修正が出せない可能性がある。そこで、周辺の避難場所候補等を考慮に入れた上で各避難場所毎に偏差値を算出し、偏差値が基準よりも高い避難場所は避難者が殺到する可能性があると予測し、当該避難場所に対して避難場所修正指示情報を送信する。このように構成しても良い。The disaster information management center transmits evacuation site correction instruction information based on statistics of the population considered to be in the area and information on the optimum evacuation site obtained from each device sent from the display device. Judge whether or not. Since not all display devices have the transmission function, there is a possibility that appropriate correction cannot be made based on the number of “optimum evacuation information” sent from each device. Therefore, the deviation value is calculated for each evacuation site after taking into consideration the surrounding evacuation site candidates, etc., and it is predicted that there is a possibility that the evacuation area will be flooded with an evacuation site whose deviation value is higher than the standard. The evacuation site correction instruction information is transmitted to the evacuation site. You may comprise in this way.
なお、当該避難場所修正指示情報を受信した表示装置は、一定のランダム関数を用いて避難場所の変更を行うかどうかを決定しても良い。上記避難場所修正指示情報を受けた表示装置すべてで避難場所の変更が行われると、この避難場所が過疎化してしまい、周辺の避難場所が同様に密集してしまう可能性があるためである。The display device that has received the evacuation site correction instruction information may determine whether to change the evacuation site using a certain random function. This is because, if the evacuation site is changed in all the display devices that have received the evacuation site correction instruction information, the evacuation site may be depopulated and the surrounding evacuation sites may be similarly crowded.
また、算出部150で行われる最適の避難場所の選出と修正は以下のフローに従って行われるとなお良好である。まず、算出部150は、緊急情報に基づいて、現在位置から求められる時間以内に避難可能な避難場所候補を非難情報の中から抽出し、抽出された各避難場所について数値化する。In addition, the selection and correction of the optimum evacuation site performed by the
ここで、現在位置により近い避難場所は高い点数が与えられる。また、災害に対する耐性が強い避難場所は高い点数が与えられる。例えば災害が津波であれば、想定される津波よりも遥かに高い津波に耐えられる避難場所には高い点数が与えられる。一方、このマージンがほとんど無い避難場所は低い点数が与えられる。その他避難場所の収容人数や環境なども考慮に入れる。Here, the evacuation site closer to the current position is given a high score. Also, high scores are given to evacuation sites that are highly resistant to disasters. For example, if the disaster is a tsunami, a high score is given to an evacuation site that can withstand a tsunami far higher than the expected tsunami. On the other hand, an evacuation site with almost no margin is given a low score. In addition, the number of evacuation shelters and the environment will be taken into consideration.
一例として以下の状況について説明する。ここで表示装置Xを有する甲と表示装置Yを有する乙がいると仮定する。また発生した災害は津波であるとする。The following situation will be described as an example. Here, it is assumed that there is a former having a display device X and a second having a display device Y. The disaster that occurred is a tsunami.
ここで、甲の表示装置Xにおいて、現在位置から津波到達時刻までに避難可能な候補がA〜Eの5つ抽出されたとする。ここで、上記避難場所毎の数値化によりAは81点、Bは15点、Cは45点、Dは92点、Eは63点だったと仮定する。この場合、表示装置Xの算出部150は、最も点数が高いDが最適な避難場所として特定する。当該避難場所Dに関する情報は表示部160で表示されると共に、通信部470より災害情報管理センターへ送信される。なお、算出部が求めたA〜Eの各避難場所候補の数値及び書く避難場所候補の情報は一旦図示せぬ一時記憶部に格納される。Here, it is assumed that five AE candidates E to E are extracted from the current position to the tsunami arrival time in the upper display device X. Here, it is assumed that A is 81 points, B is 15 points, C is 45 points, D is 92 points, and E is 63 points by quantification for each evacuation site. In this case, the
同様に、乙の表示装置Yにおいて、現在位置から津波到達時刻までに避難可能な候補がC、D、Hの3つ抽出されたとする。ここで、上記避難場所毎の数値化によりCは52点、Dは94点、Hは25点だったと仮定する。この場合、表示装置Yの算出部150も、最も点数が高いDを適な避難場所として特定する。当該避難場所Dに関する情報は表示部160で表示されると共に、通信部470より災害情報管理センターへ送信される。Similarly, suppose that three candidates C, D, and H that can be evacuated from the current position to the tsunami arrival time are extracted from the display device Y of the second party. Here, it is assumed that C is 52 points, D is 94 points, and H is 25 points by the numerical value for each evacuation site. In this case, the
災害情報管理センターは、受信した最適な避難場所に関する情報から、表示装置X、Yの両方で避難場所Dが最適な避難場所として選定されたことを知る。そして、災害情報管理センターの避難場所管理装置は、当該避難場所Dに避難者が集中するとして避難場所修正指示情報を作成する。ここで避難場所修正指示情報は、避難場所Dに避難者が集中する可能性があるために避難場所としての適正値が15ポイント下落したことを示す。なお、どれだけ適正値が下落したかは、上記避難場所管理装置が、各装置より受信した「最適な避難場所に関する情報」に基づいて求めた上記偏差値と基準値との乖離などを基に決定される。当該下落ポイントを含む避難場所修正指示情報が、各装置へ送信される。図18に当該避難場所修正指示情報を示す。避難場所修正指示情報には、各避難場所に一意に割り当てられた管理番号と、当該避難場所に対する補正ポイント値が対応付けられている。なお、上記避難場所修正指示情報に含まれる管理番号は、図8に示す避難情報内に記されている管理番号と対応している。The disaster information management center knows that the evacuation site D is selected as the optimum evacuation site on both the display devices X and Y from the received information regarding the optimum evacuation site. Then, the evacuation site management apparatus of the disaster information management center creates evacuation site correction instruction information on the assumption that evacuees concentrate on the evacuation site D. Here, the evacuation site correction instruction information indicates that an appropriate value as the evacuation site has dropped by 15 points because there is a possibility that evacuees may concentrate on the evacuation site D. It should be noted that how much the appropriate value has fallen is based on the deviation between the deviation value and the reference value obtained by the evacuation site management device based on the “information on the optimum evacuation site” received from each device. It is determined. The evacuation site correction instruction information including the drop point is transmitted to each device. FIG. 18 shows the evacuation site correction instruction information. In the evacuation site correction instruction information, a management number uniquely assigned to each evacuation site is associated with a correction point value for the evacuation site. The management number included in the evacuation site correction instruction information corresponds to the management number described in the evacuation information shown in FIG.
受信部140が、当該避難場所修正指示情報を受信し、算出部150へ出力する。算出部150は、避難場所修正指示情報に含まれる「避難場所Dに対して15ポイントのマイナス補正を行う」という指示内容に基づいて、再度最適の避難場所を求める処理を行う。具体的には、上記一時期億部に一時格納してある避難場所候補A〜Eの数値を読み出し、上記補正を行う。The receiving
この場合、表示装置Xにおいては、Dのポイントが77点に、表示装置YにおいてはDのポイントは79点になる。そして、各々の装置の算出部150において、ポイント補正後の値で改めて最適な避難場所を求める算出処理を行う。表示装置Xでは、81点の避難場所Aが最もポイントが高く最適な避難場所となる。従って、表示装置Xは、再度の算出処理で求めた避難場所Aを最適の避難場所として特定し、最適な経路を求める算出処理や表示部160における表示処理などを進める。一方、表示装置Yにおいては、ポイント補正を行っても未だ避難場所Dのポイントが最も高い。従って、表示装置Yは、避難場所の変更を行わない。In this case, the display device X has 77 points and the display device Y has 79 points. Then, the
このように構成することで、同じ避難場所に避難者が集中することを防ぐことができる。By comprising in this way, it can prevent that an evacuee concentrates on the same evacuation place.
なお、上記説明では集中が予想される避難場所についてマイナス補正をする場合について説明したが、比較的空きが予想される避難場所についてプラス補正を行う構成であっても良い。In the above description, the case where minus correction is performed for an evacuation place where concentration is expected is described. However, a configuration in which plus correction is performed for an evacuation place where a relatively empty space is expected may be used.
また、上記実施の形態1〜3においては最適な避難場所を1箇所選ぶ場合について説明したが、これに限定するものではない。一定の基準を満たした複数の避難場所を最適な避難場所として特定し、ユーザに提示する形態をとることも当然可能である。すなわち、本発明でいう最適な避難場所とは特に1つに限定しない場合は、一定の基準を満たした複数の避難場所を表している。このように構成することで、避難場所としての適格を満たした複数の避難場所の中からユーザが最も都合の良い避難場所を選ぶことができるとともに、避難者の集中を分散させる効果が期待できる。ある表示装置によって特定される避難場所は、他の表示装置においても避難場所と特定される可能性が高いためである。しかし、複数の候補の中からユーザが最終的に選ぶ場合は、分散効果が期待できる。Moreover, in the said Embodiment 1-3, although the case where one optimal evacuation place was selected was demonstrated, it is not limited to this. Of course, it is possible to specify a plurality of evacuation sites satisfying a certain standard as optimum evacuation sites and present them to the user. That is, in the present invention, the optimum evacuation site is not particularly limited to one, and represents a plurality of evacuation sites that satisfy a certain standard. With this configuration, the user can select the most convenient evacuation site from among a plurality of evacuation sites satisfying the qualification as an evacuation site, and the effect of dispersing the concentration of evacuees can be expected. This is because an evacuation place specified by a certain display device is highly likely to be specified as an evacuation place in other display devices. However, when the user finally selects from a plurality of candidates, a dispersion effect can be expected.
(実施の形態4)
本実施の形態の防災システムでは、緊急情報をブロードキャストすることで、各表示装置が各々避難場所を求めることとは対照的に、高い処理能力を有する中央計算機装置が、各表示装置に最適な避難場所を求めて通知するシステムである。なお、当該中央計算機装置にはクラウドコンピューティングを用いることが可能である。(Embodiment 4)
In the disaster prevention system according to the present embodiment, in contrast to each display device seeking an evacuation location by broadcasting emergency information, the central computer device having a high processing capacity can evacuate optimally for each display device. It is a system that asks for a place and notifies it. Note that cloud computing can be used for the central computer device.
図19は、当該中央計算機装置500の構成を示すブロック図である。当該中央計算機装置500は、記憶部510と、入力部520と、算出部530と、送信部540と、から構成される。FIG. 19 is a block diagram showing a configuration of the
記憶部510は表示装置を有するユーザの情報であるユーザデータが記憶されている。ユーザデータには、各ユーザに一意に割り当てられたユーザ番号の他、ユーザから所定の頻度で送信されてくる当該ユーザの現在位置がユーザデータとして記憶される。また記憶部510は、緊急時の避難場所を纏めた避難情報も記憶されている。The
入力部520は、災害情報管理センターなどから発せられる緊急情報を入力する。The
算出部530は、ユーザデータと緊急情報に基づいて、ユーザ毎に最適の避難場所を求める。The
送信部540は、ユーザ番号と当該ユーザに最適な避難場所とが組みとなって対応付けられた避難誘導情報を当該ユーザの表示装置に送信する。The
図20は、本実施の形態にかかる表示装置600のブロック図である。表示装置600は、受信部610と、抽出部620と、表示部630とを有する。FIG. 20 is a block diagram of a
受信部610は、上記避難誘導情報を受信する。The receiving
抽出部620は、図示せぬ記憶部に記憶管理されている自装置に対応するユーザ番号を用いて、受信部610で受信された避難誘導情報の中に自装置宛の情報が含まれているかどうかの検索を行う。当該避難誘導情報内に自装置に対応するユーザ番号と同一のユーザ番号が含まれていた場合は、当該ユーザ番号と組になっている避難場所を抽出する。Whether the
表示部630は、抽出部620で抽出された避難場所を表示する。The
このように、高い処理能力を有する中央計算機装置に避難場所を求める処理を行わせても良い。当該構成によれば中央計算機装置が複数のユーザの避難場所を纏めて求めるため、1箇所に避難者が集中することを回避することが容易となる。但し、緊急事態が発生した場合は、影響を受けるユーザの数が膨大になり、かつ、迅速な誘導が求められるため、この要求を満たすスペックを有する中央計算機装置を用意できないのであれば、実施の形態1〜3の防災システムの方がより優れている。As described above, the central computer device having a high processing capacity may be caused to perform processing for obtaining the evacuation place. According to this configuration, since the central computer device collectively determines the evacuation locations of a plurality of users, it is easy to avoid the concentration of refugees at one location. However, if an emergency situation occurs, the number of affected users will be enormous, and prompt guidance will be required.If a central computer device with specifications that meet this requirement cannot be prepared, The disaster prevention systems of forms 1 to 3 are more excellent.
以上、本発明の表示装置、表示方法、描画用プログラム、描画方法、防災システムについて説明した。今回我が国に襲った津波の状況から私達は多くのことを学んだ。ある映像では、津波が河川を先に遡り、2方向から襲ってきており、ある車はどちらに避難すべきかを適切に判断できずに津波に飲み込まれていた。また、別の映像によれば、津波が視界に入るまで津波が近づいている状況を適切に把握できないため、津波が襲ってきているにもかかわらず、反対車線を走っている車が散見された。津波のスピードは車のスピードと同等以上であり、視界に津波が捉えられた段階から避難することはほぼ不可能である。これらのことは、いかに津波に対して適切な避難を行うことが難しいかを証明している。The display device, display method, drawing program, drawing method, and disaster prevention system of the present invention have been described above. We learned a lot from the tsunami that hit Japan this time. In one video, the tsunami went back up the river and attacked from two directions, and a car was swallowed by the tsunami without being able to properly determine where to evacuate. Also, according to another video, it was not possible to properly grasp the situation where the tsunami was approaching until the tsunami entered sight, so there were some cars running in the opposite lane despite the tsunami hitting. . The speed of the tsunami is equal to or higher than the speed of the car, and it is almost impossible to evacuate from the stage where the tsunami was caught in view. These things prove how difficult it is to evacuate properly against a tsunami.
人生に1度体験するかどうかの災害やその規模が予想しきれない災害については、経験として身に付いていないため、いかに防災訓練で意識を高めたとしても、実際に災害が発生した場合に各自の判断で避難を行うと膨大な人的被害は免れない。We have not learned about disasters that can be experienced once in their lives or the scales of which cannot be predicted, so if disasters actually occur, no matter how we raise awareness through disaster drills If you evacuate at your own discretion, enormous human damage is inevitable.
こと津波に関しては、防災警報が発令されて「高いところに避難するように」とのメッセージを受け取っても、どれくらい高いところまで避難しなければいけないのか、どこに避難すべきなのかの判断が適切にできないため、混乱と誤解を招いている。With regard to the tsunami, even if a disaster prevention warning is issued and a message saying “Evacuate to a high place” is received, it is appropriate to determine how high the place should be evacuated and where to evacuate It can't be done, leading to confusion and misunderstanding.
一方、本発明の表示装置を用いることで適切に避難が可能となる。また、本発明の表示装置は、既に身近な製品となっている携帯電話端末やカーナビゲーション装置などにコストをかけずに用意に組み込むことができるため、早急な防災システムの構築と低予算での構築が可能となる。海岸線が膨大に延びる我が国において堅固な防波堤を張り巡らせることは現実的ではない。津波は、場所によっては30mを超えることもあり、このような万が一のケースに備えて30mの防波堤を張り巡らせることは不可能だからである。また、堅固な防波堤の存在が安心を招き、かえって避難行動を鈍らせるため、想定外の大きさの津波により防波堤が破られた場合の人的被害は最悪のケースを招きかねない。このような観点からも、適切に誘導させることを可能とすることがより正しい防災であると思われる。On the other hand, it is possible to evacuate appropriately by using the display device of the present invention. In addition, since the display device of the present invention can be readily incorporated into a mobile phone terminal or car navigation device that has already become a familiar product without cost, construction of an emergency disaster prevention system and a low budget Construction is possible. In Japan, where the coastline stretches enormously, it is not realistic to stretch a solid breakwater. The tsunami may exceed 30m depending on the location, and it is impossible to stretch a 30m breakwater in preparation for such a case. In addition, since the existence of a solid breakwater is reassuring and the evacuation action is slowed down, human damage when a breakwater is broken by an unexpectedly large tsunami can cause the worst case. From this point of view, it seems that it is more correct disaster prevention to enable proper guidance.
なお、上記各実施の形態における説明は、一例を示したものであり適宜変更が可能であることは言うまでもない。各実施の形態同士を組み合わせることも可能である。In addition, it cannot be overemphasized that the description in each said embodiment shows an example, and can change suitably. It is also possible to combine the embodiments.
なお、上記記憶部に記憶されているデジタル地図情報は、市販で流通している地図情報をそのまま流用することが可能である。 The digital map information stored in the storage unit can use commercially available map information as it is.
また、上記各実施の形態で説明した表示装置とは所謂誘導装置でもあり、カーナビゲーション装置、携帯端末装置、スマートフォン、テレビ受像機、パーソナルコンピュータ、その他上記構成を有する様々な装置の形態をとりうることは言うまでもない。The display device described in each of the above embodiments is also a so-called guidance device, and can take the form of a car navigation device, a mobile terminal device, a smartphone, a television receiver, a personal computer, and other various devices having the above-described configuration. Needless to say.
なお、上記説明した緊急情報はFM多重放送で送信されてもよいし、光ビーコンや電波ビーコン、デジタルTV(音声)放送等、その他どのような通信媒体を用いて送信されても良い。この場合、表示装置の受信部は、それぞれFM放送局から信号を受信するFM放送受信部、光ビーコンから信号を受信する光ビーコン受信部、電波ビーコンから信号を受信する電波ビーコン受信部、デジタル放送を受信するデジタル放送受信部等にそれぞれ置き換わる。また、緊急情報を受信する受信部は、車載画像記録装置の一部として組み込まれても良いし、一つの他装置として当該表示装置とインターフェースを介して接続可能な状態で構成されていても良い。The emergency information described above may be transmitted by FM multiplex broadcasting, or may be transmitted using any other communication medium such as an optical beacon, a radio beacon, a digital TV (voice) broadcast, or the like. In this case, the receiving unit of the display device includes an FM broadcast receiving unit that receives a signal from an FM broadcast station, an optical beacon receiving unit that receives a signal from an optical beacon, a radio beacon receiving unit that receives a signal from a radio beacon, and digital broadcasting, respectively. It is replaced with a digital broadcast receiving unit that receives In addition, the receiving unit that receives emergency information may be incorporated as a part of the in-vehicle image recording device, or may be configured to be connected to the display device via an interface as one other device. .
なお、当該表示装置にはカメラが取り付けられていても良い。緊急情報を受信すると、当該カメラが自動的に作動し、画像を記憶部に順次格納する構成であっても良い。また、当該表示装置は外部の通信装置と通信を行う通信手段が備え付けられていても良い。例えば、上記カメラで撮影された画像を、当該通信手段によって外部へ送信する構成であっても良い。各表示装置から送信された画像は、災害管理センターに送られ、避難を行う車や人の避難状況をリアルタイムで把握し、より適切な指示を行えるように構成されていると、さらに災害による人的被害を低減することができるため良好である。 Note that a camera may be attached to the display device. The configuration may be such that when the emergency information is received, the camera automatically operates and the images are sequentially stored in the storage unit. In addition, the display device may be provided with communication means for communicating with an external communication device. For example, an image captured by the camera may be transmitted to the outside by the communication unit. The images sent from each display device are sent to the disaster management center, where the evacuation status of vehicles and people to be evacuated can be grasped in real time and more appropriate instructions can be given. It is good because it can reduce damage.
また、各実施の形態の表示装置において、位置検出部、受信部、記憶部、表示部、算出部、通信部等は、装置本体に組み込まれる形で設計されていても良いし、本装置本体とコネクタや通信手段を介して接続可能な状態で個別の装置として設計されていても良い。In the display device of each embodiment, the position detection unit, the reception unit, the storage unit, the display unit, the calculation unit, the communication unit, and the like may be designed to be incorporated in the apparatus main body. And may be designed as an individual device in a state where it can be connected via a connector or a communication means.
また、記録部は、1つの記録媒体である必要は無く、2以上の記録媒体が組み合わされて記録部を構成していても良い。例えばHDDとフラッシュメモリの2種類記録媒体が記録部として構成されていても良い。このうち、比較的容量の大きい地図情報はHDDに、また緊急時に高速な読み出しが求められる比較的容量の小さい避難情報はフラッシュメモリに格納されていても良い。 The recording unit does not have to be a single recording medium, and the recording unit may be configured by combining two or more recording media. For example, two types of recording media, HDD and flash memory, may be configured as the recording unit. Among them, map information having a relatively large capacity may be stored in the HDD, and evacuation information having a relatively small capacity that is required to be read at a high speed in an emergency may be stored in the flash memory.
また、上記で説明した位置検出部、受信部、算出部等は、それぞれ半導体集積回路を用いて実現されてもよい。ここで集積回路はLSI、VLSI,ULSIと称されることもある。Further, the position detection unit, the reception unit, the calculation unit, and the like described above may be realized using a semiconductor integrated circuit. Here, the integrated circuit may be referred to as LSI, VLSI, or ULSI.
また、算出部は、CPUの一部として実装されていても良い。ここでCPUは、マイクロプロセッサユニット、中央制御部、などと呼ばれることがある。また、上記算出部が行う各算出処理は、ハードウェア的に行われても良いし、プログラムを用いてソフトウェア的に実行されるよう構成されていても良い。上記算出部に該当する中央制御部は、図示せぬ記録部に記録されたプログラムを読み込んでデコード及び実行することで上記算出部が行っている算出処理を行うよう構成されていても良い。Further, the calculation unit may be implemented as a part of the CPU. Here, the CPU may be referred to as a microprocessor unit, a central control unit, or the like. Each calculation process performed by the calculation unit may be performed by hardware, or may be configured to be executed by software using a program. The central control unit corresponding to the calculation unit may be configured to perform a calculation process performed by the calculation unit by reading, decoding, and executing a program recorded in a recording unit (not shown).
すなわち、緊急情報を読み込む第1読み込みステップと、緊急時の避難場所に関する情報が複数纏められた避難情報を読み込む第2読み込みステップと、現在位置を読み込む第3読み込みステップと、前記緊急情報と前記現在の位置とに基づいて、前記避難情報に含まれる複数の避難場所の中から最適の避難場所を求める算出処理を行う算出ステップと、を計算機に実行させる誘導プログラムなどは当然本願発明の技術的範囲に含まれる。また、地図情報を読み込む第4読み込みステップと、前記読み込んだ現在の位置と前記読み込んだ地図情報と前記求めた最適な避難場所とに基づいて、前記現在の位置から前記最適の避難場所までの最適な避難経路を求める算出処理を行う第2算出ステップと、前記地図情報を読み込んで描画した地図に前記求めた最適な避難経路をオーバーレイ表示させる処理を行う表示ステップと、を更に計算機に実行させる誘導プログラムなども同様に本願発明に含まれることは言うまでもない。その他、上記説明の図で示したフローチャートにおける各処理を計算機に実行させる誘導プログラムや誘導方法も当然本願発明に含まれる。That is, a first reading step for reading emergency information, a second reading step for reading evacuation information in which a plurality of pieces of information relating to emergency evacuation locations are collected, a third reading step for reading the current position, the emergency information, and the current A guidance program that causes a computer to execute a calculation process for calculating an optimum evacuation site from among a plurality of evacuation sites included in the evacuation information based on the position of the position is naturally within the technical scope of the present invention. include. Further, based on the fourth reading step for reading map information, the read current position, the read map information, and the obtained optimum evacuation place, the optimum from the current position to the optimum evacuation place is obtained. A second calculation step for performing a calculation process for obtaining an appropriate evacuation route, and a display step for performing a process for overlaying the obtained optimum evacuation route on a map drawn by reading the map information. Needless to say, programs and the like are also included in the present invention. In addition, naturally the guidance program and the guidance method which make a computer perform each process in the flowchart shown in the figure of the said description are contained in this invention.
その他、本願の発明の範囲を逸脱しない限りにおいて適宜設計変更が可能である。一例として、本発明は以下の形態をとることが可能である。
(1)地図情報を記憶する記憶手段と、津波の現在位置に関する情報を受信する受信手段と、前記受信した津波の現在位置に関する情報に基づいて津波の現在位置を求める算出手段と、前記もとめられた津波の現在位置を示す描画パターンを前記地図情報に基づいて描画した地図と合わせて表示する表示手段と、を具備する表示装置。
(2)現在の位置を検出する位置検出手段を更に備え、前記表示手段は、前記検出された現在の位置周辺の地図を描画し、当該描画した現在の位置周辺の地図に前記津波の現在位置を示す描画パターンをオーバーレイ表示する、(1)の表示装置。
(3)前記算出手段は、前記位置検出手段で検出された現在の位置と、前記求めた津波の現在位置とに基づいて、現在の位置から津波の位置までの距離を算出し、前記表示手段は前記距離を表示する、(1)の表示装置。
(4)前記算出手段は、前記津波の現在位置に関する情報に含まれる複数のGPSデータを繋ぎ合わせることで津波の現在の位置を求め、前記表示手段は、前記もとめられた津波の現在の位置を表示する、(1)の表示装置。
(5)前記算出手段は、前記津波の現在位置に関する情報に含まれる複数のGPSデータを線形補間することで津波の第1波面の連続する位置を求め、前記表示手段は、前記もとめられた津波の第1波面を示すラインを描画して表示する、(4)の表示装置。
(6)前記受信手段は、津波の現在位置に関する情報を所定の頻度で受信し、前記算出手段は異なるタイミングで受信された前記現在の位置に関する情報に基づいて津波の速度を算出し、前記表示手段は、前記算出した津波の速度を表示する(1)の表示装置。
(7)前記算出手段は、前記求めた津波の位置と前記津波までの距離とに基づいて、津波の到達予想時間を算出し、前記表示手段は、前記津波の到達予想時間を表示する(6)の表示装置。
(8)前記位置検出手段は、当該装置の現在位置及び移動速度を検出し、前記算出手段は、前記津波の移動速度と前記当該装置の移動速度と、前記津波までの距離とに基づいて津波の到達予想時間を算出し、前記表示手段は、前記津波の到達予想時間を表示する(7)の表示装置。
(9)前記受信手段は、津波情報を受信し、前記表示手段は、前記津波情報に含まれる津波の高さを表示する、(1)の表示装置。
(10)外部からの信号を受信する受信手段で受信した津波の現在位置に関する情報を読み込む第1読み込みステップと、前記津波の現在位置に関する情報に基づいて津波の位置を示すパターンを描画する第1描画ステップと、地図情報を読み込む第2読み込みステップと、読み込んだ地図を描画する第2描画ステップと、前記第1描画ステップ及び第2描画ステップで描画した前記パターンと前記地図を重ね合わせる重畳ステップと、を計算機に実行させる描画用プログラム。
(11)位置検出部で検出された現在位置に基づいて、前記津波の現在位置に関する情報に含まれる津波の位置データのうち、前記検出された現在位置から所定の範囲内の前記位置データを抽出する抽出ステップを有し、上記第1描画ステップは、抽出ステップで抽出された前記位置データを繋ぎ合わせることで前記津波の位置を示すパターンを描画するステップを更に計算機に実行させる(10)の描画用プログラム。
(12)津波の現在位置に関する情報に基づいて津波の現在位置を求める算出ステップと、位置検出部で検出された現在位置を読み込む第3読み込みステップと、当該算出ステップで求められた津波の現在位置と第3読み込みステップで読み込まれた現在位置とに基づいて津波までの距離を算出する距離算出ステップと、を更に計算機に実行させる(10)の描画用プログラム。
(13)津波の現在位置に関する情報に基づいて津波の現在位置を求める算出ステップと、位置検出部で検出された現在位置を読み込む第3読み込みステップと、当該算出ステップで求められた津波の現在位置と第3読み込みステップで読み込まれた現在位置とに基づいて津波が現在位置に到達するまでの時間を算出する到達時間算出ステップと、を更に計算機に実行させる描画用プログラム。
(14)第1読み込みステップで読み込んだ津波の現在位置に関する情報と、第1読み込みステップ以降に改めて読み込んだ津波の現在位置に関する情報に基づいて津波の速度を計算する速度計算ステップを更に計算機に実行させる描画用プログラム。
(15)災害情報管理システムと表示装置とから構成される防災システムであって、前記災害情報管理システムは、津波の位置を検出する複数の検出装置と、前記複数の検出装置から送信される信号に基づいて津波の現在位置に関する情報を生成する生成装置と、当該生成された津波の現在位置に関する情報を送信する送信装置と、から構成され、前記表示装置は、地図情報を記憶する記憶手段と、津波の現在位置に関する情報を受信する受信手段と、前記地図情報に基づいて描画した地図に前記受信した津波の現在位置に関する情報に基づいて描画した津波の位置を示す描画パターンをオーバーレイ表示して表示する表示手段と、を有する防災システム。In addition, the design can be changed as appropriate without departing from the scope of the present invention. As an example, the present invention can take the following forms.
(1) Storage means for storing map information, receiving means for receiving information relating to the current position of the tsunami, calculating means for obtaining the current position of the tsunami based on the received information relating to the current position of the tsunami, And a display means for displaying a drawing pattern indicating the current position of the tsunami together with a map drawn based on the map information.
(2) It further comprises position detection means for detecting the current position, and the display means draws a map around the detected current position, and the current position of the tsunami on the drawn map around the current position The display device according to (1), which displays an overlay of a drawing pattern indicating
(3) The calculation means calculates a distance from the current position to the tsunami position based on the current position detected by the position detection means and the obtained current position of the tsunami, and the display means Is the display device of (1), which displays the distance.
(4) The calculation means obtains the current position of the tsunami by connecting a plurality of GPS data included in the information related to the current position of the tsunami, and the display means calculates the current position of the tsunami obtained. The display device of (1) for displaying.
(5) The calculation means obtains a continuous position of the first wavefront of the tsunami by linearly interpolating a plurality of GPS data included in the information on the current position of the tsunami, and the display means calculates the obtained tsunami (4) The display apparatus which draws and displays the line which shows the 1st wave front.
(6) The reception unit receives information on the current position of the tsunami at a predetermined frequency, the calculation unit calculates the speed of the tsunami based on the information on the current position received at different timings, and the display The means displays the calculated tsunami velocity (1).
(7) The calculation means calculates an expected arrival time of the tsunami based on the obtained tsunami position and the distance to the tsunami, and the display means displays the expected arrival time of the tsunami (6 ) Display device.
(8) The position detecting means detects a current position and a moving speed of the device, and the calculating means is based on the moving speed of the tsunami, the moving speed of the device, and the distance to the tsunami. The estimated arrival time is calculated, and the display means displays the estimated arrival time of the tsunami.
(9) The display device according to (1), wherein the receiving unit receives tsunami information, and the display unit displays a height of a tsunami included in the tsunami information.
(10) A first reading step for reading information relating to the current position of the tsunami received by the receiving means for receiving an external signal, and a first pattern for drawing a pattern indicating the position of the tsunami based on the information relating to the current position of the tsunami A drawing step; a second reading step for reading map information; a second drawing step for drawing the read map; and a superimposing step for superimposing the map on the pattern drawn in the first drawing step and the second drawing step. A drawing program that causes a computer to execute.
(11) Based on the current position detected by the position detection unit, the position data within a predetermined range is extracted from the detected current position out of the tsunami position data included in the information related to the current position of the tsunami The first drawing step causes the computer to further execute a step of drawing a pattern indicating the position of the tsunami by connecting the position data extracted in the extraction step. Program.
(12) A calculation step for obtaining the current position of the tsunami based on the information on the current position of the tsunami, a third reading step for reading the current position detected by the position detector, and the current position of the tsunami obtained in the calculation step And a distance calculation step of calculating a distance to the tsunami based on the current position read in the third reading step, and a drawing program according to (10).
(13) A calculation step for obtaining the current position of the tsunami based on the information on the current position of the tsunami, a third reading step for reading the current position detected by the position detection unit, and the current position of the tsunami obtained in the calculation step A drawing program for causing the computer to further execute an arrival time calculating step for calculating a time until the tsunami reaches the current position based on the current position read in the third reading step.
(14) The computer further executes a speed calculation step for calculating the speed of the tsunami based on the information on the current position of the tsunami read in the first reading step and the information on the current position of the tsunami read again after the first reading step. Drawing program to be executed.
(15) A disaster prevention system including a disaster information management system and a display device, wherein the disaster information management system includes a plurality of detection devices for detecting a position of a tsunami and signals transmitted from the plurality of detection devices. A generating device that generates information on the current position of the tsunami, and a transmitting device that transmits information on the generated current position of the tsunami, and the display device includes storage means for storing map information A receiving means for receiving information on the current position of the tsunami, and a drawing pattern indicating the position of the tsunami drawn based on the information on the current position of the received tsunami on a map drawn based on the map information A disaster prevention system having display means for displaying.
本発明に係る表示装置は、災害など緊急事態が発生した場合に、判断力が低下しているユーザに適切な行動を取らせることが求められる分野において利用できる。 The display device according to the present invention can be used in a field where it is required that a user whose judgment power is reduced to take an appropriate action when an emergency such as a disaster occurs.
10 センサ 20 災害情報管理センター
30 送信装置 40 表示装置
100 表示装置 110 位置検出部
120 記憶部 130 入力部
140 受信部 150 算出部
160 表示部 200 表示装置
300 表示装置 310 位置検出部
400 表示装置 470 通信部
500 中央計算装置 510 記憶部
511 ユーザデータ 512 避難情報
520 入力部 530 算出部
540 送信部 600 表示装置
610 受信部 620 抽出部
630 表示部DESCRIPTION OF
| Application Number | Priority Date | Filing Date | Title |
|---|---|---|---|
| JP2011069011AJP2012203747A (en) | 2011-03-25 | 2011-03-25 | Display device, drawing program, and disaster prevention system |
| Application Number | Priority Date | Filing Date | Title |
|---|---|---|---|
| JP2011069011AJP2012203747A (en) | 2011-03-25 | 2011-03-25 | Display device, drawing program, and disaster prevention system |
| Publication Number | Publication Date |
|---|---|
| JP2012203747Atrue JP2012203747A (en) | 2012-10-22 |
| Application Number | Title | Priority Date | Filing Date |
|---|---|---|---|
| JP2011069011APendingJP2012203747A (en) | 2011-03-25 | 2011-03-25 | Display device, drawing program, and disaster prevention system |
| Country | Link |
|---|---|
| JP (1) | JP2012203747A (en) |
| Publication number | Priority date | Publication date | Assignee | Title |
|---|---|---|---|---|
| JP2013239828A (en)* | 2012-05-14 | 2013-11-28 | Secom Co Ltd | Evacuation information providing system |
| WO2015035187A1 (en)* | 2013-09-09 | 2015-03-12 | Elwha Llc | Systems and methods for monitoring sound during an in-building emergency |
| JP2015108888A (en)* | 2013-12-03 | 2015-06-11 | 有限会社 ジオテック | Local collapse risk notifying service providing apparatus, providing method for the same, and medium for use in apparatus operating computer |
| JP2015122059A (en)* | 2013-11-20 | 2015-07-02 | テレネット株式会社 | Emergency advance report distribution system and program |
| JP2015171003A (en)* | 2014-03-07 | 2015-09-28 | 三菱電機株式会社 | Digital broadcast-receiving device, emergency control apparatus, and emergency warning device |
| JP2016224755A (en)* | 2015-06-01 | 2016-12-28 | 富士通株式会社 | Evacuation guidance program, evacuation guidance method, mobile terminal device, and evacuation support program |
| JP6059393B1 (en)* | 2016-07-27 | 2017-01-11 | 博久 藤川 | Mobile terminal, mobile terminal control method and program |
| JP2017111747A (en)* | 2015-12-18 | 2017-06-22 | キヤノンマーケティングジャパン株式会社 | Information processing apparatus, information processing system, information processing apparatus control method, information processing system control method, and program |
| JP2017188148A (en)* | 2017-06-26 | 2017-10-12 | ミサワホーム株式会社 | Evacuation destination information acquisition system and evacuation destination information acquisition method |
| JP2018018486A (en)* | 2016-12-08 | 2018-02-01 | 博久 藤川 | Portable terminal, portable terminal control method and program |
| CN107784810A (en)* | 2017-10-26 | 2018-03-09 | 深圳市海力特科技有限责任公司 | The method of air defence warning ring |
| JP2018049497A (en)* | 2016-09-23 | 2018-03-29 | 能美防災株式会社 | Regional disaster prevention information system |
| JP2018097691A (en)* | 2016-12-14 | 2018-06-21 | 博久 藤川 | Portable terminal, portable terminal control method and program |
| JP2018165960A (en)* | 2017-03-28 | 2018-10-25 | 富士通株式会社 | Evacuation route notification program, evacuation route notification method, and notification device |
| CN108960482A (en)* | 2018-05-22 | 2018-12-07 | 广州地理研究所 | A kind of tsunami risk priority evacuation method based on DMSP/OLS population remote sensing |
| CN109979172A (en)* | 2019-04-09 | 2019-07-05 | 南京信息工程大学 | A kind of dynamic mountain torrents Critical Rainfall forecasting procedure based on Xinanjiang model |
| JP2020194351A (en)* | 2019-05-28 | 2020-12-03 | 株式会社Nttドコモ | Information processing apparatus and program |
| JP2021149899A (en)* | 2020-03-18 | 2021-09-27 | 株式会社BosaiTUBE Japan | Time value detection system and display method in disaster information |
| CN120236410A (en)* | 2025-06-03 | 2025-07-01 | 中铁西南科学研究院有限公司 | Highway disaster detection method and system based on air-ground collaborative unmanned inspection |
| Publication number | Priority date | Publication date | Assignee | Title |
|---|---|---|---|---|
| JP2006058192A (en)* | 2004-08-23 | 2006-03-02 | Alpine Electronics Inc | Navigation device |
| WO2006087802A1 (en)* | 2005-02-18 | 2006-08-24 | Hitachi Zosen Corporation | Tsunami detection system |
| JP2009288843A (en)* | 2008-05-27 | 2009-12-10 | Seiko Epson Corp | Server system, evacuation guiding system, and evacuation notification method |
| JP2010035085A (en)* | 2008-07-31 | 2010-02-12 | Sanyo Electric Co Ltd | Digital broadcast receiver |
| Publication number | Priority date | Publication date | Assignee | Title |
|---|---|---|---|---|
| JP2006058192A (en)* | 2004-08-23 | 2006-03-02 | Alpine Electronics Inc | Navigation device |
| WO2006087802A1 (en)* | 2005-02-18 | 2006-08-24 | Hitachi Zosen Corporation | Tsunami detection system |
| JP2009288843A (en)* | 2008-05-27 | 2009-12-10 | Seiko Epson Corp | Server system, evacuation guiding system, and evacuation notification method |
| JP2010035085A (en)* | 2008-07-31 | 2010-02-12 | Sanyo Electric Co Ltd | Digital broadcast receiver |
| Publication number | Priority date | Publication date | Assignee | Title |
|---|---|---|---|---|
| JP2013239828A (en)* | 2012-05-14 | 2013-11-28 | Secom Co Ltd | Evacuation information providing system |
| US9800738B2 (en) | 2013-09-09 | 2017-10-24 | Elwha Llc | Systems and methods for monitoring sound during an in-building emergency |
| WO2015035187A1 (en)* | 2013-09-09 | 2015-03-12 | Elwha Llc | Systems and methods for monitoring sound during an in-building emergency |
| US10171677B2 (en) | 2013-09-09 | 2019-01-01 | Elwha Llc | Systems and methods for monitoring sound during an in-building emergency |
| US9602673B2 (en) | 2013-09-09 | 2017-03-21 | Elwha Llc | Systems and methods for monitoring sound during an in-building emergency |
| JP2015122059A (en)* | 2013-11-20 | 2015-07-02 | テレネット株式会社 | Emergency advance report distribution system and program |
| JP2015108888A (en)* | 2013-12-03 | 2015-06-11 | 有限会社 ジオテック | Local collapse risk notifying service providing apparatus, providing method for the same, and medium for use in apparatus operating computer |
| JP2015171003A (en)* | 2014-03-07 | 2015-09-28 | 三菱電機株式会社 | Digital broadcast-receiving device, emergency control apparatus, and emergency warning device |
| JP2016224755A (en)* | 2015-06-01 | 2016-12-28 | 富士通株式会社 | Evacuation guidance program, evacuation guidance method, mobile terminal device, and evacuation support program |
| JP7054988B2 (en) | 2015-12-18 | 2022-04-15 | キヤノンマーケティングジャパン株式会社 | Information processing equipment, information processing device control method, information processing system, and program |
| JP2017111747A (en)* | 2015-12-18 | 2017-06-22 | キヤノンマーケティングジャパン株式会社 | Information processing apparatus, information processing system, information processing apparatus control method, information processing system control method, and program |
| WO2018021378A1 (en)* | 2016-07-27 | 2018-02-01 | ポケットシェルター株式会社 | Mobile terminal, and mobile terminal control method and program |
| JP6059393B1 (en)* | 2016-07-27 | 2017-01-11 | 博久 藤川 | Mobile terminal, mobile terminal control method and program |
| JP2018049497A (en)* | 2016-09-23 | 2018-03-29 | 能美防災株式会社 | Regional disaster prevention information system |
| JP2018018486A (en)* | 2016-12-08 | 2018-02-01 | 博久 藤川 | Portable terminal, portable terminal control method and program |
| JP2018097691A (en)* | 2016-12-14 | 2018-06-21 | 博久 藤川 | Portable terminal, portable terminal control method and program |
| WO2018110640A1 (en)* | 2016-12-14 | 2018-06-21 | ポケットシェルター株式会社 | Portable terminal, portable terminal control method and program |
| JP2018165960A (en)* | 2017-03-28 | 2018-10-25 | 富士通株式会社 | Evacuation route notification program, evacuation route notification method, and notification device |
| JP2017188148A (en)* | 2017-06-26 | 2017-10-12 | ミサワホーム株式会社 | Evacuation destination information acquisition system and evacuation destination information acquisition method |
| CN107784810A (en)* | 2017-10-26 | 2018-03-09 | 深圳市海力特科技有限责任公司 | The method of air defence warning ring |
| CN108960482A (en)* | 2018-05-22 | 2018-12-07 | 广州地理研究所 | A kind of tsunami risk priority evacuation method based on DMSP/OLS population remote sensing |
| CN108960482B (en)* | 2018-05-22 | 2022-04-12 | 广州地理研究所 | A tsunami risk priority evacuation method based on DMSP/OLS population remote sensing |
| CN109979172A (en)* | 2019-04-09 | 2019-07-05 | 南京信息工程大学 | A kind of dynamic mountain torrents Critical Rainfall forecasting procedure based on Xinanjiang model |
| JP2020194351A (en)* | 2019-05-28 | 2020-12-03 | 株式会社Nttドコモ | Information processing apparatus and program |
| JP7406926B2 (en) | 2019-05-28 | 2023-12-28 | 株式会社Nttドコモ | Information processing equipment and programs |
| JP2021149899A (en)* | 2020-03-18 | 2021-09-27 | 株式会社BosaiTUBE Japan | Time value detection system and display method in disaster information |
| CN120236410A (en)* | 2025-06-03 | 2025-07-01 | 中铁西南科学研究院有限公司 | Highway disaster detection method and system based on air-ground collaborative unmanned inspection |
| Publication | Publication Date | Title |
|---|---|---|
| JP2012203747A (en) | Display device, drawing program, and disaster prevention system | |
| JP2012203595A (en) | Navigation device, guidance method, guidance program, and disaster prevention system | |
| JP7061634B2 (en) | Intelligent disaster prevention system and intelligent disaster prevention method | |
| US9792802B2 (en) | Comprehensive tsunami alert system via mobile devices | |
| Rahman et al. | Location based early disaster warning and evacuation system on mobile phones using OpenStreetMap | |
| CN109653789B (en) | Portable mine intelligence guiding device that flees | |
| JP4961505B1 (en) | Tsunami evacuation support system, tsunami evacuation support method, tsunami evacuation support device, control method and control program therefor | |
| ES2401947T3 (en) | Tsunami warning system and procedure to provide tsunami alerts | |
| JP5686479B2 (en) | Evacuation route output device, evacuation route output method, and program | |
| JPWO2010097921A1 (en) | Moving body imaging system, moving body, ground station apparatus, and moving body imaging method | |
| JP5737683B1 (en) | Resident evacuation simulation method, system, portable terminal and program for natural flood | |
| KR20110000843A (en) | Field monitoring system using mobile terminal and method | |
| JP2012203595A5 (en) | ||
| KR102138711B1 (en) | System and method for providing disaster evacuation information | |
| JP2015094956A (en) | Tsunami evacuation guidance support system and program for portable information terminal | |
| JP2014059200A (en) | Navigation device, control method, program and storage medium | |
| JP2020144955A (en) | Information processor, terminal | |
| JP2007025962A (en) | Information providing system, disaster prevention information providing system and its information providing method | |
| US12139255B2 (en) | Control system, control method, and information storage medium for unmanned aerial vehicle | |
| JP2015215766A (en) | Evacuation route providing system, evacuation route providing method, and evacuation route providing program | |
| JP4220486B2 (en) | Earthquake Tsunami Prediction Monitoring System and Earthquake Tsunami Prediction Monitoring Method | |
| KR101882417B1 (en) | Apparatus and method for voice alarm in vessel | |
| CN110472859A (en) | Take refuge method, apparatus and electronic equipment based on terminal | |
| JP7422344B2 (en) | Notification control device, notification device, notification control method, and notification control program | |
| KR101697762B1 (en) | System for managing The structure of the Disaster Information |
| Date | Code | Title | Description |
|---|---|---|---|
| A977 | Report on retrieval | Free format text:JAPANESE INTERMEDIATE CODE: A971007 Effective date:20130225 | |
| A131 | Notification of reasons for refusal | Free format text:JAPANESE INTERMEDIATE CODE: A131 Effective date:20130311 | |
| A521 | Written amendment | Free format text:JAPANESE INTERMEDIATE CODE: A523 Effective date:20130329 | |
| A02 | Decision of refusal | Free format text:JAPANESE INTERMEDIATE CODE: A02 Effective date:20130430 |