
















本発明は、脆性材料からなる基板に、レーザ光を照射して貫通溝を形成する、レーザ加工方法及びレーザ加工装置に、関するものである。 The present invention relates to a laser processing method and a laser processing apparatus for forming a through groove by irradiating a substrate made of a brittle material with laser light.
図16は、例えば特許文献1に示されているような、レーザ加工によって基板に貫通溝を形成するための従来の方法を、示している。なお、図16における破線Lは、貫通溝を形成する予定ラインを示している。予定ラインLは、形成される貫通溝の中心を示している。従来においては、基板1の一方の表面11の予定ラインLに、レーザ光9を照射することにより、貫通溝を形成していた。 FIG. 16 shows a conventional method for forming a through groove in a substrate by laser processing, as shown in
図16に示される従来の方法では、基板1が脆性材料からなっている場合に、次のような不具合があった。すなわち、図17に示されるように、レーザ光9によって表面11が掘り下げられていく際に、他方の表面12には応力が働き、それ故に、表面12における貫通溝2の開口21近傍に、破断部31やクラック32が生成していた。 The conventional method shown in FIG. 16 has the following problems when the
本発明は、脆性材料からなる基板に対して、破断部やクラックを殆ど生成することなく、レーザ加工によって貫通溝を形成することができる、レーザ加工方法及びレーザ加工装置を、提供することを目的としている。 An object of the present invention is to provide a laser processing method and a laser processing apparatus capable of forming a through-groove by laser processing with almost no breakage or cracks generated on a substrate made of a brittle material. It is said.
本発明の第1態様は、脆性材料からなる基板に、レーザ光を照射して貫通溝を形成する、レーザ加工方法であって、レーザ光を照射して、前記基板の両表面の内の一方の表面に、前記貫通溝を形成するための予備加工を行う、予備工程と、前記基板の他方の表面に、レーザ光を照射して、前記貫通溝を形成する本加工を行う、本工程と、を有することを特徴としている。 A first aspect of the present invention is a laser processing method in which a substrate made of a brittle material is irradiated with a laser beam to form a through groove, and one of the two surfaces of the substrate is irradiated with the laser beam. Performing a preliminary process for forming the through groove on the surface of the substrate, and performing a main process for forming the through groove by irradiating the other surface of the substrate with laser light; It is characterized by having.
このレーザ加工方法は、更に、次のような具体的構成を採用するのが好ましい。
(a)前記予備加工が、前記基板の前記一方の表面に、レーザ光を照射して、有底溝を形成する加工である。
(b)前記脆性材料が、レーザ光透過可能な材料であり、前記予備加工が、前記基板の前記他方の表面側からレーザ光を照射して前記一方の表面にレーザ光を集光することによって、前記一方の表面に有底溝を形成する加工である。
(c)前記有底溝を、前記貫通溝を形成する予定ライン上に形成する。
(d)前記有底溝を、前記貫通溝を形成する予定ラインの両側に形成する。
(e)前記有底溝は、底が幅狭となった断面形状を有している。
(f)前記基板の前記両表面の内の一方の表面側からレーザ光を照射して前記予備工程を実施した後、前記基板を表裏反転し、前記一方の表面側からレーザ光を照射して前記本工程を実施する。
(g)前記基板の前記両表面に両表面側からレーザ光を照射することにより、前記基板の前記一方の表面に予備工程を実施した後、前記基板の前記他方の表面に本工程を実施する。
(h)前記基板の前記両表面に両表面側からレーザ光を同時に照射することにより、前記基板の前記一方の表面に予備工程を実施しながら、前記基板の前記他方の表面に本工程を実施する。
(i)前記脆性材料が、タンタル酸リチウムである。This laser processing method preferably further adopts the following specific configuration.
(A) The preliminary processing is processing for forming a bottomed groove by irradiating the one surface of the substrate with laser light.
(B) The brittle material is a material capable of transmitting laser light, and the preliminary processing is performed by irradiating laser light from the other surface side of the substrate and condensing the laser light on the one surface. , Processing to form a bottomed groove on the one surface.
(C) The bottomed groove is formed on a planned line for forming the through groove.
(D) The bottomed groove is formed on both sides of a planned line for forming the through groove.
(E) The bottomed groove has a cross-sectional shape with a narrow bottom.
(F) After performing the preliminary step by irradiating laser light from one of the two surfaces of the substrate, the substrate is turned upside down and irradiated with laser light from the one surface side. The said process is implemented.
(G) irradiating the both surfaces of the substrate with laser light from both surfaces to perform a preliminary step on the one surface of the substrate, and then performing this step on the other surface of the substrate. .
(H) This step is performed on the other surface of the substrate while performing a preliminary step on the one surface of the substrate by simultaneously irradiating both surfaces of the substrate with laser light from both surfaces. To do.
(I) The brittle material is lithium tantalate.
本発明の第2態様は、脆性材料からなる基板に、レーザ光を照射して貫通溝を形成する、レーザ加工装置であって、レーザ光を出力する1つのレーザ光出力部を備えたレーザ発振器と、前記基板を保持し、前記レーザ発振器に対する前記基板の位置を任意に設定する、加工ステージと、を備えており、前記加工ステージが、前記基板を表裏反転させる反転機構を、有している、ことを特徴としている。 According to a second aspect of the present invention, there is provided a laser processing apparatus for forming a through groove by irradiating a substrate made of a brittle material with a laser beam, the laser oscillator having one laser beam output unit for outputting the laser beam And a processing stage for arbitrarily setting the position of the substrate with respect to the laser oscillator, and the processing stage has a reversing mechanism for reversing the substrate upside down. It is characterized by that.
本発明の第3態様は、レーザ光透過可能な脆性材料からなる基板に、レーザ光を照射して貫通溝を形成する、レーザ加工装置であって、レーザ光を出力するレーザ発振器と、前記基板を保持し、前記レーザ発振器に対する前記基板の位置を任意に設定する、加工ステージと、を備えており、前記レーザ発振器が、前記基板の一方の表面側からレーザ光を照射して前記基板の他方の表面にレーザ光を集光するように、調節可能である、ことを特徴としている。 According to a third aspect of the present invention, there is provided a laser processing apparatus for forming a through groove by irradiating a laser beam to a substrate made of a brittle material capable of transmitting laser light, the laser oscillator outputting laser light, and the substrate And a processing stage that arbitrarily sets the position of the substrate with respect to the laser oscillator, and the laser oscillator irradiates laser light from one surface side of the substrate to the other of the substrate It is characterized in that it can be adjusted so as to focus the laser beam on the surface.
本発明の第4態様は、脆性材料からなる基板に、レーザ光を照射して貫通溝を形成する、レーザ加工装置であって、レーザ光を出力するレーザ発振器と、前記基板を保持し、前記レーザ発振器に対する前記基板の位置を任意に設定する、加工ステージと、を備えており、前記レーザ発振器が、前記基板の両表面に両表面側からレーザ光を照射できるように、構成されている、ことを特徴としている。 According to a fourth aspect of the present invention, there is provided a laser processing apparatus for irradiating a substrate made of a brittle material with a laser beam to form a through groove, the laser oscillator for outputting the laser beam, the substrate being held, A processing stage that arbitrarily sets the position of the substrate with respect to a laser oscillator, and the laser oscillator is configured so that both surfaces of the substrate can be irradiated with laser light from both surface sides. It is characterized by that.
第4態様のレーザ加工装置においては、前記レーザ発振器が、前記基板の両表面に両表面側からレーザ光を同時に照射できるように、構成されている、ことが好ましい。 In the laser processing apparatus according to the fourth aspect, it is preferable that the laser oscillator is configured so that both surfaces of the substrate can be simultaneously irradiated with laser light from both surfaces.
第2〜第4態様のレーザ加工装置においては、前記脆性材料が、タンタル酸リチウムである、ことが好ましい。 In the laser processing apparatuses according to the second to fourth aspects, it is preferable that the brittle material is lithium tantalate.
本発明の第1態様のレーザ加工方法によれば、本加工を行った際の応力が、予備加工を行った部分に集中するので、予備加工を行った表面に破断部やクラックが生成するのを抑制できる。したがって、破断部やクラックが殆ど生成していない貫通溝を、形成することができる。 According to the laser processing method of the first aspect of the present invention, since the stress during the main processing is concentrated on the portion where the preliminary processing has been performed, a fracture portion or a crack is generated on the surface where the preliminary processing has been performed. Can be suppressed. Therefore, it is possible to form a through groove in which almost no fracture portion or crack is generated.
本発明の第2態様のレーザ加工装置によれば、反転機構によって、基板を1つのレーザ光出力部に対して表裏反転できるので、1つのレーザ光出力部によって、基板の一方の表面にレーザ光を照射して予備加工を実施でき、且つ、他方の表面にレーザ光を照射して本加工を実施できる。したがって、基板に対する貫通溝の形成を、安価に実現できる。 According to the laser processing apparatus of the second aspect of the present invention, since the substrate can be reversed with respect to one laser beam output unit by the reversing mechanism, the laser beam is applied to one surface of the substrate by one laser beam output unit. Can be preliminarily processed, and the other surface can be irradiated with laser light to perform the main processing. Therefore, formation of the through groove with respect to the substrate can be realized at low cost.
本発明の第3態様のレーザ加工装置によれば、基板の両表面の内の同じ表面側から、予備加工及び本加工を実施できるので、基板の表裏反転を不要にできる。したがって、基板を表裏反転した場合の再位置調整を不要にでき、それ故、作業性を向上できる。 According to the laser processing apparatus of the third aspect of the present invention, since the preliminary processing and the main processing can be performed from the same surface side of both surfaces of the substrate, it is possible to make the substrate upside down unnecessary. Therefore, it is possible to eliminate the need for repositioning when the substrate is turned upside down, thus improving workability.
本発明の第4態様のレーザ加工装置によれば、基板の両表面に両表面側からレーザ光を照射できるので、基板を表裏反転することなく、一方の表面に予備加工を実施でき、他方の表面に本加工を実施できる。したがって、作業性を向上できる。 According to the laser processing apparatus of the fourth aspect of the present invention, since both surfaces of the substrate can be irradiated with laser light from both surfaces, preliminary processing can be performed on one surface without turning the substrate upside down, This processing can be performed on the surface. Therefore, workability can be improved.
[第1実施形態]
図1は、本実施形態に係るレーザ加工装置を示す側面略図である。このレーザ加工装置5Aは、レーザ発振器51と加工ステージ52とを備えている。レーザ発振器51は、鉛直下方に向けて先端からレーザ光を出力するレーザ光出力部511を、備えている。加工ステージ52は、加工対象である基板1をステージ本体521上に保持するように、構成されている。[First Embodiment]
FIG. 1 is a schematic side view showing a laser processing apparatus according to the present embodiment. This
加工ステージ52は、更に、駆動機構522及び反転機構523を備えている。駆動機構522は、ステージ本体521を、上下方向、水平方向、及び所定の水平軸回りの回動方向に、動かすことができるように、構成されており、ステージ本体521を動かすことによって、レーザ光出力部511に対する基板1の位置を任意に設定できるようになっている。反転機構523は、ステージ本体521上の基板1を、把持し、持ち上げて裏返し、ステージ本体521上に載置できるように、構成されている。 The
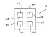
基板1は、脆性材料であるタンタル酸リチウムのウエハであり、多数の赤外線センサチップからなっている。基板1は、平面部分図である図2に示されるように、貫通溝2Aによって赤外線センサチップ10毎に切り分けられることが予定されている。更に、赤外線センサチップ10においては、平面図である図3に示されるように、基板1の表面に赤外線受光部100が設けられており、断熱のために、赤外線受光部100の3辺に沿って貫通溝2Bが形成されることが予定されている。本実施形態のレーザ加工装置5Aによって基板1に形成する貫通溝2は、貫通溝2A及び貫通溝2Bの一方又は両方である。 The
本実施形態のレーザ加工装置5Aを用いたレーザ加工方法による貫通溝2の形成は、次のように行う。 Formation of the through
(1)まず、図4に示されるように、ステージ本体521上の基板1の一方の表面11に、レーザ光9を照射して、貫通溝2を形成するための予備加工を行う(予備工程)。図5は、予備工程後の基板1を示している。予備加工としては、表面11の予定ラインL上に、有底溝111を形成する。有底溝111は、底が幅狭となった断面形状を有しており、具体的には、断面くさび形状を有している。なお、予定ラインLは、貫通溝2を形成する位置の中心を示している。(1) First, as shown in FIG. 4, one
この予備加工は、レーザ光9によって有底溝111を形成する加工であるので、容易に実施できる。 Since this preliminary processing is processing for forming the bottomed groove 111 with the
(2)次に、反転機構523を作動させて、ステージ本体521上の基板1を表裏反転させる。そして、図6に示されるように、基板1の他方の表面12の予定ラインLに、レーザ光9を照射して、貫通溝2を形成する本加工を行う(本工程)。(2) Next, the reversing
この本加工においては、レーザ光9によって表面12が掘り下げられていく際に、表面11側に応力が働く。しかしながら、本実施形態の方法によれば、表面11側に働く応力が、有底溝111に集中するので、表面11に破断部やクラックが生成するのを、抑制できる。特に、有底溝111は、予定ラインL上に位置しているので、表面11側に働く応力は有底溝111に集中しやすい。したがって、本実施形態の方法によれば、図7に示されるように、破断部やクラックが殆ど生成していない貫通溝2を、形成することができる。 In this main processing, when the
更に、有底溝111が断面くさび形状を有しているので、応力は、有底溝111の底端118に集中しやすい。それによって、有底溝111の底端118には、クラックが発生しやすくなるが、底端118は、表面12から掘り下げられてきた穴に確実に通じて貫通溝2となる部分であるので、クラックが発生しても問題はない。したがって、有底溝111が断面くさび形状を有していることにより、表面11に破断部やクラックが生成するのを、より効果的に抑制できる。 Furthermore, since the bottomed groove 111 has a wedge shape in cross section, the stress tends to concentrate on the
また、レーザ加工装置5Aは、反転機構523によって、基板1を1つのレーザ光出力部511に対して表裏反転できるので、1つのレーザ光出力部511によって、基板1の一方の表面11に予備加工を実施でき、且つ、他方の表面12に本加工を実施できる。したがって、本実施形態によれば、基板1に対する貫通溝2の形成を、安価に実現できる。 Further, the
[第2実施形態]
本実施形態は、第1実施形態に比して、有底溝111の形成場所及び数が異なるだけである。すなわち、本実施形態では、図8に示されるように、予備加工として、一方の表面11の予定ラインLの両側に、有底溝111を形成している。[Second Embodiment]
This embodiment is different from the first embodiment only in the formation location and number of the bottomed grooves 111. That is, in the present embodiment, as shown in FIG. 8, the bottomed grooves 111 are formed on both sides of the planned line L on the one
本実施形態によれば、図9に示されるように、他方の表面12へのレーザ光9の照射によって本加工が行われる際に、部分X1の温度が上昇するが、表面11においては、部分X1の両側の有底溝111が断熱機能を発揮するので、有底溝111の外側の部分X2への熱影響が小さくなる。また、表面11側に働く応力は、有底溝111に集中しやすい。したがって、本実施形態によれば、表面11への熱や応力の伝播を低減でき、表面11における破断部やクラックの生成を抑制できる。 According to the present embodiment, as shown in FIG. 9, when the main processing is performed by irradiating the
[第3実施形態]
本実施形態のレーザ加工装置は、第1実施形態のレーザ加工装置5Aに比して、次の点が異なるだけである。
(a)レーザ発振器51が、基板1の一方の表面11側(又は表面12側)からレーザ光を照射して基板1の他方の表面12(又は表面11)にレーザ光を集光するように、調節可能である。
(b)加工ステージ52が、反転機構523を備えていない。[Third Embodiment]
The laser processing apparatus of this embodiment is different from the
(A) The
(B) The
そして、本実施形態のレーザ加工装置を用いたレーザ加工方法による貫通溝2の形成は、次のように行う。なお、基板1を構成する脆性材料は、レーザ光透過可能な材料であり、具体的には、第1実施形態の場合と同じタンタル酸リチウムである。 And formation of the
(1)まず、図10に示されるように、基板1の一方の表面11側からレーザ光9を照射して他方の表面12にレーザ光9を集光することにより、予備加工を行う(予備工程)。これにより、図11に示されるように、表面12の予定ラインL上に、有底溝111を形成する。なお、有底溝111は、第2実施形態の場合のように形成してもよい。(1) First, as shown in FIG. 10, preliminary processing is performed by irradiating the
(2)そして、基板1を表裏反転させることなく、第1実施形態の図6に示される場合と同様に、基板1の表面11の予定ラインLに、レーザ光9を照射して、貫通溝2を形成する本加工を行う(本工程)。(2) Then, as in the case shown in FIG. 6 of the first embodiment, the planned line L of the
本実施形態によれば、第1実施形態と同様の効果を発揮できる。しかも、本実施形態によれば、基板1の両表面11、12の内の同じ表面側から、予備加工及び本加工を実施できるので、基板1の表裏反転を不要にできる。したがって、基板1を表裏反転した場合の再位置調整を不要にでき、それ故、作業性を向上できる。 According to this embodiment, the same effects as those of the first embodiment can be exhibited. In addition, according to the present embodiment, since the preliminary processing and the main processing can be performed from the same surface side of the both
[第4実施形態]
図12は、本実施形態に係るレーザ加工装置を示す側面部分断面略図である。このレーザ加工装置5Bは、レーザ発振器55と加工ステージ56とを備えている。レーザ発振器55は、2つのレーザ光出力部551、552を有しており、レーザ光出力部551は、鉛直下方に向けて先端からレーザ光を出力するように設けられており、レーザ光出力部552は、レーザ光出力部551に対向した位置で、鉛直上方に向けて先端からレーザ光を出力するように設けられている。加工ステージ56は、加工対象である基板1を、両表面11、12全面がレーザ光出力部551、552に対して露出した状態で、ステージ本体561によって保持するように、設けられている。また、レーザ発振器55は、レーザ光出力部551、552のそれぞれからのレーザ光の出力タイミング及び出力強度を、任意に設定できるようになっている。例えば、レーザ発振器55は、レーザ光出力部551、552から、同時に同じ強度のレーザ光を出力したり、時間的に前後して異なる強度のレーザ光を出力したりできる。[Fourth Embodiment]
FIG. 12 is a schematic side sectional view showing the laser processing apparatus according to the present embodiment. The laser processing apparatus 5B includes a
加工ステージ56は、更に、駆動機構562を備えている。駆動機構562は、ステージ本体561を、上下方向、水平方向、及び所定の水平軸回りの回動方向に、動かすことができるように、構成されており、ステージ本体561を動かすことによって、レーザ発振器51のレーザ光出力部551、552に対する基板1の位置を任意に設定できるようになっている。 The
その他の構成は、第1実施形態と同じである。 Other configurations are the same as those of the first embodiment.
本実施形態のレーザ加工装置5Bを用いたレーザ加工方法による貫通溝2の形成は、次のように行う。 Formation of the through
(1)図13に示されるように、まず、基板1の表面12に、レーザ光出力部552からレーザ光を照射して、貫通溝2を形成するための予備加工を行う(予備工程)。すなわち、表面12の予定ラインL上に、有底溝111を形成する。なお、有底溝111は、第2実施形態の場合のように形成してもよい。(1) First, as shown in FIG. 13, the
(2)そして、基板1の表面11の予定ラインLに、レーザ光出力部551からレーザ光9を照射して、貫通溝2を形成する本加工を行う(本工程)。(2) Then, the main process of forming the through
すなわち、本実施形態のレーザ加工方法は、基板1の両表面11、12に両表面側からレーザ光9を照射することにより、基板1の表面12に予備工程を実施した後、基板1の表面11に本工程を実施している。 That is, in the laser processing method of the present embodiment, the
本実施形態によれば、第1実施形態と同様の効果を発揮できる。しかも、本実施形態によれば、基板1の両表面11、12に両表面側からレーザ光9を照射できるので、基板1を表裏反転することなく、表面12に予備加工を実施でき、且つ、表面11に本加工を実施できる。したがって、作業性を向上できる。 According to this embodiment, the same effects as those of the first embodiment can be exhibited. Moreover, according to the present embodiment, both
[第5実施形態]
本実施形態は、第4実施形態に比して、レーザ加工方法が異なっている。[Fifth Embodiment]
This embodiment is different from the fourth embodiment in the laser processing method.
本実施形態のレーザ加工方法による貫通溝2の形成は、次のように行う。 Formation of the through
(1)図14に示されるように、基板1の表面11の予定ラインLに、レーザ光出力部551からレーザ光9を照射すると同時に、基板1の他方の表面12の予定ラインLに、レーザ光出力部552からレーザ光9を照射する。すなわち、両表面11、12に同時にレーザ光9を照射する。
(2)そして、図15に示されるように、両表面11、12に、それぞれ有底溝111が形成されると、レーザ光出力部551、552の一方を停止して他方のみで堀り込みを行い、貫通溝2を形成する。したがって、例えばレーザ光出力部551を停止した場合には、表面11では予備加工が実施されたこととなり、表面12では本加工が実施されたこととなる。(1) As shown in FIG. 14, the
(2) Then, as shown in FIG. 15, when bottomed grooves 111 are formed on both
本実施形態によれば、一方の表面へのレーザ光の照射によって他方の表面側に応力が働いても、他方の表面にもレーザ光が照射されて堀り込みが行われているので、他方の表面側への応力の集中が解消される。すなわち、両表面側への応力の集中が解消される。したがって、本実施形態の方法によれば、破断部やクラックが殆ど生成していない貫通溝2を、形成することができる。 According to the present embodiment, even if stress is applied to the other surface side by irradiating one surface with the laser beam, the other surface is irradiated with the laser beam and digging is performed. The concentration of stress on the surface side is eliminated. That is, the concentration of stress on both surface sides is eliminated. Therefore, according to the method of the present embodiment, it is possible to form the through
しかも、作業途中までは、両表面11、12に対して同時に加工を行うので、作業効率を向上できる。 And since it processes simultaneously on both
[別の実施形態]
(1)第1、第2、第4、及び第5実施形態では、基板1を構成する脆性材料として、タンタル酸リチウム以外の材料を用いてもよい。
(2)第3実施形態では、基板1を構成する脆性材料として、レーザ光透過可能な材料であれば、タンタル酸リチウム以外の材料を用いてもよい。
(3)本発明によって形成する貫通溝2は、脆性材料からなる基板に形成する貫通溝であれば、図2の貫通溝2Aや図3の貫通溝2Bに限るものではない。[Another embodiment]
(1) In the first, second, fourth, and fifth embodiments, a material other than lithium tantalate may be used as the brittle material constituting the
(2) In the third embodiment, a material other than lithium tantalate may be used as the brittle material constituting the
(3) The through
本発明は、脆性材料からなる基板に対して、破断部やクラックを殆ど生成することなく、レーザ加工によって貫通溝を形成することができるので、産業上の利用価値が大である。 INDUSTRIAL APPLICABILITY The present invention has a great industrial utility value because a through groove can be formed by laser processing on a substrate made of a brittle material with almost no fracture or crack.
1 基板 11、12 表面 111 有底溝 2 貫通溝 5A、5B レーザ加工装置 51、55 レーザ発振器 511、551、552 レーザ光出力部 52、56 加工ステージ 9 レーザ光 L 予定ライン DESCRIPTION OF
| Application Number | Priority Date | Filing Date | Title |
|---|---|---|---|
| JP2011062815AJP2012199399A (en) | 2011-03-22 | 2011-03-22 | Laser processing method and laser processing apparatus |
| Application Number | Priority Date | Filing Date | Title |
|---|---|---|---|
| JP2011062815AJP2012199399A (en) | 2011-03-22 | 2011-03-22 | Laser processing method and laser processing apparatus |
| Publication Number | Publication Date |
|---|---|
| JP2012199399Atrue JP2012199399A (en) | 2012-10-18 |
| Application Number | Title | Priority Date | Filing Date |
|---|---|---|---|
| JP2011062815APendingJP2012199399A (en) | 2011-03-22 | 2011-03-22 | Laser processing method and laser processing apparatus |
| Country | Link |
|---|---|
| JP (1) | JP2012199399A (en) |
| Publication number | Priority date | Publication date | Assignee | Title |
|---|---|---|---|---|
| JP2015231739A (en)* | 2014-06-10 | 2015-12-24 | 三星ダイヤモンド工業株式会社 | Processing method of brittle material substrate |
| KR20160006109A (en)* | 2014-07-08 | 2016-01-18 | 가부시기가이샤 디스코 | Wafer processing method |
| CN108705207A (en)* | 2017-03-30 | 2018-10-26 | 三星钻石工业股份有限公司 | The cutting method and cutter device of brittle material substrate with metal film |
| CN112349582A (en)* | 2019-08-08 | 2021-02-09 | 东莞新科技术研究开发有限公司 | Wafer cutting method for reducing internal stress |
| KR102439243B1 (en)* | 2021-05-24 | 2022-09-01 | 스카이다이아몬드 주식회사 | Material cutting method using waterjet laser equipped with alignable jig and alignable jig for same |
| Publication number | Priority date | Publication date | Assignee | Title |
|---|---|---|---|---|
| JPS56129340A (en)* | 1980-03-13 | 1981-10-09 | Toshiba Corp | Method of dividing platelike material |
| JP2003017790A (en)* | 2001-07-03 | 2003-01-17 | Matsushita Electric Ind Co Ltd | Nitride-based semiconductor device and manufacturing method |
| JP2004268309A (en)* | 2003-03-06 | 2004-09-30 | Hiroaki Misawa | Method and apparatus for dividing sapphire substrate |
| JP2005012203A (en)* | 2003-05-29 | 2005-01-13 | Hamamatsu Photonics Kk | Laser machining method |
| JP2005150523A (en)* | 2003-11-18 | 2005-06-09 | Disco Abrasive Syst Ltd | Wafer processing method |
| JP2005209719A (en)* | 2004-01-20 | 2005-08-04 | Disco Abrasive Syst Ltd | Processing method of semiconductor wafer |
| JP2005228892A (en)* | 2004-02-12 | 2005-08-25 | Toshiba Corp | Semiconductor wafer, semiconductor element and manufacturing method thereof |
| JP2008103383A (en)* | 2006-10-17 | 2008-05-01 | Disco Abrasive Syst Ltd | Laser processing method of gallium arsenide wafer |
| JP2008264843A (en)* | 2007-04-23 | 2008-11-06 | Allied Laser:Kk | Micromachining method eliminating influence of machining fine powder |
| Publication number | Priority date | Publication date | Assignee | Title |
|---|---|---|---|---|
| JPS56129340A (en)* | 1980-03-13 | 1981-10-09 | Toshiba Corp | Method of dividing platelike material |
| JP2003017790A (en)* | 2001-07-03 | 2003-01-17 | Matsushita Electric Ind Co Ltd | Nitride-based semiconductor device and manufacturing method |
| JP2004268309A (en)* | 2003-03-06 | 2004-09-30 | Hiroaki Misawa | Method and apparatus for dividing sapphire substrate |
| JP2005012203A (en)* | 2003-05-29 | 2005-01-13 | Hamamatsu Photonics Kk | Laser machining method |
| JP2005150523A (en)* | 2003-11-18 | 2005-06-09 | Disco Abrasive Syst Ltd | Wafer processing method |
| JP2005209719A (en)* | 2004-01-20 | 2005-08-04 | Disco Abrasive Syst Ltd | Processing method of semiconductor wafer |
| JP2005228892A (en)* | 2004-02-12 | 2005-08-25 | Toshiba Corp | Semiconductor wafer, semiconductor element and manufacturing method thereof |
| JP2008103383A (en)* | 2006-10-17 | 2008-05-01 | Disco Abrasive Syst Ltd | Laser processing method of gallium arsenide wafer |
| JP2008264843A (en)* | 2007-04-23 | 2008-11-06 | Allied Laser:Kk | Micromachining method eliminating influence of machining fine powder |
| Publication number | Priority date | Publication date | Assignee | Title |
|---|---|---|---|---|
| JP2015231739A (en)* | 2014-06-10 | 2015-12-24 | 三星ダイヤモンド工業株式会社 | Processing method of brittle material substrate |
| KR20160006109A (en)* | 2014-07-08 | 2016-01-18 | 가부시기가이샤 디스코 | Wafer processing method |
| KR102272434B1 (en)* | 2014-07-08 | 2021-07-01 | 가부시기가이샤 디스코 | Wafer processing method |
| CN108705207A (en)* | 2017-03-30 | 2018-10-26 | 三星钻石工业股份有限公司 | The cutting method and cutter device of brittle material substrate with metal film |
| CN112349582A (en)* | 2019-08-08 | 2021-02-09 | 东莞新科技术研究开发有限公司 | Wafer cutting method for reducing internal stress |
| CN112349582B (en)* | 2019-08-08 | 2024-09-06 | 东莞新科技术研究开发有限公司 | Wafer cutting method capable of reducing internal stress |
| KR102439243B1 (en)* | 2021-05-24 | 2022-09-01 | 스카이다이아몬드 주식회사 | Material cutting method using waterjet laser equipped with alignable jig and alignable jig for same |
| Publication | Publication Date | Title |
|---|---|---|
| JP2012199399A (en) | Laser processing method and laser processing apparatus | |
| CN104136967B (en) | Method and device for separating reinforced glass and articles produced from the reinforced glass | |
| US20170028505A1 (en) | Method of material processing by laser filamentation | |
| JP5037082B2 (en) | Laser processing method and laser processing apparatus | |
| JP6309341B2 (en) | Method for grooving semiconductor substrate by irradiation | |
| JP2009135448A5 (en) | ||
| JP2007075886A5 (en) | ||
| TW201735143A (en) | SiC wafer producing method | |
| JP2009135437A5 (en) | ||
| JP2009124117A5 (en) | ||
| KR20140004017A (en) | Laser dicing method | |
| TW201625393A (en) | Wafer formation method | |
| JP2013157545A (en) | Method for cutting workpiece | |
| TW201706221A (en) | Method of processing laminated substrate and apparatus for processing laminated substrate with laser light | |
| CN102896418A (en) | Laser dicing method | |
| JP5318545B2 (en) | Wafer processing method | |
| JP2011204912A (en) | Method for manufacturing laser anneal processed body, and laser annealing apparatus | |
| KR101889385B1 (en) | Method for processing substrate with pattern | |
| JP2014090011A (en) | Processing method of substrate with led pattern | |
| JP2008213024A (en) | Method for cutting workpiece | |
| JP2011206838A (en) | Laser beam machining method | |
| JP2011240644A (en) | Laser processing method | |
| JP6191646B2 (en) | Welding method | |
| JP5884087B2 (en) | Laser processing method and laser processing apparatus | |
| JP2004289140A5 (en) |
| Date | Code | Title | Description |
|---|---|---|---|
| A621 | Written request for application examination | Free format text:JAPANESE INTERMEDIATE CODE: A621 Effective date:20131107 | |
| A711 | Notification of change in applicant | Free format text:JAPANESE INTERMEDIATE CODE: A711 Effective date:20141008 | |
| RD03 | Notification of appointment of power of attorney | Free format text:JAPANESE INTERMEDIATE CODE: A7423 Effective date:20141014 | |
| A131 | Notification of reasons for refusal | Free format text:JAPANESE INTERMEDIATE CODE: A131 Effective date:20141118 | |
| A521 | Written amendment | Free format text:JAPANESE INTERMEDIATE CODE: A523 Effective date:20150116 | |
| A131 | Notification of reasons for refusal | Free format text:JAPANESE INTERMEDIATE CODE: A131 Effective date:20150623 | |
| A521 | Written amendment | Free format text:JAPANESE INTERMEDIATE CODE: A523 Effective date:20150821 | |
| A02 | Decision of refusal | Free format text:JAPANESE INTERMEDIATE CODE: A02 Effective date:20151117 |