





本発明は、一次伝送コイルと二次伝送コイルによって非接触状態で充電を可能とする非接触充電装置に用いられる、伝送コイル装置並びにそれを用いた受電装置及び給電装置に関する。 The present invention relates to a transmission coil device, a power receiving device and a power feeding device using the transmission coil device, which are used in a non-contact charging device that enables charging in a non-contact state by a primary transmission coil and a secondary transmission coil.
近年、小型情報通信機器の高性能化、高機能化が進められており、特に、携帯電話、Web端末、ミュージックプレイヤー等の携帯機器は利便性のため、長時間での連続使用が求められている。これら小型情報通信機器では電源としてリチウムイオン電池などの二次電池が使用されている。この二次電池の充電方法には受電側の電極と給電側の電極とを直接接触させて充電を行う接触充電方式と、給電側と受電側の両方に伝送コイルを設け、電磁誘導を利用した電力伝送によって充電する非接触充電方式とがある。非接触充電方式は給電装置と受電装置を直接接触させるための電極が必要ないため、同じ給電装置を用いて異なる受電装置に充電することも可能である。また、非接触充電方式は、電極腐食の問題や電極同士の接触不良の問題を回避できるなどの利点もある。 In recent years, small information communication devices have been improved in performance and functionality, and in particular, portable devices such as mobile phones, web terminals, music players, etc. are required to be used continuously for a long time. Yes. In these small information communication devices, a secondary battery such as a lithium ion battery is used as a power source. This secondary battery charging method uses a contact charging method in which charging is performed by directly contacting the electrode on the power receiving side and the electrode on the power feeding side, and transmission coils are provided on both the power feeding side and the power receiving side, and electromagnetic induction is used. There is a non-contact charging method in which charging is performed by power transmission. Since the contactless charging method does not require an electrode for directly contacting the power feeding device and the power receiving device, it is possible to charge different power receiving devices using the same power feeding device. In addition, the non-contact charging method has an advantage that the problem of electrode corrosion and the problem of poor contact between electrodes can be avoided.
非接触充電方式において、一次伝送コイルに発生した磁束は給電装置と受電装置の筐体を介して二次伝送コイルに起電力を発生させることで給電が行われる。したがって非接触充電方式において高い電力伝送効率を得るためには、一次コイル及び二次コイルの中心軸を一致させる必要がある。特許文献1には、一次コイルと二次コイルの中心軸が一致するように磁気吸引力により両者を位置決めするための取付手段を有する非接触充電アダプタが開示されている。かかる取付手段は、コイルの外周に沿って環状に延在するように組合せた略L字型の二つの永久磁石からなる。 In the non-contact charging method, the magnetic flux generated in the primary transmission coil is fed by generating an electromotive force in the secondary transmission coil through the housing of the power feeding device and the power receiving device. Therefore, in order to obtain high power transmission efficiency in the non-contact charging method, it is necessary to match the central axes of the primary coil and the secondary coil. Patent Document 1 discloses a non-contact charging adapter having attachment means for positioning both the primary coil and the secondary coil by magnetic attraction so that the central axes of the primary coil and the secondary coil coincide with each other. Such attachment means is composed of two substantially L-shaped permanent magnets combined so as to extend annularly along the outer periphery of the coil.
一方、高い電力伝送効率を得るためには、伝送コイルに対して、給電装置と受電装置の接触面とは反対側に磁性シートなどのコイルヨークが設置される。かかるコイルヨークには以下のような役割がある。第一の役割は、磁気シールド材としての役割である。非接触充電装置の充電作業中に発生した漏れ磁束が二次電池を構成する金属部材などの他の部品に流れると、これらの部品が渦電流によって発熱する。コイルヨークは、磁気シールド材としてこの発熱を抑制できる。コイルヨークの第二の役割は、充電中にコイルで発生した磁束を還流させるヨーク部材として作用することである。 On the other hand, in order to obtain high power transmission efficiency, a coil yoke such as a magnetic sheet is installed on the opposite side of the transmission coil from the contact surface of the power feeding device and the power receiving device. The coil yoke has the following role. The first role is a role as a magnetic shield material. When leakage magnetic flux generated during the charging operation of the non-contact charging device flows to other components such as a metal member constituting the secondary battery, these components generate heat due to eddy current. The coil yoke can suppress this heat generation as a magnetic shield material. The second role of the coil yoke is to act as a yoke member for returning the magnetic flux generated in the coil during charging.
非接触充電装置は主に小型情報通信機器の電源の充電用として用いられるため、小型・低背であることが必要とされる。これに対して、特許文献1に記載された取付手段では、それを構成する永久磁石をコイルの外周に沿って配置する必要があり、非接触充電アダプタを小型化することが困難であった。これに対して、小型化・軽量化、コスト低減の観点から、磁気吸着手段を伝送コイルの内側に配置する構成が有効である。しかしながら、取付手段として永久磁石が用いられると、コイルヨークには伝送コイルから発生する磁束と永久磁石から発生する磁束が流れるため、コイルヨークが部分的に磁気飽和しやすくなる。伝送コイルと近接する部分のコイルヨークが磁気飽和してしまうと、磁気飽和した部分は透磁率が低下するのでコイルヨークとしての機能が十分得られず、充電装置の電力伝送効率が低下してしまう。磁気吸着手段を伝送コイルの内側に配置する上述の構成は小型化等には有効であるが、電力伝送効率の低下につながるコイルヨークの磁気飽和の問題を解決する必要があった。 Since the non-contact charging device is mainly used for charging a power source of a small information communication device, it is necessary to have a small size and a low profile. On the other hand, in the attachment means described in Patent Document 1, it is necessary to dispose the permanent magnets constituting it along the outer periphery of the coil, and it is difficult to reduce the size of the non-contact charging adapter. On the other hand, a configuration in which the magnetic attraction means is arranged inside the transmission coil is effective from the viewpoint of miniaturization / weight reduction and cost reduction. However, when a permanent magnet is used as the attachment means, the magnetic flux generated from the transmission coil and the magnetic flux generated from the permanent magnet flow through the coil yoke, so that the coil yoke is likely to be partially magnetically saturated. If the portion of the coil yoke adjacent to the transmission coil is magnetically saturated, the magnetic saturation portion is reduced in permeability, so that the function as the coil yoke cannot be obtained sufficiently, and the power transmission efficiency of the charging device is reduced. . The above-described configuration in which the magnetic attraction means is arranged inside the transmission coil is effective for downsizing and the like, but it has been necessary to solve the problem of magnetic saturation of the coil yoke that leads to a reduction in power transmission efficiency.
これらの点に鑑み、本発明は、伝送コイルと、前記伝送コイルの巻回軸方向に対置されたコイルヨークと、磁気吸着部材を具備する伝送コイル装置において、小型化を図りつつ、コイルヨークの磁気飽和の抑制も可能な伝送コイル装置並びにそれを用いた受電装置および給電装置を提供することを目的とする。 In view of these points, the present invention provides a transmission coil device including a transmission coil, a coil yoke opposed to the winding axis of the transmission coil, and a magnetic adsorption member. An object of the present invention is to provide a transmission coil device capable of suppressing magnetic saturation, and a power receiving device and a power feeding device using the same.
本発明の非接触充電装置用の伝送コイル装置は、伝送コイルと、前記伝送コイルの巻回軸方向に対置されたコイルヨークと、前記伝送コイルの巻回軸方向に見て前記伝送コイルの内側に配置された磁気吸着部材とを具備し、前記コイルヨークは、前記磁気吸着部材側に開口した有底孔を有し、前記伝送コイルの巻回軸方向から見て、前記磁気吸着部材の、前記有底孔側の端面の外縁が、前記有底孔の開口部外縁よりも内側に位置していることを特徴とする。かかる構成によれば、伝送コイル装置の小型化を図りつつ、コイルヨークの磁気飽和の抑制も可能である。A transmission coil device for a non-contact charging device according to the present invention includes a transmission coil, a coil yoke disposed in the winding axis direction of the transmission coil, and an inner side of the transmission coil as viewed in the winding axis direction of the transmission coil. The coil yoke has a bottomed hole that opens to the magnetic adsorption member side, and when viewed from the winding axis direction of the transmission coil, the magnetic adsorption member The outer edge of the end face on the bottomed hole side is located inside the opening outer edge of the bottomed hole. According to this configuration, it is possible to suppress the magnetic saturation of the coil yoke while reducing the size of the transmission coil device.
また、前記伝送コイル装置において、前記コイルヨークは、複数の磁性薄帯が積層された積層体であり、前記有底孔の底部は前記積層された複数の磁性薄帯のうち表層の磁性薄帯を用いて構成されていることが好ましい。磁性薄帯の積層体を用いたかかる構成よって、有底孔の形成プロセスが簡略化されコスト低減に寄与する。 Further, in the transmission coil device, the coil yoke is a laminated body in which a plurality of magnetic ribbons are laminated, and a bottom portion of the bottomed hole is a surface magnetic ribbon in the laminated magnetic ribbons. It is preferable that it is comprised using. With such a configuration using the magnetic ribbon laminate, the process of forming the bottomed hole is simplified and contributes to cost reduction.
さらに、前記伝送コイル装置において、前記端面と前記底部との間隔が、前記伝送コイルの巻回軸方向から見たときの前記端面の外縁と前記開口部外縁との間隔よりも小さいことが好ましい。かかる構成によれば、磁気吸着部材の端部から発生する磁束は、より底部側に流れやすくなり、コイルヨークのうち伝送コイルに近い部分の磁気飽和が抑制される。 Furthermore, in the transmission coil device, it is preferable that an interval between the end surface and the bottom portion is smaller than an interval between the outer edge of the end surface and the outer edge of the opening when viewed from the winding axis direction of the transmission coil. According to such a configuration, the magnetic flux generated from the end of the magnetic attracting member is more likely to flow to the bottom side, and magnetic saturation of the portion of the coil yoke close to the transmission coil is suppressed.
さらに、前記伝送コイル装置において、前記端面が前記有底孔の中に挿入されていることが好ましい。かかる構成によれば、コイルヨークのうち、伝送コイルに近い部分へ流れる磁束量を減らし、磁気飽和をいっそう抑制することが可能である。 Furthermore, in the transmission coil device, it is preferable that the end face is inserted into the bottomed hole. According to such a configuration, it is possible to reduce the amount of magnetic flux flowing to a portion of the coil yoke close to the transmission coil and further suppress magnetic saturation.
さらに、前記伝送コイル装置において、前記端面が前記有底孔の底部に接して配置されていることが好ましい。かかる構成によれば、コイルヨークと磁気吸着部材の位置関係を安定化できる。また、磁気吸着部材の端部から発生する磁束は有底孔の底部を構成する磁性体部分に流れる比率が高くなるため、コイルヨークのうち、伝送コイルに近い部分の磁気飽和をより効果的に抑制することができる。 Furthermore, in the transmission coil device, it is preferable that the end face is disposed in contact with a bottom portion of the bottomed hole. According to this configuration, the positional relationship between the coil yoke and the magnetic adsorption member can be stabilized. In addition, since the ratio of the magnetic flux generated from the end of the magnetic attracting member to the magnetic part constituting the bottom of the bottomed hole is increased, the magnetic saturation of the part near the transmission coil in the coil yoke is more effectively performed. Can be suppressed.
本発明の受電装置は、前記伝送コイル装置を用いて構成されていることを特徴とする。前記伝送コイル装置を用いることで受電装置の小型化、伝送効率向上を図ることができる。 The power receiving device of the present invention is configured using the transmission coil device. By using the transmission coil device, the power receiving device can be reduced in size and transmission efficiency can be improved.
本発明の給電装置は、前記伝送コイル装置を構成されていることを特徴とする。前記伝送コイル装置を用いることで給電装置の小型化、伝送効率向上を図ることができる。 The power feeding device of the present invention is characterized in that the transmission coil device is configured. By using the transmission coil device, it is possible to reduce the size of the power supply device and improve the transmission efficiency.
本発明によれば、伝送コイルと、前記伝送コイルの巻回軸方向に対置されたコイルヨークと、磁気吸着部材を具備する伝送コイル装置であって、小型化を図りつつ、コイルヨークの磁気飽和の抑制も可能な伝送コイル装置並びにそれを用いた受電装置および給電装置の提供が可能となる。 According to the present invention, there is provided a transmission coil device comprising a transmission coil, a coil yoke opposed to the winding axis of the transmission coil, and a magnetic attracting member. It is possible to provide a transmission coil device capable of suppressing the above, and a power receiving device and a power feeding device using the transmission coil device.
以下、本発明に係る伝送コイル装置、給電装置および受電装置の実施形態について図を参照しながら具体的に説明するが、本発明はこれに限定されるものではない。また、各実施形態において説明する構成は、他の実施形態の趣旨を損なわない限りにおいて他の実施形態においても適用することが可能であり、その場合、重複する説明は適宜省略する。 Hereinafter, embodiments of a transmission coil device, a power feeding device, and a power receiving device according to the present invention will be specifically described with reference to the drawings. However, the present invention is not limited thereto. Moreover, the structure demonstrated in each embodiment is applicable also in other embodiment, unless the meaning of other embodiment is impaired, In that case, the overlapping description is abbreviate | omitted suitably.
図1は給電装置および受電装置を用いて構成された非接触充電装置を示す断面図である。非接触充電装置の具体例は、例えば携帯通信端末とその充電器である。給電装置および/または受電装置に本発明に係る伝送コイル装置を用いる。受電装置には携帯端末など、受電機能を備えた電子機器本体も含まれる。給電装置10は、一次伝送コイルである伝送コイル3aと、伝送コイル3aの巻回軸方向に対置されたコイルヨーク1aと、伝送コイル3aの巻回軸方向に見て伝送コイル3aの内側に配置された磁気吸着部材4aとを具備する。図1に示す実施形態では、さらに、交流電源6に接続される回路部7を有する。回路部7は、交流電流を整流する整流回路、整流された直流電流を所定の周波数の高周波電流に変換するスイッチング回路を備える。回路部7から出力された高周波電流は伝送コイル3aに流れる。伝送コイル3aは共振用コンデンサ(図示せず)に接続され、スイッチング回路によって変換される所定周波数と同じ周波数で共振する。給電装置10にはスイッチング回路の動作を制御するための制御回路を設けても良い。 FIG. 1 is a cross-sectional view showing a non-contact charging device configured using a power feeding device and a power receiving device. A specific example of the non-contact charging device is, for example, a mobile communication terminal and its charger. The transmission coil device according to the present invention is used for a power feeding device and / or a power receiving device. The power receiving device also includes an electronic device body having a power receiving function such as a portable terminal. The
受電装置11は、二次伝送コイルである伝送コイル3bと、伝送コイル3bの巻回軸方向に対置されたコイルヨーク1bと、伝送コイル3bの巻回軸方向に見て伝送コイル3bの内側に配置された磁気吸着部材4bとを具備する。共振用コンデンサを配置することで共振回路を構成できる。伝送コイル3bには、整流回路(図示せず)を介して二次電池5が接続されており、電磁誘導によって伝送コイル3bに誘起された誘導電流は整流回路で整流され、二次電池5が充電される。 The
前記伝送コイル、コイルヨーク等は樹脂等の非磁性の筐体に収容され、給電装置10および受電装置11が構成される。かかる筐体はそれぞれ平坦面を有し、該平坦面同士を対向させて充電を行う。給電装置と充電装置の平坦面の裏側(筐体内)には、それぞれ磁気吸着部材4a、4bが配置されている。給電装置と充電装置は、磁気吸着部材4aと磁気吸着部材4bとの間の磁気的な吸引力によって互いに位置決め、固定される。上記コイル伝送3a、3bは、その巻回軸が前記平坦面に垂直になるように(平面状のコイルの面が前記平坦面に平行になるように)筐体の内側に配置される。このようにして巻回軸(コイル中心軸)が一致するように対置された第一の伝送コイルと第二の伝送コイルとの間で電力伝送が行われる。伝送コイル3a、3bの、前記平坦面の反対側には、それぞれコイルヨーク1a、1bが隣接して配置される。筐体内部には、例えば樹脂基板などの基板8a、8bが配置される。コイルヨーク1a、1bは、二次電池5等を設置した基板8a、8bと伝送コイル3a、3bとの間において、その主面が伝送コイル3a、3bと重なるように、または覆うように配置される。したがって、伝送コイル3a、3bによって発生した磁束がコイルヨーク1a、1bに収束して通るようになり、コイルヨークが磁気ヨークまたは磁気シールドとして機能する。受電装置、給電装置等に用いられる、伝送コイル、コイルヨークおよび磁気吸着部材を具備する伝送コイル装置について、以下具体的に説明する。 The transmission coil, coil yoke, and the like are housed in a non-magnetic housing such as resin, and the
(第1の実施形態)
図2に本発明の伝送コイル装置に用いるコイルヨークの例を示す。(a)は平面状のコイルヨークを主面の法線方向から見た平面図、(b)該コイルヨークの中心を前記法線方向に切断した場合の断面図である。図2に示すコイルヨーク21は外形が円形のシート状であり、その中央に有底孔22を有する。有底孔の底部も平面状である。コイルヨークの主面内に段差を設けることで、コイルヨーク中央部をその周囲よりも低くしてある。図2に示す実施形態では、有底孔22の開口部および底部は円形であり、これらの中心は円形のコイルヨーク21の中心と一致しているが、コイルヨークの構成はかかる構成に限定されるものではない。例えば、コイルヨークの外形は円形以外に、正方形・長方形などの矩形、異形、さらにはそれらに凹凸をつけた形状など種々の構成を取ることができる。また、有底孔の開口部の形状も円形、正方形・長方形などの矩形等にすることができる。但し、後述する有底孔の効果をコイルヨーク内に均等に発揮させる観点からは、有底孔の開口部の形状は磁気吸着部材の端面形状の相似形状とすることが好ましい。また、これらの形状は、伝送コイルの内形とも相似であることがより好ましい。なお、この場合の相似とは、矩形の場合の角部分のアールや微小な凹凸などの相違にかかわらず、全体形状が相似形状であればよいという趣旨である。(First embodiment)
FIG. 2 shows an example of a coil yoke used in the transmission coil device of the present invention. (A) is the top view which looked at the planar coil yoke from the normal line direction of the main surface, (b) It is sectional drawing at the time of cut | disconnecting the center of this coil yoke in the said normal line direction. The
有底孔を有するコイルヨークは一つの部材で構成されたものであってもよいし、複数の部材が一体化されて構成されたものでもよい。また、コイルヨークに用いる軟磁性体は、フェライト、ケイ素鋼板、ロール急冷により製造された磁性薄帯およびこれらと樹脂の複合材などを用いることができる。例えばフェライトを用いる場合であれば、有底孔を有する形状は一体成形で形成してもよいし、開口を設けたグリーンシートと、対応する位置に開口を待たないグリーンシートとを圧着して形成してもよい。ロール急冷等により製造される磁性薄帯(以下、単に薄帯ともいう)を用いる場合であれば、複数の薄帯が樹脂等を介して積層された積層体でコイルヨークを構成すればよい。この場合、有底孔の底部は積層された複数の薄帯のうち表層の薄帯を用いて構成される。具体的には、開口を設けた薄帯と、対応する位置に開口を持たない薄帯とを積層して有底孔を有するコイルヨークを構成すればよい。有底孔をかかる簡易なプロセスで形成することでコストの低減に寄与する。渦電流損を低減し、充電の伝送効率を向上させるためには、軟磁性体を薄くすることが好ましい。この点、ロール急冷等により製造される磁性合金の薄帯が好適である。具体的には高飽和磁束密度を有するFe系アモルファス材料、Co系アモルファス材料、Fe系ナノ結晶材料、Co系ナノ結晶材料などからなる厚さ50μm以下の薄帯を用いるとよい。薄帯の厚さは、より好ましくは30μm以下、さらに好ましくは20μm以下である。 The coil yoke having the bottomed hole may be constituted by a single member, or may be constituted by integrating a plurality of members. As the soft magnetic material used for the coil yoke, ferrite, a silicon steel plate, a magnetic ribbon manufactured by roll quenching, and a composite material of these with a resin can be used. For example, when using ferrite, the shape having a bottomed hole may be formed by integral molding, or formed by pressure bonding a green sheet having an opening and a green sheet that does not wait for the opening at a corresponding position. May be. In the case of using a magnetic ribbon manufactured by roll quenching or the like (hereinafter also simply referred to as a ribbon), the coil yoke may be constituted by a laminate in which a plurality of ribbons are laminated via a resin or the like. In this case, the bottom portion of the bottomed hole is configured using a thin ribbon of the surface layer among a plurality of laminated thin ribbons. Specifically, a coil yoke having a bottomed hole may be configured by laminating a thin strip provided with an opening and a thin strip having no opening at a corresponding position. The bottomed hole is formed by such a simple process, which contributes to cost reduction. In order to reduce eddy current loss and improve charge transmission efficiency, it is preferable to make the soft magnetic material thinner. In this respect, a magnetic alloy ribbon manufactured by roll quenching or the like is preferable. Specifically, a ribbon having a thickness of 50 μm or less made of Fe-based amorphous material, Co-based amorphous material, Fe-based nanocrystalline material, Co-based nanocrystalline material, or the like having a high saturation magnetic flux density may be used. The thickness of the ribbon is more preferably 30 μm or less, and further preferably 20 μm or less.
積層等によって構成されたコイルヨークは、破損を防ぐために補強部材に固着されていることが好ましい。具体的には、表裏二つの主面の一方に樹脂シートを設けても良いし、両方に設けても良い。但し、強度の確保、破損時の破片の飛散防止等の観点からは、表裏二つの主面の両方に樹脂シートを設けることがより好ましい。樹脂シートを用いることでコイルヨークに優れた可撓性を付与することができる。コイルヨークを軟磁性合金の薄帯で構成する場合、例えば2〜30層程度で構成すればよい。但し、コスト低減の観点からは薄帯の積層数は10層以下にすることがより好ましい。コイルヨークに用いる全ての軟磁性体の厚さを足した厚さは500μm以下とすることができる。低背化のためには該厚さは150μm以下、さらには100μm以下とするとよい。50μm以下の薄型のものを構成することも可能である。なお、上記コイルヨークは伝送コイル装置の低背化に有利なものであるが、磁性シート単体として、本発明に係る伝送コイル装置以外にも、広く各種電子機器等に用いることができる。一つの磁性シートにおいて厚さや磁気抵抗を部分的に変えることができるので、各種電子機器等に用いる際の設計自由度が高く、例えば小型化に寄与する。 The coil yoke formed by lamination or the like is preferably fixed to the reinforcing member in order to prevent breakage. Specifically, a resin sheet may be provided on one of the two main surfaces, or both. However, it is more preferable to provide resin sheets on both the front and back two main surfaces from the viewpoint of ensuring strength and preventing scattering of fragments at the time of breakage. By using the resin sheet, excellent flexibility can be imparted to the coil yoke. When the coil yoke is composed of a soft magnetic alloy ribbon, it may be composed of, for example, about 2 to 30 layers. However, from the viewpoint of cost reduction, the number of thin ribbons is more preferably 10 or less. The total thickness of all the soft magnetic materials used for the coil yoke can be 500 μm or less. In order to reduce the height, the thickness is preferably 150 μm or less, and more preferably 100 μm or less. It is also possible to constitute a thin one having a thickness of 50 μm or less. Although the coil yoke is advantageous for reducing the height of the transmission coil device, the magnetic sheet can be widely used in various electronic devices as well as the transmission coil device according to the present invention. Since the thickness and magnetic resistance can be partially changed in one magnetic sheet, the degree of freedom in design when used in various electronic devices is high, which contributes to miniaturization, for example.
図2に示す形状を有するコイルヨークを用いた伝送コイル装置の実施形態について、以下具体的に説明する。図3は、伝送コイルと、前記伝送コイルの巻回軸方向に対置されたコイルヨークと、前記伝送コイルの巻回軸方向から見て前記伝送コイルの内側に配置された磁気吸着部材とを具備する伝送コイル装置の一実施形態を示す。図3は、伝送コイル装置の中心を、平面状のコイルヨークの主面の法線方向(伝送コイルの巻回軸方向)に切断した場合の断面図である。筐体の図示は省略してあるが、図の上側が相手の伝送コイル装置と対置させるための平坦面側である。平面状のコイルヨークの主面の法線方向(図3のz方向)から見た、コイルヨーク31の外形、伝送コイル33の外形および内形並びに磁気吸着部材の外形は共に円形であり、コイルヨーク31等はその中心が一致するように同心円状に配置されている。図3にはそれら中心を一点鎖線の中心線として示してある。伝送コイルとしては、矩形に代表される多角形、円形等の各種外形形状のものを用いることができるが、非接触充電するときの受電装置、給電装置の配置の自由度を上げるためには、円環状の伝送コイルがより好ましい。また、かかる観点からは、磁気吸着部材の外形も円形であることがより好ましい。伝送コイル33として、コイル巻回軸方向の厚さ寸法よりもそれに垂直な方向の寸法(外径寸法)の方が大きい、平面コイルを用いている。平面コイルは伝送コイル装置の低背化に有利である。伝送コイルの内径や外径はこれを特に限定するものではないが、例えば内径は5〜25mm、外径は25〜50mm程度にすればよい。コイルの巻回の仕方も特に限定するものではない。例えば平面に一段の巻き線で形成した平面スパイラルコイルでもよいし、巻き線を二段以上で構成してもよい。 An embodiment of a transmission coil device using a coil yoke having the shape shown in FIG. 2 will be specifically described below. FIG. 3 includes a transmission coil, a coil yoke disposed in the winding axis direction of the transmission coil, and a magnetic attracting member disposed inside the transmission coil as viewed from the winding axis direction of the transmission coil. 1 shows an embodiment of a transmission coil device. FIG. 3 is a cross-sectional view when the center of the transmission coil device is cut in the normal direction of the main surface of the planar coil yoke (in the direction of the winding axis of the transmission coil). Although the illustration of the housing is omitted, the upper side of the figure is the flat surface side for facing the counterpart transmission coil device. The outer shape of the
円環状の伝送コイル33の内側には磁気吸着部材34が配置されている。図3に示す実施形態では、磁気吸着部材34は円板状(円柱状)であり、その軸方向(図のz方向)に着磁されている永久磁石を用いて構成されている。したがって、磁気吸着部材34は、図のz方向の端部が磁極となっている。磁気吸着部材34は、磁石単体で構成してもよいし、カップヨークなどの磁気ヨークと組み合わせて構成してもよい。磁気吸着部材34の外径は伝送コイル33の内径よりも小さくしてあり、磁気吸着部材34と伝送コイル33は離間して配置されている。磁気吸着部材34と伝送コイル33との間隔は、例えば0.5〜10mm程度とすればよい。また、非接触充電装置を構成する場合、受電装置または給電装置の一方の磁気吸着部材に磁石が用いられていれば、他方の磁気吸着部材は該磁石が吸着する磁気ヨークだけで構成してもよい。 A magnetic attracting
コイルヨーク31は、互いに同形状の開口部の位置が合うように積層されている三つの磁性薄帯(図中Aで表示)と、該開口に対応する位置に開口を待たない一つの磁性薄帯(図中Bで表示)とで構成されている。これら四つの磁性薄帯は樹脂層を介して積層されている。開口を持った三つの磁性薄帯は磁気吸着部材側(伝送コイル側)に配置され、開口を持たない磁性薄帯はその逆側に配置されているため、コイルヨーク31は磁気吸着部材34側に開口した有底孔32を有することになる。磁性薄帯の層数は、有底孔を形成するために2以上とする。2以上であればその層数を特に限定するものではないが、積層数が多くなるとそれだけコイルヨークが厚くなるため、低背化の観点からは例えば20層以下とすればよい。開口を持たない磁性薄帯が有底孔32の底部35を構成している。なお、図3等では説明の便宜上、磁性薄帯の厚さを拡大、強調して示してある。また、コイルヨーク31は、有底孔が開口した面とは反対側の面に、強度確保等の目的から樹脂シート36を備えている。 The
図3に示すように、伝送コイル33の巻回軸方向(図のz方向。コイルヨーク31の主面の法線方向でもある。)から見て、磁気吸着部材34の、有底孔32側の端面の外縁E1が、有底孔32の開口部外縁E2よりも内側に位置している。すなわち、伝送コイル33の巻回軸方向(図のz方向)に見て、コイルヨーク31に形成された有底孔の開口部の外縁と、磁気吸着部材34とが離間している。かかる構成による効果を以下に説明する。図6には、比較のために、有底孔を備えていない伝送コイル装置の例を示す。有底孔を備えていない場合、磁気吸着部材64の端面から発生する磁束がそれに近接した磁性薄帯内を通り、これらの磁性薄帯が飽和してしまう。かかる傾向は、磁気吸着部材64に近い磁性薄帯(例えば図中Aで示された磁性薄帯)ほど顕著になる。逆に図6に示す構成で磁気飽和を抑制しようとすると磁気吸着部材64とコイルヨーク61を離間させ、その間隔を大きくとらなければならず、伝送コイル装置が大型化してしまう。これに対して、図3に示す構成では、磁極面である磁気吸着部材34の端面のz方向の延長上には図中Aで表示される磁性薄帯が存在せず、磁気吸着部材34とこれらの磁性薄帯とが図中x、y方向に離間しているため、伝送コイル装置の大型化を回避しつつ、これらの磁性薄帯の磁気飽和を抑制することができる。一方、コイルヨーク31は、磁性薄帯Bを底部35としているため、磁気吸着部材34から発生する磁束や伝送コイル33が発生する磁束がコイルヨークの裏側に漏れることを抑制する磁気シールド機能も確保されている。 As shown in FIG. 3, when viewed from the winding axis direction of the transmission coil 33 (the z direction in the figure, which is also the normal direction of the main surface of the coil yoke 31), the
コイルヨークは、その主面内に段差を設けられた構造になっていればよいので、有底孔32は、その底部35の一部に穴が形成されていてもよい。かかる穴が一部であれば、上述の機能のうち磁気飽和の抑制の機能は発揮されるからである。但し、上述の磁気シールドの機能を十分に発揮させるためには、有底孔の底部には穴が形成されていないことがより好ましい。また、図3に示す実施形態では、積層された磁性薄帯のうち表層(最下層)の磁性薄帯によって有底孔の底部を構成しているが、表層以外の磁性薄帯、すなわち、中間の磁性薄帯のみを用いて底部を構成してもよい。但し、磁気吸着部材からの距離をとるという観点、製造プロセスの簡略化の観点等からは、図3に示すように表層(最下層)の磁性薄帯を用いて有底孔の底部を構成することが好ましい。また、有底孔の底部の形成を表層(最下層)の磁性薄帯とそれに隣接する1または2以上の磁性薄帯で構成してもよい。有底孔の底部を複数の磁性薄帯で構成すれば、磁気シールド機能が向上する。 Since the coil yoke only needs to have a structure having a step in its main surface, the bottomed
図3に示す実施形態では、コイルヨーク31と伝送コイル33の対置方向(図のz方向)から見て、円形のコイルヨーク31のうち有底孔32の開口部以外の部分(図中Aで示された薄帯部分)が、円環状の伝送コイル33の全体と重なるようにしてある。すなわち、コイルヨーク31の外径は伝送コイル33の外径よりも大きくしてあり、有底孔32の開口部の外縁の直径は伝送コイル33の内径よりも小さくしてある。但し、コイルヨークの大きさと伝送コイルの大きさの関係は必ずしも上記関係に限定されず、必要とされる特性等に応じて変更することができる。但し、図中Aで示された磁性薄帯と伝送コイルとが近接する、または接触する部分を確保するためには、コイルヨークの有底孔の外縁の直径は、伝送コイル33の外径よりも小さいことがより好ましい。コイルヨークの有底孔の外縁の直径は例えば50mm未満の範囲で選べばよい。 In the embodiment shown in FIG. 3, when viewed from the facing direction (z direction in the figure) of the
(第2の実施形態)
図4に伝送コイル装置の他の実施形態を示す。図3に示す実施形態とは、磁気吸着部材44に係る構成が異なり、それ以外の構成は同じであるので、その説明は省略する。図4に示す実施形態では、磁気吸着部材44の端面と有底孔42の底部45との間隔G2が、伝送コイル43の巻回軸方向から見たときの磁気吸着部材44の端面の外縁と有底孔42の開口部外縁との間隔G1よりも小さくなっている。有底孔42の開口部外縁は図中Aの磁性薄帯の端部であり、Aで表示された磁性薄帯よりもBで表示された磁性薄帯の方が磁気吸着部材44の端部に近くなるので、磁気吸着部材44の端面から発生する磁束は、有底孔42の底部45を構成するBで表示された磁性薄帯により流れやすくなる。したがって、コイルヨーク41のうち、伝送コイル43に近いAで表示される磁性薄帯の磁気飽和がいっそう抑制される。(Second Embodiment)
FIG. 4 shows another embodiment of the transmission coil device. The configuration related to the
図4に示す実施形態では、磁気吸着部材44の端面(端部)は有底孔42の中に挿入されている。かかる状態は、コイルヨーク41の主面の法線方向において、磁気吸着部材44の端面が、有底孔42の開口部の周囲のコイルヨーク41の主面の位置よりも下側(底部より)に位置していることを意味する。磁気吸着部材44の端面と有底孔42の底部45との間隔G2が、伝送コイル43の巻回軸方向から見たときの磁気吸着部材44の端面と有底孔42の開口部外縁との間隔G1よりも小さい構成は、磁気吸着部材44の端面を有底孔42の中に挿入する形態でなくても実現はできる。例えば、有底孔42の開口部を大きく取ればよい。但し、磁気吸着部材44の端面を有底孔42の中に挿入する構成によれば、伝送コイル装置の大型化を回避できる。かかる場合には、磁気吸着部材44を伝送コイル43よりも厚く構成することができる。磁気吸着部材44の磁化方向の寸法を大きくとって、磁気吸着部材44の端面を有底孔42の中に挿入すれば、磁気吸着部材による吸引力を高めることができる。 In the embodiment shown in FIG. 4, the end face (end portion) of the
(第3の実施形態)
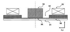
図5に伝送コイル装置の他の実施形態を示す。図3、図4に示す実施形態とは、磁気吸着部材54に係る構成が異なり、それ以外の構成は同じであるので、その説明は省略する。図5に示す実施形態では、磁気吸着部材54の端面が有底孔52の底部55に接して配置されている。磁気吸着部材がコイルヨークに接近するにしたがい、磁気吸着部材がコイルヨーク自体を吸着する作用が大きくなるため、コイルヨークに大きな吸引力がかかり、コイルヨークと磁気吸着部材との位置関係も不安定になる可能性がある。これに対して、磁気吸着部材54の端面が有底孔52の底部55に接する構成によれば、コイルヨークと磁気吸着部材との位置関係が安定化する。また、磁気吸着部材54の端面から発生する磁束は、有底孔52の底部55を構成するBで表示された磁性薄帯に、よりいっそう流れやすくなる。したがって、コイルヨーク51のうち、伝送コイル53に近いAで表示される磁性薄帯の磁気飽和がよりいっそう抑制される。また、図4に示す実施形態よりも、磁気吸着部材54の磁化方向の寸法をさらに大きくとることが可能であり、磁気吸着部材による吸引力をさらに高めることができる。(Third embodiment)
FIG. 5 shows another embodiment of the transmission coil device. The configuration related to the magnetic attracting
なお、磁気吸着部材54の端面が有底孔52の底部55に接している構成には、有底孔の底部に樹脂シートが配置されている場合や磁気吸着部材にメッキや樹脂コーティングなどの被覆が形成されている場合も含む。このような構成も、コイルヨークと磁気吸着部材との位置関係の安定化に寄与する。 In the configuration in which the end surface of the
1a、1b:コイルヨーク
3a、3b:伝送コイル
4a、4b:磁気吸着部材
5:二次電池
6:交流電源
7:回路部
8a、8b:基板
10:給電装置
11:受電装置
21、31、41、51、61: コイルヨーク
22、32、42、52:有底孔
33、43、53、63:伝送コイル
34、44、54、64:磁気吸着部材
35、45、55:底部
36、46、56:樹脂シートDESCRIPTION OF
| Application Number | Priority Date | Filing Date | Title |
|---|---|---|---|
| JP2011052691AJP5700289B2 (en) | 2011-03-10 | 2011-03-10 | Transmission coil device and power receiving device and power feeding device using the same |
| Application Number | Priority Date | Filing Date | Title |
|---|---|---|---|
| JP2011052691AJP5700289B2 (en) | 2011-03-10 | 2011-03-10 | Transmission coil device and power receiving device and power feeding device using the same |
| Publication Number | Publication Date |
|---|---|
| JP2012191739Atrue JP2012191739A (en) | 2012-10-04 |
| JP5700289B2 JP5700289B2 (en) | 2015-04-15 |
| Application Number | Title | Priority Date | Filing Date |
|---|---|---|---|
| JP2011052691AActiveJP5700289B2 (en) | 2011-03-10 | 2011-03-10 | Transmission coil device and power receiving device and power feeding device using the same |
| Country | Link |
|---|---|
| JP (1) | JP5700289B2 (en) |
| Publication number | Priority date | Publication date | Assignee | Title |
|---|---|---|---|---|
| KR101343883B1 (en) | 2012-11-27 | 2013-12-20 | 앰코 테크놀로지 코리아 주식회사 | Wireless charging package structure and method for fabricating the package |
| EP2911166A1 (en)* | 2014-01-29 | 2015-08-26 | Toyota Jidosha Kabushiki Kaisha | Power receiving device and power transmitting device |
| WO2015146299A1 (en)* | 2014-03-28 | 2015-10-01 | デクセリアルズ株式会社 | Wireless power supply antenna system and electronic device |
| JP2017130491A (en)* | 2016-01-18 | 2017-07-27 | 富士通株式会社 | Power receiver |
| JP2018018926A (en)* | 2016-07-27 | 2018-02-01 | トヨタ自動車株式会社 | Coil unit |
| Publication number | Priority date | Publication date | Assignee | Title |
|---|---|---|---|---|
| JP2004208381A (en)* | 2002-12-24 | 2004-07-22 | Asaba:Kk | Brushless motor |
| US20090212637A1 (en)* | 2008-02-22 | 2009-08-27 | Access Business Group International Llc | Magnetic positioning for inductive coupling |
| JP2012156279A (en)* | 2011-01-26 | 2012-08-16 | Panasonic Corp | Reception side non-contact charging module and reception side non-contact charging apparatus |
| Publication number | Priority date | Publication date | Assignee | Title |
|---|---|---|---|---|
| JP2004208381A (en)* | 2002-12-24 | 2004-07-22 | Asaba:Kk | Brushless motor |
| US20090212637A1 (en)* | 2008-02-22 | 2009-08-27 | Access Business Group International Llc | Magnetic positioning for inductive coupling |
| JP2012156279A (en)* | 2011-01-26 | 2012-08-16 | Panasonic Corp | Reception side non-contact charging module and reception side non-contact charging apparatus |
| Publication number | Priority date | Publication date | Assignee | Title |
|---|---|---|---|---|
| KR101343883B1 (en) | 2012-11-27 | 2013-12-20 | 앰코 테크놀로지 코리아 주식회사 | Wireless charging package structure and method for fabricating the package |
| EP2911166A1 (en)* | 2014-01-29 | 2015-08-26 | Toyota Jidosha Kabushiki Kaisha | Power receiving device and power transmitting device |
| WO2015146299A1 (en)* | 2014-03-28 | 2015-10-01 | デクセリアルズ株式会社 | Wireless power supply antenna system and electronic device |
| JP2015192521A (en)* | 2014-03-28 | 2015-11-02 | デクセリアルズ株式会社 | Non-contact power feeding antenna system and electronic device |
| CN106463228A (en)* | 2014-03-28 | 2017-02-22 | 迪睿合株式会社 | Wireless power supply antenna system and electronic device |
| JP2017130491A (en)* | 2016-01-18 | 2017-07-27 | 富士通株式会社 | Power receiver |
| JP2018018926A (en)* | 2016-07-27 | 2018-02-01 | トヨタ自動車株式会社 | Coil unit |
| Publication number | Publication date |
|---|---|
| JP5700289B2 (en) | 2015-04-15 |
| Publication | Publication Date | Title |
|---|---|---|
| JP5839257B2 (en) | Coil component and power supply device and charging device using the same | |
| JP5721001B2 (en) | Coil component and power supply device and charging device using the same | |
| JP4900528B1 (en) | Non-contact charging module and non-contact charging device using the same | |
| JP6025015B2 (en) | Magnetic sheet, transmission coil component and non-contact charging device | |
| JP5845405B2 (en) | Receiving side non-contact charging module and receiving side non-contact charging device | |
| WO2012101729A1 (en) | Non-contact charging module and non-contact charging instrument | |
| JP4835795B1 (en) | Receiving side non-contact charging module and receiving side non-contact charging device | |
| JP4835796B1 (en) | Receiving side non-contact charging module and receiving side non-contact charging device | |
| JP5700289B2 (en) | Transmission coil device and power receiving device and power feeding device using the same | |
| JP6048787B2 (en) | Magnetic sheet, transmission coil component and non-contact charging device | |
| JP6032528B2 (en) | Transmission coil component and non-contact charging device | |
| JP5709042B2 (en) | Coil component and power receiving device and power feeding device using the same | |
| JP5967467B2 (en) | Magnetic sheet, transmission coil component and non-contact charging device | |
| JP2013093989A (en) | Non-contact charging module, non-contact charger using the same and portable terminal | |
| JP6066256B2 (en) | Magnetic sheet, transmission coil component and non-contact charging device | |
| JP5938559B2 (en) | Non-contact charging module and non-contact charging device using the same | |
| JP5845407B2 (en) | Receiving side non-contact charging module and receiving side non-contact charging device | |
| JP4900523B1 (en) | Receiving side non-contact charging module, portable terminal using the same, transmitting non-contact charging module, and non-contact charger using the same | |
| JP5358699B2 (en) | Mobile device | |
| JP4983992B1 (en) | Transmission-side non-contact charging module and transmission-side non-contact charging device using the same | |
| JP5457478B2 (en) | Mobile device |
| Date | Code | Title | Description |
|---|---|---|---|
| A621 | Written request for application examination | Free format text:JAPANESE INTERMEDIATE CODE: A621 Effective date:20140210 | |
| A977 | Report on retrieval | Free format text:JAPANESE INTERMEDIATE CODE: A971007 Effective date:20141006 | |
| A131 | Notification of reasons for refusal | Free format text:JAPANESE INTERMEDIATE CODE: A131 Effective date:20141010 | |
| A521 | Request for written amendment filed | Free format text:JAPANESE INTERMEDIATE CODE: A523 Effective date:20141209 | |
| TRDD | Decision of grant or rejection written | ||
| A01 | Written decision to grant a patent or to grant a registration (utility model) | Free format text:JAPANESE INTERMEDIATE CODE: A01 Effective date:20150123 | |
| A61 | First payment of annual fees (during grant procedure) | Free format text:JAPANESE INTERMEDIATE CODE: A61 Effective date:20150205 | |
| R150 | Certificate of patent or registration of utility model | Ref document number:5700289 Country of ref document:JP Free format text:JAPANESE INTERMEDIATE CODE: R150 | |
| S531 | Written request for registration of change of domicile | Free format text:JAPANESE INTERMEDIATE CODE: R313531 | |
| S533 | Written request for registration of change of name | Free format text:JAPANESE INTERMEDIATE CODE: R313533 | |
| R350 | Written notification of registration of transfer | Free format text:JAPANESE INTERMEDIATE CODE: R350 |