
本発明は、溶鋼に真空脱ガス設備における減圧下での脱炭精錬を施してマンガンを含有する低炭素鋼(以下、「マンガン含有低炭素鋼」と記す)を溶製する方法に関し、詳しくは、前記脱炭精錬時に溶鋼成分調整用のマンガン源及び脱炭用の酸素源としてマンガン鉱石を添加してマンガン含有低炭素鋼を溶製する方法に関する。 The present invention relates to a method for melting low-carbon steel containing manganese (hereinafter referred to as “manganese-containing low-carbon steel”) by decarburizing and refining the molten steel under reduced pressure in a vacuum degassing facility. The present invention relates to a method for melting manganese-containing low carbon steel by adding manganese ore as a manganese source for adjusting molten steel components and an oxygen source for decarburization during the decarburization refining.
マンガン(Mn)は、鋼中に添加することにより、鋼材料の強度が向上する、或いは、不可避的不純物として鋼中に残留する硫黄と反応してMnSを形成し、有害なFeSの生成を防止して鋼材料における硫黄の影響を抑制するなどの利点があることから、鋼材料の大半はマンガンを含有している。近年では、構造物の軽量化を目的として、高い引張強さと高い加工性とを両立させた低炭素・高マンガン鋼が開発され、ラインパイプ用鋼板や自動車用鋼板などとして広く使用されている。ここで、低炭素・高マンガン鋼とは、炭素濃度が0.05質量%以下で、マンガン濃度が0.5質量%以上の鋼のことである。 Manganese (Mn) is added to the steel to improve the strength of the steel material or react with sulfur remaining in the steel as an unavoidable impurity to form MnS and prevent the formation of harmful FeS Since there is an advantage of suppressing the influence of sulfur in the steel material, most of the steel material contains manganese. In recent years, for the purpose of reducing the weight of structures, low carbon and high manganese steels having both high tensile strength and high workability have been developed and widely used as steel plates for line pipes and steel plates for automobiles. Here, the low carbon / high manganese steel is a steel having a carbon concentration of 0.05% by mass or less and a manganese concentration of 0.5% by mass or more.
製鋼精錬工程において、溶鋼中のマンガン濃度を調整するために用いるマンガン源としては、マンガン鉱石、フェロマンガン(炭素含有量に応じて高炭素フェロマンガン、中炭素フェロマンガン、低炭素フェロマンガンの3種類がある)、シリコマンガン、金属マンガンなどが一般的である。これらのなかで、マンガン鉱石が最も安価であるが、マンガン鉱石以外のなかでは、炭素含有量が低くなるほど高価となる。従って、マンガンを含有する鋼を溶製する場合に、マンガン鉱石や高炭素フェロマンガンなどの安価なマンガン源の使用量が増加するほど、製造コストは低下する。但し、安価マンガン源の使用量の増加に比例して溶鋼中の炭素濃度が高くなる。マンガン鉱石は炭素を含有しないが、溶鋼中の炭素によって還元されてマンガン鉱石中のマンガンが溶鋼中に移行することから、溶鋼中の炭素濃度が高いほど還元される。 Manganese sources used to adjust the manganese concentration in molten steel in the steelmaking refining process include manganese ore, ferromanganese (high carbon ferromanganese, medium carbon ferromanganese, and low carbon ferromanganese depending on the carbon content) In general, silicomanganese, manganese metal, etc. are common. Among these, manganese ore is the cheapest, but among other than manganese ore, the lower the carbon content, the higher the cost. Therefore, in the case of melting steel containing manganese, the production cost decreases as the amount of an inexpensive manganese source such as manganese ore or high carbon ferromanganese increases. However, the carbon concentration in the molten steel increases in proportion to the increase in the amount of inexpensive manganese source used. Manganese ore does not contain carbon, but it is reduced by the carbon in the molten steel, and the manganese in the manganese ore moves into the molten steel. Therefore, the manganese ore is reduced as the carbon concentration in the molten steel increases.
炭素含有量が0.003質量%以下であるマンガン含有極低炭素鋼は、本来、炭素含有量が少ない。また、低炭素・高マンガン鋼は、マンガン含有量が多いにも拘わらず炭素含有量が少ない。従って、これらの鋼種では、炭素濃度の成分上の規定から安価マンガン源を多量に使用することはできず、その使用量は限られた範囲となる。 Manganese-containing ultra-low carbon steel having a carbon content of 0.003% by mass or less inherently has a low carbon content. Low carbon / high manganese steel has a low carbon content despite its high manganese content. Therefore, these steel types cannot use a large amount of an inexpensive manganese source due to the provisions on the carbon concentration component, and the amount used is limited.
ところで、マンガン含有極低炭素鋼や低炭素・高マンガン鋼などのマンガン含有低炭素鋼は、転炉における大気圧下での脱炭精錬のみで溶製されることはなく、炭素濃度の成分上の規格や安価マンガン源の使用量拡大のために、転炉精錬後の溶鋼に更に真空脱ガス設備における減圧下での脱炭精錬(「真空脱炭精錬」ともいう)が施されて溶製されている。この減圧下での脱炭精錬では、溶鋼中の溶存酸素が脱炭用の主たる酸素源として使用されるが、その量は限られることから、マンガン鉱石を酸素源として減圧下の溶鋼に添加する技術が提案されている。添加したマンガン鉱石は溶鋼中の炭素によって還元され、還元により生成するマンガンは溶鋼中に移行することから、酸素源として添加したマンガン鉱石は、溶鋼成分調整用のマンガン源としても機能し、マンガン鉱石の添加量が多くなれば安価マンガン源の使用量が増大する。 By the way, manganese-containing low-carbon steels such as manganese-containing ultra-low carbon steels and low-carbon / high-manganese steels are not melted only by decarburization and refining at atmospheric pressure in the converter. In order to increase the amount of use of low-cost manganese sources and smelting of steel, the molten steel after converter refining is further subjected to decarburization refining (also called “vacuum decarburization refining”) under reduced pressure in vacuum degassing equipment. Has been. In this decarburization refining under reduced pressure, dissolved oxygen in molten steel is used as the main oxygen source for decarburization, but since the amount is limited, manganese ore is added to molten steel under reduced pressure as an oxygen source. Technology has been proposed. The added manganese ore is reduced by the carbon in the molten steel, and the manganese produced by the reduction moves into the molten steel. Therefore, the manganese ore added as an oxygen source also functions as a manganese source for adjusting the molten steel components. As the amount of added increases, the amount of inexpensive manganese source used increases.
例えば、特許文献1には、予備脱珪・脱燐した溶銑を転炉にて[C]量:0.15〜0.5質量%の範囲内の溶鋼まで脱炭吹錬するとともに、続いて真空脱ガス設備中に装入した前記溶鋼にマンガン鉱石を添加して[C]量:0.1質量%以下にまで脱炭して低炭素・高マンガン鋼を溶製する方法が提案されている。 For example, in
特許文献2には、RH真空脱ガス装置の真空槽内の溶鋼に、該真空槽の側壁に設けたノズルを通じ、不活性ガスを搬送用ガスとしてマンガン鉱石粉体を真空槽内の溶鋼中に吹込み、マンガン鉱石中の酸素により溶鋼の脱炭を行うとともに溶鋼中のマンガン濃度を高めることを特徴とする高マンガン鋼の溶製方法が提案されている。 In
また、特許文献3には、転炉及びRH真空槽を用いてC含有量≦30ppm、S含有量≦20ppmの無方向性電磁鋼板材を溶製するにあたり、転炉出鋼後の溶鋼をRH真空槽内でマンガン酸化物粉を搬送用ガスとともに溶鋼表面に向けて上吹きすることにより脱炭処理を行い、次いで、脱酸剤を添加し溶鋼を脱酸するとともに所定のAl含有量に調整した後、更にRH真空槽にて脱硫剤を上吹きすることにより脱硫処理を行うことを特徴とする無方向性電磁鋼板材の溶製方法が提案されている。 Further, in
特許文献1〜3によれば、脱炭用の酸素源として添加したマンガン鉱石は還元されてマンガン鉱石中のマンガンが溶鋼中に移行することから、安価マンガン源であるマンガン鉱石の使用量を増大することができ、マンガン含有低炭素鋼の製造コストが低減されるとしている。 According to
しかしながら、上記の特許文献1〜3には、以下の問題点がある。 However, the
即ち、マンガン鉱石を、減圧下での脱炭精錬の酸素源としての効果を期待して添加する場合には、マンガン鉱石を真空槽内に単に添加すればよいというものではなく、添加したマンガン鉱石が還元されなければ、つまり、マンガン鉱石中のマンガン酸化物が還元されなければ、酸素源としての効果も、またマンガン源としての効果も得られない。減圧下での脱炭精錬では、マンガン鉱石中のマンガン酸化物は溶鋼中の炭素によって還元される。このことから、マンガン鉱石の添加量は溶鋼中の炭素濃度に応じて設定すべきである、或いは、溶鋼中の炭素濃度をマンガン鉱石の添加量に応じて制御すべきであるが、上記特許文献1〜3は、この観点からの検討を行っておらず、マンガン鉱石添加による効果を十分に得られていない。 That is, when adding manganese ore in anticipation of an effect as an oxygen source for decarburization and refining under reduced pressure, manganese ore is not simply added to the vacuum chamber, but added manganese ore. If is not reduced, that is, if the manganese oxide in the manganese ore is not reduced, neither an effect as an oxygen source nor an effect as a manganese source can be obtained. In decarburization refining under reduced pressure, manganese oxide in manganese ore is reduced by carbon in molten steel. From this, the addition amount of manganese ore should be set according to the carbon concentration in molten steel, or the carbon concentration in molten steel should be controlled according to the addition amount of manganese ore. 1-3 are not examined from this viewpoint, and the effect by addition of manganese ore is not fully obtained.
本発明は上記事情に鑑みてなされたもので、その目的とするところは、RH真空脱ガス装置などの真空脱ガス設備における減圧下での脱炭精錬時に、マンガン鉱石を添加してマンガン含有低炭素鋼を溶製するにあたり、マンガン鉱石に含有される酸素によって脱炭反応を促進させるのみならず、マンガン鉱石中のマンガンを高い歩留りで溶鋼中に回収することのできる、マンガン含有低炭素鋼の溶製方法を提供することである。 The present invention has been made in view of the above circumstances, and its object is to add manganese ore during decarburization refining under reduced pressure in a vacuum degassing facility such as an RH vacuum degassing apparatus to reduce the manganese content. When melting carbon steel, not only promotes decarburization reaction by oxygen contained in manganese ore, but also manganese-containing low carbon steel that can recover manganese in manganese ore into molten steel with high yield. It is to provide a melting method.
上記課題を解決するための本発明の要旨は以下のとおりである。
(1) 真空脱ガス設備の真空槽内の溶鋼に減圧下での脱炭精錬を施してマンガン含有低炭素鋼を溶製するにあたり、マンガン鉱石の添加量が下記の(1)式を満たす範囲内となるように、マンガン鉱石添加前の溶鋼中炭素濃度に応じてマンガン鉱石を前記脱炭精錬中に真空槽内に添加することを特徴とする、マンガン含有低炭素鋼の溶製方法。
WMn=100×[%C]/(α×ηMn) 0.0218≦α≦0.0436 …(1)
但し、(1)式において、WMnはマンガン鉱石の添加量(kg/t)、[%C]はマンガン鉱石添加前の溶鋼中炭素濃度(質量%)、ηMnはマンガン鉱石中のマンガンの含有量(質量%)、αは定数である。
(2) 真空脱ガス設備の真空槽内の溶鋼に減圧下での脱炭精錬を施してマンガン含有低炭素鋼を溶製するにあたり、前記脱炭精錬中、真空槽内に、マンガン鉱石と同時に炭素源を添加する、または、炭素源を添加した後にマンガン鉱石を添加することを特徴とする、マンガン含有低炭素鋼の溶製方法。
(3) 前記炭素源の添加量が、マンガン鉱石添加前の溶鋼中炭素濃度及びマンガン鉱石添加量に対して下記の(2)式の関係を満足することを特徴とする、上記(2)に記載のマンガン含有低炭素鋼の溶製方法。
WC=(1000/ηC)×[(α×WMn×ηMn/100)−[%C]] 0.0218≦α≦0.0436 …(2)
但し、(2)式において、WCは炭素源の添加量(kg/t)、WMnはマンガン鉱石の添加量(kg/t)、[%C]はマンガン鉱石添加前の溶鋼中炭素濃度(質量%)、ηCは炭素源中の炭素の含有量(質量%)、ηMnはマンガン鉱石中のマンガンの含有量(質量%)、αは定数である。The gist of the present invention for solving the above problems is as follows.
(1) The range in which the amount of manganese ore that satisfies the following formula (1) is satisfied when the molten steel in the vacuum tank of the vacuum degassing facility is decarburized and refined under reduced pressure to produce manganese-containing low-carbon steel. A method for melting manganese-containing low carbon steel, wherein manganese ore is added into the vacuum tank during the decarburization refining according to the carbon concentration in the molten steel before addition of manganese ore so as to be inside.
WMn = 100 × [% C] / (α × ηMn ) 0.0218 ≦ α ≦ 0.0436 (1)
However, in the formula (1), WMn is the amount of manganese ore added (kg / t), [% C] is the carbon concentration (mass%) in the molten steel before adding manganese ore, and ηMn is the manganese content in the manganese ore. Content (mass%) and α are constants.
(2) When the molten steel in the vacuum tank of the vacuum degassing equipment is subjected to decarburization refining under reduced pressure to produce manganese-containing low carbon steel, during the decarburization refining, A method for producing manganese-containing low-carbon steel, comprising adding a carbon source or adding manganese ore after adding a carbon source.
(3) The above (2) is characterized in that the addition amount of the carbon source satisfies the relationship of the following formula (2) with respect to the carbon concentration in the molten steel and the addition amount of manganese ore before the manganese ore addition. The manufacturing method of the manganese containing low carbon steel of description.
WC = (1000 / ηC ) × [(α × WMn × ηMn / 100) − [% C]] 0.0218 ≦ α ≦ 0.0436 (2)
However, in the formula (2), WC is the amount of carbon source added (kg / t), WMn is the amount of manganese ore added (kg / t), and [% C] is the carbon concentration in the molten steel before the addition of manganese ore. (Mass%), ηC is the carbon content (mass%) in the carbon source, ηMn is the manganese content (mass%) in the manganese ore, and α is a constant.
本発明によれば、真空脱ガス設備における減圧下での脱炭精錬を施してマンガン含有低炭素鋼を溶製する際に、マンガン源として安価なマンガン鉱石を利用するとともに、マンガン鉱石の添加量を溶鋼中炭素濃度に応じて最適化する、または、炭素源の添加によってマンガン鉱石添加前の溶鋼中炭素濃度を最適化するので、マンガン鉱石に含有される酸素によって脱炭反応が促進されるのみならず、マンガン鉱石中のマンガンを高い歩留りで溶鋼中に回収することができ、その結果、高価な電解マンガンの使用量を削減することが可能となり、マンガン含有低炭素鋼の製造コストを大幅に削減することが実現される。 According to the present invention, when a manganese-containing low carbon steel is melted by performing decarburization refining under reduced pressure in a vacuum degassing facility, an inexpensive manganese ore is used as a manganese source, and the addition amount of manganese ore Is optimized according to the carbon concentration in the molten steel, or the carbon concentration in the molten steel before the addition of manganese ore is optimized by adding a carbon source, so only the decarburization reaction is accelerated by the oxygen contained in the manganese ore. In addition, manganese in manganese ore can be recovered in molten steel at a high yield, and as a result, the amount of expensive electrolytic manganese used can be reduced, greatly increasing the production cost of manganese-containing low-carbon steel. Reduction is realized.
以下、本発明を具体的に説明する。先ず、本発明に至った経緯について説明する。 Hereinafter, the present invention will be specifically described. First, the background to the present invention will be described.
本発明者らは、マンガン鉱石を添加した減圧下での脱炭精錬において、マンガン鉱石に含有される酸素によって脱炭反応を促進させるのみならず、マンガン鉱石中のマンガンを高い歩留りで溶鋼中に回収することを目的とし、RH真空脱ガス装置におけるマンガン鉱石を添加した減圧下での脱炭精錬によりマンガン含有低炭素鋼を溶製する際に、マンガン鉱石の添加量及びマンガン鉱石添加時の溶鋼中炭素濃度を変化させた試験を行い、マンガン鉱石添加による溶鋼中の炭素及びマンガンの挙動を調査した。 In the decarburization refining under reduced pressure to which manganese ore is added, the present inventors not only promote the decarburization reaction by oxygen contained in the manganese ore, but also increase the manganese in the manganese ore into the molten steel with a high yield. When recovering manganese-containing low carbon steel by decarburization and refining under reduced pressure to which manganese ore is added in an RH vacuum degasser for the purpose of recovery, the amount of manganese ore added and the molten steel at the time of manganese ore addition Tests with varying medium carbon concentration were conducted to investigate the behavior of carbon and manganese in molten steel by adding manganese ore.
その結果、先ず、溶鋼中成分がマンガン鉱石の還元に及ぼす影響については、マンガン鉱石を真空槽内の溶鋼に添加する前の溶鋼中の炭素濃度に対して、マンガン鉱石の添加量が下記の(1)式の関係を満たす場合には、マンガン鉱石の添加量が過剰にならず、また不足することもなく、マンガン鉱石の還元が円滑に進行し、脱炭速度の促進並びに溶鋼中のマンガン濃度の増加が得られることを知見した。
WMn=100×[%C]/(α×ηMn) 0.0218≦α≦0.0436 …(1)
但し、(1)式において、WMnはマンガン鉱石の添加量(kg/t)、[%C]はマンガン鉱石添加前の溶鋼中炭素濃度(質量%)、ηMnはマンガン鉱石中のマンガンの含有量(質量%)、αは定数である。As a result, first, regarding the influence of the components in the molten steel on the reduction of the manganese ore, the amount of manganese ore added to the carbon concentration in the molten steel before adding the manganese ore to the molten steel in the vacuum tank is as follows ( 1) When the relationship of the formula is satisfied, the amount of manganese ore added does not become excessive or insufficient, the reduction of manganese ore proceeds smoothly, the decarburization rate is accelerated, and the manganese concentration in molten steel It has been found that an increase of can be obtained.
WMn = 100 × [% C] / (α × ηMn ) 0.0218 ≦ α ≦ 0.0436 (1)
However, in the formula (1), WMn is the amount of manganese ore added (kg / t), [% C] is the carbon concentration (mass%) in the molten steel before adding manganese ore, and ηMn is the manganese content in the manganese ore. Content (mass%) and α are constants.
また更に、マンガン鉱石を添加する前の溶鋼中の炭素濃度が低く、そのままではマンガン鉱石の添加量が少なくなってしまう場合には、マンガン鉱石の添加と同時に或いはマンガン鉱石を添加する前に、炭素源を真空槽内の溶鋼に添加して溶鋼を加炭することで、溶鋼中の炭素濃度が確保され、脱炭速度の促進並びに溶鋼中のマンガン濃度の増加が得られることを知見した。 Furthermore, when the carbon concentration in the molten steel before adding the manganese ore is low and the amount of manganese ore added decreases as it is, the carbon is added simultaneously with the addition of the manganese ore or before the manganese ore is added. It was found that by adding the source to the molten steel in the vacuum tank and carburizing the molten steel, the carbon concentration in the molten steel is ensured, and the decarburization rate is accelerated and the manganese concentration in the molten steel is increased.
この場合、炭素源の添加量が、マンガン鉱石添加前の溶鋼中炭素濃度及びマンガン鉱石添加量に対して下記の(2)式の関係を満足することで、マンガン鉱石の添加量に対して溶鋼中の炭素濃度が過剰にならず、また、不足することもなく、マンガン鉱石の還元が円滑に進行することを知見した。
WC=(1000/ηC)×[(α×WMn×ηMn/100)−[%C]] 0.0218≦α≦0.0436 …(2)
但し、(2)式において、WCは炭素源の添加量(kg/t)、WMnはマンガン鉱石の添加量(kg/t)、[%C]はマンガン鉱石添加前の溶鋼中炭素濃度(質量%)、ηCは炭素源中の炭素の含有量(質量%)、ηMnはマンガン鉱石中のマンガンの含有量(質量%)、αは定数である。In this case, the addition amount of the carbon source satisfies the relationship of the following formula (2) with respect to the carbon concentration in the molten steel before the manganese ore addition and the manganese ore addition amount, so that the molten steel with respect to the addition amount of the manganese ore. It has been found that the reduction of manganese ore proceeds smoothly without excessive and insufficient carbon concentration.
WC = (1000 / ηC ) × [(α × WMn × ηMn / 100) − [% C]] 0.0218 ≦ α ≦ 0.0436 (2)
However, in the formula (2), WC is the amount of carbon source added (kg / t), WMn is the amount of manganese ore added (kg / t), and [% C] is the carbon concentration in the molten steel before the addition of manganese ore. (Mass%), ηC is the carbon content (mass%) in the carbon source, ηMn is the manganese content (mass%) in the manganese ore, and α is a constant.
本発明は上記知見に基づいてなされたものであり、第1の発明は、減圧下の脱炭精錬において、(1)式を満足するように、マンガン鉱石添加前の溶鋼中炭素濃度に応じてマンガン鉱石を真空槽内の溶鋼に添加し、第2の発明は、減圧下の脱炭精錬において、マンガン鉱石の添加と同時に或いはマンガン鉱石を添加する前に、炭素源を真空槽内の溶鋼に添加することであり、この場合は、(2)式を満足するように炭素源を真空槽内の溶鋼に添加することが好ましい。 The present invention has been made based on the above findings, and the first invention is based on the carbon concentration in the molten steel before the addition of manganese ore so as to satisfy the formula (1) in decarburization refining under reduced pressure. Manganese ore is added to the molten steel in the vacuum chamber. In the second invention, in the decarburization refining under reduced pressure, the carbon source is added to the molten steel in the vacuum chamber simultaneously with the addition of the manganese ore or before adding the manganese ore. In this case, it is preferable to add the carbon source to the molten steel in the vacuum chamber so as to satisfy the formula (2).
以下、本発明の実施の形態を説明する。 Embodiments of the present invention will be described below.
高炉から出銑された溶銑を溶銑鍋やトピードカーなどの溶銑搬送用容器で受銑し、次工程の脱炭精錬を行う転炉に搬送する。通常、この搬送途中で、溶銑に対して脱硫処理や脱燐処理などの溶銑予備処理が施されており、本発明においては、マンガン含有低炭素鋼の成分規格上からは溶銑予備処理が必要でない場合でも、安価なマンガン源としてマンガン鉱石を転炉内に添加し、転炉脱炭精錬におけるマンガン鉱石の歩留りを上昇させるために、溶銑予備処理、特に脱燐処理を実施することが好ましい。 The hot metal discharged from the blast furnace is received in a hot metal transfer container such as a hot metal ladle or topped car, and transferred to a converter for decarburization and refining in the next process. Usually, hot metal pretreatment such as desulfurization treatment or dephosphorization treatment is applied to the hot metal during the conveyance, and in the present invention, no hot metal pretreatment is required in terms of the component specifications of the manganese-containing low carbon steel. Even in such a case, it is preferable to perform hot metal pretreatment, particularly dephosphorization treatment, in order to add manganese ore as an inexpensive manganese source into the converter and increase the yield of manganese ore in converter decarburization refining.
転炉精錬は、マンガン源としてマンガン鉱石を添加しつつ、必要に応じて少量の生石灰などを造滓剤として用い、酸素ガスを上吹きまたは底吹きして大気圧下で溶銑の脱炭精錬を行う。この場合に、脱炭精錬終了後、転炉から取鍋などの溶鋼搬送容器への出鋼時に高炭素フェロマンガンなどの安価なマンガン系合金鉄をマンガン源として溶鋼に添加しても構わない。尚、次工程は、真空脱ガス設備での真空脱炭精錬であるので、出鋼時、溶鋼にはAl及びSiを添加せず、つまり、Al及びSiによる脱酸を実施せずに溶鋼を未脱酸状態のまま真空脱ガス設備に搬送する。 In converter refining, manganese ore is added as a manganese source, and a small amount of quicklime is used as a slagging agent as required, and oxygen gas is blown up or bottom to decarburize and refining hot metal at atmospheric pressure. Do. In this case, after completion of decarburization refining, cheap manganese-based alloy iron such as high carbon ferromanganese may be added to the molten steel as a manganese source when steel is discharged from the converter to a molten steel transport container such as a ladle. In addition, since the next process is vacuum decarburization refining in a vacuum degassing facility, at the time of steel production, Al and Si are not added to the molten steel, that is, the molten steel is not subjected to deoxidation with Al and Si. Transport to vacuum degassing equipment in undeoxidized state.
マンガン鉱石や高炭素フェロマンガンなどの安価なマンガン源を使用することにより、出鋼後の溶鋼中の炭素濃度は必然的に高くなるが、それでも、出鋼時にマンガン系合金鉄を添加する場合も含め、出鋼後の溶鋼中の炭素濃度を0.2質量%以下に抑えることが好ましい。溶鋼の炭素濃度が0.2質量%を超えると、次工程の真空脱ガス設備における真空脱炭処理に長時間を費やし、真空脱ガス設備の生産性の低下のみならず、真空脱炭処理時間の延長による温度補償として出鋼時の溶鋼温度を高くする必要が生じ、これに起因する鉄歩留りの低下や耐火物損耗量の増大などによって製造コストが上昇するので好ましくない。 By using an inexpensive manganese source such as manganese ore or high carbon ferromanganese, the carbon concentration in the molten steel after steel is inevitably increased, but even when manganese-based alloy iron is added during steel production, Including, it is preferable to suppress the carbon concentration in the molten steel after steel output to 0.2% by mass or less. When the carbon concentration of the molten steel exceeds 0.2% by mass, it takes a long time for the vacuum decarburization process in the vacuum degassing facility in the next process, not only the productivity of the vacuum degassing facility is reduced, but also the vacuum decarburization processing time. As a temperature compensation by extending the length of the steel, it is necessary to increase the molten steel temperature at the time of steel output, which is not preferable because the manufacturing cost increases due to a decrease in iron yield and an increase in refractory wear due to this.
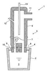
次いで、この溶鋼をRH真空脱ガス装置またはDH真空脱ガス装置、VOD炉などの真空脱ガス設備に搬送し、溶鋼に対して真空脱ガス精錬を実施する。この真空脱ガス設備の代表的な設備はRH真空脱ガス装置であり、以下、真空脱ガス設備としてRH真空脱ガス装置を用いた例で説明する。図1に、本発明を実施する際に用いるRH真空脱ガス装置の概略縦断面図を示す。 Subsequently, this molten steel is conveyed to vacuum degassing equipment such as an RH vacuum degassing apparatus, a DH vacuum degassing apparatus, or a VOD furnace, and vacuum degassing refining is performed on the molten steel. A typical equipment of this vacuum degassing equipment is an RH vacuum degassing apparatus. Hereinafter, an example in which an RH vacuum degassing apparatus is used as the vacuum degassing equipment will be described. FIG. 1 shows a schematic longitudinal sectional view of an RH vacuum degassing apparatus used in carrying out the present invention.
図1において、1はRH真空脱ガス装置、2は取鍋、3は溶鋼、4はスラグ、5は真空槽、6は上部槽、7は下部槽、8は上昇側浸漬管、9は下降側浸漬管、10は環流用ガス吹き込み管、11はダクト、12は原料投入口、13は上吹きランスであり、真空槽5は上部槽6と下部槽7とから構成され、また、上吹きランス13は真空槽5の内部を上下移動が可能となっており、この上吹きランス13の先端(下端)から、酸素ガスが真空槽5の内部の溶鋼3の湯面に向けて吹き付けられるようになっている。 In FIG. 1, 1 is a RH vacuum degassing device, 2 is a ladle, 3 is molten steel, 4 is a slag, 5 is a vacuum tank, 6 is an upper tank, 7 is a lower tank, 8 is a rising side dip tube, and 9 is a lowering Side dip pipe, 10 is a reflux gas blow pipe, 11 is a duct, 12 is a raw material inlet, 13 is an upper blow lance, and the vacuum tank 5 is composed of an upper tank 6 and a lower tank 7, and an upper blow The
RH真空脱ガス装置1では、取鍋2を昇降装置(図示せず)にて上昇させ、上昇側浸漬管8及び下降側浸漬管9を取鍋内の溶鋼3に浸漬させる。そして、環流用ガス吹き込み管10から上昇側浸漬管8の内部に環流用Arガスを吹き込むとともに、真空槽5の内部をダクト11に連結される排気装置(図示せず)にて排気して真空槽5の内部を減圧する。真空槽5の内部が減圧されると、取鍋内の溶鋼3は、環流用ガス吹き込み管10から吹き込まれるArガスによるガスリフト効果によって、Arガスとともに上昇側浸漬管8を上昇して真空槽5の内部に流入し、その後、下降側浸漬管9を経由して取鍋2に戻る流れ、所謂、環流を形成してRH真空脱ガス精錬が施される。 In the RH
溶鋼3の環流が形成されて溶鋼3が真空槽5の内部に流れ込むと、真空槽5の内部は減圧された状態であり、且つ、溶鋼3は未脱酸状態で溶存酸素を含有するので、溶鋼中の溶存酸素と溶鋼中の炭素との反応(C+O→CO)、つまり脱炭反応が起こり、溶鋼3に含まれる炭素はCOガスとなって排ガスとともに真空槽5からダクト11を介して排出され、溶鋼3に真空脱炭精錬が施される。 When the reflux of the
真空脱炭精錬が開始されたなら、真空槽内の溶鋼3にマンガン鉱石を添加する。このマンガン鉱石は溶鋼中の炭素と反応するものであることから、マンガン鉱石の添加開始時期は、溶鋼中の炭素濃度が高い時期ほど望ましく、つまり真空脱炭精錬のなるべく早い時期が望ましく、従って、マンガン鉱石は、真空脱炭精錬が開始されたなら直ちに添加することが好ましい。真空槽内へのマンガン鉱石の添加は、原料投入口12から行うことができるが、上吹きランス13を多重管構造とし、このような上吹きランス13から搬送用ガスとともに粉体のマンガン鉱石を吹き付け添加することもできる。添加するマンガン鉱石のサイズは、添加方法に応じて設定すればよい。 If vacuum decarburization refining is started, manganese ore is added to the
その際に、第1の発明では、マンガン鉱石の添加量が(1)式の範囲内になるように、溶鋼中の炭素濃度に応じて調整する。(1)式におけるマンガン鉱石添加前の溶鋼中炭素濃度([%C])は脱ガス精錬開始前の溶鋼中炭素濃度を用いればよい。 In that case, in 1st invention, it adjusts according to the carbon concentration in molten steel so that the addition amount of manganese ore may be in the range of (1) Formula. The carbon concentration in molten steel ([% C]) before adding manganese ore in the formula (1) may be the carbon concentration in molten steel before the start of degassing refining.
また、第2の発明では、マンガン鉱石を添加する前またはマンガン鉱石の添加と同時に炭素源を真空槽内に投入するが、この場合の炭素源の添加量は、(2)式の範囲内になるように、マンガン鉱石添加前の溶鋼中炭素濃度([%C])及びマンガン鉱石添加量に応じて調整することが好ましい。(2)式におけるマンガン鉱石添加前の溶鋼中炭素濃度([%C])は脱ガス精錬開始前の溶鋼中炭素濃度を用いればよい。炭素源の添加も原料投入口12から行うことができる。 In the second invention, the carbon source is put into the vacuum tank before adding the manganese ore or simultaneously with the addition of the manganese ore. In this case, the amount of the carbon source added is within the range of the formula (2). It is preferable to adjust according to the carbon concentration ([% C]) in molten steel before manganese ore addition and manganese ore addition amount. The carbon concentration in molten steel ([% C]) before adding manganese ore in the formula (2) may be the carbon concentration in molten steel before the start of degassing refining. The carbon source can also be added from the
本発明においては、マンガン鉱石添加前の溶鋼中炭素濃度([%C])が十分に高く、目標とするマンガン鉱石の添加量に対して溶鋼3を加炭する必要の無い場合には、第1の発明を適用し、マンガン鉱石添加前の溶鋼中炭素濃度([%C])が低く、そのままではマンガン鉱石の添加量が目標値よりも不足する場合に、炭素源で溶鋼3を加炭する第2の発明を適用する。どちらの方法を適用するかは、マンガン鉱石の添加量を確保することを優先するが、溶製する鋼種のマンガン濃度、その時点での溶鋼温度などから適宜判断すればよい。 In the present invention, when the carbon concentration in molten steel ([% C]) before the addition of manganese ore is sufficiently high and the
使用する炭素源としては、コークス、無煙炭、山西炭などの炭素質物質、または、高炭素フェロマンガン、低炭素フェロマンガンなどの安価なマンガン系合金鉄などがあり、溶鋼成分に応じて使用する炭素源を決めることができる。つまり、マンガンを含有する溶鋼3を溶製することから、溶製する溶鋼3のマンガン濃度規格が高い場合には、マンガン系合金鉄を用いることが有効である。 Carbon sources to be used include carbonaceous materials such as coke, anthracite, and Shanxi charcoal, or inexpensive manganese-based alloy irons such as high carbon ferromanganese and low carbon ferromanganese. The source can be determined. That is, since the
真空脱炭精錬は、溶存酸素が溶鋼中炭素濃度に比較して化学両論的に大量に存在する場合には、上吹きランス13から酸素ガスを供給しなくても、溶存酸素と酸素源として添加するマンガン鉱石とで、溶鋼3を目標値まで脱炭することができるが、脱炭反応速度を促進させるために、上吹きランス13から酸素ガスを供給して真空脱炭精錬を行うことが好ましい。上吹きランス13からの酸素ガスの供給は、真空脱炭精錬中連続して行う必要はなく、溶鋼中炭素濃度が高い真空脱炭精錬の初期のみとする、或いは、脱炭速度が低下する真空脱炭精錬の末期のみとするなどとしても構わない。 Vacuum decarburization refining can be added as dissolved oxygen and oxygen source even if oxygen gas is not supplied from the
添加されたマンガン鉱石中の酸素は溶鋼中の炭素を除去するための酸素として機能し、溶鋼3の脱炭反応が促進される。また、マンガン鉱石中のマンガンは、マンガン鉱石中の酸素が除去されることで金属マンガンとなり、溶鋼中に移行して溶鋼3のマンガン濃度が上昇する。 Oxygen in the added manganese ore functions as oxygen for removing carbon in the molten steel, and the decarburization reaction of the
このようにして真空脱炭精錬を所定時間継続し、溶鋼3の炭素濃度が成分規格値以下の所定の値以下となったなら、原料投入口12から溶鋼3にAlなどの強脱酸剤を添加して溶鋼3を脱酸処理する。上吹きランス13から酸素ガスを供給していた場合には、Alなどの強脱酸剤の添加に前後して上吹きランス13からの酸素ガスの供給を停止する。Alなどの強脱酸剤の添加により溶鋼3の溶存酸素濃度は急激に低下して、真空脱炭精錬が終了する。 In this way, when the vacuum decarburization refining is continued for a predetermined time, and the carbon concentration of the
真空脱炭処理の終了後、要求される溶鋼温度に対して、溶鋼温度が低い場合には、原料投入口12から真空槽内の溶鋼3にAlを添加し、上吹きランス13から溶鋼湯面に酸素ガスを吹き付けて溶鋼中のAlを燃焼させ、このAlの燃焼熱を利用して溶鋼温度を上昇させる。更にその後、数分間程度の環流を継続し、必要に応じて、Al、Si、Mn、Ni、Cr、Cu、Nb、Tiなどの成分調整剤を原料投入口12から溶鋼3に投入して溶鋼3の成分を調整する。その後、真空槽5の内部を大気圧に戻してRH真空脱ガス精錬を終了し、マンガン含有低炭素鋼を溶製する。 When the molten steel temperature is lower than the required molten steel temperature after completion of the vacuum decarburization treatment, Al is added to the
以上説明したように、本発明によれば、真空脱ガス設備における減圧下での脱炭精錬を施してマンガン含有低炭素鋼を溶製する際に、マンガン源として安価なマンガン鉱石を利用するとともに、マンガン鉱石の添加量を溶鋼中炭素濃度に応じて最適化する、または、炭素源の添加によってマンガン鉱石添加前の溶鋼中炭素濃度を最適化するので、マンガン鉱石に含有される酸素によって脱炭反応が促進されるのみならず、マンガン鉱石中のマンガンを高い歩留りで溶鋼中に回収することができ、その結果、高価な電解マンガンの使用量を削減することが可能となり、マンガン含有低炭素鋼の製造コストを大幅に削減することが実現される。 As described above, according to the present invention, when manganese-containing low carbon steel is melted by decarburization refining under reduced pressure in a vacuum degassing facility, an inexpensive manganese ore is used as a manganese source. The amount of manganese ore added is optimized according to the carbon concentration in the molten steel, or the carbon concentration in the molten steel prior to the addition of manganese ore is optimized by adding the carbon source. Not only is the reaction promoted, but manganese in manganese ore can be recovered in molten steel with a high yield. As a result, the amount of expensive electrolytic manganese used can be reduced, and manganese-containing low-carbon steel It is possible to significantly reduce the manufacturing cost.
尚、上記説明では真空脱ガス設備としてRH真空脱ガス装置1を例として説明したが、上記に準じて実施することにより、DH真空脱ガス装置やVOD炉などの他の真空脱ガス設備にも本発明を適用することができる。 In the above description, the RH
高炉から出銑された溶銑に対して脱硫処理、脱燐処理の溶銑予備処理を施し、この溶銑を用いて転炉脱炭精錬して溶鋼を溶製し、次いで、得られた溶鋼をRH真空脱ガス装置で真空脱炭精錬してマンガン含有低炭素鋼を溶製する試験(試験番号1〜13)を実施した。一部の試験では、転炉にてマンガン源としてマンガン鉱石を添加して溶鋼中マンガン濃度を上昇させ、得られた350トンの溶鋼を未脱酸のまま取鍋に出鋼した。出鋼時の溶鋼成分は、炭素濃度が0.020〜0.100質量%、珪素濃度が0.05質量%以下、マンガン濃度が0.10〜0.30質量%、燐濃度が0.03質量%以下、硫黄濃度が0.003質量%以下であった。 The hot metal discharged from the blast furnace is subjected to desulfurization treatment and dephosphorization pretreatment, and the molten steel is melted by decarburizing and refining the converter using this hot metal, and then the obtained molten steel is subjected to RH vacuum. A test (
また、一部の試験では、転炉から取鍋への出鋼時にマンガン系合金鉄(高炭素フェロマンガン(FMnH)、低炭素フェロマンガン(FMnL))を所定量添加して、RH真空脱ガス装置への到着時の溶鋼中の炭素濃度及びマンガン濃度を高めた。用いた高炭素フェロマンガン及び低炭素フェロマンガンのマンガン含有量は、両者とも約75質量%、炭素含有量は、それぞれ、高炭素フェロマンガンが6.7質量%、低炭素フェロマンガンが1.0質量%であった。この溶鋼をRH真空脱ガス装置に搬送し、真空脱炭精錬の処理条件を種々変更してマンガン含有極低炭素鋼を溶製した。RH真空脱ガス装置への到着時の溶鋼中酸素濃度は、0.03〜0.08質量%であった。 In some tests, a predetermined amount of manganese-based alloy iron (high carbon ferromanganese (FMnH), low carbon ferromanganese (FMnL)) is added during steel removal from the converter to the ladle, and RH vacuum degassing is performed. The carbon and manganese concentrations in the molten steel upon arrival at the device were increased. Both the high carbon ferromanganese and the low carbon ferromanganese used had a manganese content of about 75% by mass, and the carbon content was 6.7% by mass for the high carbon ferromanganese and 1.0% for the low carbon ferromanganese, respectively. It was mass%. This molten steel was transported to an RH vacuum degassing apparatus, and various processing conditions for vacuum decarburization refining were changed to produce manganese-containing ultra-low carbon steel. The oxygen concentration in the molten steel at the time of arrival at the RH vacuum degassing apparatus was 0.03 to 0.08 mass%.
RH真空脱ガス装置では、全ての試験で、環流用Arガス流量を1500NL/min、上吹きランスからの酸素ガス供給量(送酸速度)を3000Nm3/h、酸素ガス供給時の上吹きランスのランス高さ(ランス先端と真空槽内溶鋼湯面との距離)は5m一定とし、上吹きランスからの酸素ガス供給による真空脱炭精錬時の真空槽の到達真空度は6.7〜40kPaとした。In the RH vacuum degassing apparatus, in all tests, the Ar gas flow rate for reflux was 1500 NL / min, the oxygen gas supply rate (acid feed rate) from the top blowing lance was 3000 Nm3 / h, and the top blowing lance during oxygen gas supply. The lance height (distance between the tip of the lance and the molten steel surface in the vacuum chamber) is constant at 5 m, and the ultimate vacuum of the vacuum chamber during vacuum decarburization refining by supplying oxygen gas from the top blowing lance is 6.7 to 40 kPa It was.
RH真空脱ガス装置での真空脱炭精錬開始後、直ちにそれぞれ0.7〜3.4kg/tのマンガン鉱石を原料投入口を通して真空槽内に添加した。この操業方法では、マンガン鉱石添加前の溶鋼成分は、RH真空脱ガス装置での精錬前の溶鋼成分と一致する。使用したマンガン鉱石は、マンガン含有量が約55質量%であり、その粒度は5〜20mmである。RH脱ガス精錬終了後の目標溶鋼中炭素濃度は、0.003質量%以下、目標マンガン濃度は、0.5〜1.0質量%である。真空脱炭精錬終了後の溶鋼成分でマンガン濃度が不足する場合には、金属マンガンを用いて成分調整を行った。また、比較のために、RH真空脱ガス装置でマンガン鉱石を添加しない試験も実施した。 Immediately after the start of the vacuum decarburization refining in the RH vacuum degassing apparatus, 0.7 to 3.4 kg / t of manganese ore was added into the vacuum chamber through the raw material inlet. In this operation method, the molten steel component before the manganese ore addition matches the molten steel component before refining in the RH vacuum degassing apparatus. The manganese ore used has a manganese content of about 55% by mass and a particle size of 5 to 20 mm. The carbon concentration in the target molten steel after completion of RH degassing refining is 0.003% by mass or less, and the target manganese concentration is 0.5 to 1.0% by mass. When the manganese concentration was insufficient with the molten steel components after completion of vacuum decarburization refining, the components were adjusted using metallic manganese. Moreover, the test which does not add manganese ore with the RH vacuum degassing apparatus was also implemented for the comparison.
表1に、各試験操業における溶鋼条件、マンガン鉱石添加量、真空脱炭精錬での脱炭速度、真空脱炭精錬後のマンガン鉱石中のマンガンの溶鋼中への回収歩留りなどを示す。ここで、真空脱炭精錬での脱炭速度とは、真空処理前から真空脱炭精錬終了までの脱炭量を真空脱炭精錬で除算した値である。尚、表1の備考欄には、本発明の範囲の試験は「本発明例」と表示し、それ以外は「比較例」と表示している。 Table 1 shows the molten steel conditions in each test operation, the amount of manganese ore added, the decarburization speed in vacuum decarburization refining, the recovery yield of manganese in the manganese ore after vacuum decarburization refining, and the like. Here, the decarburization speed in vacuum decarburization refining is a value obtained by dividing the decarburization amount from before vacuum treatment to the end of vacuum decarburization refining by vacuum decarburization refining. In the remarks column of Table 1, “example of the present invention” is displayed for the test within the scope of the present invention, and “comparative example” is displayed otherwise.
表1に示すように、マンガン鉱石を添加しない試験番号12、13では、真空脱炭精錬での脱炭速度が0.0034〜0.0037%/minであったのに対して、真空脱炭精錬時のマンガン鉱石添加量が(1)式の範囲内である試験番号1〜5では、真空脱炭精錬での脱炭速度が0.0057〜0.0078%/minと高くなっていた。これは、マンガン鉱石中のマンガン酸化物が溶鋼中の炭素で還元されることによって酸素源として機能し、脱炭速度を促進させた効果であると考えられる。また、試験番号1〜5では、マンガン鉱石中のマンガンの溶鋼への回収歩留りが77%以上と高くなっていた。 As shown in Table 1, in
一方、真空脱炭精錬時のマンガン鉱石添加量が(1)式の範囲よりも多い試験番号6、7では、真空脱炭精錬での脱炭速度は、0.0042〜0.0043%/minであり、マンガン鉱石を添加しない試験番号12、13よりは若干高いが、試験番号1〜5での脱炭速度と比較すると著しく遅く、また、マンガン鉱石中のマンガンの溶鋼への回収歩留りも38.9%と低かった。 On the other hand, in test numbers 6 and 7 in which the amount of manganese ore added during vacuum decarburization refining is larger than the range of formula (1), the decarburization rate in vacuum decarburization refining is 0.0042 to 0.0043% / min. Although it is slightly higher than Test Nos. 12 and 13 in which no manganese ore is added, it is significantly slower than the decarburization rate in Test Nos. 1 to 5, and the recovery yield of manganese in the manganese ore to the molten steel is 38. It was as low as 9%.
真空脱炭精錬時のマンガン鉱石添加量が(1)式の範囲よりも少ない試験番号8〜11では、マンガン鉱石中のマンガンの溶鋼への回収歩留りは75%以上と高い結果であったが、真空脱炭精錬での脱炭速度は0.0039〜0.0043%/minであり、マンガン鉱石を添加しない試験番号12、13よりは若干高いが、試験番号1〜5での脱炭速度と比較すると遅い結果となっていた。 In
このように、本発明を適用することにより、真空脱炭精錬での脱炭速度を高めることが可能であると同時に、高いマンガン歩留りを得られることが確認できた。 Thus, it has been confirmed that by applying the present invention, it is possible to increase the decarburization rate in vacuum decarburization refining and at the same time to obtain a high manganese yield.
高炉から出銑された溶銑に対して脱硫処理、脱燐処理の溶銑予備処理を施し、この溶銑を用いて転炉脱炭精錬して溶鋼を溶製し、次いで、得られた溶鋼をRH真空脱ガス装置で真空脱炭精錬してマンガン含有低炭素鋼を溶製する試験(試験番号14〜22)を実施した。一部の試験では、転炉にてマンガン源としてマンガン鉱石を添加して溶鋼中マンガン濃度を上昇させ、得られた350トンの溶鋼を未脱酸のまま取鍋に出鋼した。出鋼時の溶鋼成分は、炭素濃度が0.020〜0.050質量%、珪素濃度が0.05質量%以下、マンガン濃度が0.10〜0.30質量%、燐濃度が0.03質量%以下、硫黄濃度が0.003質量%以下であった。この溶鋼をRH真空脱ガス装置に搬送し、真空脱炭精錬の処理条件を種々変更してマンガン含有極低炭素鋼を溶製した。RH真空脱ガス装置への到着時の溶鋼中酸素濃度は、0.03〜0.08質量%であった。 The hot metal discharged from the blast furnace is subjected to desulfurization treatment and dephosphorization pretreatment, and the molten steel is melted by decarburizing and refining the converter using this hot metal, and then the obtained molten steel is subjected to RH vacuum. A test (test numbers 14 to 22) for melting manganese-containing low carbon steel by vacuum decarburization refining with a degasser was performed. In some tests, manganese ore was added as a manganese source in the converter to increase the manganese concentration in the molten steel, and the obtained 350 tons of molten steel was put into a ladle with no deoxidation. The molten steel components at the time of steel production are as follows: the carbon concentration is 0.020 to 0.050 mass%, the silicon concentration is 0.05 mass% or less, the manganese concentration is 0.10 to 0.30 mass%, and the phosphorus concentration is 0.03. It was not more than mass% and the sulfur concentration was not more than 0.003 mass%. This molten steel was transported to an RH vacuum degassing apparatus, and various processing conditions for vacuum decarburization refining were changed to produce manganese-containing ultra-low carbon steel. The oxygen concentration in the molten steel at the time of arrival at the RH vacuum degassing apparatus was 0.03 to 0.08 mass%.
RH真空脱ガス装置では、全ての試験で、環流用Arガス流量を1500NL/min、上吹きランスからの酸素ガス供給量(送酸速度)を3000Nm3/h、酸素ガス供給時の上吹きランスのランス高さ(ランス先端と真空槽内溶鋼湯面との距離)は5m一定とし、上吹きランスからの酸素ガス供給による真空脱炭精錬時の真空槽の到達真空度は6.7〜40kPaとした。In the RH vacuum degassing apparatus, in all tests, the Ar gas flow rate for reflux was 1500 NL / min, the oxygen gas supply rate (acid feed rate) from the top blowing lance was 3000 Nm3 / h, and the top blowing lance during oxygen gas supply. The lance height (distance between the tip of the lance and the molten steel surface in the vacuum chamber) is constant at 5 m, and the ultimate vacuum of the vacuum chamber during vacuum decarburization refining by supplying oxygen gas from the top blowing lance is 6.7 to 40 kPa It was.
本実施例では、マンガン鉱石を真空脱炭精錬時に原料投入口を通して真空槽内に添加する際に、炭素源を、マンガン鉱石の添加と同時にまたはマンガン鉱石添加の前に、真空槽内の溶鋼に所定量添加した。使用した炭素源は、コークス、マンガン系合金鉄(高炭素フェロマンガン(FMnH)、低炭素フェロマンガン(FMnL))である。用いた高炭素フェロマンガン、低炭素フェロマンガンのマンガン含有量は、両者とも約75質量%、炭素含有量は、それぞれ、高炭素フェロマンガンが6.7質量%、低炭素フェロマンガンが1.0質量%であった。コークスの炭素含有量は、約99質量%である。また、使用したマンガン鉱石は、マンガン含有量が約55質量%であり、その粒度は5〜20mmである。RH脱ガス精錬終了後の目標溶鋼中炭素濃度は、0.003質量%以下、目標マンガン濃度は、0.5〜1.5質量%である。真空脱炭精錬終了後の溶鋼成分でマンガン濃度が不足する場合には、金属マンガンを用いて成分調整を行った。 In this example, when manganese ore is added to the vacuum tank through the raw material inlet during vacuum decarburization refining, the carbon source is added to the molten steel in the vacuum tank simultaneously with the addition of manganese ore or before the addition of manganese ore. A predetermined amount was added. The carbon sources used are coke and manganese-based alloy iron (high carbon ferromanganese (FMnH), low carbon ferromanganese (FMnL)). Both the high carbon ferromanganese and the low carbon ferromanganese used had a manganese content of about 75% by mass, and the carbon content was 6.7% by mass for the high carbon ferromanganese and 1.0% for the low carbon ferromanganese, respectively. It was mass%. The carbon content of coke is about 99% by mass. Further, the manganese ore used has a manganese content of about 55% by mass and a particle size of 5 to 20 mm. The carbon concentration in the target molten steel after completion of the RH degassing refining is 0.003% by mass or less, and the target manganese concentration is 0.5 to 1.5% by mass. When the manganese concentration was insufficient with the molten steel components after completion of vacuum decarburization refining, the components were adjusted using metallic manganese.
表2に各試験操業における溶鋼条件、マンガン鉱石添加量、炭素源添加量、真空脱炭精錬での脱炭速度、真空脱炭精錬後のマンガン鉱石中のマンガンの溶鋼中への回収歩留りなどを示す。ここで、表2に示した試験14〜22の全てで、マンガン鉱石の添加量は炭素源を添加する前の溶鋼中炭素濃度に対して(1)式の範囲よりも多い条件となっている。つまり、試験番号14〜22は、予定したマンガン鉱石の添加量に対して、溶鋼中の炭素濃度が不足しており、この不足分を補うために炭素源を添加した試験である。 Table 2 shows the molten steel conditions, manganese ore addition amount, carbon source addition amount, decarburization speed in vacuum decarburization refining, recovery yield of manganese in manganese ore after vacuum decarburization refining, etc. Show. Here, in all of the tests 14 to 22 shown in Table 2, the amount of manganese ore added is larger than the range of the formula (1) with respect to the carbon concentration in the molten steel before adding the carbon source. . That is, the test numbers 14 to 22 are tests in which the carbon concentration in the molten steel is insufficient with respect to the planned addition amount of manganese ore, and a carbon source is added to compensate for this shortage.
尚、表2において、RH真空脱ガス装置で添加する炭素源の添加タイミングで、「添加前」とは、マンガン鉱石の添加前に炭素源を添加することを意味し、「同時」とは、マンガン鉱石と同時に炭素源を添加することを意味している。また、表2に示す真空脱炭精錬での脱炭速度とは、真空処理前から真空脱炭精錬終了までの脱炭量を真空脱炭精錬で除算した値である。 In Table 2, “before addition” means that the carbon source is added before the addition of manganese ore at the timing of addition of the carbon source added by the RH vacuum degassing apparatus. It means adding a carbon source simultaneously with manganese ore. Moreover, the decarburization speed in the vacuum decarburization refining shown in Table 2 is a value obtained by dividing the decarburization amount from before the vacuum treatment to the end of the vacuum decarburization refining by the vacuum decarburization refining.
表2に示すように、真空脱炭精錬前或いは真空脱炭精錬中の炭素源の添加量が、(2)式から求まる添加量の範囲内である試験番号14〜19では、真空脱炭精錬での脱炭速度が0.0050〜0.0061%/minと高くなっていた。これは、マンガン鉱石中のマンガン酸化物が溶鋼中炭素で還元されることによって酸素源として機能し、脱炭速度を促進させた効果であると考えられる。マンガン鉱石中のマンガンの溶鋼への回収歩留りも75%以上と高い結果であった。表1に示すマンガン鉱石を添加しない試験番号12、13や、真空脱炭精錬時のマンガン鉱石添加量が(1)式の範囲よりも多い試験番号6、7での脱炭速度(0.0034〜0.0043%/min)と比較して、試験番号14〜19の脱炭速度は大幅に増加している。 As shown in Table 2, in test numbers 14 to 19 in which the amount of carbon source added before or during vacuum decarburization refining is within the range of the addition amount obtained from the formula (2), vacuum decarburization refining The decarburization rate at the time was as high as 0.0050 to 0.0061% / min. This is considered to be an effect that the manganese oxide in the manganese ore functions as an oxygen source by being reduced by carbon in the molten steel and promotes the decarburization rate. The recovery yield of manganese in molten ore into molten steel was also a high result of 75% or more. Decarburization rate (0.0034 in
真空脱炭精錬前或いは真空脱炭精錬中の炭素源の添加量が、(2)式から求まる添加量の範囲よりも少ない試験番号20〜22では、真空脱炭精錬での脱炭速度は0.0040〜0.0043%/minであり、マンガン鉱石を添加しない表1の試験番号12、13の脱炭速度よりは若干高いが、表1の試験番号1〜5や表2の試験番号14〜19の脱炭速度と比較すると著しく遅く、また、マンガン鉱石中のマンガンの溶鋼への回収歩留りも55%前後と低い結果であった。 In test numbers 20 to 22 in which the amount of carbon source added before or during vacuum decarburization refining is less than the range of the addition amount obtained from equation (2), the decarburization rate in vacuum decarburization refining is 0. .0040 to 0.0043% / min, which is slightly higher than the decarburization rates of Test Nos. 12 and 13 in Table 1 without adding manganese ore, but Test Nos. 1 to 5 in Table 1 and Test No. 14 in Table 2 Compared with the decarburization rate of -19, the recovery rate of manganese in the manganese ore to the molten steel was as low as about 55%.
即ち、真空脱炭精錬前或いは真空脱炭精錬中に炭素源を添加する場合には、(2)式を満たす範囲で添加することが好ましく、そのようにすることで、真空脱炭精錬での脱炭速度を高めることが可能であると同時に、高いマンガン歩留りをも得られることが分った。 That is, when adding a carbon source before or during vacuum decarburization refining, it is preferable to add it in a range that satisfies the formula (2), and by doing so, in vacuum decarburization refining It has been found that it is possible to increase the decarburization rate and at the same time to obtain a high manganese yield.
1 RH真空脱ガス装置
2 取鍋
3 溶鋼
4 スラグ
5 真空槽
6 上部槽
7 下部槽
8 上昇側浸漬管
9 下降側浸漬管
10 環流用ガス吹き込み管
11 ダクト
12 原料投入口
13 上吹きランスDESCRIPTION OF
| Application Number | Priority Date | Filing Date | Title |
|---|---|---|---|
| JP2011013917AJP5614306B2 (en) | 2011-01-26 | 2011-01-26 | Method for melting manganese-containing low carbon steel |
| Application Number | Priority Date | Filing Date | Title |
|---|---|---|---|
| JP2011013917AJP5614306B2 (en) | 2011-01-26 | 2011-01-26 | Method for melting manganese-containing low carbon steel |
| Publication Number | Publication Date |
|---|---|
| JP2012153941Atrue JP2012153941A (en) | 2012-08-16 |
| JP5614306B2 JP5614306B2 (en) | 2014-10-29 |
| Application Number | Title | Priority Date | Filing Date |
|---|---|---|---|
| JP2011013917AActiveJP5614306B2 (en) | 2011-01-26 | 2011-01-26 | Method for melting manganese-containing low carbon steel |
| Country | Link |
|---|---|
| JP (1) | JP5614306B2 (en) |
| Publication number | Priority date | Publication date | Assignee | Title |
|---|---|---|---|---|
| JP2015155567A (en)* | 2014-02-21 | 2015-08-27 | Jfeスチール株式会社 | Method for melting manganese-containing low carbon steel |
| CN105483321A (en)* | 2014-09-19 | 2016-04-13 | 鞍钢股份有限公司 | Method for direct alloying by adding manganese ore into vacuum induction furnace |
| CN115418432A (en)* | 2022-08-08 | 2022-12-02 | 广东韶钢松山股份有限公司 | Method for reducing low manganese usage amount of 1215MS steel |
| Publication number | Priority date | Publication date | Assignee | Title |
|---|---|---|---|---|
| KR102065059B1 (en)* | 2017-12-26 | 2020-01-10 | 주식회사 포스코 | Method for refining molten steel in cinverter |
| Publication number | Priority date | Publication date | Assignee | Title |
|---|---|---|---|---|
| JPS58113314A (en)* | 1981-12-25 | 1983-07-06 | Sumitomo Metal Ind Ltd | Steel decarburization refining method |
| US4426224A (en)* | 1981-12-25 | 1984-01-17 | Sumitomo Kinzoku Kogyo Kabushiki Gaisha | Lance for powder top-blow refining and process for decarburizing and refining steel by using the lance |
| JPS63293109A (en)* | 1987-05-25 | 1988-11-30 | Sumitomo Metal Ind Ltd | Melting method for low carbon, high manganese steel |
| JPH0192312A (en)* | 1987-09-30 | 1989-04-11 | Sumitomo Metal Ind Ltd | Manufacturing method of high manganese steel |
| JPH02163312A (en)* | 1988-12-16 | 1990-06-22 | Nippon Steel Corp | Melting method for ultra-low nitrogen steel |
| WO1992012266A1 (en)* | 1991-01-10 | 1992-07-23 | Usx Engineers And Consultants, Inc. | A method of promoting the decarburization reaction in a vacuum refining furnace |
| JPH05239539A (en)* | 1992-02-28 | 1993-09-17 | Sumitomo Metal Ind Ltd | Method for decarburizing and refining high Mn steel |
| JP2003027128A (en)* | 2001-07-10 | 2003-01-29 | Nkk Corp | Melting method of molten steel in vacuum degassing equipment |
| Publication number | Priority date | Publication date | Assignee | Title |
|---|---|---|---|---|
| JPS58113314A (en)* | 1981-12-25 | 1983-07-06 | Sumitomo Metal Ind Ltd | Steel decarburization refining method |
| US4426224A (en)* | 1981-12-25 | 1984-01-17 | Sumitomo Kinzoku Kogyo Kabushiki Gaisha | Lance for powder top-blow refining and process for decarburizing and refining steel by using the lance |
| JPS63293109A (en)* | 1987-05-25 | 1988-11-30 | Sumitomo Metal Ind Ltd | Melting method for low carbon, high manganese steel |
| JPH0192312A (en)* | 1987-09-30 | 1989-04-11 | Sumitomo Metal Ind Ltd | Manufacturing method of high manganese steel |
| JPH02163312A (en)* | 1988-12-16 | 1990-06-22 | Nippon Steel Corp | Melting method for ultra-low nitrogen steel |
| WO1992012266A1 (en)* | 1991-01-10 | 1992-07-23 | Usx Engineers And Consultants, Inc. | A method of promoting the decarburization reaction in a vacuum refining furnace |
| JPH05239539A (en)* | 1992-02-28 | 1993-09-17 | Sumitomo Metal Ind Ltd | Method for decarburizing and refining high Mn steel |
| JP2003027128A (en)* | 2001-07-10 | 2003-01-29 | Nkk Corp | Melting method of molten steel in vacuum degassing equipment |
| Publication number | Priority date | Publication date | Assignee | Title |
|---|---|---|---|---|
| JP2015155567A (en)* | 2014-02-21 | 2015-08-27 | Jfeスチール株式会社 | Method for melting manganese-containing low carbon steel |
| CN105483321A (en)* | 2014-09-19 | 2016-04-13 | 鞍钢股份有限公司 | Method for direct alloying by adding manganese ore into vacuum induction furnace |
| CN115418432A (en)* | 2022-08-08 | 2022-12-02 | 广东韶钢松山股份有限公司 | Method for reducing low manganese usage amount of 1215MS steel |
| CN115418432B (en)* | 2022-08-08 | 2023-10-31 | 广东韶钢松山股份有限公司 | Method for reducing 1215MS steel low manganese usage |
| Publication number | Publication date |
|---|---|
| JP5614306B2 (en) | 2014-10-29 |
| Publication | Publication Date | Title |
|---|---|---|
| JP5262075B2 (en) | Method for producing steel for pipes with excellent sour resistance | |
| KR101529454B1 (en) | Method of vacuum-refining molten steel | |
| JP6343844B2 (en) | Method for refining molten steel in vacuum degassing equipment | |
| JP5904237B2 (en) | Melting method of high nitrogen steel | |
| JP2011208170A (en) | Method of producing manganese-containing low carbon steel | |
| JP6551626B2 (en) | Method of melting high manganese steel | |
| JP6124022B2 (en) | Melting method of low carbon high manganese steel | |
| JP5614306B2 (en) | Method for melting manganese-containing low carbon steel | |
| JP6269550B2 (en) | Method for melting high manganese steel | |
| JP5601132B2 (en) | Melting method of low carbon aluminum killed steel with excellent cleanability | |
| JP5509876B2 (en) | Melting method of low carbon high manganese steel | |
| JP5831194B2 (en) | Method for melting manganese-containing low carbon steel | |
| JP4844552B2 (en) | Melting method of low carbon high manganese steel | |
| JP4687103B2 (en) | Melting method of low carbon aluminum killed steel | |
| JP4534734B2 (en) | Melting method of low carbon high manganese steel | |
| JPH06240338A (en) | Method for desulfurizing molten steel | |
| JP4085898B2 (en) | Melting method of low carbon high manganese steel | |
| JP5621618B2 (en) | Method for melting manganese-containing low carbon steel | |
| JP2008169407A (en) | Desulfurization method for molten steel | |
| JP6028750B2 (en) | Method for melting manganese-containing low carbon steel | |
| JP2023003384A (en) | Denitrification treatment method of molten steel | |
| JP4020125B2 (en) | Method of melting high cleanliness steel | |
| JPH11217623A (en) | Refining method of molten steel in reflux vacuum degasser | |
| JP2007031807A (en) | Method of melting ultra-low carbon steel | |
| JP2009173994A (en) | Melting method of Al-less ultra-low carbon steel |
| Date | Code | Title | Description |
|---|---|---|---|
| A621 | Written request for application examination | Free format text:JAPANESE INTERMEDIATE CODE: A621 Effective date:20130823 | |
| A977 | Report on retrieval | Free format text:JAPANESE INTERMEDIATE CODE: A971007 Effective date:20140526 | |
| A131 | Notification of reasons for refusal | Free format text:JAPANESE INTERMEDIATE CODE: A131 Effective date:20140603 | |
| A521 | Request for written amendment filed | Free format text:JAPANESE INTERMEDIATE CODE: A523 Effective date:20140718 | |
| TRDD | Decision of grant or rejection written | ||
| A01 | Written decision to grant a patent or to grant a registration (utility model) | Free format text:JAPANESE INTERMEDIATE CODE: A01 Effective date:20140812 | |
| A61 | First payment of annual fees (during grant procedure) | Free format text:JAPANESE INTERMEDIATE CODE: A61 Effective date:20140825 | |
| R150 | Certificate of patent or registration of utility model | Ref document number:5614306 Country of ref document:JP Free format text:JAPANESE INTERMEDIATE CODE: R150 | |
| R250 | Receipt of annual fees | Free format text:JAPANESE INTERMEDIATE CODE: R250 | |
| R250 | Receipt of annual fees | Free format text:JAPANESE INTERMEDIATE CODE: R250 | |
| R250 | Receipt of annual fees | Free format text:JAPANESE INTERMEDIATE CODE: R250 | |
| R250 | Receipt of annual fees | Free format text:JAPANESE INTERMEDIATE CODE: R250 | |
| R250 | Receipt of annual fees | Free format text:JAPANESE INTERMEDIATE CODE: R250 |