
















本技術は、複数のレベルのメモリセルを配列して3次元(3D)アレイを提供するメモリデバイス等、セル特性におけるばらつきがアレイ内で変化する高密度メモリデバイスに関する。 The present technology relates to a high-density memory device in which variations in cell characteristics vary within the array, such as a memory device that provides a three-dimensional (3D) array by arranging a plurality of levels of memory cells.
集積回路のデバイスの最小線幅が、一般のメモリセル技術の限界まで縮小されアレイが大型化するのに伴い、アレイ内のメモリセルは、センシングマージンに影響を及ぼす程変化する特性を持つようになる可能性がある。高密度を実現しようとする1つの傾向において、設計者は、記憶容量がより大きくビット当たりのコストがより低いものを実現する技術を探し求めてきた。例えば、非特許文献1及び非特許文献2においては、薄膜トランジスタ技術を電荷トラップメモリ技術に適用している。 As the minimum linewidth of integrated circuit devices is reduced to the limits of general memory cell technology and the array becomes larger, the memory cells in the array have characteristics that change to affect the sensing margin. There is a possibility. In one trend to achieve high density, designers have sought technologies that achieve higher storage capacity and lower cost per bit. For example, in Non-Patent
また、非特許文献3では、交点アレイ技術をアンチヒューズ型メモリに適用している。非特許文献3に記載されている設計では、複数のレベルのワード線とビット線が設けられ、その交点に記憶素子が設けられる。記憶素子は、ワード線に接続されたp+ポリシリコンアノード及びビット線に接続されたn-ポリシリコンカソードを含み、アノードとカソードはアンチヒューズ材料によって分離される。In
3次元アレイでは、様々なレベルにおける構造の電気的特性の差によって、プログラミング、消去、充電蓄積のダイナミクスにおける違いや、様々なレベルのメモリセルのメモリ状態に対応する閾値電圧のばらつきを引き起す可能性がある。従って、レベル毎に許容できるマージンの範囲内で同じ閾値電圧を達成するために、プログラミング工程及び消去工程を、何らかの方法でターゲットセルのレベルに伴って変えるようにしなければならない。このようなばらつきは、メモリセルの耐久性の問題及び他の複雑な問題を引き起こす可能性がある。 In three-dimensional arrays, differences in the electrical properties of structures at different levels can cause differences in programming, erase, and charge storage dynamics, as well as threshold voltage variations that correspond to the memory states of different levels of memory cells. There is sex. Therefore, in order to achieve the same threshold voltage within an acceptable margin for each level, the programming and erasing steps must be varied in some way with the level of the target cell. Such variations can cause memory cell durability problems and other complex problems.
3次元アレイでは、様々なレベルのアレイにアクセスするために配列されたグローバルビット線等のアクセス線は、アクセス線に結合された回路が遭遇する静電容量やインダクタンスが、アクセスしているセルの位置(例えば、アレイのどのレベルか等)に基づいて可変となるようにレイアウトすることができる。例えば、グローバルビット線は、典型的には、メモリセルを読み出したり書き込んだりするために用いられるデコーダ回路まで延びる。様々なレベルへの垂直コネクタ間の違い及びレベル間の他の違いによって、グローバルビット線間の静電容量がばらつく可能性がある。静電容量におけるこれらのばらつきは、読み出し動作、プログラム動作、消去動作の間のグローバルビット線電圧に影響を及ぼし、プログラムされた状態と消去された状態の間のマージンを大きくしたり、最悪の場合の静電容量のためにセンシング時間が遅くなったりする等、仕様書要求事項となってしまう可能性がある。 In a three-dimensional array, an access line, such as a global bit line, arranged to access an array of various levels is the capacitance or inductance encountered by the circuit coupled to the access line, depending on the cell being accessed. The layout can be variable based on the position (for example, which level of the array, etc.). For example, the global bit line typically extends to a decoder circuit used to read and write memory cells. Differences between vertical connectors to various levels and other differences between levels can vary the capacitance between global bit lines. These variations in capacitance affect the global bit line voltage during read, program, and erase operations, increasing the margin between programmed and erased states, or worst case There is a possibility that the sensing time will be delayed due to the capacitance of the device, which may cause the specification requirements.
そのため、アレイ内のセル特性におけるばらつきを補償する技術を提供するとともに、レベルの違いによって起こる複雑性を少なくする3次元集積回路メモリを提供することが所望されている。 Therefore, it is desirable to provide a technique for compensating for variations in cell characteristics in the array and to provide a three-dimensional integrated circuit memory that reduces the complexity caused by the level difference.
本明細書では、異なるバイアス条件を選択されたビット線に適用することによりアレイのメモリセル間の閾値電圧のばらつきを補償する技術を説明する。 This specification describes a technique for compensating for variations in threshold voltage between memory cells of an array by applying different bias conditions to selected bit lines.
前記補償技術は、3次元アレイを含むメモリアーキテクチャ及び3次元アレイを含まないメモリアーキテクチャにおいて展開して、閾値電圧のばらつきの原因となる動的セル特性を管理することができる。 The compensation technique can be deployed in a memory architecture that includes a three-dimensional array and a memory architecture that does not include a three-dimensional array to manage dynamic cell characteristics that cause variations in threshold voltage.
3次元アレイでは、異なるバイアス条件をアレイの各レベルのビット線、好ましくは、ローカルビット線に適用することによりレベル間の閾値電圧のばらつきを補償するレベルに依存した読み出し動作を説明する。 In a three-dimensional array, a level-dependent read operation is described that compensates for variations in threshold voltage between levels by applying different bias conditions to bit lines at each level of the array, preferably local bit lines.
また、グローバルビット線を含むアクセス線を3次元アレイの様々なレベルのメモリセルに接続してグローバルビット線間の静電容量差を最小化する技術も説明する。 Also described is a technique for minimizing the capacitance difference between global bit lines by connecting access lines including global bit lines to memory cells of various levels in a three-dimensional array.
本明細書では、異なるバイアス条件を選択されたビット線に適用することによりアレイにおけるメモリセル間の閾値電圧のばらつきを補償する技術を説明する。 This specification describes a technique for compensating for variations in threshold voltage between memory cells in an array by applying different bias conditions to selected bit lines.
補償技術は、3次元アレイを含むメモリアーキテクチャにおいて展開することができるとともに、3次元アレイを含まないメモリアーキテクチャにも展開することができ、閾値電圧のばらつきを引き起こす動的セル特性を管理することを提供するものである。 Compensation techniques can be deployed in memory architectures that include a three-dimensional array and can also be deployed in memory architectures that do not include a three-dimensional array to manage dynamic cell characteristics that cause threshold voltage variations. It is to provide.
本明細書に説明したような集積回路デバイスには、1つのメモリアレイと複数のバイアス回路が含まれる。バイアス回路は、セルに対して読み出し動作又は他の動作を行っている間に異なるバイアス条件を選択されたメモリセル用のビット線に適用することで、メモリアレイの物理的な構成内の選択されたメモリセルの位置と相関するとともにアレイにおけるメモリセルのメモリ状態に対応する閾値電圧のばらつきを補償する。例えば、3次元アレイにおけるメモリセルのレベル又は平面と相関するばらつき等、メモリアレイの物理的配列内における選択されたメモリセルの位置と相関するこれらの閾値電圧におけるばらつきは、セル当たり1ビットよりも多く記憶するための複数の閾値レベルを設定するために誘発される閾値電圧のばらつきから区別されるものである。 An integrated circuit device as described herein includes a memory array and a plurality of bias circuits. The bias circuit is selected within the physical configuration of the memory array by applying different bias conditions to the bit line for the selected memory cell while performing a read operation or other operation on the cell. It compensates for variations in threshold voltage that correlate with the position of the memory cell and that corresponds to the memory state of the memory cell in the array. Variations in these threshold voltages that correlate with the location of selected memory cells within the physical array of the memory array, such as variations that correlate with the level or plane of the memory cells in a three-dimensional array, are less than one bit per cell. It is distinguished from threshold voltage variations induced to set multiple threshold levels for storing more.
ページの複数のセルをアレイ内の異なる位置に配置することができるページアクセス中等、異なるバイアス条件を複数のビット線に同時に適用することができる。ページ読み出しの中等の単一の読み出しコマンドに応答して読み出しアクセス中に時間的に重ねてデータを複数のメモリセルから提供することによりバイアス条件が適用される場合、本明細書の目的に対してバイアス条件は「同時に」適用される。 Different bias conditions can be applied to multiple bit lines simultaneously, such as during page accesses where multiple cells of a page can be placed at different locations in the array. For the purposes of this specification, where a bias condition is applied by providing data from multiple memory cells over time in a read access in response to a single read command, such as during a page read. Bias conditions are applied “simultaneously”.
3次元アレイにおける、異なる読み出しバイアス条件をアレイの各レベルのローカルビット線に適用してレベル間の閾値電圧のばらつきを補償するレベルに依存した読み出し動作を説明する。レベルに依存した読み出し動作は、異なるワード線WL電圧を印加することなく展開することができる。又は、その動作を可能とするアレイアーキテクチャにおいて異なるWL電圧と組み合わせることによって展開することができる。 A level-dependent read operation that compensates for variations in threshold voltage between levels by applying different read bias conditions to the local bit lines at each level of the array in a three-dimensional array will be described. A level-dependent read operation can be developed without applying different word line WL voltages. Alternatively, it can be deployed by combining different WL voltages in an array architecture that allows its operation.
本明細書に説明した集積回路には、複数のレベルのメモリセルを含むメモリアレイが含まれる。複数のレベルにおけるレベルには、ローカルビット線及び、当該ローカルビット線に結合されたメモリセルが含まれる。グローバルビット線は、アレイのローカルビット線の対応する組に結合される。集積回路は、メモリアレイの中のメモリセルを選択するための復号回路を含む。さらに、集積回路は、選択されたバイアス電圧を提供するためのグローバルビット線に結合されたバイアス回路も含む。バイアス回路は、制御信号に応答して、選択されたメモリセルに対応するグローバルビット線に対するバイアス電圧を選択する。 The integrated circuit described herein includes a memory array that includes a plurality of levels of memory cells. The levels in the plurality of levels include a local bit line and a memory cell coupled to the local bit line. The global bit lines are coupled to a corresponding set of local bit lines in the array. The integrated circuit includes a decoding circuit for selecting a memory cell in the memory array. The integrated circuit further includes a bias circuit coupled to the global bit line for providing a selected bias voltage. The bias circuit selects a bias voltage for the global bit line corresponding to the selected memory cell in response to the control signal.
本明細書では、グローバルビット線を3次元アレイにおける様々なレベルのメモリセルに接続して、グローバルビット線間の静電容量差を最小化させることができる技術も説明する。一態様において、グローバルビット線のそれぞれに結合されたレベルのレベル指数の統計関数(例えば、合計、平均等)が定数と等しくなるように、様々なレベルへのコネクタをグローバルビット線の上に配列する。 The present specification also describes a technique that allows global bit lines to be connected to various levels of memory cells in a three-dimensional array to minimize the capacitance difference between the global bit lines. In one aspect, connectors to various levels are arranged on the global bit line such that the level index statistical function (eg, sum, average, etc.) of the level coupled to each of the global bit lines is equal to a constant. To do.
本明細書に説明される集積回路は、複数のブロックを含む。複数のブロックにおけるブロックは、複数のレベルL(z)を含む。複数のレベルにおけるレベルL(z)はそれぞれ、その対応するメモリセルに結合された、行に沿った複数のワード線及び列に沿った複数のローカルビット線を有するメモリセルの2次元アレイを含む。さらに、集積回路は、複数のグローバルビット線も含む。複数のグローバルビット線におけるグローバルビット線は、複数のコネクタを含む。任意のグローバルビット線に結合された複数のコネクタにおけるコネクタは、複数のブロックにおける対応するローカルビット線に結合される。ここに説明する実施形態では、任意のグローバルビット線の上において、複数のブロックのうちの1つのブロックにおける対応するローカルビット線が、複数のブロックのうちの他のブロックにおける対応するローカルビット線とは異なるレベルL(z)上にある。同一のグローバルビット線を線に沿った異なるブロックの異なるレベルに結合させることにより、グローバルビット線の静電容量を調節することができる。また、この設計手法をメモリセルの複数のブロックを共有するグローバルビット線の組に適用することで、グローバルビット線の組の各部材の静電容量を等しくなるように近づけることができる。バイアス回路は、選択されたメモリセルのレベルL(z)に基づいて、選択されたメモリセルのメモリ状態に対応する閾値電圧のばらつきを補償する複数のグローバルビット線に結合させることができる。 The integrated circuit described herein includes a plurality of blocks. A block in the plurality of blocks includes a plurality of levels L (z). Each level L (z) in the plurality of levels includes a two-dimensional array of memory cells having a plurality of word lines along a row and a plurality of local bit lines along a column coupled to the corresponding memory cell. . The integrated circuit further includes a plurality of global bit lines. The global bit line in the plurality of global bit lines includes a plurality of connectors. Connectors in multiple connectors coupled to any global bit line are coupled to corresponding local bit lines in multiple blocks. In the embodiment described here, on any global bit line, a corresponding local bit line in one block of the plurality of blocks is replaced with a corresponding local bit line in another block of the plurality of blocks. Are on different levels L (z). By coupling the same global bit line to different levels in different blocks along the line, the capacitance of the global bit line can be adjusted. Further, by applying this design method to a set of global bit lines sharing a plurality of blocks of memory cells, the capacitance of each member of the set of global bit lines can be made close to each other. The bias circuit can be coupled to a plurality of global bit lines that compensate for variations in threshold voltage corresponding to the memory state of the selected memory cell based on the level L (z) of the selected memory cell.
本発明の実施形態を、図1〜図17を参照して詳細に説明する。 Embodiments of the present invention will be described in detail with reference to FIGS.
図1は、本明細書に説明したように動作可能なNANDフラッシュメモリアレイ160を含む集積回路175の簡略化したブロック図である。実施形態によっては、アレイ160は、複数のレベルのセルを含むことができる。行デコーダ161は、メモリアレイ160の行に沿って配列された複数のワード線162に結合される。ブロック166の列デコーダは、データバス167を介して、この例ではページバッファの組に結合される。グローバルビット線164は、メモリアレイ160の列に沿って配列されたローカルビット線(図示せず)に結合される。バス165においてアドレスを列デコーダ(ブロック166)及び行デコーダ(ブロック161)に供給する。データは、データ入力線173を介して、汎用プロセッサ又は専用アプリケーション回路等の集積回路上の他の回路174(例えば、入出力ポート等)、又は、アレイ160によってサポートされたシステムオンチップ(system on a chip)の機能を提供するモジュールの組み合わせから供給される。データは、入出力ポート又は、集積回路175の内部又は外部の他のデータ送り先へと線173を介して供給される。 FIG. 1 is a simplified block diagram of an
この例において状態マシン169として実装されたコントローラは、信号を提供して、ブロック168において単一の電源又は複数の電源によって発生した、又は、提供されたバイアス配列供給電圧の印加を制御して、本明細書に説明する様々な動作を実行する。これらの動作には、消去、プログラム及び、アレイ160の各レベルに対して異なる読み出しバイアス条件でレベルに依存した読み出しを行うことが含まれる。コントローラは、当技術分野において公知の専用ロジック回路を用いて実現することができる。代替的実施形態においてコントローラは、同じ集積回路に実装してもよい、デバイスの動作を制御するためにコンピュータプログラムを実行する汎用プロセッサを含む。さらに他の実施形態においては、専用ロジック回路及び汎用プロセッサの組み合わせを、コントローラの実現のために利用してもよい。 A controller implemented as a
明確にするために、本明細書で用いた「プログラム」という用語は、メモリセルの閾値電圧を上げる動作を言う。プログラムされたメモリセルに記憶されたデータは、論理「0」又は論理「1」として表すことができる。本明細書で用いた「消去」という用語は、メモリセルの閾値電圧を下げる動作を言う。消去されたメモリセルに記憶されたデータは、論理「1」又は論理「0」のようにプログラムされた状態の逆として表すことができる。また、設計者を満足させるように、マルチビットセルを様々な閾値レベルにプログラムするとともに、単一の最小閾値レベル又は単一の最大閾値レベルに消去することができる。さらに、本明細書に説明した「書込み」という用語は、メモリセルの閾値電圧を変更する動作を説明するものであり、プログラム及び消去の両方を含むことを意図するものである。 For clarity, the term “program” as used herein refers to an operation that raises the threshold voltage of a memory cell. The data stored in the programmed memory cell can be represented as a logic “0” or a logic “1”. As used herein, the term “erase” refers to an operation that lowers the threshold voltage of a memory cell. The data stored in the erased memory cell can be represented as the inverse of the programmed state, such as logic “1” or logic “0”. Also, to satisfy the designer, the multi-bit cell can be programmed to various threshold levels and erased to a single minimum threshold level or a single maximum threshold level. Further, the term “write” described herein describes the operation of changing the threshold voltage of a memory cell and is intended to include both programming and erasing.
図2は、図1のデバイスのようなデバイスにおいて使用可能な3次元フラッシュメモリアレイの一部の概略図である。この例では、メモリセルの3レベルを示し、多くのレベルを含むことができるメモリセルのブロックを表す。 FIG. 2 is a schematic diagram of a portion of a three-dimensional flash memory array that can be used in a device such as the device of FIG. In this example, three levels of memory cells are shown, representing a block of memory cells that can include many levels.
ワード線WLn-1,WLn,WLn+1を含む複数のワード線は、第1の方向に沿って平行に延びる。ワード線は、行デコーダ261と電気的に連絡している。ワード線は、NANDストリングとして直列に配列される、メモリセルのゲートに接続される。ワード線WLnは、ワード線を表す。図2に示したように、ワード線WLnは、ワード線WLnの下にある様々なレベルのそれぞれのメモリセルのゲートに垂直に接続される。A plurality of word lines including the word lines WLn−1 , WLn , WLn + 1 extend in parallel along the first direction. The word line is in electrical communication with the
複数のローカルビット線は、列に沿って配列され、メモリアレイの様々なレベルにおいてNANDストリングを形成する。図2に示したように、アレイは、ローカルビット線BL31を第3レベルに、ローカルビット線BL21を第2レベルに、ローカルビット線BL11を第1レベルに備える。メモリセルは、対応するワード線と対応するローカルビット線との間に電荷トラップ構造を有する。この説明図においては、分かりやすくするために、1つのNANDストリングに3つのメモリセルを示す。例えば、第3レベルのローカルビット線BL31によって形成されたNANDストリングは、メモリセル220,222,224を備える。典型的な実施においては、NANDストリングは、16個、32個又はそれ以上のメモリセルを備えることができる。A plurality of local bit lines are arranged along the columns to form NAND strings at various levels of the memory array. As shown in FIG. 2, the array includes the local bit line BL31 at the third level, the local bit line BL21 at the second level, and the local bit line BL11 at the first level. The memory cell has a charge trap structure between a corresponding word line and a corresponding local bit line. In this explanatory diagram, three memory cells are shown in one NAND string for easy understanding. For example, the NAND string formed by the third-level local bit line BL31 includes
ストリング選択線SSLn-1,SSLn,SSLn+1を含む複数のストリング選択線は、ストリングのグループを選択するグループデコーダ258(行デコーダ261の一部であっても良い)と電気的に連絡している。ストリング選択線は、メモリセルNANDストリングの第1の端部に配列されたストリング選択トランジスタのゲートに接続される。図2に示したように、ストリング選択線のそれぞれは、様々なレベルのそれぞれのストリング選択トランジスタの列のゲートに垂直に接続される。例えば、ストリング選択線SSLn+1は、3つのレベルのストリング選択トランジスタ210,212,214に接続される。A plurality of string selection lines including the string selection lines SSLn−1 , SSLn , SSLn + 1 are electrically connected to a group decoder 258 (which may be a part of the row decoder 261) for selecting a group of strings. I'm in touch. The string select line is connected to the gate of a string select transistor arranged at the first end of the memory cell NAND string. As shown in FIG. 2, each of the string select lines is connected vertically to the gate of the column of each string select transistor at various levels. For example, the string selection line SSLn + 1 is connected to three levels of
特定のレベルにあるローカルビット線は、対応するストリング選択トランジスタによって特定のレベルにある延設部に選択的に結合される。例えば、第3レベルのローカルビット線は、そのレベルにある対応するストリング選択トランジスタによって延設部240に選択的に結合される。同様に、第2レベルのローカルビット線は、延設部242に選択的に結合され、第1レベルのローカルビット線は、延設部244に選択的に結合される。 Local bit lines at a particular level are selectively coupled to extensions at a particular level by corresponding string select transistors. For example, a third level local bit line is selectively coupled to
それぞれのレベルの延設部は、対応するグローバルビット線に結合された垂直コネクタと接触するために対応するコンタクトパッドを含む。例えば、第3レベルの延設部240は、コンタクトパッド230及び垂直コネクタ200を介してグローバルビット線GBLn-1に結合される。第2レベルの延設部242は、コンタクトパッド232及び垂直コネクタ202を介してグローバルビット線GBLnに結合される。第1レベルの延設部244は、グローバルビット線GBLn+1に結合される。Each level extension includes a corresponding contact pad for contacting a vertical connector coupled to a corresponding global bit line. For example, the
グローバルビット線GBLn-1,GBLn,GBLn+1は、アレイの追加的なブロック(図示せず)に結合され、ページバッファ263に延びる。このようにして、1本のワード線、全て又は何本かのビット線及び、1本のストリング選択線を用いて選択されたメモリセルのページにアクセスする3次元の復号化ネットワークが確立される。Global bit lines GBLn−1 , GBLn , GBLn + 1 are coupled to additional blocks (not shown) of the array and extend to
ブロック選択トランジスタは、NANDストリングの第2の端部に配列される。例えば、ブロック選択トランジスタ260は、メモリセル220,222,224によって形成されたNANDストリングの第2の端部に配列される。グランド選択線GSLは、ブロック選択トランジスタのゲートに接続される。グランド選択線GSLは、行デコーダ261と電気的に連絡して、本明細書に説明した動作中にバイアス電圧を受ける。 The block select transistor is arranged at the second end of the NAND string. For example, the block
ブロック選択トランジスタを用いて、ブロックにおける全てのNANDストリングの第2の端部を、共通ソース線CSLに提供された基準電圧に選択的に結合させる。共通ソース線CSLは、本明細書に説明した動作中にバイアス回路(ここでは図示せず)からバイアス電圧を受ける。本明細書に説明した動作によっては、共通ソース線CSLは、グランドでの、又は、グランド近くのより伝統的な「ソース」としての役割としてではなく、NANDストリングの他端に結合されたビット線よりも大きい基準電圧にバイアスされる。 A block select transistor is used to selectively couple the second ends of all NAND strings in the block to a reference voltage provided to the common source line CSL. The common source line CSL receives a bias voltage from a bias circuit (not shown here) during the operations described herein. Depending on the operation described herein, the common source line CSL may be coupled to the other end of the NAND string rather than serving as a more traditional “source” at or near ground. Biased to a larger reference voltage.
図3は、選択されたセルのレベルに相関する閾値電圧のばらつきを説明するために、読み出し動作中にレベルに依存したバイアスを適用することができる3次元NANDフラッシュメモリアレイの一例の部分を例示的に示す斜視図である。図3では、3次元アレイを形成するワード線及びビット線が見えるようにするために充填材料は取り除いてある。 FIG. 3 illustrates an example portion of a three-dimensional NAND flash memory array in which a level dependent bias can be applied during a read operation to account for threshold voltage variations correlated to the level of a selected cell. FIG. In FIG. 3, the filler material has been removed so that the word lines and bit lines forming the three-dimensional array are visible.
メモリアレイは、下地の半導体又は他の構造(図示せず)を覆う絶縁層310の上に形成される。メモリアレイは、ワード線WL1,WL2として機能し、行デコーダへの接続のために配列される複数の導電線325−1,325−2を含む。シリサイドの層は、導電線325−1,325−2の上面に形成することができる。The memory array is formed on an insulating
導電線325−1,325−2は、様々なレベルにおけるローカルビット線として機能する半導体材料帯片と共形である。例えば、半導体材料帯片312は、第3レベルでローカルビット線として機能し、半導体材料帯片313は、第2レベルでローカルビット線として機能し、半導体材料帯片314は、第1レベルにおいてローカルビット線として機能する。半導体材料帯片は、絶縁層(図示せず)によって分離される。 Conductive lines 325-1 and 325-2 are conformal with semiconductor material strips that function as local bit lines at various levels. For example, the
半導体材料帯片は、p型半導体材料であっても良い。導電線325−1,325−2は、同一又は異なる導電型を有する半導体材料又は、他の導電性ワード線材料であっても良い。例えば、半導体材料帯片は、p型ポリシリコン又はp型単結晶シリコンを用いて作成することができる。一方、導電線325−1,325−2は、比較的高密度にドープされたp+型ポリシリコンを用いて作成することができる。 The semiconductor material strip may be a p-type semiconductor material. The conductive lines 325-1 and 325-2 may be semiconductor materials having the same or different conductivity types, or other conductive word line materials. For example, the semiconductor material strip can be made using p-type polysilicon or p-type single crystal silicon. On the other hand, the conductive lines 325-1 and 325-2 can be formed using p + type polysilicon doped with a relatively high density.
或いは、半導体材料帯片は、n型半導体材料であっても良い。導電線325−1,325−2は、同一又は異なる導電型を有する半導体材料であっても良い。このn型帯片の配置が、埋込みチャンネル型空乏層式電荷トラップメモリになる。例えば、半導体材料帯片は、n型ポリシリコン又はn型単結晶シリコンを用いて作成することができる。一方、導電線325−1,325−2は、比較的高密度にドープされたp+型ポリシリコンを用いて作成することができる。n型半導体材料帯片に対する典型的なドーピング濃度は、およそ1018/cm3であってもよく、利用可能な実施形態では、1017/cm3から1019/cm3の範囲内とすることができる。n型半導体材料帯片の使用は、無接合の実施形態において特に有益であり、NANDストリングに沿って電気伝導度を改善させることで、より高い読出し電流を可能とする。Alternatively, the semiconductor material strip may be an n-type semiconductor material. The conductive lines 325-1 and 325-2 may be semiconductor materials having the same or different conductivity types. This arrangement of the n-type strip becomes a buried channel type depletion layer type charge trap memory. For example, the semiconductor material strip can be made using n-type polysilicon or n-type single crystal silicon. On the other hand, the conductive lines 325-1 and 325-2 can be formed using p + type polysilicon doped with a relatively high density. A typical doping concentration for an n-type semiconductor material strip may be approximately 1018 / cm3 , and in an available embodiment, within the range of 1017 / cm3 to 1019 / cm3. Can do. The use of n-type semiconductor material strips is particularly beneficial in non-junction embodiments and allows higher read currents by improving electrical conductivity along the NAND string.
メモリセルは、導電線325−1,325−2と、ローカルビット線として機能する半導体材料帯片との間に電荷蓄積構造を有する。例えば、メモリセル380は、導電線325−1と、第3レベルでローカルビット線として機能する半導体材料帯片との間に形成される。この説明図においては、分かりやすくするために、1つのNANDストリングにおいて2つのメモリセルを示す。ここに説明した実施形態では、各メモリセルは、対応する半導体材料帯片と導電線325−1,325−2との間のインターフェースの両側にあるアクティブな電荷蓄積領域を有する二重ゲート電界効果トランジスタである。 The memory cell has a charge storage structure between the conductive lines 325-1 and 325-2 and a semiconductor material strip functioning as a local bit line. For example, the
この例では、電荷蓄積構造は、トンネル層と、電荷トラップ層と阻止層とを備える。ある実施形態では、トンネル層は、シリコン酸化膜(O)、電荷蓄積層は、シリコン窒化膜(N)及び、阻止層は、シリコン酸化膜(O)である。或いは、メモリセルは、例えば、酸窒化ケイ素(SixOyNz)、シリコンリッチ窒化物、シリコンリッチ酸化物、埋込まれたナノ粒子を含むトラップ層等を含む他の電荷蓄積構造を含んでも良い。In this example, the charge storage structure includes a tunnel layer, a charge trap layer, and a blocking layer. In one embodiment, the tunnel layer is a silicon oxide film (O), the charge storage layer is a silicon nitride film (N), and the blocking layer is a silicon oxide film (O). Alternatively, the memory cell includes other charge storage structures including, for example, silicon oxynitride (Six Oy Nz ), silicon rich nitride, silicon rich oxide, trap layers containing embedded nanoparticles, and the like. But it ’s okay.
ある実施形態では、ゼロバイアス下で逆「U」字型価電子帯を形成する材料の複合体を含む誘電体トンネル層を含む、バンドギャップ動作SONOS(BE−SONOS)電荷蓄積構造を用いることができる。ある実施形態では、複合トンネル誘電層は、正孔トンネル層と呼ばれる第1の層と、バンドオフセット層と呼ばれる第2の層と、分離層と呼ばれる第3の層を含む。本実施形態にける層の正孔トンネル層は、例えば、その場発生水蒸気(ISSG)法を、堆積後NOアニール又は堆積の間にNOを雰囲気に加えることによる任意の窒化物形成とともに用いて半導体材料帯片の側面に形成された二酸化ケイ素を含む。二酸化ケイ素の第1の層の厚さは、20Åよりも薄く、15Å以下であることが好ましい。代表的な実施形態での厚さは、10Å又は12Åである。 In one embodiment, using a bandgap operated SONOS (BE-SONOS) charge storage structure that includes a dielectric tunnel layer that includes a composite of materials that form an inverted “U” shaped valence band under zero bias. it can. In some embodiments, the composite tunnel dielectric layer includes a first layer called a hole tunnel layer, a second layer called a band offset layer, and a third layer called an isolation layer. The hole tunnel layer of the layer in this embodiment is, for example, a semiconductor using in situ generated water vapor (ISSG) method with post-deposition NO annealing or any nitride formation by adding NO to the atmosphere during deposition. Contains silicon dioxide formed on the sides of the material strip. The thickness of the first layer of silicon dioxide is preferably less than 20 mm and not more than 15 mm. The thickness in the exemplary embodiment is 10 mm or 12 mm.
ストリング選択線SSLn,SSLn+1は、メモリセルNANDストリングの第1の端部のストリング選択トランジスタのゲートに接続される。ストリング選択トランジスタは、対応するNANDストリングの半導体材料帯片とマルチレベルストリングゲート構造との間に形成される。例えば、ストリング選択トランジスタ350は、半導体材料帯片312とストリング選択ゲート構造329との間に形成され、ストリング選択ゲート構造329は、コンタクトプラグ365を介してストリング選択線SSLnに結合される。The string selection lines SSLn and SSLn + 1 are connected to the gate of the string selection transistor at the first end of the memory cell NAND string. A string select transistor is formed between the semiconductor material strip of the corresponding NAND string and the multi-level string gate structure. For example, the
半導体材料帯片は、延設部によって同一レベルの他の半導体材料帯片に選択的に結合される。例えば、第3レベルの半導体材料帯片は、延設部340を介して互いに選択的に結合される。同様に、第2レベルの半導体材料帯片は、延設部342を介して互いに選択的に結合され、第1レベルの半導体材料帯片は、延設部344に選択的に結合される。 The semiconductor material strip is selectively coupled to another semiconductor material strip at the same level by the extension. For example, the third level semiconductor material strips are selectively coupled to each other via the
第3レベルの延設部340は、コンタクトパッド330及び垂直コネクタ300を介してグローバルビット線GBLn-1に結合される。第2レベルの延設部342は、コンタクトパッド332及び垂直コネクタ302を介してグローバルビット線GBLnに結合される。第3レベルの延設部344は、グローバルビット線GBLn+1に結合される。
グローバルビット線GBLn―1,GBLn,GBLn+1は、アレイの追加的なブロック(図示せず)に結合され、ページバッファ263に延びる。Global bit lines GBLn−1 , GBLn , GBLn + 1 are coupled to additional blocks (not shown) of the array and extend to
ブロック選択トランジスタは、NANDストリングの第2の端部に配列される。例えば、ブロック選択トランジスタ351は、半導体材料帯片312によって形成されるNANDストリングの第2の端部に配列される。グランド選択線GSLとして機能するゲート構造349は、ブロック選択トランジスタのゲートに接続される。 The block select transistor is arranged at the second end of the NAND string. For example, the block
ブロック選択トランジスタを用いて、ブロックにおける全てのNANDストリングの第2の端部を、共通ソース線CSL370に提供された基準電圧に選択的に結合させる。共通ソース線CSL370は、ワード線と平行に延びる。 A block select transistor is used to selectively couple the second ends of all NAND strings in the block to a reference voltage provided on a common
図3に図示した構造は、例えば、参照することで本明細書に全てが記載されているものとして本明細書に援用される、2011年1月31日に出願された米国特許出願番号第13/018,110号に説明されている技術を用いて製造することができる。 The structure illustrated in FIG. 3 is, for example, U.S. Patent Application No. 13 filed January 31, 2011, which is incorporated herein by reference as if set forth in its entirety. / 018,110 can be used for manufacturing.
動作中、メモリセルのそれぞれは、その閾値電圧に基づいてデータ値を記憶する。選択されたメモリセルの読み出し又は書込みは、適切な電圧をワード線、ビット線、ストリング選択線、グランド選択線、共通ソース線に適用することにより達成することができる。 In operation, each memory cell stores a data value based on its threshold voltage. Reading or writing the selected memory cell can be accomplished by applying an appropriate voltage to the word line, bit line, string select line, ground select line, common source line.
プログラミング動作では、適切な電圧を印加して、選択されたメモリセルの電荷蓄積層への電子のトンネル現象を誘導する。プログラミング動作は、選択されたメモリセルの閾値電圧を増加させる。選択されたメモリセルは、例えば、ファウラーノルドハイム(FN:Fowler−Nordheim)電子トンネル効果を用いてプログラミングしても良い。 In the programming operation, an appropriate voltage is applied to induce electron tunneling to the charge storage layer of the selected memory cell. The programming operation increases the threshold voltage of the selected memory cell. The selected memory cell may be programmed using, for example, the Fowler-Nordheim (FN) electron tunnel effect.
消去動作では、適切な電圧を印加して、選択されたメモリセルの電荷蓄積層への正孔トンネル現象又は、電荷蓄積層からの電子トンネル現象を誘導する。消去の動作は、選択されたメモリセルの閾値電圧を低減させる。 In the erase operation, an appropriate voltage is applied to induce a hole tunnel phenomenon to the charge storage layer of the selected memory cell or an electron tunnel phenomenon from the charge storage layer. The erase operation reduces the threshold voltage of the selected memory cell.
読み出し動作では、適切な読み出し電圧が印加されるので、選択されたメモリセルを流れる電流を感知することができる。データ値は、読み出し動作中に選択されたメモリセルを流れる電流に基づいて決定することができる。読み出し電圧は、消去されたメモリセルが読み出し動作中にターンオン(すなわち、電流を通)し、プログラムされたメモリセルがオフ(すなわち、電流を全く或いは、ほとんど通さない)のままであるように選択しても良い。 In the read operation, an appropriate read voltage is applied, so that a current flowing through the selected memory cell can be sensed. The data value can be determined based on the current flowing through the selected memory cell during the read operation. The read voltage is selected so that erased memory cells are turned on (ie, conducting current) during a read operation and programmed memory cells remain off (ie, passing little or no current). You may do it.
3次元アレイでは、レベルの差は、電荷蓄積ダイナミクスの差となり、様々なレベルおけるメモリセルのメモリ状態に対応する閾値電圧のばらつきを招く可能性がある。図4は、下部レベルでのメモリセルのチャネル領域を形成する半導体材料帯片の厚さが上部レベルでの厚さよりも厚い例を示す。この、チャネル厚の差は、デバイスを形成するために用いたエッチング工程によって生じることがある。 In a three-dimensional array, the difference in level becomes a difference in charge storage dynamics, which can lead to variations in threshold voltages corresponding to the memory states of memory cells at various levels. FIG. 4 shows an example where the thickness of the semiconductor material strip that forms the channel region of the memory cell at the lower level is thicker than the thickness at the upper level. This difference in channel thickness may be caused by the etching process used to form the device.
メモリセルの各レベルに対して同一のプログラミング動作及び消去動作を用いる場合、チャネル厚の差及び、レベルの差は、様々なレベルにおけるメモリセルの閾値電圧の分布を広げてしまう可能性がある。図5は、4つの異なるレベルにおける多くのプラグラムされたメモリセルに対する閾値電圧の分布を例示的に示す。図5に示した例では、レベル4のプログラムされたメモリセルは、レベル1のプログラムされたメモリセルの分布510よりも概して高い分布500の範囲内の閾値電圧を有する。 If the same programming and erasing operations are used for each level of the memory cell, the channel thickness difference and the level difference can widen the distribution of the threshold voltage of the memory cell at various levels. FIG. 5 exemplarily shows the threshold voltage distribution for a number of programmed memory cells at four different levels. In the example shown in FIG. 5,
従って、メモリセルの各レベルについて特定のメモリ状態対して同じ閾値電圧を実現するためには、プログラミング工程及び消去工程は、何らかの方法で選択したメモリセルのレベルに伴って変化するように構成することができる。このようにすることで、メモリセルの耐久性の問題及び他の複雑な問題を引き起こす可能性がある。 Thus, in order to achieve the same threshold voltage for a particular memory state for each level of memory cells, the programming and erasing steps should be configured to vary with the level of the memory cell selected in some way. Can do. This can cause memory cell durability problems and other complex problems.
また、各レベルに対して同一の読み出し動作を用いる場合、様々なレベルにあるメモリセルの閾値電圧のばらつきにより、プログラムされた状態と消去された状態の間の読み出しマージンが減少する。読み出しマージンが狭くなればなるほど複雑な回路が要求され、読み出しプロセスが遅くなってしまう可能性がある。 In addition, when the same read operation is used for each level, the read margin between the programmed state and the erased state is reduced due to variations in threshold voltages of memory cells at various levels. The narrower the read margin, the more complicated the circuit is required, and the read process may be delayed.
より広い読み出しマージンを実現する1つの技術として、下部レベルのメモリセルを読み出しかつ検証するために低いワード線電圧を印加し、上部レベルのメモリセルを読み出しかつ検証するために高いワード線電圧を印加するものがある。この手法は、図5においてVREADと表示された読み出し電圧用の4つの異なる線及びVPVと表示されたプログラム検証電圧用の4つの異なる線によって表されている。しかしながらワード線は、図2及び図3に示したアレイ構成において各レベルのメモリセルに結合されるので、選択されたメモリセルのレベルに基づいて異なるワード線電圧を印加することで、各レベルのメモリセルを同時に読み出すことを妨げる。One technique to achieve a wider read margin is to apply a low word line voltage to read and verify lower level memory cells and to apply a high word line voltage to read and verify upper level memory cells There is something to do. This approach is represented in FIG. 5 by four different lines for the read voltage labeled VREAD and four different lines for the program verify voltage labeled VPV . However, since the word lines are coupled to the memory cells at each level in the array configuration shown in FIGS. 2 and 3, applying different word line voltages based on the level of the selected memory cell allows Prevents simultaneous reading of memory cells.
本明細書に説明したレベルに依存した読み出し動作は、異なる読み出しバイアス条件を、アレイ160の各レベルのセルへアクセスするためのビット線に適用することで閾値電圧のばらつきを補償するので、異なるレベルにある読み出し動作用のビット線の電流が、例え異なるレベルにあるメモリセル用の閾値電圧が異なっていても、より狭い分布範囲内に収まったままとなる。そうすることで、本明細書に説明した技術は、各レベルについてプログラムされた状態と消去された状態との間の読み出しマージンを、異なる読み出しワード線電圧を要求することなく比較的広く保つことができる。 The level-dependent read operation described herein compensates for threshold voltage variations by applying different read bias conditions to the bit lines for accessing cells at each level of the
図6は、本明細書に説明するようにレベルに依存した読出し動作を行うための動作順序600のフローチャートである。 FIG. 6 is a flowchart of an
ステップ610において、特定のアドレスに対する読み出しコマンドを受ける。 In
ステップ620において、デコーダ回路によってアドレスを復号し、3次元の実施形態におけるレベル等、アドレスに関連付けられた選択されたメモリセルの物理的な位置を特定する。デコーダ回路は、アドレスに対応して選択されたメモリセルの位置を示す制御信号を生成する。 In
ステップ630において、バイアス回路は、制御信号に応答して選択されたメモリセルのビット線を、選択されたメモリセルの位置又はレベルに依存する電圧レベルまで予めチャージする。 In
ステップ640において、読み出し動作を選択したメモリセルに行って記憶されたデータ値を決定する。そして、ステップ650において、データをページバッファから出力する。 In
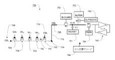
図7は、選択されたメモリセル700に対してレベルに依存した読み出し動作を行うために用いるのに適した回路の概略図である。この例では、読み出しは、レベルに依存する。他の例では、読み出しは、セクタ又はセグメントの範囲内のセルが特定の範囲内にある読み出し特性を有する、3次元又は2次元アレイの他のセクタ又はセグメントの範囲内にある選択されたメモリセルの位置に依存することができる。 FIG. 7 is a schematic diagram of a circuit suitable for use in performing a level dependent read operation on a selected
選択されたメモリセル700は、アレイの特定のレベルにおけるローカルビット線BL710によって形成されたNANDストリングの一部である。NANDストリングも、メモリセル702及びメモリセル704を含む。ストリング選択トランジスタ712は、ビット線710をコンタクトパッド714及び垂直コネクタ716を介してグローバルビット線720に選択的に結合させる。ストリング選択トランジスタ712のゲートは、ストリング選択線SSL718に接続される。 The selected
ブロック選択トランジスタ706は、NANDストリングの第2の端部を共通ソース線CSL708に結合させる。 Block
グローバルビット線720は、列デコーダ回路(図示せず)によってグローバルビット線720用のページバッファ回路を介してセンシング回路730に結合される。信号であるBLCLAMP、VBOOST、BLPWR、BLPRECHG及び、PBENは、図8のタイミング図を参照して以下に説明する通り、電源及び、プレチャージ間隔及びセンシング間隔を含む読み出し動作のタイミング及び実行を制御するために用いられる制御論理(ボックス750〜754によって概略的に表す)によって提供される。アレイの特定のレベルの選択されたメモリセル又は、他のセクタやセグメントの位置に基づき、セル位置デコーダ760を用いて以下に説明するようにVBOOST信号及びBLCLAMP信号を生成するために用いるセル位置情報を提供する。実施形態によっては、セル位置デコーダ760は、3次元アレイ用の平面復号化のために用いたものと同一の回路である(例えば、図15参照)。
クランプトランジスタM1をグローバルビット線720とデータ線DLIBとの間に結合する。信号BLCLAMPは、クランプトランジスタM1のゲートに接続される。 Clamp transistor M1 is coupled between
プレチャージトランジスタM2は、データ線DLIBに接続された第1の端子と、ビット線電力BLPWR信号に結合された第2の端子と、信号BLPRECHGに結合されたゲートと、を有する。制御可能な電源752は、実行されている制御順序によって決まる電圧レベル及びタイミングでBLPWR信号を印加する。制御回路753は、実行されている制御順序によって決まる電圧レベル及びタイミングでBLPRECHG信号を印加する。 Precharge transistor M2 has a first terminal connected to data line DLIB, a second terminal coupled to bit line power BLPWR signal, and a gate coupled to signal BLPRECHG. The
信号VBOOSTも、コンデンサC1を介してデータ線DLIBに結合される。制御可能な電源751は、実行されている制御順序によって決まる電圧レベル及びタイミングでVBOOST信号を印加する。 Signal VBOOST is also coupled to data line DLIB through capacitor C1. The
イネーブルトランジスタM3は、データ線DLIBとラッチに基づく増幅回路740との間に配列される。制御信号PBENは、イネーブルトランジスタM3のゲートに接続される。制御論理754は、実行されている制御順序によって決まる電圧レベル及びタイミングでPBEN信号を印加する。 The enable transistor M3 is arranged between the data line DLIB and the amplifying
図8は、図7に示した回路を操作して選択されたメモリセル700に対するレベルに依存した読み出し動作を行うための例示的タイミング図である。集積回路上の制御回路を配列して、図8に示したように、メモリアレイのバイアス回路、ワード線及び、他の回路を制御することにより、読み出し動作中にシーケンスを起こす。 FIG. 8 is an exemplary timing diagram for performing a level-dependent read operation on the selected
読み出し動作を初期化する際に、制御信号BLCLAMP、VBOOST、BLPWR、BLPRECHG、PBENを印加して読み出し動作のタイミングを制御する。 When the read operation is initialized, control signals BLCLAMP, VBOOST, BLPWR, BLPRECHG, and PBEN are applied to control the timing of the read operation.
時間間隔T0では、選択されていないメモリセル704及び702のゲートに結合されたワード線WL0及びWL2を、選択されていないメモリセル704及び702をターンオンするために十分な電圧値VPASSRまでチャージする。選択したメモリセル700のゲートに結合されたワード線WL1は、電圧値VREADまでチャージされる。VREADは、(1つのビットセルに対して)消去された状態では選択したメモリセル700をターンオンするのに十分であり、プログラムされた状態では選択されたメモリセル700をターンオンするには不十分である。説明した実施形態では、電圧値VREADは、メモリセルの各レベルに対して略同じである。ストリング選択線718を高い値までチャージしてストリング選択トランジスタ712をターンオンする。グランド選択線GSLは低い値に設定してブロック選択トランジスタ706をターンオフする。 In time interval T0, word lines WL0 and WL2 coupled to the gates of
選択したローカルビット線710は、制御可能な電圧BLCLAMP及びタイミング信号BLPRECHGを高いレベルに設定するとともに制御可能な電圧BLPWRをグランドに設定することによりM1及びM2を通してグランドまで放電される。共通ソース線CSLは、高いレベルまでチャージされ、選択されていないローカルビット線(図示せず)をチャージする。選択されていないビット線は、それぞれのバイアス回路を介して共通ソース線CSLのレベルまで予めチャージされる。 The selected
時間間隔T1では、BLPWR信号を、例えば2.3ボルト等中間電圧値に変えて、M2を通してデータ線DLIBをチャージする。BLCLAMP信号は、選択されたメモリセル700のレベルに基づいて電圧値VBLCLAMP1までバイアスされる。VBLCLAMP1の値についてタイミング図において4本の線で表したように、選択されたメモリセルによって決まる異なる判断基準を提供するために、異なるバイアスレベルが(このアーキテクチャにおいては、選択されたメモリセルに対応する)各アレイレベルに用いられる。すなわち、アレイの異なるレベルにあるビット線は、異なる電圧レベルに予めチャージされる。このように、異なるプレチャージビット線レベルにより、異なるレベルのセル間の閾値電圧差を補償することができる。予めチャージされたビット線電圧レベルBLは、時間間隔T1でのVBLCLAMP1とトランジスタM1の閾値電圧との差によって与えられる。 In the time interval T1, the BLPWR signal is changed to an intermediate voltage value such as 2.3 volts and the data line DLIB is charged through M2. The BLCLAMP signal is biased to a voltage value VBLCLAMP1 based on the level of the selected
時間間隔T2では、BLCLAMP信号及びBLPRECHG信号を低いレベルに設定してM1及びM2をオフにすることにより、選択されたビット線710及びデータ線DLIBを浮動させる。グランド選択線GSLを高いレベルまでチャージしてブロック選択トランジスタ706をターンオンすることにより、NANDストリングの第2の端部を共通ソース線CSL708に結合させる(レベルは高いまま)。選択したビット線710は、BLのタイミング図において、高閾値電圧HVTメモリ状態(電流が遮断されているために平坦)の分岐線及び低閾値電圧LVTメモリ状態(電流がCSLからDLIBに流れるために増加)の分岐線を有する4本の線で表したように、選択されたメモリセル700を流れるセル電流に基づいてチャージされる。時間間隔T2では一部で、データ線DLIBの電圧レベルを、選択されたメモリセル700のレベルに基づいてVBOOST信号に対して異なる電圧レベル(VBOOST1)を印加することによってより高い電圧まで昇圧しても良い。これにより、VBOOST及びDLIBのタイミング図において4本の線で表したように、時間間隔T3においてデータ線DLIB上で揺れる電圧をより大きくすることができる。 In the time interval T2, the selected
時間間隔T3では一部で、制御信号BLCLAMPを電圧値VBLCLAMP2までバイアスする。VBLCLAMP2も、VBLCLAMP2のタイミング図において4本の線によって表されたように、選択されたメモリセル700のレベルに基づく。VBLCLAMP2の電圧値は、時間間隔T1で印加された電圧値VBLCLAMP1の値よりも大きくすることができる。例えば、VBLCLAMP2は、任意の選択されたメモリセルに対して、VBLCLAMP1よりも大きい0.2ボルトであっても良い。 In part at the time interval T3, the control signal BLCLAMP is biased to the voltage value VBLCLAMP2. VBLCLAMP2 is also based on the level of the selected
時間間隔T2の後、選択されたビット線710がM1の閾値電圧を引いたVBLCLAMP2の値より低い電圧までチャージされた場合、VBLCLAMP2が印加された時にM1がターンオンする。これにより、選択されたビット線710がデータ線DLIBに結合され、図8のDLIBの配線上の領域800に見られるようにその間の電圧レベルが等しくなる。時間間隔T2の後、選択されたビット線710がM1の閾値電圧を引いたVBLCLAMP2の値より高い電圧までチャージされた場合、M1はターンオフする。これにより、データ線DLIBの電圧レベルが保持される。 If after time interval T2, the selected
データ線DLIBにおける電圧レベルを設定した後で、信号VBOOSTを低い値に設定して、センス増幅器でのラッチ設定のために適したDLIBレベルを提供する。センス増幅器は、時間間隔T3のちょうど終わり又は終わる前の時間間隔におけるDLIBの電圧に基づいてデータを感知することができる。 After setting the voltage level on the data line DLIB, the signal VBOOST is set to a low value to provide a DLIB level suitable for latch setting at the sense amplifier. The sense amplifier can sense data based on the voltage of DLIB at the time interval just before or before the end of time interval T3.
時間T4では、全ての信号が初期状態に回復する。 At time T4, all signals are restored to the initial state.
従って、説明した集積回路は、メモリアレイが、対応するセンシング回路に結合されるデータ線の組の中から対応するデータ線にそれぞれのクランプトランジスタを介して結合された複数のビット線を含み、バイアス回路が、メモリアレイの選択されたメモリセルの読み出し動作中にタイミング信号に応答し、データ線に接続されたプレチャージ回路及び、選択されたメモリセルに依存するクランプトランジスタの制御端子にバイアス電圧を印加するバイアス電源を含む。 Thus, the described integrated circuit includes a plurality of bit lines, each having a memory array coupled via a respective clamp transistor to a corresponding data line from a set of data lines coupled to a corresponding sensing circuit, The circuit responds to the timing signal during the read operation of the selected memory cell of the memory array, and applies a bias voltage to the control terminal of the precharge circuit connected to the data line and the clamp transistor depending on the selected memory cell. Includes bias power supply to be applied.
この例のメモリアレイは、グランド選択トランジスタとストリング選択トランジスタ、グランド選択線とストリング選択線及び、ワード線をそれぞれが有する複数のNANDストリングを含むとともに、メモリアレイに結合された制御回路とバイアス回路を含み、選択されたNANDストリングおにける選択されたセルの読み出し動作のために、メモリセルの選択されたページのNANDストリングに同時に適用することができるシーケンスを起こすNANDアレイを備える。シークエンスには、以下が含まれる。
第1の時間間隔T0で、読み出すためのターゲットレベルまで選択されたNANDストリングに結合されたワード線をチャージするとともに、グランド選択トランジスタがオフ、かつ、ストリング選択トランジスタがオンの間にプレチャージ回路を介してビット線を低い基準電圧まで放電し、
第2の時間間隔T1で、データ線を読み出し基準電圧まで予めチャージして第1のクランプ電圧を、選択されたメモリセルに依存するクランプトランジスタに印加することにより、データ線及び選択されたNANDストリングのビット線を、選択されたメモリセルによって決まるレベルまで予めチャージし、
第3の時間間隔T2で、クランプトランジスタをターンオフしてプレチャージ回路をデータ線から切断し、読み出しバイアス電圧をソース線に印加する間にグランド選択トランジスタをターンオンし、
第4の時間間隔T3で、第1のクランプ電圧よりも大きい第2のクランプ電圧を、選択されたメモリセルに依存するクランプトランジスタに印加してデータ線のレベルを感知して、選択されたメモリセルに記憶されたデータの値を示す。The memory array of this example includes a plurality of NAND strings each having a ground selection transistor and a string selection transistor, a ground selection line and a string selection line, and a word line, and includes a control circuit and a bias circuit coupled to the memory array. And a NAND array that initiates a sequence that can be simultaneously applied to a NAND string of a selected page of memory cells for a read operation of the selected cell in the selected NAND string. The sequence includes the following:
At the first time interval T0, the word line coupled to the NAND string selected to the target level for reading is charged, and the precharge circuit is activated while the ground selection transistor is off and the string selection transistor is on. The bit line to a low reference voltage via
At a second time interval T1, the data line and the selected NAND string are precharged by applying a first clamp voltage to the clamp transistor depending on the selected memory cell by precharging the data line to the read reference voltage. Are precharged to a level determined by the selected memory cell,
At a third time interval T2, the clamp transistor is turned off to disconnect the precharge circuit from the data line, the ground selection transistor is turned on while the read bias voltage is applied to the source line,
At a fourth time interval T3, a second clamp voltage greater than the first clamp voltage is applied to a clamp transistor depending on the selected memory cell to sense the level of the data line and to select the selected memory Indicates the value of the data stored in the cell.
ここに説明した実施形態では、バイアス回路は、読み出し動作中にタイミング信号に応答するとともに、データ線に結合されて昇圧量によってデータ線の電圧を容量的に昇圧させる昇圧回路を含む。昇圧電源を昇圧回路に結合して選択されたメモリセルによって決まる昇圧量を設定し、シーケンスには、第4の時間間隔又はその前の、データ線のレベルを感知する前にブースト電圧を印加してデータ線を昇圧することが含まれる。 In the embodiment described here, the bias circuit includes a booster circuit that is responsive to a timing signal during a read operation and is capacitively boosted to the data line by a boost amount coupled to the data line. The boost power supply is coupled to the booster circuit to set the boost amount determined by the selected memory cell, and a boost voltage is applied to the sequence before sensing the data line level at or before the fourth time interval. Boosting the data line.
本明細書に説明した読み出し動作は、3次元アレイを含むメモリアーキテクチャ及び3次元アレイを含まないメモリアーキテクチャに適用して、異なるWL電圧を印加することなく、又は、それを可能とするアレイアーキテクチャにおいて異なるWL電圧と組み合わせることにより、閾値電圧のばらつきを引き起こす動的セル特性を管理することができる。 The read operations described herein can be applied to memory architectures that include a three-dimensional array and memory architectures that do not include a three-dimensional array, in an array architecture that allows or does not apply different WL voltages. By combining with different WL voltages, it is possible to manage dynamic cell characteristics that cause variations in threshold voltage.
上述したように、3次元アレイにおいては、グローバルビット線は、垂直コネクタ及びコンタクトパッドを介して様々なレベルのメモリセルのローカルビット線に結合される。 As described above, in a three-dimensional array, global bit lines are coupled to local bit lines of various levels of memory cells through vertical connectors and contact pads.
様々なレベルへの垂直コネクタ及びコンタクトパッドの違い及びレベル差によって、グローバルビット線間の全体の静電容量に差がでる可能性がある。例えば、図3に戻って参照すると、コンタクトパッド330及びレベル3の垂直コネクタ300は、コンタクトパッド332及びレベル2の垂直コネクタ302とは異なる静電容量を有する。これらの差により、グローバルビット線の全体の静電容量のばらつきを引き起し、ひいては、速度及び電圧と電流の大きさの両方の観点において読み出しマージンが縮小する可能性あり、動作中のアレイの他の特性にも影響を及ぼす可能性がある。 Differences in vertical connectors and contact pads to different levels and level differences can cause differences in overall capacitance between global bit lines. For example, referring back to FIG. 3,
図9は、複数のレベルのメモリセルを有する複数のブロックへのグローバルビット線GBL1〜GBL8の接続を例示的に示すレイアウト図である。図10〜図13は、各ブロックの垂直コネクタの断面図を示す。FIG. 9 is a layout diagram exemplarily showing connection of global bit lines GBL1 to GBL8 to a plurality of blocks having memory cells of a plurality of levels. 10 to 13 show cross-sectional views of the vertical connector of each block.
ブロックのそれぞれは、それぞれの2次元アレイのメモリセルを有する複数のレベルを含む。メモリセルの各2次元アレイには、複数のワード線と、アレイの対応するメモリセルに結合された複数のビット線が含まれる。例えば、2次元アレイは、上述したようにNAND構成に実装しても良い。或いは、他のアレイ構成を用いても良い。 Each of the blocks includes a plurality of levels having a respective two-dimensional array of memory cells. Each two-dimensional array of memory cells includes a plurality of word lines and a plurality of bit lines coupled to corresponding memory cells of the array. For example, the two-dimensional array may be implemented in a NAND configuration as described above. Alternatively, other array configurations may be used.
ブロック大きさ及びブロックの数は、実施形態によって異なる。実施形態によっては、ブロックのそれぞれの大きさは、例えば、2KB(キロバイト)、4KB、8KB、又は16KBとすることができる。 The block size and the number of blocks vary depending on the embodiment. Depending on the embodiment, the size of each block can be, for example, 2 KB (kilobytes), 4 KB, 8 KB, or 16 KB.
グローバルビット線GBL1〜GBL8は、垂直コネクタを介して様々なレベルのブロックにおけるローカルビット線(図示せず)に結合される。この例では、分かりやすくするために、ブロックのそれぞれには、4つのレベルが含まれる。垂直コネクタが、覆っているグローバルビット線を結合するレベルは、レベル指数1,2,3,4によって示される。例えば、グローバルビット線GBL1は、レベル1のコネクタを介してメモリブロックBlockN−1の第1レベル内のローカルビット線に結合され、レベル2のコネクタを介してメモリブロックBlockNの第2レベル内のローカルビット線に結合され、レベル3のコネクタを介してメモリブロックBlockN+1の第3レベル内のローカルビット線に結合され、レベル4のコネクタを介してメモリブロックBlockN+2の第4レベル内のローカルビット線に結合される。Global bit lines GBL1 -GBL8 are coupled to local bit lines (not shown) in blocks at various levels via vertical connectors. In this example, each of the blocks includes four levels for clarity. The level at which the vertical connector couples the global bit lines it covers is indicated by
この例では、ブロック毎の垂直コネクタは、各レベルのコンタクトパッドを、図3に示したような階段のステップのように配列することにより実装することができる「ローカルビット線への階段状コネクタ構造」と記された領域内に配置される。 In this example, the vertical connector for each block can be implemented by arranging the contact pads at each level like a step of steps as shown in FIG. 3 "stepped connector structure to local bit line" ”In the area marked“
グローバルビット線GBL1〜GBL8のそれぞれをアレイ全体の様々なレベルに結合させることにより、グローバルビット線GBL1〜GBL8の静電容量差を小さくすることができる。By coupling each of the global bit lines GBL1 to GBL8 to various levels of the entire array, the capacitance difference between the global bit lines GBL1 to GBL8 can be reduced.
例示した実施形態では、コネクタは、グローバルビット線GBL1〜GBL8のそれぞれに対して対応するローカルビット線のレベル指数の合計が定数と等しくなるように配置される。或いは、コネクタは、例えば、平均等のレベル指数の他の統計関数が定数と等しくなるように配列されても良い。一般的にコネクタは、特定の実施例に合うようにグローバルビット線間の静電容量のばらつきを選択するように配置されても良い。In the illustrated embodiment, the connectors are arranged such that the sum of the level indices of the corresponding local bit lines for each of the global bit lines GBL1 -GBL8 is equal to a constant. Alternatively, the connectors may be arranged such that other statistical functions of the level index, such as the average, are equal to a constant. In general, the connectors may be arranged to select variations in capacitance between global bit lines to suit a particular embodiment.
このように、グローバルビット線GBL1〜GBL8の静電容量差を小さくすることができる、又は、選択された極限範囲内で制御することができる。これにより、プログラムされた状態と消去された状態との間の読み出しマージンを広くすることができる。Thus, the capacitance difference between the global bit lines GBL1 to GBL8 can be reduced, or can be controlled within a selected limit range. Thereby, the read margin between the programmed state and the erased state can be widened.
図14は、複数のレベルのメモリセルにそれぞれ結合されたグローバルビット線を有する3次元メモリアレイ1460を含む集積回路1475の簡略化したブロック図である。行デコーダ1466を、メモリアレイ1460の行に沿って配列された複数のワード線1462に結合させる。列デコーダ1466は、この例ではデータバス1467を介してページバッファ1463に結合される。平面デコーダ1464は、ページバッファ1463に結合される。グローバルビット線1464は、メモリアレイ1460の様々なレベルの列に沿って配列されたローカルビット線(図示せず)に結合される。バス1465においてアドレスを列デコーダ1466、行デコーダ1461及び平面デコーダ1464に供給する。データは、入出力ポート又は、集積回路の内部又は外部の他のデータソースから線1473を介して供給される。例示した実施形態では、他の回路1474が、汎用プロセッサ又は専用アプリケーション回路等の集積回路、又は、アレイ1460によって支持されたシステムオンチップの機能を提供するモジュールの組み合わせに含まれる。データは、入出力ポート又は、集積回路の内部又は外部の他のデータ送り先へと線1473を介して供給される。 FIG. 14 is a simplified block diagram of an
この例において状態マシン1469として実装されたコントローラは、制御信号を提供して、ブロック1468において単一の電源又は複数の電源を介して発生した又は提供されたバイアス配列供給電圧の印加を制御して、消去、プログラム及び、アレイ1460の各レベルに対して異なる読み出しバイアス条件を有するレベルに依存した読み出し等、本明細書に記載した様々な動作を実行する。あわせて、コントローラ1469及びブロック1468は、図7でブロック750〜754で表したバイアス回路及び論理を含むことができる。コントローラは、当技術分野において公知の専用ロジック回路を用いて実現することができる。代替的実施形態においてコントローラは、同じ集積回路に実装してもよい、デバイスの動作を制御するためにコンピュータプログラムを実行する汎用プロセッサを含む。さらに他の実施形態においては、専用ロジック回路及び汎用プロセッサの組み合わせを、コントローラの実現のために利用してもよい。 A controller implemented in this example as
図15は、グローバルビット線GBL1〜GBL8を、その組み合わせが図14のページバッファ1463に対応するページバッファ1511〜1518に接続する方法を示す概略図である。ページバッファ1511〜1518は、例えば、図7の回路のような回路を含むことができる。セル位置に対してバイアスするビット線を補償するバイアス回路を含む実施形態において、ページバッファは、クランプトランジスタ、昇圧コンデンサ、ラッチ、ビット線電源用の充電回路を含む。FIG. 15 is a schematic diagram showing a method of connecting the global bit lines GBL1 to GBL8 to
図14の平面デコーダ1464のような平面デコーダは、複数のグローバルビット線に結合されたスイッチ回路を含み、バイアス電圧を選択されたメモリセルのレベルL(Z)に基づいて選択されたグローバルビット線に印加する。この例のこのスイッチ回路は、電圧スイッチ1500,1502,1504,1506を備える。この例では、アドレスに対して読み出し動作を初期化すると、平面デコーダ1464は、アドレスを復号して、アドレスに関連付けられた選択されたメモリセルの物理的位置やブロック及びレベルを特定する。スイッチ回路は、メモリセルのページにアクセスするために選択されたグローバルビット線に、バイアス電圧を電圧スイッチを介して同時に印加するように構成することができる。 A planar decoder, such as
電圧スイッチ1500,1502,1504,1506は、ブロック1468(図14参照)における単一の電源又は複数の電源を通して発生した、又は、提供された異なる電圧信号Vsource1、Vsource2、Vsource3、Vsource4を受ける。電圧スイッチ1500,1502,1504,1506は、電圧信号Vsource1、Vsource2、Vsource3、Vsource4のうちの1つを、上述したレベルに依存した制御信号BLCLAMPとして出力する。レベルに依存した制御信号BLCLAMPを、グローバルビット線GBL1〜GBL8に結合されたページバッファ回路内のクランプトランジスタ(図示せず)に提供する。上述したように、レベルに依存した制御信号BLCLAMPは、選択されたメモリセルのグローバルビット線及びローカルビット線を、本明細書に説明したレベルに依存した読み出し動作の間に予めチャージする。The voltage switches 1500, 1502, 1504, 1506 receive different voltage signals Vsource1, Vsource2, Vsource3, Vsource4 generated or provided through a single power supply or multiple power supplies in block 1468 (see FIG. 14). The voltage switches 1500, 1502, 1504, and 1506 output one of the voltage signals Vsource1, Vsource2, Vsource3, and Vsource4 as the control signal BLCLAMP that depends on the level described above. A level-dependent control signal BLCLAMP is provided to a clamp transistor (not shown) in the page buffer circuit coupled to the global bit lines GBL1 -GBL8 . As described above, the level-dependent control signal BLCLAMP precharges the global bit line and local bit line of the selected memory cell during the level-dependent read operation described herein.
図15では、ページバッファ1511〜1518のそれぞれは、異なるグローバルビット線に結合されるので、広く、平行した読み出し動作が可能となる。 In FIG. 15, since each of the
説明した例では、グローバルビット線GBL1及びGBL8は、各ブロックにおいて同一レベル内の異なる組のビット線に接続される。従って、電圧スイッチ1500の出力は、グローバルビット線GBL1に結合されたページバッファ1(1511)とグローバルビット線GBL8に結合されたページバッファ2(1515)の両方に提供される。In the example described, the global bit lines GBL1 and GBL8 are connected to different sets of bit lines in the same level in each block. Therefore, the output of
図16は、それぞれが複数のレベルのメモリセルに結合されたグローバルビット線を有し、レベルに依存したバイアスを本明細書に説明したように印加できる3次元フラッシュメモリアレイ構造の他の例の斜視図である。この例では、メモリセルの4レベルが示されており、多くのレベルを含むことができるメモリセルのブロックの代表的なものである。 FIG. 16 shows another example of a three-dimensional flash memory array structure that has global bit lines coupled to memory cells at multiple levels, and can apply a level dependent bias as described herein. It is a perspective view. In this example, four levels of memory cells are shown, which is representative of a block of memory cells that can include many levels.
絶縁材料は、追加的構造を見えるようにするために図面からは省いてある。例えば、絶縁層は、隆起したスタック状の半導体帯片の間で省かれ、半導体帯片の隆起したスタックの間でも省かれている。 The insulating material has been omitted from the drawing to make the additional structure visible. For example, the insulating layer is omitted between raised stacks of semiconductor strips and is also omitted between raised stacks of semiconductor strips.
多層アレイが絶縁層の上に形成され、多層アレイには、ワード線WLn,WLn-1,...として機能する、複数の隆起したスタックと共形の複数の導電線1625−1,...,1625−n−1,1625−nが含まれる。複数の隆起したスタックには、ローカルビット線として機能する半導体帯片が含まれる。同一レベルの半導体帯片は、階段状に配列されたコンタクトパッドを有する延設部によってまとめて電気的に結合される。A multilayer array is formed on the insulating layer, and the multilayer array includes word lines WLn , WLn−1 ,. . . As a plurality of raised stacks conforming to a plurality of raised stacks. . . , 1625-n-1, 1625-n. The plurality of raised stacks includes semiconductor strips that function as local bit lines. Semiconductor strips of the same level are electrically coupled together by an extension having contact pads arranged in a staircase pattern.
全体の構造の後ろから前に向かって1からNへ昇順するワード線の示した番号付けは、メモリページにも適用する。奇数のメモリページには、ワード線の番号付けは、全体構造の後ろから前に向かってNから1へと降順する。 The numbering indicated by the word lines in ascending order from 1 to N from the back to the front of the overall structure also applies to the memory page. For odd memory pages, the word line numbering is descending from N to 1 from the back to the front of the overall structure.
示したように、ブロックの第1の端部にある延設部1602,1603,1604,1605は、異なるグローバルビット線GBL1〜GBL4に電気的に接続される。同様に、延設部1652,1653,1654,1655は、異なるグローバルビット線GBL1〜GBL4に電気的に接続される。As shown, the
半導体帯片の任意のスタックは、延設部1602,1603,1604,1605又は延設部1652,1653,1654,1655のどちらか一方に結合されるが、両方には結合されない。半導体帯片のスタックは、ビット線の端部からソース線の端部への方向及びソース線の端部からビット線の端部への方向の2つの反対の方向のうちの一方を有する。 Any stack of semiconductor strips is coupled to either
延設部1652,1653,1654,1655によって1つの端部で終端された半導体帯片のスタックは、SSLゲート構造1619、グランド選択線GSL1626、ワード線1625−1WL〜1625−NWL、グランド選択線GSL1627を通過し、ソース線1628によって他端で終端される。半導体帯片のこれらのスタックは、延設部1602,1603,1604,1605には到達しない。 A stack of semiconductor strips terminated at one end by
延設部1602,1603,1604,1605によって1つの端部で終端された半導体帯片のスタックは、SSLゲート構造1609、グランド選択線GSL1627、ワード線1625−NWL〜1625−1WL、グランド選択線GSL1626を通過し、ソース線1628(図の他の部分によって隠されている)によって他端で終端される。半導体帯片のこれらのスタックは、延設部1652,1653,1654,1655には到達しない。 A stack of semiconductor strips terminated at one end by
電荷蓄積構造は、ワード線1625−1〜1625−nを半導体帯片から分離する。グランド選択線GSL1626及びGSL1627は、ワード線と同様に、複数の隆起したスタックと共形である。 The charge storage structure separates the word lines 1625-1 to 1625-n from the semiconductor strip. The ground
グローバルビット線GBL1〜GBL4は、金属層ML1,ML2,ML3に形成される。図の他の部分によって隠されているが、示した例では、各グローバルビット線GBL1〜GBL4は、2つの異なるレベルのメモリセルのブロックに結合される。例えば、図では、グローバルビット線GBL1は、第4レベルでローカルビット線として機能する半導体帯片の組に接続される延設部1605に結合されるとともに、第1レベルにおいてローカルビット線として機能する半導体帯片の組に接続される延設部1652に結合される。このことは、以下、図17でさらに議論する。The global bit lines GBL1 to GBL4 are formed in the metal layers ML1, ML2, and ML3. Although hidden by the other parts of the figure, in the example shown, each global bit line GBL1 -GBL4 is coupled to a block of two different levels of memory cells. For example, in the figure, the global bit line GBL1 is coupled to an
図17は、図16に示した構成に配列されたメモリセルを有する複数のマルチレベルブロックへのグローバルビット線GBL1〜GBL8の接続を例示的に示すレイアウト図である。FIG. 17 is a layout diagram exemplarily showing connection of global bit lines GBL1 to GBL8 to a plurality of multi-level blocks having memory cells arranged in the configuration shown in FIG.
グローバルビット線GBL1〜GBL8は、垂直コネクタを介して様々なレベルブロックにおけるローカルビット線(図示せず)に結合される。この例では、分かりやすくするために、ブロックのそれぞれには、4つのレベルが含まれる。垂直コネクタが、覆っているグローバルビット線を結合するレベルは、レベル指数1,2,3,4によって示される。Global bit lines GBL1 -GBL8 are coupled to local bit lines (not shown) in various level blocks via vertical connectors. In this example, each of the blocks includes four levels for clarity. The level at which the vertical connector couples the global bit lines it covers is indicated by
例えば、グローバルビット線GBL1は、レベル1のコネクタを介して、メモリブロックBlockMの第1レベル内のローカルビット線の組に結合され、レベル2のコネクタを介して、メモリブロックBlockMの第2レベル内のローカルビット線の組に結合され、レベル3のコネクタを介して、メモリブロックBlockM+1の第3レベル内のローカルビット線の組に結合される。For example, the global bit line GBL1 is coupled to a set of local bit lines in the first level of the memory block BlockM via a
ブロック毎の垂直コネクタは、各レベルのコンタクトパッドを、図17に示したような階段のステップのように配列することにより実装することができる「ローカルビット線への階段状コネクタ構造」と記された領域内にある。 The vertical connector for each block is described as “stepped connector structure to local bit line” that can be implemented by arranging the contact pads of each level like the steps of steps as shown in FIG. Is in the area.
図16及び図17の例では、グローバルビット線GBL1〜GBL8は、第3の金属層にパターン形成され、ストリング選択線SSL1〜SSL8は、第1及び第2の金属層にパターン形成される。ストリング選択線は、下層のストリングと平行である第1の金属セグメント及びワード線と平行である第2の金属セグメントを介してブロックの交互端部のストリング選択トランジスタに結合される。ブロックMにおいてワード線と平行なセグメントは、説明図ではSSL1〜SSL8と記される。金属層間の垂直接続は、「×が付けられた」ボックスで示される。ワード線WLx及び、各ブロックの上部及び底部の偶数と奇数のグランド選択線GSL1及びGSL2は、この例では、ポリシリコン層等のパターン形成された導体層で第1金属層の下に実装される。In the example of FIGS. 16 and 17, the global bit lines GBL1 to GBL8 are patterned on the third metal layer, and the string selection lines SSL1 to SSL8 are patterned on the first and second metal layers. Is done. The string select line is coupled to the string select transistors at the alternating ends of the block via a first metal segment parallel to the underlying string and a second metal segment parallel to the word line. In the block M, the segments parallel to the word lines are denoted as SSL1 to SSL8 in the explanatory diagram. Vertical connections between metal layers are indicated by a “marked” box. The word lines WLx and the even and odd ground selection lines GSL1 and GSL2 at the top and bottom of each block are, in this example, patterned conductor layers such as polysilicon layers below the first metal layer. Implemented.
本発明は、詳述した好適な実施形態及び例を参照して開示されているが、これらの例示は限定する意味においてではなく、例示を意図するものであることが理解される。当業者であれば、本発明の精神及び以下の請求項の範囲内である修正及び組み合わせを容易に行うことができるものと考えられる。 While the invention has been disclosed with reference to the preferred embodiments and examples detailed, it is understood that these illustrations are intended to be illustrative rather than limiting. Those skilled in the art will readily be able to make modifications and combinations that are within the spirit of the invention and within the scope of the following claims.
160 NANDフラッシュメモリアレイ
161 行デコーダ
163 ページバッファ
165 アドレス
166 列デコーダ
168 バイアス配列供給電圧
169 プログラム、消去及びレベルに依存した読み出し動作用の状態マシン
174 他の回路160 NAND
| Application Number | Priority Date | Filing Date | Title |
|---|---|---|---|
| US201161434120P | 2011-01-19 | 2011-01-19 | |
| US61/434,120 | 2011-01-19 | ||
| US13/245,587US8724390B2 (en) | 2011-01-19 | 2011-09-26 | Architecture for a 3D memory array |
| US13/245,587 | 2011-09-26 |
| Publication Number | Publication Date |
|---|---|
| JP2012150876Atrue JP2012150876A (en) | 2012-08-09 |
| Application Number | Title | Priority Date | Filing Date |
|---|---|---|---|
| JP2012002259APendingJP2012150876A (en) | 2011-01-19 | 2012-01-10 | Architecture for three-dimensional memory array |
| Country | Link |
|---|---|
| JP (1) | JP2012150876A (en) |
| KR (1) | KR101844074B1 (en) |
| CN (1) | CN102610260B (en) |
| TW (1) | TWI497496B (en) |
| Publication number | Priority date | Publication date | Assignee | Title |
|---|---|---|---|---|
| JP2014135493A (en)* | 2013-01-11 | 2014-07-24 | Samsung Electronics Co Ltd | Three-dimensional semiconductor device and method of manufacturing the same |
| JP2015053099A (en)* | 2013-09-09 | 2015-03-19 | 株式会社東芝 | Nonvolatile semiconductor memory device |
| TWI508257B (en)* | 2013-10-29 | 2015-11-11 | Macronix Int Co Ltd | Three dimensional stacked semiconductor structure and method for manufacturing the same |
| JP2016051485A (en)* | 2014-08-28 | 2016-04-11 | 株式会社東芝 | Semiconductor memory device and data erasing method |
| JP2016100596A (en)* | 2014-11-19 | 2016-05-30 | マクロニクス インターナショナル カンパニー リミテッド | Vertical 3D memory device and manufacturing method thereof |
| JP2018005959A (en)* | 2016-06-30 | 2018-01-11 | 東芝メモリ株式会社 | Memory system and writing method |
| CN108615540A (en)* | 2016-12-13 | 2018-10-02 | 三星电子株式会社 | The method of memory device and operation memory device |
| CN115019859A (en)* | 2015-11-25 | 2022-09-06 | 日升存储公司 | Memory structure |
| KR20230115862A (en)* | 2022-01-27 | 2023-08-03 | 매크로닉스 인터내셔널 컴퍼니 리미티드 | Memory structure |
| US11839086B2 (en) | 2021-07-16 | 2023-12-05 | Sunrise Memory Corporation | 3-dimensional memory string array of thin-film ferroelectric transistors |
| US11915768B2 (en) | 2015-09-30 | 2024-02-27 | Sunrise Memory Corporation | Memory circuit, system and method for rapid retrieval of data sets |
| JP2024527652A (en)* | 2022-06-21 | 2024-07-26 | チャンシン メモリー テクノロジーズ インコーポレイテッド | Semiconductor structure and manufacturing method thereof, memory chip, electronic device |
| US12402319B2 (en) | 2021-09-14 | 2025-08-26 | Sunrise Memory Corporation | Three-dimensional memory string array of thin-film ferroelectric transistors formed with an oxide semiconductor channel |
| US12426241B2 (en) | 2022-06-21 | 2025-09-23 | Changxin Memory Technologies, Inc. | Semiconductor structure and manufacturing method thereof, memory chip and electronic device |
| Publication number | Priority date | Publication date | Assignee | Title |
|---|---|---|---|---|
| US9093152B2 (en) | 2012-10-26 | 2015-07-28 | Micron Technology, Inc. | Multiple data line memory and methods |
| US9240420B2 (en)* | 2013-09-06 | 2016-01-19 | Sandisk Technologies Inc. | 3D non-volatile storage with wide band gap transistor decoder |
| CN104617098B (en)* | 2013-11-05 | 2018-04-13 | 旺宏电子股份有限公司 | Three-dimensional stacked semiconductor structure and manufacturing method thereof |
| CN104795103B (en)* | 2014-01-22 | 2018-05-11 | 旺宏电子股份有限公司 | three-dimensional semiconductor element |
| US10186519B2 (en) | 2015-03-31 | 2019-01-22 | Samsung Electronics Co., Ltd. | Semiconductor memory devices |
| KR102449571B1 (en)* | 2015-08-07 | 2022-10-04 | 삼성전자주식회사 | Semiconductor Device |
| US11017838B2 (en) | 2016-08-04 | 2021-05-25 | Samsung Electronics Co., Ltd. | Nonvolatile memory devices |
| KR102620562B1 (en)* | 2016-08-04 | 2024-01-03 | 삼성전자주식회사 | Nonvolatile memory device |
| KR20180109139A (en)* | 2017-03-27 | 2018-10-08 | 에스케이하이닉스 주식회사 | Memory system and operating method thereof |
| KR102795468B1 (en)* | 2019-05-07 | 2025-04-16 | 삼성전자주식회사 | Page buffer and memory device including the same |
| US11508746B2 (en) | 2019-10-25 | 2022-11-22 | Micron Technology, Inc. | Semiconductor device having a stack of data lines with conductive structures on both sides thereof |
| US11605588B2 (en) | 2019-12-20 | 2023-03-14 | Micron Technology, Inc. | Memory device including data lines on multiple device levels |
| CN113053438B (en)* | 2019-12-27 | 2024-01-30 | 美光科技公司 | Apparatus and method for determining capacitive and resistive characteristics of access lines |
| TWI822051B (en)* | 2022-05-23 | 2023-11-11 | 旺宏電子股份有限公司 | Three dimension memory device |
| US12254949B2 (en) | 2023-05-09 | 2025-03-18 | Macronix International Co., Ltd. | Memory device |
| TWI841377B (en)* | 2023-05-09 | 2024-05-01 | 旺宏電子股份有限公司 | Memory device |
| Publication number | Priority date | Publication date | Assignee | Title |
|---|---|---|---|---|
| JP2008524772A (en)* | 2004-12-17 | 2008-07-10 | サンディスク スリーディー エルエルシー. | Apparatus and method for memory operation using address-dependent conditions |
| JP2008299891A (en)* | 2007-05-29 | 2008-12-11 | Toshiba Corp | Semiconductor memory device |
| US20090168534A1 (en)* | 2008-01-02 | 2009-07-02 | Samsung Electronics Co., Ltd. | Three-dimensional memory device with multi-plane architecture |
| US20090168482A1 (en)* | 2007-12-28 | 2009-07-02 | Samsung Electronics Co., Ltd. | Three-dimensional memory device |
| US20090251962A1 (en)* | 2008-04-07 | 2009-10-08 | Jong-In Yun | Three-Dimensional Memory Device and Driving Method Thereof |
| JP2010092544A (en)* | 2008-10-08 | 2010-04-22 | Toshiba Corp | Semiconductor memory device |
| JP2010102755A (en)* | 2008-10-21 | 2010-05-06 | Toshiba Corp | Three-dimensionally stacked nonvolatile semiconductor memory |
| US20100226195A1 (en)* | 2009-03-03 | 2010-09-09 | Macronix International Co., Ltd. | Integrated circuit self aligned 3d memory array and manufacturing method |
| JP2011238303A (en)* | 2010-05-06 | 2011-11-24 | Renesas Electronics Corp | Semiconductor memory device |
| JP2012169002A (en)* | 2011-02-14 | 2012-09-06 | Toshiba Corp | Semiconductor storage device |
| JP2014135112A (en)* | 2013-01-09 | 2014-07-24 | Macronix International Co Ltd | P-channel three-dimensional memory array |
| WO2015037159A1 (en)* | 2013-09-13 | 2015-03-19 | 株式会社 東芝 | Semiconductor memory device and memory system |
| Publication number | Priority date | Publication date | Assignee | Title |
|---|---|---|---|---|
| US6480419B2 (en)* | 2001-02-22 | 2002-11-12 | Samsung Electronics Co., Ltd. | Bit line setup and discharge circuit for programming non-volatile memory |
| US6906940B1 (en)* | 2004-02-12 | 2005-06-14 | Macronix International Co., Ltd. | Plane decoding method and device for three dimensional memories |
| US7227783B2 (en)* | 2005-04-28 | 2007-06-05 | Freescale Semiconductor, Inc. | Memory structure and method of programming |
| KR100626394B1 (en)* | 2005-06-27 | 2006-09-20 | 삼성전자주식회사 | String Select Line and Ground Select Line Bias Circuits for Improved Flash Memory Reliability |
| NO334601B1 (en) | 2010-07-08 | 2014-04-22 | Inge Johnsen | Formwork for sealing a cover in a cover and a method for sealing the cover. |
| Publication number | Priority date | Publication date | Assignee | Title |
|---|---|---|---|---|
| JP2008524772A (en)* | 2004-12-17 | 2008-07-10 | サンディスク スリーディー エルエルシー. | Apparatus and method for memory operation using address-dependent conditions |
| JP2008299891A (en)* | 2007-05-29 | 2008-12-11 | Toshiba Corp | Semiconductor memory device |
| US20090168482A1 (en)* | 2007-12-28 | 2009-07-02 | Samsung Electronics Co., Ltd. | Three-dimensional memory device |
| US20090168534A1 (en)* | 2008-01-02 | 2009-07-02 | Samsung Electronics Co., Ltd. | Three-dimensional memory device with multi-plane architecture |
| US20090251962A1 (en)* | 2008-04-07 | 2009-10-08 | Jong-In Yun | Three-Dimensional Memory Device and Driving Method Thereof |
| JP2010092544A (en)* | 2008-10-08 | 2010-04-22 | Toshiba Corp | Semiconductor memory device |
| JP2010102755A (en)* | 2008-10-21 | 2010-05-06 | Toshiba Corp | Three-dimensionally stacked nonvolatile semiconductor memory |
| US20100226195A1 (en)* | 2009-03-03 | 2010-09-09 | Macronix International Co., Ltd. | Integrated circuit self aligned 3d memory array and manufacturing method |
| JP2011238303A (en)* | 2010-05-06 | 2011-11-24 | Renesas Electronics Corp | Semiconductor memory device |
| JP2012169002A (en)* | 2011-02-14 | 2012-09-06 | Toshiba Corp | Semiconductor storage device |
| JP2014135112A (en)* | 2013-01-09 | 2014-07-24 | Macronix International Co Ltd | P-channel three-dimensional memory array |
| WO2015037159A1 (en)* | 2013-09-13 | 2015-03-19 | 株式会社 東芝 | Semiconductor memory device and memory system |
| Publication number | Priority date | Publication date | Assignee | Title |
|---|---|---|---|---|
| JP2014135493A (en)* | 2013-01-11 | 2014-07-24 | Samsung Electronics Co Ltd | Three-dimensional semiconductor device and method of manufacturing the same |
| JP2015053099A (en)* | 2013-09-09 | 2015-03-19 | 株式会社東芝 | Nonvolatile semiconductor memory device |
| US9449708B2 (en) | 2013-09-09 | 2016-09-20 | Kabushiki Kaisha Toshiba | Nonvolatile semiconductor memory device |
| TWI508257B (en)* | 2013-10-29 | 2015-11-11 | Macronix Int Co Ltd | Three dimensional stacked semiconductor structure and method for manufacturing the same |
| JP2016051485A (en)* | 2014-08-28 | 2016-04-11 | 株式会社東芝 | Semiconductor memory device and data erasing method |
| JP2016100596A (en)* | 2014-11-19 | 2016-05-30 | マクロニクス インターナショナル カンパニー リミテッド | Vertical 3D memory device and manufacturing method thereof |
| US12002523B2 (en) | 2015-09-30 | 2024-06-04 | Sunrise Memory Corporation | Memory circuit, system and method for rapid retrieval of data sets |
| US11915768B2 (en) | 2015-09-30 | 2024-02-27 | Sunrise Memory Corporation | Memory circuit, system and method for rapid retrieval of data sets |
| CN115019859A (en)* | 2015-11-25 | 2022-09-06 | 日升存储公司 | Memory structure |
| CN115019859B (en)* | 2015-11-25 | 2023-10-31 | 日升存储公司 | memory structure |
| JP2018005959A (en)* | 2016-06-30 | 2018-01-11 | 東芝メモリ株式会社 | Memory system and writing method |
| CN108615540B (en)* | 2016-12-13 | 2023-07-07 | 三星电子株式会社 | Memory device and method of operating the same |
| CN108615540A (en)* | 2016-12-13 | 2018-10-02 | 三星电子株式会社 | The method of memory device and operation memory device |
| US11839086B2 (en) | 2021-07-16 | 2023-12-05 | Sunrise Memory Corporation | 3-dimensional memory string array of thin-film ferroelectric transistors |
| US12402319B2 (en) | 2021-09-14 | 2025-08-26 | Sunrise Memory Corporation | Three-dimensional memory string array of thin-film ferroelectric transistors formed with an oxide semiconductor channel |
| JP2023109677A (en)* | 2022-01-27 | 2023-08-08 | 旺宏電子股▲ふん▼有限公司 | memory structure |
| JP7512566B2 (en) | 2022-01-27 | 2024-07-09 | 旺宏電子股▲ふん▼有限公司 | Memory Structures |
| KR102752616B1 (en)* | 2022-01-27 | 2025-01-10 | 매크로닉스 인터내셔널 컴퍼니 리미티드 | Memory structure |
| US12317476B2 (en) | 2022-01-27 | 2025-05-27 | Macronix International Co., Ltd. | Memory structure |
| KR20230115862A (en)* | 2022-01-27 | 2023-08-03 | 매크로닉스 인터내셔널 컴퍼니 리미티드 | Memory structure |
| JP2024527652A (en)* | 2022-06-21 | 2024-07-26 | チャンシン メモリー テクノロジーズ インコーポレイテッド | Semiconductor structure and manufacturing method thereof, memory chip, electronic device |
| JP7614322B2 (en) | 2022-06-21 | 2025-01-15 | チャンシン メモリー テクノロジーズ インコーポレイテッド | Semiconductor structure and manufacturing method thereof, memory chip, electronic device |
| US12426241B2 (en) | 2022-06-21 | 2025-09-23 | Changxin Memory Technologies, Inc. | Semiconductor structure and manufacturing method thereof, memory chip and electronic device |
| Publication number | Publication date |
|---|---|
| CN102610260A (en) | 2012-07-25 |
| TW201232547A (en) | 2012-08-01 |
| CN102610260B (en) | 2015-03-18 |
| KR101844074B1 (en) | 2018-03-30 |
| KR20120084268A (en) | 2012-07-27 |
| TWI497496B (en) | 2015-08-21 |
| Publication | Publication Date | Title |
|---|---|---|
| US8724390B2 (en) | Architecture for a 3D memory array | |
| JP2012150876A (en) | Architecture for three-dimensional memory array | |
| US10354730B2 (en) | Multi-deck memory device with access line and data line segregation between decks and method of operation thereof | |
| JP6633295B2 (en) | Sub-block erase | |
| JP5977003B2 (en) | Three-dimensional array memory architecture with diodes in memory string | |
| JP6303224B2 (en) | P-channel 3D memory array | |
| US9019771B2 (en) | Dielectric charge trapping memory cells with redundancy | |
| US9349464B2 (en) | Non-volatile semiconductor device | |
| US9490017B2 (en) | Forced-bias method in sub-block erase | |
| US20130272066A1 (en) | Strings of memory cells having string select gates, memory devices incorporating such strings, and methods of accessing and forming the same | |
| US10777277B2 (en) | Configuration of a memory device for programming memory cells | |
| US11715536B2 (en) | Apparatus for mitigating program disturb | |
| US11189335B2 (en) | Double write/read throughput by CMOS adjacent array (CaA) NAND memory | |
| US20210391023A1 (en) | Non-volatile memory device | |
| US20150078077A1 (en) | Nonvolatile semiconductor memory device | |
| US9093155B2 (en) | Semiconductor memory device | |
| KR20090000319A (en) | Nonvolatile Memory Device and Its Operation Method | |
| JP2024052883A (en) | Improving read times for three-dimensional memory devices | |
| KR20240032934A (en) | A memory device with strings of memory cells and separate read and write control gates. | |
| KR20240001844A (en) | nonvolatile memory device and method of performing a read operation in the same | |
| TWI489464B (en) | 3d memory array with read bit line shielding | |
| Micheloni et al. | 3D Stacked NAND Flash Memories | |
| TWI508081B (en) | Programming technique for reducing program disturb in stacked memory structures | |
| JP2009283070A (en) | Semiconductor memory device |
| Date | Code | Title | Description |
|---|---|---|---|
| A621 | Written request for application examination | Free format text:JAPANESE INTERMEDIATE CODE: A621 Effective date:20141031 | |
| A977 | Report on retrieval | Free format text:JAPANESE INTERMEDIATE CODE: A971007 Effective date:20150810 | |
| A131 | Notification of reasons for refusal | Free format text:JAPANESE INTERMEDIATE CODE: A131 Effective date:20150818 | |
| A521 | Request for written amendment filed | Free format text:JAPANESE INTERMEDIATE CODE: A523 Effective date:20151117 | |
| A02 | Decision of refusal | Free format text:JAPANESE INTERMEDIATE CODE: A02 Effective date:20160426 |