

本発明は、圧電振動子を利用した発振装置、この発振装置を利用した電子機器、に関する。 The present invention relates to an oscillation device using a piezoelectric vibrator, and an electronic apparatus using the oscillation device.
携帯電話機においては、音楽再生、ハンズフリーなどの音響機能を商品価値とした薄型スタイリッシュ携帯の開発が活発化している。この中、電気音響変換器に対しては、小型・薄型でかつ高音質への要求が高い。これらの要望を解決する手段としては、圧電素子を駆動源とする圧電型の電気音響変換器が開発されている。圧電型の電気音響変換器は圧電素子の自己伸縮運動を利用するため、磁気回路から構成される動電型の電気音響変換器より、薄型となる。 In mobile phones, the development of thin and stylish mobile phones that have commercial value such as music playback and hands-free acoustic functions is becoming active. Among these, electroacoustic transducers are highly demanded for being small and thin and having high sound quality. As means for solving these demands, a piezoelectric electroacoustic transducer using a piezoelectric element as a drive source has been developed. Since the piezoelectric electroacoustic transducer utilizes the self-expanding motion of the piezoelectric element, the piezoelectric electroacoustic transducer is thinner than the electrodynamic electroacoustic transducer composed of a magnetic circuit.
現在、上述のような電気音響変換器として各種の提案がある(特許文献1,2)。 Currently, there are various proposals as the above-described electroacoustic transducer (Patent Documents 1 and 2).
しかしながら、圧電式の電気音響変換器は、機械品質係数Qが高いため、共振周波数近傍にエネルギーが集中し、凹凸のある音圧レベル周波数特性になる。さらに、圧電素子では、基本共振周波数以降の高次振動モードにおいて、分割振動を発生する問題点がある。 However, since the piezoelectric electroacoustic transducer has a high mechanical quality factor Q, energy concentrates in the vicinity of the resonance frequency, and the sound pressure level frequency characteristic is uneven. Furthermore, the piezoelectric element has a problem of generating divided vibration in a higher-order vibration mode after the fundamental resonance frequency.
分割振動とは、高次の振動モードであり、基本振動モードが重畳することで成長する。ここでは、局所的に正相と逆相の振動姿態が重なりあい、音波放射に際に、干渉(キャンセリング)が発生し、音圧レベルが著しく低下する問題がある。このため、圧電素子を用いた電気音響変換器において、分割振動の発生を抑制できる画期的な技術が必要とされていた。 The divided vibration is a higher-order vibration mode and grows by superimposing the fundamental vibration mode. Here, there is a problem that the vibration state of the normal phase and the reverse phase locally overlap, and interference (cancelling) occurs when sound waves are emitted, so that the sound pressure level is remarkably lowered. For this reason, in an electroacoustic transducer using a piezoelectric element, an epoch-making technique capable of suppressing the occurrence of divided vibrations is required.
本発明は上述のような課題に鑑みてなされたものであり、分割振動の発生を抑制することができる圧電型の発振装置、このような発振装置を利用した電子機器、を提供するものである。 The present invention has been made in view of the above-described problems, and provides a piezoelectric oscillation device capable of suppressing the occurrence of divided vibrations, and an electronic apparatus using such an oscillation device. .
本発明の発振装置は、枠状の支持フレームと、支持フレームに外周部で支持されている扁平な振動部材と、振動部材の少なくとも一面に配置されていて振動部材より高剛性な弾性部材と、弾性部材の少なくとも一面の中心部に配置されていて電界の印加により伸縮運動する第一の圧電素子と、弾性部材の少なくとも一面の外周部に配置されていて第一の圧電素子より低剛性な環状の第二の圧電素子と、を有する。 The oscillation device of the present invention includes a frame-shaped support frame, a flat vibration member supported on the support frame at the outer peripheral portion, an elastic member disposed on at least one surface of the vibration member and having higher rigidity than the vibration member, A first piezoelectric element that is disposed at the center of at least one surface of the elastic member and expands and contracts when an electric field is applied, and an annular member that is disposed on the outer peripheral portion of at least one surface of the elastic member and is less rigid than the first piezoelectric element. The second piezoelectric element.
本発明の第一の電子機器は、本発明の発振装置と、発振装置に可聴域の音波に復調される超音波を出力させる発振駆動部と、を有する。 A first electronic device according to the present invention includes the oscillation device according to the present invention and an oscillation drive unit that causes the oscillation device to output an ultrasonic wave demodulated into an audible sound wave.
本発明の第二の電子機器は、本発明の発振装置と、発振装置に超音波を出力させる発振駆動部と、発振装置から発振されて測定対象物で反射した超音波を検知する超音波検知部と、検知された超音波から測定対象物までの距離を算出する測距部と、を有する。 A second electronic device according to the present invention includes an oscillation device according to the present invention, an oscillation drive unit that outputs an ultrasonic wave to the oscillation device, and an ultrasonic detection that detects an ultrasonic wave oscillated from the oscillation device and reflected from a measurement object. And a distance measuring unit that calculates a distance from the detected ultrasonic wave to the measurement object.
なお、本発明の各種の構成要素は、必ずしも個々に独立した存在である必要はなく、複数の構成要素が一個の部材として形成されていること、一つの構成要素が複数の部材で形成されていること、ある構成要素が他の構成要素の一部であること、ある構成要素の一部と他の構成要素の一部とが重複していること、等でもよい。 The various components of the present invention do not necessarily have to be independent of each other. A plurality of components are formed as a single member, and a single component is formed of a plurality of members. It may be that a certain component is a part of another component, a part of a certain component overlaps with a part of another component, or the like.
本発明の発振装置は、弾性部材の少なくとも一面の中心部に高剛性な第一の圧電素子が配置されているとともに外周部に低剛性な環状の第二の圧電素子が配置されている。その動作原理は、第一の圧電素子と第二の圧電素子を同時に駆動することで振動を発生させる。分割振動モードにおいては、弾性部材の外周部と中心部とが互いに異なる位相で変形する。このため、第二の圧電素子に対して剛性の高い第一の圧電素子が位置することで中心部の振動を抑制でき、分割振動を防止することができる。 In the oscillating device of the present invention, the high-rigidity first piezoelectric element is disposed at the center of at least one surface of the elastic member, and the low-rigidity annular second piezoelectric element is disposed on the outer peripheral portion. The operating principle is that vibration is generated by simultaneously driving the first piezoelectric element and the second piezoelectric element. In the split vibration mode, the outer peripheral portion and the central portion of the elastic member are deformed at different phases. For this reason, the vibration of the central portion can be suppressed and the divided vibration can be prevented by positioning the first piezoelectric element having high rigidity with respect to the second piezoelectric element.
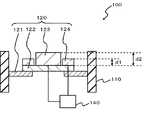
本実施の形態の発振装置である電気音響変換器100を図1および図2を参照して以下に説明する。本実施の形態の電気音響変換器100は、図1に示すように、枠状の支持フレーム110と、支持フレーム110に外周部で支持されている扁平な振動フィルム121と、振動フィルム121の少なくとも一面に配置されていて振動フィルム121より高剛性な弾性部材122と、弾性部材122の少なくとも一面の中心部に配置されていて電界の印加により伸縮運動する第一の圧電素子123と、弾性部材122の少なくとも一面の外周部に配置されていて第一の圧電素子123より低剛性な環状の第二の圧電素子124と、を有する。 An
本実施の形態の電気音響変換器100では、第一の圧電素子123の厚さが第二の圧電素子124の厚さより大きいことにより、第二の圧電素子124が第一の圧電素子123より低剛性となっている。 In the
また、図2に示すように、第一の圧電素子123と弾性部材122と振動フィルム121とが相似形状の平面形状に形成されており、第一の圧電素子123と第二の圧電素子124と弾性部材122と振動フィルム121とが同心円状の平面形状に形成されている。このため、第一の圧電素子123が円筒状に形成されており、第二の圧電素子124が円環状に形成されている。 Further, as shown in FIG. 2, the first
より詳細には、第一/第二の圧電素子123,124の両面には電極層(図示せず)も形成されており、この電極層と第一/第二の圧電素子123,124と弾性部材122と振動フィルム121とで圧電振動子120が形成されている。このような圧電振動子120に、発振駆動部であるドライバ回路140が結線されている。このドライバ回路140が圧電振動子120を駆動することにより、20kHz以上の超音波帯域の周波数で発振する。 More specifically, electrode layers (not shown) are also formed on both surfaces of the first / second
また、本実施の形態の電気音響変換器100では、例えば、樹脂製の振動フィルム121の縦弾性係数が金属製の弾性部材122の縦弾性係数の1/50以下であり、弾性部材122と振動フィルム121の厚み比が略3:1である。 In the
第一/第二の圧電素子123,124は、圧電効果を有する材料であれば、無機材料、有機材料ともに特に限定されないが、電気機械変換効率が高い材料、例えば、ジルコン酸チタン酸鉛(PZT)や、チタン酸バリウム(BaTiO3)などの材料が使用可能である。また、厚みは特に限定されないが、10μm〜1mmであることが好ましい。The first / second
脆性材料であるセラミック材料として厚み10μm未満の薄膜を使用した場合、取り扱い時に機械強度の弱さから、欠けや破損などが生じて、取り扱いが困難となる。また、厚み1mmを超えるセラミックを使用した場合は電気エネルギから機械エネルギに変換する変換効率が著しく低下し、電気音響変換器100として充分な性能が得られない。一般的に、電気信号の入力により電歪効果を発生させる圧電セラミックにおいては、その変換効率は電界強度に依存する。この電界強度は分極方向に対する厚み/入力電圧で表されることから、厚みの増加は必然的に変換効率の低下を招いてしまう問題がある。 When a thin film having a thickness of less than 10 μm is used as a ceramic material which is a brittle material, chipping or breakage occurs due to weak mechanical strength during handling, making handling difficult. In addition, when a ceramic having a thickness exceeding 1 mm is used, the conversion efficiency for converting electrical energy into mechanical energy is remarkably lowered, and sufficient performance as the
本発明の第一/第二の圧電素子123,124には電界を発生させるために主面に電極層が形成されている。その材料は特に限定されないが、例えば、銀や銀/パラジウムを使用することが可能である。銀は低抵抗な汎用的な電極材料して使用されており、製造プロセスやコストなどに利点があり、銀/パラジウムは耐酸化に優れた低抵抗材料であるため、信頼性の観点から利点がある。 In the first / second
また、電極層の厚みは特に限定されないが、その厚みが1〜50μmであるのが好ましい。厚み1μm未満では、膜厚が薄いため、均一に成形できず、変換効率が低下する可能性がある。また、電極層の膜厚が100μmを超える場合は、製造上に特に問題はないが、電極層が第一/第二の圧電素子123,124のセラミック材料に対して拘束面となり、エネルギ変換効率を低下させてしまう問題点がある。 Moreover, the thickness of the electrode layer is not particularly limited, but the thickness is preferably 1 to 50 μm. If the thickness is less than 1 μm, since the film thickness is thin, it cannot be uniformly formed, and conversion efficiency may be reduced. In addition, when the film thickness of the electrode layer exceeds 100 μm, there is no particular problem in manufacturing, but the electrode layer becomes a constraining surface for the ceramic material of the first / second
弾性部材122には、金属や樹脂など脆性材料であるセラミックに対して高い弾性率を持つ材料であれば特に限定されないが、加工性やコストの観点からリン青銅やステンレスなどの汎用材料が使用される。また、厚みについては、5〜1000μmであることが好ましい。厚みが5μm未満の場合、機械強度が弱く、拘束部材として機能を損なうことや、加工精度による低下により、製造ロット間で振動子の機械振動特性のばらつきが生じてしまう問題点がある。 The
振動フィルム121は、縦弾性係数が、100GPa以下の高分子材料であれば特に限定されないが、汎用性の観点から、ポリエチレンテレフタレートや、ポリエチレン、ウレタン、シリコンゴム、天然ゴム、合成ゴム、などの使用が可能である。 The
また、厚みが1000μmを超える場合は、剛性増による第一/第二の圧電素子123,124への拘束が強まり、振動変位量の減衰を生じさせてしまう問題点がある。また、本実施形態の弾性部材122は、材料の剛性を示す指標である縦弾性係数が、1〜500GPaであることが好ましい。上述のように、弾性部材122の剛性が過度に低い場合や、過度に高い場合は、機械振動子として特性や信頼性を損なう問題点がある。 In addition, when the thickness exceeds 1000 μm, there is a problem that the restraint on the first / second
音波発生のメカニズムは、第一/第二の圧電素子123,124への電界の印加により発生する伸縮運動を利用する。また、超音波の周波数は20kHz以上に限定する。第一/第二の圧電素子123,124は機械品質係数Qが高いため、基本共振近傍にエネルギが集中するため、基本共振周波数では高い音圧レベルを得ることができるが、その他の周波数帯域では、音圧が減衰してしまう。 The mechanism of sound wave generation uses the expansion and contraction motion generated by applying an electric field to the first / second
本実施の形態の電気音響変換器100は、特定周波数に限定した超音波を発振させるため、むしろ、第一/第二の圧電素子123,124の機械品質係数Qが高いことが特性として優位となる。また、圧電振動子の基本共振周波数は第一/第二の圧電素子123,124の形状に影響を受けるため、高い周波数帯域、例えば、超音波帯域に共振周波数を調整する場合、小型化に優位となる。 Since the
なお、本実施の形態の電気音響変換器100は、FM(Frequency Modulation)やAM(Amplitude Modulation)変調させた超音波を発振させ、空気の非線形状態(疎密状態)を利用して、変調波を復調させ可聴音を再生する、いわゆるパラメトリックスピーカの原理に基づいて音響再生を行う。本実施の形態の電気音響変換器100では、第一/第二の圧電素子123,124は、高周波数帯域の発振に限定した構成になるため、小型化が可能となる。 The
上述のような構成において、本実施の形態の電気音響変換器100では、弾性部材122の一面の中心部に高剛性な第一の圧電素子123が配置されているとともに外周部に低剛性な環状の第二の圧電素子124が配置されている。その動作原理は、第一の圧電素子123と第二の圧電素子124を同時に駆動することで振動を発生させる。 In the
分割振動モードにおいては、弾性部材122と外周部と中心部で互いに異なる位相で変形するため、第二の圧電素子124に対して剛性の高い第一の圧電素子123を配置する本構成では、中心部の振動を抑制でき、分割振動の姿態を変形することが可能である。このため、音圧レベルを増加させることができる。 In the split vibration mode, the
また、本実施の形態の圧電型の電気音響変換器100では、発振する周波数は20kHz以上の超音波帯域が好ましい。発振周波数を超音波帯域にすることで、圧電振動子120を小型化できると同時に、超音波の直進性を利用して指向性を制御することが可能となる。その応用例として、音声信号を超音波に搬送させて、空気中で復調させるパラメトリックスピーカにも利用できる。 Further, in the piezoelectric
さらに、本実施の形態の電気音響変換器100は、振動時に応力が集中する端部が柔軟性に富む樹脂製の振動フィルム121で構成されている。すなわち、落下時の衝撃エネルギーを樹脂製の振動フィルム121で吸収することができるため、落下強度を向上させることができる。 Furthermore, the
また、本構成の電気音響変換器100では、支持フレーム110と弾性部材122との間にある端部が振動フィルム121の樹脂で構成されている。すなわち、柔軟性に富む樹脂製の振動フィルム121が振動の端部に位置することで、端部の可動範囲が拡大し、振動姿態はよりピストン状に近づき、振動の際の体積排除量は拡大する。音圧レベルは、振動の際の空気への体積排除量に依存することから、本構成の電気音響変換器100では優位な特性を実現することができる。 Moreover, in the
なお、本発明は本実施の形態に限定されるものではなく、その要旨を逸脱しない範囲で各種の変形を許容する。例えば、上記形態では第一/第二の圧電素子123,124と弾性部材122と振動フィルム121とは相似形状に形成されており、同心円状に形成されていることを例示した。しかし、電極層と圧電素子と弾性部材と振動フィルムと支持フレームとが矩形である正方形の相似形状に形成されていてもよい(図示せず)。 The present invention is not limited to the present embodiment, and various modifications are allowed without departing from the scope of the present invention. For example, in the above embodiment, the first / second
また、上記形態では振動フィルム121の片面に圧電振動子120が形成されているモノモルフ構造の電気音響変換器100を例示した。しかし、振動フィルム121の両面に圧電振動子120が形成されているバイモルフ構造も実施可能である(図示せず)。その場合、一対の弾性部材の直径を相違させることにより、振動フィルムの両面に一個ずつ装着されている圧電振動子の構造を相違させることもできる。また、直径は同一のまま一対の弾性部材の板厚を相違させてもよく、圧電素子の直径や板厚を相違させてもよい(何れも図示せず)。 Moreover, in the said form, the
さらに、上記形態では第一/第二の圧電素子123,124の厚さが相違することにより、第一の圧電素子123が第二の圧電素子124より高剛性であることを例示した。しかし、第一/第二の圧電素子123,124の材料が相違することにより、第一の圧電素子123を第二の圧電素子124より高剛性とすることもできる。 Furthermore, in the said form, when the thickness of the 1st / 2nd
また、上記形態では電気音響変換器100に発振駆動部であるドライバ回路140が接続されている電子機器を想定した。しかし、このような電気音響変換器100と、電気音響変換器100に超音波を出力させる発振駆動部と、電気音響変換器100から発振されて測定対象物で反射した超音波を検知する超音波検知部と、検知された超音波から測定対象物までの距離を算出する測距部と、を有するソナーなどの電子機器(図示せず)も実施可能である。 Further, in the above embodiment, an electronic apparatus in which the
なお、当然ながら、上述した実施の形態および複数の変形例は、その内容が相反しない範囲で組み合わせることができる。また、上述した実施の形態および変形例では、各部の構造などを具体的に説明したが、その構造などは本願発明を満足する範囲で各種に変更することができる。 Needless to say, the above-described embodiment and a plurality of modifications can be combined within a range in which the contents do not conflict with each other. Further, in the above-described embodiments and modifications, the structure of each part has been specifically described, but the structure and the like can be changed in various ways within a range that satisfies the present invention.
100 電気音響変換器
110 支持フレーム
120 圧電振動子
121 振動フィルム
122 弾性部材
123 第一の圧電素子
124 第二の圧電素子
140 ドライバ回路DESCRIPTION OF
| Application Number | Priority Date | Filing Date | Title |
|---|---|---|---|
| JP2010282671AJP2012134597A (en) | 2010-12-20 | 2010-12-20 | Oscillation device and electronic apparatus |
| Application Number | Priority Date | Filing Date | Title |
|---|---|---|---|
| JP2010282671AJP2012134597A (en) | 2010-12-20 | 2010-12-20 | Oscillation device and electronic apparatus |
| Publication Number | Publication Date |
|---|---|
| JP2012134597Atrue JP2012134597A (en) | 2012-07-12 |
| Application Number | Title | Priority Date | Filing Date |
|---|---|---|---|
| JP2010282671AWithdrawnJP2012134597A (en) | 2010-12-20 | 2010-12-20 | Oscillation device and electronic apparatus |
| Country | Link |
|---|---|
| JP (1) | JP2012134597A (en) |
| Publication number | Priority date | Publication date | Assignee | Title |
|---|---|---|---|---|
| DE102018126387A1 (en)* | 2018-10-23 | 2020-04-23 | Tdk Electronics Ag | Sound transducer and method for operating the sound transducer |
| Publication number | Priority date | Publication date | Assignee | Title |
|---|---|---|---|---|
| DE102018126387A1 (en)* | 2018-10-23 | 2020-04-23 | Tdk Electronics Ag | Sound transducer and method for operating the sound transducer |
| US11601762B2 (en) | 2018-10-23 | 2023-03-07 | Tdk Electronics Ag | Sound transducer and method for operating the sound transducer |
| Publication | Publication Date | Title |
|---|---|---|
| JP5954181B2 (en) | Oscillator and electronic device | |
| JP5741580B2 (en) | Oscillator | |
| JP5682973B2 (en) | Oscillator and electronic device | |
| JP5939160B2 (en) | Oscillator and electronic device | |
| WO2012060041A1 (en) | Oscillator and portable device | |
| JP2012015758A (en) | Oscillator, method for manufacturing the same and electronic device | |
| JP6107138B2 (en) | Oscillator and electronic device | |
| WO2012011257A1 (en) | Vibration device and electronic device | |
| JP5958463B2 (en) | Oscillator | |
| JP2012015755A (en) | Oscillation device and electronic equipment | |
| JPWO2012060042A1 (en) | Electronics | |
| JP2012015757A (en) | Oscillation device and electronic equipment | |
| JP2012134597A (en) | Oscillation device and electronic apparatus | |
| JP2012217013A (en) | Oscillation device and electronic apparatus | |
| JP2012134596A (en) | Oscillation device and electronic apparatus | |
| JP2012134595A (en) | Oscillation device and electronic apparatus | |
| JP5516180B2 (en) | Oscillator and electronic device | |
| JP2012134599A (en) | Oscillation device and electronic apparatus | |
| JP2012134593A (en) | Oscillation device and electronic apparatus | |
| JP2012134598A (en) | Oscillator and electronic apparatus | |
| JP2012134594A (en) | Oscillation device and electronic apparatus | |
| JP5671945B2 (en) | Oscillator and electronic device | |
| JP2012134592A (en) | Oscillation device and electronic apparatus | |
| JP2012015756A (en) | Electronic apparatus and oscillation unit | |
| JP2012029098A (en) | Oscillation device and electronic apparatus |
| Date | Code | Title | Description |
|---|---|---|---|
| A621 | Written request for application examination | Free format text:JAPANESE INTERMEDIATE CODE: A621 Effective date:20131218 | |
| A761 | Written withdrawal of application | Free format text:JAPANESE INTERMEDIATE CODE: A761 Effective date:20140414 |