





















本発明は、タッチパネルセンサと、タッチパネルセンサに取り付けられた保護カバーと、を備えた保護カバー付タッチパネルセンサに関する。 The present invention relates to a touch panel sensor with a protective cover including a touch panel sensor and a protective cover attached to the touch panel sensor.
今日、入力手段として、タッチパネル装置が広く用いられている。タッチパネル装置は、タッチパネルセンサ、タッチパネルセンサからの信号を処理する検出制御部などを含んでいる。タッチパネル装置は、多くの場合、液晶ディスプレイやプラズマディスプレイ等の表示装置が組み込まれた種々の装置等(例えば、券売機、ATM装置、携帯電話、ゲーム機)に対する入力手段として、表示装置とともに用いられている。このような装置においては、タッチパネルセンサが表示装置の表示面上に配置されており、これによって、表示装置に対する極めて直接的な入力が可能になっている。タッチパネルセンサのうち表示装置の表示領域に対応する領域は透明になっており、タッチパネルセンサのこの透明な領域が、接触位置(接近位置)を検出し得るアクティブエリアを構成している。 Today, touch panel devices are widely used as input means. The touch panel device includes a touch panel sensor, a detection control unit that processes a signal from the touch panel sensor, and the like. In many cases, the touch panel device is used together with the display device as an input means for various devices including a display device such as a liquid crystal display or a plasma display (for example, a ticket vending machine, an ATM device, a mobile phone, a game machine). ing. In such a device, the touch panel sensor is disposed on the display surface of the display device, thereby enabling extremely direct input to the display device. The area | region corresponding to the display area of a display apparatus among touch panel sensors is transparent, and this transparent area | region of the touch panel sensor comprises the active area which can detect a contact position (approach position).
タッチパネル装置は、タッチパネルセンサ上への接触位置(接近位置)を検出する原理に基づいて、種々の形式に区別される。昨今では、光学的に明るいこと、意匠性があること、構造が容易であること、機能的にも優れていること等の理由から、容量結合方式のタッチパネル装置が注目されている。容量結合方式のタッチパネル装置においては、位置を検知されるべき外部導体(典型的には、指)が誘電体を介してタッチパネルセンサに接触(接近)する際、新たに奇生容量が発生する。この奇生容量に起因する静電容量の変化に基づいて、タッチパネルセンサ上における対象物の位置が検出される。容量結合方式には表面型と投影型とがあるが、マルチタッチの認識(多点認識)への対応に適していることから、投影型が注目を浴びている(例えば、特許文献1)。 Touch panel devices are classified into various types based on the principle of detecting a contact position (approach position) on a touch panel sensor. In recent years, capacitive touch panel devices have attracted attention because they are optically bright, have good design properties, have a simple structure, and are superior in function. In a capacitively coupled touch panel device, when an external conductor (typically a finger) whose position is to be detected contacts (approaches) the touch panel sensor via a dielectric, a new strange capacitance is generated. The position of the object on the touch panel sensor is detected based on the change in capacitance caused by this strange capacity. The capacitive coupling method includes a surface type and a projection type. The projection type is attracting attention because it is suitable for multi-touch recognition (multi-point recognition) (for example, Patent Document 1).
投影型容量結合方式のタッチパネルセンサは、誘電体と、誘電体の両面上であって、上述のアクティブエリア内に形成されたセンサ電極と、誘電体の両面上であって、アクティブエリアの外側の非アクティブエリア(いわゆる額縁領域)に形成された取出配線と、を有している。一般に、このようなタッチパネルセンサの一側に保護カバーを取り付けるとともに、タッチパネルセンサの他側に表示装置を取り付けることにより、表示装置に対する極めて直接的な入力が可能な入出力装置が構成される。 A projected capacitively coupled touch panel sensor is provided on a dielectric, on both sides of the dielectric, on the sensor electrode formed in the active area, on both sides of the dielectric, and outside the active area. And an extraction wiring formed in a non-active area (so-called frame region). In general, by attaching a protective cover to one side of such a touch panel sensor and attaching a display device to the other side of the touch panel sensor, an input / output device capable of extremely direct input to the display device is configured.
一般に、タッチパネルセンサを供給する製造業者と、タッチパネルに保護カバーおよび表示装置を組み合わせて入出力装置を製造する製造業者は、別々の者となっている。この場合、タッチパネルセンサを供給する製造業者においては、一般に、タッチパネルセンサの両側に接着層を介して剥離ライナーが貼り付けられた状態で、タッチパネルが出荷される。その後、入出力装置を製造する製造業者においては、はじめに、タッチパネルセンサに貼り付けられた剥離ライナーが剥がされ、次に、タッチパネルセンサと保護カバーおよび表示装置とが組み合わされる。このように、入出力装置を製造する製造業者においては、タッチパネルセンサに貼り付けられた剥離ライナーを剥がす工程と、タッチパネルセンサに保護カバーを取り付ける工程と、が実施される。 In general, a manufacturer that supplies a touch panel sensor and a manufacturer that manufactures an input / output device by combining a protective cover and a display device with the touch panel are different persons. In this case, a manufacturer that supplies a touch panel sensor generally ships the touch panel with a release liner attached to both sides of the touch panel sensor via an adhesive layer. Thereafter, in a manufacturer that manufactures the input / output device, first, the release liner attached to the touch panel sensor is removed, and then the touch panel sensor, the protective cover, and the display device are combined. Thus, in the manufacturer which manufactures an input / output device, the process of peeling off the peeling liner affixed on the touch panel sensor, and the process of attaching a protective cover to a touch panel sensor are implemented.
ここで本発明は、入出力装置を製造する製造業者における工数を削減することができる、保護カバー付タッチパネルセンサを提供することを目的とする。 Here, an object of this invention is to provide the touchscreen sensor with a protective cover which can reduce the man-hour in the manufacturer which manufactures an input / output device.
本発明は、タッチ位置を検出され得る領域に対応するアクティブエリアと、前記アクティブエリアの周縁に位置する非アクティブエリアと、を含むタッチパネルセンサと、前記タッチパネルセンサの一側に第1接着層を介して設けられた保護カバーと、前記タッチパネルセンサの他側に第2接着層を介して設けられた透明シートと、を備え、前記タッチパネルセンサは、基材フィルムと、基材フィルムの一側の面上の前記アクティブエリア内にパターニングされた第1透明導電体と、基材フィルムの他側の面上の前記アクティブエリア内にパターニングされた第2透明導電体と、を有し、前記第1接着層は、少なくとも前記アクティブエリア内の前記第1透明導電体を覆うよう前記タッチパネルセンサと前記保護カバーとの間に設けられ、前記第2接着層は、少なくとも前記アクティブエリア内の前記第2透明導電体を覆うよう前記タッチパネルセンサと前記透明シートとの間に設けられることを特徴とする保護カバー付タッチパネルセンサである。 The present invention provides a touch panel sensor including an active area corresponding to a region where a touch position can be detected, and an inactive area located at the periphery of the active area, and a first adhesive layer on one side of the touch panel sensor. A protective cover provided on the other side of the touch panel sensor, and a transparent sheet provided on the other side of the touch panel sensor via a second adhesive layer. The touch panel sensor includes a base film and a surface on one side of the base film. A first transparent conductor patterned in the active area on the top, and a second transparent conductor patterned in the active area on the other surface of the base film, and the first adhesion A layer is provided between the touch panel sensor and the protective cover so as to cover at least the first transparent conductor in the active area; The second adhesive layer, at least the protective panel sensor with cover, characterized in that provided between the second transparent conductor the touch panel sensor so as to cover the said transparent sheet in the active area.
本発明による保護カバー付タッチパネルセンサにおいて、前記保護カバーは、その厚みが0.02〜0.4mmの範囲内となっているとともに、ポリエチレンテレフタレートから構成されていてもよい。 In the touch panel sensor with a protective cover according to the present invention, the protective cover has a thickness in the range of 0.02 to 0.4 mm and may be made of polyethylene terephthalate.
本発明による保護カバー付タッチパネルセンサにおいて、前記タッチパネルセンサは、基材フィルムの一側の面上の前記非アクティブエリア内に配置されるとともに前記第1透明導電体に接続された第1取出導電体と、当該第1取出導電体に接続された第1取出端子部と、基材フィルムの他側の面上の前記非アクティブエリア内に配置されるとともに前記第2透明導電体に接続された第2取出導電体と、当該第2取出導電体に接続された第2取出端子部と、をさらに有していてもよい。ここで、前記第2取出導電体および前記第2取出端子部の厚みは、前記第1取出導電体および前記第1取出端子部の厚みよりも大きくなっていてもよい。この場合、前記第1接着層は、前記第1透明導電体および前記第1取出導電体を覆うよう前記タッチパネルセンサと前記保護カバーとの間に設けられ、前記第2接着層は、少なくとも前記第2透明導電体を覆うよう前記タッチパネルセンサと前記透明シートとの間に設けられる。 In the touch panel sensor with a protective cover according to the present invention, the touch panel sensor is disposed in the inactive area on one surface of the base film, and is connected to the first transparent conductor. And a first lead terminal portion connected to the first lead conductor and a first lead terminal portion disposed in the inactive area on the other surface of the base film and connected to the second transparent conductor. You may further have 2 extraction conductors and the 2nd extraction terminal part connected to the said 2nd extraction conductor. Here, the thickness of the second extraction conductor and the second extraction terminal portion may be larger than the thickness of the first extraction conductor and the first extraction terminal portion. In this case, the first adhesive layer is provided between the touch panel sensor and the protective cover so as to cover the first transparent conductor and the first take-out conductor, and the second adhesive layer includes at least the first adhesive layer. 2 It is provided between the touch panel sensor and the transparent sheet so as to cover the transparent conductor.
本発明による保護カバー付タッチパネルセンサにおいて、前記第2接着層は、前記第2透明導電体を覆うとともに、前記第2取出導電体および前記第2取出端子部の全体を露出させるよう前記タッチパネルセンサと前記透明シートとの間に設けられていてもよい。 In the touch panel sensor with a protective cover according to the present invention, the second adhesive layer covers the second transparent conductor, and the touch panel sensor exposes the whole of the second extraction conductor and the second extraction terminal portion. It may be provided between the transparent sheets.
本発明による保護カバー付タッチパネルセンサにおいて、前記第2接着層は、前記第2透明導電体を覆うとともに、前記第2取出導電体および前記第2取出端子部を少なくとも部分的に露出させるよう前記タッチパネルセンサと前記透明シートとの間に設けられていてもよい。 In the touch panel sensor with a protective cover according to the present invention, the second adhesive layer covers the second transparent conductor, and at least partially exposes the second lead conductor and the second lead terminal portion. It may be provided between the sensor and the transparent sheet.
本発明による保護カバー付タッチパネルセンサにおいて、前記第1取出導電体および前記第1取出端子部は、前記基材フィルムの一側の面上に設けられた被覆導電層を含み、前記第2取出導電体および前記第2取出端子部は、前記基材フィルムの他側の面上に印刷された導電性ペースト層を含んでいてもよい。 In the touch panel sensor with a protective cover according to the present invention, the first extraction conductor and the first extraction terminal portion include a coated conductive layer provided on one surface of the base film, and the second extraction conductive The body and the second extraction terminal portion may include a conductive paste layer printed on the other surface of the base film.
本発明による保護カバー付タッチパネルセンサにおいて、好ましくは、前記第1接着層および前記第2接着層の厚みは、20〜150μmの範囲内となっており、前記第1取出導電体および前記第1取出端子部の厚みは、0.05〜0.4μmの範囲内となっており、前記第2取出導電体および前記第2取出端子部の厚みは、1〜30μmの範囲内となっている。 In the touch panel sensor with a protective cover according to the present invention, preferably, the first adhesive layer and the second adhesive layer have a thickness in the range of 20 to 150 μm, and the first extraction conductor and the first extraction conductor The thickness of the terminal portion is in the range of 0.05 to 0.4 μm, and the thickness of the second extraction conductor and the second extraction terminal portion is in the range of 1 to 30 μm.
本発明による保護カバー付タッチパネルセンサにおいて、前記第1透明導電体は、前記アクティブエリア内においてx方向に延び、前記第2透明導電体は、前記アクティブエリア内においてy方向に延び、前記非アクティブエリアは、y方向に延びる一対の向かい合う第1額縁配線領域と、y方向に直交するx方向に延びる一対の向かい合う第2額縁配線領域と、からなり、前記第1取出導電体は、前記第1額縁配線領域と前記アクティブエリアとの境界において、前記第1透明導電体と電気的に接続され、前記第2取出導電体は、前記第2額縁配線領域と前記アクティブエリアとの境界において、前記第2透明導電体と電気的に接続され、前記第1取出端子部は、前記第1額縁配線領域内または前記第2額縁配線領域内のいずれかに配置され、前記第2取出端子部は、前記第2額縁配線領域内に配置されていてもよい。 In the touch panel sensor with a protective cover according to the present invention, the first transparent conductor extends in the x direction in the active area, the second transparent conductor extends in the y direction in the active area, and the inactive area. Comprises a pair of opposing first frame wiring regions extending in the y direction and a pair of opposing second frame wiring regions extending in the x direction orthogonal to the y direction, wherein the first take-out conductor is the first frame The second transparent conductor is electrically connected to the first transparent conductor at the boundary between the wiring area and the active area, and the second extraction conductor is connected to the second transparent conductor at the boundary between the second frame wiring area and the active area. The first lead-out terminal portion is electrically connected to the transparent conductor, and is disposed in either the first frame wiring region or the second frame wiring region. The second lead terminal portions may be arranged in the second frame wiring region.
本発明による保護カバー付タッチパネルセンサにおいて、前記第1取出端子部および前記第2取出端子部は、前記第2額縁配線領域内に配置され、前記第1取出導電体は、前記第1額縁配線領域を通って前記第2額縁配線領域内の第2取出端子部に接続されるよう形成されてもよい。 In the touch panel sensor with a protective cover according to the present invention, the first extraction terminal portion and the second extraction terminal portion are disposed in the second frame wiring region, and the first extraction conductor is formed in the first frame wiring region. It may be formed so as to be connected to the second extraction terminal portion in the second frame wiring region.
本発明による保護カバー付タッチパネルセンサにおいて、前記第1取出端子部は、前記第1額縁配線領域内に配置されていてもよい。 In the touch panel sensor with a protective cover according to the present invention, the first extraction terminal portion may be disposed in the first frame wiring region.
本発明による保護カバー付タッチパネルセンサにおいて、前記透明シートは、光を波長に応じて選択的に透過させるカラーフィルタのカラーフィルタ用基材からなっていてもよい。 In the touch panel sensor with a protective cover according to the present invention, the transparent sheet may be formed of a color filter base material for a color filter that selectively transmits light according to a wavelength.
本発明は、透明な基材フィルムと、前記基材フィルムの一側の面上に設けられた第1透明導電層と、前記基材フィルムの他側の面上に設けられた第2透明導電層と、前記第1透明導電層上に設けられ、遮光性および導電性を有する被覆導電層と、を有する積層体を準備する工程と、前記被覆導電層上に、所定パターンを有する第1感光層を露光および現像処理により形成するとともに、前記第2透明導電層上に、前記第1感光層とは異なるパターンを有する第2感光層を露光および現像処理により形成する工程と、前記第1感光層をマスクとして前記被覆導電層をエッチングして、前記被覆導電層をパターニングする工程と、前記第1感光層および前記被覆導電層をマスクとして前記第1透明導電層をエッチングするとともに、前記第2感光層をマスクとして前記第2透明導電層をエッチングして、前記第1透明導電層および前記第2透明導電層をパターニングする工程と、前記被覆導電層の一部分上にのみ配置される第3感光層を露光および現像処理により形成する工程と、前記第3感光層をマスクとして前記被覆導電層をエッチングして、被覆導電層のうち前記一部分以外の被覆導電層を除去する工程と、前記基材フィルムの他側の面上に、印刷により導電性ペーストを塗布して導電性ペースト層を形成する工程と、前記基材フィルムの一側に、第1接着層を介して保護カバーを取り付ける工程と、前記基材フィルムの他側に、第2接着層を介して透明シートを取り付ける工程と、を備え、前記第3感光層をマスクとした前記エッチングの後に残っている前記被覆導電層が、パターニングされた前記第1透明導電層と電気的に接続された第1取出導電体と、当該第1取出導電体に接続された第1取出端子部と、を構成し、前記導電性ペースト層が、パターニングされた前記第2透明導電層と電気的に接続された第2取出導電体と、当該第2取出導電体に接続された第2取出端子部と、を構成することを特徴とする保護カバー付タッチパネルセンサの製造方法である。 The present invention provides a transparent base film, a first transparent conductive layer provided on one side of the base film, and a second transparent conductive provided on the other side of the base film. A step of preparing a laminate having a layer and a coated conductive layer having a light shielding property and conductivity provided on the first transparent conductive layer, and a first photosensitive film having a predetermined pattern on the coated conductive layer Forming a layer by exposure and development, and forming a second photosensitive layer having a pattern different from that of the first photosensitive layer on the second transparent conductive layer by exposure and development; and Etching the coated conductive layer using the layer as a mask to pattern the coated conductive layer, etching the first transparent conductive layer using the first photosensitive layer and the coated conductive layer as a mask, and the second Photosensitivity And etching the second transparent conductive layer to pattern the first transparent conductive layer and the second transparent conductive layer, and a third photosensitive layer disposed only on a part of the coated conductive layer. A step of forming by exposure and development, a step of etching the coated conductive layer using the third photosensitive layer as a mask, and removing a coated conductive layer other than the part of the coated conductive layer; and On the other side, a step of applying a conductive paste by printing to form a conductive paste layer, a step of attaching a protective cover to one side of the base film via a first adhesive layer, Attaching a transparent sheet to the other side of the base film through a second adhesive layer, and the coated conductive layer remaining after the etching using the third photosensitive layer as a mask A first extraction conductor that is electrically connected to the first transparent conductive layer that has been rounded; and a first extraction terminal portion that is connected to the first extraction conductor, wherein the conductive paste layer is And a second extraction conductor electrically connected to the patterned second transparent conductive layer, and a second extraction terminal portion connected to the second extraction conductor. It is a manufacturing method of a touch panel sensor with a cover.
本発明による保護カバー付タッチパネルセンサの製造方法において、前記導電性ペースト層から構成される前記第2取出導電体および前記第2取出端子部の厚みは、前記被覆導電層から構成される前記第1取出導電体および前記第1取出端子部の厚みよりも大きくなっていてもよい。この場合、前記第1接着層は、パターニングされた前記第1透明導電層と、前記第1取出導電体と、を覆うよう前記タッチパネルセンサと前記保護カバーとの間に設けられ、前記第2接着層は、少なくとも、パターニングされた前記第2透明導電層を覆うよう前記タッチパネルセンサと前記透明シートとの間に設けられる。 In the method for manufacturing a touch panel sensor with a protective cover according to the present invention, the thickness of the second extraction conductor formed from the conductive paste layer and the second extraction terminal portion is the first configured from the coated conductive layer. It may be larger than the thickness of the extraction conductor and the first extraction terminal portion. In this case, the first adhesive layer is provided between the touch panel sensor and the protective cover so as to cover the patterned first transparent conductive layer and the first extraction conductor, and the second adhesion layer. The layer is provided between the touch panel sensor and the transparent sheet so as to cover at least the patterned second transparent conductive layer.
本発明による保護カバー付タッチパネルセンサの製造方法において、前記第2接着層は、パターニングされた前記第2透明導電層を覆うとともに、前記第2取出導電体および前記第2取出端子部の全体を露出させるよう前記タッチパネルセンサと前記透明シートとの間に設けられてもよい。 In the method for manufacturing a touch panel sensor with a protective cover according to the present invention, the second adhesive layer covers the patterned second transparent conductive layer and exposes the entire second extraction conductor and the second extraction terminal portion. It may be provided between the touch panel sensor and the transparent sheet.
本発明による保護カバー付タッチパネルセンサの製造方法において、前記第2接着層は、パターニングされた前記第2透明導電層を覆うとともに、前記第2取出導電体および前記第2取出端子部を部分的に露出させるよう前記タッチパネルセンサと前記透明シートとの間に設けられてもよい。 In the method for manufacturing a touch panel sensor with a protective cover according to the present invention, the second adhesive layer covers the patterned second transparent conductive layer, and partially covers the second extraction conductor and the second extraction terminal portion. It may be provided between the touch panel sensor and the transparent sheet so as to be exposed.
本発明による保護カバー付タッチパネルセンサの製造方法において、好ましくは、前記第1接着層および前記第2接着層の厚みは、20〜150μmの範囲内となっており、前記第1取出導電体および前記第1取出端子部の厚みは、0.05〜0.4μmの範囲内となっており、前記第2取出導電体および前記第2取出端子部の厚みは、1〜30μmの範囲内となっている。 In the method for manufacturing a touch panel sensor with a protective cover according to the present invention, preferably, the thickness of the first adhesive layer and the second adhesive layer is in a range of 20 to 150 μm, and the first extraction conductor and the The thickness of the first extraction terminal portion is in the range of 0.05 to 0.4 μm, and the thickness of the second extraction conductor and the second extraction terminal portion is in the range of 1 to 30 μm. Yes.
本発明の透明シート付タッチパネルセンサは、タッチ位置を検出され得る領域に対応するアクティブエリアと、アクティブエリアの周縁に位置する非アクティブエリアと、を含むタッチパネルセンサと、タッチパネルセンサの一側に第1接着層を介して設けられた保護カバーと、タッチパネルセンサの他側に第2接着層を介して設けられた透明シートと、を備えている。このうちタッチパネルセンサは、基材フィルムと、基材フィルムの一側の面上の前記アクティブエリア内にパターニングされた第1透明導電体と、基材フィルムの他側の面上のアクティブエリア内にパターニングされた第2透明導電体と、を有している。また、第1接着層は、少なくともアクティブエリア内の第1透明導電体を覆うようタッチパネルセンサと保護カバーとの間に設けられており、第2接着層は、少なくともアクティブエリア内の第2透明導電体を覆うようタッチパネルセンサと透明シートとの間に設けられている。このように本発明によれば、保護カバーが設けられた状態でタッチパネルセンサが提供される。このため、タッチパネルセンサと表示装置などとを組み合わせて入出力装置を製造する業者において、タッチパネルセンサに保護カバーが取り付けられる必要がない。このことにより、タッチパネルセンサと表示装置などとを組み合わせて入出力装置を製造する業者における工数を削減することができる。 The touch panel sensor with a transparent sheet according to the present invention includes a touch panel sensor including an active area corresponding to an area where a touch position can be detected, and an inactive area located at the periphery of the active area, and a first touch panel sensor. A protective cover provided via an adhesive layer; and a transparent sheet provided on the other side of the touch panel sensor via a second adhesive layer. Among these, the touch panel sensor has a base film, a first transparent conductor patterned in the active area on one side of the base film, and an active area on the other side of the base film. And a patterned second transparent conductor. The first adhesive layer is provided between the touch panel sensor and the protective cover so as to cover at least the first transparent conductor in the active area, and the second adhesive layer is at least the second transparent conductor in the active area. It is provided between the touch panel sensor and the transparent sheet so as to cover the body. Thus, according to the present invention, a touch panel sensor is provided in a state in which a protective cover is provided. For this reason, a manufacturer that manufactures an input / output device by combining a touch panel sensor with a display device or the like does not require a protective cover to be attached to the touch panel sensor. Thereby, the man-hour in the manufacturer who manufactures an input / output device combining a touch panel sensor, a display apparatus, etc. can be reduced.
以下、図面を参照して本発明の実施の形態について説明する。 Embodiments of the present invention will be described below with reference to the drawings.
なお、本明細書に添付する図面においては、図示と理解のしやすさの便宜上、適宜縮尺および縦横の寸法比等を、実物のそれらから変更し誇張してある。 In the drawings attached to the present specification, for the sake of illustration and ease of understanding, the scale, the vertical / horizontal dimension ratio, and the like are appropriately changed and exaggerated from those of the actual ones.
また本明細書において、「シート」、「フィルム」、「板」の用語は、呼称の違いのみに基づいて、互いから区別されるものではない。したがって、例えば、「シート」はフィルムや板等とも呼ばれ得るような部材や部分も含む概念である。 Further, in the present specification, the terms “sheet”, “film”, and “plate” are not distinguished from each other only based on the difference in names. Therefore, for example, a “sheet” is a concept that includes members and portions that can also be called films, plates, and the like.
タッチパネル装置
はじめに図1および図2を参照して、タッチパネルセンサ30を備えたタッチパネル装置20全体について説明する。図1および図2に示されたタッチパネル装置20は、投影型の静電容量結合方式として構成され、タッチパネル装置20への外部導体(例えば、人間の指)の接触位置を検出可能に構成されている。なお、静電容量結合方式のタッチパネル装置20の検出感度が優れている場合には、外部導体がタッチパネル装置に接近しただけで当該外部導体がタッチパネル装置のどの領域に接近しているかを検出することができる。従って、ここで用いる「接触位置」とは、実際には接触していないが位置を検出され得る接近位置を含む概念とする。Touch Panel Device First, an entire
図1および図2に示すように、タッチパネル装置20は、表示装置(例えば液晶表示装置)15とともに組み合わせられて用いられることにより、入出力装置10を構成する。図示された表示装置15は、フラットパネルディスプレイとして構成されている。表示装置15は、表示面16aを有した表示パネル16と、表示パネル16に接続された表示制御部17と、を有している。表示パネル16は、映像を表示することができる表示領域A1と、表示領域A1を取り囲むようにして表示領域A1の外側に配置された非表示領域(額縁領域とも呼ばれる)A2と、を含んでいる。表示制御部17は、表示されるべき映像に関する情報を処理し、映像情報に基づいて表示パネル16を駆動する。表示パネル16は、表示制御部17の制御信号に基づいて、所定の映像を表示面16aに表示する。すなわち、表示装置15は、文字や図等の情報を映像として出力する出力装置としての役割を担っている。 As shown in FIGS. 1 and 2, the
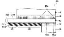
図1および図2に示すように、タッチパネル装置20は、タッチパネルセンサ30と、タッチパネルセンサ30の観察者側(一側)に第1接着層14を介して設けられた保護カバー12と、タッチパネルセンサ30の表示装置15側(他側)に第2接着層19を介して設けられた透明シート27と、タッチパネルセンサ30に接続された検出制御用基板(図示せず)を含む検出制御部25と、を備えている。このようなタッチパネル装置20が、表示装置15上に透明接着層(図示せず)を介して搭載されている。上述したように、タッチパネル装置20は、投影型容量結合方式のタッチパネル装置として構成されており、情報を入力する入力装置としての役割を担っている。また検出制御部25の検出制御用基板は、例えば、後述するフレキシブルプリント基板からなっており、このフレキシブルプリント基板は、タッチパネルセンサ30の後述する第1取出端子部および第2取出端子部に接続されている。 As shown in FIGS. 1 and 2, the
上述の保護カバー12は、誘電体として機能するとともに、透光性を有するものであり、この保護カバー12が、タッチパネル装置20への入力面(タッチ面、接触面)となる。つまり、保護カバー12に導体、例えば人間の指5を接触させることにより、タッチパネル装置20に対して外部から情報を入力することができるようになっている。後述するように、保護カバー12は、タッチパネルセンサ30を製造する際にタッチパネルセンサ30に取り付けられる。後述するように、タッチパネルセンサ30は、保護カバー12が取り付けられた状態で、タッチパネルセンサ30と表示装置15とを組み合わせて入出力装置10を製造する業者へと出荷される。 The
保護カバー12がポリエチレンテレフタレート(PET)などの柔軟性を有する材料から構成されている場合、保護カバー12の厚みが例えば0.02〜0.4mmの範囲内となっている。このような柔軟性を有する保護カバー12をタッチパネルセンサ30に第1接着層14を介して取り付けることにより、組立や取り扱いの容易さを確保しながら、タッチパネルセンサ30を外部から保護することが可能となる。
なお、保護カバー12が、ガラス、アクリル樹脂またはポリカーボネートなどから構成されていてもよい。この場合、保護カバー12の厚みが例えば0.1〜1.5mmの範囲内となっている。When the
The
また上述の透明シート27は、透光性を有するとともに、タッチパネルセンサ30の表示装置15側の面を保護するものである。保護カバー12の場合と同様に、透明シート27は、タッチパネルセンサ30を製造する際にタッチパネルセンサ30に取り付けられる。このため、透明シート27により、タッチパネルセンサ30が出荷される際にタッチパネルセンサ30の表示装置15側の面が傷つくのを防ぐことができる。 The
透明シート27がポリエチレンテレフタレート(PET)などの柔軟性を有する材料から構成されている場合、透明シート27の厚みが例えば0.02〜0.4mmの範囲内となっている。ここのような柔軟性を有する透明シート27をタッチパネルセンサ30に第2接着層19を介して取り付けることにより、組立や取り扱いの容易さを確保しながら、タッチパネルセンサ30を外部から保護することが可能となる。
なお、透明シート27が、ガラス、アクリル樹脂またはポリカーボネートなどから構成されていてもよい。この場合、透明シート27の厚みが例えば0.1〜1.5mmの範囲内となっている。When the
The
なお、上述した接着層14,19を構成する材料としては、透光性を有する種々の接着材料を用いることができる。このような接着材料として、例えば、アクリル系粘着材やポリエーテル系粘着材を用いることができる。より具体的には、積水化学製の#5400Aシリーズ、日東電工製のLUCIACSなどが用いられる。また、本明細書において、「接着(層)」は粘着(層)をも含む概念として用いられる。 In addition, as a material which comprises the contact bonding layers 14 and 19 mentioned above, the various adhesive material which has translucency can be used. As such an adhesive material, for example, an acrylic adhesive material or a polyether adhesive material can be used. More specifically, Sekisui Chemical's # 5400A series, Nitto Denko's LUCIACS, etc. are used. In the present specification, “adhesion (layer)” is used as a concept including adhesion (layer).
上述の検出制御部25には、タッチパネルセンサ30の後述するセンサ電極からの信号が伝達されており、この検出制御部25により、保護カバー12を介して入力された情報が処理される。具体的には、検出制御部25は、保護カバー12へ導体(典型的には、人間の指)5が接触している際に、保護カバー12への導体5の接触位置を特定し得るように構成された回路(検出回路)を含んでいる。また、検出制御部25が、表示装置15の表示制御部17と連動していてもよい。この場合、検出制御部25は、処理した入力情報を表示制御部17へ送信することができる。この際、表示制御部17は、入力情報に基づいた映像情報を作成し、入力情報に対応した映像を表示パネル16に表示させることができる。これら検出制御部25および表示制御部17の具体的な構成や配置などが特に限られることはない。例えば、検出制御部25および表示制御部17は、表示装置15内に組み入れられる制御基板として構成されてもよく、または、表示装置15とは別体に設けられる制御基板として構成されてもよい。 A signal from a sensor electrode (described later) of the
なお、「容量結合」方式および「投影型」の容量結合方式との用語は、タッチパネルの技術分野で用いられる際の意味と同様の意味を有するものとして、本件において用いられている。なお、「容量結合」方式は、タッチパネルの技術分野において「静電容量」方式や「静電容量結合」方式等とも呼ばれており、本件では、これらの「静電容量」方式や「静電容量結合」方式等と同義の用語として取り扱う。典型的な静電容量結合方式のタッチパネル装置は導電体層を含んでおり、外部の導体(典型的には人間の指)がタッチパネルに接触することにより、外部の導体とタッチパネル装置の導電体層との間でコンデンサ(静電容量)が形成される。そして、このコンデンサの形成にともなった電気的な状態の変化に基づき、タッチパネル上において外部導体が接触している位置の位置座標が特定される。また、「投影型」の容量結合方式は、タッチパネルの技術分野において「投影式」の容量結合方式等とも呼ばれており、本件では、この「投影式」の容量結合方式等と同義の用語として取り扱う。「投影型」の容量結合方式とは、典型的には、格子状に配列されたセンサ電極を用いて外部導体が接触している位置を検出する方式であり、膜状の電極を用いる「表面型」の容量結合方式と対比され得る。 Note that the terms “capacitive coupling” and “projection type” capacitive coupling are used in the present case as having the same meaning as used in the technical field of touch panels. The “capacitive coupling” method is also referred to as “capacitance” method or “capacitance coupling” method in the technical field of touch panels. It is treated as a term synonymous with “capacitive coupling” method. A typical capacitively coupled touch panel device includes a conductor layer, and an external conductor (typically a human finger) comes into contact with the touch panel, whereby the external conductor and the conductor layer of the touch panel device are contacted. A capacitor (capacitance) is formed between the two. Based on the change in the electrical state accompanying the formation of the capacitor, the position coordinates of the position where the external conductor is in contact with the touch panel are specified. The “projection type” capacitive coupling method is also referred to as “projection type” capacitive coupling method in the technical field of touch panel, and in this case, the term is synonymous with this “projection type” capacitive coupling method. handle. The “projection type” capacitive coupling method is typically a method of detecting a position where an external conductor is in contact using sensor electrodes arranged in a lattice pattern. Contrast with “type” capacitive coupling scheme.
タッチパネルセンサ
次に図2乃至図4Cを参照して、タッチパネルセンサ30について詳述する。図2に示すように、タッチパネルセンサ30は、基材フィルム32と、基材フィルム32の観察者側(一側)の面32a上に所定のパターンで設けられた第1透明導電体40と、基材フィルム32の表示装置15側(他側)の面32b上に所定のパターンで設けられた第2透明導電体45と、を有している。図3においては、第2透明導電体45などの、基材フィルム32の他側に設けられている構成要素が、便宜上、点線にて示されている。Touch Panel Sensor Next, the
このうち基材フィルム32は、タッチパネルセンサ30において誘電体として機能するものである。図3に示すように、基材フィルム32は、タッチ位置を検出され得る領域に対応する矩形状のアクティブエリアAa1と、アクティブエリアAa1を囲む矩形枠状の非アクティブエリアAa2と、を含んでいる。このうちアクティブエリアAa1は、図1に示すように、表示装置15の表示領域A1に対面する領域を占めており、一方、非アクティブエリアAa2は、表示装置15の非表示領域A2に対面する領域に形成されている。図3に示すように、矩形枠状の非アクティブエリアAa2は、y方向に延びる一対の向かい合う第1額縁配線領域30aと、y方向に直交するx方向に延びる一対の向かい合う第2額縁配線領域30bと、からなっている。 Among these, the
前述のとおり、基材フィルム32には第1透明導電体40および第2透明導電体45が設けられており、これら透明導電体40,45により、外部導体5との間で容量結合を形成し得る第1センサ電極36aおよび第2センサ電極37aがそれぞれ形成されている(図3参照)。後述するように、基材フィルム32、第1透明導電体40および第2透明導電体45はそれぞれ透光性を有しており、このため観察者は、これらを介して、表示装置15に表示された映像を観察することができる。 As described above, the
また、図3に示すように、基材フィルム32の非アクティブエリアAa2には、第1センサ電極36aに電気的に接続された第1取出配線36bと、第2センサ電極37aに電気的に接続された第2取出配線37bと、が形成されている。このうち第1取出配線36bは、図3に示すように、第1額縁配線領域30aとアクティブエリアAa1との境界において第1透明導電体40に電気的に接続されるとともに、第1額縁配線領域30aを通って第2額縁配線領域30bに至る第1取出導電体43と、第2額縁配線領域30b内に設けられ、第1取出導電体43に接続された第1取出端子部44と、を含んでいる。また、第2取出配線37bは、図3に示すように、第2額縁配線領域30bとアクティブエリアAa1との境界において第2透明導電体45に電気的に接続された第2取出導電体48と、第2額縁配線領域30b内に設けられ、第2取出導電体48に接続された第2取出端子部49と、を含んでいる。 Further, as shown in FIG. 3, in the inactive area Aa2 of the
次に、タッチパネルセンサ30を構成する各要素についてさらに詳述する。 Next, each element constituting the
センサ電極
はじめに、第1センサ電極36aおよび第2センサ電極37aについて詳述する。上述のように、第1センサ電極36aおよび第2センサ電極37aは、アクティブエリアAa1に設けられた第1透明導電体40および第2透明導電体45によりそれぞれ構成されている。これら第1透明導電体40および第2透明導電体45は、導電性を有する透明な材料から形成されている。このうち第1透明導電体40は、基材フィルム32の一側の面32a上に設けられるとともに、図3に示すように、x方向に略平行に延びている。また第2透明導電体45は、基材フィルム32の他側の面32b上に設けられるとともに、図3に示すように、x方向に直交するy方向に略平行に延びている。Sensor Electrode First, the
図3に示すように、第1透明導電体40は、直線状に延びるライン部41aと、ライン部41aから膨出した膨出部41bと、を有している。ここで膨出部41bとは、基材フィルム32のフィルム面に沿ってライン部41aから膨らみ出ている部分のことである。同様に、第2透明導電体45は、直線状に延びるライン部46aと、ライン部46aから膨出した膨出部46bと、を有している。 As shown in FIG. 3, the first
図3に示すように、第1透明導電体40と第2透明導電体45とは、互いに異なるパターンで配置されている。具体的には、図3に示すように、第1透明導電体40の膨出部41bと、第2透明導電体45の膨出部46bとが、基材フィルム32のフィルム面の法線方向から観察した場合に互いに重ならないように配置されている。このようにして、基材フィルム32のアクティブエリアAa1のほぼ全域にわたって、第1透明導電体40または第2透明導電体45のいずれかが配置されている。 As shown in FIG. 3, the first
第1透明導電体40および第2透明導電体45の材料としては、透明性および所要の導電性を有するものが用いられる。このような材料として、インジウム錫酸化物(ITO)、酸化亜鉛、酸化インジウム、アンチモン添加酸化錫、フッ素添加酸化錫、アルミニウム添加酸化亜鉛、カリウム添加酸化亜鉛、シリコン添加酸化亜鉛や、酸化亜鉛−酸化錫系、酸化インジウム−酸化錫系、酸化亜鉛−酸化インジウム−酸化マグネシウム系などの金属酸化物を挙げることができ、また、これらの金属酸化物が2種以上複合されてもよい。第1透明導電体40および第2透明導電体45の厚みは、求められる抵抗値などに応じて適宜設定されるが、例えば0.01〜0.1μmの範囲内となっている。 As the material of the first
取出配線
次に図4A乃至図4Cを参照して、第1センサ電極36aに電気的に接続された第1取出配線36bと、第2センサ電極37aに電気的に接続された第2取出配線36bと、について詳細に説明する。Referring toextraction wirings then 4A to 4C, a
(第1取出配線)
上述のように、第1取出配線36bは、第1額縁配線領域30aにおいて第1透明導電体40に電気的に接続されるとともに、第1額縁配線領域30aを通って第2額縁配線領域30bに至る第1取出導電体43と、第2額縁配線領域30b内に設けられ、第1取出導電体43に接続された第1取出端子部44と、を含んでいる。はじめに、第1額縁配線領域30aにおける第1取出導電体43について説明する。(First extraction wiring)
As described above, the
図3および図4Aに示すように、第1額縁配線領域30aにおいては、y方向に沿って複数本の第1取出導電体43が延びている。この第1取出導電体43は、図4Aおよび図4Bに示すように、基材フィルム32の一側の面32a上に形成された第1透明導電層52aと、第1透明導電層52a上に形成された被覆導電層54aと、からなっている。 As shown in FIGS. 3 and 4A, in the first
後述するように、第1透明導電体40は、被覆導電層54aをマスクとして第1透明導電層52aをエッチングすることにより形成される。図4Aおよび図4Bに示す第1透明導電層52aは、第1透明導電体40を形成するためのエッチングと同時に、非アクティブエリアAa2の第1透明導電層52aを第1取出導電体43のパターンに沿ってエッチングすることにより形成される層である。また後述するように、被覆導電層54aは、第1透明導電体40を形成するために必然的に設けられる層である。そのような層を用いて第1取出導電体43を構成することにより、第1取出導電体43をより安価に形成することができる。 As will be described later, the first
後述するように、第1取出導電体43は、被覆導電層54aおよび第1透明導電層52aをいわゆるフォトリソグラフィー法によってパターニングすることにより形成されている。このため、スクリーン印刷法などを用いて第1取出導電体43を形成する場合に比べて、第1取出導電体43の幅s1を狭くすることができ、また、各第1取出導電体43間の間隔s2を狭くすることができる。また、第1取出導電体43から基材フィルム32の端部までの距離s3を狭くすることができる。例えば、本実施の形態においては、第1取出導電体43の幅s1が30μm、各第1取出導電体43間の間隔s2が30μm、第1取出導電体43から基材フィルム32の端部までの距離s3が100μmとなっている。このように、第1額縁配線領域30aにおいてy方向に延びる複数本の第1取出導電体43をフォトリソグラフィー法によって形成することにより、第1額縁配線領域30aとして確保されるべき領域の幅を狭くすることができ、このことにより、表示装置の額縁領域を小面積化することができる。これによって、表示装置の表示領域を拡大させることが可能となる。As will be described later, the
次に、第2額縁配線領域30bにおける第1取出導電体43および第1取出端子部44について説明する。図3に示すように、第1取出導電体43は、第1額縁配線領域30aを通って第2額縁配線領域30bに至り、第2額縁配線領域30bにおいて第1取出端子部44に接続されている。第1取出端子部44は、第1透明導電体40からの信号をフレキシブルプリント基板を介して検出制御部25に伝達するための端子部であり、図3および図4Cに示すように、第1取出導電体43よりも広い幅を有するよう形成されている。第1取出端子部44は、第1取出導電体43の場合と同様に、基材フィルム32の一側の面32a上に形成された第1透明導電層52aと、第1透明導電層52a上に形成された被覆導電層54aと、からなっている。 Next, the
第1取出導電体43および第1取出端子部44は、上述のように非アクティブエリアAa2内に配置されている。このため、第1取出導電体43および第1取出端子部44が透光性を有する材料から形成される必要はなく、高い導電性を有する材料から形成され得る。このため、第1取出導電体43および第1取出端子部44を構成する層のうち、被覆導電層54aは、第1透明導電体40(第1透明導電層52a)を形成する材料よりも高い導電率(電気伝導率)を有する金属材料から形成されている。具体的には、遮光性を有するとともに、ITO等の透明導電体よりも格段に高い導電率を有する金属材料、例えばアルミニウム、モリブデン、銀、クロム、銅またはこれらの合金等の金属材料から形成されている。このような被覆導電層54aの厚みは、例えば0.05〜0.3μmの範囲内となっている。 The
(第2取出配線)
次に第2取出配線37bについて説明する。第2取出配線37bは、上述のように、第2額縁配線領域30bにおいて第2透明導電体45に電気的に接続された第2取出導電体48と、第2額縁配線領域30b内に設けられ、第2取出導電体48に接続された第2取出端子部49と、を含んでいる。第2取出導電体48および第2取出端子部49は、図4Bおよび図4Cに示すように、基材フィルム32の他側の面32b上に形成された第2透明導電層52bと、第2透明導電層52b上に形成された導電性ペースト層55bと、からなっている。(Second extraction wiring)
Next, the
第1透明導電体40の場合と同様に、第2透明導電体45は、第2透明導電層52bをエッチングすることにより形成される。図4Bおよび図4Cに示す第2透明導電層52bは、第2透明導電体45を形成するためのエッチングと同時に、非アクティブエリアAa2の第2透明導電層52bを第2取出導電体48および第2取出端子部49のパターンに沿ってエッチングすることにより形成される層である。一方、図4Bおよび図4Cに示す導電性ペースト層55bは、第2透明導電層52b上に印刷により導電性ペーストを塗布することにより形成される層である。後述するように、第2透明導電層52bは、第2透明導電体45を形成するために必然的に設けられる層である。そのような層を第2取出導電体48および第2取出端子部49に含めることにより、第2取出導電体48および第2取出端子部49の抵抗値をより小さくすることができる。 As in the case of the first
図3に示すように、第2取出導電体48は、第2額縁配線領域30bにおいて第2取出端子部49に接続されている。第2取出端子部49は、第2透明導電体45からの信号をフレキシブルプリント基板を介して検出制御部25に伝達するための端子部であり、図3に示すように、第2取出導電体48よりも広い幅を有するよう形成されている。 As shown in FIG. 3, the
後述するように、第2取出導電体48および第2取出端子部49の導電性ペースト層55bは、スクリーン印刷法を用いて形成されている。このため、このため、導電性ペースト層55bを厚膜で形成することが可能となっており、例えば、導電性ペースト層55bの厚みは5〜20μmの範囲内となっている。このことにより、第2取出導電体48および第2取出端子部49の抵抗値を十分に低くすることができる。 As will be described later, the
また上述のように、第2取出導電体48が設けられる第2額縁配線領域30bは、透明導電体40,45からの信号がフレキシブルプリント基板により取り出される領域であり、小面積化が特には求めていない領域となっている。このため、第2取出導電体48の幅s4、および各第2取出導電体48間の間隔s5は、フォトリソグラフィー法によって形成される第1取出導電体43の幅s1、および各第1取出導電体43間の間隔s2よりも各々広くなっていてもよい。例えば、第2取出導電体48の幅s4は70〜300μmの範囲内となっており、各第2取出導電体48間の間隔s5は70〜300μmの範囲内となっている。Further, as described above, the second frame wiring region 30b where the
第2取出導電体48および第2取出端子部49は、上述のように非アクティブエリアAa2内に配置されている。このため、第2取出導電体48および第2取出端子部49の導電性ペースト層55bが透光性を有する材料から形成される必要はなく、高い導電性を有する材料から形成される。本実施の形態においては、第2取出導電体48および第2取出端子部49の導電性ペースト層55bは、第2透明導電体45を形成する材料よりも高い導電率(電気伝導率)を有する導電性ペーストから形成されている。具体的には、ITO等の透明導電体よりも格段に高い導電率を有する導電性ペースト、例えばアルミニウム、モリブデン、銀、クロム、銅またはこれらの合金等の金属を用いたペーストから形成されている。 The
また、第2取出導電体48および第2取出端子部49は、上述の第1取出導電体43および第1取出端子部44とは異なる方法により形成される。このため、第2取出導電体48および第2取出端子部49を形成する材料と、第1取出導電体43および第1取出端子部44を形成する材料とが同一である必要はなく、取出導電体43,48のパターン長などに応じて適宜材料が選択される。 The
上述のように、第1取出導電体43および第1取出端子部44の第1透明導電層52aおよび被覆導電層54aは、それぞれフォトリソグラフィー法によりパターニングされる層である。一方、第2取出導電体48および第2取出端子部49の導電性ペースト層55bは、印刷により形成される層である。このため、第2取出導電体48および第2取出端子部49の厚みt2は、第1取出導電体43および第1取出端子部44の厚みt1よりも大きくなっている。例えば、第1取出導電体43および第1取出端子部44の厚みt1は、0.06〜0.4μmの範囲内となっており、一方、第2取出導電体48および第2取出端子部49の厚みt2は、5〜20μmの範囲内となっている。As described above, the first transparent
なお、第1取出導電体43および第1取出端子部44が第1透明導電層52aと被覆導電層54aとを含み、第2取出導電体48および第2取出端子部49が第2透明導電層52bと導電性ペースト層55bとを含む例を示したが、これに限られることはない。第1取出導電体43および第1取出端子部44は、少なくとも被覆導電層54aを含んでいればよく、また第2取出導電体48および第2取出端子部49は、少なくとも導電性ペースト層55bを含んでいればよい。
第1取出導電体43および第1取出端子部44が被覆導電層54aのみからなる場合、第1取出導電体43および第1取出端子部44の厚みt1は、被覆導電層54aの厚みと同一となる。すなわち、第1取出導電体43および第1取出端子部44の厚みt1は、0.05〜0.3μmの範囲内となっている。The
If the
第1接着層および第2接着層の形成範囲
次に、図5(a)(b)、図6Aおよび図6Bを参照して、タッチパネルセンサ30に保護カバー12および透明シート27を取り付ける際に使用される第1接着層14および第2接着層19の形成範囲について説明する。Range of formation of the first adhesive layer and the second adhesive layer Next, referring to FIGS. 5A, 5B, 6A and 6B, it is used when the
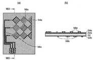
(第1接着層の形成範囲)
はじめに図5(a)および図6Aを参照して、第1接着層14の形成範囲について説明する。図5(a)は、第1接着層14が設けられる領域を示す平面図であり、図6Aは、図5(a)のVIA−VIA線に沿った断面図である。図5(a)においては、タッチパネルセンサ30の一側において第1接着層14が形成される領域が太枠R1で囲まれている。(Formation range of the first adhesive layer)
First, the formation range of the first
図5(a)および図6Aに示すように、第1接着層14は、アクティブエリアAa1内の第1透明導電体40と、非アクティブエリアAa2内の第1取出導電体43と、を覆うよう、タッチパネルセンサ30の一側に設けられている。また図6Aに示すように、タッチパネルセンサ30の一側には、第1接着層14を介して保護カバー12が取り付けられている。このため、タッチパネルセンサ30を搬送する際、または表示装置15に取り付ける際、第1透明導電体40および第1取出導電体43を外部から保護することができる。 As shown in FIGS. 5A and 6A, the first
一方、図5(a)および図6Aに示すように、タッチパネルセンサ30の一側の第1取出端子部44は、部分的には第1接着層14によって覆われているが、その大半は第1接着層14によって覆われていない。すなわち、第1取出端子部44の一部が露出されている。このように第1取出端子部44の一部を露出させることにより、フレキシブルプリント基板などを第1取出端子部44に接続することが可能となり、これによって、第1透明導電体40からの信号を上述の検出制御部25に伝達させることができる。 On the other hand, as shown in FIG. 5A and FIG. 6A, the first
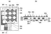
(第2接着層の形成範囲)
次に図5(b)および図6Bを参照して、第2接着層19の形成範囲について説明する。図5(b)は、第2接着層19が設けられる領域を示す平面図であり、図6Bは、図5(b)のVIB−VIB線に沿った断面図である。図5(b)においては、タッチパネルセンサ30の他側において第2接着層19が形成される領域が太枠R2で囲まれている。(Formation range of the second adhesive layer)
Next, the formation range of the second
図5(b)および図6Bに示すように、第2接着層19は、アクティブエリアAa1内の第2透明導電体45を覆うよう、タッチパネルセンサ30の他側に設けられている。また図6Bに示すように、タッチパネルセンサ30の他側には、第2接着層19を介して透明シート27が取り付けられている。このため、タッチパネルセンサ30を搬送する際、または表示装置15に取り付ける際、第2透明導電体45を外部から保護することができる。 As shown in FIGS. 5B and 6B, the second
一方、図5(b)および図6Bに示すように、タッチパネルセンサ30の他側の第2取出導電体48および第2取出端子部49は、第2接着層19によって覆われていない。すなわち、第2取出導電体48および第2取出端子部49の全体が露出されている。このため、後述するように、第2取出導電体48および第2取出端子部49が第2接着層19によって覆われる場合に比べて、第2接着層19内に気泡が生じるのを防ぐとともに、第2接着層19の厚みを小さくすることができる。また、第1取出端子部44の場合と同様に、第2取出端子部49を露出させることにより、フレキシブルプリント基板などを第2取出端子部49に接続することが可能となり、これによって、第2透明導電体45からの信号を上述の検出制御部25に伝達させることができる。 On the other hand, as shown in FIG. 5B and FIG. 6B, the
上述の第1接着層14および第2接着層19の厚みは、タッチパネル装置20の仕様などに応じて適宜設定されるが、例えば20〜150μmの範囲内となっている。 The thicknesses of the first
タッチパネルセンサの製造方法
次に、以上のような構成からなるタッチパネルセンサ30を図8に示すフローチャートにしたがって製造していく方法について、図7A〜図7Jを参照しながら説明する。なお、図7A〜図7Jの各図において、(a)は、作製中のタッチパネルセンサを、基材フィルム32の一側から見た場合を示す平面図である。(b)は、作製中のタッチパネルセンサを、(a)におけるVII−VII線に沿った断面において示している。また図7A〜図7Jの各図においては、便宜上、透明導電体40,45の構造などが、図3に示すタッチパネルセンサ30に比べて適宜簡略化されている。Method for Manufacturing Touch Panel Sensor Next, amethod for manufacturing the
(積層体の準備)
まず、図8および図7Aに示すように、タッチパネルセンサ30を製造するための元材としての積層体(ブランクスとも呼ばれる)50を準備する(工程S1)。この積層体50に成膜やパターニング等の処理(加工)を行っていくことにより、後述するように、タッチパネルセンサ30が得られる。(Preparation of laminate)
First, as shown in FIG. 8 and FIG. 7A, a laminate (also called blanks) 50 as a base material for manufacturing the
図7A(a)(b)に示すように、本実施の形態において準備される積層体50は、透明な基材フィルム32と、基材フィルム32の一側の面32a上に積層された第1透明導電層52aと、基材フィルム32の他側の面32b上に積層された第2透明導電層52bと、第1透明導電層52a上に積層された被覆導電層54aと、を有している。 As shown to FIG. 7A (a) (b), the
上述のように、基材フィルム32としては、PETフィルム等の樹脂フィルムが用いられる。また図示はしないが、基材フィルム32として、PET等の樹脂製のフィルム本体と、フィルム本体の一側の面または両側の面上に形成されたインデックスマッチング膜と、を有する基材フィルム32が用いられてもよい。 As described above, a resin film such as a PET film is used as the
第1透明導電層52aおよび第2透明導電層52bは、それぞれ、パターニングされて第1透明導電体40および第2透明導電体45となる層である。第1透明導電層52aおよび第2透明導電層52bは、透光性および導電性を有した材料から形成されている。例えば、第1透明導電層52aおよび第2透明導電層52bは、スパッタリングによって基材フィルム32の面32a,32bに成膜されたITO膜からなっている。 The first transparent
被覆導電層54aは、それぞれ、パターニングされて第1取出導電体43および第1取出端子部44の一部となる層である。被覆導電層54aは、第1透明導電層52aをなす材料よりも高い導電率を有する材料から形成されている。 The covering
また、被覆導電層54aは、後述する露光工程で用いられる露光光を透過させない性質を有する層である。本実施の形態において、被覆導電層54aは、露光光に対する遮光性のみでなくその他の波長域の光に対する遮光性も有する層、より具体的には、自然光に含まれ得る可視光、紫外線、赤外線等に対する遮光性を有する層として形成されている。このような層を被覆導電層54aとして用いることにより、より確実に露光光を遮光することができる。 The coated
このような被覆導電層54aを形成する材料としては、コスト面および加工の容易性等を考慮して、アルミニウム、モリブデン、銀、クロム、銅またはこれらの合金等が用いられる。このような金属からなる被覆導電層54aは、例えばスパッタリングによって、第1透明導電層52a上に形成される。 As a material for forming such a coated
タッチパネルセンサ30を製造する際に準備される積層体50の形態が特に限られることはなく、枚葉状の積層体50が準備されてもよいし、あるいは、細長いウェブ状の積層体50、例えばロールに巻き取られた積層体50が準備されてもよい。 The form of the laminate 50 prepared when the
(感光層の形成)
次に、図8および図7Bに示すように、積層体50の一側の面50a上に光溶解型の第1感光層56aを形成するとともに、積層体50の他側の面50b上に光溶解型の第2感光層56bを形成する(工程S2)。第1感光層56aおよび第2感光層56bは、特定波長域の光、例えば紫外線に対する感光性を有している。感光層56a,56bは、例えば、積層体50の表面上にコーターを用いて感光性材料をコーティングすることにより形成される。(Formation of photosensitive layer)
Next, as shown in FIGS. 8 and 7B, a light-dissolving type first
(感光層の露光)
その後、図8および図7Cに示すように、第1感光層56aおよび第2感光層56bを露光する(工程S3)。具体的には、まず、図7C(a)(b)に示すように、第1感光層56a上に第1マスク58aを配置するとともに、第2感光層56b上に第2マスク58bを配置する。第1マスク58aは、形成されるべき第1センサ電極36aおよび第1取出配線36bに対応したパターンで露光光を遮光する遮光部59aと、開口部59bとを含んでいる。また第2マスク58bは、形成されるべき第2センサ電極37aおよび第2取出配線37bに対応したパターンで露光光を遮光する遮光部60aと、開口部60bとを含んでいる。また、第1マスク58aのパターンおよび第2マスク58bのパターンは、互いに異なるパターンとなっている。(Exposure of photosensitive layer)
Thereafter, as shown in FIGS. 8 and 7C, the first
次に、図7C(b)に示すように、第1感光層56aおよび第2感光層56bの感光特性に対応した露光光(例えば、紫外線)を、マスク58a,58bを介して感光層56a,56bに照射する。この結果、第1感光層56aおよび第2感光層56bが互いに異なるパターンで同時に露光される。 Next, as shown in FIG. 7C (b), exposure light (for example, ultraviolet rays) corresponding to the photosensitive characteristics of the first
ここで、上述のように、積層体50には、露光光を遮光する被覆導電層54aが含まれている。このため、第1マスク58aおよび第1感光層56aを透過した露光光は被覆導電層54aによって遮光され、また、第2マスク58bおよび第2感光層56bを透過した露光光も被覆導電層54aによって遮光される。従って、第1マスク58aおよび第1感光層56aを透過した露光光が第2感光層56bに到達することはなく、同様に、第2マスク58bおよび第2感光層56bを透過した露光光が第1感光層56aに到達することもない。このことにより、第1感光層56aおよび第2感光層56bを、それぞれ所望のパターンで精度良く同時に露光することができる。 Here, as described above, the
(感光層の現像)
次に、図8および図7Dに示すように、露光された第1感光層56aおよび第2感光層56bを現像する(工程S4)。具体的には、第1感光層56aおよび第2感光層56bに対応した現像液を用意し、この現像液を用いて、第1感光層56aおよび第2感光層56bを現像する。これにより、図7D(a)(b)に示すように、第1感光層56aおよび第2感光層56bのうち、露光光を照射された部分が除去される。(Development of photosensitive layer)
Next, as shown in FIGS. 8 and 7D, the exposed first
(被覆導電層および透明導電層のパターニング)
その後、図8および図7Eに示すように、パターニングされた第1感光層56aをマスクとして被覆導電層54aおよび第1透明導電層52aをエッチングするとともに、パターニングされた第2感光層56bをマスクとして第2透明導電層52bをエッチングする(工程S5)。これによって、被覆導電層54aおよび透明導電層52a,52bがパターニングされる。(Patterning of coated conductive layer and transparent conductive layer)
Thereafter, as shown in FIGS. 8 and 7E, the coated
この場合、はじめに、パターニングされた第1感光層56aをマスクとして被覆導電層54aをエッチングする。これによって、被覆導電層54aが第1感光層56aと略同一のパターンにパターニングされる。ここで、被覆導電層54aがアルミニウムやモリブデンからなる場合には、例えば、燐酸、硝酸、酢酸、水を5:5:5:1の割合で配合してなる燐硝酢酸(水)がエッチング液として用いられる。また、被覆導電層54aが銀または銀合金からなる場合には、例えば、燐酸、硝酸、酢酸、水を4:1:4:4の割合で配合してなる燐硝酢酸(水)がエッチング液として用いられる。さらに、被覆導電層54aがクロムからなる場合には、例えば、硝酸セリウムアンモニウム、過塩素酸、水を17:4:70の割合で配合してなるエッチング液が用いられる。 In this case, first, the coated
次に、パターニングされた第1感光層56aおよび被覆導電層54aをマスクとして第1透明導電層52aをエッチングするとともに、パターニングされた第2感光層56bをマスクとして第2透明導電層52bをエッチングする。この場合、エッチング液として、例えば塩化第二鉄を含む溶液が用いられる。このようなエッチングにより、図7E(a)(b)に示すように、基材フィルム32の一側の面32a上に、形成されるべき第1センサ電極36aおよび第1取出配線36bに対応したパターンを有する被覆導電層54aおよび第1透明導電層52aが形成される。また、図7E(a)(b)に示すように、基材フィルム32の他側の面32b上に、形成されるべき第2センサ電極37aおよび第2取出配線37bに対応したパターンを有する第2透明導電層52bが形成される。 Next, the first transparent
(露光)
次に、図8および図7Fに示すように、パターニングされた第1感光層56aをさらに露光する(工程S6、いわゆるセカンド露光)。この露光は、パターニングされた感光層56aのうち、後にアクティブエリアAa1となる領域内に位置する感光層56aを除去するために行われるものである。(exposure)
Next, as shown in FIGS. 8 and 7F, the patterned first
具体的には、まず、図7F(a)(b)に示すように、パターニングされた第1感光層56a上に第3マスク62aを配置する。第3マスク62aは、第1取出配線36bが形成されるべき領域に位置する第1感光層56aに露光光が照射されるのを防ぐ遮光部63aと、第1センサ電極36aが形成されるべき領域に位置する第1感光層56aに露光光が照射されるよう露光光を透過させる開口部63bと、を含んでいる。 Specifically, first, as shown in FIGS. 7F (a) and 7 (b), a
次に、図7F(b)に示すように、この状態で、第1感光層56aの感光特性に対応した露光光(例えば、紫外線)を、マスク62aを介して感光層56aに照射する。この結果、第1感光層56aがさらに露光される。この際、第1マスク58aおよび基材フィルム32を透過した光が、後にアクティブエリアAa1となる領域内に位置する第2感光層56bに照射されてもよい。 Next, as shown in FIG. 7F (b), in this state, exposure light (for example, ultraviolet rays) corresponding to the photosensitive characteristics of the first
(感光層の現像)
次に、図8および図7Gに示すように、露光された第1感光層56aを現像する(工程S7)。これにより、第1感光層56aのうち、露光光を照射された部分が除去される。このことにより、図7G(a)(b)に示すように、被覆導電層54aのうち、形成されるべき第1取出配線36bに対応する被覆導電層54a上にのみ第1感光層56aが残される。この際、後にアクティブエリアAa1となる領域内に位置する第2感光層56bのうち上述のセカンド露光の際に露光された部分も同時に除去される。なお以下において、形成されるべき第1取出配線36bに対応する被覆導電層54a上に設けられた第1感光層56aを、第3感光層56cと呼ぶ。(Development of photosensitive layer)
Next, as shown in FIGS. 8 and 7G, the exposed first
(被覆導電層のパターニング)
その後、図8および図7Hに示すように、パターニングされた第3感光層56cをマスクとして被覆導電層54aをエッチングする(工程S8)。これによって、図7H(b)に示すように、第1センサ電極36aが形成されるべき領域(アクティブエリアAa1となるべき領域)に位置する被覆導電層54aが除去され、このことにより、第1透明導電層52aからなる第1透明導電体40が形成される。
なお、この工程では、被覆導電層54aに対して浸食性を有するエッチング液であって、透明導電層52a,52bに対して浸食性を有さない、または、透明導電層52a,52bに対して浸食性が弱いエッチング液が用いられる。このことは、被覆導電層54aを除去することによって露出する透明導電層52a,52bのパターンを損なわないようにするためである。すなわち、この工程で用いられるエッチング液は、所望の層(被覆導電層54a)を選択的にエッチングし得るように選択される。具体例として、上述した燐硝酢酸(水)や硝酸セリウム系のエッチング液は、所定の金属からなる被覆導電層54aに対してエッチング性を有するものの、ITO等からなる透明導電層52a,52bに対してエッチング性を有さないため、この工程において好適に用いられ得る。(Patterning of coated conductive layer)
Thereafter, as shown in FIGS. 8 and 7H, the coated
In this step, the etching solution is erodible with respect to the coated
(感光層の除去)
次に、被覆導電層54a上に残っている第3感光層56c、および、第2透明導電層52b上に残っている第2感光層56bを除去する(工程S9)。これによって、図8および図7Iに示すように、第2透明導電層52bからなる第2透明導電体45が形成される。(Removal of photosensitive layer)
Next, the third
その後、図8および図7Jに示すように、形成されるべき第2取出導電体48および第2取出端子部49に対応する第2透明導電層52b上に、スクリーン印刷により導電性ペーストを塗布する。これによって、第2透明導電層52b上に導電性ペースト層55bを形成する(工程S10)。この場合、スクリーン印刷法の具体的な方法が特に限られることはなく、周知のスクリーン印刷法が用いられる。例えば、はじめに、形成されるべき第2取出導電体48および第2取出端子部49に対応するパターンで吐出孔が形成されたスクリーン版(図示せず)を用いて、アルミニウム、モリブデン、銀、クロム、銅またはこれらの合金等の金属材料を含む導電性ペーストを基材フィルム32の他側の面32b上に塗布する。次に、150度以下の温度、例えば120度において1時間の焼成を行う。このようにして、形成されるべき第2取出導電体48および第2取出端子部49に対応する第2透明導電層52b上に、導電性ペースト層55bが形成される。このことにより、第2透明導電層52bと、導電性ペースト層55bと、からなる第2取出導電体48および第2取出端子部49が形成される。 Thereafter, as shown in FIGS. 8 and 7J, a conductive paste is applied by screen printing onto the second transparent
なお、スクリーン印刷により導電性ペーストを塗布する際、印刷が、非アクティブエリアAa2内に形成されたアライメントマーク(図示せず)に基づいて実施されてもよい。例えば、スクリーン印刷の際のスクリーン版の位置合わせが、非アクティブエリアAa2内に形成されたアライメントマーク(図示せず)に基づいて実施されてもよい。
また、このアライメントマークが、パターニングされた第1感光層56aをマスクとして被覆導電層54aをエッチングすることにより形成されるマークであってもよい。この場合、図7Cに示す露光工程において、第1マスク58aは、形成されるべき第1センサ電極36aおよび第1取出配線36bに対応したパターンで露光光を遮光する遮光部59aとともに、形成されるべきアライメントマークに対応したパターンで露光光を遮光する遮光部を有している。このため、図7Eに示すエッチング工程において、非アクティブエリアAa2内に、スクリーン印刷の際に利用されるアライメントマークが、被覆導電層54aから形成される。このようにアライメントマークを被覆導電層54aから形成することにより、アライメントマークを形成するための層を別途設ける場合に比べて、タッチパネルセンサ30の製造に要するコストを削減することができる。When applying the conductive paste by screen printing, printing may be performed based on alignment marks (not shown) formed in the inactive area Aa2. For example, alignment of the screen plate at the time of screen printing may be performed based on alignment marks (not shown) formed in the inactive area Aa2.
The alignment mark may be a mark formed by etching the coated
このようにして、図7Jに示すように、センサ電極36a,37aと取出配線36b、37bとを備えたタッチパネルセンサ30が製造される。 In this way, as shown in FIG. 7J, the
その後、タッチパネルセンサ30の一側に、第1接着層14を介して保護カバー12を取り付ける。この際、上述のように、第1接着層14は、第1透明導電体40および第1取出導電体43を覆うとともに、第1取出端子部44の一部を露出させるよう、タッチパネルセンサ30の一側に設けられる。また、タッチパネルセンサ30の他側に、第2接着層19を介して透明シート27を取り付ける。この際、上述のように、第2接着層19は、第2透明導電体45を覆うとともに、第2取出導電体48および第2取出端子部49を覆わないよう、タッチパネルセンサ30の他側に設けられる。このようにして、保護カバー12および透明シート27が取り付けられたタッチパネルセンサ30が作製される。その後、保護カバー12および透明シート27が取り付けられた状態で、タッチパネルセンサ30が、入出力装置10を製造する製造業者に向けて出荷される。 Thereafter, the
このように本実施の形態によれば、保護カバー12および透明シート27が取り付けられた状態で、タッチパネルセンサ30が、入出力装置10を製造する製造業者に向けて出荷される。このため、タッチパネルセンサ30を搬送する際、またはタッチパネルセンサ30を表示装置15に取り付ける際、透明導電体40,45などを外部から保護することができる。また保護カバー12は、透光性を有するとともに誘電体として機能するものであり、従って保護カバー12は、入出力装置10において、入出力装置10への入力面(タッチ面、接触面)となり得るものである。このような保護カバー12が取り付けられた状態でタッチパネルセンサ30を出荷することにより、従来は入出力装置10を製造する製造業者においてなされていた、タッチパネルセンサ30に保護カバー12を取り付ける工程を不要にすることができる。 As described above, according to the present embodiment, the
また本実施の形態によれば、基材フィルム32の一側の面32a上に形成される第1取出導電体43および第1取出端子部44が、フォトリソグラフィー法により形成される被覆導電層54aを含んでいる。一方、基材フィルム32の他側の面32b上に形成される第2取出導電体48および第2取出端子部49が、スクリーン印刷法により形成される導電性ペースト層55bを含んでいる。すなわち、第2取出導電体48および第2取出端子部49と、第1取出導電体43および第1取出端子部44とがそれぞれ異なる方法により形成されている。
このため、取出導電体43,48および取出端子部44,49をすべて同一の方法により形成する場合にくらべて、取出導電体43,48および取出端子部44,49の幅、厚み、材料などをより自由に設定することができる。このことにより、取出導電体43,48および取出端子部44,49の抵抗値を、高い自由度のもとで調整することができる。
また、取出導電体43,48および取出端子部44,49をすべてフォトリソグラフィー法により形成する場合にくらべて、第2取出導電体48および第2取出端子部49をより安価に形成することができる。このことにより、タッチパネルセンサ30の製造コストを低減することができる。Moreover, according to this Embodiment, the
For this reason, compared with the case where all the
Further, the
また本実施の形態によれば、第1額縁配線領域30aにおいて第1透明導電体40に電気的に接続されるとともに、第2額縁配線領域30bにおいて第1取出端子部44に電気的に接続される第1取出導電体43の第1透明導電層52aおよび被覆導電層54aが、フォトリソグラフィー法により形成される。一方、第2額縁配線領域30bにおいて第2透明導電体45と第2取出端子部49との間を延びる第2取出導電体48の導電性ペースト層55bが、スクリーン印刷法により形成される。本実施の形態において、第1額縁配線領域30aは、小面積化が求められる領域となっており、一方、第2額縁配線領域30bは、透明導電体40,45からの信号がフレキシブルプリント基板により取り出される領域であり、小面積化が特には求めていない領域となっている。本実施の形態によれば、第1額縁配線領域30aに沿って延びる第1取出導電体43を構成する層をフォトリソグラフィー法によって形成することにより、第1額縁配線領域30aの小面積化が実現されている。また、小面積化が特には求められない第2額縁配線領域30b内にのみ配置される第2取出導電体48の導電性ペースト層55bをスクリーン印刷法によって形成することにより、第2取出導電体48の形成コストが低減されている。このように本実施の形態によれば、小面積化が要求されるかどうかに応じて取出導電体43,48の形成方法を適宜選択することにより、額縁配線領域の小面積化とコストの低減とを同時に実現することができる。 Further, according to the present embodiment, the first
また本実施の形態によれば、上述のように、第1感光層56aと第2感光層56bとの間に、遮光性を有する被覆導電層54aが介在されている。このため、第1マスク58aおよび第1感光層56aを透過した露光光が第2感光層56bに到達することはなく、同様に、第2マスク58bおよび第2感光層56bを透過した露光光が第1感光層56aに到達することもない。このことにより、一つの基材フィルム32の両面にそれぞれ透明導電層52a,52bを設け、これらの透明導電層52a,52bをそれぞれフォトリソグラフィー法によってパターニングすることが可能となる。このため、二枚のフィルムを貼り合わせてタッチパネルセンサを形成する場合に比べて、第1透明導電体40および第2透明導電体45を互いに対して容易かつ精度良く位置決めすることができる。 Further, according to the present embodiment, as described above, the coated
また本実施の形態によれば、上述のように互いの露光光パターンが影響し合うことを回避するために使用された遮光層(被覆導電層)54aから、第1取出導電体43および第1取出端子部44が作製されている。このような方法によれば、タッチパネルセンサ30の作製に必要となる材料コスト低減させることが可能となる。さらに、タッチパネルセンサ30の作製効率を極めて効果的に向上させることもできる。 In addition, according to the present embodiment, the
比較の形態
次に、図9を参照して、本実施の形態の効果を比較の形態と比較して説明する。図9に示す比較の形態によるタッチパネル装置100は、第2接着層19が、第2取出導電体48を覆うよう設けられている点が異なるのみであり、他の構成は、図1乃至図8に示す第1の実施の形態と略同一である。図9に示す比較の形態において、図1乃至図8に示す本実施の形態と同一部分には同一符号を付して詳細な説明は省略する。Comparison Mode Next, the effect of the present embodiment will be described in comparison with the comparison mode with reference to FIG. The
図9に示すように、比較の形態においては、第2接着層19が、第2透明導電体45および第2取出導電体48を覆うよう、タッチパネルセンサ30の他側に設けられている。ここで上述のように、第2取出導電体48の導電性ペースト層55bは、スクリーン印刷法を用いて形成されている。このため、第1取出導電体43の厚みt1に比べて、第2取出導電体48の厚みt2が大きくなっており、例えば5〜20μmの範囲内となっている。このように厚膜で形成された第2取出導電体48を覆うよう第2接着層19を設ける場合、各第2取出導電体48間に第2接着層19を完全に充填させることができず、このため図9に示すように、第2取出導電体48間に気泡101が発生することが考えられる。このような気泡101は、第2接着層19の耐久性などを劣化させるため、好ましくない。As shown in FIG. 9, in the comparative form, the second
これに対して本実施の形態によれば、第2接着層19は、第2取出導電体48および第2取出端子部49を覆わないよう、タッチパネルセンサ30の他側に設けられている。このため、比較の形態の場合に比べて、第2接着層19内に気泡などが発生するのが抑制されている。このことにより、第2接着層19の耐久性などの特性を十分に確保することができる。 On the other hand, according to the present embodiment, the second
また比較の形態においては、厚膜で形成された第2取出導電体48を覆うよう第2接着層19が設けられており、このため、第2取出導電体48の厚みに応じて第2接着層19の厚みが大きくなっている。 In the comparative embodiment, the second
これに対して本実施の形態によれば、比較の形態の場合に比べて、第2接着層19の厚みを小さくすることができる。これによって、タッチパネル装置20をより薄くすることができ、このことにより、タッチパネル装置20の利便性を向上させることができる。 On the other hand, according to the present embodiment, the thickness of the second
入出力装置の製造方法
次に、以上のようにして得られた、保護カバー12および透明シート27が取り付けられたタッチパネルセンサ30を用いて、入出力装置10を製造する。この場合、例えば、はじめに、タッチパネルセンサ30の第1取出端子部44および第2取出端子部49に、フレキシブルプリント基板を接続する。これによって、タッチパネルセンサ30の透明導電体40,45からの信号が検出制御部25に伝達されるようになる。その後、図2に示すように、保護カバー12および透明シート27が取り付けられたタッチパネルセンサ30を表示装置15上に搭載する。このようにして、保護カバー12上における外部導体5の接触(接近)位置を検出することができる入出力装置10が得られる。Manufacturing method of the input and output device Next, obtained as described above, the
このように本実施の形態によれば、保護カバー12が取り付けられた状態のタッチパネルセンサ30が提供される。このため、入出力装置10を製造する際、タッチパネルセンサ30に保護カバーを新たに取り付ける必要がない。このことにより、従来は入出力装置10を製造する製造業者においてなされていた、タッチパネルセンサ30に保護カバー12を取り付ける工程を不要とすることができる。 Thus, according to the present embodiment,
なお本実施の形態において、透明シート27が取り付けられた状態のタッチパネルセンサ30が、そのまま表示装置15上に搭載される例を示した。しかしながら、これに限られることはなく、タッチパネルセンサ30を表示装置15上に搭載する際、透明シート27を取り外してもよい。なお、透明シート27をタッチパネルセンサ30から取り外す際、透明シート27とタッチパネルセンサ30との間に設けられている第2接着層19は、タッチパネルセンサ30側に残るように構成されている。このため、入出力装置10を製造する製造業者は、タッチパネルセンサ30の他側に新たに接着層を設けることなく、タッチパネルセンサ30を表示装置15上に搭載することができる。 In the present embodiment, an example is shown in which the
なお本実施の形態において、透明シート27が、透光性を有するとともに、タッチパネルセンサ30の表示装置15側の面を保護するものである例を示した。この場合、透明シート27は、入出力装置10においてタッチパネルセンサ30と表示装置15との間に設けられるカラーフィルタ(図示せず)のカラーフィルタ用基材(図示せず)であってもよい。すなわち、タッチパネルセンサ30の他側にカラーフィルタが取り付けられた状態で、タッチパネルセンサ30が出荷されてもよい。この際、タッチパネルセンサ30とカラーフィルタのカラーフィルタ用基材との間に介在される第2接着層19は、第2取出導電体48および第2取出端子部49を覆わないよう設けられる。このため、第2接着層19内に気泡などが発生するのが抑制されており、このことにより、第2接着層19の耐久性などの特性を十分に確保することができる。 In the present embodiment, an example is shown in which the
また本実施の形態において、保護カバー12が、第1接着層14が設けられる領域に対応する外形を有する例を示した。しかしながら、これに限られることはなく、保護カバー12が、第1接着層14が設けられる領域から突出する外形を有していてもよい。同様に、透明シート27が、第2接着層19が設けられる領域から突出する外形を有していてもよい。 Moreover, in this Embodiment, the
また本実施の形態において、第1取出端子部44が、第2額縁配線領域30b内に配置され、第1取出導電体43が、第1額縁配線領域30aを通って第2額縁配線領域30bに至るよう形成される例を示した。しかしながら、これに限られることはなく、図10に変形例として示すように、第1取出端子部44が、第1額縁配線領域30a内に配置されていてもよい。この場合、第1取出導電体43は、第1透明導電体40と第1取出端子部44との間を電気的に接続するよう、第1額縁配線領域30a内に形成される。 Further, in the present embodiment, the first
また本実施の形態において、第2接着層19が、アクティブエリアAa1内の第2透明導電体45を覆うとともに、第2取出導電体48および第2取出端子部49の全体を露出させるようタッチパネルセンサ30と透明シート27との間に設けられる例を示した。しかしながら、これに限られることはなく、第2接着層19は、少なくとも第2透明導電体45を覆うとともに、第2取出導電体48および第2取出端子部49を少なくとも部分的に露出させるようタッチパネルセンサ30と透明シート27との間に設けられていてもよい。すなわち、第2取出導電体48および第2取出端子部49が第2接着層19によって部分的に覆われていてもよい。この場合、第2取出導電体48のみが第2接着層19によって部分的に覆われていてもよく、若しくは、第2取出端子部49のみが第2接着層19によって部分的に覆われていてもよい。または、第2取出導電体48および第2取出端子部49の両方が第2接着層19によって部分的に覆われていてもよい。 In the present embodiment, the second
10 入出力装置
12 保護カバー
14 第1接着層
15 表示装置
16 表示パネル
16a 表示面
17 表示制御部
19 第2接着層
20 タッチパネル装置
25 検出制御部
30 タッチパネルセンサ
30a 第1額縁配線領域
30b 第2額縁配線領域
32 基材フィルム
32a 面(観察者側の面)
32b 面(表示装置側の面)
36a 第1センサ電極
36b 第1取出配線
37a 第2センサ電極
37b 第2取出配線
40 第1透明導電体
41a ライン部
41b 膨出部
43 第1取出導電体
44 第1取出端子部
45 第2透明導電体
46a ライン部
46b 膨出部
48 第2取出導電体
49 第2取出端子部
50 積層体(ブランクス)
52a 第1透明導電層
52b 第2透明導電層
54a 被覆導電層
55b 導電性ペースト層
56a 第1感光層
56b 第2感光層
56c 第3感光層
58a 第1マスク
58b 第2マスク
59a 第1マスクの遮光部
59b 第1マスクの開口部
60a 第2マスクの遮光部
60b 第2マスクの開口部
62a 第3マスク
63a 第3マスクの遮光部
63b 第3マスクの開口部
100 タッチパネル装置
101 気泡10 Input /
32b surface (surface on the display device side)
36a
52a First transparent
| Application Number | Priority Date | Filing Date | Title |
|---|---|---|---|
| JP2010284939AJP2012133580A (en) | 2010-12-21 | 2010-12-21 | Touch panel sensor with protective cover |
| Application Number | Priority Date | Filing Date | Title |
|---|---|---|---|
| JP2010284939AJP2012133580A (en) | 2010-12-21 | 2010-12-21 | Touch panel sensor with protective cover |
| Publication Number | Publication Date |
|---|---|
| JP2012133580Atrue JP2012133580A (en) | 2012-07-12 |
| Application Number | Title | Priority Date | Filing Date |
|---|---|---|---|
| JP2010284939AWithdrawnJP2012133580A (en) | 2010-12-21 | 2010-12-21 | Touch panel sensor with protective cover |
| Country | Link |
|---|---|
| JP (1) | JP2012133580A (en) |
| Publication number | Priority date | Publication date | Assignee | Title |
|---|---|---|---|---|
| CN103677400A (en)* | 2012-09-25 | 2014-03-26 | 郡是株式会社 | Display device having touch panel |
| KR20140066000A (en)* | 2012-11-22 | 2014-05-30 | 엘지이노텍 주식회사 | Touch panel |
| JP2014529376A (en)* | 2012-08-24 | 2014-11-06 | 深▲セン▼欧菲光科技股▲フン▼有限公司Shenzhen O−Film Tech Co., Ltd. | Thin film sensor, capacitive touch panel having the same, manufacturing method thereof and terminal product |
| JP2015055896A (en)* | 2013-09-10 | 2015-03-23 | ソニー株式会社 | Sensor device, input device and electronic apparatus |
| JP2016009371A (en)* | 2014-06-25 | 2016-01-18 | ファナック株式会社 | Touch panel, fixing structure of front face design sheet, and display device with touch panel |
| US9510456B2 (en) | 2012-11-09 | 2016-11-29 | Shenzhen O-Film Tech Co., Ltd. | Transparent conductor and preparation method thereof |
| US9785297B2 (en) | 2013-02-12 | 2017-10-10 | Sony Corporation | Sensor device, input device, and electronic apparatus |
| US10055067B2 (en) | 2013-03-18 | 2018-08-21 | Sony Corporation | Sensor device, input device, and electronic apparatus |
| CN109102758A (en)* | 2017-06-20 | 2018-12-28 | 天马日本株式会社 | Display device |
| US10282041B2 (en) | 2014-03-28 | 2019-05-07 | Sony Corporation | Sensor device, input device, and electronic apparatus |
| CN113113437A (en)* | 2021-03-29 | 2021-07-13 | 武汉华星光电技术有限公司 | Array substrate and preparation method thereof |
| Publication number | Priority date | Publication date | Assignee | Title |
|---|---|---|---|---|
| JP2014529376A (en)* | 2012-08-24 | 2014-11-06 | 深▲セン▼欧菲光科技股▲フン▼有限公司Shenzhen O−Film Tech Co., Ltd. | Thin film sensor, capacitive touch panel having the same, manufacturing method thereof and terminal product |
| US9285405B2 (en) | 2012-08-24 | 2016-03-15 | Shenzhen O-Film Tech Co., Ltd. | Thin film sensor, capacitive touch panel having the same and preparation method thereof and terminal product |
| CN103677400B (en)* | 2012-09-25 | 2018-05-08 | 郡是株式会社 | Display device with contact panel |
| JP2014067187A (en)* | 2012-09-25 | 2014-04-17 | Gunze Ltd | Touch panel display device |
| CN103677400A (en)* | 2012-09-25 | 2014-03-26 | 郡是株式会社 | Display device having touch panel |
| US9510456B2 (en) | 2012-11-09 | 2016-11-29 | Shenzhen O-Film Tech Co., Ltd. | Transparent conductor and preparation method thereof |
| KR20140066000A (en)* | 2012-11-22 | 2014-05-30 | 엘지이노텍 주식회사 | Touch panel |
| KR101996988B1 (en)* | 2012-11-22 | 2019-07-08 | 엘지이노텍 주식회사 | Touch panel |
| US10936128B2 (en) | 2013-02-12 | 2021-03-02 | Sony Corporation | Sensor device, input device, and electronic apparatus |
| US9785297B2 (en) | 2013-02-12 | 2017-10-10 | Sony Corporation | Sensor device, input device, and electronic apparatus |
| US10055067B2 (en) | 2013-03-18 | 2018-08-21 | Sony Corporation | Sensor device, input device, and electronic apparatus |
| JP2015055896A (en)* | 2013-09-10 | 2015-03-23 | ソニー株式会社 | Sensor device, input device and electronic apparatus |
| US9811226B2 (en) | 2013-09-10 | 2017-11-07 | Sony Corporation | Sensor device, input device, and electronic apparatus |
| US10282041B2 (en) | 2014-03-28 | 2019-05-07 | Sony Corporation | Sensor device, input device, and electronic apparatus |
| US9658729B2 (en) | 2014-06-25 | 2017-05-23 | Fanuc Corporation | Fixing structure for touch panel and front design sheet and display unit with touch panel |
| JP2016009371A (en)* | 2014-06-25 | 2016-01-18 | ファナック株式会社 | Touch panel, fixing structure of front face design sheet, and display device with touch panel |
| CN109102758A (en)* | 2017-06-20 | 2018-12-28 | 天马日本株式会社 | Display device |
| CN109102758B (en)* | 2017-06-20 | 2021-08-17 | 天马微电子股份有限公司 | display device |
| CN113113437A (en)* | 2021-03-29 | 2021-07-13 | 武汉华星光电技术有限公司 | Array substrate and preparation method thereof |
| Publication | Publication Date | Title |
|---|---|---|
| JP2012133580A (en) | Touch panel sensor with protective cover | |
| US9189033B2 (en) | Touchscreen panel sensor film and manufacturing method thereof | |
| JP5999521B2 (en) | Touch panel sensor, laminate for manufacturing touch panel sensor, and method for manufacturing touch panel sensor | |
| JP5942454B2 (en) | Touch panel sensor, display device with touch panel, and method of manufacturing touch panel sensor | |
| JP5594601B2 (en) | Touch panel sensor, method for manufacturing the touch panel sensor, and method for manufacturing an input / output device including the touch panel sensor | |
| JP5375692B2 (en) | Manufacturing method of touch panel sensor | |
| JP5970805B2 (en) | Touch panel sensor with transparent sheet | |
| JP5471543B2 (en) | Touch panel sensor manufacturing method and touch panel sensor | |
| JP5707949B2 (en) | Touch panel sensor and method for manufacturing touch panel sensor | |
| JP5413304B2 (en) | Touch panel sensor and laminate for producing touch panel sensor | |
| JP5263277B2 (en) | Touch panel sensor, laminate for manufacturing touch panel sensor, and method for manufacturing touch panel sensor | |
| JP6245509B2 (en) | Display device with touch panel sensor and touch position detection function | |
| KR101328763B1 (en) | Transparent circuit substrate for touchscreen and method for fabricating the same | |
| JP6233689B2 (en) | Touch panel sensor, touch panel sensor manufacturing method, and display device with touch position detection function | |
| JP6238109B2 (en) | Display device with touch panel sensor and touch position detection function | |
| JP5413741B2 (en) | Touch panel sensor and laminate for producing touch panel sensor | |
| JP2014038661A (en) | Touch panel sensor, and laminate for manufacturing touch panel sensor | |
| JP2015176312A (en) | Touch panel sensor and method for manufacturing touch panel sensor |
| Date | Code | Title | Description |
|---|---|---|---|
| A300 | Withdrawal of application because of no request for examination | Free format text:JAPANESE INTERMEDIATE CODE: A300 Effective date:20140304 |