












本発明は、吸着装置とそれを用いた真空処理装置にかかり、特に、絶縁性の基板を吸着できる吸着装置と、その吸着装置を用いた真空処理装置に関する。 The present invention relates to an adsorption apparatus and a vacuum processing apparatus using the adsorption apparatus, and more particularly to an adsorption apparatus capable of adsorbing an insulating substrate and a vacuum processing apparatus using the adsorption apparatus.
従来より、真空装置内で基板を保持するために吸着装置が使用されている。導電性の基板(半導体基板など)を保持する場合は保持対象物との間にコンデンサを形成し、その静電容量で保持することができる。 Conventionally, a suction device is used to hold a substrate in a vacuum apparatus. In the case of holding a conductive substrate (semiconductor substrate or the like), a capacitor can be formed between the holding object and held by its capacitance.
しかし、液晶表示装置の基板ような絶縁性基板(ガラス基板など)の場合はコンデンサを形成できないため、絶縁性基板を電極が形成する不均一電界中に置き、グラディエント力(gradient力)によって保持している(特開2001−35907)。
静電吸着力を用いた吸着装置は既に大型基板の液晶表示装置の生産に用いられており、液晶滴下貼り合せ装置の中の重要な構成となっている(特開2002−229044の図8)。However, in the case of an insulating substrate (such as a glass substrate) such as a substrate of a liquid crystal display device, a capacitor cannot be formed. Therefore, the insulating substrate is placed in a non-uniform electric field formed by an electrode and held by a gradient force. (Japanese Patent Laid-Open No. 2001-35907).
An attracting device using electrostatic attracting force has already been used for production of a liquid crystal display device having a large substrate, and is an important configuration in a liquid crystal dropping and laminating device (FIG. 8 of JP-A-2002-229044). .
実際の装置では、先ず、大気中で真空吸着によってガラス基板を吸着保持し、真空槽内に搬入した後、真空槽内を真空雰囲気にするまでに、ガラス基板の保持力を真空吸着力から静電気力又はグラディエント力に切換える必要がある。従って、一台の吸着装置で二種類の吸着力を発生させる必要がある。
最近は液晶表示装置等の表示装置が増々大型化し、大型ガラス基板の保持するための強い保持力が要求されている。In an actual device, the glass substrate is first sucked and held in the atmosphere by vacuum suction, and after the glass substrate is carried into the vacuum chamber, the holding power of the glass substrate is changed from the vacuum suction force to the static electricity. It is necessary to switch to force or gradient force. Therefore, it is necessary to generate two types of adsorption forces with a single adsorption device.
Recently, a display device such as a liquid crystal display device has been increased in size, and a strong holding force for holding a large glass substrate is required.
図9の符号111は、従来技術の吸着装置を示している。符号111aは、内部構造を説明するための平面図、符号111b、111cは、それぞれF−F線、G−G線切断断面図である。
この吸着装置111は、絶縁性の基板121上に第一、第二の電極123a、123bが配置されている。The code |
In the
第一、第二の電極123a、123bは、所定間隔で離間されており、吸着装置111には、第一、第二の電極123a、123bの表面と、その間に位置する絶縁性の基板121の表面とを覆う絶縁性の保護膜124が形成されている。
保護膜124には、有底の溝から成る吸着溝126が形成されている。
吸着溝126の一部底面には、基板121の裏面まで貫通する排気孔127が形成されている。The first and
In the
An
排気孔127を真空排気系に接続し、吸着装置111の第一、第二の電極123a、123bが形成された面を鉛直下方に向けそれら表面の保護膜124をガラス基板等の吸着対象物に密着させる。そして、排気孔127から吸着溝126内の大気を真空排気すると、吸着対象物は吸着装置111の表面に真空吸着され、真空吸着力によって保持される。 The
第一、第二の電極123a、123b間に電圧を印加すると、吸着対象物は第一、第二の電極123a、123b間に形成される電界の中に置かれ、グラディエント力によって吸着装置111に吸着される。 When a voltage is applied between the first and
次に、真空槽内を真空排気すると真空吸着力は消滅し、吸着対象物はグラディエント力によって保持された状態になる。
グラディエント力を発生させる場合、吸着対象のガラス基板と電極の間の距離は短い程有利であるが、吸着溝126のパターンと第一、第二の電極123a、123bのパターンとは、相互に独立に設計されていたため、吸着溝126と第一、第二の電極123a、123bとが交差していた。Next, when the inside of the vacuum chamber is evacuated, the vacuum adsorption force disappears and the object to be adsorbed is held by the gradient force.
When the gradient force is generated, it is advantageous that the distance between the glass substrate to be attracted and the electrode is short, but the pattern of the attracting
図10(a)は吸着溝126のパターン、同図(b)は第一、第二の電極123a、123bのパターンである。
吸着溝126の深さは深い方が真空吸着力は強くなるが、そのために保護膜124の膜厚を厚くするとグラディエント力が弱くなってしまう。FIG. 10A shows the pattern of the
As the
第一、第二の電極123a、123bには高電圧が印加されるため、絶縁性の保護膜124で覆っておく必要があるが、第一、第二の電極123a、123bが吸着溝126の底面に露出せず、第一、第二の電極123a、123b上の保護膜124の膜厚T12が確保されるためには、吸着溝126の深さD11は、第一、第二の電極123a、123b上の保護膜124の膜厚T11よりも十分浅くする必要がある。Since a high voltage is applied to the first and
吸着溝126の深さは最低でも30μmが必要であるが、充分な真空吸着力を得るには、100〜150μmの深さが望ましいのに対し、グラディエント力を強くするため、保護膜124の膜厚を300μm以下にすると、吸着溝126の深さは50μm程度になり、真空吸着力が弱くなっていた。 The depth of the
本発明は、上記従来技術の課題を解決するために創作されたものであり、絶縁性の基板に対するグラディエント力と真空吸着力を大きくできる吸着装置を提供することにある。 The present invention was created to solve the above-described problems of the prior art, and it is an object of the present invention to provide an adsorption device that can increase the gradient force and the vacuum adsorption force on an insulating substrate.
上記課題を解決するため、本発明は、表面が絶縁性を有する基板と、前記基板の平坦な表面上に配置された導電性材料と、前記導電性材料で構成され、互いに異なる電圧が印加される第一、第二の電極と、前記第一、第二の電極表面を被覆する絶縁性の保護膜と、前記第一、第二の電極間に位置する吸着溝と、前記吸着溝に接続され、前記吸着溝を真空排気系に接続する排気孔とを有し、前記保護膜上に吸着対象物を配置し、前記排気孔から前記吸着溝内の気体を真空排気すると前記吸着対象物は真空吸着力によって前記保護膜上に吸着され、前記第一、第二の電極間に電圧を印加するとグラディエント力によって前記吸着対象物は前記保護膜上に吸着されるように構成された吸着装置であって、前記吸着溝の底面は、前記第一、第二の電極の底面と同じかそれよりも低い位置に配置され、前記吸着溝の深さが50μm以上にされた吸着装置である。
また、本発明は、前記吸着溝は前記導電性材料で囲まれた吸着装置である。
また、本発明は、前記吸着溝は、前記第一、第二の電極の間の位置に配置され、前記吸着溝は、前記第一又は第二の電極のうち、いずれか一方によって取り囲まれた吸着装置である。
また、本発明は、前記基板上には下地膜が配置され、前記第一、第二の電極は前記下地膜の表面上に配置され、前記吸着溝は、前記保護膜を厚み方向全部貫通すると共に前記下地膜を厚み方向途中まで貫通し、前記吸着溝の底面は、前記下地膜の表面よりも下方に位置する吸着装置である。
また、本発明は、表面が絶縁性を有する基板と、前記基板の平坦な表面上に配置された導電性材料と、前記導電性材料で構成され、互いに異なる電圧が印加される第一、第二の電極と、前記第一、第二の電極表面を被覆する絶縁性の保護膜と、前記第一、第二の電極間に位置する吸着溝と、前記吸着溝に接続され、前記吸着溝を真空排気系に接続する排気孔とを有し、前記保護膜上に吸着対象物を配置し、前記排気孔から前記吸着溝内の気体を真空排気すると前記吸着対象物は真空吸着力によって前記保護膜上に吸着され、前記第一、第二の電極間に電圧を印加するとグラディエント力によって前記吸着対象物は前記保護膜上に吸着されるように構成された吸着装置であって、前記吸着溝の底面は、前記第一、第二の電極の底面よりも高い位置に配置され、前記吸着溝の深さが50μm以上にされた吸着装置である。
また、本発明は、表面が絶縁性を有する基板と、前記基板の平坦な表面上に配置された導電性材料と、前記導電性材料で構成され、互いに異なる電圧が印加される第一、第二の電極と、前記第一、第二の電極表面を被覆する絶縁性の保護膜と、前記第一、第二の電極間に位置する吸着溝と、前記吸着溝に接続され、前記吸着溝を真空排気系に接続する排気孔とを有し、前記保護膜上に吸着対象物を配置し、前記排気孔から前記吸着溝内の気体を真空排気すると前記吸着対象物は真空吸着力によって前記保護膜上に吸着され、前記第一、第二の電極間に電圧を印加するとグラディエント力によって前記吸着対象物は前記保護膜上に吸着されるように構成された吸着装置であって、前記基板上に下地膜を形成し、前記下地膜の表面に前記第一、第二の電極を形成し、前記第一、第二の電極の表面に前記保護膜を形成し、エッチングによって前記保護膜を厚み方向全部貫通させ、前記吸着溝の底面を、前記第一、第二の電極の底面と同じかそれよりも低い位置に配置し、前記吸着溝の深さを50μm以上にする吸着装置の製造方法である。
また、本発明は、前記エッチングによって前記下地膜を厚み方向途中まで貫通させ、前記吸着溝の底面を、前記下地膜の表面よりも下方の位置に配置する吸着装置の製造方法である。
また、本発明は、吸着装置の製造方法において、前記吸着溝の底面を、前記第一、第二の電極の底面と同じ位置に配置する吸着装置の製造方法である。
また、本発明は、吸着装置の製造方法において、前記吸着溝の底面を、前記第一、第二の電極の底面よりも低く、前記基板の内部の位置に配置する吸着装置の製造方法である。
また、本発明は、前記吸着溝を、前記導電性材料で囲む吸着装置の製造方法である。
また、本発明は、前記吸着溝を、前記第一、第二の電極の間の位置に配置し、前記吸着溝を、前記第一又は第二の電極のうち、いずれか一方によって取り囲む吸着装置である。
また、本発明は、表面が絶縁性を有する基板と、前記基板の平坦な表面上に配置された導電性材料と、前記導電性材料で構成され、互いに異なる電圧が印加される第一、第二の電極と、前記第一、第二の電極表面を被覆する絶縁性の保護膜と、前記第一、第二の電極間に位置する吸着溝と、前記吸着溝に接続され、前記吸着溝を真空排気系に接続する排気孔とを有し、前記保護膜上に吸着対象物を配置し、前記排気孔から前記吸着溝内の気体を真空排気すると前記吸着対象物は真空吸着力によって前記保護膜上に吸着され、前記第一、第二の電極間に電圧を印加するとグラディエント力によって前記吸着対象物は前記保護膜上に吸着されるように構成された吸着装置であって、前記基板上に下地膜を形成し、前記下地膜の表面に前記第一、第二の電極を形成し、前記第一、第二の電極の表面に前記保護膜を形成し、エッチングによって前記保護膜を厚み方向途中まで貫通させ、前記吸着溝の底面を、前記第一、第二の電極の底面よりも高い位置に配置して前記吸着溝の深さを50μm以上にする吸着装置の製造方法である。
また、本発明は、表面が絶縁性を有する基板と、前記基板の平坦な表面上に配置された導電性材料と、前記導電性材料で構成され、互いに異なる電圧が印加される第一、第二の電極と、前記第一、第二の電極表面を被覆する絶縁性の保護膜と、前記第一、第二の電極間に位置する吸着溝と、前記吸着溝に接続され、前記吸着溝を真空排気系に接続する排気孔とを有し、前記保護膜上に吸着対象物を配置し、前記排気孔から前記吸着溝内の気体を真空排気すると前記吸着対象物は真空吸着力によって前記保護膜上に吸着され、前記第一、第二の電極間に電圧を印加するとグラディエント力によって前記吸着対象物は前記保護膜上に吸着されるように構成された吸着装置であって、前記吸着溝の底面は、前記第一、第二の電極の底面よりも低く、前記基板の内部に位置するように構成された吸着装置である。
また、本発明は、基板と、前記基板の平坦な表面上に配置された導電性材料と、前記導電性材料で構成され、互いに異なる電圧が印加される第一、第二の電極と、前記第一、第二の電極表面を被覆する絶縁性の保護膜と、前記第一、第二の電極間に位置する吸着溝と、前記吸着溝に接続され、前記吸着溝を真空排気系に接続する排気孔とを有し、前記保護膜上に吸着対象物を配置し、前記排気孔から前記吸着溝内の気体を真空排気すると前記吸着対象物は真空吸着力によって前記保護膜上に吸着され、前記第一、第二の電極間に電圧を印加するとグラディエント力によって前記吸着対象物は前記保護膜上に吸着されるように構成された吸着装置であって、前記基板は金属製の基板本体と、前記基板本体の表面に形成された絶縁性の下地膜とを有し、前記第一、第二の電極は前記下地膜に密着配置され、
前記吸着溝の底部には、前記下地膜が露出された吸着装置である。
また、本発明は、前記吸着溝の底部は前記下地膜表面よりも低く、前記吸着溝の下部は前記基板の内部に位置するように構成された吸着装置である。
また、本発明は、前記吸着溝は前記導電性材料で囲まれた吸着装置である。
また、本発明は、前記吸着溝は前記第一又は前記第二の電極で囲まれた吸着装置である。
また、本発明は、上記いずれかの吸着装置を製造する製造方法であって、表面が絶縁性を有する基板の表面に前記導電性材料の膜を形成する工程と、前記導電性材料の膜をパターニングして前記第一、第二の電極を形成する工程と、前記第一、第二の電極膜の表面に前記保護膜を形成する工程と、前記保護膜と前記基板とをパターニングし、前記第一、第二の導電膜の間の位置に、底部が前記基板の表面よりも低い吸着溝を形成し、前記吸着溝の下部を前記基板の内部に位置させる吸着装置の製造方法である。
また、本発明は、基板と、前記基板表面に形成された表面が平坦な絶縁性の下地膜と、前記下地膜上の表面に配置された導電性材料と、前記導電性材料で構成され、互いに異なる電圧が印加される第一、第二の電極と、前記第一、第二の電極表面を被覆する絶縁性の保護膜と、前記第一、第二の電極間に位置する吸着溝と、前記吸着溝に接続され、前記吸着溝を真空排気系に接続する排気孔とを有し、前記保護膜上に絶縁性の吸着対象物を配置し、前記排気孔から前記吸着溝内の気体を真空排気すると前記吸着対象物は真空吸着力によって前記保護膜上に吸着され、前記第一、第二の電極間に電圧を印加するとグラディエント力によって真空雰囲気中の前記吸着対象物は前記保護膜上に吸着されるように構成された吸着装置を製造する吸着装置の製造方法であって、前記基板上に前記下地膜を形成し、前記下地膜の表面に前記導電性材料の膜を形成し、前記導電性材料の前記膜をパターニングして前記第一、第二の電極を形成し、前記第一、第二の電極の表面に前記保護膜を形成し、前記保護膜の一部を厚み方向全部エッチングして前記下地膜を露出させた後、前記下地膜を厚み方向にエッチングし、前記第一、第二の電極の間の位置に、底面が前記下地膜の表面よりも下方に位置する前記吸着溝を形成する吸着装置の製造方法である。
また、本発明は、前記第一、第二の電極の表面に前記保護膜を形成する工程では、前記保護膜の厚みを100μm以下にする吸着装置の製造方法である。
また、本発明は、底面が前記下地膜の表面よりも下方に位置する前記吸着溝を形成する工程では、前記吸着溝の深さを50μm以上にする吸着装置の製造方法である。
また、本発明は、前記第一又は第二の電極のうち、いずれか一方によって前記吸着溝を取り囲む吸着装置の製造方法である。
また、本発明は、前記導電性材料の前記膜をパターニングするときに、第一、第二の電極と前記吸着溝とを取り囲む第三の電極を、前記導電性材料によって、前記第一、第二の電極とは非接触で形成する吸着装置の製造方法である。In order to solve the above problems, the present invention includes a substrate having an insulating surface, a conductive material disposed on a flat surface of the substrate, and the conductive material, and different voltages are applied to the substrate. Connecting the first and second electrodes, the insulating protective film covering the surfaces of the first and second electrodes, the suction groove positioned between the first and second electrodes, and the suction groove The suction groove is connected to a vacuum exhaust system, and an object to be adsorbed is disposed on the protective film, and when the gas in the adsorption groove is evacuated from the exhaust hole, the object to be adsorbed is An adsorption device configured to be adsorbed on the protective film by a vacuum adsorption force, and to adsorb the object to be adsorbed on the protective film by a gradient force when a voltage is applied between the first and second electrodes. The bottom surface of the suction groove is the first and second electrodes Are located in the same or a lower position than the bottom surface, the depth of the suction grooves is adsorption device which is above 50 [mu] m.
Moreover, this invention is an adsorption | suction apparatus with which the said adsorption | suction groove | channel was enclosed with the said electroconductive material.
In the present invention, the suction groove is disposed at a position between the first and second electrodes, and the suction groove is surrounded by one of the first and second electrodes. Adsorption device.
According to the present invention, a base film is disposed on the substrate, the first and second electrodes are disposed on the surface of the base film, and the adsorption groove penetrates the protective film in the thickness direction. In addition, the suction film penetrates the base film halfway in the thickness direction, and the bottom surface of the suction groove is located below the surface of the base film.
The present invention also includes a substrate having an insulating surface, a conductive material disposed on a flat surface of the substrate, and the conductive material, wherein different voltages are applied to each other. Two electrodes, an insulating protective film covering the surfaces of the first and second electrodes, a suction groove positioned between the first and second electrodes, and the suction groove connected to the suction groove. And an exhaust hole for connecting to an evacuation system, an object to be adsorbed is disposed on the protective film, and when the gas in the adsorption groove is evacuated from the exhaust hole, the object to be adsorbed is An adsorption device configured to adsorb onto the protective film and to adsorb the object to be adsorbed onto the protective film by a gradient force when a voltage is applied between the first and second electrodes. The bottom surface of the groove is higher than the bottom surfaces of the first and second electrodes. Disposed, the depth of the suction grooves is adsorption device which is above 50 [mu] m.
The present invention also includes a substrate having an insulating surface, a conductive material disposed on a flat surface of the substrate, and the conductive material, wherein different voltages are applied to each other. Two electrodes, an insulating protective film covering the surfaces of the first and second electrodes, a suction groove positioned between the first and second electrodes, and the suction groove connected to the suction groove. And an exhaust hole for connecting to an evacuation system, an object to be adsorbed is disposed on the protective film, and when the gas in the adsorption groove is evacuated from the exhaust hole, the object to be adsorbed is An adsorption device configured to be adsorbed on a protective film and configured to adsorb the object to be adsorbed on the protective film by a gradient force when a voltage is applied between the first and second electrodes. A base film is formed thereon, and the first and second layers are formed on the surface of the base film. The protective film is formed on the surfaces of the first and second electrodes, the protective film is completely penetrated in the thickness direction by etching, and the bottom surface of the adsorption groove is formed on the first and second electrodes. This is a method for manufacturing an adsorption device, which is disposed at a position equal to or lower than the bottom surface of the electrode, and the adsorption groove has a depth of 50 μm or more.
In addition, the present invention is a method for manufacturing an adsorption device in which the base film is penetrated partway in the thickness direction by the etching, and the bottom surface of the adsorption groove is disposed at a position below the surface of the base film.
Moreover, this invention is a manufacturing method of the adsorption | suction apparatus which arrange | positions the bottom face of the said adsorption groove in the same position as the bottom face of said 1st, 2nd electrode in the manufacturing method of an adsorption | suction apparatus.
Further, the present invention is a method for manufacturing a suction device, wherein the bottom surface of the suction groove is lower than the bottom surfaces of the first and second electrodes and is arranged at a position inside the substrate. .
Moreover, this invention is a manufacturing method of the adsorption | suction apparatus which surrounds the said adsorption | suction groove | channel with the said electroconductive material.
Moreover, this invention arrange | positions the said adsorption | suction groove | channel in the position between said 1st, 2nd electrodes, and the adsorption | suction apparatus which surrounds the said adsorption | suction groove | channel by either one of said 1st or 2nd electrode It is.
The present invention also includes a substrate having an insulating surface, a conductive material disposed on a flat surface of the substrate, and the conductive material, wherein different voltages are applied to each other. Two electrodes, an insulating protective film covering the surfaces of the first and second electrodes, a suction groove positioned between the first and second electrodes, and the suction groove connected to the suction groove. And an exhaust hole for connecting to an evacuation system, an object to be adsorbed is disposed on the protective film, and when the gas in the adsorption groove is evacuated from the exhaust hole, the object to be adsorbed is An adsorption device configured to be adsorbed on a protective film and configured to adsorb the object to be adsorbed on the protective film by a gradient force when a voltage is applied between the first and second electrodes. A base film is formed thereon, and the first and second layers are formed on the surface of the base film. The protective film is formed on the surfaces of the first and second electrodes, the protective film is penetrated partway in the thickness direction by etching, and the bottom surface of the adsorption groove is formed on the first and second electrodes. This is a method for manufacturing an adsorption device that is arranged at a position higher than the bottom surface of the electrode and makes the depth of the adsorption groove 50 μm or more.
The present invention also includes a substrate having an insulating surface, a conductive material disposed on a flat surface of the substrate, and the conductive material, wherein different voltages are applied to each other. Two electrodes, an insulating protective film covering the surfaces of the first and second electrodes, a suction groove positioned between the first and second electrodes, and the suction groove connected to the suction groove. And an exhaust hole for connecting to an evacuation system, an object to be adsorbed is disposed on the protective film, and when the gas in the adsorption groove is evacuated from the exhaust hole, the object to be adsorbed is An adsorption device configured to adsorb onto the protective film and to adsorb the object to be adsorbed onto the protective film by a gradient force when a voltage is applied between the first and second electrodes. The bottom surface of the groove is lower than the bottom surfaces of the first and second electrodes, Serial is configured adsorber to be positioned inside the substrate.
The present invention also includes a substrate, a conductive material disposed on a flat surface of the substrate, the first and second electrodes configured with the conductive material, to which different voltages are applied, An insulating protective film covering the surfaces of the first and second electrodes, an adsorption groove positioned between the first and second electrodes, and connected to the adsorption groove, and the adsorption groove is connected to a vacuum exhaust system When an object to be adsorbed is disposed on the protective film and the gas in the adsorption groove is evacuated from the exhaust hole, the object to be adsorbed is adsorbed on the protective film by a vacuum adsorption force. The adsorption device is configured such that when a voltage is applied between the first and second electrodes, the adsorption object is adsorbed on the protective film by a gradient force, and the substrate is a metal substrate body And an insulating base film formed on the surface of the substrate body. And, the first, second electrodes are disposed in close contact to the base film,
In the suction device, the base film is exposed at the bottom of the suction groove.
Further, the present invention is the suction apparatus configured such that the bottom portion of the suction groove is lower than the surface of the base film, and the lower portion of the suction groove is located inside the substrate.
Moreover, this invention is an adsorption | suction apparatus with which the said adsorption | suction groove | channel was enclosed with the said electroconductive material.
Moreover, this invention is an adsorption | suction apparatus with which the said adsorption | suction groove | channel was enclosed by said 1st or said 2nd electrode.
Further, the present invention is a manufacturing method for manufacturing any one of the above adsorption devices, the step of forming a film of the conductive material on the surface of a substrate having an insulating surface, and the film of the conductive material Patterning the first and second electrodes by patterning, forming the protective film on the surfaces of the first and second electrode films, patterning the protective film and the substrate, In the manufacturing method of the suction device, a suction groove whose bottom is lower than the surface of the substrate is formed at a position between the first and second conductive films, and a lower portion of the suction groove is positioned inside the substrate.
Further, the present invention comprises a substrate, an insulating base film having a flat surface formed on the surface of the substrate, a conductive material disposed on the surface of the base film, and the conductive material, First and second electrodes to which different voltages are applied, an insulating protective film covering the surfaces of the first and second electrodes, and an adsorption groove located between the first and second electrodes And an exhaust hole connected to the suction groove and connecting the suction groove to a vacuum exhaust system, an insulating object to be adsorbed is disposed on the protective film, and the gas in the suction groove is disposed from the exhaust hole. When the vacuum is evacuated, the object to be adsorbed is adsorbed on the protective film by a vacuum adsorbing force, and when a voltage is applied between the first and second electrodes, the object to be adsorbed in the vacuum atmosphere by the gradient force is Adsorber for manufacturing an adsorber configured to be adsorbed on top The base film is formed on the substrate, the conductive material film is formed on the surface of the base film, and the conductive material film is patterned to form the first and first layers. Forming two electrodes, forming the protective film on the surfaces of the first and second electrodes, etching the whole protective film in the thickness direction to expose the base film, and then forming the base film Is etched in the thickness direction, and the suction groove is formed at the position between the first and second electrodes so that the bottom surface is located below the surface of the base film.
Moreover, this invention is a manufacturing method of the adsorption | suction apparatus which makes the thickness of the said protective film 100 micrometers or less in the process of forming the said protective film on the surface of said 1st, 2nd electrode.
The present invention is also a method of manufacturing an adsorption device in which the depth of the adsorption groove is 50 μm or more in the step of forming the adsorption groove whose bottom surface is located below the surface of the base film.
Moreover, this invention is a manufacturing method of the adsorption | suction apparatus which surrounds the said adsorption | suction groove | channel by either one of said 1st or 2nd electrodes.
In the present invention, when the film of the conductive material is patterned, a third electrode surrounding the first and second electrodes and the adsorption groove is formed by the conductive material. The second electrode is a method for manufacturing an adsorption device formed in a non-contact manner.
本発明は、真空槽と、上記いずれかの吸着装置を有し、前記吸着装置は、前記真空槽内に出入り可能に構成されたハンドラーから前記吸着対象物を受け取る真空処理装置である。 The present invention includes a vacuum chamber and any one of the suction devices described above, and the suction device is a vacuum processing device that receives the suction object from a handler configured to be able to enter and exit the vacuum chamber.
真空吸着力とグラディエント力の両方が強い吸着装置が得られる。 An adsorption device with strong vacuum adsorption force and gradient force is obtained.
図7の符号10は、本発明の真空処理装置を示している。
この真空処理装置10は、真空槽41と、本発明の第一例の吸着装置1(又は後述する他の例の吸着装置2、3)を有している。The code |
The
真空槽41の外部には、高真空排気系42と低真空排気系43が設けられている。真空槽41は、バルブ45を介して高真空排気系42に接続されており、高真空排気系42を動作させてバルブ45を開状態にすると、真空槽41の内部を高真空雰囲気まで真空排気できるように構成されている。 A high
吸着装置1は切替器44を介して高真空排気系42と低真空排気系43に接続されている。切替器44内には三方弁が設けられており、三方弁を切換えることで、真空槽41は高真空排気系42と低真空排気系43のいずれか一方に接続されるように構成されている。 The
吸着装置1の構造を図1に示す。同図符号1aは内部構造を説明するための平面図、符号1b、1cは、それぞれそのA−A線、B−B線切断断面図である。
この吸着装置1は、板状の基板20を有している。
基板20は、金属製の板から成る基体21と、該基体21の表面に形成された絶縁性の下地膜22とで構成されており、基板20の表面が絶縁性を有するようにされている。The structure of the
The
The
基板20の表面には、パターニングされた導電性材料膜から成る第一〜第三の電極23a、23b、23cが配置されている。第一〜第三の電極23a〜23cの底面は、下地膜22の表面に密着されている。 On the surface of the
第一〜第三の電極23a〜23cは、電気導電性を有する導電性材料の膜を塗布して形成したり、スパッタリンや蒸着法で形成した後、エッチング等でパターニングして構成することができる。また、スクリーン印刷によって直接パターニングした導電性材料膜を塗布し、第一〜第三の電極23a〜23cを構成させることもできる。 The first to
第一〜第三の電極23a〜23cは互いに所定間隔を開けて配置されており、その間には基板20の表面(ここでは下地膜22)が位置している。
前記第一〜第三の電極23a〜23cの間隔は2mm以下であり、第一〜第三の電極23a〜23cの幅は4mm以下である。The first to
The interval between the first to
第一、第二の電極23a、23bは例えば櫛の歯状であり、互いにかみ合うように配置されている。第三の電極23cはリング状であり、第一、第二の電極23a、23bとは非接触で、第一、第二の電極23a、23bを取り囲んでいる。 The first and
第一〜第三の電極23a〜23cの表面には、絶縁性の保護膜24が形成されており、第一〜第三の電極23a〜23cの間には吸着溝26が配置されている。
吸着溝26は、基板20の表面の、第一〜第三の電極23a〜23cの間に位置する部分を一部除去することで形成されており、吸着溝26の底面は下地膜22の内部に位置している。An insulating
The
即ち、吸着溝26の底面は、第一〜第三の電極23a〜23cの底面よりも低くされており、従って、下地膜22を厚く形成し、吸着溝26の底面を深くすることで、第一〜第三の電極23a〜23cや保護膜24を薄くしても、50μm以上の深さの吸着溝26が得られる。 That is, the bottom surface of the
吸着溝26の一部は、第一、第二の電極23a、23b間の最短距離よりも幅広に形成されており、幅広に形成された部分の底面には、基板20の裏面まで貫通する排気孔27が設けられている。
この排気孔27は、基板20の裏面部分で配管に接続されており、その配管によって上述の切替器44に接続されている。A part of the
The
図7の符号15は、ガラス基板等の絶縁性の吸着対象物であり、吸着の手順を説明すると、先ず、保護膜24が鉛直下方を向くようにして吸着装置1を真空槽41内に配置し、吸着対象物をハンドラー19上に乗せて真空吸着して移動させ、真空槽41内に搬入し、吸着装置1の下方で静止させる。
そしてハンドラ19を上昇させ、吸着対象物15を吸着装置1に近づけ、吸着装置1に接触させる。
Then, the
第一〜第三の電極23a〜23c上の保護膜24の高さは互いに等しくなっており、吸着装置1の第一〜第三の電極23a〜23c上の保護膜24は、吸着対象物15の表面に同時に接触する。 The heights of the
吸着溝26の周囲は第三の電極23cで取り囲まれており、吸着対象物15が吸着装置1に密着した状態では、吸着溝26は吸着対象物15によって蓋がされた状態になり、吸着溝26の内部は吸着装置1の周囲の雰囲気から遮断される。 The
切替器44によって吸着装置1を低真空排気系43に接続しておき、吸着対象物15と吸着装置1が密着した状態で低真空排気系43によって吸着溝26の内部を真空排気すると、吸着溝26の内部の気体が真空排気され、数分の一気圧に減圧される。 When the
吸着対象物15及び吸着装置1の周囲雰囲気は大気圧であり、吸着溝26の内部との差圧により、吸着対象物15は吸着装置1に真空吸着される。
ハンドラ19の真空吸着を解除して降下させると、吸着装置1の真空吸着力によって、吸着対象物15は吸着装置1に保持される(図8)。The ambient atmosphere around the
When the vacuum suction of the
基板20には裏面又は側面から不図示の配線が挿通されており、第一〜第三の電極23a〜23cは、その配線を介して電源装置48に接続されている。
真空槽41は接地電位に接続されており、電源装置48を動作させ、第一、第二の電極23a、23bに電圧を印加する。A wiring (not shown) is inserted through the
The
第一、第二の電極23a、23bには、互いに逆極性の電圧を印加する。即ち、第一の電極23aに正電圧を印加する場合には第二の電極23bには負電圧、逆に第一の電極23aに負電圧を印加する場合には第二の電極23bには正電圧を印加する。
第三の電極23cは、第一の電極23a又は第二の電極23bのいずれか一方と短絡されており、第一又は第二の電極23a、23bと同じ電圧が印加される。Voltages having opposite polarities are applied to the first and
The
第一、第二の電極23a、23b間に電圧が印加されると、その間に形成される電界によってグラディエント力が発生する。絶縁性の吸着対象物15には、真空吸着力に加えてグラディエント力も加わる。 When a voltage is applied between the first and
ここで形成されたグラディエント力は単独でも吸着対象物15を保持可能な大きさであり、吸着対象物15にグラディエント力が印加された後、真空槽41を高真空排気系42に接続し、高真空排気系42によって真空槽41内を真空排気する。 The gradient force formed here is large enough to hold the
高真空排気系42によって真空槽41内が真空排気され、圧力が低下すると、吸着溝26の内部と吸着装置1の周囲との間の差圧が小さくなり、吸着装置1の真空吸着力は消滅する。 When the inside of the
真空排気により、真空槽41の内部の圧力が吸着溝26の内部の圧力よりも低くなった場合は、吸着溝26内の残留気体により、吸着力ではなく、吸着対象物15を吸着装置1から離間させる反発力が発生してしまう。 When the pressure inside the
本発明では、真空槽41の内部を高真空排気系42によって真空排気する際、切替器44によって、吸着装置1の接続を低真空排気系43から高真空排気系42に切り換え、吸着溝26内を真空槽41内と共に高真空排気系42によって真空排気する。この場合、低真空排気系43によるよりも吸着溝26の内部を低圧力まで真空排気でき、真空槽41と吸着溝26の内部を同じ高真空排気系42によって一緒に真空排気するので、大きな反発力は発生せず、グラディエント力によって吸着対象物15は吸着装置1に保持された状態が維持される。 In the present invention, when the inside of the
真空処理装置10がスパッタ装置や蒸着装置の場合、真空槽41内にターゲットや蒸着源が配置されており、吸着対象物15は吸着装置1に保持された状態で薄膜が形成される。 When the
真空処理装置10がパネル封止装置である場合、吸着装置1に保持された吸着対象物15は、真空槽41内に配置された他の基板と位置合わせされ、貼り合わされる。 When the
以上説明したように、本発明の吸着装置1では、第一〜第三の電極23a〜23cや、その上の保護膜24を薄くした場合であっても、下地膜22を厚くし、吸着溝26の、下地膜22の表面よりも下の部分を深くすることで、吸着溝26を50μm以上に深くすることができる。通常は100μm〜150μmである。 As described above, in the
吸着溝26を深くすることによって強い真空吸着力が発現され、また、高真空排気系42によって吸着溝26の内部の残留気体が真空排気され易くなり、反発力が生じにくくなる。
他方、保護膜24を薄くするとグラディエント力は強くなるので、真空吸着力とグラディエント力の両方が強い吸着装置1が得られる。By deepening the
On the other hand, when the
また、第三の電極23cによって吸着溝26が囲まれているので、吸着溝26が外部雰囲気と遮断され、吸着溝26内に外部雰囲気から気体が侵入しない。この場合、第一、第二の電極23a、23b上の保護膜24の表面高さは、第三の電極23c上の保護膜24の表面高さよりも低くしてもよい。
第一、第二の電極23a、23b間の電界強度は絶縁破壊が起こらない範囲で大きい方がよく、3×106V/m以上の強度の電場を形成することが望ましい。
保護膜24については、厚い方が寿命が長くなるがグラディエント力は弱くなってしまうため、100μm以下の厚みが好ましい。Further, since the
The electric field strength between the first and
About the
次に、本発明の他の例について説明する。
下記第二例及び第三例の吸着装置2、3については、第一例の吸着装置1と同じ部材には同じ符号を付して説明を省略する。Next, another example of the present invention will be described.
About the adsorption |
第一例の吸着装置1では、第一、第二の電極23a、23bとは離間した第三の電極23cを有しており、吸着溝26は第三の電極23cによって囲まれていた。 The
図2の第二例の吸着装置2では、第三の電極は設けられておらず、吸着溝26は第一又は第二の電極(この吸着装置12では第二の電極23b)で囲まれている。
図2の符号2aは、第二例の吸着装置2の内部構造を説明するための平面図、同図符号2b、2cは、C−C線、D−D線切断断面図である。In the
2 is a plan view for explaining the internal structure of the
上記第一、第二例の吸着装置1、2は、吸着対象物15で蓋をされた状態では吸着溝26の内部は外部雰囲気から分離されていたが、真空吸着力が低下しなければ外部雰囲気と接続されていてもよい。 In the
図3の第三例の吸着装置3では、吸着溝26が電極で囲まれておらず、吸着溝26の周囲は、第一、第二の電極23a、23bが位置する部分よりも、第一、第二の電極23a、23bの膜厚分だけ薄くなっている。 In the
しかし、スパッタ法や蒸着法によって形成した金属薄膜をパターニングして第一、第二の電極23a、23bを形成すれば、その膜厚は非常に薄くできる。例えば1μm以下にできる。従って、この吸着装置3上に吸着対象物15を配置して吸着溝26の内部を真空排気したときに、吸着溝26の周囲から吸着溝26内に流入する気体は僅かであり、真空吸着力は低下しない。 However, if the metal thin film formed by sputtering or vapor deposition is patterned to form the first and
第三例の吸着装置3では、吸着溝26を取り囲む領域の高さが第1、第2の電極23a、23bが位置する部分の高さよりも低くなっていたが、第一、第二の電極23a、23bの内側だけ溝を形成すれば、第一、第二の電極23a、23bで挟まれた領域の端部28が吸着溝26の端部となり、周囲ではなく、この端部28だけから気体が流入するため、流入量は一層少くなる。
排気孔27は、気体が流入する領域からできるだけ遠い位置に設け、気体流入のコンダクタンスを小さくしておくとよい。In the
The
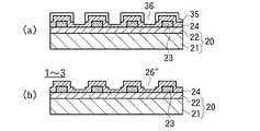
次に、本発明の吸着装置1〜3の製造工程の一例について説明する。
図4(a)に示すように、先ず、金属製の板から成る基体21上に絶縁性の下地膜22を形成し、基板20を構成させる。下地膜22は、アルミナ、二酸化ケイ素や窒化ケイ素等のセラミックスの板やポリイミド樹脂の板又はフィルムを用いることができる。Next, an example of the manufacturing process of the
As shown in FIG. 4A, first, an insulating
次に、同図(b)に示すように、下地膜22上に導電性膜33を形成する。この導電性膜33は導電性ペーストの塗布、金属箔の貼付、スパッタリング法や蒸着法等によって形成することができる。金属に限定されず、導電性を有すれば有機膜でも無機膜でもよい。 Next, a
次に、導電性膜33を所望形状にパターニングし、第一、第二の電極(及び必要に応じて第三の電極)を形成する。同図(c)はその状態を示しており、符号23は、第一〜第三の電極を示している。第一〜第三の電極23間には、下地膜22が露出している。 Next, the
次に、同図(d)に示すように、基板20の第一〜第三の電極23が配置された表面に絶縁性の保護膜34を形成する。
上記保護膜34上にレジスト膜を形成し、該レジスト膜をパターニングし、同図(e)に示すように、第一〜第三の電極23間に位置する保護膜34は露出させ、第一〜第三の電極23上の保護膜34はレジスト35で覆う。
レジスト35をマスクとし、保護膜34の露出部分をエッチングする。Next, as shown in FIG. 4D, an insulating
A resist film is formed on the
The exposed portion of the
ここでは同図(f)に示すように、保護膜34の厚み方向全部と、その真下の下地膜22の深さ方向表面側途中までをエッチングによって除去した後、同図(g)に示すようにレジスト35を除去すると、底面が下地膜22の表面よりも下方に位置する吸着溝26が得られる。吸着溝26の底面は基体21には達しておらず、その底面には下地膜22が露出している。
なお、保護膜24をエッチングした後、レジスト35を除去し、保護膜24をマスクとして下地膜22をエッチングしてもよい。Here, as shown in FIG. 5F, after removing all the thickness direction of the
Note that after the
また、下地膜22表面から第一、又は第二の電極23上の保護膜24の表面までの高さ、即ち、第一、第二の電極23の膜厚とその上の保護膜24の膜厚の合計膜厚が厚い場合は、図5に示すように、下地膜22はエッチングせず、底面に下地膜22を露出させても深い吸着溝26'が得られる。 The height from the surface of the
第一、第二の電極23と保護膜24の合計膜厚が更に厚い場合は、図6(a)に示すように、保護膜24を深さ方向途中までエッチングして吸着溝26を形成した後、レジスト35を除去し、同図(b)に示すように、底面に保護膜24が露出する深い吸着溝26”を形成することができる。
上記各例では基板20を、金属製の基体21と下地膜22の積層体で構成させたが、絶縁性の板によって基板を構成してもよい。When the total thickness of the first and
In each of the above examples, the
膜厚の厚い保護膜24を形成した後、第一〜第三の電極23a〜23c上の部分を残して保護膜をエッチングすると、一層深い吸着溝26を形成することもできる。
なお、上記各例の吸着装置1〜3の平面図では、第一〜第三の電極23a〜23cのパターンは、実際よりも簡略化してある。After forming the thick
In addition, in the top view of the adsorption | suction apparatuses 1-3 of each said example, the pattern of the 1st-
10……真空処理装置
1〜3……吸着装置
15……吸着対象物
20……基板
21……基体
22……下地膜
23a……第一の電極
23b……第二の電極
24……保護膜
26……吸着溝
27……排気孔
42、43……真空排気系DESCRIPTION OF
本発明は、吸着装置の製造方法にかかり、特に、絶縁性の基板を吸着できる吸着装置の製造方法に関する。The present invention relates to amethod formanufacturing an adsorption device, and more particularly to amethod formanufacturing an adsorption device capable of adsorbing an insulating substrate.
しかし、液晶表示装置の基板のような絶縁性基板(ガラス基板など)の場合はコンデンサを形成できないため、絶縁性基板を電極が形成する不均一電界中に置き、グラディエント力(gradient力)によって保持している(特開2001−35907)。
静電吸着力を用いた吸着装置は既に大型基板の液晶表示装置の生産に用いられており、液晶滴下貼り合せ装置の中の重要な構成となっている(特開2002−229044の図8)。However, inthe case of an insulating substrate (such as a glass substrate) such as a substrateof a liquid crystal display device, a capacitor cannot be formed. Therefore, the insulating substrate is placed in a non-uniform electric field formed by electrodes and held by a gradient force. (Japanese Patent Laid-Open No. 2001-35907).
An attracting device using electrostatic attracting force has already been used for production of a liquid crystal display device having a large substrate, and is an important configuration in a liquid crystal dropping and laminating device (FIG. 8 of JP-A-2002-229044). .
本発明は、上記従来技術の課題を解決するために創作されたものであり、絶縁性の基板に対するグラディエント力と真空吸着力を大きくできる吸着装置の製造方法を提供することにある。The present invention has been created to solve the above-described problems of the prior art, and it is an object of the present invention to provide amethod of manufacturing an adsorption device that can increase the gradient force and the vacuum adsorption force on an insulating substrate.
上記課題を解決するため、本発明は、表面が絶縁性を有する基板と、前記基板の平坦な表面上に配置された導電性材料と、前記導電性材料で構成され、互いに異なる電圧が印加される第一、第二の電極と、前記第一、第二の電極表面を被覆する絶縁性の保護膜と、前記第一、第二の電極間に位置する吸着溝と、前記吸着溝に接続され、前記吸着溝を真空排気系に接続する排気孔とを有し、前記保護膜上に吸着対象物を配置し、前記排気孔から前記吸着溝内の気体を真空排気すると前記吸着対象物は真空吸着力によって前記保護膜上に吸着され、前記第一、第二の電極間に電圧を印加するとグラディエント力によって前記吸着対象物は前記保護膜上に吸着されるように構成された吸着装置であって、前記吸着溝の底面は、前記第一、第二の電極の底面と同じかそれよりも低い位置に配置され、前記吸着溝の深さが50μm以上にされた吸着装置である。
また、本発明は、前記吸着溝は前記導電性材料で囲まれた吸着装置である。
また、本発明は、前記吸着溝は、前記第一、第二の電極の間の位置に配置され、前記吸着溝は、前記第一又は第二の電極のうち、いずれか一方によって取り囲まれた吸着装置である。
また、本発明は、前記基板上には下地膜が配置され、前記第一、第二の電極は前記下地膜の表面上に配置され、前記吸着溝は、前記保護膜を厚み方向全部貫通すると共に前記下地膜を厚み方向途中まで貫通し、前記吸着溝の底面は、前記下地膜の表面よりも下方に位置する吸着装置である。
また、本発明は、表面が絶縁性を有する基板と、前記基板の平坦な表面上に配置された導電性材料と、前記導電性材料で構成され、互いに異なる電圧が印加される第一、第二の電極と、前記第一、第二の電極表面を被覆する絶縁性の保護膜と、前記第一、第二の電極間に位置する吸着溝と、前記吸着溝に接続され、前記吸着溝を真空排気系に接続する排気孔とを有し、前記保護膜上に吸着対象物を配置し、前記排気孔から前記吸着溝内の気体を真空排気すると前記吸着対象物は真空吸着力によって前記保護膜上に吸着され、前記第一、第二の電極間に電圧を印加するとグラディエント力によって前記吸着対象物は前記保護膜上に吸着されるように構成された吸着装置であって、前記吸着溝の底面は、前記第一、第二の電極の底面よりも高い位置に配置され、前記吸着溝の深さが50μm以上にされた吸着装置である。
また、本発明は、表面が絶縁性を有する基板と、前記基板の平坦な表面上に配置された導電性材料と、前記導電性材料で構成され、互いに異なる電圧が印加される第一、第二の電極と、前記第一、第二の電極表面を被覆する絶縁性の保護膜と、前記第一、第二の電極間に位置する吸着溝と、前記吸着溝に接続され、前記吸着溝を真空排気系に接続する排気孔とを有し、前記保護膜上に吸着対象物を配置し、前記排気孔から前記吸着溝内の気体を真空排気すると前記吸着対象物は真空吸着力によって前記保護膜上に吸着され、前記第一、第二の電極間に電圧を印加するとグラディエント力によって前記吸着対象物は前記保護膜上に吸着されるように構成された吸着装置であって、前記基板上に下地膜を形成し、前記下地膜の表面に前記第一、第二の電極を形成し、前記第一、第二の電極の表面に前記保護膜を形成し、エッチングによって前記保護膜を厚み方向全部貫通させ、前記吸着溝の底面を、前記第一、第二の電極の底面と同じかそれよりも低い位置に配置し、前記吸着溝の深さを50μm以上にする吸着装置の製造方法である。
また、本発明は、前記エッチングによって前記下地膜を厚み方向途中まで貫通させ、前記吸着溝の底面を、前記下地膜の表面よりも下方の位置に配置する吸着装置の製造方法である。
また、本発明は、吸着装置の製造方法において、前記吸着溝の底面を、前記第一、第二の電極の底面と同じ位置に配置する吸着装置の製造方法である。
また、本発明は、吸着装置の製造方法において、前記吸着溝の底面を、前記第一、第二の電極の底面よりも低く、前記基板の内部の位置に配置する吸着装置の製造方法である。
また、本発明は、前記吸着溝を、前記導電性材料で囲む吸着装置の製造方法である。
また、本発明は、前記吸着溝を、前記第一、第二の電極の間の位置に配置し、前記吸着溝を、前記第一又は第二の電極のうち、いずれか一方によって取り囲む吸着装置である。
また、本発明は、表面が絶縁性を有する基板と、前記基板の平坦な表面上に配置された導電性材料と、前記導電性材料で構成され、互いに異なる電圧が印加される第一、第二の電極と、前記第一、第二の電極表面を被覆する絶縁性の保護膜と、前記第一、第二の電極間に位置する吸着溝と、前記吸着溝に接続され、前記吸着溝を真空排気系に接続する排気孔とを有し、前記保護膜上に吸着対象物を配置し、前記排気孔から前記吸着溝内の気体を真空排気すると前記吸着対象物は真空吸着力によって前記保護膜上に吸着され、前記第一、第二の電極間に電圧を印加するとグラディエント力によって前記吸着対象物は前記保護膜上に吸着されるように構成された吸着装置であって、前記基板上に下地膜を形成し、前記下地膜の表面に前記第一、第二の電極を形成し、前記第一、第二の電極の表面に前記保護膜を形成し、エッチングによって前記保護膜を厚み方向途中まで貫通させ、前記吸着溝の底面を、前記第一、第二の電極の底面よりも高い位置に配置して前記吸着溝の深さを50μm以上にする吸着装置の製造方法である。In order to solve the above problems, the present invention includes a substrate having an insulating surface, a conductive material disposed on a flat surface of the substrate, and the conductive material, and different voltages are applied to the substrate. Connecting the first and second electrodes, the insulating protective film covering the surfaces of the first and second electrodes, the suction groove positioned between the first and second electrodes, and the suction groove The suction groove is connected to a vacuum exhaust system, and an object to be adsorbed is disposed on the protective film, and when the gas in the adsorption groove is evacuated from the exhaust hole, the object to be adsorbed is An adsorption device configured to be adsorbed on the protective film by a vacuum adsorption force, and to adsorb the object to be adsorbed on the protective film by a gradient force when a voltage is applied between the first and second electrodes. The bottom surface of the suction groove is the first and second electrodes Are located in the same or a lower position than the bottom surface, the depth of the suction grooves is adsorption device which is above 50 [mu] m.
Moreover, this invention is an adsorption | suction apparatus with which the said adsorption | suction groove | channel was enclosed with the said electroconductive material.
In the present invention, the suction groove is disposed at a position between the first and second electrodes, and the suction groove is surrounded by one of the first and second electrodes. Adsorption device.
According to the present invention, a base film is disposed on the substrate, the first and second electrodes are disposed on the surface of the base film, and the adsorption groove penetrates the protective film in the thickness direction. In addition, the suction film penetrates the base film halfway in the thickness direction, and the bottom surface of the suction groove is located below the surface of the base film.
The present invention also includes a substrate having an insulating surface, a conductive material disposed on a flat surface of the substrate, and the conductive material, wherein different voltages are applied to each other. Two electrodes, an insulating protective film covering the surfaces of the first and second electrodes, a suction groove positioned between the first and second electrodes, and the suction groove connected to the suction groove. And an exhaust hole for connecting to an evacuation system, an object to be adsorbed is disposed on the protective film, and when the gas in the adsorption groove is evacuated from the exhaust hole, the object to be adsorbed is An adsorption device configured to adsorb onto the protective film and to adsorb the object to be adsorbed onto the protective film by a gradient force when a voltage is applied between the first and second electrodes. The bottom surface of the groove is higher than the bottom surfaces of the first and second electrodes. Disposed, the depth of the suction grooves is adsorption device which is above 50 [mu] m.
The present invention also includes a substrate having an insulating surface, a conductive material disposed on a flat surface of the substrate, and the conductive material, wherein different voltages are applied to each other. Two electrodes, an insulating protective film covering the surfaces of the first and second electrodes, a suction groove positioned between the first and second electrodes, and the suction groove connected to the suction groove. And an exhaust hole for connecting to an evacuation system, an object to be adsorbed is disposed on the protective film, and when the gas in the adsorption groove is evacuated from the exhaust hole, the object to be adsorbed is An adsorption device configured to be adsorbed on a protective film and configured to adsorb the object to be adsorbed on the protective film by a gradient force when a voltage is applied between the first and second electrodes. A base film is formed thereon, and the first and second layers are formed on the surface of the base film. The protective film is formed on the surfaces of the first and second electrodes, the protective film is completely penetrated in the thickness direction by etching, and the bottom surface of the adsorption groove is formed on the first and second electrodes. This is a method for manufacturing an adsorption device, which is disposed at a position equal to or lower than the bottom surface of the electrode, and the adsorption groove has a depth of 50 μm or more.
In addition, the present invention is a method for manufacturing an adsorption device in which the base film is penetrated partway in the thickness direction by the etching, and the bottom surface of the adsorption groove is disposed at a position below the surface of the base film.
Moreover, this invention is a manufacturing method of the adsorption | suction apparatus which arrange | positions the bottom face of the said adsorption groove in the same position as the bottom face of said 1st, 2nd electrode in the manufacturing method of an adsorption | suction apparatus.
Further, the present invention is a method for manufacturing a suction device, wherein the bottom surface of the suction groove is lower than the bottom surfaces of the first and second electrodes and is arranged at a position inside the substrate. .
Moreover, this invention is a manufacturing method of the adsorption | suction apparatus which surrounds the said adsorption | suction groove | channel with the said electroconductive material.
Moreover, this invention arrange | positions the said adsorption | suction groove | channel in the position between said 1st, 2nd electrodes, and the adsorption | suction apparatus which surrounds the said adsorption | suction groove | channel by either one of said 1st or 2nd electrode It is.
The present invention also includes a substrate having an insulating surface, a conductive material disposed on a flat surface of the substrate, and the conductive material, wherein different voltages are applied to each other. Two electrodes, an insulating protective film covering the surfaces of the first and second electrodes, a suction groove positioned between the first and second electrodes, and the suction groove connected to the suction groove. And an exhaust hole for connecting to an evacuation system, an object to be adsorbed is disposed on the protective film, and when the gas in the adsorption groove is evacuated from the exhaust hole, the object to be adsorbed is An adsorption device configured to be adsorbed on a protective film and configured to adsorb the object to be adsorbed on the protective film by a gradient force when a voltage is applied between the first and second electrodes. A base film is formed thereon, and the first and second layers are formed on the surface of the base film. The protective film is formed on the surfaces of the first and second electrodes, the protective film is penetrated partway in the thickness direction by etching, and the bottom surface of the adsorption groove is formed on the first and second electrodes. This is a method for manufacturing an adsorption device that is arranged at a position higher than the bottom surface of the electrode and makes the depth of the adsorption groove 50 μm or more.
図7の符号10は、本発明の製造方法によって得られる吸着装置を用いた真空処理装置を示している。
この真空処理装置10は、真空槽41と、本発明の第一例の吸着装置1(又は後述する他の例の吸着装置2、3)を有している。The code |
The
第一〜第三の電極23a〜23cは、電気導電性を有する導電性材料の膜を塗布して形成したり、スパッタリングや蒸着法で形成した後、エッチング等でパターニングして構成することができる。また、スクリーン印刷によって直接パターニングした導電性材料膜を塗布し、第一〜第三の電極23a〜23cを構成させることもできる。First to
図7の符号15は、ガラス基板等の絶縁性の吸着対象物であり、吸着の手順を説明すると、先ず、保護膜24が鉛直下方を向くようにして吸着装置1を真空槽41内に配置し、吸着対象物15をハンドラー19上に乗せて真空吸着して移動させ、真空槽41内に搬入し、吸着装置1の下方で静止させる。
そしてハンドラー19を上昇させ、吸着対象物15を吸着装置1に近づけ、吸着装置1に接触させる。
Then the
吸着対象物15及び吸着装置1の周囲雰囲気は大気圧であり、吸着溝26の内部との差圧により、吸着対象物15は吸着装置1に真空吸着される。
ハンドラー19の真空吸着を解除して降下させると、吸着装置1の真空吸着力によって、吸着対象物15は吸着装置1に保持される(図8)。The ambient atmosphere around the
When lowering to release the vacuum suction of the
本発明の製造方法によって得られる吸着装置では、真空槽41の内部を高真空排気系42によって真空排気する際、切替器44によって、吸着装置1の接続を低真空排気系43から高真空排気系42に切り換え、吸着溝26内を真空槽41内と共に高真空排気系42によって真空排気する。この場合、低真空排気系43によるよりも吸着溝26の内部を低圧力まで真空排気でき、真空槽41と吸着溝26の内部を同じ高真空排気系42によって一緒に真空排気するので、大きな反発力は発生せず、グラディエント力によって吸着対象物15は吸着装置1に保持された状態が維持される。In theadsorption device obtained by the manufacturing method of the present invention, when the inside of the
以上説明したように、本発明の製造方法によって得られる吸着装置1では、第一〜第三の電極23a〜23cや、その上の保護膜24を薄くした場合であっても、下地膜22を厚くし、吸着溝26の、下地膜22の表面よりも下の部分を深くすることで、吸着溝26を50μm以上に深くすることができる。通常は100μm〜150μmである。As described above,in the
次に、本発明の製造方法によって得られる吸着装置の他の例について説明する。
下記第二例及び第三例の吸着装置2、3については、第一例の吸着装置1と同じ部材には同じ符号を付して説明を省略する。Next, another example of theadsorption device obtained by the production method of the present invention will be described.
About the adsorption |
図2の第二例の吸着装置2では、第三の電極は設けられておらず、吸着溝26は第一又は第二の電極(この吸着装置2では第二の電極23b)で囲まれている。
図2の符号2aは、第二例の吸着装置2の内部構造を説明するための平面図、同図符号2b、2cは、C−C線、D−D線切断断面図である。In the
2 is a plan view for explaining the internal structure of the
次に、本発明の製造方法の一例について説明する。
図4(a)に示すように、先ず、金属製の板から成る基体21上に絶縁性の下地膜22を形成し、基板20を構成させる。下地膜22は、アルミナ、二酸化ケイ素や窒化ケイ素等のセラミックスの板やポリイミド樹脂の板又はフィルムを用いることができる。Next, an example of themanufacturing method of the present invention will be described.
As shown in FIG. 4A, first, an insulating
次に、同図(d)に示すように、基板20の第一〜第三の電極23が配置された表面に絶縁性の保護膜24を形成する。
上記保護膜24上にレジスト膜を形成し、該レジスト膜をパターニングし、同図(e)に示すように、第一〜第三の電極23間に位置する保護膜24は露出させ、第一〜第三の電極23上の保護膜24はレジスト35で覆う。
レジスト35をマスクとし、保護膜24の露出部分をエッチングする。Next, as shown in FIG. 2 (d), to form a first-protective insulating the
The
The resist 35 as a mask, etching the exposed portions of the
ここでは同図(f)に示すように、保護膜24の厚み方向全部と、その真下の下地膜22の深さ方向表面側途中までをエッチングによって除去した後、同図(g)に示すようにレジスト35を除去すると、底面が下地膜22の表面よりも下方に位置する吸着溝26が得られる。吸着溝26の底面は基体21には達しておらず、その底面には下地膜22が露出している。
なお、保護膜24をエッチングした後、レジスト35を除去し、保護膜24をマスクとして下地膜22をエッチングしてもよい。Here, as shown in FIG. (F), the thickness direction all of the
Note that after the
上記課題を解決するため、本発明は、表面が絶縁性を有する基板と、前記基板の平坦な表面上に配置された導電性材料と、前記導電性材料で構成され、互いに異なる電圧が印加される第一、第二の電極と、前記第一、第二の電極表面を被覆する絶縁性の保護膜と、前記第一、第二の電極間に位置する吸着溝と、前記吸着溝に接続され、前記吸着溝を真空排気系に接続する排気孔とを有し、前記保護膜上に吸着対象物を配置し、前記排気孔から前記吸着溝内の気体を真空排気すると前記吸着対象物は真空吸着力によって前記保護膜上に吸着され、前記第一、第二の電極間に電圧を印加するとグラディエントカによって前記吸着対象物は前記保護膜上に吸着されるように構成された吸着装置であって、前記吸着溝の底面は、前記第一、第二の電極の底面と同じかそれよりも低い位置に配置され、前記吸着溝の深さが50μm以上にされた吸着装置である。
また、本発明は、前記吸着溝は前記導電性材料で囲まれた吸着装置である。
また、本発明は、前記吸着溝は、前記第一、第二の電極の間の位置に配置され、前記吸着溝は、前記第一又は第二の電極のうち、いずれか一方によって取り囲まれた吸着装置である。
また、本発明は、前記基板上には下地膜が配置され、前記第一、第二の電極は前記下地膜の表面上に配置され、前記吸着溝は、前記保護膜を厚み方向全部貫通すると共に前記下地膜を厚み方向途中まで貫通し、前記吸着溝の底面は、前記下地膜の表面よりも下方に位置する吸着装置である。
また、本発明は、表面が絶縁性を有する基板と、前記基板の平坦な表面上に配置された導電性材料と、前記導電性材料で構成され、互いに異なる電圧が印加される第一、第二の電極と、前記第一、第二の電極表面を被覆する絶縁性の保護膜と、前記第一、第二の電極間に位置する吸着溝と、前記吸着溝に接続され、前記吸着溝を真空排気系に接続する排気孔とを有し、前記保護膜上に吸着対象物を配置し、前記排気孔から前記吸着溝内の気体を真空排気すると前記吸着対象物は真空吸着力によって前記保護膜上に吸着され、前記第一、第二の電極間に電圧を印加するとグラディエントカによって前記吸着対象物は前記保護膜上に吸着されるように構成された吸着装置であって、前記吸着溝の底面は、前記第一、第二の電極の底面よりも高い位置に配置され、前記吸着溝の深さが50μm以上にされた吸着装置である。In order to solve the above problems, the present invention includes a substrate having an insulating surface, a conductive material disposed on a flat surface of the substrate, and the conductive material, and different voltages are applied to the substrate. Connecting the first and second electrodes, the insulating protective film covering the surfaces of the first and second electrodes, the suction groove positioned between the first and second electrodes, and the suction groove The suction groove is connected to a vacuum exhaust system, and an object to be adsorbed is disposed on the protective film, and when the gas in the adsorption groove is evacuated from the exhaust hole, the object to be adsorbed is An adsorption device configured to be adsorbed on the protective film by a vacuum adsorption force and to adsorb the object to be adsorbed on the protective film by a gradient car when a voltage is applied between the first and second electrodes. The bottom surface of the suction groove is the first and second electrodes Are located in the same or a lower position than the bottom surface, the depth of the suction grooves is adsorption device which is above 50 [mu] m.
Moreover, this invention is an adsorption | suction apparatus with which the said adsorption | suction groove | channel was enclosed with the said electroconductive material.
In the present invention, the suction groove is disposed at a position between the first and second electrodes, and the suction groove is surrounded by one of the first and second electrodes. Adsorption device.
According to the present invention, a base film is disposed on the substrate, the first and second electrodes are disposed on the surface of the base film, and the adsorption groove penetrates the protective film in the thickness direction. In addition, the suction film penetrates the base film halfway in the thickness direction, and the bottom surface of the suction groove is located below the surface of the base film.
The present invention also includes a substrate having an insulating surface, a conductive material disposed on a flat surface of the substrate, and the conductive material, wherein different voltages are applied to each other. Two electrodes, an insulating protective film covering the surfaces of the first and second electrodes, a suction groove positioned between the first and second electrodes, and the suction groove connected to the suction groove. And an exhaust hole for connecting to an evacuation system, an object to be adsorbed is disposed on the protective film, and when the gas in the adsorption groove is evacuated from the exhaust hole, the object to be adsorbed is An adsorption device configured to be adsorbed on a protective film and configured to adsorb the object to be adsorbed onto the protective film by a gradient when a voltage is applied between the first and second electrodes. The bottom surface of the groove is higher than the bottom surfaces of the first and second electrodes. Disposed, the depth of the suction grooves is adsorption device which is above 50 [mu] m.
| Application Number | Priority Date | Filing Date | Title |
|---|---|---|---|
| JP2011221278AJP5312549B2 (en) | 2011-10-05 | 2011-10-05 | Adsorption device |
| Application Number | Priority Date | Filing Date | Title |
|---|---|---|---|
| JP2011221278AJP5312549B2 (en) | 2011-10-05 | 2011-10-05 | Adsorption device |
| Application Number | Title | Priority Date | Filing Date |
|---|---|---|---|
| JP2011088812ADivisionJP5165078B2 (en) | 2011-04-13 | 2011-04-13 | Adsorption device |
| Publication Number | Publication Date |
|---|---|
| JP2012044200Atrue JP2012044200A (en) | 2012-03-01 |
| JP5312549B2 JP5312549B2 (en) | 2013-10-09 |
| Application Number | Title | Priority Date | Filing Date |
|---|---|---|---|
| JP2011221278AExpired - LifetimeJP5312549B2 (en) | 2011-10-05 | 2011-10-05 | Adsorption device |
| Country | Link |
|---|---|
| JP (1) | JP5312549B2 (en) |
| Publication number | Priority date | Publication date | Assignee | Title |
|---|---|---|---|---|
| JP6511212B1 (en)* | 2017-11-10 | 2019-05-15 | 株式会社アルバック | Vacuum apparatus, adsorption apparatus, conductive thin film manufacturing method |
| Publication number | Priority date | Publication date | Assignee | Title |
|---|---|---|---|---|
| JPH04147642A (en)* | 1990-10-09 | 1992-05-21 | Nippon Telegr & Teleph Corp <Ntt> | Vacuum/electrostatic chuck |
| JP2000077509A (en)* | 1998-08-31 | 2000-03-14 | Sony Corp | Wafer stage and method for treating wafer |
| JP2001035907A (en)* | 1999-07-26 | 2001-02-09 | Ulvac Japan Ltd | Chuck device |
| JP2005223185A (en)* | 2004-02-06 | 2005-08-18 | Toto Ltd | Electrostatic chuck and its manufacturing method |
| Publication number | Priority date | Publication date | Assignee | Title |
|---|---|---|---|---|
| JPH04147642A (en)* | 1990-10-09 | 1992-05-21 | Nippon Telegr & Teleph Corp <Ntt> | Vacuum/electrostatic chuck |
| JP2000077509A (en)* | 1998-08-31 | 2000-03-14 | Sony Corp | Wafer stage and method for treating wafer |
| JP2001035907A (en)* | 1999-07-26 | 2001-02-09 | Ulvac Japan Ltd | Chuck device |
| JP2005223185A (en)* | 2004-02-06 | 2005-08-18 | Toto Ltd | Electrostatic chuck and its manufacturing method |
| Publication number | Priority date | Publication date | Assignee | Title |
|---|---|---|---|---|
| JP6511212B1 (en)* | 2017-11-10 | 2019-05-15 | 株式会社アルバック | Vacuum apparatus, adsorption apparatus, conductive thin film manufacturing method |
| WO2019093362A1 (en)* | 2017-11-10 | 2019-05-16 | 株式会社アルバック | Vacuum device, attraction device, and conductive thin film manufacturing device |
| CN110088887A (en)* | 2017-11-10 | 2019-08-02 | 株式会社爱发科 | Vacuum plant, adsorbent equipment, conductive membrane manufacturing method |
| KR20200080198A (en)* | 2017-11-10 | 2020-07-06 | 가부시키가이샤 알박 | Vacuum device, adsorption device, conductive thin film manufacturing method |
| TWI700774B (en)* | 2017-11-10 | 2020-08-01 | 日商愛發科股份有限公司 | Vacuum apparatus, vacuum-suction device and conductive thin film manufacturing method |
| US10982323B2 (en) | 2017-11-10 | 2021-04-20 | Ulv Ac, Inc. | Conductive thin film manufacturing method |
| KR102248322B1 (en) | 2017-11-10 | 2021-05-04 | 가부시키가이샤 알박 | Vacuum device, adsorption device, conductive thin film manufacturing method |
| Publication number | Publication date |
|---|---|
| JP5312549B2 (en) | 2013-10-09 |
| Publication | Publication Date | Title |
|---|---|---|
| CN104900681B (en) | Organic light-emitting display panel and method of forming the same | |
| US9254998B2 (en) | MEMS device with a capping substrate | |
| KR101058748B1 (en) | Electrostatic chuck and its manufacturing method | |
| TWI569400B (en) | Chip package and method of forming same | |
| TWI412480B (en) | Workpiece transfer method, electrostatic chuck device and substrate bonding method | |
| JP2007184931A5 (en) | ||
| JP2008251737A (en) | Electrode member for electrostatic chuck device, electrostatic chuck device using the same, and electrostatic chuck release method | |
| JP2005093625A5 (en) | ||
| JP4976915B2 (en) | Electrostatic chuck and method of manufacturing electrostatic chuck | |
| CN108470849A (en) | A kind of flexible base board and preparation method thereof | |
| TWI508240B (en) | Laminated wiring board | |
| JP4763380B2 (en) | Manufacturing method of adsorption device | |
| JP2008147430A (en) | Electrostatic adsorption method | |
| JP5312549B2 (en) | Adsorption device | |
| JP5165078B2 (en) | Adsorption device | |
| US9202654B2 (en) | MEMS device and manufacturing method thereof | |
| JP2007073892A (en) | Suction apparatus, bonding device, and sealing method | |
| CN100389479C (en) | Mask, manufacturing method thereof, film forming method, electronic device, and electronic instrument | |
| JP4522926B2 (en) | Manufacturing method of adsorption device | |
| CN115036275B (en) | A method for preparing a display panel and a display panel | |
| JP2009176851A (en) | Semiconductor device and manufacturing method thereof | |
| JP2010012534A (en) | Device and its manufacturing method | |
| JP5352777B2 (en) | Quartz device manufacturing method | |
| CN115172246A (en) | Device transfer substrate, manufacturing method thereof and device transfer method | |
| TW201102737A (en) | Display panel |
| Date | Code | Title | Description |
|---|---|---|---|
| A977 | Report on retrieval | Free format text:JAPANESE INTERMEDIATE CODE: A971007 Effective date:20121129 | |
| A131 | Notification of reasons for refusal | Free format text:JAPANESE INTERMEDIATE CODE: A131 Effective date:20121204 | |
| A521 | Request for written amendment filed | Free format text:JAPANESE INTERMEDIATE CODE: A821 Effective date:20130130 Free format text:JAPANESE INTERMEDIATE CODE: A523 Effective date:20130130 | |
| TRDD | Decision of grant or rejection written | ||
| A01 | Written decision to grant a patent or to grant a registration (utility model) | Free format text:JAPANESE INTERMEDIATE CODE: A01 Effective date:20130702 | |
| A61 | First payment of annual fees (during grant procedure) | Free format text:JAPANESE INTERMEDIATE CODE: A61 Effective date:20130702 | |
| R150 | Certificate of patent or registration of utility model | Free format text:JAPANESE INTERMEDIATE CODE: R150 Ref document number:5312549 Country of ref document:JP Free format text:JAPANESE INTERMEDIATE CODE: R150 | |
| R250 | Receipt of annual fees | Free format text:JAPANESE INTERMEDIATE CODE: R250 | |
| R250 | Receipt of annual fees | Free format text:JAPANESE INTERMEDIATE CODE: R250 | |
| R250 | Receipt of annual fees | Free format text:JAPANESE INTERMEDIATE CODE: R250 | |
| R250 | Receipt of annual fees | Free format text:JAPANESE INTERMEDIATE CODE: R250 | |
| R250 | Receipt of annual fees | Free format text:JAPANESE INTERMEDIATE CODE: R250 | |
| R250 | Receipt of annual fees | Free format text:JAPANESE INTERMEDIATE CODE: R250 | |
| R250 | Receipt of annual fees | Free format text:JAPANESE INTERMEDIATE CODE: R250 | |
| R250 | Receipt of annual fees | Free format text:JAPANESE INTERMEDIATE CODE: R250 | |
| R250 | Receipt of annual fees | Free format text:JAPANESE INTERMEDIATE CODE: R250 |