






本発明はビーズコアを用いた電流検出装置に関する。 The present invention relates to a current detection device using a bead core.
近年、ネットワーク機器及びサーバ機器等に使用される「CPU及びFPGA(Field Programmable Gate Array)等の半導体デバイス」が急速に高性能化して来ている。即ち、半導体デバイスの「動作電圧の低電圧化、動作電流の大電流化、処理速度の高速化及び小型化」が進んでいる。従って、電源装置は、電圧が低く且つ電流の大きな電力を「半導体デバイス等を用いた負荷装置」に供給する必要がある。更に、電源装置は、半導体デバイスの小型化を無駄にしないためにも小型化される必要がある。 In recent years, “semiconductor devices such as CPUs and field programmable gate arrays (FPGAs)” used for network devices, server devices, and the like have rapidly increased in performance. That is, “reduction in operating voltage, increase in operating current, increase in processing speed, and downsizing” of semiconductor devices are progressing. Therefore, it is necessary for the power supply device to supply power having a low voltage and a large current to the “load device using a semiconductor device”. Furthermore, the power supply apparatus needs to be miniaturized so as not to waste miniaturization of the semiconductor device.
このような要求に応えるための電源装置の一つは、スイッチング周波数が高められたスイッチング電源回路を備える。スイッチング電源回路におけるスイッチングは、一般に、スイッチング素子(電力用半導体素子)を用いた「ハードスイッチング」である。従って、スイッチング周波数が高いと、スイッチング素子から大きな電気ノイズ(不要電波)が発生する。このような電気ノイズを抑制するためにビーズコアが使用される。ビーズコアは、中央部に貫通孔を備えるビーズ状のコア(鉄心)である。ビーズコアは、例えば、「スイッチング素子により制御される電流が流れる導線」がビーズコアの貫通孔を物理的に通過するように、スイッチング素子に装着される。ビーズコアは、スイッチング電源回路に限らず、スイッチング等により発生する電気ノイズを抑制すべき電気回路に対して使用され得る。 One of the power supply devices for meeting such a requirement includes a switching power supply circuit with an increased switching frequency. Switching in a switching power supply circuit is generally “hard switching” using a switching element (power semiconductor element). Therefore, when the switching frequency is high, large electrical noise (unnecessary radio waves) is generated from the switching element. In order to suppress such electrical noise, a bead core is used. The bead core is a bead-shaped core (iron core) having a through hole in the center. The bead core is attached to the switching element so that, for example, “the conducting wire through which the current controlled by the switching element flows” physically passes through the through-hole of the bead core. The bead core can be used not only for a switching power supply circuit but also for an electric circuit that should suppress electrical noise generated by switching or the like.
一方、電源回路等を含む電気回路に流れる電流を検出することは、その電気回路を使用した装置を管理・制御する上で重要である。電気回路が電源回路である場合、電気回路に流れる電流は、その電源回路の負荷を流れる電流(負荷電流)でもある。電気回路に流れる電流は、例えば、電気回路の一部等(電源回路の場合にはその電源回路の出力線上)に直列に挿入された抵抗器の両端電圧(即ち、抵抗器の電圧降下分)を測定することにより検出されている。ところが、上述したような低電圧化・大電流化が進むと、抵抗器における消費電力が電流Iの二乗と抵抗値Rとの積(I2・R)と等しいことから、抵抗器において非常に大きな電力が消費される。その結果、電流を測定するために「比較的大きなエネルギー」が無駄に消費されるという問題がある。On the other hand, detecting the current flowing in an electric circuit including a power supply circuit is important in managing and controlling a device using the electric circuit. When the electric circuit is a power circuit, the current flowing through the electric circuit is also a current (load current) flowing through the load of the power circuit. The current flowing in the electric circuit is, for example, the voltage across the resistor inserted in series in a part of the electric circuit (on the output line of the power circuit in the case of a power circuit) (ie, the voltage drop of the resistor) It is detected by measuring. However, when the voltage and current are increased as described above, the power consumption in the resistor is equal to the product of the square of the current I and the resistance value R (I2 · R). A large amount of power is consumed. As a result, there is a problem that “relatively large energy” is wasted in order to measure the current.
上記問題に対処するため、スイッチング素子の端子にトロイダルコイルを装着し、そのスイッチング素子の端子を一次巻線として用い且つトロイダルコイルの巻線を二次巻線として用いることにより、電気回路の電流を検出する技術が知られている(特許文献1を参照。)。この技術によれば、新たに装着したトロイダルコイルが変流器(CT,Current Transformer)の一部として使用されるので、抵抗器を用いて電流を検出する場合に比較して大きな電力が無駄に消費されることを回避することができる。 In order to cope with the above problem, the current of the electric circuit is reduced by attaching a toroidal coil to the terminal of the switching element, using the terminal of the switching element as the primary winding and using the winding of the toroidal coil as the secondary winding. A technique for detection is known (see Patent Document 1). According to this technology, since a newly installed toroidal coil is used as a part of a current transformer (CT), a large amount of electric power is wasted compared with the case where a current is detected using a resistor. It is possible to avoid being consumed.
しかしながら、「スイッチング素子等の部品の大きさ及び端子間距離等」が小さくなってきているので、変流器専用のトロイダルコイルを電気回路に新たに装着するスペースを確保することは非常に困難である。換言すると、変流器専用のトロイダルコイルを用いて電流検出を行おうとすると、素子の端子間距離を大きくしなければならず、その結果、装置全体が大型化するという問題がある。本発明は、このような問題を解決するために為されたものである。即ち、本発明の目的の一つは、大きな電力損失及び装置の大型化を招くことなく、電源回路等に用いられるスイッチング素子に流れる電流に相関する信号(値)を検出することにある。なお、本発明は、電源回路のみならず、スイッチング素子に装着されたビーズコアを備える電気回路であれば適用することができる。 However, since the “size of parts such as switching elements and the distance between terminals” is becoming smaller, it is very difficult to secure a space for newly installing a toroidal coil dedicated to a current transformer in an electric circuit. is there. In other words, if current detection is to be performed using a toroidal coil dedicated to a current transformer, the distance between the terminals of the element must be increased, resulting in a problem that the entire apparatus becomes larger. The present invention has been made to solve such problems. That is, one of the objects of the present invention is to detect a signal (value) correlated with a current flowing through a switching element used in a power supply circuit or the like without causing a large power loss and an increase in size of the apparatus. The present invention can be applied not only to a power supply circuit but also to an electric circuit including a bead core attached to a switching element.
本発明の一つの態様に係る電流検出装置は、スイッチング素子に装着されるビーズコア及び前記ビーズコアに巻回された導線を含む巻線部と、前記導線に流れる電流に基いて前記スイッチング素子に流れる電流に相関する値を有する信号を発生する信号発生部と、を備える。 A current detection apparatus according to one aspect of the present invention includes a winding part including a bead core attached to a switching element and a conductive wire wound around the bead core, and a current flowing through the switching element based on a current flowing through the conductive line. A signal generation unit that generates a signal having a value correlated with the signal.
電気ノイズの発生を抑制するために従来から使用されているビーズコアを「変流器のコア(鉄心)」として利用することにより、スイッチング素子に流れる電流に相関する値を有する信号(値)が取得されるので、変流器専用の新たな部品を搭載する必要がない。この結果、装置を大型化することなく、且つ、大きな電力損失を招くことなく、スイッチング素子に流れる電流に相関する値を取得することができる。同時に、ビーズコアにより、電気ノイズの発生を効果的に抑制することができる。 A signal (value) having a value that correlates with the current flowing through the switching element is obtained by using a bead core that has been used in the past as a “current transformer core (iron core)” to suppress the generation of electrical noise. Therefore, there is no need to install new parts dedicated to current transformers. As a result, a value correlated with the current flowing through the switching element can be obtained without increasing the size of the device and without causing a large power loss. At the same time, the generation of electrical noise can be effectively suppressed by the bead core.
以下、本発明の実施形態について図面を参照しながら説明する。但し、本発明はこの実施形態に限定されるものではなく、本発明の範囲を逸脱しない限りにおいて、様々な形態を取り得る。 Hereinafter, embodiments of the present invention will be described with reference to the drawings. However, the present invention is not limited to this embodiment, and can take various forms without departing from the scope of the present invention.
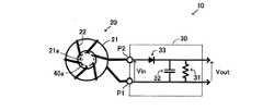
図1に示したように、本発明の実施形態に係る電流検出装置10は、巻線部20と、信号発生部30と、を含む。 As shown in FIG. 1, the
図1及び図2に示したように、巻線部20は、ビーズコア21と、導線22と、を含む。ビーズコア21は磁性体(例えば、フェライト磁性体)である。ビーズコア21は、スイッチング電源等の電気回路から発生する電気ノイズを抑制するために用いられる。ビーズコア21は円筒形状を有する。ビーズコア21は、その中心軸線に沿って貫通する貫通孔21aを有する。即ち、ビーズコア21はリング形状を有する。貫通孔21aには、後述する低側スイッチング素子42のソース端子40aが貫通させられる(例えば、特許第3458621号、特公平5−68818号公報及び特開2001−313215号公報等を参照。)。なお、ビーズコア21は、その内部をスイッチング素子の電流経路が通過し得る構成を有していればよく、従って、ビーズコア21の形状はリング形状に限定されない。 As shown in FIGS. 1 and 2, the
導線22は、トロイダルコイルを構成するようにビーズコア21に巻回されている。即ち、導線22は、ビーズコア21の外側側面を中心軸線に沿い、次いで、ビーズコア21の貫通孔21aの壁面を中心軸線に沿うように、ビーズコア21に複数回巻回されている。 The conducting
信号発生部30は、図1に示したように、抵抗器31、キャパシタ32及びダイオード33を含む周知の平滑回路である。端子P1は導線22の一端と接続され、端子P2は導線22の他端と接続されている。即ち、端子P1及び端子P2は、導線22の両端とそれぞれ接続されている。抵抗器31は、端子P1と端子P2との間に直列に接続されている。キャパシタ32は、端子P1及び端子P2に対して抵抗器31と並列となるように接続され、一端は、端子P1と抵抗器31の一端との間に、他端は、端子P2と抵抗器31の他端との間にそれぞれ接続されている。ダイオード33は、端子P2とキャパシタ32の他端との間に挿入され、アノードが端子P2にカソードがキャパシタ32の他端にそれぞれ接続されている。 As shown in FIG. 1, the
この結果、導線22に流れる電流に応じた電圧信号(導線22に流れる電流を整流した信号)Voutが抵抗器31の両端に現れる。信号発生部30は、この抵抗器31の両端電圧Voutを電圧信号として出力する。 As a result, a voltage signal (a signal obtained by rectifying the current flowing through the conductive wire 22) Vout corresponding to the current flowing through the
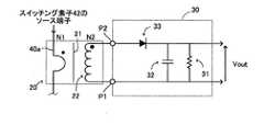
電流検出装置10は、図3に示したように、電気回路40に適用される。電気回路40は、高側スイッチング素子(電力用半導体)41、低側スイッチング素子(電力用半導体)42、インダクタ43及びキャパシタ44を含む。スイッチング素子41,42は、例えば、MOS−FETである。電気回路40は、周知の「非絶縁型ステップダウンコンバータ(降圧型DC−DCコンバータ)」であり、直流電源VBの電圧V1を降圧して電圧V2に変換し、その電圧V2を負荷装置50(例えば、CPU等を含む負荷装置)に印加する。このとき、負荷装置50に負荷電流I2が流れる。 The
電気回路40について簡単に説明すると、直流電圧V1を発生する直流電源VBに対して、高側スイッチング素子41、インダクタ43及びキャパシタ44が直列に接続されている。高側スイッチング素子41のドレイン端子は直流電源VBの正極に接続され、高側スイッチング素子41のソース端子はインダクタ43の一端に接続されている。インダクタ43の他端はキャパシタ44の一端に接続され、キャパシタ44の他端は直流電源VBの負極に接続されている。キャパシタ44の両端は負荷装置50に接続されている。キャパシタ44の両端電圧V2が電気回路40の出力電圧である。低側スイッチング素子42は、直流電源VBに対して、インダクタ43及びキャパシタ44を含む回路に並列に挿入され、ドレイン端子は高側スイッチング素子41のソース端子とインダクタ43との間に、ソース端子は直流電源VBの負極にそれぞれ接続されている。 The
電流検出装置10の巻線部20は、低側スイッチング素子42のソース端子40aに装着されている。より具体的には、巻線部20は、低側スイッチング素子42のソース端子40aがビーズコア21の貫通孔21aを通過するように低側スイッチング素子42に装着される(図1及び図2を参照。)。これにより、図4の等価回路図に示したように、低側スイッチング素子42のソース端子は「巻線数N1の一次巻線」として機能し、導線22は「巻線数N2の二次巻線」として機能する。即ち、巻線部20は、ビーズコア21をコア(鉄心)として有する変流器として機能する。本例において、巻線数N1に対する巻線数N2の比(=N2/N1)は5〜10程度であるが、これに限定されるものではない。 The winding
図5は電気回路40の作動を示すタイムチャートである。電気回路40においては、時刻t1にて高側スイッチング素子41がオン状態に変更させられるとともに低側スイッチング素子42がオフ状態に変更させられる。更に、時刻t1から所定のオン時間tonが経過した時刻t2にて、高側スイッチング素子41はオフ状態に変更させられるとともに低側スイッチング素子42はオン状態に変更させられる。時刻t1から時刻t2の間、高側スイッチング素子41を流れるソース電流IQ1は時刻t1にてステップ状に増大した後に徐々に増大し、低側スイッチング素子42を流れるソース電流IQ2はゼロである。この結果、時刻t1から時刻t2の間、インダクタ43を流れる電流(インダクタ電流)ILは増大する。時刻t1から時刻t2の間までのインダクタ電流ILの増大分iuはton・(V1−V2)/Lである。 FIG. 5 is a time chart showing the operation of the
更に、時刻t2から所定のオフ時間toffが経過した時刻t3にて、高側スイッチング素子41は再びオン状態に変更させられるとともに低側スイッチング素子42はオフ状態に変更させられる。時刻t2から時刻t3の間、高側スイッチング素子41を流れるソース電流IQ1はゼロであり、低側スイッチング素子42を流れるソース電流IQ2は時刻t2にてステップ状に増大した後に次第に減少する。この結果、時刻t2から時刻t3の間、インダクタ電流ILは減少する。時刻t2から時刻t3の間までのインダクタ電流ILの減少分idはtoff・V2/Lである。 Further, at time t3 when a predetermined off time toff has elapsed from time t2, the high-
定常状態において、増大分iuと減少分idとは等しい。これにより、電気回路40の出力電圧V2は次の(1)式のように定まる。Tはオン時間tonとオフ時間toffとの和であり、制御周期である。(1)式から、出力電圧V2は、デューティD(=ton/T)に応じて変化することが理解される。電気回路40は図示しない制御部を有している。制御部は出力電圧V2が一定となるようにデューティDを決定し、スイッチング素子41,42のゲート端子に制御信号を送出する。
V2=V1・(ton/(ton+toff))=V1・ton/T …(1)In the steady state, the increase iu and the decrease id are equal. As a result, the output voltage V2 of the
V2 = V1 · (ton / (ton + toff)) = V1 · ton / T (1)
更に、電気回路40の出力電流I2(即ち、負荷装置50を流れる負荷電流I2)はインダクタ電流ILの平均値である。よって、出力電流I2は低側スイッチング素子42を流れるソース電流IQ2(=ドレイン電流)の平均値IQ2avに実質的に比例する(強い相関を有する)。 Furthermore, the output current I2 of the electric circuit 40 (that is, the load current I2 flowing through the load device 50) is an average value of the inductor current IL. Therefore, the output current I2 is substantially proportional to the average value IQ2av of the source current IQ2 (= drain current) flowing through the low-side switching element 42 (having a strong correlation).
変流器を構成する巻線部20の導線22には、ソース電流IQ2に比例した電流が流れる。その電流は信号発生部30によって整流(平均化)され、電圧信号Voutとなって抵抗器31の両端に現れる。従って、電圧信号Voutの大きさを例えば電圧計及びAD変換等により取得することにより、低側スイッチング素子42に流れる電流に相関する値を取得することができる。この取得される値は、電気回路40に流れる電流(この場合、電気回路40の一部に流れる電流であるインダクタ電流ILであり、且つ、負荷電流I2)に強い相関を有する。なお、「電流に相関する値」とは、その電流の電流値そのもの及び電流を電圧に変換した値等、検出すべき電流に応じて変化する値(例えば、検出すべき電流に略比例する値)であって検出すべき電流の大きさを一意に特定し得る値である。 A current proportional to the source current IQ2 flows through the
図6及び図7に示したように、電流検出装置10は、例えば、複数のプリントボード101を搭載したサーバ100に適用することができる。プリントボード101のそれぞれは、複数の負荷装置50Aと、その複数の負荷装置50Aのそれぞれに電力を供給する電源装置40Aと、を含む。電源装置40Aは、前述した電気回路(電源回路)40と電流検出装置10とを含む。このように構成されたサーバ100において、電流検出装置10により電源装置40Aの負荷電流が実質的に無損失にて検出される。そして、検出された負荷電流は、サーバ100の管理及び/又は制御に利用される。 As illustrated in FIGS. 6 and 7, the
以上、説明したように、電流検出装置10は、電気ノイズを抑制するためにスイッチング素子(本例において、低側スイッチング素子42)に元々装着されているビーズコア21を「変流器の巻線部20の一部(コア)」として利用する。従って、変流器専用の新たな部品を電気回路40に別途装着する必要がないので、電気回路40を含む装置全体の大型化を招かない。しかも、電流検出用の抵抗器に比べて、電力を無駄に消費することなく、スイッチング素子に流れる電流に相関する値を有する信号Vout(従って、電気回路40に流れる電流に相関する値を有する信号)を取得することができる。 As described above, the
本発明は上記実施形態に限定されることはなく、本発明の範囲内において種々の変形例を採用することができる。例えば、ビーズコア21が高側スイッチング素子41のソース端子に装着されている場合には、そのビーズコア21に導線22を巻回し、その導線に流れる電流に基いて「高側スイッチング素子41に流れる電流に相関する値を有する信号」を取り出してもよい。 The present invention is not limited to the above embodiment, and various modifications can be employed within the scope of the present invention. For example, when the
また、電流検出装置10は、昇圧型DC−DCコンバータに適用することもでき、電源回路以外の電気回路であっても、ビーズコア21が装着されているスイッチング素子を含む回路であれば、適用することができる。加えて、信号発生部30は、他の形式の整流・平滑回路であってもよい。更に、信号発生部30は例えば抵抗器のみを備え、その抵抗器の両端の電圧信号を出力するように構成されてもよい。この場合、その抵抗器の両端電圧をAD変換することにより複数の電圧値(電圧信号の大きさ)を取得し、取得した複数の電圧値をソフトウェアにより平均化することによって「スイッチング素子(従って、電気回路40)に流れる電流に相関する値」を取得してもよい。 The
更に、上記開示の電流検出装置10は、「ビーズコア21が装着されたスイッチング素子」に流れる電流に相関する値を検出する電流検出方法を実現する装置でもある。この電流検出方法は、スイッチング素子に装着されたビーズコア21を変流器のコアとして利用するとともに、ビーズコア21に巻回された導線22を変流器の二次巻線として利用し、その二次巻線に流れる電流に基いて「スイッチング素子に流れる電流」に相関する値を検出する方法である。換言すると、この電流検出方法は、ビーズコア21が装着されているスイッチング素子の導体部(端子)を変流器の一次巻線として利用することにより「スイッチング素子に流れる電流」を検出する方法である。 Further, the
10…電流検出装置、20…巻線部、21…ビーズコア、21a…貫通孔、22…導線、30…信号発生部、31…抵抗器、32…キャパシタ、40…電気回路、40a…ソース端子、41…高側スイッチング素子、42…低側スイッチング素子、43…インダクタ、44…キャパシタ、50…負荷装置。 DESCRIPTION OF
| Application Number | Priority Date | Filing Date | Title |
|---|---|---|---|
| JP2010162426AJP2012026735A (en) | 2010-07-20 | 2010-07-20 | Current detection apparatus |
| KR1020110070779AKR101228561B1 (en) | 2010-07-20 | 2011-07-18 | Current detection device |
| US13/185,934US20120020121A1 (en) | 2010-07-20 | 2011-07-19 | Current detection circuit and switching regulator circuit |
| Application Number | Priority Date | Filing Date | Title |
|---|---|---|---|
| JP2010162426AJP2012026735A (en) | 2010-07-20 | 2010-07-20 | Current detection apparatus |
| Publication Number | Publication Date |
|---|---|
| JP2012026735Atrue JP2012026735A (en) | 2012-02-09 |
| Application Number | Title | Priority Date | Filing Date |
|---|---|---|---|
| JP2010162426AWithdrawnJP2012026735A (en) | 2010-07-20 | 2010-07-20 | Current detection apparatus |
| Country | Link |
|---|---|
| US (1) | US20120020121A1 (en) |
| JP (1) | JP2012026735A (en) |
| KR (1) | KR101228561B1 (en) |
| Publication number | Priority date | Publication date | Assignee | Title |
|---|---|---|---|---|
| WO2014136589A1 (en)* | 2013-03-05 | 2014-09-12 | オムロン株式会社 | Current sensor, current measuring apparatus, and leakage detection apparatus |
| JP2017032414A (en)* | 2015-07-31 | 2017-02-09 | 三菱電機株式会社 | Power measuring device and power management system |
| Publication number | Priority date | Publication date | Assignee | Title |
|---|---|---|---|---|
| DE102012104103A1 (en) | 2012-05-10 | 2013-11-14 | Sma Solar Technology Ag | Circuit arrangement and method for controlling at least one switching element of a voltage converter |
| US10041982B2 (en) | 2012-08-15 | 2018-08-07 | Texas Instruments Incorporated | Switch mode power converter current sensing apparatus and method |
| US10644603B2 (en)* | 2018-03-26 | 2020-05-05 | L3 Cincinnati Electronics Corporation | Energy-harvesting power supplies |
| Publication number | Priority date | Publication date | Assignee | Title |
|---|---|---|---|---|
| US4131843A (en)* | 1975-12-09 | 1978-12-26 | Matsushita Electric Industrial Co., Ltd. | High tension voltage source |
| US4316242A (en)* | 1980-09-04 | 1982-02-16 | General Electric Company | Wide input range, transient-immune regulated flyback switching power supply |
| FR2663169A1 (en)* | 1990-06-08 | 1991-12-13 | Alcatel Espace | DEVICE FOR REGULATING A PARAMETER BY A BIDIRECTIONAL CURRENT STRUCTURE. |
| GB2261533A (en)* | 1991-10-14 | 1993-05-19 | Astec Int Ltd | Indirect inductor current measurements in SMPS |
| JPH07326530A (en)* | 1994-05-31 | 1995-12-12 | Nemitsuku Ramuda Kk | Current transformer |
| JP2003050637A (en)* | 2001-08-07 | 2003-02-21 | Mitsubishi Electric Corp | Power supply |
| US20040119449A1 (en)* | 2002-12-19 | 2004-06-24 | Matley J. Brian | High power factor inverter for electronic loads & other DC sources |
| US7002323B2 (en)* | 2003-05-07 | 2006-02-21 | Nec Corporation | Switching power supply circuit capable of reducing switching loss and control method used therein |
| KR100647150B1 (en)* | 2004-12-22 | 2006-11-23 | (주) 아모센스 | Earth Leakage Circuit Breaker with Magnetic Core |
| DE102005002360B4 (en)* | 2005-01-18 | 2012-12-06 | Puls Gmbh | Downsampler, method for driving and using the buck converter |
| EP1863159A1 (en)* | 2005-03-22 | 2007-12-05 | Oki Power Tech Co., Ltd. | Switching power supply circuit |
| US7309980B2 (en)* | 2006-05-08 | 2007-12-18 | Tektronix, Inc. | Current sensing circuit for use in a current measurement probe |
| US7342386B2 (en)* | 2006-05-10 | 2008-03-11 | Astec International Limited | Multiphase power converter having balanced currents |
| JP5146239B2 (en)* | 2008-10-02 | 2013-02-20 | 富士通株式会社 | Power supply device and output voltage stabilization method |
| Publication number | Priority date | Publication date | Assignee | Title |
|---|---|---|---|---|
| WO2014136589A1 (en)* | 2013-03-05 | 2014-09-12 | オムロン株式会社 | Current sensor, current measuring apparatus, and leakage detection apparatus |
| JPWO2014136589A1 (en)* | 2013-03-05 | 2017-02-09 | オムロン株式会社 | Current sensor, current measuring device, and leakage detection device |
| JP2017032414A (en)* | 2015-07-31 | 2017-02-09 | 三菱電機株式会社 | Power measuring device and power management system |
| Publication number | Publication date |
|---|---|
| KR101228561B1 (en) | 2013-01-31 |
| US20120020121A1 (en) | 2012-01-26 |
| KR20120009404A (en) | 2012-02-01 |
| Publication | Publication Date | Title |
|---|---|---|
| EP2779393B1 (en) | Bridgeless interleaved power factor correction circuit using a PFC inductor with quad-winding on a single core | |
| US20070047266A1 (en) | Switching power supply unit | |
| US20110116292A1 (en) | Integrated multi-inductor magnetic member and multi-loop power factor correction circuit having same | |
| KR101228561B1 (en) | Current detection device | |
| JP6091088B2 (en) | DC stabilized power supply | |
| JP2012005249A (en) | Switching power supply circuit | |
| US20130016534A1 (en) | Resonant converter | |
| JP5424031B2 (en) | Power factor correction circuit | |
| CN114762231A (en) | Power switching apparatus and power supply | |
| JP2010124567A (en) | Switching power supply device | |
| JP2016052207A (en) | High efficiency power factor correction circuit and switching power supply | |
| JP4454530B2 (en) | Power factor correction circuit | |
| JP2007028751A (en) | Multi-output switching power supply | |
| JP6393962B2 (en) | Switching power supply | |
| CN105811770B (en) | The control circuit of the power converter | |
| JP5954256B2 (en) | Control method | |
| JP5588393B2 (en) | Synchronous rectifier converter and its test system | |
| JP2005160218A (en) | Switching power supply | |
| JP2005245127A (en) | Power factor improving circuit | |
| CN1792026A (en) | Switch-Mode Power Supply with Multiple Regulated Outputs and Single Feedback Loop | |
| JP4001078B2 (en) | High frequency heating device | |
| JP2013118780A (en) | Switching power supply device | |
| JP2010088209A (en) | Snubber circuit | |
| JP2010130881A (en) | Switching power circuit | |
| JP2024127490A (en) | Non-contact power supply device |
| Date | Code | Title | Description |
|---|---|---|---|
| A621 | Written request for application examination | Free format text:JAPANESE INTERMEDIATE CODE: A621 Effective date:20130507 | |
| A761 | Written withdrawal of application | Free format text:JAPANESE INTERMEDIATE CODE: A761 Effective date:20130924 |