












本発明は、ワイヤレス給電に関し、特に、そのパワー制御に関する。 The present invention relates to wireless power feeding, and more particularly to power control thereof.
電源コードなしで電力を供給するワイヤレス給電技術が注目されつつある。現在のワイヤレス給電技術は、(A)電磁誘導を利用するタイプ(近距離用)、(B)電波を利用するタイプ(遠距離用)、(C)磁場の共振現象を利用するタイプ(中距離用)の3種類に大別できる。 Wireless power supply technology that supplies power without a power cord is drawing attention. Current wireless power transfer technologies are (A) a type that uses electromagnetic induction (for short distance), (B) a type that uses radio waves (for long distance), and (C) a type that uses magnetic field resonance (medium distance). Can be roughly divided into three types.
電磁誘導を利用するタイプ(A)は、電動シェーバーなどの身近な家電製品において一般的に利用されているが、距離を大きくすると電力伝送効率が急激に低下してしまうため数cm程度の近距離でしか使えないという課題がある。電波を利用するタイプ(B)は、遠距離で使えるが電力が小さいという課題がある。磁場共振現象を利用するタイプ(C)は、比較的新しい技術であり、数m程度の中距離でも高い電力伝送効率を実現できることから特に期待されている。たとえば、EV(Electric Vehicle)の車両下部に受電コイルを埋め込み、地中の給電コイルから非接触にて電力を送り込むという案も検討されている。ワイヤレスであるため完全に絶縁されたシステム構成が可能であり、特に、雨天時の給電に効果的であると考えられる。以下、タイプ(C)を「磁場共振型」とよぶ。 The type (A) that uses electromagnetic induction is generally used in familiar household appliances such as an electric shaver. However, if the distance is increased, the power transmission efficiency is drastically reduced, so that the short distance is about several centimeters. There is a problem that can only be used in. The type (B) using radio waves can be used at a long distance, but has a problem that power is small. The type (C) using the magnetic field resonance phenomenon is a relatively new technology, and is particularly expected from the fact that high power transmission efficiency can be realized even at a middle distance of about several meters. For example, a proposal has been studied in which a receiving coil is embedded in a lower part of an EV (Electric Vehicle) and electric power is sent in a non-contact manner from a power feeding coil in the ground. Since it is wireless, a completely insulated system configuration is possible, and it is considered to be particularly effective for power supply in rainy weather. Hereinafter, the type (C) is referred to as “magnetic field resonance type”.
磁場共振型は、マサチューセッツ工科大学が2006年に発表した理論をベースとしている(特許文献1参照)。特許文献1では、4つのコイルを用意している。これらのコイルを給電側から順に「エキサイトコイル」、「給電コイル」、「受電コイル」、「ロードコイル」とよぶことにする。エキサイトコイルと給電コイルは近距離にて向かい合わされ、電磁結合する。同様に、受電コイルとロードコイルも近距離にて向かい合わされ、電磁結合する。これらの距離に比べると、給電コイルから受電コイルまでの距離は「中距離」であり、比較的大きい。このシステムの目的は、給電コイルから受電コイルにワイヤレス給電することである。 The magnetic resonance type is based on a theory published by Massachusetts Institute of Technology in 2006 (see Patent Document 1). In
エキサイトコイルに交流電力を供給すると、電磁誘導の原理により給電コイルにも電流が流れる。給電コイルが磁場を発生させ、給電コイルと受電コイルが磁気的に共振すると、受電コイルには大きな電流が流れる。電磁誘導の原理によりロードコイルにも電流が流れ、ロードコイルと直列接続される負荷から交流電力が取り出される。磁場共振現象を利用することにより、給電コイルから受電コイルまでの距離が大きくても高い電力伝送効率を実現できる。 When AC power is supplied to the exciting coil, current also flows through the feeding coil due to the principle of electromagnetic induction. When the power feeding coil generates a magnetic field and the power feeding coil and the power receiving coil resonate magnetically, a large current flows through the power receiving coil. Due to the principle of electromagnetic induction, a current also flows through the load coil, and AC power is extracted from a load connected in series with the load coil. By using the magnetic field resonance phenomenon, high power transmission efficiency can be realized even if the distance from the feeding coil to the receiving coil is large.
本発明者は、ワイヤレス給電の利用可能性を拡げるためには、給電電力を自動制御して出力を安定させる仕組みが必要であると考える。特許文献7が開示する非接触電力伝送装置は、上記タイプ(A)ではあるが、受電側の2次側ユニットが出力電圧の大きさを送電側の1次側ユニットに伝え、1次側ユニットは出力電圧に応じて給電電力を制御している。具体的には、コイルL4(2次側ユニット)からコイルL3(1次側ユニット)に、出力電圧の大きさを示す信号を送信している。 The present inventor considers that in order to expand the availability of wireless power feeding, a mechanism for automatically controlling the power feeding power and stabilizing the output is necessary. The non-contact power transmission device disclosed in Patent Document 7 is of the type (A), but the secondary unit on the power receiving side transmits the magnitude of the output voltage to the primary unit on the power transmitting side. Controls the power supply according to the output voltage. Specifically, a signal indicating the magnitude of the output voltage is transmitted from the coil L4 (secondary unit) to the coil L3 (primary unit).
特許文献7の非接触電力伝送装置は、1次側直列共振回路や2次側直列共振回路の共振周波数が一定であることを暗黙の前提としている。しかし、磁場共振型の場合には給電コイルと受電コイルの位置関係等により共振周波数が変化しやすいため、特許文献7の仕組みを磁場共振型にそのまま応用しても実際的ではない。また、磁場共振型の場合、給電コイルや受電コイルが発生させる磁場が、コイルL4からL3への電磁波による信号伝送に大きな影響を及ぼすと考えられる。 The non-contact power transmission device of Patent Document 7 is based on an implicit premise that the resonance frequency of the primary side series resonance circuit or the secondary side series resonance circuit is constant. However, in the case of the magnetic field resonance type, the resonance frequency is likely to change due to the positional relationship between the feeding coil and the power receiving coil, and therefore it is not practical to apply the mechanism of Patent Document 7 as it is to the magnetic field resonance type. In the case of the magnetic field resonance type, it is considered that the magnetic field generated by the power feeding coil and the power receiving coil has a great influence on signal transmission by electromagnetic waves from the coils L4 to L3.
本発明は、磁場共振型のワイヤレス給電において、給電電力を効率的に制御することを主たる目的とする。 The main object of the present invention is to efficiently control power supply in a magnetic field resonance type wireless power supply.
本発明に係るワイヤレス給電装置は、給電コイルから受電コイルにワイヤレス給電するための装置である。この装置は、給電コイルに駆動周波数にて交流電力を供給する送電制御回路と、給電コイルおよびキャパシタを含む回路であって受電コイルの共振周波数にて共振する給電コイル回路と、交流電力の電圧位相と電流位相の位相差を検出する位相検出回路と、受電側から出力の大きさを示す出力信号を受信する信号受信回路を備える。送電制御回路は、位相差が減少するように駆動周波数を調整することにより駆動周波数を共振周波数に追随させる。更に、位相検出回路は、電圧位相および電流位相の双方または一方について検出された位相値を出力信号に応じて事後調整する。 A wireless power feeding apparatus according to the present invention is an apparatus for wirelessly feeding power from a power feeding coil to a power receiving coil. This device includes a power transmission control circuit that supplies AC power to a power feeding coil at a driving frequency, a power feeding coil circuit that includes a power feeding coil and a capacitor and resonates at a resonance frequency of the power receiving coil, and a voltage phase of AC power. And a phase detection circuit for detecting a phase difference between the current phases and a signal reception circuit for receiving an output signal indicating the magnitude of the output from the power receiving side. The power transmission control circuit causes the drive frequency to follow the resonance frequency by adjusting the drive frequency so that the phase difference decreases. Further, the phase detection circuit performs post-adjustment on the phase value detected for one or both of the voltage phase and the current phase according to the output signal.
交流電力の電流位相と電圧位相を比較してその位相差を検出し、位相差が減少するように駆動周波数を調整すれば、共振周波数に駆動周波数を追随させることができる。この結果、共振周波数が変化しても、電力伝送効率を一定に維持しやすくなる。また、出力電圧が変化したとき、その変化量に応じて電圧位相や電流位相を事後調整すれば、調整後の位相差に応じて駆動周波数が変化する。駆動周波数をパラメータとして給電電力をフィードバック制御できるので、出力電圧を安定させやすくなる。 The drive frequency can be made to follow the resonance frequency by comparing the current phase and the voltage phase of the AC power, detecting the phase difference, and adjusting the drive frequency so that the phase difference is reduced. As a result, even if the resonance frequency changes, the power transmission efficiency can be easily maintained constant. Further, when the output voltage changes, if the voltage phase or current phase is adjusted afterward according to the amount of change, the drive frequency changes according to the adjusted phase difference. Since the feed power can be feedback controlled using the drive frequency as a parameter, the output voltage can be easily stabilized.
位相検出回路は、交流電力の電圧成分および電流成分の双方または一方をノコギリ波状の信号に変換した上で、位相差を検出してもよい。信号受信回路は、赤外線などの光信号として出力信号を受信してもよい。また、出力信号は、信号周波数の大きさにより出力の大きさを示す交流信号であってもよい。位相検出回路は、交流電力の電圧レベルが第1の基準値となるタイミングである第1の位相値と電力の電流レベルが第2の基準値となるタイミングである第2の位相値を比較することにより位相差を検出し、出力信号により第1および第2の基準値の双方または一方を変更することにより第1および第2の位相値の双方または一方を事後調整してもよい。 The phase detection circuit may detect the phase difference after converting both or one of the voltage component and current component of the AC power into a sawtooth signal. The signal receiving circuit may receive the output signal as an optical signal such as infrared rays. The output signal may be an AC signal that indicates the magnitude of the output depending on the magnitude of the signal frequency. The phase detection circuit compares a first phase value, which is a timing when the voltage level of the AC power becomes the first reference value, and a second phase value, which is the timing when the current level of the power becomes the second reference value. Thus, the phase difference may be detected, and both or one of the first and second phase values may be post-adjusted by changing both or one of the first and second reference values according to the output signal.
この装置は、給電コイルと磁気結合し送電制御回路から供給される交流電力を給電コイルに供給するエキサイトコイルを備えてもよい。送電制御回路は、第1および第2の電流経路を含み、第1および第2の電流経路それぞれに直列に接続される第1および第2のスイッチを駆動周波数にて交互に導通させることにより、エキサイトコイルに交流電力を供給してもよい。 This apparatus may include an exciting coil that is magnetically coupled to the feeding coil and supplies AC power supplied from the power transmission control circuit to the feeding coil. The power transmission control circuit includes first and second current paths, and alternately turns on the first and second switches connected in series to the first and second current paths, respectively, at the drive frequency. AC power may be supplied to the exciting coil.
交流電力が発生させる磁界により誘導電流を発生させる検出コイルを更に備えてもよい。位相検出回路は、検出コイルに流れる誘導電流の位相から、交流電力の電流位相を計測してもよい。検出コイルの誘導電流から電流位相を計測するため、給電コイルに直接的な計測負荷がかかりにくくなる。検出コイルは、給電コイルを流れる交流電流が発生させる磁界により誘導電流を発生させてもよい。 You may further provide the detection coil which generates an induced current with the magnetic field which alternating current power generates. The phase detection circuit may measure the current phase of the AC power from the phase of the induced current flowing through the detection coil. Since the current phase is measured from the induction current of the detection coil, it is difficult to apply a direct measurement load to the feeding coil. The detection coil may generate an induced current by a magnetic field generated by an alternating current flowing through the feeding coil.
本発明に係るワイヤレス受電装置は、上述のワイヤレス給電装置からワイヤレス給電される交流電力を受電コイルにて受電する装置である。この装置は、受電コイルとキャパシタを含み、給電コイルの共振周波数にて共振する受電コイル回路と、受電コイルと磁気結合することにより受電コイルから交流電力を受電するロードコイルと、ロードコイルから電力を供給される負荷とを含むロード回路と、ロード回路の一部に印加される出力電圧の大きさを示す出力信号をワイヤレス給電装置に送信する信号送信回路を備える。 A wireless power receiving device according to the present invention is a device that receives AC power wirelessly fed from the above-described wireless power feeding device using a power receiving coil. This device includes a power receiving coil and a capacitor, and a power receiving coil circuit that resonates at a resonance frequency of the power feeding coil, a load coil that receives AC power from the power receiving coil by being magnetically coupled to the power receiving coil, and power from the load coil. A load circuit including a load to be supplied; and a signal transmission circuit that transmits an output signal indicating a magnitude of an output voltage applied to a part of the load circuit to the wireless power feeding apparatus.
信号送信回路は、出力電圧と基準電圧の差分値を示す信号として出力信号を送信してもよい。基準電圧は手動にて調整可能であってもよい。出力信号は、出力電圧の大きさを信号周波数の大きさにより示す交流信号であってもよい。ロード回路に整流回路を設け、整流回路により直流電圧として出力電圧を生成してもよい。 The signal transmission circuit may transmit the output signal as a signal indicating a difference value between the output voltage and the reference voltage. The reference voltage may be manually adjustable. The output signal may be an AC signal that indicates the magnitude of the output voltage by the magnitude of the signal frequency. A rectifier circuit may be provided in the load circuit, and the output voltage may be generated as a DC voltage by the rectifier circuit.
本発明に係るワイヤレス電力伝送システムは、給電コイルから受電コイルにワイヤレス給電するためのシステムである。このシステムは、給電コイルに駆動周波数にて交流電力を供給する送電制御回路と、給電コイルおよび第1のキャパシタを含む給電コイル回路と、受電コイルおよび第2のキャパシタを含む受電コイル回路と、受電コイルと磁気結合することにより受電コイルから交流電力を受電するロードコイルと、ロードコイルから電力を供給される負荷とを含むロード回路と、交流電力の電圧位相と電流位相の位相差を検出する位相検出回路を備える。送電制御回路は、位相差が減少するように駆動周波数を調整する。更に、位相検出回路は、ロード回路の一部に印加される出力電圧の大きさに応じて、電圧位相および電流位相の双方または一方について検出された位相値を事後調整する。 A wireless power transmission system according to the present invention is a system for wirelessly feeding power from a feeding coil to a receiving coil. This system includes a power transmission control circuit that supplies AC power to a power feeding coil at a driving frequency, a power feeding coil circuit that includes a power feeding coil and a first capacitor, a power receiving coil circuit that includes a power receiving coil and a second capacitor, A load circuit including a load coil that receives AC power from a receiving coil by magnetic coupling with the coil, and a load that is supplied with power from the load coil, and a phase that detects a phase difference between the voltage phase and the current phase of the AC power A detection circuit is provided. The power transmission control circuit adjusts the drive frequency so that the phase difference decreases. Furthermore, the phase detection circuit performs post-adjustment of the phase value detected for both or one of the voltage phase and the current phase according to the magnitude of the output voltage applied to a part of the load circuit.
なお、以上の構成要素の任意の組み合わせ、本発明の表現を方法、装置、システムなどの間で変換したものもまた、本発明の態様として有効である。 It should be noted that any combination of the above-described constituent elements and a representation of the present invention converted between a method, an apparatus, a system, and the like are also effective as an aspect of the present invention.
本発明によれば、磁場共振型のワイヤレス給電において、給電電力を効率的に制御しやすくなる。 ADVANTAGE OF THE INVENTION According to this invention, in magnetic field resonance type wireless electric power feeding, it becomes easy to control electric power feeding efficiently.
以下、添付図面を参照しながら、本発明の好ましい実施形態を説明する。 Hereinafter, preferred embodiments of the present invention will be described with reference to the accompanying drawings.
図1は、ワイヤレス電力伝送システム100のシステム構成図である。ワイヤレス電力伝送システム100は、ワイヤレス給電装置116とワイヤレス受電装置118を含む。ワイヤレス給電装置116は、基本構成として、送電制御回路200、エキサイト回路110、給電コイル回路120、位相検出回路114および信号受信回路112を含む。ワイヤレス受電装置118は、受電コイル回路130、ロード回路140および信号送信回路122を含む。 FIG. 1 is a system configuration diagram of a wireless
給電コイル回路120が有する給電コイルL2と、受電コイル回路130が有する受電コイルL3の間には0.2〜1.0m程度の距離(以下、「コイル間距離」とよぶ)がある。ワイヤレス電力伝送システム100の主目的は、給電コイルL2から受電コイルL3にワイヤレスにて交流電力を送ることである。本実施形態においては共振周波数fr=100kHzであるとして説明する。なお、本実施形態におけるワイヤレス電力伝送システムは、たとえば、ISM(Industry-Science-Medical)周波数帯のような高周波数帯にて動作させることも可能である。低周波数帯には、スイッチングトランジスタ(後述)のコストおよびスイッチング損失を抑制しやすい、電波法の規制が緩いといったメリットがある。 There is a distance of about 0.2 to 1.0 m (hereinafter referred to as “inter-coil distance”) between the feeding coil L2 included in the
エキサイト回路110は、エキサイトコイルL1とトランスT2二次コイルLiが直列接続された回路である。トランスT2二次コイルLiは、トランスT2一次コイルLbと共に結合トランスT2を形成し、電磁誘導により送電制御回路200から交流電力を供給される。エキサイトコイルL1の巻き数は1回、導線直径は5mm、エキサイトコイルL1自体の形状は210mm×210mmの正方形である。図1では、わかりやすさのため、エキサイトコイルL1を円形に描いている。他のコイルについても同様である。図1に示す各コイルの材質はいずれも銅である。エキサイト回路110には交流電流I1が流れる。 The
給電コイル回路120は、給電コイルL2とキャパシタC2が直列接続された回路である。エキサイトコイルL1と給電コイルL2は互いに向かい合っている。エキサイトコイルL1と給電コイルL2の距離は10mm以下と比較的近い。このため、エキサイトコイルL1と給電コイルL2は電磁気的に強く結合している。給電コイルL2の巻き数は7回、導体直径は5mm、給電コイルL2自体の形状は280mm×280mmの正方形である。エキサイトコイルL1に交流電流I1を流すと、電磁誘導の原理により給電コイルL2に起電力が発生し、給電コイル回路120には交流電流I2が流れる。交流電流I2は交流電流I1よりも格段に大きい。給電コイルL2とキャパシタC2それぞれの値は、給電コイル回路120の共振周波数frが100kHzとなるように設定される。 The feeding
受電コイル回路130は、受電コイルL3とキャパシタC3が直列接続された回路である。給電コイルL2と受電コイルL3は互いに向かい合っている。受電コイルL3の巻き数は7回、導体直径は5mm、受電コイルL3自体の形状は280mm×280mmの正方形である。受電コイル回路130の共振周波数frも100kHzとなるように、受電コイルL3とキャパシタC3それぞれの値が設定されている。給電コイルL2と受電コイルL3は同一形状である必要はない。給電コイルL2が共振周波数fr=100kHzにて磁界を発生させると、給電コイルL2と受電コイルL3は磁気的に共振し、受電コイル回路130にも大きな電流I3が流れる。 The power
ロード回路140は、ロードコイルL4が整流回路124と計測回路126を介して負荷LDと接続される回路である。受電コイルL3とロードコイルL4は互いに向かい合っている。受電コイルL3とロードコイルL4の距離は10mm以下と比較的近い。このため、受電コイルL3とロードコイルL4は電磁的に強く結合している。ロードコイルL4の巻き数は1回、導体直径は5mm、ロードコイルL4自体の形状は300mm×300mmである。受電コイルL3に電流I3が流れることにより、ロード回路140に起電力が発生し、ロード回路140に交流電流I4が流れる。交流電流I4は整流回路124により直流電流に整流される。一部は計測回路126を流れるが、大部分は直流電流I5として負荷LDを流れる。整流回路124は、ブリッジ回路128とキャパシタC5により構成される一般的な回路である。計測回路126については後述する。 The
ワイヤレス給電装置116の給電コイルL2から送電された交流電力は、ワイヤレス受電装置118の受電コイルL3により受電され、負荷LDから直流電力として取り出される。負荷LDに印加される電圧を「負荷電圧V5」とよぶ。 The AC power transmitted from the power feeding coil L2 of the wireless
負荷LDを受電コイル回路130に直接接続すると、受電コイル回路130のQ値が悪くなる。このため、受電用の受電コイル回路130と電力取り出し用のロード回路140を分離している。電力伝送効率を高めるためには、給電コイルL2、受電コイルL3およびロードコイルL4の中心線を揃えることが好ましい。 When the load LD is directly connected to the power receiving
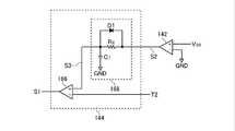
計測回路126は、抵抗R1、R2、制御電源Vsおよびコンパレータ132を含む。負荷電圧V5は、抵抗R1、R2により分圧される。抵抗R2の両端に印加される電圧を「出力電圧」とよぶ。抵抗R1と抵抗R2の接続点Fの電位は「計測電位」としてコンパレータ132の負極端子に入力される。コンパレータ132の正極端子には制御電源Vsが接続される。制御電源Vsによる正極端子の入力電圧を「基準電位」とよぶ。制御電源Vsは、可変直流電圧源であり任意に電圧調整可能である。コンパレータ132は、計測電位と基準電位の差分(以下、「補正電圧」とよぶ)を増幅し、その増幅後の値をT0信号として出力する。T0信号は直流電圧信号であり、補正電圧の大きさを示す。いいかえれば、T0信号は負荷電圧V5の変化を示す信号である。詳しくは後述するが、本実施形態のワイヤレス電力伝送システム100では、この補正電圧がゼロとなるように給電電力を制御することにより、出力電圧(負荷電圧V5)を安定させている。 The
信号送信回路122は、直流電圧信号のT0信号を交流光信号のT1信号に変換する。T1信号は、出力の大きさを示す「出力信号」であり、ワイヤレス給電装置116の信号受信回路112により受光される。T1信号により、給電側は補正電圧の大きさを認識できる。信号送信回路122の回路構成および処理内容は、図6、図7に関連して後述する。また、信号受信回路112の回路構成および処理内容は、図8、図9に関連して後述する。 The
次に、送電制御回路200の構成を説明する。まず、ゲート駆動用トランスT1の一次側にVCO(Voltage Controlled Oscillator)202が接続される。VCO202は、駆動周波数foの交流電圧Voを発生させる「オシレータ」として機能する。交流電圧Voの波形は正弦波でもよいが、ここでは矩形波(デジタル波形)であるとして説明する。交流電圧Voにより、トランスT1一次コイルLhには正負両方向に交互に電流が流れる。トランスT1一次コイルLhとトランスT1二次コイルLf、トランスT1二次コイルLgはゲート駆動用の結合トランスT1を形成する。電磁誘導により、トランスT1二次コイルLfとトランスT1二次コイルLgにも正負の両方向に交互に電流が流れる。 Next, the configuration of the power
本実施形態におけるVCO202は、モトローラ社:製品番号MC14046Bの内蔵ユニットを利用している。VCO202は、位相比較回路150から出力される位相差指示電圧SC(後述)に基づいて駆動周波数foを動的に変化させる機能も備える。 The
駆動周波数foの最小値はfo1=90kHz、最大値はfo2=99kHzであるとして説明する。位相差指示電圧SCの適正範囲は、1.0〜4.0(V)である。位相差指示電圧SCと駆動周波数foは正比例する。すなわち、位相差指示電圧SC=1.0(V)のとき駆動周波数fo=fo1=90kHzであり、SC=4.0(V)のときfo=fo2=99kHzとなる。 In the following description, it is assumed that the minimum value of the drive frequency fo is fo1 = 90 kHz and the maximum value is fo2 = 99 kHz. The appropriate range of the phase difference indicating voltage SC is 1.0 to 4.0 (V). The phase difference indicating voltage SC and the drive frequency fo are directly proportional. That is, when the phase difference indicating voltage SC = 1.0 (V), the drive frequency fo = fo1 = 90 kHz, and when SC = 4.0 (V), fo = fo2 = 99 kHz.
送電制御回路200の電源となるのは、直流電源Vddにより充電されるキャパシタCA、CBである。キャパシタCAは図1に示す点Cと点Eの間、キャパシタCBは点Eと点Cの間に設けられる。キャパシタCAの電圧(CE間の電圧)をVA、キャパシタCBの電圧(ED間の電圧)をVBとすると、VA+VB(CD間の電圧)が入力電圧となる。キャパシタCAおよびCBは直流電圧源として機能する。 The power sources for the power
トランスT1二次コイルLfの一端は、スイッチングトランジスタQ1のゲートと接続され、他端はスイッチングトランジスタQ1のソースと接続される。トランスT1二次コイルLgの一端は、別のスイッチングトランジスタQ2のゲートと接続され、他端はスイッチングトランジスタQ2のソースと接続される。VCO202が駆動周波数foにて交流電圧Voを発生させると、スイッチングトランジスタQ1とスイッチングトランジスタQ2の各ゲートには、電圧Vx(Vx>0)が駆動周波数foにて交互に印加される。このため、スイッチングトランジスタQ1とスイッチングトランジスタQ2は駆動周波数foにて交互にオン・オフする。スイッチングトランジスタQ1とスイッチングトランジスタQ2は同一特性のエンハンスメント型MOSFET(Metal Oxide Semiconductor Field Effect Transistor)であるが、バイポーラ・トランジスタなど他のトランジスタでもよい。トランジスタの代わりにリレースイッチ等、他のスイッチを用いてもよい。 One end of the transformer T1 secondary coil Lf is connected to the gate of the switching transistor Q1, and the other end is connected to the source of the switching transistor Q1. One end of the transformer T1 secondary coil Lg is connected to the gate of another switching transistor Q2, and the other end is connected to the source of the switching transistor Q2. When the
スイッチングトランジスタQ1のドレインは、キャパシタCAの正極に接続される。キャパシタCAの負極は、トランスT2一次コイルLbを介してスイッチングトランジスタQ1のソースに接続される。スイッチングトランジスタQ2のソースは、キャパシタCBの負極に接続される。キャパシタCBの正極は、トランスT2一次コイルLbを介して、スイッチングトランジスタQ2のドレインに接続される。 The drain of the switching transistor Q1 is connected to the positive electrode of the capacitor CA. The negative electrode of the capacitor CA is connected to the source of the switching transistor Q1 via the transformer T2 primary coil Lb. The source of the switching transistor Q2 is connected to the negative electrode of the capacitor CB. The positive electrode of the capacitor CB is connected to the drain of the switching transistor Q2 via the transformer T2 primary coil Lb.
スイッチングトランジスタQ1のソース・ドレイン間の電圧をソース・ドレイン電圧VDS1、スイッチングトランジスタQ2のソース・ドレイン間の電圧をソース・ドレイン電圧VDS2とよぶ。また、スイッチングトランジスタQ1のソース・ドレイン間を流れる電流をソース・ドレイン電流IDS1、スイッチングトランジスタQ2のソース・ドレイン間を流れる電流をソース・ドレイン電流IDS2とする。ソース・ドレイン電流IDS1、IDS2については、同図矢印に示す方向を正方向、反対方向を負方向とする。 The voltage between the source and drain of the switching transistor Q1 is referred to as source-drain voltage VDS1, and the voltage between the source and drain of the switching transistor Q2 is referred to as source-drain voltage VDS2. Further, a current flowing between the source and the drain of the switching transistor Q1 is a source / drain current IDS1, and a current flowing between the source and the drain of the switching transistor Q2 is a source / drain current IDS2. For the source / drain currents IDS1 and IDS2, the direction indicated by the arrow in the figure is the positive direction, and the opposite direction is the negative direction.
スイッチングトランジスタQ1が導通(オン)するとき、スイッチングトランジスタQ2は非導通(オフ)となる。このときのメインの電流経路(以下、「第1電流経路」とよぶ)は、キャパシタCAの正極から点C、スイッチングトランジスタQ1、トランスT2一次コイルLb、点Eを経由して負極に帰還する経路となる。スイッチングトランジスタQ1は、第1電流経路の導通・非導通を制御するスイッチとして機能する。 When the switching transistor Q1 becomes conductive (ON), the switching transistor Q2 becomes non-conductive (OFF). The main current path at this time (hereinafter referred to as “first current path”) is a path that returns from the positive electrode of the capacitor CA to the negative electrode via the point C, the switching transistor Q1, the transformer T2, the primary coil Lb, and the point E. It becomes. The switching transistor Q1 functions as a switch that controls conduction / non-conduction of the first current path.
スイッチングトランジスタQ2が導通(オン)するとき、スイッチングトランジスタQ1は非導通(オフ)となる。このときのメインの電流経路(以下、「第2電流経路」とよぶ)は、キャパシタCBの正極から点E、トランスT2一次コイルLb、スイッチングトランジスタQ2、点Dを経由して負極に帰還する経路となる。スイッチングトランジスタQ2は、第2電流経路の導通・非導通を制御するスイッチとして機能する。 When the switching transistor Q2 is conductive (ON), the switching transistor Q1 is non-conductive (OFF). The main current path at this time (hereinafter referred to as “second current path”) is a path that returns from the positive electrode of the capacitor CB to the negative electrode via the point E, the transformer T2 primary coil Lb, the switching transistor Q2, and the point D. It becomes. The switching transistor Q2 functions as a switch that controls conduction / non-conduction of the second current path.
送電制御回路200においてトランスT2一次コイルLbを流れる電流を「電流Is」とよぶ。電流Isは交流電流であり、第1電流経路を流れるときを正方向、第2電流経路を流れるときを負方向とよぶ。 In the power
VCO202が駆動周波数foにて交流電圧Voを供給すると、第1電流経路と第2電流経路が駆動周波数foにて交互に切り替わる。駆動周波数foの交流電流IsがトランスT2一次コイルLbを流れるため、エキサイト回路110にも駆動周波数foにて交流電流I1が流れ、更に、給電コイル回路120にも駆動周波数foの交流電流I2が流れる。駆動周波数foが共振周波数frに近いほど、電力伝送効率は高くなる。駆動周波数fo=共振周波数frであれば、給電コイル回路120の給電コイルL2とキャパシタC2は共振状態となる。受電コイル回路130も共振周波数frの共振回路であるから、給電コイルL2と受電コイルL3は磁気的に共振する。このとき、電力伝送効率は最大となる。 When the
ただし、本実施形態の場合、駆動周波数foの動作範囲には共振周波数frは含まれないため、電力伝送効率が最大となることはない。これは電力伝送効率を最大化するよりも、負荷電圧V5の安定を優先しているためである。負荷電圧V5の変化は補正電圧により検出できるため、ワイヤレス給電装置116は補正電圧がゼロとなるように駆動周波数foを自動調整する。詳細については後述する。 However, in the case of the present embodiment, the resonance frequency fr is not included in the operating range of the drive frequency fo, so that the power transmission efficiency does not become maximum. This is because the stability of the load voltage V5 is given priority over maximizing the power transmission efficiency. Since the change in the load voltage V5 can be detected by the correction voltage, the
共振周波数frは、給電コイル回路120や受電コイル回路130の使用状態や使用環境によって微妙に変化する。給電コイル回路120や受電コイル回路130を交換した場合にも共振周波数frは変化する。あるいは、キャパシタC2やキャパシタC3の静電容量を可変とすることにより共振周波数frを積極的に変化させたい場合もあるかもしれない。また、本発明者の実験により、給電コイルL2と受電コイルL3のコイル間距離をある程度近づけると共振周波数frが低下し始めることがわかっている。共振周波数frと駆動周波数foの差が変化すると電力伝送効率が変化する。電力伝送効率が変化すると、負荷電圧V5が変化する。したがって、負荷電圧V5を安定させるためには、共振周波数foが変化したときでも、共振周波数frと駆動周波数frの差を一定に保つ必要がある。 The resonance frequency fr slightly changes depending on the use state and use environment of the feeding
本実施形態におけるワイヤレス電力伝送システム100は、共振周波数frの変化に対して駆動周波数foを自動的に追随させる駆動周波数追随機能を備える。 The wireless
位相検出回路114は、電流位相検出回路144、位相比較回路150およびローパスフィルタ152を含む。ローパスフィルタ152は、抵抗R3とキャパシタC6が直列接続された回路であり、位相差指示電圧SCの高周波数成分をカットするために挿入される。本実施形態における位相比較回路150は、VCO202と同じくモトローラ社:製品番号MC14046Bの内蔵ユニット(Phase Comparator)を利用している。したがって、位相比較回路150とVCO202は、ワンチップにて実現可能である。
電流位相検出回路144は、電流位相を示す信号として、S1信号を発生させる。S1信号は位相比較回路150に入力される。また、VCO202が発生させる交流電圧Voは、電圧位相を示すS0信号として位相比較回路150に入力される。位相比較回路150は、S0、S1信号から電流位相と電圧位相のずれ(位相差)を検出し、位相差の大きさを示す位相差指示電圧SCを生成する。位相差の検出により、共振周波数frと駆動周波数foのずれの大きさ検出できる。位相差指示電圧SCにしたがって駆動周波数foを制御することにより、駆動周波数foと共振周波数frの位相差を一定に保つことができる。 The current
たとえば、駆動周波数foと共振周波数frが乖離すると位相差が大きくなるため、位相比較回路150はこの位相差を小さくするように位相差指示電圧SCを発生させればよい。したがって、共振周波数frが変化しても、電力伝送効率を一定に保ち、負荷電圧V5を安定させることができる。電流位相検出回路144の回路構成については図10、S0信号とS1信号の関係については図11、図12に関連して後に詳述する。 For example, since the phase difference increases when the drive frequency fo and the resonance frequency fr deviate, the phase comparison circuit 150 may generate the phase difference indicating voltage SC so as to reduce this phase difference. Therefore, even if the resonance frequency fr changes, the power transmission efficiency can be kept constant and the load voltage V5 can be stabilized. The circuit configuration of the current
なお、トランスT1一次コイルLhの両端に抵抗を並列接続し、交流電圧Voを分圧してS0信号としてもよい。分圧により、VCO202の発生させる交流電圧Voが大きい場合でも、扱いやすい電圧に降圧できる。ソース・ドレイン電圧VDS1、VDS2や、ソース・ゲート電圧VGS1、VGS2などから電圧位相を計測してもよい。 A resistor may be connected in parallel to both ends of the transformer T1 primary coil Lh, and the AC voltage Vo may be divided into the S0 signal. Even when the AC voltage Vo generated by the
たとえ共振周波数frが一定であっても、負荷電圧V5が変化することがある。たとえば、負荷LDが可変抵抗器であるときや負荷LD自体を取り替えたときに負荷電圧V5は変化する。本実施形態では、負荷電圧V5の変化を補正電圧として検出し、補正電圧がゼロとなるように駆動周波数foを自動調整することにより、負荷電圧V5を安定させる。 Even if the resonance frequency fr is constant, the load voltage V5 may change. For example, the load voltage V5 changes when the load LD is a variable resistor or when the load LD itself is replaced. In the present embodiment, the load voltage V5 is stabilized by detecting a change in the load voltage V5 as a correction voltage and automatically adjusting the drive frequency fo so that the correction voltage becomes zero.
補正電圧は、T1信号(交流光信号)として、信号送信回路122から信号受信回路112に伝達される。信号受信回路112は、交流光信号であるT1信号を直流電圧信号であるT2信号に変換する。T2信号の電圧レベルは補正電圧に正比例する。 The correction voltage is transmitted from the
電流位相検出回路144は、電流位相を示すS2信号(交流電圧信号)を補正電圧を示すT2信号(直流電圧信号)によって調整し、補正電流位相としてのS1信号(交流電圧信号)を出力する。T2信号がゼロのとき、すなわち、負荷電圧V5が所望値にあるときには、S2信号がそのままS1信号となる。位相比較回路150は、交流電力の電圧位相と電流位相の位相差をS0信号とS1信号に基づいて検出し、位相差指示電圧SCを出力する。VCO202は、位相差指示電圧SCに基づいて、駆動周波数foを調整する。より具体的には、VCO202は交流電圧Voのパルス幅を変化させることにより、駆動周波数foを変化させる。 The current
補正電圧がゼロでないとき、すなわち、T2信号がゼロでないときにも、位相比較回路150は、交流電力の電圧位相と電流位相の位相差をS0信号とS1信号に基づいて検出し、位相差指示電圧SCを出力する。ただし、このときのS1信号は、S2信号をT2信号に応じて補正した信号であるため、実際の電流位相を示す信号ではない。補正電圧に基づく調整ロジックについては、図11に関連して更に詳述する。 Even when the correction voltage is not zero, that is, when the T2 signal is not zero, the phase comparison circuit 150 detects the phase difference between the voltage phase and the current phase of the AC power based on the S0 signal and the S1 signal and indicates the phase difference. The voltage SC is output. However, since the S1 signal at this time is a signal obtained by correcting the S2 signal according to the T2 signal, it is not a signal indicating the actual current phase. The adjustment logic based on the correction voltage will be described in more detail with reference to FIG.
給電コイル回路120には検出コイルLSSが設けられる。検出コイルLSSは、貫通孔を有するコア154(トロイダルコア)にNs回巻き付けられたコイルである。コア154の材質はフェライト、珪素鋼板、パーマロイ(permalloy)等の既知材料である。本実施形態における検出コイルLSSの巻き数Nsは100回である。 The feeding
給電コイル回路120の電流経路の一部もコア154の貫通孔を貫通している。これは、コア154に対する給電コイル回路120の巻き数Npが1回であることを意味する。このような構成により、検出コイルLSSと給電コイルL2は結合トランスを形成する。給電コイルL2の交流電流I2が発生させる交流磁界により、検出コイルLSSには同相の誘導電流ISSが流れる。等アンペア・ターンの法則により、誘導電流ISSの大きさは、I2・(Np/Ns)となる。 A part of the current path of the feeding
検出コイルLSSの両端には抵抗R4が接続される。抵抗R4の一端Bは接地され、他端Aの電位VSSはコンパレータ142を介して電流位相検出回路144に接続される。 A resistor R4 is connected to both ends of the detection coil LSS. One end B of the resistor R4 is grounded, and the potential VSS at the other end A is connected to the current
電位VSSは、コンパレータ142によって2値化され、S2信号となる。コンパレータ142は電位VSSが所定の閾値、たとえば、0.1(V)より大きくなると飽和電圧3.0(V)を出力する。電位VSSは、コンパレータ142によってデジタル波形のS2信号に変換される。電流I2と誘導電流ISSは同相であり、誘導電流ISSと電位VSS(S2信号)は同相である。また、送電制御回路200を流れる交流電流Isは電流I2と同相である。したがって、S2信号の波形を観察することにより交流電流Isの電流位相を計測できる。 The potential VSS is binarized by the
図2は、負荷電流I5と負荷電圧V5の関係を示すグラフである。横軸は負荷LDを流れる負荷電流I5(直流)の大きさを示し、縦軸は負荷電圧V5を示す。非調整時特性134は、補正電圧に基づく調整をしない場合の電流・電圧特性を示す。非調整時特性134の場合、負荷LDが大きくなると負荷電流I5は減少し、負荷電圧V5は増加する。反対に負荷LDが小さくなると負荷電流I5は増加し、負荷電圧V5は減少する。このように、給電電力が一定であっても負荷LDを変更すると負荷電圧V5も変化する。 FIG. 2 is a graph showing the relationship between the load current I5 and the load voltage V5. The horizontal axis indicates the magnitude of the load current I5 (direct current) flowing through the load LD, and the vertical axis indicates the load voltage V5. The non-adjustment characteristic 134 indicates a current / voltage characteristic when the adjustment based on the correction voltage is not performed. In the case of the non-adjustment characteristic 134, when the load LD increases, the load current I5 decreases and the load voltage V5 increases. Conversely, when the load LD becomes smaller, the load current I5 increases and the load voltage V5 decreases. In this way, even if the supplied power is constant, when the load LD is changed, the load voltage V5 also changes.
本実施形態におけるワイヤレス電力伝送システム100は、調整時特性136に示す電流・電圧特性を実現する。具体的には、補正電圧に基づいてS1信号を調整することにより、電力伝送効率を変化させ、負荷電圧V5を安定させる。 The wireless
図3は、コイル間距離dと負荷電圧V5の関係を示すグラフである。横軸は給電コイルL2と受電コイルL3のコイル間距離d、縦軸は負荷電圧V5を示す。非調整時特性146は、補正電圧に基づく調整をしない場合の電圧・距離特性を示す。先述したように、コイル間距離dによって共振周波数frが変化する。共振周波数frが変化し、駆動周波数foと共振周波数frの差が変化すると、電力伝送効率が変化する。共振周波数frに駆動周波数foを追随させても、負荷電圧V5はコイル間距離dによって多少変化する。 FIG. 3 is a graph showing the relationship between the inter-coil distance d and the load voltage V5. The horizontal axis represents the inter-coil distance d between the power feeding coil L2 and the power receiving coil L3, and the vertical axis represents the load voltage V5. The non-adjustment characteristic 146 indicates a voltage / distance characteristic when adjustment based on the correction voltage is not performed. As described above, the resonance frequency fr varies depending on the inter-coil distance d. When the resonance frequency fr changes and the difference between the drive frequency fo and the resonance frequency fr changes, the power transmission efficiency changes. Even if the drive frequency fo is made to follow the resonance frequency fr, the load voltage V5 slightly changes depending on the inter-coil distance d.
本実施形態におけるワイヤレス電力伝送システム100は、調整時特性148に示す電圧・距離特性を実現する。補正電圧に基づいてS1信号を調整することにより、電力伝送効率を変化させ、負荷電圧V5を安定させる。 The wireless
図4は、給電コイル回路120のインピーダンスZと駆動周波数foの関係を示すグラフである。縦軸は、給電コイル回路120(キャパシタC2と給電コイルL2の直列回路)のインピーダンスZを示す。横軸は駆動周波数foを示す。インピーダンスZは、共振時において最低値Zminとなる。共振時にZmin=0となるのが理想であるが、給電コイル回路120には若干の抵抗成分が含まれるため、Zminは通常ゼロとはならない。FIG. 4 is a graph showing the relationship between the impedance Z of the feeding
駆動周波数fo=共振周波数frとなるとき、インピーダンスZは最低となり、キャパシタC2と給電コイルL2は共振状態となる。駆動周波数foと共振周波数frがずれると、インピーダンスZにおける容量性リアクタンスまたは誘導性リアクタンスが優勢となるためインピーダンスZも大きくなる。 When the drive frequency fo = the resonance frequency fr, the impedance Z is the lowest, and the capacitor C2 and the feeding coil L2 are in a resonance state. When the drive frequency fo and the resonance frequency fr are deviated, the capacitive reactance or inductive reactance at the impedance Z becomes dominant, and the impedance Z also increases.
駆動周波数foと共振周波数frが乖離するほどインピーダンスZは大きくなり、電力伝送効率は低下する。したがって、駆動周波数foと共振周波数frの差を変化させることにより、電力伝送効率を変化させることができる。 As the drive frequency fo and the resonance frequency fr deviate, the impedance Z increases and the power transmission efficiency decreases. Therefore, the power transmission efficiency can be changed by changing the difference between the drive frequency fo and the resonance frequency fr.
図5は、出力電力効率と駆動周波数foの関係を示すグラフである。出力電力効率とは、給電コイルL2から実際に給電される電力の最大出力値に対する割合を示す。駆動周波数foが共振周波数frと一致するときには、電流位相と電圧位相の差がゼロとなり、電力伝送効率が最大となるので、出力電力効率=100(%)となる。本実施形態のワイヤレス電力伝送システム100においては、駆動周波数foは共振周波数frよりも低いfo1〜fo2の範囲で調整される。 FIG. 5 is a graph showing the relationship between output power efficiency and drive frequency fo. The output power efficiency indicates the ratio of the power actually supplied from the feeding coil L2 to the maximum output value. When the drive frequency fo coincides with the resonance frequency fr, the difference between the current phase and the voltage phase becomes zero, and the power transmission efficiency is maximized, so that the output power efficiency = 100 (%). In the wireless
図6は、信号送信回路122の回路図である。信号送信回路122は、赤外線LED(Light Emitting Diode)158と、トランジスタQ3、VF変換器156を含む。トランジスタQ3はエミッタ接地されるバイポーラ・トランジスタであり、ベースとエミッタは抵抗R6を介して接続される。赤外線LED158の一端は、抵抗R5を介して電源VCCと接続され、他端はトランジスタQ3のベースに接続される。トランジスタQ3のベースにはVF変換器156も接続される。 FIG. 6 is a circuit diagram of the
計測回路126は、補正電圧を示すT0信号(直流電圧信号)をVF変換器156に送る。VF変換器156は、デューティ比50%のパルス信号であるT3信号(交流電圧信号)を発生させる。T3信号の信号周波数fs1は、T0信号(補正電圧)に応じて変化する。図7は、VF変換器156における信号周波数fs1とT0信号の関係を示すグラフである。 The
T3信号(交流電圧信号)は、赤外線LED158によりT1信号(交流光信号)に変化する。赤外線LED158は、T1信号(交流光信号)を信号受信回路112に送る。T1信号は、信号周波数fs1にて点滅する光信号(赤外線信号)である。赤外線波長は940nm程度である。T1信号は数m程度の距離まで届くため、コイル間距離dが大きくても十分に対応できる。赤外線は、給電コイルL2が発生させる磁界の影響をほとんど受けないため、T1信号と給電電力はお互いにほとんど影響しないというメリットもある。 The T3 signal (AC voltage signal) is changed to a T1 signal (AC light signal) by the
図8は、信号受信回路112の回路図である。信号受信回路112は、フォトダイオード160と電圧変換部164、FV変換器138を含む。電圧変換部164は、コンパレータ162と抵抗R7を含む。 FIG. 8 is a circuit diagram of the
フォトダイオード160は、信号周波数fs1のT1信号(交流光信号)を受光する。T1信号(交流光信号)は、電圧変換部164によりT4信号(交流電圧信号)に変換される。電圧変換部164においては1(ルクス)あたり1(mV)が出力されるように抵抗R7を調整している。受光時のT1信号の明るさは0〜2000(ルクス)程度であるため、T4信号の電圧レベルは0〜2.0(V)程度である。T4信号は、信号周波数fs1にて変化するパルス状の電圧信号である。また、T4信号のデューティ比は50%である。T4信号(交流電圧信号)は、FV変換器138により一定値のT2信号(直流電圧信号)に変換される。図9は、FV変換器138における信号周波数fs1とT2信号の関係を示すグラフである。信号周波数fs1が高いほど、T2信号の電圧レベルは高く設定される。 The
図10は、電流位相検出回路144の回路図である。電流位相検出回路144は、コンパレータ166と電流波形整形回路168を含む。まず、電位VSSはコンパレータ142によりデジタル波形のS2信号に整形され、電流波形整形回路168に入力される。電流波形整形回路168は、このデジタル波形(矩形波)のS2信号をノコギリ波状のS3信号に整形する。電流波形整形回路168においては、S2信号の経路に抵抗R8が間挿され、抵抗R8にはダイオードD1が並列接続される。また、S2信号の伝達経路は、キャパシタC7を介してグランド接地される。 FIG. 10 is a circuit diagram of the current
S3信号(交流電圧信号)はコンパレータ166の正極端子、信号受信回路112の出力であるT2信号(直流電圧信号)はコンパレータ166の負極端子に入力される。S3信号は電流位相を示す信号であり、T2信号は補正電圧を示す直流電圧信号である。 The S3 signal (AC voltage signal) is input to the positive terminal of the
S3>T2のとき、コンパレータ166はハイレベルのS1信号を出力し、それ以外のときにはローレベルのS1信号を出力する。実際の出力波形については図11以降に関連して詳述する。 When S3> T2, the
図11は、S0信号とS1信号の関係を示すタイムチャートである。時刻t0〜時刻t1の期間(以下、「第1期間」とよぶ)は、スイッチングトランジスタQ1がオン、スイッチングトランジスタQ2がオフとなる期間である。時刻t1〜時刻t2の期間(以下、「第2期間」とよぶ)は、スイッチングトランジスタQ1がオフ、スイッチングトランジスタQ2がオンとなる期間、時刻t2〜時刻t3の期間(以下、「第3期間」とよぶ)は、スイッチングトランジスタQ1がオン、スイッチングトランジスタQ2がオフとなる期間、時刻t3〜時刻t4の期間(以下、「第4期間」とよぶ)は、スイッチングトランジスタQ1がオフ、スイッチングトランジスタQ2がオンとなる期間であるとする。 FIG. 11 is a time chart showing the relationship between the S0 signal and the S1 signal. A period from time t0 to time t1 (hereinafter referred to as “first period”) is a period in which the switching transistor Q1 is on and the switching transistor Q2 is off. A period from time t1 to time t2 (hereinafter referred to as “second period”) is a period in which the switching transistor Q1 is turned off and the switching transistor Q2 is turned on, and a period from time t2 to time t3 (hereinafter referred to as “third period”). In the period when the switching transistor Q1 is on and the switching transistor Q2 is off, and during the period from time t3 to time t4 (hereinafter referred to as “fourth period”), the switching transistor Q1 is off and the switching transistor Q2 is off. It is assumed that the period is on.
時刻t0において交流電圧Vo(S0信号)は最低値の0.0(V)から最大値の3.0(V)に変化する。第1期間が終了する時刻t1に交流電圧Vo(S0信号)は最大値の3.0(V)から最低値の0.0(V)に変化する。以下、時刻t0のようにS0信号が立ち上がるタイミングを「電圧位相値」とよぶ。 At time t0, the AC voltage Vo (S0 signal) changes from a minimum value of 0.0 (V) to a maximum value of 3.0 (V). At time t1 when the first period ends, the AC voltage Vo (S0 signal) changes from the maximum value of 3.0 (V) to the minimum value of 0.0 (V). Hereinafter, the timing at which the S0 signal rises at time t0 is referred to as “voltage phase value”.
駆動周波数foが共振周波数frよりも小さい場合、給電コイル回路120(LC共振回路)のインピーダンスZに容量性リアクタンス成分が現れ、電流Isの電流位相は電圧位相に対して進む。電流位相を示すS2信号は時刻t0よりも早い時刻t6に立ち上がる。以下、時刻t6のようにS2信号が立ち上がるタイミングを「電流位相値」とよぶ。図11の場合、t0−t6が位相差を示す。t0−t6>0なので電流位相が電圧位相に対して進んでいる。 When the drive frequency fo is smaller than the resonance frequency fr, a capacitive reactance component appears in the impedance Z of the feeding coil circuit 120 (LC resonance circuit), and the current phase of the current Is advances with respect to the voltage phase. The S2 signal indicating the current phase rises at time t6 earlier than time t0. Hereinafter, the timing at which the S2 signal rises at time t6 is referred to as “current phase value”. In the case of FIG. 11, t0-t6 indicates the phase difference. Since t0-t6> 0, the current phase is advanced with respect to the voltage phase.
時刻t6にS2信号が立ち上がると、S3信号のレベルも上昇し始める。S2信号がゼロになる時刻t8に、S3信号も最大の3.0(V)から0.0(V)に急降下する。 When the S2 signal rises at time t6, the level of the S3 signal also begins to rise. At time t8 when the S2 signal becomes zero, the S3 signal also suddenly drops from the maximum 3.0 (V) to 0.0 (V).
T2信号は補正電圧の大きさによってレベルが変化する直流電圧信号である。図11では、補正電圧が検出され、負荷電圧V5が所望値からずれている状態を示している。 The T2 signal is a DC voltage signal whose level changes depending on the magnitude of the correction voltage. FIG. 11 shows a state in which the correction voltage is detected and the load voltage V5 is deviated from a desired value.
S3信号とT2信号は、それぞれ、コンパレータ166の正極端子と負極端子に入力され、その出力がS1信号となる。S3>T3のときにはS1>0、S3≦T3のときにはS1=0である。図11では、時刻t0よりも後の時刻t7(以下、このようなタイミングを「補正後の電流位相値」ともよぶ)にS3>T3となっている。T2信号の電圧レベルが、補正後の電流位相値を決定する「基準値」となる。 The S3 signal and the T2 signal are input to the positive terminal and the negative terminal of the
位相比較回路150は、S0信号の立ち上がり時刻t0とS1信号の立ち上がり時刻t7を比較して位相差tdとして検出する。実際の位相差はt0−t6(>0)であるが、位相比較回路150によって認識される位相差はt0−t7(<0)である。位相比較回路150はt0−t7に応じた位相差指示電圧SCを出力する。VCO202は、電流位相が電圧位相より遅れている、すなわち、駆動周波数foが共振周波数frよりも大きいと判断し、駆動周波数foを低下させて位相差を解消しようとする。この結果、電力伝送効率が低下し、負荷電圧V5が抑制され、補正電圧が解消されるようにフィードバック制御される。 The phase comparison circuit 150 compares the rising time t0 of the S0 signal with the rising time t7 of the S1 signal and detects it as a phase difference td. The actual phase difference is t0−t6 (> 0), but the phase difference recognized by the phase comparison circuit 150 is t0−t7 (<0). The phase comparison circuit 150 outputs a phase difference indicating voltage SC corresponding to t0-t7. The
図12は、変形例におけるワイヤレス受電装置118の回路図である。図1では、負荷LDに直流電流I5を供給していたが、変形例として負荷LDに交流電流I4をそのまま供給してもよい。この場合には、ロードコイルL4の一部に整流回路124と計測回路126を接続し、T0信号を出力してもよい。 FIG. 12 is a circuit diagram of the wireless
図13は、ワイヤレス電力伝送システム100のシステム構成図の変形例である。変形例においては、送電制御回路200がエキサイト回路110を介さずに、直接、給電コイル回路120を駆動する。図1と同一の符号を付した構成は、図1で説明した構成と同一または同様の機能を有する。 FIG. 13 is a modification of the system configuration diagram of the wireless
変形例における給電コイル回路120は、給電コイルL2、キャパシタC2にトランスT2二次コイルLiが直列接続された回路である。トランスT2二次コイルLiは、トランスT2一次コイルLbと共に結合トランスT2を形成し、電磁誘導により送電制御回路200から交流電力を供給される。このように、エキサイト回路110を介さず、送電制御回路200から給電コイル回路120に直接交流電力を供給してもよい。 The
以上、実施形態に基づいてワイヤレス電力伝送システム100を説明した。磁場共振型のワイヤレス給電の場合、共振周波数frと駆動周波数foの差により電力伝送効率を制御できる。共振周波数frが変化しても駆動周波数foを自動的に追随させることができるため、使用条件が変化しても、電力伝送効率を一定に維持しやすくなる。また、負荷LDやコイル間距離dが変化したときも、補正電圧に基づくフィードバック制御により負荷電圧V5を一定に保つことができる。補正電圧に基づいてS1信号を変化させることにより、電力伝送効率を事後調整できる。本発明者の実験によれば、S1信号のレベル調整によって、有意な電力損失の発生は認められなかった。The wireless
直流電圧信号であるT0信号は交流光信号であるT1信号に変換され、ワイヤレス受電装置118からワイヤレス給電装置116に照射される。光信号であるT1信号は給電コイルL2等が発生させる磁界の影響をほとんど受けないため、良好に信号伝送できるというメリットがある。 The T0 signal that is a DC voltage signal is converted into a T1 signal that is an AC optical signal, and is radiated from the wireless
また、受電側において基準電位を手動調整してもよい。計測電位が変化したときだけでなく基準電圧が変化したときにも補正電圧が検出され、結果として、電力伝送効率が調整される。たとえば、基準電位を低下させると、計測電位を低下させるようなフィードバック制御がなされ、負荷電圧V5も低下する。すなわち、受電側にて給電電力を制御できる。 Further, the reference potential may be manually adjusted on the power receiving side. The correction voltage is detected not only when the measurement potential changes but also when the reference voltage changes, and as a result, the power transmission efficiency is adjusted. For example, when the reference potential is lowered, feedback control is performed to lower the measurement potential, and the load voltage V5 is also lowered. That is, the power supply can be controlled on the power receiving side.
応用例として、ワイヤレス給電装置116をテーブルと一体化し、ワイヤレス受電装置118をテーブルに載置される卓上ランプに内蔵してもよい。従来の卓上ランプは電源コードが邪魔になるため、ダイニングテーブルでは吊り下げ型のランプを使うことが多い。上記応用例によれば、卓上ランプの電源コードを不要化できる。このため、卓上ランプの利用性が高まる。たとえば、卓上ランプで照明する方が、料理を美味しく見せることができる場合もある。吊り下げ型のランプだと照明箇所が固定されてしまうが、卓上ランプはレイアウト自由であるため、多様な照明が可能である。しかも、複数の卓上ランプがテーブルに載置されているときでも、1つの卓上ランプの基準電位を調整すれば、他の卓上ランプの明るさをまとめて制御できる。 As an application example, the wireless
以上、本発明を実施の形態をもとに説明した。実施の形態は例示であり、いろいろな変形および変更が本発明の特許請求範囲内で可能なこと、またそうした変形例および変更も本発明の特許請求の範囲にあることは当業者に理解されるところである。従って、本明細書での記述および図面は限定的ではなく例証的に扱われるべきものである。 The present invention has been described based on the embodiments. It will be understood by those skilled in the art that the embodiments are illustrative, and that various modifications and changes are possible within the scope of the claims of the present invention, and that such modifications and changes are also within the scope of the claims of the present invention. By the way. Accordingly, the description and drawings herein are to be regarded as illustrative rather than restrictive.
送電制御回路200はハーフブリッジ型の回路であるが、プッシュプル型の回路により形成されてもよい。電流波形整形回路168が発生させるS3信号は、ノコギリ波に限らず、三角波や正弦波など、所定期間において電圧値が漸増減する交流信号であればよい。本実施形態においては、電流位相を調整するとして説明したが、電圧位相をT0信号により調整してもよい。また、出力電圧に限らず電流や電力等に基づいてフィードバック制御してもよい。 The power
本実施形態においては、T1信号(交流光信号)の信号周波数fs1が補正電圧を示すとして説明したが、T1信号の振幅やデューティ比等により補正電圧を表現してもよい。あるいは、補正電圧を示す数値情報をデジタル信号として送信してもよい。T1信号は、赤外線などの光信号に限らず、無線信号であってもよい。いずれにしても、駆動周波数foや共振周波数frなどの周波数帯から十分に離れた周波数帯の信号であればよい。赤外線LED158やフォトダイオード160は比較的安価であるため、本実施形態では光信号を採用している。 In the present embodiment, the signal frequency fs1 of the T1 signal (alternating current optical signal) has been described as indicating the correction voltage, but the correction voltage may be expressed by the amplitude, duty ratio, etc. of the T1 signal. Alternatively, numerical information indicating the correction voltage may be transmitted as a digital signal. The T1 signal is not limited to an optical signal such as infrared rays but may be a radio signal. In any case, a signal in a frequency band sufficiently separated from a frequency band such as the driving frequency fo and the resonance frequency fr may be used. Since the
100 ワイヤレス電力伝送システム、110 エキサイト回路、112 信号受信回路、114 位相検出回路、116 ワイヤレス給電装置、118 ワイヤレス受電装置、120 給電コイル回路、122 信号送信回路、124 整流回路、126 計測回路、128 ブリッジ回路、130 受電コイル回路、132 コンパレータ、134 非調整時特性、136 調整時特性、138 FV変換器、140 ロード回路、142 コンパレータ、144 電流位相検出回路、146 非調整時特性、148 調整時特性、150 位相比較回路、152 ローパスフィルタ、154 コア、156 VF変換器、158 赤外線LED、160 フォトダイオード、162 コンパレータ、164 電圧変換部、166 コンパレータ、168 電流波形整形回路、200 送電制御回路、202 VCO、L1 エキサイトコイル、L2 給電コイル、L3 受電コイル、L4 ロードコイル。 DESCRIPTION OF
| Application Number | Priority Date | Filing Date | Title |
|---|---|---|---|
| JP2010182830AJP5672843B2 (en) | 2009-11-30 | 2010-08-18 | Wireless power feeding device, wireless power receiving device, and wireless power transmission system |
| US12/944,566US8729735B2 (en) | 2009-11-30 | 2010-11-11 | Wireless power feeder, wireless power receiver, and wireless power transmission system |
| EP10015044.0AEP2328252B1 (en) | 2009-11-30 | 2010-11-26 | Wireless power feeder, wireless power receiver, and wireless power transmission system |
| CN201010573498.2ACN102082469B (en) | 2009-11-30 | 2010-11-29 | Wireless power feeder, wireless power receiver, and wireless power transmission system |
| US13/110,370US8829729B2 (en) | 2010-08-18 | 2011-05-18 | Wireless power feeder, wireless power receiver, and wireless power transmission system |
| Application Number | Priority Date | Filing Date | Title |
|---|---|---|---|
| JP2009271356 | 2009-11-30 | ||
| JP2009271356 | 2009-11-30 | ||
| JP2010182830AJP5672843B2 (en) | 2009-11-30 | 2010-08-18 | Wireless power feeding device, wireless power receiving device, and wireless power transmission system |
| Publication Number | Publication Date |
|---|---|
| JP2011135760Atrue JP2011135760A (en) | 2011-07-07 |
| JP5672843B2 JP5672843B2 (en) | 2015-02-18 |
| Application Number | Title | Priority Date | Filing Date |
|---|---|---|---|
| JP2010182830AActiveJP5672843B2 (en) | 2009-11-30 | 2010-08-18 | Wireless power feeding device, wireless power receiving device, and wireless power transmission system |
| Country | Link |
|---|---|
| JP (1) | JP5672843B2 (en) |
| Publication number | Priority date | Publication date | Assignee | Title |
|---|---|---|---|---|
| JP2013074685A (en)* | 2011-09-27 | 2013-04-22 | Equos Research Co Ltd | Power transmission system |
| JP2013198402A (en)* | 2012-03-19 | 2013-09-30 | Lg Innotek Co Ltd | Wireless power transmitting apparatus and method thereof |
| CN103490527A (en)* | 2013-10-15 | 2014-01-01 | 重庆大学 | Load identifying method and system of voltage type wireless power supply system |
| KR20140077800A (en)* | 2012-12-14 | 2014-06-24 | 엘지이노텍 주식회사 | Wireless power transmitting apparatus and method |
| JP2014117049A (en)* | 2012-12-07 | 2014-06-26 | Sekisui Chem Co Ltd | Non-contact power feeding system, power transmission system, power incoming system, power transmission method, power incoming method and program |
| JP2014523232A (en)* | 2011-08-06 | 2014-09-08 | デルファイ・テクノロジーズ・インコーポレーテッド | Charging system |
| US9502923B2 (en) | 2012-09-12 | 2016-11-22 | Samsung Electronics Co., Ltd. | Wireless power transmission apparatus and method and wireless power reception apparatus |
| KR101809470B1 (en) | 2011-07-28 | 2017-12-15 | 삼성전자주식회사 | Wireless power transmission system, method and apparatus for resonance frequency tracking in wireless power transmission system |
| CN108143256A (en)* | 2016-12-02 | 2018-06-12 | 佛山市顺德区美的电热电器制造有限公司 | Split-type electric pressure cooker |
| JP2018522513A (en)* | 2015-05-11 | 2018-08-09 | デルファイ・テクノロジーズ・インコーポレーテッド | Wireless battery charging system that maintains the desired voltage-current phase relationship by varying the frequency of the magnetic field |
| JP2018130024A (en)* | 2012-02-21 | 2018-08-16 | エルジー イノテック カンパニー リミテッド | Wireless power receiver and method of managing power of wireless power receiver |
| JP2018186646A (en)* | 2017-04-26 | 2018-11-22 | ミネベアミツミ株式会社 | Wireless power transmission system, and method for protecting wireless power transmission system |
| CN110121826A (en)* | 2016-12-27 | 2019-08-13 | Tdk株式会社 | Detection device of metal foreign body, wireless power supply, wireless receiving device and Wireless power transmission system |
| JP2020054226A (en)* | 2018-09-25 | 2020-04-02 | 長崎県 | Device group as set |
| CN112134367A (en)* | 2019-06-25 | 2020-12-25 | Tdk株式会社 | Wireless power supply device and wireless power transmission system |
| CN113056858A (en)* | 2018-11-02 | 2021-06-29 | 尼吉康株式会社 | Wireless power supply device |
| Publication number | Priority date | Publication date | Assignee | Title |
|---|---|---|---|---|
| US9866041B2 (en) | 2014-11-28 | 2018-01-09 | Toyota Jidosha Kabushiki Kaisha | Electric power transmission device |
| Publication number | Priority date | Publication date | Assignee | Title |
|---|---|---|---|---|
| JPH03284135A (en)* | 1990-03-28 | 1991-12-13 | Mitsubishi Electric Corp | Power supply device |
| JPH10108391A (en)* | 1996-09-26 | 1998-04-24 | Nec Corp | Power supply for implantable device |
| JPH10225129A (en)* | 1997-02-13 | 1998-08-21 | Ishikawajima Harima Heavy Ind Co Ltd | Non-contact power supply equipment |
| JP2003168585A (en)* | 2001-09-21 | 2003-06-13 | Minebea Co Ltd | Inverter circuit for discharge tube |
| JP2004080844A (en)* | 2002-08-09 | 2004-03-11 | Yazaki Corp | Power transmission device and power / signal transmission device |
| JP2006208790A (en)* | 2005-01-28 | 2006-08-10 | Riso Kagaku Corp | Illumination equipment |
| WO2007091403A1 (en)* | 2006-02-09 | 2007-08-16 | Minebea Co., Ltd. | Multiple-light discharge-lamp lighting apparatus |
| JP2009106136A (en)* | 2007-10-25 | 2009-05-14 | Toyota Motor Corp | Electric vehicle and vehicle power supply device |
| Publication number | Priority date | Publication date | Assignee | Title |
|---|---|---|---|---|
| JPH03284135A (en)* | 1990-03-28 | 1991-12-13 | Mitsubishi Electric Corp | Power supply device |
| JPH10108391A (en)* | 1996-09-26 | 1998-04-24 | Nec Corp | Power supply for implantable device |
| JPH10225129A (en)* | 1997-02-13 | 1998-08-21 | Ishikawajima Harima Heavy Ind Co Ltd | Non-contact power supply equipment |
| JP2003168585A (en)* | 2001-09-21 | 2003-06-13 | Minebea Co Ltd | Inverter circuit for discharge tube |
| JP2004080844A (en)* | 2002-08-09 | 2004-03-11 | Yazaki Corp | Power transmission device and power / signal transmission device |
| JP2006208790A (en)* | 2005-01-28 | 2006-08-10 | Riso Kagaku Corp | Illumination equipment |
| WO2007091403A1 (en)* | 2006-02-09 | 2007-08-16 | Minebea Co., Ltd. | Multiple-light discharge-lamp lighting apparatus |
| JP2009106136A (en)* | 2007-10-25 | 2009-05-14 | Toyota Motor Corp | Electric vehicle and vehicle power supply device |
| Publication number | Priority date | Publication date | Assignee | Title |
|---|---|---|---|---|
| KR101809470B1 (en) | 2011-07-28 | 2017-12-15 | 삼성전자주식회사 | Wireless power transmission system, method and apparatus for resonance frequency tracking in wireless power transmission system |
| JP2014523232A (en)* | 2011-08-06 | 2014-09-08 | デルファイ・テクノロジーズ・インコーポレーテッド | Charging system |
| JP2013074685A (en)* | 2011-09-27 | 2013-04-22 | Equos Research Co Ltd | Power transmission system |
| JP2018130024A (en)* | 2012-02-21 | 2018-08-16 | エルジー イノテック カンパニー リミテッド | Wireless power receiver and method of managing power of wireless power receiver |
| US9711974B2 (en) | 2012-03-19 | 2017-07-18 | Lg Innotek Co., Ltd. | Wireless power transmitting apparatus and method thereof |
| JP2015073432A (en)* | 2012-03-19 | 2015-04-16 | エルジー イノテック カンパニー リミテッド | Wireless power transmission apparatus and method |
| US9225391B2 (en) | 2012-03-19 | 2015-12-29 | Lg Innotek Co., Ltd. | Wireless power transmitting apparatus and method thereof |
| USRE49955E1 (en) | 2012-03-19 | 2024-04-30 | Lg Innotek Co., Ltd. | Wireless power transmitting apparatus and method thereof |
| JP2013198402A (en)* | 2012-03-19 | 2013-09-30 | Lg Innotek Co Ltd | Wireless power transmitting apparatus and method thereof |
| USRE49017E1 (en) | 2012-03-19 | 2022-04-05 | Lg Innotek Co., Ltd. | Wireless power transmitting apparatus and method thereof |
| US9502923B2 (en) | 2012-09-12 | 2016-11-22 | Samsung Electronics Co., Ltd. | Wireless power transmission apparatus and method and wireless power reception apparatus |
| JP2014117049A (en)* | 2012-12-07 | 2014-06-26 | Sekisui Chem Co Ltd | Non-contact power feeding system, power transmission system, power incoming system, power transmission method, power incoming method and program |
| KR102019079B1 (en)* | 2012-12-14 | 2019-09-06 | 엘지이노텍 주식회사 | Wireless power transmitting apparatus and method |
| KR20140077800A (en)* | 2012-12-14 | 2014-06-24 | 엘지이노텍 주식회사 | Wireless power transmitting apparatus and method |
| CN103490527A (en)* | 2013-10-15 | 2014-01-01 | 重庆大学 | Load identifying method and system of voltage type wireless power supply system |
| JP2018522513A (en)* | 2015-05-11 | 2018-08-09 | デルファイ・テクノロジーズ・インコーポレーテッド | Wireless battery charging system that maintains the desired voltage-current phase relationship by varying the frequency of the magnetic field |
| CN108143256A (en)* | 2016-12-02 | 2018-06-12 | 佛山市顺德区美的电热电器制造有限公司 | Split-type electric pressure cooker |
| CN110121826A (en)* | 2016-12-27 | 2019-08-13 | Tdk株式会社 | Detection device of metal foreign body, wireless power supply, wireless receiving device and Wireless power transmission system |
| CN110121826B (en)* | 2016-12-27 | 2023-07-14 | Tdk株式会社 | Wireless power supply device, wireless power receiving device, and wireless power transmission system |
| JP2018186646A (en)* | 2017-04-26 | 2018-11-22 | ミネベアミツミ株式会社 | Wireless power transmission system, and method for protecting wireless power transmission system |
| JP2020054226A (en)* | 2018-09-25 | 2020-04-02 | 長崎県 | Device group as set |
| JP7360650B2 (en) | 2018-09-25 | 2023-10-13 | 長崎県 | Equipment group to be assembled |
| CN113056858A (en)* | 2018-11-02 | 2021-06-29 | 尼吉康株式会社 | Wireless power supply device |
| CN112134367A (en)* | 2019-06-25 | 2020-12-25 | Tdk株式会社 | Wireless power supply device and wireless power transmission system |
| JP2021002984A (en)* | 2019-06-25 | 2021-01-07 | Tdk株式会社 | Wireless power transmission device and wireless power transmission system |
| Publication number | Publication date |
|---|---|
| JP5672843B2 (en) | 2015-02-18 |
| Publication | Publication Date | Title |
|---|---|---|
| JP5672843B2 (en) | Wireless power feeding device, wireless power receiving device, and wireless power transmission system | |
| JP5664018B2 (en) | Wireless power feeder, wireless power transmission system, and table and table lamp using the same | |
| JP5672844B2 (en) | Wireless power transmission system | |
| EP2328252B1 (en) | Wireless power feeder, wireless power receiver, and wireless power transmission system | |
| US8829729B2 (en) | Wireless power feeder, wireless power receiver, and wireless power transmission system | |
| JP5664019B2 (en) | Wireless power feeder, wireless power transmission system, and table and table lamp using the same | |
| JP5549745B2 (en) | Wireless power supply apparatus and wireless power transmission system | |
| JP5499955B2 (en) | Wireless power supply apparatus and wireless power transmission system | |
| JP5953785B2 (en) | Wireless power supply apparatus and wireless power transmission system | |
| US8829727B2 (en) | Wireless power feeder, wireless power transmission system, and table and table lamp using the same | |
| EP2367263B1 (en) | Wireless power feeder, wireless power receiver, and wireless power transmission system | |
| JP5640782B2 (en) | Wireless power feeding device, wireless power receiving device, and wireless power transmission system | |
| CN102013736B (en) | Wireless power feeder and wireless power transmission system | |
| JP5698599B2 (en) | Wireless power receiving device, wireless power feeding device, and wireless power feeding system | |
| JP5736991B2 (en) | Wireless power supply apparatus and wireless power transmission system | |
| JP5640783B2 (en) | Wireless power feeding device, wireless power receiving device, and wireless power transmission system | |
| EP2375531A2 (en) | Wireless power receiver and wireless power transmission system | |
| JP5609317B2 (en) | Wireless power supply apparatus and wireless power transmission system | |
| JP5545341B2 (en) | Wireless power supply device |
| Date | Code | Title | Description |
|---|---|---|---|
| A621 | Written request for application examination | Free format text:JAPANESE INTERMEDIATE CODE: A621 Effective date:20130326 | |
| RD05 | Notification of revocation of power of attorney | Free format text:JAPANESE INTERMEDIATE CODE: A7425 Effective date:20131004 | |
| A977 | Report on retrieval | Free format text:JAPANESE INTERMEDIATE CODE: A971007 Effective date:20140228 | |
| A131 | Notification of reasons for refusal | Free format text:JAPANESE INTERMEDIATE CODE: A131 Effective date:20140311 | |
| A521 | Request for written amendment filed | Free format text:JAPANESE INTERMEDIATE CODE: A523 Effective date:20140424 | |
| TRDD | Decision of grant or rejection written | ||
| A01 | Written decision to grant a patent or to grant a registration (utility model) | Free format text:JAPANESE INTERMEDIATE CODE: A01 Effective date:20141202 | |
| A61 | First payment of annual fees (during grant procedure) | Free format text:JAPANESE INTERMEDIATE CODE: A61 Effective date:20141215 | |
| R150 | Certificate of patent or registration of utility model | Ref document number:5672843 Country of ref document:JP Free format text:JAPANESE INTERMEDIATE CODE: R150 | |
| R250 | Receipt of annual fees | Free format text:JAPANESE INTERMEDIATE CODE: R250 |