




















この発明は、自動車等の車両に備えられた車両用ドアの開閉動作を制御する車両用ドア開閉装置に関する。 The present invention relates to a vehicle door opening / closing device that controls an opening / closing operation of a vehicle door provided in a vehicle such as an automobile.
自動車等の車両に備えられた車両用ドアの開閉動作を制御するものとして、例えばドアの開操作制御装置(例えば、特許文献1(第3−5頁、第1−5図)参照)が知られている。この開操作制御装置は、ドアのロック機構と、ロック機構を解除するロック解除レバーと、ロック解除レバーに外力を付与する回転モータと、回転モータの駆動を制御するコントローラと、ロック機構を解除可能なロック解除レバーの操作力を選択する操作力選択スイッチとを備える。 As a device for controlling the opening / closing operation of a vehicle door provided in a vehicle such as an automobile, for example, a door opening operation control device (see, for example, Patent Document 1 (page 3-5, FIG. 1-5)) is known. It has been. This opening control device is capable of releasing the lock mechanism of the door, the unlocking lever for releasing the locking mechanism, the rotation motor for applying external force to the unlocking lever, the controller for controlling the driving of the rotation motor, and the locking mechanism. And an operation force selection switch for selecting an operation force of the lock release lever.
そして、コントローラが、ロック解除レバーの開操作時に回転モータの駆動を制御して、操作力選択スイッチによって選択されたロック解除レバーの操作力に応じた大きさの外力をロック解除レバーに付与するとされている。 The controller controls the driving of the rotary motor when the unlocking lever is opened, and applies an external force of a magnitude corresponding to the operating force of the unlocking lever selected by the operating force selection switch to the unlocking lever. ing.
しかしながら、上述した特許文献1に開示されている開操作制御装置では、ロック解除レバーの操作力を変えて子供による不用意なドアの開操作を防止する構造である。このため、操作力の設定によっては簡単に子供にもドアを開けられてしまうことがあり、依然安全性確保の確実性に乏しい面があることは否めない。 However, the opening operation control device disclosed in
この発明は、上述した従来技術による問題点を解消するため、車両用ドアの近傍の子供の有無によって車両用ドアの開閉動作を制御して、子供による不用意な車両用ドアの開操作を確実に防止することができる車両用ドア開閉装置を提供することを目的とする。 In order to eliminate the above-described problems caused by the prior art, the present invention controls the opening / closing operation of the vehicle door according to the presence or absence of a child in the vicinity of the vehicle door, thereby ensuring that the child does not open the vehicle door carelessly. It is an object of the present invention to provide a vehicular door opening and closing device that can be prevented.
上述した課題を解決し、目的を達成するため、この発明にかかる車両用ドア開閉装置は、車両に備えられた車両用ドアの外側に向けて検知面が存するように所定の高さに設けられた少なくとも一つのセンサ電極と、前記センサ電極の近傍に設けられた補助電極と、少なくとも前記センサ電極が接続され、接続された電極からの静電容量に基づく静電容量値を検出する検出回路と、前記補助電極を前記検出回路に接続しない第1の接続状態と、前記補助電極を前記検出回路に接続する第2の接続状態とを選択的に切り替え可能な切替スイッチと、前記第1の接続状態における前記検出回路からの第1の静電容量値と、前記第2の接続状態における前記検出回路からの第2の静電容量値とを比較した比較値、および前記第1または第2の静電容量値に基づき、前記車両用ドアの外側に存する人体が前記センサ電極上の検知範囲内にあるか否かを判定する判定手段と、前記判定手段からの判定結果に応じて、前記車両用ドアの開閉動作を制御する制御手段とを備えたことを特徴とする。 In order to solve the above-described problems and achieve the object, the vehicle door opening and closing device according to the present invention is provided at a predetermined height so that a detection surface exists toward the outside of the vehicle door provided in the vehicle. And at least one sensor electrode, an auxiliary electrode provided in the vicinity of the sensor electrode, and a detection circuit for detecting a capacitance value based on a capacitance from at least the sensor electrode connected to the connected electrode. A changeover switch capable of selectively switching between a first connection state in which the auxiliary electrode is not connected to the detection circuit and a second connection state in which the auxiliary electrode is connected to the detection circuit; and the first connection A comparison value comparing the first capacitance value from the detection circuit in the state and the second capacitance value from the detection circuit in the second connection state, and the first or second Capacitance And determining whether or not a human body existing outside the vehicle door is within a detection range on the sensor electrode, and opening and closing the vehicle door according to a determination result from the determination unit And a control means for controlling the operation.
前記切替スイッチは、例えば前記第1の接続状態のときに、前記補助電極を開放、接地または所定の電位に接続可能に構成されている。 The change-over switch is configured to be able to open, connect to the ground, or to a predetermined potential, for example, when the auxiliary switch is in the first connection state.
前記補助電極に前記センサ電極と同等の電位を与えるシールド駆動回路をさらに備え、前記切替スイッチは、例えば前記第1の接続状態のときに、前記補助電極を前記シールド駆動回路に接続可能に構成されている。 The shield switch further includes a shield drive circuit that applies a potential equivalent to the sensor electrode to the auxiliary electrode, and the changeover switch is configured to be able to connect the auxiliary electrode to the shield drive circuit, for example, in the first connection state. ing.
また、本発明にかかる車両用ドア開閉装置は、車両に備えられた車両用ドアの外側に向けて検知面が存するように所定の高さに設けられた少なくとも一つのセンサ電極と、前記センサ電極の近傍に設けられた補助電極と、前記センサ電極からの静電容量に基づく静電容量値を検出する検出回路と、前記補助電極に前記センサ電極と同等の電位を与えるシールド駆動回路と、前記補助電極を前記シールド駆動回路に接続する第1の接続状態と、前記補助電極を開放、接地または所定の電位に接続する第2の接続状態とを選択的に切り替え可能な切替スイッチと、前記第1の接続状態における前記検出回路からの第1の静電容量値と、前記第2の接続状態における前記検出回路からの第2の静電容量値とを比較した比較値、および前記第1または第2の静電容量値に基づき、前記車両用ドアの外側に存する人体が前記センサ電極上の検知範囲内にあるか否かを判定する判定手段と、前記判定手段からの判定結果に応じて、前記車両用ドアの開閉動作を制御する制御手段とを備えたことを特徴とする。 The vehicle door opening and closing device according to the present invention includes at least one sensor electrode provided at a predetermined height so that a detection surface exists toward the outside of the vehicle door provided in the vehicle, and the sensor electrode. An auxiliary electrode provided in the vicinity of the sensor electrode, a detection circuit that detects a capacitance value based on capacitance from the sensor electrode, a shield drive circuit that applies a potential equal to the sensor electrode to the auxiliary electrode, and A changeover switch capable of selectively switching between a first connection state in which an auxiliary electrode is connected to the shield drive circuit and a second connection state in which the auxiliary electrode is opened, grounded or connected to a predetermined potential; A comparison value comparing the first capacitance value from the detection circuit in the first connection state with the second capacitance value from the detection circuit in the second connection state, and the first or Based on the capacitance value of 2, the determination means for determining whether the human body existing outside the vehicle door is within the detection range on the sensor electrode, and according to the determination result from the determination means, Control means for controlling the opening and closing operation of the vehicle door.
さらに、本発明にかかる車両用ドア開閉装置は、車両に備えられた車両用ドアの外側に向けて検知面が存するように所定の高さに設けられた少なくとも一つのセンサ電極と、前記センサ電極の近傍に設けられた補助電極と、接続された電極からの静電容量に基づく静電容量値を検出する検出回路と、前記センサ電極を前記検出回路に接続する第1の接続状態と、前記センサ電極を前記検出回路に接続しない第2の接続状態とを選択的に切り替え可能な第1切替スイッチと、前記センサ電極が前記第1の接続状態のときに前記補助電極を前記検出回路に接続せず、前記第1切替スイッチが前記第2の接続状態のときに前記補助電極を前記検出回路に接続するように切り替え可能な第2切替スイッチと、前記第1の接続状態の場合における前記検出回路からの第1の静電容量値と、前記第2の接続状態の場合における前記検出回路からの第2の静電容量値とを比較した比較値、および前記第1または第2の静電容量値に基づき、前記車両用ドアの外側に存する人体が前記センサ電極上の検知範囲内にあるか否かを判定する判定手段と、前記判定手段からの判定結果に応じて、前記車両用ドアの開閉動作を制御する制御手段とを備えたことを特徴とする。 Further, the vehicle door opening and closing device according to the present invention includes at least one sensor electrode provided at a predetermined height so that a detection surface exists toward the outside of the vehicle door provided in the vehicle, and the sensor electrode An auxiliary electrode provided in the vicinity of, a detection circuit that detects a capacitance value based on capacitance from the connected electrode, a first connection state that connects the sensor electrode to the detection circuit, and A first selector switch capable of selectively switching between a second connection state in which a sensor electrode is not connected to the detection circuit; and the auxiliary electrode is connected to the detection circuit when the sensor electrode is in the first connection state. The second change-over switch that can be switched to connect the auxiliary electrode to the detection circuit when the first change-over switch is in the second connection state, and the detection in the case of the first connection state. A comparison value comparing the first capacitance value from the circuit and the second capacitance value from the detection circuit in the second connection state, and the first or second capacitance Based on a capacitance value, a determination unit that determines whether or not a human body existing outside the vehicle door is within a detection range on the sensor electrode, and the vehicle door according to a determination result from the determination unit And a control means for controlling the opening / closing operation.
前記第1切替スイッチは、例えば前記第2の接続状態のときに前記センサ電極を開放、接地または所定の電位に接続可能に構成され、前記第2切替スイッチは、例えば前記第1の接続状態のときに前記補助電極を開放、接地または所定の電位に接続可能に構成されている。 The first changeover switch is configured to be able to open, connect to the ground or a predetermined potential of the sensor electrode in the second connection state, for example, and the second changeover switch is, for example, in the first connection state. Sometimes, the auxiliary electrode is open, grounded, or connectable to a predetermined potential.
前記補助電極に前記センサ電極と同等の電位を与える、または前記センサ電極に前記補助電極と同等の電位を与えるシールド駆動回路をさらに備え、前記第1切替スイッチは、例えば前記第2の接続状態のときに前記センサ電極を前記シールド駆動回路に接続可能に構成され、前記第2切替スイッチは、例えば前記第1の接続状態のときに前記補助電極を前記シールド駆動回路に接続可能に構成されている。 A shield driving circuit that applies a potential equivalent to the sensor electrode to the auxiliary electrode or a potential equivalent to the auxiliary electrode to the sensor electrode; and the first changeover switch is, for example, in the second connection state Sometimes the sensor electrode is configured to be connectable to the shield drive circuit, and the second changeover switch is configured to be able to connect the auxiliary electrode to the shield drive circuit, for example, in the first connection state. .
前記補助電極に前記センサ電極と同等の電位を与えるシールド駆動回路をさらに備え、前記第1切替スイッチは、例えば前記第2の接続状態のときに前記補助電極を開放、接地または所定の電位に接続可能に構成され、前記第2切替スイッチは、例えば前記第1の接続状態のときに前記補助電極を前記シールド駆動回路に接続可能に構成されている。 A shield driving circuit for applying a potential equivalent to that of the sensor electrode to the auxiliary electrode is further provided, and the first changeover switch opens the auxiliary electrode, for example, is connected to ground or a predetermined potential in the second connection state. The second changeover switch is configured to be able to connect the auxiliary electrode to the shield drive circuit in the first connection state, for example.
前記センサ電極に前記補助電極と同等の電位を与えるシールド駆動回路をさらに備え、前記第1切替スイッチは、例えば前記第2の接続状態のときに前記補助電極を前記シールド駆動回路に接続可能に構成され、前記第2切替スイッチは、例えば前記第1の接続状態のときに前記補助電極を開放、接地または所定の電位に接続可能に構成されている。 A shield driving circuit for applying a potential equivalent to that of the auxiliary electrode to the sensor electrode is further provided, and the first changeover switch is configured to be able to connect the auxiliary electrode to the shield driving circuit in the second connection state, for example. For example, the second changeover switch is configured to be able to open the auxiliary electrode, connect to the ground, or to a predetermined potential in the first connection state.
前記センサ電極は、例えば前記車両用ドアのドアハンドルを含む該ドアハンドルの近傍領域に設けられ、前記補助電極は、例えば前記センサ電極を囲むように配置されている。 The sensor electrode is provided in a region near the door handle including, for example, the door handle of the vehicle door, and the auxiliary electrode is disposed so as to surround the sensor electrode, for example.
前記車両用ドアの開閉動作指示を受け付ける入力手段をさらに備え、前記制御手段は、例えば前記判定手段および前記入力手段によって受け付けられた開閉動作指示に応じて前記開閉動作を制御する。 Input means for receiving an opening / closing operation instruction for the vehicle door is further provided, and the control means controls the opening / closing operation in accordance with, for example, the opening / closing operation instruction received by the determination means and the input means.
前記制御手段は、例えば前記判定手段によって前記車両用ドアの外側の人体が前記センサ電極上の検知範囲内にないと判定された場合は、前記入力手段によって前記車両用ドアの開動作指示が受け付けられても該車両用ドアが開動作しないようにドアロックをかける。 For example, when the determination means determines that the human body outside the vehicle door is not within the detection range on the sensor electrode, the control means accepts an instruction to open the vehicle door by the input means. The door is locked to prevent the vehicle door from opening.
前記車両用ドアが開動作できない旨の警報を報知する報知手段をさらに備え、前記制御手段は、例えば前記判定手段によって前記車両用ドアの外側の人体が前記センサ電極上の検知範囲内にないと判定された場合は、前記入力手段によって前記車両用ドアの開動作指示が受け付けられても該車両用ドアが開動作しないようにドアロックをかけるとともに、前記報知手段を制御して前記警報を報知させる。 The control means further includes a notification means for notifying that the vehicle door cannot be opened, and the control means is configured so that, for example, the human body outside the vehicle door is not within the detection range on the sensor electrode by the determination means. If it is determined, the door is locked so that the vehicle door does not open even if an instruction to open the vehicle door is received by the input means, and the alarm is notified by controlling the notification means. Let
なお、前記制御手段は、例えば前記判定手段によって前記車両用ドアの外側の人体が前記センサ電極上の検知範囲内にないと判定された場合であっても、前記入力手段によって前記車両用ドアの強制的な開動作指示である特別開閉動作指示が受け付けられた場合は、該車両用ドアが開動作可能なようにドアロックを解除する。 In addition, even if the control means determines that the human body outside the vehicle door is not within the detection range on the sensor electrode by the determination means, for example, the input means When a special opening / closing operation instruction that is a forced opening operation instruction is received, the door lock is released so that the vehicle door can be opened.
本発明によれば、車両用ドアの近傍の子供の有無によって車両用ドアの開閉動作を制御して、子供による不用意な車両用ドアの開操作を確実に防止することができる車両用ドア開閉装置を提供することができる。 ADVANTAGE OF THE INVENTION According to this invention, the opening / closing operation | movement of a vehicle door can be controlled by the presence or absence of the child of the vicinity of a vehicle door, and the opening operation of the vehicle door by a child can be prevented reliably. An apparatus can be provided.
以下に、添付の図面を参照して、この発明にかかる車両用ドア開閉装置の好適な実施の形態について説明する。 Hereinafter, preferred embodiments of a vehicle door opening and closing apparatus according to the present invention will be described with reference to the accompanying drawings.
図1は、本発明の一実施形態にかかる車両用ドア開閉装置の全体構成の例を示す説明図、図2は同車両用ドア開閉装置における検知対象物の検知概念を説明するための説明図、図3は同車両用ドア開閉装置の静電容量センサ部および回路部の全体構成の例を示す説明図である。 FIG. 1 is an explanatory diagram showing an example of the overall configuration of a vehicle door opening / closing device according to an embodiment of the present invention, and FIG. 2 is an explanatory diagram for explaining a detection concept of a detection object in the vehicle door opening / closing device. FIG. 3 is an explanatory diagram showing an example of the overall configuration of the capacitance sensor section and the circuit section of the vehicle door opening and closing device.
図1に示すように、本実施形態にかかる車両用ドア開閉装置は、例えば自動車等の車両1のフロントサイドドア2のドアハンドル4内に設けられた第1静電容量センサ部10と、車両1のリアサイドドア3のドアハンドル5内に設けられた第2静電容量センサ部20とを備える。各ドア2,3は、ここでは横開き式のドアであるとする。 As shown in FIG. 1, the vehicle door opening and closing apparatus according to the present embodiment includes a first
また、車両用ドア開閉装置は、これら静電容量センサ部10,20からの出力に基づいて、フロントサイドドア2やリアサイドドア3の外側に存する人体が各静電容量センサ部10,20上の検知範囲内にあるか否かを判定する回路部30を備える。この回路部30は、図示しない静電容量検知回路やCPU等を有する。 Further, in the vehicle door opening and closing device, the human body existing outside the
第1静電容量センサ部10は、フロントサイドドア2の外側に存する人体を検知する。第2静電容量センサ部20は、リアサイドドア3の外側に存する人体を検知する。これら静電容量センサ部10,20は、図2に示すように、各ドア2,3の外側に向けて検知面が存するように、各ドア2,3の所定の高さに(本例では、ドアハンドル4,5の取付高さに)配置され、人体の検知範囲Zを形成する。 The first
なお、各静電容量センサ部10,20は、例えば各ドア2,3のドアハンドル4,5を操作する人体の手を検知せず、各ドア2,3の開閉操作時に外側に存する人体を検知可能となるような検知範囲Zを形成する。 In addition, each electrostatic
また、車両用ドア開閉装置は、各ドア2,3とともに車両1に備えられたバックドア(図示せず)など車両1に備えられたドアの開閉動作全般を制御するドアECU(電子制御ユニット)50を備えている。このドアECU50には、例えば車両1に備えられた各ドア2,3の開閉動作指示に関する情報を出力するドアスイッチ(ドアSW)51と、例えば子供による各ドア2,3の開閉動作を制限する必要があることを示す情報を出力するチャイルドロックスイッチ(チャイルドロックSW)52とが接続されている。 The vehicle door opening / closing device is a door ECU (electronic control unit) that controls the overall opening / closing operation of the door provided in the
また、ドアECU50には、各ドア2,3の開閉動作を行わせないようにロックするドアロック機構70と、各ドア2,3が電動開閉動作式である場合にこれらを駆動するドアモータ80と、スピーカやディスプレイ装置などを備えて、所定の場合に警告音や警告文などの警告を報知(出力)する警報装置60とが接続されている。 The
ドアECU50は、回路部30からの判定結果(すなわち、各ドア2,3の外側に人体があるか否かを示す結果情報)に応じて、ドアロック機構70やドアモータ80を制御して、各ドア2,3の開閉動作を制御する。また、ドアECU50は、上記判定結果とともに、ドアSW51やチャイルドロックSW52からの情報を受け付けて、各ドア2,3の開閉動作を制御する。 The
なお、ドアSW51は、それぞれ各ドア2,3の内側(車室側)や外側のドアハンドル4,5に各ドア2,3と一体的に設けられていても、例えば車両1のセンターコンソールに一極集中的に各ドア2,3を操作可能に設けられていてもよい。そして、このドアSW51には、開閉動作指示として、例えば特別な状況下(各静電容量センサ部10,20の検知如何に関わらず強制的に各ドア2,3を開閉可能にする状況下など)での開閉動作指示を示す特別開閉動作指示を出力する特別ドアスイッチ(特別ドアSW)も含まれていることとする。 Even if the
したがって、車両用ドア開閉装置は、ドアロック機構70等によるドアロックが掛かっている状態であっても、車両1の乗員などがこの特別ドアSWを操作して特別開閉動作指示をドアECU50に対して出力した場合は、各ドア2,3のドアロックを個別あるいは統括的に解除可能に構成されている。 Therefore, in the vehicle door opening and closing device, even when the door is locked by the
図2に示すように、各静電容量センサ部10,20は、各ドア2,3の外側に向けた検知面側の検知領域に、所定の高さの検知範囲Zが存するように構成される。これにより、図2(a)に示すように、所定の身長の子供49がドアハンドル4,5を開閉操作しようとしても、子供49は検知されることはない。 As shown in FIG. 2, each of the
一方、図2(b)に示すように、所定の身長以上の成人48がドアハンドル4,5を開閉操作しようとすると、所定の身長以上の成人48は検知される。各静電容量センサ部10,20は、このような点を考慮して、例えば小学校低学年の平均身長(例えば、130cm程度)を検知しない所定の高さ(例えば、140cm程度)に配置されている。 On the other hand, as shown in FIG. 2B, when an
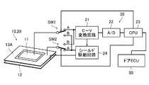
これら静電容量センサ部10,20は、矩形平板状に形成されたセンサ電極11と、このセンサ電極11の裏面側に形成されたシールド電極12と、センサ電極11と同一平面上に形成されセンサ電極11を囲うようなロの字状に形成された補助電極13とをそれぞれ備えて構成されている。 The
センサ電極11および補助電極13は、それぞれ互いに絶縁された状態で配置されている。また、シールド電極12は、裏面側のセンサ感度を減少させるために、センサ電極11よりも大きいことが好ましい。 The
センサ電極11は、検知面側の検知領域の検知範囲Z内にある検知対象物(人体、特に成人48)を検知する。シールド電極12は、センサ電極11の裏面側にてこれが検知されないようにシールドする。補助電極13は、センサ電極11の検知面側における等静電容量線(面)を可変せしめ、各静電容量センサ部10,20に指向性を持たせるためのものである。なお、シールド電極12は、上述した態様とともに併せて例えば補助電極13の外周側に設けられていてもよい。 The
回路部30は、各静電容量センサ部10,20と接続され、例えばセンサ電極11に直接接続されたC−V変換回路21と、A/D変換器22と、CPU23とを備えて構成されている。ここでは、さらにシールド駆動回路12を備え、補助電極13の接続をC−V変換回路21とシールド駆動回路24とに切り替える切替スイッチSWが設けられている。 The
C−V変換回路21は、センサ電極11によって、またはセンサ電極11および補助電極13によって、それぞれ検知された静電容量(Capacitance)を電圧(Voltage)に変換する。A/D変換器22は、C−V変換回路21からの電圧を示すアナログ信号をディジタル信号に変換する。 The
CPU23は、車両用ドア開閉装置全体の制御を司るとともに切替スイッチSWを制御したり、検知領域の検知範囲Z内における検知対象物(人体)の検出(有無)を判定したり、この判定結果に関する信号(判定結果情報)をドアECU50に対して出力したりする。シールド駆動回路24は、例えばシールド電極12や補助電極13をセンサ電極11と同等の電位に駆動する。 The
なお、回路部30は、CPU23の一時記憶領域として利用されるRAMやデータ格納用のROM等の記憶手段(図示せず)を備えて構成される。また、各静電容量センサ部10,20は、例えば図示しない基板上に形成されている。この基板としては、例えばフレキシブルプリント基板、リジッド基板およびリジッドフレキシブル基板のいずれの基板も採用することができる。 The
さらに、回路部30は、各静電容量センサ部10,20が形成された基板の同一面側または裏面側に実装されて一体的に設けられていてもよい。この場合、回路部30は、各静電容量センサ部10,20の数と対応するように複数設けられてもよい。 Furthermore, the
センサ電極11、シールド電極12および補助電極13は、例えばポリエチレンテレフタレート(PET)、ポリエチレンナフタレート(PEN)、ポリイミド(PI)、ポリアミド(PA)、ガラスエポキシ樹脂、またはセラミック等の絶縁体からなる基板上にパターン形成された銅、銅合金またはアルミニウムや鉄等の金属部材(導電材)や電線などで構成することができる。 The
なお、各静電容量センサ部10,20の配置態様(例えば、ドアハンドル4,5の表面に配置する場合)によっては、車両1の乗員や利用者に対して目立たないように配置する必要が生じる場合がある。このような場合は、上記基板を透明性を有するパネルやフィルムにて形成し、各電極11〜13を透明電極とすればよい。 In addition, it is necessary to arrange | position so that it may not stand out with respect to the passenger | crew and user of the
透明電極は、例えば錫ドープ酸化インジウム(ITO)や導電性ポリマーによって構成することができる。導電性ポリマーとしては、例えばPEDOT/PSS(ポリエチレンジオキシチオフェン/ポリスチレンスルフォニック酸)や、PEDOT/TsO(ポリエチレンジオキシチオフェン/トルエンスルフォネート)などを用いることができる。 The transparent electrode can be composed of, for example, tin-doped indium oxide (ITO) or a conductive polymer. As the conductive polymer, for example, PEDOT / PSS (polyethylene dioxythiophene / polystyrene sulfonic acid), PEDOT / TsO (polyethylene dioxythiophene / toluene sulfonate), or the like can be used.
次に、このように構成された車両用ドア開閉装置の検知対象物(人体)の検知動作について説明する。まず、CPU23の制御により、切替スイッチSWがシールド駆動回路24側に接続された場合の動作(動作1)について説明する。この動作1の場合、各静電容量センサ部10,20のセンサ電極11、シールド電極12および補助電極13と回路部30との接続状態は、図3に示すようになる。 Next, the detection operation of the detection target (human body) of the vehicle door opening / closing device configured as described above will be described. First, an operation (operation 1) when the changeover switch SW is connected to the
すなわち、C−V変換回路21にはセンサ電極11のみが接続され、シールド電極12および補助電極13はシールド駆動回路24に接続されるので、センサ電極11のみによって人体である検知対象物A,Bとの静電容量CがC−V変換回路21によって検出される。このとき、センサ電極11の裏面側は、シールド駆動回路24に接続されたシールド電極12によって覆われた状態である。このため、センサ電極11の裏面側のセンサ感度はほぼないに等しくなり、これは後述する動作2の場合も同様である。 That is, only the
また、両検知対象物A,Bはセンサ電極11からほぼ等しい距離に存する。しかし、シールド駆動回路24に接続された補助電極13の影響によって、上述した等静電容量線(面)Mが図4に示すような状態となり、検知対象物Bに対するセンサ感度が検知対象物Aに対するセンサ感度よりも低下する。 Further, both detection objects A and B are at substantially the same distance from the
この場合、図5(a)に示すように、センサ電極11の中心部上付近に存する検知対象物Aに対するセンサ電極11からの電気力線P1は、補助電極13からの電気力線P2(シールド)の影響が小さいといえる。だが、図5(b)に示すように、センサ電極11に対して外側に存する検知対象物Bに対するセンサ電極11からの電気力線P1は、補助電極13からの電気力線P2(シールド)の影響を受けやすいといえる。 In this case, as shown in FIG. 5A, the electric lines of force P1 from the
このため、動作1においては、両検知対象物A,Bはセンサ電極11から同一距離に存するが、C−V変換回路21によって検出される静電容量値は検知対象物Aの方が検知対象物Bに比べて大きくなる。なお、このような動作1のときに検出された第1の静電容量値C1をCPU23によって記憶手段に記憶しておく。 For this reason, in the
この動作1の場合、補助電極13をシールド駆動回路24に接続することによって、センサ電極11の中心部のセンサ感度に対して、センサ電極11の電極端(補助電極13側の端部)のセンサ感度を下げることができる。これにより、各静電容量センサ部10,20に僅かな指向性を持たせることが可能となる。 In the case of this
ただし、この動作1においては、センサ電極11の電極端のセンサ感度が僅かに低下する程度である。したがって、例えば図5(b)に示す検知対象物Bよりはセンサ電極11に近い位置に存する人体である検知対象物C(図4参照)の静電容量値は、検知対象物Aの静電容量値とほぼ等しくなってしまう。この際、等静電容量線(面)Mが図4に示すような状態となってしまう。このため、検知対象物A,Cの違いを判別することができず、より強い指向性を持たせることができない状態であるといわざるを得ない。 However, in this
次に、CPU23の制御により、切替スイッチSWがC−V変換回路21側に接続された場合の動作(動作2)について説明する。この動作2の場合、各静電容量センサ部10,20のセンサ電極11、シールド電極12および補助電極13の回路部30との接続状態は、図6に示すようになる。 Next, an operation (operation 2) when the changeover switch SW is connected to the
すなわち、C−V変換回路21にセンサ電極11および補助電極13が接続されるので、これらセンサ電極11および補助電極13によって検知対象物A,Bとの静電容量がC−V変換回路21によって検出される。このとき、上述したようにセンサ電極11の裏面側のセンサ感度はほぼないに等しいが、センサ電極11の検知面側(表面側)における等静電容量線(面)Mは図6に示す状態となり、検知面側の180°の範囲で指向性がない状態といえる。 That is, since the
このため、動作2においては、センサ電極11からほぼ等しい距離に存する両検知対象物A,Bについては、ほぼ同等の静電容量値が検出される。そして、このような動作2のときに検出された第2の静電容量値C2を、第1の静電容量値C1と同様にCPU23によって記憶手段に記憶しておく。 For this reason, in the
このように、上述した動作1および動作2により、センサ電極11による検知面側の等静電容量線(面)Mを可変せしめることができる。こうして、センサ電極11の検知面側において僅かに指向性がある場合に検出された第1の静電容量値C1と、センサ電極11の検知面側において指向性がない場合に検出された第2の静電容量値C2とを取得する。 As described above, the
その後、本例の車両用ドア開閉装置においては、次のような動作が行われる。まず、CPU23によって記憶手段に記憶しておいた第1の静電容量値C1と第2の静電容量値C2とを比較する。例えば、上述した動作2の場合においては両検知対象物A,Bから検出された静電容量値はともにほぼ同等の値であるため、検知対象物A,Bはセンサ電極11からほぼ等しい距離にあることが判明する。 Thereafter, in the vehicle door opening and closing apparatus of the present example, the following operation is performed. First, the first capacitance value C1 stored in the storage means by the
次に、動作1の場合では検知対象物Aに対して検知対象物Bの静電容量値が小さくなるため、検知対象物Bは検知対象物Aよりもセンサ電極11に対して外側に存することが判明する。これらを踏まえて、CPU23においては、第1の静電容量値C1に対する第2の静電容量値C2の値を比較することにより、検知対象物がセンサ電極11の中心部に対してどの程度外側に存するのか(すなわち、検知対象物が少なくともセンサ電極11の検知面と対向する領域を含む所定の範囲内(以下、「検知範囲内」と略記することがあるとする。)にあるか否か)を判定することができる。 Next, in the case of the
上述したように構成され動作する車両用ドア開閉装置によれば、図1および図2に示すように、例えば各静電容量センサ部10,20によって、各ドア2,3のドアハンドル4,5に配置された各静電容量センサ部10,20(センサ電極11)上に形成された検知範囲Z内に人体(成人48や子供49)があるか否かを判定することができる。この検知範囲Zは、設定された指向性によりその範囲が決定する。 According to the vehicle door opening and closing apparatus configured and operated as described above, as shown in FIGS. 1 and 2, for example, the respective electrostatic
このため、例えば各ドア2,3の外側の検知範囲Z外に検知対象物(成人48や子供49など)があったとしても、この検知対象物が検知されることなく、検知範囲Z内に検知対象物(特に成人48)があるか否かを正確に判定可能なように、検知範囲Zをセンサ電極11上の領域に設定する。 For this reason, for example, even if there is a detection target (
そして、判定結果に基づいて、ドアECU50は、例えば成人48を検知した場合は各ドア2,3の開閉動作ができるようにドアロック機構70のドアロックを解除したり、ドアモータ80を動作させたりする。また、判定結果に基づいて、例えば成人48を検知しない場合(すなわち、子供49が各ドア2,3を開閉操作しようとしている場合)は、各ドア2,3の開閉動作ができないようにドアロック機構70のドアロックを施したり、ドアモータ80を停止させたりする。 Based on the determination result, for example, when the
このようにすれば、車両1の各ドア2,3近傍の外側における子供49の有無によって各ドア2,3の開閉動作を制御して、子供49による外側からの不用意な各ドア2,3の開操作を確実に防止することができる。ここで、車両用ドア開閉装置による各ドア2,3のドア開閉動作制御処理について説明する。 In this way, the opening / closing operation of each
図7は、上記車両用ドア開閉装置による各ドア2,3のドア開閉動作制御処理手順の例を示すフローチャートである。なお、以降において、既に説明した部分と重複する箇所には同一の符号を付して説明を割愛することとし、本発明に特に関わる処理以外は明記しない場合があることとする。 FIG. 7 is a flowchart showing an example of a door opening / closing operation control processing procedure for the
ここでは、車両用ドア開閉装置は、例えば車両1のイグニッションスイッチがアクセサリー(ACC)やONとなったり、スマートエントリーシステムによるユーザキーが認証されたりしたことをトリガとするなどして、車両用ドア開閉装置に既に電源が供給された状態であることを前提として説明する。 Here, the vehicle door opening and closing device is, for example, a vehicle door that is triggered when the ignition switch of the
図7に示すように、車両用ドア開閉装置は、処理が開始されたら、乗員などの操作によりドアSW51から各ドア2,3の開閉に関する指示が出された場合は、この各ドア2,3の開閉動作指示を受け付ける(ステップS101)。そして、受け付けた開閉動作指示が特別開閉動作指示であるか否かを判断し(ステップS102)、特別開閉動作指示であると判断した場合(ステップS102のY)は、ドアロック機構70やドアモータ80を制御して、特別開閉動作指示に応じた各ドア2,3の開閉動作(すなわち、開閉可能に動作させる)を行い(ステップS108)、例えばイグニッションスイッチがOFFとなったりすることなどを検知して、処理を終了するか否かを判断する(ステップS109)。 As shown in FIG. 7, the vehicle door opening / closing device, when the process is started, is instructed to open / close the
処理を終了すると判断した場合(ステップS109のY)は、本フローチャートによる一連のドア開閉動作制御処理を終了する。処理を終了しないと判断した場合(ステップS109のN)は、上記ステップS101に移行して以降の処理を繰り返す。 If it is determined that the process is to be terminated (Y in step S109), the series of door opening / closing operation control processes according to this flowchart is terminated. If it is determined not to end the process (N in step S109), the process proceeds to step S101 and the subsequent processes are repeated.
一方、特別開閉動作指示でないと判断した場合(ステップS102のN)は、回路部30のCPU23の制御によって、切替スイッチSWによる補助電極13の接続状態を上述した第1および第2の接続状態に切り替える。 On the other hand, when it is determined that the instruction is not a special opening / closing operation instruction (N in step S102), the connection state of the
こうして、各静電容量センサ部10,20において静電容量値(第1および第2の静電容量値C1,C2)を検出し(ステップS103)、これらを比較して比較値を算出する(ステップS104)。 Thus, the capacitance values (first and second capacitance values C1 and C2) are detected in the
そして、第1の静電容量値C1または第2の静電容量値C2に基づいて、検知対象物(成人48)がセンサ電極11上に近接しているか否かを判定する(ステップS105)。これとともに、算出した比較値が、例えばあらかじめ設定された所定のしきい値以上(あるいは所定のしきい値以下や所定のしきい値未満等)であるか否かを判定する(ステップS106)。 Then, based on the first capacitance value C1 or the second capacitance value C2, it is determined whether or not the detection target (adult 48) is close to the sensor electrode 11 (step S105). At the same time, it is determined whether or not the calculated comparison value is greater than or equal to a predetermined threshold value set in advance (or less than a predetermined threshold value or less than a predetermined threshold value, for example) (step S106).
成人48が近接している(すなわち、図2(b)に示すように検知範囲Z内にて検知されている)と判定され(ステップS105のY)、かつ比較値が所定のしきい値以上であると判定された場合(ステップS106のY)は、成人48を検知と判定して(ステップS107)、ドアECU50に対して判定結果に関する信号を出力する。そして、ドアECU50は、各静電容量センサ部10,20のうち、成人48を検知した静電容量センサ部10,20の配置位置に応じて、各ドア2,3のうちの対応するドアの開閉動作ができるように制御を行い(ステップS108)、上記ステップS109に移行する。 It is determined that the
このように判定された判定結果を用いて、各ドア2,3の開閉動作を制御すれば、上述したように各静電容量センサ部10,20によって、成人48を検知した場合は、特別開閉動作指示がなくとも車両1の外側からの各ドア2,3の開閉動作を制限なく行うことが可能となる。このため、成人48の乗員等に対して不都合が生じることなく各ドア2,3の開閉動作制御を行うことができる。 If the opening / closing operation of each
一方、成人48が近接していないと判定された(すなわち、子供49が各ドア2,3に近接しているが図2(a)に示すように検知範囲Z内にて検知されない)場合(ステップS105のN)や、比較値が所定のしきい値以上でないと判定された場合(ステップS106のN)は、成人48を非検知と判定し(ステップS110)、ドアロック機構70やドアモータ80を制御して、例えば各ドア2,3を閉じた状態のまま維持するようにドアロックを行う(ステップS111)。 On the other hand, when it is determined that the
そして、チャイルドロックSW52からの情報に基づいて、各ドア2,3の子供49による開閉操作ができないようにすべく、チャイルドロックSW52がONとなっているか否かを判断する(ステップS112)。チャイルドロックSW52がONとなっていると判断した場合(ステップS112のY)は、警報装置60を介して、例えば車室内にて警報音を鳴らすなど警報を出力(報知)し(ステップS113)、上記ステップS101に移行して以降の処理を繰り返す。チャイルドロックSW52がONとなっていないと判断した場合(ステップS112のN)は、上記ステップS101に移行して以降の処理を繰り返す。 Then, based on the information from the child lock SW52, it is determined whether or not the child lock SW52 is ON so that the
本例の車両用ドア開閉装置では、このようにドア開閉動作制御処理を行うことによって、例えば子供49が各ドア2,3の外側に居て外側から各ドア2,3を開操作しようとして、ドアハンドル4,5のドアSW51による開閉動作指示があった場合であっても、各ドア2,3が不用意に開くことはない。これにより、子供49が外側から不用意に各ドア2,3を開けて他車にぶつけるなどの不具合を防止することができる。 In the vehicle door opening and closing device of this example, by performing the door opening and closing operation control process in this way, for example, the
ここで、具体的には、例えばステップS105においては、第1の静電容量値C1が所定のしきい値Th1よりも大きい場合は、成人48がセンサ電極11に近接したと判定可能に設定しておく。また、このとき、例えばステップS106においては、比較値α=(a×C1)−(b×C2)あるいは比較値β=d×C1/C2などの計算式によって算出した比較値αや比較値βが、あらかじめ設定された所定のしきい値としての任意のしきい値Th2よりも小さい場合は、検知範囲Z外であると判定可能に設定しておく。 Here, specifically, in step S105, for example, when the first capacitance value C1 is larger than the predetermined threshold value Th1, it is set so that it can be determined that the
そして、成人48が近接している場合であって(ステップS105のY)、かつ比較値がしきい値Th2以上の場合にのみ(ステップS106のY)、成人48が検知と判定される(ステップS107)ように構成することができる。このように、本例の車両用ドア開閉装置によれば、車両1の各ドア2,3に配置された各静電容量センサ部10,20の表面上の(センサ電極11上の)検知範囲Z内への人体(成人48)の近接を正確かつ確実に検知することができる。 Only when the
なお、上述した比較値α,βにおける係数a,b,cや比較値α,βの計算式およびしきい値Th1,Th2の値などは、次のようであってもよい。すなわち、これらは各静電容量センサ部10,20のセンサ形状、設置周辺環境、検知対象物の特性などの要因によって変化するものである。このため、これらの各要因が決まった時点でプロファイルを取りながら逐次設定すればよい。 Note that the coefficients a, b, and c in the comparison values α and β, the calculation formulas of the comparison values α and β, the values of the threshold values Th1 and Th2, and the like may be as follows. That is, these change depending on factors such as the sensor shape of each of the
また、上述した例では、第1の静電容量値C1を第2の静電容量値C2で除算した値を用いて比較することで、成人48の近接を判定した。その他にも、例えば第1の静電容量値C1を第1の静電容量値C1と第2の静電容量値C2との和の値で除算した値を用いて比較したり、その他の計算方法を用いたりして近接を判定するようにしてもよい。 In the above-described example, the proximity of the
このように、本例の車両用ドア開閉装置によれば、例えばしきい値Th2が大きい場合は各静電容量センサ部10,20のセンサ感度の指向性の強度が高く、小さい場合は低いとすることができる。したがって、各ドア2,3に配置された各静電容量センサ部10,20の表面上などに指向性を任意に調整して検知範囲Zを設定することができ、これにより各ドア2,3に近接する所定身長以上の人体(成人48)のみを簡単な構成で確実かつ正確に検知することができるようになる。 Thus, according to the vehicle door opening and closing apparatus of this example, for example, when the threshold Th2 is large, the directionality of the sensor sensitivity of each of the
なお、上述した回路部30のC−V変換回路21は、例えば抵抗とコンデンサにより出力パルスのデューティー比が変化する周知のタイマーICを利用するものであるが、これに限定されるものではない。 The
すなわち、例えば正弦波を印加して静電容量値による電圧変化あるいは電流値から直接インピーダンスを測定する方式、測定する静電容量値を含めて発振回路を構成して発振周波数を測定する方式、RC充放電回路を構成して充放電時間を測定する方式、既知の電圧で充電した電荷を既知の容量に移動してその電圧を測定する方式、または未知の容量に既知電圧で充電し、その電荷を既知容量に移動させることを複数回行い、既知容量が所定電圧に充電されるまでの回数を測定する方式などがあり、検出した静電容量値にしきい値を設け、または静電容量の波形を解析して該当する静電容量波形になったときにトリガとするなどの処理を行ってもよい。 That is, for example, a method in which a sine wave is applied to directly measure an impedance from a voltage change or a current value due to a capacitance value, a method in which an oscillation circuit is configured including a capacitance value to be measured, and an oscillation frequency is measured, RC A charge / discharge circuit is configured to measure the charge / discharge time, a charge charged with a known voltage is transferred to a known capacity and the voltage is measured, or an unknown capacity is charged with a known voltage and the charge is charged. There is a method to measure the number of times until the known capacity is charged to a predetermined voltage by moving it to a known capacity multiple times, setting a threshold value for the detected capacitance value, or a waveform of the capacitance May be processed as a trigger when the corresponding capacitance waveform is obtained.
また、回路部30のC−V変換回路21が静電容量を電圧に変換することを前提としたが、電気的にあるいはソフトウェアとして扱いやすいデータに変換できればよく、例えば静電容量をパルス幅に変換したり、直接ディジタル値に変換したりしてもよい。 Further, although it is assumed that the
さらに、上述した車両用ドア開閉装置では、各静電容量センサ部10,20のセンサ電極11とシールド電極12および補助電極13とを車両1の各ドア2,3のドアハンドル4,5にそれぞれ配置した。そして、センサ電極11のみの第1の静電容量値C1と、センサ電極11および補助電極13の第2の静電容量値C2とを比較して人体(成人48)の検出を判定する例を挙げて説明したが、これらは例えば次のようなものであってもよい。 Further, in the vehicle door opening and closing device described above, the
図8は、上記車両用ドア開閉装置の静電容量センサ部および回路部の全体構成の他の例を示す説明図である。この例の車両用ドア開閉装置は、センサ電極11の他にダミーのセンサ電極(ダミー電極)19を配置した構成を有し、回路部30のC−V変換回路21が差動動作するものとして構成されている。 FIG. 8 is an explanatory diagram showing another example of the overall configuration of the capacitance sensor unit and the circuit unit of the vehicle door opening and closing device. The vehicle door opening / closing device of this example has a configuration in which a dummy sensor electrode (dummy electrode) 19 is arranged in addition to the
具体的には、図8に示すように、例えば差動増幅回路のプラス側入力端にセンサ電極11を接続し、マイナス側入力端にダミー電極19を接続して静電容量Caの値から静電容量Cbの値を減算する。そして、その出力値をコンパレータなどでしきい値と比較して人体(成人48や子供49)を検出/非検出するようにしたものである。 Specifically, as shown in FIG. 8, for example, the
このようなC−V変換回路21の動作としては、例えばスイッチS1がオープン(OFF)で、スイッチS2が接地(GND)され、スイッチS3がクローズ(ON)となっているときに、スイッチS3をオープン(OFF)にし、スイッチS2をVrに切り替え、スイッチS1をオペアンプの反転入力に接続する。すると、静電容量CaとCfにCaVrが充電され、静電容量CbとCfにCbVrが充電される。 As an operation of such a
次に、スイッチS1をオープン(OFF)およびスイッチS2を接地(GND)した後に、スイッチS1を接地(GND)したときの出力電圧Vを測定する。このときの電圧は、V/Vr={(Cf+Ca)/Cf}−{(Cf+Cb)/Cf}となり、静電容量Caと静電容量Cbの割合に応じた電圧が出力される。 Next, after the switch S1 is opened (OFF) and the switch S2 is grounded (GND), the output voltage V when the switch S1 is grounded (GND) is measured. The voltage at this time is V / Vr = {(Cf + Ca) / Cf} − {(Cf + Cb) / Cf}, and a voltage corresponding to the ratio between the capacitance Ca and the capacitance Cb is output.
このように、C−V変換回路21を差動動作する構成(差動回路)とすることにより、回路の温度特性を相殺したり、コモンモードノイズを低減したりすることができる。そして、このとき、例えば差動増幅回路のマイナス側入力端にはダミー電極19を接続するが、このダミー電極19が人体(成人48)と静電容量結合するとセンサ自体の感度が低くなる。 As described above, the
このため、センサ電極11に対してダミー電極19の面積を十分に小さく形成するか、ダミー電極19と人体(成人48)との間に同電位である他のシールド電極47を設けて、人体(成人48)との静電容量結合を小さくする必要がある。 For this reason, the area of the
なお、上述したシールド駆動回路24は、C−V変換回路21が静電容量Cに応じてデューティー比が変化するものである場合は、センサ電極11の出力波形は測定される静電容量によって変化する。このため、オペアンプなどによるボルテージフォロワやFETによるソースフォロワなどで1倍の増幅回路を構成し、センサ電極11の電圧を入力してその出力をシールド電極12などに接続するように構成してもよい。 In the
また、シールド駆動回路24は、C−V変換回路21が差動動作するものである場合は、センサ電極11の出力波形は電圧がVrとGNDの矩形波で周波数はスイッチの切替周波数になる。このため、静電容量値によって変動しないので、図8に示したオペアンプの非反転入力をシールド電極12などに接続するように構成してもよい。ただし、駆動電流が必要な場合は、高出力電流のオペアンプなどを介したり、VrとGNDの矩形波を別途生成するようにすればよい。 Further, when the
さらに、上述した実施形態では、センサ電極11をC−V変換回路21に接続し、シールド電極12をシールド駆動回路24に接続して、補助電極13を切替スイッチSWを介してシールド電極24またはC−V変換回路21に接続するように構成した。その他にも、例えばC−V変換回路21が差動動作するものである場合は、図8に示したマイナス側入力端にセンサ電極11を接続し、シールド電極12をシールド駆動回路24に、また補助電極13をプラス側入力端にそれぞれ接続するように構成してもよい。 Furthermore, in the above-described embodiment, the
この場合、上述した動作2のときは補助電極13がセンサ電極11と接続され指向性がほとんどない状態となる。しかし、上述した動作1のときは補助電極13と人体(成人48)との静電容量結合分の値はセンサ電極11の静電容量値から差し引かれるので、結果的に緩い指向性を持つこととなる。そして、上述した場合と同様に動作1および動作2のときの検出値を比較すれば同様の効果を得ることが可能となる。 In this case, in the
さらにまた、上述した実施形態では、切替スイッチSWにより補助電極13について、動作1のときはシールド駆動回路24に接続し、動作2のときはC−V変換回路21に接続可能と構成し、動作1と動作2のときで等静電容量線(面)Mを可変させるように構成した。その他にも、補助電極13について、例えば動作1のときはシールド駆動回路24に接続し、動作2のときは開放、接地または所定の電位に接続可能に構成したり、また例えば、動作1のときは開放、接地または所定の電位に接続し、動作2のときはC−V変換回路21に接続可能に構成しても同様の効果を得ることが可能である。このように、補助電極13は、切替スイッチSWによって開放に接続されたり、接地や他の電位(例えば、接地と同等の電位や、パルス、充電電圧、正弦波などを含む)に接続されたりしてもよい。 Furthermore, in the above-described embodiment, the
なお、切替スイッチSWは、電気的な接続を切り替えられる構造であればよく、例えばFETやフォトMOSリレーなどの電子回路スイッチでも、接点切替器などの機械的なスイッチでも採用することができる。また、センサ電極11の形状は、上述したものの他に、円形、楕円形、長方形、多角形などの各種形状を採用することができ、例えばセンサ電極11の裏面側も検知範囲Zにする場合には、シールド電極12を設置しなければよい。 Note that the change-over switch SW only needs to have a structure capable of switching electrical connection. For example, an electronic circuit switch such as an FET or a photo MOS relay or a mechanical switch such as a contact switch can be employed. In addition to the above-described shape, the
そして、補助電極13は、センサ電極11の周囲全体を囲む状態で配置したが、検知範囲Zを設定できるものであれば、一部を囲むような状態であったり、隣接する一部に配置されたりしてもよい。また、例えばセンサ電極11を囲む状態であるときは、センサ電極11と同心(中心を同一)状態に配置されるとよい。 The
次に、本発明の他の実施形態にかかる車両用ドア開閉装置の静電容量センサ部および回路部について、図9〜図11を参照して説明する。上述した実施形態にかかる車両用ドア開閉装置においては、回路部30のC−V変換回路21からの出力は、センサ電極11および補助電極13により検知された静電容量を示す第2の静電容量値C2か、センサ電極11のみにより検知された静電容量を示す第1の静電容量値C1のいずれかとなる。 Next, a capacitance sensor unit and a circuit unit of a vehicle door opening and closing apparatus according to another embodiment of the present invention will be described with reference to FIGS. In the vehicle door opening and closing apparatus according to the above-described embodiment, the output from the
このため、センサ電極11(を含む各静電容量センサ部10,20)の設置場所の周囲の構造等により検出される静電容量値が異なる場合がある。このような場合、これら第1および第2の静電容量値C1,C2を比較した比較結果がセンサ電極11が設置される場所の周囲の構造等に依存して変化してしまうことがある。このような状況を回避するために、回路部30の内部構成を、さらに例えば次のようにしてもよい。 For this reason, the capacitance value detected by the structure around the installation place of the sensor electrode 11 (including each
図9は、本発明の他の実施形態にかかる車両用ドア開閉装置の静電容量センサ部10,20および回路部30の全体構成の例を示す説明図、図10は同車両用ドア開閉装置による各ドア2,3のドア開閉動作制御処理手順の例を示すフローチャート、図11は同車両用ドア開閉装置の静電容量センサ部10,20および回路部30の全体構成の他の例を示す説明図である。 FIG. 9 is an explanatory view showing an example of the overall configuration of the
図9に示すように、本例の回路部30は、上述したC−V変換回路21、シールド駆動回路24の他に、例えばCPUなどからなる判定回路25と、人体(成人48や子供49)が接近していないときの静電容量値(初期容量)を記憶する初期容量記憶装置26と、切替スイッチSWの切り替え動作を制御するスイッチ制御回路27と、バッファ28とを備えて構成されている。 As shown in FIG. 9, in addition to the
このように構成された回路部30を有する車両用ドア開閉装置の検知対象物(成人48)の検知動作の概要としては、例えば各静電容量センサ部10,20を同様に車両1の各ドア2,3のドアハンドル4,5に配置する。その後、人体(成人48)が各静電容量センサ部10,20に接近していないときの動作1と動作2における静電容量値(初期容量)を、スイッチ制御回路27の制御により切替スイッチSWを切り替えてそれぞれ検出する。 As an outline of the detection operation of the detection target (adult 48) of the vehicle door opening / closing device having the
そして、初期容量記憶装置26にてこれらの値を記憶しておき、判定回路25にて上述した実際の動作1,2のときの第1および第2の静電容量値C1,C2から初期容量記憶装置26に記憶されたこれらの初期容量を差し引いて比較する。こうして得られた比較結果に基づいて、各ドア2,3の外側に存する人体(成人48)がセンサ電極11上の検知範囲Z内に存するか否かを判定する。 Then, these values are stored in the initial
具体的には、上記初期容量は、スイッチ制御回路27の制御により、切替スイッチSWがシールド駆動回路24側に接続された場合の上記動作1のときのものを第1の初期容量として初期容量記憶装置26に記憶される。また、切替スイッチSWがC−V変換回路21側に接続された場合の上記動作2のときのものを第2の初期容量として初期容量記憶装置26に記憶される。 More specifically, the initial capacity is stored as the first initial capacity when the changeover switch SW is connected to the
そして、実際の動作1のときは、判定回路25によって、検出された第1の静電容量値C1から初期容量記憶装置26に記憶しておいた第1の初期容量を差し引いて第1の検出値(検出値1)とする。また、実際の動作2のときは、検出された第2の静電容量値C2から初期容量記憶装置26に記憶しておいた第2の初期容量を差し引いて第2の検出値(検出値2)とする。 Then, in the
すなわち、図10に示すように、車両用ドア開閉装置は、上述したように処理が開始されたら、乗員などの操作によりドアSW51から各ドア2,3の開閉に関する指示が出された場合は、この各ドア2,3の開閉動作指示を受け付ける(ステップS201)。そして、受け付けた開閉動作指示が特別開閉動作指示であるか否かを判断し(ステップS202)、特別開閉動作指示であると判断した場合(ステップS202のY)は、ドアロック機構70やドアモータ80を制御して、特別開閉動作指示に応じた各ドア2,3の開閉動作を行い(ステップS208)、処理を終了するか否かを判断する(ステップS209)。 That is, as shown in FIG. 10, the vehicle door opening and closing apparatus, when the processing is started as described above, when an instruction regarding opening and closing of the
処理を終了すると判断した場合(ステップS209のY)は、本フローチャートによる一連のドア開閉動作制御処理を終了する。処理を終了しないと判断した場合(ステップS209のN)は、上記ステップS201に移行して以降の処理を繰り返す。 If it is determined that the process is to be terminated (Y in step S209), the series of door opening / closing operation control processes according to this flowchart is terminated. If it is determined not to end the process (N in step S209), the process proceeds to step S201 and the subsequent processes are repeated.
一方、特別開閉動作指示でないと判断した場合(ステップS202のN)は、上述したような第1の検出値と第2の検出値とを算出し(ステップS203)、これらを比較して比較値を算出する(ステップS204)。 On the other hand, when it is determined that the instruction is not a special opening / closing operation instruction (N in step S202), the first detection value and the second detection value as described above are calculated (step S203), and these are compared and compared with each other. Is calculated (step S204).
その後、第1または第2の検出値に基づいて、人体(成人48)が近接しているか否かを判定する(ステップS205)。これとともに、第1の検出値と第2の検出値の比較値が、例えばあらかじめ設定された所定のしきい値以上(あるいは所定のしきい値以下や所定のしきい値未満等)であるか否かを判定する(ステップS206)。 Thereafter, based on the first or second detection value, it is determined whether or not the human body (adult 48) is in close proximity (step S205). At the same time, whether the comparison value of the first detection value and the second detection value is, for example, a predetermined threshold value or more (or less than a predetermined threshold value or less than a predetermined threshold value). It is determined whether or not (step S206).
つまり、ここでは検出値1,2と、その比較結果とにより検知範囲Z内に人体(成人48)があるか否かを判定する。なお、センサ電極11および補助電極13がC−V変換回路21に接続されている上記動作2のときの検出値2は、センサ感度に指向性がない状態での検出値であり、人体(成人48)の各静電容量センサ部10,20への接近に依存した出力となる。 That is, here, it is determined whether or not there is a human body (adult 48) within the detection range Z based on the detection values 1 and 2 and the comparison result. Note that the
人体(成人48)が近接していると判定され(ステップS205のY)、かつ比較値が所定のしきい値以上であると判定された場合(ステップS206のY)は、人体(成人48)を検知と判定して(ステップS207)、上述したように各ドア2,3の開閉動作ができるように制御を行い(ステップS208)、上記ステップS209に移行する。 When it is determined that the human body (adult 48) is close (Y in step S205) and the comparison value is determined to be greater than or equal to a predetermined threshold (Y in step S206), the human body (adult 48) Is detected (step S207), control is performed so that the
人体(成人48)が近接していると判定されるが(ステップS205のY)、比較値が所定のしきい値以上でないと判定された場合(ステップS206のN)は、人体(成人48)を非検知と判定する(ステップS210)。そして、例えば指向性を持たせたときの検知範囲Z内に人体(成人48)が存在しないことを示すディセーブル信号である非検知信号A(例えば、ハイインピーダンスや所定の電位等)を、判定出力として出力する。 If it is determined that the human body (adult 48) is close (Y in step S205), but it is determined that the comparison value is not equal to or greater than the predetermined threshold (N in step S206), the human body (adult 48) Is not detected (step S210). Then, for example, a non-detection signal A (for example, a high impedance or a predetermined potential) that is a disable signal indicating that no human body (adult 48) is present in the detection range Z when the directivity is provided is determined. Output as output.
また、例えば第1または第2の検出値(あるいは第1または第2の静電容量値C1,C2)に基づき、人体(成人48)は近接しているか否かを判定し(ステップS205)、人体(成人48)は近接していないと判定された場合(ステップS205のN)は、上記ステップS210に移行してこれらを非検知と判定する。そして、例えば人体(成人48)がセンサ電極11上の検知範囲Z内にないことを示すディセーブル信号である非検知信号B(非検知信号Aとは異なる信号)を判定出力として出力する。 Further, for example, based on the first or second detection value (or the first or second capacitance value C1, C2), it is determined whether or not the human body (adult 48) is close (step S205). When it is determined that the human body (adult 48) is not in close proximity (N in step S205), the process proceeds to step S210 and it is determined that these are not detected. For example, a non-detection signal B (a signal different from the non-detection signal A), which is a disable signal indicating that the human body (adult 48) is not within the detection range Z on the
その後、ドアロック機構70やドアモータ80を制御して、各ドア2,3を閉じた状態のまま維持するようにドアロックを行い(ステップS211)、チャイルドロックSW52からの情報に基づいて、チャイルドロックSW52がONとなっているか否かを判断する(ステップS212)。 Thereafter, the
チャイルドロックSW52がONとなっていると判断した場合(ステップS212のY)は、警報装置60を介して上述したように警報を出力(報知)して(ステップS213)上記ステップS201に移行し、また、チャイルドロックSW52がONとなっていないと判断した場合(ステップS212のN)は、同様に上記ステップS201に移行して以降の処理を繰り返す。 If it is determined that the
このように、判定回路25の出力を判定結果によって、例えばイネーブル信号、ディセーブル信号とすることで、人体(成人48)がセンサ電極11上の検知範囲Z内にあるときはイネーブル信号がバッファ28に入力され、このバッファ28から検出値1が出力される。また、人体(成人48)がセンサ電極11上の検知範囲Z内にないときはディセーブル信号として判定出力が接地電圧や基準電圧などの所定の電圧に固定されるか、ハイインピーダンスの出力となる。 In this manner, by using the output of the
なお、人体(成人48)がセンサ電極11上の検知範囲Z内にあるときは、検出値1の他に、検出値2や、第1あるいは第2の静電容量値C1,C2が出力されてもよい。これら検出値1、検出値2、第1および第2の静電容量値C1,C2は、例えば人体(成人48)のセンサ電極11までの距離に応じた値を示すものである。 When the human body (adult 48) is within the detection range Z on the
このように、上記構成の回路部30によれば、人体(成人48)が検知範囲Z内にあるときはその距離に応じた検出値が出力され、検知範囲Z内にないときは所定の電圧等の出力となる。したがって、検知範囲Z内に人体(成人48)があるか否か、またあるとすればどのくらいの距離であるかを判別することが可能となる。すなわち、各静電容量センサ部10,20のセンサ感度の指向性の強度をより高くしたり、指向性をより詳細に設定したりすることが可能となる。 Thus, according to the
また、各静電容量センサ部10,20が設置される場所の周囲の構造等に依存することを回避する方法の他の例として、次のように基準電圧を調整することでこれらを保持することも可能となる。すなわち、図11に示すように、この例の回路部30は、C−V変換回路21およびシールド駆動回路24の他に、基準電圧調整回路40および減算回路31を備えて構成されている。 Further, as another example of a method for avoiding the dependence on the structure around the place where the electrostatic
基準電圧調整回路40は、上述したような第1および第2の初期容量の初期容量測定時に、C−V変換回路21の出力が基準電位になるように調整するものである。この基準電圧調整回路40は、ここではコンパレータ41、制御回路42、レジスタ43、D/A変換器44、および調整部45を備えて構成されている。 The reference
基準電圧調整回路40は、例えばC−V変換回路21の出力をコンパレータ41のプラス側入力端から入力し、基準電圧(Reference Voltage:RV)をマイナス側入力端から入力して両者を比較する。そして、この比較結果に基づく制御回路42の制御によりレジスタ43の設定値を変化させる。 For example, the reference
さらに、レジスタ43の出力をD/A変換器44にてディジタル信号からアナログ信号に変換した後、調整部45にて電圧調整を行い、この調整部45からの出力によってC−V変換回路21の入力を調整する。このようにして、人体(成人48)が各静電容量センサ部10,20に近接していないときの動作1において、C−V変換回路21からの出力が基準電位に最も近くなったところでレジスタ43の設定値を固定して第1の初期容量の出力を基準電圧とし、そのときの設定値(設定値1)を記憶する。 Further, after the output of the
これとともに、人体(成人48)が各静電容量センサ部10,20に近接していないときの動作2において、C−V変換回路21からの出力が基準電位に最も近くなったところでレジスタ43の設定値を固定して第2の初期容量出力を基準電位とし、そのときの設定値(設定値2)を記憶する。 At the same time, in the
そして、実際の動作1のときは、レジスタ43の設定値1を固定したときのC−V変換回路21の出力を、例えば減算回路31のプラス側入力端に入力するとともに、基準電圧RVをマイナス側入力端に入力して、出力を基準電圧RVで減算して検出値1とする。また、実際の動作2のときは、レジスタ43を設定値2に固定したときのC−V変換回路21の出力を、例えば減算回路31のプラス側入力端に入力するとともに、基準電圧RVをマイナス側入力端に入力して、出力を基準電圧RVで減算して検出値2とする。 In the
そして、これら検出値1と検出値2を比較することにより、同様にセンサ電極11上の検知範囲Z内に人体(成人48)があるか否か、またあるとすればどのくらいの距離であるかを判別する。なお、C−V変換回路21への入力の調整は、例えば入力に接続した固定コンデンサ等からなる調整部45にD/A変換器44の電圧を加えることで、入力する静電容量を増減させることにより実現することができる。 Then, by comparing these
図12は、本発明のさらに他の実施形態にかかる車両用ドア開閉装置の静電容量センサ部および回路部の全体構成の例を示す説明図、図13は同車両用ドア開閉装置の検知動作時における動作概念を説明するための説明図、図14〜図16は同車両用ドア開閉装置の第1検知動作時(動作3)における検知対象物と電気力線との関係を説明するための説明図である。 FIG. 12 is an explanatory view showing an example of the overall configuration of the capacitance sensor section and the circuit section of the vehicle door opening and closing apparatus according to still another embodiment of the present invention, and FIG. 13 is a detection operation of the vehicle door opening and closing apparatus. FIG. 14 to FIG. 16 are diagrams for explaining the concept of the operation at the time, and FIGS. 14 to 16 are for explaining the relationship between the object to be detected and the lines of electric force during the first detection operation (operation 3) of the vehicle door opening and closing device. It is explanatory drawing.
また、図17〜図19は、同車両用ドア開閉装置の第2検知動作時(動作4)における検知対象物と電気力線との関係を説明するための説明図である。なお、上述した実施形態にて既に説明した部分と重複する説明は割愛することがあるとする。 FIGS. 17 to 19 are explanatory diagrams for explaining the relationship between the detection object and the lines of electric force during the second detection operation (operation 4) of the vehicle door opening and closing device. It should be noted that a description overlapping the part already described in the above-described embodiment may be omitted.
図12に示すように、本実施形態にかかる車両用ドア開閉装置は、上述した実施形態にかかる車両用ドア開閉装置と同様の構成であるとともに、第1静電容量センサ部10および第2静電容量センサ部20と、回路部30と、ドアECU50とを備えて構成されている。 As shown in FIG. 12, the vehicle door opening and closing device according to the present embodiment has the same configuration as the vehicle door opening and closing device according to the above-described embodiment, and includes the first
第1静電容量センサ部10および第2静電容量センサ部10,20は、センサ電極11と、シールド電極12と、上記補助電極13と同様にセンサ電極11を囲うようなロの字状に形成された補助電極13Aとを備えて構成されている。 The first
センサ電極11は、主に検知面側の検知領域の検知範囲Z内に存する人体(成人48)を検知するために設けられている。シールド電極12は上述した作用を有する。補助電極13Aは、主にセンサ電極11の検知面側の等静電側における等静電容量線(面)を可変せしめるために設けられている。 The
回路部30は、センサ電極11または補助電極13Aに接続されるC−V変換回路21と、A/D変換器22と、CPU23と、シールド電極12に直接接続されるとともにセンサ電極11または補助電極13Aに接続されるシールド駆動回路24とを備えて構成されている。 The
また、回路部30は、センサ電極11からの入力をC−V変換回路21またはシールド駆動回路24に切り替える第1切替スイッチSW1と、補助電極13Aからの入力をシールド駆動回路24またはC−V変換回路21に切り替える第2切替スイッチSW2とを備えて構成されている。なお、これら第1および第2切替スイッチSW1,SW2は、それぞれA側およびB側(図12など参照)に切り替え可能に構成されている。 The
C−V変換回路21は、センサ電極11によって、または補助電極13Aによって、それぞれ検知された静電容量を電圧に変換する。A/D変換器22は上記と同様に動作する。CPU23は、車両用ドア開閉装置全体の制御を司るとともに、例えば第1および第2切替スイッチSW1,SW2のオルタネイト接続(A側あるいはB側への二者択一的な接続)の動作を制御したり、検知領域における検知対象物(人体)の検出(人体の近接や有無)を判定したりする。シールド駆動回路24は、シールド電極12と、補助電極13Aまたはセンサ電極11とを、例えばセンサ電極11と同等の電位に駆動する。 The
各静電容量センサ部10,20や、回路部30およびドアECU50の構造や構成、および各電極11〜13Aの構造や構成は、上述した実施形態にて既に説明したものと同様であるため、ここでは説明を省略する。なお、第1切替スイッチSW1は、例えばセンサ電極11がC−V変換回路21に接続されていないときにセンサ電極11を開放、接地または所定の電位に接続可能に構成され、第2切替スイッチSW2は、センサ電極11がC−V変換回路21に接続されているときに補助電極13Aを開放、接地または所定の電位に接続可能に構成されていてもよい。 Since the structures and configurations of the
また、シールド駆動回路24は、補助電極13Aにセンサ電極11と同等の電位を与える、またはセンサ電極11に補助電極13Aと同等の電位を与えるように構成されている。第1切替スイッチSW1は、センサ電極11がC−V変換回路21に接続されていないときにセンサ電極11をシールド駆動回路24に接続可能に構成され、第2切替スイッチSW2は、センサ電極11がC−V変換回路21に接続されているときに補助電極13Aをシールド駆動回路24に接続可能に構成されていてもよい。 The
さらに、シールド駆動回路24は、補助電極13Aにセンサ電極11と同等の電位を与えるように構成されていてもよく、この場合第1切替スイッチSW1は、センサ電極11がC−V変換回路21に接続されていないときに補助電極13Aを開放、接地または所定の電位に接続可能に構成されていてもよい。そして、第2切替スイッチSW2は、センサ電極11がC−V変換回路21に接続されているときに補助電極13Aをシールド駆動回路24に接続可能に構成されていてもよい。 Further, the
また、シールド駆動回路24は、センサ電極11に補助電極13Aと同等の電位を与えるように構成され、この場合第1切替スイッチSW1は、センサ電極11がC−V変換回路21に接続されていないときに補助電極13Aをシールド駆動回路24に接続可能に構成されていてもよい。そして、第2切替スイッチSW2は、センサ電極11がC−V変換回路21に接続されているときに補助電極13Aを開放、接地または所定の電位に接続可能に構成されていてもよい。 The
次に、このように構成された車両用ドア開閉装置の検知対象物(人体)の検知動作について説明する。まず、CPU23の制御により、第1および第2切替スイッチSW1,SW2がともにA側に切り替えられ、センサ電極11がC−V変換回路21に接続される。これとともに、シールド電極12および補助電極13Aがシールド駆動回路24に接続された場合の動作(動作3)について説明する。 Next, the detection operation of the detection target (human body) of the vehicle door opening / closing device configured as described above will be described. First, under the control of the
この動作3の場合、センサ電極11やシールド電極12および補助電極13Aの回路部30との接続状態は、図13に示すようなものとなる。すなわち、上述したように、C−V変換回路21にはセンサ電極11のみが接続され、シールド電極12および補助電極13Aはシールド駆動回路24に接続される。これにより、センサ電極11のみによって検知対象物X,Y,Wとの静電容量CがC−V変換回路21によって検出される。 In the case of the
なお、各静電容量センサ部10,20のセンサ電極11の裏面側は、シールド電極12によって覆われた状態である。このため、センサ電極11の裏面側のセンサ感度は、センサ電極11の検知面(表面)から回り込んだ電気力線のみを検出することになるので、検知面側と比較するとかなり小さい。ここでは、人体としての検知対象物Xを検知範囲Z内に存する検知対象物として、また人体としての検知対象物Y,Wを検知範囲Z外に存する検知対象物として説明する。 In addition, the back side of the
図14に示すように、検知対象物Xに対するセンサ電極11からの電気力線P1は、補助電極13Aからの電気力線P2(シールド)の影響が小さい。 As shown in FIG. 14, the electric lines of force P1 from the
一方、図15に示すように、検知対象物Xとほぼ等しい距離にある検知対象物Yに対するセンサ電極11からの電気力線P1は、補助電極13Aからの電気力線P2(シールド)の影響を受けて、検知対象物Xに対する場合と比較して減少する。このため、検知対象物Yは、検知対象物Xと比較して、センサ電極11との静電容量結合が弱いこととなる。 On the other hand, as shown in FIG. 15, the electric lines of force P1 from the
これにより、動作3のときの検知対象物X,Yの識別(すなわち、検知範囲Z内であるか検知範囲Z外であるかの区別)は容易に行うことが可能となる。しかし、図16に示すように、検知対象物Yよりもセンサ電極11に近い検知対象物Wでは、センサ電極11からの電気力線P1が図14における検知対象物Xに対するものと同じであるため、C−V変換回路21からの出力は同じとなる。 As a result, it is possible to easily identify the detection objects X and Y in the operation 3 (that is, whether the detection objects are within the detection range Z or outside the detection range Z). However, as shown in FIG. 16, in the detection target W closer to the
つまり、検知対象物Xと検知対象物Wは、図13における等電位面(線)M上にあることになり、動作3での検出値(静電容量値)は同じである。このため、検知対象物Wが検知範囲Z内に存するか検知範囲Z外に存するかの識別は、この動作3のみでは困難となる。なお、この実施形態においても上述した実施形態と同様に、動作3だけでは判定しないで、動作3のときのC−V変換回路21にて検出された第1の静電容量値としての静電容量値C1をCPU23によって記憶手段に記憶しておく。 That is, the detection target object X and the detection target object W are on the equipotential surface (line) M in FIG. 13, and the detection value (capacitance value) in the
次に、CPU23の制御により、第1および第2切替スイッチSW1,SW2がともにB側に切り替えられ、補助電極13AがC−V変換回路21に接続される。これとともに、シールド電極12およびセンサ電極11がシールド駆動回路24に接続された場合の動作(動作4)について説明する。 Next, under the control of the
なお、動作4の場合の車両用ドア開閉装置におけるセンサ電極11やシールド電極12および補助電極13Aの回路部30との接続状態を示す図13に対応する構成は、図13における各切替スイッチSW1,SW2をB側に切り替えたものである。このため、ここでは図示および説明を省略する。 In addition, the structure corresponding to FIG. 13 which shows the connection state with the
この動作4の場合、C−V変換回路21には補助電極13Aのみが接続され、シールド電極12およびセンサ電極11はシールド駆動回路24に接続される。これにより、補助電極13Aのみによって検知対象物X,Y,Wとの静電容量CがC−V変換回路21によって検出される。なお、検知対象物X,Y,Wの各静電容量センサ部10,20に対する配置位置などの諸条件は、動作3のときと同様であるとする。 In this
そして、この動作4の場合、図17に示すように、検知対象物Xに対するセンサ電極11からの電気力線P2(シールド)は、補助電極13Aからの電気力線P1に対して影響が大きい。このため、検知対象物Xは、補助電極13Aとの静電容量結合が弱いこととなり、C−V変換回路21によって検出される静電容量値は動作3における検知対象物Xに対する場合と比較して小さくなる。 In the case of this
一方、図18に示すように、検知対象物Yに対するセンサ電極11からの電気力線P2(シールド)は、検知対象物Xに対する場合と比較して減少し、補助電極13Aからの電気力線P1は、検知対象物Xに対する場合と比較して増加する。このため、動作4の場合においては、検知対象物Yは、補助電極13Aとの静電容量結合が強いこととなり、C−V変換回路21によって検出される静電容量値は動作3における検知対象物Yに対する場合と比較して大きくなる。 On the other hand, as shown in FIG. 18, the electric force line P2 (shield) from the
また、図19に示すように、検知対象物Wに対する補助電極13Aからの電気力線P1は、図17における検知対象物Xに対する補助電極13Aからの電気力線P1と比較して多く、しかもセンサ電極11からの電気力線P2(シールド)の影響も小さい。このため、動作4においては、検知対象物WにおけるC−V変換回路21からの出力は検知対象物Xにおけるものよりも大きい。そして、このような動作4のときにC−V変換回路21にて検出された第2の静電容量値としての静電容量値C2をCPU23によって記憶手段に記憶しておく。 Further, as shown in FIG. 19, the electric lines of force P1 from the
このようにして第1および第2の静電容量値C1,C2を検出したら、次に、CPU23にて記憶手段に記憶しておいたこれらの静電容量値C1,C2を比較する。例えば、上述した検知対象物Xでは、動作3での第1の静電容量値C1が動作4での第2の静電容量値C2と比較して大きくなるが、検知対象物Yでは、動作3での第1の静電容量値C1が動作4での第2の静電容量値C2と比較して小さくなる。このため、検知対象物Wでは、動作3での第1の静電容量値C1と動作4での第2の静電容量値C2が同程度となる。 If the first and second capacitance values C1 and C2 are detected in this way, the
このように、CPU23においては、静電容量値C1に対する静電容量値C2の値を比較することによって、検知対象物がセンサ電極11の中心部に対してどの程度外に存するのかを判定することが可能となる。このとき、静電容量値C1とC2の比較値が、例えばあらかじめ設定された所定のしきい値以上(あるいは所定のしきい値以下や所定のしきい値未満等)となれば、センサ電極11上の検知範囲Z内であると判定可能なように設定しておけば、任意に指向性を持たせることが可能となる。 As described above, the
なお、図13から図19に示す説明図では、検知対象物Xでは動作3での検出値が動作4での検出値より大きくなり、検知対象物Yでは動作3での検出値が動作4での検出値より小さくなる。また、検知対象物Wでは動作3での検出値と動作4での検出値が同程度となる例を挙げて説明した。しかし、センサ電極11および補助電極13Aの配置形状や配置面積などの諸条件が変わると、検知対象物X,Y,Wにおける動作3と動作4の上下関係は変わることとなる。 In the explanatory diagrams shown in FIGS. 13 to 19, the detection value in the
ただし、動作3における第1の静電容量値C1に対する動作4における第2の静電容量値C2の割合(C2/C1)は、常に検知対象物X<検知対象物Y(または検知対象物W)であるため、区別することが可能である。したがって、条件ごとに動作3と動作4の比較式を変えれば、検知対象物X,Y,Wを判別することが可能となる。なお、比較式や比較値、各種係数や所定のしきい値(Th1,Th2)などは、上述した実施形態にて説明したものと同様であるため、ここでは説明を省略する。 However, the ratio (C2 / C1) of the second capacitance value C2 in the
また、条件によっては数式で表現できない場合があるが、検知対象物(人体、特に成人48)の各ドア2,3の外側における静電容量値C1,C2の値をあらかじめ測定してプロファイルしておき、各プロファイルと実際の検出値とを比較するようにすればよい。 Although there are cases where it cannot be expressed by a mathematical expression depending on conditions, the capacitance values C1 and C2 outside the
このように、この車両用ドア開閉装置によれば、例えば所定のしきい値Th2が大きい場合には各静電容量センサ部10,20のセンサ感度の指向性の強度が高く、小さい場合は指向性の強度が低いとすることができる。これにより、センサ感度の指向性を任意に設定してセンサ電極11上の検知範囲Zを任意に定めることができ、簡単な構成で確実に検知対象物(人体、特に成人48)を検知することができるようになる。 Thus, according to this vehicle door opening and closing device, for example, when the predetermined threshold value Th2 is large, the directionality of the sensor sensitivity of each of the
そして、判定結果に基づいて、ドアECU50は、例えば成人48を検知した場合は各ドア2,3の開閉動作制限をなくし、子供49であることが判定された場合は、車両1の外側からの各ドア2,3の開閉動作に制限を加えるようにすれば、車両1において子供49が外側から不用意に各ドア2,3を開操作してしまうことを防止することができる。 Then, based on the determination result, the
なお、回路部30のC−V変換回路21の各種構成や作用は、上述した実施形態にて説明したものと同様であるため、ここでは説明を省略する。また、本実施形態にかかる車両用ドア開閉装置では、センサ電極11とシールド電極12および補助電極13Aとを配置して、センサ電極11の静電容量値C1と補助電極13Aの静電容量値C2とを比較して検知対象物の検出を判定するものを例に挙げて説明した。その他にも、上述した実施形態にて図8を用いて説明したように、ダミー電極19を配置し、C−V変換回路21が差動動作するように構成してもよい。これについても上述したものと各種構成や作用は同様であるため、ここでは説明を省略する。 Note that various configurations and operations of the
また、シールド駆動回路24の変形例や、第1および第2切替スイッチSW1,SW2の変形例などについても、各種構成や作用は上述した実施形態にて説明したものと同様であるため、ここでは説明を省略する。 Further, since the various configurations and operations of the modified example of the
なお、本実施形態にかかる車両用ドア開閉装置では、補助電極13Aがセンサ電極11の周囲全体を囲むような状態で配置されている。このため、各静電容量センサ部10,20はセンサ電極11の検知面の全方向に同様な指向性を持つ(すなわち、検知範囲Zがセンサ電極11に対するどの方向でも同様)が、指向性を持たせたくない方向が存在する場合は、例えば次のようにすればよい。 In the vehicle door opening and closing apparatus according to the present embodiment, the
すなわち、指向性を持たせたくない方向に補助電極13Aを配置せずに、補助電極13Aの形状を、例えばコの字状やC字型、L字型や半円形などにして、補助電極13Aのない方向の指向性を低減させることも可能である。 That is, the
また、上述した回路部30のC−V変換回路21からの出力は、第1の静電容量値C1か第2の静電容量値C2かのいずれかとなるため、センサ電極11(を含む各静電容量センサ部10,20)の設置場所の周囲の構造等により検出される静電容量値が異なる場合がある。 Further, since the output from the
すると、これら第1および第2の静電容量値C1,C2を比較した比較結果が、センサ電極11が設置される場所の周囲の構造等に依存して変化してしまうことがある。このような状況を回避するために、回路部30の構成を、さらに例えば次のようにしてもよい。 Then, the comparison result obtained by comparing the first and second capacitance values C1 and C2 may change depending on the structure around the place where the
図20は、本発明のさらに他の実施形態にかかる車両用ドア開閉装置の静電容量センサ部および回路部の全体構成の例を示す説明図、図21は同車両用ドア開閉装置の静電容量センサ部および回路部の全体構成の他の例を示す説明図である。なお、上述した実施形態において、既に説明した部分と重複する箇所には同一の符号を付して説明を割愛する。 FIG. 20 is an explanatory view showing an example of the overall configuration of the capacitance sensor section and the circuit section of the vehicle door opening and closing apparatus according to still another embodiment of the present invention, and FIG. 21 is an electrostatic diagram of the vehicle door opening and closing apparatus. It is explanatory drawing which shows the other example of the whole structure of a capacity | capacitance sensor part and a circuit part. Note that, in the above-described embodiment, the same reference numerals are given to portions overlapping with the already described portions, and the description is omitted.
図20に示すように、回路部30は、C−V変換回路21、シールド駆動回路24、判定回路25、上述した初期容量を記憶する初期容量記憶装置26、各切替スイッチSW1,SW2の切り替え動作を制御するスイッチ制御回路27、およびバッファ28を備えて構成されている。 As shown in FIG. 20, the
このような回路部30を有する車両用ドア開閉装置の検知対象物(人体、特に成人48)の検知動作の概要としては、例えば各静電容量センサ部10,20を所定の設置場所に設置した後、人体(成人48)が各静電容量センサ部10,20に接近していないときの静電容量値(初期容量)をスイッチ制御回路27の制御により各切替スイッチSW1,SW2を切り替えてそれぞれ検出し、初期容量記憶装置26にてこれらの値を記憶しておく。 As an outline of the detection operation of the detection object (human body, in particular, adult 48) of the vehicle door opening and closing apparatus having such a
そして、判定回路25にて上述した実際の動作3,4のときの第1および第2の静電容量値C1,C2から初期容量記憶装置26に記憶された各初期容量を差し引いて比較し、比較結果に基づいて人体(成人48)がセンサ電極11上の検知範囲Z内に存するか否かを判定する。 Then, the initial capacitance stored in the initial
具体的には、上記初期容量は、スイッチ制御回路27の制御により、各切替スイッチSW1,SW2がA側に接続された場合の上記動作3のときのものを第1の初期容量とし、各切替スイッチSW1,SW2がB側に接続された場合の上記動作4のときのものを第2の初期容量として初期容量記憶装置26に記憶される。 Specifically, the initial capacity is set as the first initial capacity at the time of the
そして、実際の動作3のときは、判定回路25によって、検出された第1の静電容量値C1から初期容量記憶装置26に記憶しておいた第1の初期容量を差し引いて第1の検出値(検出値1)とし、動作4のときは、検出された第2の静電容量値C2から初期容量記憶装置26に記憶しておいた第2の初期容量を差し引いて第2の検出値(検出値2)とする。 In the
その後、判定回路25にてこれら検出値1と検出値2とを比較して、その比較結果により検知範囲Z内に人体(成人48)があるか否かを判定する。例えば、上記動作3のときの検出値1は、人体(成人48)の各静電容量センサ部10,20への接近に依存した出力となる。その後の動作や作用および効果等は、上述した実施形態にて説明したものと同様であるため、ここでは説明を省略する。 Thereafter, the
また、上述した第1および第2の初期容量は、例えば初期容量測定時の電圧をA/D変換器等でディジタル変換して、レジスタやメモリ等に保持するようにしてもよいが、次のように基準電圧を調整することでこれらを保持することも可能となる。すなわち、図21に示すように、回路部30は、C−V変換回路21、シールド駆動回路24、基準電圧調整回路40、および減算回路31を備えて構成されている。 The first and second initial capacitances described above may be, for example, digitally converted from the voltage at the time of initial capacitance measurement by an A / D converter or the like and held in a register or a memory. Thus, it is possible to hold these by adjusting the reference voltage. That is, as shown in FIG. 21, the
基準電圧調整回路40は、上述したような第1および第2の初期容量の初期容量測定時に、C−V変換回路21の出力が基準電位になるように調整するためのものであり、ここでは、コンパレータ41、制御回路42、レジスタ43、D/A変換器44、および調整部45を備えて構成されている。これらの構成や作用等も、上述した実施形態にて説明したものと同様であるため、ここでは説明を省略する。 The reference
基準電圧調整回路40によって、第1および第2の初期容量の出力を基準電圧とし、このように基準電圧にされたC−V変換回路21の出力を、例えば減算回路31のプラス側入力端に入力し、基準電圧RVをマイナス側入力端に入力して、出力を基準電圧RVで減算して第1および第2の初期容量を差し引き、同様に検知範囲Z内に人体(成人48)があるか否か、またあるとすればどのくらいの距離であるかを判別することができる。 The output of the first and second initial capacitors is set as a reference voltage by the reference
以上述べたように、上述した実施形態にかかる車両用ドア開閉装置によれば、各静電容量センサ部10,20によって、所定の高さに設定されたセンサ電極11上の検知範囲Z内に各ドア2,3の外側に存する人体(成人48や子供49)があるか否か(すなわち、検知した場合は成人48であり、検知しない場合は子供49であること)を判定することができる。 As described above, according to the vehicle door opening and closing apparatus according to the above-described embodiment, the
そして、判定結果に基づいて、ドアECU50は、人体(成人48)を検知した場合は各ドア2,3の開閉動作制限をなくし、人体(成人48)を検知しない(すなわち、子供49である)場合は外側からの各ドア2,3の開閉動作に制限をかけるようにする。このようにすれば、人体(成人48)が実際に各ドア2,3の前にてドアハンドル4,5を操作した場合に、車両1において各ドア2,3の開閉動作を行うことができるとともに、子供49が外側から操作した場合は不用意に各ドア2,3の開閉動作を行わないようにすることができる。 Then, based on the determination result, when detecting the human body (adult 48), the
なお、上述した実施形態にかかる車両用ドア開閉装置は、車両1の各ドア2,3の外側に存する人体を検知するものとして説明したが、その他、車両1のスマートエントリーシステムに同期して検知範囲Z内の人体(成人48や子供49)の有無を判定し、この判定結果に基づいて各ドア2,3の開閉動作を制御するようにしてもよい。 Although the vehicle door opening and closing device according to the above-described embodiment has been described as detecting a human body existing outside the
また、車両1の各ドア2,3は、横開き式のドア以外でも、電動スライドドアやハッチバック式ドアなどであってもよい。さらに、各静電容量センサ部10,20は、いずれか一方のみが配置される態様であってもよく、好ましくは少なくともリアサイドドア3に配置されていればよい。 Further, the
1 車両
2 フロントサイドドア
3 リアサイドドア
4 ドアハンドル
5 ドアハンドル
10 第1静電容量センサ部
11 センサ電極
12 シールド電極
13 補助電極
13A 補助電極
19 ダミー電極
20 第2静電容量センサ部
21 C−V変換回路
22 A/D変換器
23 CPU
24 シールド駆動回路
25 判定回路
26 初期容量記憶装置
27 スイッチ制御回路
28 バッファ
30 回路部
31 減算回路
40 基準電圧調整回路
41 コンパレータ
42 制御回路
43 レジスタ
44 D/A変換器
45 調整部
48 成人
49 子供
50 ドアECU
60 警報装置
70 ドアロック機構
80 ドアモータDESCRIPTION OF
24
60
| Application Number | Priority Date | Filing Date | Title |
|---|---|---|---|
| JP2009088175AJP2010239587A (en) | 2009-03-31 | 2009-03-31 | Vehicle door opening and closing device |
| Application Number | Priority Date | Filing Date | Title |
|---|---|---|---|
| JP2009088175AJP2010239587A (en) | 2009-03-31 | 2009-03-31 | Vehicle door opening and closing device |
| Publication Number | Publication Date |
|---|---|
| JP2010239587Atrue JP2010239587A (en) | 2010-10-21 |
| Application Number | Title | Priority Date | Filing Date |
|---|---|---|---|
| JP2009088175APendingJP2010239587A (en) | 2009-03-31 | 2009-03-31 | Vehicle door opening and closing device |
| Country | Link |
|---|---|
| JP (1) | JP2010239587A (en) |
| Publication number | Priority date | Publication date | Assignee | Title |
|---|---|---|---|---|
| JP2014122853A (en)* | 2012-12-21 | 2014-07-03 | Hosiden Corp | Capacitance type proximity sensor and door handle |
| US8796575B2 (en) | 2012-10-31 | 2014-08-05 | Ford Global Technologies, Llc | Proximity switch assembly having ground layer |
| US8878438B2 (en) | 2011-11-04 | 2014-11-04 | Ford Global Technologies, Llc | Lamp and proximity switch assembly and method |
| US8922340B2 (en) | 2012-09-11 | 2014-12-30 | Ford Global Technologies, Llc | Proximity switch based door latch release |
| US8928336B2 (en) | 2011-06-09 | 2015-01-06 | Ford Global Technologies, Llc | Proximity switch having sensitivity control and method therefor |
| US8933708B2 (en) | 2012-04-11 | 2015-01-13 | Ford Global Technologies, Llc | Proximity switch assembly and activation method with exploration mode |
| US8975903B2 (en) | 2011-06-09 | 2015-03-10 | Ford Global Technologies, Llc | Proximity switch having learned sensitivity and method therefor |
| US8981602B2 (en) | 2012-05-29 | 2015-03-17 | Ford Global Technologies, Llc | Proximity switch assembly having non-switch contact and method |
| US8994228B2 (en) | 2011-11-03 | 2015-03-31 | Ford Global Technologies, Llc | Proximity switch having wrong touch feedback |
| JP2015070596A (en)* | 2013-10-01 | 2015-04-13 | Next Innovation合同会社 | Attribute identification system |
| US9065447B2 (en) | 2012-04-11 | 2015-06-23 | Ford Global Technologies, Llc | Proximity switch assembly and method having adaptive time delay |
| US9136840B2 (en) | 2012-05-17 | 2015-09-15 | Ford Global Technologies, Llc | Proximity switch assembly having dynamic tuned threshold |
| US9143126B2 (en) | 2011-09-22 | 2015-09-22 | Ford Global Technologies, Llc | Proximity switch having lockout control for controlling movable panel |
| US9184745B2 (en) | 2012-04-11 | 2015-11-10 | Ford Global Technologies, Llc | Proximity switch assembly and method of sensing user input based on signal rate of change |
| US9197206B2 (en) | 2012-04-11 | 2015-11-24 | Ford Global Technologies, Llc | Proximity switch having differential contact surface |
| US9219472B2 (en) | 2012-04-11 | 2015-12-22 | Ford Global Technologies, Llc | Proximity switch assembly and activation method using rate monitoring |
| US9287864B2 (en) | 2012-04-11 | 2016-03-15 | Ford Global Technologies, Llc | Proximity switch assembly and calibration method therefor |
| US9311204B2 (en) | 2013-03-13 | 2016-04-12 | Ford Global Technologies, Llc | Proximity interface development system having replicator and method |
| US9337832B2 (en) | 2012-06-06 | 2016-05-10 | Ford Global Technologies, Llc | Proximity switch and method of adjusting sensitivity therefor |
| US9520875B2 (en) | 2012-04-11 | 2016-12-13 | Ford Global Technologies, Llc | Pliable proximity switch assembly and activation method |
| US9531379B2 (en) | 2012-04-11 | 2016-12-27 | Ford Global Technologies, Llc | Proximity switch assembly having groove between adjacent proximity sensors |
| US9548733B2 (en) | 2015-05-20 | 2017-01-17 | Ford Global Technologies, Llc | Proximity sensor assembly having interleaved electrode configuration |
| US9559688B2 (en) | 2012-04-11 | 2017-01-31 | Ford Global Technologies, Llc | Proximity switch assembly having pliable surface and depression |
| US9568527B2 (en) | 2012-04-11 | 2017-02-14 | Ford Global Technologies, Llc | Proximity switch assembly and activation method having virtual button mode |
| US9641172B2 (en) | 2012-06-27 | 2017-05-02 | Ford Global Technologies, Llc | Proximity switch assembly having varying size electrode fingers |
| KR20170050420A (en)* | 2015-10-30 | 2017-05-11 | 현대자동차주식회사 | Switch For Opening Or Closing TailGate And Operating Method The Same |
| US9654103B2 (en) | 2015-03-18 | 2017-05-16 | Ford Global Technologies, Llc | Proximity switch assembly having haptic feedback and method |
| US9660644B2 (en) | 2012-04-11 | 2017-05-23 | Ford Global Technologies, Llc | Proximity switch assembly and activation method |
| US9831870B2 (en) | 2012-04-11 | 2017-11-28 | Ford Global Technologies, Llc | Proximity switch assembly and method of tuning same |
| US9944237B2 (en) | 2012-04-11 | 2018-04-17 | Ford Global Technologies, Llc | Proximity switch assembly with signal drift rejection and method |
| CN108111152A (en)* | 2018-02-23 | 2018-06-01 | 安徽安凯汽车股份有限公司 | A kind of bus occupant gate test automatic switching circuit |
| US10004286B2 (en) | 2011-08-08 | 2018-06-26 | Ford Global Technologies, Llc | Glove having conductive ink and method of interacting with proximity sensor |
| GB2558166A (en)* | 2014-11-05 | 2018-07-11 | Ford Global Tech Llc | Proximity-based bicycle alarm |
| US10038443B2 (en) | 2014-10-20 | 2018-07-31 | Ford Global Technologies, Llc | Directional proximity switch assembly |
| US10112556B2 (en) | 2011-11-03 | 2018-10-30 | Ford Global Technologies, Llc | Proximity switch having wrong touch adaptive learning and method |
| JP2019023026A (en)* | 2017-07-24 | 2019-02-14 | アイシン精機株式会社 | Vehicle operation detection device and sliding door device |
| WO2019181237A1 (en)* | 2018-03-23 | 2019-09-26 | アルプスアルパイン株式会社 | Door handle |
| WO2019216274A1 (en)* | 2018-05-08 | 2019-11-14 | 株式会社エヌエフ回路設計ブロック | Capacitance measuring circuit, and capacitance displacement meter |
| CN112922467A (en)* | 2021-02-01 | 2021-06-08 | 青岛天辰佳创汽车配件有限公司 | Vehicle child lock setting method and device |
| US11173859B2 (en) | 2020-01-10 | 2021-11-16 | Honda Motor Co., Ltd. | System and method for providing vehicle occupant monitoring |
| JPWO2021235455A1 (en)* | 2020-05-19 | 2021-11-25 | ||
| US11850925B2 (en) | 2019-09-04 | 2023-12-26 | Aisin Corporation | Control apparatus of door for vehicle |
| Publication number | Priority date | Publication date | Assignee | Title |
|---|---|---|---|---|
| US8928336B2 (en) | 2011-06-09 | 2015-01-06 | Ford Global Technologies, Llc | Proximity switch having sensitivity control and method therefor |
| US8975903B2 (en) | 2011-06-09 | 2015-03-10 | Ford Global Technologies, Llc | Proximity switch having learned sensitivity and method therefor |
| US10595574B2 (en) | 2011-08-08 | 2020-03-24 | Ford Global Technologies, Llc | Method of interacting with proximity sensor with a glove |
| US10004286B2 (en) | 2011-08-08 | 2018-06-26 | Ford Global Technologies, Llc | Glove having conductive ink and method of interacting with proximity sensor |
| US9143126B2 (en) | 2011-09-22 | 2015-09-22 | Ford Global Technologies, Llc | Proximity switch having lockout control for controlling movable panel |
| US10112556B2 (en) | 2011-11-03 | 2018-10-30 | Ford Global Technologies, Llc | Proximity switch having wrong touch adaptive learning and method |
| US10501027B2 (en) | 2011-11-03 | 2019-12-10 | Ford Global Technologies, Llc | Proximity switch having wrong touch adaptive learning and method |
| US8994228B2 (en) | 2011-11-03 | 2015-03-31 | Ford Global Technologies, Llc | Proximity switch having wrong touch feedback |
| US8878438B2 (en) | 2011-11-04 | 2014-11-04 | Ford Global Technologies, Llc | Lamp and proximity switch assembly and method |
| US9531379B2 (en) | 2012-04-11 | 2016-12-27 | Ford Global Technologies, Llc | Proximity switch assembly having groove between adjacent proximity sensors |
| US9287864B2 (en) | 2012-04-11 | 2016-03-15 | Ford Global Technologies, Llc | Proximity switch assembly and calibration method therefor |
| US9559688B2 (en) | 2012-04-11 | 2017-01-31 | Ford Global Technologies, Llc | Proximity switch assembly having pliable surface and depression |
| US9944237B2 (en) | 2012-04-11 | 2018-04-17 | Ford Global Technologies, Llc | Proximity switch assembly with signal drift rejection and method |
| US9184745B2 (en) | 2012-04-11 | 2015-11-10 | Ford Global Technologies, Llc | Proximity switch assembly and method of sensing user input based on signal rate of change |
| US9197206B2 (en) | 2012-04-11 | 2015-11-24 | Ford Global Technologies, Llc | Proximity switch having differential contact surface |
| US9219472B2 (en) | 2012-04-11 | 2015-12-22 | Ford Global Technologies, Llc | Proximity switch assembly and activation method using rate monitoring |
| US9568527B2 (en) | 2012-04-11 | 2017-02-14 | Ford Global Technologies, Llc | Proximity switch assembly and activation method having virtual button mode |
| US8933708B2 (en) | 2012-04-11 | 2015-01-13 | Ford Global Technologies, Llc | Proximity switch assembly and activation method with exploration mode |
| US9065447B2 (en) | 2012-04-11 | 2015-06-23 | Ford Global Technologies, Llc | Proximity switch assembly and method having adaptive time delay |
| US9660644B2 (en) | 2012-04-11 | 2017-05-23 | Ford Global Technologies, Llc | Proximity switch assembly and activation method |
| US9520875B2 (en) | 2012-04-11 | 2016-12-13 | Ford Global Technologies, Llc | Pliable proximity switch assembly and activation method |
| US9831870B2 (en) | 2012-04-11 | 2017-11-28 | Ford Global Technologies, Llc | Proximity switch assembly and method of tuning same |
| US9136840B2 (en) | 2012-05-17 | 2015-09-15 | Ford Global Technologies, Llc | Proximity switch assembly having dynamic tuned threshold |
| US8981602B2 (en) | 2012-05-29 | 2015-03-17 | Ford Global Technologies, Llc | Proximity switch assembly having non-switch contact and method |
| US9337832B2 (en) | 2012-06-06 | 2016-05-10 | Ford Global Technologies, Llc | Proximity switch and method of adjusting sensitivity therefor |
| US9641172B2 (en) | 2012-06-27 | 2017-05-02 | Ford Global Technologies, Llc | Proximity switch assembly having varying size electrode fingers |
| US8922340B2 (en) | 2012-09-11 | 2014-12-30 | Ford Global Technologies, Llc | Proximity switch based door latch release |
| US9447613B2 (en) | 2012-09-11 | 2016-09-20 | Ford Global Technologies, Llc | Proximity switch based door latch release |
| US8796575B2 (en) | 2012-10-31 | 2014-08-05 | Ford Global Technologies, Llc | Proximity switch assembly having ground layer |
| JP2014122853A (en)* | 2012-12-21 | 2014-07-03 | Hosiden Corp | Capacitance type proximity sensor and door handle |
| US9311204B2 (en) | 2013-03-13 | 2016-04-12 | Ford Global Technologies, Llc | Proximity interface development system having replicator and method |
| JP2015070596A (en)* | 2013-10-01 | 2015-04-13 | Next Innovation合同会社 | Attribute identification system |
| US10038443B2 (en) | 2014-10-20 | 2018-07-31 | Ford Global Technologies, Llc | Directional proximity switch assembly |
| US10336385B2 (en) | 2014-11-05 | 2019-07-02 | Ford Global Technologies, Llc | Proximity-based bicycle alarm |
| GB2558166B (en)* | 2014-11-05 | 2020-12-30 | Ford Global Tech Llc | Proximity-based bicycle alarm |
| GB2558166A (en)* | 2014-11-05 | 2018-07-11 | Ford Global Tech Llc | Proximity-based bicycle alarm |
| RU2705034C2 (en)* | 2014-11-05 | 2019-11-01 | ФОРД ГЛОУБАЛ ТЕКНОЛОДЖИЗ, ЭлЭлСи | Proximity-based bicycle alarm |
| US9654103B2 (en) | 2015-03-18 | 2017-05-16 | Ford Global Technologies, Llc | Proximity switch assembly having haptic feedback and method |
| US9548733B2 (en) | 2015-05-20 | 2017-01-17 | Ford Global Technologies, Llc | Proximity sensor assembly having interleaved electrode configuration |
| KR102281648B1 (en)* | 2015-10-30 | 2021-07-29 | 현대자동차주식회사 | Switch For Opening Or Closing TailGate And Operating Method The Same |
| KR20170050420A (en)* | 2015-10-30 | 2017-05-11 | 현대자동차주식회사 | Switch For Opening Or Closing TailGate And Operating Method The Same |
| JP2019023026A (en)* | 2017-07-24 | 2019-02-14 | アイシン精機株式会社 | Vehicle operation detection device and sliding door device |
| CN108111152B (en)* | 2018-02-23 | 2023-10-13 | 安徽安凯汽车股份有限公司 | Automatic switching circuit for passenger door test of passenger car |
| CN108111152A (en)* | 2018-02-23 | 2018-06-01 | 安徽安凯汽车股份有限公司 | A kind of bus occupant gate test automatic switching circuit |
| WO2019181237A1 (en)* | 2018-03-23 | 2019-09-26 | アルプスアルパイン株式会社 | Door handle |
| JP6653899B1 (en)* | 2018-05-08 | 2020-02-26 | 株式会社エヌエフ回路設計ブロック | Capacitance measurement circuit and capacitance displacement meter |
| US11428548B2 (en) | 2018-05-08 | 2022-08-30 | Nf Holdings Corporation | Capacitance measuring circuit and electrostatic capacitive displacement meter |
| WO2019216274A1 (en)* | 2018-05-08 | 2019-11-14 | 株式会社エヌエフ回路設計ブロック | Capacitance measuring circuit, and capacitance displacement meter |
| US11850925B2 (en) | 2019-09-04 | 2023-12-26 | Aisin Corporation | Control apparatus of door for vehicle |
| US11173859B2 (en) | 2020-01-10 | 2021-11-16 | Honda Motor Co., Ltd. | System and method for providing vehicle occupant monitoring |
| JPWO2021235455A1 (en)* | 2020-05-19 | 2021-11-25 | ||
| WO2021235455A1 (en)* | 2020-05-19 | 2021-11-25 | アルプスアルパイン株式会社 | Electrostatic input device and door handle sensor system |
| JP7365505B2 (en) | 2020-05-19 | 2023-10-19 | アルプスアルパイン株式会社 | Electrostatic input device and door handle sensor system |
| US12215528B2 (en) | 2020-05-19 | 2025-02-04 | Alps Alpine Co., Ltd. | Electrostatic input device and door handle sensor system |
| CN112922467A (en)* | 2021-02-01 | 2021-06-08 | 青岛天辰佳创汽车配件有限公司 | Vehicle child lock setting method and device |
| Publication | Publication Date | Title |
|---|---|---|
| JP2010239587A (en) | Vehicle door opening and closing device | |
| JP2010236329A (en) | Vehicle door opening / closing angle control device | |
| JP5405874B2 (en) | Capacitance type input device and vehicle equipment control device | |
| CN101815956B (en) | Capacitive proximity sensor and proximity detection method | |
| JP2010249531A (en) | Raindrop detection device and wiper operation control device | |
| CN103378839B (en) | The proximity switch assembly and method of adaptable time delay | |
| JP5382575B2 (en) | Lock / unlock control device | |
| US20080211519A1 (en) | Capacitance sensor | |
| EP2308173B1 (en) | Anti-trap protection system for moving system | |
| JP5655223B2 (en) | Crew attitude detection device | |
| US20130033362A1 (en) | Approach and/or a contact detection device, associated method and vehicle door handle | |
| EP2360561A1 (en) | Position detector | |
| EP3375692B1 (en) | Program and control device | |
| JP2010236316A (en) | Anti-pinch device | |
| US7775573B2 (en) | Automatic deploying handle | |
| JP5364926B2 (en) | Power seat drive | |
| JP5391411B2 (en) | Obstacle detection device for vehicle and airbag deployment control device for pedestrian protection | |
| JP5408706B2 (en) | Crew attitude detection device and airbag deployment control device | |
| JP2008311144A (en) | Touch switch for vehicle accessories | |
| JP5405876B2 (en) | Operator discriminating device and in-vehicle device control device | |
| JP5320562B2 (en) | Vehicle lighting device | |
| JP7246697B2 (en) | capacitive proximity sensor | |
| JP5213262B2 (en) | Control pedal device for vehicle | |
| JP2010235022A (en) | Door mirror operation control device | |
| JP2014194123A (en) | Obstacle detector |