





本発明は、空気調和機や給湯器などの遠隔制御に用いられるリモコン装置に関するものである。 The present invention relates to a remote control device used for remote control of an air conditioner, a water heater, and the like.
従来のリモコン装置は、空気調和機や給湯器の設定状態を表示する表示部と、その設定状態を変更するためのボタン操作部とを備えたものであった(例えば、特許文献1参照)。 A conventional remote control device includes a display unit that displays a setting state of an air conditioner or a water heater, and a button operation unit for changing the setting state (see, for example, Patent Document 1).
近年、リモコン装置の美観を向上したり、あるいは、前記表示部の表示面積を大きくするために、前記表示部上にタッチスクリーンを設け、前記表示部には設定状態と、その操作に必要なボタンの画像を表示させ、このボタンの画像をタッチする事で設定状態を変更するリモコン装置が提案されている(例えば、特許文献2参照)。 In recent years, in order to improve the appearance of the remote control device or to increase the display area of the display unit, a touch screen is provided on the display unit, and the display unit has a setting state and buttons necessary for the operation. There has been proposed a remote control device that displays the above image and changes the setting state by touching the image of this button (see, for example, Patent Document 2).
これにより操作ボタンの数を削除あるいは低減できるとともに、前記表示部には操作に必要な時だけボタンを表示させ、操作に不必要なボタンは表示させないため、操作性を向上することもできるものであった。 As a result, the number of operation buttons can be deleted or reduced, and the display unit can display the buttons only when necessary for the operation, and the buttons unnecessary for the operation are not displayed, so that the operability can be improved. there were.
しかしながら、従来のリモコン装置では、前記表示部に多くの設定状態を表示することができるため、個々の設定状態の表示が小さくなり、特に、空気調和機や給湯器などのリモコン装置において重要な情報である設定温度についても視認性が悪くなるという課題があった。 However, since the conventional remote control device can display many setting states on the display unit, the display of each setting state becomes small, and particularly important information in a remote control device such as an air conditioner or a water heater. There was also a problem that the visibility deteriorated for the set temperature.
特に、前記リモコン装置を壁などに固定して用いる場合は、前記リモコン装置から離れた位置で設定状態を視認することもあり、このような状況では、さらに、視認性が悪くなるという課題があった。 In particular, when the remote control device is fixed to a wall or the like, the setting state may be visually recognized at a position away from the remote control device. In such a situation, there is a further problem that visibility is further deteriorated. It was.
そこで、本発明は、設定状態、特に、温度に関する設定状態の表示の視認性を向上させることが可能なリモコン装置を提供することを目的とする。 Therefore, an object of the present invention is to provide a remote control device capable of improving the visibility of a display of a set state, particularly a set state related to temperature.
本発明は、前記課題を解決するため、表示部と、前記表示部上に設けたタッチスクリーン検出部と、前記タッチスクリーン検出部からの操作信号により前記被操作機器の設定温度を変更し、前記表示部に設定温度を表示させる制御部とを備えたリモコン装置において、前記制御部が設定温度に伴った色で前記表示部を表示するものである。 In order to solve the above problems, the present invention changes a set temperature of the operated device by an operation signal from a display unit, a touch screen detection unit provided on the display unit, and an operation signal from the touch screen detection unit, In the remote control device including a control unit that displays a set temperature on the display unit, the control unit displays the display unit in a color according to the set temperature.
また、前記色は、設定温度が低い場合は、寒色であり、設定温度が高い場合は、暖色である。 The color is a cold color when the set temperature is low, and a warm color when the set temperature is high.
また、前記表示部で表示する表示内容が、設定温度を調節するボタン表示である。 The display content displayed on the display unit is a button display for adjusting the set temperature.
また、前記表示部で表示する表示内容が、設定温度を表示する設定温度表示である。 Moreover, the display content displayed on the display unit is a set temperature display for displaying a set temperature.
また、前記表示部で表示する表示内容が、運転状態を表示する運転状態表示である。 The display content displayed on the display unit is an operation state display for displaying an operation state.
また、前記表示部で表示する表示内容が、前記表示部の全面である。 The display content displayed on the display unit is the entire surface of the display unit.
本発明は、設定状態、特に、温度に関する設定状態の表示の視認性を向上させることが可能なリモコン装置を提供することができる。 The present invention can provide a remote control device capable of improving the visibility of a display of a set state, in particular, a set state related to temperature.
以下、添付図面に基づいて、本発明の実施形態を説明する。 Hereinafter, embodiments of the present invention will be described with reference to the accompanying drawings.
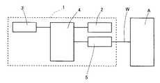
リモコン装置1は、表示部2、タッチスクリーン検出部3、制御部4及び入出力部5を有し、制御信号を送信して空気調和機Aの運転を制御するものである。 The remote control device 1 includes a
表示部2は、表示素子として例えばドットマトリクス型の液晶表示素子を備えるものであり、その表示内容をドット表示によって自由に変更することができるものである。本実施形態では、後述する運転状態や設定温度などを表示する。この液晶表示素子は、カラー表示可能である。また、表示部2は、前記液晶表示素子を背後から照明する図示しない照明手段を備えている。 The
タッチスクリーン検出部3は、タッチパネル等からなり、表示部2上に配置され、利用者が表示部2に表示される複数のボタンを指などで触れる等の選択動作をすることで空気調和機Aの制御に関する各種操作を行うものである。また、タッチスクリーン検出部3は、本実施形態においては、空気調和機の運転種別、温度設定、風量設定などの設定の変更を行うものである。 The touch
制御部4は、主にマイクロコンピュータによって構成されるものであり、所定のプログラムを実行するためのCPUと、前記プログラムやデータなどが記憶されたROMと、前記ROMに記憶したプログラムやデータなどを記憶するとともに演算結果等を一時的に記憶するRAMと、空気調和機Aの運転を制御するために制御信号を出力するための駆動回路と、タッチスクリーン検出部3からの操作信号を入力するためのインターフェイス部等を有している。また、制御部4は、空気調和機Aの運転機能及び運転設定等の運転状況を検出し、運転状況に関する情報を表示部2に表示させる。前記ROMには、各種運転機能及び運転設定における設定内容、設定値等の各種データ、あるいは設定温度に伴った表示色データなどが記録されている。前記ROMに記憶されている設定温度に伴った表示色データは、設定温度の下限である摂氏18℃の場合、寒色で、本実施形態では青色であり、また、設定温度の上限である摂氏32℃の場合、暖色で、本実施形態では赤色であり、また、設定温度の中間である摂氏25の場合、本実施形態では、白色である。そして、設定温度の下限から中間までは、青色から白色に段階的に色が変わり、設定温度の上限から中間までは、赤色から白色に段階的に色が変わるものである。 The
入出力部5は、通信線Wを介して空気調和機Aとの通信を行うものである。なお、空気調和機Aとの通信は、有線方式に限定されるものではなく、赤外線通信などを用いる無線方式であってもよい。 The input /
次に、表示部2の表示例について説明する。 Next, a display example of the
図2は、表示部2の表示例を示すものであり、空気調和機Aの各種運転機能(冷房、暖房、除湿、送風など)のうち冷房運転機能が選択されている場合の表示例を示している。 FIG. 2 shows a display example of the
表示部2中の2aは、複数の運転機能の内、現在選択している運転機能を表示する運転状態表示であり、図2においては「冷房」を表示している。2bは、各運転機能の内、設定温度を示す設定温度表示であり、温度設定の設定値(図2においては「24℃」)を表示している。2cは、設定温度を調節するボタン表示であり、本実施形態では、設定温度上昇ボタン2c1と、設定温度下降ボタン2c2とで構成されている。なお、表示部2には、前記表示以外にも空気調和機Aの各種運転機能を表示しているが、図面では省略している。
表示部2の表面側にはタッチパネルであるタッチスクリーン検出部3が配置されており、運転状態表示2a、ボタン表示2cの表示は、それぞれ設定を変更する選択ボタンとなっている。すなわち、運転状態表示2aをタッチすると各種運転機能を切り替えることができ、また、ボタン表示2cをタッチすると設定温度を変更することができる。 A touch
図3は、設定温度に伴った表示部2の表示例を示す図である。制御部4は、タッチスクリーン検出部3からの設定温度に関する前記操作信号を検出し、設定温度上昇ボタン2c1あるいは設定温度下降ボタン2c2が選択動作されたと判定する場合は、温度設定の設定値を変更して変更内容を示す制御信号を入出力部5を介して空気調和機Aに送信し、かつ、表示部2の設定温度表示2bとボタン表示2cとの表示内容を更新する。図3の斜線部で示すように、ボタン表示2cは、本実施形態では、摂氏24℃であるので、若干青みがかった白色で表示する。 FIG. 3 is a diagram illustrating a display example of the
本実施形態のリモコン装置1は、設定温度に伴った色で表示部2、本実施形態では、ボタン表示2cを表示するものである。以上のように構成したことによって、リモコン装置1の設定状態、特に、空気調和機や給湯器などのリモコン装置1において重要な情報である設定温度について、視認性を向上させることができる。また、ボタン表示2cが設定温度に伴った色で表示されるので、利用者がリモコン装置1を触れる部分の色が変わるので、操作時に色彩を使って利用者の視覚に設定温度を認識させることができる。 The remote control device 1 of the present embodiment displays the
特に、本実施形態のように、リモコン装置1を壁などに固定して用いる場合などのリモコン装置1から離れた位置からの視認性も向上させることができる。 In particular, as in the present embodiment, the visibility from a position away from the remote control device 1 such as when the remote control device 1 is fixed to a wall or the like can also be improved.
また、設定温度に伴った色で表示するのは、本実施形態のボタン表示2cに限定されるものではなく、例えば、図4の斜線部で示すように、設定温度表示2bであっても良い。設定温度表示2bが設定温度に伴った色で表示されるので、利用者がリモコン装置1で設定温度を確認する際に、操作時に色彩を使って利用者の視覚に設定温度を認識させることができる。 Further, the display with the color according to the set temperature is not limited to the
あるいは、図5の斜線部で示すように、運転状態表示2aであっても良い。運転状態表示2aが設定温度に伴った色で表示されるので、利用者がリモコン装置1で設定温度を確認する際に、運転状態を確認すると同時に、色彩を使って利用者の視覚に設定温度を認識させることができる。なお、図5では、運転状態表示2aは、冷房であるが、本表示例に限定されるものではなく、他の運転状態、例えば、暖房や乾燥などの状態であっても良い。 Alternatively, as indicated by the hatched portion in FIG. Since the
あるいは、図6の斜線部で示すように、表示部2の全面であっても良い。特に表示部2の全面が設定温度に伴った色で表示することによって、表示面積が広いので、より視認性が向上する。 Alternatively, as shown by the hatched portion in FIG. In particular, since the entire surface of the
なお、本実施形態においては、空気調和機Aと別体に設けられるリモコン装置1であったが、空気調和機Aと一体的に設けられる操作パネルであってもよい。 In the present embodiment, the remote control device 1 is provided separately from the air conditioner A. However, an operation panel provided integrally with the air conditioner A may be used.
なお、前記各実施形態では、リモコン装置1は、壁などに固定して用いるものであったが、前記各実施形態に限定されるものではなく、持ち運び可能なリモコン装置に適用しても良い。 In each of the above embodiments, the remote control device 1 is fixed to a wall or the like. However, the remote control device 1 is not limited to the above embodiments, and may be applied to a portable remote control device.
空気調和機や給湯器などの温度設定を行うリモコン装置に利用可能である。 It can be used for a remote control device for setting the temperature of an air conditioner or a water heater.
1 リモコン装置
2 表示部
2a 運転状態表示
2b 設定温度表示
2c ボタン表示
2c1 設定温度上昇ボタン
2c2 設定温度下降ボタン
3 タッチスクリーン検出部
4 制御部
5 入出力部
DESCRIPTION OF SYMBOLS 1
| Application Number | Priority Date | Filing Date | Title |
|---|---|---|---|
| JP2009014237AJP2010169363A (en) | 2009-01-26 | 2009-01-26 | Remote control device |
| Application Number | Priority Date | Filing Date | Title |
|---|---|---|---|
| JP2009014237AJP2010169363A (en) | 2009-01-26 | 2009-01-26 | Remote control device |
| Publication Number | Publication Date |
|---|---|
| JP2010169363Atrue JP2010169363A (en) | 2010-08-05 |
| JP2010169363A5 JP2010169363A5 (en) | 2012-02-09 |
| Application Number | Title | Priority Date | Filing Date |
|---|---|---|---|
| JP2009014237APendingJP2010169363A (en) | 2009-01-26 | 2009-01-26 | Remote control device |
| Country | Link |
|---|---|
| JP (1) | JP2010169363A (en) |
| Publication number | Priority date | Publication date | Assignee | Title |
|---|---|---|---|---|
| JP2015025564A (en)* | 2013-07-24 | 2015-02-05 | パナソニック株式会社 | Air conditioner |
| JP2015135518A (en)* | 2015-03-25 | 2015-07-27 | ヤマハ株式会社 | Music sound synthesizer and program |
| JP2015186206A (en)* | 2014-03-26 | 2015-10-22 | シャープ株式会社 | Control system, terminal device, and control method |
| JP2016109371A (en)* | 2014-12-09 | 2016-06-20 | パナソニック インテレクチュアル プロパティ コーポレーション オブ アメリカPanasonic Intellectual Property Corporation of America | Control method of terminal device for remotely controlling air conditioner |
| CN106642515A (en)* | 2016-09-08 | 2017-05-10 | 青岛海尔空调器有限总公司 | Temperature-sensing and color changing plate for air conditioner, color changing control method of temperature-sensing and color changing plate and air conditioner inner unit |
| JP2017084384A (en)* | 2016-12-14 | 2017-05-18 | シャープ株式会社 | Information processing device |
| CN107461898A (en)* | 2017-08-04 | 2017-12-12 | 海信科龙电器股份有限公司 | Remote controller, air conditioning system and control method of air conditioning system |
| CN107543278A (en)* | 2016-06-28 | 2018-01-05 | 宁波奥克斯空调有限公司 | A kind of air conditioning control method |
| Publication number | Priority date | Publication date | Assignee | Title |
|---|---|---|---|---|
| JPH0655040U (en)* | 1992-12-24 | 1994-07-26 | 株式会社ガスター | Combustor display |
| JP2001012798A (en)* | 1999-06-25 | 2001-01-19 | Noritz Corp | Hot water supply apparatus with interphone and remote controller |
| JP2002243251A (en)* | 2001-02-20 | 2002-08-28 | Matsushita Electric Ind Co Ltd | Remote control transmitter for air conditioner |
| JP2004003831A (en)* | 2003-04-14 | 2004-01-08 | Toshiba Kyaria Kk | Air conditioner remote control device |
| JP2004138275A (en)* | 2002-10-16 | 2004-05-13 | Toto Ltd | Remote controller |
| Publication number | Priority date | Publication date | Assignee | Title |
|---|---|---|---|---|
| JPH0655040U (en)* | 1992-12-24 | 1994-07-26 | 株式会社ガスター | Combustor display |
| JP2001012798A (en)* | 1999-06-25 | 2001-01-19 | Noritz Corp | Hot water supply apparatus with interphone and remote controller |
| JP2002243251A (en)* | 2001-02-20 | 2002-08-28 | Matsushita Electric Ind Co Ltd | Remote control transmitter for air conditioner |
| JP2004138275A (en)* | 2002-10-16 | 2004-05-13 | Toto Ltd | Remote controller |
| JP2004003831A (en)* | 2003-04-14 | 2004-01-08 | Toshiba Kyaria Kk | Air conditioner remote control device |
| Publication number | Priority date | Publication date | Assignee | Title |
|---|---|---|---|---|
| JP2015025564A (en)* | 2013-07-24 | 2015-02-05 | パナソニック株式会社 | Air conditioner |
| JP2015186206A (en)* | 2014-03-26 | 2015-10-22 | シャープ株式会社 | Control system, terminal device, and control method |
| JP2016109371A (en)* | 2014-12-09 | 2016-06-20 | パナソニック インテレクチュアル プロパティ コーポレーション オブ アメリカPanasonic Intellectual Property Corporation of America | Control method of terminal device for remotely controlling air conditioner |
| JP2015135518A (en)* | 2015-03-25 | 2015-07-27 | ヤマハ株式会社 | Music sound synthesizer and program |
| CN107543278A (en)* | 2016-06-28 | 2018-01-05 | 宁波奥克斯空调有限公司 | A kind of air conditioning control method |
| CN106642515A (en)* | 2016-09-08 | 2017-05-10 | 青岛海尔空调器有限总公司 | Temperature-sensing and color changing plate for air conditioner, color changing control method of temperature-sensing and color changing plate and air conditioner inner unit |
| JP2017084384A (en)* | 2016-12-14 | 2017-05-18 | シャープ株式会社 | Information processing device |
| CN107461898A (en)* | 2017-08-04 | 2017-12-12 | 海信科龙电器股份有限公司 | Remote controller, air conditioning system and control method of air conditioning system |
| Publication | Publication Date | Title |
|---|---|---|
| JP2010169363A (en) | Remote control device | |
| US9304676B2 (en) | Multi-use segments of touch screen control | |
| CN108605172B (en) | remote control device | |
| JP4259590B2 (en) | Air conditioning controller | |
| CN102042657B (en) | Remote control device for air conditioner | |
| US20170122618A1 (en) | Remote control device | |
| JP2008083592A (en) | Information processing apparatus and display control method | |
| JP2007101174A (en) | Air conditioner | |
| JP2016035343A (en) | Air conditioner remote control device | |
| JP4183051B2 (en) | Remote control device | |
| KR20150039439A (en) | heating, ventilation, and/or air conditioning controller | |
| JP6400213B2 (en) | Remote controller | |
| JP2002022250A (en) | Wireless remote control unit for air conditioner | |
| US20130321711A1 (en) | Terminal Device and Control Method Thereof | |
| JP2009281691A (en) | Heating device | |
| JP2009257668A (en) | Control device for air conditioner | |
| WO2015146567A1 (en) | Operation device | |
| JP2009276037A (en) | Remote controller for bathroom ventilation air-conditioning device | |
| JP7374559B2 (en) | Air conditioning control device | |
| JP5168457B2 (en) | Air conditioner control device | |
| JP2012208392A (en) | Image display device | |
| JP2014105950A (en) | Air conditioning remote controller | |
| JP5965437B2 (en) | Air conditioner | |
| JP2024047917A (en) | Display device and computer program | |
| JP7629356B2 (en) | Electrical Equipment and Air Conditioning Systems |
| Date | Code | Title | Description |
|---|---|---|---|
| A521 | Request for written amendment filed | Free format text:JAPANESE INTERMEDIATE CODE: A523 Effective date:20111216 | |
| A621 | Written request for application examination | Free format text:JAPANESE INTERMEDIATE CODE: A621 Effective date:20111216 | |
| A977 | Report on retrieval | Free format text:JAPANESE INTERMEDIATE CODE: A971007 Effective date:20130123 | |
| A131 | Notification of reasons for refusal | Free format text:JAPANESE INTERMEDIATE CODE: A131 Effective date:20130206 | |
| A02 | Decision of refusal | Free format text:JAPANESE INTERMEDIATE CODE: A02 Effective date:20130604 |