Movatterモバイル変換


[0]ホーム

URL:


JP2010157536A - サセプタの製造方法 - Google Patents

サセプタの製造方法
Download PDF

Info

Publication number
JP2010157536A
JP2010157536AJP2008333544AJP2008333544AJP2010157536AJP 2010157536 AJP2010157536 AJP 2010157536AJP 2008333544 AJP2008333544 AJP 2008333544AJP 2008333544 AJP2008333544 AJP 2008333544AJP 2010157536 AJP2010157536 AJP 2010157536A
Authority
JP
Japan
Prior art keywords
sic
susceptor
wafer
substrate
manufacturing
Prior art date
Legal status (The legal status is an assumption and is not a legal conclusion. Google has not performed a legal analysis and makes no representation as to the accuracy of the status listed.)
Pending
Application number
JP2008333544A
Other languages
English (en)
Inventor
Hideki Arai
秀樹 荒井
Masami Yajima
雅美 矢島
Kunihiko Suzuki
邦彦 鈴木
Current Assignee (The listed assignees may be inaccurate. Google has not performed a legal analysis and makes no representation or warranty as to the accuracy of the list.)
Nuflare Technology Inc
Original Assignee
Nuflare Technology Inc
Priority date (The priority date is an assumption and is not a legal conclusion. Google has not performed a legal analysis and makes no representation as to the accuracy of the date listed.)
Filing date
Publication date
Application filed by Nuflare Technology IncfiledCriticalNuflare Technology Inc
Priority to JP2008333544ApriorityCriticalpatent/JP2010157536A/ja
Priority to US12/635,815prioritypatent/US8524103B2/en
Publication of JP2010157536ApublicationCriticalpatent/JP2010157536A/ja
Pendinglegal-statusCriticalCurrent

Links

Images

Classifications

Landscapes

Abstract

【課題】 SiCからなるサセプタ表面に、載置されるウェーハの貼りつきを抑制するための所望の凹凸を形成することが可能なサセプタの製造方法を提供する。
【解決手段】 本発明のサセプタの製造方法は、加工基板表面に凹パターンを形成し、凹パターンを埋め込むように、SiC粉末と焼結助剤を含むSiCペーストを塗布し、SiCペースト上にSiC基板を積層し、SiCペーストを焼成し、SiC基板表面に凸部を形成する。
【選択図】図4

Description

本発明は、例えば半導体ウェーハ上に成膜を行なうために用いられ、半導体ウェーハを保持するためのサセプタの製造方法に関する。
一般に、半導体製造工程において、ウェーハ上にエピタキシャル膜などを形成するためにCVD(Chemical Vapor Deposition)装置が用いられている。このようなCVD装置において、ウェーハは、例えばSiCなどで構成されるサセプタ上に載置され、加熱、回転されながら、上方から均一なプロセスガスが供給されることにより、ウェーハ上にエピタキシャル膜が形成される(例えば特許文献1など参照)。
近年、パワーMOSFETやIGBT(絶縁ゲート型バイポーラトランジスタ)などのパワー半導体装置における高速化、高耐圧化に伴い、ウェーハ上に形成されるエピタキシャル膜において、数10μm〜100μm程度の厚膜成長が要求されている。
しかしながら、上述のようにウェーハを加熱し、上方よりプロセスガスを供給すると、ウェーハ上以外の部材にも被膜が形成され、ウェーハがサセプタに貼りつくという不具合が生じる。そして、ウェーハの破損や、パーティクルの発生を引き起こすことから、歩留り、信頼性が低下してしまう。そこで、例えばサセプタの表面をエンボス加工し、貼りつきを抑えることが考えられる。
しかしながら、単なるエンボス加工では、100μmにもおよぶ厚膜成長により凹凸が完全に埋め込まれるため、貼りつきを抑えることは困難である。従って、より大きい凹凸を形成することが要求されるが、SiCのような硬質材料の表面を機械的に微細加工し、さらにその形状を球面となるように制御することは困難であるという問題がある。
特開平11−67675号公報
上述したように、ウェーハ上に厚膜成長を行う際の貼りつきを抑制し、形成される半導体装置の歩留り、信頼性の向上を図るために、SiCのような硬質材料からなるサセプタ表面に所望の凹凸を形成することが困難であるという問題がある。
本発明は、SiCからなるサセプタ表面に、載置されるウェーハの貼りつきを抑制するための所望の凹凸を形成することが可能なサセプタの製造方法を提供することを目的とするものである。
本発明のサセプタの製造方法は、加工基板表面に凹パターンを形成し、凹パターンを埋め込むように、SiC粉末と焼結助剤を含むSiCペーストを塗布し、 SiCペースト上にSiC基板を積層し、SiCペーストを焼成し、SiC基板表面に凸部を形成する、ことを特徴とする。
本発明のサセプタの製造方法において、エッチングにより加工基板を除去することが好ましい。
また、この発明のサセプタの製造方法において、凹パターンの形成された加工基板には、表面にSiO膜が形成されることが好ましい。
また、この発明のサセプタの製造方法において、凸部の形成されたSiC基板表面に、SiCコーティングを施すことが好ましい。
また、この発明のサセプタの製造方法において、凸部の高さは、150〜500μmであることが好ましい。
本発明のサセプタの製造方法を用いることにより、SiCからなるサセプタ表面に所望の凹凸を形成することができ、載置されるウェーハの貼りつきを抑制することが可能となる。機械加工はカーボンの段階で行うため、SiCを加工するよりも格段に容易である。また同一形状であれば、型を再利用して複数の製造を行うことができる。
以下本発明の実施形態について、図を参照して説明する。
(実施形態1)
図1に本実施形態により形成されるサセプタの断面図を、図2に上面図を示す。図に示すように、SiCからなるサセプタ11の上面(ウェーハ載置面)には、全面に凸部12が形成されている。図3に断面部分拡大図を示すように、凸部の断面形状は半円状であり、その半径rは例えば0.5mm、凸部の間隔dは例えば1mmとなっている。凸部を含む全面に、SiCコーティング13が形成されている。
このようなサセプタは、図4にフローチャートを示すようにして形成される。先ず、図5に示すように、カーボン基板14表面に、例えば機械研削により、所定の間隔で、所定の径、深さの複数の凹部15を形成する(Step1)。そして、図6に示すように、全面に例えばCVD法により0.5μm程度のSiO膜16を形成する(Step2)。
次いで、SiC粉末と、焼結助剤としてのカーボンブラックおよび炭化ホウ素粉末と、アクリル系樹脂、セルロース系樹脂などのバインダを、例えば有機アミン系の溶媒に分散させたSiCペーストを調製する。そして、図7に示すように、凹22部が形成されたカーボン基板14上に、凹部を埋め込むように、SiCペースト17を塗布する(Step3)。
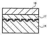
次いで、必要に応じてSiCペーストを乾燥させた後、図8に示すように、SiCペースト17上にSiC基板18を積層する(Step4)。そして、不活性ガス雰囲気、または真空中で例えば1400〜1500℃で仮焼成し、SiCペースト17中のバインダを炭化させ、SiC層19を形成する(Step5)。
このようにして形成されたカーボン基板14/SiO膜15/SiC層19/SiC基板18の積層体を、HF溶液中に投入し、SiO膜15を選択的にエッチングすることにより、図9に示すように、SiC層19/SiC基板18からカーボン基板14を分離・除去する(Step6)。そして、カーボン基板14が除去されたSiC層19/SiC基板18を、不活性ガス雰囲気、または真空中で例えば2000℃で焼成し、焼結SiC層20を形成する(Step7)。
次いで、カーボン基板が除去された焼結SiC20/SiC基板18表面に、CVD法により、緻密なSiC膜によるSiCコーティングを施し(Step8)、図1に示すようなサセプタ11が形成される。
このようにして形成されたサセプタは、図10に示すようなエピタキシャル成長装置に用いられる。例えばφ200mmのウェーハwが成膜処理される反応室21には、反応室21上方より、TCS、ジクロロシランなどのソースガスを含むプロセスガスをウェーハw上に供給するためのガス供給機構(図示せず)と接続されたガス供給口22が設置されている。そして、反応室21下方には、例えば2箇所にガスを排出し、反応室21内の圧力を一定(常圧)に制御するためのガス排出機構(図示せず)と接続されたガス排出口23が設置されている。
反応室21上部には、ガス供給口22から供給されたプロセスガスを、ウェーハw上に整流状態で供給するための整流板24が設置されている。
反応室21の下方には、モータ(図示せず)、回転軸(図示せず)、リング25aなどから構成されるウェーハwを回転させるための回転駆動機構25と、回転駆動機構25と接続され、上述のようにして形成されたサセプタ11が設置されている。
サセプタ11の下方には、例えばSiCからなるウェーハwを加熱するためのインヒータ26aが設置されている。さらに、サセプタ11とインヒータ26aの間には、例えばSiCからなるウェーハwの周縁部を加熱するためのアウトヒータ26bが設置されている。インヒータ26aの下部には、ウェーハwを効率的に加熱するための円盤状のリフレクター27が設置されている。そして、インヒータ26a、リフレクター27を貫通するように設けられ、ウェーハwを上下に移動させるための突き上げピン28が設置されている。
そして、このような半導体製造装置を用いて、ウェーハw上に例えばSiエピタキシャル膜が形成される。先ず、ウェーハwを凸部が形成されたサセプタ11上に載置する。このとき、ウェーハwは、凸部の頂点において保持されている。
そして、温度測定機構(図示せず)により測定されるウェーハwの温度に基づき、温度制御機構(図示せず)により、インヒータ26a、アウトヒータ26bの温度を例えば1400〜1500℃の範囲で適宜制御して、ウェーハwの温度が例えば1100℃となるように制御する。さらに、回転機構25によりウェーハwを例えば900rpmで回転させる。
そして、ガス供給口23より、例えば、キャリアガス:Hを20〜100SLM、成膜ガス:SiHClを50sccm〜2SLM、ドーパントガス:B、PH:微量からなるプロセスガスが、整流板22上に導入され、整流状態でウェーハw上に供給される。このとき、反応炉21内の圧力は、ガス供給口23、ガス排出口24のバルブを調整することにより、例えば1333Pa(10Torr)〜常圧に制御される。このようにして、各条件が制御され、ウェーハw上に例えば100μm厚のSiエピタキシャル膜が形成される。
このとき、サセプタ11のウェーハw周縁部などにもSi膜が堆積されるが、ウェーハwは凸部の頂点において保持されており、接触面積が小さいことから応力が抑えられる。さらに、数10μm〜100μm程度の厚膜成長を行ったばあいであっても、凸部間は、堆積されたSi膜に完全に埋め込まれることはないため、ウェーハwのサセプタへの貼りつきを防ぐことができる。
そして、素子形成工程及び素子分離工程を経て半導体装置が形成される際、歩留り、信頼性の向上を図ることが可能となる。特にN型ベース領域、P型ベース領域や、絶縁分離領域などに数10μm〜100μm程度の厚膜成長が必要な、パワーMOSFETやIGBT(絶縁ゲート型バイポーラトランジスタ)などのパワー半導体装置のエピタキシャル形成工程に好適に用いられる。
本実施形態において、凹部が形成される加工基板としてカーボン基板を用いたが、加工容易な基板であればよく、その他Si基板などを用いることができる。また、加工基板表面にCVD法によりSiO膜を形成したが、形成方法は特に限定されるものではなく、Si基板を用いた場合には熱酸化を行ってもよい。また、必ずしもSiO膜を形成する必要はなく、加工基板、SiCと選択比が取れる膜であればよい。また、加工基板とSiCとの間で選択比を取ることができる条件でエッチングを行う場合、SiO膜などの膜を介在させる必要はない。
また、本実施形態において、SiCペーストとしてSiC粉末と、焼結助剤としてのカーボンブラックおよび炭化ホウ素粉末と、アクリル系樹脂、セルロース系樹脂などのバインダを、有機アミン系の溶媒に分散させたものを用いたが、これに限定されるものではなく、公知の配合のSiCペースト(スラリ)を用いることができる。
また、本実施形態において、SiCペースト状にSiC基板を積層して仮焼成した後、エッチングによりカーボン基板を除去しているが、この工程に限定されるものではない。例えばSiCペースト上にSiC基板を積層して焼成した後、エッチングを行ってもよい。
また、本実施形態により形成されるサセプタ上の凸部の形状は、断面形状が半円、すなわち半球状に限定されるものではない。例えば半楕円球状、円柱上に半球が形成された形状、円錐などの錐体など、載置されるウェーハを点で保持する形状であればよい。
そして凸部の高さは、0.5mmとしているが、形成されるエピタキシャル膜の膜厚より高いことが好ましい。例えば膜厚100μm程度の厚膜形成を行う場合、高さ150〜500μmが適当である。また、凸部はサセプタ表面全面に均一な間隔で形成されているが、保持部分からの吸熱放熱に起因する温度分布のばらつきを抑えるために、適宜全面に形成されることが好ましい。間隔は均一であっても、位置により変動させてもよい。例えば、ウェーハ外周部の温度が高い場合、外周部で凸部の分布が疎になるように配置しても良い。
また、本実施形態においては、Siエピタキシャル層形成の場合を説明したが、ポリSi層形成時にも適用されることも可能である。さらに、他の化合物半導体、例えばGaAs層、GaAlAsやInGaAsなどにも適用可能である。また、SiO膜やSi膜形成の場合にも適用可能で、SiO膜の場合、モノシラン(SiH)の他、N、O、Arガスを、Si膜の場合、モノシラン(SiH)の他、NH、N、O、Arガスなどが供給されることになる。その他要旨を逸脱しない範囲で種々変形して実施することができる。
本発明の一態様におけるサセプタの断面図。本発明の一態様におけるサセプタの上面図。本発明の一態様におけるサセプタの断面部分拡大図。本発明の一態様におけるサセプタの製造工程を示すフローチャート。本発明の一態様におけるサセプタの製造工程を示す図。本発明の一態様におけるサセプタの製造工程を示す図。本発明の一態様におけるサセプタの製造工程を示す図。本発明の一態様におけるサセプタの製造工程を示す図。本発明の一態様におけるサセプタの製造工程を示す図。本発明の一態様により形成されたサセプタが用いられるエピタキシャル成長装置を示す図。
符号の説明
11…サセプタ
12…凸部
13…SiCコーティング
14…カーボン基板
15…凹部
16…SiO
17…SiCペースト
18…SiC基板
19…SiC層
20…焼結SiC層
21…反応炉
22…ガス供給口
23…ガス排出口
24…整流板
25…回転機構
26a…インヒータ
26b…アウトヒータ
27…リフレクター
28…突き上げピン
29…搬送アーム

Claims (5)

JP2008333544A2008-12-262008-12-26サセプタの製造方法PendingJP2010157536A (ja)

Priority Applications (2)

Application NumberPriority DateFiling DateTitle
JP2008333544AJP2010157536A (ja)2008-12-262008-12-26サセプタの製造方法
US12/635,815US8524103B2 (en)2008-12-262009-12-11Method for manufacturing susceptor

Applications Claiming Priority (1)

Application NumberPriority DateFiling DateTitle
JP2008333544AJP2010157536A (ja)2008-12-262008-12-26サセプタの製造方法

Publications (1)

Publication NumberPublication Date
JP2010157536Atrue JP2010157536A (ja)2010-07-15

Family

ID=42283599

Family Applications (1)

Application NumberTitlePriority DateFiling Date
JP2008333544APendingJP2010157536A (ja)2008-12-262008-12-26サセプタの製造方法

Country Status (2)

CountryLink
US (1)US8524103B2 (ja)
JP (1)JP2010157536A (ja)

Cited By (1)

* Cited by examiner, † Cited by third party
Publication numberPriority datePublication dateAssigneeTitle
JP2017168613A (ja)*2016-03-162017-09-21信越半導体株式会社熱処理装置

Families Citing this family (366)

* Cited by examiner, † Cited by third party
Publication numberPriority datePublication dateAssigneeTitle
US10378106B2 (en)2008-11-142019-08-13Asm Ip Holding B.V.Method of forming insulation film by modified PEALD
US9394608B2 (en)2009-04-062016-07-19Asm America, Inc.Semiconductor processing reactor and components thereof
US8802201B2 (en)2009-08-142014-08-12Asm America, Inc.Systems and methods for thin-film deposition of metal oxides using excited nitrogen-oxygen species
US9312155B2 (en)2011-06-062016-04-12Asm Japan K.K.High-throughput semiconductor-processing apparatus equipped with multiple dual-chamber modules
US10364496B2 (en)2011-06-272019-07-30Asm Ip Holding B.V.Dual section module having shared and unshared mass flow controllers
US10854498B2 (en)*2011-07-152020-12-01Asm Ip Holding B.V.Wafer-supporting device and method for producing same
US20130023129A1 (en)2011-07-202013-01-24Asm America, Inc.Pressure transmitter for a semiconductor processing environment
US9017481B1 (en)2011-10-282015-04-28Asm America, Inc.Process feed management for semiconductor substrate processing
US9659799B2 (en)2012-08-282017-05-23Asm Ip Holding B.V.Systems and methods for dynamic semiconductor process scheduling
US9021985B2 (en)2012-09-122015-05-05Asm Ip Holdings B.V.Process gas management for an inductively-coupled plasma deposition reactor
US10714315B2 (en)2012-10-122020-07-14Asm Ip Holdings B.V.Semiconductor reaction chamber showerhead
US20160376700A1 (en)2013-02-012016-12-29Asm Ip Holding B.V.System for treatment of deposition reactor
US9484191B2 (en)2013-03-082016-11-01Asm Ip Holding B.V.Pulsed remote plasma method and system
US9589770B2 (en)2013-03-082017-03-07Asm Ip Holding B.V.Method and systems for in-situ formation of intermediate reactive species
US9240412B2 (en)2013-09-272016-01-19Asm Ip Holding B.V.Semiconductor structure and device and methods of forming same using selective epitaxial process
US10683571B2 (en)2014-02-252020-06-16Asm Ip Holding B.V.Gas supply manifold and method of supplying gases to chamber using same
US10167557B2 (en)2014-03-182019-01-01Asm Ip Holding B.V.Gas distribution system, reactor including the system, and methods of using the same
US11015245B2 (en)2014-03-192021-05-25Asm Ip Holding B.V.Gas-phase reactor and system having exhaust plenum and components thereof
US10858737B2 (en)2014-07-282020-12-08Asm Ip Holding B.V.Showerhead assembly and components thereof
US9890456B2 (en)2014-08-212018-02-13Asm Ip Holding B.V.Method and system for in situ formation of gas-phase compounds
US10941490B2 (en)2014-10-072021-03-09Asm Ip Holding B.V.Multiple temperature range susceptor, assembly, reactor and system including the susceptor, and methods of using the same
US9657845B2 (en)2014-10-072017-05-23Asm Ip Holding B.V.Variable conductance gas distribution apparatus and method
KR102300403B1 (ko)2014-11-192021-09-09에이에스엠 아이피 홀딩 비.브이.박막 증착 방법
KR102365939B1 (ko)*2014-12-052022-02-22에이지씨 플랫 글래스 노스 아메리카, 인코퍼레이티드거대-입자 감소 코팅을 활용하는 플라즈마 소스 및 박막 코팅의 증착과 표면의 개질을 위해 거대-입자 감소 코팅을 활용하는 플라즈마 소스의 사용 방법
KR102263121B1 (ko)2014-12-222021-06-09에이에스엠 아이피 홀딩 비.브이.반도체 소자 및 그 제조 방법
US10529542B2 (en)2015-03-112020-01-07Asm Ip Holdings B.V.Cross-flow reactor and method
US10276355B2 (en)2015-03-122019-04-30Asm Ip Holding B.V.Multi-zone reactor, system including the reactor, and method of using the same
US10490437B2 (en)*2015-04-072019-11-26Sumco CorporationSusceptor, vapor deposition apparatus, vapor deposition method and epitaxial silicon wafer
US10458018B2 (en)2015-06-262019-10-29Asm Ip Holding B.V.Structures including metal carbide material, devices including the structures, and methods of forming same
US10600673B2 (en)2015-07-072020-03-24Asm Ip Holding B.V.Magnetic susceptor to baseplate seal
US10043661B2 (en)2015-07-132018-08-07Asm Ip Holding B.V.Method for protecting layer by forming hydrocarbon-based extremely thin film
US9960072B2 (en)2015-09-292018-05-01Asm Ip Holding B.V.Variable adjustment for precise matching of multiple chamber cavity housings
US10211308B2 (en)2015-10-212019-02-19Asm Ip Holding B.V.NbMC layers
US10322384B2 (en)2015-11-092019-06-18Asm Ip Holding B.V.Counter flow mixer for process chamber
US11139308B2 (en)2015-12-292021-10-05Asm Ip Holding B.V.Atomic layer deposition of III-V compounds to form V-NAND devices
US10529554B2 (en)2016-02-192020-01-07Asm Ip Holding B.V.Method for forming silicon nitride film selectively on sidewalls or flat surfaces of trenches
US10468251B2 (en)2016-02-192019-11-05Asm Ip Holding B.V.Method for forming spacers using silicon nitride film for spacer-defined multiple patterning
US10501866B2 (en)2016-03-092019-12-10Asm Ip Holding B.V.Gas distribution apparatus for improved film uniformity in an epitaxial system
US10343920B2 (en)2016-03-182019-07-09Asm Ip Holding B.V.Aligned carbon nanotubes
US9892913B2 (en)2016-03-242018-02-13Asm Ip Holding B.V.Radial and thickness control via biased multi-port injection settings
US10190213B2 (en)2016-04-212019-01-29Asm Ip Holding B.V.Deposition of metal borides
US10865475B2 (en)2016-04-212020-12-15Asm Ip Holding B.V.Deposition of metal borides and silicides
US10087522B2 (en)2016-04-212018-10-02Asm Ip Holding B.V.Deposition of metal borides
US10367080B2 (en)2016-05-022019-07-30Asm Ip Holding B.V.Method of forming a germanium oxynitride film
US10032628B2 (en)2016-05-022018-07-24Asm Ip Holding B.V.Source/drain performance through conformal solid state doping
KR102592471B1 (ko)2016-05-172023-10-20에이에스엠 아이피 홀딩 비.브이.금속 배선 형성 방법 및 이를 이용한 반도체 장치의 제조 방법
US11453943B2 (en)2016-05-252022-09-27Asm Ip Holding B.V.Method for forming carbon-containing silicon/metal oxide or nitride film by ALD using silicon precursor and hydrocarbon precursor
US10388509B2 (en)2016-06-282019-08-20Asm Ip Holding B.V.Formation of epitaxial layers via dislocation filtering
US9859151B1 (en)2016-07-082018-01-02Asm Ip Holding B.V.Selective film deposition method to form air gaps
US10612137B2 (en)2016-07-082020-04-07Asm Ip Holdings B.V.Organic reactants for atomic layer deposition
US9793135B1 (en)2016-07-142017-10-17ASM IP Holding B.VMethod of cyclic dry etching using etchant film
US10714385B2 (en)2016-07-192020-07-14Asm Ip Holding B.V.Selective deposition of tungsten
KR102354490B1 (ko)2016-07-272022-01-21에이에스엠 아이피 홀딩 비.브이.기판 처리 방법
US10395919B2 (en)2016-07-282019-08-27Asm Ip Holding B.V.Method and apparatus for filling a gap
US10177025B2 (en)2016-07-282019-01-08Asm Ip Holding B.V.Method and apparatus for filling a gap
KR102532607B1 (ko)2016-07-282023-05-15에이에스엠 아이피 홀딩 비.브이.기판 가공 장치 및 그 동작 방법
US9812320B1 (en)2016-07-282017-11-07Asm Ip Holding B.V.Method and apparatus for filling a gap
US9887082B1 (en)2016-07-282018-02-06Asm Ip Holding B.V.Method and apparatus for filling a gap
US10090316B2 (en)2016-09-012018-10-02Asm Ip Holding B.V.3D stacked multilayer semiconductor memory using doped select transistor channel
US10410943B2 (en)2016-10-132019-09-10Asm Ip Holding B.V.Method for passivating a surface of a semiconductor and related systems
US10643826B2 (en)2016-10-262020-05-05Asm Ip Holdings B.V.Methods for thermally calibrating reaction chambers
US11532757B2 (en)2016-10-272022-12-20Asm Ip Holding B.V.Deposition of charge trapping layers
US10435790B2 (en)2016-11-012019-10-08Asm Ip Holding B.V.Method of subatmospheric plasma-enhanced ALD using capacitively coupled electrodes with narrow gap
US10229833B2 (en)2016-11-012019-03-12Asm Ip Holding B.V.Methods for forming a transition metal nitride film on a substrate by atomic layer deposition and related semiconductor device structures
US10714350B2 (en)2016-11-012020-07-14ASM IP Holdings, B.V.Methods for forming a transition metal niobium nitride film on a substrate by atomic layer deposition and related semiconductor device structures
US10643904B2 (en)2016-11-012020-05-05Asm Ip Holdings B.V.Methods for forming a semiconductor device and related semiconductor device structures
US10134757B2 (en)2016-11-072018-11-20Asm Ip Holding B.V.Method of processing a substrate and a device manufactured by using the method
KR102546317B1 (ko)2016-11-152023-06-21에이에스엠 아이피 홀딩 비.브이.기체 공급 유닛 및 이를 포함하는 기판 처리 장치
US10340135B2 (en)2016-11-282019-07-02Asm Ip Holding B.V.Method of topologically restricted plasma-enhanced cyclic deposition of silicon or metal nitride
KR102762543B1 (ko)2016-12-142025-02-05에이에스엠 아이피 홀딩 비.브이.기판 처리 장치
US11447861B2 (en)2016-12-152022-09-20Asm Ip Holding B.V.Sequential infiltration synthesis apparatus and a method of forming a patterned structure
US11581186B2 (en)2016-12-152023-02-14Asm Ip Holding B.V.Sequential infiltration synthesis apparatus
US9916980B1 (en)2016-12-152018-03-13Asm Ip Holding B.V.Method of forming a structure on a substrate
KR102700194B1 (ko)2016-12-192024-08-28에이에스엠 아이피 홀딩 비.브이.기판 처리 장치
US10269558B2 (en)2016-12-222019-04-23Asm Ip Holding B.V.Method of forming a structure on a substrate
US10867788B2 (en)2016-12-282020-12-15Asm Ip Holding B.V.Method of forming a structure on a substrate
US11390950B2 (en)2017-01-102022-07-19Asm Ip Holding B.V.Reactor system and method to reduce residue buildup during a film deposition process
US10655221B2 (en)2017-02-092020-05-19Asm Ip Holding B.V.Method for depositing oxide film by thermal ALD and PEALD
US10468261B2 (en)2017-02-152019-11-05Asm Ip Holding B.V.Methods for forming a metallic film on a substrate by cyclical deposition and related semiconductor device structures
US10529563B2 (en)2017-03-292020-01-07Asm Ip Holdings B.V.Method for forming doped metal oxide films on a substrate by cyclical deposition and related semiconductor device structures
US10283353B2 (en)2017-03-292019-05-07Asm Ip Holding B.V.Method of reforming insulating film deposited on substrate with recess pattern
US10103040B1 (en)2017-03-312018-10-16Asm Ip Holding B.V.Apparatus and method for manufacturing a semiconductor device
USD830981S1 (en)2017-04-072018-10-16Asm Ip Holding B.V.Susceptor for semiconductor substrate processing apparatus
KR102457289B1 (ko)2017-04-252022-10-21에이에스엠 아이피 홀딩 비.브이.박막 증착 방법 및 반도체 장치의 제조 방법
US10446393B2 (en)2017-05-082019-10-15Asm Ip Holding B.V.Methods for forming silicon-containing epitaxial layers and related semiconductor device structures
US10770286B2 (en)2017-05-082020-09-08Asm Ip Holdings B.V.Methods for selectively forming a silicon nitride film on a substrate and related semiconductor device structures
US10892156B2 (en)2017-05-082021-01-12Asm Ip Holding B.V.Methods for forming a silicon nitride film on a substrate and related semiconductor device structures
US10504742B2 (en)2017-05-312019-12-10Asm Ip Holding B.V.Method of atomic layer etching using hydrogen plasma
US10886123B2 (en)2017-06-022021-01-05Asm Ip Holding B.V.Methods for forming low temperature semiconductor layers and related semiconductor device structures
US12040200B2 (en)2017-06-202024-07-16Asm Ip Holding B.V.Semiconductor processing apparatus and methods for calibrating a semiconductor processing apparatus
US11306395B2 (en)2017-06-282022-04-19Asm Ip Holding B.V.Methods for depositing a transition metal nitride film on a substrate by atomic layer deposition and related deposition apparatus
US10685834B2 (en)2017-07-052020-06-16Asm Ip Holdings B.V.Methods for forming a silicon germanium tin layer and related semiconductor device structures
KR20190009245A (ko)2017-07-182019-01-28에이에스엠 아이피 홀딩 비.브이.반도체 소자 구조물 형성 방법 및 관련된 반도체 소자 구조물
US11374112B2 (en)2017-07-192022-06-28Asm Ip Holding B.V.Method for depositing a group IV semiconductor and related semiconductor device structures
US11018002B2 (en)2017-07-192021-05-25Asm Ip Holding B.V.Method for selectively depositing a Group IV semiconductor and related semiconductor device structures
US10541333B2 (en)2017-07-192020-01-21Asm Ip Holding B.V.Method for depositing a group IV semiconductor and related semiconductor device structures
US10312055B2 (en)2017-07-262019-06-04Asm Ip Holding B.V.Method of depositing film by PEALD using negative bias
US10590535B2 (en)2017-07-262020-03-17Asm Ip Holdings B.V.Chemical treatment, deposition and/or infiltration apparatus and method for using the same
US10605530B2 (en)2017-07-262020-03-31Asm Ip Holding B.V.Assembly of a liner and a flange for a vertical furnace as well as the liner and the vertical furnace
TWI815813B (zh)2017-08-042023-09-21荷蘭商Asm智慧財產控股公司用於分配反應腔內氣體的噴頭總成
US10770336B2 (en)2017-08-082020-09-08Asm Ip Holding B.V.Substrate lift mechanism and reactor including same
US10692741B2 (en)2017-08-082020-06-23Asm Ip Holdings B.V.Radiation shield
US11139191B2 (en)2017-08-092021-10-05Asm Ip Holding B.V.Storage apparatus for storing cassettes for substrates and processing apparatus equipped therewith
US10249524B2 (en)2017-08-092019-04-02Asm Ip Holding B.V.Cassette holder assembly for a substrate cassette and holding member for use in such assembly
US11769682B2 (en)2017-08-092023-09-26Asm Ip Holding B.V.Storage apparatus for storing cassettes for substrates and processing apparatus equipped therewith
US10236177B1 (en)2017-08-222019-03-19ASM IP Holding B.V..Methods for depositing a doped germanium tin semiconductor and related semiconductor device structures
USD900036S1 (en)2017-08-242020-10-27Asm Ip Holding B.V.Heater electrical connector and adapter
US11830730B2 (en)2017-08-292023-11-28Asm Ip Holding B.V.Layer forming method and apparatus
US11295980B2 (en)2017-08-302022-04-05Asm Ip Holding B.V.Methods for depositing a molybdenum metal film over a dielectric surface of a substrate by a cyclical deposition process and related semiconductor device structures
US11056344B2 (en)2017-08-302021-07-06Asm Ip Holding B.V.Layer forming method
KR102491945B1 (ko)2017-08-302023-01-26에이에스엠 아이피 홀딩 비.브이.기판 처리 장치
KR102401446B1 (ko)2017-08-312022-05-24에이에스엠 아이피 홀딩 비.브이.기판 처리 장치
US10607895B2 (en)2017-09-182020-03-31Asm Ip Holdings B.V.Method for forming a semiconductor device structure comprising a gate fill metal
KR102630301B1 (ko)2017-09-212024-01-29에이에스엠 아이피 홀딩 비.브이.침투성 재료의 순차 침투 합성 방법 처리 및 이를 이용하여 형성된 구조물 및 장치
US10844484B2 (en)2017-09-222020-11-24Asm Ip Holding B.V.Apparatus for dispensing a vapor phase reactant to a reaction chamber and related methods
US10658205B2 (en)2017-09-282020-05-19Asm Ip Holdings B.V.Chemical dispensing apparatus and methods for dispensing a chemical to a reaction chamber
US10403504B2 (en)2017-10-052019-09-03Asm Ip Holding B.V.Method for selectively depositing a metallic film on a substrate
US10319588B2 (en)2017-10-102019-06-11Asm Ip Holding B.V.Method for depositing a metal chalcogenide on a substrate by cyclical deposition
US10923344B2 (en)2017-10-302021-02-16Asm Ip Holding B.V.Methods for forming a semiconductor structure and related semiconductor structures
KR102443047B1 (ko)2017-11-162022-09-14에이에스엠 아이피 홀딩 비.브이.기판 처리 장치 방법 및 그에 의해 제조된 장치
US10910262B2 (en)2017-11-162021-02-02Asm Ip Holding B.V.Method of selectively depositing a capping layer structure on a semiconductor device structure
US11022879B2 (en)2017-11-242021-06-01Asm Ip Holding B.V.Method of forming an enhanced unexposed photoresist layer
WO2019103613A1 (en)2017-11-272019-05-31Asm Ip Holding B.V.A storage device for storing wafer cassettes for use with a batch furnace
CN111344522B (zh)2017-11-272022-04-12阿斯莫Ip控股公司包括洁净迷你环境的装置
US10290508B1 (en)2017-12-052019-05-14Asm Ip Holding B.V.Method for forming vertical spacers for spacer-defined patterning
US10872771B2 (en)2018-01-162020-12-22Asm Ip Holding B. V.Method for depositing a material film on a substrate within a reaction chamber by a cyclical deposition process and related device structures
TWI799494B (zh)2018-01-192023-04-21荷蘭商Asm 智慧財產控股公司沈積方法
KR102695659B1 (ko)2018-01-192024-08-14에이에스엠 아이피 홀딩 비.브이.플라즈마 보조 증착에 의해 갭 충진 층을 증착하는 방법
USD903477S1 (en)2018-01-242020-12-01Asm Ip Holdings B.V.Metal clamp
US11018047B2 (en)2018-01-252021-05-25Asm Ip Holding B.V.Hybrid lift pin
USD880437S1 (en)2018-02-012020-04-07Asm Ip Holding B.V.Gas supply plate for semiconductor manufacturing apparatus
US10535516B2 (en)2018-02-012020-01-14Asm Ip Holdings B.V.Method for depositing a semiconductor structure on a surface of a substrate and related semiconductor structures
US11081345B2 (en)2018-02-062021-08-03Asm Ip Holding B.V.Method of post-deposition treatment for silicon oxide film
WO2019158960A1 (en)2018-02-142019-08-22Asm Ip Holding B.V.A method for depositing a ruthenium-containing film on a substrate by a cyclical deposition process
US10896820B2 (en)2018-02-142021-01-19Asm Ip Holding B.V.Method for depositing a ruthenium-containing film on a substrate by a cyclical deposition process
US10731249B2 (en)2018-02-152020-08-04Asm Ip Holding B.V.Method of forming a transition metal containing film on a substrate by a cyclical deposition process, a method for supplying a transition metal halide compound to a reaction chamber, and related vapor deposition apparatus
KR102636427B1 (ko)2018-02-202024-02-13에이에스엠 아이피 홀딩 비.브이.기판 처리 방법 및 장치
US10658181B2 (en)2018-02-202020-05-19Asm Ip Holding B.V.Method of spacer-defined direct patterning in semiconductor fabrication
US10975470B2 (en)2018-02-232021-04-13Asm Ip Holding B.V.Apparatus for detecting or monitoring for a chemical precursor in a high temperature environment
US11473195B2 (en)2018-03-012022-10-18Asm Ip Holding B.V.Semiconductor processing apparatus and a method for processing a substrate
US11629406B2 (en)2018-03-092023-04-18Asm Ip Holding B.V.Semiconductor processing apparatus comprising one or more pyrometers for measuring a temperature of a substrate during transfer of the substrate
US11114283B2 (en)2018-03-162021-09-07Asm Ip Holding B.V.Reactor, system including the reactor, and methods of manufacturing and using same
KR102646467B1 (ko)2018-03-272024-03-11에이에스엠 아이피 홀딩 비.브이.기판 상에 전극을 형성하는 방법 및 전극을 포함하는 반도체 소자 구조
US11230766B2 (en)2018-03-292022-01-25Asm Ip Holding B.V.Substrate processing apparatus and method
US11088002B2 (en)2018-03-292021-08-10Asm Ip Holding B.V.Substrate rack and a substrate processing system and method
US10510536B2 (en)2018-03-292019-12-17Asm Ip Holding B.V.Method of depositing a co-doped polysilicon film on a surface of a substrate within a reaction chamber
KR102501472B1 (ko)2018-03-302023-02-20에이에스엠 아이피 홀딩 비.브이.기판 처리 방법
KR102600229B1 (ko)2018-04-092023-11-10에이에스엠 아이피 홀딩 비.브이.기판 지지 장치, 이를 포함하는 기판 처리 장치 및 기판 처리 방법
US12025484B2 (en)2018-05-082024-07-02Asm Ip Holding B.V.Thin film forming method
TWI811348B (zh)2018-05-082023-08-11荷蘭商Asm 智慧財產控股公司藉由循環沉積製程於基板上沉積氧化物膜之方法及相關裝置結構
US12272527B2 (en)2018-05-092025-04-08Asm Ip Holding B.V.Apparatus for use with hydrogen radicals and method of using same
KR20190129718A (ko)2018-05-112019-11-20에이에스엠 아이피 홀딩 비.브이.기판 상에 피도핑 금속 탄화물 막을 형성하는 방법 및 관련 반도체 소자 구조
KR102596988B1 (ko)2018-05-282023-10-31에이에스엠 아이피 홀딩 비.브이.기판 처리 방법 및 그에 의해 제조된 장치
US11718913B2 (en)2018-06-042023-08-08Asm Ip Holding B.V.Gas distribution system and reactor system including same
TWI840362B (zh)2018-06-042024-05-01荷蘭商Asm Ip私人控股有限公司水氣降低的晶圓處置腔室
US11286562B2 (en)2018-06-082022-03-29Asm Ip Holding B.V.Gas-phase chemical reactor and method of using same
US10797133B2 (en)2018-06-212020-10-06Asm Ip Holding B.V.Method for depositing a phosphorus doped silicon arsenide film and related semiconductor device structures
KR102568797B1 (ko)2018-06-212023-08-21에이에스엠 아이피 홀딩 비.브이.기판 처리 시스템
KR102854019B1 (ko)2018-06-272025-09-02에이에스엠 아이피 홀딩 비.브이.금속 함유 재료를 형성하기 위한 주기적 증착 방법 및 금속 함유 재료를 포함하는 필름 및 구조체
TWI873894B (zh)2018-06-272025-02-21荷蘭商Asm Ip私人控股有限公司用於形成含金屬材料及包含含金屬材料的膜及結構之循環沉積方法
KR102686758B1 (ko)2018-06-292024-07-18에이에스엠 아이피 홀딩 비.브이.박막 증착 방법 및 반도체 장치의 제조 방법
US10612136B2 (en)2018-06-292020-04-07ASM IP Holding, B.V.Temperature-controlled flange and reactor system including same
US10755922B2 (en)2018-07-032020-08-25Asm Ip Holding B.V.Method for depositing silicon-free carbon-containing film as gap-fill layer by pulse plasma-assisted deposition
US10388513B1 (en)2018-07-032019-08-20Asm Ip Holding B.V.Method for depositing silicon-free carbon-containing film as gap-fill layer by pulse plasma-assisted deposition
US10767789B2 (en)2018-07-162020-09-08Asm Ip Holding B.V.Diaphragm valves, valve components, and methods for forming valve components
US10483099B1 (en)2018-07-262019-11-19Asm Ip Holding B.V.Method for forming thermally stable organosilicon polymer film
US11053591B2 (en)2018-08-062021-07-06Asm Ip Holding B.V.Multi-port gas injection system and reactor system including same
US10883175B2 (en)2018-08-092021-01-05Asm Ip Holding B.V.Vertical furnace for processing substrates and a liner for use therein
US10829852B2 (en)2018-08-162020-11-10Asm Ip Holding B.V.Gas distribution device for a wafer processing apparatus
US11430674B2 (en)2018-08-222022-08-30Asm Ip Holding B.V.Sensor array, apparatus for dispensing a vapor phase reactant to a reaction chamber and related methods
EP3626865A1 (en)2018-09-202020-03-25Heraeus GMSI LLCSusceptor and method for manufacturing the same
KR102707956B1 (ko)2018-09-112024-09-19에이에스엠 아이피 홀딩 비.브이.박막 증착 방법
US11024523B2 (en)2018-09-112021-06-01Asm Ip Holding B.V.Substrate processing apparatus and method
US11049751B2 (en)2018-09-142021-06-29Asm Ip Holding B.V.Cassette supply system to store and handle cassettes and processing apparatus equipped therewith
CN110970344B (zh)2018-10-012024-10-25Asmip控股有限公司衬底保持设备、包含所述设备的系统及其使用方法
US11232963B2 (en)2018-10-032022-01-25Asm Ip Holding B.V.Substrate processing apparatus and method
KR102592699B1 (ko)2018-10-082023-10-23에이에스엠 아이피 홀딩 비.브이.기판 지지 유닛 및 이를 포함하는 박막 증착 장치와 기판 처리 장치
US10847365B2 (en)2018-10-112020-11-24Asm Ip Holding B.V.Method of forming conformal silicon carbide film by cyclic CVD
US10811256B2 (en)2018-10-162020-10-20Asm Ip Holding B.V.Method for etching a carbon-containing feature
KR102605121B1 (ko)2018-10-192023-11-23에이에스엠 아이피 홀딩 비.브이.기판 처리 장치 및 기판 처리 방법
KR102546322B1 (ko)2018-10-192023-06-21에이에스엠 아이피 홀딩 비.브이.기판 처리 장치 및 기판 처리 방법
USD948463S1 (en)2018-10-242022-04-12Asm Ip Holding B.V.Susceptor for semiconductor substrate supporting apparatus
US10381219B1 (en)2018-10-252019-08-13Asm Ip Holding B.V.Methods for forming a silicon nitride film
US12378665B2 (en)2018-10-262025-08-05Asm Ip Holding B.V.High temperature coatings for a preclean and etch apparatus and related methods
US11087997B2 (en)2018-10-312021-08-10Asm Ip Holding B.V.Substrate processing apparatus for processing substrates
KR102748291B1 (ko)2018-11-022024-12-31에이에스엠 아이피 홀딩 비.브이.기판 지지 유닛 및 이를 포함하는 기판 처리 장치
US11572620B2 (en)2018-11-062023-02-07Asm Ip Holding B.V.Methods for selectively depositing an amorphous silicon film on a substrate
US11031242B2 (en)2018-11-072021-06-08Asm Ip Holding B.V.Methods for depositing a boron doped silicon germanium film
US10847366B2 (en)2018-11-162020-11-24Asm Ip Holding B.V.Methods for depositing a transition metal chalcogenide film on a substrate by a cyclical deposition process
US10818758B2 (en)2018-11-162020-10-27Asm Ip Holding B.V.Methods for forming a metal silicate film on a substrate in a reaction chamber and related semiconductor device structures
US10559458B1 (en)2018-11-262020-02-11Asm Ip Holding B.V.Method of forming oxynitride film
US12040199B2 (en)2018-11-282024-07-16Asm Ip Holding B.V.Substrate processing apparatus for processing substrates
US11217444B2 (en)2018-11-302022-01-04Asm Ip Holding B.V.Method for forming an ultraviolet radiation responsive metal oxide-containing film
KR102636428B1 (ko)2018-12-042024-02-13에이에스엠 아이피 홀딩 비.브이.기판 처리 장치를 세정하는 방법
US11158513B2 (en)2018-12-132021-10-26Asm Ip Holding B.V.Methods for forming a rhenium-containing film on a substrate by a cyclical deposition process and related semiconductor device structures
TWI874340B (zh)2018-12-142025-03-01荷蘭商Asm Ip私人控股有限公司形成裝置結構之方法、其所形成之結構及施行其之系統
TWI866480B (zh)2019-01-172024-12-11荷蘭商Asm Ip 私人控股有限公司藉由循環沈積製程於基板上形成含過渡金屬膜之方法
KR102727227B1 (ko)2019-01-222024-11-07에이에스엠 아이피 홀딩 비.브이.기판 처리 장치
CN111524788B (zh)2019-02-012023-11-24Asm Ip私人控股有限公司氧化硅的拓扑选择性膜形成的方法
TWI838458B (zh)2019-02-202024-04-11荷蘭商Asm Ip私人控股有限公司用於3d nand應用中之插塞填充沉積之設備及方法
TWI845607B (zh)2019-02-202024-06-21荷蘭商Asm Ip私人控股有限公司用來填充形成於基材表面內之凹部的循環沉積方法及設備
TWI873122B (zh)2019-02-202025-02-21荷蘭商Asm Ip私人控股有限公司填充一基板之一表面內所形成的一凹槽的方法、根據其所形成之半導體結構、及半導體處理設備
KR102626263B1 (ko)2019-02-202024-01-16에이에스엠 아이피 홀딩 비.브이.처리 단계를 포함하는 주기적 증착 방법 및 이를 위한 장치
TWI842826B (zh)2019-02-222024-05-21荷蘭商Asm Ip私人控股有限公司基材處理設備及處理基材之方法
KR102782593B1 (ko)2019-03-082025-03-14에이에스엠 아이피 홀딩 비.브이.SiOC 층을 포함한 구조체 및 이의 형성 방법
KR102858005B1 (ko)2019-03-082025-09-09에이에스엠 아이피 홀딩 비.브이.실리콘 질화물 층을 선택적으로 증착하는 방법, 및 선택적으로 증착된 실리콘 질화물 층을 포함하는 구조체
US11742198B2 (en)2019-03-082023-08-29Asm Ip Holding B.V.Structure including SiOCN layer and method of forming same
JP2020167398A (ja)2019-03-282020-10-08エーエスエム・アイピー・ホールディング・ベー・フェードアオープナーおよびドアオープナーが提供される基材処理装置
KR102809999B1 (ko)2019-04-012025-05-19에이에스엠 아이피 홀딩 비.브이.반도체 소자를 제조하는 방법
KR20200123380A (ko)2019-04-192020-10-29에이에스엠 아이피 홀딩 비.브이.층 형성 방법 및 장치
KR20200125453A (ko)2019-04-242020-11-04에이에스엠 아이피 홀딩 비.브이.기상 반응기 시스템 및 이를 사용하는 방법
US11289326B2 (en)2019-05-072022-03-29Asm Ip Holding B.V.Method for reforming amorphous carbon polymer film
KR20200130121A (ko)2019-05-072020-11-18에이에스엠 아이피 홀딩 비.브이.딥 튜브가 있는 화학물질 공급원 용기
KR20200130652A (ko)2019-05-102020-11-19에이에스엠 아이피 홀딩 비.브이.표면 상에 재료를 증착하는 방법 및 본 방법에 따라 형성된 구조
JP7612342B2 (ja)2019-05-162025-01-14エーエスエム・アイピー・ホールディング・ベー・フェーウェハボートハンドリング装置、縦型バッチ炉および方法
JP7598201B2 (ja)2019-05-162024-12-11エーエスエム・アイピー・ホールディング・ベー・フェーウェハボートハンドリング装置、縦型バッチ炉および方法
USD975665S1 (en)2019-05-172023-01-17Asm Ip Holding B.V.Susceptor shaft
USD947913S1 (en)2019-05-172022-04-05Asm Ip Holding B.V.Susceptor shaft
USD935572S1 (en)2019-05-242021-11-09Asm Ip Holding B.V.Gas channel plate
USD922229S1 (en)2019-06-052021-06-15Asm Ip Holding B.V.Device for controlling a temperature of a gas supply unit
KR20200141002A (ko)2019-06-062020-12-17에이에스엠 아이피 홀딩 비.브이.배기 가스 분석을 포함한 기상 반응기 시스템을 사용하는 방법
KR20200141931A (ko)2019-06-102020-12-21에이에스엠 아이피 홀딩 비.브이.석영 에피택셜 챔버를 세정하는 방법
KR20200143254A (ko)2019-06-112020-12-23에이에스엠 아이피 홀딩 비.브이.개질 가스를 사용하여 전자 구조를 형성하는 방법, 상기 방법을 수행하기 위한 시스템, 및 상기 방법을 사용하여 형성되는 구조
USD944946S1 (en)2019-06-142022-03-01Asm Ip Holding B.V.Shower plate
USD931978S1 (en)2019-06-272021-09-28Asm Ip Holding B.V.Showerhead vacuum transport
KR20210005515A (ko)2019-07-032021-01-14에이에스엠 아이피 홀딩 비.브이.기판 처리 장치용 온도 제어 조립체 및 이를 사용하는 방법
JP7499079B2 (ja)2019-07-092024-06-13エーエスエム・アイピー・ホールディング・ベー・フェー同軸導波管を用いたプラズマ装置、基板処理方法
CN112216646A (zh)2019-07-102021-01-12Asm Ip私人控股有限公司基板支撑组件及包括其的基板处理装置
KR20210010307A (ko)2019-07-162021-01-27에이에스엠 아이피 홀딩 비.브이.기판 처리 장치
KR102860110B1 (ko)2019-07-172025-09-16에이에스엠 아이피 홀딩 비.브이.실리콘 게르마늄 구조를 형성하는 방법
KR20210010816A (ko)2019-07-172021-01-28에이에스엠 아이피 홀딩 비.브이.라디칼 보조 점화 플라즈마 시스템 및 방법
US11643724B2 (en)2019-07-182023-05-09Asm Ip Holding B.V.Method of forming structures using a neutral beam
TWI839544B (zh)2019-07-192024-04-21荷蘭商Asm Ip私人控股有限公司形成形貌受控的非晶碳聚合物膜之方法
KR20210010817A (ko)2019-07-192021-01-28에이에스엠 아이피 홀딩 비.브이.토폴로지-제어된 비정질 탄소 중합체 막을 형성하는 방법
TWI851767B (zh)2019-07-292024-08-11荷蘭商Asm Ip私人控股有限公司用於利用n型摻雜物及/或替代摻雜物選擇性沉積以達成高摻雜物併入之方法
CN112309900A (zh)2019-07-302021-02-02Asm Ip私人控股有限公司基板处理设备
CN112309899A (zh)2019-07-302021-02-02Asm Ip私人控股有限公司基板处理设备
US12169361B2 (en)2019-07-302024-12-17Asm Ip Holding B.V.Substrate processing apparatus and method
US11227782B2 (en)2019-07-312022-01-18Asm Ip Holding B.V.Vertical batch furnace assembly
US11587814B2 (en)2019-07-312023-02-21Asm Ip Holding B.V.Vertical batch furnace assembly
US11587815B2 (en)2019-07-312023-02-21Asm Ip Holding B.V.Vertical batch furnace assembly
CN112323048B (zh)2019-08-052024-02-09Asm Ip私人控股有限公司用于化学源容器的液位传感器
CN112342526A (zh)2019-08-092021-02-09Asm Ip私人控股有限公司包括冷却装置的加热器组件及其使用方法
USD965524S1 (en)2019-08-192022-10-04Asm Ip Holding B.V.Susceptor support
USD965044S1 (en)2019-08-192022-09-27Asm Ip Holding B.V.Susceptor shaft
JP2021031769A (ja)2019-08-212021-03-01エーエスエム アイピー ホールディング ビー.ブイ.成膜原料混合ガス生成装置及び成膜装置
USD949319S1 (en)2019-08-222022-04-19Asm Ip Holding B.V.Exhaust duct
USD930782S1 (en)2019-08-222021-09-14Asm Ip Holding B.V.Gas distributor
USD940837S1 (en)2019-08-222022-01-11Asm Ip Holding B.V.Electrode
KR20210024423A (ko)2019-08-222021-03-05에이에스엠 아이피 홀딩 비.브이.홀을 구비한 구조체를 형성하기 위한 방법
USD979506S1 (en)2019-08-222023-02-28Asm Ip Holding B.V.Insulator
KR20210024420A (ko)2019-08-232021-03-05에이에스엠 아이피 홀딩 비.브이.비스(디에틸아미노)실란을 사용하여 peald에 의해 개선된 품질을 갖는 실리콘 산화물 막을 증착하기 위한 방법
US11286558B2 (en)2019-08-232022-03-29Asm Ip Holding B.V.Methods for depositing a molybdenum nitride film on a surface of a substrate by a cyclical deposition process and related semiconductor device structures including a molybdenum nitride film
KR102806450B1 (ko)2019-09-042025-05-12에이에스엠 아이피 홀딩 비.브이.희생 캡핑 층을 이용한 선택적 증착 방법
KR102733104B1 (ko)2019-09-052024-11-22에이에스엠 아이피 홀딩 비.브이.기판 처리 장치
US11562901B2 (en)2019-09-252023-01-24Asm Ip Holding B.V.Substrate processing method
CN112593212B (zh)2019-10-022023-12-22Asm Ip私人控股有限公司通过循环等离子体增强沉积工艺形成拓扑选择性氧化硅膜的方法
TWI846953B (zh)2019-10-082024-07-01荷蘭商Asm Ip私人控股有限公司基板處理裝置
KR20210042810A (ko)2019-10-082021-04-20에이에스엠 아이피 홀딩 비.브이.활성 종을 이용하기 위한 가스 분배 어셈블리를 포함한 반응기 시스템 및 이를 사용하는 방법
TW202128273A (zh)2019-10-082021-08-01荷蘭商Asm Ip私人控股有限公司氣體注入系統、及將材料沉積於反應室內之基板表面上的方法
TWI846966B (zh)2019-10-102024-07-01荷蘭商Asm Ip私人控股有限公司形成光阻底層之方法及包括光阻底層之結構
US12009241B2 (en)2019-10-142024-06-11Asm Ip Holding B.V.Vertical batch furnace assembly with detector to detect cassette
TWI834919B (zh)2019-10-162024-03-11荷蘭商Asm Ip私人控股有限公司氧化矽之拓撲選擇性膜形成之方法
US11637014B2 (en)2019-10-172023-04-25Asm Ip Holding B.V.Methods for selective deposition of doped semiconductor material
KR102845724B1 (ko)2019-10-212025-08-13에이에스엠 아이피 홀딩 비.브이.막을 선택적으로 에칭하기 위한 장치 및 방법
KR20210050453A (ko)2019-10-252021-05-07에이에스엠 아이피 홀딩 비.브이.기판 표면 상의 갭 피처를 충진하는 방법 및 이와 관련된 반도체 소자 구조
US11646205B2 (en)2019-10-292023-05-09Asm Ip Holding B.V.Methods of selectively forming n-type doped material on a surface, systems for selectively forming n-type doped material, and structures formed using same
KR20210054983A (ko)2019-11-052021-05-14에이에스엠 아이피 홀딩 비.브이.도핑된 반도체 층을 갖는 구조체 및 이를 형성하기 위한 방법 및 시스템
US11501968B2 (en)2019-11-152022-11-15Asm Ip Holding B.V.Method for providing a semiconductor device with silicon filled gaps
KR102861314B1 (ko)2019-11-202025-09-17에이에스엠 아이피 홀딩 비.브이.기판의 표면 상에 탄소 함유 물질을 증착하는 방법, 상기 방법을 사용하여 형성된 구조물, 및 상기 구조물을 형성하기 위한 시스템
US11450529B2 (en)2019-11-262022-09-20Asm Ip Holding B.V.Methods for selectively forming a target film on a substrate comprising a first dielectric surface and a second metallic surface
CN112951697B (zh)2019-11-262025-07-29Asmip私人控股有限公司基板处理设备
CN120432376A (zh)2019-11-292025-08-05Asm Ip私人控股有限公司基板处理设备
CN112885692B (zh)2019-11-292025-08-15Asmip私人控股有限公司基板处理设备
JP7527928B2 (ja)2019-12-022024-08-05エーエスエム・アイピー・ホールディング・ベー・フェー基板処理装置、基板処理方法
KR20210070898A (ko)2019-12-042021-06-15에이에스엠 아이피 홀딩 비.브이.기판 처리 장치
KR20210078405A (ko)2019-12-172021-06-28에이에스엠 아이피 홀딩 비.브이.바나듐 나이트라이드 층을 형성하는 방법 및 바나듐 나이트라이드 층을 포함하는 구조
KR20210080214A (ko)2019-12-192021-06-30에이에스엠 아이피 홀딩 비.브이.기판 상의 갭 피처를 충진하는 방법 및 이와 관련된 반도체 소자 구조
JP7636892B2 (ja)2020-01-062025-02-27エーエスエム・アイピー・ホールディング・ベー・フェーチャネル付きリフトピン
JP7730637B2 (ja)2020-01-062025-08-28エーエスエム・アイピー・ホールディング・ベー・フェーガス供給アセンブリ、その構成要素、およびこれを含む反応器システム
US11993847B2 (en)2020-01-082024-05-28Asm Ip Holding B.V.Injector
KR20210093163A (ko)2020-01-162021-07-27에이에스엠 아이피 홀딩 비.브이.고 종횡비 피처를 형성하는 방법
KR102675856B1 (ko)2020-01-202024-06-17에이에스엠 아이피 홀딩 비.브이.박막 형성 방법 및 박막 표면 개질 방법
TWI889744B (zh)2020-01-292025-07-11荷蘭商Asm Ip私人控股有限公司污染物捕集系統、及擋板堆疊
TW202513845A (zh)2020-02-032025-04-01荷蘭商Asm Ip私人控股有限公司半導體裝置結構及其形成方法
KR20210100010A (ko)2020-02-042021-08-13에이에스엠 아이피 홀딩 비.브이.대형 물품의 투과율 측정을 위한 방법 및 장치
US11776846B2 (en)2020-02-072023-10-03Asm Ip Holding B.V.Methods for depositing gap filling fluids and related systems and devices
KR20210103956A (ko)2020-02-132021-08-24에이에스엠 아이피 홀딩 비.브이.수광 장치를 포함하는 기판 처리 장치 및 수광 장치의 교정 방법
TW202146691A (zh)2020-02-132021-12-16荷蘭商Asm Ip私人控股有限公司氣體分配總成、噴淋板總成、及調整至反應室之氣體的傳導率之方法
TWI855223B (zh)2020-02-172024-09-11荷蘭商Asm Ip私人控股有限公司用於生長磷摻雜矽層之方法
CN113410160A (zh)2020-02-282021-09-17Asm Ip私人控股有限公司专用于零件清洁的系统
KR20210113043A (ko)2020-03-042021-09-15에이에스엠 아이피 홀딩 비.브이.반응기 시스템용 정렬 고정구
KR20210116240A (ko)2020-03-112021-09-27에이에스엠 아이피 홀딩 비.브이.조절성 접합부를 갖는 기판 핸들링 장치
US11876356B2 (en)2020-03-112024-01-16Asm Ip Holding B.V.Lockout tagout assembly and system and method of using same
KR102775390B1 (ko)2020-03-122025-02-28에이에스엠 아이피 홀딩 비.브이.타겟 토폴로지 프로파일을 갖는 층 구조를 제조하기 위한 방법
US12173404B2 (en)2020-03-172024-12-24Asm Ip Holding B.V.Method of depositing epitaxial material, structure formed using the method, and system for performing the method
KR102755229B1 (ko)2020-04-022025-01-14에이에스엠 아이피 홀딩 비.브이.박막 형성 방법
TWI887376B (zh)2020-04-032025-06-21荷蘭商Asm Ip私人控股有限公司半導體裝置的製造方法
TWI888525B (zh)2020-04-082025-07-01荷蘭商Asm Ip私人控股有限公司用於選擇性蝕刻氧化矽膜之設備及方法
US11821078B2 (en)2020-04-152023-11-21Asm Ip Holding B.V.Method for forming precoat film and method for forming silicon-containing film
KR20210128343A (ko)2020-04-152021-10-26에이에스엠 아이피 홀딩 비.브이.크롬 나이트라이드 층을 형성하는 방법 및 크롬 나이트라이드 층을 포함하는 구조
US11996289B2 (en)2020-04-162024-05-28Asm Ip Holding B.V.Methods of forming structures including silicon germanium and silicon layers, devices formed using the methods, and systems for performing the methods
KR20210130646A (ko)2020-04-212021-11-01에이에스엠 아이피 홀딩 비.브이.기판을 처리하기 위한 방법
CN111517797B (zh)*2020-04-232023-08-08西北工业大学一种可量产的高纯SiC陶瓷涂层的低温常压烧结制备方法
CN113555279A (zh)2020-04-242021-10-26Asm Ip私人控股有限公司形成含氮化钒的层的方法及包含其的结构
KR102866804B1 (ko)2020-04-242025-09-30에이에스엠 아이피 홀딩 비.브이.냉각 가스 공급부를 포함한 수직형 배치 퍼니스 어셈블리
KR20210132612A (ko)2020-04-242021-11-04에이에스엠 아이피 홀딩 비.브이.바나듐 화합물들을 안정화하기 위한 방법들 및 장치
KR20210132600A (ko)2020-04-242021-11-04에이에스엠 아이피 홀딩 비.브이.바나듐, 질소 및 추가 원소를 포함한 층을 증착하기 위한 방법 및 시스템
TW202208671A (zh)2020-04-242022-03-01荷蘭商Asm Ip私人控股有限公司形成包括硼化釩及磷化釩層的結構之方法
KR102783898B1 (ko)2020-04-292025-03-18에이에스엠 아이피 홀딩 비.브이.고체 소스 전구체 용기
KR20210134869A (ko)2020-05-012021-11-11에이에스엠 아이피 홀딩 비.브이.Foup 핸들러를 이용한 foup의 빠른 교환
JP7726664B2 (ja)2020-05-042025-08-20エーエスエム・アイピー・ホールディング・ベー・フェー基板を処理するための基板処理システム
KR102788543B1 (ko)2020-05-132025-03-27에이에스엠 아이피 홀딩 비.브이.반응기 시스템용 레이저 정렬 고정구
TW202146699A (zh)2020-05-152021-12-16荷蘭商Asm Ip私人控股有限公司形成矽鍺層之方法、半導體結構、半導體裝置、形成沉積層之方法、及沉積系統
KR20210143653A (ko)2020-05-192021-11-29에이에스엠 아이피 홀딩 비.브이.기판 처리 장치
KR102795476B1 (ko)2020-05-212025-04-11에이에스엠 아이피 홀딩 비.브이.다수의 탄소 층을 포함한 구조체 및 이를 형성하고 사용하는 방법
KR20210145079A (ko)2020-05-212021-12-01에이에스엠 아이피 홀딩 비.브이.기판을 처리하기 위한 플랜지 및 장치
TWI873343B (zh)2020-05-222025-02-21荷蘭商Asm Ip私人控股有限公司用於在基材上形成薄膜之反應系統
KR20210146802A (ko)2020-05-262021-12-06에이에스엠 아이피 홀딩 비.브이.붕소 및 갈륨을 함유한 실리콘 게르마늄 층을 증착하는 방법
TWI876048B (zh)2020-05-292025-03-11荷蘭商Asm Ip私人控股有限公司基板處理方法
TW202212620A (zh)2020-06-022022-04-01荷蘭商Asm Ip私人控股有限公司處理基板之設備、形成膜之方法、及控制用於處理基板之設備之方法
TW202208659A (zh)2020-06-162022-03-01荷蘭商Asm Ip私人控股有限公司沉積含硼之矽鍺層的方法
TW202218133A (zh)2020-06-242022-05-01荷蘭商Asm Ip私人控股有限公司形成含矽層之方法
TWI873359B (zh)2020-06-302025-02-21荷蘭商Asm Ip私人控股有限公司基板處理方法
US12431354B2 (en)2020-07-012025-09-30Asm Ip Holding B.V.Silicon nitride and silicon oxide deposition methods using fluorine inhibitor
CN111533561A (zh)*2020-07-062020-08-14佛山华骏特瓷科技有限公司氮化硅基陶瓷球及其制备方法和应用
TW202202649A (zh)2020-07-082022-01-16荷蘭商Asm Ip私人控股有限公司基板處理方法
KR20220010438A (ko)2020-07-172022-01-25에이에스엠 아이피 홀딩 비.브이.포토리소그래피에 사용하기 위한 구조체 및 방법
KR20220011092A (ko)2020-07-202022-01-27에이에스엠 아이피 홀딩 비.브이.전이 금속층을 포함하는 구조체를 형성하기 위한 방법 및 시스템
TWI878570B (zh)2020-07-202025-04-01荷蘭商Asm Ip私人控股有限公司用於沉積鉬層之方法及系統
US12322591B2 (en)2020-07-272025-06-03Asm Ip Holding B.V.Thin film deposition process
KR20220021863A (ko)2020-08-142022-02-22에이에스엠 아이피 홀딩 비.브이.기판 처리 방법
US12040177B2 (en)2020-08-182024-07-16Asm Ip Holding B.V.Methods for forming a laminate film by cyclical plasma-enhanced deposition processes
TW202228863A (zh)2020-08-252022-08-01荷蘭商Asm Ip私人控股有限公司清潔基板的方法、選擇性沉積的方法、及反應器系統
US11725280B2 (en)2020-08-262023-08-15Asm Ip Holding B.V.Method for forming metal silicon oxide and metal silicon oxynitride layers
TW202229601A (zh)2020-08-272022-08-01荷蘭商Asm Ip私人控股有限公司形成圖案化結構的方法、操控機械特性的方法、裝置結構、及基板處理系統
TW202217045A (zh)2020-09-102022-05-01荷蘭商Asm Ip私人控股有限公司沉積間隙填充流體之方法及相關系統和裝置
USD990534S1 (en)2020-09-112023-06-27Asm Ip Holding B.V.Weighted lift pin
KR20220036866A (ko)2020-09-162022-03-23에이에스엠 아이피 홀딩 비.브이.실리콘 산화물 증착 방법
USD1012873S1 (en)2020-09-242024-01-30Asm Ip Holding B.V.Electrode for semiconductor processing apparatus
TWI889903B (zh)2020-09-252025-07-11荷蘭商Asm Ip私人控股有限公司基板處理方法
US12009224B2 (en)2020-09-292024-06-11Asm Ip Holding B.V.Apparatus and method for etching metal nitrides
KR20220045900A (ko)2020-10-062022-04-13에이에스엠 아이피 홀딩 비.브이.실리콘 함유 재료를 증착하기 위한 증착 방법 및 장치
CN114293174A (zh)2020-10-072022-04-08Asm Ip私人控股有限公司气体供应单元和包括气体供应单元的衬底处理设备
TW202229613A (zh)2020-10-142022-08-01荷蘭商Asm Ip私人控股有限公司於階梯式結構上沉積材料的方法
TW202232565A (zh)2020-10-152022-08-16荷蘭商Asm Ip私人控股有限公司製造半導體裝置之方法及使用乙太網路控制自動化技術之基板處理裝置
TW202217037A (zh)2020-10-222022-05-01荷蘭商Asm Ip私人控股有限公司沉積釩金屬的方法、結構、裝置及沉積總成
TW202223136A (zh)2020-10-282022-06-16荷蘭商Asm Ip私人控股有限公司用於在基板上形成層之方法、及半導體處理系統
TW202229620A (zh)2020-11-122022-08-01特文特大學沉積系統、用於控制反應條件之方法、沉積方法
TW202229795A (zh)2020-11-232022-08-01荷蘭商Asm Ip私人控股有限公司具注入器之基板處理設備
TW202235649A (zh)2020-11-242022-09-16荷蘭商Asm Ip私人控股有限公司填充間隙之方法與相關之系統及裝置
TW202235675A (zh)2020-11-302022-09-16荷蘭商Asm Ip私人控股有限公司注入器、及基板處理設備
US12255053B2 (en)2020-12-102025-03-18Asm Ip Holding B.V.Methods and systems for depositing a layer
TW202233884A (zh)2020-12-142022-09-01荷蘭商Asm Ip私人控股有限公司形成臨限電壓控制用之結構的方法
US11946137B2 (en)2020-12-162024-04-02Asm Ip Holding B.V.Runout and wobble measurement fixtures
TW202232639A (zh)2020-12-182022-08-16荷蘭商Asm Ip私人控股有限公司具有可旋轉台的晶圓處理設備
TW202242184A (zh)2020-12-222022-11-01荷蘭商Asm Ip私人控股有限公司前驅物膠囊、前驅物容器、氣相沉積總成、及將固態前驅物裝載至前驅物容器中之方法
TW202226899A (zh)2020-12-222022-07-01荷蘭商Asm Ip私人控股有限公司具匹配器的電漿處理裝置
TW202231903A (zh)2020-12-222022-08-16荷蘭商Asm Ip私人控股有限公司過渡金屬沉積方法、過渡金屬層、用於沉積過渡金屬於基板上的沉積總成
US12170213B2 (en)2021-02-172024-12-17Applied Materials, Inc.Flat pocket susceptor design with improved heat transfer
USD980813S1 (en)2021-05-112023-03-14Asm Ip Holding B.V.Gas flow control plate for substrate processing apparatus
USD981973S1 (en)2021-05-112023-03-28Asm Ip Holding B.V.Reactor wall for substrate processing apparatus
USD1023959S1 (en)2021-05-112024-04-23Asm Ip Holding B.V.Electrode for substrate processing apparatus
USD980814S1 (en)2021-05-112023-03-14Asm Ip Holding B.V.Gas distributor for substrate processing apparatus
USD990441S1 (en)2021-09-072023-06-27Asm Ip Holding B.V.Gas flow control plate
USD1060598S1 (en)2021-12-032025-02-04Asm Ip Holding B.V.Split showerhead cover

Family Cites Families (6)

* Cited by examiner, † Cited by third party
Publication numberPriority datePublication dateAssigneeTitle
JPS5921579A (ja)*1982-07-291984-02-03大森 守炭化珪素焼結成形体とその製造方法
US5514439A (en)*1994-10-141996-05-07Sibley; ThomasWafer support fixtures for rapid thermal processing
JPH1167675A (ja)1997-08-211999-03-09Toshiba Ceramics Co Ltd高速回転気相薄膜形成装置及びそれを用いる高速回転気相薄膜形成方法
US6136243A (en)*1998-06-042000-10-24Case Western Reserve UniversityMethod for molding high precision components
US6755984B2 (en)*2002-10-242004-06-29Hewlett-Packard Development Company, L.P.Micro-casted silicon carbide nano-imprinting stamp
US6799940B2 (en)*2002-12-052004-10-05Tokyo Electron LimitedRemovable semiconductor wafer susceptor

Cited By (1)

* Cited by examiner, † Cited by third party
Publication numberPriority datePublication dateAssigneeTitle
JP2017168613A (ja)*2016-03-162017-09-21信越半導体株式会社熱処理装置

Also Published As

Publication numberPublication date
US20100163524A1 (en)2010-07-01
US8524103B2 (en)2013-09-03

Similar Documents

PublicationPublication DateTitle
JP2010157536A (ja)サセプタの製造方法
EP2037485B1 (en)Fabrication apparatus and fabrication method of semiconductor device produced by heating a substrate
KR100852857B1 (ko)기상성장방법과 기상성장장치
US8795435B2 (en)Susceptor, coating apparatus and coating method using the susceptor
KR101885747B1 (ko)개선된 웨이퍼 캐리어
JP5992334B2 (ja)ウエハのエッジおよび斜面の堆積を修正するためのシャドウリング
JP5038073B2 (ja)半導体製造装置および半導体製造方法
JP2010129764A (ja)サセプタ、半導体製造装置および半導体製造方法
TWI396250B (zh)晶座、半導體製造裝置及半導體製造方法
US9150981B2 (en)Manufacturing apparatus and method for semiconductor device
JP4933409B2 (ja)半導体製造装置および半導体製造方法
JP2011040615A (ja)半導体製造装置および半導体製造方法
JP5271648B2 (ja)半導体製造方法および半導体製造装置
KR101237091B1 (ko)반도체 제조 방법
JP5432608B2 (ja)半導体製造方法および半導体製造装置
JP2010074037A (ja)サセプタ、半導体製造装置および半導体製造方法
JP2013048262A (ja)サセプタ、半導体製造装置及び半導体製造方法
JP2008066559A (ja)半導体製造方法及び半導体製造装置
KR20200026620A (ko)에피택셜 웨이퍼 제조 장치
JP5264384B2 (ja)気相成長装置及び気相成長方法
JP2008243938A (ja)熱cvd方法および熱cvd装置
JP2007227734A (ja)半導体製造装置及び半導体製造方法
JP2011066225A (ja)半導体製造方法
JP2007234775A (ja)半導体製造装置

[8]ページ先頭

©2009-2025 Movatter.jp