











本発明は、半導体装置に関する。 The present invention relates to a semiconductor device.
MISFETは微細化により、GHz以上の高周波アナログ回路に使用されるようになっている。しかし、高周波アナログ回路に使用する場合、MISFETの持つ種々の寄生抵抗と寄生容量が回路の性能を劣化させるという問題があった。図10はMISFETを高周波で使用する場合のMISFETの等価回路の一例である。図10で、点線で囲む部分は本来のMISFETの部分であるが、高周波で使用する場合には図10のように、MISFETのまわりに寄生抵抗・寄生容量・寄生インダクタンスを付加して高周波特性を再現する。この寄生成分はMISFETに付随する配線や基板が持っている成分である。このような寄生成分の内、特にゲート電極の抵抗ReleはMISFETの性能に対する影響が大きく、ノイズ指数NFや最大発振周波数fmaxを劣化させる。このゲート電極抵抗ReleはMISFETのゲート電極自身が持つ抵抗である。 MISFETs are used for high frequency analog circuits of GHz or higher due to miniaturization. However, when used in a high-frequency analog circuit, there is a problem that various parasitic resistances and parasitic capacitances of the MISFET deteriorate the circuit performance. FIG. 10 is an example of an equivalent circuit of a MISFET when the MISFET is used at a high frequency. In FIG. 10, the portion surrounded by the dotted line is the original MISFET portion. However, when used at high frequency, parasitic resistance, parasitic capacitance, and parasitic inductance are added around the MISFET as shown in FIG. Reproduce. This parasitic component is a component possessed by the wiring or substrate accompanying the MISFET. Among these parasitic components, the resistance Rele of the gate electrode has a great influence on the performance of the MISFET, and degrades the noise figure NF and the maximum oscillation frequency fmax. This gate electrode resistance Rele is a resistance of the gate electrode of the MISFET itself.
近年のMISFETではゲート電極は多結晶シリコン(ポリシリコン)と、シリコンと金属の合金(シリサイド)の2層構造が使用される。これにより、単純にポリシリコンを用いるゲート電極よりは低抵抗に出来る。図11は、MISFETのレイアウトの一例を示す上面図である。図11に示すMISFETのゲート電極100の抵抗Releは簡単には次式で与えられる。 In recent MISFETs, the gate electrode has a two-layer structure of polycrystalline silicon (polysilicon) and an alloy of silicon and metal (silicide). As a result, the resistance can be made lower than that of a gate electrode that simply uses polysilicon. FIG. 11 is a top view showing an example of the layout of the MISFET. The resistance Rele of the
ここで、ρsilはシリサイドのシート抵抗、ρintはシリサイドとポリシリコンの界面抵抗、Wはゲート幅、Rconはコンタクト抵抗である。MISFETのゲート長Lが短くなるとゲート電極100が細長くなるために上式より大きな抵抗が発生することがわかる。 Here, ρsil is the silicide sheet resistance, ρint is the interface resistance between silicide and polysilicon, W is the gate width, and Rcon is the contact resistance. It can be seen that when the gate length L of the MISFET is shortened, the
このゲート電極抵抗を低減する方法として、図12に示すようなゲート電極直上コンタクト構造が提案されている(特許文献1、特許文献2、特許文献3、特許文献4、特許文献5など参照)。これらの構造では、MISFETのゲート電極100のチャネル領域170の上にコンタクト130を配置して、第1のメタル配線180に接続する。第1のメタル配線180のシート抵抗はシリサイドの1/100程度と低抵抗なので、(1)式における1項目はほぼ無視できる。さらにコンタクト数を図11の構造よりも増やすことが出来るので3項目も小さく出来る。これにより、ゲート電極抵抗の低減が可能であった。 As a method for reducing the gate electrode resistance, a contact structure immediately above the gate electrode as shown in FIG. 12 has been proposed (see Patent Document 1, Patent Document 2, Patent Document 3, Patent Document 4, Patent Document 5, etc.). In these structures, the
このゲート直上コンタクト構造はゲート電極抵抗を低減できるが、ゲート電極100に沿って第1のメタル配線180を配置する必要があるために、メタル配線の寄生容量が増大していた。具体的には図10におけるゲート-ソース間容量Cmgsとゲート-ドレイン間容量Cmgdに影響が現れる。この容量の増大により、遮断周波数fTや最大発振周波数fmaxが劣化する。また、ゲート電極100上の第1のメタル配線180は、ソース拡散層110およびドレイン拡散層120の第2のメタル配線190と平行して配置されるので、ソース拡散層110およびドレイン拡散層120の第2のメタル配線190の間にゲート電極100の第1のメタル配線180を配置する必要があるが、このためにはソース拡散層110およびドレイン拡散層120の各第2のメタル配線190の間隔を広げる必要があり、MISFETの占有面積が増大していた。Although the contact structure directly above the gate can reduce the gate electrode resistance, since the
また、特許文献2にはゲート電極のメタル配線をソース・ドレインのメタル配線に対して垂直に配置する構造が記載されている。 Patent Document 2 describes a structure in which the metal wiring of the gate electrode is arranged perpendicular to the metal wiring of the source / drain.
また、従来のゲート電極100の第1のメタル配線180とソース拡散層110およびドレイン拡散層120の第2のメタル配線190とは同じ層に設けられていた。それは、1つのリソグラフィーパターンで第1のメタル配線180と第2のメタル配線190とを形成でき、製造工程が容易になるためである。
このように、従来のゲート直上コンタクト構造では、ソース・ドレインのメタル配線と同層にゲート電極のメタル配線が配置されていたために、メタル配線の寄生容量が増大していた。このメタル配線の寄生容量の低減させるためにはMISFETの占有面積を増大させる必要があった。そのため、MISFETの占有面積の増大を抑制しつつメタル配線の寄生容量を低減することが困難であった。 As described above, in the conventional contact structure directly above the gate, the metal wiring of the gate electrode is arranged in the same layer as the metal wiring of the source / drain, and therefore the parasitic capacitance of the metal wiring is increased. In order to reduce the parasitic capacitance of the metal wiring, it is necessary to increase the occupation area of the MISFET. For this reason, it is difficult to reduce the parasitic capacitance of the metal wiring while suppressing the increase in the area occupied by the MISFET.
本発明によれば、基板と、前記基板上に設けられた複数の電界効果トランジスタと、前記電界効果トランジスタの上部に電気的に接続された多層配線構造と、を備えた半導体装置であって、
前記電界効果トランジスタは、
前記基板の表面近傍に設けられたソース拡散層と、
前記基板の表面近傍に設けられたドレイン拡散層と、
前記ソース拡散層と前記ドレイン拡散層と間の前記基板の上部に絶縁膜を介して設けられたゲート電極と、を有し、
前記多層配線構造は、
前記ゲート電極の上部に設けられた複数の第1のコンタクトと、
前記ソース拡散層の上部に設けられた複数の第2のコンタクトと、
前記ドレイン拡散層の上部に設けられた複数の第3のコンタクトと、
前記第1のコンタクトの上部に設けられた接続パッドと、
前記接続パッドの上部に設けられた導電プラグと、
前記導電プラグの上部に設けられた第1の配線と、
前記第2のコンタクトの上部に設けられた第2の配線と、
前記第3のコンタクトの上部に設けられた第3の配線と、を有し、
前記第1の配線は、前記第1のコンタクト、前記接続パッド、および前記導電プラグを介して前記ゲート電極に電気的に接続され、前記接続パッドは、前記第2の配線および前記第3の配線と同層に設けられ、
前記第1の配線は、前記第2の配線および前記第3の配線よりも上層に設けられたことを特徴とする半導体装置が提供される。According to the present invention, there is provided a semiconductor device comprising a substrate, a plurality of field effect transistors provided on the substrate, and a multilayer wiring structure electrically connected to an upper portion of the field effect transistor,
The field effect transistor is
A source diffusion layer provided near the surface of the substrate;
A drain diffusion layer provided near the surface of the substrate;
A gate electrode provided above the substrate between the source diffusion layer and the drain diffusion layer via an insulating film,
The multilayer wiring structure is
A plurality of first contacts provided on the gate electrode;
A plurality of second contacts provided on the source diffusion layer;
A plurality of third contacts provided on the drain diffusion layer;
A connection pad provided on top of the first contact;
A conductive plug provided on the connection pad;
A first wiring provided on the conductive plug;
A second wiring provided on top of the second contact;
A third wiring provided on top of the third contact;
The first wiring is electrically connected to the gate electrode through the first contact, the connection pad, and the conductive plug, and the connection pad includes the second wiring and the third wiring. Is provided in the same layer as
The semiconductor device is provided in which the first wiring is provided in an upper layer than the second wiring and the third wiring.
第1の配線は、第2の配線と第3の配線との同層に設けられた接続パッドの上部に導電プラグを介して設けられる。 The first wiring is provided via a conductive plug on a connection pad provided in the same layer as the second wiring and the third wiring.
ソース拡散層およびドレイン拡散層の配線より上層にゲート電極の配線を設けられるので、半導体装置の占有面積の増大を抑制しつつメタル配線の寄生容量を低減できる。 Since the gate electrode wiring is provided above the wiring of the source diffusion layer and the drain diffusion layer, the parasitic capacitance of the metal wiring can be reduced while suppressing an increase in the area occupied by the semiconductor device.
(第1の実施形態)
本発明の実施の一形態を図面を参照して以下に説明する。ただし、本実施の形態に関して前述した一従来例と同一の部分は、同一の名称を使用して詳細な説明は省略する。なお、本実施の形態では図示するように前後左右上下の方向を規定して説明する。しかし、これは構成要素の相対関係を簡単に説明するために便宜的に規定するものである。従って、本発明を実施する製品の製造時や使用時の方向を限定するものではない。(First embodiment)
An embodiment of the present invention will be described below with reference to the drawings. However, the same portions as those of the conventional example described above with respect to the present embodiment are denoted by the same names, and detailed description thereof is omitted. In the present embodiment, description will be made by defining the front-rear, left-right, up-down directions as shown. However, this is provided for the sake of convenience in order to briefly explain the relative relationship between the components. Therefore, the direction at the time of manufacture and use of the product which implements the present invention is not limited.
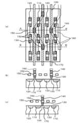
図1は本発明の第1の実施形態のMISFETを示す。図1(b)は、上面図(図1(a))のA−A'の位置での断面図である。このMISFETは複数の電界効果トランジスタが横に並べられて、お互いの電界効果トランジスタが電気的に並列接続されるマルチフィンガー形状を有する。図1では3つ構成単位のMISFETを示している。 FIG. 1 shows a MISFET according to a first embodiment of the present invention. FIG.1 (b) is sectional drawing in the position of AA 'of a top view (FIG.1 (a)). The MISFET has a multi-finger shape in which a plurality of field effect transistors are arranged side by side and the field effect transistors are electrically connected in parallel. FIG. 1 shows three MISFETs of structural units.
本発明の第1の実施形態の半導体装置は、基板と、基板上に設けられた複数の電界効果トランジスタと、電界効果トランジスタの上部に電気的に接続された多層配線構造と、を備える。この電界効果トランジスタは、基板の表面近傍に設けられたソース拡散層110と、基板の表面近傍に設けられたドレイン拡散層120と、ソース拡散層110とドレイン拡散層120と間の基板の上部に絶縁膜を介して設けられたゲート電極100と、を有する。また、多層配線構造は、ゲート電極100の上部に設けられた複数の第1のコンタクト130と、ソース拡散層110の上部に設けられた複数の第2のコンタクト130と、ドレイン拡散層120の上部に設けられた複数の第3のコンタクト130と、第1のコンタクト130の上部に設けられた接続パッド152と、接続パッド152の上部に設けられた導電プラグ(ビア140)と、ビア140の上部に設けられた第1の配線(M2配線160)と第2のコンタクト130の上部に設けられた第2の配線(M1配線150)と、第3のコンタクト130の上部に設けられた第3の配線(M1配線150)と、を有する。ここで、接続パッド152は、島状M1配線である。島状M1配線とは、当該配線が接続されたコンタクトに隣接するコンタクトとの距離よりも長さが短いM1配線を意味する。
さらに、第1の配線(M2配線160)は、第1のコンタクト130、接続パッド152、およびビア140を介してゲート電極100に電気的に接続する。この接続パッド152は、第2の配線(M1配線150)および第3の配線(M1配線150)と同層に設けられている。そのため、第1の配線(M2配線160)は、第2の配線(M1配線150)および第3の配線(M1配線150)よりも上層に設けられる。また第1の配線(M2配線160)より下層の接続パッド152およびビア140は、第1のコンタクト130の直上部近傍のみに配置されるものである。A semiconductor device according to a first embodiment of the present invention includes a substrate, a plurality of field effect transistors provided on the substrate, and a multilayer wiring structure electrically connected to the upper portion of the field effect transistor. The field effect transistor includes a
Further, the first wiring (M2 wiring 160) is electrically connected to the
本実施形態の多層配線構は、配線および絶縁膜により構成された配線層が複数積層されたものである。この配線は金属を主成分とする配線であれば特に限定されない。この絶縁膜は、例えば配線材を絶縁分離する膜(層間絶縁膜)である。また、メタル配線およびコンタクトの材料は、主にCuを主成分とすることができる。金属配線材の信頼性を向上させるため、Cu以外の金属元素がCuからなる部材に含まれていても良く、Cu以外の金属元素がCuの上面や側面などに形成されていても良い。さらに、配線あるいはコンタクトを構成する金属元素が層間絶縁膜や下層へ拡散することを防止するために、配線の側面および底面を被覆するバリアメタル膜を設けてもよい。バリアメタル膜は、銅の拡散に対してバリアとなる性質を有する導電性膜を示す。例えば、配線がCuを主成分とする金属元素からなる場合には、タンタル(Ta)、チタン(Ti)、およびタングステン(W)のような高融点金属やその窒化物等、またはそれらの積層膜が使用されてもよい。このメタル配線の形成方法は特に限定されず、エッチング法、ダマシン法などが用いられる。メタル配線下およびメタル配線間の層間絶縁膜のいずれにもCMPを用いることができる。また、接続パッド152も配線と同様の材料で構成することができる。 The multilayer wiring structure of the present embodiment is obtained by laminating a plurality of wiring layers composed of wiring and insulating films. The wiring is not particularly limited as long as the wiring is mainly composed of metal. This insulating film is, for example, a film (interlayer insulating film) for insulating and separating the wiring material. Further, the material of the metal wiring and the contact can be mainly composed of Cu. In order to improve the reliability of the metal wiring material, a metal element other than Cu may be included in the member made of Cu, or a metal element other than Cu may be formed on the upper surface or side surface of Cu. Furthermore, in order to prevent the metal element constituting the wiring or contact from diffusing into the interlayer insulating film or the lower layer, a barrier metal film covering the side and bottom surfaces of the wiring may be provided. The barrier metal film is a conductive film having a property of serving as a barrier against copper diffusion. For example, when the wiring is made of a metal element whose main component is Cu, a refractory metal such as tantalum (Ta), titanium (Ti), and tungsten (W), nitrides thereof, or a laminated film thereof May be used. The method for forming the metal wiring is not particularly limited, and an etching method, a damascene method, or the like is used. CMP can be used for both the interlayer insulating film under the metal wiring and between the metal wirings. Further, the
本実施形態において、電界効果トランジスタは、横に並べられて、お互いの電界効果トランジスタは電気的に並列接続されるマルチフィンガー構造となっている。例えば図1に例示するように、基板上のゲート電極100、ソース拡散層110、およびドレイン拡散層120がそれぞれ延設した方向をゲート電極100の延在方向とし、これらにより構成されたMISFETを構成単位とする。このマルチフィンガー構造は、ゲート電極100の延在方向に対して直角方向に配置されたMISFETの構成単位が、互に電気的に並列接続されたものである。2つの単位電界効果トランジスタは、ソース拡散層110またはドレイン拡散層120を共用することができる。本実施形態のMISFETはアナログ回路に用いてもよい。 In the present embodiment, the field effect transistors are arranged side by side, and each field effect transistor has a multi-finger structure in which the field effect transistors are electrically connected in parallel. For example, as illustrated in FIG. 1, the direction in which the
また第1、第2、および第3のコンタクト130は、それぞれ基板上のゲート電極100、ソース拡散層110、およびドレイン拡散層120上に複数設けられてもよい。第1のコンタクト130と、第2および第3のコンタクト130とは、MISFETの構成単位中で同数でも異なった数でもよい。図1に示すように、第1のコンタクト130、第2のコンタクト130および第3のコンタクト130のそれぞれのコンタクト配置は格子状となってもよい。さらに、それぞれのコンタクト配置のコンタクトの縦横の位置は一致してもよく、異なってもよい。このコンタクト配置は、第1の配線(M2配線160)が第2の配線および第3の配線(M1配線150)より上層に設けられる限り、特に限定されない。 A plurality of first, second, and
ゲート電極100の第1のコンタクト130の径がゲート長より大きい場合には第1のコンタクト130がゲート電極100からはみ出す形状となる。この場合でも、ゲート電極100の側面にはシリコン窒化膜などで形成されるサイドウォール(図示せず)を配置することができるため、第1コンタクト130がサイドウォールからはみ出さない限りは、第1のコンタクト130とソース・ドレイン領域(ソース拡散層110、ドレイン拡散層120)とが短絡することを防ぐことができる。 When the diameter of the
また、図1に示すように、ソース拡散層110の第2のコンタクト130はMISFETのチャネル領域170と直列に接続される。またドレイン拡散層120の第3のコンタクト130も同様に直列に接続される。これにより、第2のコンタクト130および第3のコンタクト130は抵抗が大きいとオン電流などMISFETのDC特性に影響を与えるが、ゲート電極100の第1のコンタクト130はゲート電極抵抗に直列に接続されるのでゲート電極抵抗に対して相対的に低ければよい。そのため、上述のとおり、ゲート電極100に形成する第1コンタクト130の数はソース拡散層110に形成する第2のコンタクト130またはドレイン拡散層120に形成する第3のコンタクト130の数よりも少なくしてもよい。 Further, as shown in FIG. 1, the
M2配線160は、接続パッド152およびビア140を介して、ゲート電極100と電気的に接続するものである。本実施形態の第1の配線(M2配線160)は、ゲート電極100の上部に設けられた第1のコンタクト130の直上部近傍のみに配置された接続パッド152およびビア140を介して、ゲート電極100の上層に設ける。これにより、このM2配線160は、ソース拡散層110およびドレイン拡散層120のそれぞれの配線(M1配線150)より上層に設けられる。 The
また、M2配線160は、ソース拡散層110およびドレイン拡散層120のそれぞれの配線(M1配線150)より上層に設けられているかぎり、自由なパターンの配線構造で第1のコンタクト130を電気的に接続することができる。M2配線160は、M1配線150と同層に設けられた接続パッド152の上部にビア140を介して設けられる。M2配線160は、同一のゲート電極100上部の第1のコンタクト130と接続してもよく、異なるゲート電極100にまたがって複数の第1のコンタクト130と接続してもよい。また、M2配線160は、1つの配線層で設けられていてもよく、複数の配線層にまたがって設けられていてもよい。さらには、M2配線160は最上配線層に形成されてもよい。 Further, as long as the
この接続パッド152は、ゲート電極100の延在方向における第1のコンタクト130同士を接続しなければ、特に限定されない。また接続パッド152は、第1のコンタクト130と同径程度の径を有してもよい。本実施形態の配線抵抗の低減の効果が得られる範囲で調整できる。本実施形態では、接続パッド152(島状M1配線)は、ソース拡散層110およびドレイン拡散層120のそれぞれの配線(M1配線150)と同じリソグラフィーパターンで形成されてもよい。接続パッド152は、M1配線150と同層に設けられている。
導電プラグは、本実施形態では、図1に例示するように、ビア140であるが、これに限定されるものではない。複数のビア140と接続パッド152とが設けられていてもよい。これにより、M2配線160をさらに上層に形成することができる。The
In this embodiment, the conductive plug is a via 140 as illustrated in FIG. 1, but is not limited thereto. A plurality of
本実施形態では、メタル配線層として最下層のM1配線150、およびM1配線150よりひとつ上の層のM2配線160を使用するものとする。M1配線150とM2配線160の場合のみを示すが、さらに上層のメタル配線を使用することもできる。ただし、上層の配線を使用した場合でも、ソース拡散層110の配線およびドレイン拡散層120の配線に対するゲート電極100の配線の相対的な位置関係は変わらないものとする。つまり、どのような多層配線構造でも、第2の配線(M1配線150)および第3の配線(M1配線150)に対する第1の配線(M2配線160)の相対的な位置関係は維持されるものとする。 In the present embodiment, it is assumed that the
図1に示すように、第1の配線(M2配線160)は、第2の配線(M1配線150)および第3の配線(M1配線150)と平行に設けられている。ソース・ドレイン配線はM1配線150を使用する。この、M1配線150はゲート電極100に平行に配置されている。チャネル部170の複数の箇所に第1のコンタクト130を配置する。第1のコンタクト130近傍のみに接続パッド152を配置する。このようにして、ビア140を介してゲート電極100をM2配線160に接続する。ゲート電極100の延在方向に対して平行な方向にM2配線160でゲート電極100は接続される。ここで、「平行」とは、各配線が配置される際に、本実施形態の効果を奏する範囲の程度の誤差を許容することを意味する。 As shown in FIG. 1, the first wiring (M2 wiring 160) is provided in parallel with the second wiring (M1 wiring 150) and the third wiring (M1 wiring 150).
本実施形態の効果について説明する。M2配線160はゲート電極100に平行に配置しMISFETの外側まで接続される。この形状ではゲート電極100のメタル配線(M2配線160)とソース拡散層110・ドレイン拡散層120のメタル配線(M1配線150)は並列に配置される。ソース拡散層110・ドレイン拡散層120が主にM1配線150で形成されるのに対して、ゲート電極100はM2配線160で形成される。M2配線160は、ソース拡散層110およびドレイン拡散層120のそれぞれの配線(M1配線150)より上層に設けられる。
また、M1配線150と同層には、接続パッド152が設けられている。M1配線150は、ゲート電極100の延在方向に延設する構造であるのに対して、本実施形態の接続パッド152は、第1のコンタクト130近傍のみに配置される。
これにより、本実施形態のゲート電極100とソース拡散層110・ドレイン拡散層120との間の寄生容量は、全ての(ゲート電極100、ソース拡散層110、ドレイン拡散層120の配線がM1配線150で形成される場合よりも小さくなる。つまり、M2配線160とM1配線150とが同層に設けられた構造よりも、本実施形態のM2配線160がM1配線150よりも上層に設けられた構造の方が、ゲート電極100とソース拡散層110・ドレイン拡散層120との間の寄生容量は小さくなる。The effect of this embodiment will be described. The
A
As a result, the parasitic capacitance between the
また、本実施形態では、複数の第1のコンタクト130とこの上部に設けられた第1のコンタクト130と同径程度の接続パッド152およびビア140を介して、ゲート電極100のメタル配線としてM2配線160をゲート電極100上に設けるため、ゲート電極100の抵抗を低減することができる。
このように、本実施形態では、ゲート電極100の抵抗を低減しつつメタル配線の寄生容量増大を抑制できる。また、M2配線160をM1配線150よりも上層に設ける構造により、M1配線150の間隔を広げずにメタル配線の寄生容量の増大を抑制できるため、MISFETの占有面積の増大を抑制することができる。よって、M2配線160とM1配線150とが同層に設けられていないため、従来と比較してメタル配線の寄生容量を低減したまま、ソース拡散層110・ドレイン拡散層120のメタル配線の間隔を狭めてMISFETの占有面積を低減することができる。In the present embodiment, the M2 wiring is used as the metal wiring of the
As described above, in this embodiment, an increase in the parasitic capacitance of the metal wiring can be suppressed while the resistance of the
ところで、上述のとおり、従来のゲート電極のメタル配線とソース拡散層およびドレイン拡散層のメタル配線とは同じ層に設けられていた。それは、1つのリソグラフィーパターンでゲート電極のメタル配線とソース拡散層およびドレイン拡散層のメタル配線とを形成でき、製造工程が容易になるためである。そのため、メタル配線を異なる層に設けるためには、平坦化の工程や新たなリソグラフィーパターンが必要となり製造工程が煩雑になる。そのため、ゲート電極のメタル配線とソース拡散層およびドレイン拡散層のメタル配線は異なる層に設けられることは通常なかった。 Incidentally, as described above, the conventional metal wiring of the gate electrode and the metal wiring of the source diffusion layer and the drain diffusion layer are provided in the same layer. This is because the metal wiring of the gate electrode and the metal wiring of the source diffusion layer and the drain diffusion layer can be formed with one lithography pattern, and the manufacturing process becomes easy. Therefore, in order to provide the metal wiring in different layers, a flattening process and a new lithography pattern are required, and the manufacturing process becomes complicated. Therefore, the metal wiring of the gate electrode and the metal wiring of the source diffusion layer and the drain diffusion layer are usually not provided in different layers.
これに対して、本実施形態では、新たなリソグラフィーパターンにより製造工程が増加するが、M2配線160とM1配線150とが同層に設けられた構造よりも、本実施形態のM2配線160がM1配線150よりも上層に設けられた構造の方が、ゲート電極100とソース拡散層110・ドレイン拡散層120との間の寄生容量を小さすることができる。さらに、本実施形態では、メタル配線の寄生容量を低減させるためにはMISFETの占有面積を増大させる必要もない。 On the other hand, in the present embodiment, the number of manufacturing steps increases due to the new lithography pattern, but the
また、特許文献2には、ゲート電極のメタル配線をソース・ドレインのメタル配線に垂直に配置した場合でもゲート電極から上方のメタル配線に接続するための接続部分はソース・ドレインのメタル配線の間を通る必要があり、MISFETの占有面積が増大する問題があった。 Further, in Patent Document 2, even when the metal wiring of the gate electrode is arranged perpendicular to the metal wiring of the source / drain, the connecting portion for connecting from the gate electrode to the upper metal wiring is between the metal wiring of the source / drain. There is a problem that the occupied area of the MISFET increases.
これに対して、本実施形態では、ゲート電極100のM2配線160とソース拡散層110・ドレイン拡散層120のM1配線150とは同層に設けられていないため、従来と比較してメタル配線の寄生容量を低減したまま、ソース拡散層110・ドレイン拡散層120のメタル配線の間隔を狭めてMISFETの占有面積を低減することができる。 In contrast, in the present embodiment, the
(第2の実施形態)
図2は本発明の第2の実施形態のMISFETを示す。図2(b)は、上面図(図2(a))のA−A'の位置での断面図である。図2では3つ構成単位のMISFETを示している。第2の実施形態は、第1の配線(M2配線160)は、第2の配線(M1配線150)および第3の配線(M1配線150)と直角に設けられている点が第1の実施形態と異なる。第1の実施形態と同様に図2に示すMISFETはマルチフィンガー形状を有する。ここで、「直角」とは、各配線が配置される際に、本実施形態の効果を奏する範囲の程度の誤差を許容することを意味する。本実施形態では、図2に示すように、M1配線150はゲート電極100の延在方向に延設する構成であるのに対して、M2配線160は基板に対して平行であって、このゲート電極100の延在方向に対して直角に延設する構成となる。(Second Embodiment)
FIG. 2 shows a MISFET according to a second embodiment of the present invention. FIG. 2B is a cross-sectional view taken along the line AA ′ in the top view (FIG. 2A). FIG. 2 shows three MISFETs as structural units. In the second embodiment, the first wiring (M2 wiring 160) is provided at right angles to the second wiring (M1 wiring 150) and the third wiring (M1 wiring 150). Different from form. Similar to the first embodiment, the MISFET shown in FIG. 2 has a multi-finger shape. Here, “right angle” means that an error of a range within which the effect of the present embodiment is achieved is allowed when each wiring is arranged. In the present embodiment, as shown in FIG. 2, the
図2ではソース拡散層110・ドレイン拡散層120の配線はM1配線150を使用し、ゲート電極100の延在方向に対して平行に配置されている。チャネル領域170の複数の箇所に第1のコンタクト130を配置し、第1のコンタクト130近傍のみに接続パッド152を配置し、さらにビア140を介してゲート電極100をM2配線160に接続する。このM2配線160はゲート電極100の延在方向に対して直角に配置されMISFETの外側まで接続される。この形状ではゲート電極100のメタル配線(M2配線160)とソース拡散層110・ドレイン拡散層120のメタル配線(M1配線150)はゲート電極100の延在方向に対して直角に配置される。ゲート電極100の延在方向に対して直角の方向にM2配線160でゲート電極100は接続される。さらに、ソース拡散層110・ドレイン拡散層120の配線に対して、ゲート電極100の配線は並列に配置されていないので、ゲート電極100とソース拡散層110・ドレイン拡散層120との間の寄生容量は小さくなる。さらに、本実施形態は第1の実施形態と同様の効果が得られる。 In FIG. 2, the wiring of the
(第3の実施形態)
図3は本発明の第3の実施形態のMISFETを示す。図3(b)は、上面図(図3(a))のA−A'の位置での断面図である。図3(c)は、上面図(図3(a))のB−B'の位置での断面図である。第3の実施形態は、ゲート電極100の延在方向に設けられた第三の配線(M1配線150)と第二の配線(M1配線150)との間隔において、第一のコンタクト130の近傍の該間隔は、隣接する第2のコンタクト130と第3のコンタクト130との間隔よりも広い点、および第1のコンタクト130は、複数のゲート電極100の当該延在方向に対して直角方向の上部に1つおきに設けられている点が第1の実施形態と異なる。(Third embodiment)
FIG. 3 shows a MISFET according to a third embodiment of the present invention. FIG. 3B is a cross-sectional view taken along the line AA ′ in the top view (FIG. 3A). FIG.3 (c) is sectional drawing in the position of BB 'of a top view (FIG.3 (a)). In the third embodiment, the distance between the third wiring (M1 wiring 150) and the second wiring (M1 wiring 150) provided in the extending direction of the
図3ではソース拡散層110・ドレイン拡散層120の配線はM1配線150を使用し、ゲート電極100の延在方向に対して平行に配置される。M2配線160もゲート電極100の延在方向に対して平行に配置される。ゲート電極100上にはチャネル領域170の複数の箇所に第1のコンタクト130を配置する。図3では3つ構成単位のMISFETを示している。 In FIG. 3, the
図3(a)に示すように、ゲート電極100の延在方向に設けられた第三の配線(M1配線150)と第二の配線(M1配線150)との間隔は、隣接する第2のコンタクト130と第3のコンタクト130との近傍よりも、第一のコンタクト130の近傍で広く設けられていてもよい。これは、占有面積を増大せずに配線の寄生容量を小さくする観点から、同層に設けられた第三の配線(M1配線150)および第二の配線(M1配線150)と接続パッド152との配線幅を広くするものである。これにより、構成単位の電界効果トランジスタのソース拡散層110とドレイン拡散層120との幅を狭めつつも、ゲート電極100上部の第一のコンタクト130の近傍では、ソース拡散層110およびドレイン拡散層120のM1配線150の幅を広く維持することができる。 As shown in FIG. 3A, the distance between the third wiring (M1 wiring 150) and the second wiring (M1 wiring 150) provided in the extending direction of the
また、本実施形態では、図3(b)に示すように、A−A'の位置での断面視では、第1のコンタクト130が形成されているゲート電極100と第1のコンタクト130が形成れていないゲート電極100が交互に配置されていてもよい。つまり、第1のコンタクト130は、ゲート電極100の延在方向に対する直角方向のゲート電極100の上部に1本おきに形成されてもよい。これに対して、図3(c)に示すB−B'の断面視では、上記A−A'で第1のコンタクト130が形成れていないゲート電極100に第1のコンタクト130が形成され、第1のコンタクト130が形成されているゲート電極100の上部には第1のコンタクト130は形成されなくてもよい。さらに、ゲート電極100の延在方向で見ると、ゲート電極100の第1のコンタクト130は1本おきに形成されてもよい。つまり、ゲート電極100の延在方向に、図3(b)に示す構造と図3(c)に示す構造とが交互に配置されてもよい。第1のコンタクト130は、基板に対して平面視で、編み目状の交点に2つ続けて配置されず、1つの交点おきに配置される。 Further, in the present embodiment, as shown in FIG. 3B, the
続いて、第1のコンタクト130と第2のコンタクト130および第3のコンタクト130との位置関係について説明する。本実施形態において、ゲート電極100の第1のコンタクト130の配置部分に隣接するソース拡散層110・ドレイン拡散層120の上部には第2のコンタクト130および第3のコンタクト130は配置されなくてもよい。ゲート電極100の延在方向に対して直角方向には、第1のコンタクト130のみ配置されるとともに第2のコンタクト130および第3のコンタクト130は配置されないか、または第2のコンタクト130および第3のコンタクト130が配置されるとともに第1のコンタクト130が配置されなくてもよい。つまり、ゲート電極100の延在方向に、第1のコンタクト130のみ配置される上記図3(b)に示す構造と上記図3(c)に示す構造との間に、第2のコンタクト130および第3のコンタクト130のみが配置される構造が形成されていてもよい。 Next, the positional relationship between the
本実施形態では、このようなコンタクト配置により、図1と図3を比較すると3つ電界効果トランジスタから構成されたMISFETの場合では、図1ではM1配線(島状M1配線を含む)は7本が並列に配置されているのに対して、図3では6本の並列配置となり、並列に配置する必要のある配線数が少なくなる。同数のMISFETの構成単位を有するマルチフィンガー構造において、第1の実施形態と比較して本実施形態はMISFETを狭いピッチで配置可能であり、占有面積を低減できる。さらに、ソース拡散層110およびドレイン拡散層120のM1配線150の間隔は、第1のコンタクト130が配置される部分で広く、第1のコンタクト130が配置されない部分で狭くできる。これにより、占有面積を低減しつつも配線の寄生容量を小さくすることができる。これに加えて本実施形態は第1の実施形態と同様の効果が得られる。 In this embodiment, when such a contact arrangement is used, comparing FIG. 1 and FIG. 3, in the case of a MISFET composed of three field effect transistors, in FIG. 1, there are seven M1 wires (including island-like M1 wires). 3 are arranged in parallel with each other in FIG. 3, and the number of wirings that need to be arranged in parallel is reduced. In the multi-finger structure having the same number of MISFET structural units, the present embodiment can dispose the MISFETs at a narrower pitch than the first embodiment, and can reduce the occupied area. Further, the distance between the M1 wirings 150 of the
(第4の実施形態)
図4は本発明の第4の実施形態のMISFETを示す。図4(b)は、上面図(図4(a))のA−A'の位置での断面図である。第4の実施形態は、第1の配線(M2配線160)は、第2の配線(M1配線150)および第3の配線(M1配線150)と直角に設けられている点が第3の実施形態と異なる。図4(c)は、上面図(図4(a))のB−B'の位置での断面図である。図4ではソース拡散層110・ドレイン拡散層120の配線はM1配線150を使用し、ゲート電極100の延在方向に対して直角に配置される。ゲート電極100上にはチャネル領域170の複数の箇所に第1のコンタクト130を配置する。図4では3つ構成単位のMISFETを示している。(Fourth embodiment)
FIG. 4 shows a MISFET according to a fourth embodiment of the present invention. FIG. 4B is a cross-sectional view taken along the line AA ′ in the top view (FIG. 4A). In the fourth embodiment, the first wiring (M2 wiring 160) is provided at right angles to the second wiring (M1 wiring 150) and the third wiring (M1 wiring 150). Different from form. FIG. 4C is a cross-sectional view taken along the line BB ′ in the top view (FIG. 4A). In FIG. 4, the wiring of the
図4(a)に示すコンタクト配置により、第三の実施形態と同様に、ソース拡散層110とドレイン拡散層120とのM1配線150の間隔において、ゲート電極100の第1のコンタクト130が配置される部分のM1配線150の間隔を広くし、第1のコンタクト130が配置されない部分ではM1配線150の間隔を狭くできる。これにより、MISFETを狭いピッチで配置可能であり、占有面積を低減でき、配線の寄生容量を小さくすることができる。
本実施形態では、第3の実施形態と同様の効果に加えて、ソース拡散層110・ドレイン拡散層120の配線に対して、ゲート電極100の配線は並列に配置されていないので、ゲート電極100とソース拡散層110・ドレイン拡散層120との間の寄生容量は小さくなる。With the contact arrangement shown in FIG. 4A, the
In the present embodiment, in addition to the same effects as those of the third embodiment, the
(第5の実施形態)
図5は本発明の第5の実施形態のMISFETを示す。図5(b)は、上面図(図5(a))のA−A'の位置での断面図である。図5(c)は、上面図(図5(a))のB−B'の位置での断面図である。第5の実施形態は、2本のゲート電極100が1本のM2配線160で電気的に接続される点が第3の実施形態と異なる。(Fifth embodiment)
FIG. 5 shows a MISFET according to a fifth embodiment of the present invention. FIG. 5B is a cross-sectional view taken along the line AA ′ in the top view (FIG. 5A). FIG.5 (c) is sectional drawing in the position of BB 'of a top view (Fig.5 (a)). The fifth embodiment is different from the third embodiment in that two
図5ではソース拡散層110・ドレイン拡散層120の配線はM1配線150を使用し、ゲート電極100の延在方向に対して平行に配置される。ゲート電極100上にはチャネル領域170の複数の箇所に第1のコンタクト130を配置する。図3では3つ構成単位のMISFETを示している。 In FIG. 5, the
本実施形態では、第1の配線(M2配線160)は、隣接する2つのゲート電極100の上部に1つおきに設けられた第1のコンタクト130と交互に電気的に接続されているものである。図5に示すように、第1の配線(M2配線160)は、隣接する2つのゲート電極100の上部をジグザグに配置されている。そのため、図5(a)に示すように、第1の配線(M2配線160)は、基板に対して平面視で第3の配線(M1配線150)と重なる部分を有してもよい。このとき、第1の配線(M2配線160)は、基板に対して平面視で第2の配線(M1配線150)と重なる部分を有しない。反対に、第1の配線(M2配線160)が、基板に対して平面視で第2の配線(M1配線150)と重なる部分を有してもよく、このとき第1の配線(M2配線160)は、基板に対して平面視で第3の配線(M1配線150)と重なる部分を有しない。また、基板の法線方向から視た場合、第1の配線(M2配線160)は、第3の配線(M1配線150)と上下で重なるように配置され、第2の配線(M1配線150)と上下で重ならないように配置されてもよい。さらに、基板の法線方向から視た場合、第1の配線(M2配線160)は、第2の配線(M1配線150)と上下で重なるように配置され、第3の配線(M1配線150)と上下で重ならないように配置されてもよい。 In the present embodiment, the first wiring (M2 wiring 160) is alternately electrically connected to the
M2配線160は全体的にはゲート電極100の延在方向に対して交差するように配置される。またM2配線160は、隣接する2本のゲート電極100を交互に接続する形状を有する。2本のゲート電極100で1本のM2配線160を共用することができる。マルチフィンガー形状ではお互いのMISFETは電気的に並列接続されることになっている。このため、隣接する2本のゲート電極100は短絡させることが可能であり、これによりM2配線160の本数を減らすことができる。また、ゲート電極100の配線のM2配線160はゲート電極100の第1のコンタクト130の1個おきにソースまたはドレイン配線と上下に重なる部分が発生するが、M2配線160は上述のとおり、ソース拡散層110の配線である第2の配線(M1配線150)のみと上下の位置が重なるようにすることも可能である。これによってゲート電極100のメタル配線がドレイン拡散層120のメタル配線から遠ざけられるために、ゲート−ドレイン間容量(ミラー容量)を低減できる。さらに本実施形態では、第3の実施形態と同様の効果が得られる。 The
(第6の実施形態)
図6は本発明の第6の実施形態のMISFETを示す。第6の実施形態は、ゲート長Lが第1のコンタクト130の径よりも大きい点が第1の実施形態と異なる。本実施形態では、ゲート電極100の延在方向のゲート電極100の長さをゲート幅W、延在方向に対して直角方向のゲート電極100の長さをゲート長Lとする。また第1のコンタクト130の径は、ゲート電極100の延在方向に対して直角方向の第1のコンタクト130の厚みとする。図6に示すように、ゲート長Lが第1のコンタクト130の径よりも大きい構造により、ゲート側壁にサイドウォールが無い場合でも第1のコンタクト130とソース・ドレイン領域(ソース拡散層110、ドレイン拡散層120)とが短絡することを防ぐことができる。さらに、本実施形態は、第1の実施形態と同様の効果が得られる。本実施形態では、第2の実施形態と同様に、第1の配線(M2配線160)は、第2の配線(M1配線150)および第3の配線(M1配線150)と直角に設けられていてもよい。(Sixth embodiment)
FIG. 6 shows a MISFET according to a sixth embodiment of the present invention. The sixth embodiment is different from the first embodiment in that the gate length L is larger than the diameter of the
(第7の実施形態)
図7は本発明の第7の実施形態のMISFETを示す。第7の実施形態は、第3の配線(M1配線150)と第2の配線(M1配線150)とが短絡している点が第6の実施形態と異なる。図7でもゲート長Lが第1のコンタクト130の径よりも大きく、さらに、ソース拡散層110およびドレイン拡散層120の配線を短絡する。これにより、MISFETはゲート電極100とソース拡散層110・ドレイン拡散層120との間で可変容量として働く。この可変容量は、図10に示す等価回路でソース拡散層110・ドレイン拡散層120の配線を短絡した場合の等価回路で表される(図8)。図8において、寄生インダクタンスは無視している。ここでゲート電極抵抗は可変容量に対して直列に接続される形となる。この場合もゲート電極100のチャネル領域170の第1のコンタクト130によってゲート電極抵抗が低減されて可変容量の直列抵抗が減少し、高周波回路に使用したときの損失やノイズが低減できる。(Seventh embodiment)
FIG. 7 shows a MISFET according to a seventh embodiment of the present invention. The seventh embodiment is different from the sixth embodiment in that the third wiring (M1 wiring 150) and the second wiring (M1 wiring 150) are short-circuited. Also in FIG. 7, the gate length L is larger than the diameter of the
本実施例では、本発明にかかる本実施形態の半導体装置効果の効果を調べた。90nmCMOSプロセスを仮定してこれらの形状のMISFETの高周波特性を回路シミュレータSPICEにより計算し、その特性を比較した。ここで、MISFETはnMOSでゲート長0.1μm、ゲート幅2.5μmのものを20本並列接続したマルチフィンガー形状を有する。このMISFETで(a)従来のMISFET、(b)従来のゲート直上型のMISFETと(c)図1に示すMISFET(第1の実施形態)、(d)図3に示すMISFET(第3の実施形態)に対してシミュレーションを行った。図9はこれらのレイアウトである。図9のように(b)と(c)は(a)従来型に比べてゲート電極のM1配線の分だけ横幅が広くなるが、(d)本発明では、横幅は(a)従来型と同じとすることができる。次に、この4つのレイアウトから寄生容量を容量シミュレーションにより求めた。さらに、ゲート電極抵抗は(1)式より求め、これらの値を図10の等価回路に代入して、回路シミュレーションにより各MISFETのSパラメータを計算した。ここで、図10の寄生成分のうち、基板抵抗Rsubと寄生インダクタンスLg,Ld,Lsは無視している。ゲートとドレインには1VのDCバイアスを加え、ソースと基板を0Vとしてゲート端子とドレイン端子のSパラメータを計算した。このSパラメータより遮断周波数fTと最高発振周波数fmaxを求めた結果が表1である。表より(a)従来型に比べて(b)ゲート直上型はゲート電極抵抗の低減によりfmaxが向上するものの、寄生容量の増加でfTが低下していた。これに対して、本発明の(c),(d)では寄生容量の増加を抑制できるので、fT,fmaxともに(a)従来型よりも向上する。このように、本実施形態のMISFETではチップ面積を抑制しつつ高周波特性を向上させることが出来る。In this example, the effect of the semiconductor device effect of the present embodiment according to the present invention was examined. Assuming a 90 nm CMOS process, the high frequency characteristics of these shapes of MISFETs were calculated by the circuit simulator SPICE, and the characteristics were compared. Here, the MISFET has a multi-finger shape in which 20 nMOSs having a gate length of 0.1 μm and a gate width of 2.5 μm are connected in parallel. In this MISFET, (a) a conventional MISFET, (b) a conventional MISFET directly above the gate and (c) a MISFET shown in FIG. 1 (first embodiment), (d) a MISFET shown in FIG. 3 (third embodiment) A simulation was performed on the configuration. FIG. 9 shows these layouts. As shown in FIG. 9, (b) and (c) are wider than the (a) conventional type by the M1 wiring of the gate electrode, but (d) in the present invention, the horizontal width is (a) the conventional type. The same can be done. Next, parasitic capacitance was obtained from these four layouts by capacitance simulation. Furthermore, the gate electrode resistance was obtained from equation (1), and these values were substituted into the equivalent circuit of FIG. 10, and the S parameter of each MISFET was calculated by circuit simulation. Here, among the parasitic components of FIG. 10, the substrate resistance Rsub and the parasitic inductances Lg, Ld, and Ls are ignored. A DC bias of 1V was applied to the gate and drain, and the S parameter of the gate terminal and drain terminal was calculated with the source and substrate set to 0V. Result of obtaining a cut-off frequency fT and the maximum oscillation frequency fmax from the S parameter is Table 1. Although compared from (a) conventional in Table (b) the gate just above type fmax can be improved by reducing the gate electrode resistance, fT with increase in parasitic capacitance is lowered. On the other hand, in (c) and (d) of the present invention, an increase in parasitic capacitance can be suppressed, so that both fT and fmax are improved over (a) the conventional type. Thus, the MISFET of this embodiment can improve the high frequency characteristics while suppressing the chip area.
なお、当然ながら、上述した実施の形態および複数の変形例は、その内容が相反しない範囲で組み合わせることができる。また、上述した実施の形態および変形例では、各部の構造などを具体的に説明したが、その構造などは本願発明を満足する範囲で各種に変更することができる。 Needless to say, the above-described embodiment and a plurality of modifications can be combined within a range in which the contents do not conflict with each other. Further, in the above-described embodiments and modifications, the structure of each part has been specifically described, but the structure and the like can be changed in various ways within a range that satisfies the present invention.
100 ゲート電極
110 ソース拡散層
120 ドレイン拡散層
130 コンタクト
140 ビア
150 M1配線
152 接続パッド
160 M2配線
170 チャネル領域
180 第1のメタル配線
190 第2のメタル配線100
| Application Number | Priority Date | Filing Date | Title |
|---|---|---|---|
| JP2008322971AJP2010147254A (en) | 2008-12-18 | 2008-12-18 | Semiconductor device |
| Application Number | Priority Date | Filing Date | Title |
|---|---|---|---|
| JP2008322971AJP2010147254A (en) | 2008-12-18 | 2008-12-18 | Semiconductor device |
| Publication Number | Publication Date |
|---|---|
| JP2010147254Atrue JP2010147254A (en) | 2010-07-01 |
| Application Number | Title | Priority Date | Filing Date |
|---|---|---|---|
| JP2008322971APendingJP2010147254A (en) | 2008-12-18 | 2008-12-18 | Semiconductor device |
| Country | Link |
|---|---|
| JP (1) | JP2010147254A (en) |
| Publication number | Priority date | Publication date | Assignee | Title |
|---|---|---|---|---|
| WO2012176399A1 (en)* | 2011-06-24 | 2012-12-27 | パナソニック株式会社 | Nitride semiconductor device |
| JP2013206923A (en)* | 2012-03-27 | 2013-10-07 | Renesas Electronics Corp | Semiconductor device |
| US8878203B2 (en) | 2012-05-28 | 2014-11-04 | Kabushiki Kaisha Toshiba | Switching circuit |
| JP2015133516A (en)* | 2015-03-18 | 2015-07-23 | ルネサスエレクトロニクス株式会社 | Semiconductor device and semiconductor device manufacturing method |
| WO2016047053A1 (en)* | 2014-09-22 | 2016-03-31 | 株式会社デンソー | Electric power conversion device and device component |
| US9640444B2 (en) | 2014-07-23 | 2017-05-02 | Samsung Electronics Co., Ltd. | Semiconductor device and method of fabricating the same |
| CN109873010A (en)* | 2017-12-04 | 2019-06-11 | 中电海康集团有限公司 | STT-MRAM memory |
| CN110226231A (en)* | 2017-02-21 | 2019-09-10 | 雷声公司 | With the nitride structure without golden contact portion and the method for forming this structure |
| CN110970430A (en)* | 2018-10-01 | 2020-04-07 | 瑞萨电子株式会社 | Semiconductor device with a plurality of transistors |
| JP2021530868A (en)* | 2018-07-11 | 2021-11-11 | クリー インコーポレイテッドCree Inc. | Improved drain interconnect and / or gate interconnect, and finger structure |
| US11417746B2 (en) | 2019-04-24 | 2022-08-16 | Wolfspeed, Inc. | High power transistor with interior-fed fingers |
| US11417617B2 (en) | 2018-12-04 | 2022-08-16 | Wolfspeed, Inc. | Packaged transistor devices with input-output isolation and methods of forming packaged transistor devices with input-output isolation |
| US11742304B2 (en) | 2018-07-19 | 2023-08-29 | Wolfspeed, Inc. | Radio frequency transistor amplifiers and other multi-cell transistors having isolation structures |
| Publication number | Priority date | Publication date | Assignee | Title |
|---|---|---|---|---|
| WO2012176399A1 (en)* | 2011-06-24 | 2012-12-27 | パナソニック株式会社 | Nitride semiconductor device |
| CN103582939A (en)* | 2011-06-24 | 2014-02-12 | 松下电器产业株式会社 | Nitride semiconductor device |
| US9177915B2 (en) | 2011-06-24 | 2015-11-03 | Panasonic Intellectual Property Management Co., Ltd. | Nitride semiconductor device |
| CN103582939B (en)* | 2011-06-24 | 2016-03-09 | 松下知识产权经营株式会社 | Nitride semiconductor device |
| JP2013206923A (en)* | 2012-03-27 | 2013-10-07 | Renesas Electronics Corp | Semiconductor device |
| US8878203B2 (en) | 2012-05-28 | 2014-11-04 | Kabushiki Kaisha Toshiba | Switching circuit |
| US9640444B2 (en) | 2014-07-23 | 2017-05-02 | Samsung Electronics Co., Ltd. | Semiconductor device and method of fabricating the same |
| WO2016047053A1 (en)* | 2014-09-22 | 2016-03-31 | 株式会社デンソー | Electric power conversion device and device component |
| JP2016067071A (en)* | 2014-09-22 | 2016-04-28 | 株式会社デンソー | Power conversion device and device component |
| JP2015133516A (en)* | 2015-03-18 | 2015-07-23 | ルネサスエレクトロニクス株式会社 | Semiconductor device and semiconductor device manufacturing method |
| JP2020508574A (en)* | 2017-02-21 | 2020-03-19 | レイセオン カンパニー | Nitride structures with gold-free contacts and methods of forming such structures |
| CN110226231A (en)* | 2017-02-21 | 2019-09-10 | 雷声公司 | With the nitride structure without golden contact portion and the method for forming this structure |
| JP7175280B2 (en) | 2017-02-21 | 2022-11-18 | レイセオン カンパニー | Nitride structures with gold-free contacts and methods of forming such structures |
| CN109873010A (en)* | 2017-12-04 | 2019-06-11 | 中电海康集团有限公司 | STT-MRAM memory |
| JP2021530868A (en)* | 2018-07-11 | 2021-11-11 | クリー インコーポレイテッドCree Inc. | Improved drain interconnect and / or gate interconnect, and finger structure |
| US11424333B2 (en) | 2018-07-11 | 2022-08-23 | Wolfspeed, Inc. | Drain and/or gate interconnect and finger structure |
| JP7132419B2 (en) | 2018-07-11 | 2022-09-06 | ウルフスピード インコーポレイテッド | Improved drain interconnect and/or gate interconnect and finger structure |
| JP2022169706A (en)* | 2018-07-11 | 2022-11-09 | ウルフスピード インコーポレイテッド | Improved drain interconnect and/or gate interconnect and finger structure |
| US11757013B2 (en) | 2018-07-11 | 2023-09-12 | Wolfspeed, Inc. | Drain and/or gate interconnect and finger structure |
| JP7443437B2 (en) | 2018-07-11 | 2024-03-05 | ウルフスピード インコーポレイテッド | Improved drain and/or gate interconnects and finger structures |
| US11742304B2 (en) | 2018-07-19 | 2023-08-29 | Wolfspeed, Inc. | Radio frequency transistor amplifiers and other multi-cell transistors having isolation structures |
| CN110970430A (en)* | 2018-10-01 | 2020-04-07 | 瑞萨电子株式会社 | Semiconductor device with a plurality of transistors |
| US11417617B2 (en) | 2018-12-04 | 2022-08-16 | Wolfspeed, Inc. | Packaged transistor devices with input-output isolation and methods of forming packaged transistor devices with input-output isolation |
| US11417746B2 (en) | 2019-04-24 | 2022-08-16 | Wolfspeed, Inc. | High power transistor with interior-fed fingers |
| US12057484B2 (en) | 2019-04-24 | 2024-08-06 | Macom Technology Solutions Holdings, Inc. | High power transistor with interior-fed fingers |
| Publication | Publication Date | Title |
|---|---|---|
| JP2010147254A (en) | Semiconductor device | |
| US7494867B2 (en) | Semiconductor device having MIM capacitive elements and manufacturing method for the same | |
| CN101308726A (en) | MIM capacitor | |
| US20070235838A1 (en) | Flexible metal-oxide-metal capacitor design | |
| JP5388768B2 (en) | Semiconductor device with local interconnect | |
| EP3642881B1 (en) | Layout technique for middle-end-of-line | |
| JP2009111013A (en) | Semiconductor device | |
| US8994183B2 (en) | Multilayer interconnects with an extension part | |
| JP3590034B2 (en) | Semiconductor capacitive element and manufacturing method thereof | |
| US11152346B2 (en) | Semiconductor integrated circuit device including capacitive element using vertical nanowire field effect transistors | |
| JP5432662B2 (en) | Power supply wiring structure design method, semiconductor device manufacturing method, and semiconductor device | |
| KR20200091192A (en) | Semiconductor device and method for fabricating the same | |
| US8013385B2 (en) | Semiconductor device | |
| US20060267142A1 (en) | Capacitor device, semiconductor devioce, and setting method of terminal capacitance of pad electrode thereof | |
| JP2010225880A (en) | Semiconductor device and manufacturing method thereof | |
| JP4770841B2 (en) | Semiconductor device | |
| KR100947923B1 (en) | Capacitor of semiconductor device and method of forming the same | |
| US12389613B2 (en) | Semiconductor structure | |
| JP2015018940A (en) | Semiconductor device | |
| JP2006196803A (en) | Semiconductor device | |
| JP2008306150A (en) | Insulated gate transistor | |
| JP2011108878A (en) | Semiconductor device | |
| JP2005175252A (en) | Semiconductor device | |
| CN101533827A (en) | Semiconductor integrated circuit device | |
| KR20180025231A (en) | Semiconductor device and method of manufacturing the same |