













本発明は、音声入出力等のイヤホンマイク端子を有する携帯電話機,PHS(Personal Handyphone System),PDA(Personal Digital Assistants)等の携帯情報端末、これらの携帯情報端末に接続する携帯情報端末用ディジタルカメラ並びに携帯情報端末接続ディジタルカメラ装置に関する。 The present invention relates to a portable telephone having an earphone microphone terminal for voice input / output, a portable information terminal such as PHS (Personal Handyphone System), PDA (Personal Digital Assistants), and a digital camera for portable information terminal connected to these portable information terminals. The present invention also relates to a digital camera device connected to a portable information terminal.
近年、携帯情報端末のデータ通信の高速化等に伴い、ディジタルカメラで撮像した映像を携帯電話機を介して送信したいというニーズを実現する商品が著しく増加している。
また、一方では、携帯情報端末の音声再生能力が著しく向上したことによりディジタル音声再生機器としての期待も高まっている。そして、街頭には音声データを販売する情報販売機等がおかれ、この情報販売機と携帯通信端末とを所定のケーブルで接続することにより、有線によって音楽データを取り込むというサービスも展開されている。
また、情報の送信手段として携帯電話機やPHSを利用したモバイルコンピューティングも需要が拡大している。In recent years, with an increase in data communication speed of portable information terminals, products that realize the need to transmit video captured by a digital camera via a mobile phone have increased remarkably.
On the other hand, the expectation as a digital audio reproducing device is also increasing due to the remarkable improvement of the audio reproducing capability of the portable information terminal. In addition, there are information vending machines that sell audio data on the streets, and a service that takes in music data by wire by connecting this information vending machine and a mobile communication terminal with a predetermined cable is also being developed. .
In addition, the demand for mobile computing using a mobile phone or PHS as an information transmission means is also increasing.
しかしながら、上述したように、ディジタルカメラと携帯電話などの情報端末の間で画像データを送受する場合、従来はケーブルで接続される構造のものが多く、取扱いや携帯性に問題がある。また、情報端末に設けられている専用角形コネクタを利用する場合は、撮影方向を自在にするため、ディジタルカメラ側をフレキシブルに向きが変わる構造にする必要があり、構成が複雑で高価になる。そして、ディジタルカメラと携帯電話との接続中は、専用の外部接続端子を専有するため、PCなどの他の端末装置への利用は不可能になる。 However, as described above, when image data is transmitted and received between a digital camera and an information terminal such as a mobile phone, there are many conventional structures that are connected by a cable, and there is a problem in handling and portability. In addition, when a dedicated rectangular connector provided in the information terminal is used, it is necessary to have a structure in which the direction of the digital camera is flexibly changed in order to make the photographing direction flexible, and the configuration is complicated and expensive. Since the dedicated external connection terminal is exclusively used during connection between the digital camera and the mobile phone, it cannot be used for other terminal devices such as a PC.
さらに、従来のディジタルカメラは、ディジタルカメラ自体と携帯電話、PHS、PDA、モバイルパーソナルコンピュータ等の各種の携帯情報端末との汎用的な接続を予想しているため、液晶モニタなどの表示部や操作部が携帯情報端末にあるにもかかわらず、ディジタルカメラ側にも備えることが多く、取扱い操作が複雑で、システム的にも高価となる。
また、接続した機器から給電することができないため、ディジタルカメラ本体に電池が必要となる。これにより、筐体が大きくなり、重量も増えるため携帯に適しないという問題があった。In addition, conventional digital cameras are expected to have general-purpose connections between the digital camera itself and various portable information terminals such as mobile phones, PHS, PDAs, and mobile personal computers. Despite being in the portable information terminal, it is often provided on the digital camera side, handling operation is complicated, and the system is expensive.
In addition, since power cannot be supplied from the connected device, a battery is required for the digital camera body. As a result, the case becomes large and the weight is increased, which makes it unsuitable for carrying.
一方、街頭に設置されている情報販売端末等から所定のケーブルを介して情報を携帯情報端末に取り込む場合においては、通常、携帯情報端末に接続するコネクタには表裏があるため、利用者は、コネクタの挿入の際にコネクタの表裏を確認しながら挿入しなければならず、接続が不便であるといった問題があった。
また、携帯情報端末にコネクタが差し込まれた際に、コネクタがロックされるような構造となっているが、利用者がロックされていることを知らずに無理にコネクタを取り外すことにより、コネクタが劣化してしまうといった問題も生じている。On the other hand, in the case where information is taken into a portable information terminal via a predetermined cable from an information sales terminal installed on the street, the connector connected to the portable information terminal usually has front and back, so the user When inserting the connector, it has to be inserted while checking the front and back of the connector, and there is a problem that the connection is inconvenient.
In addition, the connector is structured to be locked when the connector is inserted into the portable information terminal, but the connector is deteriorated by forcibly removing the connector without knowing that the user is locked. There is also a problem such as.
また、モバイルコンピューティングを行う場合には、通常PCカードが必要となるため、外出先でパーソナルコンピュータを使用する際には、必ずPCカードを携帯しなければならず、持ち運びに不便であった。
また、PCカードを挿入するPCMIAスロットはパーソナルコンピュータに1つしか設けられていないものがあり、このスロットを携帯電話機で占有してしまうと、他の機器との通信が不可能になってしまう等の不便が生じた。また、モバイルコンピューティングを行った後に、周辺機器を使用したい場合には、PCMIAスロットに挿入したPCカードを交換しなければならず、取扱に手間がかかるといった問題があった。Further, when performing mobile computing, a PC card is usually required. Therefore, when using a personal computer on the go, the PC card must be carried, which is inconvenient to carry.
In addition, there is only one PCMIA slot for inserting a PC card in a personal computer. If this slot is occupied by a mobile phone, communication with other devices becomes impossible. Inconvenience occurred. In addition, when a user wants to use a peripheral device after performing mobile computing, the PC card inserted into the PCMIA slot has to be exchanged, which causes a problem in handling.
本発明の目的は、音声入力、出力などのジャック端子を持つ携帯情報端末に接続され、ディジタルカメラ本体の構造を複雑にすることなく撮影方向を自在に変えることができる使い勝手の良好な携帯情報端末用ディジタルカメラ及びディジタルカメラシステムを提供することを目的とする。 An object of the present invention is a portable information terminal that is connected to a portable information terminal having a jack terminal for voice input, output, etc., and that can freely change the shooting direction without complicating the structure of the digital camera body. It is an object to provide a digital camera and a digital camera system.
前記目的を達成するために本発明による携帯情報端末用ディジタルカメラは、ジャック端子を備える携帯情報端末に接続する携帯情報端末用ディジタルカメラにおいて、前記ジャック端子に着脱可能なプラグを有するディジタルカメラ本体と、音声回路と画像回路との切り替えを行う切替部とを有し、前記ジャック端子に前記プラグが差し込まれて電気的に接続された場合に、前記ディジタルカメラ本体が、画像信号を前記プラグと前記ジャック端子とを介して前記携帯情報端末に送信するように構成されている。
このような携帯情報端末用ディジタルカメラによれば、ディジタルカメラ本体のプラグ端子を携帯情報端末のジャック端子に直接挿入して接続すれば、両者は機械的及び電気的に接続されて一体化する。このため、従来必要だった接続用のケーブルが不要となり、また、ディジタルカメラ本体が携帯情報端末と一体化されるため片手での撮影が可能になる。また、これにより、ディジタルカメラ本体を接続するだけで撮影を開始できる。In order to achieve the above object, a digital camera for a portable information terminal according to the present invention is a digital camera for a portable information terminal that is connected to a portable information terminal having a jack terminal. A switching unit that switches between an audio circuit and an image circuit, and when the plug is inserted and electrically connected to the jack terminal, the digital camera body transmits an image signal to the plug and the plug. It transmits so that it may transmit to the said portable information terminal via a jack terminal.
According to such a digital camera for a portable information terminal, if the plug terminal of the digital camera body is directly inserted and connected to the jack terminal of the portable information terminal, both are mechanically and electrically connected and integrated. This eliminates the need for a connection cable, which has been necessary in the past, and allows the photographing with one hand because the digital camera body is integrated with the portable information terminal. In addition, this makes it possible to start shooting simply by connecting the digital camera body.
さらに本発明による携帯情報端末用ディジタルカメラは、ジャック端子を備える携帯情報端末に接続する携帯情報端末用ディジタルカメラにおいて、前記ジャック端子に着脱可能なプラグを有するディジタルカメラ本体と、前記プラグの周辺に設けられた突堤部とを有し、前記ジャック端子に前記プラグが差し込まれた場合に、前記突堤部が前記ジャック端子の周辺部に突き当たり、前記ディジタルカメラ本体が回転させられたときに、前記周辺部に対して前記突堤部の面が滑動するように構成されている。
これにより携帯情報端末に対しディジタルカメラ本体を容易に滑動させて回転させることができる。この場合、好適には前記突堤部を凸曲面に形成するとよい。Furthermore, a digital camera for a portable information terminal according to the present invention is a digital camera for a portable information terminal that is connected to a portable information terminal having a jack terminal, and a digital camera body having a plug that can be attached to and detached from the jack terminal; And when the plug is inserted into the jack terminal, the jetty portion hits the peripheral portion of the jack terminal, and the digital camera body is rotated. The surface of the jetty portion is configured to slide relative to the portion.
Thus, the digital camera body can be easily slid and rotated with respect to the portable information terminal. In this case, it is preferable to form the jetty portion in a convex curved surface.
また上記構成において、前記プラグは、電圧部、グランド部、クロックライン部、及びデータライン部を有するように構成されている。
これにより、携帯情報端末から電源の供給を受けて撮影し、撮影した映像を携帯情報端末に送ることができる。Further, in the above configuration, the plug is configured to include a voltage portion, a ground portion, a clock line portion, and a data line portion.
As a result, it is possible to take a picture by receiving a power supply from the portable information terminal and send the photographed video to the portable information terminal.
また上記構成において、前記プラグの各部は、前記ディジタルカメラ本体側の基部から前記電圧部、前記グランド部、前記クロックライン部及び前記データライン部の順に配列されるように構成されている。
これにより、接触面積の大きいケース部を電圧部とすることにより補充回転させた場合においても接触不良の問題を回避できる。また、半挿入状態においても近接端にないため電源短絡を回避できる。イヤホンマイクの場合においても基部から2番目はグランド部であることにより端末側のトラブルを防げる。Further, in the above configuration, each part of the plug is configured to be arranged in order of the voltage part, the ground part, the clock line part, and the data line part from the base part on the digital camera main body side.
Thereby, even when the replenishment rotation is performed by using the case portion having a large contact area as the voltage portion, the problem of contact failure can be avoided. Further, even in the half-inserted state, the power supply short circuit can be avoided because it is not at the close end. Even in the case of the earphone microphone, the trouble on the terminal side can be prevented by the ground part being second from the base part.
また上記構成において、前記プラグの前記グランド部と前記クロックライン部との間は絶縁されるように構成されている。このように構成することにより、上記端子間の抵抗値を検出することによって、本携帯情報端末用ディジタルカメラが接続されていることを接続先の携帯情報端末に認識させることが可能となる。 In the above configuration, the ground portion of the plug is insulated from the clock line portion. By configuring in this way, it is possible to make the connected portable information terminal recognize that the digital camera for the portable information terminal is connected by detecting the resistance value between the terminals.
また上記構成において、前記プラグの軸方向断面を円形にすることにより、プラグ端子の接続角度を360度から任意に選択でき、しかも、接続状態でプラグ端子の軸を中心に回転させて角度調整することもできる。 Further, in the above configuration, the plug terminal connection angle can be arbitrarily selected from 360 degrees by making the axial cross section of the plug circular, and the angle is adjusted by rotating around the axis of the plug terminal in the connected state. You can also.
また上記構成において、挿通部を有するので、紐状のものを貫通させることができ持ち運びを容易にすることができる。 Moreover, in the said structure, since it has an insertion part, a string-like thing can be penetrated and it can carry easily.
また上記構成において、前記プラグを連動可能に支持する移動部材と、前記移動部材を前記プラグの軸線に沿って移動自在に、且つ前記プラグを前記ディジタルカメラ本体に収納可能に支持するガイド部とを有するので、プラグ端子を本体に収納することができる。 Further, in the above configuration, a moving member that supports the plug so as to be interlocked, and a guide portion that supports the moving member so as to be movable along the axis of the plug and that the plug can be stored in the digital camera body. Therefore, the plug terminal can be stored in the main body.
また上記構成において、前記ディジタルカメラ本体が有するレンズを保護するためのレンズカバーを前記移動部材と連動可能に備えることにより、レンズにカバーを被せることができ、埃や衝撃等からレンズを保護することができる。 In the above configuration, the lens cover for protecting the lens of the digital camera body can be interlocked with the moving member, so that the lens can be covered, and the lens can be protected from dust and impact. Can do.
前記目的を達成するために本発明によるディジタルカメラシステムは、電圧部、グランド部、クロックライン部、及びデータライン部の接点を有するジャック端子と、前記ジャック端子の接点間の抵抗値を検出する検出手段と、前記検出した抵抗値に基づいて前記ジャック端子に接続された外部機器を判別する判別手段と、を有する携帯情報端末と、前記ジャック端子に着脱可能なプラグを有するディジタルカメラ本体を有し、前記ジャック端子に前記プラグが差し込まれた場合に、前記プラグの軸を支点に前記ディジタルカメラ本体を回転可能に構成した携帯情報端末用ディジタルカメラと、を含む。 In order to achieve the above object, a digital camera system according to the present invention detects a resistance value between a jack terminal having contacts of a voltage part, a ground part, a clock line part, and a data line part, and the contact of the jack terminal. And a digital camera body having a portable information terminal having a plug that can be attached to and detached from the jack terminal, and a discrimination means for discriminating an external device connected to the jack terminal based on the detected resistance value. And a digital camera for a portable information terminal configured such that when the plug is inserted into the jack terminal, the digital camera body is rotatable about a shaft of the plug.
なお、上記構成からなる携帯情報端末用ディジタルカメラにおいて、前記プラグに電気的に接続可能な第1の端子と、前記携帯情報端末に前記プラグ端子から送出された情報を伝達可能な第2の端子とを有するケーブルを介して携帯情報端末とプラグ端子とを接続することにより、上下だけではなく左右にもカメラを移動させることが可能となる。これにより、より広範囲にわたる撮影が可能となる。 In the digital camera for portable information terminal configured as described above, a first terminal that can be electrically connected to the plug, and a second terminal that can transmit information transmitted from the plug terminal to the portable information terminal. By connecting the portable information terminal and the plug terminal via a cable having the above, the camera can be moved not only vertically but also horizontally. As a result, photographing over a wider range is possible.
また、本発明は、ジャック端子を備える携帯情報端末に接続する携帯情報端末用ディジタルカメラにおいて、前記ジャック端子に着脱可能なプラグを有するディジタルカメラ本体と、音声回路と画像回路との切り替えを行う切替部とを有し、前記ジャック端子に前記プラグが差し込まれて電気的に接続された場合に、前記ディジタルカメラ本体が、画像信号を前記プラグと前記ジャック端子とを介して前記携帯情報端末に送信するように構成されている。本発明によれば、携帯情報端末に本発明による携帯情報端末用ディジタルカメラを接続したとき、撮影方向を自在に調整できるため、使い勝手の良好なディジタルカメラを実現できる。
更に、予め携帯情報端末に設けられているジャック端子を流用して接続できるため、接続端子を別途も受ける必要が無くなり、商品を安価に提供できるという効果が得られる。
また、ディジタルカメラ本体が携帯情報端末と一体化されるため片手での撮影が可能になり利便性が向上するという効果が得られる。
また、煩雑であった初期設定などの操作が不要となる。この結果、携帯情報端末用ディジタルカメラを接続するだけで直ちに撮影を開始することができるという効果が得られる。The present invention also relates to a digital camera for a portable information terminal connected to a portable information terminal having a jack terminal, and a switching for switching between a digital camera body having a plug detachable from the jack terminal, an audio circuit, and an image circuit. And when the plug is inserted and electrically connected to the jack terminal, the digital camera body transmits an image signal to the portable information terminal through the plug and the jack terminal. Is configured to do. According to the present invention, when the digital camera for a portable information terminal according to the present invention is connected to the portable information terminal, the shooting direction can be freely adjusted, so that it is possible to realize a convenient digital camera.
Furthermore, since the jack terminal provided in advance in the portable information terminal can be diverted and connected, there is no need to receive the connection terminal separately, and the effect that the product can be provided at low cost is obtained.
In addition, since the digital camera body is integrated with the portable information terminal, it is possible to perform shooting with one hand and to improve convenience.
Also, complicated operations such as initial settings are not required. As a result, it is possible to immediately start shooting simply by connecting a digital camera for a portable information terminal.
また、本発明は、ジャック端子を備える携帯情報端末に接続する携帯情報端末用ディジタルカメラにおいて、前記ジャック端子に着脱可能なプラグを有するディジタルカメラ本体と、前記プラグの周辺に設けられた突堤部とを有し、前記ジャック端子に前記プラグが差し込まれた場合に、前記突堤部が前記ジャック端子の周辺部に突き当たり、前記ディジタルカメラ本体が回転させられたときに、前記周辺部に対して前記突堤部の面が滑動させるように構成されているため、携帯情報端末に対しディジタルカメラを容易に滑動させて回転させることができるという効果が得られる。 The present invention also relates to a digital camera for a portable information terminal connected to a portable information terminal including a jack terminal, a digital camera body having a plug that can be attached to and detached from the jack terminal, and a jetty portion provided around the plug. And when the plug is inserted into the jack terminal, the jetty portion hits the peripheral portion of the jack terminal and the digital camera main body is rotated, so that the jetty is made with respect to the peripheral portion. Since the surface of the part is configured to slide, an effect that the digital camera can be easily slid and rotated with respect to the portable information terminal can be obtained.
また、プラグ端子は、電圧部、グランド部、クロックライン部、及びデータライン部を有するように構成されているため、携帯情報端末から電源の供給を受けて撮影し、撮影した映像を携帯情報端末に送ることができる。この結果、ディジタルカメラ本体には電源を供給する装置が不要となるため、コストの削減及び重量の軽減、小型化を図ることができるという効果が得られる。 Moreover, since the plug terminal is configured to have a voltage unit, a ground unit, a clock line unit, and a data line unit, the power is supplied from the portable information terminal, and the photographed video is taken. Can be sent to. As a result, a device for supplying power is not required for the digital camera body, so that the effect of reducing cost, reducing weight, and reducing the size can be obtained.
また、プラグ端子の各部は、前記ディジタルカメラ本体側の基部から前記電圧部、前記グランド部、前記クロックライン部及び前記データライン部の順に配列されるように構成されているため、接触面積の大きいケース部を電圧部とすることにより補充回転させた場合においても接触不良の問題を回避できるという効果が得られる。また、半挿入状態においても近接端にないため電源短絡を回避できるという効果を奏する。更に、イヤホンマイクの場合においても基部から2番目はグランド部であることにより端末側のトラブルを防ぐことができるという効果が得られる。 Further, each part of the plug terminal is configured to be arranged in the order of the voltage part, the ground part, the clock line part, and the data line part from the base part on the digital camera main body side, so that the contact area is large. Even when the replenishment rotation is performed by using the case portion as the voltage portion, an effect of avoiding the problem of poor contact can be obtained. In addition, since there is no near end even in the half-inserted state, there is an effect that a power supply short circuit can be avoided. Furthermore, even in the case of the earphone microphone, since the second portion from the base portion is the ground portion, it is possible to prevent the trouble on the terminal side.
また、プラグ端子の前記グランド部と前記クロックライン部との間は絶縁されるように構成されている。このように構成することにより、上記端子間の抵抗値を検出することによって、本携帯情報端末用ディジタルカメラが接続されていることを接続先の携帯情報端末に認識させることが可能となる。この結果、他のプラグが接続された場合と、本携帯情報端末用ディジタルカメラが接続された場合とを簡単な回路構成により容易に携帯情報端末に認識させることができるため、コスト削減及び小型化などを図ることができるという効果が得られる。 Further, the ground portion of the plug terminal and the clock line portion are configured to be insulated. By configuring in this way, it is possible to make the connected portable information terminal recognize that the digital camera for the portable information terminal is connected by detecting the resistance value between the terminals. As a result, since the portable information terminal can be easily recognized by a simple circuit configuration when another plug is connected and when the digital camera for the portable information terminal is connected, cost reduction and downsizing can be achieved. The effect that it can aim at etc. is acquired.
また、プラグ端子の軸方向断面を円形にすることにより、プラグ端子の接続角度を360度から任意に選択でき、しかも、接続状態でプラグ端子の軸を中心に回転させて角度調整することもできるという効果が得られる。 Also, by making the cross section in the axial direction of the plug terminal circular, the connection angle of the plug terminal can be arbitrarily selected from 360 degrees, and the angle can be adjusted by rotating around the axis of the plug terminal in the connected state. The effect is obtained.
また、挿通部を有するので、紐状のものを携帯情報端末に予め備えられているストラップ穴とこの挿通部を通した後、紐の両端を結合することにより、ディジタルカメラと携帯情報端末とを一体化し、持ち運びに好適とすることができるという効果が得られる。 Moreover, since it has an insertion part, after passing the strap-shaped thing provided in advance in the portable information terminal and this insertion part and connecting both ends of the string, the digital camera and the portable information terminal can be connected. The effect that it can integrate and can be made suitable for carrying around is acquired.
また、前記プラグを連動可能に支持する移動部材と、前記移動部材を前記プラグの軸線に沿って移動自在に、且つ前記プラグを前記ディジタルカメラ本体に収納可能に支持するガイド部とを有するので、プラグ端子を本体に収納することができ、携帯に好適となるという効果が得られる。 In addition, since it has a moving member that supports the plug so as to be interlocked, and a guide portion that supports the moving member so as to be movable along the axis of the plug and the plug can be stored in the digital camera body, The plug terminal can be housed in the main body, and the effect of being suitable for carrying can be obtained.
また、前記ディジタルカメラ本体が有するレンズを保護するためのレンズカバーを前記移動部材と連動可能に備えることにより、プラグ端子をディジタルカメラ本体に収納できるとともにレンズにもカバーを被せることができ、埃や衝撃等からレンズを保護することができるという効果が得られる。 In addition, since the lens cover for protecting the lens of the digital camera body is provided so as to be interlocked with the moving member, the plug terminal can be stored in the digital camera body and the lens can be covered with dust, The effect that the lens can be protected from impact or the like is obtained.
以下、図面を参照して本発明の実施の形態を詳しく説明する。
図1は、本発明の第1の実施形態における携帯情報端末用ディジタルカメラ(以下、単にディジタルカメラと略称する)の実施の形態を示す図で、(a)は正面図、(b)は側面図、(c)は底面図、(d)は斜視図である。
図2は、本実施形態によるディジタルカメラの分解斜視図である。上カバー2、赤外線カットフィルタ3、カメラのレンズ系を構成する鏡筒4、鏡筒4の固定および撮像素子への光軸外の光を遮断するホルダ5、有害反射光を取り除く反射防止フィルム6、撮像素子および画像データを処理するCMOS−IC7、IC7や他の電子部品を搭載する基板8および下カバー9より構成されている。
上カバー2と下カバー9の下面には半月状の切欠部2a、9aが設けられている。それぞれの切欠部2a、9aの背後にはさらに切欠を有する支持板2b、9bが設けられている。なお、CMOS−IC7は、CCD−ICでもよい。Hereinafter, embodiments of the present invention will be described in detail with reference to the drawings.
1A and 1B are diagrams showing an embodiment of a digital camera for portable information terminal (hereinafter simply referred to as a digital camera) according to a first embodiment of the present invention. FIG. 1A is a front view, and FIG. (C) is a bottom view and (d) is a perspective view.
FIG. 2 is an exploded perspective view of the digital camera according to the present embodiment. Upper cover 2, infrared cut filter 3, lens barrel 4 constituting the lens system of the camera, fixing of lens barrel 4, holder 5 for blocking off-axis light to the image sensor, and antireflection film 6 for removing harmful reflection light The image sensor and the CMOS-
The lower surfaces of the upper cover 2 and the lower cover 9 are provided with half-moon shaped
フラグ10の基部10aの下部を下カバー9の9aと9bの間に差し入れ、上記各部2〜8を組み込み、上カバー2を被せ2aと2bの間に基部10aの上部を差し込むことによりプラグ10はディジタルカメラ本体に取り付けられる。プラグ10は、基部10a側から電圧部11a、グランド部11b、クロックライン部11c、データライン部11dの順に配列している。また、上カバー2と下カバー9の間は図示しないネジにより固定される。なお、ネジで固定しない構造でもよい。
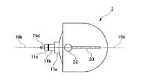
レンズの光軸(鏡筒4の光軸)4aに対し、プラグ10の軸の中心10bは直角方向の関係になるように構成される。突堤部12はプラグ10の周辺に下カバーおよび上カバーの一部として形成されている。
上カバー2のレンズ窓2cを通った被写体からの光は、赤外線カットフィルタ3を介して鏡筒4に入射し、CMOS−IC7の撮像素子に結像する。撮像素子に蓄積された画像信号は、電気信号に変換された後、CMOS−IC7で所定の処理がなされ、プラグ10に送出される。なお、ここで画像信号はホワイトバランス等の補正などが為されてプラグ10に送出されることとする。The lower part of the base 10a of the
The
The light from the subject that has passed through the
図3は、携帯情報端末用ディジタルカメラの接続状態を説明するための図である。
携帯電話機13の右側面13cにイヤホンマイク端子11が設置されている。
正面に液晶画面13aが、上面にアンテナ13bが配置されている。
ディジタルカメラ1のプラグ10を図3に示すような方向からイヤホンマイク端子11に差し込むことによりディジタルカメラ1を携帯電話機13に電気的に接続するとともに機械的に取付ける。
携帯電話機13に対し、中心線10bを軸にAに示すように360度ディジタルカメラ1を回転させることができ、撮影方向を自由に選択することができる。
突堤部12がイヤホンマイク端子11の周辺側面に当接してこの部分が滑動する。イヤホンマイク端子11の蓋を有するディジタルカメラでは、ディジタルカメラの突堤部12の周辺部分1aを携帯電話機13の側面13cより浮かせているため、ディジタルカメラ1を回転させたとき、ディジタルカメラ1本体のイヤホンマイク端子11の蓋への干渉を防止できる。FIG. 3 is a diagram for explaining a connection state of the digital camera for the portable information terminal.
An
A
By inserting the
With respect to the
The
次に、本発明の第1の実施形態に係る携帯情報端末と上述した第1の実施形態に係るディジタルカメラとを接続した場合について説明する。
図4に、本発明の第1の実施形態に係る携帯情報端末と上述したディジタルカメラ1とを接続した状態における内部回路構成を示す。なお、本実施形態では、携帯情報端末として、携帯電話機(PHSを含む)を例にとり説明する。Next, a case where the portable information terminal according to the first embodiment of the present invention and the digital camera according to the first embodiment described above are connected will be described.
FIG. 4 shows an internal circuit configuration in a state where the portable information terminal according to the first embodiment of the present invention and the
同図において、ディジタルカメラ1は、撮像部14、AD変換部15、信号処理部16、バッファメモリ部17およびI/F部18より構成されている。ここで、バッファメモリ部17は、画像1枚分のメモリ容量であり、メモリ部20は半導体メモリやカードなどである。なお、上述のバッファメモリ部17を設けずに、直接携帯電話機13に出力することも可能である。 In FIG. 1, the
一方、携帯電話機13は、イヤホンマイク端子11を介して接続された外部機器とのデータの送受を行うインターフェース部(I/F部)19、各種プログラム及び固定データが格納されているROM、RAM等から構成されるメモリ部20、図示しないアンテナ、基地局を介して相手端末との間で音声信号等の送受信を行うRF送受信部21、主にデータ処理を行う信号処理部22、テンキー等の各種キーを有する操作部23、各種データを表示する液晶表示部24、外部機器によってインターフェース部19内部の切替を行う切替部25、及びメモリ部20に格納されているプログラムを実行することにより各部を統括的に制御するCPU26より構成されている。 On the other hand, the
上記インターフェース部19は、音声インターフェース(I/F)19aと、画像インターフェース(I/F)19bを備えている。音声I/F19aは、外部機器としてイヤホンマイクやステレオヘッドホンが接続されたときに、これらの機器から入力されたアナログ信号の音声信号を当該携帯電話機内部で処理可能なディジタルデータに変換して信号処理部22に出力したり、或いは、メモリ部20又は信号処理部22から出力される音声ディジタルデータをアナログ信号としてイヤホンマイク端子11を介して外部機器へと出力する。
他方、画像インターフェース19bは、外部機器としてイヤホンマイク端子11にディジタルカメラ1が接続されたときに、ディジタルカメラ1と当該携帯電話機13とで取り扱うデータの整合性をとる。即ち、イヤホンマイク端子11から入力された画像データを当該携帯電話機内部で処理可能なデータに変換して信号処理部22に出力したり、信号処理部22から出力されるディジタルデータをディジタルカメラ1で処理可能なデータに変換してイヤホンマイク端子11を介してディジタルカメラ1へと出力する。The interface unit 19 includes an audio interface (I / F) 19a and an image interface (I / F) 19b. When an earphone microphone or stereo headphones are connected as an external device, the audio I /
On the other hand, when the
上記信号処理部22は、音声データや画像データ等のディジタル化されたデータを高速に処理することに特化した回路であり、例えば、DSP(Digital Signal Processor)等が挙げられる。
液晶表示部24は、携帯電話機における電話機能としての各種設定情報及び各種メニュー情報の他、イヤホンマイク端子11を介して外部機器が接続された場合には、外部機器(イヤホンマイクや、ステレオヘッドホンを含む)とのデータ通信に関する種々の情報等が表示されるようになっている。
また、メモリ部を構成する図示しないROMには、電話機能を実行するための各種プログラムや、制御プログラム、各種の固定データが格納されておりCPU26はこれら各種プログラムを実行することにより携帯電話機13内の各部の制御を行う。また、図示しないRAMには、信号処理部22により処理されたデータ、CPU26により処理されたデータ、外部より入力される各種データ等が一時的に格納される。
切替部25は、イヤホンマイク端子11に外部機器が接続されるとその接続された機器を判別し、その機器に応じて、イヤホンマイク端子11の接続先インターフェースを切り替える。The
In addition to various setting information and various menu information as a telephone function in a mobile phone, the liquid
A ROM (not shown) constituting the memory unit stores various programs for executing a telephone function, a control program, and various fixed data, and the
When an external device is connected to the
具体的には、切替部25は、イヤホンマイク端子11にいずれかのプラグが接続されたことを検知すると、接続されたプラグの先端から2接点目と3接点目間の抵抗値を検出し、この検出した値から接続された機器を判別する。
以下、携帯情報端末のイヤホンマイク端子11に、ディジタルカメラ1、イヤホンマイク、ステレオヘッドホンがそれぞれ接続された場合を例に挙げ、切替部25によるこれら外部接続機器の判別について具体的に説明する。Specifically, when the switching
Hereinafter, the case where the
図7にイヤホンマイクのプラグ端子の一例、図8にステレオヘッドホンのプラグ端子の一例を示す。図7に示したイヤホンマイクのプラグは、電圧部71、グランド部72、イヤホン端子部73、マイク端子部74の4接点を有し、この4接点の内、グランド部72−イヤホン端子部73間の抵抗値とグランド部72−マイク端子部74間の抵抗値は異なる。これに対し、図8に示したステレオヘッドホンのプラグは、空き端子81、グランド部82、ステレオ(L)端子部83、ステレオ(R)端子部84の4接点を有し、この4接点の内、グランド部82−ステレオ(L)端子部83間の抵抗値とグランド部82−ステレオ(R)端子部84間の抵抗値は略等しくなっている。なお、イヤホンマイクのプラグ及びステレオヘッドホンのプラグにおいて、上述した端子間は絶縁されていない。 FIG. 7 shows an example of a plug terminal of an earphone microphone, and FIG. 8 shows an example of a plug terminal of a stereo headphone. The plug of the earphone microphone shown in FIG. 7 has four contacts of a
また、図2に示したディジタルカメラ1のプラグ10は、グランド部11b−クロックライン部11c間が絶縁されているため、当該端子間の抵抗値は無限大となる。
従って、切替部25は、プラグの先端部から2接点目−3接点目間の抵抗値を検出し、この値が無限大であった場合には、ディジタルカメラ1が接続されたと判断し、無限大でなかった場合には、イヤホンマイク或いはステレオヘッドホンが接続されたと判断して、更に前述した2端子間の抵抗を測定し、比較する。この結果、測定した抵抗値が略同等であった場合には、接続された機器はステレオヘッドホンであると判断し、また測定した抵抗値が異なれば接続された機器はイヤホンマイクであると判断する。Further, since the
Therefore, the switching
上述したように、切替部25は接続された機器がディジタルカメラ1であると判断すると、I/F部19において画像データに対応する画像インターフェース19bを選択し、この画像インターフェース19bを介して、ディジタルカメラ1と携帯電話機13とのデータ通信が行われるようにする。また、画像インターフェース19bが選択されると、携帯電話機13に設けられている操作部23の操作ボタン(図示略)等はディジタルカメラ1の操作ボタンとして予め設定された機能を発揮する。なお、画像データの送受はシリアル通信で行われる。
なお、上述の切替部25は、ディジタルカメラ1の接続を検出して自動的に画像インターフェースを選択する他、撮影者が操作部23から所定の操作(例えば、モード切替等)を行うことにより、外部機器がディジタルカメラ1であることを認識させるようにすることも可能である。また、本実施形態において、切替部25はディジタルカメラ1側に設けても良い。As described above, when the switching
The switching
図5は、撮影準備から画像情報を伝送するまでの動作を説明するためのフローチャートである。
図5(a)において、携帯電話機13(情報端末)が通常の動作可能状態になっている(S501)。この状態で携帯電話機13にディジタルカメラ1のプラグ10をイヤホンマイク端子11に差し込み一体に結合する(S502)。そして現在の状態をカメラモードに設定する(S503)。携帯電話機のCPU26は、電話動作になっているか判断し、電話動作になっている場合にはS501に戻る(S504)。電話動作ではない場合は、つぎにディジタルカメラ1が用意されているか判断する(S505)。用意されていなければS504に戻る。ディジタルカメラ1の画像取込みの準備ができている場合は画像データを読み込む(506)。FIG. 5 is a flowchart for explaining an operation from preparation for photographing to transmission of image information.
In FIG. 5A, the mobile phone 13 (information terminal) is in a normal operable state (S501). In this state, the
一方、図5(b)において、ディジタルカメラ1は携帯電話機に結合されると、イニシャル処理が行われ(S512)、撮像画像の処理を行い画像データをプラグ10を介して携帯電話機13側に出力する(S513、S514)。そして、カメラモードがオフになったか否かを判断し(S515)、オフになった場合には終了する。図5(a)のS507において、ディジタルカメラ1から出力された画像は、液晶表示部24の液晶画面に表示される。つぎに撮影者がその画像を記録する操作をしたか否かを判定し(S508)、記録操作をした場合には撮像画像データをディジタルカメラ1からプラグ10、イヤホンマイク端子11、I/F部19を介して携帯電話機13に伝送し(S509)、メモリ部20のRAMに記録する(S510)。そして記録した画像データを送信する操作がなされているか否か判断し(S511)、送信する操作がなされている場合にはS504の電話動作に入り、送信を行う。送信する操作がなされていない場合にはS501の通常の端末動作に戻る。 On the other hand, in FIG. 5B, when the
次に、図6に上述した携帯電話機13にディジタルカメラ1を装着して使用する一形態を示す。図6(a)は、ディジタルカメラ1を180度回転させて被写体に向け携帯電話機13の液晶画面に表示させている状態を示している。
図6(b)は、撮影者にディジタルカメラ1を向け撮影者自身を液晶画面に表示させている状態を示している。
プラグを軸にディジタルカメラを回転させることができるので、撮影方向を簡単に変えることができる。Next, FIG. 6 shows an embodiment in which the
FIG. 6B shows a state where the
Since the digital camera can be rotated around the plug, the shooting direction can be easily changed.
また、一端にイヤホンマイク端子11’を、他端にプラグ10’を有する専用延長ケーブル50を使用し、図9に示すようにディジタルカメラ1のプラグ10を専用延長ケーブル50のイヤホンマイク端子11’に接続し、また専用延長ケーブル50のプラグ10’を携帯情報端末のイヤホンマイク端子11に挿入することにより、ディジタルカメラ1を自在に操ることが可能となる。また、ディジタルカメラ1にホルダー31を設け、図10に示すように、専用延長ケーブル50を携帯情報端末に予め備えられているストラップ穴40とディジタルカメラ1のホルダー31とに通し、専用延長ケーブル50のプラグ10’をイヤホンマイク端子11’に挿入することにより、ディジタルカメラ1を携帯情報端末に付加させ、持ち運びを容易にすることが可能となる。なお、このホルダー31は紐状のものが相通できる形状であれば良く、この形状、設置位置ともに限定するものではない。 Further, the
また、以上の実施の形態において、図11に示すように、プラグ10と連結したつまみ32と、つまみ32を移動自在に支持するガイド33をプラグ10の中心軸10bに沿って設けることにより、つまみ32をスライドさせることによって、プラグ10をディジタルカメラ本体に収納可能とする。更に、レンズ窓2cを保護するレンズカバーを設け、このレンズカバーをつまみ32と連動させることにより、レンズカバーの着脱を可能としてもよい。これにより、つまみ32を所定の方向にスライドさせることにより、プラグ10をディジタルカメラ1本体に収納させるとともに、レンズ窓2cにカバーを被せることができる。
また、ディジタルカメラ1が上下反転したことを検知して、映像信号を上下反転させるセンサをディジタルカメラあるいは携帯情報端末に設けることも可能である。
また、携帯情報電話機は、基地局位置情報を受信して、撮影した映像データにこの位置情報を付加するようにしても良い。これにより、撮影された画像は後で場所の確認ができる。In the above embodiment, as shown in FIG. 11, a
It is also possible to provide a sensor for detecting that the
The portable information telephone may receive the base station position information and add the position information to the captured video data. Thereby, the location of the photographed image can be confirmed later.
次に、本発明の第2の実施形態に係る携帯情報端末について説明する。
上述した第1の実施形態では、イヤホンマイク端子11に、ディジタルカメラ1のプラグ10が接続される場合について述べたが、本実施形態では、イヤホンマイク端子11にパーソナルコンピュータ等との高速データ通信を可能とするUSBケーブルのコネクタが接続される場合について説明する。Next, a portable information terminal according to the second embodiment of the present invention will be described.
In the first embodiment, the case where the
まず、図12に本実施形態において使用されるUSBケーブル100を示す。
同図に示すように、USBケーブル100の一のコネクタ101は、イヤホンマイク端子11に接続可能な形状となっている。このコネクタ101は4ピンからなり、プラグの先端から第1のデータ送受信部174、第2のデータ送受信部173、グランド部172、電圧部171の順に配列している。そして、このコネクタを、携帯電話機13の右側面13c(図3参照)に設置されているイヤホンマイク端子11に図3に示すような方向から差し込むことによりUSBケーブルを携帯電話機13に電気的に接続するとともに機械的に取付ける。
また、コネクタ101の軸方向断面を円形にすることにより、携帯電話機13に対し、中心線101bを軸にコネクタ101を360度回転させることができる。
なお、このUSBケーブル100のもう一方のコネクタ102は上流の機器、例えばパーソナルコンピュータが接続され、これらの外部機器と当該携帯情報端末とが通信する種々のデータとしては、音声データ、画像データ、文書データ等が挙げられる。
また、上記コネクタ101を構成する接点のうち、グランド部172と電源部173は、電源供給を外部機器から行わないとすれば空き端子となる。First, FIG. 12 shows a
As shown in the figure, one
In addition, by making the cross section in the axial direction of the
The
Of the contacts constituting the
次に、図13に本実施形態に係る携帯情報端末の内部回路構成を示す。なお、本実施形態においても、第1の実施形態と同様に、携帯情報端末として携帯電話機(PHSを含む)を例にとり説明する。
同図に示すように、本実施形態に係る携帯電話機113は、図4に示した第1の実施形態に係る携帯電話機13とほぼ構成を同じくするが、インターフェース部119の内部構成が異なる。
即ち、本実施形態では、イヤホンマイク端子11にはUSBケーブル100のコネクタ101が接続されるため、USBケーブル100から出力されるデータと当該携帯電話機で取り扱うデータとを整合させるインターフェースが必要となる。従って、本実施形態では、第1の実施形態における画像インターフェース19bに代わって、USBケーブル100から出力されるデータと携帯電話機13内で処理するデータとを変換するUSBインターフェース19cがインターフェース部119に設けられている。そして、切替部125はイヤホンマイク端子11にUSBケーブル100が接続された場合には、イヤホンマイク端子11の接続先をUSBインターフェース19cとし、他方、イヤホンマイク、ステレオヘッドホンが接続された場合には、イヤホンマイク端子11の接続先を音声インターフェース19aにする。Next, FIG. 13 shows an internal circuit configuration of the portable information terminal according to the present embodiment. In the present embodiment, as in the first embodiment, a mobile phone (including PHS) will be described as an example of the portable information terminal.
As shown in the figure, the
That is, in this embodiment, since the
なお、切替部125は、利用者によって操作部123から所定の操作、例えばモード切替等が行われたことを検出することにより、外部機器(イヤホンマイク11に接続されている機器、ここではUSBケーブル100)の判別を行う。また、USBケーブル100が接続されていることを通知する所定の信号がUSBケーブル100を通じて外部機器側から入力され、切替部125にこの所定の信号を識別する機能を更に備えることにより、自動的に外部機器の認識を行うようにしてもよい。このとき、所定の信号は、携帯電話機及び外部機器間で予め決められた信号であればよい。 The
次に、上述した携帯電話機113の動作について説明する。
まず、携帯電話機113が通常の動作可能状態になっている状態で、利用者が携帯電話機113にUSBコネクタ101をイヤホンマイク端子11に差し込み電気的及び機械的に接続し、続いて、現在の状態をUSBモードに設定する。Next, the operation of the
First, in a state in which the
係る操作により、携帯電話機113のCPU126にはモード設定がUSBモードに切り替わった旨を通知する信号が入力される。CPU126は、モード設定がUSBモードに切り替わったことを認識すると、USBケーブルがイヤホンマイク端子11に接続されているかを判断する。この結果、接続されていれば、CPU126はUSBモード設定がなされた旨を通知する信号を切替部125に出力し、これにより切替部125はイヤホンマイク端子11の接続先インターフェースをUSBインターフェース19cとする。そして、実際にデータ通信が開始されると、イヤホンマイク端子11から入力されるデータは、USBインターフェース19cを介して信号処理部122へ出力され、信号処理部122は入力されたデータを処理し、必要に応じてデータをメモリ部120のRAMに格納する。 With this operation, a signal notifying that the mode setting has been switched to the USB mode is input to the
一方、利用者によって所定のデータを送信するような指示が携帯電話機113の操作部123からなされた場合には、信号処理部122は指示されたデータをメモリ部120のRAM或いはROMから読み出し、読み出したデータをUSBインターフェース19c、イヤホンマイク端子11を介してUSBケーブルに出力する。これにより、USBケーブルを電送して、外部機器へ所定のデータを送信することが可能となる。 On the other hand, when an instruction to transmit predetermined data is made by the user from the
次に、本発明の第3の実施形態に係る携帯情報端末について説明する。本実施形態に係る携帯情報端末は、上述した第1の実施形態に係る携帯電話機13及び第2の実施形態に係る携帯電話機113の機能を両方有する。即ち、イヤホンマイク端子11に外部機器として、イヤホンマイク、ステレオヘッドホン、ディジタルカメラ1、USBケーブルが接続可能な携帯情報端末である。
このため、本実施形態に係る携帯情報端末は、図14に示すように、インターフェース部219に音声インターフェース19a、画像インターフェース19b、USBインターフェース19cを備え、イヤホンマイク端子11に接続される外部機器によって、これらのインターフェースを切り替える。
これにより、より利便性の高い携帯情報端末を提供することができる。Next, a portable information terminal according to the third embodiment of the present invention will be described. The mobile information terminal according to the present embodiment has both the functions of the
For this reason, as shown in FIG. 14, the portable information terminal according to the present embodiment includes an
Thereby, a more convenient portable information terminal can be provided.
以上、この発明の実施形態を図面を参照して詳述してきたが、具体的な構成はこの実施形態に限られるものではなく、この発明の要旨を逸脱しない範囲の設計等も含まれる。 The embodiment of the present invention has been described in detail with reference to the drawings. However, the specific configuration is not limited to this embodiment, and includes design and the like within a scope not departing from the gist of the present invention.
1…ディジタルカメラ、2…上カバー、3…赤外線カットフィルタ、4…鏡筒、5…ホルダ、6…反射防止フィルム、7…CMOS−IC、8…基板、9…下カバー、10,10’…プラグ、11,11’…イヤホンマイク端子、11a…電圧部、11b…グランド部、11c…クロックライン部、11d…データライン部、12…突堤部、13,113,213…携帯電話機(携帯情報端末)、14…撮像部、15…AD変換部、16,22,122,222…信号処理部、17…バッファメモリ部、18,19,119,219…I/F部、19a…音声インターフェース(音声回路)、19b…画像インターフェース(画像回路)、19c…USBインターフェース(データ処理回路)、20,120,220…メモリ部、21,121,221…RF送受信部、23,123,223…操作部、24,124,224…液晶表示部、25,125,225…切替部(回路切替手段)、26,126,226…CPU(中央処理装置)、31…ホルダー、32…つまみ(移動部材)、33…ガイド、40…ストラップ穴、50…専用延長ケーブル、100…USBケーブル、101…コネクタ、173,174…送受信データ部(送受信用接点)、172…グランド部(グランド用接点)、171…電源部(電源用接点) DESCRIPTION OF
| Application Number | Priority Date | Filing Date | Title |
|---|---|---|---|
| JP2009287622AJP2010136388A (en) | 2000-02-29 | 2009-12-18 | Digital camera for handheld terminal, and digital camera system |
| Application Number | Priority Date | Filing Date | Title |
|---|---|---|---|
| JP2000053113 | 2000-02-29 | ||
| JP2000155390 | 2000-05-25 | ||
| JP2009287622AJP2010136388A (en) | 2000-02-29 | 2009-12-18 | Digital camera for handheld terminal, and digital camera system |
| Application Number | Title | Priority Date | Filing Date |
|---|---|---|---|
| JP2005166022ADivisionJP4467468B2 (en) | 2000-02-29 | 2005-06-06 | Digital camera and digital camera system for portable information terminal |
| Publication Number | Publication Date |
|---|---|
| JP2010136388Atrue JP2010136388A (en) | 2010-06-17 |
| JP2010136388A5 JP2010136388A5 (en) | 2010-11-25 |
| Application Number | Title | Priority Date | Filing Date |
|---|---|---|---|
| JP2009287622APendingJP2010136388A (en) | 2000-02-29 | 2009-12-18 | Digital camera for handheld terminal, and digital camera system |
| Country | Link |
|---|---|
| JP (1) | JP2010136388A (en) |
| Publication number | Priority date | Publication date | Assignee | Title |
|---|---|---|---|---|
| US20120056660A1 (en)* | 2010-08-27 | 2012-03-08 | Kouichi Yamada | Switch circuit |
| JP2014510491A (en)* | 2011-03-21 | 2014-04-24 | サムスン エレクトロニクス カンパニー リミテッド | Mobile terminal and interface method thereof |
| JP2014090354A (en)* | 2012-10-31 | 2014-05-15 | Aiphone Co Ltd | Nurse call system |
| JP2015211458A (en)* | 2014-04-28 | 2015-11-24 | 酒見 裕幸 | Direction free camera |
| JP2018097103A (en)* | 2016-12-12 | 2018-06-21 | 株式会社リコー | Photographing system |
| Publication number | Priority date | Publication date | Assignee | Title |
|---|---|---|---|---|
| US20120056660A1 (en)* | 2010-08-27 | 2012-03-08 | Kouichi Yamada | Switch circuit |
| US9294598B2 (en)* | 2010-08-27 | 2016-03-22 | Semiconductor Components Industries, Llc | Switch circuit |
| JP2014510491A (en)* | 2011-03-21 | 2014-04-24 | サムスン エレクトロニクス カンパニー リミテッド | Mobile terminal and interface method thereof |
| JP2014090354A (en)* | 2012-10-31 | 2014-05-15 | Aiphone Co Ltd | Nurse call system |
| JP2015211458A (en)* | 2014-04-28 | 2015-11-24 | 酒見 裕幸 | Direction free camera |
| JP2018097103A (en)* | 2016-12-12 | 2018-06-21 | 株式会社リコー | Photographing system |
| Publication | Publication Date | Title |
|---|---|---|
| JP3756062B2 (en) | Portable information terminal | |
| US20040209645A1 (en) | Portable terminal | |
| KR100471148B1 (en) | Cellular Phone equipped with a camera | |
| US20040041911A1 (en) | Portable information terminal and digital camera for portable information terminal and portable digital camera/information terminal system | |
| US6788960B2 (en) | Portable information communication terminal apparatus | |
| US20020181189A1 (en) | Notebook computer with a small display panel | |
| US7366550B2 (en) | Handheld electronic apparatus | |
| US20050059425A1 (en) | Cellular phone structure and portable electronic apparatus | |
| JPWO2009078062A1 (en) | Holding stand and information processing system | |
| JP2010136388A (en) | Digital camera for handheld terminal, and digital camera system | |
| JP2012244263A (en) | Wireless device | |
| KR100777864B1 (en) | Portable information terminal and control method of portable information terminal | |
| JP4093052B2 (en) | Mobile phone with assembly options | |
| AU2001235991A1 (en) | Portable information terminal and digital camera for portable information terminal and portable digital camera information terminal system | |
| JP3074054U (en) | Portable information terminal and portable information terminal connected digital camera device | |
| JP4467468B2 (en) | Digital camera and digital camera system for portable information terminal | |
| KR19980083849A (en) | Mobile Digital Still Camera | |
| JP3500563B2 (en) | Power warning display device for information communication adapter | |
| KR100387066B1 (en) | Video phone for using display of personal digital assistant and the personal digital assitant therefor | |
| KR100698321B1 (en) | Mobile communication terminal | |
| WO2011030227A2 (en) | Portable terminal | |
| KR100556881B1 (en) | Portable terminal with remote control connection and remote control unit for portable terminal | |
| JP2004164574A (en) | Information processing equipment | |
| US20060143339A1 (en) | Hybrid portable communication device | |
| TWI245551B (en) | Portable information terminal, system and method for controlling the same |
| Date | Code | Title | Description |
|---|---|---|---|
| RD03 | Notification of appointment of power of attorney | Free format text:JAPANESE INTERMEDIATE CODE: A7423 Effective date:20100512 | |
| A521 | Request for written amendment filed | Free format text:JAPANESE INTERMEDIATE CODE: A523 Effective date:20100625 | |
| A521 | Request for written amendment filed | Free format text:JAPANESE INTERMEDIATE CODE: A523 Effective date:20100625 | |
| A521 | Request for written amendment filed | Free format text:JAPANESE INTERMEDIATE CODE: A523 Effective date:20101006 | |
| A131 | Notification of reasons for refusal | Free format text:JAPANESE INTERMEDIATE CODE: A131 Effective date:20101102 | |
| A02 | Decision of refusal | Free format text:JAPANESE INTERMEDIATE CODE: A02 Effective date:20110308 |