












本発明は、絶縁膜、半導体素子、電子デバイスおよび電子機器に関するものである。 The present invention relates to an insulating film, a semiconductor element, an electronic device, and an electronic apparatus.
近年、半導体集積回路装置においては、高集積化を図るために、素子のサイズは益々微細化する方向にある。
例えばMOSFET(Metal Oxide Semiconductor Field Effect Transistor)では、ゲート絶縁膜の厚さがさらに薄くなる傾向を示し、これにともなって絶縁膜の絶縁破壊耐性を確保するのが難しくなっている。
絶縁膜の絶縁破壊としては、タイムゼロ絶縁破壊(TZDB)と経時絶縁破壊(TDDB)とがある。In recent years, in semiconductor integrated circuit devices, the size of elements has been increasingly reduced in order to achieve high integration.
For example, in a MOSFET (Metal Oxide Semiconductor Field Effect Transistor), the thickness of the gate insulating film tends to be further reduced, and accordingly, it is difficult to ensure the dielectric breakdown resistance of the insulating film.
The dielectric breakdown of the insulating film includes time zero dielectric breakdown (TZDB) and temporal dielectric breakdown (TDDB).
TZDBは初期不良であり、電圧ストレスや電流ストレスといった電気的ストレスを印加した瞬間に多量のリーク電流が生じる絶縁破壊である。
一方、TDDBは電気的ストレスを印加した時点ではなく、ストレス印加後あるいは時間経過してから絶縁膜に絶縁破壊が生じる現象である。
また、TDDBは、ハードブレークダウン(HBD)とソフトブレークダウン(SBD)とに分けられる。TZDB is an initial failure, and is a dielectric breakdown in which a large amount of leakage current occurs at the moment when electrical stress such as voltage stress or current stress is applied.
On the other hand, TDDB is a phenomenon in which dielectric breakdown occurs in an insulating film not after application of electrical stress but after application of stress or after a lapse of time.
The TDDB is divided into hard breakdown (HBD) and soft breakdown (SBD).
HBDは、従来の絶縁破壊であり、破壊後には多量のリーク電流が流れる。
一方、SBDは、初期の絶縁状態よりは、多くリーク電流が流れるが、HBD後よりは、流れない中途半端な状態のことである。
HBDは、比較的高い電気的ストレスで発生する絶縁破壊であり、一旦リーク電流が発生すると、その後、電圧ストレスを与えずに放置しても、絶縁特性が回復したりしない。これに対し、SBDは、低い電気的ストレスで頻発する絶縁破壊であり、リーク電流発生後、電気的ストレスを与えずに放置すると、絶縁特性が回復することがある。HBD is a conventional dielectric breakdown, and a large amount of leakage current flows after the breakdown.
On the other hand, SBD is a halfway state in which more leakage current flows than in the initial insulation state, but does not flow after HBD.
HBD is a dielectric breakdown that occurs due to a relatively high electrical stress. Once a leak current occurs, the insulation characteristics do not recover even if left without voltage stress. On the other hand, SBD is a dielectric breakdown that frequently occurs with a low electrical stress, and if the leakage current is generated without leaving an electrical stress, the insulating characteristics may be restored.
したがって、SBDが生じたMOSFETは、特性は不安定になるが半導体素子として機能し得る場合もある。また、SBDは、時間の経過によってHBDに移行する(移行しないこともある。)。
この他、電圧印加後に生じる劣化として、ストレス誘起リーク電流(SILC)と称される低電界リーク電流がある。Therefore, the MOSFET in which the SBD is generated may function as a semiconductor element although its characteristics are unstable. Moreover, SBD shifts to HBD with the passage of time (may not shift).
In addition, there is a low electric field leakage current called stress-induced leakage current (SILC) as deterioration that occurs after voltage application.
SILCは、リーク電流を増加させるという影響以外に、TDDBのプリカーサとしても注目されている。
なお、SILCやSBDについては、さまざまな研究がなされているにもかかわらず、いまだに不明な点が多く、SBDは、B−mode SILCとも呼ばれ、両者の区別は、明確ではない。In addition to the effect of increasing the leakage current, SILC has attracted attention as a precursor of TDDB.
Although various studies have been made on SILC and SBD, there are still many unclear points, and SBD is also called B-mode SILC, and the distinction between the two is not clear.
これらの絶縁膜劣化モードのうち、ゲート絶縁膜の薄膜化を図る上で、特に問題となるのはSBDやSILCである。これらの欠陥は、ゲート酸化膜の厚さを10nm以下とした場合に、10MV/cm以下の低電界強度領域において頻発し、ゲート絶縁膜の薄膜化を阻む大きな要因となっている。
例えば、特許文献1には、SILCの発生を防止すべく、水素原子の濃度を所定の値以下に低減させた絶縁膜が開示されている。この特許文献1では、SILCの発生を防止することに主眼が置かれており、その帰結としてのSBDの発生については検討がなされていない。
なお、絶縁膜中において水素原子は、水素分子の状態や、絶縁膜の構成元素と結合した状態で存在するが、特許文献1では、これらの水素原子の総量を規定しているだけであり、本発明者の検討によれば、単に、絶縁膜中における水素原子の総量を減少させるだけでは、SBDの発生を防止することが困難であることが判っている。Among these deterioration modes of the insulating film, SBD and SILC are particularly problematic in reducing the thickness of the gate insulating film. These defects frequently occur in a low electric field strength region of 10 MV / cm or less when the thickness of the gate oxide film is 10 nm or less, which is a major factor that hinders the thinning of the gate insulating film.
For example, Patent Document 1 discloses an insulating film in which the concentration of hydrogen atoms is reduced to a predetermined value or less in order to prevent the occurrence of SILC. In this patent document 1, the main focus is on preventing the occurrence of SILC, and the occurrence of SBD as a result thereof has not been studied.
In the insulating film, hydrogen atoms exist in the state of hydrogen molecules or in a state of being combined with the constituent elements of the insulating film, but Patent Document 1 only defines the total amount of these hydrogen atoms, According to the study by the present inventor, it has been found that it is difficult to prevent the occurrence of SBD simply by reducing the total amount of hydrogen atoms in the insulating film.
本発明の目的は、薄膜化した場合でもSBDやSILCが生じ難く、高い絶縁破壊耐性(SILC、TZDB、TDDBの改善)が得られる絶縁膜、それを用いた半導体素子、信頼性の高い電子デバイスおよび電子機器を提供することにある。 An object of the present invention is to provide an insulating film that hardly causes SBD or SILC even when it is thinned and has high dielectric breakdown resistance (improvement of SILC, TZDB, and TDDB), a semiconductor element using the insulating film, and a highly reliable electronic device And providing electronic equipment.
このような目的は、下記の本発明により達成される。
本発明の絶縁膜は、主として半導体材料で構成された基材に接触して設けられ、シリコン、酸素原子、および、これらの原子以外の少なくとも1種の原子Xを含有する絶縁性無機材料を主材料として構成され、水素原子を含む絶縁膜であって、
その厚さ方向の少なくとも一部において、前記原子Xの総濃度をAとし、前記水素原子の濃度をBとしたとき、B/Aが10以下なる関係を満足する領域を有することを特徴とする。
これにより、薄膜化した場合でもSBDやSILCが生じ難く、高い絶縁破壊耐性(SILC、TZDB、TDDBの改善)を得ることができる。Such an object is achieved by the present invention described below.
The insulating film of the present invention is mainly made of an insulating inorganic material that is provided in contact with a base material mainly composed of a semiconductor material and contains silicon, oxygen atoms, and at least one kind of atom X other than these atoms. An insulating film composed of a material and containing hydrogen atoms,
At least part of the thickness direction has a region that satisfies a relationship of B / A being 10 or less, where A is the total concentration of the atoms X and B is the concentration of the hydrogen atoms. .
As a result, even when the thickness is reduced, SBD and SILC hardly occur, and high dielectric breakdown resistance (improvement of SILC, TZDB, TDDB) can be obtained.
本発明の絶縁膜では、前記領域は、前記基材との界面付近に偏在することが好ましい。
これにより、原子Xを含有することによる絶縁膜の特性変化を防止しつつ、絶縁破壊耐性を向上させることができる。
本発明の絶縁膜では、前記領域は、絶縁膜の平均厚さをYとしたとき、前記基材との界面からY/3以内の厚さに存在することが好ましい。
これにより、原子Xを含有することによる絶縁膜の特性変化を防止しつつ、絶縁破壊耐性をより向上させることができる。In the insulating film of the present invention, it is preferable that the region is unevenly distributed near the interface with the base material.
Thereby, the dielectric breakdown resistance can be improved while preventing the characteristic change of the insulating film due to containing the atom X.
In the insulating film of the present invention, it is preferable that the region exists at a thickness within Y / 3 from the interface with the base material, where Y is the average thickness of the insulating film.
Thereby, the dielectric breakdown resistance can be further improved while preventing the characteristic change of the insulating film due to containing the atom X.
本発明の絶縁膜では、前記原子Xは、窒素原子、炭素原子、アルミニウム、ハフニウム、ジルコニウムおよびゲルマニウムのうちの少なくとも1種であることが好ましい。
これにより、絶縁膜の特性変化を防止しつつ、この絶縁膜中においてSi−OH構造をより確実に減少させ、かつ、外部電場によるSi−OH構造の増加をより好適に抑制することができる。その結果、絶縁膜の絶縁破壊(SBD、SILC)をより確実に防止することができる。In the insulating film of the present invention, the atom X is preferably at least one of a nitrogen atom, a carbon atom, aluminum, hafnium, zirconium and germanium.
Thereby, while preventing the characteristic change of an insulating film, Si-OH structure can be reduced more reliably in this insulating film, and the increase of the Si-OH structure by an external electric field can be suppressed more suitably. As a result, dielectric breakdown (SBD, SILC) of the insulating film can be prevented more reliably.
本発明の絶縁膜では、前記水素原子の濃度および前記原子Xの濃度は、それぞれ、二次イオン質量分析法により測定されることが好ましい。
二次イオン質量分析法によれば、高い精度で、任意の厚さにおける原子Xの濃度および水素原子の濃度を測定することができる。
本発明の絶縁膜では、前記水素原子の少なくとも一部が重水素原子により置換されていることが好ましい。
これにより、絶縁膜の絶縁破壊耐性をより向上させることができる。In the insulating film of the present invention, the hydrogen atom concentration and the atom X concentration are preferably measured by secondary ion mass spectrometry, respectively.
According to secondary ion mass spectrometry, the concentration of atoms X and the concentration of hydrogen atoms at an arbitrary thickness can be measured with high accuracy.
In the insulating film of the present invention, it is preferable that at least a part of the hydrogen atoms is substituted with deuterium atoms.
Thereby, the dielectric breakdown resistance of the insulating film can be further improved.
本発明の絶縁膜では、平均厚さが10nm以下であることが好ましい。
本発明によれば、このような範囲の膜厚の絶縁膜において、絶縁破壊耐性が顕著に改善される。
本発明の絶縁膜では、10MV/cm以下の電界強度で使用されることが好ましい。
本発明によれば、このような電界強度で使用される絶縁膜において、絶縁破壊耐性が顕著に改善される。In the insulating film of the present invention, the average thickness is preferably 10 nm or less.
According to the present invention, the dielectric breakdown resistance is remarkably improved in the insulating film having such a thickness.
The insulating film of the present invention is preferably used with an electric field strength of 10 MV / cm or less.
According to the present invention, the dielectric breakdown resistance is remarkably improved in the insulating film used with such electric field strength.
本発明の絶縁膜では、3MV/cm以下の電界強度で測定されるリーク電流値の最大値が、2×10−8A/cm2以下であることが好ましい。
かかる絶縁膜を、半導体素子のゲート絶縁膜に適用することにより、半導体素子の使用時におけるゲート絶縁膜の絶縁破壊がより生じ難くなる。
本発明の絶縁膜では、ソフトブレークダウン(SBD)が生じるまでに流れる総電荷量が、40C/cm2以上であることが好ましい。
かかる絶縁膜を、半導体素子の絶縁膜に適用することにより、半導体素子の使用時における絶縁膜の絶縁破壊がより生じ難くなる。In the insulating film of the present invention, it is preferable that the maximum leakage current value measured with an electric field strength of 3 MV / cm or less is 2 × 10−8 A / cm2 or less.
By applying such an insulating film to a gate insulating film of a semiconductor element, the dielectric breakdown of the gate insulating film is less likely to occur when the semiconductor element is used.
In the insulating film of the present invention, the total amount of charge that flows until soft breakdown (SBD) occurs is preferably 40 C / cm2 or more.
By applying such an insulating film to an insulating film of a semiconductor element, dielectric breakdown of the insulating film during the use of the semiconductor element is less likely to occur.
本発明の絶縁膜では、ハードブレークダウン(HBD)が生じるまでに流れる総電荷量が、100C/cm2以上であることが好ましい。
かかる絶縁膜を、半導体素子の絶縁膜に適用することにより、半導体素子の使用時における絶縁膜の絶縁破壊がより生じ難くなる。
本発明の半導体素子は、本発明の絶縁膜を備えることを特徴とする。
これにより、特性に優れる半導体素子が得られる。In the insulating film of the present invention, the total amount of charge that flows until hard breakdown (HBD) occurs is preferably 100 C / cm2 or more.
By applying such an insulating film to an insulating film of a semiconductor element, dielectric breakdown of the insulating film during the use of the semiconductor element is less likely to occur.
The semiconductor element of the present invention includes the insulating film of the present invention.
As a result, a semiconductor element having excellent characteristics can be obtained.
本発明の半導体素子では、前記絶縁膜は、ゲート絶縁膜であることが好ましい。
これにより、ゲート絶縁膜の絶縁破壊が防止され、半導体素子の特性がより向上する。
本発明の電子デバイスは、本発明の半導体素子を備えることを特徴とする。
これにより、信頼性の高い電子デバイスが得られる。
本発明の電子機器は、本発明の電子デバイスを備えることを特徴とする。
これにより、信頼性の高い電子機器が得られる。In the semiconductor element of the present invention, the insulating film is preferably a gate insulating film.
Thereby, the dielectric breakdown of the gate insulating film is prevented, and the characteristics of the semiconductor element are further improved.
The electronic device of the present invention includes the semiconductor element of the present invention.
Thereby, an electronic device with high reliability can be obtained.
An electronic apparatus according to the present invention includes the electronic device according to the present invention.
As a result, a highly reliable electronic device can be obtained.
以下、本発明の絶縁膜、半導体素子、電子デバイスおよび電子機器の好適実施形態に基づいて詳細に説明する。
なお、以下では、本発明の絶縁膜を半導体素子のゲート絶縁膜として適用した場合を一例として説明する。
<半導体素子>
まず、本発明の絶縁膜を適用した半導体素子の構成について説明する。
図1は、本発明の絶縁膜を適用した半導体素子の実施形態を示す縦断面図、図2は、SiO2で構成される絶縁膜の分子構造を示す模式図、図3は、本発明の絶縁膜の分子構造を示す模式図である。なお、以下では、説明の都合上、図1中の上側を「上」、下側を「下」として説明する。Hereinafter, it demonstrates in detail based on suitable embodiment of the insulating film of this invention, a semiconductor element, an electronic device, and an electronic device.
Hereinafter, a case where the insulating film of the present invention is applied as a gate insulating film of a semiconductor element will be described as an example.
<Semiconductor element>
First, the structure of a semiconductor element to which the insulating film of the present invention is applied will be described.
FIG. 1 is a longitudinal sectional view showing an embodiment of a semiconductor element to which the insulating film of the present invention is applied, FIG. 2 is a schematic view showing the molecular structure of the insulating film made of SiO2 , and FIG. It is a schematic diagram which shows the molecular structure of an insulating film. In the following, for convenience of explanation, the upper side in FIG. 1 is described as “upper” and the lower side is described as “lower”.
図1に示す半導体素子1は、素子分離構造24と、チャネル領域21とソース領域22とドレイン領域23とを備える半導体基板2と、半導体基板(基材)2に接触して設けられたゲート絶縁膜(本発明の絶縁膜)3、層間絶縁膜4と、ゲート絶縁膜3を介してチャネル領域21と対向するように設けられたゲート電極5と、ゲート電極5上方の層間絶縁膜4上に設けられた導電部61と、ソース領域22上方の層間絶縁膜4上に設けられ、ソース電極として機能する導電部62と、ドレイン領域23上方の層間絶縁膜4上に設けられ、ドレイン電極として機能する導電部63と、ゲート電極5と導電部61とを電気的に接続するコンタクトプラグ71と、ソース領域22と導電部62とを電気的に接続するコンタクトプラグ72と、ドレイン領域23と導電部63とを電気的に接続するコンタクトプラグ73とを有している。 A semiconductor element 1 shown in FIG. 1 includes an
半導体基板2は、例えば、多結晶シリコン、アモルファスシリコン等のシリコン、ゲルマニウム、ヒ素化ガリウム等の半導体材料を主材料として構成される。
前述したように、この半導体基板2は、素子分離構造24を有し、この素子分離構造24によって区画形成された領域に、チャネル領域21とソース領域22とドレイン領域23とを有している。
そして、チャネル領域21の一方の側部にソース領域22が形成され、チャネル領域21の他方の側部にドレイン領域23が形成された構成となっている。The
As described above, the
The
素子分離構造24は、トレンチ内にSiO2等の絶縁材料が埋め込まれて構成されている。これにより、隣接する素子同士が電気的に分離され、素子間での干渉が防止される。
チャネル領域21は、例えば真正半導体材料で構成されている。
ソース領域22およびドレイン領域23は、例えば、P+等のn型不純物が導入(ドープ)された半導体材料で構成されている。The
The
The
なお、チャネル領域21、ソース領域22およびドレイン領域23は、それぞれ、このような構成のものに限定されない。
例えば、ソース領域22およびドレイン領域23は、それぞれ、p型不純物が導入された半導体材料で構成されてもよい。また、チャネル領域21は、例えばp型またはn型不純物が導入された半導体材料で構成されてもよい。
このような半導体基板2は、絶縁膜(ゲート絶縁膜3、層間絶縁膜4)で覆われている。このような絶縁膜のうち、チャネル領域21とゲート電極5との間に介在している部分は、チャネル領域21とゲート電極5との間に生じる電界の経路として機能する。Note that the
For example, each of the
Such a
本実施形態の半導体素子1では、このゲート絶縁膜3の構成に特徴を有している。この点(特徴)については後に詳述する。
層間絶縁膜4の構成材料としては、特に限定されないが、例えばSiO2、TEOS(ケイ酸エチル)、ポリシラザン等のシリコン系化合物を用いることができる。なお、層間絶縁膜4は、その他、例えば樹脂材料、セラミックス材料等で構成することもできる。The semiconductor element 1 of this embodiment is characterized by the configuration of the
The constituent material of the
層間絶縁膜4上には、導電部61、導電部62および導電部63が設けられている。
前述したように、導電部61は、チャネル領域21の上方に形成され、導電部62、63は、それぞれソース領域22、ドレイン領域23の上方に形成されている。
また、ゲート絶縁膜3および層間絶縁膜4において、チャネル領域21、ソース領域22およびドレイン領域23が形成された領域内には、それぞれ、ゲート電極5に連通する孔部(コンタクトホール)、ソース領域21に連通する孔部、ドレイン領域23に連通する孔部が形成されており、これらの孔部内に、それぞれコンタクトプラグ71、72、73が設けられている。A
As described above, the
In the
導電部61は、コンタクトプラグ71を介してゲート電極5に接続され、導電部62は、コンタクトプラグ72を介してソース領域22に接続され、導電部63は、コンタクトプラグ73を介してドレイン領域23に接続されている。
次に、ゲート絶縁膜3の構成について説明する。
本発明において、ゲート絶縁膜3は、シリコン、酸素原子、および、これらの原子以外の少なくとも1種の原子Xを含有する絶縁性無機材料を主材料として構成される。The
Next, the configuration of the
In the present invention, the
ここで、仮に、シリコン酸化物(SiOZ、0<Z≦2)を主材料とする絶縁膜、すなわち、前記原子Xを含まないSiO2膜では、図2に示すように、シリコンに酸素原子が4配位、酸素原子にシリコンが2配位することにより形成されたSi−O結合のほぼ完全な三次元ネットワークで構成され、結合の方向性が無秩序な非晶質状態となっている。
ところが、このSiO2膜の内部には、このSiO2膜を、後述するような熱酸化法やCVD法(化学的気相成長法)等により形成(成膜)する際に、その雰囲気中に存在する水素分子や、水素原子を含むガス等に由来して不可避的に水素原子が混入する。
そして、この水素原子は、SiO2膜の内部では、H2として存在するとともに、所々でSi−O結合と反応し、SiO2膜の内部に入り込んで、ゲート絶縁膜3の電子構造に影響を与えている。Here, in the case of an insulating film mainly composed of silicon oxide (SiOZ , 0 <Z ≦ 2), that is, an SiO2 film not containing the atoms X, as shown in FIG. Is an amorphous state in which the orientation of the bonds is disordered, consisting of an almost complete three-dimensional network of Si—O bonds formed by tetracoordination and two coordination of silicon to oxygen atoms.
However, when the SiO2 film is formed (deposited) in the SiO2 film by a thermal oxidation method or a CVD method (chemical vapor deposition method) as described later, The hydrogen atoms are inevitably mixed in due to the existing hydrogen molecules or gas containing hydrogen atoms.
The hydrogen atoms exist as H2 inside the SiO2 film, react with Si—O bonds in some places, enter the inside of the SiO2 film, and affect the electronic structure of the
本発明者は、さらに検討を重ね、第一原理電子構造シミュレーションにより、SiO2膜の内部に、図3に示すようなOが3配位するSi−OH構造31が安定に存在することを見出し、余った電子が電流に寄与することを見出した。
すなわち、単に、SiO2膜中の水素原子の総量を規定するだけでは、リーク電流が流れるのを抑制できず、このSi−OH構造31の総量が少ないもの程、リーク電流が流れにくい(TZDBの発生が抑制される)ことを見出した。The present inventor has further studied and found that a Si—
That is, by simply defining the total amount of hydrogen atoms in the SiO2 film, the leakage current cannot be suppressed, and the smaller the total amount of the Si—
さらに、Oが3配位するSi−OH構造31は、外部電場の影響を受けやすく、外部電場によって、SiO2膜の内部に存在する水素原子を取り込んで安定化して増加する。その結果、電気的ストレスによるリーク電流(すなわちSILC)が増加すること等からSBDの発生機構を説明できることを見出した。
そして、これらの結果として、HBDが生じやすくなることも判った(TDDBを起こしやすい)。Furthermore, the Si-
As a result, it was also found that HBD is likely to occur (TDDB is likely to occur).
そして、本発明者は、更に検討を重ね、絶縁性無機材料にシリコンおよび酸素原子の他に少なくとも1種の原子Xを含有させることにより、膜中に存在するSi−OH構造31の絶対量を減少し得るとともに、外部電場によるSi−OH構造31の増加を抑制または防止し得るであろうと考えた。
すなわち、ゲート絶縁膜3を、シリコンおよび酸素原子の他に少なくとも1種の原子Xを含有する絶縁性無機材料で構成することにより、このゲート絶縁膜3中では、水素原子が原子Xとの結合を形成するために消費される。Then, the present inventor further studied, and by adding at least one kind of atom X in addition to silicon and oxygen atoms to the insulating inorganic material, the absolute amount of the Si—OH structure 31 present in the film was reduced. It was thought that the increase in the Si—OH structure 31 due to the external electric field could be suppressed or prevented while being able to decrease.
That is, by forming the
例えば、この原子Xが窒素原子である場合には、図3に示すように、窒素原子がSi−O結合と反応し、SiO2膜の内部に入り込んだ状態で、水素原子と結合して、N−H構造32を形成する。また、窒素原子以外の原子Xである場合には、例えば、SiO2膜の内部において、XH分子33を形成する。
その結果、ゲート絶縁膜3中に存在するSi−OH構造31が相対的に減少し、さらには、外部電場によるSi−OH構造31の増加が抑制または防止される。これにより、ゲート絶縁膜3の絶縁破壊耐性を向上できると考えた。For example, when the atom X is a nitrogen atom, as shown in FIG. 3, the nitrogen atom reacts with the Si—O bond and enters the inside of the SiO2 film, and bonds with the hydrogen atom. N—
As a result, the Si—OH structure 31 present in the
そして、かかる考えに基づいて、鋭意検討を重ねた結果、ゲート絶縁膜3中において、原子Xの総濃度をAとし、水素原子の濃度をBとしたとき、B/Aが10以下となるようにすることで、ゲート絶縁膜3の絶縁破壊特性を向上できることを見出した。
さらに、本発明者の検討の過程において、SILCおよびSBDは、ゲート絶縁膜3の中でも、特に、半導体基板(基材)2との界面付近から生じ、ゲート絶縁膜3の全体に進行することも分かってきた。As a result of intensive studies based on such an idea, B / A is 10 or less when the total concentration of atoms X is A and the concentration of hydrogen atoms is B in the
Furthermore, in the course of the study by the present inventor, SILC and SBD are generated from the vicinity of the interface with the semiconductor substrate (base material) 2 in the
したがって、原子Xと水素元素との前述した関係は、半導体基板2との界面付近において満足(偏在)するような構成とするのが好ましい。これにより、SILCおよびSBDの発生を確実に防止できる。
なお、原子Xと水素元素との前述した関係は、ゲート絶縁膜3の全体で満足するような構成としてもよいが、半導体基板2との界面付近において偏在するような構成とすることにより、ゲート絶縁膜3中における原子Xの絶対量を少なくできる。これにより、ゲート絶縁膜3の原子Xの含有量の変化に伴う、絶縁膜特性の変化を好適に抑えることができる。Therefore, it is preferable that the above-described relationship between the atom X and the hydrogen element is satisfied (distributed) near the interface with the
The above-described relationship between the atom X and the hydrogen element may be configured so as to satisfy the entire
このようなことから、ゲート絶縁膜3の半導体基板2との界面付近において、原子Xと水素元素との関係、すなわち、B/Aが10以下となるような関係を満足する領域が偏在することにより、ゲート絶縁膜3の絶縁破壊(SBD、SILC)の発生、および、ゲート絶縁膜3の特性変化の双方を好適に防止することができる。
かかる観点からは、原子Xと水素元素との前述した関係は、ゲート絶縁膜3の半導体基板2にできるだけ近い領域において満足するのが好ましく、具体的には、ゲート絶縁膜3の平均厚さをY[nm]としたとき、半導体基板2との界面からY/3[nm]以内の領域において満足するのが好ましく、Y/5[nm]以内の領域において満足するのがより好ましく、Y/10[nm]以内の領域において満足するのがさらに好ましい。これにより、前記効果がより顕著に発揮される。For this reason, in the vicinity of the interface between the
From this point of view, the above-described relationship between the atom X and the hydrogen element is preferably satisfied in a region as close as possible to the
また、前述したような領域において、B/Aが10以下なる関係を満足すればよいが、特に、5以下なる関係を満足するのが好ましく、2以下なる関係を満足するのがより好ましい。これにより、ゲート絶縁膜3のSILCおよびSBDをより確実に防止することができる。
ここで、ゲート絶縁膜3の任意の厚さにおいて、このゲート絶縁膜3(SiOZ膜)が含有する原子Xおよび水素原子の濃度は、例えば、二次イオン質量分析法、X線光電子分光分析法、水素前方散乱法、ラザフォード後方散乱法、昇温脱離ガス分析法のうち1種または2種以上を組み合わせて測定することができる。特に、これらのうち二次イオン質量分析法を用いるのが好ましい。二次イオン質量分析法によれば、高い精度で、任意の厚さにおける前記原子Xの濃度および水素原子の濃度を測定することができる。Further, in the region as described above, it is sufficient to satisfy the relationship that B / A is 10 or less, but it is particularly preferable that the relationship of 5 or less is satisfied, and it is more preferable that the relationship of 2 or less is satisfied. Thereby, SILC and SBD of the
Here, at an arbitrary thickness of the
また、原子Xとしては、SiO2の絶縁体としての特性変化を防止しつつ、水素原子と効率よく結合するものであれば、いかなるものであってもよく、特に限定されないが、窒素原子、炭素原子、アルミニウム、ハフニウム、ジルコニウムおよびゲルマニウムのうちの少なくとも1種であるのが好ましい。無機絶縁材料がこれらのものを含有することにより、ゲート絶縁膜3の特性変化を防止しつつ、ゲート絶縁膜3中に存在するSi−OH構造31をより確実に減少させ、さらには、外部電場によるSi−OH構造31の増加をより好適に抑制または防止することができる。その結果、SiO2膜の絶縁破壊(SBD、SILC)をより確実に防止することができる。Further, the atom X is not particularly limited as long as it can be efficiently bonded to a hydrogen atom while preventing a change in characteristics as an insulator of SiO2 , and is not particularly limited. It is preferably at least one of atoms, aluminum, hafnium, zirconium and germanium. When the inorganic insulating material contains these materials, the Si—OH structure 31 existing in the
なお、原子Xとして窒素原子を含有することにより、例えば、ゲート絶縁膜3の稠密度を高めることができ、また、窒素原子、ハフニウム、ジルコニウムおよびアルミニウムを含有することにより、例えば、ゲート絶縁膜3の安定性や誘電率を高めることができる。
以上のようなゲート絶縁膜3の形成方法については、後述する半導体素子1の製造方法において説明する。Note that by containing nitrogen atoms as the atoms X, for example, the density of the
The method for forming the
このようなSiO2膜を、ゲート絶縁膜3に適用した半導体素子1は、安定な特性および耐久性を得ることができる。
また、ゲート絶縁膜3中の水素原子の少なくとも一部は、重水素原子(D)で置換されたものであってもよい。これにより、外部電場に対して影響を受けやすい構造、すなわち、Si−OH構造31をより減少させることができ、その結果、ゲート絶縁膜3の絶縁破壊耐性をより向上させることができる。The semiconductor element 1 in which such a SiO2 film is applied to the
Further, at least a part of the hydrogen atoms in the
ゲート絶縁膜3の平均厚さ(平均膜厚)は、10nm以下であるのが好ましく、1〜7nm程度であるのがより好ましく、1〜2nm程度であるのがさらに好ましい。ゲート絶縁膜3の厚さを前記範囲とすることにより、半導体素子1を十分に小型化することができる。
また、SILCやSBDの発生は、特に、ゲート絶縁膜3の膜厚を前記範囲のように薄くしたときに頻発する傾向にあり、したがって、このような薄い膜厚のゲート絶縁膜3に、本発明を適用することにより、その効果が顕著に発揮される。The average thickness (average film thickness) of the
In addition, generation of SILC and SBD tends to occur particularly when the thickness of the
また、ゲート絶縁膜3は、ゲート電圧を印加した際の電界強度の絶対値が、10MV/cm以下で使用されるものであるのが好ましく、5MV/cm以下で使用されるものであるのがより好ましく、3MV/cm以下で使用されるものであるのがさらに好ましい。SILCやSBDは、前記範囲のゲート電圧で発生し易い欠陥であり、このゲート電圧で使用するゲート絶縁膜3の場合に、本発明を適用することにより、その効果が顕著に発揮される。 Further, the
なお、ゲート絶縁膜3に対して、前記上限値を越えた高いゲート電圧を印加すると、不可逆的な絶縁破壊(HBD)が発生してしまうおそれがある。
また、ゲート絶縁膜3は、3MV/cm(絶対値)以下の電界強度で測定されるリーク電流値の最大値が、2×10−8A/cm2以下であるものが好ましく、1×10−8A/cm2以下であるものがより好ましく、9×10−9A/cm2以下であるものがさらに好ましい。ゲート絶縁膜3がこのような条件を満足することにより、半導体素子1の使用時におけるゲート絶縁膜3の絶縁破壊がより生じ難くなる。If a high gate voltage exceeding the upper limit is applied to the
The
ここで、ゲート絶縁膜3の電界強度と、その電界強度で測定されるリーク電流の最大値との関係を前述のように設定した理由は、次のとおりである。
まず第1に、ゲート絶縁膜3の平均厚さが前述したような範囲のもの、すなわちゲート絶縁膜3の厚さが比較的薄いものである場合、半導体素子1は、通常、ゲート絶縁膜3における電界強度(絶対値)を3MV/cm以下の所定値に設定して使用される頻度が高い。Here, the reason why the relationship between the electric field strength of the
First, when the average thickness of the
第2に、通常、絶縁膜の電界強度が大きくなると、その電界強度で生じるリーク電流の値も大きくなる傾向を示すが、図13に示すように、B/Aが前述したような関係を満足する本発明の絶縁膜は、電界強度(絶対値)が2.2〜4.0MV/cmの範囲において、その電界強度で生じるリーク電流の対数値がほぼ直線的に変化する傾向を示す。そのため、この範囲内で基準電界強度を設定した場合には、この基準電界強度に対するリーク電流の値が安定しており、再現性に優れる。 Second, normally, when the electric field strength of the insulating film increases, the value of the leakage current generated by the electric field strength tends to increase, but as shown in FIG. 13, B / A satisfies the relationship as described above. In the insulating film of the present invention, when the electric field strength (absolute value) is in the range of 2.2 to 4.0 MV / cm, the logarithmic value of the leakage current generated by the electric field strength tends to change almost linearly. Therefore, when the reference electric field strength is set within this range, the value of the leakage current with respect to the reference electric field strength is stable, and the reproducibility is excellent.
以上のことより、前記第1の理由と前記第2の理由とを総合的に判断すると、上記範囲のほぼ中間点である3MV/cm(絶対値)を基準電界強度として用いることが、妥当であると考えられる。すなわち、3MV/cm(絶対値)の値は、実用性、再現性の点で、基準電界強度として用いるのに優れている。
そして、本発明では、3MV/cm(絶対値)以下の電界強度で測定されるリーク電流値の最大値を前記の値以下に規定することにより、ゲート絶縁膜3の絶縁破壊が生じることを好適に防止することができる。その結果、半導体素子1の使用時におけるゲート絶縁膜3の絶縁破壊がより生じ難くなる。From the above, when comprehensively judging the first reason and the second reason, it is appropriate to use 3 MV / cm (absolute value), which is approximately the midpoint of the above range, as the reference electric field strength. It is believed that there is. That is, a value of 3 MV / cm (absolute value) is excellent for use as a reference electric field strength in terms of practicality and reproducibility.
In the present invention, it is preferable that the dielectric breakdown of the
そのため、本発明の絶縁膜をゲート絶縁膜3に適用して得られた半導体素子1は、製品として実使用する際において、高い信頼性を発揮するものとなる。
さらに、ゲート絶縁膜3に定電流を供給し、小規模な電圧変化が初めて生じた時点をSBDとした場合、ゲート絶縁膜3は、SBDが生じるまでに流れる総電荷量が、40C/cm2以上であるものが好ましく、75C/cm2以上であるものがより好ましい。ゲート絶縁膜3がこのような条件を満足することにより、半導体素子1の使用時におけるゲート絶縁膜3の絶縁破壊がより生じ難くなる。Therefore, the semiconductor element 1 obtained by applying the insulating film of the present invention to the
Furthermore, when a constant current is supplied to the
また、急激な電圧変化が生じた時点をHBDとした場合、ゲート絶縁膜3は、絶縁破壊が生じるまでに流れる総電荷量が、100C/cm2以上であるものが好ましく、200C/cm2以上であるものがより好ましい。ゲート絶縁膜3がこのような条件を満足することにより、半導体素子1の使用時におけるゲート絶縁膜3の絶縁破壊がより生じ難くなる。
以上、本発明の絶縁膜をゲート絶縁膜3として備える半導体素子1の構成について説明したが、本発明の絶縁膜は、前記構成の半導体素子1における層間絶縁膜4に適用することもできる。Further, when the time when a sudden voltage change occurs is HBD, the
The configuration of the semiconductor element 1 including the insulating film of the present invention as the
<半導体素子の製造方法>
次に、図1に示す半導体素子の製造方法について説明する。
図4〜図6は、それぞれ、図1に示す半導体素子の製造方法を説明するための図(縦断面図)である。なお、以下では、説明の都合上、図4〜図6中の上側を「上」、下側を「下」として説明する。<Method for Manufacturing Semiconductor Device>
Next, a method for manufacturing the semiconductor element shown in FIG. 1 will be described.
4 to 6 are views (longitudinal sectional views) for explaining a method of manufacturing the semiconductor element shown in FIG. In the following, for convenience of explanation, the upper side in FIGS. 4 to 6 will be described as “upper” and the lower side will be described as “lower”.
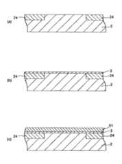
<1> まず、図4(a)に示すように、半導体基板2の表面に、例えば選択酸化法(LOCOS法)等により、トレンチ素子分離構造24を形成する。
これにより、半導体基板2の表面に、素子形成領域が区画形成される。
<2> 次に、半導体基板2にイオンドープを行い、ウェルを形成する。
例えば、pウェルを形成する場合には、B+イオン等のp型不純物をドープし、nウェルを形成する場合には、P+イオン等のn型不純物をドープする。<1> First, as shown in FIG. 4A, the trench
Thereby, an element formation region is partitioned and formed on the surface of the
<2> Next, ion doping is performed on the
For example, when forming a p-well, p-type impurities such as B+ ions are doped, and when forming an n-well, n-type impurities such as P+ ions are doped.
<3> 次に、図4(b)に示すように、半導体基板2上に、ゲート絶縁膜3を形成する。
なお、ここでは、半導体基板2が主としてシリコンで構成される場合を代表に説明する。
I:ゲート絶縁膜3を、シリコンおよび酸素原子以外に、原子Xとして窒素および炭素の少なくとも一方を含有する無機絶縁材料で構成する場合
ゲート絶縁膜3は、例えば、シリコン酸化膜を形成した後、シリコン酸化膜中に原子Xを拡散させることにより形成することができる。<3> Next, as shown in FIG. 4B, the
Here, the case where the
I: In the case where the
I−1:シリコン酸化膜の形成
まず、シリコン基板(半導体基板2)の表面に、例えば、熱酸化法、CVD法によりシリコン酸化膜を形成する。
A:熱酸化法
熱酸化法では、加熱したシリコン基板に、酸素原子を含むガスを供給する。これにより、シリコンを酸化させて、シリコン基板の表面に、シリコン酸化膜を形成する。
加熱の温度(加熱温度)は、300〜1000℃程度であるのが好ましく、500〜800℃程度であるのがより好ましい。I-1: Formation of Silicon Oxide Film First, a silicon oxide film is formed on the surface of a silicon substrate (semiconductor substrate 2) by, for example, a thermal oxidation method or a CVD method.
A: Thermal oxidation method In the thermal oxidation method, a gas containing oxygen atoms is supplied to a heated silicon substrate. Thereby, silicon is oxidized to form a silicon oxide film on the surface of the silicon substrate.
The heating temperature (heating temperature) is preferably about 300 to 1000 ° C, more preferably about 500 to 800 ° C.
加熱の時間(加熱時間)は、目的とするシリコン酸化膜の厚さに応じて適宜設定すればよく、特に限定されないが、例えば、加熱温度を前記範囲とする場合には、10〜90分程度であるのが好ましく、15〜60分程度であるのがより好ましい。
また、酸素原子を含むガスとしては、例えば、酸素(純酸素)、オゾン、過酸化水素、水蒸気、一酸化窒素、二酸化窒素、酸化二窒素等が挙げられ、これらのうちの1種または2種以上を組み合わせて用いることができる。The heating time (heating time) may be appropriately set according to the target thickness of the silicon oxide film, and is not particularly limited. For example, when the heating temperature is in the above range, about 10 to 90 minutes. It is preferable that it is about 15 to 60 minutes.
Examples of the gas containing oxygen atoms include oxygen (pure oxygen), ozone, hydrogen peroxide, water vapor, nitrogen monoxide, nitrogen dioxide, dinitrogen oxide, and the like. A combination of the above can be used.
B:CVD法
CVD法では、所定圧力のチャンバ内に、シリコン酸化物前駆体と酸素原子を含むガスとを導入し、シリコン基板(半導体基板2)を加熱する。これにより、シリコン基板の表面に、シリコン酸化膜を形成する。
シリコン酸化物前駆体としては、例えば、ジクロロシラン、ヘキサクロロジシラン、テトラキス(ヒドロカルビルアミノ)シラン、トリス(ヒドロカルビルアミノ)シラン等が挙げられ、これらのうちの1種または2種以上を組み合わせて用いることができる。B: CVD Method In the CVD method, a silicon oxide precursor and a gas containing oxygen atoms are introduced into a chamber at a predetermined pressure, and the silicon substrate (semiconductor substrate 2) is heated. Thereby, a silicon oxide film is formed on the surface of the silicon substrate.
Examples of the silicon oxide precursor include dichlorosilane, hexachlorodisilane, tetrakis (hydrocarbylamino) silane, tris (hydrocarbylamino) silane, and the like, and one or more of these may be used in combination. it can.
酸素原子を含むガスとしては、例えば、酸素(純酸素)、オゾン、過酸化水素、水蒸気、一酸化窒素、二酸化窒素、酸化二窒素等が挙げられ、これらのうちの1種または2種以上を組み合わせて用いることができる。
加熱の温度(加熱温度)は、300〜1000℃程度であるのが好ましく、500〜800℃程度であるのがより好ましい。Examples of the gas containing oxygen atoms include oxygen (pure oxygen), ozone, hydrogen peroxide, water vapor, nitrogen monoxide, nitrogen dioxide, dinitrogen oxide, and the like. They can be used in combination.
The heating temperature (heating temperature) is preferably about 300 to 1000 ° C, more preferably about 500 to 800 ° C.
加熱の時間(加熱時間)は、目的とするシリコン酸化膜の厚さに応じて適宜設定すればよく、特に限定されないが、例えば、加熱温度を前記範囲とする場合には、10〜90分程度であるのが好ましく、20〜60分程度であるのがより好ましい。
チャンバ内の圧力(真空度)は、0.05Torr〜大気圧(760Torr)程度であるのが好ましく、0.1〜500Torr程度であるのがより好ましい。
また、シリコン酸化物前駆体と酸素原子を含むガスとの混合比は、モル比で10:1〜1:100程度であるのが好ましく、1:2〜1:10程度であるのがより好ましい。The heating time (heating time) may be appropriately set according to the target thickness of the silicon oxide film, and is not particularly limited. For example, when the heating temperature is in the above range, about 10 to 90 minutes. It is preferable that it is about 20 to 60 minutes.
The pressure (degree of vacuum) in the chamber is preferably about 0.05 Torr to atmospheric pressure (760 Torr), and more preferably about 0.1 to 500 Torr.
The mixing ratio between the silicon oxide precursor and the gas containing oxygen atoms is preferably about 10: 1 to 1: 100, more preferably about 1: 2 to 1:10 in terms of molar ratio. .
I−2:原子Xの拡散
次に、前記工程[I−1]の酸素原子を含むガスに代えて、窒素原子を含むガスおよび炭素原子を含むガスの少なくとも一方(原子Xを含むガス)を供給して、シリコン酸化膜が形成されたシリコン基板に熱処理を施す。これにより、窒素および炭素の少なくとも一方がシリコン酸化(SiO2)膜中に拡散して、目的とするゲート絶縁膜3が得られる。
熱処理の温度(熱処理温度)は、300〜1000℃程度であるのが好ましく、600〜900℃程度であるのがより好ましい。I-2: Diffusion of atom X Next, instead of the gas containing an oxygen atom in the step [I-1], at least one of a gas containing a nitrogen atom and a gas containing a carbon atom (a gas containing an atom X) is used. Then, heat treatment is performed on the silicon substrate on which the silicon oxide film is formed. As a result, at least one of nitrogen and carbon diffuses into the silicon oxide (SiO2 ) film, and the target
The heat treatment temperature (heat treatment temperature) is preferably about 300 to 1000 ° C., more preferably about 600 to 900 ° C.
熱処理の時間(熱処理時間)は、特に限定されないが、例えば、加熱温度を前記範囲とする場合には、5〜80分程度であるのが好ましく、10〜50分程度であるのがより好ましい。
窒素原子を含むガスとしては、例えば、アンモニア、ヒドラジン、アルキルヒドラジン化合物、アジ化水素、一酸化窒素、二酸化窒素、酸化二窒素等が挙げられ、これらのうちの1種または2種以上を組み合わせて用いることができる。Although the heat treatment time (heat treatment time) is not particularly limited, for example, when the heating temperature is within the above range, it is preferably about 5 to 80 minutes, and more preferably about 10 to 50 minutes.
Examples of the gas containing a nitrogen atom include ammonia, hydrazine, an alkyl hydrazine compound, hydrogen azide, nitrogen monoxide, nitrogen dioxide, dinitrogen oxide, and the like. Can be used.
また、炭素原子を含むガスとしては、例えば、一酸化炭素、二酸化炭素等が挙げられ、これらのうちの1種または2種以上を組み合わせて用いることができる。
また、この[I]の方法では、前記工程[I−1]において、酸素原子を含むガスに代えて、酸素原子を含むガスと、窒素原子を含むガスおよび炭素原子を含むガスの少なくとも一方(原子Xを含むガス)とを供給するようにしてもよい。これにより、前記工程[I−2]を省略することができる。Moreover, as a gas containing a carbon atom, carbon monoxide, a carbon dioxide, etc. are mentioned, for example, These can be used 1 type or in combination of 2 or more types.
In the method [I], in the step [I-1], in place of the gas containing oxygen atoms, at least one of a gas containing oxygen atoms, a gas containing nitrogen atoms, and a gas containing carbon atoms ( Gas containing atoms X) may be supplied. Thereby, the process [I-2] can be omitted.
II:ゲート絶縁膜3を、シリコンおよび酸素原子以外に、原子Xとしてアルミニウム、ハフニウム、ジルコニウムおよびゲルマニウムのうちの少なくとも1種を含有する材料で構成する場合
ゲート絶縁膜3は、例えば、スパッタリング法のようなPVD法(真空蒸着法等の物理蒸着法)やCVD法等を用いて形成することができる。II: When the
この場合、用いるターゲット等の構成材料(原材料)中の原子Xの濃度を設定することにより、形成されるゲート絶縁膜3中の原子Xの濃度を調整することができる。
ここで、前述したように、通常、ゲート絶縁膜3の内部には、その製造工程において、不可避的に水素原子が混入するが、この水素原子の濃度は、製造方法およびその条件に依存するものであり、同一の製造方法およびその条件では、ほぼ一定となる。In this case, the concentration of the atom X in the
Here, as described above, normally, hydrogen atoms are inevitably mixed in the
したがって、前記[I]では、例えば、シリコン酸化膜の製造方法およびその条件毎に、予め、シリコン酸化膜の内部に含まれる水素原子の濃度を実験的に測定しておき、この測定値に基づいて、前記工程[I−2]における熱処理温度、熱処理時間、用いるガス種、ガスの流量等を適宜設定することにより、ゲート絶縁膜3中における原子Xの濃度と水素原子の濃度とが所定の関係を満足するように調整することができる。 Therefore, in the above [I], for example, the concentration of hydrogen atoms contained in the silicon oxide film is experimentally measured in advance for each method of manufacturing the silicon oxide film and its conditions, and based on this measured value. Thus, by appropriately setting the heat treatment temperature, the heat treatment time, the gas type to be used, the gas flow rate, etc. in the step [I-2], the concentration of atoms X and the concentration of hydrogen atoms in the
なお、この熱処理温度、熱処理時間、用いるガス種、ガスの流量等も、実験的に求めることができる。
また、前記[II]では、例えば、ゲート絶縁膜3の製造方法およびその条件毎に、予め、ゲート絶縁膜3の内部に含まれる水素原子の濃度を実験的に測定しておき、この測定値に基づいて、用いるターゲット(原材料)中の原子Xの濃度等を適宜設定することにより、ゲート絶縁膜3中における原子Xの濃度と水素原子の濃度とが所定の関係を満足するように調整することができる。
さらに、得られたゲート絶縁膜3には、例えば、水蒸気(H2O)を含む雰囲気中で熱処理等を施すようにしてもよい。
この場合、加熱の温度(加熱温度)は、500〜1200℃程度であるのが好ましく、700〜1000℃程度であるのがより好ましい。The heat treatment temperature, heat treatment time, gas type to be used, gas flow rate, and the like can also be experimentally determined.
In the above [II], for example, the concentration of hydrogen atoms contained in the
Furthermore, the obtained
In this case, the heating temperature (heating temperature) is preferably about 500 to 1200 ° C, and more preferably about 700 to 1000 ° C.
加熱の時間(加熱時間)は、加熱温度を前記範囲とする場合には、10〜90分程度であるのが好ましく、20〜60分程度であるのがより好ましい。
また、雰囲気の相対湿度は、50〜100%RH程度が好ましく、75〜100%RH程度であるのがより好ましい。
以上のような方法および条件でゲート絶縁膜3を形成することにより、上述したようなシリコン酸化物以外の原子を効果的にゲート絶縁膜3内に混入することができる。これにより、得られたゲート絶縁膜3は、その厚さ方向の少なくとも一部において、より確実に、前述したような関係を満足するようになり、当該領域において、Si−OH構造31の存在量を極めて少なくすることができる。その結果、Si−OH構造31が存在することによるリーク電流および絶縁破壊の発生をより確実に阻止(防止)することができる。When the heating temperature is within the above range, the heating time (heating time) is preferably about 10 to 90 minutes, more preferably about 20 to 60 minutes.
Further, the relative humidity of the atmosphere is preferably about 50 to 100% RH, and more preferably about 75 to 100% RH.
By forming the
なお、ゲート絶縁膜3中の水素原子を重水素原子で置換する方法としては、例えば、A:ゲート絶縁膜3を形成した後、重水素ガス(D2)を含む雰囲気中で、ゲート絶縁膜3に対して熱処理を施す方法、B:ゲート絶縁膜3を形成するに際して、半導体基板2を重水蒸気(D2O)を含む雰囲気中で熱酸化を行う方法、C:ゲート絶縁膜3を形成した後、重水素アンモニアガス(ND3)を含む雰囲気中で、ゲート絶縁膜3に対して熱処理を施す方法等が挙げられ、これらのうちの1種または2種以上を組み合わせて用いることができる。As a method for replacing hydrogen atoms in the
<4> 次に、図4(c)に示すように、ゲート絶縁膜3上に、導電膜51を形成する。
この導電膜51は、ゲート絶縁膜3上に、例えばCVD法等により、多結晶シリコン等を堆積させて形成することができる。
<5> 次に、導電膜51上に、例えばフォトリソグラフィー法等により、ゲート電極5の形状に対応するレジストマスクを形成する。
そして、このレジストマスクを介して導電膜51の不要部分をエッチングにより除去する。これにより、図5(d)に示すようなゲート電極5が得られる。
このエッチングには、例えば、プラズマエッチング、リアクティブエッチング、ビームエッチング、光アシストエッチング等の物理的エッチング法、ウェットエッチング等の化学的エッチング法等のうちの1種または2種以上を組み合わせて用いることができる。<4> Next, as shown in FIG. 4C, a
The
<5> Next, a resist mask corresponding to the shape of the
Then, unnecessary portions of the
For this etching, for example, one or more of physical etching methods such as plasma etching, reactive etching, beam etching, and light assisted etching, and chemical etching methods such as wet etching are used in combination. Can do.
<6> 次に、図5(e)に示すように、半導体基板2のゲート電極5の両側にイオンドープを行い、ソース領域22およびドレイン領域23を形成する。
このとき、p型不純物によりウェルを形成した場合には、P+等のn型不純物をドープすることにより、ソース領域22およびドレイン領域23を形成する。
一方、n型不純物によりウェルを形成した場合には、B+等のp型不純物をドープすることによりソース領域22およびドレイン領域23を形成する。<6> Next, as shown in FIG. 5E, ion doping is performed on both sides of the
At this time, when the well is formed by the p-type impurity, the
On the other hand, when the well is formed by n-type impurities, the
<7> 次に、図5(f)に示すように、各部が形成された半導体基板2上に、例えばCVD法等により、SiO2等を堆積させることで層間絶縁膜4を形成する。
<8> 次に、層間絶縁膜4上に、例えばフォトリソグラフィー法等により、コンタクトホールに対応する部分が開口したレジストマスクを形成する。
そして、このレジストマスクを介して、層間絶縁膜4の不要部分をエッチングにより除去する。これにより、図6(g)に示すように、チャネル領域21、ソース領域22、ドレイン領域23のそれぞれに対応してコンタクトホール41、42、43が形成される。<7> Next, as shown in FIG. 5F, the
<8> Next, a resist mask having an opening corresponding to the contact hole is formed on the
Then, unnecessary portions of the
<9> 次に、コンタクトホール41、42、43の内部を含めて層間絶縁膜4上に、例えばCVD法等により、導電性材料を堆積させ導電膜を形成する。
<10> 次に、導電膜上に、例えばフォトリソグラフィー法等により導電部の形状に対応するレジストマスクを形成する。
そして、このレジストマスクを介して、導電膜の不要部分をエッチングにより除去する。これにより、図6(h)に示すように、チャネル領域21、ソース領域22、ドレイン領域23のそれぞれに対応して導電部61、62、63およびコンタクトプラグ71、72、73が形成される。
以上のような工程を経て、半導体素子1が製造される。<9> Next, a conductive film is formed by depositing a conductive material on the
<10> Next, a resist mask corresponding to the shape of the conductive portion is formed on the conductive film by, for example, photolithography.
Then, unnecessary portions of the conductive film are removed by etching through this resist mask. As a result, as shown in FIG. 6H,
The semiconductor element 1 is manufactured through the above steps.
<電子デバイス>
前述したような半導体素子1は、各種電子デバイスに適用される。
以下では、本発明の電子デバイスを透過型液晶表示装置に適用した場合を代表に説明する。
図7は、本発明の電子デバイスを透過型液晶表示装置に適用した場合の実施形態を示す分解斜視図である。<Electronic device>
The semiconductor element 1 as described above is applied to various electronic devices.
Below, the case where the electronic device of this invention is applied to a transmissive liquid crystal display device is demonstrated as a representative.
FIG. 7 is an exploded perspective view showing an embodiment in which the electronic device of the present invention is applied to a transmissive liquid crystal display device.
なお、図7では、図が煩雑となるのを避けるため一部の部材を省略している。また、以下では、説明の都合上、図7中の上側を「上」、下側を「下」として説明する。
図7に示す透過型液晶表示装置10(以下、単に「液晶表示装置10」と言う。)は、液晶パネル(表示パネル)20と、バックライト(光源)60とを有している。In FIG. 7, some members are omitted in order to avoid complication of the drawing. In the following, for convenience of explanation, the upper side in FIG. 7 will be described as “upper” and the lower side will be described as “lower”.
7 includes a liquid crystal panel (display panel) 20 and a backlight (light source) 60. The transmissive liquid crystal display device 10 (hereinafter, simply referred to as “liquid
この液晶表示装置10は、バックライト60からの光を液晶パネル20に透過させることにより画像(情報)を表示し得るものである。
液晶パネル20は、互いに対向して配置された第1の基板220と第2の基板230とを有し、これらの第1の基板220と第2の基板230との間には、表示領域を囲むようにしてシール材(図示せず)が設けられている。The liquid
The
そして、これらの第1の基板220、第2の基板230およびシール材により画成される空間には、電気光学物質である液晶が収納され、液晶層(中間層)24が形成されている。すなわち、第1の基板220と第2の基板230との間に、液晶層240が介挿されている。
なお、図示は省略したが、液晶層240の上面および下面には、それぞれ、例えばポリイミド等で構成される配向膜が設けられている。これらの配向膜により液晶層240を構成する液晶分子の配向性(配向方向)が規制されている。In a space defined by the
Although illustration is omitted, alignment films made of polyimide or the like are provided on the upper and lower surfaces of the
第1の基板220および第2の基板230は、それぞれ、例えば、各種ガラス材料、各種樹脂材料等で構成されている。
第1の基板220は、その上面(液晶層240側の面)221に、マトリックス状(行列状)に配置された複数の画素電極223と、X方向に延在する走査線224と、Y方向に延在する信号線228とが設けられている。The
The
各画素電極223は、透明性(光透過性)を有する透明導電膜により構成され、それぞれ、1つの半導体素子(本発明の半導体素子)1を介して、走査線224および信号線228に接続されている。
また、第1の基板220の下面には、偏光板225が設けられている。
一方、第2の基板230は、その下面(液晶層240側の面)231に、複数の帯状をなす対向電極232が設けられている。これらの対向電極232は、互いに所定間隔をおいてほぼ平行に配置され、かつ、画素電極223に対向するように配列されている。Each
A
On the other hand, the
画素電極223と対向電極232とが重なる部分(この近傍の部分も含む)が1画素を構成し、これらの電極間で充放電を行うことにより、各画素毎に、液晶層240の液晶が駆動、すなわち、液晶の配向状態が変化する。
対向電極232も、前記画素電極223と同様に、透明性(光透過性)を有する透明導電膜(により構成されている。A portion where the
Similarly to the
各対向電極232の下面には、それぞれ、赤(R)、緑(G)、青(B)の有色層(カラーフィルター)233が設けられ、これらの各有色層233がブラックマトリックス234によって仕切られている。
ブラックマトリックス234は、遮光機能を有し、例えば、クロム、アルミニウム、アルミニウム合金、ニッケル、亜鉛、チタンのような金属、カーボン等を分散した樹脂等で構成されている。
また、第2の基板230の上面には、前記偏光板225とは偏光軸が異なる偏光板235が設けられている。Red (R), green (G), and blue (B) colored layers (color filters) 233 are provided on the lower surface of each
The
A
このような構成の液晶パネル20では、バックライト60から発せられた光は、偏光板225で偏光された後、第1の基板220および各画素電極223を介して、液晶層240に入射する。液晶層240に入射した光は、各画素毎に配向状態が制御された液晶により強度変調される。強度変調された各光は、有色層233、対向電極232および第2の基板230を通過した後、偏光板235で偏光され、外部に出射する。これにより、液晶表示装置10では、第2の基板230の液晶層240と反対側から、例えば、文字、数字、図形等のカラー画像(動画および静止画の双方を含む)を視認することができる。
なお、以上の説明では、本発明の電子デバイスとして、アクティブマトリックス駆動方式の透過型液晶表示装置に適用した場合を代表に説明したが、その他、本発明の電子デバイスは、反射型液晶表示装置や、有機または無機のEL表示装置、電気泳動表示装置に適用することもできる。In the
In the above description, the case where the electronic device of the present invention is applied to a transmissive liquid crystal display device of an active matrix driving method has been described as a representative. However, the electronic device of the present invention is not limited to a reflective liquid crystal display device, The present invention can also be applied to organic or inorganic EL display devices and electrophoretic display devices.
<電子機器>
前述したような液晶表示装置10(本発明の電子デバイス)は、各種電子機器の表示部に用いることができる。
図8は、本発明の電子機器を適用したモバイル型(またはノート型)のパーソナルコンピュータの構成を示す斜視図である。<Electronic equipment>
The liquid crystal display device 10 (the electronic device of the present invention) as described above can be used for display portions of various electronic devices.
FIG. 8 is a perspective view showing the configuration of a mobile (or notebook) personal computer to which the electronic apparatus of the present invention is applied.
この図において、パーソナルコンピュータ1100は、キーボード1102を備えた本体部1104と、表示ユニット1106とにより構成され、表示ユニット1106は、本体部1104に対しヒンジ構造部を介して回動可能に支持されている。
このパーソナルコンピュータ1100においては、表示ユニット1106が前述の液晶表示装置(電気光学装置)10を備えている。In this figure, a
In the
図9は、本発明の電子機器を適用した携帯電話機(PHSも含む)の構成を示す斜視図である。
この図において、携帯電話機1200は、複数の操作ボタン1202、受話口1204および送話口1206とともに、前述の液晶表示装置(電気光学装置)10を表示部に備えている。FIG. 9 is a perspective view showing a configuration of a mobile phone (including PHS) to which the electronic apparatus of the present invention is applied.
In this figure, a
図10は、本発明の電子機器を適用したディジタルスチルカメラの構成を示す斜視図である。なお、この図には、外部機器との接続についても簡易的に示されている。
ここで、通常のカメラは、被写体の光像により銀塩写真フィルムを感光するのに対し、ディジタルスチルカメラ1300は、被写体の光像をCCD(Charge Coupled Device)などの撮像素子により光電変換して撮像信号(画像信号)を生成する。FIG. 10 is a perspective view showing the configuration of a digital still camera to which the electronic apparatus of the present invention is applied. In this figure, connection with an external device is also simply shown.
Here, an ordinary camera sensitizes a silver salt photographic film with a light image of a subject, whereas a
ディジタルスチルカメラ1300におけるケース(ボディー)1302の背面には、前述の液晶表示装置10が表示部に設けられ、CCDによる撮像信号に基づいて表示を行う構成になっており、被写体を電子画像として表示するファインダとして機能する。
ケースの内部には、回路基板1308が設置されている。この回路基板1308は、撮像信号を格納(記憶)し得るメモリが設置されている。
また、ケース1302の正面側(図示の構成では裏面側)には、光学レンズ(撮像光学系)やCCDなどを含む受光ユニット1304が設けられている。The above-described liquid
A
A
撮影者が表示部に表示された被写体像を確認し、シャッタボタン1306を押下すると、その時点におけるCCDの撮像信号が、回路基板1308のメモリに転送・格納される。
また、このディジタルスチルカメラ1300においては、ケース1302の側面に、ビデオ信号出力端子1312と、データ通信用の入出力端子1314とが設けられている。そして、図示のように、ビデオ信号出力端子1312にはテレビモニタ1430が、デ−タ通信用の入出力端子1314にはパーソナルコンピュータ1440が、それぞれ必要に応じて接続される。さらに、所定の操作により、回路基板1308のメモリに格納された撮像信号が、テレビモニタ1430や、パーソナルコンピュータ1440に出力される構成になっている。When the photographer confirms the subject image displayed on the display unit and presses the
In the
なお、本発明の電子機器は、図8のパーソナルコンピュータ(モバイル型パーソナルコンピュータ)、図9の携帯電話機、図10のディジタルスチルカメラの他にも、例えば、テレビや、ビデオカメラ、ビューファインダ型、モニタ直視型のビデオテープレコーダ、ラップトップ型パーソナルコンピュータ、カーナビゲーション装置、ページャ、電子手帳(通信機能付も含む)、電子辞書、電卓、電子ゲーム機器、ワードプロセッサ、ワークステーション、テレビ電話、防犯用テレビモニタ、電子双眼鏡、POS端末、タッチパネルを備えた機器(例えば金融機関のキャッシュディスペンサー、自動券売機)、医療機器(例えば電子体温計、血圧計、血糖計、心電表示装置、超音波診断装置、内視鏡用表示装置)、魚群探知機、各種測定機器、計器類(例えば、車両、航空機、船舶の計器類)、フライトシュミレータ、その他各種モニタ類、プロジェクター等の投射型表示装置等に適用することができる。
以上、本発明の絶縁膜、半導体素子、電子デバイス、電子機器を図示の各実施形態に基づいて説明したが、本発明は、これらに限定されるものではなく、各構成は、同様の機能を発揮し得る任意のものと置換することができ、あるいは、任意の構成のものを付加することもできる。The electronic apparatus of the present invention includes, for example, a television, a video camera, a viewfinder type, in addition to the personal computer (mobile personal computer) in FIG. 8, the mobile phone in FIG. 9, and the digital still camera in FIG. Monitor direct-view video tape recorder, laptop personal computer, car navigation system, pager, electronic notebook (including communication function), electronic dictionary, calculator, electronic game device, word processor, workstation, video phone, security TV Monitors, electronic binoculars, POS terminals, devices equipped with touch panels (for example, cash dispensers and automatic ticket vending machines for financial institutions), medical devices (for example, electronic thermometers, blood pressure monitors, blood glucose meters, electrocardiographs, ultrasound diagnostic devices, internal Endoscopic display device), fish finder, various measuring instruments Instruments (e.g., gages for vehicles, aircraft, and ships), a flight simulator, various monitors, and a projection display such as a projector.
As described above, the insulating film, the semiconductor element, the electronic device, and the electronic apparatus of the present invention have been described based on the illustrated embodiments. However, the present invention is not limited to these, and each configuration has the same function. It can be replaced with any that can be exhibited, or can be added with any configuration.
次に、本発明の具体的実施例について説明する。
1.絶縁膜の作製および評価
1−1.絶縁膜の作製
以下に示す各実施例および比較例において、それぞれ、5つの絶縁膜を形成した。
(実施例1)
−1A− 面方位(100)のp型シリコン結晶基板(基材)を用意し、熱酸化処理によりシリコン酸化膜を形成した。
熱酸化処理は、相対湿度33%RHの水蒸気(H2O)雰囲気中、750℃×15minで行った。
得られたシリコン酸化膜の平均厚さYは、5.5nmであった。
−2A− 次に、このシリコン酸化膜に対して、アンモニア(NH3)雰囲気中、850℃×10minで加熱処理を行った。
以上のようにして、絶縁膜を得た。Next, specific examples of the present invention will be described.
1. 1. Production and evaluation of insulating film 1-1. Production of Insulating Film In each of the following examples and comparative examples, five insulating films were formed.
Example 1
A p-type silicon crystal substrate (base material) having a surface orientation (100) was prepared, and a silicon oxide film was formed by thermal oxidation treatment.
The thermal oxidation treatment was performed at 750 ° C. × 15 min in a water vapor (H2 O) atmosphere having a relative humidity of 33% RH.
The average thickness Y of the obtained silicon oxide film was 5.5 nm.
-2A- Next, the silicon oxide film, ammonia (NH3) atmosphere, heat treatment was performed at 850 ° C. × 10min.
An insulating film was obtained as described above.
(実施例2)
前記工程−2A−において、アンモニア(NH3)雰囲気中の加熱処理の条件を、750℃×10minに代えた以外は、前記実施例1と同様にして、絶縁膜(平均厚さY:5.3nm)を得た。
(実施例3)
前記工程−2A−において、アンモニア(NH3)雰囲気中の加熱処理の条件を、900℃×15minに代えた以外は、前記実施例1と同様にして、絶縁膜(平均厚さY:5.5nm)を得た。(Example 2)
In the step-2A-, the insulating film (average thickness Y: 5.5) was obtained in the same manner as in Example 1 except that the heat treatment conditions in the ammonia (NH3 ) atmosphere were changed to 750 ° C. × 10 min. 3 nm) was obtained.
(Example 3)
In the step-2A-, an insulating film (average thickness Y: 5.5) was obtained in the same manner as in Example 1 except that the heat treatment conditions in the ammonia (NH3 ) atmosphere were changed to 900 ° C. × 15 min. 5 nm) was obtained.
(実施例4)
前記工程−2A−において、アンモニア(NH3)雰囲気中の加熱処理の条件を、450℃×5minに代えた以外は、前記実施例1と同様にして、絶縁膜(平均厚さY:5.3nm)を得た。
(実施例5)
前記工程−2A−において、アンモニア(NH3)雰囲気に代えて二酸化炭素(CO2)雰囲気とした以外は、前記実施例1と同様にして、絶縁膜(平均厚さY:5.2nm)を得た。Example 4
In the step-2A-, an insulating film (average thickness Y: 5...5 ) was obtained in the same manner as in Example 1 except that the heat treatment conditions in the ammonia (NH3 ) atmosphere were changed to 450 ° C. × 5 min. 3 nm) was obtained.
(Example 5)
An insulating film (average thickness Y: 5.2 nm) was formed in the same manner as in Example 1 except that the carbon dioxide (CO2 ) atmosphere was used instead of the ammonia (NH3 ) atmosphere in the step-2A-. Obtained.
(実施例6)
前記工程−2A−において、アンモニア(NH3)雰囲気に代えて二酸化炭素(CO2)雰囲気とした以外は、前記実施例2と同様にして、絶縁膜(平均厚さY:5.3nm)を得た。
(実施例7)
前記工程−2A−において、アンモニア(NH3)雰囲気に代えて二酸化炭素(CO2)雰囲気とした以外は、前記実施例3と同様にして、絶縁膜(平均厚さY:5.4nm)を得た。(Example 6)
An insulating film (average thickness Y: 5.3 nm) was formed in the same manner as in Example 2 except that the carbon dioxide (CO2 ) atmosphere was used instead of the ammonia (NH3 ) atmosphere in Step-2A-. Obtained.
(Example 7)
An insulating film (average thickness Y: 5.4 nm) was formed in the same manner as in Example 3 except that the carbon dioxide (CO2 ) atmosphere was used instead of the ammonia (NH3 ) atmosphere in the step-2A-. Obtained.
(実施例8)
前記工程−2A−において、アンモニア(NH3)雰囲気に代えて二酸化炭素(CO2)雰囲気とした以外は、前記実施例4と同様にして、絶縁膜(平均厚さY:5.2nm)を得た。
(実施例9)
前記工程−1A−において、水蒸気雰囲気に代えて重水蒸気(D2O)雰囲気とした以外は、前記実施例1と同様にして、絶縁膜(平均厚さY:5.5nm)を得た。(Example 8)
An insulating film (average thickness Y: 5.2 nm) was formed in the same manner as in Example 4 except that the carbon dioxide (CO2 ) atmosphere was used instead of the ammonia (NH3 ) atmosphere in Step-2A-. Obtained.
Example 9
An insulating film (average thickness Y: 5.5 nm) was obtained in the same manner as in Example 1 except that in the step-1A-, a heavy water vapor (D2 O) atmosphere was used instead of the water vapor atmosphere.
(実施例10)
−1B− まず、面方位(100)のp型シリコン結晶基板を用意し、この基板上に、スパッタリング法によりアルミニウムを含有するシリコン酸化膜を形成した。
なお、スパッタリング法は、二酸化ケイ素とアルミニウムとを構成材料とするターゲットを用い、放電ガスとしてアルゴンを用い、チャンバ内の圧力を3×10−3Torrとして行った。
得られたシリコン酸化膜の平均厚さYは、5.0nmであった。
−2B− 次に、このシリコン酸化膜に対して、相対湿度95%RHの水蒸気(H2O)雰囲気中、900℃×5分で熱処理を施した。
以上のようにして、絶縁膜を得た。(Example 10)
-1B- First, a p-type silicon crystal substrate with a plane orientation (100) was prepared, and a silicon oxide film containing aluminum was formed on the substrate by sputtering.
The sputtering method was performed using a target composed of silicon dioxide and aluminum, argon as a discharge gas, and a pressure in the chamber of 3 × 10−3 Torr.
The average thickness Y of the obtained silicon oxide film was 5.0 nm.
-2B- Next, the silicon oxide film, a relative humidity of 95% RH steam in(H 2 O) atmosphere, was subjected to heat treatment at 900 ° C. × 5 minutes.
An insulating film was obtained as described above.
(実施例11)
前記工程−1B−において、二酸化ケイ素とハフニウムとを構成材料とするターゲットを用いた以外は、前期実施例10と同様にして、絶縁膜(平均厚さY:5.3nm)を得た。
(実施例12)
前記工程−1B−において、二酸化ケイ素とジルコニウムとを構成材料とするターゲットを用いた以外は、前期実施例10と同様にして、絶縁膜(平均厚さY:4.8nm)を得た。(Example 11)
In the step-1B-, an insulating film (average thickness Y: 5.3 nm) was obtained in the same manner as in Example 10 except that a target composed of silicon dioxide and hafnium was used.
Example 12
In the step-1B-, an insulating film (average thickness Y: 4.8 nm) was obtained in the same manner as in Example 10 except that a target composed of silicon dioxide and zirconium was used.
(実施例13)
前記工程−1B−において、二酸化ケイ素とゲルマニウムとを構成材料とするターゲットを用いた以外は、前期実施例10と同様にして、絶縁膜(平均厚さY:5.1nm)を得た。
(比較例)
前記工程−2A−を省略した以外は、前記実施例1と同様にして、絶縁膜(平均厚さY:5.2nm)を得た。(Example 13)
In the step-1B-, an insulating film (average thickness Y: 5.1 nm) was obtained in the same manner as in Example 10 except that a target composed of silicon dioxide and germanium was used.
(Comparative example)
An insulating film (average thickness Y: 5.2 nm) was obtained in the same manner as in Example 1 except that Step-2A- was omitted.
1−2.絶縁膜の評価
1−2−1.二次イオン質量分析
各実施例および比較例の絶縁膜について、それぞれ、二次イオン質量分析法により、これら絶縁膜の基材と反対側の面を厚さ0[nm]とし、この面から厚さ方向に向かって、シリコンおよび酸素原子のイオン強度、および、水素(重水素)原子、窒素原子、炭素原子、アルミニウム、ハフニウム、ジルコニウムおよびゲルマニウムの濃度(密度)を分析した。1-2. Evaluation of insulating film 1-2-1. Secondary ion mass spectrometry With respect to the insulating films of the examples and comparative examples, the surface opposite to the base material of these insulating films was set to a thickness of 0 [nm] by secondary ion mass spectrometry. The ionic strength of silicon and oxygen atoms and the concentration (density) of hydrogen (deuterium) atoms, nitrogen atoms, carbon atoms, aluminum, hafnium, zirconium and germanium were analyzed in the vertical direction.
なお、二次イオン質量分析法による測定条件は、以下の通りである。
・二次イオン質量分析装置 :Physical Electronics社製、「ADEPT1010」
・一次イオン種 :Cs+
・一次イオン加速エネルギー:500ev
・二次イオン極性 :Positive
ここに、実施例1および比較例の測定結果を、一例として、図11および図12に示す。Measurement conditions by secondary ion mass spectrometry are as follows.
Secondary ion mass spectrometer: “ADEPT1010” manufactured by Physical Electronics
・ Primary ion species: Cs+
・ Primary ion acceleration energy: 500ev
・ Secondary ion polarity: Positive
Here, the measurement results of Example 1 and Comparative Example are shown in FIGS. 11 and 12 as an example.
次に、各実施例および比較例の絶縁膜における基材との界面から所定距離(Y/3、Y/5およびY/10[nm])における、それぞれのB/A値を、以下の表1に示す。なお、表1中の数値は、測定結果に基づいて(補正等を施して)得られた数値であり、絶縁膜の異なる5つのサンプルにおける平均値である。 Next, each B / A value at a predetermined distance (Y / 3, Y / 5, and Y / 10 [nm]) from the interface with the base material in the insulating film of each example and comparative example is shown in the following table. It is shown in 1. The numerical values in Table 1 are numerical values obtained based on the measurement results (corrected) and are average values of five samples with different insulating films.
1−2−2.リーク電流値の測定
次に、各実施例および比較例の絶縁膜について、それぞれ、電界強度(印加電圧)の値を変化させたときのリーク電流値の変化を測定した。
なお、測定面積は、0.02039cm2とした。1-2-2. Measurement of Leakage Current Value Next, with respect to the insulating films of the examples and comparative examples, changes in the leakage current value when the electric field strength (applied voltage) value was changed were measured.
The measurement area was 0.02039 cm2 .
各実施例および比較例の絶縁膜において、それぞれ、電界強度0〜−3MV/cmの範囲で測定されたリーク電流の最大値を、以下の表2に示す。なお、表2中の数値は、5つの絶縁膜の平均値である。
また、一例として、実施例1および比較例の絶縁膜において測定された電界強度の値の変化とリーク電流値の変化との関係を示すグラフを、図13に示す。Table 2 below shows the maximum values of leakage currents measured in the range of electric field strengths of 0 to -3 MV / cm in the insulating films of the examples and comparative examples. In addition, the numerical value in Table 2 is an average value of five insulating films.
As an example, FIG. 13 shows a graph showing the relationship between the change in the electric field strength value measured in the insulating films of Example 1 and the comparative example and the change in the leakage current value.
表2および図13に示すように、各実施例の絶縁膜は、いずれも、電界強度0〜−5MV/cmの範囲(特に、0〜−3MV/cmの範囲)において、リーク電流値が小さく抑えられていた。
また、これら各実施例の中でも、特に、B/A値が小さかったものは、リーク電流値がより小さく抑えられる傾向を示した。
これに対して、比較例の絶縁膜では、低い電界強度において、大きなリーク電流が流れた。As shown in Table 2 and FIG. 13, each of the insulating films in each example has a small leakage current value in the range of electric field strength of 0 to −5 MV / cm (particularly in the range of 0 to −3 MV / cm). It was suppressed.
Further, among these examples, those having a small B / A value tended to suppress the leakage current value to a smaller value.
In contrast, in the insulating film of the comparative example, a large leak current flowed at a low electric field strength.
1−2−3.Qbd値の測定
次に、各実施例および比較例の絶縁膜について、それぞれ、Qbd値を測定した。
ここで、Qbd値とは、絶縁膜に電圧を印加したときに、絶縁破壊が生じるまでに流れた総電荷量であり、この値が大きい程、絶縁破壊が生じ難いことを意味する。
このQbd値の測定では、水銀電極を用いて絶縁膜に定電流を供給し、小規模な電圧変化が初めて生じた時点をSBDとし、急激な電圧変化が生じた時点をHBDとした。そして、SBDが生じるまでに流れた総電荷量(Qbd(SBD)値)と、HBDが生じるまでに流れた総電荷量(Qbd(HBD)値)とを測定した。1-2-3. Measurement of Qbd Value Next, the Qbd value was measured for each of the insulating films of the examples and comparative examples.
Here, the Qbd value is the total amount of electric charge that has flowed until dielectric breakdown occurs when a voltage is applied to the insulating film, and it means that dielectric breakdown is less likely to occur as this value increases.
In the measurement of the Qbd value, a constant current was supplied to the insulating film using a mercury electrode, the time when a small voltage change first occurred was defined as SBD, and the time when a rapid voltage change occurred was defined as HBD. Then, a total charge amount (Qbd (SBD) value) that flowed until SBD was generated and a total charge amount (Qbd (HBD) value) that flowed until HBD was generated were measured.
なお、測定面積は0.02039cm2、印加電流は0.01226A/cm2とした。
各実施例および比較例の絶縁膜において、それぞれ測定されたQbd(SBD)値とQbd(HBD)値とを、以下の表3に示す。なお、表3中の数値は、5つの絶縁膜の平均値である。The measurement area 0.02039Cm2, applied current was 0.01226A / cm2.
Table 3 below shows measured Qbd (SBD) values and Qbd (HBD) values in the insulating films of the examples and comparative examples. The numerical values in Table 3 are average values of five insulating films.
表3に示すように、各実施例の絶縁膜のQbd(SBD)値は、比較例の絶縁膜のQbd(SBD)値よりも大きなものであった。
また、各実施例の絶縁膜のQbd(HBD)値も同様に、比較例の絶縁膜のQbd(HBD)値よりも大きなものであった。
また、各実施例の中でも、特に、B/A値が小さかったものは、Qbd(SBD)値とQbd(HBD)値とがともにより大きくなる傾向を示した。
以上のような各評価結果から、原子Xの総濃度Aと水素原子の濃度Bとの比B/Aが10以下となる領域を有する絶縁膜は、絶縁破壊耐性に優れることが明らかとなった。
また、B/A値が小さくなるにしたがって、絶縁膜は、その絶縁破壊耐性が向上する傾向を示した。As shown in Table 3, the Qbd (SBD) value of the insulating film of each example was larger than the Qbd (SBD) value of the insulating film of the comparative example.
Similarly, the Qbd (HBD) value of the insulating film of each example was larger than the Qbd (HBD) value of the insulating film of the comparative example.
Further, among the examples, those having a small B / A value showed a tendency that the Qbd (SBD) value and the Qbd (HBD) value were both increased.
From the above evaluation results, it became clear that the insulating film having a region where the ratio B / A of the total concentration A of atoms X to the concentration B of hydrogen atoms is 10 or less is excellent in dielectric breakdown resistance. .
Moreover, the insulation film showed the tendency for the dielectric breakdown tolerance to improve as the B / A value decreased.
2.半導体素子の作製および評価
2−1.半導体素子の作製
図1に示す半導体素子を、前記実施形態で説明したような方法にしたがって作製した。なお、ゲート絶縁膜は、前記各実施例および比較例と同様にして形成した。
2−2.半導体素子の評価
各実施例および比較例と同様にして形成したゲート絶縁膜を備える各半導体素子について、そのスイッチング特性を評価する目的にて、それぞれ、しきい電圧を測定した。2. 2. Production and evaluation of semiconductor element 2-1. Fabrication of Semiconductor Device The semiconductor device shown in FIG. 1 was fabricated according to the method described in the above embodiment. The gate insulating film was formed in the same manner as in the above examples and comparative examples.
2-2. Evaluation of Semiconductor Element For each semiconductor element provided with a gate insulating film formed in the same manner as in each Example and Comparative Example, a threshold voltage was measured for the purpose of evaluating the switching characteristics.
その結果、各実施例と同様にして形成したゲート絶縁膜を備える半導体素子は、いずれも、長期間に亘り、しきい電圧値の絶対値が小さなものを示した。
さらに、これらの半導体素子のうち、基材との界面により近い領域においてB/A値が小さく抑えられていたものほど、その絶対値がより小さくなる傾向を示した。このことは、原子Xを界面付近に効果的に含有しているものほど、絶縁膜の特性の低下が防止されていることを示唆するものである。As a result, all the semiconductor elements provided with the gate insulating film formed in the same manner as in each example showed a small absolute value of the threshold voltage value over a long period of time.
Further, among these semiconductor elements, the absolute value of the semiconductor element tended to be smaller as the B / A value was suppressed smaller in the region closer to the interface with the base material. This suggests that the more effectively the atoms X are contained in the vicinity of the interface, the lower the characteristics of the insulating film are prevented.
これに対して、比較例と同様にして形成したゲート絶縁膜を備える半導体素子は、リーク電流が認められ、しきい電圧(スイッチング特性)が大きく不安定であり、早期にゲート絶縁膜に絶縁破壊が生じ、スイッチング素子としての機能が失われた。
ここで、しきい電圧とは、ゲート電圧とId1/2(Id:ドレイン電流の値)との関係を表す近似式(関係式)の値が0となるときのゲート電圧値であり、ドレイン電流が流れ始めるのに要するゲート電圧にほぼ等しい。On the other hand, a semiconductor device having a gate insulating film formed in the same manner as in the comparative example has a leak current, a large threshold voltage (switching characteristics), and is unstable. As a result, the function as a switching element was lost.
Here, the threshold voltage is a gate voltage value when the value of the approximate expression (relational expression) representing the relationship between the gate voltage and Id1/2 (Id: the value of the drain current) is 0, It is approximately equal to the gate voltage required for current to begin to flow.
なお、基材との界面により近い領域においてB/A値がより小さい絶縁膜は、すなわち、この膜中の原子Xの絶対値がより少ない状態で、Si−OH構造31の生成を効果的に抑えている絶縁膜である。
以上のことから、このような絶縁膜は、絶縁破壊(SBD,SILC)の発生を効果的に抑制しつつ、優れた特性を有するものであることがわかる。Note that the insulating film having a smaller B / A value in the region closer to the interface with the base material, that is, the generation of the Si—OH structure 31 effectively in a state where the absolute value of the atom X in the film is smaller. This is an insulating film to be suppressed.
From the above, it can be seen that such an insulating film has excellent characteristics while effectively suppressing the occurrence of dielectric breakdown (SBD, SILC).
1‥‥半導体素子 2‥‥半導体基板 21‥‥チャネル領域 22‥‥ソース領域 23‥‥ドレイン領域 24‥‥素子分離構造 3‥‥ゲート絶縁膜 31‥‥Si−OH構造 32‥‥N−H構造 33‥‥XH分子 4‥‥層間絶縁膜 5‥‥ゲート電極 41、42、43‥‥コンタクトホール 51‥‥導電膜 61、62、63‥‥導電部 71、72、73‥‥コンタクトプラグ 10‥‥液晶表示装置 20‥‥液晶パネル 220‥‥第1の基板 221‥‥上面 223‥‥画素電極 224‥‥走査線 225‥‥偏光板 228‥‥信号線 230‥‥第2の基板 231‥‥下面 232‥‥対向電極 233‥‥有色層 234‥‥ブラックマトリックス 235‥‥偏光板 240‥‥液晶層 60‥‥バックライト 1100‥‥パーソナルコンピュータ 1102‥‥キーボード 1104‥‥本体部 1106‥‥表示ユニット 1200‥‥携帯電話機 1202‥‥操作ボタン 1204‥‥受話口 1206‥‥送話口 1300‥‥ディジタルスチルカメラ 1302‥‥ケース(ボディー) 1304‥‥受光ユニット 1306‥‥シャッタボタン 1308‥‥回路基板 1312‥‥ビデオ信号出力端子 1314‥‥データ通信用の入出力端子 1430‥‥テレビモニタ 1440‥‥パーソナルコンピュータ DESCRIPTION OF SYMBOLS 1 ...
| Application Number | Priority Date | Filing Date | Title |
|---|---|---|---|
| JP2009270768AJP4992957B2 (en) | 2004-02-10 | 2009-11-27 | Insulating film, semiconductor element, electronic device and electronic equipment |
| Application Number | Priority Date | Filing Date | Title |
|---|---|---|---|
| JP2004033960 | 2004-02-10 | ||
| JP2004033960 | 2004-02-10 | ||
| JP2009270768AJP4992957B2 (en) | 2004-02-10 | 2009-11-27 | Insulating film, semiconductor element, electronic device and electronic equipment |
| Application Number | Title | Priority Date | Filing Date |
|---|---|---|---|
| JP2004306228ADivisionJP4511307B2 (en) | 2004-02-10 | 2004-10-20 | Gate insulating film, semiconductor element, electronic device and electronic equipment |
| Publication Number | Publication Date |
|---|---|
| JP2010098322Atrue JP2010098322A (en) | 2010-04-30 |
| JP4992957B2 JP4992957B2 (en) | 2012-08-08 |
| Application Number | Title | Priority Date | Filing Date |
|---|---|---|---|
| JP2009270768AExpired - Fee RelatedJP4992957B2 (en) | 2004-02-10 | 2009-11-27 | Insulating film, semiconductor element, electronic device and electronic equipment |
| Country | Link |
|---|---|
| JP (1) | JP4992957B2 (en) |
| Publication number | Priority date | Publication date | Assignee | Title |
|---|---|---|---|---|
| US9355846B2 (en) | 2012-03-16 | 2016-05-31 | Kabushiki Kaisha Toshiba | Non-uniform silicon dioxide and air gap for separating memory cells |
| Publication number | Priority date | Publication date | Assignee | Title |
|---|---|---|---|---|
| JPS54163679A (en)* | 1978-06-15 | 1979-12-26 | Fujitsu Ltd | Semiconductor device |
| JPH05218405A (en)* | 1991-12-07 | 1993-08-27 | Toshiba Corp | Semiconductor device and manufacturing method thereof |
| JPH05251428A (en)* | 1992-03-06 | 1993-09-28 | Oki Electric Ind Co Ltd | Method for formation of insulating film and non-volatile semiconductor device using such film |
| JPH06169083A (en)* | 1992-11-30 | 1994-06-14 | Hitachi Ltd | Semiconductor device and manufacture thereof |
| JPH0794751A (en)* | 1993-09-16 | 1995-04-07 | Semiconductor Energy Lab Co Ltd | Semiconductor device and method of fabrication thereof |
| JPH0851108A (en)* | 1994-05-31 | 1996-02-20 | Kawasaki Steel Corp | Semiconductor device and manufacturing method thereof |
| JPH10223628A (en)* | 1997-02-04 | 1998-08-21 | Fujitsu Ltd | Method for manufacturing semiconductor device |
| JPH10242310A (en)* | 1996-12-26 | 1998-09-11 | Hitachi Ltd | Semiconductor device |
| JPH10256539A (en)* | 1997-03-10 | 1998-09-25 | Fujitsu Ltd | Semiconductor device and manufacturing method thereof |
| JPH11288933A (en)* | 1998-02-04 | 1999-10-19 | Sony Corp | Method for forming insulation film and manufacture of p-type semiconductor element |
| JP2001015753A (en)* | 1999-04-28 | 2001-01-19 | Toshiba Corp | Semiconductor device and method of manufacturing the same |
| JP2001148381A (en)* | 1999-09-07 | 2001-05-29 | Tokyo Electron Ltd | Method for forming insulating film and device therefor |
| JP2002299612A (en)* | 2001-03-30 | 2002-10-11 | Toshiba Corp | Semiconductor device and manufacturing method thereof |
| Publication number | Priority date | Publication date | Assignee | Title |
|---|---|---|---|---|
| JPS54163679A (en)* | 1978-06-15 | 1979-12-26 | Fujitsu Ltd | Semiconductor device |
| JPH05218405A (en)* | 1991-12-07 | 1993-08-27 | Toshiba Corp | Semiconductor device and manufacturing method thereof |
| JPH05251428A (en)* | 1992-03-06 | 1993-09-28 | Oki Electric Ind Co Ltd | Method for formation of insulating film and non-volatile semiconductor device using such film |
| JPH06169083A (en)* | 1992-11-30 | 1994-06-14 | Hitachi Ltd | Semiconductor device and manufacture thereof |
| JPH0794751A (en)* | 1993-09-16 | 1995-04-07 | Semiconductor Energy Lab Co Ltd | Semiconductor device and method of fabrication thereof |
| JPH0851108A (en)* | 1994-05-31 | 1996-02-20 | Kawasaki Steel Corp | Semiconductor device and manufacturing method thereof |
| JPH10242310A (en)* | 1996-12-26 | 1998-09-11 | Hitachi Ltd | Semiconductor device |
| JPH10223628A (en)* | 1997-02-04 | 1998-08-21 | Fujitsu Ltd | Method for manufacturing semiconductor device |
| JPH10256539A (en)* | 1997-03-10 | 1998-09-25 | Fujitsu Ltd | Semiconductor device and manufacturing method thereof |
| JPH11288933A (en)* | 1998-02-04 | 1999-10-19 | Sony Corp | Method for forming insulation film and manufacture of p-type semiconductor element |
| JP2001015753A (en)* | 1999-04-28 | 2001-01-19 | Toshiba Corp | Semiconductor device and method of manufacturing the same |
| JP2001148381A (en)* | 1999-09-07 | 2001-05-29 | Tokyo Electron Ltd | Method for forming insulating film and device therefor |
| JP2002299612A (en)* | 2001-03-30 | 2002-10-11 | Toshiba Corp | Semiconductor device and manufacturing method thereof |
| Publication number | Priority date | Publication date | Assignee | Title |
|---|---|---|---|---|
| US9355846B2 (en) | 2012-03-16 | 2016-05-31 | Kabushiki Kaisha Toshiba | Non-uniform silicon dioxide and air gap for separating memory cells |
| Publication number | Publication date |
|---|---|
| JP4992957B2 (en) | 2012-08-08 |
| Publication | Publication Date | Title |
|---|---|---|
| US8395225B2 (en) | Semiconductor device, an electronic device and an electronic apparatus | |
| TWI589000B (en) | Semiconductor device | |
| TW201248863A (en) | Semiconductor device and manufacturing method thereof | |
| TW201234596A (en) | Semiconductor device and manufacturing method thereof | |
| US7696047B2 (en) | Method for evaluating a gate insulation film characteristic for use in a semiconductor device | |
| JP4225249B2 (en) | Insulating film evaluation method | |
| JP2008159640A (en) | Gate insulating film, method for manufacturing gate insulating film, method for evaluating gate insulating film, semiconductor element, electronic device and electronic equipment | |
| JP4992957B2 (en) | Insulating film, semiconductor element, electronic device and electronic equipment | |
| JP2008159639A (en) | Gate insulating film, gate insulating film evaluation method, semiconductor element, electronic device and electronic equipment | |
| JP4458527B2 (en) | Gate insulating film, semiconductor element, electronic device and electronic equipment | |
| CN100464427C (en) | Method for evaluating characteristics of gate insulating film | |
| JP2007103611A (en) | Semiconductor device, semiconductor device manufacturing method, electro-optical device, and electronic apparatus |
| Date | Code | Title | Description |
|---|---|---|---|
| A977 | Report on retrieval | Free format text:JAPANESE INTERMEDIATE CODE: A971007 Effective date:20111117 | |
| A131 | Notification of reasons for refusal | Free format text:JAPANESE INTERMEDIATE CODE: A131 Effective date:20111122 | |
| A521 | Written amendment | Free format text:JAPANESE INTERMEDIATE CODE: A523 Effective date:20120123 | |
| TRDD | Decision of grant or rejection written | ||
| A01 | Written decision to grant a patent or to grant a registration (utility model) | Free format text:JAPANESE INTERMEDIATE CODE: A01 Effective date:20120410 | |
| A01 | Written decision to grant a patent or to grant a registration (utility model) | Free format text:JAPANESE INTERMEDIATE CODE: A01 | |
| A61 | First payment of annual fees (during grant procedure) | Free format text:JAPANESE INTERMEDIATE CODE: A61 Effective date:20120423 | |
| FPAY | Renewal fee payment (event date is renewal date of database) | Free format text:PAYMENT UNTIL: 20150518 Year of fee payment:3 | |
| R150 | Certificate of patent or registration of utility model | Free format text:JAPANESE INTERMEDIATE CODE: R150 | |
| LAPS | Cancellation because of no payment of annual fees |