















本発明は、椎骨への係合に特に有用な骨アンカーに関する。特定の一実施形態では、本発明は、脊柱に沿って延びる細長いロッドもしくは他の部材の側面からの取付け(loading)を可能にしながら、同時にロッドを実質的に平面内で調節できるようにする、骨ねじ組立体を企図する。 The present invention relates to bone anchors that are particularly useful for engaging vertebrae. In one particular embodiment, the present invention allows loading from the side of an elongated rod or other member that extends along the spinal column, while at the same time allowing the rod to be adjusted substantially in a plane, A bone screw assembly is contemplated.
脊柱を矯正して安定させ、脊柱の様々な高さでの癒合を促進する、いくつかの技術およびシステムが開発されてきた。あるタイプのシステムでは、湾曲可能な(bendable)ロッドが、脊柱または脊椎柱の長さに沿って長手方向に配置される。ロッドは、好ましくは、装着されている特定の領域で脊柱の正常な曲率に対応するように曲げることができる。例えば、脊柱の胸部領域では正常な後湾(kyphotic)曲率、または腰部領域では前湾(lordotic)曲率を形成するように、ロッドを曲げることができる。このようなシステムによれば、ロッドは、いくつかの固定要素によって背骨の長さに沿って様々な椎骨に係合される。椎骨の特定の部分に係合するように構成された様々な固定要素を提供することができる。例えば、そのような1つの固定要素は、椎弓板に係合するように構成されたフックである。他の非常に一般的な固定要素は、脊椎骨の様々な態様に螺入できる脊椎ねじである。 Several techniques and systems have been developed that correct and stabilize the spine and promote fusion at various heights of the spine. In one type of system, a bendable rod is placed longitudinally along the length of the spinal column or spinal column. The rod is preferably bendable to correspond to the normal curvature of the spinal column in the particular area where it is mounted. For example, the rod can be bent to create a normal kyphotic curvature in the thoracic region of the spinal column, or a lordotic curvature in the lumbar region. According to such a system, the rod is engaged with various vertebrae along the length of the spine by several fixing elements. Various fixation elements configured to engage a specific portion of the vertebra can be provided. For example, one such fixation element is a hook configured to engage a lamina. Another very common fixation element is a spinal screw that can be screwed into various aspects of the vertebra.
湾曲可能なロッドを用いる典型的な一手順では、ロッドは、脊柱もしくは棘突起の片側または両側に位置する。複数の骨ねじが、いくつかの椎体の一部分、例えば、これらの椎骨の椎弓根に螺入される。(1つもしくは複数の)ロッドは、脊柱に矯正/安定作用のある力を加えるために、これら複数の骨ねじに連結または添着される。 In a typical procedure using a bendable rod, the rod is located on one or both sides of the spinal column or spinous process. A plurality of bone screws are screwed into parts of several vertebral bodies, for example into the pedicles of these vertebrae. The rod (s) are connected or affixed to the bone screws to apply a corrective / stabilizing force on the spinal column.
ロッド型脊柱固定システムの一例は、Medtronic Sofamor Danek, Inc.によって販売されるTSRH(商標)Spinal Systemである。TSRH(商標)Systemは、すべて脊柱全体にわたって節状(segmental)構造物を作り出すように構成された、細長いロッドと、様々なフック、ねじ、およびボルトとを含む。TSRH(商標)Systemの一態様では、脊柱ロッドは、アイボルトによって様々な椎骨固定要素に連結される。この構成では、固定要素は、脊柱ロッドに隣接して横方向にロッドに係合される。TSRH(商標)Systemの他の態様では、可変角度ねじがアイボルトによって脊柱ロッドに係合される。可変角度ねじは、脊柱ロッドの平面に平行な単一平面での骨ねじの枢動を可能にする。この可変角度ねじの詳細は、本発明の譲受人が所有する、Sutterlinらの米国特許第5261909号に見ることができる。TSRH(商標)Systemによって達成される1つの目標は、外科医が脊椎フックや骨ねじなどの椎骨固定要素を適切な解剖学的位置で脊柱に適用できることである。TSRH(商標)Systemは、また、最終的な締着のために外科医が曲げられた脊柱ロッドを各固定要素に容易に係合できるようにする。 An example of a rod-type spinal fixation system is available from Medtronic Sofamor Danek, Inc. TSRH ™ Spinal System sold by The TSRH ™ System includes an elongate rod and various hooks, screws, and bolts, all configured to create a segmental structure across the entire spinal column. In one aspect of the TSRH ™ System, the spinal rod is connected to various vertebral fixation elements by eyebolts. In this configuration, the fixation element is engaged to the rod laterally adjacent to the spinal rod. In another aspect of the TSRH ™ System, a variable angle screw is engaged to the spinal rod by an eyebolt. The variable angle screw allows the bone screw to pivot in a single plane parallel to the plane of the spinal rod. Details of this variable angle screw can be found in US Pat. No. 5,261,909 to Sutterlin et al., Owned by the assignee of the present invention. One goal achieved by the TSRH ™ System is that the surgeon can apply vertebral fixation elements such as spinal hooks and bone screws to the spinal column at the appropriate anatomical location. The TSRH ™ System also allows the surgeon to easily engage each fixation element with a bent spinal rod for final fastening.
他のロッド型固定システムは、Medtronic Sofamor Danek, Inc.によって販売されるCotrel−Dubosset/CD Spinal Systemである。TSRH(商標)Systemと同様に、CD(商標)Systemは、細長いロッドと脊柱との間の係合のための様々な固定要素を提供する。CD(商標)Systemの一態様では、固定要素自体が、その中で脊柱ロッドが受けられるスロットを画定する本体を含む。スロットは、固定要素の本体内でロッドを挟持するためにねじ山付きプラグがその中に係合されるねじ山付きボアを含む。CD(商標)Systemは、この「後面開放(open−back)」構成をもつフックおよび骨ねじを含む。この技術の詳細は、Cotrelの米国特許第5005562号に見ることができる。CD(商標)Systemのこの特徴の1つの利益は、固定要素が細長いロッドの真下に位置決めされることである。これは、インプラント構造の全体的な嵩高さを低減するのに役立ち、周囲組織の外傷を最小限に抑える。 Other rod-type fastening systems are available from Medtronic Sofamor Danek, Inc. Cotrel-Dubosset / CD Spinal System sold by Like the TSRH ™ System, the CD ™ System provides a variety of fixation elements for engagement between the elongated rod and the spinal column. In one aspect of the CD ™ System, the fixation element itself includes a body that defines a slot in which the spinal rod is received. The slot includes a threaded bore into which a threaded plug is engaged to clamp the rod within the body of the securing element. The CD ™ System includes a hook and bone screw with this “open-back” configuration. Details of this technique can be found in US Pat. No. 5,0055,362 to Cotrel. One benefit of this feature of the CD ™ System is that the fixation element is positioned directly below the elongated rod. This helps to reduce the overall bulkiness of the implant structure and minimizes trauma to the surrounding tissue.
前述および他の椎骨アンカーは、上方に、すなわち、アンカーがそれに取り付けられる骨からまっすぐ離れる方向に開口する、細長いロッドまたは他の部材のための通路を有する。初めにアンカーを骨内に留置でき、次いでロッドを通路内で基本的に該アンカーの上に置くことができるので、このような構造の利便性は、明らかである。しかし、多くの場合、外科医がアンカーを使用して椎体をロッドに平行移動させることを望むことがある。この平行移動は、通常、水平成分ならびに垂直成分を伴う。側面取付け式インプラントは、それらの関連器具とともに、このタイプの手技の実行を単純化することができる。このようなインプラントの使用は、側方の組織からの干渉の低減、アンカーを挿入する前に係止コンポーネントに予め負荷を加える可能性、またさらに最終的な締着前にロッドを一時的に捕捉する革新的手段をもたらすことができる。 The foregoing and other vertebral anchors have passages for elongated rods or other members that open upward, i.e., in a direction that is straight away from the bone to which the anchor is attached. The convenience of such a structure is obvious because the anchor can be initially placed in the bone and then the rod can be essentially placed over the anchor in the passage. However, in many cases, the surgeon may wish to use the anchor to translate the vertebral body into the rod. This translation is usually accompanied by a horizontal component as well as a vertical component. Side-mounted implants, along with their associated instruments, can simplify the performance of this type of procedure. The use of such an implant reduces the interference from the lateral tissue, may preload the locking component before inserting the anchor, and even temporarily capture the rod before final fastening. Can bring about innovative means.
これらの問題に対処するために、側面に開口する通路を有する骨アンカーが開発された。しかし、当業界では、新しい改良型の側面取付け式骨アンカーが依然として必要とされている。 To address these problems, bone anchors with passageways that open to the sides have been developed. However, there remains a need in the industry for new and improved side-mounted bone anchors.
  本発明に係る椎骨および脊柱ロッドに取り付けるための装置は、長手方向軸線を備えたねじ山付きシャフト、およびネック部を有する、骨アンカー部分であって、前記ねじ山付きシャフトが、長手方向軸線、および椎骨への連結に適した海綿骨ねじ山を有する、骨アンカー部分と;実質的にC字形の受取部分であって、前記受取部分が、前記骨アンカー部分の前記ネック部に一体的に連結された下側の脚部、上側の脚部、中間部分を有しており、前記受取部分が、前記軸線に対して実質的に垂直な通路を有し、前記受取部分内でロッドを前記通路の中に入れることができ、前記受取部分が、前記上側の脚部を貫く内部のねじ孔をさらに含んでおり、前記受取部分が、前記下側の脚部および前記中間部分に開口部をさらに含んでおり、前記受取部分が、保持工具に対応するように適合された少なくとも1つの外部インプリントをさらに含む、受取部分と;前記受取部分に連結された内部部品であって、それにより、前記内部部品の少なくとも一部分が前記受取部分の前記開口部内にくるようにされ、前記内部部品が、前記受取部分の前記中間部分内に延びる柱部分を有し、前記内部部品が、第1の端部および第2の端部を有する着座部分を有しており、前記着座部分の前記第1の端部が、前記内部部品の前記柱部分に取り付けられ、前記第2の端部が平らな部分を有し、前記着座部分が、実質的に円筒状の内側表面を有し、前記内側表面が、最大約120度までの弧を有し、前記脚部が溝を有する、内部部品と;
  前記内部部品の前記脚部の少なくとも一部分を取り囲む環状部材であって、それにより、前記環状部材の少なくとも一部分が前記溝内にくるようにされ、前記内部部品および前記受取部分が、互いに対して回転可能であるように、前記環状部材が位置決めされ、かつ前記内部部品の前記脚部、および前記環状部材が、前記受取部分の前記開口部から引き抜くことができないように、前記環状部材が位置決めされる、環状部材と;を含む。An apparatus for attaching to a vertebra and spinal rod according to the present invention is a bone anchor portion having a threaded shaft with a longitudinal axis and a neck portion, wherein the threaded shaft is a longitudinal axis, And a bone anchor portion having a cancellous bone thread suitable for connection to the vertebra; and a substantially C-shaped receiving portion, wherein the receiving portion is integrally connected to the neck portion of the bone anchor portion Having a lower leg, an upper leg, and an intermediate portion, wherein the receiving portion has a passage substantially perpendicular to the axis, and the rod passes through the passage in the receiving portion. The receiving portion further includes an internal threaded hole through the upper leg, the receiving portion further comprising openings in the lower leg and the intermediate portion. Including and receiving A receiving portion further comprising at least one external imprint adapted to correspond to a holding tool; and an internal component coupled to the receiving portion, whereby at least a portion of the internal component is The inner part has a post portion extending into the intermediate part of the receiving part, the inner part having a first end and a second end, the inner part being adapted to be within the opening of the receiving part; The first end of the seating portion is attached to the column portion of the internal component, the second end has a flat portion, and the seating portion An inner part having a substantially cylindrical inner surface, the inner surface having an arc of up to about 120 degrees and the legs having grooves;
 An annular member that surrounds at least a portion of the leg of the internal component such that at least a portion of the annular member is in the groove and the internal component and the receiving portion rotate relative to each other; The annular member is positioned so that the annular member is positioned and the legs of the internal part and the annular member cannot be withdrawn from the opening of the receiving portion as possible. An annular member;
本発明の側面取付け式の骨アンカー装置は、実質的にC字形の受取部分であって、前記受取部分が、下側の脚部、上側の脚部、および中間部分を有し、前記受取部分が、前記上側の脚部および下側の脚部の間に、前記中間部分に対して実質的に垂直な通路を有しており、前記受取部分が、前記下側の脚部内の陥凹部、および前記中間部分内の穴をさらに含む、受取部分と;骨アンカー部分であって、前記受取部分の前記下側の脚部に連結された長手方向軸線を備え、前記軸線が前記中間部分に実質的に平行である、骨アンカー部分と;柱部分および着座部分を含む内部部品であって、前記アーム部分が実質的に直線状であり、前記着座部分が実質的に円筒状の内側表面を有しており、前記着座部分が、第1の端部および第2の端部を有しており、前記着座部分の前記第1の端部が前記柱部分に取り付けられており、前記第2の端部が、前記柱部分に対して平行ではない平らな部分を有しており、前記内部部品の前記柱部分が前記穴の中にあり、前記中間部分を越えては延びておらず、前記着座部分が、前記受取部分の前記陥凹部に隣接しており、前記内部部品が、前記受取部分に対して前記柱部分の周りで回転可能である、内部部品と;前記受取部分に連結された止めねじと;を含んでおり、それによって、前記止めねじ、および前記内部部品の前記着座部分が、前記通路内に位置決めされた細長い部材と接触するように適合されて、前記細長い部材と、前記着座部分と、前記受取部分とを、互いに対して係止させる。 The side-mounted bone anchor device of the present invention is a substantially C-shaped receiving portion, the receiving portion having a lower leg, an upper leg, and an intermediate portion, wherein the receiving portion Has a passage between the upper leg and the lower leg that is substantially perpendicular to the intermediate part, the receiving part being a recess in the lower leg, And a receiving portion further comprising a hole in said intermediate portion; a bone anchor portion comprising a longitudinal axis coupled to said lower leg of said receiving portion, said axis being substantially in said intermediate portion A bone anchor portion that is generally parallel; and an internal component that includes a column portion and a seating portion, wherein the arm portion is substantially straight and the seating portion has a substantially cylindrical inner surface. The seating portion has a first end and a second end. The first end of the seating portion is attached to the post portion, and the second end has a flat portion that is not parallel to the post portion, and the internal component The column portion of the receiving portion is in the hole, does not extend beyond the intermediate portion, the seating portion is adjacent to the recess of the receiving portion, and the internal part is the receiving portion An internal component that is rotatable about the post portion; and a set screw coupled to the receiving portion, whereby the set screw and the seating portion of the internal component are Adapted to contact an elongate member positioned within the passage to lock the elongate member, the seating portion and the receiving portion relative to each other.
本発明の原理の理解を促進する目的で、ここで、諸図面に示される諸実施形態を参照し、具体的な言葉を使用してそれら諸実施形態について説明する。とは言え、それによって本発明の範囲の制限が意図されるわけではなく、本発明が関係する分野の技術者には普通に思い浮かぶ、ここに示される装置の変形形態および他の修正形態、ならびにここに示される本発明の原理の他の用途が企図されることが理解されよう。 For the purpose of promoting an understanding of the principles of the invention, reference will now be made to the embodiments illustrated in the drawings and specific language will be used to describe the embodiments. Nonetheless, it is not intended that the scope of the invention be limited, and variations and other modifications of the apparatus shown herein, which normally occur to those skilled in the art to which the invention pertains, It will be appreciated that other applications of the principles of the invention shown herein are contemplated.
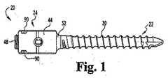
  初めに図1〜図4を見ると、側面取付け式骨ねじ20の一実施形態が示されている。骨ねじ20は、頚椎、胸椎、腰椎、および/もしくは仙椎骨構造などの椎骨、または他の骨もしくは組織への取付け用に作製することができる。同様に、本明細書に記載の骨ねじ20の諸態様を、椎骨フック、骨クランプ、および他の整形外科インプラント装置に含めることができる。  1-4, one embodiment of a side-mounted
  ねじ20は、図1に示される実施形態では、シャフト22と、受取部分24と、内部部品26とを含む。シャフト22は、少なくとも一部分、例えば、比較的下方の部分に1つもしくは複数のねじ山30を有する細長い部品である。ねじ山30は、椎骨または類似の骨への植込みに適した構成の海綿骨ねじ山(cancellous  thread)であってよい。ねじ山30は、セルフタッピングもしくは断続的であっても、またはシャフト22の周りに1つよりも多くの頂上巻き(crest  winding)を有しても、または他の適切な構成であってもよい。シャフト22の比較的上方の部分にはネック部32が設けられる。ネック部32は、ねじ山30の上方にあってもよく、またはやはり(1つもしくは複数の)ねじ山またはねじ山付き部分を含んでもよい。一体形成もしくは構造または堅固な取付けなどによってシャフト22が受取部分24に一体的に接合される一実施形態では、ネック部32は、受取部分24に取り付けられる。  The
  ここでさらに図5〜図9を参照すると、受取部分24の描かれた実施形態は、実質的にC字形で、上側の脚部40と、下側の脚部42と、それらを接合する中間部分44とを有する。上側の脚部40は、その中に止めねじ48を螺入できるねじ孔46を有する。孔46は、上側の脚部40と垂直に交わる長手方向軸線を有していてもよく、または該長手方向軸線が、上側の脚部40に対して、例えば中間部分44に向かって、角度を成していてもよい。  With further reference now to FIGS. 5-9, the depicted embodiment of the
  下側の脚部42は、シャフト22につながっていてよい。前述のように、一実施形態では、シャフト22は、受取部分24に一体的に接合される。図2および図4に示されるように、シャフト22は、特定の一実施形態では、下側の脚部42の比較的前方の部分で受取部分24に取り付けられてよい。シャフト22は、また、受取部分24の他の部分で受取部分24に取り付けられてもよい。一例として、シャフト22は、脚部42の中央部分で、すなわち、中間部分44と受取部分24の前方もしくは開口部分とから実質的に等距離にある領域で取り付けることができる。シャフト22は、また、後方部分で、すなわち、中間部分44に比較的近い領域または中間部分44のところの領域で脚部42に取り付けることもできる。  The
  中間部分44は、脚部40と42とを接合する。脚部40および42と中間部分44とは、全体で、中間部分44の実質的に片側への通路52を備え、脚部40と42との間に口部54を有する、実質的にC字形を形成する。特定の一実施形態では、口部54は、通路52の幅よりもいくらか広く、受取部分24にさらに入り込んでいる。例えば、図2および図6に示されるように、通路52は、口部54から中間部分44に向かって実質的に一様にテーパすることができる。  The
  受取部分24の図示される実施形態は、下側の脚部42および中間部分44に空洞部56をさらに含む。空洞部56は、下側の脚部42に実質的に対応する領域もしくは陥凹部(hollow)58では比較的浅い。空洞部56は、実質的に円筒状で、領域もしくは穴60では比較的深く、中間部分44内にある、または中間部分44を貫通するものであってよい。あるいは、中間部分44の領域60内の空洞部56の少なくとも一部が、実質的に、腰のくびれた(砂時計)形状(例えば、上端と下端との間の領域よりも上端および下端のところがいくらか広い)を有してもよい。内部部品26を保持するのに役立つように、リムもしくはフランジ61が、通路52から比較的遠い位置で少なくとも部分的に空洞部56の領域60の周りを延びており、それについては以下でさらに説明する。リムもしくはフランジ61は、空洞部56の領域60の実質的に周囲全体を延びてもよく、またはその周囲よりもいくらか短い距離だけ延びてもよい。  The illustrated embodiment of the receiving
  空洞部56の領域または空洞部56に隣接した領域には、特定の一実施形態では、受取部分24に1つもしくは複数の隆起部62が設けられている。隆起部62は、ねじ20が係止されるときに内部部品26の裏面に係合するように設けられる。ここに示される実施形態では、隆起部62は、通路52内のロッドの方向に実質的に垂直に位置決めされる。隆起部62を、そのようなロッドに対して実質的に平行にもしくは斜めに位置決めすることもでき、実質的にシェブロン型(山形)の構成で位置決めすることもでき、または内部部品26と受取部分24とを互いに対して動かないように係止するのに役立つ他の任意の方法で位置決めすることもできることがわかる。あるいは、スプラインまたは他の係合構造を、空洞部56の領域58で内部部品26上(例えば、その外部表面67上)および受取部分24上の両方に設けることもできる。  In one particular embodiment, one or
  内部部品26は、丸みを帯びた着座部分63と柱部分64とを含む。着座部分63は、湾曲した内部表面66と、湾曲した外部表面67と、実質的に平らな前部表面68とを有する。内部表面66は、特定の一実施形態では、実質的に円筒状の形状を有し、当該円筒状の形状は、ねじ20とともに使用されるべきロッドと同一または類似の半径を有することのできる。内部表面66と前部表面68とは、縁部70で一体となることができる。特定の一実施形態では、柱部分64から縁部70までの内部表面66の全弧は、180度未満であり、約120度とすることができる。内部部品26の他の諸実施形態が、180度に等しい、または180度よりもいくらか大きい弧を含む内部表面を有することができることがわかる。そのような場合、そのような内部表面と実質的に同一の直径を有するロッドは、そのような内部表面とスナップ嵌めまたは締まり嵌めを形成することができる。そのような内部表面よりもかなり小さい直径のロッドは、言うまでもなく、干渉なしに嵌合する。  The
  柱部分64は、着座部分63の一端から延びる。ここに示される実施形態では、柱部分64と着座部分63とは、実質的に同一平面内にある。柱部分64は、2つの実質的に平滑な側部表面72と、実質的に滑らかな湾曲した上面および底面74とを備える、実質的に長方形の断面である。柱部分64の表面72または74の少なくとも1つに溝76が設けられており、特定の一実施形態では、溝76を含む平面は、柱部分64と実質的に垂直に交わる。  The
  内部部品26は、柱部分64が空洞部56の領域60内にくるように、かつ着座部分63が少なくとも部分的に空洞部56の領域58内にくるように、受取部分24の空洞部56に挿入される。この挿入が完全であるときには、内部部品26は、受取部分24に対して柱部分64の周りで回転することができる。着座部分63は、概ね、ねじ20の留置によって決定付けられる平面内で回転する。例えば、ねじ20が椎骨に取り付けられる場合、内部部品26は、着座部分が概ね矢状面内にくるように回転することができる。他の例として、ねじ20がロッドもしくは脊椎柱から約90度左または右にくるように、ねじ20が側方コネクタとともに使用される場合、内部部品26は、着座部分が概ね冠状面内にくるように回転することができる。空洞部56の領域58が実質的に円筒状である一実施形態では、着座部分63が上側の脚部40または受取部分24の他の部分に干渉しない限り、内部部品26は、受取部分24に対して完全な円で回転することができる。空洞部56の領域58が腰のくびれた形状である一実施形態では、内部部品26および受取部分24が互いに対して特定の角度を通じて回転された後で空洞部56の砂時計部分の側部が表面72の一方もしくは両方に係合するので、受取部分24に対する内部部品26の可能な回転量は、制限される。柱部分64の湾曲表面74は、空洞部56の砂時計部分の同様に湾曲した境界に干渉しない。  The
  ロッドを内部部品26に隣接させて受取部分24内に置き、ねじ20をそのようなロッドに係止させる前に、前述の相対回転を可能にしながら内部部品26を受取部分24内で保持するために、環状クリップ80を設けることができる。クリップ80は、内径82と、外径84と、隙間86とを備えた、実質的に円形のC字形部材である。他の実施形態では、隙間86’を備えた同様のクリップ80’は、内部の拡張部88’を含むことができる。クリップ80は、クリップ80の通常の無負荷状態に存在するよりも大きな程度まで隙間86を広げるまたは狭めることによって弾性変形可能となることができる。内部部品26が受取部分24に挿入されるときには、クリップ80は、内部部品26の柱部分64の周りに置かれる。一実施形態では、クリップ80は、クリップ80の少なくとも一部、例えば、内径82、場合によってはそれ以上が、柱部分64の溝76内にくるように置かれる。クリップ80’は、少なくとも一部分、例えば、拡張部88’の一部もしくはすべてが溝76内にくるように置くことができる。クリップ80が柱部分64の周りにあるときには、クリップ80とリムもしくはフランジ61との間の干渉があるので、柱部分64を受取部分24の空洞部56から引き抜くことができない。クリップ80は、受取部分24に対する内部部品26の回転運動に干渉しない。あるいは、空洞部56内での柱部分62のピーニングなど、受取部分24で内部部品26を保持する他の方法を使用することもできる。クリップ80と同様に、そのような代替方法によって、ねじ20の最終的な係止前に内部部品26が受取部分24に対して回転可能であることが好ましいが、必ずしもその必要はない。  To place the rod in the receiving
  止めねじ48は、ねじ孔46と係合するように適合された雄ねじ山を含む。一実施形態では、止めねじ48は、上面内または上面上に、止めねじ48を締めるかつ/または緩める工具と係合するように適合されたインプリント(圧痕部、刻印部:imprint)89を含む。インプリント89は、内部、例えば、六角形もしくは六葉形(hexalobed)開口部であってもよく、または外部、例えば、六角形頭部であってもよい。ねじ20の全体的な高さもしくはプロファイルへの追加がない、または追加がより少量であるので、内部プリントが好ましい場合があることがわかる。止めねじ48は、底部に、湾曲した、尖った、円錐状の、または他の表面49をさらに含んでよい。そのような表面は、受取部分24内でロッドに係合し、それについては以下でさらに説明する。止めねじ48が通路52内に全く延びないように、または止めねじ48の非常に少量が通路52内に延びるように、止めねじ48を少なくとも部分的にねじ孔46内に置くことができる。あるいは、止めねじを、ロッドが受取部分24に挿入されるまで孔46に入れずにおき、次いで、孔46に挿入してロッドに当てることもでき、それについては以下でさらに説明する。  Set screw 48 includes a male thread adapted to engage
  前述の実施形態の特徴に加えて、受取部分24は、握持または位置決め工具を受け取る1つもしくは複数の窪み90をさらに含むことができる。窪み90は、一実施形態では、上側の脚部40および中間部分44内の領域、または上側の脚部40および中間部分44に隣接した領域で、受取部分24の両側に示されている。窪み90が受取部分24のいずれの部分にあることもできることがわかる。ここに示される実施形態の窪み90は、入口部分92と保持部分94とを有する。保持部分94は、コーナー部98を有する、丸みを帯びた、またはいくらか円形の部分96を有する。保持または握持工具(図示せず)の(1つもしくは複数の)端部のところに、または端部に隣接して、1つもしくは複数の丸みを帯びたまたは円形の突出部を有する、保持または握持工具を使用することができる。そのような(1つもしくは複数の)突出部は、(1つもしくは複数の)入口部分92のところで挿入され、コーナー部98の周りで湾曲し、角度を成し、または掛合されて、円形部分96に到達することができる。このように、そのような工具を使用して、ねじ20を保持する、位置決めする、操作する、または他の方法でねじ20に作用を及ぼすもしくは働きかけることができる。  In addition to the features of the previous embodiments, the receiving
  使用に際しては、外科医は、初めに、当該技術分野で一般的に知られているように、例えば、所望の手術部位に接近できるように皮膚および皮下組織に観血的、低侵襲、または他の切開を加えることによって、手術部位を準備する。本記述では、前述の諸実施形態の使用の主要な一例として脊椎手術について説明する。椎骨に接近できるようになった後には、外科医は、椎骨内に穴を準備する。次いで、ねじ20が手術部位に導入され、椎骨の穴に螺入または他の方法で挿入される。窪み90を通じて突出部がねじ20に連結された保持工具(図示せず)を使用して、ねじ20を保持し、該ねじ20を椎骨の穴に挿入し始めるまたは完全に挿入することができる。シャフト22がセルフタッピングである場合、椎骨に穴をタップ立てする、または他の方法で椎骨の穴にねじ山を付ける必要がないことがわかる。ねじではなくフックもしくは他のインプラントが使用される場合、シャフト22(フックブレードもしくは他の構造の形態)は、それを椎弓根、突起、もしくは他の椎骨部の周りに掛合させる、または他の方法で接触させるなどによって、椎骨に連結されることになる。  In use, a surgeon initially begins with open, minimally invasive, or other techniques on the skin and subcutaneous tissue, for example, to gain access to the desired surgical site, as is generally known in the art. Prepare the surgical site by making an incision. In this description, spinal surgery is described as a primary example of the use of the above-described embodiments. After the vertebra is accessible, the surgeon prepares a hole in the vertebra. A
  アンカー20が骨に連結されるときには、ロッドを手術部位へと移動させ、所望の通りに輪郭付けし、次いで口部54を通じて受取部分24の通路52に挿入することができる。ロッドは、それが内部部品26の着座部分63に隣接または接触するまで受取部分24に入れられる。ロッドを内部部品26の表面68に押し当てることができ、それが、ロッドが着座部分63の内部表面66に隣接するように内部部品26の着座部分63を相対的に下方に押すカム作用をもたらすことになる。その位置では、ロッドおよび内部部品26は、受取部分24に対して実質的にある平面内で、例えば、脊柱に対して実質的に矢状面内で、回転可能である。そのような回転は、実質的に、内部部品26の柱部分64の軸周りである。ロッドおよび内部部品26が受取部分24に対して所望の位置にきた後には、止めねじ48が、受取部分24の上側の脚部40を貫いて下方に螺入され、ロッドと接触する。ねじ48は、ロッドを内部部品26の着座部分63に押し付けて、内部部品26の外部表面67を受取部分24の下側の脚部42に、例えば、1つもしくは複数の隆起部62に押し付ける。止めねじ48が湾曲もしくは円錐状底面49を有する一実施形態では、このような底面49は、ロッドを実質的に受取部分24の中間部分44および/または下側の脚部42に向かう方向に押す傾向にある。止めねじ48が尖った底面49を有する一実施形態では、そのような(1つもしくは複数の)尖端がロッドに食い込むことができる。これで、ロッドは、内部部品26および受取部分24に対して係止され、内部部品26は、受取部分24に対して係止される。  When the
  同一もしくは追加のロッドに連結するように、追加のねじ20を、隣接した骨組織または比較的遠くの骨組織内に留置することができる。さらに、代替のねじもしくはフック装置、クランプ、コネクタ、類似の装置などの他のコンポーネントを、そのような(1つもしくは複数の)ロッドおよびそのような(1つもしくは複数の)骨組織と併せて留置することができる。外科医によって望まれるように、または所与の外傷もしくは他の身体的状況によって必要とされるように、骨形成タンパク質(BMP:bone  morphogenic  protein)、脱灰骨基質(DBM:demineralized  bone  matrix)、骨移植片、他の物質などの骨成長材料が、やはり、患者の身体的状況を治療または矯正するために前述の構造の諸部分と併せて使用されてよい。  
  止めねじ48、内部部品26、隆起部62、および/またはロッドのための材料は、部品間で互いに対するいくらかの変形もしくは貫入が起こり得るように選択することができる。例えば、止めねじ48に底面(例えば、湾曲もしくは円錐状表面49)上の1つもしくは複数の尖端またはエッジ部が設けられる場合、受取部分24内にロッドを係止するために止めねじ48が締め付けられるときに該止めねじ48がロッドに食い込むように、そのような尖端もしくはエッジ部(または止めねじ48の全材料)をロッドよりも硬質の材料で作製することができる。他の例として、内部部品26が受取部分24の隆起部62よりも軟質の材料製である場合、隆起部62は、構造物を係止させるときに内部部品26の外部表面67に食い込むことができる。  The material for the set screw 48, the
諸図面および以上の説明で本発明を詳細に示し、記載したが、それらは、特徴を制限するものではなく例示的なものと見なされるべきであり、単に好ましい実施形態が示され、記載されたにすぎないこと、ならびに本発明の趣旨に含まれるすべての変更および修正の保護が望まれることが理解される。 While the invention has been shown and described in detail in the drawings and the foregoing description, they are to be considered as illustrative rather than restrictive in character, and only preferred embodiments have been shown and described. It will be understood that only protection of all changes and modifications included in the spirit of the invention is desired.
  例えば、ねじ20の特定の実施形態を、脊柱の任意の高さでの留置用にサイズ設定することができる。言うまでもなく、組立体の諸コンポーネントの相対的なサイズが、装着されるべき特定の(1つもしくは複数の)椎骨用に修正されることが理解される。例えば、腰椎または仙椎留置用の諸コンポーネントは、頚椎留置用よりも比較的大きくすることができる。同様に、内部部品26の柱部分64と空洞部56の領域60との相対的な寸法、および/またはロッドと受取部分24との相対的な寸法を、受取部分24に対するロッドのより大きな/より小さな程度の角度形成を可能にするように選択することができる。  For example, certain embodiments of the
前述の諸コンポーネントは、ステンレス鋼から形成されてもよく、チタン、特定のプラスチックもしくはセラミックス、骨成長を可能にする材料など、他の生体適合性材料から形成されてもよい。 The aforementioned components may be formed from stainless steel and may be formed from other biocompatible materials such as titanium, certain plastics or ceramics, materials that allow bone growth.
さらに、以上で論じた実施形態は骨ねじに関するが、他の骨固定部材を、本明細書に開示の特徴を実装するように適合させることができる。例えば、前述のように、シャフト22をねじ山付き要素ではなく椎骨フックのブレードとすることができる。 Furthermore, although the embodiments discussed above relate to bone screws, other bone fixation members can be adapted to implement the features disclosed herein. For example, as described above, the shaft 22 can be a vertebral hook blade rather than a threaded element.
  また、本発明の好ましい実施形態は骨ねじをロッドに係合させるが、様々な長手方向部材が企図されることが理解される。例えば、細長い棒を、内部部品26と止めねじ48との間で挟持されるように受取部分の通路内に配置することができる。そのようなロッドまたは長手方向部材は、整形外科で使用される側方コネクタまたは他の部品の一部とすることができる。本発明は、同様に、滑らかなロッドもしくは棒にも、または刻み目やねじ山などの様々な表面特徴を有する長手方向部材にも、うまく適用することができる。  Also, although preferred embodiments of the present invention engage bone screws with rods, it is understood that various longitudinal members are contemplated. For example, an elongate bar can be placed in the passage of the receiving portion so as to be clamped between the
2004年12月1日出願の米国特許出願、名称「SIDE LOADING BONE ANCHOR」の開示全体を、参照により本願に援用する。 The entire disclosure of the US patent application entitled “SIDE LOADING BONE ANCHOR”, filed Dec. 1, 2004, is hereby incorporated by reference.
| Application Number | Priority Date | Filing Date | Title | 
|---|---|---|---|
| PCT/US2005/043491WO2007064324A1 (en) | 2005-12-01 | 2005-12-01 | Side-loading adjustable bone anchor | 
| Publication Number | Publication Date | 
|---|---|
| JP2009517174Atrue JP2009517174A (en) | 2009-04-30 | 
| Application Number | Title | Priority Date | Filing Date | 
|---|---|---|---|
| JP2008543252APendingJP2009517174A (en) | 2005-12-01 | 2005-12-01 | Side mounted adjustable bone anchor | 
| Country | Link | 
|---|---|
| EP (1) | EP1959849A1 (en) | 
| JP (1) | JP2009517174A (en) | 
| AU (1) | AU2005338664A1 (en) | 
| WO (1) | WO2007064324A1 (en) | 
| Publication number | Priority date | Publication date | Assignee | Title | 
|---|---|---|---|---|
| US7959655B2 (en) | 2007-03-06 | 2011-06-14 | Warsaw Orthopedic, Inc. | Self-aligning attachment devices and methods for attaching an elongated member to a vertebral member | 
| US8021396B2 (en) | 2007-06-05 | 2011-09-20 | Spartek Medical, Inc. | Configurable dynamic spinal rod and method for dynamic stabilization of the spine | 
| US8114134B2 (en) | 2007-06-05 | 2012-02-14 | Spartek Medical, Inc. | Spinal prosthesis having a three bar linkage for motion preservation and dynamic stabilization of the spine | 
| US8048128B2 (en) | 2007-06-05 | 2011-11-01 | Spartek Medical, Inc. | Revision system and method for a dynamic stabilization and motion preservation spinal implantation system and method | 
| US8083772B2 (en) | 2007-06-05 | 2011-12-27 | Spartek Medical, Inc. | Dynamic spinal rod assembly and method for dynamic stabilization of the spine | 
| US8092501B2 (en) | 2007-06-05 | 2012-01-10 | Spartek Medical, Inc. | Dynamic spinal rod and method for dynamic stabilization of the spine | 
| US8048115B2 (en) | 2007-06-05 | 2011-11-01 | Spartek Medical, Inc. | Surgical tool and method for implantation of a dynamic bone anchor | 
| US8333792B2 (en) | 2008-02-26 | 2012-12-18 | Spartek Medical, Inc. | Load-sharing bone anchor having a deflectable post and method for dynamic stabilization of the spine | 
| US8057517B2 (en) | 2008-02-26 | 2011-11-15 | Spartek Medical, Inc. | Load-sharing component having a deflectable post and centering spring and method for dynamic stabilization of the spine | 
| US8083775B2 (en) | 2008-02-26 | 2011-12-27 | Spartek Medical, Inc. | Load-sharing bone anchor having a natural center of rotation and method for dynamic stabilization of the spine | 
| US8267979B2 (en) | 2008-02-26 | 2012-09-18 | Spartek Medical, Inc. | Load-sharing bone anchor having a deflectable post and axial spring and method for dynamic stabilization of the spine | 
| US8048125B2 (en) | 2008-02-26 | 2011-11-01 | Spartek Medical, Inc. | Versatile offset polyaxial connector and method for dynamic stabilization of the spine | 
| US8097024B2 (en) | 2008-02-26 | 2012-01-17 | Spartek Medical, Inc. | Load-sharing bone anchor having a deflectable post and method for stabilization of the spine | 
| US8007518B2 (en) | 2008-02-26 | 2011-08-30 | Spartek Medical, Inc. | Load-sharing component having a deflectable post and method for dynamic stabilization of the spine | 
| CN102695465A (en) | 2009-12-02 | 2012-09-26 | 斯帕泰克医疗股份有限公司 | Low profile spinal prosthesis incorporating a bone anchor having a deflectable post and a compound spinal rod | 
| US20110307015A1 (en) | 2010-06-10 | 2011-12-15 | Spartek Medical, Inc. | Adaptive spinal rod and methods for stabilization of the spine | 
| US8430916B1 (en) | 2012-02-07 | 2013-04-30 | Spartek Medical, Inc. | Spinal rod connectors, methods of use, and spinal prosthesis incorporating spinal rod connectors | 
| Publication number | Priority date | Publication date | Assignee | Title | 
|---|---|---|---|---|
| JPH06165788A (en)* | 1992-07-06 | 1994-06-14 | Bristol Myers Squibb Co | Connecting tool for spine bar | 
| JPH07163580A (en)* | 1993-12-15 | 1995-06-27 | Mizuho Ika Kogyo Kk | Forward correcting device for scoliosis | 
| JPH1052440A (en)* | 1996-06-07 | 1998-02-24 | Robaato Read Shokai:Kk | Screw for bone fixing | 
| JP2001017441A (en)* | 1999-07-02 | 2001-01-23 | Sulzer Orthopedics Ltd | Spinal column holding device | 
| JP2005511194A (en)* | 2001-12-12 | 2005-04-28 | エル・デ・エール・メデイカル | Bone fixation implant with multiaxial head | 
| US20060116677A1 (en)* | 2004-12-01 | 2006-06-01 | Burd Brian A | Side-loading bone anchor | 
| Publication number | Priority date | Publication date | Assignee | Title | 
|---|---|---|---|---|
| EP1064885A1 (en)* | 1999-07-02 | 2001-01-03 | Sulzer Orthopedics Ltd. | Spinal fixator | 
| Publication number | Priority date | Publication date | Assignee | Title | 
|---|---|---|---|---|
| JPH06165788A (en)* | 1992-07-06 | 1994-06-14 | Bristol Myers Squibb Co | Connecting tool for spine bar | 
| JPH07163580A (en)* | 1993-12-15 | 1995-06-27 | Mizuho Ika Kogyo Kk | Forward correcting device for scoliosis | 
| JPH1052440A (en)* | 1996-06-07 | 1998-02-24 | Robaato Read Shokai:Kk | Screw for bone fixing | 
| JP2001017441A (en)* | 1999-07-02 | 2001-01-23 | Sulzer Orthopedics Ltd | Spinal column holding device | 
| JP2005511194A (en)* | 2001-12-12 | 2005-04-28 | エル・デ・エール・メデイカル | Bone fixation implant with multiaxial head | 
| US20060116677A1 (en)* | 2004-12-01 | 2006-06-01 | Burd Brian A | Side-loading bone anchor | 
| JP2008521568A (en)* | 2004-12-01 | 2008-06-26 | ウォーソー・オーソペディック・インコーポレーテッド | Lateral loading bone anchor | 
| Publication number | Publication date | 
|---|---|
| AU2005338664A1 (en) | 2007-06-07 | 
| EP1959849A1 (en) | 2008-08-27 | 
| WO2007064324A1 (en) | 2007-06-07 | 
| Publication | Publication Date | Title | 
|---|---|---|
| CN101098661B (en) | Side Loaded Vertebral Anchor | |
| US8075599B2 (en) | Adjustable bone anchor assembly | |
| JP4536118B2 (en) | Spine implant with a wide range of multiaxial fastener assemblies | |
| US7763057B2 (en) | Biased angle polyaxial pedicle screw assembly | |
| JP5599316B2 (en) | Surgical fixation system and related methods | |
| US8915945B2 (en) | Adjustable multi-axial spinal coupling assemblies | |
| JP4390709B2 (en) | Variable angle adaptive plate | |
| JP5025476B2 (en) | Multi-axis fastener assembly for spinal implants | |
| US20040177847A1 (en) | Posterior pedicle screw and plate system and methods | |
| EP2015694B1 (en) | Orthopedic implant apparatus | |
| US20120035667A1 (en) | Locking mechanisms for pivoting bone anchors | |
| WO2011053806A2 (en) | Adjustable saddle for a bone anchor | |
| JP2009517174A (en) | Side mounted adjustable bone anchor | |
| US7404818B2 (en) | Side-loading adjustable bone anchor | |
| JP2008539821A (en) | Multi-axis anchor assembly and method for spinal implants | |
| US20110106181A1 (en) | Adjustable saddle for a bone anchor | |
| KR20080084997A (en) | Side mounted adjustable bone anchor | 
| Date | Code | Title | Description | 
|---|---|---|---|
| A977 | Report on retrieval | Free format text:JAPANESE INTERMEDIATE CODE: A971007 Effective date:20110426 | |
| A131 | Notification of reasons for refusal | Free format text:JAPANESE INTERMEDIATE CODE: A131 Effective date:20110513 | |
| A601 | Written request for extension of time | Free format text:JAPANESE INTERMEDIATE CODE: A601 Effective date:20110815 | |
| A602 | Written permission of extension of time | Free format text:JAPANESE INTERMEDIATE CODE: A602 Effective date:20110822 | |
| A02 | Decision of refusal | Free format text:JAPANESE INTERMEDIATE CODE: A02 Effective date:20120131 |